





































【0001】
【発明の属する技術分野】
本発明は、コンピュータネットワーク上における企業間商取引に関し、特にコンピュータネットワーク上における商取引の際に発生するリスクをマネージメントするシステムに関し、特に企業間同士の決済における与信を判断するシステムに関する。更に本発明は、特に会員制で構成され且つ参加会員が完全匿名化された電子商取引システムに関する。
【0002】
【従来の技術】
コンピュータネットワーク上ではない、実社会での企業間同士の商取引では、サプライヤ(売り手)企業とバイヤ(買い手)企業との間に商社などの仲介業者が介在し、個々の売り手企業の生産能力、品質管理状況などから売り限度を判断し、また買い手企業の財務状況、支払いぶりなどから与信限度をその都度仲介業者が判断して手形決済などの商取引が行われている。つまり、商社などの仲介業者が企業間の商取引における在庫リスクなどをとることにより、企業間の商取引に介入し、決済条件等によりユーザンスを供与し、いわゆる商社金融を付け、大規模な商取引が成立している。
【0003】
一方、近年爆発的に普及しつつあるインターネットに代表されるコンピュータネットワーク上での電子商取引(以下、「エレクトリック・コマース」、「EC」とも言う。)は、企業と個人(以下、「B to C」とも言う。)、若しくは個人と個人(以下、「C to C」とも言う。)における電子商取引形態が普及しつつあるが、安全な電子商取引形態が確立されていないため、詐欺取引、クレーム問題等のトラブルが多発し大きな社会問題ともなりつつある。特にインターネットにおける電子商取引では、匿名性が高く、ユーザの改竄などが行われやすいにもかかわらず、その発見が困難であるという特徴を備えており、信用取引を行うには非常にリスクが高いのが現状である。企業と企業(以下、「B to B」とも言う。)における商取引は、B to C及びC to Cにおける商取引と比べ取引金額が大きく、いわゆるインターネット銀行などと称される決済面でのインフラの整備も遅れており、より大きなリスクが内在している。
【0004】
また、在来のB to Bの電子商取引サイトにおける商取引は、電子商取引に参加しているユーザ間の互いの希望売買条件が合致するまでは匿名で交渉を進めるが、合致した以降は取引相手を公開し、その後当事者同士が残りの条件(例えば、デリバリー、決済など)を決定するという方式をとっている。
【0005】
【発明が解決しようとする課題】
ネットワーク上の電子商取引は、実社会の商取引に比べ簡便で非常に速いスピードで商取引が成立するため、今後大きなマーケットの形成が期待されるが、この電子商取引のメリットをB to Bにおいても維持するためには電子商取引の際にリアルタイムでリスクを把握し、管理する必要がある。
【0006】
また、電子商取引サイトを運営するためには、サイトの立ち上げ及び運営のための費用が生じるため、企業ユーザが電子商取引サイトに参加するためには相当額の参加費用を支払うことが一般的である。電子商取引を希望する参加ユーザは、該参加費用を支払ったとしても、電子商取引における売買が実社会での直接取引よりも相対的に安価である場合には、電子商取引に参加する意義がある。上記のようなB to Bの電子商取引形態では、企業ユーザが電子商取引にはじめて参加する場合には多くの取引相手と知り合い、マッチングする可能性があるため、電子商取引に参加する以前には知らなかった取引相手企業を見つけることができる可能性があるため有用であるが、いったん有望な取引相手企業が見つかってしまうと該電子商取引サイトに参加する意義が低下する。特に、企業ユーザ間で希望価格を調整することが可能な場合には、電子商取引サイトへの参加費用及び仲介手数料分だけ取引における費用がかさむこととなり、電子商取引を介さずに直接取引をした方が安価な取引となる場合があり得る。
【0007】
【課題を解決するための手段】
上述のような不便を解消するため、本発明はコンピュータネットワーク上でのリアルタイム与信判断、取引限度管理、債権管理、認証リスク管理などを提供することを目的としており以下の特徴を有する。
【0008】
本発明にかかる与信システムは、コンピュータネットワーク上に構築されたサイト上で商取引を可能にする商取引与信システムにおいて、前記サイト上での商取引に売主または買主として新たに関与しようとする者が所定の条件を充足している場合に取引者として認証する取引者認証手段と、前記認証を受けた取引者に関する、資本金、売上高及び業歴の少なくとも一つを含む所定の企業データに基づいて前記取引者のランクを設定するランク設定手段と、該ランク設定手段によって設定されたランクに基づいて前記取引者の前記商取引の取引限度額を設定する取引限度額設定手段とを備えたことを特徴とする。
【0009】
さらに前記与信システムは、前記商取引の額が該商取引の売主または買主の前記取引限度額を超える場合に前記商取引を制限する商取引制限手段とを備え、該商取引制限手段は、前記取引限度額を超える場合に売主または買主に警告を発し、若しくは商取引を停止させることを特徴とする。
【0010】
さらに前記認証を受けた取引者に関し前記サイト上での過去の取引に関する所定の取引データを整理して管理する取引データ管理手段を備え、前記ランクを決定するに際して該取引データ管理手段によって管理されている前記取引データを参照し、所定の条件にしたがって考慮することを特徴とする。
【0011】
また、前記取引データには、前記商取引において何らかのクレームがあったかどうかに関する前記取引者についてのクレーム情報、取引者の倒産情報、取引者が関与する手形の不渡りに関する情報、取引者が関与する差し押さえに関する情報、何らかの経営の悪化を示す兆候の有無についての前記取引者に関する不安情報の少なくとも1つの情報が含まれることを特徴とする。
【0012】
更に、前記取引データには、前記商取引における取引者の支払いぶりに関する情報が含まれており、前記取引データ管理手段は、所定期間ごとに取引者の支払いぶりに関する情報をチェックし前記企業データに反映させるようになっていることを特徴とする。
【0013】
好ましい実施形態では、本発明にかかる与信システムは、前記企業データを数値で評価し、その数値評価に基づいて前記ランクが決定されることを特徴とする。
【0014】
更に、前記与信システムは、前記取引データに基づき、所定の期間内に所定回数以上適正に前記商取引を行った取引者の前記ランクを上位に変更するように構成されたことを特徴とする。
【0015】
また、前記取引データに基づき、所定の期間内に所定日数以上の遅延支払いの商取引を行った取引者の前記ランクを下位に変更するように構成されたことを特徴とする。
【0016】
他の好ましい実施形態では、前記取引制限手段が、前記取引データに基づき、所定の期間内に所定日数以上の遅延支払いの商取引を少なくとも二回以上の所定回数行った取引者の前記サイト上での商取引を停止するように構成されたことを特徴とする。またこの所定の条件はサイトオーナーが決定することができることを特徴とする。
【0017】
更に、取引者の平均月商と前記企業データの数値評価に基づいて前記取引限度額を決定することを特徴とする。
【0018】
また、別の好ましい実施形態では、前記商取引制限手段が、当該商取引の売主と買主の取引限度額が異なる場合には額の低い取引者の取引限度額を超える商取引を禁止するように構成されたことを特徴とする。
【0019】
また本発明の別の特徴によれば、コンピュータネットワーク上に構築されたサイト上で商取引を可能にする本発明にかかる商取引与信方法は、前記サイト上での商取引に売主または買主として新たに関与しようとする者が所定の条件を充足している場合に取引者として認証し、前記認証を受けた取引者に関する、資本金、売上高及び業歴の少なくとも一つを含む所定の企業データに基づいて前記取引者のランクを設定し、該ランクに基づいて前記取引者の前記商取引の取引限度額を設定し、前記商取引の額が該商取引の売主または買主の前記取引限度額を超える場合に前記商取引を制限することを特徴とする。
【0020】
更に本発明にかかる前記方法は、前記商取引に関与する者の企業名を含む名称を少なくともサイトオーナーは識別することができるが、前記サイト内で特定の識別標識により取引者を特定することにより、買主又は売主は選択により匿名で商取引を行うようになっていることを特徴とする。
【0021】
また本発明の更に別の特徴によれば、コンピュータネットワークを介した商取引に売主または買主として新たに関与しようとする者が所定の条件を充足している場合に取引者として認証し、前記認証を受けた取引者に関する、資本金、売上高及び業歴の少なくとも一つを含む所定の企業データに基づいて前記取引者のランクを設定し、該ランクに基づいて前記取引者の前記商取引の取引限度額を設定し、前記商取引の額が該商取引の売主または買主の前記取引限度額を超える場合に前記商取引を制限するというステップを有するプログラムを表す信号を搬送波に載せてコンピュータネットワークに提供することを特徴とする。
【0022】
また本発明の更に別の特徴によれば、本発明にかかるアルゴリズムを有するプログラムデータを記録した記録媒体が、コンピュータネットワークを介した商取引に売主または買主として新たに関与しようとする者が所定の条件を充足している場合に取引者として認証し、前記認証を受けた取引者に関する、資本金、売上高及び業歴の少なくとも一つを含む所定の企業データに基づいて前記取引者のランクを設定し、該ランクに基づいて前記取引者の前記商取引の取引限度額を設定し、前記商取引の額が該商取引の売主または買主の前記取引限度額を超える場合に前記商取引を制限するというステップを有するプログラムデータの少なくとも一部を記録したことを特徴とする。
【0023】
また本発明の更に別の特徴によれば、本発明にかかるアルゴリズムを有するプログラムデータを伝送する伝送媒体が、コンピュータネットワークを介した商取引に売主または買主として新たに関与しようとする者が所定の条件を充足している場合に取引者として認証し、前記認証を受けた取引者に関する、資本金、売上高及び業歴の少なくとも一つを含む所定の企業データに基づいて前記取引者のランクを設定し、該ランクに基づいて前記取引者の前記商取引の取引限度額を設定し、商取引の額が該商取引の売主または買主の前記取引限度額を超える場合に前記商取引を制限するというステップを有するプログラムデータの少なくとも一部を伝送することを特徴とする。
【0024】
更に上述のような問題点を解消し、安定した電子商取引サイトを運営するためには、電子商取引サイトにおける参加企業ユーザの顧客情報を該電子商取引サイトの運営者(オーナ)のみが認識することができ、参加企業ユーザ間では取引成立後の納品・デリバリー及び決済まで終始完全に秘匿化させることが必要である。本発明は、このように参加企業ユーザの情報を互いに最後まで完全に秘匿化することにより、電子商取引サイトの利用者の減少を防止することができ、安定した電子商取引マーケットを拡大させることを目的としており、以下の特徴を有する。
【0025】
本発明に係る匿名での商取引を可能にする商取引システムは、複数の情報端末装置からアクセス可能なコンピュータネットワーク上に構築されたサイトでの商取引に売手又は買手として新たに関与しようとする者が、所定の条件を充足している場合に、取引者として認証する認証手段と、前記認証を受けた取引者が匿名で商品情報を公開及び閲覧することを可能にする情報公開・閲覧手段と、前記サイト上で公開及び閲覧した商品情報に基づいて商取引が成立した場合に、商取引が成立した旨を匿名で取引に参加した者にも通知する通知手段と、売手から買手に匿名性を確保しつつ、前記商取引が成立した商品を引き渡す引渡手段と、前記買手及び売手の情報の匿名性を確保しつつ、商取引の決済をすることができる決済手段とを備えたことを特徴とする。
【0026】
また本発明の別の特徴によれば、匿名での商取引を可能にする商取引方法は、複数の情報端末装置からアクセス可能なコンピュータネットワーク上に構築されたサイトでの商取引に売手又は買手として新たに関与しようとする者が、所定の条件を充足している場合に、取引者として認証し、前記認証を受けた取引者が匿名による買手として購入を希望する商品情報を前記サイトで公開し、前記認証を受けた取引者が匿名による売手として前記公開された商品情報を前記サイトで閲覧し、前記サイト上で公開及び閲覧した商品情報に基づいて商取引が成立した場合に、商取引が成立した旨を匿名で取引に参加した者にも通知し、売手から匿名性を確保しつつ前記商取引が成立した商品を引取り、前記商取引が成立した商品を匿名性を確保しつつ買手に納品し、前記買手及び売手の情報の匿名性を確保しつつ商取引の決済をすることができることを特徴とする。
【0027】
更に前記商取引が、(a)匿名による買手として購入を希望する商品の希望価格を設定し、(b)匿名による買手として購入を希望する商品情報を前記サイトで公開し、(c)前記公開された商品情報を匿名による売手として前記サイトで閲覧し、(d)前記公開された商品情報のうち販売を希望する場合は、匿名で売手が販売希望価格を提示し、(e)前記売手の販売希望価格が前記買手の購入希望価格以下か判断し、(f)ステップ(e)において、前記売手の希望販売価格が前記買手の購入希望価格を上回るならば、他の売手を探索し、(g)前記他の売手が見つからなかったならば、売手が見つかるまでステップ(a)乃至(f)の処理を繰り返し、前記他の売手が見つかったならばステップ(i)に移り、(h)ステップ(e)において、前記売手の販売希望価格が前記買手の購入希望価格以下ならばステップ(i)に移り、(i)更に他に前記買手の購入希望価格以下の販売希望価格を提示した競合する売手がいるか判断し、(j)ステップ(i)において、競合状態であれば、より低い価格を提示した売手を落札させる競合解消ルーチンに移り、その後商取引が成立し、(k)ステップ(i)において、競合状態でなければ、商取引が成立する、というステップを少なくとも有することを特徴とする。
【0028】
本発明の別の特徴によれば、匿名での商取引を可能にする商取引方法は、複数の情報端末装置からアクセス可能なコンピュータネットワーク上に構築されたサイトでの商取引に売手又は買手として新たに関与しようとする者が、所定の条件を充足している場合に、取引者として認証し、前記認証を受けた取引者が匿名による売手として提供する商品情報を前記サイトで公開し、前記認証を受けた取引者が匿名による買手として前記公開された商品情報を前記サイトで閲覧し、前記サイト上で公開及び閲覧した商品情報に基づいて商取引が成立した場合に、商取引が成立した旨を匿名で取引に参加した者にも通知し、売手から匿名性を確保しつつ前記商取引が成立した商品を引取り、前記商取引が成立した商品を匿名性を確保しつつ買手に納品し、前記買手及び売手の情報の匿名性を確保しつつ、商取引の決済をすることを特徴とする。
【0029】
好ましい実施形態では前記商取引が、(a)匿名による売手として販売を希望する商品の希望価格を設定し、(b)匿名による売手として販売を希望する商品情報を前記サイトで公開し、(c)前記公開された商品情報を匿名による買手として前記サイトで閲覧し、(d)前記公開された商品情報のうち購入を希望する場合は、匿名で買手が購入希望価格を提示し、(e)前記買手の購入希望価格が前記買手の購入希望価格以下か判断し、(f)ステップ(e)において、前記買手の購入希望価格が前記売手の販売希望価格を下回るならば、他の買手を探索し、(g)前記他の買手が見つからなかったならば、買手が見つかるまでステップ(a)乃至(f)の処理を繰り返し、前記他の買手が見つかったならばステップ(i)に移り、(h)ステップ(e)において、前記買手の購入希望価格が前記売手の販売希望価格以上ならばステップ(i)に移り、(i)更に他に前記売手の販売希望価格以上の購入希望価格を提示した競合する買手がいるか判断し、(j)ステップ(i)において、競合状態であれば、より高い価格を提示した買手を落札させる競合解消ルーチンを経た後にステップ(l)に移り、(k)ステップ(i)において、競合状態でなければステップ(l)に移り、(l)まだ売手の販売希望商品が残っているか否か判断し、(m)ステップ(l)において、まだ商品が残っているならばステップ(a)乃至(l)の処理を繰り返し、(n)ステップ(l)において、商品が残っていないならば販売を終了する、というステップを少なくとも有することを特徴とする。
【0030】
更に別の好ましい実施形態では、前記商取引が、(a)匿名による売手として販売を希望する商品の希望価格を設定し、(b)匿名による売手として販売を希望する商品情報を前記サイトで公開し、(c)前記公開された商品情報を匿名による買手として前記サイトで閲覧し、(d)前記公開された商品情報のうち購入を希望する場合は、匿名で買手が購入希望価格を提示し、(e)前記買手の購入希望価格が前記買手の購入希望価格以下か判断し、(f)ステップ(e)において、前記買手の購入希望価格が前記売手の販売希望価格を下回るならば、他の買手を探索し、(g)前記他の買手が見つからなかったならば、買手が見つかるまでステップ(a)乃至(f)の処理を繰り返し、前記他の買手が見つかったならばステップ(i)に移り、(h)ステップ(e)において、前記買手の購入希望価格が前記売手の販売希望価格以上ならばステップ(i)に移り、(i)更に他に前記売手の販売希望価格以上の購入希望価格を提示した競合する買手がいるか判断し、(j)ステップ(i)において、競合状態であれば、前記売手と複数の競合する買手とが個別に商談をすることにより特定の買手を決定した後にステップ(l)に移り、(k)ステップ(i)において、競合状態でなければステップ(l)に移り、(l)まだ売手の販売希望商品が残っているか否か判断し、(m)ステップ(l)において、まだ商品が残っているならばステップ(a)乃至(l)の処理を繰り返し、(n)ステップ(l)において、商品が残っていないならば販売を終了する、というステップを少なくとも有することを特徴とする。
【0031】
更に別の好ましい実施形態では、前記ステップ(d)において、前記公開された商品情報のうち購入を希望し発注する前に、当該商品のサンプルを匿名で請求し、その後匿名で買手が購入希望価格を提示することを特徴とする。
【0032】
また別の好ましい実施形態では、前記決済において、前記匿名による買手に対するユーザンスを、前記匿名による売手に対するユーザンスよりも長く設定することができることを特徴とする。
【0033】
更に、本発明にかかる与信システムは、コンピュータネットワーク上に構築されたサイト上で企業の信用情報をユーザ側端末に提供する与信システムにおいて、前記ユーザ側端末から前記サイト上の信用情報へのアクセスを許可するためのユーザ認証手段と、前記ユーザ認証手段により許可されたユーザの企業情報を特定するユーザ情報特定手段と、少なくとも1つの与信先企業を特定するための与信先企業特定手段と、前記特定された与信先企業の企業情報を表示する与信先情報表示手段と、前記特定された与信先企業との商取引における希望取引限度額を前記ユーザ側端末から入力することができる希望取引限度額入力手段とを備え、ユーザ側から入力された前記希望取引限度額と前記特定された与信先企業の企業情報とを比較することにより、商取引の安全性の判断をユーザ側端末に略リアルタイムで提供することを特徴とする。
【0034】
更に前記与信システムは、前記ユーザ情報特定手段が、前記ユーザ認証手段によって認証されたユーザが、ユーザ企業情報をユーザ側端末から直接訂正することができるユーザ情報訂正手段を更に有すること特徴とする。
【0035】
更に前記与信システムは、前記希望取引限度額入力手段が、少なくとも月商と、回収月数とを入力する手段を備え、前記月商と回収月数との積から求められた希望取引限度額を入力することができることを特徴とする。
【0036】
更に前記与信システムは、前記ランク設定手段によって設定されたランクに基づいて与信先企業の倒産確率を評価する倒産確率評価手段とを更に備え、少なくとも前記倒産確率評価手段によって求められた倒産確率と、与信先企業の資本コスト率と、与信先企業の経費率との和を計算することにより最低必要口銭率を算定する口銭率評価手段を更に有することを特徴とする。
【0037】
更に前記与信システムは、与信先企業の前記取引限度額と、前記希望取引限度額との差を、前記回収月数で除算することにより、ひと月当たりの取引目標額を評価する手段を更に備えたことを特徴とする。
【0038】
好ましい実施形態では、本発明にかかる与信先企業管理システムは、前記与信システムにより評価された1以上の与信先企業情報を、ユーザが比較可能なようにユーザ側端末画面に特定の管理画面を表示させることができる与信先企業管理手段を有する。
【0039】
更に前記与信先企業管理システムは、前記管理手段が、与信先企業毎に少なくとも前記ランク情報と、前記限度額情報と、当該与信先企業を評価した日付情報とを備え、ユーザが前記各情報毎に与信先企業情報を所望の情報に従って評価することができることを特徴とする。
【0040】
また、本発明の別の特徴によれば、コンピュータネットワーク上に構築されたサイト上で企業の信用情報をユーザ側端末に提供する商取引与信方法は、前記信用情報にアクセスしようとする者が所定の条件を充足している場合にユーザとして認証し、前記認証を受けたユーザに、所望の与信先企業の企業情報を提供し、前記認証を受けたユーザに対して、与信先企業との商取引において希望する取引限度額を入力させ、前記入力された希望取引限度額と、前記与信先企業情報とを評価し、商取引の安全性の判断をユーザに略リアルタイムで提供することを特徴とする。
【0041】
更に本発明にかかる前記方法は、前記認証を受けたユーザに対して、ユーザ側端末でユーザ企業情報を訂正させるステップを更に有することを特徴とする。
【0042】
更に本発明にかかる前記方法は、前記認証を受けたユーザが前記希望取引限度額を入力する際に、前記認証を受けたユーザに対して少なくとも月商と、回収月数とを入力させ、前記入力された月商と回収月数との積から求められた金額を前記希望取引限度額と設定することができることを特徴とする。
【0043】
更に本発明にかかる前記方法は、前記ランク設定手段によって設定されたランクに基づいて与信先企業の倒産確率を算出し、少なくとも前記倒産確率と、与信先企業の資本コスト率と、与信先企業の経理比率との和を最低必要口銭率として設定し、前記認証を受けたユーザに前記最低必要口銭率を提供することを特徴とする。
【0044】
更に本発明にかかる前記方法は、与信先企業の前記取引限度額と、前記希望取引限度額との差を、前記回収月数で除算し、ひと月当たりの取引目標額として設定し、前記認証を受けたユーザに前記取引目標額を提供することを特徴とする。
【0045】
また本発明の更に別の特徴によれば、本発明にかかる与信先企業管理方法は、前記商取引与信方法により提供された1以上の与信先企業情報を、ユーザが比較可能なようにユーザ側端末画面に特定の管理画面を表示させることを特徴とする。
【0046】
また本発明の更に別の特徴によれば、与信先企業管理システムに登録された少なくとも1以上の与信先企業と商取引をするにあたり、ユーザ認証手段により認証されたユーザに対して所定の金融サービスを提供することができるようにユーザ側端末画面にユーザインターフェースを提供する本発明にかかる電子商取引システムは、少なくとも1以上の金融サービスを選択することができる金融サービス選択手段と、前記金融サービスを受ける際のユーザ側の条件を入力することができるサービス適用条件入力手段とを有することを特徴とする。
【0047】
また本発明の更に別の特徴によれば、コンピュータネットワーク上に構築されたサイト上で与信先企業と電子商取引をするにあたり、ユーザ認証手段により認証されたユーザに対して所定の金融サービスを提供することができる本発明にかかる電子商取引方法は、ユーザに対して少なくとも1つ以上の金融サービスを選択させ、前記金融サービスを提供する場合の条件をユーザに入力させるステップを有することを特徴とする。
【0048】
【発明の実施の形態】
図1に、本発明による与信判断システムが機能するネットワークシステムの概略図を示す。本システムは、インターネット10上でアクセス可能なECリスクマネージメントサイト20と、企業情報データベース30と、認証局40とを有する。好ましい実施形態では、企業情報データベースは、独自の評点評価を有する株式会社帝国データバンクの企業概要データベースCOSMOS2などを利用することができる。このECリスクマネージメントサイト20で電子商取引をするためには、インターネットに接続している売り手(51、52...)及び買い手(61、62...)は認証局40を介して該サイト20にログオンする。
【0049】
図2にECリスクマネージメントサイト20の概略図を示す。ユーザである売り手及び買い手は、外部認証局40を介して該サイト20にログオンする。ログオンの際に、当該サイト20を運営する主体によるサイト認証局70において認証を行う。サイト認証局70では、ユーザの認証を行うと共に、管理番号及び期限をつける。次いで期限・権限の管理局80において、予め登録してあるクレームデータ81、不安情報データ82などを参照して認証の期限の管理、及びクレーム、不安情報が発生していないかどうか、その度合いによって取引権限の管理を行い、突然不測の事態が発生した場合にも取引停止などの取引権限の管理を行う。
【0050】
次いで、ユーザの電子商取引におけるリスクをマネージメントする与信判断を行う。図2のS1乃至S3に示す判断に基づき、それぞれ「売り限度の判断」、「買い限度の判断」(ランクの設定)及び「支払いぶりによる買い限度の調整」を実施し、ランクに応じた買い限度を予め設定しておき、その買い限度とランクを連動させ、設定された売り限度と買い限度内に取引が行われているかチェックし、限度を超える取引については警告を発生させるか、若しくは取引停止とさせる。以下に各判断の詳細を示す;
売り限度の判断
図2に示す判断1の売り限度の判断の具体例を図3に示す。ここで企業データ83は、企業情報データベース30からデータの提供を受けたものであり、ここで企業情報データベース30は、株式会社帝国データバンクの企業概要データベースCOSMOS2であるのが好ましい。本実施形態では、企業データ83はCOSMOS2のデータに基づいたものであり、企業概要データとして評点を備えている。本サイト20に参加する売り手企業の売り限度を、COSMOS2の評点に基づいて、評点が65点以上の企業は月商の10%まで、評点が49点以上65点未満の企業は月商の5%まで、その他の企業は月商の3%までと設定する。これらの判断を任意の期間毎に行い、売り限度を設定する。この期間は本サイト20のオーナが任意に決定することができる。ここで、売り限度とは、本サイトで、売主が掛け売りできる金額、つまり、サイトオーナー、買主から見た買掛債務残の限度額のことを言う。
【0051】
買い限度の判断
図2に示す判断2の買い限度の判断の具体例を図4に示す。本サイトのオーナが任意に決定できる期間毎に企業データ83を用いて買い限度を設定するためにランク分けを行う。ここで、買い限度とは、本サイトで、買主が掛けで買うことができる金額、つまり、サイトオーナー、売主から見た売込債権額のことを言う。好ましい実施形態では、ランクをa1乃至a5及びCOD(Cash On Delivery)という6つのランクを設定する。CODとは代金引換のことを意味し、与信の対象外のランクである。本サイト20に参加する買い手企業の買い限度を、COSMOS2の評点に基づいて、評点が65点以上の企業をa1と、評点が49点以上65点未満の企業であり且つ売り上げが10億円以上で法人申告がある企業をa2と、評点が49点以上65点未満の企業であり且つ決算が黒字である企業をa3と、評点が49点以上65点未満の企業であり且つ資本金が10百万円以上の企業をa4と、評点が49点以上65点未満の企業であり且つ資本金が10百万円未満の企業をa5とランク分けする。また、評点が35点以上49点未満の企業については、表1に示したような項目に基づいて更に点数化し、合計の点数が0点以上の企業をa5と、0点未満の企業をCODとランク分けする。例えば、COSMOS2の評点動向が、上方(+1点)であり、売り上げ規模が0.5億円(−1点)であり、業歴が11年(0点)である企業の場合は、+1−1+0=0点となり、a5ランクとなる。別の例として、COSMOS2の評点動向が、下方(−1点)であり、売り上げ規模が4億円(0点)であり、業歴が9年(−1点)の企業の場合は、−1+0−1=−2点となり、CODランクとなる。また、COSMOS2の評点が35点未満の企業の場合は、無条件でCODランクとなり与信の対象外となる。
【0052】
支払いぶりによる買い限度の調整
図2に示す判断3の支払いぶりによる買い限度の調整の具体例を図5に示す。本サイト20のオーナが任意に決定することができる期間毎に支払いぶりデータ84を用いて上記判断2のステップで分けたランクの上下動を調整する。好ましい実施形態では、所定の取引実績の回数を上回る取引の回数の実績がある企業は、1ランクアップさせることができる。この所定の取引実績回数は、本サイト20のオーナが任意に決定することができる。また、本サイト20における商取引において、所定の日数以内の支払遅延が発生した場合は、1ランクダウンさせることができる。この所定の日数も、本サイト20のオーナが任意に決定することができる。更に、所定の日数以上の支払遅延が発生した場合、及び本サイト20のオーナが任意に設定した条件、例えば3ヶ月の間に2回目の所定の日数以内の支払遅延が発生した場合は、取引を停止する。これらのいずれの条件にも入らない場合は、ランクは現状維持とする。
【0053】
買い限度額の入力/限度管理
上記のようなランクa1乃至a5に応じた買い限度額を予め設定する。例えば、a1には500万円、a2には400万円・・・・a5には100万円という買い限度額を設定することができる。この買い限度額とランクを連動させる。
【0054】
それぞれの買い限度のランク(a1乃至a5)に対応するように、売り込み限度のランクを設定する(b1乃至b5)。これらの売り込み限度の各ランクに売り込み限度額を入力し、債権債務限度管理局90において、設定された売り限度と買い限度内で取引が行われているかどうか監視し、限度を超える取引については警告を発するか、若しくは取引停止とする。ここで監視された結果が支払いぶりデータ84に提供され、上記判断3に更にフィードバックされる。更に、債権債務限度管理局90は、決済管理と受発注管理とを行い、電子文書を保管する。図2に示した不安情報データ81及びクレームデータ82は、本サイト20のオーナが任意に入力して作成するものであるが、好ましい実施形態では、売り手からのクレームは自動的に情報がクレームデータ82に提供されうる。
【0055】
本発明による与信判断をネットワーク上の本サイトにてリアルタイムに実行することにより、ネットワーク上で匿名性を維持しつつ安全に大規模なB to Bの電子商取引を実施することが可能である。以下に、本システムを利用した電子商取引の実施例を説明する;
ECリスクマネージメントサイトへの参加
売り手及び買い手となる企業ユーザは、外部認証局40において認証を取得する。次いで、外部認証の承認と、本サイト20における認証を行い、管理番号及び期限をつける。本サイトにログオンしようとする企業ユーザについて、認証の期限の管理とクレーム、不安情報が発生していないかどうか、その度合いによって取引権限の管理を行う。次いで、企業データ83に格納された例えばCOSMOS2の企業概要データと適合させる。上記好ましい実施形態で説明した与信判断プロセスにより、当該企業ユーザの与信判断を行い、売り限度と買い限度とを設定する。また支払いぶりデータをフィードバックしランクに反映させる。次いで、与信判断がされた企業ユーザは、取引サイトにログオンする。ただし、COD条件と判断された企業ユーザは、取引サイトにログインすることは可能であるが、決済条件がCODのみの取引となる。
【0056】
電子商取引
図6に、インターネット上に構築された電子商取引サイトにおける電子商取引の好ましい実施形態を示す。取引サイトにログオンした企業ユーザのうち売り手企業は、取引サイトに売りたい商品について販売希望照会をする(ステップ1)。一方、買い手企業は、取引サイトに提示されている所望の商品について購入希望照会をする(ステップ1’)。次いで、買い手企業は、購入希望申込をし(ステップ2’)、売り手企業は販売希望申込をする(ステップ2)。ここで債権債務管理局90において、商取引の限度枠内であるかどうか判断され、限度枠内であれば売買が確定し、受発注管理システム91が起動する。この際、買い手企業側にはサイトオーナー又は売主からみて債権残が発生し、売り手企業側にはサイトオーナー又は買主からみて商品買掛債務が発生する。これらの債権債務を債権債務管理局90が管理し、受発注管理システム91から売り手企業に対して注文書が発行され(ステップ3)、一方、買い手企業に対しては購入確定通知が発行される(ステップ3’)。売り手企業は商取引の対象となる商品を出荷したときに受発注管理システム91に対して出荷登録をし(ステップ4)、一方、受発注管理システム91は買い手企業に対して出荷通知をする(ステップ5)。次いで、買い手企業は商品を受領した後に、受発注管理システム91に対して受領・検収登録をし(ステップ6)、受発注管理システム91は売り手企業に対して受領・検収通知をする(ステップ7)。受発注管理システム91は、決算時に買い手企業に対して請求書を発行する(ステップ8)。受発注管理システム91は、上記一連のステップ(ステップ3乃至ステップ8)で発行された通知を電子文書として保管する。次いで、決済システム92に移行し、買い手企業は決済システム92に支払いをし(ステップ9)、決済システム92は売り手企業に支払いをする(ステップ10)。別の実施形態では、売り手企業及び買い手企業は既存の銀行などの決済機関を介して決済をすることができうる。次いで、売り手企業は決済システム92に対して入金の登録をし、それを受けて決済システム92は、買い手企業に対して債権残の消し込みをし、売り手企業に対して商品買掛債務の消し込みを行うと同時に、支払期日の管理を行う。具体的には、期日どおりの入金がされているかどうか確認し、その支払状況を支払いぶりデータ84に記録する。また決済システム92は、買い手企業に対しては債権残を把握し、該債権残が限度額内であるかどうか判断し、限度額超過になるのであれば追加取引をできなくさせ、一方、売り手企業に対しては納品買掛債務残を把握し、該納品債務残が限度額内であるかどうか判断し、限度額超過になるのであれば追加取引をできなくさせる。更に売り手企業及び買い手企業からのクレーム等をクレームデータに記録すると共に、売り手企業及び買い手企業に自動的にメール通知を行う。別の好ましい実施例では、サイトオーナーの権限によりクレームの度合、不安情報、倒産情報、手形不渡り、差押、クレームの度合等により、取引権限を剥奪することができる。また、上述の実施例における電子商取引は、サイトオーナーのみが商取引に関与する買主及び売主の企業名を識別することができ、買主及び売主という商取引に参加している者は互いの企業名を識別することができない匿名性を備えていても良い。この場合、匿名性を利用することにより実社会の系列販売などにとらわれることなく、実社会の商取引とは異なる取引相手と、実社会の商取引とは異なる取引量で電子商取引をすることができる。当該匿名商取引についての更に詳細な実施形態は後述する。
【0057】
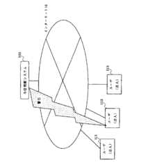
以上説明した実施例は、インターネット10上に構築された電子商取引サイトにおける電子商取引の例である。本発明の他の好ましい実施例として、図7に示すようなASP(アプリケーション・サービス・プロバイダ)の形態においても、本発明による与信判断を提供することができる。ここで、図2に記載した判断3(S3)の次のステップとしての判断4の具体例を図9に示す。特定のアプリケーション・サービス・プロバイダのサイトにおいて、本発明による与信判断方法を提供することができるコンピュータプログラムを稼働させ、インターネット10を介して電子商取引に関与するユーザ(法人)111,112,113...に対して図9に示した判断4により、各ユーザの体力に見合った買い限度の入力を行い、各ユーザが取引を行いたい企業に対して与信判断を行い、その取引限度をインターネット10を介して各ユーザに対して発するか、若しくは、取引限度額が超過した場合は各ユーザに対して、インターネットを介して取引停止、縮小の警告を発することができる。
【0058】
更に別の好ましい実施例としては、本発明による与信判断を提供することができるコンピュータプログラムの全部または一部をパッケージ化することにより、ユーザのコンピュータにおいて本発明にかかる与信判断を行うことが可能である。この場合、与信判断のアルゴリズムを実行するプログラムは与信判断システム110としてユーザ側のコンピュータで稼働するが、逐次更新が必要な企業データ120は、たとえばインターネット10のようなコンピュータネットワークを介してアクセスすることができる。
【0059】
完全匿名電子商取引の好ましい実施形態
図10に、本発明による匿名電子商取引システムが機能するネットワークシステムの好ましい実施形態の概略図を示す。本システムは好ましくは、インターネット10上でアクセス可能な匿名電子商取引サイト1130と、認証局1120と、審査局1121と、決済局1122と、物流局1123と、コンテンツ提供局1124とを有する。該サイト1130は、認証局1120に接続された審査局1121と接続された認証・与信サーバ1131と、決済局1122に接続された決済サーバ1132と、物流局1123に接続された物流サーバ1133と、コンテンツ提供局1124に接続されたコンテンツサーバ1134と、電子商取引サーバ1135とを包含する。該電子商取引サーバ1135は、少なくとも企業情報と、商品情報と、購買履歴とを包含するデータベース1136を包含する。インターネット10を介して、企業ユーザである売手企業1141,1142,1143・・・及び買手企業1151,1152,1153・・・は該匿名電子商取引サイト1130にアクセスすることができる。
【0060】
前記企業ユーザは、はじめて該匿名電子商取引サイト1130に参加する際には、認証局1120を介して審査局1121により参加条件を審査される。参加条件は例えば、企業業績、売り上げ、業歴などであり、支払い能力、納品能力などがない企業を排除し、信頼性の高い電子商取引サイトを構築するのが目的である。一定の審査条件を満たした企業のみが該サイトにおいて匿名で商取引をすることができる。即ち、取引相手が匿名であるため、一定の参加基準を満たしていない企業と取り引きするのは非常にリスクが高いので、サイトオーナが任意の参加基準を設けることにより、該サイトの信用を高め安全な電子商取引を行うためである。このような、いわゆる会員制電子商取引システムに最後まで完全な匿名性を採用することにより、参加企業ユーザは匿名性が担保されると共に、取引相手の与信判断をする手間が省け、効率的に商取引をすることが可能となる。
【0061】
本発明による完全匿名化電子商取引システムは、紙・板紙などのようにある一定上のレベルで品質が安定した一次加工品の商取引に特に有用である。これは電子商取引では、実際の商品の全てを手にとって品質を確認することが困難であるため、ある程度の品質がサイトオーナと参加ユーザとの間で共通の認識が形成されている状況で実施されるのが好ましい。以下に、紙・板紙の完全匿名化電子商取引の実施例を示す。
【0062】
かかる完全匿名性の電子商取引を実施する電子商取引サイトにおいて、サイトオーナーは、種々の電子商取引形態を具現化することができる。第1の好ましい実施形態として、リバースオークション(いわゆる逆競り)に適用することができ、第2の好ましい実施形態として、エクスチェンジ(いわゆるマッチング。好ましい実施形態では「お買い得情報」、「お買い得市場」ともいう。)に適用することができる。
【0063】
また本発明では、「売手」のことを「サプライヤ」とも称し、「買手」のことを「バイヤ」若しくは「ユーザ」とも称する。また売手(サプライヤ)とは、落札若しくは商談が成立(約定)した者のみをいうのではなく、商取引に参加した他の売手も含み、同様に、買手(バイヤ)とは、実際に落札した若しくは商談が成立(約定)した者のみをいうのではなく、商取引に参加した他の買手も含む。
【0064】
リバースオークションによる完全匿名化電子商取引
前記リバースオークションの完全匿名化電子商取引の流れの概略を図11に示す。所定の審査条件を満たし、登録された会員は買手企業と売手企業に分類することができる。好ましい実施形態では、買手企業は例えば、出版社、印刷業者などのエンドユーザや、紙卸業者などが該当する。また売手企業は一次卸、総合商社、2次卸、製造業者(メーカ)などが該当する。
【0065】
まず買手企業は、完全匿名の取引サイト1130にアクセスし、購入を希望する商品を発注する(ステップ201)。この際、好ましい実施形態では、紙の品種・数量・希望購入価格、寸法、荷姿、届け先などを明らかにする必要がある。該発注情報は取引サイトにおいて、自動的に入札情報のページ730(図19参照)に転送され、情報が公開される。一方、売手企業は上記入札情報のページ730で、注文を閲覧し(ステップ202)、注文に関する条件を見て倉庫前渡し価格を応札する(ステップ203)。
【0066】
商談の好ましい実施形態の一例のフローチャートを図12に示す。まず買手(ユーザ)が購入希望価格を設定する(ステップ302)。次いで、売手(サプライヤ)の販売希望価格が買手の購入希望価格以下か否か判断する(ステップ303)。もし売手の販売希望価格が買手の購入希望価格を上回るならば他の売手を探索する(ステップ304)。次いで、他の売手が見つかるか否か判断する(ステップ305)。売手が見つからないならば、上記ステップ302乃至305の処理を繰り返す。ステップ305において、他の売手が見つかったならば、次いで競合状態判定ルーチンに進む(ステップ306)。ステップ303において、売手の販売希望価格が買手の購入希望価格以下ならば、競合状態判定ルーチンに進む(ステップ306)。次いで、売手が複数存在して競合状態であるか否か判断する(ステップ307)。もし競合状態であるならば、競合解消ルーチンに進む(ステップ308)。好ましい実施形態の競合解消ルーチンでは、複数の売手の販売希望価格を比較して、最も低い価格を提示した売手を選択することができる。他の好ましい実施形態では、複数の売手と個別に商談をすることにより、販売価格、数量、納期などを勘案して特定の売手を決定することができる(ステップ309)。ステップ307において、競合状態でなければ、自動的に売手が決定される(ステップ309)。
【0067】
サイトの運営者は、商談の進行に伴い、ユーザに倉庫での引取価格に運賃を加えた金額を知らせる。一方、少なくとも希望する売り手企業には、入札状況の途中経過を通知し(ステップ204)、落札の可能性を高めることができる通知サービスを実施することができる(ステップ205)。好ましい実施形態では、これらの通知は、電子メールによる通知をすることができる。入札期間終了時点で最低価格入札者に落札することにより商談が成立する。その結果取引サイト130は、商談成立の連絡を買手及び売手の双方に通知する(ステップ206)。次いで、サイト運営者は、契約物流企業に指示することにより、売手企業の指定場所から商品を引取り(ステップ207)、届け先へ配送する(ステップ208)。売手企業はサイト運営者に請求書を発行し、サイト運営者は買手企業に請求を行う(ステップ209)。買手企業は、サイト運営者に支払いをし、サイト運営者は手数料を差し引いた金額を売手企業に支払う(ステップ210)。
【0068】
エクスチェンジによる完全匿名化電子商取引
エクスチェンジによる完全匿名化電子商取引の流れの概略を図13に示す。所定の審査条件を満たし、登録された会員は買手企業と売手企業に分類することができる。上記リバースオークションの場合と同様に、好ましい実施形態では、買手企業は例えば、出版社、印刷業者などのエンドユーザや、紙卸業者などが該当する。また売手企業は一次卸、総合商社、2次卸、製造業者(メーカ)などが該当する。
【0069】
まず売手企業は、完全匿名の取引サイト1130にアクセスし、紙・板紙のバーゲン(bargain)情報を提示する(ステップ201)。好ましい実施形態では、品質上の問題は一切ないことを条件とすることができる。この際、紙のメーカ名、銘柄などは必ずしも明らかにしないが、品種、数量、倉庫での引取価格、寸法、最低発注単位、在庫場所などを明らかにする。また、当該製品が何故バーゲン(買い得)なのかを特記事項として情報を開示することができるのが好ましい。買手企業(ユーザ)は、かかる公開された情報を閲覧し(ステップ402)、必要に応じてサイト運営者にサンプルの請求をすることができる(ステップ403)。サイト運営者は、要求があったユーザにサンプルを送付することができる(ステップ403)。買手企業であるユーザ会員の発注表示画面(後述する850)には品代に加えて、指定配送場所までの物流費用が加わった合計価格が表示される。ユーザより発注があればサイト運用者が受注する。
【0070】
商談の好ましい実施形態の一例のフローチャートを図14に示す。まず売手(サプライヤ)が販売希望価格を設定する(ステップ502)。次いで、買手(ユーザ)の購入希望価格が売手(サプライヤ)の販売希望条件に合致するか否か判断する(ステップ503)。もし売手の購入希望価格が買手の販売希望価格を上回るならば他の売手を探索する(ステップ504)。次いで、他の売手が見つかるか否か判断する(ステップ505)。売手が見つからないならば、上記ステップ502乃至505の処理を繰り返す。ステップ505において、他の買手が見つかったならば、次いで商談ルーチンに進む(ステップ506)。ステップ503において、買手の購入希望価格が売手の販売希望価格以下ならば、商談ルーチンに進む(ステップ506)。次いで、商品配分ルーチンに進み(ステップ507)、商品が残っているか否か判断する(ステップ508)。もし商品が子載っているならば、上記ステップ502乃至508の処理を繰り返す。商品が残っていなければ販売が終了する(ステップ509)。
【0071】
図14に示したエクスチェンジのステップ501乃至509に従い商談が進行し(ステップ405)、完全匿名のまま成立する(ステップ406)。好ましい実施形態では、買手企業(ユーザ)は売手企業の提示する価格や納期などの条件を定型フォームで交渉することができる。更に他の好ましい実施形態では、定型フォームを利用せずに、より柔軟な交渉をすることができる、サイト運営者が準備する所定のフォーム(キャラクタ)を利用して交渉をすることができる。商品の引取・納品及び決済に関しては、前記リバースオークションの場合と同様である(ステップ407乃至410)。他の好ましい実施形態における決済では、決済にいわゆる商社金融をつけることができる。即ち、サイト運営者は買手企業(ユーザ)からの支払いのユーザンス(例えば4ヶ月又は120日支払い)よりも短いユーザンス(例えば3ヶ月又は90日支払い)を売手企業との間に設定することにより、売手企業は1ヶ月又は30日間の資金繰りが有効となり、倒産リスクを低減させることができる。
【0072】
【実施例】
上記いずれの実施形態においても、一定の参加基準を満たした参加企業ユーザは、認証局1120及び/又は審査局1121により、ユーザアカウントであるIDと、パスワードが付与される。審査局1121は、参加企業ユーザに付与したID及びパスワード、及び、参加企業ユーザの企業情報を認証・与信サーバ1131に格納する。ここで好ましい実施形態では、サイトオーナは、当該ID番号とパスワードに関して、予めユーザ専用と、サプライヤー専用のものと、異なる2種類のセットを参加企業に付与する。
【0073】
認証された参加企業ユーザは、インターネット10を介して紙・板紙の電子商取引サイトにアクセスする。アクセスした際に、ユーザサイドの情報端末装置で確認することができるスタート画面の一例を図15に示す。画面600は、ページのタイトル部601と、メニュー部602を包含する。好ましい実施形態では、買手(ユーザ)はメニュー部602において、▲1▼リバースオークション610と、▲2▼お買い得市場611とをそれぞれ選択することができる。
【0074】
リバースオークションによる完全匿名化電子商取引の実施例
買手企業(ユーザ)サイドの登録手続
リバースオークションによる完全匿名化電子商取引は、ユーザが購入したい製品の情報をリバースオークションサイトに登録し、これに対してサプライヤーは応札する。通常のオークションと異なる点は、低い価格を提示したサプライヤーが落札するということである。
【0075】
上記メニュー部602において▲1▼リバースオークション610を選択すると、ユーザサイドの情報端末装置においてリバースオークション形式の完全匿名化電子商取引に参加するためのスタート画面が表示される。図16に会員を確認するためのスタートページの一例を示す。登録ユーザは、サイトオーナから予め付与されたユーザ専用のID番号とパスワードをフィールド701及びフィールド702に入力し、「発注」ボタン704を選択し、実行する。画面上のボタンは、それぞれ実行コマンドが埋め込まれており(embedded)、実行することにより所定のイベントを実行する。画面700に包含されるボタン704乃至706はそれぞれ所定のページを表示させるイベントコマンドが埋め込まれている。好ましい実施形態では、これらの画面は、Microsoft(登録商標)のWindowsTMオペレーティングシステムのようなGUI(グラフィカルユーザインターフェース)を備えたクライアントコンピュータのディスプレィ上で確認することができ、キーボード若しくはマウスなどのような入力デバイスを用いて、画面上でボタンを選択及び実行(以下、「クリック」ともいう。)することにより実行することができる。他の好ましい実施形態では、クライアントコンピュータの代わりに、いわゆるPDA(Personal Digital Assistant)又は携帯電話などの他の情報端末装置を利用することも可能である。ユーザ専用のID番号及びパスワードを入力した場合は、「入札」ボタン705及び「再入札」ボタン706をクリックしてもエラーが返され実行することができないのが好ましい。
【0076】
「発注」ボタン704を選択し、該ボタンに埋め込まれたコマンドを実行することにより発注ページ710を表示することができる。発注ページの一例を図17に示す。ここでは、紙・板紙に関する完全匿名化電子商取引の画面の一例を示す。ユーザは発注したい紙に関して項目毎に必要事項を記入する。これらの項目のうち、所定の項目に関しては必須入力事項であるが、他の所定の項目に関しては任意の入力事項である。好ましい実施形態では、紙のメーカー名と、紙の銘柄名と、購入希望価格(上限)に関しては任意の入力項目とすることができる。他の項目に関しては必須の入力項目とすることができる。図17では、ユーザ(買手)が四六判で55Kgの上質紙300連を¥100/kg以下で購入したい場合を画面710内の各フィールドに入力した例を示す。ユーザは上記所定の項目に必要な入力事項を記入した後、「発注」ボタン713をクリックする。次いで、発注確認720のページが表示される。発注確認のページの一例を図18に示す。ユーザは、発注内容に相違がなければ「確認」ボタン721をクリックすることにより発注作業は終了する。発注が完了したら、発注した内容は自動的に入札情報のページ730に転送される。
【0077】
売手企業(サプライヤ)サイドの入札(応札)手続
完全匿名化電子商取引リバースオークションに参加する紙・板紙のサプライヤーは、図15のメニュー部602において▲1▼リバースオークション610を選択する。リバースオークション形式の完全匿名化電子商取引に参加するためのスタート画面が売手(サプライヤ)サイドの情報端末装置に表示される(図16)。ここでサプライヤー専用のID番号とパスワードを各フィールド701及び702に入力し、「入札」ボタン705をクリックする。次いで、入札物件インデックスのページ730が表示される。入札物件インデックス画面の一例を図19に示す。売手企業は、入札したい物件があれば画面730上から選択して、品種名をクリックすることができる。例えば、「上質紙」を選択すると、図20に示したような個別物件の画面740が表示される。売手企業は、このページにおいて入札ボタン741をクリックすることにより入札をすることができる。入札ボタン741をクリックすることにより、入札画面が表示される。入札ページの一例を図21に示す。売手企業は、各フィールド751に、入札価格、会社名、ID番号、パスワード、担当者名、製品保管場所などを記入し、確認ボタン752をクリックする。次いで、入札確認の画面760が表示される。入札確認画面の一例を図22に示す。売手企業は、画面760の記載内容を確認し、入札画面750において記載した事項と相違ないことを確認したら、確認ボタン761をクリックすることにより入札が完了する。サイト運営者は、入札終了の所定の時間前になると、落札価格に変更がないかどうかを確認する通知を送信することができる。好ましい実施形態では、所定の時間は2時間であり、サイト運営者が任意に設定、変更することができるものである。また、通知の手段は電子メールであるのが好ましい。上記確認の通知を受け取った売手は、取引サイト130にアクセスし、初期画面600上でリバースオークション610をクリックする。図16に示した他面700が表示され、ID番号及びパスワードを入力し、再入札ボタン706をクリックする。次いで、前回入札した事項が記載された再入札画面770が表示される。該再入札画面の一例を図23に示す。ここで売手企業は、入札価格を変更したい場合は、価格のみを書き換えて「確認」ボタン771をクリックする。次いで、再入札確認の画面780が表示される。該再入札確認の画面の一例を図24に示す。変更内容を含めた記載内容に誤りがないかどうか確認し、記載内容に相違がなければ確認ボタン781をクリックし、再入札を完了させる。
【0078】
上記手続に従って、最低価格を提示した売手企業が落札することになる。サイト運営者は、入札した全売手企業に対して落札結果を通知する。落札した売手企業に対しては引取日時などの明細を通知する。入札した買手企業(ユーザ)には、落札金額と指示通りに配送する旨の通知を行う。
【0079】
エクスチェンジによる完全匿名化電子商取引の実施例
売手企業(サプライヤ)サイドの登録手続
エクスチェンジによる完全匿名化電子商取引は、売手企業が売りたい製品とその売価を添えてお買い得情報サイト430に登録し、これに対して買手企業(ユーザ)が希望商品があれば購入するというシステムである。その際、売手企業の提示した価格、数量及び納期について該サイト上で直接交渉ができるのが好ましい。
【0080】
図15のメニュー部602において▲2▼お買い得市場611を選択すると、売手(サプライヤ)サイドの情報端末装置において、エクスチェンジ形式の完全匿名化電子商取引に参加するためのスタート画面が表示される。図25に会員を確認するためのスタートページの一例を示す。前記リバースオークションの場合と同様に、登録サプライヤは、サイトオーナから予め付与されたサプライヤ専用のID番号とパスワードをフィールド801及びフィールド802に入力し、「登録」ボタン805をクリックする。画面上のボタンのプログラム的な特徴は、上述のリバースオークションの項目で説明したものと同様である。従って、キーボード若しくはマウスのような入力デバイスによって画面上でカーソルをボタンに重ねクリックする(選択及び実行する)ことにより、ボタンに埋め込まれたイベントを実行することができる。また、サプライヤ専用のID番号及びパスワードを入力した場合は「登録」ボタン805を、ユーザ専用のID番号及びパスワードを入力した場合は、「物件を見る」ボタン804をクリックしないと、エラーが表示され、画面が変更されないのが好ましい。
【0081】
「登録」ボタン805をクリックすることにより登録ページ810を表示することができる。登録ページの一例を図26に示す。売手企業は、登録したい紙に関して項目毎に各フィールド811に必要事項を記入する。上述のリバースオークションの場合と同様に、これらの項目のうち、所定の項目に関しては必須入力事項であるが、他の所定の項目に関しては任意の入力事項である。好ましい実施形態では、紙のメーカー名及び紙の銘柄名に関しては任意の入力項目とすることができる。他の項目に関しては必須の入力項目とすることができる。図26では、売手(サプライヤ)が上質コート紙100MT(*注)を¥105/kgで販売したい場合を画面810内の各フィールドに入力した例を示す。(※注:100MTとは販売を希望する総数量を示すが、必ずしも1回で取り引きする単位ではない。)  売手は上記所定の項目に必要な入力事項を記入した後、「登録」ボタン812をクリックする。次いで、登録確認のページ820が表示される。登録確認のページの一例を図27に示す。売手は、登録内容に相違がなければ「確認」ボタン821をクリックすることにより登録作業は終了する。登録が完了したら、登録した内容は自動的に「お買い得品市場インデックス」のページ830(図28参照)に転送される。
【0082】
買手(ユーザ)サイドの注文手続
完全匿名化電子商取引エクスチェンジに参加する買手企業ユーザは、図15のメニュー部602において▲2▼お買い得市場611を選択する。エクスチェンジ形式の完全匿名化電子商取引に参加するためのスタート画面が表示される(図25)。ここでユーザ専用のID番号とパスワードを各フィールド801及び802に入力し、「物件を見る」ボタン804をクリックする。次いで、お買い得品インデックスのページ830が表示される。お買い得品インデックス画面の一例を図28に示す。買手企業ユーザは、購入したい物件があれば画面830上から選択して、品種名をクリックすることができる。例えば、「上質紙」を選択すると、図29に示したような個別物件の画面840が表示される。発注する前に紙の実物見本を取り寄せたいときは、「見本請求」ボタン841をクリックすることができる。見本請求ボタン841をクリックすることにより、サイト運営者宛に「見本請求の希望」の通知がなされる。見本請求についてはこの段階で担当者の名前がなくても、ID番号とパスワードで予め登録されている会員宛に届けられる。買手企業ユーザは、このページ840において発注ボタン842をクリックすることにより発注の準備をすることができる。発注ボタン842をクリックすることにより、お買い得品市場発注画面850が表示される。発注ページの一例を図30に示す。買手企業は、各フィールド851に、購入数量、購入価格、納入日時、納入場所、発注会社名、担当部署名、担当者名などを記入する。予め売手企業が決めた値段で購入する場合は、「購入」ボタン853をクリックする。価格交渉をしたい場合は、「交渉」ボタン852をクリックする。次いで、電子メールのダイアログが起動し(図示せず)、希望する価格を記入して送信することができる。電子メールは取引サイト430を介して売手企業に送信される。売手企業は受信した電子メールに対して返事を書く。この交渉に関しては、主に価格、数量及び納期のみしか記入することができない定型フォームを使用することにより、互いの企業の特定をすることができないのが好ましい。サイト運営者は、この電子メールを用いた交渉の回数に制限を課すことができるのが好ましい。条件面で交渉が成立したら、お買い得品市場発注画面850にて「購入」ボタン853をクリックする。次いで、発注確認の画面860が表示される。発注確認画面の一例を図31に示す。買手企業は、画面860の記載内容を確認し、発注画面850において記載した事項と相違ないことを確認したら、確認ボタン861をクリックすることにより発注が完了する。サイト運営者は、交渉が成立したら、お買い得品市場登録サプライヤーに購入数量と価格、引取日時を通知し、出荷の準備を促すとともに、他に出荷しないようにする。また成約した時点で、その数量は、登録した数量より自動的に差し引いて提示するのが好ましい。
【0083】
引取・納品及び決済の実施例
引取・納品(デリバリ)と代金決済は、第1の好ましい実施形態であるリバースオークションサイト並びに第2の好ましい実施形態であるお買い得情報サイト(エクスチェンジ)において同様の手順で処理することができる。
【0084】
デリバリ
商談成立の後、サイト運営者は契約物流会社123にユーザ名とサプライヤ名、納期、製品の引取場所及び納入場所、製品名、米坪、寸法、連量、連数(巻き取りの場合は1本の巻き取り連数と必要な巻き取りの数)を通知する。物流会社123は、納期に間に合うようにサプライヤの倉庫まで製品を引取に行く。サプライヤには事前に引き取る運送会社と車番を知らせておく。即ち、このデリバリの時点においても、買手及び売手の双方は互いに秘匿状態である。基本的には引取日と納入日は同じであるのが好ましい。引取後、指定納入先に納期どおりに配送する。
【0085】
決済
計上は製品の納入を基準に行うのが好ましい。第1の好ましい実施形態である上記のリバースオークションの場合であれば、例えば、5月19日にサプライヤより製品が引き取られたとしても、ユーザ指定の納入先には5月20日にデリバリされた場合には、5月20日が計上日となる。月末の5月31日に締め切られ、一定の期間(例えば3ヶ月)を経過後(8月31日)に決済を実行する。
【0086】
原則として、入金・支払いの決済は同一の日に実行され、銀行振込にて実施される。ユーザはサイト運営者に取引成立金額(例えば161.7万円)に消費税を加えた金額を支払う。サプライヤに対しては、取引成立金額(例えば161.7万円)より一定の手数料(例えば3%)を差し引いた金額に消費税を加えた金額をサイト運営者が支払う。
【0087】
リアルタイム信用情報検索の好ましい実施形態
図32乃至37に、本発明の好ましい実施形態による与信判断システムを利用したリアルタイム信用情報検索サービスを提供するためのユーザ側端末画面の概略図を示す。
図32は、本発明による与信判断システムを利用したリアルタイム信用情報検索サービスを利用するユーザに提示することができる端末の初期入力認証画面の一例(3200)を示す。入力端末画面は、キーボードのみならず、マウスなどのポインティングデバイスにも対応したグラフィカル・ユーザ・インターフェース(GUI)により構成されるのが好ましい。
リアルタイム信用情報検索サービスを利用するユーザは、所定の入力デバイスによりフィールド3210に所定のユーザIDを、フィールド3220に所定のパスワードを入力する。上記所定の事項を入力した後、利用条件に同意し、サービスを利用する場合にはボタン3230をクリックする。利用条件に同意せず、サービスを利用しない場合にはボタン3240をクリックする。
【0088】
本発明による与信判断システムは、ユーザ企業の企業情報をストアする企業情報データベースシステムを有する。図33に、ユーザがボタン3230をクリックした後に表示されるユーザの所定の企業概要の一例を示す(3300)。当該表示される企業概要は、企業情報データベースにストアされている情報のうちの所定の情報である。好ましい実施形態では、ユーザは、フィールド3310内に表示された企業概要を画面上で訂正することが可能である。ユーザ側端末にて訂正されたユーザ企業情報をリアルタイムにユーザ情報データベースに反映させることができるのが好ましい。ユーザは、当該企業概要を閲覧し、これ以上のサービスを必要としない場合は、ボタン3320をクリックすることにより、前画面3200に戻ることが可能である。当該企業概要に基づいて、リアルタイム信用情報検索サービスを利用したい場合は、確認ボタン3330をクリックすることができる。また、当該企業概要よりも詳細な経理情報に基づいてリアルタイム信用情報検索サービスを利用したい場合は、詳細ボタン3340をクリックすることができる。
【0089】
図34に、ユーザが前記詳細ボタン3340をクリックした場合に、表示される詳細な経理情報の入力画面の一例を示す(3400)。ユーザは、より正確なリアルタイム信用情報検索サービスを利用するために、画面3400中のバランスシート等の所定の各項目に必要な事項を入力することができる。好ましい実施形態では、実際の金額を入力することができる。また別の実施形態では、資産全体及び負債全体に対する各項目の比率を入力することができる。各項目に必要な事項を入力した後、より正確なリアルタイム信用情報検索サービスを利用するために、確認ボタン3420をクリックすることができる。具体的な経理情報を入力せずに、既存の企業概要に基づいてリアルタイム信用情報検索サービスを利用する場合は、ボタン3410をクリックし、画面3300を表示させることができる。
【0090】
図35は、ユーザが、画面3300で確認ボタン3330をクリックした場合、又は、画面3400で確認ボタン3420をクリックした場合に表示される与信先入力画面の一例を示す(3500)。ユーザは、与信先企業の所定のIDコードを入力することができる。好ましい実施形態では、東京商工リサーチ(TSR)企業コードを利用することができる。また別の実施形態では、ユーザは、所定のデータベースに登録された企業名を直接入力若しくは選択することができる。ユーザは更に、与信先企業との希望取引限度額をフィールド3520に入力することができる。また、ユーザは与信先企業との売買形態を特定することが可能である。好ましい実施形態では、所定の売買形態をリスト表示3590させ、ユーザが任意の売買形態を選択することができる。好ましい実施形態では、画面上で希望取引限度額を算出することができる入力フィールド3530を設けても良い。入力フィールドの一例として、参照番号3530に示すとおり、ユーザは、「月毎の売り上げ」フィールド3540及び「回収月数」フィールド3550を入力することができる。ユーザが上記項目に所望の値を入力した後、フィールド3560は、フィールド間の計算を実行した結果を表示するようにプログラムすることができる。好ましい実施形態では、希望取引限度額フィールド3560には、月毎の売り上げフィールド3540及び回収月数フィールド3550にそれぞれ入力された値の積を表示するようにプログラムすることができる。
ユーザは、与信先企業及び当該与信先企業との希望取引限度額の入力後、確認ボタン3580をクリックすることにより、次のステップに進むことができる。サービスの進行を望まない場合は、ボタン3570をクリックすることにより前画面3300若しくは3400に戻ることができる。
【0091】
図36は、ユーザが画面3500において確認ボタン3580をクリックした場合に表示される、リアルタイム信用情報検索サービスの検索結果及び計算結果を表示する画面の一例を示す(3600)。
検索結果の一例として、与信先企業の概要3610を表示することができる。また、フィールド3620には、与信判断の結果をランク付けして表示することができる。好ましい実施形態では、この評価されたランクが、前回の評価のランクと比較してどのような傾向にあるのか表示させることができる(3625)。また、当該与信先企業が、当該業界内でどのような順位なのかを明示することができ、好ましい実施形態ではグラフ3655を用いて明示することが可能である。更に、フィールド3630には本システムで計算された取引の推薦限度枠を表示することができる。また画面3500のフィールド3520にユーザが入力した希望取引限度枠を、画面3600においてもフィールド3640に表示させることができ、推薦限度枠と対比させてユーザに提示させることができうる。
【0092】
更に、フィールド3650には、最低限必要と判断する目安となる口銭率を表示させることができる。好ましい実施形態では、口銭率は、以下の式(1)に示した関係式で求めることができる。
最低口銭率=d+資本コスト率+経費率                            (1)
ここで、dは本システムで求められたランク毎に対応させた倒産確率である。当該倒産確率はランクから統計的手法を用いて算出され、0.05%乃至10%の範囲内で設定されるのが好ましい。資本コスト率は、好ましい実施形態では所定の業界平均の値を用いることができうる。他の好ましい実施形態では、以下の式(2)に示した関係式で求めることができる。
資本コスト率=(自己資本×α+支払金利)/(借入金+自己資本)      (2)
ここで、任意係数αは、業界毎に統計的に算出される係数であり、配当、法人税などを加味した値であり、好ましくは2.0%である。経費率は、好ましい実施形態では所定の業界平均の値を用いることができうる。他の好ましい実施形態では、以下の式(3)に示した関係式で求めることができる。
経費率=販売管理費/売上                                        (3)
【0093】
更に、フィールド3660に取引目標を表示させることができる。ここで取引目標は、好ましい実施形態では以下の式(4)に示したような関係式で求めることができる。
ここで、推薦限度額が希望限度額よりも大きい場合は、取引目標額がプラスとなるため取引拡大目標を提示することができ、反対に推薦限度額が希望限度額よりも小さい場合には、取引目標額がマイナスとなるため取引縮小目標額を提示することになる。
上記のような最低必要口銭率及び取引目標をユーザに提示することにより、リアルタイムな信用情報コンサルティングが可能となる。更に、好ましい実施形態では、上記数値を提供するだけではなく、フィールド3670に適当なコメントを表示させることができうる。当該コメントは、最低必要口銭率及び取引拡大目標額の値に応じて、予め登録してあるコメントを表示させるのが好ましい。他の好ましい実施形態では、集中与信管理表示3675を表示させることができる。集中与信管理とは、当該与信先企業が重要取引先である場合、所定の条件下で高率の信用を付与することをいう。この場合、常時、取引先の業状を把握し、信用状況が悪化した場合でも、合理化協力、支援協力、経営参加又は取引停止、撤退等の対応策が直ちに可能となるような管理を行う必要がある。好ましい実施形態では、ユーザの売込月商額が与信先企業の月商の15%超である場合(即ち、与信先の月商の15%を1ヶ月間に売り込む場合)、当該与信先企業を集中与信先という。このような状況に該当した場合、本発明にかかる与信管理システムでは「集中管理が必要です」3675というアラートを表示させることができる。
【0094】
更に別の実施形態では、このような単一の与信情報を提供するだけでなく、複数の与信先企業情報を管理して比較提示することができる。画面3600のポートフォリオボタン3690をクリックすることにより、所望ならばユーザは複数の与信先企業情報を比較することができる。複数の与信先企業情報の比較情報を望まない場合は、ボタン3680をクリックすることにより前画面3500に戻ることができる。
図37に、ユーザがボタン3690をクリックした後に表示される、顧客ポートフォリオ管理画面の一例を示す(3700)。好ましい実施形態では、売買形態ごとのポートフォリオを画面を提示させることができる。当該ポートフォリオ管理では、与信先企業の商号、ランク、ランクの傾向、集中管理の有無、推薦限度額、希望限度額、債権残、更新日及び所定のフォロー項目を管理項目とすることができる。ここで所定のフォロー項目とは、与信先企業の社長の変更、主銀行の変更、増資、原資、及び社名変更などといった項目のことを言う。これらのフォロー項目をリアルタイム若しくは日毎のバッチ処理によってユーザに提供することにより、より質の高いポートフォリオ管理を提供することができる。好ましい実施形態では、ユーザがボタン3720をクリックすることにより、本システムにより評価されたランク順に与信先企業を並べ替えたり、ボタン3730をクリックすることにより限度額順に与信先企業を並べ替えたり、又は、ボタン3740をクリックすることにより更新日順に与信先企業を並べ替えることが可能である。また、希望限度額及び債権残の値は、ユーザが自由に変更できるのが好ましい。個々の与信先企業の情報検索に戻りたい場合は、ボタン3750をクリックすることにより、前画面3600に戻すことが可能である。また、ユーザが与信先企業との電子商取引において種々の金融サービスを望む場合には、ボタン3760をクリックすることができる。
【0095】
電子商取引における金融サービス
更に別の実施形態では、本発明に係る電子商取引においてユーザに種々の金融サービスを提供することができる。図38に、ユーザが与信先企業と電子商取引を行う際に金融サービスを選択することができるユーザインターフェースを備えた端末側画面の一例を示す(3800)。好ましい実施形態では、ユーザは所望の金融サービスが表示されたボタン3810をクリックすることができる。また、所定の金融サービスを選択するにあたって、特定の条件を設定することが可能である。好ましい実施形態では、予め特定の条件をリスト表示したユーザインターフェース3820を提供することができ、ユーザは入力デバイスを介して1以上の条件を選択することができる。図38では、「顧客ポートフォリオ全体のリスクを下げたい」、「リスクヘッジ額より料率が低い方が良い」及び「煩雑な手続は避けたい」という3つの条件を選択した例を示す。
【0096】
【発明の効果】
本発明によるシステムを用いて上記与信判断をリアルタイムで行うことにより、安全且つ匿名性を維持したままB to Bの大規模な信用取引を行うことができる。更に、複数の与信先企業をポートフォリオ管理することにより、より質の高い与信判断サービスを提供することができる。特に、所定の与信先企業情報を略リアルタイム若しくは日毎に更新して提供することにより、より柔軟な与信判断サービスを提供することができる。更に、ポートフォリオ管理した与信先企業との商取引を行う際に種々の金融サービスを提供することができる。
【図面の簡単な説明】
【図1】本発明の好ましい実施形態による与信判断システムの概略ブロック図を示す。
【図2】本発明の好ましい実施形態による与信判断の方法を示す概略ブロックチャートを示す。
【図3】本発明の好ましい実施形態による電子商取引の売り限度を判断する方法を示すブロックチャートを示す。
【図4】本発明の好ましい実施形態による電子商取引の買い限度を判断する方法を示すブロックチャートを示す。
【図5】本発明の好ましい実施形態による電子商取引の買い限度のランクを調整する方法を示すブロックチャートを示す。
【図6】本発明の好ましい実施例による電子商取引の取引フローを示す。
【図7】本発明の他の好ましい実施形態による電子商取引のモデルを示す。
【図8】本発明の他の好ましい実施形態による電子商取引のモデルを示す。
【図9】本発明の他の好ましい実施形態による電子商取引のモデルにおける買い限度を判断する方法を示すブロックチャートを示す。
【図10】本発明による好ましい実施形態の匿名電子商取引システムが機能するネットワークシステムの概略図。
【図11】リバースオークションサイトと参加者とのトランザクションの概略図。
【図12】リバースオークションの成立プロセスのフローチャート。
【図13】エクスチェンジサイトと参加者とのトランザクションの概略図。
【図14】エクスチェンジの成立プロセスのフローチャート。
【図15】本発明による完全匿名電子商取引のサイトのトップページの概略図。
【図16】リバースオークションに参加するための会員確認ページの概略図。
【図17】リバースオークションにおけるユーザサイドの発注ページの概略図。
【図18】リバースオークションにおけるユーザサイドの発注確認ページの概略図。
【図19】リバースオークションにおけるサプライヤサイドの入札物件ページの概略図。
【図20】リバースオークションにおけるサプライヤサイドの個別物件ページの概略図。
【図21】リバースオークションにおけるサプライヤサイドの入札ページの概略図。
【図22】リバースオークションにおけるサプライヤサイドの入札確認ページの概略図。
【図23】リバースオークションにおけるサプライヤサイドの再入札ページの概略図。
【図24】リバースオークションにおけるサプライヤサイドの再入札確認ページの概略図。
【図25】お買い得品市場に参加するための会員確認ページの概略図。
【図26】お買い得品市場におけるサプライヤサイドの登録ページの概略図。
【図27】お買い得品市場におけるサプライヤサイドの登録確認ページの概略図。
【図28】お買い得品市場におけるユーザサイドのインデックスページの概略図。
【図29】お買い得品市場におけるユーザサイドの個別物件ページの概略図。
【図30】お買い得品市場におけるユーザサイドの発注ページの概略図。
【図31】お買い得品市場におけるユーザサイドの発注確認ページの概略図。
【図32】本発明の好ましい実施形態によるリアルタイム信用情報検索サービスのユーザ認証画面の一例を示す。
【図33】本発明の好ましい実施形態によるリアルタイム信用情報検索サービスのユーザ企業概要を表示した画面の一例を示す。
【図34】本発明の好ましい実施形態によるリアルタイム信用情報検索サービスのより詳細なユーザ企業概要及び財務情報を表示した画面の一例を示す。
【図35】本発明の好ましい実施形態によるリアルタイム信用情報検索サービスにおける与信先企業との取引条件を入力する画面の一例を示す。
【図36】本発明の好ましい実施形態によるリアルタイム信用情報検索サービスにおける与信先企業の信用情報を表示した画面の一例を示す。
【図37】本発明の他の好ましい実施形態によるリアルタイム信用情報検索サービスにおける与信先企業のポートフォリオ管理サービス画面の一例を示す。
【図38】本発明の更に別の好ましい実施形態による電子商取引において、種々の金融サービスを提供する画面の一例を示す。
【符号の説明】
10・・・インターネット
20・・・ECリスクマネージメントサイト
30・・・企業データベース
40・・・認証局
51,52,53...・・・売手
61,62,63...・・・買手
81・・・不安情報・クレームデータ
83・・・企業データ
84・・・支払いぶりデータ
100、110・・・与信判断システム
111,112,113・・・ユーザ
120・・・企業データ
1120・・・認証局
1121・・・審査局
1122・・・決済局
1123・・・物流局
1124・・・コンテンツ提供局
1130・・・取引サイト
1131・・・認証・与信サーバ
1132・・・決済サーバ
1133・・・物流サーバ
1134・・・コンテンツサーバ
1135・・・電子商取引サーバ
1136・・・データベース
3210、3220・・・ユーザ認証手段へユーザ情報を提供する入力フィールド
3310・・・ユーザ情報特定手段により特定されたユーザ企業情報
3400・・・ユーザ側端末から訂正可能なユーザ企業情報
3510・・・与信先企業特定手段に情報を提供する与信先企業情報入力フィールド
3520・・・希望取引限度額入力フィールド
3540・・・月商入力フィールド
3550・・・回収月数入力フィールド
3610・・・与信先企業情報
3620・・・ランク表示フィールド
3630・・・推薦限度額表示フィールド
3640・・・希望限度額表示フィールド
3650・・・最低必要口銭率表示フィールド
3660・・・取引目標額表示フィールド
3670・・・与信判断コメント表示フィールド
3710・・・与信先企業ポートフォリオ管理画面
3720,3730,3740・・・ソートボタン
3800・・・金融サービス提供画面
3810・・・金融サービス選択ボタン
3820・・・金融サービス適用条件リスト[0001]
BACKGROUND OF THE INVENTION
The present invention relates to an inter-business transaction on a computer network, and more particularly to a system for managing a risk that occurs during a commercial transaction on a computer network, and more particularly to a system for determining credit in settlement between companies. Furthermore, the present invention relates to an electronic commerce system that is configured in a membership system and in which participating members are made completely anonymous.
[0002]
[Prior art]
In business transactions between companies in the real world, not on a computer network, an intermediary such as a trading company is interposed between a supplier (buyer) company and a buyer (buyer) company, and the production capacity and quality control of each seller company. The sales limit is judged from the situation, etc., and the brokerage firm determines the credit limit each time based on the financial status of the buyer company, the amount of payment, etc., and commercial transactions such as bill settlement are performed. In other words, intermediaries such as trading companies take inventory risks in business transactions between companies, intervene in business transactions between companies, provide usance according to settlement conditions, etc., so-called trading company finance is added, and large-scale business transactions are established is doing.
[0003]
On the other hand, electronic commerce (hereinafter also referred to as “electric commerce” or “EC”) on computer networks represented by the Internet, which has been spreading explosively in recent years, is a combination of companies and individuals (hereinafter “B to C”). ), Or e-commerce forms of individuals and individuals (hereinafter also referred to as “C to C”) are becoming widespread, but since secure e-commerce forms have not been established, fraudulent transactions and complaint problems Troubles such as these occur frequently and become a big social problem. In particular, e-commerce on the Internet is characterized by its high anonymity and the fact that it is difficult to discover despite the fact that it is easy for users to tamper with it. Is the current situation. Business transactions between companies (hereinafter also referred to as “B to B”) have a larger transaction amount than B to C and C to C business transactions. Is too late, and there is a greater risk inherent.
[0004]
In addition, commercial transactions on conventional B-to-B e-commerce sites are negotiated anonymously until the desired purchase and sale conditions between users participating in e-commerce are met, but after matching, the trading partner is It is made public, and then the parties determine the remaining conditions (for example, delivery, payment, etc.).
[0005]
[Problems to be solved by the invention]
Electronic commerce on the network is simple and very fast compared to real-world commerce, so it is expected that a large market will be formed in the future, but in order to maintain the benefits of electronic commerce in B to B It is necessary to grasp and manage risks in real time during e-commerce.
[0006]
In addition, in order to operate an e-commerce site, there is a cost for launching and operating the site, so it is common for corporate users to pay a substantial participation fee to participate in the e-commerce site. is there. Even if the participating user who wishes to do electronic commerce pays the participation fee, it is meaningful to participate in electronic commerce if the buying and selling in the electronic commerce is relatively cheaper than the direct transaction in the real world. In the B to B electronic commerce form as described above, when a company user participates in electronic commerce for the first time, there is a possibility of meeting and matching with many trading partners, so it is not known before participating in electronic commerce. However, once a promising trading partner company is found, the significance of participating in the electronic commerce site decreases. In particular, if it is possible to adjust the desired price between corporate users, the transaction cost will be increased by the participation fee and brokerage fee for the e-commerce site, and the person who did the transaction directly without going through e-commerce Can be an inexpensive transaction.
[0007]
[Means for Solving the Problems]
In order to eliminate the inconvenience as described above, the present invention aims to provide real-time credit judgment, transaction limit management, bond management, authentication risk management, etc. on a computer network, and has the following features.
[0008]
The credit system according to the present invention is a commercial transaction credit system that enables a commercial transaction on a site constructed on a computer network. A person who is newly involved in a commercial transaction on the site as a seller or a buyer has a predetermined condition. Transaction authentication means for authenticating as a trader when the transaction is satisfied, and the transaction based on predetermined corporate data including at least one of capital, sales, and business history related to the certified trader. Characterized in that it comprises rank setting means for setting a person's rank, and transaction limit setting means for setting a transaction limit for the commercial transaction of the trader based on the rank set by the rank setting means. .
[0009]
The credit system further includes a commercial transaction restriction unit that restricts the commercial transaction when the amount of the commercial transaction exceeds the transaction limit of a seller or a buyer of the commercial transaction, and the commercial transaction restriction unit exceeds the transaction limit In some cases, a warning is given to the seller or buyer, or the transaction is stopped.
[0010]
Further, it comprises transaction data management means for organizing and managing predetermined transaction data related to past transactions on the site with respect to the certified transaction person, and is managed by the transaction data management means when determining the rank The transaction data is referred to and considered according to predetermined conditions.
[0011]
In addition, the transaction data includes complaint information about whether or not there is any claim in the commercial transaction, bankruptcy information of the trader, information on the failure of bills involved with the trader, information on foreclosure involving the trader In addition, at least one piece of information on anxiety regarding the trader regarding the presence or absence of signs indicating some management deterioration is included.
[0012]
Further, the transaction data includes information related to the payment of the trader in the commercial transaction, and the transaction data management means checks the information related to the payment of the trader every predetermined period and reflects it in the company data. It is made to let it be made to do.
[0013]
In a preferred embodiment, the credit system according to the present invention is characterized in that the enterprise data is evaluated numerically, and the rank is determined based on the numerical evaluation.
[0014]
Furthermore, the credit system is configured to change the rank of a trader who has appropriately performed the commercial transaction more than a predetermined number of times within a predetermined period based on the transaction data.
[0015]
The rank of a trader who has performed a delayed payment commercial transaction for a predetermined number of days or more within a predetermined period is changed to a lower rank based on the transaction data.
[0016]
In another preferred embodiment, the transaction restricting means is based on the transaction data, and a transaction on the site of a trader who has made a delayed payment commercial transaction for a predetermined number of days or more within a predetermined period at least twice. It is characterized by being configured to stop commercial transactions. The predetermined condition can be determined by the site owner.
[0017]
Further, the transaction limit is determined on the basis of an average monthly quotient of a trader and a numerical evaluation of the company data.
[0018]
In another preferred embodiment, the commercial transaction restriction means is configured to prohibit a commercial transaction exceeding a transaction limit of a low-value trader when the transaction limit of the seller and the buyer of the commercial transaction is different. It is characterized by that.
[0019]
According to another aspect of the present invention, a business credit method according to the present invention that enables a business transaction on a site constructed on a computer network may newly involve a seller or a buyer in a business transaction on the site. Based on predetermined company data that includes at least one of capital, sales, and business history regarding the certified business partner. Setting a rank of the trader, setting a trade limit of the trade of the trader based on the rank, and the transaction when the transaction limit exceeds the trade limit of a seller or a buyer of the trade It is characterized by restricting.
[0020]
Further, in the method according to the present invention, at least a site owner can identify a name including a company name of a person involved in the commercial transaction, but by specifying a trader with a specific identification mark in the site, Alternatively, the seller is characterized in that the transaction is made anonymously by selection.
[0021]
According to still another aspect of the present invention, a person who is newly involved in a business transaction via a computer network as a seller or buyer satisfies a predetermined condition and authenticates as a trader. A rank of the trader is set based on predetermined company data including at least one of capital, sales, and business history regarding the received trader, and the trade limit of the trader of the trader based on the rank Providing a signal on a carrier wave to a computer network that sets a value and represents a program having a step of restricting the transaction when the transaction amount exceeds the transaction limit of a seller or buyer of the transaction Features.
[0022]
According to still another feature of the present invention, a recording medium on which program data having the algorithm according to the present invention is recorded has a predetermined condition for a person who intends to newly participate in a commercial transaction via a computer network as a seller or a buyer. If the transaction is satisfied, the rank of the trader is set on the basis of predetermined company data including at least one of capital, sales, and work history related to the certified trader. And setting a transaction limit for the commercial transaction of the trader based on the rank, and limiting the commercial transaction when the amount of the commercial transaction exceeds the transaction limit for a seller or a buyer of the commercial transaction. It is characterized in that at least a part of the program data is recorded.
[0023]
According to still another aspect of the present invention, a transmission medium for transmitting program data having an algorithm according to the present invention is a method in which a person who is newly involved in a commercial transaction via a computer network is a seller or a buyer as a predetermined condition. If the transaction is satisfied, the rank of the trader is set on the basis of predetermined company data including at least one of capital, sales, and work history related to the certified trader. And setting a transaction limit for the commercial transaction of the trader based on the rank, and restricting the commercial transaction when the transaction amount exceeds the transaction limit for a seller or a buyer of the commercial transaction. Transmitting at least part of the data.
[0024]
Furthermore, in order to solve the above problems and operate a stable electronic commerce site, only the operator (owner) of the electronic commerce site recognizes customer information of participating company users in the electronic commerce site. In addition, it is necessary for the participating company users to completely conceal it from delivery to delivery and settlement after the transaction is completed. The present invention aims to expand the stable e-commerce market by preventing the decrease in the number of users of the e-commerce site by completely concealing the information of participating company users to the end in this way. And has the following characteristics.
[0025]
A business transaction system that enables anonymous commercial transactions according to the present invention is a person who is newly involved as a seller or a buyer in a commercial transaction at a site built on a computer network accessible from a plurality of information terminal devices. An authentication means for authenticating as a trader when a predetermined condition is satisfied, an information disclosure / browsing means for enabling the authenticated trader to publish and browse product information anonymously, and When a commercial transaction is established based on product information published and viewed on the site, a notification means for notifying a person who has participated in the transaction anonymously that the commercial transaction has been established, while ensuring anonymity from the seller to the buyer And a delivery means for delivering the product for which the commercial transaction has been completed, and a settlement means capable of settlement of the commercial transaction while ensuring anonymity of the buyer and seller information. And features.
[0026]
According to another feature of the present invention, a commercial transaction method that enables anonymous commercial transactions is newly implemented as a seller or a buyer in a commercial transaction at a site constructed on a computer network accessible from a plurality of information terminal devices. The person who is going to be involved is authenticated as a trader when a predetermined condition is satisfied, and the trader who received the certification publishes product information that the trader wishes to purchase as an anonymous buyer on the site, When an authenticated trader browses the published product information on the site as an anonymous seller, and a commercial transaction is established based on the product information published and browsed on the site, the fact that the commercial transaction is established Notifying those who participated in the transaction anonymously, taking the product for which the commercial transaction was established while ensuring anonymity from the seller, while ensuring the anonymity for the product for which the commercial transaction was established Was delivered to the hand, characterized in that it is possible to settle the commercial transaction while ensuring the anonymity of the buyer and seller information.
[0027]
Further, the commercial transaction (a) sets a desired price of a product desired to be purchased as an anonymous buyer, (b) publishes product information desired to be purchased as an anonymous buyer on the site, (c) the published (D) if the seller wishes to sell among the published product information, the seller will anonymously present the desired price, (e) the seller's sales It is determined whether the desired price is less than or equal to the buyer's desired purchase price. (F) In step (e), if the seller's desired sales price exceeds the buyer's desired purchase price, search for other sellers (g ) If the other seller is not found, repeat steps (a) to (f) until a seller is found.If the other seller is found, go to step (i), and (h) step ( In e), the seller's desired selling price is the buyer's desired purchasing price. If not, the process proceeds to step (i). (I) In addition, it is determined whether there are other competing sellers who present desired selling prices below the buyer's desired purchasing price. (J) In step (i), If there is, the process proceeds to a conflict resolution routine for making a successful bid for a seller who has offered a lower price, and then a commercial transaction is established.In step (i), at least a step of establishing a commercial transaction if not in a competitive state is provided. It is characterized by that.
[0028]
According to another feature of the present invention, a commercial transaction method that enables anonymous commercial transactions is newly involved as a seller or a buyer in a commercial transaction at a site built on a computer network accessible from a plurality of information terminal devices. The person who is going to authenticate as a trader when a predetermined condition is satisfied, publish product information provided by the certified trader as an anonymous seller on the site, and receive the certification. When a trader browses the published product information on the site as an anonymous buyer, and a commercial transaction is established based on the product information published and browsed on the site, the transaction is made anonymously. The merchandise for which the commercial transaction has been established is received from the seller while ensuring anonymity, and the product for which the commercial transaction has been established is delivered to the buyer while ensuring anonymity. , While ensuring the anonymity of the buyer and seller of information, characterized in that the settlement of the transaction.
[0029]
In a preferred embodiment, the commercial transaction includes (a) setting a desired price of a product desired to be sold as an anonymous seller, (b) publishing product information desired to be sold as an anonymous seller on the site, (c) Browsing the published product information on the site as an anonymous buyer, (d) If you wish to purchase among the published product information, the buyer presents the desired purchase price anonymously, (e) It is determined whether the buyer's desired purchase price is less than or equal to the buyer's desired purchase price. (F) In step (e), if the buyer's desired purchase price is lower than the seller's desired sales price, search for another buyer. (G) If the other buyer is not found, repeat steps (a) to (f) until a buyer is found, and if the other buyer is found, go to step (i), (h ) In step (e), the purchase price of the buyer is If it is higher than the desired selling price of the hand, the process proceeds to step (i). (I) Further, it is determined whether there is a competing buyer who presents the desired selling price that is higher than the desired selling price of the seller. (J) Step (i) If it is in a competitive state, the process goes to step (l) after passing through a conflict resolution routine for making a successful bid for a buyer who has offered a higher price. (K) In step (i), if not in a competitive state, the process goes to step (l). (L) Judge whether the seller's desired product still remains, (m) In step (l), if the product still remains, repeat steps (a) to (l), (n) The step (l) includes at least a step of ending the sale if no product remains.
[0030]
In still another preferred embodiment, the commercial transaction sets (a) a desired price of a product desired to be sold as an anonymous seller, and (b) publishes product information desired to be sold as an anonymous seller on the site. , (C) browsing the published product information on the site as an anonymous buyer, (d) if you wish to purchase among the published product information, the buyer presents the desired purchase price anonymously, (e) Determine whether the buyer's desired purchase price is less than or equal to the buyer's desired purchase price. (f) In step (e), if the buyer's desired purchase price is less than the seller's desired price, (G) If the other buyer is not found, repeat steps (a) to (f) until the buyer is found, and if the other buyer is found, go to step (i). (H) In step (e), the buyer wishes to purchase If the rating is equal to or higher than the seller's desired selling price, the process proceeds to step (i). (I) Further, it is determined whether there is a competing buyer who presents a desired purchasing price higher than the seller's desired selling price. In (i), if it is in a competitive state, the seller and a plurality of competing buyers individually decide on a specific buyer by conducting a business negotiation, and then go to step (l). (k) In step (i) If it is not in a competitive state, the process proceeds to step (l), (l) it is determined whether or not the seller's desired product remains, and (m) in step (l), if the product still remains, the step ( It is characterized in that at least the steps of (a) to (l) are repeated, and (n) in step (l), the sale is terminated if no product remains.
[0031]
In yet another preferred embodiment, in the step (d), before requesting and placing an order among the published product information, the sample of the product is billed anonymously, and then the buyer purchases the desired purchase price anonymously. It is characterized by presenting.
[0032]
In another preferred embodiment, in the settlement, the usance for the anonymous buyer can be set longer than the usance for the anonymous seller.
[0033]
Furthermore, the credit system according to the present invention is a credit system that provides company-side credit information to a user-side terminal on a site constructed on a computer network, wherein the user-side terminal accesses the credit information on the site. User authentication means for allowing, user information specifying means for specifying company information of a user permitted by the user authentication means, credit company specifying means for specifying at least one credit company, and the specifying Credit information display means for displaying company information of the specified credit company, and desired transaction limit input means for inputting a desired transaction limit in a commercial transaction with the specified credit company from the user side terminal And comparing the desired transaction limit input from the user side with company information of the specified credit company More, and providing the safety of the judgment of commerce user terminal substantially in real time.
[0034]
Furthermore, the credit system further includes a user information correcting unit that allows the user authenticated by the user authenticating unit to directly correct the user company information from the user side terminal.
[0035]
The credit system further comprises means for inputting the desired transaction limit amount means for inputting at least the monthly quotient and the number of months for collection, and the desired transaction limit amount obtained from the product of the monthly quotient and the number of months for collection. It is possible to input.
[0036]
The credit system further comprises a bankruptcy probability evaluation unit that evaluates the bankruptcy probability of a credit company based on the rank set by the rank setting unit, and at least the bankruptcy probability obtained by the bankruptcy probability evaluation unit; It is further characterized by further comprising a change rate evaluation means for calculating a minimum required change rate by calculating a sum of a capital cost rate of a credit company and an expense rate of the credit company.
[0037]
The credit system further comprises means for evaluating a transaction target amount per month by dividing a difference between the transaction limit amount of the credit company and the desired transaction limit amount by the number of collection months. It is characterized by that.
[0038]
In a preferred embodiment, the credit company management system according to the present invention displays a specific management screen on the user terminal screen so that the user can compare one or more credit company information evaluated by the credit system. And having a credit company management means that can be managed.
[0039]
Further, in the credit company management system, the management means includes at least the rank information, the limit amount information, and date information for evaluating the credit company for each credit company, and a user performs each information It is characterized in that the credit company information can be evaluated according to desired information.
[0040]
According to another aspect of the present invention, there is provided a commercial transaction credit method for providing corporate credit information to a user terminal on a site constructed on a computer network. Authenticate as a user when the conditions are satisfied, provide the user information of the desired credit company to the authenticated user, and in the business transaction with the credit company for the authenticated user A desired transaction limit is inputted, the inputted desired transaction limit and the credit company information are evaluated, and a judgment on the safety of the commercial transaction is provided to the user in substantially real time.
[0041]
Furthermore, the method according to the present invention further includes a step of causing the user who has received the authentication to correct the user company information at the user side terminal.
[0042]
Further, in the method according to the present invention, when the authenticated user inputs the desired transaction limit, at least the monthly quotient and the number of collection months are input to the authenticated user, An amount obtained from the product of the input monthly quotient and the number of collection months can be set as the desired transaction limit amount.
[0043]
Further, the method according to the present invention calculates a bankruptcy probability of a credit company based on the rank set by the rank setting means, and at least the bankruptcy probability, the capital cost rate of the credit company, and the credit company's The sum of the accounting ratio is set as the minimum required change rate, and the minimum required change rate is provided to the authenticated user.
[0044]
Furthermore, the method according to the present invention divides the difference between the transaction limit amount of the credit company and the desired transaction limit amount by the number of collection months, sets the transaction target amount per month, and performs the authentication. The transaction target amount is provided to the received user.
[0045]
According to still another aspect of the present invention, the credit company management method according to the present invention provides a user side terminal so that the user can compare one or more credit company information provided by the commercial transaction credit method. A specific management screen is displayed on the screen.
[0046]
According to still another aspect of the present invention, a predetermined financial service is provided to a user authenticated by the user authentication means when performing a business transaction with at least one credit company registered in the credit company management system. An electronic commerce system according to the present invention that provides a user interface on a user-side terminal screen so that it can be provided is a financial service selection means capable of selecting at least one financial service, and when receiving the financial service And service application condition input means that can input user-side conditions.
[0047]
According to still another aspect of the present invention, a predetermined financial service is provided to a user who is authenticated by a user authentication means when performing electronic commerce with a credit company on a site constructed on a computer network. The electronic commerce method according to the present invention is characterized in that the user has at least one step of selecting at least one financial service and allowing the user to input conditions for providing the financial service.
[0048]
DETAILED DESCRIPTION OF THE INVENTION
FIG. 1 shows a schematic diagram of a network system in which a credit judgment system according to the present invention functions. The system includes an EC
[0049]
FIG. 2 shows a schematic diagram of the EC
[0050]
Next, a credit judgment for managing a risk in the electronic commerce of the user is performed. Based on the judgments shown in S1 to S3 in FIG. 2, “sale limit judgment”, “buy limit judgment” (setting of rank) and “adjustment of buying limit by payment” are carried out, respectively. Set a limit in advance, link the buy limit with the rank, check whether the transaction is within the set sell limit and the buy limit, generate a warning for transactions exceeding the limit, or trade Let me stop. Details of each decision are shown below;
Judgment of selling limit
A specific example of the determination of the selling limit of the
[0051]
Buy limit judgment
FIG. 4 shows a specific example of the purchase limit judgment of the
[0052]
Adjustment of purchase limit by payment
FIG. 5 shows a specific example of the adjustment of the purchase limit based on the payment of the
[0053]
Input / limit management of purchase limit
The purchase limit amount corresponding to the ranks a1 to a5 as described above is set in advance. For example, it is possible to set a purchase limit of 5 million yen for a1, 4 million yen for a2, and 1 million yen for a5. This buy limit is linked to the rank.
[0054]
The sales limit ranks are set (b1 to b5) so as to correspond to the respective purchase limit ranks (a1 to a5). Enter the sales limit amount for each rank of these sales limits, and monitor whether the transaction is within the set selling limit and buying limit in the credit limit management office 90, and warn about transactions exceeding the limit. Or stop trading. The result monitored here is provided to the payment data 84 and further fed back to the
[0055]
By executing the credit judgment according to the present invention in real time on this site on the network, it is possible to safely carry out large-scale B to B electronic commerce while maintaining anonymity on the network. In the following, an example of electronic commerce using this system will be described;
Participation in EC risk management site
The business user who becomes a seller and a buyer obtains authentication at the
[0056]
E-commerce
FIG. 6 shows a preferred embodiment of electronic commerce at an electronic commerce site built on the Internet. Of the corporate users who have logged on to the trading site, the seller company makes a sales request inquiry about a product that is desired to be sold to the trading site (step 1). On the other hand, the buyer company makes a purchase request inquiry for a desired product presented on the transaction site (step 1 '). Next, the buyer company applies for purchase (step 2 '), and the seller company applies for sales (step 2). Here, the credit and liability management station 90 determines whether it is within the limit frame of the commercial transaction. If it is within the limit frame, the sale is confirmed and the ordering management system 91 is activated. At this time, a receivable balance is generated on the buyer's company side as viewed from the site owner or seller, and a merchandise payable is generated on the seller company side as viewed from the site owner or buyer. These receivables and payables are managed by the Receivables and Debt Management Bureau 90, and an order form is issued to the seller company from the order management system 91 (step 3), while a purchase confirmation notice is issued to the buyer company. (Step 3 '). When the seller company ships the merchandise that is the object of the commercial transaction, the seller company registers the shipment with respect to the order management system 91 (step 4), while the order management system 91 notifies the buyer company of the shipment (step). 5). Next, after receiving the product, the buyer company performs receipt / acceptance registration with the ordering management system 91 (step 6), and the ordering management system 91 notifies the seller company of receipt / acceptance (step 7). ). The ordering management system 91 issues an invoice to the buyer company at the time of settlement (step 8). The order management system 91 stores the notification issued in the series of steps (
[0057]
The embodiment described above is an example of electronic commerce at an electronic commerce site built on the
[0058]
As yet another preferred embodiment, it is possible to make a credit judgment according to the present invention on a user's computer by packaging all or part of a computer program capable of providing the credit judgment according to the present invention. is there. In this case, the program for executing the credit judgment algorithm runs on the user side computer as the
[0059]
Preferred embodiment of fully anonymous e-commerce
FIG. 10 shows a schematic diagram of a preferred embodiment of a network system in which the anonymous electronic commerce system according to the present invention functions. The system preferably includes an anonymous
[0060]
When the company user first participates in the anonymous
[0061]
The completely anonymized electronic commerce system according to the present invention is particularly useful for commerce of a primary processed product whose quality is stable at a certain upper level such as paper and paperboard. In electronic commerce, since it is difficult to check the quality of all the actual products in hand, it is implemented in a situation where a certain level of quality is shared between site owners and participating users. It is preferable. Examples of completely anonymized electronic commerce for paper and paperboard are shown below.
[0062]
In an electronic commerce site that performs such completely anonymous electronic commerce, the site owner can embody various electronic commerce forms. The first preferred embodiment can be applied to a reverse auction (so-called reverse auction), and the second preferred embodiment is an exchange (so-called matching. In the preferred embodiment, it is also referred to as “bargain information” or “bargain market”). .) Can be applied.
[0063]
In the present invention, “seller” is also referred to as “supplier”, and “buyer” is also referred to as “buyer” or “user”. Also, the seller (supplier) does not mean only the person who made a successful bid or negotiation (contract), but also includes other sellers who participated in the business transaction. Similarly, the buyer (buyer) It includes not only those who have been closed (contracted) but also other buyers who have participated in business transactions.
[0064]
Fully anonymized electronic commerce by reverse auction
An outline of the flow of the fully anonymized electronic commerce in the reverse auction is shown in FIG. The registered members who meet the predetermined screening conditions can be classified into buyer companies and seller companies. In a preferred embodiment, the buyer company is, for example, an end user such as a publisher or a printer, a paper wholesaler, or the like. Seller companies include primary wholesalers, general trading companies, secondary wholesalers, and manufacturers (manufacturers).
[0065]
First, the buyer company accesses the completely
[0066]
A flowchart of an example of a preferred embodiment of the negotiation is shown in FIG. First, the buyer (user) sets a desired purchase price (step 302). Next, it is determined whether the seller's (supplier) desired sales price is less than or equal to the buyer's desired purchase price (step 303). If the seller's desired sales price exceeds the buyer's desired purchase price, another seller is searched (step 304). Next, it is determined whether another seller is found (step 305). If no seller is found, the processes in
[0067]
The site operator informs the user of the price obtained by adding the fare to the collection price at the warehouse as the negotiation proceeds. On the other hand, at least the desired seller company can be notified of the progress of the bidding situation (step 204), and a notification service that can increase the possibility of a successful bid can be implemented (step 205). In a preferred embodiment, these notifications can be email notifications. The negotiation is completed by making a successful bid to the lowest bidder at the end of the bidding period. As a result, the
[0068]
Fully anonymized electronic commerce by exchange
An outline of the flow of completely anonymized electronic commerce by exchange is shown in FIG. The registered members who meet the predetermined screening conditions can be classified into buyer companies and seller companies. As in the case of the reverse auction, in the preferred embodiment, the buyer company is, for example, an end user such as a publisher or a printer, a paper wholesaler, or the like. Seller companies include primary wholesalers, general trading companies, secondary wholesalers, and manufacturers (manufacturers).
[0069]
First, the seller company accesses the completely
[0070]
A flowchart of an example of a preferred embodiment of the negotiation is shown in FIG. First, the seller (supplier) sets a desired sales price (step 502). Next, it is determined whether or not the purchase price of the buyer (user) matches the sales conditions of the seller (supplier) (step 503). If the seller's desired purchase price exceeds the buyer's desired purchase price, another seller is searched (step 504). Next, it is determined whether another seller is found (step 505). If no seller is found, the processes in steps 502 to 505 are repeated. In
[0071]
The negotiation proceeds in accordance with the exchange steps 501 to 509 shown in FIG. 14 (step 405), and is established with complete anonymity (step 406). In a preferred embodiment, the buyer company (user) can negotiate conditions such as price and delivery date offered by the seller company in a fixed form. In still another preferred embodiment, negotiation can be performed using a predetermined form (character) prepared by a site operator, which allows more flexible negotiation without using a fixed form. The receipt / delivery of goods and settlement are the same as in the case of the reverse auction (
[0072]
【Example】
In any of the above embodiments, a participating company user who satisfies a certain participation criterion is given an ID and a password as a user account by the
[0073]
The authenticated participating company user accesses a paper / paperboard electronic commerce site via the
[0074]
Example of fully anonymized electronic commerce by reverse auction
Registration procedure on the buyer's company (user) side
In fully anonymized electronic commerce by reverse auction, the information of the product that the user wants to purchase is registered in the reverse auction site, and the supplier bids for it. The difference from a normal auction is that a supplier who offers a low price makes a successful bid.
[0075]
When (1)
[0076]
The
[0077]
Bid (bidding) procedures on the seller's company (supplier) side
A paper / paperboard supplier participating in a fully anonymized electronic commerce reverse auction selects (1)
[0078]
According to the above procedure, the seller company that offers the lowest price will make a successful bid. The site operator notifies the successful bid results to all seller companies who bid. The seller company that has made a successful bid is notified of details such as the date of receipt. The buyer company (user) who has made a bid is notified of the amount of money for the successful bid and delivery according to the instruction.
[0079]
Example of completely anonymized electronic commerce by exchange
Registration procedure on the seller's side (supplier)
The completely anonymized electronic commerce by exchange is a system in which a seller company registers a product that the seller company wants to sell and its selling price in the
[0080]
When (2) bargain market 611 is selected in the
[0081]
A
[0082]
Order procedure for buyer (user) side
The buyer company user who participates in the completely anonymized electronic commerce exchange selects (2) bargain market 611 in the
[0083]
Example of collection / delivery and settlement
Delivery / delivery (delivery) and payment can be processed in the same procedure at the reverse auction site as the first preferred embodiment and the bargain information site (exchange) as the second preferred embodiment.
[0084]
Delivery
After the negotiation is concluded, the site operator sends the contracted logistics company 123 to the user name and supplier name, delivery date, product pickup location and delivery location, product name, US tsubo, dimensions, weight, number of stations (1 in case of winding) The number of windings of the book and the number of windings required). The logistics company 123 takes the product to the supplier's warehouse in time for delivery. Inform the supplier in advance of the shipping company and the car number. That is, even at the time of this delivery, both the buyer and the seller are kept secret from each other. Basically, it is preferable that the pick-up date and the delivery date are the same. After picking up, deliver it to the designated customer on time.
[0085]
settlement
Counting is preferably done on the basis of product delivery. In the case of the above-described reverse auction, which is the first preferred embodiment, for example, even if a product is picked up from a supplier on May 19, it is delivered to a customer-specified delivery destination on May 20. In this case, May 20 is the recording date. It is closed on May 31 at the end of the month, and settlement is executed after a certain period (for example, 3 months) has passed (August 31).
[0086]
As a rule, payment and payment settlements are executed on the same day and are made by bank transfer. The user pays the site operator an amount obtained by adding a transaction tax to the site operator (for example, 161.7 million yen). To the supplier, the site operator pays an amount obtained by deducting a fixed fee (for example, 3%) from a transaction settlement amount (for example, 161.7 million yen) and adding a consumption tax.
[0087]
Preferred embodiment of real-time credit information retrieval
32 to 37 are schematic views of user-side terminal screens for providing a real-time credit information search service using a credit judgment system according to a preferred embodiment of the present invention.
FIG. 32 shows an example (3200) of the initial input authentication screen of the terminal that can be presented to the user who uses the real-time credit information search service using the credit judgment system according to the present invention. The input terminal screen is preferably configured by a graphical user interface (GUI) that supports not only a keyboard but also a pointing device such as a mouse.
A user who uses the real-time credit information search service inputs a predetermined user ID in the
[0088]
The credit judgment system according to the present invention has a company information database system that stores company information of a user company. FIG. 33 shows an example of a predetermined company outline of the user displayed after the user clicks the button 3230 (3300). The displayed company summary is predetermined information among the information stored in the company information database. In the preferred embodiment, the user is able to correct the company summary displayed in
[0089]
FIG. 34 shows an example of a detailed accounting information input screen that is displayed when the user clicks the detail button 3340 (3400). In order to use a more accurate real-time credit information search service, the user can input necessary items for each predetermined item such as a balance sheet in the
[0090]
FIG. 35 shows an example of a credit input screen displayed when the user clicks the
The user can proceed to the next step by clicking the confirmation button 3580 after inputting the credit company and the desired transaction limit with the credit company. When the progress of the service is not desired, the user can return to the
[0091]
FIG. 36 shows an example of a screen that displays the search result and calculation result of the real-time credit information search service that is displayed when the user clicks the confirmation button 3580 on the screen 3500 (3600).
As an example of the search result, a
[0092]
Further, in the
Minimum monetary rate = d + capital cost rate + expense rate (1)
Here, d is a bankruptcy probability associated with each rank obtained by this system. The bankruptcy probability is calculated from the rank using a statistical method, and is preferably set within a range of 0.05% to 10%. The capital cost rate may be a predetermined industry average value in the preferred embodiment. In another preferred embodiment, it can be obtained by the relational expression shown in the following expression (2).
Capital cost ratio = (equity capital x α + interest paid) / (borrowed money + equity) (2)
Here, the arbitrary coefficient α is a coefficient that is statistically calculated for each industry, is a value that takes into account dividends, corporate tax, and the like, and is preferably 2.0%. The expense ratio may be a predetermined industry average value in the preferred embodiment. In another preferred embodiment, it can be obtained by the relational expression shown in the following expression (3).
Expense ratio = SG & A expenses / Sales (3)
[0093]
In addition, a transaction target can be displayed in
Here, if the recommended limit is larger than the desired limit, the transaction target will be positive, so a transaction expansion target can be presented. Conversely, if the recommended limit is smaller than the desired limit, Since the transaction target amount is negative, the transaction reduction target amount is presented.
Real-time credit information consulting is possible by presenting the minimum required rate and transaction target to the user as described above. Furthermore, in a preferred embodiment, not only can the above numbers be provided, but an appropriate comment can be displayed in
[0094]
In yet another embodiment, in addition to providing such single credit information, a plurality of credit company information can be managed and presented for comparison. By clicking on
FIG. 37 shows an example of a customer portfolio management screen displayed after the user clicks the button 3690 (3700). In a preferred embodiment, a screen can be presented showing a portfolio for each trading form. In the portfolio management, the business name, rank, trend of rank, presence / absence of centralized management, recommended limit, desired limit, balance of receivables, renewal date, and predetermined follow items can be set as management items. Here, the predetermined follow items are items such as the change of the president of the credit company, the change of the main bank, the capital increase, the funds, and the change of the company name. By providing these follow items to the user by real-time or daily batch processing, higher quality portfolio management can be provided. In a preferred embodiment, the user clicks
[0095]
Financial services in electronic commerce
In yet another embodiment, various financial services can be provided to users in electronic commerce according to the present invention. FIG. 38 shows an example of a terminal-side screen provided with a user interface that allows the user to select a financial service when performing electronic commerce with a credit company (3800). In the preferred embodiment, the user can click on a
[0096]
【The invention's effect】
By performing the credit judgment in real time using the system according to the present invention, a large-scale B to B credit transaction can be performed while maintaining anonymity and safety. Further, by managing a portfolio of a plurality of credit companies, it is possible to provide a higher quality credit judgment service. In particular, a more flexible credit judgment service can be provided by providing predetermined credit destination company information updated in substantially real time or daily. In addition, various financial services can be provided when performing business transactions with credit-managed companies whose portfolios are managed.
[Brief description of the drawings]
FIG. 1 shows a schematic block diagram of a credit decision system according to a preferred embodiment of the present invention.
FIG. 2 shows a schematic block chart illustrating a method of credit decision according to a preferred embodiment of the present invention.
FIG. 3 shows a block chart illustrating a method of determining a selling limit for electronic commerce according to a preferred embodiment of the present invention.
FIG. 4 shows a block chart illustrating a method for determining a buy limit for electronic commerce according to a preferred embodiment of the present invention.
FIG. 5 shows a block chart illustrating a method for adjusting the rank of an e-commerce buy limit according to a preferred embodiment of the present invention.
FIG. 6 shows a transaction flow of electronic commerce according to a preferred embodiment of the present invention.
FIG. 7 illustrates a model for electronic commerce according to another preferred embodiment of the present invention.
FIG. 8 illustrates a model for electronic commerce according to another preferred embodiment of the present invention.
FIG. 9 shows a block chart illustrating a method for determining a buy limit in a model of electronic commerce according to another preferred embodiment of the present invention.
FIG. 10 is a schematic diagram of a network system in which an anonymous electronic commerce system according to a preferred embodiment of the present invention functions.
FIG. 11 is a schematic diagram of a transaction between a reverse auction site and a participant.
FIG. 12 is a flowchart of a process for establishing a reverse auction.
FIG. 13 is a schematic diagram of a transaction between an exchange site and a participant.
FIG. 14 is a flowchart of an exchange establishment process.
FIG. 15 is a schematic view of the top page of a completely anonymous electronic commerce site according to the present invention.
FIG. 16 is a schematic diagram of a member confirmation page for participating in a reverse auction.
FIG. 17 is a schematic diagram of a user-side ordering page in a reverse auction.
FIG. 18 is a schematic diagram of a user side order confirmation page in a reverse auction.
FIG. 19 is a schematic diagram of a bid item page on the supplier side in a reverse auction.
FIG. 20 is a schematic diagram of an individual property page on the supplier side in a reverse auction.
FIG. 21 is a schematic diagram of a bid page on a supplier side in a reverse auction.
FIG. 22 is a schematic diagram of a bid confirmation page on the supplier side in a reverse auction.
FIG. 23 is a schematic diagram of a supplier-side re-bidding page in a reverse auction.
FIG. 24 is a schematic view of a supplier-side re-bidding confirmation page in a reverse auction.
FIG. 25 is a schematic diagram of a member confirmation page for participating in a bargain market.
FIG. 26 is a schematic diagram of a supplier-side registration page in the bargain market.
FIG. 27 is a schematic view of a supplier side registration confirmation page in the bargain market.
FIG. 28 is a schematic diagram of an index page on the user side in the bargain market.
FIG. 29 is a schematic diagram of an individual property page on the user side in a bargain market.
FIG. 30 is a schematic view of a user-side ordering page in a bargain market.
FIG. 31 is a schematic diagram of a user side order confirmation page in a bargain market.
FIG. 32 shows an example of a user authentication screen of a real-time credit information search service according to a preferred embodiment of the present invention.
FIG. 33 shows an example of a screen displaying a user company overview of a real-time credit information search service according to a preferred embodiment of the present invention.
FIG. 34 shows an example of a screen displaying a more detailed user company overview and financial information of a real-time credit information search service according to a preferred embodiment of the present invention.
FIG. 35 shows an example of a screen for inputting a transaction condition with a credit company in the real-time credit information search service according to a preferred embodiment of the present invention.
FIG. 36 shows an example of a screen displaying credit information of a credit company in a real-time credit information search service according to a preferred embodiment of the present invention.
FIG. 37 shows an example of a portfolio management service screen of a credit company in a real-time credit information search service according to another preferred embodiment of the present invention.
FIG. 38 shows an example of a screen for providing various financial services in electronic commerce according to still another preferred embodiment of the present invention.
[Explanation of symbols]
10 ... Internet
20 ... EC risk management site
30 ... Corporate database
40 ... Certificate Authority
51, 52, 53 ...... Seller
61,62,63 ... ・ ・ ・ Buyer
81: Anxiety information / claim data
83 ・ ・ ・ Corporate data
84: Payment data
100, 110 ... Credit judgment system
111, 112, 113 ... user
120 ・ ・ ・ Corporate data
1120 Certificate authority
1121 ... Examination Bureau
1122 ... Settlement office
1123: Logistics Bureau
1124: Content provider
1130 ... Trading site
1131 Authentication / credit server
1132... Settlement server
1133 Logistics server
1134 Content server
1135: Electronic commerce server
1136 ... Database
3210, 3220 ... Input field for providing user information to user authentication means
3310 ... User company information specified by user information specifying means
3400: User company information that can be corrected from the user terminal
3510: Credit company information input field for providing information to credit company identification means
3520: desired transaction limit input field
3540 ... Monthly quotient input field
3550 ... Collection month input field
3610: Credit company information
3620 ... Rank display field
3630 ... Recommended limit display field
3640 ... Desired limit display field
3650 ... Minimum required rate display field
3660 ... Transaction target amount display field
3670 ... Credit judgment comment display field
3710 ... Creditor portfolio management screen
3720, 3730, 3740 ... sort buttons
3800 ... Financial service provision screen
3810 ... Financial service selection button
3820 ... Financial Service Application Condition List
| Application Number | Priority Date | Filing Date | Title | 
|---|---|---|---|
| JP2000267682AJP4889140B2 (en) | 2000-03-29 | 2000-09-04 | Anonymous e-commerce system and method with credit function | 
| EP01917623AEP1271370A4 (en) | 2000-03-29 | 2001-03-29 | SYSTEM FOR ELECTRONIC ANONYMITY COMMERCIAL WITH CREDITING FUNCTION AND METHOD | 
| KR1020027012821AKR20030017485A (en) | 2000-03-29 | 2001-03-29 | System for anonymity electronic commerce having crediting function and method | 
| PCT/JP2001/002659WO2001073631A1 (en) | 2000-03-29 | 2001-03-29 | System for anonymity electronic commerce having crediting function and method | 
| HK03104714.4AHK1053882A1 (en) | 2000-03-29 | 2001-03-29 | System for anonymity electronic commerce having crediting function and method | 
| CN01807227ACN1419676A (en) | 2000-03-29 | 2001-03-29 | Anonymous e-commerce transaction system and method with credit granting function | 
| US10/260,757US7747517B2 (en) | 2000-03-29 | 2002-09-30 | System for anonymity electronic commerce having crediting function and method | 
| Application Number | Priority Date | Filing Date | Title | 
|---|---|---|---|
| JP2000092137 | 2000-03-29 | ||
| JP2000092137 | 2000-03-29 | ||
| JP2000134163 | 2000-05-08 | ||
| JP2000-92137 | 2000-05-08 | ||
| JP2000-134163 | 2000-05-08 | ||
| JP2000134163 | 2000-05-08 | ||
| JP2000267682AJP4889140B2 (en) | 2000-03-29 | 2000-09-04 | Anonymous e-commerce system and method with credit function | 
| Application Number | Title | Priority Date | Filing Date | 
|---|---|---|---|
| JP2010066310ADivisionJP2010165374A (en) | 2000-03-29 | 2010-03-23 | System for anonymity electronic commerce having crediting function and method | 
| JP2011103869ADivisionJP5258929B2 (en) | 2000-03-29 | 2011-05-06 | Anonymous e-commerce system and method with credit function | 
| Publication Number | Publication Date | 
|---|---|
| JP2002032587A JP2002032587A (en) | 2002-01-31 | 
| JP2002032587A5 JP2002032587A5 (en) | 2007-11-29 | 
| JP4889140B2true JP4889140B2 (en) | 2012-03-07 | 
| Application Number | Title | Priority Date | Filing Date | 
|---|---|---|---|
| JP2000267682AExpired - LifetimeJP4889140B2 (en) | 2000-03-29 | 2000-09-04 | Anonymous e-commerce system and method with credit function | 
| Country | Link | 
|---|---|
| JP (1) | JP4889140B2 (en) | 
| Publication number | Priority date | Publication date | Assignee | Title | 
|---|---|---|---|---|
| JP2010165374A (en)* | 2000-03-29 | 2010-07-29 | Sojitz Corp | System for anonymity electronic commerce having crediting function and method | 
| JP2003296609A (en)* | 2002-04-03 | 2003-10-17 | Kitada Suisan Kk | Support method, system and device for electronic commerce | 
| JP2004094346A (en)* | 2002-08-29 | 2004-03-25 | Toshiba Corp | Information provision method, transaction information management method and program | 
| JP2008052664A (en)* | 2006-08-28 | 2008-03-06 | Midori Shu | Electronic commerce device, electronic commerce method, and its program | 
| US7792743B2 (en)* | 2007-05-02 | 2010-09-07 | Google Inc. | Flexible advertiser billing system with mixed postpayment and prepayment capabilities | 
| CA2685870A1 (en) | 2007-05-03 | 2008-11-13 | Google Inc. | Monetization of original digital content contributions | 
| US8611422B1 (en) | 2007-06-19 | 2013-12-17 | Google Inc. | Endpoint based video fingerprinting | 
| JP4562205B2 (en)* | 2008-01-17 | 2010-10-13 | 株式会社ファーストロジック | Transaction information brokerage system and brokerage apparatus | 
| JP5557454B2 (en)* | 2009-02-13 | 2014-07-23 | 株式会社ブロードリーフ | Commerce management device and commerce system using the same | 
| US8346619B2 (en) | 2010-08-24 | 2013-01-01 | Firstlogic, Inc. | System for mediating transaction information and device in the system | 
| JP2012194959A (en)* | 2011-03-02 | 2012-10-11 | Dainippon Printing Co Ltd | Shopping system and shopping program | 
| JP5665157B1 (en)* | 2014-07-15 | 2015-02-04 | 株式会社 ネットプロテクションズ | Credit screening system | 
| JP7349040B1 (en)* | 2023-02-28 | 2023-09-21 | 株式会社M&Aサクシード | Tissue buying and selling support device and tissue buying and selling support method | 
| Publication number | Priority date | Publication date | Assignee | Title | 
|---|---|---|---|---|
| JPS57201956A (en)* | 1981-06-04 | 1982-12-10 | Omron Tateisi Electronics Co | Computing device for limited amount of money on loan | 
| GB9416673D0 (en)* | 1994-08-17 | 1994-10-12 | Reuters Ltd | Data exchange filtering system | 
| JPH0896034A (en)* | 1994-09-27 | 1996-04-12 | Shosaku Kawai | On-line accounts settlement method for communication network | 
| US5717989A (en)* | 1994-10-13 | 1998-02-10 | Full Service Trade System Ltd. | Full service trade system | 
| US5732400A (en)* | 1995-01-04 | 1998-03-24 | Citibank N.A. | System and method for a risk-based purchase of goods | 
| US6519574B1 (en)* | 1995-12-12 | 2003-02-11 | Reuters Limited | Electronic trading system featuring arbitrage and third-party credit opportunities | 
| JPH1011496A (en)* | 1996-06-20 | 1998-01-16 | Daishin Frame Kk | Method and device for automatically setting loan limit | 
| JPH10187823A (en)* | 1996-12-26 | 1998-07-21 | Kaadeinaru Kk | Order reception management system, credit sale management system, and order reception and credit sale management system | 
| JPH10261026A (en)* | 1997-01-14 | 1998-09-29 | Fujitsu Ltd | Electronic commerce system and recording medium | 
| JPH10232893A (en)* | 1997-02-18 | 1998-09-02 | Rikuruuto:Kk | Information exchange medication system to be functioned as www server on internet | 
| JP3357812B2 (en)* | 1997-03-18 | 2002-12-16 | 株式会社東芝 | Mutual credit server device and distributed mutual credit system | 
| JPH10275191A (en)* | 1997-03-31 | 1998-10-13 | Hitachi Ltd | E-commerce system | 
| JPH11345265A (en)* | 1998-06-03 | 1999-12-14 | Hitachi Ltd | E-commerce system | 
| Publication number | Publication date | 
|---|---|
| JP2002032587A (en) | 2002-01-31 | 
| Publication | Publication Date | Title | 
|---|---|---|
| US12254499B2 (en) | Online marketplace with seller financing | |
| US11055773B2 (en) | Online marketplace with seller financing | |
| US7617128B2 (en) | Online transaction hosting apparatus and system | |
| JP5456841B2 (en) | Anonymous e-commerce system and method with credit function | |
| US8595076B2 (en) | Method and system for purchase of a product or service using a communication network site | |
| US20110112869A1 (en) | Online transaction hosting apparatus and method | |
| US20020004775A1 (en) | Online patent and license exchange | |
| US20020002524A1 (en) | Online patent and license exchange | |
| US20140330666A1 (en) | Methods and apparatus for providing an electronic commerce platform | |
| JP2004192437A (en) | Payment service method for electronic commerce, payment system, computer program, program storage medium | |
| US20010047329A1 (en) | Electronic exchange apparatus and method | |
| US7747517B2 (en) | System for anonymity electronic commerce having crediting function and method | |
| US20100217702A1 (en) | Electronic System for Coordinating Contracts Relating to Property | |
| JP4889140B2 (en) | Anonymous e-commerce system and method with credit function | |
| EP1323088A1 (en) | Method and system of providing competitive comparative terms to the user | |
| JP2003030438A (en) | Loan application processing method in e-commerce system | |
| US20190050935A1 (en) | Device And Method For Exchange Market | |
| JP2013101590A (en) | Content sales system and method of the same | |
| US20220374975A1 (en) | Method and system for a bid management platform for facilitating property transactions | |
| US20030225680A1 (en) | Escrow management system | |
| WO2001093154A2 (en) | Online patent and license exchange | |
| KR20210001498A (en) | Mediating product transaction method | |
| US20250061452A1 (en) | Mediated anonymous negotiation system | 
| Date | Code | Title | Description | 
|---|---|---|---|
| A521 | Request for written amendment filed | Free format text:JAPANESE INTERMEDIATE CODE: A523 Effective date:20070904 | |
| A621 | Written request for application examination | Free format text:JAPANESE INTERMEDIATE CODE: A621 Effective date:20070904 | |
| A711 | Notification of change in applicant | Free format text:JAPANESE INTERMEDIATE CODE: A712 Effective date:20070904 | |
| RD03 | Notification of appointment of power of attorney | Free format text:JAPANESE INTERMEDIATE CODE: A7423 Effective date:20070904 | |
| A521 | Request for written amendment filed | Free format text:JAPANESE INTERMEDIATE CODE: A821 Effective date:20070904 | |
| RD04 | Notification of resignation of power of attorney | Free format text:JAPANESE INTERMEDIATE CODE: A7424 Effective date:20070911 | |
| A521 | Request for written amendment filed | Free format text:JAPANESE INTERMEDIATE CODE: A523 Effective date:20071029 | |
| A131 | Notification of reasons for refusal | Free format text:JAPANESE INTERMEDIATE CODE: A131 Effective date:20100119 | |
| A521 | Request for written amendment filed | Free format text:JAPANESE INTERMEDIATE CODE: A523 Effective date:20100323 | |
| A131 | Notification of reasons for refusal | Free format text:JAPANESE INTERMEDIATE CODE: A131 Effective date:20100712 | |
| A521 | Request for written amendment filed | Free format text:JAPANESE INTERMEDIATE CODE: A523 Effective date:20100910 | |
| A02 | Decision of refusal | Free format text:JAPANESE INTERMEDIATE CODE: A02 Effective date:20110204 | |
| A521 | Request for written amendment filed | Free format text:JAPANESE INTERMEDIATE CODE: A523 Effective date:20110506 | |
| A911 | Transfer to examiner for re-examination before appeal (zenchi) | Free format text:JAPANESE INTERMEDIATE CODE: A911 Effective date:20110620 | |
| A131 | Notification of reasons for refusal | Free format text:JAPANESE INTERMEDIATE CODE: A131 Effective date:20110819 | |
| A521 | Request for written amendment filed | Free format text:JAPANESE INTERMEDIATE CODE: A523 Effective date:20111018 | |
| TRDD | Decision of grant or rejection written | ||
| A01 | Written decision to grant a patent or to grant a registration (utility model) | Free format text:JAPANESE INTERMEDIATE CODE: A01 Effective date:20111114 | |
| A01 | Written decision to grant a patent or to grant a registration (utility model) | Free format text:JAPANESE INTERMEDIATE CODE: A01 | |
| A61 | First payment of annual fees (during grant procedure) | Free format text:JAPANESE INTERMEDIATE CODE: A61 Effective date:20111213 | |
| R150 | Certificate of patent or registration of utility model | Free format text:JAPANESE INTERMEDIATE CODE: R150 Ref document number:4889140 Country of ref document:JP Free format text:JAPANESE INTERMEDIATE CODE: R150 | |
| FPAY | Renewal fee payment (event date is renewal date of database) | Free format text:PAYMENT UNTIL: 20141222 Year of fee payment:3 | |
| R250 | Receipt of annual fees | Free format text:JAPANESE INTERMEDIATE CODE: R250 | |
| R250 | Receipt of annual fees | Free format text:JAPANESE INTERMEDIATE CODE: R250 | |
| R250 | Receipt of annual fees | Free format text:JAPANESE INTERMEDIATE CODE: R250 | |
| R250 | Receipt of annual fees | Free format text:JAPANESE INTERMEDIATE CODE: R250 | |
| R250 | Receipt of annual fees | Free format text:JAPANESE INTERMEDIATE CODE: R250 | |
| S531 | Written request for registration of change of domicile | Free format text:JAPANESE INTERMEDIATE CODE: R313531 | |
| R350 | Written notification of registration of transfer | Free format text:JAPANESE INTERMEDIATE CODE: R350 | |
| RD02 | Notification of acceptance of power of attorney | Free format text:JAPANESE INTERMEDIATE CODE: R3D02 | |
| R250 | Receipt of annual fees | Free format text:JAPANESE INTERMEDIATE CODE: R250 | |
| EXPY | Cancellation because of completion of term |