











この発明は、半導体装置に関し、特にドリフト領域がシリコンよりもバンドギャップの広い半導体材料(以下、ワイドバンドギャップ半導体とする)で構成されたパワー半導体装置に関する。 The present invention relates to a semiconductor device, and more particularly to a power semiconductor device having a drift region made of a semiconductor material having a wider band gap than silicon (hereinafter referred to as a wide band gap semiconductor).
近時、パワー半導体装置の分野において、GaN系化合物半導体等のワイドバンドギャップ半導体を用いる試みがなされている。例えば、基板結晶上に順に、GaN系化合物半導体からなるp型半導体層およびn型半導体層が積層され、このn型半導体層上に、n型半導体層よりも広いバンドギャップを有するGaN系化合物半導体からなるp型不純物拡散領域およびn型不純物拡散領域が選択的に形成された構成を有する絶縁ゲート型バイポーラトランジスタが公知である(例えば、特許文献1参照。)。 Recently, attempts have been made in the field of power semiconductor devices to use wide band gap semiconductors such as GaN-based compound semiconductors. For example, a p-type semiconductor layer and an n-type semiconductor layer made of a GaN-based compound semiconductor are sequentially stacked on a substrate crystal, and a GaN-based compound semiconductor having a wider band gap than the n-type semiconductor layer on the n-type semiconductor layer. An insulated gate bipolar transistor having a configuration in which a p-type impurity diffusion region and an n-type impurity diffusion region are selectively formed is known (for example, see Patent Document 1).
この絶縁ゲート型バイポーラトランジスタでは、ゲート電極は、n型半導体層の露出面からp型不純物拡散領域の露出面にかけて絶縁層を介して形成されている。エミッタ電極およびコレクタ電極は、それぞれn型不純物拡散領域の上面およびp型半導体層の下面に形成されている。 In this insulated gate bipolar transistor, the gate electrode is formed through the insulating layer from the exposed surface of the n-type semiconductor layer to the exposed surface of the p-type impurity diffusion region. The emitter electrode and the collector electrode are formed on the upper surface of the n-type impurity diffusion region and the lower surface of the p-type semiconductor layer, respectively.
また、シリコン基板上にAlGaN/GaNのエピタキシャル層を成長させ、その表面にソース電極、ゲート電極およびドレイン電極を形成し、エピタキシャル層の表面からシリコン基板に達するビアホールを介してソース電極をシリコン基板に電気的に接続した構成のAlGaN/GaNヘテロ構造電界効果トランジスタが報告されている(例えば、非特許文献1参照。)。このヘテロ構造電界効果トランジスタでは、ゲート電極は、Pd−Siで形成されている。 In addition, an AlGaN / GaN epitaxial layer is grown on a silicon substrate, a source electrode, a gate electrode and a drain electrode are formed on the surface, and the source electrode is formed on the silicon substrate via via holes reaching the silicon substrate from the surface of the epitaxial layer. An AlGaN / GaN heterostructure field effect transistor having an electrically connected structure has been reported (for example, see Non-Patent Document 1). In this heterostructure field effect transistor, the gate electrode is formed of Pd—Si.
しかしながら、上述した従来の構成では、その製造段階において以下のような問題点がある。すなわち、GaNに対するイオン注入と熱アニールによる不純物活性化技術は、未だ確立されていない。そのため、有機金属気相成長(MOCVD)法や分子線エピタキシー(MBE)法などの結晶成長法によってp型やn型のGaN系化合物半導体の不純物層を堆積する必要があるが、不純物濃度にばらつきが生じ、それによってしきい値がばらついてしまう。 However, the conventional configuration described above has the following problems at the manufacturing stage. That is, an impurity activation technique by ion implantation and thermal annealing for GaN has not been established yet. Therefore, it is necessary to deposit an impurity layer of a p-type or n-type GaN-based compound semiconductor by a crystal growth method such as a metal organic chemical vapor deposition (MOCVD) method or a molecular beam epitaxy (MBE) method. And thus the threshold value varies.
また、p−GaN領域を形成した後にn+−GaNソース不純物層を形成する際に、p−GaN領域のドーパントが抜けてしまう。これらの原因により、現在の技術では、p−GaN領域を安定に形成することは極めて困難であり、従って上記文献に開示された素子を安定して実現することのできる可能性はほとんどない。Further, when forming the n+ -GaN source impurity layer after forming the p-GaN region, the dopant in the p-GaN region is lost. Due to these causes, it is extremely difficult to stably form the p-GaN region with the current technology, and therefore there is almost no possibility that the device disclosed in the above document can be stably realized.
  さらに、上記特許文献1に開示された半導体装置では、チャネル領域の抵抗成分が通常のシリコンを用いたデバイス(以下、シリコンデバイスとする)よりも大幅に大きくなるという欠点がある。その理由は、通常のシリコンを用いたMOS(金属−酸化膜−半導体からなる絶縁ゲート)構造において得られる反転層の移動度が数百cm2/Vs程度(500cm2/Vs程度との報告がある)であるのに対して、GaN系化合物半導体を用いた場合の反転層の移動度は数十cm2/Vs程度と極めて低いからである。Further, the semiconductor device disclosed in
  これは、半導体導体材料として炭化ケイ素(SiC)を用いた場合も同様である。そのため、仮にGaNなどのワイドバンドギャップ半導体を用いて高耐圧を実現できたとしても、例えばパワースイッチング素子などに適するMIS(金属−絶縁膜−半導体)構造素子においては、反転チャネル部分の特性が悪く、性能を十分に発揮することができない。また、上記非特許文献1に開示された半導体装置では、正電源の他に負電源が必要となるため、駆動回路が複雑になるという欠点もある。  The same applies to the case where silicon carbide (SiC) is used as the semiconductor conductor material. Therefore, even if a high breakdown voltage can be realized by using a wide band gap semiconductor such as GaN, in the MIS (metal-insulating film-semiconductor) structure element suitable for, for example, a power switching element, the characteristics of the inversion channel portion are poor. The performance cannot be fully demonstrated. Further, the semiconductor device disclosed in Non-Patent
この発明は、上述した従来技術による問題点を解消するため、GaN系化合物半導体等のワイドバンドギャップ半導体を用い、高耐圧で高速スイッチングが可能なMIS型のパワー半導体装置を提供することを目的とする。 An object of the present invention is to provide a MIS type power semiconductor device that uses a wide bandgap semiconductor such as a GaN-based compound semiconductor and can perform high-speed switching at high breakdown voltage in order to solve the above-described problems caused by the prior art. To do.
上述した課題を解決し、目的を達成するため、この発明にかかる半導体装置は、シリコンからなる第1の半導体層と、前記第1の半導体層の一部の上に積層された絶縁層と、前記絶縁層上に積層された、シリコンよりもバンドギャップの広い半導体材料からなる第2の半導体層と、前記第1の半導体層を用いて形成された絶縁ゲート型半導体素子と、前記第2の半導体層を用いて形成されたダイオードと、前記絶縁ゲート型半導体素子と前記ダイオードを短絡する短絡電極と、前記絶縁ゲート型半導体素子に接続された第1の電極と、前記ダイオードに接続された第2の電極と、を備え、前記絶縁層は、前記短絡電極側で薄く、かつ前記第2の電極側で厚くなっていることを特徴とする。To solve the above problems and achieve an object, a semiconductor device according tothis invention, a first semiconductor layer of silicon, said stacked on the part of the first semiconductor layer and the insulating layer A second semiconductor layer made of a semiconductor material having a wider band gap than silicon, laminated on the insulating layer, an insulated gate semiconductor element formed using the first semiconductor layer, and the second A diode formed using the semiconductor layer, the insulated gate semiconductor element, a short-circuit electrode for short-circuiting the diode, a first electrode connected to the insulated gate semiconductor element, and the diode A second electrode, wherein the insulating layer is thin on the short-circuit electrode side and thick on the second electrode side .
また、この発明にかかる半導体装置は、上述した発明において、前記絶縁ゲート型半導体素子は、前記第1の半導体層の主面上にゲート絶縁膜を介してゲート電極が形成され、かつ該ゲート電極を挟んで前記第1の半導体層の主面に沿ってソース領域と不純物拡散領域が形成された絶縁ゲート型電界効果トランジスタであり、前記ソース領域に前記第1の電極が接続され、前記不純物拡散領域に前記短絡電極が接続されていることを特徴とする。The semiconductor device according tothis invention is theinvention described above, the insulated gate semiconductor device, the first semiconductor layer a gate electrode through a gate insulating film on the main surface of the formed, and the gate An insulated gate field effect transistor in which a source region and an impurity diffusion region are formed along a main surface of the first semiconductor layer with an electrode interposed therebetween, the first electrode being connected to the source region, and the impurity The short-circuit electrode is connected to the diffusion region.
また、この発明にかかる半導体装置は、上述した発明において、前記絶縁ゲート型半導体素子は、前記第1の半導体層の第1の主面から形成されたトレンチ内にゲート絶縁膜を介してゲート電極が形成され、かつ該ゲート電極に隣接して前記第1の半導体層の第1の主面に沿って不純物拡散領域が形成され、さらに前記第1の半導体層の第2の主面に沿ってソース領域が形成された絶縁ゲート型電界効果トランジスタであり、前記ソース領域に前記第1の電極が接続され、前記不純物拡散領域に前記短絡電極が接続されていることを特徴とする。Further, the semiconductor device according tothis invention, in theinvention described above, the insulated gate semiconductor device with a gate insulating film on the first semiconductor layer within the first trench formed from the main surface of the gate An electrode is formed, and an impurity diffusion region is formed along the first main surface of the first semiconductor layer adjacent to the gate electrode, and further along the second main surface of the first semiconductor layer. An insulated gate field effect transistor in which a source region is formed, wherein the first electrode is connected to the source region, and the short-circuit electrode is connected to the impurity diffusion region.
また、この発明にかかる半導体装置は、上述した発明において、前記第2の半導体層は、p型領域とn型領域を有し、前記ダイオードは、前記p型領域と前記n型領域の接合により構成されるpnダイオードであり、前記p型領域に前記短絡電極が接続され、前記n型領域に前記第2の電極が接続されていることを特徴とする。The semiconductor device according tothis invention is theinvention described above, the second semiconductor layer has a p-type region and the n-type region, the diode junction of the said p-type region n-type region The short circuit electrode is connected to the p-type region, and the second electrode is connected to the n-type region.
また、この発明にかかる半導体装置は、上述した発明において、前記ダイオードは、前記第2の半導体層と金属のショットキー接合により構成されるショットキーダイオードであり、前記金属に前記短絡電極が接続され、前記第2の半導体層に前記第2の電極が接続されていることを特徴とする。The semiconductor device according tothis invention is theinvention described above, the diode is said second semiconductor layer and the metal of the Schottky composed Schottky diode by bonding, the short-circuit electrodes are connected to the metal The second electrode is connected to the second semiconductor layer.
また、この発明にかかる半導体装置は、シリコンからなる第1の半導体層と、前記第1の半導体層の上に積層された絶縁層と、前記絶縁層上に積層された、シリコンよりもバンドギャップの広い半導体材料からなる第2の半導体層と、前記第2の半導体層を用いて形成されたダイオードと、前記ダイオードのアノードに接続された第1の電極と、前記ダイオードのカソードに接続された第2の電極と、を備え、前記絶縁層は、前記第1の電極側で薄く、かつ前記第2の電極側で厚くなっていることを特徴とする。The semiconductor device according to the present invention includes a first semiconductor layer made of silicon, an insulating layer stacked on the first semiconductor layer, and a band gap higher than that of silicon stacked on the insulating layer. A second semiconductor layer made of a wide semiconductor material, a diode formed using the second semiconductor layer, a first electrode connected to the anode of the diode, and a cathode of the diode A second electrode, wherein the insulating layer is thin on the first electrode side and thick on the second electrode side.
また、この発明にかかる半導体装置は、上述した発明において、前記第2の半導体層は、p型領域とn型領域を有し、前記ダイオードは、前記p型領域と前記n型領域の接合により構成されるpnダイオードであることを特徴とする。In the semiconductor device according to the present invention as set forth in the invention described above, the second semiconductor layer has a p-type region and an n-type region, and the diode is formed by a junction of the p-type region and the n-type region. It is a pn diode comprised, It is characterized by the above-mentioned.
また、この発明にかかる半導体装置は、上述した発明において、前記ダイオードは、前記第2の半導体層と金属のショットキー接合により構成されるショットキーダイオードであることを特徴とする。In the semiconductor device according to the present invention as set forth in the invention described above, the diode is a Schottky diode configured by a Schottky junction of the second semiconductor layer and a metal.
また、この発明にかかる半導体装置は、上述した発明において、前記第2の半導体層は、バンドギャップが3eV以上の半導体材料でできていることを特徴とする。The semiconductor device according to the present invention is characterized in that, in the above-mentioned invention, the second semiconductor layer is made of a semiconductor material having a band gap of 3 eV or more.
また、この発明にかかる半導体装置は、上述した発明において、前記第2の半導体層は、GaN系化合物半導体材料でできていることを特徴とする。The semiconductor device according to the present invention is characterized in that, in the above-described invention, the second semiconductor layer is made of a GaN-based compound semiconductor material.
また、この発明にかかる半導体装置は、上述した発明において、前記絶縁層は、AlNでできていることを特徴とする。In the semiconductor device according to the present invention as set forth in the invention described above, the insulating layer is made of AlN.
また、この発明にかかる半導体装置は、上述した発明において、前記絶縁層は、AlThe semiconductor device according to the present invention is the above-described invention, wherein the insulating layer is made of Al.22OO3Threeでできていることを特徴とする。It is characterized by being made of.
上述した発明によれば、耐圧を確保するためのバルク領域をワイドバンドギャップ半導体で構成し、容易なスイッチングを可能にするためのMIS領域をシリコン半導体で構成し、バルク領域とMIS領域を短絡電極で接続することによって、ワイドバンドギャップ半導体とシリコン半導体の両者の優れた性質を兼ね備えた素子を実現することができる。すなわち、バルク領域に関しては、短い距離で高耐圧を実現することができる。従って、バルク領域の体積を小さくすることができるので、導通状態における過剰キャリアの蓄積を抑制し、高速スイッチングを実現することができる。According to the above-described invention, the bulk region for ensuring the withstand voltage is configured by the wide band gap semiconductor, the MIS region for enabling easy switching is configured by the silicon semiconductor, and the bulk region and the MIS region are short-circuited. By connecting with each other, it is possible to realize an element having the excellent properties of both a wide band gap semiconductor and a silicon semiconductor. That is, with respect to the bulk region, a high breakdown voltage can be realized at a short distance. Therefore, since the volume of the bulk region can be reduced, accumulation of excess carriers in the conductive state can be suppressed, and high-speed switching can be realized.
一方、MIS領域に関しては、既に超微細加工技術が確立されているシリコンプロセスによって作製されるシリコンデバイスを用いることによって、シリコンのMOS構造と同様の高い反転層の移動度が得られる。また、安定したMOS界面が得られる。従って、チャネル抵抗を低く抑え、しきい値などのゲート特性の設計自由度を広く確保することができる。また、特性のばらつきを小さくすることができ、高いゲートの信頼性を確保することができる。On the other hand, for the MIS region, high inversion layer mobility similar to that of a silicon MOS structure can be obtained by using a silicon device manufactured by a silicon process for which ultrafine processing technology has already been established. In addition, a stable MOS interface can be obtained. Accordingly, the channel resistance can be kept low, and a wide degree of freedom in designing gate characteristics such as threshold values can be secured. In addition, variation in characteristics can be reduced, and high gate reliability can be ensured.
また、上述した発明によれば、第1の半導体層の第1の主面側に短絡電極と第2の電極が配置され、第1の半導体層の第2の主面側に第1の電極が配置され、ゲート電極が埋め込み配線となるので、配線の引き回しが容易となり、デバイスの面積効率を上げることができる。さらに、上述した発明によれば、短絡電極と第2の電極との間に高低差ができ、両電極間の距離が長くなるので、両電極間で放電が起こって耐圧が低下するのを防ぐことができる。また、絶縁層の熱抵抗が、熱の発生量がより多い短絡電極側で小さくなるので、絶縁層を介して第1の半導体層への放熱が効果的に起こる。また、上述した発明によれば、第1の電極と第2の電極との間に高低差ができ、両電極間の距離が長くなるので、両電極間で放電が起こって耐圧が低下するのを防ぐことができる。According to the above-described invention, the short-circuit electrode and the second electrode are disposed on the first main surface side of the first semiconductor layer, and the first electrode is disposed on the second main surface side of the first semiconductor layer. Since the gate electrode becomes a buried wiring, the wiring can be easily routed and the area efficiency of the device can be increased. Furthermore, according to the above-described invention, there is a difference in level between the short-circuit electrode and the second electrode, and the distance between the two electrodes becomes long, so that a discharge occurs between the two electrodes to prevent the breakdown voltage from being lowered. be able to. In addition, since the thermal resistance of the insulating layer becomes smaller on the side of the short-circuit electrode where the amount of heat generated is larger, heat dissipation to the first semiconductor layer occurs effectively via the insulating layer. Further, according to the above-described invention, there is a height difference between the first electrode and the second electrode, and the distance between the two electrodes becomes long, so that a discharge occurs between the two electrodes and the withstand voltage decreases. Can be prevented.
本発明にかかる半導体装置によれば、GaN系化合物半導体等のワイドバンドギャップ半導体を用い、高耐圧で高速スイッチングが可能なMIS型のパワー半導体装置を得ることができるという効果を奏する。 According to the semiconductor device of the present invention, it is possible to obtain a MIS type power semiconductor device that uses a wide bandgap semiconductor such as a GaN-based compound semiconductor and can perform high-speed switching at high breakdown voltage.
以下に添付図面を参照して、この発明にかかる半導体装置の好適な実施の形態を詳細に説明する。本明細書および添付図面においては、nまたはpを冠記した層や領域では、それぞれ電子または正孔が多数キャリアであることを意味する。また、nやpに付す+および−は、それぞれそれが付されていない層や領域よりも高不純物濃度および低不純物濃度であることを意味する。なお、以下の実施の形態の説明および添付図面において、同様の構成には同一の符号を付し、重複する説明を省略する。 Hereinafter, preferred embodiments of a semiconductor device according to the present invention will be described in detail with reference to the accompanying drawings. In the present specification and the accompanying drawings, it means that electrons or holes are majority carriers in layers and regions with n or p, respectively. Further, + and − attached to n and p mean that the impurity concentration is higher and lower than that of the layer or region where it is not attached. Note that, in the following description of the embodiments and the accompanying drawings, the same reference numerals are given to the same components, and duplicate descriptions are omitted.
実施の形態1.
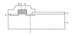
  図1は、実施の形態1の半導体装置の要部の構成を示す断面図である。図1において、左半部がシリコン半導体で構成されるMIS領域であり、右半部が3eV以上のバンドギャップを有するワイドバンドギャップ半導体で構成されるバルク領域である。図1に示すように、MIS領域では、p型のSi層(以下、p−Si層とする)2の第1の主面に沿って、n+ソース拡散領域3とn+拡散領域7が離れて形成されている。
 FIG. 1 is a cross-sectional view showing a configuration of a main part of the semiconductor device according to the first embodiment. In FIG. 1, the left half is a MIS region made of a silicon semiconductor, and the right half is a bulk region made of a wide band gap semiconductor having a band gap of 3 eV or more. As shown in FIG. 1, in the MIS region, an n+
  p−Si層2の、n+ソース拡散領域3とn+拡散領域7の間の反転層が形成される領域の上には、ゲート絶縁膜5が形成されており、そのゲート絶縁膜5の上にはゲート電極6が形成されている。n+ソース拡散領域3には、ソース電極4がオーミック接触している。n+拡散領域7には、短絡電極8の一端がオーミック接触している。ソース電極4とゲート電極6と短絡電極8は、絶縁膜12により互いに絶縁されている。A
  バルク領域では、p−Si層2の第1の主面に沿って絶縁層9が積層されている。この絶縁層9の上には、n型のGaN層(以下、n−GaN層とする)10が積層されている。このn−GaN層10の、MIS領域寄りの部分の上には、p型のGaN層(以下、p−GaN層とする)11が積層されている。p−GaN層11には、前記短絡電極8の他端がオーミック接触している。n−GaN層10の、MIS領域から離れた部分には、ドレイン電極13がオーミック接触している。ドレイン電極13と短絡電極8は、絶縁膜14により絶縁分離されている。  In the bulk region, the insulating
  p−Si層2の第2の主面には、その全面に裏面電極1が形成されている。なお、裏面電極1を設けない構成としてもよい。その場合には、p−Si層2は電気的にフローティングでもよいが、ソース電極4と共通電位にしてもよい。ここで、p−Si層2、n−GaN層10とp−GaN層11、ソース電極4、ドレイン電極13、n+ソース拡散領域3およびn+拡散領域7は、それぞれ第1の半導体層、第2の半導体層、第1の電極、第2の電極、ソース領域および不純物拡散領域に相当する。A
  絶縁層9としては、例えばSiO2、Si3N4、AlNもしくはAl2O3、またはそれらと同じ元素からなるが、組成比の異なる材料などを用いることができる。絶縁膜12,14としては、例えばSi3N4またはSiO2などを用いることができる。As the insulating
  ソース電極4、短絡電極8およびドレイン電極13としては、例えばAl、Ni、Ti、W、Mo、Pt、Pd、Cr、Ir、Au、AgもしくはZnなどの金属、またはそれらの合金やシリサイドなどを用いることができる。ゲート電極6としては、通常のシリコンのMOSFET(MOS型の電界効果トランジスタ)において用いられる材料、例えば多結晶シリコンを用いることができる。  As the
  次に、実施の形態1の半導体装置の製造プロセスの一例について説明する。図2〜図10は、製造プロセスを説明するための半導体装置の断面図である。まず、例えば20Ωのp−Si基板を用意する。このp−Si基板がp−Si層2となる。そして、p−Si基板の、n+ソース拡散領域3となる領域とn+拡散領域7となる領域に選択的に、例えばAsを1×1015cm-2のドーズ量でイオン注入する。続いて、例えば1000℃の温度で30分間程度の熱処理を行い、注入した不純物を活性化して、n+ソース拡散領域3とn+拡散領域7を形成する(図2)。Next, an example of a manufacturing process of the semiconductor device according to the first embodiment will be described. 2 to 10 are cross-sectional views of the semiconductor device for explaining the manufacturing process. First, for example, a 20Ω p-Si substrate is prepared. This p-Si substrate becomes the p-
  次いで、例えば熱酸化などによって約1000オングストローム程度の厚さの絶縁膜(ゲート絶縁膜5となる)を形成し、その上にCVD(化学気相成長)法などにより例えばn+型の多結晶シリコン膜(ゲート電極6となる)を堆積する。そして、フォトエッチングによって多結晶シリコン膜の一部を除去してゲート電極6を形成し、このゲート電極6をフォトマスクにして絶縁膜をエッチングしてゲート絶縁膜5を形成する(図3)。Next, an insulating film (which becomes the gate insulating film 5) having a thickness of about 1000 angstroms is formed by, for example, thermal oxidation, and an n+ type polycrystalline silicon is formed thereon by a CVD (chemical vapor deposition) method or the like. A film (which becomes the gate electrode 6) is deposited. Then, a part of the polycrystalline silicon film is removed by photoetching to form a
  次いで、CVD法などによりAlN等の絶縁膜(絶縁層9となる)を例えば1μm程度の厚さに堆積する。そして、フォトエッチングによってAlN等の絶縁膜の一部を除去して、バルク領域に絶縁層9を形成する(図4)。次いで、CVD法などによりSiO2等の絶縁膜(絶縁膜12となる)を堆積し、その絶縁膜の、バルク領域の部分を除去して、MIS領域においてゲートスタック構造、n+ソース拡散領域3およびn+拡散領域7を覆う絶縁膜12を形成する(図5)。ここまでは、通常のシリコンプロセスである。Next, an insulating film such as AlN (which becomes the insulating layer 9) is deposited to a thickness of, for example, about 1 μm by CVD or the like. Then, a part of the insulating film such as AlN is removed by photoetching to form an insulating
  次いで、MOCVD法によりn−GaN(n−GaN層10となる)とp−GaN(p−GaN層11となる)を順次、成長させる(図6)。その際、n−GaNおよびp−GaNは、AlN等の絶縁層9の上にのみ選択的に成長する。なお、GaNの成長方法については、例えば特開2003−59948号公報に開示されている。次いで、P−GaN膜を例えばドライエッチングなどによりフォトエッチングして、MIS領域寄りの部分にのみp−GaN層11を残す(図7)。  Next, n-GaN (which becomes the n-GaN layer 10) and p-GaN (which becomes the p-GaN layer 11) are sequentially grown by MOCVD (FIG. 6). At that time, n-GaN and p-GaN are selectively grown only on the insulating
  次いで、絶縁膜12の、n+拡散領域7の上の部分にビアホールを開口した後、例えばTi/Al合金などの導電体(短絡電極8およびドレイン電極13となる)を堆積する。そして、その導電体をパターニングして、短絡電極8とドレイン電極13を形成する(図8)。次いで、SiO2等の絶縁膜14を堆積し、絶縁膜12,14を貫通してn+ソース拡散領域3およびドレイン電極13にそれぞれ達するコンタクトホール15,16を形成をする(図9)。Next, after opening a via hole in the insulating
  次いで、スパッタリング法などによりAl等の導電体を堆積し、n+ソース拡散領域3に接触するソース電極4と、ドレイン電極13に接触するドレイン電極17を形成する。続いて、p−Si基板の裏面に、スパッタリング法などによりAl等の導電体からなる裏面電極1を形成し、半導体装置が完成する(図10)。Next, a conductor such as Al is deposited by sputtering or the like to form the
  なお、図8〜図10に示す構成と図1に示す構成を比べると、短絡電極8の形状、ソース電極4の形状、ドレイン電極13の形状、ドレイン電極17の有無、絶縁膜12,14の形状、MIS領域における絶縁膜14の有無など、異なる点があるが、実質的には両者の構成は同じである。  8 to 10 is compared with the configuration shown in FIG. 1, the shape of the short-
  次に、実施の形態1の半導体装置の作用および効果について説明する。n+ソース拡散領域3、p−Si層2およびn+拡散領域7からなるMOSFETの耐圧は、素子全体の耐圧、すなわちソース電極4とドレイン電極13の間の耐圧に関係なく、30V程度である。その理由は、実施の形態1の半導体装置がパワースイッチング素子として用いられる場合、例えばオン状態ではゲート電極6に+10〜+15V程度の比較的高い電圧のゲート信号が入力される。Next, functions and effects of the semiconductor device of the first embodiment will be described. The breakdown voltage of the MOSFET composed of the n+
  これに加えて、スイッチング動作中の外来ノイズの重畳によって、ゲート電極6に印加される電圧が20Vを超えることがある。このため、耐圧をあまり低く設定してしまうと、ゲート信号の入力によって素子のブレークダウンが起こってしまう。それに対して、MOSFETの耐圧が30V程度であれば、ゲート信号の入力による素子のブレークダウンを回避することができる。  In addition to this, the voltage applied to the
  また、バルク領域がワイドバンドギャップ半導体で構成されていることにより、このバルク領域の長さ、すなわちn−GaN層10の長さが通常のシリコンデバイスのおおよそ1/10程度で、通常のシリコンデバイスと同等の耐圧を確保することができる。例えば、n−GaN層10の長さをおおよそ10μmにすると、1000V程度の耐圧を実現することができる。  In addition, since the bulk region is formed of a wide band gap semiconductor, the length of the bulk region, that is, the length of the n-
これと同じ耐圧を通常のシリコンデバイスで得るには、バルク領域の長さをおおよそ100μmにする必要がある。つまり、実施の形態1によれば、バルク領域のオン抵抗が、通常のシリコンデバイスの1/10以下になるので、低抵抗でスイッチング動作を高速に行うことができ、かつ高耐圧のデバイスを容易に実現することができるという効果を奏する。 In order to obtain the same breakdown voltage with a normal silicon device, the length of the bulk region needs to be approximately 100 μm. In other words, according to the first embodiment, the on-resistance of the bulk region is 1/10 or less that of a normal silicon device, so that a switching operation can be performed at a high speed with a low resistance, and a device with a high breakdown voltage can be easily obtained. There is an effect that it can be realized.
  また、n−GaN層10とp−Si層2の間には高耐圧が印加されるため、絶縁層9が設けられている。この絶縁層9は、SOI(シリコン・オン・インシュレータ)デバイスにおける絶縁層と同様に、n−GaN層10においてキャリアが縦方向(深さ方向)に広がるのを物理的に抑制している。これによって、過剰キャリアの蓄積をより一層、効果的に抑えることができるので、スイッチング動作を高速化することができるという効果を奏する。  In addition, an insulating
  また、バルク領域がGaNで構成されている場合、絶縁層9をAlNで構成するとよい。その理由は、第1に、AlN層がGaNの結晶成長において成長バッファ層となるからである。これによって、良質なGaN層10が得られるという効果を奏する。第2に、AlNがSiO2よりも良好な熱伝達係数を有しているからである。これによって、n−GaN層10およびp−GaN層11で発生した熱が効率よくp−Si層2に伝達されるので、発熱を効果的に抑えることができるという効果を奏する。When the bulk region is made of GaN, the insulating
  なお、p−GaN層11に代えて、p−GaN層11に相当する層を、n−GaN層10にショットキー接合する金属材料で構成してもよい。この場合の金属材料としては、例えばAl、Ni、Ti、W、Mo、Pt、Pd、Cr、Ir、Au、AgもしくはZnなどの金属、またはそれらの合金やシリサイドなどを用いることができる。このようにバルク領域にショットキーダイオードを形成した構成は、pnダイオードを形成する場合よりもオン電圧が低くなるので、耐圧クラス3000V以下の中耐圧素子に適している。  Instead of the p-
実施の形態2.
  図11は、実施の形態2の半導体装置の要部の構成を示す断面図である。図11に示すように、実施の形態2は、実施の形態1の変形例であり、p−Si層2とn−GaN層10の間の絶縁層9を短絡電極8側で薄く、ドレイン電極13側で厚くなるように形成したものである。図示例のように、絶縁層9は、短絡電極8側からドレイン電極13側へ向かって連続的に厚くなっていてもよいし、階段状に厚くなっていてもよい。
 FIG. 11 is a cross-sectional view showing a configuration of a main part of the semiconductor device according to the second embodiment. As shown in FIG. 11, the second embodiment is a modification of the first embodiment, in which the insulating
  また、絶縁層9は、一種類の材料、例えばSiO2のみ、あるいはAlNのみでできていてもよいし、SiO2とAlNなどを組み合わせてできていてもよい。絶縁層9の材料としてSiO2を用いる場合には、シリコンの選択酸化(LOCOS)を行えばよい。その他の構成は、実施の形態1と同じであるので、説明を省略する。The insulating
  実施の形態2によれば、実施の形態1の効果に加えて、次の効果が得られる。第1に、p−GaN層11およびn−GaN層10の、短絡電極8の近辺の領域では、電界が高く、発熱量が多いが、絶縁層9がこの領域で薄いので、絶縁層9による熱抵抗が小さくなる。従って、p−Si層2への放熱効果が高くなる。第2に、短絡電極8とドレイン電極13との間に高低差ができるので、短絡電極8とドレイン電極13の間の距離が長くなる。従って、短絡電極8とドレイン電極13の間で放電が起こりにくくなるので、耐圧が低下するのを防ぐことができる。  According to the second embodiment, in addition to the effects of the first embodiment, the following effects can be obtained. First, in the region of the p-
  第3に、短絡電極8の、p−GaN層11側の段差が緩和されるので、短絡電極8による段差の埋め込み(いわゆるステップカバレッジ)が容易になる。ここで、絶縁層9は、n−GaN層10とp−Si層2を絶縁分離しているが、n−GaN層10とp−Si層2の電位差は、ドレイン電極13側よりも短絡電極8側で低くなる。従って、絶縁層9を短絡電極8側で薄くしても問題はない。  Third, since the step on the p-
  例えば絶縁層9がSiO2(絶縁破壊電界:10MV/cm)でできた耐圧3000Vの素子では、絶縁層9の厚さをおおよそ3μmにする必要がある。この素子において、絶縁層9を短絡電極8側で薄くすることにより、短絡電極8側での放熱効果や、短絡電極8の段差埋め込み性などを改善することができる。For example, in an element having a withstand voltage of 3000 V in which the insulating
実施の形態3.
  図12は、実施の形態3の半導体装置の要部の構成を示す断面図である。図12に示すように、実施の形態3は、実施の形態1の変形例であり、MIS領域のMOSFETのゲート構造をトレンチゲート型にしたものである。すなわち、このMOSFETは、p−Si層2の表面から、p−Si層2と裏面電極1の間に設けられたn−Si層28に達するトレンチ20が形成され、そのトレンチ20内にゲート絶縁膜25を介してゲート電極26が埋め込まれた構成となっている。この構成では、裏面電極1はソース電極となる。また、n−Si層28の、裏面電極1との界面近傍部分は、n+ソース拡散領域23となる。
 FIG. 12 is a cross-sectional view showing a configuration of a main part of the semiconductor device of the third embodiment. As shown in FIG. 12, the third embodiment is a modification of the first embodiment, in which the MOSFET gate structure in the MIS region is a trench gate type. That is, in this MOSFET, a
  実施の形態3によれば、実施の形態1の効果に加えて、次の効果が得られる。すなわち、ソース電極が素子の裏面側に設けられ、ゲート電極26が埋め込み配線となるので、素子の表面側に配置される電極は、短絡電極8とドレイン電極13だけになる。従って、配線の引き回しが容易となり、デバイスの面積効率を上げることができる。また、実施の形態2のように、p−Si層2とn−GaN層10の間の絶縁層9の厚さを変えることによって、実施の形態2と同様の効果が得られる。  According to the third embodiment, in addition to the effects of the first embodiment, the following effects can be obtained. That is, since the source electrode is provided on the back surface side of the element and the
以上において本発明は、上述した実施の形態に限らず、種々変更可能である。例えば、第2の半導体層を構成するワイドバンドギャップ半導体材料として、GaN以外にも、SiC、AlGaNまたはダイアモンドなどを用いることができる。また、MIS領域を設けずに、バルク領域の構成のみでpnダイオードやショットキーダイオードを構成することもできる。さらに、実施の形態中に記載した数値は一例であり、本発明はそれらの値に限定されるものではない。なた、本発明は、p型とn型の導電型を逆にしても同様に成り立つ。 As described above, the present invention is not limited to the above-described embodiment, and various modifications can be made. For example, SiC, AlGaN, diamond, or the like can be used in addition to GaN as the wide band gap semiconductor material constituting the second semiconductor layer. In addition, a pn diode or a Schottky diode can be configured only by the configuration of the bulk region without providing the MIS region. Furthermore, the numerical values described in the embodiments are merely examples, and the present invention is not limited to these values. However, the present invention is similarly achieved even if the p-type and n-type conductivity types are reversed.
以上のように、本発明にかかる半導体装置およびその製造方法は、インバータ等の電力変換装置や種々の産業用機械等の電源装置や自動車のイグナイタなどに使用されるパワー半導体装置に有用である。 As described above, the semiconductor device and the manufacturing method thereof according to the present invention are useful for power conversion devices such as inverters, power supply devices such as various industrial machines, and power semiconductor devices used for automobile igniters.
  2  第1の半導体層
  3,23  ソース領域
  4  第1の電極
  5,25  ゲート絶縁膜
  6,26  ゲート電極
  7  不純物拡散領域
  8  短絡電極
  9  絶縁層
  10,11  第2の半導体層
  13  第2の電極
  20  トレンチ2
| Application Number | Priority Date | Filing Date | Title | 
|---|---|---|---|
| JP2005096217AJP4876418B2 (en) | 2005-03-29 | 2005-03-29 | Semiconductor device | 
| Application Number | Priority Date | Filing Date | Title | 
|---|---|---|---|
| JP2005096217AJP4876418B2 (en) | 2005-03-29 | 2005-03-29 | Semiconductor device | 
| Publication Number | Publication Date | 
|---|---|
| JP2006278768A JP2006278768A (en) | 2006-10-12 | 
| JP4876418B2true JP4876418B2 (en) | 2012-02-15 | 
| Application Number | Title | Priority Date | Filing Date | 
|---|---|---|---|
| JP2005096217AExpired - LifetimeJP4876418B2 (en) | 2005-03-29 | 2005-03-29 | Semiconductor device | 
| Country | Link | 
|---|---|
| JP (1) | JP4876418B2 (en) | 
| Publication number | Priority date | Publication date | Assignee | Title | 
|---|---|---|---|---|
| US4774205A (en)* | 1986-06-13 | 1988-09-27 | Massachusetts Institute Of Technology | Monolithic integration of silicon and gallium arsenide devices | 
| JPH02231730A (en)* | 1989-03-06 | 1990-09-13 | Hitachi Ltd | Semiconductor device | 
| JPH07254706A (en)* | 1993-11-29 | 1995-10-03 | Texas Instr Inc <Ti> | High voltage device structure and manufacturing method thereof | 
| JP2001516156A (en)* | 1997-09-10 | 2001-09-25 | インフィネオン テクノロジース アクチエンゲゼルシャフト | Semiconductor components | 
| JP2000183179A (en)* | 1998-12-17 | 2000-06-30 | Mitsubishi Electric Corp | Semiconductor integrated circuits and wafers | 
| JP2000323494A (en)* | 1999-05-12 | 2000-11-24 | Nissan Motor Co Ltd | Method for manufacturing semiconductor device | 
| US6392257B1 (en)* | 2000-02-10 | 2002-05-21 | Motorola Inc. | Semiconductor structure, semiconductor device, communicating device, integrated circuit, and process for fabricating the same | 
| JP2001267573A (en)* | 2000-03-22 | 2001-09-28 | Toshiba Corp | Semiconductor element containing SiC | 
| JP2002093920A (en)* | 2000-06-27 | 2002-03-29 | Matsushita Electric Ind Co Ltd | Semiconductor device | 
| JP2005026242A (en)* | 2001-07-19 | 2005-01-27 | Advantest Corp | Semiconductor device and method for manufacturing semiconductor device | 
| JP4089419B2 (en)* | 2002-12-19 | 2008-05-28 | 株式会社村田製作所 | Semiconductor device and manufacturing method thereof | 
| Publication number | Publication date | 
|---|---|
| JP2006278768A (en) | 2006-10-12 | 
| Publication | Publication Date | Title | 
|---|---|---|
| US9837519B2 (en) | Semiconductor device | |
| JP4645034B2 (en) | Semiconductor device having group III nitride semiconductor | |
| JP4929882B2 (en) | Semiconductor device | |
| US20130240951A1 (en) | Gallium nitride superjunction devices | |
| JP5386987B2 (en) | Semiconductor device | |
| JP2016006854A (en) | Semiconductor element and manufacturing method thereof | |
| CN102239550A (en) | Field effect transistor | |
| JP6560444B2 (en) | Semiconductor device | |
| WO2010082272A1 (en) | Semiconductor device and method for producing the same | |
| CN110476254B (en) | Heterojunction transistor with vertical structure | |
| JP2011071307A (en) | Field effect transistor and method of manufacturing the same | |
| JP5468609B2 (en) | Vertical transistor, method for manufacturing the same, and semiconductor device | |
| JP2018022852A (en) | Semiconductor device and manufacturing method of the same | |
| JP4748532B2 (en) | GaN-based semiconductor device manufacturing method | |
| WO2017110267A1 (en) | Transistor, semiconductor device, electronic apparatus, and transistor manufacturing method | |
| JP4645753B2 (en) | Semiconductor device having group III nitride semiconductor | |
| JP5098293B2 (en) | Insulated gate type semiconductor device using wide band gap semiconductor and manufacturing method thereof | |
| KR101172857B1 (en) | Enhancement normally off nitride smiconductor device and manufacturing method thereof | |
| CN111712925B (en) | Semiconductor device with a semiconductor device having a plurality of semiconductor chips | |
| JP2010278137A (en) | Semiconductor device | |
| WO2015111177A1 (en) | Semiconductor device, power module, power conversion device, and railway vehicle | |
| US9391179B2 (en) | Vertical GaN JFET with low gate-drain capacitance and high gate-source capacitance | |
| CN108352408B (en) | Semiconductor device, electronic component, electronic apparatus, and method for manufacturing semiconductor device | |
| JP4876418B2 (en) | Semiconductor device | |
| JP6752336B2 (en) | Semiconductor device | 
| Date | Code | Title | Description | 
|---|---|---|---|
| A621 | Written request for application examination | Free format text:JAPANESE INTERMEDIATE CODE: A621 Effective date:20080215 | |
| A711 | Notification of change in applicant | Free format text:JAPANESE INTERMEDIATE CODE: A712 Effective date:20091112 | |
| RD03 | Notification of appointment of power of attorney | Free format text:JAPANESE INTERMEDIATE CODE: A7423 Effective date:20091112 | |
| RD04 | Notification of resignation of power of attorney | Free format text:JAPANESE INTERMEDIATE CODE: A7424 Effective date:20091112 | |
| A977 | Report on retrieval | Free format text:JAPANESE INTERMEDIATE CODE: A971007 Effective date:20100412 | |
| A711 | Notification of change in applicant | Free format text:JAPANESE INTERMEDIATE CODE: A712 Effective date:20110422 | |
| A131 | Notification of reasons for refusal | Free format text:JAPANESE INTERMEDIATE CODE: A131 Effective date:20110719 | |
| A521 | Request for written amendment filed | Free format text:JAPANESE INTERMEDIATE CODE: A523 Effective date:20110920 | |
| TRDD | Decision of grant or rejection written | ||
| A01 | Written decision to grant a patent or to grant a registration (utility model) | Free format text:JAPANESE INTERMEDIATE CODE: A01 Effective date:20111101 | |
| A01 | Written decision to grant a patent or to grant a registration (utility model) | Free format text:JAPANESE INTERMEDIATE CODE: A01 | |
| A61 | First payment of annual fees (during grant procedure) | Free format text:JAPANESE INTERMEDIATE CODE: A61 Effective date:20111114 | |
| R150 | Certificate of patent or registration of utility model | Ref document number:4876418 Country of ref document:JP Free format text:JAPANESE INTERMEDIATE CODE: R150 Free format text:JAPANESE INTERMEDIATE CODE: R150 | |
| FPAY | Renewal fee payment (event date is renewal date of database) | Free format text:PAYMENT UNTIL: 20141209 Year of fee payment:3 | |
| R250 | Receipt of annual fees | Free format text:JAPANESE INTERMEDIATE CODE: R250 | |
| R250 | Receipt of annual fees | Free format text:JAPANESE INTERMEDIATE CODE: R250 | |
| R250 | Receipt of annual fees | Free format text:JAPANESE INTERMEDIATE CODE: R250 | |
| R250 | Receipt of annual fees | Free format text:JAPANESE INTERMEDIATE CODE: R250 | |
| R250 | Receipt of annual fees | Free format text:JAPANESE INTERMEDIATE CODE: R250 | |
| R250 | Receipt of annual fees | Free format text:JAPANESE INTERMEDIATE CODE: R250 | |
| R250 | Receipt of annual fees | Free format text:JAPANESE INTERMEDIATE CODE: R250 | |
| R250 | Receipt of annual fees | Free format text:JAPANESE INTERMEDIATE CODE: R250 | |
| R250 | Receipt of annual fees | Free format text:JAPANESE INTERMEDIATE CODE: R250 | |
| R250 | Receipt of annual fees | Free format text:JAPANESE INTERMEDIATE CODE: R250 | |
| R250 | Receipt of annual fees | Free format text:JAPANESE INTERMEDIATE CODE: R250 | |
| EXPY | Cancellation because of completion of term |