

























本出願は、2003年3月28日に出願した「High Efficiency Amplifier」という表題の米国係属特許出願第10/402,800号の一部継続出願である。 This application is a continuation-in-part of US Ser. No. 10 / 402,800 filed Mar. 28, 2003 entitled “High Efficiency Amplifier”.
本発明は、概して、無線通信に使用されるようなRF増幅器に関するものであり、より具体的には、著しいピーク-平均比電力アプリケーションを取り扱うためのRF増幅器およびその効率的設計に関するものである。 The present invention relates generally to RF amplifiers such as those used in wireless communications, and more specifically to RF amplifiers and their efficient design for handling significant peak-to-average ratio power applications.
RF増幅器は、基地局での下り回線信号の増幅または送信など、無線通信システム内の様々なアプリケーションに使用される。そのため、これらの増幅器は、そのような無線通信システムに関連する所要電力を扱えなければならない。一部の無線アプリケーションでは、ピーク-平均信号比が高く、ピーク-平均信号比の高いアプリケーションに使用される増幅器は、通常または平均負荷よりも高い著しいピーク電力レベルを扱えるか、または送出できなければならない。例えば、10dBのピーク-平均比の信号を増幅するには、増幅器は、発生する非線形歪み量を最小限に抑えつつ、200ワット程度の電力を送出して、20ワットの平均電力で出力信号を発生することができなければならない。 RF amplifiers are used in various applications within a wireless communication system, such as amplification or transmission of downlink signals at a base station. Therefore, these amplifiers must be able to handle the power requirements associated with such wireless communication systems. In some wireless applications, the peak-to-average signal ratio is high, and the amplifier used for high peak-to-average signal ratio applications must be able to handle or deliver significant peak power levels higher than normal or average load Don't be. For example, to amplify a signal with a peak-to-average ratio of 10 dB, the amplifier delivers as much as 200 watts while minimizing the amount of non-linear distortion that occurs, and the output signal with an average power of 20 watts. Must be able to occur.
無線RF増幅器の増幅に使用されるトランジスタは、実際には、最高電力能力に近い出力を行っているか、または飽和モードで動作している場合に最も効率よく動作する。しかし、飽和が生じると、信号の歪みも生じる。通常、増幅器が動作している領域が飽和点に近いほど、出力する非線形歪みの量が多くなる。したがって、非線形歪みが許容可能レベルになるまで、特定の増幅器の増幅器出力電力を低減つまり「バックオフ」するのが一般的習慣となっている。その結果、増幅器で高いピーク-平均信号比アプリケーションを取り扱うために、通常、複数の増幅デバイスまたは増幅器を一緒に作動させ、その出力を組み合わせる。このような増幅器では、これらのデバイスまたは副増幅器は、信号の高ピークが増幅されなければならない比較的短い期間に少しは効率的に最高電力を送出できるようにするために、ほとんど常に低電力で不効率な動作をする。 The transistors used for amplification of wireless RF amplifiers actually operate most efficiently when they are outputting close to their maximum power capability or when operating in saturation mode. However, when saturation occurs, signal distortion also occurs. In general, the closer the region where the amplifier is operating to the saturation point, the greater the amount of nonlinear distortion that is output. Therefore, it is common practice to reduce or “back off” the amplifier output power of a particular amplifier until the nonlinear distortion is at an acceptable level. As a result, in order to handle high peak-average signal ratio applications with amplifiers, multiple amplifier devices or amplifiers are typically operated together and their outputs combined. In such amplifiers, these devices or sub-amplifiers are almost always at low power so that the high peak of the signal can be delivered a little bit more efficiently in a relatively short period when it must be amplified. Inefficient operation.
いくつかの無線通信アプリケーション向けに所望の必要電力をより効率よく送出するために、線形性を改善する手法が開発された。増幅器設計の技術者にはおなじみのいくつかの線形回路アーキテクチャが開発されている(例えば、フィードフォワード、クロスキャンセレーション、プレディストーションなど)。さらに、そのようなアーキテクチャの効率を高めるために、増幅設計では、数多くのトランジスタ技術(例えば、LDMOS、GaN、SiC、およびバイポーラなど)とともに、様々な増幅器アーキテクチャ(例えば、ドハティ、LINC、エンベロープ除去および復元、バイアス適応、など)を採用している。 Techniques have been developed to improve linearity in order to more efficiently deliver the desired power requirements for some wireless communication applications. Several linear circuit architectures familiar to amplifier design engineers have been developed (eg, feed forward, cross scan serration, predistortion, etc.). In addition, to increase the efficiency of such architectures, amplification designs, along with numerous transistor technologies (e.g., LDMOS, GaN, SiC, and bipolar), along with various amplifier architectures (e.g., Doherty, LINC, envelope removal and Recovery, bias adaptation, etc.).
  ドハティ増幅器アーキテクチャでは、信号レベルが低い場合に増幅器の飽和電力レベルを効果的に低減し、信号ピークで必要とする場合に全電力能力までさらに素早くランプアップすることにより増幅器効率を高める。古典的に、ドハティ設計では、いくぶん大きく、概してプリント基板の表面実装のために容易に縮小されないインピーダンス変換および反転要素として1/4波長伝送線路を使用する。さらに、いくつかの場合に、これらの1/4波長伝送線路は、増幅器が効率よく動作できる帯域幅を制限することが可能である。さらに、1/4波長伝送線路の物理的サイズの面から、低い周波数に対しては古典的ドハティ設計を実装することは困難である場合が多い。
親出願である米国特許出願第10/402,800号では、従来技術の様々な欠点に対処し、効率的な線形増幅を実現する。しかし、それでも、製造、信頼性、および性能を改善するためそのような増幅器の設計特性を改良することが望ましい。 The parent application, US patent application Ser. No. 10 / 402,800, addresses various shortcomings of the prior art and achieves efficient linear amplification. However, it is still desirable to improve the design characteristics of such amplifiers to improve manufacturing, reliability, and performance.
したがって、高いピーク-平均信号比と関連するRFアプリケーションに対する増幅方式をさらに改良することが望ましい。また、低電力ピークと高電力ピークの両方の要件において、効率的な線形増幅を実現することにより従来技術の欠点を解消することもさらに望ましい。これらの目的および他の目的は、本明細書で説明され、請求されている発明により達成される。 Therefore, it is desirable to further improve the amplification scheme for RF applications associated with high peak-average signal ratios. It is further desirable to overcome the disadvantages of the prior art by providing efficient linear amplification at both low power peak and high power peak requirements. These and other objects are achieved by the invention described and claimed herein.
本明細書に組み込まれ、本明細書の一部をなす付属図面は、本発明の実施形態を例示し、上述の発明の概要説明および後述の実施形態の詳細な説明と併せて、本発明の原理を説明するために使用される。 The accompanying drawings, which are incorporated in and constitute a part of this specification, illustrate embodiments of the invention, and together with the general description of the invention described above and the detailed description of the embodiments described below, Used to explain the principle.
上記の目的は、他の目的とともに、高いピーク-平均信号比アプリケーションを効率よく取り扱うための高効率増幅器アーキテクチャを実現する本発明により達成される。増幅器は、複雑で高価な電子回路およびRFスイッチを使用せずに実現する。さらに、増幅器は、デジタル、アナログ、およびハイブリッドプレディストーション、フィードフォワード、およびクロスキャンセレーションを含む、線形化方式を使用して実現可能である。さらに、これは、ドレインバイアス変調方式と互換性がある。 The above objectives, together with other objectives, are achieved by the present invention that implements a high efficiency amplifier architecture for efficiently handling high peak-average signal ratio applications. The amplifier is realized without using complex and expensive electronic circuits and RF switches. In addition, amplifiers can be implemented using linearization schemes, including digital, analog, and hybrid predistortion, feedforward, and cross scan serration. Furthermore, it is compatible with the drain bias modulation scheme.
本発明は、高いピーク-平均比の信号を増幅するときに増幅器効率を高めるため古典的ドハティ増幅器のと似た負荷変調方式を使用して新しい高効率電力増幅器を実現する。本発明の一実施形態のドハティ回路のトポロジの一部を使用しつつ、新しい出力トポロジを使用して、本発明のいくつかの態様を実現する。その目的のために、古典的ドハティ回路動作のある程度の説明は、当業者には知られていることであろうが、本発明の動作を理解するうえで役立つ。 The present invention implements a new high efficiency power amplifier using a load modulation scheme similar to that of classic Doherty amplifiers to increase amplifier efficiency when amplifying high peak-to-average ratio signals. The new output topology is used to implement some aspects of the present invention while using a portion of the Doherty circuit topology of one embodiment of the present invention. For that purpose, some explanation of classical Doherty circuit operation will be known to those skilled in the art, but will be helpful in understanding the operation of the present invention.
一般に、単純なドハティ回路は、搬送波増幅器などの主増幅器およびピーキング増幅器などの補助増幅器の出力を組み合わせる。増幅器への入力信号は、スプリットされ、スプリットされた信号は、搬送波増幅器およびピーキング増幅器に送られる。搬送波増幅器の出力は、1/4波長インピーダンスインバータを通じてピーキング増幅器の出力と組み合わされ、組み合わされた出力は、1/4波長トランスを通じて負荷ZLに送られる。ピーキング増幅器の出力は、電気的に電流源のような働きをし、高出力インピーダンスを持つ。搬送波増幅器の出力は、出力が飽和点に達するまで、電流源のような働きをし、高出力インピーダンスを持つ。飽和点に達した後、搬送波増幅器または主増幅器の出力は、電圧源のように見え、低インピーダンスを持つ。In general, a simple Doherty circuit combines the outputs of a main amplifier such as a carrier amplifier and an auxiliary amplifier such as a peaking amplifier. The input signal to the amplifier is split and the split signal is sent to the carrier amplifier and peaking amplifier. The output of the carrier amplifier is combined with the output of the peaking amplifier through a 1/4 wavelength impedance inverter, and the combined output is sent to the load ZL through a 1/4 wavelength transformer. The output of the peaking amplifier electrically acts like a current source and has a high output impedance. The output of the carrier amplifier acts like a current source and has a high output impedance until the output reaches a saturation point. After reaching the saturation point, the output of the carrier amplifier or main amplifier looks like a voltage source and has a low impedance.
低入力信号レベルの駆動条件の下で、ピーキング増幅器は、オフにされ、その高出力インピーダンスは、出力回路に著しい負荷をかけないと仮定される。その後、搬送波増幅器の負荷インピーダンスは、約2ZLになるが、これは、公称設計レベルの約2倍であり、したがって、増幅器は、類似の公称効率で動作する。入力信号駆動レベルが高まり、搬送波増幅器が飽和点に達すると、ピーキング増幅器がオンにされ、それにより電流が出力回路に送られる。追加電流により、実効インピーダンスインバータの出力が上昇し、その後、搬送波増幅器の出力のところで負荷インピーダンスが減少する。入力駆動が上昇し続けると、搬送波増幅器は電圧飽和状態に保たれるが、その飽和状態の電力レベルは負荷インピーダンスの減少により高くなる。それと同時に、ピーキング増幅器は、電力を増幅器の出力に供給する。最高入力駆動レベルでは、搬送波増幅器およびピーキング増幅器は両方とも、それぞれの出力のところで、指定公称負荷インピーダンスZLを持ち、その最大定格電力を負荷に送出する。Under low input signal level drive conditions, the peaking amplifier is turned off and its high output impedance is assumed not to significantly load the output circuit. Thereafter, the load impedance of the carrier amplifier is about 2ZL , which is about twice the nominal design level, and therefore the amplifier operates with similar nominal efficiency. When the input signal drive level increases and the carrier amplifier reaches the saturation point, the peaking amplifier is turned on, thereby sending current to the output circuit. Due to the additional current, the output of the effective impedance inverter increases and then the load impedance decreases at the output of the carrier amplifier. As the input drive continues to rise, the carrier amplifier remains in voltage saturation, but its saturated power level increases with decreasing load impedance. At the same time, the peaking amplifier supplies power to the amplifier output. At the highest input drive level, both the carrier and peaking amplifiers have a specified nominal load impedance ZL at their respective outputs and deliver their maximum rated power to the load.
本発明は、主増幅器と補助増幅器の組合せを使用しているが、インピーダンスインバータおよびインピーダンストランスを形成して増幅器出力信号を結合するため出力のところで別々の1/4波長伝送線路を使用しない。むしろ、本発明では、出力変換/組合せ回路においてハイブリッドカプラを使用する、これは、従来技術と比べて際だって異なる点である。出力カプラは著しい利点を有し、1/4波長線路による古典的なドハティ設計よりも実装が著しく単純である。例えば、ハイブリッドカプラは市販されており、プリント基板に表面実装することができる。表面実装ハイブリッドカプラは、通常、高い誘電定数の材料で実装されるため、古典的なドハティ設計で使用される1/4波長伝送線路よりも物理的に小さくできる。ハイブリッドカプラを使用すると、増幅器の帯域幅応答は古典的なドハティ回路で利用できる以上に広くなる。さらに、ハイブリッドカプラを使用することで、本発明を、大きな1/4波長伝送線路では実装が困難であった低周波の場合に拡張することができる。したがって、本発明は、古典的なドハティ設計に勝る大きな利点を有する。 The present invention uses a combination of main and auxiliary amplifiers, but does not use a separate quarter-wave transmission line at the output to form the impedance inverter and impedance transformer to combine the amplifier output signals. Rather, the present invention uses a hybrid coupler in the output conversion / combination circuit, which is a significant difference compared to the prior art. Output couplers have significant advantages and are significantly simpler to implement than the classic Doherty design with quarter-wave lines. For example, hybrid couplers are commercially available and can be surface mounted on a printed circuit board. Surface mount hybrid couplers are typically mounted with a high dielectric constant material and can be physically smaller than the quarter wave transmission line used in classic Doherty designs. When using a hybrid coupler, the bandwidth response of the amplifier is wider than is available in a classic Doherty circuit. Furthermore, by using a hybrid coupler, the present invention can be extended to a low frequency case that is difficult to mount on a large quarter wavelength transmission line. Thus, the present invention has significant advantages over the classic Doherty design.
本発明は、ハイブリッドカプラを主増幅器と補助増幅器用の組合せ出力回路として使用する。したがって、ハイブリッドカプラの動作を簡単に説明しておくことは、本発明を理解するうえで有益である。 The present invention uses the hybrid coupler as a combined output circuit for the main and auxiliary amplifiers. Therefore, a brief description of the operation of the hybrid coupler is useful for understanding the present invention.
  図1を参照すると、ハイブリッドカプラ10は、番号1〜4のポートを持つものとして例示されている。上述のように、ポート2および3は、入力ポートとしてみなされ、ポート1および4は出力ポートとしてみなされうる。一般に、ポート1、3、および4がカプラの、限定はしないが50Ωなどの特性インピーダンスで終端しており、入力信号は、ポート2に印加され、入力信号の電力Piの一部はポート1に現れ、入力信号の電力の残りの部分は、ポート4に現れる。ポート3の出力には、電力がほとんど、またはまったく現れないのが理想的である。一般に、当業者であれば理解しているように、ポート4の出力信号部分は、ポート1の出力信号部分に関して-90度ずれている位相を持つ。ポート2が終端され、入力信号がポート3に印加される場合と同様の動作が行われる。ポート2には電力が現れないのが理想的である。ポート1に出る信号部分は、ポート4の出力信号部分に関して-90度ずらされた位相を持つ。非常に一般的なハイブリッドカプラの一実施例は、-3dBのハイブリッドカプラであり、これは、一般に、ポート2などの入力信号を、出力ポート1と4との間に等しくスプリットする。  Referring to FIG. 1, the
  本発明では、使用されるハイブリッドカプラは、様々な方法で実装することができる。例えば、図1のハイブリッドカプラ10は、伝送線路、結合伝送線路、集中素子インダクタおよびキャパシタ、およびトランスを使用して実装することができる。本発明の一実施形態では、結合伝送線路設計は、500MHzよりも上の領域のカプラ設計に使用される。しかし、新しいシステムでは、他の実装の使用を妨げることはしない。例えば、HF、またはVHF、高効率増幅器用のハイブリッドカプラの実装ではトランスを使用することができる。  In the present invention, the hybrid coupler used can be implemented in various ways. For example, the
図2Aおよび2Bは、現在の高効率電力増幅器の発明における出力信号を組み合わせることに適用可能な2つの異なるハイブリッドカプラ終端方式を例示している。 FIGS. 2A and 2B illustrate two different hybrid coupler termination schemes applicable to combining output signals in the present high efficiency power amplifier invention.
  図2Aでは、ハイブリッドカプラ12の場合に、ハイブリッドカプラのポート1は短絡回路で終端され、ポート4は、負荷インピーダンスZLOADで終端され、これは、例えば、カプラの特性インピーダンスと整合できる。ポート2は、未終端のまま、または開回路として残される。図2Aに例示されているような場合には、カプラが-3dB設計であれば、入力インピーダンスZiは2 ZLOADに等しい。In FIG. 2A, in the case of the
  他の構成は、図2Bに例示されており、ハイブリッドカプラ12のポート1は、短絡ではなく、開回路で終端され、ポート4は、カプラZLOADの特性インピーダンスで終端される。ポート3は、未終端のまま、または開回路として残される。この場合、入力インピーダンスZiはさらに、-3dBハイブリッドカプラの場合については2 ZLOADに等しい。図2A、2Bのカプラ配置は、本発明の原理による主増幅器および補助増幅器の出力を組み合わせるために使用される。Another configuration is illustrated in FIG. 2B, where
  図3Aおよび3Bは、本発明の原理によりハイブリッドカプラを通じて出力が結合されている、主増幅器回路および補助増幅器回路を使用する本発明のいくつかの実施形態を例示する。図3Aは、増幅器20が主増幅器回路または搬送波増幅器22および補助増幅器回路またはピーキング増幅器24を組み込んでいる本発明の一実施形態のブロック図を例示している。本発明の一態様によれば、補助増幅器回路24は、主増幅器回路22と組み合わせて選択された時間に動作するように選択的に動作可能である。つまり、補助増幅器回路24は、ピーク電力要件により増幅器20からのさらに大きな電力出力が要求されるまでOFF状態に保つことができ、要求されたときに、オンになって動作し、増幅器20の電力出力を上げる。ここで、「選択的に動作可能」という用語は、外部信号に応答して増幅器動作状態が変化することを意味する。その外部信号は、限定はしないが、増幅される入力信号、アナログ制御信号、またはデジタル制御信号とすることができる。例えば、C級増幅器の動作状態は、その入力信号に応答して変化する。ここで、「増幅器回路」という用語は、信号を増幅する動作をし、それ自体増幅器20などのより大きな増幅器全体の一部であってよい、様々な増幅器コンポーネントを示すために使用される。したがって、「増幅器回路」という用語は、単一の増幅器または単一の増幅段に限定されない。例えば、主増幅器回路22および補助増幅器回路24のそれぞれは、様々な増幅段を組み込むことが可能であるが、本明細書では、一般的に増幅器回路と呼ぶ。  FIGS. 3A and 3B illustrate several embodiments of the present invention using a main amplifier circuit and an auxiliary amplifier circuit where outputs are coupled through a hybrid coupler in accordance with the principles of the present invention. FIG. 3A illustrates a block diagram of an embodiment of the present invention in which
  一般に、増幅器20は、主増幅器入力または一次増幅器入力26および増幅器出力28を備える。つまり、26でのRF信号入力は、増幅され、出力28で負荷または実効負荷インピーダンスZLOADに送られるが、本発明により、増幅器出力28は、主増幅器回路22および補助増幅器回路24からの組合せ増幅信号を含むことができる。In general,
  入力信号26は、主増幅器回路22と補助増幅器回路24とに分割される。本発明の一態様によれば、入力ハイブリッドカプラ回路30を使用して、入力信号26を個別信号または信号成分32、34にスプリットする。スプリットカプラ30からの信号32は、主増幅器回路22への入力信号として結合されるが、信号34は、補助増幅器回路24への入力信号として結合される。したがって、カプラ回路30は、スプリットカプラ回路として機能し、入力信号26をスプリットまたは分割する。カプラの分割比は、信号32と34の相対的振幅を決定する。この分割比を使用して、補助増幅器の選択的に動作可能な特性を部分的に決定することができる。本発明の一実施形態では、ハイブリッドカプラ回路30は、-3dBハイブリッドカプラである。-3dBカプラ回路30は、入力信号26を増幅器回路22、24用に一般的に等しい振幅の入力信号32、34に分割する。カプラ回路30の他の入力36は、50Ωの抵抗器38などの適当なインピーダンスを通じてグラウンドに終端される。分割またはスプリットされた信号は、その後、主増幅器回路22、または補助増幅器24と組み合わせた主増幅器によりそれぞれ増幅される。増幅器回路は、さらに、「主」には「M」、「補助」には「A」として図に示されている。上述のように、補助増幅器回路は、ピーク電力要件またはアプリケーションに必要な場合に、主増幅器回路22と組み合わせて動作するように選択的に動作可能である。  
  本発明の一態様によれば、ハイブリッドカプラ回路44は、主増幅器回路22および補助増幅器回路24の出力と結合される。特に、増幅された出力信号40、42は、それぞれ、カプラ回路44の入力ポート3、2に結合される。ハイブリッドカプラ回路44は、ハイブリッドカプラ回路30と似ており、例えば、-3dBハイブリッドカプラとすることができる。本発明の一態様によれば、以下で詳しく説明するが、位相線46、48は、増幅器回路出力40、42で、それぞれの増幅器回路22および24と出力ハイブリッドカプラ回路44との間でインラインに、結合される。一般に、位相線46、48は、短い長さの伝送線路であり、これらは、選択可能な長さを持ち、所望の特性インピーダンスをカプラ回路44の入力に送るために使用される。位相線46、48は、使用されるハイブリッドカプラ構成に応じて、実効増幅器出力インピーダンスZoutを最大または最小にするために、後述のように、増幅器回路の出力整合回路と連動して動作するように選択される。一実施形態では、補助増幅器回路24は、電力要件を取り扱うために必要に応じてONおよびOFFになるように選択的に動作可能である。他の実施形態では、主増幅器22は、さらに、OFFになるように選択的に動作可能とすることも可能である。According to one aspect of the invention, the
  ハイブリッドカプラ回路44は、増幅器20からの出力を反映するカプラの第1の出力28として出力ポート4で増幅器回路出力を組み合わせるように動作可能である。本発明では、他の出力ポート1を短絡回路または開回路の1つで終端する。これは、図3A、3Bに例示されているように、そのポートで直接行えるか、または同調開回路伝送線路50を使用することによりポートから間隔を開けて行うことができる。同調開回路伝送線路は、ハイブリッドカプラ44のそれぞれの出力ポート1への所望の短絡回路または開回路を一般的に反映するように選択された長さを持つ。特に、開回路伝送線路50は、増幅器20の効率的出力28を実現するように特に同調されている、または寸法が決められている、ある長さの同軸ケーブルなどのある長さの伝送線路の形をとることができる。図3Aは、図2Aに例示されているように、ハイブリッドカプラ構成を反映しており、出力ポート1は、開回路伝送線路50を使用して短絡で終端され、ハイブリッドカプラ回路44のポート1への短絡を反映する。それとは別に、図2Aに例示されているような構成と同様に、実効短絡回路をハイブリッドカプラのポート1のすぐ近くに物理的に配置することも可能である。しかし、1/4波長(90度)伝送線路などの伝送線路セクション50では、短絡回路であろうと開回路であろうと関係なく、終端をカプラポートから移動して離すことができる。本発明のいくつかの態様によれば、開回路伝送線路50の長さは、出力ポート1で短絡回路または開回路のうちの1つを反映するように選択される。  The
  図3Bは、ハイブリッドカプラ回路44に対し開回路を反映するために一端を短絡したある長さの伝送線路50が選択されるなど、開回路がポート1の終端に使用される本発明の他の実施形態を例示している。図3Aおよび3Bでは、類似のコンポーネントに対し、類似の参照番号が付けられている。図3Bの実施形態では、主(M)増幅器回路、または搬送波増幅器22の位置、および補助(A)増幅器回路、またはピーキング増幅器24の位置は、図3Aに例示されているような実施形態に関して反転される。  FIG. 3B illustrates another embodiment of the invention in which an open circuit is used at the end of
  図3Aおよび3Bに例示されている両方の構成では、増幅器の動作は、古典的なドハティシステムの動作と同様に考えることが可能であるが、本発明ではそれを改善している。-3dBカプラの場合、入力26への入力電力が低い場合、補助(A)増幅器回路またはピーキング増幅器24はOFFにされ、その出力は開回路のように見える。その電力レベルで、搬送波増幅器の負荷は2 ZLOADである。信号レベルが上昇し、ピーキング増幅器24がONにされると、搬送波増幅器22の負荷インピーダンスは、公称設計ZLOADまで徐々に減少する。In both configurations illustrated in FIGS. 3A and 3B, the operation of the amplifier can be considered similar to the operation of a classic Doherty system, but the present invention improves on it. In the case of a -3 dB coupler, when the input power to input 26 is low, the auxiliary (A) amplifier circuit or peaking
  本発明の一態様によれば、補助増幅器回路24は、ピーク電力要件に関し必要に応じて選択的にONおよびOFFにされる。したがって、かなり長い間、主増幅器回路22のみが動作している場合がありえる。本発明は、カプラのポート1で短絡回路または開回路になるが、カプラの特性インピーダンスでポートを単純に終端する著しい利点を有する。1つの出力ポート(例えば、ポート1)が50Ω抵抗器などの特性インピーダンスを通じてグラウンドに終端されているハイブリッドカプラでは、補助増幅器回路がOFFの場合に6dBの電力損失が実現されるであろう。例えば、補助増幅器回路24などの増幅器回路の1つがOFFであれば、残りの増幅器の電力の半分は、カプラ回路の50Ωの終端された出力を通じて失われることになる。この結果、補助増幅器回路をOFFにしたときの3dBの損失、および残りの増幅器の電力(主増幅器回路)の約半分が50Ωの終端負荷を通じて失われることによるさらに3dBを含む、6dBの損失となる。補助増幅器は完全にはOFFにならないとしても、増幅器のうちの1つの出力が大きく変化する場合(例えば、振幅または位相)、電力の比例する量が、出力間の差の変化に応じて50Ωの終端負荷を通じて失われる。  According to one aspect of the present invention, the
  一般に、伝送線路50の長さ、またはそのインピーダンス特性は、逆に、短絡回路または開回路がカプラ回路44内に反映されるように選択される。所望の短絡特性をカプラ回路出力ポートに送るように選択または同調された後、伝送線路の特性は、本質的に、同調したとおり設定状態にしておくことができる。したがって、伝送線路50の長さまたは幅が変更され、その電気的長さまたはインピーダンス特性が変化した場合、補助増幅器回路24がONまたはOFFであるかどうかに関係なく選択された長さまたは幅のままとすることができる。それとは別に、伝送線路50は、本発明の回路に対する効果を可能ならば動的に変化させるために選択可能な実効長さおよび実効インピーダンス特性を持つことが可能であるが、そのような動的調整は必要ない場合がある。  In general, the length of the transmission line 50, or its impedance characteristics, is conversely selected such that a short circuit or an open circuit is reflected in the
したがって、この新しい増幅器アーキテクチャでは、ピーク電流アプリケーションを取り扱うなどのために電力の増大が必要になった場合に追加補助(A)増幅器回路などの追加増幅器を追加することができる。必要ない場合、補助増幅器回路は、信号振幅の著しい組合せ損失を引き起こすことなく、OFFにするか、または出力を低下させることができる。主増幅器回路は、できる限り歪みを少なくして効率的に作動させることができ、補助増幅器回路は、できる限り効率よく選択的に使用することができる。したがって、増幅器の効率は著しく改善されるが、それでもピーク電流要件に対応できる。 Thus, with this new amplifier architecture, additional amplifiers, such as additional auxiliary (A) amplifier circuits, can be added when power increases are needed, such as to handle peak current applications. If not required, the auxiliary amplifier circuit can be turned off or reduced in output without causing significant combined loss of signal amplitude. The main amplifier circuit can be operated efficiently with as little distortion as possible, and the auxiliary amplifier circuit can be selectively used as efficiently as possible. Thus, the efficiency of the amplifier is significantly improved, but can still meet peak current requirements.
上述のように、飽和点以下の典型的なドハティ増幅器動作では、電流源として働くように、主増幅器と補助増幅器の両方の出力インピーダンスは、高くなければならない。しかし、ほとんどのピーキングおよび搬送波増幅器では、最終段デバイス、通常はトランジスタの後に、増幅器出力の都合のよいインピーダンスレベル(通常、ただし限定はしないが、50Ω)をトランジスタ端子側のあまり都合がよくないインピーダンスレベル(おそらく、2Ωのオーダー)に変換する整合回路網が続く。 As mentioned above, in typical Doherty amplifier operation below the saturation point, the output impedance of both the main and auxiliary amplifiers must be high to act as a current source. However, with most peaking and carrier amplifiers, after the last stage device, usually a transistor, the convenient impedance level of the amplifier output (usually but not limited to 50 Ω) is set to a less convenient impedance on the transistor terminal side. Followed by a matching network that translates to levels (probably on the order of 2Ω).
  図4を参照すると、説明を目的とする出力回路が示されており、これは、本発明により組合せハイブリッドカプラ44に結合された際の増幅回路の出力に対する望ましいインピーダンスを達成するため位相線と組み合わせた出力整合回路網を示している。特に、増幅器トランジスタ60の出力端子62は、整合回路網64と結合され、低インピーダンスレベルZL'を達成する。ZL'の値は、トランジスタデバイス60から最適な性能を引き出すように選択される。一般に、整合回路網64に使用される正確なトポロジに応じて、インピーダンス反転が生じる。インピーダンス反転を引き起こす整合回路網は、トランジスタ出力インピーダンスZDが高いときに出力インピーダンスZoutを低くする。さらに、出力整合回路網64がインピーダンス反転を引き起こす場合、増幅器回路に公称設計レベルよりも低い(つまり、<ZL)のインピーダンスの負荷をかけて、増幅器をより効率的なモードで動作させる必要がある。また、この動作モードでは、増幅器の利得は、負荷インピーダンスの減少とともに増大することに留意されたい。このような状態は、ドハティ増幅器動作の反転モードを反映している。本発明では、図4を再び参照すると、出力インピーダンスZoutは、高いZoutが望ましい場合に可能な最大値にならない。同様に、出力インピーダンスは、低いZoutが望ましい場合に最小値にならない。したがって、本発明の他の態様によれば、特性インピーダンスZLを持つ短い長さの伝送線路66が選択される。伝送線路66の長さは、図4に示されているように、出力整合回路と負荷ZLとの間で結合される。本発明の原理によれば、位相線66は、主増幅器回路および補助増幅器回路の位置で使用される増幅器の構成に応じて、Zout'が最大または最小になるように選択される。Referring to FIG. 4, an illustrative output circuit is shown, which is combined with a phase line to achieve the desired impedance for the output of the amplifier circuit when coupled to the
  図5Aおよび5Bは、反転モードで動作する場合、つまり、トランジスタ出力がハイインピーダンスであり、出力整合回路網がインピーダンス反転を引き起こし、出力インピーダンスが低くなるようする場合の反転の高効率増幅器の基本構成を例示している。図5Aおよび5Bを参照すると、これらは、図3Aおよび3Bで使用されているような構成と類似しているが、主(M)増幅器回路(搬送波増幅器)および補助(A)増幅器回路(ピーキング増幅器)の物理的配置は、図3Aおよび3Bに例示されている位置から反転されている。この動作モードでは、ピーキング増幅器がOFFにされると、搬送波増幅器負荷はc2ZLであり、これは、ZLの公称設計値よりも低い。-3dBのカプラが使用される場合、搬送波増幅器には、約ZL/2のインピーダンスが現れる。入力信号が上昇し、ピーキング増幅器がONにされると、搬送波増幅器の負荷インピーダンスは、公称設計値ZLまで徐々に増大する。この構成では、位相線46、48の長さおよびその効果は、カプラ44の入力に送られる所望の低いZout'が得られるように選択される。これは、図3Aおよび3Bに示されている場合とは対照的であり、位相線46、48の長さおよびその効果は、カプラ44の入力に送られる所望の高いZout'が得られるように選択される。Figures 5A and 5B show the basic configuration of an inverting high-efficiency amplifier when operating in inverting mode, that is, when the transistor output is high impedance and the output matching network causes impedance reversal, resulting in low output impedance. Is illustrated. Referring to FIGS. 5A and 5B, these are similar to the configuration as used in FIGS. 3A and 3B, but the main (M) amplifier circuit (carrier amplifier) and auxiliary (A) amplifier circuit (peaking amplifier). ) Is reversed from the position illustrated in FIGS. 3A and 3B. In this mode of operation, when the peaking amplifier is turned off, the carrier amplifier load is c2 ZL , which is lower than the nominal design value of ZL. When a -3 dB coupler is used, an impedance of about ZL / 2 appears in the carrier amplifier. And the input signal is increased, the peaking amplifier is ON, the load impedance of the carrier amplifier is gradually increased to the nominal design value ZL. In this configuration, the length of the
一般に、図3Aおよび3Bに例示されている非反転モード、または図5Aおよび5Bに例示されているような反転モードなどのこの動作モードの選択は、ピーキングおよび搬送波増幅器整合回路設計が完成した後に決定するのが最もよい。その結果得られる増幅器インピーダンスが高い場合、図3Aおよび3Bに例示されているトポロジが好ましい。その結果得られる増幅器インピーダンスが低い場合、図5Aおよび5Bに例示されているトポロジが好ましい。 In general, the choice of this mode of operation, such as the non-inverting mode illustrated in FIGS. 3A and 3B, or the inverting mode as illustrated in FIGS. 5A and 5B, is determined after the peaking and carrier amplifier matching circuit design is complete. It is best to do. If the resulting amplifier impedance is high, the topology illustrated in FIGS. 3A and 3B is preferred. If the resulting amplifier impedance is low, the topology illustrated in FIGS. 5A and 5B is preferred.
  本発明の一実施形態では、一般的に等しい電力出力能力、または電力定格を持つ主増幅器回路および補助増幅器回路が使用される。したがって、この出力を使用するハイブリッドカプラ44は、-3dBのハイブリッドカプラでよく、等しい出力電力定格を持つ増幅器に適している。それとは別に、十分に高いピーク-平均比の信号を増幅する場合、主または搬送波増幅器よりも高い出力定格を持つ補助またはピーキング増幅器を使用すると都合がよい場合がある。例えば、補助増幅器の定格は、搬送波増幅器の出力電力の2倍であってもよい。このような場合、本明細書で説明されている発明の様々な実施形態によれば、様々な増幅器コンポーネントの出力電力定格間の差に対処できるようにカプラの設計を選択することが可能である。例えば、主増幅器の出力電力の2倍の定格の補助増幅器では、-4.77dBの設計を使用することができる。一般に、組合せハイブリッドカプラ44の入力カプラ値の選択は、主増幅器および補助増幅器の相対的利得によって決まる。一般に、本明細書の図に示されている様々な構成は、補助増幅器電力定格対主増幅器電力定格の任意の比で動作するように設計することができる。  In one embodiment of the invention, main and auxiliary amplifier circuits with generally equal power output capabilities, or power ratings, are used. Therefore, the
本発明では、古典的なドハティ増幅器の場合のように、ピーキング増幅器の相対的サイズが大きくなるほど、増幅器がその第1の効率ピークに達する出力電力は小さくなる。図6のグラフは、この効果を示している。縦軸は、増幅器の効率(1=100%)であり、横軸は、最大定格に関する出力信号電圧レベルである。α=0.5の曲線は、補助増幅器および主増幅器が同じ出力電力定格を持つ場合の理想的な結果を表している。α=0.25の曲線は、補助増幅器の出力電力定格が主増幅器の出力電力定格の3倍(3×)である場合の理想的な結果を表している。 In the present invention, as with the classical Doherty amplifier, the larger the relative size of the peaking amplifier, the smaller the output power at which the amplifier reaches its first efficiency peak. The graph in FIG. 6 shows this effect. The vertical axis represents the efficiency of the amplifier (1 = 100%), and the horizontal axis represents the output signal voltage level with respect to the maximum rating. The curve with α = 0.5 represents the ideal result when the auxiliary amplifier and the main amplifier have the same output power rating. The curve of α = 0.25 represents an ideal result when the output power rating of the auxiliary amplifier is three times (3 ×) the output power rating of the main amplifier.
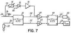
  本発明の他の態様によれば、標準RFトランジスタを使用したのではそのターンオン特性のため、図6のような所望の効率曲線を達成することが可能でない場合がある。むしろ、図7に例示されているように、ゲート制御回路70を使用して、補助増幅器回路24のターンオン特性を制御することができる。上述のように、主増幅器回路22は、さらに、ONおよびOFFするように選択的に動作させることも可能であり、したがって、ゲート制御回路70も使用することができる。しかし、例示する目的のため、ゲート制御回路70を、補助増幅器回路24との併用に関して説明する。上述のように、類似の参照番号は、類似のコンポーネントに使用される。  According to another aspect of the invention, it may not be possible to achieve the desired efficiency curve as in FIG. 6 due to its turn-on characteristics using standard RF transistors. Rather, as illustrated in FIG. 7, the
  検出器72は、入力26の瞬間的電力を検出し、アッテネータ74は、検出器に送られる入力信号を調節または調整するために使用することが可能である。検出器の出力は、ゲート制御回路70の入力である。入力信号26の一部は、カプラ76により、カップリングオフされ、信号の一方の部分はハイブリッドカプラ回路30に供給され、信号の他方の部分79はゲート制御回路70に供給される。  
  ゲート制御経路82内の検出器72により検出された信号79のレベルに基づき、ゲート制御回路70は、補助増幅器回路24のターンオン特性を制御する動作をする。特に、ゲート(またはベースまたはグリッド)バイアスは、変調され、それによって、ターンオン特性を制御する。このようなゲートバイアス変調およびゲート制御の様々な手法は、当業者には知られており、そのような適切な手法を使用することができる。これにより、補助増幅器24は、高い入力信号レベルに達するまでOFFにされたままであるが、そのまま補助増幅器をピーク入力信号レベルでその全出力能力に到達させることができる。以下でさらに説明するが、ゲート制御は、開示されているいくつかの実施形態のうちのどれかで使用することができる。  Based on the level of the signal 79 detected by the
図8および9は、主(M)増幅器回路に加えて複数の補助(A)増幅器回路を使用する本発明の他の実施形態を例示している。つまり、本発明は、3つ以上の増幅器の場合に拡張できる。複数の補助増幅器回路は、主増幅器回路との様々な組合せで動作するように選択的に動作可能である。したがって、本発明の増幅器は、さらに多くの漸進的電力増大でのピーク電力アプリケーションを取り扱い、より高い効率を実現することができる。 FIGS. 8 and 9 illustrate other embodiments of the present invention that use multiple auxiliary (A) amplifier circuits in addition to the main (M) amplifier circuit. That is, the present invention can be extended to the case of three or more amplifiers. The plurality of auxiliary amplifier circuits are selectively operable to operate in various combinations with the main amplifier circuit. Thus, the amplifier of the present invention can handle peak power applications with even more gradual power increases and achieve higher efficiency.
  図8は、直列コンバイナ配置で配列された、複数の増幅器を使用する本発明の一実施形態を例示している。その目的のために、ハイブリッドカプラ回路は、そのような直列給電および出力の組合せなどで様々な増幅器への入力信号のレベルを制御するために適宜異なる結合特性を持つ。類似の参照または番号は、他の実施形態について上で説明したように類似のコンポーネントに使用される。増幅器100では、主増幅器回路102は、3つの補助増幅器回路104、106、108と併用される。上述のように、本明細書で例示されている実施形態は、様々な数の補助増幅器を示しているが、そのような例示されている実施形態は、限定されることなく、また主増幅器および補助増幅器の両方について増幅器回路の個数を増減して、使用することが可能である。上述のように、共通参照番号が、上述の実施形態で説明されているように共通コンポーネントに使用される。  FIG. 8 illustrates one embodiment of the present invention using multiple amplifiers arranged in a series combiner arrangement. To that end, hybrid coupler circuits have different coupling characteristics as appropriate to control the level of the input signal to the various amplifiers, such as with a series feed and output combination. Similar references or numbers are used for similar components as described above for other embodiments. In
  入力信号26は、ハイブリッドカプラ回路に入力され、さらに信号をスプリットするカプラ回路110、114、118への経路上で送られる。信号26は、-6dBハイブリッドカプラ回路110などの第1のハイブリッドカプラに送られる。ハイブリッドカプラ回路110の出力ポートからの1つの出力信号111は、補助増幅器108に送られるが、他の出力112は、-4.77dBのカプラとしてよい、第2のハイブリッドカプラ回路114に送られる。様々なカプラのカップリング値は、直列給電配置に基づいて変化し、一般的に等しい信号を様々な主および補助増幅器回路102〜108に入力することができる。図8および9に示されている配置では、主増幅器および補助増幅器に対し一般に等しい電力出力能力を仮定する。それとは別に、異なるサイズの増幅器を使用することが可能であり、またカプラ値をそれに応じて調整し、増幅器の同じでない電力定格に適応させることが可能である。  The
  ハイブリッドカプラ回路114からの出力115は、補助増幅器回路106に送られるが、他の出力116は、カプラ回路118に送られる。カプラ回路118は、それぞれの出力119、120が補助増幅器104および主増幅器102にそれぞれ送られる-3dBカプラとすることができる。入力信号を様々な増幅器回路102〜108の間に分割する直列配置は、後述のように、出力のところで使用される直列コンバイナ配置を反映している。  The
  主増幅器回路および補助増幅器回路102〜108の出力信号は、位相線130を通じて、直列コンバイナ配置で配列されているカプラ回路132、134、142に結合される。補助増幅器106、108の出力は、-3dBカプラなどのカプラ回路132に送られる。カプラ回路132の一方の出力信号136は、他方のハイブリッドカプラ回路134に送られるが、他の出力ポートは、上述のようにカプラ回路への短絡を反映するように同調されている同調伝送線路135に結合される。他の出力136は、補助増幅器回路104からの出力138と組み合わされる。カプラ回路134は、-4.77dBカプラ回路であってよいが、一方の出力ポートが同調伝送線路138に結合されているが、他方の出力140は、ハイブリッドカプラ回路142に供給され、そこでこれは、主増幅器回路102からの出力143と組み合わされる。カプラ回路142は、例示されているように、-6dBカプラとすることができる。同様に、同調された開回路伝送線路144は、カプラ回路142の出力ポートと結合され、そのポートへの短絡を反映する。他の出力145は、様々な増幅器およびカプラ回路からの組み合わされた出力を反映し、増幅器100の出力を供給する。動作時に、例えば、主増幅器回路102は、オンであってよいが、順に、補助増幅器回路104、106、108は、入力信号のレベルに従ってONにされる。図8および9の位相線は、最大出力インピーダンスがカプラ132、134、および142の入力に与えられるように選択される。  The output signals of the main and auxiliary amplifier circuits 102-108 are coupled through a
  図8に例示されている本発明の実施形態は、さらに、図9に例示されているように、ゲート制御とともに使用することも可能であり、類似の参照番号が図7のようなゲート制御回路を例示するために使用される。特に、図9では、カプラ回路76は、アッテネータ74および検出器72を通じて適切なゲート制御回路70に送られる、信号79の一部分をカップリングオフする。ゲート制御回路の出力は、補助増幅器回路のターンオン特性に適宜合わせて結合される。  The embodiment of the present invention illustrated in FIG. 8 can also be used with gate control, as illustrated in FIG. 9, with similar reference numbers being similar to those in FIG. Is used to illustrate. In particular, in FIG. 9,
本発明のさらに他の実施形態は、図10および11に例示されており、これは、「反転モード」特性などの低インピーダンス特性を持ち、またゲート制御を有するものと有しないものの複数の増幅器をそれぞれ示す。 Yet another embodiment of the present invention is illustrated in FIGS. 10 and 11, which has a plurality of amplifiers with low impedance characteristics such as “inverted mode” characteristics and with and without gating. Each is shown.
  図10を参照すると、類似の番号が図8および9に例示されているように類似のコンポーネントを示すために使用されており、様々な主増幅器および補助増幅器102〜108は、それぞれの位相線と組み合わせて、カプラの入力ポートのところで低出力インピーダンスを反映する。位相線130は、増幅器のそれぞれの間で共通の参照番号を与えられているが、そうであってもそのような位相線が一般的に同じ長さを持つことを示さない。むしろ、位相線の長さは、出力インピーダンスを最大にするか、または図10および11の場合のように、最小にすることが示される(図4を参照)。主増幅器および補助増幅器は、図8および9に示されているように配列され、補助増幅器またはピーキング増幅器は、入力駆動レベルが高くなるときにONになるようにバイアスをかけられる。同様に、ターンオンシーケンスは、まず増幅器104、次に106、そして108の順序である。図10および11は複数の増幅器回路の反転モード動作を例示しているため、位相伝送線路130は、様々なハイブリッドカプラ回路132、134、および142の入力ポートに低インピーダンスが与えられるように設定される。しかし、図8および9に例示されているように、ハイブリッドカプラ回路の絶縁ポートを短絡回路で終端するのではなく、開回路が出力カプラの絶縁ポートに与えられる。図10は短絡で終端されているある長さの伝送線路を示し、開回路を反映し、終端をカプラから移動して離すために使用することができるが、出力ポートのところで単一の開回路も使用可能である。  Referring to FIG. 10, like numbers are used to indicate similar components as illustrated in FIGS. 8 and 9, and various main and auxiliary amplifiers 102-108 are connected to their respective phase lines. In combination, it reflects the low output impedance at the input port of the coupler.
図11は、図10に類似しており、補助増幅器のターンオンバイアスを制御するためのゲート制御回路の使い方を例示している。 FIG. 11 is similar to FIG. 10 and illustrates the use of a gate control circuit to control the turn-on bias of the auxiliary amplifier.
上述のように、本明細書に例示されている実施形態の多くにおいて、増幅器の電力出力能力は等しいか、または等しくない。一般に、ハイブリッドカプラ回路およびその結合値は、相対的増幅器電力出力能力を反映するように選択することができる。様々な実施形態について、特に、2つの増幅器を使用する実施形態について、-3dBハイブリッドカプラは、一般的に等しい電力出力能力を持つ主増幅器および補助増幅器に適していると考えられる。-4.77カプラなどの異なるカプラ値を、主増幅器および補助増幅器が等しくない電力能力を持つ状況の場合に使用することができる。 As noted above, in many of the embodiments illustrated herein, the power output capabilities of the amplifiers are equal or unequal. In general, the hybrid coupler circuit and its coupling value can be selected to reflect the relative amplifier power output capability. For various embodiments, particularly for embodiments using two amplifiers, a -3 dB hybrid coupler is generally considered suitable for main and auxiliary amplifiers with equal power output capabilities. Different coupler values, such as -4.77 coupler, can be used in situations where the main and auxiliary amplifiers have unequal power capabilities.
  図8〜11の実施形態は、増幅器へのシリアル信号とともに示されている。他の複数増幅器実施形態では、コーポレートまたはパラレル給電配置を使用可能である。図12を参照すると、主増幅器回路162および補助増幅器回路164、166、168を備える増幅器160が例示されている。これらの増幅器回路は、-3dBハイブリッドカプラ回路とすることができる、カプラ回路170、172を組み込んだ、パラレルまたはコーポレート信号分配器配置により給電される。  The embodiment of FIGS. 8-11 is shown with a serial signal to the amplifier. In other multiple amplifier embodiments, corporate or parallel feed arrangements can be used. Referring to FIG. 12, an
  複数の増幅器回路162〜168は、コーポレート配置で給電され、そのため、複数段のハイブリッドカプラ回路を必要とする。したがって、ハイブリッドカプラ回路174を使用して、入ってきた入力信号をカプラ回路170、172に一般的に等しく分配し、その後これらの回路が増幅器回路に給電する。他の図に関して上で説明したように、類似の番号が、類似の信号および回路コンポーネントについて図12および13において使用される。入力カプラ回路、またはスプリットカプラ回路170、172、174は、50Ω抵抗器38を通じてグラウンドに終端する1本の入力を持つ。  The plurality of amplifier circuits 162-168 are powered in a corporate arrangement and therefore require multiple stages of hybrid coupler circuits. Accordingly, the
  本発明の原理によれば、補助増幅器回路164、166、168は、主増幅器回路162とともに、ハイブリッドカプラ回路182、184、186に結合され、これにより、様々な入力を組み合わせて単一のRF出力118にする。その目的のために、主増幅器回路162および補助増幅器回路164の出力は、適切な位相線180を通じて、それぞれのカプラ回路182に結合される。同様に、補助増幅器166、168は、位相線180を通じて、それぞれのカプラ回路184に結合される。カプラ回路182、184からの出力は、その後、他のカプラ回路186を通じて結合され、出力信号118を形成する。カプラ回路182、184、186は、例示されているような-3dBハイブリッドカプラであるか、または他の何らかの適当なカプラ回路とすることができる。カプラ回路は、コーポレートコンバイナ配置で配列されている。本発明の原理によれば、それぞれのカプラ回路の出力のうちの1つは、増幅器回路またはそれらに接続されている他のコンポーネントからの組合せ信号である。他のカプラ出力ポートは、伝送線路セグメントなどを通じて短絡回路または開回路の1つに結合される。特に、図12を参照すると、カプラ回路182は、増幅器回路162、164からの増幅器出力信号を組み合わせて、それらをカプラ回路186に渡す第1のカプラ出力188を備える。信号処理のために、また高インピーダンスをカプラ回路186に与えるために、カプラ回路812とカプラ回路186との間に位相線190を使用する。同様に、位相線190は、カプラ回路184およびその出力188に使用することができ、これは、増幅器回路166、168を反映する。カプラ回路182、184のそれぞれの他のカプラ出力192は、短絡がカプラ回路182、184内にそれぞれ反映されるように選択された開回路同調伝送線路194に供給される。上述のように、一般的に、開回路伝送線路194の長さは、特定の増幅器回路およびそれぞれのカプラ回路に関して決定され設定され、同調される。カプラ回路186は、カプラ回路186の出力ポートに開回路を反映するように同調されている、開回路同調伝送線路196により終端される。したがって、本発明の原理によれば、増幅器回路の出力は効率よく組み合わされ、補助増幅器回路は、ピーク電力出力を増幅160に供給するように選択的に動作させることができる。  In accordance with the principles of the present invention, the auxiliary amplifier circuit 164, 166, 168, along with the main amplifier circuit 162, is coupled to the
  本発明の他の実施形態によれば、図13に例示されているように、ゲート制御回路70は、信号ピークが検出器72により検出されたときに補助増幅器回路164〜168を選択的にONにするように動作可能である。例えば、特定の信号レベルが検出された場合、主増幅器162をONに、補助増幅器168をONにできる。上述のように、ゲート制御回路70は、補助増幅器168のターンオン特性を制御する。検出器72が入力信号レベルの増大を検出すると、ゲート制御回路70を使用して、回路164および166などの他の補助増幅器回路をONにすることができる。カプラ回路182、184、および186は、主増幅器回路および補助増幅器回路からの信号を組み合わせて増幅器回路160への単一出力118にまとめる。  According to another embodiment of the invention, as illustrated in FIG. 13, the
図14は、例えば、図8に例示されているものに類似のシステムにより得られる効率特性を示している。複数増幅器システムは、2増幅器システムで一般に得られる信号振幅範囲よりも広い信号振幅範囲にわたってすぐれた効率を発揮する(図6と比較せよ)。 FIG. 14 shows, for example, efficiency characteristics obtained with a system similar to that illustrated in FIG. The multi-amplifier system exhibits superior efficiency over a wider signal amplitude range than is typically obtained with a two-amplifier system (compare FIG. 6).
本発明は、高ピーク-平均特性を必要とする増幅器アプリケーションの効率性能を改善するために使用される。本発明は、デジタル、アナログ、およびハイブリッドプレディストーション、フィードフォワード、およびクロスキャンセレーションを含む、様々な線形化方式を使用して実現可能である。さらに、これは、ドレインバイアス変調方式と互換性もある。 The present invention is used to improve the efficiency performance of amplifier applications that require high peak-average characteristics. The present invention can be implemented using various linearization schemes, including digital, analog, and hybrid predistortion, feedforward, and cross scan serration. In addition, it is compatible with the drain bias modulation scheme.
上述の増幅器および増幅器回路の実施形態は、カプラ入力プレーンで一般的に低いまたは高い出力インピーダンスを持つように構成された回路を対象とする。そこで、組合せカプラの出力ポートに対し短絡回路または開回路終端が選択される。特に、出力ポートの1つの出力終端は、短絡回路または開回路状態が増幅器回路の低また高出力インピーダンスに応じてカプラの出力ポートに反映するように向き付けられる。例えば、図3Aおよび3Bに例示されているように、本発明の一態様により高出力インピーダンス点を持つ増幅器に対しある回路を選択できる。さらに、動作モード(例えば、図3AのモードA、または図3BモードB)が選択される。それとは別に、図5Aおよび5Bは、増幅器回路の出力インピーダンスが比較的低いインピーダンスである場合に使用される実施形態を例示している。 The amplifier and amplifier circuit embodiments described above are directed to circuits configured to have a generally low or high output impedance at the coupler input plane. Therefore, a short circuit or open circuit termination is selected for the output port of the combination coupler. In particular, one output termination of the output port is oriented so that a short circuit or open circuit condition reflects on the output port of the coupler depending on the low or high output impedance of the amplifier circuit. For example, as illustrated in FIGS. 3A and 3B, a circuit can be selected for an amplifier with a high output impedance point in accordance with an aspect of the present invention. Furthermore, an operation mode (for example, mode A in FIG. 3A or mode B in FIG. 3B) is selected. Alternatively, FIGS. 5A and 5B illustrate an embodiment used when the output impedance of the amplifier circuit is a relatively low impedance.
しかし、増幅器=出力インピーダンスZoutが正確に低または高インピーダンスとみなされないが、条件範囲の中間のどこかに収まる様々な場合も存在する。図3Aおよび3Bおよび5Aおよび5Bのいくつかの実施形態、さらに本明細書で開示されている他の実施形態では、主および補助増幅器整合回路設計が完了した後に、特定の増幅器トポロジを選択することが望ましい場合がある。つまり、整合回路網は、主増幅器回路および補助増幅器回路のそれぞれについて設計されるであろう。次に、その整合回路網に基づき、位相線を使用して、所望の低または高出力インピーダンスを反映すると、出力カプラ回路の入力に現れる。However, there are various cases where amplifier = output impedanceZout is not accurately considered low or high impedance, but falls somewhere in the middle of the condition range. In some embodiments of FIGS. 3A and 3B and 5A and 5B, as well as other embodiments disclosed herein, selecting a particular amplifier topology after the primary and auxiliary amplifier matching circuit design is complete May be desirable. That is, the matching network will be designed for each of the main amplifier circuit and the auxiliary amplifier circuit. Then, based on the matching network, using phase lines to reflect the desired low or high output impedance, it appears at the input of the output coupler circuit.
しかし、回路も様々なレイアウトによっては、増幅器回路の望ましい出力インピーダンスが望ましくない回路設計でないと実現されないような回路設計を使用しなければならない場合がある。例えば、整合回路網および位相回路網は、設計全体に適合しない場合がある。したがって、望むサイズよりも大きな回路レイアウトを使用する必要がある場合がある。さらに、カプラ入力を増幅器の出力整合回路網にできる限り近づけることが望ましい。しかし、増幅器に対し低出力インピーダンスまたは高出力インピーダンスを確定する必要があるため、そのような間隔設定を考慮することが困難な場合がある。図15A〜15B、16A〜16B、および17において、以下で詳述するように、本発明のいくつかの実施形態では、所望の出力効率を達成するために設計考慮事項および間隔を考慮できる増幅器回路の代替え形態を開示している。 However, depending on the various layouts of the circuit, it may be necessary to use a circuit design in which the desired output impedance of the amplifier circuit can only be realized by an undesirable circuit design. For example, the matching network and phase network may not fit the entire design. Therefore, it may be necessary to use a circuit layout that is larger than desired. Furthermore, it is desirable to have the coupler input as close as possible to the amplifier output matching network. However, since it is necessary to determine a low output impedance or a high output impedance for the amplifier, it may be difficult to consider such an interval setting. As detailed below in FIGS. 15A-15B, 16A-16B, and 17, in some embodiments of the present invention, amplifier circuits that can take into account design considerations and spacing to achieve the desired output efficiency An alternative form of is disclosed.
特に、図15A〜17では、ピーキングおよび補助増幅器の出力インピーダンスが「低」または「高」インピーダンス点に限られない汎用増幅器設計を開示している。図3A〜3Bおよび5A〜5Bに示されているような様々な特定の増幅器動作モードは、図15A〜17に例示されているより一般的な動作モードの特定の場合であるとみなされる。 In particular, FIGS. 15A-17 disclose general purpose amplifier designs where the peaking and auxiliary amplifier output impedances are not limited to “low” or “high” impedance points. The various specific amplifier modes of operation as shown in FIGS. 3A-3B and 5A-5B are considered to be specific cases of the more general modes of operation illustrated in FIGS.
  図15Aを参照すると、増幅器=s出力インピーダンスZoutを調べるのではなく、関連するパラメータである、出力反射係数Γoutを調べている。Γoutは、Z0をシステムインピーダンス、通常は50Ω(この値に限定されない)として、式1
    Γout=(Zout-Z0)/(Zout+Z0)
の関係式によりZoutと関係する。Referring to FIG. 15A, instead of examining amplifier = s output impedance Zout , the relevant parameter, output reflection coefficient Γout, is examined. Γout is defined as
 Γout = (Zout -Z0 ) / (Zout + Z0 )
 It is related to Zout by the relational expression.
  図15Aを参照すると、回路250では、出力カプラ44の絶縁ポート1のところのインピーダンスが反射係数ΓYで示されている本発明の一態様による増幅器回路を開示している。負荷は、出力ポート4に結合される。図15〜17では、上述の図にすでに示されている類似のコンポーネントを示すために、類似の参照番号が使用されている。このような参照番号は、決して、本発明に関して制限するものではない。図15Aを参照すると、増幅器入力26は、入力カプラ回路30などのスプリッタに送られる。回路30の他の入力ポートは、適当なインピーダンス38を通じて終端される。入力信号26は、主増幅器回路22と補助増幅器回路24とに分割される。その後、主増幅器と補助増幅器の両方の出力は、ポート2および3のところでハイブリッドカプラ回路44に供給され、その後、これらの出力は組み合わされ、カプラ出力ポート4のところでZLOADと示される負荷に送られる。絶縁ポートとして示されている、他の出力端子1は、反射係数ΓYと示されている終端インピーダンスにより終端されているものとして示されている。図15Bは、いくぶん似ている回路を示しているが、主増幅器および補助増幅器の位置が上の図3A〜3Bおよび5A〜5Bに例示されている異なるモードと同様に切り換えられる異なる動作モードを使用している。Referring to FIG. 15A,
  一般に、ΓおよびZは、複素数である。本発明の一態様の例示によれば、複素数Γを式2
    Γ=|Γ|ang(Γ)
による大きさと偏角を使用する極形式で表すと都合がよい。In general, Γ and Z are complex numbers. According to an illustration of one aspect of the invention, the complex number Γ is
 Γ = | Γ | ang (Γ)
 It is convenient to express it in a polar form using the size and declination.
  システムインピーダンスZ0を約50Ωと仮定すると、増幅器の「低」出力インピーダンス、例えば、10Ωでは、式1および2により、大きさ0.667、偏角180°となる。同様に、例えば、250Ωの「高」インピーダンスだと、大きさは0.667であるが、偏角は0°となる。本発明は、ang(Γout)=0または180°での動作に制限されないことに留意されたい。許容可能なang(Γout)値の範囲は、-180°から+180°の範囲全体にわたる。Assuming that the system impedance Z0 is about 50Ω, for the “low” output impedance of the amplifier, eg, 10Ω, the magnitude is 0.667 and the deflection angle is 180 ° according to
  理想的には、高効率増幅器の場合、ΓYの大きさは1に近づく。偏角成分つまりang(ΓY)は、図15Aのモード(モードA)または図15Bのモード(モードB)などの選択されたモード、および増幅器出力の反射係数Γoutの偏角成分つまりang(Γout)によって決まる。特に、この関係は、選択されたモードに応じて、以下の式3または4のいずれかにより定義される。Ideally, the magnitude of ΓY approaches 1 for a high efficiency amplifier. The declination component, ang (ΓY ), is the selected mode, such as the mode of FIG. 15A (mode A) or the mode of FIG. 15B (mode B), and the declination component of the reflection coefficient Γout of the amplifier output, ang ( Γout ). In particular, this relationship is defined by either
式3:(モードAの場合:)ang(ΓY)=180°-ang(Γout)Formula 3: (In the case of mode A :) ang (ΓY ) = 180 ° -ang (Γout )
式4:(モードBの場合:)ang(ΓY)=-ang(Γout)Formula 4: (In the case of mode B) ang (ΓY ) =-ang (Γout )
  例えば、図15Aに例示されているモードAでは、式3により関係が定義される。図15Bに例示されているモードBでは、式4により関係が定義される。その点に関して、図3Aおよび5BはモードAの動作に対応する。その一方で、図3Bおよび5AはモードBの動作に対応する。図3Aおよび3Bでは、出力インピーダンスZoutは、高であるとみなされる。モードA動作の図3Aでは、式3によりang(Γout)=0、ang(ΓY)=180°である。その一方で、図3Bは、ang(Γout)=0°およびang(ΓY)=0°のモードB動作に対応している。For example, in mode A illustrated in FIG. 15A, the relationship is defined by
同様に、図5Aおよび5Bは、低出力インピーダンスを持つ増幅器回路を開示している。モードB動作に対応する図5Aは、ang(Γout)=180°およびang(ΓY)=180°となっている。その一方で、モードA動作に対応する図5Bは、ang(Γout)=180°およびang(ΓY)=0°となっている。ang(Γ)=180°は、ang(Γ)=-180°と同じ点であることに注意されたい。Similarly, FIGS. 5A and 5B disclose an amplifier circuit having a low output impedance. In FIG. 5A corresponding to the mode B operation, ang (Γout ) = 180 ° and ang (ΓY ) = 180 °. On the other hand, in FIG. 5B corresponding to the mode A operation, ang (Γout ) = 180 ° and ang (ΓY ) = 0 °. Note that ang (Γ) = 180 ° is the same point as ang (Γ) = − 180 °.
本発明は、位相線の望むレイアウトを行うことによる増幅器回路のより望ましい、効率的な設計、およびコスト、スペースの考慮などに基づく増幅器の望む物理的設計を実現する。上で開示されている実施形態のいくつかにおいて、回路設計を通じて、「高」または「低」と考えられる増幅器の出力インピーダンスを達成することを試みるのが望ましい。通常、増幅器の整合回路網が設計される。その後、増幅器に対するコンポーネントまたはその他のレイアウトの考慮のために利用可能なスペースに関係なく、カプラプレーンで所望の出力インピーダンスを達成するように位相線回路網が設計される。最後に、所望の動作モード、およびカプラ回路に関する主増幅器および補助増幅器の配置に応じて、短絡回路または開回路が選択される。 The present invention achieves a more desirable and efficient design of the amplifier circuit by providing the desired layout of the phase lines and the desired physical design of the amplifier based on cost, space considerations, and the like. In some of the embodiments disclosed above, it is desirable to attempt to achieve an amplifier output impedance that is considered "high" or "low" through circuit design. Typically, an amplifier matching network is designed. The phase line network is then designed to achieve the desired output impedance at the coupler plane, regardless of the space available for component or other layout considerations for the amplifier. Finally, depending on the desired mode of operation and the placement of the main and auxiliary amplifiers with respect to the coupler circuit, a short circuit or an open circuit is selected.
しかし、図15A〜17に例示されている実施形態では、増幅器回路の出力インピーダンスが「高」または「低」として適しているかどうかを特に気にかけずに、増幅器回路の所望のレイアウトおよび物理的設計に合わせて位相線を選択することができる。むしろ、所望のレイアウトが選択された後、絶縁ポートは、増幅器回路の特定の動作モードに基づいてカプラプレーンで所望のΓoutを達成するように反射係数ΓYを持つ要素で終端される。そのようにして、増幅器の製造のしやすさが改善される。However, in the embodiment illustrated in FIGS. 15A-17, the desired layout and physical design of the amplifier circuit is not particularly concerned if the output impedance of the amplifier circuit is suitable as “high” or “low”. The phase line can be selected according to the above. Rather, after the desired layout has been selected, the isolated port is terminated with an element having a reflection coefficient ΓY to achieve the desired Γout at the coupler plane based on the particular operating mode of the amplifier circuit. As such, the ease of manufacture of the amplifier is improved.
  特に、増幅器レイアウトは、増幅器の所望の物理的設計を受け入れる所望の位相線を使用して選択される。そのため、設計は、位相線の特定の長さ、または位相線で必要なスペースに関する考慮事項に制限されない。次に、所望の位相線が選択されたら、ネットワークアナライザを使用するなどして、位相線に沿う任意の基準点で反射係数Γを測定する。例えば、反射係数を測定することができ、これは、極形式で表して、0.7(-60°)で反射される。その後、任意の測定点から出力カプラ回路44またはカプラプレーンまでの位相線の物理的長さを決定する。その物理的長さがわかると、次にΓoutは、図15Aおよび15Bで例示されているように出力反射係数として決定される。増幅器レイアウト、および使用される動作モード(例えば、図15Aに例示されているようなモードA、図15Bの図に例示されているようなモードB)に応じて、上記の式3または式4を使用してΓYの偏角成分、つまりang(ΓY)を決定する。測定された反射係数が測定点で0.7(-60°)の場合の例では、カプラプレーンでのΓoutは0.7(-120°)とすることが可能である。モードA動作を仮定し、式3を使用すると、ang(ΓY)=180°-(-120°)=300°または(-60°)となる。本発明の原理により増幅器に望ましい動作をさせるには、ang(ΓY)が-60°となる出力カプラ回路44の絶縁ポートに対し適切な終端を行う必要がある。In particular, the amplifier layout is selected using a desired phase line that accepts the desired physical design of the amplifier. As such, the design is not limited to considerations regarding the specific length of the phase line or the space required on the phase line. Next, when a desired phase line is selected, the reflection coefficient Γ is measured at an arbitrary reference point along the phase line, such as by using a network analyzer. For example, the reflection coefficient can be measured, which is reflected in 0.7 (-60 °), expressed in polar form. Thereafter, the physical length of the phase line from an arbitrary measurement point to the
  適当な終端を行うために、本発明の一実施形態により、図16Aおよび16Bに例示されているように適切な長さの伝送線路を通じて短絡回路または開回路を回転することによりang(ΓY)を合成することができる。図16Aは、開回路伝送線路がカプラ絶縁ポートの終端のために選択された一実施形態を例示している。図16Bは、そのポートの短絡回路伝送線路を示している。所望のang(ΓY)は、以下の式5および6に従って開回路または短絡回路伝送線路について伝送線路の適当な電気的長さを度数で選択することにより得られる。To achieve proper termination, according to one embodiment of the present invention, ang (ΓY ) by rotating a short circuit or open circuit through an appropriate length transmission line as illustrated in FIGS. 16A and 16B. Can be synthesized. FIG. 16A illustrates one embodiment where an open circuit transmission line is selected for termination of the coupler isolated port. FIG. 16B shows the short circuit transmission line of the port. The desired ang (ΓY ) is obtained by selecting the appropriate electrical length of the transmission line in degrees for an open circuit or short circuit transmission line according to
式5:ang(ΓY)=-2θOCFormula 5: ang (ΓY ) =-2θOC
式6:ang(ΓY)=180-2θSCEquation 6: ang (ΓY ) = 180-2θSC
  上記の実施例を使用すると、その場合ang(ΓY)が-60°であることが望ましく、開回路終端が図16Aに例示されているように使用される場合、式5が使用され、ang(ΓY)=-60°=-2θOCで、θOC=30°となる。それとは別に、図16Bの実施形態が短絡回路またはグラウンド終端で使用される場合、式6が使用され、ang(ΓY)=60°=180°-2θSCで、θSC=120°となる。Using the above example, it is then desirable that ang (ΓY ) be −60 °, and if open circuit termination is used as illustrated in FIG. 16A, Equation 5 is used and ang (ΓY ) = − 60 ° = −2θOC and θOC = 30 °. Alternatively, if the embodiment of FIG. 16B is used with a short circuit or ground termination,
図16Aおよび16Bで例示されているように適切な長さの伝送線路を選択した場合、結合された線はカプラパッケージの物理的エッジに直接配置できないため、θOCまたはθSCの一部をハイブリッドカプラのパッケージ内に物理的に配置することを考慮する。したがって、設計考慮事項では、設計全体の目的に合わせてそのような内部長を考慮すべきである。If an appropriately long transmission line is selected as illustrated in Figures 16A and 16B, the combined line cannot be placed directly on the physical edge of the coupler package, so a portion of θOC or θSC is hybridized. Consider physical placement in the coupler package. Therefore, design considerations should consider such internal lengths for the purpose of the overall design.
図17を参照すると、本発明では、出力ハイブリッドカプラ回路を増幅器出力に関して物理的に都合のよい形で配置できるように、増幅器出力に配置される「位相」伝送線路の長さまたはθ0を選択することができる。図17を参照すると、ang(Γout)は、増幅器の出力伝送線路θOCの長さに依存している。しかし、ang(ΓY)を適切に選択することで、どのような長さにも対応できる。最も広い帯域幅で動作できるように、出力伝送線路の長さを最小にすることが好ましい。Referring to FIG. 17, the present invention selects the length or θ0 of the “phase” transmission line placed at the amplifier output so that the output hybrid coupler circuit can be placed in a physically convenient manner with respect to the amplifier output. can do. Referring to FIG. 17, ang (Γout ) depends on the length of the output transmission line θOC of the amplifier. However, any length can be accommodated by appropriately selecting ang (ΓY ). It is preferable to minimize the length of the output transmission line so that it can operate in the widest bandwidth.
図15A〜17で説明されている実施形態は、単一の出力ハイブリッドカプラに関して例示されているが、これは、主増幅器回路に加えて複数の出力ハイブリッドカプラおよび複数の補助増幅器回路を示す図8〜13に例示されている構成に関して等しく適用可能である。 The embodiment described in FIGS. 15A-17 is illustrated with respect to a single output hybrid coupler, which shows multiple output hybrid couplers and multiple auxiliary amplifier circuits in addition to the main amplifier circuit. It is equally applicable with respect to the configurations illustrated in.
  図18〜21は、典型的なドハティ増幅器の動作をさらに改善し、増強することに関して本発明の他の実施形態を例示している。特に、典型的なドハティ増幅器の線図は、図18に示されており、これは、ハイブリッドカプラ260などの入力スプリッタ、主または搬送波増幅器262、および補助またはピーキング増幅器264からなる。そこで、増幅器は、様々な伝送線路266、268、269、および270を含む伝送線路で一般的に構成される出力コンバイナ/インピーダンス変換回路網に給電する。  18-21 illustrate other embodiments of the present invention with respect to further improving and enhancing the operation of a typical Doherty amplifier. In particular, a diagram of a typical Doherty amplifier is shown in FIG. 18, which consists of an input splitter such as
  図18に示されている回路の動作を最適化するために、2本の位相線266、268の電気的長さは、増幅器262、264の出力インピーダンス特性に従って選択されなければならない。一般に、典型的なドハティ増幅器では、これらの線路長選択は、増幅器設計プロセスで行われる。しかし、使用されるデバイスおよびコンポーネントの性能要件および許容誤差に応じて、製造プロセスにおいて、線路長の何らかの調整を必要とする場合がある。位相線266、268の両端は、スプリッタまたはカプラ回路260および線路269、270などの他の回路素子に接続されているので、物理的長さを変更することによりその電気的長さを調整することは困難な場合が多い。例えば、線路266、268の所望の長さ変更を容易に行えるようにするには、多くの場合、伝送線路を切り詰めていくつかのセクションを取り除くか、またはハンダ付けをして図19に示されているようにセクションを追加する必要があり、複数のハンダ付け点またはジャンパ272を使用して、セクション273、274および275を主セクション276および278と結合し、位相線全体の異なる電気的長さを実現する。他の方法では、同調キャパシタを使用することが可能である。しかし、このようなキャパシタは、多くの場合、位相線に伝送線路インピーダンスの望ましくない変化を同時に引き起こす。  In order to optimize the operation of the circuit shown in FIG. 18, the electrical length of the two
  本発明の他の態様によれば、図20は、性能を最適化するために製造時に同調調整を必要とするドハティ増幅器の製造性を改善する回路を開示している。特に、ドハティ増幅器を同調する機能を改善するために、出力コンバイナおよびインピーダンス変換回路網を組み込む、図20に示されているような回路を使用する。出力コンバイナは、本明細書で開示されている様々な増幅器回路に関して上で説明されているような90°ハイブリッドカプラなどのハイブリッドカプラとすることができる。つまり、図20は、例えば、図3Aおよび3Bに例示されている回路のような類似の基本設計を組み込んでいる。より具体的には、図20は、主増幅器および補助増幅器の配置に基づき図3Bに似た設計を使用する。前述のように、類似の参照番号は、類似の要素に使用される。しかし、本発明では、図20で参照番号280により例示されているようにカプラ出力のところで伝送線路の同調可能なセクションを使用する。様々な個々の伝送線路セクション281を、カプラ回路44の出力ポートのところで所望の物理的および電気的長さを達成するために線路セクション282と選択的に、また電気的に連結することができる。図20に例示されているような実施形態では、図18の従来のドハティ回路を使用するために必要な2つまたはそれ以上の多点ハンダ付け/切り詰め作業とは反対の単一点調整/同調作業を行う。  In accordance with another aspect of the present invention, FIG. 20 discloses a circuit that improves the manufacturability of a Doherty amplifier that requires tuning adjustments during manufacture to optimize performance. In particular, to improve the ability to tune a Doherty amplifier, a circuit such as that shown in FIG. 20 is used that incorporates an output combiner and impedance transformation network. The output combiner may be a hybrid coupler, such as a 90 ° hybrid coupler as described above with respect to the various amplifier circuits disclosed herein. That is, FIG. 20 incorporates a similar basic design, such as the circuit illustrated in FIGS. 3A and 3B. More specifically, FIG. 20 uses a design similar to FIG. 3B based on the placement of the main and auxiliary amplifiers. As before, similar reference numbers are used for similar elements. However, the present invention uses a tunable section of the transmission line at the coupler output as illustrated by
  本発明の他の態様によれば、図21に例示されているように、図20〜21に例示されているような増幅器回路を使用して実現されるトポロジおよび本明細書の様々な他の実施形態により、図21に例示されているように同調キャパシタ284を使用して実効伝送線路長の調整を行うことができる。  According to other aspects of the invention, as illustrated in FIG. 21, the topology implemented using an amplifier circuit as illustrated in FIGS. 20-21 and various other features herein. According to the embodiment, the effective transmission line length can be adjusted using the
  これにより、さらに、伝送線路ハンダ付け/切り詰め作業をより直接的な同調キャパシタ調整で置き換えることにより回路の製造性が改善され、強化される。さらに、同調キャパシタ284を使用することで、出力伝送線路282は、さもなければ回路設計で必要とされるかもしれない長さよりも著しく短くできる。  This further improves and enhances circuit manufacturability by replacing the transmission line soldering / cutting operation with more direct tuning capacitor adjustment. Further, by using the
本発明は、様々な実施形態の説明により例示され、またそれらの実施形態は、かなり詳細に説明されているが、付属の請求項の範囲をそのような詳細に制限する、またはいかなる形でも限定することは、出願者の意図するところではない。さらに利点および修正形態のあることは、当業者には容易にわかるであろう。したがって、本発明はそのより広い態様において、具体的な詳細、代表的装置および方法、および示され説明されている実施例に限定されない。したがって、出願者の本発明の一般的概念の精神または範囲から逸脱することなくそのような詳細から逸脱することができる。 The present invention is illustrated by the description of various embodiments, which are described in considerable detail, but limit the scope of the appended claims to such details or limit in any way. This is not what the applicant intends to do. It will be readily apparent to those skilled in the art that there are further advantages and modifications. The invention in its broader aspects is therefore not limited to the specific details, representative apparatus and methods, and illustrative examples shown and described. Accordingly, departures may be made from such details without departing from the spirit or scope of applicants' general inventive concept.
  1〜4  ポート
  10  ハイブリッドカプラ
  20  増幅器
  22  主増幅器回路または搬送波増幅器
  24  補助増幅器回路またはピーキング増幅器
  26  主増幅器入力または一次増幅器入力
  28  増幅器出力
  30  入力ハイブリッドカプラ回路
  32、34  個別信号または信号成分
  36  入力
  38  50Ωの抵抗器
  40、42  増幅器回路出力
  44  ハイブリッドカプラ回路
  46、48  位相線
  50  開回路伝送線路
  60  トランジスタデバイス
  62  出力端子
  64  整合回路網
  70  ゲート制御回路
  72  検出器
  74  アッテネータ
  76  カプラ
  79  信号の他方の部分
  82  ゲート制御経路
  100  増幅器
  102  主増幅器回路
  104、106、108  補助増幅器回路
  110、114、118  カプラ回路
  111  出力信号
  112  出力
  119、120  出力
  130  位相線
  132、134、142  カプラ回路
  135  同調伝送線路
  136  出力信号
  138  出力
  140  出力
  142  カプラ回路
  143  出力
  144  同調された開回路伝送線路
  145  出力
  160  増幅器
  162  主増幅器回路
  164、166、168  補助増幅器回路
  170、172  カプラ回路
  174  ハイブリッドカプラ回路
  182、184、186  ハイブリッドカプラ回路
  190  位相線
  192  カプラ出力
  194  開回路同調伝送線路
  196  開回路同調伝送線路
  260  ハイブリッドカプラ
  262  主または搬送波増幅器
  264  補助またはピーキング増幅器
  266、268、269、270  伝送線路
  272  ジャンパ
  273、274、275  セクション
  276、278  主セクション
  280  参照番号
  281  伝送線路セクション
  282  線路セクション
  284  同調キャパシタ1 to 4 ports
 10 Hybrid coupler
 20 Amplifier
 22 Main amplifier circuit or carrier amplifier
 24 Auxiliary amplifier circuit or peaking amplifier
 26 Main amplifier input or primary amplifier input
 28 Amplifier output
 30-input hybrid coupler circuit
 32, 34 Individual signal or signal component
 36 inputs
 38 50Ω resistor
 40, 42 Amplifier circuit output
 44 Hybrid coupler circuit
 46, 48 phase lines
 50 open circuit transmission lines
 60 transistor devices
 62 Output terminal
 64 matching network
 70 Gate control circuit
 72 Detector
 74 Attenuator
 76 coupler
 79 The other part of the signal
 82 Gate control path
 100 amplifier
 102 Main amplifier circuit
 104, 106, 108 Auxiliary amplifier circuit
 110, 114, 118 Coupler circuit
 111 Output signal
 112 outputs
 119, 120 output
 130 Phase line
 132, 134, 142 Coupler circuit
 135 Tuned transmission line
 136 Output signal
 138 output
 140 outputs
 142 Coupler circuit
 143 output
 144 Tuned open circuit transmission line
 145 output
 160 amplifier
 162 Main amplifier circuit
 164, 166, 168 Auxiliary amplifier circuit
 170, 172 Coupler circuit
 174 Hybrid coupler circuit
 182, 184, 186 Hybrid coupler circuit
 190 Phase line
 192 Coupler output
 194 Open circuit tuned transmission line
 196 Open circuit tuned transmission line
 260 Hybrid coupler
 262 Main or carrier amplifier
 264 Auxiliary or peaking amplifier
 266, 268, 269, 270 Transmission line
 272 Jumper
 273, 274, 275 sections
 276, 278 main section
 280 Reference number
 281 Transmission line section
 282 Track section
 284 Tuning capacitor
| Application Number | Priority Date | Filing Date | Title | 
|---|---|---|---|
| US10/402,800 | 2003-03-28 | ||
| US10/402,800US6922102B2 (en) | 2003-03-28 | 2003-03-28 | High efficiency amplifier | 
| US10/795,055 | 2004-03-05 | ||
| US10/795,055US7064606B2 (en) | 2003-03-28 | 2004-03-05 | High efficiency amplifier and method of designing same | 
| PCT/US2004/009265WO2004088837A2 (en) | 2003-03-28 | 2004-03-26 | Doherty amplifier with output hybrid coupler | 
| Publication Number | Publication Date | 
|---|---|
| JP2007535828A JP2007535828A (en) | 2007-12-06 | 
| JP4870556B2true JP4870556B2 (en) | 2012-02-08 | 
| Application Number | Title | Priority Date | Filing Date | 
|---|---|---|---|
| JP2006509330AExpired - Fee RelatedJP4870556B2 (en) | 2003-03-28 | 2004-03-26 | High efficiency amplifier and design method thereof | 
| Country | Link | 
|---|---|
| US (2) | US6922102B2 (en) | 
| JP (1) | JP4870556B2 (en) | 
| CN (1) | CN1833358B (en) | 
| DE (1) | DE602004028227D1 (en) | 
| Publication number | Priority date | Publication date | Assignee | Title | 
|---|---|---|---|---|
| KR100553252B1 (en)* | 2002-02-01 | 2006-02-20 | 아바고테크놀로지스코리아 주식회사 | Power amplifier of portable terminal | 
| US8811917B2 (en)* | 2002-05-01 | 2014-08-19 | Dali Systems Co. Ltd. | Digital hybrid mode power amplifier system | 
| US8472897B1 (en) | 2006-12-22 | 2013-06-25 | Dali Systems Co. Ltd. | Power amplifier predistortion methods and apparatus | 
| US6985704B2 (en) | 2002-05-01 | 2006-01-10 | Dali Yang | System and method for digital memorized predistortion for wireless communication | 
| US8380143B2 (en) | 2002-05-01 | 2013-02-19 | Dali Systems Co. Ltd | Power amplifier time-delay invariant predistortion methods and apparatus | 
| US7254449B2 (en)* | 2002-07-31 | 2007-08-07 | Advanced Bionics Corp | Systems and methods for providing power to one or more implantable devices | 
| US7279971B2 (en)* | 2002-09-06 | 2007-10-09 | Telefonaktiebolaget Lm Ericsson (Publ) | Composite power amplifier | 
| US7275292B2 (en) | 2003-03-07 | 2007-10-02 | Avago Technologies Wireless Ip (Singapore) Pte. Ltd. | Method for fabricating an acoustical resonator on a substrate | 
| TWI277308B (en)* | 2003-08-07 | 2007-03-21 | Nokia Corp | Method and apparatus for discrete power synthesis of multicarrier signals with constant envelope power amplifiers | 
| KR100543729B1 (en)* | 2004-03-24 | 2006-01-20 | 아바고테크놀로지스코리아 주식회사 | High frequency module package with high heat dissipation efficiency and reduced thickness and size and assembly method | 
| US7388454B2 (en) | 2004-10-01 | 2008-06-17 | Avago Technologies Wireless Ip Pte Ltd | Acoustic resonator performance enhancement using alternating frame structure | 
| US7355470B2 (en) | 2006-04-24 | 2008-04-08 | Parkervision, Inc. | Systems and methods of RF power transmission, modulation, and amplification, including embodiments for amplifier class transitioning | 
| US7327803B2 (en) | 2004-10-22 | 2008-02-05 | Parkervision, Inc. | Systems and methods for vector power amplification | 
| US7148746B2 (en) | 2004-10-26 | 2006-12-12 | Andrew Corporation | High efficiency amplifier | 
| US8981876B2 (en) | 2004-11-15 | 2015-03-17 | Avago Technologies General Ip (Singapore) Pte. Ltd. | Piezoelectric resonator structures and electrical filters having frame elements | 
| KR100654650B1 (en)* | 2004-11-25 | 2006-12-08 | 아바고테크놀로지스코리아 주식회사 | Doherty amplifier in series without hybrid coupler | 
| US7202560B2 (en) | 2004-12-15 | 2007-04-10 | Avago Technologies Wireless Ip (Singapore) Pte. Ltd. | Wafer bonding of micro-electro mechanical systems to active circuitry | 
| US7791434B2 (en) | 2004-12-22 | 2010-09-07 | Avago Technologies Wireless Ip (Singapore) Pte. Ltd. | Acoustic resonator performance enhancement using selective metal etch and having a trench in the piezoelectric | 
| US7138861B2 (en)* | 2004-12-29 | 2006-11-21 | Telefonaktiebolaget L M Ericsson (Publ) | Load mismatch adaptation in coupler-based amplifiers | 
| US7369013B2 (en) | 2005-04-06 | 2008-05-06 | Avago Technologies Wireless Ip Pte Ltd | Acoustic resonator performance enhancement using filled recessed region | 
| KR100656333B1 (en)* | 2005-04-27 | 2006-12-13 | 한국과학기술원 | Power Amplifier with Automatic Switching | 
| US7868522B2 (en)* | 2005-09-09 | 2011-01-11 | Avago Technologies Wireless Ip (Singapore) Pte. Ltd. | Adjusted frequency temperature coefficient resonator | 
| US7737807B2 (en)* | 2005-10-18 | 2010-06-15 | Avago Technologies Wireless Ip (Singapore) Pte. Ltd. | Acoustic galvanic isolator incorporating series-connected decoupled stacked bulk acoustic resonators | 
| US7675390B2 (en) | 2005-10-18 | 2010-03-09 | Avago Technologies Wireless Ip (Singapore) Pte. Ltd. | Acoustic galvanic isolator incorporating single decoupled stacked bulk acoustic resonator | 
| US7911272B2 (en) | 2007-06-19 | 2011-03-22 | Parkervision, Inc. | Systems and methods of RF power transmission, modulation, and amplification, including blended control embodiments | 
| US8334722B2 (en) | 2007-06-28 | 2012-12-18 | Parkervision, Inc. | Systems and methods of RF power transmission, modulation and amplification | 
| US9106316B2 (en) | 2005-10-24 | 2015-08-11 | Parkervision, Inc. | Systems and methods of RF power transmission, modulation, and amplification | 
| US20130078934A1 (en) | 2011-04-08 | 2013-03-28 | Gregory Rawlins | Systems and Methods of RF Power Transmission, Modulation, and Amplification | 
| US7463499B2 (en) | 2005-10-31 | 2008-12-09 | Avago Technologies General Ip (Singapore) Pte Ltd. | AC-DC power converter | 
| US7362170B2 (en) | 2005-12-01 | 2008-04-22 | Andrew Corporation | High gain, high efficiency power amplifier | 
| WO2007077409A1 (en)* | 2006-01-05 | 2007-07-12 | Filtronic Plc | An active load pull amplifier | 
| US7612636B2 (en) | 2006-01-30 | 2009-11-03 | Avago Technologies Wireless Ip (Singapore) Pte. Ltd. | Impedance transforming bulk acoustic wave baluns | 
| US20070210748A1 (en)* | 2006-03-09 | 2007-09-13 | Mark Unkrich | Power supply and electronic device having integrated power supply | 
| US7746677B2 (en)* | 2006-03-09 | 2010-06-29 | Avago Technologies Wireless Ip (Singapore) Pte. Ltd. | AC-DC converter circuit and power supply | 
| US7479685B2 (en) | 2006-03-10 | 2009-01-20 | Avago Technologies General Ip (Singapore) Pte. Ltd. | Electronic device on substrate with cavity and mitigated parasitic leakage path | 
| US8031804B2 (en) | 2006-04-24 | 2011-10-04 | Parkervision, Inc. | Systems and methods of RF tower transmission, modulation, and amplification, including embodiments for compensating for waveform distortion | 
| US7937106B2 (en) | 2006-04-24 | 2011-05-03 | ParkerVision, Inc, | Systems and methods of RF power transmission, modulation, and amplification, including architectural embodiments of same | 
| CN101479956B (en)* | 2006-04-28 | 2013-07-31 | 大力系统有限公司 | High Efficiency Linearized Power Amplifier for Wireless Communications | 
| US20070280377A1 (en)* | 2006-06-02 | 2007-12-06 | Rucki John S | Apparatus and method for controlling the output power of a transmitter using a pilot channel power level | 
| US7486136B2 (en)* | 2006-09-26 | 2009-02-03 | Infineon Technologies Ag | Power amplifier | 
| US7541866B2 (en) | 2006-09-29 | 2009-06-02 | Nortel Networks Limited | Enhanced doherty amplifier with asymmetrical semiconductors | 
| DE102006052611A1 (en)* | 2006-11-08 | 2008-05-15 | Eads Deutschland Gmbh | Linear broadband amplifier e.g. measuring amplifier, for measuring techniques, has amplifier stages connected in parallel between hybrid couplers, where stages are based on transistors made of semiconductor materials with large band gaps | 
| US20080122542A1 (en)* | 2006-11-27 | 2008-05-29 | Gregory Bowles | Enhanced amplifier with auxiliary path bias modulation | 
| JPWO2008075561A1 (en)* | 2006-12-19 | 2010-04-08 | 三菱電機株式会社 | Power amplifier | 
| WO2008079391A1 (en)* | 2006-12-22 | 2008-07-03 | Arizona Board Of Regents For And On Behalf Of Asu | Resonant linearly polarized eddy current sensor | 
| US9026067B2 (en)* | 2007-04-23 | 2015-05-05 | Dali Systems Co. Ltd. | Remotely reconfigurable power amplifier system and method | 
| CN102017553B (en) | 2006-12-26 | 2014-10-15 | 大力系统有限公司 | Method and system for baseband predistortion linearization in a multi-channel broadband communication system | 
| US7620129B2 (en) | 2007-01-16 | 2009-11-17 | Parkervision, Inc. | RF power transmission, modulation, and amplification, including embodiments for generating vector modulation control signals | 
| KR101484796B1 (en)* | 2007-04-23 | 2015-01-20 | 달리 시스템즈 씨오. 엘티디. | N-way doherty distributed power amplifier | 
| US8274332B2 (en) | 2007-04-23 | 2012-09-25 | Dali Systems Co. Ltd. | N-way Doherty distributed power amplifier with power tracking | 
| WO2008144017A1 (en) | 2007-05-18 | 2008-11-27 | Parkervision, Inc. | Systems and methods of rf power transmission, modulation, and amplification | 
| US7474156B2 (en)* | 2007-05-25 | 2009-01-06 | Avago Technologies Wireless Ip (Singapore) Pte. Ltd. | Impedance transformer for amplifier and amplifier including the same | 
| WO2008156800A1 (en) | 2007-06-19 | 2008-12-24 | Parkervision, Inc. | Combiner-less multiple input single output (miso) amplification with blended control | 
| US8224266B2 (en)* | 2007-08-30 | 2012-07-17 | Dali Systems Co., Ltd. | Power amplifier predistortion methods and apparatus using envelope and phase detector | 
| US20090079514A1 (en)* | 2007-09-24 | 2009-03-26 | Tiberiu Jamneala | Hybrid acoustic resonator-based filters | 
| US7791435B2 (en) | 2007-09-28 | 2010-09-07 | Avago Technologies Wireless Ip (Singapore) Pte. Ltd. | Single stack coupled resonators having differential output | 
| US8384475B2 (en)* | 2007-11-19 | 2013-02-26 | Telefonaktiebolaget Lm Ericsson (Publ) | Composite amplifier, a radio terminal and a method for improving the efficiency of the composite amplifier | 
| CN102150361B (en) | 2007-12-07 | 2016-11-09 | 大力系统有限公司 | Baseband-derived RF digital predistortion | 
| TW200926576A (en)* | 2007-12-10 | 2009-06-16 | Wistron Neweb Corp | Down-converter having matching circuits with tuning mechanism coupled to 90 degree hybrid coupler included therein | 
| US8058927B2 (en)* | 2007-12-18 | 2011-11-15 | Infineon Technologies Ag | Amplifier modulation method and apparatus | 
| JP5246257B2 (en)* | 2008-04-24 | 2013-07-24 | 日本電気株式会社 | amplifier | 
| US7732977B2 (en) | 2008-04-30 | 2010-06-08 | Avago Technologies Wireless Ip (Singapore) | Transceiver circuit for film bulk acoustic resonator (FBAR) transducers | 
| US7855618B2 (en) | 2008-04-30 | 2010-12-21 | Avago Technologies Wireless Ip (Singapore) Pte. Ltd. | Bulk acoustic resonator electrical impedance transformers | 
| US7936212B2 (en)* | 2008-05-09 | 2011-05-03 | Cree, Inc. | Progressive power generating amplifiers | 
| US7934190B1 (en) | 2008-09-25 | 2011-04-26 | The United States Of America As Represented By The Secretary Of The Navy | Multiple amplifier matching over lumped networks of arbitrary topology | 
| CN101567665B (en)* | 2008-12-26 | 2012-01-25 | 芯通科技(成都)有限公司 | Digital Doherty power amplifier | 
| CN101534093B (en) | 2009-04-14 | 2011-08-10 | 武汉正维电子技术有限公司 | Final three-route power synthesizing amplifying circuit applied to power amplifier of mobile communication base station system | 
| US8902023B2 (en) | 2009-06-24 | 2014-12-02 | Avago Technologies General Ip (Singapore) Pte. Ltd. | Acoustic resonator structure having an electrode with a cantilevered portion | 
| US8248185B2 (en) | 2009-06-24 | 2012-08-21 | Avago Technologies Wireless Ip (Singapore) Pte. Ltd. | Acoustic resonator structure comprising a bridge | 
| US8193877B2 (en) | 2009-11-30 | 2012-06-05 | Avago Technologies Wireless Ip (Singapore) Pte. Ltd. | Duplexer with negative phase shifting circuit | 
| EP2339746B1 (en)* | 2009-12-15 | 2013-02-20 | Nxp B.V. | Doherty amplifier with composed transfer characteristic having multiple peak amplifiers | 
| US9243316B2 (en) | 2010-01-22 | 2016-01-26 | Avago Technologies General Ip (Singapore) Pte. Ltd. | Method of fabricating piezoelectric material with selected c-axis orientation | 
| US8796904B2 (en) | 2011-10-31 | 2014-08-05 | Avago Technologies General Ip (Singapore) Pte. Ltd. | Bulk acoustic resonator comprising piezoelectric layer and inverse piezoelectric layer | 
| US9484613B1 (en)* | 2010-01-29 | 2016-11-01 | United States Of America As Represented By The Administrator Of National Aeronautics And Space Administration | Ka-band waveguide 2-way hybrid combiner for MMIC amplifiers with unequal and arbitrary power output ratio | 
| EP3376667B1 (en) | 2010-04-19 | 2021-07-28 | Qorvo US, Inc. | Pseudo-envelope following power management system | 
| US8860529B2 (en) | 2010-09-10 | 2014-10-14 | Anaren, Inc. | Impedance transforming coupler | 
| CN103597807B (en) | 2010-09-14 | 2015-09-30 | 大理系统有限公司 | Remotely reconfigurable distributed antenna system and method | 
| WO2012047738A1 (en) | 2010-09-29 | 2012-04-12 | Rf Micro Devices, Inc. | SINGLE μC-BUCKBOOST CONVERTER WITH MULTIPLE REGULATED SUPPLY OUTPUTS | 
| US8461938B2 (en)* | 2010-10-29 | 2013-06-11 | Freescale Semiconductor, Inc. | Directional couplers for use in electronic devices, and methods of use thereof | 
| CN102142812B (en)* | 2010-12-17 | 2013-08-28 | 华为技术有限公司 | Doherty power amplifier | 
| US8962443B2 (en) | 2011-01-31 | 2015-02-24 | Avago Technologies General Ip (Singapore) Pte. Ltd. | Semiconductor device having an airbridge and method of fabricating the same | 
| KR101373769B1 (en) | 2011-02-15 | 2014-03-14 | 성균관대학교산학협력단 | Apparatus and method for high efficiency variable power transmission | 
| KR101145666B1 (en)* | 2011-02-24 | 2012-05-25 | 포항공과대학교 산학협력단 | Three-stage gan hemt doherty power amplifier for high frequency applications | 
| US9048812B2 (en) | 2011-02-28 | 2015-06-02 | Avago Technologies General Ip (Singapore) Pte. Ltd. | Bulk acoustic wave resonator comprising bridge formed within piezoelectric layer | 
| US9203374B2 (en) | 2011-02-28 | 2015-12-01 | Avago Technologies General Ip (Singapore) Pte. Ltd. | Film bulk acoustic resonator comprising a bridge | 
| US9083302B2 (en) | 2011-02-28 | 2015-07-14 | Avago Technologies General Ip (Singapore) Pte. Ltd. | Stacked bulk acoustic resonator comprising a bridge and an acoustic reflector along a perimeter of the resonator | 
| US9425764B2 (en) | 2012-10-25 | 2016-08-23 | Avago Technologies General Ip (Singapore) Pte. Ltd. | Accoustic resonator having composite electrodes with integrated lateral features | 
| US9136818B2 (en) | 2011-02-28 | 2015-09-15 | Avago Technologies General Ip (Singapore) Pte. Ltd. | Stacked acoustic resonator comprising a bridge | 
| US9148117B2 (en) | 2011-02-28 | 2015-09-29 | Avago Technologies General Ip (Singapore) Pte. Ltd. | Coupled resonator filter comprising a bridge and frame elements | 
| US9154112B2 (en) | 2011-02-28 | 2015-10-06 | Avago Technologies General Ip (Singapore) Pte. Ltd. | Coupled resonator filter comprising a bridge | 
| US9444426B2 (en) | 2012-10-25 | 2016-09-13 | Avago Technologies General Ip (Singapore) Pte. Ltd. | Accoustic resonator having integrated lateral feature and temperature compensation feature | 
| US8575820B2 (en) | 2011-03-29 | 2013-11-05 | Avago Technologies General Ip (Singapore) Pte. Ltd. | Stacked bulk acoustic resonator | 
| JP5678768B2 (en)* | 2011-03-30 | 2015-03-04 | 日本電気株式会社 | Amplifier | 
| DE102011075312A1 (en)* | 2011-05-05 | 2012-11-08 | Rohde & Schwarz Gmbh & Co. Kg | Quasi-broadband Doherty amplifier and related capacitor circuit | 
| KR20140034895A (en) | 2011-06-02 | 2014-03-20 | 파커비전, 인크. | Antenna control | 
| US8350445B1 (en) | 2011-06-16 | 2013-01-08 | Avago Technologies Wireless Ip (Singapore) Pte. Ltd. | Bulk acoustic resonator comprising non-piezoelectric layer and bridge | 
| CN102355198B (en)* | 2011-08-01 | 2013-11-27 | 深圳大学 | Multi-channel Asymmetrical Doherty Power Amplifier | 
| US8922302B2 (en) | 2011-08-24 | 2014-12-30 | Avago Technologies General Ip (Singapore) Pte. Ltd. | Acoustic resonator formed on a pedestal | 
| US8698557B2 (en)* | 2011-10-12 | 2014-04-15 | Hbc Solutions, Inc. | Hybrid coupler | 
| US8718580B2 (en) | 2011-11-11 | 2014-05-06 | Hbc Solutions, Inc. | Broadband high efficiency amplifier system incorporating dynamic modulation of load impedance | 
| US8670732B2 (en) | 2011-11-11 | 2014-03-11 | Hbc Solutions, Inc. | Broadband amplifier system using a 3dB quadrature combiner to dynamically modulate load impedance | 
| US9813036B2 (en)* | 2011-12-16 | 2017-11-07 | Qorvo Us, Inc. | Dynamic loadline power amplifier with baseband linearization | 
| JP5799858B2 (en) | 2012-03-05 | 2015-10-28 | 富士通株式会社 | Amplifier | 
| US8970297B2 (en)* | 2012-03-19 | 2015-03-03 | Qualcomm Incorporated | Reconfigurable input power distribution doherty amplifier with improved efficiency | 
| US20130241656A1 (en) | 2012-03-19 | 2013-09-19 | Auriga Measurement Systems, LLC | Power Amplification System Using Doherty Amplifier with Linearization Circuit and Related Techniques | 
| DE102012211308A1 (en)* | 2012-06-29 | 2014-04-03 | Rohde & Schwarz Gmbh & Co. Kg | Quasi-broadband amplifier according to the Doherty principle | 
| US9219444B2 (en) | 2012-08-02 | 2015-12-22 | Imagine Communications Corp. | Broadband high efficiency amplifier system and a method of constructing high power amplitude modulated RF signal | 
| US8742842B2 (en)* | 2012-08-21 | 2014-06-03 | Nokia Siemens Networks Oy | High efficiency power amplifier architecture for off-peak traffic hours | 
| US8593219B1 (en) | 2012-08-31 | 2013-11-26 | Motorola Solutions, Inc. | Method and apparatus for amplifying a radio frequency signal | 
| CN202818232U (en)* | 2012-09-18 | 2013-03-20 | 中兴通讯股份有限公司 | Doherty power amplifying circuit | 
| DE102012219430B4 (en)* | 2012-10-24 | 2023-07-06 | Rohde & Schwarz GmbH & Co. Kommanditgesellschaft | Transmitter system with reconfigurable amplifiers | 
| WO2014075735A1 (en)* | 2012-11-16 | 2014-05-22 | Nokia Solutions And Networks Oy | High efficiency high peak-to-average ratio broadband 3-way power amplifier | 
| US9627975B2 (en) | 2012-11-16 | 2017-04-18 | Qorvo Us, Inc. | Modulated power supply system and method with automatic transition between buck and boost modes | 
| US9431969B2 (en) | 2012-12-11 | 2016-08-30 | Rf Micro Devices, Inc. | Doherty power amplifier with tunable impedance load | 
| US8948306B2 (en) | 2013-01-11 | 2015-02-03 | Gatesair, Inc. | Broadband high efficiency amplifier system | 
| US9929696B2 (en) | 2013-01-24 | 2018-03-27 | Qorvo Us, Inc. | Communications based adjustments of an offset capacitive voltage | 
| US8952754B2 (en) | 2013-03-15 | 2015-02-10 | Imagine Communications Corp. | Linearization of heterogeneous power amplifier systems | 
| US9461596B1 (en)* | 2013-05-31 | 2016-10-04 | Skyworks Solutions, Inc. | Doherty power amplifier with integrated pre-distortion | 
| US9397617B2 (en) | 2013-06-25 | 2016-07-19 | Rf Micro Devices, Inc. | Multi-broadband Doherty power amplifier | 
| US20150070094A1 (en)* | 2013-09-10 | 2015-03-12 | Telefonaktiebolaget Lm Ericsson (Publ) | Doherty power amplifier with coupling mechanism independent of device ratios | 
| CN106415435B (en) | 2013-09-17 | 2020-08-11 | 帕克维辛股份有限公司 | Method, apparatus, and system for presenting information-carrying time functions | 
| US9948243B2 (en)* | 2013-09-30 | 2018-04-17 | Qorvo Us, Inc. | Reconfigurable load modulation amplifier | 
| US9484865B2 (en)* | 2013-09-30 | 2016-11-01 | Qorvo Us, Inc. | Reconfigurable load modulation amplifier | 
| CN104272584B (en)* | 2013-11-01 | 2017-06-20 | 华为技术有限公司 | A Linc Power Amplifier Combiner Circuit | 
| US20150180426A1 (en)* | 2013-11-18 | 2015-06-25 | Auriga Measurement Systems, LLC | Adaptive receiver/transmitter amplifier circuit | 
| US10979001B2 (en)* | 2014-01-18 | 2021-04-13 | Ali Mohamed Darwish | Method and system for linearizing an amplifier using transistor-level dynamic feedback | 
| US9369095B2 (en) | 2014-01-27 | 2016-06-14 | Rf Micro Devices, Inc. | Unbalanced linear power amplifier | 
| EP2933918B1 (en) | 2014-04-15 | 2017-11-22 | Ampleon Netherlands B.V. | Ultra wideband doherty amplifier | 
| US9614476B2 (en) | 2014-07-01 | 2017-04-04 | Qorvo Us, Inc. | Group delay calibration of RF envelope tracking | 
| JP6795284B2 (en)* | 2014-12-09 | 2020-12-02 | 日本電気株式会社 | Doherty amplifier circuit with impedance adjustment circuit | 
| US9503028B2 (en)* | 2015-01-30 | 2016-11-22 | Mitsubishi Electric Research Laboratories, Inc. | Three-way sequential power amplifier system for wideband RF signal | 
| JP6467956B2 (en)* | 2015-02-02 | 2019-02-13 | 日本電気株式会社 | Doherty amplifier circuit with load impedance adjustment circuit | 
| US9515749B2 (en)* | 2015-05-07 | 2016-12-06 | Qualcomm Incorporated | Low noise amplifier module with output coupler | 
| US9941844B2 (en) | 2015-07-01 | 2018-04-10 | Qorvo Us, Inc. | Dual-mode envelope tracking power converter circuitry | 
| US9912297B2 (en) | 2015-07-01 | 2018-03-06 | Qorvo Us, Inc. | Envelope tracking power converter circuitry | 
| US9544864B1 (en)* | 2016-03-07 | 2017-01-10 | Panasonic Liquid Crystal Display Co., Ltd. | Data transmission system and receiving device | 
| KR101725721B1 (en)* | 2016-03-11 | 2017-04-11 | 한양대학교 에리카산학협력단 | Electronic Impedance Tuning Apparatus for Load-Pull Measurement of Handset Power Amplifiers and Impedance Tuning Method Therefor | 
| EP3453110A1 (en) | 2016-05-03 | 2019-03-13 | Telefonaktiebolaget LM Ericsson (PUBL) | An amplifier arrangement | 
| US9973147B2 (en) | 2016-05-10 | 2018-05-15 | Qorvo Us, Inc. | Envelope tracking power management circuit | 
| EP3476041B1 (en) | 2016-06-28 | 2024-06-12 | Telefonaktiebolaget LM Ericsson (PUBL) | Linear doherty power amplifier | 
| US9974038B2 (en)* | 2016-06-30 | 2018-05-15 | Macom Technology Solutions Holdings, Inc. | Circuits and operating methods thereof for correcting phase errors caused by gallium nitride devices | 
| JP7009711B2 (en)* | 2016-11-30 | 2022-01-26 | 住友電工デバイス・イノベーション株式会社 | Doherty amp | 
| EP3682541A4 (en)* | 2017-10-13 | 2020-09-02 | Telefonaktiebolaget LM Ericsson (publ) | DOHERTY POWER AMPLIFIER AND DEVICE | 
| US11251762B2 (en)* | 2018-01-22 | 2022-02-15 | Mitsubishi Electric Corporation | Amplifier | 
| US10476437B2 (en) | 2018-03-15 | 2019-11-12 | Qorvo Us, Inc. | Multimode voltage tracker circuit | 
| GB201817747D0 (en) | 2018-10-31 | 2018-12-19 | Leonardo Mw Ltd | A radio frequency power amplifier | 
| JP2020123761A (en)* | 2019-01-29 | 2020-08-13 | 株式会社村田製作所 | Power amplifier | 
| WO2020217319A1 (en)* | 2019-04-23 | 2020-10-29 | 三菱電機株式会社 | Doherty amplifier and communication device | 
| US12191814B2 (en)* | 2019-08-22 | 2025-01-07 | Qorvo Us, Inc. | Multi-mode power amplifier apparatus | 
| US11374543B2 (en)* | 2019-09-04 | 2022-06-28 | Skyworks Solutions, Inc. | Amplifier system with reduced voltage swing | 
| JP7490050B2 (en)* | 2019-09-16 | 2024-05-24 | 華為技術有限公司 | Power amplifier circuit, transmitter, and network device | 
| CN113517862A (en)* | 2020-04-10 | 2021-10-19 | 华为技术有限公司 | Signal processing method and device | 
| JP2022018955A (en)* | 2020-07-16 | 2022-01-27 | 株式会社村田製作所 | High frequency module and communication device | 
| US12113482B2 (en)* | 2021-11-04 | 2024-10-08 | Macom Technology Solutions Holdings, Inc. | Amplifier device packages incorporating internal couplers | 
| WO2023244761A1 (en)* | 2022-06-15 | 2023-12-21 | Bird Technologies Group Inc. | Directional coupler having wide band high directivity and flat frequency response | 
| WO2024153329A1 (en) | 2023-01-19 | 2024-07-25 | Telefonaktiebolaget Lm Ericsson (Publ) | Combination of balanced amplifiers for resilience to load impedance variation | 
| CN116131779B (en)* | 2023-04-17 | 2023-06-27 | 华南理工大学 | A Radio Frequency Low Noise Amplifier Based on Lange Coupler | 
| Publication number | Priority date | Publication date | Assignee | Title | 
|---|---|---|---|---|
| FR2525834A1 (en)* | 1982-04-27 | 1983-10-28 | Thomson Csf | High frequency power amplifier for radar - includes parallel switched amplification lines to generate modulated power for radar | 
| JPS6110338Y2 (en)* | 1979-02-09 | 1986-04-03 | ||
| JPH04288714A (en)* | 1991-03-18 | 1992-10-13 | Fujitsu Ltd | Bias circuit for high power amplifier | 
| JPH0722852A (en)* | 1993-06-04 | 1995-01-24 | Raytheon Co | Microwave doherty amplifier | 
| JPH07183744A (en)* | 1993-12-24 | 1995-07-21 | Hitachi Ltd | High efficiency power amplifier | 
| JP2000151226A (en)* | 1998-09-01 | 2000-05-30 | Matsushita Electric Ind Co Ltd | Power distributor and power combiner | 
| JP2001267862A (en)* | 2000-03-15 | 2001-09-28 | Nec Network Sensa Kk | Power amplifier to which directional coupler is cascade- connected | 
| JP2001267857A (en)* | 2000-03-14 | 2001-09-28 | Samsung Electronics Co Ltd | Power amplifier | 
| Publication number | Priority date | Publication date | Assignee | Title | 
|---|---|---|---|---|
| US4439744A (en)* | 1981-12-24 | 1984-03-27 | Rca Corporation | Variable power amplifier | 
| FR2545295B1 (en)* | 1983-04-29 | 1985-07-12 | Thomson Csf | POWER MICROWAVE AMPLIFIER | 
| US4677393A (en)* | 1985-10-21 | 1987-06-30 | Rca Corporation | Phase-corrected waveguide power combiner/splitter and power amplifier | 
| US4717884A (en)* | 1986-04-14 | 1988-01-05 | Motorola, Inc. | High efficiency RF power amplifier | 
| US5083094A (en)* | 1990-09-28 | 1992-01-21 | Space Systems/Loral, Inc. | Selective power combiner using phase shifters | 
| US5136256A (en)* | 1991-04-29 | 1992-08-04 | Edward Salzberg | Amplifier combiner | 
| GB9217679D0 (en)* | 1992-08-20 | 1992-09-30 | Marconi Gec Ltd | Combiners for r.f.power amplifiers | 
| US5430411A (en)* | 1993-02-17 | 1995-07-04 | U.S. Philips Corporation | High-frequency amplifier arrangement, transceiver station comprising such an amplifier arrangement and mobile radio system comprising such stations | 
| US5543751A (en)* | 1995-07-21 | 1996-08-06 | Motorola, Inc. | Power combiner for use in a radio frequency system and a method of constructing a power combiner | 
| US6146359A (en)* | 1995-09-06 | 2000-11-14 | Microwave Medical Systems, Inc. | Apparatus for controlledly warming low flow rate infusates | 
| US5663682A (en)* | 1995-10-23 | 1997-09-02 | Adc Telecommunications, Inc. | Wide bandwidth combiner-amplifier | 
| US5896065A (en)* | 1997-06-06 | 1999-04-20 | Myer; Daniel | Radially combined RF/microwave power amplifier | 
| US5999046A (en)* | 1998-06-10 | 1999-12-07 | Motorola, Inc. | Power combiner for use in a radio frequency system and a method of constructing a power combiner | 
| US6094097A (en)* | 1998-08-11 | 2000-07-25 | Lucent Technologies, Inc. | Programmable RF power combiner | 
| JP3951495B2 (en)* | 1999-03-18 | 2007-08-01 | 株式会社日立製作所 | Traveling wave power combining circuit and radio base station | 
| US6194980B1 (en)* | 1999-05-19 | 2001-02-27 | Rockwell Collins, Inc. | Quadrature hybrid RF combining system | 
| US6262629B1 (en)* | 1999-07-06 | 2001-07-17 | Motorola, Inc. | High efficiency power amplifier having reduced output matching networks for use in portable devices | 
| JP2001203540A (en)* | 2000-01-19 | 2001-07-27 | Hitachi Ltd | High frequency power amplifier | 
| JP2002043857A (en)* | 2000-07-28 | 2002-02-08 | Kyocera Corp | High frequency power amplifier | 
| US6639463B1 (en)* | 2000-08-24 | 2003-10-28 | Lucent Technologies Inc. | Adaptive power amplifier system and method | 
| JP3836428B2 (en)* | 2000-08-28 | 2006-10-25 | 三菱電機株式会社 | Multistage amplifier | 
| KR100553252B1 (en) | 2002-02-01 | 2006-02-20 | 아바고테크놀로지스코리아 주식회사 | Power amplifier of portable terminal | 
| Publication number | Priority date | Publication date | Assignee | Title | 
|---|---|---|---|---|
| JPS6110338Y2 (en)* | 1979-02-09 | 1986-04-03 | ||
| FR2525834A1 (en)* | 1982-04-27 | 1983-10-28 | Thomson Csf | High frequency power amplifier for radar - includes parallel switched amplification lines to generate modulated power for radar | 
| JPH04288714A (en)* | 1991-03-18 | 1992-10-13 | Fujitsu Ltd | Bias circuit for high power amplifier | 
| JPH0722852A (en)* | 1993-06-04 | 1995-01-24 | Raytheon Co | Microwave doherty amplifier | 
| JPH07183744A (en)* | 1993-12-24 | 1995-07-21 | Hitachi Ltd | High efficiency power amplifier | 
| JP2000151226A (en)* | 1998-09-01 | 2000-05-30 | Matsushita Electric Ind Co Ltd | Power distributor and power combiner | 
| JP2001267857A (en)* | 2000-03-14 | 2001-09-28 | Samsung Electronics Co Ltd | Power amplifier | 
| JP2001267862A (en)* | 2000-03-15 | 2001-09-28 | Nec Network Sensa Kk | Power amplifier to which directional coupler is cascade- connected | 
| Publication number | Publication date | 
|---|---|
| US6922102B2 (en) | 2005-07-26 | 
| US20040189381A1 (en) | 2004-09-30 | 
| CN1833358B (en) | 2010-04-28 | 
| CN1833358A (en) | 2006-09-13 | 
| US20040189380A1 (en) | 2004-09-30 | 
| DE602004028227D1 (en) | 2010-09-02 | 
| US7064606B2 (en) | 2006-06-20 | 
| JP2007535828A (en) | 2007-12-06 | 
| Publication | Publication Date | Title | 
|---|---|---|
| JP4870556B2 (en) | High efficiency amplifier and design method thereof | |
| EP1609239B1 (en) | High efficiency amplifier and method of designing same | |
| US7518448B1 (en) | Amplifier mode switch | |
| JP2945833B2 (en) | Microwave Doherty amplifier | |
| EP1287611B1 (en) | Amplifier circuit | |
| CN101577528B (en) | Progressive power generating amplifiers | |
| US8811531B2 (en) | Quadrature lattice matching network | |
| US7071775B2 (en) | Method and apparatus for an enhanced efficiency power amplifier | |
| JP5905459B2 (en) | High frequency power amplifier with Doherty extension | |
| JP2007019578A (en) | Power amplifier and transmitter using the same | |
| CN101060186B (en) | Amplifying device and radio communication circuit | |
| JP2010021719A (en) | Doherty amplifier | |
| JP2008125044A (en) | amplifier | |
| JP4627457B2 (en) | amplifier | |
| JP4793807B2 (en) | amplifier | |
| JP2008017072A (en) | Amplifier | |
| JP2006515723A (en) | Multiband signal processing apparatus, processing method and product | |
| KR20060046777A (en) | High efficiency amplifier | |
| EP1829154B1 (en) | Low-loss, asymmetrical combiner for phase differential systems and adaptive rf amplifier comprising an asymmetrical combiner | |
| TWI899758B (en) | Broadband interstage matching | |
| WO2015150873A1 (en) | Multi-stage amplifiers with low loss | |
| JP2025098977A (en) | Wideband Interstage Matching | |
| JP6645333B2 (en) | Doherty amplifier | 
| Date | Code | Title | Description | 
|---|---|---|---|
| A977 | Report on retrieval | Free format text:JAPANESE INTERMEDIATE CODE: A971007 Effective date:20091023 | |
| A131 | Notification of reasons for refusal | Free format text:JAPANESE INTERMEDIATE CODE: A131 Effective date:20091104 | |
| A601 | Written request for extension of time | Free format text:JAPANESE INTERMEDIATE CODE: A601 Effective date:20100204 | |
| A602 | Written permission of extension of time | Free format text:JAPANESE INTERMEDIATE CODE: A602 Effective date:20100212 | |
| A521 | Request for written amendment filed | Free format text:JAPANESE INTERMEDIATE CODE: A523 Effective date:20100430 | |
| A131 | Notification of reasons for refusal | Free format text:JAPANESE INTERMEDIATE CODE: A131 Effective date:20101207 | |
| TRDD | Decision of grant or rejection written | ||
| A01 | Written decision to grant a patent or to grant a registration (utility model) | Free format text:JAPANESE INTERMEDIATE CODE: A01 Effective date:20111018 | |
| A01 | Written decision to grant a patent or to grant a registration (utility model) | Free format text:JAPANESE INTERMEDIATE CODE: A01 | |
| A61 | First payment of annual fees (during grant procedure) | Free format text:JAPANESE INTERMEDIATE CODE: A61 Effective date:20111117 | |
| R150 | Certificate of patent or registration of utility model | Free format text:JAPANESE INTERMEDIATE CODE: R150 | |
| FPAY | Renewal fee payment (event date is renewal date of database) | Free format text:PAYMENT UNTIL: 20141125 Year of fee payment:3 | |
| R250 | Receipt of annual fees | Free format text:JAPANESE INTERMEDIATE CODE: R250 | |
| R250 | Receipt of annual fees | Free format text:JAPANESE INTERMEDIATE CODE: R250 | |
| R250 | Receipt of annual fees | Free format text:JAPANESE INTERMEDIATE CODE: R250 | |
| R250 | Receipt of annual fees | Free format text:JAPANESE INTERMEDIATE CODE: R250 | |
| LAPS | Cancellation because of no payment of annual fees |