













本発明は、生体管路内に挿入されて治療用物質の運搬投与に用いられる生体管路内処置デバイスに関する。 The present invention relates to an in-vivo treatment device that is inserted into a in-vivo channel and used for transporting and administering a therapeutic substance.
  食道などの生体管路内における疾患の内視鏡的治療方法としてEMR(内視鏡的粘膜切除術)やESD(内視鏡的粘膜下層剥離術)が知られている。特にESDは管路内壁の全周に亘るような広範囲な患部を処置することができるが、その一方で、処置領域が大きくなると患部の炎症、狭窄、閉塞などの合併症のリスクも高まるので、それを防ぐための対策が必要となる。こうした合併症の有効な防止手段として、患者の自己口腔粘膜から培養、再生した粘膜上皮細胞シートを患部に移植する技術が提案されている(非特許文献1)。従来は脆弱な細胞シートのような治療用物質を患部まで運搬する手段として、細胞シートを紙に乗せ、この紙を内視鏡から出した鉗子にて把持し患部まで運搬ならびに投与していた。しかし、鉗子では取り扱うことのできる治療用物質の形状や大きさが制限される上、非常に高度な内視鏡の操作技術が必要とされていた。例えば、生体管路内壁に全周的に移植されるような大型の細胞シートを鉗子で運んで移植作業を行うことは困難であった。そのため、簡単かつ安全に広い患部領域に治療用物質を供給することのできる処置具が望まれている。
本発明は、生体管路内への治療用物質の運搬や投与に際しての作業性に優れかつ低コストに得られる生体管路内処置デバイスを提供することを目的とする。 An object of the present invention is to provide an in-vivo treatment device that is excellent in workability during transportation and administration of a therapeutic substance into a in-vivo channel and can be obtained at low cost.
本発明の生体管路内処置デバイスは、中間筒部と該中間筒部の両端に取付可能な一対の端部からなる筒状部と、中間筒部と一対の端部との間に挟着されて筒状部の外周面上に膨縮可能に支持されるバルーンと、該バルーンを膨縮させる膨縮手段とを備え、筒状部を構成する一対の端部はそれぞれ収縮状態のバルーンよりも大径のフランジ部を有しており、バルーンを収縮させた状態で生体管路に挿入され、膨縮手段によりバルーンを膨張させ生体管路内壁に圧接させて生体管路内に留置されることを特徴としている。A treatment apparatus in a living body tract of the present inventionis sandwiched between anintermediate cylinder part , acylindrical partcomposed of a pair of end parts attachable to both ends of theintermediate cylinder part, and theintermediate cylinder part and the pair of end parts. aballoonbeing ina collapsiblesupportedon the outer peripheral surface of the cylindrical portionis provided with a deflating portion for inflating and deflating the balloon,from the balloon, respectively deflated pair of end portions that constitute the cylindrical portion Also has a large-diameter flange portion, and is inserted into the living body conduit with the balloon deflated, and inflated by the inflating and deflating means and pressed against the inner wall of the living body conduit, and is placed in the living body conduit. It is characterized by that.
筒状部を構成する一対の端部はそれぞれ、中間筒部の内部と外部を連通させる貫通孔を有していることが好ましい。Each of the pair of end portionsconstituting the cylindrical portion preferably has a through hole that allows the inside and the outside of the intermediate cylindrical portion to communicate with each other.
膨縮手段は、バルーンへの空気の流入を許し流出を防ぐ流出防止手段を備えることが好ましい。例えば、膨縮手段として、中間筒部の外周面に開口する空気流通孔と、該空気流通孔に挿脱可能な送気管とを備え、中間筒部の外周面に密着して空気流通孔を塞ぐ弾性変形可能な外囲チューブよって流出防止手段を構成することができる。The expansion / contraction means preferably includes outflow prevention means that allows air to flow into the balloon and prevents outflow. For example, the deflating means, and an air flow hole that opens to the outer peripheral surface of theintermediate cylinder portion, and a detachably an air line to the air flow holes, in close contact with the outer peripheral surface of theintermediate tubular portion of the air flow hole The outflow prevention means can be constituted by the envelope tube which can be elastically deformed.
生体管路内処置デバイス本体に先立って生体管路内に挿入される管状のガイド部材を備え、このガイド部材内を通して生体管路内処置デバイス本体を挿入することによって、より挿入性を良くすることができる。 Provided with a tubular guide member inserted into the biological duct prior to the treatment device body in the biological duct, and the insertion property is improved by inserting the biological treatment device body through the guide member. Can do.
本発明の生体管路内処置デバイスは、生体管路内への挿入に際してバルーンの外面にシート状の治療用物質を搭載しておくことによって、患部に対して簡単にシート状の治療用物質を投与することができる。Vivo conduit treatment device of the present invention, by keeping mounteda sheet-like therapeutic agent to the outer surface of the balloon during insertion into a living body duct, easilysheet therapeutic agent against the affected area Can be administered.
以上の本発明の生体管路内処置デバイスによれば、広い患部領域に対して簡単かつ安全に治療用物質を供給することができる。 According to the treatment apparatus for living body duct of the present invention as described above, a therapeutic substance can be supplied easily and safely to a wide affected area.
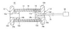
  以下、本発明の生体管路内処置デバイスの実施形態を図面を参照して説明する。図1ないし図3に示す生体管路内処置デバイス10は、円筒状をなす中間筒部11と、該中間筒部11の両端部に取り付けられる第1端部12及び第2端部13と、中間筒部11の外周面側に膨縮可能に設けられたバルーン14と、バルーン14を膨縮させるべくインフレーションデバイス30(図1、図2に示す)から送気及び吸引を行うための送気チューブ(送気管)15と、中間筒部11の外周面上に被着されバルーン14内の空気の漏出を防ぐ環状の逆止弁チューブ(流出防止手段、外囲チューブ)16を備えている。第1端部12と第2端部13にはそれぞれ中間筒部11の内部空間と外部とを連通させる軸方向への貫通孔12a、13aが形成されており、生体管路内処置デバイス10は全体として中空筒状の形態をなしている。なお、インフレーションデバイス30もしくは送気チューブ15の途中位置には、バルーン14内の空気圧を測定することが可能な圧力計が設けられている。以下では、図中における左手方向を生体管路内処置デバイス10の前端部、右手方向を後端部とする。  Hereinafter, an embodiment of a treatment device in a living body duct of the present invention will be described with reference to the drawings. The in-
  図4ないし図8は、生体管路内処置デバイス10の製造工程を示している。図4に示すように、中間筒部11の後端部近傍には外周面と内周面を貫通する空気流通孔11aが形成されている。この空気流通孔11aを覆うようにして中間筒部11の外周面に逆止弁チューブ16が被せられる(図5)。逆止弁チューブ16は気密性を有しかつ弾性変形可能であり、中間筒部11の外周面に密着して空気流通孔11aの開口部を気密に塞ぐ。  4 to 8 show a manufacturing process of the
  続いて、中間筒部11の外側に筒状のバルーン14を被せる。図6に示すように、バルーン14は中間筒部11の軸線方向において該中間筒部11よりも長く、バルーン14の両端部が中間筒部11の両端部よりもそれぞれ突出するように位置が定められる。そして図7に示すように、このバルーン14の両端部はそれぞれ中間筒部11の内周面側に折り返され、中間筒部11の端面を覆う端面部14aと、中間筒部11の内周面に沿う折り返し部14bが形成される。  Subsequently, a
  続いて、図8に示すように、中間筒部11の前後端部にそれぞれ第1端部12と第2端部13が取り付けられる。第1端部12と第2端部13はそれぞれ大径のフランジ部12b、13bと、小径の挿入部12c、13cを備え、挿入部12c、13cの外径サイズは、中間筒部11内に圧入状態で挿入される大きさに設定されている。第1端部12の取り付けに際しては、挿入部12cを中間筒部11の前端部側から挿入させ、フランジ部12bが中間筒部11の前端部(厳密には中間筒部11の前端部を覆う端面部14a)に当て付くまで押し込む。第2端部13の取り付けに際しては、挿入部13cを中間筒部11の後端部側から挿入させ、フランジ部13bが中間筒部11の後端部(厳密には中間筒部11の後端部を覆う端面部14a)に当て付くまで押し込む。すると中間筒部11と第1端部12によりバルーン14の前端部が挟着され、中間筒部11と第2端部13によりバルーン14の後端部が挟着され、バルーン14が保持される。このバルーン14の前後端部の被挟着部分は気密に保たれる。  Subsequently, as shown in FIG. 8, the
  図8のように生体管路内処置デバイス10が完成した状態では、バルーン14の中間部分(中間筒部11の外周面に接する部分)は固定されておらず弾性変形することができる。一方、前述の通りバルーン14の前後端部(被挟着部分)は気密性が保たれているので、中間筒部11の外周面とバルーン14の間に送気することで、図2のようにバルーン14を膨らませることができる。第2端部13には空気流通孔13dが形成されている。空気流通孔13dは一端部が空気流通孔11aに連通し、他端部が第2端部13(フランジ部13b)の後端面側に開口されている。バルーン14内に送気するときは、図1に示すように、この後端側開口から空気流通孔13d内へ送気チューブ15を挿入し、空気流通孔11aの開口部を通して中間筒部11の外周面側に送気チューブ15の先端を突出させる。通常は空気流通孔11aの開口部は逆止弁チューブ16によって気密に塞がれているが、送気チューブ15は、その先端が逆止弁チューブ16の被着領域を超えるまで挿入され、これによりバルーン14内への送気が可能になる(図2)。このとき弾性材料からなる逆止弁チューブ16は、送気チューブ15によって押し上げられてその一部が弾性変形されている。そして、挿入した送気チューブ15を通してインフレーションデバイス30から送気すると図2のようにバルーン14が膨らむ。この状態で送気チューブ15を抜くと、逆止弁チューブ16が空気流通孔11aを気密に塞ぐためバルーン14内の空気は外部へ流出せず、バルーン14が膨らんだ状態が維持される。逆に、膨張した状態で空気流通孔11a、13dに送気チューブ15を挿入してインフレーションデバイス30によってバルーン14内の空気を吸引すると、バルーン14を図1のように収縮させることができる。第1端部12と第2端部13におけるフランジ部12b、13bの外径サイズは、収縮時(図1)のバルーン14の外径サイズよりも大きく設定されており、かつフランジ部12b、13bの外縁部は丸みを帯びた形状になっている。  As shown in FIG. 8, in the state in which the
  中間筒部11ならびに第1、第2端部12、13を構成する材質はポリプロピレン(PP)、ポリエチレン(PE)であることが好ましい。前述のように、バルーン14、逆止弁チューブ16は膨縮可能な弾性材料からなっており、具体的な材質としてシリコンゴムが好ましい。  The material constituting the
  以上の構造からなる生体管路内処置デバイス10の使用手順を図9以下を参照して説明する。準備段階として、バルーン14の外面に治療用物質17(図11ないし図14)を搭載する。搭載される治療用物質17は、生体管路の粘膜剥離術(ESDやEMR)施術後の合併症予防用の細胞シート(口腔粘膜上皮細胞を培養したシート)や、シート状の薬剤など、その使用目的によって適宜選択される。また、生体管路内処置デバイス10における空気流通孔13d及び空気流通孔11aに送気チューブ15を挿入し、インフレーションデバイス30からの送気によってバルーン14を膨らませることができるようにセッティングしておく。
The use procedure of the
  準備が整ったら、図9に示すように、処置対象となる食道などの生体管路20内にシース(ガイド部材)18を挿入する。シース18は、生体管路内処置デバイス10本体を通すことができる内径サイズを有する可撓性チューブであり、生体管路20内へ挿入される図示端部とは反対側の端部が体外に出されている。シース18は、生体管路20に対して内視鏡19や生体管路内処置デバイス10を挿脱するときのガイド部材であり、シース18によって生体管路内処置デバイス10や内視鏡19の通路が確保されるため挿脱作業が容易になり、これらの挿脱時における患者の負担が少なくてすむ。  When the preparation is completed, as shown in FIG. 9, a sheath (guide member) 18 is inserted into a
  続いて図10に示すように、シース18を通して生体管路20内に内視鏡19を挿入し、患部21の粘膜を剥離する処置(ESDやEMR)を行う。処置完了後に内視鏡19を抜き、図11に示すようにシース18を通して生体管路20内に生体管路内処置デバイス10を挿入する。このときシース18は、治療用物質17を物理的破損から保護し、また患部21以外の箇所に治療用物質17が付着することを防ぐ。また、第1端部12と第2端部13のフランジ部12b、13bの外径サイズは収縮時のバルーン部14の外径サイズよりも十分に大きいため、生体管路内処置デバイス10がシース18内を通るときにその内径部に接触するのはフランジ部12b、13bの外縁部に限られ、治療用物質17がシース18の内径部に接触することがなく、シース18内でも治療用物質17が保護される。また、フランジ部12b、13bの外縁部が丸みを帯びた形状になっているため、該フランジ部12b、13bがシース18の内径部に接触した状態での移動抵抗が小さく、シース18内で生体管路内処置デバイス10をスムーズに移動させることができる。そして生体管路内処置デバイス10をシース18の先端部から突出させて処置後の患部21付近に到達させ、図12のように内視鏡19によって後方から観察しながら、治療用物質17と患部21が対向するように生体管路内処置デバイス10の挿入位置を定める。  Subsequently, as shown in FIG. 10, an
  以上の手順が終了した段階で、治療用物質17が処置後の患部21に対向した状態になっている。このようにシース18から生体管路内処置デバイス10が出た状態では、フランジ部12b、13bの外縁部が生体管路20の内径部に最も接触しやすくなるが、当該外縁部が丸みを帯びた形状になっていることで、生体組織を傷つけるおそれが少ない。続いて、インフレーションデバイス30により送気チューブ15を介して送気して所定の圧力になるまでバルーン14を膨張させると、図13に示すように治療用物質17が患部21に圧接される。バルーン14を膨張させる圧力は、他の保持手段を要さずに生体管路内処置デバイス10が単独でこの圧接位置に留まるように(生体管路20内で脱落しないように)設定される。バルーン14の圧力は、インフレーションデバイス30もしくは送気チューブ15の途中位置に備えられた圧力計によって測定され、所定の圧力になったことを容易に判定することが可能である。そして、この圧力計を介してバルーン14が所定の圧力になっていることが確認できたら、送気チューブ15、内視鏡19、シース18の順で生体管路20から抜いていき(図14)、生体管路20内に生体管路内処置デバイス10が留置される。  At the stage when the above procedure is completed, the
  生体管路20内に生体管路内処置デバイス10を留置する時間は意図する医療効果に応じて適宜選択される。例えば、治療用物質17がESD後の合併症予防用の細胞シートである場合には、少なくとも細胞シートが産生した接着タンパクの作用によって移植部位に成着するまでの間を、生体管路内処置デバイス10の留置時間とする。一般にはESD施術の翌日に内視鏡検査が行われるため、そのときに生体管路内処置デバイス10を回収するとよい。生体管路内処置デバイス10を回収するときは、挿入時と同様に生体管路20にシース18を挿入した上で、空気流通孔13dから空気流通孔11aへと送気チューブ15を挿入し、バルーン14内に送気チューブ15の先端が突出するようにする。そして、送気チューブ15を通してインフレーションデバイス30によってバルーン14内の空気を吸引してバルーン14を収縮させる。これによりバルーン14と生体管路20の圧接状態が解除されるので、シース18を通して生体管路内処置デバイス10を引き抜いて回収する。  The time for placing the in-
  以上のように、本実施形態の生体管路内処置デバイス10は、鉗子などを用いた従来の処置具に比べて、極めて簡単かつ安全に患部へ治療用物質を投与することができる。特に、治療用物質の搭載及び運搬手段として全周的に膨縮するバルーン14を用いたことによって、生体管路の全周に亘るような広い患部に対しても、一回の操作で均一に治療用物質を行き渡らせることができる。  As described above, the in-
  また、生体管路内処置デバイス10は、生体管路への挿脱時にはバルーン14を収縮させておき、生体管路内の留置位置でバルーン14を膨張させるので、挿入対象の生体管路の内径サイズに対して、バルーン14収縮時の径サイズを比較的小さくすることができる。そのため生体管路に対する挿脱作業を行いやすく、患者に与える苦痛を軽減することができる。さらにシース18を用いることで挿入性をより良くすることができる。  In addition, since the
  また、生体管路内処置デバイス10は、バルーン14の前後端部を中間筒部11と端部12及び13で挟着保持したシンプルな構造であり、低コストに製造することができる。  Further, the
  また、生体管路内処置デバイス10では、バルーン14の内圧を変化させることによってその圧接力を自在に調整することが可能なため、最適な圧接力で確実に生体管路内に留置させることができ、しかも様々な内径や形状の生体管路に対して広く使用することができる。  In addition, since the pressure contact force can be freely adjusted by changing the internal pressure of the
  また、生体管路内処置デバイス10では、生体管路内に留置させている状態ではバルーン14が患部に圧着することにより、治療用物質が成着するまでの間、唾液や胃液などの異物から治療用物質ならびに患部を保護することができる。  Moreover, in the
  また、生体管路内処置デバイス10は前後に貫通孔12a、13aを有する貫通した筒状体であるため、生体管路内に留置した状態でも生体管路内処置デバイス10によって生体管路が塞がれることがない。例えば、生体管路が食道である場合には生体管路内処置デバイス10内を唾液や飲み物が通過可能であり、デバイスの留置状態における患者の負担を軽減することができる。  Further, since the
  なお、本発明の生体管路内処置デバイスは図示実施形態に限定されるものではなく、発明の要点を逸脱しない限りにおいて異なる形態とすることが可能である。例えば、図示実施形態では膨張したバルーン14からの空気漏れを防ぐ手段として中間筒部11の外周面に被着させた逆止弁チューブ16を用いているが、これに代えて空気流通孔13d内に空気流通を制御する弁部材を設けるなどの改変が可能である。  The in-vivo treatment device of the present invention is not limited to the illustrated embodiment, and can be in a different form without departing from the gist of the invention. For example, in the illustrated embodiment, the
10  生体管路内処置デバイス
11  中間筒部
12  第1端部
13  第2端部
14  バルーン
15  送気チューブ(送気管)
16  逆止弁チューブ(流出防止手段、外囲チューブ)
17  治療用物質
18  シース(ガイド部材)
19  内視鏡
20  生体管路
21  患部
30  インフレーションデバイスDESCRIPTION OF
 16 Check valve tube (outflow prevention means, outer tube)
 17
 19
| Application Number | Priority Date | Filing Date | Title | 
|---|---|---|---|
| JP2006339314AJP4864680B2 (en) | 2006-12-18 | 2006-12-18 | Intravascular treatment device | 
| Application Number | Priority Date | Filing Date | Title | 
|---|---|---|---|
| JP2006339314AJP4864680B2 (en) | 2006-12-18 | 2006-12-18 | Intravascular treatment device | 
| Publication Number | Publication Date | 
|---|---|
| JP2008148887A JP2008148887A (en) | 2008-07-03 | 
| JP4864680B2true JP4864680B2 (en) | 2012-02-01 | 
| Application Number | Title | Priority Date | Filing Date | 
|---|---|---|---|
| JP2006339314AExpired - Fee RelatedJP4864680B2 (en) | 2006-12-18 | 2006-12-18 | Intravascular treatment device | 
| Country | Link | 
|---|---|
| JP (1) | JP4864680B2 (en) | 
| Publication number | Priority date | Publication date | Assignee | Title | 
|---|---|---|---|---|
| JP5670424B2 (en)* | 2009-04-03 | 2015-02-18 | リシェイプ メディカル, インコーポレイテッド | Improved gastric space filling and manufacturing method including in vitro testing | 
| EP2915558A4 (en) | 2012-10-31 | 2016-08-10 | Univ Tokyo Womens Medical | APPARATUS FOR TRANSPORTING SHEET-LIKE THERAPEUTIC SUBSTANCES AND METHOD FOR FIXING SHEET-LIKE THERAPEUTIC USES | 
| JP6348486B2 (en)* | 2013-04-02 | 2018-06-27 | テルモ株式会社 | Balloon catheter and method for manufacturing balloon catheter | 
| AU2016320987B2 (en)* | 2015-09-09 | 2020-07-16 | Tokyo Women's Medical University | Therapeutic substance delivery device and therapeutic substance delivery kit | 
| TWI738734B (en)* | 2017-03-07 | 2021-09-11 | 學校法人東京女子醫科大學 | Therapeutic substance delivery equipment and therapeutic substance delivery kit | 
| US11458688B2 (en) | 2017-12-11 | 2022-10-04 | Tokyo Women's Medical University | Tubular tissue preparation device, tubular tissue preparation kit, and tubular tissue preparation method | 
| KR102049701B1 (en)* | 2019-08-22 | 2020-01-08 | 이지희 | A liquid medicine injection machine Of Balloon type | 
| CN116328158A (en)* | 2023-03-25 | 2023-06-27 | 北京仰生恒泰科技有限责任公司 | Head bag body embedded medical catheter | 
| Publication number | Priority date | Publication date | Assignee | Title | 
|---|---|---|---|---|
| US4213461A (en)* | 1977-09-15 | 1980-07-22 | Pevsner Paul H | Miniature balloon catheter | 
| JPH02111451A (en)* | 1988-10-18 | 1990-04-24 | Mitsubishi Electric Corp | Garbage disposal equipment | 
| JPH02239874A (en)* | 1989-03-13 | 1990-09-21 | Olympus Optical Co Ltd | Biotube expander and biotube expanding device | 
| JP2002291903A (en)* | 2001-03-15 | 2002-10-08 | Cordis Corp | Aneurysm embolization device | 
| JP2004344627A (en)* | 2003-05-22 | 2004-12-09 | Tomio Wada | Balloon catheter for medical treatment | 
| JP4264886B2 (en)* | 2003-10-01 | 2009-05-20 | テルモ・クリニカルサプライ株式会社 | Balloon catheter | 
| JP2007244682A (en)* | 2006-03-16 | 2007-09-27 | Sekisui Chem Co Ltd | Balloon catheter | 
| Publication number | Publication date | 
|---|---|
| JP2008148887A (en) | 2008-07-03 | 
| Publication | Publication Date | Title | 
|---|---|---|
| JP4864680B2 (en) | Intravascular treatment device | |
| JP4485110B2 (en) | Laparoscopic surgical access tool with gas seal | |
| JP6399927B2 (en) | Device for removing an element contained in a cavity using a bag and an applier for removing the element | |
| JP4569971B2 (en) | Equipment for transporting and administering therapeutic substances | |
| JP5450904B2 (en) | Medical equipment | |
| JP4517321B2 (en) | Overtube | |
| US8348891B2 (en) | Surgical method and medical device | |
| US8764785B2 (en) | Endoscopic tissue stabilization device and related methods of use | |
| TWI428111B (en) | Retainer for medical use | |
| JP2011156365A (en) | Surgical retrieval apparatus | |
| US20060079924A1 (en) | Apparatus for accessing a body cavity and methods of making same | |
| TWI641354B (en) | Disposal aid | |
| JP5752740B2 (en) | Endoscopic sliding tube | |
| JP2006528516A (en) | Inflatable device and method of manufacture for accessing a body cavity | |
| JP2022130211A (en) | Medical apparatus and metho for applying graft | |
| ES2335913T3 (en) | IMPROVEMENTS IN AND RELATED TO STOMA DEVICES AND APOSITOS. | |
| US20180078283A1 (en) | Vacuum-Assisted Vaginal Positioning Device | |
| JP2008079783A (en) | Intravascular treatment device | |
| JP3770902B1 (en) | Colonoscopy aids | |
| US20080097157A1 (en) | Sterile transcolonic access device | |
| JP2672464B2 (en) | Balloon catheter | |
| CN202459776U (en) | Balloon dilating catheter for postoperative biliary drainage and cholangio-jejunal anastomotic stoma dilation | |
| US20140107692A1 (en) | Method of treating a lumen region of a subject | |
| CN212521913U (en) | gravel wire support catheter | |
| JP4780543B2 (en) | Endoscope balloon device | 
| Date | Code | Title | Description | 
|---|---|---|---|
| A711 | Notification of change in applicant | Free format text:JAPANESE INTERMEDIATE CODE: A712 Effective date:20080502 | |
| A621 | Written request for application examination | Free format text:JAPANESE INTERMEDIATE CODE: A621 Effective date:20090928 | |
| A977 | Report on retrieval | Free format text:JAPANESE INTERMEDIATE CODE: A971007 Effective date:20110818 | |
| A131 | Notification of reasons for refusal | Free format text:JAPANESE INTERMEDIATE CODE: A131 Effective date:20110830 | |
| A521 | Written amendment | Free format text:JAPANESE INTERMEDIATE CODE: A523 Effective date:20111005 | |
| TRDD | Decision of grant or rejection written | ||
| A01 | Written decision to grant a patent or to grant a registration (utility model) | Free format text:JAPANESE INTERMEDIATE CODE: A01 Effective date:20111025 | |
| A01 | Written decision to grant a patent or to grant a registration (utility model) | Free format text:JAPANESE INTERMEDIATE CODE: A01 | |
| A61 | First payment of annual fees (during grant procedure) | Free format text:JAPANESE INTERMEDIATE CODE: A61 Effective date:20111109 | |
| FPAY | Renewal fee payment (event date is renewal date of database) | Free format text:PAYMENT UNTIL: 20141118 Year of fee payment:3 | |
| R150 | Certificate of patent or registration of utility model | Free format text:JAPANESE INTERMEDIATE CODE: R150 | |
| S111 | Request for change of ownership or part of ownership | Free format text:JAPANESE INTERMEDIATE CODE: R313113 | |
| R350 | Written notification of registration of transfer | Free format text:JAPANESE INTERMEDIATE CODE: R350 | |
| LAPS | Cancellation because of no payment of annual fees |