














本発明は、液体を介して基板を露光する露光装置、露光方法、及びデバイス製造方法に関するものである。The present invention relates to an exposure apparatus that exposes a substrate through a liquid, anexposure method, and a device manufacturing method.
  半導体デバイスや液晶表示デバイス等のマイクロデバイスの製造工程の一つであるフォトリソグラフィ工程では、マスク上に形成されたパターンを感光性の基板上に投影露光する露光装置が用いられる。この露光装置は、マスクを保持して移動可能なマスクステージと、基板を保持して移動可能な基板ステージとを有し、マスクステージ及び基板ステージを逐次移動しながらマスクのパターンを投影光学系を介して基板に投影露光するものである。マイクロデバイスの製造においては、デバイスの高密度化のために、基板上に形成されるパターンの微細化が要求されている。この要求に応えるために露光装置の更なる高解像度化が望まれている。その高解像度化を実現するための手段の一つとして、下記特許文献1に開示されているような、投影光学系と基板との間の露光光の光路空間を液体で満たし、投影光学系と液体とを介して基板を露光する液浸露光装置が案出されている。
ところで、露光装置においては、デバイスの生産性向上等を目的として、基板(基板ステージ)の移動速度の高速化が要求される。ところが、基板(基板ステージ)の移動を高速化した場合、投影光学系と基板との間の光路空間に液体を良好に保持することが困難となる可能性がある。例えば、走査型の露光装置においては、基板の走査速度の高速化に伴って、光路空間に満たされた液体が漏出する可能性がある。液体が漏出すると、周辺部材・機器に錆びや故障が生じたり、露光装置の置かれている環境(湿度、クリーン度等)が変動する等の不都合が生じ、露光精度や各種計測精度が劣化する虞がある。 By the way, in the exposure apparatus, it is required to increase the moving speed of the substrate (substrate stage) for the purpose of improving device productivity. However, when the movement of the substrate (substrate stage) is increased, it may be difficult to satisfactorily hold the liquid in the optical path space between the projection optical system and the substrate. For example, in a scanning exposure apparatus, there is a possibility that the liquid filled in the optical path space leaks as the scanning speed of the substrate increases. If the liquid leaks, there will be inconveniences such as rusting or failure of peripheral members / equipment, fluctuation of the environment (humidity, cleanliness, etc.) where the exposure device is placed, and exposure accuracy and various measurement accuracy will deteriorate. There is a fear.
  本発明はこのような事情に鑑みてなされたものであって、露光光の光路空間に満たされた液体の漏出を抑制できる露光装置、露光方法、及びその露光装置、露光方法、を使ったデバイス製造方法を提供することを目的とする。
The present invention has been made in view of such circumstances, and an exposure apparatus, an exposure method, and a device using the exposure apparatusand the exposure method that can suppress leakage of the liquid filled in the optical path space of the exposure light. An object is to provide a manufacturing method.
上記の課題を解決するため、本発明は実施の形態に示す各図に対応付けした以下の構成を採用している。但し、各要素に付した括弧付き符号はその要素の例示に過ぎず、各要素を限定するものではない。 In order to solve the above-described problems, the present invention employs the following configurations corresponding to the respective drawings shown in the embodiments. However, the reference numerals with parentheses attached to each element are merely examples of the element and do not limit each element.
本発明の第1の態様に従えば、液体(LQ)を介して基板(P)に露光光(EL)を照射して基板(P)を露光する露光装置において、液体(LQ)を回収する回収口(22)と、露光光(EL)の光路空間(K1)に対して回収口(22)の外側に設けられ、気体のみを吸引する吸引口(32)とを備えた露光装置(EX)が提供される。 According to the first aspect of the present invention, the liquid (LQ) is recovered in the exposure apparatus that exposes the substrate (P) by irradiating the substrate (P) with exposure light (EL) through the liquid (LQ). An exposure apparatus (EX) including a recovery port (22) and a suction port (32) that is provided outside the recovery port (22) with respect to the optical path space (K1) of exposure light (EL) and sucks only gas. ) Is provided.
本発明の第1の態様によれば、吸引口から気体を吸引することによって回収口近傍に所定の気体の流れを生成することができ、生成された気体の流れによって液体の漏出を防止することができる。 According to the first aspect of the present invention, a predetermined gas flow can be generated in the vicinity of the recovery port by sucking gas from the suction port, and liquid leakage is prevented by the generated gas flow. Can do.
本発明の第2の態様に従えば、上記態様の露光装置(EX)を用いるデバイス製造方法が提供される。 According to the second aspect of the present invention, a device manufacturing method using the exposure apparatus (EX) of the above aspect is provided.
本発明の第2の態様によれば、光路空間に満たされた液体の漏出が防止された露光装置を使ってデバイスを製造することができる。 According to the second aspect of the present invention, a device can be manufactured using an exposure apparatus in which leakage of the liquid filled in the optical path space is prevented.
本発明によれば、露光光の光路空間に満たされた液体の漏出を防止し、露光精度及び計測精度を維持することができる。 According to the present invention, it is possible to prevent leakage of the liquid filled in the optical path space of exposure light, and maintain exposure accuracy and measurement accuracy.
以下、本発明の実施形態について図面を参照しながら説明するが、本発明はこれに限定されない。 Hereinafter, embodiments of the present invention will be described with reference to the drawings, but the present invention is not limited thereto.
  <第1実施形態>
  図1は第1実施形態に係る露光装置を示す概略構成図である。図1において、露光装置EXは、マスクMを保持して移動可能なマスクステージMSTと、基板Pを保持して移動可能な基板ステージPSTと、マスクステージMSTに保持されているマスクMを露光光ELで照明する照明光学系ILと、露光光ELで照明されたマスクMのパターン像を基板ステージPSTに保持されている基板Pに投影露光する投影光学系PLと、露光装置EX全体の動作を統括制御する制御装置CONTとを備えている。<First Embodiment>
 FIG. 1 is a schematic block diagram that shows an exposure apparatus according to the first embodiment. In FIG. 1, an exposure apparatus EX exposes a mask stage MST that is movable while holding a mask M, a substrate stage PST that is movable while holding a substrate P, and a mask M that is held by the mask stage MST. The operation of the illumination optical system IL that illuminates with EL, the projection optical system PL that projects and exposes the pattern image of the mask M illuminated with the exposure light EL onto the substrate P held on the substrate stage PST, and the overall operation of the exposure apparatus EX. And a control device CONT for overall control.
  本実施形態の露光装置EXは、露光波長を実質的に短くして解像度を向上するとともに焦点深度を実質的に広くするために液浸法を適用した液浸露光装置であって、投影光学系PLの像面近傍における露光光ELの光路空間K1を液体LQで満たすための液浸機構1を備えている。なお、以下の説明においては、投影光学系PLと基板Pとが対向している状態で光路空間K1が液体LQで満たされている場合について説明しているが、基板P以外の物体(例えば基板ステージPSTの上面)が投影光学系PLと対向している状態で光路空間K1が液体LQで満たされている場合も同様である。液浸機構1は、光路空間K1の近傍に設けられ、液体LQを供給する供給口12及び液体LQを回収する回収口22を有するノズル部材70と、供給管13、及びノズル部材70に設けられた供給口12を介して液体LQを供給する液体供給装置11と、ノズル部材70に設けられた回収口22、及び回収管23を介して液体LQを回収する液体回収装置21とを備えている。後に詳述するように、ノズル部材70の内部には、供給口12と供給管13とを接続する流路(供給流路)14が設けられているとともに、回収口22と回収管23とを接続する流路(回収流路)24が設けられている。ノズル部材70は、投影光学系PLを構成する複数の光学素子のうち、投影光学系PLの像面に最も近い第1光学素子LS1を囲むように環状に形成されている。  The exposure apparatus EX of the present embodiment is an immersion exposure apparatus to which an immersion method is applied in order to substantially shorten the exposure wavelength to improve the resolution and substantially widen the depth of focus. A liquid immersion mechanism 1 is provided for filling the optical path space K1 of the exposure light EL in the vicinity of the PL image plane with the liquid LQ. In the following description, a case where the optical path space K1 is filled with the liquid LQ in a state where the projection optical system PL and the substrate P face each other is described. However, an object other than the substrate P (for example, the substrate) The same applies to the case where the optical path space K1 is filled with the liquid LQ with the upper surface of the stage PST facing the projection optical system PL. The liquid immersion mechanism 1 is provided in the vicinity of the optical path space K1, and is provided in the
  また、本実施形態の露光装置EXは、投影光学系PLの投影領域ARを含む基板P上の一部に、投影領域ARよりも大きく且つ基板Pよりも小さい液体LQの液浸領域LRを局所的に形成する局所液浸方式を採用している。露光装置EXは、少なくともマスクMのパターン像を基板Pに転写している間、投影光学系PLの像面に最も近い第1光学素子LS1と、投影光学系PLの像面側に配置された基板Pとの間の露光光ELの光路空間K1を液体LQで満たし、投影光学系PLと光路空間K1に満たされた液体LQとを介してマスクMを通過した露光光ELを基板Pに照射することによって、マスクMのパターン像を基板Pに投影露光する。制御装置CONTは、液浸機構1の液体供給装置11を使って液体LQを所定量供給するとともに、液体回収装置21を使って液体LQを所定量回収することで、光路空間K1を液体LQで満たし、基板P上に液体LQの液浸領域LRを局所的に形成する。  Further, the exposure apparatus EX of the present embodiment locally places the immersion area LR of the liquid LQ that is larger than the projection area AR and smaller than the substrate P on a part of the substrate P including the projection area AR of the projection optical system PL. A local liquid immersion method is used. The exposure apparatus EX is disposed on the image plane side of the projection optical system PL and the first optical element LS1 closest to the image plane of the projection optical system PL while at least transferring the pattern image of the mask M to the substrate P. The optical path space K1 of the exposure light EL between the substrate P is filled with the liquid LQ, and the exposure light EL that has passed through the mask M is irradiated onto the substrate P through the projection optical system PL and the liquid LQ filled in the optical path space K1. Thus, the pattern image of the mask M is projected and exposed onto the substrate P. The control device CONT supplies a predetermined amount of the liquid LQ using the liquid supply device 11 of the liquid immersion mechanism 1 and recovers the predetermined amount of the liquid LQ using the
  また、露光装置EXは、気体のみを吸引可能な吸引機構3を備えている。吸引機構3は、ノズル部材70近傍に設けられ、気体のみを吸引する吸引口32を有する吸引部材30と、吸引管33を介して気体を吸引する吸引装置31とを備えている。後に詳述するように、吸引部材30の内部には、吸引口32と吸引管33とを接続する流路(吸引流路)34が設けられている。吸引部材30は、光路空間K1及びノズル部材70を囲むように環状に形成されている。  Further, the exposure apparatus EX includes a
本実施形態では、露光装置EXとしてマスクMと基板Pとを走査方向における互いに異なる向き(逆方向)に同期移動しつつマスクMに形成されたパターンを基板Pに露光する走査型露光装置(所謂スキャニングステッパ)を使用する場合を例にして説明する。以下の説明において、水平面内においてマスクMと基板Pとの同期移動方向(走査方向)をX軸方向、水平面内においてX軸方向と直交する方向をY軸方向(非走査方向)、X軸及びY軸方向に垂直で投影光学系PLの光軸AXと一致する方向をZ軸方向とする。また、X軸、Y軸、及びZ軸まわりの回転(傾斜)方向をそれぞれ、θX、θY、及びθZ方向とする。なお、ここでいう「基板」は半導体ウエハ等の基材上に感光材(フォトレジスト)のような膜部材を塗布したものを含み、「マスク」は基板上に縮小投影されるデバイスパターンを形成されたレチクルを含む。 In the present embodiment, the exposure apparatus EX is a scanning exposure apparatus (so-called so-called exposure apparatus EX) that exposes the pattern formed on the mask M onto the substrate P while synchronously moving the mask M and the substrate P in different directions (reverse directions) in the scanning direction. A case where a scanning stepper) is used will be described as an example. In the following description, the synchronous movement direction (scanning direction) of the mask M and the substrate P in the horizontal plane is the X-axis direction, the direction orthogonal to the X-axis direction in the horizontal plane is the Y-axis direction (non-scanning direction), the X-axis, and A direction perpendicular to the Y-axis direction and coincident with the optical axis AX of the projection optical system PL is defined as a Z-axis direction. Further, the rotation (inclination) directions around the X axis, Y axis, and Z axis are the θX, θY, and θZ directions, respectively. The “substrate” mentioned here includes a substrate such as a semiconductor wafer coated with a film member such as a photosensitive material (photoresist), and the “mask” forms a device pattern that is reduced and projected onto the substrate. Reticulated reticle.
  露光装置EXは、床面上に設けられたベースBPと、そのベースBP上に設置されたメインコラム9とを備えている。メインコラム9には、内側に向けて突出する上側段部7及び下側段部8が形成されている。照明光学系ILは、マスクステージMSTに支持されているマスクMを露光光ELで照明するものであって、メインコラム9の上部に固定された支持フレーム10により支持されている。  The exposure apparatus EX includes a base BP provided on the floor and a
照明光学系ILは、露光用光源から射出された光束の照度を均一化するオプティカルインテグレータ、オプティカルインテグレータからの露光光ELを集光するコンデンサレンズ、リレーレンズ系、及び露光光ELによるマスクM上の照明領域を設定する視野絞り等を有している。マスクM上の所定の照明領域は照明光学系ILにより均一な照度分布の露光光ELで照明される。照明光学系ILから射出される露光光ELとしては、例えば水銀ランプから射出される輝線(g線、h線、i線)及びKrFエキシマレーザ光(波長248nm)等の遠紫外光(DUV光)や、ArFエキシマレーザ光(波長193nm)及びF2レーザ光(波長157nm)等の真空紫外光(VUV光)などが用いられる。本実施形態においてはArFエキシマレーザ光が用いられる。The illumination optical system IL is an optical integrator that uniformizes the illuminance of the light beam emitted from the exposure light source, a condenser lens that collects the exposure light EL from the optical integrator, a relay lens system, and a mask M formed by the exposure light EL. It has a field stop for setting the illumination area. A predetermined illumination area on the mask M is illuminated with the exposure light EL having a uniform illuminance distribution by the illumination optical system IL. The exposure light EL emitted from the illumination optical system IL is, for example, far ultraviolet light (DUV light) such as bright lines (g line, h line, i line) and KrF excimer laser light (wavelength 248 nm) emitted from a mercury lamp. Alternatively, vacuum ultraviolet light (VUV light) such as ArF excimer laser light (wavelength 193 nm) and F2 laser light (wavelength 157 nm) is used. In this embodiment, ArF excimer laser light is used.
本実施形態においては、液体LQとして純水が用いられる。純水はArFエキシマレーザ光のみならず、例えば水銀ランプから射出される輝線(g線、h線、i線)及びKrFエキシマレーザ光(波長248nm)等の遠紫外光(DUV光)も透過可能である。 In the present embodiment, pure water is used as the liquid LQ. Pure water can transmit not only ArF excimer laser light but also far ultraviolet light (DUV light) such as bright lines (g-line, h-line, i-line) emitted from mercury lamps and KrF excimer laser light (wavelength 248 nm). It is.
  マスクステージMSTは、マスクMを保持して移動可能である。マスクステージMSTは、マスクMを真空吸着(又は静電吸着)により保持する。マスクステージMSTの下面には非接触軸受である気体軸受(エアベアリング)85が複数設けられている。マスクステージMSTは、エアベアリング85によりマスクステージ定盤2の上面(ガイド面)に対して非接触支持されている。マスクステージMST及びマスクステージ定盤2の中央部にはマスクMのパターン像を通過させる開口部がそれぞれ形成されている。マスクステージ定盤2は、メインコラム9の上側段部7に防振装置86を介して支持されている。すなわち、マスクステージMSTは、防振装置86及びマスクステージ定盤2を介してメインコラム9の上側段部7に支持された構成となっている。防振装置86によって、メインコラム9の振動がマスクステージMSTを支持するマスクステージ定盤2に伝わらないように、マスクステージ定盤2とメインコラム9とが振動的に分離されている。  Mask stage MST is movable while holding mask M. Mask stage MST holds mask M by vacuum suction (or electrostatic suction). A plurality of gas bearings (air bearings) 85 which are non-contact bearings are provided on the lower surface of the mask stage MST. Mask stage MST is supported in a non-contact manner on the upper surface (guide surface) of mask stage surface plate 2 by
  マスクステージMSTは、制御装置CONTにより制御されるリニアモータ等を含むマスクステージ駆動装置MSTDの駆動により、マスクMを保持した状態で、マスクステージ定盤2上において、投影光学系PLの光軸AXに垂直な平面内、すなわちXY平面内で2次元移動可能及びθZ方向に微少回転可能である。マスクステージMST上には移動鏡81が設けられている。また、移動鏡81に対向する位置にはレーザ干渉計82が設けられている。マスクステージMST上のマスクMの2次元方向の位置、及びθZ方向の回転角(場合によってはθX、θY方向の回転角も含む)はレーザ干渉計82によりリアルタイムで計測される。レーザ干渉計82の計測結果は制御装置CONTに出力される。制御装置CONTは、レーザ干渉計82の計測結果に基づいてマスクステージ駆動装置MSTDを駆動し、マスクステージMSTに保持されているマスクMの位置制御を行う。  The mask stage MST is an optical axis AX of the projection optical system PL on the mask stage surface plate 2 in a state where the mask M is held by driving of a mask stage driving device MSTD including a linear motor controlled by the control device CONT. Can move two-dimensionally in a plane perpendicular to the plane, that is, in the XY plane, and can rotate in the θZ direction slightly. A
投影光学系PLは、マスクMのパターンを所定の投影倍率βで基板Pに投影露光するものであって、複数の光学素子で構成されており、それら光学素子は鏡筒PKで保持されている。本実施形態において、投影光学系PLは、投影倍率βが例えば1/4、1/5、あるいは1/8の縮小系である。なお、投影光学系PLは等倍系及び拡大系のいずれでもよい。また、投影光学系PLは、反射光学素子を含まない屈折系、屈折光学素子を含まない反射系、反射光学素子と屈折光学素子とを含む反射屈折系のいずれであってもよい。投影光学系PLを構成する複数の光学素子のうち、投影光学系PLの像面に最も近い第1光学素子LS1は鏡筒PKより露出している。 The projection optical system PL projects and exposes the pattern of the mask M onto the substrate P at a predetermined projection magnification β, and is composed of a plurality of optical elements, which are held by a lens barrel PK. . In the present embodiment, the projection optical system PL is a reduction system having a projection magnification β of, for example, 1/4, 1/5, or 1/8. Note that the projection optical system PL may be either an equal magnification system or an enlargement system. The projection optical system PL may be any of a refractive system that does not include a reflective optical element, a reflective system that does not include a refractive optical element, and a catadioptric system that includes a reflective optical element and a refractive optical element. Of the plurality of optical elements constituting the projection optical system PL, the first optical element LS1 closest to the image plane of the projection optical system PL is exposed from the lens barrel PK.
  投影光学系PLを保持する鏡筒PKの外周にはフランジPFが設けられており、投影光学系PLはフランジPFを介して鏡筒定盤5に支持されている。鏡筒定盤5は、メインコラム9の下側段部8に防振装置87を介して支持されている。すなわち、投影光学系PLは、防振装置87及び鏡筒定盤5を介してメインコラム9の下側段部8に支持された構成となっている。また、防振装置87によって、メインコラム9の振動が投影光学系PLを支持する鏡筒定盤5に伝わらないように、鏡筒定盤5とメインコラム9とが振動的に分離されている。  A flange PF is provided on the outer periphery of the lens barrel PK that holds the projection optical system PL, and the projection optical system PL is supported by the lens
  基板ステージPSTは、基板Pを保持する基板ホルダPHを有しており、基板ホルダPHに基板Pを支持して移動可能である。基板ホルダPHは、例えば真空吸着等により基板Pを保持する。基板ステージPST上には凹部93が設けられており、基板Pを保持するための基板ホルダPHは凹部93に配置されている。そして、基板ステージPSTのうち凹部93以外の上面94は、基板ホルダPHに保持された基板Pの表面とほぼ同じ高さ(面一)になるような平坦面となっている。但し、光路空間K1に液体LQを満たし続けることができるならば、基板ステージPSTの上面94と基板P表面とに段差があってもよい。  The substrate stage PST has a substrate holder PH that holds the substrate P, and is movable while supporting the substrate P on the substrate holder PH. The substrate holder PH holds the substrate P by, for example, vacuum suction. A
  基板ステージPSTの下面には非接触軸受である気体軸受(エアベアリング)88が複数設けられている。基板ステージPSTは、エアベアリング88により基板ステージ定盤6の上面(ガイド面)に対して非接触支持されている。基板ステージ定盤6は、ベースBP上に防振装置89を介して支持されている。また、防振装置89によって、ベースBP(床面)やメインコラム9の振動が基板ステージPSTを支持する基板ステージ定盤6に伝わらないように、基板ステージ定盤6とメインコラム9及びベースBP(床面)とが振動的に分離されている。  A plurality of gas bearings (air bearings) 88 which are non-contact bearings are provided on the lower surface of the substrate stage PST. Substrate stage PST is supported in a noncontact manner on the upper surface (guide surface) of substrate
  基板ステージPSTは、制御装置CONTにより制御されるリニアモータ等を含む基板ステージ駆動装置PSTDの駆動により、基板Pを基板ホルダPHを介して保持した状態で、基板ステージ定盤6上でXY平面内で2次元移動可能及びθZ方向に微小回転可能である。更に基板ステージPSTは、Z軸方向、θX方向、及びθY方向にも移動可能である。したがって、基板ステージPSTに支持された基板Pの表面は、X軸、Y軸、Z軸、θX、θY、及びθZ方向の6自由度の方向に移動可能である。基板ステージPSTの側面には移動鏡83が設けられている。また、移動鏡83に対向する位置にはレーザ干渉計84が設けられている。基板ステージPST上の基板Pの2次元方向の位置、及び回転角はレーザ干渉計84によりリアルタイムで計測される。また、露光装置EXは、例えば特開2004−207710号公報に開示されているような、基板ステージPSTに支持されている基板Pの表面の面位置情報を検出するフォーカス・レベリング検出系を備えている。レーザ干渉計84の計測結果は制御装置CONTに出力される。フォーカス・レベリング検出系の検出結果も制御装置CONTに出力される。制御装置CONTは、フォーカス・レベリング検出系の検出結果に基づいて、基板ステージ駆動装置PSTDを駆動し、基板Pのフォーカス位置(Z位置)及び傾斜角(θX、θY)を制御して、基板Pの表面を投影光学系PL及び液体LQを介して形成される像面に合わせ込むとともに、レーザ干渉計84の計測結果に基づいて、基板PのX軸方向、Y軸方向、及びθZ方向における位置制御を行う。  The substrate stage PST is in the XY plane on the substrate
  液浸機構1の液体供給装置11は、液体LQを収容するタンク、加圧ポンプ、供給する液体LQの温度を調整する温度調整装置、及び液体LQ中の異物を取り除くフィルタユニット等を備えている。液体供給装置11には供給管13の一端部が接続されており、供給管13の他端部はノズル部材70に接続されている。液体供給装置11の液体供給動作は制御装置CONTにより制御される。なお、液体供給装置11のタンク、加圧ポンプ、温度調整機構、フィルタユニット等は、その全てを露光装置EXが備えている必要はなく、露光装置EXが設置される工場等の設備を代用してもよい。  The liquid supply device 11 of the liquid immersion mechanism 1 includes a tank that stores the liquid LQ, a pressure pump, a temperature adjustment device that adjusts the temperature of the liquid LQ to be supplied, a filter unit that removes foreign matter in the liquid LQ, and the like. . One end of a
  また、供給管13の途中には、液体供給装置11から送出され、投影光学系PLの像面側に供給される単位時間あたりの液体量を制御するマスフローコントローラと呼ばれる流量制御器19が設けられている。流量制御器19による液体供給量の制御は制御装置CONTの指令信号のもとで行われる。  Further, a flow rate controller 19 called a mass flow controller that controls the amount of liquid per unit time that is sent from the liquid supply device 11 and supplied to the image plane side of the projection optical system PL is provided in the
  液浸機構1の液体回収装置21は、真空ポンプ等の真空系、回収された液体LQと気体とを分離する気液分離器、及び回収した液体LQを収容するタンク等を備えている。液体回収装置21には回収管23の一端部が接続されており、回収管23の他端部はノズル部材70に接続されている。液体回収装置21の液体回収動作は制御装置CONTにより制御される。なお、液体回収装置21の真空系、気液分離器、タンク等は、その全てを露光装置EXが備えている必要はなく、露光装置EXが設置される工場等の設備を代用してもよい。  The
  吸引機構3の吸引装置31は、真空ポンプ等の真空系を含んで構成されている。吸引装置31には吸引管33の一端部が接続されており、吸引管33の他端部は吸引部材30に接続されている。吸引装置31の吸引動作は制御装置CONTにより制御される。  The
  ノズル部材70は第1支持機構91に支持されており、第1支持機構91はメインコラム9の下側段部8に接続されている。ノズル部材70を第1支持機構91を介して支持しているメインコラム9と、投影光学系PLの鏡筒PKをフランジPFを介して支持している鏡筒定盤5とは、防振装置87を介して振動的に分離されている。したがって、ノズル部材70で発生した振動が投影光学系PLに伝達されることは防止されている。また、メインコラム9と、基板ステージPSTを支持している基板ステージ定盤6とは、防振装置89を介して振動的に分離されている。したがって、ノズル部材70で発生した振動が、メインコラム9及びベースBPを介して基板ステージPSTに伝達されることが防止されている。また、メインコラム9と、マスクステージMSTを支持しているマスクステージ定盤2とは、防振装置86を介して振動的に分離されている。したがって、ノズル部材70で発生した振動がメインコラム9を介してマスクステージMSTに伝達されることが防止されている。  The
  吸引部材30は第2支持機構92に支持されており、第2支持機構92はメインコラム9の下側段部8に接続されている。メインコラム9と鏡筒定盤5とは防振装置87を介して振動的に分離されているため、吸引部材30で発生した振動が投影光学系PLに伝達されることは防止されている。また、メインコラム9と基板ステージ定盤6とは防振装置89を介して振動的に分離されているため、吸引部材30で発生した振動が基板ステージPSTに伝達されることが防止されている。また、メインコラム9とマスクステージ定盤2とは防振装置86を介して振動的に分離されているため、吸引部材30で発生した振動がマスクステージMSTに伝達されることが防止されている。  The
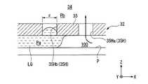
  次に、図2〜図5を参照しながら、ノズル部材70及び吸引部材30について説明する。図2はノズル部材70及び吸引部材30近傍を示す概略斜視図の一部破断図、図3はノズル部材70及び吸引部材30を下側から見た斜視図、図4はYZ平面と平行な側断面図、図5はXZ平面と平行な側断面図である。  Next, the
  ノズル部材70は、投影光学系PLの像面に最も近い第1光学素子LS1の近傍に設けられている。ノズル部材70は、基板P(基板ステージPST)の上方において第1光学素子LS1を囲むように設けられた環状部材であって、その中央部に投影光学系PL(第1光学素子LS1)を配置可能な穴部70Hを有している。ノズル部材70は、複数の部材を組み合わせて構成されており、全体として平面視略円環形状に形成されている。なお、ノズル部材70は一つの材料(チタンなど)で構成されていてもよいし、例えばアルミニウム、チタン、ステンレス鋼、ジュラルミン、及びこれらを含む合金によって構成されていてもよい。  The
  また、ノズル部材70の少なくとも一部に、液体LQへの不純物の溶出を抑えるための表面処理を施してもよい。そのような表面処理としては、ノズル部材70に酸化クロムを付着する処理が挙げられ、例えば株式会社神鋼環境ソリューションの「GOLDEP」処理あるいは「GOLDEP WHITE」処理が挙げられる。本実施形態においては、ステンレス鋼で形成されたノズル部材70のうち液体LQと接触する液体接触面の少なくとも一部に、上述の「GOLDEP WHITE」処理が施されている。  Further, at least a part of the
  ノズル部材70は、側板部70Aと、厚肉の傾斜板部70Bと、側板部70A及び傾斜板部70Bの上端部に設けられた天板部70Cと、傾斜板部70Bの下端部に設けられた底板部70Dとを有している。傾斜板部70Bはすり鉢状に形成されており、第1光学素子LS1は、傾斜板部70Bによって形成された穴部70Hの内側に配置される。傾斜板部70Bの内側面(すなわちノズル部材70の穴部70Hの内側面)70Tと投影光学系PLの第1光学素子LS1の側面LTとは対向しており、傾斜板部70Bの内側面70Tと第1光学素子LS1の側面LTとの間には所定のギャップG1が設けられている。ギャップG1が設けられていることにより、ノズル部材70で発生した振動が、投影光学系PL(第1光学素子LS1)に直接的に伝達することが防止されている。また、傾斜板部70Bの内側面70Tは、液体LQに対して撥液性(撥水性)となっており、投影光学系PLの第1光学素子LS1の側面LTと傾斜板部70Bの内側面70Tとの間のギャップG1への液体LQの浸入が抑制されている。なお、傾斜板部70Bの内側面70Tを撥液性にするための撥液化処理としては、例えば、ポリ四フッ化エチレン(テフロン(登録商標))等のフッ素系樹脂材料、アクリル系樹脂材料、シリコン系樹脂材料等の撥液性材料を付着する処理等が挙げられる。  The
  底板部70Dの一部は、Z軸方向に関して、投影光学系PLの第1光学素子LS1の下面T1と基板P(基板ステージPST)との間に配置されている。また、底板部70Dの中央部には、露光光ELが通過する開口部74が形成されている。開口部74は、露光光ELが照射される投影領域ARよりも大きく形成されている。これにより、投影光学系PLを通過した露光光ELは、底板部70Dに遮られることなく、基板P上に到達できる。本実施形態においては、開口部74は平面視略十字状に形成されている。  A part of the
  ノズル部材70のうち、基板ステージPSTに支持された基板Pの表面と対向する下面75は、XY平面と平行な平坦面となっている。本実施形態におけるノズル部材70の下面75とは、底板部70Dの下面及び傾斜板部70Bの下面を含むものであり、底板部70Dの下面と傾斜板部70Bの下面とは連続的に形成されている。ここで、基板ステージPSTに支持された基板Pの表面はXY平面とほぼ平行であるため、ノズル部材70の下面75は、基板ステージPSTに支持された基板Pの表面と対向するように、且つ基板Pの表面と略平行となるように設けられた構成となっている。以下の説明においては、ノズル部材70の下面75を適宜、「ランド面75」と称する。  Of the
  基板Pの表面と第1光学素子LS1の下面T1との距離は、基板Pの表面とランド面75との距離よりも長くなっている。すなわち、第1光学素子LS1の下面T1は、ランド面75より高い位置に形成されている。そして、ランド面75には光路空間K1に満たされた液体LQが接触するようになっており、第1光学素子LS1の下面T1にも光路空間K1に満たされた液体LQが接触するようになっている。すなわち、ノズル部材70のランド面75及び第1光学素子LS1の下面T1は、液体LQと接触する液体接触面となっている。  The distance between the surface of the substrate P and the lower surface T1 of the first optical element LS1 is longer than the distance between the surface of the substrate P and the
  ランド面75は、ノズル部材70のうち、基板ステージPSTに支持された基板Pに最も近い位置に設けられており、投影光学系PLの下面T1と基板Pとの間において、投影領域AR(露光光ELの光路)を囲むように設けられている。また、底板部70Dは、第1光学素子LS1の下面T1及び基板P(基板ステージPST)とは接触しないように設けられている。そして、第1光学素子LS1の下面T1と底板部70Dの上面との間には、所定のギャップG2を有する空間が形成されている。以下の説明においては、第1光学素子LS1の下面T1と底板部70Dの上面との間の空間を含むノズル部材70の内側の空間を適宜、「内部空間G2」と称する。  The
  ノズル部材70は、液体LQを供給する供給口12、及び液体LQを回収する回収口22を備えている。また、ノズル部材70は、供給口12に接続する供給流路14、及び回収口22に接続する回収流路24を備えている。また、図2〜図5においてはその図示を省略若しくは簡略しているが、供給流路14は供給管13の他端部と接続され、回収流路24は回収管23の他端部と接続される。  The
  供給流路14は、ノズル部材70の傾斜板部70Bの内部を傾斜方向に沿って貫通するスリット状の貫通孔によって形成されている。また、本実施形態においては、供給流路14は、光路空間K1(投影領域AR)に対してY軸方向両側のそれぞれに設けられている。そして、供給流路(貫通孔)14の上端部と供給管13(図2〜図5には不図示)の他端部とが接続され、これにより、供給流路14が供給管13を介して液体供給装置11に接続される。一方、供給流路14の下端部は、第1光学素子LS1と底板部70Dとの間の内部空間G2に接続されており、この供給流路14の下端部が供給口12となっている。供給口12は、露光光ELの光路空間K1の外側において、光路空間K1を挟んだY軸方向両側のそれぞれの所定位置に設けられている。供給口12は、内部空間G2に液体LQを供給可能である。  The
  また、ノズル部材70は、内部空間G2の気体を外部空間に排気する排気口16と、排気口16に接続する排気流路15とを備えている。排気流路15は、ノズル部材70の傾斜板部70Bの内部を傾斜方向に沿って貫通するスリット状の貫通孔によって形成されている。また、本実施形態においては、排気流路15は、光路空間K1(投影領域AR)に対してX軸方向両側のそれぞれに設けられている。そして、傾斜板部70Bの上面のうち、排気流路(貫通孔)15の上端部が形成されている所定領域と天板部70Cとの間には隙間が形成されており、排気流路15の上端部は大気開放された状態となっている。一方、排気流路15の下端部は、第1光学素子LS1と底板部70Dとの間の内部空間G2に接続されており、この排気流路15の下端部が排気口16となっている。排気口16は、露光光ELの光路空間K1の外側において、光路空間K1を挟んだX軸方向両側のそれぞれの所定位置に設けられている。排気口16は、内部空間G2の気体、すなわち投影光学系PLの像面周囲の気体と接続されている。したがって、内部空間G2の気体は、排気口16を介して、排気流路15の上端部より、外部空間に排出(排気)可能となっている。なお、排気流路15の上端部を真空ポンプなどの吸引装置と接続して、内部空間G2の気体を強制的に排気するようにしてもよい。  Further, the
  底板部70Dは、供給口12から供給された液体LQの流れをガイドするガイド部材としての機能を有している。底板部70Dは、供給口12から供給された液体LQが、排気口16が設けられている位置又はその近傍に向かって流れるようにガイドする。図2及び図3に示すように、底板部70Dは、供給口12が設けられた位置から、露光光ELの光路空間K1(投影領域AR)に向かう流れを形成する第1ガイド部17Aと、露光光ELの光路空間K1から、排気口16が設けられた位置に向かう流れを形成する第2ガイド部17Bとを有している。すなわち、第1ガイド部17Aによって、供給口12から露光光ELの光路空間K1に向かって液体LQを流す流路18Aが形成され、第2ガイド部17Bによって、露光光ELの光路空間K1から排気口16に向かって液体LQを流す流路18Bが形成されている。  The
  第1ガイド部17Aによって形成される流路18Aと、第2ガイド部17Bによって形成される流路18Bとは交差している。第1ガイド部17Aによって形成された流路18Aは、液体LQをほぼY軸方向に沿って流し、第2ガイド部17Bによって形成された流路18Bは、液体LQをほぼX軸方向に沿って流す。そして、第1ガイド部17Aと第2ガイド部17Bとによって、平面視略十字状の開口部74が形成されている。露光光ELは、略十字状に形成された開口部74のほぼ中央部を通過するように設けられている。すなわち、露光光ELの光路空間K1は、第1ガイド部17Aによって形成された流路18Aと、第2ガイド部17Bによって形成された流路18Bとの交差部に設定されている。本実施形態においては、第1ガイド部17Aによって形成された流路18Aと、第2ガイド部17Bによって形成された流路18Bとはほぼ直交している。  The
  ノズル部材70は、側板部70Aと傾斜板部70Bとの間において下向きに開口する空間部24を有している。回収口22は、空間部24の開口部によって構成されている。また、回収流路は空間部24によって構成されている。そして、回収流路(空間部)24の一部に回収管23の他端部が接続される。  The
  回収口22は、基板ステージPSTに支持された基板Pの上方において、その基板Pの表面と対向する位置に設けられている。回収口22と基板Pの表面とは所定距離だけ離れている。回収口22は、投影光学系PLの像面近傍の光路空間K1に対して供給口12の外側に設けられており、光路空間K1(投影領域AR)、ランド面75、及び供給口12を囲むように環状に形成されている。すなわち、光路空間K1に対して回収口22の内側に液体LQを供給する供給口12が設けられた構成となっている。本実施形態においては、回収口22は平面視円環状に形成されている。  The
  ノズル部材70は、回収口22を覆うように配置され、複数の孔を有する多孔部材25を備えており、多孔部材25の複数の孔を介して液体LQの回収を行う。本実施形態においては、多孔部材25は複数の孔を有したメッシュ部材により構成されている。多孔部材25としては、例えば略六角形状の複数の孔からなるハニカムパターンを形成されたメッシュ部材によって構成可能である。多孔部材25は、ステンレス鋼(例えばSUS316)やチタンなどからなる多孔部材の基材となる板部材に孔あけ加工を施すことで形成可能である。また、回収口22に、複数の薄板状の多孔部材25を重ねて配置することも可能である。  The
  また、本実施形態においては、多孔部材25は液体LQに対して親液性(親水性)を有している。多孔部材25を親液性にするための親液化処理(表面処理)としては、多孔部材25に酸化クロムを付着する処理が挙げられる。具体的には、上述したような「GOLDEP」処理あるいは「GOLDEP WHITE」処理が挙げられる。また、このような表面処理を施すことにより、多孔部材25から液体LQへの不純物の溶出が抑えられる。本実施形態の多孔部材25は薄板状に形成されており、例えば100μm程度の厚みを有するものである。なお、多孔部材25は、例えばセラミックス製の多孔体によって構成することも可能である。もちろん、親液性の材料で多孔部材25を形成してもよい。  In the present embodiment, the
  多孔部材25は、基板ステージPSTに支持された基板Pと対向する下面25Bを有している。多孔部材25の基板Pと対向する下面25Bはほぼ平坦である。多孔部材25は、その下面25Bが基板ステージPSTに支持された基板Pの表面(すなわちXY平面)とほぼ平行になるように回収口22に設けられている。液体LQは、回収口22に配置された多孔部材25を介して回収される。また、回収口22は、光路空間K1を囲むように環状に形成されているため、その回収口22に配置された多孔部材25は、光路空間K1を囲むように環状に形成されている。  The
  ランド面75と側板部70Aの下端部とは、Z軸方向においてほぼ同じ位置(高さ)に設けられている。また、多孔部材25は、その下面25Bとランド面75とがほぼ同じ高さになるように、且つ下面25Bとランド面75とが連続するように、回収口22に設けられている。すなわち、ランド面75は、多孔部材25の下面25Bと連続的に形成されている。  The
  次に、吸引機構3について説明する。吸引機構3の吸引部材30は、ノズル部材70とは別の部材であって、ノズル部材70の近傍に設けられている。吸引部材30は、基板P(基板ステージPST)の上方において、光路空間K1及びノズル部材70を囲むように設けられた環状部材であって、その中央部にノズル部材70を配置可能な穴部30Hを有している。吸引部材30は、例えばアルミニウム、チタン、ステンレス鋼、ジュラルミン、及びこれらを含む合金によって形成可能である。また、吸引部材30に、上述のような「GOLDEP」処理あるいは「GOLDEP WHITE」処理が施されていてもよい。  Next, the
  吸引部材30の穴部30Hの内側面30Tとノズル部材70の側板部70Aの側面70Sとは対向しており、吸引部材30の内側面30Tとノズル部材70の側面70Sとの間には所定のギャップG3が設けられている。ギャップG3が設けられていることにより、ノズル部材70及び吸引部材30の一方で発生した振動が、他方に直接的に伝達することが防止されている。また、吸引部材30の内側面30T及びノズル部材70の側面70Sの少なくとも一方は、液体LQに対して撥液性(撥水性)となっており、吸引部材30の内側面30Tとノズル部材70の側面70Sとの間のギャップG3への液体LQの浸入が抑制されている。なお、吸引部材30の内側面30Tやノズル部材70の側面70Sを撥液性にするための撥液化処理としては、例えば、ポリ四フッ化エチレン(テフロン(登録商標))等のフッ素系樹脂材料、アクリル系樹脂材料、シリコン系樹脂材料等の撥液性材料を付着させる等の処理が挙げられる。  The
  吸引部材30は、気体のみを吸引する吸引口32と、吸引口32に接続する吸引流路とを備えている。吸引部材30は、下向きに開口する空間部34を有している。吸引口32は、空間部34の開口部に相当する。また、空間部34は吸引流路として機能する。そして、図2〜図5においてはその図示を省略若しくは簡略しているが、吸引流路(空間部)34の一部に吸引管33の他端部が接続される。  The
  吸引口32は、基板ステージPSTに支持された基板Pの上方において、その基板Pの表面と対向する位置に設けられている。吸引口32と基板Pの表面とは所定距離だけ離れている。吸引口32は、投影光学系PLの像面近傍の光路空間K1に対してノズル部材70に設けられた回収口22の外側に設けられており、光路空間K1(投影領域AR)、及びノズル部材70の回収口22を囲むように環状に形成されている。本実施形態においては、吸引口32は平面視円環状に形成されている。  The
  吸引部材30は、吸引口32を覆うように配置され、複数の孔を有する多孔部材35を備えており、多孔部材35の複数の孔を介して吸気(排気)を行う。吸引口32に配置される多孔部材35は、回収口22に配置される多孔部材25と同様、例えば複数の孔を有したメッシュ部材、あるいはセラミックス製の多孔体によって構成可能である。  The
  吸引口32に配置される多孔部材35は、液体LQに対して撥液性(撥水性)を有している。多孔部材35を撥液性にするための撥液化処理(表面処理)としては、例えば、ポリ四フッ化エチレン(テフロン(登録商標))等のフッ素系樹脂材料、アクリル系樹脂材料、シリコン系樹脂材料等の撥液性材料を付着させる等の処理が挙げられる。なお、多孔部材35自体を、上記撥液性材料によって形成してもよい。例えば、多孔部材35がポリ四フッ化エチレン(テフロン(登録商標))によって形成されていてもよい。  The
  多孔部材35は、基板ステージPSTに支持された基板Pと対向する下面35Bを有している。多孔部材35の基板Pと対向する下面35Bはほぼ平坦である。多孔部材35は、その下面35Bが基板ステージPSTに支持された基板Pの表面(すなわちXY平面)とほぼ平行になるように吸引口32に設けられている。また、吸引口32は、光路空間K1を囲むように環状に形成されているため、その吸引口32に配置された多孔部材35は、光路空間K1を囲むように環状に形成されている。  The
  ノズル部材70の回収口22及び吸引部材30の吸引口32それぞれは、基板Pに対してほぼ同じ高さの位置に設けられている。すなわち、回収口22及び吸引口32それぞれは、Z軸方向においてほぼ同じ位置(高さ)に設けられている。また、回収口22に配置される多孔部材25の下面25Bと、吸引口32に配置される多孔部材35の下面35Bとは、基板Pに対してほぼ同じ高さの位置に設けられている。更に具体的には、ノズル部材70のランド面75、多孔部材25の下面25B、側板部70Aの下端面、吸引部材30の下端面、及び多孔部材35の下面35Bのそれぞれが、Z軸方向においてほぼ同じ位置(高さ)に設けられており、これらは互いにほぼ面一となっている。  The
次に、上述した構成を有する露光装置EXを用いてマスクMのパターン像を基板Pに露光する方法について説明する。 Next, a method for exposing the pattern image of the mask M onto the substrate P using the exposure apparatus EX having the above-described configuration will be described.
  露光光ELの光路空間K1を液体LQで満たすために、制御装置CONTは、液体供給装置11及び液体回収装置21のそれぞれを駆動する。制御装置CONTの制御のもとで液体供給装置11から送出された液体LQは、供給管13を流れた後、ノズル部材70の供給流路14を介して、供給口12より投影光学系PLの第1光学素子LS1と底板部70Dとの間の内部空間G2に供給される。内部空間G2に液体LQが供給されることにより、内部空間G2に存在していた気体部分は排気口16や開口部74を介して外部に排出される。したがって、内部空間G2に対する液体LQの供給開始時に、内部空間G2に気体が留まってしまうといった不都合を防止することができ、光路空間K1の液体LQ中に気体部分(気泡)が生成される不都合を防止することができる。  In order to fill the optical path space K1 of the exposure light EL with the liquid LQ, the control device CONT drives each of the liquid supply device 11 and the
  内部空間G2に供給された液体LQは、内部空間G2を満たした後、開口部74を介してランド面75と基板P(基板ステージPST)との間の空間に流入し、光路空間K1を満たす。このとき、制御装置CONTの制御のもとで駆動されている液体回収装置21は、単位時間あたり所定量の液体LQを回収している。ランド面75と基板Pとの間の空間の液体LQは、ノズル部材70の回収口22を介して回収流路24に流入し、回収管23を流れた後、液体回収装置21に回収される。  The liquid LQ supplied to the internal space G2 fills the internal space G2, and then flows into the space between the
  ここで、供給口12から内部空間G2に対して供給された液体LQは、第1ガイド部17Aにガイドされつつ露光光ELの光路空間K1(投影領域AR)に向かって流れた後、第2ガイド部17Bにガイドされつつ露光光ELの光路空間K1の外側に向かって流れるので、仮に液体LQ中に気体部分(気泡)が生成されても、液体LQの流れによって、その気泡を露光光ELの光路空間K1の外側に排出することができる。そして、本実施形態においては、底板部70Dは、液体LQを排気口16に向けて流すので、液体LQ中に存在している気体部分(気泡)は、排気口16を介して外部空間に円滑に排出される。  Here, the liquid LQ supplied from the
  また、液浸機構1は、液体LQを底板部70Dの第1、第2ガイド部17A、17Bでガイドしつつ流すことにより、露光光ELの光路空間K1内において、渦流が生成されることを抑制している。これにより、露光光ELの光路空間K1中に気体部分(気泡)があっても、液体LQの流れによって、気体部分(気泡)を露光光ELの光路空間K1の外側に排出し、露光光ELの光路空間K1に気体部分(気泡)が留まることを防止することができる。  In addition, the liquid immersion mechanism 1 causes the liquid LQ to flow while being guided by the first and
以上のように、制御装置CONTは、液浸機構1を使って、光路空間K1に液体LQを所定量供給するとともに基板P上の液体LQを所定量回収することで、投影光学系PLと基板Pとの間の光路空間K1を液体LQで満たし、基板P上に液体LQの液浸領域LRを局所的に形成する。制御装置CONTは、光路空間K1を液体LQで満たした状態で、投影光学系PLと基板Pとを相対的に移動しながらマスクMのパターン像を投影光学系PL及び光路空間K1の液体LQを介して基板P上に投影露光する。 As described above, the control device CONT uses the liquid immersion mechanism 1 to supply a predetermined amount of the liquid LQ to the optical path space K1 and collect a predetermined amount of the liquid LQ on the substrate P, whereby the projection optical system PL and the substrate The optical path space K <b> 1 with P is filled with the liquid LQ, and the liquid immersion area LR of the liquid LQ is locally formed on the substrate P. The control device CONT, while the optical path space K1 is filled with the liquid LQ, moves the projection optical system PL and the substrate P while moving the projection optical system PL and the liquid LQ in the optical path space K1. Through the projection exposure.
  制御装置CONTは、投影光学系PLの像面側に液浸領域LRを形成するとき、吸引機構3の吸引装置31を駆動する。制御装置CONTは、基板Pの露光中も吸引口32の吸引(吸気)動作を継続する。すなわち、制御装置CONTは、基板Pを液浸露光するために液浸機構1を使って光路空間K1に対する液体LQの供給動作及び回収動作を行っている最中に、吸引機構3の吸引装置31の駆動を継続する。ここで、吸引装置31による単位時間当たりの気体の吸引量を常に一定にしてもよいし、例えば基板P(基板ステージPST)の動作(スキャン速度、移動方向、一方向への移動距離など)に応じて変化させてもよい。  The control device CONT drives the
  上述のように、本実施形態の露光装置EXは、投影光学系PLと基板Pとを相対的に移動しつつ露光を行う走査型露光装置である。具体的には、露光装置EXは、マスクMと基板Pとを投影光学系PLに対してX軸方向(走査方向)に移動しながらマスクMのパターン像を基板Pに投影露光する。このような走査型露光装置において、例えば走査速度(スキャン速度)の高速化に伴って、回収口22を介して液体LQを十分に回収することができず、液体LQが光路空間K1に対して回収口22よりも外側へ漏出する可能性がある。例えば、図6(A)の模式図に示す第1状態から、液浸領域LRに対して基板Pを+X方向に所定速度で所定距離だけスキャン移動し、図6(B)に示すスキャン移動中の第2状態となった場合、基板Pのスキャン速度が高速化されると、液浸領域LRの液体LQとその外側の空間との界面LGの移動速度が大きくなったり、あるいは界面LGの形状が大きく変化して、液体LQが回収口22の外側に漏出する可能性がある。  As described above, the exposure apparatus EX of the present embodiment is a scanning exposure apparatus that performs exposure while relatively moving the projection optical system PL and the substrate P. Specifically, the exposure apparatus EX projects and exposes the pattern image of the mask M onto the substrate P while moving the mask M and the substrate P in the X-axis direction (scanning direction) with respect to the projection optical system PL. In such a scanning exposure apparatus, for example, as the scanning speed (scanning speed) is increased, the liquid LQ cannot be sufficiently recovered through the
  本実施形態においては、液浸領域LRを形成するときに、吸引口32を介した気体の吸引(吸気)動作を行うことで、回収口22の外側近傍(光路空間K1に満たされた液体LQの近傍)に所定方向の気体の流れを生成し、その生成された気体の流れによって液体LQの漏出や、液浸領域LRの巨大化を防止する。  In the present embodiment, when the liquid immersion region LR is formed, by performing a gas suction (intake) operation via the
  図7は吸引機構3の動作を説明するための要部を拡大した模式図である。図7に示すように、制御装置CONTは、真空系を含む吸引装置31を駆動して、光路空間K1に対して回収口22の外側に設けられた吸引口32を介して気体を吸引することにより、回収口22の外側に光路空間K1に向かう気体の流れを生成する(図7の矢印y1参照)。  FIG. 7 is an enlarged schematic view of a main part for explaining the operation of the
  具体的には、真空系を含む吸引装置31が駆動されると、吸引部材30に設けられた空間部(吸引流路)34の気体が吸引管33を介して吸引装置31に吸引され、空間部34が負圧化される。すなわち、制御装置CONTは、吸引装置31を駆動することによって、吸引口32に配置された多孔部材35の上側の空間部34を負圧空間にする。多孔部材35の上側に所定の負圧空間が形成されることによって、多孔部材35の下側の大気空間100の気体のうち、吸引口32近傍(吸引口32直下)に存在する気体が、多孔部材35が配置された吸引口32を介して空間部(負圧空間)34に吸引される。これにより、大気空間100においては、光路空間K1に対して吸引口32の外側から吸引口32に向かう気体の流れy1が生成される。なお、図7の状態においては、光路空間K1に対して吸引口32の内側から吸引口32に向かう気体の流れも生成されるが(図7の矢印y1’参照)、その流れy1’の流量(流速)は、光路空間K1に対して吸引口32の外側から光路空間K1に向かう気体の流れy1よりも小さい。したがって、吸引口32を介して気体を吸引することにより、回収口22の外側近傍において光路空間K1に向かう気体の流れを生成することができる。  Specifically, when the
  光路空間K1に向かう気体の流れが生成されることにより、光路空間K1に満たされた液体LQの界面LGに気体が供給される。これにより、光路空間K1に満たされた液体LQ(液体LQの界面LG)が、光路空間K1の外側に移動しようとしても、その気体の力によって、所定空間K2の外側への液体LQの漏出を防止することができる。ここで、所定空間K2とは、光路空間K1に対して吸引口32よりも内側の空間を含む。  By generating a gas flow toward the optical path space K1, gas is supplied to the interface LG of the liquid LQ filled in the optical path space K1. As a result, even if the liquid LQ filled in the optical path space K1 (interface LG of the liquid LQ) tries to move outside the optical path space K1, the liquid LQ leaks out of the predetermined space K2 by the force of the gas. Can be prevented. Here, the predetermined space K2 includes a space inside the
  また、図8に示すように、光路空間K1に満たされた液体LQが、吸引口32に設けられた多孔部材35に接触する可能性があるが、本実施形態においては、吸引機構3は、多孔部材35の上側に所定圧力の負圧空間を形成することによって、多孔部材35の下側の大気空間100から液体LQを流入させること無く、気体のみを吸引する。したがって、吸引機構3は、振動を抑えつつ、多孔部材35の下側の大気空間100において、光路空間K1に向かう気体の流れを良好に生成することができる。  Further, as shown in FIG. 8, the liquid LQ filled in the optical path space K1 may come into contact with the
  以下、図9を参照しながら、本実施形態における吸引機構3による気体吸引動作の原理について説明する。図9は多孔部材35の一部を拡大した断面図であって、多孔部材35を介して行われる気体吸引動作を説明するための模式図である。  Hereinafter, the principle of the gas suction operation by the
  図9において、吸引口32には多孔部材35が設けられている。また、多孔部材35の下側には基板Pが設けられている。そして、多孔部材35と基板Pとの間には、気体空間及び液体空間が形成されている。より具体的には、多孔部材35の第1孔35Haと基板Pとの間には気体空間が形成され、多孔部材35の第2孔35Hbと基板Pとの間には液体空間が形成されている。また、多孔部材35の上側には、回収流路(流路空間)34が形成されている。  In FIG. 9, a
  多孔部材35の第2孔35Hbと基板Pとの間の液体空間の圧力(多孔部材35の下面での圧力)をPa、多孔部材35の上側の流路空間(気体空間)34の圧力(多孔部材35の上面での圧力)をPb、孔35Ha、35Hbの孔径(直径)をd、多孔部材35(孔35Hの内側面)の液体LQとの接触角をθ、液体LQの表面張力をγとした場合、本実施形態の吸引機構3は、
  (4×γ×cosθ)/d  <  (Pb−Pa)  …(1)
の条件を満足するように、流路空間(気体空間)34の圧力が設定されている。The pressure of the liquid space between the second hole 35Hb of the
 (4 × γ × cos θ) / d <(Pb−Pa) (1)
 The pressure in the flow path space (gas space) 34 is set so as to satisfy the above condition.
  この場合において、多孔部材35(孔35Hの内側面)の液体LQとの接触角θは、
  θ  >  90°  …(2)
の条件を満足する必要がある。In this case, the contact angle θ of the porous member 35 (the inner surface of the
 θ> 90 ° (2)
 It is necessary to satisfy the conditions.
  上記条件が成立する場合、多孔部材35の第2孔35Hbの下側(基板P側)に液体空間が形成された場合でも、多孔部材35の下側の液体空間の液体LQが第2孔35Hbを介して多孔部材35の上側の流路空間34に移動(侵入)することが防止される。すなわち、上記条件を満足するように、多孔部材35の孔径d、多孔部材35の液体LQとの接触角(親和性)θ、液体LQの表面張力γ、及び圧力Pa、Pbを最適化することにより、液体LQと気体との界面を多孔部材35の第2孔35Hbの内側に維持することができ、第2孔35Hbを介して液体空間から流路空間34へ液体LQが侵入することを抑えることができる。一方、多孔部材35の第1孔35Haの下側(基板P側)には気体空間が形成されているので、第1孔35Haを介して気体のみを吸引することができる。  When the above condition is satisfied, even when a liquid space is formed below the second hole 35Hb (substrate P side) of the
  本実施形態においては、多孔部材35の下側の液体空間の圧力Pa、孔径d、多孔部材35(孔35Hの内側面)の液体LQとの接触角θ、及び液体(純水)LQの表面張力γはほぼ一定であり、吸引機構3は、吸引装置31の吸引力を制御して、上記条件を満足するように、多孔部材35の上側の流路空間34の圧力Pbを調整する。  In the present embodiment, the pressure Pa of the liquid space below the
  なお、上記(1)式において、(Pb−Pa)の絶対値が大きいほど、すなわち、((4×γ×cosθ)/d)の絶対値が大きいほど、上記条件を満足するような圧力Pbの制御が容易になるので、孔径dは可能な限り小さく、多孔部材35の液体LQとの接触角θは可能な限り大きいことが望ましい。本実施形態においては、多孔部材35は液体LQに対して撥液性を有しており、十分に大きい接触角θを有している。  In the above equation (1), the larger the absolute value of (Pb−Pa), that is, the larger the absolute value of ((4 × γ × cos θ) / d), the greater the pressure Pb that satisfies the above condition. Therefore, it is desirable that the hole diameter d is as small as possible and the contact angle θ of the
  このように、本実施形態では、多孔部材35の上側の空間34と下側の液体空間との圧力差(多孔部材35の上面と下面との圧力差)を、上記条件を満足するように制御することで、多孔部材35の孔35Hから気体のみを吸引する。これにより、多孔部材35の下側の空間100(気体空間)において、光路空間K1に向かう気体の流れを良好に生成することができるともに、液体LQと気体とを一緒に吸引することに起因する振動の発生を抑制することができる。  As described above, in this embodiment, the pressure difference between the
  また、本実施形態においては、液浸機構1は、回収口22から液体LQのみを回収する。したがって、液浸機構1は、回収口22を介して空間部24に気体を流入させること無く、液体LQを良好に回収することができる。  In the present embodiment, the liquid immersion mechanism 1 recovers only the liquid LQ from the
  以下、図10を参照しながら、本実施形態における液浸機構1による液体回収動作の原理について説明する。図10は多孔部材25の一部を拡大した断面図であって、多孔部材25を介して行われる液体回収動作を説明するための模式図である。  Hereinafter, the principle of the liquid recovery operation by the liquid immersion mechanism 1 in the present embodiment will be described with reference to FIG. FIG. 10 is an enlarged cross-sectional view of a part of the
  図10において、回収口22には多孔部材25が設けられている。また、多孔部材25の下側には基板Pが設けられている。そして、多孔部材25と基板Pとの間には、気体空間及び液体空間が形成されている。より具体的には、多孔部材25の第1孔25Haと基板Pとの間には気体空間が形成され、多孔部材25の第2孔25Hbと基板Pとの間には液体空間が形成されている。また、多孔部材25の上側には、回収流路(流路空間)24が形成されている。  In FIG. 10, the
  多孔部材25の第1孔25Haと基板Pとの間の気体空間の圧力(多孔部材25Hの下面での圧力)をPd、多孔部材25の上側の流路空間24の圧力(多孔部材25の上面での圧力)をPc、孔25Ha、25Hbの孔径(直径)をd、多孔部材25(孔25Hの内側面)の液体LQとの接触角をθ、液体LQの表面張力をγとした場合、本実施形態の液浸機構1は、
  (4×γ×cosθ)/d  ≧  (Pd−Pc)  …(3)
の条件を満足するように設定されている。なお、上記(3)式においては、説明を簡単にするために多孔部材25の上側の液体LQの静水圧は考慮してない。The pressure of the gas space between the first hole 25Ha of the
 (4 × γ × cos θ) / d ≧ (Pd−Pc) (3)
 It is set to satisfy the conditions. In the above formula (3), the hydrostatic pressure of the liquid LQ on the upper side of the
  この場合において、多孔部材25(孔25Hの内側面)の液体LQとの接触角θは、
  θ  ≦  90°  …(4)
の条件を満足する。In this case, the contact angle θ of the porous member 25 (the inner surface of the
 θ ≤ 90 ° (4)
 Satisfy the conditions.
  上記条件が成立する場合、多孔部材25の第1孔25Haの下側(基板P側)に気体空間が形成された場合でも、多孔部材25の下側の気体空間の気体が孔25Haを介して多孔部材25の上側の流路空間24に移動(侵入)することが防止される。すなわち、上記条件を満足するように、多孔部材25の孔径d、多孔部材25の液体LQとの接触角(親和性)θ、液体LQの表面張力γ、及び圧力Pd、Pcを最適化することにより、液体LQと気体との界面を多孔部材25の第1孔25Haの内側に維持することができ、第1孔25Haを介して空間100から流路空間24へ気体が侵入することを抑えることができる。一方、多孔部材25の第2孔25Hbの下側(基板P側)には液体空間が形成されているので、第2孔25Hbを介して液体LQのみを回収することができる。  When the above condition is satisfied, even when a gas space is formed below the first hole 25Ha (substrate P side) of the
  本実施形態においては、多孔部材25の下側の気体空間の圧力Pd、孔径d、多孔部材25(孔25Hの内側面)の液体LQとの接触角θ、液体(純水)LQの表面張力γはほぼ一定であり、液浸機構1は、液体回収装置21の吸引力を制御して、上記条件を満足するように、多孔部材25の上側の流路空間24の圧力Pcを調整する。  In the present embodiment, the pressure Pd of the gas space below the
  なお、上記(3)式において、(Pd−Pc)が大きいほど、すなわち、((4×γ×cosθ)/d)が大きいほど、上記条件を満足するような圧力Pcの制御が容易になるので、孔径dは可能な限り小さく、多孔部材25の液体LQとの接触角θは可能な限り小さいことが望ましい。本実施形態においては、多孔部材25は液体LQに対して親液性を有しており、十分に小さい接触角θを有している。  In the above equation (3), the larger (Pd−Pc), that is, the greater ((4 × γ × cos θ) / d), the easier the control of the pressure Pc to satisfy the above condition. Therefore, it is desirable that the hole diameter d is as small as possible, and the contact angle θ of the
  このように、本実施形態では、多孔部材25が濡れた状態で、多孔部材25の上側の空間24と下側の気体空間との圧力差(多孔部材25の上面と下面との圧力差)を、上記条件を満足するように制御することで、多孔部材25の孔25Hから液体LQのみを回収する。これにより、液体LQと気体とを一緒に吸引することに起因する振動の発生を抑制することができる。  As described above, in the present embodiment, the pressure difference between the
  以上説明したように、光路空間K1に対して回収口22の外側に気体のみを吸引する吸引口32を設け、吸引口32から気体を吸引することで、光路空間K1に満たされた液体LQが光路空間K1を含む所定空間K2の外側へ漏出することを防止するような気体の流れを生成することができる。すなわち、吸引機構が液体LQを封じ込めるシール機構として機能し、光路空間K1に液体LQを満たした状態で投影光学系PLと基板Pとを相対移動させた場合においても、光路空間K1に満たされた液体LQの漏出を防止することができる。また、光路空間K1に向かう気体の流れを生成することで、液体LQとその外側の空間との界面LGが露光光ELの光路に対して回収口22よりも外側に形成されることが防止され、液浸領域LRの大きさや形状を所望状態に維持することができる。したがって、液体LQが漏出したり、回収口22を介して液体LQを十分に回収できなかったり、あるいは液体LQ中に気泡が生成される等の不都合が防止される。また、液浸領域LRの巨大化を抑えることができる。したがって、露光装置EX全体のコンパクト化を図ることもできる。  As described above, the
  また、吸引機構3は、上記(1)式を満足する条件で気体のみを吸引するので、吸引口32の多孔部材35に液浸領域LRの液体LQが接触した場合であっても、光路空間K1に向かう気体の流れを良好に生成することができ、液体LQの漏出を防止することができる。また、吸引機構3は気体のみを吸引するので、液体LQと気体とを一緒に吸引することに起因する振動の発生を抑制することができる。  Further, since the
  また、吸引口32は光路空間K1を囲むように環状に形成されているので、光路空間K1を囲む外側の全ての方向から光路空間K1に向かう気体の流れを生成することができ、液体LQの漏出をより確実に防止することができる。  Further, since the
  また、吸引口32は基板Pに対向する位置に設けられており、吸引口32に配置された多孔部材35の下面35Bと基板Pとの間には所定の空間が形成されるため、光路空間K1に向かう気体の流れを良好に生成することができる。  The
  また、回収口22(多孔部材25の下面25B)及び吸引口32(多孔部材35の下面35B)のそれぞれは、基板Pに対してほぼ同じ高さに設けられているため、吸引口32の吸引動作を行うことにより、回収口22近傍に所望の気体の流れを生成することができる。  Further, each of the recovery port 22 (the
  吸引口32は、回収口22を有するノズル部材70とは別の吸引部材30に設けられているため、例えば、吸引部材30の位置調整をノズル部材70とは個別に行うことができる。したがって、吸引口32と回収口22との位置関係、吸引口32と光路空間K1(光路空間K1に満たされる液体LQ)との位置関係、あるいは吸引口32と基板Pとの位置関係を任意に調整することができる。  Since the
  図11は吸引口32に配置される多孔部材35の別の例を示す図である。図11に示すように、多孔部材35の孔35Hは、基板Pから離れるに従って漸次拡がるテーパ状に形成されてもよい。例えば、図11に示す孔35Hの内側面の液体LQとの接触角θと、図9に示した孔35Hの内側面の液体LQとの接触角θとが同じ場合、多孔部材35の孔35Hを基板Pから離れるに従って漸次拡がるテーパ状に形成することにより、第2孔35Hbの内側面のテーパ状部分に接触した液体LQの界面は、曲率半径が十分に小さい上向き円弧状に形成される。この場合、第2孔35Hbを介して液体LQが多孔部材35の上側の流路空間34に浸入することをより確実に防止することができる。なお、テーパ状部分は、図11に示すように、孔35Hの内側面の基板Pに近い一部の領域(下部の領域)に形成された形態でもよいし、孔35Hの下端部から上端部まで全体的にテーパ状に形成された形態でもよい。  FIG. 11 is a view showing another example of the
  <第2実施形態>
  次に、第2実施形態について説明する。本実施形態の特徴的な部分は、光路空間K1に対して更に外側に、気体を吹き出す吹出口を設けた点にある。以下の説明において、上述の実施形態と同一又は同等の構成部分については同一の符号を付し、その説明を簡略若しくは省略する。Second Embodiment
 Next, a second embodiment will be described. The characteristic part of this embodiment is that a blow-out port for blowing out gas is provided on the outer side with respect to the optical path space K1. In the following description, the same or equivalent components as those of the above-described embodiment are denoted by the same reference numerals, and the description thereof is simplified or omitted.
  図12は第2実施形態に係る露光装置EXの要部を拡大した側断面図、図13は図12のノズル部材70近傍を下側から見た平面図である。  FIG. 12 is an enlarged side sectional view of the main part of the exposure apparatus EX according to the second embodiment, and FIG. 13 is a plan view of the vicinity of the
  図12及び図13において、露光装置EXは、気体を吹き出す気体供給機構4を備えている。気体供給機構4は、吸引部材30近傍に設けられ、気体を吹き出す吹出口42を有する気体用ノズル部材40と、気体供給管43、及び気体用ノズル部材40に設けられた吹出口42を介して気体を供給する気体供給装置41とを備えている。気体用ノズル部材40の内部には、吹出口42と気体供給管43とを接続する流路(供給流路)44が設けられている。気体用ノズル部材40は、光路空間K1、ノズル部材70、及び吸引部材30を囲むように環状に形成されている。  12 and 13, the exposure apparatus EX includes a
  気体供給機構4の気体用ノズル部材40は、ノズル部材70及び吸引部材30とは別の部材であって、吸引部材30の近傍に配置されている。気体用ノズル部材40は、基板P(基板ステージPST)の上方において、光路空間K1、ノズル部材70、及び吸引部材30を囲むように設けられた環状部材であって、その中央部に吸引部材30を配置可能な穴部40Hを有している。気体用ノズル部材40は、例えばアルミニウム、チタン、ステンレス鋼、ジュラルミン、及びこれらを含む合金によって形成可能である。なお、気体用ノズル部材40に、上述の「GOLDEP」処理あるいは「GOLDEP WHITE」処理を施すことが可能である。  The
  気体用ノズル部材40の穴部40Hの内側面40Tと吸引部材30の側面30Sとは対向しており、気体用ノズル部材40の内側面40Tと吸引部材30の側面30Sとの間には所定のギャップG4が設けられている。ギャップG4が設けられていることにより、吸引部材30及び気体用ノズル部材40の一方で発生した振動が、他方に直接的に伝達することが防止されている。なお、気体用ノズル部材40は、図1を参照して説明した第1、第2支持機構91、92とは別の支持機構に支持され、その気体用ノズル部材40を支持する支持機構は、メインコラム9の下側段部8に接続される。  The
  気体用ノズル部材40の下面は基板ステージPSTに支持された基板Pの表面と対向するように設けられており、吹出口42は気体用ノズル部材40の下面に設けられている。すなわち、吹出口42は、基板ステージPSTに支持された基板Pの上方において、その基板Pの表面と対向する位置に設けられている。吹出口42と基板Pの表面とは所定距離だけ離れている。吹出口42は、投影光学系PLの像面近傍の光路空間K1に対して吸引部材30に設けられた吸引口32の更に外側に設けられており、光路空間K1(投影領域AR)、ノズル部材70の回収口22、及び吸引部材30の吸引口32を囲むように環状に形成されている。本実施形態においては、吹出口42は平面視円環状に形成されている。  The lower surface of the
  吹出口42は、気体用ノズル部材40の下面において光路空間K1側に向くように形成されており、光路空間K1に向けて気体を吹き出すようになっている。より具体的には、吹出口42は、基板Pの表面のうち吸引口32と対向する領域近傍に気体を吹き付けるように設けられている。  The blow-out
  気体供給装置41は、ケミカルフィルタやパーティクル除去フィルタを含むフィルタ装置を備えており、フィルタ装置を介したクリーンな気体を供給可能である。したがって、吹出口42からはクリーンな気体が吹き出される。なお、気体供給機構4が吹出口42を介して吹き出す気体としては、露光装置EXが収容されたチャンバ内部の気体とほぼ同じ気体、例えば空気(ドライエア)が使用される。なお、吹き出す気体としては窒素ガス(ドライ窒素)を使用してもよい。  The
  また、本実施形態においては、ノズル部材70のランド面75、多孔部材25の下面25B、側板部70Aの下端面、吸引部材30の下端面、多孔部材35の下面35B、及び気体用ノズル部材40の下面のそれぞれが、Z軸方向においてほぼ同じ位置(高さ)に設けられており、これらは互いにほぼ面一となっている。  Further, in the present embodiment, the
  図14は気体供給機構4の動作を説明するための要部を拡大した模式図である。上述の実施形態同様、制御装置CONTは、基板Pを液浸露光するとき、液浸機構1を使って光路空間K1に液体LQを満たし、吸引機構3を使って光路空間K1に向かう気体の流れを生成する。また本実施形態においては、制御装置CONTは、基板Pの液浸露光中に、気体供給機構4を使って吹出口42を介した気体の吹き出し動作を行う。制御装置CONTは、基板Pの露光中に吹出口42の気体吹き出し動作を継続する。ここで、気体供給装置41による単位時間当たりの気体供給量は、常に一定でもよいし、例えば基板Pのスキャン動作(スキャン速度など)に応じて変化させてもよいし、吸引機構3の吸引装置31による単位時間当たりの気体吸引量に応じて調整してもよい。  FIG. 14 is an enlarged schematic view of a main part for explaining the operation of the
  図14に示すように、制御装置CONTは、真空系を含む吸引装置31を駆動して、光路空間K1に対して回収口22の外側に設けられた吸引口32を介して気体を吸引することにより、光路空間K1に向かう気体の流れを生成する。更に、制御装置CONTは、気体供給装置41を駆動して、吹出口42を介して光路空間K1に向けて気体を吹き出す。吸引機構3の吸引動作と、気体供給機構4の気体供給動作とにより光路空間K1に向かってより速度の大きい気体の流れが生成されるため、光路空間K1に満たされた液体LQ(液体LQの界面LG)が、光路空間K1の外側に移動しようとしても、その気体の力によって、光路空間K1を含む所定空間K2の外側への液体LQの漏出をより確実に防止することができる。  As shown in FIG. 14, the control device CONT drives the
  すなわち、本実施形態においては、吸引機構3と気体供給機構4とが液体LQを吸引口32よりも内側に封じ込めるシール機構として機能し、所定空間K2の外側への液体LQの漏出を防止することができる。したがって、基板P上に液滴等が残留するなどの不都合を防止することができる。  That is, in the present embodiment, the
  なお、本実施形態においては、図13に示すように、吹出口42は円環状に形成されているが、例えば平面視円弧状でスリット状に形成された複数の吹出口を、光路空間K1を囲むように所定間隔で配置してもよい。あるいは、平面視円形状の複数の吹出口を、光路空間K1を囲むように所定間隔で配置してもよい。  In the present embodiment, as shown in FIG. 13, the
  また、本実施形態においては、吹出口42は、基板Pの表面のうち吸引口32と対向する領域近傍に向かって斜めに気体を吹き付けているが、基板Pの表面のうち吹出口42と対向する領域近傍に吹き付けるようにしてもよい。すなわち、気体供給機構4は吹出口42の真下に気体を吹き出すようにしてもよい。こうすることによっても、基板Pに吹き付けられた気体は光路空間K1に向かって流れるので、液体LQの漏出を防止することができる。  Further, in the present embodiment, the
  なお、上述の第1、第2実施形態においては、ランド面75と多孔部材25の下面25Bとがほぼ面一に形成されているが、段差があってもよく、例えば多孔部材25の下面25Bをランド面75よりも僅かに高い位置(+Z方向の位置)に設けてもよい。同様に、多孔部材25の下面25Bと多孔部材35の下面35Bとの間に段差があってもよい。  In the first and second embodiments described above, the
  また、上述の第1、第2実施形態においては、吸引口32に設けられた多孔部材35の下面35Bは、基板Pの表面(XY平面)とほぼ平行であるが、吸引口32に設けられた多孔部材35の下面35Bが、光路空間K1から離れるにつれて、基板Pの表面との間隔が大きくなるように、基板ステージPSTに支持された基板Pの表面に対して傾斜していてもよい。同様に、回収口22に設けられた多孔部材25の下面25Bが、光路空間K1から離れるにつれて、基板Pの表面との間隔が大きくなるように、基板ステージPSTに支持された基板Pの表面に対して傾斜していてもよい。  In the first and second embodiments described above, the
  なお、上述の第1、第2実施形態において、吸引部材30は、第2支持機構92によってその位置を固定されていてもよいし、例えば第2支持機構92にアクチュエータ(駆動機構)を設け、第2支持機構92によって吸引部材30が可動に支持されていてもよい。あるいは、第2支持機構92と吸引部材30との間にゴムやバネなどの弾性部材(可撓性部材)を設け、第2支持機構92に対して吸引部材30を可動(揺動可能)としてもよい。同様に、第2実施形態で説明した気体用ノズル部材40が、その位置を固定されていてもよいし、可動に支持されていてもよい。  In the first and second embodiments described above, the position of the
  なお、上述の第1、第2実施形態において、吸引口32に配置される多孔部材35の下面35Bにフィン状の部材を設けてもよい。フィン状の部材を設けることによって、生成される気体の流れをガイドすることができる。また、回収口22に配置される多孔部材25の下面25Bにフィン状の部材を設けてもよい。フィン状の部材を設けることによって、回収口22に配置されている多孔部材25の下面25Bでの液体接触面積を増加させることができるので、ノズル部材70の下面における液体LQの保持性能を向上させることができ、液体LQの漏出を更に確実に防止することができる。  In the first and second embodiments described above, a fin-like member may be provided on the
  なお、上述の第1、第2実施形態において、ノズル部材70と吸引部材30とを一体的に設け、その一体化された部材に、回収口22と吸引口32とのそれぞれを形成してもよい。  In the first and second embodiments described above, the
  上記実施形態では、気体吸引機構3及び/又は気体供給機構4により、光路空間K1の中心に向かう気体の流れを発生させていたが、気体の流れは気体の吹出口の方向や取り付け位置を変更することで、任意の方向に発生させることができる。例えば、光路空間K1を周回するまたは周回しながら光路空間の中心(投影光学系の光軸)に向かうような気流(サイクロン)を発生させることができる。また、投影光学系の光軸方向に流れる気流で光路空間K1を取り囲んでもよい(エアカーテンタイプ)。投影光学系の光軸方向に流れる気流は光路空間K1に存在する液体LQを拘束した後、光路空間K1の外側に流れ出してもよい。例えば、図12〜14に示した実施形態において、気体を吹き出す吹出口42または気体用ノズル部材40を、吸引部材30よりも光路空間K1に近い側に設置することができる。  In the above embodiment, the gas flow toward the center of the optical path space K1 is generated by the
  なお、上述の第1、第2実施形態においては、液浸機構1は、光路空間K1に対してY軸方向に沿って液体LQを供給しているが、例えば供給口12を光路空間K1に対してX軸方向両側のそれぞれに設け、光路空間K1に対してX軸方向に沿って液体LQを供給するようにしてもよい。  In the first and second embodiments described above, the liquid immersion mechanism 1 supplies the liquid LQ along the Y-axis direction to the optical path space K1, but for example, the
   なお、ノズル部材70などの液浸機構1の構造は、上述の構造に限られず、例えば、欧州特許公開第1420298号公報、国際公開第2004/055803号公報、国際公開第2004/057589号公報、国際公開第2004/057590号公報、国際公開第2005/029559号公報に記載されているものも用いることができる。   The structure of the liquid immersion mechanism 1 such as the
上述したように、本実施形態における液体LQは純水である。純水は、半導体製造工場等で容易に大量に入手できるとともに、基板P上のフォトレジストや光学素子(レンズ)等に対する悪影響がない利点がある。また、純水は環境に対する悪影響がないとともに、不純物の含有量が極めて低いため、基板Pの表面、及び投影光学系PLの先端面に設けられている光学素子の表面を洗浄する作用も期待できる。なお工場等から供給される純水の純度が低い場合には、露光装置が超純水製造器を持つようにしてもよい。 As described above, the liquid LQ in this embodiment is pure water. Pure water has an advantage that it can be easily obtained in large quantities at a semiconductor manufacturing factory or the like, and has no adverse effect on the photoresist, optical element (lens), etc. on the substrate P. In addition, pure water has no adverse effects on the environment, and since the impurity content is extremely low, it can be expected to clean the surface of the substrate P and the surface of the optical element provided on the front end surface of the projection optical system PL. . When the purity of pure water supplied from a factory or the like is low, the exposure apparatus may have an ultrapure water production device.
そして、波長が193nm程度の露光光ELに対する純水(水)の屈折率nは約1.44と言われており、露光光ELの光源としてArFエキシマレーザ光(波長193nm)を用いた場合、基板P上では1/n、すなわち約134nmに短波長化されて高い解像度が得られる。更に、焦点深度は空気中に比べて約n倍、すなわち約1.44倍に拡大されるため、空気中で使用する場合と同程度の焦点深度が確保できればよい場合には、投影光学系PLの開口数をより増加させることができ、この点でも解像度が向上する。 The refractive index n of pure water (water) with respect to the exposure light EL having a wavelength of about 193 nm is said to be about 1.44, and when ArF excimer laser light (wavelength 193 nm) is used as the light source of the exposure light EL, On the substrate P, the wavelength is shortened to 1 / n, that is, about 134 nm, and a high resolution can be obtained. Furthermore, since the depth of focus is enlarged by about n times, that is, about 1.44 times compared with that in the air, the projection optical system PL can be used when it is sufficient to ensure the same depth of focus as that in the air. The numerical aperture can be further increased, and the resolution is improved in this respect as well.
本実施形態では、投影光学系PLの先端に第1光学素子LS1が取り付けられており、この光学素子により投影光学系PLの光学特性、例えば収差(球面収差、コマ収差等)の調整を行うことができる。なお、投影光学系PLの先端に取り付ける光学素子としては、投影光学系PLの光学特性の調整に用いる光学プレートであってもよい。あるいは露光光ELを透過可能な平行平面板であってもよい。 In the present embodiment, the first optical element LS1 is attached to the tip of the projection optical system PL, and the optical characteristics of the projection optical system PL, such as aberration (spherical aberration, coma aberration, etc.) are adjusted by this optical element. Can do. The optical element attached to the tip of the projection optical system PL may be an optical plate used for adjusting the optical characteristics of the projection optical system PL. Alternatively, it may be a plane parallel plate that can transmit the exposure light EL.
なお、液体LQの流れによって生じる投影光学系PLの先端の第1光学素子LS1と基板Pとの間の圧力が大きい場合には、その光学素子を交換可能とするのではなく、その圧力によって光学素子が動かないように堅固に固定してもよい。 Note that when the pressure between the first optical element LS1 at the tip of the projection optical system PL generated by the flow of the liquid LQ and the substrate P is large, the optical element is not exchangeable, and the optical is controlled by the pressure. The element may be firmly fixed so as not to move.
なお、本実施形態では、投影光学系PLと基板P表面との間は液体LQで満たされている構成であるが、例えば基板Pの表面に平行平面板からなるカバーガラスを取り付けた状態で液体LQを満たす構成であってもよい。 In the present embodiment, the space between the projection optical system PL and the surface of the substrate P is filled with the liquid LQ. The structure which satisfy | fills LQ may be sufficient.
また、上述の実施形態の投影光学系は、先端の光学素子の像面側の光路空間を液体で満たしているが、国際公開第2004/019128号パンフレットに開示されているように、先端の光学素子のマスク側の光路空間も液体で満たす投影光学系を採用することもできる。 In the projection optical system of the above-described embodiment, the optical path space on the image plane side of the optical element at the tip is filled with liquid, but as disclosed in International Publication No. 2004/019128, the optical at the tip is used. It is also possible to employ a projection optical system in which the optical path space on the mask side of the element is filled with liquid.
なお、本実施形態の液体LQは水であるが、水以外の液体であってもよい、例えば、露光光ELの光源がF2レーザである場合、このF2レーザ光は水を透過しないので、液体LQとしてはF2レーザ光を透過可能な例えば、過フッ化ポリエーテル(PFPE)やフッ素系オイル等のフッ素系流体であってもよい。この場合、液体LQと接触する部分には、例えばフッ素を含む極性の小さい分子構造の物質で薄膜を形成することで親液化処理する。また、液体LQとしては、その他にも、露光光ELに対する透過性があってできるだけ屈折率が高く、投影光学系PLや基板P表面に塗布されているフォトレジストに対して安定なもの(例えばセダー油)を用いることも可能である。The liquid LQ of the present embodiment is water, but may be a liquid other than water. For example, when the light source of the exposure light EL is an F2 laser, the F2 laser light does not pass through water. The liquid LQ may be, for example, a fluorinated fluid such as perfluorinated polyether (PFPE) or fluorinated oil that can transmit F2 laser light. In this case, the lyophilic treatment is performed by forming a thin film with a substance having a molecular structure having a small polarity including fluorine, for example, at a portion in contact with the liquid LQ. In addition, as the liquid LQ, the liquid LQ is transmissive to the exposure light EL, has a refractive index as high as possible, and is stable with respect to the photoresist applied to the projection optical system PL and the surface of the substrate P (for example, Cedar). Oil) can also be used.
なお、上記各実施形態の基板Pとしては、半導体デバイス製造用の半導体ウエハのみならず、ディスプレイデバイス用のガラス基板や、薄膜磁気ヘッド用のセラミックウエハ、あるいは露光装置で用いられるマスクまたはレチクルの原版(合成石英、シリコンウエハ)等が適用される。 The substrate P in each of the above embodiments is not only a semiconductor wafer for manufacturing a semiconductor device, but also a glass substrate for a display device, a ceramic wafer for a thin film magnetic head, or an original mask or reticle used in an exposure apparatus. (Synthetic quartz, silicon wafer) or the like is applied.
露光装置EXとしては、マスクMと基板Pとを同期移動してマスクMのパターンを走査露光するステップ・アンド・スキャン方式の走査型露光装置(スキャニングステッパ)の他に、マスクMと基板Pとを静止した状態でマスクMのパターンを一括露光し、基板Pを順次ステップ移動させるステップ・アンド・リピート方式の投影露光装置(ステッパ)にも適用することができる。 As the exposure apparatus EX, in addition to the step-and-scan type scanning exposure apparatus (scanning stepper) that scans and exposes the pattern of the mask M by moving the mask M and the substrate P synchronously, the mask M and the substrate P Can be applied to a step-and-repeat type projection exposure apparatus (stepper) in which the pattern of the mask M is collectively exposed while the substrate P is stationary and the substrate P is sequentially moved stepwise.
また、露光装置EXとしては、第1パターンと基板Pとをほぼ静止した状態で第1パターンの縮小像を投影光学系(例えば1/8縮小倍率で反射素子を含まない屈折型投影光学系)を用いて基板P上に一括露光する方式の露光装置にも適用できる。この場合、更にその後に、第2パターンと基板Pとをほぼ静止した状態で第2パターンの縮小像をその投影光学系を用いて、第1パターンと部分的に重ねて基板P上に一括露光するスティッチ方式の一括露光装置にも適用できる。また、スティッチ方式の露光装置としては、基板P上で少なくとも2つのパターンを部分的に重ねて転写し、基板Pを順次移動させるステップ・アンド・スティッチ方式の露光装置にも適用できる。 Further, as the exposure apparatus EX, a reduced image of the first pattern is projected with the first pattern and the substrate P being substantially stationary (for example, a refraction type projection optical system that does not include a reflecting element at 1/8 reduction magnification). The present invention can also be applied to an exposure apparatus that performs batch exposure on the substrate P using the above. In this case, after that, with the second pattern and the substrate P substantially stationary, a reduced image of the second pattern is collectively exposed onto the substrate P by partially overlapping the first pattern using the projection optical system. It can also be applied to a stitch type batch exposure apparatus. Further, the stitch type exposure apparatus can be applied to a step-and-stitch type exposure apparatus in which at least two patterns are partially transferred on the substrate P, and the substrate P is sequentially moved.
また、本発明は、特開平10−163099号公報、特開平10−214783号公報、特表2000−505958号公報などに開示されているツインステージ型の露光装置にも適用できる。 The present invention can also be applied to a twin stage type exposure apparatus disclosed in Japanese Patent Application Laid-Open No. 10-163099, Japanese Patent Application Laid-Open No. 10-214783, and Japanese Translation of PCT International Publication No. 2000-505958.
更に、特開平11−135400号公報に開示されているように、基板を保持する基板ステージと基準マークが形成された基準部材や各種の光電センサを搭載した計測ステージとを備えた露光装置にも本発明を適用することができる。 Further, as disclosed in Japanese Patent Application Laid-Open No. 11-135400, an exposure apparatus including a substrate stage for holding a substrate, a reference member on which a reference mark is formed, and a measurement stage on which various photoelectric sensors are mounted. The present invention can be applied.
また、上述の実施形態においては、投影光学系PLと基板Pとの間に局所的に液体を満たす露光装置を採用しているが、本発明は、特開平6−124873号公報、特開平10−303114号公報、米国特許第5,825,043号などに開示されているような露光対象の基板の表面全体が液体中に浸かっている状態で露光を行う液浸露光装置にも適用可能である。 In the above-described embodiment, an exposure apparatus that locally fills the liquid between the projection optical system PL and the substrate P is employed. However, the present invention is disclosed in JP-A-6-124873 and JP-A-10. -303114, US Pat. No. 5,825,043, etc., and can be applied to an immersion exposure apparatus that performs exposure in a state where the entire surface of the substrate to be exposed is immersed in the liquid. is there.
露光装置EXの種類としては、基板Pに半導体素子パターンを露光する半導体素子製造用の露光装置に限られず、液晶表示素子製造用又はディスプレイ製造用の露光装置や、薄膜磁気ヘッド、撮像素子(CCD)あるいはレチクル又はマスクなどを製造するための露光装置などにも広く適用できる。 The type of the exposure apparatus EX is not limited to an exposure apparatus for manufacturing a semiconductor element that exposes a semiconductor element pattern on the substrate P, but an exposure apparatus for manufacturing a liquid crystal display element or a display, a thin film magnetic head, an image sensor (CCD). ) Or an exposure apparatus for manufacturing reticles or masks.
なお、上述の実施形態においては、光透過性の基板上に所定の遮光パターン(又は位相パターン・減光パターン)を形成した光透過型マスクを用いたが、このマスクに代えて、例えば米国特許第6,778,257号公報に開示されているように、露光すべきパターンの電子データに基づいて透過パターン又は反射パターン、あるいは発光パターンを形成する電子マスクを用いてもよい。 In the above-described embodiment, a light-transmitting mask in which a predetermined light-shielding pattern (or phase pattern / dimming pattern) is formed on a light-transmitting substrate is used. As disclosed in Japanese Patent No. 6,778,257, an electronic mask that forms a transmission pattern, a reflection pattern, or a light emission pattern based on electronic data of a pattern to be exposed may be used.
また、上記実施形態では投影光学系PLを備えた露光装置を例に挙げて説明してきたが、投影光学系PLを用いない露光装置及び露光方法に本発明を適用することができる。国際公開第2001/035168号パンフレットに開示されているように、干渉縞を基板P上に形成することによって、基板P上にライン・アンド・スペースパターンを露光する露光装置(リソグラフィシステム)にも本発明を適用することができる。 In the above embodiment, the exposure apparatus provided with the projection optical system PL has been described as an example. However, the present invention can be applied to an exposure apparatus and an exposure method that do not use the projection optical system PL. As disclosed in the pamphlet of International Publication No. 2001/035168, the present invention is also applied to an exposure apparatus (lithography system) that exposes a line and space pattern on a substrate P by forming interference fringes on the substrate P. The invention can be applied.
以上のように、本願実施形態の露光装置EXは、本願特許請求の範囲に挙げられた各構成要素を含む各種サブシステムを、所定の機械的精度、電気的精度、光学的精度を保つように、組み立てることで製造される。これら各種精度を確保するために、この組み立ての前後には、各種光学系については光学的精度を達成するための調整、各種機械系については機械的精度を達成するための調整、各種電気系については電気的精度を達成するための調整が行われる。各種サブシステムから露光装置への組み立て工程は、各種サブシステム相互の、機械的接続、電気回路の配線接続、気圧回路の配管接続等が含まれる。この各種サブシステムから露光装置への組み立て工程の前に、各サブシステム個々の組み立て工程があることはいうまでもない。各種サブシステムの露光装置への組み立て工程が終了したら、総合調整が行われ、露光装置全体としての各種精度が確保される。なお、露光装置の製造は温度およびクリーン度等が管理されたクリーンルームで行うことが望ましい。 As described above, the exposure apparatus EX according to the present embodiment maintains various mechanical subsystems including the respective constituent elements recited in the claims of the present application so as to maintain predetermined mechanical accuracy, electrical accuracy, and optical accuracy. Manufactured by assembling. In order to ensure these various accuracies, before and after assembly, various optical systems are adjusted to achieve optical accuracy, various mechanical systems are adjusted to achieve mechanical accuracy, and various electrical systems are Adjustments are made to achieve electrical accuracy. The assembly process from the various subsystems to the exposure apparatus includes mechanical connection, electrical circuit wiring connection, pneumatic circuit piping connection and the like between the various subsystems. Needless to say, there is an assembly process for each subsystem before the assembly process from the various subsystems to the exposure apparatus. When the assembly process of the various subsystems to the exposure apparatus is completed, comprehensive adjustment is performed to ensure various accuracies as the entire exposure apparatus. The exposure apparatus is preferably manufactured in a clean room where the temperature, cleanliness, etc. are controlled.
   半導体デバイス等のマイクロデバイスは、図15に示すように、マイクロデバイスの機能・性能設計を行うステップ201、この設計ステップに基づいたマスク(レチクル)を製作するステップ202、デバイスの基材である基板を製造するステップ203、前述した実施形態の露光装置EXによりマスクのパターンを基板に露光する露光工程を含む基板処理ステップ204、デバイス組み立てステップ(ダイシング工程、ボンディング工程、パッケージ工程を含む)205、検査ステップ206等を経て製造される。   As shown in FIG. 15, a microdevice such as a semiconductor device includes a
 1…液浸機構、3…吸引機構、4…気体供給機構、12…供給口、22…回収口、25…多孔部材、25B…下面、25H…孔、30…吸引部材、32…吸引口、34…吸引流路(空間部、負圧空間)、35…多孔部材、35B…下面、35H…孔、40…気体用ノズル部材、42…吹出口、70…ノズル部材、100…大気空間、EL…露光光、EX…露光装置、K1…光路空間、K2…所定空間、LQ…液体、P…基板、PL…投影光学系
DESCRIPTION OF SYMBOLS 1 ... Immersion mechanism, 3 ... Suction mechanism, 4 ... Gas supply mechanism, 12 ... Supply port, 22 ... Recovery port, 25 ... Porous member, 25B ... Bottom surface, 25H ... Hole, 30 ... Suction member, 32 ... Suction port, 34 ... suction channel (space part, negative pressure space), 35 ... porous member, 35B ... lower surface, 35H ... hole, 40 ... gas nozzle member, 42 ... air outlet, 70 ... nozzle member, 100 ... atmospheric space, EL ... exposure light, EX ... exposure device, K1 ... optical path space, K2 ... predetermined space, LQ ... liquid, P ... substrate, PL ... projection optical system
| Application Number | Priority Date | Filing Date | Title | 
|---|---|---|---|
| JP2006021169AJP4807086B2 (en) | 2005-02-21 | 2006-01-30 | Exposure apparatus, exposure method, and device manufacturing method | 
| Application Number | Priority Date | Filing Date | Title | 
|---|---|---|---|
| JP2005044017 | 2005-02-21 | ||
| JP2005044017 | 2005-02-21 | ||
| JP2006021169AJP4807086B2 (en) | 2005-02-21 | 2006-01-30 | Exposure apparatus, exposure method, and device manufacturing method | 
| Application Number | Title | Priority Date | Filing Date | 
|---|---|---|---|
| JP2010255403ADivisionJP5343958B2 (en) | 2005-02-21 | 2010-11-15 | Exposure apparatus, exposure method, and device manufacturing method | 
| JP2010291072ADivisionJP5343962B2 (en) | 2005-02-21 | 2010-12-27 | Exposure apparatus, exposure method, and device manufacturing method | 
| Publication Number | Publication Date | 
|---|---|
| JP2006261645A JP2006261645A (en) | 2006-09-28 | 
| JP4807086B2true JP4807086B2 (en) | 2011-11-02 | 
| Application Number | Title | Priority Date | Filing Date | 
|---|---|---|---|
| JP2006021169AExpired - Fee RelatedJP4807086B2 (en) | 2005-02-21 | 2006-01-30 | Exposure apparatus, exposure method, and device manufacturing method | 
| Country | Link | 
|---|---|
| JP (1) | JP4807086B2 (en) | 
| Publication number | Priority date | Publication date | Assignee | Title | 
|---|---|---|---|---|
| JP2010205914A (en)* | 2009-03-03 | 2010-09-16 | Nikon Corp | Exposure device, exposure method, and method for manufacturing device | 
| NL2008979A (en)* | 2011-07-11 | 2013-01-14 | Asml Netherlands Bv | A fluid handling structure, a lithographic apparatus and a device manufacturing method. | 
| KR102256686B1 (en)* | 2016-12-14 | 2021-05-26 | 에이에스엠엘 네델란즈 비.브이. | Lithographic apparatus and device manufacturing method | 
| EP4062233A1 (en) | 2019-11-18 | 2022-09-28 | ASML Netherlands B.V. | A fluid handling system, method and lithographic apparatus | 
| Publication number | Priority date | Publication date | Assignee | Title | 
|---|---|---|---|---|
| KR100585476B1 (en)* | 2002-11-12 | 2006-06-07 | 에이에스엠엘 네델란즈 비.브이. | Lithographic Apparatus and Device Manufacturing Method | 
| JP4595320B2 (en)* | 2002-12-10 | 2010-12-08 | 株式会社ニコン | Exposure apparatus and device manufacturing method | 
| WO2004093159A2 (en)* | 2003-04-09 | 2004-10-28 | Nikon Corporation | Immersion lithography fluid control system | 
| TWI295414B (en)* | 2003-05-13 | 2008-04-01 | Asml Netherlands Bv | Lithographic apparatus and device manufacturing method | 
| US6867844B2 (en)* | 2003-06-19 | 2005-03-15 | Asml Holding N.V. | Immersion photolithography system and method using microchannel nozzles | 
| JP3862678B2 (en)* | 2003-06-27 | 2006-12-27 | キヤノン株式会社 | Exposure apparatus and device manufacturing method | 
| EP1498778A1 (en)* | 2003-06-27 | 2005-01-19 | ASML Netherlands B.V. | Lithographic apparatus and device manufacturing method | 
| Publication number | Publication date | 
|---|---|
| JP2006261645A (en) | 2006-09-28 | 
| Publication | Publication Date | Title | 
|---|---|---|
| JP4844186B2 (en) | Plate member, substrate holding apparatus, exposure apparatus and exposure method, and device manufacturing method | |
| JP4720506B2 (en) | Stage apparatus, exposure apparatus, and exposure method | |
| JP5440553B2 (en) | Substrate holding apparatus, exposure apparatus, exposure method, and device manufacturing method | |
| JP4444920B2 (en) | Exposure apparatus and device manufacturing method | |
| JP4717933B2 (en) | Exposure apparatus and device manufacturing method | |
| JP5287948B2 (en) | Exposure apparatus and device manufacturing method | |
| CN107422612B (en) | Liquid immersion member, exposure apparatus, liquid immersion exposure method, and device manufacturing method | |
| WO2006080516A1 (en) | Exposure apparatus and method for manufacturing device | |
| JP4884708B2 (en) | Exposure apparatus and device manufacturing method | |
| JP5005226B2 (en) | Exposure apparatus, device manufacturing method, and liquid holding method | |
| WO2006030902A1 (en) | Exposure apparatus, exposure method, and method for manufacturing device | |
| CN100552881C (en) | Exposure apparatus, exposure method, and device manufacturing method | |
| JP4802604B2 (en) | Exposure apparatus, exposure method, and device manufacturing method | |
| JP5130609B2 (en) | Exposure apparatus, exposure method, and device manufacturing method | |
| WO2006106851A1 (en) | Exposure apparatus, exposure method, and device production method | |
| JP4807086B2 (en) | Exposure apparatus, exposure method, and device manufacturing method | |
| JP2007019463A (en) | Exposure apparatus, exposure method, and device manufacturing method | |
| JP5753613B2 (en) | Exposure apparatus, exposure method, and device manufacturing method | |
| JP4752320B2 (en) | Substrate holding apparatus and exposure apparatus, substrate holding method, exposure method, and device manufacturing method | |
| JP2006310827A (en) | Exposure apparatus, exposure method, and device manufacturing method | |
| JP5232901B2 (en) | Exposure apparatus and device manufacturing method | |
| JP5343962B2 (en) | Exposure apparatus, exposure method, and device manufacturing method | |
| JP5375843B2 (en) | Exposure apparatus, exposure method, and device manufacturing method | |
| JP4400390B2 (en) | Exposure apparatus and device manufacturing method | |
| JP4706422B2 (en) | Exposure apparatus and device manufacturing method | 
| Date | Code | Title | Description | 
|---|---|---|---|
| A621 | Written request for application examination | Free format text:JAPANESE INTERMEDIATE CODE: A621 Effective date:20081211 | |
| A131 | Notification of reasons for refusal | Free format text:JAPANESE INTERMEDIATE CODE: A131 Effective date:20101026 | |
| A521 | Written amendment | Free format text:JAPANESE INTERMEDIATE CODE: A523 Effective date:20101227 | |
| A131 | Notification of reasons for refusal | Free format text:JAPANESE INTERMEDIATE CODE: A131 Effective date:20110412 | |
| A521 | Written amendment | Free format text:JAPANESE INTERMEDIATE CODE: A523 Effective date:20110613 | |
| TRDD | Decision of grant or rejection written | ||
| A01 | Written decision to grant a patent or to grant a registration (utility model) | Free format text:JAPANESE INTERMEDIATE CODE: A01 Effective date:20110719 | |
| A01 | Written decision to grant a patent or to grant a registration (utility model) | Free format text:JAPANESE INTERMEDIATE CODE: A01 | |
| A61 | First payment of annual fees (during grant procedure) | Free format text:JAPANESE INTERMEDIATE CODE: A61 Effective date:20110801 | |
| FPAY | Renewal fee payment (event date is renewal date of database) | Free format text:PAYMENT UNTIL: 20140826 Year of fee payment:3 | |
| R150 | Certificate of patent or registration of utility model | Ref document number:4807086 Country of ref document:JP Free format text:JAPANESE INTERMEDIATE CODE: R150 Free format text:JAPANESE INTERMEDIATE CODE: R150 | |
| FPAY | Renewal fee payment (event date is renewal date of database) | Free format text:PAYMENT UNTIL: 20140826 Year of fee payment:3 | |
| R250 | Receipt of annual fees | Free format text:JAPANESE INTERMEDIATE CODE: R250 | |
| R250 | Receipt of annual fees | Free format text:JAPANESE INTERMEDIATE CODE: R250 | |
| R250 | Receipt of annual fees | Free format text:JAPANESE INTERMEDIATE CODE: R250 | |
| R250 | Receipt of annual fees | Free format text:JAPANESE INTERMEDIATE CODE: R250 | |
| R250 | Receipt of annual fees | Free format text:JAPANESE INTERMEDIATE CODE: R250 | |
| R250 | Receipt of annual fees | Free format text:JAPANESE INTERMEDIATE CODE: R250 | |
| LAPS | Cancellation because of no payment of annual fees |