




本発明は、半導体製造装置等に用いられる基板研摩装置に供給するスラリー溶液を作るためのスラリー希釈装置に関し、特に、量の少ないスラリー原液を純水で稀釈し、高精度に濃度調整できるスラリー希釈装置に関する。The present invention relates to aslurry dilution systemfor making a slurry solution supplied to the substrate polishing apparatus used in a semiconductor manufacturing device or the like, inparticular, was diluted lessslurry stock solution with an amountof pure water,the slurry diluted capable concentration accurately adjusted Relates to the device.
従来、複数種類の液を混合するにあたって、液混合装置を用いて混合することが行われていた。ここでは、液の混合の例として、半導体基板等の基板を研摩する基板研摩装置に供給するスラリー溶液を製造するための、スラリー原液と純水を混合させるスラリー希釈装置を説明する。Conventionally, in mixing a plurality of types of liquids, mixing using a liquid mixing apparatus has been performed. Here, as an example of liquid mixing, aslurry dilution apparatus for mixing a slurry stock solution and pure water for producing a slurry solution supplied to a substrate polishing apparatus for polishing a substrate such as a semiconductor substrate will be described.
従来、スラリー原液を純水で希釈して、その濃度が調整されたスラリー溶液を製造するには、例えば内径が上下方向に同一な筒状の容器内に、原液供給手段からスラリー原液を所定量供給し、その後該容器内に、純水供給手段から所定量の純水を供給して、該容器内でスラリー原液と純水とを混合して、所定濃度のスラリー溶液を得る。このとき、このスラリー原液及び純水の計量は、容器の壁面等に取り付けた液面計で液位を測定することで行なっている。 Conventionally, in order to produce a slurry solution whose concentration is adjusted by diluting the slurry stock solution with pure water, for example, a predetermined amount of the slurry stock solution is supplied from the stock solution supply means into a cylindrical container having the same inner diameter in the vertical direction. Then, a predetermined amount of pure water is supplied from the pure water supply means into the container, and the slurry stock solution and pure water are mixed in the container to obtain a slurry solution having a predetermined concentration. At this time, the slurry stock solution and the pure water are measured by measuring the liquid level with a liquid level gauge attached to the wall surface of the container.
ところが、上記した方法では、希釈されるスラリー原液に対して純水の量が多い場合は、内径が上下方向に同一の容器を用いているため、少量のスラリー原液による液位変化は大量の純水による液位変化に比較して小さく、スラリー原液の量を精度良く計量することが困難となり、精度良く濃度調整されたスラリー溶液が得にくいという問題があった。 However, in the above method, when the amount of pure water is large relative to the diluted slurry stock solution, the same inner diameter is used in the vertical direction. There is a problem that it is smaller than the change in the liquid level due to water, and it is difficult to accurately measure the amount of the slurry stock solution, and it is difficult to obtain a slurry solution whose concentration is adjusted accurately.
さらに、スラリー溶液を作る別の方法として、スラリー原液及び純水の量を予め計量しておき、この計量されたスラリー原液と純水とを容器内に供給し混合する方法もあるが、この方法では、予めスラリー原液の液量の計量を行う作業と純水の液量の計量を行なう作業とがそれぞれ必要なため、スラリー溶液を作る手順が煩雑になる上に、スラリー原液の液量を計量する装置と、純水の液量を計量する装置とをそれぞれ別個に設ける必要があるため、装置の構成が複雑になり、装置が大型化してしまうという問題があった。 Furthermore, as another method for preparing the slurry solution, there is a method in which the amount of the slurry stock solution and pure water is measured in advance, and the measured slurry stock solution and pure water are supplied into the container and mixed. Then, since the work of measuring the liquid volume of the slurry stock solution and the work of measuring the liquid volume of pure water are required in advance, the procedure for preparing the slurry solution becomes complicated, and the liquid volume of the slurry stock solution is measured. Since it is necessary to separately provide a device for measuring and a device for measuring the amount of pure water, there is a problem that the configuration of the device becomes complicated and the device becomes large.
また、従来の混合方法は、内径が上下方向に同一の容器内に、少量のスラリー原液と多量の純水とを供給し、両者を攪拌機等で攪拌して混合するものであるが、スラリー原液を純水中に均一に混合させるには時間がかかるという問題もあった。 In addition, the conventional mixing method is to supply a small amount of slurry stock solution and a large amount of pure water into a container having the same inner diameter in the vertical direction, and stir and mix them with a stirrer or the like. There is also a problem that it takes time to uniformly mix the water with pure water.
本発明は上述の点に鑑みてなされたものでありその目的は、簡素な構成で、混合する各液の液量を正確に測定でき、精度の良い濃度の混合液を作ることができると共に、短時間で各液が均一に混合できるスラリー希釈装置を提供することにある。The present invention has been made in view of the above points, and its purpose is to have a simple configuration, accurately measure the amount of each liquid to be mixed, and to make a highly accurate mixed liquid, An object of the present invention is to provide aslurry diluting device capable of uniformly mixing each liquid in a short time.
  本願請求項1に記載の発明は、半導体基板等の基板を研摩する基板研摩装置に供給するスラリー溶液を製造するための、スラリー原液と純水を混合させるスラリー希釈装置であって、筒状の上部タンクと下部タンクとを有し、前記下部タンクが前記上部タンクの下方に一体的に設けられその内径が前記上部タンクの内径より小さく且つ内部が前記上部タンクと連通してなる調合タンクと、前記調合タンクにスラリー原液を供給するスラリー供給手段と、前記調合タンクに純水を供給する純水供給手段と、前記調合タンクへのスラリー原液及び純水の供給を制御する制御手段と、前記上部タンクの外側面に取り付けた静電容量型の液面レベルセンサーからなる上部タンク液面検出手段と、前記下部タンクの外側面に取り付けた静電容量型の液面レベルセンサーからなる下部タンク液面検出手段と、前記上部タンク内に設置され、前記スラリー供給手段から供給されるスラリー原液が通るスラリー供給管と、前記純水供給手段から供給される純水が通る純水供給管と、前記スラリー供給管と前記純水供給管の吐出側の端部が合流する合流管路部とを有し、前記合流管路部の吐出口を前記下部タンクの入口に向けて配置してなる配管部材と、を備え、前記制御手段は、前記スラリー供給手段で前記下部タンクにスラリー原液を供給し、前記下部タンク液面検出手段が所定の液位を検出したら、該スラリー原液の供給を停止し、前記純粋供給手段から前記下部タンクに純水を供給することで、前記下部タンク内でスラリー原液と純水との混合を行い、該混合で生成したスラリー溶液が前記下部タンクを溢れて前記上部タンクに流入することで、前記上部タンク液面検出手段が所定の液位を検出したら、該純水の供給を停止することを特徴とするスラリー希釈装置にある。
The invention described in claim 1 of the present application isa slurry diluting device for mixing a slurry stock solution and pure water for producing a slurry solution to be supplied to a substrate polishing apparatus for polishing a substrate such as asemiconductor substrate . A mixing tank comprising an upper tank and a lower tank, wherein the lower tank is integrally provided below the upper tank, an inner diameter thereof is smaller than an inner diameter of the upper tank, and an inside communicates with the upper tank; Slurry supply means for supplying a slurry stock solution to the preparation tank, pure water supply means for supplying pure water to the preparation tank, control means for controlling supply of the slurry stock solution and pure water to the preparation tank, and the upper part Upper tank liquid level detecting means comprising a capacitive liquid level sensor attached to the outer surface of the tank, and a capacitive liquid level attached to the outer surface of the lower tank A lower tank solution level detecting means including a bell sensoris installed in said upper tank, a slurry supply pipe slurry concentrate passes supplied from the slurry supply unit, the pure water supplied from the pure water supply means through A pure water supply pipe; a slurry supply pipe; and a merge pipe section where the discharge-side end of the pure water supply pipe merges, with a discharge port of the merge pipe section facing an inlet of the lower tank And the control means supplies the slurry stock solution to the lower tank by the slurry supply means, and when the lower tank liquid level detection means detects a predetermined liquid level, the slurry The supply of the stock solution is stopped, and pure water is supplied from the pure supply means to the lower tank, so that the slurry stock solution and pure water are mixed in the lower tank, and the slurry solution generated by the mixing is mixed with the lower solution. By overflowing the tank flows into the upper tank, when the upper tank liquid level detecting means detects a predetermined liquid level, in a slurry dilution apparatus characterized by stopping the supply of the pure water.
請求項2に記載の発明は、請求項1に記載のスラリー希釈装置において、前記上部タンクの底部には、その外周端部から中央の開口部に向かって次第にその高さが低くなるように傾斜した傾斜板が取り付けられており、前記下部タンクの底部には、混合後の前記スラリー溶液を排出するための開口部が設けられていることを特徴とする。According to a second aspect of the present invention, in the slurry diluting device according to the first aspect,the bottom of the upper tank is inclined so that its height gradually decreases from the outer peripheral end toward the central opening. The inclined plate is attached, and an opening for discharging the mixed slurry solution is provided at the bottom of the lower tank .
請求項1に記載の発明によれば、調合タンクを内径が大きい上部タンクと、内径が小さい下部タンクで構成し、スラリー供給手段で下部タンクにスラリー原液を供給し、下部タンク液面検出手段が所定の液位を検出したら、該スラリー原液の供給を停止し、純粋供給手段から下部タンクに純水を供給することで、下部タンク内でスラリー原液と純水との混合を行い、該混合で生成したスラリー溶液が下部タンクを溢れて上部タンクに流入することで、上部タンク液面検出手段が所定の液位を検出したら、該純水の供給を停止するように構成したので、内径の小さい下部タンク内で異なる液が混合攪拌されながら、上部タンクに流入することになり、短時間で高精度に調整された濃度のスラリー溶液を作ることができる。According to the first aspect of the present invention, the preparation tank is composed of an upper tank having a large inner diameter and a lower tank having a small inner diameter, theslurry supply means supplies the slurry stock solution to the lower tank, and the lower tank liquid level detection means When the predetermined liquid level is detected, the supply of the slurry stock solution is stopped, and pure water is supplied from the pure supply means to the lower tank, so that the slurry stock solution and the pure water are mixed in the lower tank. Since the generated slurry solution overflows the lower tank and flows into the upper tank, when the upper tank liquid level detecting means detects a predetermined liquid level, the supply of the pure water is stopped. While different liquids are mixed and stirred in the lower tank, the liquid flows into the upper tank, anda slurry solution having a concentration adjusted withhigh accuracy can be made in a short time.
また、下部タンクの内径が小さいから、該下部タンクに供給されるスラリー原液は少量でも下部タンク液面検出手段で精度良く計量できると共に、該少量のスラリー原液が希釈されたスラリー溶液も上部タンク液面検出手段で精度良く検出できるから、簡単な構成で、精度の良くスラリー溶液の濃度調整ができる。Further, since the inner diameter of the lower tank is small, even a small amount of the slurry stock solution supplied to the lower tank can be accurately measured by the lower tank liquid level detecting means, and the slurry solution obtained by diluting the small amount of slurry stock solution can also be used. Since it can be detected with high accuracy by the surface detection means, the concentration of the slurry solution can be adjusted with high accuracy with a simple configuration.
さらに、上部タンク液面検出手段と下部タンク液面検出手段とは、共に液面レベルセンサーであるので、正確に容器内の液面を検出することができる。このため、各液の液量を正確に計量することができ、高精度に調整された濃度の混合液を作ることができる。また、液面レベルセンサーをタンクの外側面に取り付けたので、その取り付けが簡単であると共にメンテナンスが容易になる。Furthermore, since both the upper tank liquid level detecting means and the lower tank liquid level detecting means are liquid level sensors, the liquid level in the container can be detected accurately. For this reason, the liquid amount of each liquid can be measured accurately and the liquid mixture of the density | concentration adjusted with high precision can be made. Further, since the liquid level sensor is attached to the outer surface of the tank, the attachment is simple and the maintenance becomes easy.
さらに、スラリー供給手段から供給されるスラリー原液が通るスラリー供給管と、純水供給手段から供給される純水が通る純水供給管と、スラリー供給管と純水供給管の吐出側の端部が合流する合流管路部とを有し、合流管路部の吐出口を下部タンクの入口に向けて配置してなる配管部材を備えたので、合流管路部を通った液は下部タンク内に流れ込み、液の混合が効率良く行われると共に、最後に液を純水とすることにより、合流管路部の内部が洗浄されることになり、装置のメンテンナンスを行う回数が少なくて済む。Furthermore, a slurry supply pipe through which the slurry stock solution supplied from the slurry supply means passes, a pure water supply pipe through which pure water supplied from the pure water supply means passes, and an end portion on the discharge side of the slurry supply pipe and the pure water supply pipe And a pipe member formed by disposing the discharge port of the merging pipe part toward the inlet of the lower tank, sothat the liquid passing through the merging pipe part is contained in the lower tank. Then, the liquid is mixed efficiently, and finally the liquid is made pure water, so that the inside of the merging pipe section is cleaned, and the number of times of maintenance of the apparatus can be reduced.
さらに、配管部材の合流管路部をスラリー原液と純水とが通るので、該合流管路部の内壁にスラリー原液に含まれる固形物が付着して堆積しても、これが純水によって洗い流される効果があるため、装置のメンテンナンスを行う回数が少なくて済む。 Further, since the slurry stock solution and the pure water pass through the junction pipe portion of the piping member, even if the solid matter contained in the slurry stock solution is deposited on the inner wall of the junction pipe portion, it is washed away by the pure water. Since this is effective, the number of times of maintenance of the apparatus can be reduced.
請求項2に記載の発明によれば、上部タンクの底部に傾斜板を取り付けたことで、上部タンク内のスラリー溶液が残らず下部タンクに移行するようになり、かつ、下部タンクの底部に開口部を設けたことで、当該開口部から調合タンク内のスラリー希釈液が外部に確実に排出されるようになるので、混合後に調合タンク内のスラリー溶液の全量を確実に他に移すことができる。 According to the second aspect of the present invention, the slant plate is attached to the bottom of the upper tank so that the slurry solution in the upper tank does not remain and moves to the lower tank, and opens to the bottom of the lower tank. By providing the part, the slurry diluent in the preparation tank is surely discharged to the outside from the opening, so that the entire amount of the slurry solution in the preparation tank can be reliably transferred to the other after mixing. .
  以下、本発明の実施形態を図面に基づいて詳細に説明する。
  図1は、本発明の一実施形態であるスラリー希釈装置1の分解斜視図であり、図2は組み立てられたスラリー希釈装置1を示す図で、同図(a)はその上側から見た図であり、同図(b)はその概略側断面図である。スラリー希釈装置1は、半導体製造装置等に用いられる基板研摩装置に供給するシリカ(SiO2)等のスラリー溶液を作るもので、スラリーの原液を純水と混合して所望の濃度のスラリー溶液を作るものである。Hereinafter, embodiments of the present invention will be described in detail with reference to the drawings.
 FIG. 1 is an exploded perspective view of a slurry diluting apparatus 1 according to an embodiment of the present invention. FIG. 2 is a view showing the assembled slurry diluting apparatus 1, and FIG. FIG. 5B is a schematic side sectional view thereof. The slurry diluting device 1 is a device for producing a slurry solution such as silica (SiO 2) to be supplied to a substrate polishing device used in a semiconductor manufacturing device or the like. The slurry solution is mixed with pure water to produce a slurry solution having a desired concentration. Is.
  スラリー希釈装置1は、その内部でスラリー原液を希釈する容器である調合タンク10を具備し、該調合タンク10は内径寸法βの大きい上部タンク11と、該上部タンク11に連通する内径寸法αの小さい(β>α)下部タンク15から構成されている。調合タンク10には、図示しない原液貯蔵タンクからスラリー原液を供給するスラリー供給管20と、図示しない純水貯蔵タンクから純水を供給する純水供給管30と、上部タンク11内に設置された、スラリー原液と純水とがその内部を通る配管部材40と、上部タンク11の開口部に被せて取り付けられた蓋部材50と、下部タンク15の壁面に取り付けられた液面レベルセンサー60と、上部タンク11の壁面に取り付けられた液面レベルセンサー70とを具備して構成されている。以下、このスラリー希釈装置1の構成について詳細に説明する。  The slurry diluting apparatus 1 includes a
  上部タンク10及び下部タンク15は、例えば、PVC(塩化ビニル樹脂)や、PFA(パーフルオロアルキルビニルエーテル樹脂)やガラス等の材料で形成された薬液収納用の容器である。上部タンク11は、その上端に開口部11aを設けると共に、開口部11aの周囲には、蓋部材50を取り付けるための取付穴11bが複数個(図では4個)設けられている。また、図2に示すように、底部12には、その外周端部から中央の開口部12aに向かって次第にその高さが低くなるように傾斜した傾斜板13が取り付けられている。  The
  一方、下部タンク15の底部16には、開口部16aが設けられて、この開口部16aにバルブ18が取り付けられている。バルブ18は、これを開くことで調合タンク10内で希釈されたスラリー溶液を、開口部16aを経由させて外部に取り出すことができる。なお、バルブ18はいわゆる表面設置型のバルブで、その下端の吐出口18aを貯蔵タンク80の上部に設けた開口部81に係合させて、調合タンク10を貯蔵タンク80の上部に載置することができる。  On the other hand, the
  上記のように、下部タンク15の内径寸法αが、上部タンク11の内径寸法βよりも小さい寸法となるように構成されている。そして、下部タンク15は、一度に作られるスラリー溶液に必要なスラリー原液をその内部に収容することができる容積を備えている。また、上部タンク11は下部タンク15よりもその容積が大きく構成されている。そして、上部タンク11と下部タンク15とを合わせた容積は、一度に作られるスラリー溶液をその内部に収容できる容積を備えて構成されている。  As described above, the inner diameter dimension α of the
  次に、スラリー供給管20には、原液バルブ22が取り付けられており、この原液バルブ22が、蓋部材50の上面に取り付けられたバルブブラケット23と蓋部材50の下面側でバルブブラケット23に接続された継手24とを介して、下記する配管部材40の原液管路41に接続されている。従って、原液タンクから吸引されたスラリー原液は、スラリー供給管20から原液バルブ22を通って配管部材40の原液管路41に導かれる。なお、原液バルブ22は、調合タンク10内の気圧に対応してスラリー原液の流路を開閉するよう構成されたバルブである。  Next, a
  また、純水供給管30は、継手32と接続管33及び継手34を介して、下記する配管部材40の純水管路42に接続されて構成されている。従って、純水タンクから供給される純水は、純水供給管30と接続管33を通って、純水管路42に導かれる。また、純水供給管30の途中には、純水バルブ31が設けられ、この純水バルブ31を開閉することによって、純水を供給・停止することができるよう構成されている。  The pure
  配管部材40は、PFA等のフッ素樹脂で形成され、図3に示すように、スラリー供給管20と接続された略直線状の原液管路41と、純水供給管30と接続され、その途中に略直角方向に屈曲した屈曲部42aを設けた純水管路42とを設けると共に、原液管路41の吐出側端部と純水管路42の吐出側端部とが合流部43で合流して、略直線状に形成された合流管路44として形成されている。なお、純水管路42は、原液管路41及びこれと直線状に一体に構成された合流管路44とに、合流部43で、溶接による継手接続によって取り付けられている。この配管部材40は、図2に示すように、調合タンク10の上部タンク11内に設置されたとき、その下端の吐出口45が下部タンク15の開口である開口部12aに向かって開口し、スラリー及び純水をこの下部タンク15内に供給することができる長さ及び形状に形成されている。  The
  蓋部材50は、PVC(塩化ビニル樹脂)や、PFA(パーフルオロアルキルビニルエーテル樹脂)やガラス等の材料で形成された平板状の部材で、調合タンク10の開口部11aに取り付けることでこれを覆うように、開口部11aの外形と略同一の形状に形成されている。図1に示すように、蓋部材50には、その上面50aに、バルブブラケット23の軸部23aが挿通される取付穴51と、接続管33がその内部に挿通されて取り付けられる取付穴52と、図示しない真空吸引装置に接続された真空吸引管53が取り付けられる取付穴54とが設けられている。また、チェックバルブ55とフロートスイッチ56が設けられている。さらに、蓋部材50の外周部には、取付穴57が複数個(図では4個)設けられ、蓋部材50は、この取付穴57と調合タンク10の取付穴11bとに挿通されるビス58によって、調合タンク10に取り付けられ、開口部11aを密閉した状態で塞いでいる。  The
  次に,下部タンク液面検出手段である液面レベルセンサー60と上部タンク液面検出手段である液面レベルセンサー70は、共に下部タンク15及び上部タンク11の外側から、その内部に溜められた液体の液面を検出することができるもので、ここではレベルセンサー(液面レベルセンサー)を用いる。このレベルセンサーとして、静電容量型レベルセンサーを用いると好適である。静電容量型レベルセンサーは、液面等の位置の検出にあたり、その電気的な出力の変化をコンデンサーの静電容量の変化として検知するものである。なお、ここでは、静電容量型レベルセンサーを用いた場合を例に説明するが、液面レベルセンサー60及び液面レベルセンサー70は、静電容量型のレベルセンサーに限られず、液面にレーザー光を照射する光学型や、超音波を発射する超音波型のレベルセンサー等を用いることも可能である。  Next, the
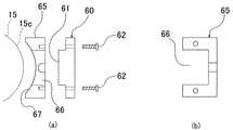
  図2に示すように、液面レベルセンサー60は、センサーブラケット65によって、その検知面61を調合タンク10の下部タンク15内に向けた状態で、下部タンク15の外側面15cに取り付けられている。図4は、液面レベルセンサー60とセンサーブラケット65とを示す図で、同図(a)はこれらを上側から見た図であり、同図(b)はセンサーブラケット65をその側方から見た図である。図4に示すように、液面レベルセンサー60は、検知面61を備えた矩形の略平板形状であり、検知面61が平面形状であるため、そのままでは湾曲している下部タンク15の外側面15cに取り付けることが出来ないため、センサーブラケット65の一方の側面67を、外側面15cの湾曲に合わせた形状に形成し、このセンサーブラケット65によって外側面15cに取り付けられている。センサーブラケット65は、同図(b)に示すように、その側方から見た形状が略コ字状に形成され、内側に検知面61を収納する収納部66を設けている。なお、62は液面レベルセンサー60をセンサーブラケット65に取り付けるビスである。  As shown in FIG. 2, the
  この液面レベルセンサー60は、下部タンク15の外側面15cのうち、下部タンク15内にスラリー原液を溜めた際に、その液面が位置する高さに合わせた位置に取り付けておき、供給されるスラリー原液の液量が所望の液量になったら、液面レベルセンサー60でこれを検出できるように構成しておく。液面レベルセンサー60を取り付けたセンサーブラケット65は、下部タンク15の外側面15cに、接着により固定するかあるいは粘着テープなどで貼り付けて固定する。また、希釈するスラリー溶液の量やその濃度を切り換えて使用する場合には、液面レベルセンサー60は、下部タンク15内に供給するスラリー原液の液量に合わせて下部タンク15の外側面15cにおけるその取付位置を上下に移動することができるように、例えばガイドレール等によって、半固定の状態で取り付けても良い。  This
  原液バルブ22は液面レベルセンサー60の出力信号により開閉制御されるようになっており、液面レベルセンサー60によって下部タンク15内の液面が検出されると、その検出信号により原液バルブ22が閉じられ、スラリー原液の供給が停止されるように構成されている。  The undiluted
  一方、図5は、液面レベルセンサー70とセンサーブラケット75とを示す図で、同図(a)はこれらを上側から見た図であり、同図(b)はセンサーブラケット75のみをその側方から見た図である。液面レベルセンサー70も、液面レベルセンサー60と同様に、センサーブラケット75によって、その検知面71を上部タンク11内に向けた状態で、上部タンク11の外側面11cに取り付けられている。センサーブラケット75は、その一方の側面77が、上部タンク11の外側面11cの湾曲に合わせた形状に形成されている。また、同図(b)に示すように、その側方から見た形状が略コ字状に形成され、内側に検知面71を収納する収納部76を設けている。  On the other hand, FIG. 5 is a view showing the
  液面レベルセンサー70は、上部タンク11の外側面11cのうち、調合タンク10内に希釈したスラリー溶液を溜めた際に、その液面が位置する高さに合わせて取り付けておき、供給される純水の液量が所望の液量になったら、液面レベルセンサー70でこれを検出できるように構成しておく。液面レベルセンサー70をビス72で固定したセンサーブラケット75は、上部タンク11の外側面11cに接着により固定するか、あるいは粘着テープなどで貼り付けて固定する。また、スラリー溶液の量やその濃度を切り換えて使用する場合には、液面レベルセンサー70は、スラリー溶液の液量に合わせて、上部タンク11の外側面11cにおけるその取付位置を上下に移動できるように、半固定の状態で取り付けても良い。  The
  純水バルブ31は液面レベルセンサー70の出力信号により開閉制御されるようになっており、液面レベルセンサー70によって上部タンク11内の液面が検出されると、その検出信号により純水バルブ31が閉じられ、純水の供給が停止されるように構成されている。  The
  これら液面レベルセンサー60と液面レベルセンサー70とは、下部タンク15と上部タンク11とにそれぞれ1個ずつ取り付けた場合を示したが、どちらも2個以上取り付けることも可能である。  Although one
  次に、上記構成のスラリー希釈装置1を用いて、スラリー溶液を作る手順を説明する。図2に示すように、調合タンク10は、スラリー溶液を貯蔵する貯蔵タンク80の上部に載置されており、バルブ18の吐出口18aを貯蔵タンク80の開口部81に接続している。この状態ではバルブ18は閉じられている。そして、図示しない真空吸引装置を作動させて調合タンク10内の気体を吸引し、調合タンク10内を真空の状態にする。ここで、調合タンク10内の気体が一定のレベルまで吸引されると、原液バルブ22にかかる気圧が変化することで、原液バルブ22が開かれる。原液タンクからスラリーの原液が吸引されて、スラリー供給管20及び原液バルブ22を通って、配管部材40の原液管路41に導かれ、原液管路41から合流管路44を通って下部タンク15内に流下する。流下したスラリー原液は、下部タンク15内に溜まり、次第にその液面レベルが上昇する。液面レベルが予め設定されたレベルに到達すると、液面レベルセンサー70がこの液面を検出し、原液バルブ22が閉じられて、スラリー原液の供給が停止する。  Next, a procedure for making a slurry solution using the slurry dilution apparatus 1 having the above-described configuration will be described. As shown in FIG. 2, the blending
  続いて、純水バルブ31を開けることで、純水タンクから純水が吸引され、該純水は純水供給管30、純水管路42及び合流部43を通って合流管路44に導かれ、下部タンク15内に流下する。下部タンク15内に流下した純水は、下部タンク15内で、先に溜められたスラリー原液と混合攪拌し、この混合されたスラリー溶液(スラリー原液の純水による希釈液)は下部タンク15内に溜まり、その液位が上昇して、やがて下部タンク15から溢れ出て、上部タンク11へ流れ込む。そして、上部タンク11内の液面が、液面レベルセンサー70で検出されると、純水バルブ31が閉じられて純水の供給が停止される。こうして所望の濃度に希釈されたスラリー溶液が作られる。  Subsequently, by opening the
  上記したスラリー溶液を作る方法では、下部タンク15内の液面が所定の高さに達したことを検出することで、供給するスラリー原液の液量を計量しているが、下部タンク15の内径寸法αは、上部タンク11の内径寸法βよりも小さい内径寸法に形成されているため、少ない量のスラリー原液の液量を高い精度で計量することができる。また、純水で稀釈されたスラリー溶液は多量であるため、内径寸法βが大きい上部タンク11でも精度良く計量できる。そのため、スラリー溶液の濃度を、目的とする濃度に精度良く調整できる。In the method of making the slurry solution described above, the amount of the slurry stock solution to be supplied is measured by detecting that the liquid level in the
  また、下部タンク15内に溜まったスラリー原液の液面や、上部タンク11内に溜まったスラリー溶液の液面の検出は、静電容量型の液面レベルセンサー60や液面レベルセンサー70を用いて行われるので、これら液面の検出が正確に行われる。また、液面レベルセンサー60や液面レベルセンサー70を用いることで、従来の希釈装置と比較して、低いコストで、計量機能を備えたスラリー希釈装置1を構成することが可能となる。さらに、液面レベルセンサー60と液面レベルセンサー70とを調合タンク10の外側面に取り付けたので、その調整やメンテナンスが行い易く、スラリー希釈装置1の取扱いが容易になる。なお、液面レベルセンサー60と液面レベルセンサー70とを、その取り付け高さが変更可能な状態で取り付けておけば、スラリー溶液の濃度や液量の変更にも容易に対応することが可能となる。  Further, the liquid level of the slurry stock solution accumulated in the
  また、配管部材40の合流管路44の部分は、原液タンクから供給されたスラリー原液が通過すると共に、純水タンクから供給された純水も通過する。よって、合流管路44の部分をスラリー原液が通ることでその内壁に固形物が付着して堆積しても、純水が通ることによって定期的にこの堆積物が洗い落とされるため、合流管路44が詰まることを防げ、清掃等のメンテナンスの回数を減らすことができる。  In addition, the portion of the merging
  また、スラリー原液と純水との混合は、容積の小さい下部タンク15でスラリー原液に純水を混合攪拌するように行われるため、両者は良く混合し、混合した状態で下部タンク15から溢れ、上部タンク11に流れ込むので、格別な攪拌手段を備えることなく、濃度が均一で質の高いスラリー溶液が作られることとなる。  Moreover, since the mixing of the slurry stock solution and the pure water is performed so that the pure water is mixed and stirred in the slurry stock solution in the
  以上のようにして、調合タンク10内で目的とする濃度のスラリー溶液が作られたら、バルブ18を開いて、調合タンク10内のスラリー溶液を貯蔵タンク80内へ自然落下させて移送する。なお、バルブ18を調合タンク10の下端に取り付けて、自然落下により内部のスラリー溶液を移すよう構成したので、調合タンク10内のスラリー溶液の全量を残さず移送することができる。また、スラリー溶液を移送するためのポンプ等の設備が不要になるため、設備のコンパクト化を図ることができる。なお、調合タンク10内に傾斜板13を取り付けたので、上部タンク11内のスラリー溶液が、この傾斜板13により残らず排出されるので、調合タンク10内のスラリー溶液の全量を貯蔵タンク80に移すことができる。  As described above, when a slurry solution having a target concentration is produced in the
  上記したスラリー溶液を作る作業とスラリー溶液を移送する作業からなる一連の作業を何回か繰り返して行うことで、貯蔵タンク80内に必要な量のスラリー溶液を溜めることができる。なお、繰り返し作業を行うにあたっても、調合タンク10の設置場所を変えたり、スラリー溶液をポンプで(別の場所に)移送する作業等は不要であるため、非常に効率が良い。  A necessary amount of slurry solution can be stored in the
  なお、調合タンク10の形状は、上記実施形態に記載した形状に限られるものではない。また、本願発明は、異なる複数種類の液を混合する液混合装置にかかるものであり、液はスラリー原液に限られず、他の液でもよいし、液であるスラリー原液を溶媒である純水で希釈する場合に限られず、液と他の液とを混合するものであってもよい。また、混合する液は2種類に限らず、3種類以上を混合するものでもあってもよい。例えば、下部タンク15に複数種類の液を順に所定量ずつ供給し、該複数種類の液に純水等の一種類の液、又は複数の液を所定量ずつ順次供給するようにしてもよい。また、下部タンク15も1個に限定されるものではなく、内径が順に小さくなる下部タンクを複数段設けてもよい。  In addition, the shape of the
以上本発明の実施形態を説明したが、本発明は上記実施形態に限定されるものではなく、特許請求の範囲、及び明細書と図面に記載された技術的思想の範囲内において種々の変形が可能である。なお直接明細書及び図面に記載のない何れの形状・構造・材質・方法であっても、本願発明の作用・効果を奏する以上、本願発明の技術的思想の範囲内である。 Although the embodiments of the present invention have been described above, the present invention is not limited to the above-described embodiments, and various modifications can be made within the scope of the technical idea described in the claims and the specification and drawings. Is possible. Note that any shape, structure, material, and method not directly described in the specification and drawings are within the scope of the technical idea of the present invention as long as the effects and effects of the present invention are exhibited.
  1  スラリー希釈装置
  10  調合タンク
  11  上部タンク
  12  底部
  13  傾斜板
  15  下部タンク
  16  底部
  18  バルブ
  20  スラリー供給管
  22  原液バルブ
  23  バルブブラケット
  30  純水供給管
  31  純水バルブ
  40  配管部材
  41  原液管路
  42  純水管路
  44  合流管路
  45  吐出口
  50  蓋部材
  53  真空吸引管
  60  液面レベルセンサー
  61  検知面
  65  センサーブラケット
  70  液面レベルセンサー
  71  検知面
  75  センサーブラケット
  80  貯蔵タンクDESCRIPTION OF SYMBOLS 1
| Application Number | Priority Date | Filing Date | Title | 
|---|---|---|---|
| JP2004080357AJP4790995B2 (en) | 2004-03-19 | 2004-03-19 | Slurry dilution device | 
| Application Number | Priority Date | Filing Date | Title | 
|---|---|---|---|
| JP2004080357AJP4790995B2 (en) | 2004-03-19 | 2004-03-19 | Slurry dilution device | 
| Publication Number | Publication Date | 
|---|---|
| JP2005262129A JP2005262129A (en) | 2005-09-29 | 
| JP4790995B2true JP4790995B2 (en) | 2011-10-12 | 
| Application Number | Title | Priority Date | Filing Date | 
|---|---|---|---|
| JP2004080357AExpired - LifetimeJP4790995B2 (en) | 2004-03-19 | 2004-03-19 | Slurry dilution device | 
| Country | Link | 
|---|---|
| JP (1) | JP4790995B2 (en) | 
| Publication number | Priority date | Publication date | Assignee | Title | 
|---|---|---|---|---|
| US8915157B1 (en) | 2011-08-29 | 2014-12-23 | Exelis, Inc. | Nonintrusive sensor cup for composite waste tank | 
| JP6443641B2 (en)* | 2017-04-20 | 2018-12-26 | ホクシン産業株式会社 | Fuel oil transfer device | 
| JP7019172B2 (en)* | 2017-12-28 | 2022-02-15 | ホクシン産業株式会社 | Fuel oil transfer device | 
| CN111437763B (en)* | 2020-05-08 | 2024-10-01 | 爱柯迪股份有限公司 | Paint proportioning equipment and spraying system | 
| Publication number | Priority date | Publication date | Assignee | Title | 
|---|---|---|---|---|
| JPS54123775A (en)* | 1978-03-18 | 1979-09-26 | Nissho Kk | Dilution device | 
| DE4114673C1 (en)* | 1991-05-06 | 1992-11-12 | Krones Ag Hermann Kronseder Maschinenfabrik, 8402 Neutraubling, De | |
| DE4123047A1 (en)* | 1991-07-12 | 1993-01-14 | Kronseder Maschf Krones | METHOD AND DEVICE FOR MIXING BEVERAGE COMPONENTS | 
| JP2663329B2 (en)* | 1993-09-01 | 1997-10-15 | 和泉電気株式会社 | Excess gas separation type gas-liquid pressurized reactor | 
| JPH1015379A (en)* | 1996-07-01 | 1998-01-20 | Yokogawa Electric Corp | Strong acid dilution equipment | 
| JP4208343B2 (en)* | 1998-05-29 | 2009-01-14 | キヤノン株式会社 | Ink contact member, ink absorber, ink tank, and ink jet cartridge | 
| JP2001259393A (en)* | 2000-03-23 | 2001-09-25 | Snow Brand Milk Prod Co Ltd | Method and device for agitating fluid substance | 
| JP2002172562A (en)* | 2000-12-05 | 2002-06-18 | Ebara Corp | Slurry supplying method and device | 
| US6523996B2 (en)* | 2000-12-27 | 2003-02-25 | Xerox Corporation | Blending tool with an enlarged collision surface for increased blend intensity and method of blending toners | 
| JP4549556B2 (en)* | 2001-03-01 | 2010-09-22 | エステー株式会社 | Liquid material mixing and filling machine | 
| JP2004009043A (en)* | 2002-06-05 | 2004-01-15 | Central Conveyor Kk | Ozone water producing apparatus | 
| EP1542789B1 (en)* | 2002-07-19 | 2006-11-29 | Kinetic Systems Inc. | Method and apparatus for blending process materials | 
| Publication number | Publication date | 
|---|---|
| JP2005262129A (en) | 2005-09-29 | 
| Publication | Publication Date | Title | 
|---|---|---|
| US9725844B2 (en) | Powdered and liquid chemical dispensing and distribution system | |
| JP4518918B2 (en) | Fluid dispensing device | |
| CN101952730B (en) | Cleaning apparatus, and automatic analysis apparatus | |
| US8119068B2 (en) | Fluid content monitor | |
| JP5814886B2 (en) | Liquid container and liquid level measurement method using the same | |
| CN101304802A (en) | Machine for dosing and mixing liquid products and operating method thereof | |
| WO2008079202A1 (en) | Measuring fluid quantities, blending liquid constituents, and dispensing blends | |
| JP3582316B2 (en) | Chemical analyzer | |
| JP4790995B2 (en) | Slurry dilution device | |
| KR100339825B1 (en) | Apparatus and method for precise mixing, delivery and transfer of chemicals | |
| CN109070148A (en) | Probe cleaning station for analytical instruments | |
| US7392698B2 (en) | Automatic flow measuring device | |
| US5159962A (en) | Container filling machine, particularly for concentrated liquid pigment | |
| EP1600746A2 (en) | Fluid dispenser cartridge with bladder means | |
| JPH06504698A (en) | Method and device for measuring liquid flow rate | |
| KR101847212B1 (en) | Measuring device of liquid sample | |
| JP4178122B2 (en) | Dispensing device and automatic analyzer equipped with the same | |
| KR20120070699A (en) | Apparatus for measuring water level | |
| CN109313113A (en) | Vibrate cavate densitometer | |
| US6327916B1 (en) | Apparatus and method for measuring the flow characteristics of a slurry | |
| JP2007322244A (en) | Dispensing volume detector | |
| CN219475025U (en) | Quality control instrument water sample cup | |
| JPS61205821A (en) | Non-contact type liquid level measuring apparatus | |
| JP2003315117A (en) | Method and device for detecting flow rate of fluid, and supplying device thereof | |
| CN220067810U (en) | Quantitative liquid medicine adding device | 
| Date | Code | Title | Description | 
|---|---|---|---|
| A521 | Request for written amendment filed | Free format text:JAPANESE INTERMEDIATE CODE: A821 Effective date:20070226 | |
| A621 | Written request for application examination | Free format text:JAPANESE INTERMEDIATE CODE: A621 Effective date:20070226 | |
| A977 | Report on retrieval | Free format text:JAPANESE INTERMEDIATE CODE: A971007 Effective date:20090903 | |
| A131 | Notification of reasons for refusal | Free format text:JAPANESE INTERMEDIATE CODE: A131 Effective date:20090915 | |
| A521 | Request for written amendment filed | Free format text:JAPANESE INTERMEDIATE CODE: A523 Effective date:20091116 Free format text:JAPANESE INTERMEDIATE CODE: A821 Effective date:20091116 | |
| A02 | Decision of refusal | Free format text:JAPANESE INTERMEDIATE CODE: A02 Effective date:20101102 | |
| A521 | Request for written amendment filed | Free format text:JAPANESE INTERMEDIATE CODE: A523 Effective date:20110201 | |
| RD03 | Notification of appointment of power of attorney | Free format text:JAPANESE INTERMEDIATE CODE: A7423 Effective date:20110201 | |
| A911 | Transfer to examiner for re-examination before appeal (zenchi) | Free format text:JAPANESE INTERMEDIATE CODE: A911 Effective date:20110318 | |
| TRDD | Decision of grant or rejection written | ||
| A01 | Written decision to grant a patent or to grant a registration (utility model) | Free format text:JAPANESE INTERMEDIATE CODE: A01 Effective date:20110719 | |
| A01 | Written decision to grant a patent or to grant a registration (utility model) | Free format text:JAPANESE INTERMEDIATE CODE: A01 | |
| A61 | First payment of annual fees (during grant procedure) | Free format text:JAPANESE INTERMEDIATE CODE: A61 Effective date:20110721 | |
| FPAY | Renewal fee payment (event date is renewal date of database) | Free format text:PAYMENT UNTIL: 20140729 Year of fee payment:3 | |
| R150 | Certificate of patent or registration of utility model | Free format text:JAPANESE INTERMEDIATE CODE: R150 Ref document number:4790995 Country of ref document:JP Free format text:JAPANESE INTERMEDIATE CODE: R150 | |
| R250 | Receipt of annual fees | Free format text:JAPANESE INTERMEDIATE CODE: R250 | |
| R250 | Receipt of annual fees | Free format text:JAPANESE INTERMEDIATE CODE: R250 | |
| R250 | Receipt of annual fees | Free format text:JAPANESE INTERMEDIATE CODE: R250 | |
| R250 | Receipt of annual fees | Free format text:JAPANESE INTERMEDIATE CODE: R250 | |
| R250 | Receipt of annual fees | Free format text:JAPANESE INTERMEDIATE CODE: R250 | |
| R250 | Receipt of annual fees | Free format text:JAPANESE INTERMEDIATE CODE: R250 | |
| R250 | Receipt of annual fees | Free format text:JAPANESE INTERMEDIATE CODE: R250 | |
| R250 | Receipt of annual fees | Free format text:JAPANESE INTERMEDIATE CODE: R250 | |
| R250 | Receipt of annual fees | Free format text:JAPANESE INTERMEDIATE CODE: R250 | |
| R250 | Receipt of annual fees | Free format text:JAPANESE INTERMEDIATE CODE: R250 | |
| EXPY | Cancellation because of completion of term |