





本発明は 交換用燃料タンク及び燃料電池システムに係り、特に純正品以外の燃料の使用による燃料電池の故障を未然に防止すると共に、燃料が残ったまま外した交換用燃料タンクを再度使用する際に、残っている燃料の量を掌握できるようにした交換用燃料タンク及びこの交換用燃料タンクを用いた燃料電池システムに関する。 The present invention relates to a replacement fuel tank and a fuel cell system, and in particular, when a fuel cell failure caused by the use of a fuel other than a genuine product is prevented in advance and the replacement fuel tank removed with the fuel remaining is used again. In particular, the present invention relates to a replacement fuel tank capable of grasping the amount of remaining fuel and a fuel cell system using the replacement fuel tank.
近時、可搬式の電子機器の電源として燃料電池を用いることが検討されており、特に、利便性の点から燃料をカートリッジ式の燃料タンクによって供給する方式の検討が進められている。 Recently, the use of a fuel cell as a power source for a portable electronic device has been studied, and in particular, a method of supplying fuel by a cartridge type fuel tank has been studied from the viewpoint of convenience.
このような交換用燃料タンクは、新規の燃料の補給が簡単に行える上に、タンクを繰り返し使えるために経済的であり、かつタンクの廃棄量が少なくなるため、環境負荷も小さいという利点がある。 Such a replacement fuel tank is advantageous in that it can be easily replenished with new fuel, is economical because the tank can be used repeatedly, and the amount of waste of the tank is reduced, so that the environmental load is small. .
しかし、このような交換用燃料タンクは、最後まで燃料を使い切るようにすると、使用中に燃料が途切れて作業が中断することがあるため、タンクに燃料の残量がある状態で交換するのが普通であり、このため、ユーザーは、複数本の交換用燃料タンクを所持し、燃料の残量に応じて適宜交換して使用する使用形態が考えられるが、このような場合、各交換用燃料タンクの燃料の残量を的確に把握するのが困難であった。 However, if such a replacement fuel tank is used up to the end, the fuel may be interrupted and the operation may be interrupted during use. For this reason, a user may have a plurality of replacement fuel tanks and replace them appropriately according to the remaining amount of fuel. In such a case, each replacement fuel can be considered. It was difficult to accurately grasp the remaining amount of fuel in the tank.
さらに、燃料タンクに、燃料の残量を記憶する不揮発性のメモリを装備させることも考えられるが、通常、不揮発性メモリの書き込み・読み出しには電気的な接点が用いられているため、データの改ざんが可能であるため、純正でない燃料を充填して利用する事が容易となり、この場合、燃料電池の故障の原因となるという問題があった。 In addition, it is conceivable to equip the fuel tank with a non-volatile memory that stores the remaining amount of fuel. However, since electrical contacts are normally used for writing / reading the non-volatile memory, Since tampering is possible, it becomes easy to fill and use non-genuine fuel, and in this case, there is a problem of causing a failure of the fuel cell.
本発明は、かかる従来の難点を解消すべくなされたもので、タンク本体に不揮発性メモリを有する非接触ICタグを容易に除去できない形態で取付け、この非接触ICタグの不揮発性メモリに燃料タンク、燃料の種別を識別する識別番号や、燃料交換の記録、燃料の残量を記憶することにより、叙上の問題のない交換用燃料タンク及びこの交換用燃料タンクを用いた燃料電池システムを提供しようとするものである。 The present invention has been made in order to eliminate such conventional problems, and a non-contact IC tag having a non-volatile memory is attached to a tank body in a form that cannot be easily removed, and a fuel tank is mounted on the non-volatile IC tag non-volatile memory. By providing an identification number for identifying the type of fuel, a record of fuel replacement, and a remaining amount of fuel, a replacement fuel tank and a fuel cell system using this replacement fuel tank are provided. It is something to try.
本発明の交換用燃料タンクは、内側に湾曲した把持縁を持つ筐体上の保持部に対し着脱可能とされた交換用燃料タンクであって、複数の可撓性シート材料及び/又は金属層を積層してなるラミネートフィルムによって袋体として形成され、かつ、燃料が通過する開封可能な供給口を持つコネクタを有する気・液密に構成された燃料収納体と、前記燃料収納体を覆うタンク本体と、前記タンク本体の内面側に埋設された非接触ICタグとを備え、前記非接触ICタグは、前記コネクタの前記供給口を通過する燃料の流量から求められた前記燃料収納体内の燃料の残量を示す情報が少なくとも書き込まれる不揮発性メモリと、前記燃料収納体に収納された燃料で溶解する導電材料により少なくとも一部分が構成され、かつ、前記不揮発性メモリに書き込まれる情報を受信するとともに前記不揮発性メモリに書込まれた情報を送信するアンテナ手段と、前記アンテナ手段と電気的に接続された燃料漏れセンサと、を有することを特徴とする。The replacement fuel tank of the present invention is a replacement fuel tank that isdetachable from a holding portion on a housing having a gripping edge curved inward, and includes a plurality of flexible sheet materials and / or metal layers. is formed as a bag body by a laminate film formed by laminating a, andafuel container configured care-liquid tight withconnectors with openable supply port through which the fuelpasses, covers the fuel container comprising atank body and a non-contact IC tag thatis embedded in the inner surface of the tank thebody, the non-contact IC tag,the fuel storage determined from the flow of fuel passing through the supply port of the connector anonvolatile memoryin which information indicating the remaining amount of fuel in the body are at least writtenby a conductive material that dissolves in the fuel stored in the fuel container at least one portion is configured and before Symbol nonvolatile memory Characterized in that it hasan antenna means for transmitting information in which the written in the nonvolatile memory which receives the information to be writtencan, and fuel leakage sensor which is the antenna means electrically connected, the.
  前記燃料収納体は、たとえば、収容する燃料が液体の場合には、複数の可撓性シート材料及び又は金属層(蒸着又は圧延箔)とを積層してなるミネートフィルムから構成された気・液密の袋体から構成することができるが、燃料が水素ガスのような気体の場合には、内圧が高くなるのでアルミのような軟質金属の絞り加工により形成された耐圧容器が適している。
  この燃料収納体には、燃料が通過するす開封可能な供給口を持つコネクタが設けられる。For example, when the fuel to be stored is a liquid, the fuel storage body is composed of a gas / liquid composed of a laminate film of a plurality of flexible sheet materials and / or metal layers (evaporated or rolled foil). Although it can be composed of a dense bag body, when the fuel is a gas such as hydrogen gas, the internal pressure increases, so a pressure vessel formed by drawing a soft metal such as aluminum is suitable.
 The fuel storage body is provided with a connector having an openable supply port through which fuel passes.
前記タンク本体は、たとえば、プラスチックの成形体により構成されるが、所定の剛性を備えた材料であれば、他の材料、たとえば金属板で構成するようにしてもよい。The tank body, for example, constituted by a molding of plastics, as long as the material having a predetermined rigidity,but it may also be configured to configure other materials, for example a metalplate.
非接触ICタグは、取り外しが困難な、たとえばタンク本体の内面側や燃料収納体の表面に装着されるが、非破壊的に取り外しができないような形態であれば、タンク本体の前面に装着するようにしてもよい。たとえば、タンク本体が、燃料収納体のない一重の構造の場合には、その前面に非接触ICタグが配設可能な凹部を形成し、この凹部に非接触ICタグを挿入して樹脂封止するようにする。非接触ICタグをタンク本体の内面側に装着する場合には、燃料収納体に収納された燃料により溶解される材料、たとえば燃料がメタノールの場合には、ポリビニルアルコールをバインダー(結合剤)とした銀ペーストで構成した燃料漏れ検知ヒューズを組み込み、燃料が漏洩した場合にこの銀ペーストで構成したヒューズが溶解し、回路が断絶するので燃料の漏洩を検知することができる。同様に、回路の一部に上述の銀ペーストを使用してアンテナ構成すれば、漏洩した燃料のメタノールによりアンテナ回路の一部が溶解して断絶するため、燃料の漏洩を検知できる。さらに、ポリビニルアルコールのような燃料で溶解される絶縁材料を電極の間にはさみ、導電率の変化、静電容量の変化により燃料の漏れを検知する事も可能である。 The non-contact IC tag is attached to the front surface of the tank body if it is difficult to remove, for example, is attached to the inner surface of the tank body or the surface of the fuel storage body but cannot be removed non-destructively. You may do it. For example, if the tank body has a single structure without a fuel container, a recess that can be equipped with a non-contact IC tag is formed on the front surface, and the non-contact IC tag is inserted into this recess and sealed with resin. To do. When mounting the non-contact IC tag on the inner surface side of the tank body, a material that is dissolved by the fuel stored in the fuel storage body, for example, when the fuel is methanol, polyvinyl alcohol is used as a binder (binder). A fuel leakage detection fuse made of silver paste is incorporated, and when the fuel leaks, the fuse made of silver paste is melted and the circuit is disconnected, so that the leakage of the fuel can be detected. Similarly, if an antenna is configured by using the above-described silver paste for a part of the circuit, a part of the antenna circuit is melted and cut off by methanol of the leaked fuel, so that the fuel leakage can be detected. Furthermore, it is also possible to detect a fuel leakage by sandwiching an insulating material dissolved in a fuel such as polyvinyl alcohol between the electrodes and changing the conductivity and the capacitance.
非接触ICタグには、アンテナ手段が受信した高周波信号をデジタル信号に復調して不揮発性メモリに供給し、不揮発性メモリから読み出したデジタル信号を高周波信号に変調して前記アンテナ手段に供給する変調・復調回路を設けることが望ましく、また必要に応じて、アンテナ手段で受信した高周波電流を平滑化して直流とする整流回路を設けるようにしてもよい。 In the non-contact IC tag, the high frequency signal received by the antenna means is demodulated into a digital signal and supplied to the nonvolatile memory, and the digital signal read from the nonvolatile memory is modulated into the high frequency signal and supplied to the antenna means It is desirable to provide a demodulating circuit, and if necessary, a rectifying circuit that smoothes the high-frequency current received by the antenna means to be a direct current may be provided.
  本発明の交換用燃料タンクは、水素のような気体燃料やメタノールのような液体燃料のいずれにも適用可能である。
  本発明の交換用燃料タンクは、たとえば、燃料電池システムの燃料供給用に好適に用いられる。The replacement fuel tank of the present invention can be applied to either a gaseous fuel such as hydrogen or a liquid fuel such as methanol.
 The replacement fuel tank of the present invention is suitably used, for example, for fuel supply of a fuel cell system.
このような燃料電池システムは、たとえば、上述した本発明の交換用燃料タンクと、前記交換用燃料タンクのコネクタに接続可能なコネクタを有するポンプ;前記ポンプから燃料の供給を受ける燃料電池;前記燃料電池に供給される燃料の量を測定する流量計;アンテナ手段;前記流量計で測定された流量に基づく情報を非接触で前記交換用燃料タンクの不揮発性メモリに書き込み、かつ該不揮発性メモリに書込まれた前記流量に基づく情報を読み出し前記アンテナ手段により発信するとともに前記アンテナ手段が受信した流量に基づく情報を別途外部の表示手段に表示させる制御部及びこれらを収納する前記筐体から少なくともなる電池本体とを備え、前記電池本体は、前記筐体に前記交換用燃料タンクを着脱可能に保持する前記保持部を有するとともに、前記交換用燃料タンクを保持した状態で、前記不揮発性メモリへ前記流量に基づく情報を書込み、かつ前記不揮発性メモリに書込まれた流量に基づく情報を読み出し可能な位置に、前記アンテナ手段を配設してなることを特徴としている。Such a fuel cell system includes, for example, a pump having the above-described replacement fuel tank of the present invention and a connector connectable to the connector of the replacement fuel tank; a fuel cell that receives supply of fuel from the pump; A flow meter for measuring the amount of fuel supplied to the battery; antenna means; information based on the flow rate measured by the flow meter is written in a non-contact manner into the non-volatile memory of the replacement fuel tank; At least from the control unit antenna means information based on the flow rate received by the display separately on an external display unit andthe casing you containing these as well as emitted by said antenna means reads information based on the written the flow comprising a battery body, said battery body, saidthe hold portionyou detachably holding the replacement fuel tank to the housing As well as, in a state of holding the replacement fuel tanks, in the non-volatile writing informationbased on the flow rate into the memory, and capable of reading the information based on the flow rate written in the nonvolatile memory location, the antenna Means is provided.
このような燃料電池システムは、たとえば、パーソナルコンピュータ用、可搬式テレビ、ゲーム機、形態電話等に好適に使用される。 Such a fuel cell system is suitably used for, for example, a personal computer, a portable television, a game machine, a form phone, and the like.
〔作用〕
  本発明の交換用燃料タンクは、使用に先立って、外部のリーダ/ライタにより、非接触で燃料の種別を識別する識別用番号及び燃料の残量を書込んでおき、たとえば、次のように使用される。
  (1) 交換用燃料タンクが燃料電池システムに装着されると、リーダ/ライタで燃料タンクの非接触ICタグに記憶された識別番号を読取る。読み取られた識別番号により、新たに装着された交換用燃料タンクが燃料電池システムに適合しているかを照合し、常に適合した燃料が使用されているか確認できる。
  (2) 交換用燃料タンクは工場からの出荷時には燃料は常に満タンで、非接触ICタグの不揮発性メモリに燃料の残量として満タンの量が書き込まれている。交換用燃料タンクが燃料電池システムに装着されると、リーダ/ライタで燃料の残量を読取る。燃料電池システムが発電し燃料を使用した場合、燃料の流量計により燃料の使用量を知り、装着時に読み込んだ燃料の残量から差し引く事で現在の燃料の残量を知ることが出来る。交換用燃料タンクを外すときは、現在の燃料の残量を、交換用燃料タンクの非接触ICタグの不揮発メモリに、リーダ/ライタを介して書き込む。このように交換用燃料タンクには常に正しい燃料の残量が記録されているので、いったん外して、再度装着した場合でも、燃料電池システムで常に正しい燃料の残量を把握できる。
  (3) 燃料収納体を持った燃料タンクで、をタンク本体の内面側に装着した非接触ICタグに燃料漏れを検知するセンサを組み込むことで、燃料収納体からの燃料漏れを早期に検知でき、早い時点で対応する事が可能となる。
  (4) 非接触ICタグは、タンク本体に容易に除去できない形態で取付けられており、かつ非接触ICタグのメモリに不揮発性メモリを使用しているので、非接触ICタグの付け替えや識別番号の改ざんによる不正を防止することできる。[Action]
 Prior to use, the replacement fuel tank of the present invention writes the identification number for identifying the type of fuel and the remaining amount of fuel in a non-contact manner by an external reader / writer. used.
 (1) When the replacement fuel tank is installed in the fuel cell system, the identification number stored in the non-contact IC tag of the fuel tank is read by the reader / writer. Based on the read identification number, it is possible to check whether the newly installed replacement fuel tank is compatible with the fuel cell system and confirm that the compatible fuel is always used.
 (2) When the replacement fuel tank is shipped from the factory, the fuel is always full, and the full amount of fuel is written in the non-volatile memory of the non-contact IC tag. When the replacement fuel tank is attached to the fuel cell system, the remaining amount of fuel is read by the reader / writer. When the fuel cell system generates power and uses fuel, the amount of fuel used can be known by a fuel flow meter, and the current remaining amount of fuel can be known by subtracting from the remaining amount of fuel read at the time of installation. When removing the replacement fuel tank, the current remaining amount of fuel is written into the non-volatile IC tag non-volatile memory of the replacement fuel tank via the reader / writer. As described above, since the correct remaining amount of fuel is always recorded in the replacement fuel tank, the correct remaining amount of fuel can always be grasped by the fuel cell system even when the replacement fuel tank is once removed and remounted.
 (3) By incorporating a sensor that detects fuel leakage into a non-contact IC tag mounted on the inner surface of the tank body with a fuel tank, it is possible to detect fuel leakage from the fuel container at an early stage. It is possible to respond at an early point.
 (4) The non-contact IC tag is attached to the tank body in a form that cannot be easily removed, and the non-contact IC tag memory uses a non-volatile memory. It is possible to prevent fraud due to tampering.
本発明によれば、燃料の残量を容易に確認することができ、かつ不正な燃料の充填、正規品以外の交換用燃料タンクの使用等の不正を防止することができる。 According to the present invention, it is possible to easily check the remaining amount of fuel, and to prevent fraud such as unauthorized filling of fuel, use of a replacement fuel tank other than a regular one, and the like.
  次に、本発明の実施例を図面を参照しながら説明する。
  図1は、本発明の一実施例の交換用燃料タンクの斜視図、図2はその断面図である。
  この実施例の交換用燃料タンクは、気・液密の円筒形のタンク本体1内に、燃料が通過する開封可能な供給口を持つコネクタ2を備え燃料収納体3を、コネクタ2をタンク本体1から突出させて収納し、コネクタ2とその周辺部をタンク本体1の内面に接着剤で固定するとともに、タンク本体1のコネクタ2が突出した側の内面に非接触ICタグ4を固定させて構成されている。Next, embodiments of the present invention will be described with reference to the drawings.
 FIG. 1 is a perspective view of a replacement fuel tank according to an embodiment of the present invention, and FIG. 2 is a sectional view thereof.
 The replacement fuel tank of this embodiment is provided with a
  この交換用燃料タンク5は、たとえば、ポリエチレン、ポリプロピレン、塩化ビニル樹脂、ABS樹脂のようなプラスチックを用いたモールド成形により、コネクタ2の位置で軸方向に2分割されたタンク本体1の半割体を形成し、一方の半割体に複数のプラスチックシートとアルミ層を積層させたラミネートシートで気・液密に形成した燃料収納体3を収納し、その一部とコネクタ2を半割体に接着して固定した後、他方の半割体を合わせて一体に接着させて形成される。  This
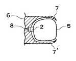
  この交換用燃料タンク5は、たとえば、図3に一部を示したパーソナルコンピュータの燃料電池システム6の縁部に沿って設けた把持側に付勢された内側に湾曲する把持縁7、7’に把持されるように装着されて使用される。  For example, the
  このとき、交換用燃料タンク5のコネクタ2は、燃料電池システム6の後述する燃料電池システム6の把持縁7、7’の間の対応位置に配設されたコネクタ8に自動的に係合されコネクタ8の先端部によりコネクタ2の供給口の弁が押し上げられ開封される。一方、交換用燃料タンク5を燃料電池システム6から外す場合は、コネクタ8の先端部がコネクタ2の供給口の弁から離れ、弁はバネによって押し戻されて供給口を閉じ、外部に燃料が漏れることを防ぐ。このように、通常、供給口2は開閉可能に構成し、燃料タンクを外した場合に燃料がもれるのを防ぐ構造とするのが好適である。  At this time, the
  なお、コネクタ2,8は、図4(a)に示すように、コネクタ2’の流路を閉塞するボールBを図4(b)に示すようにコネクタ8’の先端がで押すことにより流路が開放する構造のものとしてもよい。  As shown in FIG. 4A, the
  なお、非接触ICタグ4は、たとえば図5に模式的に示したように、不揮発性メモリ9と変・復調・整流回路素子10とアンテナ11とを有し、必要に応じポリビニルアルコールのようなメタノール可溶性樹脂を利用した燃料漏れセンサを組み込んだ構成とする。  The non-contact IC tag 4 includes a
  図5は、本発明の適用されたパーソナルコンピュータの燃料電池システム6に、交換用燃料タンク5を装着した状態を概略的に示したものである。  FIG. 5 schematically shows a state in which a
  この燃料電池システム6は、燃料電池13と、コネクタ8を介して交換用燃料タンク5から燃料を吸引して流量計14を介して燃料電池13に供給するパルスで駆動されるポンプ15と、燃料電池13で発生した電力を充電し、パーソナルコンピュータ本体に電力を供給する二次電池16と、流量計14が測定した流量から燃料の残量を求め、リーダ/ライタ17によりアンテナ18を介して交換用燃料タンクの非接触ICタグの不揮発性メモリ9に残量を書込ませる制御部19と、これらの機器類を収容する筐体20とから構成されている。ここで、ポンプ15を圧電素子を利用して作成すれば、1つの駆動パルスで一定の吐出量となるポンプが構成でき、このようなポンプを使用すれば、駆動パルス数をカウントして燃料の流量を知ることができるため、流量計で燃料も流量を測定する代わりに、ポンプの駆動パルス数をカウウントする構成も可能である。  The
  この実施例の交換用燃料タンク5は、燃料電池システム6に装着されて、リーダ/ライタ17を介してで燃料の残量と識別番号が読み出される。このとき識別番号から、装着された交換用燃料タンクの燃料が燃料電池システムに適合しているか判定し、燃料が適合している場合にのみ燃料電池システムを動作させる。  The
  そして、ポンプ15が駆動されると制御部19は、プログラムにしたがって、流量計14が計測した流量から燃料使用量を計算し、所定時間使用して交換用燃料タンク5を新しいものと交換するため取り外す際に、装着時に読み込んだ燃料の残量から使用量を差し引く事で現在の燃料の残量を計算し、燃料の残量を交換用燃料タンク5の不揮発性メモリ9に、リーダ/ライタ17及びアンテナ18を介して書込む。このように交換用燃料タンクには常に正しい燃料の残量が記録されているため、このタンクを再度装着して使用する場合でも、正しい燃料の残量を知ることが出来る。  When the
  この交換用燃料タンク5の不揮発性メモリ9の記憶は取り外し後も保持されるため、燃料をメーカー以外の第三者が満タン状態まで充填して再び使用しようとしても、不揮発メモリ9に記録された残量を第三者が書き換えることは難しいため、不揮発性メモリ9のデータを読み出して残量を確認することにより、不正な燃料の使用を防止することができる。  Since the memory of the
さらに、不揮発性メモリへ燃料の充填回数を記録しておけば、その充填回数の記録から、予定された耐用回数以内かどうかを確認することができる。 Furthermore, if the number of times of fuel filling is recorded in the non-volatile memory, it can be confirmed from the record of the number of times of filling whether the fuel is within the expected number of useful times.
  さらに、燃料が燃料収納体から漏洩した場合には、ICタグに接続された燃料漏れセンサの状態を読み出す事で燃料漏れを検知することができる。又、アンテナの一部を、燃料に対して可溶なバインダを使用した銀ペイストで構成しておけば、燃料が漏洩した場合にはアンテナ回路が断絶するため不揮発性メモリ9の内容が読み出せなくなるので、これによって、燃料漏れを検知することもできる。  Further, when the fuel leaks from the fuel storage body, the fuel leak can be detected by reading the state of the fuel leak sensor connected to the IC tag. If part of the antenna is made of silver paste using a binder that is soluble in fuel, the antenna circuit will be disconnected if the fuel leaks, so the contents of the
  1…タンク本体、2,2’,8,8’…コネクタ、3…燃料収納体、4…非接触ICタグ、5…交換用燃料タンク、6…燃料電池システム、7…把持縁、9…メモリ、10…変・復調・整流回路素、11…アンテナ、12…メタノール可溶性樹脂からなるシート、13…燃料電池、14…流量計、15…ポンプ、16…二次電池、17…リーダ/ライタ、18…アンテナ、19…制御部。  DESCRIPTION OF SYMBOLS 1 ... Tank main body, 2, 2 ', 8, 8' ... Connector, 3 ... Fuel storage body, 4 ... Non-contact IC tag, 5 ... Replacement fuel tank, 6 ... Fuel cell system, 7 ... Holding edge, 9 ...
| Application Number | Priority Date | Filing Date | Title | 
|---|---|---|---|
| JP2004163717AJP4765268B2 (en) | 2004-06-01 | 2004-06-01 | Replacement fuel tank and fuel cell system | 
| Application Number | Priority Date | Filing Date | Title | 
|---|---|---|---|
| JP2004163717AJP4765268B2 (en) | 2004-06-01 | 2004-06-01 | Replacement fuel tank and fuel cell system | 
| Publication Number | Publication Date | 
|---|---|
| JP2005347040A JP2005347040A (en) | 2005-12-15 | 
| JP4765268B2true JP4765268B2 (en) | 2011-09-07 | 
| Application Number | Title | Priority Date | Filing Date | 
|---|---|---|---|
| JP2004163717AExpired - Fee RelatedJP4765268B2 (en) | 2004-06-01 | 2004-06-01 | Replacement fuel tank and fuel cell system | 
| Country | Link | 
|---|---|
| JP (1) | JP4765268B2 (en) | 
| Publication number | Priority date | Publication date | Assignee | Title | 
|---|---|---|---|---|
| JP2007298400A (en)* | 2006-04-28 | 2007-11-15 | Keyence Corp | Flow sensor | 
| JP2008210677A (en)* | 2007-02-27 | 2008-09-11 | Casio Comput Co Ltd | Detachable structure and power generation system | 
| JP2008234966A (en)* | 2007-03-20 | 2008-10-02 | Sony Corp | Fuel cell device, fuel residue grasping method and electronic equipment | 
| JP5238221B2 (en)* | 2007-10-31 | 2013-07-17 | 東芝燃料電池システム株式会社 | Fuel cell management system | 
| WO2009087758A1 (en)* | 2008-01-08 | 2009-07-16 | Mitsubishi Pencil Company, Limited | Fuel cartridge | 
| FR2952432B1 (en)* | 2009-11-10 | 2012-06-01 | Air Liquide | METHOD AND DEVICE FOR MONITORING THE CONTENT OF A FLUID MOBILE TANK | 
| TWI533155B (en) | 2009-12-25 | 2016-05-11 | Asia Pacific Fuel Cell Tech | Application of tag information to detect hydrogen residue in hydrogen storage tank | 
| JP5246281B2 (en)* | 2011-02-18 | 2013-07-24 | カシオ計算機株式会社 | FUEL SUPPLY DEVICE, ELECTRONIC DEVICE, AND FUEL SUPPLY SYSTEM THEREOF | 
| Publication number | Priority date | Publication date | Assignee | Title | 
|---|---|---|---|---|
| US6713201B2 (en)* | 2001-10-29 | 2004-03-30 | Hewlett-Packard Development Company, L.P. | Systems including replaceable fuel cell apparatus and methods of using replaceable fuel cell apparatus | 
| JP2006080092A (en)* | 2002-06-12 | 2006-03-23 | Toshiba Corp | Direct methanol fuel cell system, fuel cartridge, and memory for fuel cartridge | 
| US7553571B2 (en)* | 2003-04-15 | 2009-06-30 | The Gillette Company | Management system for a fuel cell and method thereof | 
| JP2005174741A (en)* | 2003-12-11 | 2005-06-30 | Canon Inc | Fuel container, fuel supply method, fuel filling method, and fuel cell system | 
| US20050162122A1 (en)* | 2004-01-22 | 2005-07-28 | Dunn Glenn M. | Fuel cell power and management system, and technique for controlling and/or operating same | 
| Publication number | Publication date | 
|---|---|
| JP2005347040A (en) | 2005-12-15 | 
| Publication | Publication Date | Title | 
|---|---|---|
| US6748182B2 (en) | Replacing part containing consumable part and image forming apparatus using replacing part | |
| JP4765268B2 (en) | Replacement fuel tank and fuel cell system | |
| EP0561081B1 (en) | Ink refill | |
| TWI289512B (en) | Ink remainder detecting module for ink jet apparatus, ink container with same and ink jet apparatus | |
| TW200307607A (en) | Recording liquid container and ink jet recording apparatus | |
| JPS61148063A (en) | Ink cartridge device | |
| US8807433B1 (en) | Direct methanol fuel cell system, fuel cartridge, system of operation, and system for detecting forgery | |
| JPH09109415A (en) | Ink tank and inkjet recording device | |
| US7654658B2 (en) | Consumable product container and image forming apparatus | |
| CN107020826A (en) | The method of reproducing of label stripping means and print cartridge on print cartridge, the box | |
| US9709923B2 (en) | Cartridge comprising an auto-destruct feature | |
| JP3575376B2 (en) | INK JET RECORDING APPARATUS AND INK END DETERMINATION METHOD FOR INK CARTRIDGE USED IN THE APPARATUS | |
| JP2007093595A (en) | Transmission / reception system, external transmission / reception device, and transmission / reception method | |
| JP4510981B2 (en) | Inkjet recording device | |
| US6511142B1 (en) | Ink cartridge | |
| US20090022630A1 (en) | Measurement system with distributed functions | |
| CN205787598U (en) | a toner cartridge | |
| JP2008102428A (en) | Developer cartridge and image forming apparatus | |
| US9791823B2 (en) | Cartridge comprising an auto-destruct feature | |
| US20050248603A1 (en) | Ink compatibility assurance program | |
| US7793847B2 (en) | Coin-shaped recording medium, recording medium processing device | |
| WO2007026888A1 (en) | External transmitting/receiving apparatus, transmitting/receiving system and transmitting/receiving method | |
| JP2008016952A (en) | Transmission / reception system, wireless transmission device, and transmission / reception method | |
| JP2006240673A (en) | Lid for container, and container having lid | |
| CN110936722A (en) | Liquid container, and liquid ejecting apparatus | 
| Date | Code | Title | Description | 
|---|---|---|---|
| A621 | Written request for application examination | Free format text:JAPANESE INTERMEDIATE CODE: A621 Effective date:20070323 | |
| A131 | Notification of reasons for refusal | Free format text:JAPANESE INTERMEDIATE CODE: A131 Effective date:20100817 | |
| A521 | Written amendment | Free format text:JAPANESE INTERMEDIATE CODE: A523 Effective date:20101018 | |
| A01 | Written decision to grant a patent or to grant a registration (utility model) | Free format text:JAPANESE INTERMEDIATE CODE: A01 Effective date:20110517 | |
| A61 | First payment of annual fees (during grant procedure) | Free format text:JAPANESE INTERMEDIATE CODE: A61 Effective date:20110530 | |
| R150 | Certificate of patent or registration of utility model | Free format text:JAPANESE INTERMEDIATE CODE: R150 | |
| FPAY | Renewal fee payment (event date is renewal date of database) | Free format text:PAYMENT UNTIL: 20140624 Year of fee payment:3 | |
| LAPS | Cancellation because of no payment of annual fees |