





【0001】
【発明の属する技術分野】
  本発明は、三次元実装パッケージの製造方法に関するものである。
【0002】
【従来の技術】
近年、ICチップの高容量化・高密度化の進展に伴い、携帯電話や次世代携帯情報端末等のような携帯機器の小型化・高機能化が進んでいる。このため、携帯機器に用いられるICチップをよりいっそう高密度に実装可能なパッケージング構造が求められている。現状における高密度パッケージング構造としては、いわゆるCSP(チップサイズパッケージ)が知られている。しかし、CSPの場合、最低でもチップサイズと同程度の実装面積が必要になる。ゆえに、今後さらに実装密度を上げていくためには、従来の平面構造ではなく三次元的に半導体チップを実装することが必須となる。このような事情のもと、最近では三次元実装パッケージと呼ばれるパッケージング構造が提案されるに至っている。
【0003】
この種のパッケージは、薄型基材に薄型ICチップを搭載したもの(即ちパッケージモジュール)をプリプレグを介して複数枚積層するとともに、各基材の導体層間をスルーホールやバイアホールを介して電気的に接続した構造を有している。ここで、従来における三次元実装パッケージの製造方法の一例を簡単に説明する。
【0004】
まず、導体層を有する回路基板を作製するとともに、回路基板上におけるチップ搭載エリアに薄型ICチップをバンプ等を用いて接合することにより、パッケージモジュールを得る。次いで、得られた複数枚のパッケージモジュールをプリプレグとともに積層し、この状態で積層体に対する加熱プレスを行う。その結果、プリプレグ中に含浸されていた未硬化の樹脂が硬化し、その硬化した樹脂を介して各層が接着される。次いで、各層が一体化した積層体にスルーホールを形成し、外形加工等を行うことにより、所望の三次元実装パッケージが完成するようになっている。
【0005】
【発明が解決しようとする課題】
ところが、従来技術においてパッケージモジュール及びプリプレグの積層体に対して加熱プレスを行うと、プリプレグ中に含浸されていた未硬化の樹脂が無秩序に流動しやすく、積層体における各層が位置ズレを起こしやすい。ゆえに、製品に高い寸法精度を確保することが難しく、歩留まり低下を来すおそれがある。
【0006】
  また、このような流動が起こった場合、樹脂の偏在によって樹脂量に過不足が生じ、接着部位に高い信頼性を確保することが難しくなる。
  本発明は上記の課題に鑑みてなされたものであり、その目的は、信頼性に優れた三次元実装パッケージを比較的簡単にかつ確実に得ることができる三次元実装パッケージの製造方法を提供することにある。
【0008】
【課題を解決するための手段】
  上記の課題を解決するために、請求項1に記載の発明では、回路基板上に半導体チップが搭載された複数枚のパッケージモジュールを積層して接着するとともに、各回路基板の導体層間をスルーホールまたはバイアホールを介して電気的に接続した構造の三次元実装パッケージを製造する方法において、前記パッケージモジュールにおける少なくとも片側面に半硬化状態の樹脂からなる接着層を形成する工程と、前記接着層が形成されたパッケージモジュール間に、半導体チップを収容するデバイスホールが透設されてなるシート状のスペーサ用基材を介在させて積層し、この状態で加熱プレスを行う工程とを含み、前記接着層を構成する樹脂、前記回路基板の絶縁部分を構成する樹脂及び前記スペーサ用基材を構成する樹脂は、同種のものであることを特徴とする三次元実装パッケージの製造方法をその要旨とする。
【0009】
  請求項2に記載の発明は、請求項1において、前記接着層の厚さは5μm〜50μmであるとした。
【0011】
  以下、本発明の「作用」について説明する。
  請求項1に記載の発明によると、加熱プレスを行うことにより、パッケージモジュールとスペーサ用基材とが接着層を介して接着される。この場合、モジュール表面に形成された接着層を構成している樹脂が溶解したとしても、当該樹脂は層方向に秩序をもって流動する。従って、無秩序な樹脂流動に起因した各層の位置ズレが起こりにくくなり、寸法精度に優れた製品を得ることができる。また、このような形で樹脂の流動が起こったとしても、樹脂が偏在するようなことはなく、樹脂量に過不足が生じにくい。しかも、樹脂を含浸してなるプリプレグが不要になるため、未含浸の単なるスペーサ用基材のみをパッケージモジュール間に介在させておけば足りることとなる。加えて、上記各部分を構成する樹脂が同種のものであれば、熱膨張係数等の観点から互いのマッチングが良くなり、接着強度の向上を図ることができる。従って、製品の信頼性をよりいっそう向上させることができる。
【0012】
請求項2に記載の発明によると、接着層の厚さを5μm〜50μmという好適範囲内にて設定している。接着層の厚さが5μm未満であると、接着のために最低限必要な樹脂量が確保されなくなる結果、十分な接着強度が得られなくなり、信頼性の向上を図ることが困難になるおそれがある。逆に、接着層の厚さが50μmを超えると、最終的に肉薄な三次元実装パッケージを得るうえで不利になるおそれがある。
【0014】
【発明の実施の形態】
[第1の実施形態]
以下、本発明を具体化した一実施形態の三次元実装パッケージ及びその製造方法を図1〜図4に基づき詳細に説明する。
【0015】
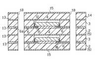
図1には、本実施形態の三次元実装パッケージ1が示されている。このパッケージ1は、回路基板2とスペーサ用基材3とを交互に積層して接着した構造を備えている。より具体的にいうと、本実施形態では、3枚の回路基板2と2枚のスペーサ用基材3とを用いた構造が採用されている。2枚の回路基板2についてはその上面中央部にICチップ4が搭載され、これによりいわゆるパッケージモジュール5が構成されている。
【0016】
このパッケージ1の全体の厚さは0.2mm以下と極めて肉薄になっている。各回路基板2の導体層(導体パターン6や接続用パッド7)間は、パッケージ1の表裏を貫通するめっきスルーホール8を介して電気的に接続されている。同パッケージ1の表裏両面にはソルダーレジスト9が形成されている。パッケージ1の片側面においてソルダーレジスト9が形成されていない部分にある導体層(即ち接続用パッド7)上には、複数の外部接続端子10が設けられている。なお、外部接続端子10の形態としては図1に示すようなバンプが採用可能であるほか、例えばピン等が採用可能である。
【0017】
パッケージモジュール5を構成する回路基板2としては、例えば片側面または両側面に導体パターン6を備えるプリント配線板(即ち片面板や両面板)等が用いられる。導体パターン6の外端部には、めっきスルーホール8との導通を図るためのランド部6aが形成されている。導体パターン6の内端部には、ICチップ4を実装するためのパッド部6bが形成されている。そして、ICチップ4の下面側に形成された外部接続端子と前記パッド部6bとが、それぞれバンプ11を介して接合されている。
【0018】
回路基板2は薄型であることがよく、本実施形態においては0.1mm〜0.15mm程度の厚さを有する樹脂フィルムに導体層を形成したものが用いられている。このような回路基板2を選択することは、最終的に肉薄な三次元実装パッケージ1を得るうえで有利だからである。樹脂フィルムの材料としては、例えばエポキシ、ポリイミド、ポリプロピレン等が挙げられる。同様の理由によりICチップ4も200μm厚以下の薄型であることがよい。具体的にいうと、本実施形態では50μm厚程度の薄型ICチップ4が用いられている。薄型ICチップ4は、いわゆるフェースダウン方式にて搭載されている。
【0019】
このパッケージ1に用いられるスペーサ用基材3はシート状であって、回路基板2と同じ外形や寸法を有している。スペーサ用基材3の中央部には、薄型ICチップ4の大きさよりも一回り大きい矩形状のデバイスホール12が透設されている。即ち、このスペーサ用基材3は、薄型ICチップ4の厚さ分の空間を確保するためのスペーサとしての役割を果たしている。スペーサ用基材3の厚さは0.1mm〜0.15mm程度であることが好ましい。このようなスペーサ用基材3を選択することは、最終的に肉薄な三次元実装パッケージ1を得るうえで有利だからである。なお、スペーサ用基材3の製造用の材料としては、回路基板2と同様の樹脂材料、即ちエポキシ、ポリイミド、ポリプロピレン等の樹脂フィルムが使用可能である。なお、通常よく用いられるプリプレグとは異なり、このスペーサ用基材3には未硬化の樹脂は含浸されていない。
【0020】
図1等に示されるように、本実施形態にて用いられる回路基板2の片側面または両側面の表層には、接着層13が形成されている。より具体的にいうと、ICチップ4が搭載されている面側については、実装チップ搭載エリアを除く箇所に接着層13が形成されている。ICチップ4が搭載されていない面側については、その全域に接着層13が形成されている。
【0021】
接着層13の厚さは5μm〜50μmであることがよく、さらには10μm〜40μmであることがよく、特には15μm〜25μmであることがよい。接着層13の厚さが5μm未満であると、接着のために最低限必要な樹脂量が確保されなくなる。この結果、十分な接着強度が得られなくなり、信頼性の向上を図ることが困難になるおそれがある。逆に、接着層13の厚さが50μmを超えると、回路基板2の肉薄化が図りにくくなることが考えられ、その場合には最終的に肉薄な三次元実装パッケージ1を得るうえで不利になる。
【0022】
接着層13を構成する樹脂としては、例えばエポキシ、ポリイミド、ポリプロピレン等が挙げられる。この場合、接着層13を構成する樹脂、回路基板2の絶縁部分を構成する樹脂及びスペーサ用基材3を構成する樹脂として、同種のもの同士を選択することが好ましい。その理由は、同種のものを選択した場合、三者の熱膨張係数差が極めて小さくなるため、熱応力が発生しにくくなり、接着強度が向上するからである。なお、接着層13を構成する樹脂中には、シリカガラス等の無機物からなるフィラー等が含まれていても構わない。
【0023】
次に、上記三次元実装パッケージ1の製造手順を図2〜図4に基づいて説明する。
まず、ICチップ4が搭載された2枚の回路基板2(即ち2個のパッケージモジュール5)と、2枚のスペーサ用基材3とをあらかじめ用意する。
【0024】
パッケージモジュール5は、例えば以下のような手順で作製される。まず、図2(a)に示すように、樹脂フィルム等の絶縁材16の片側面または両側面に銅箔15を貼着した銅張積層板14を用意する。これを出発材料として用いて、導電性ペーストの印刷または銅めっき等を行うことにより、所定箇所にバンプ11を形成する。次いで、バンプ11が形成された銅箔15上に、エッチングレジスト17を形成する。このエッチングレジスト17には開口部17aを設けておく(図2(b)参照)。次いで、開口部17aから露出している部分の銅箔15をエッチングすることによって導体パターン6を形成した後、不要になったエッチングレジスト17を剥離する(図2(c)参照)。次に、導体パターン6のパッド部6bに対しICチップ4をボンディングし、必要に応じてチップ搭載エリアの樹脂封止を行う(図2(d)参照)。そして最後に、回路基板2の片側面または両側面の表層に、例えばエポキシ樹脂等の熱硬化性樹脂を塗布する(図2(e)参照)。この場合、チップ搭載面についてはマスクを形成しておいてもよい。塗布された未硬化状態の樹脂は、さらに加熱等の硬化処理を経ることにより、半硬化の状態(例えばBステージ状態)とされる。その結果、回路基板2の片面側または両側面の表層に所定厚さ(ここでは約20μm)の接着層13が形成され、2個のパッケージモジュール5を得ることができる。
【0025】
なお、接着層13を形成する方法として、上記のような未硬化樹脂を塗布してから若干硬化させるという手法のほか、例えば半硬化樹脂からなるシート材を貼着するという手法を採用してもよい。接着層13を形成する工程は、上記のようにICチップ4の搭載後に行われてもよいほか、搭載前に行われてもよい。また、回路基板2における回路形成方法としては、エッチングを利用したサブトラクティブ法のほか、例えばアディティブ法や印刷法などを採用することも可能である。
【0026】
また、スペーサ用基材3は、例えば樹脂フィルム等を材料として用いるとともに、その中央部にデバイスホール12を加工形成することにより作製される。ここではエポキシ樹脂からなる樹脂フィルムを用いている。
【0027】
そして、パッケージモジュール5とスペーサ用基材3とを交互に2枚ずつ積層するとともに、後に回路基板2となる銅張積層板14を最上層に配置する。この銅張積層板14を構成する絶縁材16の上側面には銅箔15が貼着され、下側面には半硬化状態の樹脂からなる接着層13が形成されている。
【0028】
このような状態の積層体をプレス装置にセットし、加熱下において積層方向(即ち図3の上下方向)に所定の押圧力を与える。すると、樹脂がいったん溶融して流動することにより、回路基板2とスペーサ用基材3との間の隙間や、銅張積層板14とスペーサ用基材3との間の隙間を埋める。そして、時間の経過に伴って次第に前記樹脂が硬化する。その結果、半硬化状態であった接着層13がやがて完全硬化状態となり、その完全硬化した接着層13を介して、回路基板2とスペーサ用基材3とが一体化し、銅張積層板14とスペーサ用基材3とが一体化する。ただし、このときの樹脂流動は、プリプレグを用いたときのような無秩序なものではなく、回路基板2の層方向に沿ってのみ起こるものとなる。即ち、厚さ方向への樹脂流動が起こらないことから、樹脂がある程度秩序を持って流動する。その理由は、そもそも前記接着層13は完全硬化体の表層に形成された状態にあるからである。なお、このような形で樹脂の流動が起こったとしても、樹脂が偏在するようなことはなく、樹脂量に過不足が生じにくい。
【0029】
次いで、一体化した積層体をプレス装置から取り外した後、ランド部6aに対応する箇所を穿孔することにより、スルーホール形成用孔18の穴あけを行う(図4参照)。さらに、デスミア処理を行ってスルーホール形成用孔18内のスミアを除去した後、従来公知の手法に従ってパネルめっきを行う。その結果、スルーホール形成用孔18内に無電解銅めっきを析出させ、めっきスルーホール8を形成する。この後、積層体の表裏両面にレジストを設けて銅箔15のエッチングを行うことにより、最外層に導体層をパターン形成する。次いで、前記導体層を保護するためのソルダーレジスト9を形成した後、ソルダーレジスト9の非形成部分から露出する接続用パッド7に対して金めっき等を施す。そして、所定位置にて積層体を打ち抜くことにより外形加工を行い、必要でない部分を除去する。そして、最後に検査を行い、本実施形態の三次元実装パッケージ1を完成させる。
【0030】
従って、本実施形態によれば以下のような効果を得ることができる。
(1)本実施形態では、回路基板2における少なくとも片側面に半硬化状態の樹脂からなる接着層13が形成されたパッケージモジュール5を用いてパッケージ1が製造される。そして、上記パッケージモジュール5間にスペーサ用基材3を介在させて積層した状態で加熱プレスを行うことにより、パッケージモジュール5とスペーサ用基材3とが接着層13を介して接着される。
【0031】
この場合においても、パッケージモジュール5の表層に存在する樹脂は、無秩序に流動するようなことはなく、層方向に沿ってある程度秩序をもって流動する。ゆえに、樹脂流動に起因した積層体各層の位置ズレが起こりにくくなる。よって、このパッケージモジュール5を用いて製造された三次元実装パッケージ1は、製品の寸法精度に優れたものとなる。このため、良品率が高くなり、歩留まりの向上を図ることができる。また、上記のような形で樹脂の流動が起こったとしても、樹脂が偏在するようなことはなく、樹脂量に過不足が生じにくい。このため、接着部位に高い信頼性を確保することでき、もって信頼性に優れた三次元実装パッケージ1を得ることができる。
【0032】
(2)上記のようなパッケージモジュール5を用いる本実施形態の製造方法によれば、パッケージ1の製造にあたって、樹脂を含浸してなるプリプレグが不要になる。このため、未含浸の単なるスペーサ用基材3のみをパッケージモジュール5間に介在させておけば足りることとなる。
【0033】
(3)加熱プレス時に各層の位置ズレが起こりにくい本実施形態によれば、加熱プレス時に位置決め用治具を用いる必要がなくなることに加え、積層体にあらかじめ位置決め穴を透設しておくことも不要になる。従って、高コスト化を回避しつつパッケージ1を比較的簡単に製造することが可能である。
【0034】
(4)この三次元実装パッケージ1では、接着層13の厚さを5μm〜50μmという好適範囲内にて設定している。従って、十分な接着強度が得られることにより信頼性が確実に向上するとともに、全体の肉薄化が図られることにより肉薄な三次元実装パッケージ1を得るのに好都合となる。
【0035】
(5)この三次元実装パッケージ1では、接着層13を構成する樹脂、回路基板2の絶縁部分を構成する樹脂及びスペーサ用基材3を構成する樹脂がともにエポキシ樹脂である。即ち、前記三者において同種の樹脂が用いられている。ゆえに、熱膨張係数等の観点から三者のマッチングが良く、接着強度の向上を図ることができる。このことは製品の信頼性向上に寄与している。
[第2の実施形態]
次に、本発明を具体化した実施形態2の三次元実装パッケージ21及びその製造方法を図5,図6に基づいて説明する。ここでは実施形態1と相違する点を主に述べ、共通する点については同一部材番号を付すのみとしてその説明を省略する。
【0036】
図6に示される第2実施形態の三次元実装パッケージ21においても、3枚の回路基板2と2枚のスペーサ用基材3Aとを用いた構造が採用されている。3枚の回路基板2のうち2枚については下面側中央部にICチップ4が搭載され、これによりいわゆるパッケージモジュール5が構成されている。ただし、このパッケージ21の場合、めっきスルーホール8の代わりに各層のバイアホール22を介して層間の接続が図られている。パッケージモジュール5及びスペーサ用基材3Aのバイアホール22は、同一直線上において積み重なるように配置された状態で互いに電気的に接続されている。また、本実施形態のパッケージ21に用いられるスペーサ用基材3Aは、層間接続のためのバイアホール22を備えている。
【0037】
次に、本実施形態の三次元実装パッケージ21の製造手順を簡単に説明する。
まず、ICチップ4が搭載された2枚の回路基板2(即ち2個のパッケージモジュール5)と、2枚のスペーサ用基材3Aとをあらかじめ用意する。
【0038】
スペーサ用基材3Aには、印刷用マスクの配設、穴あけ、及び導電性金属ペーストの印刷等を行って、バイアホール22を形成しておく。回路基板2に対しても、基本的には同様の手法によりバイアホール22を形成することができる。なお、パッケージモジュール5を構成している回路基板2については、接着層13においてバイアホール22の端面に対応する箇所に開口部13aを設けておくことが望ましい。これは、異なる層に属するバイアホール22間の導通を確実に図るためである。
【0039】
次いで、パッケージモジュール5とスペーサ用基材3とを交互に2枚ずつ積層するとともに、バイアホール22を備える回路基板2を最下層に配置する。このような状態の積層体を加熱プレスして各層を一体化させた後、外形加工や検査等を行い、本実施形態の三次元実装パッケージ21を完成させる。
【0040】
そして、この三次元実装パッケージ21も、半硬化状態の樹脂からなる接着層13を備えるパッケージモジュール5間にスペーサ用基材3Aを積層し、この状態で加熱プレスすることにより、製造されたものである。従って、実施形態1のときと同じく歩留まり及び信頼性に優れたパッケージ21とすることができる。また、本実施形態によれば、加熱プレス後にめっきスルーホール8を形成する工程を行うことなくパッケージ21を完成させることができる。
【0041】
なお、本発明の実施形態は以下のように変更してもよい。
・  デバイスホール12は、前記実施形態のような貫通孔であってもよいほか、非貫通孔であってもよい。また、デバイスホール12を省略した構成を採用することも可能である。ただし、デバイスホール12を備える構造のほうが装置全体の肉薄化に都合がよい。
【0042】
・  パッケージ1,21おけるパッケージモジュール5及びスペーサ用基材3,3Aの使用枚数は、前記実施形態に限定されることはなく、それぞれ任意に変更することが可能である。例えば、パッケージモジュール5及びスペーサ用基材3,3Aを3枚ずつ使用したり、4枚ずつ使用したりすること等が可能である。勿論、それ以上の枚数を使用し、さらなる多層かつ高密度のパッケージ1,21を構成することも可能である。
【0043】
次に、特許請求の範囲に記載された技術的思想のほかに、前述した実施形態によって把握される技術的思想を以下に列挙する。
(1)  回路基板上に半導体チップが搭載された複数枚のパッケージモジュールを積層して接着した構造の三次元実装パッケージを製造する方法において、
前記パッケージモジュールにおける少なくとも片側面に半硬化状態の熱硬化性樹脂からなる接着層を形成する工程と、前記接着層が形成されたパッケージモジュール間にスペーサ用基材を介在させて積層し、この状態で加熱プレスを行って前記半硬化状態の熱硬化性樹脂からなる接着層をさらに硬化させる工程とを含むことを特徴とする三次元実装パッケージの製造方法。
【0044】
(2)  バイアホールを備える回路基板における少なくとも片側面に半硬化状態の樹脂からなる接着層が形成されている三次元実装パッケージ製造用のパッケージモジュール。従って、この技術的思想2に記載の発明によると、異なるパッケージモジュールにおける導体層同士をバイアホールを介して層間接続することができる。よって、加熱プレス後に層間接続のためのめっきスルーホールを形成する工程を行う必要がなくなる。
【0045】
(3)  バイアホールを備える回路基板における少なくとも片側面に半硬化状態の樹脂からなる接着層が形成され、前記接着層において前記バイアホールの端面に対応する箇所に開口部が設けられている三次元実装パッケージ製造用のパッケージモジュール。従って、この技術的思想3に記載の発明によると、技術的思想2の作用効果に加え、確実な層間接続を図ることができ、信頼性の向上が達成される。
【0046】
【発明の効果】
  以上詳述したように、請求項1、2に記載の発明によれば、信頼性に優れた三次元実装パッケージを比較的簡単にかつ確実に得ることができる三次元実装パッケージの製造方法、及び三次元実装パッケージを提供することができる。
【図面の簡単な説明】
【図1】本発明を具体化した第1実施形態の三次元実装パッケージの概略断面図。
【図2】(a)〜(e)は、第1実施形態のパッケージの製造手順を説明するための概略断面図。
【図3】第1実施形態のパッケージの製造手順を説明するための概略断面図。
【図4】第1実施形態のパッケージの製造手順を説明するための概略断面図。
【図5】第2実施形態のパッケージの製造手順を説明するための概略断面図。
【図6】第2実施形態のパッケージの概略断面図。
【符号の説明】
1,21…三次元実装パッケージ、2…回路基板、3,3A…スペーサ用基材、4…半導体チップとしてのICチップ、5…パッケージモジュール、13…接着層。[0001]
 BACKGROUND OF THE INVENTION
 The present invention relatesto the productionhow the three-dimensional mounting package.
 [0002]
 [Prior art]
 In recent years, along with the progress of higher capacity and higher density of IC chips, portable devices such as mobile phones and next-generation portable information terminals are becoming smaller and more functional. For this reason, a packaging structure capable of mounting an IC chip used for a portable device at a higher density is required. A so-called CSP (chip size package) is known as a high-density packaging structure at present. However, in the case of a CSP, at least a mounting area equivalent to the chip size is required. Therefore, in order to further increase the mounting density in the future, it is essential to mount the semiconductor chip three-dimensionally instead of the conventional planar structure. Under such circumstances, a packaging structure called a three-dimensional mounting package has recently been proposed.
 [0003]
 In this type of package, a plurality of thin substrates mounted with thin IC chips (that is, package modules) are stacked through prepregs, and the conductive layers of each substrate are electrically connected through through holes and via holes. It has the structure connected to. Here, an example of a conventional method for manufacturing a three-dimensional mounting package will be briefly described.
 [0004]
 First, a circuit board having a conductor layer is manufactured, and a thin IC chip is bonded to a chip mounting area on the circuit board by using bumps or the like to obtain a package module. Subsequently, the obtained plurality of package modules are laminated together with the prepreg, and in this state, the laminated body is heated and pressed. As a result, the uncured resin impregnated in the prepreg is cured, and the layers are bonded through the cured resin. Next, through holes are formed in the laminated body in which the layers are integrated, and external processing or the like is performed, whereby a desired three-dimensional mounting package is completed.
 [0005]
 [Problems to be solved by the invention]
 However, when heat pressing is performed on the laminate of the package module and the prepreg in the prior art, the uncured resin impregnated in the prepreg tends to flow randomly, and each layer in the laminate is likely to be misaligned. Therefore, it is difficult to ensure high dimensional accuracy in the product, and there is a risk that the yield will be reduced.
 [0006]
 Further, when such a flow occurs, the resin amount becomes excessive and insufficient due to the uneven distribution of the resin, and it becomes difficult to ensure high reliability at the adhesion site.
 The present invention has been made in view of the above problems, and its object is providea manufacturinghow the three-dimensional mounting package that can obtain a three-dimensional mounting package having excellent reliability relatively easily and reliably There is to do.
 [0008]
 [Means for Solving the Problems]
 In order to solve the above problems, in the invention according to claim 1, a plurality of package modules each having a semiconductor chip mounted thereon are laminated and bonded to each other on the circuit board, and through holes are formed between the conductor layers of each circuit board. Alternatively, in a method of manufacturing a three-dimensional mounting package having a structure electrically connected through a via hole, a step of forming an adhesive layer made of a semi-cured resin on at least one side surface of the package module; and between the formed package module, device hole for accommodating the semiconductor chips are stacked by interposing a sheet-like spacer base material formed by Toru設,seen including a step of performing a heat press in thisstate, the adhesive The resin constituting the layer, the resin constituting the insulating part of the circuit board and the resin constituting the spacer base material are of the same type The method for producing a three-dimensional mounting package, characterized inthat the gist thereof.
 [0009]
 According to a second aspect of the present invention, in the first aspect, the thickness of the adhesive layer is 5 μm to 50 μm.
 [0011]
 The “action” of the present invention will be described below.
 According to thefirst aspect of the present invention, the package module and the spacer base material are bonded to each other through the adhesive layer by performing the heat press. In this case, even if the resin constituting the adhesive layer formed on the module surface is dissolved, the resin flows in order in the layer direction. Therefore, positional displacement of each layer due to disordered resin flow hardly occurs, and a product with excellent dimensional accuracy can be obtained. Further, even if the resin flows in such a form, the resin is not unevenly distributed, and the amount of the resin is not easily excessive or insufficient. In addition, since a prepreg impregnated with resin is not required, it is sufficient to interpose only a non-impregnated spacer base material between the package modules.In addition, if the resins constituting the respective parts are of the same type, matching with each other is improved from the viewpoint of the thermal expansion coefficient and the like, and the adhesive strength can be improved. Therefore, the reliability of the product can be further improved.
 [0012]
 According to the invention described in
 [0014]
 DETAILED DESCRIPTION OF THE INVENTION
 [First Embodiment]
 Hereinafter, a three-dimensional mounting package and a method for manufacturing the same according to an embodiment of the present invention will be described in detail with reference to FIGS.
 [0015]
 FIG. 1 shows a three-dimensional mounting package 1 of the present embodiment. The package 1 has a structure in which
 [0016]
 The total thickness of the package 1 is as thin as 0.2 mm or less. The conductor layers (
 [0017]
 As the
 [0018]
 The
 [0019]
 The
 [0020]
 As shown in FIG. 1 and the like, an
 [0021]
 The thickness of the
 [0022]
 Examples of the resin constituting the
 [0023]
 Next, the manufacturing procedure of the three-dimensional mounting package 1 will be described with reference to FIGS.
 First, two circuit boards 2 (that is, two package modules 5) on which
 [0024]
 The
 [0025]
 In addition, as a method of forming the
 [0026]
 In addition, the
 [0027]
 Then, the
 [0028]
 The laminated body in such a state is set in a press apparatus, and a predetermined pressing force is applied in the laminating direction (that is, the vertical direction in FIG. 3) under heating. Then, the resin once melts and flows, thereby filling a gap between the
 [0029]
 Next, after the integrated laminated body is removed from the press device, a hole corresponding to the
 [0030]
 Therefore, according to the present embodiment, the following effects can be obtained.
 (1) In this embodiment, the package 1 is manufactured using the
 [0031]
 Even in this case, the resin present on the surface layer of the
 [0032]
 (2) According to the manufacturing method of the present embodiment using the
 [0033]
 (3) According to the present embodiment, in which misalignment of each layer is unlikely to occur at the time of heating press, it is not necessary to use a positioning jig at the time of heating pressing, and a positioning hole may be provided in advance in the laminate. It becomes unnecessary. Therefore, the package 1 can be manufactured relatively easily while avoiding an increase in cost.
 [0034]
 (4) In the three-dimensional mounting package 1, the thickness of the
 [0035]
 (5) In this three-dimensional mounting package 1, the resin constituting the
 [Second Embodiment]
 Next, the three-
 [0036]
 Also in the three-
 [0037]
 Next, the manufacturing procedure of the three-
 First, two
 [0038]
 Via
 [0039]
 Next, the
 [0040]
 The three-
 [0041]
 In addition, you may change embodiment of this invention as follows.
 The
 [0042]
 The number of
 [0043]
 Next, in addition to the technical ideas described in the claims, the technical ideas grasped by the embodiment described above are listed below.
 (1) In a method of manufacturing a three-dimensional mounting package having a structure in which a plurality of package modules each having a semiconductor chip mounted on a circuit board are laminated and bonded.
 A step of forming an adhesive layer made of a thermosetting resin in a semi-cured state on at least one side surface of the package module, and laminating with a spacer base material interposed between the package modules formed with the adhesive layer, and this state And a step of further curing the adhesive layer made of the thermosetting resin in a semi-cured state by performing a heat press at a step of manufacturing a three-dimensional mounting package.
 [0044]
 (2) A package module for manufacturing a three-dimensional mounting package, in which an adhesive layer made of a semi-cured resin is formed on at least one side surface of a circuit board having a via hole. Therefore, according to the invention described in the
 [0045]
 (3) A three-dimensional structure in which an adhesive layer made of a semi-cured resin is formed on at least one side surface of a circuit board including a via hole, and an opening is provided at a position corresponding to the end surface of the via hole in the adhesive layer. Package module for mounting package manufacturing. Therefore, according to the invention described in the
 [0046]
 【The invention's effect】
 As described in detail above, according to the firstand second aspects of the invention, a method of manufacturing a three-dimensional mounting package capable of relatively easily and reliably obtaining a three-dimensional mounting package excellent in reliability, and A three-dimensional mounting package can be provided.
 [Brief description of the drawings]
 FIG. 1 is a schematic cross-sectional view of a three-dimensional mounting package according to a first embodiment embodying the present invention.
 FIGS. 2A to 2E are schematic cross-sectional views for explaining a package manufacturing procedure according to the first embodiment;
 FIG. 3 is a schematic cross-sectional view for explaining a manufacturing procedure of the package of the first embodiment.
 FIG. 4 is a schematic cross-sectional view for explaining a manufacturing procedure of the package of the first embodiment.
 FIG. 5 is a schematic cross-sectional view for explaining a manufacturing procedure of the package of the second embodiment.
 FIG. 6 is a schematic cross-sectional view of a package according to a second embodiment.
 [Explanation of symbols]
 DESCRIPTION OF
| Application Number | Priority Date | Filing Date | Title | 
|---|---|---|---|
| JP2001037127AJP4694007B2 (en) | 2001-02-14 | 2001-02-14 | Manufacturing method of three-dimensional mounting package | 
| Application Number | Priority Date | Filing Date | Title | 
|---|---|---|---|
| JP2001037127AJP4694007B2 (en) | 2001-02-14 | 2001-02-14 | Manufacturing method of three-dimensional mounting package | 
| Publication Number | Publication Date | 
|---|---|
| JP2002246536A JP2002246536A (en) | 2002-08-30 | 
| JP4694007B2true JP4694007B2 (en) | 2011-06-01 | 
| Application Number | Title | Priority Date | Filing Date | 
|---|---|---|---|
| JP2001037127AExpired - Fee RelatedJP4694007B2 (en) | 2001-02-14 | 2001-02-14 | Manufacturing method of three-dimensional mounting package | 
| Country | Link | 
|---|---|
| JP (1) | JP4694007B2 (en) | 
| Publication number | Priority date | Publication date | Assignee | Title | 
|---|---|---|---|---|
| FI119583B (en) | 2003-02-26 | 2008-12-31 | Imbera Electronics Oy | Procedure for manufacturing an electronics module | 
| FI20030293L (en)* | 2003-02-26 | 2004-08-27 | Imbera Electronics Oy | Method for manufacturing an electronic module and electronic module | 
| WO2005071742A1 (en)* | 2004-01-27 | 2005-08-04 | Murata Manufacturing Co., Ltd. | Multilayer electronic component manufacturing method | 
| JP4504798B2 (en)* | 2004-12-16 | 2010-07-14 | パナソニック株式会社 | Multistage semiconductor module | 
| JP2007329147A (en)* | 2006-06-06 | 2007-12-20 | Shindo Denshi Kogyo Kk | Multilayer printed-wiring board, and method of manufacturing the same | 
| JP5040345B2 (en)* | 2007-02-15 | 2012-10-03 | パナソニック株式会社 | Circuit joining method, circuit board laminate, and memory card | 
| JP2009135398A (en)* | 2007-11-29 | 2009-06-18 | Ibiden Co Ltd | Combination substrate | 
| KR100997793B1 (en) | 2008-09-01 | 2010-12-02 | 주식회사 하이닉스반도체 | Semiconductor package and manufacturing method thereof | 
| US8008125B2 (en) | 2009-03-06 | 2011-08-30 | General Electric Company | System and method for stacked die embedded chip build-up | 
| US8658473B2 (en) | 2012-03-27 | 2014-02-25 | General Electric Company | Ultrathin buried die module and method of manufacturing thereof | 
| JP2015065553A (en) | 2013-09-25 | 2015-04-09 | 株式会社東芝 | Connection member, semiconductor device, and laminate structure | 
| US11545436B2 (en) | 2018-03-06 | 2023-01-03 | King Abdullah University Of Science And Technology | Flexible three-dimensional electronic device | 
| Publication number | Priority date | Publication date | Assignee | Title | 
|---|---|---|---|---|
| JP3033315B2 (en)* | 1992-01-20 | 2000-04-17 | 株式会社日立製作所 | Stacked multi-chip semiconductor device and manufacturing method thereof | 
| JPH05206373A (en)* | 1992-01-28 | 1993-08-13 | Nec Kyushu Ltd | Semiconductor integrated circuit device | 
| JPH08274250A (en)* | 1995-03-30 | 1996-10-18 | Mitsui High Tec Inc | Semiconductor device | 
| JP3951153B2 (en)* | 1997-11-06 | 2007-08-01 | 日立化成工業株式会社 | Multistage connection structure of circuit parts and connection method thereof | 
| JP2000204248A (en)* | 1999-01-11 | 2000-07-25 | Tomoegawa Paper Co Ltd | Circuit laminate material | 
| JP3166757B2 (en)* | 1999-02-24 | 2001-05-14 | 松下電器産業株式会社 | Brushless vibration motor | 
| JP3776637B2 (en)* | 1999-09-13 | 2006-05-17 | 株式会社東芝 | Semiconductor device | 
| JP2001111232A (en)* | 1999-10-06 | 2001-04-20 | Sony Corp | Electronic component mounting multilayer board and manufacturing method thereof | 
| Publication number | Publication date | 
|---|---|
| JP2002246536A (en) | 2002-08-30 | 
| Publication | Publication Date | Title | 
|---|---|---|
| JP3889856B2 (en) | Method for manufacturing printed wiring board with protruding electrodes | |
| JP5411362B2 (en) | Multilayer wiring board and manufacturing method thereof | |
| JP5129645B2 (en) | Manufacturing method of wiring board with built-in components | |
| JP3429734B2 (en) | Wiring board, multilayer wiring board, circuit component package, and method of manufacturing wiring board | |
| TWI396493B (en) | Multi-layer wiring board and method of manufacturing the same | |
| JP4073945B1 (en) | Manufacturing method of multilayer wiring board | |
| KR102032171B1 (en) | Electronic component built-in substrate and method of manufacturing the same | |
| US10745819B2 (en) | Printed wiring board, semiconductor package and method for manufacturing printed wiring board | |
| US20080121416A1 (en) | Multilayer Printed Wiring Board And Manufacturing Method For Same | |
| US8945329B2 (en) | Printed wiring board and method for manufacturing printed wiring board | |
| WO2007126090A1 (en) | Circuit board, electronic device and method for manufacturing circuit board | |
| JPH05267402A (en) | Thin film multilayer printed circuit board and its manufacture | |
| KR101231286B1 (en) | Printed circuit board embedded chip and it's manufacturing method | |
| JP2015026689A (en) | CIRCUIT BOARD, CIRCUIT BOARD MANUFACTURING METHOD, AND ELECTRONIC DEVICE | |
| JP4694007B2 (en) | Manufacturing method of three-dimensional mounting package | |
| KR101701380B1 (en) | Device embedded flexible printed circuit board and manufacturing method thereof | |
| JP5340622B2 (en) | Multilayer wiring board | |
| JP2002246745A (en) | Three-dimensional mounting package and its manufacturing method, and adhesive therefor | |
| KR100895241B1 (en) | Package Substrate Manufacturing Method | |
| KR101003640B1 (en) | Chip embedded printed circuit board and its manufacturing method | |
| JP3922350B2 (en) | Multilayer printed wiring board and method for producing multilayer printed wiring board | |
| JP4899409B2 (en) | Multilayer printed wiring board and manufacturing method thereof | |
| JP2007115952A (en) | Interposer substrate and manufacturing method thereof | |
| JP3725489B2 (en) | Wiring board manufacturing method | |
| JP4892924B2 (en) | Multilayer printed wiring board and manufacturing method thereof | 
| Date | Code | Title | Description | 
|---|---|---|---|
| A621 | Written request for application examination | Free format text:JAPANESE INTERMEDIATE CODE: A621 Effective date:20080122 | |
| A977 | Report on retrieval | Free format text:JAPANESE INTERMEDIATE CODE: A971007 Effective date:20091109 | |
| A131 | Notification of reasons for refusal | Free format text:JAPANESE INTERMEDIATE CODE: A131 Effective date:20091117 | |
| A521 | Request for written amendment filed | Free format text:JAPANESE INTERMEDIATE CODE: A523 Effective date:20100113 | |
| A131 | Notification of reasons for refusal | Free format text:JAPANESE INTERMEDIATE CODE: A131 Effective date:20101130 | |
| A521 | Request for written amendment filed | Free format text:JAPANESE INTERMEDIATE CODE: A523 Effective date:20110131 | |
| TRDD | Decision of grant or rejection written | ||
| A01 | Written decision to grant a patent or to grant a registration (utility model) | Free format text:JAPANESE INTERMEDIATE CODE: A01 Effective date:20110222 | |
| A01 | Written decision to grant a patent or to grant a registration (utility model) | Free format text:JAPANESE INTERMEDIATE CODE: A01 | |
| A61 | First payment of annual fees (during grant procedure) | Free format text:JAPANESE INTERMEDIATE CODE: A61 Effective date:20110223 | |
| FPAY | Renewal fee payment (event date is renewal date of database) | Free format text:PAYMENT UNTIL: 20140304 Year of fee payment:3 | |
| R150 | Certificate of patent or registration of utility model | Ref document number:4694007 Country of ref document:JP Free format text:JAPANESE INTERMEDIATE CODE: R150 Free format text:JAPANESE INTERMEDIATE CODE: R150 | |
| R250 | Receipt of annual fees | Free format text:JAPANESE INTERMEDIATE CODE: R250 | |
| R250 | Receipt of annual fees | Free format text:JAPANESE INTERMEDIATE CODE: R250 | |
| R250 | Receipt of annual fees | Free format text:JAPANESE INTERMEDIATE CODE: R250 | |
| R250 | Receipt of annual fees | Free format text:JAPANESE INTERMEDIATE CODE: R250 | |
| LAPS | Cancellation because of no payment of annual fees |