





























































































この発明は半導体記憶装置に関し、さらに詳しくは、SOI(Silicon On Insulator)基板上に形成されたダイナミックランダムアクセスメモリ(DRAM)に関する。 The present invention relates to a semiconductor memory device, and more particularly to a dynamic random access memory (DRAM) formed on an SOI (Silicon On Insulator) substrate.
一般に、半導体記憶装置は、RAMに代表される揮発性メモリと、ROMに代表される不揮発性メモリとに大別される。揮発性メモリはさらに、DRAMと、スタティックランダムアクセスメモリ(SRAM)とに大別される。また不揮発性メモリには、マスクROM、EPROM、フラッシュメモリ、EEPROM、ヒューズROMなどがある。 In general, semiconductor memory devices are roughly classified into a volatile memory represented by a RAM and a non-volatile memory represented by a ROM. Volatile memory is further divided into DRAM and static random access memory (SRAM). Nonvolatile memory includes mask ROM, EPROM, flash memory, EEPROM, fuse ROM, and the like.
DRAMにおいてはメモリセルのキャパシタに電荷が蓄積されることによってデータがストアされるため、リフレッシュ動作が必要になるが、メモリセルの構成が単純であるため、大規模な記憶容量を有するDRAMを低コストで製造することができる。 In a DRAM, data is stored by storing electric charges in a capacitor of a memory cell, so a refresh operation is necessary. However, since the configuration of the memory cell is simple, a DRAM having a large storage capacity is reduced. Can be manufactured at cost.
しかしながら、DRAMはキャパシタに電荷を蓄積することによってデータをストアしているため、パッケージ、配線材料などから放出されたα粒子がキャパシタに蓄積された電荷量を変化させ、それによりデータが反転されるという、いわゆるソフトエラーの問題があった。 However, since DRAM stores data by accumulating charge in the capacitor, α particles emitted from the package, wiring material, etc. change the amount of charge accumulated in the capacitor, thereby inverting the data. There was a so-called soft error problem.
また、DRAMはさらなる高集積化が望まれており、今後は256Mビット、1Gビットなどというような大規模な記憶容量を持つDRAMが量産されることが期待されている。DRAMを高集積化するためには、一般にゲート長を短くする必要があるが、ゲート長を短くするにつれて短チャネル効果が顕著に現われるため、ゲート長を短くするのには限界がある。 Further, DRAMs are desired to be further highly integrated, and in the future, it is expected that DRAMs having a large storage capacity such as 256 Mbits and 1 Gbits will be mass-produced. In order to increase the integration density of DRAMs, it is generally necessary to shorten the gate length. However, since the short channel effect becomes more prominent as the gate length is shortened, there is a limit to shortening the gate length.
ところで、近年、半導体基板中に絶縁層が埋込まれたSOI基板上にトランジスタなどの半導体素子が形成された半導体集積回路(LSI)が開発されている。 Recently, a semiconductor integrated circuit (LSI) in which a semiconductor element such as a transistor is formed on an SOI substrate in which an insulating layer is embedded in a semiconductor substrate has been developed.
図92は、SOI基板上に形成されたMOSトランジスタの構成を示す平面図である。図93は、図92に示されたMOSトランジスタが93−93線で切断された断面図である。図94は、図92に示されたMOSトランジスタが94−94線で切断された断面図である。 FIG. 92 is a plan view showing a configuration of a MOS transistor formed on an SOI substrate. 93 is a cross-sectional view of the MOS transistor shown in FIG. 92 taken along line 93-93. 94 is a cross-sectional view of the MOS transistor shown in FIG. 92 cut along line 94-94.
  図92〜図94を参照して、このMOSトランジスタは、n+型ソース領域1と、n+型ドレイン領域2と、p型ボディ領域3と、ゲート電極4とを備える。ボディ領域3は、ソース領域1およびドレイン領域2間に位置する。ゲート電極4に所定電位が与えられると、ボディ領域3の中にチャネルが形成される。92 to 94, this MOS transistor includes an n+
  このMOSトランジスタはLOCOS酸化膜5によって完全に包囲され、それにより隣接する素子と分離されている。また、このMOSトランジスタはSOI基板6の上に形成されている。SOI基板6は、シリコン基板7と、SiO2からなる埋込酸化層8と、SOI活性層9とから構成される。ソース領域1、ドレイン領域2およびボディ領域3は、このSOI活性層9中に形成されている。This MOS transistor is completely surrounded by the
  ボディ領域3は、LOCOS酸化膜5によって包囲され、かつ埋込酸化層8によってシリコン基板7と隔離されているため、電気的にフローティング状態となっている。ボディ領域3がフローティング状態になると、寄生バイポーラ動作によってソース・ドレイン間の耐圧が3V程度まで低下したり、あるいはソース・ドレイン間にリーク電流が流れやすくなったりする。また、ボディ領域3はフローティング状態になると、キンクが発生し、それによりドレイン電流Id−ドレイン電圧Vd特性が乱れるなど、トランジスタが安定して動作しなくなる。  Since
この発明は上記のような問題点を解決するためになされたもので、その目的は、SOI基板上に形成された半導体記憶装置を提供することである。 The present invention has been made to solve the above-described problems, and an object thereof is to provide a semiconductor memory device formed on an SOI substrate.
この発明の他の目的は、ソフトエラーがほとんど発生しないDRAMを提供することである。 Another object of the present invention is to provide a DRAM in which soft errors hardly occur.
この発明のさらに他の目的は、さらに大規模な記憶容量を持つDRAMを提供することである。 Still another object of the present invention is to provide a DRAM having a larger storage capacity.
この発明のさらに他の目的は、メモリセルのデータ保持時間をさらに長くすることである。 Still another object of the present invention is to further increase the data retention time of the memory cell.
この発明のさらに他の目的は、半導体記憶装置におけるMOSトランジスタのソース・ドレイン間の耐圧を高めることである。 Still another object of the present invention is to increase the breakdown voltage between the source and drain of a MOS transistor in a semiconductor memory device.
この発明のさらに他の目的は、半導体記憶装置におけるMOSトランジスタのソース・ドレイン間のリーク電流を低減することである。 Still another object of the present invention is to reduce the leakage current between the source and drain of a MOS transistor in a semiconductor memory device.
この発明のさらに他の目的は、半導体記憶装置におけるMOSトランジスタを安定して動作させることである。 Still another object of the present invention is to stably operate a MOS transistor in a semiconductor memory device.
この発明のさらに他の目的は、レイアウト面積の増加を最小限に抑えることである。 Still another object of the present invention is to minimize an increase in layout area.
  請求項1に係る半導体記憶装置は複数のMOSトランジスタを含む。上記複数のMOSトランジスタはSOI基板上に形成される。各MOSトランジスタは、ソース領域と、ドレイン領域と、そのソース領域およびドレイン領域間に位置するボディ領域とを有する。上記複数のMOSトランジスタのうち少なくとも1つのMOSトランジスタのボディ領域に、可変電位が与えられる。この可変電位は、ソース領域およびドレイン領域の一方とそのボディ領域との間におけるPN接合に対して逆方向電圧となる。  The semiconductor memory device according to
請求項2に係る半導体記憶装置においては、請求項1の構成に加えて、上記少なくとも1つのMOSトランジスタのボディ領域が自己のソース領域と接続される。 According to a second aspect of the semiconductor memory device, in addition to the configuration of the first aspect, the body region of the at least one MOS transistor is connected to its own source region.
  請求項3に係る半導体記憶装置は、複数のビット線対と、複数のセンスアンプ手段とを含む。上記複数のセンスアンプ手段は、上記複数のビット線対に対応して設けられる。各センスアンプ手段は、対応するビット線対間の電位差を増幅する。上記複数のビット線対と上記複数のセンスアンプ手段とがSOI基板上に形成される。各センスアンプ手段は、対応するビット線対間に直列に接続された第1および第2のNチャネルMOSトランジスタを含む。上記第1のNチャネルMOSトランジスタのソース領域およびドレイン領域間に位置するボディ領域が自己のソース領域と接続される。上記第2のNチャネルMOSトランジスタのソース領域およびドレイン領域間に位置するボディ領域が自己のソース領域
と接続される。A semiconductor memory device according to a third aspect includes a plurality of bit line pairs and a plurality of sense amplifier means. The plurality of sense amplifier means are provided corresponding to the plurality of bit line pairs. Each sense amplifier means amplifies the potential difference between the corresponding bit line pair. The plurality of bit line pairs and the plurality of sense amplifier means are formed on an SOI substrate. Each sense amplifier means includes first and second N-channel MOS transistors connected in series between corresponding bit line pairs. The body region located between the source region and the drain region of the first N-channel MOS transistor is connected to its own source region. The body region located between the source region and the drain region of the second N-channel MOS transistor is connected to its own source region.
  請求項4に係る半導体記憶装置においては、請求項3の構成に加えて、各センスアンプ手段がさらに、対応するビット線対間に直列に接続された第1および第2のPチャネルMOSトランジスタを含む。上記第1のPチャネルMOSトランジスタのソース領域およびドレイン領域間に位置するボディ領域が自己のソース領域と接続される。上記第2のPチャネルMOSトランジスタのソース領域およびドレイン領域間に位置するボディ領域が自己のソース領域と接続される。  In the semiconductor memory device according to
請求項5に係る半導体記憶装置は複数のMOSトランジスタおよび出力端子を含み、データをストアする。そのストアされたデータは上記出力端子を介して外部に出力される。上記複数のMOSトランジスタはSOI基板上に形成される。各MOSトランジスタは、ソース領域と、ドレイン領域と、そのソース領域およびドレイン領域間に位置するボディ領域とを有する。上記複数のMOSトランジスタのうち、上記出力端子に接続されたソース領域を有するMOSトランジスタのボディ領域が自己のソース領域と接続される。 A semiconductor memory device according to a fifth aspect includes a plurality of MOS transistors and an output terminal, and stores data. The stored data is output to the outside through the output terminal. The plurality of MOS transistors are formed on an SOI substrate. Each MOS transistor has a source region, a drain region, and a body region located between the source region and the drain region. Of the plurality of MOS transistors, the body region of the MOS transistor having the source region connected to the output terminal is connected to its own source region.
請求項1に係る半導体記憶装置においては、MOSトランジスタのボディ領域に可変電位が与えられ、しかもそのボディ領域とソース/ドレイン領域とが構成するPN接合に対して逆方向電圧となるような可変電圧が与えられるので、そのトランジスタはバイポーラ動作をすることがなく、しかも基板効果も生じない。したがって、このMOSトランジスタは常に安定して動作する。 According to another aspect of the semiconductor memory device of the present invention, a variable voltage is applied to the body region of the MOS transistor and becomes a reverse voltage with respect to the PN junction formed by the body region and the source / drain region. Therefore, the transistor does not perform a bipolar operation, and the substrate effect does not occur. Therefore, this MOS transistor always operates stably.
請求項2に係る半導体記憶装置においては、請求項1の効果に加えて、MOSトランジスタのボディ領域が自己のソース領域と接続され、それによりそのボディ領域は固定される。ボディ領域は自己のソース領域と接続されるので、そのレイアウト面積はほとんど増加しない。 In the semiconductor memory device according to the second aspect, in addition to the effect of the first aspect, the body region of the MOS transistor is connected to its own source region, whereby the body region is fixed. Since the body region is connected to its own source region, its layout area hardly increases.
  請求項3に係る半導体記憶装置においては、Nチャネル側のセンスアンプを構成する第1および第2のNチャネルMOSトランジスタのボディ領域が自己のソース領域と接続され、それによりそのボディ領域が固定される。したがって、第1および第2のNチャネルMOSトランジスタにおいて基板効果が生じないので、このセンスアンプは高速かつ安定して動作する。  In the semiconductor memory device according to
  請求項4に係る半導体記憶装置においては、請求項3の効果に加えて、Pチャネル側のセンスアンプを構成する第1および第2のPチャネルMOSトランジスタのボディ領域が自己のソース領域と接続され、それによりそのボディ領域が固定される。これら第1および第2のPチャネルMOSトランジスタにおいては基板効果が生じないので、このPチャネル側のセンスアンプも高速かつ安定して動作する。  In the semiconductor memory device according to
  請求項5に係る半導体記憶装置においては、出力端子に接続されたソース領域を有するMOSトランジスタのボディ領域がその自己のソース領域と接続されているため、このトランジスタにおいては基板効果が生じず、このトランジスタは高速かつ安定して動作する。しかも、そのボディ領域に電位を供給するための配線などが必要とされないので、レイアウト面積の増加はほとんどない。  In the semiconductor memory device according to
以下、この発明の実施例を図面を参照して詳しく説明する。なお、図中同一符号は同一または相当部分を示す。 Hereinafter, embodiments of the present invention will be described in detail with reference to the drawings. In the drawings, the same reference numerals indicate the same or corresponding parts.
  [実施例1]
  図2は、この発明の実施例1によるDRAMの全体構成を示すブロック図である。図2を参照して、このDRAM10は、メモリセルアレイ11と、行デコーダ12と、列デコーダ13と、センスアンプ群14と、入出力回路15と、行および列アドレスバッファ16と、入力バッファ17と、出力バッファ18と、クロック発生回路19とを備える。[Example 1]
 FIG. 2 is a block diagram showing the overall structure of the DRAM according to
  メモリセルアレイ11には、複数のワード線(図示せず)が行方向に沿って配置され、複数のビット線対(図示せず)が列方向に沿って配置され、さらに複数のメモリセル(図示せず)がそれら交点に配置される。行デコーダ12は、アドレスバッファ16から供給される行アドレス信号に応答して、複数のワード線のうち1つを選択して駆動する。列デコーダ13は、アドレスバッファ16から供給される列アドレス信号に応答して、複数のビット線対のうち1つを選択する。センスアンプ群14は、複数のセンスアンプを備える。複数のセンスアンプは複数のビット線対に対応して設けられる。各センスアンプはその対応するビット線対間の電位差を増幅する。入出力回路15は、列デコーダ13によって選択されたビット線対の電位を出力バッファ18に供給する。出力バッファ18は、その供給された電位を増幅して出力データDQ1〜DQ4として外部に出力する。入力バッファ17は、外部から供給された入力データDQ1〜DQ4を増幅する。入出力回路15は、入力バッファ17において増幅された入力データを、列デコーダ13によって選択されたビット線対に供給する。アドレスバッファ16は、外部から供給されたアドレス信号A0〜A11を行デコーダ12および列デコーダ13に選択的に供給する。In the
  図1は、図2に示されたメモリセルアレイ11、センスアンプ群14および入出力回路15の一部を詳細に示す回路図である。図1を参照して、メモリセルアレイ11には、ワード線WL1,WL2…と、これらワード線と交差してビット線対BL0,/BL0,BL1,/BL1とが配置されている。ビット線BL0,/BL0とワード線WL1,WL2との交点には、メモリセル27がそれぞれ配置されている。  FIG. 1 is a circuit diagram showing in detail a part of the
  また、2つのビット線対BL0,/BL0およびBL1,/BL1に対応して1つのセンスアンプ20が配置されている。ビット線対BL0,/BL0はビット線選択回路26Aを介してセンスアンプ20に接続され、ビット線対BL1,/BL1はビット線選択回路26Bを介してセンスアンプ20に接続されている。ビット線選択回路26Aはビット線選択信号BLI0に応答してビット線対BL0,/BL0をセンスアンプ20に接続し、それによりセンスアンプ20はビット線対BL0,/BL0間の電位差を増幅する。ビット線選択回路26Bはビット線選択信号BLI1に応答してビット線対BL1,/BL1をセンスアンプ20に接続し、それによりセンスアンプ20はビット線対BL1,/BL1間の電位差を増幅する。したがって、この実施例1ではいわゆるシェアードセンスアンプ方式が採用されている。  One
  また、センスアンプ20に対応して1つのビット線用プリチャージ回路23が設けられている。このプリチャージ回路23はビット線イコライズ信号BLEQに応答してビット線対BL0,/BL0,BL1,/BL1を所定の電位VBLにプリチャージする。One bit line
  また、1つまたは複数のセンスアンプ20に対応して1つのコラム選択回路29が設けられている。このコラム選択回路29はコラム選択信号CSLに応答してビット線対BL0,/BL0,BL1,/BL1を入出力線対IO,/IOに接続する。  One
  また、センスアンプ20を駆動するためのセンスアンプ駆動線21Aおよび21Bの間には駆動線用プリチャージ回路22が設けられている。このプリチャージ回路22はイコライズ信号BLEQに応答してセンスアンプ駆動線21Aおよび21Bを所定の電位VBLにプリチャージする。センスアンプ駆動線21Aは、制御信号S0Fに応答して導通状態
となるNチャネルMOSトランジスタQs1を介して接地ノードに接続される。センスアンプ駆動線21Aはまた、制御信号S0Nに応答して導通状態となるNチャネルMOSトランジスタQs2を介して接地ノードに接続される。センスアンプ駆動線21Bは、制御信号S0Pに応答して導通状態となるPチャネルMOSトランジスタQs3を介して電源ノードに接続される。A drive line
  なお、ワード線WL1,WL2と平行してダミーワード線DWL1およびDWL2が配置されている。さらに、これらダミーワード線DWL1,DWL2とビット線BL0,/BL0との交点にはダミーセル28がそれぞれ配置されている。ダミーセル28は、ワード線WL1,WL2が立上がるとき、ビット線BL0,/BL0に生じるノイズをキャンセルする。  Dummy word lines DWL1 and DWL2 are arranged in parallel with word lines WL1 and WL2. Further,
  センスアンプ20は、ビット線対の間に直列に接続されたNチャネルMOSトランジスタQn1およびQn2と、同様にビット線対の間に直列に接続されたPチャネルMOSトランジスタQp1およびQp2とを備える。トランジスタQn1およびQp1のゲート電極はともにビット線/BL0,/BL1に接続され、トランジスタQn2およびQp2のゲート電極はともにビット線BL0,BL1に接続される。トランジスタQn1およびQn2のソース電極はともにセンスアンプ駆動線21Aに接続され、トランジスタQp1およびQp2のソース電極はともにセンスアンプ駆動線21Bに接続される。  
  各メモリセル27は、トランスファーゲートとして機能するNチャネルMOSトランジスタQmと、データをストアするキャパシタCmとを備える。トランジスタQmのゲート電極は対応するワード線WL1またはWL2に接続され、一方ソース/ドレイン電極は対応するビット線BL0または/BL0に接続される。キャパシタCmの一方電極はトランジスタQmの他方ソース/ドレイン電極に接続され、その他方電極にはセルプレート電位Vcpが与えられる。  Each
  各ダミーセル28もメモリセル27とほぼ同様に、NチャネルMOSトランジスタQdと、キャパシタCdとを備える。トランジスタQdのゲート電極は対応するダミーワード線DWL1またはDWL2に接続され、その一方ソース/ドレイン電極は対応するビット線BL0または/BL0に接続される。キャパシタCdの一方電極はその他方ソース/ドレイン電極に接続され、その他方電極にはセルプレート電位Vcpが与えられる。  Each
  ビット線選択回路26Bは、ビット線選択信号BLI0に応答して導通状態となる2つのNチャネルMOSトランジスタQbを備える。ビット線選択回路26Bは、ビット線選択信号BLI1に応答して導通状態となる2つのNチャネルMOSトランジスタQbを備える。  Bit line
  ビット線用プリチャージ回路23は、ビット線対の間に接続されたNチャネルMOSトランジスタQeと、ビット線対の間に直列に接続された2つのNチャネルMOSトランジスタQpcを備える。これらトランジスタQe,Qpcのゲート電極はともにイコライズ線24に接続される。トランジスタQpcのソース電極はともにプリチャージ線25に接続される。  The bit line
  コラム選択回路29は、ビット線BL0,BL1と入出力線IOとの間に接続され、コラム選択信号CSLに応答して導通状態となるNチャネルMOSトランジスタQioと、ビット線/BL0,/BL1と入出力線/IOとの間に接続され、コラム選択信号CSLに応答して導通状態となるNチャネルMOSトランジスタQioとを備える。  
  駆動専用プリチャージ回路22は、駆動線21Aおよび21Bの間に接続されたNチャ
ネルMOSトランジスタQseと、駆動線21Aおよび21Bの間に直列に接続された2つのNチャネルMOSトランジスタQspとを備える。これらトランジスタQse,Qspのゲート電極はイコライズ線24に接続される。トランジスタQspのソース電極はともにプリチャージ線25に接続される。The drive-
  次に、図1の動作を図3に示されたタイミングチャートを参照して説明する。
  図3(a)に示されるように外部行アドレスストローブ信号/RASの立下がりに応答して、アドレス信号A0〜A11がストローブされる。そのアドレス信号に従ってビット線対BL0,/BL0が選択される場合は、図3(d)に示されるようにビット線選択信号BLI0が立上がる。ビット線選択信号BLI1はL(論理ロー)のまま維持される。したがって、ビット線対BL0,/BL0がセンスアンプ20に接続される。Next, the operation of FIG. 1 will be described with reference to the timing chart shown in FIG.
 As shown in FIG. 3A, address signals A0-A11 are strobed in response to the fall of external row address strobe signal / RAS. When bit line pair BL0, / BL0 is selected according to the address signal, bit line selection signal BLI0 rises as shown in FIG. The bit line selection signal BLI1 is maintained at L (logic low). Therefore, bit line pair BL0, / BL0 is connected to sense
  図3(f)に示されるようにビット線イコライズ信号BLEQはH(論理ハイ)レベルにあるので、ビット線用プリチャージ回路23のトランジスタQpcはともに導通状態である。そのため、プリチャージ電位Vblはビット線対BL0,/BL0に与えられる。また、ビット線用プリチャージ回路23のトランジスタQeもまた導通状態であるので、ビット線対BL0,/BL0の電位は互いに等しくなる。ここでは、プリチャージ電位Vblとして電源電位の半分の電位VCC/2が与えられるので、ビット線対BL0,/BL0の電位は図3(j)に示されるようにHおよびLレベルの中間電位となる。As shown in FIG. 3F, since the bit line equalize signal BLEQ is at the H (logic high) level, the transistors Qpc of the bit line
  このHレベルのイコライズ信号BLEQは駆動専用プリチャージ回路22のトランジスタQse,Qspのゲート電極にも与えられるので、センスアンプ駆動線21Aおよび21Bもビット線対BL0,/BL0と同様に、電源電位の半分の電位VCC/2にプリチャージされる。Since the H level equalize signal BLEQ is also applied to the gate electrodes of the transistors Qse and Qsp of the drive-
  続いて図3(b)に示されるようにワード線WL1が立上がると、対応するメモリセル27のトランジスタQdが導通状態となり、それによりキャパシタCmの電荷がビット線BL0に読出される。メモリセル27にLレベルのデータがストアされている場合は、図3(j)に示されるようにビット線BL0の電位はプリチャージ電位Vblよりもわずかに低下する。これにより、ビット線対BL0,/BL0の間に電位差が生じる。  Subsequently, when the word line WL1 rises as shown in FIG. 3B, the transistor Qd of the
  続いて図3(g)に示されるように制御信号S0Fが立上がると、トランジスタQs1が導通状態となり、それによりセンスアンプ駆動線21Aの電荷はトランジスタQs1を介して接地ノードに流出する。そのため、センスアンプ駆動線21Aの電位SANは接地電位VSSに向かって減少し始める。Subsequently, when the control signal S0F rises as shown in FIG. 3G, the transistor Qs1 becomes conductive, whereby the charge on the sense
  続いて図3(h)に示されるように制御信号S0Nが立上がると、トランジスタQs2が導通状態となり、それによりセンスアンプ駆動線21Aの電荷はトランジスタQs2を介して接地ノードへ流出する。そのため、センスアンプ駆動線21Aの電位SANは接地電位VSSに向かってさらに減少する。Subsequently, when the control signal S0N rises as shown in FIG. 3 (h), the transistor Qs2 becomes conductive, whereby the charge on the sense
  続いて図3(i)に示されるように制御信号S0Pが立下がると、トランジスタQs3が導通状態となり、それにより電源ノードからトランジスタQs3を介してセンスアンプ駆動線21Bへ電荷が供給される。そのため、センスアンプ駆動線21Bの電位SABは、電源電位VCCに向かって徐々に増加する。Subsequently, as shown in FIG. 3 (i), when the control signal S0P falls, the transistor Qs3 becomes conductive, whereby electric charge is supplied from the power supply node to the sense
  上記のようにセンスアンプ駆動信号SANは接地電位VSSに向かって徐々に減少し、かつセンスアンプ駆動信号SAPは電源電位VCCに向かって徐々に増加するため、図3(j)に示されるようにセンスアンプ20はビット線BL0の電位をLレベルまで低下させるとともに、ビット線/BL0の電位をHレベルまで上昇させる。したがって、センスアン
プ20はメモリセル27のデータに対応する相補的なデータをラッチする。As described above, the sense amplifier drive signal SAN gradually decreases toward the ground potential VSS , and the sense amplifier drive signal SAP gradually increases toward the power supply potential VCC , which is illustrated in FIG. Thus, the
  続いてコラム選択信号CSLが立上がると、コラム選択回路29のトランジスタQioがともに導通状態となる。これにより、ビット線BL0の電位はトランジスタQioを介して入出力線IOに与えられるとともに、ビット線/BL0の電位はトランジスタQioを介して入出力線/IOに与えられる。この入出力線IOおよび/IOに現われた電位は最終的に出力バッファ18によって増幅され、さらに出力データとして外部に出力される。  Subsequently, when the column selection signal CSL rises, both transistors Qio of the
  ここではビット線対がVCC/2にプリチャージされる場合を説明したが、ビット線対はVCCにプリチャージされてもよい。この場合、ダミーセル28におけるキャパシタCdの容量はメモリセル27におけるキャパシタCmと異なるようにする必要がある。たとえばキャパシタCdの容量をキャパシタCmの2分の1にすればよい。Although the case where the bit line pair is precharged to VCC / 2 has been described here, the bit line pair may be precharged to VCC . In this case, the capacitance of the capacitor Cd in the
図4は、ビット線対がVCCにプリチャージされる場合のタイミングチャートである。図4(f)に示されるようにビット線イコライズ信号BLEQがHレベルにあるとき、図4(j)に示されるようにビット線対はHレベル、つまり電源電位VCCにプリチャージされる。ワード線WL1が立上がると同時にDWL2を立上げることにより、ビット線対に電位差が生じる。FIG. 4 is a timing chart when the bit line pair is precharged to VCC . When the bit line equalize signal BLEQ is at the H level as shown in FIG. 4F, the bit line pair is precharged to the H level, that is, the power supply potential VCC as shown in FIG. By raising DWL2 at the same time that the word line WL1 rises, a potential difference is generated in the bit line pair.
  なお、電源レベルが階層化される場合においては、外部電源電位が降圧されることによって内部電源電位が生成され、外部接地電位が昇圧されることにより内部接地電位が生成される。この場合は、センスアンプ駆動信号SANはプリチャージレベルから外部接地電位よりも高い内部接地電位に向かって徐々に放電し、センスアンプ駆動信号SAPは外部電源電位よりも低い内部電源電位に向かって徐々に増加する。したがって、センスアンプ20は一方のセンスアンプの電位を内部電源電位まで上昇させるとともに、他方のビット線の電位を内部電源電位まで下降させる。  When power supply levels are hierarchized, the internal power supply potential is generated by stepping down the external power supply potential, and the internal ground potential is generated by boosting the external ground potential. In this case, the sense amplifier drive signal SAN is gradually discharged from the precharge level toward the internal ground potential higher than the external ground potential, and the sense amplifier drive signal SAP is gradually decreased toward the internal power supply potential lower than the external power supply potential. To increase. Therefore,
  この実施例1のセンスアンプ20においては、NチャネルMOSトランジスタQn1およびQn2のボディ領域に一定の接地電位VSSが与えられ、それによりボディ領域は電気的に固定されている。また、PチャネルMOSトランジスタQp1およびQp2のボディ領域には一定の電源電位VCCが与えられ、それによりボディ領域は電気的に固定されている。In
  したがって、これらトランジスタQn1,Qn2,Qp1,Qp2においてキンクが発生することはなく、安定したId−Vd特性が得られる。そのため、このセンスアンプ20は安定したアナログ動作をする。  Therefore, kink does not occur in these transistors Qn1, Qn2, Qp1, and Qp2, and stable Id-Vd characteristics are obtained. Therefore, the
  また、これらトランジスタQn1,Qn2,Qp1,Qp2のボディ領域は固定されているため、ソース・ドレイン間のリーク電流が減少する。そのため、ビット線BL0,/BL0,BL1,/BL1の電荷がそれらトランジスタQn1,Qn2,Qp1,Qp2を介してリークすることはない。したがって、メモリセル27からデータが読出されたときにビット線対の間に生じた電位差を十分に大きく維持することができる。  Further, since the body regions of these transistors Qn1, Qn2, Qp1, and Qp2 are fixed, the leakage current between the source and the drain is reduced. Therefore, the charges on the bit lines BL0, / BL0, BL1, / BL1 do not leak through these transistors Qn1, Qn2, Qp1, Qp2. Therefore, the potential difference generated between the bit line pair when data is read from
  この実施例1のメモリセル27においては、NチャネルMOSトランジスタのボディ領域に一定の接地電位VSSが与えられ、それによりボディ領域が電気的に固定されている。したがって、サブスレッショルド特性が向上し、リーク電流は物理的な限界値に近づく。そのため、キャパシタCmからトランジスタQmを介してリークする電荷は、殆どPN接合におけるリークによって律則される。さらに薄膜SOI上に形成されたトランジスタにおいては、少なくともSOI基板と平行なPN接合面は存在しない。また、PN接合にお
けるリーク電流はPN接合の表面積に比例するので、データ保持時間が長くなる。なお、ダミーメモリセル28においてもメモリセル27と同様に、NチャネルMOSトランジスタQdのボディ領域に一定の接地電位VSSが与えられ、それによりボディ領域が電気的に固定されている。In
  この実施例1のビット線用プリチャージ回路23のNチャネルMOSトランジスタQe,Qpcのボディ領域には一定の接地電位VSSが与えられ、それによりボディ領域が電気的に固定されている。したがって、ビット線の電荷がこれらトランジスタQe,Qpcを介してリークすることはない。そのため、ビット線対の間に生じる読出電位差が小さくならないので、その電位差は確実にセンスアンプによって増幅される。A constant ground potential VSS is applied to the body regions of the N channel MOS transistors Qe and Qpc of the bit line
  なお、駆動専用プリチャージ回路22においてもビット線用プリチャージ回路23と同様に、それらトランジスタQse,Qspのボディ領域には一定の接地電位VSSが与えられ、それによりボディ領域が電気的に固定されている。また、NチャネルMOSトランジスタQs1およびQs2のボディ領域には一定の接地電位VSSが与えられ、それによりボディ領域が電気的に固定されている。PチャネルMOSトランジスタQs3のボディ領域には電源電位VCCが与えられ、それによりそのボディ領域が電気的に固定されている。In the
  この実施例1のビット線選択回路26Aおよび26Bにおいては、それらNチャネルMOSトランジスタQbのボディ領域に一定の接地電位VSSが与えられ、それによりそのボディ領域が電気的に固定されている。したがって、ビット線の電荷がそれらトランジスタQbを介してリークすることはないので、読出電位差は十分に大きく保たれる。In bit
  この実施例1のコラム選択回路29においては、それらNチャネルMOSトランジスタQioのボディ領域に一定の接地電位VSSが与えられ、そのボディ領域が電気的に固定されている。したがって、ビット線の電荷がそれらトランジスタQioを介してリークすることはないので、読出電位差は十分大きく保たれる。そのため、正確なデータがこのコラム選択回路29を介して入出力線IO,/IOに読出される。In
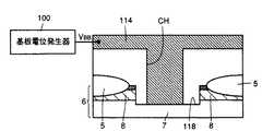
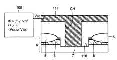
  図5は、図1に示されたセンスアンプ20の一部構成およびプリチャージ回路23の全体構成を示す平面図である。図6は、図5に示されたセンスアンプ20を6−6線で切断した断面図である。図5においては、NチャネルMOSトランジスタQn1およびQn2によって構成されるNチャネルセンスアンプのみが示されている。  FIG. 5 is a plan view showing a partial configuration of the
  図5および図6を参照して、トランジスタQn1のn+型ソース領域1は、トランジスタQn2のソース領域と共通する。このソース領域1は、コンタクトホールCHを介して、センスアンプ駆動信号SANが与えられるセンスアンプ駆動線21Aに接続される。Referring to FIGS. 5 and 6, n+
  また、トランジスタQn1のn+型ドレイン領域2は、コンタクトホールCHを介してビット線BL1に接続される。トランジスタQn2のn+型ドレイン領域2は、コンタクトホールCHを介してビット線/BL1に接続される。トランジスタQn1のゲート電極4は、コンタクトホールCHを介してビット線/BL1に接続される。トランジスタQn2のゲート電極4は、コンタクトホールCHを介してビット線BL1に接続される。The n+
  また、トランジスタQn1のp型ボディ領域3には、p+型コンタクト領域31が形成されている。このコンタクト領域31は、ポリパッドなどの中間層32を介してボディ固定線30Cに接続される。ボディ固定線30Cには接地電位VSSが供給されている。したがって、ボディ領域3には一定の接地電位VSSが与えられている。トランジスタQn2のボディ領域3にも、コンタクト領域31が形成されている。トランジスタQn2のボディ領域3は、このコンタクト領域31および中間層を介してボディ固定線30Bに接続され
る。このボディ固定線30Bにもまた接地電位VSSが供給されている。そのため、トランジスタQn2のボディ領域3にも、接地電位VSSが与えられている。A p+ -
  図6を参照して、ゲート電極4の上には、第1の層間絶縁膜33が形成されている。この層間絶縁膜33の所定位置には、コンタクトホールCHが開設されている。このコンタクトホールCH上には中間層32が形成されている。第1の層間絶縁膜33および中間層32の上には、第2の層間絶縁膜34が形成されている。この第2の層間絶縁膜34の所定位置には、コンタクトホールCHが開設されている。第2の層間絶縁膜34の上には、ビット線BLおよび/BLが形成されている。  Referring to FIG. 6, first
  第2の層間絶縁膜34およびビット線BLおよび/BL上には、第3の層間絶縁膜35が形成されている。この第3の層間絶縁膜35の所定位置には、コンタクトホールCHが開設されている。このコンタクトホールCHは中間層32の上方に開設されている。この第3の層間絶縁膜35上には、ボディ固定線30Bおよび30Cが形成されている。ボディ固定線30CはコンタクトホールCH上に形成され、中間層32と接触している。さらに、第3の層間絶縁膜35ならびにボディ固定線30Bおよび30C上には、第4の層間絶縁膜36が形成されている。  A third
  センスアンプ20のトランジスタQn1はSOI基板6上に形成される。このSOI基板では埋込酸化層8が浅いため、SOI活性層9は薄くなっている。そのため、LOCOS酸化膜5の底面は埋込酸化層8に到達し、このトランジスタQn1のソース領域1およびドレイン領域2も埋込酸化層8に達している。そのため、このトランジスタQn1のボディ領域3はLOCOS酸化膜5および埋込酸化層8によって周辺と完全に分離されているが、このボディ領域3にはボディ固定線30Cが接続され、それにより接地電位VSSが与えられている。The transistor Qn1 of the
  一方、プリチャージ回路23においては、イコライズ線24がすべてのトランジスタQe,Qpcのゲート電極を構成する。したがって、これらトランジスタQe,Qpcのp型ボディ領域3は互いに共通している。このボディ領域3にはp+型コンタクト領域31が形成されている。コンタクト領域31はコンタクトホールCHを介してボディ固定線30Aに接続される。ボディ固定線30Aには接地電位VSSが与えられている。したがって、トランジスタQe,Qpcのボディ領域4には接地電位VSSが与えられる。On the other hand, in the
  なお、駆動用プリチャージ回路22もこのビット線用プリチャージ回路23とほぼ同様に構成される。  The driving
  図7は、メモリセル27、ダミーセル28、ビット線選択回路26A,26B、コラム選択回路29のトランジスタQm,Qd,Qb,Qioの一般的構成を示す平面図である。図7を参照して、これらトランジスタのp型ボディ領域3にはp+型コンタクト領域31が形成される。このコンタクト領域31には接地電位VSSが与えられる。これにより、ボディ領域3は電気的に固定される。FIG. 7 is a plan view showing a general configuration of the transistors Qm, Qd, Qb, and Qio of the
  以上のようにこの実施例1によれば、DRAMがSOI基板上に形成されているため、シリコン基板7にα粒子が突入し、それによりシリコン基板7中に電荷が発生しても、シリコン基板7はSOI活性層9と埋込酸化層8によって電気的に分離されているため、その生成された電荷が、ソース領域1、ドレイン領域2およびボディ領域3に流込むことはない。しかもソース領域1、ドレイン領域2およびボディ領域3はそれぞれ非常に狭いため、これらの領域1,2,3においてα粒子による電荷が発生することはほとんどない。したがって、いわゆるソフトエラーはほとんど発生しない。  As described above, according to the first embodiment, since the DRAM is formed on the SOI substrate, even if α particles rush into the
  また、メモリセル27を構成するトランジスタQmのソース/ドレイン領域の底面も埋込酸化層8に達しているため、PN接合面はSOI基板6に対して垂直にしか存在せず、平行には存在しない。また、PN接合におけるリーク電流はPN接合の表面積に比例する。そのため、キャパシタCmからそのソース/ドレイン領域を介してリークする電荷はその表面積に応じて低減され、それによりデータの保持時間が長くなる。しかも、ソース/ドレイン領域の接合容量も小さくなるため、ビット線対の間に生じる読出電位差が大きくなり、かつ消費電流も低減される。  In addition, since the bottom surface of the source / drain region of the transistor Qm constituting the
  また、ビット線に接続されるトランジスタのボディ領域が固定されているため、そのトランジスタを介してビット線の電荷がリークすることはないので、ビット線対の間に生じる読出電位差は十分大きく保たれる。さらに、センスアンプ20のトランジスタのボディ領域も固定されているため、これらトランジスタにおいてはほとんどキンクが発生しない。そのため、このセンスアンプ20は安定して読出電位差を増幅する。  In addition, since the body region of the transistor connected to the bit line is fixed, the charge of the bit line does not leak through the transistor, so the read potential difference generated between the bit line pair is kept sufficiently large. It is. Further, since the body region of the transistor of the
  [実施例2]
  図8は、この発明の実施例2によるDRAMにおけるセンスアンプ20の一部構成およびプリチャージ回路23の全体構成を示す平面図である。図8を参照して、この実施例2においては、図5と異なり両方のボディ領域3が同一方向に突出し、その突出部分にコンタクト領域31が形成される。両方のコンタクト領域31はそれぞれコンタクトホールCHを介して1本のボディ固定線30Cに接続される。また、両方のゲート電極4も同一方向に突出し、その突出部分がそれぞれコンタクトホールCHを介してビット線BL1および/BL1に接続される。[Example 2]
 FIG. 8 is a plan view showing a partial configuration of
  この実施例2においては、トランジスタQn1およびQn2のボディ領域3を固定するためのボディ固定線30Cが共通にされているため、上記実施例1よりもそのレイアウト面積は小さくなる。  In the second embodiment, since the
  [実施例3]
  図9は、この発明の実施例3によるDRAMにおけるセンスアンプ20の一部構成およびプリチャージ回路23の全体構成を示す平面図である。図9を参照して、このプリチャージ回路23は上記実施例1のプリチャージ回路を180度回転させて配置したものである。プリチャージ回路23におけるトランジスタQeおよびQpcのボディ領域3は、コンタクト領域31およびコンタクトホールCHを介してボディ固定線30Bに接続される。センスアンプ20におけるトランジスタQn2のボディ領域3もまた、コンタクト領域31およびコンタクトホールCHを介してボディ固定線30Bに接続される。[Example 3]
 FIG. 9 is a plan view showing a partial configuration of the
  この実施例3においては、センスアンプ20におけるトランジスタQn2のボディ領域3を固定するためのボディ固定線30Bが、プリチャージ回路23におけるトランジスタQeおよびQpcのボディ領域3を固定するためのボディ固定線と共通にされているため、上記実施例1よりもそのレイアウト面積は小さくなる。  In the third embodiment,
  [実施例4]
  図10は、この発明の実施例4によるDRAMにおけるメモリセルアレイ、センスアンプおよび入出力回路の一部構成を示す回路図である。図10を参照して、この実施例4においては、上記実施例1と異なりメモリセル27におけるトランジスタQmのボディ領域には負電位VBBが与えられる。ダミーセル28におけるトランジスタQdのボディ領域にもまた、負電位VBBが与えられる。したがって、この実施例4におけるNチャネルMOSトランジスタは2種類のしきい電圧を有する。[Example 4]
 FIG. 10 is a circuit diagram showing a partial configuration of a memory cell array, sense amplifiers and input / output circuits in a DRAM according to
  この実施例4によれば、メモリセル27およびダミーセル28におけるトランジスタQ
mおよびQdのしきい電圧だけが大きいため、それらトランジスタQm,Qdの中にサブスレッショルド電流が流れにくい。そのため、非選択のメモリセルにおいては、センス動作によるビット線振幅のダイナミックなデータ保持特性もさらに向上する。したがって、メモリセルのデータ保持時間は長くなる。According to the fourth embodiment, the transistor Q in the
 Since only the threshold voltages of m and Qd are large, the subthreshold current hardly flows in the transistors Qm and Qd. Therefore, in a non-selected memory cell, the dynamic data retention characteristic of the bit line amplitude by the sensing operation is further improved. Therefore, the data retention time of the memory cell becomes long.
  [実施例5]
  図11は、この発明の実施例5によるDRAMにおけるメモリセルアレイ、センスアンプおよび入出力回路の一部構成を示す回路図である。図11を参照して、この実施例5においては、すべてのNチャネルMOSトランジスタQm,Qd,Qb,Qpc,Qe,Qn1,Qn2,Qioのボディ領域に、負電位Vbbが与えられる。この実施例5のように、すべてのNチャネルMOSトランジスタのボディ領域に負電位Vbbを与えてもよい。[Example 5]
 FIG. 11 is a circuit diagram showing a partial configuration of a memory cell array, sense amplifiers and input / output circuits in a DRAM according to
  [実施例6]
  図12は、この発明の実施例6によるDRAMにおけるメモリセルアレイ、センスアンプおよび入出力回路の一部構成を示す回路図である。図12を参照して、この実施例6においては、図1と異なりセンスアンプ20における4つのトランジスタQn1,Qn2,Qp1,Qp2のボディ領域が自己のソース電極と接続される。すなわち、トランジスタQn1およびQn2のボディ領域はセンスアンプ駆動線21Aに接続される。トランジスタQp1およびQp2のボディ領域はセンスアンプ駆動線21Bに接続される。したがって、トランジスタQn1およびQn2のボディ領域には、プリチャージ電位VBLから接地電位VSSに向かって徐々に減少する可変電位が与えられる。トランジスタQp1およびQp2のボディ領域には、プリチャージ電位VBLから電源電位VCCに向かって上昇する可変電位が与えられる。そのため、これらトランジスタQn1,Qn2,Qp1,Qp2においては、ボディ領域およびソース領域間のPN接合に常に同一の電圧が印加されるので、いわゆる基板効果は全く生じない。したがって、このセンスアンプ20の感度は上記実施例1よりも高くなる。しかも、低い電源電圧が供給される場合であっても、このセンスアンプ20は高速に動作する。[Example 6]
 FIG. 12 is a circuit diagram showing a partial configuration of a memory cell array, sense amplifiers and input / output circuits in a DRAM according to
DRAMが通常のシリコン基板上に形成される場合において、図12に示されるようにセンスアンプにおけるトランジスタの基板電位をソース電位と同期させるためには、センスアンプを基板および他のウェルと完全に分離しなければならない。したがって、通常はトリプルウェル構造が採用される。また、書込動作においてはサブスレッショルドによるリーク電流を低減するため、そのウェルを一定電位に固定しなければならない。そのため、そのウェルの接合容量における電荷が充放電されるので、消費電流が増大する。さらに、トリプルウェル構造などが採用されるため、ウェル電位を固定するための領域が必要となる。そのため、レイアウト面積は大きくなる。 When the DRAM is formed on a normal silicon substrate, in order to synchronize the substrate potential of the transistor in the sense amplifier with the source potential as shown in FIG. 12, the sense amplifier is completely separated from the substrate and other wells. Must. Therefore, a triple well structure is usually adopted. In the write operation, the well must be fixed at a constant potential in order to reduce the leakage current due to the subthreshold. As a result, the charge in the junction capacitance of the well is charged and discharged, resulting in an increase in current consumption. Furthermore, since a triple well structure or the like is adopted, a region for fixing the well potential is required. This increases the layout area.
これに対し、この実施例6においては、ボディ領域の底面が埋込酸化層に接触しているため、その接合容量は非常に小さい。また、ボディ領域は固定されているので、サブスレッショルドによるリーク電流が増大することもない。さらに、ウェルなどを形成する必要がないので、レイアウト面積は十分に小さい。 On the other hand, in Example 6, since the bottom surface of the body region is in contact with the buried oxide layer, the junction capacitance is very small. Further, since the body region is fixed, the leakage current due to the subthreshold does not increase. Furthermore, since it is not necessary to form a well or the like, the layout area is sufficiently small.
  図13は、図12に示されたセンスアンプ20の一部構成およびプリチャージ回路23の全体構成を示す平面図である。図13を参照して、この実施例6においては、図5と異なりソース領域1の一部にp+型コモン領域38が形成される。したがって、トランジスタQn1のボディ領域3はコモン領域38を介してソース領域1に接続される。トランジスタQn2のボディ領域3はコモン領域38を介してソース領域1に接続される。このソース領域1にはコンタクトホールCHを介してセンスアンプ駆動信号SANが与えられるため、コモン領域38およびソース領域1間のPN接合に順方向電圧が与えられる間、こ
れらのボディ領域3は電気的に固定される。つまり、ボディ領域3の電位はソース領域1の電位よりもPN接合の障壁電位だけ常に高くなる。この実施例6によれば、上記実施例1のようにボディ固定線30B,30Cを設ける必要がないので、レイアウト面積は実施例1よりも小さい。FIG. 13 is a plan view showing a partial configuration of the
  [実施例7]
  図14は、この発明の実施例7によるDRAMにおけるセンスアンプおよびプリチャージ回路の構成を示す平面図である。図14を参照して、この実施例7においては、ソース領域1とほぼ同じ大きさのp+型コモン領域38がボディ領域3の間に形成されている。ソース領域1はコンタクトホールCHを介してセンスアンプ駆動線21Aに接続され、コモン領域38もコンタクトホールCHを介してセンスアンプ駆動線21Aに接続される。したがって、トランジスタQn1のボディ領域3はコモン領域38およびコンタクトホールCHを介してセンスアンプ駆動線21Aに接続される。また、トランジスタQn2のボディ領域3は、コモン領域38およびコンタクトホールCHを介してセンスアンプ駆動線21Aに接続される。そのため、コモン領域38およびソース領域1の電位が常に同一であるため、それらボディ領域3は常に電気的に固定される。[Example 7]
 FIG. 14 is a plan view showing structures of a sense amplifier and a precharge circuit in a DRAM according to the seventh embodiment of the present invention. Referring to FIG. 14, in the seventh embodiment, ap+ type
  [実施例8]
  図15は、この発明の実施例8によるDRAMにおけるセンスアンプおよびプリチャージ回路の構成を示す平面図である。図15を参照して、この実施例8においては、図14と異なりP+型コモン領域38がソース領域1の両側に形成されている。また、2つのコンタクトホールCHがソース領域1およびコモン領域38にわたってそれぞれ形成されている。したがって、Qn1のボディ領域3は2つのコモン領域38および2つのコンタクトホールCHを介してセンスアンプ駆動線21Aに接続され、トランジスタQn2のボディ領域3もまた2つのコモン領域38および2つのコンタクトホールCHを介してセンスアンプ駆動線21Aに接続される。この実施例8によれば、小さなコモン領域38がソース領域1の両側に形成されているため、トランジスタQn1およびQn2の実行チャネル長が長くなる。しかも、2つのコモン領域38が設けられているため、実行チャネル長の長いトランジスタQn1およびQn2であってもそのボディ領域3は確実に固定される。したがって、コモン領域38から遠い位置であってもボディ領域3の電位はセンスアンプ駆動線21Aの電位SANに速やかに追従し、これによりこのセンスアンプは図14の実施例7よりも安定して動作する。[Example 8]
 FIG. 15 is a plan view showing structures of a sense amplifier and a precharge circuit in a DRAM according to the eighth embodiment of the present invention. Referring to FIG. 15, in this eighth embodiment, unlike FIG. 14, P+ -type
  [実施例9]
  図16は、この発明の実施例9によるDRAMにおけるメモリセルアレイ、センスアンプおよび入出力回路の一部構成を示す回路図である。図16を参照して、この実施例9においては、図12と異なりビット線選択回路26Aおよび26Bならびにコラム選択回路29におけるトランジスタQb,Qioのボディ領域が電気的にフローティング状態にされている。これらトランジスタQb,Qioはフローティング状態にされても、その中に大量のリーク電流が流れることはない。[Example 9]
 FIG. 16 is a circuit diagram showing a partial configuration of a memory cell array, sense amplifiers and input / output circuits in a DRAM according to
この実施例9によれば、一部のNチャネルMOSトランジスタのボディ領域が電気的に固定され、その他のNチャネルMOSトランジスタのボディ領域はフローティング状態にされているため、図12の実施例6よりもボディ固定線の数が少なくなる。そのため、ボディ固定線のための領域が小さくなり、それによりレイアウト面積は小さくなる。 According to the ninth embodiment, the body regions of some N-channel MOS transistors are electrically fixed, and the body regions of other N-channel MOS transistors are in a floating state. Even the number of body fixing lines is reduced. As a result, the area for the body fixing line is reduced, thereby reducing the layout area.
  [実施例10]
  図17は、この発明の実施例10によるDRAMにおけるメモリセルアレイ、センスアンプおよび入出力回路の一部構成を示す回路図である。図17を参照して、この実施例10においては、図1と異なりすべてのPチャネルMOSトランジスタのボディ領域が電気
的にフローティング状態にされている。具体的には、センスアンプ20におけるQp1およびQp2のボディ領域がフローティング状態にされている。なお、すべてのNチャネルMOSトランジスタのボディ領域は電気的に固定されている。[Example 10]
 FIG. 17 is a circuit diagram showing a partial configuration of a memory cell array, sense amplifiers and input / output circuits in a DRAM according to
一般にPチャネルMOSトランジスタのソース・ドレイン間の耐圧はNチャネルMOSトランジスタよりも高いため、NチャネルMOSトランジスタのボディ領域が固定されていればよい。この実施例10によれば、PチャネルMOSトランジスタのボディ領域を固定するためのボディ固定領域およびボディ固定線が必要ないので、上記実施例1よりもレイアウト面積が小さくなる。 Since the breakdown voltage between the source and drain of a P channel MOS transistor is generally higher than that of an N channel MOS transistor, the body region of the N channel MOS transistor may be fixed. According to the tenth embodiment, since the body fixing region and the body fixing line for fixing the body region of the P-channel MOS transistor are not required, the layout area is smaller than that in the first embodiment.
  [実施例11]
  図18は、この発明の実施例11によるDRAMにおけるメモリセルアレイ、センスアンプ、および入出力回路の構成を示す回路図である。図18を参照して、この実施例11においては、ビット線BL0および/BL0がセンスアンプ20の両側に配置されている。すなわち、いわゆるオープンビット線構造が採用されている。[Example 11]
 FIG. 18 is a circuit diagram showing structures of a memory cell array, sense amplifiers, and input / output circuits in a DRAM according to
  この実施例11においても上記実施例1と同様に、センスアンプ20におけるNチャネルMOSトランジスタQn1およびQn2のボディ領域には接地電位VSSが与えられ、PチャネルMOSトランジスタQp1およびQp2のボディ領域には電源電位VCCが与えられる。また、ビット線用プリチャージ回路23におけるNチャネルMOSトランジスタQe,Qpcのボディ領域には接地電位VSSが与えられる。また、センスアンプ駆動線用プリチャージ回路22におけるNチャネルMOSトランジスタQseおよびQspのボディ領域には接地電位VSSが与えられる。また、コラム選択回路におけるNチャネルMOSトランジスタQioのボディ領域には接地電位VSSが与えられる。また、メモリセル27におけるNチャネルMOSトランジスタQmのボディ領域にも接地電位VSSが与えられる。さらに、ダミーセル28におけるNチャネルMOSトランジスタQdのボディ領域にも接地電位VSSが与えられる。In the eleventh embodiment, similarly to the first embodiment, ground potential VSS is applied to the body regions of N channel MOS transistors Qn1 and Qn2 in
  この実施例11によれば、上記実施例1と同じ効果を奏するとともに、オープンビット線構造が採用されているため、ワード線およびビット線のすべての交点にメモリセル27を配置することができる。  According to the eleventh embodiment, the same effect as in the first embodiment is obtained, and since the open bit line structure is adopted, the
  [実施例12]
  図19は、この発明の実施例12によるDRAMにおけるメモリセルアレイ、センスアンプおよび入出力回路の構成を示す回路図である。図19を参照して、この実施例9においては、図18と異なりセンスアンプ20における4つのトランジスタQn1,Qn2,Qp1,Qp2のボディ領域が自己のソース電極と接続されている。したがって、NチャネルMOSトランジスタQn1およびQn2のボディ領域には、センスアンプ駆動信号SANが与えられる。PチャネルMOSトランジスタQp1およびQp2のボディ領域には、センスアンプ駆動信号SAPが与えられる。[Example 12]
 FIG. 19 is a circuit diagram showing structures of a memory cell array, sense amplifiers and input / output circuits in a DRAM according to
  この実施例12によれば、図12の実施例6と同じ効果を奏するとともに、オープンビット線構造が採用されているため、ワード線およびビット線のすべての交点にメモリセル27を配置することができる。  According to the twelfth embodiment, the same effect as that of the sixth embodiment of FIG. 12 is obtained and the open bit line structure is adopted. Therefore, the
  [実施例13]
  図20は、この発明の実施例13によるDRAMにおける行デコーダの一部構成を示す回路図である。図20を参照して、行デコーダ中のワード線駆動回路は、8つのNチャネルMOSトランジスタQr1〜Qr8をその終段に備える。トランジスタQr1およびQr2は直列に接続され、トランジスタQr1のソース電極がワード線WL0に接続される
。トランジスタQr3およびQr4は直列に接続され、トランジスタQr3のソース電極がワード線WL1に接続される。トランジスタQr5およびQr6は直列に接続され、トランジスタQr5のソース電極がワード線WL2に接続される。トランジスタQr7およびQr8は直列に接続され、トランジスタQr7のソース電極がワード線WL3に接続される。[Example 13]
 FIG. 20 is a circuit diagram showing a partial configuration of a row decoder in a DRAM according to
このワード線駆動回路は、行アドレス信号がプリデコードされた信号Xj,Xk,Xlに応答して活性化される。ワード線駆動回路は活性化され、さらに昇圧信号RX0〜RX3のうち1つの信号が対応するトランジスタのドレイン電極に与えられると、ワード線WL0〜WL3のうち対応する1つが立上がる。昇圧信号RX0〜RX3は電源電位VCCが昇圧されたものであるため、このワード線WL0〜WL3は電源電位VCCよりも高い電位まで立上がる。したがって、トランジスタQr1〜Qr8のソース・ドレイン間には電源電圧よりも大きい電圧が印加される。This word line driving circuit is activated in response to signals Xj, Xk, and Xl obtained by predecoding the row address signal. When the word line driving circuit is activated and one of the boost signals RX0 to RX3 is applied to the drain electrode of the corresponding transistor, the corresponding one of the word lines WL0 to WL3 rises. Since boosted signals RX0-RX3 are boosted power supply potential VCC , word lines WL0-WL3 rise to a potential higher than power supply potential VCC . Therefore, a voltage higher than the power supply voltage is applied between the source and drain of the transistors Qr1 to Qr8.
また、このワード線駆動回路が活性化されていないとき、昇圧信号RX0〜RX3が与えられると、寄生容量のカップリングによってトランジスタQr1,Qr3,Qr5,Qr7のボディ領域の電位が上昇し、それによりしきい値が低下する。そのため、昇圧電位がトランジスタQr1,Qr3,Qr5,Qr7を介してリークし、それにより昇圧電位が不十分になる。また、そのリークした昇圧電位が非選択のワード線に与えられると、非選択のメモリセルからデータがリークすることになる。 Further, when the boost signals RX0 to RX3 are applied when the word line driving circuit is not activated, the potentials of the body regions of the transistors Qr1, Qr3, Qr5, and Qr7 rise due to the coupling of parasitic capacitances, thereby The threshold drops. Therefore, the boosted potential leaks through the transistors Qr1, Qr3, Qr5, and Qr7, and the boosted potential becomes insufficient. When the leaked boosted potential is applied to the non-selected word line, data leaks from the non-selected memory cell.
この実施例13においては、トランジスタQr1〜Qr12のボディ領域に接地電位VSSが与えられ、それによりそのボディ領域は電気的に固定されている。したがって、これらトランジスタQr1〜Qr12のソース・ドレイン間の耐圧が高くなるため、このワード線駆動回路は正常に動作する。さらに、寄生容量のカップリングによるしきい値の低下が抑制されるので、このワード線駆動回路は安定して動作する。In the thirteenth embodiment, the ground potential VSS is applied to the body regions of the transistors Qr1 to Qr12, whereby the body regions are electrically fixed. Therefore, since the withstand voltage between the source and drain of these transistors Qr1 to Qr12 is increased, this word line driving circuit operates normally. Further, since the threshold value drop due to parasitic capacitance coupling is suppressed, the word line driving circuit operates stably.
  [実施例14]
  図21は、この発明の実施例14によるDRAMにおける行デコードの一部構成を示す回路図である。図21を参照して、この実施例14においては、上記実施例13と異なりトランジスタQr1〜Qr12のボディ領域はそれ自身のソース領域に接続されている。具体的には、トランジスタQr1,Qr3,Qr5,Qr7のボディ領域はワード線WL0〜WL3に接続される。トランジスタQr2,Qr4,Qr6,Qr8のボディ領域は接地ノードに接続される。トランジスタQr9〜Qr12のボディ領域は、セルフブートストラップによって電位が上昇しない側のノードに接続されている。[Example 14]
 FIG. 21 is a circuit diagram showing a partial configuration of row decoding in a DRAM according to
  図22は、図21に示したワード線駆動回路におけるトランジスタQr1〜Qr12の一般的な構成を示す平面図である。図22を参照して、トランジスタQr1〜Qr12は、n+型ソース領域1と、n+型ドレイン領域2と、p型ボディ領域3と、ゲート電極4と、p+型コモン領域38とを備える。コモン領域38は、ソース領域1およびボディ領域3と隣接して形成される。したがって、ボディ領域3は、コモン領域38を介してソース領域1と接続され、それにより電気的に固定される。FIG. 22 is a plan view showing a general configuration of transistors Qr1-Qr12 in the word line driving circuit shown in FIG. Referring to FIG. 22, transistors Qr <b> 1 to Qr <b> 12 include n+
  この実施例14においては、トランジスタQr1,Qr3,Qr5,Qr7のボディ領域がワード線WL0〜WL3と接続されているため、そのボディ領域3の電位はワード線WL0〜WL3の電位に追従する。そのため、トランジスタQr1,Qr3,Qr5,Qr7においては基板効果が発生しないので、ワード線WL0〜WL3の電位は速やかに立上がる。  In the fourteenth embodiment, since the body regions of the transistors Qr1, Qr3, Qr5, and Qr7 are connected to the word lines WL0 to WL3, the potential of the
  しかも、トランジスタQr1〜Qr12のボディ領域3はそれ自身のソース領域1と接
続されているため、ボディ固定線を設ける必要がない。したがって、この実施例14のレイアウト面積は図20の実施例13よりも小さくなる。Moreover, since the
  [実施例15]
  図23は、この発明の実施例15による昇圧信号プリデコード回路の構成を示す回路図である。この昇圧信号プリデコード回路は、図20および21に示されたワード線駆動回路に昇圧信号RX0〜RX3を供給するためのものである。[Example 15]
 FIG. 23 is a circuit diagram showing a structure of a boost signal predecode circuit according to the fifteenth embodiment of the present invention. This boost signal predecode circuit is for supplying boost signals RX0 to RX3 to the word line driving circuit shown in FIGS.
図23を参照して、この昇圧信号プリデコード回路は、トランジスタQr13〜Qr15と、インバータI1およびI2とを備える。トランジスタQr13およびQr14は直列に接続される。昇圧電圧発生回路の出力である昇圧信号RXはトランジスタQr13のドレイン電極に与えられる。行アドレス信号XはインバータI1およびI2を介してトランジスタQr15の一方ソース/ドレイン電極に与えられる。インバータI1の出力はトランジスタQr14のゲート電極に与えられる。 Referring to FIG. 23, this boost signal predecode circuit includes transistors Qr13-Qr15 and inverters I1 and I2. Transistors Qr13 and Qr14 are connected in series. A boost signal RX, which is an output of the boost voltage generation circuit, is applied to the drain electrode of the transistor Qr13. Row address signal X is applied to one source / drain electrode of transistor Qr15 through inverters I1 and I2. The output of inverter I1 is applied to the gate electrode of transistor Qr14.
この昇圧信号プリデコード回路は行アドレス信号Xに応答して活性化され、活性化されている間に、昇圧信号RXが与えられると、トランジスタQr13のゲート電位がセルフブートストラップによって上昇し、このトランジスタQr13は完全に導通状態となる。そのため、その与えられた昇圧信号RXはトランジスタQr13を介して昇圧信号RX0〜RX3として外部に出力される。 The boost signal predecode circuit is activated in response to the row address signal X. When the boost signal RX is applied while being activated, the gate potential of the transistor Qr13 rises by self-bootstrap. Qr13 becomes completely conductive. Therefore, the given boost signal RX is output to the outside as boost signals RX0 to RX3 via the transistor Qr13.
上記の動作から明らかなように、トランジスタQr13〜Qr15のソース・ドレイン間には電源電圧よりも大きい電圧が印加される。したがって、この実施例15においては、これらトランジスタQr13〜Qr15のボディ領域に接地電位VSSが与えられ、それによりボディ領域は電気的に固定されている。そのため、これらトランジスタQr13〜Qr15のソース・ドレイン間の耐圧が高くなるので、この昇圧信号プリデコード回路は正常に動作する。As apparent from the above operation, a voltage higher than the power supply voltage is applied between the sources and drains of the transistors Qr13 to Qr15. Therefore, in the fifteenth embodiment, the ground potential VSS is applied to the body regions of the transistors Qr13 to Qr15, whereby the body region is electrically fixed. Therefore, the withstand voltage between the source and drain of these transistors Qr13 to Qr15 increases, so that this boost signal predecode circuit operates normally.
  [実施例16]
  図24は、この発明の実施例16によるDRAMにおける昇圧信号プリデコード回路の構成を示す回路図である。図24を参照して、この実施例16においては、図23と異なりトランジスタQr13〜Qr15のボディ領域がそれぞれ自己のソース領域と接続されている。[Example 16]
 FIG. 24 is a circuit diagram showing the structure of a boost signal predecode circuit in a DRAM according to
この実施例16においては、特にトランジスタQr13のボディ領域が自己のソース領域と接続されている。そのため、トランジスタQr13のボディ領域の電位は、その出力される昇圧信号RX0〜RX3に追従して上昇する。したがって、このトランジスタQr13においては基板効果が発生しないので、昇圧信号RX0〜RX3は速やかに立上がる。しかも、各ボディ領域がそれ自身のソース領域と接続されているため、ボディ固定線を設ける必要がないので、この実施例16のレイアウト面積は図23の実施例15よりも小さくなる。 In the sixteenth embodiment, in particular, the body region of transistor Qr13 is connected to its own source region. Therefore, the potential of the body region of transistor Qr13 rises following the output boost signals RX0 to RX3. Therefore, no substrate effect occurs in transistor Qr13, so that boost signals RX0-RX3 rise quickly. In addition, since each body region is connected to its own source region, it is not necessary to provide a body fixing line, so the layout area of the sixteenth embodiment is smaller than that of the fifteenth embodiment of FIG.
  [実施例17]
  図25は、この発明の実施例17によるDRAMにおけるNチャネルMOSキャパシタの構成を示す平面図である。MOSキャパシタは、たとえばワード線駆動回路、昇圧信号プリデコード回路、電源電圧が昇圧された電圧VPPを発生する回路などで用いられる。[Example 17]
 FIG. 25 is a plan view showing the structure of an N channel MOS capacitor in a DRAM according to
  図25を参照して、このMOSキャパシタは、n+型ソース領域1と、そのソース領域1によって包囲されるp型ボディ領域3と、ゲート電極4と、p+型コモン領域38とを備える。このコモン領域38は、ソース領域1の一部分に挿入されている。したがって、
コモン領域38はソース領域1およびボディ領域3に隣接して形成される。そのため、ボディ領域3は、コモン領域38を介してソース領域1と接続されている。これによりボディ領域3は電気的に固定されるので、このMOSキャパシタは安定して動作する。しかも、ソース領域1の一部に挿入されたコモン領域38を介してボディ領域3がソース領域1に接続されるため、ボディ固定線などを設ける必要がない。そのため、この実施例17のレイアウト面積は従来のものと同じになる。Referring to FIG. 25, this MOS capacitor includes an n+
 The
  なお、この実施例17においては、ソース領域1の一部にコモン領域38が挿入されているだけであるが、ソース領域1およびコモン領域38の接合部分の上に1つのコンタクトホールを形成し、ソース領域1およびコモン領域38をそのコンタクトホールを介してボディ固定線に接続してもよい。このようにすると、コモン領域38の電位よりもソース領域1の電位が高くなる場合でも、ボディ領域3を電気的に固定することができる。  In Example 17, only the
  [実施例18]
  図26は、この発明の実施例18によるDRAMにおけるPチャネルMOSキャパシタの構成を示す平面図である。図26を参照して、このPチャネルMOSキャパシタは、p+型ソース領域1と、そのソース領域1によって包囲されるn型ボディ領域3と、ゲート電極4と、n+型コモン領域38とを備える。この実施例18は、図25の実施例17における各領域の導電型を逆にしたものである。[Example 18]
 FIG. 26 is a plan view showing the structure of the P channel MOS capacitor in the DRAM according to the eighteenth embodiment of the present invention. Referring to FIG. 26, this P channel MOS capacitor includes ap+
  [実施例19]
  図27は、この発明の実施例19によるDRAMにおけるNチャネルMOSキャパシタの構成を示す平面図である。図27を参照して、このNチャネルMOSキャパシタは、2つのn+型ソース領域1と、それらソース領域1の間に位置するp型ボディ領域3と、ゲート電極4と、p+型コンタクト領域31とを備える。2つのソース領域1は互いに接続されている。コンタクト領域31は、ボディ領域3の一部に挿入され、そのボディ領域3だけに隣接して形成されている。[Example 19]
 FIG. 27 is a plan view showing the structure of an N channel MOS capacitor in a DRAM according to
  コンタクト領域31にはソース領域1に与えられる電位と同じ電位が与えられ、これによりボディ領域3はコンタクト領域31を介してソース領域1と接続される。したがって、このNチャネルMOSキャパシタは、そのボディ領域3が電気的に固定されるので、安定して動作する。  Contact
  この実施例19では、ソース領域1に与えられる電位と同じ電位がコンタクト領域31に与えられているが、コンタクト領域31に接地電位VSS、または負電位VBBが与えられてもよい。In the nineteenth embodiment, the same potential as that applied to the
  [実施例20]
  図28は、この発明の実施例20によるDRAMにおけるPチャネルMOSキャパシタの構成を示す平面図である。図28を参照して、このPチャネルMOSキャパシタは、2つのp+型ソース領域1と、それらソース領域1の間に位置するn型ボディ領域3と、ゲート電極4と、n+型コンタクト領域31とを備える。このコンタクト領域31に所定電位が与えられ、それによりボディ領域3が電気的に固定される。この実施例20は、図27の実施例19における各領域の導電型を逆にしたものである。[Example 20]
 FIG. 28 is a plan view showing the structure of the P channel MOS capacitor in the DRAM according to the
  [実施例21]
  図29は、この発明の実施例21によるDRAMにおける昇圧電源発生回路の構成を示す回路図である。図29を参照して、この昇圧電源発生回路は、3つのMOSキャパシタCbs1〜Cbs3と、その終段にNチャネルMOSトランジスタQbsとを備える。この昇圧電源発生回路は、クロック信号CKに応答して電源電位VCCよりも高い昇圧電位V
PPを発生する。[Example 21]
 FIG. 29 is a circuit diagram showing a structure of a boosted power generation circuit in a DRAM according to the embodiment 21 of the present invention. Referring to FIG. 29, the boosted power generation circuit includes three MOS capacitors Cbs1 to Cbs3 and an N channel MOS transistor Qbs at the final stage. This boosted power supply generation circuit responds to a clock signal CK and has a boosted potential V higher than the power supply potential VCC.
 GeneratePP .
この昇圧電源発生回路のトランジスタQbsでは、そのドレイン電極(出力ノード)の電位がそのソース電極の電位よりも常に高くなる。したがって、このトランジスタQbsのボディ領域は自己のソース領域と接続されている。これにより、このトランジスタQbsのソース・ドレイン間の耐圧は高くなる。しかも、ボディ領域はソース領域と接続されるため、ボディ固定線などを設ける必要がない。そのため、この実施例21のレイアウト面積は従来のものとほとんど同じになる。 In the transistor Qbs of this boosted power generation circuit, the potential of the drain electrode (output node) is always higher than the potential of the source electrode. Therefore, the body region of this transistor Qbs is connected to its own source region. As a result, the breakdown voltage between the source and drain of the transistor Qbs is increased. Moreover, since the body region is connected to the source region, there is no need to provide a body fixing line or the like. Therefore, the layout area of the twenty-first embodiment is almost the same as the conventional one.
  [実施例22]
  図30は、この発明の実施例22によるDRAMにおける出力プリアンプおよび書込回路の構成を示す回路図である。図30を参照して、この出力プリアンプ40はカレントミラー型で、PチャネルMOSトランジスタQp5〜Qp11と、NチャネルMOSトランジスタQn5〜Qn12とを備える。出力プリアンプは一般に、入出力線IOおよび/IOの電位をアナログ的に増幅するため、キンクの影響を受けやすい。そのため、PチャネルMOSトランジスタQp5〜Qp11のボディ領域はそれぞれ自己のソース領域と接続されている。NチャネルMOSトランジスタQn5〜Qn12のボディ領域はそれぞれ自己のソース領域と接続されている。[Example 22]
 FIG. 30 is a circuit diagram showing structures of an output preamplifier and a write circuit in a DRAM according to
  この実施例22によれば、トランジスタQp5〜Qp11ならびにQn5〜Qn12のボディ領域が電気的に固定されるので、それらトランジスタにおいてキンクが発生しない。そのため、この出力プリアンプ40は、入出力線IOおよび/IOの電位を安定して増幅することができる。  According to the twenty-second embodiment, since the body regions of the transistors Qp5 to Qp11 and Qn5 to Qn12 are electrically fixed, no kink occurs in these transistors. Therefore,
  一方、書込回路41は、4つのNチャネルMOSトランジスタQn13〜Qn16を備える。トランジスタQn13〜Qn16のボディ領域には接地電位VSSが与えられているので、これらボディ領域は電気的に固定されている。そのため、トランジスタQn13〜Qn16のソース・ドレイン間に大量のリーク電流が流れることはない。On the other hand, write
  [実施例23]
  図31は、この発明の実施例23によるDRAMにおける入出力線プリチャージ回路および入出力線イコライズ回路の構成を示す回路図である。図31を参照して、この入出力線プリチャージ回路42は、PチャネルMOSトランジスタQp21およびQp22と、NチャネルMOSトランジスタQn21およびQn22とを備える。PチャネルMOSトランジスタQp21およびNチャネルMOSトランジスタQn21は転送ゲートを構成する。PチャネルMOSトランジスタQp22およびNチャネルMOSトランジスタQn22もまた、転送ゲートを構成する。この入出力線プリチャージ回路42は、プリチャージ信号YNに応答して入出力線IOおよび/IOを所定の電位にプリチャージする。[Example 23]
 FIG. 31 is a circuit diagram showing structures of an input / output line precharge circuit and an input / output line equalize circuit in a DRAM according to
一方、入出力線イコライズ回路は、PチャネルMOSトランジスタQp20およびNチャネルMOSトランジスタQn20を備える。トランジスタQp20およびQn20は転送ゲートを構成する。この入出力線イコライズ回路は、入出力線イコライズ信号IOEQおよび/IOEQに応答して入出力線IOおよび/IOの電位を互いに等しくする。 On the other hand, the input / output line equalize circuit includes a P channel MOS transistor Qp20 and an N channel MOS transistor Qn20. Transistors Qp20 and Qn20 form a transfer gate. This input / output line equalize circuit equalizes the potentials of input / output lines IO and / IO in response to input / output line equalize signals IOEQ and / IOEQ.
この実施例23においては、PチャネルMOSトランジスタQp20〜Qp22のボディ領域には電源電位VCCが与えられる。NチャネルMOSトランジスタQn20〜Qn22のボディ領域には接地電位VSSが与えられる。これにより、トランジスタQp20〜Qp22,Qn20〜Qn22のボディ領域は電気的に固定される。したがって、これらトランジスタのソース・ドレイン間に大量のリーク電流が流れることはない。そのため、正確なデータが入出力線IOおよび/IOを介して伝達される。In the twenty-third embodiment, power supply potential VCC is applied to the body regions of P channel MOS transistors Qp20 to Qp22. Ground potential VSS is applied to the body regions of N channel MOS transistors Qn20-Qn22. As a result, the body regions of the transistors Qp20 to Qp22, Qn20 to Qn22 are electrically fixed. Therefore, a large amount of leakage current does not flow between the source and drain of these transistors. Therefore, accurate data is transmitted via input / output lines IO and / IO.
  [実施例24]
  図32は、この発明の実施例24によるDRAMにおける行アドレスバッファの一部構成を示す回路図である。図32を参照して、この行アドレスバッファはダイナミックラッチ型で、PチャネルMOSトランジスタQp25〜Qp28と、NチャネルMOSトランジスタQn25〜Qn30とを備える。このアドレスバッファは、外部アドレス信号ext.Anに応答して内部行アドレス信号RAnおよび/RAnを生成する。このアドレスバッファは、外部アドレス信号ext.Anを参照信号VREFと比較し、それにより外部アドレス信号ext.AnがHレベルであるかLレベルであるかを判定する。[Example 24]
 FIG. 32 is a circuit diagram showing a partial structure of a row address buffer in a DRAM according to
この実施例24において、トランジスタQp25〜Qp28のボディ領域はソース電極と接続されている。トランジスタQn25,Qn26,Qn29,Qn30のボディ領域には接地電位VSSが与えられる。このダイナミックラッチ型行アドレスバッファは、制御信号/RADBEの立下りに応答してアドレス信号をラッチする。したがって、活性化状態においては、ボディ領域およびソース領域間のPN接合に逆方向電圧が印加されることはないので、トランジスタQn27,Qn28のボディ領域をそれぞれ自己のソース電極と接続することが可能である。In the twenty-fourth embodiment, the body regions of the transistors Qp25 to Qp28 are connected to the source electrode. Ground potential VSS is applied to the body regions of transistors Qn25, Qn26, Qn29, and Qn30. This dynamic latch type row address buffer latches the address signal in response to the fall of the control signal / RADBE. Therefore, in the activated state, no reverse voltage is applied to the PN junction between the body region and the source region, so that the body regions of the transistors Qn27 and Qn28 can be connected to their own source electrodes. is there.
したがって、トランジスタQp25〜Qp28,Qn25〜Qn30のボディ領域は電気的に固定されているので、この行アドレスバッファは安定してアナログ動作をする。しかも、トランジスタQp27,Qp28は基板効果を受けないので、この行アドレスバッファは外部アドレス信号ext.AnがHレベルであるかLレベルであるかを安定かつ高速に判定することができる。 Therefore, since the body regions of transistors Qp25-Qp28 and Qn25-Qn30 are electrically fixed, this row address buffer stably performs analog operation. In addition, since transistors Qp27 and Qp28 are not subjected to the substrate effect, this row address buffer is connected to external address signal ext. Whether An is at an H level or an L level can be determined stably and at high speed.
  [実施例25]
  図33は、この発明の実施例25によるDRAMにおける列アドレスバッファの一部構成を示す回路図である。図33を参照して、この列アドレスバッファは、PチャネルMOSトランジスタQp31〜Qp34と、NチャネルMOSトランジスタQn31〜Qn34とを備える。トランジスタQp31,Qp32,Qn31,Qn32は、NOR回路を構成する。トランジスタQp33,Qp34,Qn33,Qn34は、次段のクロックドインバータを構成する。この列アドレスバッファは、外部アドレス信号ext.Anに応答して内部列アドレス信号CAnおよび/CAnを生成する。[Example 25]
 FIG. 33 is a circuit diagram showing a partial structure of a column address buffer in a DRAM according to
また、このNOR回路を構成するすべてのトランジスタQp31,Qp32,Qn31,Qn32のボディ領域はそれぞれ自己のソース領域と接続されている。したがって、NチャネルMOSトランジスタQn31,Qn32のボディ領域には接地電位VSSが与えられる。一方、インバータを構成するすべてのトランジスタQp33,Qp34,Qn33,Qn34のボディ領域はフローティング状態にされている。The body regions of all the transistors Qp31, Qp32, Qn31, Qn32 constituting this NOR circuit are connected to their own source regions. Therefore, ground potential VSS is applied to the body regions of N channel MOS transistors Qn31 and Qn32. On the other hand, the body regions of all the transistors Qp33, Qp34, Qn33, Qn34 constituting the inverter are in a floating state.
この実施例25においては、入力初段のトランジスタQp31,Qp32,Qn31,Qn32のボディ領域が電気的に固定されているため、外部アドレス信号ext.AnがHレベルであるかLレベルであるかは正確に判定される。しかも、入力初段のトランジスタ以外のトランジスタ、たとえば次段のクロックドインバータを構成するトランジスタQp33,Qp34,Qn33,Qn34、およびその他の論理ゲートを構成するトランジスタのボディ領域はフローティング状態にされているため、ボディ固定線などを設ける必要がない。そのため、レイアウト面積の増加は最小限に抑えられる。 In the twenty-fifth embodiment, since the body regions of the transistors Qp31, Qp32, Qn31, Qn32 at the first input stage are electrically fixed, the external address signal ext. It is accurately determined whether An is at the H level or the L level. Moreover, since the body regions of transistors other than the first input stage transistors, for example, the transistors Qp33, Qp34, Qn33, Qn34 constituting the next stage clocked inverter, and other transistors constituting the logic gate are in a floating state. There is no need to provide a body fixing line. Therefore, an increase in layout area can be minimized.
  [実施例26]
  図34は、この発明の実施例26によるDRAMにおける列アドレスバッファの一部構成を示す回路図である。図34を参照して、この実施例26においては、図33と異なり
NOR回路を構成するNチャネルMOSトランジスタQn31およびQn32のボディ領域には負電位VBBが与えられる。上記のように、NチャネルMOSトランジスタQn31,Qn32のボディ領域には、接地電位VSSの代わりに負電位VBBが与えられてもよい。[Example 26]
 FIG. 34 is a circuit diagram showing a partial structure of a column address buffer in a DRAM according to Embodiment 26 of the present invention. Referring to FIG. 34, in this embodiment 26, the negative potential VBB is applied to the body region of the N-channel MOS transistors Qn31 and Qn32 constitute a NOR circuit different from FIG 33. As described above, negative potential VBB may be applied to the body regions of N channel MOS transistors Qn31 and Qn32 instead of ground potential VSS .
  [実施例27]
  図35は、この発明の実施例27によるDRAMにおける列アドレスバッファの一部構成を示す回路図である。この実施例27においては、図33と異なりインバータを構成するすべてのトランジスタQp33,Qp34,Qn33,Qn34のボディ領域がそれぞれ自己のソース領域と接続されている。この実施例27によれば、入力初段のトランジスタおよび次段のクロックドインバータを構成するトランジスタのボディ領域が電気的に固定されるので、レイアウト面積は若干大きくなるが、それらボディ領域が固定されない場合に比べてこの列アドレスバッファは安定して動作する。[Example 27]
 FIG. 35 is a circuit diagram showing a partial structure of a column address buffer in a DRAM according to
  [実施例28]
  図36は、この発明の実施例28によるDRAMにおける列アドレスバッファの一部構成を示す回路図である。この実施例28においては、図27と異なりNチャネルMOSトランジスタQn31,Qn32のボディ領域に負電位VBBが与えられる。このように、NチャネルMOSトランジスタQn31,Qn32のボディ領域には、接地電位VSSの代わりに負電位VBBが与えられてもよい。[Example 28]
 FIG. 36 is a circuit diagram showing a partial structure of a column address buffer in a DRAM according to
  [実施例29]
  図37は、この発明の実施例29によるDRAMにおけるクロック入力バッファの構成を示す回路図である。図37を参照して、このクロック入力バッファは、PチャネルMOSトランジスタQp35〜Qp37と、NチャネルMOSトランジスタQn35と、インバータI3〜I5とを備える。このクロック入力バッファは、MOSレベルまたはTTLレベルの外部行アドレスストローブ信号ext./RASに応答して、内部行アドレスストローブ信号RASおよび/RASを生成する。[Example 29]
 FIG. 37 is a circuit diagram showing a structure of a clock input buffer in the DRAM according to the
  この実施例29においては、入力初段のトランジスタQp35〜Qp37およびQn35のボディ領域はそれぞれ自己のソース領域と接続されている。したがって、NチャネルMOSトランジスタQn35のボディ領域には接地電位VSSが与えられる。In the
このように、入力初段のトランジスタQp35〜Qp37およびQn35のボディ領域は電気的に固定されているため、外部行アドレスストローブ信号ext./RASがHレベルであるかLレベルであるかは正確に判定される。しかも、トランジスタQp35〜Qp37およびQn35のボディ領域はそれぞれ自己のソース領域と接続されているため、ボディ固定線などを設ける必要がない。そのため、このクロック入力バッファのレイアウト面積は従来と同じになる。 Thus, since the body regions of transistors Qp35-Qp37 and Qn35 at the first input stage are electrically fixed, external row address strobe signal ext. Whether / RAS is at the H level or the L level is accurately determined. Moreover, since the body regions of transistors Qp35 to Qp37 and Qn35 are connected to their own source regions, there is no need to provide a body fixing line or the like. Therefore, the layout area of this clock input buffer is the same as the conventional one.
  [実施例30]
  図38は、この発明の実施例30によるDRAMにおけるクロック入力バッファの構成を示す回路図である。この実施例30においては、図37と異なり入力初段のNチャネルMOSトランジスタQn35のボディ領域に負電位VBBが与えられる。このように、NチャネルMOSトランジスタQn35のボディ領域には、接地電位VSSの代わりに負電位VBBが与えられてもよい。[Example 30]
 FIG. 38 is a circuit diagram showing a structure of a clock input buffer in the DRAM according to
  [実施例31]
  図39は、この発明の実施例31によるDRAMにおけるクロック入力バッファの構成を示す回路図である。図39を参照して、このクロック入力バッファは、図37の実施例29と同様に、PチャネルMOSトランジスタQp35〜Qp37と、NチャネルMOS
トランジスタQn35と、インバータI3〜I5とを備える。インバータI4は、PチャネルMOSトランジスタQp38と、NチャネルMOSトランジスタQn38とを備える。インバータI5は、PチャネルMOSトランジスタQp39と、NチャネルMOSトランジスタQn39とを備える。[Example 31]
 FIG. 39 is a circuit diagram showing a structure of a clock input buffer in the DRAM according to
 Transistor Qn35 and inverters I3-I5 are provided. Inverter I4 includes a P-channel MOS transistor Qp38 and an N-channel MOS transistor Qn38. Inverter I5 includes a P-channel MOS transistor Qp39 and an N-channel MOS transistor Qn39.
  この実施例31においては、図37と異なりインバータI4,I5を構成するPチャネルMOSトランジスタQp38,Qp39のボディ領域がそれぞれ自己のソース領域と接続されている。また、インバータI4,I5を構成するNチャネルMOSトランジスタQn38,Qn39のボディ領域に負電位VBBが与えられている。In
この実施例31においては、終段のトランジスタQp38,Qp39,Qn38,Qn39のボディ領域が電気的に固定されているため、このクロック入力バッファによって生成される内部行アドレスストローブ信号RAS,/RASのクロックスキューは低減される。 In the thirty-first embodiment, since the body regions of the final stage transistors Qp38, Qp39, Qn38, and Qn39 are electrically fixed, the clocks of the internal row address strobe signals RAS, / RAS generated by this clock input buffer are used. The queue is reduced.
  [実施例32]
  図40は、この発明の実施例32によるDRAMにおけるクロック入力バッファの構成を示す回路図である。この実施例32においては、図39と異なり終段のNチャネルMOSトランジスタQn38,Qn39のボディ領域がそれぞれ自己のソース領域と接続されている。[Example 32]
 40 is a circuit diagram showing a structure of a clock input buffer in a DRAM according to
この実施例32によれば、NチャネルMOSトランジスタQn38,Qn39のボディ領域がそれぞれ自己のソース領域と接続されているため、ボディ固定線を設ける必要がない。そのため、そのレイアウト面積の増加は最小限に抑えられる。このように、終段のトランジスタQn38,Qn39のボディ領域には、負電位VBBの代わりに接地電位VSSが与えられてもよい。According to the thirty-second embodiment, since the body regions of N channel MOS transistors Qn38 and Qn39 are connected to their own source regions, it is not necessary to provide a body fixing line. Therefore, the increase in the layout area can be minimized. In this manner, the body region of the transistor Qn38, Qn39 of the final stage, the ground potential VSS may be provided in place of the negative potential VBB.
  [実施例33]
  図41は、この発明の実施例33によるDRAMにおけるセンスアンプ駆動回路の構成を示す回路図である。図41を参照して、このセンスアンプ駆動回路は、直列に接続された複数のインバータと、複数のMOSキャパシタCsp1〜Csp3,Csn1〜Csn3とを備える。このセンスアンプ駆動回路は、昇圧信号RXに応答して、センスアンプ20を駆動するための制御信号S0F,S0N,/S0Pを生成する。[Example 33]
 41 is a circuit diagram showing a structure of a sense amplifier driving circuit in a DRAM according to
図42は、図41に示されたセンスアンプ駆動回路の動作を示すタイミングチャートである。図42を参照して、昇圧信号RXの立上がりから一定時間経過後に、制御信号S0Fが立上がる。さらにその制御信号S0Fの立上がりから一定時間経過後に、制御信号S0Nが立上がる。さらにその制御信号S0Nの立上がりから一定時間経過後に、制御信号/S0Pが立下がる。 FIG. 42 is a timing chart showing the operation of the sense amplifier driving circuit shown in FIG. Referring to FIG. 42, control signal S0F rises after a lapse of a fixed time from the rise of boost signal RX. Furthermore, the control signal S0N rises after a lapse of a certain time from the rise of the control signal S0F. Further, control signal / S0P falls after a lapse of a certain time from the rise of control signal S0N.
  この実施例33によるセンスアンプ駆動回路においては、すべてのMOSキャパシタCsp1〜Csp3,Csn1〜Csn3のボディ領域が電気的に固定されているため、MOSキャパシタCsp1〜Csp3,Csn1〜Csn3のしきい値が不安定にならず、したがって昇圧信号RXの立上がりから制御信号S0Fの立上がりまでの時間が短くなったり、あるいは制御信号S0Fの立上がりから制御信号S0Nの立上がりまでの時間が短くなったりすることはない。そのため、センスアンプ20の動作マージンが低下することはない。  In the sense amplifier driving circuit according to the thirty-third embodiment, since the body regions of all the MOS capacitors Csp1 to Csp3, Csn1 to Csn3 are electrically fixed, the threshold values of the MOS capacitors Csp1 to Csp3, Csn1 to Csn3 are Therefore, the time from the rise of the boost signal RX to the rise of the control signal S0F is not shortened, or the time from the rise of the control signal S0F to the rise of the control signal S0N is not shortened. Therefore, the operation margin of the
  この実施例33においては、PチャネルMOSキャパシタCsp1〜Csp3のボディ領域には電源電位VCCが与えられる。NチャネルMOSキャパシタCsn1〜Csn3の
ボディ領域には接地電位VSSが与えられる。しかしながら、NチャネルMOキャパシタCsn1〜Csn3のボディ領域には、接地電位VSSの代わりに負電位VBBが与えられてもよい。In
  [実施例34]
  図43は、この発明の実施例34によるDRAMにおけるCAT(Column  Address  Transition)回路の構成を示す回路図である。図43を参照して、このCAT回路は、3つのインバータI20〜I22と、3つのNOR回路NR1〜NR3と、2つのPチャネルMOSキャパシタCtp1,Ctp2と、NチャネルMOSキャパシタCtn1,Ctn2とを備える。このCAT回路は、制御信号CADに応答して制御信号CATを生成する。ここで、PチャネルMOSキャパシタCtp1,Ctp2のボディ領域には電源電位VCCが与えられる。NチャネルMOSキャパシタCtn1,Ctn2のボディ領域には接地電位VSSが与えられる。[Example 34]
 FIG. 43 is a circuit diagram showing the structure of a CAT (Column Address Transition) circuit in a DRAM according to
図44は、図43に示されたCAT回路の動作を示すタイミングチャートである。図43のタイミングチャートを参照して、制御信号CADが立上がると直ちに、NOR回路NR1の出力ノードAの電位は立下がる。このノードAの電位の立下がりから一定時間経過後に、NOR回路NR3の出力ノードBの電位が立上がる。続いて制御信号CADが立下がると直ちに、ノードBの電位は立下がる。このノードBの電位の立下がりから一定時間経過後に、ノードAの電位が立上がる。 FIG. 44 is a timing chart showing the operation of the CAT circuit shown in FIG. Referring to the timing chart of FIG. 43, as soon as control signal CAD rises, the potential of output node A of NOR circuit NR1 falls. After a lapse of a certain time from the fall of the potential of the node A, the potential of the output node B of the NOR circuit NR3 rises. Subsequently, as soon as the control signal CAD falls, the potential of the node B falls. The node A potential rises after a lapse of a certain time from the fall of the node B potential.
一方、ノードAの電位が立下がると直ちに、制御信号CATが立上がる。ノードBの電位が立上がると直ちに、制御信号CATは立下がる。また、ノードBの電位が立下がると直ちに、制御信号CATは立上がる。ノードAの電位が立上がると直ちに、制御信号CATは立下がる。 On the other hand, as soon as the potential of the node A falls, the control signal CAT rises. As soon as the potential of the node B rises, the control signal CAT falls. Further, as soon as the potential of the node B falls, the control signal CAT rises. As soon as the potential of the node A rises, the control signal CAT falls.
ここで、もしもMOSキャパシタCtp1,Ctp2,Ctn1,Ctn2のボディ領域がフローティング状態であると、ボディ領域の電位変動に伴ってそれらキャパシタのしきい値が不安定になり、それによりそれらキャパシタの容量が不安定になる可能性がある。そのため、図44のタイミングチャートに示されるように、制御CAT1の立下がり時期が遅れたり、制御信号CAT2の立下がり時期が早くなったりする。特に、立下がりが遅くなる制御信号CAT2の場合は、このCAT回路の動作マージンが小さくなる。 Here, if the body regions of the MOS capacitors Ctp1, Ctp2, Ctn1, and Ctn2 are in a floating state, the threshold values of the capacitors become unstable due to potential fluctuations in the body region, and the capacitances of the capacitors are thereby reduced. May become unstable. Therefore, as shown in the timing chart of FIG. 44, the falling timing of the control CAT1 is delayed or the falling timing of the control signal CAT2 is advanced. In particular, in the case of the control signal CAT2 whose falling is delayed, the operation margin of the CAT circuit is reduced.
そこで、この実施例34においては、MOSキャパシタCtp1,Ctp2,Ctn1,Ctn2のボディ領域は電気的に固定されている。そのため、常に安定した制御信号CATが生成される。 Therefore, in the thirty-fourth embodiment, the body regions of the MOS capacitors Ctp1, Ctp2, Ctn1, and Ctn2 are electrically fixed. Therefore, a stable control signal CAT is always generated.
  [実施例35]
  図45は、この発明の実施例35によるDRAMにおけるN−Nバッファの構成を示す回路図である。N−Nバッファは、DRAMのデータ出力バッファなどに用いられる。[Example 35]
 FIG. 45 is a circuit diagram showing a structure of an NN buffer in a DRAM according to
図45を参照して、このN−Nバッファは、直列に接続されたNチャネルMOSトランジスタQnn1およびQnn2を備える。NチャネルMOSトランジスタQnn1,Qnn2のボディ領域は、それぞれ自己のソース領域と接続されている。したがって、NチャネルMOSトランジスタQnn1のボディ領域は出力ノードOUTに接続される。 Referring to FIG. 45, this NN buffer includes N channel MOS transistors Qnn1 and Qnn2 connected in series. The body regions of N channel MOS transistors Qnn1 and Qnn2 are each connected to their own source regions. Therefore, the body region of N channel MOS transistor Qnn1 is connected to output node OUT.
このN−Nバッファにおいては、相補的な信号Doおよび/DoがトランジスタQnn1およびQnn2のゲート電極にそれぞれ与えられる。信号DoがHレベルで、信号/DoがLレベルのとき、トランジスタQnn1は導通状態となり、トランジスタQnn2は非導通状態となる。したがって、Hレベルの信号が出力される。 In this NN buffer, complementary signals Do and / Do are applied to the gate electrodes of transistors Qnn1 and Qnn2, respectively. When the signal Do is at the H level and the signal / Do is at the L level, the transistor Qnn1 is turned on and the transistor Qnn2 is turned off. Therefore, an H level signal is output.
この実施例35によるN−Nバッファにおいては、NチャネルMOSトランジスタQnn1,Qnn2のボディ領域が電気的に固定されているため、しきい値が不安定になることはなく、これらトランジスタQnn1,Qnn2のソース・ドレイン間に大量のリーク電流が流れることはない。そのため、リーク電流がトランジスタQnn1を介して外部へ流出したり、あるいはリーク電流がトランジスタQnn2を介して外部から流入したりすることはない。 In the NN buffer according to the thirty-fifth embodiment, since the body regions of N channel MOS transistors Qnn1 and Qnn2 are electrically fixed, the threshold value does not become unstable, and the transistors Qnn1 and Qnn2 A large amount of leakage current does not flow between the source and drain. Therefore, no leak current flows out through the transistor Qnn1, or no leak current flows in from the outside through the transistor Qnn2.
また、このN−Nバッファにおいては、トランジスタQnn1,Qnn2のボディ領域はそれぞれ自己のソース領域と接続されているため、そのレイアウト面積は大きくならない。しかも、トランジスタQnn1のボディ領域は出力ノードに接続されているため、そのボディ領域の電位は出力ノードの電位に追従する。そのため、このトランジスタQnn1においては基板効果によってしきい値が上昇することはない。したがって、このN−Nバッファの出力信号は速やかに電源電位VCCまで上昇する。Further, in this NN buffer, the body areas of the transistors Qnn1 and Qnn2 are connected to their own source areas, so the layout area does not increase. In addition, since the body region of transistor Qnn1 is connected to the output node, the potential of the body region follows the potential of the output node. Therefore, the threshold value of transistor Qnn1 does not increase due to the substrate effect. Therefore, the output signal of this NN buffer quickly rises to the power supply potential VCC .
  [実施例36]
  図46は、この発明の実施例36によるDRAMにおけるN−Nバッファの構成を示す回路図である。この実施例36においては、図45と異なりトランジスタQnn1,Qnn2のボディ領域には接地電位VSSが与えられている。このように、トランジスタQnn1,Qnn2のボディ領域にはソース電位の代わりに接地電位VSSが与えられてもよい。[Example 36]
 FIG. 46 is a circuit diagram showing a structure of an NN buffer in a DRAM according to
  [実施例37]
  図47は、この発明の実施例37によるDRAMにおける2入力NAND回路の構成を示す回路図である。NAND回路は、内部行アドレスストローブ信号/RASを生成するクロック入力バッファなどの他、DRAMの各所で用いられる。[Example 37]
 47 is a circuit diagram showing a structure of a 2-input NAND circuit in a DRAM according to Embodiment 37 of the present invention. The NAND circuit is used in various parts of the DRAM in addition to a clock input buffer for generating the internal row address strobe signal / RAS.
  図47を参照して、このNAND回路はCMOS型で、2つの入力端子を持つ。このNAND回路は、電源ノードと出力ノード50との間に並列に接続されたPチャネルMOSトランジスタQgp1およびQgp2と、出力ノード50と接地ノード51との間に直列に接続されたNチャネルMOSトランジスタQgn1およびQgn2とを備える。入力信号IN1は、トランジスタQgp1およびQgn1のゲート電極に与えられる。入力信号IN2は、トランジスタQgp2およびQgn2のゲート電極に与えられる。出力信号OUTは出力ノード50から供給される。  Referring to FIG. 47, this NAND circuit is of the CMOS type and has two input terminals. This NAND circuit includes P channel MOS transistors Qgp1 and Qgp2 connected in parallel between a power supply node and an
このNAND回路においては、PチャネルMOSトランジスタQgp1およびQgp2のボディ領域はフローティング状態にされているが、NチャネルMOSトランジスタQgn1およびQgn2のボディ領域はそれぞれ自己のソース領域と接続されている。したがって、これらのボディ領域は電気的に固定されている。これにより、トランジスタQgn1のしきい値が安定しかつ小さくなるので、このNAND回路は高速に動作する。したがって、電源電位VCCが低い場合でも、このNAND回路は正常に動作する。In this NAND circuit, the body regions of P channel MOS transistors Qgp1 and Qgp2 are in a floating state, but the body regions of N channel MOS transistors Qgn1 and Qgn2 are connected to their own source regions. Therefore, these body regions are electrically fixed. As a result, the threshold value of transistor Qgn1 becomes stable and small, and this NAND circuit operates at high speed. Therefore, even when the power supply potential VCC is low, this NAND circuit operates normally.
  図48は、図47に示されたNAND回路におけるNチャネルMOSトランジスタQgn1およびQgn2の構成を示す平面図である。図48を参照して、トランジスタQgn1は、n+型ドレイン領域52と、n+型ソース/ドレイン領域53と、p型ボディ領域57と、ゲート電極59とから構成される。トランジスタQgn2は、トランジスタQgn1と共通のn+型ソース/ドレイン領域53と、n+ソース領域54と、p型ボディ領域58と、ゲート電極60とから構成される。トランジスタQgn1のドレイン領域52はコンタクトホールCHを介してアルミニウムからなる出力ノード50に接続される。トランジスタQgn2のソース領域54は、コンタクトホールCHを介してアルミニウムからなる接地ノード51に接続される。FIG. 48 is a plan view showing a configuration of N channel MOS transistors Qgn1 and Qgn2 in the NAND circuit shown in FIG. Referring to FIG. 48, transistor Qgn1 includes an n+
  ソース/ドレイン領域53の一部には、p+型コモン領域55が形成されている。ソース/ドレイン領域53およびコモン領域55の接合部の上には、アルミニウムからなる中間層61を介在してコンタクトホールCHが形成されている。したがって、ボディ領域57はコモン領域55を介してソース/ドレイン領域53に接続され、これにより電気的に固定されている。A p+ type
  また、ソース領域54の一部には、p+型コモン領域56が形成されている。ソース領域54およびコモン領域56の接合部の上にはコンタクトホールCHが形成されている。したがって、ボディ領域58はコモン領域56を介してソース領域54に接続され、それにより電気的に固定されている。A p+ type
  [実施例38]
  図49は、図47に示されたNAND回路におけるNチャネルMOSトランジスタQgn1およびQgn2のもう1つの構成を示す平面図である。図49を参照して、この実施例38においては、図48と異なりドレイン領域52、ソース/ドレイン領域53およびソース領域54の上にはそれぞれポリシリコンからなる中間層62が形成されている。この中間層62はエッチングストッパーとして機能するので、コンタクトホールCHがエッチングにより形成されるときに、SOI基板までもがエッチングされることはない。[Example 38]
 FIG. 49 is a plan view showing another configuration of N channel MOS transistors Qgn1 and Qgn2 in the NAND circuit shown in FIG. Referring to FIG. 49, in the thirty-eighth embodiment, an
  [実施例39]
  図50は、図47に示されたNAND回路におけるNチャネルMOSトランジスタQgn1およびQgn2のさらにもう1つの構成を示す平面図である。図50を参照して、この実施例39においては、図48と異なりソース/ドレイン領域65の一部がゲート電極59および60の間から突出している。このソース/ドレイン領域65の突出部に隣接してp+型コモン領域66が形成されている。ソース/ドレイン領域65の突出部およびコモン領域66の接合部の上にはアルミニウムからなる中間層67を介在してコンタクトホールCHが形成されている。[Example 39]
 FIG. 50 is a plan view showing still another configuration of N channel MOS transistors Qgn1 and Qgn2 in the NAND circuit shown in FIG. Referring to FIG. 50, in this embodiment 39, unlike FIG. 48, a part of source /
  この実施例39においては、ボディ領域57はコモン領域66を介してソース領域65と接続され、それにより電気的に固定されている。また、ゲート電極59および60の間にコンタクトホールが形成されないので、ゲート電極59および60の間隔を短くすることができる。  In the embodiment 39, the
  [実施例40]
  図51は、図47に示されたNAND回路におけるNチャネルMOSトランジスタQgn1およびQgn2のさらにもう1つの構成を示す平面図である。図51を参照して、この実施例40においては、図50と異なりドレイン領域52、ソース/ドレイン領域65、およびソース領域54の上にそれぞれポリシリコンからなる中間層68が形成されている。したがって、コンタクトホールCHがエッチングにより形成されるときに、SOI基板までもがエッチングされることはない。[Example 40]
 FIG. 51 is a plan view showing still another configuration of N channel MOS transistors Qgn1 and Qgn2 in the NAND circuit shown in FIG. Referring to FIG. 51, in this
  [実施例41]
  図52は、この発明の実施例41によるDRAMにおける3入力NAND回路の構成を示す回路図である。図52を参照して、この3入力NAND回路は、電源ノードと出力ノード70との間に並列に接続されたPチャネルMOSトランジスタQgp5、Qgp4およびQgp3と、出力ノード70と接地ノード71との間に直列に接続されたNチャネルMOSトランジスタQgn3、Qgn4およびQgn5とを備える。入力信号IN1は、トランジスタQgp3およびQgn3のゲート電極に与えられる。入力信号IN2は、トランジスタQgp4およびQgn4のゲート電極に与えられる。入力信号IN3は、トラ
ンジスタQgp5およびQgn5のゲート電極に与えられる。出力信号OUTは出力ノード70から供給される。[Example 41]
 FIG. 52 is a circuit diagram showing a structure of a 3-input NAND circuit in a DRAM according to
このNAND回路においては、トランジスタQgp3〜Qgp5のボディ領域がフローティング状態にされ、トランジスタQgn3〜Qgn5のボディ領域がソース領域と接続され、それにより電気的に固定されている。したがって、トランジスタQgn3およびQgn4のしきい値が小さくなるので、この3入力NAND回路は高速に動作する。また、トランジスタQgp3〜Qgp5のボディ領域はフローティング状態にされているため、ボディ固定線などを設ける必要がないので、レイアウト面積はさほど大きくならない。 In this NAND circuit, the body regions of the transistors Qgp3 to Qgp5 are brought into a floating state, and the body regions of the transistors Qgn3 to Qgn5 are connected to the source region, thereby being electrically fixed. Therefore, the threshold values of transistors Qgn3 and Qgn4 become small, and this three-input NAND circuit operates at high speed. Further, since the body regions of transistors Qgp3 to Qgp5 are in a floating state, it is not necessary to provide a body fixing line or the like, so that the layout area does not increase so much.
  図53は、図52に示された3入力NAND回路におけるNチャネルMOSトランジスタQgn3〜Qgn5の構成を示す平面図である。図53を参照して、トランジスタQgn3は、n+型ドレイン領域72と、n+型ソース/ドレイン領域73と、p型ボディ領域79と、ゲート電極82とから構成される。トランジスタQgn4は、トランジスタQgn3と共通のソース/ドレイン領域37と、n+ソース/ドレイン74と、p型ボディ領域80とから構成される。トランジスタQgn5は、トランジスタQgn4と共通のソース/ドレイン領域74と、n+型ソース領域75と、p型ボディ領域81と、ゲート電極84とから構成される。FIG. 53 is a plan view showing a configuration of N channel MOS transistors Qgn3 to Qgn5 in the three-input NAND circuit shown in FIG. Referring to FIG. 53, transistor Qgn3 includes an n+
  トランジスタQgn3のドレイン領域72は、2つのコンタクトホールCHを介して出力ノード70に接続されている。ソース/ドレイン領域73の一部には、p+型コモン領域76が形成されている。したがって、トランジスタQgn3のボディ領域79はコモン領域76を介してソース/ドレイン領域73と接続され、それにより電気的に固定されている。ソース/ドレイン領域73およびコモン領域76の接合部の上には、アルミニウムからなる中間層85を介在してコンタクトホールCHが形成されている。The
  ソース/ドレイン領域74の一部にはp+型コモン領域77が形成されている。したがって、トランジスタQgn4のボディ領域80はコモン領域77を介してソース領域74と接続され、それにより電気的に固定されている。ソース/ドレイン領域74およびコモン領域77の接合部分の上には、アルミニウムからなる中間層85を介在してコンタクトホールCHが形成されている。トランジスタQgn5のソース領域75は、2つのコンタクトホールCHを介して接地ノード71に接続されている。このソース領域75の一部には、p+型コモン領域78が形成されている。トランジスタQgn5のボディ領域はこのコモン領域78を介してソース領域75と接続され、それにより電気的に固定されている。A p+ -type
  [実施例42]
  図54は、図52に示された3入力NAND回路におけるNチャネルMOSトランジスタQgn3〜Qgn5のもう1つの構成を示す平面図である。図54を参照して、この実施例42においては、図53と異なりドレイン領域72、ソース/ドレイン領域73,74およびソース領域75の上にそれぞれポリシリコンからなる中間層86が形成されている。そのため、エッチングによりコンタクトホールCHが形成されるときに、SOI基板までもがエッチングされることはない。[Example 42]
 54 is a plan view showing another configuration of N channel MOS transistors Qgn3 to Qgn5 in the three-input NAND circuit shown in FIG. Referring to FIG. 54, the
  [実施例43]
  図55は、図52に示された3入力NAND回路におけるNチャネルMOSトランジスタQgn3〜Qgn5のもう1つの構成を示す平面図である。図55を参照して、この実施例43においては、図53と異なりソース/ドレイン領域90が、ゲート電極82および83の間から突出している。ソース/ドレイン領域91もまた、ゲート電極83および84の間から突出している。ソース/ドレイン領域90の突出部に隣接してp+型コモン
領域92が形成されている。したがって、トランジスタQgn3のボディ領域79は、コモン領域92を介してソース/ドレイン領域90に接続され、それにより電気的に固定されている。また、ソース/ドレイン領域91の突出部に隣接してp+型コモン領域93が形成されている。したがって、トランジスタQgn4のボディ領域80はコモン領域93を介してソース/ドレイン領域91に接続され、それにより電気的に固定されている。さらに、ソース領域75の一部にはp+型コモン領域78が形成されている。したがって、トランジスタQgn5のボディ領域81はコモン領域78を介してソース領域75と接続され、それにより電気的に固定されている。[Example 43]
 FIG. 55 is a plan view showing another configuration of N channel MOS transistors Qgn3 to Qgn5 in the three-input NAND circuit shown in FIG. Referring to FIG. 55, in this
  ソース/ドレイン領域90およびコモン領域92の接合部の上には、アルミニウムからなる中間層94を介在してコンタクトホールCHが形成されている。ソース/ドレイン領域91およびコモン領域93の接合部の上には、アルミニウムからなる中間層94を介在してコンタクトホールCHが形成されている。  A contact hole CH is formed on the junction between the source /
  この実施例43においては、ゲート電極82および83の間にコンタクトホールが形成されていないので、ゲート電極82および83の間隔を短くすることができる。また、ゲート電極83および84の間にはコンタクトホールが形成されていないので、ゲート電極83および84の間隔を短くすることができる。  In the
  [実施例44]
  図56は、図52に示された3入力NAND回路におけるNチャネルMOSトランジスタQgn3〜Qgn5のもう1つの構成を示す平面図である。図56を参照して、この実施例44においては、図55と異なりドレイン領域72、ソース/ドレイン領域90,91およびソース領域75の上にそれぞれポリシリコンからなる中間層95が形成されている。したがって、エッチングによりコンタクトホールCHが形成されるときに、SOI基板までもがエッチングされることはない。[Example 44]
 FIG. 56 is a plan view showing another configuration of N channel MOS transistors Qgn3 to Qgn5 in the 3-input NAND circuit shown in FIG. Referring to FIG. 56, in this
  [実施例45]
  図57は、この発明の実施例45によるDRAMにおける3入力NAND回路の構成を示す回路図である。図57を参照して、この実施例45においては、図52と異なりトランジスタQgn3のボディ領域がトランジスタQgn4およびQgn5の共通するソース/ドレイン領域に接続されている。また、トランジスタQgn4およびQgn5のボディ領域はフローティング状態にされている。このようなNAND回路においては、出力ノード70の電位がLレベルに変化する場合、トランジスタQgn3のボディ領域の電位は必ず接地電位になる。[Example 45]
 FIG. 57 is a circuit diagram showing a structure of a 3-input NAND circuit in a DRAM according to
  この実施例45から明らかなように、出力ノード70に直接接続されるトランジスタQgn3のボディ領域が少なくとも電気的に固定されていればよい。また、トランジスタQgn3のボディ領域は自己のソース領域ではなく、たとえばトランジスタQgn4およびQgn5の共通するソース/ドレイン電極に接続されていてもよい。  As apparent from the forty-fifth embodiment, it is sufficient that the body region of the transistor Qgn3 directly connected to the
  この実施例45においても、トランジスタQgn3のボディ領域に与えられる電位は一定ではなく、出力ノード70の電位が上昇するにつれて上昇する。したがって、このトランジスタQgn3においては基板効果が発生しないので、この3入力NAND回路は高速に動作する。  Also in the forty-fifth embodiment, the potential applied to the body region of transistor Qgn3 is not constant and rises as the potential of
  [実施例46]
  図58は、この発明の実施例46によるDRAMにおける負論理の2入力NAND回路(正論理の2入力NOR回路)の構成を示す回路図である。図58を参照して、この2入力NAND回路は、接地ノード51および出力ノード50の間に並列に接続されたNチャ
ネルMOSトランジスタQgn6およびQgn7と、出力ノード50および電源ノードの間に直列に接続されたPチャネルMOSトランジスタQgp6およびQgp8とを備える。入力信号IN1は、トランジスタQgn7およびQgp6のゲート電極に与えられる。入力信号IN2は、トランジスタQgn6およびQgp7のゲート電極に与えられる。出力信号OUTは、出力ノード50から供給される。[Example 46]
 FIG. 58 is a circuit diagram showing a structure of a negative logic 2-input NAND circuit (positive logic 2-input NOR circuit) in the DRAM according to
このNAND回路においては、トランジスタQgn6およびQgn7のボディ領域はフローティング状態にされている。トランジスタQgp6およびQgp7のボディ領域はそれぞれ自己のドレイン領域と接続されている。したがって、トランジスタQgp6のボディ領域には、出力信号OUTの上昇に伴って上昇するドレイン電位が与えられる。トランジスタQgp7のドレイン領域には、一定の接地電位VSSが与えられる。したがって、トランジスタQgp6のしきい値が小さくなるため、このNAND回路は高速に動作する。また、電源電位VCCが低い場合でも、このNAND回路は正常に動作する。In this NAND circuit, the body regions of transistors Qgn6 and Qgn7 are in a floating state. The body regions of transistors Qgp6 and Qgp7 are each connected to its own drain region. Therefore, a drain potential that increases as the output signal OUT increases is applied to the body region of the transistor Qgp6. A constant ground potential VSS is applied to the drain region of the transistor Qgp7. Therefore, since the threshold value of transistor Qgp6 becomes small, this NAND circuit operates at high speed. Even when the power supply potential VCC is low, this NAND circuit operates normally.
  [実施例47]
  図59は、この発明の実施例47によるDRAMにおける2入力NAND回路の構成を示す回路図である。図59を参照して、このNAND回路においては、図58と異なりPチャネルMOSトランジスタQgp6のボディ領域には電源電位VCCが与えられ、これによりこのボディ領域は電気的に固定されている。この実施例47においては、トランジスタQgp6に基板効果が生じるが、この実施例47のようにトランジスタQgp6のボディ領域には自己のドレイン電位の代わりに電源電位VCCが与えられてもよい。[Example 47]
 FIG. 59 is a circuit diagram showing a structure of a 2-input NAND circuit in a DRAM according to
  [実施例48]
  図60は、この発明の実施例48によるDRAMにおけるプレーナ型メモリセル部をビット線方向に切断した断面図である。図61は、図60に示されたメモリセル部をワード線方向に切断した断面図である。[Example 48]
 FIG. 60 is a cross sectional view, taken along the bit line direction, of a planar type memory cell portion in a DRAM according to
  図60および図61に示されるように、SOI基板6上には、ソース/ドレイン領域44と、LOCOS酸化膜5と、ゲート電極4と、セルプレート電極45とが形成されている。ゲート電極4およびセルプレート電極45は、第1の層間絶縁膜33の中に形成されている。ここで、2つのソース/ドレイン領域44と、その間のボディ領域3と、ゲート電極4とが、1つのNチャネルMOSトランジスタを構成する。1つのソース/ドレイン領域44と、ボディ領域3と、セルプレート電極45とは、1つのNチャネルMOSキャパシタを構成する。  As shown in FIGS. 60 and 61, a source /
  2つのトランジスタに共通するソース/ドレイン領域44は、ポリパッドなどの中間層32を介してビット線BLに接続されている。第1の層間絶縁膜33および中間層32の上には、第2の層間絶縁膜34が形成されている。この第2の層間絶縁膜34の上にはビット線BLが形成され、このビット線BLはコンタクトホールを介して中間層32と接続されている。ビット線BLの上には第3の層間絶縁膜35が形成され、さらに第3の層間絶縁膜35の上にはアルミニウムからなる杭打ワード線46が形成されている。杭打ワード線46は、一定間隔ごとにコンタクトホールを介してゲート電極4を構成するワード線WLと接続されている。これにより、ワード線WLに駆動電圧が供給されたときに、ワード線WLで生じる信号伝幡遅延が低減される。  A source /
  図61に示されるように、トランジスタのボディ領域3の一部には、コンタクト領域31が形成されている。したがって、ボディ領域3は、このコンタクト領域31および中間層32を介してボディ固定線30と接続され、これにより電気的に固定されている。上記のように、メモリセルを構成するトランジスタのボディ領域3は電気的に固定されているため、そのトランジスタのしきい値が不安定にならず、ソース・ドレイン間に大量のリー
ク電流が流れることはない。したがって、このメモリセルにおけるデータ保持時間が長くなる。また、このSOI基板6にα粒子が入射し、それによりシリコン基板7中に電荷が発生したとしても、その電荷はボディ領域3に侵入することはない。なぜならば、ボディ領域3とシリコン基板7とは、埋込酸化層8によって電気的に分離されているからである。しかも、ボディ領域3は極めて薄いため、そのボディ領域3の中でα粒子によって電荷が発生することはほとんどない。したがって、いわゆるソフトエラーはほとんど発生しない。As shown in FIG. 61, a
  [実施例49]
  図62は、この発明の実施例49によるDRAMにおけるメモリセル部をビット線方向に切断した断面図である。図63は、図62に示されたメモリセル部をワード線方向に切断した断面図である。図62および図63に示された実施例49においては、図60および図61と異なりSOI基板6の上にLOCOS酸化膜の代わりにフィールドシールド電極47が形成されている。このフィールドシールド電極47は第1の層間絶縁膜33の中に形成されている。[Example 49]
 FIG. 62 is a cross sectional view taken along the bit line direction of the memory cell portion in the DRAM according to the embodiment 49 of the present invention. FIG. 63 is a cross-sectional view of the memory cell portion shown in FIG. 62 cut in the word line direction. In the embodiment 49 shown in FIGS. 62 and 63, a
  フィールドシールド電極47には接地電位VSSまたは負電位が与えられ、それによりフィールドシールド電極47下のSOI活性層9の部分が非導通状態となる。したがって、これらトランジスタおよびキャパシタは隣接する素子と電気的に分離される。この実施例49から明らかなように、トランジスタなどの素子は、LOCOSではなく、フィールドシールド等の他の分離方式によって分離されていてもよい。A ground potential VSS or a negative potential is applied to the
  [実施例50]
  図64は、この発明の実施例50によるDRAMにおけるメモリセル部をビット線方向に沿って切断した断面図である。図64には、LOCOS酸化膜5によって分離されたスタック型メモリセルが示されている。[Example 50]
 FIG. 64 is a cross sectional view taken along the bit line direction of the memory cell portion in the DRAM according to the
  図64を参照して、SOI基板6上には、ソース/ドレイン領域44と、LOCOS酸化膜5と、ゲート電極4とが形成されている。2つのソース/ドレイン領域44と、その間に位置するボディ領域3と、ゲート電極4とは、1つのNチャネルMOSトランジスタを構成する。  Referring to FIG. 64, source /
  2つのトランジスタに共通するソース/ドレイン領域44は、中間層32を介してビット線BLと接続されている。また、そのトランジスタの他方ソース/ドレイン領域44上には、ストレージノード48およびセルプレート電極45が形成されている。ストレージノード48およびセルプレート45がキャパシタの電極を構成する。そして、前述したNチャネルMOSトランジスタおよびこのキャパシタがメモリセルを構成する。  A source /
  なお、トランジスタのボディ領域3の一部にはコンタクト領域(図示せず)が形成されている。したがって、ボディ領域3はそのコンタクト領域を介してボディ固定線(図示せず)と接続され、これにより電気的に固定されている。  A contact region (not shown) is formed in a part of the
  [実施例51]
  図65は、この発明の実施例51によるDRAMにおけるメモリセル部をビット線方向に切断した断面図である。図65には、フィールドシールドによって分離されたスタック型メモリセルが示されている。[Example 51]
 FIG. 65 is a cross sectional view taken along the bit line direction of the memory cell portion in the DRAM according to the
  図65を参照して、この実施例51においては、図64と異なりSOI基板6上にLOCOS酸化膜の代わりにフィールドシールド電極47が形成されている。また、トランジスタのボディ領域3の一部にはコンタクト領域(図示せず)が形成されている。したがっ
て、このボディ領域3はそのコンタクト領域を介してボディ固定線(図示せず)と接続されている。このボディ固定線には接地電位VSSまたはVBBが与えられる。これにより、トランジスタのボディ領域3は電気的に固定される。Referring to FIG. 65, in this
  [実施例52]
  図66は、この発明の実施例52によるDRAMの全体構成を示すレイアウト図である。図66を参照して、このDRAMは、4つのメモリセルアレイ11と、2つの行デコーダ12と、2つの列デコーダ13と、周辺回路99とを備える。各行デコーダ12は2つのメモリセルアレイ11の間に配置される。各列デコーダ13は2つのメモリセルアレイ11の一方側に配置される。[Example 52]
 FIG. 66 is a layout diagram showing the overall structure of a DRAM according to
  この実施例52においては、メモリセルアレイ11中の素子はLOCOSによって分離されている。また、メモリセルアレイ中の各メモリセルを構成するNチャネルMOSトランジスタのボディ領域には負電位VBBが与えられ、それによりボディ領域は電気的に固定されている。In the
  行デコーダ12は複数のPチャネルMOSトランジスタと複数のNチャネルMOSトランジスタとを含む。行デコーダ12中のPチャネルMOSトランジスタのボディ領域には電源電位VCCが与えられ、それによりボディ領域は電気的に固定されている。行デコーダ12中のNチャネルMOSトランジスタのボディ領域には接地電位VSSが与えられ、それによりボディ領域は電気的に固定されている。
  列デコーダ13は複数のNチャネルMOSトランジスタを含む。列デコーダ13中のNチャネルMOSトランジスタのボディ領域には接地電位VSSが与えられ、それによりボディ領域は電気的に固定されている。
  列デコーダ13の間に配置された周辺回路99は複数のPチャネルMOSトランジスタを含む。この周辺回路99中のPチャネルMOSトランジスタのボディ領域には電源電位VCCが与えられ、それによりボディ領域は電気的に固定されている。他の周辺回路99は複数のNチャネルMOSトランジスタを含む。この周辺回路99中のNチャネルMOSトランジスタのボディ領域には接地電位VSSが与えられ、それによりボディ領域は電気的に固定されている。
  上記のように、このDRAMに含まれるMOSトランジスタのボディ領域はすべて電気的に固定されている。ただし、PチャネルMOSトランジスタのボディ領域には電源電位VCCが与えられる。また、NチャネルMOSトランジスタのうちメモリセルアレイ11中のトランジスタのボディ領域には負電位VBBが与えられ、その他のNチャネルMOSトランジスタのボディ領域には接地電位VSSが与えられる。As described above, the body regions of the MOS transistors included in this DRAM are all electrically fixed. However, power supply potential VCC is applied to the body region of the P channel MOS transistor. Negative potential VBB is applied to the body region of the transistors in
  したがって、メモリセルアレイ11中のNチャネルMOSトランジスタのしきい電圧は、他のNチャネルMOSトランジスタのしきい電圧よりも大きくなる。そのため、メモリセルを構成するそれらトランジスタ中に流れるリーク電流が小さくなり、メモリセルのデータ保持時間が長くなる。  Therefore, the threshold voltage of the N channel MOS transistor in
  [実施例53]
  図67は、この発明の実施例53によるDRAMの全体構成を示すレイアウト図である。図67を参照して、この実施例53においては、図66と異なりメモリセルアレイ11中のNチャネルMOSトランジスタのボディ領域がすべてフローティング状態にされている。[Example 53]
 FIG. 67 is a layout diagram showing the overall structure of a DRAM according to
  一般にメモリセルアレイ11においては、周辺回路99などよりも密にトランジスタが配置されている。したがって、行デコーダ12、列デコーダ13および周辺回路99中にボディ固定線が配置されてもそのレイアウト面積はほとんど増加しない。また、メモリセルアレイ11中にはボディ固定線を配置する必要がないので、そのレイアウト面積は従来と同じである。  In general, in the
  [実施例54]
  図68は、この発明の実施例54によるDRAMの全体構成を示すレイアウト図である。図68を参照して、この実施例54においては、図66と異なりメモリセルアレイ11中の素子がフィールドシールドによって分離されている。なお、メモリセルアレイ11中のトランジスタのボディ領域には、図66と同様に負電位VBBが与えられている。[Example 54]
 FIG. 68 is a layout diagram showing the overall structure of a DRAM according to
  上記のように、少なくともメモリセルアレイ11中の素子をフィールドシールドによって分離すれば、特にメモリセルアレイ11中にボディ固定線などを設けることなく、そのメモリセルアレイ11中のトランジスタのボディ領域を電気的に固定することができる。したがって、この実施例54によるDRAMのレイアウト面積は、上記実施例52よりも小さくなる。また、この実施例54によるレイアウト面積は上記実施例53とほぼ同じになるにも関わらず、メモリセルアレイ11中のトランジスタのボディ領域が電気的に固定されているため、それらトランジスタの中にはほとんどリーク電流は流れない。そのため、この実施例54におけるデータの保持時間は上記実施例53よりも長くなる。  As described above, if at least the elements in the
  [実施例55]
  図69は、この発明の実施例55によるDRAMの全体構成を示すレイアウト図である。図69を参照して、この実施例55においては、図68と異なりメモリセルアレイ11中のNチャネルMOSトランジスタのボディ領域に接地電位VSSが与えられ、それによりボディ領域が電気的に固定されている。したがって、この実施例55においては、すべてのNチャネルMOSトランジスタのボディ領域には接地電位VSSが与えられ、すべてのPチャネルMOSトランジスタのボディ領域には電源電位VCCが与えられている。このように、メモリセルアレイ11中のトランジスタのボディ領域に接地電位VSSが与えられてもよい。[Example 55]
 FIG. 69 is a layout diagram showing the overall structure of a DRAM according to
  [実施例56]
  図70は、この発明の実施例56によるDRAMを示す概念図である。図70を参照して、このDRAMは、複数のNチャネルMOSトランジスタと、複数のPチャネルMOSトランジスタとを含む。NチャネルMOSトランジスタのうちいくつかのトランジスタのボディ領域には接地電位VSSが与えられ、その他のNチャネルMOSトランジスタのボディ領域には負電位VBBが与えられている。また、すべてのPチャネルMOSトランジスタのボディ領域には電源電位VCCが与えられている。[Example 56]
 FIG. 70 is a conceptual diagram showing a DRAM according to
  したがって、この実施例56においては、すべてのMOSトランジスタのボディ領域が電気的に固定されている。また、負電位VBBが与えられるボディ領域を有するトランジスタのしきい電圧は、接地電位VSSが与えられるボディ領域を有するトランジスタのしきい電圧よりも大きくなるため、これら複数のNチャネルMOSトランジスタは2種類のしきい電圧を有する。Therefore, in the
  [実施例57]
  図71は、この発明の実施例57によるDRAMを示す概念図である。図71を参照して、この実施例57においては、図70と異なり一部のNチャネルMOSトランジスタのボディ領域がフローティング状態にされている。したがって、このフローティング状態のボディ領域を有するNチャネルMOSトランジスタの領域にはボディ固定線などを設ける
必要がないので、このレイアウト面積は上記実施例56よりも小さくなる。[Example 57]
 FIG. 71 is a conceptual diagram showing a DRAM according to
  [実施例58]
  図72は、この発明の実施例58によるDRAMを示す概念図である。図72を参照して、この実施例58においては、図70と異なりすべてのPチャネルMOSトランジスタのボディ領域がフローティング状態にされている。したがって、この実施例58においては、全部のNチャネルMOSトランジスタのボディ領域が電気的に固定され、全部のPチャネルMOSトランジスタのボディ領域がフローティング状態にされている。一般に、フローティング状態のボディ領域を有するNチャネルMOSトランジスタのソース・ドレイン間の耐圧はPチャネルMOSトランジスタよりも低いが、この実施例58においてはNチャネルMOSトランジスタのボディ領域が電気的に固定されているため、そのソース・ドレイン間の耐圧はPチャネルMOSトランジスタとほとんど同じ程度まで高くなる。そのため、すべてのトランジスタのソース・ドレイン間の耐圧が高くなり、しかもPチャネルMOSトランジスタのボディ領域は電気的に固定されないので、PチャネルMOSトランジスタの領域にはボディ固定線などを設ける必要はない。したがって、この実施例58によるDRAMのレイアウト面積は上記実施例56よりも小さくなる。[Example 58]
 FIG. 72 is a conceptual diagram showing a DRAM according to
  この実施例58では一部のNチャネルMOSトランジスタのボディ領域に接地電位VSSが与えられているが、その電位VSSの代わりに負電位VBBが与えられてもよい。In the
  [実施例59]
  図73は、この発明の実施例59によるDRAMを示す概念図である。図73を参照して、この実施例59においては、図72と異なり一部のNチャネルMOSトランジスタのボディ領域もフローティング状態にされている。したがって、この実施例59においては、一部のNチャネルMOSトランジスタのボディ領域が固定され、全部のPチャネルMOSトランジスタのボディ領域がフローティング状態にされている。この実施例59によれば、一部のNチャネルMOSトランジスタの領域にはボディ固定線などを配置する必要がないので、そのレイアウト面積は上記実施例58よりも小さくなる。[Example 59]
 FIG. 73 is a conceptual diagram showing a DRAM according to
  [実施例60]
  図74は、この発明の実施例60によるDRAMを示す概念図である。図74を参照して、この実施例60においては、すべてのPチャネルMOSトランジスタがLOCOSによって分離されている。また、一部のNチャネルMOSトランジスタはLOCOSによって分離され、その他のNチャネルMOSトランジスタはフィールドシールド(FS)によって分離されている。フィールドシールドによって分離されたNチャネルMOSトランジスタのボディ領域には負電位VBBが与えられ、LOCOSによって分離されたNチャネルMOSトランジスタのボディ領域には接地電位VSSが与えられている。また、すべてのPチャネルMOSトランジスタのボディ領域には電源電位VCCが与えられている。なお、フィールドシールドによって分離されたNチャネルMOSトランジスタのボディ領域にもまた、接地電位VSSが与えられてもよい。[Example 60]
 FIG. 74 is a conceptual diagram showing a DRAM according to
  [実施例61]
  図75は、この発明の実施例61によるDRAMを示す概念図である。図75を参照して、この実施例61においては、一部のPチャネルMOSトランジスタがフィールドシールドによって分離され、その他のPチャネルMOSトランジスタはLOCOSによって分離されている。また、すべてのNチャネルMOSトランジスタはLOCOSによって分離されている。すべてのPチャネルMOSトランジスタのボディ領域には電源電位VCCが与えられている。また、一部のNチャネルMOSトランジスタのボディ領域はフローティング状態にされ、その他のNチャネルMOSトランジスタのボディ領域には接地電位VSSが与えられている。したがって、この実施例61においては、一部のNチャネルMOSトラ
ンジスタのボディ領域が電気的に固定され、全部のPチャネルMOSトランジスタのボディ領域が電気的に固定されている。[Example 61]
 FIG. 75 is a conceptual diagram showing a DRAM according to
  [実施例62]
  図76は、この発明の実施例62によるDRAMを示す概念図である。図76を参照して、このDRAMは、複数のPチャネルMOSトランジスタと、複数のNチャネルMOSトランジスタとを含む。いくつかのPチャネルMOSトランジスタはしきい電圧Vthp1を有し、その他のPチャネルMOSトランジスタはしきい電圧Vthp2を有する。また、すべてのNチャネルMOSトランジスタはしきい電圧Vthnを有する。したがって、これらPチャネルMOSトランジスタは2種類のしきい電圧を有する。また、これらNチャネルMOSトランジスタは1種類のしきい電圧を有する。このように、同一導電チャネル型MOSトランジスタに2種類のしきい電圧を持たせてもよい。[Example 62]
 FIG. 76 is a conceptual diagram showing a DRAM according to
トランジスタに2種類のしきい電圧を持たせるためには、それらトランジスタのボディ領域に2種類の電位を印加すればよい。ボディ領域に与えられる電位が異なると、基板効果によってしきい電圧も異なるからである。 In order to give two types of threshold voltages to the transistors, two types of potentials may be applied to the body regions of the transistors. This is because the threshold voltage varies depending on the substrate effect when the potential applied to the body region is different.
  また、図77に示されるように、PチャネルMOSトランジスタ3のn型ボディ領域にそれぞれ濃度の異なる不純物をドーピングしてもよい。これにより、それらボディ領域3の表面付近には不純物濃度の異なる領域が形成されるため、これら2つのPチャネルMOSトランジスタは互いに異なるしきい電圧を有する。  In addition, as shown in FIG. 77, the n-type body region of P
  また、異なる材質でそれらトランジスタのゲート電極4を形成してもよい。この場合、それら材質に特有の仕事関数に応じてこれらトランジスタのしきい電圧は互いに異なる。  Further, the
  また、SOI活性層9の一部分をエッチングし、SOI活性層9に膜厚の薄い部分と厚い部分とを形成し、それらの上にトランジスタを形成してもよい。膜厚の薄いSOI活性層9の上に形成されたトランジスタは、いわゆる完全空乏化トランジスタに近くなる。一般に、完全空乏化トランジスタのしきい電圧は、部分空乏化トランジスタのしきい電圧よりも小さくなる。したがって、膜厚の薄いSOI活性層9の上に形成されたトランジスタは、膜厚の厚いSOI活性層9の上に形成されたトランジスタよりも小さいしきい電圧を有する。  Alternatively, a part of the SOI
さらに、ゲート絶縁膜の膜厚を変えたり、あるいはゲート絶縁膜の材料を変えることによって、トランジスタのしきい電圧を変えてもよい。 Further, the threshold voltage of the transistor may be changed by changing the thickness of the gate insulating film or changing the material of the gate insulating film.
  この実施例62では、PチャネルMOSトランジスタが2種類のしきい電圧を有しているが、NチャネルMOSトランジスタが2種類のしきい電圧を有していてもよい。また、トランジスタが3種類以上のしきい電圧を有するようにしてもよい。  In this
上記のように、SOI基板上に形成されたDRAM中の多数のトランジスタが2種類以上のしきい電圧を有していれば、このDRAMはより安定して動作する。 As described above, if a large number of transistors in the DRAM formed on the SOI substrate have two or more kinds of threshold voltages, the DRAM operates more stably.
  [実施例63]
  図78は、この発明の実施例63によるDRAMを示す概念図である。図78を参照して、この実施例63においては、ゲート長の短いトランジスタのボディ領域は電気的に固定され、ゲート長の短いトランジスタのボディ領域は電気的にフローティング状態にされている。一般に、ゲート長の長いトランジスタは、ゲート長の短いトランジスタよりも高いソース・ドレイン間耐圧を有する。したがって、ゲート長の短いトランジスタのボディ領域が固定されると、そのしきい電圧は、フローティング状態のボディ領域を有しかつゲ
ート長の長いトランジスタとほぼ同じ程度となる。しかも、この場合、ゲート長の長いトランジスタの領域にはボディ固定線などを配置する必要がないので、このレイアウト面積はさほど大きくならない。[Example 63]
 FIG. 78 is a conceptual diagram showing a DRAM according to Embodiment 63 of the present invention. Referring to FIG. 78, in the embodiment 63, the body region of the transistor having a short gate length is electrically fixed, and the body region of the transistor having a short gate length is electrically floated. In general, a transistor having a long gate length has a higher source-drain breakdown voltage than a transistor having a short gate length. Therefore, when the body region of a transistor having a short gate length is fixed, the threshold voltage is approximately the same as that of a transistor having a body region in a floating state and having a long gate length. In addition, in this case, since it is not necessary to dispose a body fixing line or the like in the transistor region having a long gate length, the layout area is not so large.
  [実施例64]
  図79は、この発明の実施例64によるDRAMにおけるセンスアンプの構造を示す断面図である。図79を参照して、この実施例64では図6と異なり、SOI活性層9がメサ状にエッチングされ、図6のLOCOS酸化膜5は形成されていない。[Example 64]
 FIG. 79 is a cross sectional view showing the structure of the sense amplifier in the DRAM according to the embodiment 64 of the present invention. Referring to FIG. 79, in this embodiment 64, unlike FIG. 6, SOI
  図80および図81は、図79に示されたDRAMにおけるメモリセルの構造を示す断面図である。このメモリセルはプレーナ構造を有する。図80および図81に示されるように、このSOI活性層9は図60および図61と異なりメサ状にエッチングされている。  80 and 81 are cross-sectional views showing the structure of the memory cell in the DRAM shown in FIG. This memory cell has a planar structure. As shown in FIGS. 80 and 81, the SOI
  このような構造は、たとえば次のような工程を経て製造される。
  SOI活性層9内にソース/ドレイン領域44、コンタクト領域31などが形成された後、SOI活性層9の素子活性領域以外の部分はすべてエッチングされ、これにより素子活性領域がメサ状にされる。次いでゲート酸化膜がそのメサ状の素子活性領域を覆うように形成される。そしてこのゲート酸化膜上にゲート電極4が形成される。Such a structure is manufactured through the following processes, for example.
 After the source /
  図6に示されたLOCOS分離の場合、SOI活性層9を熱酸化してLOCOS酸化膜5を形成するとき、P型ボディ領域3に注入されている硼素がLOCOS酸化膜5内に吸込まれるという問題がある。ボディ領域3内の硼素がLOCO酸化膜5内に吸込まれると、ボディ領域3のエッジ部分3aの不純物濃度が低下し、これによりこのエッジ部分3aにしきい値の低い寄生MOSトランジスタが形成される。そのため、このトランジスタQn1のドレイン電流−ゲート電圧特性にいわゆるハンプ現象が現れる。このようなハンプ現象が現れるもう一つの原因として、LOCOS分離に特有のバーズビークが薄いSOI活性層9に応力を与えるということが考えられる。  In the case of the LOCOS isolation shown in FIG. 6, when the SOI
  これに対し、図79〜図81に示されたメサ分離の場合、ボディ領域3内のエッジ部分の不純物濃度が低下することはない。これは、SOI活性層9が熱酸化されず、しかもボディ領域3がゲート酸化膜およびゲート電極4によって覆われているためである。また、層間絶縁膜33として酸化膜、窒化膜などがCVD法などによって堆積されるので、ボディ領域3のエッジ部分に応力が生じることはない。したがって、このトランジスタのドレイン電流−ゲート電圧特性にハンプ現象が現れることはない。そのため、このトランジスタはさらに安定して動作する。  On the other hand, in the case of the mesa separation shown in FIGS. 79 to 81, the impurity concentration of the edge portion in the
  [実施例65]
  図82は、この発明の実施例65によるDRAMにおけるメモリセルの構造を示す断面図である。図82を参照して、このメモリセルはスタック構造を有する。また、図64と異なり、SOI活性層9はメサ状にエッチングされている。上記実施例64およびこの実施例65から明らかなように、LOCOS分離の代わりにメサ分離を採用してもよい。[Example 65]
 FIG. 82 is a cross sectional view showing the structure of the memory cell in the DRAM according to the
  [実施例66]
  図83は、この発明の実施例66によるDRAMの一部を示す概念図である。上述した実施例ではシリコン基板7の電位について特に言及していないが、図83に示されるようにシリコン基板7には所定の基板電位VBBが供給されるのが好ましい。この基板電位VBBは基板電位発生器100によって生成される。[Example 66]
 FIG. 83 is a conceptual diagram showing a part of a DRAM according to
  SOI基板6においては、シリコン基板7が埋込酸化層8によってSOI活性層9と分
離されているが、SOI活性層9は寄生容量を介してシリコン基板7と結合している。したがって、シリコン基板7が電気的にフローティング状態の場合は、シリコン基板7の電位変動に伴ってボディ領域3の電位が不安定になりやすい。この実施例66によれば、シリコン基板7には所定の基板電位VBBが供給され、これにより電気的に固定されているので、シリコン基板7の電位が変動することはない。そのため、このSOI基板6上に形成されたトランジスタなどの半導体素子は安定して動作する。In the
  [実施例67]
  図84は、この発明の実施例67によるDRAMの一部を示す概念図である。図84に示されるように、この実施例67では図83と異なり、シリコン基板7は接地ノード51と接続されている。したがって、シリコン基板7には接地電位VSSが供給されるので、このシリコン基板7は電気的に固定される。そのため、上記実施例66と同様に、このSOI基板6上に形成されたトランジスタなどの半導体素子は安定して動作する。この実施例67から明らかなように、シリコン基板7には基板電位VBBだけでなく接地電位VSSが与えられてもよいなど、その電位は特に限定されない。[Example 67]
 FIG. 84 is a conceptual diagram showing part of a DRAM according to
  [実施例68]
  図85は、図83に示されるようにシリコン基板7に基板電位VBBを供給するための具体的構成を示す斜視図である。図85を参照して、この実施例68では基板電位発生器100がSOI基板6上に形成されている。また、このSOI基板6上にはボンディングパッド102が形成され、このボンディングパッド102に基板電位発生器100から基板電位VBBが供給される。[Example 68]
 FIG. 85 is a perspective view showing a specific configuration for supplying substrate potentialVBB to
  このSOI基板6は、パッケージ内に敷設されたダイパッド106上に載置されている。ボンディングパッド102はワイヤ104を介してこのダイパッド106と接続されている。SOI基板6の裏面はダイパッド106と接触しているので、基板電位発生器100によって生成された基板電位VBBは、ボンディングパッド102、ワイヤ104およびダイパッド106を介してシリコン基板7へ供給される。これにより、シリコン基板7は電気的に固定される。This
  [実施例69]
  図86は、図84に示されるようにシリコン基板7に接地電位VSSを供給するための具体的構成を示す斜視図である。図86のボンディングパッド102は、このSOI基板6上に形成された回路へ接地電位VSSを供給するためのものである。このボンディングパッド102は、ワイヤ104を介して接地電位VSSが供給されるリードフレーム110と接続されている。[Example 69]
 FIG. 86 is a perspective view showing a specific configuration for supplying ground potential VSS to
  さらにこの実施例70においては、ダイパッド106がワイヤ104を介してリードフレーム110と接続されている。したがって、接地電位VSSはリードフレーム110、ワイヤ104およびダイパッド106を介してシリコン基板7に供給される。これにより、シリコン基板7は電気的に固定される。Furthermore, in this
  [実施例70]
  図87は、シリコン基板7に接地電位VSSを供給するための他の例を示す斜視図である。図87に示されるようにこの実施例71では、SOI基板6が概略L字型のダイパッド112上に載置されている。SOI基板6上の回路へ接地電位VSSを供給するためのボンディングパッド102は、ワイヤ104を介してこのダイパッド112と接続されている。したがって、接地電位VSSはダイパッドおよびワイヤ104を介してボンディングパッド102へ供給されるとともに、ダイパッド112を介してシリコン基板7へ供給される。これにより、シリコン基板7は電気的に固定される。[Example 70]
 FIG. 87 is a perspective view showing another example for supplying the ground potential VSS to the
  [実施例71]
  図88は、図83に示されるようにシリコン基板7へ基板電位VBBを供給するための他の例を示す断面図である。図88に示されるようにこの実施例71では、SOI基板6にコンタクト溝118が形成されている。この溝118は埋込酸化層8を貫通し、シリコン基板7に達している。この溝118上にはコンタクトホールCHが形成され、さらに基板固定線114が形成されている。基板固定線114はコンタクトホールCHを介してシリコン基板7と接続されている。[Example 71]
 FIG. 88 is a cross-sectional view showing another example for supplying substrate potentialVBB to
  この実施例72においては、基板固定線114に基板電位発生器100によって生成された基板電位VBBが供給される。したがって、この基板電位VBBは基板固定線114を介してシリコン基板7に供給される。これにより、シリコン基板7は電気的に固定される。In the
  [実施例72]
  図89は、図83または図84に示されるように、シリコン基板7へ基板電位VBBまたは接地電位VSSを供給するための他の例を示す断面図である。図89に示されるようにこの実施例73では図88と異なり、基板固定線114はボンディングパッド102と接続されている。このボンディングパッド102は図86または図87に示されたようにSOI基板6上に形成されている。このボンディングパッド102には接地電位VSSまたは基板電位VBBが供給される。したがって、このボンディングパッド102の電位VSSまたはVBBは基板固定線114を介してシリコン基板7へ供給される。これにより、シリコン基板7は電気的に固定される。[Example 72]
 Figure 89, as shown in FIG. 83 or FIG. 84 is a sectional view showing another example for supplying a substrate potential VBB or ground potential VSS to the
  [実施例73]
  図90は、この発明の実施例74によるDRAMにおけるメモリセル、センスアンプおよび入出力回路の一部構成を示す回路図である。図90を参照して、この実施例73では図12と異なり、昇圧センスグランド電位発生器120が設けられ、その発生器120によって生成された昇圧センスグランド電位VBSGがトランジスタQs1およびQs2のソース電極に与えられている。[Example 73]
 90 is a circuit diagram showing a partial configuration of a memory cell, a sense amplifier and an input / output circuit in a DRAM according to
図91は、このDRAMの動作を示すタイミングチャートである。このタイミングチャートでは図3と異なり、一方のビット線の電位が図91(j)に示されるように昇圧センスグランド電位VBSGまでしか低下しない。この電位VBSGは接地電位VSSよりもΔVだけ高い電位である。FIG. 91 is a timing chart showing the operation of this DRAM. In this timing chart, unlike FIG. 3, the potential of one bit line is lowered only to the boosted sense ground potential VBSG as shown in FIG. 91 (j). This potential VBSG is higher than the ground potential VSS by ΔV.
  非選択のメモリセルにおけるトランスファーゲートQmのゲート電位は0V(Lレベル)であるが、この実施例74によるとそのトランスファーゲートQmのソース電位は昇圧センスグランド電位VBSGまでしか低下しない。したがって、ソース電位のほうがゲート電位よりもΔVだけ高くなる。そのため、このトランスファーゲートQmは上述した実施例に比べてより強く非導通状態となる。換言すれば、このトランスファーゲートQmのしきい値は実質的に高くなる。したがって、非選択メモリセル27において、デスターブ系のサブスレッショルドリーク電流が大幅に抑制される。Although the gate potential of transfer gate Qm in the non-selected memory cell is 0 V (L level), according to this
このような昇圧センスグランド方式によれば、トランスファーゲートQmのボディ領域に不純物をドーピングすることなく、そのしきい値を実質的に高くすることができるので、キャリア移動度がドーピングによって低下することはない。また、そのようなドーピング工程を必要としないので、製造工程は簡略化される。 According to such a boosted sense ground system, the threshold can be substantially increased without doping impurities in the body region of the transfer gate Qm, so that carrier mobility is reduced by doping. Absent. In addition, since such a doping process is not required, the manufacturing process is simplified.
  以上説明した実施例では、NチャネルMOSトランジスタのボディ領域には接地電位VSSまたは負電位VBBが与えられているが、これら電位に限定されることなく、そのNチャ
ネルMOSトランジスタのソース電位以下であれば如何なる電位が与えられてもよい。また、PチャネルMOSトランジスタのボディ領域には主に電源電位VCCが与えられているが、同様にそのPチャネルMOSトランジスタのソース電位以上であれば如何なる電位が与えられてもよいなど、この発明は上述した実施例に限定されることなく、種々の修正、改良、変形などを加えた態様で実施し得るものである。In the embodiment described above, the ground potential VSS or the negative potential VBB is applied to the body region of the N-channel MOS transistor. However, the potential is not limited to these potentials and is less than the source potential of the N-channel MOS transistor. Any potential may be applied. Further, the power supply potential VCC is mainly applied to the body region of the P channel MOS transistor. Similarly, any potential may be applied as long as it is higher than the source potential of the P channel MOS transistor. The present invention is not limited to the above-described embodiments, and can be implemented in a mode with various modifications, improvements, variations, and the like.
  1,54,75  ソース領域、2,52,72  ドレイン領域、3,57,58,79,80,81  ボディ領域、53,65,73,74,90,91  ソース/ドレイン領域、4,44,59,60,82,83,84  ゲート電極、5  LOCOS酸化膜、6
  SOI基板、7  シリコン基板、8  埋込酸化層、9  SOI活性層、10  DRAM、11  メモリセルアレイ、12  行デコーダ、13  列デコーダ、14  センスアンプ群、15  入出力回路、16  アドレスバッファ、17  入力バッファ、18  出力バッファ、19  クロック発生回路、20  センスアンプ、21A,21B  センスアンプ駆動線、23  プリチャージ回路、24  ビット線イコライズ線、25  ビット線プリチャージ線、26A,26B  ビット線選択回路、27  メモリセル、28  ダミーセル、29  コラム選択回路、30,30A,30B,30C  ボディ固定線、31  コンタクト領域、32,61,62,67,68,85,86,94,95  中間層、38,55,56,66,76,77,78,92,93  コモン領域、40  出力プリアンプ、41
  書込回路、42  入出力線プリチャージ回路、50,70  出力ノード、51,71  接地ノード、100基板電位発生器。1, 54, 75 Source region, 2, 52, 72 Drain region, 3, 57, 58, 79, 80, 81 Body region, 53, 65, 73, 74, 90, 91 Source / drain region, 4, 44, 59, 60, 82, 83, 84 Gate electrode, 5 LOCOS oxide film, 6
 SOI substrate, 7 silicon substrate, 8 buried oxide layer, 9 SOI active layer, 10 DRAM, 11 memory cell array, 12 row decoder, 13 column decoder, 14 sense amplifier group, 15 input / output circuit, 16 address buffer, 17 input buffer , 18 output buffer, 19 clock generation circuit, 20 sense amplifier, 21A, 21B sense amplifier drive line, 23 precharge circuit, 24 bit line equalize line, 25 bit line precharge line, 26A, 26B bit line selection circuit, 27 memory Cell, 28 dummy cell, 29 column selection circuit, 30, 30A, 30B, 30C body fixing line, 31 contact region, 32, 61, 62, 67, 68, 85, 86, 94, 95 intermediate layer, 38, 55, 56 , 66, 76, 77, 78, 92, 93 Common area, 40 outputs Preamplifier, 41
 Write circuit, 42 I / O line precharge circuit, 50, 70 output node, 51, 71 ground node, 100 substrate potential generator.
| Application Number | Priority Date | Filing Date | Title | 
|---|---|---|---|
| JP2005368791AJP4684098B2 (en) | 1993-12-03 | 2005-12-21 | Semiconductor memory device | 
| Application Number | Priority Date | Filing Date | Title | 
|---|---|---|---|
| JP30416293 | 1993-12-03 | ||
| JP20839394 | 1994-09-01 | ||
| JP2005368791AJP4684098B2 (en) | 1993-12-03 | 2005-12-21 | Semiconductor memory device | 
| Application Number | Title | Priority Date | Filing Date | 
|---|---|---|---|
| JP6260355ADivisionJPH08125034A (en) | 1993-12-03 | 1994-10-25 | Semiconductor memory device | 
| Publication Number | Publication Date | 
|---|---|
| JP2006173640A JP2006173640A (en) | 2006-06-29 | 
| JP4684098B2true JP4684098B2 (en) | 2011-05-18 | 
| Application Number | Title | Priority Date | Filing Date | 
|---|---|---|---|
| JP2005368791AExpired - Fee RelatedJP4684098B2 (en) | 1993-12-03 | 2005-12-21 | Semiconductor memory device | 
| Country | Link | 
|---|---|
| JP (1) | JP4684098B2 (en) | 
| Publication number | Priority date | Publication date | Assignee | Title | 
|---|---|---|---|---|
| JP2010055696A (en) | 2008-08-28 | 2010-03-11 | Elpida Memory Inc | Semiconductor memory device | 
| Publication number | Priority date | Publication date | Assignee | Title | 
|---|---|---|---|---|
| JPH065747B2 (en)* | 1987-01-21 | 1994-01-19 | 株式会社東芝 | MOS semiconductor device | 
| JP2835064B2 (en)* | 1989-03-06 | 1998-12-14 | 株式会社東芝 | Semiconductor integrated circuit device | 
| JPH0366159A (en)* | 1989-08-04 | 1991-03-20 | Mitsubishi Electric Corp | Laminate-type semiconductor device | 
| JPH03190420A (en)* | 1989-12-20 | 1991-08-20 | Fujitsu Ltd | Semiconductor integrated circuit | 
| JPH04278295A (en)* | 1991-03-07 | 1992-10-02 | Nec Corp | Semiconductor memory | 
| JPH04317376A (en)* | 1991-04-16 | 1992-11-09 | Nippon Steel Corp | Semiconductor device | 
| JPH05102430A (en)* | 1991-04-23 | 1993-04-23 | Mitsubishi Electric Corp | Semiconductor device and manufacture thereof | 
| JPH04345990A (en)* | 1991-05-24 | 1992-12-01 | Nec Corp | Sense amplifier | 
| Publication number | Publication date | 
|---|---|
| JP2006173640A (en) | 2006-06-29 | 
| Publication | Publication Date | Title | 
|---|---|---|
| US5825696A (en) | Semiconductor memory device including an SOI substrate | |
| US6384445B1 (en) | Semiconductor memory device including memory cell transistors formed on SOI substrate and having fixed body regions | |
| JP2851757B2 (en) | Semiconductor device and semiconductor storage device | |
| US6317357B1 (en) | Vertical bipolar read access for low voltage memory cell | |
| US6560142B1 (en) | Capacitorless DRAM gain cell | |
| CN100433187C (en) | Memory cells using gated diodes and methods of use thereof | |
| US20050232043A1 (en) | Semiconductor storage device | |
| US20040223392A1 (en) | Semiconductor memory device | |
| JPH09509284A (en) | Capacitorless DRAM device on silicon-on-insulator substrate | |
| KR20050058187A (en) | Gated diode memory cells | |
| US7969794B2 (en) | One-transistor type DRAM | |
| EP1187138A2 (en) | Semiconductor integrated circuit | |
| WO2000021092A1 (en) | Semiconductor device | |
| JPH07230693A (en) | Semiconductor memory device | |
| USRE35430E (en) | Semiconductor memory device | |
| KR930002288B1 (en) | Semiconductor memory device | |
| US4262298A (en) | Ram having a stabilized substrate bias and low-threshold narrow-width transfer gates | |
| JP2006324683A (en) | Semiconductor memory device | |
| JP4684098B2 (en) | Semiconductor memory device | |
| JPH11163291A (en) | Semiconductor integrated circuit device | |
| JPS6137705B2 (en) | ||
| JP2001093993A (en) | Semiconductor device | |
| US20090046503A1 (en) | Enhanced Gated Diode Memory Cells | |
| JPS59110158A (en) | Semiconductor memory device | |
| JP2006190363A (en) | Memory cell using gate control diode and its usage, semiconductor structure | 
| Date | Code | Title | Description | 
|---|---|---|---|
| A977 | Report on retrieval | Free format text:JAPANESE INTERMEDIATE CODE: A971007 Effective date:20090331 | |
| A131 | Notification of reasons for refusal | Free format text:JAPANESE INTERMEDIATE CODE: A131 Effective date:20091117 | |
| A521 | Request for written amendment filed | Free format text:JAPANESE INTERMEDIATE CODE: A523 Effective date:20100114 | |
| A711 | Notification of change in applicant | Free format text:JAPANESE INTERMEDIATE CODE: A712 Effective date:20100526 | |
| TRDD | Decision of grant or rejection written | ||
| A01 | Written decision to grant a patent or to grant a registration (utility model) | Free format text:JAPANESE INTERMEDIATE CODE: A01 Effective date:20110201 | |
| A01 | Written decision to grant a patent or to grant a registration (utility model) | Free format text:JAPANESE INTERMEDIATE CODE: A01 | |
| A61 | First payment of annual fees (during grant procedure) | Free format text:JAPANESE INTERMEDIATE CODE: A61 Effective date:20110208 | |
| FPAY | Renewal fee payment (event date is renewal date of database) | Free format text:PAYMENT UNTIL: 20140218 Year of fee payment:3 | |
| R150 | Certificate of patent or registration of utility model | Free format text:JAPANESE INTERMEDIATE CODE: R150 | |
| LAPS | Cancellation because of no payment of annual fees |