
















【0001】
【発明の属する技術分野】
本発明は、真空雰囲気中で、基板を静電吸着装置で吸着保持した状態で処理する真空処理方法に関し、特に、静電吸着装置で基板を静電吸着した状態で基板を搬送する搬送処理において、基板を搬送した後に静電吸着装置から離脱させるまでの時間を短縮する技術に関するものである。
【0002】
【従来の技術】
近年、ガラス等からなる基板上に成膜等の処理を行う装置においては、静電気力によって基板を吸着保持する静電吸着装置が広く用いられている。このような静電吸着装置としては、成膜等の処理において基板を所定の温度に維持するため温度制御(加熱又は冷却)可能なホットプレートと一体的に構成されたものや、基板を搬送する搬送ロボットの先端に設けられ、基板を静電吸着した状態で搬送可能なもの等が知られている。
【0003】
このうち、基板搬送装置に用いられる静電吸着装置について以下で説明する。
図14の符号110に、かかる静電吸着装置を備えた基板搬送装置を示す。
この基板搬送装置110は、駆動機構111と、アーム112と、静電吸着装置113とを有している。アーム112は、その一端が駆動機構111に取り付けられており、駆動機構111を駆動すると、水平面内及び鉛直方向に移動できるように構成されている。アーム112の先端には、静電吸着装置113が取り付けられており、アーム112を移動させると、静電吸着装置113を水平面内及び鉛直方向に自由に移動させられるように構成されている。
【0004】
静電吸着装置113は、誘電体板で構成され、内部に第1、第2の吸着電極143、144を有している。これらの第1、第2の吸着電極143、144は、図示しない静電吸着電源に接続されており、静電吸着電源を起動すると、第1、第2の吸着電極143、144の間に、直流電圧を印加できるように構成されている。
【0005】
かかる基板搬送装置110を用いて、真空雰囲気中で、一つの載置台上に載置されたガラス基板を、別の載置台上に移動させる動作について以下で説明する。以下では、載置台、基板搬送装置及び基板はみな真空雰囲気中に配置されているものとする。
【0006】
まず、図14(a)に示すように、アーム112を水平移動させて、静電吸着装置113を、載置台(以下で移動元の載置台と称する。)105表面に置かれ、ソーダ石灰ガラスからなる基板150の上方に移動させる。次いで、アーム112を降下させ、図14(b)に示すように静電吸着装置113の表面を基板150の表面に当接させる。
【0007】
次いで、第1、第2の吸着電極143、144の間に電圧を印加すると、基板150と、静電吸着装置113との間に静電吸着力が生じる。この静電吸着力は、第1、第2の吸着電極143、144の間に印加する電圧の印加時間が長くなるにつれて大きくなる。こうして静電吸着装置113が基板150を下向きに保持した状態で移動しても、基板150が落下しない程度の大きさまで静電吸着力が大きくなったら、アーム112を上昇させて静電吸着装置113を上昇させる。すると、図14(c)に示すように、基板150は静電吸着装置113に静電吸着されて保持された状態で、静電吸着装置113とともに移動元の載置台105上から離れ、上昇する。
【0008】
次に、アーム112を水平移動させて静電吸着装置113を水平移動させ、図15(d)に示すように、静電吸着装置113を、基板150を載置させるべき載置台106(以下で移動先の載置台と称する。)上に移動させ、静止させる。次いで、アーム112を降下させて静電吸着装置113を降下させる。図15(e)に示すように基板150が載置台106表面に接触したら、静電吸着装置113を静止させる。
【0009】
その後、第1、第2の吸着電極143、144間の電圧の印加を停止する。すると、基板150と静電吸着装置113との間に生じる静電吸着力は減少する。静電吸着力が十分に低下すると、静電吸着装置113は基板150を吸着して保持することができなくなる。静電吸着力がほぼ0に近くなったら、静電吸着装置113を上昇させる。すると、図15(f)に示すように静電吸着装置113は基板150から離れ、その結果、基板150は移動先の載置台106に載置される。以上の動作を経て、基板150は、移動元の載置台105から移動先の載置台106へと搬送される。
【0010】
図16に、第1、第2の吸着電極143、144間に印加する電圧及び基板150と静電吸着装置113との間の静電吸着力の時間変化を示す。図15の曲線(V)は、第1、第2の吸着電極間に印加される電圧の時間変化を示しており、曲線(W)は、基板150と静電吸着装置113との間に生じる静電吸着力の時間変化を示している。
【0011】
図中、符号f1は、静電吸着装置113が基板150を静電吸着で保持した状態で安全に移動させられる最低の力(以下で最小吸着力と称する。)を示している。
符号t1は第1、第2の吸着電極143、144間に電圧の印加を開始した時刻を示している。また、符号t2は静電吸着力が最小吸着力f1以上に達し、静電吸着装置113が基板150を吸着して保持した状態で移動を開始した時刻を示しており、符号t3は静電吸着装置113を基板150を保持した状態で移動を終了した時刻を示している。
【0012】
また、符号t5は、第1、第2の吸着電極143、144間への電圧の印加を終了した時刻を示しており、符号t6は静電吸着装置113が基板150の保持を解除して基板150を離脱させた時刻をそれぞれ示している。
【0013】
上述した搬送工程においては、図16の曲線(V)に示すように、時刻t1で第1、第2の吸着電極143、144間への電圧の印加を開始してから、基板150が移動先の載置台106上に載置されて移動が終了した時刻t3を経過した後、時刻t5までの間に、第1、第2の吸着電極143、144間に一定の電圧V1を印加し続けている。
【0014】
このため、曲線(W)に示すように、静電吸着力は、第1、第2の吸着電極143、144間への電圧の印加が終了する時刻t5まで上昇し続け、静電吸着力は、最小吸着力f1を大きく上回る。第1、第2の吸着電極143、144間への電圧の印加が終了する時刻t5以後は、静電吸着力は徐々に減少するが、静電吸着力は最小吸着力f1を大きく上回り、基板150と静電吸着装置113との間に大量の残留電荷が残り、この残留電荷により吸着力が残るので、基板を離脱可能な程度まで吸着力が減少するまでには、長時間(例えば数分以上)を要してしまう。
【0015】
このため、第1、第2の吸着電極143、144間への電圧の印加を終了した直後に、第1、第2の吸着電極143、144間に、直前まで印加していた電圧とは逆極性の電圧を短期間印加して残留電荷を消滅させ、静電吸着力を0にすることにより、基板を短時間で静電吸着装置から離脱させる技術が本発明の発明者等によって提案された。図17の曲線(X)、(Y)に、その場合における第1、第2の吸着電極間に印加される電圧の時間変化と、基板150と静電吸着装置113との間に生じる静電吸着力の時間変化とをそれぞれ示す。
【0016】
この方法によれば、図17の曲線(X)に示すように、時刻t5から時刻taまでの期間、第1、第2の吸着電極143、144間に直前まで印加していた電圧V1と逆極性の電圧V0を印加している。この期間、同図の曲線(Y)に示すように、静電吸着力は急激に低下し、短時間でほぼ0に近づくので、かかる逆極性の電圧V0を印加しない場合に比して、基板を離脱可能な状態になるまでの時間を大幅に短縮することができる。
【0017】
しかしながら、短時間で残留電荷を消滅させて吸着力を0にするためには、逆極性の電圧V0を印加する直前まで印加していた電圧V1よりもその絶対値が大きい逆極性の電圧を所定時間印加する必要がある。
【0018】
本発明の発明者等は、第1、第2の吸着電極143、144にそれぞれ+3000V、−3000Vの電圧を印加し、静電吸着装置113にソーダ石灰ガラスからなる基板を60秒静電吸着した後、基板を吸着終了から10秒後に、安全に離脱できるようにするためには、第1、第2の吸着電極143、144にそれぞれ−5000V、+5000Vという高電圧を10秒間印加しなければならないことを確かめた。
【0019】
このように高電圧の逆極性の電圧を第1、第2の吸着電極143、144間に印加するためには、高圧出力の電源が必要になり、装置全体のコストが高くなってしまう。また、静電吸着電源が高圧になることで、静電吸着装置とその周辺装置との間の放電や、第1、第2の吸着電極間での放電等が生じ、かかる放電により装置が故障しやすくなる等の問題もあった。
【0020】
【発明が解決しようとする課題】
本発明は上記従来技術の不都合を解決するために創作されたものであり、特に、基板を静電吸着で保持する際に、静電吸着電源を高圧出力の電源にすることなく、かつ短時間で基板を離脱可能にする技術を提供することにある。
【0021】
【課題を解決するための手段】
  上記課題を解決するために、請求項1記載の発明は、真空中で基板を静電吸着して処理を行う真空処理方法であって、前記基板を静電吸着して吊り下げて移動できる最小吸着力を予め求めておき、前記基板を静電吸着装置に接触させ、前記静電吸着装置内に配置された二個の電極の間に、前記最小吸着力以上の吸着力を発生させる第1の電圧を印加し、前記最小吸着力以上の吸着力で前記基板を吊り上げた後、二個の前記電極の間に印加する電圧を、前記静電吸着装置と前記基板との間の静電吸着力を減少させる第2の電圧に変更して基板を移動させる途中で吸着力を減少させ、前記静電吸着装置と前記基板との間の前記静電吸着力が前記最小吸着力以上である間に前記基板の移動を終了させる真空処理方法である。
  請求項2記載の発明は、請求項1記載の真空処理方法であって、前記電極の間に印加する電圧を前記第2の電圧に変更して、前記静電吸着力を減少させる工程は、前記第1の電圧を印加した後、前記静電吸着力が前記最小吸着力よりも大きい上限吸着力以上になる前に行われることを特徴とする。
  請求項3記載の発明は、請求項1又は請求項2のいずれか1項記載の真空処理方法であって、前記電極の間には、互いに極性の異なる電圧を印加することを特徴とする。
  請求項4記載の発明は、請求項3記載の真空処理方法であって、前記電極の間に印加する電圧を前記第2の電圧に変更して、前記静電吸着力を減少させる工程では、二個の前記電極の間の電位差を、前記第1の電圧が印加された工程における二個の前記電極の間の電位差よりも小さくすることを特徴とする。
  請求項5記載の発明は、請求項3記載の真空処理方法であって、前記電極の間に印加する電圧を前記第2の電圧に変更して、前記静電吸着力を減少させる工程では、前記二個の電極の間の電位差を、0ボルトにすることを特徴とする。
  請求項6記載の発明は、請求項3記載の真空処理方法であって、前記電極の間に印加する電圧を前記第2の電圧に変更して、前記静電吸着力を減少させる工程では、前記第1の電圧が印加された工程において、二個の前記電極の間に印加された電圧と逆極性の電圧を、二個の電極の間にそれぞれ印加することを特徴とする。
  請求項7記載の発明は、請求項3記載の真空処理方法であって、前記電極の間に印加する電圧を前記第2の電圧に変更して、前記静電吸着力を減少させる工程の後に、前記二個の電極に、前記二個の電極の間の電位差が段階的に変化する電圧を印加することを特徴とする。
【0022】
本発明の発明者等は、静電吸着装置と基板との間の静電吸着力と、吸着電極に印加する電圧及び印加時間の関係について、調査研究を重ねた。
本発明の発明者等は、密度が2.47g/cm3、厚さ3mmのソーダ石灰ガラス板からなる基板を、二個の吸着電極を有する静電吸着装置に当接させ、2個の吸着電極にそれぞれ一定電圧を印加(ここでは、二個の吸着電極にそれぞれ+3000V、−3000Vを印加している)した場合の、静電吸着装置とその基板との間に生じる静電吸着力の時間依存性を調べる実験と、上述した吸着電極に一定電圧(ここでは、二個の吸着電極にそれぞれ+3000V、−3000Vを印加している)を60秒間印加して基板を静電吸着した後、各吸着電極に印加する電圧を0Vにし、その時刻以降に基板及び静電吸着装置間に残留する静電吸着力(以下で残留吸着力と称する。)の時間依存性を調べる実験を行った。その2種類の実験結果を、下記の表1に示す。
【0023】
【表1】
【0024】
上記の表1に示された、静電吸着力の時間依存性より、吸着電極に電圧印加を開始してから5秒経過した時点での吸着力は4.50gf/cm2になっている。この実験に用いた基板の厚みが1cmの場合に、その基板の重さと釣り合う吸着力は2.47gf/cm2であるので、厚さ3mmの基板を吊り上げるためには、余裕をみても3gf/cm2程度の吸着力があれば十分である。すなわち、ここでの最小吸着力は3gf/cm2である。これより吸着電極に電圧印加を開始してから5秒経過すれば、基板を静電吸着して吊り上げることができることがわかる。
【0025】
しかしながら、吸着電極に60秒間電圧を印加した後の残留吸着力の時間依存性をみると、電圧印加が終了した時刻から60秒経過した時点で、残留吸着力は31gf/cm2までしか減少していない。基板を安全に離脱させるためには、残留吸着力は、上述した最小吸着力(ここでは3gf/cm2)の8割程度の吸着力(ここでは2.4gf/cm2)以下まで低下することが必要であるが、600秒経過しても残留吸着力は25.5gf/cm2までしか低下していないので、基板を安全に離脱させることはできない。このように、1枚の基板を60秒間吸着した後に、600秒以上経過しても基板を離脱することができないのでは、到底実用に堪えない。
【0026】
上記の表1で行った実験と同じ基板及び同じ静電吸着装置を用いて、吸着電極に印加する電圧を低圧(ここでは、二個の吸着電極にそれぞれ+750V、−750Vを印加している)にして、同様の実験を行った。下記の表2に、その場合の、静電吸着装置とその基板との間に生じる静電吸着力の時間依存性を調べた実験の結果と、吸着電極に60秒間電圧を印加して基板を静電吸着した後、各吸着電極に0Vを印加し、その時刻以降に基板及び静電吸着装置間に残留する残留吸着力の時間依存性を調べる実験の結果とを示す。
【0027】
【表2】
【0028】
上記の表2に示された、静電吸着力の時間依存性より、吸着力が最小吸着力(ここでは3gf/cm2)以上になるには電圧印加開始から10秒では足りず、10秒以上60秒以下のある時刻で最小吸着力以上になることがわかる。電圧印加開始から5秒経過した時点での吸着力は0.2gf/cm2程度であって、基板をつり上げることは到底できないことがわかる。
【0029】
また、60秒間静電吸着した後の残留吸着力は小さくなっているが、電圧印加停止から60秒経過すると、2.7gf/cm2程度までしか低下しておらず、静電吸着装置が、基板を安全に離脱することが可能な吸着力(ここでは2.4gf/cm2)までは低下しない。
【0030】
以上より、同一の高電圧を吸着電極に印加し続けた場合には、比較的短時間に基板を吸着して保持することが可能になるものの、吸着力が過度に大きくなり、その後基板を離脱させるのに長時間を要してしまうことがわかり、他方、同一の低電圧を吸着電極に印加し続けた場合には、残留吸着力は過度に大きくならないものの、基板を保持可能な程度の吸着力に達するまでに長時間を要し、残留吸着力が基板を静電吸着装置から安全に離脱させるまでに要する時間もさほど短くならないことがわかった。
【0031】
以上の結果を考察し、本発明の発明者等は、電圧印加開始から所定時間、吸着電極に高電圧を印加して吸着力を大きくした後、基板を吸着した状態で吸着電極に印加する電圧を変更して吸着力を小さくすれば、吸着力は過度に大きくならないので、短時間で基板を吸着した後、短時間で基板を脱離することができるのではないかと推測した。
【0032】
本発明の発明者等は、この推測を確認すべく、表1等に示した実験で用いたものと同じ基板及び静電吸着装置を用い、各吸着電極に5秒間高電圧を印加した後(ここでは、二個の吸着電極にそれぞれ+3000V、−3000Vを印加する)、印加電圧を低電圧(ここでは、二個の吸着電極にそれぞれ+750V、−750Vを印加している)にし、その場合における吸着力の時間依存性を調べる実験と、その実験と同じ条件で吸着電極に合計60秒間電圧を印加した後に、各吸着電極に印加する電圧を0Vにし、0Vにした時刻以降に生じる残留吸着力の時間依存性を調べる実験とを行った。これらの実験結果を下記の表3に示す。
【0033】
【表3】
【0034】
上記の表3に示した吸着力の時間依存性からは、電圧印加開始から5秒経過した時点で、吸着力は4.5gf/cm2に達しており、基板を吸着して保持することが可能になっており、その後、60秒経過した時点でも、吸着力は4.9gf/cm2程であり、最小吸着力以上になっており、基板を十分吸着して保持できる程度の大きさを維持していることがわかる。
【0035】
また、表3に示した残留吸着力の時間依存性からは、吸着電極への電圧印加を終了した時点での残留吸着力は4.9gf/cm2であるが、電圧印加を終了してから60秒経過した時点での残留吸着力は3.1gf/cm2まで低下しており、残留吸着力は、一定電圧を印加し続けている場合に比して、相当小さくなっていることがわかる。
【0036】
このように、最初、吸着力が大きくなる高電圧を吸着電極に印加し、短時間で基板を吸着保持した後に、基板を吸着保持している間に、吸着電極に印加する電圧を低下させて吸着力を低下させることにより、短時間で基板を吸着・保持し、また、短時間で基板を離脱させられることが確認できた。
【0037】
本発明は、かかる知見に基づいて創作されたものであって、基板を静電吸着装置に当接させた状態で静電吸着装置内の電極に第1の電圧を印加した後に、電極に印加する電圧を第2の電圧に変更している。
【0038】
このとき、予め、処理対象となる基板について、基板を静電吸着可能な力の最小値である最小吸着力を求め、基板を処理する時間に応じて、第1、第2の電圧の大きさ、印加時間、基板の処理の開始時刻及び終了時刻等の値について適当な値を求めておく。こうして求められた適当な値に従い、電極に第1の電圧を印加して静電吸着力を最小吸着力以上の大きさにして、静電吸着装置に基板を静電吸着した後に基板の処理を開始し、基板の処理中に電極に印加する電圧を第2の電圧に変更すると、第2の電圧に変更された後に静電吸着力が減少し、かつ基板の処理が終了するまでの間に、静電吸着力を最小吸着力以上に維持して、基板を静電吸着装置に静電吸着し続けることができる。
【0039】
このように構成することにより、基板の処理が終了した時点では、同一電圧を電極に印加していた従来に比して残留電荷の量が少なくなり、残留吸着力が低下するので、静電吸着装置から基板を離脱させられるまでに要する時間を、従来に比して短縮することができる。
【0040】
特に、その後電極に逆極性の電圧を印加して残留電荷を短時間で消滅させ、吸着力を0にする場合には、逆極性の電圧を印加する直前まで印加していた第2の電圧よりも絶対値が小さい電圧を印加しても、短時間で残留電荷を消滅させることができる。従って、従来のように高圧出力の静電吸着電源を必要としないので、装置全体のコストが高くならず、また、静電吸着装置とその周辺装置との間の放電や、吸着電極間での放電等により故障等が生じにくくなる。
【0041】
なお、本発明において、静電吸着力が最小吸着力よりも大きい上限吸着力を上回る前に、電極に印加する電圧を第2の電圧に変更するように構成してもよい。
ここで上限吸着力とは、基板を静電吸着装置に静電吸着した状態で処理する間に、吸着力が最小吸着力以上を維持し、かつ処理が終了した後に、静電吸着装置から基板を安全に離脱させるのに十分な力まで低下することが可能な吸着力の上限である。この上限吸着力は、静電吸着装置内の電極に印加する電圧と、基板の処理時間とに応じて定まり、吸着力が上限吸着力を超えると、基板の処理が終了した後、残留吸着力が過大になり、静電吸着装置から基板を安全に離脱することができなくなる。
【0042】
かかる上限吸着力を吸着力が上回る前に、電極に印加する電圧を第2の電圧に変更し、吸着力を減少させることにより、基板の処理が終了した時点で、残留吸着力は、静電吸着装置から基板を安全に離脱させられる程度まで低下しているので、処理終了後、速やかに基板を安全に離脱させることができる。
【0043】
また、本発明において、静電吸着装置が有する電極は、2個の電極からなり、第1又は第2の電圧を電極に印加する際には、各電極に互いに極性の異なる電圧を印加するように構成してもよい。その場合、電極に印加する電圧を第2の電圧に変更して、静電吸着力を減少させる工程では、2個の電極の間の電位差を、第1の電圧が印加された工程における2個の電極の電位差よりも小さくするように構成してもよい。このように構成することにより、第2の電圧に変更した後の吸着力は、第1の電圧が印加されたときの電圧よりも小さくなる。
【0044】
また、電極に印加する電圧を第2の電圧に変更して、静電吸着力を減少させる工程では、2個の電極の間の電位差を、0ボルトにするように構成してもよいし、また、第1の電圧が印加された工程において、2個の電極に印加された電圧と逆極性の電圧を、2個の電極にそれぞれ印加するように構成してもよい。このように構成することにより、第2の電圧を印加した後の静電吸着力の減少量を大きくすることができる。
【0045】
【発明の実施の形態】
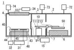
以下で図面を参照し、本発明の実施形態について説明する。図1の符号1は、本発明の真空処理方法に用いる真空処理装置を示している。
この真空処理装置1は、搬出入室2と、搬送室3と、処理室4とを有している。これらの搬出入室2、搬送室3及び処理室4には、真空排気系72、73、74がそれぞれ接続されており、これらの真空排気系72、73、74を起動すると、各搬出入室2、搬送室3及び処理室4の内部を真空排気することができるように構成されている。
【0046】
搬送室3内部には、搬送ロボット10が配置されている。この搬送ロボット10は、駆動機構11と、アーム12と、静電吸着装置13とを有している。
駆動機構11は、搬送室3の内部底面に配置されている。
【0047】
アーム12は、その一端が駆動機構11の先端に取り付けられており、駆動機構11を動作させると、水平面内で自由に移動できるように構成されている。アーム12の先端には静電吸着装置13が配置されている。
【0048】
この静電吸着装置13の構成を図2(a)、(b)に示す。この静電吸着装置13は、金属板24と、該金属板24上に配置された誘電体層25を有している。誘電体層25はAl2O3を主成分とするセラミックス製であり、その表面には、Alから成る第1、第2の吸着電極271、272が形成されている。
【0049】
第1、第2の吸着電極271、272の平面図を同図(b)に示す。第1、第2の吸着電極271、272は櫛状に成形されており、その歯の部分が互いに噛み合うように配置されている。同図(a)は同図(b)のX−X線断面図に相当する。第1、第2の吸着電極271、272の幅は4mm、電極間の間隔は1mmとしており、電極の厚みを10μmとしている。
【0050】
かかる静電吸着装置13は、第1、第2の吸着電極271、272が配置された面が鉛直下方を向くように、上述したアーム12の先端に取り付けられており、アーム12が水平面内で移動すると、第1、第2の吸着電極271、272の配置された面が鉛直下方に向いた状態で、アーム12とともに水平面内で自由に移動することができるように構成されている。
【0051】
第1、第2の吸着電極271、272は、それぞれ搬送室3外に設けられた静電吸着電源15に接続されており、その静電吸着電源15を駆動すると、第1、第2の吸着電極271、272の間に直流電圧を印加することができるように構成されている。
【0052】
上述した構成の真空処理装置1を用いて、搬出入室2から処理室4に基板を搬送する基板搬送処理について以下で説明する。
予め、図3に示すように、搬出入室2、搬送室3及び処理室4の内部雰囲気はそれぞれ独立に真空排気されており、その状態で駆動機構11を動作させてアーム12を水平移動させ、静電吸着装置13を搬出入室2内に搬入し、搬出入室2内の載置台6の表面に載置された基板50の上方に位置させて静止させる。
【0053】
次に、図4に示すように、基板50表面を、静電吸着装置13の表面に接触させる。ここでは、昇降ピン60上に基板50を載せ、昇降ピン60を上昇させて基板50を上方に移動させることにより、基板50表面を静電吸着装置13の表面に接触させている。
【0054】
次いで、静電吸着電源15を起動し、静電吸着装置13の第1、第2の吸着電極271、272間に、所定の第1の電圧を印加する。(ここでは、第1、第2の吸着電極271、272にそれぞれ+3000V、−3000Vを印加している)。すると、静電吸着装置13と基板50との間に静電吸着力が生じる。この静電吸着力は、電圧印加時間に応じて増大する。静電吸着力が増大し、静電吸着装置13が基板50を静電吸着した状態で安全に移動させられる力の最小値(以下で最小吸着力と称する。)以上の値になると、基板50は静電吸着装置13の表面に吸着されて保持される。その状態を図5に示す。吸着保持されたら、昇降ピン60を下降させて載置台6内に収納する。
【0055】
次に、アーム12を水平移動させ、基板50を吸着した状態で静電吸着装置13を搬出入室2から搬送室3へと移動させ、処理室4内へ搬入する。この移動の間に、静電吸着装置13の第1、第2の吸着電極271、272に印加する電圧を第2の電圧(ここでは、第1、第2の吸着電極271、272にそれぞれ+750V、−750Vを印加している)に変更する。具体的には、第1の電圧の印加が開始してから5秒間経過した後、印加電圧を第2の電圧に変更している。第2の電圧に変更された後には静電吸着力は低下するが、基板50はまだ静電吸着装置13に静電吸着された状態で保持されている。
【0056】
処理室4の内部底面には、載置台48が配置され、載置台48上には、後に詳述する静電チャックプレート40が配置されている。この静電チャックプレート40上方の所定位置に静電吸着装置13が位置したら、静電吸着装置13を静止させる。その状態を図6に示す。
【0057】
載置台48及び静電チャックプレート40内部には、これらを挿通して昇降可能な昇降ピンが配置されている。静電吸着装置13が静電チャックプレート40の上方位置で静止したら、図7に示すように昇降ピン61を上昇させ、静電吸着装置13の下方に下向きに保持された基板50の表面に当接させる。
【0058】
その後、第1、第2の吸着電極271、272に、直前まで印加していた第2の電圧と逆極性の所定電圧を印加する。具体的には、−300V、+300Vを第1、第2の吸着電極271、272にそれぞれ印加している。
【0059】
こうして逆極性の電圧が印加されると、基板50と静電吸着装置13との間の残留電荷が急激に減少して消滅し、静電吸着力はほぼ0になり、基板50は静電吸着装置13から容易に離脱可能な状態になる。その状態で、昇降ピン61を下降させると、基板50は静電吸着装置13から離脱して、昇降ピン61の上端に載せ替えられ、昇降ピン61とともに下降する。昇降ピン61が完全に載置台48の内部に収納されると、基板50は静電チャックプレート40表面に載置される。その状態を図8に示す。以上の工程を経て、基板50の搬出入室2から処理室4への搬送処理が終了する。
【0060】
図10に、上述した基板搬送処理における、第1、第2の吸着電極271、272間に印加する電圧及び基板50と静電吸着装置13との間の静電吸着力の時間変化を示す。図10の曲線(A)は、第1、第2の吸着電極271、272間に印加される電圧の時間変化を示しており(簡便にするため、第1の吸着電極271の電圧を示している。)、曲線(B)は、基板50と静電吸着装置13との間に生じる静電吸着力の時間変化を示している。
【0061】
図中、符号V1は、第1、第2の吸着電極271、272間に最初に印加する第1の電圧(ここでは、第1、第2の吸着電極271、272にそれぞれ+3000V、−3000Vを印加している)を示しており、符号V2は、第1の電圧V1を所定時間(ここでは5秒間)印加した後、第1、第2の吸着電極271、272間に印加する第2の電圧(ここでは、第1、第2の吸着電極271、272にそれぞれ+750V、−750Vを印加している)を示している。また符号f1は最小吸着力を示している。
【0062】
また、符号t1は第1、第2の吸着電極271、272間に電圧の印加を開始した時刻を示しており、符号t2は、静電吸着装置13が移動を開始した時刻を示している。また、符号t3は静電吸着装置13を基板50を吸着した状態で移動を終了した時刻を示し、時刻thは、印加電圧を第1の電圧V1から第2の電圧V2へと変更した時刻を示している。また、符号t4は、第1、第2の吸着電極271、272間に、直前に印加していた第2の電圧V2と逆極性の電圧を印加し始めた時刻を示し、符号t5は、その逆極性の電圧の印加を終了した時刻を示しており、時刻t6は、基板50を静電吸着装置13から離脱させた時刻を示している。
【0063】
上述した基板搬送処理においては、図10の曲線(A)に示すように、基板50を吸着した静電吸着装置13が時刻t2で移動を開始してから、時刻t3で移動を終了するまでの時間(ここでは60秒間)に、時刻thで第1、第2の吸着電極271、272間に印加する電圧を第1の電圧V1から第2の電圧V2へと変更している。
【0064】
予め、最小吸着力f1や、これら第1、第2の電圧V1、V2の電圧値、印加時間は適当な値に設定されており、その結果、印加電圧を第2の電圧V2に変更した時刻th以降、吸着力は低下するが、移動が終了する時刻t3までの間には、曲線(B)に示すように、吸着力は最小吸着力f1以上の値になり、基板50を吸着して移動を開始してから移動が終了するまでの間(60秒間)は、基板50が静電吸着装置13から落下しないようになっている。
【0065】
また、基板を移動させる途中で吸着力が減少するので、吸着力は過度に大きくならず、移動が終了した時刻t3における吸着力は、従来に比して小さくなる。このため、移動終了後に、時刻t4〜t5の間(ここでは2秒間)に逆極性の電圧を第1、第2の吸着電極271、272間に印加して、短時間で残留電荷を消滅させる場合にも、従来のように、直前まで印加していた電圧よりも絶対値の大きい電圧を印加する必要がなく、直前まで印加していた第2の電圧V2より低い電圧を印加(ここでは、第1、第2の吸着電極271、272にそれぞれ−300V、+300Vを印加している)することにより、短時間で吸着力をほぼ0にし、静電吸着装置13から基板50を容易に離脱させることができる。
【0066】
従って、静電吸着電源15を高圧出力の電源で構成する必要がないので、静電吸着電源15のコストを低減し、ひいては装置全体のコストを低減することができる。また、静電吸着装置13とその周辺装置との間で放電が生じたり、第1、第2の吸着電極271、272間で放電が生じることで、装置の故障等が生じることもない。
【0067】
なお、上述した基板搬送処理においては、図10に示したように、第2の電圧V2を、第1の電圧V1と同じ極性で、第1の電圧V1よりも低電圧の電圧とし、その後逆極性の電圧V3を第1、第2の吸着電極271、272間に印加するものとしたが、本発明の基板搬送処理はこれに限られるものではなく、例えば、図11の曲線(C)に示すように、第2の電圧V2を、第1の電圧V1と同じ極性で、第1の電圧V1(ここでは、第1、第2の吸着電極271、272にそれぞれ+3000V、−3000Vを印加している)よりも低電圧の第2の電圧V2(ここでは第1、第2の吸着電極271、272にそれぞれ+950V、−950Vを印加している)とした後、電圧を段階的に低下させるようにしてもよい。ここでは、3段階に電圧(図11中のV4〜V6)を低下させた後に、逆極性の電圧V3を第1、第2の吸着電極271、272間に印加している。
【0068】
このように構成し、予め第1、第2の電圧V1、V2の電圧値、印加時間、移動開始時刻及び移動終了時刻を適当な値に設定することにより、図10で説明したと同様に、図11の曲線(D)に示すように、静電吸着装置13の移動終了時刻t3までの間で、吸着力が最小吸着力f1以上になり、移動中に基板50が静電吸着装置13から落下しないようにすることができる。また、吸着力は過度に上昇せず、図中の符号f2に示す上限吸着力を超えない。このため、時刻t4で逆極性の電圧を第1、第2の吸着電極271、272間に短期間印加して、残留電荷を短時間で消滅させる場合にも、第2の電圧V2以下の電圧を印加(ここでは、第1、第2の吸着電極271、272にそれぞれ−300V、+300Vを印加している)することで、残留電荷を消滅させ、吸着力をほぼ0にし、基板50を容易に静電吸着装置13から離脱させることができる。
【0069】
また、第1、第2の吸着電極271、272にともに0Vを印加し、図12の曲線(E)に示すように、第2の電圧V2を0Vとするように構成してもよい。このように構成することにより、同図の曲線(F)に示すように、第2の電圧V2に変更した時刻th以降、短期間で吸着力を減少させることができる。
【0070】
さらに、図13の曲線(G)に示すように、第2の電圧V2として、第1の電圧V1と逆極性の電圧を第1、第2の吸着電極271、272間に印加してもよい。このように構成すると、図12に示し、第2の電圧V2を0Vとした場合に比して、図13の曲線(H)に示すように吸着力をさらに短期間で大きく減少させることができる。
【0071】
また、上述した実施形態では、第2の電圧V2を印加した後に、逆極性の電圧V3を印加して残留電荷を短時間で消滅させているが、本発明はこれに限られるものではなく、第1、第2の電圧V1、V2の電圧値や、印加時間等の値を適当な値に設定することで、逆極性の電圧V3を印加しなくとも、短時間で残留電荷が消滅するように構成することも可能である。
【0072】
以上説明した基板搬送処理が終了し、基板50が静電チャックプレート40の表面に載置されたら、アーム12を水平移動させて静電吸着装置13及びアーム12を搬送室3内に退避させた後、処理室4内部に配置された弁8を閉じ、処理室4内部を搬送室3内部と遮断し、成膜処理に移行する。その状態を図9に示す。
【0073】
静電チャックプレート40は、例えばセラミックス材料等から成る誘電体板からなる。この静電チャックプレート40内には、導電性材料からなる第1、第2の吸着電極43、44が配置されている。
【0074】
第1、第2の吸着電極43、44は、静電チャックプレート40内部の表面近傍に配置されている。これら第1、第2の吸着電極43、44は、処理室4の外部に配置されたチャック電源31に接続されており、チャック電源31を起動すると、第1、第2の吸着電極43、44の間に電圧を印加することができるように構成されている。
【0075】
静電チャックプレート40内部には、ヒータ45が配置されている。このヒータ45は、処理室4外部に配置されたヒータ電源32に接続されており、ヒータ電源32を起動すると、ヒータ45を発熱させ、静電チャックプレート40を昇温させることができるように構成されている。
【0076】
処理室4内部の天井側には、静電チャックプレート40と対向するように、例えばアルミなどの金属材料から成るターゲット33が配置されている。このターゲット33は、処理室4の外部に配置された直流電源34に接続されており、直流電源34を起動すると、処理室4に対して負の電圧が印加されるように構成されている。
【0077】
基板50が静電チャックプレート40上に載置された状態では、予めヒータ45は発熱し、静電チャックプレート40は昇温されている。
この状態で、チャック電源31を起動して、第1、第2の吸着電極43、44の間に、第1の電圧を印加(ここでは、第1、第2の吸着電極43、44に、それぞれ+3000V、−3000Vを印加)すると、基板50と静電チャックプレート40との間に静電吸着力が発生する。この静電吸着力は電圧印加とともに増大し、最小吸着力以上になると基板50は静電チャックプレート40の表面に密着する。密着すると基板50は静電チャックプレート40からの熱伝導によって加熱される。
【0078】
基板50が加熱され、所定の温度まで昇温されたら、処理室4内に例えばアルゴンガス等のスパッタリングガスを導入する。静電チャックプレート40は接地され、その上に載置された基板50は接地されており、直流電源34を起動してターゲット33に負電圧を印加すると、ターゲット33近傍に放電が生じ、処理室4内にプラズマが生成されてターゲット33の材料がスパッタリングされ、スパッタリングされたターゲット33材料からなる粒子が基板50の表面に付着し、薄膜が成膜され始める。
【0079】
薄膜の成膜が開始したら、第1、第2の吸着電極43、44の間に印加する電圧を変更し、第1の電圧より低電圧である第2の電圧を印加(ここでは、第1、第2の吸着電極43、44に、それぞれ+750V、−750Vを印加)する。
ここでは、第1の電圧を5秒間印加した後に、印加電圧を第2の電圧に変更している。こうして印加電圧を第2の電圧V2に変更することにより、吸着力は低下するが、静電チャックプレート40と基板50の表面が密着し、熱伝導で加熱可能な程度の吸着力は維持されている。
そして、基板50の表面に所定膜厚の薄膜が形成された後に直流電源4を停止させ、プラズマを消滅させる。以上の工程を経て成膜処理が終了する。
【0080】
こうして成膜処理が終了したら、第1、第2の吸着電極43、44の間に、成膜処理終了時に印加されていた電圧と逆極性の電圧を印加(ここでは、第1、第2の吸着電極43、44にそれぞれ−100V、+100Vの電圧を印加)して、基板50と静電チャックプレート40との間の残留電荷を消滅させ、残留吸着力をほぼ0にし、基板50を、静電チャックプレート40の表面から容易に離脱出来る状態にした後、昇降ピン61を上昇させ、静電チャックプレート40の表面から基板50を離脱させ、その後上述した搬送ロボット10を用い、上述した基板搬送処理と同様の手順で基板50を処理室4外へと搬出する。
【0081】
成膜処理が終了するまで、一定の高電圧を第1、第2の吸着電極43、44の間に印加し続けた場合には、静電チャックプレート40と基板50との間の残留電荷が大量になり、吸着力が過度に大きくなるので、成膜処理終了後に、成膜処理終了時の電圧と逆極性の電圧を印加して短時間で残留電荷を消滅させる際に、成膜処理終了時の電圧よりも絶対値が大きい電圧を印加しなければならない。
【0082】
しかしながら、本実施形態の成膜処理では、第1、第2の吸着電極43、44に最初に第1の電圧V1を所定時間(ここでは5秒間)印加して基板50と静電チャックプレート40とを密着させた後、スパッタリングがなされている間に、印加する電圧を第2の電圧V2に変更しており、第2の電圧V2に変更した時刻以降は吸着力が減少し、残留電荷の量も減少するので、成膜処理が終了した時点では、基板50と静電チャックプレート40との間の吸着力は、一定電圧を印加し続けた場合に比して小さくなっている。
【0083】
従って、成膜処理終了時の電圧よりも絶対値が小さく、かつ逆極性の電圧を印加することで、短時間で残留電荷を消滅させ、基板50を静電チャックプレート40表面から容易に離脱させることができる。
【0084】
これにより、チャック電源31を高圧出力の電源で構成しなくともよいので、チャック電源31のコストを低減し、真空処理装置1のコストを低減することができる。また、静電チャックプレート40とその周辺装置との間で放電が生じたり、第1、第2の吸着電極43、44間で放電が生じることで、装置の故障等が生じることもない。
【0085】
なお、上述した実施形態では、真空処理方法として、基板を静電吸着した状態で基板を搬送する基板搬送処理と、基板表面に薄膜を成膜する成膜処理について説明したが、本発明の真空処理方法はこれに限られるものではなく、真空雰囲気中で基板を静電吸着した状態で、基板を処理する方法であれば、いかなる方法にも適用可能である。
【0086】
また、本実施形態では、基板としてソーダ石灰ガラス基板を用いたが、本発明の真空処理方法で静電吸着可能な基板はこれに限られるものではなく、例えばプラスチックや、シリコン酸化物や、窒化珪素等からなる基板のように、絶縁性を有する基板であればいかなる基板の静電吸着にも適用可能である。
また、本発明の方法は、シリコン等の半導体基板の静電吸着においても、吸着力を適正に制御し、かつ残留吸着力を抑制する方法として有効である。
【0087】
【発明の効果】
静電吸着された基板を短時間で静電吸着装置から離脱させることができる。また、静電吸着装置用の電源を高圧出力の電源で構成する必要がないので、装置のコストを低減でき、放電等による装置の故障を抑止することができる。
【図面の簡単な説明】
【図1】本発明に係る真空処理方法を実施する真空処理装置の一例を示す概略構成図
【図2】(a):本発明の真空処理方法に用いる静電吸着装置の構成を説明する断面図
(b):本発明の真空処理方法に用いる静電吸着装置の構成を説明する平面図
【図3】本発明の真空処理方法を説明する第1の図
【図4】本発明の真空処理方法を説明する第2の図
【図5】本発明の真空処理方法を説明する第3の図
【図6】本発明の真空処理方法を説明する第4の図
【図7】本発明の真空処理方法を説明する第5の図
【図8】本発明の真空処理方法を説明する第6の図
【図9】本発明の真空処理方法を説明する第7の図
【図10】本発明の真空処理方法において、電極に印加する電圧の時間変化及び吸着力の時間変化を説明する第1のグラフ
【図11】本発明の真空処理方法において、電極に印加する電圧の時間変化及び吸着力の時間変化を説明する第2のグラフ
【図12】本発明の真空処理方法において、電極に印加する電圧の時間変化及び吸着力の時間変化を説明する第3のグラフ
【図13】本発明の真空処理方法において、電極に印加する電圧の時間変化及び吸着力の時間変化を説明する第4のグラフ
【図14】(a):従来の真空処理方法を説明する第1の図
(b):従来の真空処理方法を説明する第2の図
(c):従来の真空処理方法を説明する第3の図
【図15】(d):従来の真空処理方法を説明する第4の図
(e):従来の真空処理方法を説明する第5の図
(f):従来の真空処理方法を説明する第6の図
【図16】従来の真空処理方法において、電極に印加する電圧の時間変化及び吸着力の時間変化を説明する第1のグラフ
【図17】従来の真空処理方法において、電極に印加する電圧の時間変化及び吸着力の時間変化を説明する第2のグラフ
【符号の説明】
1…真空処理装置  2…搬出入室  3…搬送室  4…処理室  13…静電吸着装置  40…静電チャックプレート(静電吸着装置)  50…基板[0001]
 BACKGROUND OF THE INVENTION
 The present invention relates to a vacuum processing method in which a substrate is processed in a vacuum atmosphere while being attracted and held by an electrostatic adsorption device, and in particular, in a conveyance process of conveying a substrate in a state in which the substrate is electrostatically adsorbed by an electrostatic adsorption device. The present invention relates to a technique for shortening the time until the substrate is separated from the electrostatic chuck after being transported.
 [0002]
 [Prior art]
 In recent years, in an apparatus that performs processing such as film formation on a substrate made of glass or the like, an electrostatic attracting apparatus that attracts and holds the substrate by electrostatic force is widely used. As such an electrostatic adsorption device, a device integrated with a hot plate capable of temperature control (heating or cooling) to maintain the substrate at a predetermined temperature in processing such as film formation, or the substrate is transported. A device that is provided at the tip of a transfer robot and that can be transferred in a state where a substrate is electrostatically attracted is known.
 [0003]
 Among these, the electrostatic attraction apparatus used for the substrate transfer apparatus will be described below.
 The
 [0004]
 The
 [0005]
 The operation of moving a glass substrate placed on one placement table in a vacuum atmosphere using such a
 [0006]
 First, as shown in FIG. 14 (a), the
 [0007]
 Next, when a voltage is applied between the first and second attracting
 [0008]
 Next, the
 [0009]
 Thereafter, application of voltage between the first and
 [0010]
 FIG. 16 shows the time change of the voltage applied between the first and
 [0011]
 In the figure, reference numeral f1 Indicates the minimum force (hereinafter referred to as the minimum adsorption force) that can be safely moved while the
 Symbol t1 Indicates the time at which application of a voltage is started between the first and
 [0012]
 The symbol tFive Indicates the time when the application of the voltage between the first and
 [0013]
 In the transfer process described above, as shown by the curve (V) in FIG.1 The time t when the application of the voltage between the first and
 [0014]
 For this reason, as shown by the curve (W), the electrostatic attraction force is the time t when the application of the voltage between the first and
 [0015]
 For this reason, immediately after the application of the voltage between the first and
 [0016]
 According to this method, as shown by the curve (X) in FIG.Five To time ta The voltage V applied until just before between the first and
 [0017]
 However, in order to eliminate the residual charge in a short time and make the adsorption force zero, the reverse polarity voltage V0 The voltage V applied until just before applying1 It is necessary to apply a reverse polarity voltage whose absolute value is larger than the predetermined time.
 [0018]
 The inventors of the present invention applied voltages of +3000 V and −3000 V to the first and
 [0019]
 Thus, in order to apply a high-voltage reverse polarity voltage between the first and
 [0020]
 [Problems to be solved by the invention]
 The present invention was created to solve the above-described disadvantages of the prior art, and in particular, when holding a substrate by electrostatic attraction, the electrostatic attraction power source is not used as a high-voltage output power source and for a short time. It is to provide a technique that enables the substrate to be detached.
 [0021]
 [Means for Solving the Problems]
 In order to solve the above-mentioned problem, the invention described in
 Invention of
 The invention described in
 Invention of
 Invention of Claim 5 is the vacuum processing method of
 Invention of
 A seventh aspect of the present invention is the vacuum processing method according to the third aspect, wherein the voltage applied between the electrodes is changed to the second voltage to reduce the electrostatic attraction force. A voltage at which a potential difference between the two electrodes changes stepwise is applied to the two electrodes.
 [0022]
 The inventors of the present invention have conducted research on the relationship between the electrostatic adsorption force between the electrostatic adsorption device and the substrate, the voltage applied to the adsorption electrode, and the application time.
 The inventors of the present invention have a density of 2.47 g / cm.Three A substrate made of soda-lime glass plate having a thickness of 3 mm is brought into contact with an electrostatic adsorption device having two adsorption electrodes, and a fixed voltage is applied to each of the two adsorption electrodes (here, two adsorption electrodes And + 3000V and -3000V, respectively), an experiment for examining the time dependency of the electrostatic adsorption force generated between the electrostatic adsorption device and the substrate, and a constant voltage (here Then, +3000 V and -3000 V are applied to the two adsorption electrodes, respectively) for 60 seconds to electrostatically adsorb the substrate, the voltage applied to each adsorption electrode is set to 0 V, and after that time the substrate and An experiment was conducted to investigate the time dependence of the electrostatic adsorption force (hereinafter referred to as the residual adsorption force) remaining between the electrostatic adsorption devices. The results of the two types of experiments are shown in Table 1 below.
 [0023]
 [Table 1]
 [0024]
 From the time dependency of the electrostatic attraction force shown in Table 1 above, the attraction force after 5 seconds from the start of voltage application to the attraction electrode is 4.50 gf / cm.2 It has become. When the thickness of the substrate used in this experiment is 1 cm, the adsorption force balanced with the weight of the substrate is 2.47 gf / cm.2 Therefore, to lift a 3mm thick substrate, 3gf / cm2 It is sufficient if there is a degree of adsorption power. That is, the minimum adsorption force here is 3 gf / cm.2 It is. From this, it can be seen that the substrate can be electrostatically attracted and lifted after 5 seconds have elapsed since the start of voltage application to the attracting electrode.
 [0025]
 However, looking at the time dependence of the residual adsorption force after applying a voltage to the adsorption electrode for 60 seconds, the residual adsorption force is 31 gf / cm when 60 seconds have elapsed from the time when the voltage application is completed.2 It has decreased only until. In order to safely detach the substrate, the residual adsorption force is equal to the above-mentioned minimum adsorption force (here 3 gf / cm2 ) Of about 80% of adsorption force (in this case, 2.4 gf / cm2 ) It is necessary to decrease to the following, but the residual adsorption force is 25.5 gf / cm even after 600 seconds.2 Therefore, the substrate cannot be safely removed. In this way, after a single substrate is adsorbed for 60 seconds, the substrate cannot be detached even if 600 seconds or more have passed.
 [0026]
 Using the same substrate and the same electrostatic adsorption apparatus as those used in Table 1 above, the voltage applied to the adsorption electrode is low (here, +750 V and -750 V are applied to the two adsorption electrodes, respectively). The same experiment was conducted. Table 2 below shows the results of an experiment examining the time dependence of the electrostatic adsorption force generated between the electrostatic adsorption device and the substrate in that case, and the substrate was applied by applying a voltage to the adsorption electrode for 60 seconds. After electrostatic attraction, 0 V is applied to each attraction electrode, and the results of an experiment for examining the time dependence of the residual attraction force remaining between the substrate and the electrostatic attraction apparatus after that time are shown.
 [0027]
 [Table 2]
 [0028]
 From the time dependency of the electrostatic adsorption force shown in Table 2 above, the adsorption force is the minimum adsorption force (here 3 gf / cm2 It can be seen that 10 seconds from the start of voltage application is not enough to increase the above, and that it becomes greater than the minimum adsorption force at a certain time between 10 seconds and 60 seconds. The adsorption force after 5 seconds from the start of voltage application is 0.2 gf / cm2 It can be seen that it is impossible to lift the substrate.
 [0029]
 Moreover, although the residual adsorption force after electrostatic adsorption for 60 seconds is small, 2.7 gf / cm when 60 seconds elapse after the voltage application is stopped.2 The suction force (in this case, 2.4 gf / cm) that can be safely removed from the substrate by the electrostatic suction device2 ) Will not drop.
 [0030]
 As described above, if the same high voltage is continuously applied to the suction electrode, it is possible to suck and hold the substrate in a relatively short time, but the suction force becomes excessive, and then the substrate is detached. On the other hand, if the same low voltage is continuously applied to the adsorption electrode, the residual adsorption force does not increase excessively, but the adsorption is sufficient to hold the substrate. It has been found that it takes a long time to reach the force, and the time required for the residual attracting force to safely remove the substrate from the electrostatic attracting apparatus is not so short.
 [0031]
 Considering the above results, the inventors of the present invention applied a high voltage to the adsorption electrode for a predetermined time from the start of voltage application to increase the adsorption force, and then applied the voltage to the adsorption electrode while adsorbing the substrate. If the adsorption force is reduced by changing the above, the adsorption force will not be excessively increased. Therefore, it is assumed that the substrate can be detached in a short time after adsorbing the substrate in a short time.
 [0032]
 In order to confirm this assumption, the inventors of the present invention applied the same substrate and electrostatic chuck as those used in the experiments shown in Table 1 and applied a high voltage to each chucking electrode for 5 seconds ( Here, + 3000V and -3000V are applied to the two adsorption electrodes, respectively), and the applied voltage is set to a low voltage (here, + 750V and -750V are applied to the two adsorption electrodes, respectively). An experiment for examining the time dependency of the adsorption force, and after applying a voltage to the adsorption electrode for a total of 60 seconds under the same conditions as the experiment, the voltage applied to each adsorption electrode is set to 0 V, and the residual adsorption force generated after the time of setting the voltage to 0 V We conducted experiments to investigate the time dependence of. The results of these experiments are shown in Table 3 below.
 [0033]
 [Table 3]
 [0034]
 From the time dependency of the adsorption force shown in Table 3 above, the adsorption force is 4.5 gf / cm when 5 seconds have elapsed from the start of voltage application.2 It is possible to adsorb and hold the substrate, and even after 60 seconds, the adsorption force is 4.9 gf / cm.2 It can be seen that it is above the minimum adsorption force and maintains a size that can sufficiently adsorb and hold the substrate.
 [0035]
 Further, from the time dependence of the residual adsorption force shown in Table 3, the residual adsorption force at the time when the voltage application to the adsorption electrode is finished is 4.9 gf / cm.2 However, the residual adsorptive power at the time when 60 seconds have elapsed after the voltage application is finished is 3.1 gf / cm.2 It can be seen that the residual adsorptive power is considerably smaller than when a constant voltage is continuously applied.
 [0036]
 In this way, first, a high voltage that increases the suction force is applied to the suction electrode, and after the substrate is sucked and held in a short time, the voltage applied to the suction electrode is decreased while the substrate is sucked and held. It was confirmed that by reducing the adsorption force, the substrate can be adsorbed and held in a short time, and the substrate can be detached in a short time.
 [0037]
 The present invention has been created based on such knowledge, and is applied to an electrode after applying a first voltage to an electrode in the electrostatic adsorption device while the substrate is in contact with the electrostatic adsorption device. The voltage to be changed is changed to the second voltage.
 [0038]
 At this time, for the substrate to be processed, a minimum suction force that is a minimum value of the force capable of electrostatically attracting the substrate is obtained in advance, and the magnitudes of the first and second voltages are determined according to the time for processing the substrate. Appropriate values are obtained for the application time, the substrate processing start time, and the end time. In accordance with the appropriate value thus obtained, the first voltage is applied to the electrode so that the electrostatic attraction force is greater than the minimum attraction force, and the substrate is processed after electrostatic attraction to the electrostatic attraction device. When the voltage applied to the electrode during the processing of the substrate is changed to the second voltage, the electrostatic attraction force decreases after the change to the second voltage and the processing of the substrate is completed. The substrate can be kept electrostatically attracted to the electrostatic attracting device while maintaining the electrostatic attracting force to be equal to or greater than the minimum attracting force.
 [0039]
 With this configuration, at the time when the processing of the substrate is completed, the amount of residual charge is reduced compared to the conventional case where the same voltage is applied to the electrode, and the residual attractive force is reduced. The time required for removing the substrate from the apparatus can be shortened as compared with the conventional case.
 [0040]
 In particular, when a voltage having a reverse polarity is applied to the electrode to eliminate the residual charge in a short time and the adsorption force is set to 0, the second voltage applied until immediately before the voltage having the reverse polarity is applied is applied. Even if a voltage having a small absolute value is applied, residual charges can be eliminated in a short time. Therefore, since a high-voltage output electrostatic adsorption power supply is not required as in the prior art, the overall cost of the apparatus does not increase, and the discharge between the electrostatic adsorption apparatus and its peripheral devices and between the adsorption electrodes Failures are less likely to occur due to discharge or the like.
 [0041]
 In the present invention, the voltage applied to the electrode may be changed to the second voltage before the electrostatic attraction force exceeds the upper limit attraction force larger than the minimum attraction force.
 Here, the upper limit adsorption force means that, while the substrate is processed in a state of being electrostatically adsorbed to the electrostatic adsorption device, the adsorption force is maintained above the minimum adsorption force, and after the processing is completed, the substrate is transferred from the electrostatic adsorption device. Is the upper limit of the adsorption force that can be reduced to a force sufficient to safely release the. This upper limit attracting force is determined according to the voltage applied to the electrode in the electrostatic attracting apparatus and the processing time of the substrate. If the attracting force exceeds the upper limit attracting force, after the processing of the substrate is finished, the residual attracting force Becomes excessive, and the substrate cannot be safely detached from the electrostatic chuck.
 [0042]
 Before the upper limit attracting force exceeds the upper limit attracting force, the voltage applied to the electrode is changed to the second voltage, and the attracting force is decreased. Since it is lowered to such an extent that the substrate can be safely removed from the adsorption device, the substrate can be safely removed immediately after the processing is completed.
 [0043]
 In the present invention, the electrode of the electrostatic adsorption device is composed of two electrodes. When the first or second voltage is applied to the electrodes, voltages having different polarities are applied to the electrodes. You may comprise. In that case, in the step of changing the voltage applied to the electrode to the second voltage and reducing the electrostatic attraction force, the potential difference between the two electrodes is divided into two in the step where the first voltage is applied. It may be configured to be smaller than the potential difference between the electrodes. By configuring in this way, the attractive force after changing to the second voltage becomes smaller than the voltage when the first voltage is applied.
 [0044]
 Further, in the step of changing the voltage applied to the electrode to the second voltage to reduce the electrostatic adsorption force, the potential difference between the two electrodes may be configured to be 0 volt, Further, in the step of applying the first voltage, a voltage having a reverse polarity to the voltage applied to the two electrodes may be applied to the two electrodes. By comprising in this way, the amount of reduction of the electrostatic attraction force after applying the second voltage can be increased.
 [0045]
 DETAILED DESCRIPTION OF THE INVENTION
 Embodiments of the present invention will be described below with reference to the drawings.
 The
 [0046]
 A
 The
 [0047]
 One end of the
 [0048]
 The configuration of the
 [0049]
 First and second adsorption electrodes 271 , 272 A plan view is shown in FIG. First and second adsorption electrodes 271 , 272 Is shaped like a comb and is arranged so that its tooth portions mesh with each other. The figure (a) is equivalent to the XX sectional view of the figure (b). First and second adsorption electrodes 271 , 272 The width of the electrode is 4 mm, the distance between the electrodes is 1 mm, and the thickness of the electrodes is 10 μm.
 [0050]
 Such an
 [0051]
 First and second adsorption electrodes 271 , 272 Are connected to an electrostatic
 [0052]
 A substrate transfer process for transferring a substrate from the loading /
 As shown in FIG. 3, the internal atmospheres of the carry-in / out
 [0053]
 Next, as shown in FIG. 4, the surface of the
 [0054]
 Next, the electrostatic
 [0055]
 Next, the
 [0056]
 A mounting table 48 is disposed on the inner bottom surface of the
 [0057]
 Inside the mounting table 48 and the
 [0058]
 After that, the first and second adsorption electrodes 271 , 272 In addition, a predetermined voltage having a polarity opposite to that of the second voltage applied until immediately before is applied. Specifically, −300 V and +300 V are applied to the first and second adsorption electrodes 27.1 , 272 Respectively.
 [0059]
 When a voltage having a reverse polarity is applied in this way, the residual charge between the
 [0060]
 FIG. 10 shows the first and second adsorption electrodes 27 in the substrate transfer process described above.1 , 272 The voltage applied in between and the time change of the electrostatic attraction force between the board |
 [0061]
 In the figure, reference sign V1 Are the first and second adsorption electrodes 27.1 , 272 The first voltage applied first in the meantime (here, the first and second adsorption electrodes 27)1 , 272 Are applied with + 3000V and -3000V, respectively).2 Is the first voltage V1 Is applied for a predetermined time (here, 5 seconds), and then the first and second adsorption electrodes 27 are applied.1 , 272 A second voltage applied between them (here, the first and second adsorption electrodes 27).1 , 272 Are applied with +750 V and -750 V, respectively). Also, the symbol f1 Indicates the minimum adsorption force.
 [0062]
 The symbol t1 Are the first and second adsorption electrodes 27.1 , 272 The time at which the application of voltage is started is shown, and the symbol t2 Indicates the time when the
 [0063]
 In the substrate transfer process described above, as shown by the curve (A) in FIG.2 At the time tThree At time t (60 seconds here)h The first and second adsorption electrodes 271 , 272 The voltage applied between the first voltage V1 To the second voltage V2 It has changed to.
 [0064]
 Preliminary minimum adsorption force f1 And these first and second voltages V1, V2 The voltage value and the application time are set to appropriate values. As a result, the applied voltage is set to the second voltage V.2 Time t changed toh Thereafter, the adsorption force decreases, but the time t when the movement ends.Three In the meantime, as shown in the curve (B), the adsorption force is the minimum adsorption force f.1 The values are as described above, and the
 [0065]
 Further, since the suction force decreases during the movement of the substrate, the suction force does not increase excessively, and the time t when the movement is finished.Three The adsorbing force at is smaller than that of the prior art. Therefore, after the movement is finished, the time tFour ~ TFive Between the first and second adsorption electrodes 27 during this period (here 2 seconds)1 , 272 Even when the residual charge is extinguished in a short time by applying in between, it is not necessary to apply a voltage having a larger absolute value than the voltage applied until just before, and it was applied until just before. Second voltage V2 A lower voltage is applied (here, the first and second adsorption electrodes 27).1 , 272 In this case, the attracting force is almost zero in a short time, and the
 [0066]
 Accordingly, since it is not necessary to configure the electrostatic
 [0067]
 In the above-described substrate transfer process, as shown in FIG.2 To the first voltage V1 With the same polarity as the first voltage V1 Lower voltage, then reverse polarity voltage VThree The first and second adsorption electrodes 271 , 272 However, the substrate transfer process of the present invention is not limited to this. For example, as shown in the curve (C) of FIG.2 To the first voltage V1 With the same polarity as the first voltage V1 (Here, the first and second adsorption electrodes 271 , 272 Are applied with + 3000V and -3000V respectively).2 (Here, the first and second adsorption electrodes 271 , 272 And + 950V and -950V, respectively, are applied), and the voltage may be lowered stepwise. Here, the voltage (V in FIG.Four ~ V6 ), The reverse polarity voltage VThree The first and second adsorption electrodes 271 , 272 Applied between.
 [0068]
 The first and second voltages V are configured in this way in advance.1 , V2 By setting the voltage value, the application time, the movement start time, and the movement end time to appropriate values, the
 [0069]
 Also, the first and second adsorption electrodes 271 , 272 0V is applied to both, and the second voltage V as shown in the curve (E) of FIG.2 May be configured to be 0V. With this configuration, as shown in the curve (F) in FIG.2 Time t changed toh Thereafter, the adsorption force can be reduced in a short period of time.
 [0070]
 Furthermore, as shown in the curve (G) of FIG.2 As the first voltage V1 The first and second adsorption electrodes 27 are applied with voltages of opposite polarities.1 , 272 You may apply between. With this configuration, the second voltage V shown in FIG.2 As compared with the case where the voltage is set to 0 V, as shown by the curve (H) in FIG.
 [0071]
 In the above-described embodiment, the second voltage V2 However, the present invention is not limited to this, but the first and second voltages V3 are applied.1 , V2 By setting the voltage value and application time value to appropriate values, the reverse polarity voltage VThree It is also possible to configure so that the residual charge disappears in a short time without applying.
 [0072]
 When the substrate transfer process described above is completed and the
 [0073]
 The
 [0074]
 The first and
 [0075]
 A
 [0076]
 A
 [0077]
 In a state where the
 In this state, the
 [0078]
 When the
 [0079]
 When the thin film is formed, the voltage applied between the first and
 Here, after the first voltage is applied for 5 seconds, the applied voltage is changed to the second voltage. Thus, the applied voltage is changed to the second voltage V2 However, the
 Then, after a thin film having a predetermined thickness is formed on the surface of the
 [0080]
 When the film forming process is completed in this way, a voltage having a polarity opposite to that applied at the end of the film forming process is applied between the first and
 [0081]
 If a constant high voltage is continuously applied between the first and
 [0082]
 However, in the film forming process of this embodiment, the first voltage V is first applied to the first and
 [0083]
 Therefore, by applying a voltage having an absolute value smaller than the voltage at the end of the film forming process and having a reverse polarity, the residual charge is eliminated in a short time, and the
 [0084]
 Thereby, since it is not necessary to comprise the chuck |
 [0085]
 In the above-described embodiment, as the vacuum processing method, the substrate transport process for transporting the substrate with the substrate electrostatically adsorbed and the film formation process for forming a thin film on the substrate surface have been described. The processing method is not limited to this, and any method can be applied as long as the substrate is processed in a state where the substrate is electrostatically adsorbed in a vacuum atmosphere.
 [0086]
 Further, in this embodiment, a soda-lime glass substrate is used as the substrate, but the substrate that can be electrostatically adsorbed by the vacuum processing method of the present invention is not limited to this, for example, plastic, silicon oxide, nitriding Any substrate having an insulating property, such as a substrate made of silicon or the like, can be applied to electrostatic adsorption of any substrate.
 The method of the present invention is also effective as a method for appropriately controlling the adsorption force and suppressing the residual adsorption force even in electrostatic adsorption of a semiconductor substrate such as silicon.
 [0087]
 【The invention's effect】
 The electrostatically attracted substrate can be detached from the electrostatic attracting device in a short time. In addition, since it is not necessary to configure the power supply for the electrostatic adsorption device with a high-voltage output power supply, the cost of the device can be reduced, and failure of the device due to discharge or the like can be suppressed.
 [Brief description of the drawings]
 FIG. 1 is a schematic configuration diagram showing an example of a vacuum processing apparatus for performing a vacuum processing method according to the present invention.
 FIG. 2A is a cross-sectional view illustrating the configuration of an electrostatic adsorption device used in the vacuum processing method of the present invention.
 (B): Plan view for explaining the configuration of the electrostatic chuck used in the vacuum processing method of the present invention
 FIG. 3 is a first diagram illustrating a vacuum processing method according to the present invention.
 FIG. 4 is a second diagram illustrating a vacuum processing method according to the present invention.
 FIG. 5 is a third diagram illustrating the vacuum processing method of the present invention.
 FIG. 6 is a fourth diagram illustrating the vacuum processing method of the present invention.
 FIG. 7 is a fifth diagram illustrating the vacuum processing method of the present invention.
 FIG. 8 is a sixth diagram illustrating the vacuum processing method of the present invention.
 FIG. 9 is a seventh diagram illustrating the vacuum processing method of the present invention.
 FIG. 10 is a first graph illustrating a time change of a voltage applied to an electrode and a time change of an adsorption force in the vacuum processing method of the present invention.
 FIG. 11 is a second graph illustrating the time change of the voltage applied to the electrode and the time change of the adsorption force in the vacuum processing method of the present invention.
 FIG. 12 is a third graph for explaining the change over time of the voltage applied to the electrode and the change over time of the adsorption force in the vacuum processing method of the present invention.
 FIG. 13 is a fourth graph illustrating the time change of the voltage applied to the electrode and the time change of the adsorption force in the vacuum processing method of the present invention.
 14A is a first diagram illustrating a conventional vacuum processing method; FIG.
 (B): 2nd figure explaining the conventional vacuum processing method
 (C): 3rd figure explaining the conventional vacuum processing method
 FIG. 15D is a fourth diagram for explaining a conventional vacuum processing method;
 (E): 5th figure explaining the conventional vacuum processing method
 (F): 6th figure explaining the conventional vacuum processing method
 FIG. 16 is a first graph illustrating a time change of a voltage applied to an electrode and a time change of an attracting force in a conventional vacuum processing method;
 FIG. 17 is a second graph illustrating a time change of a voltage applied to an electrode and a time change of an attracting force in a conventional vacuum processing method.
 [Explanation of symbols]
 DESCRIPTION OF
| Application Number | Priority Date | Filing Date | Title | 
|---|---|---|---|
| JP2001078108AJP4647122B2 (en) | 2001-03-19 | 2001-03-19 | Vacuum processing method | 
| Application Number | Priority Date | Filing Date | Title | 
|---|---|---|---|
| JP2001078108AJP4647122B2 (en) | 2001-03-19 | 2001-03-19 | Vacuum processing method | 
| Application Number | Title | Priority Date | Filing Date | 
|---|---|---|---|
| JP2010030679ADivisionJP2010135834A (en) | 2010-02-15 | 2010-02-15 | Vacuum processing method | 
| Publication Number | Publication Date | 
|---|---|
| JP2002280438A JP2002280438A (en) | 2002-09-27 | 
| JP4647122B2true JP4647122B2 (en) | 2011-03-09 | 
| Application Number | Title | Priority Date | Filing Date | 
|---|---|---|---|
| JP2001078108AExpired - Fee RelatedJP4647122B2 (en) | 2001-03-19 | 2001-03-19 | Vacuum processing method | 
| Country | Link | 
|---|---|
| JP (1) | JP4647122B2 (en) | 
| Publication number | Priority date | Publication date | Assignee | Title | 
|---|---|---|---|---|
| JP2010141352A (en)* | 2010-02-26 | 2010-06-24 | Ulvac Japan Ltd | Vacuum processing method | 
| Publication number | Priority date | Publication date | Assignee | Title | 
|---|---|---|---|---|
| CN100492599C (en) | 2004-06-30 | 2009-05-27 | 株式会社爱发科 | Vacuum treatment device | 
| TW201005825A (en) | 2008-05-30 | 2010-02-01 | Panasonic Corp | Plasma processing apparatus and method | 
| KR101371559B1 (en)* | 2009-11-09 | 2014-03-11 | 도쿄엘렉트론가부시키가이샤 | Substrate processing apparatus and method for controlling substrate processing apparatus | 
| JP6011965B2 (en)* | 2012-09-19 | 2016-10-25 | パナソニックIpマネジメント株式会社 | Plasma dicing method and plasma dicing apparatus | 
| KR101960194B1 (en)* | 2017-11-29 | 2019-03-19 | 캐논 톡키 가부시키가이샤 | Film forming apparatus, film forming method and manufacturing method of organic el display device | 
| KR102427823B1 (en)* | 2018-06-11 | 2022-07-29 | 캐논 톡키 가부시키가이샤 | Electrostatic chuck system, film forming apparatus, adsorption process, film forming method and electronic device manufacturing method | 
| KR102411995B1 (en)* | 2018-09-21 | 2022-06-21 | 캐논 톡키 가부시키가이샤 | Electrostatic chuk system, apparatus for forming film, adsorption and separation method, method for forming film, and manufacturing method of electronic device | 
| JP6592662B1 (en)* | 2018-10-31 | 2019-10-23 | 株式会社プロセス・ラボ・ミクロン | Work conveying device | 
| Publication number | Priority date | Publication date | Assignee | Title | 
|---|---|---|---|---|
| JPH01112745A (en)* | 1987-10-27 | 1989-05-01 | Fujitsu Ltd | Wafer detachment method in semiconductor manufacturing equipment | 
| JP3101954B2 (en)* | 1990-12-27 | 2000-10-23 | 京セラ株式会社 | Control device for electrostatic chuck | 
| JPH0685045A (en)* | 1992-08-31 | 1994-03-25 | Fujitsu Ltd | Wafer release method | 
| US5491603A (en)* | 1994-04-28 | 1996-02-13 | Applied Materials, Inc. | Method of determining a dechucking voltage which nullifies a residual electrostatic force between an electrostatic chuck and a wafer | 
| JPH0831918A (en)* | 1994-07-19 | 1996-02-02 | Hitachi Ltd | Plasma processing apparatus and electrostatic chuck holding force releasing method | 
| JPH08191098A (en)* | 1995-01-09 | 1996-07-23 | Hitachi Ltd | Electrostatic suction device | 
| JPH08316297A (en)* | 1995-05-24 | 1996-11-29 | Sony Corp | Electrostatic chuck and its controlling method | 
| US5793192A (en)* | 1996-06-28 | 1998-08-11 | Lam Research Corporation | Methods and apparatuses for clamping and declamping a semiconductor wafer in a wafer processing system | 
| JPH1092917A (en)* | 1996-09-11 | 1998-04-10 | Metsukusu:Kk | Hand of robot for carrying semiconductor wafer | 
| JP4166379B2 (en)* | 1999-07-30 | 2008-10-15 | 株式会社アルバック | Substrate transfer device | 
| Publication number | Priority date | Publication date | Assignee | Title | 
|---|---|---|---|---|
| JP2010141352A (en)* | 2010-02-26 | 2010-06-24 | Ulvac Japan Ltd | Vacuum processing method | 
| Publication number | Publication date | 
|---|---|
| JP2002280438A (en) | 2002-09-27 | 
| Publication | Publication Date | Title | 
|---|---|---|
| JP2010141352A (en) | Vacuum processing method | |
| TWI301311B (en) | Method and apparatus for dechucking a substrate | |
| JP4847909B2 (en) | Plasma processing method and apparatus | |
| TWI529842B (en) | Substrate collection method | |
| US7782591B2 (en) | Methods of and apparatus for reducing amounts of particles on a wafer during wafer de-chucking | |
| TW201019411A (en) | Treating method of static elimination for electrostatic absorbing apparatus, substrate treating apparatus, and storage medium | |
| JP2879887B2 (en) | Plasma processing method | |
| CN112335031B (en) | Power supply device for electrostatic chuck and substrate management method | |
| JP4647122B2 (en) | Vacuum processing method | |
| JP2004014868A (en) | Electrostatic chuck and processing apparatus | |
| JP3671379B2 (en) | Plasma processing apparatus having mechanism for removing electrostatically attracted substrate and method for removing electrostatically attracted substrate | |
| JP2003013215A (en) | Sputtering equipment | |
| JP4226101B2 (en) | Substrate removal method from electrostatic chuck plate surface | |
| JP2004040047A (en) | Treatment apparatus and method for releasing material to be released from electrostatic chuck | |
| JP4060941B2 (en) | Plasma processing method | |
| JP4330737B2 (en) | Vacuum processing method | |
| WO2020026549A1 (en) | Substrate lift device and substrate transfer method | |
| JP2004040046A (en) | Treatment apparatus and method for releasing electrostatic chuck | |
| JP3040630B2 (en) | Plasma processing apparatus and plasma processing method | |
| JP2002134489A (en) | Method for destaticizing substrate, vapor depositing device and method for manufacturing semiconductor device | |
| JP4640876B2 (en) | Substrate transfer device | |
| JP4064557B2 (en) | Substrate removal control method for vacuum processing apparatus | |
| JP2010135834A (en) | Vacuum processing method | |
| JP4490524B2 (en) | Electrostatic adsorption stage and substrate processing apparatus | |
| JP2009164620A (en) | Sputtering equipment | 
| Date | Code | Title | Description | 
|---|---|---|---|
| A621 | Written request for application examination | Free format text:JAPANESE INTERMEDIATE CODE: A621 Effective date:20080131 | |
| A131 | Notification of reasons for refusal | Free format text:JAPANESE INTERMEDIATE CODE: A131 Effective date:20091215 | |
| A977 | Report on retrieval | Free format text:JAPANESE INTERMEDIATE CODE: A971007 Effective date:20091217 | |
| A521 | Request for written amendment filed | Free format text:JAPANESE INTERMEDIATE CODE: A821 Effective date:20100215 Free format text:JAPANESE INTERMEDIATE CODE: A523 Effective date:20100215 | |
| A131 | Notification of reasons for refusal | Free format text:JAPANESE INTERMEDIATE CODE: A131 Effective date:20100525 | |
| A521 | Request for written amendment filed | Free format text:JAPANESE INTERMEDIATE CODE: A821 Effective date:20100715 Free format text:JAPANESE INTERMEDIATE CODE: A523 Effective date:20100715 | |
| TRDD | Decision of grant or rejection written | ||
| A01 | Written decision to grant a patent or to grant a registration (utility model) | Free format text:JAPANESE INTERMEDIATE CODE: A01 Effective date:20101207 | |
| A01 | Written decision to grant a patent or to grant a registration (utility model) | Free format text:JAPANESE INTERMEDIATE CODE: A01 | |
| A61 | First payment of annual fees (during grant procedure) | Free format text:JAPANESE INTERMEDIATE CODE: A61 Effective date:20101208 | |
| FPAY | Renewal fee payment (event date is renewal date of database) | Free format text:PAYMENT UNTIL: 20131217 Year of fee payment:3 | |
| R150 | Certificate of patent or registration of utility model | Ref document number:4647122 Country of ref document:JP Free format text:JAPANESE INTERMEDIATE CODE: R150 Free format text:JAPANESE INTERMEDIATE CODE: R150 | |
| R250 | Receipt of annual fees | Free format text:JAPANESE INTERMEDIATE CODE: R250 | |
| R250 | Receipt of annual fees | Free format text:JAPANESE INTERMEDIATE CODE: R250 | |
| R250 | Receipt of annual fees | Free format text:JAPANESE INTERMEDIATE CODE: R250 | |
| R250 | Receipt of annual fees | Free format text:JAPANESE INTERMEDIATE CODE: R250 | |
| R250 | Receipt of annual fees | Free format text:JAPANESE INTERMEDIATE CODE: R250 | |
| LAPS | Cancellation because of no payment of annual fees |