Movatterモバイル変換


[0]ホーム

URL:


JP4626526B2 - 有機elパネルおよびその製造方法 - Google Patents

有機elパネルおよびその製造方法
Download PDF

Info

Publication number
JP4626526B2
JP4626526B2JP2006020352AJP2006020352AJP4626526B2JP 4626526 B2JP4626526 B2JP 4626526B2JP 2006020352 AJP2006020352 AJP 2006020352AJP 2006020352 AJP2006020352 AJP 2006020352AJP 4626526 B2JP4626526 B2JP 4626526B2
Authority
JP
Japan
Prior art keywords
film
electrode
organic
panel
substrate
Prior art date
Legal status (The legal status is an assumption and is not a legal conclusion. Google has not performed a legal analysis and makes no representation as to the accuracy of the status listed.)
Expired - Fee Related
Application number
JP2006020352A
Other languages
English (en)
Other versions
JP2007201327A (ja
Inventor
晴視 鈴木
博道 加藤
雅之 片山
敏一 佐藤
正道 猪飼
朋彦 森
良弘 菊澤
Current Assignee (The listed assignees may be inaccurate. Google has not performed a legal analysis and makes no representation or warranty as to the accuracy of the list.)
Denso Corp
Toyota Central R&D Labs Inc
Original Assignee
Denso Corp
Toyota Central R&D Labs Inc
Priority date (The priority date is an assumption and is not a legal conclusion. Google has not performed a legal analysis and makes no representation as to the accuracy of the date listed.)
Filing date
Publication date
Application filed by Denso Corp, Toyota Central R&D Labs IncfiledCriticalDenso Corp
Priority to JP2006020352ApriorityCriticalpatent/JP4626526B2/ja
Publication of JP2007201327ApublicationCriticalpatent/JP2007201327A/ja
Application grantedgrantedCritical
Publication of JP4626526B2publicationCriticalpatent/JP4626526B2/ja
Expired - Fee Relatedlegal-statusCriticalCurrent
Anticipated expirationlegal-statusCritical

Links

Images

Landscapes

Description

本発明は、有機EL(エレクトロルミネッセンス)パネルおよびその製造方法に関し、更に詳しくは、耐久時に上下電極間の短絡による画素欠陥およびラインなどの表示不良を抑制した発光安定性に優れた有機ELパネルに関する。
一般に有機ELパネルは、ガラスなどの基板の上に、ITO(インジウムチンオキサイド)などの第1の電極としての下部電極を形成し、その上に、蒸着法などによって正孔輸送層、発光層、電子輸送層などの有機膜を順次形成し、さらに、その上に第2の電極としての上部電極を形成してなるものである。
そして、このようにして対向して配置された第1および第2の電極の間に有機膜を介在させてなる画素を、複数個備えており、第1の電極を正極とし第2の電極を負極として両電極に対して電界を印加することで画素を発光させ、この発光時の電界とは極性を反転させた電界を印加することで画素を非発光とする。そのため、駆動状態においては、非発光となる電界の印加は少なくとも一回以上行われる。
このような有機ELパネルは、有機材料を使用しているために、電界や熱によって変質や拡散が起こりやすく、その結果として、上下電極の短絡が発生することがある。特に、基板上に第1の電極を形成したときに、工程中に発生する導電性の異物が第1の電極の上に存在し、これが凹凸となり、第1および第2の電極間の短絡が発生しやすい。
これは、第1の電極上の異物の上に、発光層などの有機膜を蒸着して形成する場合に、シャドーイング現象が発生するためである。この現象は、直進性の良い蒸着粒子が異物の影には付着しないため、異物の上およびその周囲に成膜された有機膜において、膜厚が確保できない薄膜部が局部的に生じることである。
そして、このような異物周囲の薄膜部が生じると、この部分で上記両電極間にリーク電流が流れ、短絡に至る。有機ELパネルにおいては、上述したように、発光層を発光させる発光時に印加する順バイアス方向の電界のほかに、非発光時においてクロストークを防止するために、当該両電極間に発光時とは、極性が逆方向の電界、いわゆる逆バイアス電圧を印加する。
リーク電流とは、この逆バイアス電圧の印加時において、当該両電極間に流れる電流のことである。そして、このリーク電流は過大な電流となって絶縁破壊を招くため、有機ELパネルの破壊に至る恐れがある。
このような第1の電極の上に存在する異物による短絡を防止するものとして、従来では、有機材料を溶融し、異物を包埋する方法が提案されている(たとえば、特許文献1参照)。
また、一方で、従来より、第1の電極としてのITO(インジウムチンオキサイド)の上にZnO(酸化亜鉛)などの酸化物半導体を積層することにより、発光効率の向上を目的とした有機ELパネルが提案されている(たとえば、特許文献2参照)。
特開2000−91067号公報特開2005−108696号公報
しかしながら、本発明者が、上記特許文献1に記載の方法について検討したところ、有機ELパネルの駆動初期においてはリーク電流を防止できるものの、たとえば80℃程度の高温で駆動させたり、あるいはこのような高温で保存した後に駆動させるときには、リーク電流が発生しやすくなることがわかった。
また、上記特許文献2に記載のものでは、第1の電極の上に酸化物半導体を積層した構成を提供しているが、このものには、逆バイアスを印加するという概念や、リーク電流の防止の効果について記載されていない。
本発明は、上記問題に鑑みてなされたものであり、有機ELパネルにおいて、高温での駆動や保存によるリーク電流の発生を極力抑制できるようにすることを目的とする。
本発明者は、高温での駆動や保存によるリーク電流の発生について鋭意検討を行った。その結果、次のようなメカニズムによりリーク電流が発生すると考えた。図1(a)、(b)は、この本発明者が提案する推定メカニズムを模式的に示す図である。
図1においては、基板10の上に、第1の電極20、有機膜40、第2の電極50が積層されてなる画素60が設けられている。図1では、1つの画素60を示してある。一般的には、基板10はガラス、第1の電極20はITO、有機膜40は有機EL材料、第2の電極50はAlなどである。
上述したように、基板10上に第1の電極20を形成したときに、導電性の異物900が第1の電極20の上に存在すると、異物900の上およびその周囲に成膜された有機膜40において、膜厚が確保できない薄膜部が局部的に生じ、両電極20、50間の短絡が発生しやすい。ここで、上述した特許文献1などの異物を包埋する方法により、初期的なリーク電流の防止はなされる。
しかし、本発明者の検討によれば、初期にリーク電流が評価限界以下(たとえば数nA)であって、リークが発生しないと評価されても、高温での駆動もしくは保存中に、素子構造によっては、リーク電流が増加して数μA以上のリーク部になり、両電極20、50の短絡に至る場合があることを見出した。
これは、図1(a)に示されるように、高温環境下での駆動や保存中に、有機膜40の変形に伴い、両電極20、50間の距離が近接することによると考えられる。また、形状的にも異物900などの凸部では、熱変形時に有機膜40が薄膜化しやすい。これは、熱変形時に重力による平坦化効果が作用するためと考えられる。
それとともに、図1(b)に示されるように、数μA以上となったリーク部では、第1の電極20に使用しているITOが還元されて、有機膜40中へInやSnが析出し、このInやSnよりなる析出物902が、第1および第2電極20、50間の導通経路になっていることを見出した。そして、この現象により、上記したリーク電流の増加が生じることがわかった。
このInなどの析出についてのメカニズムは、次のように考えられる。高温での駆動や保存中において、リーク部の発熱により、第1の電極20であるITOを触媒として、有機膜40から水素が発生する。そして、この水素などが原因となって、図1(a)に示されるように、有機膜40中にボイド901が発生する。
このとき発光時とは逆の高い逆バイアス電界が、印加されていると、水素は水素ラジカルまたはプロトンの状態で、ITOを還元する。還元されたInやSnは、180℃〜230℃と低融点であるため、リーク部の発熱で有機膜40中へ析出し、図1(b)に示されるように、上記析出物902となる。
ここで、本発明者は、上記メカニズムに基づいて、上記図1における第1の電極20を構成する金属酸化物中の金属の融点(℃)と、当該金属の有機膜40中への析出率(%)との関係を調査した。その結果を図2に示す。
この調査は、第1の電極20を構成する金属酸化物中の金属を、In、Sn、Zn、Ti、Vと代えて行った。図2中の5個のプロットにおいて、左側からIn、Sn、Zn、Ti(1668℃)、V(1900℃)の結果が示されている。析出率(%)はXPSにより測定した。
また、駆動テストとしては、80℃の高温環境での駆動を行った。駆動条件としては、1/64デューティにて順方向は定電流駆動で、初期輝度が200cd/m2となるように調整し、そのときの順方向パルス電圧は、10V程度とし、順方向パルス以外の時は、15Vの逆バイアスパルスを印加した。
その結果、図2に示されるように、融点が419℃よりも低い低融点金属元素を含む酸化物の場合に、高温駆動中に、第1の電極20中の当該低融点金属が有機膜40中へ析出することが確認された。つまり、このような低融点金属の析出物902が、第1および第2電極20、50間の導通経路になり、上記したリーク電流の増加が生じることがわかった。
このような融点が419℃よりも低い低融点金属としては、その化学的性質から以下の元素を用いた場合、同様の現象を示すことを確認した。具体的にはIn、Ga、Tl(IIIA族)、Sn、Pb(IVA族)、Cd(IIB族)、Bi(VA族)であり、これら元素の酸化物などを、第1の電極20に用いた場合、上記したリーク電流の増加が生じる。なお、ここで、()内のIII、IV、II、Vはそれぞれローマ数字である。
また、419℃まで高温になると、一般的な有機ELパネルに用いられる低分子系有機材料のほとんどのものが気化してしまう。
つまり、リーク時の発熱によって、有機膜40を構成する有機材料が気化した時に、上記メカニズムによって析出した低融点金属が溶融状態(つまり、融点以上)となっていると、有機膜40は、気化時に低融点金属すなわち析出物902を巻き込みながら、変形していく。
そのため、析出物902が有機膜40中に拡散しやすくなり、結果として、両電極20、50間に低融点金属による導電経路が形成され、リークの増加を誘発し、最終的に、両電極20、50の短絡に至ると考えられる。
このように、リーク電流による発熱と逆バイアス電圧印加という条件がそろった場合において、第1の電極の還元によってInやSnなどの金属の析出が発生するという現象を、本発明者は明らかにした。
そこで、上記したメカニズムに基づけば、上記目的を解決するための手段としては、リーク電流が発生しても、(a)水素の発生を防止するか、(b)第1の電極の還元を防止するか、(c)還元されても金属元素の析出を防止するか、といったところがポイントとなる。
本発明者は、鋭意研究した結果、有機ELパネルにおいては、第1の電極20は、In、Ga、Tl、Sn、Pb、Cd、Biのうち一種類以上の融点が419℃よりも低い金属元素を含むものが用いられることから、上記(c)の手段に着目することにした。
そして、このような低融点金属を含む第1の電極20の上に、419℃以上の融点を持つ金属を含む化合物の膜(以下、本欄において高融点金属化合物の膜という)を積層してやれば、この高融点金属化合物の膜がバリア膜として作用し、第1の電極20からの金属元素の析出を防止する効果があると考えた。
つまり、この高融点金属化合物の膜自体は、上記メカニズムのように還元されたとしても、当該膜中の金属は419℃以上の融点を持つため溶融状態とならず、上記図2に示されるように、有機膜40が気化状態にあるとしても有機膜40中へは析出しない。
ここで、第1の電極20の上に、上記した高融点金属化合物の膜を積層する場合、当該高融点金属そのものを単独で成膜した場合、透明性に劣り、パネルとしての表示性能に不具合が生じる。
そのため、本発明者は、高融点金属化合物の膜として、そのような金属の酸化物、硫化物またはセレン化物を採用することで、膜の透明性を確保することとした。さらに、言うならば、当該膜を構成する金属の酸化物、硫化物、セレン化物の金属成分のうちの最も多く含まれる金属が、419℃以上の融点を持つようにする。
また、高融点金属化合物の膜としては、その膜厚が薄いと、第1の電極20の表面の被覆性が悪く、高融点金属化合物の膜中の酸化物、硫化物またはセレン化物の還元だけでなく、その下地の第1の電極20までが還元されてしまう。
そこで、さらに検討を進め、高融点金属化合物の膜の膜厚(nm)と第1の電極20の還元抑制率(%)との関係を調査した。なお、ここでは、第1の電極20はITOよりなるものである。還元抑制率は、XPS分析により測定し、駆動条件は、上記図2と同様の80℃高温駆動により行った。その結果を、図3に示す。
図3は、ZnO、VOx(代表例はV25)、TiO2といった419℃以上の融点を持つ金属の酸化物について調査したものである。なお、上記した419℃以上の融点を持つ金属を含む化合物において、酸化物以外の硫化物、セレン化物についても、この図3に示される結果と同様の傾向が確認できている。
還元抑制率は、50%以上であれば、実用上、リーク電流の防止効果があるものであり、図3に示される結果から、上記高融点金属化合物の膜の膜厚は10nm以上であればよいが、本発明者は、余裕度を見積もって、当該膜の膜厚を10nmよりも大きくすることにした。
また、図3に示されるように、膜厚が12nm以上では還元抑制率は100%で飽和している。これについては、脱ガス分析からも、有機膜40から発生する水素には上限があり、一定量の還元しか進まないことを見出した。そこで、膜厚は、好ましくは12nm以上、さらに好ましくは15nm以上がよいことがわかる。
また、上限値としては、実用上、高融点金属化合物の膜の凹凸により、初期から上下電極間の近接が発生しないことが望ましい。少なくとも有機膜の厚さよりも薄いことが望ましい。
また、有機ELパネルにおいては、複数個の画素を形成するために、第1の電極20はパターニングされており、複数個の電気的に分離された状態のものとして構成されている。そこで、第1の電極20の上に形成する高融点金属化合物の膜の抵抗により、分離されている第1の電極20間を電気的に短絡させると、パネルとして機能しなくなる。
そこで、分離されて隣接する第1の電極20間の抵抗(通常のITO同士の場合)と表示不良の関係を評価したところ、この隣接電極間抵抗が100MΩを境に電流の回りこみによる表示不良を引き起こすことがわかった。
具体的には、隣接電極間抵抗が100MΩ以上だと、隣接する画素を点灯と非点灯にした場合、非点灯部に電流が回り込み、回り込んだ電流に応じて発光する。さらに点灯部では、回り込んだ電流に応じて発光輝度が低下する。この100MΩの根拠としては、隣接画素間の輝度ムラが人間工学的に視認されるか否かを基準として、抵抗成分と容量成分の両方を加味した回り込み電流によって規定される。
そして、高融点金属化合物の膜を構成する金属化合物の抵抗率と電極の配線パターンとから算出される電極間抵抗により、第1の電極20と同様に、高融点金属化合物の膜をパターニングするか、否かを選択する。ここで、上述したように、高融点化合物の膜については、10nmよりも厚く形成する必要があるため、上記した100MΩよりも低抵抗になる。
そのため、複数個の画素60の間にて電気的に分離された第1の電極20同士の間においては、この高融点金属化合物の膜は除去されるようにパターニングし、複数個の画素60の間の電気的な絶縁を確保する必要がある。
本発明は、以上述べてきたような検討結果に基づいて創出されたものであり、電圧印加手段(70)によって、第1の電極(20)を正極とし第2の電極(50)を負極として両電極(20、50)に対して電界を印加することで画素(60)を発光させ、この発光時の電界とは極性を反転させた電界を印加することで画素(60)を非発光とするとともに、これら発光および非発光が各画素(60)ごとに選択される駆動において、非発光画素に対して非発光となる電界の印加を少なくとも一回以上行う有機ELパネルにおいて、発光時に正極となる第1の電極(20)が、In、Ga、Tl、Sn、Pb、Cd、Biのうち一種類以上の融点が419℃よりも低い金属元素を含むものである場合において、有機膜(40)と第1の電極(20)との間に、主成分の金属が419℃以上の融点を持つ金属の酸化物、硫化物またはセレン化物よりなる膜(30)を介在させ、この膜(30)を10nmよりも厚いものとし、複数個の画素(60)の間にて電気的に分離された第1の電極(20)同士の間において、当該膜(30)を除去することで複数個の画素(60)の間の電気的な絶縁を確保したことを、特徴とする。
それによれば、このような膜(30)を、画素(60)の間を短絡させないようにパターニングすることで表示不良を防止しつつ、10nmより厚くすることで、高温での第1の電極(20)の還元を抑制できるため、高温での駆動や保存によるリーク電流の発生を極力抑制することができる。
ここで、この構成においては、膜(30)における主成分の金属元素を、亜鉛、バナジウム、ルテニウム、モリブデンおよびチタンの少なくとも1種類の元素を含有するものにできる。それによれば、発光効率を向上させるうえで好ましい。
また、このような構成において、膜(30)には、GaおよびはAlの少なくとも1種類の元素を添加してもよい。それによれば、当該膜(30)の低抵抗化、仕事関数の調整が可能となるなどにより、発光効率の向上が図れ、好ましい。
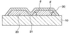
また、このような構成において、第1の電極(20)におけるエッジ部のテーパ角度(θ)を30°以下にすれば、第1の電極(20)のエッジ部を上記膜(30)により適切に被覆することができる。
なお、この第1の電極(20)におけるエッジ部のテーパ角度(θ)を30°以下にすることは、第1の電極(20)をパターニングして形成した後に、第1の電極(20)の表面を研磨し、その上に、膜(30)を形成することにより、適切に実現できる。
また、このような構成において、第1の電極(20)が、基板(10)上にパターニング形成されたものである場合に、この基板(10)を無アルカリガラスよりなるものにすれば、研磨などによる基板(10)からのアルカリ成分の溶出を回避できる。
さらに、このような構成において、第1の電極(20)が、基板(10)上にパターニング形成されたものであり、第1の電極(20)と基板(10)との間に、カラーフィルタ(80)が介在している場合に、さらに、カラーフィルタ(80)と第1の電極(20)との間に、原子層成長法にて形成された膜(81)を介在させることが好ましい。
なお、特許請求の範囲およびこの欄で記載した各手段の括弧内の符号は、後述する実施形態に記載の具体的手段との対応関係を示す一例である。
以下、本発明の実施形態について図に基づいて説明する。なお、以下の各実施形態相互において、互いに同一もしくは均等である部分には、説明の簡略化を図るべく、図中、同一符号を付してある。
(第1実施形態)
図4は、本発明の第1実施形態に係る有機ELパネル100における1つの画素60の概略断面構成を示す図である。
また、図5(a)は、この有機ELパネル100の部分的な平面図、図5(b)は図5(a)のA−A断面図であり、これら図5(a)、(b)はそれぞれ、当該パネル100における基板10、下部電極20、膜30の平面形状、断面形状を示す図である。
基板10は光学的に透明なガラスなどからなるものであり、この基板10の上には、第1の電極としての下部電極20が、パターニング形成されている。ここでは、図5に示されるように、下部電極20は、ストライプ状にパターニングされた複数本のものであり、各下部電極20は電気的に分離されている。
そして、本実施形態では、図4に示されるように、基板10の上に、下部電極20、膜30、有機膜40、第2の電極としての上部電極50を積層してなる画素60が形成されている。
つまり、本有機ELパネル100は、この基板10の上に、対向して配置された下部電極20および上部電極50の間に発光層43を含む有機膜40を介在させてなる複数個の画素60を備えている。
ここで、図2では示さないが、上部電極50は、下部電極20のストライプの方向と直交する方向に延びる複数本のストライプ状に配置されたものであり、下部電極20と上部電極50とが重なり合う部位において、上下両電極20、50、膜30および有機膜40により画素60が構成され、それにより、画素60は、基板10上においてマトリクス状に複数個配置された形となる。
このようなストライプ状の上下電極20、50によるマトリクス状配置の画素60の構成は、有機ELパネルにおいて周知のものである。
下部電極20は、透明導電膜であり、In、Ga、Tl(以上、IIIA族)、Sn、Pb(以上、IVA族)、Cd(IIB族)、Bi(VA族)のうち一種類以上の融点が419℃よりも低い金属元素を含む。具体的には、このような低融点金属の酸化物などからなり、たとえば、ITOが挙げられる。
この下部電極20の上には、主成分の金属が419℃以上の融点を持つ金属の酸化物、硫化物またはセレン化物よりなる膜30が介在している。ここで、主成分の金属とは、当該膜を構成する金属の酸化物、硫化物の金属成分のうちの最も多く含まれる金属のことである。
このように、膜30は、419℃以上という下部電極20を構成する金属に比べて高融点を持つ高融点金属を含むものであるが、そのような材質を選択した根拠については、上記図2に示したとおりである。なお、以下の実施形態において、この膜30を高融点金属化合物の膜30ということにする。
また、この高融点金属化合物の膜30の膜厚は10nmよりも大きい。さらに、この膜厚は、好ましくは12nm以上、さらに好ましくは15nm以上がよい。この膜厚の根拠については、上記図3に示したとおりである。一方、高融点金属化合物の膜30の膜厚が厚いと、透過率が低下するなど、有機ELパネル100の発光特性を悪化させるため、おおよそ50nm以下であることが好ましい。
このような高融点金属化合物の膜30の膜厚要求に対して、当該膜30に対して酸化物半導体ではなく、絶縁物を用いると、正孔注入性を阻害するために、ELの発光効率が悪化し、駆動電圧も高くなり使用が困難になる。
そこで、仕事関数にも着目し、ELの発光特性を考慮すると、仕事関数が約4.8eV以上の金属酸化物が、高融点金属化合物の膜30として適している。
具体的に、高融点金属化合物の膜30においては、主成分の金属元素として、亜鉛、バナジウム、ルテニウム、モリブデンおよびチタンの少なくとも1種類の元素を含有する金属酸化物などが挙げられ、それにより、発光効率を向上させやすくできる。
また、この高融点金属化合物の膜30には、GaおよびはAlの少なくとも1種類の元素が添加されていてもよい。それによれば、高融点金属化合物の膜30の低抵抗化が図れ、また、高融点金属化合物の膜30の仕事関数の調整が可能となるなどにより、発光効率の向上が図れる。
また、図2に示されるように、複数個の画素60の間にて、下部電極20同士は電気的に分離されているが、基板10上において、この分離された下部電極20同士の間の部位11では、高融点金属化合物の膜30は除去されている。
本例では、高融点金属化合物の膜30は、その下地である下部電極20と略同一の平面形状となるようにパターニングされている。それにより、分離された下部電極20同士が高融点金属化合物の膜30により導通することなく、複数個の画素60の間の電気的な絶縁が確保されている。
このように、高融点金属化合物の膜30をパターニングした根拠については、解決手段の欄に述べたとおりであり、高融点金属化合物の膜30による下部電極20間の短絡を防止し、電流の回りこみによる表示不良を回避するためである。
このような高融点金属化合物の膜30は、スパッタや原子層成長法などの成膜法や、マスキングやフォトエッチングなどのパターニング方法を用いることにより、形成することができる。
たとえば、高融点金属化合物の膜30としてVOx膜を成膜する場合、V25をターゲットとするスパッタにより成膜できる。また、高融点金属化合物の膜30としてTiO2膜を成膜する場合、TiCl4とH2Oとを原料ガスとして、これらを交互に成膜チャンバ内に供給するという原子層成長法(ALE法)により成膜が行える。
なお、VOxなどの遷移金属系の膜をスパッタで形成するには、酸素を数%、好ましくは10%程度混入したArガスでスパッタするとよい。それにより、屈折率を低下させ、透過率も向上した光学的に適した膜物性を示すものにできる。また、結晶性も向上することから、ホール注入性が高くなり、低電圧駆動に適するものになる。
また、図4に示されるように、高融点金属化合物の膜30の上には、有機膜40が形成されている。この有機膜40は、一般的に有機ELパネルに用いられる有機EL材料からなる。本実施形態では、有機膜40は、高融点金属化合物の膜30側から正孔注入層41、正孔輸送層42、発光層43、電子輸送層44が積層されてなる。
正孔注入層41は、銅フタロシアニン(CuPc)などの正孔注入材料からなり、正孔輸送層42は、α−ナフチルフェニルベンゼンなどの正孔輸送性材料からなる。発光層43は、アルミキノリノールなどの電子輸送性材料をホスト材料とし、これにドーパントとしてクマリンなどの発光添加材料を混合してなる。また、電子輸送層44はアルミキノリノールなどの電子輸送性材料からなる。これら各層41〜44は蒸着法などにより成膜される。
さらに、電子輸送層44すなわち有機膜40の上には、LiFなどからなる電子注入層45が、蒸着法などにより形成され、その上には、Al等の金属等からなる上部電極50が形成されている。
こうして、基板10の上において、一対の電極20、50の間には、高融点金属化合物の膜30、有機膜40が積層されて挟まれており、有機ELパネル100における画素60が形成されている。
また、この有機ELパネル100においては、上下両電極20、50の間に交流電界を印加するための電圧印加手段70が設けられている。これは、画素60を発光させる時に両電極20、50間に順方向の電界を印加し、画素60を非発光とする時には発光時の電界とは極性を反転させた電界を印加するもので、たとえば電源回路などからなり、基板10の周辺部に引き出された下部電極20および上部電極50の部分と結線されたものである。
この電圧印加手段70によって、下部電極20を正極、上部電極50を負極とした順バイアス電圧が印加されると、発光層43が発光し、非発光時には、下部電極20を負極、上部電極50を正極とした逆バイアス電圧が印加される。ここで、発光層43の発光は、たとえば基板10側から取り出され視認されるようになっている。
また、この有機ELパネル100は、次のようにして製造される。基板10の上にスパッタ法などにより下部電極20を形成した後、必要に応じて、UVオゾンと酸素を含有するガスによるプラズマ処理などによって下部電極20の表面処理を行う。
その後、下部電極20の上に、上述したスパッタ法や原子層成長法などにより高融点金属化合物の膜30を形成する。続いて、蒸着法などにより、有機膜40、電子注入層45、上部電極50を形成する。そして、電圧印加手段70の取り付けを行う。こうして、上記図1に示される本実施形態の有機ELパネル100ができあがる。
なお、この後、有機ELパネル100は、基板10上における画素60の部分を湿気などから保護するために、通常、この画素60を、吸湿剤を入れ乾燥窒素などが封入されたカバーによって封止する。このカバーは、図示しないが、上記図5に示される基板10の周辺部に接着剤などにより取り付けられる。
以上述べてきた本実施形態の有機ELパネル100によれば、高融点金属化合物の膜30を、画素60の間を短絡させないようにパターニングすることで表示不良を防止しつつ、10nmより厚くすることで、上記図2および図3に示されるように、高温での下部電極20の還元を抑制できる。
具体的に言うならば、高融点金属化合物の膜30がZnO膜よりなる場合、Znの融点は419℃であり、上記図1に示されるメカニズムのようにZnO膜が還元されてZnとなったとしても、このZnは溶融状態とならない。
そうすると、高温環境下において、有機膜40が気化状態にあるとしても、Znは有機膜40中へは析出しない。また、高融点金属化合物の膜30の下地の下部電極20は、10nm以上と十分な膜厚を有するZnO膜により被覆され、還元されない。そのため、有機膜40中には、上記図1に示したような導電性経路が形成されず、リーク電流の増加も極力抑制される。
したがって、本実施形態によれば、有機ELパネル100において、高温での駆動や保存によるリーク電流の発生を極力抑制することができる。
また、本発明者の検討によれば、逆バイアス電圧に対するリーク電流の関係を評価したところ、有機膜40の膜厚を薄くするとリーク電流が流れやすくなることを見出した。厳密には、導電性の電気特性を示すCuPcなどのポルフィリン材料を除く材料の膜厚が、130nmよりも薄い膜厚でリーク電流が流れやすくなることを見出した。
したがって、初期的なリーク電流を防止するという点では、有機膜40の膜厚を130nm以上に確保することが好ましい、
(第2実施形態)
ところで、上記図4に示される有機ELパネル100においては、ITOなどからなる下部電極20の表面を、いかに高融点金属化合物の膜30で覆うかも、下部電極20の還元を防止するためには必要である。
画素60以外を絶縁膜などで覆うことで、逆バイアスの電界が弱ければ、下部電極20の還元は抑制できるが、上述のリーク点は点欠陥であり、画素60においては下部電極20におけるピンホール部などの点欠陥で発生しやすい。
本第2実施形態は、この点を解決する方法を提供する。図6は、本発明の第2実施形態における有機ELパネルの要部を示す概略断面図であり、この図6に示されている部位以外の部分は、上記図1のものと同様である。
図6では、本実施形態の有機ELパネルのうち基板10、下部電極20、高融点金属化合物の膜30を示しており、上述した有機膜40、上部電極50、電圧印加手段70は省略してある。
この図6に示されるように、本実施形態では、第1の電極としての下部電極20におけるエッジ部のテーパ角度θを30°以下としている。なお、テーパ角度θは、下部電極20のエッジ部の面と基板10とのなす角度である。
ここで、下部電極20におけるエッジ部としては、図6に示されるように、隣り合う下部電極20に対向するエッジ部以外にも、下部電極20にピンホール21が存在する場合、このピンホール21の開口縁部もエッジ部として含まれる。
このような構成は、下部電極20をパターニングして形成した後に、下部電極20の表面を研磨し、その上に、高融点金属化合物の膜30を形成することにより作製することができる。研磨としては、半導体プロセスなどに通常用いられている各種の研磨方法を採用できる。
下部電極20の表面を研磨することで、ピンホール21の部分も含む下部電極20のエッジ部を低いテーパ角度θにすることができ、高融点金属化合物の膜30で覆いやすくできる。
具体的には、エッチング後において、ピンホール21も含む下部電極20のエッジ部のテーパ角度θは、40〜50°程度であるが、これを研磨することにより、30°以下にまで小さくできる。
このテーパ角度を30°以下にする根拠は、本発明者の行った実験調査の結果によるものである。本発明者は、このテーパ角度θと、高融点金属化合物の膜30による下部電極20のエッジ部の被覆率について調査を行った。
図7は、この調査結果の一例であり、高融点金属化合物の膜30として厚さ12nmのZnO膜を用いて、テーパ角度θを代えていったときの、テーパ角度θ(°)とZnO被覆率(%)との関係を示すグラフである。なお、被覆率は、ZnO膜で被覆されている部位の面積比率であり、電子顕微鏡で求めた。
図7に示されるように、10nm以上の厚さの高融点金属化合物の膜30によって、下部電極20のエッジ部を適切に覆うためには、30°以下のテーパ角度θが必要であることがわかる。このように、下部電極20のピンホール21などのエッジ部も、高融点金属化合物の膜30で適切に覆うことで、下部電極20の還元防止を、より高レベルにて実現できる、
さらに、本実施形態においては、下部電極20をパターニング後に研磨する場合、分離された下部電極20の間においては、基板10であるガラスも研磨することになる。つまり、上記図2に示されるように、基板10上において、分離された下部電極20同士の間の部位11も研磨される。
この場合、Naなどのアルカリを含有するソーダガラスを基板10に用いると、ソーダガラスとITOなどよりなる下部電極20との間に、アルカリ溶出防止膜としてSiO2膜を20nm程度形成する。
しかし、上記した下部電極20のパターニング後の研磨により、アルカリ溶出防止膜であるSiO2膜が除去されてしまい、その結果、ソーダガラスからアルカリ成分の溶出が起こる。
上述したように、基板10上において分離された下部電極20同士の間の部位11は、画素60を封止するカバーが接着される部位であり、この部位11にてアルカリ成分の溶出が発生すると、当該カバーの接着強度の低下を引き起こすことになる。そこで、本実施形態では、この対策として、基板10としてソーダガラスに代えて、無アルカリガラスを用いることが必要である。
つまり、本実施形態においては、下部電極20が、基板10上にパターニング形成されたものである構成の場合、この基板10は、NaやKなどのアルカリ成分を含まない無アルカリガラスよりなることが好ましい。それによれば、研磨による基板10からのアルカリ成分の溶出を回避できる。
(第3実施形態)
フルカラー有機ELパネルの実現方法として、カラーフィルタと白色有機ELルの組み合わせがある。本実施形態は、このようなカラーフィルタを有する有機ELパネルを提供するものである。
図8は、本発明の第3実施形態に係る有機ELパネルの要部を示す概略断面図であり、図8に示される部位以外の部分は、上記実施形態と同様である。
図8では、本実施形態の有機ELパネルのうち基板10、下部電極20、高融点金属化合物の膜30および基板10と下部電極20との間に設けられたカラーフィルタ80およびその周辺部分の構成を示しており、有機膜40、上部電極50、電圧印加手段70は省略してある。
図8に示されるように、下部電極20は、基板10上にパターニング形成されたものであり、下部電極20と基板10との間には、カラーフィルタ80が介在している。ここで、カラーフィルタ80は周知のように、R(赤)、G(緑)、B(青)の3色構成となっており、このカラーフィルタ80の段差を埋めるためのオーバーコート層80aが、カラーフィルタ80の表面を覆っている。
そして、さらに、カラーフィルタ80と下部電極20との間、すなわち、オーバーコート層80aと下部電極20との間には、原子層成長法にて形成された膜81が介在して設けられている。なお、この膜81は、以下、保護膜81ということにする。
この保護膜81は、カラーフィルタ80からの水分放出による非発光部の発生を防止するために設けられたもので、SiO2膜などの低水分透過機能を有した無機膜よりなる。
ここで、この保護膜81を、一般的なスパッタ法やCVD法によって形成した場合、水分透過能力を低くするためには、有機膜40よりも厚いミクロンオーダーの厚さが必要となる。その結果、保護膜81の表面の凹凸が大きくなり、その上に形成する下部電極20の表面の凹凸も大きくなる。
そうなると、下部電極20の上に高融点金属化合物の膜30を形成する場合に、この高融点金属化合物の膜30による下部電極20の被覆性が悪化してしまう。そこで、本実施形態では、この対策として、カラーフィルタ80上の保護膜81の表面の凹凸を小さくすべく、原子層成長法により保護膜81を形成する。
原子層成長法を用いれば、その原理上、膜質が緻密になり、低水分透過機能が高くなるため、スパッタやCVDよりも1桁以上薄い膜厚で十分である。そして、このように原子層成長法により形成された保護膜81によれば、下地のカラーフィルタ80と同等の表面凹凸レベルに抑制が可能である。
次に、限定するものではないが、本発明について、次に示される実施例を参照して、より具体的に述べることとする。
本例では、基板10としてガラス基板10を用意し、この基板10の上に、厚さ150nmのITOからなる下部電極20をパターニングして形成した。
その上に、高融点金属化合物の膜30として、VOx膜をスパッタ法により15nm成膜し、ITOと同様にパターニング加工した。このVOx膜は、V25をターゲットして、基板温度200℃程度で形成した。
その後、基板温度200℃で、5分、UVオゾン処理による前処理を行う。または、基板10を真空チャンバーに入れ、パワーが0.4W/cm2のプラズマによって50秒、前処理を行う。
その後、真空蒸着により、有機膜40の形成を行う。本例では、正孔注入層41として、銅フタロシアニンを15nm成膜し、その上に正孔輸送層42に、α−ナフチルフェニルベンゼンを60nm成膜する。
さらに、発光層43として、クマリンを1%ドープしたアルミキノリノール(Tg:167℃)とトリフェニルアミンBとを1:1の比で混合したものであって、厚さ60nmにて成膜されたものを形成した。
次に、厚さ30nmのアルミキノリノールからなる電子輸送層44を形成し、続いて、厚さ0.5nmのLiFなどからなる電子注入層45を形成し、厚さ300nmのAl−0.2%Cuからなる上部電極50を形成した。
そして、この有機ELパネルを露点−70℃以下の乾燥窒素雰囲気に入れ、封止用の掘り込みガラスからなるカバーに吸湿剤をつけて封止するとともに、電圧印加手段70を取り付けた。
そして、このものについて、80℃の高温環境での駆動テストおよび100℃の高温保存テストを行った。ここで、駆動テストとしては、1/64デューティにて順方向は定電流駆動で、初期輝度が200cd/m2となるように調整した。そのときの順方向パルス電圧は、12V程度であった。順方向パルス以外の時は、15Vの逆バイアスパルスを印加した。
これら80℃の駆動テストおよび100℃の保存テストを行い、パネルを評価したところ、両方のテストにおいて、1000時間以上、上下電極20、50の短絡に至る不具合は全く発生しなかった。さらに、パネルの画素60を詳細に評価したところ、発生したリーク画素の平均リーク電流は、210nAであり、リーク部にInやSnの析出は無かった。また、このVOx膜と同様の効果をMoOxやRuOxでも確認した。
(比較例1)
高融点金属化合物の膜30としてVOx膜を形成しないこと以外は、上記実施例1と同様にして、有機ELパネルを形成した。
そして、上記実施例1と同様に80℃の駆動テストおよび100℃の保存テストを行い、パネルを評価した。なお、本例では、駆動テストにおける順方向パルスの電圧は、10V程度であり、順方向パルス以外の時は、15Vの逆バイアスパルスを印加した。
本例では、両方のテストにおいて、駆動中あるいは保存中に、上下電極20、50の短絡が発生した。また、それ以外の1000時間後に発生したリーク画素の平均リーク電流は1.4μAであり、リーク部にInやSnの析出が見られた。
上記実施例1と同様に、基板10の上に、ITOからなる下部電極20をパターニングして形成した後、その上に、高融点金属化合物の膜30として、Ga23を6%添加したZnO膜をスパッタにより15nm成膜した。
その後、酢酸水溶液を用いてエッチングすることにより、このZnO膜を、すでにパターニングされているITOと略同一の平面形状にパターニングした。その後は、上記実施例1と同様にして、CuPc以降の有機膜40、電子注入層45、上部電極50を形成した後、乾燥窒素中にてカバーによる封止を行った、
そして、上記実施例1と同様に80℃の駆動テストおよび100℃の保存テストを行い、パネルを評価した。なお、本例では、駆動テストにおける順方向パルスの電圧は、11V程度であり、順方向パルス以外の時は、15Vの逆バイアスパルスを印加した。
これらテスト後におけるパネルを耐久評価したところ、80℃の駆動テストおよび100℃の保存テストの両方において、1000時間以上、上下電極20、50の短絡に至る不具合は全く発生しなかった。さらに、パネルの画素60を詳細に評価したところ、発生したリーク画素の平均リーク電流は、310nAであり、リーク部にInやSnの析出は無かった。
上記実施例1と同様に、基板10の上に、ITOからなる下部電極20をパターニングして形成した。
その後、本例では、ITOをアルミナを主成分とする研磨液を用いて、20nm程度研磨した。この研磨により、ITOからなる下部電極20のエッジ部のテーパ角度θは、40°から10°まで小さくなった。
続いて、研磨された下部電極20の上に、高融点金属化合物の膜30として、Ga23を6%添加したZnO膜をスパッタにより15nm成膜した。
その後、酢酸水溶液を用いてエッチングすることにより、このZnO膜を、すでにパターニングされているITOと略同一の平面形状にパターニングした。その後は、上記実施例1と同様にして、CuPc以降の有機膜40、電子注入層45、上部電極50を形成した後、乾燥窒素中にてカバーによる封止を行った、
そして、上記実施例1と同様に80℃の駆動テストおよび100℃の保存テストを行い、パネルを評価した。なお、本例では、駆動テストにおける順方向パルスの電圧は、11V程度であり、順方向パルス以外の時は、15Vの逆バイアスパルスを印加した。
これらテスト後におけるパネルを耐久評価したところ、80℃の駆動テストおよび100℃の保存テストの両方において、1000時間以上、上下電極20、50の短絡に至る不具合は全く発生しなかった。さらに、パネルの画素60を詳細に評価したところ、発生したリーク画素の平均リーク電流は、140nAであり、リーク部にInやSnの析出は無かった。
以上の実施形態および実施例を参照して述べたように、本発明によれば、高温信頼性を要求される有機ELパネルにおいても、欠陥の発生を無くすことができ、より具体的には、数μAオーダのリーク電流が発生しても、リーク電流の更なる増加を防止できる。その結果、上下電極の短絡に至らず、ライン欠陥などの表示不良を防止できる。
なお、上記実施形態では、下部電極20を正極となる第1の電極、上部電極50を負極となる第2の電極としたが、これとは反対に、上記構成において下部電極20を負極となる第2の電極とし、上部電極50を正極となる第1の電極としてもよい。
その場合、たとえば、上部電極50をITO、下部電極20をAlとして上部電極側から下部電極側へ正孔注入層、正孔輸送層、発光層、電子輸送層となるように構成し、第1の電極となる上部電極と有機膜との間に高融点金属化合物の膜を設ければよい。
また、上記図1に示される有機ELパネル100の構成は、あくまで一実施形態を示すものであり、たとえば、有機膜40の積層構成は上記例に示されるようなものに限定されるものではない。
つまり、本発明は、対向して配置された一対の電極間に発光層を含む有機膜を介在させ、両電極のうち一方を正極とし他方を負極とした場合に発光し、極性を反転すると非発光となる特性を有し、駆動状態において非発光の電界を少なくとも一回以上印加する有機ELパネルであるならば、適用可能である。
そして、本発明は、このような有機ELパネルにおいて、発光時に正極となる第1の電極がIn、Ga、Tl、Sn、Pb、Cd、Biのうち一種類以上の融点が419℃よりも低い金属元素を含むものである場合に、当該第1の電極と有機膜との間に、上記した高融点金属化合物の膜を介在させるものである。
高温での駆動や保存によるリーク電流の発生についての本発明者の推定メカニズムを示す図である。第1の電極を構成する金属酸化物中の金属の融点と当該金属の有機膜中への析出率との関係を示すグラフである。高融点金属化合物の膜の膜厚と第1の電極の還元抑制率との関係を示すグラフである。本発明の第1実施形態に係る有機ELパネルにおける画素の概略断面図である。(a)は上記第1実施形態の有機ELパネルの部分平面図、(b)は(a)のA−A断面図である。本発明の第2実施形態における有機ELパネルの要部を示す概略断面図である。下部電極のエッジ部のテーパ角度θと高融点金属化合物の膜による被覆率との関係を示すグラフである。本発明の第3実施形態における有機ELパネルの要部を示す概略断面図である。
符号の説明
10…基板、20…第1の電極としての下部電極、30…高融点金属化合物の膜、
40…有機膜、43…発光層、50…第2の電極としての上部電極、60…画素、
80…カラーフィルタ、81…保護膜、
θ…第1の電極におけるエッジ部のテーパ角度。

Claims (8)

  1. 対向して配置された第1の電極(20)および第2の電極(50)の間に発光層(43)を含む有機膜(40)を介在させてなる複数個の画素(60)と、
    前記両電極(20、50)の間に交流電界を印加するための電圧印加手段(70)とを備え、
    前記電圧印加手段(70)によって、前記第1の電極(20)を正極とし前記第2の電極(50)を負極として前記両電極(20、50)に対して電界を印加することで前記画素(60)を発光させ、この発光時の電界とは極性を反転させた電界を印加することで前記画素(60)を非発光とするとともに、これら発光および非発光が前記各画素(60)ごとに選択される駆動において、非発光画素に対して前記非発光となる電界の印加を少なくとも一回以上行う有機ELパネルにおいて、
    前記第1の電極(20)は、In、Ga、Tl、Sn、Pb、Cd、Biのうち一種類以上の融点が419℃よりも低い金属元素を含むものであり、
    前記有機膜(40)と前記第1の電極(20)との間には、主成分の金属が419℃以上の融点を持つ金属の酸化物、硫化物またはセレン化物よりなる膜(30)が介在しており、
    前記膜(30)は10nmよりも厚いものであり、
    前記複数個の画素(60)の間にて電気的に分離された前記第1の電極(20)同士の間においては、前記膜(30)は除去されることで前記複数個の画素(60)の間の電気的な絶縁が確保されていることを特徴とする有機ELパネル。
  2. 前記膜(30)における主成分の金属元素は、亜鉛、バナジウム、ルテニウム、モリブデンおよびチタンの少なくとも1種類の元素を含有するものであることを特徴とする請求項1に記載の有機ELパネル。
  3. 前記膜(30)には、GaおよびはAlの少なくとも1種類の元素が添加されていることを特徴とする請求項1または2に記載の有機ELパネル。
  4. 前記第1の電極(20)におけるエッジ部のテーパ角度(θ)が30°以下であることを特徴とする請求項1ないし3のいずれか1つに記載の有機ELパネル。
  5. 前記第1の電極(20)は、基板(10)上にパターニング形成されたものであり、この基板(10)は無アルカリガラスよりなることを特徴とする請求項4に記載の有機ELパネル。
  6. 前記膜(30)は、原子層成長法にて形成された膜であることを特徴とする請求項1ないし5のいずれか1つに記載の有機ELパネル。
  7. 前記第1の電極(20)は、基板(10)上にパターニング形成されたものであり、
    前記第1の電極(20)と前記基板(10)との間には、カラーフィルタ(80)が介在しており、さらに、前記カラーフィルタ(80)と前記第1の電極(20)との間には、原子層成長法にて形成された膜(81)が介在していることを特徴とする請求項1ないし6のいずれか1つに記載の有機ELパネル。
  8. 請求項4に記載の有機ELパネルを製造する製造方法であって、
    前記第1の電極(20)をパターニングして形成した後に、前記第1の電極(20)の表面を研磨し、その上に、前記膜(30)を形成することを特徴とする有機ELパネルの製造方法。
JP2006020352A2006-01-302006-01-30有機elパネルおよびその製造方法Expired - Fee RelatedJP4626526B2 (ja)

Priority Applications (1)

Application NumberPriority DateFiling DateTitle
JP2006020352AJP4626526B2 (ja)2006-01-302006-01-30有機elパネルおよびその製造方法

Applications Claiming Priority (1)

Application NumberPriority DateFiling DateTitle
JP2006020352AJP4626526B2 (ja)2006-01-302006-01-30有機elパネルおよびその製造方法

Publications (2)

Publication NumberPublication Date
JP2007201327A JP2007201327A (ja)2007-08-09
JP4626526B2true JP4626526B2 (ja)2011-02-09

Family

ID=38455579

Family Applications (1)

Application NumberTitlePriority DateFiling Date
JP2006020352AExpired - Fee RelatedJP4626526B2 (ja)2006-01-302006-01-30有機elパネルおよびその製造方法

Country Status (1)

CountryLink
JP (1)JP4626526B2 (ja)

Families Citing this family (19)

* Cited by examiner, † Cited by third party
Publication numberPriority datePublication dateAssigneeTitle
JP5001745B2 (ja)*2007-08-102012-08-15住友化学株式会社有機エレクトロルミネッセンス素子及び製造方法
JP5214194B2 (ja)*2007-08-102013-06-19住友化学株式会社金属ドープモリブデン酸化物層を含む有機エレクトロルミネッセンス素子及び製造方法
JP5618458B2 (ja)*2007-08-102014-11-05住友化学株式会社有機エレクトロルミネッセンス素子、製造方法及び塗布液
JP2009044102A (ja)*2007-08-102009-02-26Sumitomo Chemical Co Ltd有機エレクトロルミネッセンス素子及び製造方法
JP2009044104A (ja)*2007-08-102009-02-26Sumitomo Chemical Co Ltd有機エレクトロルミネッセンス素子及び製造方法
JP2009141077A (ja)*2007-12-052009-06-25Toppan Printing Co Ltd有機エレクトロルミネッセンス素子、その製造方法および表示装置
US8242487B2 (en)2008-05-162012-08-14E I Du Pont De Nemours And CompanyAnode for an organic electronic device
JP5038274B2 (ja)*2008-09-252012-10-03住友化学株式会社有機エレクトロルミネッセンス素子およびその製造方法
JP5155085B2 (ja)*2008-10-012013-02-27住友化学株式会社有機エレクトロルミネッセンス素子、およびその製造方法
JP5036680B2 (ja)*2008-10-072012-09-26住友化学株式会社有機エレクトロルミネッセンス素子の製造方法
JP2010129345A (ja)*2008-11-272010-06-10Sumitomo Chemical Co Ltd有機エレクトロルミネッセンス素子の製造方法
JP5314395B2 (ja)*2008-11-272013-10-16住友化学株式会社有機エレクトロルミネッセンス素子の製造方法
WO2010065505A2 (en)*2008-12-012010-06-10E. I. Du Pont De Nemours And CompanyAnode for an organic electronic device
JP5155136B2 (ja)*2008-12-182013-02-27住友化学株式会社有機エレクトロルミネッセンス素子及びその製造方法
KR101097316B1 (ko)2009-10-122011-12-23삼성모바일디스플레이주식회사유기 발광 소자
US9119272B2 (en)2010-12-242015-08-25Nec Lighting, Ltd.Organic electroluminescent element and organic electroluminescent lighting device
JP6129614B2 (ja)*2013-03-272017-05-17株式会社カネカ有機el発光素子と有機el発光素子の製造方法
US9024336B2 (en)2013-05-282015-05-05J Touch CorporationDisplay panel driven by electrode wires
JP2015038540A (ja)*2013-05-292015-02-26介面光電股▲ふん▼有限公司表示パネル

Family Cites Families (12)

* Cited by examiner, † Cited by third party
Publication numberPriority datePublication dateAssigneeTitle
JPH07230880A (ja)*1993-12-201995-08-29Ricoh Co Ltd有機el表示装置
JP2824411B2 (ja)*1995-08-251998-11-11株式会社豊田中央研究所有機薄膜発光素子
JPH09260064A (ja)*1996-03-151997-10-03Sony Corp光学的素子及びその製造方法
JP4374765B2 (ja)*2000-11-092009-12-02株式会社デンソー有機el素子の製造方法
JP2002289345A (ja)*2001-03-272002-10-04Nippon Seiki Co Ltd有機elパネル及びその製造方法
JP4168775B2 (ja)*2003-02-122008-10-22株式会社デンソー薄膜の製造方法
TWI228384B (en)*2003-06-262005-02-21Ind Tech Res InstActive matrix organic light emitting diode
JP2005050552A (ja)*2003-07-292005-02-24Dainippon Printing Co Ltd有機el表示装置
JP2005093329A (ja)*2003-09-192005-04-07Sony Corp表示素子およびこれを用いた表示装置
JP4718768B2 (ja)*2003-09-192011-07-06株式会社半導体エネルギー研究所発光装置
JP2005108696A (ja)*2003-09-302005-04-21Tdk Corp有機el素子及び有機el素子の製造方法
JP4742584B2 (ja)*2004-03-232011-08-10株式会社豊田中央研究所電極

Also Published As

Publication numberPublication date
JP2007201327A (ja)2007-08-09

Similar Documents

PublicationPublication DateTitle
JP4626526B2 (ja)有機elパネルおよびその製造方法
JP4567962B2 (ja)エレクトロルミネッセンス素子及びエレクトロルミネッセンスパネル
US8742660B2 (en)Light-emitting device
TWI399998B (zh)有機el顯示裝置
JP4864546B2 (ja)有機el表示装置およびその製造方法
KR20140033769A (ko)유기전계발광소자 및 그 제조방법
US20070228380A1 (en)Organic light-emitting device
US10957872B2 (en)Electrode and organic electroluminescent device using same
US20080252204A1 (en)Organic Electroluminescence Device and Manufacturing Method of the Same
JP5214440B2 (ja)複合透明上部電極をもつ照明または画像表示のための発光パネル
KR20150007868A (ko)유기발광표시장치 및 그 제조방법
JP3575468B2 (ja)有機elディスプレイの製造方法
JPH05299177A (ja)薄膜エレクトロ・ルミネッセンス素子
JP2010147257A (ja)有機el素子
JP2006228570A (ja)エレクトロルミネッセンス素子及びエレクトロルミネッセンスパネル
JP2006228573A (ja)エレクトロルミネッセンス素子
JP6220208B2 (ja)有機エレクトロルミネッセンス表示装置及びその製造方法
JP3724733B2 (ja)有機el発光素子およびその製造方法
JP2012038544A (ja)有機el表示装置
JP2008218470A (ja)有機el表示装置
JP2006019375A (ja)有機発光素子およびその製造方法並びに表示装置
JP2003045665A (ja)有機el表示装置
WO2018193822A1 (ja)電子デバイスおよびその製造方法
JP4656906B2 (ja)発光装置
JP4557069B2 (ja)有機elディスプレイおよびその製造方法

Legal Events

DateCodeTitleDescription
A621Written request for application examination

Free format text:JAPANESE INTERMEDIATE CODE: A621

Effective date:20071204

A977Report on retrieval

Free format text:JAPANESE INTERMEDIATE CODE: A971007

Effective date:20100712

A131Notification of reasons for refusal

Free format text:JAPANESE INTERMEDIATE CODE: A131

Effective date:20100720

A521Request for written amendment filed

Free format text:JAPANESE INTERMEDIATE CODE: A523

Effective date:20100915

TRDDDecision of grant or rejection written
A01Written decision to grant a patent or to grant a registration (utility model)

Free format text:JAPANESE INTERMEDIATE CODE: A01

Effective date:20101012

A01Written decision to grant a patent or to grant a registration (utility model)

Free format text:JAPANESE INTERMEDIATE CODE: A01

A61First payment of annual fees (during grant procedure)

Free format text:JAPANESE INTERMEDIATE CODE: A61

Effective date:20101025

FPAYRenewal fee payment (event date is renewal date of database)

Free format text:PAYMENT UNTIL: 20131119

Year of fee payment:3

R150Certificate of patent or registration of utility model

Ref document number:4626526

Country of ref document:JP

Free format text:JAPANESE INTERMEDIATE CODE: R150

Free format text:JAPANESE INTERMEDIATE CODE: R150

S531Written request for registration of change of domicile

Free format text:JAPANESE INTERMEDIATE CODE: R313532

FPAYRenewal fee payment (event date is renewal date of database)

Free format text:PAYMENT UNTIL: 20131119

Year of fee payment:3

R350Written notification of registration of transfer

Free format text:JAPANESE INTERMEDIATE CODE: R350

R250Receipt of annual fees

Free format text:JAPANESE INTERMEDIATE CODE: R250

R250Receipt of annual fees

Free format text:JAPANESE INTERMEDIATE CODE: R250

R250Receipt of annual fees

Free format text:JAPANESE INTERMEDIATE CODE: R250

R250Receipt of annual fees

Free format text:JAPANESE INTERMEDIATE CODE: R250

R250Receipt of annual fees

Free format text:JAPANESE INTERMEDIATE CODE: R250

LAPSCancellation because of no payment of annual fees

[8]ページ先頭

©2009-2025 Movatter.jp