

























この発明は、永久磁石と電磁コイルとを利用した電動モータに関する。 The present invention relates to an electric motor using a permanent magnet and an electromagnetic coil.
  永久磁石と電磁コイルとを利用した電動モータとしては、例えば下記の特許文献1に記載されたものなどが知られている。  As an electric motor using a permanent magnet and an electromagnetic coil, for example, one described in
この従来技術の電動モータでは、デジタル磁気センサからのオン/オフ信号を用いて制御を行っている。具体的には、デジタル磁気センサのオン/オフ信号を用いて、電磁コイルへの印加電圧の極性反転のタイミングが決定されている。 In this conventional electric motor, control is performed using an on / off signal from a digital magnetic sensor. Specifically, the timing of polarity reversal of the voltage applied to the electromagnetic coil is determined using an on / off signal of the digital magnetic sensor.
磁気センサとしては、アナログ出力を有するもの(いわゆるアナログ磁気センサ)も存在する。しかし、アナログ磁気センサをモータの制御に利用する場合には、モータの各種の製造誤差に起因して、センサ出力にかなりの誤差が発生してしまい、良好なモータ制御を行えない場合があった。アナログ磁気センサの出力に影響するモータの製造誤差としては、例えば、磁気センサの設置位置の誤差や、永久磁石の着磁誤差に起因するN極とS極の境界位置の誤差、磁気センサ内部の素子部の実装位置の誤差等が存在する。しかしながら、従来は、これらの誤差を考慮しつつ、アナログ磁気センサを利用して正確なモータ制御を実現する工夫が十分されていないのが実情であった。このような問題は、アナログ磁気センサを使用した場合に限らず、多値のアナログ的出力を有するデジタル磁気センサを使用した場合にも共通する問題であった。 Some magnetic sensors have analog outputs (so-called analog magnetic sensors). However, when an analog magnetic sensor is used for motor control, due to various manufacturing errors of the motor, a considerable error occurs in the sensor output, and good motor control may not be performed. . The manufacturing errors of the motor that affect the output of the analog magnetic sensor include, for example, an error in the installation position of the magnetic sensor, an error in the boundary position between the N pole and the S pole due to the magnetization error of the permanent magnet, There is an error in the mounting position of the element portion. However, in the past, the actual situation is that there has not been a sufficient device for realizing accurate motor control using an analog magnetic sensor in consideration of these errors. Such a problem is not limited to the case of using an analog magnetic sensor, but is a problem common to the case of using a digital magnetic sensor having a multi-valued analog output.
本発明は、磁気センサの出力に関する誤差を考慮しつつ、正確なモータ制御を実現する技術を提供することを目的とする。 It is an object of the present invention to provide a technique that realizes accurate motor control while considering an error related to the output of a magnetic sensor.
  上記目的を達成するために、本発明による電動モータは、
複数の電磁コイルを有するコイル列を備えるステータと、
  複数の永久磁石を有する磁石列を備えるロータと、
  前記磁石列と前記コイル列の相対位置に応じて、アナログ的変化を示す出力信号を出力する複数の磁気センサと、
  前記複数の磁気センサの出力信号のアナログ的変化を利用して、前記コイル列への印加電圧を生成する駆動制御回路と、
  前記電動モータの動作時における前記複数の磁気センサの出力信号がそれぞれ所定の波形形状になるように、前記複数の磁気センサの出力信号のゲイン補正とオフセット補正をそれぞれ行う出力波形補正部と、
  波形補正用の補正値を前記出力波形補正部に設定する補正値設定部と、
を備え、
  前記出力波形補正部は、ゲイン補正値とオフセット補正値を記憶するためのメモリを有しており、
  前記複数の磁気センサには、識別用のIDコードがそれぞれ割り当てられており、
  前記補正値設定部は、前記ロータが回転し続ける状態で各磁気センサの出力信号のピーク電圧を複数回測定し、前記複数回の測定における前記ピーク電圧の平均値又は最大値を当該磁気センサのゲイン補正値として決定するとともに、各磁気センサのゲイン補正値を各磁気センサのIDコードと共に前記出力波形補正部に送信して前記メモリ内に格納させる。In order to achieve the above object, an electric motor according to the present invention provides:
 Astator including a coil array having a plurality of electromagnetic coils;
 Arotor comprising a magnet array having a plurality of permanent magnets;
 A plurality of magnetic sensors that output an output signal indicating an analog change according to the relative positions of the magnet array and the coil array;
 A drive control circuit that generates an applied voltage to the coil array using an analog change in output signals of the plurality of magnetic sensors;
 An output waveform correction unitthat respectively performs gain correction and offset correction of the output signalsof the plurality of magnetic sensors so that the output signals of the plurality of magnetic sensors at the time of operation of the electric motor each have a predetermined waveform shape;
A correction value setting unit for setting a correction value for waveform correction in the output waveform correction unit;
 With
 The output waveform correction unit has a memory for storing again correction value and an offset correction value ,
 An identification ID code is assigned to each of the plurality of magnetic sensors,
The correction value setting unit measures the peak voltage of the output signal of each magnetic sensor a plurality of times while the rotor continues to rotate, and calculates the average value or the maximum value of the peak voltage in the plurality of measurements. The gain correction value is determined as a gain correction value, and the gain correction value of each magnetic sensor is transmitted to the output waveform correction unit together with the ID code of each magnetic sensor and stored in the memory .
この電動モータは、磁気センサの出力信号が所定の波形形状になるように補正を行う出力波形補正部を備えているので、駆動制御回路が、磁気センサの出力信号のアナログ的変化を利用してコイル列に望ましい波形の印加電圧を印加することができる。この結果、磁気センサの出力に誤差が生じていても、正確なモータ制御を実現することが可能である。また、複数の磁気センサをIDコードで互いに識別しており、IDコードとともに外部から出力波形補正値を受信するので、複数の磁気センサの出力信号の波形をそれぞれ望ましいものに補正することが可能である。また、ゲイン補正とオフセット補正とを利用すれば、磁気センサの出力信号を所望の波形形状に容易に補正することが可能である。特に、ゲイン補正では、複数回の測定におけるピーク電圧の平均値又は最大値を用いてゲイン補正を行うので、複数の磁石全体に関して最も好ましいゲインを設定することが可能である。Since this electric motor includes an output waveform correction unit that performs correction so that the output signal of the magnetic sensor has a predetermined waveform shape, the drive control circuit uses an analog change in the output signal of the magnetic sensor. An applied voltage having a desired waveform can be applied to the coil array. As a result, accurate motor control can be realized even if an error occurs in the output of the magnetic sensor. In addition, since the plurality of magnetic sensors are distinguished from each other by the ID code, and the output waveform correction value is received from the outside together with the ID code, it is possible to correct the waveforms of the output signals of the plurality of magnetic sensors to each desired one. is there.Further, if gain correction and offset correction are used, the output signal of the magnetic sensor can be easily corrected to a desired waveform shape. In particular, in gain correction, gain correction is performed using an average value or maximum value of peak voltages in a plurality of measurements, so that the most preferable gain can be set for the entire plurality of magnets.
なお、前記補正値設定部は、前記ロータが回転し続ける状態で各磁気センサの出力信号の最大電圧と最小電圧を測定し、前記最大電圧と最小電圧の平均値を当該磁気センサのオフセット補正値として決定し、前記オフセット補正値を前記ゲイン補正値及び各磁気センサのIDコードと共に前記出力波形補正部に送信して前記メモリ内に格納させるようにしてもよい。The correction value setting unit measures the maximum voltage and the minimum voltage of the output signal of each magnetic sensor while the rotor continues to rotate, and calculates the average value of the maximum voltage and the minimum voltage as the offset correction value of the magnetic sensor. The offset correction value may be transmitted to the output waveform correction unit together with the gain correction value and the ID code of each magnetic sensor and stored in the memory .
なお、本発明は、種々の形態で実現することが可能であり、例えば、電動モータ及びその制御方法、電動モータのセンサの補正方法及び装置、それらを用いたアクチュエータ等の形態で実現することができる。 The present invention can be realized in various forms. For example, the present invention can be realized in the form of an electric motor and a control method thereof, a correction method and apparatus for a sensor of the electric motor, an actuator using the same, and the like. it can.
  次に、本発明の実施の形態を以下の順序で説明する。
A.電動モータの構成:
B.駆動制御回路の構成:
C.センサ出力の補正:
D.駆動制御回路の他の実施例:
E.センサ出力補正の他の実施手順:
F.変形例:Next, embodiments of the present invention will be described in the following order.
 A. Configuration of electric motor:
 B. Configuration of drive control circuit:
 C. Sensor output correction:
 D. Other embodiments of the drive control circuit:
 E. Other implementation steps for sensor output correction:
 F. Variations:
A.電動モータの構成:
  図1(A)は、本発明の一実施例としての電動モータのモータ本体の構成を示す断面図である。このモータ本体100は、それぞれ略円盤状のステータ部10及びロータ部30を有している。ロータ部30は、複数の磁石を有する磁石列34Mを有しており、回転軸112に固定されている。磁石列34Mの磁化方向は上下方向である。ステータ部10は、ロータ部30の上部に配置されたA相コイル列14Aと、ロータ部30の下部に配置されたB相コイル列24Bとを有している。A. Configuration of electric motor:
 FIG. 1A is a cross-sectional view showing a configuration of a motor body of an electric motor as one embodiment of the present invention. The motor
  図1(B)〜(D)は、ステータ部10の第1のコイル列14Aと、ロータ部30と、ステータ部10の第2のコイル列24Bとを分離して示したものである。この例では、A相コイル列14AとB相コイル列24Bは、それぞれ6つのコイルを有しており、磁石列34Mも6つの磁石を有している。但し、コイルや磁石の数は任意の値に設定することが可能である。  1 (B) to 1 (D) separately show the
  図2(A)は、コイル列14A,24Bと磁石列34Mの位置関係を示している。A相コイル列14Aは支持部材12Aに固定されており、B相コイル列24Bは支持部材22Bに固定されている。A相コイル列14Aは、逆方向に励磁される2種類のコイル14A1,14A2が一定のピッチPcで交互に配置されたものである。図2(A)の状態では、3つのコイル14A1は磁化方向(N極からS極に向く方向)が下向きになるように励磁されており、また、他の3つのコイル14A2は磁化方向が上向きになるように励磁されている。B相コイル列24Bも、逆方向に励磁される2種類のコイル24B1,24B2が一定のピッチPcで交互に配置されたものである。なお、本明細書では、「コイルピッチPc」は、A相コイル列のコイル同士のピッチ、または、B相コイル列のコイル同士のピッチとして定義されている。  FIG. 2A shows the positional relationship between the
  ロータ部30の磁石列34Mは、支持部材32Mに固定されている。この磁石列34Mの永久磁石は、磁化方向が磁石列34Mの配列方向(図2(A)の左右方向)とは垂直な方向に向くようにそれぞれ配置されている。磁石列34Mの磁石は、一定の磁極ピッチPmで配置されている。この例では、磁極ピッチPmはコイルピッチPcに等しく、電気角でπに相当する。なお、電気角の2πは、コイル列に供給されるの駆動信号の位相が2πだけ変化したときに移動する機械的な角度又は距離に対応づけられる。本実施例では、A相コイル列14AとB相コイル列24Bの駆動信号の位相が2πだけ変化すると、磁石列34MがコイルピッチPcの2倍だけ移動する。  The
  なお、A相コイル列14AとB相コイル列24Bは、電気角で互いにπ/2だけ異なる位置に配置されている。A相コイル14AとB相コイル列24Bは、位置が異なるだけであり、他の点は実質的に同じ構成を有している。従って、以下では、コイル列に関する説明の際に特に必要な場合を除いてA相コイル列についてのみ説明する。  The
  図2(B)は、A相コイル列14AとB相コイル列24Bに供給される交流駆動信号の波形の一例を示している。A相コイル列14AとB相コイル列24Bには、二相交流信号がそれぞれ供給される。また、A相コイル列14AとB相コイル列24Bの駆動信号の位相はπ/2だけ互いにずれている。図2(A)の状態は、位相ゼロ(又は2π)の状態に相当する。  FIG. 2B shows an example of the waveform of the AC drive signal supplied to the
  図2(A)に示すように、モータ本体100は、さらに、A相コイル列14A用のアナログ磁気センサ16Aと、B相コイル列24B用のアナログ磁気センサ26Bとを有している。これらを以下では「A相センサ」、「B相センサ」と呼ぶ。A相センサ16AはA相コイル列14Aの2つのコイルの間の中央の位置に配置されており、B相センサ26BはB相コイル列24Bの2つコイルの間の中央の位置に配置されている。本実施例では、これらのセンサ16A,26Bのアナログ出力を利用して、図1(B)に示す交流駆動信号が生成される。これらのセンサ16A,26Bとしては、例えばホール効果を利用したホールICを採用することができる。  As shown in FIG. 2A, the
  図3は、磁気センサの出力波形の例を示す説明図である。この例では、A相センサ出力SSAとB相センサ出力SSBは、いずれも正弦波である。これらのセンサ出力は、A相コイル14AとB相コイル24Bの逆起電力とほぼ同じ波形形状を有している。逆起電力の波形は、コイル形状や磁石とコイルとの位置関係にも依存するが、正弦波か、正弦波に近い波形となるのが普通である。  FIG. 3 is an explanatory diagram illustrating an example of an output waveform of the magnetic sensor. In this example, the A phase sensor output SSA and the B phase sensor output SSB are both sine waves. These sensor outputs have substantially the same waveform shape as the back electromotive force of the
ところで、電動モータは、機械的エネルギと電気的エネルギとを相互に変換するエネルギ変換装置として機能するものである。そして、コイルの逆起電力は、電動モータの機械的エネルギが電気的エネルギに変換されたものである。従って、コイルに印加する電気的エネルギを機械的エネルギに変換する場合(すなわちモータを駆動する場合)には、逆起電力と同じ波形の電圧を印加することによって、最も効率良くモータを駆動することが可能である。なお、以下に説明するように、「逆起電力と同じ波形の電圧」は、逆起電力と逆向きの電流を発生する電圧を意味している。 By the way, the electric motor functions as an energy conversion device that mutually converts mechanical energy and electrical energy. The back electromotive force of the coil is obtained by converting the mechanical energy of the electric motor into electrical energy. Therefore, when the electrical energy applied to the coil is converted into mechanical energy (that is, when the motor is driven), the motor is driven most efficiently by applying a voltage having the same waveform as the back electromotive force. Is possible. As will be described below, “a voltage having the same waveform as the back electromotive force” means a voltage that generates a current opposite to the back electromotive force.
図4は、コイルの印加電圧と逆起電力との関係を示す模式図である。ここで、コイルは逆起電力Ecと抵抗とで模擬されている。また、この回路では、印加電圧E1及びコイルと並列に電圧計Vが接続されている。コイルに電圧E1を印加してモータを駆動すると、印加電圧E1と逆の電流を流す方向に逆起電力Ecが発生する。モータが回転している状態でスイッチSWを開放すると、電圧計Vで逆起電力Ecを測定することができる。スイッチSWを開放した状態で測定される逆起電力Ecの極性は、スイッチSWを閉じた状態で測定される印加電圧E1と同じ極性である。上述の説明において「逆起電力と同じ波形の電圧を印加する」という文言は、このような電圧計Vで測定された逆起電力Ecと同じ極性及び波形を有する電圧を印加することを意味している。 FIG. 4 is a schematic diagram showing the relationship between the applied voltage of the coil and the back electromotive force. Here, the coil is simulated by a back electromotive force Ec and a resistance. In this circuit, a voltmeter V is connected in parallel with the applied voltage E1 and the coil. When the voltage E1 is applied to the coil to drive the motor, a back electromotive force Ec is generated in a direction in which a current opposite to the applied voltage E1 flows. When the switch SW is opened while the motor is rotating, the back electromotive force Ec can be measured by the voltmeter V. The polarity of the back electromotive force Ec measured with the switch SW opened is the same polarity as the applied voltage E1 measured with the switch SW closed. In the above description, the phrase “applying a voltage having the same waveform as the back electromotive force” means applying a voltage having the same polarity and waveform as the back electromotive force Ec measured by the voltmeter V. ing.
上述したように、モータを駆動する場合には、逆起電力と同じ波形の電圧を印加することによって、最も効率良くモータを駆動することが可能である。なお、正弦波状の逆起電力波形の中位点近傍(電圧0の近傍)ではエネルギ変換効率が比較的低く、反対に、逆起電力波形のピーク近傍ではエネルギ変換効率が比較的高いことが理解できる。逆起電力と同じ波形の電圧を印加してモータを駆動すると、エネルギ変換効率の高い期間において比較的高い電圧を印加することになるので、モータ効率が向上する。一方、例えば単純な矩形波でモータを駆動すると、逆起電力がほぼ0となる位置(中位点)の近傍においてもかなりの電圧が印加されるので、モータ効率が低下する。また、このようにエネルギ変換効率の低い期間において電圧を印加すると、振動や騒音が発生するという問題も生じる。 As described above, when a motor is driven, the motor can be driven most efficiently by applying a voltage having the same waveform as the back electromotive force. Note that the energy conversion efficiency is relatively low near the middle point of the sinusoidal back electromotive force waveform (near voltage 0), and conversely, the energy conversion efficiency is relatively high near the peak of the back electromotive force waveform. it can. When the motor is driven by applying a voltage having the same waveform as that of the counter electromotive force, a relatively high voltage is applied during a period of high energy conversion efficiency, so that the motor efficiency is improved. On the other hand, for example, when the motor is driven with a simple rectangular wave, a considerable voltage is applied even in the vicinity of the position where the back electromotive force is almost zero (middle point), so that the motor efficiency decreases. In addition, when a voltage is applied in such a period where the energy conversion efficiency is low, there arises a problem that vibration and noise are generated.
上述の説明から理解できるように、逆起電力と同じ波形の電圧を印加してモータを駆動すると、モータ効率を向上させることができ、また、振動や騒音を低減することができるという利点がある。 As can be understood from the above description, when the motor is driven by applying a voltage having the same waveform as the back electromotive force, the motor efficiency can be improved, and vibration and noise can be reduced. .
  図5(A),5(B)は、A相コイル列14Aの2種類のコイル14A1,14A2の結線方法を示す図である。図5(A)の結線方法では、A相コイル列14Aに含まれるすべてのコイルが、駆動制御回路300に対して直列に接続されている。一方、図5(B)の結線方法では、一対のコイル14A1,14A2で構成される直列接続が、複数組並列に接続されている。このいずれの結線方法の場合にも、2種類のコイル14A1,14A2は、常に逆の極性に磁化される。  FIGS. 5A and 5B are diagrams showing a method of connecting two types of coils 14A1 and 14A2 of the
  図6(A)〜6(D)は、本実施例の電動モータの動作を示している。なお、この例では、コイル列14A,24Bに対して磁石列34Mが時間の経過とともに右に移動する様子が描かれている。これらの図の左右方向は、図1に示すロータ部30の回転方向に相当することが理解できる。  6 (A) to 6 (D) show the operation of the electric motor of this embodiment. In this example, the state in which the
  図6(A)は位相が2πの直前のタイミングの状態を示している。なお、コイルと磁石との間に描かれた実線の矢印は吸引力の方向を示しており、破線の矢印は反発力の方向を示している。この状態では、A相コイル列14Aは磁石列34Mに対して動作方向(図の右方向)の駆動力を与えておらず、磁石列34MをA相コイル列14Aに引きつける方向に磁力が働いている。従って、位相が2πのタイミングでは、A相コイル列14Aへの印加電圧をゼロにすることが好ましい。一方、B相コイル列24Bは、磁石列34Mに動作方向の駆動力を与えている。また、B相コイル列24Bは磁石列34Mに対して吸引力だけで無く反発力も与えているので、B相コイル列24Bから磁石列34Mに対する上下方向(磁石列34Mの動作方向と垂直な方向)の正味の力はゼロである。従って、位相が2πのタイミングでは、B相コイル列24Bへの印加電圧をピーク値にすることが好ましい。  FIG. 6A shows a state at the timing immediately before the phase is 2π. In addition, the solid line arrow drawn between the coil and the magnet indicates the direction of the attractive force, and the broken line arrow indicates the direction of the repulsive force. In this state, the
  図6(B)に示されているように、位相が2πのタイミングでA相コイル列14Aの極性が反転する。図6(B)は、位相がπ/4の状態であり、A相コイル列14Aの極性が図6(A)から反転している。この状態では、A相コイル列14AとB相コイル列24Bが、磁石列34Mの動作方向に同じ駆動力を与えている。図6(C)は、位相がπ/2直前の状態である。この状態は、図6(A)の状態とは逆に、A相コイル列14Aのみが、磁石列34Mに動作方向の駆動力を与えている。位相がπ/2のタイミングではB相コイル列24Bの極性が反転し、図6(D)に示す極性となる。図6(D)は、位相が3π/4の状態である。この状態では、A相コイル列14AとB相コイル列24Bが、磁石列34Mの動作方向に同じ駆動力を与えている。  As shown in FIG. 6B, the polarity of the
  図6(A)〜6(D)から理解できるように、A相コイル列14Aの極性は、A相コイル列14Aの各コイルが磁石列34Mの各磁石と対向するタイミングで切り換えられる。B相コイル列も同様である。この結果、すべてのコイルからほとんど常に駆動力を発生させ得るので、大きなトルクを発生することが可能である。  As can be understood from FIGS. 6A to 6D, the polarity of the
  なお、位相がπ〜2πの期間は、図6(A)〜6(D)とほぼ同様なので詳しい説明を省略する。但し、A相コイル列14Aの極性は位相がπのタイミングで再び反転し、B相コイル列24Bの極性は位相が3π/2のタイミングで再び反転する。  Note that the period in which the phase is π to 2π is substantially the same as that in FIGS. However, the polarity of the
  上述の説明から理解できるように、本実施例の電動モータは、コイル列14A,24Bと磁石列34Mとの間の吸引力と反発力を利用することによって、磁石列34Mに対する動作方向の駆動力を得ている。特に、本実施例では、磁石列34Mを挟んだ両側にコイル列14A,24Bが配置されているので、磁石列34Mの両側の磁束を駆動力の発生に利用することができる。従って、従来の電動モータのように、磁石の片側のみを駆動力の発生に利用する場合に比べて磁束の利用効率が高く、効率が良くトルクの大きなモータを実現することができる。但し、2つのコイル列14A,24Bの一方を省略することも可能である。  As can be understood from the above description, the electric motor of the present embodiment uses the attractive force and repulsive force between the
  なお、支持部材12A,22B,32Mは、非磁性体材料でそれぞれ形成されていることが好ましい。また、本実施例のモータ本体の各種の部材のうちで、コイルやセンサを含む電気配線と、磁石と、回転軸と、その軸受け部以外の部材は、すべて非磁性で非導電性の材料で形成されていることが好ましい。磁性体製のコアが設けないようにすれば、いわゆるコギングが発生せず、なめらかで安定した動作を実現することができる。また、磁気回路を構成するためのヨークを設けないようにすれば、いわゆる鉄損(渦電流損)が極めて少なく、効率の良いモータを実現することができる。  Note that the
B.駆動制御回路の構成:
  図7は、本実施例のモータの駆動制御回路の構成を示すブロック図である。図7(A)は、センサ波形のキャリブレーション時の構成を示し、図7(B)は、実用時の構成を示している。なお、「センサ波形のキャリブレーション」は、「センサの出力波形の補正」と同義語である。B. Configuration of drive control circuit:
 FIG. 7 is a block diagram showing the configuration of the motor drive control circuit of this embodiment. FIG. 7A shows a configuration at the time of sensor waveform calibration, and FIG. 7B shows a configuration at the time of practical use. “Sensor waveform calibration” is synonymous with “correction of sensor output waveform”.
  図7(A)に示すように、キャリブレーション時には、モータ本体100の接続部90(コネクタ)に、キャリブレーション用の駆動制御回路200が接続される。この駆動制御回路200は、電源回路210と、CPU220と、I/Oインタフェース230と、PWM制御部240と、ドライバ回路250と、通信部260とを備えている。電源回路210は、駆動制御回路200内の各回路と、モータ本体100とに電源を供給する。CPU220は、駆動制御回路200内の各回路に設定値を設定することによって、駆動制御回路200の動作を制御する。I/Oインタフェース230は、モータ本体100から供給されるセンサ出力SSA,SSBを受信して、CPU220に供給する機能を有している。CPU220は、受信したセンサ出力SSA,SSBが所望の波形形状を有しているか否かを判断し、所望の波形形状になるようにオフセット補正値Poffsetとゲイン補正値Pgainとを決定する。この決定方法については後で詳述する。なお、以下では、オフセット補正値を単に「オフセット」とも呼び、ゲイン補正値を単に「ゲイン」とも呼ぶ。  As shown in FIG. 7A, at the time of calibration, the calibration
  PWM制御部240は、コイル駆動用のPWM信号を生成する。ドライバ回路250は、コイルを駆動するためのブリッジ回路である。PWM制御部240とドライバ回路250の回路構成と動作に付いては後述する。通信部260は、キャリブレーションによって決定されたオフセット補正値Poffsetとゲイン補正値Pgainとをセンサ16A,26Bに供給して記憶させる機能を有している。また、通信部260は、センサ16A,26B内に記憶している補正値Poffset,Pgainを外部装置に送信する機能も有している。なお、A相センサ16A用の補正値とB相センサ26B用の補正値とを区別するために、通信部260は、各センサのIDコード(識別信号)を補正値とともに送受信する。このようにIDコードを用いて補正値を送信すれば、1つの通信用バスを介して複数のセンサの補正値を互いに区別して送信することが可能である。  The
  図7(B)に示すように、モータの実用時には、モータ本体100の接続部90に、キャリブレーション時とは異なる駆動制御回路300が接続される。この駆動制御回路300は、キャリブレーション用の駆動制御回路200から、通信部260を省略したものに相当する。  As shown in FIG. 7B, when the motor is practically used, a
  図8は、ドライバ回路250の内部構成を示している。A相ドライバ回路252は、H型ブリッジ回路であり、交流駆動信号DRVA1,DRVA2に応じてA相コイル列14Aを駆動する。なお、駆動信号を示すブロックの端子部分に付されている白丸は、負論理であり信号が反転していることを示している。また、符号IA1,IA2が付された矢印は、駆動信号DRVA1,DRVA2によって流れる電流方向をそれぞれ示している。B相ドライバ回路254の構成もA相ドライバ回路252の構成と同じであり、交流駆動信号DRVB1,DRVB2によって電流IB1,IB2が流れることが示されている。  FIG. 8 shows the internal configuration of the
  図9は、本実施例で使用する磁気センサ16Aの内部構成を示すブロック図である。なお、A相センサ16AとB相センサ26Bは同一の構成を有しているので、以下ではA相センサ16Aについてのみ説明する。  FIG. 9 is a block diagram showing the internal configuration of the
  磁気センサ16Aは、磁気センサ素子410と、オフセット補正回路420と、ゲイン補正回路430と、オフセット記憶部440と、ゲイン記憶部450と、増幅器460と、IDコード記録部470と、通信部480とを備えている。磁気センサ素子410は、例えばホール素子である。  The
  通信部480は、キャリブレーション時(図7(A))において、駆動制御回路200と通信して、センサ出力のオフセット補正値Poffsetとゲイン補正値Pgainを、センサIDと共に受け取る。センサ内部のIDコード記録部470には、センサ固有のIDが記録されているか、又は、外部スイッチを用いてIDが設定されている。図9の例では、ディップスイッチなどの外部スイッチ472を用いてIDを設定することが可能である。但し、IDは、ディップスイッチ以外の種々の任意の手段でモータ内に記録又は設定することが可能である。例えば、外部スイッチ472を省略し、不揮発性メモリでIDコード記録部470を構成することも可能である。通信部480は、駆動制御回路200から供給されたIDが、IDコード記録部470のIDと一致する場合には、オフセット補正値Poffsetとゲイン補正値Pgainをそれぞれの記憶部440,450に格納する。オフセット補正回路420とゲイン補正回路430は、これらの補正値Poffset,Pgainに従って磁気センサ素子410の出力波形を補正する。補正後のセンサ出力は、増幅器460で増幅されて、センサ出力SSAとして出力される。  The
  これらの説明から理解できるように、図9の回路要素420,430,440,450は、センサ16Aの出力波形を補正する出力波形補正部として機能する。なお、記憶部440,450は、不揮発性メモリで構成することが好ましい。  As can be understood from these descriptions, the
  図10は、PWM制御部240(図7)の内部構成と動作を示す説明図である。PWM制御部240は、基本クロック生成回路510と、1/N分周器520と、PWM部530と、正逆方向指示値レジスタ540と、乗算器550,552と、符号化部560,562と、AD変換部570,572と、電圧指令値レジスタ580と、励磁区間設定部590とを備えている。  FIG. 10 is an explanatory diagram showing the internal configuration and operation of the PWM controller 240 (FIG. 7). The
  基本クロック生成回路510は、所定の周波数を有するクロック信号PCLを発生する回路であり、例えばPLL回路で構成される。分周器520は、このクロック信号PCLの1/Nの周波数を有するクロック信号SDCを発生する。Nの値は所定の一定値に設定される。このNの値は、予めCPU220(図7(A))によって分周器520に設定される。PWM部530は、クロック信号PCL,SDCと、乗算器550,552から供給される乗算値Ma,Mbと、正逆方向指示値レジスタ540から供給される正逆方向指示値RIと、符号化部560,562から供給される正負符号信号Pa,Pbと、励磁区間設定部590から供給される励磁区間信号Ea,Ebとに応じて、交流駆動信号DRVA1,DRVA2,DRVB1,DRVB2(図8)を生成する。この動作については後述する。  The basic
  正逆方向指示値レジスタ540内には、モータの回転方向を示す値RIがCPU220によって設定される。本実施例では、正逆方向指示値RIがLレベルのときにモータが正転し、Hレベルのときに逆転する。  In the forward / reverse
  PWM部530に供給される他の信号Ma,Mb,Pa,Pb,Ea,Ebは以下のように決定される。なお、乗算器550と符号化部560とAD変換部570はA相用の回路であり、乗算器552と符号化部562とAD変換部572はB相用の回路である。これらの回路群の動作は同じなので、以下ではA相用の回路の動作について主に説明する。  Other signals Ma, Mb, Pa, Pb, Ea, and Eb supplied to the
  磁気センサの出力SSAは、AD変換部570に供給される。このセンサ出力SSAのレンジは、例えばGND(接地電位)からVDD(電源電圧)までであり、その中位点(=VDD/2)が出力波形の中位点(正弦波の原点を通る点)である。AD変換部570は、このセンサ出力SSAをAD変換して、センサ出力のデジタル値を生成する。AD変換部570の出力のレンジは、例えばFFh〜0h(語尾の”h”は16進数であることを示す)であり、中央値80hがセンサ波形の中位点に相当する。  The output SSA of the magnetic sensor is supplied to the
  符号化部560は、AD変換後のセンサ出力値のレンジを変換するとともに、センサ出力値の中位点の値を0に設定する。この結果、符号化部560で生成されるセンサ出力値Xaは、正側の所定の範囲(例えば+127〜0)と負側の所定の範囲(例えば0〜−128)の値を取る。但し、符号化部560から乗算器560に供給されるのは、センサ出力値Xaの絶対値であり、その正負符号は正負符号信号PaとしてPWM部530に供給される。  The
  電圧指令値レジスタ580は、CPU220によって設定された電圧指令値Yaを格納する。この電圧指令値Yaは、後述する励磁区間信号Eaとともに、モータの印加電圧を設定する値として機能するものであり、例えば0〜1.0の値を取る。仮に、非励磁区間を設けずに全区間を励磁区間とするように励磁区間信号Eaを設定した場合には、Ya=0は印加電圧をゼロとすることを意味し、Ya=1.0は印加電圧を最大値とすることを意味する。乗算器550は、符号化部560から出力されたセンサ出力値Xaと、電圧指令値Yaとを乗算して整数化し、その乗算値MaをPWM部530に供給する。  Voltage command value register 580 stores voltage command value Ya set by
  図10(B)〜10(E)は、乗算値Maが種々の値を取る場合におけるPWM部530の動作を示している。ここでは、全期間が励磁区間であり非励磁区間が無いものと仮定している。PWM部530は、クロック信号SDCの1周期の間に、デューティがMa/Nであるパルスを1つ発生させる回路である。すなわち、図10(B)〜10(E)に示すように、乗算値Maが増加するに従って、駆動信号DRVA1,DRVA2のパルスのデューティが増加する。なお、第1の駆動信号DRVA1は、センサ出力SSAが正のときにのみパルスを発生する信号であり、第2の駆動信号DRVA2はセンサ出力SSAが正のときにのみパルスを発生する信号であるが、図10(B)〜10(E)ではこれらを合わせて記載している。また、便宜上、第2の駆動信号DRVA2を負側のパルスとして描いている。  FIGS. 10B to 10E show the operation of the
  図11(A)〜11(D)は、センサ出力の波形とPWM部530で生成される駆動信号の波形の対応関係を示す説明図である。図中、「Hiz」はハイインピーダンス状態を意味している。図10で説明したように、A相用の駆動信号DRVA1,DRVA2はA相センサ出力SSAのアナログ波形をそのまま利用したPWM制御によって生成される。B相用の駆動信号DRVB1,DRVB2も同様である。従って、これらの駆動信号を用いて、A相コイルとB相コイルに、センサ出力SSA,SSBの変化と対応するレベル変化を示す実効電圧を供給することが可能である。  FIGS. 11A to 11D are explanatory diagrams showing the correspondence relationship between the waveform of the sensor output and the waveform of the drive signal generated by the
  PWM部530は、さらに、励磁区間設定部590から供給される励磁区間信号Ea,Ebで示される励磁区間のみに駆動信号を出力し、励磁区間以外の区間(非励磁区間)では駆動信号を出力しないように構成されている。図11(E),11(F)は、励磁区間信号Ea,Ebによって励磁区間EPと非励磁区間NEPを設定した場合の駆動信号波形を示している。励磁区間EPでは図11(C),11(D)の駆動信号パルスがそのまま発生し、非励磁区間NEPでは駆動信号パルスが発生しない。このように、励磁区間EPと非励磁区間NEPを設定するようにすれば、逆起電力波形の中位点近傍(すなわち、センサ出力の中位点近傍)においてコイルを電圧を印加しないので、モータの効率をさらに向上させることが可能である。なお、励磁区間EPは、逆起電力波形のピークを中心としする対称な区間に設定されることが好ましく、非励磁区間NEPは、逆起電力波形の中位点(中心点)を中心とする対称な区間に設定されることが好ましい。  The
なお、前述したように、電圧指令値Yaを1未満の値に設定すれば、乗算値Maが電圧指令値Yaに比例して小さくなる。従って、電圧指令値Yaによっても、実行的な印加電圧を調整することが可能である。 As described above, when the voltage command value Ya is set to a value less than 1, the multiplication value Ma becomes smaller in proportion to the voltage command value Ya. Therefore, the effective applied voltage can be adjusted also by the voltage command value Ya.
  上述の説明から理解できるように、本実施例のモータでは、電圧指令値Yaと、励磁区間信号Eaとの両方を利用して印加電圧を調整することが可能である。B相についても同様である。望ましい印加電圧と、電圧指令値Ya及び励磁区間信号Eaとの関係は、予め駆動制御回路300内のメモリにテーブルとして格納されていることが望ましい。こうすれば、駆動制御回路300が、外部から望ましい印加電圧を受信したときに、CPU220がその制御信号に応じて、電圧指令値Yaと、励磁区間信号EaとをPWM制御部240に設定することが可能である。なお、印加電圧の調整には、電圧指令値Yaと、励磁区間信号Eaの両方を利用する必要はなく、いずれか一方のみを利用するようにしてもよい。  As can be understood from the above description, in the motor of this embodiment, it is possible to adjust the applied voltage using both the voltage command value Ya and the excitation interval signal Ea. The same applies to the B phase. The relationship between the desired applied voltage, the voltage command value Ya, and the excitation interval signal Ea is preferably stored in advance in a memory in the
  図12は、PWM部530(図10)の内部構成の一例を示すブロック図である。PWM部530は、カウンタ531,532と、EXOR回路533,534と、駆動波形形成部535,536とを備えている。カウンタ531とEXOR回路533と駆動波形形成部535はA相用の回路であり、カウンタ532とEXOR回路534と駆動波形形成部536はB相用の回路である。これらは以下のように動作する。  FIG. 12 is a block diagram showing an example of the internal configuration of the PWM unit 530 (FIG. 10). The
  図13は、モータ正転時のPWM部530の動作を示すタイミングチャートである。この図には、2つのクロック信号PCL,SDCと、正逆方向指示値RIと、励磁区間信号Eaと、乗算値Maと、正負符号信号Paと、カウンタ531内のカウント値CM1と、カウンタ531の出力S1と、EXOR回路533の出力S2と、駆動波形形成部535の出力信号DRVA1,DRVA2とが示されている。カウンタ531は、クロック信号SDCの1期間毎に、クロック信号PCLに同期してカウント値CM1を0までダウンカウントする動作を繰り返す。カウント値CM1の初期値は乗算値Maに設定される。なお、図13では、図示の便宜上、乗算値Maとして負の値も描かれているが、カウンタ531で使用されるのはその絶対値|Ma|である。カウンタ531の出力S1は、カウント値CM1が0で無い場合にはHレベルに設定され、カウント値CM1が0になるとLレベルに立ち下がる。  FIG. 13 is a timing chart showing the operation of the
  EXOR回路533は、正負符号信号Paと正逆方向指示値RIとの排他的論理和を示す信号S2を出力する。モータが正転する場合には、正逆方向指示値RIがLレベルである。従って、EXOR回路533の出力S2は、正負符号信号Paと同じ信号となる。駆動波形形成部535は、カウンタ531の出力S1と、EXOR回路533の出力S2から、駆動信号DRVA1,DRVA2を生成する。すなわち、カウンタ531の出力S1のうち、EXOR回路533の出力S2がLレベルの期間の信号を第1の駆動信号DRVA1として出力し、出力S2がHレベルの期間の信号を第2の駆動信号DRVA2として出力する。なお、図13の右端部付近では、励磁区間信号EaがLレベルに立ち下がり、これによって非励磁区間NEPが設定されている。従って、この非励磁区間NEPでは、いずれの駆動信号DRVA1,DRVA2も出力されず、ハイインピーダンス状態に維持される。  The
  図14は、モータ逆転時のPWM部530の動作を示すタイミングチャートである。モータ逆転時には、正逆方向指示値RIがHレベルに設定される。この結果、2つの駆動信号DRVA1,DRVA2が図13から入れ替わっており、この結果、モータが逆転することが理解できる。なお、PWM部530のB相用の回路532,534,536も上述と同様に動作する。  FIG. 14 is a timing chart showing the operation of the
  図15は、励磁区間設定部590の内部構成と動作を示す説明図である。励磁区間設定部590は、電子可変抵抗器592と、電圧比較器594,596と、OR回路598とを有している。電子可変抵抗器592の抵抗値Rvは、CPU220によって設定される。電子可変抵抗器592の両端の電圧V1,V2は、電圧比較器594,596の一方の入力端子に与えられている。電圧比較器594,596の他方の入力端子には、センサ出力SSAが供給されている。なお、図15ではB相用の回路は図示の便宜上省略されている。電圧比較器594,596の出力信号Sp,Snは、OR回路598に入力されている。OR回路598の出力は、励磁区間と非励磁区間とを区別するための励磁区間信号Eaである。  FIG. 15 is an explanatory diagram showing the internal configuration and operation of the excitation
  図15(B)は、励磁区間設定部590の動作を示している。電子可変抵抗器592の両端電圧V1,V2は、抵抗値Rvを調整することによって変更される。具体的には、両端電圧V1,V2は、電圧レンジの中央値(=VDD/2)からの差分が等しい値に設定される。センサ出力SSAが第1の電圧V1よりも高い場合には第1の電圧比較器594の出力SpがHレベルとなり、一方、センサ出力SSAが第2の電圧V2よりも低い場合には第2の電圧比較器596の出力SnがHレベルとなる。励磁区間信号Eaは、これらの出力信号Sp,Snの論理和を取った信号である。従って、図15(B)の下部に示すように、励磁区間信号Eaは、励磁区間EPと非励磁区間NEPとを示す信号として使用することができる。励磁区間EPと非励磁区間NEPの設定は、CPU220が可変抵抗値Rvを調整することによって行なわれる。  FIG. 15B shows the operation of the excitation
C.センサ出力の補正:
  図16は、センサ出力のオフセット補正の内容を示す説明図である。図16(A)は、センサ出力の望ましい出力波形SSidealを示している。図16(B)は、望ましいセンサ出力SSidealよりも上側にシフトしたセンサ出力SSupと、下側にシフトしたセンサ出力SSdownの例を示している。このような場合には、シフトしているセンサ出力(例えばSSup)に上下オフセットPoffset1を加えることによって、望ましいセンサ出力SSidealに近い波形に補正することができる。この補正は、例えば、出力波形の中位点(出力レベルの中央値を取る位置)が、センサの出力電圧レンジ(GND〜VDD)の中央値VDD/2から、所定の許容範囲内に収まるように実行される。C. Sensor output correction:
 FIG. 16 is an explanatory diagram showing the contents of offset correction of the sensor output. FIG. 16A shows a desirable output waveform SSideal of the sensor output. FIG. 16B shows an example of the sensor output SSup shifted upward from the desired sensor output SSideal and the sensor output SSdown shifted downward. In such a case, a waveform close to the desired sensor output SSideal can be corrected by adding a vertical offset Poffset1 to the shifted sensor output (for example, SSup). This correction is performed, for example, so that the middle point of the output waveform (position where the median of the output level is taken) falls within a predetermined allowable range from the median value VDD / 2 of the output voltage range (GND to VDD) of the sensor. To be executed.
図16(C)は、望ましいセンサ出力SSidealよりも右側にシフトしたセンサ出力波形SSrigntと、左側にシフトしたセンサ出力SSleftの例を示している。このような場合には、シフトしているセンサ出力(例えばSSright)に左右オフセットPoffset2を加えることによって、望ましいセンサ出力SSidealに近い波形に補正することができる。この補正は、出力波形の中位点(出力レベルの中央値を取る位置)の位相が、センサの出力電圧レンジ(GND〜VDD)が中央値VDD/2を取る位置の位相から、所定の許容範囲内に収まるように実行される。なお、センサ出力が左右方向にオフセットしているか否かは、モータのロータ部を所定の規定位置(出力波形の中位点となるべき位置)に停止させて、センサ出力がセンサの出力電圧レンジの中央値VDD/2となっているか否かを調べることによって判定することができる。 FIG. 16C shows an example of the sensor output waveform SSrignt shifted to the right side from the desired sensor output SSideal and the sensor output SSleft shifted to the left side. In such a case, a waveform close to the desired sensor output SSideal can be corrected by adding a left-right offset Poffset2 to the shifted sensor output (for example, SSright). This correction is performed according to a predetermined tolerance from the phase of the middle point of the output waveform (the position where the median value of the output level is taken) from the phase where the sensor output voltage range (GND to VDD) takes the median value VDD / 2. It is executed to fit within the range. Whether the sensor output is offset in the left-right direction is determined by stopping the motor rotor at a predetermined specified position (a position that should be the middle point of the output waveform). It can be determined by examining whether or not the median value is VDD / 2.
このように、オフセットとしては上下オフセットPoffset1と左右オフセットPoffset2との両方を補正可能である。但し、これらの2つのオフセットのうちの一方のみを補正するようにしても実用上は十分な場合が多い。そこで、後述する手順では、2種類のオフセットのうちで上下オフセットPoffset1のみを補正する場合を説明する。 As described above, both the vertical offset Poffset1 and the horizontal offset Poffset2 can be corrected as the offset. However, it is often sufficient in practice to correct only one of these two offsets. Therefore, in the procedure to be described later, a case will be described in which only the vertical offset Poffset1 is corrected among the two types of offsets.
図17は、センサ出力のゲイン補正の内容を示す説明図である。図17(A)は、センサ出力の望ましい出力波形SSidealを示しており、これは図16(A)と同じものである。図17(B)は、望ましいセンサ出力SSidealよりもピークの小さなセンサ出力波形SSsmallの例を示している。この場合には、センサ出力SSsmallに1よりも大きなゲインPgainを乗じることによって、望ましいセンサ出力SSidealに近い波形に補正することができる。より具体的に言えば、このゲイン補正は、補正後のセンサ出力のピーク値が、所定の許容範囲に収まるように実行される。図17(C)は、望ましいセンサ出力SSidealよりもピークの大きなセンサ出力波形SSlargeの例を示している。なお、この出力波形SSlargeでは、電圧範囲の最大値VDD(電源電圧)を超えるところはVDDに止まるので、一点鎖線で示すようにピーク部分が扁平になった波形が観察される。この場合には、センサ出力SSlargeに1よりも小さなゲインPgainを乗じることによって、望ましいセンサ出力SSidealに近い波形に補正することができる。 FIG. 17 is an explanatory diagram showing the contents of gain correction of the sensor output. FIG. 17A shows a desirable output waveform SSideal of the sensor output, which is the same as FIG. FIG. 17B shows an example of a sensor output waveform SSsmall having a smaller peak than the desired sensor output SSideal. In this case, the sensor output SSsmall can be corrected to a waveform close to the desired sensor output SSideal by multiplying the sensor output SSsmall by a gain Pgain larger than 1. More specifically, this gain correction is executed so that the peak value of the sensor output after correction falls within a predetermined allowable range. FIG. 17C shows an example of the sensor output waveform SSlarge having a peak larger than the desired sensor output SSideal. In the output waveform SSlarge, the portion exceeding the maximum value VDD (power supply voltage) of the voltage range is stopped at VDD, so that a waveform having a flat peak portion is observed as indicated by a one-dot chain line. In this case, the sensor output SSlarge can be corrected to a waveform close to the desired sensor output SSideal by multiplying the sensor output SSlarge by a gain Pgain smaller than 1.
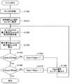
  図18は、センサ出力のキャリブレーション手順を示すフローチャートである。ステップS100では、キャリブレーション用の駆動制御回路200をモータ本体100に装着する(図7(A))。ステップS200では図16(B)で説明したオフセット補正を行い、ステップS300では図17(B),(C)で説明したゲイン補正を行う。ステップS400では、駆動制御回路を、実用時の回路300(図7(B))に交換する。  FIG. 18 is a flowchart showing the calibration procedure of the sensor output. In step S100, the
  図19は、ステップS200におけるオフセット補正の詳細手順を示すフローチャートである。なお、以下ではA相センサのオフセット補正を説明するが、B相センサについても同じ補正が行われる。なお、1つの磁気センサについてオフセット補正が行われる際には、CPU220によって、補正対象となる磁気センサのIDが最初に指定され、指定された磁気センサに関して補正処理が開始される。  FIG. 19 is a flowchart showing a detailed procedure of offset correction in step S200. In the following, offset correction of the A phase sensor will be described, but the same correction is performed for the B phase sensor. When offset correction is performed for one magnetic sensor, the
  ステップS210では、ロータ部30(図1)を回転させて、磁石のS極とN極との境界位置で磁気センサ16Aを停止させる。この操作は、例えば、モータ本体の蓋を開けて手動で行うことができる。ステップS220では、オフセットPoffsetの初期値を駆動制御回路200から磁気センサ16Aに送信し、磁気センサ16A内のオフセット記憶部440(図9)内に記憶させる。なお、オフセットPoffsetの初期値としては、任意の値を使用することができる。但し、オフセット補正によってオフセットPoffsetを増加したり減少したりできるように、その初期値を0でない正の値に設定しておくことが好ましい。  In step S210, the rotor unit 30 (FIG. 1) is rotated to stop the
  ステップS230では、磁気センサ16Aが出力する出力信号SSAの電圧Ebcを測定する。ステップS240では、測定された電圧Ebcが許容範囲の最小値E1min(図16(B)参照)以上であるか否かが判定される。電圧Ebcが許容範囲の最小値E1minよりも小さい場合には電圧Ebcが許容範囲外にあるので、ステップS250に移行して、オフセット値Poffsetを1つ加算し、ステップS280で磁気センサ16Aにオフセット値Poffsetを書き込む。一方、ステップS240において電圧Ebcが許容範囲の最小値E1min以上の場合には、ステップS260において、電圧Ebcが許容範囲の最大値E1max以下であるか否かがさらに判定される。電圧Ebcが許容範囲の最大値E1maxよりも大きい場合には電圧Ebcが許容範囲外にあるので、ステップS270に移行して、オフセット値Poffsetを1つ減算し、ステップS280で磁気センサ16Aにオフセット値Poffsetを書き込む。一方、ステップS260において電圧Ebcが許容範囲の最大値E1max以下である場合には、電圧Ebcが許容範囲内に収まっているので、図19の処理を終了する。  In step S230, the voltage Ebc of the output signal SSA output from the
  図20は、ステップS300におけるゲイン補正の詳細手順を示すフローチャートである。ゲイン補正についても、A相センサの補正のみを説明する。なお、1つの磁気センサについてゲイン補正が行われる際には、CPU220によって、補正対象となる磁気センサのIDが最初に指定され、指定された磁気センサの補正処理が開始される。  FIG. 20 is a flowchart showing a detailed procedure of gain correction in step S300. As for the gain correction, only the correction of the A phase sensor will be described. When gain correction is performed for one magnetic sensor, the
  ステップS310では、ロータ部30(図1)を回転させて、磁石のS極又はN極と正対する位置で磁気センサ16Aを停止させる。この位置は、磁気センサ16Aの磁束密度が最大となる位置である。この操作は、例えばモータ本体の蓋を開けて手動で行うことができる。ステップS320では、ゲインPgainの初期値を駆動制御回路200から磁気センサ16Aに送信し、磁気センサ16A内のゲイン記憶部450(図9)内に記憶させる。なお、ゲインPgainの初期値としては、任意の値を使用することができるが、0でない正の値に設定しておくことが好ましい。  In step S310, the rotor unit 30 (FIG. 1) is rotated to stop the
  ステップS330では、磁気センサ16Aの出力信号SSAの電圧Ebmを測定する。ステップS340では、測定された電圧Ebmが許容範囲の最小値E2min(図17(B)参照)以上であるか否かが判定される。電圧Ebmが許容範囲の最小値E2minよりも小さい場合には電圧Ebmが許容範囲外にあるので、ステップS350に移行して、ゲイン値Pgainを1つ加算し、ステップS380で磁気センサ16Aにゲイン値Pgainを書き込む。一方、ステップS340において電圧Ebmが許容範囲の最小値E2min以上の場合には、ステップS360において、電圧Ebmが許容範囲の最大値E2max以下であるか否かがさらに判定される。電圧Ebmが許容範囲の最大値E2maxよりも大きい場合には電圧Ebmが許容範囲外にあるので、ステップS370に移行して、ゲイン値Pgainを1つ減算し、ステップS380で磁気センサ16Aにゲイン値Pgainを書き込む。一方、ステップS360において電圧Ebmが許容範囲の最大値E2max以下である場合には、電圧Ebmが許容範囲内に収まっているので、図20の処理を終了する。  In step S330, the voltage Ebm of the output signal SSA of the
なお、ゲイン補正時の許容範囲の最大値E2maxとしては、センサ出力が取りうる最大値(すなわち電源電圧VDD)よりも若干小さい値が好ましい。この理由は、センサ出力の電圧は電源電圧VDDよりも大きく成り得ないので、許容範囲の最大値E2maxを電源電圧VDDに設定すると、補正前のセンサ出力SSAのピークが、図17(C)に一点鎖線で示すようにつぶれているか否かを判定できない可能性があるからである。 The maximum value E2max of the allowable range at the time of gain correction is preferably a value slightly smaller than the maximum value that can be taken by the sensor output (that is, the power supply voltage VDD). This is because the sensor output voltage cannot be larger than the power supply voltage VDD, and if the maximum value E2max of the allowable range is set to the power supply voltage VDD, the peak of the sensor output SSA before correction is shown in FIG. This is because it may not be possible to determine whether or not the image is crushed as indicated by the alternate long and short dash line.
  以上のように、本実施例の電動モータでは、磁気センサ16A,26Bのそれぞれについて、出力波形のオフセット補正とゲイン補正をそれぞれ行うことが可能である。また、駆動制御回路300は、これらのセンサのアナログ出力の連続的変化を利用して駆動信号を生成している。従って、磁気センサ16A,26Bの出力を所定の波形形状に補正することによって、高効率で振動や騒音の少ないモータを実現することが可能である。  As described above, in the electric motor of this embodiment, it is possible to perform output waveform offset correction and gain correction for each of the
D.駆動制御回路の他の実施例:
  図21は、キャリブレーション用の駆動制御回路の他の実施例を示すブロック図である。この駆動制御回路200aは、図7(A)に示した駆動制御回路200から、電源回路210と、PWM制御部240と、ドライバ回路250とを省略したものである。モータ本体100aへの電源は、接続部90を介して直接モータ本体100aに供給される。PWM制御部240と、ドライバ回路250は、モータ本体100aの内部に設けられている。このような構成によっても、図7に示すモータと同様にセンサの出力波形を補正してモータを高効率で運転することが可能である。D. Other embodiments of the drive control circuit:
 FIG. 21 is a block diagram showing another embodiment of the drive control circuit for calibration. The
  図22は、本発明のさらに他の実施例における磁気センサと駆動信号生成回路の構成を示すブロック図である。この実施例では、磁気センサ16A,26Bは、磁気センサ素子のみを含んでおり、図9に示した磁気センサ内の他の回路要素420〜480は磁気センサ内には含まれていない。駆動信号生成回路600は、増幅器610,620と、AD変換部612,622と、オフセット補正回路614,624と、ゲイン補正回路616,626と、PWM制御部240と、補正値記憶部660と、通信部670とを有している。オフセット補正回路614,624は図9に示したオフセット補正回路420と同じものであり、ゲイン補正回路616,626は図9に示したゲイン補正回路430と同じものである。補正値記憶部660は、A相センサ16AとB相センサ26Bの両方に関するオフセット補正値及びゲイン補正値を、それぞれのIDコードと関連付けて記憶している。PWM制御部240は、図10に示したものと同じである。通信部670は、I/Oインタフェース230を介してCPU220と接続されている。キャリブレーション時には、センサ16A,26Bの出力が増幅器610,620で増幅され、AD変換部232でデジタル信号に変換された後に、I/Oインタフェース230を介してCPU220に供給される。  FIG. 22 is a block diagram showing a configuration of a magnetic sensor and a drive signal generation circuit in still another embodiment of the present invention. In this embodiment, the
  なお、図22の回路構成では、例えば駆動信号生成回路600とドライバ回路250をモータ本体内に設置し、CPU220とI/Oインタフェース230とAD変換部232とを備える回路をモータ本体の接続部90(図7(A))に接続するように構成することができる。このような回路構成を採用しても、上記実施例と同様に、センサの出力波形を補正してモータを高効率で運転することが可能である。  In the circuit configuration of FIG. 22, for example, the drive
  図23は、駆動信号生成回路の他の実施例を示すブロック図である。この駆動信号生成回路600aは、図22に示した駆動信号生成回路600のPWM制御部240を、プリアンプ部630とアンプ部640とで置き換えたものであり、他の構成は図22と同一である。プリアンプ部630とアンプ部640は、補正されたアナログセンサ出力をそのまま増幅することによって、駆動信号を生成する。このように、PWM制御を利用せずに、アナログ回路を用いてセンサ出力を増幅する場合にも、上述したセンサ波形の補正を行うことによって、モータを高効率で運転することが可能である。  FIG. 23 is a block diagram showing another embodiment of the drive signal generation circuit. The drive
E.センサ出力補正の他の実施手順:
  図24は、オフセット補正の他の実施手順を示すフローチャートである。ステップS1200では、CPU220がロータ部30を回転させる。図24の手順では、ロータ部30が回転し続ける状態で、CPU220がステップS1210以降のオフセット補正を実行する。ステップS1210では、オフセットPoffsetの初期値を駆動制御回路200から磁気センサ16Aに送信し、磁気センサ16A内のオフセット記憶部440(図9)内に記憶させる。この処理は、図19のステップS220と同じである。E. Other implementation steps for sensor output correction:
 FIG. 24 is a flowchart showing another procedure for offset correction. In step S1200, the
ステップS1220では、センサ出力の最大電圧Ebcmaxと最小電圧Ebcminとを取得する。これらの電圧Ebcmax,Ebcminは、例えば図16(B)に示したセンサ出力SSup(又はSSdown)の上ピーク値と下ピーク値に相当する。ステップS1230では、最大電圧Ebcmaxと最小電圧Ebcminの平均値Ebctypが算出される。この平均値Ebctypは、センサの出力波形の中位点に相当する電圧値である。 In step S1220, the sensor output maximum voltage Ebcmax and minimum voltage Ebcmin are acquired. These voltages Ebcmax and Ebcmin correspond to the upper peak value and the lower peak value of the sensor output SSup (or SSdown) shown in FIG. In step S1230, an average value Ebctyp of the maximum voltage Ebcmax and the minimum voltage Ebcmin is calculated. This average value Ebctyp is a voltage value corresponding to the middle point of the output waveform of the sensor.
ステップS1240〜S1280は、図19のステップS240〜S280とほぼ同じであり、図19の電圧値Ebcを上述の平均値Ebctypで置き換えたものに相当する。すなわち、ステップS1240〜S1280では、平均値Ebctypが図16(B)に示した許容範囲に収まるようにオフセット値Poffsetが調整される。 Steps S1240 to S1280 are substantially the same as steps S240 to S280 in FIG. 19, and correspond to the voltage value Ebc in FIG. 19 replaced with the above-described average value Ebctyp. That is, in steps S1240 to S1280, the offset value Poffset is adjusted so that the average value Ebctyp falls within the allowable range shown in FIG.
この例からも理解できるように、オフセット補正は、センサ電圧のピーク電圧を利用して行うことも可能である。なお、図24の手順では、図19の手順のようにセンサ出力波形の注意点に相当する位置にロータ部を位置決めする必要が無いので、補正作業が容易であるという利点がある。 As can be understood from this example, the offset correction can also be performed using the peak voltage of the sensor voltage. Note that the procedure of FIG. 24 has an advantage that the correction work is easy because it is not necessary to position the rotor portion at a position corresponding to the cautionary point of the sensor output waveform unlike the procedure of FIG.
  図25は、ゲイン補正の他の実施手順を示すフローチャートである。ステップS1300では、CPU220がロータ部30を回転させる。図25の手順では、ロータ部30が回転し続ける状態で、CPU220がステップS1310以降のゲイン補正を実行する。ステップS1310では、ゲインPgainの初期値を駆動制御回路200から磁気センサ16Aに送信し、磁気センサ16A内のゲイン記憶部450(図9)内に記憶させる。この処理は、図20のステップS320と同じである。  FIG. 25 is a flowchart showing another procedure for gain correction. In step S1300,
ステップS1320では、センサ出力の最大電圧Ebmmaxを所定回数取得する。この最大電圧Ebmmaxは、例えば図17(B)に示したセンサ出力SSsmall(又は図17(C)のSSlarge)の上ピーク値に相当する。なお、上ピーク値の代わりに下ピーク値を所定回取得してもよい。なお、ロータ部が1回転する間に現れる上ピーク値の個数は、モータの極数Pの1/2に等しい。図1に示した6極モータでは、上ピーク値は1回転に3回現れる。ステップS1320では、(P×N)/2個の最大電圧Ebmmaxをサンプリングすることが好ましい。ここで、Nは1以上の所定の整数であり、2以上であることが好ましい。ステップS1230では、(P×N)/2個の最大電圧Ebmmaxの平均値Ebmaveが算出される。 In step S1320, the sensor output maximum voltage Ebmmax is acquired a predetermined number of times. The maximum voltage Ebmmax corresponds to the upper peak value of the sensor output SSsmall shown in FIG. 17B (or SSlarge in FIG. 17C), for example. Note that the lower peak value may be acquired a predetermined number of times instead of the upper peak value. Note that the number of upper peak values that appear during one rotation of the rotor portion is equal to ½ of the number of poles P of the motor. In the 6-pole motor shown in FIG. 1, the upper peak value appears three times per rotation. In step S1320, it is preferable to sample (P × N) / 2 maximum voltages Ebmmax. Here, N is a predetermined integer of 1 or more, and preferably 2 or more. In step S1230, an average value Ebmave of (P × N) / 2 maximum voltages Ebmmax is calculated.
ステップS1340〜S1380は、図20のステップS340〜S380とほぼ同じであり、図20の電圧値Ebmを上述の平均値Ebmaveで置き換えたものに相当する。すなわち、ステップS1340〜S1380では、平均値Ecmaveが図17(B)に示した許容範囲に収まるようにゲイン値Pgainが調整される。 Steps S1340 to S1380 are substantially the same as steps S340 to S380 in FIG. 20, and correspond to the voltage value Ebm in FIG. 20 replaced with the above-described average value Ebmave. That is, in steps S1340 to S1380, the gain value Pgain is adjusted so that the average value Ecmave falls within the allowable range shown in FIG.
図25の手順では、図20の手順のようにセンサ出力波形の注意点に相当する位置にロータ部を位置決めする必要が無いので、補正作業が容易であるという利点がある。また、複数のピーク電圧の平均値を用いてゲイン補正を行うので、複数の磁石の全体を考慮にいれた上で、最も好ましいゲインを設定することが可能である。 The procedure of FIG. 25 has an advantage that the correction work is easy because it is not necessary to position the rotor portion at a position corresponding to the cautionary point of the sensor output waveform unlike the procedure of FIG. In addition, since gain correction is performed using an average value of a plurality of peak voltages, the most preferable gain can be set in consideration of the whole of the plurality of magnets.
図26は、ゲイン補正のさらに他の実施手順を示すフローチャートである。図26の手順は、図25のステップS1330,S1340,S1360を、ステップS1335,S1345,S1365に置き換えたものであり、他の手順は図25と同じである。 FIG. 26 is a flowchart showing still another procedure for performing gain correction. The procedure in FIG. 26 is obtained by replacing steps S1330, S1340, and S1360 in FIG. 25 with steps S1335, S1345, and S1365, and the other procedures are the same as those in FIG.
ステップS1335では、(P×N)/2個の最大電圧Ebmmaxの中の最大値Ebmpkが選択される。ステップS1345,S1365では、この最大値Ebmpkを用いてゲイン補正が行われる。このようにしても、適切なゲイン補正値Pgainを求めることが可能である。 In step S1335, the maximum value Ebmpk is selected from the (P × N) / 2 maximum voltages Ebmmax. In steps S1345 and S1365, gain correction is performed using the maximum value Ebmpk. Even in this way, it is possible to obtain an appropriate gain correction value Pgain.
なお、図26のステップS1345,S1365で使用されるしきい値E2min,E2maxの値は、図25のステップS1340,S1360で使用されるこれらのしきい値E2min,E2maxとは異なる値を利用してもよい。 Note that the threshold values E2min and E2max used in steps S1345 and S1365 in FIG. 26 are different from the threshold values E2min and E2max used in steps S1340 and S1360 in FIG. Also good.
F.変形例:
  なお、この発明は上記の実施例や実施形態に限られるものではなく、その要旨を逸脱しない範囲において種々の態様において実施することが可能であり、例えば次のような変形も可能である。F. Variations:
 The present invention is not limited to the above-described examples and embodiments, and can be implemented in various modes without departing from the gist thereof. For example, the following modifications are possible.
F1.変形例1:
  上記実施例では、センサ出力波形の補正としてゲイン補正とオフセット補正の両方を実行するものとしたが、これらの一方のみを補正するようにしてもよい。また、これらの以外の種類の補正を利用してセンサ出力波形を所望の波形形状に補正するようにしてもよい。なお、上記実施例ではセンサ出力や逆起電力の波形が正弦波であるものとしたが、これらの波形が正弦波と若干異なる場合も本発明を適用可能である。F1. Modification 1:
 In the above embodiment, both the gain correction and the offset correction are executed as the correction of the sensor output waveform. However, only one of them may be corrected. Further, the sensor output waveform may be corrected to a desired waveform shape using other types of correction. In the above-described embodiment, the waveform of the sensor output and the back electromotive force is a sine wave. However, the present invention can also be applied when these waveforms are slightly different from the sine wave.
F2.変形例2:
  上記実施例ではアナログ磁気センサを利用していたが、アナログ磁気センサの代わりに、多値のアナログ的出力を有するデジタル磁気センサを使用してもよい。アナログ磁気センサも多値出力を有するデジタル磁気センサも、アナログ的変化を示す出力信号を有する点で共通している。なお、本明細書において、「アナログ的変化を示す出力信号」とは、オン/オフの2値出力ではなく、3値以上の多数レベルを有するデジタル出力信号と、アナログ出力信号との両方を包含する広い意味で使用されている。F2. Modification 2:
 In the above embodiment, an analog magnetic sensor is used, but a digital magnetic sensor having a multi-valued analog output may be used instead of the analog magnetic sensor. An analog magnetic sensor and a digital magnetic sensor having a multi-value output are common in that they have an output signal indicating an analog change. In this specification, “an output signal indicating an analog change” includes both a digital output signal having multiple levels of three or more and an analog output signal, not an on / off binary output. Used in a broad sense.
F3.変形例3:
  上記実施例では、キャリブレーション時の駆動制御回路と実用時の駆動制御回路をそれぞれ用いていたが、この代わりに、キャリブレーション時にも実用時の駆動制御回路をそのまま使用し、キャリブレーション用の回路を接続部90に接続するようにしてもよい。このキャリブレーション用の回路としては、センサの出力波形の補正値をモータ内に登録する機能を有する任意の回路を利用することができる。F3. Modification 3:
 In the above-described embodiment, the drive control circuit at the time of calibration and the drive control circuit at the time of practical use are respectively used. Instead, the drive control circuit at the time of practical use is used as it is at the time of calibration, and the circuit for calibration is used. May be connected to the
F4.変形例4:
  PWM回路としては、図10に示した回路以外の種々の回路構成を採用することが可能である。例えば、センサ出力と基準三角波とを比較することによってPWM制御を行う回路を利用してもよい。この場合には、PWM制御時において、望ましい印加電圧に応じてセンサ出力のゲインが調整されるが、このゲイン調整は、図17で説明したゲイン補正とは異なるものである。換言すれば、図17で説明したゲイン補正は、望ましい印加電圧のレベルに拘わらず、センサ出力を所望の波形に整形するための補正である。F4. Modification 4:
 As the PWM circuit, various circuit configurations other than the circuit shown in FIG. 10 can be adopted. For example, a circuit that performs PWM control by comparing the sensor output with a reference triangular wave may be used. In this case, during PWM control, the gain of the sensor output is adjusted according to the desired applied voltage, but this gain adjustment is different from the gain correction described with reference to FIG. In other words, the gain correction described with reference to FIG. 17 is correction for shaping the sensor output into a desired waveform regardless of the desired applied voltage level.
F5.変形例5:
  上記実施例では、6極2相のブラシレスDCモータを説明したが、本発明はこれ以外の種々の電動モータに適用可能である。例えば、極数と相数としては、それぞれ任意の整数を採用することができる。F5. Modification 5:
 In the above embodiment, a 6-pole 2-phase brushless DC motor has been described. However, the present invention can be applied to various other electric motors. For example, any integer can be adopted as the number of poles and the number of phases.
    10…ステータ部
    12A…支持部材
    14A…A相コイル列
    16A…A相センサ(アナログ磁気センサ)
    22B…支持部材
    24B…B相コイル列
    26B…B相センサ(アナログ磁気センサ)
    30…ロータ部
    32M…支持部材
    34M…磁石列
    90…接続部
  100…モータ本体
  112…回転軸
  200…駆動制御回路(キャリブレーション時)
  210…電源回路
  220…CPU
  230…I/Oインタフェース
  232…AD変換部
  240…PWM制御部
  250…ドライバ回路
  252…A相ドライバ回路
  254…B相ドライバ回路
  260…通信部
  300…駆動制御回路(実用時)
  410…磁気センサ素子
  420…オフセット補正回路
  430…ゲイン補正回路
  440…オフセット記憶部
  450…ゲイン記憶部
  460…増幅器
  470…IDコード記録部
  480…通信部
  510…基本クロック生成回路
  520…分周器
  530…PWM部
  531,532…カウンタ
  533,534…EXOR回路
  535,536…駆動波形形成部
  540…レジスタ
  550,552…乗算器
  560,562…符号化部
  570,572…AD変換部
  580…電圧指令値レジスタ
  590…励磁区間設定部
  592…電子可変抵抗器
  594,596…電圧比較器
  598…OR回路
  600…駆動信号生成回路
  610,620…増幅器
  612,622…AD変換部
  614,624…オフセット補正回路
  616,626…ゲイン補正回路
  630…プリアンプ部
  640…アンプ部
  660…記憶部
  670…通信部DESCRIPTION OF
 22B ...
 DESCRIPTION OF
 210 ...
 230 ... I /
 410:
| Application Number | Priority Date | Filing Date | Title | 
|---|---|---|---|
| JP2006189238AJP4506730B2 (en) | 2006-07-10 | 2006-07-10 | Electric motor | 
| US12/226,833US7906925B2 (en) | 2006-07-10 | 2007-06-07 | Electric motor, drive system employing multiple electric motors, and method for controlling the same | 
| PCT/JP2007/061953WO2008007510A2 (en) | 2006-07-10 | 2007-06-07 | Electric motor, drive system employing multiple electric motors, and method for controlling the same | 
| KR1020097002287AKR20090019923A (en) | 2006-07-10 | 2007-06-07 | Electric motor, drive system using a plurality of electric motors and control method thereof | 
| EP07767118AEP2038993A2 (en) | 2006-07-10 | 2007-06-07 | Electric motor, drive system employing multiple electric motors, and method for controlling the same | 
| CN2007800087662ACN101401293B (en) | 2006-07-10 | 2007-06-07 | Electric motor, drive system employing multiple electric motors, and method for controlling the same | 
| Application Number | Priority Date | Filing Date | Title | 
|---|---|---|---|
| JP2006189238AJP4506730B2 (en) | 2006-07-10 | 2006-07-10 | Electric motor | 
| Publication Number | Publication Date | 
|---|---|
| JP2008017679A JP2008017679A (en) | 2008-01-24 | 
| JP4506730B2true JP4506730B2 (en) | 2010-07-21 | 
| Application Number | Title | Priority Date | Filing Date | 
|---|---|---|---|
| JP2006189238AExpired - Fee RelatedJP4506730B2 (en) | 2006-07-10 | 2006-07-10 | Electric motor | 
| Country | Link | 
|---|---|
| JP (1) | JP4506730B2 (en) | 
| CN (1) | CN101401293B (en) | 
| Publication number | Priority date | Publication date | Assignee | Title | 
|---|---|---|---|---|
| JP2009229453A (en)* | 2008-02-28 | 2009-10-08 | Seiko Epson Corp | Pressure detection device and pressure detecting method | 
| WO2009128216A1 (en)* | 2008-04-15 | 2009-10-22 | パナソニック株式会社 | Motor device, motor drive system provided with motor devices, and integrated circuit device | 
| WO2009128198A1 (en)* | 2008-04-15 | 2009-10-22 | パナソニック株式会社 | Motor driving device, integrated circuit device, motor device and motor driving system | 
| JP5801143B2 (en)* | 2011-08-29 | 2015-10-28 | 日本電産サンキョー株式会社 | Motor system and motor control device | 
| CN103036492A (en)* | 2011-10-05 | 2013-04-10 | 姚其良 | Working program control programming for outer-stator type direct current motor | 
| TWI554022B (en)* | 2015-09-23 | 2016-10-11 | 金寶電子工業股份有限公司 | Method for setting identification code of smart motor and multi-axis control apparatus using the same | 
| TWI647553B (en)* | 2018-01-19 | 2019-01-11 | 上銀科技股份有限公司 | Multi-machine synchronous cooperative control method and system | 
| CN110759004B (en)* | 2019-12-25 | 2020-03-31 | 常州磐宇仪器有限公司 | Motor boundary determination method and self-adaptive positioning application thereof on sampling needle push rod | 
| Publication number | Priority date | Publication date | Assignee | Title | 
|---|---|---|---|---|
| JPS54129417A (en)* | 1978-03-31 | 1979-10-06 | Sony Corp | Motor driving circuit | 
| SE9702679D0 (en)* | 1997-07-11 | 1997-07-11 | Siemens Elema Ab | Device for calculating the number of uses of a sensor | 
| DE10030987A1 (en)* | 2000-06-30 | 2002-01-10 | Bosch Gmbh Robert | Initializing system for controlling/regulating motor vehicle operating processes involves sensors of same type sending responses back to controller with time offset after transmit request | 
| JP4552353B2 (en)* | 2001-05-11 | 2010-09-29 | ソニー株式会社 | Servo actuator and its position detector | 
| TW200308140A (en)* | 2002-01-31 | 2003-12-16 | Daikin Ind Ltd | Rotation speed control system, rotation drive system, ventilation system, clean bench, outdoor device of air conditioner | 
| JP2005110363A (en)* | 2003-09-29 | 2005-04-21 | Mitsubishi Electric Corp | Drive control device and drive control method for brushless motor | 
| JP2005261135A (en)* | 2004-03-12 | 2005-09-22 | Seiko Epson Corp | Motor and drive control system thereof | 
| Publication number | Publication date | 
|---|---|
| JP2008017679A (en) | 2008-01-24 | 
| CN101401293B (en) | 2012-06-13 | 
| CN101401293A (en) | 2009-04-01 | 
| Publication | Publication Date | Title | 
|---|---|---|
| JP4618201B2 (en) | Electric motor | |
| JP4506730B2 (en) | Electric motor | |
| US7835883B2 (en) | Method and device for measuring rotation speed of rotating equipment | |
| US7906925B2 (en) | Electric motor, drive system employing multiple electric motors, and method for controlling the same | |
| US8089231B2 (en) | Electric motor, method for correcting sensor output for the same, and control circuit | |
| JP4613888B2 (en) | Drive system using a plurality of electric motors and control method thereof | |
| JP2012090467A (en) | Linear motor | |
| JP5541332B2 (en) | Robot and moving body | |
| CN101141091B (en) | Brushless generator | |
| CN101383545B (en) | motor drive control circuit | |
| JP2014014197A (en) | Single-phase brushless motor | |
| JP4904996B2 (en) | Brushless motor | |
| US20110273126A1 (en) | Robotic drive control | |
| JP5162957B2 (en) | Method for correcting sensor output of electric motor and electric motor | |
| JP4561705B2 (en) | Electric motor | |
| JP5168988B2 (en) | Brushless motor and control method thereof | |
| JP5040444B2 (en) | PWM control circuit and motor | 
| Date | Code | Title | Description | 
|---|---|---|---|
| A131 | Notification of reasons for refusal | Free format text:JAPANESE INTERMEDIATE CODE: A131 Effective date:20091222 | |
| A521 | Request for written amendment filed | Free format text:JAPANESE INTERMEDIATE CODE: A523 Effective date:20100204 | |
| TRDD | Decision of grant or rejection written | ||
| A01 | Written decision to grant a patent or to grant a registration (utility model) | Free format text:JAPANESE INTERMEDIATE CODE: A01 Effective date:20100406 | |
| A01 | Written decision to grant a patent or to grant a registration (utility model) | Free format text:JAPANESE INTERMEDIATE CODE: A01 | |
| A61 | First payment of annual fees (during grant procedure) | Free format text:JAPANESE INTERMEDIATE CODE: A61 Effective date:20100419 | |
| FPAY | Renewal fee payment (event date is renewal date of database) | Free format text:PAYMENT UNTIL: 20130514 Year of fee payment:3 | |
| R150 | Certificate of patent or registration of utility model | Ref document number:4506730 Country of ref document:JP Free format text:JAPANESE INTERMEDIATE CODE: R150 Free format text:JAPANESE INTERMEDIATE CODE: R150 | |
| FPAY | Renewal fee payment (event date is renewal date of database) | Free format text:PAYMENT UNTIL: 20140514 Year of fee payment:4 | |
| S531 | Written request for registration of change of domicile | Free format text:JAPANESE INTERMEDIATE CODE: R313531 | |
| R350 | Written notification of registration of transfer | Free format text:JAPANESE INTERMEDIATE CODE: R350 | |
| S111 | Request for change of ownership or part of ownership | Free format text:JAPANESE INTERMEDIATE CODE: R313113 | |
| R350 | Written notification of registration of transfer | Free format text:JAPANESE INTERMEDIATE CODE: R350 | |
| S131 | Request for trust registration of transfer of right | Free format text:JAPANESE INTERMEDIATE CODE: R313135 | |
| SZ02 | Written request for trust registration | Free format text:JAPANESE INTERMEDIATE CODE: R313Z02 | |
| S131 | Request for trust registration of transfer of right | Free format text:JAPANESE INTERMEDIATE CODE: R313135 | |
| SZ02 | Written request for trust registration | Free format text:JAPANESE INTERMEDIATE CODE: R313Z02 | |
| R350 | Written notification of registration of transfer | Free format text:JAPANESE INTERMEDIATE CODE: R350 | |
| R250 | Receipt of annual fees | Free format text:JAPANESE INTERMEDIATE CODE: R250 | |
| R250 | Receipt of annual fees | Free format text:JAPANESE INTERMEDIATE CODE: R250 | |
| LAPS | Cancellation because of no payment of annual fees |