
























本発明は、会議やプレゼンテーション等の場面において参加者に画像を提供するためのプレゼンテーションシステムに関し、より詳しくは、画像を表示する表示装置と、その表示画像に所定の指示具を用いて文字・画像を追加的に記入するための座標入力装置とを含む構成のプレゼンテーションシステムに関する。 The present invention relates to a presentation system for providing an image to a participant in a scene such as a meeting or a presentation. More specifically, the present invention relates to a display device that displays an image and a character / image using a predetermined pointing tool on the display image. The present invention relates to a presentation system having a configuration including a coordinate input device for additionally filling in.
従来、CRTディスプレイ、液晶ディスプレイ(LCD)、あるいはプロジェクター等の表示装置の表示面に、座標を入力することができる座標入力装置を重ねて配置し、操作者が行ったポインティングもしくは筆記による筆跡をディスプレイに表示し、あたかも、紙と鉛筆のような関係を実現することができる装置が知られている。座標入力装置としては、抵抗膜方式をはじめ、静電方式、ガラス等の座標入力面に超音波を伝播させる超音波方式等、透明な入力板を有するものや、光学式、あるいは空中に音波を放射することで位置を検出する方式、さらには電磁誘導(電磁授受)方式のように、表示装置の裏側に座標算出のための機構を配置し、表示装置の前面に透明な保護板を配置して、入出力一体の情報機器を構成しているものもある。 Conventionally, a coordinate input device capable of inputting coordinates is arranged on a display surface of a display device such as a CRT display, a liquid crystal display (LCD), or a projector, and a handwritten handwritten or written handwritten by an operator is displayed. There is known an apparatus that can realize a relationship like paper and a pencil. The coordinate input device includes a resistive film type, electrostatic type, ultrasonic type that propagates ultrasonic waves to the coordinate input surface such as glass, etc., and those that have a transparent input plate, optical type, or sound waves in the air. A mechanism for calculating coordinates is placed on the back side of the display device, such as a method that detects the position by radiating, and an electromagnetic induction (electromagnetic transfer) method, and a transparent protective plate is placed on the front of the display device. Some of them constitute information devices integrated with input and output.
このような機器は、携帯性を有する小型の電子手帳をはじめ、ペン入力コンピュータ等、表示デバイスの大型化に伴って、比較的大きなサイズの情報機器も見られるようになった他、フロントプロジェクタ、リアプロジェクタ、あるいはPDP等の大型の表示装置と組み合わせて、例えばプレゼンテーション装置、TV会議システム等に利用され始めている。この大型の液晶ディスプレイやPDPディスプレイは、現在も画質の改善、低コスト化が進められている他、衛星放送等のデジタル化に伴い、テレビの仕様形態も過渡期の状態に入りつつある。 Such devices include not only portable electronic notebooks, pen input computers, etc., but also display devices with relatively large sizes as display devices have become larger, front projectors, In combination with a large display device such as a rear projector or a PDP, it has begun to be used in, for example, a presentation device and a TV conference system. The large-sized liquid crystal display and PDP display are currently being improved in image quality and reduced in cost, and with the digitalization of satellite broadcasting and the like, the TV specification form is entering a transitional state.
また、これらの大型表示装置は、例えばオフィスにおいて使われていたホワイトボード、あるいは電子黒板にとって変わり、コンピュータ内にあらかじめ用意した資料用データを大画面ディスプレイに表示させることで、会議用途、打ち合わせ用途に使われ始めている。その場合、表示用ディスプレイに表示された情報は、ホワイトボードの如く、操作者、あるいは出席者により表示情報を更新するために、直接画面をタッチすることで、コンピュータを制御して、例えば表示スクリーンの表示内容を切り替えることができるように構成されている。 In addition, these large display devices are replaced with, for example, whiteboards or electronic blackboards used in offices. By displaying data for documents prepared in advance on a large screen display, it can be used for meetings and meetings. It is starting to be used. In this case, the information displayed on the display is controlled by a computer by directly touching the screen to update the display information by an operator or an attendee, such as a whiteboard, for example, a display screen. The display contents can be switched.
大型の表示システムを採用した場合には、大勢の聴衆が見ることが想定され、画像の視野角、あるいはコントラスト等は十分な性能が要求される。従って、これらの大型表示システムと座標入力装置を組み合わせる場合には、低コストかつ高精度の座標算出を実現させるだけでなく、表示装置の画質を劣化させないということも重要な要件となる。 When a large display system is adopted, it is assumed that a large audience will see, and sufficient performance is required for the viewing angle, contrast, etc. of the image. Therefore, when these large display systems are combined with a coordinate input device, it is an important requirement not only to realize low-cost and high-precision coordinate calculation, but also not to deteriorate the image quality of the display device.
さらには、この種の大型の入出力一体のシステムについて考えた場合、大勢の参加者を想定した打ち合わせなどを考慮して、操作者が直接画面をタッチすることでコンピュータを制御し、操作者が必要な情報を適宜表示などが行える構成が実現されれば、操作者(プレゼンテーション発表者)の操作性は大きく向上するであろう。また大勢の参加者である聞き手は、操作者が直接画面の情報を操作することで、操作者の指示ポイント、操作者の表情やジェスチャー等の情報を、画面に表示されている情報と共に同時に得られるので、より理解を深めることが可能となる。 Furthermore, when thinking about this type of large input / output integrated system, the operator controls the computer by touching the screen directly in consideration of a meeting that assumes a large number of participants. If a configuration capable of appropriately displaying necessary information is realized, the operability of the operator (presentation presenter) will be greatly improved. In addition, many listeners who are participants can obtain information on the operator's instruction points, operator's facial expressions, gestures, etc., together with the information displayed on the screen, by operating the information directly on the screen. It is possible to deepen understanding.
しかしながら、この種の大型の表示装置に操作者が指示等のアクションを行うと、操作者の移動に伴い画面の情報が遮られ、特にフロントプロジェクタ、OHP等の投射タイプの表示装置を採用しているシステムでは、画像が大きく歪むことになるので、見難いという問題がある。 However, when an operator performs an action such as an instruction on this type of large display device, information on the screen is interrupted as the operator moves, and in particular, a projection type display device such as a front projector or OHP is employed. In some systems, the image is greatly distorted, which makes it difficult to view.
こうした光路を遮るなどの不都合を解消する方法として、操作者が指示具を用いて、その場においてマウス的な動作(絶対座標でなく、相対座標で例えばカーソルを移動する動作)を実行することで、現状のカーソル位置から所望の位置にカーソルを移動させていく方法がある。マウス的動作とは、パーソナルコンピュータのカーソル位置制御手段として近年常用されているマウスの操作性を指し、小さな操作領域において、マウスの上下運動と反復動作により、表示画面全域にカーソルを移動させることができる。このときの座標値処理方法について記せば、表示画面上の座標系において、ある時点におけるカーソルの位置が(X1、Y1)と仮定すれば、例えばボールの回転によりマウスの移動量を検知する方式では、ボールの回転をX方向、Y方向の移動量に分解し、回転に応じた距離情報(ΔX、ΔY)を検出して、その信号に基づき、カーソルの位置を(X1+ΔX、Y1+ΔY)の位置に移動させることができる。このことを座標入力装置で実現しようとするならば、まず操作者による動作によって、ある時点における指示具の座標値(X1、Y1)を検出したと仮定し、その後、指示具を移動させて座標値(X2、Y2)を座標入力装置が検出したとすれば、その移動量は(ΔX、ΔY)である(ΔX=X2−X1、ΔY=Y2−Y1)。この移動量(ΔX、ΔY)分を、現状の任意のカーソル位置からの移動量としてカーソルを移動させれば、操作者の意図(方向とその移動距離が指示具の移動方向と移動量に等しい)に応じてカーソルを移動させることができる。つまり、大画面の所定位置に直接指示具を位置せしめなくても、操作者がその場にいて、カーソルを所定位置に移動させることが可能となるのである。 As a method of solving such inconveniences such as blocking the optical path, the operator uses a pointing tool to execute a mouse-like operation (movement of the cursor in relative coordinates, not absolute coordinates) on the spot. There is a method of moving the cursor from the current cursor position to a desired position. Mouse-like movement refers to the operability of a mouse that is commonly used in recent years as a cursor position control means of a personal computer. In a small operation area, the mouse can be moved over the entire display screen by moving the mouse up and down and repeatedly. it can. If the coordinate value processing method at this time is described, in the coordinate system on the display screen, assuming that the position of the cursor at a certain point in time is (X1, Y1), for example, the method of detecting the amount of movement of the mouse by the rotation of the ball The rotation of the ball is decomposed into movement amounts in the X and Y directions, distance information (ΔX, ΔY) corresponding to the rotation is detected, and the position of the cursor is (X1 + ΔX, Y1 + ΔY) based on the signal. ) Position. If this is to be realized by the coordinate input device, it is first assumed that the coordinate values (X1, Y1) of the pointing tool at a certain point in time are detected by the operation of the operator, and then the pointing tool is moved to move the coordinates. If the coordinate input device detects the value (X2, Y2), the movement amount is (ΔX, ΔY) (ΔX = X2-X1, ΔY = Y2-Y1). If the cursor is moved with this amount of movement (ΔX, ΔY) as the amount of movement from the current arbitrary cursor position, the operator's intention (the direction and the movement distance are equal to the movement direction and the movement amount of the pointing tool. ) To move the cursor. That is, even if the pointing tool is not directly positioned at a predetermined position on the large screen, the operator can be present and move the cursor to the predetermined position.
一方、座標入力装置としては、画面を直接タッチすることで文字入力、描画(あたかも紙と鉛筆の様な関係で、指示具を移動させることでそのエコーバックとしてその移動個所に筆跡が残る構成)、および、アイコンをダブルクリックする等の動作によるコマンド生成は重要な機能である。つまり、この種のシステムにおいては、絶対座標を出力する動作モードが必須であり、上述した相対的な動作と両立させることは重要な課題である。このモードを切り替える方法については種々の構成が開示されていて、表示領域を分割して絶対座標を入力できる領域と相対座標を入力できる領域に分割する方法(例えば、特許文献1参照。)、相対/絶対座標入力切替手段を設ける方法(例えば、特許文献2参照。)、アプリケーションに応じて自動的に切り替える方法(例えば、特許文献3参照。)などが開示されている。 On the other hand, as a coordinate input device, characters can be input and drawn by touching the screen directly (a configuration in which handwriting remains as an echo back by moving the pointing tool in the relationship of paper and pencil) Command generation by an operation such as double-clicking an icon is an important function. That is, in this type of system, an operation mode for outputting absolute coordinates is indispensable, and it is an important issue to achieve compatibility with the above-described relative operations. Various methods for switching the mode have been disclosed. The display region is divided into a region where absolute coordinates can be input and a region where relative coordinates can be input (for example, see Patent Document 1), and relative. / A method of providing absolute coordinate input switching means (for example, see Patent Document 2), a method of automatically switching according to an application (for example, see Patent Document 3), and the like are disclosed.
さらには、上記フロントプロジェクタ、OHP等の投射タイプの表示装置を採用しているシステムにおいて、操作者による指示具の操作により、例えば表示画面に文字、図形等を追記する場合を考えると、指示具、あるいは指示具を持つ操作者の手、腕等により、情報を入力しようとする部分は影となって、現状映し出されている情報を視認することはできないのが通例である。つまり、現状映し出されている例えば文字情報にアンダーラインを指示具の操作により追記しようとする場合、その文字情報は、前述の影により認知することができず、影になっていない周辺の部分の表示情報から推測して、つまり操作者の勘によって目的を達成することになる。したがって、正確な位置に情報(この場合はアンダーライン)を追加することができず、特に細かい図形を追記しようとする場合には、全くその目的を達成することができないという課題を有する。 Furthermore, in a system that employs a projection type display device such as the front projector or OHP, considering the case of adding characters, figures, etc. on the display screen by the operation of the pointing tool by the operator, the pointing tool Or, by the hand, arm, etc. of the operator holding the pointing tool, the part where information is to be input is usually shaded, and the information currently being displayed cannot be visually recognized. In other words, when trying to add an underline to the currently displayed character information, for example, by operating the pointing tool, the character information cannot be recognized by the above-mentioned shadow, and the surrounding portion not shaded The purpose is achieved by inferring from the display information, that is, by the intuition of the operator. Therefore, there is a problem that information (in this case, underline) cannot be added to an accurate position, and the object cannot be achieved at all, particularly when trying to add a fine figure.
この「入力する部分の画像が影となって見えない」という課題に対しては、絶対座標に対するオフセット値を設定する方法(例えば、特許文献4参照。)が知られている。つまり指示具の位置座標に所望のオフセット値を設定することで、カーソルの位置を指示具の位置から一定距離離れた方向に表示させ、そのカーソルの動きをみながら、文字、図形を入力するものである。つまり、指示具を操作する領域は陰になって表示情報を得ることはできないが、その領域から離れた位置に表示されているカーソルの動きを視認して、文字、図形等の入力を可能とするものである。 A method of setting an offset value with respect to absolute coordinates (for example, see Patent Document 4) is known for the problem that “the image of the input part cannot be seen as a shadow”. In other words, by setting a desired offset value to the position coordinates of the pointing tool, the cursor position is displayed in a direction away from the position of the pointing tool, and characters and figures are input while observing the movement of the cursor. It is. In other words, the area where the pointing tool is operated is shaded and display information cannot be obtained, but it is possible to input characters, figures, etc. by visually checking the movement of the cursor displayed at a position away from that area. To do.
しかしながら、この種の座標入力装置において、抵抗膜方式、静電方式等の座標入力装置は、完全に透明な入力板を構成することが困難であり、表示装置の画像の質を低下させるという問題を有している。他方、ガラス等の伝播体を必要とする超音波方式では、例えば室内で用いる際の蛍光灯の映りこみを防止するために、そのガラスの表面を光学的に処理する必要があり、画像の画質を維持するという点で大幅なコストアップが避けられない。また電磁誘導方式は、表示面の裏側にマトリックス上の電極を配置し、入力ペンとの間で電磁的な信号の送受を行うので、表示装置が大型化し装置の厚みが増すと、原理的に座標算出が困難なものとなる上に、会議用途、あるいはプレゼンテーション用途といった大型の座標入力装置を構成する場合には、非常にコストの高い装置となってしまう欠点を有する。このため、一般に小型のタッチパネルに使用されているこれらの座標入力方式を会議またはプレゼンテーション用途の大型スクリーンに適用するのは容易ではないといえる。 However, in this type of coordinate input device, it is difficult for the coordinate input device of the resistive film type, the electrostatic method, etc. to form a completely transparent input plate, and the image quality of the display device is degraded. have. On the other hand, in an ultrasonic method that requires a propagating body such as glass, the surface of the glass needs to be optically treated to prevent the reflection of a fluorescent lamp when used indoors, for example. A significant increase in cost is inevitable in terms of maintaining In addition, the electromagnetic induction method arranges electrodes on the matrix on the back side of the display surface, and sends and receives electromagnetic signals to and from the input pen. In principle, when the display device becomes larger and the thickness of the device increases, In addition to making it difficult to calculate coordinates, in the case of configuring a large-sized coordinate input device such as a conference use or a presentation use, there is a disadvantage that the device becomes very expensive. For this reason, it can be said that it is not easy to apply these coordinate input methods generally used for small touch panels to large screens for meetings or presentations.
また、上記従来例における絶対座標と相対座標の切り替えの操作性は、使いこなすのに熟練を要するばかりか、操作上の制約が多く、使い勝手の良い構成とはいえない。ここで考慮しなければならないのは、表示されている情報に文字等を追記する場合、表示されている情報の位置と関連性を持たせて、図形、文字を入力しようとするので(例えば、表示されている文字の下側にアンダーラインを追記する等)、操作者はまず情報を追記したい画面上の位置を決めるのであって、指示具を操作させる場所をまず決めるのではないという点である。この点について、任意でオフセット量を設定する手段を有する上記従来例では、操作者は次のような手順を踏むことになる。 In addition, the operability of switching between absolute coordinates and relative coordinates in the above conventional example requires not only skill but also many operational restrictions, so it cannot be said that the configuration is easy to use. It must be taken into consideration here when adding characters or the like to the displayed information because it tries to input a figure or a character in association with the position of the displayed information (for example, The operator first decides the position on the screen where the information is to be added, not the place where the pointing tool is operated. is there. In this regard, in the above-described conventional example having means for arbitrarily setting an offset amount, the operator takes the following procedure.
  手順1)指示具の操作位置を決める。
  手順2)オフセット量を調整/設定してカーソルを所望の位置に移動させる。
  手順3)指示具による動作で所望の情報を追記する。Procedure 1) Determine the operating position of the indicator.
 Procedure 2) Adjust / set the offset amount and move the cursor to a desired position.
 Procedure 3) Add desired information by operation with pointing tool.
つまり操作者は、入力動作を実施する前に、操作領域の設定とオフセット量の設定を行わなければならない。したがって、オフセットの設定の最中に基準となる指示具の位置が固定できていなければ、誤差が発生するし(すなわち、所望の位置に情報を追記できない)、逆に指示具の位置を固定しながらのスイッチ操作は非常に困難であり、使い勝手に優れるといえるものではない。 That is, the operator must set the operation area and the offset amount before performing the input operation. Therefore, if the position of the reference indicator as a reference cannot be fixed during the offset setting, an error occurs (that is, information cannot be added to the desired position), and conversely, the position of the indicator is fixed. However, it is very difficult to operate the switch, and it is not easy to use.
  また、上記の手順3における動作において、表示されている内容に追記する場合に、特に大型の表示装置では、追記したい領域(相対座標)と指示具で入力する領域(絶対座標)が離れていることが想定される。この場合、目線は追記したい領域の表示内容を目視するが、実際に操作する領域とが離れているために操作者にとって非常に入力しづらいものである。さらには、この種の大型の表示装置を有する座標入力装置にあっては、その使用目的が会議やプレゼンテーションが主であることを考慮すると、その操作者はその装置に不慣れであるということが十分に考えられる。つまり、多くの人が交代で使う会議室に設置されたものとすれば、定期的に打ち合わせをその会議室で行っている参加者以外の者は、装置の使い勝手を良く知っているとはいえない場合が多い。重要なことは、たまたまその会議室で会議を開催した参加者であっても、直感で指示具を操作できることである。この点、上記で説明したような従来例にあっては、光路を遮断することで発生する障害を回避することはできても、実用上、誰でもが間単に使えるという構成にはなっていなかった。  In addition, in the operation in the above-described
本発明はこのような技術的な背景に基づいてなされたもので、会議やプレゼンテーション等に利用されるプレゼンテーションシステムにおいて、表示される画像に座標入力装置を用いて追加的に情報を入力する際の操作性を向上させることを目的とする。 The present invention has been made on the basis of such a technical background. In a presentation system used for a conference or a presentation, etc., when a coordinate input device is used to additionally input information to a displayed image. The purpose is to improve operability.
本発明の一側面は、画像の表示面上に設けた入力領域内で、所定の動作状態にある指示手段を移動させたときのその移動軌跡を検出し、その移動軌跡の画像を表示させるように構成されたプレゼンテーションシステムに係り、前記移動軌跡の画像を表示する際のオフセット量を前記指示手段の操作に応じて設定する手段と、前記移動軌跡に対応する第1の軌跡画像を、前記表示面上における前記設定されたオフセット量だけオフセットした位置に表示させるとともに、前記移動軌跡に対応する第2の軌跡画像を、オフセットしない位置にも表示させる手段と、前記表示面上の一部の領域であって前記第1の軌跡画像の始点位置を含む領域における画像の複写画像を、前記第2の軌跡画像の始点位置に表示させる手段とを有する。One aspect of the present invention is to detect a movement locus when an instruction means in a predetermined operation state is moved within an input area provided on an image display surface, and display an image of the movement locus. A display unit configured to set an offset amount for displaying the moving locus image according to an operation of the instruction unit; and a first locus image corresponding to the moving locus. Means for displaying at a position offset by the set offset amount on the surface, and displaying a second trajectory image corresponding to the movement trajectory at a position not offset, anda partial area on the display surface And a means for displaying a copy image of an image in an area including the start point position of the first trajectory image at the start point position of the second trajectory image .
また、本発明の更に別の側面は、画像の表示面上に設けた入力領域内で、指示手段を移動させたときのその移動軌跡を検出し、その移動軌跡の画像を表示させるように構成されたプレゼンテーションシステムの制御方法に係り、前記移動軌跡の画像を表示する際のオフセット量を前記指示手段の操作に応じて設定する設定工程と、前記移動軌跡に対応する第1の軌跡画像を、前記表示面上における前記設定されたオフセット量だけオフセットした位置に表示させるとともに、前記移動軌跡に対応する第2の軌跡画像を、オフセットしない位置にも表示させる第1の表示工程と、前記表示面上の一部の領域であって前記第1の軌跡画像の始点位置を含む領域における画像の複写画像を、前記第2の軌跡画像の始点位置に表示させる第2の表示工程とを有する。Further, another aspect of the present invention is configured to detect a movement locus when the instruction means is moved in an input area provided on an image display surface, and display an image of the movement locus. In accordance with the control method of the presentation system, a setting step of setting an offset amount when displaying the image of the movement locus according to an operation of the instruction unit, and a first locus image corresponding to the movement locus, causes display on the set offset amount offset positions on the display surface, the second trajectory image corresponding to the movement track, afirst display step of displaying to a position notoffset, the display surface A second display process for displaying a copy image of an image in a part of the upper region including the start point position of the first trajectory image at the start point position of the second trajectory image With thedoor.
また、本発明の更に別の側面は、画像の表示面上に設けた入力領域内で、指示手段を移動させたときのその移動軌跡を検出し、その移動軌跡の画像を表示させるように構成されたプレゼンテーションシステムの制御方法をコンピュータに実行させるためのプログラムに係り、このプログラムは、当該コンピュータに、前記移動軌跡の画像を表示する際のオフセット量を前記指示手段の操作に応じて設定する設定工程と、前記移動軌跡に対応する第1の軌跡画像を、前記表示面上における前記設定されたオフセット量だけオフセットした位置に表示させるとともに、前記移動軌跡に対応する第2の軌跡画像を、オフセットしない位置にも表示させる第1の表示工程と、前記表示面上の一部の領域であって前記第1の軌跡画像の始点位置を含む領域における画像の複写画像を、前記第2の軌跡画像の始点位置に表示させる第2の表示工程とを実行させることを特徴とする。Further, another aspect of the present invention is configured to detect a movement locus when the instruction means is moved in an input area provided on an image display surface, and display an image of the movement locus. The present invention relates to a program for causing a computer to execute the control method of the presentation system, and the program sets an offset amount for displaying an image of the movement locus on the computer according to an operation of the instruction unit. And displaying a first trajectory image corresponding to the moving trajectory at a position offset by the set offset amount on the display surface, and offsetting a second trajectory image corresponding to the moving trajectory.Ryo comprising afirst displaystep, the start position of the a part of the region first trajectory image on said display surface to be displayed in the position withoutThe copy image of the image in, characterized in that to executea second display step of displaying the start position of the second path image.
本発明によれば、表示される画像に座標入力装置を用いて追加的に情報を入力する際の操作性を向上させることができる。 ADVANTAGE OF THE INVENTION According to this invention, the operativity at the time of inputting information additionally to the displayed image using a coordinate input device can be improved.
以下、図面を参照して本発明の好適な実施形態について詳細に説明する。 DESCRIPTION OF EMBODIMENTS Hereinafter, preferred embodiments of the present invention will be described in detail with reference to the drawings.
(座標入力装置の概略構成)
  まず、本実施形態におけるプレゼンテーションシステムの概略構成を図1を用いて説明する。このプレゼンテーションシステムは、画像を表示する表示装置としてのプロジェクター7、このプロジェクター7の画像表示面7a上に設けられる座標入力装置8、プロジェクター7および座標入力装置8にそれぞれ接続され、両者を制御する制御装置としてのホストコンピュータ6を含む構成である。ホストコンピュータ6は例えばパーソナルコンピュータ(PC)によって実現されるものである。したがって、プロジェクター7および座標入力装置8はそれぞれ、例えばUSBなどのインタフェースを介してホストコンピュータ6に接続されうる。(Schematic configuration of coordinate input device)
 First, a schematic configuration of the presentation system in the present embodiment will be described with reference to FIG. This presentation system is connected to a
  以下、座標入力装置8の構成について説明する。図中1L、1Rはそれぞれ、投光器および検出器を有するセンサユニットであり、1Lと1Rとは互いに所定の距離だけ離れた位置に設置されている。センサユニット1L、1Rは、制御・演算を行う制御・演算ユニット2に接続され、制御信号を制御・演算ユニット2から受け取ると共に、検出した信号を制御・演算ユニット2に送信する。3は、図2のように入射光を到来方向に反射する再帰反射面を有する反射部材であり、左右それぞれのセンサユニットから入力領域5の面に沿ってその入力領域5を覆う範囲(例えば略90°の範囲)に投光された光を、センサユニットに向けて再帰反射する。反射光は、集光光学系とラインCCD等によって構成されたセンサユニットの検出器によって1次元的に検出され、その光量分布が制御・演算ユニット2に送られる。  Hereinafter, the configuration of the coordinate
  入力領域5は、PDPやリアプロジェクタ、LCDパネルなどの表示装置の表示画面上に構成されることで、インタラクティブな入力装置として利用可能となっている。  The
このような構成において、入力領域に指などによる入力指示がなされると、上記投光器から投光された光が遮られ、再帰反射による反射光が得られなくなるため、入力指示位置のみ光量が得られなくなる。 In such a configuration, when an input instruction with a finger or the like is given to the input area, the light projected from the projector is blocked, and the reflected light due to retroreflection cannot be obtained, so that the amount of light can be obtained only at the input designated position. Disappear.
  制御・演算ユニット2は、左右のセンサユニット1L、1Rの光量変化から、入力指示された部分の遮光範囲を検出し、同範囲内での検出点を特定してそれぞれの角度を算出する。算出された角度および、センサユニット間の距離等から、入力領域5上の座標位置を算出し、ホストコンピュータ6にその座標値を出力する。  The control /
  このようにして、指などによって、画面上に線を描画したり、アイコンの操作するなどホストコンピュータ6の操作が可能になる。  In this way, the
  以下、座標入力装置8の各部分毎についての詳細説明を行う。  Hereinafter, each part of the coordinate
(センサユニットの詳細説明)
  図3は、センサユニット1L、1Rにおける投光器の構成例を示す図で、(A)は投光器を上から(入力面に対し垂直方向)から見た図、(B)は横(入力面に対し水平方向)から見た図である。31は赤外光を発する赤外LEDであり、発光した光は投光レンズ32によって、略90°範囲に光が射出する。この方向では、赤外LED31からの光は上下方向に制限された光束として投光され、主に反射器3に対して光が投光されるようになっている。(Detailed explanation of sensor unit)
 3A and 3B are diagrams showing a configuration example of a projector in the
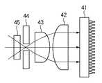
  図4は、センサユニット1L、1Rにおける検出器を入力面に対して垂直方向から見た図である。検出器は、1次元のラインCCD41および集光光学系としてのレンズ42,43および、入射光の入射方向を制限する絞り44、可視光など余分な光の入射を防止する赤外フィルター45を有する構成である。  FIG. 4 is a diagram of the detectors in the
  投光器からの光は再帰反射部材によって反射され、赤外フィルター45、絞り44を抜けて、集光用レンズ42,43によって入力面の略90°範囲の光がCCD41の検出面にその入射角に依存した画素上に結像され、角度ごとの光量分布を示す。つまり画素番号が角度情報を表すことになる。  The light from the projector is reflected by the retroreflective member, passes through the
  図5は、入力面を水平方向からの見たときのセンサユニット1L、1Rの構成を示している。図示のように、上記投光器と検出器とが重なるように構成されている。投光器と検出器の光軸間の距離は再帰反射部材の角度特性から充分検出可能な範囲に設定されていればよい。  FIG. 5 shows the configuration of the
(反射部材について)
  図1に示した再帰性反射部材3は、入射角度に対する反射特性を有している。図6に示す入射角度に対する反射光量の特性図からわかるように、再帰性反射部材3が平坦に構成された場合には、反射部材からの角度が45度を超えるあたりから得られる反射光量が減少し、遮蔽物があった場合にその変化が十分に取れないことになる。(Reflecting member)
 The
反射光量は、光量分布(照明強度および距離)、反射部材の反射率(入射角度、反射部材の幅)、結像系照度(cosine4乗則)によって決まる。光量が足りない場合に、照明強度を上げることが考えられるが、反射分布が均一で無い場合には、強い部分の光を受光したときに、受光手段であるCCDでその部分が飽和することがあり、照明強度を上げるには限界がある。裏返せば、反射部材の反射の分布をなるべく均一にすることで低光量部分への入射光量の増大も望むことができる。 The amount of reflected light is determined by the light amount distribution (illumination intensity and distance), the reflectance of the reflecting member (incident angle, the width of the reflecting member), and the imaging system illuminance (cosine fourth law). When the amount of light is insufficient, it is conceivable to increase the illumination intensity. However, if the reflection distribution is not uniform, when a strong portion of light is received, the portion may be saturated by the CCD as the light receiving means. There is a limit to increasing the illumination intensity. In other words, it is also possible to increase the amount of light incident on the low light amount portion by making the reflection distribution of the reflecting member as uniform as possible.
  角度方向に対して均一化を図るために、再帰性反射部材3を貼り付ける部材を図7に示すような三角柱を並べた形とし、この上に再帰反射部材3を設置している。これにより、角度特性を改善することができる。なお、三角柱の角度は再帰反射部材の反射特性から決定すればよく、また、そのピッチはCCDでの検出分解能以下に設定するのが望ましい。  In order to make the angle direction uniform, the member to which the
(制御・演算ユニットの説明)
  図1に示した制御・演算ユニット2とセンサユニット1L,1Rとの間では、CCDの制御信号、CCD用クロック信号とCCDの出力信号、および、LEDの駆動信号がやり取りされている。(Explanation of control / arithmetic unit)
 A CCD control signal, a CCD clock signal and a CCD output signal, and an LED drive signal are exchanged between the control /
  図8は、制御・演算ユニット2の構成を示すブロック図である。CCD制御信号は、ワンチップマイコンなどで構成される演算制御回路(CPU)83から出力されており、CCDのシャッタタイミングや、データの出力制御などを行っている。CCD用のクロックはクロック発生回路87からセンサユニット1L、1Rに送られると共に、CCDとの同期をとって、各種制御を行うために、演算制御回路83にも入力されている。  FIG. 8 is a block diagram showing the configuration of the control /
  LED駆動信号は、演算制御回路83からLED駆動回路84L,84Rを経て、センサユニット1L、1Rの赤外LEDに供給されている。  The LED drive signal is supplied from the
  センサユニット1L、1Rの検出器におけるCCDからの検出信号は、A/Dコンバータ81L,81Rに入力され、演算制御回路83からの制御によって、デジタル値に変換される。変換されたデジタル値はメモリ(例えばRAM)82に記憶され、角度計算に用いられる。計算された角度から座標値が求められると、その座標値データがホストコンピュータ6に出力される。  Detection signals from the CCDs in the detectors of the
(光量分布検出の説明)
  図9は、LED発光に係る各制御信号のタイミングチャートである。(Explanation of light intensity distribution detection)
 FIG. 9 is a timing chart of each control signal related to LED light emission.
  信号SH、ICGL、ICGRはCCD制御用の制御信号であり、SHの間隔でCCDのシャッタ解放時間が決定される。信号ICGL、ICGRはそれぞれ左右のセンサユニット1L,1Rへのゲート信号であり、CCD内部の光電変換部の電荷を読み出し部へ転送する信号である。信号LEDL、LEDRはそれぞれ、左右のLEDの駆動信号であり、SHの最初の周期で一方のLEDを点灯するために駆動信号LEDLがLED駆動回路を経てLEDに供給される。次の周期でもう一方のLEDが駆動される。双方のLEDの駆動が終了した後に、CCDの信号が左右のセンサから読み出される。  Signals SH, ICGL, and ICGR are control signals for CCD control, and the shutter release time of the CCD is determined by the interval of SH. Signals ICGL and ICGR are gate signals to the left and
  読み出される信号は、入力がない場合には、それぞれのセンサからの出力として、図10のような光量分布が得られる。もちろん、このような分布がどのシステムでも必ず得られるわけではなく、再帰性反射部材3の特性やLEDの特性、また、経時変化(反射面の汚れなど)によって分布は変化する。同図においては、Aのレベルが最大光量であり、Bのレベルが最低のレベルとなる。つまり反射光のない状態では、得られるレベルがB付近になり、反射光量が増えるほどAのレベルの方向になっている。このようにCCDから出力されたデータは、逐次AD変換されCPUにデジタルデータとして取り込まれる。  When the signal to be read is not input, a light amount distribution as shown in FIG. 10 is obtained as an output from each sensor. Of course, such a distribution is not necessarily obtained in any system, and the distribution changes depending on the characteristics of the
図11は、指などで入力を行った、つまり、反射光を遮った場合の出力の例である。Cの部分が指などで反射光が遮られたため、その部分のみ光量が低下している。検出は、この光量分布の変化から行う。具体的には、図10のような入力の無い初期状態を予め記憶しておいて、それぞれのサンプル期間に図11のような変化があるか初期状態との差分によって検出し、変化があったらその部分を入力点として入力角度を決定する演算を行う。 FIG. 11 shows an example of output when input is performed with a finger or the like, that is, when reflected light is blocked. Since the reflected light is blocked by a finger or the like in the portion C, the amount of light is reduced only in that portion. Detection is performed from the change in the light amount distribution. Specifically, an initial state without input as shown in FIG. 10 is stored in advance, and whether there is a change as shown in FIG. 11 in each sample period is detected by a difference from the initial state. An operation for determining an input angle is performed using that portion as an input point.
(角度計算の説明)
  角度計算にあたっては、まず、遮光範囲を検出する必要がある。先にも述べたように、光量分布は経時変化などで一定ではないため、システムの起動時などに記憶することが望ましい。そうすることで、例えば、再帰反射面がほこりなどで汚れていても、完全に反射しないような場合を除いて使用可能になる。以下、一方のセンサのデータについて説明するが、他方でも同様の処理を行っている。(Description of angle calculation)
 In calculating the angle, it is first necessary to detect the light shielding range. As described above, since the light quantity distribution is not constant due to changes over time, it is desirable to store it at the time of starting up the system. By doing so, for example, even if the retroreflective surface is dirty with dust or the like, it can be used unless it is not completely reflected. Hereinafter, the data of one sensor will be described, but the same processing is performed on the other sensor.
電源投入時、入力の無い状態で、まず投光器から照明すること無しにCCDの出力をAD変換して、これをBas_data[N]として、メモリに記憶する。これは、CCDのバイアスのばらつき等を含んだデータとなり、図10におけるBのレベル付近のデータとなる。ここで、Nは画素番号であり、有効な入力範囲に対応する画素番号が用いられる。 When the power is turned on, the CCD output is first AD-converted without illumination from the projector in the absence of input, and this is stored in the memory as Bas_data [N]. This is data including variations in the bias of the CCD and the like, and is data near the level B in FIG. Here, N is a pixel number, and a pixel number corresponding to an effective input range is used.
次に、投光器から照明した状態での光量分布を記憶する。図10の実線で表されたデータであり、Ref_data[N]とする。これらのデータを用いてまずは入力がなされたか、遮光範囲があるかどうかの判定を行う。あるサンプル期間のデータをNorm_data[N]とする。 Next, the light quantity distribution in the state illuminated from the projector is stored. This data is represented by the solid line in FIG. 10 and is Ref_data [N]. Using these data, it is first determined whether an input has been made or whether there is a light shielding range. Data of a certain sample period is assumed to be Norm_data [N].
まず遮光範囲を特定するために、データの変化の絶対量によって、有無を判定する。これは、ノイズなどによる誤判定を防止し、所定量の確実な変化を検出するためである。変化の絶対量を各々の画素において以下の計算を行い、予め決定してある閾値Vthaと比較する。 First, in order to specify the light shielding range, presence / absence is determined based on the absolute amount of change in data. This is to prevent erroneous determination due to noise or the like and to detect a certain amount of reliable change. The absolute amount of change is calculated for each pixel as follows and compared with a predetermined threshold value Vtha.
Norm_data_a[N]=Norm_data[N]−Ref_data[N] (1) Norm_data_a [N] = Norm_data [N] −Ref_data [N] (1)
ここで、Norm_data_a[N]は各画素における絶対変化量である。 Here, Norm_data_a [N] is an absolute change amount in each pixel.
この処理は、差をとり比較するだけなので、処理時間をさほど使わないので、入力の有無の判定を高速に行うことが可能である。Vthaを初めて超えた画素が所定数を超えて検出されたときに入力があったと判定する。 Since this process only takes a difference and compares it, it does not use much processing time, and therefore it is possible to determine whether or not there is an input at high speed. When the number of pixels exceeding Vtha for the first time is detected exceeding a predetermined number, it is determined that there is an input.
次に、より高精度に検出するために、変化の比を計算して入力点の決定を行う。 Next, in order to detect with higher accuracy, a change ratio is calculated to determine an input point.
  図12において、121は反射部材3の再帰反射面を示している。ここで領域Aが汚れなどにより反射率が低下していたとすると、このときのRef_data[N]の分布は、図13の(a)のように、領域Aの反射光量が少なくなる。この状態で、図12のように指などの指示具が挿入され、再帰反射部材のほぼ半分を覆ったとすると、反射光量は略半分となるため、図13の(B)の太線で示した分布Norm_data[N]が観測される。  In FIG. 12,
この状態に対して、式(1)を適用すると、図14の(a)のようになる。ここで、縦軸は初期状態との差分電圧になっている。このデータに対して、閾値を適用すると、本来の入力範囲をはずれてしまうような場合がある。もちろん、閾値を下げればある程度検出可能であるが、ノイズなどの影響を受ける可能性がある。 When Expression (1) is applied to this state, the result is as shown in FIG. Here, the vertical axis represents the differential voltage from the initial state. If a threshold is applied to this data, the original input range may be lost. Of course, it can be detected to some extent if the threshold value is lowered, but it may be affected by noise or the like.
そこで、変化の比を計算することとすると、領域A、Bとも反射光量は最初の半分であるので、次式で比を計算する。 Therefore, if the ratio of change is calculated, the amount of reflected light is half of the first half in both areas A and B, and therefore the ratio is calculated by the following equation.
Norm_data_r[N]=Norm_data_a[N]/(Bas_data[N]−Ref_data[N]) (2) Norm_data_r [N] = Norm_data_a [N] / (Bas_data [N] −Ref_data [N]) (2)
この計算結果を示すと、図14の(B)のようになり、変動比であらわされるため、反射率が異なる場合でも、等しく扱うことが可能になり、高精度に検出が可能になる。 This calculation result is as shown in FIG. 14B and is represented by a fluctuation ratio. Therefore, even when the reflectance is different, it can be handled equally and detection can be performed with high accuracy.
このデータに対して、閾値Vthrを適用して、その立ち上がり部と立下り部の画素番号から、両者の中央を入力画素として、角度を求める。図14の(B)は説明のために模式的に描いたもので、実際にはこのような立ち上がりにはなっておらず、画素ごとに異なるレベルを示している。 The threshold value Vthr is applied to this data, and the angle is obtained from the pixel numbers of the rising and falling portions with the center of both as the input pixel. FIG. 14B is schematically drawn for explanation, and does not actually rise like this, and shows a different level for each pixel.
  図15は比計算を終えた後の検出の例である。いま閾値Vthrで検出すると遮光領域の立ち上がり部分は、Nr番目の画素で閾値を超えたとする。さらに、Nf番の画素でVthrを下回ったとする。このまま中心画素Npを、
    Np=Nr+(Nf−Nr)/2      (3)
  のように計算してもよいが、そうすると、画素間隔が最小の分解能になってしまう。より細かく検出するために、それぞれの画素のレベルとその一つ前の画素のレベルを用い閾値を横切った仮想の画素番号を計算する。FIG. 15 shows an example of detection after the ratio calculation is completed. Rising portion of the light shielding region now be detected in the threshold Vthr is to exceed the threshold value in Nr th pixel. Further, the below the Vthr at pixels numbered Nf. The central pixel Np is
 Np = Nr + (Nf −Nr ) / 2 (3)
 However, in this case, the pixel interval becomes the minimum resolution. In order to detect more finely, a virtual pixel number across the threshold is calculated using the level of each pixel and the level of the previous pixel.
今、NrのレベルをLr、Nr-1番画素のレベルをLr-1とする。また、NfのレベルをLf、Nf-1番がそのレベルをLf-1とすれば、それぞれの仮想画素番号Nrv,Nfvは、次式で計算できる。Now,assume that the level of Nr isLr , and the level of theNr- 1th pixel isLr-1 .If the level of Nf is Lf and the level of Nf-1 is Lf-1 , the virtual pixel numbers Nrv and Nfv can be calculated by the following equations.
  Nrv= Nr-1+ ( Vthr - Lr-1 ) / ( Lr - Lr-1 )    (4)
  Nfv= Nf-1+ ( Vthr - Lf-1 ) / ( Lf - Lf-1 )    (5)Nrv = Nr-1 + (Vthr-Lr-1 ) / (Lr -Lr-1 ) (4)
 Nfv = Nf-1 + (Vthr-Lf-1 ) / (Lf -Lf-1 ) (5)
また、仮想中心画素Npvは次式で表される。The virtual center pixel Npv is expressed by the following equation.
Npv=Nrv+(Nfv-Nrv)/2 (6)Npv = Nrv + (Nfv -Nrv ) / 2 (6)
このように、画素番号とそのレベルから仮想的な画素番号を計算することで、より分解能の高い検出ができる。 Thus, by calculating a virtual pixel number from the pixel number and its level, detection with higher resolution can be performed.
得られた中央画素番号から、実際の座標値を計算するためには、角度情報に変換する必要がある。後述する実際の座標計算では、角度そのものよりもその角度における正接(tangent)の値を求めるほうが都合がよい。画素番号から、tanθへの変換には、テーブル参照や変換式を用いる。 In order to calculate an actual coordinate value from the obtained center pixel number, it is necessary to convert it into angle information. In actual coordinate calculation described later, it is more convenient to obtain the value of the tangent at the angle rather than the angle itself. A table reference or a conversion formula is used for conversion from the pixel number to tan θ.
図16は、画素番号に対するtanθ値をプロットしたものである。このデータに対して近似式を求め、その近似式を用いて画素番号、tanθ変換を行う。変換式は例えば高次の多項式を用いると精度を確保できるが次数などは計算能力および精度スペック等を鑑みて決定すればよい。 FIG. 16 is a plot of tan θ values against pixel numbers. An approximate expression is obtained for this data, and pixel number and tan θ conversion is performed using the approximate expression. For example, when a high-order polynomial is used as the conversion formula, the accuracy can be ensured, but the order and the like may be determined in consideration of the calculation capability and accuracy specifications.
5次多項式を用いる場合には係数が6個必要になるので、出荷時などにこのデータを不揮発性メモリーなどに記憶しておけばよい。 When a fifth order polynomial is used, six coefficients are required, so this data may be stored in a nonvolatile memory or the like at the time of shipment.
今5次多項式の係数をL5,L4,L3,L2,L1,L0としたとき、tanθは次式で表される。 If the coefficients of the fifth-order polynomial are now L5, L4, L3, L2, L1, and L0, tanθ is expressed by the following equation.
tanθ=(L5*Npr+L4)*Npr+L3)*Npr+L2)*Npr+L1)*Npr+L0 (7) tanθ = (L5 * Npr + L4) * Npr + L3) * Npr + L2) * Npr + L1) * Npr + L0 (7)
同様なことを各々のセンサに対して行えば、それぞれの角度データを決定できる。もちろん、上記例ではtanθを求めているが、角度そのものを求め、その後tanθを求めても構わない。 If the same thing is done for each sensor, the respective angle data can be determined. Of course, in the above example, tan θ is obtained, but the angle itself may be obtained, and then tan θ may be obtained.
(座標計算方法の説明)
  得られた角度データから座標を算出する。(Explanation of coordinate calculation method)
 Coordinates are calculated from the obtained angle data.
図17は、画面座標との位置関係を示す図である。入力範囲の下辺左右にそれぞれのセンサユニットが取り付けられており、その間の距離はDsで表されている。 FIG. 17 is a diagram illustrating a positional relationship with the screen coordinates. Each sensor unit is mounted on the left and right sides of the input range, and the distance between them is represented by Ds.
  画面中央が画面の原点位置であり、P0はそれぞれのセンサユニットの角度0の交点である。それぞれの角度をθL、θRとして、それぞれtanθL,tanθRを上記多項式を用いて算出する。このとき点Pのx、y座標は次式で表される。  The center of the screen is the origin position of the screen, and P0 is the intersection of the
  x=Ds/2 *(tanθL+tanθR)/(1+(tanθL*tanθR))    (8)
  y=−Ds/2*(tanθR - tanθL - (2*tanθL*tanθR))/(1+(tanθL*tanθR))+P0Y    (9)x = Ds / 2 * (tanθL + tanθR) / (1+ (tanθL * tanθR)) (8)
 y = −Ds / 2 * (tan θR−tan θL− (2 * tan θL * tan θR)) / (1+ (tan θL * tan θR)) + P0Y (9)
図18は、データ取得から座標計算までの工程を示した、フローチャートである。 FIG. 18 is a flowchart showing steps from data acquisition to coordinate calculation.
  まず、ステップS101で電源投入されると、ステップS102で、演算制御回路83などのポート設定、タイマ設定などさまざまな初期化が行われる。ステップS103は立ち上げ時のみに行う不要電荷除去のための準備である。CCDなどの光電変換素子において、動作させていないときに不要な電荷が蓄積している場合があり、そのデータをそのままリファレンスデータとして用いると、検出不能になったり、誤検出の原因となる。それを避けるために、最初に照明無しで、複数回データの読み出しを行っている。ステップS103ではその読み込み回数を設定しており、ステップS104で照明無しで、所定回数データを読み出すことで、不要電荷の除去を行っている。  First, when the power is turned on in step S101, various initializations such as port setting and timer setting of the
ステップS105は所定回数繰り返すための判断文である。 Step S105 is a determination sentence for repeating a predetermined number of times.
ステップS106はリファレンスデータとしての照明無しでのデータの取り込みであり、上記Bas_dataに相当する。ここで取り込んだデータはメモリに記憶され(ステップS107)、以降計算に用いられる。これともう一つのリファレンスデータである、照明したときの初期光量分布に相当するデータRef_dataを取り込み(ステップS108)、これもメモリーに記憶する(ステップS109)。このステップまでが、電源投入時の初期設定動作になり、次から通常の取り込み動作になる。 Step S106 is fetching data without illumination as reference data, and corresponds to Bas_data. The data fetched here is stored in the memory (step S107) and used for the calculation thereafter. This and another reference data, that is, data Ref_data corresponding to the initial light amount distribution when illuminated is captured (step S108), and is also stored in the memory (step S109). Up to this step is the initial setting operation when the power is turned on, and then the normal capturing operation is performed.
ステップS110で上記説明したように光量分布を取り込み、ステップS111でRef_dataとの差分値で遮光部分の有無を判定する。無いと判定されたときには、ステップS110に戻り再び取り込みを行う。 In step S110, the light amount distribution is captured as described above, and in step S111, the presence / absence of a light-shielding portion is determined based on the difference value from Ref_data. If it is determined that there is not, the process returns to step S110 and the capture is performed again.
このとき、この繰り返し周期を10[msec]程度に設定すれば、100回/秒のサンプリングになる。 At this time, if the repetition period is set to about 10 [msec], the sampling rate is 100 times / second.
ステップS112で遮光領域が有りと判定されたら、ステップS113で式(2)の処理により比を計算する。得られた比に対して閾値で立ち上がり部、立下り部を決定し、(4)、(5)、(6)式で中心を計算する(ステップS114)。得られた中心値から近似多項式よりtanθを計算し(ステップS115)、左右のセンサユニットでのtanθ値からx、y座標を(8)、(9)式を用いて算出する(ステップS116)。 If it is determined in step S112 that there is a light-shielding region, the ratio is calculated in step S113 by the processing of equation (2). A rising portion and a falling portion are determined by a threshold with respect to the obtained ratio, and the center is calculated by the equations (4), (5), and (6) (step S114). From the obtained central value, tan θ is calculated from an approximate polynomial (step S115), and x and y coordinates are calculated from the tan θ values of the left and right sensor units using equations (8) and (9) (step S116).
次にステップS117にてタッチされたか否かの判定を行う。これは、例えばマウスのボタンを押下せずにカーソルを移動させている状態のような近接入力状態と、左ボタンを押した状態であるタッチダウン状態の判定を行っている。実際には、先に得られた比の最大値が、ある所定値例えば0.5などの値を超えていればダウンと判定し、それ以下なら近接入力状態と判定する。この結果に従って、ダウンフラグのセット(ステップS118)あるいはリセット(ステップS119)を行う。 Next, in step S117, it is determined whether or not it has been touched. For example, a proximity input state in which the cursor is moved without pressing a mouse button and a touch-down state in which the left button is pressed are determined. Actually, if the maximum value of the ratio obtained previously exceeds a certain predetermined value, for example, 0.5, it is determined that the input is in the proximity input state. According to this result, the down flag is set (step S118) or reset (step S119).
  座標値とダウン状態が決定されたので、そのデータをホストコンピュータ6へ送信する(ステップS120)。ホストコンピュータ6は、ドライバが受信データを解釈し、カーソルの移動、マウスボタン状態の変更などを座標値、フラグなどを参照して行う。  Since the coordinate value and the down state are determined, the data is transmitted to the host computer 6 (step S120). In the
ステップS120の処理が終了したら、ステップS110の動作に戻り、以降電源OFFまでこの処理を繰り返すことになる。 When the process of step S120 is completed, the process returns to the operation of step S110, and thereafter this process is repeated until the power is turned off.
(座標入力用ペンの説明)
  本実施形態における座標入力装置では、指での入力が可能であるが、ペンなどの指示具で入力を行うことによって、マウスの各種ボタンに対応する操作を直感的に操作することが可能となる。本実施形態における座標入力用ペン(以下「指示具」ともいう。)4について、図19を用いて説明する。(Explanation of coordinate input pen)
 In the coordinate input device according to the present embodiment, input with a finger is possible. However, by performing input with a pointing tool such as a pen, operations corresponding to various buttons of the mouse can be intuitively operated. . A coordinate input pen (hereinafter also referred to as “indicator”) 4 according to the present embodiment will be described with reference to FIG.
  本実施形態における指示具4は、筆記具であるところのペン先端部を押圧することで動作するペン先スイッチ(SW)41、並びに指示具4の筐体に設けられた複数のペンサイドスイッチ(SW)42を具備する。このいずれかのスイッチが動作することによって、指示具4から所定周期で信号を送信することになる。具体的には、駆動回路45は、所定周期毎にタイミング信号およびコマンド信号であるところの光信号を放射する。  The pointing tool 4 in this embodiment includes a pen tip switch (SW) 41 that operates by pressing a pen tip that is a writing tool, and a plurality of pen side switches (SW) provided on the casing of the pointing tool 4. 42). When any one of these switches is operated, a signal is transmitted from the pointing device 4 at a predetermined cycle. Specifically, the
  その光信号は制御信号検出回路86(図8を参照)によって受光される。制御信号検出回路86は受光した光信号に基づき指示具4のどのスイッチが動作をしているかを判定する。同時に、センサユニット1L,1Rの間で、CCDの制御信号、CCD用クロック信号およびLEDの駆動信号のやり取りが開始される。具体的には、指示具4がタイミング信号として放射する光信号にスイッチ情報を示す信号を重畳(その他に例えば座標入力ペンを識別するための識別コード等を重畳させることも可能)させるものであるが、その情報を伝送する方法は、例えば連続するパルス列からなるリーダ部と、これに続くコード(メーカーIDなど)とからなるヘッダ部をまず出力し、その後ペンスイッチ信号等の制御信号などからなる送信データ列を予め定義された順序と形式に従って順次出力する。この方法はよく知られた方法(例えば赤外線を利用したリモコン等)であり、ここでの詳述は省略する。  The optical signal is received by the control signal detection circuit 86 (see FIG. 8). The control
  またその他の方法としては、例えば所定周期毎に座標検出を行うこの種の座標入力装置の所定周期を変更し、その情報を検出することにより識別することも可能である。座標入力装置が最大100ポイント/秒、つまり10msec毎に座標検出可能な仕様とすれば、ペン先SW41が動作している場合には、例えば100ポイント/秒で座標算出を行い、ペンサイドSW42が動作している場合には、80ポイント/秒で座標算出するように設定、つまり、各々その周期で指示具4から信号を放射することになるので、その周期を制御信号検出回路86で監視することによって、どのスイッチが動作しているかを判別することが可能となる。  As another method, for example, it is also possible to change the predetermined period of this type of coordinate input device that performs coordinate detection every predetermined period and to detect the information by detecting the information. If the coordinate input device is designed to detect coordinates at a maximum of 100 points / second, that is, every 10 msec, when the
(座標入力用ペンのアップダウンの説明)
  つづいて、図20のフローチャートを用いて、ペン/アップダウンについて説明する。(Explanation of coordinate input pen up / down)
 Next, pen / up / down will be described with reference to the flowchart of FIG.
  まずステップS402でペン先スイッチ41の状態を判定する。ペン先スイッチ41がON状態とは、入力領域5上に座標入力ペンが位置し、操作者によってまさに座標入力が行われ、筆跡を入力しようとする状態(「ペンダウン」状態)であり、画面上に表示された筆跡は、操作者による筆記動作に対して忠実に再現される。また例えばペン先スイッチを所定時間内に2回動作させた場合、座標入力装置の座標サンプリングレートを参照しながら、信号を受信した時間、間隔、あるいは座標を算出しているタイミング等を監視することで、マウスのダブルクリック動作を認識するように構成されている。  First, in step S402, the state of the
  一方ステップS402でペン先スイッチが動作していない(OFF状態)場合は、ステップS403〜S405において、ペンサイドスイッチの状態を判別する。本実施形態においては、指示具4にはペンサイドスイッチ42a、42bの2個のサイドスイッチ42が具備されており、どちらか一方だけがON状態にあれば、「ペンアップ」状態、その両者がON状態となっていれば「ペンダウン」状態として動作する。  On the other hand, if the pen tip switch is not operating (OFF state) in step S402, the state of the pen side switch is determined in steps S403 to S405. In this embodiment, the indicator 4 is provided with two
  このようにペン先スイッチ41がOFF状態で、かつ、42aまたは42bの少なくとも一方のサイドスイッチが動作状態(ON状態)となっているときは、操作者が入力領域5から浮かせた位置で、画面を制御しようとしている場合であり、浮かせた位置で例えばカーソルを所望の位置に移動したり、筆跡を入力しようとする場合である(以下、この入力状態を「近接入力」という。)。具体的には、サイドスイッチ42a、42bのいずれか一方だけが動作しているペンアップ状態では、操作者は画面上に示されているカーソルを移動させることができ、その両者が動作しているペンダウン状態では、後述するような態様で指示具4の移動軌跡を筆跡として表示することができる。これを実現すべく、座標入力装置が座標を算出する際に、ペンの状態(ペンアップ、ペンダウン)を情報として同時に出力することができるように構成してあるので、その情報を基にホストコンピュータ6に格納されている制御ソフト、或いはアプリケーションソフト等によって、所望の動作を実現することができる。  As described above, when the
  また、動作状態を「一方のサイドスイッチ」と「両者のサイドスイッチ」とで区別したのは、利き腕を考慮した結果である。つまり、図19に示すように、座標入力ペンのサイドスイッチ42は、指示具4の対称軸に対称に、しかも隣接するように配置してあるので、右利き、左利きの区別無く、同一の動作で同一の効果が得られるように構成したものである。サイドスイッチの他の実施例としては、2段スイッチ、つまりスイッチのキートップを押圧することで1段目のスイッチが動作し、さらに押圧することによって2段目のスイッチが動作するスイッチを用いることによって、同様の効果も得られる。  In addition, the distinction between “one side switch” and “both side switches” is the result of considering the dominant arm. That is, as shown in FIG. 19, the
指示具4の少なくともいずれかのスイッチが動作している状態は、常に所定周期での座標算出、つまり指示具4から信号が所定周期で放出されている状態である。したがって、このタイミング信号であるところの光信号を所定周期毎に検出できるかどうかによって、最初の座標を検知した状態から、「連続的/継続的に座標が入力されている状態」にあるのか、「連続的に座標入力が行われている状態が中断した状態」にあるのかを判定することができる。つまり、制御信号検出回路86のスタート信号の発生タイミングを監視(座標サンプリングレートを100回/秒とすれば、0.01秒毎にスタート信号が発生する)することによって、「連続入力」の状態にあるかどうかを判定する。 The state in which at least one of the switches of the indicator 4 is operating is a state where coordinates are always calculated at a predetermined cycle, that is, a signal is emitted from the indicator 4 at a predetermined cycle. Therefore, depending on whether or not the optical signal as the timing signal can be detected every predetermined period, whether the coordinate is input continuously or continuously from the state where the first coordinate is detected, It is possible to determine whether the state where the coordinate input is continuously performed is in the interrupted state. That is, by monitoring the generation timing of the start signal of the control signal detection circuit 86 (if the coordinate sampling rate is 100 times / second, a start signal is generated every 0.01 seconds), it is in a “continuous input” state. Determine whether or not.
さらには、「連続入力」を判定する手段としては、所定時間を設定し、その所定時間内に信号(例えば本実施形態の場合には、スタート信号であるところの光信号)が検知されるか、あるいは座標値が検出されたかを判定しても良い。 Furthermore, as means for determining “continuous input”, a predetermined time is set, and a signal (for example, an optical signal that is a start signal in the present embodiment) is detected within the predetermined time. Alternatively, it may be determined whether a coordinate value is detected.
  以上述べたように、制御信号検出回路86は、上記方法に基づき「連続入力状態の判定」、「スイッチの動作状態の判定」、「ペンアップ/ダウンの判定」等を行い、その旨の信号を演算制御回路83に出力するように構成される。  As described above, the control
(座標値の処理例1)
  さて、検出された座標値の処理形態、並びにその作用効果について詳述する。(Coordinate value processing example 1)
 Now, the processing mode of the detected coordinate value and its operation and effect will be described in detail.
まず、座標値処理方法のフローについて図21を用いて説明する。 First, the flow of the coordinate value processing method will be described with reference to FIG.
  ステップS502では、指示具4の位置の座標検出が行われるのを待機する。上述したとおり、座標検出は指示具4のいずれかのスイッチが動作状態となったときに行われる。座標値が検出されるとステップS503に進み、前述した制御信号検出回路86の出力信号に基づきペンダウン状態かどうかを判断する。上記したとおり、指示具4のペン先SW41が動作状態にある場合、またはサイドスイッチ42a、42bの両方が動作状態に有る場合にペンダウン状態と判断される。ここでペンダウン状態と判断されたときは、ステップS504にてフラグ(Flag)の値を参照し、フラグの値がFlag=0の場合には、フラグの値をFlag=1に設定し(ステップS505)、検出した座標値を基準座標値として格納する(ステップS506)。  In step S502, it waits for the coordinate detection of the position of the pointing tool 4 to be performed. As described above, the coordinate detection is performed when any switch of the pointing tool 4 is in an operating state. When the coordinate value is detected, the process proceeds to step S503, and it is determined whether or not the pen-down state is established based on the output signal of the control
ステップS507では、検出座標値と上記基準座標値との差分値を算出し、例えば表示装置に表示されているカーソルを算出した差分値に応じた量、移動するように、例えば表示装置を制御しているホストコンピュータにその旨出力する。ステップS508では前述した方法で連続入力状態にあるかを判定する。連続的に座標検出が行われている間は、設定された基準座標値と検出した座標値の差分値を連続的に出力し、連続的な座標検出が中断すると、処理を終了し(ステップS513)、次の座標検出が行われるまで待機状態となる(ステップS502)。 In step S507, a difference value between the detected coordinate value and the reference coordinate value is calculated. For example, the display device is controlled so as to move the cursor displayed on the display device by an amount corresponding to the calculated difference value. To that host computer. In step S508, it is determined whether or not the continuous input state is established by the method described above. While the coordinate detection is continuously performed, the difference value between the set reference coordinate value and the detected coordinate value is continuously output. When the continuous coordinate detection is interrupted, the process is terminated (step S513). ) Until the next coordinate detection is performed (step S502).
  連続的な座標検出が中断し、再度ステップS502にて指示具4の座標検出が行われると、同様にステップS503にてペンダウン状態かどうかを確認し、ペンダウン状態にあれば、ステップS504にてフラグの値を判定することになるが、上記の説明では前回の「一連の連続した座標検出時」にフラグはステップS505にてFlag=1に設定されており、従って基準座標の設定/更新(ステップS506)は行われず、保持されていた基準座標値を用いて、ステップS507、ステップ508のループにより、連続的な座標検出が行われている間、差分値が出力される。以上のようなペンダウン状態における処理中は、指示具4の移動に伴ってその筆跡が表示装置に表示されることになる。  When the continuous coordinate detection is interrupted and the coordinate detection of the pointing tool 4 is performed again in step S502, it is similarly checked in step S503 whether the pen is in the pen-down state. If in the pen-down state, the flag is set in step S504. In the above description, the flag is set to Flag = 1 in the previous “at the time of detecting a series of consecutive coordinates” in step S505. Step S506) is not performed, and a difference value is output while continuous coordinate detection is performed by the loop of Step S507 and
連続入力が中断すると、再びステップS502にて指示具4の座標検出の待機状態になるが、座標値が検出され、ステップS503にてペンダウン状態ではなくペンアップ状態と判定された場合には、ステップS509に進む。ステップS509では、フラグを初期状態であるFlag=0に設定し、検出した座標値を基準座標に設定、更新し、ステップS511、ステップS512のループにて、座標値が連続的に検出されている間、設定された基準座標値と検出した座標値の差分値(すなわち、相対座標値)が出力されることになる。以上のようなペンアップ状態における処理中は、指示具4の移動に伴って表示装置に表示されているカーソルの位置を移動させることができる。 When the continuous input is interrupted, the coordinate detection state of the pointing device 4 is again waited in step S502. However, if the coordinate value is detected and it is determined that the pen-up state is determined instead of the pen-down state in step S503, the step is performed. The process proceeds to S509. In step S509, the flag is set to Flag = 0 which is an initial state, the detected coordinate value is set and updated as the reference coordinate, and the coordinate value is continuously detected in the loop of step S511 and step S512. During this time, a difference value (that is, a relative coordinate value) between the set reference coordinate value and the detected coordinate value is output. During processing in the pen-up state as described above, the position of the cursor displayed on the display device can be moved with the movement of the pointing tool 4.
つぎに、このような座標値処理方法を採用することによる作用効果について、図22を用いて説明を加える。 Next, the effect of adopting such a coordinate value processing method will be described with reference to FIG.
  図22はカーソル移動のための操作例およびその作用を説明するものであり、表示装置によって表示されているカーソルが(1)の位置にあって、操作者の意図によってカーソルを(3)の位置に移動しようとしている場合の説明図である。まず操作者は指示具4を位置Aに移動し、その時点でペンサイドSW42aまたは42bのいずれかのみをONすることでペンアップ状態にする。この時、ペン先SW41は動作状態に無いので、ステップS509にてフラグがFlag=0に設定され、指示具4の位置座標がステップS510にて基準座標として記憶される(この時、カーソル位置は(1)のままであり、移動はまだしない)。ここで操作者が、ペンアップ状態を維持したまま指示具4を位置Bに移動させると、ステップS511、S512のループにより、その指示具4の移動方向と移動距離に応じてカーソルが移動し、例えば(2)の位置に移動する。そして、指示具4が位置Bに達した時点でペンサイドSW42がOFFにされると、この時点で「連続的」な座標検出が終了し、ステップS502において座標検出待機状態となる。  FIG. 22 illustrates an example of an operation for moving the cursor and its operation. The cursor displayed by the display device is at the position (1), and the cursor is moved to the position (3) according to the operator's intention. It is explanatory drawing when it is going to move to. First, the operator moves the pointing tool 4 to the position A, and at that time, only the
このとき操作者は、指示具4のスイッチをすべてOFFにしたまま指示具4を位置Bから位置Aの方に戻すと、このときは座標検出が行われず、カーソルは(2)の位置で動かない。その後、操作者が再び位置A付近においてペンサイドSW42のいずれか一方(42aまたは42b)のみをONすることによってペンアップ状態とすると、連続入力状態が開始され、ステップS510にて最初に検出された絶対座標値が基準座標として新たに更新、記憶される。その後さらに操作者が指示具4をその位置から位置Bまでペンアップ状態のまま移動させると、カーソルは(2)の位置から(3)の位置へ移動することになる。 At this time, if the operator returns the indicator 4 from the position B to the position A with all the switches of the indicator 4 turned OFF, the coordinate detection is not performed at this time, and the cursor moves at the position (2). Absent. Thereafter, when the operator again enters the pen-up state by turning on only one of the pen side SWs 42 (42a or 42b) in the vicinity of the position A, the continuous input state is started, and is first detected in step S510. The absolute coordinate value is newly updated and stored as the reference coordinate. Thereafter, when the operator further moves the pointing tool 4 from the position to the position B in the pen-up state, the cursor moves from the position (2) to the position (3).
このような操作によれば、聞き手の視線を遮ることなく、画面上のカーソルの大移動をその場で実現することが可能となる。このようにして、指示具4の移動軌跡の画像を表示する際のオフセット量が指示具4の簡単な操作によって設定される。 According to such an operation, a large movement of the cursor on the screen can be realized on the spot without obstructing the line of sight of the listener. In this way, the offset amount when displaying the image of the movement locus of the pointing tool 4 is set by a simple operation of the pointing tool 4.
  図23は、指示具4の筆跡を表示させるための操作例およびその作用を説明する図である。まず操作者は図22で説明した方法によりカーソルを所望の位置(3)に移動させたと仮定する。この時フラグの値は、前述した通りFlag=0に設定されている。その後、操作者が所望の位置Cにて指示具4を入力領域5上に当接させてペン先SW41をONにすることによりペンダウン状態にすると、これに応じて座標検出が行われる(ステップS502)。現状はFlag=0の状態にあるので、ステップS505にてフラグがFlag=1に設定され、ステップS506にて、検出した座標値が基準座標として記憶される(この時カーソルは(3)の位置から動かない)。操作者が指示具4を入力領域5上に当接させながら(すなわち、ペンダウン状態を維持したまま)位置Dまで移動させると、ステップS507、ステップS508にて継続的に検出座標値と基準座標値との差分値(すなわち、相対座標値)が出力され、指示具4の移動方向及び移動距離を忠実に再現して、カーソルが(3)の位置から(4)の位置へと移動し、その軌跡が表示される。操作者が位置Dの位置で指示具4の当接をやめる(すなわち、ペン先SW41をOFFにする)と、連続検出が中断するので座標検出待機状態となり(ステップS502)、指示具4を位置Eに移動しても、カーソルは(4)の位置から移動することはない。  FIG. 23 is a diagram for explaining an operation example for displaying the handwriting of the pointing tool 4 and its operation. First, it is assumed that the operator has moved the cursor to a desired position (3) by the method described in FIG. At this time, the flag value is set to Flag = 0 as described above. Thereafter, when the operator places the pointing tool 4 on the
  続いて、操作者が指示具4を位置Eにて入力領域5に指示具4を当接させペン先SW41を動作させることによりペンダウン状態にすると、ステップS502、ステップS503を経て、ステップS504にてフラグの判定が行われる。この場合、フラグは前回の連続座標検出動作にてFlag=1に設定されているので、基準座標の更新は行われず、前回の連続座標検出時に記憶された基準座標を用いて、ステップS507、ステップS508のループが繰り返される。基準座標は、前回の連続座標入力動作で設定された座標値、つまり指示具4の位置が位置Cにある時に検出された座標値であるので、指示具4の位置が位置Eにある場合には、その時に検出された座標値と、指示具4の位置が位置Cにあるときの座標値(基準座標値)との差分が出力されることになり、カーソルは位置(4)から位置(5)に移動することになる。  Subsequently, when the operator places the pointing tool 4 in position E at the position E to bring the pointing tool 4 into contact with the
その後、操作者が指示具4を当接させたまま(ペンダウン状態のまま)位置Fに移動すると、カーソルは、指示具4の移動方向及び移動距離を忠実に再現して、(5)の位置から(6)の位置へと移動し、その軌跡が表示されることになる。 Thereafter, when the operator moves to the position F while keeping the pointing tool 4 in contact (with the pen down state), the cursor faithfully reproduces the moving direction and the moving distance of the pointing tool 4, and the position of (5) To the position of (6), and the locus is displayed.
さて、図23の説明において、文字等の情報を追記したい位置(3)(現状のカーソル位置)は、図22で説明した通り、操作者の意図によって容易に設定される。その後、指示具4の操作によって情報を入力するのであるが、指示具4の操作位置Cは任意の位置で良く、従来例に示されるオフセット量を設定しなければならないような装置と比べ、格段に操作性が向上する。つまり図23の如く、画面右側の所望位置に「い」という文字の追記は、例えば画面左側の任意の位置での操作により実現できることから、聞き手の視線を遮ることもない。また、情報を追記すべき位置により近い領域(例えば図23における画面中央部)で操作することによって、操作者は入力した情報をより視認しやすくなり、操作者の手等で表示装置の光路が遮断されるような場合であっても、適宜情報追記位置(3)と操作位置Cの位置関係を無意識のうちに設定することが可能なので、良好な操作環境を実現することが可能となる。 In the description of FIG. 23, the position (3) (current cursor position) where information such as characters is desired to be added is easily set according to the operator's intention as described with reference to FIG. After that, information is input by operating the pointing tool 4, but the operating position C of the pointing tool 4 may be an arbitrary position, which is markedly different from an apparatus in which the offset amount shown in the conventional example must be set. The operability is improved. That is, as shown in FIG. 23, the addition of the character “I” to the desired position on the right side of the screen can be realized by, for example, an operation at an arbitrary position on the left side of the screen, and thus does not block the viewer's line of sight. Further, by operating in a region closer to the position where information should be added (for example, the center of the screen in FIG. 23), the operator can more easily view the input information, and the optical path of the display device can be changed by the operator's hand or the like. Even in the case of being blocked, it is possible to unconsciously set the positional relationship between the information addition position (3) and the operation position C, so that a favorable operation environment can be realized.
  さらには、位置(3)と操作位置Cとが一致、つまり情報を追記、表示させたい位置にカーソルを移動させ、そのカーソル位置で指示具4を入力領域5に当接(ペン先SW41が動作)させて操作させると、操作者から見て、従来例に見られる座標入力装置(指示具4の絶対位置座標を検出し、その絶対座標値を出力することによって、指示具4の指示位置に常にカーソルが存在する)と同等の作業性を得ることができる。この同等の作業性は、一連の指示具4の操作が、ペン先SWのみの動作により行われている間成立するので、用途によっては重要な役割を演じる。つまり、本発明をリアプロジェクタ、PDP等に適用した場合には、操作者による光路の遮断により表示情報が操作者に視覚できないという問題は発生しないので、この絶対的な入力ができるということは、重要な利点である。しかしながら絶対的な入力のみの機能であれば、それを見ている聞き手(参加者)にとっては、操作者の体等により表示情報が遮断されるので、本発明の如く、相対的に情報が入力できる操作性も、重要な役割を演じることになる。したがって、フロントプロジェクタ等を用いたシステムのみならず、リアプロジェクタ、PDPの表示装置を用いたシステムであっても、本発明によって、操作性に優れた操作環境を提供できるようになった。  Furthermore, the position (3) matches the operation position C, that is, the cursor is moved to a position where information is to be added and displayed, and the pointing tool 4 is brought into contact with the
  また、操作者が行うスイッチ操作は、座標検出動作を実行するためのペン先SW41、もしくはペンサイドSW42のみの操作であり、上記操作性を実現するための特別なスイッチ操作を必要としない。つまり、従来例に見られるような例えばオフセットを設定するためのスイッチ操作、座標入力領域(操作領域)の制限等が一切無く、装置を使いこなすための習熟、熟練が不要で、誰でもが直感で操作できるという優れた利点を有する。  The switch operation performed by the operator is an operation of only the
(座標値の処理例2)
  上述した座標値の処理例は、指示具4の簡単な操作で所望の位置にカーソルを移動させて、その位置を起点とした情報入力(相対座標による軌跡の描画)を容易に行うようにするものであった。このような処理において、さらに操作性を高めるべく、指示具4の実際の移動軌跡(絶対座標による軌跡)を同時に表示可能とすることも好ましい実施形態である。(Coordinate value processing example 2)
 In the coordinate value processing example described above, the cursor is moved to a desired position by a simple operation of the pointing tool 4, and information input (drawing of a locus by relative coordinates) from that position is easily performed. It was a thing. In such a process, in order to further improve the operability, it is also a preferred embodiment that the actual movement locus (trajectory based on absolute coordinates) of the pointing tool 4 can be displayed simultaneously.
このような処理は、基本的には上述した図21のフローに従い実現が可能である。ただし、この場合には、絶対座標による軌跡と相対座標による軌跡を同時に描画するものであるから、処理中に検出される座標については、常に絶対座標と相対座標を求める必要がある。具体的には、図21のステップS502、S508、S512では絶対座標値を検出し、ステップS507あるいはステップS511では、基準座標値と検出された絶対座標値との差分値を相対座標値として算出し、その絶対座標値と相対座標値を共に、例えば表示装置を制御しているホストコンピュータに出力する。すなわち、ステップS507,S508のループ、あるいはステップS511,S512のループによる連続的な座標検出においては、絶対座標値および相対座標値が出力されることになる。 Such processing can be basically realized according to the flow of FIG. 21 described above. However, in this case, since the trajectory based on the absolute coordinates and the trajectory based on the relative coordinates are drawn simultaneously, it is necessary to always obtain the absolute coordinates and the relative coordinates for the coordinates detected during the processing. Specifically, absolute coordinate values are detected in steps S502, S508, and S512 of FIG. 21, and a difference value between the reference coordinate value and the detected absolute coordinate value is calculated as a relative coordinate value in step S507 or step S511. The absolute coordinate value and the relative coordinate value are output to, for example, a host computer that controls the display device. That is, in the continuous coordinate detection by the loop of steps S507 and S508 or the loop of steps S511 and S512, the absolute coordinate value and the relative coordinate value are output.
  この場合、上述した図23の場面では、操作者が指示具4を入力領域5上に当接させながら位置CからDまで移動させると、ステップS507、S508にて継続的に絶対座標値および相対座標値(すなわち、絶対座標値と基準座標値との差分値)が出力される。この時、座標値を受け取る例えば画像制御用のホストコンピュータは、指示具4の移動に伴う絶対座標値の変化に基づき、表示装置上にその軌跡(図23においては位置CからDまでの破線で示される軌跡)を表示するように動作するとともに、指示具4の移動に伴う相対座標値の変化に基づき、表示装置上のカーソル位置を基点としてその移動軌跡(図23においては(3)から(4)までの実線で示される軌跡)を表示するように動作する。つまり、表示装置には実際に指示具4が移動した軌跡、及び、現在のカーソル位置を起点とする相似形の軌跡の両者が表示される。同様な処理により、位置EからFへの移動軌跡も表示装置に表示される。  In this case, in the above-described scene of FIG. 23, when the operator moves the pointing tool 4 from the position C to D while contacting the
このように、操作者が入力した情報(図23中の破線で示される軌跡)もが表示画面上に表示されるので、操作者が入力を意図した位置を見ながら入力作業を行う必要がなく、指示具4の軌跡を視認しながら、例えば細かい文字の入力等を容易に行える、優れた操作性を提供することが可能となる。 In this way, since the information input by the operator (the trajectory indicated by the broken line in FIG. 23) is also displayed on the display screen, it is not necessary for the operator to perform input work while looking at the position intended for input. For example, it is possible to provide excellent operability that allows easy input of, for example, fine characters while visually checking the locus of the pointing tool 4.
ところで、操作者が意図したのは、あくまで所望のカーソル位置を起点とする軌跡情報である。操作者の操作性を向上させる指示具4の軌跡(絶対座標による軌跡)は、操作者にとって操作性を向上させるための情報として重要な役割を演じているのは確かであるが、その一方で、表示装置を見ている多くの聴衆にとっては不要な情報でもある。 By the way, what the operator intended is trajectory information starting from a desired cursor position. The trajectory of the pointing device 4 (the trajectory based on absolute coordinates) that improves the operability of the operator certainly plays an important role as information for improving the operability for the operator. It is also unnecessary information for many audiences watching the display device.
そこで、この絶対座標に基づく軌跡は、描画後、所定時間経過後に消去されることが好ましい。 Therefore, the trajectory based on the absolute coordinates is preferably deleted after a predetermined time has elapsed after drawing.
あるいは、別途設けられたスイッチ手段を使用して、絶対座標に基づく軌跡を消去することが好ましい。このスイッチ手段は、例えば、表示領域の近傍に設けられたスイッチであっても良いし、座標入力有効エリアの所定領域をスイッチとして割り付けて、例えばその領域の座標値が検出されると、絶対座標に基づく軌跡を消去するようにしてもよい。 Alternatively, it is preferable to delete a locus based on absolute coordinates by using separately provided switch means. This switch means may be, for example, a switch provided in the vicinity of the display area, or when a predetermined area of the coordinate input effective area is assigned as a switch and, for example, the coordinate value of that area is detected, absolute coordinates are detected. You may make it delete the locus | trajectory based on.
あるいは、図21におけるステップS505、S506にて基準座標が設定されるのに伴って、絶対座標に基づく軌跡を消去するように構成してもよいであろう。これは、細かい文字等を一連の操作で入力しているような場合には、常に設定されている基準座標値は同一の値であり、その間の絶対座標に基づく軌跡情報は、操作者に重要な情報を与えるのに対し、一連の例えば文字入力動作が終了(つまり図21において、例えばステップS503にてペン先SWがOFFの状態で座標入力が行われ、ステップS509からS512の動作に移行)した時には、操作者にとってもそれまでに入力した絶対座標に基づく軌跡情報は不要な情報となる、ということに基づく。したがって、前述の一連の文字入力動作終了を、基準座標値が更新されたことをもって検知することにより、自動的に不要となった絶対座標値に基づく軌跡を消去するように構成することが可能である。 Alternatively, as the reference coordinates are set in steps S505 and S506 in FIG. 21, the trajectory based on the absolute coordinates may be deleted. This is because the reference coordinate values that are always set are the same when fine characters are input in a series of operations, and the trajectory information based on the absolute coordinates between them is important for the operator. A series of character input operations, for example, is completed (that is, in FIG. 21, for example, coordinate input is performed in a state where the pen tip SW is OFF in step S503, and the operation proceeds from step S509 to step S512). In this case, the trajectory information based on the absolute coordinates input so far is also unnecessary information for the operator. Therefore, by detecting the end of the series of character input operations described above when the reference coordinate value is updated, it is possible to automatically delete the locus based on the absolute coordinate value that is no longer necessary. is there.
(座標値の出力形態および表示形態の説明)
  上記構成において、さらに操作性よく入力することを可能とするために、座標値の出力形態および表示装置における表示形態を以下のような構成とすることもできる。図24を用いて説明する。(Explanation of coordinate value output form and display form)
 In the above configuration, in order to enable input with better operability, the coordinate value output mode and the display mode on the display device may be configured as follows. This will be described with reference to FIG.
図24は、相対座標である軌跡情報を含む所定領域の表示内容を操作者が入力する領域に対応させて表示させる構成としたときの概略説明図である。すなわち、先述の例においては、操作者は領域Bに表示される軌跡情報を目視しながら、実際は領域Aに入力することができたが、さらに領域Aに領域Bの表示内容を表示させることで、操作性を大幅に向上させることができる。前述した通り、相対座標に基づく軌跡はカーソルの位置を起点として行われる。例えば、現在のカーソル位置の周辺領域の表示情報を、指示具4を当接させた位置を中心として表示させる。これにより、指示具4を操作する領域に、実際に軌跡を入力したい領域の表示情報をトレースすることできる。 FIG. 24 is a schematic explanatory diagram when the display content of a predetermined area including trajectory information that is relative coordinates is displayed in association with the area input by the operator. That is, in the above-described example, the operator can actually input the region A while viewing the trajectory information displayed in the region B. However, by displaying the display contents of the region B in the region A, The operability can be greatly improved. As described above, the locus based on the relative coordinates is performed starting from the position of the cursor. For example, the display information of the peripheral area at the current cursor position is displayed with the position where the pointing tool 4 is in contact as the center. Thereby, the display information of the area where the locus is actually desired can be traced in the area where the pointing tool 4 is operated.
このように、領域Aに領域Bの表示情報をトレースして、軌跡情報a(絶対座標)を表示することにより、操作者の視線移動を最小限にすることができ、作業性を向上させることができる。 In this way, by tracing the display information of the area B in the area A and displaying the trajectory information a (absolute coordinates), the movement of the line of sight of the operator can be minimized, and workability is improved. Can do.
  なお、このモードは、不図示のスイッチや画像情報(アイコン)を操作者が操作することで任意に開始することができるように構成されることが好ましい。また、例えば、指示具4のペンサイドスイッチ42を全て押しながらペン先スイッチ41を入力面に押し当ててオンにすることでモードの変更がなされるように構成してもよい。さらには、先に説明したように、絶対座標に基づく軌跡情報が消去される際に、同時に領域Aの表示情報を消去しても良いし、あるいは、前述のようにステップS506における基準座標の設定/更新が行われた際に、このモードを終了するように構成しても良い。  This mode is preferably configured so that it can be arbitrarily started by an operator operating a switch or image information (icon) (not shown). For example, the mode may be changed by pressing the
図24の各領域における座標出力の形態は、領域A内では基準座標値が固定、すなわち、操作者は領域Aにおいて軌跡aを入力すると、軌跡aの表示は絶対座標の出力に従って表示され、領域Bに表示される軌跡bは先の基準座標値に対応する相対座標の軌跡として表示される。ここで、領域Aは領域Bの表示データを複写したものであり、領域Aに領域Bの表示データと同じ画像データが表示される。 In the form of coordinate output in each area of FIG. 24, the reference coordinate value is fixed in area A. That is, when the operator inputs a trajectory a in area A, the display of trajectory a is displayed according to the output of absolute coordinates. The trajectory b displayed on B is displayed as a relative coordinate trajectory corresponding to the previous reference coordinate value. Here, the area A is a copy of the display data of the area B, and the same image data as the display data of the area B is displayed in the area A.
領域Aの表示データは、元画像を背景として認識できるように透過であったり、領域Bに対して縮小されていてもよく、操作者が適宜選択できるよう構成される。 The display data of the area A may be transparent so that the original image can be recognized as the background, or may be reduced with respect to the area B, and is configured so that the operator can select as appropriate.
絶対座標に基づく軌跡画像と相対座標に基づく軌跡画像は同一である必要はなく、相似形であってもよく、両軌跡画像の少なくとも一方の拡大率を設定可能にする構成を設けてもよい。そのような拡大率を設定場合には、領域Aのウィンドウや透過領域もその拡大率に従って拡大縮小させて表示させる。 The trajectory image based on the absolute coordinates and the trajectory image based on the relative coordinates do not have to be the same, may be similar to each other, and a configuration may be provided in which the enlargement ratio of at least one of the both trajectory images can be set. When such an enlargement ratio is set, the window and transmissive area of area A are enlarged and reduced according to the enlargement ratio and displayed.
このように、絶対座標と相対座標とを関連付けて表示データを表示させることによって、操作者の作業性を向上させることができる。 Thus, by displaying the display data in association with the absolute coordinates and the relative coordinates, the workability of the operator can be improved.
ところで、操作者が入力する領域Aの表示の大きさと位置は、書き出し位置(基準点)を中心とした所定領域としてもよいし、書き出し位置(基準点)を含むウィンドウのみを表示させてもよい。また、表示はコマンドが変更されたときだけ表示される(ポップアップ)でもよいし、操作者が絶対座標で入力するための固定のウィンドウを表示させてもよい。 By the way, the display size and position of the area A input by the operator may be a predetermined area centered on the writing position (reference point), or only the window including the writing position (reference point) may be displayed. . The display may be displayed only when the command is changed (pop-up), or a fixed window for the operator to input in absolute coordinates may be displayed.
  上記を実現するために、CPU83では絶対座標と相対座標の両方を同時に出力する。また、相対座標近傍の画像データをキャプチャして画像データとして保存し、絶対座標と関連付けて画像データを加工し表示データをホストコンピュータ6に送信する。  In order to realize the above, the
  以上、検出した座標値を処理して、その座標値を出力する座標入力装置8について説明したが、この座標値処理は、前述の如く座標入力装置8の内部で実行してもかまわないし、座標入力装置8が検出した座標値を受け取ったホストコンピュータ6が実行するように構成してもよい。  The coordinate
図25は、実施形態におけるプレゼンテーションシステムの各装置間における座標値および画像信号の流れの例を示した図である。 FIG. 25 is a diagram illustrating an example of the flow of coordinate values and image signals between devices of the presentation system in the embodiment.
  まず、同図(1)は、座標入力装置8が、絶対座標と相対座標の両方をホストコンピュータ6に出力するように構成した場合の概念図である。この場合、座標入力装置8からの座標データは、ホストコンピュータ6のアプリケーションにより処理され、絶対座標と相対座標の両方から、画像データの関連付け(絶対座標による指示具の軌跡の表示と相対座標による指示具の軌跡の表示との関連付け)、領域の確定などの処理をして表示装置(プロジェクター)7に表示させる。  First, FIG. 1A is a conceptual diagram when the coordinate
  次に、同図(2)は、ホストコンピュータ6には相対座標のみを出力し、絶対座標は画像処理部(例えば制御・演算ユニット2によって実現される)を介して表示装置7に送信するように構成した場合の概念図である。この場合、相対座標はホストコンピュータ6に入力され、絶対座標は画像処理部(制御・演算ユニット2)に入力される。画像処理部(制御・演算ユニット2)は、この絶対座標と相対座標およびホストコンピュータ6から出力されるRGB信号を処理して、相対座標に対応する画像データをキャプチャして、絶対座標に対応した位置に表示する。なお、この画像処理部が出力する画像データは、ホストコンピュータ6が出力するRGB信号から表示する画像とは階層が異なり、表示装置7の調整メニューなどを表示するいわゆるOSD(オンスクリーンディスプレイ)と同じ階層にすることで、ホストコンピュータ6からの画像とは独立した画像表示とすることができる。このようにすることによって、ホストコンピュータ6は、相対座標のみ処理すればよく、特別なアプリケーションをインストールすることなく動作させることができる。  Next, FIG. 2B shows that only relative coordinates are output to the
(他の実施形態)
  以上、本発明の実施形態を詳述したが、本発明は、複数の機器から構成されるシステムに適用してもよいし、また、一つの機器からなる装置に適用してもよい。(Other embodiments)
 As mentioned above, although embodiment of this invention was explained in full detail, this invention may be applied to the system comprised from several apparatuses, and may be applied to the apparatus which consists of one apparatus.
なお、本発明は、前述した実施形態の機能を実現するソフトウェアのプログラムを、システムあるいは装置に直接あるいは遠隔から供給し、そのシステムあるいは装置のコンピュータがその供給されたプログラムコードを読み出して実行することによっても達成される。その場合、プログラムの機能を有していれば、その形態はプログラムである必要はない。 In the present invention, a software program that realizes the functions of the above-described embodiments is directly or remotely supplied to a system or apparatus, and the computer of the system or apparatus reads and executes the supplied program code. Is also achieved. In that case, as long as it has the function of a program, the form does not need to be a program.
従って、本発明の機能処理をコンピュータで実現するために、そのコンピュータにインストールされるプログラムコード自体およびそのプログラムを格納した記憶媒体も本発明を構成することになる。つまり、本発明の特許請求の範囲には、本発明の機能処理を実現するためのコンピュータプログラム自体、およびそのプログラムを格納した記憶媒体も含まれる。 Therefore, in order to realize the functional processing of the present invention with a computer, the program code itself installed in the computer and the storage medium storing the program also constitute the present invention. In other words, the claims of the present invention include the computer program itself for realizing the functional processing of the present invention and a storage medium storing the program.
その場合、プログラムの機能を有していれば、オブジェクトコード、インタプリタにより実行されるプログラム、OSに供給するスクリプトデータ等、プログラムの形態を問わない。 In this case, the program may be in any form as long as it has a program function, such as an object code, a program executed by an interpreter, or script data supplied to the OS.
プログラムを供給するための記憶媒体としては、例えば、フレキシブルディスク、ハードディスク、光ディスク、光磁気ディスク、MO、CD−ROM、CD−R、CD−RW、磁気テープ、不揮発性のメモリカード、ROM、DVD(DVD−ROM,DVD−R)などがある。 As a storage medium for supplying the program, for example, flexible disk, hard disk, optical disk, magneto-optical disk, MO, CD-ROM, CD-R, CD-RW, magnetic tape, nonvolatile memory card, ROM, DVD (DVD-ROM, DVD-R).
その他、プログラムの供給方法としては、クライアントコンピュータのブラウザを用いてインターネットのホームページに接続し、そのホームページから本発明のコンピュータプログラムそのもの、もしくは圧縮され自動インストール機能を含むファイルをハードディスク等の記憶媒体にダウンロードすることによっても供給できる。また、本発明のプログラムを構成するプログラムコードを複数のファイルに分割し、それぞれのファイルを異なるホームページからダウンロードすることによっても実現可能である。つまり、本発明の機能処理をコンピュータで実現するためのプログラムファイルを複数のユーザに対してダウンロードさせるWWWサーバも、本発明のクレームに含まれるものである。 As another program supply method, a client computer browser is used to connect to an Internet homepage, and the computer program of the present invention itself or a compressed file including an automatic installation function is downloaded from the homepage to a storage medium such as a hard disk. Can also be supplied. It can also be realized by dividing the program code constituting the program of the present invention into a plurality of files and downloading each file from a different homepage. That is, a WWW server that allows a plurality of users to download a program file for realizing the functional processing of the present invention on a computer is also included in the claims of the present invention.
また、本発明のプログラムを暗号化してCD−ROM等の記憶媒体に格納してユーザに配布し、所定の条件をクリアしたユーザに対し、インターネットを介してホームページから暗号化を解く鍵情報をダウンロードさせ、その鍵情報を使用することにより暗号化されたプログラムを実行してコンピュータにインストールさせて実現することも可能である。 In addition, the program of the present invention is encrypted, stored in a storage medium such as a CD-ROM, distributed to users, and key information for decryption is downloaded from a homepage via the Internet to users who have cleared predetermined conditions. It is also possible to execute the encrypted program by using the key information and install the program on a computer.
また、コンピュータが、読み出したプログラムを実行することによって、前述した実施形態の機能が実現される他、そのプログラムの指示に基づき、コンピュータ上で稼動しているOSなどが、実際の処理の一部または全部を行い、その処理によっても前述した実施形態の機能が実現され得る。 In addition to the functions of the above-described embodiments being realized by the computer executing the read program, the OS running on the computer based on the instruction of the program is a part of the actual processing. Alternatively, the functions of the above-described embodiment can be realized by performing all of the processes.
さらに、記憶媒体から読み出されたプログラムが、コンピュータに挿入された機能拡張ボードやコンピュータに接続された機能拡張ユニットに備わるメモリに書き込まれた後、そのプログラムの指示に基づき、その機能拡張ボードや機能拡張ユニットに備わるCPUなどが実際の処理の一部または全部を行い、その処理によっても前述した実施形態の機能が実現される。 Furthermore, after the program read from the storage medium is written to a memory provided in a function expansion board inserted into the computer or a function expansion unit connected to the computer, the function expansion board or The CPU or the like provided in the function expansion unit performs part or all of the actual processing, and the functions of the above-described embodiments are realized by the processing.
| Application Number | Priority Date | Filing Date | Title | 
|---|---|---|---|
| JP2004191458AJP4455185B2 (en) | 2004-06-29 | 2004-06-29 | Presentation system, control method therefor, program, and storage medium | 
| Application Number | Priority Date | Filing Date | Title | 
|---|---|---|---|
| JP2004191458AJP4455185B2 (en) | 2004-06-29 | 2004-06-29 | Presentation system, control method therefor, program, and storage medium | 
| Publication Number | Publication Date | 
|---|---|
| JP2006012039A JP2006012039A (en) | 2006-01-12 | 
| JP2006012039A5 JP2006012039A5 (en) | 2007-08-02 | 
| JP4455185B2true JP4455185B2 (en) | 2010-04-21 | 
| Application Number | Title | Priority Date | Filing Date | 
|---|---|---|---|
| JP2004191458AExpired - Fee RelatedJP4455185B2 (en) | 2004-06-29 | 2004-06-29 | Presentation system, control method therefor, program, and storage medium | 
| Country | Link | 
|---|---|
| JP (1) | JP4455185B2 (en) | 
| Publication number | Priority date | Publication date | Assignee | Title | 
|---|---|---|---|---|
| JP7521372B2 (en) | 2020-10-15 | 2024-07-24 | セイコーエプソン株式会社 | Display method and display device | 
| Publication number | Priority date | Publication date | Assignee | Title | 
|---|---|---|---|---|
| JP4549212B2 (en)* | 2005-03-23 | 2010-09-22 | 日立ソフトウエアエンジニアリング株式会社 | Electronic board system | 
| JP2009098990A (en)* | 2007-10-18 | 2009-05-07 | Sharp Corp | Display device | 
| JP4500845B2 (en)* | 2007-11-13 | 2010-07-14 | シャープ株式会社 | Information display device, information display method, program, and recording medium | 
| DE102008048825A1 (en)* | 2008-09-22 | 2010-03-25 | Volkswagen Ag | Display and control system in a motor vehicle with user-influenceable display of display objects and method for operating such a display and control system | 
| KR101589179B1 (en) | 2009-08-31 | 2016-02-12 | 엘지전자 주식회사 | Digital broadcast receiver controlled by screen remote controller and space remote controller and control method for the same | 
| JP2012063974A (en)* | 2010-09-16 | 2012-03-29 | Dainippon Printing Co Ltd | Stroke display system and program | 
| JP5718042B2 (en)* | 2010-12-24 | 2015-05-13 | 株式会社ソニー・コンピュータエンタテインメント | Touch input processing device, information processing device, and touch input control method | 
| JP2012173911A (en)* | 2011-02-21 | 2012-09-10 | Seiko Epson Corp | Image generation device, projector, and image generation method | 
| JP2014167496A (en)* | 2011-06-22 | 2014-09-11 | Sharp Corp | Display device | 
| JP5970700B2 (en)* | 2012-04-16 | 2016-08-17 | セイコーエプソン株式会社 | Projector, projector control method, program, and projection system | 
| JP6162001B2 (en)* | 2013-08-29 | 2017-07-12 | シャープ株式会社 | Drawing system | 
| Publication number | Priority date | Publication date | Assignee | Title | 
|---|---|---|---|---|
| JP7521372B2 (en) | 2020-10-15 | 2024-07-24 | セイコーエプソン株式会社 | Display method and display device | 
| Publication number | Publication date | 
|---|---|
| JP2006012039A (en) | 2006-01-12 | 
| Publication | Publication Date | Title | 
|---|---|---|
| JP4442877B2 (en) | Coordinate input device and control method thereof | |
| US6421042B1 (en) | Coordinate position inputting/detecting device, a method for inputting/detecting the coordinate position, and a display board system | |
| US7486281B2 (en) | Coordinate input apparatus, control method thereof, and program | |
| US7176904B2 (en) | Information input/output apparatus, information input/output control method, and computer product | |
| US6478432B1 (en) | Dynamically generated interactive real imaging device | |
| US6802611B2 (en) | System and method for presenting, capturing, and modifying images on a presentation board | |
| US7134078B2 (en) | Handheld portable user device and method for the presentation of images | |
| US20030222849A1 (en) | Laser-based user input device for electronic projection displays | |
| US7864341B2 (en) | Coordinate detection apparatus and method, and computer program | |
| JP2000105671A (en) | Coordinate input / detection device and electronic blackboard system | |
| JP4455185B2 (en) | Presentation system, control method therefor, program, and storage medium | |
| US10276133B2 (en) | Projector and display control method for displaying split images | |
| JP2008176802A (en) | Coordinate input / detection device and electronic blackboard system | |
| JP2010067256A (en) | Opto-touch screen | |
| US20180188890A1 (en) | Electronic whiteboard system and electronic whiteboard and operation method thereof | |
| JP4812124B2 (en) | Coordinate input device, coordinate detection method, and computer program | |
| US10795467B2 (en) | Display device, electronic blackboard system, and user interface setting method | |
| US20030210230A1 (en) | Invisible beam pointer system | |
| JP2017182109A (en) | Display system, information processing apparatus, projector, and information processing method | |
| JP2003276399A (en) | Position detecting method and device, and electronic blackboard device | |
| JP4434381B2 (en) | Coordinate input device | |
| JP2017009664A (en) | Image projection apparatus and interactive input / output system | |
| JP4401737B2 (en) | Coordinate input device, control method therefor, and program | |
| US20100295825A1 (en) | Pointing input device having sheet-like light beam layer | |
| JP4565621B2 (en) | Information processing system | 
| Date | Code | Title | Description | 
|---|---|---|---|
| A521 | Request for written amendment filed | Free format text:JAPANESE INTERMEDIATE CODE: A523 Effective date:20070619 | |
| A621 | Written request for application examination | Free format text:JAPANESE INTERMEDIATE CODE: A621 Effective date:20070619 | |
| RD03 | Notification of appointment of power of attorney | Free format text:JAPANESE INTERMEDIATE CODE: A7423 Effective date:20070619 | |
| A977 | Report on retrieval | Free format text:JAPANESE INTERMEDIATE CODE: A971007 Effective date:20090821 | |
| A131 | Notification of reasons for refusal | Free format text:JAPANESE INTERMEDIATE CODE: A131 Effective date:20090907 | |
| A521 | Request for written amendment filed | Free format text:JAPANESE INTERMEDIATE CODE: A523 Effective date:20091105 | |
| TRDD | Decision of grant or rejection written | ||
| A01 | Written decision to grant a patent or to grant a registration (utility model) | Free format text:JAPANESE INTERMEDIATE CODE: A01 Effective date:20100201 | |
| A01 | Written decision to grant a patent or to grant a registration (utility model) | Free format text:JAPANESE INTERMEDIATE CODE: A01 | |
| A61 | First payment of annual fees (during grant procedure) | Free format text:JAPANESE INTERMEDIATE CODE: A61 Effective date:20100203 | |
| FPAY | Renewal fee payment (event date is renewal date of database) | Free format text:PAYMENT UNTIL: 20130212 Year of fee payment:3 | |
| R150 | Certificate of patent or registration of utility model | Ref document number:4455185 Country of ref document:JP Free format text:JAPANESE INTERMEDIATE CODE: R150 Free format text:JAPANESE INTERMEDIATE CODE: R150 | |
| FPAY | Renewal fee payment (event date is renewal date of database) | Free format text:PAYMENT UNTIL: 20140212 Year of fee payment:4 | |
| LAPS | Cancellation because of no payment of annual fees |