











































【0001】
【発明の属する技術分野】
本発明は、例えば内視鏡の観察下で大伏在静脈等の皮下血管を採取する血管採取装置に係わり、特に、この血管採取装置に組み込まれる血管保持子に関する。
【0002】
【従来の技術】
内視鏡の観察下で大伏在静脈等の皮下血管を牽引して採取する際に使用されるカニューレ及び外科方法は、例えばPCT/US99/31242号や特開2000−37389号公報で知られている。
前記カニューレは、内部に器具挿通路を有する真っ直ぐな管状体で、その近位端に操作部が設けられている。カニューレの器具挿通路には操作部側から牽引子、硬性鏡及び切開鉗子が挿脱自在に挿通されている。牽引子はその遠位端にカニューレの先端部から突出してカニューレの軸方向に対して角度のあるループ部を有している。
【0003】
前記カニューレを用いて内視鏡的に大伏在静脈等の皮下血管を採取する際には次の外科方法を採用している。すなわち、図32に示されるように、下肢100の大腿部の鼠頸部A上部から足首Bに亘る大伏在静脈等の採取対象血管(以下、血管という)Cをその全長に亘って採取する場合、血管Cの直上で、例えば鼠頸部A上方、または、膝D、または、足首Bの上のいずれか1ヶ所にメス等によって皮切部E1またはE2またはE3を設ける。
【0004】
そして、各皮切部E1またはE2またはE3の部位にてダイセクター等により血管Cを露出させる。さらに各皮切部E1またはE2またはE3より肉眼で観察可能な距離について血管Cの直上組織を同様のダイセクター等で剥離する。
【0005】
図33は図32のX−X線に沿う断面図であり、101は表皮、102は皮下組織、103は血管上結合組織であり、この血管上結合組織103の下部に前記血管Cが存在する。ここでは膝Dの皮切部E2から鼠頸部Aに向かって延びる血管Cの採取について述べる。まず、先端にダイセクターとしてのコニカルチップが付いたカニューレを用い、血管Cとその周囲組織とを剥離して腔Gを形成する。続いて、カニューレの先端から前記コニカルチップを取り除き、皮切部E2から腔Gの内部に前記カニューレを挿入するとともに、硬性鏡によって観察しながら膝Dの皮切部E1に向かって血管Cの上方に沿わせるようにしてカニューレを挿入していく。
【0006】
カニューレを腔Gに挿入する過程で、カニューレの近位端の操作部を操作して牽引子を進退操作しながら、その遠位端のループ部で血管Cを保持して皮下組織102と血管上結合組織103とから剥離させ、血管Cの途中から分岐された複数本の側枝Fを切開鉗子によって切断する。この操作を繰り返すことにより、皮切部E2から鼠頸部Aまでの間の血管Cを採取している。
【0007】
【発明が解決しようとする課題】
ところで、前述した大伏在静脈摘出システムにおいて、摘出するべき血管Cから側枝Fを切断する際には、血管Cに傷を付けないようにしなければならない。そこで、安全に切断するために、牽引子によって、血管Cを任意の方向に操作するとともに切開鉗子から距離をおいて保持することが重要である。このように牽引子によって血管Cを操作して保持すると、切断される側枝Fに張力がかかるため、側枝Fをはっきりと認識でき、血管Cを傷付けずに側枝Fを切断することができる。
【0008】
しかしながら、従来の手技では、牽引子によって血管Cを保持して押さえる際、牽引子の形状に起因して、視野に対して側枝Fの根元部分の手前側を押さえていた。そのため、この状態で、血管Cを視野の正面方向に押してしまうと、血管Cが撓んでしまい、側枝Fの後側に盛り上がることがある。この時、切開鉗子を前方に突出させて側枝Fを切断すると、盛り上がった血管Cを誤って傷付けてしまう虞がある。
【0009】
また、このように側枝Fの手前側に血管Cを保持する牽引子の部位が存在すると、この部位によって前方の観察視野が妨げられ、側枝Fおよび血管Cの位置状態を良好に確認することができない。したがって、この場合も、血管Cを誤って傷付けてしまう虞がある。
【0010】
  本発明は前記事情に着目してなされたものであり、その目的とするところは、観察視野を妨げることなく血管を安全に保持することができる血管採取装置を提供することにある。
【0011】
【課題を解決するための手段】
  前記課題を解決するために、本発明に係る血管採取装置は、皮切部より腔内に挿入可能なシースと、前記シースに設けられ、その先端部で生体組織を切開するための切開処置具と、前記シースに設けられ、その先端部で生体組織のうちの血管を保持するための血管保持子とを具備し、前記シースは、内視鏡が配設される内視鏡チャンネルを有し、前記切開処置具は、前記シースの軸方向に沿って相対的に進退させるために、前記シースに一体的に設けられた処置具操作部を有し、前記血管保持子は、前記シースの軸方向に沿って相対的に進退させるために、前記シースに一体的に設けられた保持子操作部と、前記保持子操作部が操作されると前記シース内で進退される、前記保持子操作部に連結された軸部と、この軸部の先端に設けられ且つ血管を保持するための本体とを有し、前記血管保持子の本体の先端部は、先細るテーパ形状に形成され、前記血管保持子と前記切開処置具とは、前記シースに一体的に配設されているとともに、前記保持子操作部と前記処置具操作部とを、互いに対して、及び、前記シースに対して相対的に移動可能であり、前記血管保持子の本体と前記保持子操作部とを含む血管保持子と、前記切開処置具の先端部と前記処置具操作部とを含む切開処置具とは、前記内視鏡チャンネルを挟んで対向する位置にあることを特徴とする。
【0012】
【発明の実施の形態】
以下、この発明の実施の形態を図面に基づいて説明する。
【0013】
図1は、本発明の一実施形態に係る血管保持子が組み込まれた内視鏡的血管採取装置を示し、これはトロッカー1と、処置シース2と、拡張手段としてのダイセクター3及び内視鏡としての硬性鏡4とから構成されている。
【0014】
トロッカー1は、図2(a)(b)に示すように、合成樹脂材料等によって一体成形されており、略円板状のフランジ5には円筒状の案内管6が斜めに貫通して設けられている。案内管6の表面には挿入時の滑りを良くするための潤滑コーティングが施されている。この案内管6の先端部6aは鋭角にカットされており、先端部6aの端面はフランジ5と略平行に形成されている。
【0015】
さらに、案内管6の基端部における内周面には気密リング部7が一体に設けられ、中間部には送気口金8が一体に設けられている。また、フランジ5の下面には粘着テープ等の粘着層9が設けられ、トロッカー1を表皮に対して粘着固定できるように構成されている。
【0016】
次に、処置シース2について説明すると、図3及び図4に示すように構成されている。シース本体10は合成樹脂材料等からなる真っ直ぐな円筒状で、表面には挿入時の滑りを良くするための潤滑コーティングが施されている。このシース本体10の近位端には把持部を構成する円筒状の操作部カバー11が嵌着され、遠位端には先端カバー12が嵌着されている。
【0017】
シース本体10の軸心部には内視鏡チャンネル13が全長に亘って設けられている。内視鏡チャンネル13の近位端は操作部カバー11を貫通して手元側に突出しており、遠位端にはシース本体10の前端面から突出するフランジ部13aが設けられている。シース本体10の内部で、内視鏡チャンネル13を挟んで上部側に偏心した部位には第1の処置具チャンネル14が設けられ、下部側に偏心した部位には第2の処置具チャンネル15が設けられている。従って、第1の処置具チャンネル14と第2の処置具チャンネル15は内視鏡チャンネル13を挟んで対称的に最も離れた位置に対向配置されている。
【0018】
第1の処置具チャンネル14の近位端は操作部カバー11の内部の第1のスライド操作部16に開口しており、第2の処置具チャンネル15の近位端は操作部カバー11の内部の第2のスライド操作部17に開口している。第1の処置具チャンネル14には後述する切開処置具としてのバイポーラカッター18が軸方向に進退自在に挿通され、この近位端には第1のスライド操作部16の長孔16aの範囲内で軸方向にスライド自在な処置具操作部19が設けられている。また、バイポーラカッター18にはバイポーラケーブル20が接続され、このバイポーラケーブル20は長孔16aから外部に導出されている。
【0019】
第2の処置具チャンネル15には本発明の一実施形態に係る後述する血管保持子21が軸方向に進退自在に挿通され、この近位端には第2のスライド操作部17の長孔17aの範囲内で軸方向にスライド自在な保持子操作部22が設けられている。
【0020】
さらに、シース本体10の内部で、内視鏡チャンネル13の一側部には軸方向に貫通穴23が設けられている。この貫通穴23には後述するワイパー24のワイパーロッド25が周方向に回転自在に挿通されている。ワイパーロッド25の遠位端は略L字状に折曲され、その先端部にはワイパーゴム26が設けられている。
【0021】
ワイパーロッド25の近位端は操作部カバー11の内部の回動操作部27まで延長し、操作部カバー11の内壁に回転自在に支持されている。ワイパーロッド25の近位端にはワイパー操作部28が固定され、このワイパー操作部28は操作部カバー11の周方向の長孔27aの範囲内で回動自在である。
さらに、回動操作部27の内部にはワイパーロッド25に嵌合した状態でコイルスプリングからなるトーションコイルばね29が設けられている。このトーションコイルばね29はシース本体10の端面とワイパー操作部28との間に圧縮状態で介装され、ワイパー24をシース本体10の近位端方向に付勢している。その上、トーションコイルばね29は、シース本体10の端面とワイパー操作部28の側面にも係止されており、ワイパーゴム26を硬性鏡4の対物レンズ面4の側方へ退避すさせる方向へ付勢している。
【0022】
また、操作部カバー11の近位端側には内視鏡チャンネル13に固定した状態で内視鏡保持部30が設けられている。内視鏡保持部30は前記硬性鏡4の接眼部31を収納するに十分な内腔を有しており、周壁32の一部(上部)には接眼部31に設けられたライトガイド口金33が挿入係合される切欠部34が設けられている。
【0023】
従って、図5〜図7に示すように、硬性鏡4の挿入部35を内視鏡チャンネル13に挿入し、ライトガイド口金33を切欠部34に挿入係合して接眼部31を内視鏡保持部30に保持すると、処置シース2に対する硬性鏡4の回り止め及び軸方向の位置決めがなされ、硬性鏡4の上下の姿勢が設定されるようになっている。
次に、前記ダイセクター3について説明すると、図8に示すように、真っ直ぐな円筒状の挿入筒部36の軸心部には硬性鏡4の挿入部35が挿通される挿通路37が設けられている。挿入筒部36の表面には挿入時の滑りを良くするための潤滑コーディングが施されている。この挿入筒部36の遠位端には透明な合成樹脂材料によって円錐筒状に形成された剥離部材38が固定されている。挿入筒部36の近位端には内視鏡保持部39が設けられ、硬性鏡4の接眼部31を保持するようになっている。 なお、この内視鏡保持部39は、処置シース2の内視鏡保持部30と同一の構成を成していることが望ましい。
【0024】
次に、バイポーラカッター18について説明する。
【0025】
図9及び図10に示すように、バイポーラカッター18は、体内に挿入されるカッター本体40と、カッター本体40の先端に設けられ且つ血管を切断するための先端処置部40aと、この先端処置部40aに設けられ且つ血管を電気的に切断するための電極42,43とを備えている。カッター本体40は合成樹脂材料等の絶縁部材(例えば、セラミックス)からなり、シース本体10の円弧状の内周面に沿うように帯状板体の横断面を円弧状に湾曲した形状を成している。カッター本体40のこのような湾曲形状(屋根形状)は、後述するように、上側からの組織の垂れ下がりを防止して(体腔内の脂肪組織を圧排して)硬性鏡4の視野を確保するために役立つ。
【0026】
また、カッター本体40の先端処置部40aには、カッター本体40のその軸方向の移動に伴って血管を電極42,43へと案内する案内部が形成されている。本実施の形態において、この案内部は、V字状にカットした切り欠き溝(スリット)41によって形成されている。この場合、V字形状を形作る各辺41a,41bは、カッター本体40の遠位端の両側端縁から近位端側へと円弧状部の頂部に向かって上方に延びることにより、近位端側へと先細る切り欠き溝(以下、V溝という)41の組織案内面を形成している。
【0027】
また、V溝41の底部、すなわち、V字形状を形作る各辺41a,41bの交差部には、対向する一対の前記電極42,43が固定して設けられている。これらの2つの電極42,43は、同一面内になく、上下に位置して対向されている。
【0028】
また、これら2つの電極のうち、上側の電極42は、下側の電極43に比べて表面積が大きくなっている。すなわち、上側の電極42は、組織と接触する面積が大きく、一方、下側の電極43は、組織と接触する面積が小さくなっており、これにより、下側の電極43を切開(切断)電極として機能させるとともに、上側の電極42を凝固電極として機能させるようにしている。
【0029】
一般に、接触面積が大きい電極の方が、接触面積が小さい電極よりも切開時に止血能力が高い。後述するように(図26、図27等参照)、摘出される血管61の切開された側枝72の切開部位は、血管61の摘出後に糸により結紮されるが、患者側の切開部位はそのまま体内に残るため止血されていることが望ましい。そのため、本実施形態では、切開電極として作用する接触面積が小さい電極43を、下側、すなわち、摘出される血管61の側(血管61を保持する後述する血管保持子21の側)に配置し、凝固電極として作用する接触面積が大きい電極42を、上側、すなわち、体側(体内に残る側)に配置している。また、接触面積が大きい電極42を上側すなわち体側に配置する理由は、採取される血管61からできる限り電極42を離して、血管61に対する熱的影響を最小限に抑えるためである。したがって、以下、上側の電極42を体側電極と称し、下側の電極43をカット電極と称することにする。
【0030】
また、体側電極42及びカット電極43にはそれぞれリード線44、45が接続されており、これらリード線44,45はカッター本体40の上面及び下面に沿って配線され、前記バイポーラケーブル20に接続されている。さらに、リード線44、45は絶縁皮膜46,47によって覆われ、絶縁されている。なお、バイポーラカッター18は、電極42,43以外の部分が透明材料(アクリルなど)によって形成されていても良い。
【0031】
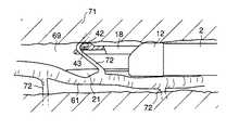
次に、図11を参照しながら、本実施形態に係る血管保持子21について詳細に説明する。図11に示されるように、血管保持子21は、シース本体10内で進退される軸部としての1本の操作ロッド50と、この操作ロッド50の先端に設けられ且つ採取対象血管61を保持するための本体とから成る。本体は、合成樹脂材料等によって平面視で、略三角形状に形成され、上面は平坦面48に、下面は採取血管61を押さえる押さえ溝を形作る円弧凹面49に形成されている。そして、血管保持子21の後端一側部に偏った位置に前記操作ロッド50が連結されている(血管保持子21の中心軸から偏心した位置に操作ロッド50が連結されている)。なお、操作ロッド50は前記第2の処置具チャンネル15に進退自在に挿通される。
【0032】
血管保持子21の先端部は、組織を剥離するための鋭角な剥離部51として形成されている。また、血管保持子21には、剥離部51から連なるように左右対称的に第1のテーパ面52a,52bが形成されている。すなわち、本体の先端部は、鋭角を成して先細るテーパ形状に形成されている。さらに、剥離部51の上下面には先端に向かって上下面が狭幅となるように斜面53a,53bが形成されている。血管保持子21の操作ロッド50との結合部と反対側の第1のテーパ面52aの裾部は円弧状の第2のテーパ面54に形成され、この第2のテーパ面54は血管保持子21の平坦面からなる後端の血管を引っ掛ける引っ掛け部55に連続している。すなわち、本体は、生体組織を引掛けるための後端部を更に有している。
【0033】
また、円弧凹面49を形作る血管保持子21の両側壁は、剥離部51から下方に延びる第3のテーパ面59と、引っ掛け部55から下方に延びる第4のテーパ面58とを有している。
【0034】
次に、前記ワイパー24について説明すると、図12に示すように構成されている。すなわち、ワイパーロッド25の遠位端に固定されたワイパーゴム26はワイパーロッド25のL字状の折曲部に接着またはインサート成形等により固定されており、ワイパーロッド25の軸方向に対して直角に設けられている。このワイパーゴム26には断面が三角形状の柔軟性を有する掻き取り部26aを有しており、ワイパーゴム26の回動によって硬性鏡4の対物レンズ面4aに付着した血液、粘膜、脂肪等の異物を掻き取ることができるようになっている。このとき、掻き取り部26aは柔軟性を有するため、シース本体10の先端面と対物レンズ面4aとの間に段差が生じていても、その段差を乗り越えて対物レンズ面4aに摺擦できるようになっている。
【0035】
前記ワイパー24のワイパーロッド25に設けられたコイルスプリングからなるトーションコイルばね29は、図13に示すように、その一端部がシース本体10の端面と当接し、他端部がワイパー操作部28との間に圧縮状態で介装され、しかもワイパー操作部28の側面に係止されている。従って、トーションコイルばね29によってワイパーロッド25をその周方向のトルクTとシース本体10の近位端方向に付勢する力Fを発生し、ワイパーゴム26が硬性鏡4の対物レンズ面4aの側方へ退避する方向と対物レンズ面4aに対して接触する方向に付勢されている。
【0036】
図9(a)(b)は処置シース2の内視鏡チャンネル13に対して硬性鏡4の挿入部35を装填した状態を示し、処置シース2の先端部からバイポーラカッター18及び血管保持子21を突出している。バイポーラケーブル20は高周波発生装置56に接続され、ライトガイド口金33はライトガイドケーブル57が接続されている。
次に、前述のように構成された血管採取装置を用いて下肢の大腿部の鼠頸部から足首に亘る大伏在静脈等の採取対象血管(以下、血管という)の全長に亘って採取する場合について説明する。
図14は下肢60を示し、61は血管である。まず、膝62と鼠頸部63との間の血管61を採取する際には、血管61の直上で膝62の一ヶ所にメス等によって皮切部64を設ける。
【0037】
続いて、皮切部64にてダイセクター等により血管61を露出させる。更に、皮切部64より肉眼で観察可能な距離について血管61の直上組織を同様のダイセクター等で剥離する。
【0038】
次に、図15および図16に示されるように、剥離部材38を通した状況は、硬性鏡4の接眼部31に接続されたTVカメラヘッド74を介してTVカメラ75によって撮像され、モニタ76にモニタ画像として表示される。血管61に沿って剥離部材38を挿入し、少し挿入したところで、トロッカー1の案内管6を鼠頸部63に向かって斜め(血管61と略平行)に挿入し、先端部6aを下向きにすると、フランジ5の下面の粘着層9が表皮65に接着固定される。この状態で、送気口金8に送気ポンプ66と接続されている送気チューブ67を接続する。
【0039】
この場合、ダイセクター3の挿入筒部36の外周面は気密リング7と密着していることから、案内管6および腔69の内部は気密状態となり、かつ、案内管6と挿入筒部36との間には送気通路68が確保される。
【0040】
また、硬性鏡4のライトガイド口金33はライトガイドケーブル57を介して光源装置78に接続されている。従って、硬性鏡4の先端部から照明光を照射して腔内69を照明することができる。 また、送気ポンプ66を駆動すると、送気チューブ67、送気口金8及び送気通路68を介して腔内69に送気され、腔内69が拡張される。 この時、ダイセクター3の挿入筒部36は気密リング7と密着しているため、気体が外部に漏れることはなく、したがって、確実に腔内69を拡張することができる。
【0041】
ここで、腔内69には表皮65の下層の皮下組織70、血管上結合組織71及び血管上結合組織71の下部には血管61が存在し、血管61には複数本の側枝72が分岐しており、側枝72の他端部は血管上結合組織71に結合されている。また、血管上結合組織71には皮下脂肪73が付着している。次に、前記モニタ画像を確認すると、図17に示すように表示され、術者は、モニター76によって血管61や側枝72を鮮明に観察できる。図17において、38aはダイセクター3の剥離部材38の先端部の画像である。
従って、ダイセクター3の挿入に際しては、モニター76によって腔内69を観察しながら血管61、側枝72に損傷を与えないように血管上結合組織71と血管61、側枝72とを剥離部材38によって剥離しながら少し押し込み、また少し戻すという操作により徐々に進める。このとき、ダイセクター3を上下・左右に振ってもトロッカー1は表皮65に粘着層9によって固定されているため、トロッカー1が表皮65から外れることはない。そして、ダイセクター3を膝62から鼠頸部63に向かって血管61に沿って貫通させる。
【0042】
ダイセクター3によって剥離手技が完了すると、ダイセクター3をトロッカー1から抜き取り、図16に示すように、トロッカー1の案内管6に硬性鏡4を挿入した状態の処置シース2を挿入する。
処置シース2の操作部カバー11を術者が片手で把持したまま、例えば親指で保持子操作部22を前進させると、血管保持子21がシース本体10の先端カバー12から突出する。また、操作部カバー11を把持した片手の人差し指でカッター操作部19を前進させると、先端カバー12からバイポーラカッター18が突出する。すなわち、術者は操作部カバー11を片手で把持したまま、血管保持子21を進退させたり、バイポーラカッター18を進退させることができる。
従って、図18に示すように、腔内69の血管上結合組織70に皮下脂肪73が大量に存在した場合にはバイポーラカッター18を突出させた状態で、処置シース2を押し進めて腔内69を押し広げることができる。このとき、バイポーラカッター18は、そのカッター本体40の湾曲形状(屋根形状)により、上側からの組織の垂れ下がりを防止する(体腔内の脂肪組織を圧排する)ため、硬性鏡4の視野を良好に確保できる。また、このとき、血管保持子21は、その下面が円弧凹面49に形成されているため、血管61の上面を滑らせて前進させることができ、血管61に損傷を与えることがない。
また、図19に示すように、皮下脂肪73に側枝72が埋まっている場合があるが、この場合、血管保持子21を処置シース2から突出させ、血管保持子21の剥離部51を皮下脂肪73に突き刺して血管61から剥離させたり、処置シース2の全体をトロッカー1の案内管6内で周方向に回動することにより、血管保持子21を回動して側枝72から皮下脂肪73を剥離することができる。このときの様子は、図20に示すようにモニター76にモニター画像として表示されるため、術者はモニター画像によって血管保持子21の姿勢を確認でき、血管61及び側枝72に損傷を与えることがない。
腔内69の皮下脂肪73を排除しながら処置シース2を腔内69に押し進め、目的とする側枝72に血管保持子21をアプローチする。このときも血管保持子21の円弧凹面49を血管61の上面に当て、血管61の上面を滑らせて前進させることができ、血管61に損傷を与えることがない。
また、図21(a)〜(c)は、血管保持子21によって側枝72を保持する手技を示す。血管保持子21は第1のテーパ面52aを有し、これと連続して第2のテーパ面54が形成されているため、血管保持子21を前進させると、まず、第1のテーパ面52aに側枝72が接触する(図21(b)参照)。
【0043】
さらに血管保持子21を前進させると、第1のテーパ面52aから第2のテーパ面54に接触したのち、側枝72が引っ掛け部55に滑り落ちて引っ掛かる(図21(c)参照)。すなわち、第1のテーパ面52a(あるいは、第1のテーパ面52b)によって、血管保持子21は、側枝72と接触しながら側枝72を逃がして側枝72の前方側(側枝72に対して視野の向こう側)へと容易に移動することができる。また、この血管保持子21の前方への移動の容易性においては、第3のテーパ面59もこれに大きく寄与する。すなわち、第3のテーパ面59の存在により、血管保持子21は、その下側に存在する組織に引っ掛かることなく、スムーズに前方に移動することができる。従って、血管保持子21の前進操作によって簡単に側枝72を保持できる。
側枝72の途中に血管保持子21の引っ掛け部55を引っ掛けて血管保持子21を手前側に引くと、図22に示すように、側枝72にテンションが加わる。この時も、第4のテーパ面58の存在により、血管保持子21は、その下側の組織と引っ掛かることなく、スムーズに手前側に移動できる。また、この時、血管保持子に連結されている操作ロッド50は1本であるため、これが硬性鏡4による観察の妨げになることはなく(観察視野が良好であり)、また、血管保持子21の中心軸から偏心した位置に操作ロッド50が連結されているため、更に観察視野が良好になるとともに、血管保持子21による側枝72の保持性も向上し、結果的に、側枝72にテンションを掛け易くなる。また、このように血管保持子21の中心軸から偏心した位置に操作ロッド50があると、血管61上に操作ロッド50が位置せず、したがって、血管Cの走行を容易且つ明瞭に確認することができる。特に、血管保持子21を透明材料によって形成すれば、血管や組織の視認性を更に高めることができる(そのため、本発明の好ましい他の実施形態では、血管保持子21が透明材料によって形成される)。
【0044】
図23は側枝72を血管保持子21の引っ掛け部55に引っ掛けた状態のモニター画像であり、術者はモニター画像によって側枝72を保持したことを確認できる。 このように、側枝72の手前側ではなく向こう側で血管保持子21により側枝72を保持すれば、観察視野の手前側に側枝72が位置し、硬性鏡4によって側枝72の周囲を明瞭に確認できる(側枝72の手前側に血管保持子21があると、この血管保持子21によって前方の観察視野が妨げられ、側枝72および血管61の位置状態を良好に確認することができない)。したがって、後述するように、血管61を傷付けることなく安全に側枝72を切断することができる。
【0045】
図23に示される状態を形成したら、次に、バイポーラカッター18を前進させ、血管保持子21で保持した側枝72にバイポーラカッター18をアプローチする。このとき、図24のモニター画像に示すように、バイポーラカッター18が血管61に接触しないように血管保持子21によって血管61をバイポーラカッター18から離れる方向に退避させることができる。このような操作は、前述したようにバイポーラカッター18と血管保持子21とを対向させて配置したことにより容易に達成できるものである。このような配置構成により、側枝72の切開処置部位と血管61との間を所定の距離に確実に保つことができ、血管61から離れた位置でバイポーラカッター18により側枝72を切開して血管61へのダメージを防止することができる。また、このように、側枝72の切開処置部位と血管61との間を所定の距離に保つことができれば、側枝72を切断した後、血管61側に残された側枝72の切断部位を糸で結紮する際の結び代を確保することができるため、有益である。
【0046】
図25(a)〜(c)は、側枝72をバイポーラカッター18によって切断する手技を示す。バイポーラカッター18の先端部にはV溝41が設けられているため、バイポーラカッター18を側枝72に向かって前進させると、側枝72はV溝41によってその底部方向に引き寄せられる。従って、図26(a)に示すように、側枝72はカット電極43に接触し、血管上結合組織71または側枝72に体側電極42が接触する。すなわち、本実施の形態に係るバイポーラカッター18においては、V字形状を形作る各辺41a,41bに対応するV溝41の壁面によって、各辺41a,41bの交差部にほぼ位置する電極42,43へと側枝72を案内することができる。
【0047】
術者がモニター画像によって側枝72がカット電極43に接触し、血管上結合組織71または側枝72に体側電極42が接触したことを確認した後、術者が高周波発生装置56のフットスイッチ80を操作して高周波電流を通電する。すると、血管上結合組織71または側枝72の体側電極42に接触している領域は凝固され、側枝72はカット電極43によって切断される。従って、図26(b)に示すように、血管61が側枝72によって血管上結合組織71に結合されていた部分は側枝72の切断によって切り離される。この時、接触面積が大きい体側電極42は、カット電極43よりも血管61から上側(体側)に離れて配置されているため、血管61に対する熱的影響は最小限に抑えられる。
【0048】
このように、バイポーラカッター18は、そのV溝41の存在により、血管に押し当てるだけで血管を切断できるため、すなわち、血管の切断において前後動以外の動作を必要としないため、内視鏡的血管採取装置全体の操作の自由度が減り(少ない自由度で必要な動作を行なえ)、操作性が向上する。
【0049】
以上のようにして、側枝72を切断したら、図27に示すように、血管保持子21を血管61の下側に通して持ち上げ、図28に示すモニター画像によって側枝72が完全に切断処置されているか否かを確認する。
【0050】
さらに、処置シース2を腔内69にさらに押し進め、腔内69をモニター画像によって観察しながら次の側枝72に血管保持子21をアプローチし、バイポーラカッター18とともに再び前述と同様の手技を繰り返し、側枝72を切断して血管61を血管上結合組織71から切り離す。
【0051】
このようにして側枝72を切断する手技を繰り返すと、硬性鏡4の対物レンズ面4aに血液、粘膜や皮下脂肪73等の付着物81が付着し、硬性鏡4による視野が妨げられることがある。このような場合、操作部カバー11を把持したまま、手指によってワイパー操作部28をトーションコイルばね29の付勢力に抗して回動させると、図29に示すように、ワイパーロッド25を介してワイパー24が回動し、ワイパーゴム26の掻き取り部26aによって対物レンズ面4aに付着している血液、粘膜や皮下脂肪73等の付着物81を掻き取ることができる。
【0052】
ワイパー24はトーションコイルばね29によって付勢されているため、ワイパー操作部28から手指を離すと、対物レンズ面4aから退避する方向に復帰する。従って、前述した操作を数回繰り返すことにより、対物レンズ面4aにこびり付いて落ち難い皮下脂肪73等の付着物81であってもきれいに掻き取ることができる。また、ワイパー操作部28から手指を離すと、ワイパー24は対物レンズ面4aから退避する方向に復帰するため、ワイパー24が硬性鏡4の視野を妨げることはない。
また、バイポーラカッター18によって側枝72を切断することを繰り返すと、図30に示すように、バイポーラカッター18の屋根型形状に起因して、バイポーラカッター18の内面にも粘膜や皮下脂肪73等の付着物81が付着する。しかし、カッター操作部19によってバイポーラカッター18を後退させ、第1の処置具チャンネル14に引き込むと、粘膜や皮下脂肪73はシース本体10の前端面によって掻き落とされる。従って、バイポーラカッター18に付着した付着物81を簡単に掻き落とすことができる。なお、本実施形態では、バイポーラカッター18に付着し粘膜や皮下脂肪73をシース本体10の前端面によって掻き落とすために、バイポーラカッター18とシース本体10との間のクリアランス(バイポーラカッター18の外面と第1の処置具チャンネル14の内面との間のクリアランス)を小さく設定している。
【0053】
また、図31に示すように、掻き落とされた付着物81が硬性鏡4の対物レンズ面4aに付着して視野が妨げられることがあるが、この場合においても、前述のようにワイパー操作部28を操作してワイパー24を回動することにより、対物レンズ面4aに付着している付着物81を掻き取ることができる。
【0054】
バイポーラカッター18に付着した付着物81を掻き落としたり、対物レンズ面4aに付着した付着物81を掻き落とす操作を繰り返しながら、側枝72を切断して血管61を血管上結合組織71から切り離す手技を繰り返し、鼠頸部63まで進んだところで、側枝72の切断を終了する。そして、血管61の真上の鼠頸部63にメス等によって皮切部を形成し、この皮切部から血管61を外部に引き出して血管61を切断し、血管61の両切断端末を糸によって結紮する。
次に、膝62の皮切部64から足首に向かう血管61の採取手技を行って最終的に1本の血管(約60cm)を採取する。手技方法は前述した膝62から鼠頸部63までの血管61を採取する方法と基本的に同様であり、説明を省略する。
以上説明したように、本実施形態の血管保持子21は、鋭角を成して先細るテーパ形状に形成された先端部(剥離部51およびテーパ面52a,52b)を有していため、側枝72と接触しながら側枝72を逃がして側枝72の前方側(側枝72に対して視野の向こう側)へと容易に移動することができる。したがって、側枝72の手前側ではなく向こう側で血管保持子21により側枝72を容易に保持することができる。その結果、観察視野の手前側に側枝72が位置し、硬性鏡4によって側枝72の周囲を明瞭に確認でき、血管61を傷付けることなく安全に側枝72を切断することができる。
【0055】
次に、図34〜図43を参照しながら、血管保持子21の変形例について説明する。なお、以下の変形例において、前述した実施形態と共通する構成部位については同一符号を付してその説明を省略する。
【0056】
図34に示される第1の変形例に係る血管保持子21Aは、その後端部の組織引っ掛け部55Aが略C字形状を成している。すなわち、血管保持子21Aの本体の後端部は、引掛けた生体組織を保持するための略C形状の保持面を有している。したがって、このような本体形状によれば、生体組織、例えば側枝72を保持する際の保持力を向上させることができる。
【0057】
また、図35に示される第2の変形例に係る血管保持子21Bは、その先端部に略V字形状の溝100を有している。したがって、前端部には、2つの剥離部51A,51Bが形成されるとともに、各剥離部51A,51Bの両側にそれぞれ第1のテーパ面52a,52bが形成されている。また、後端部には、図34と同様に、略C字形状の組織引っ掛け部55Aが形成されている。したがって、このような本体形状によれば、図34と同様な作用効果が得られるとともに、前述した実施形態のバイポーラカッター18のV溝41と同様の作用効果を得ることができる。すなわち、血管保持子21を前進させるだけで、組織をV溝100内に容易に引き込みながら、2つの剥離部51A,51Bによって組織を剥離切開することができ、剥離性(切開性)が向上する。
【0058】
また、図36に示される第3の変形例に係る血管保持子21Cは、その本体の後端部が鋭角を成して先細るテーパ形状に形成されている。すなわち、組織引っ掛け部55Bは、操作ロッド50と垂直な面Pに対して所定の角度θを成して延びている。したがって、このような本体形状によれば、組織引っ掛け部55Bを側枝72の前方側(側枝72に対して視野の向こう側)で側枝72に対して容易に引掛けることができる。すなわち、側枝72の保持力が向上する。
【0059】
また、図37に示される第4の変形例に係る血管保持子21Dは、両側に略C字状の溝102,102を有している。したがって、このような本体形状によれば、溝102内で側枝72を保持することができる。これは、例えば、バイポーラカッター18のV溝41がカッター本体40の側方に設けられ且つ側枝72を側方から切断するような場合において、溝102によって側方から側枝72を押さえることができる(側方からテンションが掛けられる)ため、有益である。
【0060】
図38に示される第5の変形例に係る血管保持子21Eは、操作ロッド50の軸線上に剥離部51が形成されている。したがって、このような本体形状によれば、操作ロッド50からの操作力を剥離部51に直接に伝えることができるため、剥離性が向上する。
【0061】
図39に示される第6の変形例に係る血管保持子21Fは、その本体の後端部が鋭角を成して先細るテーパ形状に形成されている。すなわち、組織引っ掛け部55Bが操作ロッド50と垂直な面Pに対して所定の角度を成して延びるとともに、第2のテーパ面54が前述した実施形態よりも長く形成されている。したがって、このような本体形状によれば、組織引っ掛け部55Bを側枝72の前方側(側枝72に対して視野の向こう側)で側枝72に対して容易に引掛けることができる(保持力が向上する)とともに、図21の(c)の状態から血管保持子21を手前側に引き戻す際、後端部のテーパ形状の作用により、組織に引っ掛けることなくスムーズに引き戻すことができる。
【0062】
図40に示される第7の変形例に係る血管保持子21Gは、操作ロッド50が本体の中心軸上に配置されている。また、この場合、剥離部51は操作ロッド50の軸線上に位置している。したがって、このような構成によれば、操作ロッド50によって本体をバランス良く保持することができるとともに、操作ロッド50からの操作力を剥離部51に直接に伝えることができるため、剥離性が向上する。
【0063】
図41は、図11の(c)に対応する方向から血管保持子を見た図である。図41の(a)に示される第8の変形例に係る血管保持子21Hは、前述した実施形態の円弧凹面49よりも曲率が小さい円弧凹面49Aを有している。したがって、このような本体形状によれば、血管61の保持力が向上する。
【0064】
また、図41の(a)に示される第9の変形例に係る血管保持子21Iは、本体の上下の両面に円弧凹面が形成されている。すなわち、本体の上面の平坦面が円弧状を成している。したがって、このような本体形状によれば、本体の上下の両面で血管61を確実に保持することができ、特に、図27に示すように、血管保持子21を血管61の下側に通して持ち上げ、図28に示すモニター画像によって側枝72が完全に切断処置されているか否かを確認する際に、血管61を確実に保持できるため、有益である。
【0065】
図42に示される第10の変形例に係る血管保持子21Jは、片側で下側に湾曲する断面が略フック状または略L字状を成しており、先端と下端にそれぞれ剥離部51,51Cを有している。したがって、血管保持子の下側に位置する組織に食い込んでこれを剥離することもできる。
【0066】
図43に示される第11の変形例に係る血管保持子21Kは、図42と上下が逆の形状を成しており、片側で上側に湾曲する断面が略フック状または略L字状を成している。したがって、血管保持子の上側に位置する組織に食い込んでこれを剥離することができるとともに、血管61の下側からこれを保持することができる。
【0067】
図44には、血管保持子21がワイパー24を兼ねた実施例が示されている。図示のように、血管保持子21の本体の後端面には、ワイパーゴム26の掻き取り部26aが設けられている。また、第2のスライド操作部17の軸方向に延る長孔17aの近位端には、これに連なるように周方向に延びる横溝17bが形成されており、保持子操作部22は、この横溝17bの範囲内でのみ周方向に移動できる。
【0068】
したがって、このような構成では、保持子操作部22によって血管保持子21を手元側に引き込んで、保持子操作部22を横溝17bに位置させた状態においてのみ、血管保持子21を回転させて血管保持子21の掻き取り部26aによって硬性鏡4の対物レンズ面4aに付着した粘膜や皮下脂肪等の付着物を掻き落とすことができる。
【0069】
なお、以上説明した技術内容によれば、以下に示されるような各種の構成が得られる。
【0070】
1.皮切部より腔内に挿入可能なシースと、このシース内で進退し且つ生体組織を切開するための切開処置具とともに、前記腔内の血管を採取する血管採取装置を構成し、前記シース内で進退して採取対象血管を保持する血管保持子において、
シース内で進退される軸部と、この軸部の先端に設けられ且つ前記採取対象血管を保持するための本体とから成り、前記本体は、鋭角を成して先細るテーパ形状に形成された先端部を有していることを特徴とする血管保持子。
2.前記本体は、生体組織を引掛けるための後端部を更に有していることを特徴とする第1項に記載の血管保持子。
3.前記後端部は、引掛けた生体組織を保持するための略C形状の保持面を有していることを特徴とする第2項に記載の血管保持子。
4.前記後端部は、鋭角を成して先細るテーパ形状に形成されていることを特徴とする第2項に記載の血管保持子。
5.前記本体は、前記切開処置具と対向して配置されていることを特徴とする第1項ないし第4項のいずれか1項に記載の血管保持子。
6.少なくとも一部が透明材料によって形成されていることを特徴とする第1項ないし第5項のいずれか1項に記載の血管保持子。
【0071】
【発明の効果】
以上説明したように、本発明の血管保持子によれば、観察視野を妨げることなく血管を安全に保持することができる。
【図面の簡単な説明】
【図1】本発明の第1の実施形態に係る血管切断処置具(バイポーラカッター)が組み込まれた血管採取装置を示した側面図。
【図2】同実施形態を示し、(a)はトロッカーの斜視図、(b)は同じく縦断側面図。
【図3】同実施形態を示し、硬性鏡を抜き取った状態の処置シースの縦断側面図。
【図4】同実施形態を示し、硬性鏡を抜き取った状態の処置シースの縦断平面図。
【図5】同実施形態を示し、硬性鏡を挿通した状態の処置シースの縦断側面図。
【図6】同実施形態を示し、硬性鏡を挿通した状態の処置シースの縦断平面図。
【図7】同実施形態を示し、図5の矢印A方向から見た図。
【図8】同実施形態を示し、ダイセクターの先端部の縦断側面図。
【図9】同実施形態を示し、(a)は血管採取装置の斜視図、(b)は先端部の斜視図、(c)は先端部の正面図。
【図10】同実施形態のバイポーラカッターを示し、(a)は上面図、(b)は縦断側面図、(c)は下面図。
【図11】同実施形態の血管保持子を示し、(a)は上面図、(b)は縦断側面図、(c)は正面図。
【図12】同実施形態のワイパーを示し、(a)は上面図、(b)はB−B線に沿う断面図。
【図13】同実施形態のワイパー操作部の斜視図。
【図14】同実施形態を示し、下肢に皮切部を形成した状態の図。
【図15】同実施形態を示し、下肢の皮切部にトロッカーを装着し、トロッカーを案内として腔内にダイセクターを挿入した状態の断面図。
【図16】同実施形態を示し、トロッカーを案内として腔内に処置シースを挿入した状態の全体構成図。
【図17】同実施形態のモニター画像を示す図。
【図18】同実施形態を示し、腔内に処置シースを挿入した状態の断面図。
【図19】同実施形態を示し、腔内の処置状態の断面図。
【図20】同実施形態のモニター画像を示す図。
【図21】同実施形態を示し、(a)〜(c)は血管保持子の作用を示す斜視図。
【図22】同実施形態を示し、処置状態の腔内断面図。
【図23】同実施形態のモニター画像を示す図。
【図24】同実施形態のモニター画像を示す図。
【図25】同実施形態を示し、(a)〜(c)はバイポーラカッターの作用を示す平面図。
【図26】同実施形態を示し、(a)(b)はバイポーラカッターの作用を示す腔内断面図。
【図27】同実施形態を示し、処置状態の腔内断面図。
【図28】同実施形態のモニター画像を示す図。
【図29】同実施形態を示し、処置シースの先端部の斜視図。
【図30】同実施形態を示し、処置シースの先端部の斜視図。
【図31】同実施形態を示し、処置シースの先端部の斜視図。
【図32】下肢に皮切部を形成した状態の図。
【図33】図32のX−X線に沿う断面図。
【図34】第1の変形例に係る血管保持子の平面図。
【図35】第2の変形例に係る血管保持子の平面図。
【図36】第3の変形例に係る血管保持子の平面図。
【図37】第4の変形例に係る血管保持子の平面図。
【図38】第5の変形例に係る血管保持子の平面図。
【図39】第6の変形例に係る血管保持子の平面図。
【図40】第7の変形例に係る血管保持子の平面図。
【図41】(a)は第8の変形例に係る血管保持子の正面図、(b)は第9の変形例に係る血管保持子の正面図。
【図42】(a)は第10の変形例に係る血管保持子の平面図、(b)は側面図、(c)は正面図。
【図43】(a)は第11の変形例に係る血管保持子の平面図、(b)は側面図、(c)は正面図。
【図44】(a)は血管保持子がワイパーを兼ねた実施例の側断面図、(b)は正面図、(c)は(a)のY方向矢視図。
【符号の説明】
21〜21K・・・血管保持子
50・・・操作ロッド(軸部)
51・・・剥離部
52a,52b・・・テーパ面
55・・・引っ掛け部55
61・・・血管
72・・・側枝[0001]
 BACKGROUND OF THE INVENTION
 The present invention relates to a blood vessel collecting device that collects a subcutaneous blood vessel such as a great saphenous vein under observation with an endoscope, for example, and more particularly to a blood vessel holder incorporated in the blood vessel collecting device.
 [0002]
 [Prior art]
 For example, PCT / US99 / 31242 and Japanese Patent Application Laid-Open No. 2000-37389 disclose a cannula and a surgical method used when pulling and collecting a subcutaneous blood vessel such as the great saphenous vein under observation by an endoscope. ing.
 The cannula is a straight tubular body having an instrument insertion passage therein, and an operation portion is provided at a proximal end thereof. A retractor, a rigid endoscope, and an incision forceps are inserted into the instrument insertion passage of the cannula from the operation unit side so as to be detachable. The retractor has a loop at its distal end protruding from the tip of the cannula and angled with respect to the axial direction of the cannula.
 [0003]
 When a subcutaneous blood vessel such as the great saphenous vein is collected endoscopically using the cannula, the following surgical method is employed. That is, as shown in FIG. 32, a blood vessel C to be collected (hereinafter referred to as a blood vessel) C such as a large saphenous vein extending from the upper neck portion A to the ankle B of the thigh of the
 [0004]
 Then, the blood vessel C is exposed by a die sector or the like at each skin incision E1, E2, or E3. Further, the tissue immediately above the blood vessel C is peeled off by a similar die sector or the like at a distance that can be observed with the naked eye from each skin cut E1, E2, or E3.
 [0005]
 FIG. 33 is a cross-sectional view taken along line XX in FIG. 32, where 101 is the epidermis, 102 is the subcutaneous tissue, 103 is the vascular connective tissue, and the blood vessel C is present below this
 [0006]
 In the process of inserting the cannula into the cavity G, while operating the operation part at the proximal end of the cannula to advance and retract the retractor, the blood vessel C is held at the loop part at the distal end, and the
 [0007]
 [Problems to be solved by the invention]
 By the way, in the large saphenous vein extraction system described above, when the side branch F is cut from the blood vessel C to be extracted, the blood vessel C must not be damaged. Therefore, in order to cut safely, it is important to operate the blood vessel C in an arbitrary direction with a retractor and hold it at a distance from the incision forceps. When the blood vessel C is operated and held by the retractor as described above, the side branch F to be cut is tensioned. Therefore, the side branch F can be clearly recognized, and the side branch F can be cut without damaging the blood vessel C.
 [0008]
 However, in the conventional technique, when the blood vessel C is held and pressed by the retractor, the front side of the root portion of the side branch F is pressed against the visual field due to the shape of the retractor. Therefore, if the blood vessel C is pushed in the front direction of the visual field in this state, the blood vessel C may bend and rise to the rear side of the side branch F. At this time, if the incision forceps project forward and the side branch F is cut, the raised blood vessel C may be accidentally damaged.
 [0009]
 In addition, when there is a retractor part holding the blood vessel C on the front side of the side branch F in this way, the front observation visual field is hindered by this part, and the position state of the side branch F and the blood vessel C can be confirmed well. Can not. Therefore, also in this case, there is a possibility that the blood vessel C may be damaged by mistake.
 [0010]
 The present invention has been made by paying attention to the above circumstances, and an object of the present invention is to provide ablood vessel sampling device capable of safely holding a blood vessel without obstructing the observation visual field.
 [0011]
 [Means for Solving the Problems]
 In order to solve the above-mentioned problems, a blood vessel collection device according to the present invention includes a sheath that can be inserted into a cavity from a skin incision, and an incision treatment tool that is provided in the sheath and incises biological tissue at the distal end thereof. And a blood vessel holder that is provided in thesheath and holds a blood vessel of the living tissue at a tip portion thereof, and thesheath has an endoscope channel in which the endoscope is disposed. The incision treatment instrument has a treatment instrument operation unit provided integrally with the sheath in order to relatively advance and retreat along the axial direction of the sheath, and the blood vessel retainer has an axis of the sheath A retainer operating portion integrally provided in the sheath to relatively advance and retreat along the direction, and the retainer operating portion advanced and retracted within the sheath when the retainer operating portion is operated; A shaft connected to the shaft, provided at the tip of the shaft, and A main body for holding a tube, and a distal end portion of the main body of the blood vessel retainer is formed in a tapered shape, and the blood vessel retainer and the incision treatment device are integrally disposed on the sheath. together are set, and with the holding element operating portion and the treatment instrument operation unit, with respect to each other, and,Ri moveable relative der relative to saidsheath, said main body of the vessel keeper retainer A blood vessel holder including an operation unit, and an incision treatment instrument including a distal end portion of the incision treatment instrument and the treatment instrument operation unit are located at positions facing each other across the endoscope channel. .
 [0012]
 DETAILED DESCRIPTION OF THE INVENTION
 Hereinafter, embodiments of the present invention will be described with reference to the drawings.
 [0013]
 FIG. 1 shows an endoscopic blood vessel collection device incorporating a blood vessel retainer according to an embodiment of the present invention, which includes a
 [0014]
 As shown in FIGS. 2A and 2B, the
 [0015]
 Further, an
 [0016]
 Next, the
 [0017]
 An
 [0018]
 The proximal end of the first
 [0019]
 A blood vessel holder 21 (described later) according to an embodiment of the present invention is inserted into the second
 [0020]
 Furthermore, a through
 [0021]
 The proximal end of the
 Further, a
 [0022]
 In addition, an
 [0023]
 Accordingly, as shown in FIGS. 5 to 7, the
 Next, the
 [0024]
 Next, the
 [0025]
 As shown in FIGS. 9 and 10, the
 [0026]
 In addition, a guide portion that guides blood vessels to the
 [0027]
 A pair of
 [0028]
 Of these two electrodes, the
 [0029]
 In general, an electrode having a large contact area has a higher hemostatic ability at the time of incision than an electrode having a small contact area. As will be described later (see FIG. 26, FIG. 27, etc.), the incision site of the
 [0030]
 Lead
 [0031]
 Next, the
 [0032]
 The distal end portion of the
 [0033]
 Further, both side walls of the
 [0034]
 Next, the
 [0035]
 As shown in FIG. 13, the
 [0036]
 9A and 9B show a state in which the
 Next, using the blood vessel sampling device configured as described above, sampling is performed over the entire length of a blood vessel to be collected (hereinafter referred to as a blood vessel) such as a large saphenous vein extending from the cervical region of the thigh of the lower limb to the ankle. The case where it does is demonstrated.
 FIG. 14 shows the
 [0037]
 Subsequently, the
 [0038]
 Next, as shown in FIGS. 15 and 16, the situation through the peeling
 [0039]
 In this case, since the outer peripheral surface of the
 [0040]
 Further, the
 [0041]
 Here, in the
 Therefore, when the
 [0042]
 When the peeling procedure is completed by the
 If the operator holds the
 Therefore, as shown in FIG. 18, when a large amount of
 Further, as shown in FIG. 19, the
 The
 21A to 21C show a procedure for holding the
 [0043]
 When the
 When the
 [0044]
 FIG. 23 is a monitor image in a state where the
 [0045]
 After the state shown in FIG. 23 is formed, the
 [0046]
 FIGS. 25A to 25C show a procedure for cutting the
 [0047]
 After the operator confirms that the
 [0048]
 Thus, since the
 [0049]
 When the
 [0050]
 Further, the
 [0051]
 When the procedure for cutting the
 [0052]
 Since the
 When the
 [0053]
 In addition, as shown in FIG. 31, the adhered
 [0054]
 A procedure for cutting the
 Next, the
 As described above, the
 [0055]
 Next, a modified example of the
 [0056]
 In the
 [0057]
 Further, the
 [0058]
 Further, the blood vessel retainer 21C according to the third modification shown in FIG. 36 is formed in a tapered shape in which the rear end portion of the main body forms an acute angle and tapers. That is, the
 [0059]
 In addition, a
 [0060]
 In the
 [0061]
 The blood vessel retainer 21F according to the sixth modification shown in FIG. 39 is formed in a tapered shape in which the rear end portion of the main body forms an acute angle and tapers. That is, the
 [0062]
 In the
 [0063]
 FIG. 41 is a view of the blood vessel holder viewed from the direction corresponding to (c) of FIG. The
 [0064]
 Further, in the blood vessel retainer 21I according to the ninth modified example shown in FIG. 41A, arc concave surfaces are formed on both upper and lower surfaces of the main body. That is, the flat surface of the upper surface of the main body has an arc shape. Therefore, according to such a main body shape, the
 [0065]
 The
 [0066]
 The
 [0067]
 FIG. 44 shows an embodiment in which the
 [0068]
 Therefore, in such a configuration, the
 [0069]
 In addition, according to the technical content demonstrated above, the various structures as shown below are obtained.
 [0070]
 1. A sheath that can be inserted into the cavity from the skin incision, and an incision treatment tool for advancing and retreating in the sheath and incising the living tissue, constitutes a blood vessel collecting device that collects blood vessels in the cavity, In the blood vessel retainer that advances and retreats in and holds the blood vessel to be collected,
 The shaft portion is advanced and retracted in the sheath, and a main body is provided at the tip of the shaft portion and holds the blood vessel to be collected. The main body is formed in a tapered shape that forms an acute angle. A blood vessel retainer having a distal end portion.
 2. 2. The blood vessel holder according to
 3. 3. The blood vessel holder according to
 4). 3. The blood vessel holder according to
 5. The blood vessel retainer according to any one of
 6). 6. The blood vessel retainer according to any one of
 [0071]
 【The invention's effect】
 As described above, according to the blood vessel retainer of the present invention, a blood vessel can be safely held without obstructing the observation visual field.
 [Brief description of the drawings]
 FIG. 1 is a side view showing a blood vessel collection device incorporating a blood vessel cutting treatment tool (bipolar cutter) according to a first embodiment of the present invention.
 2A is a perspective view of a trocar, and FIG. 2B is a longitudinal side view of the same.
 FIG. 3 is a longitudinal side view of the treatment sheath in the state in which the rigid endoscope is removed according to the embodiment;
 FIG. 4 is a longitudinal plan view of the treatment sheath in the state in which the rigid endoscope is removed according to the embodiment;
 FIG. 5 is a longitudinal side view of the treatment sheath in the state where the rigid endoscope is inserted, showing the embodiment.
 FIG. 6 is a longitudinal plan view of the treatment sheath in a state where the rigid endoscope is inserted, showing the embodiment.
 7 is a diagram showing the embodiment, viewed from the direction of arrow A in FIG. 5;
 FIG. 8 is a longitudinal side view of the tip portion of the die sector showing the embodiment;
 9A is a perspective view of a blood vessel sampling device, FIG. 9B is a perspective view of a distal end portion, and FIG. 9C is a front view of the distal end portion;
 10A and 10B show the bipolar cutter of the same embodiment, wherein FIG. 10A is a top view, FIG. 10B is a longitudinal side view, and FIG. 10C is a bottom view.
 11A and 11B show the blood vessel retainer of the embodiment, wherein FIG. 11A is a top view, FIG. 11B is a longitudinal side view, and FIG. 11C is a front view.
 12A and 12B show the wiper according to the embodiment, wherein FIG. 12A is a top view and FIG. 12B is a cross-sectional view taken along the line BB.
 FIG. 13 is a perspective view of the wiper operation unit of the embodiment.
 FIG. 14 is a view showing the embodiment and showing a state in which a skin incision is formed in the lower limb.
 FIG. 15 is a cross-sectional view showing the same embodiment, with a trocar attached to the skin cut of the lower limb, and a die sector inserted into the cavity using the trocar as a guide;
 FIG. 16 is an overall configuration diagram showing a state in which the treatment sheath is inserted into the cavity using the trocar as a guide, showing the same embodiment;
 FIG. 17 is a view showing a monitor image of the embodiment.
 FIG. 18 is a cross-sectional view showing the same embodiment with the treatment sheath inserted in the cavity.
 FIG. 19 is a cross-sectional view of the treatment state in the cavity, showing the embodiment.
 FIG. 20 is a view showing a monitor image of the embodiment.
 FIG. 21 is a perspective view showing the embodiment, wherein (a) to (c) show the action of the blood vessel retainer.
 FIG. 22 is a cross-sectional view in the cavity of the treatment state showing the embodiment.
 FIG. 23 is a view showing a monitor image of the embodiment.
 FIG. 24 is a view showing a monitor image of the embodiment.
 FIG. 25 is a plan view showing the embodiment, wherein (a) to (c) show the operation of the bipolar cutter.
 FIG. 26 shows the same embodiment, and (a) and (b) are cross-sectional views in the cavity showing the action of the bipolar cutter.
 FIG. 27 is a cross-sectional view of the intracavity in the treatment state according to the embodiment.
 FIG. 28 is a view showing a monitor image of the embodiment.
 FIG. 29 is a perspective view of the distal end portion of the treatment sheath, showing the embodiment.
 FIG. 30 is a perspective view of the distal end portion of the treatment sheath, showing the embodiment.
 FIG. 31 is a perspective view of the distal end portion of the treatment sheath, showing the embodiment.
 FIG. 32 is a view showing a state in which a skin incision is formed in the lower limb.
 33 is a sectional view taken along line XX in FIG. 32. FIG.
 FIG. 34 is a plan view of a blood vessel retainer according to a first modification.
 FIG. 35 is a plan view of a blood vessel retainer according to a second modification.
 FIG. 36 is a plan view of a blood vessel retainer according to a third modification.
 FIG. 37 is a plan view of a blood vessel retainer according to a fourth modification.
 FIG. 38 is a plan view of a blood vessel retainer according to a fifth modification.
 FIG. 39 is a plan view of a blood vessel retainer according to a sixth modification.
 FIG. 40 is a plan view of a blood vessel retainer according to a seventh modification.
 41A is a front view of a blood vessel retainer according to an eighth modification, and FIG. 41B is a front view of a blood vessel retainer according to a ninth modification.
 42A is a plan view of a blood vessel retainer according to a tenth modification, FIG. 42B is a side view, and FIG. 42C is a front view.
 43A is a plan view of a blood vessel retainer according to an eleventh modification, FIG. 43B is a side view, and FIG. 43C is a front view.
 44A is a side sectional view of an embodiment in which the blood vessel retainer also serves as a wiper, FIG. 44B is a front view, and FIG. 44C is a view as viewed in the Y direction of FIG.
 [Explanation of symbols]
 21-21K ...
 51 ... peeling
 61 ...
| Application Number | Priority Date | Filing Date | Title | 
|---|---|---|---|
| JP2001401940AJP4373042B2 (en) | 2001-12-28 | 2001-12-28 | Blood vessel collection device | 
| AT02028641TATE462356T1 (en) | 2001-12-28 | 2002-12-20 | APPARATUS FOR OBTAINING LIVING TISSUE | 
| DE60231348TDE60231348D1 (en) | 2001-12-28 | 2002-12-20 | Apparatus for obtaining living tissue | 
| AT09001896TATE483406T1 (en) | 2001-12-28 | 2002-12-20 | DEVICE FOR REMOVING LIVING TISSUE | 
| EP02028641AEP1323381B1 (en) | 2001-12-28 | 2002-12-20 | Living tissue harvesting apparatus | 
| EP07002221AEP1779789B1 (en) | 2001-12-28 | 2002-12-20 | Living tissue harvesting apparatus | 
| DE60235793TDE60235793D1 (en) | 2001-12-28 | 2002-12-20 | Apparatus for obtaining living tissue | 
| EP09001896AEP2055237B1 (en) | 2001-12-28 | 2002-12-20 | Living tissue harvesting apparatus | 
| DE60237936TDE60237936D1 (en) | 2001-12-28 | 2002-12-20 | Device for harvesting living tissue | 
| AT07002221TATE423512T1 (en) | 2001-12-28 | 2002-12-20 | APPARATUS FOR OBTAINING LIVING TISSUE | 
| US10/329,947US7077803B2 (en) | 2001-12-28 | 2002-12-24 | Living tissue harvesting apparatus | 
| US11/440,527US20060211916A1 (en) | 2001-12-28 | 2006-05-25 | Living tissue harvesting apparatus | 
| Application Number | Priority Date | Filing Date | Title | 
|---|---|---|---|
| JP2001401940AJP4373042B2 (en) | 2001-12-28 | 2001-12-28 | Blood vessel collection device | 
| Publication Number | Publication Date | 
|---|---|
| JP2003199754A JP2003199754A (en) | 2003-07-15 | 
| JP2003199754A5 JP2003199754A5 (en) | 2006-10-19 | 
| JP4373042B2true JP4373042B2 (en) | 2009-11-25 | 
| Application Number | Title | Priority Date | Filing Date | 
|---|---|---|---|
| JP2001401940AExpired - Fee RelatedJP4373042B2 (en) | 2001-12-28 | 2001-12-28 | Blood vessel collection device | 
| Country | Link | 
|---|---|
| JP (1) | JP4373042B2 (en) | 
| Publication number | Priority date | Publication date | Assignee | Title | 
|---|---|---|---|---|
| US8105231B2 (en) | 2003-10-31 | 2012-01-31 | Olympus Corporation | Living-body tissue removing apparatus | 
| US7662164B2 (en) | 2003-10-31 | 2010-02-16 | Olympus Corporation | Living-body tissue removing apparatus | 
| US7331971B2 (en) | 2003-10-31 | 2008-02-19 | Olympus Corporation | Living-body tissue removing apparatus | 
| Publication number | Publication date | 
|---|---|
| JP2003199754A (en) | 2003-07-15 | 
| Publication | Publication Date | Title | 
|---|---|---|
| US7077803B2 (en) | Living tissue harvesting apparatus | |
| US7981127B2 (en) | Treatment sheath for endoscopic blood vessel harvesting | |
| EP1323392B1 (en) | Treatment device for cutting living tissue | |
| JP4354538B2 (en) | Endoscopic blood vessel collection method and apparatus | |
| US20100292533A1 (en) | Endoscopic Cutter with Reconfigurable Guides | |
| JP4125550B2 (en) | Biological tissue collection device | |
| JP3839320B2 (en) | Biological tissue cutting treatment tool | |
| JP4354149B2 (en) | Blood vessel collection device | |
| JP3887563B2 (en) | Bipolar lancing device and blood vessel collection device | |
| JP2003190171A (en) | Endoscope-like blood vessel sampling system | |
| JP4662374B2 (en) | Endoscopic blood vessel collection device | |
| JP4373042B2 (en) | Blood vessel collection device | |
| JP4659758B2 (en) | Biological tissue collection device | |
| JP2003199747A (en) | Endoscopic blood vessel extracting treatment sheath | |
| JP4755661B2 (en) | Biological tissue collection device | |
| JP2006095336A (en) | Treating instrument for cutting living body tissue | |
| JP5357856B2 (en) | Biological tissue collection device and biological tissue collection system | 
| Date | Code | Title | Description | 
|---|---|---|---|
| A621 | Written request for application examination | Free format text:JAPANESE INTERMEDIATE CODE: A621 Effective date:20040430 | |
| A977 | Report on retrieval | Free format text:JAPANESE INTERMEDIATE CODE: A971007 Effective date:20060529 | |
| A521 | Request for written amendment filed | Free format text:JAPANESE INTERMEDIATE CODE: A523 Effective date:20060831 | |
| A131 | Notification of reasons for refusal | Free format text:JAPANESE INTERMEDIATE CODE: A131 Effective date:20061219 | |
| A521 | Request for written amendment filed | Free format text:JAPANESE INTERMEDIATE CODE: A523 Effective date:20070219 | |
| A02 | Decision of refusal | Free format text:JAPANESE INTERMEDIATE CODE: A02 Effective date:20070320 | |
| A521 | Request for written amendment filed | Free format text:JAPANESE INTERMEDIATE CODE: A523 Effective date:20070521 | |
| A521 | Request for written amendment filed | Free format text:JAPANESE INTERMEDIATE CODE: A821 Effective date:20070521 | |
| A911 | Transfer to examiner for re-examination before appeal (zenchi) | Free format text:JAPANESE INTERMEDIATE CODE: A911 Effective date:20070620 | |
| A912 | Re-examination (zenchi) completed and case transferred to appeal board | Free format text:JAPANESE INTERMEDIATE CODE: A912 Effective date:20070713 | |
| A01 | Written decision to grant a patent or to grant a registration (utility model) | Free format text:JAPANESE INTERMEDIATE CODE: A01 | |
| A61 | First payment of annual fees (during grant procedure) | Free format text:JAPANESE INTERMEDIATE CODE: A61 Effective date:20090903 | |
| FPAY | Renewal fee payment (event date is renewal date of database) | Free format text:PAYMENT UNTIL: 20120911 Year of fee payment:3 | |
| R150 | Certificate of patent or registration of utility model | Ref document number:4373042 Country of ref document:JP Free format text:JAPANESE INTERMEDIATE CODE: R150 Free format text:JAPANESE INTERMEDIATE CODE: R150 | |
| FPAY | Renewal fee payment (event date is renewal date of database) | Free format text:PAYMENT UNTIL: 20130911 Year of fee payment:4 | |
| R250 | Receipt of annual fees | Free format text:JAPANESE INTERMEDIATE CODE: R250 | |
| R250 | Receipt of annual fees | Free format text:JAPANESE INTERMEDIATE CODE: R250 | |
| R250 | Receipt of annual fees | Free format text:JAPANESE INTERMEDIATE CODE: R250 | |
| S531 | Written request for registration of change of domicile | Free format text:JAPANESE INTERMEDIATE CODE: R313531 | |
| R350 | Written notification of registration of transfer | Free format text:JAPANESE INTERMEDIATE CODE: R350 | |
| R250 | Receipt of annual fees | Free format text:JAPANESE INTERMEDIATE CODE: R250 | |
| R250 | Receipt of annual fees | Free format text:JAPANESE INTERMEDIATE CODE: R250 | |
| R250 | Receipt of annual fees | Free format text:JAPANESE INTERMEDIATE CODE: R250 | |
| LAPS | Cancellation because of no payment of annual fees |