














本発明は、フロアマットの係止穴に挿入される係止部と、車体の床面から立上る車体壁部の取付穴に取付けられる取付部と、係止部と取付部とを一体的に連結するベース部とを包含する、自動車のフロアマットの留め具に関する。 The present invention integrates a locking portion that is inserted into a locking hole of a floor mat, a mounting portion that is mounted in a mounting hole of a vehicle body wall that rises from the floor surface of the vehicle body, and a locking portion and a mounting portion. The present invention relates to a fastener for an automobile floor mat including a connecting base portion.
自動車のフロアマットをカーペットへ固定する留め具は、例えば、実開平1−167934号公報(実公平6−24278号:特許文献1)に開示されている。この留め具は、カーペットの取付穴に係止されるカーペット係止突起と、フロアマットの取付穴に係止されるマット係止突起と、カーペット係止突起とマット係止突起とを一体的に連結するベース部とを包含し、フロアマットをカーペットへ固定する。 A fastener for fixing an automobile floor mat to a carpet is disclosed in, for example, Japanese Utility Model Publication No. 1-167934 (Japanese Utility Model Publication No. 6-24278: Patent Document 1). The fastener integrally includes a carpet locking projection that is locked to the carpet mounting hole, a mat locking projection that is locked to the floor mat mounting hole, and the carpet locking projection and the mat locking projection. And a base part to be connected to fix the floor mat to the carpet.
実開平5−7533号公報(実公平7−55152号:特許文献2)は、フロアカーペットを車体に固定するフロアカーペット取付具を開示している。この取付具は、フロアカーペットの係止穴に挿入される係止部と、車体の床面から立上る車体壁部の取付穴に取付けられる取付部と、係止部と取付部とを一体的に連結するベース部とを包含し、フロアカーペットの係止穴に係止部を挿入し、車体壁部の取付穴に取付部を挿入して、フロアカーペットを車体へ固定する。 Japanese Utility Model Publication No. 5-7533 (Japanese Utility Model Publication No. 7-55152: Patent Document 2) discloses a floor carpet fixture for fixing a floor carpet to a vehicle body. This fixture is made up of an engaging part inserted into an engaging hole of a floor carpet, an attaching part attached to an attaching hole of a vehicle body wall that rises from the floor of the vehicle body, and an engaging part and an attaching part. And a base portion coupled to the floor carpet, and the locking portion is inserted into the locking hole of the floor carpet, and the mounting portion is inserted into the mounting hole of the vehicle body wall portion to fix the floor carpet to the vehicle body.
フロアカーペットを車体壁部に固定するフロアカーペットの留め具が、特開平7−332334号公報(特許文献3)に開示されている。この留め具は、フロアカーペットの係止穴に挿入される係止部と、車体の床面から立上る車体壁部の取付穴に取付けられる取付部と、係止部と取付部とを連結する可撓性の薄肉部とを包含し、係止部がフロアカーペットの係止穴に係止され、取付部が車体壁部の取付穴に取付けられた状態で、可撓性の薄肉部が車体壁部の立上り角度に対応するので、フロアカーペットの取付けが車体壁部の立上がり角度に影響されないという利点を有する。 Japanese Laid-Open Patent Publication No. 7-332334 (Patent Document 3) discloses a floor carpet fastener for fixing a floor carpet to a vehicle body wall. The fastener connects the engaging portion inserted into the engaging hole of the floor carpet, the attaching portion attached to the attaching hole of the vehicle body wall portion rising from the floor surface of the vehicle body, and the engaging portion and the attaching portion. A flexible thin wall portion, the locking portion is locked in the locking hole of the floor carpet, and the mounting portion is mounted in the mounting hole of the vehicle body wall portion. Since it corresponds to the rising angle of the wall portion, there is an advantage that the installation of the floor carpet is not affected by the rising angle of the vehicle body wall portion.
  特許文献1のフロアマットの留め具は、フロアマットを車体床面上のカーペットに固定するものであって、フロアマットを車体壁部に直接固定することはできない。特許文献2に記載のフロアカーペット取付具は、フロアマットではなく、フロアカーペットを車体壁部に取付けるものである。また、この取付具は、車体壁部から取外すのが困難であり、更に車体床面に対する車体壁部の角度が違う車両には十分に対応できない。特許文献3に記載のフロアカーペットの留め具も、フロアマットではなく、フロアカーペットを車体壁部に取付けるものである。この留め具は、車体床面に対する車体壁部の角度が違っても可撓性薄肉部が対応する利点はあるが、可撓性薄肉部の強度が低くその部分が破断する虞れがある。  The fastener of the floor mat of
  特許文献4には、2つのパネルを連結するため、雄部材と雌部材とからなり、雌部材に多角形穴を形成し、雄部材には対応する多角形頭部を設けて、連結及びその連結の解除ができる留め具が開示されている。特許文献4の留め具は、2つのパネル等の連結のためのものであり、特許文献4は、フロアマットを車体壁部に留めることについては何も示していない。特に、車体床面とその車体床面から立上る車体壁部とが形成される部分にフロアマットを固定することについて何も示していない。特許文献5は、サンバイザーの軸受部材を開示する。このサンバイザー軸受部材の車体への連結部は、車体の四角形の取付穴に対応する四角形断面を有する係止部として形成され、その係止部を取付穴の四角形穴に合わせて挿入して回転すると車体に連結でき、取外しにおいても回転によって行える。特許文献5も、フロアマットを車体壁部に留めることについては何も示していないし、車体床面とその車体床面から立上る車体壁部とが形成される部分にフロアマットを固定することについても何も示していない。特許文献6は、ブレーキ油用パイプや燃料油用パイプ等のパイプを車体に保持するパイプ保持具を開示している。このパイプ保持具には、パイプが傾斜していてもその傾斜に対応して曲がる細柱体が、パイプ保持部と車体連結部との間に設けられている。特許文献6は、パイプを車体に保持する構造を示すものであり、フロアマットを車体壁部に留めることについては何も示していないし、車体床面とその車体床面から立上る車体壁部とが形成される部分にフロアマットを固定することについても何も示していない。  In Patent Document 4, in order to connect two panels, a male member and a female member are formed, a polygonal hole is formed in the female member, and a corresponding polygonal head is provided in the male member. A fastener that can be decoupled is disclosed. The fastener of patent document 4 is for connection of two panels etc., and patent document 4 does not show anything about fastening a floor mat to a vehicle body wall part. In particular, nothing is shown about fixing a floor mat to a portion where a vehicle body floor surface and a vehicle body wall portion rising from the vehicle body floor surface are formed.
本発明の目的は、フロアマットを車体に固定することができ、固定後の強度は十分にあり、取外しが容易にできる自動車のフロアマットの留め具を提供することにある。また、本発明の目的は、車体床面に対して種々の角度で車体壁部が立上っていてもその角度の違いに対応できる、自動車のフロアマットの留め具を提供することにある。 An object of the present invention is to provide a fastener for an automobile floor mat that can fix the floor mat to the vehicle body, has sufficient strength after fixation, and can be easily removed. It is another object of the present invention to provide a fastener for a car floor mat that can cope with the difference in angle even when the vehicle body wall rises at various angles with respect to the vehicle floor.
上記目的を達成するため、本発明による、自動車のフロアマットの留め具は、フロアマットの係止穴に挿入される係止部と、車体の床面に対して立上る姿勢の車体壁部の取付穴に取付けられる取付部と、係止部と取付部とを一体的に連結するベース部とを包含する留め具であって、ベース部は、係止部が設けられる第1プレート部と、第1プレート部から立上り且つ取付部が設けられる第2プレート部とから成り、取付部は、取付穴に対して所定の角度でのみ挿入できる大きさと形状の断面を有する頭部と、該頭部断面の内接円より小径の軸部とを包含し、頭部は、第1プレート部が車体床面に平行な姿勢にあるとき、取付穴から抜け出せないが、取付穴に対して前記所定角度にすると抜け出ることができる形状であり、第2プレート部と取付部の軸部との間に、車体壁部に当接するシート部が設けられて、シート部と頭部との間に車体壁部が保持され、シート部には、軸部に隣接して頭部の側に突出する当接リブが設けられ、当接リブが車体壁部に当接でき、当接リブと頭部との間隔は車体壁部の厚さより僅かに大きく形成され、シート部と頭部との間の間隔は、当接リブと頭部との間隔より大きく形成され、当接リブを中心に車体壁部に対して留め具全体が傾斜できる、ことを特徴とする。In order to achieve the above object, a fastener for an automobile floor mat according to the present invention includes a locking portion inserted into a locking hole of the floor mat, and a vehicle body wall portion in a posture of rising from the floor surface of the vehicle body. A fastener including an attachment portion attached to the attachment hole, and a base portion integrally connecting the engagement portion and the attachment portion, wherein the base portion is a first plate portion provided with the engagement portion; A second plate portion that rises from the first plate portion and is provided with an attachment portion, the attachment portion having a cross section having a size and a shape that can be inserted only at a predetermined angle with respect to the attachment hole; Including a shaft portion having a smaller diameter than the inscribed circle of the cross section, and the head cannot be pulled out of the mounting hole when the first plate portion is in a posture parallel to the vehicle body floor surface, but the predetermined angle with respect to the mounting hole You can exit to thethe shape, preparative and second plate portions A seat portion that abuts the vehicle body wall portion is provided between the shaft portion and the vehicle body wall portion is held between the seat portion and the head, and the seat portion has a head adjacent to the shaft portion. A contact rib projecting to the side of the vehicle body, the contact rib can contact the vehicle body wall portion, and the distance between the contact rib and the head is slightly larger than the thickness of the vehicle body wall portion; The distance between the head and the head is formed larger than the distance between the abutment rib and the head, and the entire fastener can be inclined with respect to the vehicle body wall portion around the abutment rib .
上記構成によって、係止部と取付部とは、第1プレート部と第2プレート部とから成るベース部によって一体的に連結されて強い剛性を得ることができるので、連結後の強度も高く維持され、車体壁部への取付けは、取付部の頭部の先端部分を取付穴に合わせて挿入して回転するだけの簡単な操作で行うことができ、取外し操作も、取付部頭部を取付穴の形状に合わせるように、留め具を回転するだけで容易に行うことができ、更に、車体床面に対して種々の角度で車体壁部が立上っていてもその角度の違いに対応でき、フロアマットにある自動車乗員の足が強く留め具を押えた場合にも、留め具全体の傾斜によって取付部が破壊する惧れもなくなる。With the above configuration, the locking portion and the attachment portion can be integrally connected by the base portion including the first plate portion and the second plate portion to obtain strong rigidity, so that the strength after connection is also maintained high. Installation to the vehicle body wall can be done with a simple operation by simply inserting the tip of the head of the mounting part into the mounting hole and rotating it. It can be easily done just by rotating the fastener to match the shape of the hole, and even if thevehicle wall rises at various angles with respect to the vehicle floor , it canhandle the difference in angle can, when the motor vehicle occupant in the floor mat feet down the strong fasteners also a thatno a danger attachment portion is broken by the inclination of the entire fastener.
上記留め具において、取付穴の形状が四角穴又は長穴であり、頭部の断面形状は取付穴の四角穴又は長穴の短辺よりやや小さい辺の四角形であり、頭部の四角形断面は、第1プレート部が車体床面に平行な姿勢にあるとき、取付穴の四角形又は長穴に対してほぼ45度の回転角度でずれた構成にできる。 In the above fastener, the shape of the mounting hole is a square hole or a long hole, the cross-sectional shape of the head is a square with a side slightly smaller than the short side of the square hole or the long hole of the mounting hole, and the rectangular cross section of the head is When the first plate portion is in a posture parallel to the vehicle body floor surface, the first plate portion can be displaced by a rotation angle of about 45 degrees with respect to the square or long hole of the mounting hole.
上記留め具において、軸部には、車体壁部に弾性的に当接するばね片が、少なくとも1つ設けられているのが好ましい。これによって、車体壁部の傾斜の角度に対応でき、車体壁部の板厚の違いにも対応できる。また、第2プレート部の端部には車体壁部に延びるカーペット部分を押圧保持する押さえリブが形成されているのが好ましい。これによって、車体壁部に延びるカーペット部分との隙間を無くすることができる。更に、第2プレート部は、車体壁部に取付けられたとき、取付穴を覆うのに十分な大きさの面積を有するのが好ましい。これによって、取付穴が留め具によって隠されるので、デザイン上の見栄えがよい。 In the above fastener, it is preferable that the shaft portion is provided with at least one spring piece that elastically contacts the vehicle body wall portion. Thereby, it can respond to the inclination angle of a vehicle body wall part, and can respond also to the difference in the board thickness of a vehicle body wall part. Moreover, it is preferable that the end part of the 2nd plate part is formed with the pressing rib which presses and holds the carpet part extended to a vehicle body wall part. As a result, it is possible to eliminate a gap with the carpet portion extending in the vehicle body wall. Furthermore, the second plate part preferably has an area large enough to cover the attachment hole when attached to the vehicle body wall part. As a result, the mounting hole is hidden by the fastener, so that the design looks good.
  以下、本発明の実施形態について図面を参照して説明する。図1〜図10には、本発明の第1実施形態に係る、自動車のフロアマットの留め具1が示されている。主に、図1及び図2を参照して、留め具1の構成を説明する。留め具1は、硬質の合成樹脂等で形成された一体成形品であり、フロアマットの係止穴に挿入される係止部2と、車体の床面に対して立上る姿勢の車体壁部の取付穴に取付けられる取付部3とを包含し、係止部2と取付部3は、ベース部5によって一体的に連結されている。係止部2は、フロアマットの係止穴に挿入でき挿入後の抜け外れを少なくするようにフック形状に形成されているのが好ましいが、フロアマットの係止穴に係止する限り、フック形状には限られない。ベース部5は、一定幅の細長い剛性のプレート形状に形成される。ベース部5は、係止部2が設けられる一定幅の平坦な第1プレート部6と、第1プレート部6からほぼ直角に立上る一定幅の第2プレート部7とから成る。これらの第1プレート部6及び第2プレート部7の幅方向における中央部分には、ベース部5の剛性を高くするため、長手方向に延びるリブ9が形成されるのが好ましい。この場合、リブ9の代わりに、幅方向の中央に向けて両縁部から山高になるように形成してもよい。  Embodiments of the present invention will be described below with reference to the drawings. 1 to 10 show a
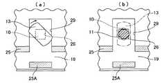
  図示の実施形態において、取付部3は、角形穴に形成された取付穴に対して所定の角度でのみ挿入できる大きさの断面角形の頭部10と、角形の頭部10の内接円より小径の軸部11とから構成される。車体壁部の取付穴の形状は四角穴(図4参照)に形成され、これに対応して、頭部10の断面形状は取付穴の四角穴よりやや小さい辺の四角形に形成される(図2及び図4参照)。図2及び図4に図示のように、頭部10の四角形断面は、第1プレート部6の面が車体床面に平行な姿勢にあるとき(図3の姿勢)、取付穴の四角形に対してほぼ45度の回転角度をもってずれて形成される。これによって、留め具1を車体壁部に取付ける場合、第1プレート部6の面を車体床面に45度回転した姿勢に傾けて、取付部3の頭部10を取付穴に合わせれば、そのまま頭部10が取付穴に挿入できる。挿入後、第1プレート部6の面を車体床面に平行な姿勢に回転すれば(図3参照)、頭部10は取付穴から抜け出せなくなり、留め具1が車体壁部に連結される。取付け後、留め具1の第1プレート部6の面を車体床面に対して45度回転した姿勢に傾けると、頭部10は取付穴から抜け出て、留め具1を車体壁部から簡単に取外しできる。  In the illustrated embodiment, the attachment portion 3 includes a
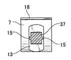
  第2プレート部7と取付部3の軸部11との間には、車体壁部に当接するシート部13が設けられている。シート部13は、図1に図示のように、車体壁部に向けて第2プレート9の面から一定長さ突出して形成され、図2に図示のように、上下に取付部3よりも広い面積を有するように形成されて、車体壁部を受ける。シート部13には、軸部11と第2プレート部7との間に支柱14が設けられ、取付部3の剛性を維持する。シート部13と頭部10との間の軸部11の部分に車体壁部を保持することができる。更に、シート部13には、支柱14の延長部分であって、軸部10に隣接する両側の部分に、頭部10に沿って突出する当接リブ15が設けられている。当接リブ15は、取付部3に受入れられた車体壁部に当接し、当接リブ15を中心に留め具1は、車体壁部に一定角度傾くことができる(図9及び図10参照)。また、この傾斜を可能にするため、シート部13の当接面と頭部10の下面の間の間隔は車体壁部の厚さより大きく形成され、当接リブ15を中心に車体壁部に対して留め具1の全体が傾斜できる。これによって、車体壁部が、車体の床面に対して種々の角度で立上って、その傾斜角度が自動車によって違っていても、その角度の違いに対応できる。更に、フロアマットにある自動車乗員の足が強く留め具1を押えた場合にも、図9の位置から図10の位置に傾斜できるので、取付部3が破壊する惧れもなくなる。  Between the
  上記のように、シート部13の当接面と頭部10の下面の間の間隔は車体壁部の厚さより大きく形成されているので、取付部3において車体壁部との間での保持が緩く、がたつく惧れがある。がたつきなく保持するため、図1に図示のように、軸部11には、車体壁部に弾性的に当接するばね片17が、図1の上方に向けて1つ設けられている。これによって、車体壁部の傾斜の角度が違っていてもがたつきなく保持されるので、傾斜角度の違いに対応でき、更に、車体壁部の板厚が自動車によって異なっていてもがたつきなく保持され、板厚の違いにも対応できる。  As described above, since the distance between the contact surface of the
  第2プレート部7の端部(図1の上端)には車体壁部の部分を覆うカーペット部分を押圧保持する押さえリブ18が形成されているのが好ましい。これによって、車体壁部のカーペット部分との隙間を無くすることができる。また、第2プレート部7は、車体壁部に取付けられたとき、車体壁部の取付穴及びその回りのカーペットの切込みを覆うのに十分な大きさの面積を有する。これによって、取付穴及びカーペットの切込みが第2プレート部7(ひいては留め具1)によって隠されるので、デザイン上の見栄えがよい。  It is preferable that a
  図3は、留め具1が車体壁部19に取付けられて、フロアマット21を固定している様子を示している。図3において、車体壁部19は、車体床面22に対して90度の角度で立上がる姿勢にある。車体床面22にはパネル23が設けられ、その上にカーペット25が敷かれている。カーペット25は、車体壁部19にも拡がってその部分を覆っている。フロアマット21は、カーペット25が敷かれた後、カーペット25の上に配置され、車体壁部19に連結される留め具1によってずれないように固定される。車体壁部19には留め具1を連結するための取付穴26が形成されている。カーペット25は、その取付穴26の回りが切り抜かれ、取付穴26を露出させる。切り抜かれたカーペット25の先端25Aが車体壁部19に隣接する位置に押し込まれた後、留め具1が車体壁部19に取付けられる。  FIG. 3 shows a state in which the
  図4(a)、(b)に示すように、車体壁部19の取付穴26は四角形の穴に形成されている。また、留め具1の取付部3の頭部10の断面形状は取付穴の四角穴よりやや小さい四角形に形成され、第1プレート部6の面が車体床面22に平行な姿勢にあるとき(図3の姿勢)、取付穴の四角形に対してほぼ45度の回転角度をもってずれて形成されている。留め具1を車体壁部19に取付ける場合、第1プレート部6の面を車体床面に45度回転した姿勢に傾けて(図4(a))、取付部3の頭部10を取付穴26に合わせ、そのまま頭部10が取付穴に挿入する。この挿入によって、シート部13(の当接リブ15)が車体壁部19に当接する。当接後、第1プレート部6の面を車体床面22に平行な姿勢に回転すれば(図3及び図4(b)参照)、頭部10は取付穴から抜け出せなくなり、留め具1が車体壁部19に連結される。  As shown in FIGS. 4A and 4B, the mounting
  シート部13と頭部10の間に車体壁部19がある状態で留め具1が車体壁部19に連結され、ばね片17が車体壁部19に当接して撓み留め具1のベース部5の第1プレート部6をカーペット25に押圧して、留め具1の連結後のがたつきを防止し、留め具1は車体壁部19に固定される。固定後、フロアマット21の係止穴27を係止部2に通して、フロアマット21をカーペット25の上に配置する。これによって、留め具1は、フロアマット21をカーペット25上でずれないように保持する。  The
  図5は、車体壁部19に延びるカーペット25に形成された、取付穴26の回りの切込み29を、第2プレート部7が覆っている様子を示している。第2プレート部7の面積は車体壁部19の取付穴26及びその回りのカーペットの切込み29を覆うのに十分な大きさの面積を有しており、第2プレート部7によって取付穴26及び切込み29が隠されるので、デザイン上の見栄えが良くなる。また、このとき、図3に示すように、押さえリブ18がカーペット25の切込み29の上端部分を押圧保持して、見栄えをよくするとともにカーペット端末部分を保護しつつ保持する。  FIG. 5 shows a state in which the
  図6は、留め具1を車体壁部19に取付けるとき、切込み29のあるカーペット25の部分と第2プレート部7との関係を示している。留め具1を取付けるとき、第2プレート部7は、取付穴26及び切込み29に対して45度回転した姿勢に配置され、その後反時計方向に45度回転される。図6の斜線部分30は、第2プレート部7が車体床面上のカーペット25の部分と干渉する部分を示している。留め具1を車体壁部19に対して45どではなく、90度回転することによって連結するようにもできるが、その場合には、回転角度が大きくなるだけでなく、第2プレート部7が車体床面上のカーペット25の部分と干渉する部分が、図6の斜線部分より多くなり、連結のための操作が45度のものより面倒になる。なお、取付け後、留め具1の第1プレート部6の面を車体床面に対して45度回転した姿勢に傾けると、頭部10は取付穴から抜け出て、留め具1を車体壁部から簡単に取外しできる。  FIG. 6 shows the relationship between the portion of the
  図7は、軸部11の断面を示しており、図1のVII−VII線断面図である。軸部11は、単純に角形頭部の内接円より小径の円形断面でもよいが、図7に図示のように、角形頭部の内接円より小径の八角形断面に形成されるのも好ましい。そして、その場合、図7において、四角形の各角部分を切り落として八角形に形成し、四角形の1辺の長さaと、切り落とした対角方向の長さbとの関係が:a<bとなるように定められるのが好ましい。これによって、45度以上の回転を行おうとすると、指又は手に抵抗感が伝わり、作業者の組付け作業を助ける。  FIG. 7 shows a cross section of the
  図8は、図3の留め具1の取付け状態とおなじであるが、車体壁部19が、車体床面22に対して、90度ではなくて、それより7度傾いた(すなわち車体床面に対して83度の角度をもって立上った)状態にある。この場合でも、留め具1は、なんら支障なく車体壁部19に連結されて、フロアマット21をカーペット25に対してずれないように固定する。図9は、車体壁部19が90度の位置にある場合(A)と、それより7度傾いた場合(B)との状態において、留め具1が採る姿勢を示している。図10は、フロアマットにある自動車乗員の足が、矢印31の方向に強く留め具1を押えた場合にも、留め具1が傾斜できることを示している。留め具1は、当接リブ15を中心に車体壁部19に一定角度傾くことができ、シート部13の当接面と頭部10の下面の間の間隔は車体壁部の厚さより大きく形成され、当接リブ15を中心に車体壁部に対して留め具1の全体が傾斜できる。これによって、車体壁部19が、車体床面に22対して種々の角度で立上って、その傾斜角度が自動車によって違っていても、その角度の違いに対応でき、フロアマットにある自動車乗員の足が強く留め具1を押えた場合にも、図9の位置から図10の位置に傾斜でき、取付部3が破壊する惧れもなくなる。  8 is the same as the attachment state of the
  なお、前記の実施形態では、取付穴は正方形の四角穴に形成されているが、取付穴の形状は、例えば、長方形や長円等の長穴に形成されてもよい。取付穴が長穴に形成される場合、取付部3の頭部10の断面形状は、長穴の短辺よりやや小さい辺の四角形状にするのが好ましい。また、頭部10の四角形状は、図4(a)、(b)に図示のように、長穴の取付穴に対して45度の回転角度でずらして形成される。それによって、第1プレート部6の面を車体床面に45度回転した姿勢に傾け(図4(a))、取付部3の頭部10を取付穴に合わせて挿入し、挿入後、第1プレート部6の面を車体床面22に平行な姿勢に回転すれば(図3及び図4(b)参照)、頭部10は取付穴から抜け出せなくなり、留め具1が車体壁部19に連結される。更に、取付穴の形状と頭部の断面形状は、第1プレート部6が車体床面22に平行な姿勢にあるとき、取付穴からは抜け出せないが、取付穴に対して所定角度(例えば45度)にすると抜け出ることができる関係にある限り、任意の形状に形成できる。例えば、取付穴を非真円(長円や角形等)に形成し、頭部をそれよりやや小さな相似の非真円に形成することもできる。  In the above-described embodiment, the mounting hole is formed as a square square hole. However, the shape of the mounting hole may be formed as a long hole such as a rectangle or an ellipse. When the attachment hole is formed as a long hole, the cross-sectional shape of the
  図11〜図15には、第2実施形態に係る、自動車のフロアマットの留め具33が示されている。留め具33は、留め具1と殆ど同じ構成であるが、以下の点で異なっている。なお、第1実施形態の留め具1の平面図は示されていないが、図11とほぼ同じ形状に形成されている。留め具33が留め具1と異なる点は、係止部34がフック形状ではなく、頭付きピン形状に形成されている点、ばね片35が、軸部37の上下に一対形成されている点、及び軸部37の断面形状がやや異なる点である。係止部34はフロアマットの係止穴に合わせて大径頭部を有する頭付きピンとして形成されている。また、ばね片35は、軸部37の上下に設けられて、車体壁部への取付けを、軸部37の上下の2ヶ所において車体壁部に係合して一層がたつきなく安定させる。軸部37は、留め具1の軸部11断面が八角形形状ではあるが、留め具1の軸部11とはやや異なる形状に形成されている。かかる軸部33の形状であっても、留め具33は、留め具1と同様に、45度の回転で、簡単に連結作業ができ、連結後の強度も高く維持される。このように、留め具33は、車体壁部への取付けが、取付部の頭部の角形部分を取付穴の角形に合わせて挿入して回転するだけの簡単な操作で行うことができ、取外し操作も、取付部頭部を取付穴の角形に合わせるように、留め具を回転するだけで容易に行うことができる。また、その他の機能においても、留め具1とほぼ同じであるので、説明を省略する。  FIGS. 11 to 15 show a
  1  第1実施形態の留め具
  2  係止部
  3  取付部
  5  ベース部
  6  第1プレート部
  7  第2プレート部
  9  リブ
10  頭部
11  軸部
13  シート部
14  支柱
15  当接リブ
17  ばね片
18  押さえリブ
19  車体壁部
21  フロアマット
22  車体床面
23  パネル
25  カーペット
26  取付穴
27  係止穴
29  切込み
33  第2実施形態の留め具
34  係止部
35  ばね片
37  軸部DESCRIPTION OF
| Application Number | Priority Date | Filing Date | Title | 
|---|---|---|---|
| JP2004109771AJP4322727B2 (en) | 2004-04-02 | 2004-04-02 | Automotive floor mat fasteners | 
| Application Number | Priority Date | Filing Date | Title | 
|---|---|---|---|
| JP2004109771AJP4322727B2 (en) | 2004-04-02 | 2004-04-02 | Automotive floor mat fasteners | 
| Publication Number | Publication Date | 
|---|---|
| JP2005289273A JP2005289273A (en) | 2005-10-20 | 
| JP4322727B2true JP4322727B2 (en) | 2009-09-02 | 
| Application Number | Title | Priority Date | Filing Date | 
|---|---|---|---|
| JP2004109771AExpired - Fee RelatedJP4322727B2 (en) | 2004-04-02 | 2004-04-02 | Automotive floor mat fasteners | 
| Country | Link | 
|---|---|
| JP (1) | JP4322727B2 (en) | 
| Publication number | Priority date | Publication date | Assignee | Title | 
|---|---|---|---|---|
| KR101047760B1 (en)* | 2009-12-02 | 2011-07-07 | 기아자동차주식회사 | Carpet fixed structure | 
| KR101125445B1 (en) | 2010-08-05 | 2012-03-27 | 기아자동차주식회사 | Structure for fixing carmat of vehicle | 
| JP5878312B2 (en)* | 2011-07-21 | 2016-03-08 | 株式会社パイオラックス | Mounting structure for a mat fastener and the fastener | 
| Publication number | Publication date | 
|---|---|
| JP2005289273A (en) | 2005-10-20 | 
| Publication | Publication Date | Title | 
|---|---|---|
| JP4870488B2 (en) | High fixing strength fixture | |
| JP4837546B2 (en) | Parts fixing device | |
| JP5031904B2 (en) | Fixing tool for fixing the mounting member to the support member, and fixing device including the fixing tool | |
| JP3355524B2 (en) | Tire house cover mounting structure | |
| CN104773116A (en) | Clip and pillar garnish mounting structure | |
| CN102101453B (en) | Foot rest for a vehicle | |
| JP4322727B2 (en) | Automotive floor mat fasteners | |
| JP2007147060A (en) | Component mounting device | |
| JP2010173412A (en) | Mounting structure for vehicular interior material | |
| JP2009029328A (en) | Trim clip suitable for trim for curtain side air bag | |
| JP4336956B2 (en) | Parts mounting clip | |
| JP2004230969A (en) | Finisher structure for vehicle | |
| JP4373864B2 (en) | Automotive floor mat fasteners | |
| JPH1130214A (en) | clip | |
| JP4488424B2 (en) | Wiper device head cover mounting structure | |
| JP2001206127A (en) | Clip | |
| CN218577520U (en) | Instrument panel part assembling structure | |
| JP2011036030A (en) | Clip and wire harness with clip | |
| JP3353646B2 (en) | Mounting structure of airbag device | |
| JP2017039379A (en) | Airbag device | |
| JP2007181363A (en) | Fitting | |
| JP2010048273A (en) | Clip | |
| JPH0746605Y2 (en) | Automotive pendant molding mounting structure | |
| JP3086472U (en) | Mounting structure of airbag device | |
| JP4065912B2 (en) | Equipment for attaching item members such as shelves | 
| Date | Code | Title | Description | 
|---|---|---|---|
| A621 | Written request for application examination | Free format text:JAPANESE INTERMEDIATE CODE: A621 Effective date:20060912 | |
| A977 | Report on retrieval | Free format text:JAPANESE INTERMEDIATE CODE: A971007 Effective date:20090113 | |
| A131 | Notification of reasons for refusal | Free format text:JAPANESE INTERMEDIATE CODE: A131 Effective date:20090119 | |
| A521 | Written amendment | Free format text:JAPANESE INTERMEDIATE CODE: A523 Effective date:20090319 | |
| TRDD | Decision of grant or rejection written | ||
| A01 | Written decision to grant a patent or to grant a registration (utility model) | Free format text:JAPANESE INTERMEDIATE CODE: A01 Effective date:20090511 | |
| A01 | Written decision to grant a patent or to grant a registration (utility model) | Free format text:JAPANESE INTERMEDIATE CODE: A01 | |
| A61 | First payment of annual fees (during grant procedure) | Free format text:JAPANESE INTERMEDIATE CODE: A61 Effective date:20090603 | |
| R150 | Certificate of patent or registration of utility model | Free format text:JAPANESE INTERMEDIATE CODE: R150 Ref document number:4322727 Country of ref document:JP Free format text:JAPANESE INTERMEDIATE CODE: R150 | |
| FPAY | Renewal fee payment (event date is renewal date of database) | Free format text:PAYMENT UNTIL: 20120612 Year of fee payment:3 | |
| FPAY | Renewal fee payment (event date is renewal date of database) | Free format text:PAYMENT UNTIL: 20120612 Year of fee payment:3 | |
| FPAY | Renewal fee payment (event date is renewal date of database) | Free format text:PAYMENT UNTIL: 20130612 Year of fee payment:4 | |
| R250 | Receipt of annual fees | Free format text:JAPANESE INTERMEDIATE CODE: R250 | |
| FPAY | Renewal fee payment (event date is renewal date of database) | Free format text:PAYMENT UNTIL: 20130612 Year of fee payment:4 | |
| FPAY | Renewal fee payment (event date is renewal date of database) | Free format text:PAYMENT UNTIL: 20140612 Year of fee payment:5 | |
| R250 | Receipt of annual fees | Free format text:JAPANESE INTERMEDIATE CODE: R250 | |
| R250 | Receipt of annual fees | Free format text:JAPANESE INTERMEDIATE CODE: R250 | |
| R250 | Receipt of annual fees | Free format text:JAPANESE INTERMEDIATE CODE: R250 | |
| R250 | Receipt of annual fees | Free format text:JAPANESE INTERMEDIATE CODE: R250 | |
| R250 | Receipt of annual fees | Free format text:JAPANESE INTERMEDIATE CODE: R250 | |
| R250 | Receipt of annual fees | Free format text:JAPANESE INTERMEDIATE CODE: R250 | |
| R250 | Receipt of annual fees | Free format text:JAPANESE INTERMEDIATE CODE: R250 | |
| R250 | Receipt of annual fees | Free format text:JAPANESE INTERMEDIATE CODE: R250 | |
| LAPS | Cancellation because of no payment of annual fees |