























【0001】
【発明の属する技術分野】
本発明は、超音波プローブと超音波観測装置とを備えた体腔内挿入を目的とした超音波診断プローブ装置に関する。
【0002】
【従来の技術】
近年、体腔内に超音波を照射し、そのエコー信号から体内の状態を画像化して診断する超音波診断法が広く普及している。
体腔内の超音波断層画像を得る超音波診断装置として、図22(a)に示すように体腔内に挿入される内視鏡200の挿入部201に設けられている図示しない処置具挿通チャンネルに連通する処置具挿通口202を介して体腔内に導かれる図22(b)及び図22(c)に示す超音波プローブ203、205がある。
【0003】
図22(b)に示す超音波プローブ203の挿入部204の先端部内には超音波を送受する機械走査式の超音波トランスデューサ208が配設されており、図22(c)に示す超音波プローブ205の挿入部206の先端部には超音波を送受する複数の超音波トランスデューサ素子207a、…、207aを例えば挿入部方向に配列して構成した電子走査式の超音波トランスデューサ207が設けられている。
【0004】
前記超音波トランスデューサ207は、これら超音波トランスデューサ素子207a,…,207aを規則的に電子走査して超音波断層画像を得られるようになっている。一方、前記機械走査式の超音波トランスデューサ208はハウジング209に一体配置されている。このハウジング209は、図示しない駆動モータの駆動力を伝達する例えばフレキシブルシャフト等の伝達部材210の先端部に固定されており、前記伝達部材210を回転させてハウジング209に一体な超音波トランスデューサ208を機械的に回転走査して超音波断層画像を得るようになっている。
【0005】
図23に示すように前記超音波トランスデューサ208は、例えば円板状の複合圧電体211を使用したものである。この複合圧電体211は、ジルコン酸チタン酸鉛Pb(Zr,Ti)O3 等のPZT系圧電セラミックス等で形成されている複数の圧電体(不図示)の隙間及び周囲にポリウレタン、エポキシ等の樹脂部材(不図示)を充填して構成したものであり、この複合圧電体211は金属製のケース体212内に配設されている。
【0006】
前記複合圧電体211には上面側表面に設けた第1電極211aと、下面側表面に設けた第2電極211bとが設けられている。前記第2電極211bと前記第1電極211aとは電気的に別体であり、第1電極211aを設けた上面側が超音波放射面になっている。前記第2電極211bには信号用導体213が接続され、前記第1電極211aにはグランド線214が接続されている。
【0007】
前記ケース体212内に配設されている複合圧電体211の下面側には超音波吸収体215が配設され、曲面を形成した上面側にはケース体212の先端面までを覆う音響整合層の振幅条件を満たす音響整合層を兼ねる音響レンズ216が設けてある。また、前記超音波吸収体215及び複合圧電体211の外周側には第1電極211aと第2電極211bとの電気的な接触を防止する樹脂製の絶縁部材217が設けてある。さらに、前記超音波トランスデューサ208の表面を、耐水性、耐薬品性に優れたパリレン(ポリパラキシリレン)等で形成された保護膜(不図示)で覆っている。
【0008】
一方、図24に示すように複数の超音波トランスデューサ素子207a,…,207aを配列した超音波トランスデューサ207は、ジルコン酸チタン酸鉛Pb(Zr,Ti)O3 等のPZT系圧電セラミックス等で形成された圧電素子221とこの圧電素子221の背面側に配設されるバッキング材222とで構成されている。前記圧電素子221の両面には電極221a,221bが設けられている。そして、前記電極221bにはフレキシブルプリント基板223のパターン223aが図示しない半田で電気的に接続されている。
【0009】
前記圧電素子221は、厚み方向に対してバッキング材222まで届く深さ寸法のダイシング溝224によって長手方向に短冊状に等間隔で分離されて長手方向に複数のトランスデューサ素子207aを配列している。このダイシング溝224によって、半田による接続部をそれぞれ隣接する接続部と分離することにより、各パターン223aは1つのトランスデューサ素子207をそれぞれ形成する2つのサブエレメント素子207bに接続されている。前面側の電極221aの上には図示しない音響整合層が設けられ、前面側の電極221aを図示しないGND配線材により隣接する電極221aと互いに接続されてグランド電位に設定されている。
【0010】
【発明が解決しようとする課題】
しかしながら、前記超音波プローブでは、電子走査式、機械走査式に関わらず、超音波トランスデューサを構成する圧電体に鉛が含まれている。このため、近年の環境問題を踏まえて、体腔内に挿入されて使用される超音波プローブに設けられる超音波トランスデューサの鉛フリー化が望まれている。
【0011】
また、機械走査式で用いられる超音波トランスデューサでは、複数の圧電体の隙間及び周囲に樹脂部材を、常時均一に充填することが難しく、作成者、或いは製造日等によって性能にバラツキが生じていた。一方、電子走査式の超音波トランスデューサではダイシング溝を形成する作業に熟練をようし、作成者、或いは製造日等によって性能にバラツキが生じていた。
【0012】
本発明は上記事情に鑑みてなされたものであり、超音波プローブに設けられる超音波トランスデューサの鉛フリー及び性能のバラツキを防止した超音波診断プローブ装置を提供することを目的にしている。
【0013】
【課題を解決するための手段】
  本発明の一態様による超音波診断プローブ装置は、内視鏡処置挿通チャンネルに連通する処置具挿通口を介して体腔内に導かれる超音波プローブを有する超音波診断プローブ装置において、
前記超音波プローブは、
  体腔内に挿入される挿入部と、前記挿入部の先端部に配設された、マイクロマシン技術を使って製造された静電型超音波トランスデューサ素子と、を備え、
  前記超音波トランスデューサ素子は、
  超音波を送信する機能を有する少なくとも1つの送信用セルと超音波を受信する機能を有する少なくとも1つの受信用セルとを有して構成された送受信セル群を複数備えると共に、前記超音波を送信する機能または受信する機能のいずれも有さない複数の不使用セルにより構成された不使用セル群を備え、前記複数の送受信セル群は、隣り合う群に含まれる送信用セル同士または受信用セル同士が互いに分離して配置するよう、前記不使用セル群を間に介して配列されたことを特徴とする。
  また、他の態様による超音波診断プローブ装置は、内視鏡処置挿通チャンネルに連通する処置具挿通口を介して体腔内に導かれる超音波プローブを有する超音波診断プローブ装置において、
  前記超音波プローブは、
  体腔内に挿入される挿入部と、前記挿入部の先端部に配設された、マイクロマシン技術を使って製造された静電型超音波トランスデューサ素子と、を備え、
  前記超音波トランスデューサ素子は、
  超音波を送信する機能を有する複数の送信用セルにより構成された送信セル群と、超音波を受信する機能を有する複数の受信用セルにより構成された受信セル群と、前記超音波を送信する機能または受信する機能のいずれも有さない複数の不使用セルにより構成された不使用セル群と、をそれぞれ複数備え、前記複数の送信セル群または受信セル群は、隣り合う送信用セル同士または受信用セル同士が互いに分離して配置するよう、前記不使用セル群を間に介して配列されたことを特徴とする。
【0016】
【発明の実施の形態】
以下、図面を参照して本発明の実施の形態を説明する。
(第1実施形態)
図1ないし図10は本発明の第1実施形態にかかり、図1は超音波診断プローブ装置を説明する図、図2は超音波プローブの先端部の構成を説明する図、図3は超音波トランスデューサを説明する図、図4は図3の矢印Aで示す部分の拡大図及びc−MUTセルを説明する図、図5はc−MUTセルの断面の構成例を説明する図、図6は超音波観測装置及び超音波トランスデューサの構成を説明するブロック図、図7はc−MUTの他の構成例を説明する図、図8はc−MUTセルの配列及びセル形状を説明する図、図9は超音波送受波方向を軸方向に対して直交した方向にしたc−MUTを配置した超音波プローブを示す図、図10は超音波送受波方向を軸方向にしたc−MUTを配置した超音波プローブを示す図である。
【0017】
なお、図8(a)はc−MUTセルを格子状に配列したときの図、図8(b)はc−MUTセルの他のセル形状を示す図、図8(c)はc−MUTセルの別のセル形状を示す図である。
【0018】
図1に示すように本実施形態の超音波診断プローブ装置1は、超音波観察装置2と、内視鏡装置7とで構成されている。
前記超音波観察装置2は、先端側に後述する超音波トランスデューサ(図2の符号31参照)を内蔵した細長な挿入部3aを備えた超音波プローブ3と、前記超音波プローブ3の基端部に設けた接続部3bが着脱自在に接続される連結部4aを備えた図示しない回転駆動源及びこの回動駆動源の回転角度データを取得してラジアル走査の際の超音波ビームの回転角度情報として回転角度データを後述する超音波観測装置に出力する例えばエンコーダを備えたプローブ駆動ユニット(以下、駆動ユニットと略記する)4と、この駆動ユニット4とコネクタ4bを介して電気的に接続され、前記超音波トランスデューサの駆動及びこの静電型超音波トランスデューサから伝送される電気信号の各種信号処理を行って超音波断層画像用の映像信号を生成する信号処理を行う超音波観測装置5と、この超音波観測装置5で生成した映像信号を入力して超音波断層画像を表示する超音波画像表示装置6とで主に構成されている。なお、前記接続部3bを前記駆動ユニット4の連結部4aに配設することによって、機械的及び電気的な接続状態になる。
【0019】
前記内視鏡装置7は、撮像装置を内蔵した電子内視鏡(以下、内視鏡と略記する)8と、この電子内視鏡8に照明光を供給する光源装置9と、前記電子内視鏡8の図示しない撮像素子の駆動及びこの撮像素子から伝送される電気信号の各種信号処理を行って内視鏡観察画像用の映像信号を生成する信号処理を行うビデオプロセッサ10と、このビデオプロセッサ10で生成された映像信号を入力して内視鏡観察用画像を表示する内視鏡画像表示装置11とで主に構成されている。
【0020】
前記内視鏡8は、体腔内に挿入される細長の挿入部12と、この挿入部12の基端側に位置する操作部13と、この操作部13の側部から延出するユニバーサルコード14とで主に構成されている。
【0021】
前記ユニバーサルコード14の基端部には前記光源装置9に接続される内視鏡コネクタ14aが設けられている。この内視鏡コネクタ14aの側部には電気コネクタ14bが設けられている。この電気コネクタ14bには前記ビデオプロセッサ10と電気的に接続される映像ケーブル15が接続される。
【0022】
前記挿入部12の先端面12aには直視による内視鏡観察を行うための照明光窓16a及び観察窓16b及び鉗子出口16c等が設けられいてる。
前記操作部13には前記挿入部12を構成する湾曲部17を湾曲制御するアングルノブ18、体腔内に導入される処置具の導入口となる、前記鉗子出口16cに連通した処置具挿入口19、前記内視鏡画像表示装置11に表示させる表示画像を切り換えたり、フリーズ、レリーズ等の指示を行う各種操作スイッチ20等が設けられている。
【0023】
図2に示すように前記超音波プローブ3の挿入部3aの先端部には超音波透過性に優れた高密度ポリエチレン、ポリメチルペンテン等の部材で形成された先端キャップ21が配置されている。この先端キャップ21の内部には超音波トランスデューサ31を設けたハウジング22が回転自在に配置されている。このハウジング22の基端部には前記駆動ユニット4に備えられている回転駆動源の回転駆動力を伝達する回転力伝達部材である例えばフレキシブルシャフト23の一端部が固定されている。なお、このフレキシブルシャフト23の他端部は前記駆動ユニット4の回転駆動源に固定されている。
【0024】
したがって、前記駆動ユニット4に備えられている回転駆動源を駆動状態にすることによって、この回転駆動源の回転駆動力がフレキシブルシャフト23を介してハウジング22に伝達されて、このハウジング22に設けられている超音波トランスデューサ31が回転状態になる。
【0025】
前記フレキシブルシャフト23の内部には前記超音波トランスデューサ31と前記超音波観測装置5とを電気的に接続する例えば同軸ケーブルで構成された後述する信号線33をひとまとめにした信号ケーブル(不図示)が挿通している。また、前記挿入部3a内には例えば流動パラフィン、カルボキシメチルセルロース水溶液等の超音波伝達媒体24が充填される。さらに、前記挿入部3aの先端側には前記先端キャップ21を覆うよう図示しない膨縮自在なバルーンが必要に応じて取り付けられるようになっている。
【0026】
図2及び図3に示す前記超音波トランスデューサ31は、シリコン半導体基板をシリコンマイクロマシーニング技術を用いて加工した、静電型超音波トランスデューサ(以下、c−MUT(Capacitive Micromachined Ultrasonic Transducer )31とも記載する)であり、手作業によらず、シリコンプロセスで、完全にクリーンな環境で操作シーケンスにしたがって忠実に自動で製造される。
【0027】
前記c−MUT31は、複数のc−MUTセル31aを配列して、例えば各セルに位相差を設けた駆動を行い、合成超音波ビームをセクタ走査したり、いくつかの配列グループに分割して、配列グループ毎に一次元的にリニア走査、又はセクタ走査することができる。また、全素子を並列接続して単一素子としてラジアル走査することも可能である。さらには、全素子を同心枠型アレイ構造にして、それぞれのアレイエレメントに位相差を持った駆動を行い、超音波ビームの収束機能を実現することも可能である。なお、枠型アレイ構造とは、大きさの異なる複数の枠状のアレイエレメントを、例えばそれらの重心位置を一致させて配置したものである。また、上記の各場合に対応して接続ケーブルの特性、配置或いは本数が変化する。このc−MUT31の各c−MUTセル31a,…,31aと信号線33,…,33とはケーブル接続部34を介して電気的に接続される構成になっている。このケーブル接続部34から延出する信号線33,…,33はひとまとめにされて、挿入部12内を挿通する図示しない例えばチューブ内に挿通された状態で操作部13方向に延出して、前記超音波観測装置5に電気的に接続されるようになっている。
【0028】
前記c−MUT31の表面及び前記ハウジング部32の一部は、耐水性、耐薬品性に優れたパリレン(ポリパラキシリレン)等で形成された保護膜(図4の符号39参照)で被覆されている。
【0029】
図4及び図5に示すように前記c−MUT31を構成する各c−MUTセル31aのセル形状は例えば六角形形状で形成されている。そして、複数のc−MUTセル31a,…,31aを微小所定ピッチで複数列、複数行にハニカム構造で整列配置させて、超音波走査面の開口形状を例えば四角形形状にしている。
【0030】
前記c−MUTセル31aは、シリコン基板35上に形成された、下部電極37d、電極間距離を設定する絶縁性支柱36、シリコン又はシリコン化合物から形成されたシリコンメンブレン38、及び上部電極37uで主に構成されている。前記下部電極37dは前記シリコン基板35の上面に設けられ、前記上部電極37uはシリコンメンブレン38の上面に設けられている。符号40は真空空隙部(以下、空隙部と略記する)であり、本形態においてはシリコンメンブレン38の振動を制動する層になっている。
【0031】
複数のc−MUTセル31aが配列されるシリコン基板35にはc−MOS集積回路で構成された送信遅延回路61、バイアス信号印加回路62、駆動信号発生回路63、送受信切換回路64、c−MUTセル31aにプリアンプ65、ビームフォーマ66等からなる制御回路部43aや、配線電極44が設けられている。前記シリコンメンブレン38に設けられた上部電極37uは接地電極であり、前記下部電極37dは信号入出力用電極である。そして、前記上部電極37uの上面には前記保護膜39が被覆されている。
【0032】
図6に示すように前記c−MUT31には複数のc−MUTセル31aが配列されている。これらc−MUTセル31aは、超音波観測装置5に設けられているCPU51から出力される動作指示信号に基づいて駆動制御されるようになっている。
【0033】
前記超音波観測装置5には前記CPU51、トリガー信号発生回路52、セレクタ53、エコー信号処理回路54、ドップラー信号処理回路55、高調波信号処理回路56、超音波画像処理部57、三次元画像構築回路58が備えられている。
【0034】
前記CPU51はこの超音波観測装置5に設けられている各種回路及び処理部に動作指示信号を出力したり、各種回路及び処理部からのフィードバック信号を受信して、各種制御を行う。
【0035】
前記トリガー信号発生回路52は、各c−MUTセル31aを駆動させて送波及び受波のタイミング信号である繰り返しのパルス信号を出力する。
前記セレクタ53は前記CPU51の動作指示信号に基づいて指示された所定のc−MUTセル31aに対してパルス信号を伝送する。
【0036】
前記エコー信号処理回路54は、各c−MUTセル31aから出力される超音波から生体内の臓器及びその境界などで反射し、前記c−MUTセル31aに戻ってきて受信された後述する受信ビーム信号を基に可視像の画像データを生成する。
【0037】
前記ドップラー信号処理回路55は、前記c−MUTセル31aから出力される受信ビーム信号からドップラー効果を利用して組織の移動成分、すなわち血流成分を抽出し、超音波断層像内における血流の位置を着色するためのカラーデータを生成する。
【0038】
前記高調波信号処理回路56は、各c−MUTセル31aから出力される受信ビーム信号から第2高調波周波数又は第3高調波周波数を中心周波数とするフィルタでその周波数成分の信号を抽出、増幅してハーモニックイメージング診断用の画像データを生成する。
【0039】
前記三次元画像構築回路58は、前記c−MUTセル31aから出力される受信ビーム信号から3次元画像を構築し、3次元画像データを出力する。
【0040】
以上のように、二次元に配列されたc−MUTセル31aからの受信信号だけから三次元画像を構築することは可能であるが、その他、c−MUTセル31aを一次元アレイに配列して電子走査で二次元画像を得て、且つ、一次元アレイに配列した振動子をラジアル回転させて、回転角度情報を得て三次元画像を構築することも可能である。
【0041】
前記超音波画像処理部57は前記エコー信号処理回路54、前記ドップラー信号処理回路55、前記高調波信号処理回路56、三次元画像構築回路58等で生成された画像データを基に、それぞれBモード画像、ドップラー画像、ハーモニックイメージング像等を構築する。また、同時に、CPU51を介して文字等のキャラクタのオーバーレイを行う。そして、この超音波画像処理部57で構築した映像信号をモニタ5に出力して、モニタ5の画面上に観察画像の1つである超音波断層画像を表示させる。
【0042】
前記送信遅延回路61は各c−MUTセル31aに駆動電圧を印加するタイミングを決定して、所定のセクタ走査等を行うように設定する。
前記バイアス信号印加回路62は前記駆動信号発生回路63からの出力に所定のバイアス信号を重畳させる。このバイアス信号としては、送受信時に同じ直流電圧のみを使用する方法、送信時に高い電圧に設定して受信時には低い電圧に変化させる方法、更には例えば直流成分に交流成分を重畳させS/Nを改善したり、その交流成分とエコー信号との相関をとることによってS/Nを改善させる方法がある。
【0043】
DCバイアス電圧は、送信時においては送信電圧波形と同じゆがみのない波形の超音波送信波形を得るために必要である。前記DCバイアス電圧が重畳していないと、送信超音波信号の周波数は駆動電圧信号の2倍となり、その振幅は二分の一となる。
【0044】
一方、受信時はバイアス電圧印加は必是である。このバイアス電圧は直流電圧であれば受信超音波と同一の波形になる。また、DC電圧とともに更に交流電圧信号を重畳させ、後段の信号処理によって、その交流電圧信号の中心周波数のバンドパスフィルタで濾波し、SNを改善することも可能である。さらに、他のバイアス電圧印加の利用方法としてc−MUTセル選択が可能となる。これは、バイアス電圧がないと原理的に受信信号が得られないことを利用するものであり、セル選択を行わないセルに対してDC電圧を与えないようにすることで、セル選択が可能になる。直流信号成分が重畳した受信信号は、コンデンサ等の直流信号阻止手段でrf信号に変換され、受信信号とされ、信号処理部に伝送される。
【0045】
前記駆動信号発生回路63は前記送信遅延回路61からの出力信号に基づいて、所望する超音波波形に対応する駆動電圧信号であるバースト波を発生する。
前記送受信切換回路64は1つのc−MUTセル31aを送波状態と受波状態とに切り換えるものである。送波状態のときには前記駆動電圧信号をc−MUTセル31aに印加し、受波状態では前記エコー情報を受信することによってc−MUTセル31aの電極37u、37d間に発生した電荷信号をプリアンプに出力する。なお、前記送受信切換回路64は、c−MUTセル31aを送信専用と受信専用とに分割して使用する際には不要である。
【0046】
前記プリアンプ65は前記送受信切換回路64から出力された電荷信号を電圧信号に変化するとともに増幅する。
前記ビームフォーマ66は前記プリアンプ65から出力された各超音波エコー信号を前記送信遅延回路61での遅延と同様又は異なる遅延時間で合成した受信ビーム信号を出力する。
【0047】
そして、CPU51の動作指示信号に基づいて、所定の位相差を与えて、それぞれのc−MUTセル31aを駆動して、c−MUT31の超音波走査面から所定の焦点距離に設定した超音波を送波して、前記ビームフォーマ66で前記送信遅延回路61での遅延と同様な遅延をかけて合成して受信ビーム信号として出力することによって、前記焦点距離に設定した超音波による超音波観測を行える。
【0048】
なお、前記ビームフォーマ66で前記送信遅延回路61での遅延と異なる所望の遅延時間で合成して出力することによって、このビームフォーマ66の遅延時間に対応した受信ビーム信号を得て、超音波観測装置5を経て所望の超音波断層画像を得られる。
【0049】
また、本実施形態においては複数のc−MUTセル31aの制御回路及び配線電極等をシリコン基板35に形成した層状配置のc−MUT31としているが、c−MUT31の構成は層状配置に限定されるものではなく、図7に示すようにc−MUT31の一面側に複数のc−MUTセル31aを配列させたc−MUTセル形成部31bと、前記制御回路、配線電極等を形成した回路形成部31cとを設けた、面内配置の超音波トランスデューサ31Aを構成するようにしてもよい。
【0050】
さらに、本実施形態においてはc−MUTセル31aのセル形状を六角形形状に形成し、それらをハニカム構造で整列配置させた構成としているが、c−MUTセル31aの形状及び配列はこれに限定されるものではなく、図8(a)に示すように複数のc−MUTセル31aを格子状に整列配置させる構成であったり、図8(b)に示すような円形形状や楕円形状(不図示)でc−MUTセル31dを形成したり、図8(c)に示すような八角形形状等の多角形形状でc−MUTセル31eを形成するようにしてもよい。
【0051】
上述のように構成したc−MUTを超音波観察ユニットに設けた超音波プローブの作用を説明する。
まず、超音波診断プローブ装置1の内視鏡装置7に設けられている内視鏡画像表示装置11の画面上に表示される内視鏡画像を観察しながら挿入部12を体腔内に挿入していく。そして、この挿入部12の先端面が観察部位近傍に到達したなら、前記超音波観察装置2の挿入部3aを前記処置具挿入口19から挿入してこの挿入部3aの先端部を鉗子出口16cから突出させる。そして、前記先端キャップ21の突出位置や湾曲部17の湾曲状態を調整して、この先端キャップ21を所望する位置に配置する。その後、例えば図示しないバルーンを膨張させる、又は、超音波媒体である水で先端キャップ21を水没させ、超音波観測装置5を操作してc−MUT31を駆動状態にする。このとき、駆動ユニット4も駆動状態にする。
【0052】
すると、前記駆動ユニット4の回転駆動源の回転駆動力がフレキシブルシャフト23を介してハウジング22に伝達されてc−MUT31か回転状態になるとともに、超音波観測装置5のCPU51から観察者の操作指示に対応した動作指示信号が出力され、トリガー信号発生回路52でパルス信号に変換されて、セレクタ53を介してc−MUT31を構成する所定のc−MUTセル31aに向けて出力されていく。
【0053】
このパルス信号は、送信遅延回路61に入力され、所定の遅延をかけた駆動電圧信号を駆動信号発生回路63及びバイアス信号印加回路62を介して出力し、送受信切換回路64によって送波状態に切り換えられたとき、この駆動電圧信号がc−MUTセル31aに印加されて超音波が出射される。
【0054】
そして、前記CPU51では配列されたそれぞれのc−MUTセル31aに対して動作指示信号を出力して、例えば、中央のc−MUTセル31aに対して駆動電圧信号に大きな遅延をかけ、配列の中央から離れていくc−MUTセル31aに対して駆動電圧信号に小さな遅延をかける等して1つの超音波波形を形成して、c−MUT31の超音波走査面から出力されていく。
【0055】
つまり、CPU51の制御に基づいて各c−MUTセル31aから超音波を出射させて、軸方向に対するセクタ走査及び軸周りのラジアル走査が行われる。
【0056】
一方、前記エンコーダからは回動駆動源の回転角度データが超音波観測装置5に随時入力される。また、前記複数のc−MUTセル31aでは、前記送受信切換回路64によって送波状態と受波状態とが切換制御されている。このため、送受信切換回路64が受波状態であるときには、c−MUTセル31aでエコー情報を受信したことによって電極37u、37d間に発生した電荷信号がプリアンプ65に出力される。
【0057】
このプリアンプ65に出力された電荷信号は、電圧信号に変換するとともに増幅され、ビームフォーマ66で適当な遅延をかけた受信ビーム信号として超音波観測装置5に出力される。
【0058】
そして、各c−MUTセル31aから順次出力される受信ビーム信号をエコー信号処理回路54、三次元画像構築回路58、ドップラー信号処理回路55、高調波信号処理回路56等を経て、回転角度データに基づいて極座標系データをモニタ6に出力できるような直交座標系に変換する等の処理を行い、その後、超音波画像処理部57で標準的な映像信号に変換すると同時に、CPU51を介してオーバーレイを行ってモニタ5に出力する。このことによって、モニタ5の画面上には三次元の超音波断層画像が表示される。
このことによって、対象観察部位の超音波観察を三次元的に行える。
【0059】
なお、本実施形態においては、前記駆動ユニット4の回転駆動源を動作させて、つまりc−MUT31をラジアル走査するとともにセクタ走査を行って三次元画像を得る実施形態を示しているが、前記回転駆動源を動作させることなくCPU51の制御に基づいて各c−MUTセル31aから超音波を出射させて、軸方向に対するセクタ走査や、軸方向に対して直交するセクタ走査を行って超音波断層画像を取得するようにしてもよい。
【0060】
このように、超音波プローブの先端部に設けられた超音波観察ユニットに配置される超音波トランスデューサを、シリコン半導体基板をシリコンマイクロマシーニング技術を用いて複数のc−MUTセルを配列させた、静電型超音波トランスデューサで構成したことによって、鉛フリーの超音波トランスデューサを実現することができる。
【0061】
また、シリコンマイクロマシーニング技術を用いることによって、静電型超音波トランスデューサを、クリーンな環境で、自動作成することができる。このことによって、精細なc−MUTセルの配列を、ダイシング歪みやバラツキを発生させることなく行えるので、信頼性の高い超音波観察ユニットを安価に提供することが可能になる。
【0062】
さらに、c−MUTセルのセル形状や、超音波走査面の開口形状を所望の形状及び大きさに設定して、超音波観察ユニットの小型化及び高精度化を図ることができる。
【0063】
又、c−MUTセルを配列させて構成したc−MUTをハウジングに配設し、このc−MUTを配設したハウジングを回転力伝達部材によって回転させて、セクタ走査及びラジアル走査を行う構成にすることによって、3次元の超音波画像を得るのに必要なエコーデータを瞬時に得ることができる。
【0064】
このことによって、心臓の拍動の影響等を受ける部位であっても、瞬時に3次元の超音波画像を得るのに必要なエコーデータを取得して、精度の高い3次元の超音波画像による観察を行える。
【0065】
なお、c−MUTセルを配列して超音波走査面を円板状に形成してc−MUTを形成するとき、これらc−MUTセルを構成する上部電極同士及び下部電極同士を電気的に連結状態にすることによって、前記図22(b)で示した超音波プローブでの使用が可能になる。
【0066】
また、図9に示すように超音波走査面の開口形状を所望の形状及び大きさに設定したc−MUT31Bを先端部に設けて、挿入方向に対して直交する方向を超音波送受波方向としたセクタタイプの超音波プローブ3Aを構成したり、図10に示すようにc−MUT31Cを先端部に設けて、挿入方向に対して前方を超音波送受波方向としたセクタタイプの超音波プローブ3Bを構成するようにしてもよい。
【0067】
ここで、図11ないし図14を参照して複数のc−MUTセル31aを配列して構成されるc−MUTの変形例を説明する。
【0068】
図11を参照して超音波トランスデューサを構成するc−MUTセルの他の配列構成を説明する。
なお、図11(a)は開口寸法を所定の規則で変化させたc−MUTセルを配列させて構成した超音波トランスデューサを示す図、図11(b)はc−MUTセルのA1−A2方向配列を規制する開口分布曲線を示す図、図11(c)はc−MUTセルのB1−B2方向配列を規制する開口分布曲線を示す図である。
【0069】
図11(a)に示すように本実施形態のc−MUT31Gにおいては、このc−MUT31Gを構成する各c−MUTセル31の開口寸法を配列方向によって、規則的に変化させている。即ち、上述した実施形態のようにc−MUTセル31aの開口寸法を全て一定に形成するのではなく、配列方向にしたがって、例えば図11(b)及び図11(c)に示すR値分布曲線に基づいて設定している。
【0070】
前記図11(b)及び図11(c)に示したR値分布曲線は、c-MUTセルにおいて電極面積は静電容量に比例し、その結果、送受信音圧に比例することを応用して作成したものであり、電極面積を例えばガウス分布関数に設定している。つまり、本実施形態のc−MUT31Gにおいては中央に位置するc−MUTセル31aの開口寸法が最大になって、この中央から前記c−MUT31Gの周辺に向かうにしたがって前記曲線と同様に開口寸法が小さくなっている。
【0071】
このことによって、c−MUTセルの示す指向特性(=このエレメントの開口の回折パターン)に、前記c−MUTセルをアレイ状に配列させたときに相互の干渉効果によって発生する干渉パターンが乗じられておこる音圧の強弱であるグレーティングローブが改善されて、擬情報であるアーティファクトの発生を抑圧することができる。
したがって、良好な超音波断層画像を得られる。
【0072】
図12を参照して超音波トランスデューサを構成するc−MUTセルの他の配置構成を説明する。
なお、図12(a)は配列されるc−MUTセルを送信用セルと受信用セルと不使用セルとに分割した一構成例を示す図、図12(b)は配列されるc−MUTセルを送信用セルと受信用セルと不使用セルとに分割した他の構成例を示す図である。
【0073】
上述した実施形態では前記送受信切換回路64を設けて送波状態と受波状態とを切り換えることによって、1つのc−MUTセル31aで送受信を行う構成としていたが、本実施形態においては複数のc−MUTセルを送波専用の送信用セル31fと、受波専用の受信用セル31g、と送波及び受波のどちらの機能も有していない不使用セル31hとしている。
【0074】
そして、図12(a)に示すように一対の送信用セル31fと受信用セル31gとで構成した送受信セル群31k及び不使用セル31hを帯状の群である不使用セル群31mとして形成し、この不使用セル群31mと送受信セル群31kとを例えば列方向に交互に配列させてc−MUT31Hを構成している。
【0075】
このことによって、列方向に配列された送信セル群31fの間又は受信セル群31gの間に、送信時は受信セル群31gと不使用セル群31hが、受信時は送信セル群31fと不使用セル群31hが物理的な所定間隔を設けることによりクロストークの軽減を図ることができる。したがって、画質の良好な超音波断層画像を得られる。
【0076】
なお、送受信セル群31kを一対の送信用セル31fと受信用セル31gとで構成する代わりに、図12(b)に示すように2つの送信用セル31fと1つの受信用セル31gとで送受信セル群31nを構成して、例えば行方向に配列された送受信セル群31nの間に略帯状の不使用セル群31mを配列させて、隣り合う送受信セル群31n同士の間に物理的な所定間隔を設ける構成にしてc−MUT31Jを構成するようにしてもよい。
【0077】
また、本実施形態においてはc−MUTを構成するc−MUTセルを受信用セル31g、送信用セル31f、不使用セル31hとした構成例を示しているが、複数の受信用セル31gのそれぞれ電極を一体で電気的に連結してひとまとめにした受信セル群、複数の送信用セル31fのそれぞれの電極を一体で電気的に連結してひとまとめにした送信セル群及び前記不使用セル群として構成し、それぞれのセル群を前記図12(a)や前記図12(b)に示すように配列させてc−MUTを構成するようにしてもよい。
【0078】
図13及び図14を参照してを超音波プローブに設けられるc−MUTの別の構成を説明する。
図13は曲面部にc−MUTを設けた超音波プローブを示す図、図14はc−MUTチップを実装した基板を説明する図である。なお、図13(a)はコンベックス走査型の超音波プローブを示す図、図13(b)はラジアル走査型の超音波プローブを示す図、図14(a)はc−MUTチップ実装基板の一構成例を示す図、図14(b)は図14(a)で示すc−MUTチップ実装基板の作用を説明する図である。
【0079】
図13(a)に示すように本実施形態の超音波プローブ3Cは、コンベックス走査が可能なように挿入部3aの先端部に帯状c−MUT92を配置して構成されている。一方、図13(b)に示すように本実施形態の超音波プローブ3Dは、内視鏡挿入方向に対して直交する方向のラジアル走査が可能なように挿入部先端部の周方向に帯状c−MUT92を配置して構成されている。
【0080】
前記帯状c−MUT92は、図14(a)に示すように柔軟性を有する平面基板93に、複数のc−MUTセルを配列させてチップ状に構成したc−MUTチップ94を所定間隔で複数、実装配置して構成したものである。この帯状c−MUT92は、複数のc−MUTチップ94を所定間隔で実装配置させたうえで、図14(b)に示すように所定形状に変形させる。したがって、この帯状c−MUT92を挿入部先端部の所望の方向に配置させて、コンベックス走査、ラジアル走査による超音波断層画像を得られる超音波プローブを構成することかできる。
【0081】
(第2実施形態)
図15ないし図21は本実施形態の第2実施形態にかかり、図15はc−MUTに加えて、シリコン基板上にシリコン発光素子及びシリコン受光素子を設けた多機能超音波トランスデューサを配置した超音波プローブを説明する図、図16は多機能超音波トランスデューサの断面の構成例を説明する図、図17は多機能超音波トランスデューサを配置した超音波プローブを説明する図、図18はc−MUTに加えて、シリコン基板上に他の機能デバイスを設けた多機能超音波トランスデューサを説明する図、図19はシリコン発光素子及びシリコン受光素子を配設した多機能超音波トランスデューサの他の構成例を説明する図、図20は図15の多機能超音波トランスデューサにさらにマイクロジャイロセンサを配設した多機能超音波トランスデューサの構成を説明する図、図21はシリコン基板上に静電容量測定用セルを設けた多機能超音波トランスデューサの構成を説明する図である。
【0082】
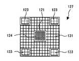
なお、図17(a)は多機能超音波トランスデューサを配置した超音波プローブの先端部の構成示す図、図17(b)は多機能超音波トランスデューサを配置した超音波プローブの作用を説明する図、図18(a)はc−MUTに加えて、シリコン基板上にシリコン発光素子を設けた多機能超音波トランスデューサを配置した超音波プローブを説明する図、図18(b)はc−MUTに加えて、シリコン基板上にシリコン受光素子を設けた多機能超音波トランスデューサを配置した超音波プローブを説明する図、図21(a)は静電容量測定用のダミーc−MUTセルを設けた多機能超音波トランスデューサを示す図、図21(b)はダミーc−MUTセルの作用及び機能を説明するフローチャートである。
【0083】
図15に示すように本実施形態の多機能超音波トランスデューサ122にはシリコンマイクロマシーニング技術を用いて形成した超音波走査面の開口形状を角形形状に形成したc−MUT131と、この角形形状のc−MUT131の例えば略中央部に位置する同一面にシリコン発光素子で構成した発光素子部123及びシリコン受光素子で構成した受光素子部124とが併設されている。
【0084】
図16に示すように本実施形態のc−MUT131においては複数のc−MUTセル131aが配列されるシリコン基板35には、例えば第1中間誘電体層41及び第2中間誘電体層42で形成され、これら誘電体層41、42に前記アクセス回路形成部に加えて、前記所定の制御を行うc−MOS集積回路で構成した前記発光素子部123及び受光素子部124の制御を行う各種制御回路43a、43b、43c、…や、配線電極44a、44b、44c、44d、…が設けてある。
【0085】
そして、下部電極37dと配線電極44a、配線電極44aと配線電極44b、配線電極44bと配線電極44c、配線電極44cと制御回路43c、配線電極44dと制御回路43b、配線電極44dと制御回路43c等とをそれぞれビアホール45によって電気的に接続している。
【0086】
前記発光素子部123及び前記受光素子部124からは図示しない電気ケーブルが延出しており、前記超音波観測装置5と電気的に接続されている。
【0087】
なお、前記発光素子部123は例えば発光ダイオード、レーザーダイオード等であり、前記受光素子部124は例えばC−MOS、CCD等のいずれかである。その他の構成は前記第1実施形態と同様であり、同部材には同符号を付して説明を省略する。符号126は緩衝領域である。
【0088】
上述のように構成した多機能超音波トランスデューサ122の作用を説明する。
図17(a)に示すように超音波プローブ120の挿入部3a内のハウジング22には前記多機能超音波トランスデューサ122が配設されている。このため、図17(b)に示すようにこの多機能超音波トランスデューサ122の超音波観測面を体壁に対向させた状態にして、発光素子部123によって観察部位を照らし、この発光素子部123によって照明された観察部位の内視鏡画像を受光素子部124で撮像することによって、超音波画像表示装置6の画面上には内視鏡画像が表示させて、超音波走査面に対向した体壁表面の内視鏡的観察を行える。
【0089】
この状態で、例えば、超音波伝達媒体である水で超音波プローブ120の先端部を水没状態にするとともに、超音波観測装置5を操作して多機能超音波トランスデューサ122のc−MUT131を駆動状態にすると、前記第1実施形態で説明したようにこの超音波観測装置5のCPU51から観察者の操作指示に対応した動作指示信号がc−MUT131に向けて出力される。そして、c−MUTセル131aを送波状態/受波状態に切り換えて超音波を出射する一方、反射超音波を受信してモニタ5の画面上に三次元の超音波断層画像を表示させる。このことによって、対象観察部位の超音波観察を行える。
【0090】
このように、c−MUTに加えて、発光素子部及び受光素子部をシリコンマイクロマシーニング技術を用いて形成した多機能超音波トランスデューサをハウジングに配設して超音波プローブを構成することによって、超音波プローブによって、超音波観察のみならず、超音波走査面に対向した体壁表面の内視鏡的観察を行うことができる。その他の作用及び効果は前記第1実施形態と同様である。
【0091】
なお、図18(a)に示すように前記多機能トランスデューサ122の代わりに発光素子部123だけを設けた多機能超音波トランスデューサ122Aを配置して超音波プローブを構成するようにしてもよい。このことによって、内視鏡8の挿入部12の先端面12aから前記超音波プローブを突出させることによって、この超音波プローブに設けられている多機能超音波トランスデューサ122Aの発光素子部123から照射される照明光を補助光にして内視鏡装置7による内視鏡観察を行うことができる。
【0092】
また、図18(b)に示すように前記多機能トランスデューサ122の代わりに受光素子部124だけを設けた多機能超音波トランスデューサ122Bを配置して超音波プローブを構成するようにしてもよい。このことによって、内視鏡8の挿入部12の先端面12aから前記超音波プローブを突出させることによって、前記内視鏡装置7による内視鏡観察に加えて、超音波プローブに設けられている多機能超音波トランスデューサ122Aの受光素子部124による内視鏡観察を行うことができる。
【0093】
さらに、c−MUTセルの配列を適宜設定することによって超音波トランスデューサの開口形状を所望の形状及び大きさに設定することができるとともに、発光素子部及び受光素子部の形状、大きさ、数量及び配置位置を適宜設定して多機能超音波トランスデューサを作成することによって小型化、高機能か、或いは高精度化を図る等、超音波プローブの設計の自由度が増大させることができる。
【0094】
本実施形態においては多機能超音波トランスデューサ122のc−MUT131を角形形状に形成し、その中央部に配設される発光素子部123及び発光素子部124を円形に形成した構成を示しているが、この多機能超音波トランスデューサのc−MUT形状及び発光素子部及び受光素子部の形状及び配置位置等はこれらに限定されるものではなく、例えば、図19に示すように角形の受光素子部124をc−MUT131の中央部に設け、角形の発光素子部123をc−MUT131の四隅に設けて角形の多機能超音波トランスデューサ127を形成するようにしてもよい。また、受光素子部及び発光素子部をそれぞれ複数ずつ設ける等、変更するようにしてもよい。
【0095】
ここで、図20及び図21を参照して多機能超音波トランスデューサの変形例を説明する。
図20に示す多機能超音波トランスデューサ132では、c−MUT131、発光素子部123及び発光素子部124にさらに加えて、超音波プローブの先端部の動きを検知して位置検知を行う、X方向及びY方向に対応するように配置された静電型マイクロジャイロセンサ133、134が併設している。
【0096】
この多機能超音波トランスデューサ132をハウジングに配設して超音波プローブを構成することによって、この静電型マイクロジャイロセンサ133、134から出力される位置検知信号を図示しない演算部で演算処理することによって、超音波プローブの先端部の位置を常時、定量的に把握することができる。
【0097】
このことによって、挿入部の処置具挿通チャンネルの所定位置に、この超音波プローブを配設させておくことにより、前記静電型マイクロジャイロセンサ133、134から出力される位置検知信号をもとに挿入部の位置検出も行える。
【0098】
一方、図21(a)に示す多機能超音波トランスデューサ135ではc−MUT131を構成する任意の位置の複数のc−MUTセルを静電容量測定用セル136として使用している。そして、この静電容量測定用セル136から出力される電気信号を基に、超音波駆動信号を補正して出力する構成にしている。
【0099】
つまり、超音波観測装置5で静電容量を測定するための指示を出力すると、図21(b)のステップS1に示すようにそれぞれの静電容量測定用セルから逐次、動作時のデータが静電容量測定補正部に入力される。すると、この静電容量測定補正部では、ステップS2に示すように入力されたデータの平均値を算出した後、ステップS3に移行してこの算出値と予め設定されている基準値との比較を行ってその差異を評価し、ステップS4に移行する。このステップS4ではステップS3での評価結果を基にc−MUT駆動信号を補正する。このことによって、c−MUTセルには補正された超音波駆動信号が出力される。
【0100】
このように、c−MUTを構成するc−MUTセルの一部を静電容量測定用セルとして設けることによって、c−MUTセルを構成するc−MUTセルに常時、最適に補正した超音波駆動信号を出力して、超音波診断画像を得ることができる。
【0101】
尚、本発明は、以上述べた実施形態のみに限定されるものではなく、発明の要旨を逸脱しない範囲で種々変形実施可能である。
【0102】
[付記]
以上詳述したような本発明の上記実施形態によれば、以下の如き構成を得ることができる。
【0103】
(1)体腔内に挿入された超音波トランスデューサで超音波を送受波して生体組織情報を得る超音波プローブと、この超音波プローブから伝送される生体組織情報に関する電気信号の信号処理及び前記超音波トランスデューサの駆動制御を行う超音波観測装置とを具備する超音波診断プローブ装置において、
前記超音波プローブに搭載される超音波トランスデューサを、シリコン半導体基板で形成した超音波診断プローブ装置。
【0104】
(2)前記超音波トランスデューサは、シリコンマイクロマシーニング技術を用いて加工した、静電型超音波トランスデューサである付記1に記載の超音波診断プローブ装置。
【0105】
(3)前記静電型超音波トランスデューサは、多数の超音波トランスデューサ素子を直線状に配列して構成したアレイ構造である付記2に記載の超音波診断プローブ装置。
【0106】
(4)前記静電型超音波トランスデューサは、多数の超音波トランスデューサ素子を2次元に配列したアレイ構造である付記2に記載超音波診断プローブ装置。
【0107】
(5)前記超音波トランスデューサ素子を、所定の規則に基づいて分布させて所定開口形状を形成した付記3又は付記4に記載の超音波診断プローブ装置。
【0108】
(6)前記超音波トランスデューサ素子を、異なる機能を有する、少なくとも2つの群で構成した付記3又は付記4に記載の超音波診断プローブ装置
(7)前記群を分離して配置した付記6に記載の超音波診断プローブ装置。
【0109】
(8)前記群を、さらに細分化した細分化群を形成し、これら細分化群同士を交互に配置した付記6に記載の超音波診断プローブ装置。
【0110】
(9)前記群は、それぞれの群を構成する各超音波トランスデューサ素子をひとつおきに交互に配置して構成される付記6に記載の超音波診断プローブ装置。
【0111】
(10)前記群のうち、少なくとも一つの群は、超音波を送信する機能を有し、他の少なくとも一つの群は超音波を受信する機能を有する付記6に記載の超音波診断プローブ装置。
【0112】
(11)前記超音波トランスデューサをチップ状超音波トランスデューサとして構成し、このチップ状超音波トランスデューサを基板に実装した付記2に記載の超音波診断プローブ装置。
【0113】
(12)前記基板は柔軟性を有する平面基板である付記11に記載の超音波診断プローブ装置。
【0114】
(13)前記基板を超音波プローブの曲面部に配置した付記12に記載の超音波診断プローブ装置。
【0115】
(14)前記基板を超音波プローブ挿入部に周方向に配置した付記12に記載の超音波診断プローブ装置。
【0116】
【発明の効果】
以上説明したように本発明によれば、超音波プローブに設けられる超音波トランスデューサの鉛フリー及び性能のバラツキを防止した超音波診断プローブ装置を提供することができる。
【図面の簡単な説明】
【図1】図1ないし図10は本発明の第1実施形態にかかり、図1は超音波診断プローブ装置を説明する図
【図2】超音波プローブの先端部の構成を説明する図
【図3】超音波トランスデューサを説明する図
【図4】図3の矢印Aで示す部分の拡大図及びc−MUTセルを説明する図
【図5】c−MUTセルの断面の構成例を説明する図
【図6】超音波観測装置及び超音波トランスデューサの構成を説明するブロック図
【図7】c−MUTの他の構成例を説明する図
【図8】c−MUTセルの配列及びセル形状を説明する図
【図9】超音波送受波方向を軸方向に対して直交した方向にしたc−MUTを配置した超音波プローブを示す図
【図10】超音波送受波方向を軸方向にしたc−MUTを配置した超音波プローブを示す図
【図11】超音波トランスデューサを構成するc−MUTセルの他の配列構成を説明する図
【図12】超音波トランスデューサを構成するc−MUTセルの他の配置構成を説明する
【図13】曲面部にc−MUTを設けた超音波プローブを示す図
【図14】c−MUTチップを実装した基板を説明する図
【図15】図15ないし図21は本実施形態の第2実施形態にかかり、図15はc−MUTに加えて、シリコン基板上にシリコン発光素子及びシリコン受光素子を設けた多機能超音波トランスデューサを配置した超音波プローブを説明する図
【図16】多機能超音波トランスデューサの断面の構成例を説明する図
【図17】多機能超音波トランスデューサを配置した超音波プローブを説明する図
【図18】c−MUTに加えて、シリコン基板上に他の機能デバイスを設けた多機能超音波トランスデューサを説明する図
【図19】シリコン発光素子及びシリコン受光素子を配設した多機能超音波トランスデューサの他の構成例を説明する図
【図20】図15の多機能超音波トランスデューサにさらにマイクロジャイロセンサを配設した多機能超音波トランスデューサの構成を説明する図
【図21】シリコン基板上に静電容量測定用セルを設けた多機能超音波トランスデューサの構成を説明する図
【図22】従来の超音波プローブを説明する図
【図23】機械走査式の超音波トランスデューサの構成例を示す図
【図24】超音波走査式の超音波トランスデューサの構成例を示す図
【符号の説明】
2…超音波プローブ
31…静電型超音波トランスデューサ(c−MUT)
31a…c−MUTセル
35…シリコン基板
37d…下部電極
37u…上部電極
38…シリコンメンブレン
40…真空空隙部
44…配線電極[0001]
BACKGROUND OF THE INVENTION
The present invention relates to an ultrasonic diagnostic probe apparatus for insertion into a body cavity, which includes an ultrasonic probe and an ultrasonic observation apparatus.
[0002]
[Prior art]
2. Description of the Related Art In recent years, an ultrasonic diagnostic method that irradiates ultrasonic waves into a body cavity and images and diagnoses the state of the body from the echo signals has become widespread.
As an ultrasonic diagnostic apparatus for obtaining an ultrasonic tomographic image in a body cavity, as shown in FIG. 22A, a treatment instrument insertion channel (not shown) provided in an
[0003]
A mechanical scanning
[0004]
The
[0005]
As shown in FIG. 23, the
[0006]
The composite
[0007]
An
[0008]
On the other hand, as shown in FIG. 24, an
[0009]
The
[0010]
[Problems to be solved by the invention]
However, in the ultrasonic probe, lead is contained in the piezoelectric body constituting the ultrasonic transducer regardless of the electronic scanning type or the mechanical scanning type. For this reason, in view of recent environmental problems, there is a demand for lead-free ultrasonic transducers provided in ultrasonic probes that are inserted into body cavities and used.
[0011]
In addition, in the ultrasonic transducer used in the mechanical scanning method, it is difficult to always uniformly fill the resin member in the gaps and the surroundings of the plurality of piezoelectric bodies, and the performance varies depending on the creator or the date of manufacture. . On the other hand, the electronic scanning ultrasonic transducer has a skill in forming a dicing groove, and the performance varies depending on the creator or the date of manufacture.
[0012]
The present invention has been made in view of the above circumstances, and an object thereof is to provide an ultrasonic diagnostic probe apparatus that prevents lead-free and performance variation of an ultrasonic transducer provided in an ultrasonic probe.
[0013]
[Means for Solving the Problems]
  An ultrasonic diagnostic probe apparatus according to an aspect of the present invention is guided into a body cavity via a treatment instrument insertion port communicating with an endoscope treatment insertion channel.With ultrasonic probeIn the ultrasonic diagnostic probe device,
  The ultrasonic probe is
An insertion portion to be inserted into a body cavity, and disposed at a distal end portion of the insertion portion,An electrostatic ultrasonic transducer element manufactured using micromachine technology;With
The ultrasonic transducer element is:
A plurality of transmission / reception cell groups each including at least one transmission cell having a function of transmitting ultrasonic waves and at least one reception cell having a function of receiving ultrasonic waves; and transmitting the ultrasonic waves Comprising a non-use cell group composed of a plurality of non-use cells that have neither a function to receive or a function to receive, and the plurality of transmit / receive cell groups include cells for transmission or cells for reception included in adjacent groups. The cells are arranged with the unused cell group in between so as to be separated from each other.
  In addition, an ultrasonic diagnostic probe apparatus according to another aspect isIn an ultrasonic diagnostic probe apparatus having an ultrasonic probe guided into a body cavity through a treatment instrument insertion port communicating with an endoscope treatment insertion channel,
The ultrasonic probe is
An insertion portion that is inserted into a body cavity, and an electrostatic ultrasonic transducer element that is disposed at a distal end portion of the insertion portion and is manufactured using micromachine technology,
The ultrasonic transducer element is:
A transmission cell group constituted by a plurality of transmission cells having a function of transmitting ultrasonic waves, a reception cell group constituted by a plurality of reception cells having a function of receiving ultrasonic waves, and transmitting the ultrasonic waves A plurality of unused cell groups each configured by a plurality of unused cells that have neither a function nor a receiving function, and the plurality of transmission cell groups or reception cell groups include adjacent transmission cells or The receiving cells are arranged with the unused cell group in between so that the receiving cells are separated from each other.
[0016]
DETAILED DESCRIPTION OF THE INVENTION
Embodiments of the present invention will be described below with reference to the drawings.
(First embodiment)
1 to 10 relate to a first embodiment of the present invention, FIG. 1 is a diagram for explaining an ultrasonic diagnostic probe apparatus, FIG. 2 is a diagram for explaining a configuration of a tip portion of the ultrasonic probe, and FIG. FIG. 4 is a diagram for explaining a transducer, FIG. 4 is an enlarged view of a portion indicated by an arrow A in FIG. 3, a diagram for explaining a c-MUT cell, FIG. 5 is a diagram for explaining a configuration example of a cross section of the c-MUT cell, and FIG. FIG. 7 is a diagram for explaining another configuration example of the c-MUT, FIG. 8 is a diagram for explaining the arrangement and cell shape of the c-MUT cell, and FIG. 9 is a view showing an ultrasonic probe in which a c-MUT having an ultrasonic wave transmission / reception direction orthogonal to the axial direction is arranged, and FIG. 10 is a c-MUT having an ultrasonic wave transmission / reception direction in the axial direction. It is a figure which shows an ultrasonic probe.
[0017]
8A is a diagram when c-MUT cells are arranged in a grid, FIG. 8B is a diagram showing another cell shape of the c-MUT cell, and FIG. 8C is a diagram showing c-MUT. It is a figure which shows another cell shape of a cell.
[0018]
As shown in FIG. 1, the ultrasonic
The
[0019]
The endoscope apparatus 7 includes an electronic endoscope (hereinafter abbreviated as “endoscope”) 8 incorporating an imaging device, a
[0020]
The endoscope 8 includes an
[0021]
An
[0022]
The
The
[0023]
As shown in FIG. 2, a
[0024]
Therefore, by setting the rotational drive source provided in the
[0025]
Inside the
[0026]
The
[0027]
The c-
[0028]
The surface of the c-
[0029]
As shown in FIG.4 and FIG.5, the cell shape of each c-
[0030]
The c-
[0031]
A
[0032]
As shown in FIG. 6, a plurality of c-
[0033]
The ultrasonic observation apparatus 5 includes the
[0034]
The
[0035]
The trigger
The
[0036]
The echo
[0037]
The Doppler
[0038]
The harmonic
[0039]
The three-dimensional
[0040]
As described above, it is possible to construct a three-dimensional image from only the received signals from the two-dimensionally arranged c-
[0041]
The ultrasonic
[0042]
The
The bias
[0043]
The DC bias voltage is necessary for obtaining an ultrasonic transmission waveform having the same distortion as the transmission voltage waveform at the time of transmission. If the DC bias voltage is not superimposed, the frequency of the transmitted ultrasonic signal is twice that of the drive voltage signal, and its amplitude is halved.
[0044]
On the other hand, it is necessary to apply a bias voltage during reception. If this bias voltage is a DC voltage, it has the same waveform as the received ultrasonic wave. It is also possible to improve the SN by further superimposing the AC voltage signal together with the DC voltage, and filtering it with a bandpass filter of the center frequency of the AC voltage signal by subsequent signal processing. Furthermore, c-MUT cell selection becomes possible as another method of using bias voltage application. This utilizes the fact that a received signal cannot be obtained in principle without a bias voltage, and cell selection is possible by not applying a DC voltage to cells that are not selected. Become. The reception signal on which the DC signal component is superimposed is converted into an rf signal by a DC signal blocking means such as a capacitor, is converted into a reception signal, and is transmitted to the signal processing unit.
[0045]
The drive
The transmission /
[0046]
The
The beam former 66 outputs a reception beam signal obtained by synthesizing the ultrasonic echo signals output from the
[0047]
Then, based on the operation instruction signal of the
[0048]
The
[0049]
In this embodiment, the c-
[0050]
Furthermore, in the present embodiment, the cell shape of the c-
[0051]
The operation of the ultrasonic probe provided with the c-MUT configured as described above in the ultrasonic observation unit will be described.
First, the
[0052]
Then, the rotational drive force of the rotational drive source of the
[0053]
This pulse signal is input to the
[0054]
Then, the
[0055]
That is, an ultrasonic wave is emitted from each c-
[0056]
On the other hand, rotation angle data of the rotation drive source is input to the ultrasonic observation apparatus 5 as needed from the encoder. In the plurality of c-
[0057]
The charge signal output to the
[0058]
The received beam signals sequentially output from each c-
Thus, ultrasonic observation of the target observation site can be performed three-dimensionally.
[0059]
In the present embodiment, an embodiment is shown in which the rotational drive source of the
[0060]
In this way, the ultrasonic transducer disposed in the ultrasonic observation unit provided at the tip of the ultrasonic probe has a silicon semiconductor substrate arranged with a plurality of c-MUT cells using silicon micromachining technology. By comprising the electrostatic ultrasonic transducer, a lead-free ultrasonic transducer can be realized.
[0061]
Further, by using silicon micromachining technology, an electrostatic ultrasonic transducer can be automatically created in a clean environment. As a result, it is possible to arrange the fine c-MUT cells without causing dicing distortion and variations, and thus it is possible to provide a highly reliable ultrasonic observation unit at low cost.
[0062]
Furthermore, the cell shape of the c-MUT cell and the opening shape of the ultrasonic scanning surface can be set to a desired shape and size, and the ultrasonic observation unit can be reduced in size and accuracy.
[0063]
Further, a c-MUT configured by arranging c-MUT cells is disposed in a housing, and the housing in which the c-MUT is disposed is rotated by a rotational force transmitting member to perform sector scanning and radial scanning. By doing so, echo data necessary to obtain a three-dimensional ultrasonic image can be obtained instantaneously.
[0064]
As a result, even in a part affected by the pulsation of the heart, etc., echo data necessary for instantaneously obtaining a three-dimensional ultrasound image is acquired, and a highly accurate three-dimensional ultrasound image is used. Can observe.
[0065]
In addition, when c-MUT cells are arranged to form a c-MUT by forming an ultrasonic scanning surface in a disk shape, the upper electrodes and the lower electrodes constituting these c-MUT cells are electrically connected to each other. By using the state, the ultrasonic probe shown in FIG. 22B can be used.
[0066]
Further, as shown in FIG. 9, a c-
[0067]
Here, a modified example of the c-MUT configured by arranging a plurality of c-
[0068]
With reference to FIG. 11, another arrangement configuration of the c-MUT cells constituting the ultrasonic transducer will be described.
FIG. 11A is a diagram showing an ultrasonic transducer configured by arranging c-MUT cells whose opening dimensions are changed according to a predetermined rule, and FIG. 11B is an A1-A2 direction of the c-MUT cell. FIG. 11C is a diagram showing an aperture distribution curve for regulating the arrangement, and FIG. 11C is a diagram showing an aperture distribution curve for regulating the B1-B2 direction arrangement of c-MUT cells.
[0069]
As shown in FIG. 11A, in the c-
[0070]
The R value distribution curves shown in FIGS. 11 (b) and 11 (c) apply that the electrode area in the c-MUT cell is proportional to the capacitance, and as a result, is proportional to the transmitted / received sound pressure. The electrode area is set to a Gaussian distribution function, for example. That is, in the c-
[0071]
As a result, the directivity characteristic (= the diffraction pattern of the aperture of this element) indicated by the c-MUT cell is multiplied by the interference pattern generated by the mutual interference effect when the c-MUT cells are arranged in an array. Thus, the grating lobe, which is the strength of the sound pressure generated, is improved, and the generation of artifacts that are pseudo information can be suppressed.
Therefore, a good ultrasonic tomographic image can be obtained.
[0072]
With reference to FIG. 12, another arrangement configuration of the c-MUT cell constituting the ultrasonic transducer will be described.
12A shows a configuration example in which the arranged c-MUT cells are divided into a transmitting cell, a receiving cell, and an unused cell, and FIG. 12B shows an arranged c-MUT. It is a figure which shows the other structural example which divided | segmented the cell into the cell for transmission, the cell for reception, and the unused cell.
[0073]
In the above-described embodiment, the transmission /
[0074]
Then, as shown in FIG. 12 (a), a transmitting / receiving
[0075]
As a result, between the
[0076]
Instead of configuring the transmission /
[0077]
In this embodiment, the c-MUT cells constituting the c-MUT are shown as an example of a configuration in which the receiving
[0078]
With reference to FIGS. 13 and 14, another configuration of the c-MUT provided in the ultrasonic probe will be described.
FIG. 13 is a view showing an ultrasonic probe having a c-MUT provided on a curved surface portion, and FIG. 14 is a view for explaining a substrate on which a c-MUT chip is mounted. 13A is a diagram showing a convex scanning ultrasonic probe, FIG. 13B is a diagram showing a radial scanning ultrasonic probe, and FIG. 14A is a diagram of a c-MUT chip mounting substrate. FIG. 14B is a diagram illustrating a configuration example, and FIG. 14B is a diagram illustrating the operation of the c-MUT chip mounting substrate illustrated in FIG.
[0079]
As shown in FIG. 13A, the
[0080]
As shown in FIG. 14A, the band-shaped c-
[0081]
(Second Embodiment)
FIGS. 15 to 21 are related to a second embodiment of the present embodiment. FIG. 15 is a diagram showing an ultrasonic transducer in which a multifunctional ultrasonic transducer having a silicon light emitting element and a silicon light receiving element provided on a silicon substrate in addition to the c-MUT. FIG. 16 is a diagram illustrating an example of a cross-sectional configuration of a multi-function ultrasonic transducer, FIG. 17 is a diagram illustrating an ultrasonic probe in which a multi-function ultrasonic transducer is arranged, and FIG. 18 is a c-MUT. FIG. 19 is a diagram for explaining a multifunction ultrasonic transducer in which another functional device is provided on a silicon substrate, and FIG. 19 shows another configuration example of the multifunction ultrasonic transducer in which a silicon light emitting element and a silicon light receiving element are arranged. FIG. 20 is a diagram illustrating the multifunction ultrasonic transducer in which a micro gyro sensor is further provided on the multifunction ultrasonic transducer of FIG. Diagram for explaining the inducer of the configuration, FIG 21 is a diagram illustrating the configuration of a multi-functional ultrasonic transducer in which a capacitance measuring cell on a silicon substrate.
[0082]
17A is a diagram showing the configuration of the tip of the ultrasonic probe in which the multi-function ultrasonic transducer is arranged, and FIG. 17B is a diagram for explaining the action of the ultrasonic probe in which the multi-function ultrasonic transducer is arranged. FIG. 18A is a diagram for explaining an ultrasonic probe in which a multifunctional ultrasonic transducer having a silicon light emitting element provided on a silicon substrate is arranged in addition to c-MUT, and FIG. 18B shows a c-MUT. In addition, FIG. 21A is a diagram for explaining an ultrasonic probe in which a multi-functional ultrasonic transducer having a silicon light receiving element provided on a silicon substrate is disposed. FIG. 21A is a diagram in which a dummy c-MUT cell for capacitance measurement is provided. FIG. 21B is a flowchart illustrating the function and function of the dummy c-MUT cell.
[0083]
As shown in FIG. 15, the multi-function
[0084]
As shown in FIG. 16, in the c-
[0085]
The
[0086]
An electric cable (not shown) extends from the light emitting
[0087]
The light emitting
[0088]
The operation of the multi-function
As shown in FIG. 17A, the multi-function
[0089]
In this state, for example, the tip of the
[0090]
In this way, in addition to c-MUT, by arranging a multi-function ultrasonic transducer in which a light emitting element part and a light receiving element part are formed using silicon micromachining technology in a housing to constitute an ultrasonic probe, With the ultrasonic probe, not only ultrasonic observation but also endoscopic observation of the body wall surface facing the ultrasonic scanning surface can be performed. Other operations and effects are the same as those in the first embodiment.
[0091]
As shown in FIG. 18A, an ultrasonic probe may be configured by arranging a multi-function
[0092]
As shown in FIG. 18B, an ultrasonic probe may be configured by arranging a multi-function ultrasonic transducer 122B provided with only the light receiving
[0093]
Furthermore, by appropriately setting the arrangement of the c-MUT cells, the aperture shape of the ultrasonic transducer can be set to a desired shape and size, and the shape, size, quantity, and quantity of the light emitting element portion and the light receiving element portion can be set. The degree of freedom in designing the ultrasonic probe can be increased, such as downsizing, high functionality, or high accuracy, by appropriately setting the arrangement position and creating a multifunction ultrasonic transducer.
[0094]
In the present embodiment, the c-
[0095]
Here, a modified example of the multifunction ultrasonic transducer will be described with reference to FIGS.
In the multi-function ultrasonic transducer 132 shown in FIG. 20, in addition to the c-
[0096]
By arranging the multi-function ultrasonic transducer 132 in the housing to constitute an ultrasonic probe, the position detection signals output from the electrostatic
[0097]
As a result, the ultrasonic probe is disposed at a predetermined position of the treatment instrument insertion channel of the insertion portion, so that the position detection signals output from the electrostatic
[0098]
On the other hand, the multi-function
[0099]
That is, when an instruction for measuring the capacitance is output by the ultrasonic observation device 5, the data during operation is sequentially transferred from each capacitance measurement cell as shown in step S1 of FIG. Input to the capacitance measurement correction unit. Then, the capacitance measurement correction unit calculates the average value of the input data as shown in step S2, and then proceeds to step S3 to compare the calculated value with a preset reference value. Go to evaluate the difference and move to step S4. In step S4, the c-MUT drive signal is corrected based on the evaluation result in step S3. As a result, a corrected ultrasonic drive signal is output to the c-MUT cell.
[0100]
In this way, by providing a part of the c-MUT cell constituting the c-MUT as a capacitance measuring cell, the ultrasonic drive that is always optimally corrected in the c-MUT cell constituting the c-MUT cell. An ultrasonic diagnostic image can be obtained by outputting a signal.
[0101]
The present invention is not limited to the above-described embodiments, and various modifications can be made without departing from the spirit of the invention.
[0102]
[Appendix]
According to the embodiment of the present invention as described above in detail, the following configuration can be obtained.
[0103]
(1) An ultrasonic probe for obtaining biological tissue information by transmitting and receiving ultrasonic waves with an ultrasonic transducer inserted into a body cavity, signal processing of electrical signals related to biological tissue information transmitted from the ultrasonic probe, and the ultrasonic In an ultrasonic diagnostic probe apparatus comprising an ultrasonic observation apparatus that performs drive control of an acoustic transducer,
An ultrasonic diagnostic probe apparatus in which an ultrasonic transducer mounted on the ultrasonic probe is formed of a silicon semiconductor substrate.
[0104]
(2) The ultrasonic diagnostic probe apparatus according to
[0105]
(3) The ultrasonic diagnostic probe device according to
[0106]
(4) The ultrasonic diagnostic probe device according to
[0107]
(5) The ultrasonic diagnostic probe device according to
[0108]
(6) The ultrasonic diagnostic probe device according to
(7) The ultrasonic diagnostic probe device according to
[0109]
(8) The ultrasonic diagnostic probe apparatus according to
[0110]
(9) The ultrasonic diagnostic probe device according to
[0111]
(10) The ultrasonic diagnostic probe device according to
[0112]
(11) The ultrasonic diagnostic probe device according to
[0113]
(12) The ultrasonic diagnostic probe device according to appendix 11, wherein the substrate is a flexible planar substrate.
[0114]
(13) The ultrasonic diagnostic probe device according to
[0115]
(14) The ultrasonic diagnostic probe device according to
[0116]
【The invention's effect】
As described above, according to the present invention, it is possible to provide an ultrasonic diagnostic probe apparatus that prevents lead-free and performance variation of the ultrasonic transducer provided in the ultrasonic probe.
[Brief description of the drawings]
FIG. 1 to FIG. 10 relate to a first embodiment of the present invention, and FIG. 1 is a diagram for explaining an ultrasonic diagnostic probe apparatus.
FIG. 2 is a diagram for explaining the configuration of the tip of an ultrasonic probe
FIG. 3 is a diagram illustrating an ultrasonic transducer
4 is an enlarged view of a portion indicated by an arrow A in FIG. 3 and a diagram for explaining a c-MUT cell.
FIG. 5 is a diagram illustrating a configuration example of a cross section of a c-MUT cell.
FIG. 6 is a block diagram illustrating configurations of an ultrasonic observation apparatus and an ultrasonic transducer.
FIG. 7 is a diagram for explaining another configuration example of the c-MUT.
FIG. 8 is a diagram for explaining the arrangement and cell shape of a c-MUT cell.
FIG. 9 is a view showing an ultrasonic probe in which a c-MUT having an ultrasonic wave transmission / reception direction orthogonal to an axial direction is arranged.
FIG. 10 is a diagram showing an ultrasonic probe in which a c-MUT having an ultrasonic wave transmission / reception direction as an axial direction is arranged.
FIG. 11 is a diagram for explaining another arrangement configuration of c-MUT cells constituting an ultrasonic transducer.
FIG. 12 illustrates another arrangement configuration of the c-MUT cell constituting the ultrasonic transducer.
FIG. 13 is a view showing an ultrasonic probe in which a c-MUT is provided on a curved surface portion.
FIG. 14 is a diagram illustrating a substrate on which a c-MUT chip is mounted.
15 to 21 are related to a second embodiment of the present embodiment, and FIG. 15 is a multifunctional ultrasonic transducer in which a silicon light emitting element and a silicon light receiving element are provided on a silicon substrate in addition to c-MUT. The figure explaining the ultrasonic probe which has arranged
FIG. 16 is a diagram for explaining a configuration example of a cross section of a multi-function ultrasonic transducer;
FIG. 17 is a diagram for explaining an ultrasonic probe in which a multi-function ultrasonic transducer is arranged;
FIG. 18 is a view for explaining a multifunctional ultrasonic transducer in which another functional device is provided on a silicon substrate in addition to c-MUT.
FIG. 19 is a diagram for explaining another configuration example of a multifunctional ultrasonic transducer provided with a silicon light emitting element and a silicon light receiving element.
20 is a diagram for explaining the configuration of a multifunction ultrasonic transducer in which a micro gyro sensor is further provided on the multifunction ultrasonic transducer of FIG.
FIG. 21 is a diagram for explaining the configuration of a multifunction ultrasonic transducer in which a capacitance measuring cell is provided on a silicon substrate.
FIG. 22 is a diagram for explaining a conventional ultrasonic probe;
FIG. 23 is a diagram showing a configuration example of a mechanical scanning ultrasonic transducer.
FIG. 24 is a diagram showing a configuration example of an ultrasonic scanning ultrasonic transducer.
[Explanation of symbols]
2 ... Ultrasonic probe
31 ... Electrostatic ultrasonic transducer (c-MUT)
31a ... c-MUT cell
35 ... Silicon substrate
37d ... Lower electrode
37u ... Upper electrode
38 ... Silicone membrane
40 ... Vacuum gap
44 ... Wiring electrode
| Application Number | Priority Date | Filing Date | Title | 
|---|---|---|---|
| JP2003148305AJP4294376B2 (en) | 2003-05-26 | 2003-05-26 | Ultrasonic diagnostic probe device | 
| Application Number | Priority Date | Filing Date | Title | 
|---|---|---|---|
| JP2003148305AJP4294376B2 (en) | 2003-05-26 | 2003-05-26 | Ultrasonic diagnostic probe device | 
| Publication Number | Publication Date | 
|---|---|
| JP2004350702A JP2004350702A (en) | 2004-12-16 | 
| JP2004350702A5 JP2004350702A5 (en) | 2006-06-08 | 
| JP4294376B2true JP4294376B2 (en) | 2009-07-08 | 
| Application Number | Title | Priority Date | Filing Date | 
|---|---|---|---|
| JP2003148305AExpired - LifetimeJP4294376B2 (en) | 2003-05-26 | 2003-05-26 | Ultrasonic diagnostic probe device | 
| Country | Link | 
|---|---|
| JP (1) | JP4294376B2 (en) | 
| Publication number | Priority date | Publication date | Assignee | Title | 
|---|---|---|---|---|
| JP4632853B2 (en)* | 2005-05-13 | 2011-02-16 | オリンパスメディカルシステムズ株式会社 | Capacitive ultrasonic transducer and manufacturing method thereof | 
| JP4523879B2 (en)* | 2005-06-20 | 2010-08-11 | 株式会社日立製作所 | Electrical / acoustic transducers, array-type ultrasonic transducers and ultrasonic diagnostic equipment | 
| JP4724501B2 (en)* | 2005-09-06 | 2011-07-13 | 株式会社日立製作所 | Ultrasonic transducer and manufacturing method thereof | 
| JP4724505B2 (en)* | 2005-09-09 | 2011-07-13 | 株式会社日立製作所 | Ultrasonic probe and manufacturing method thereof | 
| WO2007086749A1 (en)* | 2006-01-26 | 2007-08-02 | Terarecon Inc. | A wide aperture array design with constrained outer probe dimension | 
| WO2008014629A2 (en) | 2006-08-03 | 2008-02-07 | Christoph Scharf | Method and device for determining and presenting surface charge and dipole densities on cardiac walls | 
| US20110130663A1 (en)* | 2006-10-23 | 2011-06-02 | Koninklijke Philips Electronics N.V. | Symmetric and preferientially steered random arrays for ultrasound therapy | 
| JP5026770B2 (en)* | 2006-11-14 | 2012-09-19 | 株式会社日立メディコ | Ultrasonic probe and ultrasonic diagnostic apparatus | 
| US7721397B2 (en)* | 2007-02-07 | 2010-05-25 | Industrial Technology Research Institute | Method for fabricating capacitive ultrasonic transducers | 
| EP2737849A3 (en) | 2008-01-17 | 2014-10-29 | Christoph Scharf | A device and method for the geometric determination of electrical dipole densities on the cardiac wall | 
| US9757044B2 (en) | 2011-03-10 | 2017-09-12 | Acutus Medical, Inc. | Device and method for the geometric determination of electrical dipole densities on the cardiac wall | 
| EP2890292B1 (en) | 2012-08-31 | 2021-01-13 | Acutus Medical, Inc. | Catheter system for the heart | 
| CN105358070B (en)* | 2013-02-08 | 2018-03-23 | 阿库图森医疗有限公司 | Expandable catheter assembly with flexible printed circuit board | 
| JP6395390B2 (en)* | 2014-02-07 | 2018-09-26 | キヤノン株式会社 | Capacitive transducer and manufacturing method thereof | 
| EP2796209B1 (en) | 2013-04-25 | 2020-06-17 | Canon Kabushiki Kaisha | Capacitive transducer and method of manufacturing the same | 
| EP2796210B1 (en) | 2013-04-25 | 2016-11-30 | Canon Kabushiki Kaisha | Capacitive transducer and method of manufacturing the same | 
| CA2922941C (en) | 2013-09-13 | 2021-11-16 | Acutus Medical, Inc. | Devices and methods for determination of electrical dipole densities on a cardiac surface | 
| JP6739346B2 (en) | 2014-03-25 | 2020-08-12 | アクタス メディカル インクAcutus Medical,Inc. | Method of operating system of cardiac analysis user interface | 
| AU2015247484B2 (en)* | 2014-04-18 | 2020-05-14 | Butterfly Network, Inc. | Ultrasonic transducers in complementary metal oxide semiconductor (CMOS) wafers and related apparatus and methods | 
| CN115299988A (en) | 2015-05-12 | 2022-11-08 | 阿库图森医疗有限公司 | Ultrasonic sequencing systems and methods | 
| US10593234B2 (en) | 2015-05-12 | 2020-03-17 | Acutus Medical, Inc. | Cardiac virtualization test tank and testing system and method | 
| US10653318B2 (en) | 2015-05-13 | 2020-05-19 | Acutus Medical, Inc. | Localization system and method useful in the acquisition and analysis of cardiac information | 
| CA3022806A1 (en) | 2016-05-03 | 2017-11-09 | Acutus Medical, Inc. | Cardiac mapping system with efficiency algorithm | 
| EP3568879B1 (en)* | 2017-01-10 | 2024-05-29 | The Regents of the University of California | Stretchable ultrasonic transducer devices | 
| US12178582B2 (en) | 2018-11-09 | 2024-12-31 | Acutus Medical, Inc. | Systems and methods for calculating patient information | 
| CA3135773A1 (en) | 2019-06-04 | 2020-12-10 | Acutus Medical, Inc. | Systems and methods for performing localization within a body | 
| KR102253210B1 (en)* | 2020-08-06 | 2021-05-18 | 한국과학기술원 | Capacitive micromachined ultrasonic transducer with charge trapping layer and method of fabricating thereof | 
| Publication number | Publication date | 
|---|---|
| JP2004350702A (en) | 2004-12-16 | 
| Publication | Publication Date | Title | 
|---|---|---|
| JP4294376B2 (en) | Ultrasonic diagnostic probe device | |
| JP4370120B2 (en) | Ultrasound endoscope and ultrasound endoscope apparatus | |
| JP7190590B2 (en) | Ultrasound imaging device with programmable anatomy and flow imaging | |
| JP4575372B2 (en) | Capacitive ultrasonic probe device | |
| JP4657357B2 (en) | Ultrasound endoscope | |
| CN106999163B (en) | Catheter transducer with staggered micro-machined ultrasonic transducers | |
| JP4897370B2 (en) | Ultrasonic transducer array, ultrasonic probe, ultrasonic endoscope, ultrasonic diagnostic equipment | |
| CN110997165B (en) | Capacitive Micromachined Ultrasonic Transducer (CMUT) apparatus and control method | |
| JP2011505205A (en) | Ultrasonic scanner constructed with capacitive micromachined ultrasonic transducer (CMUTS) | |
| WO2006046471A1 (en) | Capacitive micromachined ultrasonic transducer and intracorporeal ultrasound diagnostic system using same | |
| JP2005125093A (en) | Ultrasonic transducer finger probe | |
| JP7268223B2 (en) | Capacitive Micromachined Ultrasound Transducer with Increased Patient Safety | |
| US20200022680A1 (en) | Ultrasound transducer tile registration | |
| CN103402438B (en) | Diagnostic ultrasound equipment | |
| WO2018054969A1 (en) | Ultrasound transducer tile registration | |
| JP4516451B2 (en) | Ultrasonic probe and method for producing ultrasonic probe | |
| EP1627603B1 (en) | Ultrasonic endoscope and ultrasonic endoscopic apparatus | |
| JP2004350701A (en) | Ultrasonic endoscope apparatus | |
| US20160317125A1 (en) | Ultrasonic device unit, probe, electronic apparatus, and ultrasonic diagnostic apparatus | |
| JP2004350703A (en) | Ultrasonic diagnosis probe apparatus | |
| CN112791926A (en) | Ultrasonic imaging apparatus and ultrasonic imaging system | |
| JP4562555B2 (en) | Ultrasonic probe and method for producing ultrasonic probe | |
| JP4733988B2 (en) | Body cavity ultrasound system | |
| JP2004350705A (en) | Capsule ultrasonic endoscopic device | |
| JP2004350704A (en) | Capsule ultrasonic endoscopic device | 
| Date | Code | Title | Description | 
|---|---|---|---|
| A521 | Written amendment | Free format text:JAPANESE INTERMEDIATE CODE: A523 Effective date:20060417 | |
| A621 | Written request for application examination | Free format text:JAPANESE INTERMEDIATE CODE: A621 Effective date:20060417 | |
| A977 | Report on retrieval | Free format text:JAPANESE INTERMEDIATE CODE: A971007 Effective date:20081113 | |
| A131 | Notification of reasons for refusal | Free format text:JAPANESE INTERMEDIATE CODE: A131 Effective date:20081125 | |
| A521 | Written amendment | Free format text:JAPANESE INTERMEDIATE CODE: A523 Effective date:20090126 | |
| TRDD | Decision of grant or rejection written | ||
| A01 | Written decision to grant a patent or to grant a registration (utility model) | Free format text:JAPANESE INTERMEDIATE CODE: A01 Effective date:20090317 | |
| A01 | Written decision to grant a patent or to grant a registration (utility model) | Free format text:JAPANESE INTERMEDIATE CODE: A01 | |
| A61 | First payment of annual fees (during grant procedure) | Free format text:JAPANESE INTERMEDIATE CODE: A61 Effective date:20090408 | |
| FPAY | Renewal fee payment (event date is renewal date of database) | Free format text:PAYMENT UNTIL: 20120417 Year of fee payment:3 | |
| R151 | Written notification of patent or utility model registration | Ref document number:4294376 Country of ref document:JP Free format text:JAPANESE INTERMEDIATE CODE: R151 | |
| FPAY | Renewal fee payment (event date is renewal date of database) | Free format text:PAYMENT UNTIL: 20120417 Year of fee payment:3 | |
| FPAY | Renewal fee payment (event date is renewal date of database) | Free format text:PAYMENT UNTIL: 20120417 Year of fee payment:3 | |
| FPAY | Renewal fee payment (event date is renewal date of database) | Free format text:PAYMENT UNTIL: 20130417 Year of fee payment:4 | |
| FPAY | Renewal fee payment (event date is renewal date of database) | Free format text:PAYMENT UNTIL: 20140417 Year of fee payment:5 | |
| S531 | Written request for registration of change of domicile | Free format text:JAPANESE INTERMEDIATE CODE: R313531 | |
| R350 | Written notification of registration of transfer | Free format text:JAPANESE INTERMEDIATE CODE: R350 | |
| R250 | Receipt of annual fees | Free format text:JAPANESE INTERMEDIATE CODE: R250 | |
| R250 | Receipt of annual fees | Free format text:JAPANESE INTERMEDIATE CODE: R250 |