





【0001】
【発明の属する技術分野】
本発明は、内視鏡と処置具を用いて体腔内の病変部の治療や切除を行う内視鏡治療装置及びその高周波処置具に関する。
【0002】
【従来の技術】
特開平9−203660号公報で示されるように、従来より、内視鏡と、この内視鏡のチャンネルを通じて体腔内に導入される処置具とを用いて、体腔内の病変部の治療や切除を行う手技が知られている。上述した特開平9−203660号公報に記載された内視鏡治療装置は内視鏡のチャンネルを通じて高周波スネアを体腔内に導入し、体腔内に生成された病変部に掛け、そのスネアワイヤに高周波を通電することにより病変部を切除する。
【0003】
【発明が解決しようとする課題】
前述した特開平9−203660号公報に記載の技術では、スネアワイヤの開口以下の大きさの病変部のものにしか適用することができない。しかし、スネアワイヤの開口の大きさには限界がある。このため、病変部の大きさによっては組織を切除できないこともあった。
【0004】
また、スネアワイヤは比較的柔らかく、腰の強さが弱いため、スネアワイヤを病変部に掛ける際、スネアワイヤの状態が不安定になり易く、病変部を捕捉し難い。さらに、体腔内に生成された病変部は一か所に止まらず、周辺の組織と一緒に動くことが多いことももあり、捕捉すべき病変部を見失ってしまい易い、このため、上記スネアワイヤで病変部を捕捉することは一般に難しい手技であった。
【0005】
また、内視鏡の挿入部先端にキャップを取り付け、このキャップの中に粘膜を吸引し、隆起させた粘膜のみにスネアワイヤを掛ける粘膜切除術が知られているが、この手技にあっては通常、キャップの中に粘膜を観察レンズに接触するまで吸引して引き込む必要がある。このため、内視鏡によって観察する状態は、いわゆる“赤玉状態”となり、従って、病変部の状態を観察しながら切除位置にスネアワイヤを掛けることができず、観察視野から病変部を見失う状況にあり、その手技が難しい術であった。
【0006】
一方、粘膜を針状の電気メスなどを用いて切除する手技も知られているが、この場合においても、その粘膜のみを正確に切除する刺通深度の調節が非常に難しく、迅速かつ確実に処置を行うことが難しいものであった。
【0007】
本発明は、上記課題に着目してなされたものであり、その目的とするところは病変部等を観察しながら必要部分のみを確実かつ容易に切除を行えることができる内視鏡治療装置及びその高周波処置具を提供することにある。
【0008】
【課題を解決するための手段及び作用】
  本発明は、内視鏡の挿入部における先端部に装着可能であり、上記先端部に装着されたとき、上記内視鏡によって観察され得る領域に形成された開口部を有し、かつ上記内視鏡によって該開口部内を吸引可能なフードと、このフードの開口部近傍に、この開口を横切るように配設し、かつ上記内視鏡で観察可能な導電性ワイヤーを有した高周波処置用導電手段と、この高周波処置用導電手段に高周波電流を供給する高周波通電手段と、を具備したことを特徴とする内視鏡治療装置用高周波処置具である。
  また、本発明は、上記フードは、透明な電気的絶縁性の材料によって形成されたことを特徴とする請求項1に記載の内視鏡治療装置用高周波処置具である。
  さらに、本発明は、請求項1または請求項2の高周波処置具を内視鏡の挿入部における先端部に装着したことを特徴とする内視鏡治療装置である。
  本発明は、上記フードの開口部近傍にその開口を横切るように導電性ワイヤーを設け、上記導電性ワイヤーにより、フード内に処置しようとする病変部を吸引して取り込んだ病変部の必要部分のみを、処置する。
【0009】
【発明の実施の形態】
(第1実施形態)
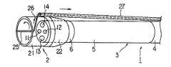
図1乃至図3を用いて本発明の第1実施形態を説明する。図1は内視鏡1の先端部に内視鏡用フード2を装着した状態を示す。
【0010】
内視鏡1は全体として可撓性を有する挿入部3を有し、この挿入部3は可撓部4と、所望の方向に湾曲可能である湾曲部5と、先端部6によって構成されている。挿入部3の基端には上記湾曲部5を湾曲操作する機構等を設けた操作部(図示せず)が連結されている。また、操作部にはユニバーサルコード(図示せず)が接続されている。ユニバーサルコードは図示しない光源装置やビデオプロセッサに接続され、ビデオプロセッサはモニターに接続されている。
【0011】
上記先端部6における先端面には、観察レンズ11、照明レンズ12、処置具の挿通や吸引を行う鉗子チャンネル13の開口部やノズル14等が設けられていて、ここでは直視形式の内視鏡1を構成する。
【0012】
さらに、挿入部3の先端部分には、透明な内視鏡用フード2が取り付けられている。この内視鏡用フード2は略円筒状のキャップ21と、このキャップ21を内視鏡1の先端部6に取着するための円錐筒状の固定部材22とで構成されている。キャップ21と固定部材22は同軸的に連結されており、この両者の固定手段としては圧入、接着剤での固定、ネジなどによる結合、あるいはより強固な固定を行う場合には超音波、溶剤等による固定方法を用いる。
【0013】
上記キャップ21は硬質でかつ耐熱性のある透明な合成樹脂、例えばアクリル樹脂や好ましくはポリカーボネイト等のプラスチック材、あるいはガラス等で作られている。内視鏡用フード2はその先端縁を粘膜に押し付けたり、粘膜を吸引した際等において変形しない程度の腰の強さを示す硬さ(剛性)を有する。
【0014】
上記キャップ21の先端開口領域には、その開口円の中心を通る直径ラインの位置にわたって配置されるように、金属ワイヤからなる高周波ワイヤ25が架設されている。この高周波ワイヤ25の両端は上記キャップ21の先端開口縁に例えば接着加工などで固定されている。尚、上記キャップ21の先端開口領域は真円の場合に限らない。
【0015】
上記高周波ワイヤ25は内視鏡1の挿入部3に外付けされた高周波電流伝達手段の導電線26に電気的に接続されている。ここでは、図示していないが、上記導電線26は内視鏡1の挿入部3に沿って挿入部3の手元側まで配設され、図示しない高周波電源装置へ接続されている。
【0016】
また、導電線26は上記高周波ワイヤ25をそのまま後方へ延長した導電ワイヤーによって形成されている。導電線26は外部に対して電気的に絶縁するために管状の部材からなる樹脂製被覆チューブ27で覆われたコードの形態になっている。
【0017】
上記固定部材22は合成樹脂や、好ましくは塩化ビニール、ポリウレタン、フッ素樹脂等の軟質プラスチック、又は、弾性材料、好ましくは、ラテックス、シリコン、イソプレン、ナオプレン等のゴム類からなり、内視鏡1の先端部6を傷付けることなく、その先端部6に着脱自在となるように構成されている。つまりキャップ21は内視鏡1の先端部6に対して着脱自在であり、また、導電線26はそのキャップ21と一緒に着脱自在である。
【0018】
次に、この第1実施形態の作用について図2及び図3を用いて説明する。内視鏡1の挿入部3を患者の体腔内に挿入する前に内視鏡用フード2を先端部6に取り付ける。そして、内視鏡1の挿入部3を患者の体腔内に挿入し、切除したい病変部の観察を行う。内視鏡用フード2は透明であるため、その周辺も観察することができる。従って、オリエンテーション(位置決め、誘導等)が容易である。
【0019】
ここでは、予め、図示していないが、通常行われている内視鏡的粘膜切除術と同様、鉗子チャンネル13に挿通される注射針を用いて病変粘膜下層に生理食塩水等を局注し、その病変部全体を隆起させる。そして、病変部周囲の粘膜の切除予定である所に高周波ワイヤ25を押し当てながら、鉗子チャンネル13を通じて内視鏡用フード2のキャップ21内を適度に吸引し、キャップ21の先端開口周縁に粘膜を密着させる。このとき、キャップ21の先端開口周縁は病変部を避け、その病変部の周辺部位に位置して固定される。
【0020】
このとき、予め、図2で示す様に、生理食塩水等により粘膜層と筋層とが剥離されており、上記吸引により粘膜層のみが吸引されている。病変部の周辺部位における切除予定部位に内視鏡用フード2の先端開口が位置している。この固定状態で、高周波ワイヤ25に高周波電流を流し、粘膜の切除を行う。
【0021】
また、吸引によって粘膜層のみが筋層から離れてフード2内に僅かに吸い込まれるので、通電した高周波ワイヤ25が筋層に接することなく、粘膜層のみを切除することができる。
【0022】
以上の操作を病変部を囲む周辺領域に対して数回に分けて行い、図3で示すように切除ライン28を繋げて病変部全周の切除を行う。
【0023】
尚、高周波ワイヤ25は粘膜を吸引したとき、その粘膜の隆起量により適度に撓むように設定した機能がついていても良い。例えば、高周波ワイヤ25自体の撓みによるもの、高周波ワイヤ25の弾性的な繰出しによるもの、またはキャップ21の弾性変形などにより構成するもの等が考えられる。また、高周波ワイヤ25の撓みの設定については手元側より張力を加減して適度に撓むように設定可能なものとすることが望ましい。
【0024】
本実施形態によれば、内視鏡用フード2の先端縁で切除部分を固定し、かつ内視鏡1で観察しながら切除を行うことができる。従って、粘膜層のみを確実にかつ容易に切除でき、広い範囲に及んでの切除を的確に迅速に行うことが可能である。
【0025】
以上の如く、吸引を行うことにより高周波ワイヤ25が設けてあるフード2を病変部の周辺に固定することができると共に、高周波ワイヤ25がフード2の先端に位置し、それが内視鏡1によって見える状態にある。つまり、内視鏡1の観察レンズ11から可視できる距離を保つ。このため、病変部を観察しながら確実に切除作業を行うことができる。従って、筋層や病変部を誤って傷付ける虞がなく迅速かつ容易に切除作業を行える。
【0026】
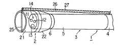
(第2の実施形態)
図4及び図5を用いて本発明の第2実施形態を説明する。この第2実施形態において、上述した第1実施形態と同一の構成要素のものには同一符号を付し、その説明を省略する。
【0027】
この実施形態では内視鏡用フード2を回転させる手段を設けたものである。すなわち、内視鏡用フード2の固定部材22がゴムなどにより形成されることにより捩じれながら回転可能なものとした。また、高周波ワイヤ25は図4で示すように、導電線26を導く被覆チューブ27の先端の位置から、フード2の回転分に相応したゆとりを持った長さで、内視鏡用フード2の外側を伝うように偏った位置を通る部位に配置されている。
【0028】
そして、高周波電流伝達手段の導電線26を牽引操作部材として、高周波ワイヤ25を手元側に引張ることにより、図5で示すように、引張った分だけ高周波ワイヤ25が直線化して引き込まれ、このとき、内視鏡用フード2の固定部材22の部分が捩じれながらキャップ21が回転する。つまり、内視鏡用フード2のキャップ21の部分を回転する手段を構成し、高周波ワイヤ25の向き(位置)を変えることができるようになっている。
【0029】
また、高周波ワイヤ25を手元側に引張ることをやめると、固定部材22の弾性によりその部分の捩じれが戻り、高周波スネア25は図4で示す元の位置に戻る。
【0030】
次に、これを使用する場合は、第1実施形態の作用と同様に、内視鏡1の先端部6の内視鏡用フード2を取り付けて、挿入部2を体腔内に挿入し、内視鏡1により切除したい病変部の観察を行う。
【0031】
次いで、内視鏡的粘膜切除術と同様に粘膜下層に生理食塩水を局注し、病変部全体を隆起させる。そして、粘膜層と筋層が剥離された状態で、病変部周囲の粘膜の切除予定である所に内視鏡用フード2の先端を押し当てながら、鉗子チャンネル13より内視鏡用フード2内を適度に吸引し、その内視鏡用フード2の先端に粘膜を密着させて固定する。そして、高周波ワイヤ25に高周波電流を流し、病変部周囲の切除を行う。
【0032】
ここで、切除したい角度に合わせて、高周波電流伝達手段の導電線26を手元側に引張ることにより、内視鏡用透明フード2の先端にある高周波ワイヤ25の向きを変えて、病変部分を囲むように数回の切除を行い、病変部全周の切除を行う。
【0033】
また、内視鏡用フード2のキャップ21の部分と共に、高周波ワイヤ25を回転しながら連続的に切除することもできる。
【0034】
本実施形態によれば、内視鏡1を回転させることなく、高周波ワイヤ25を有する先端部分だけを回転させることができるので、病変部の切除したい部分への移動や角度を容易に設定できる。このため、細かい範囲の切除も可能である。
【0035】
(第3実施形態)
図6を用いて本発明の第3実施形態を説明する。この第3実施形態において、上述した第1実施形態と同一の構成要素のものには同一符号を付し、その説明を省略する。
【0036】
図6で示すように、本実施形態の内視鏡用フード2はそのキャップ21の先端部が斜めに形成され、先端開口部が長円になっている。高周波ワイヤ25はその長円の先端開口部の長径方向に沿って配設されている。また、高周波ワイヤ25は内視鏡用フード2のキャップ21の斜めの先端開口部にその長径方向に配設されている。このため、上述した第1実施形態で示した内視鏡用フード2のキャップ21の径が同じでも長い範囲で高周波ワイヤ25の切除機能領域が長くなる。
【0037】
この切除操作は第1実施形態で示した粘膜切除術と同様であるが、高周波ワイヤ25の切除機能領域が長くなるため、第1実施形態のものよりも、一度に長い範囲で切除する事ができるため、広い範囲に及ぶ切除も容易に行うことができ、かつ治療時間を短縮することが可能である。
【0038】
尚、このように先端開口部が斜めの内視鏡用フード2に、上述した第2実施形態で挙げた高周波ワイヤ25によりキャップ21を回転する機能を組み合わせることにより、高周波ワイヤ25の切除部の長短の調節選択が、ある範囲ではあるが可能となるため、より的確な範囲での粘膜切除を行うことが可能である。
【0039】
<付記>
1.内視鏡の先端部に装着可能であり、上記内視鏡によって観察される領域に形成された開口部を有するフードと、
このフードの開口部近傍に、この開口の直径方向に配設される導電性ワイヤーからなり、上記内視鏡によって観察され得る高周波処置用導電手段と、
この高周波処置用導電手段に高周波電流を供給する高周波通電手段とを具備したことを特徴とする内視鏡治療装置用高周波処置具。
2.上記フードは透明な電気的絶縁性材料によって形成したことを特徴とした付記項1に記載の内視鏡治療装置用高周波処置具。
3.付記項1または付記項2の高周波処置具を内視鏡の先端部に装着したことを特徴とする内視鏡治療装置。
【0040】
4.上記フードは上記内視鏡の挿入部先端に内視鏡挿入部の外径と略同等、もしくはそれ以上の外径を有する円筒形状を呈し、上記フードの先端開口部近傍には金属ワイヤーからなる高周波処置用導電手段が、上記フードの先端開口部の直径方向に配置されることを特徴とする付記項1乃至付記項3に記載の内視鏡治療装置またはその高周波処置具。
5.上記フードと高周波処置用導電手段及び高周波通電手段が一体的に内視鏡装置から着脱自在となっていることを特徴とする付記項1乃至付記項4に記載の内視鏡治療装置またはその高周波処置具。
【0041】
6.フードは透明で硬質かつ耐熱性を有する樹脂素材からなる先端部材と、上記先端部材の後方に接続される軟質な弾性樹脂素材とからなる固定部材とで構成したことを特徴とする付記項1乃至付記項5に記載の内視鏡治療装置またはその高周波処置具。
7.上記高周波通電手段を構成する金属ワイヤーを利用して内視鏡挿入部軸を中心としてフードの先端部材を回転させる手段を構成したことを特徴とする付記項1乃至付記項6に記載の内視鏡治療装置またはその高周波処置具。
【0042】
8.上記金属ワイヤーは内視鏡の挿入部の手元側から延在した管状部材内に内装され、手元側からの牽引操作により進退可能に設けられる牽引部材を兼ね、上記先端部材に導かれると共に、上記フードの外周上において上記管状部材の先端から偏った位置まで、上記フードの開口部近傍に配設される高周波処置用導電手段となることを特徴とする付記項7に記載の内視鏡治療装置またはその高周波処置具。
【0043】
9.上記フードは、内視鏡の吸引用チャンネルに連通し、吸引することによりそのフードの開口端に病変部を固定するようにしたことを特徴とする付記項1乃至8に記載の内視鏡治療装置またはその高周波処置具。
【0044】
【発明の効果】
以上述べたように本発明によれば、病変部等を内視鏡で観察しながら必要部分のみを確実かつ容易に切除を行うことができる内視鏡治療装置及びその高周波処置具を提供することができる。
【図面の簡単な説明】
【図1】第1実施形態においての内視鏡の先端部に内視鏡用フードを装着した状態の斜視図。
【図2】同じく第1実施形態のものを使用するときの作用状態を示す説明図。
【図3】同じく第1実施形態のものを使用するときの作用状態の説明図。
【図4】第2実施形態においての内視鏡の先端部に内視鏡用フードを装着した状態の斜視図。
【図5】同じく第2実施形態においての内視鏡の先端部に内視鏡用フードを装着した状態の斜視図。
【図6】第3実施形態においての内視鏡の先端部に内視鏡用フードを装着した状態の斜視図。
【符号の説明】
1…内視鏡、2…内視鏡用フード、3…内視鏡の挿入部、4…可撓部、
5…湾曲部、6…先端部、11…観察レンズ、13…鉗子チャンネル、
21…キャップ、22…固定部材、25…高周波ワイヤ、
26…高周波電流伝達手段の導電線、27…被覆チューブ、28…切除ライン。[0001]
 BACKGROUND OF THE INVENTION
 The present invention relates to an endoscopic treatment apparatus that performs treatment and excision of a lesion in a body cavity using an endoscope and a treatment tool, and a high-frequency treatment tool thereof.
 [0002]
 [Prior art]
 As disclosed in Japanese Patent Laid-Open No. 9-203660, conventionally, treatment and excision of a lesion in a body cavity using an endoscope and a treatment tool introduced into the body cavity through a channel of the endoscope. Techniques for performing are known. The endoscope treatment apparatus described in Japanese Patent Laid-Open No. 9-203660 described above introduces a high-frequency snare into a body cavity through a channel of the endoscope, hangs on a lesioned part generated in the body cavity, and applies high-frequency to the snare wire. The lesion is excised by energization.
 [0003]
 [Problems to be solved by the invention]
 The technique described in Japanese Patent Laid-Open No. 9-203660 described above can be applied only to a lesion having a size smaller than the opening of the snare wire. However, the size of the snare wire opening is limited. For this reason, the tissue may not be excised depending on the size of the lesion.
 [0004]
 Further, since the snare wire is relatively soft and has low waist strength, when the snare wire is put on the lesioned part, the state of the snare wire is likely to be unstable, and it is difficult to capture the lesioned part. In addition, the lesion generated in the body cavity does not stop in one place and often moves with the surrounding tissue, and it is easy to lose sight of the lesion to be captured. Capturing the lesion was generally a difficult procedure.
 [0005]
 In addition, mucosal resection is known in which a cap is attached to the distal end of the endoscope insertion section, the mucosa is sucked into the cap, and a snare wire is applied only to the raised mucosa. It is necessary to suck and draw the mucous membrane into the cap until it contacts the observation lens. For this reason, the state observed with the endoscope is a so-called “red ball state”. Therefore, the snare wire cannot be applied to the excision position while observing the state of the lesion, and the lesion is lost from the observation field of view. The technique was difficult.
 [0006]
 On the other hand, a technique for excising the mucous membrane with a needle-shaped electric knife is also known, but even in this case, it is very difficult to adjust the penetration depth to accurately excise only the mucosa, and it is quick and reliable. Treatment was difficult.
 [0007]
 The present invention has been made by paying attention to the above-mentioned problems, and an object of the present invention is an endoscope treatment apparatus capable of reliably and easily excising only a necessary part while observing a lesioned part and the like, and its The object is to provide a high-frequency treatment instrument.
 [0008]
 [Means and Actions for Solving the Problems]
 The present invention can be attached to the distal endof the insertion portion of the endoscope, when mounted to the distal end portion,have a opening formed in a region that can be observed by theendoscope, and in the A hoodcapable of sucking the inside of the opening by an endoscope, and a conductive material for high-frequency treatmenthaving a conductive wiredisposed near the opening of the hoodso as to cross the opening and observable with the endoscope A high-frequency treatment instrument for an endoscopic treatment apparatus, comprising: means; and high-frequency energization means for supplying a high-frequency current to the high-frequency treatment conductive means.
 The present invention is the high-frequency treatment instrument for an endoscopic treatment device according to
 Furthermore, the present invention is an endoscopic treatment device characterized in that the high-frequency treatment instrument according to
 In the present invention, a conductive wire is provided in the vicinity of the opening of the hood so as to cross the opening, and only the necessary portion of the lesion that is sucked and taken in by the conductive wire is taken into the hood. Is treated.
 [0009]
 DETAILED DESCRIPTION OF THE INVENTION
 (First embodiment)
 A first embodiment of the present invention will be described with reference to FIGS. FIG. 1 shows a state in which an
 [0010]
 The
 [0011]
 The distal end surface of the
 [0012]
 Further, a
 [0013]
 The
 [0014]
 A high-
 [0015]
 The high-
 [0016]
 The
 [0017]
 The fixing
 [0018]
 Next, the operation of the first embodiment will be described with reference to FIGS. The
 [0019]
 Here, although not shown in advance, as in the usual endoscopic mucosal resection, physiological saline or the like is locally injected into the submucosal layer of the lesion using an injection needle inserted into the
 [0020]
 At this time, as shown in FIG. 2, the mucous membrane layer and the muscle layer are peeled in advance with physiological saline or the like, and only the mucous membrane layer is sucked by the suction. The distal end opening of the
 [0021]
 Further, since only the mucosal layer is separated from the muscle layer by suction and is slightly sucked into the
 [0022]
 The above operation is performed in several times on the peripheral region surrounding the lesioned part, and as shown in FIG.
 [0023]
 The high-
 [0024]
 According to the present embodiment, it is possible to perform excision while fixing the excision portion at the distal end edge of the
 [0025]
 As described above, by performing suction, the
 [0026]
 (Second Embodiment)
 A second embodiment of the present invention will be described with reference to FIGS. In this 2nd Embodiment, the same code | symbol is attached | subjected to the same component as 1st Embodiment mentioned above, and the description is abbreviate | omitted.
 [0027]
 In this embodiment, means for rotating the
 [0028]
 Then, by using the
 [0029]
 When the high-
 [0030]
 Next, when using this, as in the operation of the first embodiment, the
 [0031]
 Next, as in the case of endoscopic mucosal resection, physiological saline is locally injected into the submucosa to raise the entire lesion. Then, in the state where the mucosa layer and the muscle layer are separated, while pressing the tip of the
 [0032]
 Here, the direction of the high-
 [0033]
 In addition, the high-
 [0034]
 According to the present embodiment, since only the distal end portion having the high-
 [0035]
 (Third embodiment)
 A third embodiment of the present invention will be described with reference to FIG. In this 3rd Embodiment, the same code | symbol is attached | subjected to the same component as 1st Embodiment mentioned above, and the description is abbreviate | omitted.
 [0036]
 As shown in FIG. 6, the
 [0037]
 This excision operation is the same as the mucous membrane excision shown in the first embodiment. However, since the excision function area of the high-
 [0038]
 In addition, by combining the function of rotating the
 [0039]
 <Appendix>
 1. A hood that can be attached to the distal end of an endoscope and has an opening formed in a region observed by the endoscope;
 A conductive means for high frequency treatment, which is made of a conductive wire disposed in the diameter direction of the opening in the vicinity of the opening of the hood, and can be observed by the endoscope,
 A high-frequency treatment instrument for an endoscopic treatment apparatus, comprising high-frequency energization means for supplying a high-frequency current to the high-frequency treatment conductive means.
 2. The high-frequency treatment instrument for an endoscopic treatment device according to
 3. An endoscopic treatment device, wherein the high-frequency treatment tool according to
 [0040]
 4). The hood has a cylindrical shape having an outer diameter substantially equal to or larger than the outer diameter of the endoscope insertion portion at the distal end of the insertion portion of the endoscope, and is made of a metal wire in the vicinity of the distal end opening of the hood. The endoscopic treatment device or the high-frequency treatment tool according to any one of
 5. The endoscope treatment apparatus according to any one of
 [0041]
 6). The hood includes a tip member made of a transparent, hard and heat-resistant resin material and a fixing member made of a soft elastic resin material connected to the rear of the tip member. The endoscopic treatment device according to
 7). The endoscope according to any one of
 [0042]
 8). The metal wire is embedded in a tubular member extending from the proximal side of the insertion portion of the endoscope, serves also as a traction member provided so as to be able to advance and retract by a traction operation from the proximal side, and is guided to the distal end member, and The endoscopic treatment device according to appendix 7, wherein the endoscopic treatment device is a high-frequency treatment conductive means disposed in the vicinity of the opening of the hood from the distal end of the tubular member on the outer periphery of the hood. Or its high frequency treatment tool.
 [0043]
 9. Endoscopic treatment according to any one of
 [0044]
 【The invention's effect】
 As described above, according to the present invention, it is possible to provide an endoscopic treatment apparatus capable of reliably and easily excising only a necessary part while observing a lesioned part or the like with an endoscope and a high-frequency treatment tool thereof. Can do.
 [Brief description of the drawings]
 FIG. 1 is a perspective view of a state where an endoscope hood is attached to a distal end portion of an endoscope according to a first embodiment.
 FIG. 2 is an explanatory view showing an operating state when using the first embodiment.
 FIG. 3 is an explanatory diagram of an operation state when the same embodiment is used.
 FIG. 4 is a perspective view of a state in which an endoscope hood is attached to a distal end portion of an endoscope according to a second embodiment.
 FIG. 5 is a perspective view showing a state where an endoscope hood is attached to the distal end portion of the endoscope in the second embodiment.
 FIG. 6 is a perspective view showing a state in which an endoscope hood is attached to the distal end portion of the endoscope in the third embodiment.
 [Explanation of symbols]
 DESCRIPTION OF
 5 ... curved portion, 6 ... tip portion, 11 ... observation lens, 13 ... forceps channel,
 21 ... Cap, 22 ... Fixing member, 25 ... High frequency wire,
 26: Conductive wire of high-frequency current transmission means, 27: Covered tube, 28: Cutting line.
| Application Number | Priority Date | Filing Date | Title | 
|---|---|---|---|
| JP06477499AJP4217334B2 (en) | 1999-03-11 | 1999-03-11 | Endoscopic treatment device and high-frequency treatment tool thereof | 
| Application Number | Priority Date | Filing Date | Title | 
|---|---|---|---|
| JP06477499AJP4217334B2 (en) | 1999-03-11 | 1999-03-11 | Endoscopic treatment device and high-frequency treatment tool thereof | 
| Publication Number | Publication Date | 
|---|---|
| JP2000254146A JP2000254146A (en) | 2000-09-19 | 
| JP4217334B2true JP4217334B2 (en) | 2009-01-28 | 
| Application Number | Title | Priority Date | Filing Date | 
|---|---|---|---|
| JP06477499AExpired - Fee RelatedJP4217334B2 (en) | 1999-03-11 | 1999-03-11 | Endoscopic treatment device and high-frequency treatment tool thereof | 
| Country | Link | 
|---|---|
| JP (1) | JP4217334B2 (en) | 
| Publication number | Priority date | Publication date | Assignee | Title | 
|---|---|---|---|---|
| US6558382B2 (en)* | 2000-04-27 | 2003-05-06 | Medtronic, Inc. | Suction stabilized epicardial ablation devices | 
| JP3722729B2 (en) | 2001-06-04 | 2005-11-30 | オリンパス株式会社 | Endoscope treatment device | 
| JP5103293B2 (en)* | 2008-06-17 | 2012-12-19 | 富士フイルム株式会社 | Electronic endoscope | 
| JP5506556B2 (en)* | 2010-06-11 | 2014-05-28 | オリンパスメディカルシステムズ株式会社 | Medical devices and systems | 
| WO2013096204A1 (en)* | 2011-12-20 | 2013-06-27 | Cook Medical Technologies Llc | Endoscopic systems and methods for resection of tissue | 
| JP6320936B2 (en) | 2012-01-25 | 2018-05-09 | ボストン サイエンティフィック サイムド,インコーポレイテッドBoston Scientific Scimed,Inc. | Medical device with movable distal tool | 
| Publication number | Publication date | 
|---|---|
| JP2000254146A (en) | 2000-09-19 | 
| Publication | Publication Date | Title | 
|---|---|---|
| US12035891B2 (en) | Treatment tool, endoscope device, endoscope system, and treatment method | |
| JPH07265329A (en) | Puncture high frequency treatment device | |
| WO2006109377A1 (en) | Medical treatment device | |
| JP5642905B2 (en) | Puncture tool and ultrasonic endoscope | |
| JPH11276422A (en) | Ultrasonic endoscope | |
| JP2003052713A (en) | Therapeutic device for endoscope | |
| JPH08117232A (en) | Biopsy needle | |
| WO2007055032A1 (en) | Method of endoscopical diagnosis or treatment and medical device | |
| JP2001104315A5 (en) | ||
| JP4716939B2 (en) | Endoscopic treatment tool | |
| JP2023067784A (en) | Endoscopic treatment tool | |
| EP4199848A1 (en) | Ent ablation instrument with electrode loop | |
| US20150374348A1 (en) | Use Of Vibration For EUS-FNA Tissue Acquisition | |
| JP4217334B2 (en) | Endoscopic treatment device and high-frequency treatment tool thereof | |
| JP7396805B2 (en) | Sheath tip with angled distal surface | |
| JP2003164455A (en) | Ultrasonic endoscope and bronchus tube therefor | |
| CN110353739B (en) | Sheath with detectable guide | |
| JP4390501B2 (en) | Endoscopic high-frequency incision tool | |
| JP2003220074A (en) | Medical apparatus | |
| JP2005168927A (en) | Diathermic knife | |
| JP4276832B2 (en) | Endoscope device | |
| JPH06189974A (en) | In vivo diagnostic and treatment instrument | |
| JP2012081055A (en) | High-frequency peeling knife device for endoscope | |
| JP3749220B2 (en) | Endoscope device | |
| JP4271080B2 (en) | Endoscope treatment device | 
| Date | Code | Title | Description | 
|---|---|---|---|
| A621 | Written request for application examination | Free format text:JAPANESE INTERMEDIATE CODE: A621 Effective date:20060120 | |
| A977 | Report on retrieval | Free format text:JAPANESE INTERMEDIATE CODE: A971007 Effective date:20080724 | |
| A131 | Notification of reasons for refusal | Free format text:JAPANESE INTERMEDIATE CODE: A131 Effective date:20080729 | |
| A521 | Written amendment | Free format text:JAPANESE INTERMEDIATE CODE: A523 Effective date:20080924 | |
| TRDD | Decision of grant or rejection written | ||
| A01 | Written decision to grant a patent or to grant a registration (utility model) | Free format text:JAPANESE INTERMEDIATE CODE: A01 Effective date:20081021 | |
| A01 | Written decision to grant a patent or to grant a registration (utility model) | Free format text:JAPANESE INTERMEDIATE CODE: A01 | |
| A61 | First payment of annual fees (during grant procedure) | Free format text:JAPANESE INTERMEDIATE CODE: A61 Effective date:20081110 | |
| FPAY | Renewal fee payment (event date is renewal date of database) | Free format text:PAYMENT UNTIL: 20111114 Year of fee payment:3 | |
| FPAY | Renewal fee payment (event date is renewal date of database) | Free format text:PAYMENT UNTIL: 20111114 Year of fee payment:3 | |
| FPAY | Renewal fee payment (event date is renewal date of database) | Free format text:PAYMENT UNTIL: 20121114 Year of fee payment:4 | |
| FPAY | Renewal fee payment (event date is renewal date of database) | Free format text:PAYMENT UNTIL: 20131114 Year of fee payment:5 | |
| S531 | Written request for registration of change of domicile | Free format text:JAPANESE INTERMEDIATE CODE: R313531 | |
| R350 | Written notification of registration of transfer | Free format text:JAPANESE INTERMEDIATE CODE: R350 | |
| LAPS | Cancellation because of no payment of annual fees |