



























































































【0001】
【発明の属する技術分野】
この発明は、カーボンヒータに関し、特に半導体製造装置に用いるのに好適なカーボンヒータに関するものである。
【0002】
【従来の技術】
半導体の製造工程では、例えばシリコンウエハの種々の加熱処理が行われる。このように何かしらの加熱を伴う半導体の製造工程では、厳密な温度管理が求められる。また、加熱処理雰囲気をクリーンに保つことも重要である。
【0003】
このため、均熱性及び昇温・降温性に優れ、汚染物質を放出しない高性能の半導体製造装置用ヒータの開発、製品化が強く望まれている。
【0004】
特開平7−161725号公報は、ウエハ加熱装置において樹脂を用いて固化し、一体化した黒鉛−炭素繊維複合材(以下C/Cと記す)をヒーター部材に用いた電極構造を開示している。
【0005】
また、従来より同装置において平板状渦巻き型のSiCヒータ部材もしくは溶接処理を行なった複雑形状のMo−Siヒータ部材などが用いられてきた。
【0006】
【発明が解決しようとする課題】
しかしながら、前記C/Cヒーター部材においては、その構造上薄肉でも2次元において各々の長さが充分に採れる形状であれば、極めて高い機械的強度を有するが、例えば1次元の長さつまり幅が5mm以下の縦長形状とした場合には、充分な機械的強度が得られず、また、半導体製造装置用のヒータとして用いた場合には長さ方向の両端を端子に固定すると、C/Cの熱膨張に伴い、特にこの端子固定部近傍において、熱的負荷が生じ破損し易いといった問題があった。
【0007】
そこで、前記幅を広くとると、今度は抵抗値が小さくなり、所定の発熱を行うためには、電流値を大幅にアップしなければならず、また、熱容量が大きくなり急速加熱が困難であった。
【0008】
また、前記特開平7−161725号公報図3の如き略渦巻き形状のような複雑形状を得ようとすると、均熱構造とするためのスリット加工が難しく、また上述のように高抵抗とするためには、同部材の幅を狭くする必要があるが、このような加工が難しく、コストの増大をまねき、もしくはコストにみあう加工を行うと、均熱性がけっして充分なものとはなっていないのが現状であった。
【0009】
また、前記SiCヒーター部材やMo−Siヒーター部材においては昇華に伴う劣化を抑制するために電気負荷密度を約20W/cm2程度とすることしかできず、その結果、昇温速度の短縮化に限界があった。また、これらのヒーター部材においても、屈曲部を要するような複雑形状においては充分な耐熱強度が得られていなかった。
【0010】
また、従来、半導体熱処理装置用ヒータとしては、金属ヒータが用いられることもあった。しかし、金属ヒータは金属汚染を生じ易く、また、品質が不安定になり易い問題があった。
【0011】
半導体の熱処理効率を向上するためには、急速昇降温の可能なヒータが必要となる。しかし、金属ヒータは熱容量が大きいため、昇降温特性の向上には限界があった。
【0012】
また、一般に、金属ヒータは断熱材等の付帯設備や金属ヒータ自体の熱容量が大きいので、急速昇降温が難しいという不具合もあった。
【0013】
そこで、熱容量が小さく、非酸化性雰囲気での耐高温性に優れるカーボン材がヒータとして利用されるようになってきた。
【0014】
しかしながら、通常の電極材等を用いるカーボン材は、柔軟性の面で問題があり、形状設計のネックとなっていた。
【0015】
また、一般に、カーボンワイヤを発熱体として用いるカーボンヒータでは、酸化防止のため、非酸化性雰囲気に保った容器内にカーボンワイヤを配置する。そして、カーボンワイヤは発熱時に非常に高温になるため、カーボンワイヤを複数本束ねたものを端子線として用いている。
【0016】
従来、カーボンワイヤは、カーボンペーストによる含浸+焼成によって固定していた。また、比較的細いカーボンワイヤの場合には、ねじ止めによって固定することもあった。
【0017】
しかしながら、カーボンペーストを用いる固定法では、カーボンペースト焼成体が剥離し、ダスト発生の原因となることがあった。
【0018】
一方、ねじ止め式の固定法では、カーボンワイヤ束のワイヤ本数が多い場合にねじ止め作業が繁雑であった。また、太めのカーボンワイヤの場合には、しっかりと固定できないこともあった。
【0019】
また、カーボンワイヤを発熱体として用いるヒータでは、カーボンヒータ束からなる端子線と金属製の端子線とを接続するための端子装置も必要となる。
【0020】
しかしながら、両方の端子線を確実且つ容易に接続できる端子装置は未だ提供されていない。
【0021】
また、一般に、カーボン発熱体の周辺雰囲気を非酸化性雰囲気に保つためには、カーボン発熱体の封着技術が重要となる。
【0022】
ところが、カーボン発熱体を2枚の石英ガラス板で挟み、外周を溶接する従来の封着方式では、部分的な加熱により接触面に歪みや変形が生じ、溶接固定部に応力が集中して石英ガラス板が破損する恐れが大であった。
【0023】
本発明は、均熱性及びフレキシビリティーに優れ、急昇降温が可能であり低コストで製造できるカーボンヒータを提供することを目的としている。
【0024】
【課題を解決するための手段】
本発明は、複数本のカーボンファイバーを束ねたカーボンファイバー束を複数本用いてワイヤー状もしくはテープ形状の長細形状に編み込んだヒータ部材であって、かつ、含有不純物量が灰分で10ppm以下であるヒータ部材を具備するカーボンヒータを1つの好適な解決手段としている。
【0025】
【発明の実施の形態】
本発明のカーボンヒータは、直径が5〜15μmであるカーボンファイバーを複数本束ねたカーボンファイバー束を複数本用いてワイヤー形状やテープ形状のような縦長形状に編み込み,その含有不純物量を灰分で10ppm以下としたヒータ部材を具備する。
【0026】
上記ヒータ部材は、1本もしくは複数本を石英ガラス製もしくはアルミナ製の密封形部材内に封入することができる。
【0027】
上記ヒータ部材の1000℃での抵抗値は、好ましくは1〜20Ω/m・本である。
【0028】
上記密封形部材は、二重管形状、直管形状、環状管形状から選んだ形状であり、複数個組み合わせて所定形状のヒーティングゾーンを形成することができる。上記密封形部材内に形成される空間には、非酸化性ガスを流入させる構成とすることができる。
【0029】
上記密封形部材内に形成される空間を20torr以下の真空にすることができる。
【0030】
上記密封形部材は、板状の石英ガラス支持体によって実質的に一体化されており、この石英ガラス支持体中の上記ヒータ部材の周辺部には、中空の空間が形成されている構成にすることができる。
【0031】
上記石英ガラス支持体が複数枚の石英ガラス板の各々の接合面全体を融着により一体化したものであり、少なくとも一枚の石英ガラス板の接合面に配線用溝を形成し、そこに上記ヒータ部材を配置した構成にすることができる。
【0032】
上記石英ガラス支持体が2枚の石英ガラス板を融着したものであり、少なくとも1枚の石英ガラス板の接合面に所定深さの配線用溝が形成されており、上記深さ分を含まない各々の石英ガラス板の厚さが略同一である構成にすることができる。
【0033】
上記石英ガラス支持体が厚さの異なる2枚の石英ガラス板を融着したものであり、少なくとも1枚の石英ガラス板の接合面に所定深さの配線用溝が形成されており、上記深さ分を含まない一方の石英ガラス板の厚さを他方の厚さの1/2以下にすることができる。
【0034】
上記配線用溝は、その長さ方向に垂直な断面形状の少なくとも下方側に湾曲形状を有し、かつ、つや出し処理されていることが好ましい。
【0035】
上記配線用溝は、その長さ方向に垂直な断面形状が全体的に「凸」の字状に形成できる。
【0036】
第1の石英ガラス板に配線用溝を形成し、第2の石英ガラス板に配線用溝と対になる幅狭の挿入用溝もしくは貫通スリットを形成し、第1・第2石英ガラス板を溝同士が対向するように接合し、第2石英ガラス板の表面を研磨又は研削して挿入用溝もしくは貫通スリットの底部を削除することによりこれを挿入用窓として露出させ、そこから第1の石英ガラス板の配線用溝内にヒータ部材を押し込み、研磨面又は研削面に第3の石英ガラス板を合わせ、しかる後に3枚の石英ガラス板を融着させ溝以外の部分全面を実質的に一体化させることにより、上記配線用溝を、その長さ方向に垂直な断面形状が全体的に「凸」の字状にすることができる。さらに、第1の石英ガラス板に凸形状の溝加工をほどこし、第3の石英を融着しても同様の構造を得ることが出来る。
【0037】
上記配線用構内部を減圧又は非酸化性ガス雰囲気に保った状態で融着させたものであることが好ましい。
【0038】
石英ガラス支持体は、不透明石英ガラス層を備えていても良い。
【0039】
複数枚の石英ガラス板のうちの1枚を、不透明石英ガラス板にすることができる。
【0040】
上記ヒータ部材と、少なくとも片面が鏡面のカーボン製反射板とが、板状の石英ガラス支持体に封入されている構成にすることができる。
【0041】
3枚の石英ガラス板を用い、いずれかの石英ガラス板の2つの接合面に設けた配線用溝と反射板設定座ぐりに、それぞれヒータ部材と少なくとも片面が鏡面のカーボン製反射板を配置し、各石英ガラス板の接合部を融着により一体化することができる。
【0042】
全体的に板状の石英ガラス支持体に、少なくとも片面が鏡面のカーボン製反射板が封入されて反射板状体を上記密封形部材に隣接配置することができる。
【0043】
板状の石英ガラス支持体の少なくとも一つの外表面に、断面半円状もしくは台形状の凸部が形成されており、この外表面がつや出し処理された構成にすることができる。
【0044】
上記密閉形部材が配線用溝を有する石英ガラス製の設定部材及び石英ガラス製の蓋部材からなり、上記配線溝に上記ヒータ部材を配置することができる。
【0045】
上記の設定部材及び蓋部材のいずれかもしくは両者の外周部に防炎堤を形成し、この防炎堤以外の対向面が0.2〜1.0mmの間隔において配置され、両部材を石英ガラスの肉盛り法によって、一体化することができる。
【0046】
上記ヒータ部材の両端にカーボンターミナルを配置し、カーボンターミナルに電極を接続し、この電極のカーボンターミナル側の部分に石英ガラスパイプを被せた構成にすることができる。
【0047】
ヒータ部材が封入された空間内に非酸化性ガスを導入し、電極に被せた石英ガラスパイプからガスを排出することができる。
【0048】
上記カーボンターミナルの不純物濃度に灰分で10ppm以下にすることが好ましい。
【0049】
配置用溝にアルミナ粉を配置し、アルミナ粉の焼結体によってヒータ部材を支持することができる。
【0050】
上記アルミナ粉の鉄不純物濃度が5ppm以下であることが好ましい。
【0051】
上記ヒータ部材もしくはヒータ部材の両端に接続された端子部が、ヒータ部材の形成するヒータ面に対して実質的に垂直に引き出される構成にすることができる。
【0052】
ヒータ部材の両端をヒータ面の反対側に突出させ、突出したヒータ部材を石英ガラス支持板に当接する石英ガラス筒内に配列された複数のもしくは少なくとも一方の端部が複数に分割されたワイヤー状カーボンにより固定し、上記石英ガラス筒に石英ガラス管を被せて上記密閉形部材を密封することができる。
【0053】
上記ワイヤー状カーボンの他端側を、中空部が形成されその内側に中子部材を有する第2のワイヤー状カーボン接続部材に、この中子部材での押圧によって接続し、割型中子を利用する金属線接続部材により金属製の内接線を接続し、両接続部材を任意の接続部材によって接続することができる。
【0054】
上記割型中子の外側にテーパ面を形成し、端子部本体にテーパ面と係合するテーパ部を形成し、割型中子に形成した支持部で金属製の内接線を挟み込み、これを押圧しつつ任意の接続部材に接続することができる。
【0055】
上記密閉形部材内でヒータ部材を線対称に配置し、その対称軸上にガス導入・排出口を形成し、容器の溶接時にガス導入・排出口から非酸化性ガスを導入し、容器の封着時にガス導入・排出口から排気を行う構成にすることができる。
【0056】
カーボンワイヤからなるヒータ部材とワイヤー状カーボンを石英ガラス筒内に配列された複数のもしくは少なくとも端部が複数に分割されたワイヤー状カーボンにより固定し、前記ワイヤー状カーボンと電源側の金属製の内接線を第2の端子装置で接続する構成にし、第2の端子装置が、複数のもしくは端部が複数に分割されたワイヤー状カーボンを接続するための第2のワイヤー状カーボン接続部材を備え、割型中子を利用して金属製の内接線を接続する構成の金属線接続部材を備え、第2のワイヤー状カーボン接続部材と金属線接続部材を接続するための端子部本体を備え、両接続部材を端子部本体の一端側と他端側に接続する構成にすることができる。
【0057】
上記ヒータ部材が複数のもしくは少なくとも端部が複数に分割されたワイヤー状カーボンが内部に配列された石英ガラス筒及び第2端子装置が石英ガラス管内に封入された構成にすることができる。
【0058】
上記石英ガラス管の内側に配置された金属製の内接線と電源側の外接線をMo箔を介して接続し、Mo箔を石英ガラス製のピンチシール部で封着した構成の第3の端子装置を有するようにすることがより好ましい。
【0059】
ヒータ部材の両端に端子部材を接続してヒータ面の反対側に突出させ、端子部材に石英ガラス管を被せて石英ガラス部材を密封した構成にすることができる。上記石英ガラス管の自由端側に端子部本体を配置し、端子部材と端子部本体を複数本のもしくは少なくとも一方の端部が複数に分割されたワイヤー状カーボンで接続した構成にすることができる。
【0060】
上記密閉形部材内でヒータ部材を線対称に配置し、その対称軸上にガス導入・排出口を形成し、容器の溶接時にガス導入・排出口から非酸化性ガスを導入し、容器の封着時にガス導入・排出口から排気を行う構成にすることができる。
【0061】
上記密閉形部材が、全体的に平板半円形状で中心部に切欠きを有する割型になっており、これを2個組み合わせて円形平板ヒータを形成して、その中心部に治具を貫通できる構成にすることが好しい。
【0062】
上記端子部材が上記ヒータ部材と上記複数本のワイヤー状カーボンを接続するものであり、その一端側にヒータ部材接続部を形成してヒータ部材を接続し、複数のもしくは端部が複数に分割されたワイヤー状カーボンを一括して接続するための第1のワイヤー状カーボン接続部材を設け、端子部材の他端側に第1のワイヤー状カーボン接続部材を接続する構成にし、第1のワイヤー状カーボン接続部材を中空に形成してその内側に中子部材を配置し、上記複数のワイヤー状カーボンを中子部材で押圧して接続することが好しい。
【0063】
上記端子部材と第1のワイヤー状カーボン接続部材の相方の接続端側に夫々めねじ部を形成し、中間部材に各めねじ部に対応するおねじ部を形成し、中間部材を介して両部材を接続することが好しい。
【0064】
上記ワイヤー状カーボンの他端側を、中空部が形成されその内側に中子部材を有する第2のワイヤー状カーボン接続部材に、この中子部材での押圧によって接続し、割型中子を利用する金属線接続部材により金属製の内接線を接続し、両接続部材をこの中間に位置する端子部本体によって接続することが好しい。
【0065】
上記割型中子の外側にテーパ面を形成し、端子部本体にテーパ面と係合するテーパ部を形成し、割型中子に形成した支持部で金属製の内接線を挟み込み、、これを押圧しつつ端子部本体に接続することが好しい。
【0066】
上記金属製の内接線をMo製金属棒にすることが好しい。
【0067】
上記ワイヤー状カーボン接続部材と端子部本体、及び、端子部本体と金属線接続部材を、それぞれネジ式で接続することが好しい。
【0068】
カーボンワイヤからなるヒータ部材とワイヤー状カーボンを第1の端子装置で接続し、前記ワイヤー状カーボンと電源側の金属製の内接線を第2の端子装置で接続する構成にし、第1の端子装置が、端子部材を備え、その一端側に形成したヒータ部材接続部にヒータ部材を接続するようになっており、複数のもしくは端部が複数に分割されたワイヤー状カーボンを接続するための第1のワイヤー状カーボン接続部材を備え、端子部材の他端側に第1のワイヤー状カーボン接続部材を接続するようになっており、第1のワイヤー状カーボン接続部材を中空に形成してその内側に中子部材を配置し、分割したワイヤー状カーボンを中子部材で押圧して接続する構成になっており、第2の端子装置が、複数のもしくは端部が複数に分割されたワイヤー状カーボンを接続するための第2のワイヤー状カーボン接続部材を備え、割型中子を利用して金属製の内接線を接続する構成の金属線接続部材を備え、第2のワイヤー状カーボン接続部材と金属線接続部材を接続するための端子部本体を備え、両接続部材を端子部本体の一端側と他端側に接続する構成にすることができる。
【0069】
上記ヒータ部材と上記第1及び第2の端子装置が石英ガラス管内に封入され、石英ガラス管の内側に配置された金属製の内接線と電源側の外接線をMo箔を介して接続し、Mo箔を石英ガラス製のピンチシール部で封着した構成の第3の端子装置を備えることがより好ましい。
【0070】
上記ヒータ部材を封入した密閉形部材は、石英ガラス製もしくはアルミナ製平板状容器で形成できる。
【0071】
上記ヒータ部材を複数の端子部材及びワイヤー支え治具によって上記平板状容器内に非接触で支持されて封入した構成にできる。
【0072】
上記端子部材の長さ方向に、ボルト差し込み用の略円筒状の穴部が形成されており、かつ少なくともこの穴部を貫通する略円筒状横穴が形成されており、該横穴に上記ヒータ部材を差し込み、該穴部に少なくとも該横穴の下端に達する長さを有するボルトを回転挿入する構造にすることができる。
【0073】
上記ボルト差し込み用の略円筒状穴部の径を上記略円筒状横穴の径より大きくし、該横穴に差し込まれた上記ヒータ部材が、上記ボルトによって加圧され、該穴部に達するように偏平に変形された構成にすることが好しい。
【0074】
上記ボルトと上記ヒータ部材の間に、膨張黒鉛シートを介在させることが好しい。
【0075】
上記ワイヤー支え治具が透光性アルミナ単体もしくは、高純度カーボン及び透光性アルミナの組立部材から成ることが好ましい。
【0076】
上記組立部材の、ヒータ部材に接する部分が、高純度カーボン材料から成り、上記組立部材の、平板状容器に配置接続する部分が、透光性アルミナ材料から成ることが好ましい。
【0077】
上記ヒータ部材の下側にカーボン製反射板を配置することができる。
【0078】
上記平板状容器の発熱面に、断面半円状もしくは台形状の凸部が形成されており、この表面につや出し処理を施すことができる。
【0079】
上記ヒータ部材を封入した密閉形部材は、湾曲形であっても良い。
【0080】
上記板状の石英ガラス支持体に上記ヒータ部材を封入し、ヒータ部材の周辺部以外の石英ガラス支持体を実質的に一体化した板状のカーボンヒータを、所定形状の断面を有するカーボン製下型と、それと対になるカーボン製上型との間で押圧して、板状のカーボンヒータを所定形状に湾曲させることができる。
【0081】
上記カーボン製上型・下型が半円形の断面形状を有しており、実質的に半円筒形のカーボンヒータにすることができる。
【0082】
上記板状の石英ガラス支持体に少なくとも一面が鏡面のカーボン製反射板を、上記ヒータ部材とは独立して封入することができる。
【0083】
第1グループの発明の要約を以下に述べる。
【0084】
第1グループの発明は、均熱性及びフレキシビリティーに優れ、低コストで製造できる特に半導体製造装置用として有効なカーボンヒータを提供することを目的としている。
【0085】
第1グループの発明のカーボンヒータは、直径が5〜15μmであるカーボンファイバーを複数本束ねたカーボンファイバー束を複数本用いてワイヤー形状やテープ形状のような縦長形状に編み込み、その含有不純物量を灰分で10ppm以下としたヒータ部材を具備している。
【0086】
これによって、ヒータ部材としての高温時の引張強度が確保され、またカーボンファイバーの密着性がその長さ方向において均一になり、よって長さ方向での発熱ムラが低減される。
【0087】
ここで、複数本束ねるカーボンファイバーの各々の直径を5〜15μmとしたのは、5μm未満では1本1本のファイバーが弱く、これを束ねて所定の縦長形状に編み込んだヒータ部材とすることが困難となる。また、ファイバーが細いため、所定の抵抗値を得るためのファイバー本数が多くなり実用的でない。また、15μmを超える場合には、柔軟性が悪く複数本束ねたカーボンファイバー束を編み込むことが困難なばかりか、カーボンファイバーが切断され、強度が著しく低下する、といった不具合が生ずるためである。
【0088】
また、カーボンヒータの不純物を灰分で10ppm以下に制限したのは、不純物が10ppmを超えると、微量の酸素でも酸化され易くなり、このために異常発熱を起し易くなるからである。
【0089】
実際、不純物が灰分で10ppmを超える場合には、800℃の大気中で10分間で異常発熱を起こし、窒素中に100ppmの酸素が存在する雰囲気においては800℃で10時間使用すると異常発熱を起こすことが確認されている。
【0090】
一方、不純物が灰分で10ppm以下の場合には、窒素中に100ppmの酸素が存在する雰囲気において800℃で50時間以上使用しても異常発熱を起こさないこと、及び、800℃の大気中においては10分未満であれば異常発熱を起こさないことが確認されている。
【0091】
不純物は灰分で3ppm以下であることがより好ましい。この場合には、特に異常発熱を抑える効果が大きくなり、より長寿命化を達成できる。
【0092】
上記ヒータ部材は、上記5〜15μmのカーボンファイバーを100〜800本を束ねて、この束を3本以上、好ましくは6〜12本束ねてワイヤー形状やテープ形状のような縦長形状に編み込んだものであることが好ましい。
【0093】
カーボンファイバを束ねる本数が100本未満では所定の強度と抵抗値を得るために6〜12束では足りなくなり、編み込みが困難である。また、本数が少ないために部分的な破断に対して編み込みがほぐれ、形状を維持することが困難となる。また、前記本数が800本を超えると、所定の抵抗値を得るために束ねる本数が少なくなり、編み込みによるワイヤー形状の維持が困難となる。
【0094】
さらに、上記ヒータ部材は、1000℃での抵抗値を1〜20Ω/m・本とすることが好ましい。その理由は、一般的な半導体製造装置用加熱装置において、従来からのトランス容量にマッチングさせる必要があるからである。
【0095】
すなわち、抵抗値が20Ω/m・本を超える場合には、抵抗が大きいためヒータ長を長くとることができず、端子間で熱が奪われて温度むらが生じ易くなる。一方、抵抗値が1Ω/m・本未満の場合には、反対に抵抗が低いためヒータ長を必要以上に長くとらなければならず、カーボンワイヤーやカーボンテープのような細長のヒータ部材の組織むらや雰囲気のむらにより温度のばらつきが生じる恐れが大きくなる。
【0096】
尚、上記ヒータ部材の1000℃での電気抵抗値は、上記特性をより高い信頼性で得るためには、2〜10Ω/m・本とすることがより好ましい。
【0097】
また、カーボンファイバー束を編み込むことによって、断面形状がほぼ円形であるヒータ部材の径を、その長さ方向において一定化することができ、結果、発熱量を長さ方向で安定化させることができる。さらに、この編み込みによって、後述するヒータ部材表面でのカーボンファイバーによる毛羽立ち状態を形成することを可能せしめる。また、このヒータ部材は、発熱されることによって、これ自身熱膨張を起こし、例えば2本の端子間に張られた同ヒータ部材は、もし編み込みのないものであったとしたら、たれが生じ、発熱むらを起こすが、編み込まれていることによってこのような問題が生ずることがない。
【0098】
第1グループの発明において、カーボンヒータ材料となるカーボンファイバーは従来のC/Cとは異なり、樹脂で固化し一体化したものでないことが好ましい。これはカーボンファイバーのもつフレキシビリティーが損なわれ、また樹脂の熱収縮に伴い、該ファイバーの切断などが生ずるからである。
【0099】
上記ヒータ部材の1本もしくは複数本を配置し、石英ガラス製または透光性アルミナ製の密封形部材に封入し、例えば半導体製造装置用のカーボンヒータを構成することが好ましい。
【0100】
これによって、上記ヒータ部材を酸化性雰囲気、高温雰囲気等の種々の条件での使用可能せしめることができる。
【0101】
特に、石英ガラス製とすることによって、より高い高純度化を達成することができ、半導体製造装置用として有効なものとすることができる。
【0102】
尚、複数本の上記ヒータ部材を上記密封形部材内に封入するときには、これらを並列に配置することが好ましい。この場合、ヒータ部材を複数本並列に配置するというのは、ヒータ部材の全長に渡って2本以上が、隣接し略平行して、配置することを意味する。これによって、カーボンヒータ全体での電気抵抗値を容易に調整することができるとともに、複数本のヒータ部材が隣接している、つまり長さ方向の多数の箇所で接触した状態が形成されることによって、例え、1本のヒータ部材が所定の部分で部分的な切断等の不具合が生じた場合でも、その近傍で、上記接触する部分が存在することで上記不具合に伴う発熱ムラを防止することができる。
【0103】
また、ここでいう密封形部材とは、上記ヒータ部材を石英ガラス製または、透光性アルミナ製材料で物理的に密封する部材を意味することは、もちろんであるが、後述するように、同部材内に、窒素等の非酸化性ガスを流入・流出する構造を付加し、結果、上記ヒータ部材が、外気(空気)と接することを防止した実質的に密封された部材をも意味するものである。
【0104】
前記密封形部材の形状は、二重管形状、直管形状、環状管形状等から選ぶことができる。
【0105】
このような形状の複数個の石英ガラスまたは透光性アルミナ容器を組み合わせて所定形状のヒーティングゾーンを形成することにより、その形状に合致した被処理物を均一に加熱することができる。
【0106】
また、上記密封形部材内に窒素等の非酸化性ガスを流入したり、容器内を20torr以下の真空にすることが好ましい。これによって、上記カーボンヒータの劣化を防止し、長寿命化及び均熱性の長時間の持続を可能せしめるからである。
【0107】
次に第2グループの発明の要約を述べる。
【0108】
第2グループの発明の目的の1つは発熱ムラが少なく、例えば半導体(ウエハ)等の被加熱体を均一に熱処理することができ、長時間の高温強度を維持でき、高い耐用寿命が得られるカーボンヒータを提供することである。
【0109】
第2グループの発明の他の目的は、カーボンファイバーを複数本束ねたカーボンファイバー束を複数本用いてワイヤー形状やテープ形状のような縦長形状に編み込んだヒータ部材を支持する密封形部材を構成する石英ガラス支持体への応力集中が生じない形態で、封入を確実に実施でき、しかも、上記ヒータ部材を支持する石英ガラス支持体の厚さを自由に設定できるカーボンヒータを提供することである。
【0110】
第2グループの発明のカーボンヒータは、上記ヒータ部材を1本もしくは複数本封入した密封形部材が、板状の石英ガラス支持体によって実質的に一体化されたものであって、この石英ガラス支持体中の上記ヒータ部材の周辺部には中空の空間が形成された構成になっている。
【0111】
ここで、実質的に一体化された構成とは、後述するように複数の石英ガラス板の接合面を融着させて、本発明のカーボンヒータを接合剤を用いないで製造した場合に、カーボンヒータ内部のヒータ部材を配置した溝や端子部などの空間が、外部(大気や炉内雰囲気)と融着部で縁切られるようにカーボンヒータ周辺部が融着されており、さらに内部の石英ガラス接触面が全面にわたり融着されている状態を示す。ただし、融着の効果に支障のない程度で未融着部が接触面積に対し30%以下程度ならば存在してもよい。また、この30%以下程度としたのは、ヒーター部材からの放射光が不均一になることを防止するためである。
【0112】
これによって、上記ヒータ部材を支持する石英ガラス支持体への応力集中が生じない形態で密着を確実に実施でき、また厚さが5mm以下の低強度の石英ガラス板を用いた場合でも、減圧環境下で石英ガラスに破損が生ずることがない。
【0113】
尚、上記のヒータ部材周辺部の中空の空間は、後述するようなヒータ部材表面に形成されるカーボンファイバーの毛羽立ち部分が存在する空間となる。
【0114】
第2グループの発明のカーボンヒータは、上記石英ガラス支持体が複数枚の石英ガラス板の各々の接合面全体を融着により実質的に一体化したものであり、少なくとも一枚の石英ガラス板の接合面に配線用溝を形成し、そこに上記ヒータ部材を配置することが好ましい。
【0115】
このように、少なくとも一枚の石英ガラス板の接合面に配線用溝を形成し、この配線用溝内に直径が5〜15μmであるカーボンファイバーを複数本束ねたカーボンファイバー束を複数本用いてワイヤー形状やテープ形状のような縦長形状に編み込み、その含有不純物量を灰分で10ppm以下としたヒータ部材を配置する構成とすることによって、このカーボン質のヒータ部材が、ワイヤー形状やテープ形状のヒータ部材の表面で毛羽立った多数の直径が5〜15μmのカーボンファイバーによって、石英ガラス製の密封形部材と接触する構造となるため、ヒータ部材に通電を行い高温に発熱させた状態にしたとしても、カーボンと石英ガラスの反応が進行し、結果、カーボン質のヒータ部材が劣化するのを防止することができる。(ヒータ部材の表面に毛羽立ったカーボンファイバーは、石英ガラス製の密封形部材と接触するため、接触した部分から珪化が進むが、この径が極めて微細であり、体積が小さいことから、この珪化反応がヒータ部材全体に進行するのを抑制するものと推測される。)つまり、このことは発熱ムラが生ずることを防止し、また耐用寿命の長期化を図れることを意味する。
【0116】
尚、このヒータ部材は、発熱量を調整あるいは品質を安定化するために、1本もしくは2本さらにそれ以上の本数を並列に配置することも可能である。その場合、配線用溝の底部に、この本数に対応する二段溝をさらに設けることが好ましい。
【0117】
第2グループの発明のカーボンヒータは、上記ヒータ部材を1本もしくは複数本封入した密封形部材が、板状の石英ガラス支持体によって実質的に一体化されたものであって、この石英ガラス支持体の上記ヒータ部材の周辺部には中空の空間が形成された構成になっているカーボンヒータであって、上記石英ガラス支持体が2枚の石英ガラス板を融着したものであり、少なくとも1枚の石英ガラス板の接合面に所定深さの配線用溝が形成されており、上記深さ分を含まない各々の石英ガラス板の厚さが略同一となる構成になっている。これによって、均等に放熱することができる。
【0118】
また、第2グループの発明の他のカーボンヒータは、上記ヒータ部材を1本もしくは複数本封入した密封形部材が、板状の石英ガラス支持体によって実質的に一体化されたものであって、この石英ガラス支持体の上記ヒータ部材の周辺部には中空の空間が形成された構成になっているカーボンヒータであって、上記石英ガラス支持体が厚さの異なる2枚の石英ガラス板を融着したものであり、少なくとも1枚の石英ガラス板の接合面に所定深さの配線用溝が形成されており、上記深さ分を含まない一方の石英ガラス板の厚さが他方の厚さの1/2以下となる構成になっている。これによって、一方に対しての放熱を大きくすることができる。上記2つの形態のカーボンヒータは、これを配置する場所によって、適宜、いずれかを選択することができる。
【0119】
さらに第2グループの発明のカーボンヒータは上記配線用溝が、その長さ方向に垂直な断面形状の少なくとも下方側に湾曲形状を有し、かつ、つや出し処理されていることがより好ましい。もちろん、横断面全体を湾曲形状にしても良い。これにより、複数枚の石英ガラス板を融着一体化する際に、配線用溝の横断面形状が熱変形しカーボンワイヤと面接触するのを極力防止することができ、石英ガラスとカーボンの反応に伴うカーボンワイヤの劣化を防止することができる。これは、上記湾曲形状によって、溝内部に湾曲形状の曲率を持つことにより応力を分散することができ、溝内部の変形がおさえられることに起因する。
【0120】
また、同熱変形に伴う石英ガラス支持体の内部歪みの蓄積を抑制することができ、この割れ等の不具合を防止することができる。さらには、この面接触に伴うヒータ部材からの発熱量の吸収による、当該カーボンヒータとしての発熱ムラを防止することができる。
【0121】
尚、上記配線用溝を例えば酸水素バーナーによって所定時間あぶることによってつや出し処理するのは、石英ガラス板に配線用溝を機械加工によって形成したままの多少の凹凸が多数存在する通常の状態では、当該カーボンヒータを発熱させ配線用溝が加熱された場合に、上記凹凸のうち、特に凸部において、極部加熱状態となり、まばらにつや出し処理がなされたような構造となってしまい、当該カーボンヒータによる加熱ムラが生じてしまうことから、これを防止することを意図している。
【0122】
第2グループの発明のカーボンヒータは上記配線用溝内部を減圧又は非酸化性ガス雰囲気に保った状態で融着させたものであることが好ましい。これは、カーボンワイヤの製造時における酸化劣化を防止するためである。
【0123】
第2グループの発明の他のカーボンヒータは、上記ヒータ部材を1本もしくは複数本封入した密封形部材が、板状の石英ガラス支持体によって実質的に一体化されたものであって、この石英ガラス支持体の上記ヒータ部材の周辺部には中空の空間が形成された構成になっているカーボンヒータであって、上記配線用溝が、その長さ方向に垂直な断面形状が全体的に「凸」の字状となる構成になっている。
【0124】
これにより、カーボンワイヤを配線用溝に配置する際に、同ワイヤが上方に浮き上がるのを防止することができ、作業性を良好とすることができる。また、溝周囲に、特に溝の上辺(上板)のたわみによる熱歪を緩和することが可能となる。
【0125】
尚ここで「凸」の字状とは、横長の長方形の上辺のほぼ中央部上方に、この上辺よりも一辺の長さが短い正方形もしくは、この上辺よりも上辺が短い縦長の長方形を結合したような形状を意味する。
【0126】
また、第2グループの発明のカーボンヒータは、第1の石英ガラス板に配線用溝を形成し、第2の石英ガラス板に配線用溝と対になる幅狭の挿入用溝もしくは貫通スリットを形成し、第1・第2石英ガラス板を溝同士が対向するように接合し、第2石英ガラス板の表面を研磨又は研削して挿入用溝もしくは貫通スリットの底部を削除することによりこれを挿入用窓として露出させ、そこから第1の石英ガラス板の配線用溝内にヒータ部材を押し込み、研磨面又は研削面に第3の石英ガラス板を合わせ、しかる後に3枚の石英ガラス板を融着させ溝以外の部分全面を実質的に一体化させることにより、上記配線用溝をその長さ方向に垂直な断面形状が全体的に「凸」の字状にしていることが好ましい。
【0127】
これによって、上記作業性の良好化及び上記熱歪の緩和をより確実にせしめることができる。
【0128】
第2グループの発明の他のカーボンヒータは、上記ヒータ部材を1本もしくは複数本封入した密封形部材が、板状の石英ガラス支持体によって実質的に一体化されたものであって、この石英ガラス支持体の上記ヒータ部材の周辺部には中空の空間が形成された構成になっているカーボンヒータであって、石英ガラス支持体が、不透明石英ガラス層を有する構成になっている。
【0129】
また、上記の複数枚の石英ガラス板のうちの1枚が不透明石英ガラス板であってもよい。
【0130】
これによって、カーボンヒータで加熱したくない側への放熱を上記不透明石英ガラス層によって防止することができる。
【0131】
第2グループの発明の他のカーボンヒータは、上記ヒータ部材と、少なくとも片面が鏡面のカーボン製反射板とが、板状の石英ガラス支持体に封入されている構成になっている。
【0132】
尚、上記カーボン製反射板は、上記ヒータ部材と対向する側の面が鏡面となっていることが好ましい。
【0133】
この時、3枚の石英ガラス板を用いる場合には、石英ガラス板の2つの接合面に設けた配線用溝と反射板設定座ぐりに、それぞれヒータ部材と少なくとも片面が鏡面のカーボン製反射板を配置し、石英ガラス板の接合部を融着により実質的に一体化することが好ましい。
【0134】
尚、この場合のより好ましい形態は、次のとおりである。つまり、第1の石英ガラス板の上面に反射板設定座ぐりを形成し、この座ぐり部に少なくとも上面が鏡面のカーボン製反射板を配置し、また第2の石英ガラス板の上面に上記配線用溝を形成し、この溝部に上記ヒータ部材を配置し、上記第1の石英ガラス板の上に上記第2の石英ガラス板を重ね、さらに、その上に第3の石英ガラス板を重ね合せた後、各々接する部分を融着により、実質的に一体化させたものである。
【0135】
これによって、反射板方向への放熱をおさえ、一方向の面に放熱を多くすることができる。さらに反射板の存在により放熱される熱が均一に畜熱分散され、ヒータ面内の温度分布を均一にすることができる。
【0136】
特にカーボンを選択した理由は、カーボン材が純化処理が容易であり、その高純度化されたカーボン材を用いることによって不純物の拡散によるヒータ部材及び被処理物への金属汚染を防止することができるからである。
【0137】
また、第2グループの発明のカーボンヒータは、上記ヒータ部材を1本もしくは複数本封入した密封形部材が、板状の石英ガラス支持体によって実質的に一体化されたものであって、この石英ガラス支持体の上記ヒータ部材の周辺部には中空の空間が形成された構成になっているカーボンヒータであって、全体的に板状の石英ガラス支持体に少なくとも片面が鏡面のカーボン製反射板が封入されている反射板状体を、上記密封形部材に隣接配置する構成になっている。
【0138】
これによって、上記反射板状体が輻射をさえぎり、および反射させることにより加熱させたくない部分を保護することが極めて容易に達成できる。
【0139】
第2グループの発明のカーボンヒータにおいては、上述のいずれの形態においても、板状の石英ガラス支持体の少なくとも一つの外表面に、断面半円状もしくは台形状の凸部が形成されており、この外表面がつや出し処理されていることが好ましい。尚、上記凸部は、ヒータ面上方から見た場合には、これがストライプ状もしくは同心部状に形成されているか、あるいは、これが格子状に多数形成された状態となっている。これにより本発明のヒータ部材の如き線状発熱体によるヒータ面上方への発熱を、光の散乱によって均一化せしめるといったプリズム効果が得られる。
【0140】
通常、同様の効果を得るために、ヒータ面をサンドブラスト処理する方法が採用されるが、この場合には、表面が砂目状となっており、この表面からの放熱が抑制され、石英ガラス自身に熱を蓄積してしまいエネルギー効率が低下してしまう。この意味で、上記つや出し処理されていることは、重要な事項である。
【0141】
さらに、第2グループの発明のカーボンヒータにおいては、ヒータ部材もしくはヒータ部材の両端に接続された端子部が、ヒータ部材の形成するヒータ面に対して実質的に垂直に引き出すことが好ましい。端子部をヒータ面と垂直に引き出すことにより、石英ガラス支持体の融着面を大きくすることができ、強度の点で有利となる。また、この構成によれば、下方側もしくは上方側から被処理物である一枚もしくは複数枚の半導体ウエハを加熱する半導体製造装置に、上記カーボンヒータを容易に配置することができる。尚、この第2グループの発明のカーボンヒータの端子部における具体的構成については、後述する第4グループの発明を適用することができる。
【0142】
第2グループの発明の他のカーボンヒータは、上記ヒータ部材を1本もしくは複数本封入した密封形部材が、板状の石英ガラス支持体によって実質的に一体化されたものであって、この石英ガラス支持体の上記ヒータ部材の周辺部には中空の空間が形成された構成になっているカーボンヒータであって、上記密閉形部材が、湾曲形である構成となっている。
【0143】
これにより、発熱ムラが少なく、長時間の高温強度を維持でき、高い耐用寿命が得られ、かつ例えば、半導体(ウエハ)等の被加熱体を配列したロッドを均一に熱処理することのできる例えば円筒の2分割形状である湾曲形カーボンヒータを提供することができる。
【0144】
上記湾曲形のカーボンヒータにおいては、上記板状の石英ガラス支持体に上記ヒータ部材を封入し、ヒータ部材の周辺部以外の石英ガラス支持体を実質的に一体化した板状のカーボンヒータを、所定形状の断面を有するカーボン製下型と、それと対になるカーボン製上型との間で押圧して、板状のカーボンヒータを所定形状に湾曲させたものであることが好ましい。
【0145】
これにより、上記ヒータ部材が石英ガラス支持体に密封されており、上記ヒータ部材の周辺部以外の石英ガラス支持体が実質的に一体化した湾曲形カーボンヒータが得られ、これによって、上記ヒータ部材を支持する石英ガラス支持体への応力集中が生じない形態で封着を確実に実施でき、また厚さが5mm以下の低強度の石英ガラス板を用いた場合でも、減圧環境下で石英ガラスに破損が生ずることがない。
【0146】
上記カーボン製上型・下型が半円形の断面形状を有しており、実質的に半円筒形のカーボンヒータとすることが好ましく、さらに、上記板状の石英ガラス支持体に少なくとも一面が鏡面のカーボン製反射板を、上記ヒータ部材とは独立して封入することがより好ましい。これは非加熱部を保護するためであり、輻射を食い止めることができるためである。
【0147】
なお、第2グループの発明のカーボンヒータは、半導体の酸化、拡散、CVDなどの熱処理装置のみならず、洗浄装置などにおいても何かしらの加熱を伴う半導体製造装置であれば、あらゆるものに適応可能である。
【0148】
次に、第3グループの発明の要約を述べる。
【0149】
前述の第1グループの発明は、カーボンファイバーを編み込んだ柔軟なカーボンワイヤを用いてカーボンヒータを構成するものである。このように、カーボンワイヤを用いることにより、ヒータの形状に自由度が生れ、設計面や取り扱い上の利点を享受できる。
【0150】
第3グループの発明は、このような利点を持つカーボンワイヤ状のヒータ部材を用い、耐用寿命を大幅に向上でき、また急速昇降温が可能な例えば半導体製造装置用のカーボンヒータを提供することを目的としている。
【0151】
第3グループの発明のカーボンヒータは、直径が5〜15μmであるカーボンファイバーを複数本束ねたカーボンファイバー束を複数本用いてワイヤー形状やテープ形状のような縦長形状に編み込み、その含有不純物量を灰分で10ppm以下としたヒータ部材を1本もしくは複数本封入した密封形部材が、板状の石英ガラス支持体によって実質的に一体化されたものであって、この石英ガラス支持体中の上記ヒータ部材の周辺部には中空の空間が形成された構成になっているカーボンヒータであって、上記密閉形部材が配線用溝を有する石英ガラス製の設定部材及び石英ガラス製の蓋部材からなり、上記配線溝に上記ヒータ部材を配置した構成からなっている。
【0152】
この構造によって発熱ムラが少なく、つまり被加熱体である半導体(ウエハ)を均一に熱処理することができ、かつ長時間の高温強度を維持でき、高い耐用寿命が得られる。
【0153】
上記する複数本のカーボンファイバーを束ねたカーボンファイバー束を複数本用いてワイヤー状に編み込んだヒータ部材の表面を直径5〜15μmのカーボンファイバーでも毛羽立った構造とすることによって、石英ガラスとカーボンの実質的接触面積が極端に少なくなり(実質的には、ヒータ部材のうち石英がラスと接しているのは、この毛羽立ったカーボンファイバー部分のみである)、その結果1350℃程度でも相当長時間使用できることが確認されている。
【0154】
第3グループの発明のカーボンヒータは、上記設定部材及び蓋部材のいずれかもしくは両者の外周部に防炎堤を形成し、この防炎堤以外の対向面が0.2〜1.0mmの間隔において配置され、両部材を石英ガラスの肉盛り法によって、一体化していることが好ましい。
【0155】
なお、石英ガラス製の設定部材及び蓋部材の被せにあたっては、両部材を所定の間隔で略平行に離した状態で石英ガラスの肉盛り溶着法によって隙間のないよう固定することが好ましい。これは、両部材を、例えば略全域で当接させた状態で外周部を溶着もしくは肉盛り溶着すると、この際の外周部加熱に伴い、両部材もしくはいずれかの部材に亀裂やクラックが生ずるのに対し、上記固定によれば、このような問題が生ずることなく強固な被せが可能となる。これは、加工時の部分加熱による熱応力の集中及び、設定部材及び蓋部材の温度差による反り発生を緩和したことによると考えられる。
【0156】
また、上記好ましい形態によって防炎堤が存在することで、加熱源である酸水素バーナーの炎が両部材間に入り込み、内部のカーボンヒータを酸化するのを極力防止することができる。また、設定部材及び蓋部材の間隔を全域にわたって均一にすることができ、さらには設定部材及び蓋部材の外周部にSiO2微粉による白色の曇りが発生するのを防止し、本カーボンヒータの均熱性を向上せしめることができる。
【0157】
尚、この防炎堤の相手部材と接する面は、全面において加熱・溶着されていることが重要である。溶着されないで単に面接触している部分が存在すると上記のような亀裂やクラックが溶着時に生じてしまうからである。
【0158】
この上記防炎堤は、所定形状の両部材を形成する際に一体的に設けてもよく、各々の外周部に後から溶接して設けてもよい。
【0159】
そして両部材の溶着されない部分の対向面は0.2〜1.0mmの間隔において配置されることが好ましい。これは0.2mm未満では両部材の亀裂やクラックを十分に防止することができず、また1mmを超える場合には、溶着用火炎が入り込み易くカーボンヒータが酸化される恐れが大きくなるからである。
【0160】
また、第3グループの発明のカーボンヒータにおいては、上記ヒータ部材の両端にカーボンターミナルを配置し、カーボンターミナルに電極を接続し、この電極のカーボンターミナル側の部分に石英ガラスパイプを被せた構成とすることが好ましい。
【0161】
カーボンターミナルを設けることにより、カーボンターミナルをヒータ部材より低温にして、若干の酸素が入り込んでも、酸化防止することができる。特に、カーボンターミナルの周辺から非酸化性ガスを導入すれば、酸化防止をより徹底することができる。
【0162】
また、上記ヒータ部材と金属電極が直接接触していると、金属汚染によりヒータ部材のライフが著しく低下する。カーボンターミナルを介在させることは、ヒータ部材と金属電極との接触をなくす意味からも役立つ。
【0163】
金属電極の少なくともカーボンターミナル側の部分には、石英ガラスパイプを被せることが好ましい。そして、金属電極や端子の露出部は、炉外に配置する。このように、金属電極の炉内部分を石英ガラスで覆うことによって、金属電極からのFeやAl等の不純物汚染を低減することができる。
【0164】
このカーボンターミナルの不純物濃度は、灰分で10ppm以下であることが好ましい。これによりヒータ部材の劣化をおさえ、長寿命にすることができるからである。
【0165】
ヒータ内に窒素やアルゴンガス等の非酸化性ガスを導入する構成にすることが好ましい。このように非酸化性ガスを導入することによって、ヒータ部材の酸化を防止することができる。
【0166】
カーボンターミナルに接続する金属電極も高温になると不純物を発生する可能性があるが、金属電極を収容する石英ガラスパイプから非酸化性ガスを排出すれば、不純物の発生を防止できる。
【0167】
更に、また、上記金属電極としてはモリブデン(Mo)を用いることが好ましい。これはMoの熱膨張係数がカーボン材のそれと近似し、カーボンターミルとの良好な接合が高温時でも維持されるからである。
【0168】
ヒータ部材としては、第1グループの発明で述べたヒータ部材を用いることが好ましい。
【0169】
設定部材と蓋部材を平板状にすることが可能である。
【0170】
更に、第3グループの発明のカーボンヒータにおいては、カーボン製のヒータ部材と石英ガラス製の設定部材との反応をより確実に抑制するためには、配置用溝にアルミナ粉を配置し、アルミナ粉の焼結体によってヒータ部材を支持することが好ましい。
【0171】
これによってカーボンヒータの使用最高温度をより確実に1350℃程度まで引き上げることができる。
【0172】
上記アルミナ粉の焼結体は、設定凹所にアルミナ粉及び上記ヒータ部材を設置した後に1300℃程度の熱処理を行うことによって形成される。
【0173】
また、アルミナ粉の鉄不純物濃度は、鉄汚染によってカーボン質のヒータ部材のライフが低下しないように、5ppm以下に抑えることが好ましい。
【0174】
なお、第3グループの発明のカーボンヒータは、半導体の酸化、拡散、CVDなどの熱処理装置のみならず、洗浄装置などにおいても何かしらの加熱を伴う半導体製造装置であれば、あらゆるものに適応可能である。
【0175】
次に、第4グループの発明の要約を述べる。
【0176】
第4グループの発明は、前述のような利点を持つカーボンワイヤ状のヒータ部材を用い、耐用寿命を大幅に向上でき、また急速昇降温が可能な例えば半導体製造装置用のカーボンヒータを提供することを目的としている。
【0177】
また、第4グループの発明は、上記ヒータ部材とワイヤー状カーボンからなる端子線とを、さらには、ワイヤー状カーボンからなる端子線と金属製の端子線とを確実にかつ容易に接続できるシンプルな構造のカーボンヒータを提供することを目的としている。
【0178】
第4グループの発明のカーボンヒータは、上記ヒータ部材を1本もしくは複数本封入した密封形部材が、板状の石英ガラス支持体によって実質的に一体化されたものであって、この石英ガラス支持体の上記ヒータ部材の周辺部には中空の空間が形成された構成になっているカーボンヒータであって、上記ヒータ部材もしくはヒータ部材の端子部が、ヒータ部材の形成するヒータ面に対して実質的に垂直に引き出される構成となっている。
【0179】
このような構成によれば、下方側もしくは上方側から被処理物である半導体ウエハを加熱する半導体製造装置に、上記カーボンヒータを容易に配置することができ、かつ面内均熱性に優れ、耐用寿命が長いヒータとすることができる。
【0180】
上記のヒータ部材の好ましい形態は、第1グループの発明で述べたとおりである。
【0181】
上記第4グループの発明のカーボンヒータの1つの形態は、上記ヒータ部材自身がヒータ部材の形成するヒータ面に対して実質的に垂直に引き出される構造のものである(以下、これを第4−1グループの発明として詳述する)が、この場合には、ヒータ部材の両端をヒータ面の反対側に突出させ、突出したヒータ部材を石英ガラス支持板に当接する石英ガラス筒内に配列された複数のもしくは少なくとも端部が複数に分割されたワイヤー状カーボンにより固定し、上記石英ガラス筒に石英ガラス管を被せて上記密閉形部材を密封した構成とすることが好ましい。
【0182】
これにより、ヒータ部材を上記ワイヤー状カーボンからなる端子線に強固にかつ確実に接線することができる。また上記ヒータ部材が同種の複数本のワイヤー状カーボンに接し、電気的接触抵抗を下げるため、スパーク等の不具合を防止することができる。
【0183】
さらには、このような構成によれば、後述するようなヒータ部材の端部を上記石英ガラス製密閉形部材内において端子部材を配置し、端子線に接続する方法に比べ、同密閉形部材内にヒータ部材以外の異物が存在しない分だけ、ヒータ面上方への発熱ムラがより低減される傾向にある。
【0184】
第4−1グループの発明のカーボンヒータにおいては、端子線となる上記ワイヤー状カーボンの他端側を、中空部が形成されその内側に中子部材を有する第2のワイヤー状カーボン接続部材に、この中子部材での押圧によって接続し、割型中子を利用する金属線接続部材により金属製の内接線を接続し、両接続部材を任意の接続部材によって接続することがより好ましい。
【0185】
特に、上記中子部材での押圧を利用した複数のワイヤー状カーボン接続方法によって、電気的接触抵抗をおさえスパーク発生を防止することができる。また上記割型中子を用いた内接線の接続方法によって、広い面で金属製内接線とカーボン端子部材を接触させることができ、スパーク発生を防止することができる。
【0186】
上記割型中子を利用する金属線接続部材での内接線を接続する方法としては、特に、上記割型中子の外側にテーパ面を形成し、端子部本体にテーパ面と係合するテーパ部を形成し、割型中子に形成した支持部で金属製の内接線を挟み込み、これを押圧しつつ任意の接続部材に接続する構成にすることが好ましい。これにより、接触抵抗を押え、スパーク発生を防止することができる。
【0187】
さらにまた、上記密閉形部材内でヒータ部材を線対称に配置し、その対称軸上にガス導入・排出口を形成し、容器の溶接時にガス導入・排出口から非酸化性ガスを導入し、容器の封着時にガス導入・排出口から排気を行う構成にすることが好ましい。これにより、ヒータ内部で均一に非酸化ガスを導入することが可能となり、カーボンの酸化防止とヒータ面内温度分布を均一にすることができる。
【0188】
上記の説明から理解されるとおり、第4−1グループの発明のカーボンヒータにおいては、カーボンワイヤからなるヒータ部材とワイヤー状カーボンを石英ガラス筒内に配列された複数のもしくは少なくとも端部が複数に分割されたワイヤー状カーボンにより固定し、前記ワイヤー状カーボンと電源側の金属製の内接線を第2の端子装置で接続する構成にし、第2の端子装置が、複数のもしくは端部が複数に分割されたワイヤー状カーボンを接続するための第2のワイヤー状カーボン接続部材を備え、割型中子を利用して金属製の内接線を接続する構成の金属線接続部材を備え、第2のワイヤー状カーボン接続部材と金属線接続部材を接続するための端子部本体を備え、両接続部材を任意の接続部材に接続する構成になっていることが、より好ましいことは明らかである。
【0189】
そして、このような構成でありかつ、上記ヒータ部材が複数のもしくは少なくとも端部が複数に分割されたワイヤー状カーボンが内部に配列された石英ガラス筒及び第2端子装置が石英ガラス管内に封入する構成によって、石英ガラス密閉形部材に配置されるヒータ部材から複数のワイヤー状カーボンからなる端子線、第2のワイヤー状カーボン接続部材・端子部本体・金属線接続部材及び金属製の内接線を接続する一連の電気的接続系をすべて、外気から遮断することができ、結果、上記一連の電気的接続系を構成する部材すべての酸化を防止でき、長寿命かつ安定した均熱性を確保したカーボンヒータとすることができる。
【0190】
尚、上記任意の接続部材としては、例えば外周にネジ部を有する円筒中子を採用することができる。
【0191】
そして、第4−1グループの発明のカーボンヒータを最適なものとするためには、さらに、上記石英ガラス管の内側に配置された金属製の内接線と電源側の外接線をMo箔を介して接続し、Mo箔を石英ガラス製のピンチシール部で封着した構成とすることが重要となる。
【0192】
尚、上記ピンチシール部とは、一端が封じられた(キャップ)石英ガラス管のキャップ部を、高温化でカーボン製平板状治具ではさみ込んで、平板状に密着・溶接したような構造を意味する。
【0193】
これに反して、内接線をそのままキャップの外に出してピンチした場合には、Moと石英の熱膨脹係数差によって石英ガラス製のピンチシールに亀裂等が発生し、密閉性が阻害されてしまう不具合が生じる。このような不具合を解消するために、Moの箔体を介在させ、石英ガラスでピンチして密封するのである。
【0194】
上記第4グループの発明のカーボンヒータにおいては、石英ガラス容器を、中心部に開口を有する平板ドーナツ形状とすることができ、また、全体的に、平板半円形状で中心部に切欠きを有する割型にして、これを組み合わせてドーナツ状平板ヒータを形成することもできる。これは、ドーナツ形状の中心部開口に被処理物をささえるための軸を、挿入する構造にするためである。
【0195】
また、石英ガラス容器内で発熱体を線対称に配置し、その対称軸上にガス導入・排出口を形成し、ガス導入・排出口から非酸化性ガスを導入しながら容器を溶接により組立て、さらに、ガス導入・排出口から排気しながら容器内を常温で減圧封着することが好ましい。
【0196】
石英ガラス容器内を常温で0.2気圧以下の減圧あるいは非酸化性ガス雰囲気にして封着することが好ましい。
【0197】
第4グループの発明のカーボンヒータの1つの形態は、上記ヒータ部材の両端に接続された端子部がヒータ部材の形成するヒータ面に対して垂直に引き出される構成のものである(以下、これを第4−2グループの発明として、詳述する)が、この場合には、ヒータ部材の両端に端子部材を接続してヒータ面の反対側に突出させ、端子部材に石英ガラス管を被せて石英ガラス部材を密封した構成とすることが好ましい。
【0198】
第4−2グループの発明のカーボンヒータは上記形態にさらに上記石英ガラス管の自由端側に端子部本体を配置し、端子部材と端子部本体を複数本のもしくは少なくとも一方の端部が複数に分割されたワイヤー状カーボンで接続した構成にすることがより好ましい。これによって、端子線部での電気抵抗を下げ、この部分の発熱をおさえることができる。また熱伝導が小さいために伝熱により下部封止端子への熱伝達をおさえることができる。
【0199】
さらに、上記密閉形部材内でヒータ部材を線対称に配置し、その対称軸上にガス導入・排出口を形成し、容器の溶接時にガス導入・排出口から非酸化性ガスを導入し、容器の封着時にガス導入・排出口から排気を行う構成にすることが好ましい。これにより、ヒータ内部で均一に非酸化性ガスを導入することが可能となり、カーボンの酸化防止とヒータ面内温度分布を均一にすることができる。
【0200】
また、第4−2グループの発明のカーボンヒータにおいては、上記端子部材が上記ヒータ部材と上記複数本のワイヤー状カーボンを接続するものであり、その一端側にヒータ部材接続部を形成してヒータ部材を接続し、複数のもしくは一方の端部が複数に分割されたワイヤー状カーボンを一括して接続するための第1のワイヤー状カーボン接続部材を設け、端子部材の他端側に第1のワイヤー状カーボン接続部材を接続する構成にし、第1のワイヤー状カーボン接続部材を中空に形成してその内側に中子部材を配置し、上記複数のワイヤー状カーボンを中子部材で押圧して接続する構成にすることが好ましく、さらに上記端子部材と第1のワイヤー状カーボン接続部材の相方の接続端側に夫々めねじ部を形成し、中間部材に各めねじ部に対応するおねじ部を形成し、中間部材を介して両部材を接続する構成にすることがより好ましい。
【0201】
そして、さらに好ましい形態としては、上記ワイヤー状カーボンの他端側を、中空部が形成されその内側に中子部材を有する第2のワイヤー状カーボン接続部材に、この中子部材での押圧によって接続し、割型中子を利用する金属線接続部材により金属製の内接線を接続し、両接続部材をこの中間に位置する端子部本体によって接続し、端子部本体にテーパ面と係合するテーパ部を形成し、割型中子に形成した支持部で金属製の内接線を挟み込み、これを押圧しつつ端子部本体に接続する上記金属製の内接線をMo製金属棒とする構成、上記ワイヤー状カーボン接続部材と端子部本体及び、端子部本体と金属線接続部材を、それぞれネジ式で接続する構成がある。
【0202】
また、第4−2グループの発明のカーボンヒータは、カーボンワイヤからなるヒータ部材とワイヤー状カーボンを第1の端子装置で接続し、前記ワイヤー状カーボンと電源側の金属製の内接線を第2の端子装置で接続する構成にし、第1の端子装置が、端子部材を備え、その一端側に形成したヒータ部材接続部にヒータ部材を接続するようになっており、複数のもしくは端部が複数に分割されたワイヤー状カーボンを接続するための第1のワイヤー状カーボン接続部材を備え、端子部材の他端側に第1のワイヤー状カーボン接続部材を接続するようになっており、第1のワイヤー状カーボン接続部材を接続するようになっており、第1のワイヤー状カーボン接続部材を中空に形成してその内側に中子部材を配置し、分割したワイヤー状カーボンを中子部材で押圧して接続する構成になっており、第2の端子装置が、複数のもしくは端部が複数に分割されたワイヤー状カーボンを接続するための第2のワイヤー状カーボン接続部材を備え、割型中子を利用して金属製の内接線を接続する構成の金属線接続部材を備え、第2のワイヤー状カーボン接続部材と金属線接続部材を接続するための端子部本体を備え、両接続部材を端子部本体の一端側と他端側に接続する構成になっていることが好ましく、最適例としては、さらに、上記ヒータ部材と上記第1及び第2の端子装置が石英ガラス管内に封入され、石英ガラス管の内側に配置された金属製の内接線と電源側の外接線をMo箔を介して接続し、Mo箔を石英ガラス製のピンチシール部で封着した構成の第3の端子装置を有する構成としたものである。なお、上記ピンチシール部とは、上述の第4−1グループの発明の説明で記載したものと同等のものである。
【0203】
尚、上記第4−2グループの発明のカーボンヒータは、上述の第4−1グループの発明のカーボンヒータと、第1のワイヤー状カーボン接続部材が存在する点において相違するものであり、その他の構成においては、実質的に同一の作用効果が成り立つ。
【0204】
次に第5グループの発明の要約を述べる。
【0205】
第5グループの発明は、均熱性及びフレキシビリティーに優れ、低コストで製造できる例えば半導体製造装置用のカーボンヒータを提供することを目的としている。
【0206】
また、他の目的は、発熱ムラをより低減し、また耐用寿命を向上せしめたカーボンヒータを提供することにある。
【0207】
第5グループの発明のカーボンヒータは、直径が5〜15μmであるカーボンファイバーを複数本束ねたカーボンファイバー束を複数本用いてワイヤー形状やテープ形状のような縦長形状に編み込み、その含有不純物量を灰分で10ppm以下としたヒータ部材を1本もしくは複数本を並列に石英ガラス製の密封形部材内に封入したカーボンヒータであって上記ヒータ部材を封入した密閉形部材が、石英ガラス製もしくはアルミナ製平板状容器である構成となっている。
【0208】
特に、上記ヒータ部材を複数の端子部材及びワイヤー支え治具によって上記平板状容器内に非接触で支持されて封入した構成とすることが好ましい。
【0209】
これは、上記カーボン質のヒータ部材と石英ガラス質の平板状容器の高温下での反応に伴うヒータ部材の劣化を極力防止するためである。
【0210】
また、さらに上記端子部材の長さ方向に、ボルト差し込み用の略円筒状の穴部が形成されており、かつ少なくともこの穴部を貫通する略円筒状横穴が形成されており、該横穴に上記ヒータ部材を差し込み、該穴部に少なくとも該横穴の下端に達する長さを有するボルトを回転挿入する構成とすることが好ましい。これによって、前記長細形状のヒータ部材を取付容易にかつ確実に保持することができる。
【0211】
また、この構造において、前記ボルト差し込み用の略円筒状穴部の径を前記略円筒状横穴の幅より大きくし、該横穴に差し込まれた前記ヒータ部材が、前記ボルトによって加圧され、該穴部に達するように偏平に変形されていることが好ましい。これによって、前記長細形状のヒータ部材を前記棒状端子部材に強固にかつ電気的ロスのない接続とすることができる。なお、前記構造において、前記ボルトと前記ヒータ部材の間に膨張黒鉛シートを介在させることが、より好ましい。これによって、前記ボルト締め付け時にヒータ部材を形成するカーボンファイバーの切断を極力低減できる。
【0212】
前記ワイヤー支え治具は、透光性アルミナ単体もしくは、高純度カーボン及び透光性アルミナの組立部材により形成することが好ましく、更に前記組立部材においては、ヒータ部材に接する部分を高純度カーボン材料とし、かつ前記組立部材を平板状容器に配置接続する部分を透光性アルミナ材料とすることがより好ましい。透光性アルミナによれば、高温カーボン材との非反応性及び電気的絶縁性が高レベルで達成される。特に後者の組立部材によれば、前記発熱体の急激な温度変化があっても、ワイヤー支え治具にクラックや破損が生ずることなく、部品寿命が拡大される。
【0213】
より好ましくは、上記ヒータ部材の下側にカーボン製反射板を配置した構成を付加したものとする。
【0214】
特に、上面を鏡面加工した反射板を設けることによって、該カーボンヒータの下側への熱の放出を低減し、該カーボンヒータ上方の均熱性及び昇温速度の大幅なアップを図ることができる。
【0215】
さらに、前記ヒータ部材、棒状端子部材及びワイヤー支え治具を密閉形の石英ガラス製容器または透光性アルミナ製容器に封入することによって、特に半導体製造装置用としての有効なカーボンヒータを構成することができる。
【0216】
このとき、上記容器に適宜枝管を取り付け、枝管から窒素等の非酸化性ガスを流入したり、容器内を20torr以下の真空にすることが好ましい。これによって、上記ヒータ部材の劣化を防止し、長寿命化及び均熱性の長時間の持続が可能になるからである。
【0217】
さらに、第5グループの発明のカーボンヒータは、上記平板状容器のヒータ面に、断面半円状もしくは台形状の凸部が形成されており、この表面がつや出し処理されている構成にすることが好ましく、これによってカーボンワイヤの如き線状発熱体によるヒータ面上方への発熱を、光の散乱によって均一化せしめるといったプリズム効果が得られる。
【0218】
尚、上記凸部はヒータ面上方から見た場合には、これがストライプ状もしくは同心部状に形成されているか、あるいはこれが格子状に多数形成された状態となっている。
【0219】
通常、同様の効果を得るために、ヒータ面をサンドプラスト処理する方法が採用されるが、この場合には、表面が砂目状となっており、この表面からの放熱が抑制され、石英ガラス自身に熱を蓄積してしまいエネルギー効率が低下してしまう。この意味で、上記つや出し処理されていることは、重要な事項である。
【0220】
また、カーボンヒータのヒータ面は、被処理物よりも大径にすることができる。カーボン材は、熱容量が小さいので、このようにヒータ面を大径にすることによって昇温速度をさらに大きくすることができ、被処理物への均熱性を向上せしめることができる。
【0221】
【実施例】
第1グループの発明
以下、図29〜図40及び図88を参照して第1グループの発明の好適な実施例を説明する。
【0222】
図88は、第1グループの発明によるカーボンヒータの第1実施例を示す立体図である。(同図面は、編み込んだ状態を最も簡略して記載できるように、カーボンファイバー束を3本用いた場合を示したものである。)
この実施例では、ヒータ部材111は直径7μmのカーボンファイバーを330本束ねたカーボンファイバー束を3本用いて、ワイヤー形状に編み込んだものである。カーボンワイヤーの直径は、約1.2mmである。
【0223】
このカーボンファイバーをワイヤー形状に編み込んだヒータ部材は、編み込みスパン(長さ方向で、1本のワイヤー束が他の2本と規則的にからみ込んで、元の位置に戻ってくるまでの距離をいう)が5〜7mmである。
【0224】
従って、例え、1本1本のカーボンファイバーが途中で切断されたとしても、この切断の影響は、上記編み込みスパンの5〜7mmの長さのみに制限されることとなり、ヒータ部材の全長に影響を及ぼすことがなく、結果、ヒータ部材の長さ方向での電気抵抗値のバラツキ、ひいては、発熱ムラを生ずることを効果的に抑制する。
【0225】
また、上記ヒータ部材によれば、カーボンファイバー束を3本編み込む際に、330×3本のカーボンファイバーのうち、相当数のものが、ところどころで切断されることによって、全体的に見た場合、3〜6mmの多数の毛羽立ち115が表面に形成された状態となる。
【0226】
図29は、第1グループの発明によるカーボンヒータの第2実施例を示す斜視図である。
【0227】
この実施例では、ヒータ部材111はカーボンワイヤーで形成されている。カーボンワイヤーは、直径7μmのカーボンファイバーを300本束ねたカーボンファイバー束を9本用いて、ワイヤー形状に編み込んだものである。カーボンワイヤーの直径は例えば2mm程度である。また、上記編み込みスパンは、約3mmであり、カーボンファイバーによる毛羽立ちは、各々0.5〜2.5mm程度である。
【0228】
ヒータ部材111の両端には、カーボン電極112が接続されている。ヒータ部材111は、複数のアルミナ製支持部材113に支持され、同一平面内で何度も屈曲している。この実施例では、ヒーティング(均一加熱)ゾーンは面状となる。
【0229】
ヒータ部材111の含有不純物量は、灰分で10ppm以下である。また、ヒータ部材111の1000℃での抵抗値は1〜10Ω/m・本である。
【0230】
図30は、カーボンヒータの第3実施例を示す斜視図である。図31は、図30のカーボンヒータにおけるカーボン電極122付近の様子を示す断面図である。
【0231】
この実施例では、ヒータ部材121はカーボンテープで形成されている。カーボンテープは複数本のカーボンファイバーを束ねたカーボンファイバー束を複数本用いて、テープ形状に編み込んだものである。カーボンテープの幅は例えば10mm程度であり、厚さは例えば1mm程度である。この場合も、カーボンファイバーによる毛羽立ちは、上記カーボンワイヤとした場合と同等である。
【0232】
4本のヒータ部材121は、支持部材123,124を介して直列に連結され、その両端にはカーボン電極122が配置されている。支持部材123,124は2枚の平板であり、ヒータ部材121を挟み込んで固定する。下側(土台側)の支持部材124は石英製であり、上側の支持部材123はカーボン製である。この実施例でもヒーティングゾーンは面状である。
【0233】
ヒータ部材121の含有不純物量は、灰分で10ppm以下である。また、ヒータ部材121の1000℃での抵抗値は1〜20Ω/m・本である。
【0234】
図32は、特に半導体製造装置用として有効なカーボンヒータの第4実施例を示す斜視図である。
【0235】
この実施例では、ヒータ部材131は、石英ガラス製二重管136内に螺旋状に配置されている。
【0236】
ヒータ部材は酸化消耗を抑え、石英ガラスの失透を防止するため、不純物濃度が灰分で10ppm以下になっている。
【0237】
石英ガラス二重管136は内筒、外筒、上下板から成る密閉構造になっており、内部に窒素ガスを導入するか又は20torr以下の真空状態にすることができる。
【0238】
ヒータ部材131は、内筒に取付けたアルミナ製の小さな突起部133で支持されている。この突起部133は線状であっても良い。ヒータ部材131は、突起でなく溝で支持することも可能である。
【0239】
尚、上記アルミナ製の小さな突起部は、高純度の透光性アルミナにすることが好しく、また透光性アルミナにおいても、急速昇温の度合いを高めようとすると、熱衝撃のため、上記突起部にクラックや破損が生ずるおそれがあるので、上記突起部を高純度カーボン及び透光性アルミナの組立部材とすることが好しい。その場合、ヒータ部材と接する部分は高純度カーボンとする。さらには、透光性アルミナにかわって石英ガラスとしてもかまわない。
【0240】
この実施例では、3本のヒータ部材131が内筒の周りに螺旋状に巻かれており、3つのヒーティングゾーンが連続で形成されている。このように2つ以上のヒーティングゾーンを形成することによって、加熱領域の温度バランスをとることが容易となる。ゾーン幅とゾーンの個数は、任意に決めることができる。ゾーンの個数は、経済的な観点からは、3〜5個が有利である。
【0241】
ヒータ部材131は金属製の取付部材134を介して外筒を貫通しており、黒鉛電極132を経て、電源135に接続されている。
【0242】
図33は、特に半導体製造装置用として有効なカーボンヒータの第5実施例を示す斜視図である。
【0243】
カーボンヒータ140は、多数のヒータユニット149で形成されている。
【0244】
各ヒータユニット149は、密封型の石英ガラス製直管に上述のカーボンワイヤーから成るヒータ部材141を配置した構成になっている。多数のヒータユニット149が筒状に配置され、全体として筒型のカーボンヒータ140が形成されている。
【0245】
カーボンヒータ140は、筒型のヒーティングゾーンを有している。ウエハの加熱処理にはこのような円筒形が良いが、被加熱物によっては、もしくは、加熱条件の認定の観点から、箱形にすることもできる。
【0246】
カーボンヒータ140を用いて炉体を構成する場合には、炉体上下の温度バランスを良好にするために、カーボンヒータ140を複数個(例えば3〜5ゾーン)使用することができる。その際、形状や構成の異なるカーボンヒータを用いても良い。
【0247】
尚、上記例は、カーボンヒータの一部となるカーボンヒータユニットを管状体とした場合について記載したが、これに限定されず、カーボンヒータユニットを、ヒータ部材の周辺部以外の石英ガラス部材が実質的に一体化された棒状体とすることができる。
【0248】
図34には、カーボンヒータ140の一部となるヒータユニット149の一例が示されている。
【0249】
ヒータユニット149は、石英ガラス製直管146の両端を石英フランジ162と金属フランジ161で密封した構成になっている。両フランジ161,162を貫通して金属電極144が設けられており、その内側には炭素電極142が接続されている。2つの炭素電極142の間には、ヒータ部材141が張られている。
【0250】
石英ガラス製直管146の両端付近には、N2導入及び真空吸引に用いる出入口147,148が形成されている。
【0251】
なお、金属電極144はカーボン製電極であっても良いが、真空状態を維持するためには金属製であることが好ましい。
【0252】
図35と図36には、カーボンヒータ140の一部となるヒータユニット149の変形例が示されている。
【0253】
図35のヒータユニット149では、石英ガラス製直管46の側面からの突出部に金属電極44と炭素電極142が挿入されている。
【0254】
図36のヒータユニット149では、石英ガラス製直管の端面にワイヤー支持突起143が形成されていて、ヒータ部材141は支持突起143を経て他端に向う構成になっている。このため、ヒータ長を最大にすることができ、炉内の均熱性向上に役立てることができる。
【0255】
図37(A),(B)は、特に半導体製造装置用として有効なカーボンヒータの第6実施例を示している。
【0256】
カーボンヒータ150は、多数の環状管形状ヒータユニット159で形成されている。
【0257】
各ヒータユニット159は、密閉型の透光性アルミナ製の環状管156にカーボンワイヤー製のヒータ部材151を配置した構成になっている。多数の略環状ヒータユニット150が筒状に重ねられて、全体として筒型のヒータ150が形成されている。
【0258】
ヒータユニット159の例が図38(A),(C)及び(B),(D)に示されている。
【0259】
図38(A),(C)のヒータユニット159は、環の両端が同一面上に配置されている。一方、図38(B),(D)のヒータユニット159は、環の両端が上下に重ね合わされている。
【0260】
ヒータユニット159は、透光性アルミナ製環状管156の両端をフランジ163で密封した構成になっている。フランジ163は透光性アルミナと金属を張り合わせた構造になっている。フランジ163には金属電極154が貫通しており、その内側には炭素電極142が接続されている。2つの炭素電極の間には、ヒータ部材151が接続されている。
【0261】
図37(A)のカーボンヒータ150では、電極154の位置が縦方向で揃っており、電極端子位置に位相が生じる。一方、図37(B)のカーボンヒータ150では、図示のように電極154の位置を自由に設定できる。
【0262】
ヒータユニット159の重ね合わせ個数は任意に調整可能である。また、各ヒータユニットをパワーコントロールすることで、より一層均熱性を向上することが可能となる。
【0263】
図39に示すヒータユニット159では、透光性アルミナ製環状管156の両端が当接されており、電極154は管の断面中央部から放射方向に突出している。このタイプのヒータユニット159では、ヒータ長を最大にすることができ、炉体の均熱性を向上できる。
【0264】
図37〜39では示していないが、透光性アルミナ製環状管156においても両端部に配管系を設け、管内に窒素ガスを導入したり、管内を真空にしたりできる。
【0265】
尚、図37〜39の例は、カーボンヒータの一部となるカーボンヒータユニットを環状管形状もしくは環状の管体とした場合について記載したが、これに限定されず、いずれもヒータ部材の周辺部以上の石英ガラス部材が実質的に一体化された棒状体とすることができる。また、この例は、環状管156として石英ガラス製のものを用いても同等の作用をなすことができる。
【0266】
次は、図40の実施例を説明する。
【0267】
ヒータ部材161は、スパイラル形状に支持され断熱材容器166中に図示されない任意の構成によって封入されている。ヒータ部材161の両端には、電極が設置される。
【0268】
ヒータ部材161の電極部は、カーボン材から成る。支持電極部162は、金属製又はカーボン製のいずれでも良いが、不純物汚染を防ぐために、好ましくはヒータと接触する先端部は高純度カーボン製とする。
【0269】
ワイヤ支持部材163は、たとえばアルミナや石英ガラスのような非導電性物質で構成される。
【0270】
ヒータ部材が入っている断熱材容器166と炉芯管167の空隙は、密閉形であり、内部に窒素を導入したり、真空状態にすることができ、真空度は例えば20又は10torr以下に設定できる。
【0271】
ヒータユニットを複数個使用して、長尺円筒状のヒータヒーティングゾーンを形成とすることができる。
【0272】
このようにヒータユニットを重ねることにより、中央部の温度分布の均一性を向上できる。例えば、単一ユニットでは、1000℃で中央ヒータユニットの温度差が50℃以上あったのに対し、ヒータユニットを三重にした場合には、5℃以下になることが確認できた。
【0273】
カーボンヒーターとして、複数本のカーボンファイバーを束ねたカーボンファイバー束を複数本用いて編み込んだヒータ部材は、C/Cのものと比べた場合、熱容量を小さくできるので、急速急冷のスループットを格段に向上できた。
【0274】
また、上記ヒータ部材を用いることで、カーボンファイバーのみの場合に比べ発熱ムラが削減できた。
【0275】
また、従来のSiCヒーターでは、電気負荷密度を10W/cm2までしか上げることができなかったのに対し、前記カーボンワイヤーを用いた場合には電気負荷密度を30W/cm2まで上げることができ、その結果、約3倍の高速昇温が可能となった。
【0276】
また、各ヒータユニットをパワーコントロールすることでより一層の均熱性を向上することが可能となる。
【0277】
第1グループの発明の特に半導体製造装置用として有効なカーボンヒータは、均熱性及びフレキシビリティーに優れ、低コストで製造できる。
【0278】
なお、第1グループの発明は前述の実施例に限定されない。図示したカーボンヒータの形状は、あくまで例示的なものであり、様々な変形が可能である。図30の第3実施例では、ワイヤー状のヒータ部材の替わりに、テープ状のヒータ部材を用いることもできる。
【0279】
第2グループの発明
以下、図1〜図28を参照して、第2グループの発明の好適な実施例を説明する。
【0280】
尚、図1〜28においては、一部、ヒータ部材11と密封形部材12中の該ヒータ部材の周辺部が接触した簡略図面となっているが、実際上は、該ヒータ部材の周辺部には(該ヒータ部材表面に形成されたカーボンファイバーの毛羽立ちによって)中空の空間が形成されているものである。
【0281】
先ず、図1〜図5を参照して第2グループの発明の第1実施例を説明する。
【0282】
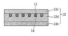
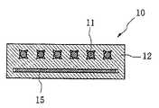
このカーボンヒータ10は全体的に矩形平板状のヒータであり、石英ガラス支持体12にヒータ部材11が封入された構造になっている。そして、石英ガラス支持体12は、図2に示されているように、上記ヒータ部材11の周辺部に実質的に中空の空間が形成されており、この空間部を除いて、実質的に一体化された構造となっている。
【0283】
尚、ここで実質的に一体化された構成として最も好ましい形態は、複数枚の石英ガラス板を融着させて本発明のカーボンヒータを製造した場合に、各石英ガラス板の接合面において、融着されずに離間している部分や半融着状態で組織的に不均一な部分が存在しない状態のものである。
【0284】
ヒータ部材11としては、複数本のカーボンファイバーを束ねたカーボンファイバー束を複数本用いてワイヤー形状に編み込んだものを用いる。
【0285】
ヒータ部材11は、石英ガラス支持体12のほぼ中心面上でジグザグ状に配置されている。配線形態は、渦巻状やその他の形状でも良い。
【0286】
ヒータ部材の具体例としては、直径7μmのカーボンファイバーを約330本束ねたカーボンファイバー束を9本(計2970本)用いて、直径約2mmのワイヤ形状に編み込んだものである。また、上記編み込みスパンは、3mmであり、カーボンファイバーによる表面の毛羽立ちは、各々0.5〜2.5mm程度である。このようなヒータ部材を2、3本或いはそれ以上用いることもできる。複数本用いると、発熱特性に関わる品質を安定させることができる。
【0287】
石英ガラス支持体12は、図3に示すように、ワイヤが中心に位置する厚さの2枚の石英ガラス板12a、12bを融着して実質的に一体化したものである。一方の石英ガラス板12bの接合面には、ヒータ部材11を収容するための配線用溝14が断面矩形状に形成されている。配線用溝14を含まない石英ガラス板12a、12bの厚さt1,t2は同一であり、ヒータ部材11は支持体12の中心に位置する。
【0288】
ヒータ部材11の端子線は、例えば直径3mmの穴21からヒータ面13と垂直に引き出されている。
【0289】
図4は融着処理のやり方を示している。カーボン製下部材27の上に石英ガラス板12a、12bを配置し、その上にカーボン製上部材28を載せさらにその上にカーボン材からなる重り29を載せて熱処理炉内にセッティングする。
【0290】
下部材27の上面と、上部材28の下面には、鏡面加工が施されている。また、これらのカーボン部材は全て、不純物5ppm以下の純化品である。
【0291】
なお、本カーボンヒータの如く、ヒータ部材の周辺部以外の石英ガラス支持体が実質的に一体化された構成を採るためには、特に上記カーボン部材の均質性と石英ガラス支持体と接する部分の表面粗さが重要である。この表面粗さと均質性を適切なものとするためには、上記カーボン部材として開気孔率を15%以下とし、かつ1.8〜2.0g/cm3の嵩密度特性を有するものを用いこれをバフ研磨ないし鏡面研磨した表面粗さ状態とすることが重要である。これによってカーボン部材による石英ガラス支持体全面への均一な加圧が可能となり、また石英ガラスとカーボンの熱膨脹係数の違いに伴う製造時の石英ガラス中への熱歪の残留を防止することが可能となる。
【0292】
炉内を1torr以下の真空に保ち、1200〜1600℃で0.5〜5時間熱処理して、2枚の石英ガラス板12a、12bの接合面を融着する。この熱処理は、温度が低いときは長く、高いときは短くし、状況により変更して行う。ヒータ部材11の雰囲気、すなわち配線用溝内の雰囲気が、減圧又は非酸化性雰囲気になるようにして接合する。
【0293】
冷却に際しては、石英ガラスの歪み点である1100℃付近での冷却を穏やかに行う。1100℃付近での冷却速度は、例えば50〜150℃/時間程度に設定する。
【0294】
このような、熱処理によって、石英ガラス支持体12、すなわち2枚の石英ガラス板12a、12bの接合面全体を融着して実質的に一体化することができる。すなわち、上記ヒータ部材11の周辺部に実質的に中空の空間が形成されており、この空間部を除いて実質的に一体化された構造となっている。
【0295】
なお、上記融着処理は、熱処理炉内で加熱する方法、つまり、外部からの加熱手段を採用しているが、これのみならず、所定炉内で石英ガラス板をカーボン部材によってはさみ、石英ガラス板中のカーボンワイヤを通電発熱させ、石英ガラス板を融着する方法や、もしくは、例えばカーボン部材のかわりにAlN等の部材によってはさみ、高周波誘導加熱によって石英ガラス板中のヒータ部材を発熱させる方法を採用することもできる。
【0296】
このような内部からの加熱手段であると石英ガラス板の外周からではなく、中心側より融着が進むため、石英ガラス板間に存在するガスを融着時に内部に取り込んで、気泡を残存させることが極力少なくなる。
【0297】
図5はカーボンヒータの使用状況の一例を示している。ヒータ部材11の端部が、ヒータ部材11からヒータ面13に対してほぼ垂直に引き出され、カーボン端子61を介してMo端子線62に接続されている。これらは石英ガラス管内に配置されている。そして、Mo端子線62は、Mo箔63を介して2本のMo外接線64に接続されている。Mo箔63はピンチシールされている。
【0298】
次に、図6〜図7を参照して、第2実施例のカーボンヒータを説明する。これ以降の実施例については、第1実施例との相違点を中心に説明する。
【0299】
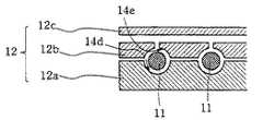
図7のカーボンヒータ10では、石英ガラス支持体12の厚さ方向で見てヒータ面13に近い側にヒータ部材11が配置されている。
【0300】
このカーボンヒータ10は、図6に示すように、厚さの異なる2枚の石英ガラス板12c、12dを用いて形成される。例えば、一方の石英ガラス板12cの厚さt1は、他方12dの厚さt2の1/2以下に設定することができる。カーボン発熱体11を収容する溝14は、厚い方の石英ガラス板12dに形成される。ただし、石英ガラス板の厚さとは、配線用溝の部分を含まない厚さである。
【0301】
上部の石英ガラス板12cは例えば100×100×3、下部の石英ガラス12dは例えば100×100×7の寸法で形成できる。
【0302】
次に、図8〜10図を参照して、第3実施例のカーボンヒータを説明する。
【0303】
このカーボンヒータ10は、多数の微細閉気孔を有する不透明(又は発泡)石英ガラス層12eを有している。
【0304】
不透明石英ガラス層12eはヒータ面の反対側に配置され、ヒータ下部に輻射熱が伝達するのを防止する。
【0305】
図8に示すように、ヒータ部材11を配線した石英ガラス板12dの上下に、薄手の石英ガラス板12cと不透明石英ガラス板12eを配置し、前述の融着処理を施す。これにより、図9に示すように、不透明石英ガラス層12eを含み、ヒータ部材11を1本封入した板状の石英ガラス支持体12によって実質的に一体化されたものであって、この石英ガラス支持体12中の上記ヒータ部材の周辺部には中空の空間が形成された構造を得ることができる。
【0306】
図10は、図9のカーボンヒータ10の変形例である。このカーボンヒータ10では、不透明石英ガラス層12eが、石英ガラス支持体12の全厚の約1/2を占めている。また、ヒータ部材11は、不透明石英ガラス層12eと透明石英ガラス層の間に跨って配置されている。
【0307】
このように、不透明石英ガラス層12eを厚くすることにより、ヒータ下方への輻射熱の伝達防止作用を大きくすることができる。
【0308】
次に、図11〜図13を参照して、第4実施例を説明する。
【0309】
このカーボンヒータ10は、カーボンファイバーからなるヒータ部材11と、少なくともヒータ部材11と対向する側の片面が鏡面のカーボン製反射板15とを板状の石英ガラス支持体12に封入した構成になっている。そして、石英ガラス支持体12は、上記ヒータ部材11の周辺部には、中空の空間が形成され、それ以外の部分においては実質的に一体化されている。
【0310】
石英ガラス上板12c、石英ガラス中板12d、ヒータ部材11、カーボン反射板15、及び、石英ガラス下板12eとを図11に示すように組み立て、前述の融着処理を施すことにより、石英ガラス支持体12(12c、12d、12e)を実質的に一体化させる。
【0311】
石英ガラス下板12eにはカーボン反射板用座ぐり16が設けられているが、座ぐり16は熱膨張差を吸収するために反射板より少し大きめに形成されている。
【0312】
このように、カーボン発熱体の下方にカーボン製反射板を設けることによって、ヒータ下方への輻射熱の伝達防止作用を大きくすることができ、また、ヒータ上方への熱輻射をより良好なものとすることができる。
【0313】
次に、図14〜図16を参照して、第5実施例を説明する。
【0314】
この実施例はカーボンヒータ用反射板状体20であり、前述の反射板を備えたカーボンヒータ10(図11〜図13)から、反射板の部分を単独で取り出したものに相当する。
【0315】
すなわち、カーボンヒータ用反射板状体20は、少なくとも片面が鏡面のカーボン製反射板15を、板状の石英ガラス支持体22に封入した構成になっている。
【0316】
石英ガラス上板22aと、片面が鏡面のカーボン製反射板15と、反射板用設定座ぐりを有する石英ガラス下板22bとを、図14に示す配置で組み立て、前記融着処理を施すことにより、石英ガラス支持体22(22a、22b)を一体化させる。
【0317】
このカーボンヒータ用反射板状体20を封止した石英ガラス支持体22は、図17に示すように例えば、図7のカーボンヒータの下面に重ねて配置することによって、本発明のカーボンヒータの一つの形態とすることができる。
【0318】
石英ガラス下板22bの反射板用設定座ぐりは、熱膨張差を吸収するために反射板より大きめであり、図15に示すようにそのための空間が形成される。
【0319】
上述のカーボン製反射板状体15はいずれも熱膨張黒鉛シート、カプトン焼成体シート、ガラス状カーボンシート等で形成し、厚さは20〜2000μmとする。
【0320】
なお、上記シートは、カーボンヒータをよりコンパクト化するために及び、低熱容量化を図るために、20〜200μmの薄い厚さの構造とすることが好ましいが、このようなものをより簡易に低コストで得るためには、カプトンシートを焼成することで製造するカプトン焼成シートが最も好ましい。
【0321】
尚、上記カーボン製反射板状体に関する説明は、本発明で記載するカーボン製反射板状体に共通するものである。
【0322】
このカーボンヒータ用反射板状体20はクリーンで耐熱性に優れており、低熱容量であるため、ヒータの下側や外側に配置する熱反射板として好適である。
【0323】
図16は、図15のカーボンヒータ用反射板状体20の変形例である。このカーボンヒータ用反射板状体20では、石英ガラス支持体22内に2枚のカーボン製反射板15a、15bが封着されている。このように小面積をもつカーボン製反射板を複数枚並べて構成することによって、同カーボン材の熱膨脹に伴うクラック発生をより効果的に抑制することが可能となる。尚、図16では、2枚のカーボン製反射板を1部のみを重複させた構造としているが、上記2枚のカーボン製反射板を全体を重複させた構造としてもよい。この場合には、より効果的な断熱性が得られる。
【0324】
図18と19の実施例では、カーボンファイバーからなるヒータ部材11が配線用溝14内に2本(3本以上も可)が並列に配置されている。配線用溝14の底部には、ヒータ部材の本数に合わせて2本の補助溝14cが形成されている。これにより、ヒータ部材を例えば3ヶ所の線接触で支持することができ、面接触に伴う発熱ムラ等の不具合を解消することができる。
【0325】
図20と21の実施例では、配線用溝の横断面の底部14d及び全体14d,14eが断面湾曲形状になっている。これにより、複数枚の石英ガラス板を融着一体化する際に、配線用溝の横断面形状が熱変形しヒータ部材と面接触するのを極力防止することができ、石英ガラスとカーボンの反応に伴うヒータ部材の劣化を防止することができる。また、同熱変形に伴う石英ガラス支持体の内部歪みの蓄積を抑制することができ、この割れ等の不具合を防止することができる。さらには、この面接触に伴うヒータ部材からの発熱量の吸収による、当該ヒータ部材としての発熱ムラを防止することができる。
【0326】
図22〜24の実施例では、ヒータ面(外表面)に断面半円状又は台形状の凸部13a又は13bが形成されている。図22は、ヒータ面上方から見て、ストライプ状に、また図23は同心円状に凸部が形成されたものであり、図24は格子状に多数の凸部が形成されたものである。これらの凸部13a及び13bの表面は、酸水素バーナでの加熱によるつや出し処理されている。
【0327】
このような構成を採用することによって、上記ヒータ部材の如き線状ヒータ部材によるヒータ面上方への面状発熱を、光の散乱によって均一化せしめるといったプリズム効果が得られる。
【0328】
通常、同様の効果を得るために、ヒータ面をサンドブラスト処理する方法が採用されるが、この場合には、表面が砂目状となっており、この表面からの放熱が抑制され、石英ガラス自身に熱を蓄積してしまいエネルギー効率が低下してしまう。この意味で、上記つや出し処理されていることは、重要な事項である。
【0329】
さらにまた、同構成によって、ダストの発生を防止することができる。
【0330】
凸部13a又は13bの半径又は底部長さは、いずれも0.5〜5mmが好ましい。0.5mm未満では、微細な加工のため製造コストが多大となる。また、充分なつや出し処理が施せない。さらに、充分なプリズム効果も得られない。反対に5mmを超えると、発熱ムラが生じる恐れがある。
【0331】
また、2つの凸部の間隔は、0.2〜1mmに設定できる。
【0332】
次に、図25(A)→(D)を参照して、他のカーボンヒータの製造方法の一例を説明する。
【0333】
先ず、図25(A)のように、配線用溝14a(溝幅:2〜4mm)を形成しこの溝部を酸水素バーナーにより、所定時間あぶることでつや出し処理した第1石英ガラス板32aと、この溝14aと対になる挿入用溝14b(溝幅:14aの幅より小さく1.5〜2.5mm)を形成した第2石英ガラス板32bとを、溝同士14a、14bが対向(連通)するように接合する。この接合は、2枚の石英ガラス板32a、32bを一体化させる融着でも良いし、次の研磨又は研削工程に耐え得る程度の固着でも良い。なお、挿入用溝14bは、配線用溝の一種と見ることもできる。
【0334】
そして、図25(B)のように、第2石英ガラス板32bの表層32dを研磨又は研削によって削除し、挿入用溝14bを露出させる。これにより、挿入用溝14bは、ヒータ部材11を挿入するための挿入窓となる。その挿入窓から、ヒータ部材11を入れ、内側の配線用溝14aまで押し込む。
【0335】
溝の断面形状が「凸」の字状であるため、ヒータ部材11を挿入した後で、ヒータ部材11が溝から盛り上がって飛び出すことを確実に防止できる。また、これによって、石英ガラス板の融着を接合面全般にわたって均一かつ確実に行うことができる。
【0336】
配線後に、石英ガラス板表面33のダストを除去し、図25(C)のように、第2石英ガラス板32bの研磨面33の上に第3石英ガラス板32cを載せ、融着処理を行う。
【0337】
融着処理により、3枚の石英ガラス板の接合面が溶接され、図25(D)に示すように、溝14(14a、14b)以外の部分が実質的に一体化される。
【0338】
この実施例では、融着前の配線用溝14a,14bが全体的に「凸」の字状となっている。融着後には上記「凸」の字状は変形して多少つぶれた形状となる。このように融着前の配線用溝を「凸」の字状にすることにより、溝周囲部の自重によるたわみなどによる熱歪を緩和できる。この自重によるたわみは、特に溝の上辺で大きくなるので、溝を「凸」の字状にすることによって、残留する熱歪を少なくできるのである。それゆえ、本実施例では、使用中の熱履歴によって上板に生じる亀裂やクラックの発生確率を大幅に低減できる。
【0339】
図25における各部の寸法の一例を挙げると、Lが0.5〜1.5mm、Mが2mm程度、Nが3mm程度である。
【0340】
また、ヒータ部材としては、その径が2mm程度のものを平行して1〜3本配線することができる。カーボンヒータの全体の厚さは、例えば5〜10mmにすることができる。
【0341】
次に、図26を参照して、円弧形断面を有するカーボンヒータ又はカーボンヒータ用反射板の製造方法を説明する。
【0342】
この製造方法は、前述のカーボンヒータ10を所定形状に湾曲させる方法である。
【0343】
平板状カーボンヒータ10を、凸型半円断面を有するカーボン製下型41と、これと対応した凹型半円断面を有するカーボン製上型42の間に挿入する。上型42は、カーボン荷重として機能する。もちろん、上型42と別体のカーボン荷重を用いても良い。
【0344】
上下型41、42の側部には、ズレ防止用カーボン型43が配置される。ズレ防止用型43は、上型42が真下に移動するようにガイドする。
【0345】
このようにセッティングしたものを、熱処理炉内に挿入し、1500〜1600℃で1〜5時間加熱することにより、厚さ5〜15mm程度の平板状のカーボンヒータ10を断面円弧状に変形させることができる。
【0346】
断面円弧状の例としては、1/3円弧や1/2円弧があり、図27のカーボンヒータ40は断面半円形(1/2円弧)である。
【0347】
図28に記載のカーボンヒータは、図19のカーボンヒータ40を2個組み合わせた円筒ヒータであり、ほぼ円筒形のヒータ面を形成している。端子線には、石英ガラス管19が被せてある。
【0348】
一方、カーボンヒータ用反射板も、柔軟な変形をするシート状の上述したようなカーボン製反射板のものを用いればカーボンヒータと同様にして円弧状に変形することができる。図26では、括弧付きの符号でそれを示した。
【0349】
このような、円弧状に変形させたカーボン製反射板は、上記の同様に変形させたカーボンヒータに、隣接配置して一体的に使用することができる。
【0350】
エグザンプル2−1
以下の手順で、図7のカーボンヒータを製造した。
【0351】
100×100×3tの上部石英ガラス板を準備し、融着面に鏡面仕上げを施した。また、ピッチング防止のためC0.2の面取りを行った。
【0352】
また、100×100×7tの下部石英ガラス板を準備し、深さ4mm、幅2mmの配線用溝を加工しその後、この溝部を酸水素バーナーによるつや出し処理を行った。また、融着面を鏡面加工し、C0.2の面取りを行った。
【0353】
上記鏡面仕上げの替りに、火炎によるつや出しを行っても良い。
【0354】
図4と同様にして、熱処理炉内で、カーボンファイバーから成るヒータ部材を下部石英ガラス板の配線用溝に配置し、この際に下部石英ガラス板表面に付着したカーボンファイバーくずを完全に除去した後、その上に上部石英ガラス板を載せ、これらをガラス状カーボン鏡面板の上にセットした。その上に、10kgのカーボンブロック重りを置いた。
【0355】
なお、これらのカーボン部材は全て、不純物5ppm以下の純化品を用いた。カーボン材が未純化であると、石英ガラス表面が失透する恐れがあり、石英ガラスに不純物がついて半導体製造装置内で拡散する可能性があるからである。
【0356】
そして、炉内を1torr以下に減圧し、1450℃で3時間の熱処理を実施した。冷却に際しては、石英ガラスの歪み点である1100℃付近では穏やかに冷却を行った。すなわち、1450〜1000℃での冷却速度は100℃/時間に設定した。それ以外の温度領域での冷却速度は、特に制御しなかった。
【0357】
以上の融着処理によって、上下部石英ガラス板の接触部分は、完全に融着され、外観上は一体の石英ガラス内部に上記ヒータ部材が配線された構造になった。
上記ヒータ部材は、荷重により多少圧迫されていた。
【0358】
石英ガラス板に設けた配線用溝も、融着の際に変形して圧迫され、溝幅と、溝深さが共に小さくなった。
【0359】
そして、このカーボンヒータを用い、図5のように端子部カーボンワイヤを石英ガラスパイプ中に通して電源に接続し、昇温試験を行った。
【0360】
その結果、ヒータ温度で1350℃まで問題なく加熱することができた。
【0361】
また、室温〜1200℃の間で100回昇降温を繰り返したが、クラック発生等の問題はなかった。
【0362】
尚、同様の製造方法によって両石英ガラス板の全接触面積中の5%の未融着部を有するものを製造し、上記評価を行なったが同等の結果であった。(この未融着部は、ヒータ部材を配線用溝に配置した際に下部石英ガラス板表面に付着したカーボンファイバーくずの除去が完全に行なわれない場合に生ずるものである。)
さらにまた、これら2つのカーボンヒータを用いて、各々についてリング状サセプタにより外周部を支持したφ200mm半導体ウエハを、真空中の炉内で約50mm下方から1000℃に加熱する試験を行なったが、いずれの場合においても上記半導体ウエハの上面内の温度ムラを±0.5℃の範囲以内に抑制することができた。
【0363】
他に、大気中の炉内で上記カーボンヒータ中のヒータ部材の温度を1300℃に設定し、これを長時間持続することで、石英ガラスとカーボン製ヒータ部材との反応評価試験を行なったが、2500時間経過した現在においても、上記いずれのカーボンヒータにおいて何ら問題が生じていないことが確認されている。
【0364】
第2グループの発明のカーボンヒータにおいては、石英ガラス支持体が融着によって一体化されているため、応力集中が生じず、長寿命を享受できる。
【0365】
しかも、ヒータ部材を支持する石英ガラス支持体がヒータ部材の周辺以外で一体化されているので、石英ガラス支持体を薄くして熱容量を小さくできる。それゆえ、急速昇降温に対応できる。
【0366】
第2グループの発明のカーボンヒータ用反射板状体は、クリーンで耐熱性に優れているため、ヒータの下側や外側に配置する熱反射板として好適である。また、前述の理由により肉薄化・低熱容量化できるので、特に半導体熱処理装置のヒータ用として好適である。
【0367】
第2グループの発明のカーボンヒータ及びそれ用の反射板の製造方法によれば、前述のような効果を有する高品質のカーボンヒータ及び反射板を低コストで効率良く製造することができる。
【0368】
なお、第2グループの発明は前述の実施例に限定されない。例えば、カーボンヒータや反射板の形状は、矩形に限らず円形や他の様々な形状を採用できる。また、ヒータ部材は石英ガラス支持体内において、2段以上に配置することもできる。
【0369】
第3グループの発明
以下、図62〜図69を参照して第3グループの発明の好適な実施例を説明する。
【0370】
図62は、第3グループの発明の特に半導体製造装置用として有効なカーボンヒータを示す概略図である。
【0371】
カーボンヒータ410は全体的に平板形状に形成されている。
【0372】
カーボンヒータ410は、石英ガラス製の設定部材412の設定凹所413に、発熱体としてカーボンファイバーからなるヒータ部材411を配置し、石英ガラス製の蓋部材414を被せた構成になっている。従って、ヒータ部材411は、石英ガラスに挟み込まれる格好となる。
【0373】
ヒータ部材411の具体例としては、直径7μmのカーボンファイバーを400本束ねたカーボンファイバー束を9本用いて、直径約2mmのワイヤ形状に編み込んだものがある。また、上記編み込みのスパンは約3.2mmであり、カーボンファイバーによる毛羽立ちは各々1.0〜3.0mm程度である。
【0374】
ヒータ部材411の配線形態は任意で良い。図示の例ではジグザグ状であるが、渦巻状やその他の形状でも良い。また、複数のゾーンに分割することも可能である。その場合には、端子は複数個必要となる。
【0375】
図63、図64にも示すように、設定部材412は、全体的に矩形の石英ガラス板である。設定部材412には、ヒータ部材411の設定凹所となる蛇行した溝413が形成されている。溝413の両端には、幅広のターミナル設定部421が設けられている。カーボンターミナル設定部421からは、金属電極通し溝422が外部まで伸びている。
【0376】
設定部材412には、非酸化性ガスを導入するためのガス導入溝423も形成されている。
【0377】
金属電極通し溝422とガス導入溝423には、それぞれ金属電極用石英ガラス管428とガス導入用石英ガラス管429が接続されている。石英ガラス管428、429は設定部材412に溶接され、溶接後に、クラック発生を防ぐためのアニール処理が施されている。
【0378】
これらの石英ガラス管428、429は、補強棒431によって補強することができる。
【0379】
溝413は、例えば、板状の設定部材412をダイヤモンドドリルを用いた機械加工によって堀削し、加工表面を平滑化して形成する。切削加工表面には無数のチッピングが存在するが、これは熱衝撃によるクラック発生の原因になるので、鏡面研磨もしくはつや出し処理での平滑化を行う。特に上述ように発熱ムラを防止するためには、酸水素バーナでの加熱によるつや出し処理を行うことが最適である。但し、後述するように、溝内にアルミナ粉415を充填する場合には、上記平滑化は必ずしも必要ではない。
【0380】
ここで鏡面とは、表面粗さRmax(最大高さJIS B0601−1982に基づく。)が1μm以下の面をいう。
【0381】
溝413の表面の表面粗さRmaxが1μmより大きい場合には、ヒータ部材との局部的な接触が生じ、その領域で反応性が高まりヒータ部材の寿命が短くなる。すなわち、石英ガラスとカーボンがSiO2+3C→SiC+2COやSiO2+2C→SiC+CO2の反応を起し、ヒータ部材411がダメージを受けることになる。例えば、1200℃、300時間で珪化による10%抵抗増加が確認された。
【0382】
溝413内には1本または複数本のヒータ部材411を配置することができるが、溝413の深さはこれらの正味の太さよりも深くすることが好ましい。また、ヒータ部材411と蓋部材414が面接触しないようにすることも大切である。
【0383】
図68、69に示すように、設定部材412と蓋部材414は、酸水素バーナを用いた溶接427によって密封固定されている。設定部材412と蓋部材414の対向面はLの距離をおいて対向している。距離Lは、0.2〜1mmである。
【0384】
距離Lを短め(0.2mm付近)にする場合には、設定部材412と蓋部材414の対向面を鏡面加工することが好ましい。これは、つや出しで面ダレが発生した時に、対向面が接してしまい、破損を招く可能性があるからである。距離Lが0.2mm未満では、破損の可能性が大きくなる。
【0385】
距離Lを長め(1mm付近)にとる場合には、面接触の恐れがないので鏡面加工の必要はない。距離Lが1mmを超える場合には、溶接用火炎が入り込み、発熱体411が酸化される恐れが大きくなる。
【0386】
設定部材412と蓋部材414の周囲には、開先が設けてある。これにより、設定部材412と蓋部材414の溶接強度を飛躍的に向上できる。開先を設けずに直角コーナのみを溶接すると、辺溶接となって十分な溶接強度を得ることができない。
【0387】
例えば、設定部材412と蓋部材414の肉厚が6mmの場合には、開先の面取りをC5とする。一般には、Cの幅:yは、y≦t−1mm(tは肉厚)によって選定されることが好ましい。これは設定部材412と蓋部材414の上端及び下端を1mm程残すことによって、これらのチッピングを防止するためである。また、溶接は開先部だけでなく、符号427で示すように1mm程度肉盛り溶接することが好ましく、その場合にはさらに強度を向上できる。
【0388】
なお、設定部材412と蓋部材414の間隔を開けることは、溶接時の局部的な温度差による破損を防止するのにも役立つ。
【0389】
設定部材412と蓋部材414の間隔を設けて、これらを溶接するためには、図69の場合には、厚さが0.2〜1mmのスペーサを介在させ、設定部材412と蓋部材414の外周部を3〜4点肉盛溶接し、スペーサを取り除いた後に、外周部全域を肉盛り溶接すればよい。また、図68のように蓋部材414の外周側全域にあらかじめ高さ0.2〜1mmで幅0.1〜9mm程度の防炎堤434を蓋部材414に一体成形もしくは溶接により形成したおき、この設定部材412と蓋部材414を重ね合わせた後、所定の石英ガラス棒を開先部にあてがいながら酸水素バーナーで加熱することによって防炎堤部を溶着させ、さらに肉盛部427を形成して溶接することができる。
【0390】
特に後者の方法によれば▲1▼バーナー加熱によるヒータ部材の酸化を極力防止することができ、▲2▼設定部材と蓋部材の間隔寸法をより均一化することができ、さらに▲3▼設定部材と蓋部材の外周部にSiO2微粉による白色の曇りが発生するのを防止でき、本カーボンヒータの均熱性を向上せしめることができる。
【0391】
尚、防炎堤434は、蓋部材414に0.2〜1mmの高さで設けてもよく、さらには、設定部材412及び蓋部材414いずれにも、トータル高さが0.2〜1mmとなるように設けてもよい。
【0392】
図65に示すように、設定部413にアルミナ粉415を充填し、そのアルミナ粉415でヒータ部材411を支持すると有利である。アルミナ粉415は、設定部413にアルミナ粉415及びヒータ部材411を配置した後で、1300℃程度の熱処理を行って焼結させる。
【0393】
これによってカーボンヒータの使用最高温度をより確実に1350℃程度まで引き上げることができる。
【0394】
アルミナ粉末は、例えば、次の手順で配置する。石英ガラス管428、429を溶接しアニールした後で、設定部材412の溝413にアルミナ粉末を純水で解いたペーストを流し込み、ヒータ部材411を設定した後で、ヒータ部材の上部にもアルミナペーストを流し込む。そして、200℃、3時間乾燥機で水分を除去する。
【0395】
カーボンターミナル設定部421にはカーボンターミナル416が配置してあり、そこにヒータ部材411の両端が各々接続されている。
【0396】
図66、図67に示すように、ヒータ部材411はカーボンターミナル416の穴に差し込まれ、ネジ425によって固定されている。
【0397】
また、カーボンターミナル416には、Mo製の金属電極417も接続されている。金属電極417の先端にはネジ426が切ってあり、カーボンターミナル416のネジ穴にネジ込み固定されている。
【0398】
金属電極417は石英ガラス管428を通って外側に引き出され、電極432に接続されている。
【0399】
そして、前述と同様に設定部材412と蓋部材414を溶接し密封固定した後に、石英ガラスの歪みを1150℃の熱処理によって解消する。この熱処理によって乾燥されたアルミナ粉末は仮焼状態となるが、これをさらに1300℃の熱処理を施すことによって焼結体とすることができる。設定部材412と蓋部材414の間には、0.2〜1.0mmの隙間が開いている。
【0400】
ガス導入管429にはフレキシブルチューブ433が接続され、そこから窒素ガス等の非酸化性ガスが吹き込まれる(矢印G)。吹き込まれたガスは、ガス導入通路423を通り、カーボンターミナル周辺部に流れる。そして、金属電極用石英管428を通って排出される。
【0401】
また、ヒータ部材411にもガスを供給するようにできるが、その際には、温度ムラが生じ易くなるため注意が必要である。
【0402】
エグザンプル3−1
アルミナ粉を用いずに図62に示す形態のカーボンヒータを作成した。
【0403】
このカーボンヒータに窒素ガスを導入しながら加熱試験を行ったところ、カーボンワイヤヒータ部の温度が850℃で51V10.6Aであった。100時間使用しても抵抗変化はなく、安定した加熱を行うことができた。更に、カーボンヒータの温度を1300℃にしても2000時間以上問題なく使用可能であった。
【0404】
エグザンプル3−2
アルミナ粉を用いてカーボンワイヤを支持した点以外はエグザンプル3−1と同様にして、カーボンヒータを作成した。
【0405】
窒素ガスを導入しながら加熱試験を行い、1350℃のヒータ温度(アルミナ粉表面温度)で200時間連続使用したが、抵抗増加等の不具合は無かった。その後、さらに温度を上昇させたところ、アルミナ粉表面が1550℃でヒータ部材が断線した。
【0406】
第3グループの発明の特に半導体製造装置用として有効なカーボンヒータは、従来のヒータに比べて耐用寿命が大幅に長く、また急速昇降温が可能である。
【0407】
なお、第3グループの発明は前述の実施例に限定されない。例えば、ヒータの全体的形状は矩形平板に限らず、円形板や円筒形でも良い。また、設定部材だけでなく、蓋部材にも溝を形成することができる。
【0408】
第4−1グループの発明
以下、図87、図89〜92を参照して第4−1グループの発明の好適な実施例を説明する。
【0409】
図89は第4−1グループの発明による特に半導体熱処理装置用として有効なカーボンヒータの使用状態を示す斜視図である。また、図90はカーボンヒータの詳細を示す上面図、図91は一部分を省略した側面図、また図87は図91の一部分の拡大図である。
【0410】
第4−1グループの発明のカーボンヒータ610では、複数本のカーボンファイバーを束ねたカーボンファイバー束を複数本編み込んでワイヤ状にしたヒータ部材612を使用する。
【0411】
ヒータ部材612として用いるカーボンワイヤの具体例としては、例えば、直径7μmのカーボンファイバーを300本束ねたカーボンファイバー束を9本用いて、直径約2mmのワイヤ形状に編み込んだものがある。また、上記編み込みのスパンは約3mmであり、カーボンファイバーによる表面の毛羽立ちは各々0.5〜2.5mm程度である。
【0412】
ヒータ部材612は、石英ガラス支持体12のほぼ中心面上で同心円状にジグザグに配置されている。配線形態は、渦巻状やその他の形状でも良い。
【0413】
ヒータ部材612の端子線は、例えば直径3mmの穴21からヒータ面13と垂直に引き出されている。
【0414】
配線用溝は、「凸」の字状に形成されている。
【0415】
熱処理によって、石英ガラス支持体602、すなわち2枚の石英ガラス板の接合面全体を融着して実質的に一体化されている。すなわち、このカーボンヒータはヒータ部材612を2本封入した板状の石英ガラス支持体602によって実質的に一体化されたものであって、この板状の石英ガラス支持体602中の上記ヒータ部材612の周辺部には、該ヒータ部材612の表面に形成されたカーボンファイバーの毛羽立ちによって中空の空間が形成された構造となっている。
【0416】
この実施例の端子部作製方法を説明する。
【0417】
1)N2を流しながら大径(例えば直径19mm)の石英透明パイプ603を平板状石英容器に溶接する。割れ防止のため適宜アニール処理(例えば1150℃、1hrで除冷)を行う。
【0418】
2)小径(例えば直径9mm)の石英パイプ661中にヒモを用いて複数のワイヤー状カーボンを引張り込む。そして、この石英パイプを石英容器の設定穴に挿入する。なお、ワイヤーは小径の石英パイプ661中にきつめに配置される。
3)各部材を図87のように配置して、接続部材640を組み立てる。その際、カラ迴り用カーボン材662の作用で、カーボンワイヤの切断を防止できる。
4)予め溶接により接合されていた不透明パイプ603aの下部に、透明パイプを溶接する。その際、枝パイプ664からN2ガスを導入してヒータ部材の酸化を防ぐ。
【0419】
5)N2を導入しながら下部透明パイプの下側に封止端子を取り付ける。
【0420】
6)枝管664から真空引きし、ヒータ内部を減圧する。その後、技管664のつけ根664aを火炎で丸めて封着し、枝管664を取る。
【0421】
ヒータ部材612の端部は、ヒータ部材からヒータ面に対してほぼ垂直に引き出され、カーボン端子を介してMo端子線641に接続されている。これらはガラス管内に配置されている。そして、Mo端子線641は、Mo箔655を介して2本のMo外接線653に接続されている。Mo箔655はピンチシールされている。
【0422】
尚、上記第4−1グループの発明のカーボンヒータは、上記の端子部以外は上述の第2グループの発明のカーボンヒータと同一の構成であり、また同等の製造方法によって製造される。
【0423】
また、第4−1グループの発明のカーボンヒータは、上記端子部及び石英ガラス支持体(融着方法)以外の構造は、後述する第4−2グループの発明のカーボンヒータと同じ構成にすることができる。
【0424】
このような構成にすることにより、本カーボンヒータの上方に約100mm離間し配置した半導体ウエハ面上での温度ムラを±0.5℃以下に保つことができる。また、コンパクト化が可能であり、製造が容易でコスト的にもメリットが大である。
【0425】
石英透明ガラスパイプ603の途中に配置した不透明石英ガラスパイプ603aは、ヒータ部から伝わる石英透明ガラスパイプ603の内部の熱幅射及びこれ自身による熱伝導を遮断する効果がある。これにより、Moロッド641、653の酸化を防止でき、さらに石英ピンチ部656の破損を効果的に防止できる。また、この実験例では、中子635と円筒中子648の間にカラ迴り用カーボン材662を介在させているので、中子によってワイヤー状カーボンを押圧する際に、中子が回転してカーボンワイヤが切断される不具合を解消することができる。
【0426】
第4−2グループの発明
以下、図70〜図75を参照して第4−2グループの発明の好適な実施例を説明する。
【0427】
図70は第4−2グループの発明による特に半導体熱処理装置用として有効なカーボンヒータの使用状態を示す斜視図、図71はカーボンヒータ単体を示す斜視図である。また、図72は図71のカーボンヒータの詳細を示す上面図、図73は一部分を省略した側面図である。
【0428】
第4−2グループの発明のカーボンヒータ510では、複数本のカーボンファイバーを束ねたカーボンファイバー束を複数本編み込んでワイヤ状にしたヒータ部材515を使用する。ヒータ部材515の断面は、円形に限らず偏平した形状でも良い。
【0429】
ヒータ部材515の具体例としては、例えば、直径7μmのカーボンファイバーを300本束ねたカーボンファイバー束を9本用いて、直径約2mmのワイヤ形状に編み込んだものがある。また、上記編み込みのスパンは約3mmであり、カーボンファイバーによる表面の毛羽立ちは、各々0.5〜2.5mm程度である。
【0430】
このようなヒータ部材515を用いることにより、電流負荷密度を従来のMo−Si線に比べて1.5倍程度に向上でき、急速加熱が可能となる。
【0431】
ヒータ部材515は石英ガラス平板容器の下容器511の設定凹所516内に配置され、そこに上容器512が被せられる。ヒータ部材515は、石英ガラス平板容器の下容器511と上容器512の間に挟まれる格好で、容器内に封じ込まれる。
【0432】
上容器512の上面がヒータ面512となるが、この実施例ではヒータ面512は半円形の平面である。
【0433】
設定凹所516は図72の平面で左右対称に配置されており、その対称線上にガスを導くためのガス通路517とガス導入・排出口518が形成されている。
ヒータ部材515の配線形態、すなわち設定凹所516の形状は任意で良い。図示の例ではジグザグ状であるが、渦巻状やその他の形状でも良い。
【0434】
石英ガラス容器511、512は、半円形状で中心部に半円形の切欠きを有する割型になっている。それゆえ、図70に示すように、2個組み合わせればドーナツ状ヒータ520を形成できる。
【0435】
設定凹所516の両端部には棒状端子挿入部519が形成してあり、棒状端子521がヒータ面531と垂直に配置されている。棒状端子521には、ヒータ部材515の端部が接続されている。上容器512の対応位置にも、棒状端子用の溝が形成されている。
【0436】
棒状端子挿入部519には石英ガラス管513が接続されている。石英ガラス管513は、下容器511の下面にヒータ面531と垂直に密封固定されている。
【0437】
石英ガラス管513の一部に不透明石英を使用することができる。この場合、ヒータ側からの光による熱伝達及び熱伝導を抑えることができる。そして、それより下部に配置する部材の温度上昇を抑制し、当該部材を保護すると共に熱ロスを防止することができる。
【0438】
石英ガラス管513の内部において端子部本体523と棒状端子521は、複数のワイヤー状カーボンからなる端子線522によって接続されている。端子部本体523からはMo製の内接線524が下方に導き出されている。このように、導電線として複数のワイヤー状カーボンからなる端子線522を使用することにより、電気抵抗を下げ発熱を抑えることができる。
【0439】
石英ガラス管513の下端部には、石英ガラス製のキャップ526が接続されている。内接線524はキャップ526を通って下方に引き出されている。
【0440】
引き出された内接線524の下端部はMo製の箔体528の上部に接続されている。箔体528の下部にはMo製の外接線529が接続されている。外接線529は、図73では二極であるが一極の場合もある。Mo製の箔体528は石英封止端子527によって密封されている。この石英封止端子527は、石英製のキャップ526の先端部を加熱軟化させピンチして(はさみ込んで)密封している。
【0441】
ところで、内接線524をそのままキャップの外に出してピンチした場合には、Moと石英の熱膨張係数差によって石英封止端子527に亀裂等が発生し、密封性が阻害されてしまう不具合が生じる。このような不具合を解消するために、箔体528を介在させ、石英封止端子527でピンチして密封するのである。
【0442】
図74、図75に示すように、上容器512と下容器511の対向面はLの距離をおいて対向している。距離Lは、0.2〜1mmである。
【0443】
距離Lを短め(0.2mm付近)にする場合には、上下容器511、512の対向面を鏡面加工することが好ましい。これは、つや出しで面ダレが発生した時に、対向面が接してしまい、破損を招く可能性があるからである。距離Lが0.2mm未満では、破損の可能性が大きくなる。
【0444】
距離Lを長め(1mm付近)にとる場合には、面接触の恐れがないので鏡面加工の必要はない。距離Lが1mmを超える場合には、溶接用火炎が入り込み、発熱体515が酸化される恐れが大きくなる。
【0445】
上下容器511、512の周囲には、開先が設けてある。これにより、上下容器511、512の溶接強度を飛躍的に向上できる。開先を設けずに直角コーナのみを溶接すると、辺溶接となって十分な溶接強度を得ることができない。
【0446】
例えば、上下容器511、512の肉厚が6mmの場合には、開先の面取りをC5とする。一般には、Cの幅:yは、y≦t−1mm(tは肉厚)によって選定されることが好ましい。これは上下容器511、512の上端及び下端を1mm程残すことによって、これらのチッピングを防止するためである。また、溶接は開先部だけでなく、符号532で示すように1mm程度肉盛り溶接することが好ましく、その場合にはさらに強度を向上できる。
【0447】
なお、上下容器511、512の間隔を開けることは、溶接時の局部的な温度差による破損を防止するのにも役立つ。
【0448】
上下容器511、512の間隔を設けて、これらを溶接するためには、図75の場合には、厚さが0.2〜1mmのスペーサを介在させ、上下容器511、512の外周部を3〜4点肉盛溶接し、スペーサを取り除いた後に、外周部全域を肉盛り溶接すればよい。また、図74のように、上容器512の外周側全域にあらかじめ高さ0.2〜1mmで幅0.1〜9mm程度の防炎堤534を上容器512に一体成形もしくは溶接により形成したおき、この上容器512と下容器511を重ね合わせた後、所定の石英ガラス棒を開先部にあてがいながら酸水素バーナーで加熱することによって防炎堤部を溶着させ、さらに肉盛部532を形成して溶接することができる。
【0449】
特に後者の方法によれば▲1▼バーナー加熱によるヒータ部材の酸化を極力防止することができ、▲2▼上下容器の間隔寸法をより均一化することができ、さらに▲3▼上下容器の外周部にSiO2微粉による白色の曇りが発生するのを防止でき、本カーボンヒータの均熱性を向上せしめることができる。
【0450】
尚、防炎堤534は、下容器511に0.2〜1mmの高さで設けてもよく、さらには、上容器512及び下容器511いずれにも、トータル高さが0.2〜1mmとなるように設けてもよい。
【0451】
上下容器511、512の溶接は、ガス導入・排出口518に接続したガス導入用パイプ514から、窒素ガスを導入しながら行う。窒素ガスを導入して窒素ガスを周囲から流れ出させ、溶接用の酸水素火炎を押し戻すようにして、設定凹所516に配置した発熱体515の酸化を防止する。ガス通路517は、このような窒素ガスの作用に適するように配置する必要がある。また、窒素ガスの導入は、石英ガラスパイプ中の端子や端子線のワイヤー状カーボンの酸化防止にも役立つ。
【0452】
溶接後に行うアニール工程でも、窒素ガスを導入しながら作業を進める。
【0453】
その後で、やはり窒素を導入しながら、ワイヤー状カーボン522を石英ガラス管513にセットし、封着用端子523を取り付ける。
【0454】
端子部本体設定後のアニール工程も窒素ガスを導入しながら行う。
【0455】
導入ガスとしては、窒素、ヘリウム、アルゴン、ネオン等の非酸化性ガスを用いることができるが、経済性の点からは窒素が妥当である。
【0456】
石英ガラス容器の組み立てが終わったら、容器内の排気を行って容器内を所定の圧力に設定する。これによって、前述の石英ガラス管513内も、所定の減圧状態となる。
【0457】
一般に、カーボン材は、酸化され易いため窒素等の非酸化性ガスを容器内に充填するか又は容器内を真空にする必要がある。しかし、真空状態では、カーボン材と石英ガラスとの反応が促進する傾向があるため、本発明では容器内に非酸化性ガスを充填する方法を採用する。
【0458】
窒素ガスを導入しながらヒータを加熱する方法では、窒素ガスラインの設置等により熱処理装置の構造が複雑になるため、本発明の好ましい態様では容器内部を密閉型にして若干の窒素ガスを内部に封入する。封入圧力は、以下のようにして定める。
【0459】
例えば、1000℃で使用し、熱処理炉内の圧力が真空と常圧の両方で使用する場合は、ヒータ内部の圧力は、0〜1atmの中間をとって0.5atm程度に設定する。1000℃で0.5atmにするためには、室温20℃では0.5atm×293K/1273K×760Torr/atm=87Torrとなり、室温で87Torrになるようにヒータ内部を減圧してから封じる。ヒータ内部は、例えば0.1気圧程度に設定する。
【0460】
すなわち、窒素ガスを導入しながら組み立て作業を行い、組み立て終了後にガス導入管514から窒素ガスを抜き、容器内部を所定の圧力に調整する。
【0461】
容器内を減圧することは、石英ガラス容器の寿命の点でも有利である。コンピュータシミュレーションの結果、ヒータ用の石英ガラス容器では、外部からの圧力より内部からの圧力に対して破損に弱いとの結果が得られている。窒素ガスを常温で1気圧に封入すると、ヒータ加熱時には内部の窒素が膨張し、石英ガラス容器の内部から圧力が作用することになる。
【0462】
最後に、ガス導入管514は、下容器511の下面に近い位置で火炎により封じて除去する。このため、ガス導入管514と石英ガラス管513は、閉栓作業ができる程度の間隔をおいて配置する。
【0463】
なお、本発明の特に半導体処理装置用としての有効なカーボンヒータは上述のような熱処理装置のみならず、半導体を高温化で洗浄を行う洗浄装置などにも適用することができる。
【0464】
エグザンプル4−2−1
厚さ8.0mmの石英ガラス板に溝加工及び外径加工を施し、その後、加工表面に酸水素火炎でつや出し処理を行って外径240mmの半円形、石英ガラス製下容器を得た。また、厚さ8.0mmの石英ガラス板を用いて下容器に対応する上容器を形成した。
【0465】
下容器にはガス導入用の石英ガラス管と端子用の石英ガラス管を下容器に溶接した。前者の外径は6.5mm、後者の外径は25.4mmであった。
【0466】
下容器の溝内及び端子用ガラス管内にヒータ部材と端子一式を配置して上容器を被せ、ガス導入用ガラス管から窒素ガスを導入しながら、上下容器の外周を溶接した。なお、開先はC5とし、溶接肉盛りは1mmとした。これ以降の工程も、原則として、窒素ガスを導入しながら行った。
【0467】
ヒータ部材の他端の端子部本体を石英ガラス管の解放端に配置して封着した。そして、アニール処理を行った。
【0468】
最後に、ガス導入用の石英ガラス管から窒素ガスを排気し、容器内圧力を180Torrに設定して、ガス導入用管を封着除去した。
【0469】
以上の手順で製作した断面T字形のカーボンヒータを用いて、加熱試験を行った。
【0470】
発熱体に電流を流し、ヒータ温度が放射温度計で1100℃になった時点でヒータ内圧力を測定したところ、約1気圧であった。また、複数本のカーボンワイヤ束部の温度は、105℃であった。
【0471】
室温からヒータ温度が1100℃になるまでに要した時間は、約10秒であった。
【0472】
ヒータ温度1100℃で1000時間継続使用したが、異常は認められなかった。
【0473】
また、ヒータ温度1300℃の加熱も問題なく行うことができた。
【0474】
以下、図76〜図86を参照して第4−2グループの発明のより好適な実施例を説明する。
【0475】
図76は、本発明のカーボンヒータ用端子装置を適用したカーボンヒータを示す斜視図である。図77は、その上面図である。
【0476】
カーボンヒータ601は、半ドーナツ形の石英ガラス製容器602を有し、その下部に石英ガラス管603が垂直に接続されている。
【0477】
石英ガラス製容器602は容器本体とフタ部材から構成され、容器本体にはヒータ部材612を配置するための溝604が形成されている。溝604の両端には、端子装置を配置するための端子用凹所606が設けてある。また、容器602内を非酸化性雰囲気にするためのガス導入・排出口608とガス通路607も形成されている。
【0478】
カーボンヒータ601を2個組合わせて円形のヒータ面を形成し、半導体製造装置用ヒータとして用いることができる。
【0479】
端子用凹所606及び石英ガラス管603内には、本発明における端子装置が配置される。
【0480】
本発明の端子装置には、ヒータ部材612と複数のワイヤー状カーボン端子線613を接続するための第1の端子装置610及び600、複数のワイヤー状カーボン端子線613と金属製端子線641を接続するための第2の端子装置640、石英ガラス管603の内側の金属端子線(内接線)641と電源側の金属製端子線(外接線)653を接続するための第3の端子装置650の3種類がある。
【0481】
先ず、図78〜図83を参照して、第1の端子装置について説明する。
【0482】
この端子装置620は、中間部材634を用いて端子部材611と端子線接続部材616を接続する構成になっている。
【0483】
棒状端子部材611の外形は、全体的に円柱棒状である。棒状端子部材611の一端側には、ヒータ部材612を挿入するための貫通穴614が端面と平行に形成されている。この貫通穴614に通じるように、ねじ穴623が設けてある。貫通穴614とねじ穴623は、図80に示すように、貫通穴614の中央でT字形に交差している。
【0484】
貫通穴614にヒータ部材612を挿入し、ねじ穴623に固定用ねじ619をねじ込んで発熱体612を固定する。このようにすれば、確実にしっかりと固定でき、スパークを発生させずに棒状端子部材611からヒータ部材612に電力を供給することができる。
【0485】
棒状端子部材611の他端側には、端子線ガイド部材616を接続するための大径のめくらねじ穴615が形成されている。めくらねじ穴は軸線上に配置される。端子線ガイド部材616は、中間部材633を介し、端子部材611に連結される。
【0486】
中間部材633は、外周におねじ部634を有する円筒形の部材である。
【0487】
端子線接続部材616は、全体的に円筒状に形成される。その貫通穴は、下端部付近で円錐状に狭くなっている。その反対側の接続端側の内周には、中間部材633のおねじ部634に対応するめねじ部622が形成されている。
【0488】
端子線接続部材616の貫通穴内には中子部材635が挿入される。中子部材635はプレーンな円筒状であり、端子線側の端部は円錐状に突出している。
【0489】
中子部材635は、その一部分のみが端子線接続部材616の貫通穴内に挿入されるようにすることもできる。そのためには、例えば、中間部材633に凹所を形成すれば良い。
【0490】
ワイヤー状カーボンからなる端子線613は、端子線接続部材616と中子部材635の間に挟まれて分配された状態で押圧固定される。中子部材635の外側に浅い溝を複数本設けて、分割したワイヤを案内するようにしても良い。
【0491】
組み立てに際しては、図78に示すように、複数のワイヤー状カーボン端子線613を複数のワイヤ613aに適当に分配して中子部材635で軽く押え、ズレないようにして中間部材635のネジ込みを行う。
【0492】
このように複数のワイヤー状カーボン端子線613を配置した接続部材618と中子部材631のセットを、中間部材633を介して端子部材611に捩じ込むことにより、前記溝状領域に配置された端子線613aを端子部材611に強く接続することができる。従って、良好な導通が保証される。
【0493】
また、形状柔軟性があるヒータ部材を、熱膨張や熱変形に対して、カーボンヒータ内で異常な応力を生じさせずに接続することが可能となる。
【0494】
上記ワイヤー状カーボン端子線613は、ヒータ部材612と同じ材質である方が良い。また、材質が異なる場合には、複数本のワイヤー状カーボンの端子線613の単位長さ当たりの抵抗値を、ヒータ部材612のそれより相応に小さくして、端子線の発熱を十分に抑えるようにする。
【0495】
ワイヤー状カーボン端子線613とヒータ部材612の温度は、概ね電気的抵抗値比率となった。例えば、ヒータ部材612の抵抗値が10Ω/m・本で端子線613が1Ω/m・本の場合には、ヒータ部材612の温度が1000℃であれば端子線は約100℃であった。
【0496】
ワイヤー状カーボン端子線613とヒータ部材612が同じ材質の場合には、端子線のワイヤ本数をヒータ本数の5倍以上にすることが好ましい。仮に、ヒータ1本に対して端子線のワイヤ本数が4本とすると、通常の半導体処理工程におけるようにヒータ温度が1100℃となった場合に、端子線温度は約275℃であった。275℃は、バイトン等の真空シール材が劣化する温度である。これに対し、ワイヤ本数を5本にすることによって、端子線温度が約220℃となり、耐熱温度230℃以下にすることができた。
【0497】
このように、電力を伝達する上記ワイヤー状カーボン端子線613の温度をさげることにより、バイトン等の真空シール材の劣化を防止することができる。また、ワイヤー状カーボン自体がカーボンファイバから構成されているため、ヒータからの熱伝導を抑えることができる。例えば、通常の特殊炭素材料の熱伝導率が100W/mKであるのに対し、ワイヤー状カーボンでは1W/mK以下である。
【0498】
次に、図84と図85を参照して、第2の端子装置について説明する。
【0499】
この端子装置640は、ワイヤー状カーボンからなる端子線613と金属製の端子線641とを、上記ワイヤー状カーボン接続部材643と、端子部本体642と、金属線接続部材645を用いて接続する構成になっている。
【0500】
上記ワイヤー状カーボン接続部材643は、前述した第1の端子装置における端子線接続部材616と大体同じ形状であり、その作用も同様である。
【0501】
端子部本体642は全体的に円筒型の部材であり、その一端側にはワイヤ束ガイド手段643を接続するための接続部644が設けてある。他端側には金属線接続部材645を接続するための接続部646が設けてある。
【0502】
接続部644は、めねじ部を有する大径のねじ穴である。
【0503】
接続部646には、中子部材647を収容するためのテーパ部(穴)642bが形成されている。このテーパ穴と前記大径ねじ穴は貫通している。また、接続部646の外周には、おねじ部が形成されている。
【0504】
金属線接続部材645はカップ状部材として構成され、端子部本体642の接続部46に被せてねじ込むようになっている。
【0505】
図85に示すように、中子部材647は2つの割型になっており、合わせると円錐台形状となる。外周のテーパ面は、端子部本体642のテーパ部642bに対応している。各割型の対向面には、金属線を保持するための溝状保持部647aが設けてある。
【0506】
端子部本体642の接続部644と複数のワイヤー状カーボン接続部材643の底部(ワイヤ束613の反対側)は、外周にネジ部を有する円筒中子648を介して接続される。
【0507】
図84に示すように、金属線641を保持した状態の端子部本体642の接続部646に、金属線接続部材645をねじ込むことにより、金属線641を確実に端子部本体642に接続することができスパーク発生を防止できる。これは、割型中子647と端子部本体642のテーパ穴とのテーパ係合作用による。
【0508】
金属製端子線641としては、Mo(モリブデン)製金属棒641を用いることが好ましいが、タングステンも使用可能である。
【0509】
Moは、炭素材料と極めて近い熱膨脹係数を有するため、炭素製端子本体の熱履歴によりクラック等の割れを防止できる。
【0510】
また、Moは、融点が約2100℃と高温であるため、金属不純物の発生を抑えることができる。それゆえ、Mo製金属棒は、石英製の封着端子の内接線(ヒータ側の端子線)として好適である。
【0511】
端子部本体642と中子部材647は炭素材で形成することが好ましい。炭素材は、純化し易く、3000℃の高温まで耐え得るので都合が良い。また、中子部材647はモリブデンロッドを支持するので、クラック防止のため、モリブデンと近似の熱膨張係数を有する炭素材が好適である。なお、Moと炭素材の熱膨張係数は、いずれも4.2〜4.8×10-6/℃である。
【0512】
最後に、図86を参照して、第3の端子装置の実施例を説明する。図86は、カーボンヒータの一部と第1〜第3の端子装置を概略的に示している。
【0513】
第1の端子装置と第2の端子装置は、ガラス管603内で複数のワイヤー状カーボン端子線613によって接続されている。このように導電線として複数のワイヤー状カーボン端子線613を用いることにより、電気抵抗を下げ発熱を押さえることができる。また、ワイヤー状カーボンは熱伝導も極めて小さい利点を有している。
【0514】
ガラス管603内には、窒素あるいはアルゴンガスをチャージするのが好ましい。これにより、管内に配置した端子装置の高温時耐酸化性を向上できる。
【0515】
第3の端子装置650は、石英ガラス管603の内側に配置された内接線641と電源側の外接線653を接続するためのものである。
【0516】
この実施例では、内接線641はモリブデン棒641である。モリブデン棒641の一端は第2の端子装置640に接続され、他端はモリブデン箔655に接続されている。モリブデン棒641は、ヒータ部材612とは間接的に接続される。
【0517】
石英ガラス管603の下端部には、石英ガラス製のキャップが接続されており、モリブデン棒641はキャップを通って引き出されている。
【0518】
モリブデン箔655の底部側からは、2本の外接線653が外側に引き出されている。外接線653は一極でも良い。
【0519】
そして、モリブデン箔655全体が包み込まれるように、ピンチシール部656が形成されている。ピンチシール部656は、モリブデン箔655を、ガラス管3の内部及び大気から遮断している。ピンチシール部656は、石英ガラス製である。
【0520】
ピンチシール部656は、例えば石英製のキャップの先端部を加熱軟化させピンチして(はさみ込んで)密封することにより形成できる。
【0521】
以上のように、カーボンファイバー束を編み込んだヒータ部材612は、内接線641に直接接続せず、間接的に接続される。つまり、上記ヒータ部材を熱的に遠ざけて配置することが重要である。
【0522】
外接線653としては、直径1.4mm〜2.0mmのモリブデンロッド2本を用いることができる。
【0523】
内接線641としては、直径1.4mm〜2.0mmのモリブデンロッドを使用できる。
【0524】
石英パイプ603としては、外形15mm以上のパイプを使用できる。
【0525】
モリブデン箔655としては、幅が8mm以上で、厚さが0.2mm〜0.5mmのものを使用できる。
【0526】
エグザンプル4−2−2
エグザンプル4−2−2は第1の端子装置に係る。
【0527】
窒素雰囲気中で純化した端子部材を2個配置し、その間に純化したヒータ部材2本を1mの間隔で固定した。この時の電気抵抗値は5Ωであった。次に、中子部材と端子線接続部材を用いて端子部材に18本のヒータ部材を固定し、図78の端子装置を製作した。そして、このヒータ部材からヒータに電力を供給した。10分後にヒータの温度が1100℃になり、電気抵抗値は2.5Ωになった。また、この時のカーボンワイヤ18本の温度を測定したところ105℃であった。
【0528】
この状態で1000時間使用したが、電気抵抗の変化は確認されなかった。
【0529】
使用したカーボンワイヤ、端子部材、及び他の炭素部材は、灰分で5ppm以下に純化したものである。
【0530】
これに対して、未純化品を使用したところ、16時間で断線した。断線後のカーボンワイヤヒータ部をEPMAで観察したところ、鉄による劣化が認められた。
【0531】
このように、ヒータ部材及びその他の炭素部材は、配分で5ppm以下とするのが好ましい。また、純化した炭素材の鉄濃度は、0.1ppm以下とするのが良い。
【0532】
エグザンプル4−2−3
エグザンプル4−2−3は第2の端子装置に係る。
【0533】
直径2mmのMo製金属棒を用いて、図84の端子装置を製作した。石英ガラス製容器にカーボンワイヤヒータを配置して容器内を窒素雰囲気に保ち、エグザンプル4−2−2の端子装置、及びエグザンプル4−2−3の端子装置を接続した。
【0534】
ヒータ部材の長さは1mで、2本の配線とした。ヒータの抵抗値は、室温では5Ωであり、1100℃の加熱時に2.5Ωであった。ヒータが1100℃の時、ワイヤー状カーボン端子線(18本)の温度は、105℃であった。また、Mo製金属端子部は、55℃であった。
【0535】
このカーボンヒータを1000時間使用した結果、端子本体にクラック等の損傷は発生せず、その他の問題も生じなかった。
【0536】
なお、エグザンプル4−2−3における端子装置の炭素部材も、エグザンプル4−2−2と同様に純化処理したものを用いた。
【0537】
エグザンプル4−2−4
エグザンプル4−2−4は第3の端子装置に係る。
【0538】
直径1.4mmの外接線を2本、外径が15mmの石英パイプ、また幅8mmのMo箔を使用し、図86に示す第3の端子装置を製作した。この端子装置に30Aの電流を流したところ封着部にクラック等の破損が生ずることがないことが確認された。
【0539】
第4−2グループの発明の第1のカーボンヒータ用端子装置によれば、ヒータ部材と複数のワイヤー状カーボンからなる端子線とを確実に且つ容易に接続することができる。また、この端子装置はシンプルな構造を有し、寿命も充分に良い。
【0540】
第4−2グループの発明の第2のカーボンヒータ用端子装置によれば、複数のワイヤー状カーボンからなる端子線と金属製の端子線とを確実に且つ容易に接続することができる。また、この端子装置はシンプルな構造を有し、寿命も充分に良い。
【0541】
第4−2グループの発明の第3のカーボンヒータ用端子装置によれば、30A程度の大電流で使用しても長寿命を享受できる。
【0542】
なお、第4−2グループの発明は前述の実施例に限定されない。例えば、各部材のめねじとおねじの関係や凹凸の関係を逆にすることは自在にできる。そのような設計変更は、本明細書の記載に基づいて当業者が容易に成し得ることなので、ここでは詳述しない。
【0543】
第5グループの発明
以下、図41〜図61を参照して第5グループの発明の好適な実施例を説明する。
【0544】
図41の(A)及び(B)は第5グループの発明を半導体製造装置に用いた第1実施例と第2実施例を示す概略図である。
【0545】
ヒータユニット210は円筒形の炉芯筒管211を備え、その外側にヒータ部材212が巻かれている。図41の(A)に示す第1実施例では、ヒータ部材212は縦方向に往復するように巻かれているが、図41の(B)に示す第2実施例では、ヒータ部材212は螺旋状に巻かれている。
【0546】
また、上記第1実施例及び第2実施例のヒータ部材212は、複数のゾーンに分割して別個に制御すれば、炉内上下の温度分布を均一に制御し易くなる。
【0547】
ヒータ部材212としては、灰分が10ppm以下の高純度カーボンワイヤーが適している。このような高純度カーボンワイヤーを用いることによって、不純物汚染を防止でき、また、熱伝導が小さく熱容量も少ないので急速昇降温が可能となる。
【0548】
炉芯筒管211の内側下部には、複数本のカーボンファイバーを束ねたカーボンファイバー束を複数本用いてワイヤー状の長細形状に編み込んだヒータ部材222とする平板容器状のカーボンヒータ220が配置されている。なお、ヒータ部材222としては、長細形状であれば、テープ形状のようなものでも使用できる。また、上記ヒータ部材の具体例としては直径3μmのカーボンファイバーを330本束ねたカーボンファイバー束を9本用いて、直径約2mmのワイヤー形状に編み込んだものである。
【0549】
図42と図43はカーボンヒータ220を示す上面図及び断面図である。
【0550】
カーボンヒータ220は、石英ガラス製容器221内で、高純度カーボン製棒状端子部材223及び透光性アルミナ単体からなるワイヤー支え治具224により前記ヒータ部材222を支持した構成になっている。
【0551】
石英ガラス製容器221は透明石英で構成でき、容器本体247とベース248からなる。容器本体247とベース248は、磨りガラスによって接合される。
【0552】
容器本体247の外表面露出部、特に発熱面となる上面は断面半円状もしくは台形状の凸部が全体としてストライプ状に、もしくは同心円状に、さらにもしくは格子状に形成されており、この外表面がつや出し処理されていることが好ましい。これにより本発明のヒータ部材の如き線状ヒータ部材によるヒータ面上方への発熱を、光の散乱によって均一化せしめるといったプリズム効果が得られる。通常、同様の効果を得るために、ヒータ面をサンドプラスト処理する方法が採用されるが、この場合には、表面が砂目状となっており、この表面からの放熱が抑制され、石英ガラス自身に熱を蓄積してしまいエネルギー効率が低下してしまう。この意味で、上記つや出し処理されていることは、重要な事項である。
【0553】
また、石英ガラス製容器は、多数の微小閉気孔が内在する不透明石英で構成することもできる。
【0554】
ベース248には、石英ガラス製の枝管233が接続されている。ヒータ部材であるカーボンの酸化を防止するために、この枝管233から不活性ガスや窒素ガス等を導入できる。また、容器内の排気を行い、例えば10torr以下の真空にする場合にも枝管233を利用できる。
【0555】
ベース248の上面には、後述するワイヤー支持部材224を設定する多数の挿入穴と、棒状端子部材223を通すための2つの貫通穴が設けてある。
【0556】
ベース248は、カーボンヒータ220の下方への熱の逃げを防止するために、不透明石英ガラスで構成される。ベースの上面又は上方には、ガラス状カーボンからなるカーボン製反射板225が配置される。このように、ヒータ部材222の下方に反射板225を置くことにより、下方への熱放射を低減することができる。反射板225の表面には中心線平均粗さRaで0.1μm以下の鏡面加工が施されている。
【0557】
上述のとおり、第5グループの発明では、カーボンファイバーを束ねたカーボンファイバー束を複数本用いてワイヤ状の長細形状に編み込んだヒータ部材222をヒータとして使用し、これを複数のワイヤー支え治具224によって屈曲させ、半導体ウエハのような略円板状体をその面内温度分布が均一となるように加熱しようとするものである。
【0558】
そのためには、このヒータ部材222をいかに均一な張り状態とするかが重要なポイントとなる。
【0559】
第5グループの発明では、図42に示す如く、まずヒータ部材222を、すべてのワイヤー支え治具224の貫通孔に通し、また、両端を各々棒状の端子部材223の横穴237に挿通した後、一方の棒状端子部材223に、ボルト状の押え部材228でヒータ部材222を加圧保持し、他の一方側のヒータ部材222を適度な力で引張りながら、同様にボルト状の押え部材228で加圧保持させるのである。
【0560】
上記ヒータ部材222としては、灰分10ppm以下のものを用いるのが好ましい。この場合、不純物汚染を防止でき、また、熱伝導が小さく熱容量も少ないので急速な昇降温が可能となる。
【0561】
上記ヒータ部材222は、ワイヤー支え治具224にガイドされ、容器221の面と平行な面上で複数の屈曲部を有しジグザグに配置される。ヒータ部材222の両端には、棒状の端子部材223が配置されており、これを介して電力が供給される。
【0562】
図44は、端子部材223の組立図である。端子部材223は、端子本体223aと、押え部材228と、キャップ229から構成される。端子部材223は、露出部の少なくとも一部、好ましくは露出部全部がSiCでコーティングされる。このようにSiCコーティングを行えば、大気中でも使用可能となる。
【0563】
端子本体223aはカーボン製であり、全体的にボルト型に形成されている。端子本体223aの軸方向の中間付近には、軸と直交する貫通した横穴237が設けてある。端子本体223aの六角状頭部から貫通した横穴237にかけては、押え部材を収容するための軸方向穴236が形成されている。軸方向穴236の内壁にはネジが切ってある。端子本体223aの脚部にもネジが切ってある。図44では、端子本体223の頭部は六角になっているが、スパナ等の工具で回転できる形状であれば他の形状でも良い。
【0564】
押え部材228は、端子本体223の軸方向穴236に対応したネジ型に形成されている。その頭部には、マイナスドライバー用の溝235が設けてある。押え部材228は端子本体223の軸方向穴236にねじ込まれ、貫通穴203に挿入されたヒータ部材222を押える。このように、押え部材228を用いてヒータ部材222を端子本体223aにしっかり密着させることにより、ヒータ部材222の抜け落ちとスパーク発生を防止できる。
【0565】
キャップ229は、端子本体223aの脚部のネジに対応したナット型に形成されている。
【0566】
端子本体223a及びキャップ229と石英ガラス表面との接触部に膨張黒鉛シート(図示せず)を挟むことにより、ヒータ内部への空気漏れやダスト発生を防止できる。
【0567】
図45の(A)は、図42〜図43のワイヤー支え治具224を示す斜視図であり、(B)は、ワイヤー支え治具の変形例を示す断面図である。
【0568】
ワイヤー支え治具224は、薄肉の円筒型であり、ヒータ部材222を通すための穴224aが開けられている。ワイヤー支え治具224の根元部は、石英ガラス容器221の設定穴内に埋め込まれる。
【0569】
ワイヤー支え治具224でヒータ部材222を支持することによって、ヒータ部材222が石英ガラス容器に触れないように保つ。このようにすれば、ワイヤーの珪化を防ぎ、電気抵抗の変化を防止できる。
【0570】
ワイヤー支え治具224を薄肉の円筒型つまりパイプ状にすると、上方への熱放射を大きくすると共に、熱容量を小さくできる。熱容量が小さいと、熱応答が早くなり、サーマルショックに強くなる。
【0571】
ワイヤー支え治具224は、透光性の透明アルミナで形成することができる。この場合、透明部からの熱の輻射が多くなるため、被処理物の温度均熱性を向上できる。
【0572】
ワイヤー支え治具224に必要とされる特性は、例えば、1300℃程度の高温下でのヒータ部材222との非反応性であり、また非導電性である。この両条件を満足するのが透光性アルミナであり、これならば単体で形成することができる。ただし、透光性アルミナにおいても、急速昇温の度合いを高めようとすると、熱衝撃のため、ワイヤー支え治具にクラックや破損が生ずるおそれがある。これを解決する構造として、高純度カーボン及び透光性アルミナの組立部材からなる。特に、前記組立部材のヒータ部材に接する部分が、高純度カーボン材料から成り、前記組立部材の、平板状容器221に配置接続する部分が、透光性アルミナ材料から成る構成が最適なものとなる。
【0573】
図45の(B)のワイヤー支え治具241は、カーボン部材242とアルミナパイプ部材243を接続した構成になっている。カーボン部材242には、ヒータ部材222を貫通させるための横穴244が形成されている。
【0574】
図46〜60は、図42〜44の実施例に変更を加えた実施例を示している。図46はヒータ部材220の主要部を示す断面図である。棒状端子部材や、これとのヒータ部材との接続構造は、図42〜44の実施例と、図46〜60の実施例で、実質的に共通している。以下に、特徴となる構成について説明する。
【0575】
ヒータ部材222は、複数本のカーボンファイバーを束ねたカーボンファイバー束を複数本用いてワイヤー形状に編み込んだものである。このヒータ部材222としては、長細形状であれば、テープ形状のようなものでも使用できる。ヒータ部材222は、ある厚み(約2mm)を有する編み込み式のものが好ましい。ねじり(捩り)ワイヤーは、ほぐれ易く、温度のバラツキがあり、均熱性に劣る傾向がある。すると、電気抵抗にバラツキが生じ、ウエハに対する均熱性が低下する。
【0576】
上記ヒータ部材222としては、灰分3ppm以下のカーボンワイヤーを使用するのが好ましい。この場合、不純物汚染を防止でき、また、熱伝導が小さく熱容量も少ないので急速な昇降温が可能となる。
【0577】
ヒータ部材222の両端には、カーボン製端子部材223が配置されており、端子部材223を介して電力が供給される。
【0578】
図46〜48に示されているように、端子部材223は、中間部にフランジ223aを有する。そのフランジ223aの一方側にはオネジ223bが形成されており、他方側には軸方向の穴223cと横方向の穴223dが形成されている。ワイヤーのヒータ部材222を端子部材223の横方向の穴223dに挿入してから、カーボン製のボルト状押え部材228を端子部材223の軸方向の穴223cにねじ込んで、ワイヤー223を端子部材223に固定する。
【0579】
アルミナ碍子のリング263がワイヤーのヒータ部材222から下方に離れていて、端子部材223のフランジ223aに接して配置してある。これによって、ガラス状カーボンからなるカーボン製反射板225とカーボン製端子部材223の電気的絶縁を図っている。
【0580】
ベース248の上側に前述の端子部材223のフランジ223aが設定され、ベース248の下側に炭素と炭素繊維の複合材(C/C)で作られたスプリング・ワッシャー265が設定されている。ナット266を端子本体223のオネジ223bにねじ込むことにより、端子部材223はベース248に固定される。
付加端子267はその軸方向の穴267bに形成したメネジが端子部材223のオネジ223bにねじ結合されて固定されている。
【0581】
カーボン製付加端子267には、ボルト状の押え部材268がネジ込まれている。付加端子267は、露出部の少なくとも一部、好ましくは露出部全部がSiCでコーティングされる。このようにSiCコーティングを行えば、大気中でも使用可能となる。
【0582】
付加端子267の軸方向の中間付近には、軸と直交する貫通した横穴267aが設けてある。付加端子267の一端部から穴267aにかけては、押え部材268を収容するための軸方向の穴267bが形成されている。軸方向の穴267bの内壁にはネジが切ってある。付加端子267の他端部にもネジが切ってある。
【0583】
押え部材268は、付加端子267の軸方向穴267bに対応したネジ型に形成されている。押え部材268は付加端子267の軸方向穴267bにねじ込まれ、横穴267aに挿入されたワイヤー状カーボンからなる端子線270を押える。このように、押え部材268を用いてワイヤー状カーボンからなる端子線270を付加端子267にしっかり密着させることにより、ワイヤー状カーボンからなる端子線270の抜け落ちとスパーク発生を防止できる。
【0584】
ワイヤー状カーボンからなる端子線270は、複数本のカーボンファイバーを束ねて拠ったカーボンファイバー束を複数本(例えば20本)編み込んだものである。
【0585】
ワイヤー状カーボンからなる端子線270の他端は、さらに別の付加端子272に固定されている。この付加端子272の上端には軸方向の穴272aが形成されており、そこにメネジが切ってある。その穴272aの底を貫通するように横方向の穴272bが付加端子272に形成されている。ワイヤー状カーボンからなる端子線270の端部をその横方向の穴272bに挿入してから、止めネジ273を付加端子272の軸方向の穴272aにねじ込んで、ワイヤー状カーボンからなる端子線270を付加端子272に固定する。
【0586】
付加端子272の下端部には、オネジ部272cが形成してある。そこにナット274をねじ込んで、金属配線275の一端が付加端子272に固定される。この金属配線275の他端は、電源(図示せず)に接続されている。
【0587】
通常は、上述のナット266に金属配線275を接続するが、この場合には、カーボン製端子本体223の発熱に伴い、金属配線が酸化され劣化するが、特に上記ワイヤー状カーボンからなる端子線を設けた構造によって、このような問題が解消される。
【0588】
図48〜49は、図46の端子部材23の具体例を示している。
【0589】
図50〜51は、図46の付加端子67の具体例を示している。
【0590】
図52〜53は、図46の押え部材28の具体例を示している。
【0591】
図54〜55は、図46の押え部材68の具体例を示している。
【0592】
図56〜57は、図46の付加端子72の具体例を示している。
【0593】
図58〜59は、図46のナット74の具体例を示している。
【0594】
ワイヤー支え治具224には、薄肉の円筒型でありヒータ部材222を通すための穴が開けられている。ワイヤー支え治具224の根元部は、石英ガラス容器221の設定穴内に埋め込まれる。
【0595】
ワイヤー支え治具224でヒータ部材を支持することによって、ヒータ部材222が石英ガラス容器に触れないように保つ。このようにすれば、カーボン製のヒータ部材の珪化をより確実に防ぎ、電気抵抗の変化を防止できる。
【0596】
ワイヤー支え治具224を薄肉の円筒型つまりパイプ状にすることにより、上方への熱放射を大きくすると共に、熱容量を小さくできる。熱容量が小さいと、熱応答が早くなり、サーマルショックに強くなる。
【0597】
ワイヤー支え治具224は、透光性の透明アルミナで形成することができる。この場合、透明部からの熱の輻射が多くなるため、被処理物の温度均熱性を向上できる。
【0598】
第5グループの発明においては、棒状端子部材223の長さ方向に、ボルト状押え部材228差し込み用の略円筒状の穴223cが形成されており、かつ、少なくともこの穴223cを貫通する略円状横穴223dが形成されており、横穴223dにヒータ部材を差し込み、穴に少なくとも横穴223dの下部に達する長さを有するボルト状押え部材228を回転挿入する構造にしているが、そのとき、図60の(A)に示すように、ボルト状押え部材228差し込み用の略円筒状穴223cの径を略円筒状横穴223dの径より大きくし、図60の(B)に示すように、横穴223dに差し込まれたヒータ部材が、ボルト状押え部材228によって加圧され、穴223dの底に達するように偏平に変形されているのが好ましい。
【0599】
図60の如く、ヒータ部材222を直接ボルト状押え部材228で偏平変形させて保持しようとすると、ボルト状押え部材228を回転挿入している際に、ヒータ部材222を構成するカーボンファイバーを少なからず切断してしまい、その結果、保持強度が低下してしまうおそれがあるが、ボルト状押え部材228とヒータ部材222との間に膨脹黒鉛シート(図示せず)を介在させる構成とすることによって、このような不具合を回避することができる。
【0600】
なお、第5グループの発明のカーボンヒータは上述の態様のみならず例えば図61に示すような半導体ウェハの下方にこれを配置し加熱処理を行う半導体製造装置に適用できる。
【0601】
また、第5グループの発明は前述の実施例に限定されない。例えば、カーボンヒータは円筒形に限らず、六角形や矩形等でも良い。また、カーボンヒータにおけるヒータ部材の配置は、渦巻状やその他の形状でも良い。
【0602】
第5グループの発明においては、特に半導体製造装置用として有効なカーボンヒーターを複数本のカーボンファイバーを束ねたカーボンファイバー束を複数本用いてワイヤー状の長細形状に編み込んだヒータ部材を複数の棒状端子部材及びワイヤー支え治具によって平板状容器内に非接触で支持されて封入した構成にすることによって、発熱体の発熱ムラを低減することができ、均熱性が向上する。また、急速昇・降温を可能とすることができる。
【0603】
また、本カーボンヒータを簡易構造とすることができ、低コスト化が図られ、さらにはその詳細な構造・材質の選択によって、本カーボンヒータ特有の諸問題を解決することができ、同ユニットの耐用寿命を向上することができる。
【図面の簡単な説明】
【図1】第2グループの発明のカーボンヒータの一実施例を示す平面図。
【図2】図1のカーボンヒータのXX断面図。
【図3】図1のカーボンヒータを融着処理する前の組み立て状態を示す断面図。
【図4】図1のカーボンヒータの融着処理方法を示す断面図。
【図5】図1のカーボンヒータの使用状況を示す側面図。
【図6】図7のカーボンヒータを融着処理する前の組み立て状態を示す断面図。
【図7】第2グループの本発明のカーボンヒータの他の実施例を示す断面図。
【図8】図9のカーボンヒータを融着処理する前の組み立て状態を示す断面図。
【図9】第2グループの本発明のカーボンヒータのさらに他の実施例を示す断面図。
【図10】第2グループの発明のカーボンヒータのさらに他の実施例を示す断面図。
【図11】図12のカーボンヒータの組み立て図。
【図12】第2グループの発明のカーボンヒータのさらに他の実施例を示す断面図。
【図13】図12のカーボンヒータの平面図。
【図14】図15のカーボンヒータ用反射板の組立図。
【図15】第2グループの発明のカーボンヒータ用反射板の一実施例を示す断面図。
【図16】第2グループの発明のカーボンヒータ用反射板の他の実施例を示す断面図。
【図17】第2グループの発明のカーボンヒータ用反射板が隣接配置されたカーボンヒータの実施例を示す断面図。
【図18】第2グループの発明のカーボンヒータのさらに他の実施例における融着処理前の状態を示す断面図。
【図19】図18のカーボンヒータの融着処理後の状態を示す断面図。
【図20】第2グループの発明のカーボンヒータのさらに他の実施例における融着処理前の状態を示す断面図。
【図21】第2グループの発明のカーボンヒータのさらに他の実施例における融着処理前の状態を示す断面図。
【図22】第2グループの発明のカーボンヒータのさらに他の実施例を示す図で、(A)が上面図、(B)が断面半円状凸部を有する場合のX−X断面図、(C)が断面台形状凸部を有する場合のX−X断面図。
【図23】第2グループの発明のカーボンヒータのさらに他の実施例を示す図で、(A)が上面図、(B)が断面半円状凸部を有する場合のY−Y断面図、(C)が断面台形状凸部を有する場合のY−Y断面図。
【図24】第2グループの発明のカーボンヒータのさらに他の実施例を示す図で、(A)が上面図、(B)が断面半円状凸部を有する場合のZ−Z断面図、(C)が断面台形状凸部を有する場合のZ−Z断面図。
【図25】第2グループの発明のカーボンヒータの製造方法の一例を示す工程図。
【図26】第2グループの発明のカーボンヒータ(又はカーボンヒータ用反射板)の製造方法の他の例を示す工程図。
【図27】図26の製造方法で製造したカーボンヒータ(又はカーボンヒータ用反射板)の一例を示す斜視図。
【図28】図27のカーボンヒータ(又はカーボンヒータ用反射板)の使用状態を示す斜視図。
【図29】第1グループの発明のカーボンヒータの第1実施例を示す斜視図。
【図30】第1グループの発明のカーボンヒータの第2実施例を示す斜視図。
【図31】図30のカーボン電極付近を示す断面図。
【図32】第1グループの発明のカーボンヒータの第3実施例を示す斜視図。
【図33】第1グループの発明のカーボンヒータの第4実施例を示す斜視図。
【図34】図33のカーボンヒータの一部を示す平面図。
【図35】図33のカーボンヒータの変形例を示す平面図。
【図36】図33のカーボンヒータの別の変形例を示す平面図。
【図37】第1グループの発明のカーボンヒータの第5実施例を示す斜視図。
【図38】(A),(B)は図37のカーボンヒータの一部を示す斜視図、(C),(D)はその側面図。
【図39】図38のカーボンヒータの変形例を示す斜視図。
【図40】第1グループの発明の他の実施例を示しており、(A)が横断面図、(B)が縦断面図。
【図41】(A)と(B)は、それぞれ第5グループの発明を半導体熱処理装置に用いた第1実施例と第2実施例を示す概略図。
【図42】図41のカーボンヒータを示す平面図。
【図43】図41のカーボンヒータの断面図。
【図44】図41のカーボン製の棒状端子部材の組立図。
【図45】(A)は図41のワイヤー支持治具を示す斜視図、(B)はその変形例を示す断面図。
【図46】第5グループの発明のカーボンヒータの別の実施例における主要部の概略を示す断面図。
【図47】図46の端子部材の一例を示す斜視図。
【図48】図46の端子部材の一例を示す正面図。
【図49】図46の端子部材の一例を示す上面図。
【図50】図46の付加端子の具体例を示す正面図。
【図51】図46の付加端子の具体例を示す上面図。
【図52】図46の押え部材の具体例を示す正面図。
【図53】図46の押え部材の具体例を示す上面図。
【図54】図46の押え部材の具体例を示す上面図。
【図55】図46の押え部材の具体例を示す上面図。
【図56】図46の付加端子の具体例を示す正面図。
【図57】図46の付加端子の具体例を示す上面図。
【図58】図46のナットの具体例を示す正面図。
【図59】図46のナットの具体例を示す上面図。
【図60】(A)は第5グループの発明の実施例において、端子部材の横方向の穴にワイヤーの発熱体を入れ、軸方向の穴には押え部材が入っていない状態を示し、(B)は、そのあと、押え部材を端子部材の軸方向の穴に十分にねじ込んだ状態をしており、
【図61】第5グループの発明のカーボンヒータの1つの配置例を示す説明図。
【図62】第3グループの発明のカーボンヒータを示す概略図。
【図63】第3グループの発明のカーボンヒータの設定部材を示す上面図。
【図64】図63の設定部材の端面図。
【図65】第3グループの発明の実施例におけるヒータ部材の設定の仕方を示す断面図。
【図66】第3グループの発明の実施例におけるカーボンターミナルを示す上面図。
【図67】第3グループの発明の実施例におけるカーボンターミナルを示す断面図。
【図68】第3グループの発明のカーボンヒータの実施例における外周部付近を示す断面図。
【図69】第3グループの発明のカーボンヒータの実施例における外周部付近の別の態様を示す断面図。
【図70】第4グループの発明によるカーボンヒータの使用状態を示す斜視図。
【図71】第4グループの発明のカーボンヒータ単体を示す斜視図。
【図72】第4−2グループの発明のカーボンヒータの詳細を示す上面図。
【図73】第4−2グループの発明のカーボンヒータの一部分を省略した側面図。
【図74】第4−2グループの発明のカーボンヒータの外周部を示す部分断面図。
【図75】第4−2グループの発明のカーボンヒータの外周部を示す部分断面図。
【図76】第4−2グループの発明の端子装置を適用したカーボンヒータを示す斜視図。
【図77】図76のカーボンヒータの上面図。
【図78】第4−2グループの発明による第1の端子装置の実施例を示す部分断面図。
【図79】図78の端子装置の端子部材を示す側面図。
【図80】図79の端子部材A−A断面図。
【図81】図78の端子装置に用いるねじを示す側面図。
【図82】図81のねじを示す上面図。
【図83】図78の端子装置の組立図。
【図84】第4−2グループの発明による第2の端子装置を示す断面図。
【図85】図84の端子装置の割型中子部材を示す斜視図。
【図86】第4−2グループの発明による第1〜第3の端子装置とそれを適用したカーボンヒータの一部を示す概略図。
【図87】第4−1グループの発明の別の実施例を示す断面図。
【図88】第1グループの発明におけるヒータ部材の一例を示しており、カーボンファイバー束3本を3つ編みにした状態を示しており、
【図89】第4−1グループの発明による半導体熱処理装置用のカーボンヒータの使用状態を示す斜視図。
【図90】図89のカーボンヒータの詳細を示す上面図。
【図91】図89のカーボンヒータを概略的に示す側面図。
【図92】図91の符号100の部分の拡大断面図。[0001]
BACKGROUND OF THE INVENTION
The present invention relates to a carbon heater, and more particularly to a carbon heater suitable for use in a semiconductor manufacturing apparatus.
[0002]
[Prior art]
In the semiconductor manufacturing process, for example, various heat treatments of a silicon wafer are performed. In such a semiconductor manufacturing process involving some heating, strict temperature control is required. It is also important to keep the heat treatment atmosphere clean.
[0003]
Therefore, development and commercialization of a high-performance heater for semiconductor manufacturing equipment that is excellent in temperature uniformity and temperature rise / fall properties and does not release pollutants are strongly desired.
[0004]
Japanese Patent Laid-Open No. 7-161725 discloses an electrode structure in which a graphite-carbon fiber composite material (hereinafter referred to as C / C) that is solidified using a resin in a wafer heating apparatus and integrated is used as a heater member. .
[0005]
Conventionally, a flat spiral SiC heater member or a complex-shaped Mo—Si heater member subjected to a welding process has been used in the same apparatus.
[0006]
[Problems to be solved by the invention]
However, the C / C heater member has a very high mechanical strength as long as its length is sufficiently thin in two dimensions even if it is thin in structure. For example, the C / C heater member has a one-dimensional length or width. In the case of a vertically long shape of 5 mm or less, sufficient mechanical strength cannot be obtained, and when used as a heater for a semiconductor manufacturing apparatus, if both ends in the length direction are fixed to a terminal, C / C Along with the thermal expansion, there is a problem that a thermal load is generated and is easily damaged, particularly in the vicinity of the terminal fixing portion.
[0007]
Therefore, if the width is widened, the resistance value becomes small this time, and in order to perform predetermined heat generation, the current value has to be greatly increased, and the heat capacity becomes large and rapid heating is difficult. It was.
[0008]
Further, when trying to obtain a complicated shape such as a substantially spiral shape as shown in FIG. 3 of the above-mentioned JP-A-7-161725, it is difficult to perform slit processing to obtain a soaking structure, and to make it high resistance as described above. However, it is necessary to reduce the width of the same member, but such processing is difficult, and if the processing that increases the cost or matches the cost is performed, the thermal uniformity is not sufficient. Was the current situation.
[0009]
The SiC heater member and the Mo-Si heater member have an electric load density of about 20 W / cm in order to suppress deterioration due to sublimation.2As a result, there was a limit to shortening the heating rate. In addition, even in these heater members, sufficient heat resistance strength has not been obtained in a complicated shape requiring a bent portion.
[0010]
Conventionally, a metal heater is sometimes used as a heater for a semiconductor heat treatment apparatus. However, the metal heater is liable to cause metal contamination, and the quality is likely to be unstable.
[0011]
In order to improve the heat treatment efficiency of the semiconductor, a heater capable of rapidly raising and lowering temperature is required. However, since the metal heater has a large heat capacity, there is a limit to improving the temperature raising / lowering characteristics.
[0012]
In general, the metal heater has a problem that it is difficult to rapidly raise and lower the temperature because the incidental facilities such as a heat insulating material and the heat capacity of the metal heater itself are large.
[0013]
Therefore, a carbon material having a small heat capacity and excellent in high temperature resistance in a non-oxidizing atmosphere has been used as a heater.
[0014]
However, a carbon material using a normal electrode material has a problem in terms of flexibility, and has become a bottleneck in shape design.
[0015]
In general, in a carbon heater using a carbon wire as a heating element, the carbon wire is disposed in a container kept in a non-oxidizing atmosphere in order to prevent oxidation. And since a carbon wire becomes very high temperature at the time of heat_generation | fever, what bundled a plurality of carbon wires is used as a terminal wire.
[0016]
Conventionally, carbon wires have been fixed by impregnation with carbon paste and firing. In the case of a relatively thin carbon wire, it may be fixed by screwing.
[0017]
However, in the fixing method using the carbon paste, the carbon paste fired body is peeled off, which may cause dust generation.
[0018]
On the other hand, with the screw-type fixing method, screwing work is complicated when the number of carbon wire bundles is large. Further, in the case of a thick carbon wire, it may not be able to be fixed firmly.
[0019]
Further, in a heater using a carbon wire as a heating element, a terminal device for connecting a terminal wire made of a carbon heater bundle and a metal terminal wire is also required.
[0020]
However, a terminal device that can reliably and easily connect both terminal wires has not yet been provided.
[0021]
In general, in order to keep the atmosphere around the carbon heating element in a non-oxidizing atmosphere, the sealing technique of the carbon heating element is important.
[0022]
However, in the conventional sealing method in which the carbon heating element is sandwiched between two quartz glass plates and the outer periphery is welded, the contact surface is distorted or deformed due to partial heating, and stress is concentrated on the weld fixing part. There was a great risk of breakage of the glass plate.
[0023]
An object of the present invention is to provide a carbon heater that is excellent in heat uniformity and flexibility, can be rapidly raised and lowered, and can be manufactured at low cost.
[0024]
[Means for Solving the Problems]
The present invention is a heater member in which a plurality of carbon fiber bundles obtained by bundling a plurality of carbon fibers are knitted into a long shape such as a wire shape or a tape shape, and the impurity content is 10 ppm or less in ash content. A carbon heater provided with a heater member is one preferred solution.
[0025]
DETAILED DESCRIPTION OF THE INVENTION
The carbon heater of the present invention uses a plurality of carbon fiber bundles obtained by bundling a plurality of carbon fibers having a diameter of 5 to 15 μm, and weaves them into a vertically long shape such as a wire shape or a tape shape. The following heater member is provided.
[0026]
One or a plurality of the heater members can be enclosed in a sealed member made of quartz glass or alumina.
[0027]
The resistance value of the heater member at 1000 ° C. is preferably 1 to 20 Ω / m · book.
[0028]
The sealed member has a shape selected from a double tube shape, a straight tube shape, and an annular tube shape, and a heating zone having a predetermined shape can be formed by combining a plurality of the sealed members. A non-oxidizing gas can be introduced into the space formed in the sealed member.
[0029]
The space formed in the sealed member can be evacuated to 20 torr or less.
[0030]
The sealed member is substantially integrated by a plate-like quartz glass support, and a hollow space is formed around the heater member in the quartz glass support. be able to.
[0031]
The quartz glass support is formed by fusing together the entire joining surfaces of a plurality of quartz glass plates, forming a wiring groove on the joining surface of at least one quartz glass plate, It can be set as the structure which has arrange | positioned the heater member.
[0032]
The quartz glass support is formed by fusing two quartz glass plates, and a wiring groove having a predetermined depth is formed on the joining surface of at least one quartz glass plate, including the depth. The thickness of each quartz glass plate which is not present can be made substantially the same.
[0033]
The quartz glass support is formed by fusing two quartz glass plates having different thicknesses, and a wiring groove having a predetermined depth is formed on the joining surface of at least one quartz glass plate. The thickness of one quartz glass plate not including the thickness can be made ½ or less of the other thickness.
[0034]
It is preferable that the wiring groove has a curved shape on at least the lower side of the cross-sectional shape perpendicular to the length direction and is polished.
[0035]
The wiring groove can be formed in a “convex” shape as a whole in a cross-sectional shape perpendicular to the length direction.
[0036]
A wiring groove is formed in the first quartz glass plate, a narrow insertion groove or a through slit is formed in the second quartz glass plate to be paired with the wiring groove, and the first and second quartz glass plates are formed. The grooves are joined so that they face each other, and the surface of the second quartz glass plate is polished or ground to remove the bottom of the insertion groove or the through slit, thereby exposing it as an insertion window. The heater member is pushed into the wiring groove of the quartz glass plate, the third quartz glass plate is aligned with the polished surface or the ground surface, and then the three quartz glass plates are fused to substantially cover the entire surface other than the groove. By integrating the wiring grooves, the cross-sectional shape perpendicular to the length direction of the wiring grooves can be formed into a “convex” shape as a whole. Furthermore, the same structure can be obtained even if a convex groove is formed on the first quartz glass plate and the third quartz is fused.
[0037]
It is preferable that the wiring structure is fused in a state of being kept in a reduced pressure or non-oxidizing gas atmosphere.
[0038]
The quartz glass support may comprise an opaque quartz glass layer.
[0039]
One of the plurality of quartz glass plates can be an opaque quartz glass plate.
[0040]
The heater member and a carbon reflector having at least one mirror surface may be enclosed in a plate-like quartz glass support.
[0041]
Three quartz glass plates are used, and a heater reflector and at least one mirror reflector made of carbon are arranged in a wiring groove and a reflector setting spot provided on two joint surfaces of any quartz glass plate. The joined portions of the quartz glass plates can be integrated by fusion.
[0042]
It is possible to dispose the reflector plate adjacent to the sealed member by enclosing the reflector plate made of carbon having a mirror surface at least on one side in the overall plate-like quartz glass support.
[0043]
A convex part having a semicircular or trapezoidal cross section is formed on at least one outer surface of the plate-like quartz glass support, and the outer surface can be polished.
[0044]
The sealed member includes a setting member made of quartz glass having a wiring groove and a lid member made of quartz glass, and the heater member can be arranged in the wiring groove.
[0045]
Either one of the setting member and the lid member or a flame barrier is formed on the outer peripheral portion of both of the setting members and the lid member, and opposing surfaces other than the flame barrier are arranged at intervals of 0.2 to 1.0 mm. Can be integrated by the method of overlaying.
[0046]
A carbon terminal can be arranged at both ends of the heater member, an electrode can be connected to the carbon terminal, and a portion of the electrode on the carbon terminal side can be covered with a quartz glass pipe.
[0047]
A non-oxidizing gas can be introduced into the space in which the heater member is enclosed, and the gas can be discharged from the quartz glass pipe placed on the electrode.
[0048]
The impurity concentration of the carbon terminal is preferably 10 ppm or less in terms of ash.
[0049]
Alumina powder can be arranged in the arrangement groove, and the heater member can be supported by the sintered body of alumina powder.
[0050]
The iron powder preferably has an iron impurity concentration of 5 ppm or less.
[0051]
The heater member or the terminal portions connected to both ends of the heater member can be drawn substantially perpendicular to the heater surface formed by the heater member.
[0052]
A wire shape in which both ends of a heater member are protruded to the opposite side of the heater surface, and a plurality of or at least one end is arranged in a plurality in a quartz glass cylinder in which the protruding heater member is in contact with a quartz glass support plate The sealed member can be sealed by fixing with carbon and covering the quartz glass tube with a quartz glass tube.
[0053]
The other end of the wire-like carbon is connected to a second wire-like carbon connecting member having a hollow member formed therein and a core member inside thereof by pressing with the core member, and a split core is used. The metal inscribed line is connected by the metal wire connecting member, and both the connecting members can be connected by any connecting member.
[0054]
A tapered surface is formed on the outer side of the split mold core, a tapered portion that engages with the tapered surface is formed on the terminal body, and a metal inscribed line is sandwiched between the support sections formed on the split mold core. It can be connected to any connecting member while pressing.
[0055]
The heater members are arranged in line symmetry in the sealed member, a gas inlet / outlet is formed on the axis of symmetry, and a non-oxidizing gas is introduced from the gas inlet / outlet when the container is welded. It can be configured to exhaust from the gas inlet / outlet at the time of wearing.
[0056]
A heater member made of carbon wire and wire-like carbon are fixed by a plurality of wire-like carbons arranged in a quartz glass tube or wire-like carbon having at least ends divided into a plurality, and the inside of the wire-like carbon and the metal on the power source side is fixed. The tangent is connected to the second terminal device, and the second terminal device includes a second wire-like carbon connecting member for connecting wire-like carbon having a plurality or divided into a plurality of ends, A metal wire connecting member configured to connect a metal inscribed line using a split core, and a terminal body for connecting the second wire-like carbon connecting member and the metal wire connecting member; It can be set as the structure which connects a connection member to the one end side and other end side of a terminal part main body.
[0057]
The heater member may have a structure in which a plurality of heater members or a quartz glass tube in which wire-like carbon having at least an end portion divided therein and a second terminal device are enclosed are enclosed in a quartz glass tube.
[0058]
A third terminal having a configuration in which a metal internal tangent disposed inside the quartz glass tube and an external tangent on the power source side are connected via a Mo foil, and the Mo foil is sealed with a pinch seal portion made of quartz glass. It is more preferable to have a device.
[0059]
A terminal member can be connected to both ends of the heater member and protruded to the opposite side of the heater surface, and the quartz glass tube can be sealed by covering the terminal member with a quartz glass tube. A terminal part main body can be arranged on the free end side of the quartz glass tube, and the terminal member and the terminal part main body can be connected to each other by a plurality of wire-like carbons, or at least one end part is divided into a plurality of parts. .
[0060]
The heater members are arranged in line symmetry in the sealed member, a gas inlet / outlet is formed on the axis of symmetry, and a non-oxidizing gas is introduced from the gas inlet / outlet when the container is welded. It can be configured to exhaust from the gas inlet / outlet at the time of wearing.
[0061]
The above-mentioned sealed member is a split plate with a semi-circular plate shape as a whole and a notch in the center part. A circular plate heater is formed by combining two of them, and a jig is passed through the center part. It is preferable to make it possible.
[0062]
The terminal member connects the heater member and the plurality of wire-like carbons, a heater member connecting portion is formed on one end side thereof to connect the heater member, and a plurality of or end portions are divided into a plurality. The first wire-like carbon connecting member for connecting the wire-like carbon in a lump is provided, and the first wire-like carbon connecting member is connected to the other end side of the terminal member. It is preferable that the connecting member is formed hollow, the core member is arranged inside, and the plurality of wire-like carbons are pressed and connected by the core member.
[0063]
Female screw portions are respectively formed on the opposite connection end sides of the terminal member and the first wire-like carbon connecting member, and male screw portions corresponding to the respective female screw portions are formed on the intermediate member. It is preferable to connect the members.
[0064]
The other end of the wire-like carbon is connected to a second wire-like carbon connecting member having a hollow member formed therein and a core member inside thereof by pressing with the core member, and a split core is used. It is preferable that the metal inscribed line is connected by the metal wire connecting member to be connected, and the both connecting members are connected by the terminal portion main body located in the middle.
[0065]
A taper surface is formed on the outer side of the split core, a taper portion that engages with the taper surface is formed on the terminal body, and a metal inscribed line is sandwiched by a support portion formed on the split core. It is preferable to connect to the terminal body while pressing.
[0066]
The metal inscribed line is preferably a Mo metal rod.
[0067]
It is preferable that the wire-like carbon connecting member and the terminal portion main body, and the terminal portion main body and the metal wire connecting member are respectively connected by a screw type.
[0068]
A heater member made of carbon wire and wire-like carbon are connected by a first terminal device, and the wire-like carbon and a metal inscribed line on the power source side are connected by a second terminal device. Is provided with a terminal member, and the heater member is connected to a heater member connecting portion formed on one end side thereof, and a first or the like for connecting a plurality of wire-shaped carbons having an end portion divided into a plurality thereof. The wire-like carbon connecting member is provided, and the first wire-like carbon connecting member is connected to the other end side of the terminal member. The core member is arranged, and the divided wire-like carbon is configured to be pressed and connected by the core member, and the second terminal device is a wire having a plurality of pieces or divided into a plurality of ends. A second wire-like carbon connection member for connecting the carbon-like carbon, a metal wire connection member configured to connect a metal inscribed line using a split core, and a second wire-like carbon connection The terminal part main body for connecting a member and a metal wire connection member is provided, and it can be set as the structure which connects both connection members to the one end side and other end side of a terminal part main body.
[0069]
The heater member and the first and second terminal devices are enclosed in a quartz glass tube, and a metal inscribed line and an outer tangent line on the power supply side disposed inside the quartz glass tube are connected via a Mo foil, It is more preferable to include a third terminal device having a configuration in which the Mo foil is sealed with a pinch seal portion made of quartz glass.
[0070]
The sealed member enclosing the heater member can be formed of a flat plate container made of quartz glass or alumina.
[0071]
The heater member can be configured to be supported in a non-contact manner and sealed in the flat container by a plurality of terminal members and wire support jigs.
[0072]
A substantially cylindrical hole for inserting a bolt is formed in the length direction of the terminal member, and at least a substantially cylindrical horizontal hole penetrating the hole is formed, and the heater member is placed in the horizontal hole. It is possible to make a structure in which a bolt having a length reaching at least the lower end of the lateral hole is inserted into the hole.
[0073]
The diameter of the substantially cylindrical hole for inserting the bolt is made larger than the diameter of the substantially cylindrical side hole, and the heater member inserted into the side hole is pressed by the bolt and flattened so as to reach the hole. It is preferable to have a configuration deformed to.
[0074]
It is preferable that an expanded graphite sheet is interposed between the bolt and the heater member.
[0075]
It is preferable that the wire support jig is made of translucent alumina alone or an assembly member of high-purity carbon and translucent alumina.
[0076]
The part of the assembly member that contacts the heater member is preferably made of a high-purity carbon material, and the part of the assembly member that is arranged and connected to the flat container is preferably made of a translucent alumina material.
[0077]
A carbon reflector can be disposed below the heater member.
[0078]
A convex portion having a semicircular cross section or a trapezoidal shape is formed on the heat generating surface of the flat container, and the surface can be polished.
[0079]
The sealed member enclosing the heater member may be curved.
[0080]
A plate-like carbon heater in which the heater member is enclosed in the plate-like quartz glass support and the quartz glass support other than the peripheral part of the heater member is substantially integrated is made of carbon The plate-shaped carbon heater can be curved into a predetermined shape by pressing between the mold and the carbon upper mold that is paired with the mold.
[0081]
The carbon upper and lower molds have a semicircular cross-sectional shape, and a substantially semi-cylindrical carbon heater can be obtained.
[0082]
A carbon reflector having at least one mirror surface can be enclosed in the plate-like quartz glass support independently of the heater member.
[0083]
A summary of the invention of the first group is described below.
[0084]
An object of the first group is to provide a carbon heater which is excellent in heat uniformity and flexibility and can be manufactured at a low cost, particularly effective for a semiconductor manufacturing apparatus.
[0085]
The carbon heater of the first group of the invention uses a plurality of carbon fiber bundles obtained by bundling a plurality of carbon fibers having a diameter of 5 to 15 μm, and braids them into a vertically long shape such as a wire shape or a tape shape, and the amount of impurities contained therein A heater member having an ash content of 10 ppm or less is provided.
[0086]
As a result, the tensile strength at a high temperature as the heater member is ensured, and the adhesion of the carbon fiber becomes uniform in the length direction, thereby reducing the heat generation unevenness in the length direction.
[0087]
Here, the diameter of each of the carbon fibers to be bundled is set to 5 to 15 μm. If the diameter is less than 5 μm, each fiber is weak, and a heater member that is bundled and knitted into a predetermined vertically long shape is used. It becomes difficult. Further, since the fibers are thin, the number of fibers for obtaining a predetermined resistance value increases, which is not practical. Further, if it exceeds 15 μm, not only is it difficult to weave a bundle of carbon fibers bundled with a plurality of bundles, but also a problem occurs that the carbon fibers are cut and the strength is significantly reduced.
[0088]
The reason why the carbon heater impurity is limited to 10 ppm or less in terms of ash is that if the impurity exceeds 10 ppm, even a very small amount of oxygen is likely to be oxidized, and abnormal heat generation is likely to occur.
[0089]
In fact, when the impurities are more than 10 ppm in ash, abnormal heat generation occurs in the air at 800 ° C. for 10 minutes, and in the atmosphere containing 100 ppm oxygen in nitrogen, abnormal heat generation occurs when used at 800 ° C. for 10 hours. It has been confirmed.
[0090]
On the other hand, when impurities are 10 ppm or less in ash content, abnormal heat generation will not occur even when used at 800 ° C. for 50 hours or more in an atmosphere containing 100 ppm oxygen in nitrogen, and in the atmosphere at 800 ° C. It has been confirmed that abnormal heat generation does not occur if it is less than 10 minutes.
[0091]
The impurities are more preferably 3 ppm or less in ash content. In this case, the effect of suppressing abnormal heat generation is particularly great, and a longer life can be achieved.
[0092]
The heater member is formed by bundling 100 to 800 carbon fibers of 5 to 15 μm, and knitting a bundle of 3 or more, preferably 6 to 12 into a vertically long shape such as a wire shape or a tape shape. It is preferable that
[0093]
If the number of carbon fibers to be bundled is less than 100, 6 to 12 bundles are insufficient to obtain a predetermined strength and resistance value, and knitting is difficult. Further, since the number is small, weaving is loosened against partial breakage, and it is difficult to maintain the shape. On the other hand, if the number exceeds 800, the number of bundles to obtain a predetermined resistance value decreases, and it becomes difficult to maintain the wire shape by weaving.
[0094]
Further, the heater member preferably has a resistance value at 1000 ° C. of 1 to 20 Ω / m · book. The reason is that it is necessary to match a conventional transformer capacity in a general heating apparatus for a semiconductor manufacturing apparatus.
[0095]
That is, when the resistance value exceeds 20 Ω / m · book, the heater length cannot be increased because the resistance is large, and heat is deprived between the terminals, resulting in uneven temperature. On the other hand, when the resistance value is less than 1 Ω / m, the resistance is low and the heater length must be longer than necessary. The uneven structure of elongated heater members such as carbon wire and carbon tape There is a greater risk of variations in temperature due to uneven atmosphere.
[0096]
The electrical resistance value at 1000 ° C. of the heater member is more preferably 2 to 10 Ω / m · in order to obtain the above characteristics with higher reliability.
[0097]
In addition, by braiding the carbon fiber bundle, the diameter of the heater member having a substantially circular cross-sectional shape can be made constant in the length direction, and as a result, the heat generation amount can be stabilized in the length direction. . Furthermore, this braiding makes it possible to form a fluffed state by carbon fibers on the surface of the heater member described later. In addition, the heater member generates thermal expansion by being heated. For example, if the heater member stretched between two terminals is not braided, it will sag and generate heat. Although it causes unevenness, such problems do not occur due to being knitted.
[0098]
In the first group of the invention, unlike conventional C / C, it is preferable that the carbon fiber used as the carbon heater material is not solidified and integrated with a resin. This is because the flexibility of the carbon fiber is lost, and the fiber is cut as the resin contracts.
[0099]
It is preferable to arrange one or a plurality of the heater members and enclose them in a sealed member made of quartz glass or translucent alumina to constitute, for example, a carbon heater for a semiconductor manufacturing apparatus.
[0100]
Thereby, the heater member can be used under various conditions such as an oxidizing atmosphere and a high temperature atmosphere.
[0101]
In particular, by using quartz glass, higher purity can be achieved, and it can be effective for a semiconductor manufacturing apparatus.
[0102]
In addition, when enclosing a plurality of the heater members in the sealed member, it is preferable to arrange them in parallel. In this case, arranging a plurality of heater members in parallel means that two or more heater members are arranged adjacent to and substantially parallel to each other over the entire length of the heater member. As a result, the electrical resistance value of the entire carbon heater can be easily adjusted, and a plurality of heater members are adjacent to each other, that is, in a state where they are in contact with each other at a number of locations in the length direction Even if one heater member has a problem such as partial cutting at a predetermined portion, the presence of the contact portion in the vicinity thereof can prevent uneven heat generation due to the defect. it can.
[0103]
In addition, as used herein, the sealing member means a member that physically seals the heater member with quartz glass or a translucent alumina material. It also means a substantially sealed member in which a non-oxidizing gas such as nitrogen is flowed into and out of the member, and as a result, the heater member is prevented from coming into contact with outside air (air). It is.
[0104]
The shape of the sealed member can be selected from a double tube shape, a straight tube shape, an annular tube shape, and the like.
[0105]
By forming a heating zone having a predetermined shape by combining a plurality of quartz glass or translucent alumina containers having such shapes, it is possible to uniformly heat an object to be processed that matches the shape.
[0106]
Further, it is preferable that a non-oxidizing gas such as nitrogen flows into the sealed member or the inside of the container is evacuated to 20 torr or less. This is because the carbon heater is prevented from being deteriorated, and it is possible to extend the life and maintain the temperature uniformity for a long time.
[0107]
Next, the summary of the invention of the second group will be described.
[0108]
One of the objects of the invention of the second group is that there is little heat generation unevenness, for example, an object to be heated such as a semiconductor (wafer) can be uniformly heat-treated, high temperature strength can be maintained for a long time, and a high service life can be obtained. It is to provide a carbon heater.
[0109]
Another object of the invention of the second group is to form a sealed member that supports a heater member knitted into a vertically long shape such as a wire shape or a tape shape using a plurality of carbon fiber bundles obtained by bundling a plurality of carbon fibers. An object of the present invention is to provide a carbon heater in which sealing can be reliably performed in a form in which stress concentration on the quartz glass support does not occur, and the thickness of the quartz glass support that supports the heater member can be freely set.
[0110]
A carbon heater according to a second group of inventions is such that a sealed member enclosing one or more heater members is substantially integrated by a plate-like quartz glass support, and this quartz glass support A hollow space is formed around the heater member in the body.
[0111]
Here, the substantially integrated configuration means that when the bonding surfaces of a plurality of quartz glass plates are fused and the carbon heater of the present invention is manufactured without using a bonding agent as described later, carbon is used. The peripheral part of the carbon heater is fused so that the space such as the groove and the terminal part where the heater member is placed inside the heater is cut off from the outside (atmosphere or atmosphere in the furnace) by the fused part. The state in which the glass contact surface is fused over the entire surface is shown. However, it may be present as long as the unfused portion is about 30% or less with respect to the contact area to the extent that the fusion effect is not hindered. Further, the reason for setting it to about 30% or less is to prevent the radiation light from the heater member from becoming non-uniform.
[0112]
As a result, it is possible to reliably perform adhesion in a form in which stress concentration does not occur on the quartz glass support that supports the heater member, and even when a low-strength quartz glass plate having a thickness of 5 mm or less is used, a reduced pressure environment There is no damage to the quartz glass underneath.
[0113]
The hollow space around the heater member is a space where there is a fluffed portion of carbon fiber formed on the surface of the heater member as described later.
[0114]
In the carbon heater of the second group of the invention, the quartz glass support is substantially integrated by fusing the entire joint surfaces of a plurality of quartz glass plates. It is preferable that a wiring groove is formed on the joint surface and the heater member is disposed there.
[0115]
In this way, a wiring groove is formed on the bonding surface of at least one quartz glass plate, and a plurality of carbon fiber bundles in which a plurality of carbon fibers having a diameter of 5 to 15 μm are bundled in the wiring groove are used. This carbonaceous heater member is made into a wire-shaped or tape-shaped heater by arranging a heater member that is knitted into a vertically long shape such as a wire shape or a tape shape, and the impurity content is 10 ppm or less in ash content. Since it becomes a structure in contact with a sealed member made of quartz glass by carbon fibers having a fuzzy diameter of 5 to 15 μm on the surface of the member, even if the heater member is energized and heated to a high temperature, Reaction of carbon and quartz glass proceeds, and as a result, deterioration of the carbonaceous heater member can be prevented. (Since the fluffy carbon fiber on the surface of the heater member comes into contact with the sealed member made of quartz glass, silicification proceeds from the contacted part, but since this diameter is extremely fine and the volume is small, this silicidation reaction It is presumed that the heat is prevented from proceeding to the entire heater member.) In other words, this means that unevenness in heat generation is prevented and the service life can be extended.
[0116]
In addition, in order to adjust the calorific value or stabilize the quality, it is possible to arrange one or two or more heater members in parallel. In that case, it is preferable to further provide a two-step groove corresponding to this number at the bottom of the wiring groove.
[0117]
A carbon heater according to a second group of inventions is such that a sealed member enclosing one or more heater members is substantially integrated by a plate-like quartz glass support, and this quartz glass support A carbon heater having a structure in which a hollow space is formed around the heater member of the body, wherein the quartz glass support is formed by fusing two quartz glass plates, and at least 1 A wiring groove having a predetermined depth is formed on the bonding surface of the quartz glass plates, and the thickness of each quartz glass plate not including the depth is substantially the same. Thereby, heat can be dissipated evenly.
[0118]
According to another carbon heater of the second group of the invention, a sealed member in which one or a plurality of the heater members are enclosed is substantially integrated by a plate-like quartz glass support, A carbon heater having a structure in which a hollow space is formed around the heater member of the quartz glass support, wherein the quartz glass support fuses two quartz glass plates having different thicknesses. A wiring groove having a predetermined depth is formed on the joint surface of at least one quartz glass plate, and the thickness of one quartz glass plate not including the depth is the thickness of the other. It is the structure which becomes 1/2 or less. Thereby, the heat dissipation with respect to one side can be enlarged. One of the two types of carbon heaters can be selected as appropriate depending on the place where the carbon heater is disposed.
[0119]
Further, in the carbon heater of the second group of the invention, it is more preferable that the wiring groove has a curved shape at least on the lower side of the cross-sectional shape perpendicular to the length direction and is polished. Of course, the entire cross section may be curved. As a result, when a plurality of quartz glass plates are fused and integrated, it is possible to prevent the cross-sectional shape of the wiring groove from being thermally deformed and coming into surface contact with the carbon wire as much as possible. It is possible to prevent the deterioration of the carbon wire accompanying the above. This is due to the fact that the curved shape allows the stress to be dispersed by having the curvature of the curved shape inside the groove, and the deformation inside the groove is suppressed.
[0120]
Moreover, accumulation of internal strain of the quartz glass support accompanying the thermal deformation can be suppressed, and problems such as cracks can be prevented. Furthermore, unevenness of heat generation as the carbon heater due to absorption of heat generated from the heater member due to the surface contact can be prevented.
[0121]
In addition, the above-mentioned wiring groove is polished by, for example, oxyhydrogen burner for a predetermined time, in a normal state where there are a number of irregularities with the wiring groove formed on the quartz glass plate by machining. When the carbon heater generates heat and the wiring groove is heated, among the above-described unevenness, particularly in the convex portion, the extreme portion is heated, resulting in a structure that is sparsely polished. It is intended to prevent this from occurring due to uneven heating.
[0122]
The carbon heater of the second group of the invention is preferably a carbon heater fused in a state where the inside of the wiring groove is kept in a reduced pressure or non-oxidizing gas atmosphere. This is to prevent oxidative degradation during the production of the carbon wire.
[0123]
According to another carbon heater of the second group of the invention, a sealed member enclosing one or more heater members is substantially integrated by a plate-like quartz glass support. A carbon heater having a structure in which a hollow space is formed in the periphery of the heater member of the glass support, wherein the wiring groove has a cross-sectional shape perpendicular to the length direction as a whole. It has a configuration of a “convex” shape.
[0124]
Thereby, when arrange | positioning a carbon wire in the groove | channel for wiring, it can prevent that the wire floats upwards, and can make workability | operativity favorable. Further, it is possible to alleviate thermal distortion due to the deflection of the upper side (upper plate) of the groove, particularly around the groove.
[0125]
Here, the “convex” character shape is a shape in which a square whose one side is shorter than the upper side or a vertically long rectangle whose upper side is shorter than the upper side is connected to the upper part of the upper side of the horizontally long rectangle. It means such a shape.
[0126]
In the carbon heater of the second group of the invention, a wiring groove is formed in the first quartz glass plate, and a narrow insertion groove or through slit that is paired with the wiring groove is formed in the second quartz glass plate. Forming and joining the first and second quartz glass plates so that the grooves face each other, and polishing or grinding the surface of the second quartz glass plate to remove the bottom of the insertion groove or through slit. It is exposed as an insertion window, and a heater member is pushed into the wiring groove of the first quartz glass plate from there, and the third quartz glass plate is aligned with the polished or ground surface, and then three quartz glass plates are attached. It is preferable that the cross-sectional shape perpendicular to the length direction of the wiring groove is entirely “convex” by fusing and substantially integrating the entire surface other than the groove.
[0127]
As a result, the workability can be improved and the thermal strain can be alleviated more reliably.
[0128]
According to another carbon heater of the second group of the invention, a sealed member enclosing one or more heater members is substantially integrated by a plate-like quartz glass support. The carbon heater has a structure in which a hollow space is formed around the heater member of the glass support, and the quartz glass support has an opaque quartz glass layer.
[0129]
Further, one of the plurality of quartz glass plates may be an opaque quartz glass plate.
[0130]
Thus, the opaque quartz glass layer can prevent heat radiation to the side that is not desired to be heated by the carbon heater.
[0131]
In another carbon heater of the second group of the invention, the heater member and a carbon reflector having at least one mirror surface are enclosed in a plate-like quartz glass support.
[0132]
The carbon reflector preferably has a mirror surface on the side facing the heater member.
[0133]
At this time, when three quartz glass plates are used, a heater member and a reflector made of carbon having at least one mirror surface are provided in a wiring groove and a reflector setting spot provided on two joint surfaces of the quartz glass plate. It is preferable that the joint portion of the quartz glass plate is substantially integrated by fusion.
[0134]
In this case, a more preferable form is as follows. That is, a reflector setting counterbore is formed on the upper surface of the first quartz glass plate, a carbon reflector having at least an upper surface is disposed on the counterbore portion, and the wiring is formed on the upper surface of the second quartz glass plate. The heater member is disposed in the groove, the second quartz glass plate is overlaid on the first quartz glass plate, and the third quartz glass plate is overlaid thereon. After that, the portions that contact each other are substantially integrated by fusion.
[0135]
As a result, heat dissipation in the direction of the reflector can be suppressed, and heat dissipation can be increased on the surface in one direction. Furthermore, the heat dissipated due to the presence of the reflector is uniformly dispersed by the stock heat, and the temperature distribution in the heater surface can be made uniform.
[0136]
The reason for selecting carbon in particular is that the carbon material is easy to purify, and by using the highly purified carbon material, metal contamination of the heater member and the object to be processed due to diffusion of impurities can be prevented. Because.
[0137]
A second aspect of the invention is a carbon heater in which a sealed member in which one or a plurality of heater members are enclosed is substantially integrated by a plate-like quartz glass support. A carbon heater having a structure in which a hollow space is formed in the peripheral portion of the heater member of the glass support, the carbon reflector having at least one mirror surface on the entire plate-like quartz glass support Is configured to be disposed adjacent to the sealed member.
[0138]
This makes it very easy to protect the portion that the reflector plate does not want to be heated by blocking and reflecting the radiation.
[0139]
In the carbon heater of the second group of the invention, in any of the forms described above, a convex part having a semicircular or trapezoidal cross section is formed on at least one outer surface of the plate-like quartz glass support, This outer surface is preferably polished. When viewed from above the heater surface, the convex portions are formed in a stripe shape or a concentric portion shape, or a plurality of the convex portions are formed in a lattice shape. As a result, a prism effect can be obtained in which heat generation upward of the heater surface by a linear heating element such as the heater member of the present invention is made uniform by light scattering.
[0140]
Usually, the heater surface is sanded to achieve the same effect.TheIn this case, the surface is grainy, heat dissipation from this surface is suppressed, heat is accumulated in the quartz glass itself, and energy efficiency is reduced. End up. In this sense, it is an important matter that the glossing process is performed.
[0141]
Furthermore, in the carbon heater of the second group of the invention, it is preferable that the heater member or the terminal portions connected to both ends of the heater member are pulled out substantially perpendicular to the heater surface formed by the heater member. By pulling out the terminal portion perpendicular to the heater surface, the fused surface of the quartz glass support can be enlarged, which is advantageous in terms of strength. Moreover, according to this structure, the said carbon heater can be easily arrange | positioned to the semiconductor manufacturing apparatus which heats the one or several semiconductor wafer which is a to-be-processed object from the downward side or the upper side. The specific structure of the terminal portion of the carbon heater according to the second group of inventions can be applied to the fourth group of inventions described later.
[0142]
According to another carbon heater of the second group of the invention, a sealed member enclosing one or more heater members is substantially integrated by a plate-like quartz glass support. The carbon heater has a structure in which a hollow space is formed in the peripheral portion of the heater member of the glass support, and the sealed member has a curved shape.
[0143]
Thereby, for example, a cylinder that can generate heat unevenness, can maintain a high temperature strength for a long time, has a long service life, and can uniformly heat a rod on which a heated body such as a semiconductor (wafer) is arranged. It is possible to provide a curved carbon heater having a two-part shape.
[0144]
In the curved carbon heater, a plate-like carbon heater in which the heater member is enclosed in the plate-like quartz glass support and the quartz glass support other than the peripheral portion of the heater member is substantially integrated, It is preferable that a plate-like carbon heater is curved into a predetermined shape by pressing between a carbon lower die having a predetermined cross section and a carbon upper die paired therewith.
[0145]
As a result, a curved carbon heater in which the heater member is hermetically sealed to the quartz glass support and the quartz glass support other than the peripheral portion of the heater member is substantially integrated is obtained, whereby the heater member is obtained. Can be reliably sealed in a form that does not cause stress concentration on the quartz glass support that supports the quartz glass, and even when a low-strength quartz glass plate with a thickness of 5 mm or less is used, No damage will occur.
[0146]
The upper and lower molds made of carbon have a semicircular cross-sectional shape, preferably a substantially semi-cylindrical carbon heater. Further, at least one surface of the plate-like quartz glass support is a mirror surface More preferably, the carbon reflector is enclosed independently of the heater member. This is to protect the non-heated part and to stop radiation.
[0147]
The carbon heater of the invention of the second group can be applied not only to semiconductor heat treatment devices such as oxidation, diffusion, and CVD, but also to any kind of semiconductor manufacturing device that involves some heating in a cleaning device or the like. is there.
[0148]
Next, the summary of the invention of the third group will be described.
[0149]
In the first group of inventions described above, a carbon heater is formed using a flexible carbon wire in which carbon fibers are knitted. Thus, by using a carbon wire, a freedom degree arises in the shape of a heater and it can enjoy the advantage on a design surface or handling.
[0150]
The invention of the third group is to provide a carbon heater for, for example, a semiconductor manufacturing apparatus that can significantly improve the service life and can rapidly increase / decrease temperature by using a carbon wire heater member having such advantages. It is aimed.
[0151]
The carbon heater of the third group of the invention uses a plurality of carbon fiber bundles obtained by bundling a plurality of carbon fibers having a diameter of 5 to 15 μm, and weaves them into a vertically long shape such as a wire shape or a tape shape, and determines the amount of impurities contained therein. A sealed member in which one or a plurality of heater members having an ash content of 10 ppm or less is enclosed is substantially integrated by a plate-like quartz glass support, and the heater in the quartz glass support A carbon heater having a structure in which a hollow space is formed in the peripheral part of the member, wherein the sealed member is composed of a setting member made of quartz glass having a groove for wiring and a lid member made of quartz glass, The heater member is arranged in the wiring groove.
[0152]
With this structure, there is little unevenness in heat generation, that is, the semiconductor (wafer) that is the object to be heated can be uniformly heat-treated, and the high-temperature strength for a long time can be maintained, and a high service life can be obtained.
[0153]
By making the surface of the heater member knitted into a wire shape using a plurality of carbon fiber bundles obtained by bundling a plurality of carbon fibers as described above with a fuzzy structure even with carbon fibers having a diameter of 5 to 15 μm, The surface contact area is extremely small (substantially, only the fluffy carbon fiber part of the heater member is in contact with the lath), and as a result, it can be used for a considerable time even at about 1350 ° C. Has been confirmed.
[0154]
In the carbon heater of the third group of the invention, a flame barrier is formed on the outer peripheral portion of either the setting member or the lid member, or the opposing surface other than the flame barrier is spaced by 0.2 to 1.0 mm. It is preferable that the two members are integrated by a quartz glass overlaying method.
[0155]
In addition, when covering the setting member and the lid member made of quartz glass, it is preferable that both members are fixed so as not to have a gap by a quartz glass build-up welding method in a state in which both members are separated from each other in a substantially parallel manner. This is because, for example, when the outer peripheral portion is welded or build-up welded in a state where both members are in contact with each other over almost the entire region, cracking or cracking occurs in both members or one of the members as the outer peripheral portion is heated. On the other hand, according to the above fixing, it is possible to firmly cover without such a problem. This is considered to be due to the relief of the concentration of thermal stress due to partial heating during processing and the occurrence of warpage due to the temperature difference between the setting member and the lid member.
[0156]
In addition, the presence of the fire barrier in the preferred embodiment can prevent the flame of the oxyhydrogen burner as a heating source from entering between the two members and oxidizing the internal carbon heater as much as possible. Further, the interval between the setting member and the lid member can be made uniform over the entire area, and further, the outer periphery of the setting member and the lid member can be made of SiO.2White fogging due to fine powder can be prevented, and the heat uniformity of the carbon heater can be improved.
[0157]
In addition, it is important that the surface of the flame barrier that contacts the mating member is heated and welded on the entire surface. This is because cracks and cracks such as those described above will occur at the time of welding if there is a portion that is merely in surface contact without being welded.
[0158]
This flame barrier may be provided integrally when forming both members of a predetermined shape, or may be provided by welding to each outer peripheral portion later.
[0159]
And it is preferable that the opposing surface of the part which is not welded of both members is arrange | positioned in the space | interval of 0.2-1.0 mm. This is because if the thickness is less than 0.2 mm, cracks and cracks of both members cannot be sufficiently prevented, and if the thickness exceeds 1 mm, the welding flame easily enters and the carbon heater is likely to be oxidized. .
[0160]
Further, in the carbon heater of the third group of the invention, a carbon terminal is disposed at both ends of the heater member, an electrode is connected to the carbon terminal, and a portion of the electrode on the carbon terminal side is covered with a quartz glass pipe; It is preferable to do.
[0161]
By providing the carbon terminal, the carbon terminal can be kept at a lower temperature than the heater member, and oxidation can be prevented even if some oxygen enters. In particular, if a non-oxidizing gas is introduced from the periphery of the carbon terminal, the oxidation can be prevented more thoroughly.
[0162]
Further, when the heater member and the metal electrode are in direct contact, the life of the heater member is significantly reduced due to metal contamination. Interposing the carbon terminal is also useful in terms of eliminating contact between the heater member and the metal electrode.
[0163]
It is preferable to cover a quartz glass pipe on at least the carbon terminal side portion of the metal electrode. And the exposed part of a metal electrode or a terminal is arrange | positioned outside a furnace. Thus, by covering the furnace part of the metal electrode with quartz glass, impurity contamination such as Fe or Al from the metal electrode can be reduced.
[0164]
The impurity concentration of the carbon terminal is preferably 10 ppm or less in terms of ash. This is because the heater member can be prevented from deteriorating and the life can be extended.
[0165]
It is preferable that a non-oxidizing gas such as nitrogen or argon gas is introduced into the heater. By introducing the non-oxidizing gas in this way, it is possible to prevent the heater member from being oxidized.
[0166]
Although the metal electrode connected to the carbon terminal may also generate impurities when the temperature is high, the generation of impurities can be prevented by discharging the non-oxidizing gas from the quartz glass pipe containing the metal electrode.
[0167]
Furthermore, it is preferable to use molybdenum (Mo) as the metal electrode. This is because the thermal expansion coefficient of Mo approximates that of the carbon material, and good bonding with the carbon termill is maintained even at high temperatures.
[0168]
As the heater member, it is preferable to use the heater member described in the invention of the first group.
[0169]
It is possible to make the setting member and the lid member flat.
[0170]
Furthermore, in the carbon heater of the third group of the invention, in order to more reliably suppress the reaction between the carbon heater member and the quartz glass setting member, alumina powder is arranged in the arrangement groove, The heater member is preferably supported by the sintered body.
[0171]
As a result, the maximum operating temperature of the carbon heater can be more reliably raised to about 1350 ° C.
[0172]
The sintered body of alumina powder is formed by performing heat treatment at about 1300 ° C. after the alumina powder and the heater member are installed in the setting recess.
[0173]
Further, the iron impurity concentration of the alumina powder is preferably suppressed to 5 ppm or less so that the life of the carbonaceous heater member does not decrease due to iron contamination.
[0174]
The carbon heater of the invention of the third group can be applied not only to heat treatment devices such as semiconductor oxidation, diffusion, CVD, etc., but also to any device as long as it is a semiconductor manufacturing device that involves some heating in a cleaning device. is there.
[0175]
Next, the summary of the invention of the fourth group will be described.
[0176]
The invention of the fourth group provides a carbon heater for, for example, a semiconductor manufacturing apparatus that uses a carbon wire heater member having the advantages as described above, can greatly improve the service life, and can rapidly increase and decrease the temperature. It is an object.
[0177]
In addition, the invention of the fourth group is a simple one that can reliably and easily connect the heater member and the terminal wire made of wire-like carbon, and further, the terminal wire made of wire-like carbon and the metal terminal wire. The object is to provide a carbon heater having a structure.
[0178]
A carbon heater according to a fourth group of inventions is such that a sealed member enclosing one or more heater members is substantially integrated by a plate-like quartz glass support, and the quartz glass support A carbon heater having a structure in which a hollow space is formed in a peripheral portion of the heater member of the body, wherein the heater member or the terminal portion of the heater member is substantially with respect to a heater surface formed by the heater member. Thus, the structure is drawn vertically.
[0179]
According to such a configuration, the carbon heater can be easily disposed in a semiconductor manufacturing apparatus that heats a semiconductor wafer that is an object to be processed from the lower side or the upper side, and has excellent in-plane heat uniformity and durability. A heater having a long life can be obtained.
[0180]
The preferred form of the heater member is as described in the first group of inventions.
[0181]
One form of the carbon heater of the invention of the fourth group has a structure in which the heater member itself is pulled out substantially perpendicular to the heater surface formed by the heater member (hereinafter referred to as 4- In this case, both ends of the heater member are protruded to the opposite side of the heater surface, and the protruded heater members are arranged in a quartz glass cylinder that abuts the quartz glass support plate. It is preferable that a plurality of or at least end portions are fixed with a plurality of wire-like carbon, and the quartz glass tube is covered with a quartz glass tube to seal the sealed member.
[0182]
Thereby, a heater member can be tangent firmly and reliably to the terminal wire which consists of said wire-like carbon. Further, since the heater member is in contact with the same type of wire-like carbon and lowers the electrical contact resistance, problems such as sparks can be prevented.
[0183]
Furthermore, according to such a configuration, the end of the heater member as described later is disposed in the sealed member as compared with a method in which the terminal member is arranged in the quartz glass sealed member and connected to the terminal wire. Therefore, unevenness of heat generation above the heater surface tends to be further reduced by the amount of foreign matter other than the heater member.
[0184]
In the carbon heater of the invention of the 4th-1 group, the other end side of the above-mentioned wire-like carbon used as a terminal wire is formed into a second wire-like carbon connecting member having a hollow member and having a core member inside thereof. It is more preferable to connect by pressing with the core member, connect a metal inscribed line with a metal wire connecting member using a split core, and connect both connecting members with any connecting member.
[0185]
In particular, the electrical contact resistance can be suppressed and the occurrence of sparks can be prevented by a plurality of wire-like carbon connection methods utilizing the pressing by the core member. Further, the inscribed line connecting method using the split core allows the metal inscribed line and the carbon terminal member to be brought into contact with each other over a wide surface, thereby preventing the occurrence of sparks.
[0186]
As a method for connecting the inscribed line in the metal wire connecting member using the split core, a taper surface is formed on the outer side of the split core and the terminal body is engaged with the taper surface. It is preferable that the metal inscribed line is sandwiched between the support portions formed on the split core and pressed and connected to an arbitrary connecting member. Thereby, contact resistance can be suppressed and a spark generation can be prevented.
[0187]
Furthermore, the heater member is arranged in line symmetry in the sealed member, a gas introduction / discharge port is formed on the axis of symmetry, and a non-oxidizing gas is introduced from the gas introduction / discharge port during welding of the container, It is preferable that the gas is exhausted from the gas introduction / discharge port when the container is sealed. This makes it possible to introduce a non-oxidizing gas uniformly inside the heater, thereby preventing the oxidation of carbon and making the heater in-plane temperature distribution uniform.
[0188]
As understood from the above description, in the carbon heater of the 4-1th group of inventions, a plurality of heater members made of carbon wires and a wire-like carbon are arranged in a quartz glass tube, or at least a plurality of ends are provided. It fixes with the divided | segmented wire-like carbon, it is set as the structure which connects the said wire-like carbon and the metal inscribed line by the side of a power supply with a 2nd terminal device, A 2nd terminal device has two or more edge parts. A second wire-like carbon connecting member for connecting the divided wire-like carbon; a metal wire connecting member configured to connect a metal inscribed line using a split core; It is equipped with a terminal part main body for connecting the wire-like carbon connecting member and the metal wire connecting member, and is configured to connect both connecting members to an arbitrary connecting member. Masui it is clear.
[0189]
And the quartz glass tube and the 2nd terminal device which are such a structure and the said heater member arranged the wire-like carbon by which the said heater member was divided into several or at least the end part were enclosed in the inside of a quartz glass tube are enclosed. Depending on the configuration, a terminal wire made of a plurality of wire-like carbons, a second wire-like carbon connecting member, a terminal body, a metal wire connecting member, and a metal inscribed wire are connected from a heater member arranged on a quartz glass sealed member. All of the series of electrical connection systems can be cut off from the outside air, and as a result, the oxidation of all the members constituting the series of electrical connection systems can be prevented, and a long-life and stable heat uniformity can be ensured. It can be.
[0190]
In addition, as said arbitrary connection member, the cylindrical core which has a thread part on the outer periphery is employable, for example.
[0191]
In order to optimize the carbon heater according to the invention of the 4-1th group, the metal internal tangent line and the external tangent line on the power source side disposed inside the quartz glass tube are further passed through the Mo foil. It is important that the Mo foil is sealed with a quartz glass pinch seal.
[0192]
The pinch seal part is a structure in which a cap part of a quartz glass tube sealed at one end is sandwiched with a flat plate jig made of carbon at a high temperature and adhered and welded in a flat plate shape. means.
[0193]
On the other hand, if the inner tangent is pulled out of the cap and pinched, the pinch seal made of quartz glass will crack due to the difference in thermal expansion coefficient between Mo and quartz, and the sealing performance will be hindered. Occurs. In order to solve such a problem, a Mo foil body is interposed, and pinched with quartz glass and sealed.
[0194]
In the carbon heater of the fourth group of the invention, the quartz glass container can be formed into a flat plate donut shape having an opening in the center portion, and has a flat plate semicircular shape and a notch in the center portion as a whole. It is possible to form a doughnut-shaped flat plate heater by combining the split molds. This is because a shaft for supporting the object to be processed is inserted into the center opening of the donut shape so as to be inserted.
[0195]
In addition, the heating elements are arranged symmetrically in the quartz glass container, the gas introduction / discharge port is formed on the axis of symmetry, and the container is assembled by welding while introducing the non-oxidizing gas from the gas introduction / discharge port, Furthermore, it is preferable that the inside of the container is sealed under reduced pressure at normal temperature while exhausting from the gas inlet / outlet.
[0196]
It is preferable to seal the quartz glass container in a reduced pressure of 0.2 atm or less or a non-oxidizing gas atmosphere at room temperature.
[0197]
One form of the carbon heater of the invention of the fourth group has a configuration in which terminal portions connected to both ends of the heater member are pulled out perpendicularly to the heater surface formed by the heater member (hereinafter referred to as this). In this case, a terminal member is connected to both ends of the heater member and protruded to the opposite side of the heater surface, and the terminal member is covered with a quartz glass tube. The glass member is preferably sealed.
[0198]
In the carbon heater of the invention of the 4-2th group, the terminal part main body is further arranged on the free end side of the quartz glass tube in the above-described form, and the terminal member and the terminal part main body are plural or at least one end is plural. It is more preferable to use a configuration in which the wires are divided and connected. As a result, the electrical resistance at the terminal wire portion can be lowered, and the heat generation at this portion can be suppressed. Moreover, since heat conduction is small, heat transfer to the lower sealing terminal can be suppressed by heat transfer.
[0199]
Further, the heater member is arranged in line symmetry in the sealed member, a gas introduction / discharge port is formed on the axis of symmetry, and a non-oxidizing gas is introduced from the gas introduction / discharge port during welding of the vessel. It is preferable that the gas is exhausted from the gas introduction / exhaust port during sealing. As a result, the non-oxidizing gas can be uniformly introduced into the heater, and carbon oxidation can be prevented and the heater surface temperature distribution can be made uniform.
[0200]
Further, in the carbon heater of the invention of the 4-2th group, the terminal member connects the heater member and the plurality of wire-like carbons, and a heater member connecting portion is formed at one end side of the heater. A first wire-like carbon connecting member is provided for connecting the members, and connecting the wire-like carbon having a plurality of or one end portions divided into a plurality of pieces, and the first wire-like carbon connecting member is connected to the other end of the terminal member. A wire-like carbon connecting member is connected, a first wire-like carbon connecting member is formed in a hollow shape, a core member is disposed on the inside thereof, and the plurality of wire-like carbons are pressed and connected by the core member. It is preferable to adopt a configuration in which a female screw portion is formed on the connecting end side of the terminal member and the first wire-like carbon connecting member, and the intermediate member corresponds to each female screw portion. Forming a Ruoneji portion, it is more preferable that the configuration of connecting the two members via the intermediate member.
[0201]
And as a more preferable form, the other end side of the said wire-like carbon is connected to the 2nd wire-like carbon connection member in which a hollow part is formed and has a core member in the inside by the press in this core member. Then, a metal inscribed wire is connected by a metal wire connecting member using a split core, both the connecting members are connected by a terminal portion body located in the middle, and a taper that engages the tapered surface of the terminal portion main body. Forming the part, sandwiching the metal inscribed line with the support part formed in the split core, and pressing the same to connect the terminal part body to the metal inscribed line Mo metal rod, the above There exists a structure which connects a wire-shaped carbon connection member, a terminal part main body, and a terminal part main body and a metal wire connection member with a screw type, respectively.
[0202]
In the carbon heater of the 4-2 group invention, a heater member made of carbon wire and wire-like carbon are connected by a first terminal device, and the wire-like carbon and a metal inscribed line on the power source side are secondly connected. The first terminal device includes a terminal member, and the heater member is connected to the heater member connecting portion formed on one end side thereof, and a plurality of or a plurality of end portions are provided. A first wire-like carbon connecting member for connecting the wire-like carbon divided into two, and the first wire-like carbon connecting member is connected to the other end side of the terminal member. A wire-like carbon connecting member is configured to be connected, and the first wire-like carbon connecting member is formed in a hollow shape, and a core member is disposed on the inside thereof, and the wire-like carbon is divided. The second terminal device is configured to be connected by pressing with a core member, and the second terminal device is a second wire-like carbon connecting member for connecting a plurality of wire-like carbons whose ends are divided into a plurality. A metal wire connecting member configured to connect a metal inscribed line using a split core, and a terminal body for connecting the second wire-like carbon connecting member and the metal wire connecting member. It is preferable that both the connection members are connected to one end side and the other end side of the terminal body. As an optimal example, the heater member and the first and second terminal devices are made of quartz. A metal inner tangent line placed inside the quartz glass tube and a power supply side outer tangent line are connected via a Mo foil, and the Mo foil is sealed with a pinch seal made of quartz glass. A configuration having a third terminal device of Those were. In addition, the said pinch seal | sticker part is equivalent to what was described in description of invention of the said 4th-1 group.
[0203]
The carbon heater of the invention of the above-mentioned 4-2 group is different from the carbon heater of the above-mentioned invention of the 4-1 group in that the first wire-like carbon connecting member is present. In the configuration, substantially the same operation effect is established.
[0204]
Next, the summary of the invention of the fifth group will be described.
[0205]
An object of the fifth group is to provide a carbon heater for, for example, a semiconductor manufacturing apparatus that is excellent in heat uniformity and flexibility and can be manufactured at low cost.
[0206]
Another object is to provide a carbon heater that further reduces unevenness in heat generation and improves the service life.
[0207]
The carbon heater of the fifth group of the invention uses a plurality of carbon fiber bundles obtained by bundling a plurality of carbon fibers having a diameter of 5 to 15 μm, and weaves them into a vertically long shape such as a wire shape or a tape shape, and determines the amount of impurities contained therein. A carbon heater in which one or more heater members having an ash content of 10 ppm or less are enclosed in a quartz glass sealed member in parallel, and the sealed member in which the heater member is sealed is made of quartz glass or alumina It is the structure which is a flat container.
[0208]
In particular, it is preferable that the heater member is supported and sealed in the flat container by a plurality of terminal members and wire support jigs in a non-contact manner.
[0209]
This is to prevent the heater member from deteriorating as much as possible due to the reaction between the carbon heater member and the quartz glass plate container at a high temperature.
[0210]
Further, a substantially cylindrical hole for inserting a bolt is formed in the length direction of the terminal member, and a substantially cylindrical horizontal hole penetrating at least the hole is formed. It is preferable that a heater member is inserted and a bolt having a length reaching at least the lower end of the lateral hole is rotationally inserted into the hole. Accordingly, the elongated heater member can be easily and securely held.
[0211]
Further, in this structure, the diameter of the substantially cylindrical hole portion for inserting the bolt is made larger than the width of the substantially cylindrical lateral hole, and the heater member inserted into the lateral hole is pressurized by the bolt, and the hole It is preferably deformed flat so as to reach the part. Accordingly, the elongated heater member can be connected to the rod-shaped terminal member firmly and without electrical loss. In the above structure, it is more preferable that an expanded graphite sheet is interposed between the bolt and the heater member. Thereby, the cutting | disconnection of the carbon fiber which forms a heater member at the time of the said bolt fastening can be reduced as much as possible.
[0212]
The wire support jig is preferably formed of translucent alumina alone or an assembly member of high-purity carbon and translucent alumina. Further, in the assembly member, a portion in contact with the heater member is made of a high-purity carbon material. It is more preferable that the portion where the assembly member is arranged and connected to the flat container is made of a translucent alumina material. According to translucent alumina, non-reactivity with a high-temperature carbon material and electrical insulation are achieved at a high level. In particular, according to the latter assembly member, even if there is a sudden temperature change of the heating element, the life of the component is extended without causing cracks or breakage in the wire support jig.
[0213]
More preferably, a structure in which a carbon reflector is disposed below the heater member is added.
[0214]
In particular, by providing a reflecting plate whose upper surface is mirror-finished, it is possible to reduce the release of heat to the lower side of the carbon heater and to greatly increase the heat uniformity and the temperature increase rate above the carbon heater.
[0215]
Furthermore, an effective carbon heater particularly for a semiconductor manufacturing apparatus is configured by enclosing the heater member, the rod-shaped terminal member and the wire support jig in a sealed quartz glass container or a translucent alumina container. Can do.
[0216]
At this time, it is preferable that a branch pipe is appropriately attached to the container so that a non-oxidizing gas such as nitrogen flows from the branch pipe or the inside of the container is evacuated to 20 torr or less. This is because the heater member is prevented from being deteriorated, and it is possible to extend the life and maintain the temperature uniformity for a long time.
[0217]
Furthermore, the carbon heater of the fifth group of the invention may have a configuration in which a convex portion having a semicircular or trapezoidal cross section is formed on the heater surface of the flat plate container, and the surface is polished. Preferably, this provides a prism effect in which heat generation upward of the heater surface by a linear heating element such as carbon wire is made uniform by light scattering.
[0218]
In addition, when the said convex part is seen from the heater surface upper direction, this is formed in the shape of a stripe or concentric part, or this is in the state formed in large numbers by the grid | lattice form.
[0219]
Usually, in order to obtain the same effect, a method of sand plasting the heater surface is adopted. In this case, the surface is grainy, and heat radiation from this surface is suppressed, and quartz glass is used. It accumulates heat in itself and reduces energy efficiency. In this sense, it is an important matter that the glossing process is performed.
[0220]
Further, the heater surface of the carbon heater can be made larger in diameter than the object to be processed. Since the carbon material has a small heat capacity, the heating rate can be further increased by increasing the diameter of the heater surface in this way, and the heat uniformity on the workpiece can be improved.
[0221]
【Example】
A preferred embodiment of the first group of inventions will be described below with reference to FIGS. 29 to 40 and 88. FIG.
[0222]
FIG. 88 is a three-dimensional view showing a first embodiment of the carbon heater according to the first group of the invention. (The drawing shows a case where three carbon fiber bundles are used so that the knitted state can be described most simply.)
In this embodiment, the
[0223]
This carbon fiber woven heater member has a braided span (in the length direction, one wire bundle is regularly entangled with the other two, and the distance until it returns to the original position) Is 5 to 7 mm.
[0224]
Therefore, even if each carbon fiber is cut halfway, the influence of this cutting is limited to only the length of 5 to 7 mm of the braiding span, which affects the overall length of the heater member. As a result, it is possible to effectively suppress variations in the electric resistance value in the length direction of the heater member, and hence generation of heat unevenness.
[0225]
Further, according to the heater member, when three carbon fiber bundles are knitted, a substantial number of 330 × 3 carbon fibers are cut at some points, and when viewed as a whole, A large number of
[0226]
FIG. 29 is a perspective view showing a second embodiment of the carbon heater according to the invention of the first group.
[0227]
In this embodiment, the
[0228]
Carbon electrodes 112 are connected to both ends of the
[0229]
The amount of impurities contained in the
[0230]
FIG. 30 is a perspective view showing a third embodiment of the carbon heater. FIG. 31 is a cross-sectional view showing a state in the vicinity of the
[0231]
In this embodiment, the
[0232]
The four
[0233]
The amount of impurities contained in the
[0234]
FIG. 32 is a perspective view showing a fourth embodiment of a carbon heater particularly effective for a semiconductor manufacturing apparatus.
[0235]
In this embodiment, the heater member 131 is spirally disposed in the quartz glass
[0236]
The heater member suppresses oxidation consumption and prevents devitrification of the quartz glass, so that the impurity concentration is 10 ppm or less in terms of ash.
[0237]
The quartz glass
[0238]
The heater member 131 is supported by a
[0239]
The small protrusions made of alumina are preferably made of high-purity translucent alumina, and even in translucent alumina, if an attempt is made to increase the degree of rapid temperature increase, the above-mentioned small projecting portions are caused by thermal shock. Since there is a possibility that cracks and breakage may occur in the protrusions, it is preferable to use the protrusions as an assembly member of high-purity carbon and translucent alumina. In that case, the portion in contact with the heater member is made of high purity carbon. Furthermore, quartz glass may be used instead of translucent alumina.
[0240]
In this embodiment, three heater members 131 are spirally wound around the inner cylinder, and three heating zones are continuously formed. Thus, by forming two or more heating zones, it becomes easy to balance the temperature of the heating region. The zone width and the number of zones can be arbitrarily determined. From the economical viewpoint, the number of zones is advantageously 3-5.
[0241]
The heater member 131 penetrates the outer cylinder through a metal attachment member 134 and is connected to a
[0242]
FIG. 33 is a perspective view showing a fifth embodiment of a carbon heater particularly effective for a semiconductor manufacturing apparatus.
[0243]
The
[0244]
Each
[0245]
The
[0246]
When the furnace body is configured using the
[0247]
In addition, although the said example was described about the case where the carbon heater unit used as a part of carbon heater was made into the tubular body, it is not limited to this, A quartz glass member other than the peripheral part of a heater member is not substantially limited to this carbon heater unit. Can be made into an integrated rod-shaped body.
[0248]
FIG. 34 shows an example of the
[0249]
The
[0250]
Near both ends of the quartz glass
[0251]
The
[0252]
FIG. 35 and FIG. 36 show a modification of the
[0253]
In the
[0254]
In the
[0255]
FIGS. 37A and 37B show a sixth embodiment of a carbon heater particularly effective for a semiconductor manufacturing apparatus.
[0256]
The
[0257]
Each
[0258]
Examples of the
[0259]
In the
[0260]
The
[0261]
In the
[0262]
The number of overlapping
[0263]
In the
[0264]
Although not shown in FIGS. 37 to 39, the translucent alumina
[0265]
In addition, although the example of FIGS. 37-39 described about the case where the carbon heater unit used as a part of carbon heater was made into the shape of an annular tube or an annular tube, it is not limited to this, All are the peripheral parts of a heater member A rod-like body in which the above quartz glass members are substantially integrated can be obtained. Further, in this example, the same effect can be achieved even if an
[0266]
Next, the embodiment of FIG. 40 will be described.
[0267]
The heater member 161 is supported in a spiral shape and enclosed in an insulating
[0268]
The electrode part of the heater member 161 is made of a carbon material. The
[0269]
The
[0270]
The space between the heat insulating
[0271]
A plurality of heater units can be used to form a long cylindrical heater heating zone.
[0272]
By overlapping the heater units in this way, the uniformity of the temperature distribution at the center can be improved. For example, in the single unit, the temperature difference of the central heater unit at 1000 ° C. was 50 ° C. or more, but when the heater unit was tripled, it was confirmed that the temperature difference was 5 ° C. or less.
[0273]
As a carbon heater, a heater member made of a plurality of carbon fiber bundles made by bundling a plurality of carbon fibers can reduce the heat capacity when compared with the C / C one, thus dramatically improving the rapid quenching throughput. did it.
[0274]
Further, by using the heater member, the heat generation unevenness can be reduced as compared with the case of using only carbon fiber.
[0275]
Further, in the conventional SiC heater, the electric load density is 10 W / cm.2However, when the carbon wire is used, the electric load density is 30 W / cm.2As a result, it was possible to increase the temperature rapidly by about three times.
[0276]
Further, it is possible to further improve the thermal uniformity by controlling the power of each heater unit.
[0277]
The carbon heater particularly effective for the semiconductor manufacturing apparatus of the invention of the first group is excellent in heat uniformity and flexibility, and can be manufactured at low cost.
[0278]
The invention of the first group is not limited to the above embodiment. The shape of the illustrated carbon heater is merely an example, and various modifications are possible. In the third embodiment of FIG. 30, a tape-shaped heater member can be used instead of the wire-shaped heater member.
[0279]
The invention of the second group
A preferred embodiment of the second group of the invention will be described below with reference to FIGS.
[0280]
1 to 28 are simplified drawings in which the
[0281]
First, a first embodiment of the invention of the second group will be described with reference to FIGS.
[0282]
This
[0283]
Here, the most preferable form as a substantially integrated configuration is that, when the carbon heater of the present invention is manufactured by fusing a plurality of quartz glass plates, the fused surfaces are fused on the quartz glass plates. This is a state in which there are no parts that are not attached and are not separated, or there are no structurally non-uniform parts in a semi-fused state.
[0284]
As the
[0285]
The
[0286]
As a specific example of the heater member, nine carbon fiber bundles (a total of 2970 pieces) obtained by bundling about 330 carbon fibers having a diameter of 7 μm are knitted into a wire shape having a diameter of about 2 mm. The braided span is 3 mm, and the surface fluff due to the carbon fiber is about 0.5 to 2.5 mm. Two, three or more such heater members can be used. If a plurality of lines are used, the quality related to the heat generation characteristics can be stabilized.
[0287]
As shown in FIG. 3, the
[0288]
The terminal wire of the
[0289]
FIG. 4 shows the manner of the fusing process. The
[0290]
The upper surface of the
[0291]
In order to adopt a configuration in which the quartz glass support other than the peripheral part of the heater member is substantially integrated like the present carbon heater, the homogeneity of the carbon member and the portion in contact with the quartz glass support are particularly important. Surface roughness is important. In order to make the surface roughness and homogeneity appropriate, the carbon member has an open porosity of 15% or less and 1.8 to 2.0 g / cm.ThreeIt is important to use a material having a bulk density characteristic of buffing or mirror polishing to obtain a surface roughness state. This makes it possible to apply uniform pressure to the entire surface of the quartz glass support by the carbon member, and to prevent thermal strain from remaining in the quartz glass during production due to the difference in thermal expansion coefficient between quartz glass and carbon. It becomes.
[0292]
The inside of the furnace is kept at a vacuum of 1 torr or less, and is heat-treated at 1200 to 1600 ° C. for 0.5 to 5 hours to fuse the joining surfaces of the two
[0293]
At the time of cooling, cooling near 1100 ° C., which is the strain point of quartz glass, is gently performed. The cooling rate in the vicinity of 1100 ° C. is set to, for example, about 50 to 150 ° C./hour.
[0294]
By such heat treatment, the entire bonded surface of the
[0295]
The fusing process employs a method of heating in a heat treatment furnace, that is, an external heating means. However, not only this, a quartz glass plate is sandwiched between carbon members in a predetermined furnace, and quartz glass is used. A method in which the carbon wire in the plate is energized and heated to fuse the quartz glass plate, or a method in which the heater member in the quartz glass plate is heated by high frequency induction heating, for example, sandwiched by a member such as AlN instead of the carbon member Can also be adopted.
[0296]
With such a heating means from the inside, the fusion proceeds from the center side, not from the outer periphery of the quartz glass plate, so that the gas existing between the quartz glass plates is taken into the interior at the time of fusion and bubbles remain. That will be as little as possible.
[0297]
FIG. 5 shows an example of how the carbon heater is used. The end of the
[0298]
Next, a carbon heater according to a second embodiment will be described with reference to FIGS. The subsequent embodiments will be described with a focus on differences from the first embodiment.
[0299]
In the
[0300]
As shown in FIG. 6, the
[0301]
The upper
[0302]
Next, a carbon heater according to a third embodiment will be described with reference to FIGS.
[0303]
The
[0304]
The opaque
[0305]
As shown in FIG. 8, a thin
[0306]
FIG. 10 is a modification of the
[0307]
Thus, by increasing the thickness of the opaque
[0308]
Next, a fourth embodiment will be described with reference to FIGS.
[0309]
The
[0310]
The quartz glass
[0311]
The quartz glass
[0312]
Thus, by providing the carbon reflector below the carbon heating element, it is possible to increase the effect of preventing the transmission of radiant heat below the heater, and to improve the heat radiation above the heater. be able to.
[0313]
Next, a fifth embodiment will be described with reference to FIGS.
[0314]
This embodiment is a
[0315]
That is, the
[0316]
By assembling a quartz glass
[0317]
As shown in FIG. 17, the
[0318]
The setting spot for the reflecting plate of the quartz glass
[0319]
The above-mentioned
[0320]
The sheet preferably has a thin thickness of 20 to 200 μm in order to make the carbon heater more compact and to reduce the heat capacity. In order to obtain the cost, a Kapton fired sheet produced by firing a Kapton sheet is most preferable.
[0321]
In addition, the description regarding the said carbon reflecting plate-like body is common to the carbon reflecting plate-like body described in the present invention.
[0322]
The
[0323]
FIG. 16 is a modification of the
[0324]
18 and 19, two
[0325]
20 and 21, the
[0326]
22 to 24, a
[0327]
By adopting such a configuration, it is possible to obtain a prism effect in which planar heat generation by the linear heater member such as the heater member is made uniform by scattering of light.
[0328]
Usually, in order to obtain the same effect, a method of sandblasting the heater surface is adopted, but in this case, the surface is grainy, heat radiation from this surface is suppressed, and the quartz glass itself Heat accumulates and energy efficiency decreases. In this sense, it is an important matter that the glossing process is performed.
[0329]
Furthermore, generation of dust can be prevented by the same configuration.
[0330]
As for the radius or bottom part length of the
[0331]
Moreover, the space | interval of two convex parts can be set to 0.2-1 mm.
[0332]
Next, an example of another carbon heater manufacturing method will be described with reference to FIGS.
[0333]
First, as shown in FIG. 25A, a first
[0334]
Then, as shown in FIG. 25B, the
[0335]
Since the cross-sectional shape of the groove is a “convex” character, it is possible to reliably prevent the
[0336]
After wiring, dust on the quartz
[0337]
As a result of the fusing process, the joining surfaces of the three quartz glass plates are welded, and the portions other than the grooves 14 (14a, 14b) are substantially integrated as shown in FIG.
[0338]
In this embodiment, the
[0339]
As an example of the dimensions of each part in FIG. 25, L is 0.5 to 1.5 mm, M is about 2 mm, and N is about 3 mm.
[0340]
As the heater member, one to three wires having a diameter of about 2 mm can be wired in parallel. The total thickness of the carbon heater can be 5 to 10 mm, for example.
[0341]
Next, with reference to FIG. 26, the manufacturing method of the carbon heater which has an arc-shaped cross section, or the reflector for carbon heaters is demonstrated.
[0342]
This manufacturing method is a method of bending the above-described
[0343]
The
[0344]
On the sides of the upper and
[0345]
The
[0346]
Examples of the arc shape of the cross section include a 1/3 arc and a 1/2 arc, and the
[0347]
The carbon heater shown in FIG. 28 is a cylindrical heater in which two
[0348]
On the other hand, the carbon heater reflector can also be deformed into an arc shape in the same manner as the carbon heater if a sheet-like reflector made of carbon as described above is used. In FIG. 26, this is indicated by reference numerals with parentheses.
[0349]
Such a carbon reflector deformed in an arc shape can be used integrally with the carbon heater deformed in the same manner as described above.
[0350]
Example 2-1
The carbon heater of FIG. 7 was manufactured by the following procedure.
[0351]
A 100 × 100 × 3 t upper quartz glass plate was prepared, and the fused surface was mirror finished. Further, C0.2 chamfering was performed to prevent pitching.
[0352]
Further, a lower quartz glass plate of 100 × 100 × 7 t was prepared, a wiring groove having a depth of 4 mm and a width of 2 mm was processed, and then the groove portion was polished with an oxyhydrogen burner. Further, the fused surface was mirror-finished and C0.2 was chamfered.
[0353]
Instead of the above mirror finish, it may be polished with flame.
[0354]
In the same manner as in FIG. 4, the heater member made of carbon fiber was placed in the wiring groove of the lower quartz glass plate in the heat treatment furnace, and at this time, the carbon fiber waste adhering to the surface of the lower quartz glass plate was completely removed. Thereafter, an upper quartz glass plate was placed thereon, and these were set on a glassy carbon mirror plate. A 10 kg carbon block weight was placed thereon.
[0355]
In addition, all of these carbon members used purified products having impurities of 5 ppm or less. If the carbon material is impure, the quartz glass surface may be devitrified, and there is a possibility that impurities are attached to the quartz glass and diffused in the semiconductor manufacturing apparatus.
[0356]
Then, the pressure inside the furnace was reduced to 1 torr or less, and a heat treatment was performed at 1450 ° C. for 3 hours. During cooling, the cooling was gently performed at around 1100 ° C., which is the strain point of quartz glass. That is, the cooling rate at 1450 to 1000 ° C. was set to 100 ° C./hour. The cooling rate in other temperature ranges was not particularly controlled.
[0357]
Through the above-described fusing process, the contact portions of the upper and lower quartz glass plates were completely fused, and in appearance, the heater member was wired inside the integrated quartz glass.
The heater member was somewhat pressed by the load.
[0358]
The wiring groove provided on the quartz glass plate was also deformed and pressed during the fusion, and both the groove width and the groove depth were reduced.
[0359]
Then, using this carbon heater, a terminal portion carbon wire was passed through a quartz glass pipe and connected to a power source as shown in FIG.
[0360]
As a result, the heater temperature could be heated to 1350 ° C. without any problem.
[0361]
Moreover, although raising / lowering temperature was repeated 100 times between room temperature and 1200 degreeC, there were no problems, such as a crack generation.
[0362]
In addition, the thing which has 5% of unfused parts in the total contact area of both quartz glass plates by the same manufacturing method was manufactured, and the above evaluation was performed. (This unfused portion occurs when the carbon fiber scrap attached to the surface of the lower quartz glass plate is not completely removed when the heater member is disposed in the wiring groove.)
Furthermore, using these two carbon heaters, a test was carried out in which a φ200 mm semiconductor wafer, the outer periphery of which was supported by a ring-shaped susceptor, was heated to 1000 ° C. from below about 50 mm in a vacuum furnace. Even in this case, the temperature unevenness in the upper surface of the semiconductor wafer could be suppressed within a range of ± 0.5 ° C.
[0363]
In addition, a reaction evaluation test between quartz glass and a carbon heater member was performed by setting the temperature of the heater member in the carbon heater to 1300 ° C. in a furnace in the atmosphere and maintaining this temperature for a long time. Even after 2500 hours have passed, it has been confirmed that no problems have occurred in any of the above carbon heaters.
[0364]
In the carbon heater of the second group of the invention, since the quartz glass support is integrated by fusion, stress concentration does not occur and a long life can be enjoyed.
[0365]
In addition, since the quartz glass support that supports the heater member is integrated outside the periphery of the heater member, the quartz glass support can be made thinner to reduce the heat capacity. Therefore, it can cope with rapid temperature rise and fall.
[0366]
Since the reflector for carbon heaters of the second group of the invention is clean and excellent in heat resistance, it is suitable as a heat reflector disposed below or outside the heater. Moreover, since the thickness can be reduced and the heat capacity can be reduced for the above-mentioned reasons, it is particularly suitable for a heater of a semiconductor heat treatment apparatus.
[0367]
According to the carbon heater of the second group and the method of manufacturing the reflector for the same, a high-quality carbon heater and reflector having the above-described effects can be efficiently manufactured at low cost.
[0368]
The invention of the second group is not limited to the above embodiment. For example, the shape of the carbon heater or the reflecting plate is not limited to a rectangle, and a circle or other various shapes can be adopted. The heater member can also be arranged in two or more stages in the quartz glass support.
[0369]
Invention of the third group
A preferred embodiment of the invention of the third group will be described below with reference to FIGS.
[0370]
FIG. 62 is a schematic view showing a carbon heater particularly effective for a semiconductor manufacturing apparatus according to the invention of the third group.
[0371]
The
[0372]
The
[0373]
As a specific example of the
[0374]
The wiring form of the
[0375]
As shown also in FIGS. 63 and 64, the setting
[0376]
The setting
[0377]
A metal electrode
[0378]
These
[0379]
The groove 413 is formed by, for example, excavating a plate-
[0380]
Here, the mirror surface means a surface having a surface roughness Rmax (based on the maximum height JIS B0601-1982) of 1 μm or less.
[0381]
When the surface roughness Rmax of the surface of the groove 413 is larger than 1 μm, local contact with the heater member occurs, the reactivity increases in that region, and the life of the heater member is shortened. That is, quartz glass and carbon are SiO2+ 3C → SiC + 2CO or SiO2+ 2C → SiC + CO2Thus, the
[0382]
One or a plurality of
[0383]
As shown in FIGS. 68 and 69, the setting
[0384]
When the distance L is short (near 0.2 mm), it is preferable to mirror the opposing surfaces of the setting
[0385]
When the distance L is long (around 1 mm), there is no need for mirror finishing because there is no risk of surface contact. When the distance L exceeds 1 mm, a welding flame enters and the
[0386]
A groove is provided around the setting
[0387]
For example, when the thickness of the setting
[0388]
Note that the gap between the setting
[0389]
In order to provide a gap between the setting
[0390]
In particular, according to the latter method, (1) oxidation of the heater member due to burner heating can be prevented as much as possible, (2) the distance between the setting member and the lid member can be made more uniform, and (3) setting can be made. SiO on the outer periphery of the member and lid member2The occurrence of white clouding due to fine powder can be prevented, and the heat uniformity of the present carbon heater can be improved.
[0390]
The fire barrier 434 may be provided on the lid member 414 at a height of 0.2 to 1 mm, and the total height of both the setting
[0392]
As shown in FIG. 65, it is advantageous to fill the setting portion 413 with alumina powder 415 and support the
[0393]
As a result, the maximum operating temperature of the carbon heater can be more reliably raised to about 1350 ° C.
[0394]
Alumina powder is arrange | positioned in the following procedure, for example. After the
[0395]
A carbon terminal 416 is disposed in the carbon terminal setting portion 421, and both ends of the
[0396]
As shown in FIGS. 66 and 67, the
[0397]
The carbon terminal 416 is also connected with a metal electrode 417 made of Mo. A screw 426 is cut at the tip of the metal electrode 417 and is fixed by screwing into a screw hole of the carbon terminal 416.
[0398]
The metal electrode 417 is drawn out through the
[0399]
Then, after the setting
[0400]
A
[0401]
Further, gas can be supplied also to the
[0402]
Example 3-1
A carbon heater having the form shown in FIG. 62 was prepared without using alumina powder.
[0403]
When a heating test was conducted while introducing nitrogen gas into the carbon heater, the temperature of the carbon wire heater was 850 ° C. and 51 V 10.6 A. Even after 100 hours of use, there was no change in resistance, and stable heating could be performed. Furthermore, even if the temperature of the carbon heater was 1300 ° C., it could be used without problems for 2000 hours or more.
[0404]
Example 3-2
A carbon heater was prepared in the same manner as in Example 3-1, except that the carbon wire was supported using alumina powder.
[0405]
A heating test was conducted while introducing nitrogen gas, and the heater was used continuously at a heater temperature of 1350 ° C. (alumina powder surface temperature) for 200 hours, but there were no problems such as an increase in resistance. Thereafter, when the temperature was further increased, the heater member was disconnected at 1550 ° C. on the surface of the alumina powder.
[0406]
The carbon heater particularly effective for the semiconductor manufacturing apparatus of the third group of the invention has a significantly longer service life than conventional heaters and can be rapidly raised and lowered.
[0407]
The invention of the third group is not limited to the above embodiment. For example, the overall shape of the heater is not limited to a rectangular flat plate, but may be a circular plate or a cylindrical shape. Further, the groove can be formed not only on the setting member but also on the lid member.
[0408]
4-1 Group invention
A preferred embodiment of the invention of the 4-1th group will be described below with reference to FIGS. 87 and 89-92.
[0409]
FIG. 89 is a perspective view showing a use state of a carbon heater particularly effective for a semiconductor heat treatment apparatus according to the invention of the 4-1th group. 90 is a top view showing details of the carbon heater, FIG. 91 is a side view with a part omitted, and FIG. 87 is an enlarged view of a part of FIG.
[0410]
In the
[0411]
As a specific example of the carbon wire used as the
[0412]
The
[0413]
The terminal wire of the
[0414]
The wiring groove is formed in a “convex” shape.
[0415]
Through the heat treatment, the
[0416]
A method for manufacturing the terminal portion of this embodiment will be described.
[0417]
1) N2A quartz
[0418]
2) A plurality of wire-like carbons are pulled into a
3) The members are arranged as shown in FIG. 87, and the connecting
4) A transparent pipe is welded to the lower part of the
[0419]
5) N2A sealing terminal is attached to the lower side of the lower transparent pipe while introducing.
[0420]
6) A vacuum is drawn from the
[0421]
The end of the
[0422]
The carbon heater of the 4-1 group invention has the same configuration as the carbon heater of the 2nd group invention except for the terminal portion, and is manufactured by an equivalent manufacturing method.
[0423]
The structure of the carbon heater of the invention of the 4-1 group is the same as that of the carbon heater of the invention of the 4-2 group described later, except for the terminal part and the quartz glass support (fusion method). Can do.
[0424]
By adopting such a configuration, the temperature unevenness on the surface of the semiconductor wafer disposed approximately 100 mm apart above the carbon heater can be kept at ± 0.5 ° C. or less. Further, it can be made compact, easy to manufacture, and has great merit in terms of cost.
[0425]
The opaque
[0426]
4-2 Group Invention
A preferred embodiment of the 4-2 group invention will now be described with reference to FIGS.
[0427]
FIG. 70 is a perspective view showing a use state of a carbon heater particularly effective for a semiconductor heat treatment apparatus according to the invention of the 4-2 group, and FIG. 71 is a perspective view showing a carbon heater alone. 72 is a top view showing details of the carbon heater of FIG. 71, and FIG. 73 is a side view with a part omitted.
[0428]
In the
[0429]
As a specific example of the
[0430]
By using such a
[0431]
The
[0432]
Although the upper surface of the
[0433]
The setting recesses 516 are arranged symmetrically on the plane of FIG. 72, and a
The wiring form of the
[0434]
The
[0435]
A rod-shaped terminal insertion portion 519 is formed at both ends of the
[0436]
A
[0437]
Opaque quartz can be used for part of the
[0438]
Inside the
[0439]
A
[0440]
The lower end portion of the drawn inscribed
[0441]
By the way, when the inscribed
[0442]
As shown in FIGS. 74 and 75, the opposing surfaces of the
[0443]
When the distance L is short (near 0.2 mm), it is preferable to mirror the opposing surfaces of the upper and
[0444]
When the distance L is long (around 1 mm), there is no need for mirror finishing because there is no risk of surface contact. When the distance L exceeds 1 mm, a welding flame enters and the
[0445]
A groove is provided around the upper and
[0446]
For example, when the thickness of the upper and
[0447]
In addition, opening the space | interval of the upper and
[0448]
In order to weld the upper and
[0449]
In particular, according to the latter method, (1) oxidation of the heater member due to burner heating can be prevented as much as possible, (2) the distance between the upper and lower containers can be made more uniform, and (3) the outer circumference of the upper and lower containers SiO in the part2The occurrence of white clouding due to fine powder can be prevented, and the heat uniformity of the present carbon heater can be improved.
[0450]
The
[0451]
The upper and
[0452]
Even in the annealing process after welding, work is carried out while introducing nitrogen gas.
[0453]
Thereafter, while introducing nitrogen, the wire-
[0454]
The annealing process after setting the terminal body is also performed while introducing nitrogen gas.
[0455]
As the introduced gas, a non-oxidizing gas such as nitrogen, helium, argon, or neon can be used, but nitrogen is appropriate from the viewpoint of economy.
[0456]
When the assembly of the quartz glass container is completed, the container is evacuated to set the container at a predetermined pressure. As a result, the above-described
[0457]
In general, since carbon materials are easily oxidized, it is necessary to fill a container with a non-oxidizing gas such as nitrogen or to evacuate the container. However, since the reaction between the carbon material and quartz glass tends to accelerate in a vacuum state, the present invention employs a method of filling the container with a non-oxidizing gas.
[0458]
In the method of heating the heater while introducing nitrogen gas, the structure of the heat treatment apparatus becomes complicated due to the installation of a nitrogen gas line, etc. Therefore, in a preferred embodiment of the present invention, the inside of the container is sealed and a slight amount of nitrogen gas is put inside. Encapsulate. The sealing pressure is determined as follows.
[0459]
For example, when it is used at 1000 ° C. and the pressure in the heat treatment furnace is used in both a vacuum and a normal pressure, the pressure inside the heater is set to about 0.5 atm taking a middle of 0 to 1 atm. In order to obtain 0.5 atm at 1000 ° C., 0.5 atm × 293 K / 1273 K × 760 Torr / atm = 87 Torr at
[0460]
That is, an assembly operation is performed while introducing nitrogen gas, and after the assembly is completed, nitrogen gas is extracted from the gas introduction pipe 514 and the inside of the container is adjusted to a predetermined pressure.
[0461]
Depressurizing the inside of the container is also advantageous in terms of the life of the quartz glass container. As a result of computer simulation, it has been obtained that the quartz glass container for the heater is weaker to damage than the pressure from the outside against the pressure from the inside. When nitrogen gas is sealed at 1 atm at room temperature, the nitrogen inside expands when the heater is heated, and pressure acts from the inside of the quartz glass container.
[0462]
Finally, the gas introduction pipe 514 is removed by sealing with a flame at a position close to the lower surface of the
[0463]
The carbon heater particularly effective for a semiconductor processing apparatus of the present invention can be applied not only to the heat treatment apparatus as described above but also to a cleaning apparatus for cleaning a semiconductor at a high temperature.
[0464]
Example 4-2-1
A quartz glass plate having a thickness of 8.0 mm was subjected to grooving and outer diameter processing, and then the processed surface was polished with an oxyhydrogen flame to obtain a semicircular, quartz glass lower container having an outer diameter of 240 mm. Moreover, the upper container corresponding to a lower container was formed using the quartz glass plate of thickness 8.0mm.
[0465]
A quartz glass tube for introducing gas and a quartz glass tube for terminals were welded to the lower container. The outer diameter of the former was 6.5 mm, and the outer diameter of the latter was 25.4 mm.
[0466]
A heater member and a set of terminals were placed in the groove of the lower container and the terminal glass tube to cover the upper container, and the outer periphery of the upper and lower containers was welded while introducing nitrogen gas from the gas introducing glass tube. The groove was C5 and the weld overlay was 1 mm. The subsequent steps were also performed while introducing nitrogen gas in principle.
[0467]
The terminal body of the other end of the heater member was placed at the open end of the quartz glass tube and sealed. Then, an annealing process was performed.
[0468]
Finally, nitrogen gas was exhausted from the quartz glass tube for gas introduction, the pressure in the container was set to 180 Torr, and the gas introduction tube was sealed and removed.
[0469]
A heating test was performed using a carbon heater having a T-shaped cross section manufactured by the above procedure.
[0470]
When a current was passed through the heating element and the heater temperature reached 1100 ° C. with a radiation thermometer, the pressure inside the heater was measured and found to be about 1 atmosphere. In addition, the temperature of the plurality of carbon wire bundle portions was 105 ° C.
[0471]
The time required for the heater temperature to reach 1100 ° C. from room temperature was about 10 seconds.
[0472]
Although it was continuously used at a heater temperature of 1100 ° C. for 1000 hours, no abnormality was observed.
[0473]
Further, heating at a heater temperature of 1300 ° C. could be performed without any problem.
[0474]
Hereinafter, a more preferred embodiment of the invention of the 4-2th group will be described with reference to FIGS.
[0475]
FIG. 76 is a perspective view showing a carbon heater to which the terminal device for carbon heater of the present invention is applied. FIG. 77 is a top view thereof.
[0476]
The
[0477]
The
[0478]
Two
[0479]
In the
[0480]
In the terminal device of the present invention, the first
[0481]
First, the first terminal device will be described with reference to FIGS. 78 to 83.
[0482]
The terminal device 620 is configured to connect the terminal member 611 and the terminal
[0483]
The external shape of the rod-shaped terminal member 611 is a cylindrical rod shape as a whole. A through
[0484]
The
[0485]
On the other end side of the rod-shaped terminal member 611, a large-diameter
[0486]
The
[0487]
The terminal
[0488]
A
[0489]
Only a part of the
[0490]
The terminal wire 613 made of wire-like carbon is pressed and fixed in a state of being sandwiched and distributed between the terminal
[0491]
When assembling, as shown in FIG. 78, the plurality of wire-like carbon terminal wires 613 are appropriately distributed to the plurality of wires 613a and lightly pressed by the
[0492]
The set of the connecting
[0493]
Moreover, it becomes possible to connect the heater member having shape flexibility without causing abnormal stress in the carbon heater against thermal expansion and thermal deformation.
[0494]
The wire-like carbon terminal wire 613 is preferably made of the same material as the
[0495]
The temperature of the wire-like carbon terminal wire 613 and the
[0496]
When the wire-like carbon terminal wire 613 and the
[0497]
In this way, by reducing the temperature of the wire-like carbon terminal wire 613 that transmits electric power, it is possible to prevent deterioration of the vacuum sealing material such as Viton. Moreover, since wire-like carbon itself is comprised from the carbon fiber, the heat conduction from a heater can be suppressed. For example, the thermal conductivity of a normal special carbon material is 100 W / mK, while that of wire-like carbon is 1 W / mK or less.
[0498]
Next, the second terminal device will be described with reference to FIGS.
[0499]
This
[0500]
The wire-like
[0501]
The terminal portion
[0502]
The
[0503]
The connecting
[0504]
The metal
[0505]
As shown in FIG. 85, the
[0506]
The
[0507]
As shown in FIG. 84, the
[0508]
As the
[0509]
Since Mo has a thermal expansion coefficient very close to that of the carbon material, cracks such as cracks can be prevented by the thermal history of the carbon terminal body.
[0510]
Moreover, since Mo has a high melting point of about 2100 ° C., generation of metal impurities can be suppressed. Therefore, the Mo metal rod is suitable as an inscribed line (heater side terminal wire) of the sealing terminal made of quartz.
[0511]
The
[0512]
Finally, an example of the third terminal device will be described with reference to FIG. FIG. 86 schematically shows a part of the carbon heater and the first to third terminal devices.
[0513]
The first terminal device and the second terminal device are connected by a plurality of wire-like carbon terminal wires 613 within the
[0514]
The
[0515]
The third terminal device 650 is for connecting the internal
[0516]
In this embodiment, the inscribed
[0517]
A quartz glass cap is connected to the lower end of the
[0518]
Two external
[0519]
A
[0520]
The
[0521]
As described above, the
[0522]
As the outer
[0523]
As the inscribed
[0524]
As the
[0525]
As the
[0526]
Example 4-2-2
Example 4-2-2 relates to the first terminal device.
[0527]
Two terminal members purified in a nitrogen atmosphere were arranged, and two purified heater members were fixed between them at an interval of 1 m. The electrical resistance value at this time was 5Ω. Next, 18 heater members were fixed to the terminal member using the core member and the terminal wire connecting member, and the terminal device of FIG. 78 was manufactured. And electric power was supplied to the heater from this heater member. After 10 minutes, the temperature of the heater reached 1100 ° C. and the electrical resistance value became 2.5Ω. The temperature of the 18 carbon wires at this time was measured and found to be 105 ° C.
[0528]
Although it was used for 1000 hours in this state, no change in electrical resistance was confirmed.
[0529]
The used carbon wire, terminal member, and other carbon member are purified with ash to 5 ppm or less.
[0530]
On the other hand, when an unpurified product was used, it was disconnected in 16 hours. When the carbon wire heater portion after the disconnection was observed with EPMA, deterioration due to iron was observed.
[0531]
Thus, the heater member and other carbon members are preferably 5 ppm or less in distribution. The iron concentration of the purified carbon material is preferably 0.1 ppm or less.
[0532]
Example 4-2-3
Example 4-2-3 relates to the second terminal device.
[0533]
A terminal device shown in FIG. 84 was manufactured using a Mo metal rod having a diameter of 2 mm. A carbon wire heater was placed in a quartz glass container to keep the inside of the container in a nitrogen atmosphere, and the terminal device of Example 4-2-2 and the terminal device of Example 4-2-3 were connected.
[0534]
The length of the heater member was 1 m, and two wires were used. The resistance value of the heater was 5Ω at room temperature and 2.5Ω when heated at 1100 ° C. When the heater was 1100 ° C., the temperature of the wire-like carbon terminal wires (18 wires) was 105 ° C. Moreover, Mo metal terminal parts were 55 degreeC.
[0535]
As a result of using this carbon heater for 1000 hours, no damage such as cracks occurred in the terminal body, and other problems did not occur.
[0536]
In addition, the carbon member of the terminal device in Example 4-2-3 was also used after purification as in Example 4-2-2.
[0537]
Example 4-2-4
Example 4-2-4 relates to a third terminal device.
[0538]
A third terminal device shown in FIG. 86 was manufactured using two outer tangent lines with a diameter of 1.4 mm, a quartz pipe with an outer diameter of 15 mm, and a Mo foil with a width of 8 mm. When a current of 30 A was passed through the terminal device, it was confirmed that no damage such as cracks occurred in the sealing portion.
[0539]
According to the first carbon heater terminal device of the invention of the 4-2th group, the heater member and the terminal wire made of a plurality of wire-like carbons can be reliably and easily connected. Further, this terminal device has a simple structure and has a sufficiently long life.
[0540]
According to the second carbon heater terminal device of the invention of the 4-2 group, a plurality of wire-like carbon terminal wires and metal terminal wires can be reliably and easily connected. Further, this terminal device has a simple structure and has a sufficiently long life.
[0541]
According to the third carbon heater terminal device of the invention of the 4th-2 group, a long life can be enjoyed even when used with a large current of about 30A.
[0542]
The invention of the 4-2th group is not limited to the above-described embodiments. For example, it is possible to freely reverse the relationship between the female screw and the male screw of each member and the relationship between the irregularities. Such design changes can be easily made by those skilled in the art based on the description of the present specification, and thus will not be described in detail here.
[0543]
Invention of the fifth group
A preferred embodiment of the fifth group of the invention will be described below with reference to FIGS.
[0544]
FIGS. 41A and 41B are schematic views showing a first embodiment and a second embodiment in which the invention of the fifth group is used in a semiconductor manufacturing apparatus.
[0545]
The
[0546]
Further, if the
[0547]
As the
[0548]
A plurality of carbon fibers are attached to the inner lower part of the furnace core tube 211.bundleA flat-plate container-
[0549]
42 and 43 are a top view and a cross-sectional view showing the
[0550]
The
[0551]
The
[0552]
The outer surface exposed portion of the
[0553]
The quartz glass container can also be made of opaque quartz having a large number of minute closed pores.
[0554]
A
[0555]
The upper surface of the
[0556]
The
[0557]
As described above, in the fifth group of the invention, the
[0558]
For that purpose, an important point is how to make the
[0559]
In the invention of the fifth group, as shown in FIG. 42, first, the
[0560]
As the
[0561]
The
[0562]
FIG. 44 is an assembly diagram of the
[0563]
The terminal body 223a is made of carbon and is formed in a bolt shape as a whole. A penetrating
[0564]
The holding
[0565]
The
[0566]
By sandwiching an expanded graphite sheet (not shown) in the contact portion between the terminal body 223a and
[0567]
45A is a perspective view showing the
[0568]
The
[0569]
By supporting the
[0570]
If the
[0571]
The
[0572]
The characteristic required for the
[0573]
The
[0574]
46-60 has shown the Example which added the change to the Example of FIGS. 42-44. FIG. 46 is a cross-sectional view showing the main part of the
[0575]
The
[0576]
As the
[0577]
[0578]
As shown in FIGS. 46 to 48, the
[0579]
An
[0580]
The flange 223a of the
The
[0581]
A bolt-shaped
[0582]
Near the middle of the
[0583]
The holding
[0584]
The
[0585]
The other end of the
[0586]
A male screw portion 272 c is formed at the lower end of the
[0587]
Normally, the
[0588]
48 to 49 show specific examples of the
[0589]
50 to 51 show specific examples of the additional terminal 67 of FIG.
[0590]
52 to 53 show specific examples of the pressing
[0591]
54 to 55 show specific examples of the pressing member 68 of FIG.
[0592]
56 to 57 show specific examples of the additional terminal 72 of FIG.
[0593]
58 to 59 show specific examples of the nut 74 shown in FIG.
[0594]
The
[0595]
By supporting the heater member with the
[0596]
By making the
[0597]
The
[0598]
In the fifth group of the invention, a substantially cylindrical hole 223c for inserting the bolt-shaped
[0599]
As shown in FIG. 60, if the
[0600]
The carbon heater of the fifth group of the invention can be applied not only to the above-described embodiment, but also to a semiconductor manufacturing apparatus that performs heat treatment by placing it under a semiconductor wafer as shown in FIG. 61, for example.
[0601]
The invention of the fifth group is not limited to the above-described embodiments. For example, the carbon heater is not limited to a cylindrical shape, and may be a hexagonal shape or a rectangular shape. In addition, the arrangement of the heater members in the carbon heater may be spiral or other shapes.
[0602]
In the invention of the fifth group, a heater member knitted into a wire-like long shape using a plurality of carbon fiber bundles obtained by bundling a plurality of carbon fibers with a carbon heater particularly effective for a semiconductor manufacturing apparatus is formed into a plurality of rod shapes. By adopting a structure in which the terminal member and the wire support jig are supported in a flat container in a non-contact manner and sealed, heat generation unevenness of the heating element can be reduced, and soaking performance is improved. In addition, rapid temperature increase / decrease can be achieved.
[0603]
In addition, the carbon heater can have a simple structure, and the cost can be reduced. Furthermore, by selecting the detailed structure and material, various problems unique to the carbon heater can be solved. The service life can be improved.
[Brief description of the drawings]
FIG. 1 is a plan view showing an embodiment of a carbon heater according to a second group of the invention.
2 is a cross-sectional view of the carbon heater in FIG. 1 taken along XX.
3 is a cross-sectional view showing an assembled state before the carbon heater of FIG. 1 is fused. FIG.
4 is a cross-sectional view showing a method for fusing the carbon heater of FIG. 1. FIG.
FIG. 5 is a side view showing how the carbon heater shown in FIG. 1 is used.
6 is a cross-sectional view showing an assembled state before the carbon heater of FIG. 7 is fused. FIG.
FIG. 7 is a cross-sectional view showing another embodiment of the carbon heater according to the second group of the present invention.
8 is a cross-sectional view showing an assembled state before the carbon heater of FIG. 9 is fused. FIG.
FIG. 9 is a cross-sectional view showing still another embodiment of the carbon heater according to the second group of the present invention.
FIG. 10 is a sectional view showing still another embodiment of the carbon heater according to the second group of the invention.
FIG. 11 is an assembly diagram of the carbon heater of FIG.
FIG. 12 is a sectional view showing still another embodiment of the carbon heater according to the second group of the invention.
13 is a plan view of the carbon heater of FIG.
14 is an assembly diagram of the reflector for carbon heater of FIG. 15. FIG.
FIG. 15 is a sectional view showing one embodiment of a reflector for a carbon heater according to the invention of the second group.
FIG. 16 is a cross-sectional view showing another embodiment of the reflector for a carbon heater according to the invention of the second group.
FIG. 17 is a cross-sectional view showing an embodiment of a carbon heater in which the reflectors for carbon heaters of the second group of the invention are arranged adjacent to each other.
FIG. 18 is a cross-sectional view showing a state before the fusion treatment in still another embodiment of the carbon heater of the second group of the invention.
19 is a cross-sectional view showing a state after the fusion treatment of the carbon heater of FIG.
FIG. 20 is a cross-sectional view showing a state before the fusion treatment in still another embodiment of the carbon heater of the second group of the invention.
FIG. 21 is a cross-sectional view showing a state before the fusion treatment in still another embodiment of the carbon heater of the second group of the invention.
22 is a view showing still another embodiment of the carbon heater according to the invention of the second group, in which (A) is a top view, and (B) is an XX cross-sectional view in the case of having a semicircular convex portion in cross section; XX sectional drawing in case (C) has a cross-sectional trapezoid convex part.
23 is a view showing still another embodiment of the carbon heater according to the invention of the second group, in which (A) is a top view, and (B) is a YY sectional view in the case of having a semicircular cross section in section, YC sectional drawing in case (C) has a cross-sectional trapezoidal convex part.
24 is a view showing still another embodiment of the carbon heater according to the invention of the second group, wherein (A) is a top view, and (B) is a ZZ cross-sectional view in the case of having a semicircular convex section. ZZ sectional drawing in case (C) has a cross-sectional trapezoid convex part.
FIG. 25 is a process diagram showing an example of a carbon heater manufacturing method according to the invention of the second group.
FIG. 26 is a process chart showing another example of the method for producing the carbon heater (or the reflector for carbon heater) of the second group of the invention.
27 is a perspective view showing an example of a carbon heater (or a reflector for carbon heater) manufactured by the manufacturing method of FIG. 26. FIG.
28 is a perspective view showing a usage state of the carbon heater (or the reflector for carbon heater) of FIG. 27. FIG.
FIG. 29 is a perspective view showing a first embodiment of the carbon heater of the first group of the invention.
FIG. 30 is a perspective view showing a second embodiment of the carbon heater of the first group of the invention.
31 is a cross-sectional view showing the vicinity of a carbon electrode in FIG. 30;
FIG. 32 is a perspective view showing a third embodiment of the carbon heater according to the first group of the invention.
FIG. 33 is a perspective view showing a fourth embodiment of the carbon heater of the first group of the invention.
34 is a plan view showing a part of the carbon heater of FIG. 33. FIG.
35 is a plan view showing a modification of the carbon heater of FIG. 33. FIG.
36 is a plan view showing another modification of the carbon heater of FIG. 33. FIG.
FIG. 37 is a perspective view showing a fifth embodiment of the carbon heater of the first group of the invention.
FIGS. 38A and 38B are perspective views showing a part of the carbon heater of FIG. 37, and FIGS.
39 is a perspective view showing a modification of the carbon heater in FIG. 38. FIG.
40 shows another embodiment of the invention of the first group, (A) is a transverse sectional view, and (B) is a longitudinal sectional view. FIG.
41A and 41B are schematic views showing a first embodiment and a second embodiment in which the invention of the fifth group is used in a semiconductor heat treatment apparatus, respectively.
42 is a plan view showing the carbon heater of FIG. 41. FIG.
43 is a sectional view of the carbon heater of FIG. 41. FIG.
44 is an assembly drawing of the carbon rod-shaped terminal member of FIG. 41. FIG.
45A is a perspective view showing the wire support jig of FIG. 41, and FIG. 45B is a cross-sectional view showing a modified example thereof.
FIG. 46 is a sectional view showing the outline of the main part in another embodiment of the carbon heater of the fifth group of the invention.
47 is a perspective view showing an example of the terminal member of FIG. 46. FIG.
48 is a front view showing an example of the terminal member of FIG. 46. FIG.
49 is a top view showing an example of the terminal member of FIG. 46. FIG.
50 is a front view showing a specific example of the additional terminal of FIG. 46. FIG.
51 is a top view showing a specific example of the additional terminal of FIG. 46. FIG.
52 is a front view showing a specific example of the presser member of FIG. 46. FIG.
53 is a top view showing a specific example of the presser member of FIG. 46. FIG.
54 is a top view showing a specific example of the presser member of FIG. 46. FIG.
55 is a top view showing a specific example of the presser member of FIG. 46. FIG.
56 is a front view showing a specific example of the additional terminal of FIG. 46. FIG.
57 is a top view showing a specific example of the additional terminal of FIG. 46. FIG.
58 is a front view showing a specific example of the nut of FIG. 46. FIG.
59 is a top view showing a specific example of the nut of FIG. 46. FIG.
FIG. 60A shows a state where a heating element of a wire is inserted in a lateral hole of a terminal member and a presser member is not inserted in an axial hole in the embodiment of the fifth group of the invention; B) is then in a state where the presser member is fully screwed into the axial hole of the terminal member,
FIG. 61 is an explanatory view showing one arrangement example of the carbon heaters of the fifth group of the invention.
FIG. 62 is a schematic view showing a carbon heater according to the invention of the third group.
FIG. 63 is a top view showing the setting member of the carbon heater of the third group of the invention.
64 is an end view of the setting member of FIG. 63. FIG.
FIG. 65 is a sectional view showing how to set a heater member in an embodiment of the third group of the invention;
FIG. 66 is a top view showing a carbon terminal in an embodiment of the invention of the third group.
FIG. 67 is a sectional view showing a carbon terminal in an embodiment of the invention of the third group.
FIG. 68 is a sectional view showing the vicinity of an outer peripheral portion in an example of the carbon heater of the third group of the invention.
FIG. 69 is a sectional view showing another aspect of the vicinity of the outer peripheral portion in the embodiment of the carbon heater of the third group of the invention.
FIG. 70 is a perspective view showing a usage state of the carbon heater according to the invention of the fourth group.
FIG. 71 is a perspective view showing a single carbon heater according to the fourth group of the invention.
FIG. 72 is a top view showing details of a carbon heater according to the invention of the 4-2 group.
FIG. 73 is a side view in which a part of the carbon heater according to the invention of the 4-2th group is omitted.
FIG. 74 is a partial cross-sectional view showing the outer periphery of the carbon heater of the invention of the 4-2 group.
FIG. 75 is a partial cross-sectional view showing the outer periphery of the carbon heater of the 4-2 group invention.
FIG. 76 is a perspective view showing a carbon heater to which the terminal device of the invention of the 4-2 group is applied.
77 is a top view of the carbon heater of FIG. 76. FIG.
78 is a partial cross-sectional view showing an embodiment of a first terminal device according to the invention of the 4-2 group. FIG.
79 is a side view showing a terminal member of the terminal device of FIG. 78. FIG.
80 is a cross-sectional view of the terminal member AA in FIG. 79. FIG.
81 is a side view showing a screw used in the terminal device of FIG. 78. FIG.
82 is a top view showing the screw of FIG. 81. FIG.
83 is an assembly view of the terminal device of FIG. 78. FIG.
FIG. 84 is a sectional view showing a second terminal device according to the invention of the 4-2 group.
85 is a perspective view showing a split core member of the terminal device of FIG. 84. FIG.
FIG. 86 is a schematic view showing a part of first to third terminal devices according to the invention of the 4-2 group and a carbon heater to which the first to third terminal devices are applied.
FIG. 87 is a cross-sectional view showing another embodiment of the invention of the 4th-1 group.
FIG. 88 shows an example of a heater member according to the invention of the first group, showing a state in which three carbon fiber bundles are knitted,
FIG. 89 is a perspective view showing a use state of a carbon heater for a semiconductor heat treatment apparatus according to the invention of the 4-1th group.
90 is a top view showing details of the carbon heater of FIG. 89. FIG.
91 is a side view schematically showing the carbon heater of FIG. 89. FIG.
92 is an enlarged cross-sectional view of a portion denoted by
| Application Number | Priority Date | Filing Date | Title |
|---|---|---|---|
| JP2001240041AJP4198901B2 (en) | 1997-07-31 | 2001-08-08 | Carbon heater |
| Application Number | Priority Date | Filing Date | Title |
|---|---|---|---|
| JP21901897 | 1997-07-31 | ||
| JP21894197 | 1997-07-31 | ||
| JP10-132630 | 1998-04-28 | ||
| JP9-218941 | 1998-04-28 | ||
| JP9-219018 | 1998-04-28 | ||
| JP13263098 | 1998-04-28 | ||
| JP2001240041AJP4198901B2 (en) | 1997-07-31 | 2001-08-08 | Carbon heater |
| Application Number | Title | Priority Date | Filing Date |
|---|---|---|---|
| JP25451398ADivisionJP4185194B2 (en) | 1997-07-31 | 1998-07-30 | Carbon heater |
| Application Number | Title | Priority Date | Filing Date |
|---|---|---|---|
| JP2008112653ADivisionJP4845146B2 (en) | 1997-07-31 | 2008-04-23 | Carbon heater |
| Publication Number | Publication Date |
|---|---|
| JP2002151237A JP2002151237A (en) | 2002-05-24 |
| JP4198901B2true JP4198901B2 (en) | 2008-12-17 |
| Application Number | Title | Priority Date | Filing Date |
|---|---|---|---|
| JP2001240041AExpired - LifetimeJP4198901B2 (en) | 1997-07-31 | 2001-08-08 | Carbon heater |
| Country | Link |
|---|---|
| JP (1) | JP4198901B2 (en) |
| Publication number | Priority date | Publication date | Assignee | Title |
|---|---|---|---|---|
| JP3984820B2 (en) | 2001-11-16 | 2007-10-03 | 株式会社神戸製鋼所 | Vertical vacuum CVD equipment |
| JP2005072386A (en)* | 2003-08-26 | 2005-03-17 | Hitachi Kokusai Electric Inc | Substrate processing equipment |
| JP5053206B2 (en)* | 2008-08-22 | 2012-10-17 | 東ソー・クォーツ株式会社 | Method of forming quartz glass material using mold material |
| US10204806B2 (en)* | 2011-09-06 | 2019-02-12 | Arsalan Emami | Modular heater |
| WO2013088495A1 (en)* | 2011-12-12 | 2013-06-20 | イビデン株式会社 | Heater unit, firing furnace, and method for manufacturing silicon-containing porous ceramic fired body |
| JPWO2013088495A1 (en)* | 2011-12-12 | 2015-04-27 | イビデン株式会社 | Heater unit, firing furnace, and method for producing silicon-containing porous ceramic fired body |
| US11147129B2 (en) | 2016-03-10 | 2021-10-12 | Arsalan Emami | Industrial heater |
| WO2021039497A1 (en)* | 2019-08-29 | 2021-03-04 | 京セラ株式会社 | Substrate structure and object-placement device using substrate structure |
| JP7461121B2 (en)* | 2019-09-09 | 2024-04-03 | 株式会社クラベ | Screen Heater System |
| JP7326187B2 (en)* | 2020-02-28 | 2023-08-15 | クアーズテック株式会社 | Plane heater |
| Publication number | Priority date | Publication date | Assignee | Title |
|---|---|---|---|---|
| JPS52119579A (en)* | 1976-03-31 | 1977-10-07 | Toray Ind Inc | Method of discharging electrode for electric dust-collector device |
| JPS53145138A (en)* | 1977-05-25 | 1978-12-18 | Toray Ind Inc | Plane heating element |
| JPS61124088A (en)* | 1984-11-20 | 1986-06-11 | 日本電熱株式会社 | Manufacture of hot plate |
| JPH0690946B2 (en)* | 1986-09-10 | 1994-11-14 | 松下電器産業株式会社 | Electric heating unit |
| JPS63121288A (en)* | 1986-11-10 | 1988-05-25 | 松下電器産業株式会社 | Manufacturing method of electric heating unit |
| JPH06746Y2 (en)* | 1987-03-09 | 1994-01-05 | 日本特殊陶業株式会社 | Gasket type pressure sensor |
| JPS63284787A (en)* | 1987-05-14 | 1988-11-22 | Deisuko Haitetsuku:Kk | Stranded wire heater and semiconductor heat treatment equipment |
| JPH0678193B2 (en)* | 1988-03-18 | 1994-10-05 | 東洋炭素株式会社 | Carbon fiber reinforced carbon composite material excellent in thermal shock resistance and method for producing the same |
| JPH06168775A (en)* | 1992-11-27 | 1994-06-14 | Sumitomo Chem Co Ltd | Heater and manufacture thereof |
| JPH06260430A (en)* | 1993-03-08 | 1994-09-16 | Eiko:Kk | Plate heater and manufacturing method thereof |
| JPH07144371A (en)* | 1993-11-24 | 1995-06-06 | Nippon Steel Chem Co Ltd | High damping carbon fiber reinforced resin composite material |
| JPH07235371A (en)* | 1994-02-23 | 1995-09-05 | Gunze Ltd | Complex tubing body resistance heat emission type |
| JPH0817746A (en)* | 1994-06-30 | 1996-01-19 | Toshiba Mach Co Ltd | Heater |
| JPH08315965A (en)* | 1994-09-29 | 1996-11-29 | Tokyo Electron Ltd | Heating apparatus, manufacturing method thereof, and processing apparatus |
| JPH08138845A (en)* | 1994-11-07 | 1996-05-31 | Hattori Hiiteingu Kogyo Kk | Quartz glass heater and method of manufacturing the same |
| JPH08222357A (en)* | 1995-02-09 | 1996-08-30 | Tokai Carbon Co Ltd | Method for manufacturing carbon heating element |
| JPH08232555A (en)* | 1995-02-27 | 1996-09-10 | Maeda Corp | Window cover |
| JP3338593B2 (en)* | 1995-09-19 | 2002-10-28 | 日本碍子株式会社 | Semiconductor processing apparatus and method of manufacturing the same |
| Publication number | Publication date |
|---|---|
| JP2002151237A (en) | 2002-05-24 |
| Publication | Publication Date | Title |
|---|---|---|
| JP4185194B2 (en) | Carbon heater | |
| JP4845146B2 (en) | Carbon heater | |
| KR100274312B1 (en) | Carbon heater | |
| KR20010095084A (en) | Fluid heating apparatus | |
| KR101139612B1 (en) | Planar heater | |
| JP4198901B2 (en) | Carbon heater | |
| KR100334993B1 (en) | Heater | |
| JPH079036Y2 (en) | Vertical heat treatment furnace | |
| EP0514407B1 (en) | High temperature diffusion furnace | |
| KR100334992B1 (en) | Sealing terminal | |
| JP3646912B2 (en) | Heater encapsulated heater | |
| JP3372515B2 (en) | heater | |
| JP3883003B2 (en) | heater | |
| JPS60245215A (en) | vertical furnace | |
| JP3930119B2 (en) | Heater unit for semiconductor heat treatment equipment | |
| JP2000173944A (en) | Cylindrical heater and method of manufacturing the same | |
| JP5757193B2 (en) | heating furnace | |
| JP3668703B2 (en) | Semiconductor heat treatment method and apparatus used therefor | |
| JP2023096833A (en) | plate heater | |
| JPS59176586A (en) | Annular electric furnace | |
| JPH01236617A (en) | Heater for heat-treatment furnace |
| Date | Code | Title | Description |
|---|---|---|---|
| A621 | Written request for application examination | Free format text:JAPANESE INTERMEDIATE CODE: A621 Effective date:20040601 | |
| A977 | Report on retrieval | Free format text:JAPANESE INTERMEDIATE CODE: A971007 Effective date:20060913 | |
| A131 | Notification of reasons for refusal | Free format text:JAPANESE INTERMEDIATE CODE: A131 Effective date:20070410 | |
| A521 | Written amendment | Free format text:JAPANESE INTERMEDIATE CODE: A523 Effective date:20070605 | |
| A711 | Notification of change in applicant | Free format text:JAPANESE INTERMEDIATE CODE: A712 Effective date:20070711 | |
| A02 | Decision of refusal | Free format text:JAPANESE INTERMEDIATE CODE: A02 Effective date:20080304 | |
| A521 | Written amendment | Free format text:JAPANESE INTERMEDIATE CODE: A523 Effective date:20080424 | |
| A911 | Transfer to examiner for re-examination before appeal (zenchi) | Free format text:JAPANESE INTERMEDIATE CODE: A911 Effective date:20080717 | |
| TRDD | Decision of grant or rejection written | ||
| A01 | Written decision to grant a patent or to grant a registration (utility model) | Free format text:JAPANESE INTERMEDIATE CODE: A01 Effective date:20080930 | |
| A01 | Written decision to grant a patent or to grant a registration (utility model) | Free format text:JAPANESE INTERMEDIATE CODE: A01 | |
| A61 | First payment of annual fees (during grant procedure) | Free format text:JAPANESE INTERMEDIATE CODE: A61 Effective date:20081002 | |
| FPAY | Renewal fee payment (event date is renewal date of database) | Free format text:PAYMENT UNTIL: 20111010 Year of fee payment:3 | |
| R150 | Certificate of patent or registration of utility model | Free format text:JAPANESE INTERMEDIATE CODE: R150 | |
| FPAY | Renewal fee payment (event date is renewal date of database) | Free format text:PAYMENT UNTIL: 20111010 Year of fee payment:3 | |
| FPAY | Renewal fee payment (event date is renewal date of database) | Free format text:PAYMENT UNTIL: 20121010 Year of fee payment:4 | |
| FPAY | Renewal fee payment (event date is renewal date of database) | Free format text:PAYMENT UNTIL: 20131010 Year of fee payment:5 | |
| R250 | Receipt of annual fees | Free format text:JAPANESE INTERMEDIATE CODE: R250 | |
| R250 | Receipt of annual fees | Free format text:JAPANESE INTERMEDIATE CODE: R250 | |
| R250 | Receipt of annual fees | Free format text:JAPANESE INTERMEDIATE CODE: R250 | |
| S531 | Written request for registration of change of domicile | Free format text:JAPANESE INTERMEDIATE CODE: R313531 | |
| S533 | Written request for registration of change of name | Free format text:JAPANESE INTERMEDIATE CODE: R313533 | |
| R350 | Written notification of registration of transfer | Free format text:JAPANESE INTERMEDIATE CODE: R350 | |
| R250 | Receipt of annual fees | Free format text:JAPANESE INTERMEDIATE CODE: R250 | |
| R250 | Receipt of annual fees | Free format text:JAPANESE INTERMEDIATE CODE: R250 | |
| EXPY | Cancellation because of completion of term |