


【0001】
【発明の属する技術分野】
本発明は、薄膜が成膜される成膜室に対して、原料ガスの供給と原料ガスを成膜室から排気するためのパージガスの供給とを交互に繰り返して行う薄膜の製造方法及びそのような薄膜の製造装置に関する。
【0002】
【従来の技術】
この種の薄膜製造方法及び薄膜製造装置に関するものとしては、例えば特表平9−508890号公報に記載のものが提案されている。これは、薄膜が成膜される成膜室、原料ガス及びパージガス供給系統、成膜室の排気系統を備える製造装置を用い、原料ガスの供給とパージガスの供給とを交互に繰り返して基板上にて原子層成長をさせることにより薄膜を製造するものである。また、成膜室内の余剰ガスは減圧排気することにより除去するようにしている。
【0003】
【発明が解決しようとする課題】
しかしながら、本発明者等が従来技術について検討したところ、従来の製造方法及び製造装置においては、原料ガスの供給時(成膜時)とパージガスの供給(パージ時)とで、例えば同一の排気ポンプを用いる等、成膜室の排気能力を同じとしているため、以下のような問題が生じることがわかった。
【0004】
このような薄膜製造に用いられる原料ガスは、そもそも、AlCl3、ZnCl2、TaCl5等の塩化物、あるいは固体有機金属などの凝集しやすいガスが採用される。また、パージガスとしては窒素ガス等の原料ガスの反応に関与しないガスが採用される。ここにおいて、生産性を上げるべくパージ時間を短くするために、排気能力の大きいポンプを使用した場合、原料ガスを供給する成膜時に、成膜室の圧力が低くなり、原料ガスの供給と停止を制御するバルブの下流側が低い圧力となる。
【0005】
この状態でバルブを開けると、バルブの上流と下流との間に大きな圧力差が生じ、原料ガスが膨張して温度が下がり、バルブ内部またはバルブ下流側の配管あるいは成膜室内にて原料ガスが凝集してしまう。この原料ガスの凝集が発生すると、例えば、原料ガスの凝集粉が成膜された膜に付着して膜性能に影響を与える等の不具合が発生する。
【0006】
また、逆に、バルブの下流側の圧力を高めるためにポンプの排気能力を小さくすると、上記した原料ガスの凝集という問題は防止できるが、パージガスを供給するパージ時にパージガスの流量が減少するため、パージに要する時間が長くなり、薄膜製造における生産性が落ちることとなってしまう。このように、従来では、成膜時とパージ時とで、成膜室の排気能力を同じとしているため、原料ガスの凝集の防止と良好な生産性とを両立させることができなかった。
【0007】
本発明は、上記したような本発明者等が独自に見出した問題に鑑みてなされたものであり、その目的とするところは、成膜室に対して原料ガスの供給とパージガスの供給とを交互に繰り返して行うことにより製造される薄膜において、原料ガスの凝集の防止と良好な生産性とを両立させるような薄膜製造方法及びそのような製造方法に適した薄膜製造装置を提供することにある。
【0008】
【課題を解決するための手段】
請求項1〜請求項4記載の発明は薄膜製造方法に係るものであり、原料ガスの供給を行うときは、成膜室(10)内の圧力をパージガスの供給を行うときよりも大きく、パージガスの供給を行うときは、成膜室内の圧力を原料ガスの供給を行うときよりも小さくすることを特徴としている。
【0009】
それにより、原料ガスの供給時には、原料ガスを供給するバルブの下流側の圧力を高め、該バルブを開けたときに伴う原料ガスの急激な温度低下による凝集を抑制することができ、一方、パージ中は短時間で確実にパージを行うことのできるように、成膜室の圧力を小さくすることができる。よって、本発明によれば、原料ガスの凝集の防止と良好な生産性とを両立させるような薄膜製造方法を提供することができる。
【0010】
また、請求項1の製造方法のより具体的な方法としては、請求項2の製造方法のように、原料ガスの供給を行うときは、パージガスの供給を行うときに比べて、成膜室(10)の排気能力を小さくする方法や、請求項3の製造方法のように、原料ガスの供給を行うときは、同時に成膜室(10)へ原料ガスの反応に関与しないガスを導入することにより、パージガスの供給を行うときよりも成膜室内の圧力を大きくする方法を採用することができる。
【0011】
  また、請求項5〜請求項8記載の発明は薄膜製造装置に係るものであり、原料ガスの供給を行うときは、成膜室内の圧力をパージガスの供給を行うときよりも大きく、パージガスの供給を行うときは、成膜室内の圧力を原料ガスの供給を行うときよりも小さくなるように、成膜室(10)内の圧力を可変とする圧力可変手段(35、55、65)を設け、さらに、原料ガスの供給と停止とを行う原料ガス用バルブ手段(234)を備え、圧力可変手段(65)は、原料ガス用バルブ手段の下流側の圧力を検知する圧力検知手段(60)と、この圧力検知手段によって検知される圧力に基づいて成膜室(10)へ原料ガスの反応に関与しないガスを導入するガス導入手段(61〜63)とを備えたものとしたことを特徴としている。
【0012】
  本製造装置を用いれば、圧力可変手段によって成膜室内の圧力を可変とできるため、上記製造方法と同様に、原料ガスの供給時とパージガスの供給時とで、成膜室内の圧力を大きくしたり小さくしたりできる。よって、原料ガスの凝集の防止と良好な生産性とを両立させるような薄膜製造方法に適した薄膜製造装置を提供することができる。また、上記圧力可変手段としては、原料ガスの供給と停止とを行う原料ガス用バルブ手段(234)の下流側の圧力を検知する圧力検知手段(60)と、この圧力検知手段によって検知される圧力に基づいて成膜室(10)へ原料ガスの反応に関与しないガスを導入するガス導入手段(61〜63)とを備えたものとしており、本製造装置を用いれば、請求項3の製造方法を適切に実行することができる。
【0013】
特に、請求項6の発明のように、圧力可変手段を、成膜室(10)を排気するときの排気能力を可変とする排気能力可変手段(35、55)を備えた薄膜製造装置を用いれば、請求項2の製造方法を適切に実行することができる。
【0014】
その排気能力可変手段としては、成膜室(10)に対して別々に設けられた排気用の2個の排気通路(30、40)と、個々の該排気通路に設けられた互いに排気能力の異なるポンプ手段(31、41)とを備えたものとしたり(請求項7の発明)、成膜室(10)に対して設けられた排気用の排気通路(50)と、この排気通路に設けられ該排気通路の通路面積を可変とする可変バルブ手段(52)とを備えたものとする(請求項8の発明)ことができる。
【0016】
なお、上記各手段の括弧内の符号は、後述する実施形態に記載の具体的手段との対応関係を示す一例である。
【0017】
【発明の実施の形態】
(第1実施形態)
本発明は、薄膜が成膜される成膜室を排気しながら、該成膜室に対して原料ガスの供給とパージガスの供給とを交互に繰り返して基板上にて原子層成長をさせることにより薄膜を製造するものである。
【0018】
以下、限定するものではないが、原料ガスとしてAlCl3(塩化アルミニウム)とH2Oを用い、パージガスとしてN2(窒素)を用い、Al2O3(アルミナ)を成膜する場合について説明する。成膜方法は、公知の如く、AlCl3導入+N2パージ(第1パージ)+H2O導入+N2パージ(第2パージ)を1サイクルとしてこれを複数サイクル繰り返すことにより、所望の厚さのアルミナ薄膜を得るものである。
【0019】
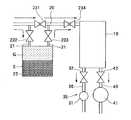
図1に、本発明の第1実施形態に係る薄膜製造装置を模式的に示す。図1において、10はチタン等の金属やガラス等よりなる成膜室であり、この成膜室10には、成膜室10へ原料ガスやパージガスを交互に導入するためのガス供給通路20、及び成膜室10内の余剰ガスを排気するための2個の排気通路30、40が設けられている。各通路20〜40は、例えばステンレスやガラス等よりなる配管より構成されている。
【0020】
図示されるガス供給通路20は、原料ガスとしてのAlCl3ガスを成膜室10へ導入するとともに、第1パージを行うためのものである。このガス供給通路20の上流側は、図示しないキャリアガス(パージ時にはパージガスにもなる)であるN2ガスが収納されたタンクやボンベ等につながっている。
【0021】
また、ガス供給通路20の途中には原料供給通路21が設けられ、原料供給通路21の途中部には原料ガスであるAlCl3ガスが収納された耐食性金属等よりなる原料容器22が介在している。この原料容器22には、AlCl3が固体Sで収納されており、ヒータやオーブン等にて加熱することにより、該容器22内部においては、AlCl3が一部昇華してAlCl3ガスGが存在した状態となっている。
【0022】
また、ガス供給通路20における原料供給通路21の分岐点と合流点との間(バイパス通路)には第1供給バルブ231が、原料供給通路21におけるガス供給通路20の分岐点と原料容器22との間には第2供給バルブ232が、原料供給通路21における原料容器22とガス供給通路20の合流点との間には第3供給バルブ233が、ガス供給通路20における原料供給通路21の合流点と成膜室10との間には第4供給バルブ234が、それぞれ介在設定されている。また、原料ガスが流れる第3及び第4供給バルブ233、234及び通路部分は、原料のガス状態を維持すべくヒータやオーブン等にて加熱可能となっている。
【0023】
そして、AlCl3ガスを成膜室10内へ導入するときは、第1供給バルブ231を閉状態、第2〜第4供給バルブ232〜234を開状態とする。すると、図1中の実線矢印に示す様に、ガス供給通路20の上流からキャリアガスとしてのN2ガスが流れ、このガスは原料供給通路21から原料容器22内のAlCl3ガスGを搬送し、成膜室10内へ導入する。このAlCl3ガスの流量は、原料容器22の温度即ちAlCl3の昇華温度で決められる。
【0024】
一方、第1パージ時に、パージガスとしてのN2ガスを成膜室10内へ導入するときは、第1及び第4供給バルブ231及び234を開状態、第2及び第3供給バルブ232及び233を閉状態とする。すると、図1中の破線矢印に示す様に、ガス供給通路20の上流から、上記バイパス通路を介してパージガスとしてのN2ガスが流れ、成膜室10内へ導入される。
【0025】
なお、上記ガス供給通路20とは別に、図示しないが、上記した原料供給通路、原料容器及び各供給バルブを有するガス供給通路が、もう1系統設けられており、このガス供給通路は、原料ガスとしてのH2Oガスを成膜室10へ導入するとともに、第2パージを行うためのものである。その構成は、上記ガス供給通路20と比べて、原料容器にAlCl3の代わりに水が入っている以外は同様である。
【0026】
こうして、AlCl3ガスの導入、第1パージ、水ガスの導入、第2パージにおける各パルスは、予め決められたパルス時間にて上記各供給バルブ231〜234を切り替えることにより、成膜室10へ順次交互に導入される。なお、上記の各供給バルブ231〜234は、特に限定しないが、例えば、電磁弁から送られるエアによって駆動されるダイヤフラム式のものを採用できる。そして、各バルブ231〜234は、上記各パルス時間に基づいて図示しない制御回路から送られる信号により電磁弁を作動制御するようになっている。
【0027】
一方、2個の排気通路30、40は、成膜室10に対して別々に設けられており、個々の排気通路30、40には、互いに排気能力の異なる電動式の真空ポンプ(ポンプ手段)31、41が介在設定されている。ここで、排気能力の小さいポンプ(第1のポンプ)31を有する方を第1の排気通路30、排気能力の大きいポンプ(第2のポンプ)41を有する方を第2の排気通路40とする。各排気通路30及び40において、成膜室とポンプとの間には、それぞれ第1排気バルブ32及び第2排気バルブ42が介在設定されている。
【0028】
ここで、AlCl3ガスの導入及び水ガスの導入時(つまり、原料ガスの供給時)には、第1及び第2パージ時(つまり、パージガスの供給時)に比べて、成膜室10の排気能力を小さくするようにしている。それにより、原料ガスの供給時には、成膜室10内の圧力をパージガスの供給時よりも大きく、パージガスの供給時には、成膜室10内の圧力を原料ガスの供給時よりも小さくすることができる。
【0029】
具体的には、両ポンプ31、41を駆動状態としたまま、原料ガスの供給時には、第1排気バルブ32を開状態、第2排気バルブ42を閉状態として、排気能力の小さい第1の排気通路30のみで排気する。一方、パージガスの供給時には、第1排気バルブ32を閉状態、第2排気バルブ42を開状態として、排気能力の大きい第2の排気通路40のみで排気するか、両排気バルブ32、42をともに開状態として、両排気通路30、40で排気を行う。また、各排気バルブ32、42及び排気通路は、排気されるガスのガス状態を維持すべくヒータやオーブン等にて加熱可能となっている。
【0030】
なお、上記の各排気32、42は、特に限定しないが、例えば、上記供給バルブと同様に、電磁弁から送られるエアによって駆動されるダイヤフラム式のものを採用でき、上記各パルス時間に基づいて各バルブ32、42の作動を制御できるようになっている。これら各排気通路30、40、各ポンプ31、41及び各排気バルブ32、42により、本発明でいう圧力可変手段としての排気能力可変手段35が構成されている。
【0031】
次に、この薄膜製造装置を用いた本実施形態の薄膜製造方法について述べる。基本的には、成膜室10に対して原料ガスの供給とパージガスの供給とを交互に繰り返して行うのであるが、本実施形態の主たる特徴は、原料ガスの供給時(成膜中)には、排気能力の小さい第1のポンプ32で排気することにより、成膜室10を高圧力にし、バルブ動作に伴うガスの急激な温度低下による凝集を抑制し、一方、パージガスの供給時(パージ中)には、排気能力の大きい第2のポンプ42で排気することにより、短時間で確実にパージを行うことにある。
【0032】
例えば、第1のポンプ32の排気能力を400L/min(リットル/分)、第2のポンプ42の排気能力を1600L/minとする。まず、成膜室10内に成膜用の図示しない基板(ガラス基板やシリコン基板等)を設置し、ヒータ(図示せず)等により、該基板を成膜可能な温度(例えば500℃)に昇温する。
【0033】
次に、AlCl3ガス導入工程を行う。第1供給バルブ231を閉状態、第2〜第4供給バルブ232〜234を開状態とし、図1中の実線矢印に示す様に、キャリアガスとしてのN2ガスとともにAlCl3ガスを成膜室10内へ導入する。こうして、成膜室10内の上記基板上にAlCl3ガスが吸着する。このとき同時に、第1排気バルブ32を開状態、第2排気バルブ42を閉状態として、排気能力の小さい第1の排気通路30のみで成膜室10を排気する。
【0034】
ここで、AlCl3の昇華温度(原料容器22の温度)を実用的な昇華量が確保できる140℃、第3及び第4供給バルブ233及び234の温度を市販バルブの耐熱保証温度上限の150℃、キャリアガスのN2流量を標準状態で3L/min(3SLM)としたとき、排気能力が400L/minである第1のポンプ31で排気した場合、成膜室10の圧力が800Paとなる。このとき、第4供給バルブ234の上流側と下流側との圧力差は10kPaであり、温度低下も10℃以下となり、第4供給バルブ234下流側でのAlCl3の凝集はほとんど発生しない。
【0035】
次に、第1パージ工程を行う。第1及び第4供給バルブ231及び234を開状態、第2及び第3供給バルブ232及び233を閉状態とし、図1中の破線矢印に示す様に、パージガスとしてのN2ガスを成膜室10内へ導入する。そして、成膜室10内の余剰ガスを除去する。このとき同時に、第1排気バルブ32を閉状態、第2排気バルブ42を開状態として、排気能力の大きい第2の排気通路40のみで排気するか、両排気バルブ32、42をともに開状態として、両排気通路30、40で排気を行う。
【0036】
この第1パージ工程において、排気能力が1600L/minである第2のポンプ42に切り替えて排気することにより、排気能力が400L/minである第1のポンプ32で排気する場合に比べて、4分の1のパージ時間で同等のパージ効果が得られる。なお、両排気通路30、40で排気を行えば、いっそうパージ時間を短縮できる。
【0037】
仮に、AlCl3ガス導入工程(成膜中)にて、排気能力が1600L/minである第2のポンプ41を使用して第2の排気通路40から排気を行うと、成膜室10の圧力は200Paとなり、第4供給バルブ234の上流側と下流側との圧力差が25kPaと大きくなり、温度低下は20℃以上となり、AlCl3は第4供給バルブ234下流側で凝集してしまうことが確認された。
【0038】
次に、H2O導入工程を行い、基板に吸着されたAlCl3とH2Oとを反応させ、アルミナ薄膜を形成する。なお、H2OガスはAlCl3ガスと比べて凝集を起こしにくいので、成膜室10の排気は両排気通路30、40のどちらで行っても良い。次に、第2パージ工程を上記第1パージ工程と同様に行う。こうして、アルミナ薄膜の成膜の1サイクルが終了する。この1サイクルを複数回繰り返して所望の膜厚を得る。
【0039】
以上述べてきたように、本実施形態の薄膜製造装置によれば、成膜室10を排気するときの排気能力を可変とする排気能力可変手段35を備えており、この排気能力可変手段35は、原料ガスの供給とパージガスの供給とで成膜室10内の圧力(真空度)を可変とする圧力可変手段として機能する。
【0040】
そして、本薄膜製造装置を用いた上記製造方法によれば、原料ガスの供給を行うときは、パージガスの供給を行うときに比べて、成膜室10の排気能力を小さくすることができるため、原料ガスの供給を行うときは、成膜室10内の圧力をパージガスの供給を行うときよりも大きく、パージガスの供給を行うときは、成膜室10内の圧力を原料ガスの供給を行うときよりも小さくすることができる。
【0041】
それにより、原料ガスの供給時には、原料ガスを供給するバルブの下流側の圧力を高め、該バルブを開けたときに伴う原料ガスの急激な温度低下による凝集を抑制することができ、一方、パージ中は短時間で確実にパージを行うことのできるように、成膜室10の圧力を小さくすることができる。よって、本実施形態によれば、原料ガスの凝集の防止と良好な生産性とを両立させるような薄膜製造方法及びそのような製造方法に適した薄膜製造装置を提供することができる。
【0042】
(第2実施形態)
図2に、本発明の第2実施形態に係る薄膜製造装置を模式的に示す。図2中、上記第1実施形態(図1)と同一部分には同一符号を付し、以下、第1実施形態と異なるところについて主として説明することとする。
【0043】
本実施形態においても、上記第1実施形態と同様、基本的には、製造装置における圧力可変手段を、成膜室10を排気するときの排気能力を可変とする排気能力可変手段55を備えたものとし、原料ガスの供給を行うときは、パージガスの供給を行うときに比べて、成膜室10の排気能力を小さくする製造方法を採用している。
【0044】
しかし、本実施形態においては、排気能力可変手段55として、図2に示す様に、成膜室10に対して設けられた排気用の配管(ステンレス等)である1個の排気通路50と、この排気通路50における成膜室10とポンプ51との間に設けられ排気通路50の通路面積を可変とする可変バルブ(可変バルブ手段)52とを備えたものを採用している。
【0045】
この可変バルブ52は、特に限定しないが、例えば板状の弁体をサーボモータ等により回動可能に制御する通常のバルブを採用することができ、ポンプ51は所定の排気能力を有する通常の電動式の真空ポンプを採用できる。また、可変バルブ52及び排気通路は、排気されるガスのガス状態を維持すべくヒータやオーブン等にて加熱可能となっている。
【0046】
この可変バルブ52により、ポンプ51を駆動状態としたまま、原料ガスの供給時には、成膜室10の圧力がAlCl3の凝集が起こらない程度になるようにバルブ52の開度を小さくし、一方、パージガスの供給時には、短時間でパージ効果を得るためにバルブ52の開度を大きくする。
【0047】
これにより、排気通路50の開度を変えることができ、実効的な排気能力を変え、成膜中とパージ中とで成膜室10の圧力(真空度)を可変とすることができる。このように、本実施形態においても、上記第1実施形態と同様の効果を有する薄膜製造方法及び薄膜製造装置を提供することができる。また、本実施形態の排気能力可変手段55は、排気通路を1系統とできるため、上記第1実施形態に比べて、排気系統の構成を簡略化することができる。
【0048】
(第3実施形態)
図3に、本発明の第3実施形態に係る薄膜製造装置を模式的に示す。図3中、上記第1実施形態(図1)と同一部分には同一符号を付し、以下、第1実施形態と異なるところについて主として説明することとする。本実施形態は、原料ガスの供給を行うときは、同時に成膜室10へ原料ガスの反応に関与しないガスを導入することにより、パージガスの供給を行うときよりも成膜室10内の圧力を大きくする製造方法を採用するものである。
【0049】
本実施形態の薄膜製造装置は、圧力可変手段65として、AlCl3ガス(原料ガス)の供給と停止とを行う第4供給バルブ(原料ガス用バルブ手段)234の下流側の圧力を検知する圧力計(圧力検知手段)60と、この圧力計60によって検知される圧力に基づいて成膜室10へ原料ガスの反応に関与しないガスを導入するガス導入手段61〜63とを備えている。
【0050】
第4供給バルブ234と成膜室10との間のガス供給通路10には、ガス導入用配管61の一端が合流して接続されており、このガス導入用配管61には、合流点側から順に、上記圧力計60、導入バルブ62、流量制御器63が設けられており、ガス導入用配管61の他端側は、原料ガスの反応に関与しないガス(HeやNe等の不活性ガス等)が収納されたタンクやボンベ等につながっている。本例では、原料ガスの反応に関与しないガスとして、キャリアガス及びパージガスと同じN2ガスを用いている。
【0051】
そして、原料ガスの供給時には、導入バルブ62を開け、第4供給バルブ234の下流側にてAlCl3が凝集しない圧力になるように圧力計60の数値を読み取りながら、N2ガスの流量を流量制御器63により適正値に設定する。この流量値の設定は、図示しない制御回路によって圧力計60の計測値をフィードバックしながら流量制御器63を連動させて可変的に制御しても良いし、予め適正な流量を決めておいて一定にしておいても良い。
【0052】
これによって、原料ガスの供給時には、ガス導入用配管61から導入されたN2ガスによって、成膜室10内を含む第4供給バルブ234の下流側の圧力を高めることができる。そのため、原料ガスの供給を行うときは、成膜室10内の圧力をパージガスの供給を行うときよりも大きく、パージガスの供給を行うときは、成膜室10内の圧力を原料ガスの供給を行うときよりも小さくすることができる。
【0053】
このように、本実施形態においても、上記第1実施形態と同様の効果を有する薄膜製造方法及び薄膜製造装置を提供することができる。特に、本実施形態によれば、原料ガスの反応に関与しないガスであるN2ガスの流量を、流量制御器63によって細かく調整することができ、なおかつ、圧力計60に基づいて第4供給バルブ234下流近傍の圧力を直接把握できることにより、高精度に圧力を設定できる。
【0054】
なお、原料ガスの反応に関与しないガスであるN2ガスの導入は、原料ガスの供給時のみでなく、パージガスの供給時にも行って良い。パージガスの供給時にも行うことにより、パージが促進される。このN2ガスの導入は、図示しない制御回路等にて作動制御される導入バルブ62の開閉により、自由に行うことができる。
【0055】
(他の実施形態)
なお、上記各実施形態では、AlCl3を用いてAl2O3(アルミナ)薄膜を成膜する場合について主として述べたが、これに限定されるものでは勿論ない。例えば、ZnCl2、TaCl5等の塩化物、あるいは固体有機金属などの凝集しやすいガスを用いて、これらの酸化膜等を成膜する場合であっても、本発明は適用できることは勿論である。さらには、液体材料を蒸発させて原料ガスとして用いる場合にも、上記凝集の問題が起こりうるので、本発明は適用可能である。
【0056】
要するに、本発明は、薄膜が成膜される成膜室に対して原料ガスの供給と該原料ガスを前記成膜室から排気するためのパージガスの供給とを交互に繰り返して行う薄膜製造方法及び薄膜製造装置に適用することができる。
【0057】
また、上記実施形態では、成膜室を排気しながら原料ガスの供給を行っているが、成膜室全体にガスが行き渡るように、原料ガスを供給するときに成膜室の排気を一時的に停止しても良い。この場合でも、パージ中の減圧排気により成膜室内は低圧となっているため、原料ガスの供給バルブを開けたときには、圧力差による凝集の問題が起こりうる。そのような場合でも、本発明のように、原料ガス供給時にパージガス供給時よりも成膜室内の圧力を大きくするという製造方法及び製造装置を用いれば、問題はない。
【図面の簡単な説明】
【図1】本発明の第1実施形態に係る薄膜製造装置の模式的構成図である。
【図2】本発明の第2実施形態に係る薄膜製造装置の模式的構成図である。
【図3】本発明の第3実施形態に係る薄膜製造装置の模式的構成図である。
【符号の説明】
10…成膜室、30…第1排気通路、31…第1のポンプ、
35、55…排気能力可変手段、40…第2排気通路、41…第2のポンプ、
50…排気通路、52…可変バルブ、60…圧力計、61…ガス導入用配管、
62…導入バルブ、63…流量制御器、65…圧力可変手段、
234…第4供給バルブ(原料ガス用バルブ手段)。[0001]
BACKGROUND OF THE INVENTION
The present invention relates to a method of manufacturing a thin film in which a supply of a source gas and a supply of a purge gas for exhausting the source gas from the film formation chamber are alternately repeated for a film formation chamber in which a thin film is formed, and the like The present invention relates to a thin film manufacturing apparatus.
[0002]
[Prior art]
As this type of thin film manufacturing method and thin film manufacturing apparatus, for example, the one described in JP-T-9-508890 has been proposed. This is achieved by using a manufacturing apparatus having a film forming chamber in which a thin film is formed, a source gas and purge gas supply system, and an exhaust system for the film forming chamber, and alternately supplying the source gas and the purge gas on the substrate. Thus, a thin film is produced by atomic layer growth. Further, excess gas in the film formation chamber is removed by evacuation under reduced pressure.
[0003]
[Problems to be solved by the invention]
However, when the present inventors have examined the prior art, in the conventional manufacturing method and manufacturing apparatus, for example, the same exhaust pump is used when supplying the source gas (when forming a film) and when supplying the purge gas (when purging). It has been found that the following problems occur because the exhaust capacity of the film formation chamber is the same, such as using a film.
[0004]
In the first place, the raw material gas used for manufacturing such a thin film is AlCl.ThreeZnCl2, TaClFiveA gas that easily aggregates such as a chloride such as solid organic metal is employed. Further, as the purge gas, a gas that does not participate in the reaction of the raw material gas such as nitrogen gas is employed. Here, in order to shorten the purge time in order to increase productivity, when a pump having a large exhaust capacity is used, the pressure in the film formation chamber becomes low during film formation for supplying the source gas, and supply and stop of the source gas are performed. The downstream side of the valve that controls the pressure is low.
[0005]
When the valve is opened in this state, a large pressure difference is generated between the upstream and downstream of the valve, the raw material gas expands and the temperature drops, and the raw material gas flows inside the valve or in the piping downstream of the valve or in the film forming chamber. Aggregates. When this agglomeration of the source gas occurs, for example, a problem occurs that the agglomerated powder of the source gas adheres to the formed film and affects the film performance.
[0006]
Conversely, if the pumping capacity of the pump is reduced in order to increase the pressure on the downstream side of the valve, the above-mentioned problem of aggregation of the raw material gas can be prevented, but the flow rate of the purge gas decreases during the purge supplying the purge gas. The time required for purging becomes longer, and the productivity in thin film manufacturing is reduced. Thus, conventionally, since the exhaust capacity of the film forming chamber is the same during film formation and during purging, it has been impossible to achieve both prevention of aggregation of raw material gas and good productivity.
[0007]
The present invention has been made in view of the problems uniquely found by the present inventors as described above. The object of the present invention is to supply the source gas and the purge gas to the film forming chamber. To provide a thin film manufacturing method and a thin film manufacturing apparatus suitable for such a manufacturing method that achieve both prevention of aggregation of raw material gas and good productivity in a thin film manufactured by repeatedly performing alternately. is there.
[0008]
[Means for Solving the Problems]
The invention described in claims 1 to 4 relates to a thin film manufacturing method, and when supplying a raw material gas, the pressure in the film forming chamber (10) is larger than that when supplying a purge gas, and the purge gas Is characterized in that the pressure in the film formation chamber is made smaller than when the source gas is supplied.
[0009]
Thereby, when supplying the raw material gas, the pressure on the downstream side of the valve for supplying the raw material gas can be increased, and aggregation due to a sudden temperature drop of the raw material gas when the valve is opened can be suppressed. The pressure in the film formation chamber can be reduced so that the purge can be reliably performed in a short time. Therefore, according to the present invention, it is possible to provide a thin film manufacturing method capable of achieving both prevention of aggregation of raw material gas and good productivity.
[0010]
Further, as a more specific method of the manufacturing method of claim 1, as in the manufacturing method of claim 2, when the raw material gas is supplied, the film formation chamber ( When supplying the source gas as in the method of reducing the exhaust capacity of 10) or the manufacturing method of claim 3, a gas not participating in the reaction of the source gas is simultaneously introduced into the film forming chamber (10). Thus, it is possible to employ a method of increasing the pressure in the film forming chamber as compared with the case of supplying the purge gas.
[0011]
  Claims 5-58The described invention relates to a thin film manufacturing apparatus, and supply of raw material gasWhen performing the above, the pressure in the film formation chamber is larger than when the purge gas is supplied, and when the purge gas is supplied, the pressure in the film formation chamber is smaller than when the source gas is supplied.Pressure variable means (35, 55, 65) for changing the pressure in the film forming chamber (10) is provided.Furthermore, a source gas valve means (234) for supplying and stopping the source gas is provided, and the pressure variable means (65) is a pressure detection means (60) for detecting the pressure downstream of the source gas valve means. And gas introducing means (61 to 63) for introducing a gas not involved in the reaction of the raw material gas into the film forming chamber (10) based on the pressure detected by the pressure detecting means.It is characterized by that.
[0012]
  If this manufacturing apparatus is used, the pressure in the film forming chamber can be varied by the pressure variable means. Therefore, as in the above manufacturing method, the pressure in the film forming chamber is increased between the supply of the source gas and the supply of the purge gas. Can be made smaller or smaller. Therefore, it is possible to provide a thin film manufacturing apparatus suitable for a thin film manufacturing method that achieves both prevention of aggregation of raw material gas and good productivity.The pressure variable means is detected by a pressure detection means (60) for detecting the pressure downstream of the raw material gas valve means (234) for supplying and stopping the raw material gas, and the pressure detection means. According to the present invention, there is provided gas introducing means (61-63) for introducing a gas not involved in the reaction of the raw material gas into the film forming chamber (10) based on the pressure. The method can be carried out appropriately.
[0013]
In particular, as in the invention of claim 6, a thin film manufacturing apparatus provided with an exhaust capacity variable means (35, 55) for making the pressure variable means variable when exhausting the film forming chamber (10) is used. Accordingly, the manufacturing method of claim 2 can be appropriately executed.
[0014]
As the exhaust capacity variable means, two exhaust passages (30, 40) for exhaust provided separately for the film forming chamber (10) and the mutual exhaust capacity provided in each exhaust passage are provided. Different pump means (31, 41) are provided (invention of claim 7), an exhaust exhaust passage (50) provided for the film forming chamber (10), and an exhaust passage provided in the exhaust passage. And a variable valve means (52) for changing the passage area of the exhaust passage (invention of claim 8).
[0016]
In addition, the code | symbol in the bracket | parenthesis of each said means is an example which shows a corresponding relationship with the specific means as described in embodiment mentioned later.
[0017]
DETAILED DESCRIPTION OF THE INVENTION
(First embodiment)
The present invention allows atomic layer growth on a substrate by evacuating a film formation chamber in which a thin film is formed while alternately supplying a source gas and a purge gas to the film formation chamber. A thin film is manufactured.
[0018]
Hereinafter, although not limited, AlCl as a source gasThree(Aluminum chloride) and H2O and N as the purge gas2(Nitrogen), Al2OThreeThe case where (alumina) is formed will be described. As is well known, the film formation method is AlCl 1.ThreeIntroduction + N2Purge (first purge) + H2O introduction + N2By purging (second purge) as one cycle and repeating this multiple times, an alumina thin film having a desired thickness is obtained.
[0019]
FIG. 1 schematically shows a thin film manufacturing apparatus according to the first embodiment of the present invention. In FIG. 1,
[0020]
The illustrated
[0021]
A raw
[0022]
A
[0023]
And AlClThreeWhen the gas is introduced into the
[0024]
On the other hand, during the first purge, N as the purge gas2When the gas is introduced into the
[0025]
In addition to the
[0026]
Thus, AlClThreeEach pulse in the gas introduction, the first purge, the water gas introduction, and the second purge is alternately introduced into the
[0027]
On the other hand, the two
[0028]
Where AlClThreeWhen introducing the gas and water gas (that is, when supplying the source gas), the evacuation capacity of the
[0029]
Specifically, the
[0030]
The
[0031]
Next, the thin film manufacturing method of this embodiment using this thin film manufacturing apparatus will be described. Basically, the supply of the source gas and the supply of the purge gas are alternately and repeatedly performed with respect to the
[0032]
For example, the exhaust capacity of the
[0033]
Next, AlClThreeA gas introduction process is performed. The
[0034]
Where AlClThreeThe sublimation temperature (temperature of the raw material container 22) is 140 ° C. at which a practical amount of sublimation can be secured, the temperatures of the third and
[0035]
Next, a first purge process is performed. The first and
[0036]
In this first purge step, switching to the
[0037]
Temporarily, AlClThreeIn the gas introduction process (during film formation), when the
[0038]
Next, H2AlCl adsorbed on the substrate after the O introduction processThreeAnd H2React with O to form an alumina thin film. H2O gas is AlClThreeSince the agglomeration is less likely than gas, the
[0039]
As described above, according to the thin film manufacturing apparatus of the present embodiment, the exhaust capacity variable means 35 is provided which makes the exhaust capacity variable when the
[0040]
And, according to the manufacturing method using the thin film manufacturing apparatus, when supplying the raw material gas, the exhaust capacity of the
[0041]
As a result, when supplying the source gas, the pressure on the downstream side of the valve for supplying the source gas can be increased, and aggregation due to a rapid temperature drop of the source gas when the valve is opened can be suppressed. The pressure in the
[0042]
(Second Embodiment)
FIG. 2 schematically shows a thin film manufacturing apparatus according to the second embodiment of the present invention. In FIG. 2, the same parts as those in the first embodiment (FIG. 1) are denoted by the same reference numerals, and the differences from the first embodiment will be mainly described below.
[0043]
Also in the present embodiment, as in the first embodiment, the pressure variable means in the manufacturing apparatus is basically provided with an exhaust capacity variable means 55 that makes the exhaust capacity variable when exhausting the
[0044]
However, in the present embodiment, as the exhaust capacity varying means 55, as shown in FIG. 2, one
[0045]
The
[0046]
With this
[0047]
Thereby, the opening degree of the
[0048]
(Third embodiment)
FIG. 3 schematically shows a thin film manufacturing apparatus according to the third embodiment of the present invention. In FIG. 3, the same parts as those in the first embodiment (FIG. 1) are denoted by the same reference numerals, and the differences from the first embodiment will be mainly described below. In the present embodiment, when supplying the source gas, by introducing a gas that does not participate in the reaction of the source gas into the
[0049]
The thin film manufacturing apparatus of this embodiment uses AlCl as the pressure variable means 65.ThreeA pressure gauge (pressure detecting means) 60 for detecting the pressure downstream of the fourth supply valve (raw material gas valve means) 234 for supplying and stopping the gas (raw material gas), and the
[0050]
One end of a
[0051]
When supplying the source gas, the
[0052]
As a result, when the source gas is supplied, N introduced from the
[0053]
As described above, also in this embodiment, it is possible to provide a thin film manufacturing method and a thin film manufacturing apparatus having the same effects as those of the first embodiment. In particular, according to the present embodiment, N, which is a gas that does not participate in the reaction of the source gas.2The flow rate of the gas can be finely adjusted by the
[0054]
Note that N is a gas that does not participate in the reaction of the source gas.2The gas may be introduced not only when supplying the source gas but also when supplying the purge gas. Purging is promoted by carrying out the purge gas supply. This N2The introduction of the gas can be freely performed by opening and closing the
[0055]
(Other embodiments)
In each of the above embodiments, AlClThreeUsing Al2OThreeAlthough the case of forming an (alumina) thin film has been mainly described, it is of course not limited thereto. For example, ZnCl2, TaClFiveNeedless to say, the present invention can be applied to the case where these oxide films are formed using a gas such as a chloride such as solid organic metal or the like that easily aggregates. Furthermore, even when the liquid material is evaporated and used as a raw material gas, the above problem of aggregation can occur, and therefore the present invention is applicable.
[0056]
In short, the present invention provides a thin film manufacturing method in which supply of a source gas to a film formation chamber in which a thin film is formed and supply of a purge gas for exhausting the source gas from the film formation chamber are alternately repeated, and It can be applied to a thin film manufacturing apparatus.
[0057]
In the above embodiment, the source gas is supplied while exhausting the film formation chamber. However, when the source gas is supplied so that the gas is distributed throughout the film formation chamber, the film formation chamber is temporarily exhausted. You may stop at any time. Even in this case, since the pressure in the film formation chamber is low due to the reduced pressure exhaust during the purge, there is a possibility of aggregation due to the pressure difference when the source gas supply valve is opened. Even in such a case, there is no problem if a manufacturing method and a manufacturing apparatus in which the pressure in the film forming chamber is set larger when supplying the source gas than when supplying the purge gas as in the present invention.
[Brief description of the drawings]
FIG. 1 is a schematic configuration diagram of a thin film manufacturing apparatus according to a first embodiment of the present invention.
FIG. 2 is a schematic configuration diagram of a thin film manufacturing apparatus according to a second embodiment of the present invention.
FIG. 3 is a schematic configuration diagram of a thin film manufacturing apparatus according to a third embodiment of the present invention.
[Explanation of symbols]
DESCRIPTION OF
35, 55 ... exhaust capacity variable means, 40 ... second exhaust passage, 41 ... second pump,
50 ... exhaust passage, 52 ... variable valve, 60 ... pressure gauge, 61 ... piping for gas introduction,
62 ... Introducing valve, 63 ... Flow rate controller, 65 ... Pressure variable means,
234... Fourth supply valve (source gas valve means).
| Application Number | Priority Date | Filing Date | Title | 
|---|---|---|---|
| JP2000032620AJP4174941B2 (en) | 2000-02-03 | 2000-02-03 | Thin film manufacturing method and thin film manufacturing apparatus | 
| Application Number | Priority Date | Filing Date | Title | 
|---|---|---|---|
| JP2000032620AJP4174941B2 (en) | 2000-02-03 | 2000-02-03 | Thin film manufacturing method and thin film manufacturing apparatus | 
| Publication Number | Publication Date | 
|---|---|
| JP2001220677A JP2001220677A (en) | 2001-08-14 | 
| JP4174941B2true JP4174941B2 (en) | 2008-11-05 | 
| Application Number | Title | Priority Date | Filing Date | 
|---|---|---|---|
| JP2000032620AExpired - Fee RelatedJP4174941B2 (en) | 2000-02-03 | 2000-02-03 | Thin film manufacturing method and thin film manufacturing apparatus | 
| Country | Link | 
|---|---|
| JP (1) | JP4174941B2 (en) | 
| Publication number | Priority date | Publication date | Assignee | Title | 
|---|---|---|---|---|
| US6893506B2 (en)* | 2002-03-11 | 2005-05-17 | Micron Technology, Inc. | Atomic layer deposition apparatus and method | 
| KR20030081144A (en)* | 2002-04-11 | 2003-10-17 | 가부시키가이샤 히다치 고쿠사이 덴키 | Vertical semiconductor manufacturing apparatus | 
| WO2009072187A1 (en)* | 2007-12-04 | 2009-06-11 | Full-Tech Co., Ltd. | Method of pressurized gas pulse control processing and pressurized gas pulse control processing apparatus | 
| US10378106B2 (en) | 2008-11-14 | 2019-08-13 | Asm Ip Holding B.V. | Method of forming insulation film by modified PEALD | 
| US9394608B2 (en) | 2009-04-06 | 2016-07-19 | Asm America, Inc. | Semiconductor processing reactor and components thereof | 
| US8802201B2 (en) | 2009-08-14 | 2014-08-12 | Asm America, Inc. | Systems and methods for thin-film deposition of metal oxides using excited nitrogen-oxygen species | 
| JP5357083B2 (en)* | 2010-02-24 | 2013-12-04 | 三井造船株式会社 | Thin film forming apparatus and thin film forming method | 
| US9312155B2 (en) | 2011-06-06 | 2016-04-12 | Asm Japan K.K. | High-throughput semiconductor-processing apparatus equipped with multiple dual-chamber modules | 
| JP5699980B2 (en)* | 2011-06-16 | 2015-04-15 | 東京エレクトロン株式会社 | Film forming method and film forming apparatus | 
| US10854498B2 (en) | 2011-07-15 | 2020-12-01 | Asm Ip Holding B.V. | Wafer-supporting device and method for producing same | 
| US20130023129A1 (en) | 2011-07-20 | 2013-01-24 | Asm America, Inc. | Pressure transmitter for a semiconductor processing environment | 
| US9017481B1 (en) | 2011-10-28 | 2015-04-28 | Asm America, Inc. | Process feed management for semiconductor substrate processing | 
| US8911826B2 (en)* | 2012-08-02 | 2014-12-16 | Asm Ip Holding B.V. | Method of parallel shift operation of multiple reactors | 
| US9659799B2 (en) | 2012-08-28 | 2017-05-23 | Asm Ip Holding B.V. | Systems and methods for dynamic semiconductor process scheduling | 
| US10714315B2 (en) | 2012-10-12 | 2020-07-14 | Asm Ip Holdings B.V. | Semiconductor reaction chamber showerhead | 
| US20160376700A1 (en) | 2013-02-01 | 2016-12-29 | Asm Ip Holding B.V. | System for treatment of deposition reactor | 
| JP6167673B2 (en) | 2013-05-31 | 2017-07-26 | 東京エレクトロン株式会社 | Film forming apparatus, film forming method, and storage medium | 
| US10683571B2 (en) | 2014-02-25 | 2020-06-16 | Asm Ip Holding B.V. | Gas supply manifold and method of supplying gases to chamber using same | 
| US10167557B2 (en) | 2014-03-18 | 2019-01-01 | Asm Ip Holding B.V. | Gas distribution system, reactor including the system, and methods of using the same | 
| US11015245B2 (en) | 2014-03-19 | 2021-05-25 | Asm Ip Holding B.V. | Gas-phase reactor and system having exhaust plenum and components thereof | 
| US10858737B2 (en) | 2014-07-28 | 2020-12-08 | Asm Ip Holding B.V. | Showerhead assembly and components thereof | 
| US9890456B2 (en) | 2014-08-21 | 2018-02-13 | Asm Ip Holding B.V. | Method and system for in situ formation of gas-phase compounds | 
| US9657845B2 (en) | 2014-10-07 | 2017-05-23 | Asm Ip Holding B.V. | Variable conductance gas distribution apparatus and method | 
| US10941490B2 (en) | 2014-10-07 | 2021-03-09 | Asm Ip Holding B.V. | Multiple temperature range susceptor, assembly, reactor and system including the susceptor, and methods of using the same | 
| KR102263121B1 (en) | 2014-12-22 | 2021-06-09 | 에이에스엠 아이피 홀딩 비.브이. | Semiconductor device and manufacuring method thereof | 
| US10529542B2 (en) | 2015-03-11 | 2020-01-07 | Asm Ip Holdings B.V. | Cross-flow reactor and method | 
| US10276355B2 (en) | 2015-03-12 | 2019-04-30 | Asm Ip Holding B.V. | Multi-zone reactor, system including the reactor, and method of using the same | 
| US10458018B2 (en) | 2015-06-26 | 2019-10-29 | Asm Ip Holding B.V. | Structures including metal carbide material, devices including the structures, and methods of forming same | 
| US10600673B2 (en) | 2015-07-07 | 2020-03-24 | Asm Ip Holding B.V. | Magnetic susceptor to baseplate seal | 
| US9960072B2 (en) | 2015-09-29 | 2018-05-01 | Asm Ip Holding B.V. | Variable adjustment for precise matching of multiple chamber cavity housings | 
| US10211308B2 (en) | 2015-10-21 | 2019-02-19 | Asm Ip Holding B.V. | NbMC layers | 
| US11139308B2 (en) | 2015-12-29 | 2021-10-05 | Asm Ip Holding B.V. | Atomic layer deposition of III-V compounds to form V-NAND devices | 
| US10468251B2 (en) | 2016-02-19 | 2019-11-05 | Asm Ip Holding B.V. | Method for forming spacers using silicon nitride film for spacer-defined multiple patterning | 
| US10529554B2 (en) | 2016-02-19 | 2020-01-07 | Asm Ip Holding B.V. | Method for forming silicon nitride film selectively on sidewalls or flat surfaces of trenches | 
| US10343920B2 (en) | 2016-03-18 | 2019-07-09 | Asm Ip Holding B.V. | Aligned carbon nanotubes | 
| US10865475B2 (en) | 2016-04-21 | 2020-12-15 | Asm Ip Holding B.V. | Deposition of metal borides and silicides | 
| US10190213B2 (en) | 2016-04-21 | 2019-01-29 | Asm Ip Holding B.V. | Deposition of metal borides | 
| US10032628B2 (en) | 2016-05-02 | 2018-07-24 | Asm Ip Holding B.V. | Source/drain performance through conformal solid state doping | 
| US10367080B2 (en) | 2016-05-02 | 2019-07-30 | Asm Ip Holding B.V. | Method of forming a germanium oxynitride film | 
| US11453943B2 (en) | 2016-05-25 | 2022-09-27 | Asm Ip Holding B.V. | Method for forming carbon-containing silicon/metal oxide or nitride film by ALD using silicon precursor and hydrocarbon precursor | 
| US10388509B2 (en) | 2016-06-28 | 2019-08-20 | Asm Ip Holding B.V. | Formation of epitaxial layers via dislocation filtering | 
| US9859151B1 (en) | 2016-07-08 | 2018-01-02 | Asm Ip Holding B.V. | Selective film deposition method to form air gaps | 
| US10612137B2 (en) | 2016-07-08 | 2020-04-07 | Asm Ip Holdings B.V. | Organic reactants for atomic layer deposition | 
| US10714385B2 (en) | 2016-07-19 | 2020-07-14 | Asm Ip Holding B.V. | Selective deposition of tungsten | 
| US9887082B1 (en) | 2016-07-28 | 2018-02-06 | Asm Ip Holding B.V. | Method and apparatus for filling a gap | 
| US9812320B1 (en) | 2016-07-28 | 2017-11-07 | Asm Ip Holding B.V. | Method and apparatus for filling a gap | 
| KR102532607B1 (en) | 2016-07-28 | 2023-05-15 | 에이에스엠 아이피 홀딩 비.브이. | Substrate processing apparatus and method of operating the same | 
| US10395919B2 (en) | 2016-07-28 | 2019-08-27 | Asm Ip Holding B.V. | Method and apparatus for filling a gap | 
| US10410943B2 (en) | 2016-10-13 | 2019-09-10 | Asm Ip Holding B.V. | Method for passivating a surface of a semiconductor and related systems | 
| US10643826B2 (en) | 2016-10-26 | 2020-05-05 | Asm Ip Holdings B.V. | Methods for thermally calibrating reaction chambers | 
| US11532757B2 (en) | 2016-10-27 | 2022-12-20 | Asm Ip Holding B.V. | Deposition of charge trapping layers | 
| US10229833B2 (en) | 2016-11-01 | 2019-03-12 | Asm Ip Holding B.V. | Methods for forming a transition metal nitride film on a substrate by atomic layer deposition and related semiconductor device structures | 
| US10714350B2 (en) | 2016-11-01 | 2020-07-14 | ASM IP Holdings, B.V. | Methods for forming a transition metal niobium nitride film on a substrate by atomic layer deposition and related semiconductor device structures | 
| US10435790B2 (en) | 2016-11-01 | 2019-10-08 | Asm Ip Holding B.V. | Method of subatmospheric plasma-enhanced ALD using capacitively coupled electrodes with narrow gap | 
| US10134757B2 (en) | 2016-11-07 | 2018-11-20 | Asm Ip Holding B.V. | Method of processing a substrate and a device manufactured by using the method | 
| KR102546317B1 (en) | 2016-11-15 | 2023-06-21 | 에이에스엠 아이피 홀딩 비.브이. | Gas supply unit and substrate processing apparatus including the same | 
| US10340135B2 (en) | 2016-11-28 | 2019-07-02 | Asm Ip Holding B.V. | Method of topologically restricted plasma-enhanced cyclic deposition of silicon or metal nitride | 
| KR102762543B1 (en) | 2016-12-14 | 2025-02-05 | 에이에스엠 아이피 홀딩 비.브이. | Substrate processing apparatus | 
| US11447861B2 (en) | 2016-12-15 | 2022-09-20 | Asm Ip Holding B.V. | Sequential infiltration synthesis apparatus and a method of forming a patterned structure | 
| US11581186B2 (en) | 2016-12-15 | 2023-02-14 | Asm Ip Holding B.V. | Sequential infiltration synthesis apparatus | 
| KR102700194B1 (en) | 2016-12-19 | 2024-08-28 | 에이에스엠 아이피 홀딩 비.브이. | Substrate processing apparatus | 
| US10269558B2 (en) | 2016-12-22 | 2019-04-23 | Asm Ip Holding B.V. | Method of forming a structure on a substrate | 
| US10867788B2 (en) | 2016-12-28 | 2020-12-15 | Asm Ip Holding B.V. | Method of forming a structure on a substrate | 
| US11390950B2 (en) | 2017-01-10 | 2022-07-19 | Asm Ip Holding B.V. | Reactor system and method to reduce residue buildup during a film deposition process | 
| US10655221B2 (en) | 2017-02-09 | 2020-05-19 | Asm Ip Holding B.V. | Method for depositing oxide film by thermal ALD and PEALD | 
| US10468261B2 (en) | 2017-02-15 | 2019-11-05 | Asm Ip Holding B.V. | Methods for forming a metallic film on a substrate by cyclical deposition and related semiconductor device structures | 
| US10529563B2 (en) | 2017-03-29 | 2020-01-07 | Asm Ip Holdings B.V. | Method for forming doped metal oxide films on a substrate by cyclical deposition and related semiconductor device structures | 
| KR102457289B1 (en) | 2017-04-25 | 2022-10-21 | 에이에스엠 아이피 홀딩 비.브이. | Method for depositing a thin film and manufacturing a semiconductor device | 
| US10770286B2 (en) | 2017-05-08 | 2020-09-08 | Asm Ip Holdings B.V. | Methods for selectively forming a silicon nitride film on a substrate and related semiconductor device structures | 
| US10892156B2 (en) | 2017-05-08 | 2021-01-12 | Asm Ip Holding B.V. | Methods for forming a silicon nitride film on a substrate and related semiconductor device structures | 
| US10446393B2 (en) | 2017-05-08 | 2019-10-15 | Asm Ip Holding B.V. | Methods for forming silicon-containing epitaxial layers and related semiconductor device structures | 
| US10504742B2 (en) | 2017-05-31 | 2019-12-10 | Asm Ip Holding B.V. | Method of atomic layer etching using hydrogen plasma | 
| US10886123B2 (en) | 2017-06-02 | 2021-01-05 | Asm Ip Holding B.V. | Methods for forming low temperature semiconductor layers and related semiconductor device structures | 
| US12040200B2 (en) | 2017-06-20 | 2024-07-16 | Asm Ip Holding B.V. | Semiconductor processing apparatus and methods for calibrating a semiconductor processing apparatus | 
| US11306395B2 (en) | 2017-06-28 | 2022-04-19 | Asm Ip Holding B.V. | Methods for depositing a transition metal nitride film on a substrate by atomic layer deposition and related deposition apparatus | 
| US10685834B2 (en) | 2017-07-05 | 2020-06-16 | Asm Ip Holdings B.V. | Methods for forming a silicon germanium tin layer and related semiconductor device structures | 
| KR20190009245A (en) | 2017-07-18 | 2019-01-28 | 에이에스엠 아이피 홀딩 비.브이. | Methods for forming a semiconductor device structure and related semiconductor device structures | 
| US11018002B2 (en) | 2017-07-19 | 2021-05-25 | Asm Ip Holding B.V. | Method for selectively depositing a Group IV semiconductor and related semiconductor device structures | 
| US10541333B2 (en) | 2017-07-19 | 2020-01-21 | Asm Ip Holding B.V. | Method for depositing a group IV semiconductor and related semiconductor device structures | 
| US11374112B2 (en) | 2017-07-19 | 2022-06-28 | Asm Ip Holding B.V. | Method for depositing a group IV semiconductor and related semiconductor device structures | 
| US10605530B2 (en) | 2017-07-26 | 2020-03-31 | Asm Ip Holding B.V. | Assembly of a liner and a flange for a vertical furnace as well as the liner and the vertical furnace | 
| US10590535B2 (en) | 2017-07-26 | 2020-03-17 | Asm Ip Holdings B.V. | Chemical treatment, deposition and/or infiltration apparatus and method for using the same | 
| TWI815813B (en) | 2017-08-04 | 2023-09-21 | 荷蘭商Asm智慧財產控股公司 | Showerhead assembly for distributing a gas within a reaction chamber | 
| US10770336B2 (en) | 2017-08-08 | 2020-09-08 | Asm Ip Holding B.V. | Substrate lift mechanism and reactor including same | 
| US10692741B2 (en) | 2017-08-08 | 2020-06-23 | Asm Ip Holdings B.V. | Radiation shield | 
| US11139191B2 (en) | 2017-08-09 | 2021-10-05 | Asm Ip Holding B.V. | Storage apparatus for storing cassettes for substrates and processing apparatus equipped therewith | 
| US11769682B2 (en) | 2017-08-09 | 2023-09-26 | Asm Ip Holding B.V. | Storage apparatus for storing cassettes for substrates and processing apparatus equipped therewith | 
| US10249524B2 (en) | 2017-08-09 | 2019-04-02 | Asm Ip Holding B.V. | Cassette holder assembly for a substrate cassette and holding member for use in such assembly | 
| USD900036S1 (en) | 2017-08-24 | 2020-10-27 | Asm Ip Holding B.V. | Heater electrical connector and adapter | 
| US11830730B2 (en) | 2017-08-29 | 2023-11-28 | Asm Ip Holding B.V. | Layer forming method and apparatus | 
| US11056344B2 (en) | 2017-08-30 | 2021-07-06 | Asm Ip Holding B.V. | Layer forming method | 
| KR102491945B1 (en) | 2017-08-30 | 2023-01-26 | 에이에스엠 아이피 홀딩 비.브이. | Substrate processing apparatus | 
| US11295980B2 (en) | 2017-08-30 | 2022-04-05 | Asm Ip Holding B.V. | Methods for depositing a molybdenum metal film over a dielectric surface of a substrate by a cyclical deposition process and related semiconductor device structures | 
| KR102401446B1 (en) | 2017-08-31 | 2022-05-24 | 에이에스엠 아이피 홀딩 비.브이. | Substrate processing apparatus | 
| US10607895B2 (en) | 2017-09-18 | 2020-03-31 | Asm Ip Holdings B.V. | Method for forming a semiconductor device structure comprising a gate fill metal | 
| KR102630301B1 (en) | 2017-09-21 | 2024-01-29 | 에이에스엠 아이피 홀딩 비.브이. | Method of sequential infiltration synthesis treatment of infiltrateable material and structures and devices formed using same | 
| US10844484B2 (en) | 2017-09-22 | 2020-11-24 | Asm Ip Holding B.V. | Apparatus for dispensing a vapor phase reactant to a reaction chamber and related methods | 
| US10658205B2 (en) | 2017-09-28 | 2020-05-19 | Asm Ip Holdings B.V. | Chemical dispensing apparatus and methods for dispensing a chemical to a reaction chamber | 
| US10403504B2 (en) | 2017-10-05 | 2019-09-03 | Asm Ip Holding B.V. | Method for selectively depositing a metallic film on a substrate | 
| US10319588B2 (en) | 2017-10-10 | 2019-06-11 | Asm Ip Holding B.V. | Method for depositing a metal chalcogenide on a substrate by cyclical deposition | 
| US10923344B2 (en) | 2017-10-30 | 2021-02-16 | Asm Ip Holding B.V. | Methods for forming a semiconductor structure and related semiconductor structures | 
| US10910262B2 (en) | 2017-11-16 | 2021-02-02 | Asm Ip Holding B.V. | Method of selectively depositing a capping layer structure on a semiconductor device structure | 
| KR102443047B1 (en) | 2017-11-16 | 2022-09-14 | 에이에스엠 아이피 홀딩 비.브이. | Method of processing a substrate and a device manufactured by the same | 
| US11022879B2 (en) | 2017-11-24 | 2021-06-01 | Asm Ip Holding B.V. | Method of forming an enhanced unexposed photoresist layer | 
| WO2019103613A1 (en) | 2017-11-27 | 2019-05-31 | Asm Ip Holding B.V. | A storage device for storing wafer cassettes for use with a batch furnace | 
| CN111344522B (en) | 2017-11-27 | 2022-04-12 | 阿斯莫Ip控股公司 | Including clean mini-environment device | 
| US10872771B2 (en) | 2018-01-16 | 2020-12-22 | Asm Ip Holding B. V. | Method for depositing a material film on a substrate within a reaction chamber by a cyclical deposition process and related device structures | 
| KR102695659B1 (en) | 2018-01-19 | 2024-08-14 | 에이에스엠 아이피 홀딩 비.브이. | Method for depositing a gap filling layer by plasma assisted deposition | 
| TWI799494B (en) | 2018-01-19 | 2023-04-21 | 荷蘭商Asm 智慧財產控股公司 | Deposition method | 
| USD903477S1 (en) | 2018-01-24 | 2020-12-01 | Asm Ip Holdings B.V. | Metal clamp | 
| US11018047B2 (en) | 2018-01-25 | 2021-05-25 | Asm Ip Holding B.V. | Hybrid lift pin | 
| US10535516B2 (en) | 2018-02-01 | 2020-01-14 | Asm Ip Holdings B.V. | Method for depositing a semiconductor structure on a surface of a substrate and related semiconductor structures | 
| USD880437S1 (en) | 2018-02-01 | 2020-04-07 | Asm Ip Holding B.V. | Gas supply plate for semiconductor manufacturing apparatus | 
| US11081345B2 (en) | 2018-02-06 | 2021-08-03 | Asm Ip Holding B.V. | Method of post-deposition treatment for silicon oxide film | 
| US10896820B2 (en) | 2018-02-14 | 2021-01-19 | Asm Ip Holding B.V. | Method for depositing a ruthenium-containing film on a substrate by a cyclical deposition process | 
| WO2019158960A1 (en) | 2018-02-14 | 2019-08-22 | Asm Ip Holding B.V. | A method for depositing a ruthenium-containing film on a substrate by a cyclical deposition process | 
| US10731249B2 (en) | 2018-02-15 | 2020-08-04 | Asm Ip Holding B.V. | Method of forming a transition metal containing film on a substrate by a cyclical deposition process, a method for supplying a transition metal halide compound to a reaction chamber, and related vapor deposition apparatus | 
| US10658181B2 (en) | 2018-02-20 | 2020-05-19 | Asm Ip Holding B.V. | Method of spacer-defined direct patterning in semiconductor fabrication | 
| KR102636427B1 (en) | 2018-02-20 | 2024-02-13 | 에이에스엠 아이피 홀딩 비.브이. | Substrate processing method and apparatus | 
| US10975470B2 (en) | 2018-02-23 | 2021-04-13 | Asm Ip Holding B.V. | Apparatus for detecting or monitoring for a chemical precursor in a high temperature environment | 
| US11473195B2 (en) | 2018-03-01 | 2022-10-18 | Asm Ip Holding B.V. | Semiconductor processing apparatus and a method for processing a substrate | 
| US11629406B2 (en) | 2018-03-09 | 2023-04-18 | Asm Ip Holding B.V. | Semiconductor processing apparatus comprising one or more pyrometers for measuring a temperature of a substrate during transfer of the substrate | 
| US11114283B2 (en) | 2018-03-16 | 2021-09-07 | Asm Ip Holding B.V. | Reactor, system including the reactor, and methods of manufacturing and using same | 
| KR102646467B1 (en) | 2018-03-27 | 2024-03-11 | 에이에스엠 아이피 홀딩 비.브이. | Method of forming an electrode on a substrate and a semiconductor device structure including an electrode | 
| US10510536B2 (en) | 2018-03-29 | 2019-12-17 | Asm Ip Holding B.V. | Method of depositing a co-doped polysilicon film on a surface of a substrate within a reaction chamber | 
| US11230766B2 (en) | 2018-03-29 | 2022-01-25 | Asm Ip Holding B.V. | Substrate processing apparatus and method | 
| US11088002B2 (en) | 2018-03-29 | 2021-08-10 | Asm Ip Holding B.V. | Substrate rack and a substrate processing system and method | 
| KR102501472B1 (en) | 2018-03-30 | 2023-02-20 | 에이에스엠 아이피 홀딩 비.브이. | Substrate processing method | 
| KR102600229B1 (en) | 2018-04-09 | 2023-11-10 | 에이에스엠 아이피 홀딩 비.브이. | Substrate supporting device, substrate processing apparatus including the same and substrate processing method | 
| US12025484B2 (en) | 2018-05-08 | 2024-07-02 | Asm Ip Holding B.V. | Thin film forming method | 
| TWI811348B (en) | 2018-05-08 | 2023-08-11 | 荷蘭商Asm 智慧財產控股公司 | Methods for depositing an oxide film on a substrate by a cyclical deposition process and related device structures | 
| US12272527B2 (en) | 2018-05-09 | 2025-04-08 | Asm Ip Holding B.V. | Apparatus for use with hydrogen radicals and method of using same | 
| KR20190129718A (en) | 2018-05-11 | 2019-11-20 | 에이에스엠 아이피 홀딩 비.브이. | Methods for forming a doped metal carbide film on a substrate and related semiconductor device structures | 
| KR102596988B1 (en) | 2018-05-28 | 2023-10-31 | 에이에스엠 아이피 홀딩 비.브이. | Method of processing a substrate and a device manufactured by the same | 
| US11718913B2 (en) | 2018-06-04 | 2023-08-08 | Asm Ip Holding B.V. | Gas distribution system and reactor system including same | 
| TWI840362B (en) | 2018-06-04 | 2024-05-01 | 荷蘭商Asm Ip私人控股有限公司 | Wafer handling chamber with moisture reduction | 
| US11286562B2 (en) | 2018-06-08 | 2022-03-29 | Asm Ip Holding B.V. | Gas-phase chemical reactor and method of using same | 
| US10797133B2 (en) | 2018-06-21 | 2020-10-06 | Asm Ip Holding B.V. | Method for depositing a phosphorus doped silicon arsenide film and related semiconductor device structures | 
| KR102568797B1 (en) | 2018-06-21 | 2023-08-21 | 에이에스엠 아이피 홀딩 비.브이. | Substrate processing system | 
| KR102854019B1 (en) | 2018-06-27 | 2025-09-02 | 에이에스엠 아이피 홀딩 비.브이. | Periodic deposition method for forming a metal-containing material and films and structures comprising the metal-containing material | 
| TWI873894B (en) | 2018-06-27 | 2025-02-21 | 荷蘭商Asm Ip私人控股有限公司 | Cyclic deposition methods for forming metal-containing material and films and structures including the metal-containing material | 
| KR102686758B1 (en) | 2018-06-29 | 2024-07-18 | 에이에스엠 아이피 홀딩 비.브이. | Method for depositing a thin film and manufacturing a semiconductor device | 
| US10612136B2 (en) | 2018-06-29 | 2020-04-07 | ASM IP Holding, B.V. | Temperature-controlled flange and reactor system including same | 
| US10755922B2 (en) | 2018-07-03 | 2020-08-25 | Asm Ip Holding B.V. | Method for depositing silicon-free carbon-containing film as gap-fill layer by pulse plasma-assisted deposition | 
| US10388513B1 (en) | 2018-07-03 | 2019-08-20 | Asm Ip Holding B.V. | Method for depositing silicon-free carbon-containing film as gap-fill layer by pulse plasma-assisted deposition | 
| US10767789B2 (en) | 2018-07-16 | 2020-09-08 | Asm Ip Holding B.V. | Diaphragm valves, valve components, and methods for forming valve components | 
| US10483099B1 (en) | 2018-07-26 | 2019-11-19 | Asm Ip Holding B.V. | Method for forming thermally stable organosilicon polymer film | 
| US11053591B2 (en) | 2018-08-06 | 2021-07-06 | Asm Ip Holding B.V. | Multi-port gas injection system and reactor system including same | 
| US10883175B2 (en) | 2018-08-09 | 2021-01-05 | Asm Ip Holding B.V. | Vertical furnace for processing substrates and a liner for use therein | 
| US10829852B2 (en) | 2018-08-16 | 2020-11-10 | Asm Ip Holding B.V. | Gas distribution device for a wafer processing apparatus | 
| US11430674B2 (en) | 2018-08-22 | 2022-08-30 | Asm Ip Holding B.V. | Sensor array, apparatus for dispensing a vapor phase reactant to a reaction chamber and related methods | 
| US11024523B2 (en) | 2018-09-11 | 2021-06-01 | Asm Ip Holding B.V. | Substrate processing apparatus and method | 
| KR102707956B1 (en) | 2018-09-11 | 2024-09-19 | 에이에스엠 아이피 홀딩 비.브이. | Method for deposition of a thin film | 
| US11049751B2 (en) | 2018-09-14 | 2021-06-29 | Asm Ip Holding B.V. | Cassette supply system to store and handle cassettes and processing apparatus equipped therewith | 
| CN110970344B (en) | 2018-10-01 | 2024-10-25 | Asmip控股有限公司 | Substrate holding apparatus, system comprising the same and method of using the same | 
| US11232963B2 (en) | 2018-10-03 | 2022-01-25 | Asm Ip Holding B.V. | Substrate processing apparatus and method | 
| KR102592699B1 (en) | 2018-10-08 | 2023-10-23 | 에이에스엠 아이피 홀딩 비.브이. | Substrate support unit and apparatuses for depositing thin film and processing the substrate including the same | 
| US10847365B2 (en) | 2018-10-11 | 2020-11-24 | Asm Ip Holding B.V. | Method of forming conformal silicon carbide film by cyclic CVD | 
| US10811256B2 (en) | 2018-10-16 | 2020-10-20 | Asm Ip Holding B.V. | Method for etching a carbon-containing feature | 
| KR102546322B1 (en) | 2018-10-19 | 2023-06-21 | 에이에스엠 아이피 홀딩 비.브이. | Substrate processing apparatus and substrate processing method | 
| KR102605121B1 (en) | 2018-10-19 | 2023-11-23 | 에이에스엠 아이피 홀딩 비.브이. | Substrate processing apparatus and substrate processing method | 
| USD948463S1 (en) | 2018-10-24 | 2022-04-12 | Asm Ip Holding B.V. | Susceptor for semiconductor substrate supporting apparatus | 
| US10381219B1 (en) | 2018-10-25 | 2019-08-13 | Asm Ip Holding B.V. | Methods for forming a silicon nitride film | 
| US12378665B2 (en) | 2018-10-26 | 2025-08-05 | Asm Ip Holding B.V. | High temperature coatings for a preclean and etch apparatus and related methods | 
| US11087997B2 (en) | 2018-10-31 | 2021-08-10 | Asm Ip Holding B.V. | Substrate processing apparatus for processing substrates | 
| KR102748291B1 (en) | 2018-11-02 | 2024-12-31 | 에이에스엠 아이피 홀딩 비.브이. | Substrate support unit and substrate processing apparatus including the same | 
| US11572620B2 (en) | 2018-11-06 | 2023-02-07 | Asm Ip Holding B.V. | Methods for selectively depositing an amorphous silicon film on a substrate | 
| US11031242B2 (en) | 2018-11-07 | 2021-06-08 | Asm Ip Holding B.V. | Methods for depositing a boron doped silicon germanium film | 
| US10847366B2 (en) | 2018-11-16 | 2020-11-24 | Asm Ip Holding B.V. | Methods for depositing a transition metal chalcogenide film on a substrate by a cyclical deposition process | 
| US10818758B2 (en) | 2018-11-16 | 2020-10-27 | Asm Ip Holding B.V. | Methods for forming a metal silicate film on a substrate in a reaction chamber and related semiconductor device structures | 
| US10559458B1 (en) | 2018-11-26 | 2020-02-11 | Asm Ip Holding B.V. | Method of forming oxynitride film | 
| US12040199B2 (en) | 2018-11-28 | 2024-07-16 | Asm Ip Holding B.V. | Substrate processing apparatus for processing substrates | 
| US11217444B2 (en) | 2018-11-30 | 2022-01-04 | Asm Ip Holding B.V. | Method for forming an ultraviolet radiation responsive metal oxide-containing film | 
| KR102636428B1 (en) | 2018-12-04 | 2024-02-13 | 에이에스엠 아이피 홀딩 비.브이. | A method for cleaning a substrate processing apparatus | 
| US11158513B2 (en) | 2018-12-13 | 2021-10-26 | Asm Ip Holding B.V. | Methods for forming a rhenium-containing film on a substrate by a cyclical deposition process and related semiconductor device structures | 
| TWI874340B (en) | 2018-12-14 | 2025-03-01 | 荷蘭商Asm Ip私人控股有限公司 | Method of forming device structure, structure formed by the method and system for performing the method | 
| TWI866480B (en) | 2019-01-17 | 2024-12-11 | 荷蘭商Asm Ip 私人控股有限公司 | Methods of forming a transition metal containing film on a substrate by a cyclical deposition process | 
| KR102727227B1 (en) | 2019-01-22 | 2024-11-07 | 에이에스엠 아이피 홀딩 비.브이. | Semiconductor processing device | 
| CN111524788B (en) | 2019-02-01 | 2023-11-24 | Asm Ip私人控股有限公司 | Method for forming topologically selective films of silicon oxide | 
| TWI873122B (en) | 2019-02-20 | 2025-02-21 | 荷蘭商Asm Ip私人控股有限公司 | Method of filling a recess formed within a surface of a substrate, semiconductor structure formed according to the method, and semiconductor processing apparatus | 
| KR102626263B1 (en) | 2019-02-20 | 2024-01-16 | 에이에스엠 아이피 홀딩 비.브이. | Cyclical deposition method including treatment step and apparatus for same | 
| TWI838458B (en) | 2019-02-20 | 2024-04-11 | 荷蘭商Asm Ip私人控股有限公司 | Apparatus and methods for plug fill deposition in 3-d nand applications | 
| TWI845607B (en) | 2019-02-20 | 2024-06-21 | 荷蘭商Asm Ip私人控股有限公司 | Cyclical deposition method and apparatus for filling a recess formed within a substrate surface | 
| TWI842826B (en) | 2019-02-22 | 2024-05-21 | 荷蘭商Asm Ip私人控股有限公司 | Substrate processing apparatus and method for processing substrate | 
| US11742198B2 (en) | 2019-03-08 | 2023-08-29 | Asm Ip Holding B.V. | Structure including SiOCN layer and method of forming same | 
| KR102782593B1 (en) | 2019-03-08 | 2025-03-14 | 에이에스엠 아이피 홀딩 비.브이. | Structure Including SiOC Layer and Method of Forming Same | 
| KR102858005B1 (en) | 2019-03-08 | 2025-09-09 | 에이에스엠 아이피 홀딩 비.브이. | Method for Selective Deposition of Silicon Nitride Layer and Structure Including Selectively-Deposited Silicon Nitride Layer | 
| JP2020167398A (en) | 2019-03-28 | 2020-10-08 | エーエスエム・アイピー・ホールディング・ベー・フェー | Door openers and substrate processing equipment provided with door openers | 
| KR102809999B1 (en) | 2019-04-01 | 2025-05-19 | 에이에스엠 아이피 홀딩 비.브이. | Method of manufacturing semiconductor device | 
| KR20200123380A (en) | 2019-04-19 | 2020-10-29 | 에이에스엠 아이피 홀딩 비.브이. | Layer forming method and apparatus | 
| KR20200125453A (en) | 2019-04-24 | 2020-11-04 | 에이에스엠 아이피 홀딩 비.브이. | Gas-phase reactor system and method of using same | 
| US11289326B2 (en) | 2019-05-07 | 2022-03-29 | Asm Ip Holding B.V. | Method for reforming amorphous carbon polymer film | 
| KR20200130121A (en) | 2019-05-07 | 2020-11-18 | 에이에스엠 아이피 홀딩 비.브이. | Chemical source vessel with dip tube | 
| KR20200130652A (en) | 2019-05-10 | 2020-11-19 | 에이에스엠 아이피 홀딩 비.브이. | Method of depositing material onto a surface and structure formed according to the method | 
| JP7598201B2 (en) | 2019-05-16 | 2024-12-11 | エーエスエム・アイピー・ホールディング・ベー・フェー | Wafer boat handling apparatus, vertical batch furnace and method | 
| JP7612342B2 (en) | 2019-05-16 | 2025-01-14 | エーエスエム・アイピー・ホールディング・ベー・フェー | Wafer boat handling apparatus, vertical batch furnace and method | 
| USD975665S1 (en) | 2019-05-17 | 2023-01-17 | Asm Ip Holding B.V. | Susceptor shaft | 
| USD947913S1 (en) | 2019-05-17 | 2022-04-05 | Asm Ip Holding B.V. | Susceptor shaft | 
| USD935572S1 (en) | 2019-05-24 | 2021-11-09 | Asm Ip Holding B.V. | Gas channel plate | 
| USD922229S1 (en) | 2019-06-05 | 2021-06-15 | Asm Ip Holding B.V. | Device for controlling a temperature of a gas supply unit | 
| KR20200141002A (en) | 2019-06-06 | 2020-12-17 | 에이에스엠 아이피 홀딩 비.브이. | Method of using a gas-phase reactor system including analyzing exhausted gas | 
| KR20200141931A (en) | 2019-06-10 | 2020-12-21 | 에이에스엠 아이피 홀딩 비.브이. | Method for cleaning quartz epitaxial chambers | 
| KR20200143254A (en) | 2019-06-11 | 2020-12-23 | 에이에스엠 아이피 홀딩 비.브이. | Method of forming an electronic structure using an reforming gas, system for performing the method, and structure formed using the method | 
| USD944946S1 (en) | 2019-06-14 | 2022-03-01 | Asm Ip Holding B.V. | Shower plate | 
| USD931978S1 (en) | 2019-06-27 | 2021-09-28 | Asm Ip Holding B.V. | Showerhead vacuum transport | 
| KR20210005515A (en) | 2019-07-03 | 2021-01-14 | 에이에스엠 아이피 홀딩 비.브이. | Temperature control assembly for substrate processing apparatus and method of using same | 
| JP7499079B2 (en) | 2019-07-09 | 2024-06-13 | エーエスエム・アイピー・ホールディング・ベー・フェー | Plasma device using coaxial waveguide and substrate processing method | 
| CN112216646A (en) | 2019-07-10 | 2021-01-12 | Asm Ip私人控股有限公司 | Substrate supporting assembly and substrate processing device comprising same | 
| KR20210010307A (en) | 2019-07-16 | 2021-01-27 | 에이에스엠 아이피 홀딩 비.브이. | Substrate processing apparatus | 
| KR20210010816A (en) | 2019-07-17 | 2021-01-28 | 에이에스엠 아이피 홀딩 비.브이. | Radical assist ignition plasma system and method | 
| KR102860110B1 (en) | 2019-07-17 | 2025-09-16 | 에이에스엠 아이피 홀딩 비.브이. | Methods of forming silicon germanium structures | 
| US11643724B2 (en) | 2019-07-18 | 2023-05-09 | Asm Ip Holding B.V. | Method of forming structures using a neutral beam | 
| KR20210010817A (en) | 2019-07-19 | 2021-01-28 | 에이에스엠 아이피 홀딩 비.브이. | Method of Forming Topology-Controlled Amorphous Carbon Polymer Film | 
| TWI839544B (en) | 2019-07-19 | 2024-04-21 | 荷蘭商Asm Ip私人控股有限公司 | Method of forming topology-controlled amorphous carbon polymer film | 
| TWI851767B (en) | 2019-07-29 | 2024-08-11 | 荷蘭商Asm Ip私人控股有限公司 | Methods for selective deposition utilizing n-type dopants and/or alternative dopants to achieve high dopant incorporation | 
| CN112309899A (en) | 2019-07-30 | 2021-02-02 | Asm Ip私人控股有限公司 | Substrate processing apparatus | 
| CN112309900A (en) | 2019-07-30 | 2021-02-02 | Asm Ip私人控股有限公司 | Substrate processing apparatus | 
| US12169361B2 (en) | 2019-07-30 | 2024-12-17 | Asm Ip Holding B.V. | Substrate processing apparatus and method | 
| US11587814B2 (en) | 2019-07-31 | 2023-02-21 | Asm Ip Holding B.V. | Vertical batch furnace assembly | 
| US11227782B2 (en) | 2019-07-31 | 2022-01-18 | Asm Ip Holding B.V. | Vertical batch furnace assembly | 
| US11587815B2 (en) | 2019-07-31 | 2023-02-21 | Asm Ip Holding B.V. | Vertical batch furnace assembly | 
| CN112323048B (en) | 2019-08-05 | 2024-02-09 | Asm Ip私人控股有限公司 | Liquid level sensor for chemical source container | 
| CN112342526A (en) | 2019-08-09 | 2021-02-09 | Asm Ip私人控股有限公司 | Heater assembly including cooling device and method of using same | 
| USD965044S1 (en) | 2019-08-19 | 2022-09-27 | Asm Ip Holding B.V. | Susceptor shaft | 
| USD965524S1 (en) | 2019-08-19 | 2022-10-04 | Asm Ip Holding B.V. | Susceptor support | 
| JP2021031769A (en) | 2019-08-21 | 2021-03-01 | エーエスエム アイピー ホールディング ビー.ブイ. | Production apparatus of mixed gas of film deposition raw material and film deposition apparatus | 
| USD949319S1 (en) | 2019-08-22 | 2022-04-19 | Asm Ip Holding B.V. | Exhaust duct | 
| USD940837S1 (en) | 2019-08-22 | 2022-01-11 | Asm Ip Holding B.V. | Electrode | 
| USD930782S1 (en) | 2019-08-22 | 2021-09-14 | Asm Ip Holding B.V. | Gas distributor | 
| KR20210024423A (en) | 2019-08-22 | 2021-03-05 | 에이에스엠 아이피 홀딩 비.브이. | Method for forming a structure with a hole | 
| USD979506S1 (en) | 2019-08-22 | 2023-02-28 | Asm Ip Holding B.V. | Insulator | 
| US11286558B2 (en) | 2019-08-23 | 2022-03-29 | Asm Ip Holding B.V. | Methods for depositing a molybdenum nitride film on a surface of a substrate by a cyclical deposition process and related semiconductor device structures including a molybdenum nitride film | 
| KR20210024420A (en) | 2019-08-23 | 2021-03-05 | 에이에스엠 아이피 홀딩 비.브이. | Method for depositing silicon oxide film having improved quality by peald using bis(diethylamino)silane | 
| KR102806450B1 (en) | 2019-09-04 | 2025-05-12 | 에이에스엠 아이피 홀딩 비.브이. | Methods for selective deposition using a sacrificial capping layer | 
| KR102733104B1 (en) | 2019-09-05 | 2024-11-22 | 에이에스엠 아이피 홀딩 비.브이. | Substrate processing apparatus | 
| US11562901B2 (en) | 2019-09-25 | 2023-01-24 | Asm Ip Holding B.V. | Substrate processing method | 
| CN112593212B (en) | 2019-10-02 | 2023-12-22 | Asm Ip私人控股有限公司 | Method for forming topologically selective silicon oxide film by cyclic plasma enhanced deposition process | 
| TW202128273A (en) | 2019-10-08 | 2021-08-01 | 荷蘭商Asm Ip私人控股有限公司 | Gas injection system, reactor system, and method of depositing material on surface of substratewithin reaction chamber | 
| KR20210042810A (en) | 2019-10-08 | 2021-04-20 | 에이에스엠 아이피 홀딩 비.브이. | Reactor system including a gas distribution assembly for use with activated species and method of using same | 
| TWI846953B (en) | 2019-10-08 | 2024-07-01 | 荷蘭商Asm Ip私人控股有限公司 | Substrate processing device | 
| TWI846966B (en) | 2019-10-10 | 2024-07-01 | 荷蘭商Asm Ip私人控股有限公司 | Method of forming a photoresist underlayer and structure including same | 
| US12009241B2 (en) | 2019-10-14 | 2024-06-11 | Asm Ip Holding B.V. | Vertical batch furnace assembly with detector to detect cassette | 
| TWI834919B (en) | 2019-10-16 | 2024-03-11 | 荷蘭商Asm Ip私人控股有限公司 | Method of topology-selective film formation of silicon oxide | 
| US11637014B2 (en) | 2019-10-17 | 2023-04-25 | Asm Ip Holding B.V. | Methods for selective deposition of doped semiconductor material | 
| KR102845724B1 (en) | 2019-10-21 | 2025-08-13 | 에이에스엠 아이피 홀딩 비.브이. | Apparatus and methods for selectively etching films | 
| KR20210050453A (en) | 2019-10-25 | 2021-05-07 | 에이에스엠 아이피 홀딩 비.브이. | Methods for filling a gap feature on a substrate surface and related semiconductor structures | 
| US11646205B2 (en) | 2019-10-29 | 2023-05-09 | Asm Ip Holding B.V. | Methods of selectively forming n-type doped material on a surface, systems for selectively forming n-type doped material, and structures formed using same | 
| KR20210054983A (en) | 2019-11-05 | 2021-05-14 | 에이에스엠 아이피 홀딩 비.브이. | Structures with doped semiconductor layers and methods and systems for forming same | 
| JP7516742B2 (en)* | 2019-11-05 | 2024-07-17 | 東京エレクトロン株式会社 | Apparatus for processing a substrate, apparatus for concentrating a process gas, and method for processing a substrate - Patents.com | 
| US11501968B2 (en) | 2019-11-15 | 2022-11-15 | Asm Ip Holding B.V. | Method for providing a semiconductor device with silicon filled gaps | 
| KR102861314B1 (en) | 2019-11-20 | 2025-09-17 | 에이에스엠 아이피 홀딩 비.브이. | Method of depositing carbon-containing material on a surface of a substrate, structure formed using the method, and system for forming the structure | 
| CN112951697B (en) | 2019-11-26 | 2025-07-29 | Asmip私人控股有限公司 | Substrate processing apparatus | 
| US11450529B2 (en) | 2019-11-26 | 2022-09-20 | Asm Ip Holding B.V. | Methods for selectively forming a target film on a substrate comprising a first dielectric surface and a second metallic surface | 
| CN112885692B (en) | 2019-11-29 | 2025-08-15 | Asmip私人控股有限公司 | Substrate processing apparatus | 
| CN120432376A (en) | 2019-11-29 | 2025-08-05 | Asm Ip私人控股有限公司 | Substrate processing apparatus | 
| JP7527928B2 (en) | 2019-12-02 | 2024-08-05 | エーエスエム・アイピー・ホールディング・ベー・フェー | Substrate processing apparatus and substrate processing method | 
| KR20210070898A (en) | 2019-12-04 | 2021-06-15 | 에이에스엠 아이피 홀딩 비.브이. | Substrate processing apparatus | 
| KR20210078405A (en) | 2019-12-17 | 2021-06-28 | 에이에스엠 아이피 홀딩 비.브이. | Method of forming vanadium nitride layer and structure including the vanadium nitride layer | 
| KR20210080214A (en) | 2019-12-19 | 2021-06-30 | 에이에스엠 아이피 홀딩 비.브이. | Methods for filling a gap feature on a substrate and related semiconductor structures | 
| JP7636892B2 (en) | 2020-01-06 | 2025-02-27 | エーエスエム・アイピー・ホールディング・ベー・フェー | Channeled Lift Pins | 
| JP7730637B2 (en) | 2020-01-06 | 2025-08-28 | エーエスエム・アイピー・ホールディング・ベー・フェー | Gas delivery assembly, components thereof, and reactor system including same | 
| US11993847B2 (en) | 2020-01-08 | 2024-05-28 | Asm Ip Holding B.V. | Injector | 
| KR20210093163A (en) | 2020-01-16 | 2021-07-27 | 에이에스엠 아이피 홀딩 비.브이. | Method of forming high aspect ratio features | 
| KR102675856B1 (en) | 2020-01-20 | 2024-06-17 | 에이에스엠 아이피 홀딩 비.브이. | Method of forming thin film and method of modifying surface of thin film | 
| TWI889744B (en) | 2020-01-29 | 2025-07-11 | 荷蘭商Asm Ip私人控股有限公司 | Contaminant trap system, and baffle plate stack | 
| TW202513845A (en) | 2020-02-03 | 2025-04-01 | 荷蘭商Asm Ip私人控股有限公司 | Semiconductor structures and methods for forming the same | 
| KR20210100010A (en) | 2020-02-04 | 2021-08-13 | 에이에스엠 아이피 홀딩 비.브이. | Method and apparatus for transmittance measurements of large articles | 
| US11776846B2 (en) | 2020-02-07 | 2023-10-03 | Asm Ip Holding B.V. | Methods for depositing gap filling fluids and related systems and devices | 
| TW202146691A (en) | 2020-02-13 | 2021-12-16 | 荷蘭商Asm Ip私人控股有限公司 | Gas distribution assembly, shower plate assembly, and method of adjusting conductance of gas to reaction chamber | 
| KR20210103956A (en) | 2020-02-13 | 2021-08-24 | 에이에스엠 아이피 홀딩 비.브이. | Substrate processing apparatus including light receiving device and calibration method of light receiving device | 
| TWI855223B (en) | 2020-02-17 | 2024-09-11 | 荷蘭商Asm Ip私人控股有限公司 | Method for growing phosphorous-doped silicon layer | 
| CN113410160A (en) | 2020-02-28 | 2021-09-17 | Asm Ip私人控股有限公司 | System specially used for cleaning parts | 
| KR20210113043A (en) | 2020-03-04 | 2021-09-15 | 에이에스엠 아이피 홀딩 비.브이. | Alignment fixture for a reactor system | 
| KR20210116240A (en) | 2020-03-11 | 2021-09-27 | 에이에스엠 아이피 홀딩 비.브이. | Substrate handling device with adjustable joints | 
| US11876356B2 (en) | 2020-03-11 | 2024-01-16 | Asm Ip Holding B.V. | Lockout tagout assembly and system and method of using same | 
| KR102775390B1 (en) | 2020-03-12 | 2025-02-28 | 에이에스엠 아이피 홀딩 비.브이. | Method for Fabricating Layer Structure Having Target Topological Profile | 
| US12173404B2 (en) | 2020-03-17 | 2024-12-24 | Asm Ip Holding B.V. | Method of depositing epitaxial material, structure formed using the method, and system for performing the method | 
| KR102755229B1 (en) | 2020-04-02 | 2025-01-14 | 에이에스엠 아이피 홀딩 비.브이. | Thin film forming method | 
| TWI887376B (en) | 2020-04-03 | 2025-06-21 | 荷蘭商Asm Ip私人控股有限公司 | Method for manufacturing semiconductor device | 
| TWI888525B (en) | 2020-04-08 | 2025-07-01 | 荷蘭商Asm Ip私人控股有限公司 | Apparatus and methods for selectively etching silcon oxide films | 
| KR20210128343A (en) | 2020-04-15 | 2021-10-26 | 에이에스엠 아이피 홀딩 비.브이. | Method of forming chromium nitride layer and structure including the chromium nitride layer | 
| US11821078B2 (en) | 2020-04-15 | 2023-11-21 | Asm Ip Holding B.V. | Method for forming precoat film and method for forming silicon-containing film | 
| US11996289B2 (en) | 2020-04-16 | 2024-05-28 | Asm Ip Holding B.V. | Methods of forming structures including silicon germanium and silicon layers, devices formed using the methods, and systems for performing the methods | 
| KR20210130646A (en) | 2020-04-21 | 2021-11-01 | 에이에스엠 아이피 홀딩 비.브이. | Method for processing a substrate | 
| KR102866804B1 (en) | 2020-04-24 | 2025-09-30 | 에이에스엠 아이피 홀딩 비.브이. | Vertical batch furnace assembly comprising a cooling gas supply | 
| TW202208671A (en) | 2020-04-24 | 2022-03-01 | 荷蘭商Asm Ip私人控股有限公司 | Methods of forming structures including vanadium boride and vanadium phosphide layers | 
| KR20210132600A (en) | 2020-04-24 | 2021-11-04 | 에이에스엠 아이피 홀딩 비.브이. | Methods and systems for depositing a layer comprising vanadium, nitrogen, and a further element | 
| KR20210132612A (en) | 2020-04-24 | 2021-11-04 | 에이에스엠 아이피 홀딩 비.브이. | Methods and apparatus for stabilizing vanadium compounds | 
| CN113555279A (en) | 2020-04-24 | 2021-10-26 | Asm Ip私人控股有限公司 | Methods of forming vanadium nitride-containing layers and structures comprising the same | 
| KR102783898B1 (en) | 2020-04-29 | 2025-03-18 | 에이에스엠 아이피 홀딩 비.브이. | Solid source precursor vessel | 
| KR20210134869A (en) | 2020-05-01 | 2021-11-11 | 에이에스엠 아이피 홀딩 비.브이. | Fast FOUP swapping with a FOUP handler | 
| KR102788543B1 (en) | 2020-05-13 | 2025-03-27 | 에이에스엠 아이피 홀딩 비.브이. | Laser alignment fixture for a reactor system | 
| TW202146699A (en) | 2020-05-15 | 2021-12-16 | 荷蘭商Asm Ip私人控股有限公司 | Method of forming a silicon germanium layer, semiconductor structure, semiconductor device, method of forming a deposition layer, and deposition system | 
| KR20210143653A (en) | 2020-05-19 | 2021-11-29 | 에이에스엠 아이피 홀딩 비.브이. | Substrate processing apparatus | 
| KR102795476B1 (en) | 2020-05-21 | 2025-04-11 | 에이에스엠 아이피 홀딩 비.브이. | Structures including multiple carbon layers and methods of forming and using same | 
| KR20210145079A (en) | 2020-05-21 | 2021-12-01 | 에이에스엠 아이피 홀딩 비.브이. | Flange and apparatus for processing substrates | 
| TWI873343B (en) | 2020-05-22 | 2025-02-21 | 荷蘭商Asm Ip私人控股有限公司 | Reaction system for forming thin film on substrate | 
| KR20210146802A (en) | 2020-05-26 | 2021-12-06 | 에이에스엠 아이피 홀딩 비.브이. | Method for depositing boron and gallium containing silicon germanium layers | 
| TWI876048B (en) | 2020-05-29 | 2025-03-11 | 荷蘭商Asm Ip私人控股有限公司 | Substrate processing device | 
| TW202212620A (en) | 2020-06-02 | 2022-04-01 | 荷蘭商Asm Ip私人控股有限公司 | Apparatus for processing substrate, method of forming film, and method of controlling apparatus for processing substrate | 
| TW202208659A (en) | 2020-06-16 | 2022-03-01 | 荷蘭商Asm Ip私人控股有限公司 | Method for depositing boron containing silicon germanium layers | 
| TW202218133A (en) | 2020-06-24 | 2022-05-01 | 荷蘭商Asm Ip私人控股有限公司 | Method for forming a layer provided with silicon | 
| TWI873359B (en) | 2020-06-30 | 2025-02-21 | 荷蘭商Asm Ip私人控股有限公司 | Substrate processing method | 
| US12431354B2 (en) | 2020-07-01 | 2025-09-30 | Asm Ip Holding B.V. | Silicon nitride and silicon oxide deposition methods using fluorine inhibitor | 
| TW202202649A (en) | 2020-07-08 | 2022-01-16 | 荷蘭商Asm Ip私人控股有限公司 | Substrate processing method | 
| KR20220010438A (en) | 2020-07-17 | 2022-01-25 | 에이에스엠 아이피 홀딩 비.브이. | Structures and methods for use in photolithography | 
| KR20220011092A (en) | 2020-07-20 | 2022-01-27 | 에이에스엠 아이피 홀딩 비.브이. | Method and system for forming structures including transition metal layers | 
| TWI878570B (en) | 2020-07-20 | 2025-04-01 | 荷蘭商Asm Ip私人控股有限公司 | Method and system for depositing molybdenum layers | 
| US12322591B2 (en) | 2020-07-27 | 2025-06-03 | Asm Ip Holding B.V. | Thin film deposition process | 
| KR20220021863A (en) | 2020-08-14 | 2022-02-22 | 에이에스엠 아이피 홀딩 비.브이. | Method for processing a substrate | 
| US12040177B2 (en) | 2020-08-18 | 2024-07-16 | Asm Ip Holding B.V. | Methods for forming a laminate film by cyclical plasma-enhanced deposition processes | 
| TW202228863A (en) | 2020-08-25 | 2022-08-01 | 荷蘭商Asm Ip私人控股有限公司 | Method for cleaning a substrate, method for selectively depositing, and reaction system | 
| US11725280B2 (en) | 2020-08-26 | 2023-08-15 | Asm Ip Holding B.V. | Method for forming metal silicon oxide and metal silicon oxynitride layers | 
| TW202229601A (en) | 2020-08-27 | 2022-08-01 | 荷蘭商Asm Ip私人控股有限公司 | Method of forming patterned structures, method of manipulating mechanical property, device structure, and substrate processing system | 
| TW202217045A (en) | 2020-09-10 | 2022-05-01 | 荷蘭商Asm Ip私人控股有限公司 | Methods for depositing gap filing fluids and related systems and devices | 
| USD990534S1 (en) | 2020-09-11 | 2023-06-27 | Asm Ip Holding B.V. | Weighted lift pin | 
| KR20220036866A (en) | 2020-09-16 | 2022-03-23 | 에이에스엠 아이피 홀딩 비.브이. | Silicon oxide deposition method | 
| USD1012873S1 (en) | 2020-09-24 | 2024-01-30 | Asm Ip Holding B.V. | Electrode for semiconductor processing apparatus | 
| TWI889903B (en) | 2020-09-25 | 2025-07-11 | 荷蘭商Asm Ip私人控股有限公司 | Semiconductor processing method | 
| US12009224B2 (en) | 2020-09-29 | 2024-06-11 | Asm Ip Holding B.V. | Apparatus and method for etching metal nitrides | 
| KR20220045900A (en) | 2020-10-06 | 2022-04-13 | 에이에스엠 아이피 홀딩 비.브이. | Deposition method and an apparatus for depositing a silicon-containing material | 
| CN114293174A (en) | 2020-10-07 | 2022-04-08 | Asm Ip私人控股有限公司 | Gas supply unit and substrate processing apparatus including the same | 
| TW202229613A (en) | 2020-10-14 | 2022-08-01 | 荷蘭商Asm Ip私人控股有限公司 | Method of depositing material on stepped structure | 
| TW202232565A (en) | 2020-10-15 | 2022-08-16 | 荷蘭商Asm Ip私人控股有限公司 | Method of manufacturing semiconductor device, and substrate treatment apparatus using ether-cat | 
| TW202217037A (en) | 2020-10-22 | 2022-05-01 | 荷蘭商Asm Ip私人控股有限公司 | Method of depositing vanadium metal, structure, device and a deposition assembly | 
| TW202223136A (en) | 2020-10-28 | 2022-06-16 | 荷蘭商Asm Ip私人控股有限公司 | Method for forming layer on substrate, and semiconductor processing system | 
| TW202229620A (en) | 2020-11-12 | 2022-08-01 | 特文特大學 | Deposition system, method for controlling reaction condition, method for depositing | 
| TW202229795A (en) | 2020-11-23 | 2022-08-01 | 荷蘭商Asm Ip私人控股有限公司 | A substrate processing apparatus with an injector | 
| TW202235649A (en) | 2020-11-24 | 2022-09-16 | 荷蘭商Asm Ip私人控股有限公司 | Methods for filling a gap and related systems and devices | 
| TW202235675A (en) | 2020-11-30 | 2022-09-16 | 荷蘭商Asm Ip私人控股有限公司 | Injector, and substrate processing apparatus | 
| US12255053B2 (en) | 2020-12-10 | 2025-03-18 | Asm Ip Holding B.V. | Methods and systems for depositing a layer | 
| TW202233884A (en) | 2020-12-14 | 2022-09-01 | 荷蘭商Asm Ip私人控股有限公司 | Method of forming structures for threshold voltage control | 
| US11946137B2 (en) | 2020-12-16 | 2024-04-02 | Asm Ip Holding B.V. | Runout and wobble measurement fixtures | 
| TW202232639A (en) | 2020-12-18 | 2022-08-16 | 荷蘭商Asm Ip私人控股有限公司 | Wafer processing apparatus with a rotatable table | 
| TW202231903A (en) | 2020-12-22 | 2022-08-16 | 荷蘭商Asm Ip私人控股有限公司 | Transition metal deposition method, transition metal layer, and deposition assembly for depositing transition metal on substrate | 
| TW202242184A (en) | 2020-12-22 | 2022-11-01 | 荷蘭商Asm Ip私人控股有限公司 | Precursor capsule, precursor vessel, vapor deposition assembly, and method of loading solid precursor into precursor vessel | 
| TW202226899A (en) | 2020-12-22 | 2022-07-01 | 荷蘭商Asm Ip私人控股有限公司 | Plasma treatment device having matching box | 
| USD981973S1 (en) | 2021-05-11 | 2023-03-28 | Asm Ip Holding B.V. | Reactor wall for substrate processing apparatus | 
| USD980813S1 (en) | 2021-05-11 | 2023-03-14 | Asm Ip Holding B.V. | Gas flow control plate for substrate processing apparatus | 
| USD980814S1 (en) | 2021-05-11 | 2023-03-14 | Asm Ip Holding B.V. | Gas distributor for substrate processing apparatus | 
| USD990441S1 (en) | 2021-09-07 | 2023-06-27 | Asm Ip Holding B.V. | Gas flow control plate | 
| USD1060598S1 (en) | 2021-12-03 | 2025-02-04 | Asm Ip Holding B.V. | Split showerhead cover | 
| WO2023200142A1 (en)* | 2022-04-12 | 2023-10-19 | 주식회사 에이치피에스피 | High-pressure substrate processing apparatus and high-pressure chemical vapor deposition method for substrate using same | 
| Publication number | Publication date | 
|---|---|
| JP2001220677A (en) | 2001-08-14 | 
| Publication | Publication Date | Title | 
|---|---|---|
| JP4174941B2 (en) | Thin film manufacturing method and thin film manufacturing apparatus | |
| US7482283B2 (en) | Thin film forming method and thin film forming device | |
| US7622396B2 (en) | Method of producing a semiconductor device | |
| JP3140111U (en) | Gas supply equipment for semiconductor manufacturing equipment | |
| US7713582B2 (en) | Substrate processing method for film formation | |
| JP3332053B2 (en) | Gas supply method to chamber | |
| US6677250B2 (en) | CVD apparatuses and methods of forming a layer over a semiconductor substrate | |
| JPH0645256A (en) | Method for supplying gas pulse and method forming for film using the same | |
| JP2016084517A (en) | Raw material gas supply apparatus and film forming apparatus | |
| JP4399517B2 (en) | Film forming apparatus and film forming method | |
| US20110104896A1 (en) | Method of manufacturing semiconductor device and substrate processing apparatus | |
| US11993841B2 (en) | Substrate processing method and substrate processing apparatus | |
| JP2717972B2 (en) | Method and apparatus for forming thin film | |
| WO2023277920A1 (en) | System and method for delivering precursor to a process chamber | |
| JP3670524B2 (en) | Manufacturing method of semiconductor device | |
| JP6531487B2 (en) | Deposition apparatus, deposition method, and storage medium | |
| KR102789782B1 (en) | Method for forming a thin film of Molybdenum atomic layer | |
| JP6720650B2 (en) | Thin film manufacturing method and thin film manufacturing apparatus | |
| WO2006085447A1 (en) | Thin film laminate structure, method for formation thereof, film formation apparatus, and storage medium | |
| JPH0663095B2 (en) | CVD equipment | |
| JPS5943988B2 (en) | Ultrafine particle membrane manufacturing method and manufacturing device | |
| JP2001284285A (en) | METHOD AND DEVICE FOR FORMING COPPER OR Cu CONTAINING FILM | |
| JP4067792B2 (en) | Manufacturing method of semiconductor device | |
| JP3092572B2 (en) | Semiconductor vapor phase growth apparatus and gas supply method therefor | |
| JP2000183048A (en) | Chemical vapor deposition equipment | 
| Date | Code | Title | Description | 
|---|---|---|---|
| A621 | Written request for application examination | Free format text:JAPANESE INTERMEDIATE CODE: A621 Effective date:20060228 | |
| A977 | Report on retrieval | Free format text:JAPANESE INTERMEDIATE CODE: A971007 Effective date:20080513 | |
| A131 | Notification of reasons for refusal | Free format text:JAPANESE INTERMEDIATE CODE: A131 Effective date:20080520 | |
| A521 | Written amendment | Free format text:JAPANESE INTERMEDIATE CODE: A523 Effective date:20080624 | |
| TRDD | Decision of grant or rejection written | ||
| A01 | Written decision to grant a patent or to grant a registration (utility model) | Free format text:JAPANESE INTERMEDIATE CODE: A01 Effective date:20080729 | |
| A01 | Written decision to grant a patent or to grant a registration (utility model) | Free format text:JAPANESE INTERMEDIATE CODE: A01 | |
| A61 | First payment of annual fees (during grant procedure) | Free format text:JAPANESE INTERMEDIATE CODE: A61 Effective date:20080811 | |
| FPAY | Renewal fee payment (event date is renewal date of database) | Free format text:PAYMENT UNTIL: 20110829 Year of fee payment:3 | |
| R150 | Certificate of patent or registration of utility model | Free format text:JAPANESE INTERMEDIATE CODE: R150 | |
| FPAY | Renewal fee payment (event date is renewal date of database) | Free format text:PAYMENT UNTIL: 20120829 Year of fee payment:4 | |
| FPAY | Renewal fee payment (event date is renewal date of database) | Free format text:PAYMENT UNTIL: 20130829 Year of fee payment:5 | |
| R250 | Receipt of annual fees | Free format text:JAPANESE INTERMEDIATE CODE: R250 | |
| R250 | Receipt of annual fees | Free format text:JAPANESE INTERMEDIATE CODE: R250 | |
| R250 | Receipt of annual fees | Free format text:JAPANESE INTERMEDIATE CODE: R250 | |
| LAPS | Cancellation because of no payment of annual fees |