












【0001】
【発明の属する技術分野】
本発明は、雌側ハウジングに挿入することで、内蔵した光コネクタフェルールを雌側ハウジング側の光コネクタフェルールと突き合わせ接続する光コネクタに関わり、特に、雌側ハウジングと係脱可能に係合するラッチを備える光コネクタに関するものである。
【0002】
【従来の技術】
光コネクタアダプタに対して押し込むだけで簡単に接続できる光コネクタとして、例えば、図13に示すような光コネクタ1が提供されている。
この光コネクタ1は、いわゆるMTRJ形光コネクタと呼ばれるものであり、JIS  C  5982に制定されるMPO形光コネクタ(Multifiber Push On)と似た機構、すなわち、光コード2端末に露出させた抗張力体(ケブラ)を引き留めるカシメ部材と、光コード2端末から引き出した光ファイバを突き合せ接続可能に成端する光コネクタフェルール3と、この光コネクタフェルール3を突き合せ接続方向前方に付勢する付勢手段とをハウジング5内部に備えている。
光コネクタアダプタ6の両側から光コネクタ1を挿入すると、各光コネクタ1の光コネクタフェルール3同士が突き合わされ、これら光コネクタフェルール3に内装固定されている光ファイバ同士が光接続される。
この接続状態においては、一方の光コネクタ1側の光コネクタフェルール3の接合端面3aの両側に穿設されたガイドピン穴3bに、他方の光コネクタフェルール3から突設されたガイドピン(図示せず)が挿入されることで光コネクタフェルール3間が精密に位置決めされ、各光コネクタ1の光コネクタフェルール3の接合端面3aに露出された光ファイバ2a同士も精密に位置決めされて突き合せ接続される。
【0003】
光コネクタアダプタ6に挿入された光コネクタ1は、ハウジング5から光コネクタアダプタ6への挿入方向前方へ向けて突設されているラッチ7先端の係合突起7bが光コネクタアダプタ6の係合部8に係脱可能に係合されることで引き抜きが規制される。
光コネクタ1を光コネクタアダプタ6から引き抜くには、光コネクタアダプタ6外側に露出しているラッチ7の操作部7aをハウジング5方向へ押し込み操作して、光コネクタアダプタ6の係合部8から係合突起7bを離脱させて係合を解除してから引き抜きを行う。
【0004】
【発明が解決しようとする課題】
しかしながら、前述のような光コネクタ1では、ラッチ7先端の係合突起7bと、係合部8との係合状態の維持を、ラッチ7の弾性力に頼っているため、操作部7aに不用意に接触しただけでも、操作部7aがハウジング5側に押し込まれてしまい、係合突起7bが係合部8から外れ、光コネクタ1が光コネクタアダプタ6から外れてしまうことがあった。
前記問題に鑑みて、例えばラッチ7とハウジング5との間にスライド移動自在のキーを挿入して、ラッチ7がハウジング5側に押し込まれることを防止し、これによって光コネクタ1の外れを防ぐことが検討されているが、この場合には、ハウジング挿入方向後から前へラッチを越えてキーを挿入する構造とせざるを得ず、このためハウジングまたはラッチに大幅な設計変更を加える必要が生じるという不都合があった。
本発明は、前述の課題に鑑みてなされたもので、大幅な設計変更を行うことが必要なく、かつ接続状態を確実に維持することができる光コネクタを提供することを目的とするものである。
【0005】
【課題を解決するための手段】
  本発明の光コネクタは、光ファイバを突き合わせ接続可能に位置決め保持する光コネクタフェルールを先端部に収納、保持する筒状のハウジングと、このハウジングに設けられ、前記ハウジングに沿ってその先端部に向けて延出する弾性変形可能なラッチと、このラッチの変形を規制するキーを備え、前記ハウジングは、前記先端部から雌側ハウジングに挿入することで、前記光コネクタフェルールが、前記雌側ハウジングに収納された別の光コネクタフェルールと突き合わせ接続されるように構成され、前記ラッチは、前記光コネクタフェルールの突き合わせ接続状態において、前記雌側ハウジングの係合部に係合する係合突起を有し、この係合突起は、前記ラッチの弾性変形により前記ハウジング方向へ変位することによって前記係合部から離れるようにされており、前記キーは、前記ハウジング後端側に設けられたガイド部に取り付けられてハウジング先端部方向に向かって進退自在とされた本体と、この本体に対し前記ラッチの側方にて連結されたストッパとを有し、このストッパは、後退状態において前記ラッチの変形を規制せず、かつ前進状態において前記ラッチの前記ハウジング方向への変形を規制するようになっていることを特徴とする。
  この光コネクタでは、ストッパによってラッチのハウジング方向への変形を規制し、雌側ハウジングの係合部と、ラッチに設けられた係合突起との係合状態を安定に維持することができる。
  また、前記キーのストッパが、本体に対しラッチの側方において連結されているため、このキーを既存の光コネクタに対し組み付けることにより作製することができる。
前記係合突起は、前記ラッチの先端に形成することができる。
  前記ストッパは、前記前進状態において、前記ラッチの延出基端部近傍に設けられた当接部と前記ハウジングとの隙間に位置するように形成することができる。
  ストッパをこのように構成することによって、キーによってラッチの変形を規制した状態においても、延出部基端部よりも先端側のラッチの変位により、ラッチを損傷すること無く光コネクタの挿入作業を行うことが可能となる。
  本発明のキーは、光ファイバを突き合わせ接続可能に位置決め保持する光コネクタフェルールを先端部に収納、保持する筒状のハウジングと、このハウジングに設けられ、前記ハウジングに沿ってその先端部に向けて延出する弾性変形可能なラッチを備え、前記ハウジングが、前記先端部から雌側ハウジングに挿入することで、前記光コネクタフェルールが、前記雌側ハウジングに収納された別の光コネクタフェルールと突き合わせ接続されるように構成され、前記ラッチが、前記光コネクタフェルールの突き合わせ接続状態において、前記雌側ハウジングの係合部に係合する係合突起を有し、この係合突起が、前記ラッチの弾性変形により前記ハウジング方向へ変位することによって前記係合部から離れるようになっている光コネクタに適用して、前記ラッチのハウジング方向への移動を規制するキーであって、前記ハウジング後端側に設けられたガイド部に取り付けられることで、ハウジング先端部方向に向かって進退自在に設けられる本体と、前記ラッチとハウジングとの間に挿入可能であり、前記本体に対しラッチ側方にて連結されるストッパとを備え、前記光コネクタに組み付け可能に構成されており、ストッパが、後退状態において前記ラッチの変形を規制せず、かつ前進状態において前記ラッチの前記ハウジング方向への変形を規制するようになっていることを特徴とする。
  このキーは、上記構成とすることによって、既存の光コネクタに対し組み付けることによって使用することができる。
【0006】
【発明の実施の形態】
以下、本発明の光コネクタの一実施形態を、図1ないし図8を参照して説明する。
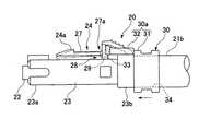
ここに示す光コネクタ20は、光コネクタ本体20aと、この光コネクタ本体20aに組み付けられたキー30とからなるものである。
光コネクタ本体20aは、光ファイバ21を突き合わせ接続可能に位置決め保持する光コネクタフェルール22を、先端部23aに収納、保持する筒状のハウジング23と、このハウジング23に突設され、ハウジング23に沿って先端部23aに向けて延出する弾性変形可能なラッチ24を備えて構成されている。
この光コネクタ本体20aは、図13に示す光コネクタ1と同じ構成の光コネクタである。
【0007】
ハウジング23内には、光ファイバコードである光ファイバ21端末に露出させた抗張力体(ケブラ)を引き留めるカシメ部材と、光ファイバ21端末から引き出した光ファイバ(主として光ファイバ心線)を突き合せ接続可能に成端する上記光コネクタフェルール22と、この光コネクタフェルール22を突き合せ接続方向前方に付勢する付勢手段(コイルスプリング等)とが収納、保持されており、雌側ハウジング50の一方の筒部50bおよび他方の筒部50bにそれぞれ光コネクタ20を挿入すると、一方の光コネクタフェルール22の接合端面22aの両側に穿設されたガイドピン穴22bに、他方の光コネクタフェルール22から突設されたガイドピン(図示せず)が挿入され、これら光コネクタフェルール間が精密に位置決めされ、これら光コネクタフェルールの接合端面22aに露出された1または複数本の光ファイバ21a(裸ファイバ。図示例では2本)同士も精密に位置決めされて突き合せ接続されるようになっている。
光コネクタフェルール22としては、JIS  C  5981に制定されるいわゆるMT形光コネクタ(Mecanically Transferable)を採用することができる。
【0008】
ハウジング23の後端部23bには、ハウジング23内を通って後端部23bから引き出された光ファイバ21を保護収納し、光ファイバ21の光特性に影響を与えるような急激な曲げが作用することを防止する柔軟性のブーツ(符号21bで示す)が取り付けられている。このブーツは、後述するように、キー30がハウジング23に沿って移動する際にキー30をガイドするガイド部となっている(以下、ガイド部21bと呼ぶ)。
【0009】
ラッチ24は、ハウジング23の後端部23b近傍からハウジング先端部23aに向けて延出し、一旦ハウジング23方向に屈曲しこの方向に垂下した後、再び先端部23aに向けて延びるように形成されている。ラッチ24は、全長にわたりハウジング23に対し所定の距離をおいて形成されている。
以下、上記ラッチ24の基端部から上記屈曲部分までの部分を操作部25、上記屈曲部分からハウジング23方向に垂下する部分を中間部26、中間部26から先端部23aに向けて延びる部分を延出部27と呼ぶ。また延出部27の基端部を延出基端部27aと呼ぶ。
【0010】
ラッチ24の中間部26の内面側の幅方向中央部には、後方に向けて突出する当接部29が形成されている。当接部29は、上下方向に沿って操作部25から延出基端部27aにかけて形成されている。当接部29とハウジング23との隙間を隙間28と呼ぶ。
図2に示すように、ラッチ24は、操作部25をハウジング23側に押圧することによってハウジング23方向に向けて弾性変形可能になっている。
【0011】
ラッチ24の先端には、前記光コネクタフェルール22の突き合わせ接続状態において雌側ハウジング(本実施形態では光コネクタアダプタ)50の係合部50aに係合する係合突起24aが上方に向けて突出形成されている。
係合突起24aは、上面側が水平面に対し傾斜し、先端方向に向けて徐々に厚みを減じるように形成されている。
この係合突起24aは、ラッチ24が変形していない状態において雌側ハウジング50の係合部50aに係合することができ、この係合部50aに係合した状態において、雌側ハウジング50からの光コネクタ20の引き抜きを規制するようにされている。
【0012】
キー30は、ラッチ24の変形を規制するためのもので、ハウジング23の後端部23bに取り付けられたガイド部(本実施形態ではブーツ)21bに取り付けられ、このガイド部21bに沿って先端部23a方向に進退自在とされた本体30aと、本体30aに対し連結されたストッパ33を備えている。
【0013】
本体30aは、筒状体31と、筒状体31の両側部からハウジング23の先端部23a方向に延びるアーム32、32とからなるものである。
筒状体31には、ガイド部21bを保持する孔部である保持部34が形成されている。保持部34は、ガイド部21bを全周にわたって保持することができ、しかもキー30の前進および後退を許容することができるように設計される。
【0014】
ストッパ33は、両端が、ラッチ24の側方においてアーム32に連結された長板状物である。
ストッパ33は、前記前進状態において当接部29とハウジング23の隙間28に位置し、かつ後退状態において上記ラッチ24に設けられた当接部29よりもハウジング後端側に位置するようになっている。
【0015】
キー30は、本体30aがガイド部21bに沿って移動することで、図2に示す後退状態から図3に示す前進状態まで移動することができるようになっている。
図2に示すように、キー30が後退状態にあり、ストッパ33が当接部29よりもハウジング後端側に位置するときには、ラッチ24は自由に弾性変形することができ、操作部25がハウジング23側に押圧されることによってハウジング23方向に向けて弾性変形するようになっている。(以下、この状態を非ロック状態という)
【0016】
これに対し、図3に示すように、キー30が前進状態にあり、ストッパ33が当接部29とハウジング23との間に位置するときには、ストッパ33によって当接部29の下方移動が阻止されるため、ハウジング23方向へのラッチ24の弾性変形が規制される。(以下、この状態をロック状態という)
ロック状態においては、ラッチ24全体をハウジング23方向に変形させることはできないものの、ストッパ33が、延出基端部27a近傍の当接部29とハウジング23との隙間28に位置するため、図3に示すように、延出部27は、その弾性変形範囲内においてハウジング23に向けての変形が可能である。
【0017】
本実施形態の光コネクタ20において、キー30は、次に示すように組み立てられた部材である。
図8は、キー30の組立前の状態を示すものであって、図8(b)は組立前のキー30であるキー30bを示す平面図、図8(a)と図8(c)は、キー30bを上方および下方から見た図である。
【0018】
キー30bは、ストッパ33の両端のヒンジ部35に、アーム32、32の一端がヒンジ結合され、これらアーム32、32の他端に、組立時に筒状体31となる第1および第2の筒状体部材31a、31bが取り付けられたものである。第1および第2の筒状体部材31a、31bには、組立時に保持部34となる保持溝34aが形成されている。第1の筒状体部材31aには、組み立てた状態において筒状体部材31b方向に延出する板状の連結部材36が取り付けられ、この連結部材36には、第2の筒状体部材31bに設けられた係止突起37に係止する係止穴38が形成されている。
【0019】
キー30bを組み立てるには、ストッパ33を、ラッチ24の先端側からラッチ24とハウジング23との間に挿入した後、アーム32、32をストッパ33に対しヒンジ部35において曲げる。
この際、第1および第2の筒状体部材31a、31bによってガイド部21bを挟み込み、ガイド部21bを保持溝34a,34a内に位置させた状態として係止突起37を係止穴38に係止させる。
これによって、図1に示す状態、すなわち光コネクタ本体20aに組み付けられた状態のキー30を得ることができる。
【0020】
次に、光コネクタ20の動作について図9ないし図10を参照して説明する。
図9(a)に示すように、予めキー30を後退状態としてラッチ24が自由に弾性変形できるようにした光コネクタ20を、雌側ハウジング50の一方の筒部50bに挿入する。
この際、ラッチ24は筒部50bによってハウジング23方向に変形し、係合突起24aがラッチ24の弾性によって雌側ハウジング筒部50b内面に押し付けられつつ筒部50b内に挿入され、図9(b)に示すように、係合突起24aが係合部50aに達すると、係合突起24aはラッチ24の弾性によって係合部50aに入り込んで係合し、ロック状態となる。この状態において、ラッチ24は、延出部27のみが筒部50b内に挿入された状態となる。
これにより、雌側ハウジング50からの光コネクタ20の引き抜きが規制され、光コネクタフェルール22と、雌側ハウジング50の他方の筒部50bに支持された別の光コネクタフェルール(図示略)との突き合わせ接続状態が維持されるようになる。
【0021】
ラッチ24は、雌側ハウジング50への挿入完了時においても、操作部25が雌側ハウジング50の外側に露出した状態となるため、操作部25をハウジング23方向へ押し込みラッチ24全体をハウジング23方向へ向けて変形させると、係合突起24aが係合部50aから離脱し光コネクタ20の引き抜きが可能となるが、ここでは、光コネクタ20が誤って雌側ハウジング50から抜けてしまうのを防ぐために、図9(c)に示すように、キー30を前進させ、ラッチ24の弾性変形を規制する(ロック状態)。
【0022】
キー30を前進させたロック状態においては、操作部25を押し込んでも当接部29がストッパ33に当たるため、ラッチ24全体をハウジング23に向けて変形させることができない。このため係合突起24aを係合部50aから離脱させることができず、光コネクタ20は、雌側ハウジング50から引き抜くことができない状態となる。このため、この状態では、操作部25への不用意な接触等によって係合部50aと係合突起24aとの係合が解除される事故が防止され、係合部50aと係合突起24aとの係合状態が安定に維持される。
【0023】
光コネクタ20を雌側ハウジング50から引き抜くには、図9(d)に示すように、一旦キー30を後退させ非ロック状態としてから、図9(e)に示すように、操作部25をハウジング23方向へ押し込んで係合突起24aを係合部50aから離脱させた後、光コネクタ20の引き抜きを行う。
【0024】
本実施形態の光コネクタ20では、上述のように、ロック状態においてラッチ24全体をハウジング23方向に変形させることはできないものの、延出部27が、その弾性変形範囲内においてハウジング23に向けて変形が可能となっている。
このため、本実施形態の光コネクタ20では、次に示すように、ロック状態(ラッチ24とハウジング23との隙間28にキー30を挿入した状態)のままで雌側ハウジング50に挿入することも可能である。
【0025】
すなわち、図10(a)および図10(b)に示すように、キー30が前進状態にあるロック状態のままで、光コネクタ20を雌側ハウジング50の筒部50b内に挿入した場合においても、延出部27のみがハウジング23に向けて変形し、筒部50b内に挿入できるようになる。
この際、ラッチ24には無理な力が掛からず、損傷等の心配が無い。筒部50b内に挿入された延出部27先端の係合突起24aは、係合部50aに係合し、光コネクタ20は、上記図9(c)に示す状態となる。
このように、本実施形態の光コネクタ20では、雌側ハウジング50への挿入前に、予めキー30をラッチ24から後退させることは必ずしも必要でない。
また、挿入を完了した光コネクタ20の雌側ハウジング50からの引き抜きは、予めキー30でラッチ24をロックしないで挿入した場合と同様に行うことができる。
【0026】
本実施形態の光コネクタ20にあっては、ハウジング23と、ハウジング23に沿って先端部23aに向けて延出する弾性変形可能なラッチ24と、ラッチ24の変形を規制するキー30を備え、キー30が、後退状態においてラッチ24の変形を規制せず、かつ前進状態においてラッチ24のハウジング23方向への変形を規制するストッパ33を有するものであるので、キー30を前進状態とすることにより、ラッチ24のハウジング23方向への変形を規制し、雌側ハウジング50側の係合部50aと、ラッチ24に設けられた係合突起24aとの係合状態を安定に維持できる。従って、光コネクタフェルール22の接続状態を確実に維持することができる。
【0027】
また、キー30が、ハウジング23の先端部23a方向に進退自在とされた本体30aと、この本体30aに連結されるストッパ33とを有し、ストッパ33が、ラッチ24の側方においてアーム32に連結されるものであるので、図13に示す従来例の光コネクタ1と同様の構成の光コネクタ本体20a(例えばMTRJ形光コネクタ)にキー30を組み付けることによって作製することができる。
このように、既存の光コネクタに対し後付けすることによって作製することができるため、既存の光コネクタを何ら設計変更を加えることなくそのまま用いて作製することができ、製造コストを低く抑えることができる。
【0028】
また、ストッパ33を、キー30が前進状態にあるときに、ラッチ24の延出基端部27a近傍に設けられた当接部29の下面側の隙間28に位置するように構成することによって、ロック状態、すなわちキー30によってラッチ24全体の変形を規制した状態においても、延出部基端部27aよりも先端側の延出部27の弾性変形範囲内での変位により、ラッチ24を損傷すること無く光コネクタ20の挿入作業を行うことが可能である。このため、光コネクタ20の雌側ハウジング50への挿入作業性を向上させることができる。
【0029】
また、キー30は、ガイド部21bに取り付けられることで、ハウジング23の先端部23a方向に向かって進退自在に設けられる本体30aと、ラッチ24とハウジング23との間に挿入可能であり、本体30aのアーム32に対しラッチ24の側方において連結されるストッパ33とを備え、図13に示す従来例の光コネクタ1と同様の構成の光コネクタ本体20aに組み付け可能とされているので、既存の光コネクタ(例えばMTRJ形光コネクタ)に組み付けることによって使用することができる。
【0030】
図11および図12は、キーの変形例を示すものである。
ここに示すキー40は、上記キー30と同様に、ガイド部21bに取り付けられ、先端部23a方向に進退自在とされた筒状体41と筒状体41の両側部から先端部23a方向に延出したアーム42、42とからなる本体40aと、ラッチ24とハウジング23との間に挿入可能であり、本体40aのアーム42に対しラッチ24の側方において連結されるストッパ43とを備えて構成されている。
筒状体41には、ガイド部21bを保持する孔部である保持部44が形成されている。ストッパ43は、キー40が前進状態にあるときにラッチ24のハウジング23方向への弾性変形を規制し、かつ後退状態においてラッチ24の変形を規制しないようになっている。
このキー40は、上記キー30と同様に、既存の光コネクタ、例えばMTRJ形光コネクタに組み付けて使用することができる。
【0031】
なお、本発明の光コネクタは、前記実施形態に限定されず、例えば、ハウジングの断面輪郭形状を変更するなどの各種変更が可能である。
また、雌側ハウジング筒部50b内に形成した溝や、光コネクタ20側のラッチ24等が、キーとキー溝の機能を果たすことにより、所定の向き以外では雌側ハウジング50に挿入できないようにすることが普通である。
雌側ハウジングの係合部としては、穴に限定されず、溝や、突壁、弾性爪等、各種構成が採用可能である。
ラッチに設けられた係合突起の形状、大きさ、ラッチ上の形成位置等は、適宜変更可能である。
また、本発明に係る光コネクタフェルールとしては、単心あるいは多心の光ファイバコードを成端するもの、コード化されること無く、ハウジング内に直接引き込まれた単心あるいは多心の光ファイバ心線を成端するもの等、各種構成が採用可能である。
また、光コネクタを挿入する雌側ハウジングとしては、光コネクタアダプタ、光コネクタレセプタクル等、各種構成が採用可能である。
また、キーは、本体、アーム、ストッパ等の部材が組み立て前において別体となっており、組立によって一体化されるものであってもよいし、組立前から一体化されているものであってもよい。
また、ガイド部は、ブーツに限らず、ハウジングに設けてもよい。
【0032】
【発明の効果】
本発明の光コネクタにあっては、ハウジングと、該ハウジングに沿って先端部に向けて延出する弾性変形可能なラッチと、このラッチの変形を規制するキーを備え、このキーが、前記先端部に向けて進退可能な本体と、後退状態において前記ラッチの変形を規制せず、かつ前進状態において前記ラッチの前記ハウジング方向への変形を規制するようにされたストッパとを有するので、このストッパによってラッチのハウジング方向への変形を規制し、雌側ハウジングの係合部と、ラッチに設けられた係合突起との係合状態を安定に維持できる。従って、光コネクタフェルールの接続状態を確実に維持することができる。
また、前記ストッパが、本体に対しラッチの側方において連結されているので、既存の光コネクタを何ら設計変更を加えることなくそのまま用いて作製することができ、製造コストを低く抑えることができる。
【0033】
また、ストッパを、前記前進状態において、ラッチの延出基端部近傍に設けられた当接部とハウジングとの隙間に位置するように構成することによって、キーによってラッチの変形を規制した状態においても、延出部基端部よりも先端側のラッチの変位により、ラッチを損傷すること無く光コネクタの挿入作業を行うことが可能である。このため、光コネクタの雌側ハウジングへの挿入作業性を向上させることができる。
【0034】
また、本発明のキーにあっては、ガイド部に取り付けられることで、ハウジングの先端部方向に向かって進退自在に設けられる本体と、ラッチとハウジングとの間に挿入可能であり、本体に対しラッチの側方において連結されるストッパとを備え、従来タイプと同様の光コネクタに組み付け可能となるように構成されているので、既存の光コネクタ、例えばMTRJ形光コネクタに組み付けることによって使用することができる。
【図面の簡単な説明】
【図1】  本発明の光コネクタの一実施形態を示す全体斜視図である。
【図2】  図1に示す光コネクタを示す側面図である。
【図3】  図1に示す光コネクタを示す側面図である。
【図4】  図1に示す光コネクタを示す平面図である。
【図5】  図1に示す光コネクタに用いられるキーを示す斜視図である。
【図6】  図4に示すキーを示す平面図である。
【図7】  図4に示すキーを示す側面図である。
【図8】  図4に示すキーを示す図であり、(b)は組立前および組立後の状態を示す平面図、(a)は組立前の状態を上方から見た図、(c)は組立前の状態を下方から見た図である。
【図9】  図1の光コネクタの雌側ハウジングへの挿入工程を示す図である。
【図10】  図1の光コネクタの雌側ハウジングへの挿入工程を示す図である。
【図11】  本発明の光コネクタに用いられるキーの変形例を示す平面図である。
【図12】  図11に示すキーの側面図である。
【図13】  従来の光コネクタの一例を示す斜視図である。
【符号の説明】
20…光コネクタ、21…光ファイバ(光ファイバコード)、21b…ガイド部、22…光コネクタフェルール、23…ハウジング、23a…先端部、23b…後端部、24…ラッチ、27…延出部、27a…延出基端部、28…隙間、29…当接部、30…キー、30a…本体、33…ストッパ、50…雌側ハウジング、50a…係合部[0001]
BACKGROUND OF THE INVENTION
The present invention relates to an optical connector for inserting and fitting a built-in optical connector ferrule with an optical connector ferrule on the female housing side by being inserted into the female housing, and in particular, a latch that is detachably engaged with the female housing. It is related with an optical connector provided with.
[0002]
[Prior art]
For example, an optical connector 1 as shown in FIG. 13 is provided as an optical connector that can be simply connected to the optical connector adapter.
This optical connector 1 is a so-called MTRJ type optical connector, and has a mechanism similar to the MPO type optical connector (Multifiber Push On) established in JIS C 5982, that is, a tensile body exposed to the optical cord 2 terminal. A caulking member that holds (Kevlar), an optical connector ferrule 3 that terminates the optical fiber drawn from the end of the optical cord 2 so as to be butt-connected, and an urging force that urges the optical connector ferrule 3 forward in the butt connection direction Means are provided inside the housing 5.
When the optical connector 1 is inserted from both sides of the
In this connected state, guide pins (not shown) projecting from the other optical connector ferrule 3 in
[0003]
The optical connector 1 inserted into the
In order to pull out the optical connector 1 from the
[0004]
[Problems to be solved by the invention]
However, in the optical connector 1 as described above, since the engagement state between the
In view of the above problem, for example, a slidable key is inserted between the latch 7 and the housing 5 to prevent the latch 7 from being pushed into the housing 5, thereby preventing the optical connector 1 from coming off. However, in this case, a structure in which the key is inserted beyond the latch from the rear to the front in the housing insertion direction is unavoidable, which requires a significant design change in the housing or the latch. There was an inconvenience.
The present invention has been made in view of the above-described problems, and an object of the present invention is to provide an optical connector that does not require a significant design change and can reliably maintain a connection state. .
[0005]
[Means for Solving the Problems]
  The optical connector of the present invention is provided in a cylindrical housing that houses and holds an optical connector ferrule that positions and holds an optical fiber so that the optical fiber can be abutted and connected, and the housing.AboveAlong the housingThatAn elastically deformable latch extending toward the distal end portion and a key for restricting deformation of the latch, and the housing is inserted into the female housing from the distal end portion, so that the optical connector ferrule is The latch is configured to butt-connect with another optical connector ferrule housed in the female-side housing, and the latch engages with the engaging portion of the female-side housing in the butt-connected state of the optical connector ferrule. The engagement protrusion is separated from the engagement portion by being displaced toward the housing by elastic deformation of the latch, and the key is provided on the rear end side of the housing. A main body that is attached to the guide part and is movable forward and backward in the direction of the front end of the housing, and is connected to the main body at the side of the latch. And the stopper does not restrict deformation of the latch in the retracted state, and restricts deformation of the latch in the housing direction in the advanced state. .
  In this optical connector, deformation of the latch in the housing direction is restricted by the stopper, and the engagement state between the engagement portion of the female housing and the engagement protrusion provided on the latch can be stably maintained.
  In addition, since the stopper of the key is connected to the main body at the side of the latch, it can be manufactured by assembling the key to an existing optical connector.
  The engagement protrusion may be formed at the tip of the latch.
  The stopper may be formed so as to be positioned in a gap between the contact portion provided in the vicinity of the extending base end portion of the latch and the housing in the forward movement state.
  By configuring the stopper in this way, even when the deformation of the latch is restricted by the key, the optical connector can be inserted without damaging the latch due to the displacement of the latch on the distal end side from the base end portion of the extending portion. Can be done.
  The key of the present invention is provided in a cylindrical housing that holds and holds an optical connector ferrule that positions and holds an optical fiber so that the optical fiber can be butted and connected, and the housing,AboveAlong the housingThatAn elastically deformable latch that extends toward the distal end, and the housing is inserted into the female housing from the distal end so that the optical connector ferrule is stored in the female housing. The latch is configured to butt-connect with a connector ferrule, and the latch has an engaging protrusion that engages with an engaging portion of the female housing in the butt-connected state of the optical connector ferrule, and the engaging protrusion A key for restricting movement of the latch in the housing direction, applied to an optical connector that is separated from the engaging portion by being displaced in the housing direction by elastic deformation of the latch, By being attached to the guide part provided on the rear end side of the housing, it is provided so as to be able to advance and retract in the direction of the housing front end part. Body, and a stopper that can be inserted between the latch and the housing and connected to the body on the side of the latch, and is configured to be assembled to the optical connector. In the above, the deformation of the latch is not restricted, and the deformation of the latch in the housing direction is restricted in the advanced state.
  With this configuration, this key can be used by being assembled to an existing optical connector.
[0006]
DETAILED DESCRIPTION OF THE INVENTION
Hereinafter, an embodiment of the optical connector of the present invention will be described with reference to FIGS.
The
The optical connector
The
[0007]
In the
As the
[0008]
The
[0009]
The
Hereinafter, the portion from the base end portion of the
[0010]
A
As shown in FIG. 2, the
[0011]
At the tip of the
The engaging
The engaging
[0012]
The key 30 is for restricting the deformation of the
[0013]
The
The
[0014]
The
The
[0015]
The key 30 can move from the retracted state shown in FIG. 2 to the advanced state shown in FIG. 3 by moving the
As shown in FIG. 2, when the key 30 is in the retracted state and the
[0016]
On the other hand, as shown in FIG. 3, when the key 30 is in the forward state and the
In the locked state, the
[0017]
In the
FIG. 8 shows a state before the key 30 is assembled. FIG. 8 (b) is a plan view showing the key 30b which is the key 30 before the assembly, and FIGS. 8 (a) and 8 (c) are diagrams. FIG. 4 is a view of the key 30b as viewed from above and below.
[0018]
In the key 30b, one ends of
[0019]
To assemble the key 30 b, the
At this time, the
Thereby, the key 30 in the state shown in FIG. 1, that is, the state assembled to the optical connector
[0020]
Next, the operation of the
As shown in FIG. 9A, the
At this time, the
Thereby, the extraction of the
[0021]
Even when the insertion of the
[0022]
In the locked state in which the key 30 is moved forward, even if the operating
[0023]
In order to pull out the
[0024]
In the
For this reason, in the
[0025]
That is, as shown in FIGS. 10A and 10B, even when the
At this time, an excessive force is not applied to the
As described above, in the
The
[0026]
The
[0027]
Further, the key 30 has a
Thus, since it can be produced by retrofitting an existing optical connector, the existing optical connector can be produced as it is without any design change, and the production cost can be kept low. .
[0028]
Further, by configuring the
[0029]
The key 30 can be inserted between the
[0030]
11 and 12 show a modified example of the key.
Similar to the key 30, the key 40 shown here is attached to the
The
Similar to the key 30, the key 40 can be used by being assembled into an existing optical connector, for example, an MTRJ type optical connector.
[0031]
In addition, the optical connector of this invention is not limited to the said embodiment, For example, various changes, such as changing the cross-sectional outline shape of a housing, are possible.
Further, the groove formed in the female housing
The engaging portion of the female housing is not limited to a hole, and various configurations such as a groove, a protruding wall, and an elastic claw can be employed.
The shape and size of the engagement protrusion provided on the latch, the formation position on the latch, and the like can be changed as appropriate.
The optical connector ferrule according to the present invention includes a single-core or multi-core optical fiber cord, a single-core or multi-core optical fiber core that is drawn directly into the housing without being coded. Various configurations such as those that terminate the wire can be employed.
Various configurations such as an optical connector adapter and an optical connector receptacle can be adopted as the female housing into which the optical connector is inserted.
Further, the key, the member such as the main body, the arm, the stopper, etc. are separated before assembly, and may be integrated by assembly or integrated before assembly. Also good.
Further, the guide portion is not limited to the boot and may be provided in the housing.
[0032]
【The invention's effect】
The optical connector of the present invention includes a housing, an elastically deformable latch extending toward the distal end along the housing, and a key for restricting deformation of the latch, and the key includes the distal end. And a main body capable of moving forward and backward toward the portion, and a stopper that does not restrict deformation of the latch in the retracted state and restricts deformation of the latch in the housing direction in the advanced state. Therefore, the deformation of the latch toward the housing can be restricted, and the engagement state between the engagement portion of the female housing and the engagement protrusion provided on the latch can be stably maintained. Therefore, the connection state of the optical connector ferrule can be reliably maintained.
In addition, since the stopper is connected to the main body at the side of the latch, the existing optical connector can be manufactured as it is without any design change, and the manufacturing cost can be kept low.
[0033]
Further, in the forward movement state, the stopper is configured to be positioned in the gap between the contact portion provided in the vicinity of the extended base end portion of the latch and the housing, so that the deformation of the latch is regulated by the key. In addition, the optical connector can be inserted without damaging the latch due to the displacement of the latch on the tip side of the base end of the extension. For this reason, the workability of inserting the optical connector into the female housing can be improved.
[0034]
In addition, the key of the present invention can be inserted between the main body provided so as to be movable forward and backward in the direction of the distal end of the housing by being attached to the guide portion, and between the latch and the housing. It has a stopper that is connected to the side of the latch, and is configured so that it can be assembled to an optical connector similar to the conventional type, so that it can be used by assembling to an existing optical connector, such as an MTRJ type optical connector. Can do.
[Brief description of the drawings]
FIG. 1 is an overall perspective view showing an embodiment of an optical connector of the present invention.
FIG. 2 is a side view showing the optical connector shown in FIG.
FIG. 3 is a side view showing the optical connector shown in FIG. 1;
4 is a plan view showing the optical connector shown in FIG. 1; FIG.
5 is a perspective view showing a key used in the optical connector shown in FIG. 1. FIG.
6 is a plan view showing the key shown in FIG. 4; FIG.
7 is a side view showing the key shown in FIG. 4; FIG.
8 is a view showing the key shown in FIG. 4, (b) is a plan view showing a state before and after assembly, (a) is a view of the state before assembly, and (c) is a view from above. FIG. It is the figure which looked at the state before an assembly from the lower part.
9 is a diagram showing a process of inserting the optical connector of FIG. 1 into the female housing.
10 is a diagram showing a process of inserting the optical connector of FIG. 1 into the female housing.
FIG. 11 is a plan view showing a modification of the key used in the optical connector of the present invention.
FIG. 12 is a side view of the key shown in FIG.
FIG. 13 is a perspective view showing an example of a conventional optical connector.
[Explanation of symbols]
DESCRIPTION OF
| Application Number | Priority Date | Filing Date | Title | 
|---|---|---|---|
| JP15308199AJP4173249B2 (en) | 1999-05-31 | 1999-05-31 | Optical connector and key | 
| Application Number | Priority Date | Filing Date | Title | 
|---|---|---|---|
| JP15308199AJP4173249B2 (en) | 1999-05-31 | 1999-05-31 | Optical connector and key | 
| Publication Number | Publication Date | 
|---|---|
| JP2000338362A JP2000338362A (en) | 2000-12-08 | 
| JP4173249B2true JP4173249B2 (en) | 2008-10-29 | 
| Application Number | Title | Priority Date | Filing Date | 
|---|---|---|---|
| JP15308199AExpired - Fee RelatedJP4173249B2 (en) | 1999-05-31 | 1999-05-31 | Optical connector and key | 
| Country | Link | 
|---|---|
| JP (1) | JP4173249B2 (en) | 
| Publication number | Priority date | Publication date | Assignee | Title | 
|---|---|---|---|---|
| US6752538B1 (en)* | 2003-02-24 | 2004-06-22 | Itt Manufacturing Enterprises, Inc. | Optic fiber connector secondary latch | 
| JP5416088B2 (en)* | 2008-03-03 | 2014-02-12 | 古河電気工業株式会社 | Connector unit | 
| US11493701B2 (en) | 2010-10-22 | 2022-11-08 | Panduit Corp. | Optical communications connectors | 
| US8636424B2 (en) | 2010-10-22 | 2014-01-28 | Panduit Corp. | Optical communication connector | 
| US20190391343A1 (en)* | 2017-01-31 | 2019-12-26 | Sei Optifrontier Co., Ltd. | Optical connector and optical fiber with connector | 
| KR102768643B1 (en)* | 2019-11-12 | 2025-02-18 | 한국단자공업 주식회사 | Connector | 
| JP7532079B2 (en) | 2020-05-01 | 2024-08-13 | 株式会社フジクラ | Optical connector system and optical connector | 
| WO2025102511A1 (en)* | 2023-11-14 | 2025-05-22 | 武汉光迅科技股份有限公司 | Shock-resistant optical and electrical hybrid connector | 
| Publication number | Publication date | 
|---|---|
| JP2000338362A (en) | 2000-12-08 | 
| Publication | Publication Date | Title | 
|---|---|---|
| JP6363784B1 (en) | Optical connector plug and duplex optical connector plug | |
| JP3120375B2 (en) | Optical fiber connector assembly | |
| CN104749717B (en) | Optical couping device and the optical transceiver being provided with optical couping device | |
| US20110116745A1 (en) | Optical connector, and assembling method of optical connector | |
| WO2022048411A1 (en) | Optical fiber plug, optical fiber connector, and optical fiber connection system | |
| KR20000011386A (en) | Connector plug | |
| JPH08502133A (en) | Latch mechanism for optical fiber connector | |
| CN102016670A (en) | Plug connector with unlocking mechanism | |
| US20180081129A1 (en) | Pull-out tab of optical connector plug | |
| CN111433647B (en) | Optical connector | |
| JP7057146B2 (en) | Optical connector | |
| CN111417882B (en) | Optical connector and connection method of optical connector | |
| CN112424661A (en) | Optical connector | |
| JP4173249B2 (en) | Optical connector and key | |
| EP3677939B1 (en) | Optical connector and method for connecting optical connector | |
| JP3255624B2 (en) | Connector plug and optical connector | |
| CN113296197B (en) | Locking mechanism, connector assembly and network system | |
| WO2013059959A1 (en) | Fiber optic connectors, cable assemblies and method for making the same | |
| JPH0454926B2 (en) | ||
| JP5622476B2 (en) | Optical connector, connector connection system | |
| JP4654961B2 (en) | Optical connector | |
| JP3515418B2 (en) | Optical connector | |
| JP3542926B2 (en) | Optical connector | |
| JP3779901B2 (en) | Optical connector housing and optical connector | |
| JP3973177B2 (en) | Optical connector | 
| Date | Code | Title | Description | 
|---|---|---|---|
| A621 | Written request for application examination | Free format text:JAPANESE INTERMEDIATE CODE: A621 Effective date:20051128 | |
| A977 | Report on retrieval | Free format text:JAPANESE INTERMEDIATE CODE: A971007 Effective date:20080401 | |
| A131 | Notification of reasons for refusal | Free format text:JAPANESE INTERMEDIATE CODE: A131 Effective date:20080513 | |
| A521 | Written amendment | Free format text:JAPANESE INTERMEDIATE CODE: A523 Effective date:20080714 | |
| TRDD | Decision of grant or rejection written | ||
| A01 | Written decision to grant a patent or to grant a registration (utility model) | Free format text:JAPANESE INTERMEDIATE CODE: A01 Effective date:20080805 | |
| A01 | Written decision to grant a patent or to grant a registration (utility model) | Free format text:JAPANESE INTERMEDIATE CODE: A01 | |
| A61 | First payment of annual fees (during grant procedure) | Free format text:JAPANESE INTERMEDIATE CODE: A61 Effective date:20080813 | |
| FPAY | Renewal fee payment (event date is renewal date of database) | Free format text:PAYMENT UNTIL: 20110822 Year of fee payment:3 | |
| FPAY | Renewal fee payment (event date is renewal date of database) | Free format text:PAYMENT UNTIL: 20110822 Year of fee payment:3 | |
| FPAY | Renewal fee payment (event date is renewal date of database) | Free format text:PAYMENT UNTIL: 20120822 Year of fee payment:4 | |
| FPAY | Renewal fee payment (event date is renewal date of database) | Free format text:PAYMENT UNTIL: 20120822 Year of fee payment:4 | |
| FPAY | Renewal fee payment (event date is renewal date of database) | Free format text:PAYMENT UNTIL: 20130822 Year of fee payment:5 | |
| R250 | Receipt of annual fees | Free format text:JAPANESE INTERMEDIATE CODE: R250 | |
| R250 | Receipt of annual fees | Free format text:JAPANESE INTERMEDIATE CODE: R250 | |
| LAPS | Cancellation because of no payment of annual fees |