



【0001】
【発明の属する技術分野】
本発明は、ヘテロダイン方式を採用する受信装置の構成に関し、詳細には、このような受信装置における干渉波の検出に関する。
【0002】
【従来の技術】
図3は、従来の、ヘテロダイン方式を採用する受信装置の信号受信部分についての構成の例である。図3の受信装置100は、RF同調回路を持たないタイプの受信装置の構成の例である。受信装置100の構成について説明する。アンテナ(不図示)から入力される受信信号108は、RF−AGC回路101に入力され増幅された後、周波数変換回路102に入力され、ここで中間周波数信号に変換される。この中間周波数信号は、IF−AGC回路103で増幅され、次に、検波回路104に入力される。検波回路104は、ベースバンド信号109を出力する。このベースバンド信号109から音声などの元の信号を再生することができる。
【0003】
ベースバンド信号109は、AGC回路105にも入力され、このAGC回路105は、ベースバンド信号109を基にRSSI(Receiver Signal Strength Indicator)信号110を出力するように構成されている。RSSI信号110は、IF−AGC回路103、キャリアセンス回路107に入力されるとともに、電圧変換回路106を経由して、RF−AGC回路101にも入力される。なお、電圧変換回路106は、RSSI信号110を、RF−AGC回路101の動作に適した電圧に変換する。キャリアセンス回路107は、RSSI信号に基づいてキャリアが検出されていることを示すキャリアセンス信号111を出力する。
【0004】
IF−AGC回路103は、RSSI信号110が所望のレベルとなるようにゲインをコントロールするように動作し、また、RF−AGC回路101は、電圧出力回路106からの出力に応じてゲインをコントロールするように動作する。このように、従来の受信装置100では、一つの検出信号に基づいてRF−AGC回路101およびIF−AGC回路103を作動させている。
【0005】
なお、受信装置100として以上に示したように、一つのRSSI信号に基づいて無線周波数(RF)段と中間周波数(IF)段でのオートゲインコントロールを行う受信装置については、下記特許文献1に示されている。
【0006】
【特許文献1】
特開平7−336283号公報
【0007】
【発明が解決しようとする課題】
以上で説明したようなタイプの受信装置100で起こり得る、受信上の問題点について説明する。図4は、受信装置100で受信する信号の通信チャンネルの一例を表すグラフである。図4のように、通信チャンネルが3つ(符号ch1、ch2、ch3)で構成された通信帯域(符号b0)がある場合、RF−AGC回路101は、この通信帯域b0全体について増幅を行う。
【0008】
いま、受信装置100が通信チャンネルch3を受信している状態で、さらに、通信チャンネルch1に強力な干渉波があるものとする。干渉波は、RF−AGC回路101および周波数変換回路102において信号に歪みを発生させるので、希望信号、すなわち通信チャンネルch3の信号のレベルが抑圧されてしまう。この場合、キャリアセンス回路107に入力されているRSSI信号が、キャリアセンス信号を出力するぎりぎりのレベルであったとすると、干渉波によって希望信号が抑圧される事による結果として、キャリアセンス信号111が出力されなくなるという事態が生じることになる。
【0009】
つまり、受信装置100では1つの検出信号を用いてRF−AGC回路101およびIF−AGC回路103を作動させていたので、受信装置100がRF同調回路を持たないタイプである場合には、通信チャンネル外に干渉波が存在する場合、希望信号が抑圧されてしまうことにより正常に受信されなくなってしまう。この場合、干渉波によって希望信号が抑圧されているのか、希望信号そのものの受信レベルが低いのかを、RSSI信号のみから特定することができない。
【0010】
図3の受信装置100が、キャリアセンス信号の有無によって送信可能であるかどうかを判定する通信装置(例えば、移動通信局)に組み込まれている場合、干渉波によって帯域内の希望信号が抑圧されてしまい、それによりキャリア信号がないと判定してしまい、他局が送信しているにもかかわらず送信を開始してしまうことが生じ得る。
【0011】
本発明は、以上のような問題に鑑みてなされた。すなわち、本発明は、通信帯域内に発生する干渉波による影響を適確に判定し、それにより通信装置において適確な送受信の制御を可能にする干渉波検出装置、受信装置、および通信装置を提供することを目的とする。
【0012】
【課題を解決するための手段】
そのため、RF信号についてオートゲインコントロールを行うRF−AGC回路と、中間周波数信号についてオートゲインコントロールを行うIF−AGC回路とを別々に設け、これらのAGC回路で生成されるRSSI信号に相当する第1受信レベル信号と第2受信レベル信号とに基づいて、所定の通信帯域内における干渉波の有無を検出する干渉波検出手段を設ける(請求項1)。このような構成であれば、無線周波数(RF)段と中間周波数(IF)段で別々に受信レベルを検出できるので、干渉波の有無と希望波の有無とは独立に検出することが可能になる。
【0013】
このような構成において、受信の対象となる通信チャンネルの信号である受信対象信号について存在の有無を検出することは可能である(請求項2)。また、干渉波および/または受信対象信号の強度を検出することも可能である(請求項3)。
【0014】
干渉波検出手段は、第1受信レベル信号と第2受信レベル信号に基づいて、第1受信レベル信号のレベルが第2受信レベル信号のレベルよりも高い場合に干渉波が存在すると判定することができる(請求項4)。また、干渉波検出手段は、第2受信レベル信号のレベルが第1の所定値以上である場合には、受信対象信号が存在すると判定することもできる(請求項5)。また、干渉波検出手段は、第1受信レベル信号のレベルが第2の所定値以下である場合、干渉波は存在しないと判定することもできる(請求項6)。
【0015】
或いは、干渉波検出手段は、第1受信レベル信号のレベルおよび第2受信レベル信号のレベルを、レベルの高い方から順に以下の3つの範囲、
範囲A:第1受信レベル信号のレベルは受信レベルが大きくなるにしたがって上昇するように変化する領域であり、かつ、第2受信レベル信号は最大値で飽和している領域、
範囲B:第1受信レベル信号は最小値となっている領域であり、かつ、第2受信レベル信号は受信レベルが大きくなるにしたがって上昇する領域、
範囲C:第1受信レベル信号および第2受信レベル信号が共に最小値となる領域、
のいずれかの範囲にあるとして判定する構成であっても良い(請求項7)。
【0016】
この場合、干渉波検出手段は、干渉波と、受信の対象となる通信チャンネルの信号である受信対象信号について、下記の基準、
(1)第1受信レベル信号が範囲Bまたは範囲Cにあり、かつ第2受信レベル信号が範囲Cにある場合には、干渉波および受信対象信号は無い第1状態であると判定する、
(2)第1受信レベル信号が範囲Aにあり、かつ第2受信レベル信号が範囲Cにある場合には、強い干渉波のみ存在する第2状態であると判定する、
(3)第1受信レベル信号が範囲Aにあり、かつ第2受信レベル信号が範囲Bにある場合には、干渉波および受信対象信号が存在する第3状態であると判定する、
(4)第1受信レベル信号が範囲Bまたは範囲Cにあり、かつ第2受信レベル信号が範囲Bにある場合には、干渉波は存在せず受信対象信号のみが存在する第4状態であると判定する、
(5)第1受信レベル信号が範囲Aにあり、かつ第2受信レベル信号が範囲Aにある場合には、強い受信対象信号が存在する第5状態であると判定する、
のうちの少なくともいずれか一つの基準にしたがって状態の判定を行うことができる(請求項8)。
【0017】
このような構成の干渉波検出装置を採用するとともに、下記のような制御を行う送信電力制御手段を備える通信装置を構成すれば、送信電力の状態を最適に制御することができる。すなわち、この送信電力制御手段は、通信相手との通信リンクが確立されている場合において、以下の条件、
条件1.第1状態のときには、所定の送信電力で送信を行う、
条件2.第2状態のときには、第1受信レベル信号のレベルが大きいほど送信電力を大きくする、
条件3.第3状態のときには、第1受信レベル信号のレベルの大きさが大きいほど送信電力を大きくし、および/または第2受信レベル信号のレベルが大きいほど送信電力を小さくする、
条件4.第4状態のときには、第2受信レベル信号のレベルが大きいほど送信電力を小さくする、
条件5.第5状態のときには、第2受信レベル信号のレベルが大きいほど送信電力を小さくする、
のうちの少なくともいずれか一つの条件にしたがって送信電力の制御を行う(請求項9)。
【0018】
さらに、通信装置は、通信相手との通信リンクが確立されていない場合において、干渉波と受信対象信号の状態が第1状態または第2状態となる、つまり確実に空きチャンネルであると見なすことができる通信チャンネルを見つけ出し、該見つけ出された通信チャンネルを送信用の通信チャンネルとする送信チャンネル制御手段を備えていても良い(請求項10)。
【0019】
また、干渉波検出装置を採用するとともに、干渉波検出手段での検出結果に基づいて受信チャンネルの制御を行うこと受信装置を構成することができる(請求項11)。この受信装置は、目的の受信チャンネルに干渉波が存在するか否かを確実に検出し受信チャンネルの制御を行うことができる。
【0020】
【発明の実施の形態】
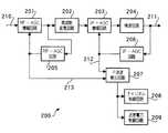
図1は、本発明の実施形態としての干渉波検出装置200の構成を表す図である。図1の干渉波検出装置200は、移動通信局などの通信装置に採用される。受信信号210は、RF−AGC増幅回路201に入力され増幅された後、周波数変換回路202とRF−AGC回路205に入力さされる。RF−AGC回路205は、RF−RSSI信号213を出力し、RF−AGC増幅回路201の出力が最適となるように制御する。周波数変換回路202は、受信信号をIF信号(中間周波数信号)に変換する。
【0021】
IF信号は、IF−AGC増幅回路203によって増幅された後、検波回路204に入力される。検波回路204は、IF信号を検波し、ベースバンド信号211を出力する。IF−AGC回路206は、IF−RSSI信号212を出力し、ベースバンド信号211が最適なレベルとなるようにIF−AGC増幅回路203の利得を制御する。
【0022】
干渉波検出回路207には、RF−RSSI信号213とIF−RSSI信号212が入力されている。図2は、受信レベルと、これらRSSI信号のレベルの関係を表すグラフである。符号5のグラフが、受信レベルとRF−RSSI信号のレベルの関係を表し、符号7のグラフが、受信レベルとIF−RSSI信号のレベルの関係を表す。図2において、横軸が受信レベル、縦軸がそれぞれのRSSI信号のレベルを表す。なお、横軸の受信レベルは、図の左方向が、受信レベルが高くなる方向である。また、図2において範囲A、範囲Cは、それぞれ、受信レベルが高い領域、弱い領域に対応し、範囲Bは、これらの中間的な受信レベルに対応する。
【0023】
干渉波検出回路207は、入力のRF−RSSI信号213とIF−RSSI信号212のレベルが、範囲A−Cのうちのどの範囲にあるかに応じて、干渉波と希望信号の有無を下記のように特定する。下記の表1は、干渉波検出回路207への入力と、それに対応する、干渉波検出回路207が特定する状態の対応関係を示している。
【0024】
【表1】
【0025】
受信信号が無い場合は、RF−RSSI信号213とIF−RSSI信号212は、共に範囲Cのレベル(R0レベル)になる。この状態は、上記表1の状態1に対応する。この場合、干渉波検出回路207は、受信信号がないと判定し、この状態を示す状態信号をチャンネル制御回路208および送信電力制御回路209に対して出力する。なお、図2に示すように、受信信号が存在しない場合、RF−RSSI信号213のレベルは状態B、または状態Cのレベルとなる。
【0026】
通信帯域内に干渉波が存在し、かつそのレベルが強い場合、RF−RSSI信号は範囲Aのレベルとなる。このとき、受信すべき通信チャンネル内に信号が存在しない場合、つまり希望信号が存在しない場合には、IF−RSSI信号212は、範囲Cのレベルとなる。この状態は、上記表1の状態2に対応する。この場合、干渉波検出回路207は、強い干渉波のみが存在すると判定する。干渉波検出回路207は、この状態を示す状態信号をチャンネル制御回路208および送信電力制御回路209に対して出力する。
【0027】
また、この場合において、希望信号が存在する場合でも、IF−RSSI信号212が範囲Bのレベルにある場合には、希望信号の他に、干渉波も存在すると判定する。この状態は、上記表1の、状態3に対応する。干渉波検出回路207は、この状態を示す状態信号をチャンネル制御回路208および送信電力制御回路209に対して出力する。
【0028】
干渉波が存在せず、希望信号のみの場合には、RF−RSSI信号213は範囲Cまたは範囲Bのレベルになり、希望信号が存在すればIF−RSSI信号212は、範囲Bのレベルになる。これは、上記表1の状態4に対応する。干渉波検出回路207は、この状態を示す状態信号をチャンネル制御回路208および送信電力制御回路209に対して出力する。
【0029】
RF−RSSI信号213とIF−RSSI信号212が、共に範囲Aのレベルにある場合には、強い希望信号のみが存在すると判定される。この状態は、上記表1の、状態5に対応する。干渉波検出回路207は、この状態を示す状態信号をチャンネル制御回路208および送信電力制御回路209に対して出力する。
【0030】
以上のように、干渉波検出回路207は、干渉波の存在と希望信号の存在とを区別して特定することができる。
【0031】
送信電力制御回路209は、干渉波検出回路207からの状態信号にしたがって送信制御部(不図示)における送信電力が最適となるように制御する。すなわち、干渉波検出装置200を備える通信装置と相手局との間で通信リンクが確立している場合、送信電力制御回路209は、状態1(干渉波なし、希望信号なし)のときには、所定の送信電力を設定する。状態2(強い干渉波のみ)の場合には、送信電力制御回路209は、RF−RSSI信号213のレベルに応じて送信電力を上げるように制御する。干渉波が強いほど、送信信号の強度を上げる事が望ましいからである。
【0032】
状態3(強い干渉波、希望信号があり)の場合には、送信電力制御回路209は、RF−RSSI信号213とIF−RSSI信号212のレベルに応じて、送信電力が最適となるように制御を行う。この場合、送信電力は、RF−RSSI信号213のレベルが大きいほど強く、IF−RSSI信号212のレベルが大きいほど弱く、のうちの少なくとも一方の条件にしたがって制御されても良い。干渉波が強い場合には送信電力を上げるのが望ましく、希望信号が強い場合には送信電力を下げても良いからである。
【0033】
状態4(干渉波なし、希望信号あり)の場合には、送信電力制御回路209は、IF−RSSI信号212のレベルに応じて、送信電力が最適となるように制御する。この場合、送信電力は、RF−RSSI信号213のレベルが大きいほど弱くなるように制御されても良い。
【0034】
また、状態5(強い希望信号あり)の場合には、送信電力制御回路209は、RF−RSSI信号213大きくなるほど、送信電力を下げるように制御する。
【0035】
一方、干渉波検出装置200を備える通信装置と相手局との間で通信リンクが確立していない場合、チャネル制御回路208は、状態1または状態2となるような通信チャンネルを、空きの通信チャンネルとして見出して、そのチャンネルを送信チャンネルとすることができる。
【0036】
以上説明した本発明の実施形態は、一つの例であり、本実施形態を変形することによって、本発明は様々なタイプの通信装置に適用することができる。例えば、本発明は、アナログ方式およびデジタル方式の通信装置に適用する事ができる。また、本発明は、携帯電話、放送受信装置など、干渉波検出が必要とされる様々なタイプの通信装置に適用することができる。本発明を受信装置に適用する場合には、目的の受信チャンネルに干渉波が存在する事を検出できるので、受信チャンネルの切り替えなどの制御に役立てることができる。
【0037】
【発明の効果】
以上説明したように本発明によれば、干渉波と希望信号を分離して、その存在の有無を独立に検出することが可能である。干渉波を、希望信号とは独立に検出できるので、干渉波の影響が最小となるように送信電力を制御すること可能になる。それと同時に、キャリア検出における干渉波の影響を回避することができる。
【図面の簡単な説明】
【図1】本発明の実施形態としての干渉波検出装置の構成を表す図である。
【図2】図1の干渉波検出装置における、受信レベルと、RF−RSSI信号およびIF−RSSI信号のレベルの関係を表すグラフである。
【図3】従来の干渉波検出装置の構成を表す図である。
【図4】3つの通信チャンネルからなる通信帯域の構成を示す図である。
【符号の説明】
200  干渉波検出装置
201  RF−AGC増幅回路
203  IF−AGC増幅回路
205  RF−AGC回路
206  IF−AGC回路
207  干渉波検出回路
208  チャンネル制御回路
209  送信電力制御回路[0001]
 BACKGROUND OF THE INVENTION
 The present invention relates to a configuration of a receiving apparatus that employs a heterodyne scheme, and more particularly to detection of an interference wave in such a receiving apparatus.
 [0002]
 [Prior art]
 FIG. 3 is an example of a configuration of a signal receiving portion of a conventional receiving apparatus employing a heterodyne scheme. The
 [0003]
 The
 [0004]
 The IF-
 [0005]
 As described above for the receiving
 [0006]
 [Patent Document 1]
 Japanese Patent Laid-Open No. 7-336283
 [Problems to be solved by the invention]
 A reception problem that may occur in the type of receiving
 [0008]
 Now, it is assumed that there is a strong interference wave in the communication channel ch1 while the receiving
 [0009]
 That is, since the
 [0010]
 When the receiving
 [0011]
 The present invention has been made in view of the above problems. That is, the present invention provides an interference wave detection device, a reception device, and a communication device that accurately determine the influence of an interference wave generated within a communication band, thereby enabling accurate transmission / reception control in the communication device. The purpose is to provide.
 [0012]
 [Means for Solving the Problems]
 For this reason, an RF-AGC circuit that performs auto gain control on an RF signal and an IF-AGC circuit that performs auto gain control on an intermediate frequency signal are provided separately, and a first corresponding to an RSSI signal generated by these AGC circuits. Interference wave detection means for detecting the presence or absence of an interference wave within a predetermined communication band is provided based on the reception level signal and the second reception level signal. With such a configuration, since the reception level can be detected separately at the radio frequency (RF) stage and the intermediate frequency (IF) stage, the presence / absence of the interference wave and the presence / absence of the desired wave can be detected independently. Become.
 [0013]
 In such a configuration, it is possible to detect presence / absence of a reception target signal which is a signal of a communication channel to be received (claim 2). It is also possible to detect the intensity of the interference wave and / or the signal to be received (Claim 3).
 [0014]
 The interference wave detecting means determines, based on the first reception level signal and the second reception level signal, that an interference wave exists when the level of the first reception level signal is higher than the level of the second reception level signal. (Claim 4). The interference wave detecting means can also determine that the reception target signal exists when the level of the second reception level signal is equal to or higher than the first predetermined value (claim 5). The interference wave detection means can also determine that no interference wave exists when the level of the first reception level signal is equal to or lower than the second predetermined value (claim 6).
 [0015]
 Alternatively, the interference wave detection means can set the level of the first reception level signal and the level of the second reception level signal in the following three ranges in order from the highest level:
 Range A: a region where the level of the first reception level signal changes so as to increase as the reception level increases, and a region where the second reception level signal is saturated at the maximum value,
 Range B: a region in which the first reception level signal has a minimum value, and a region in which the second reception level signal increases as the reception level increases,
 Range C: a region where both the first reception level signal and the second reception level signal are minimum values,
 The configuration may be such that it is determined as being in any one of the ranges (Claim 7).
 [0016]
 In this case, the interference wave detection means uses the following criteria for the interference wave and the reception target signal that is a signal of the communication channel to be received:
 (1) When the first reception level signal is in the range B or the range C and the second reception level signal is in the range C, it is determined that there is no interference wave and no reception target signal.
 (2) When the first reception level signal is in the range A and the second reception level signal is in the range C, it is determined that the state is the second state in which only a strong interference wave exists.
 (3) When the first reception level signal is in the range A and the second reception level signal is in the range B, it is determined that the state is the third state in which the interference wave and the reception target signal exist.
 (4) When the first reception level signal is in range B or range C and the second reception level signal is in range B, there is no interference wave and there is a fourth state in which only the reception target signal exists. To determine,
 (5) When the first reception level signal is in the range A and the second reception level signal is in the range A, it is determined that the signal is in the fifth state in which a strong reception target signal exists.
 The state can be determined according to at least one of the criteria.
 [0017]
 By adopting the interference wave detecting apparatus having such a configuration and configuring a communication apparatus including a transmission power control unit that performs the following control, the state of the transmission power can be optimally controlled. That is, this transmission power control means, when a communication link with the communication partner is established,
 Condition 1. In the first state, transmission is performed with a predetermined transmission power.
 Condition 2. In the second state, the transmission power is increased as the level of the first reception level signal is larger.
 Condition 3. In the third state, the transmission power is increased as the level of the first reception level signal is increased, and / or the transmission power is decreased as the level of the second reception level signal is increased.
 Condition 4. In the fourth state, the transmission power is reduced as the level of the second reception level signal increases.
 The transmission power is controlled according to at least one of the above conditions (claim 9).
 [0018]
 Further, when the communication link with the communication partner is not established, the communication device may assume that the state of the interference wave and the reception target signal is in the first state or the second state, that is, it is surely a free channel. Transmission channel control means may be provided that finds a possible communication channel and uses the found communication channel as a communication channel for transmission.
 [0019]
 Further, it is possible to configure the receiving apparatus by adopting the interference wave detecting apparatus and controlling the receiving channel based on the detection result by the interference wave detecting means. This receiving apparatus can reliably detect whether or not an interference wave exists in the target reception channel and control the reception channel.
 [0020]
 DETAILED DESCRIPTION OF THE INVENTION
 FIG. 1 is a diagram illustrating a configuration of an interference wave detection apparatus 200 as an embodiment of the present invention. The interference wave detection device 200 of FIG. 1 is employed in a communication device such as a mobile communication station. The received
 [0021]
 The IF signal is amplified by the IF-
 [0022]
 The interference
 [0023]
 The interference
 [0024]
 [Table 1]
 [0025]
 When there is no reception signal, the RF-
 [0026]
 When an interference wave exists in the communication band and its level is strong, the RF-RSSI signal is in a range A level. At this time, when there is no signal in the communication channel to be received, that is, when there is no desired signal, the IF-
 [0027]
 In this case, even if the desired signal exists, if the IF-
 [0028]
 When there is no interference wave and only the desired signal is present, the RF-
 [0029]
 When the RF-
 [0030]
 As described above, the interference
 [0031]
 The transmission
 [0032]
 In the case of state 3 (there is a strong interference wave and a desired signal), the transmission
 [0033]
 In the case of state 4 (no interference wave, desired signal is present), the transmission
 [0034]
 Further, in the case of the state 5 (there is a strong desired signal), the transmission
 [0035]
 On the other hand, when a communication link is not established between the communication apparatus including the interference wave detection apparatus 200 and the counterpart station, the
 [0036]
 The embodiment of the present invention described above is an example, and the present invention can be applied to various types of communication devices by modifying the present embodiment. For example, the present invention can be applied to analog and digital communication devices. Further, the present invention can be applied to various types of communication devices that require detection of interference waves, such as mobile phones and broadcast receivers. When the present invention is applied to a receiving apparatus, it is possible to detect the presence of an interference wave in a target receiving channel, which can be used for control such as switching of the receiving channel.
 [0037]
 【The invention's effect】
 As described above, according to the present invention, it is possible to separate the interference wave and the desired signal and independently detect the presence / absence thereof. Since the interference wave can be detected independently of the desired signal, the transmission power can be controlled so that the influence of the interference wave is minimized. At the same time, the influence of interference waves in carrier detection can be avoided.
 [Brief description of the drawings]
 FIG. 1 is a diagram illustrating a configuration of an interference wave detection apparatus as an embodiment of the present invention.
 2 is a graph showing a relationship between a reception level and levels of an RF-RSSI signal and an IF-RSSI signal in the interference wave detection apparatus of FIG.
 FIG. 3 is a diagram illustrating a configuration of a conventional interference wave detection device.
 FIG. 4 is a diagram illustrating a configuration of a communication band including three communication channels.
 [Explanation of symbols]
 200 Interference wave detection device 201 RF-
| Application Number | Priority Date | Filing Date | Title | 
|---|---|---|---|
| JP2002346273AJP4170081B2 (en) | 2002-11-28 | 2002-11-28 | Interference wave detection device, reception device, and communication device | 
| Application Number | Priority Date | Filing Date | Title | 
|---|---|---|---|
| JP2002346273AJP4170081B2 (en) | 2002-11-28 | 2002-11-28 | Interference wave detection device, reception device, and communication device | 
| Publication Number | Publication Date | 
|---|---|
| JP2004180156A JP2004180156A (en) | 2004-06-24 | 
| JP4170081B2true JP4170081B2 (en) | 2008-10-22 | 
| Application Number | Title | Priority Date | Filing Date | 
|---|---|---|---|
| JP2002346273AExpired - Fee RelatedJP4170081B2 (en) | 2002-11-28 | 2002-11-28 | Interference wave detection device, reception device, and communication device | 
| Country | Link | 
|---|---|
| JP (1) | JP4170081B2 (en) | 
| Publication number | Priority date | Publication date | Assignee | Title | 
|---|---|---|---|---|
| WO2007049547A1 (en)* | 2005-10-24 | 2007-05-03 | Matsushita Electric Industrial Co., Ltd. | Interfering signal characterizing quantity storing method and device, interfering signal characterizing quantity acquiring method and device, and interfering signal suppressing method and device | 
| JP5610899B2 (en) | 2010-07-28 | 2014-10-22 | パナソニック株式会社 | Receiving circuit and receiving apparatus having the same | 
| US11044028B2 (en)* | 2018-07-12 | 2021-06-22 | Silicon Laboratories Inc. | Apparatus for radio-frequency receiver with interference detection and associated methods | 
| Publication number | Publication date | 
|---|---|
| JP2004180156A (en) | 2004-06-24 | 
| Publication | Publication Date | Title | 
|---|---|---|
| JPH11317690A (en) | Adaptive control technique of receiver linearity for radio transceiver | |
| JPH09162773A (en) | Radio transmitter-receiver with consumed current reduction function | |
| JPH11298343A (en) | Portable communication equipment | |
| US6651021B2 (en) | System using adaptive circuitry to improve performance and provide linearity and dynamic range on demand | |
| JP4170081B2 (en) | Interference wave detection device, reception device, and communication device | |
| JP4387435B2 (en) | Automatic gain controller | |
| KR100934352B1 (en) | A method of controlling a mobile communication terminal and a plurality of receivers mounted in the mobile communication terminal | |
| JP2009177568A (en) | Receiving device and electronic device using the same | |
| KR100301726B1 (en) | Receiver in mobile communication phone and spurious remove method thereof | |
| JPH11340859A (en) | Gain control method in CDMA receiver | |
| JP2004363743A (en) | Wireless communication device | |
| JP3110354B2 (en) | Receiver | |
| JPH0537409A (en) | Mobile communication equipment | |
| KR100315704B1 (en) | Portable wireless receiver having agc function of hysteresis characteristic | |
| JPH06252794A (en) | Digital radio telephone set | |
| US20240039569A1 (en) | Signal receiver and signal receiving method | |
| JP2009100364A (en) | Antenna control apparatus, receiver and antenna control method | |
| KR100308901B1 (en) | Receiver for portable radio terminal equipment | |
| KR100716540B1 (en) | Digital automatic gain control device | |
| JPH1093503A (en) | Transmission output saving device | |
| JP4328611B2 (en) | Spread spectrum communication equipment | |
| JP4735122B2 (en) | Receiving module and receiving device using the same | |
| US8284876B2 (en) | Automatic gain control circuit | |
| JP2006060361A (en) | Digital / analog common receiver | |
| JP2001053636A (en) | Automatic gain control circuit | 
| Date | Code | Title | Description | 
|---|---|---|---|
| A621 | Written request for application examination | Free format text:JAPANESE INTERMEDIATE CODE: A621 Effective date:20051013 | |
| A977 | Report on retrieval | Free format text:JAPANESE INTERMEDIATE CODE: A971007 Effective date:20080424 | |
| A131 | Notification of reasons for refusal | Free format text:JAPANESE INTERMEDIATE CODE: A131 Effective date:20080502 | |
| A521 | Written amendment | Free format text:JAPANESE INTERMEDIATE CODE: A523 Effective date:20080604 | |
| TRDD | Decision of grant or rejection written | ||
| A01 | Written decision to grant a patent or to grant a registration (utility model) | Free format text:JAPANESE INTERMEDIATE CODE: A01 Effective date:20080725 | |
| A01 | Written decision to grant a patent or to grant a registration (utility model) | Free format text:JAPANESE INTERMEDIATE CODE: A01 | |
| A61 | First payment of annual fees (during grant procedure) | Free format text:JAPANESE INTERMEDIATE CODE: A61 Effective date:20080806 | |
| FPAY | Renewal fee payment (event date is renewal date of database) | Free format text:PAYMENT UNTIL: 20110815 Year of fee payment:3 | |
| R150 | Certificate of patent or registration of utility model | Free format text:JAPANESE INTERMEDIATE CODE: R150 | |
| FPAY | Renewal fee payment (event date is renewal date of database) | Free format text:PAYMENT UNTIL: 20120815 Year of fee payment:4 | |
| FPAY | Renewal fee payment (event date is renewal date of database) | Free format text:PAYMENT UNTIL: 20120815 Year of fee payment:4 | |
| FPAY | Renewal fee payment (event date is renewal date of database) | Free format text:PAYMENT UNTIL: 20130815 Year of fee payment:5 | |
| R250 | Receipt of annual fees | Free format text:JAPANESE INTERMEDIATE CODE: R250 | |
| LAPS | Cancellation because of no payment of annual fees |