

































【0001】
【発明の属する技術分野】
本発明は、時刻情報を含む所定の情報を送信する電波を受信して、所定の情報を表示或いは報知すると同時に時刻情報を表示したり、当該時刻情報を正確な時刻情報に修正を行う機能を有する電子機器に関するものであり、特に、金属ケース等の金属外装部を使用した場合における電波受信性能の向上を目指した電子機器に関するものである。
【0002】
更に、詳しくは、本発明は、共振アンテナ部を金属物体の近傍に或いは金属外装部内部に配置された場合でも、当該アンテナ部の電波の受信性能を低下させない様に構成された電子機器に関するものである。
【0003】
【従来の技術】
【特許文献1】
実開平2−126408号公報
【特許文献2】
実開平5−81787号公報
【特許文献3】
国際公開WO95/27928号公報
【特許文献4】
ヨーロッパ特許公開第0382130号公報
【特許文献5】
特開平11−64547号公報
【特許文献6】
特開2001−33571号公報
【特許文献7】
特開2001−30524号公報
【特許文献8】
特開2001−208875号公報
【特許文献9】
実開昭57−131042号公報
【特許文献10】
特開平6−215942号公報
【特許文献11】
特開平11−74138号公報
【特許文献12】
実開昭61−203516号公報
【特許文献13】
特開2002−184637号公報
近年、タイムコードを乗せた長波の標準電波を受信して、使用中の電子機器、例えば、時計、携帯電話、無線通信機等を含む電子機器に於いて、当該電子機器に搭載されている時計回路の時刻を当該標準時の時刻に自動的に合わせる電波修正機能付きの電子機器が多数商品化されてきている。
【0004】
此処で、当該電子機器の代表的商品である電波修正機能付きの時計(以下電波修正時計と称する)を例に挙げて、従来の問題点を以下に説明する。
【0005】
処で、標準電波を受信する電波修正時計、即ち時刻情報を含む標準電波(搬送波)を受信し、この電波から時刻情報を取り出すことにより、正確な時刻を得ることのできる電波修正時計は既に知られている。この時刻情報を含む電波は、各国毎に周波数が異なり、例えば、日本では総務省、郵政事業庁の管轄下において、40kHz及び60kHzの標準電波が発信されている。
【0006】
図20は、このような電波修正時計の機能の概略を示すブロック図である。この電波修正時計は、アンテナ1、電波時計受信機2、CPU3、表示駆動部4、入力装置5等から構成されている。その他、図示していないが時分秒の各指針又は液晶等による表示部が含まれている。
【0007】
この電波修正時計においては、はじめにアンテナ1で時刻情報を含む電波を受信する。電波時計受信機2は、アンテナ1が受信した電波を増幅検波し、電波から時刻情報を取り出して出力する。CPU3は、電波時計受信機2から出力された時刻情報に基づき、現在時刻データを出力する。表示駆動部4は、CPU3から出力された現在時刻データに基づき、表示部に現在時刻を表示させる。尚、入力装置5は、例えば、CPU3に対してリセット等の操作情報を入力する際に使用される。
【0008】
電波に含まれている時刻情報(タイムコード)は、60秒周期のパルス信号であり、国によって異なるが、日本の場合は1秒ごとに、200、500、800msecのいずれかの幅を有するパルスが1つ乗っている。これらパルスの組み合わせにより、60秒で時刻情報が得られる。CPU3は、受け取ったパルス信号から1秒ごとのパルスのパルス幅を読み取っていくことにより、時刻情報(現在時刻)を取得する。そして、CPUは、取得した時刻情報により、表示駆動部4を介して表示部における表示時刻を修正する。よって、電波修正時計は、受信した時刻情報に基づき、表示時刻が所定間隔毎に修正されることにより、常に正確な時刻を表示できる。
【0009】
このような電波修正時計として、アンテナ、電波修正時計受信機、CPU、表示駆動部および表示部を、アンテナ収納体であるケースの中に収納した腕時計が、すでに提供されている。このケースの素材には、アンテナが電波を受信するために合成樹脂やセラミックなどの非導電性材料が主として用いられてきた。即ち、金属などの導電材料からなるケース内部にアンテナを収納すると、アンテナ近傍に発生する磁束が導電材料に吸い取られ、共振現象が妨げられるため、アンテナの受信機能が著しく低下してしまうからである。
【0010】
しかしながら、このようなアンテナの受信障害を避けるため、合成樹脂製のケースを用いると、ケースの耐傷性、あるいは耐薬品性の低下をまねくばかりか、装身具としての腕時計に必要とされる高級感や美観も損なわれることになる。このため、ケースに金属を用いた電波腕時計が提案されている。
【0011】
図21は、ケースの一部に金属を用いた電波腕時計の構造の一例を示す断面図である。この腕時計のケース10は、胴11と裏蓋12と風防13とから概略構成されている。バンド(図示せず)が連結される胴内部に、ムーブメント14が公知の手段で配置されている。ムーブメント14の上方には、時刻表示部である文字板15と針16が、同じく公知の手段で配置されている。そして、ムーブメント14の下方で、かつ裏蓋12の上方に位置するように、磁気長波アンテナであるバーアンテナ17が配置されている。このバーアンテナ17は、磁芯部材18と、この磁芯部材18に巻回されたコイル20とよりなり、合成樹脂製の保持部材の上面に固定されている。
【0012】
ムーブメント14は、前述した電波時計受信機、CPU、および表示駆動部を備え、導線21によってバーアンテナ17と電気的に導通される。従って、バーアンテナ17が受信した標準電波に基づいて、ムーブメント14のCPUが、表示駆動部における、図示しないギア機構を動作させて、表示部の針16の位置を常に修正するように駆動する。なお、ここで、上下方向とは、図21における上下を示している。
【0013】
胴11は導電材料で中空でない、即ちソリッド金属、たとえばソリッドステンレス鋼からなる。胴11の最上部には、非導電材料であるガラスからなる風防13が、接着等の公知の手段で固定される。文字板15は、非導電材料である合成樹脂やセラミックなどからなる。裏蓋12は、胴11に固定されたステンレス鋼からなる環状の縁枠22と、縁枠内に固定されたガラス23とからなる。このように、この腕時計は、ケースの上下面には非導電材料が視認されるものの、ケースの側面部分を金属で構成しているため、装身具としての高級感や美観を損なわないという利点がある(後述する【特許文献6】参照)。
【0014】
一方、当該電波修正時計に於いて、受信性能を決めるのはアンテナ特性と受信回路特性であると考えられて来た。
【0015】
即ち、従来からの一般的な技術知識では、受信回路若しくは受信ICの入力信号の下限は、信号振幅1μV程度が現状であり、実用的な受信性能を得る為に受信アンテナとしては、40〜50dBμV/mの電界強度(電波の強さ)に於いて信号振幅1μV程度の出力が得られなければならない。
【0016】
その為、サイズ制約がある場合、信号出力を大きく出来る共振タイプの受信アンテナを用いるのが一般的である。
【0017】
又、受信アンテナの種類としては、電波の波長が長いため磁性体コアに導線を巻き付けたバーアンテナを用いているのが一般的である。
【0018】
この様な受信アンテナに於いて、受信アンテナの出力は、概略受信アンテナの大きさに比例するので、実用的な受信性能を得るためにはあまり小さくは出来ず、腕時計の様に小型の場合受信性能や配置が問題となる。
【0019】
又、受信アンテナの出力は、金属の外装に収納すると極端に低下してしまう。
【0020】
その為、腕時計においては、電波を利用するためには、従来の時計部品構成、デザインとは全く異なる部品構成或いはデザインが必要となると共に、受信性能を阻害しない為の配慮も必要となる。
【0021】
腕時計に於いて、小型・薄型・携帯容易性、デザインの自由度、質感(高級感)は重要な問題であり、アンテナ内蔵型・金属外装が望まれている。
【0022】
従来の電波修正時計の場合、アンテナの取り付けを外装する方式か内蔵する方式が主に用いられている。
【0023】
腕時計の裏蓋・側の材料が金属の場合、一般的に受信アンテナを外装する。
【0024】
この場合、受信アンテナのケースは受信性能を低下させない様にプラスチック等の非金属を用いる為、大きく突出した形状となり、小型・薄型、携帯容易性を損なうと共にデザインの自由度が著しく損なわれる。
【0025】
又、受信アンテナを内蔵する方式の場合、受信性能を低下させないため時計外装(裏蓋・側)の材料としてセラミックスやプラスチックが用いられるが、材料の強度が小さいため時計の厚みが厚くなり、収納性、携帯容易性を損ない、デザイン上の制約も大きくなる。
【0026】
さらに、外観的に質感の低い腕時計となってしまう。
【0027】
その為、従来では、例えば、実開平2−126408号公報(【特許文献1】)に見られる様に、金属のアンテナを時計の革製のバンド内に配置したものがある。
【0028】
又、本願出願人が実開平5−81787号公報(【特許文献2】)で開示している様に、芯にコイルを巻いたアンテナを文字板と風防の間に配置し、電波を妨げる金属製のケース本体から離すと同時に、ユニークなデザインとしたもの、或いは、国際公開WO95/27928号公報(【特許文献3】)には、腕時計の時計ケースの側部にアンテナを取り付けた構成の腕時計が開示されている。
【0029】
更に、ヨーロッパ特許公開第0382130号公報(【特許文献4】)で開示されている様に、ケース上面にアンテナを例えばリング状に配置したものもある。
【0030】
然しながら、バンドにアンテナを配置した従来の構成では、バンドにアンテナが内蔵されているため電子機器本体との導通をとらなければならず、両者の接合部に十分な柔軟性を持たせることが出来ない。
【0031】
更に、電波を妨げる金属製バンドは採用できず、ゴムバンド等接続引用の時計バンドを使用しなければならず、材質及びデザインの点で制約がある。
【0032】
又、腕時計の上面あるいはその側面にアンテナを配置した構成のものは、アンテナを時計本体の金属部から離すために、時計全体の厚さ或いは大きさが増してしまったりデザイン上の制約を受けるといった問題がある。
【0033】
更に、ケース上面にアンテナをリング状に配置したヨーロッパ特許公開第0382130号公報(【特許文献4】)のものにあっては、リングの内部に金属が存在すると受信を行えなくなるため、実用上はアンテナを時計と別体にしなければならないと言う問題もあった。
【0034】
更に、特開平11−64547号公報(【特許文献5】)には、コイルを回路基板の周縁部に設けた凹陥部に配置すると同時にコアを当該回路基板の円周方向にそって湾曲状に配置した腕時計が開示されているが、製造工程が複雑となる他、製造過程の組み立て操作も煩雑となるという問題がある。
【0035】
一方、特開2001−33571号公報(【特許文献6】)或いは、特開2001−30524号公報(【特許文献7】)等には、当該腕時計の風防及び裏蓋部に、ガラス或いはセラミック等の非金属材料で構成し、その中間部には、従来どおりの金属材料を使用して、アンテナに十分な電波が到達する様に構成した腕時計が示されている。
【0036】
一方、特開2001−208875号公報(【特許文献8】)には、腕時計用の識別タグに関する技術が開示されているものであって、その基本的な技術構成は、スキー場等に於けるリフトの搭乗に際して、ユーザーの持つ腕時計内に識別用タグを設けると共に、リフト搭乗ゲートに設けられている識別手段との間で情報の交換を行って正規の搭乗者であるか否かを識別するシステムが開示されている。
【0037】
然しながら、当該公報の技術構成の基本的な技術思想は、当該識別手段から強力な高周波の電波が発信され、これに当該識別タグを有する腕時計を近接させる事によって、当該腕時計内のIC回路が活性化されて当該識別タグ情報が当該識別手段によって読み出される様に構成されている。
【0038】
つまり、当該公報では、時計内に設けられたアンテナにより当該高周波電波が受信されると当該時計内のIC回路で共振が起こりその結果当該IC回路が起電力を受けて活性化され、当該時計内の識別タグ情報が読み出されて、当該識別手段に無線で報知されるという構成となっている。
【0039】
従って、当該公報では、時計が金属外装であってもその内部に設けたアンテナが作動して上記した情報の交換が行われる事を示唆してはいますが、本願と明らかに異なる技術思想は、強力な周波数電波を発信する識別手段を設けること、当該識別タグを有する時計を当該識別手段に近接させる必要があること、当該識別手段から発信される高周波電波を十分に受信出来る様に、当該時計内に設けられるアンテナは、バーアンテナを基本とするもので、然も時計内で出来るだけ薄く且つ大きくする事が必要である事から、薄型扁平状の方形型アンテナを使用する必要があり、本願の様なアンテナ部と金属外装部との特定な関係を規定したものとは明らかに異なるものであります。
【0040】
又、実開昭57−131042号公報(【特許文献9】)には、導体部分13を挟んだC字状の強磁性体でリング状磁性体バーを使用したアンテナを設けた腕時計に関して記載されてはおりますが、当該公知例はラジオ付き腕時計のアンテナに関するものであり、当該アンテナは、腕時計の外部に配置されるものに過ぎず、本発明の様に、金属外装内部に設けられるものでは無い事は明らかであります。
【0041】
更に、特開平6−215942号公報(【特許文献10】)には、インダクタのコアを別部材で構成するという内容の記載が見られますが、その対象はチップインダクタに関するものであり、本発明の様な腕時計のアンテナとは、明らかに技術分野を事にするばかりか、目的及び技術構成も本願とは実質的に異なるものであります。
【0042】
又、特開平11−74138号公報(【特許文献11】)には、ダストコアをU字型部材とI字型部材とを組み合わせ、該U字型部材に二次コイルを巻き付けたトランスに関して記載されていますが、その対象は高圧トランスを得るというものであり、本発明の様な腕時計のアンテナとは、明らかに技術分野を事にするばかりか、目的及び技術構成も本願とは実質的に異なるものであります。
【0043】
同様に、実開昭61−203516号公報(【特許文献12】)には、コアの突合せ面を磁路垂直方向から傾斜させた構造が開示されていますが、その対象はインダクタンス素子を得るというものであり、本発明の様な腕時計のアンテナとは明らかに技術分野を事にするばかりか、目的及び技術構成も本願とは実質的に異なるものであります。
【0044】
又、特開2002−184637号公報(【特許文献13】)には、コイルのコアのギャプをテーパー状にするとか面積を変更するという内容の記載が見られますが、当該公知例は高圧トランスに関するものであり、腕時計のアンテナとは、明らかに技術分野を事にするばかりか、目的及び技術構成も本願とは実質的に異なるものであります。
【0045】
更に、同公知例には、インダクタのコアを別部材で構成するという内容の記載が見られますが、高圧トランスやチップインダクタに関するものであり、腕時計のアンテナとは、明らかに技術分野を事にするばかりか、目的及び技術構成も本願とは実質的に異なるものであります。
【0046】
即ち、上記した従来例では、受信アンテナの出力は、金属の外装に収納すると極端に低下してしまう事に基づいたものであり、裏蓋部の材質を非金属にする事で出力低下を軽減し、質感の高い金属の側を用いる事を目的としている。
【0047】
然しながら、上記の従来例では、ガラス或いはセラミックスを使用する為に、時計としての厚みが厚くなると言う問題が有った。
【0048】
従って、従来に於いては、サイズの大きな高感度のアンテナ構造体を使用するか、電波の電界強度が強い地域でしか使用出来なかったりするため、電波時計の利便性を損ねると共にデザインの設計を含めて当該アンテナ構造体の製造コストは必然的に高くなっている。
【0049】
然も、かかる構成の腕時計に於いては、確かに、アンテナへの電波の到達が確保できるとしても、当該裏蓋には、金属調のメッキを薄く施こしてあたかも金属材料を使用しているかの様な印象をユーザーに与えるものであるが、外観上からは、重量感、或いは質感がなく、高級品としてのイメージが損なわれると言う問題があった。
【0050】
更には、金属の側に受信アンテナを内蔵させている為、アンテナの出力が低下して受信性能が低下している。
【0051】
その為、従来では、高級感をもつ完全金属外装の電波修正時計は、実現されていないのが現状である。
【0052】
この様な従来技術の問題点を解決するため、本願出願人は、既に特願2002−297095に於いて、金属製の側或いは金属製の蓋部を有する時計容器の内部にアンテナを配置するとQ値が低下してその結果、当該アンテナ構造体からの出力が低下して受信性能が著しく低下するという問題が有る事を突き止め、その問題を解決するためのアンテナを特殊の構造にすることによって、アンテナ構造体のQ値の低下を極力抑制して、アンテナの受信性能の低下を防止する技術構成を提案した。
【0053】
然しながら、上記したアンテナの構造を特定化する方法では、当該アンテナ構造体における受信性能の向上には限界があることが判明したので、本願発明者等は、更に鋭意検討を行った結果、当該アンテナ構造体を含む金属外装部の構造或いは特性を特定する事によって、上記の問題が更に改良される事を知得したものである。
【0054】
更に、本願発明者等は、鋭意検討の結果、従来に於ける、電波を受信するためのアンテナ部の近傍或いは、当該アンテナ部に接触して導電性を持つ金属物体が配置されている場合には、当該電波が当該金属物体に吸収されてしまい、当該アンテナ部まで電波が到達しないので、当該アンテナ部の共振出力が低下するため、例えば、Q値が低下すると考えられていたのに対し、上記した従来に於ける当該問題点の把握が実際には誤りであって、アンテナ部の近傍或いは、当該に接触して導電性を持つ金属物体が存在している場合で有っても、当該アンテナ部は、当該電波が実質的に到達しており、非共振の場合には、外部から当該時計内部に入ろうとする外部電波による磁束の流れは、多少は減衰されるが(例えば3dB程度)実質的には、障害なく当該アンテナ部に到達すると言う事実が確認できたのである。
【0055】
問題は、当該アンテナ部が共振する際に、当該アンテナ部の磁心部から出る磁力線(磁束)が、当該金属物体に引き込まれ、そこで渦電流を発生して磁気エネルギーを減衰させる結果、当該アンテナ部からの出力が低下して受信が正常に行われないという点に問題が有る事が明らかにされたものである。
【0056】
【発明が解決しようとする課題】
即ち、図21に示される従来の電波修正腕時計は、携帯使用する上での電波受信性能について大きな問題はないが、裏蓋12の縁枠22にガラス23が固定されているため、腕時計を落とす等の衝撃を与えるとガラス23が破損するという問題がある。また、裏蓋12は、腕に密接しているので、長期の使用において、汗等によりガラス23が縁枠22から外れたり、腕時計内部のムーブメント(アンテナ1、電波時計受信機2、CPU3、表示駆動部4等)に汗、水、ホコリ等が入り込み、腕時計としての機能を著しく低下させる恐れもある。
【0057】
また、裏蓋12にガラス23が設けられているので、部品点数が増えると共に組立工数も増え、コストアップをまねくという問題を有していた。また、非金属部材が外装に使用されているため、腕時計としての重厚感に欠け、高級感や外観品質にも問題を有していた。
【0058】
本発明は、上記従来技術の課題に鑑みなされたもので、通常の金属ケースを使用しても、携帯上、何の支障もなく時刻情報等、所定の情報を含んだ電波を受信することができ、安定した防水品質及び高級感を有する外観品質の向上並びに一般の時計と同様のデザインバリエーションの拡大を図ることが可能な電子機器を提供することにある。
【0059】
更に、本発明は、上記した従来の問題を解決し、電波の受信性能が良好で、材質上の制約及びデザイン上の制約を受けないアンテナ部を内蔵した金属外装部を持つ電子機器を提供することを目的とするものである。
【0060】
又、本発明を当該電子機器の具体例の一つである電波修正腕時計に応用した場合に、上記目的に加えて腕時計の厚さが増してかさばるのを防ぐと共に、腕への装着感も良好となる電波修正時計を提供する事を目的とする。
【0061】
【課題を解決するための手段】
本発明は上記した目的を達成する為、以下に示す様な基本的な技術構成を採用するものである。即ち、本発明に於ける第1の態様としては、少なくともアンテナ部、当該アンテナ部により取り込まれた情報を処理する為の情報処理装置及び当該アンテナ部と当該情報処理装置とをその内部に収納することが可能な金属外装部とから構成されている電子機器で有って、当該金属外装部は、当該アンテナ部が当該金属外装部の外部から当該金属外装部を介して磁束を受信し、共振しえる様に構成されており、且つ、当該金属外装部の少なくとも一部の電気抵抗値が当該金属外装部のその他の部分に於ける電気抵抗値と異なる様に構成されている電子機器であり、又本発明にかかる第2の態様としては、少なくともアンテナ部、当該アンテナ部により取り込まれた情報を処理する為の情報処理装置及び当該アンテナ部と当該情報処理装置とをその内部に収納することが可能な金属外装部とから構成されている電子機器で有って、当該金属外装部は、当該アンテナ部が当該金属外装の外部から当該金属外装を介して磁束を受信し、共振しえる様に構成されており、且つ、当該金属外装部は、胴部(側部)材と裏蓋部材とから構成されると共に、当該胴部(側部)材と裏蓋部材が相互に接合されており、然も、当該胴部(側部)材と裏蓋部材との相互剥離力が、10−4N・m〜6.0N・mである電子機器である。
【0062】
又、本発明にかかる第3の態様としては、少なくともアンテナ部、当該アンテナ部により取り込まれた情報を処理する為の情報処理装置及び当該アンテナ部と当該情報処理装置とをその内部に収納することが可能な金属外装部とから構成されている電子機器で有って、当該金属外装部は、当該アンテナ部が当該金属外装部の外部から当該金属外装を介して磁束を受信し、共振しえる様に構成されており、且つ、当該金属外装部は、胴部(側部)材と裏蓋部材とから構成されると共に、当該胴部(側部)材と裏蓋部材が相互にネジ機構を解して接合されており、然も当該胴部(側部)材と裏蓋部材との相互緩みトルクが0.1N・m〜6.0N・mであり、好ましくは、0.2N・m〜3.5N・mである電子機器である。
【0063】
更に、本発明に係る第4の態様としては、上記した構成に於いて、当該金属外装部を構成する複数の部材の相互接合部の少なくとも一部に、当該金属外装部を構成する金属の電気抵抗値とは異なる電気抵抗値を有する間挿部材が介在されている電子機器であり、又、本発明に係る第5の態様としては、上記した構成に於いて、当該接合部を構成する少なくとも2個の金属製部材の一方の金属製部材に於ける当該接合面の一部を除去し、当該接合部間に間隙部を形成した電子機器である。
【0064】
【発明の実施の形態】
本発明の電子機器は、上記した様な技術構成を採用しているので、従来の時計、携帯電話、無線通信機器等の構造、材質、或いはデザイン等を大幅に変更することなく、簡易な構成を有するアンテナ部を使用して、受信性能が良好で、電子機器そのものの大きさも厚みも従来のものとは相違せず、デザインの自由度を持ち、質感の高い外装を用いた電子機器が容易に得られるのである。
【0065】
【実施例】
以下に、本発明に係る当該アンテナ部構造体及び当該アンテナ部構造体を使用した電波修正時計の一具体例の構成を、図面を参照しながら詳細に説明する。
【0066】
即ち、図1は、本発明に係る当該電子機器の一具体例についての構成の概略を示す断面図であり、図中、少なくともアンテナ部32、当該アンテナ部32により取り込まれた情報を処理する為の情報処理装置33及び当該アンテナ部32と当該情報処理装置33とをその内部に収納することが可能な金属外装部31とから構成されている電子機器30で有って、当該金属外装部31は、当該アンテナ部32が当該金属外装部31の外部から当該金属外装部31を介して磁束を受信し、共振しえる様に構成されており、且つ当該金属外装部31の少なくとも一部の電気抵抗値が当該金属外装部31のその他の部分に於ける電気抵抗値と異なる様に構成されている電子機器30が示されている。
【0067】
本発明に於ける当該電子機器30としては、例えば、時計、携帯電話、無線通信機から選択された一つである事が好ましい。
【0068】
尚、図1に於いて、34は、当該電子機器30の機能の駆動を制御する演算手段、例えばコンピュータであり、又35は、演算処理された所定の情報を報知或いは表示する為の液晶表示手段或いはスピーカー等である情報表示・報知手段である。
【0069】
更に、本発明に於いては、当該金属外装部31は、ステンレス鋼、チタン、チタン合金、金、金合金、銀、銀合金、銅、胴合金、黄銅、アルミニウム、アルミニウム合金、亜鉛、亜鉛合金、マグネシウム、マグネシウム合金及び超硬金属(タングステン―カーバイド及びタンタル―カーバイドを含む合金)から選択された一つ或いは複数種の材料で構成されている事が好ましく、更には、当該アンテナ部32が共振している状況において、当該金属外装部31に発生する渦電流の発生を抑制しうる様な構成を有するものである事が必要である。
【0070】
つまり、前記した様に、本発明の技術思想の基本を構成するものは、従来にいて、金属外装部31内に設けられているアンテナ部32の受信性能が低下する原因が、当該アンテナ部が共振する際に、当該アンテナ部の磁心部から出る磁力線(磁束)が、当該金属物体に引き込まれ、そこで渦電流を発生して磁気エネルギーを減衰させる結果、当該アンテナ部からの出力が低下して受信が正常に行われないという点に有る事が明らかになったことから、当該アンテナ部32が共振する際に、当該金属外装部31に於いて出来るだけ渦電流が発生しない様な構成を当該電子機器30の金属外装部31内に導入する事が必要であると言う点にある。
【0071】
従って、本発明の上記技術思想を実現する一つの現実的な構造として、当該アンテナ部32が共振する際に、当該アンテナ部32から当該金属外装部31へ流れ込む磁束の量を減少させる様な構成を導入することであり、その一具体例として、当該金属外装部31の少なくとも一部に、その部分の電気抵抗値が当該金属外装部31のその他の部分に於ける電気抵抗値と異なる様に構成するものである。
【0072】
より具体的には、当該金属外装部の一部の電気抵抗値は、当該金属外装部の大部分を構成する他の部分の電気抵抗値よりも大きくなる様に設定する事が望ましい。
【0073】
又、本発明に於ける当該金属外装部31は、一体もので有っても良く、好ましくは、少なくとも2つの金属製部材が接合して形成されているものである。
【0074】
後者の場合には、当該金属外装部31は、例えば、胴部材或いは側部材45と裏蓋部材41とから構成されている事が望ましく、その場合には、当該胴部(側部)材45と裏蓋部材41が所定の部位に於いて相互に接合され、固着若しくは着脱自在に構成されている事が好ましい。
【0075】
一方、本発明に於ける当該金属外装部31に於いては、当該金属外装部31が、胴部(側部)材45と裏蓋部材41とが一体的に構成されている場合に於いて、当該胴部材或いは側部材45が、必要に応じて2個或いはそれ以上の複数個の副胴体部材451及び452で構成されている事も望ましく、それぞれの副胴体部材451及び452が相互に接合されている様に構成されているもので有っても良い。
【0076】
同様に、本発明に於いては、当該金属外装部31は、胴部(側部)材45と裏蓋部材41とが一体的に構成されており、且つ当該胴部材45が内胴部材と外胴部材とから構成されている場合もあり、その場合には、当該内胴部材と外胴部材とが相互に接合されているもので有っても良い。
【0077】
即ち、本発明に於ける当該電子機器30に於ける金属外装部31の接合部39とは、上記した接合部39に限定されるものではなく、当該金属外装部31の胴部材或いは側部材45に於いて、リューズ、操作ボタン、操作ピン46等、当該胴部材或いは側部材45を貫通して配置されている各操作処理機構33,34と当該胴部材或いは側部材45の貫通孔部48の内面との接合部分も本発明に於ける接合部39に含められる。
【0078】
尚、図1中、47は、例えばスイッチ回路である。
【0079】
即ち、当該胴部材45の一部に、ロッド、パイプ、ガラス、べゼル、内レジ或いは見返しから選択された少なくとも一つの挿入部材或いは当接部材が設けられている場合には、それらと当該金属外装部31の当該当該胴部材或いは側部材45との接合面も含めて、上記した全ての接合部が本発明に於ける電気的抵抗値を変化させる候補部位である。
【0080】
具体的には、例えば、当該金属外装部31を構成する複数の部材の内、一方の部材を構成する金属の電気抵抗値が他方の部材を構成する金属の電気抵抗値とは異なる様に構成されているものであり、例えば、望ましい接合部39の一つである、当該胴部材45と当該裏蓋部材41との接合部39に於いて、当該胴部材45の電気抵抗値が当該裏蓋部材41の電気抵抗値と異なる様に構成するものであり、例えば、当該裏蓋部材41の電気抵抗値が当該胴部材45の電気抵抗値よりも大きくなるように構成することが可能となる。
【0081】
その場合には、それぞれの部材を構成する金属の材質を相違させる事も可能である。
【0082】
一方、本発明に於ける別の具体例としては、当該金属外装部31を構成する複数の部材に於ける相互接合部39の電気抵抗値が、当該金属外装部31を構成する金属の電気抵抗値とは異なる様に構成されているものであっても良い。
【0083】
係る具体例に於いては、当該接合部39には、例えば、適宜の間隔を有する間隙部或いは空間部を設けるもので有ってもよく、或いは、当該金属外装部31を構成する金属部材の持つ電気抵抗値よりも大なる電気抵抗値を有する材料で形成されたフィルム、板状体、接着剤等の部材からなる間挿部材49が挿入された構成を有しているもので有っても良い。
【0084】
本発明に於ける当該電子機器30に於ける当該金属外装部31での接合部39の形成方法は、当該2つの金属部材を適宜の方法で接合するものであって、その具体的方法は特定されるものではないが、例えば、ネジ式、内ネジ式、スナップ方式、溶接方式、ロウ付け方式、カシメ方式、バイヨネット方式、固相拡散接合方式等から選択された一つ或いは複数種の方式が使用される。
【0085】
又、本発明に於いては、当該接合部39は、当該アンテナ部32に出来るだけ近接して設けられる事が望ましく、逆に言うならば、当該アンテナ部32を当該接合部39の近傍に配置する事が望ましい。
【0086】
又、本発明に於いては、上記した特性を有する接合部39を当該金属外装部31内に少なくとも一箇所配置するものであるが、当該接合部39を複数個設けたものであってもよく、更には、当該接合部39を所定の幅、所定の長さ、所定の面積を持つ様に配置する事も望ましい。
【0087】
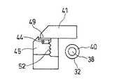
次に、本発明を当該電子機器30の一具体例である電波修正時計30に適用した場合の構成例の概略断面図を図2に示す。
【0088】
即ち、図2に於いては、金属外装部31は、胴部材45と裏蓋部材41とから構成されているものであって、当該胴部材45は、略筒状をなし、その図2中、上方の開口部の内周縁にある段部37aにパッキン44を介して風防ガラス43が取り付けられ、図2中、下方の開口部に裏蓋部材41が圧入、螺合、ネジ等の手段により当該胴部材45の周縁部と当該裏蓋部材41の周縁部との間で相互に接合されて所定の接合部39が形成されている。
【0089】
尚、図2に示す裏蓋部材41はネジ式にて胴部材45に取り付けられており、その立ち上がり部50と胴部材45の内側面37cとの間にパッキン44が挟み込まれている。
【0090】
また、胴部材45の中には、前述した図20及び図21に示す電波時計受信機2、CPU3、及び表示駆動部4等を備えたムーブメント42が収められている。
【0091】
ムーブメント42の図2中の上方には、時刻表示部である文字板35と指針36が設けられている。このムーブメント42は、金属外装部31の段部37aを形成する内方突出部37bの図中下面に文字板35が当接することにより位置決めされ、裏蓋部材41の立ち上がり部50の上面に配設された胴部材45との間に挟み込まれることで固定されている。
【0092】
また、このムーブメント42と裏蓋部材41との間には所定の空間51が設けられており、その空間51の中にアンテナ部32が配置されている。このアンテナ部32は、棒状の磁芯材38と、この磁芯材38に巻回されたコイル40とから構成されており、ムーブメント42の下面に固定されている。
【0093】
本実施例においては、胴部材45と裏蓋部材41が共にチタンからなるものを用いている。また、本発明に於ける当該具体例に於いては、当該胴部材45の厚みを1600μmに設定し、アンテナ部32から当該胴部材45の内面までの距離を2000μmに設定している。また、裏蓋部材41の裏蓋部材厚みを800μmに設定し、アンテナ部32から当該裏蓋部材41の内面までの距離を3000μmに設定している。
【0094】
上記構成からなる電波修正時計においては、アンテナ部32が受信した標準電波に基づいて、ムーブメント42内のCPU(図示せず)が、表示駆動部(図示せず)を動作させて、指針36を常に修正するように駆動する。このときに、本具体例では、胴部材45及び裏蓋部材41が金属で形成されているが、胴部材厚、裏蓋部材厚、アンテナと胴部材及び裏蓋部材との距離を、それぞれ受信感度を最良にする実験で予め定められた望ましい値に設定しているので、アンテナ近傍での共振現象の乱れを低減し、受信感度を向上させている。
【0095】
尚、当該具体例に於ける当該金属外装部31の裏蓋部材41の内面あるいは当該胴部材45の内面に、金、金合金、銀、銀合金、銅、胴合金、黄銅、アルミニウム、アルミニウム合金、亜鉛、亜鉛合金、マグネシウム、マグネシウム合金のような、電気抵抗率が7.0μΩ・cm以下である非磁性部材を取り付けると、利得が2〜3dB程度向上することが可能である。
【0096】
以下に、本発明に於ける当該接合部39に間挿部材49を介在させる場合に付いて詳述する。
【0097】
即ち、本発明に於ける当該電子機器30に於ける一具体例に於いては、当該金属外装部31を構成する複数の部材、例えば、当該胴部材45と当該裏蓋部材41との間の相互接合部39の少なくとも一部、例えば、当該アンテナ部32に最も近接した部位に形成される当該接合部39に、当該金属外装部31を構成する金属の電気抵抗値とは異なる電気抵抗値を有する間挿部材49を介在させるものである。
【0098】
この場合には、当該金属外装部31を構成する複数の部材、例えば、当該胴部材45と当該裏蓋部材41の双方を構成する金属材料が共に同一である場合が望ましいが、異なる場合であっても構わない。
【0099】
そして、係る具体例に於いては、当該接合部39の間に挿入される当該間挿部材49を構成する材料の電気抵抗値が、当該金属外装部31を構成している全ての金属部材の持つ電気抵抗値よりも高くなる様に選択される事が望ましい。
【0100】
当該間挿部材49の材質は特に限定されないが、実質的に絶縁性のある物質で構成されている事が望ましい。
【0101】
当該接合部39は、図2及び図3に示す様に、何れも同じ部位の接合部39に於いて、パッキング部材44を介して絶縁物である当該間挿部材49を介在させた構造のものであっても良い。
【0102】
又、本発明に於ける当該具体例の接合部39の配置位置を平面的に見ると、当該胴部材45と当該裏蓋部材41との相互接合部39は、通常円形或いは楕円径若しくは角型に形成されるので、当該接合部39の全周に沿って当該間挿部材49が配置されている事が望ましい。
【0103】
勿論、本発明に於いては、当該電子機器30の防水性が確保される構造を有している場合には、当該間挿部材49は、当該接合部39の周縁の一部、例えば、当該アンテナ部32の配置位置に近接した部位のみに設ける事も可能である。
【0104】
従って、本発明に於ける当該間挿部材49は、当該接合部39の間に固定されて配置されているものである。
【0105】
又、本発明に於ける当該間挿部材49の介在部位は、上記具体例に限るものではなく、前記した様に、全ての接合部39に於いて実現可能であり、例えば、当該胴部材45とべゼル部との嵌合部に形成されている接合部や、上胴と下胴、或いは、内胴と外胴との接合部等にも当該間挿部材49を配置させる事が出来る。
【0106】
本発明に於いて使用される当該間挿部材49は、当該金属外装部31を構成する一つ或いは複数の部材の何れとは別体に形成された部材である事が望ましく、例えば、合成樹脂、ゴム(有機物)からなるフィルム状或いは膜状のものであってもよく、或いは酸化物等の絶縁物或いは酸化膜を有する薄膜部材、更にはインキ、塗料、接着剤、ペーストを使用することも可能である。
【0107】
更に、本発明に於いて使用される当該間挿部材49は、当該金属外装部31を構成する一つ或いは複数の部材の少なくとも一方の部材であって、少なくとも当該接合部39に当接する当該部材に形成された膜体であっても良い。
【0108】
即ち、当該膜体は、当該金属外装部31を構成する一つ或いは少なくとも一部の部材に適宜の表面処理及び/又は硬化処理を施して形成されたものであっても良い。
【0109】
当該表面処理は、例えば、湿式メッキ方式、乾式メッキ方式及び熱処理から選択された一つの方式であっても良い。
【0110】
本発明に於いて使用される当該間挿部材の電気抵抗値は、当該金属外装部材を構成する複数の部材の電気抵抗値よりも大きい事が望ましい。
【0111】
上記した本発明による効果を説明するならば、前記した様に従来の構造に於いては、図4(A)に示す通り、電子機器30の金属外装部31が円形をしているとして、当該金属外装部31は図4(B)に示す様に胴部材45と裏蓋部材41とで構成され、その両者がネジ部52で相互に嵌合固定されており、従って、当該ネジ部52の相互嵌合面S1と当該胴部材45と裏蓋部材41との接合面S2で本発明に於ける接合部39が形成されている。
【0112】
従って、当該胴部材45と裏蓋部材41との接合面S2により形成されている当該接合部39は、図4(A)に示す様に円環状に形成されており、当該アンテナ部32が当該接合部39の一部に近接して配置されている例を考えると、図4(B)に示す様に、当該アンテナ部32が共振している状態では、当該アンテナ部32の磁心部38の両端から発生する磁束による渦電流54が矢印A、B、C0の様に発生し、渦が発生する事になるが、図3では、一部ゴムパッキン44を介して相互に当接している当該裏蓋部材41と当該胴部材45との間に絶縁部材からなる間挿部材49を介在させているので、図4(B)に示す渦電流C0がなくなるので、渦電流の総合的量が低減され、エネルギーの損失は低減される事になる。
【0113】
次に、本発明に於ける当該電子機器30に於ける他の具体例に於いては、当該金属外装部31を構成する複数の部材、例えば、当該胴部材45と当該裏蓋部材41との間の相互接合部39の少なくとも一部、例えば、当該アンテナ部32に最も近接した部位に形成される当該接合部39の少なくとも一部に、非接合部が形成されている構成を採用するものである。
【0114】
つまり、本具体例に於いては、当接合部39に当該金属外装部31を構成する金属材料の持つ電気抵抗値よりも高い電気抵抗値を持たせるために、上記した間挿部材49の代わりに、空気を介在させる間隙部55を形成するものである。
本発明に於ける当該具体例に於いて、当該間隙部55は、当該接合部39を構成する少なくとも2個の金属製部材の少なくとも一方の金属製部材に於ける当該接合面の一部を除去し、当該接合部39間に間隙部55を形成したものである。
【0115】
本発明に於ける当該間隙部55は、当該接合部39を形成している対向する2種の金属部材の接合面の内、一方の側の接合面を適宜の幅或いは長さ或いは厚みだけ削除して非接触状態部を形成するものである。
【0116】
或いは、上記した具体例に於ける当該間挿部材49の一部を削除して間隙部55を形成したものであっても良い。
【0117】
本発明に於ける当該具体例で使用される当該間隙部55の高さは、或いは間隙幅は、例えば0.1乃至1000μmであることが望ましく、更に好ましくは、60乃至160μmである。
【0118】
当該間隙部55は、例えば、図6(A)に示す様に、当該金属外装部31を構成する当該裏蓋部材41と当該胴部材45との接触部39の一部を削除して形成するもので有って、図6(A)の具体例では、裏蓋部材41のみを一部除去して間隙部55を形成したものであり、その平面図である図6(B)に示す様に、当該間隙部55は、環状に形成されている当該接合部39の接合面の一部56に当該接合部39の非接触部を形成したものである。
【0119】
図6(B)に示す様に、当該間隙部55は、当該アンテナ部32の近傍に設けられる事が望ましい。
【0120】
又、本発明に於ける別の具体例に於いては、当該金属外装部31に於いて、当該金属外装部31を構成する例えば、当該胴部(側部)材45と裏蓋部材41とが図4(B)に示す様に、ネジ機構52により相互に接合され、当該相互のネジ面が接合部39を形成している場合には、当該ネジ機構52の一部を削除して間隙部55を形成しているもので有ってもよい。
【0121】
つまり、図7(A)に示す様に、当該ネジ機構で構成されている接合部39の少なくとも一方のネジ機構52の一部のネジ機構部を削除して間隙部55を形成するものであっても良い。
【0122】
又、本具体例に於いては、図7(B)に示す様に、当該間隙部55は、当該アンテナ部32の近傍に設けられる事が望ましい。
【0123】
即ち、図7(A)の具体例では、当該胴部材45のネジ機構52の一部が切り取られてそれと係合していた当該裏蓋部材41側のネジ機構と当該胴部材45の側面との間に間隙部55が形成されている構成が示されている。
【0124】
その平面的な形状は図7(B)に示す様に、当該間隙部55は、ネジ機構による接合面が環状に形成されている当該接合部39の接合面の一部56に当該胴部材45のネジ機構52の一部を切り取って当該接合部39の非接触部を形成したものである。
【0125】
又、図7の具体例は、上記した間挿部材49と間隙部55とを同時に併用した構成の例を示すものである。
【0126】
尚、上記した間隙部55を使用する具体例に於いては、当該間隙部55の空間部が空気で充満されるので絶縁効果を発揮する事が可能であり、当該接合部39間に間挿部材49を挿入した場合と同等の効果を発揮しえるのである。
【0127】
又、本具体例に於いては、当該間隙部55の内部空間に上記した絶縁物を挿入する事も可能である。
【0128】
当該間隙部55は、図7に示す様な部位に限定される事は無く、前記した様に、当該金属外装部31に形成される少なくとも2個の金属材料部材が何らかの形で接合している部位の何れかにも適用出来るものである事は言うまでも無い。
【0129】
かかる事実を立証するため図31に示す実験結果を提示しておく。
【0130】
図31の実験では、環状に形成されている当該金属外装部31に於ける当該裏蓋部材41と当該胴部材45との接合部39に間隙部55が形成されていない場合(実験1:cut無し)に於けるアンテナ特性値を測定すると共に、当該接合部39に於けるアンテナ部近傍に当該間隙部55を設けた場合(実験2)及び当該接合部39に於けるアンテナ部と反対側の部分に当該間隙部55を設けた場合(実験3)のそれぞれに関して周波数をそれぞれ2種類ずつ選択してアンテナ特性値を測定した。
【0131】
図31の実験結果から判断すると、当該間隙部55が設けられる位置によってアンテナの特性に大きな差異がないが利得に関しては、いずれもカット無し、つまり間隙部55が無い構造のものに比べて効果がある事が理解される。
【0132】
次に、上記した本発明に於ける電子機器30の当該金属外装部31に配置される当該間挿部材49或いは当該間隙部55若しくはその双方の配置位置と当該金属外装部31内に配置される当該アンテナ部32との位置関係の具体例を詳細に説明する。
【0133】
先ず、本発明に於いて使用される当該アンテナ部32の構造としては特に限定されるものではないが、好ましくは、図1から図7に示す様に、当該アンテナ部は、当該金属外装部31の最大径部長よりも短い最大長手方向長を有する直線状或いは湾曲状の棒状体からなるコイルが巻かれた磁心を有しているものである事が望ましい。
【0134】
勿論、本発明に於いては、当該磁心は、環状或いは、閉鎖ループ状に形成されているものであっても良く、例えば、図14に示す様な構成を有するアンテナ部32を使用することも可能である。
【0135】
そして、本発明に於いては、上記した様に、図4乃至図7に示す通り、当該アンテナ部32は、当該金属外装部31の外周縁部近傍、具体的には、上記接合部39の近傍部に配置されている事が好ましい。
【0136】
一方、当該アンテナ部32を当該金属外装部の内部に配置する場合には、基本的には、当該アンテナ部32を当該金属外装部に於ける外周縁部39の近傍のいずれかの部位に配置されるものであれば良い。
【0137】
一方、本発明に於ける目的を最大限に発揮する為には、上記各具体的で説明した通り、当該アンテナ部32が、当該間挿部材49若しくは当該間隙部55が配置されている部位の近傍に配置されている事が望ましい。
【0138】
より具体的には、当該金属外装部31の当該間挿部材49若しくは当該間隙部55は、所定の長さを有する当該アンテナ部32の磁心部の両端部と当該金属外装部31の中心部とで形成される扇形領域57内に包含される当該接合部分56に図6に示す様に連続的或いは図8(A)の60に示す様に間歇的に形成されているもので有って、当該アンテナ部32は係る当該間挿部材49若しくは当該間隙部55が配置されている部位に近接して設けるものである。
【0139】
本発明に於ける当該扇形領域57の長さは、当該アンテナ部32の磁心長Aと当該アンテナ部32の配置位置により決定されるものであり、従って、当該アンテナ部32の配置位置は、当該アンテナ部32の磁心長Aと当該接合部39の角度の比率(B/A)で表される範囲内に配設することが望ましい。
【0140】
図32(A)には、当該アンテナ部32が当該金属外装部31の内部に配置されている例が示されており、又、図32(B)には、所定の長さAを有する当該アンテナ部32を当該金属外装部31の中心部から当該間隙部55の方向に沿って移動させた場合の当該間隙部55の長さ、つまり当該扇形領域57の長さB及びその際の角度との関係を示した図であり、又図32(C)は、当該扇形領域57の長さBの当該アンテナ部32の長さAに対する比率の一例が示されている。
【0141】
つまり、当該扇形領域内に接点を設けない場合の当該扇形領域内の中心角度範囲が30〜180度である事が望ましい場合には、当該角度の比率(B/A)は0.64〜2.5である事が必要であり、同じ条件に於いて当該扇形領域の中心角度範囲が50〜120度である事が望ましい場合には、当該角度の比率(B/A)は1.05〜2.16である事が必要である事が理解される。
【0142】
更には、当該扇形領域内の中心角度が10度以下の範囲で当該扇形領域内に接点を設けない場合は、当該角度の比率(B/A)は0.21以下である事が必要である事が理解される。
【0143】
従って、図32(C)のデータと図5(B)に示す好ましい角度範囲の情報とを総合して、所定の長さを持つアンテナ部32の好ましい配置位置を推測する事が可能となる。
【0144】
本発明に於ける当該扇形領域57の角度範囲は、30から180度、好ましくは50〜120度、より好ましくは60〜90度である事が望ましい。
【0145】
此処で、本願発明者等は本発明に於ける当該扇形領域57の中心角度の好ましい範囲を検討する為に、図5(A)に示す様な本発明の具体例を作成し、且つ図6(A)に示す様なネジ山部分を切除する扇形領域57の中心角度(θ)を変化させた場合のアンテナ利得(dB)の変化状況を測定し、その結果を図5(B)に示した。
【0146】
図5(B)のグラフから明らかな通り、当該ネジ部分に於ける当該接合部39の切除領域の角度が増加するにつれて当該アンテナ部32の利得(dB)も増加しており、従って、検査した角度範囲に於いて本発明の効果が得られる事が理解出来るが、好ましくは30〜90度、より好ましくは60〜90度である事が望ましい事が理解される。
【0147】
又、図8(A)に示された本発明の一具体例に於いては、上記した扇形領域57の一部に、例えば、当該扇形領域57の中央線から左右に5度ずつ10度の角度範囲内に当該ネジ山部を切除せずに当該ネジ山部を残存させるか、或いは、当該間挿部材49を挿入しないで当該接合部39を残した状態にした場合の当該アンテナ部32の特性と当該120度の中心角度内の接合部39を全て除去した場合とを従来の構造、つまり全ての接合部に切除部を設けないか或いは間挿部材49を挿入しない場合と比較して見ると、後者の構成に於いては、従来の構成に比べて、かなりの効果があるが、前者の構成では、従来の構成に比べて、多少の効果があるが後者の構成に比べてその効果は少ないといえるが、実用的な効果はある。
【0148】
本発明に於いては、上記した扇形領域57と対応しない位置に当該アンテナ部32を配置しても良い事は上記説明した通りである。
【0149】
次に、本発明に於いて使用される当該アンテナ部32の好ましい構成に付いて以下に説明する。
【0150】
即ち、本発明に於いて使用されるアンテナ部32としては、基本的にはバーアンテナであって、当該アンテナのL値が、1600mH以下である特性を有するか、或いは当該アンテナの巻き線抵抗が、1KΩ以下であるアンテナ部である事が望ましく、更には、当該アンテナの巻き線数が、1000回以上であるアンテナ部である事が望ましい。
【0151】
以下に、本発明に係る当該アンテナ構造体の好ましい具体例の構成を図面を参照しながら詳細に説明する。
【0152】
即ち、図9は、本発明に係るアンテナ部32の一具体例を示す模式平面図であって、図中、少なくとも側部45及び裏蓋部41の双方が金属で構成されている時計内部に配置される電波を受信出来るアンテナ部32が示されている。
【0153】
処で、上記した従来例では、アンテナ部を金属製の側或いは蓋等の金属製外装部内に挿入配置させた場合、当該アンテナ部により発生する共振現象(磁力→電力→磁力→・・・・)が金属外装によって阻害されてしまう為、つまり具体的には、当該共振現象によって発生する磁力が金属部に吸い寄せられ、渦流現象を起こし、磁力の殆どが消費されてしまうという結果(鉄損の影響による)、当該アンテナ部の利得及びQ値が大幅に減少してしまい、金属外装内にアンテナ部を配置させた電波修正時計が実用化に問題が有った。
【0154】
一方、一般的にアンテナ部に於いては、巻き線の巻数が増えると利得が向上するが、ある一定の巻数になると巻き線抵抗(銅損)が大きくなり、利得が減衰していく事が判っている。
【0155】
つまり、アンテナ部の出力は、ファラデーの法則による出力とアンテナ部の共振現象によって発生する出力によって成り立っているので、当該アンテナ部を金属外装内に挿入すると、Q値が大幅に減少するため、利得も大幅に減少している。
【0156】
換言すれば、通常、金属物体が近傍に存在しない場合には、当該アンテナ部の利得の殆どは上記した共振現象によって得られる利得が殆どであり、アンテナ部の巻き線抵抗(銅損)が増大すると共振現象の妨げになり、利得(Q値)の低下の原因となるため、極端に巻き数を増やしたり、巻き線を細めたりする事が出来なかった。
【0157】
一方、当該アンテナ部を金属外装内に入れた場合、鉄損(金属外装)による影響が大きいため、Q値は大幅に減少し、利得も大幅に減少する。
【0158】
その為、本願発明者は、従来の考え方を変換し、アンテナ部を金属製の外装内で使用する際には、当該Q値の低下は避け得ないものとの前提に立って、当該アンテナ部の利得を向上させる方法を鋭意検討したものである。
【0159】
つまり、本発明に於いては、当該アンテナ部を金属外装部内に挿入配置するに際して、従来の様にQ値(共振現象)による増幅率で利得を得るのではなく、ファラデーの法則によって得られる利得を如何に最大限に利用しえるかを追及した結果、知得した技術思想に基づくものである。
【0160】
上記した技術思想を確認するため、本願発明者らは、先ず、図10に示す様な所定のアンテナ部の持つL値(mH)と当該アンテナ部の利得(dB)との関係を測定する実験を行った。
【0161】
即ち、図10に於いては、所定のアンテナ部を金属外装部に挿入しない状態で、77.5KHzの電波を受けた際のL値と利得(dB)との関係をグラフAに示し、同一構造のアンテナ部を金属外装部に挿入した状態で、77.5KHzの電波を受けた際のL値と利得(dB)との関係をグラフBに示した。
【0162】
尚本実験では、通常の直線状コア部に通常の方法で巻き線を巻き付けたものであり、L値の変化は、巻き線数の変更、巻き線抵抗の変更等で調整した。
【0163】
図10から判るように、金属外装に挿入されていないアンテナ部に於いては、当該L値が増加するに連れて利得は増加するが、当該L値が約10mHを越えると徐々に飽和するが、金属外装に挿入されているアンテナ部に関しては、上記した様な飽和現象はなく、利得はL値の増加に比例してリニアに増加する事が判る。
【0164】
即ち、上記実験結果から、当該アンテナ部を金属外装に入れた場合には、共振現象による利得の低下は顕著であるが、ファラデーの法則による部分の利得の減衰レベルは微小である事を示している。
【0165】
本発明者等は、更に検討を加えた結果、図10の結果から、金属外装部の中で使用されるアンテナ部32では、L値が増加すると直線的に利得が向上することから、巻き線の巻数を多くしてL値を大きくする事が望ましいと判断される。
【0166】
然しながら、アンテナ部の巻数を増やすと、アンテナ部自体の容量が増加するので、アンテナ部の共振点に関して制約が発生するので上限は、必然的に決る事になる。
【0167】
そこで、本発明者等は、アンテナ部の巻き線の容量が通常10pF程度と考え、又、使用される周波数帯は、最も低いもので40KHzであることから、この容量と上記周波数を基に当該アンテナ部32のL値を式f=1/2π√LCから求めると約1584〜1600mH程度であり、したがって,L値が1600mH以下で使用する事が望ましいと判断した。
【0168】
又、実際には、当該アンテナ部の巻き線容量以外にも実装基板、受信ICの寄生容量を含めると、当該寄生は約20pFと考えられるので係る状況では、当該L値は、792から800となると判断されるので、当該L値が800mH以下であるアンテナ部32を使用する事が望ましい。
【0169】
更に、現実的に考えると、使用する周波数帯で、現存する最も高い周波数帯は、77.5KHz(ドイツ)であり、この周波数帯を使用する事を前提に判断すると、その状況下に於ける当該アンテナ部32の当該L値を上記容量と周波数を基に求めると約211から220mHとなり、当該L値が220mH以下であるアンテナ部32を使用する事が望ましい。
【0170】
尚、本発明に於ける当該アンテナ部32に於ける当該L値の下限値は、約20mHであることが望ましい。
【0171】
これは、アンテナ部に求められる最低出力は受信ICの能力によって異なるが、アンテナ部に求められる最低出力を50dBとすると、図10よりL値の下限は25mHであり、更にアンテナ部に求められる最低出力を51dBとすると、図10よりL値の下限は20mHで、更にアンテナ部に求められる最低出力を52dBとすると、図10よりL値の下限は15mHである事が望ましいと考えられる。
【0172】
上記した本発明で好ましいと判断されたL値の値は、従来に於ける電波修正時計に於けるアンテナ部のL値が、せいぜい2乃至13mHである事を勘案すると極めて特異な値である事が理解される。
【0173】
次に、本発明者等は、当該アンテナ部に於ける巻き線の巻線数(T)と利得(dB)との関係を検討し、その結果を図11に示す。
【0174】
即ち、図11に於いては、図10の実験と同様に、所定のアンテナ部を金属外装部に挿入しない状態で、77.5KHzの電波を受けた際の当該アンテナ部32の巻き線数(T)と利得(dB)との関係をグラフCに示し、同一構造のアンテナ部を金属外装部に挿入した状態で、77.5KHzの電波を受けた際の巻き線数(T)と利得(dB)との関係をグラフDに示した。
【0175】
図11から判るように、金属外装に挿入されていないアンテナ部に於いては、当該巻き線数(T)が増加するに連れて利得は増加するが、当該巻き線数(T)が1000を越えると徐々に飽和するが、金属外装に挿入されているアンテナ部に関しては、上記した様な飽和現象はなく、利得は巻き線数(T)の増加に比例してリニアに増加する事が判る。
【0176】
従って、本発明に於いては、外装部の側部若しくは蓋部の少なくとも一方が金属である電波修正時計或いは外装部の側部及び蓋部が金属である電波修正時計に於いて、当該アンテナ部32の巻き線数(T)が、1000T以上とすることが望ましいと判断される。
【0177】
更に、図11から理解される様に、当該アンテナ部32を金属製の外装部にいれずに単体で使用した場合には、当該巻き線数(T)が1500以上で利得の増加率が飽和しているが金属外装内に当該アンテナ部32を配置した場合には、当該巻き線数(T)が1500以上でもリニアに利得が増加することを示していることから、外装部の側部若しくは蓋部の少なくとも一方が金属である電波修正時計に於いては、当該アンテナ部32の巻き線数(T)は1500以上であることがより効果的であると判断される。
【0178】
一方、当該アンテナ部の巻き線数(T)を増大していくとアンテナ部抵抗値が増加してくるので、当該巻き線数(T)もその上限には限界がある。
【0179】
そこで、本願発明者等は、図12に示す通り、当該アンテナ部32の巻き線抵抗(Ω)と利得及び当該巻き線抵抗(Ω)と当該アンテナ部を金属外装部に近接させた場合とさせない場合とに於ける利得差との関係を検討するための実験を行った。
【0180】
即ち、図12に於いては、図10の実験と同様に、所定のアンテナ部を金属外装部に挿入しない状態で、77.5KHzの電波を受けた際の当該アンテナ部32の巻き線抵抗(Ω)と利得(dB)との関係をグラフEに示し、同一構造のアンテナ部を金属外装部に挿入した状態で、77.5KHzの電波を受けた際の巻き線抵抗(Ω)と利得(dB)との関係をグラフFに示した。
【0181】
又、当該アンテナ部32の巻き線抵抗(Ω)と利得及び当該巻き線抵抗(Ω)と当該アンテナ部を金属外装部に近接させた場合とさせない場合とに於ける利得差との関係をグラフGに示した。
【0182】
図12に於ける実験に於いては、当該巻き線抵抗(Ω)値の調整は、図12(B)に示す様に、抵抗値を適宜組み替えて実施した。
【0183】
図12(A)から理解される様に、金属外装なしの当該アンテナ部32単体での使用時でも、又当該アンテナ部32を金属外装内に配置した場合の何れに於いても、当該巻き線抵抗(Ω)の増大に伴って、利得が低下することが示されている。
【0184】
そして、上記グラフEとFとの間に於ける利得差を示すグラフGを見ると、当該巻き線抵抗(Ω)の値が1KΩ以上となると、当該アンテナ部32を金属外装を使用しない場合と金属外装内部で使用した場合に於ける利得の差の変化がなくなり、利得差が約3乃至4dB近辺で一定となる事が理解できる。
【0185】
これは、従来に於ける、電波を受信するためのアンテナ部の近傍或いは、当該アンテナ部に接触して導電性を持つ金属物体が配置されている場合には、当該電波が当該金属物体に吸収されてしまい、当該アンテナ部まで電波が到達しないので、当該アンテナ部の共振出力が低下するため、例えば、Q値が低下すると考えられていたのに対し、本願発明者等の鋭意検討の結果、上記した従来に於ける当該問題点の把握が実際には、誤りであって、アンテナ部の近傍或いは、当該に接触して導電性を持つ金属物体が存在している場合で有っても、当該アンテナ部は、当該電波が実質的に到達しており、非共振の場合には、外部から当該時計内部に入ろうとする外部電波による磁束の流れは、多少は減衰されるが(例えば3dB程度)実質的には、障害なく当該アンテナ部に到達すると言う事実が確認できたが、この事実と符合する。
【0186】
問題は、当該アンテナ部が共振する際に、当該アンテナ部の磁心部から出る磁力線(磁束)が、当該金属物体に引き込まれ、そこで渦電流を発生して磁気エネルギーを減衰させる結果、当該アンテナ部からの出力が低下して受信が正常に行われないという点に問題が有る事が明らかにされたものである。
【0187】
上記問題点を更に詳細に説明するならば、例えば、図4に於いて、時計30の金属外装部31、つまり裏蓋部材が金属材料で形成されており、電波受信用のアンテナ部32が当該金属外装部31内に配置されて、電波を受信しようとする場合に、外部から当該時計30内部に入ろうとする外部電波による磁束Jの流れは、多少は減衰されるが(例えば3dB程度)実質的には、障害なく当該アンテナ部32に到達するが、電波の磁束を受け、当該アンテナ部32が共振する際、つまり電気エネルギーと磁気エネルギーとの間で交互にエネルギーの状態変換が実行される間では、当該アンテナ部32に於ける磁心38の端部から出力される共振磁束の流れA、B、C0が、当該金属材料である金属外装部31に引き込まれ、そこで、渦電流が発生して当該共振磁束の流れ7のエネルギーを吸収させることになり、その結果、当該アンテナ部32からの共振出力が低下すると言う事が判明したものである。
【0188】
即ち、当該アンテナ部32の出力特性値をQ値で定義すると、当該Q値は、当該アンテナ部32への入力に対する出力の比率を示すもので、Q値=100は、入力1に対して出力が100となる出力特性を有している事を示すものであり、当該Q値の値が高い程、アンテナ部として優れていると判断される。
【0189】
つまり、当該Q値は、その値が高い程、アンテナ部としての性能は良いと判断される事になり、換言すれば、エネルギー損失の程度の大小を示す指標でもある。
【0190】
尚、Q値の測定方法の一具体例は、例えば、本願出願人が既に出願している特願2002−264985号の明細書に記載されている方法を利用する事が可能である。
【0191】
以上の結果から、巻き線抵抗(Ω)の値が1KΩ以下であれば、金属外装内で使用するアンテナ部32の利得への効果の寄与が当該アンテナ部32を金属外装を使用しない場合の利得への効果の寄与よりも大きいと考えられるので、本発明に於ける当該アンテナ部32の巻き線抵抗(Ω)は、1KΩ以下であることが望ましい。
【0192】
一般に、時計の厚さは10mm程度と考えられ、アンテナ部の巻き線の幅を20mm、巻き芯厚1mm、巻き線の太さを導体径60μm、導線径65μm、巻き線抵抗を1KΩと考えた場合、巻き線の巻ける回数は25000Tが限界である。
【0193】
より詳細には、図10のデータの巻き線数をそのサンプルの巻き線抵抗値に置き換え、図12のデータと合わせた図13に示す様に、当該所定のアンテナ部32を金属外装部に挿入しない状態で、77.5KHzの電波を受けた際の当該アンテナ部32の巻き線抵抗(Ω)と利得(dB)との関係をグラフHに示し、同一構造のアンテナ部を金属外装部に挿入した状態で、77.5KHzの電波を受けた際の巻き線抵抗(Ω)と利得(dB)との関係をグラフIに示した。
【0194】
かかるグラフH,Iは、実質的に図12のグラフEとグラフF実質的に同じである。
【0195】
一方、図13に於けるグラフJは、上記と同一構造のアンテナ部であって巻数(T)を1000〜2000Tに変化させた場合で且つそれを金属外装部に挿入した状態で、77.5KHzの電波を受けた際の巻き線抵抗(Ω)と利得(dB)との関係を示したものであり、巻き線抵抗(巻き線数)が上昇すると利得が向上する事を示している。
【0196】
又、グラフKは、上記グラフJの近似曲線である。
【0197】
一方、グラフMは、上記したグラフIにより示される、巻き線抵抗(Ω)が増える事によって減少する利得の割合と、巻き線数(T)の増加により巻き線抵抗Jが増加する事によって増加する利得とのバランスを示すグラフである。
【0198】
図13の当該グラフMから明らかな様に、当該利得の増加と減少とのバランスが、巻き線抵抗(Ω)が396Ω近辺より高くなるに連れて飽和している事が理解出来、従って、巻き線抵抗(Ω)が400Ω以上となる様な巻き線を実行しても効果は得られない事が判る。
【0199】
従って、本発明に於ける当該アンテナ部32の巻き線抵抗(Ω)は、400Ω以下であることが望ましい。
【0200】
更に、本発明に於いては、金属外装を使用した場合に於いて、当該アンテナ部32の利得が高く且つ変化の少ない領域で使用する事が最も効率の良い方法である事を考えると、図12のグラフFから理解される様に、当該アンテナ部32の巻き線抵抗(Ω)が100Ω以下の状態で使用する事が望ましいと考えられる。
【0201】
尚、本発明に於ける当該アンテナ部32に於ける当該巻き線抵抗(Ω)の下限値は、約18Ωであることが望ましい。
【0202】
つまり、アンテナ部の求められる最低出力をー51dBとすると、図11より巻き線数は1400Tであり、これを一般的な導体径100μm、導線径110μmの太さの巻き線で巻き線部の幅を20mm、巻き芯厚1mmのアンテナ部に巻いた場合、巻き線抵抗は18Ω程度となり、導体径80μm、導線径85μmの太さの巻き線にした場合、巻き線抵抗は22Ω程度となり、導体径65μm、導線径70μmの太さの巻き線にした場合、巻き線抵抗は30Ω程度となり、導体径60μm、導線径65μmの太さの巻き線にした場合、巻き線抵抗は38Ω程度となり、このあたりが限界であると考えられる。
【0203】
ちなみに、従来に於ける電波修正時計に於けるアンテナ部の巻き線抵抗(Ω)はせいぜい20Ω程度であり、本発明に於ける巻き線抵抗(Ω)は、従来のレベルよりも著しく高い巻き線抵抗(Ω)を使用するものである。
【0204】
以上の実験結果から、本発明に於いては、金属外装部内にアンテナ部32が配置されている場合には、当該アンテナ部の巻き線抵抗(銅損)が増大してもQ値の低下は微小であり、換言すれば、線径が細くても巻数が同じであれば当該Q値及び利得Gの変化は少ない事になる。
【0205】
一方、当該アンテナ部32のアンテナ部の利得は、巻き数が増える事によって向上する。
【0206】
その結果、当該アンテナ部を金属外装内に配置させた場合、巻き線を細くし、且つ巻数を増やす様に設計することによって利得を改善させる事が可能となる。
【0207】
又、従来に於ける当該アンテナ部32を金属外装部内に挿入しない態様に於いては、巻き線の径が太い場合、例えば、巻き線径が0.1mmφで低い抵抗値を示す巻き線を使用する方が、細い巻き線径を有する場合、例えば、巻き線径が0.06mmφで高い抵抗値を示す巻き線を使用する方より良好な利得特性を示すが、本発明に於ける様に、当該アンテナ部32を金属外装部内に配置する場合には、その利得特性における相違は見られない。
【0208】
従って、本発明に於いては、細い巻き線を使用してアンテナ部32を構成することが望ましく、それによって、より小さい寸法のアンテナ部32を形成することが可能となる。
【0209】
従って、本発明に於ける当該アンテナ部の他の態様としては、当該巻き線は、0.1mmφ以下好ましくは0.06mmφの線径を有している事が好ましい。
【0210】
上記した本発明にかかるアンテナ部32は、通常の直線形状のアンテナ部コア部に当該巻き線を所定の巻き線数(T)巻き付けた形状を基本とするものであるが、当該アンテナ部32の構成は、これに限定されるものではなく、如何なる形態を持ったアンテナ部でも適用可能であり、特には、本願出願人が先に出願している特願2002−297095において開示されているアンテナ部の構成に適用することも可能である。
【0211】
又、本発明に於ける当該アンテナ部32と当該金属外装部31との構成上の関連性及び双方の配置関係も本発明に於いては重要なファクターである。
【0212】
従って、以下に本発明に於ける当該アンテナ部32と当該金属外装部31との構成上の関連性及び双方の配置関係に付いて、好ましい条件を詳細に説明する。
【0213】
即ち、本発明に於ける当該電子機器30に於いて、当該金属外装部31の内部に内蔵されるアンテナ部32と当該金属外装部31とは、当該金属外装部の胴部材厚即ち、胴部材45の厚み又は当該裏蓋部材41の厚みである裏蓋部材厚と、アンテナ部から胴部材45又は裏蓋部材41までの距離を、受信感度に基づいて設定する事が望ましい。
【0214】
このように胴部材厚又は裏蓋部材厚とアンテナから胴部材45又は裏蓋部材41までの距離を受信感度に基づいて設定すると、金属材料に起因するアンテナ近傍での共振現象の乱れを低減することができるため、金属外装部31であっても受信感度を向上させることが可能となる。これにより、電波修正時計であっても胴部材、裏蓋部材、ベゼル等にチタン、ステンレス鋼等を使用することができるようになり、受信感度を低下させることなく、電波時計の機構上及び外観上の機能を向上させることができる。
【0215】
また、胴部材45又は裏蓋部材41の材質、裏蓋部材の形状、アンテナ部32と胴部材45又は裏蓋部材41との位置関係、非磁性部材の付加等により、更に受信感度を向上させることもできる。尚、胴部材厚又は裏蓋部材厚とアンテナから胴部材45又は裏蓋部材41までの距離等に関しては、実験による検証を重ねることで得られた最も効果的な値を求めた。
【0216】
以下図面に基づいて本発明で使用される当該金属外装部31と当該アンテナ部32との構成条件に関して具体的説明する。
【0217】
はじめに、受信感度と時計ケースとの関係を調べるため、図15(A)及び図15(B)に示すように、胴部材45の胴部材厚T1、アンテナ部32と胴部材45の内面との距離D1、裏蓋部材41の裏蓋部材厚T2、アンテナ部32と当該裏蓋部材41の内面との距離D2をパラメータとして選定し、この4つのパラメータとアンテナ部32が受信した信号のピーク高さである利得との関係をそれぞれ実験から求めた。
【0218】
尚、以下に示す各実験における胴部材45、アンテナ部32、裏蓋部材41は、時計を含む電子機器30として用いることを前提として形成した実験用のものを使用した。
【0219】
また、胴部材45と裏蓋部材41の材質としては、加工性の良さ、耐久性、耐食性、製品としての外観品質の良さ、価格等を考慮してステンレス鋼、チタン、チタン合金、金、金合金、銀、銀合金、銅、胴合金、黄銅、アルミニウム、アルミニウム合金、亜鉛、亜鉛合金、マグネシウム、マグネシウム合金及び超硬金属としてタングステンカーバイド及びタンタルカーバイドを含む合金を選定したが、何れの実験においても数dBの利得の上下はあったが、各パラメータと利得との関係(グラフ曲線形状)にはほぼ変化がなかったため、以下に示す各実験では何れもステンレス鋼(特に、オーステナイト系ステンレス鋼が好ましいため、例えば、SUS304、SUS304L、SUS316、SUS316L等)を胴部材45と裏蓋部材41に使用した場合の数値を示している。
【0220】
第1の実験では、胴部材厚T1を0〜5000μmに変化させたときの受信した信号の利得を計測した。この実験においては、胴部材45内に設置されるアンテナとして導体径65μm巻き線数1500の実験用アンテナを使用し、胴部材45とアンテナ部32との距離を1000μmで一定に設定し、裏蓋部材41として裏蓋部材厚800μmのものを使用し、アンテナ部32と裏蓋部材41との距離を100μmで一定に設定し、所定位置に設置された送信アンテナから40kHzの信号を送信する実験を行った。
【0221】
この結果、図16に示すように、受信した信号の利得は、胴部材厚T1が0μm(胴部材45が無い状態)の約−50dBから胴部材厚が増すと徐々に低下し、胴部材厚T1が5000μmになると低下が飽和する。なお、図16に示す実線は、実験データから求めた近似曲線である。
【0222】
上記第1の実験によれば、胴部材厚T1が5000μmを越えると利得の低下が飽和して一定となり、このときの値が最低値となることがわかった。このため、胴部材厚T1を0〜5000μmの間で設定すれば前記最低値に対して利得を向上させることができることになる。上記範囲内で、時計ケースとして使用可能な強度等を考慮すると、胴部材厚T1を300μmから実用上最大となる5000μmの範囲に設定することが好ましい。また、当該電子機器30のケースつまり金属外装部31として外観、加工性、耐食性等を考慮して最も適した胴部材を形成するには、500〜2000μmの範囲で胴部材厚T1を設定することが好ましい。
【0223】
第2の実験では、アンテナ部32と胴部材45との距離D1を0〜40000μmに変化させたときの受信した信号の利得を計測した。尚、図17には0〜20000μmまでの測定結果を示してある。この実験においては、胴部材45内に設置されるアンテナ部32として導体径65μm巻き線数1500の実験用アンテナを使用し、胴部材45として胴部材厚2000μmのものを使用し、裏蓋部材41として裏蓋部材厚800μmのものを使用し、アンテナ部32と裏蓋部材41との距離を100μmで一定に設定し、所定位置に設置された送信アンテナから40kHzの信号を送信する実験を行った。
【0224】
この結果、図17に示すように、受信した信号の利得は、距離D1が0μm(胴部材45にアンテナ部32の一部が接触した状態)の約−54.5dBから距離が離れて行くと徐々に上昇する。この実験において、裏蓋部材41のみの場合(即ち、胴部材45を取り除いた場合)の受信信号の利得は−50.34dBとなるため、利得がこの値になったときのアンテナ部32と胴部材45との距離D1において利得の上昇は飽和することになる。このように利得の上昇が飽和する距離D1は40000μmであり、これ以上アンテナ部32と胴部材45を離しても、利得を上げることはできないことになる。なお、図17に示す実線は、実験データから求めた近似曲線である。
【0225】
上記第2の実験によれば、アンテナ部32と胴部材45との距離D1は離した方が利得が上昇し受信感度が良い状態になるが、距離D1が40000μmを越えると利得の上昇が飽和して一定となることがわかった。このため、距離D1を0〜40000μmの間で設定すれば利得を向上させることができることになる。上記範囲内で、時計ケースとして使用可能な大きさ等を考慮すると、距離D1を500〜10000μmに設定することが好ましい。
【0226】
第3の実験では、裏蓋部材厚T2を0〜5000μmに変化させたときの受信した信号の利得を計測した。尚、図18には0〜3000μmまでの測定結果を示してある。この実験においては、アンテナとして導体径65μm巻き線数1500の実験用アンテナを使用し、裏蓋部材41とアンテナ部32との距離を1000μmで一定に設定し、胴部材45として胴部材厚2000μmのものを使用し、アンテナ部32と裏蓋部材41との距離を100μmで一定に設定し、所定位置に設置された送信アンテナから40kHzの信号を送信する実験を行った。
【0227】
この結果、図18に示すように、受信した信号の利得は、裏蓋部材厚T2が0μm(裏蓋部材41が無い状態)の約−43.4dBから800μmまでは急激に低下し、裏蓋部材厚T2が800μmから5000μmまでは利得にそれほど変化がないことがわかった。つまり、裏蓋部材厚T2が800μmのときに最低値になることがわかった。なお、図18に示す実線は、実験データから求めた近似曲線である。
【0228】
前記最低値でも実用上は差し支えなく、上記範囲内で、電子機器30の金属外装部31として使用可能な強度等を考慮すると、裏蓋部材厚T2を100μmから実用上最大となる5000μmの範囲に設定することが好ましい。また、金属外装部31として外観、加工性、耐食性等を考慮して最も適した裏蓋を形成するには、300〜2000μmの範囲で裏蓋部材厚T2を設定することが好ましい。
【0229】
第4の実験では、アンテナ部32と裏蓋部材41との距離D2を0〜5000μmに変化させたときの受信した信号の利得を計測した。この実験においては、設置されるアンテナ部32として導体径65μm巻き線数2000の実験用アンテナを使用し、胴部材45として胴部材厚2000μmのものを使用し、裏蓋部材41として裏蓋部材厚800μmのものを使用し、胴部材45とアンテナ部32との距離D1を1000μmに設定し、所定位置に設置された送信アンテナから40kHzの信号を送信する実験を行った。
【0230】
この結果、図19に示すように、受信した信号の利得は、距離D2が0μm(裏蓋部材41にアンテナ部32の一部が接触した状態)の約−49.6dBから距離が離れて行くと徐々に上昇する。この実験において、胴部材45のみの場合(即ち、裏蓋部材41を取り除いた場合)の受信信号の利得は−38.8dBとなるため、利得がほぼこの値になったときのアンテナ部32と裏蓋部材41との距離D2において利得の上昇は飽和することになる。このように利得の上昇が飽和する距離D2は5000μmであり、これ以上アンテナ部32と裏蓋部材41を離しても、利得を上げることはできないことになる。なお、図19に示す実線は、実験データから求めた近似曲線である。
【0231】
上記第4の実験によれば、アンテナ部32と裏蓋部材41との距離D2は離した方が利得が上昇し受信感度が良い状態になるが、距離D2が5000μmを越えると利得の上昇が飽和して一定となることがわかった。このため、距離D2を0〜5000μmの間で設定すれば利得を向上させることができることになる。上記範囲内で、時計ケースとして使用可能な大きさ等を考慮すると、距離D2を100〜700μmに設定することが好ましい。
【0232】
次に、上記実験の結果に基づく本発明の電子機器30の一具体例を図2を参照して説明する。図2は本発明に係る電波修正時計を示す断面図であり、基本的な構成に関しては、既に上記説明してある。
【0233】
そして、当該ムーブメント42と当該裏蓋部材41との間には所定の空間51が設けられており、その空間51の中にアンテナ部32が配置されている。このアンテナ部32は、当該ムーブメント42の下面に固定されている。
【0234】
尚、本発明に於いては、当該アンテナ部32は、前記金属外装部31の内面に接するように配設されているものであっても良く、当該金属外装部31の内面と隙間を持って配設されているもので有ってもよい。
【0235】
本具体例においては、胴部材45と裏蓋部材41が共にオーステナイト系ステンレス鋼(例えばSUS316L)からなるものを用いている。また、前記実験結果に基づいて、胴部材45の胴部材厚を1600μmに設定し、アンテナ部32から当該胴部材45の内面までの距離を2000μmに設定している。また、当該裏蓋部材41の裏蓋部材厚を800μmに設定し、アンテナ部32から当該裏蓋部材41の内面までの距離を3000μmに設定している。
【0236】
上記構成からなる電波修正時計30においては、アンテナ部32が受信した標準電波に基づいて、ムーブメント42内のCPUが、表示駆動部を動作させて、指針36を常に修正するように駆動する。このときに、本具体例では、胴部材45及び裏蓋部材41が金属で形成されているが、胴部材厚、裏蓋部材厚、アンテナ部と胴部材45及び裏蓋部材41との距離を、それぞれ受信感度を最良にする実験結果に基づく値に設定しているので、アンテナ近傍での共振現象の乱れを低減し、受信感度を向上させている。
【0237】
尚、裏蓋部材41の内面あるいは胴部材45の内面に、金、金合金、銀、銀合金、銅、胴合金、黄銅、アルミニウム、アルミニウム合金、亜鉛、亜鉛合金、マグネシウム、マグネシウム合金のような、電気抵抗率が7.0μΩ・cm以下である非磁性部材を取り付けると、利得が2〜3dB程度向上することが実験にて確認されている。
【0238】
また、胴部材45と裏蓋部材41の一方又は両方に浸炭処理等の硬化処理を施すことも可能であり、硬化処理を施したことによる受信感度の低下は認められなかった。
【0239】
本発明に於ける上記具体例とは異なる具体例としては、図2に示す基本的な構成は同じであるが、胴部材45と裏蓋部材41の材質、胴部材45の胴部材厚、アンテナ部32と胴部材45との距離、裏蓋部材41の裏蓋部材厚、アンテナ分部32と裏蓋部材41との距離を前記具体例と異なる様に設定されている。
【0240】
即ち、本具体例における胴部材45と裏蓋部材41はチタンで形成されている。
【0241】
チタンからなる胴部材45と裏蓋部材41の場合、その胴部材厚は、高気圧防水に対応する規格を想定し、前記具体例よりも厚めの2000μmに設定し、裏蓋部材厚も同様に1000μmに設定している。
【0242】
また、胴部材45及び裏蓋部材41の材質との関係により、アンテナ部32と胴部材45及び裏蓋部材41との距離を狭めても、差し支えない受信感度を得ることが可能であるため、アンテナ部32と胴部材45との距離を500μmに設定し、アンテナ部32と裏蓋部材41との距離を400μmに設定している。
【0243】
尚、本具体例の場合にも、裏蓋部材41の内面あるいは胴部材45の内面に、前述した具体例と同様の非磁性部材を取り付けることにより、利得を2〜3dB程度向上させることが可能である。
【0244】
また、本具体例に於いては、当該胴部材45と当該裏蓋部材41の一方又は両方に窒化処理等の硬化処理を施すことも可能であり、硬化処理を施したことによる受信感度の低下も認められていない。
【0245】
本発明に於ける図22に示す別の具体例に係る電波修正時計としては、図2に示す構成と実質的に同一の構成を採用しているが、当該胴部材45と当該裏蓋部材41の材質を異なるものとしたものである。
【0246】
即ち、図2の構成に於いて、当該胴部材45と当該裏蓋部材41は黄銅材で形成され、鏡面仕上げが施され、その後、図22に示す様に、湿式メッキにより表面にPd等のメッキ層221、222が形成されて仕上げられたものとなっている。黄銅材は、実験にて確認された受信感度を良好な状態にする電気抵抗率が7.0μΩ・cm以下の非磁性部材であり、胴部材厚等の設定と共に受信感度をより向上させるものである。
【0247】
本具体例における当該胴部材45と当該裏蓋部材41の場合、メッキを施した以外は前記具体例と同様であり、その胴部材厚は1600μmに設定し、裏蓋部材厚は800μmに設定している。また、アンテナ部32と当該胴部材45と当該裏蓋部材との距離は、アンテナ部32と胴部材45との距離を2000μmに設定し、アンテナ部32と当該裏蓋部材41との距離を3000μmに設定している。
【0248】
当該胴部材45と当該裏蓋部材41のメッキ層221、222は、以下に示すような湿式メッキにより形成される。
【0249】
はじめに、下地メッキ層を形成するため、本体部300、本体部301に、メッキ浴(組成:Na2SnO3・3H2O  60g/l(リットル)、CuCN20g/l、K2SO3H  10g/l、KCN(フリー)  30g/l、KOH  60g/l、Zn(CN)2  5g/l)、浴温50℃、電流密度2.4A/dm2、pH12.5、析出速度0.33μm/min、時間6分の条件でメッキを施す。これにより当該本体部300、当該本体部301の表面に、約2μmのCu−Sn−Zn合金の下地メッキ層が形成される。
【0250】
次に、この下地メッキ層の上に以下の条件でメッキを施すことによりSn−Cu−Pd合金メッキ層を形成する。メッキ浴(組成:Na2SnO3・3H2O60g/l(Sn換算量26.7g/l)、CuCN  20g/l(Cu換算量14.2g/l)、K2SO3H  10g/l、KCN(フリー)  30g/l、KOH  60g/l、K2Pd(CN)4・3H2O  30g/l(Pd換算量9.3g/l))。メッキ条件:浴温50〜55℃、電流密度2.0A/dm2、電流効率47.8%、pH12.5〜13、析出速度0.33μm/min、時間9分。このメッキにより下地メッキ層の上に、厚み約3μm、硬度(Hv)約300、密度9.6g/cm3のSn−Cu−Pd合金メッキ層が形成される。このメッキ層の組成を走査電顕とX線マイクロアナライザーで簡易定量したところ、Sn:17.12重量%、Cu:44.22重量%、Pd:38.66重量%の3元合金であることが確認された。
【0251】
その後、Sn−Cu−Pd合金メッキ層の上に次のような条件でメッキを施すことにより、仕上げメッキ層が形成される。メッキ浴(日本高純度化学(株)製の「パラブライト−SSS」(商品名))。メッキ条件:浴温55℃、電流密度1.5A/dm2、pH7.6、析出速度0.33μm/min、時間6分。このメッキにより、厚み約2μmで白色光沢を有するPdメッキ層が形成され、メッキ層221,222が完成される。
【0252】
上記のようにメッキ層221、222が形成された当該胴部材45と当該裏蓋部材41は、塩化ナトリウム9.9g/l、硫化ナトリウム0.8g/l、尿素7.1g/l、アンモニア水0.19ml/l、サッカロース0.2g/l、乳酸(50%)0.8ml/lからなる人工汗(温度40℃)に24時間浸漬する耐食試験を行っても、表面が変色することはなく、良好な耐食性を有している。また、この当該胴部材45と当該裏蓋部材41は、温度200℃に5時間放置する加熱試験を行ってもメッキ層221,222の剥離が全く認められず、耐熱性も良好なものとなる。
【0253】
本具体例においても、当該胴部材45と当該裏蓋部材41が金属で形成されているが、胴部材厚、裏蓋部材厚、当該アンテナ部32と当該胴部材45と当該裏蓋部材41との距離を、それぞれ受信感度を最良にする実験結果に基づく値に設定しているので、アンテナ近傍での共振現象の乱れを低減し、受信感度の向上を果たしている。また、当該胴部材45と当該裏蓋部材41に表面仕上げを施しているため、時計として使用する際に必要な耐食性及び耐熱性を備えており、また、重厚で高級感のある白色系金属光沢を有しているため、外観品質も高いものとなる。
【0254】
尚、上記何れの具体例においても、図22に示す裏蓋部材41のように、裏蓋部材41に立ち上がり部を形成せずに内面を平坦にし、裏蓋部材41を平面的な2次形状にすると、立ち上がり部を設けた場合に比べてアンテナ部32周辺の共振現象の乱れを低減し、受信感度を約2dB向上させることができる。
【0255】
また、時計の更なる小型化、薄型化のため、アンテナ部32の指向性を考慮に入れて、アンテナ部32と当該胴部材45或いは当該裏蓋部材41との距離を0にすることも可能である。
【0256】
更に、アンテナ部32の指向性を考慮しつつ、アンテナ部32の外面と胴部材45の内面又は裏蓋部材41の内面が平行になるようにアンテナ部32を配置したり、裏蓋部材41の内面に対してアンテナ部32の一端面を略垂直方向に配置して縦に立てた状態に配置することも可能である。
【0257】
また、上記各具体例における金属外装部31は、当該胴部材45と当該裏蓋部材41で構成されているが、胴部材45の上部にベゼルやリングを設けたものを用いることもできる。更に、この場合、後述するように、胴、ベゼル、裏蓋部材の何れかが非磁性部材で形成されていれば、受信感度をより向上させることができる。また、ベゼル等を胴部材45と別体とすることで、受信感度を向上させることができる。
【0258】
また、胴部材、ベゼル、裏蓋部材それぞれの全体を非磁性部材で形成するだけでなく、それらの一部分だけを非磁性部材で形成しても受信感度を向上させることができる。
【0259】
その場合、アンテナ部32が平行に投影される部分、あるいはアンテナ部32の端部に相対する部分のみを非磁性部材で形成することが効果的であり、好ましい。
【0260】
また、金属及び非磁性部材は一種類だけを用いるだけでなく、複数の金属及び非磁性部材を組み合わせて使用することも可能である。
【0261】
尚、当該胴部材45や当該裏蓋部材41に使用する材質の選定に関しては、前述した実験と同様に、使用する材質で形成した実験用の当該胴部材45と当該裏蓋部材41の中に、実験用アンテナを設置し、所定位置に設置された送信アンテナから信号を送信する実験を行って選定した。
【0262】
この実験の結果、金、金合金、銀、銀合金、銅、胴合金、黄銅、アルミニウム、アルミニウム合金、亜鉛、亜鉛合金、マグネシウム、マグネシウム合金及び超硬金属(タングステン―カーバイドを含む合金)の場合は、ステンレス鋼、チタン、チタン合金、タンタルカーバイドの場合に比べて、利得が2〜3dB(デシベル)高くなった。また、同様の実験により、受信感度が良好となる金属で外装部を形成した場合だけでなく、受信感度が低下する金属で外装部を形成したとしても、その一部に受信感度が良好となる金属を設けることで、外装部内側にあるアンテナの受信感度を向上させることが可能であることも検証した。
【0263】
また、実験に使用した金属の電気抵抗率を比較し、電気抵抗率が7μΩ・cm以下のものが良好な受信感度を保つことが可能であることが判明した。その結果、金、金合金、銀、銀合金、銅、胴合金、黄銅、アルミニウム、アルミニウム合金、亜鉛、亜鉛合金、マグネシウム、マグネシウム合金及び超硬金属のような非磁性部材で外装部全体又はその一部を形成すれば、金属を使用した外装部であっても受信感度を良好にすることができることが判明した。
【0264】
更に、外観品質に優れたステンレス鋼、チタン、チタン合金、タンタルカーバイドのように電気抵抗率が高い金属からなる電子機器の外装部であっても、その一部に上記非磁性部材からなる部分があれば受信感度を良好にすることが可能であることも検証できている。
【0265】
また、当該胴部材45と当該裏蓋部材41等の材質については、色彩を豊かにするためベゼル等に樹脂部品を使用したり装飾のために胴部材の側面に樹脂のデコレーションを取り付けたものがあるが、このような構成のものであっても基本的な構成部分に金属を使用しているものは、本発明における金属外装部の範囲に含まれることは言うまでもない。
【0266】
尚、本発明に有っては、当該金属外装部31の胴の内面と当該アンテナ部の外面とが略平行をなす様に構成されている事も望ましく、又、当該金属外装部31の裏蓋の内面と当該アンテナ部の外面とが略平行をなす様に構成されている事も望ましい。
【0267】
更には、本発明に於いて、当該金属外装部31の裏蓋部材41は平面的な2次元形状からなる様に構成されている事も好ましい。
【0268】
又、本発明に於いては、当該金属外装部31の裏蓋部材41の内面に対して当該アンテナ部の両端部の一端面を略垂直方向に配設する事も好ましい。
【0269】
一方、本発明に有っては,当該金属外装部31の内面に、電気抵抗率が7.0μΩ・cm以下の非磁性部材が少なくとも1つ固定されていることも望ましく、更には、当該非磁性部材は金、銀、銅、黄銅、アルミニウム、亜鉛、マグネシウム、またはそれらの合金中の少なくとも1つからなるものである。
【0270】
更に、本発明に於いては、当該アンテナ部32は、磁芯材38とこの磁芯材38に複数巻かれたコイル40とから構成され、当該磁芯材38の軸線を含む少なくとも1つの平面に沿って、当該アンテナ部32が平行に投影される部材または該部材の投影される部分が当該非磁性部材で出来ている様に構成する事も好ましい。
【0271】
又、本発明に有っては、当該アンテナ部32は、磁芯材38とこの磁芯材38に複数巻かれたコイル40とから構成され、少なくとも当該アンテナ部32の端部とそれぞれ相対する部材または該部材の相対する部分が当該非磁性部材でできていることも好ましい。
【0272】
上記した各具体例とは別に、本発明に於いては、当該電子機器30に於ける静電気対策を備える必要もあり、その為、当該金属外装部31の少なくとも一部に電気的導通部が設けられている事も好ましい。
【0273】
当該本発明に於ける静電気処理機構としては、例えば、当該胴部材45或いは当該裏蓋部材41の一部に適宜の電気的な導通部を設けるものであって、当該導通部は、当該アンテナ部32から所定の距離離れた位置に設ける事が望ましく、更には、当該導通方法としては、例えば、溶接、銀ペースト、導電リング、或いは導電樹脂、カシメ等の処理が採用できる。
【0274】
例えば、当該電子機器或いは電波修正時計に於いては、プッシュボタン或いはりゅうず部の一部にそれらが押圧された場合或いは引き出された場合に適宜の接点が相互にコンタクトして静電気を放出する様に構成されているものであっても良く、適宜の導電リングを当該電子機器或いは電波修正時計内部に挿入するものであっても良い。
【0275】
更には、電波修正時計に於いては、胴部材とべゼル部と少なくとも一箇所を溶接するものであってもよく、或いは当該胴部材とべゼル部との間に少なくとも一箇所に銀ペーストを塗布するものであっても良い。
【0276】
次に、上記した本発明にかかる電子機器30に関し、当該接合部39の少なくとも一部の電気抵抗値を他の部位の電気抵抗値と異ならせるための別の構成をして、例えば、当該金属外装部31に於ける当該少なくとも2つの金属製部材が接合して形成されている接合部39の少なくとも一部の平面積が残りの当該接合部の平面積よりも小さくなる様に形成する事によっても実現する事が可能である。
【0277】
又、当該アンテナ部32のコイル部分40が投影される当該胴部材45及び/又は裏蓋部材41の少なくとも一部の肉厚をその他の胴部材45又は裏蓋部材41の肉厚よりも薄くなる様に構成する事によっても実現可能である。
【0278】
一方、本発明者等は、上記した本願発明を実用化する検討を行っている間に、当該電子機器30に於ける複数の金属部材から構成されている当該金属外装部31を構成する、当該複数の金属部材間で形成される当該接合部39の接合圧力によって、当該アンテナ部32の利得が変化する事を知得した。
【0279】
つまり、本発明者等は、当該金属外装部31が2乃至それ以上の複数種の金属部材で構成されている場合に、それらの複数の金属部材の所定の部位、通常は周縁部同士を相互に当接して、所定の加圧状態下に溶接固定するか、複数本のネジ付きボルトを使用して所定の締め付け力で固定するか、カシメ方式で相互に嵌合させるか、予め双方の金属部材に雄ネジと雌ネジを別々に形成しておき、その両者をネジ込み嵌合させ所定の締め付けトルクをもって固定する等の方法が実用的である。
【0280】
処で、本願発明者等は、当該金属外装部31に於ける当該複数個の金属部材の接合面の接圧条件の変化によって当該アンテナ部32のアンテナ利得が変化する事を知得したものである。
【0281】
つまり、図4に示す従来の構造からなる電子機器30に於ける当該胴部材45と当該裏蓋部材41とが相互に接続されている金属外装部31に於いて、当該裏蓋部材41の締め付けトルクを変化させると図23に示す様に、当該アンテナ部32のアンテナ利得(dB)が変化する事が判明した。
【0282】
即ち、当該締め付けトルクを0〜6N・mの間で変化させると、当該締め付けトルクが強くなるほどアンテナの利得が低下し、最大3dB程度減衰する事が判明した。
【0283】
尚、締め付けトルクが6N・m以上は、実質的に測定する装置がないので測定はしていないが、図23から判ることは、当該金属外装部31に於いて、当該胴部材45と当該裏蓋部材41との接圧力を強くするとアンテナの利得が低下する事が理解される。
【0284】
従って、当該金属外装部31に於ける、当該胴部材45と当該裏蓋部材41との接合をネジ式では無く、上記した溶接固定方式、複数本のネジ付きボルトを使用した固定方式、或いはカシメ方式を使用した場合で有っても同様の結果を得るものと推測する。
【0285】
その為、本発明者等は、係る現象が発生する理由を検討するため、以下の様な実験を行った。
【0286】
先ず、図33(A)及び(B)に示す様に、上記した当該電子機器30内部にVdd接点バネFを使用した場合と当該Vdd接点バネFを取り外すか折り曲げて、当該裏蓋部材41との接点を断った場合の当該アンテナ部32の特性値を比較してその結果を図24に示す。
【0287】
図24中、変更前のデータは、当該Vdd接点バネRが通常使用されている状態で測定したデータであり、変更後のデータは、当該Vdd接点バネと当該裏蓋部材41との接点を断った場合に於いて測定したデータである。
【0288】
双方のデータを比較して見ると、当該アンテナ部32の特性値を見る限り、利得データを含めて、双方に実質的な相違は見られない。
【0289】
然しながら、当該裏蓋部材41を締めてもVdd接点バネRを無くすことにより、締め付けることによる当該Vdd接点バネRの影響を無くすことが出来る。
【0290】
又、本発明者等は、続いて、図34(A)及び(B)に示す様に、ムーブメント42と当該裏蓋部材41との接触点を無くし、裏蓋部材41の締め付けによるムーブメント42の変形の影響を無くした場合の当該アンテナ部32の特性値を比較して、その結果を図25に示す。
【0291】
図25中、変更前のデータは、図34(A)に示す様に当該ムーブメント42と当該裏蓋部材41との接触点をダンパーPを介して残している状態で測定したデータであり、変更後のデータは、図34(B)に示す様に、当該ムーブメント42と当該裏蓋部材41との接触点を無くした場合に於いて測定したデータである。
【0292】
双方のデータを比較して見ると、当該アンテナ部32の特性値を見る限り、利得データを含めて、双方に実質的な相違は見られない。
【0293】
然しながら、当該裏蓋部材41を締めてもダンパーPを無くすことにより、締め付けることによるムーブメント42の影響を無くすことが出来る。
【0294】
更に、本発明者等は、図26(A)に示す様に、当該金属外装部31に於ける当該胴部材45と当該裏蓋部材41との間に適宜の絶縁物を挿入して、当該裏蓋部材41がムーブメント42を押し付ける程度を軽減させた場合の影響を調べた。
【0295】
その結果を図26(B)に示す。
【0296】
図26(B)中、変更前のデータは、当該絶縁物を挿入しない状態で測定したデータであり、変更後のデータは、当該絶縁物を挿入した場合に於いて測定したデータである。
【0297】
双方のデータを比較して見ると、ムーブメント42への影響を軽減させても全く利得の向上が見られない事から、当該裏蓋部材41を締め付ける事によってムーブメント42が変形し、アンテナ32の特性が低下するとは考え難い。
【0298】
そこで、本発明者等は、図6及び図8の実験結果を再検討して見た。
【0299】
当該図6及び図8の実験は、ネジ締め付けトルクを3N・mで行ったものである。
【0300】
そして、図8の様に当該扇形領域内に、接合部を一部残存させると、当該アンテナ部32の利得は若干低下することが理解される事は上記したとおりである。
【0301】
そこで、本願発明者等は、更に、別の実験を行って見た。
【0302】
即ち、図6に示す構成に於いて、当該間隙部55を設ける扇形領域をその中心角度を90度となる様に設定した金属外装部31を使用し、当該裏蓋部材41の締め付けトルクを変化させたときの当該アンテナ部32の利得を測定した。
【0303】
その結果を図27に示す。
【0304】
図27中、90度のグラフは、今回の実験により得られたアンテナの利得を示すグラフであり、現のグラフは、当該間隙部55を形成しない従来の金属外装部31でのアンテナの利得を示すグラフである。
【0305】
かかる実験結果より判る事は、当該実験による構成の場合では、裏蓋部材41の締め付けトルクによるアンテナ部の利得の減衰量が、従来の構造のものに比べて大幅に減少している。
【0306】
かかる結果からアンテナの周辺のネジ部をカットする事によってアンテナの利得が大幅に向上する事から、当該裏蓋部材の締め付けトルクが高くなる事によって、アンテナ周辺のネジ部が磁気的結合を起し、アンテナの共振現象を阻害する渦流損が発生し、アンテナの利得が減少するものと推定される。
【0307】
従って、本発明に於いては、当該金属外装部31に於ける当該胴部材45と当該裏蓋部材41との接合力は、あまり強くする事は好ましくないと考えられ、従って、それぞれの接合方式に応じて、適切な締め付け力或いは接合力が求められる事になる。
【0308】
然しながら、実験に使用する全サンプルの締め付けトルクを一定にしても、防水試験後の緩みトルクの値はばらつきが生じる。
【0309】
例えば、締めトルクを2N・mにした場合、防水試験後の緩みトルクは最大1.6N・m、最小0.8N・m、平均1.1N・m(測定数30サンプル)であり、締めトルクを3N・mにした場合、防水試験後の緩みトルクは最大3.5N・m、最小1.7N・m、平均2.5N・m(測定数30サンプル)であった。
【0310】
又、締めトルクの値によらず、締めトルクが0.1N・mに満たないサンプルでは、防水試験が不合格になるものもあった。
【0311】
上記より、締めトルクが6N・mより強いと測定が困難であり、且つアンテナ利得の値からも6N・mより強い必要性は無い事から、緩みトルクも6N・m以下で良いと考えられる。
【0312】
以上の事から、緩みトルクが0.6〜6N・m、実用上好ましくは、0.2〜4.5N・mで有ると良い。
【0313】
従って、本発明の別の態様としては、少なくともアンテナ部、当該アンテナ部により取り込まれた情報を処理する為の情報処理装置及び当該アンテナ部と当該情報処理装置とをその内部に収納することが可能な金属外装部とから構成されている電子機器で有って、当該金属外装部は、当該アンテナ部が当該金属外装の外部から当該金属外装を介して磁束を受信し、共振しえる様に構成されており、且つ、当該金属外装部は、胴部(側部)材と裏蓋部材とから構成されると共に、当該胴部(側部)材と裏蓋部材が相互に接合されており、然も、当該胴部(側部)材と裏蓋部材との相互剥離力が、10−4N・m〜6.0N・mである事を特徴とする電子機器で有ってもよく、或いは、少なくともアンテナ部、当該アンテナ部により取り込まれた情報を処理する為の情報処理装置及び当該アンテナ部と当該情報処理装置とをその内部に収納することが可能な金属外装部とから構成されている電子機器で有って、当該金属外装部は、当該アンテナ部が当該金属外装の外部から当該金属外装を介して磁束を受信し、共振しえる様に構成されており、且つ、当該金属外装部は、胴部(側部)材と裏蓋部材とから構成されると共に、当該胴部(側部)材と裏蓋部材が相互にネジ機構を解して接合されており、然も、当該胴部(側部)材と裏蓋部材との相互緩みトルクが0.1N・m〜6.0N・mであり、好ましくは、0.2N・m〜3.5N・mである事を特徴とする電子機器で有っても良い。
【0314】
次に、本発明に於いて、当該電子機器30に於ける当該金属外装部31の接合部を相違による本発明の効果の差異が有るか否かを検証するため、以下の様な実験を行った。
【0315】
即ち、当該金属外装部31の胴部材45を上胴部と中胴部で構成し、当該上胴部と中胴部との間にパッキンを圧入したものを裏蓋部材で閉鎖した後、当該裏蓋部材の締め付けトルクを3N・mで接合したサンプル(A,B,C,F)と当該上胴部と中胴部をレーザー溶接で接合し、裏蓋部材で閉鎖した後、当該裏蓋部材の締め付けトルクを3N・mで接合したサンプル(D,E)とを作成し、それぞれのサンプル内に同一のアンテナ部32を図28に示す様な同一の位置に配置して当該アンテナの特性値を測定した。
【0316】
その結果を図29に示す。
【0317】
図29の比較実験結果から明らかな通り、Ti製のサンプル(D)とSS製のサンプル(E)に関する当該アンテナの利得値が低下している事が判明した。
【0318】
この原因としては、前記した様に、当該上胴部と中胴部との接合面に強い磁気結合が形成されているものと推測する
その為、上記サンプル(D)と(E)に於ける図28に示す当該上胴部と中胴部との接合面に形成されているレーザー溶接部分39の内、中心角90度の扇形領域部分57に相当する部分を除去して間隙部55を形成して絶縁機能を持たせる様にした結果、他のサンプルと同様の利得値が得られた。
【0319】
その結果を図30に示す。
【0320】
【発明の効果】
本発明は、上述した様な構成を採用しているので、上記した従来技術の問題点を解決し従来の電波修正時計を含む電子機器の構造、外装材料、或いはデザイン等を大幅に変更することなく、簡易な構成を有するアンテナ部を採用して、受信効率が良好で、当該電子機器そのものの大きさも厚みも従来のものとは相違せず、デザイン面の自由度を高めた、製造コストを安価に抑えることが可能な電子機器が容易に得られるのである。
【図面の簡単な説明】
【図1】図1は、本発明に係る電子機器の一具体例の構成を示す図である。
【図2】図2は、本発明に係る電子機器の他の具体例の構成を示す断面図である。
【図3】図3は、本発明に係る電子機器の具体例に於ける一部断面図である。
本発明と従来に於けるアンテナ本体部の金属板の影響によるQ値の変化を示すグラフである。
【図4】図4(A)は、本発明に係る金属外装部に於ける胴部材と裏蓋部材との接合部面の形状例とアンテナの配置関係を示す図であり、図4(B)は、図4(A)の一部断面図である。
【図5】図5(A)は、本発明に係る金属外装部に於ける他の具体例の一部断面図であり、図5(B)は、扇形領域の中心角度とアンテナの利得との関係を示すグラフである。
【図6】図6(A)は、本発明に係る金属外装部に於ける別の具体例の一部断面図であり、図6(B)は、扇形領域を説明するための説明図である。
【図7】図7(A)は、本発明に係る金属外装部に於ける更に他の具体例の一部断面図であり、図7(B)は、扇形領域を説明するための説明図である。
【図8】図8(A)は、本発明に係る金属外装部に於ける扇形領域部に接合部を部分的に残存させる場合の具体例を示す平面図であり、図8(B)は、図8(A)の構造の効果を説明する実験データを示す図である。
【図9】図9は、本発明に係るアンテナ構造体の一具体例の構成を示す図である。
【図10】図10は、アンテナ構造体に於けるL値と利得との関係を示すグラフである。
【図11】図11は、アンテナ構造体に於ける巻き線数(T)と利得との関係を示すグラフである。
【図12】図12(A)は、アンテナ構造体に於ける巻き線抵抗(Ω)と利得との関係を示すグラフであり、図12(B)はコイルの構成の例を示す図である。
【図13】図13は、アンテナ構造体に於ける巻き線抵抗(Ω)と利得との関係を示すグラフである。
【図14】図14は、本発明に係る電子機器の一具体例である電波利用時計における各部品の配置構成の一例を示す図である。
【図15】図15(A)及び図15(B)は、金属外装部とアンテナ部との位置関係を説明する平面図及び断面図である。
【図16】図16は、本発明に係る電子機器に於ける胴部材厚とアンテナの利得との関係を示すグラフである。
【図17】図17は、本発明に係る電子機器に於ける胴部材とアンテナとの間の距離とアンテナの利得との関係を示すグラフである。
【図18】図18は、本発明に係る電子機器に於ける裏蓋部材厚とアンテナの利得との関係を示すグラフである。
【図19】図19は、本発明に係る電子機器に於ける裏蓋部材とアンテナとの間の距離とアンテナの利得との関係を示すグラフである。
【図20】図20は、本発明に係る電子機器の一具体例としての電波修正時計の構成の概略を説明する図である。
【図21】図21は、従来における電波修正時計の構成の詳細を説明する図である。
【図22】図22は、本発明に係る電子機器の一具体例としての電波修正時計の構成の詳細を説明する図である。
【図23】図23は、トルクとアンテナの利得との関係を示すグラフである。
【図24】図24は、本発明に係る電子機器に於いて、Vdd接点バネと裏蓋部材との接点の有無によるアンテナの特性値の変化を示すデータを示す図である。
【図25】図25は、本発明に係る電子機器に於いて、ムーブメントと裏蓋部材との接点の有無によるアンテナの特性値の変化を示すデータを示す図である。
【図26】図26(A)は、本発明に係る電子機器に於いて、胴部材と裏蓋部材との間に絶縁物を挿入した具体例の構成を示す一部断面図であり、図26(B)は,絶縁物の挿入有無によるアンテナの特性値の変化を示すデータを示す図である。
【図27】図27は、トルクとアンテナの利得との関係を示すグラフである。
【図28】図28は、本発明に係る電子機器に於ける扇形領域とアンテナとの配置関係を説明する平面図である。
【図29】図29は、本発明に係る電子機器の複数種の具体例に於けるアンテナの特性値の変化を示すデータを示す図である。
【図30】図30は、本発明に係る電子機器の他の具体例に於けるアンテナの特性値の変化を示すデータを示す図である。
【図31】図31は、金属外装部を構成する胴部材と裏蓋部材との接合部に間隙部を設けた場合に於いて、アンテナ部を配置位置による効果に付いて実験した結果を説明する図である。
【図32】図32は、金属外装部を構成する胴部材と裏蓋部材との接合部に間隙部を設けた場合に於いて、アンテナ部を配置位置と当該間隙部の長さ及び当該扇形領域の中心角度との関係を説明する図である。
【図33】図33は、金属外装部に有ってVdd接点の影響を無くすための構成例を説明する図である。
【図34】図34は、金属外装部に有ってムーブメントの影響を無くすための構成例を説明する図である。
【符号の説明】
1  アンテナ
2  電波時計受信機
3  CPU
4  表示駆動部
5  入力装置
10  ケース10
11  胴
12  裏蓋部材
13  風防
14  ムーブメント
15  文字板
16  針
17  バーアンテナ
18,38  磁芯部材
20  コイル
21  導線
22  環状の縁枠
221,222  メッキ層
23  ガラス
30  電子機器、電波修正時計
31  金属外装部
32  アンテナ部
33、情報処理装置
34  CPU
35  情報表示・報知手段
36  指針
37a  段部
37b  内方突出部
37c  胴部材45の内側面
38  磁芯材
39  接合部
41  裏蓋部材
42  ムーブメント
44  パッキン
45  胴部材
451、452  副胴体部材
46  リューズ、操作ボタン、操作ピン
47  スイッチ回路
48  貫通孔部
49  間挿部材、絶縁物質
50  立ち上がり部
51  空間
52  ネジ機構
54  渦電流
56  扇形領域内に包含される接合部分
57  扇形領域
60  扇形領域内の間隙部内に間歇的に形成された接合部分[0001]
 BACKGROUND OF THE INVENTION
 The present invention has a function of receiving radio waves transmitting predetermined information including time information, displaying or notifying the predetermined information, and simultaneously displaying time information or correcting the time information to accurate time information. In particular, the present invention relates to an electronic device that aims to improve radio wave reception performance when a metal exterior such as a metal case is used.
 [0002]
 More particularly, the present invention relates to an electronic device configured so as not to deteriorate the radio wave reception performance of the antenna unit even when the resonant antenna unit is disposed in the vicinity of the metal object or inside the metal exterior unit. It is.
 [0003]
 [Prior art]
 [Patent Document 1]
 Japanese Utility Model Publication No. 2-126408
 [Patent Document 2]
 Japanese Utility Model Publication No. 5-81787
 [Patent Document 3]
 International Publication WO95 / 27928
 [Patent Document 4]
 European Patent Publication No. 0382130
 [Patent Document 5]
 JP-A-11-64547
 [Patent Document 6]
 JP 2001-33571 A
 [Patent Document 7]
 JP 2001-30524 A
 [Patent Document 8]
 JP 2001-208875 A
 [Patent Document 9]
 Japanese Utility Model Publication No.57-131042
 [Patent Document 10]
 Japanese Patent Laid-Open No. 6-215842
 [Patent Document 11]
 JP 11-74138 A
 [Patent Document 12]
 Japanese Utility Model Publication No. 61-203516
 [Patent Document 13]
 Japanese Patent Application Laid-Open No. 2002-184637
 2. Description of the Related Art Recently, a timepiece mounted on an electronic device that receives a long-wave standard radio wave with a time code and is in use, for example, an electronic device including a watch, a mobile phone, a wireless communication device, etc. Many electronic devices with a radio wave correction function that automatically adjusts the circuit time to the standard time have been commercialized.
 [0004]
 Here, a conventional problem will be described below by taking as an example a watch with a radio wave correction function (hereinafter referred to as a radio wave correction watch) which is a representative product of the electronic device.
 [0005]
 By the way, a radio-controlled timepiece that receives a standard radio wave, that is, a radio-controlled clock that can obtain an accurate time by receiving a standard radio wave (carrier wave) including time information and extracting the time information from this radio wave is already known. It has been. The radio waves including this time information have different frequencies for each country. For example, in Japan, 40 kHz and 60 kHz standard radio waves are transmitted under the jurisdiction of the Ministry of Internal Affairs and Communications and the Postal Service.
 [0006]
 FIG. 20 is a block diagram showing an outline of the function of such a radio-controlled timepiece. This radio-controlled timepiece is composed of an
 [0007]
 In this radio-controlled timepiece, first, an
 [0008]
 The time information (time code) included in the radio wave is a pulse signal with a period of 60 seconds, which varies depending on the country, but in Japan, a pulse having a width of 200, 500, or 800 msec every second. There is one. By combining these pulses, time information can be obtained in 60 seconds. The
 [0009]
 As such a radio wave correction timepiece, a wristwatch in which an antenna, a radio wave correction clock receiver, a CPU, a display drive unit and a display unit are housed in a case which is an antenna housing body has already been provided. As the material of the case, non-conductive materials such as synthetic resin and ceramic have been mainly used for the antenna to receive radio waves. That is, if the antenna is housed inside a case made of a conductive material such as metal, the magnetic flux generated in the vicinity of the antenna is absorbed by the conductive material and the resonance phenomenon is hindered, so that the reception function of the antenna is significantly reduced. .
 [0010]
 However, using a synthetic resin case to avoid such antenna reception obstacles not only leads to a decrease in the scratch resistance or chemical resistance of the case, but also a high-class feeling required for a wristwatch as an accessory. The aesthetics will also be impaired. For this reason, a radio wristwatch using a metal for the case has been proposed.
 [0011]
 FIG. 21 is a cross-sectional view showing an example of the structure of a radio-controlled wristwatch that uses metal for a part of the case. The
 [0012]
 The
 [0013]
 The
 [0014]
 On the other hand, in the radio-controlled timepiece, it has been considered that it is antenna characteristics and receiving circuit characteristics that determine reception performance.
 [0015]
 That is, according to conventional general technical knowledge, the lower limit of the input signal of the receiving circuit or the receiving IC is currently about 1 μV in signal amplitude. In order to obtain practical receiving performance, the receiving antenna is 40 to 50 dBμV. An output with a signal amplitude of about 1 μV must be obtained at an electric field strength (the strength of radio waves) of / m.
 [0016]
 Therefore, when there is a size constraint, it is common to use a resonance type receiving antenna that can increase the signal output.
 [0017]
 As a type of receiving antenna, a bar antenna in which a conducting wire is wound around a magnetic core is generally used because the wavelength of radio waves is long.
 [0018]
 In such a receiving antenna, the output of the receiving antenna is roughly proportional to the size of the receiving antenna, so it cannot be made very small in order to obtain practical reception performance. Performance and placement become a problem.
 [0019]
 Further, the output of the receiving antenna is extremely reduced when it is housed in a metal exterior.
 [0020]
 For this reason, in order to use radio waves, a wristwatch requires a part configuration or design that is completely different from the conventional timepiece part configuration and design, and also requires consideration not to impede reception performance.
 [0021]
 In wristwatches, small size, thinness, portability, design freedom, and texture (luxury) are important issues, and antenna built-in type and metal exterior are desired.
 [0022]
 In the case of conventional radio-controlled timepieces, the system of mounting or mounting the antenna is mainly used.
 [0023]
 When the material of the back cover / side of the wristwatch is metal, the receiving antenna is generally sheathed.
 [0024]
 In this case, the case of the receiving antenna is made of a non-metal such as plastic so as not to deteriorate the receiving performance. Therefore, the receiving antenna case has a large projecting shape, which is not only small, thin, and easy to carry, but also greatly reduces the design freedom.
 [0025]
 In the case of a system with a built-in receiving antenna, ceramics or plastic is used as the material for the watch exterior (back cover / side) in order not to deteriorate the receiving performance, but the watch becomes thicker because the strength of the material is small. Performance and portability are impaired, and design restrictions are increased.
 [0026]
 In addition, the wristwatch has a low appearance.
 [0027]
 For this reason, conventionally, as seen in, for example, Japanese Utility Model Application Laid-Open No. 2-126408 (Patent Document 1), a metal antenna is disposed in a leather band of a watch.
 [0028]
 In addition, as disclosed in Japanese Utility Model Laid-Open No. 5-81787 (Patent Document 2) by the present applicant, an antenna having a coil wound around a core is disposed between a dial and a windshield to prevent radio waves. A watch with a unique design at the same time as it is separated from the case body, or a wristwatch with an antenna attached to the side of the watch case of International Publication No. WO95 / 27928 (Patent Document 3). Is disclosed.
 [0029]
 Further, as disclosed in European Patent Publication No. 0382130 ([Patent Document 4]), there are antennas arranged in a ring shape on the upper surface of the case.
 [0030]
 However, in the conventional configuration in which the antenna is arranged in the band, since the antenna is built in the band, conduction with the electronic device main body has to be taken, and sufficient flexibility can be provided at the junction between the two. Absent.
 [0031]
 Furthermore, a metal band that interferes with radio waves cannot be used, and a watch band such as a rubber band must be used, which is limited in terms of material and design.
 [0032]
 In addition, when the antenna is arranged on the top or side of the watch, the thickness or size of the entire watch is increased or the design is restricted in order to separate the antenna from the metal part of the watch body. There's a problem.
 [0033]
 Further, in the case of European Patent Publication No. 0382130 (Patent Document 4) in which an antenna is arranged in a ring shape on the upper surface of the case, since there is no metal inside the ring, reception is impossible. There was also a problem that the antenna had to be separated from the watch.
 [0034]
 Further, in Japanese Patent Laid-Open No. 11-64547 (Patent Document 5), a coil is disposed in a recessed portion provided in a peripheral portion of a circuit board, and at the same time, a core is curved along the circumferential direction of the circuit board. Although the arranged wrist watch is disclosed, there is a problem that the manufacturing process becomes complicated and the assembly operation in the manufacturing process becomes complicated.
 [0035]
 On the other hand, Japanese Patent Application Laid-Open No. 2001-33571 (Patent Document 6) or Japanese Patent Application Laid-Open No. 2001-30524 (Patent Document 7) discloses glass or ceramic on the windshield and back cover of the wristwatch. A wristwatch is shown which is made of a non-metallic material, and in the middle part thereof, is made of a conventional metallic material so that sufficient radio waves reach the antenna.
 [0036]
 On the other hand, Japanese Patent Laid-Open No. 2001-208875 ([Patent Document 8]) discloses a technique relating to a wristwatch identification tag, and its basic technical configuration is in a ski resort or the like. At the time of boarding the lift, an identification tag is provided in the wristwatch of the user, and information is exchanged with the identification means provided at the lift boarding gate to identify whether or not the passenger is an authorized passenger. A system is disclosed.
 [0037]
 However, the basic technical idea of the technical configuration of the publication is that a strong high-frequency radio wave is transmitted from the identification means, and an IC circuit in the wristwatch is activated by bringing a wristwatch having the identification tag close thereto. And the identification tag information is read by the identification means.
 [0038]
 That is, in this publication, when the high frequency radio wave is received by the antenna provided in the timepiece, resonance occurs in the IC circuit in the timepiece, and as a result, the IC circuit receives the electromotive force and is activated. The identification tag information is read out and notified to the identification means wirelessly.
 [0039]
 Therefore, this publication suggests that even if the watch has a metal exterior, the antenna provided inside it operates to exchange the information described above. It is necessary to provide an identification means for transmitting a strong frequency radio wave, to make the timepiece having the identification tag close to the identification means, and to receive the high-frequency radio wave transmitted from the identification means sufficiently. The antenna provided inside is based on a bar antenna, and it is necessary to use a thin and flat rectangular antenna because it is necessary to make it as thin and large as possible in the watch. It is clearly different from the one that specified a specific relationship between the antenna part and the metal exterior part.
 [0040]
 Japanese Utility Model Laid-Open No. 57-131042 (Patent Document 9) describes a wristwatch provided with an antenna using a ring-shaped magnetic bar made of a C-shaped ferromagnetic material with a
 [0041]
 Furthermore, Japanese Patent Laid-Open No. 6-215842 (Patent Document 10) describes the content that the core of the inductor is formed of a separate member, but the subject is related to a chip inductor. The watch antennas like are obviously not only in the technical field, but also the purpose and technical structure are substantially different from this application.
 [0042]
 JP-A-11-74138 (Patent Document 11) describes a transformer in which a dust core is combined with a U-shaped member and an I-shaped member, and a secondary coil is wound around the U-shaped member. However, the object is to obtain a high-voltage transformer, and not only the technical field, but also the purpose and technical configuration of the present invention are substantially different from those of a wristwatch antenna like the present invention. It is a thing.
 [0043]
 Similarly, Japanese Utility Model Publication No. 61-203516 (Patent Document 12) discloses a structure in which the butt surface of the core is inclined from the perpendicular direction of the magnetic path, but the object is to obtain an inductance element. The watch antenna like the present invention clearly has a technical field, and the purpose and technical configuration are substantially different from those of the present application.
 [0044]
 Japanese Patent Laid-Open No. 2002-184737 ([Patent Document 13]) describes that the gap of the coil core is tapered or the area is changed. The watch antenna is obviously not only about the technical field, but also the purpose and the technical structure are substantially different from the present application.
 [0045]
 In addition, in the same known example, there is a description of the content that the core of the inductor is composed of a separate member, but it relates to a high voltage transformer and a chip inductor, and the watch antenna is clearly related to the technical field. In addition, the purpose and technical structure are also substantially different from the present application.
 [0046]
 That is, in the above-described conventional example, the output of the receiving antenna is based on the fact that it is extremely reduced when it is housed in a metal exterior, and the reduction in output is reduced by using a non-metal back cover material. The purpose is to use the metal side with high texture.
 [0047]
 However, in the above conventional example, there is a problem that the thickness of the timepiece is increased because glass or ceramics is used.
 [0048]
 Therefore, in the past, the use of a large-sized high-sensitivity antenna structure or use only in areas where the electric field strength of radio waves is strong may impair the convenience of radio clocks and design the design. In addition, the manufacturing cost of the antenna structure is inevitably high.
 [0049]
 However, in such a wristwatch, even if it is possible to ensure the arrival of radio waves to the antenna, it is as if the back cover is made of a metal material with a thin metallic plating. However, in terms of appearance, there is a problem that there is no feeling of weight or texture, and the image as a luxury product is impaired.
 [0050]
 Furthermore, since the receiving antenna is built in the metal side, the output of the antenna is lowered and the receiving performance is lowered.
 [0051]
 For this reason, in the past, a radio-controlled timepiece with a completely metallic exterior having a high-class feeling has not been realized.
 [0052]
 In order to solve such problems of the prior art, the applicant of the present application already described in Japanese Patent Application No. 2002-297095, if an antenna is placed inside a watch case having a metal side or a metal lid, Q As a result of lowering the value, the output from the antenna structure is lowered and the reception performance is remarkably lowered, and by making the antenna for solving the problem a special structure, A technical configuration has been proposed in which a decrease in the Q value of the antenna structure is suppressed as much as possible to prevent a decrease in the reception performance of the antenna.
 [0053]
 However, the above-described method for specifying the antenna structure has been found to have a limit in improving the reception performance of the antenna structure. It has been found that the above problem can be further improved by specifying the structure or characteristics of the metal exterior including the structure.
 [0054]
 Furthermore, the inventors of the present application, as a result of intensive studies, in the case where a metal object having conductivity is disposed in the vicinity of the antenna unit for receiving radio waves or in contact with the antenna unit in the past. Since the radio wave is absorbed by the metal object and the radio wave does not reach the antenna part, the resonance output of the antenna part is reduced, for example, the Q value was considered to be reduced, Even if the above-mentioned conventional grasp of the problem is actually an error and there is a metal object having conductivity near the antenna part or in contact with the antenna part, In the antenna unit, when the radio wave has substantially reached and is not resonant, the flow of magnetic flux due to the external radio wave entering the watch from the outside is somewhat attenuated (for example, about 3 dB). In effect Rather it is the fact that it reaches to the antenna unit was confirmed.
 [0055]
 The problem is that when the antenna unit resonates, the magnetic field lines (magnetic flux) coming out of the magnetic core of the antenna unit are drawn into the metal object, where eddy currents are generated and the magnetic energy is attenuated. It has been clarified that there is a problem in that reception is not normally performed due to a decrease in the output from.
 [0056]
 [Problems to be solved by the invention]
 That is, the conventional radio wave correction wristwatch shown in FIG. 21 has no major problem with respect to the radio wave reception performance in portable use, but the wristwatch is dropped because the
 [0057]
 Further, since the
 [0058]
 The present invention has been made in view of the above-described problems of the prior art, and even when a normal metal case is used, it is possible to receive radio waves including predetermined information such as time information without any trouble on a mobile phone. Another object of the present invention is to provide an electronic device capable of improving the appearance quality having a stable waterproof quality and a high-class feeling and capable of expanding design variations similar to a general watch.
 [0059]
 Furthermore, the present invention solves the above-described conventional problems, and provides an electronic device having a metal exterior part with a built-in antenna part that has good radio wave reception performance and is not subject to material restrictions or design restrictions. It is for the purpose.
 [0060]
 Further, when the present invention is applied to a radio wave correction wristwatch which is one of the specific examples of the electronic device, in addition to the above-mentioned purpose, the thickness of the wristwatch is prevented from becoming bulky and the feeling of wearing on the arm is also good. The purpose is to provide a radio correction watch.
 [0061]
 [Means for Solving the Problems]
 In order to achieve the above object, the present invention employs a basic technical configuration as shown below. That is, as a first aspect of the present invention, at least an antenna unit, an information processing device for processing information captured by the antenna unit, and the antenna unit and the information processing device are housed therein. The metal exterior part is capable of resonating by receiving magnetic flux from the outside of the metal exterior part via the metal exterior part. The electronic device is configured so that the electrical resistance value of at least a part of the metal exterior part is different from the electrical resistance value in other parts of the metal exterior part. As a second aspect of the present invention, at least an antenna unit, an information processing device for processing information captured by the antenna unit, and the antenna unit and the information processing device are provided. An electronic device configured with a metal exterior that can be housed inside, and the metal exterior receives the magnetic flux from the outside of the metal exterior via the metal exterior. The metal exterior part is composed of a body part (side part) and a back cover member, and the body part (side part) material and the back cover member are configured to resonate. However, the mutual peeling force between the body (side) material and the back cover member is 10-4 This is an electronic device having N · m to 6.0 N · m.
 [0062]
 Further, as a third aspect according to the present invention, at least an antenna unit, an information processing device for processing information captured by the antenna unit, and the antenna unit and the information processing device are housed therein. The metal exterior part can resonate when the antenna part receives magnetic flux from the outside of the metal exterior part via the metal exterior part. The metal exterior part is composed of a body part (side part) and a back cover member, and the body part (side part) material and the back cover member are mutually screwed. The mutual loose torque between the body (side) material and the back cover member is 0.1 N · m to 6.0 N · m, preferably 0.2 N · m. This is an electronic device having m to 3.5 N · m.
 [0063]
 Further, according to a fourth aspect of the present invention, in the above-described configuration, at least a part of the mutual joint portions of the plurality of members constituting the metal exterior portion is electrically connected to the metal that constitutes the metal exterior portion. An electronic device in which an interposing member having an electric resistance value different from the resistance value is interposed, and as a fifth aspect according to the present invention, in the above-described configuration, at least the connecting portion is configured. In the electronic device, a part of the joint surface in one of the two metal members is removed, and a gap is formed between the joints.
 [0064]
 DETAILED DESCRIPTION OF THE INVENTION
 Since the electronic device of the present invention employs the above-described technical configuration, a simple configuration without significantly changing the structure, material, design, etc. of a conventional watch, mobile phone, wireless communication device, etc. Using the antenna part, the reception performance is good, the size and thickness of the electronic device itself is not different from the conventional one, it has freedom of design, and the electronic device with a high-quality exterior is easy Is obtained.
 [0065]
 【Example】
 Hereinafter, a configuration of a specific example of the antenna unit structure according to the present invention and a radio-controlled timepiece using the antenna unit structure will be described in detail with reference to the drawings.
 [0066]
 In other words, FIG. 1 is a cross-sectional view schematically showing the configuration of a specific example of the electronic device according to the present invention, in order to process at least the
 [0067]
 The
 [0068]
 In FIG. 1, reference numeral 34 denotes arithmetic means for controlling the driving of the function of the
 [0069]
 Furthermore, in the present invention, the
 [0070]
 In other words, as described above, what constitutes the basis of the technical idea of the present invention is that the
 [0071]
 Therefore, as one realistic structure that realizes the technical idea of the present invention, a configuration that reduces the amount of magnetic flux that flows from the
 [0072]
 More specifically, it is desirable that the electrical resistance value of a part of the metal exterior part is set to be larger than the electrical resistance values of other parts constituting the majority of the metal exterior part.
 [0073]
 Moreover, the said
 [0074]
 In the latter case, it is desirable that the
 [0075]
 On the other hand, in the
 [0076]
 Similarly, in the present invention, the
 [0077]
 That is, the
 [0078]
 In FIG. 1,
 [0079]
 That is, when a part of the
 [0080]
 Specifically, for example, among the plurality of members constituting the
 [0081]
 In that case, it is also possible to make the metal material which comprises each member different.
 [0082]
 On the other hand, as another specific example in the present invention, the electrical resistance value of the mutual
 [0083]
 In such a specific example, the
 [0084]
 The method for forming the
 [0085]
 In the present invention, it is desirable that the
 [0086]
 Further, in the present invention, at least one
 [0087]
 Next, FIG. 2 shows a schematic cross-sectional view of a configuration example when the present invention is applied to a radio-controlled
 [0088]
 That is, in FIG. 2, the
 [0089]
 The
 [0090]
 Further, in the
 [0091]
 Above the
 [0092]
 A
 [0093]
 In this embodiment, the
 [0094]
 In the radio-controlled timepiece having the above-described configuration, the CPU (not shown) in the
 [0095]
 In addition, gold, a gold alloy, silver, a silver alloy, copper, a trunk alloy, brass, aluminum, an aluminum alloy is formed on the inner surface of the
 [0096]
 Hereinafter, the case where the
 [0097]
 That is, in one specific example of the
 [0098]
 In this case, it is desirable that a plurality of members constituting the
 [0099]
 In this specific example, the electrical resistance value of the material constituting the
 [0100]
 Although the material of the said
 [0101]
 As shown in FIGS. 2 and 3, the joint 39 has a structure in which the
 [0102]
 Further, when the arrangement position of the
 [0103]
 Of course, in the present invention, when the
 [0104]
 Accordingly, the
 [0105]
 Further, the intervening portion of the
 [0106]
 The
 [0107]
 Further, the
 [0108]
 That is, the film body may be formed by performing appropriate surface treatment and / or curing treatment on one or at least a part of the members constituting the
 [0109]
 The surface treatment may be, for example, one method selected from a wet plating method, a dry plating method, and a heat treatment.
 [0110]
 It is desirable that the electrical resistance value of the interposing member used in the present invention is larger than the electrical resistance values of a plurality of members constituting the metal exterior member.
 [0111]
 If the effect by the above-mentioned this invention is demonstrated, in the conventional structure as mentioned above, the
 [0112]
 Therefore, the joint 39 formed by the joint surface S2 between the
 [0113]
 Next, in another specific example of the
 [0114]
 That is, in this specific example, in order to give the
 In the specific example of the present invention, the
 [0115]
 In the present invention, the
 [0116]
 Alternatively, the
 [0117]
 The height of the
 [0118]
 For example, as shown in FIG. 6A, the
 [0119]
 As shown in FIG. 6B, it is desirable that the
 [0120]
 Further, in another specific example of the present invention, in the
 [0121]
 That is, as shown in FIG. 7A, a
 [0122]
 In this specific example, as shown in FIG. 7B, it is desirable that the
 [0123]
 That is, in the specific example of FIG. 7A, a part of the
 [0124]
 As shown in FIG. 7B, the
 [0125]
 Moreover, the specific example of FIG. 7 shows an example of a configuration in which the above-described interposing
 [0126]
 In the specific example in which the
 [0127]
 In this specific example, the above-described insulator can be inserted into the internal space of the
 [0128]
 The
 [0129]
 In order to verify this fact, the experimental results shown in FIG. 31 are presented.
 [0130]
 In the experiment of FIG. 31, when the
 [0131]
 Judging from the experimental results of FIG. 31, there is no significant difference in the antenna characteristics depending on the position where the
 [0132]
 Next, the
 [0133]
 First, the structure of the
 [0134]
 Of course, in the present invention, the magnetic core may be formed in an annular shape or a closed loop shape. For example, the
 [0135]
 In the present invention, as described above, as shown in FIGS. 4 to 7, the
 [0136]
 On the other hand, when the
 [0137]
 On the other hand, in order to maximize the purpose of the present invention, as described in each of the above specific examples, the
 [0138]
 More specifically, the
 [0139]
 The length of the
 [0140]
 FIG. 32 (A) shows an example in which the
 [0141]
 That is, when it is desirable that the central angle range in the fan-shaped region when the contact point is not provided in the sector-shaped region is 30 to 180 degrees, the ratio (B / A) of the angle is 0.64 to 2 .5, and it is desirable that the central angle range of the fan-shaped region be 50 to 120 degrees under the same conditions, the ratio (B / A) of the angle is 1.05 to 1.05. It is understood that 2.16 is necessary.
 [0142]
 Furthermore, when a contact point is not provided in the sector area when the central angle in the sector area is 10 degrees or less, the ratio (B / A) of the angles needs to be 0.21 or less. Things are understood.
 [0143]
 Accordingly, it is possible to estimate a preferable arrangement position of the
 [0144]
 The angle range of the
 [0145]
 Here, in order to examine the preferable range of the central angle of the
 [0146]
 As is apparent from the graph of FIG. 5B, the gain (dB) of the
 [0147]
 Further, in one specific example of the present invention shown in FIG. 8 (A), a part of the fan-shaped
 [0148]
 In the present invention, as described above, the
 [0149]
 Next, a preferred configuration of the
 [0150]
 That is, the
 [0151]
 Hereinafter, the configuration of a preferred specific example of the antenna structure according to the present invention will be described in detail with reference to the drawings.
 [0152]
 That is, FIG. 9 is a schematic plan view showing a specific example of the
 [0153]
 By the way, in the above-mentioned conventional example, when the antenna part is inserted and arranged in a metal exterior part such as a metal side or a lid, a resonance phenomenon (magnetic force → power → magnetic force →... ) Is hindered by the metal exterior, that is, the magnetic force generated by the resonance phenomenon is attracted to the metal part, causing the eddy current phenomenon and consuming most of the magnetic force (iron loss) (Depending on the influence), the gain and Q value of the antenna portion are greatly reduced, and there is a problem in practical use of the radio-controlled timepiece in which the antenna portion is disposed in the metal exterior.
 [0154]
 On the other hand, in general, in an antenna unit, the gain increases as the number of windings increases. However, at a certain number of windings, the winding resistance (copper loss) increases and the gain decreases. I understand.
 [0155]
 In other words, the output of the antenna unit is composed of the output according to Faraday's law and the output generated by the resonance phenomenon of the antenna unit. Has also decreased significantly.
 [0156]
 In other words, normally, when a metal object is not present in the vicinity, most of the gain of the antenna unit is mostly obtained by the resonance phenomenon described above, and the winding resistance (copper loss) of the antenna unit increases. Then, the resonance phenomenon is hindered and the gain (Q value) is lowered, so that the number of windings cannot be increased extremely or the windings cannot be thinned.
 [0157]
 On the other hand, when the antenna unit is placed in a metal exterior, the influence of iron loss (metal exterior) is large, so the Q value is greatly reduced and the gain is also greatly reduced.
 [0158]
 For this reason, the inventor of the present application has changed the conventional concept, and when using the antenna part in a metal exterior, the antenna part is based on the premise that a decrease in the Q value is inevitable. Has been intensively studied on how to improve the gain.
 [0159]
 That is, in the present invention, when the antenna part is inserted and disposed in the metal exterior part, the gain obtained by Faraday's law is obtained instead of obtaining the gain by the amplification factor by the Q value (resonance phenomenon) as in the prior art. As a result of pursuing how to maximize the use of the system, it is based on the technical idea acquired.
 [0160]
 In order to confirm the above technical idea, the inventors of the present application first conducted an experiment for measuring the relationship between the L value (mH) of a predetermined antenna unit and the gain (dB) of the antenna unit as shown in FIG. Went.
 [0161]
 That is, in FIG. 10, the relationship between the L value and gain (dB) when receiving a radio wave of 77.5 KHz without inserting a predetermined antenna part into the metal exterior part is shown in graph A. Graph B shows the relationship between the L value and gain (dB) when receiving a radio wave of 77.5 KHz with the antenna portion of the structure inserted in the metal exterior portion.
 [0162]
 In this experiment, a winding was wound around a normal linear core portion by a normal method, and the change in L value was adjusted by changing the number of windings, changing the winding resistance, or the like.
 [0163]
 As can be seen from FIG. 10, in the antenna portion not inserted into the metal sheath, the gain increases as the L value increases, but gradually saturates when the L value exceeds about 10 mH. It can be seen that the antenna part inserted in the metal sheath does not have the saturation phenomenon as described above, and the gain increases linearly in proportion to the increase of the L value.
 [0164]
 That is, from the above experimental results, it is shown that when the antenna part is put in a metal sheath, the gain decrease due to the resonance phenomenon is remarkable, but the attenuation level of the gain according to Faraday's law is very small. Yes.
 [0165]
 As a result of further investigation, the present inventors have found that the
 [0166]
 However, when the number of turns of the antenna unit is increased, the capacity of the antenna unit itself is increased, so that there is a restriction on the resonance point of the antenna unit, so the upper limit is inevitably determined.
 [0167]
 Therefore, the present inventors consider that the winding capacity of the antenna section is normally about 10 pF, and the frequency band used is the lowest, 40 KHz. When the L value of the
 [0168]
 Actually, if the parasitic capacitance of the mounting substrate and the receiving IC is included in addition to the winding capacitance of the antenna unit, the parasitic is considered to be about 20 pF. In this situation, the L value is 792 to 800. Therefore, it is desirable to use the
 [0169]
 Furthermore, in practical terms, the highest frequency band that currently exists is 77.5 KHz (Germany), and if it is determined on the assumption that this frequency band will be used, it will be under that situation. When the L value of the
 [0170]
 The lower limit value of the L value in the
 [0171]
 This is because the minimum output required for the antenna unit differs depending on the capability of the receiving IC, but when the minimum output required for the antenna unit is 50 dB, the lower limit of the L value is 25 mH from FIG. When the output is 51 dB, the lower limit of the L value is 20 mH from FIG. 10, and when the minimum output required for the antenna unit is 52 dB, the lower limit of the L value is preferably 15 mH from FIG.
 [0172]
 The L value determined to be preferable in the present invention described above is an extremely unique value considering that the L value of the antenna portion in the conventional radio-controlled timepiece is 2 to 13 mH at most. Is understood.
 [0173]
 Next, the inventors examined the relationship between the number of windings (T) and the gain (dB) of the windings in the antenna unit, and the results are shown in FIG.
 [0174]
 That is, in FIG. 11, as in the experiment of FIG. 10, the number of windings of the
 [0175]
 As can be seen from FIG. 11, in the antenna part not inserted in the metal sheath, the gain increases as the number of windings (T) increases, but the number of windings (T) becomes 1000. When it exceeds, the antenna gradually saturates, but the antenna part inserted in the metal sheath does not have the saturation phenomenon as described above, and the gain increases linearly in proportion to the increase in the number of windings (T). .
 [0176]
 Therefore, in the present invention, in the radio wave correction timepiece in which at least one of the side part or the lid part of the exterior part is a metal or the radio wave correction timepiece in which the side part and the cover part of the exterior part are metal, the antenna part It is determined that the number of windings (T) of 32 is desirably 1000 T or more.
 [0177]
 Furthermore, as understood from FIG. 11, when the
 [0178]
 On the other hand, as the number of windings (T) of the antenna unit increases, the resistance value of the antenna unit increases, so the upper limit of the number of windings (T) is also limited.
 [0179]
 Therefore, the inventors of the present application do not consider the case where the winding resistance (Ω) and gain of the
 [0180]
 That is, in FIG. 12, similarly to the experiment of FIG. 10, the winding resistance of the
 [0181]
 Also, a graph showing the relationship between the winding resistance (Ω) and gain of the
 [0182]
 In the experiment shown in FIG. 12, the winding resistance (Ω) value was adjusted by appropriately changing the resistance value as shown in FIG.
 [0183]
 As understood from FIG. 12 (A), the winding is used in both cases where the
 [0184]
 When looking at a graph G showing a gain difference between the graphs E and F, when the value of the winding resistance (Ω) is 1 KΩ or more, the
 [0185]
 This is because, in the conventional case, in the vicinity of an antenna unit for receiving radio waves, or when a conductive metal object is placed in contact with the antenna unit, the radio wave is absorbed by the metal object. Since the radio wave does not reach the antenna unit, the resonance output of the antenna unit is reduced.For example, the Q value was considered to decrease, but as a result of intensive studies by the inventors, Even if the above-mentioned conventional grasp of the problem is actually an error and there is a conductive metal object in the vicinity of the antenna part or in contact therewith, In the antenna unit, when the radio wave reaches substantially and is not resonant, the flow of magnetic flux due to the external radio wave entering the watch from the outside is somewhat attenuated (for example, about 3 dB). )Substantially, Although the fact that the harm without reaching to the antenna portion can be confirmed, consistent with this fact.
 [0186]
 The problem is that when the antenna unit resonates, the magnetic field lines (magnetic flux) coming out of the magnetic core of the antenna unit are drawn into the metal object, where eddy currents are generated and the magnetic energy is attenuated. It has been clarified that there is a problem in that reception is not normally performed due to a decrease in the output from.
 [0187]
 The above problem will be described in more detail. For example, in FIG. 4, the
 [0188]
 That is, when the output characteristic value of the
 [0189]
 That is, the higher the Q value is, the better the performance as an antenna unit is. In other words, it is also an index indicating the magnitude of the energy loss.
 [0190]
 As a specific example of the Q value measurement method, for example, the method described in the specification of Japanese Patent Application No. 2002-264985 filed by the applicant of the present application can be used.
 [0191]
 From the above results, if the value of the winding resistance (Ω) is 1 KΩ or less, the contribution of the effect to the gain of the
 [0192]
 In general, the thickness of the watch is considered to be about 10 mm, the winding width of the antenna portion is 20 mm, the winding core thickness is 1 mm, the winding thickness is the
 [0193]
 More specifically, the number of windings of the data in FIG. 10 is replaced with the winding resistance value of the sample, and the
 [0194]
 The graphs H and I are substantially the same as the graph E and the graph F in FIG.
 [0195]
 On the other hand, a graph J in FIG. 13 shows an antenna portion having the same structure as described above, in the case where the number of turns (T) is changed to 1000 to 2000 T, and in a state where it is inserted into the metal exterior portion. The relationship between the winding resistance (Ω) and the gain (dB) when receiving the radio wave is shown, and it shows that the gain is improved when the winding resistance (the number of windings) is increased.
 [0196]
 Graph K is an approximate curve of graph J.
 [0197]
 On the other hand, the graph M increases as the winding resistance J increases as the winding resistance (Ω) increases as the winding resistance (Ω) increases, and the winding resistance J increases as the number of windings (T) increases. It is a graph which shows the balance with the gain to do.
 [0198]
 As is apparent from the graph M in FIG. 13, it can be understood that the balance between the increase and decrease in the gain is saturated as the winding resistance (Ω) becomes higher than around 396 Ω. It turns out that the effect is not obtained even if the winding is performed so that the wire resistance (Ω) is 400Ω or more.
 [0199]
 Therefore, the winding resistance (Ω) of the
 [0200]
 Further, in the present invention, when a metal sheath is used, it is considered that the most efficient method is to use the
 [0201]
 The lower limit value of the winding resistance (Ω) in the
 [0202]
 That is, assuming that the minimum output required of the antenna unit is −51 dB, the number of windings is 1400 T from FIG. 11, and this is a winding with a typical conductor diameter of 100 μm and a conductor diameter of 110 μm. Is wound around an antenna with a winding core thickness of 1 mm, the winding resistance is about 18Ω, and when the winding diameter is 80 μm and the conductor diameter is 85 μm, the winding resistance is about 22Ω. When the winding has a thickness of 65 μm and a conductor diameter of 70 μm, the winding resistance is about 30Ω, and when the winding has a conductor diameter of 60 μm and a conductor diameter of 65 μm, the winding resistance is about 38Ω. Is considered the limit.
 [0203]
 Incidentally, the winding resistance (Ω) of the antenna portion in the conventional radio wave correction watch is about 20Ω at most, and the winding resistance (Ω) in the present invention is significantly higher than the conventional level. A resistor (Ω) is used.
 [0204]
 From the above experimental results, in the present invention, when the
 [0205]
 On the other hand, the gain of the antenna section of the
 [0206]
 As a result, when the antenna portion is arranged in the metal exterior, it is possible to improve the gain by designing the winding to be thin and increase the number of turns.
 [0207]
 Further, in the conventional mode in which the
 [0208]
 Therefore, in the present invention, it is desirable to form the
 [0209]
 Therefore, as another aspect of the antenna portion in the present invention, the winding preferably has a wire diameter of 0.1 mmφ or less, preferably 0.06 mmφ.
 [0210]
 The
 [0211]
 In addition, the structural relationship between the
 [0212]
 Therefore, preferable conditions will be described in detail below with respect to the structural relationship between the
 [0213]
 That is, in the
 [0214]
 Thus, when the thickness of the body member or the back cover member and the distance from the antenna to the
 [0215]
 Further, the reception sensitivity is further improved by the material of the
 [0216]
 The configuration conditions of the
 [0217]
 First, in order to investigate the relationship between the reception sensitivity and the watch case, as shown in FIGS. 15A and 15B, the body member thickness T1 of the
 [0218]
 The
 [0219]
 The material of the
 [0220]
 In the first experiment, the gain of the received signal was measured when the body member thickness T1 was changed from 0 to 5000 μm. In this experiment, an experimental antenna with a conductor diameter of 65 μm and the number of windings of 1500 is used as an antenna installed in the
 [0221]
 As a result, as shown in FIG. 16, the gain of the received signal gradually decreases as the body member thickness increases from about −50 dB when the body member thickness T1 is 0 μm (without the body member 45), and the body member thickness increases. When T1 reaches 5000 μm, the decrease is saturated. The solid line shown in FIG. 16 is an approximate curve obtained from experimental data.
 [0222]
 According to the first experiment, it was found that when the barrel member thickness T1 exceeds 5000 μm, the decrease in gain becomes saturated and constant, and the value at this time becomes the minimum value. For this reason, if the trunk member thickness T1 is set between 0 and 5000 μm, the gain can be improved with respect to the minimum value. In consideration of the strength and the like that can be used as a watch case within the above range, the body member thickness T1 is preferably set in a range of 300 μm to 5000 μm, which is practically the maximum. In addition, in order to form the most suitable body member in consideration of appearance, workability, corrosion resistance, etc. as the case of the
 [0223]
 In the second experiment, the gain of the received signal was measured when the distance D1 between the
 [0224]
 As a result, as shown in FIG. 17, the gain of the received signal increases when the distance D1 is away from about −54.5 dB where the distance D1 is 0 μm (a portion of the
 [0225]
 According to the second experiment, when the distance D1 between the
 [0226]
 In the third experiment, the gain of the received signal was measured when the back cover member thickness T2 was changed from 0 to 5000 μm. FIG. 18 shows the measurement results from 0 to 3000 μm. In this experiment, an experimental antenna with a conductor diameter of 65 μm and a winding number of 1500 is used as the antenna, the distance between the
 [0227]
 As a result, as shown in FIG. 18, the gain of the received signal decreases rapidly from about −43.4 dB to 800 μm when the back cover member thickness T2 is 0 μm (without the back cover member 41). It was found that there was not much change in gain when the member thickness T2 was 800 μm to 5000 μm. That is, it was found that the minimum value was obtained when the back cover member thickness T2 was 800 μm. The solid line shown in FIG. 18 is an approximate curve obtained from experimental data.
 [0228]
 The minimum value is practically acceptable, and within the above range, considering the strength that can be used as the
 [0229]
 In the fourth experiment, the gain of the received signal was measured when the distance D2 between the
 [0230]
 As a result, as shown in FIG. 19, the gain of the received signal goes away from about −49.6 dB when the distance D2 is 0 μm (a part of the
 [0231]
 According to the fourth experiment, the distance D2 between the
 [0232]
 Next, a specific example of the
 [0233]
 A
 [0234]
 In the present invention, the
 [0235]
 In this specific example, both the
 [0236]
 In the radio-controlled
 [0237]
 In addition, on the inner surface of the
 [0238]
 Further, one or both of the
 [0239]
 As a specific example different from the above specific example in the present invention, the basic configuration shown in FIG. 2 is the same, but the material of the
 [0240]
 That is, the
 [0241]
 In the case of the
 [0242]
 In addition, because of the relationship with the material of the
 [0243]
 In the case of this specific example, the gain can be improved by about 2 to 3 dB by attaching a nonmagnetic member similar to the specific example described above to the inner surface of the
 [0244]
 In this specific example, one or both of the
 [0245]
 The radio wave correction timepiece according to another specific example shown in FIG. 22 according to the present invention employs substantially the same configuration as the configuration shown in FIG. 2, but the
 [0246]
 That is, in the configuration of FIG. 2, the
 [0247]
 The
 [0248]
 The plated layers 221 and 222 of the
 [0249]
 First, in order to form a base plating layer, the
 [0250]
 Next, an Sn—Cu—Pd alloy plating layer is formed on the base plating layer by plating under the following conditions. Plating bath (Composition: Na2 SnO3 ・ 3H2 O 60 g / l (Sn equivalent 26.7 g / l), CuCN 20 g / l (Cu equivalent 14.2 g / l), K2 SO3 H 10 g / l, KCN (free) 30 g / l, KOH 60 g / l, K2 Pd (CN)4 ・ 3H2 O 30 g / l (Pd conversion amount 9.3 g / l)). Plating conditions: bath temperature 50-55 ° C., current density 2.0 A / dm2 Current efficiency 47.8%, pH 12.5-13, deposition rate 0.33 μm / min,
 [0251]
 Thereafter, the finish plating layer is formed by plating on the Sn—Cu—Pd alloy plating layer under the following conditions. Plating bath ("Parabrite-SSS" (trade name) manufactured by Japan High Purity Chemical Co., Ltd.). Plating conditions:
 [0252]
 The
 [0253]
 Also in this specific example, the
 [0254]
 In any of the above specific examples, like the
 [0255]
 In addition, in order to further reduce the size and thickness of the watch, the distance between the
 [0256]
 Further, the
 [0257]
 Moreover, although the
 [0258]
 Further, not only the entire body member, bezel, and back cover member are formed of nonmagnetic members, but also reception sensitivity can be improved by forming only a part of them by nonmagnetic members.
 [0259]
 In that case, it is effective and preferable to form only the part where the
 [0260]
 Further, not only one type of metal and nonmagnetic member but also a plurality of metals and nonmagnetic members can be used in combination.
 [0261]
 In addition, regarding the selection of the material used for the
 [0262]
 As a result of this experiment, in the case of gold, gold alloy, silver, silver alloy, copper, trunk alloy, brass, aluminum, aluminum alloy, zinc, zinc alloy, magnesium, magnesium alloy and cemented carbide (tungsten-carbide alloy) Compared with stainless steel, titanium, titanium alloy, and tantalum carbide, the gain was increased by 2-3 dB (decibel). In addition, in the same experiment, not only when the exterior part is formed of a metal with good reception sensitivity, but also when the exterior part is formed with a metal with low reception sensitivity, the reception sensitivity is improved in a part thereof. We also verified that it is possible to improve the receiving sensitivity of the antenna inside the exterior by providing metal.
 [0263]
 In addition, by comparing the electrical resistivity of the metals used in the experiment, it was found that an electrical resistivity of 7 μΩ · cm or less can maintain good reception sensitivity. As a result, the entire exterior part or its non-magnetic member such as gold, gold alloy, silver, silver alloy, copper, trunk alloy, brass, aluminum, aluminum alloy, zinc, zinc alloy, magnesium, magnesium alloy and cemented carbide It has been found that if a part is formed, the receiving sensitivity can be improved even for an exterior part using metal.
 [0264]
 Furthermore, even in the exterior part of an electronic device made of a metal having high electrical resistivity such as stainless steel, titanium, titanium alloy, and tantalum carbide having excellent appearance quality, a part made of the non-magnetic member is part of the exterior part. It has also been verified that the reception sensitivity can be improved if there is.
 [0265]
 In addition, as for the material of the
 [0266]
 In the present invention, it is desirable that the inner surface of the body of the
 [0267]
 Furthermore, in the present invention, it is also preferable that the
 [0268]
 In the present invention, it is also preferable to dispose one end surface of both ends of the antenna portion in a substantially vertical direction with respect to the inner surface of the
 [0269]
 On the other hand, in the present invention, it is also desirable that at least one nonmagnetic member having an electrical resistivity of 7.0 μΩ · cm or less is fixed to the inner surface of the
 [0270]
 Furthermore, in the present invention, the
 [0271]
 In the present invention, the
 [0272]
 In addition to the specific examples described above, in the present invention, it is necessary to provide countermeasures against static electricity in the
 [0273]
 As the electrostatic treatment mechanism in the present invention, for example, an appropriate electrical conduction portion is provided in a part of the
 [0274]
 For example, in the electronic device or radio wave correction watch, when the push button or part of the crown is pressed or pulled out, the appropriate contacts come into contact with each other to discharge static electricity. It may be configured such that an appropriate conductive ring may be inserted into the electronic device or the radio-controlled timepiece.
 [0275]
 Furthermore, in the radio-controlled timepiece, at least one place may be welded to the body member and the bezel part, or silver paste is applied to at least one place between the body member and the bezel part. It may be a thing.
 [0276]
 Next, regarding the
 [0277]
 In addition, the thickness of at least a part of the
 [0278]
 On the other hand, the present inventors constitute the
 [0279]
 That is, when the
 [0280]
 By the way, the inventors of the present application have learned that the antenna gain of the
 [0281]
 That is, the
 [0282]
 That is, it was found that when the tightening torque is changed between 0 and 6 N · m, the gain of the antenna decreases as the tightening torque increases, and the maximum attenuation decreases by about 3 dB.
 [0283]
 It should be noted that when the tightening torque is 6 N · m or more, measurement is not performed because there is substantially no device to measure, but it can be understood from FIG. It is understood that the antenna gain decreases when the contact pressure with the
 [0284]
 Therefore, in the
 [0285]
 Therefore, the present inventors conducted the following experiment in order to examine the reason why such a phenomenon occurs.
 [0286]
 First, as shown in FIGS. 33 (A) and 33 (B), when the Vdd contact spring F is used inside the
 [0287]
 In FIG. 24, the data before the change is data measured in a state where the Vdd contact spring R is normally used, and the data after the change is that the contact between the Vdd contact spring and the
 [0288]
 Comparing both data, as long as the characteristic value of the
 [0289]
 However, even if the
 [0290]
 Further, as shown in FIGS. 34 (A) and (B), the inventors have eliminated the contact point between the
 [0291]
 In FIG. 25, the data before the change is data measured in a state where the contact point between the
 [0292]
 Comparing both data, as long as the characteristic value of the
 [0293]
 However, even if the
 [0294]
 Further, as shown in FIG. 26 (A), the present inventors insert an appropriate insulator between the
 [0295]
 The result is shown in FIG.
 [0296]
 In FIG. 26B, the data before the change is data measured without inserting the insulator, and the data after the change is data measured when the insulator is inserted.
 [0297]
 Comparing the two data, the gain is not improved at all even if the influence on the
 [0298]
 Therefore, the present inventors reviewed and examined the experimental results of FIGS.
 [0299]
 The experiments of FIGS. 6 and 8 were conducted with a screw tightening torque of 3 N · m.
 [0300]
 Then, as described above, it is understood that the gain of the
 [0301]
 Therefore, the inventors of the present application further performed another experiment.
 [0302]
 That is, in the configuration shown in FIG. 6, the
 [0303]
 The result is shown in FIG.
 [0304]
 In FIG. 27, a graph of 90 degrees is a graph showing the gain of the antenna obtained by this experiment, and the current graph shows the gain of the antenna in the conventional
 [0305]
 From this experimental result, it can be seen that in the case of the configuration according to the experiment, the attenuation of the gain of the antenna portion due to the tightening torque of the
 [0306]
 From this result, the gain of the antenna is greatly improved by cutting the screw part around the antenna. Therefore, the tightening torque of the back cover member increases, and the screw part around the antenna causes magnetic coupling. It is presumed that an eddy current loss that hinders the resonance phenomenon of the antenna occurs and the gain of the antenna decreases.
 [0307]
 Therefore, in the present invention, it is considered that it is not preferable to increase the bonding force between the
 [0308]
 However, even if the tightening torque of all samples used in the experiment is constant, the value of the loosening torque after the waterproof test varies.
 [0309]
 For example, if the tightening torque is 2 N · m, the loosening torque after the waterproof test is 1.6 N · m at maximum, 0.8 N · m at minimum, and 1.1 N · m on average (30 samples measured). Was 3 N · m, the loosening torque after the waterproof test was a maximum of 3.5 N · m, a minimum of 1.7 N · m, and an average of 2.5 N · m (30 samples measured).
 [0310]
 In addition, depending on the value of the tightening torque, some samples with a tightening torque of less than 0.1 N · m failed the waterproof test.
 [0311]
 From the above, since it is difficult to measure when the tightening torque is stronger than 6 N · m, and there is no necessity of stronger than 6 N · m from the value of the antenna gain, it is considered that the loosening torque may be 6 N · m or less.
 [0312]
 From the above, the loosening torque is preferably 0.6 to 6 N · m, and practically preferably 0.2 to 4.5 N · m.
 [0313]
 Therefore, as another aspect of the present invention, at least an antenna unit, an information processing device for processing information captured by the antenna unit, and the antenna unit and the information processing device can be accommodated therein. The metal exterior portion is configured such that the antenna portion can receive magnetic flux from the outside of the metal exterior via the metal exterior and can resonate. And the metal exterior part is composed of a body part (side part) and a back cover member, and the body part (side part) material and the back cover member are joined to each other, However, the mutual peeling force between the body (side) material and the back cover member is 10-4 It may be an electronic device characterized by N · m to 6.0 N · m, or at least an antenna unit, an information processing device for processing information captured by the antenna unit, and the antenna Part and a metal exterior part capable of accommodating the information processing apparatus therein, the metal exterior part is configured such that the antenna part is external to the metal exterior from the outside. It is configured to receive magnetic flux through a metal sheath and can resonate, and the metal sheath portion is composed of a trunk portion (side portion) material and a back cover member, and the trunk portion ( The side part material and the back cover member are joined to each other via a screw mechanism, and the mutual loose torque between the body part (side part) material and the back cover member is 0.1 N · m to 6 0.0 N · m, preferably 0.2 N · m to 3.5 N · m It may be there in the electronic apparatus characterized.
 [0314]
 Next, in the present invention, in order to verify whether or not there is a difference in the effect of the present invention due to a difference in the joint portion of the
 [0315]
 That is, the
 [0316]
 The result is shown in FIG.
 [0317]
 As is clear from the results of the comparative experiment in FIG. 29, it was found that the gain value of the antenna related to the Ti sample (D) and the SS sample (E) decreased.
 [0318]
 As the cause of this, as described above, it is presumed that strong magnetic coupling is formed on the joint surface between the upper body part and the middle body part.
 Therefore, in the samples (D) and (E), a sectoral region having a central angle of 90 degrees in the laser welded
 [0319]
 The result is shown in FIG.
 [0320]
 【The invention's effect】
 Since the present invention adopts the configuration as described above, it solves the above-described problems of the prior art and significantly changes the structure, exterior material, or design of an electronic device including a conventional radio-controlled timepiece. In addition, by adopting an antenna unit with a simple configuration, the reception efficiency is good, the size and thickness of the electronic device itself is not different from the conventional one, and the design cost is increased, and the manufacturing cost is increased An electronic device that can be kept inexpensive is easily obtained.
 [Brief description of the drawings]
 FIG. 1 is a diagram showing a configuration of a specific example of an electronic apparatus according to the invention.
 FIG. 2 is a cross-sectional view showing the configuration of another specific example of the electronic apparatus according to the invention.
 FIG. 3 is a partial cross-sectional view of a specific example of an electronic apparatus according to the invention.
 It is a graph which shows the change of Q value by the influence of the metal plate of the antenna main-body part in this invention and the former.
 4A is a diagram showing an example of the shape of the joint surface between the trunk member and the back cover member in the metal exterior according to the present invention and the arrangement relationship of the antennas; FIG. ) Is a partial cross-sectional view of FIG.
 FIG. 5 (A) is a partial cross-sectional view of another specific example of the metal exterior according to the present invention, and FIG. 5 (B) shows the center angle of the sector area and the gain of the antenna. It is a graph which shows the relationship.
 FIG. 6 (A) is a partial cross-sectional view of another specific example of the metal exterior according to the present invention, and FIG. 6 (B) is an explanatory diagram for explaining the sector region. is there.
 FIG. 7 (A) is a partial cross-sectional view of still another specific example of the metal exterior according to the present invention, and FIG. 7 (B) is an explanatory diagram for explaining the sectoral region. It is.
 FIG. 8 (A) is a plan view showing a specific example in the case where a joint part is partially left in a fan-shaped region part in a metal exterior part according to the present invention, and FIG. FIG. 9 is a diagram showing experimental data for explaining the effect of the structure of FIG.
 FIG. 9 is a diagram showing a configuration of a specific example of an antenna structure according to the present invention.
 FIG. 10 is a graph showing a relationship between L value and gain in an antenna structure.
 FIG. 11 is a graph showing the relationship between the number of windings (T) and the gain in the antenna structure.
 FIG. 12A is a graph showing the relationship between winding resistance (Ω) and gain in an antenna structure, and FIG. 12B is a diagram showing an example of the configuration of a coil. .
 FIG. 13 is a graph showing the relationship between winding resistance (Ω) and gain in an antenna structure.
 FIG. 14 is a diagram illustrating an example of an arrangement configuration of components in a radio wave timepiece that is a specific example of the electronic apparatus according to the invention.
 FIGS. 15A and 15B are a plan view and a cross-sectional view illustrating the positional relationship between the metal exterior portion and the antenna portion, respectively.
 FIG. 16 is a graph showing a relationship between a trunk member thickness and an antenna gain in the electronic apparatus according to the present invention.
 FIG. 17 is a graph showing the relationship between the distance between the body member and the antenna and the gain of the antenna in the electronic apparatus according to the present invention.
 FIG. 18 is a graph showing the relationship between the thickness of the back cover member and the gain of the antenna in the electronic apparatus according to the present invention.
 FIG. 19 is a graph showing the relationship between the distance between the back cover member and the antenna and the gain of the antenna in the electronic apparatus according to the present invention.
 FIG. 20 is a diagram for explaining the outline of the configuration of a radio-controlled timepiece as a specific example of the electronic apparatus according to the invention.
 FIG. 21 is a diagram for explaining the details of the configuration of a conventional radio-controlled timepiece.
 FIG. 22 is a diagram illustrating details of a configuration of a radio-controlled timepiece as a specific example of the electronic apparatus according to the invention.
 FIG. 23 is a graph showing the relationship between torque and antenna gain;
 FIG. 24 is a diagram showing data indicating changes in antenna characteristic values depending on the presence / absence of a contact between the Vdd contact spring and the back cover member in the electronic apparatus according to the present invention.
 FIG. 25 is a diagram showing data indicating changes in the characteristic value of the antenna depending on the presence / absence of a contact between the movement and the back cover member in the electronic apparatus according to the invention.
 FIG. 26A is a partial cross-sectional view showing a configuration of a specific example in which an insulator is inserted between a body member and a back cover member in the electronic apparatus according to the present invention. FIG. 26B is a diagram illustrating data indicating a change in the characteristic value of the antenna depending on whether or not an insulator is inserted.
 FIG. 27 is a graph showing the relationship between torque and antenna gain;
 FIG. 28 is a plan view for explaining the positional relationship between a sector area and an antenna in the electronic apparatus according to the present invention.
 FIG. 29 is a diagram showing data indicating changes in antenna characteristic values in a plurality of specific examples of the electronic apparatus according to the invention.
 FIG. 30 is a diagram showing data indicating changes in antenna characteristic values in another specific example of the electronic apparatus according to the invention.
 FIG. 31 illustrates the result of an experiment conducted on the effect of the antenna portion depending on the arrangement position in the case where a gap portion is provided at the joint portion between the body member and the back cover member constituting the metal exterior portion. It is a figure to do.
 FIG. 32 is a diagram showing a position where an antenna portion is arranged, a length of the gap portion, and a fan shape when a gap portion is provided at a joint portion between a trunk member and a back cover member constituting a metal exterior portion; It is a figure explaining the relationship with the center angle of an area | region.
 FIG. 33 is a diagram illustrating a configuration example for eliminating the influence of a Vdd contact in a metal exterior part.
 FIG. 34 is a diagram illustrating a configuration example for eliminating the influence of a movement in a metal exterior part.
 [Explanation of symbols]
 1 Antenna
 2 radio clock receiver
 3 CPU
 4 Display driver
 5 input devices
 10
 11 torso
 12 Back cover member
 13 Windshield
 14 movement
 15 Dial
 16 needles
 17 bar antenna
 18, 38 Magnetic core member
 20 coils
 21 Conductor
 22 Ring edge frame
 221 and 222 plating layer
 23 Glass
 30 Electronic equipment, radio-controlled clock
 31 Metal exterior
 32 Antenna section
 33, information processing apparatus
 34 CPU
 35 Information display / notification means
 36 Guidelines
 37a Step
 37b Inward protrusion
 37c Inner side surface of
 38 Magnetic core material
 39 joints
 41 Back cover member
 42 Movement
 44 Packing
 45 Torso
 451, 452 Sub fuselage member
 46 Crown, operation buttons, operation pins
 47 Switch circuit
 48 Through hole
 49 Interstitial materials, insulating materials
 50 Rising part
 51 space
 52 Screw mechanism
 54 Eddy current
 56 Joints contained within a sector area
 57 Fan-shaped area
 60 Joints formed intermittently in the gaps in the sector area
| Application Number | Priority Date | Filing Date | Title | 
|---|---|---|---|
| JP2003140456AJP4143693B2 (en) | 2003-05-19 | 2003-05-19 | Electronics | 
| EP04733461AEP1624525B1 (en) | 2003-05-15 | 2004-05-17 | Electronic device having metal package unit having built-in antenna unit | 
| DE602004025098TDE602004025098D1 (en) | 2003-05-15 | 2004-05-17 | ELECTRONIC EQUIPMENT WITH A METAL CAPSULATION UNIT WITH AN INTEGRATED ANTENNA UNIT | 
| US10/536,763US7321337B2 (en) | 2003-05-15 | 2004-05-17 | Electronic device having metal package unit having built-in antenna unit | 
| KR1020057012266AKR101074443B1 (en) | 2003-05-15 | 2004-05-17 | Electronic device having metal package unit having built-in antenna unit | 
| HK06100238.6AHK1077928B (en) | 2003-05-15 | 2004-05-17 | Electronic device having metal package unit having built-in antenna unit | 
| CN2004800010436ACN1701464B (en) | 2003-05-15 | 2004-05-17 | Electronic device having metal package unit having built-in antenna unit | 
| PCT/JP2004/006999WO2004102738A1 (en) | 2003-05-15 | 2004-05-17 | Electronic device having metal package unit having built-in antenna unit | 
| Application Number | Priority Date | Filing Date | Title | 
|---|---|---|---|
| JP2003140456AJP4143693B2 (en) | 2003-05-19 | 2003-05-19 | Electronics | 
| Publication Number | Publication Date | 
|---|---|
| JP2004343625A JP2004343625A (en) | 2004-12-02 | 
| JP4143693B2true JP4143693B2 (en) | 2008-09-03 | 
| Application Number | Title | Priority Date | Filing Date | 
|---|---|---|---|
| JP2003140456AExpired - LifetimeJP4143693B2 (en) | 2003-05-15 | 2003-05-19 | Electronics | 
| Country | Link | 
|---|---|
| JP (1) | JP4143693B2 (en) | 
| Publication number | Priority date | Publication date | Assignee | Title | 
|---|---|---|---|---|
| JP3873171B2 (en) | 2003-03-25 | 2007-01-24 | カシオ計算機株式会社 | Reforming apparatus and power generation system | 
| JP4687530B2 (en)* | 2006-03-27 | 2011-05-25 | カシオ計算機株式会社 | Equipment case and radio clock | 
| JP5442935B2 (en)* | 2007-03-19 | 2014-03-19 | シチズンホールディングス株式会社 | Clock with wireless function | 
| CN118303018A (en) | 2021-11-25 | 2024-07-05 | 三星电子株式会社 | Electronic device comprising a support made of metallic material | 
| Publication number | Publication date | 
|---|---|
| JP2004343625A (en) | 2004-12-02 | 
| Publication | Publication Date | Title | 
|---|---|---|
| KR101074443B1 (en) | Electronic device having metal package unit having built-in antenna unit | |
| CN1701464B (en) | Electronic device having metal package unit having built-in antenna unit | |
| JP4297909B2 (en) | Antenna structure and radio wave correction watch | |
| US8259024B2 (en) | Radio wave receiver with an antenna structure | |
| JP2007013862A (en) | Antenna, radio clock using the same, keyless entry system, and rfid system | |
| JP4695088B2 (en) | Electronics | |
| JP4143693B2 (en) | Electronics | |
| JP4345634B2 (en) | Radio wave watch | |
| JP2004212083A (en) | Case structure of radio controlled watch | |
| JP3512782B1 (en) | Antenna structure and radio clock | |
| JP4202878B2 (en) | Antenna structure and radio wave correction watch | |
| JP2005274359A (en) | Radio controlled watch | |
| JP2006275580A (en) | Case structure of radio controlled timepiece | |
| JP3975250B2 (en) | Radio correction clock | |
| JP2008304485A (en) | Radio wave watch | |
| JP2006340101A (en) | Antenna structure and radio wave correction clock | |
| JP4463485B2 (en) | Radio clock | |
| JP5874338B2 (en) | ANTENNA STRUCTURE, RADIO RECEIVING DEVICE, AND ANTENNA STRUCTURE MANUFACTURING METHOD | |
| JP2004191362A (en) | Antenna structure and radio wave correcting clock | |
| JP2009020119A (en) | Radio wave watch | |
| JP4680226B2 (en) | Radio correction clock | |
| JP2010230512A (en) | Electronic apparatus | |
| JP2008076327A (en) | Electric wave correcting watch | |
| HK1103173B (en) | Electronic device | 
| Date | Code | Title | Description | 
|---|---|---|---|
| A621 | Written request for application examination | Free format text:JAPANESE INTERMEDIATE CODE: A621 Effective date:20060310 | |
| A131 | Notification of reasons for refusal | Free format text:JAPANESE INTERMEDIATE CODE: A131 Effective date:20070619 | |
| A521 | Request for written amendment filed | Free format text:JAPANESE INTERMEDIATE CODE: A523 Effective date:20070820 | |
| A02 | Decision of refusal | Free format text:JAPANESE INTERMEDIATE CODE: A02 Effective date:20071225 | |
| A521 | Request for written amendment filed | Free format text:JAPANESE INTERMEDIATE CODE: A523 Effective date:20080221 | |
| A911 | Transfer to examiner for re-examination before appeal (zenchi) | Free format text:JAPANESE INTERMEDIATE CODE: A911 Effective date:20080407 | |
| TRDD | Decision of grant or rejection written | ||
| RD02 | Notification of acceptance of power of attorney | Free format text:JAPANESE INTERMEDIATE CODE: A7422 Effective date:20080428 | |
| A01 | Written decision to grant a patent or to grant a registration (utility model) | Free format text:JAPANESE INTERMEDIATE CODE: A01 Effective date:20080430 | |
| A01 | Written decision to grant a patent or to grant a registration (utility model) | Free format text:JAPANESE INTERMEDIATE CODE: A01 | |
| RD07 | Notification of extinguishment of power of attorney | Free format text:JAPANESE INTERMEDIATE CODE: A7427 Effective date:20080509 | |
| A61 | First payment of annual fees (during grant procedure) | Free format text:JAPANESE INTERMEDIATE CODE: A61 Effective date:20080512 | |
| R150 | Certificate of patent or registration of utility model | Ref document number:4143693 Country of ref document:JP Free format text:JAPANESE INTERMEDIATE CODE: R150 Free format text:JAPANESE INTERMEDIATE CODE: R150 | |
| FPAY | Renewal fee payment (event date is renewal date of database) | Free format text:PAYMENT UNTIL: 20110627 Year of fee payment:3 | |
| FPAY | Renewal fee payment (event date is renewal date of database) | Free format text:PAYMENT UNTIL: 20130627 Year of fee payment:5 | |
| FPAY | Renewal fee payment (event date is renewal date of database) | Free format text:PAYMENT UNTIL: 20150627 Year of fee payment:7 | |
| S533 | Written request for registration of change of name | Free format text:JAPANESE INTERMEDIATE CODE: R313533 | |
| R350 | Written notification of registration of transfer | Free format text:JAPANESE INTERMEDIATE CODE: R350 | |
| R250 | Receipt of annual fees | Free format text:JAPANESE INTERMEDIATE CODE: R250 | |
| R250 | Receipt of annual fees | Free format text:JAPANESE INTERMEDIATE CODE: R250 | |
| EXPY | Cancellation because of completion of term |