







本発明は、所定の被監視物を監視する監視システム及びこの監視システムに用いられる端末装置に関する。 The present invention relates to a monitoring system for monitoring a predetermined object to be monitored and a terminal device used in the monitoring system.
近年、空き巣等を中心とした犯罪が急激に増加しており、その手口も巧妙且つ乱暴なものとなっているが、これにともない、警備会社等による監視システムの契約件数も増加の一途を辿っている。このような監視システムとしては、住居の玄関先や店舗内等に設置された監視カメラによって撮像された映像を所定の監視モニタを介して視認し、問題が生じた場合には、その旨を通報することにより、所定の監視域を監視するものが知られている。また、近年では、所定の施設のみならず、広範囲な地域を包括的に監視するために、車両等の移動体による巡回をともなう監視システムも提案されている(例えば、特許文献1及び特許文献2等参照。)。 In recent years, crimes centered on empty nests and the like have been increasing rapidly, and their techniques have become clever and violent, but with this, the number of monitoring system contracts by security companies etc. has continued to increase. ing. As such a monitoring system, an image taken by a monitoring camera installed at a front door of a residence or in a store is visually confirmed through a predetermined monitoring monitor, and if a problem occurs, a notification to that effect is given. By doing so, what monitors a predetermined monitoring area is known. In recent years, in order to comprehensively monitor not only a predetermined facility but also a wide area, a monitoring system with a patrol by a moving body such as a vehicle has been proposed (for example, Patent Document 1 and Patent Document 2). Etc.).
具体的には、特許文献1には、家屋に設けた各種センサと、このセンサからの情報を検知する手段と、この手段からの情報を受けて家屋外部に警報を発するとともにタクシー会社に電話連絡するための自動通報装置とを備えたタクシーによるセキュリティ支援システムが開示されている。 Specifically, in Patent Document 1, various sensors provided in a house, means for detecting information from the sensor, receiving information from the means, an alarm is given to the outdoor part of the house, and a taxi company is contacted by telephone. A security support system using a taxi equipped with an automatic notification device for doing this is disclosed.
また、特許文献2には、大規模な管制センタを経由せず、車両を移動型パトロールセンタとした移動型パトロールセンタによる警備システムが開示されている。 Patent Document 2 discloses a security system using a mobile patrol center that uses a vehicle as a mobile patrol center without going through a large-scale control center.
さらに、近年では、登下校中の児童をはじめとする人間の誘拐や、街中に設置されている自動販売機や戸外に駐車されている車両をはじめとする物品の窃盗といった凶悪犯罪も横行している。そのため、これら犯罪を未然に防止するための技術も提案されている(例えば、特許文献3及び特許文献4等参照。)。 Furthermore, in recent years, violent crimes such as the kidnapping of humans including children attending school and theft of goods such as vending machines installed in the city and vehicles parked outdoors have been rampant. Yes. Therefore, techniques for preventing these crimes have been proposed (see, for example, Patent Document 3 and Patent Document 4).
具体的には、特許文献3には、被監視者が特定のエリア外に出たこと、特定のエリア内に侵入したこと、又は被監視者の動きに異常があったことを検知する機能を備えたエリア監視システムが開示されている。特に、このエリア監視システムは、被監視者が携帯するGPS(Global Positioning System)付携帯電話と、このGPS付携帯電話に対して所定スケジュールで位置情報を要求し、GPS付携帯電話からの位置情報を受け取る位置検索センタと、この位置検索センタからの位置情報を受け取り、その位置情報が予め監視者が定めたエリア外又は所定のエリア内であったときに当該監視者の携帯電話に電子メールで通報するサービスセンタとを備えるものである。これにより、このエリア監視システムにおいては、被監視者が通常の行動エリアの範囲内であれば監視者がいちいち位置を確認する必要がないことから楽に監視を行うことができ、また、GPS付携帯電話を用いることから被監視者が抵抗なく携帯することができるとしている。 Specifically, Patent Document 3 has a function of detecting that the monitored person has moved out of the specific area, entered the specific area, or that the movement of the monitored person is abnormal. An area monitoring system is disclosed. In particular, this area monitoring system requires a GPS (Global Positioning System) mobile phone carried by the monitored person, and requests location information from the GPS mobile phone according to a predetermined schedule. And a position search center that receives position information from the position search center, and when the position information is outside or within a predetermined area defined by the monitor in advance by e-mail to the mobile phone of the monitor And a service center for reporting. As a result, in this area monitoring system, if the monitored person is within the range of the normal action area, it is not necessary for the monitoring person to check the position one by one. Since the telephone is used, the person being monitored can carry it without resistance.
また、特許文献4には、児童の学校への到着または未到着を前記児童の保護者に自動的に通報する児童防犯通報方法が開示されている。特に、この児童防犯通報方法においては、データサーバに児童IDと児童の行動予定データを登録しておき、児童が自宅を出発して学校に向かう場合に、無線読み取り装置を用いて無線タグ装置から児童IDを読み取り、児童IDと登校開始時刻とをデータサーバに送信し、行動予定データと登校開始時刻とに基づいて児童の登校完了予想時刻をデータサーバによって計算する。そして、この児童防犯通報方法においては、児童が学校に到着すると、無線読み取り装置を用いて無線タグ装置から児童IDを読み取り、児童IDと登校完了時刻とをデータサーバに送信する一方で、登校完了予想時刻を超えて所定の時間経過しても児童IDと登校完了時刻とをデータサーバが受信しない場合には、保護者に緊急通知を送信する。また、この児童防犯通報方法においては、下校の場合にも同様な処理を行う。これにより、この児童防犯通報方法においては、児童の行動予定から計算された登校・下校完了予想時刻を超えて所定の時間経過しても登校・下校未了の場合に保護者に対する通報を行うことから、児童の防犯に関して適切なタイミングで保護者に注意を喚起することができるとしている。 Patent Document 4 discloses a child crime prevention notification method for automatically notifying a child's guardian of arrival or non-arrival of a child at school. In particular, in this child crime prevention reporting method, a child ID and a child's action schedule data are registered in a data server, and when the child leaves home and heads for school, the wireless tag device is used to read from the wireless tag device. The child ID is read, the child ID and the school start time are transmitted to the data server, and the expected school completion time of the child is calculated by the data server based on the action schedule data and the school start time. And in this child crime prevention reporting method, when the child arrives at the school, the child ID is read from the wireless tag device using the wireless reading device, and the child ID and the school completion time are transmitted to the data server, while the school completion is completed. If the data server does not receive the child ID and the school completion time even after a predetermined time has passed beyond the expected time, an emergency notification is transmitted to the guardian. Moreover, in this child crime prevention reporting method, the same processing is performed even when leaving school. As a result, in this child crime prevention reporting method, a notification will be sent to the guardian if school attendance or school leaving is not completed even after a predetermined time has elapsed beyond the expected school attendance or school attendance completion time calculated from the child's action schedule. Therefore, it is said that parents can be alerted at an appropriate time for crime prevention of children.
ところで、上述した特許文献1又は特許文献2に記載された技術をはじめとする従来の移動体による巡回をともなう監視システムにおいては、移動体による巡回していない領域で事件が発生した場合等には、迅速な対処を行うことができないという問題があった。 By the way, in the conventional surveillance system with patrol by a mobile body including the technique described in Patent Document 1 or Patent Document 2 described above, when an incident occurs in an area that is not patrol by the mobile body, etc. There was a problem that could not be dealt with promptly.
また、上述した特許文献3に記載された技術のように、GPSを利用した監視システムにおいては、被監視者が所持する端末機の回線使用料が高く、当該被監視者の負担が大きいとともに、小さいエリア単位で詳細に監視を行うことはできないという問題があった。 In addition, as in the technique described in Patent Document 3 described above, in the monitoring system using GPS, the line usage fee of the terminal owned by the monitored person is high, and the burden on the monitored person is large. There was a problem that detailed monitoring could not be performed in small area units.
さらに、上述した特許文献4に記載された技術においては、被監視者の行動開始時刻と行動完了時刻とに基づいて異常の有無を判定するのみであることから、仮に事件が発生した場合には、その発生現場を特定することは不可能であるという問題があった。 Furthermore, in the technique described in Patent Document 4 described above, since only the presence / absence of abnormality is determined based on the action start time and action completion time of the monitored person, if an incident occurs, There was a problem that it was impossible to identify the site of the occurrence.
本発明は、このような実情に鑑みてなされたものであり、GPSを利用することなく、低コストのもとに、被監視物の位置を確実に把握することができるとともに、被監視物に異常事態が発生した場合には、その発生現場を特定し、異常が発生した旨並びに異常発生現場及び異常発生時刻を迅速且つ確実に認識することができる監視システム、及びこの監視システムに用いられる端末装置を提供することを目的とする。 The present invention has been made in view of such circumstances, and can reliably grasp the position of the monitored object at low cost without using GPS, and When an abnormal situation occurs, a monitoring system capable of identifying the occurrence site, recognizing that the abnormality has occurred, and the abnormal occurrence site and the time of occurrence of the abnormality, and a terminal used in the monitoring system An object is to provide an apparatus.
上述した目的を達成する本発明にかかる監視システムは、所定の被監視物を監視する監視システムであって、所定の面積からなる監視エリアを定期的に巡回し、巡回中の状況を示す画像データ及び/又は音声データを取得する複数の移動体と、上記監視エリア毎に設けられ、上記移動体から画像データ及び/又は音声データを含む各種データを受信して蓄積する地域管制施設と、上記監視エリア内に設けられ、所定の無線伝送方式に準拠した無線ネットワーク網を構築するためのアクセスポイントとして機能する複数の通信装置と、上記被監視物が所持する又は上記被監視物に設けられ、上記被監視物に関する情報を一切格納することなく、当該被監視物との対応付けを上記地域管制施設に設けられたデータベースによって行うように構成された端末機とを備え、上記端末機は、通常時には、当該端末機に固有の識別子情報を含む端末機送信データを最寄りの上記通信装置に対して連続的に送信し、上記通信装置は、上記端末機送信データを受信すると、当該端末機送信データに、当該通信装置に固有の識別子情報と現在時刻を示す現在時刻情報とを付加して通信装置送信データを生成し、生成した上記通信装置送信データを上記無線ネットワーク網を利用して上記地域管制施設に対して送信し、上記地域管制施設は、上記通信装置送信データに含まれる上記端末機の識別子情報と、上記端末機送信データを受信した上記通信装置の識別子情報と、当該端末機送信データを受信した時刻情報とに基づいて、上記端末機の位置を常時把握することによって上記被監視物の位置を常時把握し、上記端末機は、異常発生時には、当該端末機に固有の識別子情報及び異常発生時である旨を示す発砲情報を含む端末機送信データを最寄りの上記通信装置に対して連続的に送信し、上記通信装置は、上記端末機送信データを受信すると、当該端末機送信データに、当該通信装置に固有の識別子情報と現在時刻を示す現在時刻情報とを付加して通信装置送信データを生成し、生成した上記通信装置送信データを上記無線ネットワーク網を利用して上記地域管制施設に対して送信し、上記地域管制施設は、上記通信装置送信データに含まれる上記端末機の識別子情報と、上記端末機送信データを受信した上記通信装置の識別子情報と、当該端末機送信データを受信した時刻情報とに基づいて、上記被監視物について異常が発生した旨並びに異常発生現場及び異常発生時刻を把握し、上記端末機は、上記地域管制施設に駐在している警備員、上記移動体に乗車している警備員、若しくは上記被監視物の関係者が所持する所定の通報停止機と近接させた状態で当該通報停止機が操作されて当該通報停止機から送信された通報停止信号を受信するのに応じて、当該端末機に固有の識別子情報及び異常発生時である旨を示す発砲情報を含む上記端末機送信データの送信を停止することを特徴としている。The monitoring system according to the present invention that achieves the above-described object is a monitoring system that monitors a predetermined object to be monitored, and periodically circulates a monitoring area having a predetermined area, and shows image data indicating a situation during the circulation. And / or a plurality of moving bodies that acquire audio data, a regional control facility that is provided for each of the monitoring areas and receives and accumulates various data including image data and / or audio data from the moving bodies, and the monitoring A plurality of communication devices provided in an area and functioning as an access point for constructing a wireless network conforming to a predetermined wireless transmission method; and the monitored object is possessed or provided in the monitored object; The database is configured to be associated with the monitored object without storing any information about the monitored object, using the database provided in the regional control facility. The terminal is normally continuously transmitting terminal transmission data including identifier information unique to the terminal to the nearest communication device, and the communication device Upon receiving the terminal transmission data, the terminal transmission data is added with identifier information unique to the communication device and current time information indicating the current time to generate communication device transmission data, and the generated communication device transmission The data is transmitted to the regional control facility using the wireless network, and the regional control facility receives the terminal identifier information and the terminal transmission data included in the communication device transmission data. Based on the identifier information of the communication device and the time information when the terminal transmission data is received, the position of the monitored object is always grasped by constantly grasping the position of the terminal. When an abnormality occurs, the terminal continuously transmits terminal transmission data including identifier information unique to the terminal and firing information indicating that an abnormality has occurred to the nearest communication device. When the communication device receives the terminal transmission data, the communication device generates the communication device transmission data by adding identifier information unique to the communication device and current time information indicating the current time to the terminal transmission data. The generated communication device transmission data is transmitted to the regional control facility using the wireless network, and the regional control facility includes the terminal identifier information included in the communication device transmission data, and Based on the identifier information of the communication device that has received the terminal transmission data and the time information at which the terminal transmission data was received, the fact that an abnormality has occurred in the monitored object and the difference Ascertaining the normal occurrence site and the time of occurrence of the abnormality, the terminal is owned by a security guard stationed at the regional control facility, a security guard on board the moving body, or a person concerned with the monitored object In response to receiving a report stop signal transmitted from the report stop machine when the report stop machine is operated in the vicinity of a predetermined report stop machine, an identifier information unique to the terminal and when an abnormality occurs It is characterized in thatthe transmission of the terminal transmission data including the firing information indicating that is stopped .
このような本発明にかかる監視システムにおいては、監視エリア毎に地域管制施設を配置するとともに、移動体を巡回させ、さらに、通信装置を介した監視エリア全域にわたる無線ネットワーク網を構築することにより、従来にはない極めて高密度な監視体制を整えることができる。その上、本発明にかかる監視システムにおいては、被監視物に端末機を所持させ又は設け、当該端末機から通信装置に対して端末機送信データを連続的に送信することにより、極めて低コストのもとに、地域管制施設が、被監視物の位置を確実に把握することができるとともに、当該被監視物に異常事態が発生した場合には、発砲情報を含む端末機送信データを受信した通信装置の電波到達範囲を当該異常事態の発生現場として特定し、異常が発生した旨並びに異常発生現場及び異常発生時刻を迅速且つ確実に認識することができる。 In such a monitoring system according to the present invention, the regional control facility is arranged for each monitoring area, the mobile body is circulated, and further, by constructing a wireless network over the entire monitoring area via the communication device, An extremely high-density monitoring system that has never existed before can be established. In addition, in the monitoring system according to the present invention, the monitored object is possessed or provided with a terminal, and the terminal transmission data is continuously transmitted from the terminal to the communication device. Based on the above, the regional control facility can reliably grasp the position of the monitored object, and when an abnormal situation occurs in the monitored object, the communication that has received the terminal transmission data including the firing information The radio wave reachable range of the device can be specified as the occurrence site of the abnormal situation, and the fact that the abnormality has occurred, the abnormality occurrence site and the abnormality occurrence time can be recognized quickly and reliably.
具体的には、上記端末機は、上記被監視物の行動に応じて当該端末機に生じる振動を検知している間、当該端末機に固有の識別子情報を含む上記端末機送信データを連続的に送信するものとして構成することができる。このような構成は、被監視物が人間や動物等の場合に有効である。また、上記端末機は、当該端末機に振動が検知されない間、当該端末機に固有の識別子情報を含む上記端末機送信データを連続的に送信し、当該端末機に振動が検知された場合に、当該端末機に固有の識別子情報及び異常発生時である旨を示す発砲情報を含む上記端末機送信データを送信するものとして構成することもできる。このような構成は、被監視物が物品である場合に有効である。 Specifically, the terminal continuously transmits the terminal transmission data including identifier information unique to the terminal while detecting vibration generated in the terminal according to the behavior of the monitored object. Can be configured to transmit to. Such a configuration is effective when the monitored object is a human being or an animal. In addition, the terminal continuously transmits the terminal transmission data including the identifier information unique to the terminal while vibration is not detected by the terminal, and when the terminal detects vibration. The terminal transmission data including identifier information unique to the terminal and firing information indicating that an abnormality has occurred may be transmitted. Such a configuration is effective when the monitored object is an article.
また、上記端末機は、所定の通報停止機と近接させた状態で当該通報停止機が操作されるのに応じて当該通報停止機から送信された通報停止信号を受信するのに応じて、当該端末機に固有の識別子情報及び異常発生時である旨を示す発砲情報を含む上記端末機送信データの送信を停止するものが望ましい。すなわち、本発明にかかる監視システムにおいては、被監視物が誘拐又は窃盗にあった場合であっても、上記端末機による発砲情報を含む上記端末機送信データの送信を犯罪者が停止させることができず、適切な発砲動作を維持することができる。 In addition, the terminal receives the notification stop signal transmitted from the notification stop device in response to the operation of the notification stop device in a state where the terminal is in proximity to the predetermined notification stop device. It is desirable to stop transmission of the terminal transmission data including identifier information unique to the terminal and firing information indicating that an abnormality has occurred. That is, in the monitoring system according to the present invention, even if the monitored object is kidnapped or stolen, the criminal may stop the transmission of the terminal transmission data including the firing information by the terminal. It is not possible to maintain an appropriate firing operation.
さらに、上記端末機は、駆動電力を供給する電池の電圧を測定し、測定した電圧が所定電圧以下である場合には、その旨を報知するものが望ましい。これにより、本発明にかかる監視システムにおいては、異常発生時に上記端末機が動作しないような事態を確実に防止することができる。この場合、上記端末機は、電池の消耗を低減するために、上記端末機送信データを送信する動作の開始時にのみ、上記電池の電圧を測定するのが望ましい。 Furthermore, it is desirable that the terminal measures the voltage of the battery that supplies driving power, and if the measured voltage is equal to or lower than a predetermined voltage, notifies the fact. Accordingly, in the monitoring system according to the present invention, it is possible to reliably prevent a situation in which the terminal does not operate when an abnormality occurs. In this case, it is preferable that the terminal measures the voltage of the battery only at the start of the operation of transmitting the terminal transmission data in order to reduce battery consumption.
また、本発明にかかる監視システムにおいて、上記地域管制施設は、上記通信装置送信データが異常発生時である旨を示すものである場合には、上記被監視物の監視を依頼している利用者が所持する携帯通信端末機に対してその旨を送信する。これにより、本発明にかかる監視システムにおいては、異常事態の発生があった旨を利用者が迅速に知ることが可能となる。 In the monitoring system according to the present invention, when the regional control facility indicates that the communication device transmission data indicates that an abnormality has occurred, a user who requests monitoring of the monitored object. This is transmitted to the mobile communication terminal owned by the. Thereby, in the monitoring system according to the present invention, the user can quickly know that an abnormal situation has occurred.
なお、本発明にかかる監視システムにおいて、上記移動体の位置情報は、上記地域管制施設に対して送信されることから、正常な巡回を促進させることができる。 In the monitoring system according to the present invention, since the position information of the moving body is transmitted to the regional control facility, normal patrol can be promoted.
また、上述した目的を達成する端末装置は、所定の被監視物が所持する又は上記被監視物に設けられる端末装置であって、所定の面積からなる監視エリア内に設けられて所定の無線伝送方式に準拠した無線ネットワーク網を構築するためのアクセスポイントとして機能する複数の通信装置に対してデータを送信する送信手段と、上記送信手段を介して、上記監視エリア毎に設けられる地域管制施設に当該端末装置の位置を常時把握させることによって上記被監視物の位置を常時把握させるように、通常時には、当該端末装置に固有の識別子情報を含むデータを最寄りの上記通信装置に対して連続的に送信させるとともに、異常発生時には、当該端末装置に固有の識別子情報及び異常発生時である旨を示す発砲情報を含むデータを最寄りの上記通信装置に対して連続的に送信させる制御手段と、上記地域管制施設に駐在している警備員、上記移動体に乗車している警備員、若しくは上記被監視物の関係者が所持する所定の通報停止機と近接させた状態で当該通報停止機が操作されるのに応じて当該通報停止機から送信された通報停止信号を受信する受信手段とを備え、上記被監視物に関する情報を一切格納することなく、当該被監視物との対応付けを上記地域管制施設に設けられたデータベースによって行うように構成されており、上記制御手段は、上記受信手段によって上記通報停止信号を受信するのに応じて、当該端末装置に固有の識別子情報及び異常発生時である旨を示す発砲情報を含む上記データの送信を停止させることを特徴としている。In addition, a terminal device that achieves the above-described object is a terminal device possessed by a predetermined monitored object or provided in the monitored object, and is provided in a monitoring area having a predetermined area and is configured to perform predetermined wireless transmission. A transmission means for transmitting data to a plurality of communication devices functioning as an access point for constructing a wireless network conforming to the system, and a regional control facility provided for each monitoring area via the transmission means Normally, data including identifier information unique to the terminal device is continuously transmitted to the nearest communication device so that the position of the monitored object is always grasped by constantly grasping the position of the terminal device. When an abnormality occurs, the data including identifier information unique to the terminal device and firing information indicating that the abnormality has occurred And control means for transmitting continuously with respect to communicationapparatus, guards are stationed in the local control facilities, security guards are riding in the moving object, or a predetermined stakeholders of the monitored object possessed A receiving means for receiving a report stop signal transmitted from the report stop machine in response to the operation of the report stop machine in the vicinity of the report stop machine, and storing any information on the monitored object Without being carried out, it is comprised so that the correlation with the said to-be-monitored object may be performed by the database provided in the said regional control facility, The said control means respond | corresponds to receiving the said notification stop signal by the said receiving means Te is characterized in Rukotostops the transmission of the data including the fire information indicating a time-specific identifier information and abnormality occurs in the terminal device.
このような本発明にかかる端末装置においては、通信装置を介した監視エリア全域にわたる無線ネットワーク網を利用して、通信装置に対してデータを連続的に送信することにより、極めて低コストのもとに、被監視物の位置を確実に把握させることができるとともに、当該被監視物に異常事態が発生した場合には、発砲情報を含むデータを受信した通信装置の電波到達範囲を当該異常事態の発生現場として特定し、異常が発生した旨並びに異常発生現場及び異常発生時刻を迅速且つ確実に認識させることができる。 In such a terminal device according to the present invention, data is continuously transmitted to the communication device using a wireless network over the entire monitoring area via the communication device, so that the cost is extremely low. In addition, the position of the monitored object can be reliably grasped, and when an abnormal situation occurs in the monitored object, the radio wave arrival range of the communication device that has received the data including the firing information is determined. It can be identified as the site of occurrence, and the fact that an abnormality has occurred, the site of occurrence of the abnormality, and the time of occurrence of the abnormality can be recognized quickly and reliably.
本発明においては、従来にはない極めて高密度な監視体制を整え、極めて低コストのもとに、被監視物の位置を確実に把握することができるとともに、被監視物に異常事態が発生した場合には、その発生現場を特定し、異常が発生した旨並びに異常発生現場及び異常発生時刻を迅速且つ確実に認識することができ、確実且つ包括的な地域防犯・防災・安全対策を実現することができる。 In the present invention, an extremely high-density monitoring system that has not been used in the past has been established, and the position of the monitored object can be reliably grasped at an extremely low cost, and an abnormal situation has occurred in the monitored object. In such cases, it is possible to identify the site where the failure occurred, recognize that the failure has occurred, and the location and time at which the failure occurred, and realize reliable and comprehensive regional crime prevention / disaster prevention / safety measures. be able to.
以下、本発明を適用した具体的な実施の形態について図面を参照しながら詳細に説明する。 Hereinafter, specific embodiments to which the present invention is applied will be described in detail with reference to the drawings.
この実施の形態は、所定の被監視物を監視する監視システムである。この監視システムは、警備会社によって運営されるものであり、無線LAN(Local Area Network)等の無線ネットワーク網を利用したインフラストラクチャを街中に構築することにより、低コストのもとに、被監視物の位置を確実に把握することができるものである。また、この監視システムは、所定の面積からなる監視エリア毎に、監視の管制を行う施設や巡回用の移動体を配置することにより、当該監視エリアについての包括的な監視を行うことができるものである。 This embodiment is a monitoring system for monitoring a predetermined monitored object. This monitoring system is operated by a security company. By constructing an infrastructure using a wireless network such as a wireless local area network (LAN) in the city, the monitored object can be manufactured at low cost. The position of can be surely grasped. In addition, this monitoring system can perform comprehensive monitoring of the monitoring area by arranging a facility for monitoring control and a moving body for patrol for each monitoring area having a predetermined area. It is.
なお、被監視物とは、登下校中の児童をはじめとする人間の他、街中に設置されている自動販売機や戸外に駐車されている車両をはじめとする各種物品を含む概念である。以下では、説明の便宜上、登下校中の児童を被監視物として監視する場合について説明するものとする。 The monitored object is a concept including various items such as a vending machine installed in the city and a vehicle parked outdoors in addition to a human being such as a child attending or going to school. In the following, for convenience of explanation, a case will be described in which children who are going to and from school are monitored as monitored objects.
監視システムは、図1に示すように、例えば大都市圏に設けられる本部管制施設としてのコントロールセンタ11と、所定の監視エリア毎に設けられる複数の地域管制施設12とが、いわゆるインターネット等のIP(Internet Protocol)ネットワークや電話回線等の所定のネットワーク網を介して接続されて構成される。 As shown in FIG. 1, the monitoring system includes, for example, a
コントロールセンタ11は、当該監視システムを運営する警備会社が所有する施設であり、例えば大都市圏に設けられる。コントロールセンタ11は、特に図示しないが、ネットワーク網を介して、24時間体制で複数の地域管制施設12との間で通信を行うことが可能とされ、各地域管制施設12に対して出動等の指令を与えるとともに、各地域管制施設12から送信された異常事態発生の通知や画像データや音声データ等の各種データを受信して蓄積する。これにより、コントロールセンタ11は、マルチモニタ等を介して、各地域管制施設12が管轄する監視エリアの様子を常時監視することができる。 The
地域管制施設12は、当該監視システムを運営する警備会社が所有する施設であり、例えば半径800mの地域毎に設けられ、この地域を監視エリアとして24時間体制で監視の管制を行う。なお、半径800mの地域とは、あくまでも例示であり、地域管制施設12は、例えば、半径500m、300mといった任意の面積の地域毎に設けてもよい。かかる地域管制施設12は、コントロールセンタ11や後述する巡回車両13との間で通信を行うことが可能とされ、コントロールセンタ11からの各種指令の他、巡回車両13及び/又は監視対象としての学校から画像データや音声データ等を含む各種データを受信して蓄積するとともに、コントロールセンタ11に対して異常事態発生の通知や各種データを送信する。また、地域管制施設12は、監視エリアに構築された無線LANを構成するアクセスポイントとして機能する通信装置から送信された後述する通信装置送信データを受信することが可能に構成され、当該通信装置送信データが異常発生時である旨を示すものである場合には、コントロールセンタ11に対してその旨の通知等を送信するとともに、監視エリア内に存在する学校の職員や児童の保護者といった児童SCの監視を依頼している利用者が所持する携帯電話機や携帯情報端末機(Personal Digital Assistants;PDA)等の携帯通信端末機に対して、その旨を示す電子メール等を送信することができる。さらに、地域管制施設12は、学校にて異常事態の発生があった場合にも、当該学校の職員や児童の保護者といった利用者が所持する携帯通信端末機に対して、その旨を示す電子メール等を送信することができる。さらにまた、地域管制施設12は、監視エリア内に存在する学校からの通報等を受信することもできる。 The
このような監視システムにおいて、各地域管制施設12には、複数の警備員が常時出動可能な体制で常駐しているとともに、移動体としての巡回車両13が配備されている。 In such a monitoring system, each
巡回車両13は、所定方向へのパン及びチルト機能、並びに所定倍率でのズーム機能を兼ね備えたいわゆるパン・チルト・ズーム(PTZ)カメラや、全方位を撮像対象とする全方位カメラを搭載している。また、巡回車両13は、昼夜問わず適切な撮像を可能とするために、例えば、可視光線、赤外線、レーザ光線等を照射する照明装置等の可動式及び/又は固定式の撮像用補助照明装置を搭載している。巡回車両13は、巡回中の状況を記録すべく、これら各種カメラを用いて動画像を含む画像データや音声データを取得し、地域管制施設12に対して逐次送信する。このとき、巡回車両13は、無線伝送用のアクセスポイントによって構築される専用の無線LANを介して、地域管制施設12に対するデータの送信を行う。また、巡回車両13の位置情報は、いわゆるGPS(Global Positioning System)を用いて把握され、無線LANを介して地域管制施設12に対して逐次送信される。 The traveling
このような巡回車両13は、監視エリア内において少なくとも4台配備され、各台が例えば半径400mの範囲をそれぞれ定期的に巡回する。これにより、監視システムにおいては、巡回車両13を巡回させるだけでも犯罪抑止効果を格段に向上させることができる。なお、この半径400mという範囲は、人間が移動するのに、平均的に徒歩で約5分、走って約2分要する距離である。これに対して、侵入等を行う犯人の行動時間は、通常、約5分といわれている。したがって、監視システムにおいては、異常事態発生を検出してから異常事態発生現場まで常に2分以内に到着することができる極めて高密度な監視体制を整えることができ、従来の警備会社によって実施されている25分以内到着に対して、比較にならないほどの安心感を利用者に提供することができる。 At least four
さて、このような巡回車両13による巡回をともなう監視システムにおいては、例えば図2に示すように、各監視エリア内に、例えばIEEE(Institute of Electrical and Electronic Engineers)802.11a,b,e,g規格やいわゆるブルートゥース(Bluetooth(登録商標))等の所定の無線伝送方式に準拠した無線LANを構築するためのアクセスポイントとして機能する通信装置100を設置し、複数の通信装置100を介してデータをルーティングすることにより、学校と地域管制施設12や巡回車両13との間はもとより、巡回車両13と地域管制施設12との間でデータの送受信を行うことを可能とするとともに、ロケータ端末機200を所持する登下校中の児童SCの位置を把握することも可能とするインフラストラクチャを構築する。 Now, in such a monitoring system involving a patrol by the
具体的には、通信装置100は、監視エリア内における児童の通学経路に面して存在する家屋や電柱等の建造物に付設されるものであり、例えば50m程度のピッチで設置される。また、通信装置100には、それぞれ、固有の識別子情報が付与されている。また、通信装置100は、ロケータ端末機200から送信される端末機送信データを受信し、その端末機送信データに基づいて生成した通信装置送信データを無線LANを利用してルーティングすることにより、地域管制施設12に対して送信する。また、通信装置100は、必要に応じて、設置された建造物に付設された図示しないカメラやマイク等によって撮像及び/又は取得された画像データや音声データ、異常事態が発生した旨を示す電子メール等を、地域管制施設12や必要に応じて近傍を走行している巡回車両13、さらには、その他の利用者が所持する携帯通信端末機に対して送信するようにしてもよい。 Specifically, the
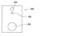
一方、ロケータ端末機200は、登下校中の児童SCが所持するものであり、例えば図3に示すように、所定の筐体表面に、押しボタン201と、LED(Light Emitting Diode)等からなる発光素子202とが露出された外観から構成される。なお、筐体には、児童SCにとって所持しやすくするために、ストラップ等の紐体を挿通する紐通孔203が穿設されている。かかるロケータ端末機200は、内部的には、図4に示すように、CPU(Central Processing Unit)等からなる制御回路211と、児童SCによる歩行等の行動に応じて当該ロケータ端末機200に生じる振動を制御回路211に伝達するための振動スイッチ212と、押しボタン201が押下された旨を制御回路211に伝達するための押しボタンスイッチ213と、制御回路211のもとに発光する上述した発光素子202と、制御回路211のもとに所定音を出力するブザー214と、制御回路211によって生成されたパルス波からなる端末機送信データをアンテナ215aを介して送信する特定小電力送信回路215と、図2に示した地域管制施設12に設けられた設定機300や地域管制施設12に駐在している警備員や巡回車両13に乗車している警備員等が所持する通報停止機400との間で通信を行うLFコイル216及びLF回路217とを有する。 On the other hand, the
このようなロケータ端末機200は、例えば図5に示すように、児童SCが歩行等するのに応じて生じる振動を、振動スイッチ212を介して検知している間、制御回路211の制御のもとに、当該ロケータ端末機200に固有の識別子情報を含む端末機送信データを、特定小電力送信回路215を介した例えばARIB(Association of Radio Industries and Businesses)STD−T67規格に準拠した426MHz帯の特定小電力無線通信により、所定の時間間隔で連続的に送信する。ロケータ端末機200は、このような振動スイッチ212の動作のみによる異常不発生時には、発光素子202を点灯させず、また、ブザー214も鳴動させない。そして、ロケータ端末機200は、振動を1回でも検知した場合には、例えば3秒間隔で2回といったように、所定の時間間隔で所定回数だけ端末機送信データを送信する。このとき、ロケータ端末機200は、複数のロケータ端末機200がパルス波からなる端末機送信データを一斉に連続的に送信することによるデータの衝突を回避するために、設定された送信時間間隔の±50%程度拡散させるのが望ましい。なお、このようなロケータ端末機200の識別子情報、送信時間間隔、及び送信回数等の設定は、地域管制施設12に設けられたパーソナルコンピュータに接続された設定機300を介して行われ、設定された各種情報は、制御回路211によって読み出し可能に図示しないメモリに格納される。具体的には、監視システムにおいては、例えば図6に示すように、設定機300から送信された設定信号をロケータ端末機200がLFコイル216及びLF回路217を介して受信し、受信した情報をメモリに格納すると、特定小電力送信回路215を介して、応答信号を設定機300に対して送信することにより、各種情報の設定が行われる。なお、ロケータ端末機200には、その識別子情報の他に、児童SCの個人情報等は一切格納されず、監視システムにおいて、当該ロケータ端末機200と児童SCとの対応付けは、地域管制施設12に設けられたデータベースによって行われることになる。 For example, as shown in FIG. 5, such a
また、ロケータ端末機200は、異常発生時に、児童SCによって押しボタン201が例えば1秒程度の所定時間以上押下されるのに応じて、図7に示すように、制御回路211の制御のもとに、ブザー214を例えば250ミリ秒程度の短時間だけ鳴動させた上で、発光素子202を例えば100ミリ秒程度の所定の時間間隔で点滅動作させる。さらに、ロケータ端末機200は、制御回路211の制御のもとに、発光素子202の点滅動作とともに、当該ロケータ端末機200に固有の識別子情報及び異常発生時である旨を示す発砲情報を含む端末機送信データを、特定小電力送信回路215を介した例えば426MHz帯の特定小電力無線通信により、所定の時間間隔で連続的に送信する。例えば、ロケータ端末機200、端末機送信データを1秒間隔で40秒間送信した後に、2秒間程度の休止時間を設ける、といった動作を繰り返す。このときも、ロケータ端末機200は、複数のロケータ端末機200がパルス波からなる端末機送信データを一斉に連続的に送信することによるデータの衝突を回避するために、設定された送信時間間隔の±50%程度拡散させるのが望ましい。なお、このようなロケータ端末機200の発砲動作は、当該ロケータ端末機200の操作によっては一切停止させることができず、地域管制施設12に設けられた設定機300や地域管制施設12に駐在している警備員や巡回車両13に乗車している警備員、さらには児童SCの保護者等が所持する通報停止機400を用いて行われる。具体的には、監視システムにおいては、ロケータ端末機200と通報停止機400とを近接させた状態で当該通報停止機400に設けられた所定のボタンが押下されるのに応じて、当該通報停止機400から送信された通報停止信号をロケータ端末機200がLFコイル216及びLF回路217を介して受信することにより、発砲動作を停止することができる。 In addition, the
なお、ロケータ端末機200は、所定の電池から供給される電力に基づいて駆動する。したがって、ロケータ端末機200は、例えば新学期等の所定のタイミングで電池の交換を義務付けるとともに、電池寿命の報知を行う機能を設けている。具体的には、ロケータ端末機200は、例えば図8に示すように、電池の消耗を低減するために、振動スイッチ212を介して振動を検知して端末機送信データを送信する動作の開始時にのみ、制御回路211の制御のもとに電池電圧の測定を行い、測定した電圧が所定電圧以下である場合には、それ以降、電池残容量がなくなるか新しい電池に交換されるまで、連続的にブザー214を鳴動させることにより、電池が消耗している旨を報知する。 The
このような通信装置100とロケータ端末機200とを用いた無線LANが構築された監視システムにおいては、登校時には、児童SCが自宅を出る際に、当該児童SCに固有に付与されるIC(Integrated Circuit)カードであって例えばいわゆるRFID(Radio
Frequency Identification System)における非接触型トランスポンダが内蔵されたICカードに記録された情報を、当該自宅に設けられた所定のリーダ装置を用いて読み取ることにより、認証作業を行う。これに応じて、地域管制施設12は、リーダ装置から送信された情報に基づいて、認証処理を行い、正当であるものと判定した場合には、学校の職員や児童SCの保護者といった利用者が所持する携帯通信端末機に対して、電子メール等の形態で、児童SCの認証を行った旨及び当該児童SCが登校を開始した旨を通知する。また、学校の職員は、当該学校に設けられたパーソナルコンピュータ等を介して、警備会社が提供する所定のウェブサイトにログインすることにより、児童SC毎の登校開始や学校到着の有無を略リアルタイムで確認することもできる。In such a monitoring system in which a wireless LAN using the
The authentication operation is performed by reading information recorded on the IC card in which the non-contact type transponder in the (Frequency Identification System) is incorporated using a predetermined reader device provided in the home. In response to this, the
また、監視システムにおいては、通学中には、児童SCが歩行する度に、ロケータ端末機200から当該ロケータ端末機200に固有の識別子情報を含む端末機送信データが最寄りの通信装置100に対して送信される。通信装置100は、この端末機送信データを受信すると、当該端末機送信データに、当該通信装置100に固有の識別子情報と現在時刻を示す現在時刻情報とを付加する。そして、監視システムにおいては、通信装置100によって生成された通信装置送信データを、無線ネットワーク網を利用してルーティングすることにより、地域管制施設12に対して送信する。これにより、監視システムにおいては、地域管制施設12が、ロケータ端末機200の識別子情報と、端末機送信データを受信した通信装置100の識別子情報と、当該端末機送信データを受信した時刻情報とに基づいて、どの児童SCがいつどの地点を通過したかを確実に把握することができる。そして、監視システムにおいては、児童SCによってロケータ端末機200の押しボタン201が操作されることによって発砲した場合には、通常時とは異なるパターンからなる発砲情報を含む端末機送信データが最寄りの通信装置100に対して送信され、この端末機送信データに、受信した通信装置100に固有の識別子情報と現在時刻を示す現在時刻情報とが付加されて生成された通信装置送信データが、地域管制施設12に対して送信される。これにより、監視システムにおいては、地域管制施設12が、ロケータ端末機200を所持する児童SCに異常が発生した旨並びに異常発生現場及び異常発生時刻を迅速且つ確実に認識することができる。 In addition, in the monitoring system, every time the child SC walks during school, terminal transmission data including identifier information unique to the
さらに、監視システムにおいては、下校時には、児童SCが学校を出る際に、当該児童SCに固有に付与されるICカードであって例えばRFIDにおける非接触型トランスポンダが内蔵されたICカードに記録された情報を、当該学校に設けられた所定のリーダ装置を用いて読み取ることにより、認証作業を行う。これに応じて、地域管制施設12は、リーダ装置から送信された情報に基づいて、認証処理を行い、正当であるものと判定した場合には、学校の職員や児童SCの保護者といった利用者が所持する携帯通信端末機に対して、電子メール等の形態で、児童SCの認証を行った旨及び当該児童SCが下校を開始した旨を通知する。この場合にも、学校の職員は、当該学校に設けられたパーソナルコンピュータ等を介して、警備会社が提供する所定のウェブサイトにログインすることにより、児童SC毎の下校開始や自宅到着の有無を略リアルタイムで確認することもできる。 Furthermore, in the monitoring system, when leaving the school, when the child SC leaves the school, it is recorded on an IC card that is uniquely given to the child SC, for example, an IC card incorporating a non-contact type transponder in RFID. An authentication operation is performed by reading the information using a predetermined reader device provided in the school. In response to this, the
このように、警備会社が地域毎に監視専用の無線LANを構築する例は未だかつて存在しない。監視システムにおいては、このような無線LANを構築することにより、ブロードバンド又はナローバンド環境下で無線センサ又は有線センサを混在して使用することが可能となり、自動通報や遠隔監視、その他の付加価値の高いサービスを提供することが可能となる。 Thus, there has never been an example in which a security company constructs a monitoring-specific wireless LAN for each region. By constructing such a wireless LAN in a monitoring system, it is possible to use a mixture of wireless sensors or wired sensors in a broadband or narrowband environment, and automatic reporting, remote monitoring, and other high added value Service can be provided.
以上説明したように、本発明の実施の形態として示す監視システムにおいては、監視エリア毎に地域管制施設12を配置するとともに、巡回車両13を巡回させ、さらに、通信装置100を介した監視エリア全域にわたる無線LANを構築することにより、従来にはない極めて高密度な監視体制を整えることができる。したがって、監視システムにおいては、「この地域は高レベルの監視体制で守られている」という認識を犯罪者に対して与えることができ、犯罪抑止効果を極めて向上させることができる。 As described above, in the monitoring system shown as the embodiment of the present invention, the
その上、監視システムにおいては、登下校中の児童SCにロケータ端末機200を所持させ、当該ロケータ端末機200から通信装置100に対して無線信号を連続的に送信することにより、地域管制施設12が、どの児童SCがいつどの地点を通過したかを確実に把握することができるとともに、登下校中の児童SCに異常事態が発生した場合には、発砲情報を含む端末機送信データを受信した通信装置100の電波到達範囲を当該異常事態の発生現場として特定し、異常が発生した旨並びに異常発生現場及び異常発生時刻を迅速且つ確実に認識することができる。監視システムにおいては、このような無線LANを利用したインフラストラクチャを街中に構築することにより、既存のGPSを利用した位置把握技術のように回線使用料が高くなることはなく、極めて低コストのもとに、1つの通信装置100の電波到達範囲という小さいエリア単位で詳細に児童SCの位置を監視することができる。また、監視システムにおいては、専用の無線LANによる安価な回線を提供することにより、データの送受信に関するセキュリティ性の向上を図ることができるとともに、帯域の安定化による確実な通信を行うことができる。 In addition, in the monitoring system, the
さらに、この監視システムは、所定の面積からなる監視エリア毎に、監視の管制を行う地域管制施設12や巡回車両13を配置することにより、登下校中の児童SCに異常事態が発生した場合には、発砲情報を含む端末機送信データを受信した通信装置100の電波到達範囲を当該異常事態の発生現場として特定することができることから、その発生現場に巡回車両13によって迅速に駆けつけることができ、当該監視エリアについての包括的な監視を行うことができる。 Furthermore, this monitoring system arranges a
このように、監視システムは、地域防犯・防災・安全対策をはじめ、児童SCの安全対策等、極めて高い防犯・防災対策を実現することができ、安心でおおらかに暮らせる街づくりを支援し、安全に且つ安心して生活できる社会に貢献できるものである。 In this way, the surveillance system can realize extremely high crime prevention and disaster prevention measures such as local crime prevention / disaster prevention / safety measures, as well as safety measures for children's SCs, etc. It can contribute to a society where people can live safely and with peace of mind.
なお、本発明は、上述した実施の形態に限定されるものではない。例えば、上述した実施の形態では、児童SCの認証方法として、個人認証用の非接触型ICカードを用いるものとして説明したが、本発明は、かかる認証方法として、例えば、網膜認証、声紋認証、指紋認証、血管認証、手相認証、人相認証、筆跡認証といった、当該児童SCの身体的な特徴や特性を利用したバイオメトリクスによる認証を行うようにしてもよい。 The present invention is not limited to the embodiment described above. For example, in the above-described embodiment, it has been described that a non-contact type IC card for personal authentication is used as an authentication method for a child SC. However, the present invention can be applied to, for example, retinal authentication, voiceprint authentication, You may make it authenticate by the biometrics using the physical characteristic and characteristic of the said child SC, such as fingerprint authentication, blood vessel authentication, palm authentication, human phase authentication, and handwriting authentication.
また、上述した実施の形態では、監視対象を学校とし、その学校に通学する児童SCを被監視物として監視するものとして説明したが、本発明は、塾等に通学する学生を監視する場合に適用しても好適であり、また、例えば、商業施設、事業所、住居、その他の各種施設を監視対象とし、その監視対象に属する人間を監視するようにしてもよい。 In the above-described embodiment, the monitoring target is a school, and the child SC attending the school is monitored as the monitored object. However, the present invention is used when monitoring a student attending a cram school or the like. For example, commercial facilities, business establishments, residences, and other various facilities may be monitored, and people belonging to the monitoring target may be monitored.
さらに、上述した実施の形態では、登下校中の児童SCを被監視物として監視する場合について説明したが、本発明は、例えば、老人といった児童SC以外の人間は勿論のこと、ペット等の動物、街中に設置されている自動販売機や現金精算機、戸外に駐車・駐輪されている車両、自動二輪車、自転車、港等に停留している船舶、室内に設置されているパーソナルコンピュータや金庫、その他の貴重品、所定の建造物等に安置されている仏像等の文化財等をはじめとする任意の物品にも適用することができる。例えば、監視システムにおいては、被監視物が人間や動物である場合には、上述したように、当該人間がロケータ端末機200を所持し、歩行等の行動による振動を検知している場合に端末機送信データを送信するようにすればよい。一方、監視システムにおいては、被監視物が物品である場合には、ロケータ端末機200を内蔵すればよい。ただし、監視システムにおいては、被監視物が物品である場合には、通常時は静置されていることから、被監視物が人間や動物である場合とは異なり、振動等が検知されない場合に端末機送信データを送信するとともに、当該物品を移動させようとした際に当該ロケータ端末機200に生じる振動の検知をトリガとして発砲情報を含む端末機送信データの送信に切り替えるようなロケータ端末機200を内蔵することになる。 Further, in the above-described embodiment, the case where the child SC that is going to and from school is monitored as the monitored object has been described. However, the present invention is not limited to a human other than the child SC such as an elderly person, but also an animal such as a pet. , Vending machines and cash settlement machines installed in the city, vehicles parked and parked outdoors, motorcycles, bicycles, ships parked at ports, personal computers and safes installed indoors It can also be applied to any other items such as other valuables, cultural assets such as Buddha statues that are enshrined in certain buildings. For example, in the monitoring system, when the monitored object is a human being or an animal, as described above, the human being possesses the
このように、本発明は、その趣旨を逸脱しない範囲で適宜変更が可能であることはいうまでもない。 Thus, it goes without saying that the present invention can be modified as appropriate without departing from the spirit of the present invention.
11 コントロールセンタ
12 地域管制施設
13 巡回車両
100 通信装置
200 ロケータ端末機
201 押しボタン
202 発光素子
203 紐通孔
211 制御回路
212 振動スイッチ
213 押しボタンスイッチ
214 ブザー
215 特定小電力送信回路
215a アンテナ
216 LFコイル
217 LF回路
300 設定機
400 通報停止機
SC 児童11
| Application Number | Priority Date | Filing Date | Title |
|---|---|---|---|
| JP2006134984AJP4142062B2 (en) | 2006-05-15 | 2006-05-15 | Monitoring system and terminal device |
| Application Number | Priority Date | Filing Date | Title |
|---|---|---|---|
| JP2006134984AJP4142062B2 (en) | 2006-05-15 | 2006-05-15 | Monitoring system and terminal device |
| Publication Number | Publication Date |
|---|---|
| JP2007305032A JP2007305032A (en) | 2007-11-22 |
| JP4142062B2true JP4142062B2 (en) | 2008-08-27 |
| Application Number | Title | Priority Date | Filing Date |
|---|---|---|---|
| JP2006134984AExpired - Fee RelatedJP4142062B2 (en) | 2006-05-15 | 2006-05-15 | Monitoring system and terminal device |
| Country | Link |
|---|---|
| JP (1) | JP4142062B2 (en) |
| Publication number | Priority date | Publication date | Assignee | Title |
|---|---|---|---|---|
| US9667317B2 (en) | 2015-06-15 | 2017-05-30 | At&T Intellectual Property I, L.P. | Method and apparatus for providing security using network traffic adjustments |
| US9674711B2 (en) | 2013-11-06 | 2017-06-06 | At&T Intellectual Property I, L.P. | Surface-wave communications and methods thereof |
| US9685992B2 (en) | 2014-10-03 | 2017-06-20 | At&T Intellectual Property I, L.P. | Circuit panel network and methods thereof |
| US9705610B2 (en) | 2014-10-21 | 2017-07-11 | At&T Intellectual Property I, L.P. | Transmission device with impairment compensation and methods for use therewith |
| US9705561B2 (en) | 2015-04-24 | 2017-07-11 | At&T Intellectual Property I, L.P. | Directional coupling device and methods for use therewith |
| US9722318B2 (en) | 2015-07-14 | 2017-08-01 | At&T Intellectual Property I, L.P. | Method and apparatus for coupling an antenna to a device |
| US9729197B2 (en) | 2015-10-01 | 2017-08-08 | At&T Intellectual Property I, L.P. | Method and apparatus for communicating network management traffic over a network |
| US9735833B2 (en) | 2015-07-31 | 2017-08-15 | At&T Intellectual Property I, L.P. | Method and apparatus for communications management in a neighborhood network |
| US9742521B2 (en) | 2014-11-20 | 2017-08-22 | At&T Intellectual Property I, L.P. | Transmission device with mode division multiplexing and methods for use therewith |
| US9742462B2 (en) | 2014-12-04 | 2017-08-22 | At&T Intellectual Property I, L.P. | Transmission medium and communication interfaces and methods for use therewith |
| US9749053B2 (en) | 2015-07-23 | 2017-08-29 | At&T Intellectual Property I, L.P. | Node device, repeater and methods for use therewith |
| US9748626B2 (en) | 2015-05-14 | 2017-08-29 | At&T Intellectual Property I, L.P. | Plurality of cables having different cross-sectional shapes which are bundled together to form a transmission medium |
| US9749013B2 (en) | 2015-03-17 | 2017-08-29 | At&T Intellectual Property I, L.P. | Method and apparatus for reducing attenuation of electromagnetic waves guided by a transmission medium |
| US9768833B2 (en) | 2014-09-15 | 2017-09-19 | At&T Intellectual Property I, L.P. | Method and apparatus for sensing a condition in a transmission medium of electromagnetic waves |
| US9769020B2 (en) | 2014-10-21 | 2017-09-19 | At&T Intellectual Property I, L.P. | Method and apparatus for responding to events affecting communications in a communication network |
| US9769128B2 (en) | 2015-09-28 | 2017-09-19 | At&T Intellectual Property I, L.P. | Method and apparatus for encryption of communications over a network |
| US9780834B2 (en) | 2014-10-21 | 2017-10-03 | At&T Intellectual Property I, L.P. | Method and apparatus for transmitting electromagnetic waves |
| US9787412B2 (en) | 2015-06-25 | 2017-10-10 | At&T Intellectual Property I, L.P. | Methods and apparatus for inducing a fundamental wave mode on a transmission medium |
| US9793951B2 (en) | 2015-07-15 | 2017-10-17 | At&T Intellectual Property I, L.P. | Method and apparatus for launching a wave mode that mitigates interference |
| US9793954B2 (en) | 2015-04-28 | 2017-10-17 | At&T Intellectual Property I, L.P. | Magnetic coupling device and methods for use therewith |
| US9793955B2 (en) | 2015-04-24 | 2017-10-17 | At&T Intellectual Property I, Lp | Passive electrical coupling device and methods for use therewith |
| US9800327B2 (en) | 2014-11-20 | 2017-10-24 | At&T Intellectual Property I, L.P. | Apparatus for controlling operations of a communication device and methods thereof |
| US9820146B2 (en) | 2015-06-12 | 2017-11-14 | At&T Intellectual Property I, L.P. | Method and apparatus for authentication and identity management of communicating devices |
| US9838078B2 (en) | 2015-07-31 | 2017-12-05 | At&T Intellectual Property I, L.P. | Method and apparatus for exchanging communication signals |
| US9838896B1 (en) | 2016-12-09 | 2017-12-05 | At&T Intellectual Property I, L.P. | Method and apparatus for assessing network coverage |
| US9847566B2 (en) | 2015-07-14 | 2017-12-19 | At&T Intellectual Property I, L.P. | Method and apparatus for adjusting a field of a signal to mitigate interference |
| US9847850B2 (en) | 2014-10-14 | 2017-12-19 | At&T Intellectual Property I, L.P. | Method and apparatus for adjusting a mode of communication in a communication network |
| US9853342B2 (en) | 2015-07-14 | 2017-12-26 | At&T Intellectual Property I, L.P. | Dielectric transmission medium connector and methods for use therewith |
| US9860075B1 (en) | 2016-08-26 | 2018-01-02 | At&T Intellectual Property I, L.P. | Method and communication node for broadband distribution |
| US9865911B2 (en) | 2015-06-25 | 2018-01-09 | At&T Intellectual Property I, L.P. | Waveguide system for slot radiating first electromagnetic waves that are combined into a non-fundamental wave mode second electromagnetic wave on a transmission medium |
| US9866276B2 (en) | 2014-10-10 | 2018-01-09 | At&T Intellectual Property I, L.P. | Method and apparatus for arranging communication sessions in a communication system |
| US9866309B2 (en) | 2015-06-03 | 2018-01-09 | At&T Intellectual Property I, Lp | Host node device and methods for use therewith |
| US9871283B2 (en) | 2015-07-23 | 2018-01-16 | At&T Intellectual Property I, Lp | Transmission medium having a dielectric core comprised of plural members connected by a ball and socket configuration |
| US9871558B2 (en) | 2014-10-21 | 2018-01-16 | At&T Intellectual Property I, L.P. | Guided-wave transmission device and methods for use therewith |
| US9871282B2 (en) | 2015-05-14 | 2018-01-16 | At&T Intellectual Property I, L.P. | At least one transmission medium having a dielectric surface that is covered at least in part by a second dielectric |
| US9876605B1 (en) | 2016-10-21 | 2018-01-23 | At&T Intellectual Property I, L.P. | Launcher and coupling system to support desired guided wave mode |
| US9876571B2 (en) | 2015-02-20 | 2018-01-23 | At&T Intellectual Property I, Lp | Guided-wave transmission device with non-fundamental mode propagation and methods for use therewith |
| US9876264B2 (en) | 2015-10-02 | 2018-01-23 | At&T Intellectual Property I, Lp | Communication system, guided wave switch and methods for use therewith |
| US9882257B2 (en) | 2015-07-14 | 2018-01-30 | At&T Intellectual Property I, L.P. | Method and apparatus for launching a wave mode that mitigates interference |
| US9887447B2 (en) | 2015-05-14 | 2018-02-06 | At&T Intellectual Property I, L.P. | Transmission medium having multiple cores and methods for use therewith |
| US9893795B1 (en) | 2016-12-07 | 2018-02-13 | At&T Intellectual Property I, Lp | Method and repeater for broadband distribution |
| US9906269B2 (en) | 2014-09-17 | 2018-02-27 | At&T Intellectual Property I, L.P. | Monitoring and mitigating conditions in a communication network |
| US9904535B2 (en) | 2015-09-14 | 2018-02-27 | At&T Intellectual Property I, L.P. | Method and apparatus for distributing software |
| US9912027B2 (en) | 2015-07-23 | 2018-03-06 | At&T Intellectual Property I, L.P. | Method and apparatus for exchanging communication signals |
| US9912382B2 (en) | 2015-06-03 | 2018-03-06 | At&T Intellectual Property I, Lp | Network termination and methods for use therewith |
| US9913139B2 (en) | 2015-06-09 | 2018-03-06 | At&T Intellectual Property I, L.P. | Signal fingerprinting for authentication of communicating devices |
| US9911020B1 (en) | 2016-12-08 | 2018-03-06 | At&T Intellectual Property I, L.P. | Method and apparatus for tracking via a radio frequency identification device |
| US9912033B2 (en) | 2014-10-21 | 2018-03-06 | At&T Intellectual Property I, Lp | Guided wave coupler, coupling module and methods for use therewith |
| US9917341B2 (en) | 2015-05-27 | 2018-03-13 | At&T Intellectual Property I, L.P. | Apparatus and method for launching electromagnetic waves and for modifying radial dimensions of the propagating electromagnetic waves |
| US9929755B2 (en) | 2015-07-14 | 2018-03-27 | At&T Intellectual Property I, L.P. | Method and apparatus for coupling an antenna to a device |
| US9927517B1 (en) | 2016-12-06 | 2018-03-27 | At&T Intellectual Property I, L.P. | Apparatus and methods for sensing rainfall |
| US9948333B2 (en) | 2015-07-23 | 2018-04-17 | At&T Intellectual Property I, L.P. | Method and apparatus for wireless communications to mitigate interference |
| US9954286B2 (en) | 2014-10-21 | 2018-04-24 | At&T Intellectual Property I, L.P. | Guided-wave transmission device with non-fundamental mode propagation and methods for use therewith |
| US9954287B2 (en) | 2014-11-20 | 2018-04-24 | At&T Intellectual Property I, L.P. | Apparatus for converting wireless signals and electromagnetic waves and methods thereof |
| US9967173B2 (en) | 2015-07-31 | 2018-05-08 | At&T Intellectual Property I, L.P. | Method and apparatus for authentication and identity management of communicating devices |
| US9973416B2 (en) | 2014-10-02 | 2018-05-15 | At&T Intellectual Property I, L.P. | Method and apparatus that provides fault tolerance in a communication network |
| US9973940B1 (en) | 2017-02-27 | 2018-05-15 | At&T Intellectual Property I, L.P. | Apparatus and methods for dynamic impedance matching of a guided wave launcher |
| US9991580B2 (en) | 2016-10-21 | 2018-06-05 | At&T Intellectual Property I, L.P. | Launcher and coupling system for guided wave mode cancellation |
| US9999038B2 (en) | 2013-05-31 | 2018-06-12 | At&T Intellectual Property I, L.P. | Remote distributed antenna system |
| US9998870B1 (en) | 2016-12-08 | 2018-06-12 | At&T Intellectual Property I, L.P. | Method and apparatus for proximity sensing |
| US9997819B2 (en) | 2015-06-09 | 2018-06-12 | At&T Intellectual Property I, L.P. | Transmission medium and method for facilitating propagation of electromagnetic waves via a core |
| US10009067B2 (en) | 2014-12-04 | 2018-06-26 | At&T Intellectual Property I, L.P. | Method and apparatus for configuring a communication interface |
| US10020844B2 (en) | 2016-12-06 | 2018-07-10 | T&T Intellectual Property I, L.P. | Method and apparatus for broadcast communication via guided waves |
| US10027397B2 (en) | 2016-12-07 | 2018-07-17 | At&T Intellectual Property I, L.P. | Distributed antenna system and methods for use therewith |
| US10044409B2 (en) | 2015-07-14 | 2018-08-07 | At&T Intellectual Property I, L.P. | Transmission medium and methods for use therewith |
| US10051630B2 (en) | 2013-05-31 | 2018-08-14 | At&T Intellectual Property I, L.P. | Remote distributed antenna system |
| US10069185B2 (en) | 2015-06-25 | 2018-09-04 | At&T Intellectual Property I, L.P. | Methods and apparatus for inducing a non-fundamental wave mode on a transmission medium |
| US10069535B2 (en) | 2016-12-08 | 2018-09-04 | At&T Intellectual Property I, L.P. | Apparatus and methods for launching electromagnetic waves having a certain electric field structure |
| US10090606B2 (en) | 2015-07-15 | 2018-10-02 | At&T Intellectual Property I, L.P. | Antenna system with dielectric array and methods for use therewith |
| US10090594B2 (en) | 2016-11-23 | 2018-10-02 | At&T Intellectual Property I, L.P. | Antenna system having structural configurations for assembly |
| US10103422B2 (en) | 2016-12-08 | 2018-10-16 | At&T Intellectual Property I, L.P. | Method and apparatus for mounting network devices |
| US10135147B2 (en) | 2016-10-18 | 2018-11-20 | At&T Intellectual Property I, L.P. | Apparatus and methods for launching guided waves via an antenna |
| US10135146B2 (en) | 2016-10-18 | 2018-11-20 | At&T Intellectual Property I, L.P. | Apparatus and methods for launching guided waves via circuits |
| US10135145B2 (en) | 2016-12-06 | 2018-11-20 | At&T Intellectual Property I, L.P. | Apparatus and methods for generating an electromagnetic wave along a transmission medium |
| US10139820B2 (en) | 2016-12-07 | 2018-11-27 | At&T Intellectual Property I, L.P. | Method and apparatus for deploying equipment of a communication system |
| US10148016B2 (en) | 2015-07-14 | 2018-12-04 | At&T Intellectual Property I, L.P. | Apparatus and methods for communicating utilizing an antenna array |
| US10168695B2 (en) | 2016-12-07 | 2019-01-01 | At&T Intellectual Property I, L.P. | Method and apparatus for controlling an unmanned aircraft |
| US10178445B2 (en) | 2016-11-23 | 2019-01-08 | At&T Intellectual Property I, L.P. | Methods, devices, and systems for load balancing between a plurality of waveguides |
| US10205655B2 (en) | 2015-07-14 | 2019-02-12 | At&T Intellectual Property I, L.P. | Apparatus and methods for communicating utilizing an antenna array and multiple communication paths |
| US10224634B2 (en) | 2016-11-03 | 2019-03-05 | At&T Intellectual Property I, L.P. | Methods and apparatus for adjusting an operational characteristic of an antenna |
| US10225025B2 (en) | 2016-11-03 | 2019-03-05 | At&T Intellectual Property I, L.P. | Method and apparatus for detecting a fault in a communication system |
| US10243270B2 (en) | 2016-12-07 | 2019-03-26 | At&T Intellectual Property I, L.P. | Beam adaptive multi-feed dielectric antenna system and methods for use therewith |
| US10243784B2 (en) | 2014-11-20 | 2019-03-26 | At&T Intellectual Property I, L.P. | System for generating topology information and methods thereof |
| US10264586B2 (en) | 2016-12-09 | 2019-04-16 | At&T Mobility Ii Llc | Cloud-based packet controller and methods for use therewith |
| US10291334B2 (en) | 2016-11-03 | 2019-05-14 | At&T Intellectual Property I, L.P. | System for detecting a fault in a communication system |
| US10298293B2 (en) | 2017-03-13 | 2019-05-21 | At&T Intellectual Property I, L.P. | Apparatus of communication utilizing wireless network devices |
| US10305190B2 (en) | 2016-12-01 | 2019-05-28 | At&T Intellectual Property I, L.P. | Reflecting dielectric antenna system and methods for use therewith |
| US10312567B2 (en) | 2016-10-26 | 2019-06-04 | At&T Intellectual Property I, L.P. | Launcher with planar strip antenna and methods for use therewith |
| US10320586B2 (en) | 2015-07-14 | 2019-06-11 | At&T Intellectual Property I, L.P. | Apparatus and methods for generating non-interfering electromagnetic waves on an insulated transmission medium |
| US10326494B2 (en) | 2016-12-06 | 2019-06-18 | At&T Intellectual Property I, L.P. | Apparatus for measurement de-embedding and methods for use therewith |
| US10326689B2 (en) | 2016-12-08 | 2019-06-18 | At&T Intellectual Property I, L.P. | Method and system for providing alternative communication paths |
| US10340601B2 (en) | 2016-11-23 | 2019-07-02 | At&T Intellectual Property I, L.P. | Multi-antenna system and methods for use therewith |
| US10340603B2 (en) | 2016-11-23 | 2019-07-02 | At&T Intellectual Property I, L.P. | Antenna system having shielded structural configurations for assembly |
| US10340600B2 (en) | 2016-10-18 | 2019-07-02 | At&T Intellectual Property I, L.P. | Apparatus and methods for launching guided waves via plural waveguide systems |
| US10340573B2 (en) | 2016-10-26 | 2019-07-02 | At&T Intellectual Property I, L.P. | Launcher with cylindrical coupling device and methods for use therewith |
| US10340983B2 (en) | 2016-12-09 | 2019-07-02 | At&T Intellectual Property I, L.P. | Method and apparatus for surveying remote sites via guided wave communications |
| US10355367B2 (en) | 2015-10-16 | 2019-07-16 | At&T Intellectual Property I, L.P. | Antenna structure for exchanging wireless signals |
| US10361489B2 (en) | 2016-12-01 | 2019-07-23 | At&T Intellectual Property I, L.P. | Dielectric dish antenna system and methods for use therewith |
| US10359749B2 (en) | 2016-12-07 | 2019-07-23 | At&T Intellectual Property I, L.P. | Method and apparatus for utilities management via guided wave communication |
| US10374316B2 (en) | 2016-10-21 | 2019-08-06 | At&T Intellectual Property I, L.P. | System and dielectric antenna with non-uniform dielectric |
| US10382976B2 (en) | 2016-12-06 | 2019-08-13 | At&T Intellectual Property I, L.P. | Method and apparatus for managing wireless communications based on communication paths and network device positions |
| US10389029B2 (en) | 2016-12-07 | 2019-08-20 | At&T Intellectual Property I, L.P. | Multi-feed dielectric antenna system with core selection and methods for use therewith |
| US10389037B2 (en) | 2016-12-08 | 2019-08-20 | At&T Intellectual Property I, L.P. | Apparatus and methods for selecting sections of an antenna array and use therewith |
| US10411356B2 (en) | 2016-12-08 | 2019-09-10 | At&T Intellectual Property I, L.P. | Apparatus and methods for selectively targeting communication devices with an antenna array |
| US10439675B2 (en) | 2016-12-06 | 2019-10-08 | At&T Intellectual Property I, L.P. | Method and apparatus for repeating guided wave communication signals |
| US10446936B2 (en) | 2016-12-07 | 2019-10-15 | At&T Intellectual Property I, L.P. | Multi-feed dielectric antenna system and methods for use therewith |
| US10498044B2 (en) | 2016-11-03 | 2019-12-03 | At&T Intellectual Property I, L.P. | Apparatus for configuring a surface of an antenna |
| US10530505B2 (en) | 2016-12-08 | 2020-01-07 | At&T Intellectual Property I, L.P. | Apparatus and methods for launching electromagnetic waves along a transmission medium |
| US10535928B2 (en) | 2016-11-23 | 2020-01-14 | At&T Intellectual Property I, L.P. | Antenna system and methods for use therewith |
| US10547348B2 (en) | 2016-12-07 | 2020-01-28 | At&T Intellectual Property I, L.P. | Method and apparatus for switching transmission mediums in a communication system |
| US10601494B2 (en) | 2016-12-08 | 2020-03-24 | At&T Intellectual Property I, L.P. | Dual-band communication device and method for use therewith |
| US10637149B2 (en) | 2016-12-06 | 2020-04-28 | At&T Intellectual Property I, L.P. | Injection molded dielectric antenna and methods for use therewith |
| US10650940B2 (en) | 2015-05-15 | 2020-05-12 | At&T Intellectual Property I, L.P. | Transmission medium having a conductive material and methods for use therewith |
| US10694379B2 (en) | 2016-12-06 | 2020-06-23 | At&T Intellectual Property I, L.P. | Waveguide system with device-based authentication and methods for use therewith |
| US10727599B2 (en) | 2016-12-06 | 2020-07-28 | At&T Intellectual Property I, L.P. | Launcher with slot antenna and methods for use therewith |
| US10755542B2 (en) | 2016-12-06 | 2020-08-25 | At&T Intellectual Property I, L.P. | Method and apparatus for surveillance via guided wave communication |
| US10777873B2 (en) | 2016-12-08 | 2020-09-15 | At&T Intellectual Property I, L.P. | Method and apparatus for mounting network devices |
| US10797781B2 (en) | 2015-06-03 | 2020-10-06 | At&T Intellectual Property I, L.P. | Client node device and methods for use therewith |
| US10811767B2 (en) | 2016-10-21 | 2020-10-20 | At&T Intellectual Property I, L.P. | System and dielectric antenna with convex dielectric radome |
| US10819035B2 (en) | 2016-12-06 | 2020-10-27 | At&T Intellectual Property I, L.P. | Launcher with helical antenna and methods for use therewith |
| US10916969B2 (en) | 2016-12-08 | 2021-02-09 | At&T Intellectual Property I, L.P. | Method and apparatus for providing power using an inductive coupling |
| US10938108B2 (en) | 2016-12-08 | 2021-03-02 | At&T Intellectual Property I, L.P. | Frequency selective multi-feed dielectric antenna system and methods for use therewith |
| Publication number | Priority date | Publication date | Assignee | Title |
|---|---|---|---|---|
| JP5035113B2 (en)* | 2008-05-27 | 2012-09-26 | オムロン株式会社 | Message distribution device, message distribution method, and message distribution program |
| JP5932507B2 (en)* | 2012-06-14 | 2016-06-08 | シャープ株式会社 | Anti-theft server and system |
| JP2014052870A (en)* | 2012-09-07 | 2014-03-20 | Fujitsu Telecom Networks Ltd | Transmitter, slave station device, master station device, and tracking system |
| JP6256984B2 (en)* | 2014-03-18 | 2018-01-10 | 株式会社日本総合研究所 | Local monitoring system and local monitoring method using autonomous driving traffic system |
| KR102126433B1 (en)* | 2018-12-11 | 2020-06-24 | 동의대학교 산학협력단 | Portable burglar alarm |
| Publication number | Priority date | Publication date | Assignee | Title |
|---|---|---|---|---|
| US10051630B2 (en) | 2013-05-31 | 2018-08-14 | At&T Intellectual Property I, L.P. | Remote distributed antenna system |
| US9999038B2 (en) | 2013-05-31 | 2018-06-12 | At&T Intellectual Property I, L.P. | Remote distributed antenna system |
| US9674711B2 (en) | 2013-11-06 | 2017-06-06 | At&T Intellectual Property I, L.P. | Surface-wave communications and methods thereof |
| US9768833B2 (en) | 2014-09-15 | 2017-09-19 | At&T Intellectual Property I, L.P. | Method and apparatus for sensing a condition in a transmission medium of electromagnetic waves |
| US9906269B2 (en) | 2014-09-17 | 2018-02-27 | At&T Intellectual Property I, L.P. | Monitoring and mitigating conditions in a communication network |
| US10063280B2 (en) | 2014-09-17 | 2018-08-28 | At&T Intellectual Property I, L.P. | Monitoring and mitigating conditions in a communication network |
| US9973416B2 (en) | 2014-10-02 | 2018-05-15 | At&T Intellectual Property I, L.P. | Method and apparatus that provides fault tolerance in a communication network |
| US9685992B2 (en) | 2014-10-03 | 2017-06-20 | At&T Intellectual Property I, L.P. | Circuit panel network and methods thereof |
| US9866276B2 (en) | 2014-10-10 | 2018-01-09 | At&T Intellectual Property I, L.P. | Method and apparatus for arranging communication sessions in a communication system |
| US9847850B2 (en) | 2014-10-14 | 2017-12-19 | At&T Intellectual Property I, L.P. | Method and apparatus for adjusting a mode of communication in a communication network |
| US9912033B2 (en) | 2014-10-21 | 2018-03-06 | At&T Intellectual Property I, Lp | Guided wave coupler, coupling module and methods for use therewith |
| US9960808B2 (en) | 2014-10-21 | 2018-05-01 | At&T Intellectual Property I, L.P. | Guided-wave transmission device and methods for use therewith |
| US9954286B2 (en) | 2014-10-21 | 2018-04-24 | At&T Intellectual Property I, L.P. | Guided-wave transmission device with non-fundamental mode propagation and methods for use therewith |
| US9871558B2 (en) | 2014-10-21 | 2018-01-16 | At&T Intellectual Property I, L.P. | Guided-wave transmission device and methods for use therewith |
| US9876587B2 (en) | 2014-10-21 | 2018-01-23 | At&T Intellectual Property I, L.P. | Transmission device with impairment compensation and methods for use therewith |
| US9769020B2 (en) | 2014-10-21 | 2017-09-19 | At&T Intellectual Property I, L.P. | Method and apparatus for responding to events affecting communications in a communication network |
| US9705610B2 (en) | 2014-10-21 | 2017-07-11 | At&T Intellectual Property I, L.P. | Transmission device with impairment compensation and methods for use therewith |
| US9780834B2 (en) | 2014-10-21 | 2017-10-03 | At&T Intellectual Property I, L.P. | Method and apparatus for transmitting electromagnetic waves |
| US9800327B2 (en) | 2014-11-20 | 2017-10-24 | At&T Intellectual Property I, L.P. | Apparatus for controlling operations of a communication device and methods thereof |
| US10243784B2 (en) | 2014-11-20 | 2019-03-26 | At&T Intellectual Property I, L.P. | System for generating topology information and methods thereof |
| US9742521B2 (en) | 2014-11-20 | 2017-08-22 | At&T Intellectual Property I, L.P. | Transmission device with mode division multiplexing and methods for use therewith |
| US9749083B2 (en) | 2014-11-20 | 2017-08-29 | At&T Intellectual Property I, L.P. | Transmission device with mode division multiplexing and methods for use therewith |
| US9954287B2 (en) | 2014-11-20 | 2018-04-24 | At&T Intellectual Property I, L.P. | Apparatus for converting wireless signals and electromagnetic waves and methods thereof |
| US10009067B2 (en) | 2014-12-04 | 2018-06-26 | At&T Intellectual Property I, L.P. | Method and apparatus for configuring a communication interface |
| US9742462B2 (en) | 2014-12-04 | 2017-08-22 | At&T Intellectual Property I, L.P. | Transmission medium and communication interfaces and methods for use therewith |
| US9876570B2 (en) | 2015-02-20 | 2018-01-23 | At&T Intellectual Property I, Lp | Guided-wave transmission device with non-fundamental mode propagation and methods for use therewith |
| US9876571B2 (en) | 2015-02-20 | 2018-01-23 | At&T Intellectual Property I, Lp | Guided-wave transmission device with non-fundamental mode propagation and methods for use therewith |
| US9749013B2 (en) | 2015-03-17 | 2017-08-29 | At&T Intellectual Property I, L.P. | Method and apparatus for reducing attenuation of electromagnetic waves guided by a transmission medium |
| US9831912B2 (en) | 2015-04-24 | 2017-11-28 | At&T Intellectual Property I, Lp | Directional coupling device and methods for use therewith |
| US9793955B2 (en) | 2015-04-24 | 2017-10-17 | At&T Intellectual Property I, Lp | Passive electrical coupling device and methods for use therewith |
| US9705561B2 (en) | 2015-04-24 | 2017-07-11 | At&T Intellectual Property I, L.P. | Directional coupling device and methods for use therewith |
| US10224981B2 (en) | 2015-04-24 | 2019-03-05 | At&T Intellectual Property I, Lp | Passive electrical coupling device and methods for use therewith |
| US9793954B2 (en) | 2015-04-28 | 2017-10-17 | At&T Intellectual Property I, L.P. | Magnetic coupling device and methods for use therewith |
| US9871282B2 (en) | 2015-05-14 | 2018-01-16 | At&T Intellectual Property I, L.P. | At least one transmission medium having a dielectric surface that is covered at least in part by a second dielectric |
| US9748626B2 (en) | 2015-05-14 | 2017-08-29 | At&T Intellectual Property I, L.P. | Plurality of cables having different cross-sectional shapes which are bundled together to form a transmission medium |
| US9887447B2 (en) | 2015-05-14 | 2018-02-06 | At&T Intellectual Property I, L.P. | Transmission medium having multiple cores and methods for use therewith |
| US10650940B2 (en) | 2015-05-15 | 2020-05-12 | At&T Intellectual Property I, L.P. | Transmission medium having a conductive material and methods for use therewith |
| US9917341B2 (en) | 2015-05-27 | 2018-03-13 | At&T Intellectual Property I, L.P. | Apparatus and method for launching electromagnetic waves and for modifying radial dimensions of the propagating electromagnetic waves |
| US9866309B2 (en) | 2015-06-03 | 2018-01-09 | At&T Intellectual Property I, Lp | Host node device and methods for use therewith |
| US9935703B2 (en) | 2015-06-03 | 2018-04-03 | At&T Intellectual Property I, L.P. | Host node device and methods for use therewith |
| US10797781B2 (en) | 2015-06-03 | 2020-10-06 | At&T Intellectual Property I, L.P. | Client node device and methods for use therewith |
| US9967002B2 (en) | 2015-06-03 | 2018-05-08 | At&T Intellectual I, Lp | Network termination and methods for use therewith |
| US10812174B2 (en) | 2015-06-03 | 2020-10-20 | At&T Intellectual Property I, L.P. | Client node device and methods for use therewith |
| US10050697B2 (en) | 2015-06-03 | 2018-08-14 | At&T Intellectual Property I, L.P. | Host node device and methods for use therewith |
| US9912381B2 (en) | 2015-06-03 | 2018-03-06 | At&T Intellectual Property I, Lp | Network termination and methods for use therewith |
| US9912382B2 (en) | 2015-06-03 | 2018-03-06 | At&T Intellectual Property I, Lp | Network termination and methods for use therewith |
| US9997819B2 (en) | 2015-06-09 | 2018-06-12 | At&T Intellectual Property I, L.P. | Transmission medium and method for facilitating propagation of electromagnetic waves via a core |
| US9913139B2 (en) | 2015-06-09 | 2018-03-06 | At&T Intellectual Property I, L.P. | Signal fingerprinting for authentication of communicating devices |
| US9820146B2 (en) | 2015-06-12 | 2017-11-14 | At&T Intellectual Property I, L.P. | Method and apparatus for authentication and identity management of communicating devices |
| US9667317B2 (en) | 2015-06-15 | 2017-05-30 | At&T Intellectual Property I, L.P. | Method and apparatus for providing security using network traffic adjustments |
| US10069185B2 (en) | 2015-06-25 | 2018-09-04 | At&T Intellectual Property I, L.P. | Methods and apparatus for inducing a non-fundamental wave mode on a transmission medium |
| US9865911B2 (en) | 2015-06-25 | 2018-01-09 | At&T Intellectual Property I, L.P. | Waveguide system for slot radiating first electromagnetic waves that are combined into a non-fundamental wave mode second electromagnetic wave on a transmission medium |
| US9787412B2 (en) | 2015-06-25 | 2017-10-10 | At&T Intellectual Property I, L.P. | Methods and apparatus for inducing a fundamental wave mode on a transmission medium |
| US9882257B2 (en) | 2015-07-14 | 2018-01-30 | At&T Intellectual Property I, L.P. | Method and apparatus for launching a wave mode that mitigates interference |
| US10320586B2 (en) | 2015-07-14 | 2019-06-11 | At&T Intellectual Property I, L.P. | Apparatus and methods for generating non-interfering electromagnetic waves on an insulated transmission medium |
| US9929755B2 (en) | 2015-07-14 | 2018-03-27 | At&T Intellectual Property I, L.P. | Method and apparatus for coupling an antenna to a device |
| US9722318B2 (en) | 2015-07-14 | 2017-08-01 | At&T Intellectual Property I, L.P. | Method and apparatus for coupling an antenna to a device |
| US10148016B2 (en) | 2015-07-14 | 2018-12-04 | At&T Intellectual Property I, L.P. | Apparatus and methods for communicating utilizing an antenna array |
| US10044409B2 (en) | 2015-07-14 | 2018-08-07 | At&T Intellectual Property I, L.P. | Transmission medium and methods for use therewith |
| US9853342B2 (en) | 2015-07-14 | 2017-12-26 | At&T Intellectual Property I, L.P. | Dielectric transmission medium connector and methods for use therewith |
| US9847566B2 (en) | 2015-07-14 | 2017-12-19 | At&T Intellectual Property I, L.P. | Method and apparatus for adjusting a field of a signal to mitigate interference |
| US10205655B2 (en) | 2015-07-14 | 2019-02-12 | At&T Intellectual Property I, L.P. | Apparatus and methods for communicating utilizing an antenna array and multiple communication paths |
| US9793951B2 (en) | 2015-07-15 | 2017-10-17 | At&T Intellectual Property I, L.P. | Method and apparatus for launching a wave mode that mitigates interference |
| US10090606B2 (en) | 2015-07-15 | 2018-10-02 | At&T Intellectual Property I, L.P. | Antenna system with dielectric array and methods for use therewith |
| US9871283B2 (en) | 2015-07-23 | 2018-01-16 | At&T Intellectual Property I, Lp | Transmission medium having a dielectric core comprised of plural members connected by a ball and socket configuration |
| US9806818B2 (en) | 2015-07-23 | 2017-10-31 | At&T Intellectual Property I, Lp | Node device, repeater and methods for use therewith |
| US9912027B2 (en) | 2015-07-23 | 2018-03-06 | At&T Intellectual Property I, L.P. | Method and apparatus for exchanging communication signals |
| US9749053B2 (en) | 2015-07-23 | 2017-08-29 | At&T Intellectual Property I, L.P. | Node device, repeater and methods for use therewith |
| US9948333B2 (en) | 2015-07-23 | 2018-04-17 | At&T Intellectual Property I, L.P. | Method and apparatus for wireless communications to mitigate interference |
| US9967173B2 (en) | 2015-07-31 | 2018-05-08 | At&T Intellectual Property I, L.P. | Method and apparatus for authentication and identity management of communicating devices |
| US9735833B2 (en) | 2015-07-31 | 2017-08-15 | At&T Intellectual Property I, L.P. | Method and apparatus for communications management in a neighborhood network |
| US9838078B2 (en) | 2015-07-31 | 2017-12-05 | At&T Intellectual Property I, L.P. | Method and apparatus for exchanging communication signals |
| US9904535B2 (en) | 2015-09-14 | 2018-02-27 | At&T Intellectual Property I, L.P. | Method and apparatus for distributing software |
| US9769128B2 (en) | 2015-09-28 | 2017-09-19 | At&T Intellectual Property I, L.P. | Method and apparatus for encryption of communications over a network |
| US9729197B2 (en) | 2015-10-01 | 2017-08-08 | At&T Intellectual Property I, L.P. | Method and apparatus for communicating network management traffic over a network |
| US9876264B2 (en) | 2015-10-02 | 2018-01-23 | At&T Intellectual Property I, Lp | Communication system, guided wave switch and methods for use therewith |
| US10355367B2 (en) | 2015-10-16 | 2019-07-16 | At&T Intellectual Property I, L.P. | Antenna structure for exchanging wireless signals |
| US9860075B1 (en) | 2016-08-26 | 2018-01-02 | At&T Intellectual Property I, L.P. | Method and communication node for broadband distribution |
| US10340600B2 (en) | 2016-10-18 | 2019-07-02 | At&T Intellectual Property I, L.P. | Apparatus and methods for launching guided waves via plural waveguide systems |
| US10135146B2 (en) | 2016-10-18 | 2018-11-20 | At&T Intellectual Property I, L.P. | Apparatus and methods for launching guided waves via circuits |
| US10135147B2 (en) | 2016-10-18 | 2018-11-20 | At&T Intellectual Property I, L.P. | Apparatus and methods for launching guided waves via an antenna |
| US9876605B1 (en) | 2016-10-21 | 2018-01-23 | At&T Intellectual Property I, L.P. | Launcher and coupling system to support desired guided wave mode |
| US10374316B2 (en) | 2016-10-21 | 2019-08-06 | At&T Intellectual Property I, L.P. | System and dielectric antenna with non-uniform dielectric |
| US10811767B2 (en) | 2016-10-21 | 2020-10-20 | At&T Intellectual Property I, L.P. | System and dielectric antenna with convex dielectric radome |
| US9991580B2 (en) | 2016-10-21 | 2018-06-05 | At&T Intellectual Property I, L.P. | Launcher and coupling system for guided wave mode cancellation |
| US10312567B2 (en) | 2016-10-26 | 2019-06-04 | At&T Intellectual Property I, L.P. | Launcher with planar strip antenna and methods for use therewith |
| US10340573B2 (en) | 2016-10-26 | 2019-07-02 | At&T Intellectual Property I, L.P. | Launcher with cylindrical coupling device and methods for use therewith |
| US10224634B2 (en) | 2016-11-03 | 2019-03-05 | At&T Intellectual Property I, L.P. | Methods and apparatus for adjusting an operational characteristic of an antenna |
| US10498044B2 (en) | 2016-11-03 | 2019-12-03 | At&T Intellectual Property I, L.P. | Apparatus for configuring a surface of an antenna |
| US10225025B2 (en) | 2016-11-03 | 2019-03-05 | At&T Intellectual Property I, L.P. | Method and apparatus for detecting a fault in a communication system |
| US10291334B2 (en) | 2016-11-03 | 2019-05-14 | At&T Intellectual Property I, L.P. | System for detecting a fault in a communication system |
| US10178445B2 (en) | 2016-11-23 | 2019-01-08 | At&T Intellectual Property I, L.P. | Methods, devices, and systems for load balancing between a plurality of waveguides |
| US10535928B2 (en) | 2016-11-23 | 2020-01-14 | At&T Intellectual Property I, L.P. | Antenna system and methods for use therewith |
| US10340603B2 (en) | 2016-11-23 | 2019-07-02 | At&T Intellectual Property I, L.P. | Antenna system having shielded structural configurations for assembly |
| US10090594B2 (en) | 2016-11-23 | 2018-10-02 | At&T Intellectual Property I, L.P. | Antenna system having structural configurations for assembly |
| US10340601B2 (en) | 2016-11-23 | 2019-07-02 | At&T Intellectual Property I, L.P. | Multi-antenna system and methods for use therewith |
| US10305190B2 (en) | 2016-12-01 | 2019-05-28 | At&T Intellectual Property I, L.P. | Reflecting dielectric antenna system and methods for use therewith |
| US10361489B2 (en) | 2016-12-01 | 2019-07-23 | At&T Intellectual Property I, L.P. | Dielectric dish antenna system and methods for use therewith |
| US10326494B2 (en) | 2016-12-06 | 2019-06-18 | At&T Intellectual Property I, L.P. | Apparatus for measurement de-embedding and methods for use therewith |
| US10020844B2 (en) | 2016-12-06 | 2018-07-10 | T&T Intellectual Property I, L.P. | Method and apparatus for broadcast communication via guided waves |
| US10439675B2 (en) | 2016-12-06 | 2019-10-08 | At&T Intellectual Property I, L.P. | Method and apparatus for repeating guided wave communication signals |
| US10755542B2 (en) | 2016-12-06 | 2020-08-25 | At&T Intellectual Property I, L.P. | Method and apparatus for surveillance via guided wave communication |
| US10135145B2 (en) | 2016-12-06 | 2018-11-20 | At&T Intellectual Property I, L.P. | Apparatus and methods for generating an electromagnetic wave along a transmission medium |
| US10727599B2 (en) | 2016-12-06 | 2020-07-28 | At&T Intellectual Property I, L.P. | Launcher with slot antenna and methods for use therewith |
| US10382976B2 (en) | 2016-12-06 | 2019-08-13 | At&T Intellectual Property I, L.P. | Method and apparatus for managing wireless communications based on communication paths and network device positions |
| US10819035B2 (en) | 2016-12-06 | 2020-10-27 | At&T Intellectual Property I, L.P. | Launcher with helical antenna and methods for use therewith |
| US10637149B2 (en) | 2016-12-06 | 2020-04-28 | At&T Intellectual Property I, L.P. | Injection molded dielectric antenna and methods for use therewith |
| US9927517B1 (en) | 2016-12-06 | 2018-03-27 | At&T Intellectual Property I, L.P. | Apparatus and methods for sensing rainfall |
| US10694379B2 (en) | 2016-12-06 | 2020-06-23 | At&T Intellectual Property I, L.P. | Waveguide system with device-based authentication and methods for use therewith |
| US10027397B2 (en) | 2016-12-07 | 2018-07-17 | At&T Intellectual Property I, L.P. | Distributed antenna system and methods for use therewith |
| US10243270B2 (en) | 2016-12-07 | 2019-03-26 | At&T Intellectual Property I, L.P. | Beam adaptive multi-feed dielectric antenna system and methods for use therewith |
| US10359749B2 (en) | 2016-12-07 | 2019-07-23 | At&T Intellectual Property I, L.P. | Method and apparatus for utilities management via guided wave communication |
| US10547348B2 (en) | 2016-12-07 | 2020-01-28 | At&T Intellectual Property I, L.P. | Method and apparatus for switching transmission mediums in a communication system |
| US9893795B1 (en) | 2016-12-07 | 2018-02-13 | At&T Intellectual Property I, Lp | Method and repeater for broadband distribution |
| US10389029B2 (en) | 2016-12-07 | 2019-08-20 | At&T Intellectual Property I, L.P. | Multi-feed dielectric antenna system with core selection and methods for use therewith |
| US10446936B2 (en) | 2016-12-07 | 2019-10-15 | At&T Intellectual Property I, L.P. | Multi-feed dielectric antenna system and methods for use therewith |
| US10139820B2 (en) | 2016-12-07 | 2018-11-27 | At&T Intellectual Property I, L.P. | Method and apparatus for deploying equipment of a communication system |
| US10168695B2 (en) | 2016-12-07 | 2019-01-01 | At&T Intellectual Property I, L.P. | Method and apparatus for controlling an unmanned aircraft |
| US10068115B2 (en) | 2016-12-08 | 2018-09-04 | At&T Intellectual Property I, L.P. | Method and apparatus for tracking via a radio frequency identification device |
| US10326689B2 (en) | 2016-12-08 | 2019-06-18 | At&T Intellectual Property I, L.P. | Method and system for providing alternative communication paths |
| US10530505B2 (en) | 2016-12-08 | 2020-01-07 | At&T Intellectual Property I, L.P. | Apparatus and methods for launching electromagnetic waves along a transmission medium |
| US10389037B2 (en) | 2016-12-08 | 2019-08-20 | At&T Intellectual Property I, L.P. | Apparatus and methods for selecting sections of an antenna array and use therewith |
| US10938108B2 (en) | 2016-12-08 | 2021-03-02 | At&T Intellectual Property I, L.P. | Frequency selective multi-feed dielectric antenna system and methods for use therewith |
| US10601494B2 (en) | 2016-12-08 | 2020-03-24 | At&T Intellectual Property I, L.P. | Dual-band communication device and method for use therewith |
| US9998870B1 (en) | 2016-12-08 | 2018-06-12 | At&T Intellectual Property I, L.P. | Method and apparatus for proximity sensing |
| US10916969B2 (en) | 2016-12-08 | 2021-02-09 | At&T Intellectual Property I, L.P. | Method and apparatus for providing power using an inductive coupling |
| US10103422B2 (en) | 2016-12-08 | 2018-10-16 | At&T Intellectual Property I, L.P. | Method and apparatus for mounting network devices |
| US10411356B2 (en) | 2016-12-08 | 2019-09-10 | At&T Intellectual Property I, L.P. | Apparatus and methods for selectively targeting communication devices with an antenna array |
| US10069535B2 (en) | 2016-12-08 | 2018-09-04 | At&T Intellectual Property I, L.P. | Apparatus and methods for launching electromagnetic waves having a certain electric field structure |
| US10777873B2 (en) | 2016-12-08 | 2020-09-15 | At&T Intellectual Property I, L.P. | Method and apparatus for mounting network devices |
| US9911020B1 (en) | 2016-12-08 | 2018-03-06 | At&T Intellectual Property I, L.P. | Method and apparatus for tracking via a radio frequency identification device |
| US10264586B2 (en) | 2016-12-09 | 2019-04-16 | At&T Mobility Ii Llc | Cloud-based packet controller and methods for use therewith |
| US10340983B2 (en) | 2016-12-09 | 2019-07-02 | At&T Intellectual Property I, L.P. | Method and apparatus for surveying remote sites via guided wave communications |
| US9838896B1 (en) | 2016-12-09 | 2017-12-05 | At&T Intellectual Property I, L.P. | Method and apparatus for assessing network coverage |
| US9973940B1 (en) | 2017-02-27 | 2018-05-15 | At&T Intellectual Property I, L.P. | Apparatus and methods for dynamic impedance matching of a guided wave launcher |
| US10298293B2 (en) | 2017-03-13 | 2019-05-21 | At&T Intellectual Property I, L.P. | Apparatus of communication utilizing wireless network devices |
| Publication number | Publication date |
|---|---|
| JP2007305032A (en) | 2007-11-22 |
| Publication | Publication Date | Title |
|---|---|---|
| JP4142062B2 (en) | Monitoring system and terminal device | |
| US8497903B2 (en) | Monitoring system and terminal device | |
| US10848719B2 (en) | System and method for gate monitoring during departure or arrival of an autonomous vehicle | |
| US9449482B2 (en) | Method and apparatus for activating and deactivating video cameras in a security system | |
| KR100962529B1 (en) | Object tracking method | |
| US20120092163A1 (en) | Intruder detection and interdiction system and methods for using the same | |
| US20120242816A1 (en) | Recognition system for firearms | |
| JP5457148B2 (en) | Security system | |
| KR20160074208A (en) | System and method for providing safety service using beacon signals | |
| KR101370982B1 (en) | Apparatus for detecting motion using wireless tag and security apparatus comprising the same, and method for detecting motion using the same | |
| JP2007087136A (en) | Position detection system and its method | |
| JP2007060528A (en) | User management system and user management method in facility | |
| JP5411744B2 (en) | Security system | |
| JP2015502622A (en) | Alarm tracking system and method with improved confidentiality | |
| JP5278981B1 (en) | Digital smart security system, method and program | |
| JP5363214B2 (en) | Security system and sensor terminal | |
| KR101473926B1 (en) | Household Management System and Method | |
| JP2007226379A (en) | Monitor object zone management system | |
| JP5863293B2 (en) | Security system | |
| JP2006146432A (en) | Security system | |
| JP5363234B2 (en) | Security system | |
| CN114072861B (en) | Security devices and security systems | |
| JP6562405B1 (en) | Security device and security system | |
| JP5363230B2 (en) | Security system | |
| JP2008084220A (en) | Intrusion detection system and intrusion detection method |
| Date | Code | Title | Description |
|---|---|---|---|
| A621 | Written request for application examination | Free format text:JAPANESE INTERMEDIATE CODE: A621 Effective date:20071003 | |
| A871 | Explanation of circumstances concerning accelerated examination | Free format text:JAPANESE INTERMEDIATE CODE: A871 Effective date:20071004 | |
| A975 | Report on accelerated examination | Free format text:JAPANESE INTERMEDIATE CODE: A971005 Effective date:20071101 | |
| A131 | Notification of reasons for refusal | Free format text:JAPANESE INTERMEDIATE CODE: A131 Effective date:20071105 | |
| A521 | Written amendment | Free format text:JAPANESE INTERMEDIATE CODE: A523 Effective date:20080104 | |
| A131 | Notification of reasons for refusal | Free format text:JAPANESE INTERMEDIATE CODE: A131 Effective date:20080205 | |
| A521 | Written amendment | Free format text:JAPANESE INTERMEDIATE CODE: A523 Effective date:20080407 | |
| TRDD | Decision of grant or rejection written | ||
| A01 | Written decision to grant a patent or to grant a registration (utility model) | Free format text:JAPANESE INTERMEDIATE CODE: A01 Effective date:20080516 | |
| A01 | Written decision to grant a patent or to grant a registration (utility model) | Free format text:JAPANESE INTERMEDIATE CODE: A01 | |
| A61 | First payment of annual fees (during grant procedure) | Free format text:JAPANESE INTERMEDIATE CODE: A61 Effective date:20080611 | |
| FPAY | Renewal fee payment (event date is renewal date of database) | Free format text:PAYMENT UNTIL: 20110620 Year of fee payment:3 | |
| R150 | Certificate of patent or registration of utility model | Free format text:JAPANESE INTERMEDIATE CODE: R150 | |
| FPAY | Renewal fee payment (event date is renewal date of database) | Free format text:PAYMENT UNTIL: 20120620 Year of fee payment:4 | |
| FPAY | Renewal fee payment (event date is renewal date of database) | Free format text:PAYMENT UNTIL: 20130620 Year of fee payment:5 | |
| R250 | Receipt of annual fees | Free format text:JAPANESE INTERMEDIATE CODE: R250 | |
| LAPS | Cancellation because of no payment of annual fees |