














本発明はデジタルデータの表示、保存、複写、加工、転送においてデータを利用する装置に係るものであり、デジタルデータの著作権を保護することを目的とする。 The present invention relates to an apparatus that uses data in the display, storage, copying, processing, and transfer of digital data, and an object thereof is to protect the copyright of the digital data.
情報化時代と呼ばれる今日、これまでは各々のコンピュータが独立して保存していた各種のデータを通信回線で各々のコンピュータを接続することによって相互に利用するデータベースシステムが普及しつつある。このデータベースシステムにおいてこれまでに扱われてきた情報は古典的なコンピュータで処理することができる情報量が少ないコード化情報及びせいぜいのところでファクシミリ情報のようなモノクローム2値データであり、自然画及び動画のような情報量が格段に多いデータを取扱うことができなかった。 Today, called the information age, database systems that mutually use various data that have been stored independently by each computer by connecting each computer via a communication line are becoming widespread. The information handled so far in this database system is coded information with a small amount of information that can be processed by a classic computer and monochrome binary data such as facsimile information at most. It was not possible to handle data with much more information.
ところで、各種電気信号のディジタル処理技術が発展する中で、従来はアナログ信号としてのみ扱われていた2値データ以外の画像信号もディジタル処理技術の開発が進められている。この画像信号のディジタル化によりテレビジョン信号のような画像信号をコンピュータで扱うことが可能となるため、コンピュータが扱う各種のデータと画像信号をディジタル化した画像データとを同時に取り扱う「マルチメディアシステム」が将来の技術として注目されている。 By the way, with the development of digital processing techniques for various electric signals, development of digital processing techniques for image signals other than binary data, which has been conventionally handled only as an analog signal, is in progress. This digitalization of image signals makes it possible for computers to handle image signals such as television signals. A "multimedia system" that simultaneously handles various data handled by computers and image data obtained by digitizing image signals. Is attracting attention as a future technology.
画像データは、文字データ及び音声データと比較して圧倒的に情報量が多いため、そのままでは保存,転送あるいはコンピュータにおける各種の処理が困難である。そのため、これらの画像データを圧縮/伸張することが考えられ、いくつかの画像データ圧縮/伸張用の規格が作成されてきた。その中で、共通の規格としてこれまでに静止画像用のJPEG(Joint Photographic image coding ExpertsGroup )規格,テレビジョン会議用のH.
261規格,画像蓄積用のMPEG1(Moving Picture image coding Experts Group 1
)規格及び現在のテレビジョン放送から高精細度テレビジョン放送に対応するMPEG
2規格が作成された。これらの技術により、ディジタル映像データのリアルタイム処理が可能となってきている。Since image data has an overwhelmingly large amount of information compared to character data and audio data, it is difficult to store, transfer, or perform various processes in a computer as it is. Therefore, it is conceivable to compress / decompress these image data, and several standards for image data compression / decompression have been created. Among them, JPEG (Joint Photographic image coding Experts Group) standard for still images and H.
261 standard, MPEG1 for image storage (Moving Picture image
) MPEG corresponding to high definition television broadcast from standard and current television broadcast
Two standards were created. With these technologies, digital video data can be processed in real time.
従来広く普及しているアナログデータは保存,複写,加工,転送をする毎に品質が劣化するために、これらの作業によって生じる著作権の処理は大きな問題とはならなかった。しかし、ディジタルデータは保存,複写,加工,転送を繰り返して行っても品質劣化が生じないため、これらの作業によって生じる著作権の処理は大きな問題である。これまで、ディジタルデータの著作権処理には的確な方法がなく、著作権法であるいは契約で処理されており、著作権法においてもディジタル方式の録音・録画機器に対する補償金が制度化されているにすぎない。 Since analog data that has been widely used in the past deteriorates in quality every time it is stored, copied, processed, or transferred, copyright processing caused by these operations has not been a major problem. However, since digital data does not deteriorate in quality even if it is repeatedly stored, copied, processed, and transferred, copyright processing caused by these operations is a big problem. Up to now, there has been no accurate method for copyright processing of digital data, and it has been processed by copyright law or contract, and compensation law for digital recording / recording equipment has also been institutionalized under copyright law. Only.
データベースの利用法は単にその内容を参照するだけでなく、通常は得たデータを保存,複写,加工することによって有効活用し、加工したデータを通信回線を経由してオンラインであるいは適当な記憶媒体を利用してオンラインで他人に転送したりさらにはデータベースに対して転送し、新しいデータとして登録することさえ可能である。従来のデータベースシステムにおいては文字データのみが対象となっていたが、マルチメディアシステムにおいては、これまでデータベース化されていた文字等のデータに加えて、本来アナログデータである音声データ及び画像データがディジタル化されてデータベースとされる。 Database usage is not limited to simply referring to the contents of the database. Usually, the obtained data is effectively used by storing, copying, and processing, and the processed data is online via a communication line or an appropriate storage medium. It is possible to transfer it to others online using the, and even transfer it to the database and register it as new data. In conventional database systems, only character data is the object. In multimedia systems, in addition to data such as characters that have been databased so far, audio data and image data that are originally analog data are digital. It is made into a database.
このような状況において、データベース化されたデータの著作権をどのように取扱うかが大きな問題となるが、これまでのところそのための著作権管理手段、特に、複写,加工
,転送等の2次利用について完成された著作権管理手段はない。なお、広告付きソフトあるいはフリーウェア呼ばれるデータは利用において原則として使用料を必要としないが、著作権は存在しており、利用の仕方によっては著作権上の制限を受ける場合がある。本発明者らは特開平6−46419号及び特開平6−141004号で公衆電信電話回線を通じて鍵管理センタから許可鍵を入手することによって著作権管理を行うシステムを、特開平6−132916号でそのための装置を提案した。Under such circumstances, how to handle the copyright of the data in the database is a big problem, but so far the copyright management means for that purpose, especially secondary use such as copying, processing, transfer, etc. There is no completed copyright management means. In principle, software with advertisement or data called freeware does not require a fee for use, but copyright exists and may be subject to copyright restrictions depending on how it is used. Japanese Patent Laid-Open No. 6-132916 and Japanese Patent Laid-Open No. 6-141004 disclose a system for performing copyright management by obtaining an authorization key from a key management center through a public telephone line. A device for that was proposed.
また、特願平6−64889号(特許文献1)及び特願平6−237673号において、ディジタルデータの著作権を管理するシステムについて提案した。これらのシステム及び装置において、暗号化された番組の視聴を希望する者は通信装置を使用し通信回線を経由して管理センタに視聴申し込みを行い、管理センタはこの視聴申し込みに対して許可鍵を送信するとともに課金処理を行い料金を徴収する。許可鍵を受信した視聴希望者はオンラインあるいはオフライン手段によって許可鍵を受信装置に送り込み、許可鍵を送り込まれた受信装置はその許可鍵によって暗号化された番組の暗号を解除する。 In Japanese Patent Application No. 6-64889 (Patent Document 1) and Japanese Patent Application No. 6-237673, a system for managing the copyright of digital data has been proposed. In these systems and devices, a person who wishes to view an encrypted program uses a communication device to apply for viewing to the management center via a communication line, and the management center provides a permission key for this viewing application. The fee is collected by sending the bill and sending it. A viewer who has received the permission key sends the permission key to the receiving device by online or offline means, and the receiving device to which the permission key is sent releases the encryption of the program encrypted by the permission key.
特願平6−64889号に記載されたシステムは、デジタル映像のリアルタイム送信も含むデータベースシステムにおけるデジタルデータの表示(音声化を含む),保存,複写,加工,転送における著作権の管理を行うために、利用を許可する鍵の他に、著作権を管理するためのプログラム及び著作権情報を用いる。この著作権管理プログラムは、申し込みあるいは許可内容に反する利用が行われないように監視し管理を行う。また、この特願平6−64889号には、データが暗号化された状態でデータベースから供給され、著作権管理プログラムによって表示・加工のときに復号化され、保存,コピー,転送は再び暗号化された状態で行なわれるようにすることが記載されている。さらに、著作権管理プログラム自体を暗号化し、許可鍵で著作権管理プログラムを復号化し、復号化された著作権管理プログラムが著作権データの復号化及び暗号化を行うこと、データの保存及び表示以外の利用が行われた場合には操作者についての情報を含む著作権情報を原著作権情報に加えて履歴として保存することも記載されている。 The system described in Japanese Patent Application No. 6-64889 is for managing copyright in the display (including audio), storage, copying, processing, and transfer of digital data in a database system including real-time transmission of digital video. In addition to a key that permits use, a program for managing copyright and copyright information are used. This copyright management program is monitored and managed so that usage contrary to the application or permission is not performed. In Japanese Patent Application No. 6-64889, data is supplied from a database in an encrypted state, decrypted when displayed and processed by a copyright management program, and stored, copied, and transferred are encrypted again. It is described that it is performed in the state where it is performed. In addition, the copyright management program itself is encrypted, the copyright management program is decrypted with the permission key, the decrypted copyright management program decrypts and encrypts the copyright data, and other than data storage and display It is also described that copyright information including information about the operator is saved as a history in addition to the original copyright information when the user is used.
初めに暗号技術について一般的な説明をしておく。暗号技術には、秘密鍵暗号方式(secret-key cryptosystem) と、公開鍵暗号方式(public-key cryptosystem) がある。秘密鍵暗号方式は、暗号化と復号化に同じ暗号鍵を使用する暗号方式であり、暗号化及び復号化に要する時間が短い反面、秘密鍵が発見され暗号が解読(Cryptanalize ) されてしまうことがある。一方、公開鍵暗号方式は暗号化用の鍵が公開鍵(public-key)として公開されており、復号化用の鍵が公開されていない暗号鍵方式であり、暗号化用の鍵は公開鍵と呼ばれ、復号化用の鍵は専用鍵(private-key) と呼ばれる。この暗号方式を使用するには、情報を発信する側は暗号を受信する側の公開鍵で暗号化(encrption) し、情報を受信する側は公開されていない専用鍵で復号化(decryption)する暗号方式であり、暗号化及び復号化に要する時間が長い反面、専用鍵を発見することが殆ど不可能であり暗号の解読が非常に困難である。 First, a general description of cryptography will be given. There are two types of cryptographic technologies: secret-key cryptosystem and public-key cryptosystem. Secret key cryptography is an encryption method that uses the same encryption key for encryption and decryption, and while the time required for encryption and decryption is short, the secret key is discovered and the cipher is decrypted (Cryptanalize). There is. On the other hand, the public key encryption method is an encryption key method in which the encryption key is disclosed as a public key (public-key) and the decryption key is not disclosed, and the encryption key is the public key. The decryption key is called a private-key. In order to use this encryption method, the side that sends information encrypts with the public key of the side that receives the encryption, and the side that receives information decrypts with the private key that is not publicly available. Although it is an encryption method and requires a long time for encryption and decryption, it is almost impossible to find a dedicated key and it is very difficult to decrypt the encryption.
暗号技術においては平文(plaintext) Mを暗号鍵(cryption key)Kを用いて暗号化し暗号文(cryptogram)Cを得る場合をC=E(K,M)
と表現し、暗号文Cを暗号鍵Kを用いて復号し平文Mを得る場合をM=D(K,C)
と表現する。本発明において使用される暗号方式には、暗号化と復号化に同じ秘密鍵Ks が使用される秘密鍵方式(secret-key system) と、平文の暗号化に公開鍵(publickey)Kb
が使用され、暗号文の復号化に専用鍵( private-key)Kv が使用される公開鍵方式(public-key system) が採用される。In cryptography, plaintext M is encrypted using encryption key K to obtain ciphertext C, where C = E (K, M)
And the case where the plaintext M is obtained by decrypting the ciphertext C by using the encryption key K, M = D (K, C)
It expresses. The encryption method used in the present invention includes a secret-key system in which the same secret key Ks is used for encryption and decryption, and a public key Kb for plaintext encryption.
And a public-key system in which a private key Kv is used to decrypt the ciphertext is adopted.
図1に示されたのは、本願発明に係るデータ著作権管理装置が使用される先願である特願平6−237673号に示されたデータ著作権管理システムの構成である。このシステ
ムでは、暗号化データが1次ユーザ4からの要求に応じて双方向的に供給される。また、暗号鍵方式として秘密鍵方式及び公開鍵方式が採用される。なお、このシステムがデータ供給手段としてデータベース以外に広告付き等の無料の暗号化する必要の無い衛星放送,地上波放送,CATV放送あるいは記録媒体を用いる場合にも適用可能なことは勿論のことである。FIG. 1 shows the configuration of a data copyright management system shown in Japanese Patent Application No. 6-237673, which is a prior application in which the data copyright management apparatus according to the present invention is used. In this system, encrypted data is supplied bidirectionally in response to a request from the
このシステムにおいて、1はデータベース、4は1次ユーザ端末装置、5は2次ユーザ端末装置、6は3次ユーザ端末装置、7はn次ユーザ端末装置である。また、3は著作権管理センタ、8,9及び10は著作権管理センタ3に保管されている2次著作権データ,3次著作権データ・・・n次著作権データ、2は通信事業者が提供する公衆回線あるいはケーブルテレビジョン事業者が提供するCATV回線等の通信ネットワークである。 In this system, 1 is a database, 4 is a primary user terminal device, 5 is a secondary user terminal device, 6 is a tertiary user terminal device, and 7 is an n-order user terminal device. 3 is a copyright management center, 8, 9 and 10 are secondary copyright data stored in the
これらのうち、データベース1、1次ユーザ端末装置4、2次ユーザ端末装置5、3次ユーザ端末装置6、n次ユーザ端末装置7、著作権管理センタ3は通信ネットワーク2に接続されており相互に接続可能である。この図において、破線で示された経路は暗号化されたデータの経路であり、実線で示された経路は各ユーザ端末装置からの要求の経路であり、1点鎖線で示された経路は各データからの利用形態に対応した許可情報とともに暗号鍵が転送される経路であり、2点鎖線で示された経路はデータベースからあるいは著作権管理センタ内でデータから次位のデータへ著作権情報が転送される経路である。また、このシステムを利用する各ユーザは予めデータベース組織に登録をしておく。また、この登録の際にデータベース組織利用ソフトウェアがユーザに対して提供される。このデータベース組織利用ソフトウェアにはデータ通信用プロトコル等の通常の通信用ソフトウェアの他に暗号化された著作権管理プログラムを復号化するためのプログラムが含まれている。 Among these, the
データベース1を利用するに当たり、1次ユーザは1次ユーザ認証データAu1,第1公開鍵Kb1及び第1公開鍵Kb1に対応する第1専用鍵Kv1,第2公開鍵Kb2及び第2公開鍵Kb2に対応する第2専用鍵Kv2を用意し、1次ユーザ端末装置4を利用し通信ネットワーク2を経由してデータベース1にアクセスする。 In using the
1次ユーザから1次ユーザ認証データAu1,第1公開鍵Kb1、第2公開鍵Kb2の転送を受けたデータベース1は、1次ユーザ認証データAu1を確認し、確認された1次ユーザ認証データAu1を1次ユーザ情報Iu1として2次著作権管理センタ3に転送する。 The
一方、データベース1は2個の秘密鍵すなわち第1の秘密鍵Ks1と第2の秘密鍵Ks2を用意する。用意された第1の秘密鍵Ks1及び第2の秘密鍵Ks2中、第2の秘密鍵Ks2も予め著作権管理センタ3に転送される。 On the other hand, the
これらの転送が行われた結果著作権管理センタ3には1次利用形態に対応する許可鍵Kp 、1次ユーザ情報Iu1、原著作権情報Ic0及び第2秘密鍵Ks2が格納される。なお、これらの中で原著作権情報Ic0は著作権使用料金分配に用いられる。 As a result of the transfer, the
データの利用を希望する1次ユーザは、1次ユーザ端末装置4を利用してデータベース1にアクセスすると、データメニューが転送される。このときデータメニューとともに料金の情報を表示してもよい。 When the primary user who wants to use data accesses the
データメニューが転送されると1次ユーザはデータメニュー検索を行いデータMを選択する。このとき、選択されたデータMの原著作権情報Ic0が著作権管理センタ3に転送される。また、1次ユーザは視聴・保存・複写・加工・転送である利用形態に対応した許可鍵の中から希望する利用形態に対応した許可鍵Kp1を選択する。この許可鍵Kp1も著作権管理センタ3に転送される。 When the data menu is transferred, the primary user performs a data menu search and selects data M. At this time, the original copyright information Ic0 of the selected data M is transferred to the
なお、1次ユーザが行う利用形態として視聴・保存は最低限必要であるから、これらの利用形態は最小限の利用形態として選択の対象から外し、複写・加工・転送のみを選択の対象とすることもできる。 In addition, since viewing / saving is the minimum required as a usage form performed by the primary user, these usage forms are excluded from selection as minimum usage forms, and only copying / processing / transfer are selected. You can also
1次ユーザの要求に応じてデータベース1から原データM0 が読み出される。読み出された原データM0 は第1秘密鍵Ks1で暗号化される。
Cm0ks1=E(Ks1, M0 )
この暗号化データCm0ks1 には暗号化されていない原著作権者情報Ic0が付けられている。また、第1の秘密鍵Ks1を第1の公開鍵Kb1で、第2の秘密鍵Ks2を同じく第2の公開鍵Kb2で暗号化する。
Cks1kb1= E(Kb1, Ks1)
Cks2kb2= E(Kb2, Ks2)
併せて著作権管理プログラムPも第2の秘密鍵Ks2で暗号化されるが、Cpks2= E(Ks2, P)
著作権管理プログラムPの暗号化は第2の秘密鍵Ks2で暗号化されなければならないものではなく、他の適当な暗号鍵を用いて暗号化することができる。暗号化原データCm0ks1 、暗号化著作権管理プログラムCpks2及び2個の暗号化秘密鍵Cks1kb1, Cks2kb2が通信ネットワーク2を経由して1次ユーザ端末装置4に転送される。このときに必要ならば課金が行われる。なお、暗号化著作権管理プログラムCpks2はデータベース1から供給されるのではなく、ユーザ端末装置4内の例えばROMに内蔵しておくことも可能である。The original data M0 is read from the
Cm0ks1 = E (Ks1, M0)
The encrypted data Cm0ks1 is accompanied by unencrypted original copyright holder information Ic0. Further, the first secret key Ks1 is encrypted with the first public key Kb1, and the second secret key Ks2 is encrypted with the second public key Kb2.
Cks1kb1 = E (Kb1, Ks1)
Cks2kb2 = E (Kb2, Ks2)
At the same time, the copyright management program P is also encrypted with the second secret key Ks2, but Cpks2 = E (Ks2, P)
The encryption of the copyright management program P does not have to be encrypted with the second secret key Ks2, but can be encrypted using another appropriate encryption key. The encrypted original data Cm0ks1, the encrypted copyright management program Cpks2, and the two encrypted secret keys Cks1kb1 and Cks2kb2 are transferred to the primary
データベース1から暗号化原データCm0ks1 ,2個の暗号化秘密鍵Cks1kb1,Cks2kb2
及び暗号化著作権管理プログラムCpks2を受け取った1次ユーザは、データベース組織利用ソフトウェアを利用して第1公開鍵Kb1に対応する第1専用鍵Kv1を用いて暗号化第1秘密鍵Cks1kb1を復号化し、Ks1= D(Kv1, Cks1kb1)
第2公開鍵Kb2に対応する第2専用鍵Kv2を用いて暗号化第2秘密鍵Cks2kb2を復号化する。
Ks2= D(Kv2, Cks2kb2)
さらに、復号化された第2秘密鍵Ks2を用いて暗号化著作権管理プログラムCpks2を復号化する。
P= D(Ks2, Cpks2)
最後に、復号化された著作権管理プログラムPを利用して復号化された第1秘密鍵Ks1を用いて暗号化データCm0ks1 を復号化し、M0=D(Ks1, Cm0ks1 )
復号化された原データM0 をそのままあるいは加工データM1 として利用する。前に説明したように、第1専用鍵Kv1及び第2専用鍵Kv2は1次ユーザが用意し他には公開していない暗号鍵であるから、第3者がデータMを入手したとしても暗号化データMを復号化して利用することは不可能である。Encryption original data Cm0ks1 from
The primary user who received the encrypted copyright management program CPks2 decrypts the encrypted first secret key Cks1kb1 using the first dedicated key Kv1 corresponding to the first public key Kb1 using the database organization use software. , Ks1 = D (Kv1, Cks1kb1)
The encrypted second secret key Cks2kb2 is decrypted using the second dedicated key Kv2 corresponding to the second public key Kb2.
Ks2 = D (Kv2, Cks2kb2)
Further, the encrypted copyright management program CPks2 is decrypted using the decrypted second secret key Ks2.
P = D (Ks2, Cpks2)
Finally, the encrypted data Cm0ks1 is decrypted using the first secret key Ks1 decrypted using the decrypted copyright management program P, and M0 = D (Ks1, Cm0ks1).
The decrypted original data M0 is used as it is or as processed data M1. As explained before, the first dedicated key Kv1 and the second dedicated key Kv2 are encryption keys that are prepared by the primary user and are not disclosed to others, so that even if the third party obtains the data M, it is encrypted. It is impossible to decrypt the encrypted data M and use it.
以後原データM0 あるいは加工データM1 であるデータMの保存、コピーあるいは転送を行う場合には第2秘密鍵Ks2を用いて暗号化及び復号が行われる。
Cmks2= E(Ks2, M)
M= D(Ks2, Cmks2)
復号された第2の秘密鍵Ks2は以後データの保存、コピーあるいは転送を行う場合にデータの暗号化/復号化を行う際の暗号鍵として用いられる。1次ユーザ端末装置4には、これらの第1専用鍵Kv1及び第2専用鍵Kv2、第1の秘密鍵Ks1及び第2秘密鍵Ks2,データM,著作権管理プログラムPとともに原著作権情報Ic0及び1次ユーザがデータの加工を行った場合には1次ユーザ情報及び加工日時等である著作権情報Ic1も格納される。なお、この著作権情報Ic1は著作権情報ラベルとしてデータに付けるようにし、さらにディジタル署名付にしておけば安全である。暗号化データCmks2は暗号化されて流通し、復号
鍵である第2秘密鍵Ks2を入手するためには、著作権情報ラベルが手がかりとなるから、暗号化データCmks2からこの著作権情報ラベルが取り外された場合には、第2秘密鍵Ks2を入手することができない。Thereafter, when the data M, which is the original data M0 or the processed data M1, is stored, copied or transferred, encryption and decryption are performed using the second secret key Ks2.
Cmks2 = E (Ks2, M)
M = D (Ks2, Cmks2)
The decrypted second secret key Ks2 is used as an encryption key for data encryption / decryption when data is stored, copied or transferred thereafter. The primary
暗号化データCmks2が1次ユーザ端末装置4内に保存された場合には第2の秘密鍵Ks2が装置内に保存されるが、暗号化データCmks2が1次ユーザ端末装置4内に保存されることなく記憶媒体11にコピーあるいは通信ネットワーク2を経由して2次ユーザ端末装置5への転送が行なわれた場合には、1次ユーザ端末装置4における以降の利用を不可能にするために第2の秘密鍵Ks2が廃棄される。なお、この場合コピー・転送回数に制限を設けて、制限回数内のコピー・転送では第2の秘密鍵Ks2が廃棄されないようにしてもよい。 When the encrypted data Cmks2 is stored in the primary
データMを外部記憶媒体11にコピーあるいは通信ネットワーク2を経由して転送しようとする1次ユーザは、コピーあるいは転送を行うにあたって第2秘密鍵Ks2を用意し、データMを第2の秘密鍵Ks2を用いて暗号化する。
Cmks2= E(Ks2, M)
この暗号化データCmks2には暗号化されていない原著作権情報Ic0、1次ユーザの著作権情報Ic1が付加される。The primary user who wants to copy or transfer the data M to the
Cmks2 = E (Ks2, M)
Unencrypted original copyright information Ic0 and primary user copyright information Ic1 are added to the encrypted data Cmks2.
2次ユーザは、データベース使用前に1次ユーザと同様に2次ユーザを認証するための認証データAu2,第3の公開鍵Kb3及び第3の公開鍵Kb3に対応する第3の専用鍵Kv3,第4の公開鍵Kb4及び第4の公開鍵Kb4に対応する第4の専用鍵Kv4を用意する。 The secondary user, like the primary user, uses the authentication data Au2, the third public key Kb3, and the third dedicated key Kv3 corresponding to the third public key Kb3 before the database is used. A fourth dedicated key Kv4 corresponding to the fourth public key Kb4 and the fourth public key Kb4 is prepared.
コピーあるいは転送された暗号化データCmks2の2次利用を希望する2次ユーザは、2次ユーザ端末装置5を利用して通信ネットワーク2を経由して著作権管理センタ3に対してデータ名あるいはデータ番号を指定して2次利用申込を行うが、そのときに、2次ユーザ認証データAu2、原著作権情報Ic0及び1次ユーザ著作権情報Ic1に加えて第3の公開鍵Kb3と第4の公開鍵Kb4も転送する。 A secondary user who wishes to use the copied or transferred encrypted data Cmks2 for the second time uses the secondary
2次ユーザからの2次利用申込を受けた著作権管理センタ3は、2次ユーザの認証データAu2を確認し、確認された2次ユーザ認証データAu2は2次ユーザ情報として3次著作権データ9に転送される。また、1次ユーザの2次著作権情報Ic1が転送された場合には2次著作権情報Ic1を2次著作権データ8に照会・確認し、確認された2次的著作権情報Ic1は3次著作権データ9に転送される。 The
2次ユーザは視聴・蓄積・複写・加工・転送の利用形態に対応した許可鍵Kp2を選択する。選択された利用形態に対応した許可鍵Kp2は3次著作権データベース9に転送される。なお、2次ユーザの利用形態として視聴・蓄積は最低限必要であるから、これらの利用形態は最小限の利用形態として選択の対象から外し、複写・加工・転送のみを選択の対象としてもよい。 The secondary user selects the permission key Kp2 corresponding to the usage mode of viewing / accumulating / copying / processing / transfer. The permission key Kp2 corresponding to the selected usage form is transferred to the tertiary copyright database 9. In addition, since viewing / accumulating is the minimum required as the usage form of the secondary user, these usage forms may be excluded from the selection target as the minimum use form, and only copying / processing / transfer may be selected as the selection target. .
2次著作権データベース8は、第3の秘密鍵Ks3を用意する。用意された第3の秘密鍵Ks3は3次著作権データ9に転送され格納される。 The
これらの転送が行われた結果、3次著作権データ9には許可鍵Kp2、1次ユーザ著作権情報Ic1、1次ユーザ情報Iu1、原著作権情報Ic0、2次ユーザ情報Iu2及び第3の秘密鍵Ks3が格納される。これらの中、許可鍵Kp2と1次ユーザ著作権情報Ic1及び1次ユーザ情報Iu1は、著作権使用料金分配に用いられる。 As a result of these transfers, the tertiary copyright data 9 includes an authorization key Kp2, primary user copyright information Ic1, primary user information Iu1, original copyright information Ic0, secondary user information Iu2, and third information. A secret key Ks3 is stored. Among these, the permission key Kp2, the primary user copyright information Ic1, and the primary user information Iu1 are used for copyright usage fee distribution.
以下同様にして、n次著作権データ10にはn次利用形態に対応した許可鍵Kpn、(n
−1)次ユーザの2次的著作権情報Icn-1、1次ユーザ情報Iu1、原著作権情報Ic0、n次ユーザ情報Iun及び第nの秘密鍵Ksnが格納される。In the same manner, the n-
-1) Secondary copyright information Icn-1, primary user information Iu1, original copyright information Ic0, n-th user information Iun, and n-th secret key Ksn of the next user are stored.
2次著作権データ8から許可鍵Kp2、1次ユーザ情報Iu1、原著作権情報Ic0及び第2の秘密鍵Ks2が読み出される。この中、原著作権情報Ic0は著作権使用料配分のために使用される。読み出された第2の秘密鍵Ks2は2次ユーザの第3の公開鍵Kb3を用いて、第3の秘密鍵Ks3は同じく第4の公開鍵Kb4を用いて暗号化される。
Cks2kb3= E(Kb3, Ks2)
Cks3kb4= E(Kb4, Ks3)
また、著作権管理プログラムPは第3の秘密鍵Ks3を用いて暗号化される。
Cpks3= E(Ks3, P)
暗号化著作権管理プログラムCpks3及び暗号化第2秘密鍵Cks2kb3及び暗号化第3秘密鍵Cks3kb4が通信ネットワーク2を経由して2次ユーザ端末装置5に転送される。このときに必要ならば課金が行われる。The permission key Kp2, the primary user information Iu1, the original copyright information Ic0, and the second secret key Ks2 are read from the
Cks2kb3 = E (Kb3, Ks2)
Cks3kb4 = E (Kb4, Ks3)
The copyright management program P is encrypted using the third secret key Ks3.
Cpks3 = E (Ks3, P)
The encrypted copyright management program Cpks3, the encrypted second secret key Cks2kb3, and the encrypted third secret key Cks3kb4 are transferred to the secondary
2次著作権データ8から暗号化された2個の秘密鍵Cks2kb3及びCks3kb4及び暗号化された著作権管理プログラムCpks3を受け取った2次ユーザは、データベース利用ソフトウェアを利用して第3専用鍵Kv3を用いて暗号化第2秘密鍵Cks2kb3を復号し、第4の公開鍵Kb4に対応する第4の専用鍵Kv4を用いて暗号化第3秘密鍵Cks3 Kb4を復号する。
Ks2= D(Kv3, Cks2kb3)
Ks3= D(Kv4, Cks3kb4)
また、復号化された第3の秘密鍵Ks3を用いて暗号化著作権管理プログラムCpks3が復号される。
P= D(Ks3, Cpks3)
次に、復号化された著作権管理プログラムPを利用して復号された第2の秘密鍵Ks2を用いて暗号化データCmks2を復号化し利用する。
M= D(Ks2, Cmks2)
前に説明したように、第3専用鍵Kv3及び第4専用鍵Kv4は2次ユーザが用意しただけで他には公開していない暗号鍵であるから、第3者が暗号化データCmks2を入手したとしても復号化して利用することは不可能である。The secondary user who has received the two secret keys Cks2kb3 and Cks3kb4 encrypted from the
Ks2 = D (Kv3, Cks2kb3)
Ks3 = D (Kv4, Cks3kb4)
Also, the encrypted copyright management program CPks3 is decrypted using the decrypted third secret key Ks3.
P = D (Ks3, Cpks3)
Next, the encrypted data Cmks2 is decrypted and used using the second secret key Ks2 decrypted using the decrypted copyright management program P.
M = D (Ks2, Cmks2)
As described above, the third dedicated key Kv3 and the fourth dedicated key Kv4 are encryption keys that are prepared by the secondary user and are not disclosed to others, so the third party obtains the encrypted data Cmks2. Even so, it is impossible to decrypt and use it.
このシステムを利用する各ユーザは予めデータベース組織に登録をしておく必要があり、また、この登録の際にデータベース用ソフトウェアがユーザに対して提供される。このソフトウェアにはデータ通信用プロトコル等の通常の通信用ソフトウェアの他に第1暗号鍵を用い著作権管理プログラムを復号するためのプログラムが含まれているため、その保護を図る必要がある。また、データMを利用するために第1暗号鍵K1 、第2暗号鍵K2 及び著作権管理プログラムPが各ユーザに対して転送され、各ユーザはこれらを保管しておく必要がある。さらには著作権情報ラベル、ユーザ情報、公開鍵方式の公開鍵と専用鍵そして秘密鍵生成アルゴリズムを含むプログラム等が必要に応じて保管される。 Each user who uses this system needs to register in advance in the database organization, and database software is provided to the user at the time of registration. Since this software includes a program for decrypting the copyright management program using the first encryption key in addition to normal communication software such as a data communication protocol, it is necessary to protect the software. In order to use the data M, the first encryption key K1, the second encryption key K2, and the copyright management program P are transferred to each user, and each user needs to keep them. Furthermore, a copyright information label, user information, a public key-type public key, a dedicated key, a program including a secret key generation algorithm, and the like are stored as necessary.
これらを保管しておく手段としてフレキシブルディスクを使用することが最も簡便な手段であるが、フレキシブルディスクはデータの消失あるいは改竄に対して極めて脆弱である。また、ハードディスクドライブを使用した場合にもフレキシブルディスク程ではないがデータの消失あるいは改竄に対する不安がある。ところで、最近カード形状の容器にIC素子を封入したICカードが普及し、特にマイクロプロセッサを封入したPCカードがPCMCIAカードあるいはJEIDAカードとして規格化が進められている。 The most convenient means for storing these is to use a flexible disk, but the flexible disk is extremely vulnerable to data loss or tampering. Also, when using a hard disk drive, there is anxiety about data loss or tampering, although not as much as a flexible disk. By the way, recently, an IC card in which an IC element is enclosed in a card-shaped container has become widespread, and in particular, a PC card in which a microprocessor is enclosed is being standardized as a PCMCIA card or a JEIDA card.
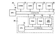
先願である特願平6−237673号で本発明者らが提案したデータ著作権管理装置を図2により説明する。このデータ著作権管理装置15は、マイクロプロセッサ(CPU)16、CPU16のローカルバス17、ローカルバス17に接続された読み出し専用メモ
リ(ROM)18及び書き込み・読み出しメモリ(RAM)19を有するコンピュータシステムとして構成されており、ローカルバス17がユーザ端末装置20のマイクロプロセッサ21のシステムバス22に接続される。A data copyright management apparatus proposed by the present inventors in Japanese Patent Application No. 6-237673, which is a prior application, will be described with reference to FIG. The data
また、ユーザ端末装置20のシステムバス22には装置外部のデータベースからデータを受け取り、データを外部へ転送する通信装置(COMM)23、CD−ROMで供給されるデータを読み込むCD−ROMドライブ(CDRD)24、受け取ったデータあるいは加工したデータを外部へ供給するためにフレキシブルディスクドライブに複写するフレキシブルディスクドライブ(FDD)25及びデータを保存するハードディスクドライブ(HDD)26が接続される。なお、ユーザ端末装置のシステムバス22には当然のこととしてROM、RAM等が接続されているが、この図においては記載が省略されている。 Further, the
データ著作権管理装置15のROM18には、データベースを利用するためのソフトウェア及びユーザデータ等の固定した情報が格納されている。RAM19には鍵管理センタあるいは著作権管理センタから供給された暗号鍵及び著作権管理プログラムが格納される。復号化あるいは再暗号化の作業はデータ著作権管理装置15が行い、処理結果だけがローカルバス17及びユーザ端末装置のシステムバス21を経由してユーザ端末装置20に転送される。このデータ著作権管理装置15は、モノリシックIC、ハイブリッドIC、拡張ボード、ICカードあるいはPCカードとして実現される。
本件出願においては、先願である特願平6−237673号で提案されたユーザ端末装置に付属して用いるデータ著作権管理装置をさらに具体的にしたデータ著作権管理装置を提案する。本発明のデータ著作権管理装置は、ユーザ端末装置に付属して用いられ、中央処理装置,中央処理装置バス,読み出し専用半導体メモリ,電気的消去可能プログラマブルメモリ及び読み出し・書き込みメモリを備えている。中央処理装置バスには中央処理装置,読み出し専用半導体メモリ,電気的消去可能プログラマブルメモリ及び読み出し・書き込みメモリが接続されるとともにデータを利用する装置のシステムバスが接続可能とされ、読み出し専用半導体メモリにはデータ著作権管理システムプログラム、暗号アルゴリズム及びユーザ情報が格納され、電気的消去可能プログラマブルメモリには第2の専用鍵、利用許可鍵、第2の秘密鍵及び著作権情報が格納され、装置動作時には読み出し・書き込みメモリに第1の公開鍵、第1の専用鍵、第2の公開鍵及び第1の秘密鍵が転送される。著作権管理プログラムは外部から供給される場合にはEEPROMに格納されるが、そうでない場合にはROMに格納される。データ著作権管理装置の形態としてはモノリシックIC,ハイブリッドIC,専用の端子を有する薄型のICカード,PCカード及び挿入用ボードが可能である。 In the present application, a data copyright management device is proposed which is a more specific version of the data copyright management device used attached to the user terminal device proposed in Japanese Patent Application No. 6-237673, which is a prior application. The data copyright management apparatus according to the present invention is used by being attached to a user terminal device, and includes a central processing unit, a central processing unit bus, a read-only semiconductor memory, an electrically erasable programmable memory, and a read / write memory. A central processing unit bus is connected to a central processing unit, a read-only semiconductor memory, an electrically erasable programmable memory, and a read / write memory, and a system bus of a device using data can be connected to the read-only semiconductor memory. Stores the data copyright management system program, encryption algorithm and user information, and the electrically erasable programmable memory stores the second dedicated key, usage permission key, second secret key and copyright information, and the device operation Sometimes the first public key, the first dedicated key, the second public key, and the first secret key are transferred to the read / write memory. The copyright management program is stored in the EEPROM when supplied from the outside, but is stored in the ROM otherwise. As a form of the data copyright management apparatus, a monolithic IC, a hybrid IC, a thin IC card having a dedicated terminal, a PC card, and an insertion board are possible.
これまでに先願発明として説明したデータ著作権管理システムにおいては、入手した暗号化データを表示・加工する場合には復号化して利用するが、入手あるいは加工したデータを保存・複写・転送する場合には再暗号化することによって、データの不正規な使用ができないようにしている。したがって、本発明が対象とするデータ著作権管理システムで使用される装置においては、データの復号化だけでなく、データの再暗号化も同時に行われる必要があるが、これらの先願に記載されたデータ著作権管理装置はデータの復号化あるいは再暗号化の作業のうち一方のみしか実行することができない。 In the data copyright management system described so far as the invention of the prior application, when the obtained encrypted data is displayed / processed, it is decrypted and used, but the acquired / processed data is stored / copied / transferred. By re-encrypting data, unauthorized use of data is prevented. Therefore, in the device used in the data copyright management system targeted by the present invention, it is necessary not only to decrypt the data but also to re-encrypt the data at the same time. The data copyright management apparatus can execute only one of the data decryption and re-encryption operations.
そこで、本願においては著作権を管理するために暗号化されて供給されるデータを復号化と再暗号化を同時に行うことができるデータ著作権管理装置の発明を提案する。そのために、ユーザ端末装置においてユーザ端末装置全体を制御するマイクロプロセッサに加え
て少なくとも1個のマイクロプロセッサ、理想的には2個のマイクロプロセッサ、を付加させることにより暗号化されて供給されたデータの復号化及び再暗号化を行う。1個のマイクロプロセッサが付加される場合は、ユーザ端末装置のマイクロプロセッサと付加されたマイクロプロセッサの中一方がデータの復号化を行い、他方が再暗号化を行う。2個のマイクロプロセッサが付加される場合は、付加されたマイクロプロセッサの中の一方がデータの復号化を行い、他方のマイクロプロセッサが再暗号化を行い、ユーザ端末装置20のマイクロプロセッサは全体の動作を制御する。Therefore, the present application proposes an invention of a data copyright management apparatus capable of simultaneously decrypting and re-encrypting data supplied encrypted in order to manage copyright. For this purpose, at least one microprocessor, ideally, two microprocessors in addition to the microprocessor that controls the entire user terminal device in the user terminal device, the encrypted data supplied is supplied. Decrypt and re-encrypt. When one microprocessor is added, one of the microprocessor of the user terminal device and the added microprocessor performs data decryption, and the other performs re-encryption. When two microprocessors are added, one of the added microprocessors performs data decryption, the other microprocessor performs re-encryption, and the microprocessor of the
付加されるマイクロプロセッサはユーザ端末装置のマイクロプロセッサのシステムバスに接続してもよいが、この構成ではマイクロプロセッサを並行して動作させるマルチプロセッサ構成を実現することはできない。そこで、本願においてはSCSIバスあるいはPCIバスを利用してマルチプロセッサ構成としたデータ著作権管理装置を提案する。 Although the added microprocessor may be connected to the system bus of the microprocessor of the user terminal device, this configuration cannot realize a multiprocessor configuration in which the microprocessors operate in parallel. Therefore, the present application proposes a data copyright management device having a multiprocessor configuration using a SCSI bus or a PCI bus.
デジタルデータには、文字データの他にグラフィックデータ、コンピュータプログラム、デジタル音声データ、JPEG等の方式による静止画データ、さらにはMPEG等による動画データがある。これらのデータからなるデータ著作物は種々の装置を用いて利用されるが、これらの装置にもデータ著作権管理機能を具えておく必要がある。そこで、本出願においてはこれらのデータ著作権管理装置及び先願に記載されたデータ著作権管理装置の使用形態として種々の装置に内蔵することを提案する。 In addition to character data, digital data includes graphic data, computer programs, digital audio data, still image data based on a method such as JPEG, and moving image data based on MPEG. Data works composed of these data are used by using various devices, but these devices must also have a data copyright management function. Therefore, in this application, it is proposed that these data copyright management devices and the data copyright management device described in the prior application are incorporated in various devices.
本発明の第1の態様は、データを利用する端末装置、受信装置、記録装置、またはコンピュータ装置の内部に接続して用いられるデータ著作権管理装置であって、前記端末装置、受信装置、記録装置、またはコンピュータ装置に提供されるデータの著作権を管理する著作権管理システムから第1秘密鍵、第2秘密鍵および暗号化データが前記端末装置、受信装置、記録装置、またはコンピュータ装置に提供され、
前記第1秘密鍵及び第2秘密鍵を保存する手段と、前記端末装置、受信装置、記録装置、またはコンピュータ装置から前記暗号化データの供給を受ける手段と、前記暗号化データが前記端末装置、受信装置、記録装置、またはコンピュータ装置で加工される場合に、前記第1秘密鍵を用いて暗号化データを復号データに復号する手段と、前記第2秘密鍵を用いてその加工されたデータを再暗号化データへ暗号化する再暗号化手段と、データの加工が実行されたときに前記端末装置、受信装置、記録装置、またはコンピュータ装置の1次ユーザ情報を格納する手段と、前記再暗号化データがコピーあるいは転送されるときに、前記第1秘密鍵及び第2秘密鍵を廃棄する手段と、前記第2秘密鍵が再転送されるように、前記端末装置、受信装置、記録装置、またはコンピュータ装置の1次ユーザ情報を提示して前記著作権管理システムに再暗号化データを利用するための前記第2秘密鍵の再転送を申し込む手段とを備え、
前記第2秘密鍵が再転送された事により、前記再暗号化データのコピー又は転送を前記著作権管理システムに登録させるものである。A first aspect of the present invention is a data copyright management apparatus used by connecting to a terminal device, a receiving device, a recording device, or a computer device that uses data, the terminal device, the receiving device, and the recording device A first secret key, a second secret key, and encrypted data are provided to the terminal device, the receiving device, the recording device, or the computer device from a copyright management system that manages the copyright of data provided to the device or the computer device. And
Means for storing the first secret key and the second secret key; means for receiving supply of the encrypted data from the terminal device, receiving device, recording device, or computer device; and Means for decrypting encrypted data into decrypted data using the first secret key, and processing the processed data using the second secret key when processed by a receiving device, a recording device, or a computer device; Re-encrypting means for encrypting into re-encrypted data; means for storing primary user information of the terminal device, receiving device, recording device or computer device when data processing is executed; Means for discarding the first secret key and the second secret key when the encrypted data is copied or transferred, and the terminal device, the receiving device, so that the second secret key is retransmitted, Recording device, or a means to apply for re-transmission of the second secret key for use of the re-encrypted data to said copyright management system presents the primary user information of the computer device,
When the second secret key is retransferred, a copy or transfer of the re-encrypted data is registered in the copyright management system.
また、第2の態様は、データを利用する端末装置、受信装置、記録装置、またはコンピュータ装置の内部に接続して用いられるデータ著作権管理装置であり、
マイクロプロセッサと、前記マイクロプロセッサに接続されるローカルバスと、
前記ローカルバスに接続される読み出し専用半導体メモリ及び読み出し・書き込みメモリとを備え、
前記端末装置、受信装置、記録装置、またはコンピュータ装置のマイクロプロセッサと前記データ著作権管理装置のマイクロプロセッサのうち一方が復号化処理を行い他方が再暗号化処理を行うものでもよい。The second aspect is a data copyright management device used by connecting to a terminal device, a receiving device, a recording device, or a computer device that uses data,
A microprocessor and a local bus connected to the microprocessor;
A read-only semiconductor memory and a read / write memory connected to the local bus,
One of the terminal device, the receiving device, the recording device, or the microprocessor of the computer device and the microprocessor of the data copyright management device may perform decryption processing and the other may perform re-encryption processing.
また、第3の態様は、データを利用する端末装置、受信装置、記録装置、またはコンピ
ュータ装置の内部に接続して用いられ、
第1及び第2のマイクロプロセッサと、前記第1のマイクロプロセッサに接続される第1のローカルバスと、前記第1のローカルバスに接続される第1の読み出し専用半導体メモリおよび第1の読み出し・書き込みメモリと、前記第2のマイクロプロセッサに接続される第2のローカルバスと、前記第2のローカルバスに接続される第2の読み出し専用半導体メモリおよび第2の読み出し・書き込みメモリとを備え、
前記第1のマイクロプロセッサが暗号化されたデータの復号化処理を行い、前記第2のマイクロプロセッサが復号化されたデータの再暗号化処理を行うものでもよい。Further, the third aspect is used by connecting to a terminal device, a receiving device, a recording device, or a computer device that uses data,
First and second microprocessors; a first local bus connected to the first microprocessor; a first read-only semiconductor memory connected to the first local bus; A write memory; a second local bus connected to the second microprocessor; a second read-only semiconductor memory connected to the second local bus; and a second read / write memory;
The first microprocessor may perform decryption processing of the encrypted data, and the second microprocessor may perform re-encryption processing of the decrypted data.
本願においては著作権を管理するために暗号化されて供給されるデータを復号化と再暗号化を同時に行うことができる。 In the present application, it is possible to simultaneously decrypt and re-encrypt data supplied in an encrypted manner in order to manage copyright.
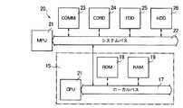
以下、本願発明の実施例を図面を用いて説明する。図3に示されたのは、実施例1である本願発明に係るデータ著作権管理装置の構成を示すブロック図である。このデータ著作権管理装置30は、先願である特願平6−237673号に記載されたデータ著作権管理装置15の構成要素に加えて電気的消去可能プログラマブルメモリ(EEPROM)31を備えている。このデータ著作権管理装置30は、CPU16、CPU16のローカルバス17、ローカルバス17に接続されたROM18、RAM19及びEEPROM31を有するコンピュータシステムであり、ローカルバス17がユーザ端末装置20のマイクロプロセッサ21のシステムバス22に接続される。また、ユーザ端末装置20のシステムバス22には装置外部のデータベースからデータを受け取り、データを外部へ転送する通信装置(COMM)23、CD−ROMで供給されるデータを読み込むCD−ROMドライブ(CDRD)24、受け取ったデータあるいは加工したデータを外部へ供給するためにフレキシブルディスクドライブに複写するフレキシブルディスクドライブ(FDD)25及びデータを保存するハードディスクドライブ(HDD)26が接続される。なお、ユーザ端末装置のシステムバス22には当然のこととしてROM、RAM等が接続されているが、この図においては記載が省略されている。 Embodiments of the present invention will be described below with reference to the drawings. FIG. 3 is a block diagram showing the configuration of the data copyright management apparatus according to the present invention which is
ROM18には、データ著作権管理プログラム、暗号アルゴリズムに基づく暗号プログラム及びユーザデータ等の固定した情報が格納されている。EEPROM31には暗号鍵及び著作権情報が格納される。なお、データ著作権管理プログラム及び暗号プログラムがデータベース等外部から供給される場合には、これらはROM18ではなく、EEPROM31に格納される。復号化あるいは再暗号化の作業はデータ著作権管理装置30が行い、処理結果だけがローカルバス17及びシステムバス22を経由してユーザ端末装置20に転送される。 The
このデータ著作権管理装置30は、モノリシックIC、ハイブリッドIC、拡張ボード、ICカードあるいはPCカードとして実現される。 The data
実施例1のデータ著作権管理装置30のROM18には、データ著作権管理プログラム、暗号アルゴリズムに基づく暗号プログラム及びユーザデータ等の固定した情報が格納されている。なお、このROM18には秘密ではない秘密鍵アルゴリズムに基づく秘密鍵生成プログラム、復号化プログラム及び再暗号化プログラムを格納することができる。EEPROM31には暗号鍵及び著作権情報が格納される。なお、著作権管理プログラム及び暗号プログラムがデータベース等外部から供給される場合には、これらはROM18ではなく、EEPROM31に格納される。なお、このEEPROMは必ずしも必要なものではなく、省略することも可能である。RAM19には鍵管理センタあるいは著作権管理センタから供給される第1暗号鍵あるいは第2暗号鍵の一方及びデータ著作権管理システム
プログラムが格納される。The
一方、ユーザ端末装置20のMPU46が必要とするソフトウェア及びユーザデータ等の情報はソフトウェアによりユーザ端末装置20に供給され、ユーザ端末装置20のRAMに格納されている。また、ユーザ端末装置20のRAMには鍵管理センタあるいは著作権管理センタから供給される第1暗号鍵あるいは第2暗号鍵の一方及び著作権管理システムプログラムが格納される。復号化及び再暗号化の作業はユーザ端末装置20本体のMPU46とデータ著作権管理装置30のCPU16が分担して、一方が復号化を他方が再暗号化を行い、データ著作管理装置30の処理結果だけがユーザ端末装置に転送される。 On the other hand, information such as software and user data required by the
図4により、図3に示されたデータ著作権管理装置30の具体的な内部構成を示す。データ著作権管理装置30には、マイクロコンピュータ(CPU)16、読み出し専用メモリ(ROM)18、書き込み・読み出しメモリ(RAM)19及び電気的消去可能プログラマブルメモリ(EEPROM)31が封入され、これらがマイクロコンピュータ16のマイクロコンピュータバス17に接続されており、さらにこのマイクロコンピュータバス17はユーザ端末装置20本体のシステムバス22に接続されている。 FIG. 4 shows a specific internal configuration of the data
読み出し専用半導体メモリ18にはデータ著作権管理システムプログラム,暗号アルゴリズム及びユーザ情報が格納されている。電気的消去可能プログラマブルメモリ31の内部は3つのエリアに区分される。第1エリア35には第1公開鍵Kb1,第1専用鍵Kv1,第2公開鍵Kb2及び第2専用鍵Kv2が格納される。第2エリア36には著作権管理プログラムP,視聴許可・蓄積許可・複写許可・加工許可・転送許可等の1次利用における許可鍵となる第1秘密鍵Ks1及び視聴許可・蓄積許可・複写許可・加工許可・転送許可等の2次利用における許可鍵となる第2秘密鍵Ks2が格納される。なお、著作権管理プログラムが外部から供給されるのではなく、ユーザ側に予め置かれることがあるが、その場合著作権管理プログラムは電気的消去可能プログラマブルメモリ31の第2のエリア36ではなく、読み出し専用メモリ18に格納される。第3エリア37には原著作権情報、2次著作権情報等の著作権情報及びアクセスコントロールキーが格納される。 The read-
電気的消去可能プログラマブルメモリ31と同様に、書き込み・読み出しメモリ19の内部も3つのエリアに区分される。第1エリア32には動作時に第1公開鍵Kb1,第1専用鍵Kv1及び第2公開鍵Kb2が格納される。第2エリア33には動作時に視聴許可・蓄積許可・複写許可・加工許可・転送許可等の1次利用における許可鍵となる第1秘密鍵Ks1が格納される。第3エリア34には動作時にアクセスコントロールキーが格納される。 Similar to the electrically erasable
このデータ著作権管理装置を付属させたユーザ端末装置はデータを利用するためのすべての作業を本発明に係るデータ著作権管理装置内で行い、結果だけをユーザ端末装置に転送し各種の利用を行うようにするので、安全性が高い。 The user terminal device to which the data copyright management device is attached performs all operations for using the data in the data copyright management device according to the present invention, and transfers only the result to the user terminal device for various uses. As it is done, it is highly safe.
情報量が多い画像データを送・受信する場合には、通信データ量を減少させるために原データを圧縮してから送信し、被圧縮データを受信後に伸張して利用するが、この場合にもデータを暗号化することにより著作権管理を行うことが可能である。図5に示されたのは、暗号化されるデータがJPEG規格あるいはMPEG規格で圧縮されたデジタル画像である場合のデータ著作権管理フローの例であり、このフローは伝送線路を挟んで送信側フローと受信側フローに分けられ、さらに受信側フローは表示フローと保存フローに分けられる。 When sending and receiving image data with a large amount of information, in order to reduce the amount of communication data, the original data is compressed before being sent, and the compressed data is decompressed and used after reception. Copyright management can be performed by encrypting data. FIG. 5 shows an example of a data copyright management flow in the case where the data to be encrypted is a digital image compressed by the JPEG standard or the MPEG standard. This flow is the transmission side across the transmission line. The flow is divided into a flow and a receiving flow, and the receiving flow is further divided into a display flow and a storage flow.
送信側における信号処理はデジタル画像を用意する過程と用意されたデジタル画像を処理する過程から構成されている。この過程において原画像がデジタル画像41である場合にはそのまま次の処理が行われるが、原画像がアナログ画像40である場合にはデジタル
化処理42が行われる。デジタル画像は初めにJPEG規格、MPEG規格等の所定の規格により圧縮処理43され、圧縮されたデジタルデータは第1秘密鍵を用いて暗号化44される。The signal processing on the transmission side includes a process of preparing a digital image and a process of processing the prepared digital image. In this process, when the original image is the
このような送信側信号処理が行われた画像データは、衛星放送電波、地上波放送電波、CATV電波あるいは公衆回線・ISDN回線等の伝送線路45を経由して伝送される。なお、この伝送線路としてデジタルビデオテープ、デジタルビデオディスクあるいはCD−ROM等の記録媒体を使用する場合もある。 The image data subjected to such transmission-side signal processing is transmitted via a
このようにして受信側に伝送された画像データは初めに第1秘密鍵を用いて復号化46され、次に圧縮された画像データの伸張47が行われ、表示49される。表示装置がデジタルデータ表示装置である場合にはそのまま表示されるが、アナログデータ表示装置である場合にはアナログ化48が行われる。 The image data transmitted to the receiving side in this way is first decrypted 46 using the first secret key, then decompressed 47 of the compressed image data is performed and displayed 49. If the display device is a digital data display device, it is displayed as it is, but if it is an analog data display device,
データがハードディスク、フレキシブルディスク、光磁気ディスク、追記型ビデオディスク等に保存される場合には第2秘密鍵を用いて再暗号化50された上で、保存される。再暗号化されて保存された画像データを再度表示する場合には、第2秘密鍵を用いて再復号化52され、表示49される。表示装置がデジタルデータ表示装置である場合にはそのまま表示されるが、アナログデータ表示装置である場合にはアナログ化48が行われる。なお、データが画像以外のデータである場合のデータ圧縮/伸張手段及び伝送経路はそのデータに適合した適宜なものが使用される。 When data is stored on a hard disk, flexible disk, magneto-optical disk, write-once video disk, etc., it is stored after being re-encrypted 50 using the second secret key. When re-encrypted and stored image data is displayed again, it is re-decrypted 52 using the second secret key and displayed 49. If the display device is a digital data display device, it is displayed as it is, but if it is an analog data display device,
図6に示されたのは、先願である特願平6−237673号に示されたデータベース著作権管理システムの例であり、このシステムにおいては暗号鍵方式として秘密鍵方式が採用される。この図に示すシステムにおいて、1はテキストデータ,コンピュータグラフィックス画面あるいはコンピュータプログラムであるバイナリデータ,ディジタル音声データ,ディジタル映像データが暗号化された状態で格納されたデータベースであり、14は通信・放送衛星等の人工衛星、15'はCD−ROMあるいはフレキシブルディスク等の
データ記録媒体、2は通信事業者が提供する公衆回線あるいはケーブルテレビジョン事業者が提供するCATV回線等の通信ネットワーク、4は1次ユーザ端末装置である。また、16は秘密鍵を管理する鍵管理センタ、17はデータベース著作権を管理する著作権管理センタである。FIG. 6 shows an example of a database copyright management system disclosed in Japanese Patent Application No. 6-237673, which is a prior application. In this system, a secret key system is adopted as an encryption key system. In the system shown in this figure, 1 is a database in which text data, computer graphics screen or binary data as computer programs, digital audio data, and digital video data are stored in an encrypted state, and 14 is a communication / broadcasting. Artificial satellites such as satellites, 15 'is a data recording medium such as a CD-ROM or flexible disk, 2 is a communication network such as a public line provided by a communication carrier or a CATV line provided by a cable television operator, 4 is 1 Next user terminal device.
5,6及び7は各々2次ユーザ端末装置,3次ユーザ端末装置及びn次ユーザ端末装置であり、11,12及び13は各々フレキシブルディスクあるいはCD−ROM等の記憶媒体である2次ディスク,3次ディスク及びn次ディスクである。なお、このnは任意の整数でありnが4よりも大きい場合には3次ユーザ端末装置6とn次ユーザ端末装置7の間及び3次ディスク12とn次ディスク13との間には対応するユーザ端末装置及びディスクが配置されている。 5, 6 and 7 are secondary user terminal devices, tertiary user terminal devices and n-order user terminal devices, respectively, 11, 12 and 13 are secondary disks which are storage media such as flexible disks or CD-ROMs, A tertiary disk and an n-th disk. Note that n is an arbitrary integer, and when n is larger than 4, there is a correspondence between the tertiary
これらのうちデータベース1、鍵管理センタ16、著作権管理センタ17、1次ユーザ端末装置4、2次ユーザ端末装置5、3次ユーザ端末装置6及びn次ユーザ端末装置7は通信ネットワーク2に接続されている。この図において、破線で示された経路は暗号化されたデータの経路であり、実線で示された経路は各ユーザ端末装置からの要求の経路であり、1点鎖線で示された経路は各データベースからの利用形態に対応した許可情報とともに秘密鍵が転送される経路である。また、このシステムを利用する各ユーザは予めデータベース組織に登録をしておく。また、この登録の際にデータベース組織利用ソフトウェアがユーザに対して提供される。このデータベース組織利用ソフトウェアにはデータ通信用プロトコル等の通常の通信用ソフトウェアの他に著作権管理プログラムを動作させるためのプログラムが含まれている。 Among these, the
データベース1あるいはデータ記録媒体15'に格納されているテキストデータ,コン
ピュータグラフィックス画面あるいはコンピュータプログラムであるバイナリデータ,ディジタル音声データ,ディジタル映像データである原データM0 が通信ネットワーク2、人工衛星14あるいは記憶媒体15'を経由して1次ユーザ端末装置4に一方向的に供給
されるが、このときには第1秘密鍵Ks1を用いて暗号化される。
Cm0ks1=E(Ks1, M0 )
なお、広告付等の無料で提供されるデータの場合でも著作権保護のためには、暗号化を必要とする。Text data stored in the
Cm0ks1 = E (Ks1, M0)
Even in the case of data provided free of charge such as with advertisements, encryption is required for copyright protection.
先願である特願平6−64889号には、データの利用形態には、最も基本的な表示の他に保存、加工、コピー、転送があり、利用許可鍵はこれらの利用形態のうちの1つあるいは複数に対応するものが用意され、その管理は著作権管理プログラムによって実行されることが示されている。また、データの表示及び加工のための表示以外の利用形態すなわちデータが保存、コピー、転送される場合には著作権管理プログラムによりデータが再暗号化されることが述べられている。いいかえれば、著作権が主張されたデータは暗号化された状態で流通し、平文化されるのは著作権処理機能を有するユーザ端末装置において、表示あるいは加工のための表示が行われるときのみである。 In the prior application, Japanese Patent Application No. 6-64889, there are storage, processing, copying, and transfer in addition to the most basic display modes of data use. One corresponding to one or more is prepared, and management thereof is shown to be executed by a copyright management program. In addition, it is stated that the data is re-encrypted by the copyright management program when the data is stored, copied, or transferred other than the data display and processing display. In other words, the data claimed for copyright is distributed in an encrypted state and is only plainly displayed when it is displayed or displayed for processing on a user terminal device having a copyright processing function. is there.
このシステムでは、これら先願に記載された事項を利用する。供給された暗号化データCm0ks1 の1次利用を希望する1次ユーザは鍵管理センタ16に対して1次ユーザ端末装置4を利用し通信ネットワーク2を経由して原データ名あるいは原データ番号等を指定することにより暗号化原データCm0ks1 の1次利用申込を行うが、このときに1次ユーザに関する情報Iu1を鍵管理センタ16に提示する。1次ユーザ端末装置4を利用しての1次利用申込を受けた鍵管理センタ16は、著作権管理プログラムPとともに1次ユーザがデータベース1から入手した暗号化原データCm0ks1 を復号化するための第1秘密鍵Ks1及び復号された原データM0 あるいは原データを加工して得られた加工データM1 を再暗号化するための第2秘密鍵Ks2を通信ネットワーク2を経由し1次ユーザ端末装置4に転送する。
復号鍵である第1秘密鍵Ks1、暗号化/復号化鍵である第2秘密鍵Ks2を受け取った1次ユーザ端末装置4において、初めに著作権管理プログラムPを利用して第1秘密鍵Ks1を用いて暗号化原データCm0ks1 を復号化しM0=D(Ks1, Cm0ks1 )
復号化された原データM0 をそのままあるいは加工データM1 として利用する。In this system, items described in these prior applications are used. The primary user who desires the primary use of the supplied encrypted data Cm0ks1 uses the primary
In the primary
The decrypted original data M0 is used as it is or as processed data M1.
原データM0 あるいは加工データM1 であるデータMが1次ユーザ端末装置4の内部、すなわちメモリあるいは内蔵のハードディスクドライブに保存されている状態ではそのデータを利用することができるのは1次ユーザのみであるが、データMがフレキシブルディスク等の外部記憶媒体11にコピーされた場合、あるいは通信ネットワーク2を経て2次ユーザ端末装置5に転送された場合には、2次利用による著作権の問題が生じる。 When the data M, which is the original data M0 or the processed data M1, is stored in the primary
また、1次ユーザが入手した原データM0 をそのまま複写して2次ユーザに供給した場合にはその原データM0 に何等の改変も加えられていないため、そのデータM0 に1次ユーザの著作権は発生しない。しかし、1次ユーザが入手したデータM0 を基に加工を行った場合あるいは他のデータと組み合わせる等の手段を用いることにより新しいデータM1 を作成した場合にはそのデータM1 に1次ユーザの著作権(2次的著作権 secondary exploitation right )が発生する。同様に、2次ユーザが1次ユーザから入手した原データM0 あるいは加工データM1 を基に加工を行った場合あるいは他のデータと組み合わせる等の手段を用いることにより新しいデータM2 を作成した場合には、同様に2次ユーザの著作権が発生する。 In addition, when the original data M0 obtained by the primary user is copied as it is and supplied to the secondary user, no modification has been made to the original data M0. Does not occur. However, when processing is performed based on the data M0 obtained by the primary user or when new data M1 is created by using means such as combining with other data, the copyright of the primary user is included in the data M1. (Secondary copyright secondary exploitation right) occurs. Similarly, when the secondary user performs processing based on the original data M0 or the processing data M1 obtained from the primary user or creates new data M2 by using means such as combining with other data. Similarly, the copyright of the secondary user is generated.
この著作権の問題に対処するため、このシステムにおいてはデータMの保存、コピー、転送が行われるときには著作権管理プログラムPにより第2秘密鍵Ks2を用いてデータMが暗号化され、以後1次ユーザ端末装置4においては第2秘密鍵Ks2を用いてデータMの復号化及び暗号化が行われる。
Cmks2= E(Ks2, M)
M= D(Ks2, Cmks2)
なお、1次ユーザがデータの表示及び加工を行い加工データを得ることは原則として自由にできるが、その場合は著作権管理プログラムによってその回数に制限を設けることができる。In order to cope with this copyright problem, in this system, when the data M is stored, copied, and transferred, the data M is encrypted by the copyright management program P using the second secret key Ks2, and thereafter the primary data is encrypted. In the
Cmks2 = E (Ks2, M)
M = D (Ks2, Cmks2)
In principle, the primary user can freely display and process data to obtain processed data, but in that case, the number of times can be limited by a copyright management program.
外部記憶媒体11にデータMがコピーされたとき及び通信ネットワーク8を経てデータが転送されたときには1次ユーザ端末装置4内の第1秘密鍵Ks1及び第2秘密鍵Ks2は著作権管理プログラムPによって廃棄される。したがって、1次ユーザが再度データMを利用する場合には鍵管理センタ16に利用申込を行い、第2秘密鍵Ks2の再交付を受ける必要がある。この第2秘密鍵Ks2の再交付を受けたことは、データMが外部記憶媒体11へコピーあるいは通信ネットワーク2を経由しての2次ユーザ端末装置5へ転送されることによる2次利用が行われたことを意味するから、このことが鍵管理センタ16から著作権管理センタ17に登録され、以後の2次利用が可能になる。 When the data M is copied to the
1次ユーザ端末装置4からの2次ユーザ端末装置5へのデータMの移動は外部記憶媒体11によってあるいは通信ネットワーク2により行われ、外部記憶媒体11へのコピーあるいは通信ネットワーク2を経由して移動が行われるときには、第2秘密鍵Ks2を用いてデータMが暗号化される。 Movement of data M from the primary
外部記憶媒体11にデータMがコピーされたとき及び通信ネットワーク2を経てデータMが転送されたときに1次ユーザ端末装置4内の第1秘密鍵Ks1及び第2秘密鍵Ks2は廃棄されるが、このときに1次ユーザ端末装置4内に保存されている暗号化データCmks2に、暗号化されていない1次ユーザ情報Iu1が付加され、暗号化データCmks2を2次ユーザに転送する際に1次ユーザ情報Iu1も転送される。 When the data M is copied to the
1次ユーザからコピーあるいは転送された暗号化データCmks2の2次利用を希望する2次ユーザは、2次ユーザ端末装置5を利用して通信ネットワーク2を経由して著作権管理センタ17に対してデータ名あるいはデータ番号を指定するとともに2次ユーザ情報Iu2を提示して2次利用申込を行うが、そのときに1次ユーザとの関係を明確にするために暗号化データCmks2に付加されている暗号化されていない1次ユーザ情報Iu1も提示する。著作権管理センタ17は、提示された1次ユーザ情報Iu1に基づきその1次ユーザがそのデータを2次利用するために第2秘密鍵Ks2の再交付を受けていることを確認し、復号化鍵である第2秘密鍵Ks2、暗号化/復号化鍵である第3秘密鍵Ks3を通信ネットワーク2を経由して2次ユーザ端末装置5に転送する。第2秘密鍵Ks2、第3秘密鍵Ks3を受け取った2次ユーザ端末装置5において、著作権管理プログラムPにより第2秘密鍵Ks2を用いて暗号化データCmks2が復号化されM= D(Ks2, Cmks2)
表示あるいは加工の2次利用が行われる。A secondary user who desires secondary use of the encrypted data Cmks2 copied or transferred from the primary user uses the secondary
Secondary use of display or processing is performed.
このシステムにおいては、1次利用申込は鍵管理センタ16が処理し、2次利用申込は著作権管理センタ17が処理する。また、1次ユーザが供給されるデータMは第1秘密鍵Ks1を用いて暗号化されているが、2次ユーザが供給されるデータMは第2秘密鍵Ks2を用いて暗号化されている。一方、1次ユーザに対して鍵管理センタ16からは暗号鍵として第1秘密鍵Ks1及び第2秘密鍵Ks2が転送される。そのため、2次ユーザが1次ユーザであると偽って鍵管理センタ16に対して1次利用申込を行った場合には復号化鍵として
第1秘密鍵Ks1が、暗号化/復号化鍵として第2秘密鍵Ks2が転送される。しかし、復号化鍵として転送された第1秘密鍵Ks1を用いて暗号化データCmks2を復号することはできない。したがって、データの利用について虚偽の申込を行うことは不可能であり、その結果データの原著作権だけでなく、データについての1次ユーザの著作権も保護される。In this system, the primary use application is processed by the
2次ユーザ端末装置5においてデータMの表示及び加工のための表示以外の利用形態である保存、コピー、転送が行われるときには著作権管理プログラムPによって第3秘密鍵Ks3を用いてデータMの暗号化が行われ、以後第3秘密鍵Ks3を用いてデータの復号及び暗号化が行われる。
Cmks3= E(Ks3, M)
M= D(Ks3, Cmks3)
なお、2次ユーザが表示及び加工を行い加工データM2 を得ることも原則として自由にできるが、その場合は著作権管理プログラムPによってその回数に制限を設けることができる。When the secondary
Cmks3 = E (Ks3, M)
M = D (Ks3, Cmks3)
In principle, the secondary user can freely display and process the processed data M2, but in that case, the copyright management program P can limit the number of times.
外部記憶媒体12にデータMがコピーされたとき及び通信ネットワーク2を経てデータが転送されたときには2次ユーザ端末装置5内の第2秘密鍵Ks2及び第3秘密鍵Ks3は著作権管理プログラムPによって廃棄される。したがって、2次ユーザが再度データMを利用する場合には著作権管理センタ3に利用申込を行い、第3秘密鍵Ks3の再交付を受ける必要がある。この第3秘密鍵Ks3の再交付を受けたことは、データMが外部記憶媒体12へコピーあるいは通信ネットワーク2を経由しての3次ユーザ端末装置6へ転送されることによる2次利用が行われたことを意味するから、このことが著作権管理センタ17に登録され、以後の利用が可能になる。 When the data M is copied to the
2次ユーザ端末装置5からの3次ユーザ端末装置6へのデータMの移動は外部記憶媒体12によってあるいは通信ネットワーク2により行われ、外部記憶媒体12へのコピーあるいは通信ネットワーク2を経由して移動が行われるときには、第3秘密鍵Ks3を用いてデータMが暗号化される。 The data M is moved from the secondary
外部記憶媒体12にデータMがコピーされたとき及び通信ネットワーク2を経てデータMが3次ユーザ端末装置6に転送されたときに2次ユーザ端末装置5内の第2秘密鍵Ks2及び第3秘密鍵Ks3は廃棄されるが、このときに2次ユーザ端末装置5内に保存されている暗号化データCmks3に、暗号化されていない2次ユーザ情報Iu2が付加される、暗号化データCmks3を3次ユーザに転送する際に2次ユーザ情報Iu2も転送される。この各ユーザ情報のデータへの付加には、全てのユーザ情報がコピーあるいは転送の度にデータに付加される場合と、その度に最新のものに書き換えられる履歴が著作権管理センタに保管される場合がある。 The second secret key Ks2 and the third secret in the secondary
2次ユーザからコピーあるいは転送された暗号化データCmks3の3次利用を希望する3次ユーザは、3次ユーザ端末装置6を利用して通信ネットワーク2を経由して著作権管理センタ17に対してデータ名あるいはデータ番号を指定するとともに3次ユーザ情報Iu3を提示して3次利用申込を行うが、そのときに2次ユーザとの関係を明確にするために暗号化データCmks3に付加されている暗号化されていない2次ユーザ情報Iu2も提示する。著作権管理センタ17は、提示された2次ユーザ情報Iu2に基づきその2次ユーザがそのデータを3次利用するための準備手続き、すなわち第3秘密鍵Ks3の再交付を受けていることを確認し、復号化鍵である第3秘密鍵Ks3、暗号化/復号化鍵である第4秘密鍵Ks4を通信ネットワーク2を経由して3次ユーザ端末装置6に転送する。第3秘密鍵Ks3、第4秘密鍵Ks4を受け取った3次ユーザ端末装置6において、著作権管理プログラムPにより第3秘密鍵Ks3を用いて暗号化データCmks3が復号化されM= D(Ks3, Cmks3)
表示あるいは加工の3次利用が行われる。A tertiary user who desires tertiary use of the encrypted data Cmks3 copied or transferred from the secondary user uses the tertiary
Tertiary use of display or processing is performed.
このシステムにおいては、1次ユーザが供給されるデータMは第1秘密鍵Ks1を用いて暗号化され、2次ユーザが供給されるデータMは第2秘密鍵Ks2を用いて暗号化されているが、3次ユーザが供給されるデータMは第3秘密鍵Ks3を用いて暗号化されている。そのため、3次ユーザが1次ユーザであると偽って鍵管理センタ16に対して1次利用申込を行った場合には復号化鍵として第1秘密鍵Ks1が、暗号化/復号化鍵として第2秘密鍵Ks2が転送される。しかし、復号化鍵として転送された第1秘密鍵Ks1を用いて暗号化データCmks3を復号化することはできない。また、3次ユーザが2次ユーザであると偽って著作権管理センタ17に対して2次利用申込を行った場合には復号化鍵として第2秘密鍵Ks2が、暗号化/復号化鍵として第3秘密鍵Ks3が転送される。しかし、復号化鍵として転送された第2秘密鍵Ks2を用いて暗号化データCmks3を復号することはできない。したがって、データの利用について虚偽の申込を行うことは不可能であり、その結果データの原著作権だけでなく、データについての1次ユーザの著作権及び2次ユーザの著作権も保護される。以下、同様の手続きが4次以降の利用にも適用される。 In this system, the data M supplied by the primary user is encrypted using the first secret key Ks1, and the data M supplied by the secondary user is encrypted using the second secret key Ks2. However, the data M supplied by the tertiary user is encrypted using the third secret key Ks3. For this reason, when the primary user makes a primary use application to the
以上説明したシステムにおけるデータベース1、鍵管理センタ16、著作権管理センタ17は別個に設置されているが、これらは必ずしも別個のものである必要はなく、これらの全てあるいは適当な2つを一体に設置することも可能である。また、1次ユーザからの第2秘密鍵再交付申込は鍵管理センタ16に対して行うのではなく著作権管理センタ17に対して行うようにしてもよい。□ 図7に示されたのは、デジタルビデオあるいはデジタルオーディオ等におけるデータの加工方法における信号処理フローであり、(a)に示されたのは、一般的に行われている加工フロー、(b)に示されたのは、信号の劣化を避けることができる加工処理フローである。(a)に示された加工フローにおいて、デジタル信号(61)として供給された信号は初めにアナログ化(62)され、次いでアナログ化された信号に対して表示64を行いながら加工(63)が行われ、加工が終了したアナログ信号は再デジタル化(65)されて保存,複写,転送(66)される。この過程は簡略ではあるが、信号の加工がアナログ状態で行われ、加工終了後再びデジタル化されるため、信号の劣化を避けることができない。 Although the
(b)に示された加工フローにおいて、デジタル信号(61)は加工のためにアナログ化(62)されて表示される。アナログ化(62)された信号は加工(63)において使用されるが、このアナログ化された信号は表示(64)に用いられるのみであって、保存,複写,転送には用いられない。保存,複写,転写用の信号は、アナログ化されて表示されている信号と対応してデジタル信号(61)の状態で、加工(67)され、保存,複写,転送(66)が行われる。この加工フローの場合には、保存,複写,転送されるデジタル信号がアナログ化されることはないから劣化は生じない。 In the processing flow shown in (b), the digital signal (61) is displayed as an analog (62) for processing. The analogized (62) signal is used in processing (63), but this analogized signal is only used for display (64) and not for storage, copying, or transfer. The signal for storage, copying, and transfer is processed (67) in the state of a digital signal (61) corresponding to the signal displayed in analog form, and storage, copying, and transfer (66) are performed. In the case of this processing flow, since the digital signal to be stored, copied and transferred is not converted into an analog signal, no deterioration occurs.
図8に示されたのは、図6に示されたデジタルビデオあるいはデジタルオーディオ等におけるデータの加工方法における信号処理を暗号化されたデータを加工する場合に応用したフローの例であり、(a)に示されたのは、簡略化された信号処理フロー、(b)に示されたのは、著作権の管理を十分に行うことができる信号処理フローの例である。(a)に示された信号処理フローにおいて第1秘密鍵Ks1を用いて暗号化されて供給された原データCm0ks1 71は初めに第1秘密鍵Ks1を用いて復号化72され、M0 =D(Ks1,Cm0ks1 )
次いで復号化されたデータM0 に対して表示(74)を行いながら加工(73)が行われる。加工が終了したデータM1 は第2秘密鍵Ks2を用いて再暗号化(75)されてCm1ks2 =E(Ks2,M1 )
保存,複写,転送(76)が行われる。この過程は簡略ではあるが、データの加工が復号化された状態で行われるため、復号化されたデータが保存,複写,転送されるおそれがあり、著作権の管理が十分に行われるとはいえない。FIG. 8 shows an example of a flow in which the signal processing in the data processing method in the digital video or digital audio shown in FIG. 6 is applied to processing encrypted data. ) Shows a simplified signal processing flow, and (b) shows an example of a signal processing flow that allows sufficient copyright management. The
Next, processing (73) is performed while displaying (74) the decrypted data M0. The processed data M1 is re-encrypted (75) using the second secret key Ks2, and Cm1ks2 = E (Ks2, M1)
Storage, copying, and transfer (76) are performed. Although this process is simple, since the data processing is performed in a decrypted state, the decrypted data may be stored, copied, or transferred, and copyright management is sufficiently performed. I can't say that.
これに対して、(b)に示された信号処理フローにおいて、第1秘密鍵Ks1を用いて暗号化された原データCm0ks1 (71)は第1秘密鍵Ks1を用いて復号化(72)され、M0 =D(Ks1,Cm0ks1 )
復号化されたデータM0 が表示(74)される。一方、加工(73)は復号化データM0 を手がかりにして暗号化データCm0ks1 に対して行われ、保存用の原データM0 あるいは加工された加工データM1 は第2秘密鍵を用いて再暗号化されCm0ks2 =E(Ks2,M0 )
Cm1ks2 =E(Ks2,M1 )
暗号化データCm0ks2 あるいはCm1ks2 が保存,複写,転送(76)が行われる。復号化され表示されているデータと対応して復号化されることなく暗号化された状態で加工(77)され、その加工プログラムデータと暗号化されたままのデータが、保存,複写,転送(76)に用いられる。この信号処理フローの場合には、保存,複写,転送用のデータは暗号化されたままであるから、復号化されたデータが保存,複写,転送されることはない。On the other hand, in the signal processing flow shown in (b), the original data Cm0ks1 (71) encrypted using the first secret key Ks1 is decrypted (72) using the first secret key Ks1. , M0 = D (Ks1, Cm0ks1)
The decrypted data M0 is displayed (74). On the other hand, the processing (73) is performed on the encrypted data Cm0ks1 using the decrypted data M0 as a clue, and the original data M0 for storage or the processed processed data M1 is re-encrypted using the second secret key. Cm0ks2 = E (Ks2, M0)
Cm1ks2 = E (Ks2, M1)
The encrypted data Cm0ks2 or Cm1ks2 is stored, copied, and transferred (76). Corresponding to the decrypted and displayed data, it is processed in an encrypted state without being decrypted (77), and the processed program data and the encrypted data are stored, copied, and transferred ( 76). In the case of this signal processing flow, the data for storage, copying, and transfer remains encrypted, so that the decrypted data is not stored, copied, or transferred.
本願発明のデータ著作権管理装置が使用されるデータ著作権管理システムにおいては、入手した暗号化データを表示・加工する場合には復号化して利用するが、入手あるいは加工したデータを保存・複写・転送する場合には再暗号化することによって、データ著作権の管理を行う。しかし、図2に示された先願発明のデータ著作権管理装置15及び図3に記載された本発明のデータ著作権管理装置30は暗号化データの復号化あるいは復号化データの暗号化のいずれか一方しか行うことができない。そのため、復号化あるいは加工されたデータを保存・複写・転送する場合には一旦ユーザ端末装置あるいはデータ著作権管理装置のRAMに蓄積しておき、その後蓄積されたデータを再暗号化する必要がある。したがって、処理することができるデータに量的な制限が発生するばかりでなく、事故あるいは操作ミス等により復号化あるいは加工されたデータが失われるおそれがある。 In the data copyright management system in which the data copyright management apparatus of the present invention is used, when the obtained encrypted data is displayed / processed, it is decrypted and used, but the acquired / processed data is stored / copied / When transferring, the data copyright is managed by re-encryption. However, the data
一部の高級なMPUを除き、パーソナルコンピュータ等で使用される一般的なMPUは複数のマイクロコンピュータを同時に動作させるマルチプロセッサ構成について考慮されていない。したがって、パーソナルコンピュータのシステムバスに付属装置を接続しても複数の作業を同時に行うことはできない。したがって、図2に示されたデータ著作権管理装置15あるいは図3に示されたデータ著作権管理装置30をユーザ端末装置20のシステムバス22に接続してもMPU21あるいは46とCPU16が並列して動作させることが可能なマルチプロセッサ構成とはならず、暗号化されたデータの復号化及び復号化されたデータの再暗号化の作業は同時に行われるのではなく、交互に行われる。そのため、復号化及び暗号化を行うことができるデータの大きさはRAMの容量に制限され、大きなデータを処理することはできない。また、大きなデータではない場合でも、処理速度を高くすることができない。 Except for some high-end MPUs, general MPUs used in personal computers or the like do not consider a multiprocessor configuration that allows a plurality of microcomputers to operate simultaneously. Therefore, even if an accessory device is connected to the system bus of a personal computer, a plurality of operations cannot be performed simultaneously. Therefore, even if the data
一方、先願発明として説明したデータ著作権管理システムにおいては、入手した暗号化データを表示・加工する場合には復号化して利用するが、入手あるいは加工したデータを保存・複写・転送する場合には再暗号化することによって、データの不正規な使用ができないようにしている。したがって、本発明が対象とするデータ著作権管理システムで使用される装置においては、データの復号化だけでなく、データの再暗号化も同時に行われることが望ましい。 On the other hand, in the data copyright management system described as the invention of the prior application, when the obtained encrypted data is displayed / processed, it is decrypted and used, but when the acquired / processed data is stored / copied / transferred. Re-encryption prevents unauthorized use of data. Therefore, in the apparatus used in the data copyright management system targeted by the present invention, it is desirable that not only data decryption but also data re-encryption is performed at the same time.
一般的なパーソナルコンピュータにおいてマルチプロセッサ構成を実現する手段として、最近注目されているものにPCI(Peripheral Component Interconnect )バスがある。このPCIバスは、コンピュータのシステムバスにPCIブリッジを介して接続される外部接続用のバスであり、PCIバスを使用することでマルチプロセッザ構成を実現する
ことができる。A PCI (Peripheral Component Interconnect) bus is recently attracting attention as means for realizing a multiprocessor configuration in a general personal computer. The PCI bus is an external connection bus connected to a computer system bus via a PCI bridge, and a multiprocessor configuration can be realized by using the PCI bus.
図9に示されたのは、本発明実施例2である、PCIバスを使用するデータ著作権管理装置の構成であり、図3に示されたデータ著作権管理装置15と同じ構成すなわち、CPU16、CPU16のローカルバス17、ローカルバス17に接続されたROM18、RAM19及びEEPROM31を有するコンピュータシステムの構成を有している。一方、ユーザ端末装置20のマイクロプロセッサ21のシステムバス22にはPCIブリッジ82によって接続されるPCIバス81が接続されており、データ著作権管理装置80のCPU16のローカルバス17がこのPCIバス81に接続されている。ユーザ端末装置20のシステムバス22にはさらに、装置外部のデータベースからデータを受け取り、データを外部へ転送する通信装置(COMM)23、CD−ROMで供給されるデータを読み込むCD−ROMドライブ(CDRD)24、受け取ったデータあるいは加工したデータを外部へ供給するためにフレキシブルディスクドライブに複写するフレキシブルディスクドライブ(FDD)25及びデータを保存するハードディスクドライブ(HDD)26が接続される。なお、COMM23、CDRD24、FDD25及びHDD26はPCIバス81に接続することも可能である。また、ユーザ端末装置のシステムバス22には当然のこととしてROM、RAM等が接続されているが、この図においては記載が省略されている。 FIG. 9 shows the configuration of the data copyright management apparatus using the PCI bus according to the second embodiment of the present invention. The configuration is the same as the data
その他の部分の構成及び動作は図3に示された実施例1の場合と同様なのでさらなる説明は省略する。復号化及び再暗号化の作業はユーザ端末装置20のMPU21とデータ著作権管理装置80のCPU16が分担して、一方が復号化を他方が再暗号化を同時に行う。この実施例におけるMPU21とCPU16はPCIバスによる並列動作を行うマルチプロセッサ構成であるため、高い処理速度を得ることができる。 Since the configuration and operation of the other parts are the same as in the case of the first embodiment shown in FIG. The
ところで、パーソナルコンピュータ本体に外部装置を取り付けて使用するための代表的な手段として、この他にハードディスク装置あるいはCD−ROMドライブ等の外部記憶装置が接続されるSCSI(Small Computer System Interface )インターフェースがある。このSCSIインターフェースには、SCSIインターフェースが接続されるパーソナルコンピュータ本体も含めて最大8台の装置を接続することができ、8台の装置として複数のコンピュータを使用することができる。これら複数のコンピュータはどれも同等の役割を果たすことができ、言い換えれば、SCSIインターフェースは単なるインターフェースではなくマルチプロセッサバスとしての機能も有している。実施例3はこのSCSIインターフェースのマルチプロセッサバスとしての機能に着目し、実施例2のPCIバス81に代えてSCSIインターフェース86(以下、理解の便のため「SCSIインターフェース」を「SCSIバス」という。)を介してデータ著作権管理装置85をユーザ端末装置20のシステムバス22に接続する。 Incidentally, as a typical means for attaching an external device to the personal computer main body, there is a SCSI (Small Computer System Interface) interface to which an external storage device such as a hard disk device or a CD-ROM drive is connected. . Up to eight devices including the personal computer main body to which the SCSI interface is connected can be connected to the SCSI interface, and a plurality of computers can be used as the eight devices. Any of these multiple computers can play an equivalent role. In other words, the SCSI interface functions not only as an interface but also as a multiprocessor bus. The third embodiment pays attention to the function of the SCSI interface as a multiprocessor bus. Instead of the
図10に示されたのは、SCSIバスを用いた本発明実施例3のデータ著作権管理装置の構成ブロック図である。この実施例3のデータ著作権管理装置85は、図3に示されたデータ著作権管理装置と同じ構成すなわち、CPU16、CPU16のローカルバス17、ローカルバス17に接続されたROM18、RAM19及びEEPROM31を有するコンピュータシステムの構成を有している。 FIG. 10 is a block diagram showing the configuration of the data copyright management apparatus according to the third embodiment of the present invention using a SCSI bus. The data
一方、ユーザ端末装置20のマイクロプロセッサ21のシステムバス22にはSCSIコントローラ(SCSICONT)87によって制御されるSCSIバス86が接続されており、データ著作権管理装置85のCPU16のローカルバス17がこのSCSIバス86に接続されている。また、ユーザ端末装置20のシステムバス22にはさらに、装置外部のデータベースからデータを受け取り、データを外部へ転送する通信装置(COMM)23、CD−ROMで供給されるデータを読み込むCD−ROMドライブ(CDRD)
24、受け取ったデータあるいは加工したデータを外部へ供給するためにフレキシブルディスクドライブに複写するフレキシブルディスクドライブ(FDD)25及びデータを保存するハードディスクドライブ(HDD)26が接続される。なお、COMM23、CDRD24、FDD25及びHDD26はSCSIバス86に接続することも可能である。また、ユーザ端末装置のシステムバス22には当然のこととしてROM、RAM等が接続されているが、この図においては記載が省略されている。On the other hand, a
24, a flexible disk drive (FDD) 25 for copying to a flexible disk drive and a hard disk drive (HDD) 26 for storing data are connected to supply received data or processed data to the outside. Note that the
その他の部分の構成及び動作は図3に示された実施例1の場合と同様なのでさらなる説明は省略する。復号化及び再暗号化の作業はユーザ端末装置20本体のMPU21とデータ著作権管理装置85のCPU16が分担して、一方が復号化を他方が再暗号化を同時に行い、MPU21とCPU16はSCSIバス86による並列動作を行うマルチプロセッサ構成であるため、高い処理速度を得ることができる。 Since the configuration and operation of the other parts are the same as in the case of the first embodiment shown in FIG. The
なお、この他にマルチプロセッサ構成を実現するための手段としてSCI(Scalable Coherent Interface )等も利用可能であり、さらに可能ならばバスを介することなくマイクロプロセッサ同士を接続してもよい。 In addition, SCI (Scalable Coherent Interface) or the like can be used as a means for realizing a multiprocessor configuration, and if possible, the microprocessors may be connected without using a bus.
本願発明のデータ著作権管理装置が管理しようとするデータには、文字データの他にグラフィックデータ、コンピュータプログラム、デジタル音声データ、JPEG等の方式による静止画データ、さらにはMPEG等による動画データがある。これまでに説明した実施例2のデータ著作権管理装置80あるいは実施例3のデータ著作権管理装置85はPCIバスあるいはSCSIバスによってユーザ端末装置20のマイクロプロセッサ21のシステムバス22に接続されることによりマルチプロセッサを構成している。このようなマルチプロセッサ構成の場合、ユーザ端末装置20のMPU21はシステム全体を制御する役割も果たす必要がある。データが文字データ、グラフィックスデータ等比較的低速・小容量のデータである場合にはMPU21とCPU16によるマルチプロセッサ構成でも復号化及び再暗号化によるデータ著作権管理は可能であるが、データがJPEG静止画による動画、MPEG1あるいはMPEG2による動画である場合には、データが高速・大容量であるためこのような構成によるデータ著作権管理は著しく困難である。 Data to be managed by the data copyright management apparatus of the present invention includes graphic data, computer program, digital audio data, still image data by a method such as JPEG, and moving image data by MPEG, in addition to character data. . The data
図11に示された第4実施例においては、このような事態に対処するためにPCIバス81に第1のデータ著作権管理装置80及び第2のデータ著作権管理装置90を接続することにより、マルチプロセッサシステムを構成している。第2のデータ著作権管理装置90は第1のデータ著作権管理装置80と同じ構成すなわち、CPU91、CPU91のローカルバス94、ローカルバス94に接続されたROM92、RAM93及びEEPROM95を有している。なお、この実施例において第1のデータ著作権管理装置80は暗号化されたデータの復号化を行い、第2のデータ著作権管理装置90は復号化されたデータの再暗号化を行う。 In the fourth embodiment shown in FIG. 11, the first data
暗号化されたデータの復号化を行う第1のデータ著作権管理装置80のROM18には、データベースを利用するためのソフトウェア及びユーザデータ等の固定した情報が格納される。RAM19には鍵管理センタあるいは著作権管理センタから供給される復号化用の第1暗号鍵及びデータ著作権管理システムプログラムが格納される。同様に復号化されたデータの再暗号化を行う第2のデータ著作権管理装置90のROM92には、データベースを利用するためのソフトウェア及びユーザデータ等の固定した情報が格納され、RAM93には鍵管理センタあるいは著作権管理センタから供給される再暗号化用の第2暗号鍵及びデータ著作権管理システムプログラムが格納される。なお、このマルチプロセッサ構成にはSCSIあるいはSCI等も利用可能であり、さらに可能ならばバスを介することなくマイクロプロセッサ同士を接続してもよい。 The
図2に示された先願発明及び図3を用いて説明した本発明の実施例1において、暗号化されたデータが供給される通信装置(COMM)23及びCD−ROMドライブ(CDRD)24はユーザ端末装置20のシステムバスに接続されている。そのため、暗号化されたデータを復号化するためには、暗号化されたデータをユーザ端末装置20のシステムバスとデータ著作権管理装置のローカルバスを経由させなければならず、処理速度の低下を招くおそれがある。これは、これらの付属装置をPCIバスあるいはSCSIバスに接続した場合でも同様である。図12に示された実施例5においては、処理速度の低下を防止するために暗号化されたデータが供給される通信装置23及びCD−ROMドライブ24は復号化用データ著作権管理装置97のローカルバス17に接続される。 In the prior application shown in FIG. 2 and the first embodiment of the present invention described with reference to FIG. 3, the communication device (COMM) 23 and the CD-ROM drive (CDRD) 24 to which the encrypted data is supplied are It is connected to the system bus of the
図12に示された実施例5のデータ著作権管理装置97は復号化用のデータ著作権管理装置であり、図3に示された実施例1のデータ著作権管理装置30と基本的には同じ構成すなわち、CPU16、CPU16のローカルバス17、ローカルバス17に接続されたROM18、RAM19及びEEPROM31を有するコンピュータシステムとして構成され、通信装置COMM23及びCD−ROMドライブCDRD24はローカルバス17に接続される。ROM18には、著作権管理プログラム、暗号アルゴリズムに基づく暗号プログラム及びユーザデータ等の固定した情報が格納されている。EEPROM31には著作権情報が格納される。なお、著作権管理プログラム及び暗号プログラムがデータベース等外部から供給される場合には、これらはROM18ではなく、EEPROM31に格納される。RAM19には鍵管理センタあるいは著作権管理センタから供給される復号化用暗号鍵及びデータ著作権管理システムプログラムが格納される。COMM23あるいはCDRD24から供給された暗号化データはデータ著作権管理装置97で復号化され、ユーザ端末装置95に転送される。 A data
以上説明した実施例4のデータ著作権管理装置80及び90は別体に構成されたものとして記載されているが、これらを一体に構成することが可能であることは言うまでもないことである。 Although the data
実施例5のデータ著作権管理装置100をさらに発展させた実施例6のデータ著作権管理装置を図13に示す。図2に示された先願発明及び図3を用いて説明した本発明の実施例1において、再暗号化されたデータを保存するHDD26等の保存装置はユーザ端末装置20のシステムバス22に接続されている。したがって、再暗号化されたデータを保存するためには、ユーザ端末装置20のシステムバス22とデータ著作権管理装置15あるいはデータ著作権管理装置30のローカルバス17を経由させなければならず、処理速度の低下を招くおそれがある。これはこれらの付属装置をPCIバスあるいはSCSIバスに接続した場合でも同様である。図13に示された実施例6のデータ著作権管理装置100においては、図12に示された実施例5の通信装置COMM23及びCD−ROMドライブCDRD24がローカルバス17に接続された復号化用データ著作権管理装置97に加えて再暗号化されたデータを保存するHDD26等の保存装置を再暗号化用データ著作権管理装置101のローカルバス94に接続する。 FIG. 13 shows a data copyright management apparatus according to a sixth embodiment, which is a further development of the data
この実施例6に示された再暗号化用のデータ著作権管理装置101は、図3に示されたデータ著作権管理装置30と基本的には同じ構成すなわち、CPU91、CPU91のローカルバス94、ローカルバス94に接続されたROM92、RAM93及びEEPROM95を有するコンピュータシステムとして構成され、ローカルバス94にHDD26が接続される。 The data
ROM92には、著作権管理プログラム、暗号アルゴリズムに基ずく暗号プログラム及びユーザデータ等の固定した情報が格納されている。EEPROM95には著作権情報が格納される。なお、著作権管理プログラム及び暗号プログラムがデータベース等外部から
供給される場合には、これらはROM92ではなく、EEPROM95に格納される。RAM93には鍵管理センタあるいは著作権管理センタから供給される再暗号化用暗号鍵及びデータ著作権管理システムプログラムが格納される。再暗号化用の著作権管理装置101で再暗号化されたデータはHDD26に保存される。The
以上説明した実施例6のデータ著作権管理装置100及び101は別体に構成されたものとして記載されているが、これらを一体に構成することが可能であることは言うまでもないことである。 Although the data
デジタルデータには、文字データの他にグラフィックデータ、コンピュータプログラム、デジタル音声データ、JPEG等の方式による静止画データ、さらにはMPEG等による動画データがある。データ著作物を利用するユーザ端末装置として代表的なものはパーソナルコンピュータ等のコンピュータ装置であるが、その他にテレビジョン受像器等の受信装置、これらの受信装置に付属して使用されるセットトップボックス、デジタル信号を保存するデジタルビデオテープレコーダ、デジタルビデオディスクレコーダ、デジタルオーディオテープ(DAT)等のデジタル記録装置あるいは携帯型端末装置(Personal Digital Assistants =PDA)がある。 In addition to character data, digital data includes graphic data, computer programs, digital audio data, still image data based on a method such as JPEG, and moving image data based on MPEG. A typical example of a user terminal device using a data work is a computer device such as a personal computer. In addition, a receiver device such as a television receiver, and a set-top box used as an accessory to these receiver devices. There are digital recording devices such as a digital video tape recorder, a digital video disk recorder, and a digital audio tape (DAT) for storing digital signals, or portable terminal devices (Personal Digital Assistants = PDA).
拡張ボード、ICカードあるいはPCカードとして構成された先願である特願平6−237673号に記載された図2のデータ著作権管理装置または図6のデータ著作権管理装置をコンピュータ装置、受信装置、セットトップボックス、デジタル記録装置あるいは携帯型端末装置であるユーザ端末装置に付加して使用することも可能であるが、付加時の手間及び障害の発生を考慮するとデータ著作権管理装置はユーザ端末装置に内蔵されていることが望ましい。 The data copyright management device of FIG. 2 or the data copyright management device of FIG. 6 described in Japanese Patent Application No. 6-237673, which is a prior application configured as an expansion board, IC card or PC card, is a computer device and a reception device. It can also be used by being added to a user terminal device which is a set-top box, a digital recording device or a portable terminal device. It is desirable that it is built in the device.
そのためには、本発明の各実施例においてはデータ著作権管理装置の形態としてモノリシックIC、ハイブリッドICあるいは内蔵サブボードの形態を採用して、パーソナルコンピュータ等のコンピュータ装置、テレビジョン受像器等の受信装置、これらの受信装置に付属して使用されるセットトップボックス、デジタル信号を保存するデジタルビデオテープレコーダ、デジタルビデオディスクレコーダ、デジタルオーディオテープ(DAT)等のデジタル記録装置あるいは携帯型端末装置(PDA)等のユーザ端末装置に内蔵させる。 For this purpose, each embodiment of the present invention adopts a monolithic IC, a hybrid IC, or a built-in sub board as a data copyright management device, and receives a computer device such as a personal computer or a television receiver. Devices, set-top boxes used in connection with these receiving devices, digital video tape recorders for storing digital signals, digital video disk recorders, digital audio tapes (DAT) and other digital recording devices or portable terminal devices (PDAs) ) Or the like.
さらに、以上説明したデータ著作権管理装置はデータの利用だけではなくディジタルキャッシュの流通及びテレビジョン会議システムに対しても適用可能である。これまでに種々提案されているディジタルキャッシュシステムは秘密鍵方式で暗号化ディジタルキャッシュデータを銀行預金口座あるいはクレジット会社のキャッシングサービスから転送してICカードに保存しており、入出力用の端末装置を利用して支払を行う。このICカードを電子財布として利用するディジタルキャッシュシステムは商店等入出力用の端末装置が設置されている場所であればどこでも使用可能である反面、入出力用の端末装置がない場所、例えば家庭等、では使用不可能である。 Furthermore, the above-described data copyright management apparatus can be applied not only to the use of data but also to the distribution of digital cash and the video conference system. Various digital cash systems that have been proposed so far transfer encrypted digital cash data from a bank deposit account or a credit company's caching service using a secret key method and store it on an IC card. Use and make payment. The digital cash system using the IC card as an electronic wallet can be used anywhere as long as an input / output terminal device is installed, such as a store, while a place where there is no input / output terminal device, such as a home. In, it is impossible to use.
ところで、ディジタルキャッシュは暗号化データであるからICカード以外にも暗号化データを保存することができ、かつ支払先にデータを転送することができる装置であればどのようなものでもディジタルキャッシュデータを保存する電子財布として利用することができる。具体的に電子財布として利用可能なユーザ端末装置としては、パーソナルコンピュータ、インテリジェントテレビジョン装置、携帯情報端末装置、PHS(Personal Hadyphone System) 等ノ 携帯電話器、インテリシ゛ェント 電話機、 入出力機能を有する
PCカード等がある。By the way, since the digital cash is encrypted data, any device that can store the encrypted data other than the IC card and can transfer the data to the payee can receive the digital cash data. It can be used as an electronic wallet to save. Specific examples of user terminal devices that can be used as electronic wallets include personal computers, intelligent television devices, portable information terminal devices, PHS (Personal Hadyphone System) and other portable telephones, intelligent telephones, and PC cards with input / output functions. Etc.
このような端末装置をディジタルキャッシュ用の電子財布として利用することによる取引は、これまでに説明したデータ著作権管理システムの構成におけるデータベースを顧客側銀行に、1次ユーザ端末装置を顧客に、2次ユーザ端末装置を小売店に、著作権管理センタを小売店側銀行に、3次ユーザ端末装置を卸売またはメーカに置き換えることにより実現される。 Transactions by using such a terminal device as an electronic wallet for digital cash are performed by using the database in the configuration of the data copyright management system described so far for the customer side bank, the primary user terminal device for the customer, 2 This is realized by replacing the secondary user terminal device with a retail store, the copyright management center with a retail bank, and the tertiary user terminal device with a wholesaler or manufacturer.
ディジタルキャッシュを通信ネットワークを経由して転送することにより行われる取引システムの使用例を図14を用いて説明する。この使用例は図1に示されたデータ著作権管理システムの構成を利用したものであり、この図において、111は顧客、112は顧客111の取引銀行、113は小売店、114は小売店113の取引銀行、115はメーカ、116はメーカ115の取引銀行、2は通信事業者が提供する公衆回線あるいはケーブルテレビジョン事業者が提供するCATV回線等の通信ネットワークであり、顧客111、顧客の取引銀行112、小売店113、小売店の取引銀行114、メーカ115及びメーカの取引銀行116は通信ネットワーク2によって相互に接続可能とされている。このシステムにおいて、顧客111は銀行の他にキャッシングサービスを行うクレジット会社を利用することが可能であり、小売店とメーカとの間に適当な数の卸売り店を介在させることが可能である。また、117及び118はディジタルキャッシュデータが格納されるICカードあるいはPCカードであり、通信ネットワークを利用しない場合に使用される。なお、この図において、破線で示されたのは暗号化されたディジタルキャッシュデータの経路であり、実線で示されたのは顧客,小売店あるいはメーカから銀行への要求の経路であり、1点鎖線で示されたのは各銀行からの秘密鍵の経路である。 A usage example of a transaction system performed by transferring digital cash via a communication network will be described with reference to FIG. This usage example uses the configuration of the data copyright management system shown in FIG. 1. In this figure, 111 is a customer, 112 is a customer's 111 bank, 113 is a retail store, and 114 is a
この使用例では暗号鍵として顧客側銀行112が用意する第1秘密鍵及び顧客が生成する第2秘密鍵,小売店が生成する第3秘密鍵及びメーカが生成する第4秘密鍵が用いられる。この使用例では顧客側銀行112,小売り店側銀行114,メーカ側銀行116を別個のものとして説明するが、これらを一括して金融システムとして考えてもよい。 In this usage example, a first secret key prepared by the
ディジタルキャッシュデータを暗号化/復号化するディジタルキャッシュ管理プログラムPは顧客111に予め配布され、ユーザ端末装置に保存されている。また、ディジタルキャッシュ管理プログラムPは銀行との取引が行われる毎にデータとともに転送されるようにすることもできる。さらに、ディジタルキャッシュ管理プログラムPは全銀行において共通するものとすることが望ましい。顧客111はユーザ端末装置を利用して通信ネットワーク2を経由して金額を指定することにより、顧客側銀行112に預金口座からの預金の引出の申込を行うがこのときに顧客111の顧客情報Ic を提示する。 A digital cash management program P for encrypting / decrypting digital cash data is distributed in advance to the
顧客111から預金引出の申込を受けた顧客側銀行112は、第1秘密鍵Ks1を選択あるいは作成し、引出金額のディジタルキャッシュデータM0 をこの第1秘密鍵Ks1で暗号化し、Cm0ks1=E(Ks1, M0 )
暗号化ディジタルキャッシュデータCm0ks1 及び復号鍵である第1秘密鍵Ks1を顧客111に転送するとともに、顧客情報Ic 及び第1秘密鍵Ks1を保管する。この場合、第1秘密鍵Ks1は顧客側銀行112が予め用意したものから選択してもよいが、顧客が引き出し時に顧客情報Ic を提示し、ディジタルキャッシュ管理プログラムPにより、提示された顧客情報Ic に基づいて作成することもできる。
Ks1= P(Ic )
このようにすれば、第1秘密鍵Ks1を顧客111に固有のものとすることができるばかりでなく、顧客111に対して第1秘密鍵Ks1を転送する必要がないため、システムの安全性が高くなる。また、第1秘密鍵Ks1は顧客側銀行112の銀行情報Ibsあるいは銀行情報Ibsと作成日時に基づいて作成することもできる。The customer-
The encrypted digital cash data Cm0ks1 and the first secret key Ks1 as the decryption key are transferred to the
Ks1 = P (Ic)
In this way, not only the first secret key Ks1 can be made unique to the
暗号化ディジタルキャッシュデータCm0ks1 及び第1秘密鍵Ks1を転送された顧客11
1は、ディジタルキャッシュ管理プログラムPにより、顧客情報Ic ,第1秘密鍵Ks1の何れか1つあるいは双方に基づいて第2秘密鍵Ks2を生成し、Ks2= P(Ic )
生成された第2秘密鍵Ks2がユーザ端末装置内に保存される。また、顧客111はディジタルキャッシュ管理プログラムPにより暗号化ディジタルキャッシュデータCm0ks1 を第1秘密鍵Ks1を用いて復号化してM0=D(Ks1, Cm0ks1 )
内容を確認するが、内容が確認された復号化ディジタルキャッシュデータM0 が電子財布であるユーザ端末装置内に保存される場合には、生成された第2秘密鍵Ks2を用いてディジタルキャッシュ管理プログラムPにより暗号化される。
Cm0ks2=E(Ks2, M0 )
また、このときに第1秘密鍵Ks1が廃棄される。
1, the digital cash management program P generates a second secret key Ks2 based on one or both of the customer information Ic and the first secret key Ks1, and Ks2 = P (Ic)
The generated second secret key Ks2 is stored in the user terminal device. Further, the
When the content is confirmed, but the decrypted digital cash data M0 whose content is confirmed is stored in the user terminal device which is the electronic wallet, the digital cash management program P is generated using the generated second secret key Ks2. Encrypted by
Cm0ks2 = E (Ks2, M0)
At this time, the first secret key Ks1 is discarded.
小売店113から物品の購入を希望する顧客111は、ディジタルキャッシュ管理プログラムPにより電子財布であるユーザ端末装置に保存されている暗号化ディジタルキャッシュデータCm0ks2 を第2秘密鍵Ks2を用いて復号化し、M0=D(Ks2, Cm0ks2 )
必要な金額に対応するディジタルキャッシュデータM1 をディジタルキャッシュ管理プログラムPにより第2秘密鍵Ks2を用いて暗号化し、Cm1ks2=E(Ks2, M1 )
通信ネットワーク2を介して暗号化ディジタルキャッシュデータCm1ks2 を小売店113の電子財布であるユーザ端末装置に転送することにより、支払を行う。このときに、顧客情報Ic も小売店113のユーザ端末装置に転送される。また、残額ディジタルキャッシュデータM2 はディジタルキャッシュ管理プログラムPにより第2秘密鍵Ks2を用いて暗号化され、Cm2ks2=E(Ks2, M2 )
顧客111のユーザ端末装置内に保存される。The
The digital cash data M1 corresponding to the required amount is encrypted by the digital cash management program P using the second secret key Ks2, and Cm1ks2 = E (Ks2, M1)
Payment is performed by transferring the encrypted digital cash data Cm1ks2 to the user terminal device which is an electronic wallet of the
It is stored in the user terminal device of the
暗号化ディジタルキャッシュデータCm1ks2 及び顧客情報Ic を転送された小売店113は、転送された暗号化ディジタルキャッシュデータCm1ks2 及び顧客情報Ic をユーザ端末装置に保存するとともに、内容を確認するために通信ネットワーク2を経由して小売店側銀行114に顧客情報Ic を提示して、復号鍵である第2秘密鍵Ks2の転送を依頼する。小売店113から第2秘密鍵Ks2の転送依頼を受けた小売店側銀行114は、第2秘密鍵Ks2の転送依頼とともに顧客情報Ic を顧客側銀行112に転送する。小売店側銀行114から第2秘密鍵Ks2の転送依頼を転送された顧客側銀行112は、第2秘密鍵Ks2が顧客情報Ic のみに基づいている場合にはディジタルキャッシュ管理プログラムPにより顧客情報Ic に基づいて第2秘密鍵Ks2を生成し、第2秘密鍵Ks2が顧客情報Ic と第1秘密鍵Ks1に基づいている場合にはディジタルキャッシュ管理プログラムPにより顧客情報Ic と第1秘密鍵Ks1に基づいて第2秘密鍵Ks2を生成し、生成された第2秘密鍵Ks2を小売店側銀行114に転送する。顧客側銀行112から第2秘密鍵Ks2を転送された小売店側銀行114は、通信ネットワーク2を経由して第2秘密鍵Ks2を小売店113に転送する。 The
第2秘密鍵Ks2を転送された小売店113は、ディジタルキャッシュ管理プログラムPにより第2秘密鍵Ks2を用いて暗号化ディジタルキャッシュデータCm1ks2 を復号化し、M1=D(Ks2, Cm1ks2 )
金額を確認の上、商品を顧客111に発送する。なお、この場合小売店111が小売店側銀行114ではなく顧客側銀行112に直接に第2秘密鍵Ks2の転送を依頼するようにすることもできる。The
After confirming the amount, the product is shipped to the
小売店113が収受したディジタルキャッシュを小売店側銀行114の口座に入金する場合には、通信ネットワーク2を経由して小売店側銀行114に暗号化ディジタルキャッシュデータCm1ks2 とともに顧客情報Ic を転送する。暗号化ディジタルキャッシュデータCm1ks2 と顧客情報Ic を転送された小売店側銀行114は、顧客情報Ic を転送することにより第2秘密鍵Ks2の転送を顧客側銀行112に対して依頼する。小売店側銀行1
14から第2秘密鍵Ks2の転送を依頼された顧客側銀行112は、第2秘密鍵Ks2が顧客情報Ic のみに基づいている場合にはディジタルキャッシュ管理プログラムPにより顧客情報Ic に基づいて第2秘密鍵Ks2を生成し、第2秘密鍵Ks2が顧客情報Ic と第1秘密鍵Ks1に基づいている場合にはディジタルキャッシュ管理プログラムPにより顧客情報Ic と第1秘密鍵Ks1に基づいて第2秘密鍵Ks2を生成し、生成された第2秘密鍵Ks2を小売店側銀行114に転送する。顧客側銀行112から第2秘密鍵Ks2を転送された小売店側銀行114は、ディジタルキャッシュ管理プログラムPにより第2秘密鍵Ks2を用いて暗号化ディジタルキャッシュデータCm1ks2 を復号化し、M1=D(Ks2, Cm1ks2 )
復号化ディジタルキャッシュデータM1 を小売店114の銀行口座に入金する。When depositing the digital cash received by the
When the second private key Ks2 is requested to transfer the second secret key Ks2 from the
The decrypted digital cash data M1 is deposited into the bank account of the
一般的な取引システムにおいては、小売店113はメーカ115あるいはメーカ115と小売店113の間に介在する卸売り店から商品を仕入れ、顧客111に販売する。そのため、顧客111と小売店113との間に存在するのと同様の取引形態が小売店113とメーカ115との間にも存在する。この小売店113とメーカ115との間で行われるディジタルキャッシュの取り扱いは、顧客111と小売店113との間で行われるディジタルキャッシュの取り扱いと基本的な相違はないため、煩雑さをさけるため説明を省略する。 In a general transaction system, the
このディジタルキャッシュシステムにおける、ディジタルキャッシュの取扱いはすべて銀行を介在させて行われるため、顧客側銀行にディジタルキャッシュの取扱いに関する金額,日付,秘密鍵要求者情報等の情報を保存しておくことにより、ディジタルキャッシュの残高及び使用履歴を把握することができる。また、ディジタルキャッシュデータを保存する電子財布であるユーザ端末装置が紛失あるいは破損により使用不能となった場合でも、顧客側銀行に保存されている使用残高及び使用履歴に基づきディジタルキャッシュを再発行することが可能である。なお、ディジタルキャッシュの安全性を高めるためにディジタルキャッシュデータにディジタル署名を付けることが望ましい。この使用例において、ディジタルキャッシュには顧客情報が付加されており、この顧客情報はディジタル署名付とされることがある。つまり、この実施例においてディジタルキャッシュは顧客を振り出し人とする手形決済システムとしての機能も有する。さらに、このシステムは従来紙を用いて行われている国際貿易における各種決済システム、例えば信用状(Letter of Credit:L/C)、(Bill of Lading:B/L),Payment of Settlement of Import/ Export にも拡
張として応用することができる。In this digital cash system, since all the handling of digital cash is done through the bank, by storing information such as the amount, date, secret key requester information, etc. regarding the handling of digital cash in the customer side bank, The balance and usage history of the digital cash can be grasped. In addition, even if the user terminal device, which is an electronic wallet that stores digital cash data, becomes unusable due to loss or damage, the digital cash can be reissued based on the usage balance and usage history stored in the customer bank. Is possible. In order to increase the security of the digital cash, it is desirable to attach a digital signature to the digital cash data. In this usage example, customer information is added to the digital cash, and this customer information may be digitally signed. That is, in this embodiment, the digital cash also has a function as a bill settlement system in which the customer is the originator. In addition, this system is used for various payment systems in international trade, such as letters of credit (L / C), (Bill of Lading: B / L), Payment of Settlement of Import / It can be applied to Export as an extension.
これまでは従来の音声電話器にテレビジョン映像を付加したものに過ぎなかったテレビジョン会議システムが、最近はコンピュータシステムに組み込まれることにより音声あるいは映像の品質が向上したばかりでなく、コンピュータ上のデータも音声及び映像と同時に扱うことができるように進化している。このような中で、テレビジョン会議参加者以外の盗視聴による使用者のプライバシー侵害及びデータの漏洩に対するセキュリティーは秘密鍵を用いた暗号化システムによって保護されている。しかし、テレビジョン会議参加者自身が入手する会議内容は復号化されたものであるため、テレビジョン会議参加者自身が会議内容を保存し、場合によっては加工を行い、さらにはテレビジョン会議参加者以外の者に配布する2次的な利用が行われた場合には他のテレビジョン会議参加者のプライバシー及びデータのセキュリティーは全く無防備である。特に、伝送データの圧縮技術が発達する一方でデータ蓄積媒体の大容量化が進んだ結果テレビジョン会議の内容全てがデータ蓄積媒体に複写されたりあるいはネットワークを介して転送される恐れさえ現実のものとなりつつある。 The video conferencing system, which has only been added to the conventional audio telephones with television video, has recently been incorporated into a computer system, and the quality of audio or video has been improved. Data has also evolved so that it can be handled simultaneously with audio and video. Under such circumstances, security against privacy infringement and data leakage by users other than TV conference participants is protected by an encryption system using a secret key. However, since the conference content obtained by the video conference participants themselves is decrypted, the video conference participants themselves store the conference content, process it in some cases, and further process the video conference participants. In the case of secondary use distributed to other persons, the privacy and data security of other video conference participants are completely defenseless. In particular, the transmission data compression technology has been developed, but the capacity of the data storage medium has increased, and as a result, the contents of the video conference can be copied to the data storage medium or even transferred over the network. It is becoming.
この使用例はこのような状況に鑑みて、これまでに説明したデータ著作権管理システムの構成をテレビジョン会議システムに応用することにより、テレビジョン会議参加者自身の2次的な利用による他のテレビジョン会議参加者のプライバシー及びデータのセキュリ
ティー確保を行うものである。In view of such a situation, this use example is applied to the video conference system by applying the configuration of the data copyright management system described so far to the video conference system. It will ensure the privacy and data security of participants in the TV conference.
このテレビジョン会議データ管理システムは、例えば図1に示されたデータ著作権管理システムの構成におけるデータベースをテレビジョン会議第1参加者に、1次ユーザ端末装置をテレビジョン会議第2参加者に、2次ユーザ端末装置をテレビジョン会議非参加者に置き換えることにより実現することができる。この使用例を図15を用いて説明する。この図において、121はテレビジョン会議第1参加者、122はテレビジョン会議第2参加者、123はテレビジョン会議第3非参加者、124はテレビジョン会議第4非参加者、2は通信事業者が提供する公衆回線あるいはケーブルテレビジョン事業者が提供するCAテレビジョン回線等の通信ネットワークであり、テレビジョン会議第1参加者121とテレビジョン会議第2参加者122は通信ネットワーク2によって相互に接続可能とされている。また、テレビジョン会議第2参加者122とテレビジョン会議第3非参加者123、テレビジョン会議第3非参加者123とテレビジョン会議第4非参加者124は通信ネットワーク2で接続可能とされている。また、125及び126はデータ記録媒体である。この図において、破線で示されたのは暗号化されたテレビジョン会議内容の経路であり、実線で示されたのはテレビジョン会議第3非参加者123及びテレビジョン会議第4非参加者124からテレビジョン会議第1参加者121へ暗号鍵を要求する経路であり、1点鎖線で示されたのはテレビジョン会議第1参加者121からテレビジョン会議第2参加者122、テレビジョン会議第3非参加者123及びテレビジョン会議第4非参加者124へ暗号鍵が転送される経路である。なお、この使用例で説明するテレビジョン会議データ管理システムでは説明を簡明にするために、テレビジョン会議第1参加者121のプライバシー及びデータセキュリティーの確保のみが行われる場合について説明するが、テレビジョン会議第2参加者122のプライバシー及びデータセキュリティーの確保も行うことが可能であることはいうまでもない。 In this television conference data management system, for example, the database in the configuration of the data copyright management system shown in FIG. 1 is used for the first television conference participant, and the primary user terminal device is used for the second television conference participant. This can be realized by replacing the secondary user terminal device with a non-video conference participant. This usage example will be described with reference to FIG. In this figure, 121 is a television conference first participant, 122 is a television conference second participant, 123 is a television conference third non-participant, 124 is a television conference fourth non-participant, and 2 is a communication business. Communication network such as a public line provided by a person or a CA television line provided by a cable television company. The first
映像及び音声を含むテレビジョン会議第1参加者121のテレビジョン会議データを暗号化/復号化するテレビジョン会議管理プログラムPはテレビジョン会議第2参加者122、テレビジョン会議第3非参加者123及びテレビジョン会議第4非参加者124に予め配布され、各々の端末装置に内蔵されている。なお、テレビジョン会議データ管理プログラムPは暗号鍵が転送される毎に転送されるようにすることもできる。さらに、この使用例では暗号鍵としてテレビジョン会議第1参加者121が用意する第1秘密鍵及びテレビジョン会議第2参加者122が生成する第2秘密鍵,テレビジョン会議第3非参加者123が生成する第3秘密鍵・・・が用いられる。 The video conference management program P for encrypting / decrypting the video conference data of the video conference
テレビジョン会議第1参加者121とテレビジョン会議第2参加者122は、各端末装置を利用し、通信ネットワーク2を経由して音声,映像,データ(これらを一括して「テレビジョン会議データ」と呼ぶ)を相互に転送することによりテレビジョン会議を行うが、テレビジョン会議を開始する前にテレビジョン会議第1参加者121は第1秘密鍵Ks1を選択あるいは生成し、第1秘密鍵Ks1をテレビジョン会議を開始する前にテレビジョン会議第2参加者122に供給する。また、第1秘密鍵Ks1を転送されたテレビジョン会議第2参加者122は、テレビジョン会議データ管理プログラムPにより、第1秘密鍵Ks1基づいて第2秘密鍵Ks2を生成し、Ks2= P(Ks1)
生成された第2秘密鍵Ks2を端末装置内に保存しておく。The first
The generated second secret key Ks2 is stored in the terminal device.
テレビジョン会議第1参加者121は、通信ネットワーク2を経由して行われるテレビジョン会議において、テレビジョン会議データM0 を第1秘密鍵Ks1で暗号化し、Cm0ks1=E(Ks1, M0 )
暗号化されたテレビジョン会議データCm0ks1 をテレビジョン会議第2参加者122に転送する。The first
The encrypted video conference data Cm0ks1 is transferred to the video conference
第1秘密鍵Ks1を用いて暗号化されたテレビジョン会議データCm0ks1 を受け取ったテレビジョン会議第2参加者122は、第1秘密鍵Ks1を用いて暗号化テレビジョン会議データCm0ks1 を復号し、M0=D(Ks1, Cm0ks1 )
復号化されたテレビジョン会議データM0 を利用する。また、テレビジョン会議データ管理プログラムPにより、第1秘密鍵Ks1に基づいて第2秘密鍵Ks2が生成される。
Ks2= P(Ks1)
復号されたテレビジョン会議データM0 がテレビジョン会議第2参加者122の端末装置内に保存される場合、データ記録媒体125に複写される場合、通信ネットワーク2を経由してテレビジョン会議第3非参加者に転送される場合には、そのデータMはテレビジョン会議データ管理プログラムPにより第2秘密鍵Ks2を用いて暗号化される。
Cmks2= E(Ks2, M)
暗号化データCmks2は、テレビジョン会議データ名あるいはテレビジョン会議データ番号とともに、記録媒体125に複写され、あるいは、通信ネットワーク2を経由してテレビジョン会議第3非参加者に供給される。The video conference
The decoded video conference data M0 is used. Further, the video conference data management program P generates the second secret key Ks2 based on the first secret key Ks1.
Ks2 = P (Ks1)
When the decoded video conference data M0 is stored in the terminal device of the video conference
Cmks2 = E (Ks2, M)
The encrypted data Cmks2 is copied to the
暗号化データCmks2を入手したテレビジョン会議第3非参加者123は端末装置を利用して、テレビジョン会議データ名あるいはテレビジョン会議データ番号を指定することによりテレビジョン会議データMの2次利用をテレビジョン会議第1参加者121に申し込む。 The TV conference
データMの2次利用申込を受けたテレビジョン会議第1参加者121は、テレビジョン会議データ名あるいはテレビジョン会議データ番号を手がかりとして第1秘密鍵Ks1を探し出し、第1秘密鍵Ks1に基づいて第2秘密鍵Ks2を生成し、Ks2= P(Ks1)生成された第2秘密鍵Ks2をテレビジョン会議第3非参加者123に供給する。 The first
第2秘密鍵Ks2を受け取ったテレビジョン会議第3非参加者123は、暗号化データCmks2をテレビジョン会議データ管理プログラムPを利用して第2秘密鍵Ks2を用いて復号化してM= D(Ks2, Cmks2)
復号化されたテレビジョン会議データMを利用する。テレビジョン会議データMがテレビジョン会議第3非参加者123の端末装置内に保存される場合、記録媒体126に複写される場合、通信ネットワーク2を経由してテレビジョン会議第4非参加者124に転送される場合には、そのテレビジョン会議データMはテレビジョン会議データ管理プログラムPにより第2秘密鍵Ks2を用いて暗号化される。
Cmks2= E(Ks2, M)
なお、さらにテレビジョン会議データ管理プログラムPにより第2秘密鍵Ks2に基づいて第3秘密鍵Ks3が生成され、Ks3= P(Ks2)
テレビジョン会議データ管理プログラムPによりこの生成された第3秘密鍵Ks3を用いてデータMが暗号化されるようにすることもできる。
Cmks3= E(Ks3, M)
(その他)
本実施の形態は、以下の発明(以下、付記という)を開示する。
(付記1) ディジタルデータを利用するユーザ端末装置に付属して用いられるデータ著
作権管理装置であって、前記データ著作権管理装置は中央処理装置,中央処理装置バス,読み出し専用半導体メモリ,電気的消去可能プログラマブルメモリ及び読み出し・書き込みメモリを備え、前記中央処理装置バスには前記中央処理装置,前記読み出し専用半導体メモリ,前記電気電気的消去可能プログラマブルメモリ及び前記読み出し・書き込みメモリが接続されるとともに前記ユーザ端末装置のシステムバスが接続可能とされ、前記読み出し専用半導体メモリにはデータ著作権管理システムプログラム、暗号アルゴリズム及びユーザ情報が格納され、前記電気的消去可能プログラマブルメモリには第2の専用鍵,利用許可鍵,第2の秘密鍵,著作権管理プログラム及び著作権情報が格納され、前記読み出
し・書き込みメモリには動作時に第1の公開鍵,第1の専用鍵,第2の公開鍵及び第1の暗号鍵が転送されるデータ著作権管理装置。
(付記2) ディジタルデータを利用するユーザ端末装置に付属して用いられるデータ著
作権管理装置であって、前記データ著作権管理装置は中央処理装置,中央処理装置バス,読み出し専用半導体メモリ,電気的消去可能プログラマブルメモリ及び読み出し・書き込みメモリを備え、前記中央処理装置バスには前記中央処理装置,前記読み出し専用半導体メモリ,前記電気電気的消去可能プログラマブルメモリ及び前記読み出し・書き込みメモリが接続されるとともに前記ユーザ端末装置のシステムバスが接続可能とされ、前記読み出し専用半導体メモリにはデータ著作権管理システムプログラム,著作権管理プログラム,暗号アルゴリズム及びユーザ情報が格納され、前記電気的消去可能プログラマブルメモリには第2の専用鍵,利用許可鍵,第2の秘密鍵及び著作権情報が格納され、前記読み出し・書き込みメモリには動作時に第1の公開鍵,第1の専用鍵,第2の公開鍵及び第1の暗号鍵が転送されるデータ著作権管理装置。
(付記3) ICに構成された付記1または付記2記載のデータ著作権管理装置。
(付記4) ICカードに構成された付記1または付記2記載のデータ著作権管理装置。
(付記5) PCカードに構成された付記1または付記2記載のデータ著作権管理装置。
(付記6) 挿入ボードに構成された付記1または付記2記載のデータ著作権管理装置。
(付記7) 暗号化されたデジタルデータを復号化処理して表示・加工し、復号化された
データを再暗号化処理して保存・複写・転送を行うユーザ端末装置で用いるデータ著作権管理装置であって、前記データ著作権管理装置はマイクロプロセッサ、前記マイクロプロセッサに接続されるローカルバス、前記ローカルバスに接続される読み出し専用半導体メモリ及び読み出し・書き込みメモリを備えるコンピュータが構成され、前記ユーザ端末装置のマイクロプロセッサと前記データ著作権管理装置のマイクロプロセッサのうち一方が復号化処理を行い他方が再暗号化処理を行うデータ著作権管理装置。
(付記8) 暗号化されたデジタルデータを復号化処理して表示・加工し、復号化された
データを再暗号化処理して保存・複写・転送を行うユーザ端末装置で用いるデータ著作権管理装置であって、前記データ著作権管理装置は第1及び第2のマイクロプロセッサを備え、前記第1のマイクロプロセッサに接続される第1のローカルバス、前記第1のローカルバスに接続される第1の読み出し専用半導体メモリ及び第1の読み出し・書き込みメモリを備える第1のコンピュータ、前記第2のマイクロプロセッサに接続される第2のローカルバス、前記第2のローカルバスに接続される第2の読み出し専用半導体メモリ及び第2の読み出し・書き込みメモリを備える第2のコンピュータが構成され、前記第1のマイクロプロセッサが暗号化されたデータの復号化処理を行い、前記第2のマイクロプロセッサが復号化されたデータの再暗号化処理を行うデータ著作権管理装置。The TV conference
The decoded video conference data M is used. When the video conference data M is stored in the terminal device of the video conference
Cmks2 = E (Ks2, M)
Furthermore, a third secret key Ks3 is generated based on the second secret key Ks2 by the video conference data management program P, and Ks3 = P (Ks2)
The data M can be encrypted by using the generated third secret key Ks3 by the video conference data management program P.
Cmks3 = E (Ks3, M)
(Other)
The present embodiment discloses the following invention (hereinafter referred to as an appendix).
(Supplementary note 1) A data copyright management device used attached to a user terminal device using digital data, wherein the data copyright management device is a central processing unit, a central processing unit bus, a read-only semiconductor memory, an electrical An erasable programmable memory and a read / write memory are provided, and the central processing unit bus is connected to the central processing unit, the read-only semiconductor memory, the electrically and electrically erasable programmable memory, and the read / write memory. A system bus of a user terminal device is connectable, a data copyright management system program, an encryption algorithm, and user information are stored in the read-only semiconductor memory, and a second dedicated key is stored in the electrically erasable programmable memory, Use permission key, second secret key, work A right management program and copyright information are stored, and in the read / write memory, a first copyright key, a first dedicated key, a second public key, and a first encryption key are transferred during operation. Management device.
(Supplementary note 2) A data copyright management device used attached to a user terminal device using digital data, wherein the data copyright management device is a central processing unit, a central processing unit bus, a read-only semiconductor memory, an electrical An erasable programmable memory and a read / write memory are provided, and the central processing unit bus is connected to the central processing unit, the read-only semiconductor memory, the electrically and electrically erasable programmable memory, and the read / write memory. A system bus of a user terminal device can be connected, a data copyright management system program, a copyright management program, an encryption algorithm, and user information are stored in the read-only semiconductor memory, and the electrically erasable programmable memory has a second memory. 2 dedicated keys, permission to use A key, a second secret key, and copyright information are stored, and a first public key, a first dedicated key, a second public key, and a first encryption key are transferred to the read / write memory during operation. Data copyright management device.
(Additional remark 3) The data copyright management apparatus of
(Additional remark 4) The data copyright management apparatus of
(Additional remark 5) The data copyright management apparatus of
(Additional remark 6) The data copyright management apparatus of
(Supplementary note 7) Data copyright management device used in a user terminal device that decrypts encrypted digital data for display / processing, and re-encrypts the decrypted data for storage / copy / transfer The data copyright management apparatus comprises a microprocessor, a local bus connected to the microprocessor, a read-only semiconductor memory connected to the local bus, and a read / write memory. The user terminal A data copyright management apparatus in which one of the microprocessor of the apparatus and the microprocessor of the data copyright management apparatus performs decryption processing and the other performs re-encryption processing.
(Supplementary note 8) Data copyright management device used in a user terminal device that decrypts encrypted digital data for display / processing, and re-encrypts the decrypted data for storage / copy / transfer The data copyright management apparatus includes first and second microprocessors, and a first local bus connected to the first microprocessor and a first local bus connected to the first local bus. A first computer having a read-only semiconductor memory and a first read / write memory, a second local bus connected to the second microprocessor, and a second read connected to the second local bus A second computer having a dedicated semiconductor memory and a second read / write memory is configured, and the first microprocessor is encrypted A data copyright management apparatus that performs a data decryption process and the second microprocessor performs a re-encryption process on the decrypted data.
1 データベース
2 通信ネットワーク
3,10,17 著作権管理センタ
4,5,6,7 ユーザ端末装置
11,12,13 記録媒体
14 放送・通信衛星
15' CD−ROM
16 鍵管理センタ
17,22 マイクロコンピュータバス
18 読み出し専用メモリ
19 書き込み・読み出しメモリ
20 ユーザ端末装置
21,16 マイクロコンピュータ
22 ユーザ端末装置のシステムバス
23 通信装置
24 CD−ROMドライブ
25 フレキシブルディスクドライブ
26 ハードディスクドライブ
30,80,85,90,97,100,101 データ著作権管理装置
31 電気電気的消去可能プログラマブルメモリ
111 顧客
113 小売店
115 メーカ
112 顧客側銀行
114 小売店側銀行
116 メーカ側銀行
117,118 ICカード
121,122 テレビジョン会議参加者
123,124 テレビジョン会議非参加者1
16
| Application Number | Priority Date | Filing Date | Title |
|---|---|---|---|
| JP2004149423AJP4099461B2 (en) | 1994-10-27 | 2004-05-19 | Data copyright management device |
| Application Number | Priority Date | Filing Date | Title |
|---|---|---|---|
| JP26420094 | 1994-10-27 | ||
| JP29983594 | 1994-12-02 | ||
| JP2004149423AJP4099461B2 (en) | 1994-10-27 | 2004-05-19 | Data copyright management device |
| Application Number | Title | Priority Date | Filing Date |
|---|---|---|---|
| JP7280984ADivisionJPH08287014A (en) | 1994-10-27 | 1995-10-27 | Data copyright management device |
| Application Number | Title | Priority Date | Filing Date |
|---|---|---|---|
| JP2007260256ADivisionJP2008090849A (en) | 1994-10-27 | 2007-10-03 | Data copyright management apparatus |
| Publication Number | Publication Date |
|---|---|
| JP2004303265A JP2004303265A (en) | 2004-10-28 |
| JP4099461B2true JP4099461B2 (en) | 2008-06-11 |
| Application Number | Title | Priority Date | Filing Date |
|---|---|---|---|
| JP2004149423AExpired - LifetimeJP4099461B2 (en) | 1994-10-27 | 2004-05-19 | Data copyright management device |
| Country | Link |
|---|---|
| JP (1) | JP4099461B2 (en) |
| Publication number | Priority date | Publication date | Assignee | Title |
|---|---|---|---|---|
| CN1227908C (en) | 2000-12-18 | 2005-11-16 | 松下电器产业株式会社 | Encryption transmission system |
| Publication number | Publication date |
|---|---|
| JP2004303265A (en) | 2004-10-28 |
| Publication | Publication Date | Title |
|---|---|---|
| JP4944256B2 (en) | Data copyright management device | |
| US6789197B1 (en) | Apparatus for data copyright management system | |
| JP4996666B2 (en) | Digital cash management system | |
| EP0709760B1 (en) | Data copyright management system | |
| US20070038575A1 (en) | Data copyright management system | |
| US6449717B1 (en) | Data copyright management system | |
| JP3625983B2 (en) | Data management system | |
| EP1607825A2 (en) | Digital content management system and apparatus | |
| JPH08185448A (en) | Data copyright management system and data copyright management device | |
| JP4164265B2 (en) | Copyright protection system, digital information processing apparatus, and copyright protection method | |
| JP4431306B2 (en) | Terminal device, video conference data management method, and program | |
| JP4099461B2 (en) | Data copyright management device | |
| JP4030486B2 (en) | Terminal device, digital cash management system | |
| JP2008090849A (en) | Data copyright management apparatus | |
| JP4512312B2 (en) | Terminal device and program | |
| JP2006325246A (en) | Digital cache management system | |
| JP4531449B2 (en) | Data management system | |
| JP4845772B2 (en) | Data management system | |
| JP2003067252A (en) | Information storage display system and information storage display method |
| Date | Code | Title | Description |
|---|---|---|---|
| RD04 | Notification of resignation of power of attorney | Free format text:JAPANESE INTERMEDIATE CODE: A7424 Effective date:20050414 | |
| A711 | Notification of change in applicant | Free format text:JAPANESE INTERMEDIATE CODE: A711 Effective date:20050802 | |
| A521 | Request for written amendment filed | Free format text:JAPANESE INTERMEDIATE CODE: A523 Effective date:20051018 | |
| A131 | Notification of reasons for refusal | Free format text:JAPANESE INTERMEDIATE CODE: A131 Effective date:20070612 | |
| A601 | Written request for extension of time | Free format text:JAPANESE INTERMEDIATE CODE: A601 Effective date:20070910 | |
| A602 | Written permission of extension of time | Free format text:JAPANESE INTERMEDIATE CODE: A602 Effective date:20070913 | |
| A521 | Request for written amendment filed | Free format text:JAPANESE INTERMEDIATE CODE: A523 Effective date:20071003 | |
| A131 | Notification of reasons for refusal | Free format text:JAPANESE INTERMEDIATE CODE: A131 Effective date:20071030 | |
| A521 | Request for written amendment filed | Free format text:JAPANESE INTERMEDIATE CODE: A523 Effective date:20080128 | |
| TRDD | Decision of grant or rejection written | ||
| A01 | Written decision to grant a patent or to grant a registration (utility model) | Free format text:JAPANESE INTERMEDIATE CODE: A01 Effective date:20080219 | |
| A61 | First payment of annual fees (during grant procedure) | Free format text:JAPANESE INTERMEDIATE CODE: A61 Effective date:20080317 | |
| R150 | Certificate of patent or registration of utility model | Free format text:JAPANESE INTERMEDIATE CODE: R150 | |
| FPAY | Renewal fee payment (event date is renewal date of database) | Free format text:PAYMENT UNTIL: 20110321 Year of fee payment:3 | |
| FPAY | Renewal fee payment (event date is renewal date of database) | Free format text:PAYMENT UNTIL: 20110321 Year of fee payment:3 | |
| RD04 | Notification of resignation of power of attorney | Free format text:JAPANESE INTERMEDIATE CODE: R3D04 | |
| FPAY | Renewal fee payment (event date is renewal date of database) | Free format text:PAYMENT UNTIL: 20110321 Year of fee payment:3 | |
| RD02 | Notification of acceptance of power of attorney | Free format text:JAPANESE INTERMEDIATE CODE: R3D02 | |
| FPAY | Renewal fee payment (event date is renewal date of database) | Free format text:PAYMENT UNTIL: 20130321 Year of fee payment:5 | |
| FPAY | Renewal fee payment (event date is renewal date of database) | Free format text:PAYMENT UNTIL: 20130321 Year of fee payment:5 | |
| FPAY | Renewal fee payment (event date is renewal date of database) | Free format text:PAYMENT UNTIL: 20140321 Year of fee payment:6 | |
| R250 | Receipt of annual fees | Free format text:JAPANESE INTERMEDIATE CODE: R250 | |
| R250 | Receipt of annual fees | Free format text:JAPANESE INTERMEDIATE CODE: R250 | |
| EXPY | Cancellation because of completion of term |