














































本発明は、インク収納容器、該容器の製造方法およびプリンタシステムに関する。詳しくは、本発明は、インクジェット記録で用いられるインクタンクのインク残量など、インク収納容器の状態に関する報知をLEDなどの発光手段によって行う構成で用いられるインク収納容器、該容器の製造方法およびプリンタシステムに関するものである。The present invention relates to anink container, a method for manufacturing the container, and a printer system. More specifically, the present invention relates to anink storage container used in a configuration in which notification regarding the state of theink storage container, such as the remaining amount of ink in an ink tank used in ink jet recording, is performed by a light emitting means such as an LED, a method for manufacturing the container, and a printer It is about the system.
  インクジェット記録ヘッドを用いて記録媒体へと液体であるインクを付与することにより記録媒体上に画像を形成するインクジェット記録装置は、
・複写機、ファクシミリ、電子タイプライタなどの情報処理装置の出力手段として、
・あるいはワードプロセッサ、ワークステーション、パーソナルないしはホストコンピュータ等の出力端末をなすプリンタとして、
・さらには光ディスク装置、ビデオ装置、デジタルカメラ等に接続されるハンディないしはポータブルプリンタとして、
広く利用されている。An inkjet recording apparatus that forms an image on a recording medium by applying an ink that is a liquid to the recording medium using an inkjet recording head,
・ As an output means for information processing devices such as copiers, facsimiles, and electronic typewriters,
 -Or as a printer that forms an output terminal such as a word processor, workstation, personal or host computer,
・ Furthermore, as a handy or portable printer connected to an optical disk device, video device, digital camera, etc.
 Widely used.
かかるインクジェット記録装置に適用される記録ヘッドへのインクの供給方式としては次のようなものがある。すなわち、キャリッジ等に搭載されて往復移動(主走査)する記録ヘッドに一体不可分にまたは着脱可能にインクタンクが取付けられ、このインクタンクからインクを記録ヘッドに直接供給するようにしたものがある。インクタンクと記録ヘッドとが一体不可分に構成されたものでも、またインクタンクと記録ヘッドとが着脱可能に構成されたものでも、各部の位置決めは、記録品位に係わる重要な事項である。各部の位置決めとは、記録ヘッドとインクタンクとの間の位置決め、あるいはこれらが一体となった記録ヘッドユニットと記録装置本体側の部材(例えばシリアル方式の記録装置にあって、主走査を行うためのキャリッジ)との位置決めである。また特に、パーソナルユースのインクジェット記録装置では、装置の大型化をもたらすことなく、より簡単な操作あるいはより簡単な機構で着脱可能とすることが重要である。 As a method of supplying ink to a recording head applied to such an ink jet recording apparatus, there are the following methods. In other words, an ink tank is attached to a recording head mounted on a carriage or the like and reciprocally moved (main scanning) so as to be integral or detachable, and ink is directly supplied from the ink tank to the recording head. Regardless of whether the ink tank and the recording head are inseparably configured or the ink tank and the recording head are detachable, the positioning of each part is an important matter related to the recording quality. Positioning of each part means positioning between the recording head and the ink tank, or a recording head unit in which these are integrated and a member on the recording apparatus main body side (for example, in a serial type recording apparatus, in order to perform main scanning. Positioning). In particular, in a personal use ink jet recording apparatus, it is important that the apparatus can be attached and detached with a simpler operation or a simpler mechanism without increasing the size of the apparatus.
  そこで本出願人は、特許文献1において、これらに応えるインクタンクおよびその取付け部の構成を提案している。ここでは、インクタンクの一端面に抜け止め爪を形成し、これと対向する他端面の下端部にはラッチ爪が形成されたラッチレバーを弾性的に支持して設ける構成が開示されている。そして、インクタンクが取付けられるホルダの一端壁内面に上記抜け止め爪が嵌合する抜け止め穴を形成し、他端壁内面に上記ラッチ爪が係合する係合穴を形成した構成が開示されている。そして装着にあたっては、インクタンク一端側の抜け止め爪をホルダの抜け止め穴に嵌合させてからインクタンクの上記他端側を所定の装着位置に押し込むことで、インクタンクのラッチ爪をホルダの係合穴に係合させる動作が行われる。これらの嵌合および係合によってインクタンクの装着位置からの離脱が阻止される。  In view of this, the present applicant has proposed a configuration of an ink tank and a mounting portion thereof in response to these in
一方、上記のように着脱可能な構成のインクタンクには、それ自らに係る所定の情報(収納しているインクの色など)を電気的に提示可能な手段を設けておき、記録装置ではインクタンク装着時にその情報を読み出して動作制御を行うようにした構成が知られている。かかる構成では、インクタンク装着時にインクタンクと記録ヘッドとのインク連通に加え、情報の授受を行うための相互の接続も行われなければならない。 On the other hand, the detachable ink tank as described above is provided with means capable of electrically presenting predetermined information (such as the color of the stored ink) relating to the ink tank. A configuration is known in which operation control is performed by reading the information when the tank is mounted. In such a configuration, in addition to ink communication between the ink tank and the recording head when the ink tank is mounted, mutual connection for exchanging information must also be performed.
そこで、インクタンク側およびホルダ側の電気接点を上記一端面側に設け、インクタンク装着時に両者が接触し、抜け止め爪とラッチレバーに設けられたラッチ爪と係合によってその接触状態が保持されるようにした構成がある(特許文献2参照)。この構成は、接点の接続がインクタンクの装着動作に伴って行われるため、接点の接続のための特別な操作や機構が不要となるので、操作性を向上する点で有利である。 Therefore, electrical contacts on the ink tank side and the holder side are provided on the one end surface side, and both contact when the ink tank is mounted. There is a configuration in which it is configured (see Patent Document 2). This configuration is advantageous in that the operability is improved because the connection of the contacts is performed in accordance with the mounting operation of the ink tank, so that a special operation or mechanism for connecting the contacts is unnecessary.
一方で、近年デジタルカメラ等の普及に伴って、パーソナルコンピュータ(PC)を介さずにデジタルカメラと記録装置としてのプリンタとを直接接続して印刷する用途(ノンPC記録。特にデジタルカメラを直接接続する形態のものは「カメラダイレクト印刷」と呼ばれることもある。)が増えつつある。さらに、デジタルカメラに着脱可能に用いられる情報記憶媒体であるカードタイプの情報記憶媒体を直接プリンタに装着してデータ転送を行い、印刷を行う形態(ノンPC記録。特に「カードダイレクト印刷」とも呼ばれる。)も増えつつある。また、プリンタとスキャナとを一体化してPCを介さない複写機能を持つとともに、さらには上記のダイレクト印刷機能をも併せもつ、所謂マルチファンクションプリンタも急速に市場に普及してきている。 On the other hand, in recent years, with the spread of digital cameras and the like, applications in which a digital camera and a printer as a recording device are directly connected without using a personal computer (PC) (non-PC recording, especially digital cameras are directly connected). Those that do this are sometimes called "camera direct printing"). Further, a card type information storage medium, which is an information storage medium detachably used in a digital camera, is directly attached to a printer for data transfer and printing (non-PC recording. Particularly called “card direct printing”) .) Is also increasing. In addition, so-called multi-function printers having a copying function that integrates a printer and a scanner without using a PC and also have the direct printing function described above are rapidly spreading in the market.
インクジェットプリンタでは、例えばインクタンクの装着状態やインク残量など、個々のインクタンクの状態に関する情報の把握をユーザが要望する場合や、その情報をユーザに認識させておくことが望ましい場合がある。例えば、ユーザが、インクタンク内のインク残量が少ないことが分かれば、記録を始める前に予め新しいインクタンクに交換しておくことができる。これにより、記録の途中でインク量不足のために記録が実質的にできなくなり、記録媒体が無駄になる事態を未然に防止できるからである。 In an inkjet printer, for example, the user may want to know information regarding the state of each ink tank, such as the ink tank mounting state and the ink remaining amount, or it may be desirable for the user to recognize the information. For example, if the user knows that the remaining amount of ink in the ink tank is low, it can be replaced with a new ink tank in advance before starting recording. This is because it is possible to prevent a situation in which the recording medium becomes useless due to the ink amount being insufficient during the recording, and the recording medium is wasted.
従来は、そのような情報をプリンタに接続されたPCに転送し、PCのモニタに表示することによりユーザへの報知を行っていた。これに対し、ノンPC記録を行う場合は、プリンタ本体にディスプレイを設け、それらの情報を表示することが考えられる。しかしながら、ディスプレイを設けることで、コストアップやプリンタの大型化につながるだけでなく、プリンタのデザイン等にも影響を及ぼすことになるので、ディスプレイを設けることは必ずしも好ましいことではない。また、ディスプレイを設けたとしても、ユーザがこれを視認して一目瞭然にインクタンクの状態を把握できるとは限らない。 Conventionally, such information is transferred to a PC connected to a printer and displayed on a PC monitor to notify the user. On the other hand, when performing non-PC recording, it is conceivable that a display is provided in the printer body to display such information. However, providing a display not only increases costs and increases the size of the printer, but also affects the design of the printer and so on, so providing a display is not always preferable. Moreover, even if a display is provided, the user may not be able to grasp the state of the ink tank clearly at a glance by visually recognizing it.
  従来、インクタンクの状態をユーザに報知する構成として、LEDなどの表示素子を用いたものが知られている。特許文献3には、記録ヘッドと一体のインクタンクに2つのLEDが設けられ、これらが2段階のインク残量に応じてそれぞれ点灯することが記載されている。より具体的には、インクジェットヘッドとインクタンクとを一体化したインクカートリッジに、
・インクジェットヘッドの通電回数をカウントする手段と、
・カウント値を記憶する手段と、
・カウント値の累積値がニアエンド判定値に達すると点灯するニアエンド表示用LEDと、
・インクエンド判定値に達すると点灯するインクエンドLEDと
が採用されており、インクタンクの状態をユーザに報知するようにしている。Conventionally, a configuration using a display element such as an LED is known as a configuration for notifying the user of the state of the ink tank.
 A means for counting the number of energizations of the inkjet head;
 -Means for storing the count value;
 A near-end display LED that lights when the cumulative count value reaches the near-end determination value;
 An ink end LED that is turned on when the ink end determination value is reached is employed to notify the user of the state of the ink tank.
  特許文献4にも同様に、インクタンクまたはこれ搭載するキャリッジに、インク残量に応じて点灯するランプを設けることが記載されている。また、同文献では、記録装置で用いる4つのインクタンクそれぞれに上記のランプを設けることも開示されている。  Similarly,
  一方、さらなる高画質化の要求から従来の4色(ブラック、イエロー、マゼンタ、シアン)インクに、濃度の薄い淡色マゼンタ、淡色シアンといったインクが使われるようになってきている。さらには、レッド、グリーン、ブルーといったいわゆる特色インクの使用も提案されてきている。このような場合、インクジェットプリンタに対しては7〜9個といったインクタンクを個別に搭載することになる。その際に、間違った装着位置へのインクタンクの搭載を防止する機構が必要となってくる。上記特許文献2には、インクタンクがキャリッジに搭載される際の、キャリッジの搭載部とインクタンク相互の係合の形状をインクタンクごとに異ならせ、これにより、インクタンクが誤った位置に装着されることを防止している構成が開示されている。  On the other hand, in light of the demand for higher image quality, light inks such as light magenta and light cyan having a low density have been used for the conventional four colors (black, yellow, magenta, and cyan). Furthermore, the use of so-called special color inks such as red, green and blue has been proposed. In such a case, 7 to 9 ink tanks are individually mounted on the ink jet printer. At that time, a mechanism for preventing the ink tank from being mounted at the wrong mounting position is required. In the above-mentioned
  しかしながら、上記特許文献2に開示された構成においては、ラッチレバーが作用する弾性力とホルダ側の接点の弾性力の大小関係によって、例えばラッチレバーの弾性力よりもコネクタ接点の接触圧の方が大きい場合はラッチレバーの変形が大きくなる。すると、押圧方向のインクタンクの位置決めが不安定となり、インク連通部分の位置ずれが発生し、インク供給不良やインク漏洩を引き起こす恐れがある。また、接触圧も不安定となり、電気的な接続不良を引き起こす恐れもある。  However, in the configuration disclosed in
  そこで、特許文献5に開示された構成に基づいて、電気接続部を底面側に設けることが考えられる。この文献では、インクジェット記録装置のキャリッジに着脱可能なインクタンク一体型記録ヘッドにあって、記録装置本体から記録ヘッドに記録信号を伝達するための電気的接点を、記録ヘッド底面およびこれに対応したキャリッジ側の取付け部の部位に設けている。そして、記録ヘッドのキャリッジへの装着動作に伴って電気的接点同士が接触し、両者が相対的に摺動しながらインクタンクが最終的な装着位置に移動(回動)することで、良好な電気的接続状態が得られるようにした構成が開示されている。すなわち、特許文献5に開示された接点位置および接続の態様をインクタンク情報を電気的に授受するための部分の構成に適用することが考えられる。  Then, based on the structure disclosed by
  しかし電気接点は金属など比較的剛性の高い導電部材であり、接続信頼性の確保の観点で過大な力をもってそれらを当接・摺動させることは損傷防止や耐久性の観点から好ましいことではない。そして、適切な接触圧をもって電気接点同士を接触させることをも考慮すれば、特許文献5に開示された技術をそのまま適用することはできない。また、特にインクタンクが記録ヘッドと着脱可能である場合には、インクタンク着脱時においてインクタンク側のインク供給口に装置側の接点が接触して濡れてしまう恐れがある。また、装着時においてインク供給用接続部分から万一のインク漏洩が生じた場合、接点が底面に配置されている構成であるため、インク供給用接続部分から漏洩したインクが電気接点部まで至る恐れが比較的高いといえる。  However, the electrical contact is a relatively rigid conductive member such as metal, and it is not preferable from the viewpoint of damage prevention and durability to contact and slide them with an excessive force from the viewpoint of ensuring connection reliability. . And if it considers also making electrical contacts contact with an appropriate contact pressure, the technique disclosed by
  一方、上述の特許文献3には、プリンタ本体と電気的な通信を行うためのプリント回路基板(PC板)に表示用のLEDが取付けられたインクカートリッジの構成が記載されている。しかしかかる構成では、ユーザが視認し易い位置へLEDを配置するためには、PC板も同時に配置する必要がある一方、PC板にはプリンタ本体と電気的な通信を行う電気的接続部も設ける必要があるので、これらの配置の自由度が制約されてしまう問題がある。電気的接続部分の好ましい配設位置とLEDの好ましい配設位置とをカバーするために大面積のPC板を設けることも考えられるが、その分コストが上昇してしまうことになる。また、特許文献1に記載の構成を各色について独立した複数のインクタンクを搭載可能なプリンタに適用すると、プリンタに対するインクタンクの装着構成が制限される。すると、インクタンクの実質的な容積を小さくしなければならないか、あるいはプリンタを大型化する必要が生じる。  On the other hand,
  一方、特許文献4に記載のインクタンクでは、インク警告ランプをユーザに認識させ易い場所に設ける旨の開示はあるが、インク警告ランプへ電力や信号を供給するための好ましい構成については開示されていない。その図6から図8からは、インクジェット記録装置とインク警告ランプとを結ぶ導線が設けられることが示唆され得る。しかし、インク警告ランプの数量に見合った数の導線が必要となり、配線が錯綜しかつコストが高くなるだけでなく、配線やその接続部分によってランプの視認性を阻害する恐れがある。さらに、特許文献4の図6には、インクタンクを搭載するキャリッジ上におけるインクタンクを固定するために操作される可動部材である固定レバーにインク警告ランプが設けられ、図7にはインクタンク自体にインク警告ランプが設けられた構成が開示されている。しかし特許文献4には、上記のごとくインク警告ランプへの電力供給方法の具体例に関しては一切開示されていない。  On the other hand, in the ink tank described in
これらの問題は、近年のプリンタの小型化や多機能化に伴ない、ユーザの目視に供し得る表示位置もインクタンク着脱時の操作部ないしはその近傍に限定することが好ましいことから一層顕著となる。また、特にプリンタ上部にスキャナを搭載したようなマルチファンクションプリンタでは表示位置がより限定されるため、視認性と操作性との両立がさらに要望されることになる。 These problems become more conspicuous because it is preferable to limit the display position that can be visually observed by the user to the operation unit or its vicinity when the ink tank is attached / detached with the recent miniaturization and multi-function of the printer. . In particular, since the display position is more limited in a multifunction printer in which a scanner is mounted on the upper part of the printer, there is a further demand for both visibility and operability.
また、表示はユーザの目視に供されるだけでなく、装置本体側が行う所要の制御のためにも供され得るものであり、本発明者らはこれに関連して次のような課題も認識した。 In addition, the display can be used not only for visual observation by the user but also for necessary control performed by the apparatus main body, and the present inventors also recognize the following problems in relation to this. did.
  上記特許文献4に記載されているようにインクタンクにランプが設けられていても、インク残量が少ないとして認識しているインクタンクを本体側制御部が特定する場合、かかる認識に基づくランプの点灯などのために信号を送るべき対象を特定しなければならない。例えばインクタンクが間違った位置に装着されていた場合には、インクがなくなっていないインクタンクについてインク残量なしと間違って表示する可能性がある。従って、ランプ等表示器の発光制御では、その前提として、搭載されるインクタンクの搭載位置を特定しておくことが必要となる。  Even if the ink tank is provided with a lamp as described in
  インクタンクの搭載位置を特定する構成としては、特許文献2のように、搭載部とインクタンクが係合する相互の形状を搭載位置ごとに異ならせるものがある。しかしながら、この場合は特に、インクの色ないし種類ごとに異なる形状のインクタンクを製造する必要があり、上述したようにインクの色数ないしはインクタンクの個数が増大する傾向にある状況下、製造効率やコストの点で不利となる。  As a configuration for specifying the mounting position of the ink tank, there is a configuration in which the mutual shape in which the mounting portion and the ink tank are engaged is different for each mounting position, as in
そこで、複数のインクタンクに対して個別にLEDなどの発光制御を行い、プリンタ内に固定された受光器の出力状態に基づいてインクタンクが搭載されている位置を特定するように構成できる。このような構成では、インクタンクのLEDは、ユーザに状態を報知するために発光する機能と、インクタンクの搭載位置を特定するために受光器に向けて発光する機能との、2つの機能を有することになる。 Therefore, it is possible to individually control the light emission of LEDs or the like for a plurality of ink tanks, and to specify the position where the ink tank is mounted based on the output state of the light receiver fixed in the printer. In such a configuration, the LED of the ink tank has two functions: a function of emitting light to notify the user of the state, and a function of emitting light toward the light receiver to specify the mounting position of the ink tank. Will have.
ここで、ユーザはプリンタの配置等によってプリンタ内のインクタンクの表示部を様々な方向から見る可能性があるため、なるべく広範囲に光を照射させることが望ましい。 Here, since the user may view the display section of the ink tank in the printer from various directions depending on the arrangement of the printer, it is desirable to irradiate light as widely as possible.
  よって上記のごとく、
(イ)取付け部への装着が簡易なインクタンクである点、
(ロ)インクから電気接続部を保護しつつ、プリンタ本体側の取付け部との電気接続を確実に行わせる点、
(ハ)さらにはユーザおよびプリンタの受光器に対して確実に発光部からの光を伝達させる点、
といった相反することが要求される。So, as above,
 (A) The ink tank is easy to install on the mounting part.
 (B) The point of ensuring the electrical connection with the mounting portion on the printer body side while protecting the electrical connection portion from the ink,
 (C) Furthermore, the light from the light emitting unit is reliably transmitted to the user and the receiver of the printer,
 It is required to conflict.
本発明は以上に鑑みてなされたもので、取付け部への装着機構および装着操作が簡単で、かつ確実な位置決め状態および電気接続の確保できるとともに、インクタンクに設けられた発光器の光をユーザおよびプリンタの受光器に確実に伝達させることを目的とする。 The present invention has been made in view of the above, and the mounting mechanism and mounting operation to the mounting portion are simple, and a reliable positioning state and electrical connection can be ensured, and the light emitted from the light emitter provided in the ink tank can be transmitted to the user. And it aims at making it surely transmit to the light receiver of a printer.
  そのために、本発明は、底面、上面、正面、背面およびこれらの面を繋ぐ2つの側面が主要面として構成された筐体と、
  該筐体の底面に設けられた供給口と、
少なくともインクに係る個体情報を記憶した情報記憶媒体と、
該情報記憶媒体の接点であって、インクジェット記録装置の走査キャリッジ上に搭載されたホルダに備えられたコネクタと接続する接点が設けられた基板と、
を有して構成され、
前記背面側を前記ホルダに挿入して、前記背面と前記ホルダとの当接部を回転中心とした装着完了位置に向けた押し下げによる回転動作を利用して前記ホルダへの装着がなされるインク収納容器において、
前記筐体に対して取り外し可能に設けられた部材と、
前記基板に配された発光部と、
  該発光部の光を外部に投光する表示部と、
をさらに備え、
前記回転動作が利用されてなされる前記ホルダへの前記インク収納容器の装着完了直前に前記接点が前記コネクタと接触し始め、前記ホルダへの前記インク収納容器の装着が完了した後に前記ホルダに備えられたコネクタと前記基板に配された接点との接触圧が発生するようにするために、前記筐体に対して取り付けられた前記部材の、前記筐体の前記底面と前記正面との稜部に対応する部位の外側の傾斜部に前記基板が配置されているとともに、
  前記インク収納容器の前記正面側でかつ前記上面の付近に前記表示部が配されていることを特徴とする。For this purpose, the present invention provides a bottom surface, a top surface, a front surface, a back surface, and a housing in which two side surfaces connecting these surfaces are configured as main surfaces,
 A supply port provided on the bottom surface of the housing;
An information storage medium storing at least individual information related to ink;
A substrate provided with a contact to be connected to a connector provided on a holder mounted on a scanning carriage of the ink jet recording apparatus, which is a contact of the information storage medium;
 Comprising
Ink storage in which theback side is inserted into the holder and mounted on the holder by using a rotation operation by pressing down toward the mounting completion position with the contact portion between the back surface and the holder as a rotation center In the container,
A member detachably provided to the housing;
A light emitting portiondisposed on the substrate ;
 A display unit for projecting light from the light emitting unit to the outside;
Further comprising
The contact begins to come into contact with the connector immediately before the mounting of the ink storage container to the holder, which is performed using the rotating operation, and the holder is prepared after the mounting of the ink storage container to the holder is completed. In order to generate a contact pressure between the formed connector and the contact disposed on the substrate, a ridge between the bottom surface of the housing and the front surface of the member attached to the housing And the substrate is disposed on the inclined portion outside the portion corresponding to
 Thedisplay unit is arranged on the front side of the ink container and in the vicinity of the upper surface.
  さらに、本発明は、上記インク収納容器を用意する工程と、
  前記液体収納容器の筐体内部にインクを注入する工程と、
を具えたインク収納容器の製造方法に存する。Furthermore, the present invention provides a step of preparing theink storage container,
 Injecting ink into the casing of the liquid container;
 In the manufacturing method of theink storage container provided.
  加えて、本発明は、記録ヘッドを搭載して走査される走査キャリッジ上に配されて複数のインクタンクを搭載保持するホルダと、該ホルダに備えられ前記インクタンクが備える接点と電気的に結合可能なホルダ側接点と、前記ホルダ側接点と電気的に接続し前記インクタンクが備える発光部の発光を制御するのに利用される制御回路と、前記ホルダに取り付けられた前記インクタンクの位置を検出する位置検出手段と、を有するプリンタと、
  該プリンタに対して着脱され、底面、上面、正面、背面およびこれらの面を繋ぐ2つの側面が主要面として構成された筐体と、該筐体の底面に設けられた供給口と、少なくともインクに係る個体情報を記憶した情報記憶媒体と、該情報記憶媒体の接点であって、インクジェット記録装置の走査キャリッジ上に搭載されたホルダに備えられたコネクタと接続する接点が設けられた基板と、を有して構成され、前記背面側を前記ホルダに挿入して、前記背面と前記ホルダとの当接部を回転中心とした装着完了位置に向けた押し下げによる回転動作を利用して前記ホルダへの装着がなされるインクタンクと、
を備えたプリンタシステムにおいて、
  前記インクタンクは、前記筐体に対して取り外し可能に設けられた部材と、
前記基板に配された発光部と、
  該発光部の光を外部に投光する表示部と、
を備えており、
前記回転動作が利用されてなされる前記ホルダへの前記インク収納容器の装着完了直前に前記接点が前記コネクタと接触し始め、前記ホルダへの前記インク収納容器の装着が完了した後に前記ホルダに備えられたコネクタと前記基板に配された接点との接触圧が発生するようにするために、前記筐体に対して取り付けられた前記部材の、前記筐体の前記底面と前記正面との稜部に対応する部位の外側の傾斜部に前記基板が配置されているとともに、
  前記インク収納容器の前記正面側でかつ前記上面の付近に前記表示部が配されていることを特徴とする。In addition, the present invention is electrically coupled to a holder that is mounted on a scanning carriage that is scanned by mounting a recording head and that holds a plurality of ink tanks, and a contact that is provided in the holder and provided in the ink tank. Possible holder side contacts, a control circuit that is electrically connected to the holder side contacts and used to control the light emission of the light emitting unit provided in the ink tank, and the position of the ink tank attached to the holder A printer having position detecting means for detecting;
 A casing that is attached to and detached from the printer and has a bottom surface, a top surface, a front surface, a back surface, and two side surfaces that connect these surfaces as main surfaces, a supply port provided on the bottom surface of the housing, andat least ink An information storage medium storing the individual information according to the above, and a substrate provided with a contact which is a contact of the information storage medium and which is connected to a connector provided on a holder mounted on a scanning carriage of the ink jet recording apparatus, Theback side is inserted into the holder, and the holder is moved to the holder by using a rotation operation toward a mounting completion position with the contact portion between the back side and the holder as a rotation center. An ink tank to which
 In a printer system equipped with
 The ink tankis a member that is detachable from the housing;
A light emitting portiondisposed on the substrate ;
 A display unit for projecting light from the light emitting unit to the outside;
With
The contact begins to come into contact with the connector immediately before the mounting of the ink storage container to the holder, which is performed using the rotating operation, and the holder is prepared after the mounting of the ink storage container to the holder is completed. In order to generate a contact pressure between the formed connector and the contact disposed on the substrate, a ridge between the bottom surface of the housing and the front surface of the member attached to the housing And the substrate is disposed on the inclined portion outside the portion corresponding to
 Thedisplay unit is arranged on the front side of the ink container and in the vicinity of the upper surface.
以上のように本発明によれば、インク供給口と、接点を有する情報記憶媒体とを具えたインク収納容器にあって、取付け部への装着機構および装着操作が簡単でかつ確実な位置決め状態が確保できる。またこれととともに、装着力も小さく、さらにインク供給口および情報保持部の接点の良好な接続状態をも確保できるようになる。また、本発明は、漏洩インクからの保護にも適した構成も提供できる。As described above, according to the present invention, anink storage container having anink supply port and an information storage medium having a contact has a simple and reliable positioning state with a mounting mechanism and a mounting operation to the mounting portion. It can be secured. At the same time, the mounting force is small, and a good connection between theink supply port and the contact point of the information holding unit can be secured. The present invention can also provide a configuration suitable for protection from leakedink .
さらに本発明の構成によれば上記効果に加えて、電気接続部と発光源からの表示部とを分離してインク収納容器に設けることで、接点の良好な接続を確保した上で表示部を最適な位置へ配置する構成を廉価に得ることが可能となる。それにより、ユーザ視認性が良好な位置への表示部の配置の自由度を確保することができ、ユーザはその発光状態を容易に目視することにより、インク収納容器に係る所定の情報を認識することが可能となる。Furthermore, according to the configuration of the present invention, in addition to the above effect, the electrical connection portion and the display portion from the light emitting source are separated and provided in theink storage container, so that the display portion is secured after ensuring a good contact. It is possible to obtain a configuration that is arranged at an optimal position at a low cost. Thereby, the degree of freedom of arrangement of the display unit at a position where the user visibility is good can be ensured, and the user can easily recognize the light emission state to recognize predetermined information related to theink storage container. It becomes possible.
以下、図面を参照して本発明の実施形態を詳細に説明する。 Hereinafter, embodiments of the present invention will be described in detail with reference to the drawings.
1.第1の実施形態
1.1  第1の実施形態の説明(図1〜図3)
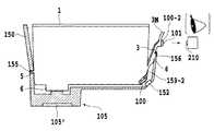
  図1(a)、(b)および(c)は、それぞれ、本発明の第1の実施形態に係る液体収納容器であるインクタンクの側面図、正面図および底面図である。なお、以下の説明において、インクタンクの正面とは、ユーザに向き合うことでその操作(着脱操作等)およびユーザへの情報提供(後述する表示部からの光の出射)を可能とする面を言う。そして、インクタンク1は、底面、上面、正面、背面およびこれらの面を繋ぐ2つの側面を主要面として構成された筐体を有している。1. First embodiment
1.1 Description of the first embodiment (FIGS. 1 to 3)
 FIGS. 1A, 1B, and 1C are a side view, a front view, and a bottom view, respectively, of an ink tank that is a liquid storage container according to the first embodiment of the present invention. In the following description, the front surface of the ink tank refers to a surface that enables operations (such as attachment / detachment operations) and provision of information to the user (emission of light from a display unit described later) by facing the user. . The
  図1において、本実施形態のインクタンク1は正面側の下部に支持された支持部材3を有している。支持部材3はインクタンク1の外装と一体に、樹脂により形成されており、後述するタンクホルダへの装着操作等を行う際に被支持部を中心に変位可能な構成である。インクタンク1の背面側および正面側には、タンクホルダ側の係止部にそれぞれ係合可能な第1係合部5および第2係合部6(本例では支持部材3に一体化されている)が設けられる。そして、これらの係合によってインクタンク1のタンクホルダへの装着状態すなわち搭載保持状態が確保される。この装着時の動作については図12(a)〜(d)により後述する。  In FIG. 1, an
  インクタンク1の底面には、タンクホルダへの装着時に、後述する記録ヘッドのインク導入口と結合してインク供給を行うためのインク供給口7が設けられている。この底面と正面とが交わる部分にあって、支持部材3の支持部分の底面側には、基体が設けられている。基体の形状としてはチップ形状であっても、板状であっても良いが、以下では基板100として説明する。  An
  図2および図3を用い、本実施形態の主要部の構成および機能について説明する。ここで、図2(a)および(b)は本発明の第1の実施形態に係るインクタンクに配置される導光部等の機能の概略を説明するための模式的側面図およびその要部拡大図である。また、図3(a)および(b)は、それぞれ、第1の実施形態に係るインクタンクに取付けられる制御基板100の一例を示す側面図および正面図である。  The configuration and function of the main part of the present embodiment will be described with reference to FIGS. Here, FIGS. 2A and 2B are schematic side views for explaining the outline of the functions of the light guide unit and the like arranged in the ink tank according to the first embodiment of the present invention and the main parts thereof. It is an enlarged view. FIGS. 3A and 3B are a side view and a front view, respectively, showing an example of the
  まず、図2(a)に示すように、記録ヘッド105’を備えた記録ヘッドユニット105に一体化されているホルダ150の第1係止部155および第2係止部156に対し、インクタンク1の第1係合部5および第2係合部6がそれぞれ係合する。これらの係合によって、インクタンク1がホルダ150に装着され、固定される。またこのとき、ホルダ150に設けられたホルダ側接点(以下コネクタと称す)152と、インクタンクに設けられた基板100の外側に向かって位置する面に設けられた接点としての電極パッド102(図3(b))とが接触し、電気的に結合可能となる。  First, as shown in FIG. 2A, an ink tank is provided to the
  インクタンク1の内部は、正面側に位置するインク収納室11と、背面側に位置してインク供給口7に連通する負圧発生部材収納室(不図示)とに分割されており、両者はインクタンク内部にて連通している。インク収納室11にはインクIがそのまま貯留される一方、負圧発生部材収納室には、インクを含浸保持するスポンジや繊維集合体等のインク吸収体(以下、便宜的に多孔質部材と示す)が設けられている。この多孔質部材は、記録ヘッドのインク吐出用のノズル部に形成されるメニスカスの保持力と平衡してインク吐出部からのインク漏れを防止するに十分で、かつ記録ヘッドのインク吐出動作が可能な範囲にある適切な負圧を発生するためのものである。  The interior of the
  なお、インクタンク1の内部構成は、このような多孔質部材の収納室とインクをそのまま貯留する収納室とに分かれた形態に限られない。例えば、多孔質部材がインクタンク内部空間の実質的に全体に充填されるものでもよい。また、負圧発生手段として多孔質部材を用いるのではなく、容積を拡張する方向に張力を発生するゴム等の弾性材料で形成した袋状部材内にインクをそのまま充填し、この袋状部材が発生する張力によって内部のインクに負圧を作用するようにしたものでもよい。さらには、インク収容空間の少なくとも一部を可撓性部材で構成し、その空間内にインクだけを収容するとともに、可撓性部材にばね力を作用させることで負圧を発生させるようにしたものでもよい。  The internal configuration of the
  図3(a)および(b)に示すように、インクタンク1の内側に向かって位置する基板100の面には、LEDなどに代表される可視光を発生する発光部101と、この発光部を制御する制御素子103とが設けられている。そして、コネクタ152よりパッド102を介して供給される電気信号により、制御素子103は発光部101の発光の制御を行う。  As shown in FIGS. 3A and 3B, on the surface of the
  図2(a)および(b)に示すように、発光部101との対向部位からは、光を導くための導光部121がインクタンク外装の正面側壁面から間隔をおいて立設され、その先端部がユーザの目視に好ましく供される表示部122となっている。このように光を外部に出射する部位を表示部もしくは出射部と称す。ここで、発光部101が発する光を導光部121へ投光する際の光量の減衰を抑制するため、基板100は発光部101が導光部121の光入射面123の近傍において対向するように配置されている(図2(b))。  As shown in FIGS. 2A and 2B, a
  このように、発光部と表示部とを分離し、表示部をインクタンクの正面つまりラッチレバーが配されている面の上方部に配することでユーザに対しての視認性が向上する。また後述するようにプリンタ本体に受光部を設けた際にも確実に表示部からの光を受光させることが可能となる。また、発光部と表示部の両者間の光接続を行う導光部121をインクタンク101に設けることで、電力供給用および信号授受用の配線等を必要とせず、発光部101と表示部122とを個々に最適な位置へ配置する構成を廉価に得ることが可能となる。それにより、ユーザ視認性が良好な位置への表示部122の配置の自由度を確保することができ、ユーザはその発光状態を容易に目視することにより、インクタンク1に係る所定の情報を認識することが可能となる。また、導光部121をインクタンク1の外装と一体成型したものとすれば、製造コストの大幅な上昇も伴うことがない。  As described above, the light emitting unit and the display unit are separated, and the display unit is disposed on the front surface of the ink tank, that is, on the upper portion of the surface on which the latch lever is disposed. Further, as will be described later, even when a light receiving unit is provided in the printer main body, it is possible to reliably receive light from the display unit. In addition, by providing the
  さらに、本実施形態では、導光部121をインク収納室11を形成するインクタンク外装の正面側の壁との間に空気層を有する空間が介在するように配置している。導光部をインクタンク外装の正面側の壁と一体化すること、すなわちインクタンク外装の正面側の壁を導光部に兼用することも考えられるが、本実施形態のような構成とすることで、表示部122への導光を効率良く行うことが可能となる。この点について説明する。  Further, in the present embodiment, the
  本実施形態では、図2(a)および(b)に示すように、導光部121はインク収納室11の外装と一体であるが、正面側の壁からは独立している。すなわち、本実施形態の構成では、導光部121とインク収納室11との間には空気層が存在する。なお、インクタンクの外装は、ポリプロピレンで形成されているものとする。従ってまた、本実施形態の場合、導光部121がインク収納室11の外装と一体成型されたものであれば、その材質もポリプロピレンである。  In this embodiment, as shown in FIGS. 2A and 2B, the
  本実施形態の場合、図2(b)に示すように、発光部101が発した光は、導光部121の端面である光入射面123より導光部121内に入射し、導光部121を通りユーザに光を表示させる表示部122まで到達する。発光部101は、上述したように可視光を採用しており拡散光であるため、矢印A1〜A3で示すような複数の光線を有する。  In the case of this embodiment, as shown in FIG. 2B, the light emitted from the
  ここで、実施形態の導光部121に関し、ポリプロピレンの屈折率が1.49(=n1)であるとする。また、空気の屈折率は1.00(=n2)であることから、本例のポリプロピレンから空気への臨界屈折角は、スネルの法則である
    n1・sinθ1=n2・sinθ2
より、約43°となる。Here, regarding the
 Therefore, it becomes about 43 °.
  よって、図2(b)のポイント(i)での入射角θが43°以上の光線は、ポリプロピレン(導光部121)と空気との界面で全反射し、矢印A1やA3に示すように、導光部121内で全反射を繰り返しながら表示部122まで到達する。また、入射角θ1が43°以下の光線は空気へと透過し、表示部122へは到達しない。  Therefore, a light beam having an incident angle θ of 43 ° or more at point (i) in FIG. 2B is totally reflected at the interface between polypropylene (light guide portion 121) and air, as indicated by arrows A1 and A3. The light reaches the
  なお、上述したインクタンク(液体収容容器)1の所定の情報とは、
・インクタンク1の装着状態の良否(すなわち装着が完全であるか否か)、
・装着位置の適否(インク色に対応して予め定められているホルダ上の装着位置に正しく装着されているか否か)、
・さらにはインク残量の有無(十分なインク量が残っているか否か)、
などであり、発光の有無や発光の状態(点滅など)によりそれらの情報の提示が可能となる。The predetermined information of the ink tank (liquid container) 1 described above is
 The quality of the
 Appropriate mounting position (whether the mounting position is correctly mounted on the predetermined mounting position on the holder corresponding to the ink color),
 -In addition, whether there is ink remaining (whether a sufficient amount of ink remains),
 Such information can be presented depending on the presence or absence of light emission and the state of light emission (flashing, etc.).
  ここで本発明のインクタンクの製造方法について説明する。本実施例のインクタンク1の内部は正面側に位置するインク収納室(図においてインクIが収納される部位)と背面側に位置する負圧発生部材収納室(不図示)とに分割されており、互いに連通する構成となっている。負圧発生部材収納室の上面には、大気連通部12Aが設けられている。また図2のインクタンク1は接点、制御部、発光部が備えられた基板100が配設されたインクタンク1の本体を用意してから内部にインクを注入することで製造することができる。そのためのインク注入口は、例えばインク収納室の上面に形成することができる。インク注入口からのインク注入後に注入口を封止部材11Aによって封止することができる。  Here, the manufacturing method of the ink tank of the present invention will be described. The interior of the
  また別の例として、インクタンク1が使用され、インクタンク内のインクIが消費された後に、封止部材11Aを取り外すか、又はインクタンク筐体に新たに注入穴を形成することで再度インクタンク内にインクを注入することが可能となる。また必要に応じてインク供給口7を保護キャップやシールテープ(不図示)等で封止することによりインクタンク1を物流することが可能となる。  As another example, after the
1.2  変形例(図4〜図8)
  以上述べた構成は例示であって、発光部101を兼用して記録装置およびユーザに対しインクタンク1に係る所定の情報を提示することが可能であれば、適宜の変形を行うことができる。この項ではそのいくつかについて説明する。1.2 Modification (FIGS. 4 to 8)
 The above-described configuration is merely an example, and appropriate modifications can be made as long as the
  図4は、第1実施形態の変形例を説明するための模式的側面図である。この例は、導光部121’がインク収納室11を形成する正面側の壁と一体となっている。本実施例は上述した導光部121とインク収納室11との間に空間を有する第1の実施形態に比べて表示部122へ到達する光量は減少するが、発光部101の光量を高めることで適用可能である。また、上述した第1の実施形態に対してインクタンクのコンパクト化、または、インク収納効率の向上が可能となる点で有効である。  FIG. 4 is a schematic side view for explaining a modification of the first embodiment. In this example, the
  図5は第1実施形態の他の変形例を説明するための模式的側面図である。この例は、導光部121をインクタンク1の外装と別体の部材にて形成した後に、両者を一体に組み立てたものである。この形態では、それぞれの部材の材料に対しより適切なものを選択することができる。例えば、導光部121の材料として、発光部から発光された光をより効率良く導光することができる屈折率の高い材料、すなわち空気との屈折率との差が大きいポリカーボネイトやアクリル等を選択することができる。一方、インクタンク1の外装の材料としては、例えば内蔵するインクIの蒸発に対し抑制効果の高いポリプロピレンなどを選択することができる。また、両者を別の材料で形成できるため、インクタンク1の材料は特に透明なものに限る必要が無く、適宜選択することが可能となる。  FIG. 5 is a schematic side view for explaining another modification of the first embodiment. In this example, the
  図6は第1実施形態の他の変形例を説明するための模式的側面図である。この例は、導光部121の先端に位置する表示部122の形状を略半球状にし、光の好ましい散乱が生じるよう、表面を粗くする処理を施したものである。この形態では、導光部121で導光された光線は表示部にて拡散するため、光量は減衰するが表示部から広い角度に光を放つことがきる。これにより、ユーザの目視可能な角度(範囲)が広くなり、視認性が一層向上する。  FIG. 6 is a schematic side view for explaining another modification of the first embodiment. In this example, the shape of the
  図7(a)および(b)は、第1実施形態のさらに他の変形例を説明するための模式的側面図である。この例は、導光部121と、支持部材3と、基板100を貼り付ける部位とを一体の部材131とし、かつ、この部材131がインクタンク1の外装を形成する部材とは別体となっている。このようにすることで、図5の例と同様に、インクタンクの外装を形成する部材および導光部を形成する部材のそれぞれに適した材料を選択することが可能となる。さらに、図7(b)に示すように、基板100を貼付した部材131が分離可能な構成となっており、このようにすることで、インクタンク1のインクIをすべて使い切った後には、新たなインクタンクに部材131を取付けて再使用することができる。これにより、比較的高価な部品である基板100や発光部101が再使用することができるので、ランニングコストの低廉化に資することが可能となる。  FIGS. 7A and 7B are schematic side views for explaining still another modification of the first embodiment. In this example, the
  図8(a)および(b)は、第1実施形態のさらなる変形例を説明するための模式的側面図である。この例は、導光部121と、基板100を貼り付ける部位とを一体の部材131’とし、かつ、この部材131’がインクタンク1の外装を形成するとともに支持部材3を形成する部材とは別体となっているものである。このようにすることで、図5の例と同様に材料の選択性が向上する。さらに、図8(b)に示すように、導光部121と、基板100の貼付部位とを一体化した部材131’を分離可能とすることでこれを再使用することができる。  FIGS. 8A and 8B are schematic side views for explaining a further modification of the first embodiment. In this example, the
  上記第1の実施形態および変形例では、インク収納室11と導光部121との間に空気層を設け、発光部101より入射した光の減衰を抑え視認性を良好なものとした。しかしインク収納室11と導光部121との間に他の部材を介挿することによっても、その目的を達成することができる。  In the first embodiment and the modified example, an air layer is provided between the
  図9は本発明の第1の実施形態の別の変形例を説明するための模式的側面図である。この例では、導光部121と、インクIを収納するインク収納室11の正面側壁面との間に、導光部121よりも屈折率が低い低屈折率部材108が設けられている。また、本例の導光部121はインクタンク1とは別体に、光透過性に優れたポリカーボネイトにより形成されている。また、低屈折率部材108はポリテトラフルオロエチレンを用いて形成されている。  FIG. 9 is a schematic side view for explaining another modified example of the first embodiment of the present invention. In this example, a low
  ここで、ポリカーボネイトの屈折率は1.59であり、ポリテトラフルオロエチレンの屈折率は1.35である。よって、上述したスネルの法則によりポリカーボネイトからポリテトラフルオロエチレンへの臨界屈折角は約58°であることから、発光部101が発した光線のうち、入射角が58°から90°のものが表示部122へ到達する。  Here, the refractive index of polycarbonate is 1.59, and the refractive index of polytetrafluoroethylene is 1.35. Therefore, since the critical refraction angle from polycarbonate to polytetrafluoroethylene is about 58 ° according to the Snell's law described above, light rays emitted from the
  なお、この例において、低屈折率部材108の代わりに、金属などで形成した反射部材を採用しても良い。上述したような異種樹脂間の屈折率の差を利用した例では、全反射条件以外の光は透過してしまい、全体の光量としては多少減衰してしまうが、反射部材を設けることで、入射面123から入射し反射部材に到達した光を実質的に完全に反射させることができる。これによって、より効率的に光を導光して視認性を向上することが可能となる。  In this example, instead of the low
  図10は上記実施形態のさらに別の変形例を説明するための模式的側面図である。この例では、導光部121と、インクIを収納するインク収納室11の正面側壁面との間には図9のような低屈折率部材108等は無く、両者は互いに接触して構成されている。しかし本例では、インク収納室11として図9の低屈折率部材108と同様にポリテトラフルオロエチレンで形成したものを採用し、導光部121はポリカーボネイトで形成したものを採用している。このため、図9の例と同様に発光部101が発した光を効率よく表示部122に導くことが可能となる。  FIG. 10 is a schematic side view for explaining still another modification of the embodiment. In this example, there is no low-refractive-
  以上のような種々変形例によっても、発光部と表示部とを分離し、両者間の光接続を行う導光部121をインクタンク101に設けることで、両者間に視認性および操作性を阻害する電力供給用および信号授受用の配線等を必要としない。これにより、発光部142と表示部122とを個々に最適な位置へ配置する構成を廉価に得ることが可能となる。それにより、ユーザ視認性が良好な位置への表示部122の配置の自由度を確保することができ、ユーザはその光の出射状態を容易に目視することにより、インクタンク1に係る所定の情報を認識することが可能となる。  Even in the various modified examples as described above, the light emitting unit and the display unit are separated, and the
なお、第1の実施形態の変形例は以上のものに限られることはない。本発明の思想を逸脱しない範囲で適宜の変形を加えることは可能である。例えば、上述の諸例では導光部を樹脂で形成し、これと接する空気または異種材料の屈折率の差を利用して導光を行うものとしたが、コアとクラッドとからなる光ファイバを適用してもよい。また、導光部を中実の部材とする代わりに、光を反射する内側面をもつ中空部材(ステンレスパイプなど)を採用してもよい。 In addition, the modification of 1st Embodiment is not restricted to the above. Appropriate modifications can be made without departing from the spirit of the present invention. For example, in the above-described examples, the light guide portion is formed of resin, and light is guided using the difference in refractive index between air or different materials, but an optical fiber composed of a core and a clad is used. You may apply. Moreover, you may employ | adopt the hollow member (stainless steel pipe etc.) which has an inner surface which reflects light instead of making a light guide part a solid member.
  また、上述した実施形態およびその変形例を適宜組み合わせることも可能である。例えば、図6について説明した表示部122の表面の処理については、これを上記第1の実施形態あるいはその他の変形例に適用することも可能である。  Moreover, it is also possible to combine suitably embodiment mentioned above and its modification. For example, the processing of the surface of the
これらのことは、後述する第2の実施形態や第3の実施形態、あるいはそれらの変形例についても同様である。 The same applies to a second embodiment, a third embodiment, or modifications thereof described later.
1.3  インクタンク取付け部(図11〜図13)
  図11は第1の実施形態に係るインクタンクが着脱可能に構成された記録ヘッドユニットの一例を示す斜視図、図12(a)〜(d)はインクタンクを記録ヘッドユニットに装着する際の動作を説明するための図である。なお、ここで説明する取付け部は、後述する各実施形態ないし変形例にも適用可能なものである。1.3 Ink tank mounting part (FIGS. 11 to 13)
 FIG. 11 is a perspective view illustrating an example of a recording head unit in which the ink tank according to the first embodiment is configured to be detachable. FIGS. 12A to 12D are views when the ink tank is attached to the recording head unit. It is a figure for demonstrating operation | movement. Note that the mounting portion described here can also be applied to each embodiment or modification described below.
  記録ヘッドユニット105は、概して、複数(図では4個)のインクタンクを着脱可能に保持するホルダ150と、底面側に配置される記録ヘッド105’(図11では不図示)とからなっている。そしてインクタンクをホルダ150に装着することで、ホルダ底部に位置する記録ヘッド側のインク導入口107とインクタンク側のインク供給口7とが結合し、両者間のインク連通路が形成される。  The
  記録ヘッド105’としては、ノズルを構成する液路内に電気熱変換素子を設けたものを用いることができる。これは、電気熱変換素子に記録信号となる電気パルスを与えることによりインクに熱エネルギを付与し、そのときのインクの相変化により生じる発泡(沸騰)時の圧力をインクの吐出に利用するものである。そして、後述するキャリッジ205に設けられた信号伝達用の電気接点部(不図示)と記録ヘッドユニット105側の電気接点部157とのコンタクトが行われ、配線部158を介して記録ヘッド105’の電気熱変換素子駆動回路への記録信号の伝達が行われる。また、電気接点部157からはコネクタ152に至る配線部159も延設されている。  As the
  インクタンク1を記録ヘッドユニット105に装着する場合には、ホルダ150の上方でインクタンク1を取り扱う(図12(a))。そして、インクタンク背面側に設けられた突起状の第1係合部5を、ホルダ背面側に設けられた貫通孔状の第1係止部155に挿通した状態でホルダ底面上に載置する(図12(b))。この状態でインクタンク1の正面側上端を矢印Pに示すように押下すると、インクタンク1は第1係合部5および第1係止部155の係合部分を回動支点として矢印R方向に回動し、インクタンク正面側が下方に変位してゆく。この過程で、インクタンク正面側の支持部材3に設けられた第2係合部6の側面がホルダ正面側に設けられた第2係止部156(ホルダ正面側の上端側縁部)に押されながら、支持部材3も矢印Q方向に変位してゆく(図12(c))。この時点で本体側のコネクタ152とインクタンクに備えれられたパッド102とが接触し始める。仮にユーザがこの時点で装着を止めてしまった場合(P方向の押下を止めた場合)であっても、この時点で支持部材3がたわんでいるため、支持部材3自身の弾性力によりインクタンクを上方に持ち上げる。それにより上記電気的な接触が解除され、またユーザに対してインクタンクの装着が不完全であることを気付かせることが可能となる。つまりインクタンクが不完全な装着のまま印刷を開始することを防止できるものである。  When the
  そして第2係合部6の上面がホルダ正面側の上端側縁部を経由し、上端側縁部の下部に設けられた第2係止部156の下方に至ると、支持部材3は自身の弾性力によってQ’方向に変位し、第2係合部6が第2係止部156によって係止される。尚、第2係止部156本構成に限られるものではない。例えばホルダー正面側の上端側縁部に空間を設けることにより係止部としても良いし、上記実施例のごとく段差部を設けることで係止部としても良い。この状態(図12(d))では、第2係止部156が支持部材3を介してインクタンク1を水平方向(y方向)に弾性的に付勢し、インクタンク1の背面がホルダ150の背面に当接する。また、インクタンク1は、インクタンク1のインク供給口7内に配された吸収体とホルダのインク導入口107との当接により、図12(d)の矢印z方向の力を受けることでz方向(上方)へ変位しようとする力が作用する。この上方への変位は、第1係合部5が係合した第1係止部155および第2係合部6が係合した第2係止部156によって抑制される。これがインクタンク1の装着完了状態であり、このときインク供給口7およびインク導入口107、またパッド102およびコネクタ152が接合した状態となる。  Then, when the upper surface of the second
  本実施形態のインクタンク1は、走査キャリッジ上に配されたホルダに対し回転動作を利用して装填されるものとなる。「てこ」の作動にたとえると、図12(c)に示すような装着動作の過程では、第1係合部5および第1係止部155の係合部分が支点、インクタンク1の正面側が力点となる。インク供給口7およびインク導入口107の結合部分は作用点となって、これは力点と支点との間、好ましくは支点近くに位置する。従って、インク供給口7はインクタンク1の回動に伴って大きな力でインク導入口107に押し付けられる。両者の結合部分には通常、インク連通性の確保やインク漏洩の防止を目的としてフィルタ,吸収体,パッキンなど比較的可撓性に富む弾性部材が配設されている。  The
  従って、本例のような構成配置および装着動作を採用し、比較的大なる力をもってそれら部材を弾性変形させた状態とすることは、それらの配設目的に照らして好ましいことである。また、装着動作が完了すると、第1係合部5が係合した第1係止部155および第2係合部6が係合した第2係止部156によってインクタンク1の浮き上がりが阻止される。従ってそれら弾性部材の復元が抑制されるので、それらの部材は適切に弾性変形した状態に保持される。  Therefore, it is preferable in view of the arrangement purpose to adopt the arrangement and mounting operation as in this example and to elastically deform these members with a relatively large force. When the mounting operation is completed, the
  一方、接点としてのパッド102およびコネクタ152は金属など比較的剛性の高い導電部材であり、これらの間には良好な電気接続性が確保されるべきである。一方、過大な力をもってそれらを当接させることは、損傷防止や耐久性の観点から好ましくない。本例ではまず、支点から極力離れた部位、すなわちインクタンクの正面近傍にそれらを配置することで、当接力を好ましく小とする。  On the other hand, the
  本実施形態では、インクタンク1の底面および正面をなす両面が交わる部分にあって、両面をつなぐ斜面に基板100を配置している。ここで、装着完了直前においてパッド102がコネクタ152に当接した状態での、この当接部分のみでの力の釣り合いを考える。この場合、鉛直方向下方に作用する装着力に釣り合ってコネクタ152がパッド102に及ぼす反力(鉛直方向上向きの力)は、コネクタ152およびパッド102間の実際の当接圧(斜面に垂直なF方向の力)の分力となる。従って、ユーザが装着完了位置に向けてインクタンクを押下するとき、基板およびコネクタ間の電気的接続を行わせるためのインクタンク装着力の増加分も少なく、ユーザの操作性を著しく低下させることもない。  In the present embodiment, the
  また、装着完了位置(第1係合部5と第1係止部155、および第2係合部6と第2係止部156が係合する位置)に向けてインクタンク1を押圧すると、その押圧力によって基板100の平面に平行な方向の分力も生じる。この分力は、パッド102にコネクタ152上を摺動させる力である。よって、両者間での良好な電気接続性も確保された装着完了状態を得ることができる。また、この状態では電気的接続部分がインクタンク底面から高い部位に位置するので、漏洩インクが伝わってくる恐れも極めて少ない。また本実施例では第1係合部5のインクタンクの底面にインク導入口107を配置し、第1係合部から離れた位置であるインクタンク手面および正面をなす両面が交わる部分にパッド102を配置させている。これにより、インクタンクの着脱時等におけるインク導入口107からのインクから保護することが可能となる。  Further, when the
すなわち、本例のような電気的接続部分の構成配置は、インクタンク装着力の大きさ、電気的接触状態の確保、および漏洩インクからの保護など、種々の点を勘案した適切なものと言い得るのである。 That is, the configuration and arrangement of the electrical connection portion as in this example is appropriate considering various points such as the magnitude of the ink tank mounting force, securing the electrical contact state, and protection from leaked ink. To get.
上述したように本発明の構成により記録装置の装着部に対してインクタンクを簡易な構成にてしかも確実な位置決めを確保できる。さらに上記のごとくコンタクトパッドを配することで、インクタンク装着の操作性に影響することなく確実な電気的接続をも確保することができる。さらに発光部からの光を外部に照射する表示部を、インクタンクの正面つまりラッチレバーが配されている面の上方部に配することでユーザに対しての視認性が向上する。よって本発明の構成をとることで上記夫々の効果を総合的に奏することが可能となる。 As described above, according to the configuration of the present invention, the ink tank can be securely positioned with respect to the mounting portion of the recording apparatus with a simple configuration. Furthermore, by arranging the contact pad as described above, it is possible to ensure a reliable electrical connection without affecting the operability of mounting the ink tank. Furthermore, the visibility to the user is improved by arranging the display unit for irradiating the light from the light emitting unit to the outside in front of the ink tank, that is, the upper part of the surface on which the latch lever is arranged. Therefore, by taking the configuration of the present invention, it is possible to comprehensively achieve the above effects.
本発明の第1実施形態または変形例に係るインクタンクの取付け部分の構成は、図11に示したものに限られない。 The configuration of the attachment portion of the ink tank according to the first embodiment or the modification of the present invention is not limited to that shown in FIG.
図13を用いてこれを説明する。同図(a)はインクタンクからインクの供給を受けて記録動作を実行する記録ヘッドユニットの他の構成例およびこれを組み込むキャリッジの斜視図、同図(b)は両者を結合した状態を示す斜視図である。 This will be described with reference to FIG. FIG. 6A is a perspective view of another configuration example of a recording head unit that receives a supply of ink from an ink tank and executes a recording operation, and a carriage incorporating the same. FIG. It is a perspective view.
  この例に係る記録ヘッドユニット405は、インクタンク全体を固定保持する上例のようなホルダ150と異なり、図13(a)に示すように、インクタンク正面側に対応したホルダ部分、およびここに配設されていた第2係止部およびコネクタなどを有していない。その他は上例とほぼ同様であり、底面上にはインク供給口7に接続されるインク導入口107を、また背面側には第1係止部155を、さらにその裏面には信号伝達用の電気接点部(不図示)を有している。  The
  一方、シャフト417に沿って移動可能なキャリッジ415には、図13(b)に示すように、記録ヘッドユニット405を装着・固定するためのレバー419および記録ヘッド側電気接点部と接続されている電気接点部418が設けられている。さらにそのほか、インクタンク正面側の構成に対応したホルダ部分が設けられている。すなわち、第2係止部156、コネクタ152およびコネクタへの配線部159はキャリッジ側に配設されている。  On the other hand, as shown in FIG. 13B, the
  かかる構成にあって、図13(b)に示すように記録ヘッドユニット405をキャリッジ415に装着した状態とすればインクタンクの取付け部分の全体が構成される。つまり図12と同様の装着動作を経て、インク供給口7およびインク導入口107の接合並びにパッド102およびコネクタ152の接続が行われて装着動作が完了する。  In such a configuration, if the
1.4  記録装置(図14〜図15)
  図14は、以上説明したインクタンクを装着して記録を行うインクジェットプリンタ200の外観を示す図であり、図15は、図14に示す本体カバー201を開放した状態を示す斜視図である。なお、ここで説明する記録装置は、後述する各実施形態ないし変形例にも適用可能なものである。1.4 Recording device (FIGS. 14 to 15)
 FIG. 14 is a view showing the appearance of the
  図14に示すように、本実施形態のプリンタ200は、記録ヘッドおよびインクタンクを搭載したキャリッジが走査のための移動をして記録を行う機構などプリンタの主要部分が、
・本体カバー201およびその他のケース部分によって覆われているプリンタ本体と、
・その前後にそれぞれ設けられる排紙トレイ203と、
・自動給紙装置(ASF)202と
を備えたものである。また、本体カバーを閉じた状態および開いた状態の両方で本プリンタの状態を表示するための表示器、電源スイッチおよびリセットスイッチを備えた操作部213が設けられている。As shown in FIG. 14, the
 A printer main body covered by the
 A
 An automatic paper feeder (ASF) 202 is provided. An
  本体カバー201を開放した状態では、図15に示すように、ユーザは、記録ヘッドユニット105およびインクタンク1K、1Y、1M、1Cを搭載したキャリッジ205が移動する範囲およびその周辺を見ることができる。なお、以下では、これらのインクタンク1K、1Y、1M、1Cを同一の符号「1」で示す場合もある。実際は、本体カバー201を開けると、キャリッジ205が自動的に同図に示すほぼ中央の位置(以下、「タンク交換位置」ともいう)へ移動するシーケンスが実行され、ユーザは、このタンク交換位置でそれぞれのインクタンクの交換操作などを行うことができる。  In a state where the
  本実施形態のプリンタは、記録ヘッドユニット105に各色のインクに対応したチップ形態の記録ヘッド(不図示)が設けられ、これら各色の記録ヘッドがキャリッジ205の移動によって用紙などの記録媒体に対して走査を行う。そして、この走査の間に記録媒体にインクを吐出して記録を行うものである。すなわち、キャリッジ205は、その移動方向に延在するガイド軸207と摺動可能に係合するとともに、キャリッジモータおよびその伝動機構によって、上述の移動をすることができる。そして、K、Y、M、Cのインクに対応したそれぞれの記録ヘッドでは、フレキシブルケーブル216を介して本体側の制御回路から送られる吐出データに基づいてインク吐出が行われる。また、紙送りローラや排紙ローラなどの紙送り機構が設けられ、自動給紙装置202から給紙された記録媒体(不図示)を排紙トレイ203まで搬送することができる。また、キャリッジ205には、インクタンクホルダを一体に備えた記録ヘッドユニット105が着脱自在に装着され、一方、この記録ヘッドユニット105に対してそれぞれのインクタンク1が着脱自在に装着される。  In the printer of this embodiment, the
記録動作に際しては、記録ヘッドが上記の移動によって走査しその間にそれぞれの記録ヘッドから記録媒体にインクを吐出して記録ヘッドにおける吐出口配列範囲(記録ヘッド主走査方向に直交する方向)に対応した有効幅の領域に記録を行う。これとともに、この走査と次の走査の間に、上記紙送り機構によって上記幅またはそれ未満の所定量の紙送りを行うことにより、記録媒体に対して順次記録を行ってゆく。また、上記のキャリッジ移動による記録ヘッドの移動範囲の端部には、各記録ヘッドについてその吐出口が配設された面を覆うキャップなどの吐出回復ユニットが設けられている。これにより、記録ヘッドは所定の時間間隔で回復ユニットが設けられた位置へ移動して、予備吐出などの回復処理を行う。 During the recording operation, the recording head is scanned by the above movement, and ink is ejected from the respective recording heads to the recording medium during that time to correspond to the ejection port array range (direction orthogonal to the recording head main scanning direction) in the recording head. Records in the effective width area. At the same time, recording is sequentially performed on the recording medium by feeding a predetermined amount of paper of the width or less by the paper feeding mechanism between this scanning and the next scanning. In addition, an ejection recovery unit such as a cap is provided at the end of the moving range of the recording head by the carriage movement described above to cover the surface of each recording head on which the ejection port is provided. As a result, the recording head moves to a position where the recovery unit is provided at predetermined time intervals, and performs recovery processing such as preliminary ejection.
  各インクタンク1のタンクホルダ部を備えた記録ヘッドユニット105には、前述したように、各インクタンクに対応してコネクタが設けられており、それぞれのコネクタは装着されるインクタンク1に設けられている基板のパッドと接触する。これにより、それぞれの発光部101について、記録装置が実行する所定のシーケンスに従った点灯ないし点滅の制御を行うことができる。これにより、インクタンクの状態に関する情報の報知が可能となる。  As described above, the
  具体的には、上記タンク交換位置では、それぞれのインクタンク1についてインク残量が少なくなったとき、その該当するインクタンク1の発光部101を点灯もしくは点滅させることで、導光部121および表示部122を介しユーザの目視に供することができる。また、発光部の点灯などの制御の他の例として、上記タンク交換位置で、インクタンク1が正しい位置に正しく装着されたときに、そのタンクの発光部101を点灯させることで、導光部121および表示部122を介し、ユーザの目視に供することもできる。これらの制御は、記録ヘッドのインク吐出などの制御と同様、フレキシブルケーブル216を介して本体側の制御回路からそれぞれのインクタンクに対して制御データ(制御信号)が送られることによって実行される。  Specifically, at the tank replacement position, when the remaining amount of ink in each
  さらに、キャリッジの移動範囲において、上述の回復ユニットが設けられた位置と反対側の端部付近に、受光素子を有した受光部210を設けることができる。これにより、キャリッジ205の移動に伴ってそれぞれのインクタンク1の表示部122がこの受光部を通過する際に発光部101を発光させ、その光を導光部121および表示部122を介して受光部に受光させることができる。そして受光したときのキャリッジ205の位置に基づいて、キャリッジ205におけるそれぞれのインクタンク1が装着されているか否かや、正しい位置に装着されているか否かなどを検出することができる。つまり、表示部122は、ユーザの目視のためだけでなく、記録装置が実行する検出動作および制御にも供し得るものである。なお、これらを両立するためのより好ましい構成については、第3の実施形態で述べる。  Further, in the carriage movement range, a
2.第2の実施形態(図16〜図20)
  上記した第1の実施形態およびその諸変形例はいずれも、発光部101の直近から立設した導光部121の上端部に表示部122が配される形態である。しかし、よりユーザの目視に供しやすい位置に表示部が配されるようにすることもでき、この項ではそのための実施形態のいくつかについて説明する。なお、以下において、上記第1の実施形態と同様に構成される各部については対応箇所に同一符号を付してある。2. Second Embodiment (FIGS. 16 to 20)
 In the above-described first embodiment and various modifications thereof, the
  図16はその実施形態に係るインクタンクに配置される導光部321の機能の概略を説明するための模式的側面図である。本例では、発光部101より表示部322まで光を導光しユーザへ光を認識させる導光部321が、インクIを収納するインク収納室11の正面側壁面との間に空気を介在させるように立設される。これとともに、表示部322が図中の右斜め上方向を向くように、その先端付近を湾曲させた形状を有している。よって上述した実施例のように表示部をインクタンクの正面つまりラッチレバーが配されている面の上方部近傍に配することでユーザに対しての視認性が向上する。  FIG. 16 is a schematic side view for explaining the outline of the function of the
  この構成により、第1の実施形態と同様に、発光部101より入射された光の減衰を抑制しながら表示部322に光を導くことができる。さらに、導光部321を湾曲させて表示部322が図中の右斜め上方向を向くようにしているため、ユーザの視認性をより向上することが可能となる。  With this configuration, as in the first embodiment, light can be guided to the
  図17は図16の構成の変形例を示す模式的側面図である。本例でも導光部321について湾曲形状を採用しているが、その高さを図16よりも低くして、その端面310が支持部材3の、特にユーザが操作する部分である操作部3Mの裏面側に対向するようにしている。また、本例の支持部材3は、少なくとも操作部3Mが光透過性部材で形成されている。  FIG. 17 is a schematic side view showing a modification of the configuration of FIG. In this example, the
  本例では、図17に示すように、発光部101が発した光は導光部321により端面310に導かれ、そこから操作部3Mに照射される。これにより、光透過性部材で形成された支持部材3の操作部3Mが光を出射する。すなわち本例の場合、操作部3Mがユーザの目視に供するための表示部として機能する。  In this example, as shown in FIG. 17, the light emitted from the
  本例によっても上述の第1実施形態と同様の効果が得られることに加え、本例ではユーザが操作する部分である操作部3Mが光を出射するため、例えばインクタンクの交換をユーザへ促す際には、ユーザに直感的に対象インクタンクを認識させることが可能となる。これとともに、インクタンクの着脱操作箇所(操作部)をも直感的に認識させることが可能となる。なお、操作部3Mの光の出射状態をより視認し易くするために、操作部3Mには適当量の光を散乱させる部分が付加されていてもよい。  In addition to the same effects as the first embodiment described above, this example also prompts the user to replace the ink tank, for example, because the
以上のように表示部を好ましい位置に配置するための光軸の屈曲は、必ずしも導光部を湾曲させる形態に限られるものではない。以下ではその例について説明する。 As described above, the bending of the optical axis for arranging the display unit at a preferable position is not necessarily limited to the form in which the light guide unit is curved. Examples thereof will be described below.
  図18(a)、(b)および(c)は、それぞれ、本発明の第2の実施形態の別の例に係る液体収納容器であるインクタンクの側面図、正面図および底面図である。立設箇所は上記の各例と同様であるが、本例の導光部450は湾曲形状を有さずにほぼ直立したものとなっている。そしてその上端部には傾斜面451が形成されている。傾斜面451の位置は支持部材3の操作部3Mの裏面側にあり、操作部3Mの裏面に対向する部分が高く、インク収納室11の正面に対向する部分が低くなるように傾斜している。なお、導光部450とインクタンク1の正面側壁面との間には空気が介在している。また、導光部450をインクタンク1の外装と一体成形する場合には、全体を光透過性部材で形成すればよい。  18A, 18B, and 18C are a side view, a front view, and a bottom view, respectively, of an ink tank that is a liquid storage container according to another example of the second embodiment of the present invention. The standing portion is the same as that in each of the above examples, but the
  図19(a)および(b)を用い、本例の導光部450の構成および機能について説明する。ここで、同図(a)は本例の導光部450の機能の概略を説明するための模式的側面図、同図(b)はその要部拡大図である。  19A and 19B, the configuration and function of the
  これらの図に示すように、導光部450は、その底面側端面が発光部101に対向する位置から立設されている。従って、発光部101が発光すると、光は導光部450の底面側端面から上端部の傾斜面451へと案内され、傾斜面451によって反射されて、操作部3Mに照射される。すなわち、本例の構成によっても、図17の例と同様、インクタンク1の底面側に配設した発光部101の光を導光部450を介して操作部3Mに導くことにより、ユーザが操作部3Mを目視すればインクタンク1に係る所定の情報を認識することが可能となる。  As shown in these drawings, the
  導光部450、傾斜面451および発光部101の好ましい位置関係は次の通りである。すなわち発光部101が発した光が導光部450によって傾斜面451へ案内されるためには、発光部101は導光部450の底面側端面に対向し、導光部450の光軸456に対する断面の投影面上に配設されることが、より多くの光を案内する観点から望ましい。  A preferable positional relationship among the
  また、傾斜面451により反射された光を操作部3Mに円滑に到達させるためには、傾斜面451の光軸456に対する傾斜角は、導光部450が案内した光を全反射するように臨界角以上に設定することが望ましい。例えば、インクタンク1と一体的に形成された導光部450がポリプロピレンで形成され、その屈折率が1.49である場合、空気の屈折率=1なので、全反射条件は上記スネルの法則より、
  1.49sinθ=1
  sinθ=1/1.49
  θ≒43°
となる。すなわち、光軸に対する傾斜角(=入射角)θを43°以上に設定すればよい。本例においては傾斜角を45°として全反射条件を満たすようにしている。これにより、導光部450によって案内された光が傾斜面451で全反射されて操作部3Mに照射されるので、ユーザの視認性が向上する。Further, in order to allow the light reflected by the
 1.49 sin θ = 1
 sin θ = 1 / 1.49
 θ ≒ 43 °
 It becomes. That is, the inclination angle (= incident angle) θ with respect to the optical axis may be set to 43 ° or more. In this example, the inclination angle is set to 45 ° so that the total reflection condition is satisfied. Thereby, the light guided by the
  図20(a)および(b)は、図18(a)〜(c)の構成の変形例に係るインクタンクの側面図および正面図である。この例は、導光部450をインクタンク1と別部材で構成したものである。本構成によれば、インクタンク1と導光部450をそれぞれ好適な材料で構成することが可能となる。ここで、例えばインクタンク1を光透過性部材で構成しない場合には、操作部3Mの一部に開口32を設けて、開口32を通して導光部450の傾斜面451からの反射光が目視できるように構成すればよい。  20A and 20B are a side view and a front view of an ink tank according to a modification of the configuration shown in FIGS. 18A to 18C. In this example, the
  なお、図18あるいは図20の例において、傾斜面は、導光部450によって案内される光軸との角度(入射角)と、操作部3Mへ反射する角度(反射角)とが一致するよう設定されていればよい。そして、使用する材料等に応じ全反射条件を満たす範囲で適宜設定することができる。  In the example of FIG. 18 or FIG. 20, the angle of the inclined surface with respect to the optical axis guided by the light guide unit 450 (incident angle) and the angle reflected to the
また、光を効率よく反射させるために、高屈折率の部材や高反射率の部材で傾斜面を構成してもよく、例えば金属箔等を貼り付けてもよい。 Moreover, in order to reflect light efficiently, an inclined surface may be comprised with a high refractive index member or a highly reflective member, for example, metal foil etc. may be affixed.
  さらに、支持部材の操作部3Mを表示部として機能させるのではなく、図16と同様操作部より高い位置にまで導光部450を延在させることで、斜面部近傍の導光部450の上側の正面位置が表示部となるようにしてもよい。  Furthermore, instead of causing the
3.第3の実施形態(図21〜図27)
  ユーザはプリンタの配置等によってプリンタ内のインクタンクの表示部を様々な方向から見る可能性があるため、なるべく表示部からは広範囲に光を照射させることが望ましい。一方、表示部はユーザの目視のためだけでなく、記録装置が実行するインクタンク検出動作および制御にも供されるものであり、そのために記録装置内には図15に示したように受光部210が設けられる。3. Third Embodiment (FIGS. 21 to 27)
 Since the user may view the display unit of the ink tank in the printer from various directions depending on the arrangement of the printer or the like, it is desirable that the display unit emit light over a wide range as much as possible. On the other hand, the display unit is used not only for visual observation by the user, but also for ink tank detection operation and control executed by the recording apparatus. For this purpose, the light receiving unit as shown in FIG. 210 is provided.
  例えば、受光部210に対してキャリッジ205を走査させると、搭載されている各インクタンクないしはその表示部が受光部210に順次対向しながら通過して行く。その過程で、各色のインクタンクがそれぞれ本来装着されるべき部位に装着されているか否かを検出することができる。すなわち、あるインクタンクが受光部210と対向するタイミングで、その対向位置にあるべき色のインクを収納したインクタンクの発光部を発光させ、表示部から光の出射を行わせる。このとき受光部210が受光すれば、そのインクタンクは正しい部位に装着されているものと認識でき、受光しなければ誤った部位に装着されているものと認識できる。そして、後者であれば、例えば記録動作を許可せず、ユーザに本体カバー201の開放を促し、さらに誤装着に係るインクタンクの発光部ないし表示部を点滅させる等して、装着のやり直しを促すことができる。これにより、インクタンクの誤装着に起因して色再現が狂ってしまうという不都合や、インク残量がないインクタンクについて表示が行われない一方で残量のあるインクタンクについて表示が行われてしまうという不都合などを予防できる。  For example, when the
  このようなインクタンクの検出や制御に供される受光部210は、キャリッジに搭載されて走査されるインクタンクに対し、装置内に固定されて配置されるため、検出動作時においてインクタンクの表示部との位置関係は一定となる。そのため、表示部には、ユーザの目視に供される場合と異なり、受光部を記録装置に固定する際の取付け精度の中でできるだけ狭い範囲に光の出射を行うことで光量の密度を高くし、受光部に向かう光量を安定的に確保することが求められる。  The
すなわち、表示部には2つの機能を満たすために相反することが要求されることになる。そこでこの項では、ユーザの視認性と受光部の受光量安定化とを両立できるようにした構成の諸例について説明する。 That is, the display unit is required to conflict with each other in order to satisfy the two functions. Therefore, in this section, examples of configurations that can achieve both user visibility and stabilization of the amount of light received by the light receiving unit will be described.
  図21(a)、(b)、(c)および(d)は、それぞれ、本発明の第3の実施形態に係る液体収納容器であるインクタンクの側面図、上面図、底面図および正面図である。これらの図において、550は本例で用いた導光部(導光リブとも称す)であり、上述の諸例と同様に、その底面側端面が発光部101に対向する位置から立設されている。  21A, 21B, 21C, and 21D are a side view, a top view, a bottom view, and a front view, respectively, of an ink tank that is a liquid container according to the third embodiment of the present invention. It is. In these drawings,
図22(a)、(b)および図23を用いて、本例の導光部材の形状および機能について説明する。 The shape and function of the light guide member of this example will be described with reference to FIGS. 22 (a), 22 (b), and 23.
  図22(a)は記録装置に図21(a)〜(d)に示したインクタンク1を複数搭載した状態を上面から見た模式図であり、特にシアンタンク1C、マゼンタタンク1M、イエロータンク1Yに着目したものである。各インクタンクはインクタンクの幅方向、すなわちホルダ150ないしキャリッジ205の移動方向(走査方向)に並置される。図22(b)はそのインクタンク群がキャリッジの移動によってプリンタ内に配された受光部210(図15参照)の下方に対向する状態を示している。導光部550は、上方(図面に直交する方向)からみて、走査方向(紙面左右方向;x方向)に延在する部分(部分B)と、その中央部から走査方向に垂直な方向(図の上下方向;y方向)に延在する部分(部分A)とが組み合わされた略T字形状を有している。すなわち本例の導光部は、略T字形状の横断面をもつ角柱の形態である。  FIG. 22A is a schematic view of the state in which a plurality of
  図23は図22(a)で説明したインクタンク1の側面図である。この図は、導光部550には発光部101が発した光が入射し、上述の各例と同様に矢印511で示すように導光部550内を案内されて、表示部となる導光部上端部552に至り、そこから外部へ出射している様子を示している。本例では、導光部550の底面側端部において、略T字形状を構成する上記部分Aおよび部分Bの交点に対向する位置に発光部101が配されており、発光部101から発した光は、導光部550の部分Aおよび部分Bに導かれる。  FIG. 23 is a side view of the
  ここで、記録装置内に固定されている受光部210は、その実装時の取付け公差により、インクタンクとの相対位置関係が変化し得る。すなわち、図22(b)において、キャリッジ走査方向(x方向)と、これに垂直な方向(y方向)と、図面に直交する方向(以下、z方向)とについてずれが生じ得る。しかし本例では、導光部550の形状によってこれら各方向におけるずれを許容しながら、インクタンクの装着状態の良否や装着位置の適否を判定するためのインクタンク検出動作を正しく行うことを可能としている。  Here, the relative positional relationship between the
  まず、z方向のずれは、表示部である上端部552から受光部210までの距離の変化に影響するため、上端部552から出射された光の検出強度が変化することになる。しかし、公差の範囲での光量変化を許容するよう適切な閾値設定を行うことで、z方向の受光部210のずれを許容し、インクタンク検出動作を正しく行うことができる。  First, since the shift in the z direction affects the change in the distance from the
  また、x方向のずれは、インクタンク1の発光部101を発光させ、キャリッジを走査しながら上端部552の出射光を受光部210で連続的に受光させることで許容される。x方向での受光部のずれがあっても、そのずれに見合った範囲で発光ないし受光を行わせるようにすればインクタンク検出動作を正しく行うことができる。また、部分Aの存在により、受光部210の受光量変化曲線は最大値(ピーク値)をもつので、その検出時点を知ることで、次回以降の検出動作のための発光部101の発光タイミングを調整し、x方向のずれを補正することも可能である。  Further, the deviation in the x direction is allowed by causing the
  さらに、部分Aのy方向の長さが、y方向の受光部210の取付け位置公差範囲以上であれば上端部552からの光を受光することができる。このことによりy方向の受光部210のずれが許容され、インクタンク検出動作を正しく行うことができる。なお、部分Aの長さが短いほど、導光部550端部から出射される光の密度が高くなり、受光部210が受光する光量が多くなるため、外乱光などの影響を受けることなく確実にインクタンク検出動作を行うことができる。従って、部分Aの長さは、受光部210の取付け位置公差と受光部210が受光する好ましい光量とに基づいて適宜設計することができる。  Furthermore, if the length of the portion A in the y direction is equal to or larger than the attachment position tolerance range of the
  一方、表示部である導光部上端部552は、上述のように、例えばインクタンクのインクが少なくなったときに点灯もしくは点滅する等によりユーザの目視に供されるものである。従って、ユーザが様々な位置や角度から視認できるよう、光の出射領域は広く取ることが望ましい。そのため、主として受光部の検出動作にとって好ましくなるよう寸法および形状を定めた部分Aに加えて、部分Bの寸法および形状を適宜設計することで、光の出射領域について十分な広がりを確保することができる。つまり、導光部550の上端部552は、インクタンク1の幅方向へも延在しており、幅方向に広く光を出射することができる。それにより、ユーザが視認できるエリアを広くし、視認性を確保することができる。  On the other hand, as described above, the light guide
  なお、本例では、略T字形状の横断面をもつ角柱の形態の導光部としたが、表示部である上端部552において好ましい光の出射が得られる形状および寸法が実現されるものであれば、上端部552に至るまでの導光部の形状は適宜定め得るものである。また、上端部についても、略T字形状以外の形状であってもよい。  In this example, the light guide portion is in the form of a prism having a substantially T-shaped cross section. However, a shape and size that can obtain preferable light emission at the
  図24(a)、(b)、(c)および(d)は、それぞれ、図21について説明した実施形態の変形例であるインクタンクの側面図、上面図、底面図および正面図である。また、図25(a)は記録装置に図24(a)〜(d)に示したインクタンク1を複数搭載した状態を正面から見た模式図であり、特にシアンタンク1C、マゼンタタンク1M、イエロータンク1Yに着目したものである。また、図25(b)は同図(a)の配列においてマゼンタインク用のインクタンク1Mの表示部に対向して受光部が位置している状態を示している。さらに、図26は本例の導光部の機能を説明するためのインクタンク1の側面図である。  24A, 24B, 24C, and 24D are a side view, a top view, a bottom view, and a front view, respectively, of an ink tank that is a modification of the embodiment described with reference to FIG. FIG. 25A is a schematic view of the state in which a plurality of
  本例の導光部580の形状は、上方からみると図22と同様の形状であり、走査方向に延在する部分Bと、それに垂直な方向に延在する部分とが組み合わされた略T字形状を有している(図24(b))。また、本例の導光部580には、図18の例と同様の傾斜面582が設けられ、図25(a)においては傾斜面582によって導光部580をカットした形状を望むことができる。その形状は、正面方向から見ればやはり走査方向(x方向)に延在する部分Eと、それに垂直な方向(図25(a)の上下方向;z方向)に延在する部分Dとが組み合わされた略T字形状となって現われる。  The shape of the
  図26は、導光部580には発光部101が発した光が入射し、矢印511で示すように導光部580内を案内されて傾斜面582で反射されて、インクタンクの正面側から前方(図26の右方)に出射している様子を示している。ここで、傾斜面582の傾斜角は、上述と同様、導光部580が案内した光を全反射するように臨界角以上に設定することが望ましく、例えば導光部580がポリプロピレンで形成されているのであれば、45°とすることができる。あるいは、光を効率よく反射させるために、高屈折率の部材や高反射率の部材で傾斜面を構成してもよく、例えば傾斜面582に金属箔等を貼り付けてもよい。  In FIG. 26, light emitted from the
  本例の場合、受光部210はインクタンクの上方(z方向)ではなく、前方(y方向)において出射光を受けるよう配置される。この場合でも、上述と同様、受光部210にはx、yおよびz方向についてずれが生じ得る。しかし本例でも、導光部580の形状によってこれら各方向におけるずれを許容しながら、インクタンクの装着状態の良否や装着位置の適否を判定するためのインクタンク検出動作を正しく行うことを可能である。  In the case of this example, the
  ここで、y方向のずれは、上例のz方向のずれに相当し、光の出射位置から受光部210までの距離の変化に影響するが、公差の範囲での光量変化を許容するよう適切な閾値設定を行うことでこれを許容し、インクタンク検出動作を正しく行うことができる。  Here, the deviation in the y direction corresponds to the deviation in the z direction in the above example and affects the change in the distance from the light emission position to the
  また、x方向のずれは、上例のx方向のずれと同じであり、インクタンク1の発光部101を発光させ、キャリッジを走査しながら上端部552の照射光を受光部210で連続的に受光させることで許容される。  Further, the deviation in the x direction is the same as the deviation in the x direction in the above example. The
  さらに、z方向のずれは、上例のy方向のずれに相当する。従って、正面方向から見た場合の部分Dのz方向の長さが、z方向の受光部210の取付け位置公差範囲以上であれば上端部582からの光を受光することができ、z方向の受光部210のずれが許容され、インクタンク検出動作を正しく行うことができる。  Further, the shift in the z direction corresponds to the shift in the y direction in the above example. Therefore, if the length in the z direction of the portion D when viewed from the front direction is equal to or larger than the attachment position tolerance range of the
なお、受光部の動作およびユーザの視認性にとって好ましくなるよう、各部分D,Eの寸法や形状等を定め得るのは上例と同様である。 In addition, it is the same as that of the above-mentioned example that the dimension, shape, etc. of each part D and E can be defined so that it may become favorable for operation | movement of a light-receiving part and a user's visibility.
  また、導光部580の上側の正面位置から光が出射されるようにしてこの部位を表示部とする代わりに、傾斜面582が支持部材3の操作部3Mの裏側に位置するようになし(図27参照)、図19と同様に操作部3Mを表示部として機能させるようにしてもよい。または、図20の例と同様に、操作部3Mの一部に開口を設け、その開口を通して導光部580の傾斜面582からの反射光が目視できるようにしてもよい。  In addition, instead of using this portion as a display unit so that light is emitted from the upper front position of the
4.第4の実施形態(図28、図29)
  ユーザは、表示部から光の出射をしているインクタンクを正確に特定できることが望ましい。ここで、出射光量が小さすぎると視認自体が困難となる。一方、出射光量が大きすぎると隣接インクタンクとの間で誤認が生じ易く、インクタンクの正確な特定が困難となる恐れがある。これは受光部についても同様であり、着目するインクタンクでなく隣接インクタンクからの光を受光してしまう恐れがある。4). Fourth Embodiment (FIGS. 28 and 29)
 It is desirable that the user can accurately specify the ink tank that emits light from the display unit. Here, if the amount of emitted light is too small, visual recognition itself becomes difficult. On the other hand, if the amount of emitted light is too large, misidentification is likely to occur between adjacent ink tanks, which may make it difficult to accurately identify the ink tank. The same applies to the light receiving unit, and there is a possibility that light from an adjacent ink tank may be received instead of the ink tank of interest.
従って、表示部の出射光がユーザおよび受光部の双方に好ましく到達するような構成を採ることが望ましく、以下ではそのための構成について説明する。 Therefore, it is desirable to adopt a configuration in which the light emitted from the display unit preferably reaches both the user and the light receiving unit, and the configuration for that will be described below.
図28は本発明の第4の実施形態に係る液体収納容器であるインクタンクの斜視図、図29(a)、(b)、(c)および(d)は、それぞれ、そのインクタンクの側面図、上面図、底面図および正面図である。また、図29(e)および(f)は、それぞれ、蓋部材を取り外して示すインクタンクの上面図および正面図である。 FIG. 28 is a perspective view of an ink tank that is a liquid container according to the fourth embodiment of the present invention, and FIGS. 29A, 29B, 29C, and 29D are side views of the ink tank, respectively. It is a figure, a top view, a bottom view, and a front view. FIGS. 29E and 29F are a top view and a front view of the ink tank, respectively, with the lid member removed.
  本例は、基本的に図24とほぼ同様の構成を有している。すなわち、略T字形状の横断面と傾斜面582とを有する導光部580を発光部101との対向部位から立設し、その上側の正面に位置する部分(図25の部分D,Eに対応した部分)から光が出射されるようにして、この部位を表示部585としているものである。そして本例では、表示部585に対向して、所定の開口部21Aを有するとともに表示部585の周縁部分を覆うことで光の出射を制限する出射光制限部材21を設けてある。  This example has basically the same configuration as that shown in FIG. That is, the
  符号2で示すものは、インクタンク1の上面に装着されてその内部を覆うとともに、内部を大気と連通させる大気連通口20を有したる蓋部材である。本例では、出射光制限部材21を例えば熱可塑性エラストマーで形成することで、蓋部材2に融着して一体化したものとすることができる。なお、熱可塑性エラストマーは透明な材料であるので、上記周縁部分からの光の出射をより低減し、受光部210での受光動作の安定化およびユーザの視認性の向上するために、着色したものとしても良い。あるいはエラストマー以外の材料を用いることもできるし、また蓋部材2と同一の材料として一体に成型されたものとすることもできる。ここで、蓋部材2が透明な部材で形成されるのであれば、出射光制限部材21をなす部分の表裏少なくとも一方の面に凹凸形状を設けたり、あるいはブラスト処理を施したりすること等により光の出射を制限するようにしても良い。  What is indicated by
本実施形態によれば、表示部からの光の出射を適切に制限することで、ユーザの視認性向上と受光部の動作安定化との双方にとって好ましい光量を得ることが可能となる。なお、導光部の形態は上述のものに限られず、図24で示したもの以外の形状を有するものでもよい。また、表示部が導光部の上端面に形成されるものであってもよい。 According to the present embodiment, by appropriately limiting the emission of light from the display unit, it is possible to obtain a light amount that is preferable for both improving the visibility of the user and stabilizing the operation of the light receiving unit. The form of the light guide is not limited to the above, and may have a shape other than that shown in FIG. In addition, the display unit may be formed on the upper end surface of the light guide unit.
5.  制御系の構成
5.1  全体構成(図30)
  図30は、上述したインクジェットプリンタの制御系の構成例を示すブロック図であり、プリンタ本体におけるPCB(プリント配線基板)形態の制御回路とそれによって制御される、インクタンクのLEDの発光などに関する構成を主に示している。5. Configuration of control system
5.1 Overall configuration (Fig. 30)
 FIG. 30 is a block diagram illustrating a configuration example of the control system of the above-described inkjet printer, and a configuration relating to a control circuit in the form of a PCB (printed wiring board) in the printer body and light emission of an LED of an ink tank controlled by the control circuit. Is mainly shown.
  図30において、制御回路300は本プリンタに関するデータ処理および動作制御を実行する。具体的には、CPU301は、ROM303に格納されているプログラムに従い、図36〜図39にて後述される処理などを実行する。また、RAM302は、CPU301による処理実行の際に、ワークエリアとして用いられる。  In FIG. 30, a
  図30に模式的に示すように、キャリッジ205に搭載された記録ヘッドユニット105は、ブラック(K)、イエロー(Y)、マゼンタ(M)、シアン(C)の各インクを吐出するための記録ヘッド105K、105Y、105M、105Cを備えている。ここで、各記録ヘッドには、複数の吐出口が形成されている。そして、記録ヘッドユニット105のホルダには、これらの記録ヘッドに対応してインクタンク1K、1Y、1M、1Cが着脱自在に搭載される。  As schematically shown in FIG. 30, the
  それぞれのインクタンク1には、前述したように、LED101、その表示制御回路、および、接触端子であるパッドなどが設けられた基板100が取付けられている。そして、インクタンク1が記録ヘッドユニット105に正しく装着されたとき、上記基板100上のパッドが記録ヘッドユニット105においてインクタンク1にそれぞれ対応して設けられたコネクタと接触する。また、キャリッジ205に設けられたコネクタ(不図示)と本体側の制御回路300とはフレキシブルケーブル216を介して信号接続する。さらに、キャリッジ205に記録ヘッドユニット105が装着されることにより、キャリッジ205の上記コネクタと記録ヘッドユニット105の上記コネクタとが信号接続する。以上の接続構成により、本体側の制御回路300とそれぞれのインクタンク1との間で信号の授受を行うことが可能となる。これにより、制御回路300は、図36〜図38にて後述されるシーケンスに従った点灯ないし点滅の制御を行うことができる。  As described above, each
  記録ヘッド105K、105Y、105M、105Cにおけるそれぞれのインク吐出の制御についても、同様に、
・フレキシブルケーブル216、
・キャリッジ205のコネクタ、および
・記録ヘッドユニットのコネクタを介してそれぞれの記録ヘッドに設けられた駆動回路
などが、本体側の制御回路300と信号接続する。これにより、制御回路300はそれぞれの記録ヘッドにおけるインク吐出などを制御することができる。The same applies to the control of ink ejection in the recording heads 105K, 105Y, 105M, and 105C.
 -
 A connector of the
  キャリッジ205の移動範囲の一方の端部近傍に設けられる第1受光部210は、インクタンク1のLED101からの発光を受けて、それに応じた信号を制御回路300へ出力する。制御回路300は、後述のように、この信号に基づき、それぞれのインクタンク1のキャリッジ205における位置を判断することができる。また、キャリッジ205の移動経路に沿ってエンコーダスケール209が設けられるともに、キャリッジ205にはエンコーダセンサ211が設けられる。このセンサの検出信号はフレキシブルケーブル216を介して制御回路300に入力し、これにより、キャリッジ205の移動位置を知ることができる。この位置情報は、各記録ヘッド吐出制御に用いられるとともに、図36などにて後述される、インクタンク位置を検出する光認証処理において用いられる。さらに、キャリッジ205の移動範囲における所定の位置の近傍に設けられる第2発光/受光部214は、発光素子と受光素子とを有し、キャリッジ205に搭載されるそれぞれのインクタンク1のインク残量に係る信号を制御回路300に出力する。そして、制御回路300は、この信号に基づき、インク残量を検出することができる。  The first
5.2  接続部の構成(図31〜図35)
  図31は、フレキシブルケーブル216における、インクタンク1との信号接続のための信号配線の構成を、各インクタンクの基板100との関係で示す図である。5.2 Configuration of connection part (FIGS. 31 to 35)
 FIG. 31 is a diagram illustrating a configuration of signal wiring for signal connection with the
  図31に示すように、インクタンク1に対する信号配線は、4本の信号線からなり、また、4つのインクタンク1に共通の信号配線(所謂バス接続)である。すなわち、それぞれのインクタンク1に対する信号配線は、
・インクタンクにおけるLED101の発光およびその駆動などを行う機能素子群103の動作などの電力供給にかかる電源信号線「VDD」およびアース信号線「GND」と、
・後述されるように、制御回路300から、LED101の点灯、点滅などの処理に関する制御信号(制御データ)などを送るための信号線「DATA」およびそのクロック信号線「CLK」
との4本の信号線から構成される。本実施例においては4本の信号線による説明を行うが、本発明はこれに限定されるものでなく例えばアース信号を別構成で達成することにより「GND」線を省略することも可能である。また「CLK」と「DATA」の信号線を共有して一本で構成することも可能である。As shown in FIG. 31, the signal wiring for the
 A power supply signal line “VDD” and a ground signal line “GND” for power supply such as operation of the
 As will be described later, a signal line “DATA” and a clock signal line “CLK” for transmitting a control signal (control data) relating to processing such as lighting and blinking of the
 And four signal lines. In the present embodiment, description will be made with four signal lines. However, the present invention is not limited to this. For example, the “GND” line can be omitted by achieving a ground signal in another configuration. . It is also possible to configure the signal line of “CLK” and “DATA” by sharing one.
  一方、各インクタンク1の基板100には、これら4本の信号線の信号によって動作する制御部103およびそれによって動作するLED101が設けられている。  On the other hand, the
  図32はこれら制御部などが設けられた基板の詳細を示す回路図である。同図に示すように、制御部103は、入出力制御回路(単に制御部とも称す)(I/O  CTRL)103A、メモリーアレイ103BおよびLEDドライバ103Cを有して構成される。入出力制御回路103Aは、本体側の制御回路300からフレキシブルケーブル216を介して送られてくる制御データに応じて、LED101の表示駆動やメモリーアレイ103Bに対するデータの書き込みおよび読み出しを制御する。メモリーアレイ103Bは、本実施形態ではEEPROMの形態のものであり、インク残量、収納するインクの色情報の他、そのインクタンクの固有番号や製造ロット番号などの製造情報等のインクタンク個体情報を記憶することができる。なお、色情報はインクタンクの出荷時または製造時に、その収納しているインクの色に対応して、メモリーアレイ103Bの所定のアドレスに書き込まれる。例えばこの色情報は、図34、図35にて後述されるように、インクタンクの識別情報(個体情報)として用いられる。これにより、インクタンクを特定してメモリーアレイ103Bに対するデータの書き込みやメモリーアレイ103Bからデータの読み出しを行い、また、そのインクタンクのLED101の点灯、消灯を制御することが可能となる。メモリーアレイ103Bに書き込まれ、また、読み出されるデータには、例えば、インク残量のデータがある。本実施形態のインクタンクには、前述したようにその底部にプリズムが設けられ、インクの残量が少なくなったときはこのプリズムを介して光学的にその旨を検出することができる。本実施形態では、これに加え、制御回路300は、吐出データに基づいて記録ヘッドごとの吐出数をカウントし、それに基づいてインクタンクごとのインク残量を計算する。そして、この残量情報をそれぞれ対応するインクタンクのメモリーアレイ103Bに書き込み、また、読み出す処理を行う。これにより、メモリーアレイ103Bはその時点のインク残量の情報を保持することができる。そして、この情報は、例えば、上記プリズムを用いたインク残量検出と併用したより精度の高い残量検出に用いられたり、装着されたインクタンクが新しいものか、あるいは一度用いられて再装着されたものであるかなどを判断するために用いられたりする。  FIG. 32 is a circuit diagram showing details of a substrate on which these control units and the like are provided. As shown in the figure, the
  LEDドライバ103Cは、入出力制御回路103Aから出力される信号がオンのときLED101に電源電圧を印加するよう動作し、これにより、LED101を発光させる。従って、入出力制御回路103Aから出力される信号がオンの状態にあるとき、LED101は点灯状態となり、上記信号がオフの状態にあるとき、LED101は消灯状態となる。  The
  図33は、図32に示した基板100の構成の変形例を示す回路図である。この変形例が図32に示す例と異なる点は、LED101に対して電源電圧を印加する構成において、電源がインクタンクの基板100内部に設けられたVDD電源パターンから供給されるものである。制御部103は半導体基板上にまとめて作りこまれることが一般的であり、この半導体基板上の接続端子をLED接続端子のみとした構成である。接続端子数少なくすることで、半導体基板の占有面積に大きく影響するので、半導体基板のコストダウンにつながるものである。  33 is a circuit diagram showing a modification of the configuration of the
  図34は、上述したメモリーアレイ103Bに対するデータの書き込みおよび読み出しの動作をそれぞれ説明するためのタイミングチャートであり、図35は、LED101の点灯および消灯の動作をそれぞれ説明するタイミングチャートである。  FIG. 34 is a timing chart for explaining the data writing and reading operations for the
  図34に示すように、メモリーアレイ103Bへの書き込みでは、本体側の制御回路300からインクタンク1の制御部103における入出力制御回路103Aに対し、信号線DATA(図31)を介して、
・「開始コード+色情報」、
・「制御コード」、
・「アドレスコード」、および
・「データコード」
の各データ信号が、クロック信号CLKに同期してこの順で送られてくる。「開始コード+色情報」は、その「開始コード」信号によって、一連のデータ信号の始まりを意味し、また、「色情報」信号によってこの一連のデータ信号の対象となっているインクタンクを特定する。なお、ここでのインクの「色」とはY、M、C等のインク色だけでなく濃度の異なるインクをも含むものである。As shown in FIG. 34, in writing to the
・ "Start code + color information",
・ "Control code",
 "Address code" and "Data code"
 These data signals are sent in this order in synchronization with the clock signal CLK. "Start code + color information" means the start of a series of data signals by the "start code" signal, and the ink tank that is the target of this series of data signals is specified by the "color information" signal To do. The “color” of the ink here includes not only ink colors such as Y, M, and C but also inks having different densities.
  「色情報」は、同図に示すように、インクの色「K」、「C」、「M」、「Y」に対応したコードを有している。そして、入出力制御回路103Aは、このコードが示す色情報とメモリーアレイ103Bに格納されている自身の色情報とを比較し、一致しているときにのみ、それ以降のデータ信号を取り込む処理を行う。一方、一致しないときは、それ以降のデータ信号の取り込みを無視する処理を行う。これにより、図31に示した共通の信号線「DATA」を介して、本体側からデータ信号をそれぞれのインクタンクに共通に送っても、それに上述の色情報を含めることによってインクタンクを特定することができる。そして、書き込み、読み出し、LEDの点灯、消灯など、その後のデータ信号に基づく処理を、その特定したインクタンクに関してのみ行うことが可能となる。この結果、4つのインクタンクに対して共通の(1本の)データ信号線を介して送信されるデータによってデータの書き込みなどのほか、LEDの点灯、消灯の制御を行うことができ、これらの制御に要する信号線の数を本発明のように少なくすることが可能となる。なお、このような共通の(1本の)データ信号線を用いる構成は、インクタンクの数に限定されずに同じものとすることができることは、以上の説明からも明らかである。  The “color information” has codes corresponding to the ink colors “K”, “C”, “M”, and “Y”, as shown in FIG. Then, the input /
本実施形態の「制御コード」は、図34に示すように、後述するLEDの点灯、消灯制御に用いられる「OFF」、「ON」のコードと、メモリーアレイに対する読み出しおよび書き込みを示すそれぞれ「READ」および「WRITE」のコードを有している。本書き込み動作では、「WRITE」のコードがインクタンクを特定する上記「色情報」のコードの後に続くことになる。次の「アドレスコード」は、書き込み先であるメモリーアレイのアドレスを示し、最後の「データコード」は書き込む内容を表している。 As shown in FIG. 34, the “control code” of the present embodiment includes “OFF” and “ON” codes used for LED on / off control, which will be described later, and “READ” indicating reading and writing to the memory array. ”And“ WRITE ”codes. In this writing operation, the “WRITE” code follows the “color information” code for specifying the ink tank. The next “address code” indicates the address of the memory array that is the write destination, and the last “data code” indicates the content to be written.
なお、「制御コード」が表す内容は上記の例に限られないことはもちろんであり、例えば、ベリファイコマンド、連続読み出しコマンドなどに関する制御コードを加えて用いることもできる。 Note that the content represented by the “control code” is not limited to the above example, and for example, a control code related to a verify command, a continuous read command, or the like can be added.
  読み出しでは、上記の書き込みの場合とデータ信号の構成は同じであり、また、「開始コード+色情報」のコードは、上記の書き込みの場合と同様、総てのインクタンクの入出力制御回路103Aによって取り込まれる。そして、それ以降のデータ信号は「色情報」が一致したインクタンクの入出力制御回路103Aだけが取り込む。異なる点は、アドレスコードによってアドレスを指定した後、最初のクロック(図34では13クロック目)の立ち上がりに同期して、読み出したデータの出力が行われる。複数のインクタンクのデータ信号端子が、このような共通の(1本の)データ信号線に接続されていても、読み出したデータが他の入力信号とぶつからないように入出力制御回路103Aが信号の割振り、いわゆる調停を行っているのである。  In reading, the configuration of the data signal is the same as in the case of the above writing, and the code of “start code + color information” is the input /
  LED101の点灯または消灯では、図35に示すように、上記と同様、先ず、「開始コード+色情報」のデータ信号が、本体側から信号線DATAを介して入出力制御回路103Aに送られてくる。上述したように、「色情報」によってインクタンクが特定され、その後に送られてくる「制御コード」に基づくLED101の点灯、消灯は特定されたインクタンクのみで行われる。点灯、消灯にかかる「制御コード」は、図34にて上述したように、「ON」または「OFF」のコードがあり、「ON」によってLED101の点灯が行われ、「OFF」によって消灯が行われる。すなわち、制御コードが「ON」のとき、入出力制御回路103Aは、図33にて前述したように、LEDドライバ103Cに対してオン信号を出力し、それ以降もその出力状態を維持する。逆に、制御コードが「OFF」のとき、入出力制御回路103Aは、LEDドライバ103Cに対してオフ信号を出力し、それ以降もその出力状態を維持する。なお、LED101の点灯または消灯の実際のタイミングは、図35に示す各データ信号についてクロックCLKの7クロック目以降に行われる。  When the
  同図に示す例では、最初、同図の最左端のデータ信号にあるように、ブラックKのインクタンクが特定されて、インクKのタンクのLED101が点灯されている。次に、2番目のデータ信号の「色情報」はマゼンタインクMを指定するものであり、「制御コード」は点灯を指示するものであるから、インクKのタンクのLED101が点灯したまま、インクMのタンクのLED101も点灯する。そして、3番目のデータ信号は、インクKのタンクについて、「制御コード」が消灯を指示するものであるから、インクKのタンクについてのみそのLED101が消灯する。  In the example shown in the figure, first, as shown in the leftmost data signal in the figure, the black K ink tank is specified, and the
  LEDの点滅制御は、上記の説明からも分かるように、本体側の制御回路300が、点灯と消灯の「制御コード」をそれぞれ含むデータ信号をそのインクタンクを特定して送ることによって可能となる。その場合に、その信号を送る周期を定めることによって、点滅の周期を制御することができる。  As can be understood from the above description, the blinking control of the LED is made possible by the
5.3  制御手順(図36〜図31)
  図36は、以上説明した本実施形態の構成に基づくインクタンクの着脱に関する制御手順を示すフローチャートであり、特に、本体側の制御回路300による各インクタンク1のLED101の点灯、消灯の制御を示すものである。5.3 Control procedure (FIGS. 36 to 31)
 FIG. 36 is a flowchart showing a control procedure related to the attachment / detachment of the ink tank based on the configuration of the present embodiment described above. In particular, the control of the
  図36に示す処理は、ユーザが本実施形態のプリンタの本体カバー201を開いたとき、所定のセンサによってこれを検知して起動される処理である。本処理が起動されると、先ず、ステップS101で、インクタンク着脱処理を実行する。  The process shown in FIG. 36 is a process that is activated when a user opens the
  図37は、このインクタンク着脱処理の詳細を示すフローチャートである。同図に示すように、着脱処理では、先ず、ステップS201で、キャリッジ205を移動するとともにそのとき搭載されているそれぞれのインクタンクについて状態情報(インクタンクの個体情報報)を取得する。取得される状態情報としてはそのときのインク残量などであり、これらがそのインクタンクの固有番号とともに、メモリーアレイ103Bから読み出される。そして、ステップS202で、キャリッジ205が図18にて説明したインクタンク交換位置に到達したか否かを判断する。  FIG. 37 is a flowchart showing details of the ink tank attaching / detaching process. As shown in the figure, in the attaching / detaching process, first, in step S201, the
  キャリッジ205がインクタンク交換位置に到達したと判断すると、ステップS203でインクタンク装着確認制御を行う。  If it is determined that the
  図38は、この装着確認制御の詳細を示すフローチャートである。先ず、ステップS301で、キャリッジ205に搭載されるインクタンクの数を示すパラメータNを設定するとともに、このインクタンクの数に応じてLEDの発光を確認するためのフラグF(k)を初期化する。本実施形態では、Nとして、K、C、M、Yのインクタンクの数で4が設定される。これに従い、F(1)、k=1〜4、の4つのフラグが用意され、これらが総て初期化されてその内容が“0”とされる。  FIG. 38 is a flowchart showing details of this attachment confirmation control. First, in step S301, a parameter N indicating the number of ink tanks mounted on the
  次に、ステップS302で上記フラグのインクタンクの装着判定順序に関る変数Aを1に設定し、ステップS303で、A番目のインクタンクについて装着確認制御を行う。この制御は次のような過程で行われる。すなわち、ユーザがインクタンクを記録ヘッドユニット105のホルダ150に正しい位置に装着することにより、前述したホルダ150のコンタクト152とインクタンクのコンタクト102とが接触する。そして、これにより、本体側の制御回路300が、前述したように、インクタンクの個体情報である色情報によってインクタンクを特定しつつ、その特定したタンクのメモリーアレイ103Bに格納されている色情報を順次読み出す動作を行うのである。また、上記特定するための色情報は、それまでに既に読み出されているものについては、用いないことはもちろんである。さらに、本制御では、この読み出した色情報が、本処理が起動された後、それまでに読み出された色情報と異なるものか否かの判断も行う。  Next, in step S302, the variable A relating to the ink tank mounting determination order of the flag is set to 1, and in step S303, mounting confirmation control is performed for the Ath ink tank. This control is performed in the following process. That is, when the user mounts the ink tank on the
  そして、ステップS304では、色情報を読み出すことができたこと、かつその色情報がそれまでに読み出されたものと異なるとき、その色情報のインクタンクがA番目のインクタンクとして装着されたと判断する。それ以外の場合は、A番目のインクタンクが装着されていないと判断する。尚、ここで説明するA番目というのは単にインクタンクの判定を行う順番を説明するものであり、インクタンクの装着位置を示す順番ではない。A番目のインクタンクが装着されていると判断したときは、ステップS305で、そのフラグF(A)、すなわち、用意された4つのフラグF(k)、k=1〜4のうち、k=Aに該当するフラグ(A)の内容を“1”とする。そして、図35にて上述したようにして、該当する色情報のインクタンク1のLED101を点灯する。装着されていないと判断したときは、ステップS311で、そのフラグF(A)の内容を“0”とする。  In step S304, when the color information can be read out and the color information is different from those read out so far, it is determined that the ink tank of the color information is attached as the Ath ink tank. To do. In other cases, it is determined that the A-th ink tank is not attached. Note that the A-th described here simply describes the order in which the ink tanks are determined, not the order in which the ink tanks are mounted. If it is determined that the Ath ink tank is installed, in step S305, the flag F (A), that is, of the four prepared flags F (k), k = 1 to 4, k = The content of the flag (A) corresponding to A is “1”. Then, as described above with reference to FIG. 35, the
  次に、ステップS306で、変数Aを1インクリメントし、ステップS307で、この変数AがステップS301で設定したN(本実施形態のプリンタの場合はN=4)より大きいか否かを判断する。ここで、変数AがN以下であると判断したときは、ステップS303以降の処理を繰り返す。また、変数AがNより大きいと判断したときは、4つのインクタンク総てについて装着確認制御が終了したとして、ステップS308で、本体カバー201が開放された状態か否かを、上記のセンサの出力に基づいて判断する。すなわち、本体カバーが閉じた状態であるときは、ユーザが、例えば、インクタンクのいくつかを未装着あるいは装着が不完全なままカバーを閉じた可能性があるとして、ステップS312で異常状態のステータスを図37の処理ルーチンへ返して本処理を終了する。  Next, in step S306, the variable A is incremented by 1. In step S307, it is determined whether or not the variable A is greater than N (N = 4 in the case of the printer of the present embodiment) set in step S301. Here, when it is determined that the variable A is equal to or less than N, the processes after step S303 are repeated. When it is determined that the variable A is greater than N, it is determined that the attachment confirmation control has been completed for all four ink tanks. In step S308, whether the
  ステップS308で、本体カバー201が開いた状態であると判断したときは、4つのフラグF(k)、k=1〜4、の総てについてその内容が“1”か否か、すなわち、総てのインクタンクについて、LED101の点灯がされたか否かを判断する。いずれかのインクタンクのLED101が点灯していないと判断したときは、ステップS302以降の処理を繰り返す。すなわち、ユーザが、LED101が点灯していないインクタンクについて、装着し、または装着動作をやり直し、そのインクタンクのLEDが点灯するまで、上記の処理を繰り返す。  If it is determined in step S308 that the
総てのインクタンクのLEDが点灯されたと判断したときは、ステップS310で正常終了動作を行い、本処理を終了し、処理は図37に示す処理ルーチンに戻る。図39(a)は、総てのインクタンクについて正しく装着され、それぞれのLEDが点灯した状態を示す図である。 If it is determined that all the ink tank LEDs have been lit, a normal termination operation is performed in step S310, the process is terminated, and the process returns to the process routine shown in FIG. FIG. 39A is a diagram showing a state where all the ink tanks are correctly mounted and each LED is lit.
  再び、図37を参照すると、ステップS203のインクタンク装着確認制御を上記のように実行した後、ステップS204で、その制御正常終了したか否か、すなわち、正常にインクタンクが装着されたか否かを判断する。装着が正常と判断したときは、ステップS205で操作部213の表示器(図14、図15)を、例えばグリーンに点灯し、ステップS216で正常終了して図36に示す処理ルーチンに戻る。また、装着が異常と判断したときは、ステップS207で操作部213の表示器を、例えば、オレンジで点滅し、ステップS208で異常終了して図36に示す処理ルーチンに戻る。記録装置を制御するホストPCが接続されている場合は、同時にPCモニタを通して装着異常表示を行うこともできる。  Referring again to FIG. 37, after the ink tank mounting confirmation control in step S203 is executed as described above, in step S204, whether or not the control is normally completed, that is, whether or not the ink tank is normally mounted. Judging. When it is determined that the attachment is normal, the display (FIGS. 14 and 15) of the
  図36において、ステップS101のインクタンク着処理を終了すると、ステップS102で、上記着脱処理が正常終了したか否かを判断する。異常終了であると判断したときは、ステップS108で、ユーザが本体カバー201を開けるのを待ち、カバー201が開けられたことによってステップS101の処理が起動され、図37にて説明した処理を繰り返す。  In FIG. 36, when the ink tank attaching process in step S101 is completed, it is determined in step S102 whether the attachment / detachment process has been normally completed. If it is determined that the process has ended abnormally, in step S108, the process waits for the user to open the
  ステップS102で、着脱処理が正常に終了したと判断したときは、ステップS103で、ユーザが本体カバー201を閉じるのを待ち、ステップS104でカバー201が閉じられたか否かを判断する。ここで、本体カバーが閉じられたと判断したときは、ステップS105の光認証処理に移行する。この際、図39(b)に示すように、本体カバー201が閉じられたことを検出すると、キャリッジ205は光認証のための位置へ移動するとともに、点灯されているそれぞれのインクタンクのLED101を消灯する。  If it is determined in step S102 that the attaching / detaching process has been completed normally, in step S103, the process waits for the user to close the
光認証処理は、正常に装着されたインクタンクそれぞれが正しい位置に装着されているか否かを判断する処理である。本実施形態では、インクタンクの装着位置について、例えば、インクタンクと装着位置の形状を他のインクのインクタンクが装着できないような形状とし、それぞれの色のインクタンクに対応して装着位置を定めるような構成をとらない。このことから、それぞれの色のインクタンクについて本来の位置でないところに誤って装着される可能性がある。このため、本光認証処理を行い、誤って装着されている場合は、ユーザにその旨を知らせるものである。これにより、特に、インクタンクの形状を色ごとに異ならせることなく、インクタンクの製造の効率化や低コスト化を図ることができる。 The optical authentication process is a process for determining whether or not each of the normally installed ink tanks is installed at the correct position. In the present embodiment, for example, the ink tank mounting position is set such that the ink tank and the mounting position cannot be mounted with ink tanks of other inks, and the mounting positions are determined corresponding to the ink tanks of the respective colors. Do not take the configuration. For this reason, there is a possibility that the ink tanks of the respective colors are erroneously attached to places that are not the original positions. For this reason, this optical authentication process is performed, and if it is worn by mistake, the user is informed accordingly. Thereby, in particular, it is possible to increase the efficiency and reduce the cost of manufacturing the ink tank without changing the shape of the ink tank for each color.
図40(a)〜(d)および図30(a)〜(d)は、この光認証処理を説明する図である。 FIGS. 40A to 40D and FIGS. 30A to 30D are diagrams illustrating this optical authentication process.
  図40(a)に示すように、先ず、第1受光部210に対して、図中左側から右側へ移動キャリッジ205を開始する。そして、最初に、イエローインクのインクタンク1Yが装着されるべき位置のインクタンクが第1受光部210に対向する位置で、インクタンク1YのLED101を発光させる。これは、図35にて説明したように、実際は点灯し所定時間後消灯することである(以下、本認証処理では同様)。インクタンク本来の正しい位置に装着されているとき、第1受光部210はLED101の発光を受光することができ、制御回路300は、その装着位置にはインクタンク1Yが正しく装着されていると判断する。  As shown in FIG. 40A, first, the moving
  キャリッジ205を移動しつつ、同様にして、図40(b)に示すように、マゼンタインクのインクタンク1Mが装着されるべき位置のインクタンクが第1受光部210に対向する位置で、インクタンク1MのLED101を発光させる。同図に示す例は、インクタンク1Mが正しい位置に装着されていて第1受光部210はその発光を受光することを示している。順次、図40(b)〜(d)に示すように、判断する装着位置を変えながら発光を行って行く。これらの図は、正しい位置に装着されている例を示している。  Similarly, while moving the
  これに対し、図41(b)に示すように、マゼンタインクのインクタンク1Mが装着されるべき位置にシアンインクのインクタンク1Cが誤って装着されているときは、第1受光部210に対向しているインクタンク1CのLED101は発光しない。その代わりに、別の位置に搭載されているインクタンク1MのLED101が発光する。この結果、このタイミングでは、第1受光部210は受光できないことから、制御回路300は、その装着位置にはインクタンク1M以外のインクタンクが装着されていると判断する。これに対応して、図41(c)に示すように、シアンインクのインクタンク1Cが装着されるべき位置にマゼンタインクのインクタンク1Mが誤って装着されており、第1受光部210に対向しているインクタンク1MのLED101は発光しない。その代わりに、別の位置に搭載されているインクタンク1CのLED101が発光する。  On the other hand, as shown in FIG. 41B, when the
  以上説明した光認証処理を行うことにより、制御回路300は本来の位置に装着されていないインクタンクを特定することができる。また、装着されるべき位置に正しいインクタンクが装着されていなかった場合には、その装着位置において、他の3色のインクタンクを順に発光させる制御を行う。これによって、その装着位置に誤って何色のインクタンクが装着されてしまったかを特定することもできる。  By performing the optical authentication process described above, the
  本実施例においては図31で説明したように、記録装置側の配線を共通配線(いわゆるバス配線)としているので、装置側の配線を簡易に構成することが可能となる。しかし従来、共通配線ではインクタンクの位置検出が不可能であった。しかし本発明の構成のように、インクタンク側に
・インクタンクの個体情報を保持する情報保持部と、
・記録装置の受光部に投光する発光部と、
・記録装置から入力される個体情報に係る信号と、
・前記情報保持部の保持する個体情報とが一致した場合に前記発光部を発光させる制御部と
を設けることにより、上記共通配線からなる記録装置においてもインクタンクの位置検出が可能となる。In this embodiment, as described with reference to FIG. 31, the wiring on the recording apparatus side is a common wiring (so-called bus wiring), so that the wiring on the apparatus side can be easily configured. Conventionally, however, it has been impossible to detect the position of the ink tank using the common wiring. However, as in the configuration of the present invention, on the ink tank side, an information holding unit that holds individual information of the ink tank,
 A light emitting unit that projects light to the light receiving unit of the recording device;
 -A signal related to individual information input from the recording device;
 By providing a control unit that causes the light emitting unit to emit light when the individual information held by the information holding unit matches, it is possible to detect the position of the ink tank even in the recording apparatus including the common wiring.
  図42は、本実施形態にかかる記録処理を示すフローチャートである。本処理では、先ず、ステップS401で、インク残量確認処理を行う。この処理は、これから記録しようとしているジョブについて、記録データからその記録量を求め、この量とそれぞれのインクタンクの残量とを比較して、上記ジョブの記録に十分な量があるか否かを確認する処理である。なお、この処理では、上記のインク残量は、制御回路300でそのときの残量としてカウントして求めたものを用いることができる。  FIG. 42 is a flowchart showing recording processing according to the present embodiment. In this process, first, in step S401, an ink remaining amount confirmation process is performed. In this process, for the job that is going to be recorded, the recording amount is obtained from the recording data, and this amount is compared with the remaining amount of each ink tank. It is a process to confirm. In this process, the ink remaining amount obtained by counting the remaining amount at that time by the
  ステップS402では、上記の確認処理に基づいて記録に必要なインク量があるか否かを判断する。十分なインク量があるときは、ステップS403で記録動作を行い、ステップS404で操作部213の表示器をグリーンに点灯して正常終了を行う。一方、ステップS402で十分なインク量がないと判断したときは、ステップS405で、操作部213の表示器をオレンジに点滅するとともに、ステップS406で、インク残量が少ないインクタンク1のLED101を点滅または点灯させて、異常終了する。記録装置を制御するホストPCが接続されている場合は、同時にPCモニタを通してインク残量表示を行うこともできる。  In step S402, it is determined whether there is an ink amount necessary for recording based on the above confirmation processing. When there is a sufficient amount of ink, the recording operation is performed in step S403, and the display of the
図43(a)および(b)は、それぞれ、本発明のさらに他の実施形態に係るインクタンクの模式的側面図および正面図であり、第1の実施形態に係るインクタンクにおいて基板および発光部を別の位置に配設した例である。 43A and 43B are a schematic side view and a front view, respectively, of an ink tank according to still another embodiment of the present invention. In the ink tank according to the first embodiment, a substrate and a light emitting unit are respectively shown. This is an example in which is disposed at another position.
  本例では、インクタンク正面上部にLEDなどの発光部101およびこれを搭載する基板100−2が設けられている。つまり本実施例においては発光部101が上述した実施例の表示部とを兼ねる構成である。そして、上述と同様にキャリッジ側のコネクタ152との良好な接続およびインクからの保護にとって好ましい斜面部に配設した基板100と、基板100−2ないし発光部101とを、配線部159−2を介して接続する。そしてこのことで、電気信号の授受を行うようになっている。なお、3Hは配線部159−2をインクタンク筐体に沿わせて配置するために支持部材3の根元部分に設けた穴である。  In this example, a
  本例において、発光部101が発光すると、正面側から投光される。そこで、キャリッジの走査範囲の端部にあって図の右方向に投光される光を受容する位置に受光部210を配置し、その部位にキャリッジが位置したときに発光部101の発光を制御する。これにより、記録装置側は受光部の受光内容からインクタンク1に係る所定の情報を認識することが可能となる。また、例えば走査範囲の中央にキャリッジを位置させて発光部101の発光を制御することで、図の括弧部分に示すように、ユーザはその発光状態をより容易に目視して、インクタンク1に係る所定の情報を認識することが可能となる。  In this example, when the
  図44は図43の実施形態の変形例に係るインクタンクの模式的側面図である。本例では支持部材3の、特にユーザが操作する部分である操作部3Mの裏面側のインクタンク正面位置に、発光部101およびこれを搭載する基板100−2が設けられている。この例でも上例と同様の動作を行い、同様の効果を得ることができる。さらに本例では、例えば走査範囲の中央にキャリッジを位置させて発光部101の発光させたとき、支持部材3の操作部3Mにも光が照射されるので、ユーザはインクタンク交換その他の所要の操作をより直感的に理解することが可能となる。なお、操作部3Mの照射状態をより視認し易くするために、操作部3Mには適当量の光を透過または散乱させる部分が付加されていてもよい。  FIG. 44 is a schematic side view of an ink tank according to a modification of the embodiment of FIG. In this example, the
  図45はさらに他の変形例に係るインクタンクの模式的側面図である。本例は、支持部材3の操作部3Mの正面側に発光部101およびこれを搭載する基板100−2を設けたものである。基板100と基板100−2ないし発光部101とは、支持部材3の根本部分に設けた穴3Hを介して支持部材3に沿わせた配線部159−2によって接続されている。この例でも、図44と同様の効果を得ることができる。  FIG. 45 is a schematic side view of an ink tank according to still another modification. In this example, the
  なお、図43〜図45の構成において、フレキシブルプリントケーブル(FPC)を用いることで、基板100、配線部159−2および基板100−2を一体の部材とすることもできる。  43 to 45, by using a flexible printed cable (FPC), the
上記図43〜図45の構成においては実施例1で示したように、記録装置の装着部に対してインクタンクを簡易な構成にてしかも確実な位置決めを確保できる。さらに上記のごとくコンタクトパッドを配することで、インクタンク装着の操作性に影響することなく確実な電気的接続をも確保することができる。さらに発光部からの光を外部に照射する表示部を、インクタンクの正面つまりラッチレバーが配されている面の上方部に配する(図43〜図45においては発光部と表示部が同一)ことでユーザに対しての視認性が向上する。よって本発明の構成をとることで上記夫々の効果を総合的に奏することが可能となる。 In the configurations shown in FIGS. 43 to 45, as shown in the first embodiment, the ink tank can be securely positioned with respect to the mounting portion of the recording apparatus with a simple configuration. Furthermore, by arranging the contact pad as described above, it is possible to ensure a reliable electrical connection without affecting the operability of mounting the ink tank. Further, a display unit for irradiating light from the light emitting unit to the outside is arranged on the front side of the ink tank, that is, above the surface on which the latch lever is arranged (the light emitting unit and the display unit are the same in FIGS. This improves the visibility for the user. Therefore, by taking the configuration of the present invention, it is possible to comprehensively achieve the above effects.
以上の各実施形態は、吐出されたインク量に対応した量のインクが常に、プリントヘッドに対し言わば連続的に供給されるように供給系を構成した方式のもの(以下、連続供給方式という)を説明した。そして当該方式にあって、キャリッジ等に搭載されて往復移動(主走査)する記録ヘッドに分離可能に取付けられる形態のインクタンクを用いる構成に本発明を適用した場合について説明した。しかし本発明は、記録ヘッドに対して一体不可分に取付けられたインクタンクを用いる構成に適用することもできる。そのような構成であっても、装着位置が異なれば異なる色のデータを受け取ったり、あるいは色の重なり順が設計とは異なることによって所望の記録品位が得られなくなることが考えられるからである。またヘッドと一体化されたインクタンクを記録装置に対して着脱する際に、記録ヘッドからの漏洩したインクがコンタクトパッドに付着する可能性を考慮する必要がある。 In each of the above embodiments, the supply system is configured such that an amount of ink corresponding to the amount of ejected ink is always supplied continuously to the print head (hereinafter referred to as a continuous supply method). Explained. In the system, the case where the present invention is applied to a configuration using an ink tank that is detachably attached to a recording head mounted on a carriage or the like and reciprocally moved (main scanning) has been described. However, the present invention can also be applied to a configuration using an ink tank that is inseparably attached to the recording head. This is because even with such a configuration, it is conceivable that if the mounting position is different, data of different colors is received, or the order of color overlap is different from the design, so that a desired recording quality cannot be obtained. Further, when the ink tank integrated with the head is attached to or detached from the recording apparatus, it is necessary to consider the possibility that ink leaked from the recording head adheres to the contact pad.
  図46は本発明のさらに他の実施形態の制御部103などが設けられた基板100の詳細を示す回路図である。同図に示すように、制御部103は、入出力制御回路(I/O  CTRL)103A、LEDドライバ103Cを有して構成される。  FIG. 46 is a circuit diagram showing details of the
  入出力制御回路103Aは、本体側の制御回路300からフレキシブルケーブル216を介して送られてくる制御データに応じて、LED101の表示駆動を制御する。  The input /
  LEDドライバ103Cは、入出力制御回路103Aから出力される信号がオンのときLED101に電源電圧を印加するよう動作し、これにより、LED101を発光させる。従って、入出力制御回路103Aから出力される信号がオンの状態にあるとき、LED101は点灯状態となり、上記信号がオフの状態にあるとき、LED101は消灯状態となる。  The
  本実施形態が図21に示す第一の実施形態と異なる点はメモリアレイ103Bが無いことである。メモリアレイ上に記憶されている個体情報(例えば色情報)が無い場合でもインクタンクを特定して、そのインクタンクのLED101の点灯、消灯を制御する方法を図47に示すタンミングチャートで以下に説明する。  This embodiment is different from the first embodiment shown in FIG. 21 in that there is no
  本体側の制御回路300からインクタンク1の制御部103における入出力制御回路入出力制御回路103Aに対し、信号線DATA(図20)を介して「開始コード+色情報」、「制御コード」が、クロック信号CLKに同期して送られて来る。入出力制御回路入出力制御回路103Aは送られて来る「色情報」+「制御コード」を合わせて「コマンド」として識別し、LEDドライバ103Cへの出力信号のオン、オフを決定するコマンド識別部103Dを内部に有して構成される。1Kから1Yまでの各色のインクタンクにはそれぞれ異なるコマンド識別部103Dを有する制御部103が搭載されており、それぞれの色における点灯、消灯を制御するコマンドが図47に示すように構成されている。即ち、各色のコマンド識別部103D内には各色の個体情報(色情報)が含まれて構成されていることになり、これと入力された「コマンド」の「色情報」部分を比較、識別して各種の動作を制御する。これにより、例えばインクタンク1Kを点灯させる「K−ON」の色情報+制御コード「000100」を本体が開始コードと共に送信すると、インクタンク1Kのコマンド識別部103Dのみが識別し、インクタンク1Kのみが点灯する、という制御が可能になる。本実施形態では各色毎に制御部103を異ならせて構成する必要があるが、メモリアレイ103Bを搭載する必要が無い点で有利である。  “Start code + color information” and “control code” are sent from the
  また、コマンド識別部103Dは図47に示すように各色毎のLED101の点灯、消灯のコマンドを識別する機能を持津ものに限られない。つまり、例えば全色のLED101を点灯、消灯させるコマンド「ALL−ON」、「ALL−OFF」や、各色を指定して、制御部103からの応答信号を出力させる「CALL」コマンドなど、複数のコマンドを識別する機能を持っていても良い。  Further, as shown in FIG. 47, the command identification unit 103D is not limited to the function of identifying the command for turning on / off the
  さらに別の例として、本体側の制御回路300からインクタンク1に対して送られてくる色情報+制御コードからなるコマンドをインクタンク内の色情報(個体情報)と直接比較しない場合も本発明として適用可能である。つまり上記入力されたコマンドを制御部103において変換(演算)し、その変換した結果の値と、メモリアレイ103Bもしくはコマンド識別部103D内に保持する所定値とを比較する。そして、その比較結果が所定の関係に対応した場合に点灯もしくは消灯等の制御を行うようにしても良い。  As yet another example, the present invention also applies to a case where a command comprising color information + control code sent from the main body
  また上記例とは別に、本体側から送られてくる信号を制御部103において変換(演算)し、さらにメモリアレイ103Bもしくはコマンド制御部103D内に保持する値も制御部103において変換(演算)し、変換した値同士を比較する。そして、その比較結果が所定の関係に対応した場合に、点灯もしくは消灯等の制御を行うようにしても良い。  Separately from the above example, the signal sent from the main body side is converted (calculated) by the
6.その他
  上述の各例では、イエロー、マゼンタ、シアンおよびブラックの各色インクタンクを用いる形態について説明したが、用いるインクの色調(色および濃度)ないしはインクタンクの数はこれに限られることないことは勿論である。また、それらのインクに加え、淡色インクや、レッド,グリーン,ブルーなどの特色インクを用いる形態であってもよい。特にインクタンクの数が増すほど誤装着が発生しやすく、また配線やその接続部分によって視認性や着脱時の操作性を阻害し易くなることから、これを防ぐ意味で本発明の有効性が高くなると言い得るのである。以上各種実施形態について説明してきたが本発明においては、上記各種実施例を適宜組み合わせることが可能であることは言うまでもない。6). In addition , in each of the above-described examples, the embodiment using the ink tanks of each color of yellow, magenta, cyan, and black has been described. However, the color tone (color and density) or the number of ink tanks to be used is not limited to this. It is. Further, in addition to those inks, a form using light color inks or special color inks such as red, green, and blue may be used. In particular, the greater the number of ink tanks, the more likely misinstallation occurs, and the wiring and its connecting parts tend to hinder visibility and operability during attachment and detachment. It can be said that it becomes. Although various embodiments have been described above, it goes without saying that in the present invention, the above-described various embodiments can be appropriately combined.
    1、1K、1C、1M、1Y、501  インクタンク
    2  蓋部材
    3  支持部材
    3M  支持部材操作部
    5  第1係合部
    6  第2係合部
    7  インク供給口
    100  基板
    101、601  発光部(LED)
    102  パッド(コンタクト端子)
    103  制御素子(制御部)
    105  記録ヘッドユニット
    105’  記録ヘッド
    107  インク導入口
    121、321、450、550、560、580  導光部
    122、322、585  表示部
    150  ホルダ
    152  コネクタ
    155  第1係止部
    156  第2係止部
    157  電気接点部
    158、159  配線部
    201  本体カバー
    216  フレキシブルケーブル
    209  エンコーダスケール
    210  受光部
    211  エンコーダセンサ
    213  操作部
    214  第2発光/受光部
    301  CPU
    302  RAM
    303  ROMDESCRIPTION OF
 102 Pad (Contact terminal)
 103 Control element (control unit)
 105
 302 RAM
 303 ROM
| Application Number | Priority Date | Filing Date | Title | 
|---|---|---|---|
| JP2007160709AJP4086887B2 (en) | 2003-12-26 | 2007-06-18 | Ink storage container, method for manufacturing the same, and printer system | 
| Application Number | Priority Date | Filing Date | Title | 
|---|---|---|---|
| JP2003435942 | 2003-12-26 | ||
| JP2003435940 | 2003-12-26 | ||
| JP2004306128 | 2004-10-20 | ||
| JP2007160709AJP4086887B2 (en) | 2003-12-26 | 2007-06-18 | Ink storage container, method for manufacturing the same, and printer system | 
| Application Number | Title | Priority Date | Filing Date | 
|---|---|---|---|
| JP2004329699ADivisionJP4058434B2 (en) | 2003-12-26 | 2004-11-12 | Ink storage container, method for manufacturing the same, and printer system | 
| Publication Number | Publication Date | 
|---|---|
| JP2007230248A JP2007230248A (en) | 2007-09-13 | 
| JP4086887B2true JP4086887B2 (en) | 2008-05-14 | 
| Application Number | Title | Priority Date | Filing Date | 
|---|---|---|---|
| JP2007160709AExpired - Fee RelatedJP4086887B2 (en) | 2003-12-26 | 2007-06-18 | Ink storage container, method for manufacturing the same, and printer system | 
| Country | Link | 
|---|---|
| JP (1) | JP4086887B2 (en) | 
| Publication number | Priority date | Publication date | Assignee | Title | 
|---|---|---|---|---|
| JP5258659B2 (en)* | 2008-03-31 | 2013-08-07 | キヤノン株式会社 | Ink tank and inkjet recording system | 
| JP5428682B2 (en)* | 2009-09-10 | 2014-02-26 | 株式会社リコー | Image forming apparatus and image forming system | 
| JP5569475B2 (en) | 2010-09-03 | 2014-08-13 | セイコーエプソン株式会社 | Liquid container and liquid ejecting apparatus | 
| JP2012051315A (en) | 2010-09-03 | 2012-03-15 | Seiko Epson Corp | Holder, liquid accommodation container attachable/detachable to/from holder, and liquid ejecting apparatus | 
| JP5874160B2 (en) | 2010-09-03 | 2016-03-02 | セイコーエプソン株式会社 | Holder for detachable liquid container | 
| JP6476551B2 (en)* | 2013-05-15 | 2019-03-06 | セイコーエプソン株式会社 | Cartridge and printing material supply system | 
| JP7137785B2 (en)* | 2018-09-10 | 2022-09-15 | 株式会社リコー | Portable image forming apparatus and main body of portable image forming apparatus | 
| JP7296053B2 (en)* | 2018-09-10 | 2023-06-22 | 株式会社リコー | Portable image forming apparatus and main body of portable image forming apparatus | 
| Publication number | Publication date | 
|---|---|
| JP2007230248A (en) | 2007-09-13 | 
| Publication | Publication Date | Title | 
|---|---|---|
| JP4058434B2 (en) | Ink storage container, method for manufacturing the same, and printer system | |
| JP4533125B2 (en) | Ink tank and ink jet recording apparatus | |
| JP4125329B2 (en) | Liquid storage container and liquid supply system including the container | |
| JP4659530B2 (en) | Ink tank holder and ink jet recording head cartridge | |
| JP4086887B2 (en) | Ink storage container, method for manufacturing the same, and printer system | |
| JP4115480B2 (en) | Liquid storage container | |
| JP2008006787A (en) | Liquid storage container and inkjet recording apparatus | |
| JP5247875B2 (en) | Ink tank and ink jet recording apparatus | |
| JP4804103B2 (en) | Liquid storage container | |
| JP4420460B2 (en) | Ink tank substrate unit, ink tank comprising the substrate unit, and ink jet recording apparatus | |
| JP4993783B2 (en) | Ink tank | |
| RU2288104C2 (en) | Container for storing liquid and method for producing the container | |
| JP2007160564A (en) | Liquid storage container | |
| JP2006181723A (en) | Liquid container, liquid supply system and recording apparatus using the container, circuit module and substrate for container, and liquid container | |
| HK1073632B (en) | Liquid container and manufacturing method therefor | |
| HK1153173B (en) | Liquid container | |
| JP2007185836A (en) | Ink tank | 
| Date | Code | Title | Description | 
|---|---|---|---|
| A621 | Written request for application examination | Free format text:JAPANESE INTERMEDIATE CODE: A621 Effective date:20070618 | |
| A131 | Notification of reasons for refusal | Free format text:JAPANESE INTERMEDIATE CODE: A131 Effective date:20071005 | |
| RD13 | Notification of appointment of power of sub attorney | Free format text:JAPANESE INTERMEDIATE CODE: A7433 Effective date:20071121 | |
| A521 | Request for written amendment filed | Free format text:JAPANESE INTERMEDIATE CODE: A523 Effective date:20071130 | |
| A521 | Request for written amendment filed | Free format text:JAPANESE INTERMEDIATE CODE: A821 Effective date:20071121 | |
| TRDD | Decision of grant or rejection written | ||
| A01 | Written decision to grant a patent or to grant a registration (utility model) | Free format text:JAPANESE INTERMEDIATE CODE: A01 Effective date:20080201 | |
| A61 | First payment of annual fees (during grant procedure) | Free format text:JAPANESE INTERMEDIATE CODE: A61 Effective date:20080219 | |
| FPAY | Renewal fee payment (event date is renewal date of database) | Free format text:PAYMENT UNTIL: 20110228 Year of fee payment:3 | |
| R150 | Certificate of patent or registration of utility model | Ref document number:4086887 Country of ref document:JP Free format text:JAPANESE INTERMEDIATE CODE: R150 Free format text:JAPANESE INTERMEDIATE CODE: R150 | |
| FPAY | Renewal fee payment (event date is renewal date of database) | Free format text:PAYMENT UNTIL: 20120229 Year of fee payment:4 | |
| FPAY | Renewal fee payment (event date is renewal date of database) | Free format text:PAYMENT UNTIL: 20130228 Year of fee payment:5 | |
| FPAY | Renewal fee payment (event date is renewal date of database) | Free format text:PAYMENT UNTIL: 20140228 Year of fee payment:6 | |
| LAPS | Cancellation because of no payment of annual fees |