
































【0001】
【発明の属する技術分野】
本発明は、投影露光装置及び投影露光方法並びに走査露光方法に係り、更に詳しくはマスクに形成されたパターンの像を投影光学系を介して感応基板上に投影露光する投影露光装置及び投影露光方法並びに走査露光方法に関するものであり、特に、フォーカス制御やレベリング制御の方法に特徴を有している。
【0002】
【従来の技術】
従来より、半導体素子又は液晶表示素子等をフォトリソグラフィ工程で製造する場合に、種々の露光装置が使用されているが、現在では、フォトマスク又はレチクル(以下、「レチクル」と総称する)のパターン像を、投影光学系を介して表面にフォトレジスト等の感光材が塗布されたウエハ又はガラスプレート等の基板(以下、適宜「感応基板」と称する)上に転写する投影露光装置が一般的に使用されている。近年では、この投影露光装置として、感応基板を2次元的に移動自在な基板ステージ上に載置し、この基板ステージにより感応基板を歩進(ステッピング)させて、レチクルのパターン像を感応基板上の各ショット領域に順次露光する動作を繰り返す、所謂ステップ・アンド・リピート方式の縮小投影露光装置(いわゆるステッパー)が主流となっている。
【0003】
最近になって、このステッパー等の静止型露光装置に改良を加えた、ステップ・アンド・スキャン方式の投影露光装置(例えば特開平7−176468号公報に記載された様な走査型露光装置)も比較的多く用いられるようになってきた。このステップ・アンド・スキャン方式の投影露光装置は、▲1▼ステッパーに比べると大フィールドをより小さな光学系で露光できるため、投影光学系の製造が容易であるとともに、大フィールド露光によるショット数の減少により高スループットが期待出来る、▲2▼投影光学系に対してレチクル及びウエハを相対走査することで平均化効果があり、ディストーションや焦点深度の向上が期待出来る等のメリットがある。さらに、半導体素子の集積度が16M(メガ)から64MのDRAM、更に将来的には256M、1G(ギガ)というように時代とともに高くなるのに伴い、大フィールドが必須になるため、ステッパーに代わってスキャン型投影露光装置が主流になるであろうと言われている。
【0004】
そこで、このスキャン型投影露光装置を用いて感応基板を露光する場合は、例えば、特開平6−283403号公報等に記載されているように、露光フィールドに対して走査方向の手前側に設けられた1列全ての検出点をサンプル点として、予め露光前にそのサンプル点でのフォーカス位置の値を全て計測し、平均化処理やフィルタリング処理を行って、位相遅れを見込んで露光時にオープンでオートフォーカス及びオートレベリング機構を制御する。そして、それと並行して上記1列の各サンプル点でのフォーカス位置の計測値から最小自乗近似法で非スキャン方向の傾きを求め、非スキャン方向のレベリング制御をオープン制御で行う、いわゆる完全先読み制御法が実施されていた。
【0005】
【発明が解決しようとする課題】
この種の投影露光装置は、主として半導体素子等の量産機として使用されるものであることから、一定時間内にどれだけの枚数のウエハを露光処理できるかという処理能力、すなわちスループットを向上させることが必然的に要請される。
【0006】
これに関し、上記したステップ・アンド・スキャン方式の投影露光装置の場合、大フィールドを露光する場合には先に述べたように、ウエハ内に露光するショット数が少なくなるのでスループットの向上が見込まれるが、露光はレチクルとウエハとの同期走査による等速移動中に行われることから、その等速移動領域の前後に加減速領域が必要となり、仮にステッパーのショットサイズと同等の大きさのショットを露光する場合には、却ってステッパーよりスループットが落ちる可能性がある。
【0007】
この種の投影露光装置における処理の流れは、大要次のようになっている。
【0008】
▲1▼  まず、ウエハローダを使ってウエハをウエハテーブル上にロードするウエハロード工程が行われる。
【0009】
▲2▼  次に、サーチアライメント機構によりウエハの大まかな位置検出を行うサーチアライメント工程が行われる。このサーチアライメント工程は、具体的には、例えば、ウエハの外形を基準としたり、あるいは、ウエハ上のサーチアライメントマークを検出することにより行われる。
【0010】
▲3▼  次に、ウエハ上の各ショット領域の位置を正確に求めるファインアライメント工程が行われる。このファインアライメント工程は、一般にEGA(エンハンスト・グローバル・アライメント)方式が用いられ、この方式は、ウエハ内の複数のサンプルショットを選択しておき、当該サンプルショットに付設されたアライメントマーク(ウエハマーク)の位置を順次計測し、この計測結果とショット配列の設計値とに基づいて、いわゆる最小自乗法等による統計演算を行って、ウエハ上の全ショット配列データを求めるものであり(特開昭61−44429号等参照)、高スループットで各ショット領域の座標位置を比較的高精度に求めることができる。
【0011】
▲4▼  次に、上述したEGA方式等により求めた各ショット領域の座標位置と予め計測したベースライン量とに基づいて露光位置にウエハ上の各ショット領域を順次位置決めしつつ、投影光学系を介してレチクルのパターン像をウエハ上に転写する露光工程が行われる。
【0012】
▲5▼  次に、露光処理されたウエハテーブル上のウエハをウエハアンローダを使ってウエハアンロードさせるウエハアンロード工程が行われる。このウエハアンロード工程は、露光処理を行うウエハの上記▲1▼のウエハロード工程と同時に行われる。すなわち、▲1▼と▲5▼とによってウエハ交換工程が構成される。
【0013】
このように、従来の投影露光装置では、ウエハ交換→サーチアライメント→ファインアライメント→露光→ウエハ交換……のように、大きく4つの動作が1つのウエハステージを用いて繰り返し行われている。
【0014】
また、この種の投影露光装置のスループットTHOR[枚/時間]は、上述したウエハ交換時間をT1、サーチアライメント時間をT2、ファインアライメント時間をT3、露光時間をT4とした場合に、次式(1)のように表すことができる。
【0015】
THOR=3600/(T1+T2+T3+T4)  ………(1)
上記T1〜T4の動作は、T1→T2→T3→T4→T1……のように順次(シーケンシャルに)繰り返し実行される。このため、T1〜T4までの個々の要素を高速化すれば分母が小さくなって、スループットTHORを向上させることができる。しかし、上述したT1(ウエハ交換時間)とT2(サーチアライメント時間)は、ウエハ1枚に対して一動作が行われるだけであるから改善の効果は比較的小さい。また、T3(ファインアライメント時間)の場合は、上述したEGA方式を用いる際にショットのサンプリング数を少なくしたり、ショット単体の計測時間を短縮すればスループットを向上させることができるが、逆にアライメント精度を劣化させることになるため、安易にT3を短縮することはできない。
【0016】
また、T4(露光時間)は、ウエハ露光時間とショット間のステッピング時間とを含んでいる。例えば、ステップ・アンド・スキャン方式のような走査型投影露光装置の場合は、ウエハ露光時間を短縮させる分だけレチクルとウエハの相対走査速度を上げる必要があるが、同期精度が劣化することから、安易に走査速度を上げることができない。
【0017】
また、この種の投影露光装置で上記スループット面の他に、重要な条件としては、▲1▼解像度、▲2▼焦点深度(DOF:Depth of Forcus )、▲3▼線幅制御精度が挙げられる。解像度Rは、露光波長をλとし、投影レンズの開口数をN.A.(Numerical Aperture )とすると、λ/N.A.に比例し、焦点深度DOFはλ/(N.A.)2に比例する。
【0018】
このため、解像度Rを向上させる(Rの値を小さくする)には、露光波長λを小さくするか、あるいは開口数N.A.を大きくする必要がある。特に、最近では半導体素子等の高密度化が進んでおり、デバイスルールが0.2μmL/S(ライン・アンド・スペース)以下となってきていることから、これらのパターンを露光する為には照明光源としてKrFエキシマレーザを用いている。しかしながら、前述したように半導体素子の集積度は、将来的に更に上がることは必至であり、KrFより短波長な光源を備えた装置の開発が望まれる。このようなより短波長な光源を備えた次世代の装置の候補として、ArFエキシマレーザを光源とした装置、電子線露光装置等が代表的に挙げられるが、ArFエキシマレーザの場合は、酸素のある所では光が殆ど透過せず、高出力が出にくい上、レーザの寿命も短く、装置コストが高いという技術的な課題が山積しており、また、電子線露光装置の場合、光露光装置に比べてスループットが著しく低いという不都合があることから、短波長化を主な観点とした次世代機の開発は思うようにいかないというのが現実である。
【0019】
解像度Rを上げる他の手法としては、開口数N.A.を大きくすることも考えられるが、N.A.を大きくすると、投影光学系のDOFが小さくなるというデメリットがある。このDOFは、UDOF(User Depth of Forcus:ユーザ側で使用する部分:パターン段差やレジスト厚等)と、装置自身の総合焦点差とに大別することができる。これまでは、UDOFの比率が大きかったため、DOFを大きく取る方向が露光装置開発の主軸であり、このDOFを大きくとる技術として例えば変形照明等が実用化されている。
【0020】
ところで、デバイスを製造するためには、L/S(ライン・アンド・スペース)、孤立L(ライン)、孤立S(スペース)、及びCH(コンタクトホール)等が組み合わさったパターンをウエハ上に形成する必要があるが、上記のL/S、孤立ライン等のパターン形状毎に最適露光を行うための露光パラメータが異なっている。このため、従来は、ED−TREE(レチクルが異なるCHは除く)という手法を用いて、解像線幅が目標値に対して所定の許容誤差内となり、かつ所定のDOFが得られるような共通の露光パラメータ(コヒーレンスファクタσ、N.A.、露光制御精度、レチクル描画精度等)を求めて、これを露光装置の仕様とすることが行われている。しかしながら、今後は以下のような技術的な流れがあると考えられている。
【0021】
▲1▼プロセス技術(ウェハ上平坦化)向上により、パターン低段差化、レジスト厚減少が進み、UDOFが1μm台→0.4μm以下になる可能性がある。
【0022】
▲2▼露光波長がg線(436nm)→i線(365nm)→KrF(248nm)と短波長化している。しかし、今後はArF(193)までの光源しか検討されてなく、その技術的ハードルも高い。その後はEB露光に移行する。
【0023】
▲3▼ステップ・アンド・リピートのような静止露光に代わりステップ・アンド・スキャンのような走査露光がステッパーの主流になる事が予想されている。この技術は、径の小さい投影光学系で大フィールド露光が可能であり(特にスキャン方向)、その分高N.A.化を実現し易い。
【0024】
上記のような技術動向を背景にして、限界解像度を向上させる方法として、二重露光法が見直され、この二重露光法をKrF及び将来的にはArF露光装置に用い、0.1μmL/Sまで露光しようという試みが検討されている。一般に二重露光法は以下の3つの方法に大別される。
【0025】
(1)露光パラメータの異なるL/S、孤立線を別々のレチクルに形成し、各々最適露光条件により同一ウエハ上に二重に露光を行う。
【0026】
(2)位相シフト法等を導入すると、孤立線よりL/Sの方が同一DOFにて限界解像度が高い。これを利用することにより、1枚目のレチクルで全てのパターンをL/Sで形成し、2枚目のレチクルにてL/Sを間引きすることで孤立線を形成する。
【0027】
(3)一般に、L/Sより孤立線は、小さなN.A.にて高い解像度を得ることができる(但し、DOFは小さくなる)。そこで、全てのパターンを孤立線で形成し、1枚目と2枚目のレチクルによってそれぞれ形成した孤立線の組み合わせにより、L/Sを形成する。
【0028】
上記の二重露光法は解像度向上、DOF向上の2つの効果がある。
【0029】
しかし、二重露光法は、複数のレチクルを使って露光処理を複数回行う必要があるため、従来の装置に比べて露光時間(T4)が倍以上になり、スループットが大幅に劣化するという不都合があったことから、現実には、二重露光法はあまり真剣に検討されてなく、従来より露光波長の紫外化、変形照明、位相シフトレチクル等により、解像度、焦点深度(DOF)の向上が行われてきた。
【0030】
しかしながら、先に述べた二重露光法をKrF、ArF露光装置に用いると0.1μmL/Sまでの露光が実現することにより、256M、1GのDRAMの量産を目的とする次世代機の開発の有力な選択肢であることは疑いなく、このためのネックとなる二重露光法の課題であるスループットの向上のため新技術の開発が待望されていた。
【0031】
これに関し、前述した4つの動作すなわちウエハ交換、サーチアライメント、ファインアライメント、及び露光動作の内の複数動作同士を部分的にでも同時並行的に処理できれば、これら4つの動作をシーケンシャルに行う場合に比べて、スループットを向上させることができると考えられ、そのためには基板ステージを複数設けることが前提となる。この基板ステージを複数設けることは公知であり、理論上簡単なように思えるが、充分な効果を発揮させるために解決しなければならない多くの問題が山積している。例えば、現状と同程度の大きさの基板ステージを単に2つ並べて配置するのでは、装置の設置面積(いわゆるフットプリント)が著しく増大し、露光装置が置かれるクリーンルームのコストアップを招くという不都合がある。また、高精度な重ね合わせを実現するためには、同一の基板ステージ上の感応基板に対し、アライメントを実行した後、そのアライメントの結果を用いてマスクのパターン像と感応基板の位置合わせを実行して露光を行う必要があるため、単に2つの基板ステージの内、一方を例えば露光専用、他方をアライメント専用等とすることは、現実的な解決策とは成り得ない。
【0032】
更に、走査型の投影露光装置では、ウエハW上の各ショット領域に対する露光順序は、▲1▼スキャン時加減速時間、▲2▼整定時間、▲3▼露光時間、▲4▼隣接ショットへのステッピング時間等の▲1▼〜▲4▼の各パラメータにより決定されるが、一般にレチクルステージの加減速が律速条件となるため、レチクルステージを走査方向の一側から他側、他側から一側に交互に走査し、これに合わせてウエハをレチクルステージと反対方向に交互に走査する(このためには、ウエハは1ショット露光後、非走査方向へ1ショット分ステッピングされる)ことが最も効率的である。
【0033】
しかしながら、上述した従来の完全先読み制御(特開平6−283403号公報等)を行なう場合には、上述した最も効率的な露光順序で露光を行なうことが困難であった。すなわち、ウエハ中心近傍のショット領域を露光する場合は、特に問題なく上記完全先読み制御を行なうことができるが、ウエハ外周近傍に存在するショット領域や、外周での欠けショットでは、その走査方向によっては完全先読み制御が困難な場合があり、完全先読みを行なうために走査方向をウエハの内側から外側にせざるを得ないのが現状だからである。このため、スループットの低下を招いていた。
【0034】
  本発明は、かかる事情の下になされたもので、第1の目的は、スループットを一層向上させつつ、高精度なフォーカス、レベリング制御を行うことが可能な投影露光装置を提供することにある。
【0035】
  また、本発明の第2の目的は、スループットを一層向上させつつ、高精度なフォーカス、レベリング制御を行うことが可能な走査露光方法を提供することにある。
【0039】
【課題を解決するための手段】
本発明は、第1の観点からすると、投影光学系(PL)を介してパターンの像を露光領域に投影し、該露光領域に対して感応基板(W1、W2)を走査方向に移動することによって、前記感応基板上の複数のショット領域の各々を露光する投影露光装置であって、感応基板(W1)を保持して2次元平面内を移動可能な第1基板ステージ(WS1)と;感応基板(W2)を保持して前記第1基板ステージ(WS1)と同一平面内を前記第1基板ステージ(WS1)とは独立に移動可能な第2基板ステージ(WS2)と;前記投影光学系(PL)とは別に設けられ、前記基板ステージ(WS1又はWS2)に保持された感応基板(W1又はW2)上のマークを計測する少なくとも1つのアライメント系(例えば、24a)と;前記アライメント系(24a)を用いたマーク計測中の感応基板(例えば、W1)面の所定基準面に対する相対位置を検出するための第1検出系(例えば、130)と;前記投影光学系(PL)を用いた露光中の感応基板(例えば、W2)面の所定基準面に対する相対位置を検出するための第2検出系(132)と;前記第1基板ステージ(WS1)及び第2基板ステージ(WS2)の各々に設けられ、ステージ(WS1又はWS2)上に保持された感応基板(W1又はW2)の面位置を調整するための基板駆動系(LS)と;前記第1基板ステージ(WS1)及び第2基板ステージ(WS2)の内の一方のステージ(例えば、WS1)で前記第1検出系(130)による検出を行いながら前記アライメント系(24a)を用いたマーク計測動作が行われる間に、他方のステージ(例えば、WS2)で前記投影光学系(PL)を用いた露光動作が行われるように前記2つのステージ(WS1、WS2)を制御した後、前記一方のステージ(WS1)で前記投影光学系(PL)を用いた露光動作が行われるように前記一方のステージ(WS1)を制御するとともに、前記感応基板の外側から内側へ走査されるように設定された外周近傍のショット領域を露光するときには、前記一方のステージ(WS1)のマーク計測動作中に得られた前記第1検出系(130)の検出結果に基づいて前記一方のステージ(WS1)の基板駆動系(LS1)を制御する制御手段(90)と;を有する投影露光装置である。
【0040】
これによれば、制御手段により、第1基板ステージ及び第2基板ステージの内一方のステージで第1検出系による検出を行いながらアライメント系を用いたマーク計測動作が行われる間に、他方のステージで投影光学系を用いた露光動作が行われるように2つのステージが制御されることから、一方のステージ側のマーク計測動作と他方のステージ側の露光動作とを並行処理することにより、これらの動作をシーケンシャルに行なっていた従来技術と比べてスループットの向上を図ることが可能である。
【0041】
  さらに、制御手段では、上記の一方のステージ側のマーク計測動作と他方のステージ側の露光動作との並行処理が終了した後に、一方のステージで投影光学系を用いた露光動作が行われるように一方のステージを制御するとともに、前記感応基板の外側から内側へ走査されるように設定された外周近傍のショット領域を露光するときには、一方のステージのマーク計測動作中に得られた第1検出系の検出結果と一方のステージの露光動作中に得られる第2検出系の検出結果とに基づいて一方のステージの基板駆動系を制御する。このため、この一方のステージの露光動作中に、感応基板の外側から内側へ走査されるように設定された外周近傍のショット領域を露光するときには、先のマーク計測動作中に得られた第1検出系の検出結果に基づいて該一方のステージの基板駆動系を制御して感応基板の面位置を投影光学系の結像面近くまで迅速に追い込むことができる。この結果、上記のような感応基板の外側から内側へ走査されるように設定された外周近傍のショット領域についても内スキャンを採用せず、効率の良い露光順序で各ショット領域を露光することができるのでスループットを向上させることができるとともに、迅速且つ高精度なフォーカス、レベリング制御が可能となる。
【0042】
本発明は、第2の観点からすると、照明光で照明された照明領域(IA)に対してマスク(R)を走査方向に移動させるのと同期して前記照明領域(IA)に共役な露光領域(IF)に対して感応基板(W1又はW2)を前記走査方向に移動させることにより前記マスク(R)のパターン像を投影光学系(PL)を介して前記感応基板(W1又はW2)上に露光する走査型の投影露光装置であって、感応基板(W1)を保持して2次元平面内を移動可能な第1基板ステージ(WS1)と;感応基板(W2)を保持して前記第1基板ステージ(WS1)と同一平面内を前記第1基板ステージ(WS1)とは独立に移動可能な第2基板ステージ(WS2)と;前記投影光学系(PL)とは別に設けられ、前記基板ステージ(WS1又はWS2)に保持された感応基板(W1又はW2)上のマークを計測する少なくとも1つのアライメント系(例えば、24a)と;前記アライメント系(24a)を用いたマーク計測中の感応基板(W1又はW2)面の所定基準面に対する相対位置を検出するための第1検出系(例えば、130)と;前記投影光学系(PL)を用いた露光中の感応基板(W2又はW1)面の所定基準面に対する相対位置を検出するための第2検出系(132)と;前記第1基板ステージ(WS1)及び第2基板ステージ(WS2)の各々に設けられ、ステージ上に保持された感応基板の面位置を調整するための基板駆動系(LS)と;前記第1基板ステージ(WS1)及び第2基板ステージ(WS2)の内の一方のステージ(例えば、WS1)で前記第1検出系(130)による検出を行いながら前記アライメント系(24a)を用いたマーク計測動作が行われる間に、他方のステージ(例えば、WS2)で前記投影光学系(PL)を用いた露光動作が行われるように前記2つのステージ(WS1、WS2)を制御した後、前記一方のステージ(WS1)で前記投影光学系(PL)を用いた露光動作が行われるように前記一方のステージ(WS1)を制御する際に、前記一方のステージ(WS1)に保持された感応基板(W1)上の複数のショット領域の内前記露光領域(IF)に対して前記感応基板(W1)の外側から内側へ走査されるように設定された外周近傍のショット領域を露光するときには、前記一方のステージ(WS1)のマーク計測動作中に得られた前記第1検出系(130)の検出結果と前記一方のステージ(WS1)の露光動作中に得られる前記第2検出系(132)の検出結果とに基づいてステージの基板駆動系(LS)を制御し、その他のショット領域を露光するときには前記第2検出系(132)の検出結果だけを用いて前記一方のステージ(WS1)の基板駆動系(LS)を制御する制御手段(90)とを有する投影露光装置である。
【0043】
これによれば、制御手段により、第1基板ステージ及び第2基板ステージの内一方のステージで第1検出系による検出を行いながらアライメント系を用いたマーク計測動作が行われる間に、他方のステージで投影光学系を用いた露光動作が行われるように2つのステージが制御されることから、一方のステージ側のマーク計測動作と他方のステージ側の露光動作との並行処理により、これらの動作をシーケンシャルに行なっていた従来技術と比べてスループットの向上を図ることが可能である。
【0044】
更に制御手段では、上記の一方のステージ側のマーク計測動作と他方のステージ側の露光動作との並行処理が終了後に、一方のステージで投影光学系を用いた露光動作が行われるように一方のステージを制御する際に、一方のステージに保持された感応基板上の複数のショット領域の内の露光領域に対して前記感応基板の外側から内側へ走査されるように設定された外周近傍のショット領域を露光するときには、前記一方のステージのマーク計測動作中に得られた前記第1検出系の検出結果と前記一方のステージの露光動作中に得られる前記第2検出系の検出結果とに基づいてステージの基板駆動系を制御し、その他のショット領域を露光するときには前記第2検出系の検出結果だけを用いて前記一方のステージの基板駆動系を制御する。このため、この一方のステージの露光動作中に、前ショットの露光時の感応基板の面位置の情報が得られない露光領域に対して前記感応基板の外側から内側へ走査されるように設定された外周近傍のショット領域を露光するときには、一方のステージのマーク計測動作中に得られた第1検出系の検出結果に基づいて該一方のステージの基板駆動系を制御して感応基板の面位置を投影光学系の結像面近くまで迅速に追い込むことができるとともに、第2の検出系の検出結果に基づいて基板駆動系を更に微調整して感応基板表面を結像面に合致させることが出来る。反対に、上記以外の前ショットの露光時の感応基板の面位置の情報が得られるようなショット領域の露光の際には、露光対象のショット領域の露光開始に先立って、前ショットの露光時の感応基板の面位置の情報に基づいて一方のステージの基板駆動系を制御して感応基板の面位置を投影光学系の結像面近くまで迅速に追いんだ後、露光中に得られる第2の検出系の検出結果だけを用いて感応基板の面位置調整(「フォーカス・レベリング」調整)が行われる。
【0045】
従って、いずれのショット領域の露光の際にも、迅速且つ高精度なフォーカス、レベリング制御が可能となる。
【0046】
  本発明は、第3の観点からすると、投影光学系(PL)を介してパターンの像を露光領域に投影し、該露光領域に対して感応基板(W1又はW2)を走査方向に移動することによって、該感応基板上の複数のショット領域の各々を露光する走査露光方法であって、感応基板(W1又はW2)を保持して同一の2次元平面内を各々独立に移動可能な2つの基板ステージ(WS1、WS2)を用意し;前記2つのステージ(WS1、WS2)の内の一方のステージ(例えば、WS1)に保持された感応基板(例えば、W1)上のマークを計測し;前記一方のステージ(WS1)でマーク計測動作が行われている間に前記一方のステージ(WS1)上に保持された感応基板(W1)の所定基準面に対する相対位置を検出し;前記一方のステージ(WS1)でマーク計測動作が行われている間に、前記2つのステージ(WS1、WS2)の内の他方のステージ(WS2)に保持された感応基板(W2)を露光し;前記他方のステージ(WS2)の露光動作終了後に、前記感応基板の外側から内側へ走査されるように設定された、前記一方のステージ(WS1)に保持された感応基板(W1)を露光するときには、前記検出された相対位置に基づいて前記一方のステージ(WS1)に保持された感応基板(W1)の面位置を調整することを特徴とする走査露光方法である。
【0047】
  これによれば、2つのステージの内の一方のステージに保持された感応基板上のマークが計測され、この一方のステージでマーク計測動作が行われている間に一方のステージ上に保持された感応基板の所定基準面に対する相対位置が検出される。このようにして一方のステージでマーク計測動作が行われている間に、これと並行して2つのステージの内の他方のステージに保持された感応基板が露光される。このため、一方のステージ側のマーク計測動作と他方のステージ側の露光動作との並行処理により、これらの動作をシーケンシャルに行なっていた従来技術と比べてスループットの向上を図ることが可能である。
【0048】
  そして、上記の他方のステージの露光動作終了後、すなわち上記2つのステージ上での並行動作が終了した後、一方のステージに保持された感応基板が露光されるが、その際、前記感応基板の外側から内側へ走査されるように設定された、一方のステージに保持された感応基板上の外周近傍のショット領域を露光するときには、先に検出された一方のステージ上に保持された感応基板の所定基準面に対する相対位置(面位置の情報)に基づいて前記一方のステージに保持された感応基板の面位置が調整され、感応基板の面位置を投影光学系の結像面近くまで迅速に追い込むことができる。この結果、感応基板の外側から内側へ走査されるように設定された感応基板の外周近傍のショット領域についても、内スキャンを採用せず、効率の良い露光順序で各ショット領域を露光することができるのでスループットを向上させることができるとともに、迅速且つ高精度なフォーカス、レベリング制御が可能となる。
【0069】
  また、本発明は第4の観点からすると、投影光学系(PL)を介してパターンの像を露光領域(IF)に投影し、該露光領域(IF)に対して感応基板を走査方向に移動することによって、該感応基板を露光する投影露光方法であって、2次元方向(X軸方向,Y軸方向)に移動可能な第1基板ステージ(WS1)上に感応基板(W1)を保持し、第1基板ステージ(WS1)とは独立に、2次元方向(X軸方向,Y軸方向)に移動可能な第2基板ステージ(WS2)上に感応基板(W2)を保持し、第1、第2基板ステージのうちの一方の基板ステージ(例えばWS1)上に保持された感応基板(W1)上のアライメントマークの検出を行う計測シーケンスを、他方の基板ステージ(WS2)上の感応基板(W2)の露光を行う露光シーケンスと並行して実行し、その計測シーケンスの間に、一方の基板ステージ(WS1)上の感応基板(W1)の外周近傍の表面位置情報を検出し、一方の基板ステージ(WS1)を用いた計測シーケンスと他方の基板ステージ(WS2)を用いた露光シーケンスの終了後、他方の基板ステージ(WS2)を感応基板の交換位置に移動するとともに、一方の基板ステージ(WS1)を投影光学系(PL)の像面側に移動し、一方の基板ステージ(WS1)に保持された感応基板の外周近傍のショット領域(210)を、前記露光領域(IF)が感応基板の外側から内側へ走査するように露光し、その露光に際して計測シーケンス中に検出された前記表面位置情報に基づいて、一方の基板ステージ(WS1)上に保持された感応基板(W1)の面位置調整を実行する投影露光方法である。
  これによれば、スループットを向上させつつ、高精度なフォーカス、レベリング制御を行うことができる。
  また、本発明は第5の観点からすると、マスク(R)に形成されたパターンの像を投影光学系(PL)を介して感応基板(W)上に露光する投影露光装置であって、干渉計用の反射面を有し、感応基板を保持して2次元方向(X軸方向,Y軸方向)に移動可能な第1基板ステージ(WS1)と;干渉計用の反射面を有し、感応基板を保持して第1基板ステージ(WS1)とは独立に2次元方向(X軸方向,Y軸方向)に移動可能な第2基板ステージ(WS2)と;投影光学系(PL)とは別に設けられ、感応基板上のアライメントマークを検出する少なくとも1つの第1アライメント系(24a)と;基板ステージに設けられた基準(FM1)とマスク(R)のマークとの相対位置関係を投影光学系(PL)を介して計測する第2アライメント系(142)と;感応基板の表面の所定基準面に対する面位置情報を検出する面位置検出系(130)と;第1アライメント系(24a)を用いて感応基板上のアライメントマークの検出を行う計測シーケンス中の基板ステージの位置を計測可能に配置され、その計測シーケンスの終了後に基板ステージの反射面から外れる第1干渉計測長軸(BI4Y)と、投影光学系(PL)を用いて感応基板の露光を行う露光シーケンス中の基板ステージの位置を計測可能に配置され、その露光シーケンス終了後に基板ステージの反射面から外れる第2干渉計測長軸(BI3Y)とを有する干渉計システムと;を備え、第1、第2基板ステージのうちの一方の基板ステージ(例えばWS1)での計測シーケンスを、他方の基板ステージ(WS2)での露光シーケンスと並行して実行して、一方の基板ステージ(WS1)に保持された感応基板(W1)上のショット領域と、一方の基板ステージ(WS1)に設けられた基準(FM1)との第1位置関係が求められ、その計測シーケンスの実行中に、一方の基板ステージ(WS1)上の感応基板(W1)表面の面位置情報が面位置検出系(130)を用いて検出され、一方の基板ステージ(WS1)を用いた計測シーケンス及び他方の基板ステージ(WS2)を用いた露光シーケンスの終了後、他方の基板ステージ(WS2)が感応基板の交換位置に移動されるとともに、一方の基板ステージ(WS1)が投影光学系(PL)の像面側の所定位置に移動され、第2アライメント系(142)を用いて、一方の基板ステージ(WS1)に設けられた基準(FM1)とマスクのマークとの第2位置関係が計測され、一方の基板ステージ(WS1)に保持されている感応基板(W1)上のショット領域が順次露光され、その露光の際に、その第1及び第2位置関係と前記第2干渉計測長軸を用いて計測される一方の基板ステージ(WS1)の位置とに基づいて、一方の基板ステージ(WS1)の2次元方向(X軸方向,Y軸方向)の位置が制御されるとともに、その計測シーケンス中に検出された面位置情報に基づいて、一方の基板ステージ(WS1)に保持された感応基板(W1)の面位置調整が行われる投影露光装置である。
  これによれば、スループットを向上させつつ、高精度なフォーカス、レベリング制御を行うことができる。
【0070】
【発明の実施の形態】
《第1の実施形態》
以下、本発明の第1の実施形態を図1ないし図18に基づいて説明する。
【0071】
図1には、第1の実施形態に係る投影露光装置10の概略構成が示されている。この投影露光装置10は、いわゆるステップ・アンド・スキャン方式の走査露光型の投影露光装置である。
【0072】
この投影露光装置10は、ベース盤12上を感応基板としてのウエハW1、W2をそれぞれ保持して独立して2次元方向に移動する第1、第2の基板ステージとしてのウエハステージWS1、WS2を備えたステージ装置、このステージ装置の上方に配置された投影光学系PL、投影光学系PLの上方でマスクとしてのレチクルRを主として所定の走査方向、ここではY軸方向(図1における紙面直交方向)に駆動するレチクル駆動機構、レチクルRを上方から照明する照明系及びこれら各部を制御する制御系等を備えている。
【0073】
前記ステージ装置は、ベース盤12上に不図示の空気軸受けを介して浮上支持され、X軸方向(図1における紙面左右方向)及びY軸方向(図1における紙面直交方向)に独立して2次元移動可能な2つのウエハステージWS1、WS2と、これらのウエハステージWS1、WS2を駆動するステージ駆動系と、ウエハステージWS1、WS2の位置を計測する干渉計システムとを備えている。
【0074】
これをさらに詳述すると、ウエハステージWS1、WS2の底面には不図示のエアパッド(例えば、真空予圧型空気軸受け)が複数ヶ所に設けられており、このエアパッドの空気噴き出し力と真空予圧力とのバランスにより例えば数ミクロンの間隔を保った状態で、ベース盤12上に浮上支持されている。
【0075】
ベース盤12上には、図3の平面図に示されるように、X軸方向に延びる2本のX軸リニアガイド(例えば、いわゆるムービングコイル型のリニアモータの固定側マグネットのようなもの)122、124が平行に設けられており、これらのX軸リニアガイド122、124には、当該各X軸リニアガイドに沿って移動可能な各2つの移動部材114、118及び116、120がそれぞれ取り付けられている。これら4つの移動部材114、118、116、120の底面部には、X軸リニアガイド122又は124を上方及び側方から囲むように不図示の駆動コイルがそれぞれ取り付けられており、これらの駆動コイルとX軸リニアガイド122又は124とによって、各移動部材114、116、118、120をX軸方向に駆動するムービングコイル型のリニアモータが、それぞれ構成されている。但し、以下の説明では、便宜上、上記移動部材114、116、118、120をX軸リニアモータと呼ぶものとする。
【0076】
この内2つのX軸リニアモータ114、116は、Y軸方向に延びるY軸リニアガイド(例えば、ムービングマグネット型のリニアモータの固定側コイルのようなもの)110の両端にそれぞれ設けられ、また、残り2つのX軸リニアモータ118、120は、Y軸方向に延びる同様のY軸リニアガイド112の両端に固定されている。従って、Y軸リニアガイド110は、X軸リニアモータ114、116によってX軸リニアガイド122、124に沿って駆動され、またY軸リニアガイド112は、X軸リニアモータ118、120によってX軸リニアガイド122、124に沿って駆動されるようになっている。
【0077】
一方、ウエハステージWS1の底部には、一方のY軸リニアガイド110を上方及び側方から囲む不図示のマグネットが設けられており、このマグネットとY軸リニアガイド110とによってウエハステージWS1をY軸方向に駆動するムービングマグネット型のリニアモータが構成されている。また、ウエハステージWS2の底部には、他方のY軸リニアガイド112を上方及び側方から囲む不図示のマグネットが設けられており、このマグネットとY軸リニアガイド112とによってウエハステージWS2をY軸方向に駆動するムービングマグネット型のリニアモータが構成されている。
【0078】
すなわち、本第1の実施形態では、上述したX軸リニアガイド122、124、X軸リニアモータ114、116、118、120、Y軸リニアガイド110、112及びウエハステージWS1、WS2底部の不図示のマグネット等によってウエハステージWS1、WS2を独立してXY2次元駆動するステージ駆動系が構成されている。このステージ駆動系は、図1のステージ制御装置38によって制御される。
【0079】
なお、Y軸リニアガイド110の両端に設けられた一対のX軸リニアモータ114、116のトルクを若干可変する事で、ウエハステージWS1に微少ヨーイングを発生させたり、除去する事も可能である。同様に、Y軸リニアガイド112の両端に設けられた一対のX軸リニアモータ118、120のトルクを若干可変する事で、ウエハステージWS2に微少ヨーイングを発生させたり、除去する事も可能である。
【0080】
前記ウエハステージWS1、WS2上には、不図示のウエハホルダを介してウエハW1、W2が真空吸着等により固定されている。ウエハホルダは、不図示のZ・θ駆動機構によって、XY平面に直交するZ軸方向及びθ方向(Z軸回りの回転方向)に微小駆動されるようになっている。また、ウエハステージWS1、WS2の上面には、種々の基準マークが形成された基準マーク板FM1、FM2がウエハW1、W2とそれぞれほぼ同じ高さになるように設置されている。これらの基準マーク板FM1、FM2は、例えば各ウエハステージの基準位置を検出する際に用いられる。
【0081】
また、ウエハステージWS1のX軸方向一側の面(図1における左側面)20とY軸方向一側の面(図1における紙面奥側の面)21とは、鏡面仕上げがなされた反射面となっており、同様に、ウエハステージWS2のX軸方向他側の面(図1における右側面)22とY軸方向の一側の面23とは、鏡面仕上げがなされた反射面となっている。これらの反射面に、後述する干渉計システムを構成する各測長軸(BI1X、BI2X等)の干渉計ビームが投射され、その反射光を各干渉計で受光することにより、各反射面の基準位置(一般には投影光学系側面やアライメント光学系の側面に固定ミラーを配置し、そこを基準面とする)からの変位を計測し、これにより、ウエハステージWS1、WS2の2次元位置がそれぞれ計測されるようになっている。なお、干渉計システムの測長軸の構成については、後に詳述する。
【0082】
前記投影光学系PLとしては、ここでは、Z軸方向の共通の光軸を有する複数枚のレンズエレメントから成り、両側テレセントリックで所定の縮小倍率、例えば1/5を有する屈折光学系が使用されている。このため、ステップ・アンド・スキャン方式の走査露光時におけるウエハステージの走査方向の移動速度は、レチクルステージの移動速度の1/5となる。
【0083】
この投影光学系PLのX軸方向の両側には、図1に示されるように、同じ機能を持ったオフアクシス(off-axis)方式のアライメント系24a、24bが、投影光学系PLの光軸中心(レチクルパターン像の投影中心と一致)よりそれぞれ同一距離だけ離れた位置に設置されている。これらのアライメント系24a、24bは、LSA(Laser Step Alignment)系、FIA( Filed Image Alignment)系、LIA(Laser Interferometric Alignment )系の3種類のアライメントセンサを有しており、基準マーク板上の基準マーク及びウエハ上のアライメントマークのX、Y2次元方向の位置計測を行うことが可能である。
【0084】
ここで、LSA系は、レーザ光をマークに照射して、回折・散乱された光を利用してマーク位置を計測する最も汎用性のあるセンサであり、従来から幅広いプロセスウエハに使用される。FIA系は、ハロゲンランプ等のブロードバンド(広帯域)光でマークを照明し、このマーク画像を画像処理することによってマーク位置を計測するセンサであり、アルミ層やウエハ表面の非対称マークに有効に使用される。また、LIA系は、回折格子状のマークに周波数をわずかに変えたレーザ光を2方向から照射し、発生した2つの回折光を干渉させて、その位相からマークの位置情報を検出するセンサであり、低段差や表面荒れウエハに有効に使用される。
【0085】
本第1の実施形態では、これら3種類のアライメントセンサを、適宜目的に応じて使い分け、ウエハ上の3点の一次元マークの位置を検出してウエハの概略位置計測を行ういわゆるサーチアライメントや、ウエハ上の各ショット領域の正確な位置計測を行うファインアライメント等を行うようになっている。
【0086】
この場合、アライメント系24aは、ウエハステージWS1上に保持されたウエハW1上のアライメントマーク及び基準マーク板FM1上に形成された基準マークの位置計測等に用いられる。また、アライメント系24bは、ウエハステージWS2上に保持されたウエハW2上のアライメントマーク及び基準マーク板FM2上に形成された基準マークの位置計測等に用いられる。
【0087】
これらのアライメント系24a、24bを構成する各アライメントセンサからの情報は、アライメント制御装置80によりA/D変換され、デジタル化された波形信号を演算処理してマーク位置が検出される。この結果が制御手段としての主制御装置90に送られ、主制御装置90からその結果に応じてステージ制御装置に対し露光時の同期位置補正等が指示されるようになっている。
【0088】
さらに、本第1の実施形態の露光装置10では、図1では図示を省略したが、レチクルRの上方に、図5に示されるような、投影光学系PLを介してレチクルR上のレチクルマーク(図示省略)と基準マーク板FM1、FM2上のマークとを同時に観察するための露光波長を用いたTTR(Through The Reticle )アライメント光学系から成る一対のレチクルアライメント顕微鏡142、144が設けられている。これらのレチクルアライメント顕微鏡142、144の検出信号は、主制御装置90に供給されるようになっている。この場合、レチクルRからの検出光をそれぞれレチクルアライメント顕微鏡142及び144に導くための偏向ミラー146及び148が移動自在に配置され、露光シーケンスが開始されると、主制御装置90からの指令のもとで、不図示のミラー駆動装置によりそれぞれ偏向ミラー146及び148が待避される。なお、レチクルアライメント顕微鏡142、144と同等の構成は、例えば特開平7−176468号公報等に開示されているのでここでは詳細な説明については省略する。
【0089】
また、図1では図示を省略したが、投影光学系PL、アライメント系24a、24bのそれぞれには、図4に示されるように、合焦位置を調べるためのオートフォーカス/オートレベリング計測機構(以下、「AF/AL系」という)130、132、134が設けられている。この内、第2の検出系としてのAF/AL系132は、スキャン露光によりレチクルR上のパターンをウエハ(W1又はW2)上に正確に転写するには、レチクルR上のパターン形成面とウエハWの露光面とが投影光学系PLに関して共役になっている必要があることから、ウエハWの露光面が投影光学系PLの像面に焦点深度の範囲内で合致しているかどうか(合焦しているかどうか)を検出するために、設けられているものである。本第1の実施形態では、AF/AL系132として、いわゆる多点AF系が使用されている。
【0090】
ここで、このAF/AL系132を構成する多点AF系の詳細構成について、図5及び図6に基づいて説明する。
【0091】
このAF/AL系(多点AF系)132は、図5に示されるように、光ファイバ束150、集光レンズ152、パターン形成板154、レンズ156、ミラー158及び照射対物レンズ160から成る照射光学系151と、集光対物レンズ162、回転方向振動板164、結像レンズ166、受光器168から成る集光光学系161とから構成されている。
【0092】
ここで、このAF/AL系(多点AF系)132の上記構成各部についてその作用と共に説明する。
【0093】
露光光ELとは異なるウエハW1(又はW2)上のフォトレジストを感光させない波長の照明光が、図示しない照明光源から光ファイバ束150を介して導かれ、この光ファイバ束150から射出された照明光が、集光レンズ152を経てパターン形成板154を照明する。このパターン形成板154を透過した照明光は、レンズ156、ミラー158及び照射対物レンズ160を経てウエハWの露光面に投影され、ウエハW1(又はW2)の露光面に対してパターン形成板154上のパターンの像が光軸AXに対して斜めに投影結像される。ウエハW1で反射された照明光は、集光対物レンズ162、回転方向振動板164及び結像レンズ166を経て受光器168の受光面に投影され、受光器168の受光面にパターン形成板154上のパターンの像が再結像される。ここで、主制御装置90は、加振装置172を介して回転方向振動板164に所定の振動を与えるとともに、受光器168の多数(具体的には、パターン形成板154のスリットパターンと同数)の受光素子からの検出信号を信号処理装置170に供給する。また、信号処理装置170は、各検出信号を加振装置172の駆動信号で同期検波して得た多数のフォーカス信号をステージ制御装置38を介して主制御装置90へ供給する。
【0094】
この場合、パターン形成板154には、図6に示されるように、例えば5×9=45個の上下方向のスリット状の開口パターン93−11〜93−59が形成されており、これらのスリット状の開口パターンの像がウエハWの露光面上にX軸及びY軸に対して斜め(45°)に投影される。この結果、図4に示されるようなX軸及びY軸に対して45°に傾斜したマトリクス配置のスリット像が形成される。なお、図4における符号IFは、照明系により照明されるレチクル上の照明領域と共役なウエハ上の照明フィールドを示す。この図4からも明らかなように、投影光学系PL下の照明フィールドIFより2次元的に十分大きいエリアに検出用ビームが照射されている。
【0095】
その他の第1の検出系としてのAF/AL系130、134も、このAF/AL系132と同様に構成されている。すなわち、本第1の実施形態では、露光時の焦点検出に用いられるAF/AL系132とほぼ同一の領域をアライメントマークの計測時に用いられるAF/AL機構130、134によっても検出ビームが照射可能な構成となっている。このため、アライメント系24a、24bによるアライメントセンサの計測時に、露光時と同様のAF/AL系の計測、制御によるオートフォーカス/オートレベリングを実行しつつアライメントマークの位置計測を行うことにより、高精度なアライメント計測が可能になる。換言すれば、露光時とアライメント時との間で、ステージの姿勢によるオフセット(誤差)が発生しなくなる。
【0096】
次に、レチクル駆動機構について、図1及び図2に基づいて説明する。
【0097】
このレチクル駆動機構は、レチクルベース盤32上をレチクルRを保持してXYの2次元方向に移動可能なレチクルステージRSTと、このレチクルステージRSTを駆動する不図示のリニアモータと、このレチクルステージRSTの位置を管理するレチクル干渉計システムとを備えている。
【0098】
これを更に詳述すると、レチクルステージRSTには、図2に示されるように、2枚のレチクルR1、R2がスキャン方向(Y軸方向)に直列に設置できる様になっており、このレチクルステージRSTは、不図示のエアーベアリング等を介してレチクルベース盤32上に浮上支持され、不図示のリニアモータ等から成る駆動機構30(図1参照)によりX軸方向の微小駆動、θ方向の微小回転及びY軸方向の走査駆動がなされるようになっている。なお、駆動機構30は、前述したステージ装置と同様のリニアモータを駆動源とする機構であるが、図1では図示の便宜上及び説明の便宜上から単なるブロックとして示しているものである。このため、レチクルステージRST上のレチクルR1、R2が例えば二重露光の際に選択的に使用され、いずれのレチクルについてもウエハ側と同期スキャンできる様な構成となっている。
【0099】
このレチクルステージRST上には、X軸方向の一側の端部に、レチクルステージRSTと同じ素材(例えばセラミック等)から成る平行平板移動鏡34がY軸方向に延設されており、この移動鏡34のX軸方向の一側の面には鏡面加工により反射面が形成されている。この移動鏡34の反射面に向けて図1の干渉計システム36を構成する測長軸BI6Xで示される干渉計からの干渉計ビームが照射され、干渉計ではその反射光を受光してウエハステージ側と同様にして基準面に対する相対変位を計測することにより、レチクルステージRSTの位置を計測している。ここで、この測長軸BI6Xを有する干渉計は、実際には独立に計測可能な2本の干渉計光軸を有しており、レチクルステージのX軸方向の位置計測と、ヨイーング量の計測が可能となっている。この測長軸BI6Xを有する干渉計は、後述するウエハステージ側の測長軸BI1X、BI2Xを有する干渉計16、18からのウエハステージWS1、WS2のヨーイング情報やX位置情報に基づいてレチクルとウエハの相対回転(回転誤差)をキャンセルする方向にレチクルステージRSTを回転制御したり、X方向同期制御を行うために用いられる。
【0100】
一方、レチクルステージRSTの走査方向(スキャン方向)であるY軸方向の他側(図1における紙面手前側)には、一対のコーナーキューブミラー35、37が設置されている。そして、不図示の一対のダブルパス干渉計から、これらのコーナーキューブミラー35、37に対して図2に測長軸BI7Y、BI8Yで示される干渉計ビームが照射され、レチクルベース盤32上の反射面にコーナーキューブミラー35、37より戻され、そこで反射したそれぞれの反射光が同一光路を戻り、それぞれのダブルパス干渉計で受光され、それぞれのコーナーキューブミラー35、37の基準位置(レファレンス位置で前記レチクルベース盤32上の反射面)からの相対変位が計測される。そして、これらのダブルパス干渉計の計測値が図1のステージ制御装置38に供給され、その平均値に基づいてレチクルステージRSTのY軸方向の位置が計測される。このY軸方向位置の情報は、ウエハ側の測長軸BI3Yを有する干渉計の計測値に基づくレチクルステージRSTとウエハステージWS1又はWS2との相対位置の算出、及びこれに基づく走査露光時の走査方向(Y軸方向)のレチクルとウエハの同期制御に用いられる。
【0101】
すなわち、本第1の実施形態では、干渉計36及び測長軸BI7Y、BI8Yで示される一対のダブルパス干渉計によってレチクル干渉計システムが構成されている。
【0102】
次に、ウエハステージWST1、WST2の位置を管理する干渉計システムについて、図1ないし図3を参照しつつ説明する。
【0103】
これらの図に示されるように、投影光学系PLの投影中心とアライメント系24a、24bのそれぞれの検出中心とを通る第1軸(X軸)に沿ってウエハステージWS1のX軸方向一側の面には、図1の干渉計16からの第1測長軸BI1Xで示される干渉計ビームが照射され、同様に、第1軸に沿ってウエハステージWS2のX軸方向の他側の面には、図1の干渉計18からの第2測長軸BI2Xで示される干渉計ビームが照射されている。そして、干渉計16、18ではこれらの反射光を受光することにより、各反射面の基準位置からの相対変位を計測し、ウエハステージWS1、WS2のX軸方向位置を計測するようになっている。ここで、干渉計16、18は、図2に示されるように、各3本の光軸を有する3軸干渉計であり、ウエハステージWS1、WS2のX軸方向の計測以外に、チルト計測及びθ計測が可能となっている。各光軸の出力値は独立に計測できる様になっている。ここで、ウエハステージWS1、WS2のθ回転を行う不図示のθステージ及びZ軸方向の微小駆動及び傾斜駆動を行う基板駆動系としてのZ・レベリングステージRS1、RS2は、実際には、反射面の下にあるので、ウエハステージのチルト制御時の駆動量は全て、これらの干渉計16、18によりモニターする事ができる(基板駆動系)。
【0104】
なお、第1測長軸BI1X、第2測長軸BI2Xの各干渉計ビームは、ウエハステージWS1、WS2の移動範囲の全域で常にウエハステージWS1、WS2に当たるようになっており、従って、X軸方向については、投影光学系PLを用いた露光時、アライメント系24a、24bの使用時等いずれのときにもウエハステージWS1、WS2の位置は、第1測長軸BI1X、第2測長軸BI2Xの計測値に基づいて管理される。
【0105】
また、図2及び図3に示されるように、投影光学系PLの投影中心で第1軸(X軸)と垂直に交差する第3測長軸BI3Yを有する干渉計と、アライメント系24a、24bのそれぞれの検出中心で第1軸(X軸)とそれぞれ垂直に交差する第4測長軸としての測長軸BI4Y、BI5Yをそれぞれ有する干渉計とが設けられている(但し、図中では測長軸のみが図示されている)。
【0106】
本第1の実施形態の場合、投影光学系PLを用いた露光時のウエハステージWS1、WS2のY方向位置計測には、投影光学系の投影中心、すなわち光軸AXを通過する測長軸BI3Yの干渉計の計測値が用いられ、アライメント系24aの使用時のウエハステージWS1のY方向位置計測には、アライメント系24aの検出中心、すなわち光軸SXを通過する測長軸BI4Yの計測値が用いられ、アライメント系24b使用時のウエハステージWS2のY方向位置計測には、アライメント系24bの検出中心、すなわち光軸SXを通過する測長軸BI5Yの計測値が用いられる。
【0107】
従って、各使用条件により、Y軸方向の干渉計測長軸がウエハステージWS1、WS2の反射面より外れる事となるが、少なくとも一つの測長軸、すなわち測長軸BI1X、BI2XはそれぞれのウエハステージWS1、WS2の反射面から外れることがないので、使用する干渉計光軸が反射面上に入った適宜な位置でY側の干渉計のリセットを行うことができる。この干渉計のリセット方法については、後に詳述する。
【0108】
なお、上記Y計測用の測長軸BI3Y、BI4Y、BI5Yの各干渉計は、各2本の光軸を有する2軸干渉計であり、ウエハステージWS1、WS2のY軸方向の計測以外に、チルト計測が可能となっている。各光軸の出力値は独立に計測できるようにになっている
本第1の実施形態では、干渉計16、18及び測長軸BI3Y、BI4Y、BI5Yを有する3つの干渉計の合計5つの干渉計によって、ウエハステージWS1、WS2の2次元座標位置を管理する干渉計システムが構成されている。
【0109】
また、本第1の実施形態では、後述するように、ウエハステージWS1、WS2の内の一方が露光シーケンスを実行している間、他方はウエハ交換、ウエハアライメントシーケンスを実行するが、この際に両ステージの干渉がないように、各干渉計の出力値に基づいて主制御装置90の指令に応じてステージ制御装置38により、ウエハステージWS1、WS2の移動が管理されている。
【0110】
次に、照明系について、図1に基づいて説明する。この照明系は、図1に示されるように、露光光源40、シャッタ42、ミラー44、ビームエキスパンダ46、48、第1フライアイレンズ50、レンズ52、振動ミラー54、レンズ56、第2フライアイレンズ58、レンズ60、固定ブラインド62、可動ブラインド64、リレーレンズ66、68等から構成されている。
【0111】
ここで、この照明系の上記構成各部についてその作用とともに説明する。
【0112】
光源であるKrFエキシマレーザと減光システム(減光板、開口絞り等)よりなる光源部40から射出されたレーザ光は、シャッタ42を透過した後、ミラー44により偏向されて、ビームエキスパンダ46、48により適当なビーム径に整形され、第1フライアイレンズ50に入射される。この第1フライアイレンズ50に入射された光束は、2次元的に配列されたフライアイレンズのエレメントにより複数の光束に分割され、レンズ52、振動ミラー54、レンズ56により再び各光束が異なった角度より第2フライアイレンズ58に入射される。この第2フライアイレンズ58より射出された光束は、レンズ60により、レチクルRと共役な位置に設置された固定ブラインド62に達し、ここで所定形状にその断面形状が規定された後、レチクルRの共役面から僅かにデフォーカスされた位置に配置された可動ブラインド64を通過し、リレーレンズ66、68を経て均一な照明光として、レチクルR上の上記固定ブラインド62によって規定された所定形状、ここでは矩形スリット状の照明領域IA(図2参照)を照明する。
【0113】
次に、制御系について図1に基づいて説明する。この制御系は、装置全体を統括的に制御する主制御装置90を中心に、この主制御装置90の配下にある露光量制御装置70及びステージ制御装置38等から構成されている。
【0114】
ここで、制御系の上記構成各部の動作を中心に本第1の実施形態に係る投影露光装置10の露光時の動作について説明する。
【0115】
露光量制御装置70は、レチクルRとウエハ(W1又はW2)との同期走査が開始されるのに先立って、シャッタ駆動装置72に指示してシャッタ駆動部74を駆動させてシャッタ42をオープンする。
【0116】
この後、ステージ制御装置38により、主制御装置90の指示に応じてレチクルRとウエハ(W1又はW2)、すなわちレチクルステージRSTとウエハステージ(WS1又はWS2)の同期走査(スキャン制御)が開始される。この同期走査は、前述した干渉計システムの測長軸BI3Yと測長軸BI1X又はBI2X及びレチクル干渉計システムの測長軸BI7Y、BI8Yと測長軸BI6Xの計測値をモニタしつつ、ステージ制御装置38によってレチクル駆動部30及びウエハステージの駆動系を構成する各リニアモータを制御することにより行われる。
【0117】
そして、両ステージが所定の許容誤差以内に等速度制御された時点で、露光量制御装置70では、レーザ制御装置76に指示してパルス発光を開始させる。これにより、照明系からの照明光により、その下面にパターンがクロム蒸着されたレチクルRの前記矩形の照明領域IAが照明され、その照明領域内のパターンの像が投影光学系PLにより1/5倍に縮小され、その表面にフォトレジストが塗布されたウエハ(W1又はW2)上に投影露光される。ここで、図2からも明らかなように、レチクル上のパターン領域に比べ照明領域IAの走査方向のスリット幅は狭く、上記のようにレチクルRとウエハ(W1又はW2)とを同期走査することで、パターンの全面の像がウエハ上のショット領域に順次形成される。
【0118】
ここで、前述したパルス発光の開始と同時に、露光量制御装置70は、ミラー駆動装置78に指示して振動ミラー54を駆動させ、レチクルR上のパターン領域が完全に照明領域IA(図2参照)を通過するまで、すなわちパターンの全面の像がウエハ上のショット領域に形成されるまで、連続してこの制御を行うことで2つのフライアイレンズ50、58で発生する干渉縞のムラ低減を行う。
【0119】
また、上記の走査露光中にショットエッジ部でのレチクル上の遮光領域よりも外に照明光が漏れないように、レチクルRとウエハWのスキャンと同期して可動ブラインド64がブラインド制御装置39によって駆動制御されており、これらの一連の同期動作がステージ制御装置38により管理されている。
【0120】
ところで、上述したレーザ制御装置76によるパルス発光は、ウエハW1、W2上の任意の点が照明フィールド幅(w)を通過する間にn回(nは正の整数)発光する必要があるため、発振周波数をfとし、ウエハスキャン速度をVとすると、次式(1)を満たす必要がある。
【0121】
f/n=V/w  ………………(1)
また、ウエハ上に照射される1パルスの照射エネルギーをPとし、レジスト感度をEとすると、次式(2)を満たす必要がある。
【0122】
nP=E        ………………(2)
このように、露光量制御装置70は、照射エネルギーPや発振周波数fの可変量について全て演算を行い、レーザ制御装置76に対して指令を出して露光光源40内に設けられた減光システムを制御することによって照射エネルギーPや発振周波数fを可変させたり、シャッタ駆動装置72やミラー駆動装置78を制御するように構成されている。
【0123】
さらに、主制御装置90では、例えば、スキャン露光時に同期走査を行うレチクルステージとウエハステージの移動開始位置(同期位置)を補正する場合、各ステージを移動制御するステージ制御装置38に対して補正量に応じたステージ位置の補正を指示する。
【0124】
更に、本第1の実施形態の投影露光装置では、ウエハステージWS1との間でウエハの交換を行う第1の搬送システムと、ウエハステージWS2との間でウエハ交換を行う第2の搬送システムとが設けられている。
【0125】
第1の搬送システムは、図7に示されるように、左側のウエハローディング位置にあるウエハステージWS1との間で後述するようにしてウエハ交換を行う。この第1の搬送システムは、Y軸方向に延びる第1のローディングガイド182、このローディングガイド182に沿って移動する第1のスライダ186及び第2のスライダ190、第1のスライダ186に取り付けられた第1のアンロードアーム184、第2のスライダ190に取り付けられた第1のロードアーム188等を含んで構成される第1のウエハローダと、ウエハステージWS1上に設けられた3本の上下動部材から成る第1のセンターアップ180とから構成される。
【0126】
ここで、この第1の搬送システムによるウエハ交換の動作について、簡単に説明する。
【0127】
ここでは、図7に示されるように、左側のウエハローディング位置にあるウエハステージWS1上にあるウエハW1’と第1のウエハローダにより搬送されてきたウエハW1とが交換される場合について説明する。
【0128】
まず、主制御装置90では、ウエハステージWS1上の不図示のウエハホルダのバキュームを不図示のスイッチを介してオフし、ウエハW1’の吸着を解除する。
【0129】
次に、主制御装置90では、不図示のセンターアップ駆動系を介してセンターアップ180を所定量上昇駆動する。これにより、ウエハW1’が所定位置まで持ち上げられる。この状態で、主制御装置90では、不図示のウエハローダ制御装置に第1のアンロードアーム184の移動を支持する。これにより、ウエハローダ制御装置により第1のスライダ186が駆動制御され、第1のアンロードアーム184がローディングガイド182に沿ってウエハステージWS1上まで移動してウエハW1’の真下に位置する。
【0130】
この状態で、主制御装置90では、センターアップ180を所定位置まで下降駆動させる。このセンターアップ180の下降の途中で、ウエハW1’が第1のアンロードアーム184に受け渡されるので、主制御装置90ではウエハローダ制御装置に第1のアンロードアーム184のバキューム開始を指示する。これにより、第1のアンロードアーム184にウエハW1’が吸着保持される。
【0131】
次に、主制御装置90では、ウエハローダ制御装置に第1のアンロードアーム184の退避と第1のロードアーム188の移動開始を指示する。これにより、第1のスライダ186と一体的に第1のアンロードアーム184が図7の−Y方向に移動を開始すると同時に第2のスライダ190がウエハW1を保持した第1のロードアーム188と一体的に+Y方向に移動を開始する。そして、第1のロードアーム188がウエハステージWS1の上方に来たとき、ウエハローダ制御装置により第2のスライダ190が停止されるとともに第1のロードアーム188のバキュームが解除される。
【0132】
この状態で、主制御装置90ではセンターアップ180を上昇駆動し、センターアップ180によりウエハW1を下方から持ち上げさせる。次いで、主制御装置90ではウエハローダ制御装置にロードアームの退避を指示する。これにより、第2のスライダ190が第1のロードアーム188と一体的に−Y方向に移動を開始して第1のロードアーム188の退避が行われる。この第1のロードアーム188の退避開始と同時に主制御装置90では、センターアップ180の下降駆動を開始してウエハW1をウエハステージWS1上の不図示のウエハホルダに載置させ、当該ウエハホルダのバキュームをオンにする。これにより、ウエハ交換の一連のシーケンスが終了する。
【0133】
第2の搬送システムは、同様に、図8に示されるように、右側のウエハローディング位置にあるウエハステージWS2との間で上述と同様にしてウエハ交換を行う。この第2の搬送システムは、Y軸方向に延びる第2のローディングガイド192、この第2のローディングガイド192に沿って移動する第3のスライダ196及び第4のスライダ200、第3のスライダ196に取り付けられた第2のアンロードアーム194、第4のスライダ200に取り付けられた第2のロードアーム198等を含んで構成される第2のウエハローダと、ウエハステージWS2上に設けられた不図示の第2のセンターアップとから構成される。
【0134】
次に、図7及び図8に基づいて、本第1の実施形態の特徴である2つのウエハステージによる並行処理について説明する。
【0135】
図7には、ウエハステージWS2上のウエハW2を投影光学系PLを介して露光動作を行っている間に、左側ローディング位置にて上述の様にしてウエハステージWS1と第1の搬送システムとの間でウエハの交換が行われている状態の平面図が示されている。この場合、ウエハステージWS1上では、ウエハ交換に引き続いて後述するようにしてアライメント動作が行われる。なお、図7において、露光動作中のウエハステージWS2の位置制御は、干渉計システムの測長軸BI2X、BI3Yの計測値に基づいて行われ、ウエハ交換とアライメント動作が行われるウエハステージWS1の位置制御は、干渉計システムの測長軸BI1X、BI4Yの計測値に基づいて行われる。
【0136】
この図7に示される左側のローディング位置ではアライメント系24aの真下にウエハステージWS1の基準マーク板FM1上の基準マークが来るような配置となっている。このため、主制御装置90では、アライメント系24aにより基準マーク板FM1上の基準マークを計測する以前に、干渉計システムの測長軸BI4Yの干渉計のリセットを実施している。
【0137】
上述したウエハ交換、干渉計のリセットに引き続いて、サーチアライメントが行われる。そのウエハ交換後に行われるサーチアライメントとは、ウエハW1の搬送中になされるプリアライメントだけでは位置誤差が大きいため、ウエハステージWS1上で再度行われるプリアライメントのことである。具体的には、ステージWS1上に載置されたウエハW1上に形成された3つのサーチアライメントマーク(図示せず)の位置をアライメント系24aのLSA系のセンサ等を用いて計測し、その計測結果に基づいてウエハW1のX、Y、θ方向の位置合わせを行う。このサーチアライメントの際の各部の動作は、主制御装置90により制御される。
【0138】
このサーチアライメントの終了後、ウエハW1上の各ショット領域の配列をここではEGAを使って求めるファインアライメントが行われる。具体的には、干渉計システム(測長軸BI1X、BI4Y)により、ウエハステージWS1の位置を管理しつつ、設計上のショット配列データ(アライメントマーク位置データ)をもとに、ウエハステージWS1を順次移動させつつ、ウエハW1上の所定のサンプルショットのアライメントマーク位置をアライメント系24aのFIA系のセンサ等で計測し、この計測結果とショット配列の設計座標データに基づいて最小自乗法による統計演算により、全てのショット配列データを演算する。なお、このEGAの際の各部の動作は主制御装置90により制御され、上記の演算は主制御装置90により行われる。なお、この演算結果は、基準マーク板FM1の基準マーク位置を基準とする座標系に変換しておくことが望ましい。
【0139】
本第1の実施形態の場合、前述したように、アライメント系24aによる計測時に、露光時と同じAF/AL系132(図4参照)の計測、制御によるオートフォーカス/オートレベリングを実行しつつアライメントマークの位置計測が行われ、アライメント時と露光時との間にステージの姿勢によるオフセット(誤差)を生じさせないようにすることができる。
【0140】
ウエハステージWS1側で、上記のウエハ交換、アライメント動作が行われている間に、ウエハステージWS2側では、図9に示されるような2枚のレチクルR1、R2を使い、露光条件を変えながら連続してステップ・アンド・スキャン方式により二重露光が行われる。
【0141】
具体的には、前述したウエハW1側と同様にして、事前にEGAによるファインアライメントが行われており、この結果得られたウエハW2上のショット配列データ(基準マーク板FM2上の基準マークを基準とする)に基づいて、順次ウエハW2上のショット領域を投影光学系PLの光軸下方に移動させた後、各ショット領域の露光の都度、レチクルステージRSTとウエハステージWS2とを走査方向に同期走査させることにより、スキャン露光が行われる。このようなウエハW2上の全ショット領域に対する露光がレチクル交換後にも連続して行われる。具体的な二重露光の露光順序としては、図10(A)に示されるように、ウエハW1の各ショット領域をレチクルR2(Aパターン)を使ってA1〜A12まで順次スキャン露光を行った後、駆動系30を用いてレチクルステージRSTを走査方向に所定量移動してレチクルR1(Bパターン)を露光位置に設定した後、図10(B)に示されるBI1X〜BI1X2の順序でスキャン露光を行う。この時、レチクルR2とレチクルR1では露光条件(AF/AL、露光量)や透過率が異なるので、レチクルアライメント時にそれぞれの条件を計測し、その結果に応じて条件の変更を行う必要がある。
【0142】
このウエハW2の二重露光中の各部の動作も主制御装置90によって制御される。
【0143】
上述した図7に示す2つのウエハステージWS1、WS2上で並行して行われる露光シーケンスとウエハ交換・アライメントシーケンスとは、先に終了したウエハステージの方が待ち状態となり、両方の動作が終了した時点で図8に示す位置までウエハステージWS1、WS2が移動制御される。そして、露光シーケンスが終了したウエハステージWS2上のウエハW2は、右側ローディングポジションでウエハ交換がなされ、アライメントシーケンスが終了したウエハステージWS1上のウエハW1は、投影光学系PLの下で露光シーケンスが行われる。
【0144】
図8に示される右側ローディングポジションでは、左側ローディングポジションと同様にアライメント系24bの下に基準マーク板FM2上の基準マークが来るように配置されており、前述のウエハ交換動作とアライメントシーケンスとが実行される事となる。勿論、干渉計システムの測長軸BI5Yの干渉計のリセット動作は、アライメント系24bによる基準マーク板FM2上のマーク検出に先立って実行されている。
【0145】
次に、図7の状態から図8の状態へ移行する際の、主制御装置90による干渉計のリセット動作について説明する。
【0146】
ウエハステージWS1は、左側ローディングポジションでアライメントを行った後に、図8に示される投影光学系PLの光軸AX中心(投影中心)の真下に基準板FM1上の基準マークが来る位置まで移動されるが、この移動の途中で測長軸BI4Yの干渉計ビームが、ウエハステージWS1の反射面21に入射されなくなるので、アライメント終了後直ちに図8の位置までウエハステージを移動させることは困難である。このため、本第1の実施形態では、次のような工夫をしている。
【0147】
すなわち、先に説明したように、本第1の実施形態では、左側ローディングポジションにウエハステージWS1がある場合に、アライメント系24aの真下に基準マーク板FM1が来るように設定されており、この位置で測長軸BI4Yの干渉計がリセットされているので、この位置までウエハステージWS1を一旦戻し、その位置から予めわかっているアライメント系24aの検出中心と投影光学系PLの光軸中心(投影中心)との距離(便宜上BLとする)にもとづいて、干渉計ビームの切れることのない測長軸BI1Xの干渉計16の計測値をモニタしつつ、ウエハステージWS1を距離BLだけX軸方向右側に移動させる。これにより、図8に示される位置までウエハステージWS1が移動されることになる。そして、主制御装置90では、レチクルアライメント顕微鏡142、144の少なくとも一方を用いて、基準マーク板FM1上のマークとレチクルマークとの相対位置関係を計測するのに先立って測長軸BI3Yの干渉計をリセットする。リセット動作は、次に使用する測長軸がウエハステージ側面を照射できるようになった時点で実行することができる。
【0148】
このように、干渉計のリセット動作を行っても高精度アライメントが可能な理由は、アライメント系24aにより基準マーク板FM1上の基準マークを計測した後、ウエハW1上の各ショット領域のアライメントマークを計測することにより、基準マークと、ウエハマークの計測により算出された仮想位置との間隔を同一のセンサにより算出しているためである。この時点で基準マークと露光すべき位置の相対距離が求められていることから、露光前にレチクルアライメント顕微鏡142、144により露光位置と基準マーク位置との対応がとれていれば、その値に前記相対距離を加えることにより、Y軸方向の干渉計の干渉計ビームがウエハステージの移動中に切れて再度リセットを行ったとしても高精度な露光動作を行うことができるのである。
【0149】
なお、アライメント終了位置から図8の位置にウエハステージWS1が移動する間に、測長軸BI4Yが切れないような場合には、測長軸BI1X、BI4Yの計測値をモニタしつつ、アライメント終了後に直ちに、図8の位置までウエハステージを直線的に移動させてもよいことは勿論である。この場合、ウエハステージWS1のY軸と直交する反射面21に投影光学系PLの光軸AXを通る測長軸BI3Yがかかった時点で干渉計のリセット動作を行うようにしても良い。
【0150】
上記と同様にして、露光終了位置からウエハステージWS2を図8に示される右側のローディングポジションまで移動させ、測長軸BI5Yの干渉計のリセット動作を行えば良い。
【0151】
また、図11には、ウエハステージWS1上に保持されるウエハW1上の各ショット領域を順次露光する露光シーケンスのタイミングの一例が示されており、図12には、これと並列的に行われるウエハステージWS2上に保持されるウエハW2上のアライメントシーケンスのタイミングが示されている。本第1の実施形態では、2つのウエハステージWS1、WS2を独立して2次元方向に移動させながら、各ウエハステージ上のウエハW1、W2に対して露光シーケンスとウエハ交換・アライメントシーケンスとを並行して行うことにより、スループットの向上を図っている。
【0152】
ところが、2つのウエハステージを使って2つの動作を同時並行処理する場合は、一方のウエハステージ上で行われる動作が外乱要因として、他方のウエハステージで行われる動作に影響を与える場合がある。また、逆に、一方のウエハステージ上で行われる動作が他方のウエハステージで行われる動作に影響を与えない動作もある。そこで、本第1の実施形態では、並行処理する動作の内、外乱要因となる動作とならない動作とに分けて、外乱要因となる動作同士、あるいは外乱要因とならない動作同士が同時に行われるように、各動作のタイミング調整が図られる。
【0153】
例えば、スキャン露光中は、ウエハW1とレチクルRとを等速で同期走査させることから外乱要因とならない上、他からの外乱要因を極力排除する必要がある。このため、一方のウエハステージWS1上でのスキャン露光中は、他方のウエハステージWS2上のウエハW2で行われるアライメントシーケンスにおいて静止状態となるようにタイミング調整がなされる。すなわち、アライメントシーケンスにおけるマーク計測は、ウエハステージWS2をマーク位置で静止させた状態で行われるため、スキャン露光にとって外乱要因とならず、スキャン露光中に並行してマーク計測を行うことができる。これを図11及び図12で見ると、図11においてウエハW1に対し動作番号「1、3、5、7、9、11、13、15、17、19、21、23」で示されるスキャン露光と、図12においてウエハW2に対し動作番号「1、3、5、7、9、11、13、15、17、19、21、23」で示される各アライメントマーク位置におけるマーク計測動作が相互に同期して行われていることがわかる。一方、アライメントシーケンスにおいても、スキャン露光中は、等速運動なので外乱とはならず高精度計測が行えることになる。
【0154】
また、ウエハ交換時においても同様のことが考えられる。特に、ロードアームからウエハをセンターアップに受け渡す際に生じる振動等は、外乱要因となり得るため、スキャン露光前、あるいは、同期走査が等速度で行われるようになる前後の加減速時(外乱要因となる)に合わせてウエハの受け渡しをするようにしても良い。
【0155】
上述したタイミング調整は、主制御装置90によって行われる。
【0156】
次に、本第1実施形態の投影露光装置10において、アライメント系24aに設けられたAF/AL系130、又はアライメント系24bに設けられたAF/AL系134を用いてアライメント時にウエハのAF計測を行い、この計測結果と、投影光学系PLに設けられたAF/AL系132によるウエハのAF計測結果とに基づいて露光時に、フォーカス・レベリング制御を行う方法について説明する。
【0157】
ウエハW上の各ショット領域に対する露光順序は、前述したように、▲1▼スキャン時加減速時間、▲2▼整定時間、▲3▼露光時間、▲4▼隣接ショットへのステッピング時間等の▲1▼〜▲4▼の各パラメータにより決定されるが、一般にレチクルステージの加減速が律速条件となるため、縦ステッピング(図13のY方向へのステッピング)により2ショットステッピングが行われない場合は、ウエハを±Y方向に交互に走査する(図13のX方向に隣接するショットを順次走査露光する)のが最も効率が良くなる。
【0158】
図13には、このようにして決定されたウエハW1上のショット領域210の露光順序が示されている。この図13は、ウエハW1内に全てのショット配列が入っている場合の例である。
【0159】
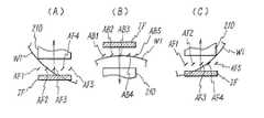
本実施形態においても、各ショット領域の露光に先立って、特開平6−283403号公報等に記載されるような完全先読み制御が行われるのであるが、図13に示されるような最も効率の良い露光順序で露光を行なおうとすると、図13中の符号A、B、Cで示される各位置では、先読み用のAF検出点がウエハW1の外周にかかるため、部分的にウエハW1の面上を計測(検出)できないAF検出点が発生する。このような場合には、上記の完全先読み制御を行なうことができない。
【0160】
これを更に詳述する。図14(A)、(B)、(C)には、図13中にA、B、Cで示される各位置で先読み用のAF計測を行う場合の拡大平面図がそれぞれ示されている。なお、実際には、レチクル上の照明領域IAに共役な露光領域IF及びAF検出点AF1〜AF5等が固定で、これらに対しウエハW1が走査されるのであるが、便宜上、図14(A)、(B)、(C)においては、露光領域IF及びAF検出点がウエハ面に対して走査されるように図示されている。従って、以下の説明においては、実際のウエハW1の走査方向と反対方向をスキャン方向として説明する。
【0161】
この場合、露光領域IFの走査方向(紙面の上下方向)の一方側には、第2検出系としてのAF検出点AF1〜AF5が非走査方向(紙面の左右方向)に配列され(図14(A)参照)、また、露光領域IFの走査方向の他方側には、第2検出系としてのAF検出点AB1〜AB5が非走査方向に配列されているものとする(図14(B)参照)。
【0162】
図14(A)において+Y方向にスャンしながらAF計測を行う場合、検出点AF1及びAF2がウエハW1面上を外れており、また、図14(B)と(C)の場合もウエハW1面上を検出点(AB1〜AB5,AF4及びAF5)が外れていることから、前述した先読み制御を行うことができなくなるのである。
【0163】
このような場合、従来においては、上記A、B、Cの位置において検出点がウエハW1面上から外れないようにするため、ウエハW1の内側から外側に向けてスキャン(内スキャンという)を行うようにスキャン方向の反転を行なっていたが、スキャン方向を反転させると、上記のように決定された露光順序が変更される結果、スループットが低下するという不都合がある。
【0164】
かかるスループットの低下を防止するため、図15(比較例)に示されるように、先読み用のAF検出点(例えば、AF1〜AF5)が全てのウエハ面上に存在して計測可能になった時点DでAF計測を開始し、オートフォーカス、オートレベリング制御(以下、AF/AL制御という)を実施する方法を採用すると、AF/ALの追従の位相遅れによる誤差が追従終了点E〜Fの間で発生する。なお、この図15における点Eは、正常な先読み制御が行われる場合の追従完了位置を示すものであり、これより明らかなように、このようなAF計測ではAF/AL制御精度を悪化させることがわかる。
【0165】
そこで、本第1の実施形態では、ウエハ露光時の先読み制御に先立って、アライメント系24aに設けられたAF/AL系130、又はアライメント系24bに設けられたAF/AL系134を用いてアライメント時にウエハW1のAF計測を、露光時と同じ条件で行なうことにより、上記のAF/ALの追従の位相遅れによる誤差であるAF/AL制御精度の悪化を防止しようとするものである。なお、上記AF/AL系130あるいはAF/AL系134には、上述した投影光学系PLに設けられているのと同じ条件でウエハW1表面をAF/AL計測することができる第1検出系としてのAF検出点(AF1〜AF5に相当:図14(A)参照)及びAF検出点(AB1〜AB5に相当:図14(B)参照)を有している。
【0166】
すなわち、図16に示されるように、アライメントが行われるウエハW1では、EGAの計測点数がAL1〜AL6(6点)であって、その間に露光シーケンスと同じ方向でAF計測が計測点C,A,Bにて行われる。この場合も、2つの基板ステージの動作が互いに影響し合うことがない様にするため、ステッピング動作同士(外乱要因動作同士)、あるいは露光動作とアライメント動作(非外乱要因動作)同士を同期させるとともに、互いに干渉しない順序でステージを移動するようにしている。この場合、露光時間>アライメント時間+先読み計測時間となっているものとする。
【0167】
図17には、図16のA点における本発明の特徴であるアライメント時のAF計測による検出点AF1〜AF5までの計測結果が示されている。図17では、図を簡略化するため、ウエハ面位置をレベリングを0として示したが、通常はAF1〜AF5までの結果がばらついているのが一般的である。
【0168】
この場合、図14(A)に示されるように、検出点AF4及びAF5では、AF計測を正常に行うことができるので、図17においてもそのAF計測値はウエハ面位置を示している。これに対し、検出点AF3,AF2,AF1は、走査方向に移動するにつれて順次ウエハ面位置を示す様になる。このようにして、ウエハ外周近傍のショット領域のフォーカス計測を予め行っておくと、次の露光シーケンスでは、例えば図16中のA、B、Cの各位置においてどのような計測値を示すかが分かるため、実際の露光時の先読み制御の際には、図18に示されるように、図15の場合に比べ、ウエハ面位置の計測再現性の誤差の範囲内でウエハ位置を目標位置(0)に近づけておく事ができる。すなわち、フォーカスの追い込みを迅速に行なうことができる。
【0169】
もともとオートフォーカスの追従制御応答は、特開平6―283403号公報に示されるように、1次応答として、絶対誤差の30%分追従できる条件であり、初期の絶対値誤差を小さくする事によって、追従終了点Fが早くなり(許容値が同じため)、正常な先読み制御が行われていた時の追従完了点Eよりも更に前に追従を終了させる事が可能となる。
【0170】
以上説明したように、本第1の実施形態の投影露光装置10によると、ウエハを保持する2つのウエハステージを独立して移動させ、一方のステージ上でウエハ交換及びアライメント動作を行い、他方のステージ上で露光動作を並行して行い、上記のアライメントの際に、アライメント系のAF/AL系を使ってウエハ面のAF計測を行うこととし、両方の動作が終了した時点で、お互いの動作を切り換える事としたので、ウエハ外周でフォーカス計測を事前に実施し、その結果を用いることで、露光時に先読み位置にウエハ表面が無いようなウエハ外周の近傍でウエハの外側から内側へ向けてスキャン露光するショット領域であってもフォーカスの迅速な追い込みが可能であり、先読み制御の追従の遅れを防止することができる。従って、高精度でフォーカス、レベリング制御が可能であるとともに、ウエハ外周の近傍のショット領域をウエハの外側から内側へ向けてスキャン露光する場合であっても内スキャンを採用する必要がなく、最も効率の良い露光順序で各ショット領域を露光することができるのでスループットの向上が可能である。
【0171】
また、上記のアライメント時のAF計測は、外周ショットの走査露光時と同じ方向から走査しながら行われるので、ステージの走り方向等に依存したオフセット等を除去したフォーカス制御が可能となる。
【0172】
また、上記第1の実施形態の投影露光装置10によると、2枚のウエハをそれぞれ独立に保持する2つのウエハステージを具備し、これら2つのウエハステージをXYZ方向に独立に移動させて、一方のウエハステージでウエハ交換とアライメント動作を実行する間に、他方のウエハステージで露光動作を実行する事とし、両方の動作が終了した時点でお互いの動作を切り換えるようにしたことから、スループットを大幅に向上させることが可能になる。
【0173】
また、上記第1の実施形態によると、投影光学系PLを挟んでマーク検出を行う少なくとも2つのアライメント系を具備しているため、2つのウエハステージを交互にずらすことにより、各アライメント系を交互に使って行われるアライメント動作と露光動作とを並行処理することが可能になる。
【0174】
その上、上記第1の実施形態によると、ウエハ交換を行うウエハローダがアライメント系の近辺、特に、各アライメント位置で行えるように配置されているため、ウエハ交換からアライメントシーケンスへの移行がスムースに行われ、より高いスループットを得ることができる。
【0175】
さらに、上記第1の実施形態によると、上述したような高スループットが得られるため、オフアクシスのアライメント系を投影光学系PLより大きく離して設置したとしてもスループットの劣化の影響が殆ど無くなる。このため、高N.A.(開口数)であって且つ収差の小さい直筒型の光学系を設計して設置することが可能となる。
【0176】
また、上記第1の実施形態によると、2本のアライメント系及び投影光学系PLの各光軸のほぼ中心を計測する干渉計からの干渉計ビームを各光学系毎に有しているため、アライメント時や投影光学系を介してのパターン露光時のいずれの場合にも2つのウエハステージ位置をアッべ誤差のない状態でそれぞれ正確に計測することができ、2つのウェハステージを独立して移動させることが可能になる。
【0177】
さらに、2つのウェハステージWS1、WS2が並ぶ方向(ここではX軸方向)に沿って両側から投影光学系PLの投影中心に向けて設けられた測長軸BI1X、BI2Xは、常にウエハステージWS1、WS2に対して照射され、各ウエハステージのX軸方向位置を計測するため、2つのウエハステージが互いに干渉しないように移動制御することが可能になる。
【0178】
その上、上記測長軸BI1X、BI2Xに対してアライメント系の検出中心や投影光学系PLの投影中心位置に向けて垂直に交差する方向(ここではY軸方向)に測長軸BI3Y、BI4Y、BI5Yが照射されるように干渉計が配置され、ウエハステージを移動させて反射面から測長軸が外れたとしても、干渉計をリセットすることによりウエハステージを正確に位置制御することが可能となる。
【0179】
そして、2つのウエハステージWS1、WS2上には、それぞれ基準マーク板FM1、FM2が設けられ、その基準マーク板上のマーク位置とウエハ上のマーク位置とを予めアライメント系で計測することによって得られる補正座標系との間隔を、露光前の基準板計測位置に対してそれぞれ加算する事によって、従来の様な投影光学系とアライメント系との間隔を計測するベースライン計測を行うことなくウエハの位置合わせが可能となり、特開平7―176468号公報に記載されるような大きな基準マーク板の搭載も不要となる。
【0180】
また、上記第1の実施形態によると、複数枚のレチクルRを使って二重露光を行うことから、高解像度とDOF(焦点深度)の向上効果が得られる。しかし、この二重露光法は、露光工程を少なくとも2度繰り返さなければならないため、露光時間が長くなって大幅にスループットが低下するが、本第1の実施形態の投影露光装置を用いることにより、スループットが大幅に改善できるため、スループットを低下させることなく高解像度とDOFの向上効果とが得られる。例えば、T1(ウエハ交換時間)、T2(サーチアライメント時間)、T3(ファインアライメント時間)、T4(1回の露光時間)において、8インチウエハにおける各処理時間をT1:9秒、T2:9秒、T3:12秒、T4:28秒とした場合、1つのウエハステージを使って一連の露光処理が為される従来技術により二重露光が行われると、スループットTHOR=3600/(T1+T2+T3+T4*2)=3600/(30+28*2)=41[枚/時]となり、1つのウエハステージを使って一重露光法を実施する従来装置のスループット(THOR=3600/(T1+T2+T3+T4)=3600/58=62[枚/時])と比べてスループットが66%までダウンする。ところが、本第1の実施形態の投影露光装置を用いてT1、T2、T3とT4とを並列処理しながら二重露光を行う場合は、露光時間の方が大きいため、スループットTHOR=3600/(28+28)=64[枚/時]となることから、高解像度とDOFの向上効果を維持しつつスループットを改善することが可能となる。また、露光時間が長い分、EGA点数を増やすことが可能となり、アライメント精度が向上する。
【0181】
なお、上記第1の実施形態では、本発明が二重露光法を用いてウエハの露光を行う装置に適用された場合について説明したが、これは、前述の如く、本発明の装置により、一方のウエハステージ側で2枚のレチクルにて2回露光を行う(二重露光)間に、独立に可動できる他方のウエハステージ側でウエハ交換とウエハアライメントを並行して実施する場合に、従来の一重露光よりも高いスループットが得られるとともに、解像力の大幅な向上が図れるという特に大きな効果があるためである。しかしながら、本発明の適用範囲がこれに限定されるものではなく、一重露光法により露光する場合にも本発明は好適に適用できるものである。例えば、8インチウエハの各処理時間(T1〜T4)が前述と同様であるとすると、本発明のように2つのウエハステージを使って一重露光法で露光処理する場合、T1、T2、T3を1グループとし(計30秒)、T4(28秒)と並列処理を行うと、スループットはTHOR=3600/30=120[枚/時]となり、1つのウエハステージを使って一重露光法を実施する従来のスループット(THOR=62[枚/時]に比べてほぼ倍の高スループットを得る事が可能となる。
【0182】
また、上記実施形態では、ステップ・アンド・スキャン方式により走査露光を行う場合について説明したが、本発明がこれに限定されるものではなく、ステップ・アンド・リピート方式による静止露光を行う場合及びEB露光装置やX線露光装置、さらにはチップとチップを合成するスティッチング露光時であっても同様に適用できることは勿論である。
【0183】
《第2の実施形態》
次に、本発明の第2の実施形態を図19ないし図33に基づいて説明する。
【0184】
本第2の実施形態は、1つのウエハステージWSを使って先読みAF/AL計測を行いつつ、その計測結果に基づいてフォーカス・レベリング制御を行って露光を行うものである。
【0185】
図19には、第2の実施形態に係る投影露光装置214の概略構成が示されており、この投影露光装置214は、第1の実施形態と同様にステップ・アンド・スキャン方式の走査露光型の投影露光装置であって、図1に示される第1の実施形態の投影露光装置10と基本的な構成部分において同一であり、同一部分に同一符号を付して構成説明を省略する。第1の実施形態の投影露光装置10と異なる点は、ウエハステージWSが1つで構成されており、先読み制御用のウエハW上の面位置を計測するAF/AL系が、露光領域IFの走査方向の一方側と他方側に設けられ、露光領域IFの非走査方向の幅よりも広い範囲に複数の検出点が配列されるように構成された斜入射式の照射光学系151と集光光学系161とで構成されている点である。また、本第2の実施形態のウエハステージWSには、ウエハWを保持してZ軸方向の微小駆動及び傾斜駆動させる基板駆動系としてのZ・レベリングステージLSを備えている。
【0186】
これを露光領域IFに対する先読み制御用のAF検出点の配置を斜視図で示した図20で見ると、露光領域IFの走査方向(+Y方向)には、非走査方向(±X方向)に検出点AF1〜AF9で構成される検出領域AFE(図25参照)が設けられ、露光領域IFの非走査方向の幅よりも大きい範囲に配列されている。また、露光領域IFの走査方向(−Y方向)には、非走査方向(±X方向)に検出点AB1〜AB9で構成される検出領域ABE(図25参照)が設けられ、露光領域IFの非走査方向の幅よりも大きい範囲に配列されている。これらの検出点AF1〜AF9及び検出点AB1〜AB9は、それぞれ露光領域IFを走査する走査方向(+Y方向、−Y方向)の手前側に配置されていて、各検出点におけるウエハW面が所定の基準面に対してどの程度ずれているかの相対位置がショット領域の露光に先立って検出される。
【0187】
図21は、図20を走査方向から見た側面図であり、図22は、図21の平面図であり、図23は、図22を非走査方向から見た側面図である。
【0188】
図22及び図23に示されるように、斜入射式のAF/AL系の照射光学系151a及び151bから射出された光束は、ウエハW面上の非走査方向に延びた検出点AB1〜AB9と検出点AF1〜AF9を形成し、ウエハW面にて反射された光束が斜入射式のAF/AL系の集光光学系161a及び161bにて受光されるようになっている。これは、投影光学系PLの投影レンズのN.A.(開口数)が大きくなるにつれて投影レンズ下面とウエハW間のワーキングディスタンスが狭くなるため、露光領域IF内を斜入射AF系で計測できなくなるが、かかる場合であっても完全先読み計測を実行するためにこのようにしたものである。
【0189】
また、図21及び図23に示されるように、本第2の実施形態の投影光学系PLの下端付近の形状は、逆円錐台となっており、照射光学系151a及び151bからの複数の照射光がウエハWのそれぞれの検出点位置に照射され、ウエハW表面からの反射光が投影光学系PLの両脇を通り抜けて、集光光学系161a及び161bにて受光されるように構成されている。これは、AF光束が投影光学系PLの下端付近でけられないようにするためであり、N.A.の広がり部と投影光学系PLの45°方向に合わせるとともに、投影光学系PLを構成する投影レンズの収差を補正する為、投影光学系PLの最下面に平行平板216が走査方向に合わせて長方形に配置されている。そして、その平行平板216の走査方向の前後には、一次元の非走査方向に延びたAF検出点が+Y走査用と−Y走査用として2ヶ所に配置されている。これを例えば、特開平6―283403号公報に記載されている様な2次元検出型のAF機構と比べると、露光位置でのAF計測が出来ない反面、非走査方向に長くスポット群を形成する事が可能になるとともに、検出点が1次元に配列されているため、各AFスポットのZ方向面内湾曲によるオフセット誤差を容易に補正できるという利点がある。更に、2方向入射により非走査方向に干渉縞を形成する方法を採用する場合などでは、その干渉縞の間隔誤差、位置変動より1次元画像処理にてAF/AL位置を検出する1次元処理の先読み制御法であるので、本発明の適用が容易となる利点がある。また、光束が検出領域AFE、ABEの2ヶ所に分かれているので、それぞれの光束を遮光しない様なカバーを設置し、カバー内に温度調節が為された気体を流すことで温度変化によるAF/AL精度を向上させる様にすれば、更に検出誤差を軽減する効果がある。
【0190】
次に、本第2の実施形態の投影露光装置214により、ウエハWの外周よりショット配列の方が大きい場合の先読み制御について説明する。例えば、図32は、ウエハWの外周よりショット配列の方が大きい場合の先読み制御に関する比較例を示した図である。図32では、走査露光を行う露光領域IFに対して走査方向(紙面上方の矢印方向:実際には露光領域IF及びAF検出点AF1〜AF5が固定でこれらに対してウエハWが走査されるが、便宜上図の露光領域IF及びAF検出点がウエハ面に対して走査されるように図示する)の手前に、非走査方向に配列されたAF検出点AF1〜AF5が配列されている。このAF検出点AF1〜AF5で構成される検出領域AFBは、完全先読み制御を行うためにAF計測を行うもので、その検出領域AFBの幅が露光領域IFの非走査方向の幅とほぼ同じ幅で構成されている。この図32(比較例)のように構成された投影露光装置を用いて先読み制御をする場合は、図33に示されるように、ステージの移動に伴ってAF1〜AF5までのAF出力値が得られる。この図33の横軸はステージの移動時間〔t〕を示し、縦軸はウエハ面位置に対するZ方向の相対位置〔μm〕を示している。この図33の線図に示されるように、ウエハW面上にかかる検出点AF5〜AF3については、検出点が走査方向に移動するにつれて順次ウエハ面位置を示す様になるが、検出点AF2及びAF1については最後までウエハ面上を通過しないため、正常な出力値が得られなくなる。このように、図32及び図33の比較例による5点計測で全ショット領域の先読み制御を実施しようとすると、ウエハの外周近傍のショット領域ではエラーが発生してしまい、AF/AL制御ができなくなることがあった。これを回避するため、ウエハWの内側から外側に向って走査しながら先読み制御を行ったり、隣接ショットのウエハ面位置の計測データを使って露光処理が為されるように、欠けショット領域におけるAF/AL制御シーケンスに変える必要があった。
【0191】
これに対し、本第2実施形態では、図20に示されるように、露光領域IFに対してAF検出点の非走査方向の幅を広げることにより、隣接するショット領域のウエハ面位置を計測することが可能となり、その計測結果を利用することによってエラーが発生し難い先読み制御を行うようにしたものである。
【0192】
図24には、第2の実施形態に係るAF/AL系を用いた先読み制御法を説明するウエハWの平面図が示されている。この図24は、最も高速にウエハWを露光することができる順序にて先読み制御を実施した場合の各ショット領域のグループ化を示したものである。図25には、フォーカス計測時における露光領域IFとAF検出点の位置関係が示されている。ここで、各ショット領域毎にどのAF検出点(AF1〜AF9、AB1〜AB9)を使用してAF計測を行うかを「A,B,C,D,E,F,AF,AB」の様にグルーピングを行って、これらの各グループ毎に使用する検出点位置を図26の表に示されるように予め決めておく。図26に示される表の横方向には、使用するAF検出点(AF1〜AF9、AB1〜AB9)の位置が示され、縦方向には各ショット領域をグルーピングしたグループ名が示されている。そして、それらのクロス位置に○印が付いたAF検出点(センサ)を使用して先読み制御が行われるように、主制御装置90により制御される。
【0193】
例えば、図27はAグループ(例えば、図24の左端上のショット領域を露光する場合など)のショット領域212を露光する際に使用されるAF検出点とウエハ面の先読み制御開始時の位置関係を示している。この場合、露光領域IFから走査方向に距離Lだけ離れた位置に存在するAF検出点AF7、AF8、AF9が用いられるように主制御装置90により制御される。ここで、図27に示される先読み制御開始時には、主制御装置90により指定された3つのAF検出点(AF7、AF8、AF9)が全てウエハ面上に位置しているため、破線で示したショット領域212の露光が終了するまでこの3つのAF検出点AF7、AF8、AF9で計測された計測値に基づいて先読み制御を行うようにする。
【0194】
この図26及び図27の場合は、ショット領域に応じて使用するAF検出点が予め固定されている「AF検出点固定法」である。図27の例におけるショット領域212内の実計測は、検出点AF7だけであって、隣接するショット領域上の検出点AF8,AF9の計測値を用いることにより、先読みによるAF/AL制御を行うことができる。
【0195】
また、ショット領域内において先読み制御時に欠けているAF検出点が無い場合、すなわち、図24に示されるグループAFやグループABの場合は、図26の表で指定されるショット領域内に位置する検出点AF3〜AF7、AB3〜AB7のみを用いて計測が行われ、ショット領域外の検出点AF1、AF2、AF8、AF9は使用されない。
【0196】
また、図24に示されるグループEの場合は、図26の表で指定されるように、検出点AF1〜AF5を用いて計測が行われる。このグループEでは、図24に示されるように、先読み制御の途中で検出点AF6及びAF7が計測可能となるので、この検出点AF6とAF7の計測値を使用した方が精度は高くなるが、ショット配列の設定時に一回の露光動作内で使用するAF検出点を変更する必要がない分、主制御装置90の制御処理が簡略化できるという利点がある。従って、制御処理に余裕がある場合は、検出点AF6及びAF7の計測値を使うようにして、一層高精度なフォーカス、レベリング制御を行うようにしても良い。
【0197】
次に、上記以外の先読み制御法について説明する。
【0198】
図28は、使用するAF検出点の数を変えることなくウエハW面上でAF計測が可能なセンサを順次走査方向の移動に合わせて、AF検出点を移動させて所定のショット領域に対してウエハ面のフォーカス計測を行うようにする「AF検出点移動型」である。先読み制御のAF計測方法としては、原理的に精度の最も優れた計測方法である。この「AF検出点移動型」を実施するにあたって、主制御装置90は、ウエハWを走査方向に移動させながらウエハWの周縁部に定められた禁止帯の内側の有効領域内にいずれのAF検出点がかかっているかを把握するため、ウエハの外周位置情報と、AF検出点の位置情報と、露光対象であるショット領域の位置情報とに基づいてAF検出点の切り換えを行うように制御する。例えば、図28の場合は、最初は検出点AF7、AF8、AF9の3つを用いて計測を行い、次に、検出点AF6、AF7、AF8、その次には、検出点AF5、AF6、AF7となり、最後に検出点AF4、AF5、AF6というように、ウエハ面上の有効領域内であって、できるだけショット領域212内の3つの検出点が選ばれるようにセンサの切り換えが行われる。これにより、ショット領域が設けられたウエハWの外周部を露光領域IFが外側から内側へ走査露光する場合であっても(実際には、移動しない露光領域IFに対してウエハW側が移動して相対走査が行われる)、先読み制御をすることによりウエハ面位置を投影光学系PLの結像面に迅速に追い込むことが可能となり、迅速かつ高精度なフォーカス、レベリング制御を行うことができる。切り換えの方法は、前述のように、グルーピングを行っても良いし、全センサの出力を常時モニターし、許容値内になった検出点を使用する様にしても良い。
【0199】
また、図29では、使用するAF検出点の数に関係なく、計測可能な検出点であれば全て使用する「AFセンサ数、位置可変型」である。この場合、複数のAF検出点を使用することによって、平均化効果が高くなり、ウエハ外周部のソリ等の影響を受け難くできるという特徴がある。また、AF計測において再現性が悪い場合などでは、この効果は一層高くなる。この図29の場合も図28と同様に、主制御装置90は、ウエハWを走査方向に移動させながらウエハWの周縁部に定められた禁止帯の内側の有効領域内にいずれのAF検出点がかかっているかを把握するため、ウエハの外周位置情報と、AF検出点の位置情報と、露光対象であるショット領域の位置情報とに基づいてAF検出点の切り換えを行うように制御する。ここでは、AF検出点の数に限定がないため、AF1〜AF9までの検出点のうち、有効領域内に含まれる検出点全てを使ってAF/AL計測を行うようにする。これにより、ウエハWの外周近傍のショット領域を外側から内側へ走査露光する場合であっても、先読み制御を行うことによってウエハ面位置を投影光学系PLの結像面に迅速に追い込むことが可能になり、迅速かつ高精度なフォーカス、レベリング制御を行うことができる。
【0200】
以上述べたような先読み制御法を使って、例えば、特開平6−283403号公報に記載されている技術に付加することにより、ウエハ外周近傍やウエハ内のショット領域の区別に関係なく、最も迅速に行える露光順序に従ってウエハ面の各ショット領域に対して、高速且つ高精度な走査露光を行う事が可能となる。
【0201】
次に、上述した先読み制御を行うにあたって、いずれのデータを先読み計測データとして採用するかについて説明する。これは、例えば、露光領域IFの走査方向の幅を6〜8mmとし、露光時におけるウエハの走査速度を80〜90mm/secとすると、ウエハ面のうねり周波数にもよるが、先読みAF検出点が露光時におけるウエハ走査速度に達するまでの加速+整定距離(L=8〜10mm)である事がスループット上不要な助走が無い分望ましい。これは、先読みの位置をデータファイル内のウエハの外周位置、ショット領域の座標位置、露光領域IFからAF検出点までの距離Lの情報により算出し、ウエハ外周のパターン禁止帯(通常3mm程度:図30参照)より先読み開始位置が内側になっている場合にそのセンサを採用する事となるが、ウエハ外周はソリ、ゴミの影響を受け易く、データファイルに設定された先読み開始位置であったとしても、ウエハ面の位置を正確に表わしていない場合がある。
【0202】
ここで、図30及び図31を用いて、上記場合における制御誤差をできるだけ小さくなるようにする点について説明する。図30では、上述した「AF検出点固定法」において、例えばグループCのようにAF検出点AF6〜AF9を使用する場合、データファイル上の計算によると、先読み制御開始座標は図31中の▲1▼であるが、▲1▼はパターン禁止帯の影響を受け、かなりデフォーカスしているとする。この場合の各センサ出力値は、図31に示されるように、▲1▼の位置で先読み制御を開始すると、検出点AF6の影響によって、先読みによる計測結果は目標に対しかなり誤差を持つ場合は、AF検出点の最右端に位置するセンサであるので、レベリング制御に重大な影響を与えることになる。
【0203】
仮に、先読み検出点が80mm/secで移動して走査時にはその70%の制御が可能な様に設計されている場合、右端に設けられた検出点AF6がZ軸方向に数μm以下の誤差であったならば、先読み制御時の平均化効果により小さい誤差で済む。ところが、Z軸方向に数十μmもの誤差がある場合は、その値を加味した結果を目標値としてレベリング制御を行うと、許容できない程度の誤差が発生することになる。このため、先読み検出点の計測開始時データをモニターした時の結果が許容範囲内である場合に先読み計測を開始するようにし、許容範囲を越える場合であれば許容範囲内となる点▲2▼まで先読み制御の計測結果を使用しないようにするのが望ましい。
【0204】
また、上述した「AFセンサ位置移動型」や「AFセンサ数、位置可変型」では、許容範囲内となったAF検出点のみを使用するようにすることができる。
【0205】
更に、各検出点間の計測誤差についても許容範囲を設定し、その許容範囲を超える原因となるAF検出点を除くAF検出点を用いる様にすれば、例えば、ウエハ裏面側に設けられたゴミ等の影響によってAFエラーが発生するような頻度を少なくすることができる。但しこれらの方法は、予めウエハ面を目標AFへの追い込み位置からの許容範囲内に入れておく必要があるため、ウエハアライメント時のフォーカス計測結果に基づいてグローバルAF又は、グローバルAF/ALを実行しておく必要がある。
【0206】
以上説明したように、本第2の実施形態に係る投影露光装置214によれば、レチクルR上のパターンを投影光学系PLを介してウエハW上に走査露光する際に、ウエハW上の露光領域IFよりも非走査方向に広い領域に対して複数のAF検出点が配置されている。そして、ウエハW外周近傍のショット領域212を露光するのに先立って、ウエハW面上に複数のAF検出点の一部がかかった時点でフォーカスの先読み計測が開始され、その計測結果に基づいてフォーカス制御を開始するようにしたため、従来の走査型投影露光装置の先読み制御では計測できなかった内側のフォーカス情報を先読みデータとしてフォーカス制御に用いる事が可能である。従って、スループットを劣化させずに高精度なフォーカス制御を行うことができる。
【0207】
また、複数のAF検出点におけるウエハW面上のAF検出点が一点である場合に、露光時におけるレベリング制御は、隣接ショットのレベリング情報を用いるか、固定値(例えば、X方向の傾斜量、Y方向の傾斜量が共に「0」)を用いるようにしたため、ウエハの外周近傍の欠けショット領域であっても先読み制御を開始することができる。
【0208】
更に、1点のウエハW面上のAF検出点にて先読み制御実行時に、それと異なるAF検出点がウエハW面上にかかってきた場合にその位置で先読み計測を開始し、露光開始までに両方の先読み計測結果を用いたレベリング制御が可能になった場合は、上述した隣接ショットのレベリングや固定値によるレベリング補正からショット内の先読み計測によるレベリング制御に切り換えるようにする。こうすることにより、外周部の欠けショットに対する先読み制御であっても高精度でフォーカス、レベリング制御を行うことができる。
【0209】
また、先読み計測を行う場合に使用するAF検出点は、ウエハW上のショット配列が決定された時点でウエハWの外周位置情報、複数のAF検出点の位置情報、ウエハW上のショット領域の座標位置に基づいて決定したり、あるいは、先読み制御に用いるAF検出点による検出をウエハ走査時に常時実行して、いずれかの検出点での検出結果が許容値以内になった時点から先読み制御を開始するようにしたため、ウエハの外周エッジの影響を設計座標から予想以上に受けた場合に、その時点でフォーカス制御が開始される事がなくなり、大きなフォーカス、レベリング誤差の発生を防止することができる。
【0210】
なお、上記第2の実施形態では、1つのウエハステージを使った場合で説明したが、上記第1の実施形態で説明したような2つのウエハステージを使う場合であっても勿論実施することが可能である。この場合は、必ずしもアライメント系を使って事前にフォーカス計測を行う必要はないが、さらに高精度にする目的でアライメント系でフォーカス計測を行っても良い。また、アライメント系によるフォーカス計測を行わない場合は、その動作時間を他の動作時間として使用することができる利点がある。
【0211】
【発明の効果】
  以上説明したように、本発明によれば、スループットを一層向上させつつ、高精度なフォーカス、レベリング制御を行うことができる。
【図面の簡単な説明】
【図1】本第1の実施形態にかかる投影露光装置の概略構成を示す図である。
【図2】2つのウエハステージとレチクルステージと投影光学系とアライメント系の位置関係を示す斜視図である。
【図3】ウエハステージの駆動機構の構成を示す平面図である。
【図4】投影光学系とアライメント系にそれぞれ設けられているAF/AL系を示す図である。
【図5】AF/AL系とTTRアライメント系の構成を示す投影露光装置の概略構成を示す図である。
【図6】図5のパターン形成板の形状を示す図である。
【図7】2つのウエハステージを使ってウエハ交換・アライメントシーケンスと露光シーケンスとが行われている状態を示す平面図である。
【図8】図7のウエハ交換・アライメントシーケンスと露光シーケンスとの切り換えを行った状態を示す図である。
【図9】2枚のレチクルを保持する二重露光用のレチクルステージを示す図である。
【図10】(A)は図9のパターンAのレチクルを使ってウエハの露光を行った状態を示す図であり、(B)は図9のパターンBのレチクルを使ってウエハの露光を行った状態を示す図である。
【図11】2つのウエハステージの一方に保持されたウエハ上の各ショット領域毎の露光順序を示す図である。
【図12】2つのウエハステージの他方に保持されたウエハ上の各ショット領域毎のマーク検出順序を示す図である。
【図13】ウエハ内に全てのショット配列が入っている場合のスキャン型投影露光装置の露光順序を示すウエハの平面図である。
【図14】(A)は、図13のA位置において先読み用のAF計測を行う拡大平面図であり、(B)は、図13のB位置において先読み用のAF計測を行う拡大平面図であり、(C)は、図13中のC位置において先読み用のAF計測を行う拡大平面図である。
【図15】ウエハ外周近傍のショット領域における比較例の先読み制御結果を示す線図である。
【図16】ウエハ内に全てのショット配列が入っている場合のスキャン型投影露光装置のアライメント順序を示すウエハの平面図である。
【図17】第1の実施形態における先読み制御結果を示す線図である。
【図18】第1の実施形態において計測再現性に誤差がある場合の先読み制御結果を示す線図である。
【図19】第2の実施形態に係る投影露光装置の概略構成を示す図である。
【図20】露光領域に対する先読み制御用のAF検出点の配置を示す斜視図である。
【図21】図20を走査方向から見た側面図である。
【図22】図21の平面図である。
【図23】図22を非走査方向から見た側面図である。
【図24】第2の実施形態に係るAF/AL系を用いた先読み制御法を説明するウエハWの平面図である。
【図25】フォーカス計測時における露光領域IFとAF検出点の位置関係が示されている。
【図26】ショット領域毎のAF計測に使用するAF検出点位置を指定するための選択図である。
【図27】Aグループに属するショット領域を露光する際に使用するAF検出点とウエハ面の先読み制御開始時の位置を示す図である。
【図28】使用するAF検出点の数を変えずにAF検出点を移動させてウエハ面のフォーカス計測を行う場合のAF検出点を示す図である。
【図29】計測可能なAF検出点を全て使用してウエハ面のフォーカス計測を行う場合のAF検出点を示す図である。
【図30】Cグループに属するショット領域を露光する際に使用するAF検出点とウエハ面の先読み制御開始時の位置を示す図である。
【図31】図30における先読み制御結果を示す線図である。
【図32】ウエハWの外周よりショット配列の方が大きい場合の先読み制御に関する比較例を示す図である。
【図33】ウエハWの外周よりショット配列の方が大きい場合の先読み制御に関する比較例を示す図である。
【符号の説明】
10    投影露光装置
24a、24b    アライメント系
38    ステージ制御手段
90    主制御装置
130、132、134  AF/AL系
151  照射光学系
161  集光光学系
210、212  ショット領域
214  投影露光装置
W、W1、W2    ウエハ(感応基板)
WS、WS1、WS2    ウエハステージ
PL    投影光学系
R    レチクル
IF  露光領域
IA  照明領域
AF1〜AF9、AB1〜AB9  AF検出点
LS、LS1、LS2  Z・レベリングステージ(基板駆動系)[0001]
 BACKGROUND OF THE INVENTION
 The present invention relates to a projection exposure apparatus, a projection exposure method, and a scanning exposure method, and more particularly, a projection exposure apparatus and a projection exposure method for projecting and exposing a pattern image formed on a mask onto a sensitive substrate via a projection optical system. In addition, the present invention relates to a scanning exposure method, and is particularly characterized by methods for focus control and leveling control.
 [0002]
 [Prior art]
 Conventionally, various exposure apparatuses have been used for manufacturing a semiconductor element or a liquid crystal display element in a photolithography process. Currently, a pattern of a photomask or a reticle (hereinafter, collectively referred to as “reticle”) is used. In general, a projection exposure apparatus that transfers an image onto a substrate such as a wafer or a glass plate (hereinafter, referred to as a “sensitive substrate” as appropriate) having a photosensitive material such as a photoresist coated on the surface via a projection optical system. in use. In recent years, as this projection exposure apparatus, a sensitive substrate is placed on a two-dimensionally movable substrate stage, and the sensitive substrate is stepped (stepped) by this substrate stage, so that the pattern image of the reticle is placed on the sensitive substrate. The so-called step-and-repeat type reduction projection exposure apparatus (so-called stepper), which repeats the operation of sequentially exposing each shot area, is the mainstream.
 [0003]
 Recently, a step-and-scan type projection exposure apparatus (for example, a scanning exposure apparatus as described in Japanese Patent Application Laid-Open No. 7-176468), which is an improvement on a static exposure apparatus such as a stepper, has also been developed. It has come to be used relatively frequently. This step-and-scan type projection exposure apparatus can expose a large field with a smaller optical system as compared with (1) a stepper. Therefore, the projection optical system can be easily manufactured and the number of shots by large field exposure can be reduced. High throughput can be expected due to the decrease, and (2) there are advantages such as an effect of averaging by relatively scanning the reticle and wafer with respect to the projection optical system, and an improvement in distortion and depth of focus. Furthermore, as the integration density of semiconductor devices increases from 16M (mega) to 64M DRAM, and in the future to 256M, 1G (giga), and so on, the large field becomes essential, so it replaces the stepper. Therefore, it is said that scanning projection exposure apparatuses will become mainstream.
 [0004]
 Therefore, when the sensitive substrate is exposed using this scanning projection exposure apparatus, it is provided on the near side in the scanning direction with respect to the exposure field, as described in, for example, JP-A-6-283403. All the detection points in one row are used as sample points, and all the focus position values at the sample points are measured in advance before exposure, and averaging processing and filtering processing are performed. Controls the focus and auto leveling mechanism. In parallel with this, so-called complete look-ahead control in which the inclination in the non-scanning direction is obtained by the least square approximation method from the focus position measurement values at each sample point in the above-mentioned row, and the leveling control in the non-scanning direction is performed by open control. The law was being implemented.
 [0005]
 [Problems to be solved by the invention]
 Since this type of projection exposure apparatus is mainly used as a mass-production machine for semiconductor elements and the like, it is possible to improve the throughput, that is, the throughput of how many wafers can be exposed within a certain period of time. Is inevitably required.
 [0006]
 In this regard, in the case of the above-described step-and-scan projection exposure apparatus, when exposing a large field, as described above, the number of shots exposed in the wafer is reduced, so that an improvement in throughput is expected. However, since exposure is performed during constant-velocity movement by synchronous scanning of the reticle and wafer, an acceleration / deceleration area is required before and after the constant-velocity movement area, and a shot equivalent to the shot size of the stepper is assumed. In the case of exposure, the throughput may be lower than that of the stepper.
 [0007]
 The flow of processing in this type of projection exposure apparatus is roughly as follows.
 [0008]
 (1) First, a wafer loading process is performed in which a wafer is loaded onto a wafer table using a wafer loader.
 [0009]
 (2) Next, a search alignment process is performed in which a rough position detection of the wafer is performed by the search alignment mechanism. Specifically, this search alignment process is performed, for example, based on the outer shape of the wafer or by detecting a search alignment mark on the wafer.
 [0010]
 {Circle around (3)} Next, a fine alignment step for accurately obtaining the position of each shot area on the wafer is performed. In this fine alignment process, an EGA (Enhanced Global Alignment) method is generally used. In this method, a plurality of sample shots in a wafer are selected, and an alignment mark (wafer mark) attached to the sample shot is selected. Are sequentially measured, and based on this measurement result and the design value of the shot arrangement, a statistical calculation is performed by a so-called least square method or the like to obtain all shot arrangement data on the wafer (Japanese Patent Laid-Open No. 61). -44429, etc.), the coordinate position of each shot area can be obtained with relatively high accuracy with high throughput.
 [0011]
 (4) Next, based on the coordinate position of each shot area obtained by the above-mentioned EGA method or the like and the baseline amount measured in advance, each shot area on the wafer is sequentially positioned at the exposure position, and the projection optical system is An exposure process for transferring the pattern image of the reticle onto the wafer is performed.
 [0012]
 (5) Next, a wafer unload process is performed in which the wafer on the wafer table subjected to the exposure process is unloaded using a wafer unloader. This wafer unloading step is performed simultaneously with the wafer loading step (1) for the wafer to be exposed. That is, (1) and (5) constitute a wafer exchange process.
 [0013]
 Thus, in the conventional projection exposure apparatus, four operations are repeatedly performed using one wafer stage, such as wafer exchange → search alignment → fine alignment → exposure → wafer exchange.
 [0014]
 Further, the throughput THOR [sheets / hour] of this type of projection exposure apparatus is given by the following equation when the wafer exchange time is T1, the search alignment time is T2, the fine alignment time is T3, and the exposure time is T4: It can be expressed as 1).
 [0015]
 THOR = 3600 / (T1 + T2 + T3 + T4) (1)
 The operations from T1 to T4 are repeatedly executed sequentially (sequentially) in the order of T1, T2, T3, T4, T1, and so on. For this reason, if each element from T1 to T4 is speeded up, the denominator becomes smaller and the throughput THOR can be improved. However, the above-described T1 (wafer exchange time) and T2 (search alignment time) are relatively small since only one operation is performed on one wafer. In the case of T3 (fine alignment time), the throughput can be improved by reducing the number of shots when using the EGA method described above or by reducing the measurement time of a single shot. Since accuracy is degraded, T3 cannot be easily shortened.
 [0016]
 T4 (exposure time) includes a wafer exposure time and a stepping time between shots. For example, in the case of a scanning projection exposure apparatus such as the step-and-scan method, it is necessary to increase the relative scanning speed of the reticle and wafer by the amount that shortens the wafer exposure time, but the synchronization accuracy deteriorates. The scanning speed cannot be increased easily.
 [0017]
 In addition to the above throughput in this type of projection exposure apparatus, important conditions include (1) resolution, (2) depth of focus (DOF), and (3) line width control accuracy. . The resolution R is such that the exposure wavelength is λ and the numerical aperture of the projection lens is N.P. A. (Numerical Aperture), λ / N. A. And the depth of focus DOF is λ / (NA)2 Is proportional to
 [0018]
 Therefore, in order to improve the resolution R (reduce the value of R), the exposure wavelength λ is reduced or the numerical aperture N.P. A. Need to be larger. In particular, the density of semiconductor elements has been increasing recently, and the device rule has become 0.2 μmL / S (line and space) or less, so illumination is necessary to expose these patterns. A KrF excimer laser is used as the light source. However, as described above, the degree of integration of semiconductor elements will inevitably increase in the future, and development of a device having a light source having a wavelength shorter than KrF is desired. As a candidate for a next-generation apparatus equipped with such a light source having a shorter wavelength, an apparatus using an ArF excimer laser as a light source, an electron beam exposure apparatus, and the like are representatively mentioned. In the case of an ArF excimer laser, oxygen In some places, light is hardly transmitted, high output is difficult to be output, laser life is short, and equipment costs are high, and in the case of electron beam exposure equipment, light exposure equipment In reality, it is difficult to develop next-generation machines with the main viewpoint of shortening the wavelength because of the disadvantage that the throughput is significantly lower than.
 [0019]
 As another method for increasing the resolution R, the numerical aperture N.I. A. Can be increased, but N.I. A. If is increased, there is a demerit that the DOF of the projection optical system is reduced. This DOF can be roughly divided into UDOF (User Depth of Forcus: part used on the user side: pattern step, resist thickness, etc.) and the total focal difference of the apparatus itself. Up to now, since the ratio of UDOF has been large, the direction in which the DOF is increased is the main axis of development of the exposure apparatus. For example, modified illumination has been put to practical use as a technique for increasing the DOF.
 [0020]
 By the way, in order to manufacture a device, a pattern in which L / S (line and space), isolated L (line), isolated S (space), CH (contact hole), etc. are combined is formed on the wafer. However, the exposure parameters for performing optimum exposure differ for each pattern shape such as L / S and isolated line. For this reason, conventionally, using a method called ED-TREE (excluding CHs with different reticles), the common is that the resolution line width is within a predetermined allowable error with respect to the target value and a predetermined DOF is obtained. Exposure parameters (coherence factor σ, NA, exposure control accuracy, reticle drawing accuracy, etc.) are determined and used as the specifications of the exposure apparatus. However, it is thought that there will be the following technical flow in the future.
 [0021]
 (1) Improvement in process technology (planarization on the wafer) will lead to a decrease in pattern step and a decrease in resist thickness, and UDOF may be in the range of 1 μm to 0.4 μm or less.
 [0022]
 (2) The exposure wavelength is shortened from g-line (436 nm) → i-line (365 nm) → KrF (248 nm). However, only light sources up to ArF (193) have been studied in the future, and the technical hurdles are high. Thereafter, the process shifts to EB exposure.
 [0023]
 (3) It is expected that scanning exposure such as step-and-scan will become the mainstream of steppers instead of static exposure such as step-and-repeat. This technique enables large field exposure with a projection optical system having a small diameter (especially in the scanning direction), and accordingly, a high N.D. A. It is easy to realize.
 [0024]
 Against the background of the technical trend as described above, the double exposure method has been reviewed as a method for improving the limit resolution, and this double exposure method is used in KrF and future ArF exposure apparatuses, and 0.1 μmL / S. Attempts have been made to expose to the maximum. In general, the double exposure method is roughly divided into the following three methods.
 [0025]
 (1) L / S and isolated lines with different exposure parameters are formed on separate reticles, and each layer is subjected to double exposure under optimum exposure conditions.
 [0026]
 (2) When the phase shift method or the like is introduced, the limit resolution is higher in the L / S with the same DOF than the isolated line. By utilizing this, all the patterns are formed with L / S by the first reticle, and an isolated line is formed by thinning out L / S with the second reticle.
 [0027]
 (3) Generally, the isolated line is smaller than the L / S. A. Can obtain a high resolution (however, the DOF becomes small). Therefore, all patterns are formed by isolated lines, and L / S is formed by a combination of isolated lines respectively formed by the first and second reticles.
 [0028]
 The above double exposure method has two effects of improving resolution and improving DOF.
 [0029]
 However, in the double exposure method, since it is necessary to perform the exposure process a plurality of times using a plurality of reticles, the exposure time (T4) is more than doubled as compared with the conventional apparatus, and the throughput is greatly deteriorated. In reality, the double exposure method has not been studied very seriously, and the resolution and depth of focus (DOF) can be improved by using ultraviolet exposure wavelength, modified illumination, phase shift reticle, etc. Has been done.
 [0030]
 However, when the double exposure method described above is used in KrF and ArF exposure apparatuses, exposure up to 0.1 μmL / S is realized, thereby developing next-generation machines aimed at mass production of 256M and 1G DRAMs. There is no doubt that it is a promising option, and the development of a new technology has been awaited for improving the throughput, which is a problem of the double exposure method that becomes a bottleneck for this.
 [0031]
 In this regard, if the above-described four operations, ie, wafer exchange, search alignment, fine alignment, and exposure operations, can be processed partially or simultaneously in parallel, these four operations are compared with the case of performing them sequentially. Thus, it is considered that the throughput can be improved. For this purpose, it is premised that a plurality of substrate stages are provided. Providing a plurality of substrate stages is known and seems to be simple in theory, but there are many problems that must be solved in order to achieve a sufficient effect. For example, if two substrate stages having the same size as the current situation are simply arranged side by side, the installation area (so-called footprint) of the apparatus increases remarkably, leading to an increase in the cost of a clean room in which the exposure apparatus is placed. is there. In order to achieve high-precision overlay, alignment is performed on the sensitive substrate on the same substrate stage, and then the alignment of the mask pattern image and the sensitive substrate is performed using the alignment result. Since it is necessary to perform exposure, it is impossible to simply set one of the two substrate stages exclusively for exposure and the other for alignment, for example, as a realistic solution.
 [0032]
 Further, in the scanning type projection exposure apparatus, the exposure order for each shot area on the wafer W is as follows: (1) scanning acceleration / deceleration time, (2) settling time, (3) exposure time, and (4) adjacent shots. Although it is determined by the parameters (1) to (4) such as the stepping time, since the acceleration / deceleration of the reticle stage is generally the rate-limiting condition, the reticle stage is moved from one side to the other side in the scanning direction and from the other side to the one side. It is most efficient to scan the wafer alternately in the direction opposite to the reticle stage (for this purpose, the wafer is stepped by one shot in the non-scanning direction after one shot exposure). Is.
 [0033]
 However, when performing the above-described conventional complete read-ahead control (JP-A-6-283403, etc.), it is difficult to perform exposure in the above-described most efficient exposure order. That is, when exposing a shot area near the center of the wafer, the above complete look-ahead control can be performed without any problem. However, depending on the scanning direction of a shot area existing near the wafer outer periphery or a missing shot on the outer periphery. This is because complete prefetch control may be difficult, and in order to perform full prefetch, the scanning direction must be changed from the inside to the outside of the wafer. For this reason, the throughput is reduced.
 [0034]
 The present invention has been made under such circumstances,First An object of the present invention is to provide a projection exposure apparatus that can perform high-precision focus and leveling control while further improving the throughput.
 [0035]
 Also,Second object of the present invention Can perform high-precision focus and leveling control while further improving throughputscanning It is to provide an exposure method.
 [0039]
 [Means for Solving the Problems]
According to the first aspect of the present invention, a pattern image is projected onto an exposure area via a projection optical system (PL), and the sensitive substrates (W1, W2) are moved in the scanning direction with respect to the exposure area. By the above Sensitive substrateEach of the multiple shot areas above A first substrate stage (WS1) capable of holding a sensitive substrate (W1) and moving in a two-dimensional plane; and holding the sensitive substrate (W2) and the first substrate stage A second substrate stage (WS2) capable of moving independently of the first substrate stage (WS1) in the same plane as (WS1); provided separately from the projection optical system (PL), and the substrate stage (WS1) Or at least one alignment system (for example, 24a) that measures a mark on the sensitive substrate (W1 or W2) held by WS2); and a sensitive substrate during mark measurement using the alignment system (24a) (for example, W1) a first detection system (for example, 130) for detecting a relative position of the surface with respect to a predetermined reference surface; and a sensitive substrate (for example, W2) surface during exposure using the projection optical system (PL). A second detection system (132) for detecting a relative position with respect to a reference plane; and provided on each of the first substrate stage (WS1) and the second substrate stage (WS2) and held on the stage (WS1 or WS2) A substrate drive system (LS) for adjusting the surface position of the sensitive substrate (W1 or W2); one of the first substrate stage (WS1) and the second substrate stage (WS2) (for example, While the mark measurement operation using the alignment system (24a) is performed while performing detection by the first detection system (130) in WS1), the projection optical system (PL) in the other stage (for example, WS2). After controlling the two stages (WS1, WS2) so that an exposure operation using the projection optical system is performed, the exposure using the projection optical system (PL) is performed on the one stage (WS1). The controls the one stage (WS1) so that the operation is carried out,When exposing a shot area in the vicinity of the outer periphery set to be scanned from the outside to the inside of the sensitive substrate, Detection result of the first detection system (130) obtained during the mark measurement operation of the one stage (WS1)In And a control means (90) for controlling the substrate driving system (LS1) of the one stage (WS1) based on the control means (90).Projection exposure apparatus .
 [0040]
 According to this, while the mark measurement operation using the alignment system is performed while the detection by the first detection system is performed on one of the first substrate stage and the second substrate stage by the control means, the other stage is performed. Since the two stages are controlled so that the exposure operation using the projection optical system is performed in
 [0041]
 Further, in the control means, after the parallel processing of the mark measurement operation on the one stage side and the exposure operation on the other stage side is completed, the exposure operation using the projection optical system is performed on one stage. While controlling one stage,When exposing a shot area in the vicinity of the outer periphery set to be scanned from the outside to the inside of the sensitive substrate, The substrate drive system of one stage is controlled based on the detection result of the first detection system obtained during the mark measurement operation of one stage and the detection result of the second detection system obtained during the exposure operation of one stage. To do. For this reason, during the exposure operation of this one stage,When exposing a shot area near the outer periphery set to be scanned from the outside to the inside of the sensitive substrate, Based on the detection result of the first detection system obtained during the previous mark measurement operation, the substrate driving system of the one stage is controlled to quickly drive the surface position of the sensitive substrate to near the imaging surface of the projection optical system. be able to. As a result, it is possible to expose each shot area in an efficient exposure sequence without adopting the inner scan for the shot area in the vicinity of the outer periphery set to be scanned from the outside to the inside of the sensitive substrate as described above. Can improve throughput, and Rapid and highly accurate focus and leveling control is possible.
 [0042]
From a second viewpoint, the present invention provides: In synchronization with the movement of the mask (R) in the scanning direction with respect to the illumination area (IA) illuminated with the illumination light, the sensitive substrate (W1) with respect to the exposure area (IF) conjugate to the illumination area (IA). Alternatively, the pattern image of the mask (R) can be obtained by moving W2) in the scanning direction.Via projection optics (PL) A scanning projection exposure apparatus for exposing on the sensitive substrate (W1 or W2), the first substrate stage (WS1) capable of holding the sensitive substrate (W1) and moving in a two-dimensional plane; A second substrate stage (WS2) that holds (W2) and can move independently of the first substrate stage (WS1) in the same plane as the first substrate stage (WS1); and the projection optical system (PL ) And at least one alignment system (for example, 24a) for measuring a mark on the sensitive substrate (W1 or W2) held on the substrate stage (WS1 or WS2); and the alignment system (24a) A first detection system (for example, 130) for detecting the relative position of the sensitive substrate (W1 or W2) surface during mark measurement with a predetermined reference plane; and the projection optical system (PL) A second detection system (132) for detecting a relative position of the sensitive substrate (W2 or W1) surface in the light with respect to a predetermined reference plane; and each of the first substrate stage (WS1) and the second substrate stage (WS2) A substrate driving system (LS) for adjusting the surface position of the sensitive substrate held on the stage; one of the first substrate stage (WS1) and the second substrate stage (WS2) While the mark measurement operation using the alignment system (24a) is performed while performing detection by the first detection system (130) in (for example, WS1), the projection optical system is used in the other stage (for example, WS2). After controlling the two stages (WS1, WS2) so that the exposure operation using (PL) is performed, the projection optical system (PL) is used in the one stage (WS1). When controlling the one stage (WS1) so that the optical operation is performed, the exposure area (IF) of the plurality of shot areas on the sensitive substrate (W1) held by the one stage (WS1). When exposing a shot area in the vicinity of the outer periphery set so as to be scanned from the outside to the inside of the sensitive substrate (W1), the first stage (WS1) obtained during the mark measurement operation is obtained. The stage substrate drive system (LS) is controlled based on the detection result of the first detection system (130) and the detection result of the second detection system (132) obtained during the exposure operation of the one stage (WS1). And a control means (90) for controlling the substrate driving system (LS) of the one stage (WS1) using only the detection result of the second detection system (132) when exposing other shot areas. HaveProjection exposure apparatus .
 [0043]
 According to this, while the mark measurement operation using the alignment system is performed while the detection by the first detection system is performed on one of the first substrate stage and the second substrate stage by the control means, the other stage is performed. Since the two stages are controlled so that the exposure operation using the projection optical system is performed in the above, these operations are performed by parallel processing of the mark measurement operation on one stage side and the exposure operation on the other stage side. It is possible to improve the throughput as compared with the conventional technique that has been performed sequentially.
 [0044]
 Further, in the control means, after the parallel processing of the mark measurement operation on the one stage side and the exposure operation on the other stage side is completed, the exposure operation using the projection optical system is performed on one stage. When controlling a stage, shots in the vicinity of the outer periphery set so as to be scanned from the outside to the inside of the sensitive substrate with respect to the exposure region of a plurality of shot regions on the sensitive substrate held on one stage When exposing an area, based on the detection result of the first detection system obtained during the mark measurement operation of the one stage and the detection result of the second detection system obtained during the exposure operation of the one stage. The stage substrate drive system is controlled, and when the other shot areas are exposed, only the detection result of the second detection system is used to control the substrate drive system of the one stage. For this reason, during the exposure operation of this one stage, it is set so that the exposure area where the information of the surface position of the sensitive substrate at the time of exposure of the previous shot cannot be obtained is scanned from the outside to the inside of the sensitive substrate. When exposing the shot area near the outer periphery, the surface position of the sensitive substrate is controlled by controlling the substrate drive system of the one stage based on the detection result of the first detection system obtained during the mark measuring operation of one stage. Can be quickly driven close to the imaging surface of the projection optical system, and the substrate driving system can be further finely adjusted based on the detection result of the second detection system to match the sensitive substrate surface with the imaging surface. I can do it. On the other hand, when exposing a shot area that can obtain information on the surface position of the sensitive substrate at the time of exposure of the previous shot other than the above, prior to starting exposure of the shot area to be exposed, during exposure of the previous shot Based on the information on the surface position of the sensitive substrate, the substrate drive system of one stage is controlled to quickly follow the surface position of the sensitive substrate to the vicinity of the imaging surface of the projection optical system, and then obtained during exposure. The surface position adjustment (“focus / leveling” adjustment) of the sensitive substrate is performed using only the detection result of the second detection system.
 [0045]
 Accordingly, quick and highly accurate focus and leveling control can be performed during exposure of any shot area.
 [0046]
 From a third viewpoint, the present invention provides:By projecting an image of the pattern onto the exposure area via the projection optical system (PL), and moving the sensitive substrate (W1 or W2) in the scanning direction with respect to the exposure area, On sensitive substrateEach of multiple shot areas To exposescanning An exposure method, comprising two substrate stages (WS1, WS2) each holding an sensitive substrate (W1 or W2) and independently movable in the same two-dimensional plane; said two stages (WS1, The mark on the sensitive substrate (for example, W1) held on one stage (for example, WS1) of WS2) is measured; while the mark measurement operation is being performed on the one stage (WS1), The relative position of the sensitive substrate (W1) held on one stage (WS1) with respect to a predetermined reference surface is detected; while the mark measurement operation is being performed on the one stage (WS1), the two stages The sensitive substrate (W2) held on the other stage (WS2) of (WS1, WS2)) Exposure; after completion of the exposure operation of the other stage (WS2),Set to scan from the outside to the inside of the sensitive substrate, Exposure of the sensitive substrate (W1) held on the one stage (WS1)When to The surface position of the sensitive substrate (W1) held on the one stage (WS1) is adjusted based on the detected relative position.Scanning exposure method .
 [0047]
 According to this, the mark on the sensitive substrate held on one of the two stages is measured and held on one stage while the mark measurement operation is being performed on the one stage. A relative position of the sensitive substrate with respect to the predetermined reference surface is detected. While the mark measurement operation is being performed in one stage in this way, the sensitive substrate held in the other of the two stages in parallel with this is performed.Board Exposed. For this reason, it is possible to improve the throughput as compared with the conventional technique in which these operations are performed sequentially by parallel processing of the mark measurement operation on one stage side and the exposure operation on the other stage side.
 [0048]
 Then, after the exposure operation of the other stage is finished, that is, after the parallel operation on the two stages is finished, the sensitive substrate held on one stage is exposed.Is set to be scanned from the outside to the inside of the sensitive substrate. Sensitive substrate held on one stageWhen exposing the shot area near the upper periphery, The surface position of the sensitive substrate held on the one stage is adjusted based on the relative position (information on the surface position) of the sensitive substrate held on the one stage previously detected with respect to the predetermined reference plane., It is possible to quickly drive the surface position of the sensitive substrate to near the imaging plane of the projection optical system.As a result, it is possible to expose each shot area in an efficient exposure sequence without adopting the inner scan even for the shot area near the outer periphery of the sensitive substrate set to be scanned from the outside to the inside of the sensitive substrate. Can improve throughput, and Rapid and highly accurate focus and leveling control is possible.
 [0069]
Ma TheFrom a fourth viewpoint, the present invention provides: Projection exposure in which an image of a pattern is projected onto an exposure region (IF) via a projection optical system (PL), and the sensitive substrate is moved in the scanning direction with respect to the exposure region (IF), thereby exposing the sensitive substrate. In this method, a sensitive substrate (W1) is held on a first substrate stage (WS1) movable in a two-dimensional direction (X-axis direction, Y-axis direction) and independent of the first substrate stage (WS1). A sensitive substrate (W2) is held on a second substrate stage (WS2) movable in a two-dimensional direction (X-axis direction, Y-axis direction), and one of the first and second substrate stages ( For example, a measurement sequence for detecting alignment marks on the sensitive substrate (W1) held on WS1) is executed in parallel with an exposure sequence for exposing the sensitive substrate (W2) on the other substrate stage (WS2). The measurement sequence During this period, surface position information in the vicinity of the outer periphery of the sensitive substrate (W1) on one substrate stage (WS1) is detected, and a measurement sequence using one substrate stage (WS1) and the other substrate stage (WS2) are detected. After the exposure sequence using is completed, the other substrate stage (WS2) is moved to the exchange position of the sensitive substrate, and one substrate stage (WS1) is moved to the image plane side of the projection optical system (PL). A shot region (210) near the outer periphery of the sensitive substrate held on the substrate stage (WS1) is exposed so that the exposure region (IF) scans from the outside to the inside of the sensitive substrate, and a measurement sequence is being performed during the exposure. Projection exposure method for adjusting the surface position of the sensitive substrate (W1) held on one substrate stage (WS1) based on the surface position information detected in stepIs .
 According to this, it is possible to perform highly accurate focus and leveling control while improving the throughput.
 Also,From the fifth viewpoint, the present invention A projection exposure apparatus that exposes an image of a pattern formed on a mask (R) onto a sensitive substrate (W) via a projection optical system (PL), having a reflective surface for an interferometer, and the sensitive substrate A first substrate stage (WS1) that can move in a two-dimensional direction (X-axis direction, Y-axis direction); and a first substrate stage that has a reflective surface for an interferometer and holds a sensitive substrate ( A second substrate stage (WS2) capable of moving in a two-dimensional direction (X-axis direction, Y-axis direction) independently of WS1); provided separately from the projection optical system (PL), and an alignment mark on the sensitive substrate At least one first alignment system (24a) to be detected; second to measure the relative positional relationship between the reference (FM1) provided on the substrate stage and the mark on the mask (R) via the projection optical system (PL). An alignment system (142); The surface position detection system (130) for detecting surface position information with respect to the fixed reference surface; and the first alignment system (24a) can be used to measure the position of the substrate stage in the measurement sequence for detecting the alignment mark on the sensitive substrate. Of the substrate stage in the exposure sequence that exposes the sensitive substrate using the projection optical system (PL) and the first interference measurement long axis (BI4Y) that deviates from the reflecting surface of the substrate stage after the measurement sequence ends. An interferometer system having a second interferometric measurement long axis (BI3Y) that is disposed so as to be capable of measuring a position and deviates from the reflecting surface of the substrate stage after the exposure sequence ends. The measurement sequence on one substrate stage (for example WS1) is executed in parallel with the exposure sequence on the other substrate stage (WS2), The first positional relationship between the shot area on the sensitive substrate (W1) held on the other substrate stage (WS1) and the reference (FM1) provided on one substrate stage (WS1) is obtained, and its measurement sequence During execution, the surface position information of the surface of the sensitive substrate (W1) on one substrate stage (WS1) is detected using the surface position detection system (130), and the measurement sequence using one substrate stage (WS1) is detected. After the exposure sequence using the other substrate stage (WS2) is completed, the other substrate stage (WS2) is moved to the exchange position of the sensitive substrate, and one substrate stage (WS1) is moved to the projection optical system (PL). Between the reference (FM1) provided on one substrate stage (WS1) and the mark on the mask using the second alignment system (142). The second positional relationship is measured, and shot areas on the sensitive substrate (W1) held on one substrate stage (WS1) are sequentially exposed, and at the time of the exposure, the first and second positional relationships and the aforementioned Based on the position of one substrate stage (WS1) measured using the second interference measurement major axis, the position of one substrate stage (WS1) in the two-dimensional direction (X-axis direction, Y-axis direction) is controlled. And a projection exposure apparatus that adjusts the surface position of the sensitive substrate (W1) held on one substrate stage (WS1) based on the surface position information detected during the measurement sequence.Is .
 According to this, it is possible to perform highly accurate focus and leveling control while improving the throughput.
 [0070]
 DETAILED DESCRIPTION OF THE INVENTION
 << First Embodiment >>
 Hereinafter, a first embodiment of the present invention will be described with reference to FIGS.
 [0071]
 FIG. 1 shows a schematic configuration of a
 [0072]
 The
 [0073]
 The stage device is levitated and supported on the
 [0074]
 More specifically, air pads (for example, vacuum preload type air bearings) (not shown) are provided at a plurality of locations on the bottom surfaces of the wafer stages WS1 and WS2, and the air ejection force of the air pads and the vacuum preload are reduced. For example, it is levitated and supported on the
 [0075]
 On the
 [0076]
 Two of these X-axis
 [0077]
 On the other hand, a magnet (not shown) surrounding one Y-axis
 [0078]
 That is, in the first embodiment, the X-axis
 [0079]
 Note that by slightly varying the torque of the pair of X-axis
 [0080]
 On the wafer stages WS1 and WS2, the wafers W1 and W2 are fixed by vacuum suction or the like via a wafer holder (not shown). The wafer holder is finely driven in a Z-axis direction and a θ-direction (rotation direction about the Z-axis) orthogonal to the XY plane by a Z / θ drive mechanism (not shown). Further, on the upper surfaces of the wafer stages WS1 and WS2, fiducial mark plates FM1 and FM2 on which various fiducial marks are formed are installed so as to have almost the same height as the wafers W1 and W2, respectively. These reference mark plates FM1 and FM2 are used, for example, when detecting the reference position of each wafer stage.
 [0081]
 Further, a
 [0082]
 Here, as the projection optical system PL, there is used a refractive optical system composed of a plurality of lens elements having a common optical axis in the Z-axis direction and having a predetermined reduction magnification, for example, 1/5, on both sides telecentric. Yes. For this reason, the moving speed of the wafer stage in the scanning direction at the time of step-and-scan scanning exposure is 1/5 of the moving speed of the reticle stage.
 [0083]
 On both sides in the X-axis direction of the projection optical system PL, as shown in FIG. 1, off-axis
 [0084]
 Here, the LSA system is the most versatile sensor that irradiates a mark with a laser beam and measures the mark position using diffracted / scattered light, and has been conventionally used for a wide variety of process wafers. The FIA system is a sensor that measures the mark position by illuminating the mark with broadband light such as a halogen lamp and processing the image of the mark, and is effectively used for asymmetric marks on the aluminum layer and wafer surface. The In addition, the LIA system is a sensor that irradiates a diffraction grating mark with laser light having a slightly different frequency from two directions, causes the generated two diffracted lights to interfere, and detects the position information of the mark from the phase. Yes, it can be used effectively for low step and rough wafers.
 [0085]
 In the first embodiment, these three types of alignment sensors are properly used according to the purpose, so-called search alignment for measuring the position of the three-dimensional mark on the wafer and measuring the approximate position of the wafer, Fine alignment or the like for performing accurate position measurement of each shot area on the wafer is performed.
 [0086]
 In this case, the
 [0087]
 Information from each alignment sensor constituting the
 [0088]
 Further, in the
 [0089]
 Although not shown in FIG. 1, each of the projection optical system PL and the
 [0090]
 Here, the detailed configuration of the multipoint AF system constituting the AF /
 [0091]
 As shown in FIG. 5, the AF / AL system (multi-point AF system) 132 includes an
 [0092]
 Here, each part of the configuration of the AF / AL system (multi-point AF system) 132 will be described together with its operation.
 [0093]
 Illumination light having a wavelength that does not sensitize the photoresist on the wafer W1 (or W2) different from the exposure light EL is guided from an illumination light source (not shown) through the
 [0094]
 In this case, as shown in FIG. 6, for example, 5 × 9 = 45 vertical slit-like opening patterns 93-11 to 93-59 are formed on the
 [0095]
 The other AF /
 [0096]
 Next, the reticle driving mechanism will be described with reference to FIGS.
 [0097]
 The reticle driving mechanism includes a reticle stage RST that can move in a two-dimensional direction of XY while holding the reticle R on the
 [0098]
 More specifically, in the reticle stage RST, as shown in FIG. 2, two reticles R1 and R2 can be placed in series in the scanning direction (Y-axis direction). The RST is levitated and supported on the
 [0099]
 On this reticle stage RST, a parallel
 [0100]
 On the other hand, a pair of corner cube mirrors 35 and 37 are installed on the other side in the Y-axis direction (the front side in FIG. 1), which is the scanning direction (scanning direction) of reticle stage RST. A pair of double-pass interferometers (not shown) irradiate the corner cube mirrors 35 and 37 with interferometer beams indicated by measurement axes BI7Y and BI8Y in FIG. Are returned from the corner cube mirrors 35 and 37, and the reflected lights reflected there return on the same optical path and are received by the respective double-pass interferometers. The reference positions of the respective corner cube mirrors 35 and 37 (the reticle at the reference position). The relative displacement from the reflection surface on the
 [0101]
 That is, in the first embodiment, the reticle interferometer system is configured by the
 [0102]
 Next, an interferometer system for managing the positions of wafer stages WST1 and WST2 will be described with reference to FIGS.
 [0103]
 As shown in these figures, the X axis direction one side of the wafer stage WS1 is along a first axis (X axis) passing through the projection center of the projection optical system PL and the detection centers of the
 [0104]
 The interferometer beams of the first measurement axis BI1X and the second measurement axis BI2X always come into contact with the wafer stages WS1 and WS2 over the entire range of movement of the wafer stages WS1 and WS2, and accordingly, the X axis Regarding the direction, the position of the wafer stages WS1 and WS2 is the first length measurement axis BI1X and the second length measurement axis BI2X during exposure using the projection optical system PL and when the
 [0105]
 As shown in FIGS. 2 and 3, an interferometer having a third measurement axis BI3Y perpendicularly intersecting the first axis (X axis) at the projection center of the projection optical system PL, and
 [0106]
 In the case of the first embodiment, the Y-direction position measurement of the wafer stages WS1 and WS2 at the time of exposure using the projection optical system PL is used to measure the projection axis of the projection optical system, that is, the length measuring axis BI3Y passing through the optical axis AX. The measurement value of the interferometer is used, and the measurement value of the measurement axis BI4Y passing through the detection center of the
 [0107]
 Accordingly, although the interference measurement major axis in the Y-axis direction deviates from the reflection surface of the wafer stages WS1 and WS2 depending on each use condition, at least one measurement axis, that is, the measurement axes BI1X and BI2X are the respective wafer stages. Since it does not deviate from the reflection surfaces of WS1 and WS2, the Y-side interferometer can be reset at an appropriate position where the interferometer optical axis to be used enters the reflection surface. A method for resetting the interferometer will be described in detail later.
 [0108]
 The Y measuring length measuring axes BI3Y, BI4Y, and BI5Y are two-axis interferometers each having two optical axes. In addition to the measurement in the Y-axis direction of the wafer stages WS1 and WS2, Tilt measurement is possible. The output value of each optical axis can be measured independently.
 In the first embodiment, interferometers that manage the two-dimensional coordinate positions of wafer stages WS1 and WS2 by a total of five interferometers including three
 [0109]
 In the first embodiment, as will be described later, while one of the wafer stages WS1 and WS2 executes the exposure sequence, the other executes the wafer exchange and wafer alignment sequence. The movement of the wafer stages WS1 and WS2 is managed by the stage controller 38 in accordance with a command from the
 [0110]
 Next, the illumination system will be described with reference to FIG. As shown in FIG. 1, the illumination system includes an exposure light source 40, a
 [0111]
 Here, each part of the illumination system will be described together with its operation.
 [0112]
 Laser light emitted from a light source unit 40 including a KrF excimer laser that is a light source and a dimming system (a dimming plate, an aperture stop, etc.) is transmitted through a
 [0113]
 Next, the control system will be described with reference to FIG. This control system is composed of an exposure
 [0114]
 Here, the operation at the time of exposure of the
 [0115]
 The
 [0116]
 Thereafter, the stage controller 38 starts synchronous scanning (scan control) of the reticle R and the wafer (W1 or W2), that is, the reticle stage RST and the wafer stage (WS1 or WS2) in accordance with an instruction from the
 [0117]
 When both stages are controlled at a constant speed within a predetermined tolerance, the
 [0118]
 Here, simultaneously with the start of the pulse emission described above, the exposure
 [0119]
 Further, in order to prevent illumination light from leaking outside the light-shielding area on the reticle at the shot edge portion during the scanning exposure described above, the movable blind 64 is moved by the
 [0120]
 By the way, the pulse light emission by the laser control device 76 described above needs to emit light n times (n is a positive integer) while an arbitrary point on the wafers W1 and W2 passes through the illumination field width (w). When the oscillation frequency is f and the wafer scan speed is V, the following equation (1) needs to be satisfied.
 [0121]
 f / n = V / w (1)
 Further, when the irradiation energy of one pulse irradiated on the wafer is P and the resist sensitivity is E, the following equation (2) needs to be satisfied.
 [0122]
 nP = E (2)
 In this way, the exposure
 [0123]
 Further, in the
 [0124]
 Furthermore, in the projection exposure apparatus of the first embodiment, a first transfer system that exchanges wafers with the wafer stage WS1, and a second transfer system that exchanges wafers with the wafer stage WS2; Is provided.
 [0125]
 As shown in FIG. 7, the first transfer system performs wafer exchange with the wafer stage WS1 at the left wafer loading position as will be described later. The first transport system is attached to a
 [0126]
 Here, the wafer exchange operation by the first transfer system will be briefly described.
 [0127]
 Here, as shown in FIG. 7, a case will be described in which the wafer W1 ′ on the wafer stage WS1 at the left wafer loading position and the wafer W1 transferred by the first wafer loader are exchanged.
 [0128]
 First, in
 [0129]
 Next,
 [0130]
 In this state,
 [0131]
 Next,
 [0132]
 In this state, the
 [0133]
 Similarly, as shown in FIG. 8, the second transfer system performs wafer exchange with the wafer stage WS2 at the right wafer loading position in the same manner as described above. The second transport system includes a
 [0134]
 Next, parallel processing by two wafer stages, which is a feature of the first embodiment, will be described with reference to FIGS.
 [0135]
 In FIG. 7, while the wafer W2 on the wafer stage WS2 is being exposed through the projection optical system PL, the wafer stage WS1 and the first transfer system are in the left loading position as described above. A plan view showing a state in which the wafers are exchanged between them is shown. In this case, an alignment operation is performed on the wafer stage WS1 as described later following the wafer exchange. In FIG. 7, the position control of the wafer stage WS2 during the exposure operation is performed based on the measured values of the measurement axes BI2X and BI3Y of the interferometer system, and the position of the wafer stage WS1 where the wafer replacement and alignment operations are performed. The control is performed based on the measurement values of the measurement axes BI1X and BI4Y of the interferometer system.
 [0136]
 At the left loading position shown in FIG. 7, the arrangement is such that the reference mark on the reference mark plate FM1 of the wafer stage WS1 comes directly under the
 [0137]
 Subsequent to the wafer exchange and the interferometer reset described above, search alignment is performed. The search alignment performed after the wafer exchange is a pre-alignment performed again on the wafer stage WS1 because the position error is large only by the pre-alignment performed during the transfer of the wafer W1. Specifically, the positions of three search alignment marks (not shown) formed on the wafer W1 placed on the stage WS1 are measured using an LSA sensor or the like of the
 [0138]
 After this search alignment is completed, fine alignment is performed in which the arrangement of each shot area on the wafer W1 is obtained here using EGA. Specifically, the wafer stage WS1 is sequentially controlled based on design shot arrangement data (alignment mark position data) while managing the position of the wafer stage WS1 by the interferometer system (measurement axes BI1X, BI4Y). While moving, the alignment mark position of a predetermined sample shot on the wafer W1 is measured by an FIA sensor or the like of the
 [0139]
 In the case of the first embodiment, as described above, during the measurement by the
 [0140]
 While the wafer exchange and alignment operations are being performed on the wafer stage WS1 side, the wafer stage WS2 side continuously uses the two reticles R1 and R2 as shown in FIG. 9 while changing the exposure conditions. Then, double exposure is performed by the step-and-scan method.
 [0141]
 Specifically, fine alignment by EGA is performed in advance in the same manner as on the wafer W1 side described above, and the shot arrangement data on the wafer W2 obtained as a result (the reference mark on the reference mark plate FM2 is used as a reference). ), The shot area on the wafer W2 is sequentially moved below the optical axis of the projection optical system PL, and then the reticle stage RST and the wafer stage WS2 are synchronized in the scanning direction each time each shot area is exposed. Scan exposure is performed by scanning. Such exposure for all the shot areas on the wafer W2 is continuously performed even after reticle replacement. As a specific exposure sequence of double exposure, as shown in FIG. 10A, each shot area of the wafer W1 is sequentially scanned and exposed from A1 to A12 using a reticle R2 (A pattern). The reticle stage RST is moved by a predetermined amount in the scanning direction using the
 [0142]
 The operation of each part during double exposure of the wafer W2 is also controlled by the
 [0143]
 In the exposure sequence and wafer exchange / alignment sequence that are performed in parallel on the two wafer stages WS1 and WS2 shown in FIG. 7 described above, the wafer stage that has been completed first enters a waiting state, and both operations are completed. At the time, the wafer stages WS1 and WS2 are controlled to move to the positions shown in FIG. The wafer W2 on the wafer stage WS2 for which the exposure sequence has been completed is replaced at the right loading position, and the wafer W1 on the wafer stage WS1 for which the alignment sequence has been completed is subjected to the exposure sequence under the projection optical system PL. Is called.
 [0144]
 In the right loading position shown in FIG. 8, the reference mark on the reference mark plate FM2 is arranged below the
 [0145]
 Next, the reset operation of the interferometer by the
 [0146]
 After alignment at the left loading position, wafer stage WS1 is moved to a position where the reference mark on reference plate FM1 comes directly under the optical axis AX center (projection center) of projection optical system PL shown in FIG. However, since the interferometer beam of the measuring axis BI4Y is not incident on the reflecting
 [0147]
 That is, as described above, in the first embodiment, when the wafer stage WS1 is in the left loading position, the reference mark plate FM1 is set to be directly below the
 [0148]
 As described above, the reason why high-precision alignment is possible even if the reset operation of the interferometer is performed is that the alignment mark on the reference mark plate FM1 is measured by the
 [0149]
 If the length measurement axis BI4Y cannot be cut while the wafer stage WS1 is moved from the alignment end position to the position shown in FIG. 8, the measurement values of the length measurement axes BI1X and BI4Y are monitored and after the alignment is completed. Of course, the wafer stage may be moved linearly to the position shown in FIG. In this case, the reset operation of the interferometer may be performed when the length measuring axis BI3Y passing through the optical axis AX of the projection optical system PL is applied to the reflecting
 [0150]
 In the same manner as described above, the wafer stage WS2 may be moved from the exposure end position to the right loading position shown in FIG. 8 to perform the reset operation of the interferometer of the measurement axis BI5Y.
 [0151]
 FIG. 11 shows an example of the timing of an exposure sequence for sequentially exposing each shot area on the wafer W1 held on the wafer stage WS1, and FIG. 12 is performed in parallel with this. The timing of the alignment sequence on the wafer W2 held on the wafer stage WS2 is shown. In the first embodiment, while the two wafer stages WS1 and WS2 are independently moved in a two-dimensional direction, an exposure sequence and a wafer exchange / alignment sequence are performed in parallel for the wafers W1 and W2 on each wafer stage. By doing so, throughput is improved.
 [0152]
 However, when two operations are simultaneously performed using two wafer stages, the operation performed on one wafer stage may affect the operation performed on the other wafer stage as a disturbance factor. Conversely, there is an operation in which an operation performed on one wafer stage does not affect an operation performed on the other wafer stage. Therefore, in the first embodiment, among the operations that are processed in parallel, the operations that become disturbance factors are divided into the operations that do not become disturbance factors, or the operations that do not cause disturbance factors are performed simultaneously. The timing of each operation is adjusted.
 [0153]
 For example, during the scanning exposure, the wafer W1 and the reticle R are synchronously scanned at a constant speed, so that it does not become a disturbance factor, and it is necessary to eliminate other disturbance factors as much as possible. For this reason, during the scan exposure on one wafer stage WS1, the timing is adjusted so as to be stationary in the alignment sequence performed on the wafer W2 on the other wafer stage WS2. That is, the mark measurement in the alignment sequence is performed in a state where the wafer stage WS2 is stationary at the mark position, so that it is not a disturbance factor for the scan exposure, and the mark measurement can be performed in parallel during the scan exposure. 11 and 12, the scan exposure indicated by the operation numbers “1, 3, 5, 7, 9, 11, 13, 15, 17, 19, 21, 23” with respect to the wafer W1 in FIG. 12, the mark measurement operations at the respective alignment mark positions indicated by the operation numbers “1, 3, 5, 7, 9, 11, 13, 15, 17, 19, 21, 23” in FIG. You can see that it is done synchronously. On the other hand, even in the alignment sequence, during scanning exposure, since the motion is constant, it is possible to perform high-precision measurement without causing disturbance.
 [0154]
 The same thing can be considered at the time of wafer exchange. In particular, vibration generated when the wafer is transferred from the load arm to the center up can be a cause of disturbance. Therefore, acceleration / deceleration before scan exposure or before and after synchronous scanning is performed at a constant speed (disturbance factor) The wafer may be delivered according to the above.
 [0155]
 The timing adjustment described above is performed by the
 [0156]
 Next, in the
 [0157]
 As described above, the exposure order for each shot area on the wafer W is as follows: (1) Acceleration / deceleration time during scanning, (2) Settling time, (3) Exposure time, (4) Stepping time for adjacent shots, etc. Although it is determined by the
 [0158]
 FIG. 13 shows the exposure order of the
 [0159]
 Also in the present embodiment, complete read-ahead control as described in Japanese Patent Laid-Open No. Hei 6-283403 is performed prior to exposure of each shot area, but the most efficient as shown in FIG. If exposure is to be performed in the exposure order, the pre-reading AF detection point is placed on the outer periphery of the wafer W1 at each position indicated by symbols A, B, and C in FIG. AF detection points that cannot be measured (detected) are generated. In such a case, the above complete look-ahead control cannot be performed.
 [0160]
 This will be described in further detail. FIGS. 14A, 14B, and 14C are enlarged plan views in the case of performing pre-reading AF measurement at each position indicated by A, B, and C in FIG. Actually, the exposure area IF conjugate to the illumination area IA on the reticle, the AF detection points AF1 to AF5, and the like are fixed, and the wafer W1 is scanned with respect to them. For convenience, FIG. , (B) and (C), the exposure area IF and the AF detection point are shown to be scanned with respect to the wafer surface. Therefore, in the following description, the direction opposite to the actual scanning direction of the wafer W1 will be described as the scanning direction.
 [0161]
 In this case, AF detection points AF1 to AF5 as the second detection system are arranged in the non-scanning direction (left and right direction of the paper surface) on one side of the exposure area IF in the scanning direction (up and down direction of the paper surface) (FIG. 14 ( In addition, AF detection points AB1 to AB5 as the second detection system are arranged in the non-scanning direction on the other side in the scanning direction of the exposure area IF (see FIG. 14B). ).
 [0162]
 When AF measurement is performed while scanning in the + Y direction in FIG. 14A, the detection points AF1 and AF2 are off the wafer W1 surface, and also in the cases of FIGS. 14B and 14C, the wafer W1 surface. Since the detection points (AB1 to AB5, AF4 and AF5) are off, the above-described prefetch control cannot be performed.
 [0163]
 In such a case, conventionally, in order to prevent the detection points from deviating from the surface of the wafer W1 at the positions A, B, and C, scanning is performed from the inside to the outside of the wafer W1 (referred to as inner scanning). The scanning direction is reversed as described above. However, if the scanning direction is reversed, the exposure order determined as described above is changed, resulting in a decrease in throughput.
 [0164]
 In order to prevent such a decrease in throughput, as shown in FIG. 15 (comparative example), when the AF detection points for prefetching (for example, AF1 to AF5) exist on all wafer surfaces and measurement is possible. When the AF measurement is started at D and auto focus and auto leveling control (hereinafter referred to as AF / AL control) is adopted, an error due to AF / AL tracking phase delay is between the tracking end points E to F. Occurs. Note that the point E in FIG. 15 indicates the follow-up completion position when normal look-ahead control is performed. As is clear from this, the AF / AL control accuracy deteriorates in such AF measurement. I understand.
 [0165]
 Therefore, in the first embodiment, prior to the pre-reading control at the time of wafer exposure, the alignment is performed using the AF /
 [0166]
 That is, as shown in FIG. 16, on the wafer W1 to be aligned, the number of EGA measurement points is AL1 to AL6 (6 points), during which AF measurement is performed at the measurement points C and A in the same direction as the exposure sequence. , B. Also in this case, in order to prevent the operations of the two substrate stages from affecting each other, the stepping operations (disturbance factor operations) or the exposure operation and the alignment operation (non-disturbance factor operations) are synchronized with each other. The stages are moved in an order that does not interfere with each other. In this case, it is assumed that exposure time> alignment time + prefetch measurement time.
 [0167]
 FIG. 17 shows measurement results from detection points AF1 to AF5 by AF measurement at the time of alignment, which is a feature of the present invention at point A in FIG. In FIG. 17, in order to simplify the drawing, the level of the wafer surface is shown as 0. Usually, however, the results of AF1 to AF5 generally vary.
 [0168]
 In this case, as shown in FIG. 14A, since the AF measurement can be normally performed at the detection points AF4 and AF5, the AF measurement value also indicates the wafer surface position in FIG. On the other hand, the detection points AF3, AF2 and AF1 sequentially indicate the wafer surface position as they move in the scanning direction. In this way, if focus measurement of the shot area near the wafer outer periphery is performed in advance, in the next exposure sequence, for example, what measurement values are shown at positions A, B, and C in FIG. As can be seen, during pre-reading control during actual exposure, as shown in FIG. 18, compared to the case of FIG. 15, the wafer position is set to the target position (0 within the range of measurement reproducibility error of the wafer surface position). ). That is, the focus can be quickly driven.
 [0169]
 Originally, the tracking control response of autofocus is a condition that can follow 30% of the absolute error as a primary response, as shown in Japanese Patent Laid-Open No. 6-283403, and by reducing the initial absolute value error, The follow-up end point F becomes faster (because the allowable values are the same), and the follow-up can be finished even before the follow-up completion point E when the normal look-ahead control is performed.
 [0170]
 As described above, according to the
 [0171]
 Further, since the AF measurement at the time of alignment is performed while scanning from the same direction as the scanning exposure of the outer peripheral shot, it is possible to perform focus control that removes an offset or the like depending on the running direction of the stage.
 [0172]
 In addition, according to the
 [0173]
 In addition, according to the first embodiment, since at least two alignment systems that perform mark detection with the projection optical system PL interposed therebetween are provided, the alignment systems are alternately arranged by shifting the two wafer stages alternately. Thus, it is possible to perform the alignment operation and the exposure operation performed in parallel in parallel processing.
 [0174]
 In addition, according to the first embodiment, since the wafer loader for exchanging the wafer is arranged in the vicinity of the alignment system, particularly at each alignment position, the transition from the wafer exchange to the alignment sequence can be performed smoothly. Higher throughput can be obtained.
 [0175]
 Further, according to the first embodiment, since the high throughput as described above can be obtained, even if the off-axis alignment system is installed far away from the projection optical system PL, the influence of the degradation of the throughput is almost eliminated. For this reason, high N.I. A. It is possible to design and install a straight cylinder type optical system having a numerical aperture and a small aberration.
 [0176]
 In addition, according to the first embodiment, each optical system has an interferometer beam from an interferometer that measures approximately the center of each optical axis of the two alignment systems and the projection optical system PL. In both cases of alignment and pattern exposure via the projection optical system, the two wafer stage positions can be accurately measured without Abbe error, and the two wafer stages can be moved independently. It becomes possible to make it.
 [0177]
 Furthermore, the measurement axes BI1X and BI2X provided from both sides along the direction in which the two wafer stages WS1 and WS2 are arranged (here, the X-axis direction) toward the projection center of the projection optical system PL are always the wafer stages WS1 and WS1. Since irradiation is performed on WS2 and the position of each wafer stage in the X-axis direction is measured, movement control can be performed so that the two wafer stages do not interfere with each other.
 [0178]
 In addition, the length measurement axes BI3Y, BI4Y, and the length measurement axes BI3Y, BI4Y in the direction perpendicular to the detection center of the alignment system and the projection center position of the projection optical system PL (here, the Y axis direction) with respect to the length measurement axes BI1X, BI2X, Even if the interferometer is arranged so as to irradiate BI5Y and the wafer stage is moved and the measurement axis deviates from the reflecting surface, the position of the wafer stage can be accurately controlled by resetting the interferometer. Become.
 [0179]
 Reference mark plates FM1 and FM2 are provided on the two wafer stages WS1 and WS2, respectively. The mark position on the reference mark plate and the mark position on the wafer are obtained by measuring in advance with an alignment system. By adding the distance from the correction coordinate system to the reference plate measurement position before exposure, the wafer position can be measured without performing baseline measurement to measure the distance between the projection optical system and the alignment system. As a result, the mounting of a large reference mark plate as described in JP-A-7-176468 becomes unnecessary.
 [0180]
 Further, according to the first embodiment, since double exposure is performed using a plurality of reticles R, an effect of improving high resolution and DOF (depth of focus) can be obtained. However, in this double exposure method, since the exposure process must be repeated at least twice, the exposure time becomes long and the throughput is greatly reduced. By using the projection exposure apparatus of the first embodiment, Since the throughput can be significantly improved, high resolution and an improvement effect of DOF can be obtained without reducing the throughput. For example, in T1 (wafer exchange time), T2 (search alignment time), T3 (fine alignment time), and T4 (one exposure time), each processing time for an 8-inch wafer is T1: 9 seconds, T2: 9 seconds , T3: 12 seconds, T4: 28 seconds, throughput is THOR = 3600 / (T1 + T2 + T3 + T4 * 2) when double exposure is performed by a conventional technique in which a series of exposure processes are performed using one wafer stage. = 3600 / (30 + 28 * 2) = 41 [sheets / hour] The throughput of a conventional apparatus that performs a single exposure method using one wafer stage (THOR = 3600 / (T1 + T2 + T3 + T4) = 3600/58 = 62 [sheets] / Hour]), the throughput is reduced to 66%. However, when performing double exposure using the projection exposure apparatus of the first embodiment while T1, T2, T3, and T4 are processed in parallel, the exposure time is longer, so that the throughput THOR = 3600 / ( Since 28 + 28) = 64 [sheets / hour], it is possible to improve the throughput while maintaining the effect of improving the high resolution and the DOF. Further, since the exposure time is long, the number of EGA points can be increased, and the alignment accuracy is improved.
 [0181]
 In the first embodiment, the case where the present invention is applied to an apparatus that exposes a wafer using the double exposure method has been described. However, as described above, this is achieved by the apparatus of the present invention. When performing wafer exchange and wafer alignment in parallel on the other wafer stage side that can be moved independently while performing double exposure with two reticles on the wafer stage side of the conventional wafer stage, This is because there is a particularly great effect that a throughput higher than that of single exposure can be obtained and the resolving power can be greatly improved. However, the scope of application of the present invention is not limited to this, and the present invention can also be suitably applied when exposure is performed by a single exposure method. For example, assuming that the processing times (T1 to T4) of an 8-inch wafer are the same as described above, when performing exposure processing by a single exposure method using two wafer stages as in the present invention, T1, T2, and T3 are set as follows. When one group (30 seconds in total) and parallel processing with T4 (28 seconds) are performed, the throughput becomes THOR = 3600/30 = 120 [sheets / hour], and the single exposure method is performed using one wafer stage. Compared to the conventional throughput (THOR = 62 [sheets / hour], it is possible to obtain a throughput that is almost twice as high.
 [0182]
 In the above embodiment, the case where the scanning exposure is performed by the step-and-scan method has been described. However, the present invention is not limited to this, and the case where the stationary exposure is performed by the step-and-repeat method and the EB Of course, the present invention can also be applied to exposure apparatuses, X-ray exposure apparatuses, and stitching exposure in which chips are combined.
 [0183]
 << Second Embodiment >>
 Next, a second embodiment of the present invention will be described with reference to FIGS.
 [0184]
 In the second embodiment, pre-reading AF / AL measurement is performed using one wafer stage WS, and exposure is performed by performing focus / leveling control based on the measurement result.
 [0185]
 FIG. 19 shows a schematic configuration of a
 [0186]
 When the arrangement of AF detection points for prefetch control with respect to the exposure area IF is seen in a perspective view in FIG. 20, it is detected in the non-scanning direction (± X direction) in the scanning direction (+ Y direction) of the exposure area IF. A detection area AFE (see FIG. 25) composed of points AF1 to AF9 is provided and arranged in a range larger than the width of the exposure area IF in the non-scanning direction. Further, in the scanning direction (−Y direction) of the exposure area IF, a detection area ABE (see FIG. 25) constituted by detection points AB1 to AB9 is provided in the non-scanning direction (± X direction). They are arranged in a range larger than the width in the non-scanning direction. These detection points AF1 to AF9 and detection points AB1 to AB9 are arranged on the front side in the scanning direction (+ Y direction and −Y direction) for scanning the exposure area IF, respectively, and the wafer W surface at each detection point is a predetermined one. The relative position of how much is deviated from the reference plane is detected prior to exposure of the shot area.
 [0187]
 21 is a side view of FIG. 20 viewed from the scanning direction, FIG. 22 is a plan view of FIG. 21, and FIG. 23 is a side view of FIG. 22 viewed from the non-scanning direction.
 [0188]
 As shown in FIGS. 22 and 23, the light beams emitted from the oblique incidence AF / AL irradiation
 [0189]
 As shown in FIGS. 21 and 23, the shape near the lower end of the projection optical system PL of the second embodiment is an inverted truncated cone, and a plurality of irradiations from the irradiation
 [0190]
 Next, prefetch control when the shot arrangement is larger than the outer periphery of the wafer W by the
 [0191]
 On the other hand, in the second embodiment, as shown in FIG. 20, the wafer surface position of the adjacent shot area is measured by increasing the width of the AF detection point in the non-scanning direction with respect to the exposure area IF. This makes it possible to perform pre-reading control that makes it difficult for errors to occur by using the measurement result.
 [0192]
 FIG. 24 is a plan view of the wafer W for explaining the prefetch control method using the AF / AL system according to the second embodiment. FIG. 24 shows the grouping of the shot areas when the pre-read control is performed in the order in which the wafer W can be exposed at the highest speed. FIG. 25 shows the positional relationship between the exposure area IF and the AF detection point during focus measurement. Here, which AF detection point (AF1 to AF9, AB1 to AB9) is used for each shot area to perform AF measurement is like “A, B, C, D, E, F, AF, AB”. Grouping is performed, and detection point positions to be used for each of these groups are determined in advance as shown in the table of FIG. In the horizontal direction of the table shown in FIG. 26, the positions of AF detection points (AF1 to AF9, AB1 to AB9) to be used are shown, and in the vertical direction, group names obtained by grouping shot areas are shown. Control is performed by the
 [0193]
 For example, FIG. 27 shows the positional relationship between the AF detection point used when exposing the
 [0194]
 26 and 27 is an “AF detection point fixing method” in which AF detection points used in accordance with shot areas are fixed in advance. The actual measurement in the
 [0195]
 Further, when there is no AF detection point that is missing during the pre-reading control in the shot area, that is, in the case of the group AF or group AB shown in FIG. 24, the detection located within the shot area specified in the table of FIG. Measurement is performed using only the points AF3 to AF7 and AB3 to AB7, and the detection points AF1, AF2, AF8 and AF9 outside the shot area are not used.
 [0196]
 In the case of group E shown in FIG. 24, measurement is performed using detection points AF1 to AF5 as specified in the table of FIG. In this group E, as shown in FIG. 24, the detection points AF6 and AF7 can be measured during the pre-reading control. Therefore, the accuracy is higher when the measurement values of the detection points AF6 and AF7 are used. There is an advantage that the control processing of the
 [0197]
 Next, a prefetch control method other than the above will be described.
 [0198]
 In FIG. 28, a sensor capable of AF measurement on the wafer W surface without changing the number of AF detection points to be used is sequentially moved in the scanning direction, and the AF detection points are moved to a predetermined shot area. This is an “AF detection point moving type” that performs focus measurement of the wafer surface. As an AF measurement method for pre-reading control, in principle, it is the measurement method with the highest accuracy. In carrying out this “AF detection point movement type”, the
 [0199]
 In addition, in FIG. 29, regardless of the number of AF detection points to be used, all the detection points that can be measured are “AF sensor number, position variable type”. In this case, the use of a plurality of AF detection points increases the averaging effect and makes it difficult to be affected by warpage of the outer peripheral portion of the wafer. In addition, this effect is further enhanced when the reproducibility is poor in AF measurement. In the case of FIG. 29 as well, as in FIG. 28, the
 [0200]
 By using the look-ahead control method as described above, for example, by adding to the technique described in Japanese Patent Laid-Open No. Hei 6-283403, the quickest is possible regardless of the vicinity of the wafer outer periphery or the shot area in the wafer. It is possible to perform high-speed and high-accuracy scanning exposure on each shot area on the wafer surface in accordance with the exposure sequence that can be performed at the same time.
 [0201]
 Next, a description will be given of which data is adopted as the prefetch measurement data when performing the prefetch control described above. For example, if the width of the exposure area IF in the scanning direction is set to 6 to 8 mm and the scanning speed of the wafer during exposure is set to 80 to 90 mm / sec, the pre-reading AF detection point is determined depending on the waviness frequency of the wafer surface. It is desirable that acceleration + settling distance (L = 8 to 10 mm) until reaching the wafer scanning speed at the time of exposure because there is no unnecessary run-up in terms of throughput. This is because the pre-reading position is calculated based on the information on the wafer outer periphery position, the shot area coordinate position, the distance L from the exposure area IF to the AF detection point in the data file, and the pattern prohibition band (usually about 3 mm: The sensor is used when the pre-reading start position is on the inner side of FIG. 30). However, the outer periphery of the wafer is easily affected by warpage and dust, and is the pre-reading start position set in the data file. However, the position of the wafer surface may not be accurately represented.
 [0202]
 Here, with reference to FIG. 30 and FIG. 31, a description will be given of how to minimize the control error in the above case. In FIG. 30, in the above-described “AF detection point fixing method”, when AF detection points AF6 to AF9 are used as in group C, for example, according to the calculation on the data file, the prefetch control start coordinates are indicated by ▲ in FIG. 1), but it is assumed that (1) is considerably defocused due to the influence of the pattern forbidden band. As shown in FIG. 31, when the prefetch control is started at the position {circle around (1)}, each sensor output value in this case has a considerable error with respect to the target due to the influence of the detection point AF6. Since the sensor is located at the rightmost end of the AF detection point, it has a significant influence on the leveling control.
 [0203]
 If the pre-read detection point is designed to move at 80 mm / sec and 70% control is possible during scanning, the
 [0204]
 In the “AF sensor position moving type” and “AF sensor number and position variable type” described above, only the AF detection points that are within the allowable range can be used.
 [0205]
 Furthermore, if an allowable range is set for the measurement error between the detection points, and AF detection points other than the AF detection points that cause the allowable range to be exceeded are used, for example, dust provided on the back side of the wafer It is possible to reduce the frequency at which an AF error occurs due to the influence of the above. However, since these methods require the wafer surface to be within the allowable range from the target AF driving position in advance, global AF or global AF / AL is executed based on the focus measurement result during wafer alignment. It is necessary to keep it.
 [0206]
 As described above, according to the
 [0207]
 Further, when the number of AF detection points on the wafer W surface at the plurality of AF detection points is one, the leveling control at the time of exposure uses leveling information of adjacent shots or uses a fixed value (for example, an inclination amount in the X direction, Since both the tilt amounts in the Y direction are “0”), the pre-read control can be started even in the missing shot region near the outer periphery of the wafer.
 [0208]
 Furthermore, when pre-reading control is executed at one AF detection point on the wafer W surface, if a different AF detection point is placed on the wafer W surface, pre-reading measurement is started at that position, and both by the start of exposure. When the leveling control using the pre-reading measurement result becomes possible, the leveling control by the pre-reading measurement in the shot is switched from the leveling correction of the adjacent shot described above or the leveling correction by the fixed value. By doing so, it is possible to perform focus and leveling control with high accuracy even in the case of pre-reading control with respect to a missing shot on the outer peripheral portion.
 [0209]
 The AF detection points used when performing the pre-reading measurement are the outer peripheral position information of the wafer W, the position information of a plurality of AF detection points, and the shot areas on the wafer W when the shot arrangement on the wafer W is determined. The detection based on the AF detection point used for the pre-reading control is always executed at the time of wafer scanning, and the pre-reading control is performed when the detection result at any of the detection points falls within the allowable value. Since it is started, when the influence of the outer peripheral edge of the wafer is more than expected from the design coordinates, the focus control is not started at that point, and the occurrence of a large focus and leveling error can be prevented. .
 [0210]
 In the second embodiment, the case where one wafer stage is used has been described. However, even when two wafer stages as described in the first embodiment are used, it is needless to say that the second embodiment is carried out. Is possible. In this case, it is not always necessary to perform focus measurement in advance using the alignment system, but focus measurement may be performed using the alignment system for the purpose of higher accuracy. Further, when focus measurement by the alignment system is not performed, there is an advantage that the operation time can be used as another operation time.
 [0211]
 【The invention's effect】
 As explained above,The present invention According to the above, the focus and leveling control can be performed with high accuracy while further improving the throughput.But it can.
 [Brief description of the drawings]
 FIG. 1 is a diagram showing a schematic configuration of a projection exposure apparatus according to a first embodiment.
 FIG. 2 is a perspective view showing a positional relationship among two wafer stages, a reticle stage, a projection optical system, and an alignment system.
 FIG. 3 is a plan view showing a configuration of a drive mechanism of the wafer stage.
 FIG. 4 is a diagram showing AF / AL systems provided in the projection optical system and the alignment system, respectively.
 FIG. 5 is a diagram showing a schematic configuration of a projection exposure apparatus showing a configuration of an AF / AL system and a TTR alignment system.
 6 is a diagram showing the shape of the pattern forming plate of FIG. 5. FIG.
 FIG. 7 is a plan view showing a state in which a wafer exchange / alignment sequence and an exposure sequence are performed using two wafer stages.
 8 is a view showing a state where the wafer exchange / alignment sequence and the exposure sequence in FIG. 7 are switched. FIG.
 FIG. 9 is a diagram showing a reticle stage for double exposure that holds two reticles.
 10A is a view showing a state in which the wafer is exposed using the pattern A reticle of FIG. 9, and FIG. 10B is a view of performing the wafer exposure using the pattern B reticle in FIG. 9; FIG.
 FIG. 11 is a diagram showing an exposure order for each shot area on a wafer held on one of two wafer stages.
 FIG. 12 is a diagram showing a mark detection order for each shot area on a wafer held on the other of two wafer stages.
 FIG. 13 is a plan view of a wafer showing an exposure order of a scanning projection exposure apparatus when all shot arrangements are contained in the wafer.
 14A is an enlarged plan view for performing pre-reading AF measurement at the position A in FIG. 13, and FIG. 14B is an enlarged plan view for performing pre-reading AF measurement at the position B in FIG. 13; FIG. 14C is an enlarged plan view for performing pre-reading AF measurement at the position C in FIG. 13.
 FIG. 15 is a diagram showing a look-ahead control result of a comparative example in a shot area near the wafer outer periphery.
 FIG. 16 is a plan view of a wafer showing an alignment sequence of a scanning projection exposure apparatus when all shot arrangements are contained in the wafer.
 FIG. 17 is a diagram showing a prefetch control result in the first embodiment.
 FIG. 18 is a diagram showing a look-ahead control result when there is an error in measurement reproducibility in the first embodiment.
 FIG. 19 is a view showing a schematic configuration of a projection exposure apparatus according to a second embodiment.
 FIG. 20 is a perspective view showing the arrangement of AF detection points for prefetch control with respect to an exposure area.
 FIG. 21 is a side view of FIG. 20 viewed from the scanning direction.
 22 is a plan view of FIG. 21. FIG.
 FIG. 23 is a side view of FIG. 22 viewed from the non-scanning direction.
 FIG. 24 is a plan view of a wafer W for explaining a prefetch control method using an AF / AL system according to the second embodiment.
 FIG. 25 shows the positional relationship between the exposure area IF and the AF detection point at the time of focus measurement.
 FIG. 26 is a selection diagram for designating an AF detection point position used for AF measurement for each shot area;
 FIG. 27 is a diagram showing an AF detection point used when exposing a shot area belonging to an A group and a position at the start of prefetch control on the wafer surface;
 FIG. 28 is a diagram showing AF detection points when performing focus measurement on a wafer surface by moving the AF detection points without changing the number of AF detection points to be used.
 FIG. 29 is a diagram showing AF detection points when focus measurement of a wafer surface is performed using all measurable AF detection points.
 FIG. 30 is a diagram illustrating an AF detection point used when exposing a shot area belonging to a group C and a position at the start of prefetch control on the wafer surface;
 31 is a diagram showing a prefetch control result in FIG. 30. FIG.
 32 is a diagram showing a comparative example regarding prefetch control when the shot arrangement is larger than the outer periphery of the wafer W. FIG.
 FIG. 33 is a diagram showing a comparative example regarding prefetch control when the shot arrangement is larger than the outer periphery of the wafer W;
 [Explanation of symbols]
 10 Projection exposure equipment
 24a, 24b alignment system
 38 Stage control means
 90 Main controller
 130, 132, 134 AF / AL system
 151 Irradiation optical system
 161 Condensing optical system
 210, 212 Shot area
 214 Projection exposure apparatus
 W, W1, W2 Wafer (Sensitive substrate)
 WS, WS1, WS2 Wafer stage
 PL projection optical system
 R reticle
 IF exposure area
 IA lighting area
 AF1 to AF9, AB1 to AB9 AF detection points
 LS, LS1, LS2 Z leveling stage (substrate drive system)
| Application Number | Priority Date | Filing Date | Title | 
|---|---|---|---|
| JP33284796AJP4078683B2 (en) | 1996-11-28 | 1996-11-28 | Projection exposure apparatus, projection exposure method, and scanning exposure method | 
| IL13013797AIL130137A (en) | 1996-11-28 | 1997-11-28 | Exposure apparatus and an exposure method | 
| AU50678/98AAU5067898A (en) | 1996-11-28 | 1997-11-28 | Aligner and method for exposure | 
| DE69738910TDE69738910D1 (en) | 1996-11-28 | 1997-11-28 | ALIGNMENT DEVICE AND EXPOSURE METHOD | 
| CNB011176660ACN1244019C (en) | 1996-11-28 | 1997-11-28 | Exposure apparatus and exposure method | 
| CNB011176652ACN1244018C (en) | 1996-11-28 | 1997-11-28 | Exposure method and exposure apparatus | 
| AT97913467TATE404906T1 (en) | 1996-11-28 | 1997-11-28 | ALIGNMENT DEVICE AND EXPOSURE METHOD | 
| EP97913467AEP0951054B1 (en) | 1996-11-28 | 1997-11-28 | Aligner and method for exposure | 
| SG200103143ASG102627A1 (en) | 1996-11-28 | 1997-11-28 | Lithographic device | 
| CNB011216425ACN1244020C (en) | 1996-11-28 | 1997-11-28 | Exposure device | 
| SG200103141ASG88823A1 (en) | 1996-11-28 | 1997-11-28 | Projection exposure apparatus | 
| HK00103393.7AHK1024104B (en) | 1996-11-28 | 1997-11-28 | Aligner and method for exposure | 
| PCT/JP1997/004350WO1998024115A1 (en) | 1996-11-28 | 1997-11-28 | Aligner and method for exposure | 
| CNB011216433ACN1244021C (en) | 1996-11-28 | 1997-11-28 | Photoetching device and exposure method | 
| EP08005700AEP1944654A3 (en) | 1996-11-28 | 1997-11-28 | An exposure apparatus and an exposure method | 
| KR1020017006773AKR20030096435A (en) | 1996-11-28 | 1997-11-28 | Aligner and method for exposure | 
| SG200005339ASG93267A1 (en) | 1996-11-28 | 1997-11-28 | An exposure apparatus and an exposure method | 
| CNB971811172ACN1144263C (en) | 1996-11-28 | 1997-11-28 | Exposure device and exposure method | 
| SG200103142ASG88824A1 (en) | 1996-11-28 | 1997-11-28 | Projection exposure method | 
| KR1019997004747AKR100315249B1 (en) | 1996-11-28 | 1999-05-28 | Aligner and method for exposure | 
| KR1019997004939AKR100314557B1 (en) | 1996-11-28 | 1999-06-03 | Aligner and method for exposure | 
| US09/666,407US6400441B1 (en) | 1996-11-28 | 2000-09-20 | Projection exposure apparatus and method | 
| US09/714,620US6549269B1 (en) | 1996-11-28 | 2000-11-17 | Exposure apparatus and an exposure method | 
| US09/714,943US6341007B1 (en) | 1996-11-28 | 2000-11-20 | Exposure apparatus and method | 
| US09/716,405US6590634B1 (en) | 1996-11-28 | 2000-11-21 | Exposure apparatus and method | 
| KR1020017006772AKR100315251B1 (en) | 1996-11-28 | 2001-05-30 | Aligner and method for exposure | 
| KR1020017006771AKR100315250B1 (en) | 1996-11-28 | 2001-05-30 | Aligner and method for exposure | 
| US10/024,147US6798491B2 (en) | 1996-11-28 | 2001-12-21 | Exposure apparatus and an exposure method | 
| KR1020020072335AKR20060086496A (en) | 1996-11-28 | 2002-11-20 | Exposure apparatus and exposure method | 
| KR1020020072333AKR20060086495A (en) | 1996-11-28 | 2002-11-20 | Exposure apparatus and exposure method | 
| US10/879,144US7177008B2 (en) | 1996-11-28 | 2004-06-30 | Exposure apparatus and method | 
| US11/647,492US7256869B2 (en) | 1996-11-28 | 2006-12-29 | Exposure apparatus and an exposure method | 
| Application Number | Priority Date | Filing Date | Title | 
|---|---|---|---|
| JP33284796AJP4078683B2 (en) | 1996-11-28 | 1996-11-28 | Projection exposure apparatus, projection exposure method, and scanning exposure method | 
| Application Number | Title | Priority Date | Filing Date | 
|---|---|---|---|
| JP2007112522ADivisionJP4029360B2 (en) | 2007-04-23 | 2007-04-23 | Projection exposure apparatus, projection exposure method, and scanning exposure method | 
| Publication Number | Publication Date | 
|---|---|
| JPH10163100A JPH10163100A (en) | 1998-06-19 | 
| JPH10163100A5 JPH10163100A5 (en) | 2005-08-11 | 
| JP4078683B2true JP4078683B2 (en) | 2008-04-23 | 
| Application Number | Title | Priority Date | Filing Date | 
|---|---|---|---|
| JP33284796AExpired - LifetimeJP4078683B2 (en) | 1996-11-28 | 1996-11-28 | Projection exposure apparatus, projection exposure method, and scanning exposure method | 
| Country | Link | 
|---|---|
| JP (1) | JP4078683B2 (en) | 
| Publication number | Priority date | Publication date | Assignee | Title | 
|---|---|---|---|---|
| US7023521B2 (en) | 1999-04-13 | 2006-04-04 | Nikon Corporation | Exposure apparatus, exposure method and process for producing device | 
| US7301605B2 (en) | 2000-03-03 | 2007-11-27 | Nikon Corporation | Projection exposure apparatus and method, catadioptric optical system and manufacturing method of devices | 
| KR100532760B1 (en)* | 2003-12-31 | 2005-12-01 | 동부아남반도체 주식회사 | Method for setting exposure sequence to reduce process time in a stepper | 
| JP5084432B2 (en)* | 2007-10-05 | 2012-11-28 | キヤノン株式会社 | Exposure method, exposure apparatus, and device manufacturing method | 
| US20090153824A1 (en)* | 2007-12-17 | 2009-06-18 | Kla-Tencor Corporation | Multiple chuck scanning stage | 
| JP7114370B2 (en)* | 2018-06-29 | 2022-08-08 | キヤノン株式会社 | Exposure apparatus and article manufacturing method | 
| JP2020052075A (en)* | 2018-09-21 | 2020-04-02 | 株式会社Screenホールディングス | Drawing apparatus and drawing method | 
| Publication number | Priority date | Publication date | Assignee | Title | 
|---|---|---|---|---|
| JPS61263123A (en)* | 1985-05-16 | 1986-11-21 | Canon Inc | Step and repeat exposure method | 
| JPS6387725A (en)* | 1986-10-01 | 1988-04-19 | Sumitomo Heavy Ind Ltd | Stage conveying mechanism | 
| JPS63261850A (en)* | 1987-04-20 | 1988-10-28 | Fujitsu Ltd | Vertical X-Y stage | 
| JP2580651B2 (en)* | 1987-12-18 | 1997-02-12 | 株式会社ニコン | Projection exposure apparatus and exposure method | 
| JPH02126629A (en)* | 1988-11-07 | 1990-05-15 | Canon Inc | Production aligner | 
| JP3203719B2 (en)* | 1991-12-26 | 2001-08-27 | 株式会社ニコン | Exposure apparatus, device manufactured by the exposure apparatus, exposure method, and device manufacturing method using the exposure method | 
| JP3202308B2 (en)* | 1992-02-21 | 2001-08-27 | キヤノン株式会社 | Composite positioning device | 
| JP2887033B2 (en)* | 1992-11-19 | 1999-04-26 | キヤノン株式会社 | Precision positioning device | 
| JP3218484B2 (en)* | 1992-12-25 | 2001-10-15 | 株式会社ニコン | Projection exposure apparatus, exposure method, and semiconductor manufacturing method using the same | 
| JP3451606B2 (en)* | 1994-12-08 | 2003-09-29 | 株式会社ニコン | Projection exposure equipment | 
| JP3387074B2 (en)* | 1993-12-08 | 2003-03-17 | 株式会社ニコン | Scanning exposure method and scanning exposure apparatus | 
| JPH07200009A (en)* | 1993-12-28 | 1995-08-04 | Canon Inc | Positioning device | 
| US5715064A (en)* | 1994-06-17 | 1998-02-03 | International Business Machines Corporation | Step and repeat apparatus having enhanced accuracy and increased throughput | 
| JP3572430B2 (en)* | 1994-11-29 | 2004-10-06 | 株式会社ニコン | Exposure method and apparatus | 
| Publication number | Publication date | 
|---|---|
| JPH10163100A (en) | 1998-06-19 | 
| Publication | Publication Date | Title | 
|---|---|---|
| JP4029183B2 (en) | Projection exposure apparatus and projection exposure method | |
| JP4029180B2 (en) | Projection exposure apparatus and projection exposure method | |
| KR100315249B1 (en) | Aligner and method for exposure | |
| US6040096A (en) | Mask substrate, projection exposure apparatus equipped with the mask substrate, and a pattern formation method utilizing the projection exposure apparatus | |
| US6894763B2 (en) | Exposure apparatus and methods utilizing plural mask and object stages movable in opposite directions, and methods of producing devices using the same | |
| JPH10209039A (en) | Projection exposure method and projection exposure apparatus | |
| JP4029181B2 (en) | Projection exposure equipment | |
| JP2004072076A (en) | Exposure apparatus, stage apparatus, and device manufacturing method | |
| WO1999016113A1 (en) | Stage device, a scanning aligner and a scanning exposure method, and a device manufactured thereby | |
| US10678152B2 (en) | Layout method, mark detection method, exposure method, measurement device, exposure apparatus, and device manufacturing method | |
| US6641981B1 (en) | Exposure method, exposure apparatus, and device manufacturing method | |
| JPH10284408A (en) | Exposure method | |
| JP4078683B2 (en) | Projection exposure apparatus, projection exposure method, and scanning exposure method | |
| JP2002231616A (en) | Position measuring apparatus and method, exposure apparatus and method, and device manufacturing method | |
| US7852458B2 (en) | Exposure apparatus | |
| JPH11224854A (en) | Exposure apparatus, exposure method, and device manufacturing method | |
| JP4029360B2 (en) | Projection exposure apparatus, projection exposure method, and scanning exposure method | |
| JP2002190439A (en) | Position measuring method and apparatus, exposure method and apparatus, and device manufacturing method | |
| KR101205262B1 (en) | Exposure device | |
| JPH10284393A (en) | Exposure apparatus and device manufacturing method | |
| JP2000133563A (en) | Exposure method and exposure apparatus | |
| JP2006121119A (en) | Projection exposure method and projection exposure apparatus | |
| JP2003197505A (en) | Exposure method and exposure apparatus | |
| JPH10154654A (en) | Projection exposure equipment | |
| JPH11219897A (en) | Detection method, scanning exposure method, scanning exposure apparatus, and device manufacturing method | 
| Date | Code | Title | Description | 
|---|---|---|---|
| A521 | Written amendment | Free format text:JAPANESE INTERMEDIATE CODE: A523 Effective date:20050119 | |
| A131 | Notification of reasons for refusal | Free format text:JAPANESE INTERMEDIATE CODE: A131 Effective date:20070222 | |
| A521 | Written amendment | Free format text:JAPANESE INTERMEDIATE CODE: A523 Effective date:20070423 | |
| A131 | Notification of reasons for refusal | Free format text:JAPANESE INTERMEDIATE CODE: A131 Effective date:20070530 | |
| A02 | Decision of refusal | Free format text:JAPANESE INTERMEDIATE CODE: A02 Effective date:20070907 | |
| A521 | Written amendment | Free format text:JAPANESE INTERMEDIATE CODE: A523 Effective date:20071106 | |
| A911 | Transfer of reconsideration by examiner before appeal (zenchi) | Free format text:JAPANESE INTERMEDIATE CODE: A911 Effective date:20071114 | |
| TRDD | Decision of grant or rejection written | ||
| A01 | Written decision to grant a patent or to grant a registration (utility model) | Free format text:JAPANESE INTERMEDIATE CODE: A01 Effective date:20080115 | |
| A61 | First payment of annual fees (during grant procedure) | Free format text:JAPANESE INTERMEDIATE CODE: A61 Effective date:20080128 | |
| FPAY | Renewal fee payment (event date is renewal date of database) | Free format text:PAYMENT UNTIL: 20110215 Year of fee payment:3 | |
| R150 | Certificate of patent or registration of utility model | Free format text:JAPANESE INTERMEDIATE CODE: R150 | |
| FPAY | Renewal fee payment (event date is renewal date of database) | Free format text:PAYMENT UNTIL: 20110215 Year of fee payment:3 | |
| FPAY | Renewal fee payment (event date is renewal date of database) | Free format text:PAYMENT UNTIL: 20170215 Year of fee payment:9 | |
| EXPY | Cancellation because of completion of term |