




































【0001】
【発明の属する技術分野】
本発明は、フェルールに光ファイバを固定するために適用される光ファイバ取付方法に関するものである。
【0002】
【従来の技術】
従来、このような分野の技術を適用するフェルール100としては、図26(a)に示すようなものがある。このフェルール100は、その内部を貫通する4本の光ファイバ位置決め孔101を有すると共に、その中央に接着剤充填窓102をもっている。このようなフェルール100の後端から、図26(b)に示すように、テープ状の光ファイバ心線103の各光ファイバ104を各光ファイバ位置決め孔101内に挿入させる。その状態で、図26(c)に示すように、接着剤充填窓102内に接着剤を充填させて、フェルール100に各光ファイバ104を固定する。そして、接着剤の硬化後、図26(d)に示すように、フェルール100の前端面100aを端面研磨し、フェルール100から出た光ファイバ104を除去しながら、各光ファイバ104の先端面をフェルール100の前端面100aに揃え、光ファイバ104をフェルール100に取り付ける作業が完了する。このような作業は、現地で必要に応じて行われる取付作業である。
【0003】
【発明が解決しようとする課題】
しかしながら、従来の光ファイバ取付方法は次のような課題が存在していた。すなわち、光ファイバ104を現地でフェルール100に取り付けるにあたって、光ファイバ104をフェルール100に接着固定した後、光ファイバ104の先端面を鏡面状にし、しかも不揃い量を解消させるため、フェルール100の前端面100aの精密な研磨工程を必要とする。従って、現地での作業効率が悪く、しかも大掛かりな研磨装置を常に携帯していなければならないという不都合がある。また、特開平9−304657号公報には、フェルール同士を端面合わせした状態で光ファイバを挿入し、その後、接着剤によって光ファイバとフェルールとを固定させる技術が開示されているが、後から接着剤を塗布するために、光ファイバのまわりに十分な接着剤が行き渡らないという問題点があった。
【0004】
本発明は、上述の課題を解決するためになされたもので、特に、光ファイバをフェルールに固定させる際の作業の効率化及び確実性を図るようにした光ファイバ取付方法を提供することを目的とする。
【0005】
【課題を解決するための手段】
  請求項1に係る本発明の光ファイバ取付方法は、フェルールの前端面に形成した光接続口からフェルールの内部に向けて延びる光ファイバ位置決め孔内に、光ファイバを挿入固定させる光ファイバ取付方法において、
  光ファイバの先端部分の外面と、フェルールの光ファイバ位置決め孔内との少なくとも一方に、接着剤を塗布する工程と、
  フェルールの光接続口内に、接着剤より粘性の高い物質を配置させる工程と、
  フェルールの前端面に光ファイバ押当て部材を当接させる工程と、
光ファイバをフェルールの光ファイバ位置決め孔内に挿入して、光ファイバに付着している接着剤を物質により後退させ、光ファイバの先端面と光ファイバ押当て部材とを当接させる工程とを備えることを特徴とする。
【0006】
この光ファイバ取付方法において、光ファイバ位置決め孔内に差し込まれた光ファイバの先端部分に付着している接着剤が、粘性の高い物質に接触することにより、接着剤の排除現象を引き起こすことを見出した。そこで、光ファイバの先端部分をこの物質内に潜り込ませるようにすると、光ファイバを、光ファイバ位置決め孔内で接着剤により確実に接着固定させつつ、光の出射面又は入射面をなす光ファイバの先端面において、接着剤が排除された状態が簡単に作り出されることになる。従って、このような方法を利用すると、光ファイバの先端面に接着剤を残すことなく、光ファイバの先端面を、フェルールの前端面から僅かに出したり、僅かに引っ込めたりする構造を、簡単かつ確実に実現させることができる。更に、光ファイバ押当て部材に光ファイバの先端面を当接させることにより、光ファイバの先端面の位置出しを簡単かつ確実なものとする。特に、光ファイバが複数本ある場合、各光ファイバの先端面を光ファイバ押当て部材にそれぞれ当接させた状態で、各光ファイバを光ファイバ位置決め孔内で接着固定させることができ、それらの先端面を確実に整列させることができる。
【0007】
請求項2記載の光ファイバ取付方法において、フェルールの前端面と光ファイバ押当て部材の光ファイバ押当て面との少なくとも一方に、粘性の高い物質を配置させておくと好ましい。
【0008】
このような方法を採用した場合、光ファイバの先端面を、粘性の高い物質に確実に接触させることができ、光ファイバを、光ファイバ位置決め孔内で接着剤により確実に接着固定させつつ、光の出射面又は入射面をなす光ファイバの先端面においては、接着剤が排除された状態を簡単かつ確実に作り出すことができる。
【0009】
請求項3記載の光ファイバ取付方法において、フェルールの光ファイバ位置決め孔内に光ファイバを挿入する前に、光ファイバ押当て部材をフェルールの前端面に当接させ、その後、光ファイバの先端面を光ファイバ押当て部材に突き当てると好ましい。
【0010】
このような方法を採用した場合、フェルールと光ファイバ押当て部材とを当接させた状態にしておくことで、光ファイバ押当て部材に光ファイバの先端面を押し当てながらの光ファイバ挿入作業が実行され、その結果、光ファイバ押当て部材による光ファイバの先端面の位置決めを簡単かつ確実なものとする。特に、光ファイバが複数本ある場合、各光ファイバの先端面を光ファイバ押当て部材にそれぞれ当接させた状態で、各光ファイバを光ファイバ位置決め孔内で接着固定させることができ、それらの先端面を確実に整列させることができる。
【0011】
請求項4記載の光ファイバ取付方法において、フェルールの光ファイバ位置決め孔内に光ファイバを挿入した後に、光ファイバ押当て部材をフェルールの前端面に当接させると共に光ファイバ押当て部材を光ファイバの先端面に突き当てると好ましい。
【0012】
このような方法を採用した場合、光ファイバをフェルールの光ファイバ位置決め孔内に挿入させ、フェルールの前端面と光ファイバの先端面とをほぼ同位置にした状態で、光ファイバ押当て部材を光ファイバの先端面に突き当てることにより、光ファイバの先端面の接着剤が除去され、また、光ファイバ押当て部材による光ファイバの先端面の位置決めを簡単かつ確実なものとする。
【0013】
請求項5記載の光ファイバ取付方法において、接着剤の硬化後に、物質を除去すると好ましい。この場合、PC(Physical Contact)型の光コネクタの組立てを可能にする。
【0014】
請求項6記載の光ファイバ取付方法において、物質は、ゲル状のものであると好ましい。この場合、汎用性のあるゲル状の物質(例えば、シリコン系の潤滑剤)の利用が可能となる。
【0015】
請求項7記載の光ファイバ取付方法において、物質は屈折率整合剤であると好ましい。この場合、光ファイバ同士の光接続の利用にも供される。
【0016】
請求項8記載の光ファイバ取付方法において、光ファイバを複数本にして、光ファイバ押当て部材の光ファイバ押当て面に対して、光ファイバの各先端面を、整列荷重をもって押圧させると好ましい。
【0017】
このような方法を採用した場合、複数本の光ファイバの先端面を光ファイバ押当て面にそれぞれ押し当てた状態を作り出すことができ、各光ファイバの先端面を確実に一列に整列させることができる。
【0018】
請求項9記載の光ファイバ取付方法において、接着剤を光ファイバに付着させる前に、光ファイバの先端面を放電加工によりエッジ除去処理すると好ましい。
【0019】
このような方法を採用した場合、光ファイバの先端を電気的に丸めることで、光ファイバを、フェルールの光ファイバ位置決め孔内に挿入させ易くなり、しかも、光ファイバ位置決め孔内での光ファイバの先端面の欠け防止に寄与し、作業の迅速化が図れるだけでなく、PC型コネクタの場合にはPCし易くなる。
【0020】
請求項10記載の光ファイバ取付方法において、接着剤を光ファイバに付着させる前に、光ファイバの先端面を研磨加工によりエッジ除去処置すると好ましい。
【0021】
このような方法を採用した場合、光ファイバの先端を機械的に丸めることで、光ファイバを、フェルールの光ファイバ位置決め孔内に挿入させ易くなり、しかも、光ファイバ位置決め孔内での光ファイバの先端面の欠け防止に寄与し、作業の迅速化が図れるだけでなく、PC型コネクタの場合にはPCし易くなる。
【0022】
【発明の実施の形態】
以下、図面と共に本発明による光ファイバ取付方法の好適な実施形態について詳細に説明する。
【0023】
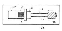
図1は、本発明に係る光ファイバ取付方法を適用するフェルール及び光ファイバ心線を示す斜視図である。同図に示すフェルール1は、ジルコニア(セラミック)、ガラス、結晶化ガラス又は樹脂等で略直方体に形成され、光コネクタ(例えばMTコネクタ)の一部として利用されるものである。このフェルール1の内部において、その前部には4本の光ファイバ位置決め孔4が形成され、各光ファイバ位置決め孔4は、テープ状の光ファイバ心線2(以下「テープ心線」という)の先端部から露出させた4本(4心)の光ファイバ3をそれぞれ挿入させて位置決めさせるためのものであり、125μmの径の光ファイバ3に対して126μm〜127μmの径を有している。各光ファイバ位置決め孔4は、フェルール1の前端面1aから一直線状に且つ平行に延在し、光ファイバ位置決め孔4の前端開口は、光接続口5として形成されている。そして、フェルール1の内部において、その後部には、光ファイバを外部から導入させるための光ファイバ導入口6が設けられている。
【0024】
さらに、光ファイバ導入口6と光ファイバ位置決め孔4との間には、接着剤を収容させるための光ファイバ接着用凹部7が設けられ、この凹部7の頂部には、接着剤を流し込むための矩形の開口をなす接着剤充填窓8が形成されている。そして、凹部7の底面7aには、その全長に亙って延在する4本の光ファイバ整列溝9が形成され、各光ファイバ整列溝9は、光ファイバ位置決め孔4の延長上に位置し、光ファイバ位置決め孔4と光ファイバ導入口6との間に延在している。更に、各光ファイバ整列溝9は、断面C字状に形成され、光ファイバ位置決め孔4と同一の径をもって延在する(図14参照)。そして、フェルール1の前端面1aにおいて、4個の光接続口5の両側には、ガイドピン(図示せず)を挿入させるためのガイドピン挿入孔10が形成されている。
【0025】
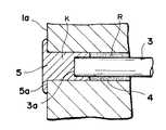
そこで、図2及び図3に示すように、フェルール1の光ファイバ導入口6から挿入させた光ファイバ3は、光ファイバ整列溝9に沿った状態で光ファイバ位置決め孔4内に配置される。この場合、光ファイバ3の先端面3aは、図3及び図4に示すように、フェルール1の前端面1aに対して5μm〜10μm程度後退させるように引き込ませて、光接続口5内に埋没する。また、この光接続口5内には、フェルール1の前端面1aから50μm〜100μm程度の領域長をもって、粘性の高い物質の一例としてシリコン系のマッチンググリースと呼ばれている屈折率整合剤Kが満たされている。
【0026】
よって、光ファイバ3の先端面3aは屈折率整合剤K内に埋没し、光ファイバ3の周囲において、屈折率整合剤Kの存在する部分に接着剤Rは存在せず、屈折率整合剤Kの存在しない部分に接着剤Rが存在する。従って、接着剤Rの存在する部分で光ファイバ3は、光ファイバ位置決め孔4内に接着固定されることになり、光の出射面又は入射面をなす光ファイバ3の先端面3aにおいては、屈折率整合剤Kが付着するのみで、接着剤Rの付着はない。なお、前述した50〜100μmは例示であり、非接着領域は小さい方が好ましいが、500μm程度であってもよい。また、屈折率整合剤Kも例示であり、粘性の高い物質として例えばシリコン系の潤滑剤であってもよい。
【0027】
このような構成をもつ光コネクタCの利点として、光ファイバ3の先端面3aの形状に依存せず、CATS等の高速切替えを可能にしたMTコネクタへの適用が簡便になる。すなわち、光ファイバ3の先端面3aの切断加工精度や研磨加工精度を上げる必要がなく、フェルール1に光ファイバ3を取り付ける作業時間の短縮に大きく寄与する。また、光接続口5から光ファイバ3の先端面3aが突出しないことに起因して、その取り扱い時に作業者が光ファイバ3の先端面3aに不用意に触れることがない。
【0028】
さらに、フェルール1に光ファイバ3を固定する際の最終工程に、フェルール1の前端面1aを精密研磨するような工程を必要とせず、作業時間の大幅な短縮に寄与し、しかも、研磨時に発生する光ファイバ3の先端面3aの欠けをも防止する。なお、フェルール1の前端面1aと光ファイバ3の先端面3aとが同位置であり、屈折率整合剤Kが光接続口5内に無い場合もある。
【0029】
また、図2及び図3に示すように、凹部7内に充填された接着剤Rによって光ファイバ3は、フェルール1に強固に固定されることになる。また、光ファイバ心線3に嵌め込まれたゴム製のブーツ11をフェルール1の光ファイバ導入口6に差し込むことで、光ファイバ心線2の折れ曲がりを防止している。
【0030】
このような構成の光コネクタCを実現させるための本発明に係る光ファイバ取付方法の一実施形態について説明する。
【0031】
この方法を行うにあたって、図5に示すように、ジルコニア(セラミック)、ガラス、結晶化ガラス又は樹脂等からなる略直方体形状の光ファイバ押当て部材20を準備する。この光ファイバ押当て部材20の前面は、フェルール1の前端面1aに当接する平坦なフェルール突き当て面20aを有している。このフェルール突き当て面20aには、フェルール1の光ファイバ位置決め孔4内に挿入させるための円柱状の位置決め凸部21が、光ファイバ位置決め孔4の数に対応して横一列に4本並設されている。そして、各位置決め凸部21の先端には、横一列に揃えられた円形の光ファイバ押当て面21aが設けられ、各光ファイバ押当て面21aは、フェルール突き当て面20aから例えば5μm程度突出する。また、位置決め凸部21の両側には、フェルール1の各ガイドピン挿入孔10に対応するガイドピン挿入孔22がそれぞれ設けられている。このような構成の光ファイバ押当て部材20を作業前に予め準備しておく。
【0032】
そこで、先ず、図6に示すように、ゴム製のブーツ11に光ファイバ心線2を差し込み、光ファイバ心線2の先端部分から所定長の被覆部Fを加熱式リムーバ等により除去し、4本の光ファイバ3を露出させた状態でアルコール等で被覆屑を拭き取る。そして、各光ファイバ3をカッタ等で一列に揃えるように所定の長さに切断した後、図7に示すように、放電加工により光ファイバ3の先端面3aのエッジ除去処理を行う。これは、フェルール1に光ファイバ3を挿入させる際に、光ファイバ3がフェルール1に接触することで起こる端面欠けを無くすことと、挿入作業の迅速化を目的としている。しかも、PC型コネクタの場合にはPCし易くなる。なお、これと同等なエッジ処理としては、図8に示すように、光ファイバ3の先端面3aを、研磨ロータ23や手作業により機械的に処理してもよい。
【0033】
次に、図9に示すように、フェルール1の前端面1aにグリース状のシリコン系の屈折率整合剤Kを塗布し、この場合、各光接続口5とその周囲5aに屈折率整合剤Kを配置させる。このときの屈折率整合剤Kは、数十μm程度の薄さで広げられている。なお、屈折率整合剤Kは、突出する4本の位置決め凸部21の表面を覆うように、光ファイバ押当て部材20のフェルール突き当て面20aに塗布してもよい。
【0034】
その後、光ファイバ押当て部材20の各ガイドピン挿入孔22内にガイドピンPを差し込んだ状態で、ガイドピンPの突出部分をフェルール1のガイドピン挿入孔10(図1参照)内に挿入させる。そして、ガイドピンPの誘導により、光ファイバ押当て部材20の各位置決め凸部21をフェルール1の各光ファイバ位置決め孔4内に挿入させながら、光ファイバ押当て部材20のフェルール突き当て面20aをフェルール1の前端面1aに押し当てる。
【0035】
その結果、光ファイバ押当て部材20のフェルール突き当て面22とフェルール1の前端面1aとの間に屈折率整合剤Kが介装され、このとき、光接続口5内には、前端面1aから所定の領域をもって屈折率整合剤Kが装填されることになる。また、屈折率整合剤Kを光接続口5の周囲5aに配置させる結果として、光接続口5から漏れ出た接着剤Rがフェルール1の前端面1aに付着し難くなる。なお、この状態を維持するために、図示しないクリップによりフェルール1と光ファイバ押当て部材20とを両側から挟み込み固定させてもよい。
【0036】
その後、図10に示すように、フェルール1の光ファイバ導入口6から光ファイバ3を挿入し、各光ファイバ位置決め孔4内に光ファイバ3をそれぞれ挿入させる。この挿入工程前において、光ファイバ3の先端部分に接着剤Rを塗布しても、光ファイバ位置決め孔4内に接着剤Rを塗布してもいずれの場合であってもよい。そして、光ファイバ位置決め孔4内に接着剤Rを充填させる際、空気層(気泡)等を巻き込まないような注意が必要である。これは、空気の混入により、光ファイバ3とフェルール1との接着強度が長期的にみると劣化したり、気泡部分と光ファイバ3とフェルール1との膨張係数の違いが特性的に悪影響を及ぼすからである。また、接着剤Rとしては、フェルール1の材質に応じたものが利用され、例えば、熱硬化型接着剤(エポキシ系)、常温硬化型接着剤(エポキシ系)、紫外線硬化型接着剤(UV系)、瞬間接着剤(シアノアクリレート系)が利用される。接着剤Rの粘度は、1〜3000cpsのものを使用すると好適である。
【0037】
そして、図12に示すように、各位置決め凸部21の光ファイバ押当て面21aに各光ファイバ3の先端面3aが当たる程度まで、光ファイバ心線2を前進させる。その結果、光ファイバ3の先端面3aは、フェルール1の前端面1aに対して5μm程度(位置決め凸部21の突出量分)引込むように後退し、光接続口5内に埋没する。さらに、接続口5内は、シリコン系の屈折率整合剤Kで満たされており、光ファイバ3の先端面3aは屈折率整合剤K内に完全に埋没することになる。そして、光ファイバ3の周囲において、屈折率整合剤Kの存在する部分には接着剤Rが存在せず、屈折率整合剤Kの存在しない部分には接着剤Rが存在することになる。従って、光ファイバ位置決め孔4内において、屈折率整合剤Kの存在する部分以外に接着剤Rを充填させることができる。
【0038】
このような現象は、接着剤Rの粘度に対して屈折率整合剤Kの粘度がかなり高いことや屈折率整合剤Kに含まれる油分に起因するものである。そこで、図11(a)に示すように、フェルール1の光接続口5内に配置させる屈折率整合剤Kに向けて光ファイバ3を差し込むと、図11(b)に示すように、接着剤Rを塗布した光ファイバ3の先端面3aが屈折率整合剤Kに突き当たり、さらに光ファイバ3を押し込み続けると、図11(c)に示すように、光ファイバ3の接着剤Rが屈折率整合剤Kによって後退させられるような接着剤排除現象を起こすからである。従って、光ファイバ3の先端面3aを屈折率整合剤K内に潜り込ませるようにすると、光の出射面又は入射面をなす光ファイバ3の先端面3aにおいては、接着剤Rが排除された状態が簡単に作り出されることになる。さらに、屈折率整合剤Kの油分は、光ファイバ3と接着剤Rの間に入り込みながら、非接着領域を拡大していく働きがある。
【0039】
このとき、光ファイバ3の先端面3aには、切断時に発生する数μm程度の不揃いが発生していることから、この不揃いによる光接続損失を除去するため、各先端面3aを一列に整列させる必要が生じる。そこで、図13に示すように、ベース板24上にフェルール1及び光ファイバ位置決め部材20を固定し、ベース板24上で前後に摺動させ得るファイバホルダ25によって、光ファイバ心線2の被覆部Fを保持した状態で、後方から加圧し、全ての光ファイバ3の先端面3aが位置決め凸部21の光ファイバ押当て面21aに当たるような整列荷重(4本の光ファイバ3に対して例えば200gを後方から与えるような荷重)を加える。
【0040】
これによって、光ファイバ3の先端面3aは、図14に示すように、強制的に一列に揃えられることになる。この場合、各光ファイバ3の圧縮量を吸収させる必要から、図15に示すように、光ファイバ整列溝9を断面C字状にし、その上部には、光ファイバ3の直径より小さな幅をもつスリット状開口9aが形成されると好適である。このような開口9aを設けることで、光ファイバ3の飛び出しを防止し、光ファイバ整列溝9内への接着剤Rの流入を可能にする。
【0041】
その後、図16に示すように、各光ファイバ3とフェルール1との接着性を高めるため、フェルール1の光ファイバ接着用凹部7内にエポキシ系の熱硬化型接着剤Rを充填させる。この状態で、図示しない加熱装置によってフェルール1を適度に加熱して接着剤Rを硬化させる。この最終工程において、フェルール1及び光ファイバ3は、膨張収縮(特に、樹脂製のフェルール1の膨張収縮が大きい)によってその寸法が多少変化するが、光ファイバ3の先端面3aを予め引き込ませてあるので、光ファイバ3の先端面3aがフェルール1の前端面1aから突出することはない。
【0042】
そして、図17に示すように、光ファイバ押当て部材20をフェルール1から外すことにより、フェルール1に対する光ファイバ心線2の組付け作業が完了する。この場合、フェルール1の前端面1aを精密研磨するような工程を必要とせず、作業時間の大幅な短縮に寄与し、しかも、研磨時に発生する光ファイバ3の先端面3aの欠けをも防止される。また、各光ファイバ3の先端面3aを一列に確実に整列させることが可能となる(図14参照)。なお、接着剤Rとして紫外線硬化型接着剤や常温硬化型接着剤を用いることで、フェルール1や光ファイバ3の膨張収縮を阻止することが可能となる。さらに、屈折率整合剤Kが用途上不要である場合、接着剤Rの硬化後に屈折率整合剤Kを洗浄等により除去することもある。これは、PC型光コネクタの組立てを可能にする。
【0043】
本発明に係る光ファイバ取付方法の他の実施形態としては、図示しないが、フェルール1の光ファイバ位置決め孔4内に、接着剤Rを塗布した光ファイバ3を挿入させる。このとき、フェルール1の前端面1aと光ファイバ3の先端面3aとをほぼ同位置にすると、フェルール1の光接続口5から余剰な接着剤Rが略完全に排出され、フェルール1の光接続口5から漏れ出た余剰な接着剤Rを綿棒等によって拭き取る。この接着剤Rがフェルール1の前端面1aに残ったまま硬化すると、その除去作業を余儀なくされ、光コネクタの組立て効率を悪化させる虞れがある。このように、光ファイバ3を光ファイバ位置決め孔4内に挿入させて仮固定した状態で、フェルール1の前端面1aに光ファイバ押当て部材20のフェルール突き当て面20aを当接させてもよい。
【0044】
このとき、光ファイバ押当て部材20の位置決め凸部21によって、光ファイバ3の先端面3aは押し戻されるように強制的に後退させられ、光接続口5内に入り込みつつ屈折率整合剤K内で光ファイバ3の先端面3aが位置決めされることになる。なお、フェルール1に光ファイバ押当て部材20を組付ける前において、光ファイバ押当て部材20の光ファイバ押当て面21aに屈折率整合剤Kが載るようにして、フェルール突き当て面20aに屈折率整合剤Kを予め塗布させておくか、フェルール1の前端面1aに屈折率整合剤Kを予め塗布させておくかのいずれかであるが、勿論、両部材1及び20に屈折率整合剤Kを塗布しておいてもよい。
【0045】
次に、光ファイバ押当て部材の種々の変形例について説明する。
【0046】
図18に示すように、光ファイバ押当て部材30の端面の中央には、光ファイバ押当て面31がフェルール突き当て面30aと同一面をなすように形成されている。従って、図19に示すように、光ファイバ押当て面31に光ファイバ3の先端面3aを突き当てることで、光ファイバ3の先端面3aをフェルール1の前端面1aに揃えることが可能となる。さらに、屈折率整合剤Kが用途上不要である場合、接着剤Rの硬化後に屈折率整合剤Kを洗浄等により除去することもある。なお、符号32はガイドピン挿入孔である。
【0047】
また、図20に示すように、光ファイバ3の先端面3aをフェルール1の前端面1aから突出させることもある。そこで、図21に示すように、光ファイバ押当て部材40の端面の中央には、フェルール突き当て面40aから横溝状に陥没させるようにした光ファイバ受入れ凹部41が形成され、横方向に延びる光ファイバ受入れ凹部41の底面が光ファイバ押当て面41aとなる。従って、図22に示すように、光ファイバ押当て面41aに光ファイバ3の先端面3aを突き当てることで、光ファイバ3の先端面3aをフェルール1の前端面1aから所定量(例えば1〜2μm程度)突出させることが可能となる。この突出量は光ファイバ受入れ凹部41の深さに対応する。このように、光ファイバ3をフェルール1から突出させる構成は、単心に用いられるSC型やMU型光コネクタなどに適しており、さらに、前述した放電加工を施して先端面3aに丸み付けを行うことが効果的である。しかしながら、この場合でも、光ファイバ心線2に所定の整列荷重を加えることで、4本の光ファイバ3の先端面3aをフェルール1から突出させたままの状態で、一列に整列させることもできる。さらに、屈折率整合剤Kが用途上不要である場合、接着剤Rの硬化後に屈折率整合剤Kを洗浄等により除去することもある。なお、符号42はガイドピン挿入孔である。
【0048】
同様に、図23に示すように、光ファイバ押当て部材50の端面の中央には、フェルール突き当て面50aから縦溝状に陥没させるようにした光ファイバ受入れ凹部51が形成され、この光ファイバ受入れ凹部51は、ガイドピン挿入孔52の間に位置すると共に、光ファイバ位置決め孔4の配列幅を少なくとももっている。そして、光ファイバ受入れ凹部51の底面が光ファイバ押当て面51aになっている。この場合も、前述と同様に、光ファイバ3の先端面3aをフェルール1の前端面1aから所定量(例えば1〜2μm程度)突出させることが可能となる。この突出量は光ファイバ受入れ凹部51の深さに対応する。
【0049】
本発明は、前述した種々の実施形態に限定されるものではなく、前述した屈折率整合剤Kは、粘性の高い物質の一例であり、他にもシリコン系の潤滑剤などがある。また、本発明に係る光ファイバ取付方法の適用範囲は、MT型の光コネクタばかりでなく、その他の型式の多心用光コネクタや、SC型やMU型などの単心用光コネクタにも及ぶことは、言うまでもない。
【0050】
ここで、本発明に係る光ファイバ取付方法を単心用光コネクタの製作に適用する場合について説明する。
【0051】
図24に示すように、フェルール60は、ジルコニア(セラミック)、ガラス、結晶化ガラス、樹脂等のいずれかで略円筒状に形成され、光コネクタ(例えばSCコネクタ、MUコネクタ)のプラグ59内で利用されるものである。図25及び図26に示すように、このフェルール60の内部には、一本の光ファイバ位置決め孔4が形成され、光ファイバ位置決め孔4は、光ファイバ心線62の先端部から露出させた光ファイバ61を挿入させるためのものであり、125μmの径の光ファイバ61に対して126〜127μmの径を有している。光ファイバ位置決め孔4は、フェルール60の前端面60aから一直線状に延在し、光ファイバ位置決め孔4の前端開口は、光接続口63として形成されている。そして、フェルール60の内部において、その後部には、光ファイバ61を外部から挿入させるための光ファイバ導入口64が設けられている。
【0052】
そこで、図26及び図27に示すように、フェルール60の光ファイバ導入口64から挿入させた光ファイバ61は、光ファイバ位置決め孔4内に配置される。この場合、光ファイバ61の先端面61aは、フェルール60の前端面60aに対して1μmから2μm程度突き出して位置決めされる。また、光接続口63内には、フェルール60の前端面60aから50μm〜100μm程度の領域長さDをもって、空気層が介在する。この空気層の後方は接着剤Rによって、光ファイバ61はフェルール60に固定される。
【0053】
このような構成を実現させるための光ファイバ取付け方法の一例を説明する。
【0054】
この方法を行うにあたって、図28及び図29に示すように、ジルコニア(セラミック)、ガラス、結晶化ガラス又は樹脂等からなり、フェルール60と同径の略円柱形状の光ファイバ押当て部材65を準備する。この光ファイバ押当て部材65の前面には、フェルール60の前端面60aに当接する平坦なフェルール突当て面65aを有している。このフェルール突当て面65aの中央には、円柱状の光ファイバ受入れ凹部66が、光ファイバ位置決め孔4の光接続口63に対応して設けられている。光ファイバ受入れ凹部66は、光接続口63より大径で形成されると共に、フェルール突当て面65aから例えば1〜2μm程度引き込ませている。
【0055】
そこで、図30に示すように、光ファイバ心線62の先端部分から所定長さの被覆部Fをリムーバ等により除去し、光ファイバ61を露出させた状態でアルコール等で被覆屑を拭き取る。そして、光ファイバ61をカッタ等で所定の長さに切断した後、図31に示すように、放電加工により光ファイバ61の前端面61aの丸み付け処理を行う。これは、フェルール60に光ファイバ61を挿入させる際に、光ファイバ61がフェルール60に接触することで起こる端面欠けを無くすことと、挿入作業の迅速化を目的としている。しかも、PC型コネクタの場合にはPCし易くなる。なお、これと同等なエッジ処理としては、図32に示すように、光ファイバ61の先端面61を、研磨ロータ67や手作業により機械的に処理してもよい。
【0056】
次に、光ファイバ受入れ凹部66内にグリース状のシリコン系屈折率整合剤Kが入り込むように、光ファイバ押当て部材65のフェルール突当て面65aに屈折率整合剤Kを塗布する。この場合、屈折率整合剤Kの厚さは数十μm程度とする。その後、フェルール60の光ファイバ位置決め孔4内に接着剤Rを充填するか又は光ファイバ61の表面に接着剤Rを塗布した状態で、フェルール60の光ファイバ位置決め孔4内に空気(気泡)等を巻き込まないようにして、光ファイバ61を光ファイバ位置決め孔4内に挿入する。空気を巻き込んで取付けてしまった場合、光ファイバ61とフェルール60との接着強度が長期的にみると劣化したり、また、気泡部分と各材質の膨張係数の違いで特性的に悪影響を及ぼすことが予想される。利用される接着剤Rとしては、フェルール60の材質にもよるが、例えば、熱硬化型接着剤(エポキシ系)、常温硬化型接着剤(エポキシ系)、紫外線硬化型接着剤(UV系)、瞬間接着剤(シアノアクリレート系)が適切である。接着剤Rの粘度は、1〜3000cpsのものを使用すると好適である。
【0057】
そして、挿入後の光ファイバ61の先端面61aを、フェルール60の前端面60aと略同じ位置に仮固定し、フェルール60の光接続口63から漏れ出た余剰な接着剤Rを綿棒等で拭き取る。この接着剤Rを残したままにしておくと、フェルール60の周囲や前端面60aに付着した接着剤Rによって、フェルール60が他の部材と接着しまうからである。
【0058】
その後、図33に示すように、バネ性をもって径方向への拡大を可能にした円筒状の金属製又はジルコニア製の割スリーブ70の一開口側からフェルール60を差し込み、割スリーブ70の他の開口側から光ファイバ押当て部材65を差し込む。その結果、図34(a)に示すように、割スリーブ70内で、フェルール60の前端面60aに光ファイバ押当て部材65のフェルール突当て面65aを押し当てる。そして、図34(b)に示すように、光ファイバ61を前進させ、図35に示すように、光ファイバ受入れ凹部66の光ファイバ押当て面66aに光ファイバ61の先端面61aが突き当たるまで光ファイバ心線62を前進させ続ける。その結果、光ファイバ61の先端面61aは、フェルール60の前端面60aに対して1〜2μm程度突き出した状態となる。更に、光ファイバ受入れ凹部66内は屈折率整合剤Kで満たされており、光ファイバ61の先端部分は屈折率整合剤K内に完全に埋没することになる。そして、屈折率整合剤Kの存在する部分には接着剤Rが存在しないことになる。
【0059】
このような現象は、接着剤Rの粘度に対して屈折率整合剤Kの粘度がかなり高いことや屈折率整合剤Kに含まれる油分に起因するものである。そこで、図34(b)に示すように、光ファイバ61を前進させると、光ファイバ61に付着した接着剤Rが屈折率整合剤Kによって後退させられるような接着剤排除現象を起こす。従って、光ファイバ61の先端面61aを屈折率整合剤K内に潜り込ませるようにすると、光の出射面又は入射面をなす光ファイバ61の先端面61aにおいては、接着剤Rが排除された状態が簡単に作り出されることになる。さらに、屈折率整合剤Kの油分は、光ファイバ位置決め孔4内に入り込みながら、非接着領域を拡大していく働きがある。
【0060】
このような作業が完了した後、割スリーブ70からフェルール60及び光ファイバ押当て部材65を引き抜くことで、フェルール60に対する光ファイバ61の組付け作業は完了する(図36参照)。この場合、フェルール60の前端面60aを精密研磨するような工程を必要とせず、作業時間の大幅な短縮に寄与する。また、屈折率整合剤Kが用途上不要である場合、接着剤Rの硬化後に屈折率整合剤Kを洗浄等により除去することもある(図27参照)。これは、PC型光コネクタの組立てを可能にする。
【0061】
なお、フェルール60の前端面60aから光ファイバ61の先端面61aを、5〜50μm程度埋没させる場合には、図5に示すような位置決め凸部をもった光ファイバ押当て部材を利用すると適切である。
【0062】
【発明の効果】
  本発明による光ファイバ取付方法は次のような効果をもっている。すなわち、フェルールの前端面に形成した光接続口からフェルールの内部に向けて延びる光ファイバ位置決め孔内に、光ファイバを挿入固定させる光ファイバ取付方法において、光ファイバの先端部分の外面と、フェルールの光ファイバ位置決め孔内との少なくとも一方に、接着剤を塗布する工程と、フェルールの光接続口内に、接着剤より粘性の高い物質を配置させる工程と、フェルールの前端面に光ファイバ押当て部材を当接させる工程と、光ファイバをフェルールの光ファイバ位置決め孔内に挿入して、光ファイバに付着している接着剤を物質により後退させ、光ファイバの先端面と光ファイバ押当て部材とを当接させる工程とを備えることにより、光ファイバをフェルールに固定させる際の作業の効率化及び確実性を図ることができる。
【図面の簡単な説明】
【図1】本発明に係る光ファイバ取付方法に適用するフェルール及び多心の光ファイバ心線を示す斜視図である。
【図2】図1のフェルールに多心の光ファイバ心線を取り付けた状態を示す光コネクタの平面図である。
【図3】図2のIII−III線に沿う断面図である。
【図4】図3の要部拡大断面図である。
【図5】本発明に係る光ファイバ取付方法に適用する光ファイバ押当て部材を示す斜視図である。
【図6】所定長さにカットされた光ファイバ心線を示す平面図である。
【図7】光ファイバの放電加工状態を示す拡大図である。
【図8】光ファイバの研磨加工状態を示す拡大図である。
【図9】フェルールに光ファイバ押当て部材を組付ける前の状態を示す平面図である。
【図10】フェルールに光ファイバ押当て部材を組付けた後の状態を示す平面図である。
【図11】光ファイバに塗布した接着剤が屈折率整合剤によって後退させられるような接着剤排除現象を示す拡大断面図である。
【図12】フェルール内に光ファイバを挿入した状態を示す要部拡大断面図である。
【図13】光ファイバ心線に整列荷重を加えた状態を示す平面図である。
【図14】光ファイバの先端面が一列に整列した状態を示す断面図である。
【図15】断面C字状の光ファイバ整列溝を示す拡大断面図である。
【図16】フェルールに接着剤を充填した状態を示す平面図である。
【図17】フェルールに光ファイバを取付完了した光コネクタを示す平面図である。
【図18】光ファイバ押当て部材の他の変形例を示す斜視図である。
【図19】図17の光ファイバ押当て部材を利用して、光ファイバの先端面をフェルール内で位置決めさせた状態を示す要部拡大断面図である。
【図20】フェルールから光ファイバの先端面を突出させた状態を示す要部拡大断面図である。
【図21】光ファイバ押当て部材の更に他の変形例を示す斜視図である。
【図22】図20の光ファイバ押当て部材を利用して、光ファイバの先端面をフェルールから突出させて位置決めした状態を示す要部拡大断面図である。
【図23】光ファイバ押当て部材の更に他の変形例を示す斜視図である。
【図24】本発明に係る光ファイバ取付方法を適用して製作した光コネクタを示す斜視図である。
【図25】本発明に係る光ファイバ取付方法に適用するフェルール及び単心の光ファイバ心線を示す斜視図である。
【図26】図25のフェルールに単心の光ファイバ心線を固定した状態を示す光コネクタの平面図である。
【図27】図26の要部拡大断面図である。
【図28】本発明に係る光ファイバ取付方法に適用する光ファイバ押当て部材を示す斜視図である。
【図29】図28に示した光ファイバ押当て部材の断面図である。
【図30】所定長さにカットされた光ファイバ心線を示す平面図である。
【図31】光ファイバの放電加工状態を示す拡大図である。
【図32】光ファイバの研磨加工状態を示す拡大図である。
【図33】割スリーブを示す斜視図である。
【図34】フェルールに光ファイバ押当て部材を押し当てた後の状態を示す拡大断面図である。
【図35】光ファイバ押当て部材に光ファイバの先端面を押し当てた状態を示す断面図である。
【図36】割スリーブから引き抜かれたフェルールを示す要部拡大断面図である。
【図37】従来の光ファイバ取付方法を示す平面図である。
【符号の説明】
1,60…フェルール、1a,60a…フェルールの前端面、3,61…光ファイバ、3a,61a…光ファイバの先端面、4…光ファイバ位置決め孔、5,63…光接続口、20,30,40,50,65…光ファイバ押当て部材、21a,31,41a,51a,66a…光ファイバ押当て面、R…接着剤、K…屈折率整合剤(粘性の高い物質)。[0001]
 BACKGROUND OF THE INVENTION
 The present invention relates to an optical fiber mounting method applied to fix an optical fiber to a ferrule.
 [0002]
 [Prior art]
 Conventionally, as a
 [0003]
 [Problems to be solved by the invention]
 However, the conventional optical fiber mounting method has the following problems. That is, when the
 [0004]
 The present invention has been made in order to solve the above-described problems, and in particular, provides an optical fiber mounting method that improves the efficiency and reliability of work when fixing an optical fiber to a ferrule. And
 [0005]
 [Means for Solving the Problems]
 The optical fiber attachment method of the present invention according to claim 1 is an optical fiber attachment method in which an optical fiber is inserted and fixed in an optical fiber positioning hole extending from the optical connection port formed in the front end surface of the ferrule toward the inside of the ferrule. ,
 The outer surface of the tip of the optical fiberWhen, In the optical fiber positioning hole of the ferruleWhen Apply adhesive to at least one of theCloth And the process
 Ferrule optical connectionWithin A step of arranging a substance having a higher viscosity than the adhesive;
 Contacting the optical fiber pressing member with the front end surface of the ferrule;
Insert the optical fiber into the optical fiber positioning hole of the ferrule, retreat the adhesive adhering to the optical fiber with the substance, And a step of abutting the tip surface of the optical fiber with the optical fiber pressing member.
 [0006]
 In this optical fiber mounting method, the adhesive attached to the tip portion of the optical fiber inserted into the optical fiber positioning hole is found to cause the phenomenon of adhesive removal by contacting a highly viscous substance. It was. Therefore, if the tip portion of the optical fiber is submerged in this substance, the optical fiber is securely bonded and fixed with an adhesive in the optical fiber positioning hole, and the optical fiber forming the light exit surface or the incident surface is formed. A state in which the adhesive is excluded is easily created at the front end surface. Therefore, when such a method is used, a structure in which the front end surface of the optical fiber is slightly protruded from the front end surface of the ferrule or slightly retracted without leaving an adhesive on the front end surface of the optical fiber can be easily and simply constructed. It can be realized reliably. Furthermore, the front end surface of the optical fiber is brought into contact with the optical fiber pressing member, thereby easily and reliably positioning the front end surface of the optical fiber. In particular, when there are a plurality of optical fibers, each optical fiber can be bonded and fixed in the optical fiber positioning hole with the tip surface of each optical fiber in contact with the optical fiber pressing member. The tip surface can be reliably aligned.
 [0007]
 In the optical fiber mounting method according to
 [0008]
 When such a method is adopted, the tip surface of the optical fiber can be reliably brought into contact with a highly viscous substance, and the optical fiber is securely bonded and fixed with an adhesive in the optical fiber positioning hole, while the optical fiber is securely bonded. On the front end surface of the optical fiber forming the exit surface or the entrance surface, it is possible to easily and reliably create a state in which the adhesive is eliminated.
 [0009]
 4. The optical fiber attachment method according to
 [0010]
 When such a method is adopted, by placing the ferrule and the optical fiber pressing member in contact with each other, the optical fiber insertion work can be performed while pressing the front end surface of the optical fiber against the optical fiber pressing member. As a result, the positioning of the front end surface of the optical fiber by the optical fiber pressing member is made simple and reliable. In particular, when there are a plurality of optical fibers, each optical fiber can be bonded and fixed in the optical fiber positioning hole with the tip surface of each optical fiber in contact with the optical fiber pressing member. The tip surface can be reliably aligned.
 [0011]
 5. The optical fiber mounting method according to
 [0012]
 When such a method is employed, the optical fiber pressing member is inserted into the optical fiber positioning hole of the ferrule, and the optical fiber pressing member is placed in the state where the front end surface of the ferrule and the front end surface of the optical fiber are substantially at the same position. By abutting against the front end face of the fiber, the adhesive on the front end face of the optical fiber is removed, and positioning of the front end face of the optical fiber by the optical fiber pressing member is made simple and reliable.
 [0013]
 The optical fiber attachment method according to
 [0014]
 In the optical fiber mounting method according to
 [0015]
 The optical fiber mounting method according to
 [0016]
 In the optical fiber mounting method according to
 [0017]
 When such a method is adopted, it is possible to create a state in which the tip surfaces of a plurality of optical fibers are pressed against the optical fiber pressing surface, and the tip surfaces of the optical fibers can be surely aligned in a row. it can.
 [0018]
 In the optical fiber attachment method according to claim 9, it is preferable that the front end surface of the optical fiber is edge-removed by electric discharge machining before the adhesive is attached to the optical fiber.
 [0019]
 When such a method is adopted, it is easy to insert the optical fiber into the optical fiber positioning hole of the ferrule by electrically rounding the tip of the optical fiber, and the optical fiber in the optical fiber positioning hole This contributes to prevention of chipping of the front end face and not only speeds up the operation but also facilitates PC in the case of a PC type connector.
 [0020]
 In the optical fiber attachment method according to
 [0021]
 When such a method is employed, the optical fiber can be easily inserted into the optical fiber positioning hole of the ferrule by mechanically rounding the tip of the optical fiber, and the optical fiber in the optical fiber positioning hole can be easily inserted. This contributes to prevention of chipping of the front end face and not only speeds up the operation but also facilitates PC in the case of a PC type connector.
 [0022]
 DETAILED DESCRIPTION OF THE INVENTION
 Hereinafter, preferred embodiments of an optical fiber mounting method according to the present invention will be described in detail with reference to the drawings.
 [0023]
 FIG. 1 is a perspective view showing a ferrule and an optical fiber core wire to which an optical fiber attachment method according to the present invention is applied. A ferrule 1 shown in the figure is formed in a substantially rectangular parallelepiped shape using zirconia (ceramic), glass, crystallized glass, resin, or the like, and is used as a part of an optical connector (for example, MT connector). In the ferrule 1, four optical
 [0024]
 Further, an optical
 [0025]
 Therefore, as shown in FIGS. 2 and 3, the
 [0026]
 Therefore, the
 [0027]
 As an advantage of the optical connector C having such a configuration, application to an MT connector that enables high-speed switching such as CATS is simplified without depending on the shape of the
 [0028]
 Furthermore, the final process for fixing the
 [0029]
 Further, as shown in FIGS. 2 and 3, the
 [0030]
 An embodiment of an optical fiber attachment method according to the present invention for realizing the optical connector C having such a configuration will be described.
 [0031]
 In performing this method, as shown in FIG. 5, a substantially rectangular parallelepiped optical
 [0032]
 Therefore, first, as shown in FIG. 6, the optical
 [0033]
 Next, as shown in FIG. 9, a grease-like silicon-based refractive index matching agent K is applied to the front end face 1a of the ferrule 1, and in this case, the refractive index matching agent K is applied to each
 [0034]
 Thereafter, with the guide pin P inserted into each guide
 [0035]
 As a result, the refractive index matching agent K is interposed between the
 [0036]
 Thereafter, as shown in FIG. 10, the
 [0037]
 Then, as shown in FIG. 12, the optical
 [0038]
 Such a phenomenon is caused by the viscosity of the refractive index matching agent K being considerably higher than the viscosity of the adhesive R and the oil contained in the refractive index matching agent K. Therefore, as shown in FIG. 11A, when the
 [0039]
 At this time, the
 [0040]
 As a result, the
 [0041]
 Thereafter, as shown in FIG. 16, an epoxy-based thermosetting adhesive R is filled into the optical
 [0042]
 Then, as shown in FIG. 17, by removing the optical
 [0043]
 As another embodiment of the optical fiber attachment method according to the present invention, although not shown, the
 [0044]
 At this time, the
 [0045]
 Next, various modifications of the optical fiber pressing member will be described.
 [0046]
 As shown in FIG. 18, an optical
 [0047]
 Further, as shown in FIG. 20, the
 [0048]
 Similarly, as shown in FIG. 23, an optical
 [0049]
 The present invention is not limited to the various embodiments described above, and the refractive index matching agent K described above is an example of a highly viscous material, and other examples include silicon-based lubricants. Further, the application range of the optical fiber mounting method according to the present invention extends not only to the MT type optical connector but also to other types of multi-fiber optical connectors and single-core optical connectors such as SC type and MU type. Needless to say.
 [0050]
 Here, the case where the optical fiber attachment method according to the present invention is applied to the production of a single-fiber optical connector will be described.
 [0051]
 As shown in FIG. 24, the
 [0052]
 Therefore, as shown in FIGS. 26 and 27, the
 [0053]
 An example of an optical fiber attachment method for realizing such a configuration will be described.
 [0054]
 In performing this method, as shown in FIGS. 28 and 29, a substantially cylindrical optical
 [0055]
 Therefore, as shown in FIG. 30, the coating portion F having a predetermined length is removed from the tip portion of the optical
 [0056]
 Next, the refractive index matching agent K is applied to the
 [0057]
 Then, the
 [0058]
 After that, as shown in FIG. 33, a
 [0059]
 Such a phenomenon is caused by the viscosity of the refractive index matching agent K being considerably higher than the viscosity of the adhesive R and the oil contained in the refractive index matching agent K. Therefore, as shown in FIG. 34 (b), when the
 [0060]
 After such work is completed, the assembly work of the
 [0061]
 In the case where the
 [0062]
 【The invention's effect】
 The optical fiber mounting method according to the present invention has the following effects. That is, in an optical fiber mounting method in which an optical fiber is inserted and fixed in an optical fiber positioning hole extending from the optical connection port formed on the front end surface of the ferrule toward the inside of the ferrule, the outer surface of the tip portion of the optical fiberWhen, In the optical fiber positioning hole of the ferruleWhen Apply adhesive to at least one of theCloth Process and ferrule optical connection portWithin A step of arranging a substance having a higher viscosity than the adhesive, a step of bringing the optical fiber pressing member into contact with the front end surface of the ferrule,Insert the optical fiber into the optical fiber positioning hole of the ferrule, retreat the adhesive adhering to the optical fiber with the substance, By providing the step of bringing the tip end face of the optical fiber and the optical fiber pressing member into contact with each other, it is possible to improve the efficiency and reliability of the work when fixing the optical fiber to the ferrule.
 [Brief description of the drawings]
 FIG. 1 is a perspective view showing a ferrule and a multi-core optical fiber applied to an optical fiber mounting method according to the present invention.
 2 is a plan view of an optical connector showing a state in which a multi-core optical fiber is attached to the ferrule of FIG. 1. FIG.
 3 is a cross-sectional view taken along line III-III in FIG.
 4 is an enlarged cross-sectional view of a main part of FIG. 3;
 FIG. 5 is a perspective view showing an optical fiber pressing member applied to the optical fiber mounting method according to the present invention.
 FIG. 6 is a plan view showing an optical fiber core wire cut to a predetermined length.
 FIG. 7 is an enlarged view showing an electrical discharge machining state of the optical fiber.
 FIG. 8 is an enlarged view showing a polished state of the optical fiber.
 FIG. 9 is a plan view showing a state before the optical fiber pressing member is assembled to the ferrule.
 FIG. 10 is a plan view showing a state after the optical fiber pressing member is assembled to the ferrule.
 FIG. 11 is an enlarged cross-sectional view illustrating an adhesive removal phenomenon in which an adhesive applied to an optical fiber is retracted by a refractive index matching agent.
 FIG. 12 is an enlarged cross-sectional view of a main part showing a state in which an optical fiber is inserted into a ferrule.
 FIG. 13 is a plan view showing a state in which an alignment load is applied to the optical fiber core wire.
 FIG. 14 is a cross-sectional view showing a state in which the end faces of the optical fibers are aligned in a line.
 FIG. 15 is an enlarged cross-sectional view showing an optical fiber alignment groove having a C-shaped cross section.
 FIG. 16 is a plan view showing a state in which the ferrule is filled with an adhesive.
 FIG. 17 is a plan view showing an optical connector in which an optical fiber is completely attached to a ferrule.
 FIG. 18 is a perspective view showing another modification of the optical fiber pressing member.
 FIG. 19 is an enlarged cross-sectional view of a main part showing a state in which the tip surface of the optical fiber is positioned in the ferrule using the optical fiber pressing member of FIG.
 FIG. 20 is an enlarged cross-sectional view of a main part showing a state in which a front end surface of an optical fiber is protruded from a ferrule.
 FIG. 21 is a perspective view showing still another modified example of the optical fiber pressing member.
 22 is an enlarged cross-sectional view of a main part showing a state in which the tip end face of the optical fiber is protruded from the ferrule and positioned by using the optical fiber pressing member of FIG.
 FIG. 23 is a perspective view showing still another modified example of the optical fiber pressing member.
 FIG. 24 is a perspective view showing an optical connector manufactured by applying the optical fiber mounting method according to the present invention.
 FIG. 25 is a perspective view showing a ferrule and a single-core optical fiber applied to the optical fiber mounting method according to the present invention.
 26 is a plan view of an optical connector showing a state in which a single-core optical fiber is fixed to the ferrule of FIG. 25. FIG.
 27 is an enlarged cross-sectional view of a main part of FIG. 26. FIG.
 FIG. 28 is a perspective view showing an optical fiber pressing member applied to the optical fiber attachment method according to the present invention.
 29 is a cross-sectional view of the optical fiber pressing member shown in FIG. 28. FIG.
 FIG. 30 is a plan view showing an optical fiber core wire cut to a predetermined length.
 FIG. 31 is an enlarged view showing an electrical discharge machining state of an optical fiber.
 FIG. 32 is an enlarged view showing a polishing state of the optical fiber.
 FIG. 33 is a perspective view showing a split sleeve.
 FIG. 34 is an enlarged cross-sectional view showing a state after an optical fiber pressing member is pressed against a ferrule.
 FIG. 35 is a cross-sectional view showing a state in which the tip surface of the optical fiber is pressed against the optical fiber pressing member.
 FIG. 36 is an enlarged cross-sectional view showing the main part of the ferrule pulled out from the split sleeve.
 FIG. 37 is a plan view showing a conventional optical fiber mounting method.
 [Explanation of symbols]
 DESCRIPTION OF
| Application Number | Priority Date | Filing Date | Title | 
|---|---|---|---|
| JP35787298AJP4045677B2 (en) | 1998-03-05 | 1998-12-16 | Optical fiber mounting method | 
| Application Number | Priority Date | Filing Date | Title | 
|---|---|---|---|
| JP5380698 | 1998-03-05 | ||
| JP10-53806 | 1998-03-05 | ||
| JP35787298AJP4045677B2 (en) | 1998-03-05 | 1998-12-16 | Optical fiber mounting method | 
| Publication Number | Publication Date | 
|---|---|
| JPH11316319A JPH11316319A (en) | 1999-11-16 | 
| JP4045677B2true JP4045677B2 (en) | 2008-02-13 | 
| Application Number | Title | Priority Date | Filing Date | 
|---|---|---|---|
| JP35787298AExpired - Fee RelatedJP4045677B2 (en) | 1998-03-05 | 1998-12-16 | Optical fiber mounting method | 
| Country | Link | 
|---|---|
| JP (1) | JP4045677B2 (en) | 
| Publication number | Priority date | Publication date | Assignee | Title | 
|---|---|---|---|---|
| JP4531957B2 (en)* | 2000-09-08 | 2010-08-25 | 古河電気工業株式会社 | Method for confirming connection and hardening of optical fiber and optical connector | 
| JP6170527B2 (en) | 2014-12-26 | 2017-07-26 | Toto株式会社 | Optical receptacle and optical transceiver | 
| US10353155B2 (en)* | 2015-04-20 | 2019-07-16 | Adamant Namiki Precision Jewel Co., Ltd. | Multi-fiber optical connector | 
| US11016244B2 (en) | 2017-03-31 | 2021-05-25 | Nitto Denko Corporation | Optical waveguide member connector kit, optical waveguide member connector, and producing method thereof | 
| WO2018181729A1 (en)* | 2017-03-31 | 2018-10-04 | 日東電工株式会社 | Optical waveguide member connector kit, optical waveguide member connector, and method for producing same | 
| JP2019144510A (en)* | 2018-02-23 | 2019-08-29 | 住友電気工業株式会社 | Optical connector, optical connection structure and method for manufacturing optical connector | 
| WO2022210385A1 (en)* | 2021-03-30 | 2022-10-06 | 日東電工株式会社 | Method for manufacturing optical connector | 
| Publication number | Publication date | 
|---|---|
| JPH11316319A (en) | 1999-11-16 | 
| Publication | Publication Date | Title | 
|---|---|---|
| US6409394B1 (en) | Optical connector | |
| US6565265B2 (en) | Optical connector and method of assembling optical connector | |
| KR950003438B1 (en) | Optical connector and splicer and manufacturing method | |
| US6331081B1 (en) | Optical transmission member and manufacturing method therefor | |
| JP3479964B2 (en) | Optical connector assembly method | |
| JP4045677B2 (en) | Optical fiber mounting method | |
| EP1312955B1 (en) | Process for coupling optical fibres | |
| KR100779891B1 (en) | Optical transmission medium connecting method, optical connecting structure, and optical transmission medium connecting part | |
| JPH06148447A (en) | Coupling parts for ribbon optical fiber | |
| US20230028782A1 (en) | Fiber optic processing systems and methods | |
| JP2000338371A (en) | Optical fiber connector | |
| JP3379099B2 (en) | Optical connector assembly method | |
| JP3799802B2 (en) | Optical connector assembly method | |
| JP3710532B2 (en) | Optical connector assembly method | |
| JP3781816B2 (en) | Connector assembly jig and optical connector assembly method | |
| US9753233B2 (en) | Method and apparatus for making an optical fiber array | |
| JP3718610B2 (en) | Optical connector ferrule, optical connector, and optical connector assembling method | |
| JP3622487B2 (en) | Optical connector assembly method | |
| JP3755282B2 (en) | Manufacturing method of optical connector | |
| JP2003050339A (en) | Optical connector ferrule and optical connector plug | |
| JP2002023018A (en) | Ferrule for optical connector, optical connector, and method of manufacturing optical connector | |
| JP4103206B2 (en) | Manufacturing method of optical fiber core wire with connector ferrule | |
| JP3382174B2 (en) | Method of manufacturing optical connector and container-containing adhesive | |
| JP3549466B2 (en) | Ferrule for optical connector, optical connector, and method of manufacturing optical connector | |
| JPH11237525A (en) | Optical connector manufacturing method | 
| Date | Code | Title | Description | 
|---|---|---|---|
| A621 | Written request for application examination | Free format text:JAPANESE INTERMEDIATE CODE: A621 Effective date:20050519 | |
| A977 | Report on retrieval | Free format text:JAPANESE INTERMEDIATE CODE: A971007 Effective date:20070313 | |
| A131 | Notification of reasons for refusal | Free format text:JAPANESE INTERMEDIATE CODE: A131 Effective date:20070710 | |
| A521 | Written amendment | Free format text:JAPANESE INTERMEDIATE CODE: A523 Effective date:20070905 | |
| TRDD | Decision of grant or rejection written | ||
| A01 | Written decision to grant a patent or to grant a registration (utility model) | Free format text:JAPANESE INTERMEDIATE CODE: A01 Effective date:20071030 | |
| A61 | First payment of annual fees (during grant procedure) | Free format text:JAPANESE INTERMEDIATE CODE: A61 Effective date:20071112 | |
| FPAY | Renewal fee payment (event date is renewal date of database) | Free format text:PAYMENT UNTIL: 20101130 Year of fee payment:3 | |
| R150 | Certificate of patent or registration of utility model | Free format text:JAPANESE INTERMEDIATE CODE: R150 | |
| FPAY | Renewal fee payment (event date is renewal date of database) | Free format text:PAYMENT UNTIL: 20111130 Year of fee payment:4 | |
| FPAY | Renewal fee payment (event date is renewal date of database) | Free format text:PAYMENT UNTIL: 20111130 Year of fee payment:4 | |
| FPAY | Renewal fee payment (event date is renewal date of database) | Free format text:PAYMENT UNTIL: 20121130 Year of fee payment:5 | |
| FPAY | Renewal fee payment (event date is renewal date of database) | Free format text:PAYMENT UNTIL: 20121130 Year of fee payment:5 | |
| FPAY | Renewal fee payment (event date is renewal date of database) | Free format text:PAYMENT UNTIL: 20131130 Year of fee payment:6 | |
| R250 | Receipt of annual fees | Free format text:JAPANESE INTERMEDIATE CODE: R250 | |
| LAPS | Cancellation because of no payment of annual fees |