


















【0001】
【発明の属する技術分野】
この発明は、固体撮像デバイスを利用した単板式カラービデオカメラの色分離回路に関する。
【0002】
【従来の技術】
CCD等の固体撮像デバイスを利用した単板式カラーカメラでは、固体撮像デバイスの各画素に対応して特定の色(例えばR、G、Bの3色のうちのどれか一つ)の色フィルタが設けられている。そして、特定の色に対応した固体撮像デバイスの各画素からの信号を処理して、色分離を行い、R、G、Bの映像信号を生成している。
【0003】
従来、カラーカメラにおける色分離とは、CCD信号から輝度信号と色信号とを分離、生成する処理を表したが、現在ではCCD信号から全画素位置のRGB信号を生成する処理を表すことが多くなった。このことから、CCD信号からの色分離を、色信号補間や画素補間と呼ばれることも多くなっている。
【0004】
図19は、従来の色分離処理を示している。
【0005】
例えば、図19の(b)に示すように、G、R、G、R…と水平方向にGとRのフィルタが交互に配置されている場合を考える。このような場合には、例えば、Rのフィルタが配されている画素からは、Gの信号は得られないため、この画素に対応するG信号を隣接する画素からの信号で補間することにより求める。つまり、図19の(b)の1番目のG画素からの信号と3番目のG画素からの信号の平均を計算することにより、2番目のR画素に対応するG信号を得ることができる。この方法はよく知られているように、水平方向の相関性を利用したものである。
【0006】
しかしながら、このような単純な補間方法では、画面において、白と黒の部分が隣接するような境界部(エッジ部)に、偽色信号が発生することが知られている。まず、この偽色信号の発生について、簡単に説明する。
【0007】
図19の(b)に示すフィルタ配列の固体撮像デバイスに対して、図19の(a)に示す様な白から黒に急激に変化する画像の光が与えられているとする。このとき、各画素からの信号出力値が、図19の(c)に示すような値であると仮定する。すなわち、白の部分に対応する各画素からの信号出力値はすべて1.0であり、黒の部分に対応する各画素からの信号出力値はすべて0である。
【0008】
Rのフィルタが配されている画素に対するG信号およびGのフィルタが配されている画素に対するR信号を、上述した補間方法で補間すると、補間処理後のG信号及びR信号は、図19の(d)、(e)に示すようになる。すなわち、白と黒との境界部分において、偽色信号が発生していることがわかる。Rのフィルタが配されている画素に対する最適なG信号およびGのフィルタが配されている画素に対する最適なR信号は、図19の(f)、(g)に示すようにならなければならない。
【0009】
このような、偽の色信号の発生に対する対策としては、ローパスフィルタを利用して偽色信号を目だちにくくする方法や、上記の様な境界部分(エッジ部)での色信号を抑圧する方法が考えられてきた。
【0010】
しかしながら、ローパスフィルタを利用する方法では、偽色信号のレベルを下げることはできるが、かえって偽色信号が発生する領域が拡大されてしまうので、完全な解決とはならない。また、境界部分で色信号の抑圧を行う方法では、本来あるべき色信号までも抑圧されてしまい、境界部分での色がなくなるおそれがある。
【0011】
この問題を解決するために、特許第2931520号公報では、輝度の変化に対して色信号の局所的な変化は小さいため、G信号とR信号またはB信号との比は隣接画素間においてほぼ等しいという性質及び特定の色成分の低域成分と高域成分との比は他の色成分においても等しいという性質を利用して補間処理、即ち原色相関色分離処理を行ったり、または色信号の局所的な変化は小さいためG信号とR信号またはB信号との差は隣接画素間においてほぼ等しいという性質及び特定の色成分の低域成分と高域成分との差は他の色成分においてもほぼ等しいという性質を利用して補間処理、即ち色差相関色分離処理を行っていた。
【0012】
【発明が解決しようとする課題】
しかしながら、原色相関色分離処理では、入力映像信号に他の部分と相関性のない大きな映像信号、例えばノイズが入力された場合、除算回路を介して補間処理されるので、ノイズが強調され、画像の暗い部分に発生するR、G、Bのドットノイズが解消できなかった。
【0013】
また、色差相関色分離処理では、同一色の物体が照明で照らされているとき、物体と照明による影との境界部で輝度変化が生じることによる偽色信号が解消できなかった。
【0014】
本発明は、固体撮像デバイスを用いた単板式カラービデオカメラにおいて、複数の色信号成分を生成する色分離処理において、偽色信号の発生を防止すると共に、鮮鋭感が高く、色再現性の優れた色分離回路を提供するものである。
【0015】
【課題を解決するための手段】
この発明による単板式カラーカメラの色分離回路は、各画素に対応して、分光感度特性の異なる複数の種類の色フィルタが、モザイク状に配置された固体撮像デバイスからの信号を利得調整を行う自動利得制御回路を介して処理する単板式カラーカメラの色分離回路において、任意の処理対象画素における複数の色信号成分を、上記処理対象画素及び周囲の画素の色信号成分に基づいて生成するために設けられた、色信号成分生成方式の異なる2種以上の色分離手段、ならびに各色分離手段によって生成された各色信号成分を、固体撮像デバイスからの信号に基づいて合成する合成手段を備えていることを特徴とする。
【0016】
色分離手段としては、たとえば、任意の処理対象画素における複数の色信号成分を、上記処理対象画素及び周囲の画素の色信号成分に基づいて、水平方向または垂直方向の色の比の相関を利用して生成する原色相関色分離手段と、任意の処理対象画素における複数の色信号成分を、上記処理対象画素及び周囲の画素の色信号成分に基づいて、水平方向または垂直方向の色の差の相関を利用して生成する色差相関色分離手段とが設けられる。
【0017】
この場合、合成手段としては、たとえば、固体撮像デバイスからの信号レベルが大きい場合には原色相関色分離手段によって生成された各色信号成分が大きくなるように、上記両色分離手段によって生成された各色信号成分を合成し、固体撮像デバイスからの信号レベルが小さい場合には、色差相関色分離手段によって生成された各色信号成分が大きくなるように、上記両色分離手段によって生成された各色信号成分を合成するものが用いられる。
【0018】
あるいは、合成手段としては、たとえば、固体撮像デバイスからの信号レベルの大きさと対応した自動利得調整回路の利得が大きい場合には、色差相関色分離手段によって生成された各色信号成分が大きくなるように、上記両色分離手段によって生成された各色信号成分を合成し、自動利得調整回路の利得が小さい場合には原色相関色分離手段によって生成された各色信号成分が大きくなるように、上記両色分離手段によって生成された各色信号成分を合成するものが用いられる。
【0019】
処理対象画素における水平方向及び垂直方向の相関値を求める相関値検出手段を設けておき、原色相関色分離手段および色差相関色分離手段は、それぞれ水平方向の相関が強い場合に適した色信号成分を生成する水平方向処理手段と、垂直方向の相関が強い場合に適した色信号成分を生成する垂直方向処理手段とを含んでおり、原色相関色分離手段および色差相関色分離手段は、相関値検出手段によって検出された水平方向および垂直方向の相関値に応じて、水平方向処理手段によって生成された各色信号成分と垂直方向処理手段によって生成された各色信号成分とを加重加算することによって、処理対象画素における複数の色信号成分を求めるようにしてもよい。
【0020】
色分離手段としては、たとえば、、任意の処理対象画素における複数の色信号成分を、上記処理対象画素及び周囲の画素の色信号成分に基づいて、水平方向または垂直方向の色の比の相関を利用して生成する原色相関色分離手段と、任意の処理対象画素における複数の色信号成分を、上記処理対象画素及び周囲の画素の色信号成分に基づいて、水平方向または垂直方向の色の差の相関を利用して生成する色差相関色分離手段とが設けられる。
【0021】
この場合、合成手段としては、たとえば、固体撮像デバイスからの信号レベルが大きい場合には適応型相関色分離手段によって生成された各色信号成分が大きくなるように、上記両色分離手段によって生成された各色信号成分を合成し、固体撮像デバイスからの信号レベルが小さい場合には、色差相関色分離手段によって生成された各色信号成分が大きくなるように、上記両色分離手段によって生成された各色信号成分を合成するものが用いられる。
【0022】
あるいは、合成手段としては、たとえば、固体撮像デバイスからの信号レベルの大きさと対応した自動利得調整回路の利得が大きい場合には、色差相関色分離手段によって生成された各色信号成分が大きくなるように、上記両色分離手段によって生成された各色信号成分を合成し、自動利得調整回路の利得が小さい場合には適応型相関色分離手段によって生成された各色信号成分が大きくなるように、上記両色分離手段によって生成された各色信号成分を合成するものが用いられる。
【0023】
処理対象画素における水平方向及び垂直方向の相関値を求める相関値検出手段を設けておき、適応型相関色分離手段および色差相関色分離手段は、それぞれ水平方向の相関が強い場合に適した色信号成分を生成する水平方向処理手段と、垂直方向の相関が強い場合に適した色信号成分を生成する垂直方向処理手段とを含んでおり、適応型相関色分離手段および色差相関色分離手段は、相関値検出手段によって検出された水平方向および垂直方向の相関値に応じて、水平方向処理手段によって生成された各色信号成分と垂直方向処理手段によって生成された各色信号成分とを加重加算することによって、処理対象画素における複数の色信号成分を求めるようにしてもよい。
【0024】
【発明の実施の態様】
以下、図面に従い、本発明の実施例を説明する。
【0025】
〔1〕第1の実施の形態の説明
図1は、CCDおよび色分離回路の構成を示している。
【0026】
CCD1には、撮像部2と水平転送部7、8とが設けられている。CCD1の前面には、撮像部2への光の入射量を調整するための絞りとなるアイリス1aが設けられている。
【0027】
図2は、CCD1の構成とその駆動回路とを示している。
撮像部2は、光電変換を行なうフォトダイオード4、4、4…と、垂直転送CCD5、5、5…によって構成されている。各フォトダイオード4、4、4は、R、G、Bで示される配列の色フィルタを備えている。垂直転送CCD5はCCD外部の垂直駆動回路6によって駆動される。
【0028】
水平転送部は、第1水平転送CCD7及び第2水平転送CCD8によるデュアルチャンネル構造になっており、2ラインの信号が同時に得られるようになっている。水平転送部7、8は、CCD外部の水平駆動回路9によって駆動される。なお、本発明は、デュアルチャンネル構造に限定されるものでなく、シングルチャンネル構造でも良い。
【0029】
水平転送部7、8からの信号は、それぞれ、CDS10、11(相関2重サンプリング回路)およびAGC12、13(自動利得制御回路)で処理された後、A/D変換回路14、15でデジタル信号に変換される。
【0030】
一方のA/D変換回路14から出力された信号D0は、選択回路18内の第1の選択回路19に送られるとともに、第1の1H遅延回路16に送られる。他方のA/D変換回路15から出力された信号D1は、選択回路18内の第1および第2の選択回路19、20に送られるとともに、第2の1H遅延回路17に送られる。
【0031】
各1H遅延回路16、17は、入力信号の1H(1水平期間)分を記憶することができるメモリであり、各1H遅延回路16、17からは、入力信号が1H遅延された信号が出力される。なお、この1H遅延回路への信号書き込みと読み出しは、CCD1の水平転送と同期して行われる。このため、CCD1の動作を制御するタイミング発生回路71と同期信号発生回路70とは同期して動作する。
【0032】
タイミング発生回路71からは、CCDを駆動するためのタイミングパルス、奇数画素/偶数画素識別信号およびクロック信号が出力されている。また、同期信号発生回路70からは、HD(水平同期信号)、VD(垂直同期信号)およびフィールド識別信号が出力されている。同期信号発生回路70からの出力信号によって、他の回路部分の動作が制御される。
【0033】
第1の1H遅延回路16の出力D2は、選択回路18内の第2および第3の選択回路20、21に送られる。第2の1H遅延回路17の出力D3は、選択回路18内の第3の選択回路21に送られる。
【0034】
選択回路18は、4ライン分のデジタル信号から、奇数フィールドか偶数フィールドかに応じて3ライン分のデジタル信号を選択して出力する。選択回路18内の選択回路19、20、21の制御は、同期信号発生回路70から出力されるフィールドの種類を表すフィールド識別信号に基づいて行われる。
【0035】
つまり、奇数フィールドではD1、D2、D3の信号が選択され、偶数フィールドでは、D0、D1、D2の信号が選択される。さらに具体的に説明するとフィールド識別信号が奇数フィールドを示しているとき(たとえば、Lレベルの信号)、第1の選択回路19はD1を、第2の選択回路20はD2を、第3の選択回路21はD3を選択する。逆にフィールド識別信号が偶数フィールドを示しているとき(たとえばHレベル)、第1の選択回路19はD0を、第2の選択回路20はD1を、第3の選択回路21はD2を選択する。このようにして、選択回路18から、偶数及び奇数フィールドに対応した3ライン分の信号L0、L1、L2が出力される。
【0036】
図3は、選択回路18の動作を示している。
【0037】
図3の信号(a)は、奇数フィールドにおける水平同期信号(HD)を示している。信号(f)は、フィールド識別信号であり、ここでは、奇数フィールドであるため、Lレベルとなっている。
【0038】
図3の信号(b)〜(e)は奇数フィールドでの選択回路18への入力信号D3、D2、D1、D0を示している。入力画像のフィールドが奇数フィールドである場合には、信号D3、D2、D1が、信号L2、L1、L0として選択回路18から出力されている。
【0039】
奇数フィールドにおいては、第4ライン目がD0として入力された場合には、D3は第1ライン目、D2は第2ライン目、D1は第3ライン目およびD0は第4ラインとなり、第1ライン、第2ラインおよび第3ラインの信号が選択される。その次には、D3は第3ライン目、D2は第4ライン目、D1は第5ライン目およびD0は第6ライン目となり、第3ライン、第4ラインおよび第5ラインの信号が選択される。
【0040】
図3の信号(g)は、偶数フィールドにおける水平同期信号(HD)を示している。信号(l)は、フィールド識別信号であり、ここでは、偶数フィールドであるため、Hレベルとなっている。
【0041】
図3の信号(h)〜(k)は偶数フィールドでの選択回路18への入力信号D3、D2、D1、D0を示している。入力画像のフィールドが偶数フィールドである場合には、信号D2、D1、D0が、信号L2、L1、L0として選択回路18から出力されている。
【0042】
偶数フィールドにおいては、第4ライン目がD0として入力された場合には、D3は第1ライン目、D2は第2ライン目、D1は第3ライン目およびD0は第4ラインとなり、第2ライン、第3ラインおよび第4ラインの信号が選択される。その次には、D3は第3ライン目、D2は第4ライン目、D1は第5ライン目およびD0は第6ライン目となり、第4ライン、第5ラインおよび第6ラインの信号が選択される。
【0043】
選択回路18の出力L0、L1、L2は、それぞれ、補間処理手段22、相関検出手段23に供給される。
【0044】
補間処理手段22には、水平方向または垂直方向の色の比の相関を利用して補間処理を行なう原色相関色分離部24と、水平方向または垂直方向の色の差の相関を利用して補間処理を行なう色差相関色分離部25とが設けられている。
【0045】
また、相関検出手段23には、水平方向相関検出手段23aと垂直方向相関検出手段23bとが設けられている。、水平方向相関検出手段23aからは水平方向の相関値Shが出力され、垂直方向相関検出手段23bからは垂直方向の相関値Svが出力される。そして、これら2つの出力Sh、Svは、係数算出手段32に与えられる。係数算出手段32では、両相関値Sh、Svに基づいて、水平方向の係数Khと垂直方向の係数Kvを計算する。相関値及び係数の計算方法の詳細については後述する。
【0046】
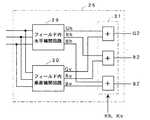
図4は、原色相関色分離部24の構成を示している。
原色相関色分離部24は、フィールド内水平補間回路26と、フィールド内垂直補間回路27と、加重加算手段28とを備えている。
【0047】
フィールド内水平補間回路26は、3ライン分のCCD1からの出力信号に基づいて、水平方向の相関が強い場合に適した補間処理を行なって、色信号Gh、Rh、Bhを出力する。フィールド内垂直補間回路27は、3ライン分のCCD1からの出力信号に基づいて、垂直方向の相関が強い場合に適した補間処理を行なって、色信号Gv、Rv、Bvを出力する。原色相関色分離部24内の各補間回路26、27による具体的な補間方法については、後述する。
【0048】
なお、水平方向の相関が強い場合とは、細かい横縞の画像のように、水平方向の相関が強く、垂直方向の相関がほとんどない場合をいう。また、垂直方向の相関が強い場合とは、細かい縦じまの画像のように、垂直方向の相関が強く、水平方向の相関がほとんどない場合をいう。
【0049】
各補間回路26、27から出力される色信号Gh、Rh、Bh及びGv、Rv、Bvは、加重加算手段28に供給される。加重加算手段28には、さらに、係数算出手段32から出力される水平方向の係数Khと垂直方向の係数Kvも供給される。加重加算手段28は、係数Khを色信号Gh、Rh、Bhに乗算するとともに、係数Kvを色信号Gv、Rv、Bvに乗算した後、同じ色信号どうし(GhとGv、RhとRv、BhとBv)を加算して、最終的な色信号G1、R1、B1を出力する。
【0050】
図5は、色差相関色分離部25の構成を示している。
色差相関色分離部25は、フィールド内水平補間回路29と、フィールド内垂直補間回路30と、加重加算手段31とを有している。なお、この色差相関色分離部25内の各補間回路29、30による具体的な補間方法については、後述する。
【0051】
色差相関色分離部25と上述した原色相関色分離部24とは、フィールド内水平方向補間回路29及びフィールド内垂直補間回路30での補間処理方法が異なるのみである。色差相関色分離部25の加重加算手段31からは、最終的に色信号G2、R2、B2が出力される。
【0052】
原色相関色分離方法と色差相関色分離方法とについて説明する。まず、原色相関色分離方式について説明する。フィールド内水平補間回路26、フィールド内垂直補間回路27は、基本的には、図6の様なブロックからなるデジタル処理回路で構成される。図6の33、34は1画素分が伝送されるに要する時間と等しい遅延時間を備えた遅延手段であり、35は演算手段である。各補間回路26、27は、この例では、3×3画素のブロック内の9個の画素の信号に基づき、中央の1つの画素の位置に対応する3色の色信号を作成する。
【0053】
すなわち、選択回路19、20、21から出力される信号L0、L1、L2は、遅延手段33、34に入力されることにより、9画素分の信号が同時に演算手段35に与えられることになる。そして、演算手段35における演算により、補間処理が行なわれる。
【0054】
図7は、CCD1上の画素の配列と選択される画素との関係を示している。
上述したように、奇数フィールド時には、まず、D1、D2、D3のライン信号が選択されるので、奇数番目に処理される3×3画素のブロックは図7の(b)に示すようになり、偶数番目に処理される画素は、図7の(c)に示すようになる。
【0055】
一方、偶数フィールド時には、まず、D0、D1、D2のライン信号が選択されるので、奇数番目に処理されるブロックは図7の(d)に示すようになり、偶数番目に処理されるブロックは図7の(e)に示すようになる。
【0056】
図8は、処理対象ブロックが奇数フィールドの奇数番目のブロックまたは偶数番目のブロックである場合に、水平補間回路26及び垂直補間回路27によって用いられる演算式を示している。
【0057】
処理対象ブロックが奇数フィールドの奇数番目のブロックである場合には、水平補間回路26では、次のようにして中央画素(処理対象画素)G22に対するGh、BhおよびRhが算出される。
【0058】
つまり、処理対象画素G22に対するGhとしては、処理対象画素G22の信号G22がそのまま用いられる。処理対象画素G22に対するBhは、処理対象画素G22を挟む左右2つの画素B21、B23の信号B21、B23の平均を算出することによって求められる(水平方向の相関を利用する)。処理対象画素G22に対するRhについては、少し複雑となる。すなわち、画素R12の位置におけるG信号であるG12を、G11とG13の平均値として計算する(すなわち水平方向の相関を利用する)。そして、計算で求められたG12と実際に得られたG22との比と、R12とからRhを求めている。
【0059】
これは、輝度の変化に対して色信号の局所的な変化は小さいためG信号とR信号またはB信号との比は隣接画素間においてほぼ等しいと考えられるからである。つまり、G12:R12=G22:R22と仮定して、R22(=Rh)を求めている。
【0060】
処理対象ブロックが奇数フィールドの奇数番目のブロックである場合には、垂直補間回路27では、次のようにして中央画素(処理対象画素)G22に対するGv、BvおよびRvが算出される。
【0061】
つまり、処理対象画素G22に対するGvとしては、処理対象画素G22に対する信号G22がそのまま利用する。処理対象画素G22に対するRvは、処理対象画素G22を挟む上下の画素R12、R32の信号R12、R32の平均を算出することによって求められる(垂直方向の相関を利用する)。処理対象画素G22に対するBvについては、上記のRhと同様に求める。すなわち、画素B21におけるG信号であるG21をG11とG31の平均値として計算する(垂直方向の相関を利用する)。そして、計算で求めたG21とG22との比と、B21とからBvを計算する。
【0062】
処理対象ブロックが奇数フィールドの偶数番目のブロックである場合には、水平補間回路26では、次のようにして中央画素(処理対象画素)B22に対するGh、BhおよびRhが算出される。
【0063】
つまり、処理対象画素B22に対するBhとして、処理対象画素B22の信号B22がそのまま用いられる。処理対象画素B22に対するGhは、G21とG23との平均値を算出することによって求められる。処理対象画素B22に対するRhについては、まず、R11とR13との平均を求めることによりR12を得、Gh(=G22)とG12との比と、R12とからRhを求める。
【0064】
処理対象ブロックが奇数フィールドの偶数番目のブロックである場合には、垂直補間回路27では、次のようにして中央画素(処理対象画素)B22に対するGv、BvおよびRvが算出される。
【0065】
つまり、処理対象画素B22に対するBvについては、処理対象画素B22の信号B22がそのまま用いられる。処理対象画素B22に対するGvは、G12とG32との平均値を算出することによって求められる。処理対象画素B22に対するRvについては、まず、R11とR31との平均を求めることによりR21を得、Gh(=G22)とG21との比と、R21とからRvを求める。
【0066】
処理対象ブロックが偶数フィールドのブロックである場合でも、図8に示された処理と同様の処理を行うことで、Rh、Gh、Bh、Rv、Gv、Bvの信号を得ることができる。すなわち、処理対象ブロックが偶数フィールドの奇数番目のブロックである場合には、その画素配列は、図7の(c)と(d)とから分かるように、処理対象ブロックが奇数フィールドの偶数番目のブロックである場合の画素配列においてRとBとを入れ換えたものであるから、処理対象ブロックが奇数フィールドの偶数番目のブロックである場合に用いられる演算式においてRとBとを交換すればよい。
【0067】
また、処理対象ブロックが偶数フィールドの偶数番目のブロックである場合には、その画素配列は、図7の(b)と(e)から分かるように、処理対象ブロックが奇数フィールドの奇数番目のブロックである場合の画素配列においてRとBとを入れ換えたものであるから、処理対象ブロックが奇数フィールドの奇数番目のブロックである場合に用いられる演算式においてRとBとを交換すればよい。
【0068】
水平方向相関検出回路23aおよび垂直方向相関検出回路23bは、基本的には、図6の様なブロックからなるデジタル処理回路で構成される。図6の33、34は1画素分が伝送されるに要する時間と等しい遅延時間を備えた遅延手段であり、35は演算手段である。
【0069】
すなわち、選択回路19、20、21から出力される信号L0、L1、L2は、遅延手段33、34に入力されることにより、9画素分の信号が同時に演算手段35に与えられることになる。そして、演算手段35における演算により、相関値検出処理が行われる。
【0070】
図9は、水平方向相関検出回路23aおよび垂直方向相関検出回路23bによって用いられる演算式を示している。
【0071】
各相関値検出回路23a、23bは、3×3画素のブロック内に最も多く含まれるG信号を利用して、相関値Sh、Svを算出する。処理対象ブロックが奇数フィールドの奇数番目のブロックである場合には、垂直方向の相関値Svは、G12とG32との差の絶対値を算出することによって求められる。G12とG32は実際には存在しないので、G12はG11とG13とから算出され、G32はG31とG33とから算出される。
【0072】
処理対象ブロックが奇数フィールドの奇数番目のブロックである場合の水平方向の相関値Shは、G21とG23との差の絶対値を算出することによって求められる。G21とG23は実際には存在しないので、G21はG11とG31とから算出され、G23はG13とG33とから算出される。
【0073】
処理対象ブロックが奇数フィールドの偶数番目のブロックである場合には、垂直方向の相関値Svは、G12とG32との差の絶対値を算出することによって求められる。また、水平方向の相関値Shは、G21とG23との差の絶対値を算出することによって求められる。
【0074】
処理対象ブロックが偶数フィールドのブロックである場合においても、G信号のパターンは同じであるから同様の処理を行えばよい。ただし、処理対象ブロックが奇数フィールドの奇数番目のブロックである場合の演算式と処理対象ブロックが偶数フィールドの偶数番目のブロックである場合の演算式とが同じであり、処理対象ブロックが奇数フィールドの偶数番目のブロックである場合の演算式と処理対象ブロックが偶数フィールドの奇数番目のブロックである場合の演算式とが同じである。
【0075】
なお、水平方向の相関値Shの値が小さいほど、水平方向の相関が強くなる。同様に、垂直方向の相関値Svの値が小さいほど、垂直方向の相関が強くなる。
【0076】
係数算出手段32は、各相関値検出回路23a、23bによって算出された相関値Sh、Svから水平方向及び垂直方向の係数Kh、Kvを算出する。各係数Kh、Kvは次式(1)により求められる。なお、KhとKvの間には、Kh+Kv=1の関係が成立する。
【0077】
Kh=Sv/(Sh+Sv)
Kv=Sh/(Sh+Sv) …(1)
【0078】
従って、水平方向の係数Khは、水平方向の相関が垂直方向の相関よりも強い場合(ShがSvより小さい場合)に大きくなる。また、垂直方向の係数Kvは、垂直方向の相関が水平方向の相関よりも強い場合(SvがShより小さい場合)に大きい値となる。
【0079】
以上述べたように、CCDにおける1画素に対応するR、G、Bの信号成分が、その周囲の画素(全体で9個)からの出力を利用して計算されるが、このとき、水平方向の相関性が強い場合に適した処理方法と、垂直方向の相関性が強い場合に適した処理方法の2つの方法を用いて演算がなされ、その、画素付近の水平相関と垂直相関の強弱に合わせて、上記2つの方法による演算結果が加重加算されることになる。
【0080】
次に原色相関色分離部24の動作について、具体例をあげて説明する。
【0081】
図10の(a)に示されたような白色の入射光が処理対象ブロックに与えられた場合を考える。図10の(a)の例では、色の成分がなく輝度レベルのみが変化したエッジ部分の例を示している。したがって、正しい結果として、処理対象画素(中央画素)のR、G、Bのレベルはすべて同じにならなければならない。
【0082】
図10(b)は、各画素からの出力レベルを模式的に示したものである。2種類示しているのは、奇数番目と偶数番目の処理とで、上述のように、色のパターンが異なるからである。図8、図9に従って算出した、処理対象画素(中央画素)のRh、Rv、Gh、Gv、Bh、Bvおよび加重係数Kh、Kvならびに加重係数を加味した処理対象画素(中央画素)のR、G、B(Ro、Go、Bo)は、(c)、(d)のようになる。中央の位置におけるR、G、Bの成分レベルは、0.2とすべて等しくなる。
【0083】
次に、色差相関色分離方式について説明する。
【0084】
色差相関色分離部25と前述の原色相関色分離部24との違いは、次の点にある。すなわち、原色相関色分離部24における補間処理は、輝度の変化に対して色信号の局所的な変化は小さいためG信号とR信号またはB信号との比は隣接画素間においてほぼ等しいという性質と、特定の色成分の低域成分と高域成分との比は他の色成分においても等しいという性質を利用している。これに対して、色差相関色分離部25における補間処理は、色信号の局所的な変化は小さいためG信号とR信号またはB信号との差は隣接画素間においてほぼ等しいという性質と、特定の色成分の低域成分と高域成分との差は他の色成分においてもほぼ等しいという性質を利用している点が異なっている。
【0085】
図11は、処理対象ブロックが奇数フィールドの奇数番目のブロックまたは偶数番目のブロックである場合に、色差相関色分離部25の水平補間回路29及び垂直補間回路30によって用いられる演算式を示している。
【0086】
処理対象ブロックが奇数フィールドの奇数番目のブロックである場合には、水平補間回路29では、次のようにして中央画素(処理対象画素)G22に対するGh、BhおよびRhが算出される。
【0087】
つまり、処理対象画素G22に対するGhとしては、処理対象画素G22の信号G22がそのまま用いられる。処理対象画素G22に対するBhは、処理対象画素G22を挟む左右2つの画素B21、B23の信号B21、B23の平均を算出することによって求められる。処理対象画素G22に対するRhについては、G信号とR信号またはB信号との差は、隣接画素間においてほぼ等しいという性質を利用する。即ち、次の関係式(2)が成立する。
【0088】
R22−G22=R12−G12=R32−G32
={(R12−G12)/2}+{(R32−G32)/2}…(2)
【0089】
したがって、処理対象画素G22に対するRh(=R22)は、次式(3)によって求められる。
【0090】
Rh={(R12−G12)/2}+{(R32−G32)/2}+G22
={(R12+R32)/2}−{(G12+G32)/2}+G22
={(R12+R32)/2 }−{(G11+G13+G31+G33)/4 }+G22 …(3)
【0091】
処理対象ブロックが奇数フィールドの偶数番目のブロックである場合にも、水平補間回路29は同様な演算を行なうことにより、Gh、Rh、Bhを求める。
【0092】
また、垂直補間回路30におけるGv、Rv、Bvの求め方も基本的には、水平補間回路29の補間処理と同様であるので説明は省略する。
【0093】
このように、図8における演算式は、演算処理を乗算および除算が占めていたが、図11における演算式は、乗算及び除算は加算及び減算に置き変わっており、特に回路構成が複雑となる除算を使用していないため演算処理回路の構成を大幅に簡単化することができる。
【0094】
また、色差相関色分離方式の補間処理によればモノトーンに近い画像に対して偽色信号が少なく高品質の画像が得られる。
【0095】
以上説明した各色分離部24、25から出力された色信号G1、R1、B1、G2、R2、B2は、合成手段となる加重加算回路36へ供給される。加重加算回路36は、最終的な色信号G0、R0、B0を出力する。
【0096】
加重加算回路36から出力される色信号G0、R0、B0はAGC制御回路37へ供給される。AGC制御回路37は、撮像された画像の輝度レベルを制御するために、色信号G0、R0、B0からアイリス1aの開口の程度またはAGC12、13の利得を調整する。具体的には、基本的にアイリス1aで調整をとり、アイリス1aの開口が最大となったとき、それ以上に制御するためにAGCの利得を小さくするよう指示し、制御する。このとき、AGC12,13への利得指示は、加重加算回路36へも供給される。
【0097】
加重加算回路36では、AGC12、13の利得の大きさに応じて、原色相関色分離部24からの色信号G1、R1、B1と色差相関色分離部25からの色信号G2、R2、B2とを加重加算するよう動作する。具体的には、AGC12、13の利得が小さければ、色信号G2、R2、B2より色信号G1、R1、B1が大きくなるように加算され、利得が大きければ、色信号G1、R1、B1より色信号G2、R2、B2が大きくなるように加算され、色信号G0、R0、B0が出力される。
【0098】
図10において、ノイズ等の影響で相関方向の検出を誤ったとする。すると、Go、Ro、Boの値は、Gh、Rh、Bhの値となる。その結果、本来とるべき値(0.2)に対して誤差が発生する。その誤差は、奇数番目(図10(b)の上側の図)のRで0.133、Bで0.4となり、偶数番目(図10(b)の下側の図)のGで0.4、Rで1.6となり、それらの誤差の総和は2.533となる。
【0099】
一方、色差相関色分離部25で補間を行なった場合には、図12に示すようになり、相関方向の検出を誤った場合でも、誤差の総和は2.2にしかならない。これは一例であるが、原色相関では除算を用いるため、除数(分母)が0に近づくと精度が悪くなり、誤差が増加し、その結果、ノイズが増えてしまう。特に暗い場合には、除数が0に近づく確率が高く問題となる。
【0100】
この実施の形態では、AGC12、13の利得が小さければ、色信号G2、R2、B2より色信号G1、R1、B1が大きくなるように加算され、利得が大きければ、色信号G1、R1、B1より色信号G2、R2、B2が大きくなるように加算されているので、原色相関色分離処理により生じる画像中に含まれたノイズの強調及び偽色を抑制し、かつ解像度を向上することができる。
【0101】
なお、上記実施の形態において、AGC12,13の利得の大きさに応じて原色相関色分離方式と色差相関色分離方式とを加重加算したが、本発明はこれに限定されず、画像のコントラストや信号レベルに応じて加重加算しても良い。
【0102】
また、前述の原色相関色分離方式及び色差相関色分離方式では、3×3画素単位で算出していたが、本発明はこれに限らず、たとえば5×5画素単位で算出すれば、さらに偽色が押さえられ、解像度を向上させることができる。また、上記実施の形態では、インターレース信号に対してこの発明を適用した場合について説明したが、この発明はプログレッシブ信号に対しても適用することができる。
【0103】
〔2〕第2の実施の形態の説明
【0104】
第2の実施の形態では、原色相関色分離部24内のフィールド内水平補間回路26およびフィールド内垂直補間回路27の動作が第1の実施の形態と異なっている。また、色差相関色分離部25内のフィールド内水平補間回路29およびフィールド内垂直補間回路30の動作が第1の実施の形態と異なっている。
【0105】
各補間回路26、27、29、30は、第2の実施の形態では、5×5画素のブロック内の25個の画素の信号に基づき、中央の1つの画素(処理対象画素)に対応する3色の色信号を作成する。
【0106】
〔2−1〕原色相関色分離部24内の補間回路26、27についての説明
まず、原色相関色分離部24内のフィールド内水平補間回路26およびフィールド内垂直補間回路27の動作について説明する。これらの補間回路26、27は、原色相関色分離方式によって、処理対象画素の色信号R、G、Bを算出する。
【0107】
図13は、処理対象ブロックが奇数フィールドの奇数番目のブロックまたは偶数番目のブロックである場合に、水平補間回路26及び垂直補間回路27によって用いられる演算式を示している。
【0108】
ここでは、処理対象ブロックが奇数フィールドの奇数番目のブロックである場合の、垂直補間回路27の動作を例にとって、原色相関色分離方式について説明する。
【0109】
原色相関色分離方式では、局所領域において画像の相関の強い方向を検出し、相関の強い方向(ここでは、垂直方向または水平方向)のみのライン単位のフィルタリングによって、まず、同一ライン上の2つの低域色信号を算出する。
【0110】
垂直補間回路27では、図13の上側の5×5画素のブロックの処理対象画素G33において、垂直方向の相関が強いと仮定して、処理対象画素G33を含む垂直ラインから、RとGとの低域信号RVLPF3、GVLPF3を算出する。
【0111】
緩やかに変化する信号においては、各画素の色信号の比と、それらの低域信号との比がほぼ等しいので、垂直方向の相関が強い場合、処理対象画素G33を含む垂直ラインにおいて、Rv(=R33)/G33=RVLPF3/GVLPF3が成り立つ。したがって、処理対象画素G33を含む垂直ライン上の2つの低域色信号RVLPF3、GVLPF3の比と、処理対象画素の色信号G33とから、その垂直ライン上に存在するもう1つの色信号Rvを求めることができる。
【0112】
処理対象画素G33に対するGvとしては、処理対象画素G33の信号G33をそのまま用いる。
【0113】
垂直、水平の1ラインから色分離できるのは、対象のライン(この例では垂直ライン)上に存在する色信号(この例では、R、G)のみである。そこで、そのライン上に存在しない色信号は、隣接するラインの信号と処理対象画素の信号から、色の相関性、すなわち、”画像の相関が低い方向(ここでは水平方向)においても色の比の変化が小さい”という特性、すなわち、Bv(=B33)/G33=B32/G32=B34/G34という特性を利用して、対象のライン上に存在しない色信号Bvを内挿する。
【0114】
ここでは、水平方向は相関が低い方向であるため、次式(4)に示すように、両水平隣接画素の色信号の比を平均することにより、相関の低さを補償する。
【0115】
Bv=〔{(B32/G32)+(B34/G34)}/2〕×G33…(4)
【0116】
式(4)の代わりに、式(4)を簡略化した式、Bv=(B32/G32)×G33を用いてもよい。図13では、この簡略化式を展開したものを、Bvとして記載している。
【0117】
ここで用いる信号の低域成分を求めるフィルタの特性は、周波数特性はできる限り近い方が望ましい。サンプリング位相の異なる信号のフィルタ特性を合わせるためには、フィルタのタップ長をかなり広げる必要があり、大幅な回路規模の増加を伴うため実用的とはいえない。
【0118】
そこで、ここでは、相関性が強い方向の低域色信号成分を求めている点に着目し、ナイキスト周波数の1/2まで低域部分を重視して、その低域部分の周波数特性が近くなり、かつフィルタのタップ数を短くできるように、次式(5)を用いることとした。
【0119】
GVLPF3=(G13+6×G33+G53)/8
RVLPF3=(R23+R43)/2 …(5)
【0120】
処理対象ブロックが奇数フィールドの奇数番目のブロックである場合の、垂直補間回路27の動作について説明したが、処理対象ブロックが奇数フィールドの偶数番目のブロックである場合にも、同様の動作により、処理対象画素のRv、Gv、Bvを求めることができる。
【0121】
また、水平補間回路26では、水平方向の相関が強いと仮定することによって、処理対象画素のRh、Gh、Bhを求めることができる。
【0122】
処理対象ブロックが偶数フィールドである場合にも、同様な手法によって、色分離を行なうことができる。
【0123】
原色相関色分離方式では、色信号の比を求めるための除算を行なっている。そのため、除数が0に近いときには、誤差が大きくなる。また、除数が0のときには、演算不可能なため、除数が0の際に定数を強制的に1にするような例外処理を行なう。このため、画面が暗いときや、画像の暗い部分にノイズがある場合、ノイズが強調され、ドットノイズが発生するようになる。
【0124】
すなわち、原色相関色分離方式は、入力映像の状態が良いとき、つまり、入力光が充分にあるとき、良好な特性を発揮する。
【0125】
〔2−2〕色差相関色分離部25内の補間回路29、30についての説明
【0126】
色差相関色分離部25内のフィールド内水平補間回路29およびフィールド内垂直補間回路30の動作について説明する。これらの補間回路29、30は、色差相関色分離方式によって、処理対象画素の色信号R、G、Bを算出する。
【0127】
図14は、処理対象ブロックが奇数フィールドの奇数番目のブロックまたは偶数番目のブロックである場合に、水平補間回路29及び垂直補間回路30によって用いられる演算式を示している。
【0128】
ここでは、処理対象ブロックが奇数フィールドの奇数番目のブロックである場合の、垂直補間回路30の動作を例にとって、色差相関色分離方式について説明する。
【0129】
色差相関色分離方式では、”局所領域での色差信号の変化は小さい”という色差の相関性を利用して、局所領域において画像の相関の強い方向を検出し、相関の強い方向(ここでは、垂直方向または水平方向)のみのライン単位のフィルタリングによって、まず、同一ライン上の2つの低域色信号を算出する。
【0130】
垂直補間回路30では、図14の上側の5×5画素のブロックの処理対象画素G33において、垂直方向の相関が強いと仮定して、処理対象画素G33を含む垂直ラインから、RとGとの低域信号RVLPF3、GVLPF3を算出する。
【0131】
緩やかに変化する信号においては、各画素の色信号の差と、それらの低域信号との差がほぼ等しいので、垂直方向の相関が強い場合、処理対象画素G33を含む垂直ラインにおいて、Rv(=R33)−G33=RVLPF3−GVLPF3が成り立つ。したがって、処理対象画素G33を含む垂直ライン上の2つの低域色信号RVLPF3、GVLPF3の差と、処理対象画素の色信号G33とから、その垂直ライン上に存在するもう1つの色信号Rvを求めることができる。
【0132】
処理対象画素G33に対するGvとしては、処理対象画素G33の信号G33をそのまま用いる。
【0133】
垂直、水平の1ラインから色分離できるのは、対象のライン(この例では垂直ライン)上に存在する色信号(この例では、R、G)のみである。そこで、そのライン上に存在しない色信号は、隣接するラインの信号と処理対象画素の信号から、色差の相関性、すなわち、”画像の相関が低い方向(ここでは水平方向)においても色の差の変化が小さい”という特性、すなわち、Bv(=B33)−G33=B32−G32=B34−G34という特性を利用して、対象のライン上に存在しない色信号Bvを内挿する。
【0134】
ここでは、水平方向は相関が低い方向であるため、次式(6)に示すように、両水平隣接画素の色差信号を平均することにより、相関の低さを補償する。
【0135】
Bv=〔{(B32−G32)+(B34−G34)}/2〕+G33…(6)
【0136】
式(6)の代わりに、式(6)を簡略化した式、Bv=(B32−G32)+G33を用いてもよい。図14では、この簡略化式を展開したものを、Bvとして記載している。
【0137】
処理対象ブロックが奇数フィールドの奇数番目のブロックである場合の、垂直補間回路30の動作について説明したが、処理対象ブロックが奇数フィールドの偶数番目のブロックである場合にも、同様の動作により、処理対象画素のRv、Gv、Bvを求めることができる。
【0138】
また、水平補間回路29では、水平方向の相関が強いと仮定することによって、処理対象画素のRh、Gh、Bhを求めることができる。
【0139】
処理対象ブロックが偶数フィールドである場合でも、同様な手法によって、色分離を行なうことができる。
【0140】
色差相関色分離方式では、除算を行なうことなく、加減算のみで色信号を求めることができる。そのため、誤差が発生しにくく、ノイズにも強いという特徴がある。
【0141】
そこで、ノイズの強い状況、すなわち、カメラの自動利得制御手段の利得が大きくなるにつれて、色差相関色分離方式によって算出した色信号を多く利用するようし、カメラの自動利得制御手段の利得が小さいときには、原色相関色分離方式にによって算出した色信号を多く利用するようにしている。
【0142】
〔3〕第3の実施の形態の説明
【0143】
第3の実施の形態では、原色相関色分離部24内のフィールド内水平補間回路26およびフィールド内垂直補間回路27の動作が第1の実施の形態と異なっている。また、色差相関色分離部25内のフィールド内水平補間回路29およびフィールド内垂直補間回路30の動作が第1の実施の形態と異なっている。
【0144】
各補間回路26、27、29、30は、第3の実施の形態では、5×5画素のブロック内の25個の画素の信号に基づき、中央の1つの画素(処理対象画素)に対応する3色の色信号を作成する。
【0145】
第3の実施の形態では、図1の色差相関色分離部25内のフィールド内水平補間回路29およびフィールド内垂直補間回路30は、上記第2の実施の形態と同様に、色差相関色分離方式によって、処理対象画素のR、G、Bを求める。
【0146】
また、第3の実施の形態では、図1の原色相関色分離部24の代わりに、適応相関色分離方式によって、処理対象画素のR、G、Bを求めるための色分離部(以下、適応相関色分離部ということにする)が用いられる。適応相関色分離部24内のフィールド内水平補間回路26およびフィールド内垂直補間回路27は、適応相関色分離方式によって、処理対象画素のR、G、Bを求める。
【0147】
適応相関色分離部24内のフィールド内水平補間回路26およびフィールド内垂直補間回路27の動作について説明する。これらの補間回路26、27は、適応相関色分離方式によって、処理対象画素の色信号R、G、Bを算出する。
【0148】
図15は、処理対象ブロックが奇数フィールドの奇数番目のブロックまたは偶数番目のブロックである場合に、適応相関色分離部24内の水平補間回路26及び垂直補間回路27によって用いられる演算式を示している。
【0149】
ここでは、処理対象ブロックが奇数フィールドの奇数番目のブロックである場合の、垂直補間回路27の動作を例にとって、適応相関色分離方式について説明する。
【0150】
適応相関色分離方式では、局所領域において画像の相関の強い方向を検出し、相関の強い方向(ここでは、垂直方向または水平方向)のみのライン単位のフィルタリングによって、まず、同一ライン上の2つの低域色信号を算出する。
【0151】
垂直補間回路27では、図15の上側の5×5画素のブロックの処理対象画素G33において、垂直方向の相関が強いと仮定して、処理対象画素G33を含む垂直ラインから、RとGとの低域信号RVLPF3、GVLPF3を算出する。
【0152】
緩やかに変化する信号においては、各画素の色信号の差と、それらの低域信号との差がほぼ等しいので、垂直方向の相関が強い場合、処理対象画素G33を含む垂直ラインにおいて、Rv(=R33)−G33=RVLPF3−GVLPF3が成り立つ。したがって、処理対象画素G33を含む垂直ライン上の2つの低域色信号RVLPF3、GVLPF3の差と、処理対象画素の色信号G33とから、その垂直ライン上に存在するもう1つの色信号Rvを求めることができる。このRvの求め方は、色差相関色分離方式と同様である。
【0153】
処理対象画素G33に対するGvとしては、処理対象画素G33の信号G33をそのまま用いる。
【0154】
垂直、水平の1ラインから色分離できるのは、対象のライン(この例では垂直ライン)上に存在する色信号(この例では、R、G)のみである。そこで、そのライン上に存在しない色信号は、隣接するラインの信号と処理対象画素の信号から、色の相関性、すなわち、”画像の相関が低い方向(ここでは水平方向)においても色の比の変化が小さい”という特性、すなわち、Bv(=B33)/G33=B32/G32=B34/G34という特性を利用して、対象のライン上に存在しない色信号Bvを内挿する。このBvの求め方は、原色相関色分離方式と同様である。
【0155】
ここでは、水平方向は相関が低い方向であるため、次式(7)に示すように、両水平隣接画素の色差信号を平均することにより、相関の低さを補償する。
【0156】
Bv=〔{(B32/G32)+(B34/G34)}/2〕×G33…(7)
【0157】
式(7)の代わりに、式(7)を簡略化した式、Bv=(B32/G32)×G33を用いてもよい。図15では、この簡略化式を展開したものを、Bvとして記載している。
【0158】
処理対象ブロックが奇数フィールドの奇数番目のブロックである場合の、垂直補間回路27の動作について説明したが、処理対象ブロックが奇数フィールドの偶数番目のブロックである場合にも、同様の動作により、処理対象画素のRv、Gv、Bvを求めることができる。
【0159】
また、水平補間回路26では、水平方向の相関が強いと仮定することによって、処理対象画素のRh、Gh、Bhを求めることができる。
【0160】
処理対象ブロックが偶数フィールドでも、同様な手法によって、色分離を行なうことができる。
【0161】
〔4〕相関検出手段23の変形例の説明
以下、相関検出手段23の変形例について説明する。この変形例は、第2または第3の実施の形態に適用できることはもちろんのこと、第1の実施の形態においても適用できる。
【0162】
相関検出手段23内の水平方向相関検出手段23aと垂直方向相関検出手段23bとして、次のようにして、水平方向相関値Sh、垂直方向相関値Svを算出するものを用いてもよい。
【0163】
水平方向相関検出手段23aおよび垂直方向相関検出手段23bは、5×5画素のブロック内の25個の画素の信号に基づき、中央の1つの画素(処理対象画素)に対応する相関値Sh、Svを算出する。
【0164】
〔4−1〕 まず、処理対象ブロックが、図14の上側に示されているように、奇数フィールドの奇数番目のブロックである場合の相関値Sh、Svの算出方法について説明する。
【0165】
処理対象ブロックが無彩色である場合には、相関値Sh、Svは、次式(8)に基づいて算出される。
【0166】
【数1】
【0167】
上記式(8)は、次式(8)’のように簡略化することが可能である。
【0168】
【数2】
【0169】
なお、次式(9)に示すように、水平方向相関値Shを算出する場合において、垂直方向に平均化した上で垂直相関値を求め、垂直方向相関値Svを算出する場合において、水平方向に平均化した上で垂直相関値を求めると、より精度が上がる。
【0170】
【数3】
【0171】
上記式(9)のShの算出式において、G33、B22、B34にかける係数を1とするとともに、Svの算出式において、G33、R23、R43にかける係数を1とすることにより、各式の除数を2のn乗である8とし、割算回路をビットシフトのみで構成できるようにしてもよい。
【0172】
上記式(9)は、次式(9)’のように簡略化することが可能である。
【0173】
【数4】
【0174】
有彩色画像では、被写体色によって、モザイク配列色フィルタのCCDから出力されるRGBそれぞれの信号比率が異なる。そのため被写体色による妨害が発生し、CCD全画素信号を使用した相関方向判別結果の精度は悪くなる。そこで、画面各部の色差信号の積算結果から、入力画像の色の強度を判定し、有彩色画像では、G信号のみに基づいて相関値Sh、Svを算出する。
【0175】
つまり、処理対象ブロックが有彩色である場合には、相関値Sh、Svは、次式(10)に基づいて算出される。
【0176】
【数5】
【0177】
上記式(10)は、次式(10)’のように簡略化することが可能である。
【0178】
【数6】
【0179】
〔4−2〕 処理対象ブロックが、図14の下側に示されているように、奇数フィールドの偶数番目のブロックである場合の相関値Sh、Svの算出方法について説明する。
【0180】
処理対象ブロックが無彩色である場合には、相関値Sh、Svは、次式(11)に基づいて算出される。
【0181】
【数7】
【0182】
上記式(11)は、次式(11)’のように簡略化することが可能である。
【0183】
【数8】
【0184】
なお、次式(12)に示すように、水平方向相関値Shを算出する場合において、垂直方向に平均化した上で垂直相関値を求め、垂直方向相関値Svを算出する場合において、水平方向に平均化した上で垂直相関値を求めると、より精度が上がる。
【0185】
【数9】
【0186】
上記式(12)のShの算出式において、B33、G32、G34にかける係数を1とするとともに、Svの算出式において、B33、G23、G43にかける係数を1とすることにより、各式の除数を2のn乗である8とし、割算回路をビットシフトのみで構成できるようにしてもよい。
【0187】
上記式(12)は、次式(12)’のように簡略化することが可能である。
【0188】
【数10】
【0189】
処理対象ブロックが有彩色である場合には、相関値Sh、Svは、次式(13)に基づいて算出される。
【0190】
【数11】
【0191】
上記式(13)は、次式(13)’のように簡略化することが可能である。
【0192】
【数12】
【0193】
なお、処理対象ブロックが有彩色である場合には、相関値Sh、Svとしては、第1の実施の形態と同様に、次式(14)に基づいて算出してもよい。
【0194】
Sh=|G32−G34|
Sv=|G23−G43| …(14)
【0195】
なお、処理対象ブロックが偶数フィールドのブロックである場合においても、G信号のパターンは同じであるから同様の処理を行えばよい。ただし、処理対象ブロックが奇数フィールドの奇数番目のブロックである場合の演算式と処理対象ブロックが偶数フィールドの偶数番目のブロックである場合の演算式とが同じであり、処理対象ブロックが奇数フィールドの偶数番目のブロックである場合の演算式と処理対象ブロックが偶数フィールドの奇数番目のブロックである場合の演算式とが同じである。
【0196】
〔4−3〕 相関値Sh、Svの算出方法の変形の説明
無彩色の場合に適した演算式(例えば、上記(8)’、(11)’)を用いて算出される相関値をSh1、Sv1とし、有彩色の場合に適した演算式(例えば、上記(10)’、(13)’)を用いて算出される相関値をSh2、Sv2とし、処理対象ブロックの色の強度に応じて、それらを加重加算することによって、相関値Sh、Svを求めるようにしてもよい。
【0197】
先ず、図16に示すように、予め設定された複数の彩度検出エリアのうち、処理対象ブロックを含む彩度検出エリアk内の全画素信号から、画像の色の付き具合を、次式(15)に基づいて、彩度積算値Ckとして算出する。
【0198】
【数13】
【0199】
次に、図17に示すような、彩度積算値Ckと有彩色/無彩色判定値Rkとの関係から、上記式(15)によって算出された彩度積算値Ckに対応する有彩色/無彩色判定値Rkを求める。なお、図17における2つの閾値Th1、Th2は、システム化する際に不可欠な光学LPFの特性も関係するため、実験的に求められる。
【0200】
そして、次式(16)で示すように、得られた有彩色/無彩色判定値Rkに基づいて、無彩色の場合に適した演算式を用いて算出される相関値Sh1、Sv1と、有彩色の場合に適した演算式を用いて算出される相関値をSh2、Sv2とを加重加算する。
【0201】
Sh=Rk×Sh1+(1−Rk)×Sh2
Sv=Rk×Sv1+(1−Rk)×Sv2 …(16)
【0202】
もちろん、有彩色/無彩色判定を行なわずに、常に有彩色として、式(10)と式(13)のみを使用するようにしてもよい。
【0203】
〔5〕第4の実施の形態の説明
図1の原色相関色分離部24で用いられている原色相関色分離方式では、除数が0のときには、計算結果が無限大となる。そこで、原色相関色分離方式で用いられる演算式における除数が0になる場合には、カメラの自動利得制御手段の利得が小さい場合でも、図1の色差相関色分離部25によって算出された色信号を用いるようにすることが好ましい。
【0204】
ここでは、”除数が0になると場合”としたが、原色相関色分離方式では除数が小さくなると誤差が増えるので、除数が一定値以下になった場合に、図1の色差相関色分離部25によって算出された色信号を用いるようにしてもよい。
【0205】
具体的には、第1の実施の形態において、図18に示すように、L0、L1、L2を入力とし、処理対象ブロック(第1の実施の形態では3×3画素の大きさの処理対象ブロック、第2の実施の形態では5×5画素の大きさの処理対象ブロック)内に画素値が0の画素が含まれているか否かを判定する判定回路40を設ける。
【0206】
そして、判定回路40は、処理対象ブロック内に画素値が0の画素が含まれていると判定した場合には、36に色差相関色分離部25によって算出された色信号のみを出力させるための指令を出力する。
【0207】
なお、第2の実施の形態においても、同様な制御を行なうことが好ましい。また、第3の実施の形態における適応相関色分離部24も図1の原色相関色分離部24と同様に除数が0のときには計算結果が無限大となるので、第3の実施の形態においても、同様な制御を行なうことが好ましい。
【0208】
【発明の効果】
以上述べたように、本発明によれば、偽色信号が発生しない色分離回路を提供することができ、画質の改善がはかれる。
【0209】
また、垂直または水平の高域成分をそのまま出力することが可能となり、高解像度な色分離を提供することができる。
【図面の簡単な説明】
【図1】本発明の構成を示すブロック図である。
【図2】本発明で利用されるCCDを示す図である。
【図3】本発明の構成の各信号を示す説明図である。
【図4】図1中の原色相関色分離部の構成を示すブロック図である。
【図5】図1中の色差相関色分離部の構成を示すブロック図である。
【図6】演算処理回路の構成を示すブロック図である。
【図7】処理対象の画素の選択を説明する説明図である。
【図8】補間処理を示す説明図である。
【図9】相関検出を示す説明図である。
【図10】発明の効果を説明するための説明図である。
【図11】補間処理を説明する説明図である。
【図12】発明の効果を説明するための説明図である。
【図13】第2の実施の形態における、水平補間回路26及び垂直補間回路27の動作を説明するための説明図である。
【図14】第2の実施の形態における、水平補間回路29及び垂直補間回路30の動作を説明するための説明図である。
【図15】第3の実施の形態における、水平補間回路26及び垂直補間回路27の動作を説明するための説明図である。
【図16】予め設定された複数の彩度検出エリアを示す模式図である。
【図17】彩度積算値Ckと有彩色/無彩色判定値Rkとの関係を示すグラフである。
【図18】第4の実施の形態の構成を示すブロック図である。
【図19】偽色信号の発生を説明する説明図である。
【符号の説明】
1 CCD(固体撮像デバイス)
22 補間処理手段
23 相関検出手段
32 係数算出手段
36 加重加算回路[0001]
BACKGROUND OF THE INVENTION
The present invention relates to a color separation circuit for a single-plate color video camera using a solid-state imaging device.
[0002]
[Prior art]
In a single-plate color camera using a solid-state imaging device such as a CCD, a color filter of a specific color (for example, one of three colors of R, G, and B) corresponding to each pixel of the solid-state imaging device. Is provided. And the signal from each pixel of the solid-state imaging device corresponding to a specific color is processed, color separation is performed, and R, G, and B video signals are generated.
[0003]
Conventionally, color separation in a color camera represents a process of separating and generating a luminance signal and a color signal from a CCD signal, but at present, it often represents a process of generating RGB signals at all pixel positions from a CCD signal. became. For this reason, color separation from CCD signals is often called color signal interpolation or pixel interpolation.
[0004]
FIG. 19 shows a conventional color separation process.
[0005]
For example, as shown in FIG. 19B, a case is considered where G, R, G, R... And G and R filters are alternately arranged in the horizontal direction. In such a case, for example, since a G signal cannot be obtained from a pixel to which an R filter is arranged, the G signal corresponding to this pixel is obtained by interpolating with a signal from an adjacent pixel. . That is, the G signal corresponding to the second R pixel can be obtained by calculating the average of the signal from the first G pixel and the signal from the third G pixel in FIG. As is well known, this method uses the correlation in the horizontal direction.
[0006]
However, with such a simple interpolation method, it is known that a false color signal is generated at a boundary portion (edge portion) where white and black portions are adjacent to each other on the screen. First, the generation of the false color signal will be briefly described.
[0007]
Assume that the solid-state imaging device having the filter arrangement shown in FIG. 19B is supplied with image light that suddenly changes from white to black as shown in FIG. At this time, it is assumed that the signal output value from each pixel is a value as shown in FIG. That is, the signal output values from the pixels corresponding to the white portion are all 1.0, and the signal output values from the pixels corresponding to the black portion are all 0.
[0008]
When the G signal for the pixel to which the R filter is arranged and the R signal for the pixel to which the G filter is arranged are interpolated by the above-described interpolation method, the G signal and R signal after the interpolation processing are shown in ( As shown in d) and (e). That is, it can be seen that a false color signal is generated at the boundary between white and black. The optimum G signal for the pixel to which the R filter is arranged and the optimum R signal for the pixel to which the G filter is arranged must be as shown in (f) and (g) of FIG.
[0009]
As countermeasures against the generation of such false color signals, a low-pass filter is used to make the false color signals less noticeable, or the color signals at the boundary portions (edge portions) as described above are suppressed. A method has been considered.
[0010]
However, in the method using the low-pass filter, the level of the false color signal can be lowered. However, since the area where the false color signal is generated is enlarged, it is not a complete solution. Further, in the method of suppressing the color signal at the boundary portion, even the color signal that should be originally is suppressed, and there is a possibility that the color at the boundary portion is lost.
[0011]
In order to solve this problem, in Japanese Patent No. 2931520, since the local change of the color signal is small with respect to the change of the luminance, the ratio of the G signal to the R signal or the B signal is substantially equal between adjacent pixels. And the interpolation process, that is, the primary color correlation color separation process, or the locality of the color signal, using the property that the ratio of the low frequency component to the high frequency component of the specific color component is the same in other color components. Therefore, the difference between the G signal and the R signal or the B signal is almost equal between adjacent pixels, and the difference between the low frequency component and the high frequency component of a specific color component is almost the same in other color components. Interpolation processing, that is, color-difference correlated color separation processing is performed using the property of being equal.
[0012]
[Problems to be solved by the invention]
However, in the primary color correlated color separation processing, when a large video signal having no correlation with other parts, for example, noise, is input to the input video signal, interpolation processing is performed via a division circuit, so that the noise is emphasized and the image The dot noise of R, G, and B generated in the dark part of cannot be eliminated.
[0013]
Further, in the color difference correlated color separation processing, when an object of the same color is illuminated with illumination, a false color signal due to a luminance change occurring at the boundary between the object and a shadow caused by illumination cannot be eliminated.
[0014]
The present invention, in a single-plate color video camera using a solid-state imaging device, prevents generation of false color signals in color separation processing for generating a plurality of color signal components, and has high sharpness and excellent color reproducibility. A color separation circuit is provided.
[0015]
[Means for Solving the Problems]
The color separation circuit of the single-plate color camera according to the present invention adjusts the gain of a signal from a solid-state imaging device in which a plurality of types of color filters having different spectral sensitivity characteristics corresponding to each pixel are arranged in a mosaic pattern. In a color separation circuit of a single-plate color camera that processes through an automatic gain control circuit, to generate a plurality of color signal components in an arbitrary processing target pixel based on the color signal components of the processing target pixel and surrounding pixels And two or more color separation means having different color signal component generation methods, and a synthesis means for synthesizing each color signal component generated by each color separation means based on a signal from a solid-state imaging device. It is characterized by that.
[0016]
As the color separation means, for example, a plurality of color signal components in an arbitrary pixel to be processed are used based on the correlation of the color ratios in the horizontal direction or the vertical direction based on the color signal components of the pixel to be processed and surrounding pixels. And a plurality of color signal components in an arbitrary pixel to be processed based on the color signal components of the pixel to be processed and the surrounding pixels based on the color difference between the horizontal direction and the vertical direction. Color difference correlated color separation means for generating using correlation is provided.
[0017]
In this case, as the synthesizing unit, for example, when the signal level from the solid-state imaging device is large, each color generated by the both color separating unit is set so that each color signal component generated by the primary color correlated color separating unit becomes large. When the signal components are combined and the signal level from the solid-state imaging device is low, the color signal components generated by the both color separation means are increased so that the color signal components generated by the color difference correlated color separation means become large. What is synthesized is used.
[0018]
Alternatively, as the combining means, for example, when the gain of the automatic gain adjustment circuit corresponding to the magnitude of the signal level from the solid-state imaging device is large, each color signal component generated by the color difference correlated color separation means is increased. The color signal components generated by the color separation means are combined, and when the gain of the automatic gain adjustment circuit is small, the color separation is performed so that the color signal components generated by the primary color correlation color separation means are large. What synthesize | combines each color signal component produced | generated by the means is used.
[0019]
Correlation value detection means for obtaining a correlation value in the horizontal direction and the vertical direction in the processing target pixel is provided, and the primary color correlation color separation means and the color difference correlation color separation means are color signal components suitable for cases where the correlation in the horizontal direction is strong. Horizontal direction processing means for generating color signal components and vertical direction processing means for generating color signal components suitable for a case where the correlation in the vertical direction is strong. The primary color correlation color separation means and the color difference correlation color separation means include correlation values. Processing is performed by weighted addition of each color signal component generated by the horizontal direction processing means and each color signal component generated by the vertical direction processing means in accordance with the correlation value in the horizontal direction and the vertical direction detected by the detection means. A plurality of color signal components in the target pixel may be obtained.
[0020]
As the color separation means, for example, a plurality of color signal components in an arbitrary processing target pixel are correlated with a color ratio correlation in the horizontal direction or the vertical direction based on the color signal components of the processing target pixel and surrounding pixels. The color difference in the horizontal direction or the vertical direction based on the color signal components of the processing target pixel and the surrounding pixels based on the primary color correlated color separation means generated by using the color signal components of the processing target pixel and the surrounding pixels. And a color difference correlated color separation unit that uses the correlation of the color difference.
[0021]
In this case, as the combining means, for example, when the signal level from the solid-state imaging device is large, the color signal components generated by the adaptive color separation means are increased so that each color signal component is generated. When each color signal component is synthesized and the signal level from the solid-state imaging device is small, each color signal component generated by the both color separation means is increased so that each color signal component generated by the color difference correlated color separation means becomes large. Is used.
[0022]
Alternatively, as the combining means, for example, when the gain of the automatic gain adjustment circuit corresponding to the magnitude of the signal level from the solid-state imaging device is large, each color signal component generated by the color difference correlated color separation means is increased. The color signals generated by the color separation means are combined, and the color signals generated by the adaptive correlated color separation means are increased when the gain of the automatic gain adjustment circuit is small. What synthesize | combines each color signal component produced | generated by the isolation | separation means is used.
[0023]
Correlation value detection means for obtaining a correlation value in the horizontal direction and vertical direction in the processing target pixel is provided, and the adaptive correlation color separation means and the color difference correlation color separation means are color signals suitable for cases where the horizontal correlation is strong. A horizontal direction processing means for generating a component and a vertical direction processing means for generating a color signal component suitable when the correlation in the vertical direction is strong, and the adaptive correlation color separation means and the color difference correlation color separation means include: By performing weighted addition of each color signal component generated by the horizontal direction processing means and each color signal component generated by the vertical direction processing means in accordance with the correlation values in the horizontal direction and the vertical direction detected by the correlation value detection means. A plurality of color signal components in the processing target pixel may be obtained.
[0024]
BEST MODE FOR CARRYING OUT THE INVENTION
Embodiments of the present invention will be described below with reference to the drawings.
[0025]
[1] Description of the first embodiment
FIG. 1 shows the configuration of a CCD and a color separation circuit.
[0026]
The
[0027]
FIG. 2 shows the configuration of the
The
[0028]
The horizontal transfer unit has a dual channel structure with the first
[0029]
The signals from the
[0030]
The signal D0 output from one A /
[0031]
Each
[0032]
The
[0033]
The output D2 of the first
[0034]
The
[0035]
That is, D1, D2, and D3 signals are selected in the odd field, and D0, D1, and D2 signals are selected in the even field. More specifically, when the field identification signal indicates an odd field (for example, an L level signal), the
[0036]
FIG. 3 shows the operation of the
[0037]
A signal (a) in FIG. 3 indicates a horizontal synchronization signal (HD) in an odd field. The signal (f) is a field identification signal, which is an odd field here, and is therefore at the L level.
[0038]
Signals (b) to (e) in FIG. 3 indicate input signals D3, D2, D1, and D0 to the
[0039]
In the odd field, when the fourth line is input as D0, D3 is the first line, D2 is the second line, D1 is the third line, and D0 is the fourth line. The signals of the second line and the third line are selected. Next, D3 is the third line, D2 is the fourth line, D1 is the fifth line and D0 is the sixth line, and the signals of the third, fourth and fifth lines are selected. The
[0040]
A signal (g) in FIG. 3 indicates a horizontal synchronization signal (HD) in an even field. The signal (l) is a field identification signal, and here, since it is an even field, it is at the H level.
[0041]
Signals (h) to (k) in FIG. 3 indicate the input signals D3, D2, D1, and D0 to the
[0042]
In the even field, when the fourth line is input as D0, D3 is the first line, D2 is the second line, D1 is the third line, and D0 is the fourth line. The signals of the third line and the fourth line are selected. Next, D3 is the 3rd line, D2 is the 4th line, D1 is the 5th line and D0 is the 6th line, and the signals of the 4th, 5th and 6th lines are selected. The
[0043]
The outputs L0, L1, and L2 of the
[0044]
The interpolation processing means 22 includes a primary color correlation
[0045]
Further, the correlation detection means 23 is provided with a horizontal direction correlation detection means 23a and a vertical direction correlation detection means 23b. The horizontal direction correlation detection means 23a outputs the horizontal direction correlation value Sh, and the vertical direction correlation detection means 23b outputs the vertical direction correlation value Sv. These two outputs Sh and Sv are given to the coefficient calculation means 32. The coefficient calculation means 32 calculates a horizontal coefficient Kh and a vertical coefficient Kv based on both correlation values Sh and Sv. Details of the correlation value and coefficient calculation method will be described later.
[0046]
FIG. 4 shows the configuration of the primary color correlated
The primary color correlated
[0047]
The intra-field
[0048]
The case where the correlation in the horizontal direction is strong refers to a case where the correlation in the horizontal direction is strong and there is almost no correlation in the vertical direction as in a fine horizontal stripe image. The case where the correlation in the vertical direction is strong refers to a case where the correlation in the vertical direction is strong and there is almost no correlation in the horizontal direction as in a fine vertical stripe image.
[0049]
The color signals Gh, Rh, Bh and Gv, Rv, Bv output from the
[0050]
FIG. 5 shows the configuration of the color difference correlated
The color difference correlated
[0051]
The color difference correlated
[0052]
The primary color correlated color separation method and the color difference correlated color separation method will be described. First, the primary color correlated color separation method will be described. The in-field
[0053]
That is, the
[0054]
FIG. 7 shows the relationship between the array of pixels on the
As described above, in the odd field, first, the D1, D2, and D3 line signals are selected. Therefore, the odd-numbered 3 × 3 pixel block is as shown in FIG. The evenly processed pixels are as shown in FIG.
[0055]
On the other hand, in the even field, first, the line signals D0, D1, and D2 are selected, so that the odd-numbered block is processed as shown in FIG. As shown in FIG.
[0056]
FIG. 8 shows an arithmetic expression used by the
[0057]
When the processing target block is an odd-numbered block in the odd field, the
[0058]
That is, the signal G22 of the processing target pixel G22 is used as it is as Gh for the processing target pixel G22. Bh for the processing target pixel G22 is obtained by calculating the average of the signals B21 and B23 of the two left and right pixels B21 and B23 sandwiching the processing target pixel G22 (using a horizontal correlation). Rh for the processing target pixel G22 is a little complicated. That is, G12 which is the G signal at the position of the pixel R12 is calculated as an average value of G11 and G13 (that is, a horizontal correlation is used). And Rh is calculated | required from the ratio of G12 calculated | required by calculation, and G22 actually obtained, and R12.
[0059]
This is because the local change of the color signal is small with respect to the change of the luminance, so that the ratio of the G signal to the R signal or the B signal is considered to be approximately equal between adjacent pixels. That is, R22 (= Rh) is obtained on the assumption that G12: R12 = G22: R22.
[0060]
When the processing target block is an odd-numbered block in the odd field, the
[0061]
That is, as Gv for the processing target pixel G22, the signal G22 for the processing target pixel G22 is used as it is. The Rv for the processing target pixel G22 is obtained by calculating the average of the signals R12 and R32 of the upper and lower pixels R12 and R32 sandwiching the processing target pixel G22 (using the vertical correlation). Bv for the processing target pixel G22 is obtained in the same manner as Rh described above. That is, G21, which is a G signal in the pixel B21, is calculated as an average value of G11 and G31 (a vertical correlation is used). Then, Bv is calculated from the ratio of G21 and G22 obtained by calculation and B21.
[0062]
When the processing target block is an even-numbered block in the odd field, the
[0063]
That is, the signal B22 of the processing target pixel B22 is used as it is as Bh for the processing target pixel B22. Gh for the processing target pixel B22 is obtained by calculating an average value of G21 and G23. For Rh for the processing target pixel B22, first, R12 is obtained by obtaining the average of R11 and R13, and Rh is obtained from the ratio of Gh (= G22) and G12 and R12.
[0064]
When the processing target block is an even-numbered block in an odd field, the
[0065]
That is, for Bv for the processing target pixel B22, the signal B22 of the processing target pixel B22 is used as it is. Gv for the processing target pixel B22 is obtained by calculating an average value of G12 and G32. As for Rv for the processing target pixel B22, first, R21 is obtained by obtaining the average of R11 and R31, and Rv is obtained from the ratio of Gh (= G22) and G21 and R21.
[0066]
Even when the processing target block is an even field block, Rh, Gh, Bh, Rv, Gv, and Bv signals can be obtained by performing the same processing as that shown in FIG. That is, when the processing target block is an odd-numbered block in the even field, the pixel arrangement is the even-numbered block in the odd field, as can be seen from (c) and (d) of FIG. Since R and B are interchanged in the pixel array in the case of a block, R and B may be exchanged in an arithmetic expression used when the processing target block is an even-numbered block in an odd field.
[0067]
If the processing target block is an even-numbered block in an even-numbered field, the pixel arrangement is an odd-numbered block in an odd-numbered field, as can be seen from FIGS. 7B and 7E. In this case, R and B are interchanged in the pixel array in the case of the above. Therefore, R and B may be exchanged in an arithmetic expression used when the processing target block is an odd-numbered block in an odd field.
[0068]
The horizontal direction
[0069]
That is, the
[0070]
FIG. 9 shows arithmetic expressions used by the horizontal direction
[0071]
Each of the correlation
[0072]
The horizontal correlation value Sh when the block to be processed is an odd-numbered block in the odd-numbered field is obtained by calculating the absolute value of the difference between G21 and G23. Since G21 and G23 do not actually exist, G21 is calculated from G11 and G31, and G23 is calculated from G13 and G33.
[0073]
When the processing target block is an even-numbered block in an odd field, the vertical correlation value Sv is obtained by calculating the absolute value of the difference between G12 and G32. Further, the horizontal correlation value Sh is obtained by calculating the absolute value of the difference between G21 and G23.
[0074]
Even when the block to be processed is an even field block, the G signal pattern is the same, and thus the same processing may be performed. However, the arithmetic expression when the processing target block is an odd-numbered block in the odd field is the same as the arithmetic expression when the processing target block is an even-numbered block in the even field, and the processing target block is in the odd field. The arithmetic expression for the even-numbered block is the same as the arithmetic expression for when the processing target block is the odd-numbered block in the even field.
[0075]
Note that the smaller the horizontal correlation value Sh, the stronger the horizontal correlation. Similarly, the smaller the correlation value Sv in the vertical direction, the stronger the correlation in the vertical direction.
[0076]
The coefficient calculation means 32 calculates horizontal and vertical coefficients Kh and Kv from the correlation values Sh and Sv calculated by the correlation
[0077]
Kh = Sv / (Sh + Sv)
Kv = Sh / (Sh + Sv) (1)
[0078]
Therefore, the horizontal coefficient Kh becomes large when the horizontal correlation is stronger than the vertical correlation (when Sh is smaller than Sv). The vertical coefficient Kv is a large value when the vertical correlation is stronger than the horizontal correlation (when Sv is smaller than Sh).
[0079]
As described above, R, G, and B signal components corresponding to one pixel in the CCD are calculated by using the outputs from the surrounding pixels (9 in total). The calculation is performed using two methods, a processing method suitable for a case where the correlation between the pixels is strong and a processing method suitable for a case where the correlation in the vertical direction is strong. In addition, the calculation results by the above two methods are weighted and added.
[0080]
Next, the operation of the primary color correlated
[0081]
Consider a case where white incident light as shown in FIG. 10A is given to a processing target block. In the example of FIG. 10A, an example of an edge portion where there is no color component and only the luminance level is changed is shown. Therefore, as a correct result, the R, G, and B levels of the processing target pixel (center pixel) must all be the same.
[0082]
FIG. 10B schematically shows the output level from each pixel. Two types are shown because the pattern of the color is different between the odd-numbered processing and the even-numbered processing as described above. The Rh, Rv, Gh, Gv, Bh, Bv and the weighting coefficients Kh, Kv of the processing target pixel (center pixel) calculated according to FIGS. 8 and 9 and the R of the processing target pixel (center pixel) taking the weighting coefficient into account, G and B (Ro, Go, Bo) are as shown in (c) and (d). The component levels of R, G, B at the center position are all equal to 0.2.
[0083]
Next, the color difference correlated color separation method will be described.
[0084]
The difference between the color difference correlated
[0085]
FIG. 11 shows arithmetic expressions used by the
[0086]
When the processing target block is an odd-numbered block in the odd field, the
[0087]
That is, the signal G22 of the processing target pixel G22 is used as it is as Gh for the processing target pixel G22. Bh for the processing target pixel G22 is obtained by calculating the average of the signals B21 and B23 of the two left and right pixels B21 and B23 sandwiching the processing target pixel G22. Regarding Rh for the processing target pixel G22, a property that the difference between the G signal and the R signal or the B signal is substantially equal between adjacent pixels is used. That is, the following relational expression (2) is established.
[0088]
R22-G22 = R12-G12 = R32-G32
= {(R12-G12) / 2} + {(R32-G32) / 2} (2)
[0089]
Accordingly, Rh (= R22) for the processing target pixel G22 is obtained by the following equation (3).
[0090]
Rh = {(R12−G12) / 2} + {(R32−G32) / 2} + G22
= {(R12 + R32) / 2}-{(G12 + G32) / 2} + G22
= {(R12 + R32) / 2}-{(G11 + G13 + G31 + G33) / 4} + G22 (3)
[0091]
Even when the processing target block is an even-numbered block in an odd field, the
[0092]
The method of obtaining Gv, Rv, and Bv in the
[0093]
As described above, multiplication and division occupy the arithmetic processing in the arithmetic expression in FIG. 8. However, in the arithmetic expression in FIG. 11, multiplication and division are replaced with addition and subtraction, and the circuit configuration is particularly complicated. Since division is not used, the configuration of the arithmetic processing circuit can be greatly simplified.
[0094]
Further, according to the color difference correlated color separation method interpolation processing, a high-quality image with few false color signals can be obtained for an image close to monotone.
[0095]
The color signals G1, R1, B1, G2, R2, and B2 output from the
[0096]
The color signals G0, R0, B0 output from the
[0097]
In the
[0098]
In FIG. 10, it is assumed that the correlation direction is erroneously detected due to the influence of noise or the like. Then, the values of Go, Ro, and Bo become the values of Gh, Rh, and Bh. As a result, an error occurs with respect to the value (0.2) that should be taken. The error is 0.133 for R in the odd-numbered (upper diagram in FIG. 10B), 0.4 in B, and is 0. 0 for G in the even-numbered (lower diagram in FIG. 10B). 4, R is 1.6, and the sum of these errors is 2.533.
[0099]
On the other hand, when interpolation is performed by the color difference correlated
[0100]
In this embodiment, if the gains of the
[0101]
In the above embodiment, the primary color correlated color separation method and the color difference correlated color separation method are weighted and added in accordance with the gains of the
[0102]
Further, in the above-described primary color correlated color separation method and color difference correlated color separation method, calculation is performed in units of 3 × 3 pixels. However, the present invention is not limited to this, and for example, if calculation is performed in units of 5 × 5 pixels, further false The color is suppressed and the resolution can be improved. In the above embodiment, the case where the present invention is applied to an interlace signal has been described. However, the present invention can also be applied to a progressive signal.
[0103]
[2] Description of the second embodiment
[0104]
In the second embodiment, the operations of the intra-field
[0105]
In the second embodiment, each of the
[0106]
[2-1] Description of
First, operations of the intra-field
[0107]
FIG. 13 shows arithmetic expressions used by the
[0108]
Here, the primary color correlated color separation method will be described by taking the operation of the
[0109]
In the primary color correlated color separation method, a strong correlation direction of an image is detected in a local region, and two units on the same line are first filtered by line-by-line filtering only in the strong correlation direction (in this case, the vertical direction or the horizontal direction). A low-frequency color signal is calculated.
[0110]
In the
[0111]
In the slowly changing signal, the ratio of the color signal of each pixel is substantially equal to the ratio of the low-frequency signal. Therefore, when the correlation in the vertical direction is strong, Rv ( = R33) / G33 = RVLPF3 / GVLPF3 Holds. Therefore, the two low-frequency color signals R on the vertical line including the processing target pixel G33.VLPF3 , GVLPF3 , And the color signal G33 of the pixel to be processed, another color signal Rv existing on the vertical line can be obtained.
[0112]
As Gv for the processing target pixel G33, the signal G33 of the processing target pixel G33 is used as it is.
[0113]
Only the color signals (R and G in this example) existing on the target line (vertical line in this example) can be separated from one vertical and horizontal line. Therefore, the color signal that does not exist on the line is obtained from the signal of the adjacent line and the signal of the pixel to be processed, that is, the color ratio, that is, the color ratio in the direction where the image correlation is low (here, the horizontal direction). The color signal Bv that does not exist on the target line is interpolated using the characteristic that “the change of the signal is small”, that is, the characteristic of Bv (= B33) / G33 = B32 / G32 = B34 / G34.
[0114]
Here, since the horizontal direction is a direction in which the correlation is low, as shown in the following equation (4), the low correlation is compensated by averaging the ratios of the color signals of both horizontal adjacent pixels.
[0115]
Bv = [{(B32 / G32) + (B34 / G34)} / 2] × G33 (4)
[0116]
Instead of the formula (4), a formula obtained by simplifying the formula (4), Bv = (B32 / G32) × G33, may be used. In FIG. 13, an expanded version of this simplified expression is shown as Bv.
[0117]
It is desirable that the filter characteristics for obtaining the low frequency components of the signal used here have frequency characteristics as close as possible. In order to match the filter characteristics of signals having different sampling phases, it is necessary to considerably widen the tap length of the filter, which is not practical because it involves a significant increase in circuit scale.
[0118]
Therefore, here, focusing on the low-frequency signal component in the direction of strong correlation, focusing on the low-frequency part up to 1/2 of the Nyquist frequency, the frequency characteristics of the low-frequency part are close. In order to reduce the number of filter taps, the following equation (5) is used.
[0119]
GVLPF3 = (G13 + 6 × G33 + G53) / 8
RVLPF3 = (R23 + R43) / 2 (5)
[0120]
The operation of the
[0121]
Further, the
[0122]
Even when the processing target block is an even field, color separation can be performed by the same method.
[0123]
In the primary color correlated color separation method, division is performed to obtain the ratio of color signals. Therefore, when the divisor is close to 0, the error becomes large. When the divisor is 0, computation is impossible. Therefore, when the divisor is 0, exception processing is performed such that the constant is forcibly set to 1. For this reason, when the screen is dark or when there is noise in a dark portion of the image, the noise is enhanced and dot noise is generated.
[0124]
That is, the primary color correlated color separation method exhibits good characteristics when the state of the input video is good, that is, when there is sufficient input light.
[0125]
[2-2] Description of
[0126]
The operation of the intra-field
[0127]
FIG. 14 shows arithmetic expressions used by the
[0128]
Here, the color difference correlated color separation method will be described by taking the operation of the
[0129]
In the color difference correlation color separation method, by utilizing the color difference correlation that “the change in the color difference signal in the local region is small”, the direction in which the image correlation is strong in the local region is detected, and the direction in which the correlation is strong (here, First, two low-frequency color signals on the same line are calculated by filtering in units of lines only in the vertical direction or the horizontal direction.
[0130]
In the
[0131]
In the slowly changing signal, the difference between the color signals of the pixels and the difference between the low-frequency signals are almost equal. Therefore, if the correlation in the vertical direction is strong, Rv ( = R33) -G33 = RVLPF3 -GVLPF3 Holds. Therefore, the two low-frequency color signals R on the vertical line including the processing target pixel G33.VLPF3 , GVLPF3 And another color signal Rv existing on the vertical line can be obtained from the color signal G33 of the pixel to be processed.
[0132]
As Gv for the processing target pixel G33, the signal G33 of the processing target pixel G33 is used as it is.
[0133]
Only the color signals (R and G in this example) existing on the target line (vertical line in this example) can be separated from one vertical and horizontal line. Therefore, the color signal that does not exist on the line is correlated with the color difference from the signal of the adjacent line and the signal of the processing target pixel, that is, the color difference even in the direction where the image correlation is low (here, the horizontal direction). The color signal Bv that does not exist on the target line is interpolated using the characteristic that the change of “is small”, that is, the characteristic of Bv (= B33) −G33 = B32−G32 = B34−G34.
[0134]
Here, since the horizontal direction is a direction in which the correlation is low, as shown in the following equation (6), the low correlation is compensated by averaging the color difference signals of both horizontal adjacent pixels.
[0135]
Bv = [{(B32−G32) + (B34−G34)} / 2] + G33 (6)
[0136]
Instead of the formula (6), a formula obtained by simplifying the formula (6), Bv = (B32−G32) + G33, may be used. In FIG. 14, an expanded version of this simplified expression is shown as Bv.
[0137]
The operation of the
[0138]
Further, the
[0139]
Even when the processing target block is an even field, color separation can be performed by the same method.
[0140]
In the color difference correlated color separation method, a color signal can be obtained only by addition and subtraction without performing division. For this reason, there is a feature that an error hardly occurs and that it is resistant to noise.
[0141]
Therefore, in a strong noise situation, that is, as the gain of the automatic gain control means of the camera increases, the color signal calculated by the color difference correlated color separation method is used more frequently, and when the gain of the automatic gain control means of the camera is small Many color signals calculated by the primary color correlated color separation method are used.
[0142]
[3] Description of the third embodiment
[0143]
In the third embodiment, the operations of the intra-field
[0144]
In the third embodiment, each of the
[0145]
In the third embodiment, the intra-field
[0146]
In the third embodiment, instead of the primary color correlation
[0147]
The operation of the intra-field
[0148]
FIG. 15 shows an arithmetic expression used by the
[0149]
Here, the adaptive correlation color separation method will be described by taking the operation of the
[0150]
In the adaptive correlation color separation method, a strong correlation direction of an image is detected in a local region, and filtering is performed in units of lines only in a strong correlation direction (in this case, a vertical direction or a horizontal direction in this case). A low-frequency color signal is calculated.
[0151]
In the
[0152]
In the slowly changing signal, the difference between the color signals of the pixels and the difference between the low-frequency signals are almost equal. Therefore, if the correlation in the vertical direction is strong, Rv ( = R33) -G33 = RVLPF3 -GVLPF3 Holds. Therefore, the two low-frequency color signals R on the vertical line including the processing target pixel G33.VLPF3 , GVLPF3 And another color signal Rv existing on the vertical line can be obtained from the color signal G33 of the pixel to be processed. Rv is obtained in the same manner as the color difference correlated color separation method.
[0153]
As Gv for the processing target pixel G33, the signal G33 of the processing target pixel G33 is used as it is.
[0154]
Only the color signals (R and G in this example) existing on the target line (vertical line in this example) can be separated from one vertical and horizontal line. Therefore, the color signal that does not exist on the line is obtained from the signal of the adjacent line and the signal of the pixel to be processed, that is, the color ratio, that is, the color ratio in the direction where the image correlation is low (here, the horizontal direction). The color signal Bv that does not exist on the target line is interpolated using the characteristic that “the change of the signal is small”, that is, the characteristic of Bv (= B33) / G33 = B32 / G32 = B34 / G34. The method for obtaining Bv is the same as in the primary color correlation color separation method.
[0155]
Here, since the horizontal direction is a direction in which the correlation is low, the low correlation is compensated by averaging the color difference signals of both horizontal adjacent pixels as shown in the following equation (7).
[0156]
Bv = [{(B32 / G32) + (B34 / G34)} / 2] × G33 (7)
[0157]
Instead of the formula (7), a formula obtained by simplifying the formula (7), Bv = (B32 / G32) × G33, may be used. In FIG. 15, an expanded version of this simplified expression is shown as Bv.
[0158]
The operation of the
[0159]
Further, the
[0160]
Even if the processing target block is an even field, color separation can be performed by the same method.
[0161]
[4] Description of Modification of
Hereinafter, modifications of the
[0162]
As the horizontal direction
[0163]
The horizontal direction correlation detection means 23a and the vertical direction correlation detection means 23b are based on the signals of 25 pixels in the 5 × 5 pixel block, and the correlation values Sh and Sv corresponding to one central pixel (processing target pixel). Is calculated.
[0164]
[4-1] First, a method of calculating correlation values Sh and Sv when the processing target block is an odd-numbered block in an odd-numbered field as shown in the upper side of FIG.
[0165]
When the processing target block is achromatic, the correlation values Sh and Sv are calculated based on the following equation (8).
[0166]
[Expression 1]
[0167]
The above equation (8) can be simplified as the following equation (8) ′.
[0168]
[Expression 2]
[0169]
As shown in the following equation (9), when calculating the horizontal correlation value Sh, the vertical correlation value is obtained after averaging in the vertical direction, and when calculating the vertical correlation value Sv, the horizontal direction If the vertical correlation value is obtained after averaging the values, the accuracy increases.
[0170]
[Equation 3]
[0171]
In the calculation formula of Sh in the above formula (9), the coefficient applied to G33, B22, B34 is set to 1, and in the calculation formula of Sv, the coefficient applied to G33, R23, R43 is set to 1, so that The divisor may be 8 which is 2 to the power of n, and the division circuit may be configured only by bit shift.
[0172]
The above equation (9) can be simplified as the following equation (9) ′.
[0173]
[Expression 4]
[0174]
In a chromatic color image, the RGB signal ratios output from the CCD of the mosaic arrangement color filter differ depending on the subject color. For this reason, interference due to the subject color occurs, and the accuracy of the correlation direction discrimination result using the CCD all pixel signal is deteriorated. Therefore, the intensity of the color of the input image is determined from the result of integration of the color difference signals in each part of the screen, and for chromatic images, correlation values Sh and Sv are calculated based only on the G signal.
[0175]
That is, when the processing target block is a chromatic color, the correlation values Sh and Sv are calculated based on the following equation (10).
[0176]
[Equation 5]
[0177]
The above equation (10) can be simplified as the following equation (10) ′.
[0178]
[Formula 6]
[0179]
[4-2] A method of calculating correlation values Sh and Sv when the processing target block is an even-numbered block in an odd field as shown in the lower side of FIG. 14 will be described.
[0180]
When the processing target block is achromatic, the correlation values Sh and Sv are calculated based on the following equation (11).
[0181]
[Expression 7]
[0182]
The above equation (11) can be simplified as the following equation (11) ′.
[0183]
[Equation 8]
[0184]
As shown in the following equation (12), when calculating the horizontal correlation value Sh, the vertical correlation value is obtained after averaging in the vertical direction, and when calculating the vertical correlation value Sv, the horizontal direction If the vertical correlation value is obtained after averaging the values, the accuracy increases.
[0185]
[Equation 9]
[0186]
In the calculation formula of Sh in the above formula (12), the coefficient applied to B33, G32, G34 is set to 1, and in the calculation formula of Sv, the coefficient applied to B33, G23, G43 is set to 1, so that The divisor may be 8 which is 2 to the power of n, and the division circuit may be configured only by bit shift.
[0187]
The above equation (12) can be simplified as the following equation (12) ′.
[0188]
[Expression 10]
[0189]
When the processing target block is a chromatic color, the correlation values Sh and Sv are calculated based on the following equation (13).
[0190]
## EQU11 ##
[0191]
The above equation (13) can be simplified as the following equation (13) ′.
[0192]
[Expression 12]
[0193]
When the processing target block is a chromatic color, the correlation values Sh and Sv may be calculated based on the following equation (14), as in the first embodiment.
[0194]
Sh = | G32-G34 |
Sv = | G23−G43 | (14)
[0195]
Even when the processing target block is an even-field block, the G signal pattern is the same, and the same processing may be performed. However, the arithmetic expression when the processing target block is an odd-numbered block in the odd field is the same as the arithmetic expression when the processing target block is an even-numbered block in the even field, and the processing target block is in the odd field. The arithmetic expression for the even-numbered block is the same as the arithmetic expression for when the processing target block is the odd-numbered block in the even field.
[0196]
[4-3] Description of modification of method for calculating correlation values Sh and Sv
The correlation values calculated using arithmetic expressions suitable for achromatic colors (for example, (8) ′ and (11) ′ above) are Sh1 and Sv1, and arithmetic expressions suitable for chromatic colors (for example, The correlation values calculated using (10) ′ and (13) ′) are set to Sh2 and Sv2, and the correlation values Sh and Sv are obtained by performing weighted addition according to the color intensity of the block to be processed. You may do it.
[0197]
First, as shown in FIG. 16, from all the pixel signals in the saturation detection area k including the processing target block among a plurality of preset saturation detection areas, the degree of coloration of the image is expressed by the following formula ( 15), the saturation integrated value Ck Calculate as
[0198]
[Formula 13]
[0199]
Next, as shown in FIG.k And chromatic / achromatic color judgment value Rk Saturation saturation value C calculated by the above equation (15)k Chromatic / achromatic color judgment value R corresponding tok Ask for. It should be noted that the two threshold values Th1 and Th2 in FIG. 17 are experimentally determined because the characteristics of the optical LPF, which are indispensable for systemization, are also involved.
[0200]
Then, as shown by the following equation (16), the obtained chromatic / achromatic color determination value Rk Based on the above, the correlation values Sh1 and Sv1 calculated using an arithmetic expression suitable for an achromatic color and the correlation values Sh2 and Sv2 calculated using an arithmetic expression suitable for a chromatic color are weighted to add.
[0201]
Sh = Rk × Sh1 + (1-Rk ) X Sh2
Sv = Rk × Sv1 + (1-Rk ) × Sv2 (16)
[0202]
Of course, only the expressions (10) and (13) may be used as the chromatic colors without performing the chromatic / achromatic color determination.
[0203]
[5] Description of the fourth embodiment
In the primary color correlated color separation method used in the primary color correlated
[0204]
Here, “when the divisor becomes 0” is described. However, in the primary color correlated color separation method, the error increases as the divisor becomes smaller. Therefore, when the divisor becomes a certain value or less, the color difference correlated
[0205]
Specifically, in the first embodiment, as shown in FIG. 18, L0, L1, and L2 are input, and a processing target block (a processing target having a size of 3 × 3 pixels in the first embodiment). A
[0206]
When the
[0207]
In the second embodiment, it is preferable to perform the same control. Similarly to the primary color correlation
[0208]
【The invention's effect】
As described above, according to the present invention, it is possible to provide a color separation circuit that does not generate a false color signal, thereby improving the image quality.
[0209]
Further, it becomes possible to output vertical or horizontal high-frequency components as they are, and to provide high-resolution color separation.
[Brief description of the drawings]
FIG. 1 is a block diagram showing a configuration of the present invention.
FIG. 2 is a diagram showing a CCD used in the present invention.
FIG. 3 is an explanatory diagram showing each signal of the configuration of the present invention.
4 is a block diagram illustrating a configuration of a primary color correlation color separation unit in FIG. 1. FIG.
FIG. 5 is a block diagram illustrating a configuration of a color difference correlated color separation unit in FIG. 1;
FIG. 6 is a block diagram illustrating a configuration of an arithmetic processing circuit.
FIG. 7 is an explanatory diagram illustrating selection of a pixel to be processed.
FIG. 8 is an explanatory diagram showing an interpolation process.
FIG. 9 is an explanatory diagram showing correlation detection.
FIG. 10 is an explanatory diagram for explaining the effect of the invention.
FIG. 11 is an explanatory diagram illustrating interpolation processing.
FIG. 12 is an explanatory diagram for explaining the effect of the invention.
FIG. 13 is an explanatory diagram for explaining operations of a horizontal interpolation circuit and a
FIG. 14 is an explanatory diagram for explaining operations of a
FIG. 15 is an explanatory diagram for explaining operations of a horizontal interpolation circuit and a
FIG. 16 is a schematic diagram showing a plurality of preset saturation detection areas.
FIG. 17: Saturation integrated value Ck And chromatic / achromatic color judgment value Rk It is a graph which shows the relationship.
FIG. 18 is a block diagram showing a configuration of the fourth exemplary embodiment.
FIG. 19 is an explanatory diagram illustrating generation of a false color signal.
[Explanation of symbols]
1 CCD (solid-state imaging device)
22 Interpolation processing means
23 Correlation detection means
32 Coefficient calculation means
36 Weighted addition circuit
| Application Number | Priority Date | Filing Date | Title |
|---|---|---|---|
| JP2001085469AJP4043197B2 (en) | 2000-03-24 | 2001-03-23 | Single plate color camera color separation circuit |
| Application Number | Priority Date | Filing Date | Title |
|---|---|---|---|
| JP2000083376 | 2000-03-24 | ||
| JP2000-83376 | 2000-03-24 | ||
| JP2001085469AJP4043197B2 (en) | 2000-03-24 | 2001-03-23 | Single plate color camera color separation circuit |
| Publication Number | Publication Date |
|---|---|
| JP2001339735A JP2001339735A (en) | 2001-12-07 |
| JP4043197B2true JP4043197B2 (en) | 2008-02-06 |
| Application Number | Title | Priority Date | Filing Date |
|---|---|---|---|
| JP2001085469AExpired - Fee RelatedJP4043197B2 (en) | 2000-03-24 | 2001-03-23 | Single plate color camera color separation circuit |
| Country | Link |
|---|---|
| JP (1) | JP4043197B2 (en) |
| Publication number | Priority date | Publication date | Assignee | Title |
|---|---|---|---|---|
| US7565007B2 (en) | 2001-01-25 | 2009-07-21 | Nikon Corporation | Image processing method, image processing program, and image processing apparatus |
| JP4840740B2 (en) | 2004-12-01 | 2011-12-21 | 株式会社メガチップス | Pixel interpolation method and image determination method |
| US7576783B2 (en)* | 2005-02-04 | 2009-08-18 | Hau Hwang | Confidence based weighting for color interpolation |
| JP4241754B2 (en)* | 2006-04-14 | 2009-03-18 | ソニー株式会社 | Imaging device |
| JP5017597B2 (en)* | 2007-11-27 | 2012-09-05 | 株式会社メガチップス | Pixel interpolation method |
| JP5691440B2 (en)* | 2010-11-26 | 2015-04-01 | 株式会社ニコン | Imaging device |
| EP2683167B1 (en)* | 2011-02-28 | 2018-05-02 | Fujifilm Corporation | Color imaging device |
| EP2685711B1 (en) | 2011-03-09 | 2017-08-30 | Fujifilm Corporation | Color image pickup device |
| JP6046927B2 (en)* | 2011-08-09 | 2016-12-21 | キヤノン株式会社 | Image processing apparatus and control method thereof |
| JP5824297B2 (en)* | 2011-08-30 | 2015-11-25 | キヤノン株式会社 | Image processing apparatus and method, and imaging apparatus |
| JP6862272B2 (en)* | 2017-05-15 | 2021-04-21 | キヤノン株式会社 | Signal processing equipment, signal processing methods and programs |
| Publication number | Publication date |
|---|---|
| JP2001339735A (en) | 2001-12-07 |
| Publication | Publication Date | Title |
|---|---|---|
| JP2931520B2 (en) | Color separation circuit for single-chip color video camera | |
| JP4195169B2 (en) | Solid-state imaging device and signal processing method | |
| CN102640500B (en) | image processing equipment | |
| CN101494795B (en) | Image sensor and method using unit pixel groups with overlapping green spectral ranges | |
| JP4372955B2 (en) | Solid-state imaging device and signal processing method | |
| JPWO2007020930A1 (en) | Imaging device, noise reduction device, noise reduction method, and program | |
| EP1182891A2 (en) | Color separation circuit in a color camera | |
| JP4641675B2 (en) | Image signal processing device | |
| JP2002077928A (en) | Image processing device | |
| JP2008289090A (en) | Imaging signal processing device | |
| WO2016047240A1 (en) | Image processing device, image pickup element, image pickup device, and image processing method | |
| JPH07298275A (en) | Signal processing circuit for video camera | |
| JP4043197B2 (en) | Single plate color camera color separation circuit | |
| JP2007235591A (en) | Camera device control method and camera device using the same | |
| US8471936B2 (en) | Imaging device and signal processing method | |
| JP4077161B2 (en) | Imaging apparatus, luminance correction method, and program for executing the method on a computer | |
| JP3674420B2 (en) | Solid-state imaging device | |
| US20070269133A1 (en) | Image-data noise reduction apparatus and method of controlling same | |
| JP2007266956A (en) | Imaging apparatus, impulse component detecting circuit, impulse component removing circuit, impulse component detecting method, impulse component removing method, and computer program | |
| JP2007318630A (en) | Image input device, imaging module, and solid-state imaging device | |
| JP4380399B2 (en) | Imaging apparatus, noise reduction apparatus, noise reduction method, and program | |
| JP2004357335A (en) | Solid-state imaging device | |
| JP3730063B2 (en) | Color component generation apparatus, color component generation method, and multicolor image pickup apparatus using the same | |
| JP4385748B2 (en) | Image signal processing apparatus and image signal processing method | |
| JP2007043312A (en) | Imaging apparatus |
| Date | Code | Title | Description |
|---|---|---|---|
| A621 | Written request for application examination | Free format text:JAPANESE INTERMEDIATE CODE: A621 Effective date:20050520 | |
| A977 | Report on retrieval | Free format text:JAPANESE INTERMEDIATE CODE: A971007 Effective date:20070607 | |
| A131 | Notification of reasons for refusal | Free format text:JAPANESE INTERMEDIATE CODE: A131 Effective date:20070725 | |
| A521 | Request for written amendment filed | Free format text:JAPANESE INTERMEDIATE CODE: A523 Effective date:20070914 | |
| TRDD | Decision of grant or rejection written | ||
| A01 | Written decision to grant a patent or to grant a registration (utility model) | Free format text:JAPANESE INTERMEDIATE CODE: A01 Effective date:20071016 | |
| A61 | First payment of annual fees (during grant procedure) | Free format text:JAPANESE INTERMEDIATE CODE: A61 Effective date:20071113 | |
| FPAY | Renewal fee payment (event date is renewal date of database) | Free format text:PAYMENT UNTIL: 20101122 Year of fee payment:3 | |
| FPAY | Renewal fee payment (event date is renewal date of database) | Free format text:PAYMENT UNTIL: 20101122 Year of fee payment:3 | |
| FPAY | Renewal fee payment (event date is renewal date of database) | Free format text:PAYMENT UNTIL: 20111122 Year of fee payment:4 | |
| FPAY | Renewal fee payment (event date is renewal date of database) | Free format text:PAYMENT UNTIL: 20111122 Year of fee payment:4 | |
| FPAY | Renewal fee payment (event date is renewal date of database) | Free format text:PAYMENT UNTIL: 20121122 Year of fee payment:5 | |
| FPAY | Renewal fee payment (event date is renewal date of database) | Free format text:PAYMENT UNTIL: 20121122 Year of fee payment:5 | |
| FPAY | Renewal fee payment (event date is renewal date of database) | Free format text:PAYMENT UNTIL: 20131122 Year of fee payment:6 | |
| FPAY | Renewal fee payment (event date is renewal date of database) | Free format text:PAYMENT UNTIL: 20131122 Year of fee payment:6 | |
| S111 | Request for change of ownership or part of ownership | Free format text:JAPANESE INTERMEDIATE CODE: R313113 | |
| FPAY | Renewal fee payment (event date is renewal date of database) | Free format text:PAYMENT UNTIL: 20131122 Year of fee payment:6 | |
| R350 | Written notification of registration of transfer | Free format text:JAPANESE INTERMEDIATE CODE: R350 | |
| LAPS | Cancellation because of no payment of annual fees |