










【0001】
【発明の属する技術分野】
本発明は、シリコン単結晶半導体ウエハ加熱処理用治具及びこれを用いたシリコン単結晶半導体ウエハ加熱処理用装置に関し、より詳細には、特定形状に形成されたシリコン単結晶半導体ウエハ載置上面を有するプレート状のシリコン単結晶半導体ウエハ加熱処理用治具及びこれを用いたシリコン単結晶半導体ウエハ加熱処理用装置に関する。
【0002】
【従来の技術】
半導体デバイスの製造工程には、酸化、拡散、成膜等の種々の加熱処理プロセスがあり、半導体ウエハはこれらのプロセスで様々な加熱処理を受ける。そして、これらの処理の態様、使用する加熱手段の種類等に応じて種々の半導体ウエハ加熱処理用治具が用いられている。
例えば、縦型熱処理炉を用いる半導体ウエハ熱処理工程の場合、複数枚のシリコン単結晶ウエハ等の半導体ウエハが、縦型多段のウエハ保持治具、いわゆる縦型ウエハボ−トに搭載保持されて処理される。この縦型ウエハボ−トは、例えば、図6に示すように、ウエハ12を載置するための多数の溝(スリット)11が設けられた棒形状の支柱部材10が複数本(通常3本あるいは4本、図6の場合には3本)、縦方向に配列した構造となっている。
【0003】
ウエハ12はこの複数の支柱部材10により外周部の数点(図6の場合、3点)で支持されて熱処理される。このウエハボ−トの形成素材として、一般に、石英ガラス、炭化ケイ素(SiC)コ−トのシリコン(Si)含浸炭化ケイ素、単結晶シリコン、多結晶シリコン等が用いられている。
【0004】
また、エピタキシャル成長装置等によるウエハ面への薄膜気相成長工程の場合、例えば、SiCコ−トされた黒鉛基材から成るバッチ式や枚葉式のサセプタ−に半導体ウエハが載置され、所定の処理がなされる。
【0005】
【発明が解決しようとする課題】
ところで、縦型ウエハボ−ト等の半導体ウエハ加熱処理用治具に載置された被処理ウエハには、ウエハの自重が支持部に集中するため、これにより生ずる応力が常に作用している。そして、この応力が臨界剪断応力を越えると、ウエハ内に転位が発生する。この転位は応力の作用により巨視的な大きさにまで広がり、スリップとなる。このスリップの発生はウエハの品質を大きく低下させる。
【0006】
一般に、臨界剪断応力は高温ほどその値は小さくなり、このことは、熱処理等の高温雰囲気下では、ウエハのスリップが、常温時に比較して著しく発生し易くなることを意味している。
特に、近年、半導体デバイスの高集積化に伴いウエハ一枚当たりのデバイス収率を上げるために、ウエハの大口径化が進んでいる。
その結果、ウエハの自重が大きくなり、それに伴いウエハに作用する応力が増大する傾向にあり、ウエハ中にスリップがより発生し易くなってきている。
【0007】
また、上記した理由の他に、ウエハのサイズが大きくなることに起因して、特に昇温時におけるウエハ中心部と周縁部との温度差が大きくなる傾向にあり、この温度差により生じる熱応力も上記スリップ発生の原因の一つとなっている。
チョクラルスキ−法で製造される所謂CZ−シリコンウエハは、半導体デバイスの基材として代表的なものであるが、このCZ−シリコンウエハの内でも、特に、格子間酸素濃度[Oi]が低い低格子間酸素濃度CZ−シリコンウエハは、発生したスリップが大きくなりやすい傾向を有し、加熱処理等のウエハ処理時に大きなスリップが発生していた。
【0008】
このような、スリップ発生に基づくウエハの歩留まり低下を回避するためには、前記半導体ウエハ加熱処理用治具におけるウエハの支持点の数を増やし、一点当たりの支持荷重を減少させ、支持点での応力を前記臨界剪断応力以下に軽減させることが考えられる。
【0009】
しかしながら、半導体ウエハ加熱処理用治具におけるウエハの支持点の数を増しても、各支持点間の水平精度等の問題から、実際には、ウエハは多くとも4点程度の支点でスポット的に支えられている状態となり、上記方法では依然として応力の集中が残り、実質的解決がなされない。
【0010】
そこで、ウエハをそのほぼ全面で支持する方法、即ち、例えばウエハを、それとほぼ同径、同厚の円形プレ−ト上に載置して支持する方法が考えられた。この方法は、可能な限り支持点を増すことを基本概念としたものである。
しかし、実際のプレ−ト面には凹凸があり、実質的に凸部のみでウエハを支持してしまい、その結果スリップの発生を完全に抑制するという目的を達成することはできなかった。
また、この問題を解決する手段の一つとして、プレ−ト板のウエハ載置面を、鏡面研磨等により該表面の凹凸がほぼ完全になくなるまで仕上げ加工し、その表面にウエハを載置する方法が考えられる。
しかし、加熱処理時にウエハとプレ−ト板が強固に密着してしまい、ウエハとプレート板を剥離させることが困難となるという新たな不都合を招来した。
【0011】
本発明者等は、従来のウエハボ−ト等の支持治具における上記問題点を解決するために、ウエハを面で支持するための載置面の最適形状について鋭意研究を重ねた結果、下記に詳述するようにウエハ載置面を特定形状に形成したプレ−ト状の半導体ウエハ加熱処理用治具を用いることにより上記問題が確実に解決できることを見出し、この知見に基づき本発明を完成した。
また、プレ−ト状の半導体ウエハ加熱処理用治具を搭載、支持する方法(部材)の最適形態について鋭意研究し、下記に詳述するように前記治具、及びこれを支持する部材の特定支持構造に形成した半導体ウエハ加熱処理用装置により、上記問題が確実に解決できることを見出し、この知見に基づき本発明を完成した。
【0012】
本発明は、例え大口径のシリコン単結晶半導体ウエハであっても、スリップや欠陥を発生させることなく、シリコン単結晶半導体ウエハを均質に加熱処理することができるシリコン単結晶半導体ウエハ加熱処理用治具及びこれを用いたシリコン単結晶半導体ウエハ加熱処理用装置を提供することを目的とするものである。
【0013】
【課題を解決するための手段】
本発明のシリコン単結晶半導体ウエハ加熱処理用治具は、シリコン単結晶半導体ウエハを、その上面に載置して加熱処理するプレート状のシリコン単結晶半導体ウエハ加熱処理用治具において、前記シリコン単結晶半導体ウエハ加熱処理用治具の全体がシリコンからなり、前記上面が、被処理シリコン単結晶半導体ウエハの直径以上の直径の円形周縁を有すると共に、中央部に最深部を有する凹曲面形状に形成され、前記上面に対向する下面が、上面と平行な凹曲面形状を有し、前記シリコン単結晶半導体ウエハ加熱処理用治具の厚さが1.0乃至1.5mmであり、前記凹曲面形状は、その曲率半径をr、前記被処理シリコン単結晶半導体ウエハの半径をb、前記被処理シリコン単結晶半導体ウエハ周縁との接点位置と中央部の最深部との高低差aとしたとき、r=(b2+a2)/2aで表され、かつ載置したウエハ周縁との接点位置と前記最深部との高低差aが、前記シリコン単結晶半導体ウエハが撓わんだ際に、前記ウエハの周縁部と中央部の両方で支持される20μm乃至500μmの範囲にあり、前記上面の被処理シリコン単結晶半導体ウエハとの接触部における中心線平均粗さRaが0.3乃至0.8μm範囲にあることを特徴としている。
【0015】
ここで、前記プレ−ト状治具のウエハ載置面に、複数の貫通孔が配設されていることが望ましく、前記貫通孔の口径が3mm乃至10mmであること、前記貫通孔の数が3個乃至10個であることが望ましい。
【0016】
また、本発明のシリコン単結晶半導体ウエハ加熱処理用装置は、被処理シリコン単結晶半導体ウエハを載置した上記シリコン単結晶半導体ウエハ加熱処理用治具を、単数もしくは複数搭載した、前記被処理シリコン単結晶半導体ウエハを加熱処理するためのシリコン単結晶半導体ウエハ加熱処理用装置であって、該装置が、前記治具の下面中心点から半径方向に、該半径の0.6乃至0.8倍の距離を隔てた位置で前記治具を支持する支持部材を具備することを特徴としている。
ここで、上記シリコン単結晶半導体ウエハ加熱処理用装置は、被処理ウエハ載置治具の下面を少なくとも3点で支持することが好ましい。
前記プレート状治具を底面で支持する少なくとも3点がほぼ等間隔に位置することが特に望ましい。
【0017】
また、前記シリコン単結晶半導体ウエハ加熱処理用装置が、頂板、底板及び該頂、底両板を所定間隔を隔てて連結固定する連結部材とを備え、両板間に、シリコン単結晶半導体ウエハを載置した複数の前記治具を上下多段に搭載、支持されたシリコン単結晶半導体ウエハ加熱処理用装置であって、前記支持部材が、夫々の前記治具を個別に支持できるように、前記連結部材から多段に突出して設けられていることを特徴とするシリコン単結晶半導体ウエハ加熱処理用治具を用いたシリコン単結晶半導体ウエハ加熱処理用装置であることが好ましい。
また、前記縦型ウエハボ−ト形式のシリコン単結晶半導体ウエハ加熱処理用装置における前記連結部材が、円板状の頂底両板間に設けられた3本の柱状部材からなり、各柱状部材から前記支持部材を突出させたものであることが特に好ましい。
更に、前記シリコン単結晶半導体ウエハ加熱処理用装置が、被処理ウエハを載置した前記治具を保持し、これを加熱処理するシリコン単結晶半導体ウエハ加熱処理用装置であって、前記支持部材が、平板状基材の上面に突出形成されたシリコン単結晶半導体ウエハ加熱処理用装置、即ち、所謂、バッチ式または枚葉式半導体ウエハ処理装置用のサセプタ−であることが望ましい。
【0018】
本発明にかかるシリコン単結晶半導体ウエハ加熱処理用のプレート状治具は、ウエハを面で支持するために最適なウエハ載置面、即ち、載置ウエハの直径以上の直径を有すると共に中央部に最深部を有する凹曲面形状に形成され、かつ載置ウエハ周縁との接点位置から最深部までの高低差が20乃至500μmの範囲にあるという特定ウエハ載置面を有するウエハ載置用プレ−トであることが顕著な特徴である。
【0019】
例えば、周縁が円形の放物面形状または凹球面形状等の特定凹曲面形状載置面で、ウエハを支持した場合、初めにウエハの周縁部と該載置面とが接触する。
そして、載置されたウエハは、自重により撓んでその中央部は僅かに沈むことにより載置面中央部とも接するようになる。これによって、ウエハが載置面周辺部と中央部の両方で同時に支持され、応力の集中を緩和することができる。
【0020】
上記のようなウエハ支持態様の場合、ウエハは広範囲で支持されるため、スリップは発生しない。
即ち、本発明においては、ウエハ載置用プレート状治具の載置面が凹曲面形状に形成されること及びウエハ載置面の中央部(最深部)と載置面周辺部のウエハ周縁接触位置との高さの差が20乃至500μmの範囲にあることが特に重要である。
この差が500μmを越えるとウエハが撓わんでもウエハの中央部が載置面にまで達することができないため周縁部のみの支持となり、そこからスリップが発生しやすい。また、この差が20μm未満ではウエハの中央部のみ、あるいはウエハの中央部と特定の一部を支持することになり、そこからスリップが発生する。
【0021】
また、本発明のシリコン単結晶半導体ウエハ加熱処理用治具において、前記プレート状治具の載置面の中心線平均粗さRa(JIS B0601−1994)を0.3乃至0.8μmの範囲にすることによって、上記スリップ発生をより確実に防止することができ、また加熱処理時にウエハとプレ−トとが密着せず、容易にウエハを剥離させることができる。また、粗度をこの範囲とすることにより、剥離時にウエハが破壊するのを防止することが出来る。
【0022】
また、プレート状治具の載置面に、口径が3乃至10mm程度の貫通孔を、3乃至10個、配設した態様のものは、加熱処理時に載置ウエハとプレ−トの間隙が真空状態となることによって、生ずる両者の密着を防止する利点を有する。
【0023】
更に、前記プレート状治具の少なくとも載置面が、シリコン(Si)からなる態様の治具の場合には、特に載置ウエハがシリコンウエハの場合、ウエハと熱膨張率や硬度等の物性が同一であるためウエハを傷つけたりすることがなく、また、特に単結晶シリコンの場合には、高純度であり、汚染の問題がない。
またプレ−ト状治具の上面に対向する下面が上面と平行な凹曲面形状を有し、該プレ−ト材の厚さが、1.0乃至1.5mmの範囲にあるものは、上記利点の他に、プレ−ト上にウエハを載置して加熱した場合にも変形等を起こすことなく充分な支持強度を有する。特に、熱容量も過大でないため熱伝達も速く、加熱時にウエハを温度ムラなく均一に昇温させることができるため、温度歪みに基づくウエハのスリップ発生を抑制できる。
一方、プレ−ト治具の上面における高低差が20μm乃至200μmの範囲にあり、下面がほぼ平面に形成されたものにあっては、熱伝達の不均一性から高低差を比較的小さく(200μm)に抑える必要がある。
【0024】
更にまた、前記プレ−ト状治具及びその底面において支持部材により、少なくとも3点で支持する半導体ウエハ加熱処理用装置で、前記3支持点が、プレート状治具の下面中心から半径方向に該半径の0.6乃至0.8倍の距離隔たって位置する半導体ウエハ加熱処理用装置は、従来しばしば生じた載置ウエハの外周部での波状変形を抑制できる利点を有する。
プレート状治具の下面中心から半径方向に該半径の0.6倍未満の場合には、支持部分が突起状となって、この部分のみの支持となってウエハにスリップが発生しやすくなる。一方、プレート状治具の下面中心から半径方向に該半径の0.8倍を越えた場合には、該プレ−トが撓みすぎ、主にウエハ周辺のみの支持となってスリップが発生しやすくなる。
また、半導体ウエハ加熱処理用装置が、いわゆる縦型ウエハボ−ト形式のものである場合は、ウエハ載置プレート治具を多段に搭載することができ、一度に多数のウエハをスリップ等の欠陥を生じさせることなく良好に加熱処理することができる。またプレ−ト状治具は、バッチ式あるいは枚葉式サセプタ−にも適用することができる。
【0025】
本発明のシリコン単結晶半導体ウエハ加熱処理用のプレート状治具は、特に、加熱処理時等においてスリップが発生しやすいといわれている低格子間酸素濃度シリコンウエハの加熱処理用に有効に適用できる。
【0026】
【発明の実施の形態】
以下本発明を、図に基づいて詳細に説明する。
図1は、本発明にかかるプレ−ト状治具の一実施形態を誇張して示した斜視図であり、図2(a)、(b)は、図1のプレ−ト状治具に被処理ウエハを載置した状態を示した図であって、(a)は載置直後のウエハの状態を示す断面図であり、(b)は加熱中のウエハの状態変化を示す断面図である。図3は、プレート状治具の参考例を示す図であって、誇張して示した斜視図である。
図4は、加熱処理すべき半導体ウエハを載置した本発明のプレート状治具を多段搭載、支持した、本発明にかかる半導体ウエハ加熱処理用装置を炉内に収容した態様で示した図である。
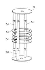
図5(a)、(b)は、単数のプレート状治具を3本の支持部材によって支持した枚葉式の、本発明にかかる半導体ウエハ加熱処理用装置を炉内に収容した態様で示し、(a)は、その側面図を、(b)は平面図を示す。また図6は、半導体ウエハを支持する従来の縦型ウエハボ−トを示す。更に、図7は本発明のプレ−ト状治具の多段搭載支持する、本発明にかかる半導体ウエハ加熱処理装置を構成する支持具を示した斜視図、図8は単数のプレ−ト状治具をリング状の支持部材によって支持した枚葉式の、本発明にかかる半導体ウエハ熱処理装置を示した断面図、図9は図8に示した該装置の平面図、図10はリング状の支持部材を馬蹄形状とした本発明にかかる半導体ウエハ加熱処理装置である。
【0027】
本発明の半導体ウエハ加熱処理用のプレート状治具は、図1、図2に示すように、そのウエハ載置面(上面)が、載置される被処理ウエハの直径2b(半径b)以上の周縁直径Dを有すると共に、中央部に最深部を有する凹曲面形状に形成され、かつ載置ウエハ周縁との接点位置から前記最深部までの高低差aが20乃至500μmの範囲となるように形成される。
【0028】
このウエハ載置面に被処理ウエハを載置すると、図2(a)に示すように、ウエハ1はその周縁部で載置面と接触して支持されこの状態で加熱処理を行うと、中央部はその自重により僅かに撓んで周縁部より沈み、その中央部がプレート状治具2の最深部である中央部に接し、この凹曲面全体で支持される(図2(b))。
【0029】
ウエハは、熱処理装置内で加熱された場合、下面側と上面側の両方から熱を受ける。その熱量は、通常、下面側が若干多いため、これによる熱膨張差により、ウエハの周辺部が極僅かではあるが上方に反る傾向がある。前記プレ−ト状治具2による凹曲面の支持は、前記ウエハのこのような性質を利用したものである。
【0030】
本発明のプレ−ト状治具2のウエハ載置面は、上記したウエハの加熱処理時における自然変形に適合した形状に形成したものである。
該ウエハ載置面の形状は、上記の目的から、中央部に最深部を有する凹曲面形状であれば、特に限定されるものではない。例えば、任意の凹曲面形状に形成されて差し支えないが、凹曲面が放物線を回転して形成される放物面形状、円を回転して形成される凹球面形状等であっても良い。
【0031】
特に好ましい凹曲面形状は、図2(a)に示すように、その曲率半径(r)が、載置ウエハの半径をb、該ウエハ周縁の載置面との接点位置から載置面最凹点までの高低差をaとしたとき、
r=(b2 +a2 ) /2a
の関係を有する凹球面状に形成されたものである。
【0032】
本発明では、上記ウエハ載置面の凹曲面形状において、載置ウエハ周縁との接点位置から最深部までの高低差が、20乃至500μm、より好ましくは50乃至350μm、の範囲にあるように形状設定することが重要である。
この高低差が500μmを越える場合は、ウエハの中央部が前記載置面の最深部である中央部に届かず、実質的にウエハ周辺部のみの支持となり、本発明の目的であるウエハのスリップ発生を充分に防止することができない。
一方、高低差が20μmを下回る場合は、ウエハの加熱時の反りが高低差を上回る場合が生じ、ウエハ中央部のみ、または、中央部と周辺部局所点のみでの支持となり、この場合も、本発明の目的を充分に達成することができない。
なお、前記ウエハ載置面が曲率半径r=(b2 +a2 ) /2aの関係を有する凹球面状に形成された場合、被処理ウエハ12インチ径(300mm)で、曲率半径は、56.25乃至562.5mとなる。
【0033】
本発明の前記プレ−ト状治具の載置面(上面)において載置ウエハと接する部分は、その表面粗さである中心線平均粗さRa(JIS B0601−1994)が0.3乃至0.8μmの範囲に形成されることが好ましい。
中心線平均粗さが0.3μmを下回る場合は、加熱処理時にウエハと載置面とが密着する傾向があり、ウエハをプレート状治具から剥離させることが困難となる。
中心線平均粗さが、0.8μmを越える場合は、ウエハの載置面接触部での支持が、粗面の凸点のみの支持となり、スリップ発生の誘因となる。
【0034】
また、図示しないが、本発明のプレ−ト状治具のウエハ載置面に、口径が3乃至10mm、特に好ましくは5乃至8mmの貫通孔を、3乃至10個、特に好ましくは4乃至7個、面内に均一に分布して配設することが好ましい。
上記の貫通孔を設けた態様のプレート状治具は、加熱処理時に載置ウエハとプレ−トの間隙が真空状態となることにより生ずる両者の密着を防止することができる。
【0035】
前記貫通孔3の孔径が10mmより大きい場合や孔数が10個より多い場合は、プレート状治具自体の強度低下やウエハ加熱時の温度むらの増大を招き易くなる。
また、ウエハ載置面に貫通孔が不均一に配置された場合は、プレート状治具の強度低下を招き、貫通孔がウエハ面の動径方向の同一直線上に3点以上並ぶ態様に配設された場合も同様にプレート状治具の強度低下を招く。
これは、穴が、同一直線上に並ぶとその領域で断面積が小さくなり、同じ力が作用する場合、断面積が小さくなるため応力は大きくなる。撓みは、応力に比例するので、結局上記の条件では大きく撓むことになる。
【0036】
本発明で用いる上記プレート状治具の、ウエハ載置面以外の形状は、本発明の半導体ウエハ加熱処理用装置に搭載可能な形状であれば特に限定されるものではなく、該プレ−トを搭載する装置構造に合わせて適宜設定して良い。
このようなプレート状治具の外形形状として、例えば図1に示したような凹曲面皿形形状(カップ形状)のプレ−ト治具2や、図3に示したような上面に凹曲面形状が形成され底面が平らな凹面・平面型形状のウエハ載置用プレ−ト等を例示することができる。
【0037】
加熱処理時にウエハを温度ムラなく均一に加熱昇温する観点からは、構成材がプレ−ト全体でほぼ等しい適正断面厚tを有し、熱容量が過大でないカップ形状(皿形)のプレ−ト治具2が好ましい。
凹面・平面型形状の治具(図3に示した治具)の場合は、治具の周縁部と中奥部ではその厚さの相違に基づく熱容量の差が若干有るため、これに半導体ウエハを載置し熱処理した際に、ウエハの面内温度分布に多少の不均一性を生ずる可能性がある。
このため、上記凹面・平面型形状のプレート状治具(図3に示した治具)の場合には、治具上面の凹曲面形状を、載置ウエハ周縁の接点位置と最深部との高低差が20乃至200μmとなるように形成し、且つ、該治具の周縁部高さ(厚さ)を1.2乃至1.5mm、即ち、変形を防止するため治具中央部肉の厚さが1mm以上となるように形成することが好ましい。
また、プレ−ト状治具を構成する材料としては、通常この種の治具に用いられる材料、例えば、石英ガラス、炭化ケイ素(SiC)コ−トのシリコン(Si)含浸炭化ケイ素、単結晶シリコン、多結晶シリコン、CVD−SiC膜材等を挙げることができる。これらの内では、シリコンが好ましく、特に単結晶シリコンが好ましい。
特に、被処理半導体ウエハがシリコンウエハである場合には、プレート状治具2の、少なくともウエハ載置面部分はシリコン単結晶で形成されていることが、熱膨張率や硬度等の物性が同一であるためウエハを傷つけたりすることがなく、また、汚染させたりすることがなく好ましい。なお、熱膨張率の観点からは特に、シリコン単結晶単体であることが最も好ましい。
【0038】
また図2に示したプレート状治具2は、特にその形成材料がシリコンからなる場合、プレ−ト材の断面厚さtは1.0乃至1.5mmの範囲にあることが好ましい。
プレート状治具の厚さが、1.0mmを下回る場合は、プレ−ト状治具2を縦型ウエハボート形式の支持具で支持した際、支持された部分及びその周辺が盛り上がり、前記ウエハ載置面に局所的な凹凸を生じさせる。その結果、前記凹凸が載置したウエハと接し、ウエハにスリップを発生させる。
一方、厚さが1.5mmを越える場合には、プレート状治具の熱容量が大きくなり、ウエハの面内温度不均一化が生じやすくなる。
なお、上記プレ−ト治具が、例えば、図3に示した凹面・平面型形状のプレ−ト治具2の場合は、その最薄部即ち面中央部の厚さtを上記の断面厚さとする。
【0039】
被処理ウエハを載置したプレ−ト状治具は、所定の支持部材を有する支持具で支持され、本発明の半導体ウエハ加熱処理用装置を構成して、該装置内に収容される。
本発明において、プレ−ト状治具を収容する支持具は、該プレ−ト状治具を支持する支持手段を備えた装置であれば特に限定されるものではなく、ウエハの処理目的に応じて適宜選択されて良い。
【0040】
例えば、エピタキシャル成長装置等の処理装置の場合には、図5(a)、(b)に示すような突起状支持部材4a上で支持されたウエハ載置用プレート治具2をベルジャー4b内に収容するサセプター4を挙げることができる。
即ち、サセプタ−4の上には3つの突起状のプレ−ト支持部材4aが設けられ、そのプレ−ト支持部材4aの上に図1に示したカップ型(皿型)のプレ−ト治具2が載せられる。前記突起4aはウエハ載置用プレ−ト治具2の中心に対して対象に120°の間隔をもって形成されている。
【0041】
一方、縦型ウエハボ−トのような複数のウエハを多段に搭載する形式の支持治具を具備する半導体ウエハ加熱処理用装置の場合は、例えば、図4に示したようなプレート状治具の支持手段を多段に備えたものを例示することができる。
図4に示した縦型ウエハボ−ト状の支持具5は、この支柱(連結部材)5aから突出した広幅のプレ−ト支持部材5bを備えている。前記プレ−ト状治具が、前記プレ−ト支持部材5bに多段載置される。なお、図4は縦型の熱処理炉の側面断面図であって、図中6は炉芯管、7はヒ−タを示している。
【0042】
プレ−ト状治具を、支持具のプレ−ト支持部で支持する場合は、その底面において、プレ−ト状治具2の中心に対称な少なくとも3点で支持されることが好ましく、特に該3支持点が、ウエハ載置プレ−ト状治具の中心から半径方向に該半径の0.6乃至0.8倍の距離隔たって位置することが好ましい。
上記のようにプレ−ト状治具を支持することにより、従来、半導体ウエハ加熱処理用治具において、ウエハ載置用プレ−トの外周部での波状変形の発生を抑制できる。
【0043】
また、前記したように図4に示された突起状支持部材5bに替えて、図7に示すようなリング状の支持部材5cとしても良く、また前記リング状の支持部材5cの一部を切欠いた馬蹄形状に支持部材を形成しても良い。
なお、前記リング状の支持部材は、図8、9に示すような枚葉式の熱処理装置用にも適用することができる。すなわち、基体8の上面にリング状の支持部材8aを設け、プレ−ト状治具2を載置しても良い。図8は図9のA−A断面図であり、図9は平面図である。
また、図10(a)、(b)に示すように、前記リング状の支持部材8aの一部を切欠いた馬蹄形状に支持部材を形成しても良い。このとき、図10(a)に示すようにその切欠き部分の大きさは、その中心角θが30°以下が好ましい。これはウエハ面内に対して温度が不均一にならないようにするためであり、前記30°が最大値であり、より好ましくは10°以下が良い。
【0044】
また前記したように支持部材の形状は、特に限定されるものではないが、該治具が当接する支持部材の熱容量は、可能な限り小さいことが好ましいため、支持部材は円形断面の棒状形状が好ましく、プレ−ト治具と支持部材は点接触となるようになすのが好ましい。
支持点数は3点以上でも構わないが、縦形ボ−ト形式の場合、棒状の連結部材の本数をその分だけ増やす必要があり、コストの増大を招くため、3本が好ましい。また枚葉式の場合においても3点以上の支持点を設けても良いが、支持部材あるいは平板状の寸法精度上、結局3点支持となるため、3点支持が好ましい。
【0045】
また、単結晶シリコンインゴットから作製される単結晶シリコンウエハは、半導体デバイスの基材として代表的なものであるが、このシリコンウエハの内でも、特に、格子間酸素濃度[Oi]が低い低格子間酸素濃度CZ−シリコンウエハ(通常[Oi]濃度が1.3×1018 atoms/cm3 (old ASTM) 以下)は、加熱処理等のウエハ処理時に、特にスリップ発生し易く、また発生したスリップが大きくなり易い傾向を有することが知られている。
本発明の半導体ウエハ加熱処理用のプレート状治具は、このような低格子間酸素濃度CZ−シリコンウエハの加熱処理用に特に有効に適用できる。
【0046】
【実施例】
「参考例1」
シリコン単結晶インゴットから切り出した後、グラインダーによる研磨加工及びエッチング加工により、周縁が円形、中央部に最深部を有する凹球曲面形状のウエハ載置面(上面)を備え、下面が平面の図3に示すような凹面・平面型形状のプレート状治具を作製し、このプレート状治具をアンモニア水と過酸化水素から成る洗浄水を用いて洗浄した。
なお、該プレート状治具のウエハ載置面(上面)の直径は303mm、ウエハ周縁との接点位置から最深部までの高低差は20μm、ウエハ載置面の中心線平均粗さRa0.5μm、治具の周縁部厚さ1.2mmであった。また、ウエハ載置面には、その中心及び半径の0.65倍の位置に60°間隔で6個、すなわち、合計で7個の貫通孔を形成した。
次に示すサンプルウエハを用意し、上記プレート状治具の載置面(上面)上に図3(b)に示す状態に載置した。
サンプルウエハとしては、直径300mm、面方位[100]、P型、抵抗ρ=9〜14Ω・cmのシリコン単結晶ウエハを用いた。
なお、このサンプルウエハは、赤外吸収法により事前に測定した格子間酸素[Oi]濃度が、1.1〜1.2×1018 atoms/cm3(old ASTM) であった。
【0047】
上記サンプルウエハを載置したプレート状治具25個を縦方向多段に支持する支持具(縦型ウエハボート)に搭載した。また、この支持治具の上下端部には各々3枚づつダミーウエハを載置した。
前記支持治具は、図4に示したものと同等であり、シリコン製で3点支持式のものを用いた。なお、この支持治具は、ウエハを載置した前記プレート状治具の底面部を中心から半径の0.8倍の位置で該中心に対称に3点で支持するようにスリット(支持部材)が長く形成されている。
【0048】
上記サンプルウエハ載置プレート状治具を上記支持具に搭載した半導体ウエハ加熱処理用装置を用いてウエハの熱処理を行い、その際のスリップ発生状況の評価を実施した。
なお、熱処理は、700℃で炉入れした後、8℃/minで1000℃迄昇温し、その後、2℃/minで1200℃迄昇温、この1200℃の状態で1時間保持し、2℃/minで1000℃迄降温し、その後8℃/minで700℃迄降温し、炉出しするシーケンスで行った。なお、炉内に水素ガスを20l/minで流入させ、水素雰囲気とした。
上記熱処理後のサンプルウエハのスリップ発生状態を、X−線トポグラフィー(lang法)を用いて、測定評価した。なお、X−線ターゲットには、Moを用い、加速電圧55kV、電流290mAの操作条件で、25枚すべてについて測定を実施した。回折面はスリップ観察に最も適している400回折とした。
その評価結果を表1及び図11に示す。なお、いずれの場合もスリップの位置に多少の違いがあるが、25枚のほとんどが同様なスリップ発生状況であったため、その一例を図11に示した。
【0049】
「参考例2、3」
ウエハ載置面におけるウエハ周縁との接点位置から最深部までの高低差が140μm(参考例2)、200μm(参考例3)であり、周縁部厚さが1.3mm(参考例2)、1.5mm(参考例3)である以外は参考例1と同様に作製したプレート状治具を用い、参考例1と同様の縦型ウエハボート形式の支持具に、参考例1と同様にしてプレート状治具を載置し、参考例1と同様に熱処理した後、ウエハのスリップ発生状態を測定評価した。
その評価結果を表1及び図11に示す。
【0050】
「比較例1」
参考例1で使用したと同様のシリコン単結晶インゴットから切り出し、グラインダーによる研磨加工及びエッチング加工により、上、下面が互いに平行平面の円盤状ウエハ載置用プレート状治具(厚さ0.9mm、上面中心線平均粗さRa0.5μm)を製作し、これを参考例1と同様の支持具に、参考例1と同様にして載置し、参考例1と同様に熱処理した後、ウエハのスリップ発生状態を測定評価した。
その結果を表1及び図11に示す。
【0051】
「比較例2」
ウエハ載置面におけるウエハ周縁との接点位置から最深部までの高低差が220μm、周縁部厚さ1.7mmである以外は参考例1と同様に作製したプレート状治具を用い、参考例1と同様の支持具に、参考例1と同様に搭載し、同様に熱処理した後、ウエハのスリップ発生状態を測定評価した。その評価結果を表1及び図11に示す。
【0052】
「実施例1」
参考例1と同様のシリコン単結晶インゴットから、周縁が円形、中央部に最深部を有する凹曲面形状の上面を備え、該上面に平行する湾曲凹面状下面を有する凹曲面皿形形状のプレ−ト状治具を作製し、この治具をアンモニア水と過酸化水素からなる洗浄水を用いて洗浄した。
なお、該プレート状治具の上面(ウエハ載置面)の直径は303mm、ウエハ周縁との接点位置から最深部までの高低差は20μm、ウエハ載置面の中心線平均粗さRa0.5μm、厚さ1.0mmであった。
このプレート状治具を用い、参考例1と同様の支持具に、治具底面部を中心から半径の0.6倍の位置で対称3点支持した以外は実施例1と同様にして載置し、参考例1と同様に熱処理した後、ウエハのスリップ発生状態を測定評価した。 その評価結果を表1及び図11に示す。
【0053】
「実施例2、3」
高低差、厚さ、上面中心平均粗さRaが夫々表1に記載した値である以外は実施例1と同様の凹曲面皿形プレート状治具を作製し、これを実施例1と同様にしてウエハのスリップ発生状態を測定評価した。
その評価結果を表1及び図11に示す。
【0054】
「比較例3乃至7」
高低差、厚さ、上面中心線平均粗さRaが夫々表1に記載した値である以外は実施例1と同様の凹曲面皿形プレート状治具を作製し、縦型ウエハボート形式の治具搭載装置に、治具底面部を中心から夫々表1に記載した半径の倍数位置で支持した以外は実施例1と同様にして載置し(ただし、比較例5のみは4点対称支持)、実施例1と同様に熱処理した後、ウエハのスリップ発生状態を測定評価した。
その評価結果を表1及び図11に示す。
【0055】
「比較例8」
周縁部厚さ1.0mmである以外は実施例1と同様に作製したプレート状治具を用い、参考例1と同様の支持具に、治具底面部を中心から半径の0.6倍の位置で対称3点支持した以外は参考例1と同様にして載置し、参考例1と同様に熱処理した後、ウエハのスリップ発生状態を測定評価した。その評価結果を表1及び図11に示す。
【0056】
【表1】
【0057】
図11から明らかなように、参考例1〜3では、被処理ウエハ25枚中10〜13枚において、ウエハの周辺部に1〜2本のスリップが観察された。しかしながら、10mm以上のスリップはまったく観察されなかった。なお、残りの被処理ウエハのいずれにもスリップはまったく観察されなかった。
また、実施例1〜3では、25枚の被処理ウエハのすべてについて、スリップはまったく観察されなかった。
一方、比較例1〜5、7、8では、ウエハの周辺部において10mm以上のスリップが高密度に存在する部分が、数か所観察された。また比較例6ではウエハの略直径方向にへき開が観察された。
以上のように、実施例においては、特定形状のウエハ載置面を備え、これに被処理ウエハを載置して加熱処理するため、ウエハ内にスリップ等の欠陥の発生を防止でき、あるいは抑制できることが認められた。
【0058】
【発明の効果】
本発明のシリコン単結晶半導体ウエハ加熱処理用治具は、上述した特定形状のウエハ載置面を備え、これに被処理ウエハを載置して加熱処理するため、例え大口径のウエハを高温熱処理する場合においてもウエハ内にスリップ等の欠陥を発生させることがなく、良好な品質の半導体デバイスを安定して歩留まり良く製造することができる。
【図面の簡単な説明】
【図1】 図1は、本発明にかかる半導体ウエハ加熱処理用治具の一実施形態を示す斜視図である。
【図2】 図2は、図1の半導体ウエハ加熱処理用治具にウエハを載置した状態を示す図、(a)は加熱前の状態を示す断面図、(b)は加熱処理状態におけるウエハ状態を示す断面図である。
【図3】 図3は、半導体ウエハ加熱処理用治具の参考例を示す斜視図である。
【図4】 図4は、本発明にかかる半導体ウエハ加熱処理用装置を炉内に収容した状態を示した図である。
【図5】 図5は、本発明にかかる単数のプレート状治具(半導体ウエハ加熱処理用治具)を支持した枚葉式の、本発明にかかる半導体ウエハ加熱処理用装置を炉内に収容した態様を示す図であって、(a)は側面図、(b)は平面図である。
【図6】 図6は、半導体ウエハを支持する従来の縦型ウエハボ−トを示す図である。
【図7】 図7は、本発明のプレ−ト状治具(半導体ウエハ加熱処理用治具)を多段搭載支持する支持具を示した斜視図である。
【図8】 図8は、単数のプレート状治具をリング状の支持部材によって支持した枚葉式の、本発明にかかる半導体ウエハ加熱処理用装置を示す図9のA−A断面図である。
【図9】 図9は、図8に示す半導体ウエハ加熱処理用装置の平面図である。
【図10】 図10は、図8、図9に示したリング状の支持部材を馬蹄形状とした半導体ウエハ加熱処理用装置である。
【図11】 図11は、参考例・実施例・比較例における、熱処理後のサンプルウエハのx−線トポグラフによる状態観察図である。[0001]
BACKGROUND OF THE INVENTION
The present inventionSilicon single crystal Semiconductor wafer heat treatment jig and the sameSilicon single crystal More specifically, the semiconductor wafer heat treatment apparatus is formed in a specific shape.Silicon single crystal Plate-shaped having a semiconductor wafer mounting top surfaceSilicon single crystal Semiconductor wafer heat treatment jig and the sameSilicon single crystal The present invention relates to a semiconductor wafer heat treatment apparatus.
[0002]
[Prior art]
Semiconductor device manufacturing processes include various heat treatment processes such as oxidation, diffusion, and film formation, and a semiconductor wafer undergoes various heat treatment processes in these processes. Various semiconductor wafer heat treatment jigs are used in accordance with these processing modes, types of heating means to be used, and the like.
For example, in the case of a semiconductor wafer heat treatment process using a vertical heat treatment furnace, a plurality of semiconductor wafers such as a silicon single crystal wafer are mounted and held on a vertical multi-stage wafer holding jig, a so-called vertical wafer boat, and processed. The For example, as shown in FIG. 6, the vertical wafer boat has a plurality of rod-like support members 10 (usually three or three) each provided with a number of grooves (slits) 11 for placing the
[0003]
The
[0004]
In the case of a thin film vapor phase growth process on a wafer surface using an epitaxial growth apparatus or the like, for example, a semiconductor wafer is placed on a batch type or single wafer type susceptor made of a SiC-coated graphite base material, Processing is done.
[0005]
[Problems to be solved by the invention]
By the way, since the weight of the wafer concentrates on the support portion on the wafer to be processed placed on a semiconductor wafer heat treatment jig such as a vertical wafer boat, a stress caused by this is always applied. When this stress exceeds the critical shear stress, dislocation occurs in the wafer. This dislocation spreads to a macroscopic size due to the action of stress and becomes a slip. The occurrence of this slip greatly reduces the quality of the wafer.
[0006]
In general, the value of the critical shear stress decreases as the temperature increases. This means that the slip of the wafer is significantly more likely to occur in a high temperature atmosphere such as heat treatment than at normal temperature.
In particular, in recent years, with increasing integration of semiconductor devices, the diameter of wafers has been increasing in order to increase the device yield per wafer.
As a result, the weight of the wafer increases, and the stress acting on the wafer tends to increase accordingly, and slip is more likely to occur in the wafer.
[0007]
In addition to the reasons described above, the temperature difference between the wafer center and the periphery tends to increase especially when the temperature rises due to the increase in wafer size, and the thermal stress caused by this temperature difference. Is also one of the causes of the occurrence of the slip.
A so-called CZ-silicon wafer manufactured by the Czochralski method is typical as a base material of a semiconductor device. Among these CZ-silicon wafers, a low lattice having a low interstitial oxygen concentration [Oi] is particularly low. The interstitial oxygen concentration CZ-silicon wafer has a tendency that the generated slip tends to be large, and a large slip is generated during wafer processing such as heat treatment.
[0008]
In order to avoid such a decrease in wafer yield due to the occurrence of slip, the number of wafer support points in the semiconductor wafer heat treatment jig is increased, the support load per point is reduced, and It is conceivable to reduce the stress below the critical shear stress.
[0009]
However, even if the number of wafer support points in the semiconductor wafer heat treatment jig is increased, due to problems such as the horizontal accuracy between the support points, the wafer is actually spotted with at most about four fulcrums. In this way, stress concentration remains and the solution is not practically resolved.
[0010]
Therefore, a method of supporting the wafer on almost the entire surface thereof, that is, a method of placing and supporting the wafer on a circular plate having the same diameter and the same thickness as the wafer, for example, has been considered. This method is based on the basic concept of increasing support points as much as possible.
However, the actual plate surface has irregularities, and the wafer is supported only by the convex portions, and as a result, the object of completely suppressing the occurrence of slip cannot be achieved.
Also, as one means for solving this problem, the wafer mounting surface of the plate plate is finished by mirror polishing or the like until the unevenness of the surface is almost completely eliminated, and the wafer is mounted on the surface. A method is conceivable.
However, the wafer and the plate are in close contact with each other during the heat treatment, resulting in a new inconvenience that it is difficult to separate the wafer and the plate.
[0011]
In order to solve the above-mentioned problems in the conventional support jig such as a wafer boat, the present inventors have conducted intensive research on the optimum shape of the mounting surface for supporting the wafer on the surface. As will be described in detail, the present inventors have found that the above problem can be reliably solved by using a plate-shaped semiconductor wafer heat treatment jig having a wafer mounting surface formed in a specific shape, and based on this finding, the present invention has been completed. .
In addition, earnestly researched on the optimum form of the method (member) for mounting and supporting the plate-shaped semiconductor wafer heat treatment jig, and specifying the jig and the member supporting the jig as described in detail below. The present inventors have found that the above problems can be reliably solved by the semiconductor wafer heat treatment apparatus formed on the support structure, and have completed the present invention based on this finding.
[0012]
The present invention has a large diameter, for example.Silicon single crystal Even if it is a semiconductor wafer, without generating slip and a defect,Silicon single crystal Semiconductor wafers can be heated uniformlySilicon single crystal Semiconductor wafer heat treatment jig and the sameSilicon single crystal An object of the present invention is to provide a semiconductor wafer heat treatment apparatus.
[0013]
[Means for Solving the Problems]
The silicon single crystal semiconductor wafer heat treatment jig of the present invention is a plate-like silicon single crystal semiconductor wafer heat treatment jig for placing and heating a silicon single crystal semiconductor wafer on its upper surface.The entire silicon single crystal semiconductor wafer heat treatment jig is made of silicon, The upper surface has a circular peripheral edge with a diameter equal to or larger than the diameter of the silicon single crystal semiconductor wafer to be processed, and is formed in a concave curved surface shape having a deepest portion at the center portion,Said The lower surface facing the upper surface has a concave curved surface shape parallel to the upper surface,The silicon single crystal semiconductor wafer heat treatment jig Thickness is 1. 0 ~ 1.5mmR The concave curved surface shape has a radius of curvature r, a radius of the silicon single crystal semiconductor wafer to be processed b, and a height difference between a contact position with the peripheral edge of the silicon single crystal semiconductor wafer to be processed and a deepest portion at the center a Where r = (b2 + A2 ) / 2a and the difference in height a between the contact position of the wafer periphery and the deepest portion of the wafer when the silicon single crystal semiconductor wafer is bent is the difference between the peripheral edge portion and the central portion of the wafer. It is in the range of 20 μm to 500 μm supported by both, and the center line average roughness Ra in the contact portion with the silicon single crystal semiconductor wafer to be processed on the upper surface is in the range of 0.3 to 0.8 μm. .
[0015]
Where It is desirable that a plurality of through holes are provided on the wafer mounting surface of the plate-shaped jig, the diameter of the through holes is 3 mm to 10 mm, and the number of the through holes is 3 to 10 It is desirable to be individual.
[0016]
Also, Of the present inventionSilicon single crystal semiconductor Wafer heat treatment equipment is processedSilicon single crystal semiconductor Above with the wafer mountedSilicon single crystal Single or multiple semiconductor wafer heat treatment jigsdid, The processedSilicon single crystal semiconductor For heat treatment of wafersSilicon single crystal An apparatus for semiconductor wafer heat treatment, wherein the apparatus supports the jig in a radial direction from the center point of the lower surface of the jig at a distance of 0.6 to 0.8 times the radius. It is characterized by comprising a support member.
Where aboveSilicon single crystal The semiconductor wafer heat treatment apparatus preferably supports at least three points on the lower surface of the wafer placement jig.
It is particularly desirable that at least three points for supporting the plate-like jig on the bottom face are located at substantially equal intervals.
[0017]
Also, the aboveSilicon single crystal An apparatus for semiconductor wafer heat treatment includes a top plate, a bottom plate, and a connecting member for connecting and fixing the top and bottom plates at a predetermined interval.Silicon single crystal A plurality of the jigs on which semiconductor wafers are placed are mounted and supported in multiple upper and lower stages.Silicon single crystal An apparatus for heat treatment of a semiconductor wafer, wherein the support member is provided so as to protrude from the connecting member in multiple stages so that each of the jigs can be individually supported.Silicon single crystal Using a semiconductor wafer heat treatment jigSilicon single crystal An apparatus for semiconductor wafer heat treatment is preferable.
Also, the vertical wafer boat typeSilicon single crystal In particular, the connection member in the semiconductor wafer heat treatment apparatus is composed of three columnar members provided between the disk-shaped top and bottom plates, and the support member is protruded from each columnar member. preferable.
Furthermore, theSilicon single crystal A semiconductor wafer heat treatment apparatus holds the jig on which a wafer to be processed is placed and heats the jig.Silicon single crystal An apparatus for heat treatment of a semiconductor wafer, wherein the support member is formed to protrude on the upper surface of a flat substrate.Silicon single crystal A semiconductor wafer heat treatment apparatus, that is, a so-called susceptor for a batch type or single wafer type semiconductor wafer processing apparatus is desirable.
[0018]
According to the present inventionSilicon single crystal The plate-shaped jig for semiconductor wafer heat treatment is an optimal wafer mounting surface for supporting the wafer by a surface, that is, a concave curved surface shape having a diameter equal to or larger than the diameter of the mounting wafer and having a deepest portion at the center. And a wafer mounting plate having a specific wafer mounting surface that has a height difference from the contact position to the deepest part in the range of 20 to 500 μm. It is.
[0019]
For example, when a wafer is supported by a mounting surface having a specific concave curved surface such as a paraboloid shape or a concave spherical shape, the periphery of the wafer and the mounting surface first come into contact with each other.
Then, the placed wafer is bent by its own weight, and its central part slightly sinks to come into contact with the central part of the placing surface. As a result, the wafer is simultaneously supported by both the peripheral portion and the central portion of the mounting surface, and stress concentration can be reduced.
[0020]
In the case of the wafer support mode as described above, the wafer is supported over a wide range, so that no slip occurs.
That is, in the present invention, the mounting surface of the wafer mounting plate-shaped jig is formed in a concave curved surface shape, and the wafer peripheral surface contact between the central portion (deepest portion) of the wafer mounting surface and the peripheral portion of the mounting surface It is particularly important that the height difference from the position is in the range of 20 to 500 μm.
If this difference exceeds 500 μm, even if the wafer bends, the central portion of the wafer cannot reach the mounting surface, so that only the peripheral portion is supported, and slip is likely to occur from there. If the difference is less than 20 μm, only the central part of the wafer or a specific part of the wafer and the central part is supported, and slip occurs from there.
[0021]
In addition, the present inventionSilicon single crystal In the semiconductor wafer heat treatment jig, by setting the center line average roughness Ra (JIS B0601-1994) of the mounting surface of the plate-like jig in the range of 0.3 to 0.8 μm, the occurrence of the slip is caused. It can be prevented more reliably, and the wafer and the plate are not in close contact during the heat treatment, and the wafer can be easily peeled off. Further, by setting the roughness within this range, it is possible to prevent the wafer from being broken during peeling.
[0022]
Further, in the embodiment in which 3 to 10 through holes having a diameter of about 3 to 10 mm are arranged on the mounting surface of the plate-shaped jig, the gap between the mounting wafer and the plate is vacuum during the heat treatment. By being in the state, there is an advantage of preventing the close contact between the two.
[0023]
Further, in the case of a jig in which at least the mounting surface of the plate-shaped jig is made of silicon (Si), particularly when the mounting wafer is a silicon wafer, the wafer has physical properties such as thermal expansion coefficient and hardness. Since they are the same, the wafer is not damaged, and particularly in the case of single crystal silicon, the purity is high and there is no problem of contamination.
In addition, the lower surface opposite to the upper surface of the plate-shaped jig has a concave curved surface shape parallel to the upper surface, and the thickness of the plate material is in the range of 1.0 to 1.5 mm, In addition to the advantages, even when a wafer is placed on a plate and heated, it has sufficient support strength without causing deformation or the like. In particular, since the heat capacity is not excessive, heat transfer is fast and the temperature of the wafer can be raised uniformly during heating without causing temperature unevenness, so that the occurrence of slipping of the wafer due to temperature distortion can be suppressed.
On the other hand, in the case where the height difference on the upper surface of the plate jig is in the range of 20 μm to 200 μm and the lower surface is substantially flat, the height difference is relatively small (200 μm) due to non-uniformity of heat transfer. ) Must be suppressed.
[0024]
Still further, in the semiconductor wafer heat treatment apparatus which supports at least three points by the plate-shaped jig and the support member on the bottom surface thereof, the three support points are arranged in the radial direction from the center of the lower surface of the plate-shaped jig. The semiconductor wafer heat treatment apparatus located at a distance of 0.6 to 0.8 times the radius has an advantage of suppressing wave-like deformation at the outer peripheral portion of the mounting wafer, which has often occurred in the past.
When the radius is less than 0.6 times the radius in the radial direction from the center of the lower surface of the plate-shaped jig, the supporting portion becomes a projection, and only this portion is supported, and the wafer is likely to slip. On the other hand, if it exceeds 0.8 times the radius in the radial direction from the center of the lower surface of the plate-like jig, the plate will bend too much, and it will be supported mainly only at the periphery of the wafer, and slip will easily occur. Become.
In addition, when the semiconductor wafer heat treatment apparatus is of a so-called vertical wafer board type, wafer mounting plate jigs can be mounted in multiple stages, and defects such as slipping can be caused on many wafers at once. It can heat-process well, without producing. The plate-like jig can also be applied to a batch type or a single wafer type susceptor.
[0025]
Of the present inventionSilicon single crystal The plate-shaped jig for semiconductor wafer heat treatment can be effectively applied particularly to heat treatment of a low interstitial oxygen concentration silicon wafer, which is said to be prone to slip during heat treatment or the like.
[0026]
DETAILED DESCRIPTION OF THE INVENTION
Hereinafter, the present invention will be described in detail with reference to the drawings.
FIG. 1 is a perspective view exaggerating an embodiment of a plate-like jig according to the present invention. FIGS. 2 (a) and 2 (b) show the plate-like jig of FIG. It is the figure which showed the state which mounted the to-be-processed wafer, Comprising: (a) is sectional drawing which shows the state of the wafer immediately after mounting, (b) is sectional drawing which shows the state change of the wafer during heating. is there. FIG.It is a figure showing a reference example of a plate-shaped jig, It is the perspective view shown exaggerated.
FIG. 4 is a view showing a state in which a semiconductor wafer heat treatment apparatus according to the present invention in which a plate-shaped jig of the present invention on which a semiconductor wafer to be heat-treated is mounted is mounted and supported is housed in a furnace. is there.
FIGS. 5A and 5B show a single-wafer type semiconductor wafer heat treatment apparatus according to the present invention in which a single plate-like jig is supported by three support members and housed in a furnace. , (A) is a side view, and (b) is a plan view. FIG. 6 shows a conventional vertical wafer boat for supporting a semiconductor wafer. Further, FIG. 7 is a perspective view showing a support constituting the semiconductor wafer heat treatment apparatus according to the present invention, which supports the multi-stage mounting of the plate-shaped jig of the present invention, and FIG. 8 is a single plate-shaped jig. FIG. 9 is a cross-sectional view showing a semiconductor wafer heat treatment apparatus according to the present invention of a single wafer type in which a tool is supported by a ring-shaped support member, FIG. 9 is a plan view of the apparatus shown in FIG. 8, and FIG. It is the semiconductor wafer heat processing apparatus concerning this invention which made the member a horseshoe shape.
[0027]
As shown in FIGS. 1 and 2, the plate-shaped jig for semiconductor wafer heat treatment according to the present invention has a wafer mounting surface (upper surface) having a
[0028]
When the wafer to be processed is placed on this wafer placement surface, as shown in FIG. 2 (a), the
[0029]
When the wafer is heated in the heat treatment apparatus, it receives heat from both the lower surface side and the upper surface side. Since the amount of heat is usually slightly higher on the lower surface side, the peripheral portion of the wafer tends to warp upward although it is very slight due to the difference in thermal expansion. The support of the concave curved surface by the plate-
[0030]
The wafer mounting surface of the plate-
The shape of the wafer mounting surface is not particularly limited as long as it is a concave curved surface shape having the deepest portion at the center for the above purpose. For example, it may be formed in an arbitrary concave curved surface shape, but the concave curved surface may be a parabolic shape formed by rotating a parabola, a concave spherical shape formed by rotating a circle, or the like.
[0031]
As shown in FIG. 2A, a particularly preferable concave curved surface shape has a radius of curvature (r) of b, a radius of the mounting wafer, and a concave position of the mounting surface from the contact position with the mounting surface at the periphery of the wafer. When the height difference to the point is a,
r = (b2 + A2 ) / 2a
It is formed in a concave spherical shape having the following relationship.
[0032]
In the present invention, in the concave curved surface shape of the wafer mounting surface, the height difference from the contact position to the deepest part with respect to the peripheral edge of the mounting wafer is in the range of 20 to 500 μm, more preferably 50 to 350 μm. It is important to set.
When this height difference exceeds 500 μm, the center of the wafer does not reach the center which is the deepest part of the mounting surface, and only the periphery of the wafer is supported, which is the object of the present invention. Occurrence cannot be sufficiently prevented.
On the other hand, when the height difference is less than 20 μm, the warp during heating of the wafer may exceed the height difference, and only the central portion of the wafer or only the central portion and the peripheral local point is supported. The object of the present invention cannot be sufficiently achieved.
The wafer mounting surface has a radius of curvature r = (b2 + A2 ) When formed into a concave spherical shape having a relationship of / 2a, the wafer to be processed has a diameter of 12 inches (300 mm), and the radius of curvature is 56.25 to 562.5 m.
[0033]
The portion of the mounting surface (upper surface) of the plate-shaped jig according to the present invention that contacts the mounting wafer has a center line average roughness Ra (JIS B0601-1994) of 0.3 to 0 as its surface roughness. It is preferably formed in a range of 8 μm.
When the center line average roughness is less than 0.3 μm, the wafer and the mounting surface tend to be in close contact during the heat treatment, and it becomes difficult to peel the wafer from the plate-shaped jig.
When the center line average roughness exceeds 0.8 μm, the support at the wafer mounting surface contact portion supports only the convex points of the rough surface, which causes the occurrence of slip.
[0034]
Although not shown, 3 to 10 through holes having a diameter of 3 to 10 mm, particularly preferably 5 to 8 mm, particularly preferably 4 to 7 are provided on the wafer mounting surface of the plate-like jig of the present invention. It is preferable that they are distributed uniformly in the plane.
The plate-shaped jig having the above-described through-holes can prevent the close contact between the mounting wafer and the plate caused by a vacuum state during the heat treatment.
[0035]
When the hole diameter of the through
In addition, when the through holes are unevenly arranged on the wafer mounting surface, the strength of the plate-shaped jig is reduced, and the through holes are arranged in a manner in which three or more points are arranged on the same straight line in the radial direction of the wafer surface. Even if it is provided, the strength of the plate-shaped jig is similarly reduced.
This is because when the holes are arranged on the same straight line, the cross-sectional area becomes small in that region, and when the same force is applied, the cross-sectional area becomes small and the stress becomes large. Since the bending is proportional to the stress, it will be greatly bent under the above conditions.
[0036]
The shape of the plate-shaped jig used in the present invention other than the wafer mounting surface is not particularly limited as long as it can be mounted on the semiconductor wafer heat treatment apparatus of the present invention. You may set suitably according to the apparatus structure to mount.
As an outer shape of such a plate-shaped jig, for example, a concave curved dish-shaped (cup-shaped)
[0037]
From the viewpoint of uniformly heating and heating the wafer without temperature unevenness during the heat treatment, the component has an appropriate cross-sectional thickness t that is substantially equal throughout the entire plate, and has a cup-shaped (dish-shaped) plate that does not have an excessive heat capacity. The
In the case of a concave / planar jig (the jig shown in FIG. 3), there is a slight difference in the heat capacity due to the difference in thickness between the peripheral edge and the inner back of the jig. When this is placed and heat-treated, there may be some non-uniformity in the in-plane temperature distribution of the wafer.
For this reason, in the case of the concave / planar plate-shaped jig (the jig shown in FIG. 3), the concave curved surface shape on the upper surface of the jig is set so that the height between the contact position on the periphery of the mounted wafer and the deepest portion is high. The difference is 20 to 200 μm, and the height (thickness) of the peripheral edge of the jig is 1.2 to 1.5 mm, that is, the thickness of the jig central portion to prevent deformation. Is preferably 1 mm or more.
Further, as a material constituting the plate-like jig, materials usually used for this kind of jig, such as quartz glass, silicon carbide (SiC) coated silicon (Si) -impregnated silicon carbide, single crystal Examples thereof include silicon, polycrystalline silicon, and a CVD-SiC film material. Of these, silicon is preferable, and single crystal silicon is particularly preferable.
In particular, when the semiconductor wafer to be processed is a silicon wafer, at least the wafer mounting surface portion of the plate-
[0038]
The plate-shaped
When the thickness of the plate-shaped jig is less than 1.0 mm, when the plate-shaped
On the other hand, when the thickness exceeds 1.5 mm, the heat capacity of the plate-shaped jig increases, and the in-plane temperature of the wafer tends to become nonuniform.
When the plate jig is, for example, the concave /
[0039]
The plate-like jig on which the wafer to be processed is placed is supported by a support having a predetermined support member, constitutes the semiconductor wafer heat treatment apparatus of the present invention, and is accommodated in the apparatus.
In the present invention, the support for accommodating the plate-shaped jig is not particularly limited as long as it is a device provided with a support means for supporting the plate-shaped jig, and depends on the processing purpose of the wafer. May be selected as appropriate.
[0040]
For example, in the case of a processing apparatus such as an epitaxial growth apparatus, the wafer mounting
That is, three projecting
[0041]
On the other hand, in the case of a semiconductor wafer heat treatment apparatus having a support jig of a type in which a plurality of wafers such as a vertical wafer boat are mounted in multiple stages, for example, a plate-like jig as shown in FIG. The thing provided with the support means in multiple stages can be illustrated.
The vertical wafer boat-
[0042]
When the plate-shaped jig is supported by the plate support portion of the support, it is preferable that the bottom surface is supported at at least three points symmetrical to the center of the plate-shaped
By supporting the plate-shaped jig as described above, it is possible to suppress the occurrence of wave-like deformation at the outer peripheral portion of the wafer mounting plate in the conventional semiconductor wafer heat treatment jig.
[0043]
Further, as described above, the ring-shaped
The ring-shaped support member can also be applied to a single wafer heat treatment apparatus as shown in FIGS. That is, a ring-shaped
Further, as shown in FIGS. 10A and 10B, the support member may be formed in a horseshoe shape in which a part of the ring-shaped
[0044]
Further, as described above, the shape of the support member is not particularly limited. However, since the heat capacity of the support member with which the jig abuts is preferably as small as possible, the support member has a rod-like shape with a circular cross section. Preferably, the plate jig and the supporting member are preferably in point contact.
The number of supporting points may be three or more. However, in the case of the vertical boat type, it is necessary to increase the number of rod-shaped connecting members by that amount, and the cost is increased, so three is preferable. In the case of a single wafer type, three or more support points may be provided. However, because of the dimensional accuracy of the support member or the flat plate, the support is eventually three points, and three point support is preferable.
[0045]
A single crystal silicon wafer manufactured from a single crystal silicon ingot is a typical base material for semiconductor devices. Among these silicon wafers, a low lattice having a low interstitial oxygen concentration [Oi] is particularly low. Oxygen concentration CZ-silicon wafer (normally [Oi] concentration is 1.3 × 1018 atoms / cmThree (old ASTM) or the like) is known to have a tendency that slip particularly easily occurs during wafer processing such as heat treatment, and that the generated slip tends to increase.
The plate-shaped jig for heat treatment of a semiconductor wafer according to the present invention can be particularly effectively applied to heat treatment of such a low interstitial oxygen concentration CZ-silicon wafer.
[0046]
【Example】
"Reference example 1 "
After cutting out from the silicon single crystal ingot, by grinding and etching with a grinder, the peripheral edge is circular, the wafer has a concave spherical curved surface shape (upper surface) having a deepest portion at the center, and the lower surface is a flat surface. A plate-like jig having a concave / planar shape as shown in FIG. 1 was prepared, and this plate-like jig was cleaned using a cleaning water composed of ammonia water and hydrogen peroxide.
The diameter of the wafer mounting surface (upper surface) of the plate-shaped jig is 303 mm, the height difference from the contact position to the deepest part with the wafer periphery is 20 μm, the center line average roughness Ra of the wafer mounting surface is 0.5 μm, The peripheral edge thickness of the jig was 1.2 mm. Further, six through holes were formed on the wafer mounting surface at 60 ° intervals at positions 0.65 times the center and radius, that is, a total of seven through holes.
The following sample wafer was prepared and placed on the placement surface (upper surface) of the plate-like jig in the state shown in FIG.
As a sample wafer, a silicon single crystal wafer having a diameter of 300 mm, a plane orientation [100], a P type, and a resistance ρ = 9 to 14 Ω · cm was used.
In this sample wafer, the interstitial oxygen [Oi] concentration measured in advance by the infrared absorption method is 1.1 to 1.2 × 10.18 atoms / cmThree (old ASTM).
[0047]
Twenty-five plate-shaped jigs on which the sample wafers were placed were mounted on a support (vertical wafer boat) that supports the multi-stage in the vertical direction. Three dummy wafers were placed on the upper and lower ends of the support jig.
The support jig is equivalent to that shown in FIG. 4, and a three-point support type made of silicon was used. The support jig is a slit (support member) that supports the bottom surface of the plate-shaped jig on which the wafer is placed at three points symmetrically to the center at a position 0.8 times the radius from the center. Is formed long.
[0048]
The wafer was heat-treated using a semiconductor wafer heat treatment apparatus in which the sample wafer mounting plate-like jig was mounted on the support, and the occurrence of slip at that time was evaluated.
In the heat treatment, after heating in a furnace at 700 ° C., the temperature was raised to 1000 ° C. at 8 ° C./min, then raised to 1200 ° C. at 2 ° C./min, and kept at this 1200 ° C. for 1 hour. The temperature was lowered to 1000 ° C. at a rate of 1000 ° C./min, and then lowered to 700 ° C. at a rate of 8 ° C./min. In addition, hydrogen gas was flowed into the furnace at 20 l / min to form a hydrogen atmosphere.
The slip generation state of the sample wafer after the heat treatment was measured and evaluated using X-ray topography (the lang method). For the X-ray target, Mo was used, and measurement was performed on all 25 sheets under operating conditions of an acceleration voltage of 55 kV and a current of 290 mA. The diffraction surface was 400 diffraction most suitable for slip observation.
The evaluation results are shown in Table 1 and FIG. In each case, the slip position is slightly different, but most of the 25 sheets were in the same slip occurrence state, and an example thereof is shown in FIG.
[0049]
"Reference examples 2 and 3 "
The difference in height from the contact point with the wafer periphery on the wafer mounting surface to the deepest part is 140 μm (Reference example 2), 200 μm (Reference example 3) and the peripheral part thickness is 1.3 mm (Reference example 2), 1.5mm (Reference example Except 3)Reference example 1 Using a plate-shaped jig made in the same way asReference example 1 To the vertical wafer boat type support similar toReference example 1 Place the plate-shaped jig in the same way asReference example 1 After heat treatment in the same manner as described above, the state of slip occurrence of the wafer was measured and evaluated.
The evaluation results are shown in Table 1 and FIG.
[0050]
"Comparative Example 1"
Reference example 1 It is cut out from the same silicon single crystal ingot as used in the above, and a plate-like jig for mounting a disk-like wafer (thickness 0.9 mm, upper surface center line) whose upper and lower surfaces are parallel to each other by grinding and etching with a grinder Average roughness Ra 0.5μm)Reference example To the same support as 1,Reference example Placed in the same way as 1Reference example After heat treatment in the same manner as in No. 1, the state of slip occurrence of the wafer was measured and evaluated.
The results are shown in Table 1 and FIG.
[0051]
"Comparative Example 2"
Except that the height difference from the contact position to the deepest part on the wafer mounting surface to the deepest part is 220 μm and the peripheral part thickness is 1.7 mm.Reference example 1 Using a plate-shaped jig made in the same way asReference example To the same support as 1,Reference example The wafer was mounted in the same manner as in No. 1 and heat-treated in the same manner, and the slip generation state of the wafer was measured and evaluated. The evaluation results are shown in Table 1 and FIG.
[0052]
"Example1 "
Reference example A plate shape of a concave curved dish shape having a concave curved upper surface having a circular periphery and a deepest portion at the center, and having a curved concave concave lower surface parallel to the upper surface. A jig was prepared, and this jig was cleaned using cleaning water composed of ammonia water and hydrogen peroxide.
The diameter of the upper surface (wafer mounting surface) of the plate-shaped jig is 303 mm, the height difference from the contact position with the wafer periphery to the deepest part is 20 μm, the center line average roughness Ra of the wafer mounting surface is 0.5 μm, The thickness was 1.0 mm.
Using this plate jig,Reference example 1 Is mounted in the same manner as in Example 1 except that the bottom surface of the jig is supported at three symmetrical points at a position 0.6 times the radius from the center,Reference example After heat treatment in the same manner as in No. 1, the state of slip occurrence of the wafer was measured and evaluated. The evaluation results are shown in Table 1 and FIG.
[0053]
"Example2, 3 "
Except that the height difference, thickness, and top surface center average roughness Ra are the values described in Table 1, respectively.Example 1 Create a concave curved plate-shaped jig similar toExample 1 In the same manner as described above, the slip generation state of the wafer was measured and evaluated.
The evaluation results are shown in Table 1 and FIG.
[0054]
“Comparative Examples 3 to 7”
Except that the height difference, thickness, and top surface centerline average roughness Ra are the values described in Table 1, respectively.Example 1 Except that the bottom surface of the jig is supported at a multiple of the radius shown in Table 1 from the center on a vertical wafer boat type jig mounting device.Example 1 (However, only Comparative Example 5 supports 4-point symmetry)Example 1 After heat treatment in the same manner as described above, the state of slip occurrence of the wafer was measured and evaluated.
The evaluation results are shown in Table 1 and FIG.
[0055]
"Comparative Example 8"
A plate-shaped jig produced in the same manner as in Example 1 except that the peripheral edge thickness is 1.0 mm,Reference example 1 except that the bottom surface of the jig is supported by three symmetrical points at a position 0.6 times the radius from the center.Reference example 1 Placed in the same way asReference example 1 After heat treatment in the same manner as described above, the state of slip occurrence of the wafer was measured and evaluated. The evaluation results are shown in Table 1 and FIG.
[0056]
[Table 1]
[0057]
As is clear from FIG.Reference example In 1 to 3, 1 to 2 slips were observed in the peripheral part of the wafer in 10 to 13 out of 25 wafers to be processed. However, no slip of 10 mm or more was observed at all. Note that no slip was observed in any of the remaining wafers to be processed.
Also,Examples 1-3 Then, no slip was observed in all of the 25 processed wafers.
On the other hand, in Comparative Examples 1 to 5, 7, and 8, several portions where slips of 10 mm or more exist at high density in the peripheral portion of the wafer were observed. Further, in Comparative Example 6, cleavage was observed in the substantially diameter direction of the wafer.
As described above, in the embodiment, since a wafer mounting surface having a specific shape is provided, and the wafer to be processed is mounted on the surface and subjected to heat treatment, the occurrence of defects such as slips can be prevented or suppressed in the wafer. It was recognized that we could do it.
[0058]
【The invention's effect】
Of the present inventionSilicon single crystal semiconductor wafer The heat treatment jig is provided with the wafer mounting surface of the specific shape described above, and the wafer to be processed is placed on the wafer to be heat-treated, so that even when a large-diameter wafer is subjected to high-temperature heat treatment, it slips into the wafer. Therefore, a semiconductor device having a good quality can be manufactured stably and with a high yield.
[Brief description of the drawings]
FIG. 1 is a perspective view showing an embodiment of a semiconductor wafer heat treatment jig according to the present invention.
2 is a view showing a state where a wafer is placed on the semiconductor wafer heat treatment jig of FIG. 1, FIG. 2A is a cross-sectional view showing a state before heating, and FIG. 2B is a view showing a state in the heat treatment state; It is sectional drawing which shows a wafer state.
FIG. 3 shows a semiconductor wafer heat treatment jig.Reference example It is a perspective view.
FIG. 4 is a view showing a state in which a semiconductor wafer heat treatment apparatus according to the present invention is housed in a furnace.
FIG. 5 shows a single-wafer type semiconductor wafer heat treatment apparatus according to the present invention that supports a single plate-shaped jig (semiconductor wafer heat treatment jig) according to the present invention. It is a figure which shows the aspect which carried out, Comprising: (a) is a side view, (b) is a top view.
FIG. 6 is a view showing a conventional vertical wafer boat for supporting a semiconductor wafer.
FIG. 7 is a perspective view showing a support for mounting and supporting the plate-like jig (semiconductor wafer heat treatment jig) of the present invention in multiple stages.
8 is a cross-sectional view taken along the line AA of FIG. 9, showing a single wafer type semiconductor wafer heat treatment apparatus according to the present invention in which a single plate-shaped jig is supported by a ring-shaped support member. .
FIG. 9 is a plan view of the semiconductor wafer heat treatment apparatus shown in FIG. 8;
FIG. 10 is a semiconductor wafer heat treatment apparatus in which the ring-shaped support member shown in FIGS. 8 and 9 has a horseshoe shape.
FIG. 11 showsReference examples It is a state observation figure by the x-ray topograph of the sample wafer after heat processing in an example and a comparative example.
| Application Number | Priority Date | Filing Date | Title |
|---|---|---|---|
| JP7651599AJP4003906B2 (en) | 1999-03-19 | 1999-03-19 | Silicon single crystal semiconductor wafer heat treatment jig and silicon single crystal semiconductor wafer heat treatment apparatus using the same |
| Application Number | Priority Date | Filing Date | Title |
|---|---|---|---|
| JP7651599AJP4003906B2 (en) | 1999-03-19 | 1999-03-19 | Silicon single crystal semiconductor wafer heat treatment jig and silicon single crystal semiconductor wafer heat treatment apparatus using the same |
| Publication Number | Publication Date |
|---|---|
| JP2000269150A JP2000269150A (en) | 2000-09-29 |
| JP4003906B2true JP4003906B2 (en) | 2007-11-07 |
| Application Number | Title | Priority Date | Filing Date |
|---|---|---|---|
| JP7651599AExpired - LifetimeJP4003906B2 (en) | 1999-03-19 | 1999-03-19 | Silicon single crystal semiconductor wafer heat treatment jig and silicon single crystal semiconductor wafer heat treatment apparatus using the same |
| Country | Link |
|---|---|
| JP (1) | JP4003906B2 (en) |
| Publication number | Priority date | Publication date | Assignee | Title |
|---|---|---|---|---|
| JP2009060268A (en)* | 2007-08-30 | 2009-03-19 | Kyocera Corp | Mobile device |
| US7531050B2 (en) | 2002-09-19 | 2009-05-12 | Nec Tokin Corporation | Method for manufacturing bonded magnet and method for manufacturing magnetic device having bonded magnet |
| Publication number | Priority date | Publication date | Assignee | Title |
|---|---|---|---|---|
| JP3377996B1 (en)* | 2001-12-27 | 2003-02-17 | 東京エレクトロン株式会社 | Heat treatment boat and vertical heat treatment equipment |
| US6835039B2 (en)* | 2002-03-15 | 2004-12-28 | Asm International N.V. | Method and apparatus for batch processing of wafers in a furnace |
| JP4599816B2 (en)* | 2003-08-01 | 2010-12-15 | 信越半導体株式会社 | Manufacturing method of silicon epitaxial wafer |
| JP4534619B2 (en)* | 2004-06-21 | 2010-09-01 | 株式会社Sumco | Heat treatment jig for semiconductor silicon substrate |
| JP5211543B2 (en) | 2007-05-01 | 2013-06-12 | 信越半導体株式会社 | Wafer support jig, vertical heat treatment boat equipped with the same, and method for manufacturing wafer support jig |
| JP2010016183A (en)* | 2008-07-03 | 2010-01-21 | Sumco Corp | Vapor-deposition growth device, and method of manufacturing epitaxial wafer |
| DE102011123071B4 (en)* | 2010-10-20 | 2025-07-24 | Siltronic Ag | Heat-treated semiconductor wafer made of single-crystal silicon |
| CN103743239B (en)* | 2013-12-27 | 2015-05-20 | 深圳市华星光电技术有限公司 | Quartz clamping device and manufacturing method thereof and OLED high temperature furnace with quartz clamping device |
| JP7431487B2 (en)* | 2020-03-05 | 2024-02-15 | クアーズテック合同会社 | Vertical wafer boat and manufacturing method of vertical wafer boat |
| JP7361005B2 (en)* | 2020-09-18 | 2023-10-13 | 株式会社Kokusai Electric | Substrate processing equipment, substrate holder, semiconductor device manufacturing method, and program |
| Publication number | Priority date | Publication date | Assignee | Title |
|---|---|---|---|---|
| JPS5012971A (en)* | 1973-06-04 | 1975-02-10 | ||
| JPS5745932A (en)* | 1980-09-03 | 1982-03-16 | Hitachi Ltd | Heat treating device for wafer |
| JP3317781B2 (en)* | 1994-06-08 | 2002-08-26 | 東芝セラミックス株式会社 | Method of manufacturing susceptor for heat treatment of semiconductor wafer |
| JPH10209063A (en)* | 1997-01-27 | 1998-08-07 | Mitsubishi Materials Shilicon Corp | Quartz boat and manufacturing method of the same |
| JPH10321543A (en)* | 1997-05-20 | 1998-12-04 | Sumitomo Metal Ind Ltd | Wafer support and vertical boat |
| Publication number | Priority date | Publication date | Assignee | Title |
|---|---|---|---|---|
| US7531050B2 (en) | 2002-09-19 | 2009-05-12 | Nec Tokin Corporation | Method for manufacturing bonded magnet and method for manufacturing magnetic device having bonded magnet |
| JP2009060268A (en)* | 2007-08-30 | 2009-03-19 | Kyocera Corp | Mobile device |
| Publication number | Publication date |
|---|---|
| JP2000269150A (en) | 2000-09-29 |
| Publication | Publication Date | Title |
|---|---|---|
| US5074017A (en) | Susceptor | |
| KR100816180B1 (en) | Jig for heat treating semiconductor substrate and method for heat treating semiconductor substrate | |
| EP2165358B1 (en) | Susceptor for improving throughput and reducing wafer damage | |
| JP4669476B2 (en) | Holder for supporting wafers during semiconductor manufacturing | |
| KR100241207B1 (en) | Susceptor, apparatus of heat-treating semiconductor wafer, and method of heat-treating the same | |
| US20030209326A1 (en) | Process and system for heating semiconductor substrates in a processing chamber containing a susceptor | |
| US6709267B1 (en) | Substrate holder with deep annular groove to prevent edge heat loss | |
| CN1294617C (en) | Assembly comprising heat-distribution plate and edge support | |
| JP4003906B2 (en) | Silicon single crystal semiconductor wafer heat treatment jig and silicon single crystal semiconductor wafer heat treatment apparatus using the same | |
| US20070087299A1 (en) | Heat treatment jig for semiconductor silicon substrate | |
| JPH0758041A (en) | Susceptor | |
| JP6469046B2 (en) | Vertical wafer boat | |
| US11830724B2 (en) | Apparatus and method for manufacturing a wafer | |
| JP3317781B2 (en) | Method of manufacturing susceptor for heat treatment of semiconductor wafer | |
| JP4599816B2 (en) | Manufacturing method of silicon epitaxial wafer | |
| JP2004200436A (en) | Susceptor and manufacturing method thereof | |
| JP2002033284A (en) | Vertical CVD wafer holder | |
| WO2005124848A1 (en) | Heat treatment jig and semiconductor wafer heat treatment method | |
| JP2009182009A (en) | Vapor growth apparatus and vapor growth method | |
| JP2007036105A (en) | Silicon wafer susceptor | |
| JP4350438B2 (en) | Semiconductor heat treatment materials | |
| JP2024088405A (en) | Semiconductor processing materials | |
| TW202513910A (en) | SiC semiconductor device substrate, SiC bonding substrate, SiC polycrystalline substrate, and method for manufacturing SiC polycrystalline substrate | |
| JPH1167751A (en) | Method and device for manufacturing silicon wafer having protecting film | |
| JPH02186623A (en) | Susceptor |
| Date | Code | Title | Description |
|---|---|---|---|
| A131 | Notification of reasons for refusal | Free format text:JAPANESE INTERMEDIATE CODE: A131 Effective date:20051226 | |
| A521 | Written amendment | Free format text:JAPANESE INTERMEDIATE CODE: A523 Effective date:20060224 | |
| A02 | Decision of refusal | Free format text:JAPANESE INTERMEDIATE CODE: A02 Effective date:20061005 | |
| A521 | Written amendment | Free format text:JAPANESE INTERMEDIATE CODE: A523 Effective date:20061201 | |
| A911 | Transfer to examiner for re-examination before appeal (zenchi) | Free format text:JAPANESE INTERMEDIATE CODE: A911 Effective date:20070110 | |
| A131 | Notification of reasons for refusal | Free format text:JAPANESE INTERMEDIATE CODE: A131 Effective date:20070323 | |
| A521 | Written amendment | Free format text:JAPANESE INTERMEDIATE CODE: A523 Effective date:20070510 | |
| A711 | Notification of change in applicant | Free format text:JAPANESE INTERMEDIATE CODE: A712 Effective date:20070711 | |
| TRDD | Decision of grant or rejection written | ||
| A01 | Written decision to grant a patent or to grant a registration (utility model) | Free format text:JAPANESE INTERMEDIATE CODE: A01 Effective date:20070817 | |
| A61 | First payment of annual fees (during grant procedure) | Free format text:JAPANESE INTERMEDIATE CODE: A61 Effective date:20070817 | |
| R150 | Certificate of patent or registration of utility model | Free format text:JAPANESE INTERMEDIATE CODE: R150 | |
| FPAY | Renewal fee payment (event date is renewal date of database) | Free format text:PAYMENT UNTIL: 20100831 Year of fee payment:3 | |
| FPAY | Renewal fee payment (event date is renewal date of database) | Free format text:PAYMENT UNTIL: 20110831 Year of fee payment:4 | |
| FPAY | Renewal fee payment (event date is renewal date of database) | Free format text:PAYMENT UNTIL: 20110831 Year of fee payment:4 | |
| FPAY | Renewal fee payment (event date is renewal date of database) | Free format text:PAYMENT UNTIL: 20120831 Year of fee payment:5 | |
| FPAY | Renewal fee payment (event date is renewal date of database) | Free format text:PAYMENT UNTIL: 20120831 Year of fee payment:5 | |
| FPAY | Renewal fee payment (event date is renewal date of database) | Free format text:PAYMENT UNTIL: 20130831 Year of fee payment:6 | |
| S111 | Request for change of ownership or part of ownership | Free format text:JAPANESE INTERMEDIATE CODE: R313111 | |
| FPAY | Renewal fee payment (event date is renewal date of database) | Free format text:PAYMENT UNTIL: 20130831 Year of fee payment:6 | |
| R350 | Written notification of registration of transfer | Free format text:JAPANESE INTERMEDIATE CODE: R350 | |
| R250 | Receipt of annual fees | Free format text:JAPANESE INTERMEDIATE CODE: R250 | |
| R250 | Receipt of annual fees | Free format text:JAPANESE INTERMEDIATE CODE: R250 | |
| R250 | Receipt of annual fees | Free format text:JAPANESE INTERMEDIATE CODE: R250 | |
| R250 | Receipt of annual fees | Free format text:JAPANESE INTERMEDIATE CODE: R250 | |
| R250 | Receipt of annual fees | Free format text:JAPANESE INTERMEDIATE CODE: R250 | |
| EXPY | Cancellation because of completion of term |