






























【0001】
【発明の属する技術分野】
  本発明は、LED照明装置およびカード型LED照明光源に関する。より詳細には、複数のLEDが実装されたカード型LED照明光源を用いるLED照明装置と、このLED照明装置に好適に用いられるカード型LED照明光源とに関している。
【0002】
【従来の技術】
  照明器具や看板の光源として、従来から白熱電球、蛍光ランプ、高圧放電ランプなどが使用されている。これらの光源に変わる新しい照明光源として、LED照明光源の研究が進められている。このLED照明光源は、上記の光源と比べて寿命が長いという優れた利点があり、次世代の照明光源としての期待は大きい。しかし、1個のLED素子では、光束が小さいため、白熱電球、蛍光ランプと同程度の光束を得るためには、複数のLED素子を配置してLED照明光源を構成する必要がある。
【0003】
  以下、図面を参照しながら、従来のLED照明光源を説明する。
【0004】
  図1(a)および(b)は、従来のLED照明光源の構成を示し、図2(a)および(b)は、そのLED照明光源におけるLEDの断面構成を示している。
【0005】
  このLED照明光源は、図1(a)および(b)に示すように、基板21を備えており、その基板21の上に複数のLEDベアチップ22が実装されている。本明細書において、「LEDベアチップ」とは、基板21に実装する前の段階において、LEDが樹脂などによってモールドされていないものを意味するものとする。また、実装前の段階でLEDがモールドされており、発光部などが露出していない状態にあるLEDを「LED素子」と呼んで区別することにする。図1(a)に示す基板21の上には、LEDベアチップ22から出た光を透過する孔23aが開けられ板23が設けられている。一方、図1(b)に示す基板21の上には、LEDベアチップ22から出た光を透過する層状の樹脂24が形成されており、LEDベアチップ22は樹脂24で覆われている。
【0006】
  これらのLED照明光源では、図2(a)および(b)に示されるようにしてベアチップ状態のLEDベアチップ22が基板21の上に実装されている。LEDベアチップ22は、サファイアやSiC、GaAs、GaP等の素子基板31と、素子基板31上に形成された発光部とを有しており、発光部は、GaN系等のn型半導体層32、活性層33、およびp型半導体層34を積層することによって構成されている。n型半導体層32の電極32aおよびp型半導体層34の電極34aは、それぞれ、金製のワイヤ41および42によって基板21上の配線パターン21aと電気的に接続されている。なお、上記発光部の構成は一例に過ぎず、LEDは、量子井戸、プラッグ反射層、共振器構造などを備えていてもよい。
【0007】
  図1(a)および図2(a)に示される構成において、LEDベアチップ22で発生した光は、板23に設けられた孔(開口部)23bの内周面に相当する反射面23aで反射され、素子外へ出射する。板23の孔23bには、LEDベアチップ22とワイヤ41および42とをモールドするように樹脂24が充填されている。また、図1(b)および図2(b)に示される構成においては、LEDベアチップ22で発生した光はモールド樹脂24を介して素子外へ出射する。
【0008】
  LEDベアチップ22におけるn型半導体層32の電極32aとp型半導体層34の電極34aとの間に順方向のバイアス電圧を印加すると、電子および正孔が半導体層内に注入され、再結合する。この再結合により、活性層33で光が発生し、活性層33から光が出射される。LED照明光源では、基板上に実装された複数のLEDベアチップ22から出射された光を照明光として利用する。
【0009】
【発明が解決しようとする課題】
  しかしながら、上記構成のLED照明光源では、発光に伴ってLEDベアチップ22が多量の熱を発生する。発生した熱は、素子基板31を介して基板21から放散することが意図されている。しかし、このようなLED照明装置の実用化にあたっては、以下のような解決すべき課題が残っている。
【0010】
  上述したように、各LEDベアチップ22からの光束は小さいため、所望の明るさを得るためには、相当な数のLEDベアチップ22を基板21上に配列する必要がある。このため、多数のLEDベアチップ22を設けても基板のサイズが大型化しないように、実装するLEDベアチップ22の高密度化を図らなければならない。
【0011】
  また、各LEDベアチップ22の光束をできる限り増加させるために、照明以外の通常用途における電流(例えば20mA程度;0.3mm角のLEDベアチップを想定すると単位面積当たりの電流密度は約222.2[mA/mm2])よりも大きな電流(過電流:例えば40mA程度;前記に同じく単位面積当たりの電流密度は約444.4[mA/mm2])を各LEDベアチップ22に流す必要がある。各LEDベアチップ22に大きな電流を流した場合には、LEDベアチップ22からの発熱量が大きくなるため、LEDベアチップ22の温度(ベアチップ温度)が高温に上昇する。ベアチップ温度はLEDベアチップの寿命に大きな影響をもたらす。具体的には、ベアチップ温度が10℃上昇すると、LEDベアチップ22を組み込んだLED装置の寿命は半減するといわれている。
【0012】
  このため、一般にLEDの寿命は長いと考えられているが、LEDを照明用途に用いる場合は、その常識は通用しなくなる。また、発熱量の増加に伴ってベアチップ温度が高くなると、LEDベアチップ22の発光効率も低下するという問題もある。
【0013】
  以上の理由から、多数のLEDベアチップ22を高密度で実装したLED照明装置を実用化するには、従来以上に高い放熱性を実現し、ベアチップ温度を低く抑えなければならない。また、LEDベアチップ22から発する光をできる限り無駄なく照明光として使用できるように、光の利用効率を高くする必要もある。
【0014】
  このような課題を解決するため、従来から種々のLEDベアチップを集積したLED照明光源の提案がなされてはいるが、それらのすべての課題に十分に対応できるLED照明光源の出現は見られていない。
【0015】
  以下、図1(a)および(b)や図2(a)および(b)を参照しながら、従来のLED照明光源の問題を説明する。まず、LEDの連続した点灯により、集積された多数のLED基板の中央部が熱くなり、LED基板の周辺部との温度差が大きくなるという問題がある。例えば、図1(a)および図2(a)に示す構成は、LEDのドットマトリクスディスプレイに採用されている。LEDディスプレイでは、板23が各LEDの発光と非発光の部分のコントラストを上げるように機能する。ディスプレイの場合、全てのLEDが常に大出力で点灯状態になることはなく、発熱は大きな問題にならないが、照明装置として使用する場合には、全LEDが長時間点灯状態を維持するため、発熱の問題が顕在化する。
【0016】
  上記従来の構成例では、基板21および板23の材料に樹脂が用いられ、一体化される。このため、基板21および板23の各熱膨張率は略等しいが、通常の樹脂材料の熱伝導率は低く、熱がこもりやすくなるので、大出力で常時点灯される照明装置には適していない。
【0017】
  また、一体化される基板21と板23の基板中央部と周囲部には温度差があるため、材質の熱膨張率差により基板周囲部に大きな応力が発生する。照明装置にLEDを応用する場合、LEDの点灯・消灯を繰り返すたびに加熱による応力が発生するため、ついにはLEDの電極32aや電極34aの断線につながる。
【0018】
  更に、板23を個別に構成せずに、熱伝導率の高い基板材料と同程度の熱伝導率を示す材料を用いて板23に相当する厚さの部分を基板自身に形成し、その基板にLEDベアチップを実装する凹部を設けた場合でも、基板材料の熱伝導率に放熱と均熱化の能力が律則される。
【0019】
  また、上記の構成を採用した場合、基板自身を厚くする必要があることと、LEDベアチップ22が実装される基板を薄くすることができないことから、熱伝導率が高くとも、基板に熱が蓄積される。このため、照明装置のように、大きな電流で通電点灯状態が長時間連続すると、基板中央に実装されたLEDベアチップの温度が特に上昇し、基板中央と周囲との間で大きな温度差が発生する。従って、高い熱伝導率を有する基板材料の特性が活かせず、放熱の問題を解決できない。更に、基板表面に形成する凹部を大きくしなければ、LEDベアチップ22を実装し、かつ、LEDベアチップ22をワイヤボンドにより配線するスペースを確保できず、光学系が大型化してしまうという問題もある。更には、凹部内にLEDベアチップ22を実装することは各種ボンダーのキャピラリーやコレットのサイズの観点から、困難である。キャピラリーやコレットを凹部内に挿入可能とするには、凹部と光学系(光出射領域)のサイズを大きくすることが必要となる。
【0020】
  一方、図1(b)および図2(b)に示す構成によれば、モールド樹脂24が基板21の片面を覆うため、モールド樹脂24の硬化時に中央と周囲に硬化反応の時間差が生じ、樹脂内部に大きな残留応力が発生する。更に、LEDベアチップ22から発した光が、他のLEDベアチップ22によって吸収されるため(LEDによる自己吸収)、LED全体からの光取り出し効率が低下する。更に、モールド樹脂24は保熱材料として働くため、基板中央部と周囲部には温度差が発生し、材質の熱膨張率差に起因して基板周囲部にモールド樹脂24の応力が伝播する。
【0021】
  本発明は斯かる事情に鑑みてなされたものであり、これらのすべての課題(高密度化、放熱性、光利用効率)を同時に解決できるLED照明光源およびLED照明装置を提供することを目的とする。
【0022】
【課題を解決するための手段】
  本発明によるLED照明装置は、基板の片面にLEDが実装された着脱可能なLED照明光源に接続される少なくとも1つのコネクタと、前記コネクタを介して前記LED照明光源と電気的に接続される点灯回路とを備えている。
【0023】
  好ましい実施形態において、前記基板は、前記LEDが実装されている面に絶縁層および導電性配線パターンが設けられた金属ベース基板である。
【0024】
  好ましい実施形態において、前記LEDは、ベアチップ状態で前記基板に実装されている。
【0025】
  好ましい実施形態では、前記基板のうち前記LEDが実装されている基板面の一端側に給電電極が形成されており、前記基板において前記LEDが実装されている光出射領域の中心位置が前記基板の中心位置からずれている。
【0026】
  好ましい実施形態では、前記基板のうち前記LEDが実装されていない基板裏面と熱的に接触し、前記基板裏面から熱を受け取る熱伝導部材を備えている。
【0027】
  好ましい実施形態において、前記基板裏面と前記熱伝導部材との間の接触面積は、前記基板において前記LEDが実装されている光出射領域の面積に等しいか、それ以上である。
【0028】
  好ましい実施形態では、前記点灯回路に対して外部から電気エネルギーを供給するための給電ソケットを更に有している。
【0029】
  好ましい実施形態において、前記給電ソケットは、電球用口金である。
【0030】
  好ましい実施形態では、前記コネクタに接続された状態の前記LED照明光源から出た光を透過するカバーを備えている。このカバーは、光の反射、屈折、拡散を行うように種々の光学的特性を備えていてもよい。
【0031】
  好ましい実施形態では、前記LED照明光源の固定および取り外しが可能な受容部と、前記LEDが前記受容部から外れることを防止する脱落防止手段とを備えており、前記脱落防止手段は、人間の指によって前記受容部から前記LED照明光源を取り外すことが可能なように動作する。
【0032】
  好ましい実施形態において、前記基板のうち前記LEDが実装されている基板面の形状は略長方形であり、前記受容部は、前記LED照明光源をスライドさせるように案内するガイドを有しており、前記受容部に固定された前記LED照明光源は前記コネクタからの給電を受けるとともに、前記LED照明光源の前記基板裏面が前記受容部と熱的に接触する。
【0033】
  好ましい実施形態では、前記LED照明光源を前記受容部に固定する固定部を有する可動機構を備え、前記受容部に固定された前記LED照明光源は前記コネクタからの給電を受けるとともに、前記LED照明光源の前記基板裏面が前記受容部と熱的に接触する。
【0034】
  好ましい実施形態では、前記LED照明光源のLEDが実装されていない基板裏面と前記LEDとの間の熱抵抗が10℃/W以下である。
【0035】
  好ましい実施形態では、前記基板のうち前記LEDが実装されていない基板裏面からの熱を放熱させる手段を備えている。
【0036】
  本発明のLED照明光源は、金属ベース基板と、前記金属ベース基板の片面に実装された複数のLEDベアチップとを備えたLED照明光源であって、コネクタおよび点灯回路を備えた照明装置に着脱可能に支持され、かつ、前記金属ベース基板のうち前記LEDベアチップが実装されていない基板裏面が前記照明装置の一部に熱的に接触し、前記金属ベース基板のうち前記LEDベアチップが実装されている前記基板片面に給電端子が設けられている。
【0037】
  好ましい実施形態では、前記金属ベース基板のうち前記LEDベアチップが実装されている基板面に、各LEDベアチップを取り囲む孔の開いた光学反射板が設けられ、かつ、各LEDベアチップが封止されている。
【0038】
  好ましい実施形態では、前記光学反射板の前記孔に光学レンズが配置されている。
【0039】
  好ましい実施形態では、前記金属ベース基板と前記光学反射板との間に応力緩和手段が配置されている。
【0040】
  好ましい実施形態において、前記金属ベース基板の中心位置は、前記金属ベース基板において前記LEDベアチップが実装されている光出射領域の中心位置からずれている。
【0041】
  好ましい実施形態では、前記金属ベース基板のうち前記LEDベアチップが実装されていない基板裏面と前記LEDベアチップとの間の熱抵抗が10℃/W以下である。
【0042】
  好ましい実施形態において、前記金属ベース基板のうち前記LEDベアチップが実装されている基板面には絶縁層および導電性配線パターンが形成されており、前記絶縁層は、少なくとも無機フィラーおよび樹脂組成物を含むコンポジット材料から形成されている。
【0043】
  好ましい実施形態において、前記絶縁層は白色である。
【0044】
  好ましい実施形態では、絶縁層を介して積層された2層以上の配線層を備えており、前記絶縁層の所定位置において前記2層以上の配線層を相互接続する構造を有している。
【0045】
  好ましい実施形態において、前記複数のLEDベアチップの少なくとも一部は、フリップチップボンディングにより、前記金属ベース基板の配線パターンに接続されている。
【0046】
  好ましい実施形態では、前記LEDベアチップから出た光の少なくとも一部を受け、可視光を発する蛍光体が前記金属ベース基板上に設けられている。
【0047】
  本発明の装置は、上記いずれかのLED照明光源を給電するコネクタを備えている。
【0048】
  本発明による他のLED照明光源は、各々が素子基板上に発光部を有する複数のLEDベアチップが放熱基板上に設けられているLED照明光源であって、前記LEDベアチップは、前記発光部と前記放熱基板との距離が前記素子基板と前記放熱基板との距離よりも小さくなるようにして前記放熱基板上に設けられ、前記LEDベアチップの前記素子基板の光出射表面は、辺縁部が中央部に比べて低背になるような傾斜面状を形成している。
【0049】
  好ましい実施形態において、前記LEDベアチップは、前記放熱基板に直接フリップチップボンディングされている。
【0050】
  好ましい実施形態において、前記放熱基板は、コンポジット基板である。
【0051】
  好ましい実施形態では、前記LEDベアチップの各々を囲むように配置され、前記LEDベアチップからの光の方向を制御する光学反射板が前記放熱基板上に設けられている。
【0052】
【発明の実施の形態】
  本発明のLED照明装置は、着脱可能なカード型LED照明光源に電気的に接続されるコネクタと、このコネクタを介してカード型LED照明光源と電気的に接続される点灯回路とを備えており、カード型LED照明光源を装着することにより、照明光を放射することができる。カード型LED照明光源は、後に詳しく説明するように、複数のLEDが放熱性に優れた基板の片面に実装された構成を有している。
【0053】
  従来のLED照明光源について説明したように、多数のLED素子を基板上に高密度で実装し、かつ、各LED素子に大きな電流を流した場合、LEDの発熱量が過大なレベルに達し、LEDの寿命が短縮されるという問題があり、このことがLED照明装置の実用化を阻んでいた。
【0054】
  本発明では、照明装置の光源部分を着脱可能なカード状構造物によって構成し、各LEDで発生した熱をスムーズに放熱させる効果を高めるとともに、寿命の尽きた光源だけを新しい光源と取替え可能とすることにより、LED照明装置の光源以外の構造体を長期間使用できるようにしている。
【0055】
  放熱性向上の観点からは、LEDはベアチップとして基板の片面に実装されている方が好ましい。これは、LEDで発生した熱が基板に直接的に伝達され、より高い放熱性が発揮されるからである。
【0056】
  LEDおよび給電電極を基板の一主要面である片面に集中させることにより、その主要面と対をなす他面(裏面)を、広く放熱用の熱伝導面として機能させることが可能となる。このため、LED照明装置における熱伝導部材と接触する面積をLEDが実装されている光出射領域の面積に等しいか、それ以上とすることが可能となる。熱伝導を促進するには、LEDが実装されていない基板裏面を金属から形成することが好ましい。
【0057】
  カード型LED照明光源のサイズや給電電極の位置を規格化することにより、多様な照明装置におけるカード型LED照明光源の利用を可能とし、カード型LED照明光源の量産化によるコストダウンが可能となる。
【0058】
  給電電極のピッチは、電極間の絶縁性と他の機器の電極との整合の観点から、例えば、0.3、0.5、0.8、1.25、1.27、1.5、2.54mmに設定される。カード型LED照明光源の基板を大量生産する際には、大きな基板の原板を分割して多数のカード型LED照明光源の基板を作製することが好ましいが、切断には加工誤差が存在する。カード型LED照明光源が着脱されるLED照明装置のコネクタの寸法についても、機械的製造誤差が発生する。このため、電極間ピッチを小さくしすぎると、LED照明装置のコネクタ部で、給電電極どうしがショートする可能性がある。以上のことから、電極間ピッチは0.8mm以上の大きさに設定されることが好ましい。
【0059】
  また、LEDは高温において順方向電圧が低下するため、動作安定性の観点からは、定電圧駆動よりも定電流駆動を採用することが好ましい。定電流駆動を行う場合、カード型LED光源には定電流駆動のための駆動経路の数だけのグランドラインが必要となる。好ましくは、電気的に独立した複数のグランド給電電極が基板上に形成される。従って、このようなカード型LED照明光源に対応するLED照明装置においても、複数のグランド電極コネクタを設けることが好ましい。前記カード型LED光源に多数の給電電極を配置する場合、電極間ピッチは2mm以下に設定することが好ましく、1.25mm以下に設定することが更に好ましい。
【0060】
  後述するように、本発明のカード型LED光源およびLED照明装置を用い、青、緑(青緑)、黄(橙)、赤、白のLEDを個別に駆動することによって照明を行う場合は、各色のLEDについて2つの電極(計10個の電極)を設けることが好ましい。
【0061】
  本発明のカード型LED光源は、定電圧駆動のみならず定電流駆動に対応するように設計されても良いし、電気的に独立した多経路の駆動を行うようにしてもよい。これらの場合、カード型LED光源は、絶縁層を介して積層された2層以上の配線層を備え、前記2層以上の配線層を相互接続する構造を有することが望ましい。
【0062】
  2層以上の配線層を相互接続する構造としてビア構造を採用する場合、ビアの直径は、例えば100μmから350μmの間で任意に設定可能である。ビアの穴あけ誤差を考えると、カード型LED光源の給電電極の幅は、ビアの直径の2倍から3倍の大きさを有することが好ましく、例えば、200μm〜1050μmの大きさを有する。
【0063】
  給電電極の長さは、LED照明装置のコネクタがビアと直接接触することがないように設定されることが好ましい。故に、給電電極の長さは、例えば1mm以上に設定されることが好ましい。ただし、カード型LED光源を小型化するためには、給電電極の長さを5mm以下に抑えることが好ましい。
【0064】
  以下、図面を参照しながら、本発明によるLED照明装置の実施形態を最初に説明する。
【0065】
  (実施形態1)
  図3(a)は、本発明によるLED照明装置の一部を示す斜視図であり、着脱可能な複数のカード型LED照明光源10が嵌め込まれるヒートシンク19を示している。
【0066】
  カード型LED照明光源10は、ヒートシンク19の側面に設けられたスロットを通じて所定位置まで挿入される。ヒートシンク19は、装着されたカード型LED照明光源10の裏面と熱的に接触し、カード型LED照明光源10の基板裏面から熱を外部に放散する。
【0067】
  ヒートシンク19の中に挿入されたカード型LED照明光源10は、ヒートシンク19内に設けられているコネクタ(不図示)と電気的に接続される。カード型LED照明光源10は、このコネクタを介して不図示の点灯回路と電気的に接続される。なお、本明細書において、「コネクタ」の文言は、着脱可能な機構により、カード型LED照明光源との電気的接続を行う部材・部品を広くカバーするものとする。コネクタとしては、各種メモリカードなどが着脱される多様な構成を有するものが存在しているが、本発明では、それら既存のコネクタと略同様の構成を有するコネクタを採用することができる。
【0068】
  このようなヒートシンク19と点灯回路とを備えたLED照明装置は、薄型化が容易であるため、面光源として好適に利用される。また、複数のカード型LED照明光源10のいずれかが故障した場合、故障したカード型LED照明光源10をヒートシンク19から取り外し、新しい(故障または劣化していない)カード型LED照明光源10を装着すれば、照明装置としての使用を継続することができる。
【0069】
  本発明の好ましい実施形態では、特別の道具・器具を用いずにカード型LED照明光源10の着脱が簡単に行えるように、カード型LED照明光源10の表面に給電電極を設けており、カード型LED照明光源10をコネクタに接続するだけで給電電極とコネクタとの電気的接触および接続を実現できる。このようなカード型LED照明光源10の構造として好ましい具体例は、後に詳しく説明する。
【0070】
  上述したように、図3(a)の例では、ヒートシンク19がカード型LED照明光源10の基板裏面(LEDが実装されていない側)に熱的に接触する。従って、このヒートシンク19が、カード型LED照明光源の基板裏面から熱を受け取る熱伝導部材として機能するが、熱伝導部材としては、シリコングリースやゲルなどから形成した放熱シートを用いても良いし、これらの放熱シートとヒートシンクの組み合わせや、ヒートパイプやファンなどとの組み合わせを用いても良い。また、LED照明装置の筐体それ自体を熱伝導部材として用いても良い。
【0071】
  次に、図3(b)を参照する。
【0072】
  図3(b)に示すLED照明装置は、公知の白熱電球と置き換え可能な照明装置であり、カード型LED照明光源を着脱可能に支持するアダプタ20と、装着された状態のカード型LED照明光源を覆う光透過カバー20aとを備えている。アダプタ20の内部には不図示の点灯回路が設けられている。アダプタ20の下部には、外部から内部の点灯回路に電気エネルギーを供給するための給電ソケット(スクリューソケット)が設けられている。この給電ソケットの形状およびサイズは、通常の白熱電球に設けられた給電ソケットの形状およびサイズと等しい。このため、図3(b)のLED照明装置は、白熱電球がはめ込まれる既存の電気器具にそのまま装着されて使用され得る。なお、スクリュー型ソケットに代えて、ピン型ソケットを採用してもよい。
【0073】
  図3(b)に示されているLED照明装置のアダプタ20には、カード型LED照明光源10を挿入するためのスロットが設けられている。スロットの奥には、不図示のコネクタが配置されており、このコネクタを介してカード型LED照明光源10と点灯回路との電気的接続が行われる。なお、図示されている例では、アダプタ20にスロットが設けられ、このスロットを介してカード型LED照明光源10の着脱が行われるが、着脱の形式はこれに限定されない。スロットを設けないタイプの実施形態については、後に説明する。  上述のように、図3(b)のカード型LED照明光源10は、コネクタに対して簡単に抜き差しが行える機構を有しているため、照明器具との間で容易に取り外し交換が可能となる。このようにカード型LED照明光源10の取り外しが容易なため、以下に述べる利点がある。
【0074】
  まず、第1に、LEDの実装密度が異なるカード型LED照明光源10を差し替えることにより、発光光量が異なる照明器具を容易に提供できる。第2に、カード型LED照明光源10が短期間で劣化して光源としての寿命は短くなっても、通常の電球、蛍光灯の交換と同様に、カード型LED照明光源10のみを差し替えるだけで光源部のみの交換を行うことができる。
【0075】
  第3に、カード型LED照明光源10に実装されるLEDを、相関色温度が低い光色用または相関色温度が高い光色用や青、赤、緑、黄など個別の光色を有するものとすることができる。このようなカード型LED照明光源10から適切なものを選択すれば、対応するLED照明装置に装着すれば、LED照明装置の発光光色を切り替えや制御することができる。
【0076】
  更に、多発光色(2種以上の光色)のLEDをカード型LED照明光源10に実装することにより、相関色温度が低い光色から相関色温度が高い光色まで、1枚のカード型のカード型LED照明光源10によって発光光色を制御できる。この場合、2種の光色を用いた2波長タイプのときには演色性は低いが高効率な光源が実現可能であり、相関色温度が低いときには赤と青緑(緑)発光の組合せ、相関色温度が高いときには青と黄(橙)発光の組合せを採用することが望ましい。なお、青と赤との発光のLEDの組合せに青で励起されこの中間の波長に発光ピークのある蛍光体(例えば、YAG蛍光体など)を加えた場合は、高効率かつ平均演色評価数が80以上の光源を実現できる。更に、3種の光色を用いた3波長タイプの場合は青と青緑(緑)と赤発光の組合せ、4種の光色を用いた4波長タイプの場合は青と青緑(緑)と黄(橙)と赤発光の組合せが望ましく、特に4波長タイプのときには平均演色評価数が90を超える高演色な光源を実現できる。なお、実装されるLEDベアチップが単色または紫外線を放射する場合や、LEDベアチップで蛍光体や燐光材を励起することによって白色発光する場合にも本発明を適用できる。また、蛍光体や燐光材を基板に含有させてもよい。更に、青発光のLEDと青色光で励起される蛍光体や燐光材と赤発光LEDを組み合わせ、高効率・高演色を同時に満足させることもできる。
【0077】
  上述のカード型LED照明光源10は、正方形のカード型形状を有しているが、本発明は、これに限定されない。給電用の電極(給電電極)は、カード型LED照明光源10の基板上において、LEDが配列されている領域の周辺部に形成されることが好ましい。より望ましい態様では、基板周辺の一端(一辺)の近傍に複数の給電電極が配列される。給電電極の数が多い場合、基板の一辺を長くした長方形状を採用してもよい。この場合、LEDのクラスター中心(LEDが配列された光出射領域の中心)と基板の中心とがずれるため、曲げストレスが光学系を有する光出射領域の中心に加わらないため、曲げストレスに強くなる。また、長方形形状の角を丸めることで人間の指でカード型LEDを取り出す際に基板角部でLED照明器具をスクラッチしてしまう可能性を減らすことができる。
【0078】
  なお、基板の一部に切り欠き、マーク、または凹凸を設けることによってカード型LED照明光源10の方向を明確にしてもよい。こうすれば、カード型LED照明光源10を照明装置に装着するとき、照明装置に対するカード型LED照明光源10の位置決めを正確かつ容易に行うことができる。
【0079】
  上記の例では、カード型LED照明光源上に給電電極を設け、コネクタ電極と接続する構成を採用しているが、以下のような構成を採用することも可能である。
【0080】
  構成例1.面実装型のケーブルコネクタ部品をカード型LED照明光源の電極上に実装し、カード形LED照明光源自体に給電ケーブルをぬきさしできるようにする。
【0081】
  構成例2.カード型LED光源に直接給電ケーブルを接合し、カード形LED光源に接合されていない一端でケーブルを抜き挿しできるようにする。
【0082】
  以上の構成を採用する場合、給電ケーブルはフレキシビリティを有するフラットケーブルであることが好ましい。
【0083】
  (実施形態2)
  次に、本発明によるカード型LED照明光源の実施形態を説明する。
【0084】
  図4(a)および(b)は、本実施形態におけるカード型LED照明光源の構成を示している。本実施形態のカード型LED照明光源は、図3の照明装置に対して好適に用いられる。
【0085】
  本実施形態のカード型LED照明光源では、図4(a)に示すように、放熱基板1の片面に複数のLEDベアチップ2が実装されている。図の例では、LEDベアチップ2が行および列からなるマトリクス状に配列されているが、本発明はこれに限定されず、LEDベアチップ2の配列パターンは任意である。
【0086】
  LEDベアチップ2が実装された放熱基板1に対して、更に、図4(a)の光学反射板3が組み合わせられ、図4(b)に示すカード型LED照明光源が構成されている。光学反射板3には、放熱基板1上に配列されたLEDベアチップ2に対応する開口部(孔)3bが形成されている。このため、光学反射板3の開口部3bを介してLEDベアチップ2からの光が外部に取り出される。なお、光学反射板の開口部(孔)は、光取り出し効率を高めるため、放熱基板側よりも放熱基板と反対側の光出射部で径が大きくなるようにすることが好ましい。
【0087】
  本実施形態では、カード型LED照明光源の放熱基板1として、高い熱伝導率(3.2W/(m・K)程度)を有するアルミナコンポジット基板を用いている。アルミナコンポジット製の放熱基板1は、ベースとなる金属板(厚さ:例えば0.5〜3.0μm)と、金属板上に設けられた絶縁層とを備えた金属ベース基板である。基板厚さは、熱によるそりや曲げ強度の観点からは0.7mm以上であることが好ましく、基板の切り出しの観点からは2.0mm以下であることが好ましい。放熱性を高めるという観点から、カード型LED照明光源のLEDベアチップが実装されていない基板裏面と、LEDベアチップとの間の熱抵抗が10℃/W以下に設定されることが好ましい。
【0088】
  次に、図5(a)および(b)参照しながら、カード型LED照明光源の断面構成を詳細に説明する。図5(a)は、絶縁層を単層構成(絶縁層1c)とした例の一部断面を示し、図5(b)は絶縁層1cを複層(絶縁層1cおよび1eの2層)構成とした他の例の一部断面を示している。
【0089】
  図5(a)および(b)からわかるように、本実施形態の放熱基板1は、金属板1bと、金属板1b上に貼り付けられた絶縁層1c(および絶縁層1e)とを備えている。絶縁層1c、1eは、無機フィラーおよび樹脂組成物を含むコンポジット材料から形成されていることが好ましく、絶縁層1c、1eの厚さは、合計で、例えば100〜400μmに設定される。図5(b)は、絶縁層の2層化の一例を示しているが、更なる多層化も可能である。
【0090】
  無機フィラーとしては、Al2O3、MgO、BN、SiO2、SiC、Si3N4およびAlNから選ばれた少なくとも一種類のフィラーを用いることが好ましい。充填率および熱伝導性を高めるという観点から、無機フィラーの粒形は球状であることが好ましい。無機フィラーが分散される樹脂組成物は、エポキシ樹脂、フェノール樹脂、シアネート樹脂から選ばれた少なくとも一種類を含み、更には、前記無機フィラー70〜95重量%と前記樹脂組成物5〜30重量%の混合から形成されることが好ましい。
【0091】
  金属板1bは、放熱基板1の機械的強度を保つとともに、放熱基板1の均熱化に寄与する。また、金属板1bは、裏面が平坦であるため、図示されていないヒートシンク部材などの熱伝導性に優れた部材と熱的に接触することにより、高い放熱効果を実現することができる。
【0092】
  他の実施例としては放熱基板1のベースメタルである金属板1bの真上の絶縁層1eについて上記の構成を持つものの代わりに、コンポジット材料よりも熱伝導率が低い低温焼成ガラス・セラミック基板を用いても良い。また、より高価であるが、熱伝導率が高いセラミック基板、ホーロー基板、窒化アルミニウム基板、酸化ベリリウム基板などを機材として用いてもよい。ただ、放熱性と機械強度を考えると、金属板を放熱基板1のベースメタルとして用いることが最も好ましい。この絶縁層として上記のセラミックス基板などの基板を選択し、金属板に貼り付けても良い。この場合、金属板に貼り付ける絶縁性基板の厚さは薄く、かつ、貼り付け可能なだけの強度を有することが好ましく、例えば80μm〜1000μmの範囲に設定される。こうして、材質や組成の異なる絶縁層をベースメタル上に積層することも可能になる。
【0093】
  放熱基板1上には、配線パターン1a(および1d)が形成されており、この配線パターン1a(および1d)は、コンポジット材料から形成された絶縁層1c(および1e)により、金属板1bから電気的に絶縁されている。
【0094】
  図5(b)の例では、1層目の絶縁層1cに形成したビア1fを介して、2層目の絶縁層1c上に形成された配線パターン1aと2層目の絶縁層1e上に形成された配線パターン1dとが電気的に接続されている。
【0095】
  図5(a)に示す放熱基板1では、多色(例えば2〜4色)発光のために複数のLEDを同一基板上に並べた場合、発光色毎に、図6(a)および(b)に示すような単純な直並列接続かラダー接続を採用することになる。このようなラダー形の接続を採用することにより、LEDの電流電圧特性のバラツキを抑えながら点灯させることができる。また、1つのLEDが断線した場合、図6(a)の回路では、その断線したLEDと直列に接続する全てのLEDが不点灯になるが、図6(b)の回路ではその断線したLEDのみが不点灯になるだけである。これに対して、図5(b)のような多層構成の放熱基板1によれば、図15に示すような電気的に異なる系のLEDを隣接させる配置が可能となり、回路系事に不点や輝度ばらつきを更に感じにくくすることができる。また、多色のLEDの混光にも有利となる。ラダー形の接続が可能となる。
【0096】
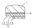
  本実施形態では、ベアチップ状態のLED(「LEDベアチップ」)2を放熱基板1の上に直接搭載している。このLEDベアチップ2は、図5(a)、(b)に示すように、サファイアからなる素子基板11上に発光部15を備えており、発光部15は、GaN系のn型半導体層12、活性層13、およびp型半導体層14が積層された構造を有している。
【0097】
  本実施形態では、図1に示す従来例とは異なり、素子基板11よりも発光部15を放熱基板1に近い側に向けてLEDベアチップ2を実装している。つまり、フリップチップボンディングにより、p型半導体層14の電極14aが放熱基板1の配線パターン1a上に直接接続されている。n型半導体層12の電極12aもワイヤを介さずに放熱基板1の配線パターン1aにバンプ16により接続されている。なお、電極12aおよび電極14aがいずれも各種のバンプ接合されることも可能であり、配線パターン1aに金属接合されるLEDベアチップ2のこれらの電極12a、14aの面積が大きくなればなるほど、放熱には有利となる。この点からも、素子基板11側から光を取り出し、発光部15側に大きな金属コンタクト面積を取れる本実施形態の構成が有利である。
【0098】
  各LEDベアチップ2のサイズは、LEDベアチップの現状を考えた場合、縦および横が250〜350μm程度、厚さが90〜350μm程度とすることが現実的であるが、本発明はこれに限定されるものではない。
【0099】
  本実施形態のように、フリップチップ接続によってLEDベアチップ2を配線パターンと接続し、LEDベアチップ2を縦および横1mm程度またはそれ以上に大きくし、1個のLEDベアチップ2から取り出す光量を増加させる際にいくつかの利点が生じる。
【0100】
  LEDベアチップが500μm以上に大型化した場合、電極と接合されて給電されるp型半導体、n型半導体の抵抗およびその電流密度分布が原因となって、電極近傍では強く発光するが電極から遠いところでは発光が弱くなるという問題がある。本発明のように大型のLEDベアチップをフリップチップ構成として、そのLEDベアチップの電極を素子面積の50%以上に大型化することにより、この問題は解決できる。この解決は、LEDベアチップの光とり出し面と給電面とが反対側になっている本発明の特有の構成から生じるものである。なお、LEDベアチップの電極をp型、n型の一対にするのではなくて多数にすることにより、LEDベアチップ内の電流密度ムラを抑えることも可能である。この多数対の構成を従来のワイヤボンディングにて行う場合には、ワイヤの取り回しが長くなる、ワイヤボンディングの回数が増加する等の問題がある。
【0101】
  なお、本実施形態では、素子基板11つまりLEDベアチップの基板の表面(光出射側表面)が完全な平面ではなく、中央部が高くて周縁部に向かって低くなる形状(一例としてドーム状)をなしている。
【0102】
  LEDベアチップ2で発生した光の進行方向を制御する反射面3aを各LEDベアチップ2を取り囲む位置に有し、各LEDベアチップ2の設置位置には孔3bが開いている金属(アルミニウム)製の光学反射板3が、放熱基板1に設けられている。そして、この孔3bには、LEDベアチップ2をモールドするように樹脂4(エポキシ、レジン、シリコーン、またはこれらの組み合せ)が充填されている。この充填された樹脂4は、レンズとして機能する。
【0103】
  このような構成により、電極12a、電極14a間に順方向のバイアス電圧を印加させた場合、n型半導体層12に注入された電子とp型半導体層14に注入された正孔との再結合によって、活性層13から光が出射され、この出射光を照明として利用する。また、図5(a)、(b)の横方向に出射された光を光学反射板3の反射面3aにて上方に反射させて光利用効率の向上を図っている。
【0104】
  本実施形態の場合でも、LEDベアチップ2の発光動作に伴って多量の熱が発生するが、この発生した熱は、発光部15から直に放熱基板1へ放散される。また同時に、金属製の光学反射板3は、放熱基板1の均熱化にも寄与し、放熱基板1中央部への熱集中を抑制する効果も果たす。
【0105】
  本実施形態のLEDベアチップ2は、例えば、次のような工程により作製される。
【0106】
  まず、直径2インチ程度のサファイア基板上に、GaN系のn型半導体層、活性層およびp型半導体層を例えばCVD法により順次積層形成し、更に電極12a、14aを形成して半導体ウェハを製造する。そして、製造した半導体ウェハにサンドブラスト処理とダイシング処理とを組み合わせて各LEDベアチップ2を作製する。
【0107】
  サファイア基板側を上にした半導体ウェハに細かいセラミック粒または金属粒を吹き付けて、素子毎の分離溝をサファイア基板側から形成した後、その分離溝を更にダイシングして複数のLEDベアチップ2に切り分ける。このようにすることにより、素子基板11の光出射側表面がドーム状をなした複数のLEDベアチップ2を作製する。ここで、吹き付けるセラミック粒または金属粒の流量、流速を制御することにより、素子基板11の表面形状を制御できる。この他、ダイシング用ブレードの刃の形の異なるものを組み合わせ、まず傾斜部を切削形成してから、別の刃型を有するダイシング用ブレードで完全に個別に切り分けることでも実現可能である。
【0108】
  本実施形態では、従来のLEDベアチップの上下に電極を構成した場合と異なり、フリップチップ構成を採用するとともに、LEDベアチップの上面が下面より小さくなっている。このため、上述した加工を行う際に、上面電極の大きさや損傷を気にする必要がなくなる。また、LEDベアチップの上面にワイヤがないため、ワイヤによる放射のけられ(妨害)をなくすことができ、ワイヤによる配光の乱れや光出力の低下を避けることができる。
【0109】
  本実施例ではサファイア基板を例にとったが、SiC基板やGaN基板などを用いも良い。重要な点は、可視光に限らず、LEDが輻射する光を透過する基板を用いれば良い。
また、LEDベアチップを従来のスルーホール素子(砲弾形素子など)や面実装素子(SMD(サーフェス・マウント・デバイス)やチップ型素子など)などの素子に組み込んで用いてもよい。
【0110】
  このようにして作製した複数のLEDベアチップ2を、放熱基板1の配線パターン1a、1aに電極12a、14aを接続させて、マトリクス状に放熱基板1上に配設する。そして、光学反射板3を被せた後に、樹脂4にて各LEDベアチップ2をモールドする。なお、この光学反射板3の孔3bに樹脂4を封入する際に、印刷手法での樹脂封止を行うようにする場合には、一度に大量の樹脂レンズの形成が可能であって、量産効果を高くできる。
【0111】
  本発明のカード型LED照明光源では、発光部15を放熱基板1側にして各LEDベアチップ2を設けているので、図1に示す従来例に見られるような給電用のワイヤを設ける必要がなく、ワイヤボンディングに要する領域も不要となるので、隣り合って設置されるLEDベアチップ2、2の間隔を狭くでき、LEDベアチップ2の高集積化を図ることができる。なお、この点は発光色の異なる多数のLEDベアチップ2(またはベアチップ)を使用しての混光にも有利である。
【0112】
  また、発光部15にて発生した熱は、熱伝導率が高い放熱基板1を介して外部に効率良く放散される。この際、各LEDベアチップ2では熱を発生する発光部15が放熱基板1に直接接続されているので、図1に示した従来例のように素子基板を介して熱が放散されるのではなく、発光部15にて発生した熱が直接放熱基板1を介して外部に放散されることになり、その放熱性は優れている。よって、放熱性に優れていて、多量の熱が発生してもその発生した熱を容易に放散させてLEDベアチップ2の温度上昇を抑制することができるため、各LEDベアチップ2に強い電流を流すことができ、大きい光束を得ることが可能となる。
【0113】
  なお、LEDベアチップ2の素子基板11(サファイア)の屈折率と、樹脂4(エポキシ樹脂またはシリコーン樹脂)の屈折率とは異なるので、素子基板11の光出射側表面において、発光部15から発せられた光の一部は各々の屈折率の差によって全反射する。この全反射された光はLEDベアチップ2側に進むので、照明用としては寄与しない。従って、生じた光を有効に利用するためには、この全反射をできる限り抑制することが必要である。
【0114】
  本実施形態では、各LEDベアチップ2の素子基板11の光出射側表面の形状を、発光面に対して水平ではなくドーム状に加工成形している。こうすることにより、発光部15から発せられた光の全反射の割合を低くするようにしている。図7(a)は、光出射側表面がドーム状をなす本発明における光の進路を示す図であり、図7(b)は光出射側表面が水平面をなす比較例における光の進路を示す図である。
【0115】
  光出射側表面が水平面をなす場合に、その周縁部にあっては入射角が大きくなって臨界角に達する光(図7(b)のB)の割合も多くなり、全反射が起こり易くなる。これに対して、光出射側表面がドーム状をなす場合では、その周縁部にあっても光の入射角が臨界角に達する割合は少なくなり、発光部15から発せられた大部分の光(図7(a)のA)は全反射されることなく外部に出射される。
【0116】
  素子基板11の光出射側表面の形状をドーム状に加工成形したLEDベアチップ2(本発明例)と、素子基板11の光出射側表面が水平形状であるLEDベアチップ2(比較例)とにおける光の出射光束のシミュレーション結果を図8(a)、(b)に示す。図8(a)、(b)を比較すると、本発明例では比較例に比べて照明光として寄与できる上方への光束が増大しており、光の外部取り出しを有効に行えていることがわかる。本発明者の測定によれば、本発明例では比較例に比べて光取り出し効率を1.6倍に向上できている。
【0117】
  このように、本発明のカード型LED照明光源では、素子基板11の光出射側表面をドーム形状としたので、発生した光を外部へ無駄なく取り出すことができ、発生光における照明光への利用効率を非常に高くすることが可能となる。
【0118】
  なお、上述した例では、素子基板11の光出射側表面の形状をドーム状としたが、全反射が起こりにくいような形状(中央部が高くて周縁部が低くなるような傾斜面状)であれば、任意の形状に設定することができる。例えば、図9(a)に示すように上記例と逆であって発光部15側に凸状に傾斜面が形成された形状、図9(b)に示すような傾斜角が一定である傾斜面(テーパ面)が形成された
形状を用いるようにしても良い。
【0119】
  ただし、傾斜面が曲面でなく、平面または多面体である場合は、この効果が低下する。傾斜面はドーム状が好ましく、この場合にはLEDベアチップ2自体にレンズが形成された効果を生じる。LEDベアチップ2自体がレンズ効果を有するため、LEDベアチップ2自体の配光がレンズ前面に集中し、LEDベアチップ2側方に出射される光量が低下する。これにより、LEDベアチップ2が組み込まれる光学系の迷光成分が減少し、その結果、カード型LED照明光源全体としての光利用効率が向上する。
【0120】
  上述した例では、GaN系半導体層/サファイア素子基板構成で青色光を発するLEDベアチップ2を用いた青色光のカード型LED照明光源について説明したが、他の赤色光を発するLEDベアチップ、緑色光を発するLEDベアチップまたは黄色光を発するLEDベアチップを用いるカード型LED照明光源であっても、本発明を同様に適用できることは勿論である。また、これらの4種のLED素子を混在配置させ、それらの発色光を配光制御して白色光や可変色光を提供する白色カード型LED照明光源でも、本発明が適用可能であることは勿論である。
【0121】
  他の実施の形態としては、青色発光、緑(青緑)色発光を示すSiC基板、GaN基板などの異なる素子基板上に構成したGaN系のLEDが存在するが、この場合には素子基板自体が導電性を有するため、図5(a)および(b)における活性層13を挟んだn型、p型半導体層12、14に電極を形成する他に、一方の電極を素子基板自体とする構成も可能である。
【0122】
  この他、黄(橙)色、赤色の発光を示すAlInGaP系のLEDベアチップ(素子)の場合には、素子基板としてこれらの発光色に対して透過率が高いGaP基板を使用して同様の構成をとることができる。
【0123】
  なお、AlInGaP系のLEDベアチップの発光部を、透明電極が形成されたサファイア基板、ガラス基板等の透明基板にウエファボンドすることでも同様の構成をとり得る。
【0124】
  更に、図10に示すように、光学的な開口部を有した金属電極18が形成されたサファイア基板、ガラス基板等の透明な素子基板11に、同じく光学的な開口部を有した金属電極が形成されたAlInGaP系のLEDベアチップ(素子)の発光部15を金属接合(例えば超音波接合などを用いての金属接合)することでも同様の構成をとり得る。この場合、ウエファボンドの接合部は種々の形状をとることが可能であり、その一例を図11(a)〜(d)に示す。
【0125】
  AlInGaP系LEDベアチップの場合、成長基板を除去しない状態で、まず、ベアチップの開口部を有した金属電極とウエファボンドされる透明な素子基板11に開口部を有した金属電極とを金属接合してもよい。この場合、金属接合の後、LEDベアチップの成長基板を取り除く工程を行うことになる。素子基板11の形状加工は、ウエファボンド工程の前後いずれの時点で行ってもよく、LEDベアチップの成長基板を取り除く工程の前後いずれの時点で行ってもよい。
【0126】
  なお、光学的に透明な接着手段を使用しても透明基板とLEDベアチップの発光部とのウエファボンドが可能である。
【0127】
  上述した例では、サンドブラスト処理により素子基板11の表面形状を形成したが、ウォータジェットによる加工または選択的な化学エッチング処理によりその表面形状を形成すること、LED素子基板11と同等の屈折率を有する光学レンズを張り合わせるようにしても良い。また、GaN系のLEDべアチップの加工について述べたように、ダイシングブレードの刃先を用いる切削によっても素子基板11の表面形状を得ることが可能である。なお、これらの加工が施されたフリップチップ用ベアチップを従来の砲弾形やSMDなどの素子に組み込んでも使用しても良い。
【0128】
  上記構成は、ワイヤボンドを不用とするため、光学系の小形化と高効率化に寄与する。
【0129】
  AlInGaP系LEDを用いる場合でも、LEDベアチップが実装される基板(放熱基板)に近い側に位置するLED電極の面積を大きくすることにより、実装用基板に向う光を反射させ、光取り出し効率が向上する。
【0130】
  なお、放熱基板1は、図5(a)、(b)に示すような金属板ベース基板以外にも、金属コア基板等で作製することが可能である。ただし、金属ベース基板である場合には、基板下面が金属であるとともに、基板上にも金属製の光学反射板を配することが可能なため、基板の上面および下面からの両面放熱が可能となり、放熱効果はより大きくなる。
【0131】
  (実施形態3)
  次に、本発明によるカード型LED照明光源の他の実施形態を説明する。
【0132】
  まず、図12を参照しながら、本実施形態のカード型LED照明光源を説明する。
【0133】
  本実施形態のカード型LED照明光源は、図12に示すように、金属板50と、多層配線基板51と、金属製の光学反射板52とを備えている。金属板50および多層配線基板51は、全体として1つの「カード型LED照明光源」を構成している。
【0134】
  金属板50は、放熱基板のベースメタルである。金属板50および光学反射板52は、アルミ、銅、ステンレス、鉄、または、これらの合金から作製され得る。金属板50と光学反射板52の材料は異なっていても良い。熱伝導率の観点から好ましい材料を並べると、銅、アルミニウム、鉄、ステンレスの順となる。一方、熱膨張率の観点から好ましい材料を並べると、ステンレス、鉄、銅、アルミの順となる。防錆処理などの使い勝手の良さからアルミニウム系材料が好ましく、熱膨張に起因する信頼性劣化を避ける観点からは、ステンレス系材料が好ましい。
【0135】
  金属板50の裏面は、平坦であり、熱伝導性に優れた部材(不図示)の平坦な面と接触することができる。
【0136】
  金属板50に対して、電解研磨、アルマイト処理、無電解メッキ、または電着などで絶縁処理を施しておけば、金属板50が配線パターンに直接接触しても電気的ショートが発生しない。
【0137】
  なお、金属板50の表面において、少なくともLEDベアチップから放射された光を反射する部分に対して、反射率を向上させるための処理を行うことが好ましい。反射率向上のための処理には、屈折率の異なる物質層を多数積層する増反射処理や、金属板50の表面における鏡面性を向上させる処理が含まれる。
【0138】
  多層配線基板51は、実施形態2と同様に、無機フィラーと樹脂組成物との混合物からなる第1絶縁層と第2絶縁層の2層構造を有している。第1絶縁層と第2絶縁層との間には下層配線が形成されており、第2絶縁層の上には上層配線が形成されている。第2絶縁層に設けられたビアを介して上層配線と下層配線とが電気的に接続されている。
【0139】
  光学反射板52の孔にLED封止樹脂を充填し、樹脂からなる凹レンズまたは凸レンズを形成することも可能であるし、また、樹脂で孔部分を埋めることによって平坦化することも可能である。しかし、光学反射板52の面積は多層配線基板51の面積より小さいため、光学反射板52の全体を樹脂でモールドすることも可能である。光学反射板52を樹脂で完全に覆えば、封止性が向上する。
【0140】
  照明装置側に設けられるコネクタは、例えば、図13に示されるように、カード型LED照明光源をスライドさせながら案内するガイド部を有する本体55と、カード型LED照明光源と電気的に接続する複数のコネクタ電極56と、熱伝導性に優れた金属プレート(底板)57と、コネクタ電極を回路(点灯回路など)に接続する配線コード58とを備えている。
【0141】
  コネクタに差し込まれたカード型LED照明光源の給電電極54は、対応するコネクタ電極56と接触し、導通する。放熱性の観点からは、コネクタにカード型LED照明光源を差し込んだとき、金属板50の裏面の全部または1部がコネクタの金属プレート57と熱的に接触することが好ましい。
【0142】
  本実施形態では、図12に示すように、給電電極54が多層配線基板51の上面における4つの辺のうちの1つの辺の側に集中的に配列されているため、カード型LED照明光源は、図中の矢印Aの方向に押されて、コネクタに差し込まれることになる。
【0143】
  図12からわかるように、給電電極54が設けられる領域の広さだけ、多層配線基板51のサイズは光学反射板52のサイズよりも大きくなる。このため、本実施形態では、LEDベアチップ53がマトリックス状に実装されている領域(光出射領域またはLEDクラスタ領域)の中心位置(光学中心)と基板の中心位置とが一致せず、カード型LED照明光源の曲げの応力中心が、もろい光学系の中心と一致せず、強度が向上している。また、給電電極54を基板の一端に集中させることにより、多層配線基板51の上面における他の3つの辺に対応する端部は、必ずしもコネクタの内部に完全に嵌め込まれる必要がなくなり、形状などの設計自由度が向上する。
【0144】
  多層配線基板51(および金属板50)の長辺方向サイズ(矢印Aに平行な辺のサイズ)を適切に設定することにより、光学中心の位置を任意に調節することができる。
【0145】
  光学反射板52は、基本的には、図4(a)に示す光学反射板3と同様の構成を有しており、LEDベアチップ53の配列に対応する複数の開口部を有している。光学反射板52の開口部には、樹脂レンズが形成されることが好ましく、この樹脂レンズによってLEDベアチップ53が封止されるため、LEDベアチップ53と多層配線基板51との接続がより強固なものとなる。このようにLEDベアチップ53と多層配線基板51との接続が強固になると、カード型LED照明光源を放熱用部材にネジ止めする目的で、カード型LED照明光源のカードにネジ止め用の穴を設けたり、カードの基板のエッジ辺の一部にネジ止め用の円弧を設けることが可能となる。
【0146】
  図14(a)および図14(b)を参照して、本実施形態のカード型LED照明光源の構成を更に詳細に説明する。図14(a)は、活生層がフェイスダウンの状態でフリップチップ実装されたLEDベアチップ53を示している。後述するように、本実施形態では、LEDベアチップ53の種類に応じて異なる実装方式を採用している。
【0147】
  LEDベアチップ53は、多層配線基板51の配線パターン59と接続され、かつ、多層配線基板51上に固定されるように実装されている。金属製の光学反射板52は、LEDベアチップ53が多層配線基板51上に実装された後、多層配線基板51上に貼り付けられている。
【0148】
  多層配線基板51には、2層の配線パターン59が形成されており、異なる層における配線パターン59がビア63によって接続されている。最上層における配線パターン59は、Auバンプ61を介してLEDベアチップ53の電極と接続されている。配線パターン59は、例えば、銅、ニッケル、アルミニウム、または、これらの金属を主成分とする合金から形成した配線パターンによって構成される。
【0149】
  このような多層配線基板51では、前述のように、絶縁性を有する樹脂組成物と無機フィラーとの混合物からなる絶縁層を含んでおり、この混合物は、好ましくは熱硬化性樹脂を含んでいる。絶縁層を構成する樹脂組成物および無機フィラーの種類・量を適切に選択することにより、絶縁層の熱伝導性、線膨張係数、誘電率などを調節することができる。絶縁層の好ましい熱伝導率は、1〜10(W/m・K)である。絶縁層は白色であることが好ましい。白色の絶縁層を採用することにより、絶縁層の露出部分による可視光反射率が高まり、光の利用効率が更に改善される。
【0150】
  無機フィラーとしては、熱伝導性に優れるAl2O3、MgO、BN、SiO2、SiC、Si3N4、およびAlNからなる群から選択された少なくとも1種類のフィラーを用いることが好ましい。無機フィラーの平均粒径は、0.1〜100μmの範囲から設定されることが好ましい。平均粒径が、この範囲を外れると、フィラーの充填性や基板の放熱性が低下するからである。
【0151】
  熱硬化樹脂としては、エポキシ樹脂、フェノール樹脂、およびシアネート樹脂からなる群から選択された少なくとも1種類の樹脂を用いることが好ましい。これらの樹脂が硬化後に示す電気絶縁性、機械的強度、耐熱性が他の樹脂硬化物よりも優れているからである。樹脂組成物には、必要に応じて、カップリング剤、分散剤、着色剤、離型剤などの添加剤が加えられていても良い。
【0152】
  アルミナフィラーのコンポジット材料からなる厚さ160μmのシートを用い、合計320μmの絶縁層を有する2層配線の多層配線基板を用意し、アルミニウムメタルベースに貼り付ける方法でカード型LED照明光源の試作品を作製した。前記アルミニウムメタルベースのアルミナコンポジット2層基板の上にLEDベアチップを直接実装し、LEDベアチップとベースメタル間の熱抵抗を測定したところ、約1[℃/W]という熱抵抗が得られた。
【0153】
  前記試作品に対して無風状態でヒートシンクによる自然放熱を行う場合、約0.3mm角のLEDベアチップ(64個)を40mA(定格の2倍の電流、電流密度は約444[mA/mm2])で駆動しようとすると、LEDベアチップの温度を約80℃に保持するためには、約300[cm2]のヒートシンク表面積が要求される。また、自然空冷を行う場合において、このように大きな電流で動作させようとする場合、LEDベアチップとベースメタル間の熱抵抗は約10[℃/W]以下に設定する必要がある。
【0154】
  自然空冷を行う場合、LEDベアチップの温度が80〜120℃を超えるようになると、LEDベアチップの封止樹脂(エポキシやシリコーンなどの樹脂)の熱劣化および光劣化が激しくなるため、好ましくない。
【0155】
  熱抵抗が約5[℃/W]以下であれば、理想的に大きな面積を有するヒートシンクではなく、現実的な有限の面積を有するヒートシンクを用いた場合であっても、自然空冷による充分な放熱が可能である。更に、熱抵抗が約2〜1[℃/W]以下であれば、小型のヒートシンクでも充分な放熱が可能となる。
【0156】
  また、絶縁層厚みを薄くしたり、更には約2〜4[W/mK]の熱伝導率を有するアルミナコンポジット材の絶縁層ではなく、約3から5[W/mK]の熱伝導率を有するボロン系のコンポジット材の絶縁層を用いるなど1[℃/W]以下の熱抵抗を有する系も実現可能であり、この場合はさらにヒートシンク面積を小型化しても同様の効果が得られる。
【0157】
  また、1〜2.5[W・mk]の熱伝導率を有するシリカコンポジット材の絶縁層を用いた場合も、熱伝導率がより高い絶縁層を用いた場合と比較して絶縁層を薄くすることにより、上記範囲の熱抵抗を実現することができる。
【0158】
  多層配線基板51の配線パターン59は、例えば、有機フィルムなどの離型キャリア上に配線パターンを形成し、その後、離型キャリアから上記の絶縁層上に配線パターンを転写することによって形成することができる。離型キャリアの配線パターンは、銅箔などの金属箔を接着剤を介して離型キャリアに接着させたり、更に、その金属箔上に電解メッキまたは無電解メッキで膜状に金属層を堆積した後、化学エッチングなどにより金属をパターニングして作製され得る。ただし、金属箔から配線パターンを形成する場合、金属箔の接着強度を高めるため、絶縁層の表面は粗面化されていることが好ましい。
【0159】
  上記の配線パターン59は他の方法で作製されていてもよい。また、配線パターン59は、絶縁層中に埋没されていてもよいし、平坦な絶縁層表面に付着した状態にあってもよい。なお、異なる層における配線パターン59を接続するビア63は、絶縁層に形成した孔(ビアホールまたはスルーホール)の内部にめっきや導電性樹脂組成部を設けることによって作製される。
【0160】
  このような構成を有する多層配線基板51の上面の大半は光学反射板52で覆われているが、一部は露出している。多層配線基板51上の露出領域には複数の給電電極54が形成されている。この給電電極54は、カード型LED照明光源が差し込まれるコネクタを介して照明装置の点灯回路に電気的に接続される。
【0161】
  光学反射板52と多層配線基板51との間にはアンダーフィル(応力緩和層)60が設けられている。このアンダーフィル60により、金属製の光学反射板52と多層配線基板51との間にある熱膨張差に起因する応力が緩和されるとともに、光学反射板52と多層配線基板51上の上層配線との間の電気的絶縁も確保される。
【0162】
  光学反射板3の全体が金属から形成されていることが好ましい。絶縁層(基板絶縁層)を基板ベースメタルと金属反射板で挟みこむことにより、基板両側からの放熱が可能になり、また、発熱体であるLEDの実装側の中央部の熱を周辺部に対して均熱化できること等の効果が得られる。また、基板絶縁層の両側から互いの金属板のそりを押さえ込む効果も副次的に期待できる。
【0163】
  更に、樹脂組成物および無機フィラーからなるコンポジット材料から基板絶縁層を形成すれば、このようなコンポジット材料の持つ弾性により、両方の金属の応力緩和を図ることができる。その結果、高温高出力で点灯される照明装置としての信頼性を向上させることができる。
【0164】
  また、応力を更に緩和し、信頼性を更に向上させるため、光学反射板と基板絶縁層の間に、これらの材質とは異なる材質からなる応力緩和層を設けることが好ましい。絶縁層上の配線の上にバンプを形成したり、配線のほかにバンプ用のランドを設けることにより、絶縁層と光学反射板との間に空隙を設け、この空隙内に上述のアンダーフィルや、LEDのモールドに用いる樹脂(エポキシやシリコーン)を充填しても応力を緩和することが可能である。このような応力緩和手段を設けると、点滅試験の熱衝撃による応力が加えられている過酷な条件のもとでも、不点灯や信頼性低下を抑制することができる。
【0165】
  光学反射板52の開口部には、モールドされた樹脂62によってレンズが形成されている。放熱性向上の観点から、光学反射板52はアルミニウムなどの金属プレートから形成されていることが好ましいが、他の絶縁性材料から形成されたプレートを用いてもよい。その場合、開口部の内周壁面の少なくとも一部(好ましくは全部)に、絶縁性プレートよりも反射率の高い材料、例えば、Ni、Al、Pt、Ag、Alなどの金属、または、これらの金属を主成分とする合金から形成した反射膜を設けることが望ましい。こうすることにより、LEDから側方に出た光が、反射膜によって適切に反射され、光の利用効率を向上させることが可能である。
【0166】
  裏面に貼り付けられる金属板50の材料は、アルミニウムに限られず、銅でもよい。金属板50の裏面は、コネクタなどに設けた熱伝導性の良い部材と接触して放熱性を高めるように平坦であることが好ましいが、裏面の一部に放熱のためのフィンや線状凹凸を設けても良い。その場合、金属板50の裏面と接触する部材の表面には、フィンや線状凹凸に対応する凹凸形状が設けられることが好ましい。カード型LED照明光源をスライドさせてコネクタに接続する構成を採用する場合、金属板の裏面に設けるフィンや線状凹凸は、スライドを阻害しないように、スライド方向に沿って延びていることが好ましい。このようにする場合、フィンや線状凹凸自身がガイドとして機能するともに、接触面積が増加する効果が得られる。
【0167】
  熱伝導材部材とカード型LED照明光源との熱的接触を高めるにためには、熱伝導材部材をカード型LED照明光源に対して押圧する機構を採用することが好ましい。このような押圧はバネ性を有した給電端子で行うことが可能である。しかし、これだけで充分な押圧力を得るためには給電端子のバネ性を充分に強くする必要が生じる。給電端子との電気的コンタクトのために必要な機械的押圧力が端子当たり50〜100g程度の場合、これよりも強い押圧力を付与する押圧手段を追加的に設けることが好ましい。このような押圧手段として、カード型LED照明光源における給電端子以外の部分に対して200g以上の加圧を行うバネ性部材を配置することができる。このような押圧手段を複数個設けても良い。
【0168】
  上記の押圧手段を設ければ、給電端子への機械的押圧をあまり大きくする必要がなくなるので、カード型LED照明光源の着脱を人間の指によって行うことが容易になる。ユーザは、カード型LED照明光源をLED照明装置のコネクタに装着した後、上記押圧手段によってカード型LED照明光源の基板裏面を熱伝導部材に強固に押し付けることができる。このような押し付けにより、カード型LED照明光源はLED照明装置に一種のロックされた状態になり、不用意にカード型LED照明光源が装置から抜け落ちることが防止される。
【0169】
  図14(b)は、コネクタと接続された状態にあるカード型LED照明光源の端部断面を示している。図中、コネクタは破線で示されている。便宜上、図14(b)のカード型LED照明光源は、図14(a)に示すカード型LED照明光源よりも薄く記載している。
【0170】
  図14(b)からわかるように、多層配線基板51のコネクタ側端部には給電電極54が形成されており、給電電極54は配線パターン59と直接的に、またはビアを介して電気的に接続されている。多層配線基板51のうち給電電極54が形成されている領域は、光学反射板52によって覆われていないため、コネクタ電極56は給電電極54と容易に接触することができる。
【0171】
  コネクタ電極56と給電電極54との電気的接続/非接続は、カード型LED照明光源をコネクタに対して抜き差しすることにより簡単に実行できる。カード型LED照明光源の抜き差しを検知するスイッチをカード型LED照明光源がさし込まれるコネクタ側に設置し、カード型LED照明光源が挿入されていない時の通電を防止すれば安全性が向上する。この場合、スイッチはカードの下面、側面、および上面のいずれの位置に設けてもよい。
【0172】
  なお、図13において、コネクタ電極56が外部から見えるように図示されているが、現実のコネクタ電極56は、図14(b)に示すように、人間の指が触れないように設計されることが好ましい。
【0173】
  なお、本実施形態では、赤色(R)、緑色(G)、青色(B)、および黄色(Y)の光を発する4種類のLEDベアチップをそれぞれ16個づつ、1つの基板上に配列している。基板サイズは、例えば、長辺28.5mm×短辺23.5mm×厚さ1.3mmであり、64個のLEDが配列された矩形領域のサイズは、例えば、20mm×20mm×厚さ1mmである。この例において、LEDが配置される領域(反射板が存在する領域)が約2cm角のサイズを有する理由は、低ワットの小型電球の中で一般的な小丸電球やミニクリプトン電球のバルブサイズと同等の発光部面積を与えることにより、これら既存の低ワット電球と代替可能とするためである。なお、小丸電球によれば、約5から10Wの電力で約20から50lmの全光束が得られ、ミニクリプトン電球によれば、約22から38Wの電力で、約250から500lmの全光束が得られる。
【0174】
  本発明者の実験によれば、白色LEDを用いた実施形態において、自然空冷で室温が25℃の場合、約100〜300lmの光束が得られ、小型電球と同等の発光部サイズで同等の光量が得られた。また、カード型LED照明光源をビーム電球相当の筐体に組みこみ、ビーム型のダイクロイックハロゲン電球相当の径の中に収める場合、反射板が設けられた光出射領域(発光領域)の中心を電球の光軸中心と一致させようとすれば、前記発光部中心から略四角形のカードの長辺の端面(給電電極側)までの距離は、以下のようになる。
【0175】
  径35mmの場合:  約13mm。
【0176】
  径40mmの場合:  約15mm。
【0177】
  径50mmの場合:  約23mm。
【0178】
  また、基板周辺部には前記ガイド部と接触しうる平坦な部分を確保することが好ましい。また、反射板の全体を樹脂封止するためには、基板周辺部にLEDを設けない領域を配置することが好ましい。このような領域は、約2cm角サイズの光出射領域の両側に設けられ、それぞれの領域の幅は、例えば1〜3mmに設定される。この領域(余白部)をより大きく設定する場合、発光部中心から前記端面までの距離が縮小する必要がある。
【0179】
  カード差込みタイプの利用形式やカードを設置して押圧するタイプの利用形式で、照明器具およびランプの両方の用途に対応する場合、カード型LED照明光源の片面に給電電極が集中していることが、各種方式の抜き差しに対応する観点からも望ましく、反射鏡板(光出射領域)が基板の幾何中心からずれるように配置されることが更に望ましい。
【0180】
  なお、カード型LED照明光源の基板裏面からの放熱を有効に行うため、給電電極は基板の光出射側面に集中して設置されていることが好ましいが、更に、基板裏面の広範囲な面にわたる熱伝導部材(放熱手段)との熱的接触を確保するため、給電端子による押し当てだけではなく、他の押圧手段による押し当てを行うことが好ましい。このような押圧を行うためのスペースを基板主面上に余白部として設けておくことが望ましい。
【0181】
  前記発光部中心から給電電極の存在しない基板端面までの距離は、給電電極の存在する側の距離より短く設定できる。この距離を光出射領域の両側における余白部の幅と一致させれば、例えば4つのカード型LED照明光源を2辺ずつが接するように密接配置されるとき、反射鏡板(光出射領域)の間隔を等距離で、かつ可能な限り短く設定することが可能となる。
【0182】
  以上説明した観点から、カード型LED照明光源における光出射領域の中心(発光部中心)から基板端面(給電電極側の端面)までの距離を約16.5mm、上記発光部中心から基板端面(給電電極側とは反対の端面)までの距離を約12mmとする試作品を作製した。給電電極と反対側のスペース(幅)を充分な大きさに設定することにより、反射板(光出射領域)の外側(基板の余白部)において、下層配線層とのビア接続が可能となる。この場合、本部分を部分単層とすることで、ビアを用いなくとも上下層のワイヤリングなどによって導通をとることも可能である。また逆に、給電電極側を部分単層とすることも可能である。更に、基板上の一部のみにおいて、更なる部分多層化を行い、配線のジャンパの自由度を高めることも可能である。この場合、上記余白部は有効なスペースとなる。
【0183】
  本実施形態において、給電電極は、コネクタ電極との接触についての機械的誤差や、ビアの製造誤差を考慮し、略四角形の形状を持つように設計し、幅0.8mm、長さ2.5mm、給電電極間の中心と中心の距離1.25mmに設定している。カード型LED照明光源の基板上において、できるだけ多くの独立した回路を形成するには、給電電極の数は多い方が好ましい。本実施形態の構成例では、16個の給電電極を設けることが可能である。
【0184】
  定電流駆動用に、同数のアノード側電極およびカソード側電極を設ける場合、青、緑(青緑)、黄(橙)、赤、および白の各々に給電電極に割り当てた上で、6個(3経路)の予備端子を設けることが可能となる。
【0185】
  本実施形態では、給電電極とメタルベース基板との間の最小絶縁距離を確保するため、給電電極のエッジと基板端面との距離を最小で2mmに設定している。この絶縁性を更に向上させるためには、給電電極の間を平面ではなく立体的にし、絶縁層でリブを形成することも可能である。
【0186】
  1枚のカード型LED照明光源に設けた64個のLEDベアチップの相互接続状態を表す等価回路を図15に示す。図15において、R(+)は、赤色光を出すLEDベアチップのアノード側を意味し、R(−)は、赤色光を出すLEDベアチップのカソード側を意味している。他の色(Y、G、B)についても、同様である。
【0187】
  図16は、LED点灯回路の構成例を示すブロック図である。図示されている構成例では、カード型LED照明光源の点灯回路70が整流/平滑回路71、電圧降下回路72、および定電流回路73を備えている。整流/平滑回路71は、AC100Vの電源に接続され、交流を直流化する機能を有する公知の回路である。なお、電源はAC100Vに限られず、DC電源を用いても良い。DC電源を用いる場合、平滑回路と降圧回路の組み合わせた整流/平滑回路71を用いる代わりに、電圧変換回路(降圧・昇圧回路)を用いれば良い。
【0188】
  電圧降下回路72は、直流化された電圧をLEDの発光に適した電圧(例えば18V)に低下させる。定電流回路73は、青色、緑色、黄色、および赤色のためのLEDコントロール定電流回路から構成されている。LEDコントロール定電流回路は、カード型LED照明光源75における各色のLED群76に供給する電流を一定値に調節する機能を有している。定電流回路73と各LED群76との間の電気的接続は、カード型LED照明光源75を照明装置のコネクタにはめ込むことによって達成される。具体的には、カード型LED照明光源75の基板上に形成された給電電極が、コネクタ内の対応する給電電極と接触することにより、電気的に導通する。
【0189】
  このような点灯回路70は、回路要素の一部として電解コンデンサを含んでいる。電解コンデンサの温度は約100℃程度で寿命が著しく短くなるため、電解コンデンサの近傍における温度は100℃を充分に下回る必要がある。本実施形態によれば、カード型LED照明光源75で発生した熱がカード型LED照明光源75の金属板を介して照明装置内の放熱部材を通じて放熱手段から放熱されるため、点灯回路の電解コンデンサの近傍温度は80℃程度以下に維持され、点灯回路の長寿命化も果たされる。
【0190】
  本実施形態では、青色、緑(青緑)色、黄(橙)色、および赤色の各々のLED群76について定電流駆動を行うため、別々にグランド電位を与えている。このため、本実施形態におけるカード型LED照明光源75の給電電極数は8個である。8個の給電電極のうちの半分はアノード電極として機能し、他の半分はカソード電極として機能する。
【0191】
  以下、図17および図18を参照しながら、本実施形態におけるカード型LED照明光源の多層配線パターンを説明する。図17は、多層配線基板における上層配線パターンのレイアウトを示し、図18は、下層配線パターンのレイアウトを示している。
【0192】
  図17および図18において、配線パターン78の上に示されている小さな円形領域79は、上下配線パターンを接続するビアの位置を示している。なお、図17および図18では、簡単化のため、参照符号「78」および「79」をそれぞれ各図において一箇所にしか示していないが、現実には多数の配線パターンとビアとが形成されていることは言うまでもない。
【0193】
  図17において、代表的に示される破線で囲まれた領域85aおよび85bにLEDベアチップが実装される。図19(a)および(b)は、領域85aおよび85bを拡大して示している。図19(a)に示す部分には、フリップチップ(FC)実装形式でLEDベアチップが実装される。一方、図19(b)に示す部分には、ワイヤボンド(WB)実装形式でLEDベアチップが実装される。図19(c)は、FC実装されたLEDベアチップの断面を示し、図19(d)は、WB実装されたLEDベアチップの断面を示している。
【0194】
  本実施形態では、青色または緑(青緑)色の光を発するLEDベアチップについては、FC実装を行い、黄(橙)色または赤色の光を発するLEDベアチップについては、WB実装を行っている。
【0195】
  赤色または黄(橙)色の光(相対的に波長が長い光)を発するLEDベアチップ(素子)は、通常、発光層を含む積層構造がGaAs基板上に形成されている。GaAs基板は、赤色や黄色の光を透過しにくいため、発光層の下方に位置するように実装される。このため、このようなLEDベアチップは、フェイスダウン状態で実装することができない。
【0196】
  図19(c)に示すFC実装の場合は、LEDベアチップの発光層が存在する側にn電極およびp電極が形成され、それらの電極と多層配線基板上の配線(上層配線)との接続は金バンプを介して行われている。
【0197】
  なお、本実施形態では、基板上の配線パターンは、銅箔の上にニッケルメッキを行い、その上に金めっきを行うことによって作製されている。上記の銅箔の厚さを35μm以下に設定することにより、フリップチップ実装に必要な横方向サイズが50μm以下となる部分ファインパターンを形成している。部分ファインパターンを形成することにより、基板全面のパターン設計ルールにおけるラインアンドスペースを大きな値に維持したまま、フリップチップ実装がなされる箇所における電極間隔を短縮することが可能となる。このため、配線パターンを効率的に作製でき、基板の製造歩留まりが向上する。
【0198】
  また、配線パターンは基板上において離散的に存在しているため、ある条件では、無電解メッキで形成した。試作品では、ニッケルメッキの厚さを約6μmに設定し、その上に形成した金メッキの厚さを0.6μmに設定した。このように金メッキの厚さを十分大きく設定することにより、LEDベアチップと金属接合する際に生じる金のくわれによる接合強度不足を補うことが可能となる。
【0199】
  なお、LEDベアチップが実装されない領域での反射率を上げるため、配線パターンや基板表面の上に反射率の高い材料からなる層または部材を配置してもよい。
【0200】
  一方、青色または緑(青緑)色の光(相対的に波長が短い光)を発するLEDベアチップ(素子)では、通常、発光層を含む積層構造がサファイア基板上に形成される。サファイア基板は、青色や緑色の光を透過するため、発光層の下方でも上方でも任意の配置で実装され得る。FC実装の方が、高密度化に適しているため、本実施形態では、青色LEDベアチップおよび緑色LEDベアチップを、FC実装により基板に搭載している。図19(d)に示すWB実装の場合は、基板裏面およびLEDベアチップの発光層が存在する側に、それぞれ、n電極およびp電極が形成され、p電極が多層配線基板上の配線(上層配線)とボンディングワイヤを介して接続される。n電極は、導電性ペースト、ハンダ、金属接合、異方性導電性接着剤などを介して、多層配線基板上の配線(上層配線)と接続される。また、これらを更に強固に接続するため、アンダーフィル材を用いても良い。
【0201】
  なお、各色のLEDの構造や実装形式は、本実施形態におけるものに限定されるわけではない。1つの基板上における全てのLEDが1種類の実装形式で搭載されていてもよいし、3種類以上の実装形式で搭載されていても良い。採用するLEDの構造に応じて最適な実装形式で各LEDを搭載することが望ましい。また、素子との接合信頼性を高める観点から、基板の配線パターンの少なくとも表面は金層から形成されていることが望ましい。金に対する金属接合を確実にするためには、金層の厚さを0.5μm以上に設定することが好ましく、1μm以上に設定することが更に好ましい。
【0202】
  異なる種類のLEDを同一基板上に配列したり、あるいは、複数の種類の実装方法でLEDを同一基板上に配列する場合、LEDによって発光層の位置が変化する。このため、LEDごとに設けるレンズの幾何学的形状(焦点位置や開口率)をLEDの発光位置や発光色によって生じる色収差に応じて最適化することが好ましい。
【0203】
  図17および図18を参照して、配線のレイアウトを説明する。
【0204】
  図17に示す電極80a、80b、80c、および80dは、それぞれ、例えば、赤色、青色、緑色、および黄色の各LED群に対してアノード電位を与える給電電極である。一方、電極90a、90b、90c、および90dは、それぞれ、例えば、赤色、青色、緑色、および黄色の各LED群に対してカソード電位(グラウンド電位)を与える給電電極である。
【0205】
  電極80a、80b、80c、および80dは、それぞれ、ビアを介して、図18に示す配線81a、81b、81c、および81dと接続されている。一方、図17に示す電極90a、90b、90c、および90dは、それぞれ、ビアを介して、図18に示す配線92a、92b、92c、および92dと接続されている。
【0206】
  図17および図18に示す多層配線構成により、図15の回路と実質的に等しい回路が形成されているが、配線パターンのレイアウトは、任意であり、図17および図18に示す構成に限定されないことは言うまでもない。
【0207】
  本実施形態では、図17の下方に示す領域に全ての給電電極(アノード電極およびカソード電極)80a〜80d、90a〜90dを1直線状に配列し、基板の一辺近傍に給電電極を集中させているため、カード型LED照明光源とコネクタとの接続が容易になる。このように、異なる色を発するLED群ごとにグランドラインも分離しつつ、給電電極を基板の一辺側に集中させることができる理由は、上述のような多層配線構造を採用しているためである。
【0208】
  以上説明してきたように、本実施形態では、カード型LED照明光源の金属板の裏面に給電電極が存在せず、金属板裏面が平坦である。このため、この金属板と熱伝導性に優れる部材(照明装置に設けられる)との接触面積を広く確保し、カード型LED照明光源から外部への熱の放散を促進することができる。この接触面積は、LEDが配列された領域(光出射領域またはLEDクラスタ領域)の面積以上の大きさをもつことが好ましい。
【0209】
  本実施形態では、1つの基板上に異なる波長の光を発する4種類のLEDベアチップを配列しているが、本発明はこれに限定されない。発する光の色(波長帯域)は、1〜3種類でも5種類以上であってもよい。また、各々が複数の光を発するLEDベアチップや、蛍光体を添加することで白色光を発するLEDベアチップを用いてもよい。なお、白色光を放射するLEDベアチップを用いない限り、一般的には、白色発光のためにLEDベアチップの周囲を蛍光体で覆う必要がある。この場合、基板と反射板とによって形成される空間内に蛍光体を封入すれば、LEDによる蛍光体励起を実現できる。このようにする代わりに、蛍光体を分散させたシートを反射板の上面に張りつけてもよい。また、前記蛍光体を分散させたシート自体を更に透明な樹脂材料でカード型LED光源と一体に形成しても良い。
【0210】
  (実施形態4)
  以下、図20から図31を参照しながら、本発明によるLED照明装置の種々の実施形態を説明する。
【0211】
  まず、図20を参照する。図20は、電球型のLED照明装置を示している。このLED照明装置は、基本的には、図3に示すLED照明装置と同様の構成を有しているが、カード型LED照明光源を照明装置に組み込む方式が異なっている。図20のLED照明装置は、照明装置本体96に光透過性カバー97が組み合わされて使用されるが、カード型LED照明光源95の取り外しは、光透過性カバー97を本体96から一時的に外した状態で行う。本体96の上面には、カード型LED照明光源96が嵌め込まれる受容部98が設けられており、本体96は、受容部98に嵌め込まれたカード型LED照明光源96を上面から押さえる固定蓋99を備えている。固定蓋99は、その一端の近傍を回動軸として開閉するように支持されており、カード型LED照明光源95上の給電電極95aと接触するコネクタ電極99aを有している。このコネクタ電極99aは、本体96内の点灯回路(不図示)と接続されている。固定蓋99aおよび受容部98は、その組合せにより、1つの「コネクタ」として機能する。
【0212】
  固定蓋99は、受容部98に収められたカード型LED照明光源95の光出射領域を開放しつつ、給電電極95aやその他の部分を押さえる構造を有している。固定蓋99を閉めた状態において、カード型LED照明光源95の基板裏面は、受容部98の底面と熱的に接触する。受容部98の底面は、熱伝導性の優れた材料(例えばアルミニウムなどの金属材料)から形成されていることが好ましい。この熱伝導性に優れた材料は、ヒートシンクとして機能し、カード型LED照明光源95で発生した熱を放散し、過度の昇温を抑えることができる。
【0213】
  好ましい実施形態では、光透過性カバー97の取り外しや固定蓋99の開閉は、特別の道具を用いることなく、人の手や指によって簡単に行うことができるように構成されている。このため、カード型LED照明光源95の取り替え(着脱)は容易に行える。なお、光透過性カバー97は、光拡散性を有していてもよい。なお、光透過性カバー97に代えて、着色材、蛍光材、リン光材から作製した他のカバー97aを用いても良い。また、レンチキュラーレンズ97bや光拡散カバー97cを採用してもよい。あるいは、複レンズや反射材、または、上記した各種の光学部材を複合させた機能を有するカバーを採用してもよい。
【0214】
  図20の照明装置では、1枚のカード型LED照明光源95が着脱されるが、1つの照明装置に対して着脱されるカード型LED照明光源の枚数は複数であってもよい。図21は、複数枚のカード型LED照明光源が装着される電球型のLED照明装置を示している。カード型LED照明光源は、開閉可能な一対の固定蓋によって抑えつけられ、固定される。
【0215】
  図20および図21では、電球型ランプと置き換え可能なLED照明装置が示されているが、直管蛍光ランプや丸管蛍光ランプと置き換え可能なLED照明光源を本発明のカード型LED照明光源を用いて実現することも可能である。直管蛍光ランプや丸管蛍光ランプと同様の形態を有するLED照明光源を作製すれば、既存の装置に対して直管または丸管の蛍光ランプの代わりに本発明によるLED照明光源を取り付けて使用することができる。
【0216】
  図22は、スタンド型のLED照明装置を示している。図22に示されている照明装置本体96には、カード型LED照明光源95を収容するための受容部98が設けられている。この受容部98は、カード型LED照明光源95をスライドさせるように案内するガイドを有している。給電電極95aが設けられている部分を先端としてカード型LED照明光源95を照明装置の受容部98に挿入すれば、カード型LED照明光源95が装着された状態で給電電極95aとコネクタ電極との接続が完了する。装着されたカード型LED照明光源95は、摩擦力によって固定され、不用意には外れない。また、カード型LED照明光源95の基板裏面は受容部98と熱的に接触するため、この接触部分は熱伝導性に優れた材料から形成しておくことが好ましい。
【0217】
  図22のスタンド型照明装置では、1枚のカード型LED照明光源95が着脱されるが、1つの照明装置に対して着脱されるカード型LED照明光源の枚数は複数であってもよい。図23は、2枚のカード型LED照明光源が着脱される構成のスタンド型LED照明装置を示している。
【0218】
  図24は、スタンド型LED照明装置の他の実施形態を示している。このLED照明装置では、図21に示すタイプのコネクタが採用されている。固定蓋によってカード型LED照明光源が照明装置に固定されている。この固定蓋の開閉は、人の指によって簡単に実行できる。
【0219】
  図25は、懐中電灯やペンライトとして携帯可能なLED照明装置を示している。この照明装置には、カード型LED照明光源95を着脱するためのスロット100が設けられている。ただし、カード型LED照明光源95の着脱は、スロットを設けずに行う構成を採用しても良い。図25のLED照明装置は、乾電池や充電池によってカード型LED照明光源を動作させることができ、持ち運び可能な構成を有している。
【0220】
  図26は、従来の直管蛍光ランプを用いる照明装置に置き換わるLED照明装置を示している。このLED照明装置の本体101には、複数のカード型LED照明光源95を着脱することのできるコネクタが設けられており、本体101のスロット100を介してカード型LED照明光源95の着脱が行われる。
【0221】
  図26の照明光源は、直管蛍光ランプそのものと置き換え可能なLED照明光源ではなく、直管蛍光ランプを用いたスタンド型照明装置と置き換えられるLED照明光源である。
【0222】
  図27は、従来の丸管蛍光ランプを用いる照明装置に置き換わるLED照明装置を示している。LED照明装置の本体102には、複数のカード型LED照明光源95を着脱することのできるコネクタが設けられており、本体102のスロット100を介してカード型LED照明光源95の着脱が行われる。
【0223】
  図28は、ダウンライト型のLED照明光源を示している。本発明のLED照明装置は薄型化しやすいため、ダウンライトとして部屋や車の天井に配設することが容易である。
【0224】
  図29は、光軸可変型のLED照明装置を示している。カード型LED照明光源が装着されている部分を特定軸(1つ軸に限定されず、多軸を含む)を中心に任意の角度だけ回転することにより、光出射方向を所望の方位に設定することが容易である。
【0225】
  図30は、カード型のLED照明装置を示している。電源としてボタン電池などの薄型電池を採用し、照明装置自体を薄型化している。このようなLED照明装置は、薄型・軽量化により、携帯しやすい。
【0226】
  図31は、キーホルダー型のLED照明装置を示している。このLED照明装置も、ボタン電池などの薄型電池で動作し、小型軽量化されているため、持ち運びに便利である。
【0227】
  以上、図20から図31を参照しながら本発明によるLED照明装置の種々の実施形態を説明してきたが、本発明の実施形態は、これらに限定されず、多様な形態をとり得る。
【0228】
  上記実施形態の説明からも明らかなように、1つの照明装置に対して1枚または複数枚のカード型LED照明光源を用いるように各照明装置を設計する場合、規格化された所定のカード型LED照明光源が普及しやすい。例えば、図21の照明装置の場合、1枚の大面積カード型LED照明光源を用いるより、図20の照明装置に対しても着脱可能なカード型LED照明光源をそのまま複数枚使用できるように構成する方が好ましい。そうすれば、カード型LED照明光源の量産効果により、単体の価格を低下させやすいという重要な効果が得られる。また、照明装置の種類や生産メーカの違いによって使用可能なカード型LED照明光源が異なると、互換性が悪く、ユーザの不満が強まるため、カード型LED照明光源の主要部分については、規格化された機能や寸法を持つことが好ましい。
【0229】
  なお、上記実施形態におけるカード型LED照明光源では、いずれも、LEDベアチップが実装されたものを用いているが、有機EL膜が形成されたカード型LED照明光源を採用しても良い。本明細書における「基板の片面にLEDが実装された着脱可能なカード型LED照明光源」は、放熱基板上に有機ELを設けたカード型LED照明光源をも広く含むものとする。
【0230】
  以上説明してきたように、本発明によるLED照明装置は、カード型LED照明光源を簡単に着脱できる部材として用いることにより、照明装置としての寿命が延び、既存の照明装置と置き換えられ得るようになる。このようなLED照明装置には、図12に示す構成のカード型LED照明光源が好適に使用されるが、本発明のLED照明装置に用いるカード型LED照明光源は、前述した実施形態に制限されるわけではない。
【0231】
  このように、本発明のLED照明装置に着脱するカード型LED照明光源としては、種々の構成を有するものを採用することが可能であり、図面を参照して説明したカード型LED照明光源の実施形態に限定されない。
【0232】
  また、本発明のカード型LED照明光源は、照明装置以外の装置に採用することも可能である。例えば、照明装置と同様に輝度の高い光の出射が必要な機器や、その他の装置の光源部分は、本発明による着脱可能なカード型LED照明光源を用いても良い。
【0233】
  なお、基板上にLEDベアチップを直接実装する代わりに、LEDベアチップがモールドされた状態のLED素子(好ましくは面実装型)を基板に接合してもよい。この場合、LEDがモールドされた状態で別途作製されるので、LEDベアチップを直接実装する場合に比べて、基板とLEDベアチップとの間の熱抵抗は高くなる。しかし、前述した基板構成を採用すれば、LED素子を基板上に設置した場合でも、従来よりも優れた放熱性を実現することができ、LED素子の集積時の放熱性を向上させることが可能である。
【0234】
【発明の効果】
  本発明のLED照明装置によれば、光源部分を着脱可能なカード状構造物によって構成することにより、光源における各LED素子で発生した熱をスムーズに放熱させる効果を高めるとともに、寿命の尽きた光源だけを新しい光源と取替え可能とすることによって照明装置の光源以外の構造体を長期間使用できるようになる。
【0235】
  また、本発明のカード型LED照明光源によれば、LED素子の高密度化、良好な放熱性、および、発生した光の利用効率の向上を同時に実現することができ、カード型LED照明光源の実用化が可能となる。
【図面の簡単な説明】
【図1】  (a)は、従来のLED照明光源の斜視図であり、(b)は、従来の他のLED照明光源の斜視図である。
【図2】  (a)は、図1(a)のLED照明光源におけるLEDの部分断面図であり、(b)は、図1(b)のLED照明光源におけるLEDの部分断面図である。
【図3】  (a)は、本発明による平面型のLED照明装置の一部を示す斜視図であり、(b)は、本発明による電球型のLED照明装置を示す斜視図である。
【図4】  (a)は、本発明のカード型LED照明光源の一実施形態における分解斜視図であり、(b)は、そのLED照明光源の斜視図である。
【図5】  (a)および(b)は、それぞれ、本発明のカード型LED照明光源の実施形態におけるLEDの断面図である。
【図6】  (a)および(b)は、カード型LED照明光源における複数のLEDの接続例を示す等価回路図である。
【図7】  (a)および(b)は、LEDから出た光の進路を示す図である。
【図8】  (a)および(b)は、LEDから出た光の出射光束についてのシミュレーション結果を示す図である。
【図9】  (a)および(b)は、LEDにおける素子基板の光出射側表面の他の形状例を示す断面図である。
【図10】  LEDの他の構成例を示す断面図である。
【図11】  (a)〜(d)は、図10に示すLEDにおけるウエファボンドの接合部の構成例を示す平面レイアウト図である。
【図12】  本発明のカード型LED照明光源の他の実施形態を示す分解斜視図である。
【図13】  本発明のLED照明光源に用いられ得るコネクタを示す図である。
【図14】  (a)は、図12のカード型LED照明光源におけるLEDが設けられている領域の断面図であり、(b)は、給電電極が設けられている領域の断面図である。
【図15】  図12のカード型LED照明光源におけるLEDの接続構成を示す等価回路図である。
【図16】  図12のカード型LED照明光源が装着されるLED照明装置の点灯回路の構成を示すブロック図である。
【図17】  図12のカード型LED照明光源における上層配線パターンを示す平面レイアウト図である。
【図18】  図12のカード型LED照明光源における下層配線パターンを示す平面レイアウト図である。
【図19】  フリップチップ(FC)実装される部分の配線パターンを示す平面図、(b)は、ワイヤボンド(WB)実装される部分の配線パターンを示す平面図、(c)は、FC実装されたLEDベアチップの断面図、(d)は、WB実装されたLEDベアチップの断面図である。
【図20】  本発明のLED照明光源の他の実施形態を示す図であり、電球型のLED照明装置を示している。
【図21】  本発明のLED照明光源の更に他の実施形態を示す図であり、複数枚のカード型LED照明光源が装着される電球型のLED照明装置を示している。
【図22】  本発明のLED照明光源の更に他の実施形態を示す図であり、スタンド型のLED照明装置を示している。
【図23】  本発明のLED照明光源の更に他の実施形態を示す図であり、2枚のカード型LED照明光源が着脱される構成のスタンド型LED照明装置を示している。
【図24】  本発明のLED照明光源の更に他の実施形態を示す図であり、スタンド型LED照明装置の他の実施形態を示している。
【図25】  本発明のLED照明光源の更に他の実施形態を示す図であり、懐中電灯やペンライトのLED照明装置を示している。
【図26】  従来の直管蛍光ランプを用いる照明装置に置き換わるLED照明装置を示している。
【図27】  本発明のLED照明光源の更に他の実施形態を示す図であり、従来の丸管蛍光ランプを用いる照明装置に置き換わるLED照明装置を示している。
【図28】  本発明のLED照明光源の更に他の実施形態を示す図であり、ダウンライト型のLED照明装置を示している。
【図29】  本発明のLED照明光源の更に他の実施形態を示す図であり、光軸可変型のLED照明装置を示している。
【図30】  本発明のLED照明光源の更に他の実施形態を示す図であり、カード型のLED照明装置を示している。
【図31】  本発明のLED照明光源の更に他の実施形態を示す図であり、キーホルダー型のLED照明装置を示している。
【符号の説明】
1      放熱基板
1a    配線パターン
1b    金属板
1c    絶縁層
1d    配線パターン
1e    絶縁層
2      LEDベアチップ
3      光学反射板
3a    反射面
3b    光学反射板の孔(開口部)
4      樹脂
10    カード型LED照明光源
11    LEDの素子基板
12    GaN系のn型半導体層
13    活性層
14    p型半導体層
15    発光部
16    バンプ
19    ヒートシンク
20    アダプタ
21    基板
21a  配線パターン
22    LEDベアチップ
23    板
23a  板23の反射面
23b  板23の孔(開口部)
24    樹脂(モールド樹脂)
31    素子基板
32    n型半導体層
33    活性層
34    p型半導体層
34a  電極
41    金製のワイヤ
42    金製のワイヤ
50    金属板
51    多層配線基板
52    金属製光学反射板
53    LED
54    給電電極
55    コネクタ本体
56    コネクタ電極
57    金属プレート(底板)
58    配線コード
59    配線パターン
60    アンダーフィル
61    Auバンプ
62    樹脂
63    ビア[0001]
 BACKGROUND OF THE INVENTION
 The present invention relates to an LED illumination device and a card type LED illumination light source. More specifically, the present invention relates to an LED illumination device that uses a card-type LED illumination light source on which a plurality of LEDs are mounted, and a card-type LED illumination light source that is suitably used for this LED illumination device.
 [0002]
 [Prior art]
 Conventionally, incandescent bulbs, fluorescent lamps, high-pressure discharge lamps and the like have been used as light sources for lighting fixtures and signboards. As a new illumination light source that replaces these light sources, research on LED illumination light sources is underway. This LED illumination light source has an excellent advantage that it has a long life compared to the above light source, and is highly expected as a next-generation illumination light source. However, since one LED element has a small luminous flux, it is necessary to arrange an LED illumination light source by arranging a plurality of LED elements in order to obtain a luminous flux equivalent to that of an incandescent bulb or a fluorescent lamp.
 [0003]
 Hereinafter, a conventional LED illumination light source will be described with reference to the drawings.
 [0004]
 1A and 1B show the configuration of a conventional LED illumination light source, and FIGS. 2A and 2B show the cross-sectional configuration of the LED in the LED illumination light source.
 [0005]
 As shown in FIGS. 1A and 1B, the LED illumination light source includes a
 [0006]
 In these LED illumination light sources, the
 [0007]
 In the configuration shown in FIGS. 1A and 2A, the light generated by the
 [0008]
 When a forward bias voltage is applied between the electrode 32a of the n-
 [0009]
 [Problems to be solved by the invention]
 However, in the LED illumination light source having the above configuration, the
 [0010]
 As described above, since the light flux from each
 [0011]
 Further, in order to increase the luminous flux of each
 [0012]
 For this reason, although it is generally considered that the lifetime of the LED is long, when the LED is used for illumination, the common sense is not valid. Further, when the bare chip temperature increases with an increase in the amount of heat generation, there is a problem that the light emission efficiency of the
 [0013]
 For the above reasons, in order to put into practical use an LED lighting device in which a large number of
 [0014]
 In order to solve such a problem, proposals of LED illumination light sources in which various LED bare chips are integrated have been made, but no LED illumination light source that can sufficiently cope with all these problems has been seen. .
 [0015]
 Hereinafter, the problem of the conventional LED illumination light source will be described with reference to FIGS. 1 (a) and 1 (b) and FIGS. 2 (a) and 2 (b). First, there is a problem that due to continuous lighting of LEDs, the central part of many integrated LED substrates becomes hot, and the temperature difference from the peripheral part of the LED substrate becomes large. For example, the configuration shown in FIGS. 1A and 2A is employed in an LED dot matrix display. In the LED display, the
 [0016]
 In the conventional configuration example, resin is used for the material of the
 [0017]
 Further, since there is a temperature difference between the
 [0018]
 Furthermore, the
 [0019]
 In addition, when the above configuration is adopted, it is necessary to increase the thickness of the substrate itself, and the substrate on which the LED
 [0020]
 On the other hand, according to the configuration shown in FIG. 1B and FIG. 2B, since the
 [0021]
 This invention is made | formed in view of such a situation, and it aims at providing the LED illumination light source and LED illumination apparatus which can solve all these subjects (densification, heat dissipation, light utilization efficiency) simultaneously. To do.
 [0022]
 [Means for Solving the Problems]
 The LED lighting device according to the present invention is detachable with an LED mounted on one side of the substrate.L At least one connector connected to the ED illumination light source and the front through said connectorL A lighting circuit electrically connected to the ED illumination light source.
 [0023]
 In a preferred embodiment, the substrate is a metal base substrate in which an insulating layer and a conductive wiring pattern are provided on a surface on which the LEDs are mounted.
 [0024]
 In a preferred embodiment, the LED is mounted on the substrate in a bare chip state.
 [0025]
 In a preferred embodiment, a feeding electrode is formed on one end side of the substrate surface on which the LED is mounted in the substrate, and the center position of the light emitting region on which the LED is mounted on the substrate is the position of the substrate. Deviation from the center position.
 [0026]
 In a preferred embodiment, a heat conductive member is provided that is in thermal contact with the back surface of the substrate on which the LEDs are not mounted and receives heat from the back surface of the substrate.
 [0027]
 In a preferred embodiment, a contact area between the back surface of the substrate and the heat conducting member is equal to or more than an area of a light emitting region where the LED is mounted on the substrate.
 [0028]
 In a preferred embodiment, the lighting circuit further includes a power supply socket for supplying electric energy from the outside.
 [0029]
 In a preferred embodiment, the power supply socket is a lamp cap.
 [0030]
 In a preferred embodiment, before being connected to the connectorL A cover that transmits light emitted from the ED illumination light source is provided. The cover may have various optical properties so as to reflect, refract, and diffuse light.
 [0031]
 In a preferred embodiment,L Receiving part that can fix and remove ED illumination light source and frontL Drop-off prevention means for preventing the ED from coming off from the receiving part, and the drop-off prevention means is provided in front of the receiving part by a human finger.L Operates so that the ED illumination source can be removed.
 [0032]
 In a preferred embodiment, a shape of a surface of the substrate on which the LED is mounted is a substantially rectangular shape, and the receiving portion is a front surface.L A guide that guides the ED illumination light source to slide;L The ED illumination light source receives power from the connector andL The back surface of the substrate of the ED illumination light source is in thermal contact with the receiving portion.
 [0033]
 In a preferred embodiment,L A movable mechanism having a fixing portion for fixing an ED illumination light source to the receiving portion;L The ED illumination light source receives power from the connector andL The back surface of the substrate of the ED illumination light source is in thermal contact with the receiving portion.
 [0034]
 In a preferred embodiment,L The thermal resistance between the back surface of the substrate on which the LED of the ED illumination light source is not mounted and the LED is 10 ° C./W or less.
 [0035]
 In a preferred embodiment, there is provided means for dissipating heat from the back surface of the substrate on which the LEDs are not mounted.
 [0036]
 The present inventionL The ED illumination light source includes a metal base substrate and a plurality of LED bare chips mounted on one side of the metal base substrate.L An ED illumination light source, which is detachably supported by an illumination device including a connector and a lighting circuit, and a back surface of the metal base substrate on which the LED bare chip is not mounted heats a part of the illumination device. The power supply terminal is provided on one surface of the substrate on which the LED bare chip is mounted in the metal base substrate.
 [0037]
 In a preferred embodiment, an optical reflector having a hole surrounding each LED bare chip is provided on a surface of the metal base substrate on which the LED bare chip is mounted, and each LED bare chip is sealed. .
 [0038]
 In a preferred embodiment, an optical lens is disposed in the hole of the optical reflector.
 [0039]
 In a preferred embodiment, stress relaxation means is disposed between the metal base substrate and the optical reflector.
 [0040]
 In a preferred embodiment, the center position of the metal base substrate is deviated from the center position of the light emitting region where the LED bare chip is mounted on the metal base substrate.
 [0041]
 In a preferred embodiment, a thermal resistance between the back surface of the metal base substrate on which the LED bare chip is not mounted and the LED bare chip is 10 ° C./W or less.
 [0042]
 In a preferred embodiment, an insulating layer and a conductive wiring pattern are formed on a surface of the metal base substrate on which the LED bare chip is mounted, and the insulating layer includes at least an inorganic filler and a resin composition. It is formed from a composite material.
 [0043]
 In a preferred embodiment, the insulating layer is white.
 [0044]
 In a preferred embodiment, two or more wiring layers laminated via an insulating layer are provided, and the two or more wiring layers are interconnected at a predetermined position of the insulating layer.
 [0045]
 In a preferred embodiment, at least some of the plurality of LED bare chips are connected to the wiring pattern of the metal base substrate by flip chip bonding.
 [0046]
 In a preferred embodiment, a phosphor that receives at least a part of the light emitted from the LED bare chip and emits visible light is provided on the metal base substrate.
 [0047]
 The apparatus of the present invention is any of the aboveL A connector for supplying power to the ED illumination light source is provided.
 [0048]
 Other according to the present inventionL The ED illumination light source is an LED illumination light source in which a plurality of LED bare chips each having a light emitting portion on an element substrate are provided on a heat dissipation substrate, and the LED bare chip is a distance between the light emitting portion and the heat dissipation substrate. Is provided on the heat dissipation substrate so as to be smaller than the distance between the element substrate and the heat dissipation substrate, and the light emitting surface of the element substrate of the LED bare chip has a lower edge than the center portion. An inclined surface shape is formed.
 [0049]
 In a preferred embodiment, the LED bare chip is directly flip-chip bonded to the heat dissipation substrate.
 [0050]
 In a preferred embodiment, the heat dissipation substrate is a composite substrate.
 [0051]
 In a preferred embodiment, an optical reflector that is disposed so as to surround each of the LED bare chips and controls the direction of light from the LED bare chips is provided on the heat dissipation substrate.
 [0052]
 DETAILED DESCRIPTION OF THE INVENTION
 The LED illumination device of the present invention includes a connector that is electrically connected to a detachable card type LED illumination light source, and a lighting circuit that is electrically connected to the card type LED illumination light source via this connector. By installing a card type LED illumination light source, illumination light can be emitted. As will be described in detail later, the card-type LED illumination light source has a configuration in which a plurality of LEDs are mounted on one surface of a substrate excellent in heat dissipation.
 [0053]
 As described for the conventional LED illumination light source, when a large number of LED elements are mounted on the substrate at a high density and a large current is passed through each LED element, the amount of heat generated by the LED reaches an excessive level, and the LED There is a problem that the lifetime of the LED lighting device is shortened, which hinders practical application of the LED lighting device.
 [0054]
 In the present invention, the light source portion of the lighting device is constituted by a removable card-like structure, and the effect of smoothly dissipating the heat generated by each LED is enhanced, and only the light source that has reached the end of its life can be replaced with a new light source. By doing so, a structure other than the light source of the LED lighting device can be used for a long period of time.
 [0055]
 From the viewpoint of improving heat dissipation, the LED is preferably mounted as a bare chip on one side of the substrate. This is because the heat generated in the LED is directly transmitted to the substrate, and higher heat dissipation is exhibited.
 [0056]
 By concentrating the LED and the power supply electrode on one surface which is one main surface of the substrate, the other surface (back surface) which forms a pair with the main surface can be widely used as a heat conducting surface for heat dissipation. For this reason, it becomes possible to make the area which contacts the heat-conducting member in LED lighting apparatus equal to or more than the area of the light emission area | region in which LED is mounted. In order to promote heat conduction, it is preferable to form the back surface of the substrate on which the LEDs are not mounted from metal.
 [0057]
 By standardizing the size of the card-type LED illumination light source and the position of the feeding electrode, the card-type LED illumination light source can be used in various illumination devices, and the cost can be reduced by mass production of the card-type LED illumination light source. .
 [0058]
 From the viewpoint of the insulation between the electrodes and the alignment of the electrodes of other devices, the pitch of the feeding electrodes is, for example, 0.3, 0.5, 0.8, 1.25, 1.27, 1.5, Set to 2.54 mm. When mass-producing a card-type LED illumination light source substrate, it is preferable to divide a large substrate substrate to produce a large number of card-type LED illumination light source substrates, but there are processing errors in cutting. Mechanical manufacturing errors also occur with respect to the dimensions of the connector of the LED illumination device to which the card type LED illumination light source is attached and detached. For this reason, if the inter-electrode pitch is too small, the feeding electrodes may be short-circuited at the connector portion of the LED lighting device. From the above, it is preferable that the pitch between the electrodes is set to a size of 0.8 mm or more.
 [0059]
 Further, since the forward voltage of the LED decreases at a high temperature, it is preferable to adopt constant current driving rather than constant voltage driving from the viewpoint of operational stability. When performing constant current driving, the card type LED light source requires as many ground lines as the number of driving paths for constant current driving. Preferably, a plurality of electrically independent ground feeding electrodes are formed on the substrate. Therefore, it is preferable to provide a plurality of ground electrode connectors also in the LED illumination device corresponding to such a card-type LED illumination light source. When a large number of feeding electrodes are arranged in the card-type LED light source, the pitch between the electrodes is preferably set to 2 mm or less, and more preferably set to 1.25 mm or less.
 [0060]
 As will be described later, when the card-type LED light source and the LED illumination device of the present invention are used to perform illumination by individually driving blue, green (blue-green), yellow (orange), red, and white LEDs, It is preferable to provide two electrodes (total 10 electrodes) for each color LED.
 [0061]
 The card-type LED light source of the present invention is designed to support not only constant voltage drive but also constant current drive.This Alternatively, electrically independent multi-path driving may be performed. In these cases, it is desirable that the card-type LED light source has a structure in which two or more wiring layers are stacked via an insulating layer and the two or more wiring layers are interconnected.
 [0062]
 When a via structure is employed as a structure for interconnecting two or more wiring layers, the via diameter can be arbitrarily set, for example, between 100 μm and 350 μm. Considering the via drilling error, the width of the power supply electrode of the card-type LED light source is preferably 2 to 3 times the diameter of the via, for example, 200 μm to 1050 μm.
 [0063]
 The length of the power supply electrode is preferably set so that the connector of the LED lighting device does not directly contact the via. Therefore, the length of the power supply electrode is preferably set to 1 mm or more, for example. However, in order to reduce the size of the card-type LED light source, it is preferable to suppress the length of the power supply electrode to 5 mm or less.
 [0064]
 Hereinafter, an embodiment of an LED lighting device according to the present invention will be described first with reference to the drawings.
 [0065]
 (Embodiment 1)
 Fig.3 (a) is a perspective view which shows a part of LED lighting apparatus by this invention, and has shown the
 [0066]
 The card type LED
 [0067]
 The card type LED
 [0068]
 Since the LED lighting device including such a
 [0069]
 In a preferred embodiment of the present invention, a power supply electrode is provided on the surface of the card-type LED
 [0070]
 As described above, in the example of FIG. 3A, the
 [0071]
 Next, refer to FIG.
 [0072]
 The LED illumination device shown in FIG. 3B is an illumination device that can be replaced with a known incandescent bulb, and includes an
 [0073]
 The
 [0074]
 First, by replacing the card-type LED
 [0075]
 Third, the LED mounted on the card-type LED
 [0076]
 Furthermore, by mounting LEDs of multiple emission colors (two or more light colors) on the card-type LED
 [0077]
 Although the above-mentioned card type LED
 [0078]
 In addition, you may clarify the direction of the card-type LED
 [0079]
 In the above example, the power supply electrode is provided on the card-type LED illumination light source and connected to the connector electrode. However, the following configuration can also be used.
 [0080]
 Configuration Example 1 A surface mount type cable connector component is mounted on the electrode of the card type LED illumination light source so that the power supply cable can be removed from the card type LED illumination light source itself.
 [0081]
 Configuration Example 2 The power supply cable is directly joined to the card-type LED light source, and the cable can be inserted and removed at one end not joined to the card-type LED light source.
 [0082]
 When the above configuration is adopted, the power supply cable is preferably a flat cable having flexibility.
 [0083]
 (Embodiment 2)
 Next, an embodiment of a card type LED illumination light source according to the present invention will be described.
 [0084]
 4A and 4B show the configuration of the card-type LED illumination light source in this embodiment. The card type LED illumination light source of this embodiment is suitably used for the illumination device of FIG.
 [0085]
 In the card-type LED illumination light source of the present embodiment, a plurality of LED
 [0086]
 4 (a) is further combined with the
 [0087]
 In this embodiment, an alumina composite substrate having high thermal conductivity (about 3.2 W / (m · K)) is used as the
 [0088]
 Next, a cross-sectional configuration of the card type LED illumination light source will be described in detail with reference to FIGS. FIG. 5A shows a partial cross section of an example in which the insulating layer has a single-layer structure (insulating layer 1c), and FIG. 5B shows a multilayered insulating layer 1c (two layers of insulating layers 1c and 1e). The partial cross section of the other example made into the structure is shown.
 [0089]
 As can be seen from FIGS. 5A and 5B, the
 [0090]
 As an inorganic filler, Al2 OThree , MgO, BN, SiO2 , SiC, SiThree NFour It is preferable to use at least one filler selected from AlN and AlN. From the viewpoint of increasing the filling rate and thermal conductivity, the particle shape of the inorganic filler is preferably spherical. The resin composition in which the inorganic filler is dispersed includes at least one selected from an epoxy resin, a phenol resin, and a cyanate resin. Furthermore, the inorganic filler is 70 to 95% by weight and the resin composition is 5 to 30% by weight. Is preferably formed from a mixture of
 [0091]
 The metal plate 1b maintains the mechanical strength of the
 [0092]
 As another embodiment, instead of the insulating layer 1e directly above the metal plate 1b which is the base metal of the
 [0093]
 A wiring pattern 1a (and 1d) is formed on the
 [0094]
 In the example of FIG. 5B, via the via 1f formed in the first insulating layer 1c, the wiring pattern 1a formed on the second insulating layer 1c and on the second insulating layer 1e. FormedArrangement The line pattern 1d is electrically connected.
 [0095]
 In the
 [0096]
 In the present embodiment, a bare chip-state LED (“LED bare chip”) 2 is directly mounted on the
 [0097]
 In the present embodiment, unlike the conventional example shown in FIG. 1, the LED
 [0098]
 In consideration of the current state of the LED bare chip, it is realistic that the size of each LED
 [0099]
 When the LED
 [0100]
 When the LED bare chip is enlarged to 500 μm or more, it emits intensely in the vicinity of the electrode but far from the electrode due to the resistance and current density distribution of the p-type semiconductor and n-type semiconductor that are joined and fed to the electrode. Has the problem of weakening the light emission. This problem can be solved by using a large LED bare chip as a flip chip configuration as in the present invention and increasing the electrode of the LED bare chip to 50% or more of the element area. This solution arises from the unique configuration of the present invention in which the light extraction surface and the power supply surface of the LED bare chip are opposite. In addition, it is also possible to suppress current density unevenness in the LED bare chip by using a large number of electrodes of the LED bare chip instead of a pair of p-type and n-type. When this many-pair configuration is performed by conventional wire bonding, there are problems such as a long wire handling and an increased number of wire bondings.
 [0101]
 In the present embodiment, the surface of the
 [0102]
 A metal (aluminum) optical having a
 [0103]
 With such a configuration, when a forward bias voltage is applied between the electrode 12a and the electrode 14a, recombination of electrons injected into the n-
 [0104]
 Even in the case of this embodiment, a large amount of heat is generated along with the light emitting operation of the LED
 [0105]
 The LED
 [0106]
 First, on a sapphire substrate having a diameter of about 2 inches, a GaN-based n-type semiconductor layer, an active layer, and a p-type semiconductor layer are sequentially stacked by, for example, a CVD method, and electrodes 12a and 14a are further formed to manufacture a semiconductor wafer. To do. And each LED
 [0107]
 Fine ceramic grains or metal grains are sprayed onto the semiconductor wafer with the sapphire substrate side up, and separation grooves for each element are formed from the sapphire substrate side. By doing in this way, the some LED
 [0108]
 In this embodiment, unlike the case where electrodes are formed above and below a conventional LED bare chip, a flip chip configuration is adopted, and the upper surface of the LED bare chip is smaller than the lower surface. Therefore, when performing the above-described processing, care about the size and damage of the top electrode.Ru There is no need. In addition, since there is no wire on the upper surface of the LED bare chip, it is possible to eliminate radiation disturbance (interference) due to the wire, and to avoid disturbance of light distribution and a decrease in light output due to the wire.
 [0109]
 In this embodiment, a sapphire substrate is taken as an example, but a SiC substrate, a GaN substrate, or the like may be used. The important point is not limited to visible light, but a substrate that transmits light emitted from the LED may be used.
 Further, the LED bare chip may be used by being incorporated in an element such as a conventional through-hole element (such as a bullet-shaped element) or a surface mount element (such as SMD (surface mount device) or a chip-type element).
 [0110]
 The plurality of LED
 [0111]
 In the card-type LED illumination light source of the present invention, each LED
 [0112]
 Moreover, the heat generated in the
 [0113]
 Since the refractive index of the element substrate 11 (sapphire) of the LED
 [0114]
 In the present embodiment, the shape of the light emitting side surface of the
 [0115]
 When the light emitting side surface forms a horizontal plane, the incidence angle increases at the peripheral edge, and the ratio of light reaching the critical angle (B in FIG. 7B) increases, and total reflection tends to occur. . On the other hand, in the case where the light emission side surface has a dome shape, the rate at which the incident angle of light reaches the critical angle decreases even at the peripheral portion, and most of the light emitted from the light emitting unit 15 ( In FIG. 7A, A) is emitted to the outside without being totally reflected.
 [0116]
 Light in the LED bare chip 2 (example of the present invention) obtained by processing and shaping the light emitting side surface of the
 [0117]
 As described above, in the card-type LED illumination light source of the present invention, since the light emission side surface of the
 [0118]
 In the above-described example, the shape of the light emitting side surface of the
 A shape may be used.
 [0119]
 However, this effect is reduced when the inclined surface is not a curved surface but a flat surface or a polyhedron. The inclined surface is preferably dome-shaped, and in this case, an effect is obtained in which a lens is formed on the LED
 [0120]
 In the example described above, the blue light card-type LED illumination light source using the LED
 [0121]
 As other embodiments, there are GaN-based LEDs configured on different element substrates such as an SiC substrate and a GaN substrate that emit blue light emission and green (blue-green) light emission. In this case, the element substrate itself is present. Since the electrode has conductivity, in addition to forming electrodes on the n-type and p-type semiconductor layers 12 and 14 sandwiching the
 [0122]
 In addition, in the case of an AlInGaP-based LED bare chip (element) that emits yellow (orange) and red light, a GaP substrate having a high transmittance with respect to these emission colors is used as the element substrate. Can be taken.
 [0123]
 A similar configuration can be obtained by wafer bonding the light emitting portion of the AlInGaP-based LED bare chip to a transparent substrate such as a sapphire substrate or a glass substrate on which a transparent electrode is formed.
 [0124]
 Furthermore, as shown in FIG. 10, a metal electrode having an optical opening is formed on a
 [0125]
 In the case of an AlInGaP-based LED bare chip, without removing the growth substrate, first, a metal electrode having an opening of the bare chip and a metal electrode having an opening on the
 [0126]
 Even when an optically transparent bonding means is used, wafer bonding between the transparent substrate and the light emitting portion of the LED bare chip is possible.
 [0127]
 In the above-described example, the surface shape of the
 [0128]
 The above configuration eliminates the need for wire bonding, and thus contributes to the miniaturization and high efficiency of the optical system.
 [0129]
 Even when using an AlInGaP-based LED, by increasing the area of the LED electrode located on the side closer to the substrate (heat dissipation substrate) on which the LED bare chip is mounted, the light directed toward the mounting substrate is reflected and the light extraction efficiency is improved. To do.
 [0130]
 The
 [0131]
 (Embodiment 3)
 Next, another embodiment of the card type LED illumination light source according to the present invention will be described.
 [0132]
 First, the card type LED illumination light source of this embodiment will be described with reference to FIG.
 [0133]
 As shown in FIG. 12, the card-type LED illumination light source of the present embodiment includes a
 [0134]
 The
 [0135]
 The back surface of the
 [0136]
 If the
 [0137]
 In addition, it is preferable to perform the process for improving a reflectance with respect to the part which reflects the light radiated | emitted from the LED bare chip in the surface of the
 [0138]
 Similar to the second embodiment, the
 [0139]
 It is possible to fill the hole of the optical reflecting
 [0140]
 For example, as shown in FIG. 13, the connector provided on the lighting device side includes a
 [0141]
 The
 [0142]
 In the present embodiment, as shown in FIG. 12, the
 [0143]
 As can be seen from FIG. 12, the size of the
 [0144]
 The position of the optical center can be arbitrarily adjusted by appropriately setting the size of the multilayer wiring board 51 (and the metal plate 50) in the long side direction (size of the side parallel to the arrow A).
 [0145]
 The
 [0146]
 With reference to Fig.14 (a) and FIG.14 (b), the structure of the card type LED illumination light source of this embodiment is demonstrated still in detail. FIG. 14A shows an LED
 [0147]
 The LED
 [0148]
 Two layers of
 [0149]
 As described above, the
 [0150]
 As an inorganic filler, Al with excellent thermal conductivity2 OThree , MgO, BN, SiO2 , SiC, SiThree NFour And at least one filler selected from the group consisting of AlN. The average particle size of the inorganic filler is preferably set from a range of 0.1 to 100 μm. This is because if the average particle size is out of this range, the filler filling property and the heat dissipation property of the substrate are lowered.
 [0151]
 As the thermosetting resin, it is preferable to use at least one kind of resin selected from the group consisting of an epoxy resin, a phenol resin, and a cyanate resin. This is because these resins have better electrical insulation, mechanical strength, and heat resistance after curing than other cured resins. If necessary, additives such as a coupling agent, a dispersant, a colorant, and a release agent may be added to the resin composition.
 [0152]
 Using a 160 μm thick sheet made of alumina filler composite material, prepare a multilayer wiring board with two layers of wiring with a total insulation layer of 320 μm, and paste the card type LED illumination light source on the aluminum metal base. Produced. Aluminum metal-based alumina capacitorPo When the LED bare chip was directly mounted on the JITT 2-layer substrate and the thermal resistance between the LED bare chip and the base metal was measured, a thermal resistance of about 1 [° C./W] was obtained.
 [0153]
 When natural heat dissipation is performed by a heat sink in a windless state on the prototype, the LED bare chip (64 pieces) of about 0.3 mm square is 40 mA (current twice the rating, current density is about 444 [mA / mm2 ])) In order to keep the temperature of the LED bare chip at about 80 ° C., about 300 [cm2 The heat sink surface area is required. Further, in the case of performing natural air cooling, when operating with such a large current, the thermal resistance between the LED bare chip and the base metal needs to be set to about 10 [° C./W] or less.
 [0154]
 In the case of performing natural air cooling, it is not preferable that the temperature of the LED bare chip exceeds 80 to 120 ° C. because the thermal degradation and light degradation of the sealing resin (resin such as epoxy and silicone) of the LED bare chip become severe.
 [0155]
 If the thermal resistance is about 5 [° C./W] or less, sufficient heat dissipation by natural air cooling is possible even when a heat sink having an actual finite area is used instead of an ideal heat sink having a large area. Is possible. Furthermore, if the thermal resistance is about 2 to 1 [° C./W] or less, a small heat sink can sufficiently radiate heat.
 [0156]
 In addition, the insulating layer thickness is reduced, and the thermal conductivity of about 3 to 5 [W / mK] is used instead of the insulating layer of the alumina composite material having the thermal conductivity of about 2 to 4 [W / mK]. A system having a thermal resistance of 1 [° C./W] or less, such as using an insulating layer of a boron-based composite material, can be realized. In this case, the same effect can be obtained even if the heat sink area is further reduced.
 [0157]
 In addition, when an insulating layer made of a silica composite material having a thermal conductivity of 1 to 2.5 [W · mk] is used, the insulating layer is made thinner than when an insulating layer having a higher thermal conductivity is used. By doing so, the thermal resistance in the above range can be realized.
 [0158]
 The
 [0159]
 The
 [0160]
 Most of the upper surface of the
 [0161]
 An underfill (stress relaxation layer) 60 is provided between the
 [0162]
 The entire
 [0163]
 Furthermore, if the substrate insulating layer is formed from a composite material composed of a resin composition and an inorganic filler, the stress of both metals can be relaxed by the elasticity of the composite material. As a result, it is possible to improve the reliability as a lighting device that is turned on at high temperature and high output.
 [0164]
 In order to further relax the stress and further improve the reliability, it is preferable to provide a stress relaxation layer made of a material different from these materials between the optical reflector and the substrate insulating layer. A bump is formed on the wiring on the insulating layer, or a bump land is provided in addition to the wiring, thereby providing a gap between the insulating layer and the optical reflector. Even if a resin (epoxy or silicone) used for the LED mold is filled, the stress can be relieved. By providing such stress relaxation means, it is possible to suppress non-lighting and a decrease in reliability even under severe conditions where stress due to a thermal shock in a blinking test is applied.
 [0165]
 A lens is formed by a molded
 [0166]
 The material of the
 [0167]
 In order to enhance the thermal contact between the heat conductive material member and the card type LED illumination light source, it is preferable to employ a mechanism for pressing the heat conductive material member against the card type LED illumination light source. Such pressing can be performed by a power supply terminal having a spring property. However, in order to obtain a sufficient pressing force only with this, it is necessary to sufficiently increase the spring property of the power supply terminal. When the mechanical pressing force required for electrical contact with the power supply terminal is about 50 to 100 g per terminal, it is preferable to additionally provide pressing means for applying a pressing force stronger than this. As such a pressing means, a spring member that pressurizes 200 g or more against a portion other than the power supply terminal in the card-type LED illumination light source can be disposed. A plurality of such pressing means may be provided.
 [0168]
 If the pressing means is provided, it is not necessary to increase the mechanical pressure on the power supply terminal so much that the card-type LED illumination light source can be easily attached and detached with a human finger. After the card-type LED illumination light source is mounted on the connector of the LED illumination device, the user can firmly press the back surface of the card-type LED illumination light source against the heat conducting member by the pressing means. By such pressing, the card-type LED illumination light source is in a kind of locked state with the LED illumination device, and the card-type LED illumination light source is prevented from being accidentally dropped from the device.
 [0169]
 FIG.14 (b) has shown the edge part cross section of the card-type LED illumination light source in the state connected with the connector. In the drawing, the connectors are indicated by broken lines. For convenience, the card-type LED illumination light source of FIG. 14B is shown thinner than the card-type LED illumination light source shown in FIG.
 [0170]
 As can be seen from FIG. 14B, a feeding
 [0171]
 Electrical connection / disconnection between the
 [0172]
 In FIG. 13, the
 [0173]
 In the present embodiment, four types of LED bare chips that emit red (R), green (G), blue (B), and yellow (Y) light are arranged on a single substrate, 16 pieces each. Yes. The substrate size is, for example, long side 28.5 mm × short side 23.5 mm × thickness 1.3 mm, and the size of the rectangular region in which 64 LEDs are arranged is, for example, 20 mm × 20 mm ×
 [0174]
 According to an experiment by the present inventor, in an embodiment using a white LED, when natural air cooling is performed and the room temperature is 25 ° C., a light flux of about 100 to 300 lm is obtained, and an equivalent light amount is obtained with a light emitting unit size equivalent to a small light bulb. was gotten. In addition, when a card-type LED illumination light source is assembled in a housing equivalent to a beam bulb and placed in a diameter equivalent to a beam-type dichroic halogen bulb, the center of the light emission area (light emission area) provided with the reflector is The distance from the light emitting unit center to the long side end face (feeding electrode side) of the substantially rectangular card is as follows.
 [0175]
 When the diameter is 35 mm: About 13 mm.
 [0176]
 When the diameter is 40 mm: About 15 mm.
 [0177]
 For a diameter of 50 mm: about 23 mm.
 [0178]
 Further, it is preferable to secure a flat portion that can come into contact with the guide portion in the peripheral portion of the substrate. Moreover, in order to resin seal the whole reflecting plate, it is preferable to arrange | position the area | region which does not provide LED in the board | substrate periphery part. Such regions are provided on both sides of a light emission region of about 2 cm square size, and the width of each region is set to 1 to 3 mm, for example. When this region (margin portion) is set larger, the distance from the light emitting portion center to the end face needs to be reduced.
 [0179]
 When using the card insertion type or the type of usage in which the card is installed and pressed, and corresponding to the use of both lighting equipment and lamps, the feeding electrodes must be concentrated on one side of the card-type LED illumination light source. It is also desirable from the viewpoint of dealing with various types of insertion / removal, and it is further desirable that the reflecting mirror plate (light emission region) be arranged so as to deviate from the geometric center of the substrate.
 [0180]
 In order to effectively dissipate heat from the back side of the substrate of the card type LED illumination light source, it is preferable that the power feeding electrode is concentrated on the light emitting side surface of the substrate. In order to ensure thermal contact with the conductive member (heat dissipating means), it is preferable to perform not only pressing by the power supply terminal but also pressing by another pressing means. It is desirable to provide a space for performing such pressing as a blank portion on the substrate main surface.
 [0181]
 The distance from the light emitting portion center to the substrate end surface where the feeding electrode is not present can be set shorter than the distance on the side where the feeding electrode is present. If this distance is made to coincide with the width of the margin part on both sides of the light emitting area, for example, when four card-type LED illumination light sources are closely arranged so that two sides are in contact with each other, the interval between the reflector plates (light emitting areas) Can be set at equal distances and as short as possible.
 [0182]
 From the viewpoint described above, the distance from the center of the light emission region (light emitting part center) to the substrate end face (end face on the power feeding electrode side) in the card type LED illumination light source is about 16.5 mm, and the substrate end face (power feeding) from the light emitting part center. A prototype having a distance to the end surface opposite to the electrode side of about 12 mm was produced. By setting the space (width) on the side opposite to the power supply electrode to a sufficient size, via connection with the lower wiring layer is possible outside the reflector (light emission region) (the blank portion of the substrate). In this case, by making this part a partial single layer, it is also possible to conduct electricity by wiring the upper and lower layers without using vias. Conversely, the feeding electrode side can be a partial single layer. Furthermore, it is possible to increase the degree of freedom of wiring jumpers by further increasing the number of layers on only a part of the substrate. In this case, the margin part becomes an effective space.
 [0183]
 In the present embodiment, the feeding electrode is designed to have a substantially rectangular shape in consideration of mechanical errors in contact with the connector electrodes and via manufacturing errors, and has a width of 0.8 mm and a length of 2.5 mm. The center-to-center distance between the feeding electrodes is set to 1.25 mm. In order to form as many independent circuits as possible on the substrate of the card type LED illumination light source, it is preferable that the number of power supply electrodes is large. In the configuration example of this embodiment, 16 power supply electrodes can be provided.
 [0184]
 When the same number of anode-side electrodes and cathode-side electrodes are provided for constant current driving, 6 (on each power supply electrode are assigned to blue, green (blue-green), yellow (orange), red, and white). (3 paths) spare terminals can be provided.
 [0185]
 In this embodiment, in order to ensure the minimum insulation distance between the power supply electrode and the metal base substrate, the distance between the edge of the power supply electrode and the substrate end surface is set to 2 mm at the minimum. In order to further improve this insulation, the space between the feed electrodes is not three-dimensional but three-dimensional, and an insulating layer is used toThe It is also possible to form
 [0186]
 FIG. 15 shows an equivalent circuit representing an interconnection state of 64 LED bare chips provided in one card type LED illumination light source. In FIG. 15, R (+) means the anode side of the LED bare chip that emits red light, and R (−) means the cathode side of the LED bare chip that emits red light. The same applies to the other colors (Y, G, B).
 [0187]
 FIG. 16 is a block diagram illustrating a configuration example of the LED lighting circuit. In the illustrated configuration example, the
 [0188]
 The
 [0189]
 Such a
 [0190]
 In the present embodiment, the ground potential is separately applied to the blue, green (blue green), yellow (orange), and
 [0191]
 Hereinafter, the multilayer wiring pattern of the card-type LED illumination light source in the present embodiment will be described with reference to FIGS. 17 and 18. FIG. 17 shows the layout of the upper wiring pattern in the multilayer wiring board, and FIG. 18 shows the layout of the lower wiring pattern.
 [0192]
 17 and 18, a small
 [0193]
 In FIG. 17, LED bare chips are mounted in
 [0194]
 In the present embodiment, FC mounting is performed for LED bare chips that emit blue or green (blue-green) light, and WB mounting is performed for LED bare chips that emit yellow (orange) or red light.
 [0195]
 In an LED bare chip (element) that emits red or yellow (orange) light (light having a relatively long wavelength), a laminated structure including a light emitting layer is usually formed on a GaAs substrate. Since the GaAs substrate hardly transmits red or yellow light, it is mounted so as to be positioned below the light emitting layer. For this reason, such an LED bare chip cannot be mounted face-down.
 [0196]
 In the case of the FC mounting shown in FIG. 19 (c), the n-electrode and the p-electrode are formed on the side where the light emitting layer of the LED bare chip is present, and the connection between these electrodes and the wiring on the multilayer wiring board (upper-layer wiring) MoneyBa Is done through the amplifier.
 [0197]
 In the present embodiment, the wiring pattern on the substrate is produced by performing nickel plating on a copper foil and performing gold plating thereon. By setting the thickness of the copper foil to 35 μm or less, a partial fine pattern having a lateral size required for flip chip mounting of 50 μm or less is formed. By forming the partial fine pattern, it is possible to shorten the electrode interval at the place where the flip chip mounting is performed while maintaining the line and space in the pattern design rule on the entire surface of the substrate at a large value. For this reason, a wiring pattern can be produced efficiently and the manufacturing yield of a board | substrate improves.
 [0198]
 Moreover, since the wiring pattern exists discretely on the substrate, it was formed by electroless plating under certain conditions. In the prototype, the thickness of the nickel plating is set to about 6 μm, and the gold plating formed on it isthickness Was set to 0.6 μm. Thus, by setting the thickness of the gold plating to be sufficiently large, it becomes possible to compensate for a lack of bonding strength due to gold cracking that occurs when metal bonding is performed with the LED bare chip.
 [0199]
 In order to increase the reflectance in the region where the LED bare chip is not mounted, a layer or member made of a material having a high reflectance may be disposed on the wiring pattern or the substrate surface.
 [0200]
 On the other hand, in an LED bare chip (element) that emits blue or green (blue-green) light (light having a relatively short wavelength), a laminated structure including a light emitting layer is usually formed on a sapphire substrate. Since the sapphire substrate transmits blue or green light, the sapphire substrate can be mounted in any arrangement below or above the light emitting layer. Since FC mounting is more suitable for higher density, in this embodiment, the blue LED bare chip and the green LED bare chip are mounted on the substrate by FC mounting. In the case of the WB mounting shown in FIG. 19D, an n electrode and a p electrode are formed on the back surface of the substrate and the side where the light emitting layer of the LED bare chip exists, respectively, and the p electrode is a wiring (upper layer wiring) on the multilayer wiring board. ) And a bonding wire. The n-electrode is connected to the wiring (upper layer wiring) on the multilayer wiring board through conductive paste, solder, metal bonding, anisotropic conductive adhesive, and the like. Moreover, in order to connect these more firmly, you may use an underfill material.
 [0201]
 Note that the structure and mounting format of each color LED are not limited to those in the present embodiment. All the LEDs on one substrate may be mounted in one type of mounting format, or may be mounted in three or more types of mounting formats. It is desirable to mount each LED in an optimal mounting format according to the structure of the LED employed. Further, from the viewpoint of improving the bonding reliability with the element, it is desirable that at least the surface of the wiring pattern of the substrate is formed from a gold layer. In order to ensure metal bonding to gold, the thickness of the gold layer is preferably set to 0.5 μm or more, and more preferably set to 1 μm or more.
 [0202]
 When different types of LEDs are arranged on the same substrate, or when LEDs are arranged on the same substrate by a plurality of types of mounting methods, the position of the light emitting layer is changed by the LEDs. For this reason, it is preferable to optimize the geometric shape (focus position and aperture ratio) of the lens provided for each LED in accordance with the chromatic aberration caused by the light emission position and the light emission color of the LED.
 [0203]
 The wiring layout will be described with reference to FIGS. 17 and 18.
 [0204]
 [0205]
 [0206]
 The multilayer wiring configuration shown in FIGS. 17 and 18 forms a circuit substantially equivalent to the circuit of FIG. 15, but the layout of the wiring pattern is arbitrary and is not limited to the configuration shown in FIGS. Needless to say.
 [0207]
 In the present embodiment, all the feeding electrodes (anode electrodes and cathode electrodes) 80a to 80d and 90a to 90d are arranged in a straight line in the region shown in the lower part of FIG. 17, and the feeding electrodes are concentrated near one side of the substrate. Therefore, the connection between the card-type LED illumination light source and the connector becomes easy. As described above, the reason why the power supply electrode can be concentrated on one side of the substrate while separating the ground line for each LED group emitting different colors is because the multilayer wiring structure as described above is employed. .
 [0208]
 As described above, in the present embodiment, no power supply electrode exists on the back surface of the metal plate of the card-type LED illumination light source, and the back surface of the metal plate is flat. For this reason, it is possible to secure a wide contact area between the metal plate and a member having excellent thermal conductivity (provided in the lighting device), and to promote heat dissipation from the card-type LED illumination light source to the outside. This contact area is preferably larger than the area of the region where the LEDs are arranged (light emitting region or LED cluster region).
 [0209]
 In this embodiment, four types of LED bare chips that emit light of different wavelengths are arranged on one substrate, but the present invention is not limited to this. The color (wavelength band) of the emitted light may be 1 to 3 or 5 or more. Moreover, you may use the LED bare chip which each emits a some light, and the LED bare chip which emits white light by adding fluorescent substance. Unless an LED bare chip that emits white light is used, it is generally necessary to cover the periphery of the LED bare chip with a phosphor for white light emission. In this case, if the phosphor is enclosed in a space formed by the substrate and the reflector, phosphor excitation by the LED can be realized. Instead of doing this, a sheet in which the phosphor is dispersed may be attached to the upper surface of the reflector. Further, the sheet itself in which the phosphor is dispersed may be formed integrally with a card type LED light source with a transparent resin material.
 [0210]
 (Embodiment 4)
 Hereinafter, various embodiments of the LED lighting device according to the present invention will be described with reference to FIGS. 20 to 31.
 [0211]
 First, refer to FIG. FIG. 20 shows a light bulb type LED lighting device. This LED illumination device basically has the same configuration as that of the LED illumination device shown in FIG. 3, but the system for incorporating the card-type LED illumination light source into the illumination device is different. The LED lighting device of FIG. 20 is used in combination with a
 [0212]
 The fixed
 [0213]
 In a preferred embodiment, the
 [0214]
 In the illuminating device of FIG. 20, one card-type LED
 [0215]
 20 and 21 show an LED illuminating device that can be replaced with a bulb-type lamp. However, an LED illuminating light source that can be replaced with a straight tube fluorescent lamp or a round tube fluorescent lamp is used as the card-type LED illuminating light source of the present invention. It is also possible to implement it. If an LED illumination light source having the same form as a straight tube fluorescent lamp or a round tube fluorescent lamp is produced, the LED illumination light source according to the present invention is used in place of a straight tube or a round tube fluorescent lamp in an existing apparatus. can do.
 [0216]
 FIG. 22 shows a stand-type LED lighting device. The illumination device
 [0217]
 In the stand type illumination device of FIG. 22, one card type LED
 [0218]
 FIG. 24 shows another embodiment of a stand-type LED lighting device. In this LED illumination device, a connector of the type shown in FIG. 21 is employed. The card-type LED illumination light source is fixed to the illumination device by a fixed lid. The opening and closing of the fixed lid can be easily performed with a human finger.
 [0219]
 FIG. 25 shows an LED lighting device that can be carried as a flashlight or a penlight. The illumination device is provided with a
 [0220]
 FIG. 26 shows an LED illuminating device that replaces an illuminating device using a conventional straight tube fluorescent lamp. The
 [0221]
 The illumination light source of FIG. 26 is not an LED illumination light source that can be replaced with a straight tube fluorescent lamp itself, but an LED illumination light source that can be replaced with a stand-type illumination device using a straight tube fluorescent lamp.
 [0222]
 FIG. 27 shows an LED illumination device that replaces an illumination device using a conventional round tube fluorescent lamp. The
 [0223]
 FIG. 28 shows a downlight type LED illumination light source. Since the LED lighting device of the present invention is easily reduced in thickness, it can be easily disposed as a downlight on the ceiling of a room or car.
 [0224]
 FIG. 29 shows an optical illumination variable type LED lighting device. Arbitrary angle around a specific axis (not limited to one axis, including multiple axes) where the card type LED illumination light source is mountedIs By rotating the light, it is easy to set the light emission direction to a desired direction.
 [0225]
 FIG. 30 shows a card-type LED lighting device. A thin battery such as a button battery is adopted as a power source, and the lighting device itself is made thin. Such an LED lighting device is easy to carry by being thin and light.
 [0226]
 Figure 31 shows the
 [0227]
 As described above, various embodiments of the LED lighting device according to the present invention have been described with reference to FIGS. 20 to 31. However, the embodiments of the present invention are not limited to these and can take various forms.
 [0228]
 As is clear from the description of the above embodiment, when each lighting device is designed to use one or a plurality of card-type LED illumination light sources for one lighting device, a standardized predetermined card type is used. LED illumination light sources are easy to spread. For example, in the case of the illuminating device of FIG. 21, the configuration is such that a plurality of card-type LED illuminating light sources that can be attached to and detached from the illuminating device of FIG. Is preferred. If it does so, the important effect that it is easy to reduce the price of a single unit by the mass production effect of the card type LED illumination light source is obtained. Also, if the card-type LED illumination light source that can be used differs depending on the type of lighting device and the manufacturer, compatibility is poor and user dissatisfaction increases, so the main part of the card-type LED illumination light source is standardized. It is preferable to have different functions and dimensions.
 [0229]
 In addition, although the card type LED illumination light source in the said embodiment uses what mounted | worn the LED bare chip, you may employ | adopt the card type LED illumination light source in which the organic EL film | membrane was formed. The “detachable card-type LED illumination light source in which LEDs are mounted on one side of the substrate” in this specification includes a wide range of card-type LED illumination light sources in which an organic EL is provided on a heat dissipation substrate.
 [0230]
 As described above, the LED illumination device according to the present invention uses the card-type LED illumination light source as a member that can be easily attached and detached, thereby extending the life of the illumination device and being able to replace the existing illumination device. . A card-type LED illumination light source having the configuration shown in FIG. 12 is preferably used for such an LED illumination device, but the card-type LED illumination light source used for the LED illumination device of the present invention is limited to the above-described embodiment. I don't mean.
 [0231]
 Thus, what has various structures can be adopted as a card type LED illumination light source attached to and detached from the LED illumination device of the present invention, and the implementation of the card type LED illumination light source described with reference to the drawings. The form is not limited.
 [0232]
 Moreover, the card-type LED illumination light source of the present invention can also be employed in devices other than the illumination device. For example, the light source part of equipment and other devices that require emission of high-luminance light as in the case of lighting devicesIs A detachable card type LED illumination light source according to the present invention may be used.
 [0233]
 Instead of directly mounting the LED bare chip on the substrate, an LED element (preferably a surface mount type) in which the LED bare chip is molded may be bonded to the substrate. In this case, since the LED is separately manufactured in a molded state, the thermal resistance between the substrate and the LED bare chip is higher than when the LED bare chip is directly mounted. However, if the above-described substrate configuration is adopted, even when the LED element is installed on the substrate, it is possible to achieve better heat dissipation than before, and it is possible to improve the heat dissipation when LED elements are integrated. It is.
 [0234]
 【The invention's effect】
 According to the LED lighting device of the present invention, the light source portion is constituted by a detachable card-like structure, thereby enhancing the effect of smoothly dissipating the heat generated in each LED element in the light source, and the light source that has reached the end of its lifetime. It becomes possible to use a structure other than the light source of the lighting device for a long period of time by making it possible to replace only the light source with a new light source.
 [0235]
 In addition, according to the card type LED illumination light source of the present invention, it is possible to simultaneously realize a higher density of LED elements, good heat dissipation, and improvement in utilization efficiency of generated light. Commercialization is possible.
 [Brief description of the drawings]
 FIG. 1 (a) is a perspective view of a conventional LED illumination light source, and FIG. 1 (b) is a perspective view of another conventional LED illumination light source.
 2A is a partial cross-sectional view of an LED in the LED illumination light source of FIG. 1A, and FIG. 2B is a partial cross-sectional view of an LED in the LED illumination light source of FIG.
 3A is a perspective view showing a part of a flat type LED lighting device according to the present invention, and FIG. 3B is a perspective view showing a light bulb type LED lighting device according to the present invention.
 4A is an exploded perspective view of an embodiment of the card-type LED illumination light source of the present invention, and FIG. 4B is a perspective view of the LED illumination light source.
 FIGS. 5A and 5B are cross-sectional views of LEDs in an embodiment of the card-type LED illumination light source of the present invention, respectively.
 FIGS. 6A and 6B are equivalent circuit diagrams showing connection examples of a plurality of LEDs in a card-type LED illumination light source.
 FIGS. 7A and 7B are diagrams showing a path of light emitted from an LED. FIG.
 FIGS. 8A and 8B are diagrams showing simulation results for an emitted light beam of light emitted from an LED. FIGS.
 FIGS. 9A and 9B are cross-sectional views showing other examples of the shape of the light emitting side surface of the element substrate in the LED.
 FIG. 10 is a cross-sectional view showing another configuration example of an LED.
 FIGS. 11A to 11D are plan layout diagrams illustrating a configuration example of a bonding portion of a wafer bond in the LED illustrated in FIG.
 FIG. 12 is an exploded perspective view showing another embodiment of the card-type LED illumination light source of the present invention.
 FIG. 13 is a view showing a connector that can be used in the LED illumination light source of the present invention.
 14A is a cross-sectional view of a region where an LED is provided in the card-type LED illumination light source of FIG. 12, and FIG. 14B is a cross-sectional view of a region where a power supply electrode is provided.
 15 is an equivalent circuit diagram showing a connection configuration of LEDs in the card-type LED illumination light source of FIG. 12. FIG.
 16 is a block diagram showing a configuration of a lighting circuit of an LED illumination device to which the card type LED illumination light source of FIG. 12 is attached.
 17 is a plan layout diagram showing an upper layer wiring pattern in the card-type LED illumination light source of FIG. 12. FIG.
 18 is a plan layout diagram showing a lower layer wiring pattern in the card-type LED illumination light source of FIG. 12. FIG.
 FIG. 19 is a plan view showing a wiring pattern of a part to be flip chip (FC) mounted, (b) is a plan view showing a wiring pattern of a part to be wire bonded (WB) mounted, and (c) is a FC mounting. Sectional drawing of the manufactured LED bare chip, (d) is a sectional view of the LED bare chip mounted with WB.
 FIG. 20 is a view showing another embodiment of the LED illumination light source of the present invention, and shows a bulb-type LED illumination device.
 FIG. 21 is a view showing still another embodiment of the LED illumination light source of the present invention, and shows a bulb-type LED illumination device to which a plurality of card-type LED illumination light sources are attached.
 FIG. 22 is a view showing still another embodiment of the LED illumination light source of the present invention, and shows a stand-type LED illumination device.
 FIG. 23 is a view showing still another embodiment of the LED illumination light source of the present invention, and shows a stand-type LED illumination device having a configuration in which two card-type LED illumination light sources are attached and detached.
 FIG. 24 is a diagram showing still another embodiment of the LED illumination light source of the present invention, and shows another embodiment of a stand-type LED illumination device.
 FIG. 25 is a view showing still another embodiment of the LED illumination light source of the present invention, and shows an LED illumination device for a flashlight or a penlight.
 FIG. 26 shows an LED illumination device that replaces an illumination device using a conventional straight tube fluorescent lamp.
 FIG. 27 is a view showing still another embodiment of the LED illumination light source of the present invention, and shows an LED illumination device that replaces an illumination device using a conventional round tube fluorescent lamp.
 FIG. 28 is a diagram showing still another embodiment of the LED illumination light source of the present invention, and shows a downlight type LED illumination device.
 FIG. 29 is a view showing still another embodiment of the LED illumination light source according to the present invention, and shows an LED illumination device of a variable optical axis type.
 FIG. 30 is a view showing still another embodiment of the LED illumination light source of the present invention, and shows a card-type LED illumination device.
 FIG. 31 is a diagram showing still another embodiment of the LED illumination light source of the present invention,
 [Explanation of symbols]
 1 Heat dissipation board
 1a Wiring pattern
 1b Metal plate
 1c Insulating layer
 1d wiring pattern
 1e Insulating layer
 2 LED bare chip
 3 Optical reflector
 3a Reflective surface
 3b Hole of optical reflector (opening)
 4 Resin
 10 Card type LED illumination light source
 11 LED element board
 12 GaN-based n-type semiconductor layer
 13 Active layer
 14 p-type semiconductor layer
 15 Light emitting part
 16 Bump
 19 Heat sink
 20 Adapter
 21 Substrate
 21a Wiring pattern
 22 LED bare chip
 23 boards
 23a Reflecting surface of
 23b Hole in plate 23 (opening)
 24 resin (mold resin)
 31 Element substrate
 32 n-type semiconductor layer
 33 Active layer
 34 p-type semiconductor layer
 34a electrode
 41 Gold wire
 42 Gold wire
 50 metal plate
 51 multilayer wiring board
 52 Metal Optical Reflector
 53 LED
 54 Feeding electrode
 55 Connector body
 56 Connector electrode
 57 Metal plate (bottom plate)
 58 Wiring cord
 59 Wiring pattern
 60 Underfill
 61 Au bump
 62 resin
 63 Via
| Application Number | Priority Date | Filing Date | Title | 
|---|---|---|---|
| JP2002231765AJP3989794B2 (en) | 2001-08-09 | 2002-08-08 | LED illumination device and LED illumination light source | 
| Application Number | Priority Date | Filing Date | Title | 
|---|---|---|---|
| JP2001-242857 | 2001-08-09 | ||
| JP2001242857 | 2001-08-09 | ||
| JP2002231765AJP3989794B2 (en) | 2001-08-09 | 2002-08-08 | LED illumination device and LED illumination light source | 
| Application Number | Title | Priority Date | Filing Date | 
|---|---|---|---|
| JP2005088853ADivisionJP2005235779A (en) | 2001-08-09 | 2005-03-25 | LED lighting device and card type LED illumination light source | 
| JP2005088767ADivisionJP4180576B2 (en) | 2001-08-09 | 2005-03-25 | LED lighting device and card type LED illumination light source | 
| Publication Number | Publication Date | 
|---|---|
| JP2003124528A JP2003124528A (en) | 2003-04-25 | 
| JP2003124528A5 JP2003124528A5 (en) | 2006-04-06 | 
| JP3989794B2true JP3989794B2 (en) | 2007-10-10 | 
| Application Number | Title | Priority Date | Filing Date | 
|---|---|---|---|
| JP2002231765AExpired - LifetimeJP3989794B2 (en) | 2001-08-09 | 2002-08-08 | LED illumination device and LED illumination light source | 
| Country | Link | 
|---|---|
| JP (1) | JP3989794B2 (en) | 
| Publication number | Priority date | Publication date | Assignee | Title | 
|---|---|---|---|---|
| WO2010146783A1 (en) | 2009-06-15 | 2010-12-23 | パナソニック株式会社 | Semiconductor light-emitting device, light-emitting module, and illumination device | 
| WO2011040980A3 (en)* | 2009-10-02 | 2011-09-29 | Light Etc. Corporation | Light with replaceable light source | 
| US8641232B2 (en) | 2010-06-18 | 2014-02-04 | Toshiba Lighting & Technology Corporation | Light emitting device and illumination apparatus | 
| Publication number | Priority date | Publication date | Assignee | Title | 
|---|---|---|---|---|
| US7244965B2 (en) | 2002-09-04 | 2007-07-17 | Cree Inc, | Power surface mount light emitting die package | 
| US7775685B2 (en) | 2003-05-27 | 2010-08-17 | Cree, Inc. | Power surface mount light emitting die package | 
| JP2005005482A (en)* | 2003-06-12 | 2005-01-06 | Citizen Electronics Co Ltd | Led light emitting device and color display device using the same | 
| JP2005039193A (en)* | 2003-06-26 | 2005-02-10 | Kyocera Corp | Light emitting element storage package, light emitting device, and lighting device | 
| JP4238666B2 (en)* | 2003-07-17 | 2009-03-18 | 豊田合成株式会社 | Method for manufacturing light emitting device | 
| JP4268472B2 (en)* | 2003-07-18 | 2009-05-27 | パナソニック株式会社 | Lighting device and lamp module | 
| JP3773525B2 (en)* | 2003-08-07 | 2006-05-10 | 松下電器産業株式会社 | LED lighting source | 
| JP3864943B2 (en)* | 2003-08-26 | 2007-01-10 | 住友電気工業株式会社 | Light distribution unit, lighting unit, and lighting system | 
| JP4902950B2 (en)* | 2003-09-16 | 2012-03-21 | パナソニック株式会社 | LED lighting source | 
| WO2005029185A2 (en)* | 2003-09-16 | 2005-03-31 | Matsushita Electric Industrial Co., Ltd. | Led lighting source and led lighting apparatus | 
| JP4159437B2 (en)* | 2003-09-29 | 2008-10-01 | 三洋電機株式会社 | Lighting device | 
| KR100587328B1 (en) | 2003-10-16 | 2006-06-08 | 엘지전자 주식회사 | LED surface light source | 
| JP4001856B2 (en)* | 2003-10-30 | 2007-10-31 | ローム株式会社 | LIGHT EMITTING ELEMENT DRIVE DEVICE, DISPLAY MODULE HAVING LIGHT EMITTING ELEMENT DRIVE DEVICE, AND ELECTRONIC DEVICE HAVING DISPLAY MODULE | 
| JP2005203481A (en)* | 2004-01-14 | 2005-07-28 | Nitto Kogaku Kk | Ultraviolet ray irradiator | 
| JP3895362B2 (en)* | 2004-01-29 | 2007-03-22 | 松下電器産業株式会社 | LED lighting source | 
| JP4488873B2 (en)* | 2004-03-02 | 2010-06-23 | シーシーエス株式会社 | Light irradiation device | 
| JP4643918B2 (en)* | 2004-03-10 | 2011-03-02 | シチズン電子株式会社 | Optical semiconductor package | 
| JP4754850B2 (en) | 2004-03-26 | 2011-08-24 | パナソニック株式会社 | Manufacturing method of LED mounting module and manufacturing method of LED module | 
| WO2005104247A1 (en)* | 2004-04-19 | 2005-11-03 | Matsushita Electric Industrial Co., Ltd. | Method for fabricating led illumination light source and led illumination light source | 
| JP2006147999A (en)* | 2004-11-24 | 2006-06-08 | Kyocera Corp | WIRING BOARD FOR LIGHT EMITTING ELEMENT AND LIGHT EMITTING DEVICE | 
| JP2005347467A (en)* | 2004-06-02 | 2005-12-15 | Fujikura Ltd | LIGHT EMITTING DEVICE AND LIGHTING DEVICE | 
| JP2006019319A (en)* | 2004-06-30 | 2006-01-19 | C I Kasei Co Ltd | Light emitting diode assembly and method for manufacturing light emitting diode assembly | 
| US7252408B2 (en)* | 2004-07-19 | 2007-08-07 | Lamina Ceramics, Inc. | LED array package with internal feedback and control | 
| JP4096927B2 (en)* | 2004-08-03 | 2008-06-04 | 松下電器産業株式会社 | LED lighting source | 
| JP4543813B2 (en)* | 2004-08-04 | 2010-09-15 | ソニー株式会社 | Backlight device and liquid crystal display device including the backlight device | 
| JP4558417B2 (en)* | 2004-09-01 | 2010-10-06 | 有限会社シマテック | Lighting control device | 
| JP2006086469A (en)* | 2004-09-17 | 2006-03-30 | Matsushita Electric Ind Co Ltd | Semiconductor light emitting device, illumination module, illumination device, and method for manufacturing semiconductor light emitting device | 
| JP4624069B2 (en)* | 2004-10-27 | 2011-02-02 | 京セラ株式会社 | LIGHT EMITTING DEVICE, ITS MANUFACTURING METHOD, AND LIGHTING DEVICE | 
| ATE465374T1 (en)* | 2004-11-01 | 2010-05-15 | Panasonic Corp | LIGHT EMITTING MODULE, LIGHTING DEVICE AND DISPLAY DEVICE | 
| JP2006156662A (en)* | 2004-11-29 | 2006-06-15 | Matsushita Electric Ind Co Ltd | Light emitting device | 
| JP4925296B2 (en)* | 2004-12-28 | 2012-04-25 | パナソニック株式会社 | Method for manufacturing high thermal conductivity circuit module and high thermal conductivity circuit module | 
| JP4890775B2 (en) | 2005-03-23 | 2012-03-07 | パナソニック株式会社 | Light emitting module | 
| JP4754245B2 (en)* | 2005-03-24 | 2011-08-24 | 株式会社フジクラ | Manufacturing method of light emitting element unit | 
| JP2006278889A (en)* | 2005-03-30 | 2006-10-12 | Sharp Corp | Semiconductor lamps and electronic equipment | 
| JP2006302726A (en)* | 2005-04-22 | 2006-11-02 | Toshiaki Inoue | Overlapping emission type light emitting diode lamp having a plurality of light emitting diode as light source | 
| US7952112B2 (en)* | 2005-04-29 | 2011-05-31 | Philips Lumileds Lighting Company Llc | RGB thermal isolation substrate | 
| US7780312B2 (en)* | 2005-05-31 | 2010-08-24 | Lg Display Co., Ltd. | Backlight assembly for liquid crystal display device and liquid crystal display device using the same | 
| JP4628877B2 (en)* | 2005-06-07 | 2011-02-09 | 株式会社フジクラ | Light-emitting element mounting enamel substrate, light-emitting element module, lighting device, display device, and traffic signal device | 
| JP2006351611A (en)* | 2005-06-13 | 2006-12-28 | Rohm Co Ltd | Substrate for mounting light-emitting device and optical semiconductor device using same | 
| JP2006351695A (en)* | 2005-06-14 | 2006-12-28 | Fujikura Ltd | Light-emitting element mounting enamel substrate, light-emitting element module, light source device, lighting device, display device, and traffic signal device | 
| US7980743B2 (en) | 2005-06-14 | 2011-07-19 | Cree, Inc. | LED backlighting for displays | 
| KR100691191B1 (en)* | 2005-07-15 | 2007-03-09 | 삼성전기주식회사 | Surface light source using LED and LCD backlight unit having same | 
| WO2007011068A1 (en)* | 2005-07-22 | 2007-01-25 | Showa Denko K.K. | Light-emitting diode light source | 
| JP2007042669A (en)* | 2005-07-29 | 2007-02-15 | Toyoda Gosei Co Ltd | Light source apparatus | 
| JP4620778B2 (en)* | 2005-08-19 | 2011-01-26 | ネオバルブ テクノロジーズ,インコーポレイテッド | LED lighting device with high output and high thermal diffusion efficiency | 
| JP2007073752A (en)* | 2005-09-07 | 2007-03-22 | Meiko:Kk | Led display | 
| US7360934B2 (en) | 2005-10-24 | 2008-04-22 | Sumitomo Electric Industries, Ltd. | Light supply unit, illumination unit, and illumination system | 
| WO2007072659A1 (en)* | 2005-12-20 | 2007-06-28 | Toshiba Lighting & Technology Corporation | Light-emitting device | 
| DE102005061204A1 (en)* | 2005-12-21 | 2007-07-05 | Perkinelmer Elcos Gmbh | Lighting device, lighting control device and lighting system | 
| JP4569925B2 (en)* | 2005-12-28 | 2010-10-27 | パナソニック株式会社 | Lighting device | 
| JP2007214472A (en)* | 2006-02-13 | 2007-08-23 | Matsushita Electric Ind Co Ltd | Edge light and manufacturing method thereof | 
| JP4828253B2 (en)* | 2006-02-23 | 2011-11-30 | 昭和電工株式会社 | Light emitting unit used as light source for backlight for liquid crystal | 
| JP2007242856A (en)* | 2006-03-08 | 2007-09-20 | Rohm Co Ltd | Chip-type semiconductor light emitting device | 
| JP2007294867A (en)* | 2006-03-28 | 2007-11-08 | Toshiba Lighting & Technology Corp | Light emitting device | 
| WO2007123068A1 (en)* | 2006-04-25 | 2007-11-01 | Sharp Kabushiki Kaisha | Backlight device | 
| JP4207061B2 (en)* | 2006-06-12 | 2009-01-14 | 住友電気工業株式会社 | Light distribution unit, lighting unit, and lighting system | 
| USD572387S1 (en) | 2006-06-20 | 2008-07-01 | Matsushita Electric Industrial Co., Ltd. | Lighting apparatus | 
| USD565756S1 (en) | 2006-06-20 | 2008-04-01 | Matsushita Electric Industrial Co., Ltd. | Lighting apparatus | 
| USD565752S1 (en) | 2006-06-20 | 2008-04-01 | Matsushita Electric Industrial Co., Ltd. | Lighting apparatus | 
| USD565207S1 (en) | 2006-06-20 | 2008-03-25 | Matsushita Electric Industrial Co., Ltd. | Lighting apparatus | 
| USD565754S1 (en) | 2006-06-20 | 2008-04-01 | Matsushita Electric Industrial Co., Ltd. | Lighting apparatus | 
| USD611628S1 (en) | 2006-06-20 | 2010-03-09 | Panasonic Corporation | Lighting apparatus | 
| USD565755S1 (en) | 2006-06-20 | 2008-04-01 | Matsushita Electric Industrial Co., Ltd. | Lighting apparatus | 
| USD560293S1 (en) | 2006-06-20 | 2008-01-22 | Matsushita Electric Industrial Co., Ltd. | Lighting unit | 
| USD569529S1 (en) | 2006-06-20 | 2008-05-20 | Matsushita Electric Industrial Co., Ltd. | Lighting apparatus | 
| USD570003S1 (en) | 2006-06-20 | 2008-05-27 | Matsushita Electric Industrial Co., Ltd. | Lighting apparatus | 
| USD566303S1 (en) | 2006-06-20 | 2008-04-08 | Matsushita Electric Industrial Co., Ltd. | Lighting apparatus | 
| USD565753S1 (en) | 2006-06-20 | 2008-04-01 | Matsushita Electric Industrial Co., Ltd. | Lighting apparatus | 
| USD568500S1 (en) | 2006-06-20 | 2008-05-06 | Matsushita Electric Industrial Co., Ltd. | Lighting apparatus | 
| USD565208S1 (en) | 2006-06-20 | 2008-03-25 | Matsushita Electric Industrial Co., Ltd. | Lighting apparatus | 
| USD570506S1 (en) | 2006-06-20 | 2008-06-03 | Matsushita Electric Industrial Co., Ltd. | Lighting apparatus | 
| DE102007004303A1 (en)* | 2006-08-04 | 2008-02-07 | Osram Opto Semiconductors Gmbh | Thin-film semiconductor device and device composite | 
| JP2008052939A (en)* | 2006-08-22 | 2008-03-06 | Yoshihiro Hasegawa | Led illumination unit and lighting system | 
| US8581393B2 (en)* | 2006-09-21 | 2013-11-12 | 3M Innovative Properties Company | Thermally conductive LED assembly | 
| US20080074884A1 (en)* | 2006-09-25 | 2008-03-27 | Thye Linn Mok | Compact high-intensty LED-based light source and method for making the same | 
| US8104923B2 (en) | 2006-10-12 | 2012-01-31 | Panasonic Corporation | Light-emitting apparatus | 
| US7549786B2 (en) | 2006-12-01 | 2009-06-23 | Cree, Inc. | LED socket and replaceable LED assemblies | 
| USD572388S1 (en) | 2006-12-19 | 2008-07-01 | Matsushita Electric Industrial Co., Ltd. | Lighting apparatus | 
| DE102007004304A1 (en) | 2007-01-29 | 2008-07-31 | Osram Opto Semiconductors Gmbh | Thin-film light emitting diode chip, has layer stack made of primary radiation surfaces lying opposite to each other so that thin-film light emitting diode chip has two primary radiation directions | 
| JP5050562B2 (en)* | 2007-02-26 | 2012-10-17 | 日亜化学工業株式会社 | Light emitting device | 
| JP4753904B2 (en) | 2007-03-15 | 2011-08-24 | シャープ株式会社 | Light emitting device | 
| JP5181505B2 (en)* | 2007-03-22 | 2013-04-10 | 東芝ライテック株式会社 | Light emitting device | 
| JP2009004718A (en)* | 2007-05-18 | 2009-01-08 | Denki Kagaku Kogyo Kk | Metal base circuit board | 
| EP2160082B1 (en)* | 2007-05-18 | 2018-07-04 | Denka Company Limited | Metal base circuit board | 
| USD581885S1 (en) | 2007-06-14 | 2008-12-02 | Panasonic Corporation | Light source of light emitting diode | 
| TWD125663S1 (en) | 2007-06-14 | 2008-10-21 | 松下電器產業股份有限公司 | Light source of light emitting diode | 
| JP2009033088A (en)* | 2007-06-29 | 2009-02-12 | Sharp Corp | Semiconductor light emitting device, manufacturing method thereof, and LED lighting device using the same | 
| JP5538671B2 (en)* | 2007-09-19 | 2014-07-02 | シャープ株式会社 | Light emitting device and LED lamp | 
| JP4844520B2 (en)* | 2007-09-25 | 2011-12-28 | パナソニック電工株式会社 | Lighting device | 
| JP2011501466A (en)* | 2007-10-26 | 2011-01-06 | クリー エル イー ディー ライティング ソリューションズ インコーポレイテッド | Lighting device having one or more light emitters and method of making the same | 
| CN102089567B (en) | 2008-07-07 | 2014-02-26 | 松下电器产业株式会社 | Light source for bulb-shaped lighting | 
| US8915610B2 (en)* | 2008-08-11 | 2014-12-23 | Rohm Co., Ltd. | Lighting device | 
| FR2936251B1 (en)* | 2008-09-23 | 2010-11-05 | Millipore Corp | DEVICE FOR MICROBIOLOGICAL ANALYSIS. | 
| JP4676527B2 (en)* | 2008-12-24 | 2011-04-27 | パナソニック株式会社 | socket | 
| JP4676526B2 (en)* | 2008-12-24 | 2011-04-27 | パナソニック株式会社 | Lamp module | 
| JP2010153556A (en)* | 2008-12-25 | 2010-07-08 | Kyocera Corp | Light-emitting device and lighting system using the same | 
| TWI384660B (en)* | 2009-01-23 | 2013-02-01 | Everlight Electronics Co Ltd | Light-emitting diode package structure and manufacturing method thereof | 
| JP2013516728A (en)* | 2010-01-05 | 2013-05-13 | コーニンクレッカ フィリップス エレクトロニクス エヌ ヴィ | Circuit board support structure having fixed circuit board connection device | 
| JP2011146640A (en)* | 2010-01-18 | 2011-07-28 | Fujikom Corp | Led light source | 
| JP2010171466A (en)* | 2010-05-11 | 2010-08-05 | Toshiba Lighting & Technology Corp | Light-emitting device | 
| JP4945658B2 (en)* | 2010-05-17 | 2012-06-06 | スタンレー電気株式会社 | Vehicle headlamp | 
| JP2012015226A (en)* | 2010-06-30 | 2012-01-19 | Toshiba Lighting & Technology Corp | Light emitting device and illumination device | 
| CN103026514B (en)* | 2010-09-30 | 2016-08-03 | 日亚化学工业株式会社 | Light-emitting device and the manufacture method of light-emitting device | 
| JP5727245B2 (en)* | 2011-01-28 | 2015-06-03 | ジーニアアンドアーレイ株式会社 | Light emitting diode mounting structure, light source unit, light source fixture, and method of manufacturing light emitting diode mounted body | 
| WO2012165125A1 (en)* | 2011-06-03 | 2012-12-06 | シャープ株式会社 | Led lamp and cooker equipped with same | 
| JP2012251738A (en)* | 2011-06-03 | 2012-12-20 | Sharp Corp | Heating cooker | 
| JP2012253232A (en)* | 2011-06-03 | 2012-12-20 | Sharp Corp | Heating cooker | 
| JP5900019B2 (en)* | 2012-02-29 | 2016-04-06 | 日亜化学工業株式会社 | Light emitting device holder | 
| JP2014022501A (en)* | 2012-07-17 | 2014-02-03 | Nitto Denko Corp | Light-emitting device assembly and illumination device | 
| JP5132007B2 (en)* | 2012-03-14 | 2013-01-30 | パナソニック株式会社 | lighting equipment | 
| WO2014084143A1 (en) | 2012-11-29 | 2014-06-05 | 京セラ株式会社 | Light irradiation device, light irradiation module and printing device | 
| JP2015103733A (en) | 2013-11-27 | 2015-06-04 | 豊田合成株式会社 | Light emitting device | 
| JP6221888B2 (en) | 2014-03-26 | 2017-11-01 | 豊田合成株式会社 | Light emitting device and manufacturing method thereof | 
| JP6598137B2 (en)* | 2016-03-01 | 2019-10-30 | 東芝ライテック株式会社 | Light emitting device and lighting device | 
| JP6817603B2 (en)* | 2016-11-08 | 2021-01-20 | パナソニックIpマネジメント株式会社 | Lighting device | 
| JP2018142592A (en)* | 2017-02-27 | 2018-09-13 | パナソニックIpマネジメント株式会社 | Light source module, illumination device, and mobile body | 
| USD967506S1 (en)* | 2020-04-08 | 2022-10-18 | Ledil Oy | Light diffuser | 
| USD970092S1 (en)* | 2020-04-08 | 2022-11-15 | Ledil Oy | Light diffuser | 
| EP3905326B1 (en)* | 2020-04-28 | 2023-01-04 | Nichia Corporation | Light-emitting device | 
| EP3907428B1 (en)* | 2020-05-07 | 2023-09-27 | Lumileds LLC | Retrofit lighting device with improved thermal properties | 
| JP7502636B2 (en)* | 2020-09-29 | 2024-06-19 | 日亜化学工業株式会社 | Light emitting device manufacturing method and light emitting device | 
| CN114171644A (en)* | 2021-11-17 | 2022-03-11 | 广东索亮智慧科技有限公司 | A special application of ultra-high density nano-scale thermal conductivity full color gamut NK watt-level COB light source packaging technology | 
| CN117894890B (en)* | 2024-03-07 | 2024-06-07 | 深圳日上光电有限公司 | LED lamp pearl production facility | 
| Publication number | Priority date | Publication date | Assignee | Title | 
|---|---|---|---|---|
| JPS6072281A (en)* | 1983-09-28 | 1985-04-24 | Sanyo Electric Co Ltd | Led substrate | 
| JPS618146U (en)* | 1984-06-20 | 1986-01-18 | 三洋電機株式会社 | optical printer head | 
| JPH033276A (en)* | 1989-05-31 | 1991-01-09 | Nippon Denyo Kk | Led lamp | 
| JP2787799B2 (en)* | 1993-12-29 | 1998-08-20 | 岡谷電機産業株式会社 | Indicator light | 
| JPH0825689A (en)* | 1994-07-15 | 1996-01-30 | Rohm Co Ltd | Structure of led array printing head | 
| JP2000100218A (en)* | 1998-09-21 | 2000-04-07 | Ichikoh Ind Ltd | Vehicle lamp with LED as light source | 
| JP3530417B2 (en)* | 1999-04-23 | 2004-05-24 | 三洋電機株式会社 | LED light source device | 
| JP2001052504A (en)* | 1999-08-06 | 2001-02-23 | Inax Corp | Lighting system | 
| Publication number | Priority date | Publication date | Assignee | Title | 
|---|---|---|---|---|
| WO2010146783A1 (en) | 2009-06-15 | 2010-12-23 | パナソニック株式会社 | Semiconductor light-emitting device, light-emitting module, and illumination device | 
| US8390021B2 (en) | 2009-06-15 | 2013-03-05 | Panasonic Corporation | Semiconductor light-emitting device, light-emitting module, and illumination device | 
| WO2011040980A3 (en)* | 2009-10-02 | 2011-09-29 | Light Etc. Corporation | Light with replaceable light source | 
| US8641232B2 (en) | 2010-06-18 | 2014-02-04 | Toshiba Lighting & Technology Corporation | Light emitting device and illumination apparatus | 
| Publication number | Publication date | 
|---|---|
| JP2003124528A (en) | 2003-04-25 | 
| Publication | Publication Date | Title | 
|---|---|---|
| JP3989794B2 (en) | LED illumination device and LED illumination light source | |
| JP4180576B2 (en) | LED lighting device and card type LED illumination light source | |
| CN100504146C (en) | LED lighting device and LED lighting source | |
| JP2007059930A (en) | LED lighting device and card type LED illumination light source | |
| JP2005235779A (en) | LED lighting device and card type LED illumination light source | |
| JP4598767B2 (en) | Semiconductor light emitting device, light emitting module, and lighting device | |
| CN101852349B (en) | Lighting apparatus with led | |
| JP4160881B2 (en) | Semiconductor light emitting device, light emitting module, lighting device, and method for manufacturing semiconductor light emitting device | |
| US9406654B2 (en) | Package for high-power LED devices | |
| US20070023769A1 (en) | Led lighting source and led lighting apparatus | |
| US20060091416A1 (en) | High power LED package with universal bonding pads and interconnect arrangement | |
| US9196584B2 (en) | Light-emitting device and lighting apparatus using the same | |
| CN102893418A (en) | Lead frame, wiring board, light emitting unit, lighting device | |
| JP2007517378A (en) | Semiconductor light emitting device, lighting module, lighting device, display element, and method for manufacturing semiconductor light emitting device | |
| CN102472459A (en) | Bulb-shaped lamp | |
| CN105473930A (en) | Led module | |
| US9951910B2 (en) | LED lamp with base having a biased electrical interconnect | 
| Date | Code | Title | Description | 
|---|---|---|---|
| A621 | Written request for application examination | Free format text:JAPANESE INTERMEDIATE CODE: A621 Effective date:20050325 | |
| A521 | Request for written amendment filed | Free format text:JAPANESE INTERMEDIATE CODE: A523 Effective date:20050325 | |
| A521 | Request for written amendment filed | Free format text:JAPANESE INTERMEDIATE CODE: A523 Effective date:20060222 | |
| A977 | Report on retrieval | Free format text:JAPANESE INTERMEDIATE CODE: A971007 Effective date:20060803 | |
| A131 | Notification of reasons for refusal | Free format text:JAPANESE INTERMEDIATE CODE: A131 Effective date:20070327 | |
| A521 | Request for written amendment filed | Free format text:JAPANESE INTERMEDIATE CODE: A523 Effective date:20070521 | |
| TRDD | Decision of grant or rejection written | ||
| A01 | Written decision to grant a patent or to grant a registration (utility model) | Free format text:JAPANESE INTERMEDIATE CODE: A01 Effective date:20070626 | |
| A61 | First payment of annual fees (during grant procedure) | Free format text:JAPANESE INTERMEDIATE CODE: A61 Effective date:20070718 | |
| FPAY | Renewal fee payment (event date is renewal date of database) | Free format text:PAYMENT UNTIL: 20100727 Year of fee payment:3 | |
| R150 | Certificate of patent or registration of utility model | Ref document number:3989794 Country of ref document:JP Free format text:JAPANESE INTERMEDIATE CODE: R150 Free format text:JAPANESE INTERMEDIATE CODE: R150 | |
| FPAY | Renewal fee payment (event date is renewal date of database) | Free format text:PAYMENT UNTIL: 20110727 Year of fee payment:4 | |
| FPAY | Renewal fee payment (event date is renewal date of database) | Free format text:PAYMENT UNTIL: 20110727 Year of fee payment:4 | |
| FPAY | Renewal fee payment (event date is renewal date of database) | Free format text:PAYMENT UNTIL: 20120727 Year of fee payment:5 | |
| FPAY | Renewal fee payment (event date is renewal date of database) | Free format text:PAYMENT UNTIL: 20120727 Year of fee payment:5 | |
| FPAY | Renewal fee payment (event date is renewal date of database) | Free format text:PAYMENT UNTIL: 20130727 Year of fee payment:6 | |
| S533 | Written request for registration of change of name | Free format text:JAPANESE INTERMEDIATE CODE: R313533 | |
| R350 | Written notification of registration of transfer | Free format text:JAPANESE INTERMEDIATE CODE: R350 | |
| R250 | Receipt of annual fees | Free format text:JAPANESE INTERMEDIATE CODE: R250 | |
| S111 | Request for change of ownership or part of ownership | Free format text:JAPANESE INTERMEDIATE CODE: R313113 | |
| R350 | Written notification of registration of transfer | Free format text:JAPANESE INTERMEDIATE CODE: R350 | |
| R250 | Receipt of annual fees | Free format text:JAPANESE INTERMEDIATE CODE: R250 | |
| R250 | Receipt of annual fees | Free format text:JAPANESE INTERMEDIATE CODE: R250 | |
| R250 | Receipt of annual fees | Free format text:JAPANESE INTERMEDIATE CODE: R250 | |
| R250 | Receipt of annual fees | Free format text:JAPANESE INTERMEDIATE CODE: R250 | |
| RVTR | Cancellation due to determination of trial for invalidation |