












【0001】
【発明の属する技術分野】
本発明は、自動車電話等に用いられる受信機に関するものであり、特に、移動に伴ってフェージングの影響を受ける可能性のある受信機および受信方法に関するものである。
【0002】
【従来の技術】
以下、従来の受信機および受信方法について説明する。自動車電話をはじめとする無線通信においては、受信機の移動に伴って、受信信号の位相やレベルが高速に変動するフェージングの影響を大きく受ける。このフェージングを克服するための受信技術として、遅延検波や適応等化などの技術がある。
【0003】
図9は、従来の受信機で用いられるビタビ等化器の構成を示す図である。ここでは、ビタビアルゴリズムのデータ候補に従って伝送路特性を推定するタイプのビタビ等化器を示す。この形式のビタビ等化器は、たとえば、H. Kubo他著:「An adaptive maximum-likelihood sequence estimator for fast time-varying intersymbol interference channels」(IEEE  Trans.Commun.,pp.1872−1880,1994)や、H. Kubo他著:「Adaptive maximum-likelihood sequence estimation by means of combined equalization and decoding in fading environments」(IEEE  JSAC,pp.102−109,1995)に詳細に述べられている。
【0004】
図9において、1は受信信号入力端子であり、2は判定値出力端子であり、7−1,7−2,7−NはN個のACS回路であり、10は判定値作成回路であり、101は複数の伝送路特性入力端子であり、102は枝メトリック作成回路であり、103−1,103−2,103−NはN個の伝送路更新回路であり、104は記憶回路であり、115は枝メトリック出力端子である。
【0005】
まず、図9のビタビ等化器に関する基本事項に関して説明する。ビタビアルゴリズムは、複数の異なったデータ系列候補のパターンを保有する。これを「状態」と呼ぶ。また、2つの状態の時間遷移からデータ系列候補が一意的に決定される。これを「枝」と呼ぶ。また、ビタビアルゴリズムの状態数Nは、変調時の多値数Mに関して後述する枝メトリックを作成する際の、データの候補に関するメモリ長のべき乗となる。図9のビタビ等化器は、上記状態に対応して、それぞれ、伝送路特性の推定値を保有するという特徴がある。なお、枝を連続してつなげたものはパスと呼ばれ、このパスに対応して枝メトリックを累積加算したものはパスメトリックと呼ばれる。
【0006】
ここで、上記ビタビ等化器の動作を説明する。まず、枝メトリック作成回路102の動作について説明する。図10は、上記ビタビ等化器の枝メトリック作成回路102の構成を示す図である。図10において、111は伝送路特性/データ候補分配回路であり、112−1,112−2,112−MはM個の枝メトリック計算回路であり、113は選択伝送路特性入力端子であり、114はデータ候補入力端子である。
【0007】
伝送路特性/データ候補分配回路111では、伝送路特性入力端子101から複数の伝送路特性を受け取り、内部で保有するテーブルに従って、伝送路特性とデータの候補とを各枝メトリック計算回路に分配する。枝メトリック計算回路112−1,112−2,112−Mでは、多値数Mに対応する枝メトリックを枝メトリック出力端子115から出力する。
【0008】
図11は、枝メトリック計算回路の構成(1つの枝メトリック作成部分)を示す図である。図11において、121は推定伝送路モデルであり、122は2乗誤差作成回路である。
【0009】
図11では、推定タップ数が3の場合の枝メトリック計算回路が示されている。推定伝送路モデル121では、各枝に対応する1時刻過去の状態が保有する推定伝送路特性を選択伝送路特性入力端子113から受け取り、さらに、枝により決定されるデータ候補をデータ候補入力端子114から受け取り、これらに基づいて受信信号のレプリカを作成する。2乗誤差作成回路122では、受信信号と受信信号のレプリカとの2乗誤差を作成し、これを枝メトリックとして出力端子115から出力する。
【0010】
一方、図12は、図11とは異なる枝メトリック計算回路の構成を示す図である。図12おいて、123は推定タップ数が1の推定伝送路モデルである。これは、符号間干渉が存在しない場合の条件であり、この場合は、適応等化を必要とする条件ではないが、広義の意味で復調処理を適応等化と呼ぶことにする。
【0011】
なお、上記各推定伝送路モデルにおける伝送路推定に関しては、たとえば、LMSアルゴリズムのような適応アルゴリズムが用いられる。このアルゴリズムは、過去の検出値を重み付けして平均するものである(過去へ行けば行くほど重みが減少するが、全く重みが0となることはない)。ただし、図12に示す伝送路条件では、遅延検波を用いることによって復調を実行することも可能である。
【0012】
つぎに、図9におけるACS(加算・比較・選択)回路7−1〜7−Nでは、各状態(N)において、現状態に対応する複数の枝の枝メトリックを枝メトリック作成回路102から受け取り、さらに、1時刻過去のパスメトリックを記憶回路104から受け取り、次のような処理を行う。まず、1時刻過去のパスメトリックに枝メトリックを加算し、現時刻のパスメトリックを作成する(加算処理)。次に、加算処理によって得られる複数のパスメトリックを比較する(比較処理)。次に、最も信頼度の高いパスメトリックを選択し、同時にこのパスメトリックに対応するデータ系列(パス)も選択する(選択処理)。
【0013】
つぎに、伝送路更新回路103−1〜103−Nでは、受信信号入力端子1から受信信号を受け取り、さらに、記憶回路104から、選択されたパスおよびそのパスに対応する1時刻過去の推定伝送路特性を受け取り、それらに基づいて推定伝送路特性を更新後、その更新結果を記憶回路104に出力する。
【0014】
つぎに、記憶回路104では、各状態に対応する推定伝送路特性、パスメトリックおよびそのパスを記憶する。最後に、判定値作成回路10では、記憶回路104から、各状態に対応するパスメトリックとそのパスを受け取り、最も信頼度の高い状態のパスを判定値として出力する。
【0015】
【発明が解決しようとする課題】
しかしながら、上記、従来の受信機においては、以下に示すような問題があった。
【0016】
図13は、推定タップ数が1の場合における伝送路特性の時間変動を示す図である。伝送路特性が時刻1,2と変動した場合、LMSアルゴリズムを用いて時刻2において伝送路推定を行うと、時刻2の推定値は、時刻2の検出値より少し過去(時刻1)の値に近い値となる。そして、時刻3におけるデータ判定には、この伝送路推定値が利用される。一方、遅延検波において、時刻3におけるデータ判定には、時刻2における伝送路推定値が利用される。このように、LMSアルゴリズムを用いた伝送路推定では、遅延検波を用いた伝送路推定より、過去の伝送路特性に近い値を利用してデータ判定が行われるため、伝送路変動に対する追随遅延を受けることになる。
【0017】
すなわち、上記適応アルゴリズムを用いた伝送路推定では、過去の値を平均して現在の伝送路特性を推定するため、伝送路変動に関する追随遅延が生じ、特に、伝送路変動が高速の場合には、伝送路推定における追随遅延が大きくなり、追随特性が劣化してしまう、という問題があった。
【0018】
さらに、上記適応アルゴリズムを用いた伝送路推定では、無限に過去のデータを記憶するため、ビタビアルゴリズムに要するメモリ長が無限となり(状態数はこのメモリ長のべき乗に比例する)、上記従来のビタビ等化器におけるビタビアルゴリズムの状態数が増大してしまう、という問題があった。
【0019】
本発明は、上記に鑑みてなされたものであって、ビタビアルゴリズムの状態数の削減を実現し、さらに、伝送路変動が高速の場合であっても良好な追随特性を実現する受信機、およびその受信方法を得ることを目的とする。
【0020】
【課題を解決するための手段】
上述した課題を解決し、目的を達成するために、本発明にかかる受信機にあっては、ビタビアルゴリズム(これを一般化したリストビタビアルゴリズムも含む)に基づいて動作する構成とし、さらに、受信信号と予め準備された複数のデータの候補とを用いて、それぞれ異なった逆変調(受信信号を送信信号もしくはその推定値で正規化する処理)信号を作成する逆変調手段(後述する実施の形態の逆変調信号作成回路8に相当)と、前記複数のデータの候補に対応する現在および過去の逆変調信号に基づいて、枝メトリックを作成する枝メトリック作成手段(枝メトリック作成回路6に相当)と、を備えることを特徴とする。
【0021】
つぎの発明にかかる受信機において、前記枝メトリック作成手段は、受け取った複数の逆変調信号を用いて重み付け加算を行う第1の計算手段(逆変調信号分配回路11、重み付け加算回路21に相当)と、前記重み付け加算値の2乗値を計算し、その計算結果を枝メトリックとして出力する第2の計算手段(2乗回路22に相当)と、を備えることを特徴とする。
【0022】
つぎの発明にかかる受信方法にあっては、ビタビアルゴリズム(これを一般化したリストビタビアルゴリズムも含む)を採用することを前提とし、たとえば、受信信号と予め準備された複数のデータの候補とを用いて、それぞれ異なった逆変調(受信信号を送信信号もしくはその推定値で正規化する処理)信号を作成する逆変調ステップと、前記複数のデータの候補に対応する現在および過去の逆変調信号に基づいて、枝メトリックを作成する枝メトリック作成ステップと、を含むことを特徴とする。
【0023】
つぎの発明にかかる受信方法において、前記枝メトリック作成ステップにあっては、受け取った複数の逆変調信号を用いて重み付け加算を行う第1の計算ステップと、前記重み付け加算値の2乗値を計算する第2の計算ステップと、を含むことを特徴とする。
【0024】
【発明の実施の形態】
以下に、本発明にかかる受信機の実施の形態を図面に基づいて詳細に説明する。なお、この実施の形態によりこの発明が限定されるものではない。
【0025】
実施の形態1.
図1は、本発明にかかる受信機の構成を示す図である。図1において、1は受信信号入力端子であり、2は判定値出力端子であり、3は逆変調信号入力端子であり、4は生き残りパス入力端子であり、5は枝メトリック出力端子であり、6は枝メトリック作成回路であり、7−1,7−2,7−NはN個のACS回路であり、8は逆変調信号作成回路であり、9は記憶回路であり、10は判定値作成回路である。なお、Nは状態数を示す。
【0026】
本実施の形態では、ビタビ等化器との差異を中心に説明する。なお、ビタビアルゴリズムは、橋本猛他著:「Viterbiアルゴリズムの一般化について」(電子通信学会論文誌(A),pp.1064−1071,1983)により、一般化されており、この一般化ビタビアルゴリズムを用いた場合もビタビ等化器の一種として取り扱う。また、一般化ビタビアルゴリズムでなく通常のビタビアルゴリズムを用いる場合には、枝メトリック作成に生き残りパスを利用する必要がなくなる。
【0027】
ここで、本実施の形態の受信機の動作を説明する。まず、枝メトリック作成回路6の動作について説明する。図2は、本実施の形態の枝メトリック作成回路6の構成を示す図である。図2において、11は逆変調信号分配回路であり、12−1,12−2,12−NはN個の枝メトリック計算回路であり、13は選択逆変調信号入力端子である。なお、上記図1と同様の構成については、同一の符号を付してその説明を省略する。
【0028】
逆変調信号分配回路11では、逆変調信号入力端子3から複数の逆変調信号を受け取り、生き残りパス入力端子4から受け取る生き残りパスおよび内部で保有するテーブルに従って、データの候補を各枝メトリック計算回路に分配する。枝メトリック計算回路12−1,12−2,12−Nでは、受け取ったデータ候補信号をもとに、状態数に対応する枝メトリックを枝メトリック出力端子5から出力する。なお、通常のビタビアルゴリズムにおいては、生き残りパスは利用しない。また、図9との相違点は、枝メトリック作成時に生き残りパスを入力すること、加えて、受信信号を入力しないことである。
【0029】
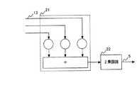
図3は、本実施の形態の枝メトリック計算回路の構成(1つの枝メトリック作成部分)を示す図である。図3において、21は重み付け加算回路であり、22は2乗回路である。なお、上記図2と同様の構成については、同一の符号を付してその説明を省略する。
【0030】
図3では、加算数が3の場合の枝メトリック計算回路が示されている。重み付け加算回路21では、各枝に対応する過去の状態(複数)に対応する逆変調信号を逆変調信号入力端子3から受け取り、これらの逆変調信号を用いて重み付け加算値を作成する。2乗回路22では、受け取った重み付け加算値の2乗値を作成し、これを枝メトリックとして枝メトリック出力端子5から出力する。なお、上記動作と従来技術との相違は後述する。
【0031】
つぎに、図1におけるACS(加算・比較・選択)回路7−1,7−2,7−Nでは、各状態(N)において、現状態に対応する複数の枝メトリックを枝メトリック作成回路6から受け取り、さらに、1時刻過去のパスメトリックを記憶回路9から受け取り、次のような処理を行う。まず、1時刻過去のパスメトリックに枝メトリックを加算し、現時刻のパスメトリックを作成する(加算処理)。つぎに、加算処理によって得られる複数のパスメトリックを比較する(比較処理)。最後に、最も信頼度の高いパスメトリックを選択し、同時にこのパスメトリックに対応するデータ系列(パス)も選択する(選択処理)。
【0032】
つぎに、逆変調信号作成回路8では、受信信号に対して予め準備しておいたテーブルに存在する複数の送信信号の候補をもとに、複数の逆変調信号を作成する。ここで、逆変調信号の作成処理に関して簡単に説明する。
【0033】
図4は、上記受信信号の一例を示す図であり、図5は、QPSKを想定した場合の逆変調信号の作成処理を示す図である。逆変調というのは、受信信号を送信信号で除算した値であり、換言すると、各時刻における伝送路特性の検出値ということになる。たとえば、図5のようにQPSKを想定すると、変調信号の黒丸を送信信号の候補とした場合の逆変調信号は右の図になる。
【0034】
また、図6および図7は、16QAMを想定した場合の逆変調信号の作成処理を示す図である。ここでは、変調信号の振幅が大きい場合、変調信号の位相が同一であっても逆変調信号の振幅が小さくなることが示されている。
【0035】
つぎに、図1における記憶回路9では、各状態に対応する、逆変調信号、パスメトリックおよびパスを記憶する。すなわち、従来技術との相違点は、伝送路特性が複数時刻過去にわたる逆変調値となったことである。最後に、判定値作成回路10では、記憶回路9から、各状態に対応するパスメトリックとパスを受け取り、最も信頼度の高い状態につながるパスを判定値として出力する。
【0036】
以上、ここまでの受信機の動作の説明において、本実施の形態と従来技術とを比較した場合、最も大きく相違する点は、枝メトリックの作成に関する処理である。すなわち、従来技術では、伝送路推定により得られた伝送路特性と受信信号から枝メトリックを作成していたが、本実施の形態では、逆変調値の重み付け加算値の2乗値を枝メトリックとしている。特に、図3に示すように、逆変調値に関しては、有限の過去の値までしか利用しないため、ビタビアルゴリズムのメモリ長が大きくなることはない。なお、枝メトリックとしては、上記説明のように、重み付け加算値に対して2乗値を導出する他に、たとえば、絶対値を導出すること(マンハッタンメトリック)としてもよい。
【0037】
また、図8は、本実施の形態の伝送路特性の時間変動を示す図である。ここでは、先に説明した図13の伝送路変動と同様に、時刻1,2,3と変動した場合の逆変調信号の変動を示している。図8の場合、たとえば、時刻3と時刻1の逆変調信号の平均が時刻2の逆変調信号となるように、図3の重みを設定してみる(重みは1,−2,1)。これにより、本実施の形態では、伝送路変動が高速になった場合であっても、重み付け信号の2乗誤差は小さな値となり、高速の伝送路変動下でも正しいデータ判定が可能となる。
【0038】
このように、本実施の形態においては、逆変調信号入力端子3から受け取った複数の逆変調信号を処理する構成としたため、すなわち、逆変調値の重み付け加算値の2乗値を枝メトリックとする構成としたため、データに対する記憶を有限に設定でき、さらに、ビタビアルゴリズムの状態数を小さく設定できる。また、伝送路変動が高速の場合であっても、伝送路変動によるデータ判定精度の劣化を小さくできるため、良好な追随特性を得ることができる。
【0039】
【発明の効果】
以上、説明したとおり、本発明によれば、逆変調信号入力端子から受け取った複数の逆変調信号を処理する構成としたため、すなわち、逆変調値の重み付け加算値の2乗値を枝メトリックとする構成としたため、データに対する記憶を有限に設定でき、さらに、ビタビアルゴリズムの状態数を小さく設定することが可能な受信機を得ることができる、という効果を奏する。また、伝送路変動が高速の場合であっても、伝送路変動によるデータ判定精度の劣化を小さくできるため、良好な追随特性を実現することが可能な受信機を得ることができる、という効果を奏する。
【0040】
つぎの発明によれば、たとえば、時刻3と時刻1の逆変調信号の平均が時刻2の逆変調信号となるように、重みを設定することができるため、伝送路変動が高速になった場合であっても、正しいデータ判定を行うことが可能な受信機を得ることができる、という効果を奏する。
【0041】
つぎの発明によれば、逆変調信号入力端子から受け取った複数の逆変調信号を処理する構成としたため、すなわち、逆変調値の重み付け加算値の2乗値を枝メトリックとする構成としたため、データに対する記憶を有限に設定でき、さらに、ビタビアルゴリズムの状態数を小さく設定することができる、という効果を奏する。また、伝送路変動が高速の場合であっても、伝送路変動によるデータ判定精度の劣化を小さくできるため、良好な追随特性を実現することができる、という効果を奏する。
【0042】
つぎの発明によれば、たとえば、時刻3と時刻1の逆変調信号の平均が時刻2の逆変調信号となるように、重みを設定することができるため、伝送路変動が高速になった場合であっても、正しいデータ判定を行うことができる、という効果を奏する。
【図面の簡単な説明】
【図1】  本発明にかかる受信機の構成を示す図である。
【図2】  実施の形態1の枝メトリック作成回路の構成を示す図である。
【図3】  実施の形態1の枝メトリック計算回路の構成を示す図である。
【図4】  受信信号の一例を示す図である。
【図5】  QPSKを想定した場合の逆変調信号の作成処理を示す図である。
【図6】  16QAMを想定した場合の逆変調信号の作成処理を示す図である。
【図7】  16QAMを想定した場合の逆変調信号の作成処理を示す図である。
【図8】  実施の形態1の伝送路特性の時間変動を示す図である。
【図9】  従来の受信機で用いられるビタビ等化器の構成を示す図である。
【図10】  従来の枝メトリック作成回路の構成を示す図である。
【図11】  従来の枝メトリック計算回路の構成を示す図である。
【図12】  従来の枝メトリック計算回路の構成を示す図である。
【図13】  従来の伝送路特性の時間変動を示す図である。
【符号の説明】
1  受信信号入力端子、2  判定値出力端子、3  逆変調信号入力端子、4  生き残りパス入力端子、5  枝メトリック出力端子、6  枝メトリック作成回路、7−1,7−2,7−N  ACS回路、8  逆変調信号作成回路、9  記憶回路、10  判定値作成回路、11  逆変調信号分配回路、12−1,12−2,12−N  枝メトリック計算回路、13  選択逆変調信号入力端子、21  重み付け加算回路、22  2乗回路。[0001]
 BACKGROUND OF THE INVENTION
 The present invention relates to a receiver used for a car phone or the like, and more particularly to a receiver and a receiving method that may be affected by fading with movement.
 [0002]
 [Prior art]
 A conventional receiver and reception method will be described below. In wireless communication such as a car phone, the phase and level of a received signal are greatly affected by fading that fluctuates at a high speed as the receiver moves. As reception techniques for overcoming this fading, there are techniques such as delay detection and adaptive equalization.
 [0003]
 FIG. 9 is a diagram showing a configuration of a Viterbi equalizer used in a conventional receiver. Here, a Viterbi equalizer of the type that estimates transmission path characteristics according to data candidates of the Viterbi algorithm is shown. This type of Viterbi equalizer is described in, for example, H. Kubo et al .: “An adaptive maximum-likelihood sequence estimator for fast time-varying intersymbol interference channels” (IEEE Trans. Commun., Pp. 1872-1880, 1994) and H. Kubo et al .: “Adaptive maximum-likelihood sequence estimation by means of combined equalization and decoding in fading environments” (IEEE JSAC, pp. 102-109, 1995).
 [0004]
 In FIG. 9, 1 is a received signal input terminal, 2 is a judgment value output terminal, 7-1, 7-2, 7-N are N ACS circuits, and 10 is a judgment value creation circuit. , 101 are a plurality of transmission line characteristic input terminals, 102 is a branch metric creation circuit, 103-1, 103-2, 103-N are N transmission line update circuits, and 104 is a storage circuit. 115 are branch metric output terminals.
 [0005]
 First, basic matters regarding the Viterbi equalizer of FIG. 9 will be described. The Viterbi algorithm has a plurality of different data sequence candidate patterns. This is called a “state”. Further, the data series candidate is uniquely determined from the time transition of the two states. This is called a “branch”. The number of states N of the Viterbi algorithm is a power of the memory length related to the data candidate when creating a branch metric described later with respect to the multilevel number M at the time of modulation. Each of the Viterbi equalizers in FIG. 9 has a characteristic that each channel has an estimated value of a transmission path characteristic corresponding to the above state. In addition, what connected the branch continuously is called a path | pass, and what added the branch metric cumulatively corresponding to this path | pass is called a path metric.
 [0006]
 Here, the operation of the Viterbi equalizer will be described. First, the operation of the branch
 [0007]
 The transmission path characteristics / data candidate distribution circuit 111 receives a plurality of transmission path characteristics from the transmission path
 [0008]
 FIG. 11 is a diagram showing a configuration of a branch metric calculation circuit (one branch metric creation part). In FIG. 11, 121 is an estimated transmission path model, and 122 is a square error creating circuit.
 [0009]
 FIG. 11 shows a branch metric calculation circuit when the estimated number of taps is 3. In the estimated
 [0010]
 On the other hand, FIG. 12 is a diagram showing a configuration of a branch metric calculation circuit different from FIG. In FIG. 12, 123 is an estimated transmission path model with an estimated number of taps of 1. This is a condition when there is no intersymbol interference, and in this case, it is not a condition that requires adaptive equalization, but the demodulation process is called adaptive equalization in a broad sense.
 [0011]
 For the transmission path estimation in each estimated transmission path model, for example, an adaptive algorithm such as the LMS algorithm is used. This algorithm weights and averages past detection values (the weight decreases as the distance to the past increases, but the weight does not become zero at all). However, in the transmission path condition shown in FIG. 12, it is also possible to execute demodulation by using delay detection.
 [0012]
 Next, in each of the states (N), ACS (addition / comparison / selection) circuits 7-1 to 7-N in FIG. 9 receive branch metrics of a plurality of branches corresponding to the current state from the branch
 [0013]
 Next, the transmission path update circuits 103-1 to 103 -N receive the received signal from the received signal input terminal 1, and further, the estimated transmission of one time past corresponding to the selected path and the path from the storage circuit 104. After receiving the path characteristics and updating the estimated transmission path characteristics based on them, the update result is output to the storage circuit 104.
 [0014]
 Next, the storage circuit 104 stores estimated transmission path characteristics, path metrics, and paths corresponding to the respective states. Finally, the determination
 [0015]
 [Problems to be solved by the invention]
 However, the conventional receiver has the following problems.
 [0016]
 FIG. 13 is a diagram illustrating temporal variation in transmission path characteristics when the estimated number of taps is one. When the transmission path characteristics fluctuate between time 1 and 2, when transmission path estimation is performed at time 2 using the LMS algorithm, the estimated value at time 2 is slightly past (time 1) than the detection value at time 2. A close value. The transmission path estimated value is used for data determination at time 3. On the other hand, in the delay detection, the transmission path estimation value at time 2 is used for data determination at time 3. As described above, in the transmission line estimation using the LMS algorithm, data determination is performed using a value closer to the past transmission line characteristics than the transmission line estimation using the delay detection. Will receive.
 [0017]
 That is, in the channel estimation using the above adaptive algorithm, the past values are averaged to estimate the current channel characteristics, so that a follow-up delay related to the channel variation occurs, especially when the channel variation is high speed. There is a problem that the tracking delay in the transmission path estimation becomes large and the tracking characteristics are deteriorated.
 [0018]
 Further, in the transmission path estimation using the adaptive algorithm, since past data is stored infinitely, the memory length required for the Viterbi algorithm becomes infinite (the number of states is proportional to the power of the memory length), and the conventional Viterbi There has been a problem that the number of states of the Viterbi algorithm in the equalizer increases.
 [0019]
 The present invention has been made in view of the above, and realizes a reduction in the number of states of the Viterbi algorithm, and further achieves a good tracking characteristic even when the transmission path fluctuation is high-speed, and The purpose is to obtain the receiving method.
 [0020]
 [Means for Solving the Problems]
 In order to solve the above-described problems and achieve the object, the receiver according to the present invention is configured to operate based on the Viterbi algorithm (including a generalized list Viterbi algorithm), and further receives signals. Inverse modulation means (embodiment to be described later) for creating different inverse modulation signals (processing for normalizing a received signal with a transmission signal or its estimated value) using signals and a plurality of data candidates prepared in advance And a branch metric creation means for creating a branch metric based on the current and past inverse modulation signals corresponding to the plurality of data candidates (corresponding to the branch metric creation circuit 6). And.
 [0021]
 In the receiver according to the next invention, the branch metric generating means is a first calculating means for performing weighted addition using a plurality of received inverse modulation signals (corresponding to the inverse modulation
 [0022]
 In the receiving method according to the next invention, it is assumed that a Viterbi algorithm (including a generalized list Viterbi algorithm) is adopted. For example, a received signal and a plurality of data candidates prepared in advance are obtained. And using different inverse modulation (processing for normalizing the received signal with the transmission signal or its estimated value) signal, and the present and past inverse modulation signals corresponding to the plurality of data candidates. And a branch metric creating step for creating a branch metric based on the branch metric.
 [0023]
 In the reception method according to the next invention, in the branch metric creation step, a first calculation step of performing weighted addition using a plurality of received inverse modulation signals, and calculating a square value of the weighted addition value And a second calculation step.
 [0024]
 DETAILED DESCRIPTION OF THE INVENTION
 Embodiments of a receiver according to the present invention will be described below in detail with reference to the drawings. Note that the present invention is not limited to the embodiments.
 [0025]
 Embodiment 1 FIG.
 FIG. 1 is a diagram showing a configuration of a receiver according to the present invention. In FIG. 1, 1 is a received signal input terminal, 2 is a judgment value output terminal, 3 is an inverse modulation signal input terminal, 4 is a survival path input terminal, 5 is a branch metric output terminal, 6 is a branch metric creation circuit, 7-1, 7-2, 7-N are N ACS circuits, 8 is an inverse modulation signal creation circuit, 9 is a storage circuit, and 10 is a judgment value. This is a creation circuit. N represents the number of states.
 [0026]
 In the present embodiment, description will be made centering on differences from the Viterbi equalizer. The Viterbi algorithm is generalized by Takeshi Hashimoto et al .: “Generalization of the Viterbi algorithm” (Electronic Communication Society paper (A), pp. 1064-1071, 1983), and this generalized Viterbi algorithm. Is used as a type of Viterbi equalizer. Further, when the normal Viterbi algorithm is used instead of the generalized Viterbi algorithm, it is not necessary to use the surviving path for creating the branch metric.
 [0027]
 Here, the operation of the receiver of this embodiment will be described. First, the operation of the branch metric creation circuit 6 will be described. FIG. 2 is a diagram illustrating a configuration of the branch metric creation circuit 6 according to the present embodiment. In FIG. 2, 11 is an inverse modulation signal distribution circuit, 12-1, 12-2 and 12-N are N branch metric calculation circuits, and 13 is a selective inverse modulation signal input terminal. In addition, about the structure similar to the said FIG. 1, the same code | symbol is attached | subjected and the description is abbreviate | omitted.
 [0028]
 In the inverse modulation
 [0029]
 FIG. 3 is a diagram showing a configuration of a branch metric calculation circuit (one branch metric creation part) according to the present embodiment. In FIG. 3, 21 is a weighted addition circuit, and 22 is a square circuit. In addition, about the structure similar to the said FIG. 2, the same code | symbol is attached | subjected and the description is abbreviate | omitted.
 [0030]
 FIG. 3 shows a branch metric calculation circuit when the addition number is 3. The
 [0031]
 Next, in the ACS (addition / comparison / selection) circuits 7-1, 7-2, 7 -N in FIG. 1, in each state (N), a plurality of branch metrics corresponding to the current state are obtained from the branch metric creation circuit 6. In addition, a path metric of one time past is received from the storage circuit 9, and the following processing is performed. First, a branch metric is added to a path metric that is one hour earlier to create a path metric at the current time (addition process). Next, a plurality of path metrics obtained by the addition process are compared (comparison process). Finally, the path metric with the highest reliability is selected, and at the same time, a data series (path) corresponding to this path metric is also selected (selection process).
 [0032]
 Next, the inverse modulation signal creation circuit 8 creates a plurality of inverse modulation signals based on a plurality of transmission signal candidates existing in a table prepared in advance for the received signal. Here, the creation process of the inverse modulation signal will be briefly described.
 [0033]
 FIG. 4 is a diagram illustrating an example of the received signal, and FIG. 5 is a diagram illustrating a process of creating an inverse modulation signal when QPSK is assumed. Inverse modulation is a value obtained by dividing a received signal by a transmitted signal, in other words, a detected value of transmission path characteristics at each time. For example, assuming QPSK as shown in FIG. 5, the reverse modulation signal when the black circle of the modulation signal is a candidate for the transmission signal is shown on the right side.
 [0034]
 FIGS. 6 and 7 are diagrams illustrating a process of creating an inverse modulation signal when 16QAM is assumed. Here, it is shown that when the amplitude of the modulation signal is large, the amplitude of the inverse modulation signal is small even if the phase of the modulation signal is the same.
 [0035]
 Next, the storage circuit 9 in FIG. 1 stores an inverse modulation signal, a path metric, and a path corresponding to each state. That is, the difference from the prior art is that the transmission path characteristic is an inverse modulation value over a plurality of times. Finally, the determination
 [0036]
 As described above, in the description of the operation of the receiver so far, when the present embodiment is compared with the prior art, the biggest difference is the processing related to the creation of the branch metric. That is, in the prior art, a branch metric is created from the transmission path characteristics obtained by transmission path estimation and the received signal, but in this embodiment, the square value of the weighted addition value of the inverse modulation value is used as the branch metric. Yes. In particular, as shown in FIG. 3, since only the finite past value is used for the inverse modulation value, the memory length of the Viterbi algorithm does not increase. As the branch metric, in addition to deriving the square value for the weighted addition value as described above, for example, an absolute value may be derived (Manhattan metric).
 [0037]
 Moreover, FIG. 8 is a figure which shows the time fluctuation of the transmission-line characteristic of this Embodiment. Here, similarly to the transmission path fluctuation of FIG. 13 described above, the fluctuation of the inverse modulation signal when it fluctuates at times 1, 2, and 3 is shown. In the case of FIG. 8, for example, the weights of FIG. 3 are set so that the average of the inverse modulation signals at time 3 and time 1 becomes the inverse modulation signal at time 2 (weights are 1, -2, 1). As a result, in this embodiment, even when the transmission path fluctuation becomes high speed, the square error of the weighted signal becomes a small value, and correct data determination is possible even under high speed transmission path fluctuation.
 [0038]
 As described above, in the present embodiment, since a plurality of inverse modulation signals received from the inverse modulation signal input terminal 3 are processed, that is, the square value of the weighted addition value of the inverse modulation value is used as a branch metric. Since the configuration is adopted, the memory for data can be set finitely and the number of states of the Viterbi algorithm can be set small. Further, even when the transmission path fluctuation is high speed, it is possible to reduce the deterioration of the data determination accuracy due to the transmission path fluctuation, so that a good tracking characteristic can be obtained.
 [0039]
 【The invention's effect】
 As described above, according to the present invention, since a plurality of inverse modulation signals received from the inverse modulation signal input terminal are processed, that is, the square value of the weighted addition value of the inverse modulation value is used as the branch metric. Since the configuration is adopted, it is possible to obtain a receiver capable of setting a finite amount of data storage and further capable of setting the number of states of the Viterbi algorithm to be small. In addition, even when the transmission path fluctuation is high speed, it is possible to reduce the deterioration of the data determination accuracy due to the transmission path fluctuation, so that it is possible to obtain a receiver capable of realizing good tracking characteristics. Play.
 [0040]
 According to the next invention, for example, since the weight can be set so that the average of the inverse modulation signal at time 3 and time 1 becomes the inverse modulation signal at time 2, the transmission path fluctuation becomes high speed. Even so, it is possible to obtain a receiver capable of performing correct data determination.
 [0041]
 According to the next invention, since it is configured to process a plurality of inversely modulated signals received from the inversely modulated signal input terminal, that is, since it is configured to use the square value of the weighted addition value of the inversely modulated value as a branch metric, data There is an effect that the memory for can be set finitely and the number of states of the Viterbi algorithm can be set small. In addition, even when the transmission path fluctuation is high speed, the deterioration of the data determination accuracy due to the transmission path fluctuation can be reduced, so that an excellent tracking characteristic can be realized.
 [0042]
 According to the next invention, for example, since the weight can be set so that the average of the inverse modulation signal at time 3 and time 1 becomes the inverse modulation signal at time 2, the transmission path fluctuation becomes high speed. Even so, there is an effect that correct data determination can be performed.
 [Brief description of the drawings]
 FIG. 1 is a diagram showing a configuration of a receiver according to the present invention.
 FIG. 2 is a diagram illustrating a configuration of a branch metric creation circuit according to the first embodiment;
 FIG. 3 is a diagram illustrating a configuration of a branch metric calculation circuit according to the first embodiment;
 FIG. 4 is a diagram illustrating an example of a received signal.
 FIG. 5 is a diagram illustrating a process of creating an inverse modulation signal when QPSK is assumed.
 FIG. 6 is a diagram illustrating a process of creating an inverse modulation signal when 16QAM is assumed.
 FIG. 7 is a diagram illustrating a process of creating an inverse modulation signal when 16QAM is assumed.
 FIG. 8 is a diagram illustrating temporal variation of transmission path characteristics according to the first embodiment.
 FIG. 9 is a diagram showing a configuration of a Viterbi equalizer used in a conventional receiver.
 FIG. 10 is a diagram illustrating a configuration of a conventional branch metric creation circuit.
 FIG. 11 is a diagram showing a configuration of a conventional branch metric calculation circuit.
 FIG. 12 is a diagram showing a configuration of a conventional branch metric calculation circuit.
 FIG. 13 is a diagram showing a time variation of a conventional transmission path characteristic.
 [Explanation of symbols]
 1 reception signal input terminal, 2 judgment value output terminal, 3 inverse modulation signal input terminal, 4 survival path input terminal, 5 branch metric output terminal, 6 branch metric creation circuit, 7-1, 7-2, 7-N ACS circuit , 8 Inverse modulation signal creation circuit, 9 Storage circuit, 10 Determination value creation circuit, 11 Inverse modulation signal distribution circuit, 12-1, 12-2, 12-N branch metric calculation circuit, 13 Select inverse modulation signal input terminal, 21 Weighted addition circuit, 22 square circuit.
| Application Number | Priority Date | Filing Date | Title | 
|---|---|---|---|
| JP2001111784AJP3970545B2 (en) | 2001-04-10 | 2001-04-10 | Receiver and receiving method | 
| Application Number | Priority Date | Filing Date | Title | 
|---|---|---|---|
| JP2001111784AJP3970545B2 (en) | 2001-04-10 | 2001-04-10 | Receiver and receiving method | 
| Publication Number | Publication Date | 
|---|---|
| JP2002314435A JP2002314435A (en) | 2002-10-25 | 
| JP3970545B2true JP3970545B2 (en) | 2007-09-05 | 
| Application Number | Title | Priority Date | Filing Date | 
|---|---|---|---|
| JP2001111784AExpired - Fee RelatedJP3970545B2 (en) | 2001-04-10 | 2001-04-10 | Receiver and receiving method | 
| Country | Link | 
|---|---|
| JP (1) | JP3970545B2 (en) | 
| Publication number | Priority date | Publication date | Assignee | Title | 
|---|---|---|---|---|
| KR102375951B1 (en) | 2015-07-29 | 2022-03-17 | 삼성전자주식회사 | Method and appearatus for reducing false of decoding | 
| Publication number | Publication date | 
|---|---|
| JP2002314435A (en) | 2002-10-25 | 
| Publication | Publication Date | Title | 
|---|---|---|
| US5621769A (en) | Adaptive-sequence-estimation apparatus employing diversity combining/selection | |
| US5579344A (en) | Adaptive maximum likelihood sequence estimation apparatus and adaptive maximum likelihood sequence estimation method | |
| US5202903A (en) | Noise-immune space diversity receiver | |
| CA2067669C (en) | Method and apparatus of estimating data sequence transmitted using viterbi algorithm | |
| US5530725A (en) | Diversity receiver for dispersive channels, combining reliability-weighed signals | |
| US5537443A (en) | Interference signal cancelling method, receiver and communication system using the same | |
| US5297171A (en) | Receiver comprising at least two receive branches | |
| US6996196B2 (en) | Sequence estimation method and sequence estimator | |
| JPH0823282A (en) | Maximum likelihood system estimation device for variable state number | |
| CA2048210C (en) | Blind type sequence estimator for use in communications system | |
| US6026121A (en) | Adaptive per-survivor processor | |
| Giridhar et al. | Joint estimation algorithms for cochannel signal demodulation | |
| EP1067709A1 (en) | Adaptive equalizer and adaptive equalizing method | |
| EP0508407B1 (en) | Maximum likelihood sequence estimation for rapidly varying mobile radio communication channels | |
| US7340016B2 (en) | Equalizers for multi-branch receiver | |
| JP3970545B2 (en) | Receiver and receiving method | |
| JP3424723B2 (en) | Adaptive equalizer | |
| US20020181574A1 (en) | Adaptive equalizer and adaptive equalizing method | |
| US6728322B1 (en) | Sequential decoder, and receiver using sequential decoder | |
| JP3970478B2 (en) | Viterbi equalizer and transmission data sequence determination method | |
| Joo et al. | Adaptive MLSE receiver: hybrid of per-survivor processing and tentative decision MLSE | |
| JP2591241B2 (en) | Adaptive diversity receiver | |
| JP3424724B2 (en) | Interference canceller | |
| JP2894406B2 (en) | Maximum likelihood sequence estimator | |
| JP2004228712A (en) | Receiving machine | 
| Date | Code | Title | Description | 
|---|---|---|---|
| A621 | Written request for application examination | Free format text:JAPANESE INTERMEDIATE CODE: A621 Effective date:20040902 | |
| A131 | Notification of reasons for refusal | Free format text:JAPANESE INTERMEDIATE CODE: A131 Effective date:20070320 | |
| A521 | Written amendment | Free format text:JAPANESE INTERMEDIATE CODE: A523 Effective date:20070423 | |
| TRDD | Decision of grant or rejection written | ||
| A01 | Written decision to grant a patent or to grant a registration (utility model) | Free format text:JAPANESE INTERMEDIATE CODE: A01 Effective date:20070605 | |
| A61 | First payment of annual fees (during grant procedure) | Free format text:JAPANESE INTERMEDIATE CODE: A61 Effective date:20070606 | |
| R150 | Certificate of patent or registration of utility model | Free format text:JAPANESE INTERMEDIATE CODE: R150 Ref document number:3970545 Country of ref document:JP Free format text:JAPANESE INTERMEDIATE CODE: R150 | |
| FPAY | Renewal fee payment (event date is renewal date of database) | Free format text:PAYMENT UNTIL: 20100615 Year of fee payment:3 | |
| FPAY | Renewal fee payment (event date is renewal date of database) | Free format text:PAYMENT UNTIL: 20110615 Year of fee payment:4 | |
| FPAY | Renewal fee payment (event date is renewal date of database) | Free format text:PAYMENT UNTIL: 20120615 Year of fee payment:5 | |
| FPAY | Renewal fee payment (event date is renewal date of database) | Free format text:PAYMENT UNTIL: 20130615 Year of fee payment:6 | |
| R250 | Receipt of annual fees | Free format text:JAPANESE INTERMEDIATE CODE: R250 | |
| R250 | Receipt of annual fees | Free format text:JAPANESE INTERMEDIATE CODE: R250 | |
| R250 | Receipt of annual fees | Free format text:JAPANESE INTERMEDIATE CODE: R250 | |
| LAPS | Cancellation because of no payment of annual fees |