







【0001】
【発明の属する技術分野】
本発明は、各種物体のひずみを測定するためのひずみ測定モジュール、及びそのひずみの多点測定を行う多点ひずみ測定システムに関する。
【0002】
【従来の技術】
機械、土木、建築等の分野では、機械や構造物等の物体のひずみ量を測定する場合、一般にひずみゲージを用いた測定が行われている。そして、機械や構造物等の物体のひずみ測定においては、該物体の複数部位のひずみ測定を行う多点測定が一般的に行われている。尚、本願明細書では、特に付言しない限り、通常の意味でのひずみの他、物体の応力をも含めて「ひずみ」と言い、通常の意味でのひずみは原則として参照符号ε(添字付も含む)を付するものとする。
【0003】
この種のひずみ測定は、通常、図7に示すようなホイートストンブリッジ回路を用いて行われる。すなわち、図7は、例えば1ゲージ法による従来の基本的な測定システムを示しており、ひずみゲージaが、図示しない物体の測定部位に貼着され、接続線c1 ,c2 を介してひずみ測定器Aに接続される。この場合、ひずみ測定器A内には、3辺に固定抵抗値の抵抗b1 ,b2 ,b3 を有するホイートストンブリッジ回路hが備えられ、このホイートストンブリッジ回路hの残りの一辺にひずみゲージaが接続される。そして、ひずみ測定に際しては、ホイートストンブリッジ回路hの一対の対角点間に、ひずみ測定器Aに備えたブリッジ電源回路dから入力電圧V(一定電圧)を印可し、残りの一対の対角点間に物体のひずみ量に応じた測定信号としての出力電圧Δeを生成する。このとき、接続線c1 ,c2 の抵抗値r1 ,r2 が十分に小さいとすると、前記出力電圧Δeは、ひずみゲージa及び抵抗b1 ,b2 ,b3 のそれぞれの抵抗値Ra,R1 ,R2 ,R3 と入力電圧Vとを用いて次式(1)により表される。
【0004】
Δe=[(RaR2 −R1 R3 )/(Ra+R1 )(R2 +R3 )]V……(1)
この場合、ひずみゲージaの通常時の抵抗値をRとしたとき、R1 =R2 =R3 =Rとするのが一般的で、このとき、物体のひずみに伴うひずみゲージaの抵抗値の変化分をΔR(Ra=R+ΔR)とすると、ΔR≪Rであることを考慮して、式(1)は次式(2)に書き換えられる。
【0005】
Δe=(ΔR/4R)V  ……(2)
また、ひずみゲージaの抵抗値R及びその変化分ΔRと、該ひずみゲージaを貼着した物体の測定部位のひずみ量ε(ここでは引っ張りあるいは圧縮方向での通常の意味でのひずみ量)との間には、次の関係式(3)が成立し、
ε=(ΔR/R)/K  ……(3)
但し、Kはひずみゲージaのゲージ率
この関係式(3)と前記式(2)とから次式(4)あるいは(4)’が得られる。
【0006】
Δe=(V/4)Kε  ……(4)
ε=(4/VK)Δe  ……(4)’
従って、ホイートストンブリッジ回路hの出力電圧Δeは、ひずみゲージaを貼着した物体の測定部位のひずみ量εに比例し、ひずみ測定器A側では、該出力電圧Δeによって、ひずみ量εを測定することができることとなる。尚、物体の応力はこれをσとしたとき、一般にひずみ量εとの間に次式(5)の比例関係が成り立つので、
σ=Eε  ……(5)
但し、E:物体のヤング率
出力電圧Δeによって、該応力も測定できる。これがひずみ測定の基本的な手法である。
【0007】
尚、上記で説明した測定手法以外にも、2個のひずみゲージを物体の測定部位に貼着する2ゲージ法や4個のひずみゲージを物体の測定部位に貼着する4ゲージ法等の手法もあるが、いずれの手法においても、基本的には、物体に貼着したひずみゲージを含めて構成したホイートストンブリッジ回路によって、物体のひずみ量に比例した測定信号を生成するものである。
【0008】
また、前述の多点測定では、例えば図8に示すような測定システムが従来から用いられている。すなわち、機械、建造物等の物体の複数の測定部位あるいは、複数の物体にそれぞれ貼着したひずみゲージa,a,…が多点測定機能を有するひずみ測定器A’あるいは該ひずみ測定器A’によって制御されるスイッチボックスBにそれぞれ接続線cを介して接続される。そして、ひずみ測定器A’は自身に接続された各測定点のひずみゲージaに順次通電せしめて該測定点のひずみ量に応じた測定信号を生成させ、さらには、スイッチボックスBに接続された各測定点のひずみゲージaに該スイッチボックスBを介して順次通電せしめて該測定点のひずみ量に応じた測定信号を生成させ、各測定点毎の測定信号を取得する。さらに、ひずみ測定器Aは、取得した測定信号に基づき、各測定点毎のひずみ量を把握し、これにより多点ひずみ測定を行う。尚、この場合、例えば1ゲージ法によるひずみ測定に関しては、ひずみ測定器AやスイッチボックスBに、各測定点のひずみゲージaと併せて前記図7に示したようなホイートストンブリッジ回路を構成するための抵抗が各測定点のひずみゲージaに対して切換接続可能に設けられ、その切換接続を各測定点について順次行いつつ、多点ひずみ測定が行われる。
【0009】
しかしながら、前述のような従来のひずみ測定システムでは、ひずみゲージをひずみ測定器あるいはスイッチボックスに接続する接続線に起因して次のような不都合を生じるものであった。
【0010】
例えば前記図7に示した1ゲージ法による測定システムにおいて、接続線c1 ,c2 の抵抗値r1 ,r2 を考慮すると、ホイートストンブリッジ回路hの出力電圧Δe(測定信号)は、式(1)中のRa(=R+ΔR)をRa+r1 +r2 で置き換えた式で表され、さらに前述の如くR1 =R2 =R3 =Rとした場合、出力電圧Δeは次式(2)’で表される。
【0011】
Δe=[(ΔR+r1 +r2 )/2(2R+ΔR+r1 +r2 )]V……(2)’
この式(2)’から明らかなように、ひずみゲージをひずみ測定器やスイッチボックスに接続する接続線の抵抗はひずみ測定の測定感度や零点(ひずみ量の基準とする出力電圧Δeで、これは、一般にひずみゲージを物体に貼着した当初の出力電圧Δeが用いられる)、ひいては測定精度に影響を及ぼし、このことは2ゲージ法や4ゲージ法等の他のひずみ測定手法についても同様である。
【0012】
このため、従来は、ひずみゲージをひずみ測定器やスイッチボックスに接続する接続線の線径や長さ(接続線の抵抗値は基本的には接続線の線径や長さによって定まる)によって、ひずみ測定器の設定値を調整することでひずみ測定時に得られる測定信号をひずみ測定器側で補正したり、あるいは、ひずみ測定器で最終的にひずみ量等のデータ値を得た後に、測定者が補正表を参照する等して該データ値を補正することが一般に行われている。
【0013】
しかしながら、例えば前述のような多点測定では、測定点が広範囲に及ぶと、ひずみゲージをひずみ測定器あるいはスイッチボックスに接続する接続線が長いものとならざるを得ず、該接続線の抵抗値が比較的大きなものとなりやすい。また、ひずみ量の一点測定を行う場合であっても、測定環境上、接続線が長いものとならざるを得ない場合もある。そして、このように接続線が長いものとなって、その抵抗値が比較的大きくなると、前述のような補正を行っても、十分な測定感度や測定精度を確保することが困難なものとなっていた。
【0014】
また、接続線の抵抗値は、環境温度の影響を受けるため、特に接続線が長く、その抵抗値が比較的大きい場合には、接続線の線径や長さによって、測定信号等の補正を行っただけでは、環境温度の変化によって零点移動や測定感度の変動を生じ、長期的なひずみ測定や広範囲にわたる多点ひずみ測定を安定した測定精度で行うことが困難なものとなっていた。尚、この場合、1ゲージ法では、公知の1ゲージ3線法を用いることで、零点移動をある程度抑制することはできるものの、測定感度の変動を抑制することはできない。また、4ゲージ法では接続線の抵抗値の影響を排除するために定電流法を用いることもあるが、この手法は4ゲージ法に限られる。
【0015】
さらに、従来の測定システムでは、ひずみゲージの微小な抵抗変化に応じた信号(アナログ信号)をひずみ測定器側でひずみゲージとの接続線を介して受けるものであるため、接続線に混入する外乱ノイズや接続線の劣化等の影響を受けやすく、これも測定誤差の大きな要因となっていた。特に、構造物等のひずみ測定では、接続線を地中に埋設したり、長期測定を行う場合が多々あり、このような場合には、接続線の劣化によって、その絶縁性が低下し、外乱ノイズが大幅に増加したりして、測定に重大な支障をきたすことがしばしばあった。
【0016】
このように従来の測定システムでは、ひずみゲージをひずみ測定器あるいはスイッチボックスに接続する接続線が測定精度や測定の安定性等に悪影響を及ぼし易いものとなっていた。
【0017】
また、特に構造物等の多点測定では、測定点の個数は数百、場合によっては数千に及ぶことがあり、このような多点測定では、前述のように接続線の線径や長さによって、測定信号や最終的に得られたデータ値を補正するためには、測定点毎にその補正を行わなければならず、また、各測定点のひずみゲージの温度特性等を考慮した補正や、物体の温度に応じた熱的なひずみ特性を考慮した補正を各測定点毎に行わなければならない場合も多々ある。また、測定システムの設置にあたっては、測定点毎にひずみゲージとひずみ測定器あるいはスイッチボックスとの間の接続線の配線処理を行わなければならず、また、屋外で長期的な測定を行う場合には、測定点毎のひずみゲージの防水等、該ひずみゲージを保護するためのコーティング処理を施さなければならない。
【0018】
従って、従来の多点ひずみ測定では、これらの作業に膨大な時間や労力、コストを要すると共に、接続線の誤接続等の不都合も生じやすいものとなっていた。
【0019】
さらに、従来の多点ひずみ測定では、各測定点のひずみゲージによって、順次、ひずみ量に応じた測定信号を生成して、該測定信号をひずみ測定器に取り込むため、特に測定点数の多い測定では、各測定点毎のひずみ量の測定タイミングの比較的大きな時間差を生じ、その時間差内に測定環境の変化等が生じる場合には、同一の測定環境条件で各測定点のひずみ量を測定することができないものとなっていた。
【0020】
【発明が解決しようとする課題】
本発明はかかる背景に鑑み、接続線による測定精度や測定の安定性等への悪影響を排除して、精度のよいひずみ測定を安定して行うことを可能とし、さらには、ひずみ測定に際しての準備作業や測定データの処理の容易化を図ることができるひずみ測定モジュールを提供することを目的とする。
【0022】
【課題を解決するための手段】
  本発明のひずみ測定モジュールは、かかる目的を達成するために、物体に貼着されるひずみゲージと、少なくとも該ひずみゲージにより前記物体のひずみ量に応じた測定信号を生成させるための測定信号生成用回路と、該測定信号をデジタルデータに変換するA/D変換手段と、該測定信号のデジタルデータ、又は、該デジタルデータから所定の処理を経て生成してなるデジタルデータを測定出力データとして外部に出力するデータ出力処理手段とを一体的にモジュール化してなるモジュール本体部とを有する。
  そして、本発明は、さらに前記ひずみゲージの物体への貼着面を除いて該ひずみゲージを被覆して設けられた保護用コーティング部材と、前記モジュール本体部を底部に収容した有底筒状の筐体とを有し、前記ひずみゲージが前記筐体の開口端に位置するように前記コーティング部材を前記筐体に挿脱可能に嵌挿することにより該コーティング部材が該筐体を介して前記モジュール本体部に着脱自在に装着されると共に、その装着状態で前記モジュール本体部に設けられた電極に接触して前記ひずみゲージを前記モジュール本体部に電気的に接続せしめる接続部が前記コーティング部材の外面部に設けられていることを特徴とする。
【0023】
かかる本発明によれば、少なくとも前記測定信号生成用回路、A/D変換手段及びデータ出力処理手段を一体的にモジュール化してなるモジュール本体部を前記物体に貼着されるひずみゲージにその近傍で接続するので、該ひずみゲージによって生成される前記測定信号は、該ひずみゲージの近傍でモジュール本体部のA/D変換手段によってデジタルデータに変換される。この場合、モジュール本体部をひずみゲージに接続する接続線は短いもので済むため、前記測定信号は、該接続線の抵抗値や外乱ノイズ等の影響をほとんど受けることなく、デジタルデータに変換される。そして、該デジタルデータ、又は該デジタルデータから所定の処理を経て生成してなるデジタルデータが測定出力データとして前記モジュール本体部のデータ出力処理手段によって外部に出力される。このとき、該測定出力データはデジタルデータであるため、それを有線及び無線のいずれの方式で出力しても、該測定出力データは接続線や外乱ノイズ等の影響を受け難い。従って、該測定出力データによって物体のひずみ測定を精度よく行うことが可能となる。
【0024】
よって、本発明によれば、接続線による測定精度や測定の安定性等への悪影響を排除して、精度のよいひずみ測定を安定して行うことが可能となる。
【0026】
また、本発明のひずみ測定モジュールによれば、ひずみゲージをコーティング部材と共にモジュール本体部に装着した状態で、該ひずみゲージを物体に貼着することで、ひずみゲージのコーティング処理及び前記モジュール本体部の設置というようなひずみ測定のための準備作業を容易に行うことができる他、ひずみ測定の終了後に、ひずみゲージをこれを被覆するコーティング部材と共にモジュール本体部から取り外して、該モジュール本体部を再利用することができる。そして、その再利用に際しては、前記接続部を外面部に有するコーティング部材により被覆したひずみゲージを該コーティング部材と共にモジュール本体部に装着することで、ひずみゲージのモジュール本体部への電気的な接続も容易に行うことができる。
【0028】
また、本発明のひずみ測定モジュールでは、前記物体の温度を検出する温度センサを備え、前記A/D変換手段は、前記温度センサの検出信号をデジタルデータに変換する手段を含み、前記データ出力処理手段は、該温度センサの検出信号のデジタルデータを外部に出力する手段を含む。
【0029】
これによれば、ひずみ測定に際して、測定データの補正等のために必要となることが多い物体の温度のデータを、前記測定出力データと共に、デジタルデータにより得ることができる。
【0030】
また、本発明のひずみ測定モジュールでは、前記測定信号をA/D変換手段によって変換してなるデジタルデータをそのまま前記測定出力データとして前記データ出力処理手段によって外部に出力するようにしてもよいが、前記物体の温度を検出する温度センサを備えた場合にあっては、前記A/D変換手段は、前記温度センサの検出信号をデジタルデータに変換する手段を含み、前記データ出力処理手段は、前記温度センサの検出信号のデジタルデータにより示される前記物体の温度に基づき前記測定出力データを補正して出力する手段を含むことが好ましい。
【0031】
すなわち、ひずみ測定では、ひずみゲージによって得られる測定信号に基づく測定値に対してひずみゲージの温度特性や物体の温度特性、あるいは物体の熱ひずみ等を考慮した補正を行う必要を生じる場合があり、このような場合に、前記モジュール本体部のデータ出力処理手段によって、前記温度センサの検出信号のデジタルデータにより示される前記物体の温度に基づき前記測定出力データを補正する処理を行って、それを外部に出力することで、該測定出力データから直ちに所望のデータを得ることができる。このため、特に本発明のひずみ測定モジュールを用いて複数の物体又は物体の複数部位についての多点ひずみ測定を行う場合には、各測定点に対応するモジュール本体部のデータ出力処理手段から得られる測定出力データの後処理を容易なものとすることができる。また、上記のような補正処理は、各測定点毎のモジュール本体部のデータ出力処理手段によって各測定点毎に独立的に行われるため、各測定点について補正処理を効率よく行うことができる。
【0032】
尚、前記測定出力データの補正に際しては、上記のような温度に応じた補正の他、ひずみゲージのゲージ率等、ひずみゲージに固有の特性値に基づく補正や、ひずみゲージを物体に貼着した当初の測定信号のデジタルデータに基づく零点補正(当初の測定信号のレベルを基準とする補正)等をデータ出力処理手段により行うようにしてもよい。
【0033】
また、ひずみ測定では、物体に貼着するひずみゲージとして、少なくとも3個以上のひずみゲージから成るロゼットゲージを用い、それらの各ひずみゲージによりそれぞれ生成した測定信号のデータからロゼット解析処理の演算によって、物体の主ひずみ量や剪断ひずみ量、主ひずみの方向を測定する場合がある。
【0034】
そこで、本発明のひずみ測定モジュールでは、前記ひずみゲージが少なくとも3個以上のひずみゲージから成るロゼットゲージである場合に、前記測定信号生成用回路は、該ロゼットゲージの各ひずみゲージ毎に前記測定信号を生成させる手段を含み、前記データ出力処理手段は、各ひずみゲージ毎の前記測定信号のデジタルデータから前記物体の主ひずみ量、剪断ひずみ量、及び主ひずみの方向のうちの少なくとも一つを、前記測定出力データとしてロゼット解析処理により求める手段を含む。
【0035】
これによれば、モジュール本体部の前記データ出力処理手段は、各ひずみゲージ毎の前記測定信号のデジタルデータから前記物体の主ひずみ量、剪断ひずみ量、及び主ひずみの方向のうちの少なくとも一つを、ロゼット解析処理により求めた上で、それを測定出力データとして外部に出力するので、物体の主ひずみ量や剪断ひずみ量、主ひずみの方向というような所望のデータを該測定出力データから直ちに得ることができる。特にこのようなひずみ測定モジュールを用いて複数の物体又は物体の複数部位についての多点ひずみ測定を行う場合には、各測定点に対応するモジュール本体部のデータ出力処理手段から得られる測定出力データの後処理を容易なものとすることができる。また、上記のようなロゼット解析処理は、各測定点毎のモジュール本体部のデータ出力処理手段によって各測定点毎に独立的に行われるため、各測定点についてロゼット解析処理を効率よく行うことができる。
【0052】
  本発明のひずみ測定モジュール及びこれを用いた多点ひずみ測定システムに関連する参考例としての第1の実施形態を図1乃至図3を参照して説明する。図1は本実施形態における多点ひずみ測定システムの全体構成を示すシステム構成図、図2は図1のシステムで用いるひずみ測定モジュールの回路構成図、図3は図2のひずみ測定モジュールの構造を示す断面図である。尚、図1における括弧内の参照符号は、後述する第2の実施形態に対応するもので、以下の第1の実施形態の説明では使用しない。
【0053】
図1を参照して、本実施形態の多点ひずみ測定システムは、例えば建造物、機械等の物体(図示しない)の複数部位のひずみ量を例えば1ゲージ法で測定するものであり、物体の各部位(各測定点)にそれぞれ貼着される複数のひずみゲージ1,1,…と、各測定点のひずみゲージ1にそれぞれモジュール本体部2を接続して成る複数のひずみ測定モジュール3,3,…と、各ひずみ測定モジュール3で後述のように生成される測定出力データを収集・処理する測定データ処理装置4とを備えている。
【0054】
この場合、本実施形態では、各測定点のひずみゲージ1及びひずみ測定モジュール3の組は、複数のグループG,G,…に分類され、各グループGに属する各ひずみ測定モジュール3のモジュール本体部2が各グループG毎に共通の副通信線5に接続されている。これらの副通信線5は、すべてのグループG,G,…について共通の主通信線6に合流しており、この主通信線6が前記測定データ処理装置4に接続されている。これにより、各ひずみ測定モジュール3のモジュール本体部2は、それが属するグループGに共通の副通信線5とすべてのグループG,G,…について共通の主通信線6とを介して測定データ処理装置4との間で後述するようなデータの通信を行うことができるようになっている。
【0055】
尚、本実施形態では上記のようなグループ分けを行っているが、すべてのひずみ測定モジュール3のモジュール本体部2を単一の共通通信線を介して測定データ処理装置4に接続するようにしてもよい(このことは後述する他の実施形態でも同様である)。
【0056】
前記各ひずみ測定モジュール3は、所要の回路を1チップマイコン等を用いて小型にモジュール化して成るモジュール本体部2を、ひずみゲージ1にその近傍で接続したものであり、図2に示すような回路構成を具備する。
【0057】
すなわち、モジュール本体部2は、これに接続するひずみゲージ1と併せてホイートストンブリッジ回路7を構成するよう相互に接続された3個の抵抗8,8,8と、そのホイートストンブリッジ回路7の一対の対角点間に入力電圧V(一定電圧)を印可するブリッジ電源回路9と、その入力電圧Vの印可時にホイートストンブリッジ回路7の残りの一対の対角点間の生成される出力電圧Δe、すなわち、測定点のひずみ量に応じた測定信号を増幅する増幅器10と、該増幅器10の出力をそのレベルを表すデジタルデータに変換するA/D変換器11(A/D変換手段)とを具備する。ここで、本発明の構成に対応させると、前記ホイートストンブリッジ回路7、ブリッジ電源回路9及び増幅器10は、測定信号生成用回路12を構成するものである。
【0058】
尚、ホイートストンブリッジ回路7の各抵抗8の抵抗値は、例えばひずみゲージ1の通常時の抵抗値と同一とされている。
【0059】
さらに、モジュール本体部2は、その統括的な動作制御や演算処理を行う制御回路(CPU)13と、この制御回路13用のプログラムや各種データを記憶保持する記憶回路14(記憶手段)と、前記測定データ処理装置4との間のデータの送受を行うインターフェース回路15とを具備する。
【0060】
ここで、制御回路13は、記憶回路14及びインターフェース回路15と併せてデータ出力処理手段16を構成するもので、その動作の詳細は後述するが、基本的には、前記測定データ処理装置4から与えられる指令に応じてA/D変換器11から前記測定信号Δeのデジタルデータを取得して所要の測定出力データを生成し、それをインターフェース回路15から前記副通信線5及び主通信線6を介して測定データ処理装置4に出力せしめる。
【0061】
また、記憶回路14は、制御回路13用のプログラム等をあらかじめ記憶保持したROMと、制御回路13により生成される測定出力データ等を記憶保持するRAMと、制御回路13が測定出力データを生成するために使用するパラメータデータ等を記憶保持するEEPROMとにより構成されている。この場合、EEPROMには、あらじめ各ひずみ測定モジュール3に固有の識別データ(IDコード)やモジュール本体部2に後述の如く接続されるひずみゲージ1に固有のゲージ率Kの値等が記憶保持されている。
【0062】
さらに、本実施形態では、各ひずみ測定モジュール3の動作電源電力を一括的に測定データ処理装置4から前記主通信線6及び副通信線5を介して各ひずみ測定モジュール3のモジュール本体部2に供給するようにしており、このため、モジュール本体部2は、これに接続された副通信線5から動作電源電力を抽出してそれを上記の制御回路13等の各回路に供給する主電源回路17(電源手段)を備えている。
【0063】
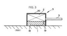
本実施形態の各ひずみ測定モジュール3では、ひずみゲージ1と上記のような回路構成を具備したモジュール本体部2とは、図3に示すような構造で接続されている。
すなわち、各ひずみ測定モジュール3のひずみゲージ1は、物体への貼着面を除いて、防水等のための保護用のコーティング部材18により被覆され、このコーティング部材18はブロック状に形成されている。そして、ひずみゲージ1はそのコーティング部材18を介してモジュール本体部2に装着されると共に、該ひずみゲージ1から導出された接続線19がモジュール本体部2にハンダ付け等により結線されている。さらに、これらのモジュール本体部2及びコーティング部材18は、有底筒状の筐体20の開口端にひずみゲージ1を位置させて、該筐体20内に収容されている。このような構造により、ひずみゲージ1は、モジュール本体部2に一体的に装着されると共に、該モジュール本体部2(詳しくは前記ホイートストンブリッジ回路7の一辺)が、ひずみゲージ1にその近傍で電気的に接続されている。
【0064】
尚、前記測定データ処理装置4は、マイコンを用いて構成されたもので、その動作の詳細は後述するが、基本的には、各ひずみ測定モジュール3のモジュール本体部2に前記主通信線6及び副通信線5を介して電源電力を供給しつつ所定の指令与えて、測定出力データを生成・出力させ、該測定出力データを収集する。そして、その収集した測定出力データにより示される測定値を図示しない表示器に表示したり、図示しない記録装置に記録したりする。
【0065】
次に、本実施形態の多点ひずみ測定システムの作動(ひずみ測定モジュールの作動を含む)を説明する。
【0066】
本実施形態のシステムにより建造物、機械等の物体の複数部位について多点ひずみ測定を行う際には、物体の各部位(各測定点)に、前記各ひずみ測定モジュール3に備えたひずみゲージ1を図示しない接着剤に貼着する(図3参照)。この場合、前述の如くひずみゲージ1はコーティング部材18により被覆されており、また、該コーティング部材18と共に各ひずみ測定モジュール3のモジュール本体部2に一体的に装着されているので、ひずみゲージ1を物体の各部位に貼着することで、該ひずみゲージ1の防水等のためのコーティング処理と、モジュール本体部2の設置が行われることとなる。
【0067】
さらに、各測定点のひずみ測定モジュール3のモジュール本体部2と、前記測定データ処理装置4と、前記副通信線5及び主通信線6を介して接続する。
【0068】
このような準備作業の終了後、前記測定データ処理装置4の所定の操作を行うことで、該測定データ処理装置4は、主通信線5及び副通信線6を介して各測定点のひずみ測定モジュール3に電源電力を供給しつつ、各ひずみ測定モジュール3のモジュール本体部2に初期設定処理を行わしめるための所定の初期設定動作指令を送出する。この初期設定動作指令は、主通信線5及び副通信線6を介してすべてのひずみ測定モジュール3のモジュール本体部2に与えられ、この時、該モジュール本体部2では、次のような初期設定処理が行われる。
【0069】
すなわち、各ひずみ測定モジュール3の制御回路13は、インターフェース回路15を介して前記初期設定動作指令を受け取ると、前記ブリッジ電源回路9からホイートストンブリッジ回路7に入力電圧Vを印可させて、測定点のひずみ量に応じた前記測定信号Δeを生成させる。そして、制御回路13は、この測定信号Δeのレベルを増幅器10により増幅したものをA/D変換器11によりデジタルデータに変換させ、その測定信号Δeのデジタルデータ、すなわち、測定信号Δeの初期値をひずみ測定の零点(ひずみ量の基準とする測定信号Δeのレベル)を表すデータとして記憶回路14のEEPROMに記憶保持させる。
【0070】
このようにして、各ひずみ測定モジュール3における初期設定処理を行った後、各測定点のひずみ量を測定する際には、前記測定データ処理装置4の所定の操作を行うことで、該測定データ処理装置4は、各測定点のひずみ測定モジュール3に電源電力を供給しつつ、各ひずみ測定モジュール3のモジュール本体部2に測定出力データを生成させるための所定の測定開始指令を送出する。この測定開始指令は、主通信線6及び副通信線5を介してすべてのひずみ測定モジュール3のモジュール本体部2にほぼ同時に与えられ、この時、該モジュール本体部2では、次のような処理が行われる。
【0071】
すなわち、各ひずみ測定モジュール3の制御回路13は、インターフェース回路15を介して前記初期設定動作指令を受け取ると、前記ブリッジ電源回路9からホイートストンブリッジ回路7に入力電圧Vを印可させて、前記測定信号Δeを生成させる。そして、制御回路13は、この測定信号Δeのレベルを増幅器10により増幅したものをA/D変換器11によりデジタルデータに変換させ、その測定信号Δeのデジタルデータを取得する。さらに、制御回路13は、取得したデジタルデータにより示される今現在の測定信号Δeのレベルから先にEEPROMに記憶保持しておいた測定信号Δeの初期値を減算することで、零点補正を行い、その零点補正を行った測定信号Δeのレベルから、例えば前記式(4)’の演算を行うことで、測定点のひずみ量ε(通常の意味でのひずみ量)を算出する。この場合、この算出に際しては、EEPROMにあらかじめ記憶保持されたゲージ率Kの値(この値はひずみゲージ1に固有の特性値である)を用いる。そして、制御回路13は、求めたひずみ量εを測定出力データ(デジタルデータ)として、記憶回路14のRAMに記憶保持させる。
【0072】
これにより、各ひずみ測定モジュール3のモジュール本体部2では、ほぼ同時に、各測定点毎の測定信号Δeに基づく測定出力データが生成されて記憶保持されることとなる。
【0073】
次いで、前記測定データ処理装置4の所定の操作を行うことで、該測定データ処理装置4は、各測定点のひずみ測定モジュール3に電源電力を供給しつつ、各ひずみ測定モジュール3毎に固有の前記識別データ(IDコード)を択一的に(例えば順番に)選択し、その選択した識別データを含む所定の出力動作指令を送出する。この出力動作指令は、各ひずみ測定モジュール3において前述の如く生成・記憶された測定出力データを出力させるための指令で、すべてのひずみ測定モジュール3のモジュール本体部2に主通信線6及び副通信線5を介して与えられる。
【0074】
この時、各ひずみ測定モジュール3のモジュール本体部2では、次のような処理が行われる。
【0075】
すなわち、モジュール本体部2の制御回路13は、インターフェース回路15を介して前記出力動作指令を受け取ると、該指令に含まれる識別データを記憶回路14のEEPROMに記憶保持されている識別データと照合し、それらが合致していない場合には待機する。そして、それらが合致している場合には、制御回路13は、記憶回路14のRAMに先に記憶保持した前記測定出力データをインターフェース回路15を介して送出する。従って、各ひずみ測定モジュール3のモジュール本体部2は、該ひずみ測定モジュール3に固有の識別データを含む出力動作指令が与えられた場合にのみ測定出力データを送出する。
【0076】
前記測定データ処理装置4は上記のようにして各ひずみ測定モジュール3から送出される測定出力データを受け取り、これにより、各ひずみ測定モジュール3から各測定点毎の測定出力データを時分割的に収集する。
【0077】
そして、測定データ処理装置4は、このようにして収集した各測定点毎の測定出力データにより示される各測定点毎のひずみ量を図示しない表示器に表示したり、記録装置に記録し、以上により、多点ひずみ測定が行われることとなる。
【0078】
尚、長期的な測定を行う場合には、前述のような各ひずみ測定モジュール3における測定出力データの生成や出力が適宜の時間間隔をおいて繰り返される。
【0079】
このような本実施形態の測定システムでは、各ひずみ測定モジュール3のモジュール本体部2は、ひずみゲージ1にその近傍で接続されているため、その接続線19は極めて短いものでよく、従って、該接続線19の抵抗値や外乱ノイズ等の影響をほとんど受けずに測定点のひずみ量に応じた測定信号Δeを生成して、これをデジタルデータに変換することができる。そして、そのデジタルデータに基づく前記測定出力データを各ひずみ測定モジュール3から測定データ処理装置4に送出するに際しては、該測定出力データはデジタルデータであるため、それが、各ひずみ測定モジュール3と測定データ処理装置4とを接続する前記副通信線5や主通信線6の抵抗値や外乱ノイズ等の影響を受けることもほとんどない。
【0080】
従って、接続線による測定精度や測定の安定性への悪影響を排除して、各測定点のひずみ量の測定を精度よく行うことができると共に、その測定を安定して行うことができる。
【0081】
また、本実施形態では、各ひずみ測定モジュール3は、ひずみゲージ1と、これを被覆するコーティング部材18と、モジュール本体部2とを一体構造としているため、ひずみゲージ1を物体の測定点に貼着することで、該ひずみゲージ1のコーティング処理とモジュール本体部2の設置とが行われるため、各測定点毎の準備作業を容易に行うことができる。さらに、本実施形態では、測定データ処理装置4による各測定点毎の測定出力データの収集は、各ひずみ測定モジュール3に固有の識別データを用いて時分割的に行うことができるので、そのデータ収集を効率よく行うことができると同時に、各ひずみ測定モジュール3と測定データ処理装置4とは、共通の主通信線6や副通信線5により接続すればよいため、それらの配線処理も簡単に行うことができる。
【0082】
また、本実施形態では、各ひずみ測定モジュール3のモジュール本体部2において、測定データ処理装置4からの測定開始指令に応じて、測定信号Δeのデジタルデータ取得して、それに基づく測定出力データを記憶回路14に記憶保持するので、同時刻における各測定点毎の測定信号Δeに基づく測定出力データを得ることができる。
【0083】
さらに、本実施形態では、各ひずみ測定モジュール3のモジュール本体部2において、測定信号Δeのデータの零点補正やひずみ量εの算出を行って測定出力データを生成するため、測定データ処理装置4側で各測定点毎に初期設定を行ったり、ひずみ量εを算出したりする必要がなく、測定に際しての初期設定や後処理を容易に行うことができる。しかも、上記の零点補正やひずみ量εの算出は、各ひずみ測定モジュール3のモジュール本体部2において独立に並列処理的に行われるので、各測定点毎の該零点補正やひずみ量εの算出を効率よく行うことができる。
【0085】
  次に、本発明の実施形態である第2の実施形態を図4を参照して説明する。尚、本実施形態は、前記第1の実施形態のものとひずみ測定モジュールの構造の一部のみが相違するもので、同一部分については第1の実施形態と同一の参照符号及び図面を用いて詳細な説明を省略する。
【0086】
図4は本実施形態におけるひずみ測定モジュール21の構造を示す断面図であり、このひずみ測定モジュール21では、物体に貼着されるひずみゲージ1は、前記第1の実施形態と同様、ブロック状のコーティング部材18により被覆されている。そして、このコーティング部材18が、モジュール本体部2(この回路構成は図2の通り)を底部に収容した有底筒状の筐体20に挿脱自在とされ、このコーティング部材18を、ひずみゲージ1が筐体20の開口端の位置するように筐体20内にモジュール本体部2に向かって嵌挿することで、ひずみゲージ1がコーティング部材18と共に筐体20を介してモジュール本体部2に着脱自在に装着されるようになっている。
【0087】
この場合、ひずみゲージ1から導出された接続線19は、コーティング部材18のモジュール本体部2に対面する外面部に取着された電極片22に結線されている。この電極片22は、ひずみゲージ1をモジュール本体部2に電気的に接続させる接続部を構成するものであり、前述の如くコーティング部材18を筐体20内に嵌挿して装着した状態で、モジュール本体部2にあらかじめ設けられた電極片23に接触し、これにより、ひずみゲージ1をモジュール本体部2に電気的に接続する。尚、モジュール本体部2の電極片23は、本実施形態では前記図2に示したホイートストンブリッジ回路7の一辺に導通している。
【0088】
このようなひずみ測定モジュール21を用いた本実施形態の多点ひずみ測定システムは前記第1の実施形態と同一構成で(図1参照)、各測定点のひずみ測定は、ひずみ測定モジュール21のモジュール本体部2に、各測定点に貼着したひずみゲージ1をこれを被覆したコーティング部材18と共に装着した状態で、第1の実施形態と全く同様に行われる。
【0089】
この場合、本実施形態では、第1の実施形態と同様の作用効果を奏することができる他、次のような作用効果を奏する。
【0090】
すなわち、本実施形態のひずみ測定モジュール21では、前述の如く、ひずみゲージ1をコーティング部材18と共に、モジュール本体部2に着脱自在に装着しているため(図4参照)、測定の終了後に、各ひずみ測定モジュール21の前記筐体20からコーティング部材18を抜脱することで、該コーティング部材18及びこれにより被覆されたひずみゲージ1を取り外すことができる。そして、このようにコーティング部材18及びひずみゲージ1を取り外せば、ひずみ測定モジュール21のモジュール本体部2を再利用することができる。しかもその再利用に際しては、図4に示すようにひずみゲージ1をコーティング部材18により被覆した状態で、該コーティング部材18を筐体20に嵌挿して装着するだけで、ひずみゲージ1のモジュール本体部2への電気的な接続も、前記電極片22,23の接触によって直ちに行うことができる。
【0091】
尚、本実施形態では、ひずみゲージ1をモジュール本体部2に電気的に接続させる接続部として、接触型の電極片22を用いたものを示したが、例えばひずみゲージ1を被覆するコーティング部材18をモジュール本体部2に装着した時に、該モジュール本体部2に嵌合・接続するようなコネクタにより前記接続部を構成するようにしてもよい。
【0092】
また、本実施形態では、ひずみゲージ1をコーティング部材18により被覆して、モジュール本体部2に着脱自在に装着するものを示したが、室内における測定や短期的な測定の場合等、ひずみゲージ1のコーティング処理を行う必要のない場合には、ひずみゲージ1をその近傍で例えばコネクタを介してモジュール本体部2に着脱自在に接続するようにしてもよい。そして、この場合には、モジュール本体部2の設置は、例えば適宜の取付部材を用いて該モジュール本体部2をひずみゲージ1の近傍の適所に取り付けることで行うようにすればよい。
【0093】
また、以上説明した第1及び第2の実施形態では、通常の意味でのひずみ量εの多点測定を行うものを示したが、各ひずみ測定モジュール3,21のモジュール本体部2において、測定信号Δeのデジタルデータからひずみ量εを求め、そのひずみ量εから例えば前記式(5)の演算により各測定点の応力を測定出力データとして算出し、各測定点の応力を測定するようにしてもよい。この場合、応力を求めるために必要な物体のヤング率は、例えば各ひずみ測定モジュール3,21の記憶回路14のEEPROMに記憶しておけばよい。
【0094】
また、第1及び第2の実施形態では、各ひずみ測定モジュール3,21において測定信号Δeのデジタルデータからひずみ量を求めて、それを測定出力データとして測定データ処理装置4に出力するようにしたが、測定信号Δeのデジタルデータをそのまま測定データ処理装置に出力して、該測定データ処理装置において、測定信号Δeのデジタルデータから各測定点毎のひずみ量(応力を含む)を算出するようにしてもよい。このようにしても、接続線の影響を排除して精度のよい安定した測定を行うことができる。
【0095】
次に、本発明の第3の実施形態を図5を参照して説明する。尚、本実施形態は、前記第1あるいは第2の実施形態のものとひずみ測定モジュールの構成及び機能の一部のみが相違するもので、同一構成部分については第1あるいは第2の実施形態と同一の参照符号及び図面を用いて詳細な説明を省略する。
【0096】
図5は本実施形態におけるひずみ測定モジュール24の回路構成を示すものであり、このひずみ測定モジュール24では、物体の測定点に貼着するひずみゲージ1をその近傍でモジュール本体部25に接続している他、その物体の温度を検出すべく該物体にひずみゲージ1の近傍で取り付けられる温度センサ26(例えば熱電対)を備え、この温度センサ26がモジュール本体部25に接続されている。
【0097】
この場合、モジュール本体部25は、前記図2に示した回路構成、すなわち前記ホイートストンブイッジ回路7(抵抗8,8,8を含む)、ブリッジ電源回路9、増幅器10、A/D変換器11、制御回路13、記憶回路14、インターフェース回路15、及び主電源回路17に加えて、切替器27を備えている。この切替器27は、ひずみゲージ1に接続するホイートストンブリッジ回路7で生成される測定信号Δeを増幅器10により増幅したものと、温度センサ26の検出信号(以下、温度検出信号という)とが入力され、それらの測定信号Δe及び温度検出信号とを制御回路13の制御により選択的に切り替えてA/D変換器11に出力し、デジタルデータに変換させるようにしている。
【0098】
そして、本実施形態では、制御回路13は、詳細は後述するが、測定信号Δeのデジタルデータから把握されるひずみ量を温度検出信号のデジタルデータにより示される温度に応じて補正することで測定出力データを生成するようにしている。
【0099】
  尚、本実施形態におけるひずみ測定モジュール24の構造に関しては、例えば前記第2の実施形態と同様に、ひずみゲージ1と温度センサ26との両者をブロック状のコーティング部材により被覆してモジュール本体部25に着脱自在に装着することが好ましい。
【0100】
このようなひずみ測定モジュール24を用いた本実施形態における多点ひずみ測定システムの構成は、基本的には第1の実施形態のシステム構成と同一で、例えば前記図1に示した各ひずみ測定モジュール3を本実施形態のひずみ測定モジュール24で置き換えた形の構成とされる。従って、本実施形態での説明では、ひずみ測定モジュールを除くシステム構成については、図1と同一の参照符号を使用する。
【0101】
本実施形態の多点ひずみ測定システムでは、各測定点のひずみ測定モジュール24のモジュール本体部25では、前記第1の実施形態で説明した測定データ処理装置4から前記測定開始指令が与えられたとき、次のように測定出力データが生成される。
【0102】
すなわち、モジュール本体部25の制御回路13は、前記切替器27をホイートストンブリッジ回路7側及び温度センサ26側に順次切替えて、前記測定信号Δe及び温度検出信号を順次A/D変換器11によりデジタルデータに変換させ、それらのデンジタルデータを取得する。
【0103】
次いで、制御回路13は、前記第1の実施形態で説明したように例えば前記式(4)’によりひずみ量εを求める。ここで、例えば物体の温度が比較的大きく変化するような測定環境条件では(このような条件下での測定では一般に、ひずみゲージ1として所謂、高温ひずみゲージが用いられる)、測定信号Δeのデータから得られるひずみ量εには、物体に作用する外部応力によるものの他、物体の熱ひずみやひずみゲージ1自身の熱ひずみ等による成分が含まれる。また、ひずみゲージ1の温度特性等に起因して、測定感度も変化する。
【0104】
そこで、本実施形態では、各ひずみ測定モジュール24の制御回路13は、前記温度検出信号のデジタルデータにより示される温度tを用いて、次式(6)の補正演算を行うことで、外部応力による真のひずみ量εx を求める。
【0105】
εx =(ε−温度tにおける見掛けひずみ)・k(t) ……(6)
ここで、式(6)における見掛けひずみは、物体に外部応力による真のひずみが生じていない状態で、物体の熱ひずみやひずみゲージ1自身の熱ひずみ等、外部応力以外の要因に起因して現れる測定信号Δeから把握されるひずみ量(通常の意味でのひずみ量)であり、この見掛けひずみの温度tにおける値は、例えば各ひずみ測定モジュール24毎に記憶回路14のEEPROMにあらかじめ記憶保持しておいたデータテーブルや演算式等を用いて、前記温度検出信号に基づく温度tから求める。また、式(6)におけるk(t) は、測定感度の補正を行うための係数(温度tの関数)で、この補正係数k(t) の値も、各ひずみ測定モジュール24毎に記憶回路14のEEPROMにあらかじめ記憶保持しておいたデータテーブルや演算式等を用いて、温度検出信号に基づく温度tから求める。
【0106】
尚、EEPROMに記憶保持する内容は、用途や必要性に応じて随時、書き直すようにしてもよい。
【0107】
そして、各ひずみ測定モジュール24の制御回路13は、上記のようにして求めた真のひずみ量εx のデータ(デジタルデータ)を測定出力データとして記憶回路14のRAMに記憶保持させ、その記憶保持した測定出力データを、前記第1の実施形態と同様に、測定データ処理装置4から各ひずみ測定モジュール24毎の識別データを含む前記出力操作指令が与えられたときに、測定データ処理装置4に前記副通信線5及び主通信線6を介して出力する(この場合、必要に応じて前記温度検出信号のデジタルデータをも出力するようにしてもよい)。
【0108】
これにより測定データ処理装置4側では、各測定点毎の物体の真のひずみ量εx を示すデータが得られることとなる。
【0109】
このような本実施形態によれば、前記第1あるいは第2の実施形態と同様の作用効果を奏する他、各測定点のひずみ測定モジュール24において、物体の温度tに応じた補正処理が行われるため、測定データ処理装置4側で各測定点毎に温度に応じた補正処理を行う必要がなくなって、後処理が極めて容易なものとなる。しかも、各測定点毎の物体の温度tに応じた補正処理は、各ひずみ測定モジュール24において、独立に並列処理的に行われるので、該補正処理を効率よく行うことができる。
【0110】
尚、本実施形態では、物体の温度tに応じた補正処理を前述の如く行うようにしたが、例えば物体の熱ひずみのみによる影響を除去して真のひずみ量εx を求めるような場合には、記憶回路14のEEPROMに物体の線膨張係数(/°C)をあらかじめ記憶保持しておくと共に、前記第1の実施形態で説明したような初期設定処理の際に、物体の温度tの初期値を記憶回路14に記憶保持しておき、測定時に、温度tの初期値と現在値との偏差、並びに上記線膨張係数から、物体の熱ひずみを求め、それを前記ひずみ量εから減算することで、真のひずみ量εx を求めるようにしてもよい。
【0111】
また、本実施形態では、真のひずみ量εx (通常の意味でのひずみ量)を測定出力データとして求めるようにしたが、例えば物体のヤング率Eを温度tの関数として、あらかじめ記憶回路14のEEPROMにデータテーブルや演算式等により記憶しておくと共に、測定時の温度検出信号に基づく温度tからその温度tにおけるヤング率Eを求め、その求めたヤング率Eを真のひずみ量εx に乗算することで、物体の測定点に作用した外部応力を求めるようにしてもよい。そして、その求めた外部応力を測定出力データとしてひずみ測定モジュール24のモジュール本体部25から出力するようにしてもよい。
【0112】
さらには、物体の測定点に作用する応力があらかじめ判っているような場合(例えば応力が一定である場合)には、本実施形態の場合と逆に、各測定点のひずみ測定モジュールにおいて、物体の熱ひずみを測定出力データとして求めるようにすることも可能である。
【0113】
また、本実施形態では、各ひずみ測定モジュール24において、物体の温度tに応じた補正処理を行うようにしたが、各ひずみ測定モジュール24のモジュール本体部25から測定信号Δeのデジタルデータあるいは、これに基づくひずみ量εのデータと共に、温度検出信号のデジタルデータを測定データ処理装置4に出力し、測定データ処理装置4側で前述のような補正処理を行うようにしてもよい。このようにした場合であっても、各ひずみ測定モジュール24から測定データ処理装置4に与えられるデータはデジタルデータであるため、それらの間の接続線(前記副通信線5や主通信線6)による影響を排除して、精度の良い測定を安定して行うことが可能である。
【0114】
また、物体の温度が比較的大きく変化するような測定環境条件で本実施形態のひずみ測定モジュール24を用いて測定を行う場合には、モジュール本体部25は、温度の影響を受け難い構造としたり、あるいは温度の影響を受け難い箇所に設置することが好ましい。
【0115】
また、以上説明した第1乃至第3の実施形態では、1ゲージ法による測定について説明したが、2ゲージ法や4ゲージ法を用いてもよい。この場合、第1乃至第3の実施形態では1ゲージ法を用いているため、3個の抵抗8,8,8をモジュール本体部2,25に備えたが、例えば2ゲージ法による測定では、2個のひずみゲージと併せてホイートストンブリッジ回路を構成するために2個の抵抗を備えておけばよく、また、例えば4ゲージ法による測定では、4個のひずみゲージにおってホイートストンブリッジ回路を構成するため、抵抗を備えておく必要はない。
【0116】
次に、本発明の第4の実施形態を図6を参照して説明する。尚、本実施形態は、前記第1あるいは第2の実施形態のものとひずみ測定モジュールの構成及び機能の一部のみが相違するもので、同一構成部分については第1あるいは第2の実施形態と同一の参照符号及び図面を用いて詳細な説明を省略する。
【0117】
図6は本実施形態におけるひずみ測定モジュール28の回路構成を示すものであり、このひずみ測定モジュール28では、物体の測定点に貼着するひずみゲージは3個のひずみゲージ1a,1b,1cから成るロゼットゲージ29で、これをその近傍でモジュール本体部30に接続している。尚、本実施形態のロゼットゲージ29は、3個のひずみゲージ1a,1b,1cを45°ずつ方位角をずらして物体に貼着する所謂、直角ロゼットを採用している。
【0118】
この場合、モジュール本体部30は、前記図2に示した回路構成、すなわち前記ホイートストンブイッジ回路7(抵抗8,8,8を含む)、ブリッジ電源回路9、増幅器10、A/D変換器11、制御回路13、記憶回路14、インターフェース回路15、及び主電源回路17に加えて、切替器31を備えている。この切替器31は、ロゼットゲージ29の3個のひずみゲージ1a,1b,1cと抵抗8,8,8との間に介装され、前記ホイートストンブリッジ回路7を構成すべきひずみゲージ1a,1b,1c(抵抗8,8,8に導通させるひずみゲージ1a,1b,1c)を、制御回路13の制御により選択的に順次切り替えるようにしている。
【0119】
そして、本実施形態では、制御回路13は、詳細は後述するが、ロゼットゲージ29の各ひずみゲージ1a,1b,1cを切替器31を介して順次抵抗8,8,8に導通させて、各ひずみゲージ1毎に測定信号Δeを生成させ、それらの測定信号Δeのデジタルデータから各測定点の物体の主ひずみ量、剪断ひずみ量及び主ひずみの方向を測定出力データとして求めるようにしている。
【0120】
  尚、本実施形態におけるひずみ測定モジュール28の構造に関しては、例えば前記第2の実施形態と同様に、ロゼットゲージ29をブロック状のコーティング部材により被覆してモジュール本体部30に着脱自在に装着することが好ましい。
【0121】
このようなひずみ測定モジュール28を用いた本実施形態における多点ひずみ測定システムの構成は、基本的には第1の実施形態のシステム構成と同一で、例えば前記図1に示した各ひずみ測定モジュール3を本実施形態のひずみ測定モジュール28で置き換えた形の構成とされる。従って、本実施形態での説明では、ひずみ測定モジュールを除くシステム構成については、図1と同一の参照符号を使用する。
【0122】
本実施形態の多点ひずみ測定システムでは、各測定点のひずみ測定モジュール28のモジュール本体部30では、前記第1の実施形態で説明した測定データ処理装置4から前記測定開始指令が与えられたとき、次のように測定出力データが生成される。
【0123】
すなわち、モジュール本体部30の制御回路13は、前記切替器29を順次切替えて、各ひずみゲージ1a,1b,1c毎に前記測定信号Δeを生成させ、それをA/D変換器11により変換させたデジタルデータを取得する。
【0124】
次いで、制御回路13は、各ひずみゲージ1a,1b,1c毎の測定信号Δeのデータから、前記第1の実施形態の場合と同様に、各ひずみゲージ1a,1b,1cに対応するひずみ量εa ,εb ,εc を求める。
【0125】
さらに制御回路13は、上記のひずみ量εa ,εb ,εc から、次式(7)〜(10)の公知の演算(ロゼット解析処理)により、各測定点における物体に最大剪断ひずみ量γmax 、主ひずみ量の最大値εmax 及び最小値εmin 、並びにひずみゲージ1aから主ひずみの方向までの角度ψp (ひずみゲージ1aの方向と主ひずみの方向とがなす角度)を求める。
【0126】
γmax =[2{(εa −εc )2+(εb −εc )2}]1/2……(7)
εmax =(εa +εb +γmax )/2                    ……(8)
εmin =(εa +εb −γmax )/2                    ……(9)
ψp =(1/2)tan-1[(2εc −εa −εb )/(εa −εb )]……(10)
そして、制御回路13は、このようにして求めた最大剪断ひずみ量γmax 、主ひずみ量の最大値εmax 及び最小値εmin 、並びにひずみゲージ1aから主ひずみの方向までの角度ψp のデータを測定出力データとして記憶回路14のRAMに記憶保持させ、それを、前記第1の実施形態と同様に、前記測定データ処理装置4からの出力動作指令に応じて該測定データ処理装置4に出力する。
【0127】
これにより、測定データ処理装置4では、各測定点毎の、最大剪断ひずみ量γmax 、主ひずみ量の最大値εmax 及び最小値εmin 、並びにひずみゲージ1aから主ひずみの方向までの角度ψp のデータが得られることとなる。
【0128】
このような本実施形態によれば、前記第1あるいは第2の実施形態と同様の作用効果を奏する他、各測定点のひずみ測定モジュール28において、ロゼット解析処理が行われるため、測定データ処理装置4側で各測定点毎に最大剪断ひずみ量γmax 、主ひずみ量の最大値εmax 及び最小値εmin 、並びにひずみゲージ1aから主ひずみの方向までの角度ψp を求めるための処理を行う必要がなくなって、後処理が極めて容易なものとなる。しかも、各測定点毎のロゼット解析処理は、各ひずみ測定モジュール28において、独立に並列処理的に行われるので、該ロゼット解析処理を効率よく行うことができる。
【0129】
尚、本実施形態では、ロゼットゲージ29として直角ロゼットを用いたが、この他にも、3個のひずみゲージを用いたデルタロゼットや、測定精度をより高めるために4個のひずみゲージを用いた二重直角ロゼット、Tデルタロゼットが知られており、これらの方式を採用するようにしてもよい。
【0130】
また、本実施形態では、各測定点毎に最大剪断ひずみ量γmax 、主ひずみ量の最大値εmax 及び最小値εmin 、並びにひずみゲージ1aから主ひずみの方向までの角度ψp のすべてを求めるようにしたが、必要に応じてこれらのうちの一部を省略する(例えば最大剪断ひずみ量γmax は求めない等)ようにしてもよい。
【0131】
また、本実施形態では、最大剪断ひずみ量γmax や、主ひずみ量の最大値εmax 及び最小値εmin を測定出力データとして求めるようにしたが、最大剪断応力や、主応力の最小値、最大値をロゼット解析処理(この場合の演算式はここでは省略するが公知である)により、各ひずみ測定モジュールにおいて測定出力データとして求めるようにしてもよい。
【0132】
さらに、本実施形態において、前記第3の実施形態と同様に各ひずみ測定モジュール28に温度センサを備え、検出温度に基づく補正処理を行って主ひずみ量等を求めるようにしてもよい。
【0133】
また、以上説明した第1乃至第4の各実施形態では、ひずみ測定モジュール3,21,24,28を測定データ処理装置4に共通の通信線5,6を介して接続するようにしたが、単に接続線の影響を排除して精度のよい安定した測定を行う上では、各ひずみ測定モジュール3,21,24,28を各別の通信線を介して測定データ処理装置に接続するようにしてもよい。さらには、各ひずみ測定モジュール3,21,24,28と測定データ処理装置4との間の通信を無線で行うようにしてもよい。
【0134】
また、第1乃至第4の各実施形態では、建造物等の物体の複数部位のひずみ量を測定するものを示したが、複数の物体についてのひずみ量の多点測定を行う場合にも、本発明のひずみ測定モジュールや多点ひずみ測定システムを適用することができることはもちろんである。
【0135】
また、前記第1乃至第4の各実施形態では、各ひずみ測定モジュール3,21,24,28の電源電力を測定データ処理装置4から一括して供給するようにしたが、各ひずみ測定モジュール3,21,24,28毎に電源電池を内蔵するようにしてもよい。
【0136】
また、前記第1乃至第4の各実施形態では、各ひずみ測定モジュール3,21,24,28を多点ひずみ測定に適用したものを示したが、本発明のひずみ測定モジュールは、物体のひずみ量の単点測定を行う場合にも適用することができる。
【図面の簡単な説明】
【図1】本発明に関連する参考例としての第1の実施形態と本発明の実施形態である第2の実施形態とにおける多点ひずみ測定システムの全体構成を示すシステム構成図。
【図2】参考例としての第1の実施形態において図1のシステムで用いるひずみ測定モジュールの回路構成図。
【図3】図2のひずみ測定モジュールの構造を示す断面図。
【図4】本発明の第2の実施形態におけるひずみ測定モジュールの構造を示す断面図。
【図5】本発明の第3の実施形態におけるひずみ測定モジュールの回路構成図。
【図6】本発明の第4の実施形態におけるひずみ測定モジュールの回路構成図。
【図7】1ゲージ法によるひずみ測定の原理を説明するための回路図。
【図8】従来の多点ひずみ測定システムの構成図。
【符号の説明】
  1,1a〜1c…ひずみゲージ、2,25,30…モジュール本体部、3,21,24,28…ひずみ測定モジュール、4…測定データ処理装置、5,6…通信線、11…A/D変換器、12…測定信号生成用回路、14…記憶回路(記憶手段)、16…データ出力処理手段、17…主電源回路(電源手段)、18…コーティング部材、22…電極片(接続部)、26…温度センサ、29…ロゼットゲージ。[0001]
BACKGROUND OF THE INVENTION
The present invention relates to a strain measurement module for measuring strain of various objects, and a multipoint strain measurement system for performing multipoint measurement of the strain.
[0002]
[Prior art]
In the fields of machinery, civil engineering, architecture, etc., when measuring the strain amount of an object such as a machine or a structure, measurement using a strain gauge is generally performed. In measuring strain of an object such as a machine or a structure, multipoint measurement is generally performed in which strain measurement is performed on a plurality of parts of the object. In the specification of this application, unless otherwise specified, in addition to the strain in the normal sense, the stress including the stress of the object is referred to as “strain”. Included).
[0003]
This type of strain measurement is usually performed using a Wheatstone bridge circuit as shown in FIG. That is, FIG. 7 shows a conventional basic measurement system using, for example, the 1 gauge method, in which a strain gauge a is attached to a measurement site of an object (not shown), and a strain measuring instrument is connected via connection lines c1 and c2. Connected to A. In this case, the strain measuring instrument A includes a Wheatstone bridge circuit h having fixed resistances b1, b2, and b3 on three sides, and a strain gauge a is connected to the other side of the Wheatstone bridge circuit h. The When measuring strain, an input voltage V (constant voltage) is applied from a bridge power supply circuit d provided in the strain measuring device A between a pair of diagonal points of the Wheatstone bridge circuit h, and the remaining pair of diagonal points. In the meantime, an output voltage Δe is generated as a measurement signal corresponding to the amount of strain of the object. At this time, assuming that the resistance values r1 and r2 of the connection lines c1 and c2 are sufficiently small, the output voltage Δe has the resistance values Ra, R1, R2, R3 of the strain gauge a and the resistances b1, b2, and b3, respectively. It is expressed by the following equation (1) using the input voltage V.
[0004]
Δe = [(RaR 2 −R 1 R 3) / (Ra + R 1) (
In this case, assuming that the normal resistance value of the strain gauge a is R, it is general that R1 = R2 = R3 = R. At this time, the change in the resistance value of the strain gauge a due to the strain of the object. Is ΔR (Ra = R + ΔR), the equation (1) is rewritten into the following equation (2) in consideration of ΔR << R.
[0005]
Δe = (ΔR / 4R) V (2)
Further, the resistance value R of the strain gauge a and its change ΔR, the strain amount ε (here, the strain amount in the normal direction in the tension or compression direction) of the measurement site of the object to which the strain gauge a is attached, and The following relational expression (3) holds,
ε = (ΔR / R) / K (3)
Where K is the gauge factor of strain gauge a
From this relational expression (3) and the above expression (2), the following expression (4) or (4) 'is obtained.
[0006]
Δe = (V / 4) Kε (4)
ε = (4 / VK) Δe (4) ′
Therefore, the output voltage Δe of the Wheatstone bridge circuit h is proportional to the strain amount ε at the measurement site of the object to which the strain gauge a is attached, and on the strain measuring device A side, the strain amount ε is measured by the output voltage Δe. Will be able to. Note that when the stress of the object is σ, generally, the proportional relationship of the following equation (5) is established between the amount of strain and ε.
σ = Eε (5)
Where E: Young's modulus of the object
The stress can also be measured by the output voltage Δe. This is the basic technique for strain measurement.
[0007]
In addition to the measurement method described above, a method such as a 2-gauge method in which two strain gauges are attached to a measurement site of an object or a 4-gauge method in which four strain gauges are attached to a measurement site of an object. However, in either method, basically, a measurement signal proportional to the amount of strain of the object is generated by a Wheatstone bridge circuit configured to include a strain gauge attached to the object.
[0008]
In the above-mentioned multipoint measurement, for example, a measurement system as shown in FIG. 8 is conventionally used. That is, a plurality of measurement sites of an object such as a machine or a building or strain gauges a, a,. Are connected to the switch box B controlled by the above-described connection line c. Then, the strain measuring instrument A ′ sequentially energizes the strain gauges a at each measurement point connected to itself to generate a measurement signal corresponding to the strain amount at the measurement point, and further connected to the switch box B. The strain gauge a at each measurement point is sequentially energized via the switch box B to generate a measurement signal corresponding to the amount of strain at the measurement point, thereby obtaining a measurement signal for each measurement point. Furthermore, the strain measuring instrument A grasps the amount of strain at each measurement point based on the acquired measurement signal, and thereby performs multipoint strain measurement. In this case, for example, with respect to strain measurement by the 1 gauge method, a Wheatstone bridge circuit as shown in FIG. 7 is configured in the strain measuring instrument A and the switch box B together with the strain gauge a at each measurement point. Are provided so as to be capable of switching connection with respect to the strain gauge a at each measurement point, and multipoint strain measurement is performed while sequentially performing the switching connection for each measurement point.
[0009]
However, the conventional strain measuring system as described above has the following disadvantages due to the connection line connecting the strain gauge to the strain measuring instrument or the switch box.
[0010]
For example, in the measurement system based on the 1 gauge method shown in FIG. 7, when the resistance values r1 and r2 of the connection lines c1 and c2 are taken into account, the output voltage Δe (measurement signal) of the Wheatstone bridge circuit h is expressed by the following equation (1). When Ra (= R + ΔR) is replaced by Ra + r1 + r2, and when R1 = R2 = R3 = R as described above, the output voltage Δe is expressed by the following equation (2) ′.
[0011]
Δe = [(ΔR + r 1 + r 2) / 2 (2R + ΔR + r 1 + r 2)] V (2) ′
As is clear from this equation (2) ', the resistance of the connecting line connecting the strain gauge to the strain measuring instrument or the switch box is the measurement sensitivity of the strain measurement and the zero point (the output voltage Δe as a reference for the strain amount). In general, the initial output voltage Δe when a strain gauge is attached to an object is used), which in turn affects the measurement accuracy, and this also applies to other strain measurement methods such as the 2-gauge method and the 4-gauge method. .
[0012]
For this reason, conventionally, depending on the wire diameter and length of the connecting wire connecting the strain gauge to the strain measuring instrument and switch box (the resistance value of the connecting wire is basically determined by the wire diameter and length of the connecting wire) After adjusting the set value of the strain measuring instrument to correct the measurement signal obtained at the time of strain measurement, or finally obtaining the data value such as strain amount with the strain measuring instrument, In general, the data value is corrected by referring to a correction table.
[0013]
However, in the multipoint measurement as described above, for example, when the measurement points are in a wide range, the connection line connecting the strain gauge to the strain measuring device or the switch box must be long, and the resistance value of the connection line Tends to be relatively large. In addition, even when a single strain measurement is performed, the connection line may be long due to the measurement environment. If the connection line becomes long and the resistance value becomes relatively large in this way, it becomes difficult to ensure sufficient measurement sensitivity and measurement accuracy even with the above-described correction. It was.
[0014]
Also, since the resistance value of the connection line is affected by the environmental temperature, especially when the connection line is long and the resistance value is relatively large, the measurement signal etc. is corrected depending on the wire diameter and length of the connection line. Only by doing it, the zero point movement and the measurement sensitivity change were caused by the change of the environmental temperature, and it was difficult to perform long-term strain measurement and wide-range multipoint strain measurement with stable measurement accuracy. In this case, in the 1-gauge method, the zero-point movement can be suppressed to some extent by using the known 1-gauge 3-wire method, but the variation in measurement sensitivity cannot be suppressed. In the 4-gauge method, the constant current method may be used to eliminate the influence of the resistance value of the connection line, but this method is limited to the 4-gauge method.
[0015]
Furthermore, in the conventional measurement system, a signal (analog signal) corresponding to a minute change in resistance of the strain gauge is received via the connection line with the strain gauge on the strain measuring instrument side, so that disturbances mixed in the connection line This is easily affected by noise and connection line degradation, which is also a major factor in measurement errors. In particular, in strain measurement of structures, etc., there are many cases in which connection wires are buried in the ground or long-term measurements are performed. Often the noise increased significantly, causing serious problems in the measurement.
[0016]
As described above, in the conventional measurement system, the connection line connecting the strain gauge to the strain measuring instrument or the switch box is liable to adversely affect the measurement accuracy, measurement stability, and the like.
[0017]
In particular, in multi-point measurement of structures and the like, the number of measurement points may be several hundred, and in some cases, several thousand. In such multi-point measurement, the wire diameter and length of the connecting wire as described above. Therefore, in order to correct the measurement signal and the finally obtained data value, the correction must be performed for each measurement point, and the correction considering the temperature characteristics of the strain gauge at each measurement point. In addition, there are many cases in which correction in consideration of thermal strain characteristics according to the temperature of the object must be performed for each measurement point. Also, when installing the measurement system, it is necessary to perform wiring processing of the connection line between the strain gauge and the strain measuring instrument or switch box for each measurement point, and when performing long-term measurements outdoors. Must be coated to protect the strain gauge, such as waterproofing the strain gauge at each measurement point.
[0018]
Therefore, in the conventional multipoint strain measurement, these operations require enormous time, labor, and cost, and inconveniences such as erroneous connection of connection lines are likely to occur.
[0019]
Furthermore, in conventional multi-point strain measurement, a measurement signal corresponding to the amount of strain is sequentially generated by a strain gauge at each measurement point, and the measurement signal is taken into a strain measuring instrument. If there is a relatively large time difference in the measurement timing of the strain amount at each measurement point, and the measurement environment changes within the time difference, measure the strain amount at each measurement point under the same measurement environment conditions. It was impossible.
[0020]
[Problems to be solved by the invention]
In view of such a background, the present invention eliminates adverse effects on measurement accuracy and measurement stability due to connection lines, and enables stable strain measurement with high accuracy, and further, preparation for strain measurement. It is an object of the present invention to provide a strain measurement module capable of facilitating work and processing of measurement data.
[0022]
[Means for Solving the Problems]
  Strain measuring module of the present inventionLeIn order to achieve such an object, a strain gauge affixed to an object, a measurement signal generating circuit for generating a measurement signal corresponding to the strain amount of the object by at least the strain gauge, and the measurement signal A / D conversion means for converting into digital data, and data output processing means for outputting to the outside as measurement output data digital data of the measurement signal or digital data generated through a predetermined process from the digital data And a module main body formed by modularizing the module.
  AndThe present inventionAnd a protective coating member provided so as to cover the strain gauge except for a surface to which the strain gauge is attached to an object, and a bottomed cylindrical casing housing the module main body at the bottom. The coating member can be detachably attached to the module main body through the casing by inserting the coating member into the casing so that the strain gauge is positioned at the opening end of the casing. And a connecting portion that is in contact with an electrode provided in the module main body portion and electrically connects the strain gauge to the module main body portion is provided on the outer surface portion of the coating member. It is characterized by being.
[0023]
According to the present invention, the module main body formed by modularizing at least the measurement signal generation circuit, the A / D conversion means, and the data output processing means is provided in the vicinity of the strain gauge attached to the object. Since the connection is made, the measurement signal generated by the strain gauge is converted into digital data by the A / D conversion means of the module main body in the vicinity of the strain gauge. In this case, since the connection line for connecting the module main unit to the strain gauge is short, the measurement signal is converted into digital data with little influence from the resistance value of the connection line, disturbance noise, or the like. . Then, the digital data or digital data generated through a predetermined process from the digital data is output to the outside as measurement output data by the data output processing means of the module main body. At this time, since the measurement output data is digital data, the measurement output data is hardly affected by connection lines, disturbance noise, etc., regardless of whether the measurement output data is output by wire or wireless. Therefore, it is possible to accurately measure the strain of the object using the measurement output data.
[0024]
Therefore, according to the present invention, it is possible to stably perform accurate strain measurement by eliminating adverse effects on the measurement accuracy, measurement stability, and the like due to the connection line.
[0026]
  Also, The present inventionNohiAccording to the shear measurement module, the strain gauge is attached to the object with the strain gauge attached to the module body together with the coating member.And hiBesides the strain gauge coating process and the installation of the module main body, it is possible to easily perform the preparatory work for strain measurement, and after the strain measurement is completed, the module main body together with the coating member covering the strain gauge. And the module main body can be reused. When reusing, the strain gauge covered with the coating member having the connection portion on the outer surface is attached to the module main body together with the coating member, so that the strain gauge can be electrically connected to the module main body. It can be done easily.
[0028]
The strain measurement module of the present invention further includes a temperature sensor for detecting the temperature of the object, and the A / D conversion means includes means for converting a detection signal of the temperature sensor into digital data, and the data output processing The means includes means for outputting digital data of a detection signal of the temperature sensor to the outside.
[0029]
According to this, it is possible to obtain, with digital data, the temperature data of an object that is often required for correction of measurement data or the like during strain measurement, together with the measurement output data.
[0030]
In the strain measurement module of the present invention, digital data obtained by converting the measurement signal by the A / D conversion means may be output to the outside as the measurement output data by the data output processing means. In the case where a temperature sensor for detecting the temperature of the object is provided, the A / D conversion means includes means for converting a detection signal of the temperature sensor into digital data, and the data output processing means It is preferable to include means for correcting and outputting the measurement output data based on the temperature of the object indicated by the digital data of the detection signal of the temperature sensor.
[0031]
That is, in strain measurement, it may be necessary to correct the measured value based on the measurement signal obtained by the strain gauge in consideration of the temperature characteristics of the strain gauge, the temperature characteristics of the object, or the thermal strain of the object. In such a case, the data output processing means of the module body performs a process of correcting the measurement output data based on the temperature of the object indicated by the digital data of the detection signal of the temperature sensor, To output desired data immediately from the measurement output data. For this reason, in particular, when performing multipoint strain measurement for a plurality of objects or a plurality of parts of an object using the strain measurement module of the present invention, it is obtained from the data output processing means of the module main body corresponding to each measurement point. Post-processing of measurement output data can be facilitated. Further, since the correction process as described above is performed independently for each measurement point by the data output processing means of the module main body for each measurement point, the correction process can be efficiently performed for each measurement point.
[0032]
In addition, when correcting the measurement output data, in addition to the correction according to the temperature as described above, correction based on characteristic values inherent to the strain gauge such as the gauge rate of the strain gauge, and a strain gauge attached to the object Zero point correction (correction based on the level of the original measurement signal) based on the digital data of the original measurement signal may be performed by the data output processing means.
[0033]
In strain measurement, a rosette gauge composed of at least three strain gauges is used as a strain gauge to be attached to an object. From the measurement signal data generated by each strain gauge, calculation of rosette analysis processing is performed. There are cases where the principal strain amount, shear strain amount, and principal strain direction of an object are measured.
[0034]
Therefore, in the strain measurement module of the present invention, when the strain gauge is a rosette gauge composed of at least three strain gauges, the measurement signal generating circuit is configured to output the measurement signal for each strain gauge of the rosette gauge. The data output processing means includes at least one of a principal strain amount, a shear strain amount, and a principal strain direction of the object from digital data of the measurement signal for each strain gauge. Means for obtaining the measured output data by rosette analysis processing.
[0035]
According to this, the data output processing means of the module main body part is at least one of the main strain amount, the shear strain amount, and the main strain direction of the object from the digital data of the measurement signal for each strain gauge. Is obtained by the rosette analysis process and is output as measurement output data to the outside. Therefore, desired data such as the principal strain amount, shear strain amount, and principal strain direction of the object are immediately obtained from the measurement output data. Obtainable. In particular, when performing multipoint strain measurement for a plurality of objects or a plurality of parts of the object using such a strain measurement module, measurement output data obtained from the data output processing means of the module main body corresponding to each measurement point Post-processing can be facilitated. Further, since the rosette analysis process as described above is independently performed for each measurement point by the data output processing means of the module main body for each measurement point, the rosette analysis process can be efficiently performed for each measurement point. it can.
[0052]
  Strain measuring module of the present invention and multi-point strain measuring system using the sameAs a reference example related toA first embodiment will be described with reference to FIGS. 1 to 3. 1 is a system configuration diagram showing the overall configuration of the multipoint strain measurement system in the present embodiment, FIG. 2 is a circuit configuration diagram of a strain measurement module used in the system of FIG. 1, and FIG. 3 is a diagram of the structure of the strain measurement module of FIG. It is sectional drawing shown. The reference numerals in parentheses in FIG. 1 correspond to the second embodiment described later, and are not used in the following description of the first embodiment.
[0053]
With reference to FIG. 1, the multipoint strain measurement system of the present embodiment measures strain amounts of a plurality of parts of an object (not shown) such as a building or a machine, for example, by a 1 gauge method. A plurality of strain gauges 1, 1,... Attached to each part (each measurement point), and a plurality of
[0054]
In this case, in this embodiment, the set of the strain gauge 1 and the
[0055]
In the present embodiment, the grouping as described above is performed. However, the module
[0056]
Each of the
[0057]
That is, the module
[0058]
Note that the resistance value of each resistor 8 of the
[0059]
Further, the module
[0060]
Here, the
[0061]
The
[0062]
Furthermore, in this embodiment, the operation power supply power of each
[0063]
In each
That is, the strain gauge 1 of each
[0064]
The measurement data processing device 4 is configured using a microcomputer, and the details of the operation will be described later. Basically, the main communication line 6 is connected to the module
[0065]
Next, the operation of the multipoint strain measurement system of this embodiment (including the operation of the strain measurement module) will be described.
[0066]
When multipoint strain measurement is performed on a plurality of parts of an object such as a building or a machine by the system of the present embodiment, the strain gauge 1 provided in each
[0067]
Further, the module
[0068]
After completion of such preparatory work, the measurement data processing device 4 performs strain measurement at each measurement point via the
[0069]
That is, when the
[0070]
In this way, after performing the initial setting process in each
[0071]
In other words, when the
[0072]
Thereby, in the module
[0073]
Next, by performing a predetermined operation of the measurement data processing device 4, the measurement data processing device 4 supplies power to the
[0074]
At this time, the following processing is performed in the
[0075]
That is, when the
[0076]
The measurement data processor 4 receives the measurement output data sent from each
[0077]
Then, the measurement data processing device 4 displays the strain amount for each measurement point indicated by the measurement output data for each measurement point collected in this manner on a display (not shown) or records it on a recording device. Thus, multipoint strain measurement is performed.
[0078]
When long-term measurement is performed, the generation and output of measurement output data in each
[0079]
In such a measurement system of the present embodiment, the module
[0080]
Therefore, it is possible to accurately measure the strain amount at each measurement point and stably perform the measurement while eliminating the adverse effect on the measurement accuracy and measurement stability due to the connection line.
[0081]
Moreover, in this embodiment, since each
[0082]
In this embodiment, the module
[0083]
Furthermore, in the present embodiment, the
[0085]
  Next, the present inventionThe first embodimentA second embodiment will be described with reference to FIG. In this embodiment, only a part of the structure of the strain measurement module is different from that of the first embodiment, and the same parts are denoted by the same reference numerals and drawings as those of the first embodiment. Detailed description is omitted.
[0086]
FIG. 4 is a cross-sectional view showing the structure of the
[0087]
In this case, the connecting
[0088]
The multipoint strain measurement system of this embodiment using such a
[0089]
In this case, in the present embodiment, the same operational effects as those in the first embodiment can be obtained, and the following operational effects can be achieved.
[0090]
That is, in the
[0091]
In the present embodiment, a contact
[0092]
In the present embodiment, the strain gauge 1 is covered with the coating
[0093]
Further, in the first and second embodiments described above, the multi-point measurement of the strain amount ε in the normal sense is shown. However, in the module
[0094]
In the first and second embodiments, the
[0095]
Next, a third embodiment of the present invention will be described with reference to FIG. The present embodiment is different from the first or second embodiment only in part of the configuration and function of the strain measurement module, and the same components are the same as those in the first or second embodiment. Detailed description will be omitted using the same reference numerals and drawings.
[0096]
FIG. 5 shows a circuit configuration of the
[0097]
In this case, the module
[0098]
In this embodiment, the
[0099]
  In addition, regarding the structure of the
[0100]
The configuration of the multi-point strain measurement system in this embodiment using such a
[0101]
In the multipoint strain measurement system of this embodiment, when the measurement start command is given from the measurement data processing device 4 described in the first embodiment, the module
[0102]
That is, the
[0103]
Next, as described in the first embodiment, the
[0104]
Therefore, in the present embodiment, the
[0105]
εx = (apparent strain at ε-temperature t) · k (t) (6)
Here, the apparent strain in the equation (6) is caused by factors other than external stress such as thermal strain of the object and thermal strain of the strain gauge 1 itself in a state where the true strain due to the external stress is not generated in the object. The strain amount (strain amount in a normal sense) grasped from the measurement signal Δe that appears, and the value of this apparent strain at the temperature t is stored in advance in the EEPROM of the
[0106]
The contents stored and held in the EEPROM may be rewritten as needed according to the application and necessity.
[0107]
Then, the
[0108]
As a result, on the measurement data processing device 4 side, data indicating the true strain amount εx of the object at each measurement point is obtained.
[0109]
According to this embodiment, in addition to the same effects as those of the first or second embodiment, the
[0110]
In this embodiment, the correction process according to the temperature t of the object is performed as described above. However, for example, when the true strain amount εx is obtained by removing the influence of only the thermal strain of the object. The linear expansion coefficient (/ ° C) of the object is stored in advance in the EEPROM of the
[0111]
In the present embodiment, the true strain amount εx (strain amount in a normal sense) is obtained as measurement output data. For example, the Young's modulus E of the object is used as a function of the temperature t in advance in the
[0112]
Furthermore, when the stress acting on the measurement point of the object is known in advance (for example, when the stress is constant), in the strain measurement module at each measurement point, the object is reversed in the case of this embodiment. It is also possible to obtain the thermal strain of the measurement output data.
[0113]
In this embodiment, each
[0114]
Further, when measurement is performed using the
[0115]
In the first to third embodiments described above, the measurement by the 1 gauge method has been described, but the 2 gauge method or the 4 gauge method may be used. In this case, since the 1-gauge method is used in the first to third embodiments, the three resistors 8, 8, and 8 are provided in the module
[0116]
Next, a fourth embodiment of the present invention will be described with reference to FIG. The present embodiment is different from the first or second embodiment only in part of the configuration and function of the strain measurement module, and the same components are the same as those in the first or second embodiment. Detailed description will be omitted using the same reference numerals and drawings.
[0117]
FIG. 6 shows a circuit configuration of the
[0118]
In this case, the module
[0119]
In the present embodiment, the
[0120]
  In addition, regarding the structure of the
[0121]
The configuration of the multipoint strain measurement system in the present embodiment using such a
[0122]
In the multipoint strain measurement system of the present embodiment, when the measurement start command is given from the measurement data processing device 4 described in the first embodiment, the module
[0123]
That is, the
[0124]
Next, the
[0125]
Further, the
[0126]
γmax = [2 {(εa −εc)2+ (Εb −εc)2}]1/2...... (7)
εmax = (εa + εb + γmax) / 2 (8)
εmin = (εa + εb−γmax) / 2 (9)
ψp = (1/2) tan-1[(2εc−εa−εb) / (εa−εb)] (10)
Then, the
[0127]
Thereby, in the measurement data processing device 4, the data of the maximum shear strain amount γmax, the maximum value εmax and the minimum value εmin of the main strain amount, and the angle ψp from the strain gauge 1a to the main strain direction for each measurement point. Will be obtained.
[0128]
According to the present embodiment, since the rosette analysis process is performed in the
[0129]
In this embodiment, a right-angle rosette is used as the
[0130]
In this embodiment, the maximum shear strain amount γmax, the maximum value εmax and the minimum value εmin of the main strain amount, and the angle ψp from the strain gauge 1a to the main strain direction are obtained for each measurement point. However, some of them may be omitted if necessary (for example, the maximum shear strain amount γmax is not obtained).
[0131]
In this embodiment, the maximum shear strain γmax and the maximum value εmax and the minimum value εmin of the main strain amount are obtained as measurement output data, but the maximum shear stress, the minimum value and the maximum value of the main stress are determined. You may make it obtain | require as measurement output data in each distortion | strain measurement module by a rosette analysis process (The arithmetic formula in this case is abbreviate | omitted here but is well-known.).
[0132]
Further, in the present embodiment, as in the third embodiment, each
[0133]
In the first to fourth embodiments described above, the
[0134]
Further, in each of the first to fourth embodiments, the one that measures the strain amount of a plurality of parts of an object such as a building is shown, but when performing multipoint measurement of the strain amount of a plurality of objects, Of course, the strain measurement module and the multipoint strain measurement system of the present invention can be applied.
[0135]
Further, in each of the first to fourth embodiments, the power supply power of each of the
[0136]
In the first to fourth embodiments, the
[Brief description of the drawings]
FIG. 1 shows the present invention.The first embodiment as a reference example related to the second embodiment and the second embodiment which is an embodiment of the present inventionThe system block diagram which shows the whole structure of the multipoint strain measurement system in FIG.
[Figure 2]As a reference exampleFIG. 2 is a circuit configuration diagram of a strain measurement module used in the system of FIG. 1 in the first embodiment.
3 is a cross-sectional view showing the structure of the strain measurement module of FIG. 2;
FIG. 4 is a cross-sectional view showing a structure of a strain measurement module according to a second embodiment of the present invention.
FIG. 5 is a circuit configuration diagram of a strain measurement module according to a third embodiment of the present invention.
FIG. 6 is a circuit configuration diagram of a strain measurement module according to a fourth embodiment of the present invention.
FIG. 7 is a circuit diagram for explaining the principle of strain measurement by the 1 gauge method.
FIG. 8 is a configuration diagram of a conventional multipoint strain measurement system.
[Explanation of symbols]
  DESCRIPTION OF SYMBOLS 1,1a-1c ... Strain gauge, 2, 25, 30 ... Module main-body part, 3, 21, 24, 28 ... Strain measurement module, 4 ... Measurement data processor, 5, 6 ... Communication line, 11 ... A / D Converter: 12 ... Measurement signal generation circuit, 14 ... Storage circuit (storage means), 16 ... Data output processing means, 17 ... Main power supply circuit (power supply means), 18 ... Coating member, 22 ... Electrode piece (connection part) , 26 ... temperature sensor, 29 ... rosette gauge.
| Application Number | Priority Date | Filing Date | Title | 
|---|---|---|---|
| JP24839297AJP3940970B2 (en) | 1997-09-12 | 1997-09-12 | Strain measurement module | 
| Application Number | Priority Date | Filing Date | Title | 
|---|---|---|---|
| JP24839297AJP3940970B2 (en) | 1997-09-12 | 1997-09-12 | Strain measurement module | 
| Publication Number | Publication Date | 
|---|---|
| JPH1183420A JPH1183420A (en) | 1999-03-26 | 
| JP3940970B2true JP3940970B2 (en) | 2007-07-04 | 
| Application Number | Title | Priority Date | Filing Date | 
|---|---|---|---|
| JP24839297AExpired - LifetimeJP3940970B2 (en) | 1997-09-12 | 1997-09-12 | Strain measurement module | 
| Country | Link | 
|---|---|
| JP (1) | JP3940970B2 (en) | 
| Publication number | Priority date | Publication date | Assignee | Title | 
|---|---|---|---|---|
| JP2001013016A (en)* | 1999-06-29 | 2001-01-19 | Matsushita Electric Ind Co Ltd | Pressure-sensitive converter | 
| ITBO20000422A1 (en)* | 2000-07-12 | 2002-01-12 | Corob Spa | DEVICE FOR CHECKING THE CLAMPING OF A CONTAINER IN A FLUID MIXER. | 
| JP2002357487A (en)* | 2001-06-04 | 2002-12-13 | Nkk Corp | Stress measuring device and stress information receiving device | 
| JP2003240652A (en) | 2002-02-15 | 2003-08-27 | Denso Corp | Output corrective circuit built-in semiconductor sensor and torsion bar type torque sensor | 
| JP2005069855A (en)* | 2003-08-25 | 2005-03-17 | Rion Co Ltd | Multipoint simultaneous measurement method and apparatus | 
| JP4868347B2 (en)* | 2005-09-12 | 2012-02-01 | 国立大学法人 東京大学 | Tactile sensor module and tactile sensor mounting method | 
| JP5378993B2 (en)* | 2006-05-30 | 2013-12-25 | ザ・ティムケン・カンパニー | Displacement, strain and force sensors | 
| JP5203235B2 (en)* | 2009-01-20 | 2013-06-05 | 株式会社共和電業 | Strain gauge laying system and strain gauge laying method | 
| JP5491918B2 (en)* | 2010-03-25 | 2014-05-14 | 株式会社日立パワーソリューションズ | Work fixing jig | 
| DE102011006424A1 (en)* | 2011-03-30 | 2012-10-04 | Dr. Johannes Heidenhain Gmbh | Position measuring device | 
| JP6222772B2 (en)* | 2014-01-24 | 2017-11-01 | 株式会社共和電業 | Strain gauge for stress intensity factor measurement and stress intensity factor calculation method | 
| CN206440269U (en)* | 2016-12-28 | 2017-08-25 | 湖南品智工程技术有限公司 | One kind is used for subgrade settlement automatic monitoring system | 
| CA3078378A1 (en)* | 2017-10-05 | 2019-04-11 | Dignity Health | Multipurpose medical device | 
| WO2020262545A1 (en)* | 2019-06-27 | 2020-12-30 | 日本精機株式会社 | Sensing device | 
| CN111256576A (en)* | 2020-02-19 | 2020-06-09 | 山东省地质矿产勘查开发局八〇一水文地质工程地质大队 | Environment-friendly structural deformation early warning device, method and system | 
| JP7598019B2 (en)* | 2021-03-31 | 2024-12-11 | 日本製鉄株式会社 | Method for measuring thrust force in resistance spot welding, method for manufacturing resistance spot welded joint, and resistance spot welding device | 
| CN113465675A (en)* | 2021-07-08 | 2021-10-01 | 大连交通大学 | Modularized high-sampling-rate wireless structure stress-strain measurement system and method | 
| DE102022000384B3 (en) | 2022-02-01 | 2023-04-06 | Hottinger Brüel & Kjaer GmbH | Parameterization aid for strain gauges | 
| Publication number | Publication date | 
|---|---|
| JPH1183420A (en) | 1999-03-26 | 
| Publication | Publication Date | Title | 
|---|---|---|
| JP3940970B2 (en) | Strain measurement module | |
| US5876122A (en) | Temperature sensor | |
| CA1301331C (en) | Steam leakage measuring device | |
| US3847017A (en) | Strain measuring system | |
| US5841077A (en) | Digital load cell assembly | |
| EP0178368B1 (en) | Process variable transmitter and method for correcting its output signal | |
| GB2192992A (en) | Force measuring device | |
| JP2000088891A (en) | Bridge circuit and detector using the same | |
| US7301352B1 (en) | High sensitivity single or multi sensor interface circuit with constant voltage operation | |
| RU2417349C1 (en) | Procedure for measurement of relative deformations of structures with multi-pointed tensometric measuring system | |
| CN110333014B (en) | Strain measurement circuit based on strain gauge | |
| CN108204865A (en) | Industrial instrument, industrial control system and RTD temp measuring methods | |
| US5475384A (en) | Remote addressable transducer provided with automatic calibration and digital compensation | |
| EP0213407A2 (en) | Method and apparatus for body temperature measurement with multiple probe types | |
| JP2923293B1 (en) | Strain measurement method | |
| JP4255926B2 (en) | Strain and temperature measuring device | |
| EP3052910B1 (en) | Infrared sensor | |
| JP3623592B2 (en) | Temperature compensation method for force sensor | |
| JP2003021503A (en) | Angle sensor temperature compensator and torque tube measuring instrument | |
| JP4160683B2 (en) | Strain measurement system | |
| JPH11211587A (en) | Strain gauge type converter and measurement module therefor | |
| CN115420307B (en) | Real-time self-calibration self-diagnosis low-temperature drift data acquisition system | |
| JP2588391B2 (en) | Initial calibration method of gain in digital indicator | |
| RU2031393C1 (en) | Method and detector for measuring deformations of constructions at testing under sign-variable temperature stresses | |
| CN108801491B (en) | Onboard temperature measurement system and onboard temperature measurement method | 
| Date | Code | Title | Description | 
|---|---|---|---|
| A621 | Written request for application examination | Free format text:JAPANESE INTERMEDIATE CODE: A621 Effective date:20040803 | |
| A977 | Report on retrieval | Free format text:JAPANESE INTERMEDIATE CODE: A971007 Effective date:20060217 | |
| A131 | Notification of reasons for refusal | Free format text:JAPANESE INTERMEDIATE CODE: A131 Effective date:20060328 | |
| A521 | Written amendment | Free format text:JAPANESE INTERMEDIATE CODE: A523 Effective date:20060525 | |
| A02 | Decision of refusal | Free format text:JAPANESE INTERMEDIATE CODE: A02 Effective date:20061024 | |
| A521 | Written amendment | Free format text:JAPANESE INTERMEDIATE CODE: A523 Effective date:20061122 | |
| A521 | Written amendment | Free format text:JAPANESE INTERMEDIATE CODE: A523 Effective date:20061219 | |
| A911 | Transfer of reconsideration by examiner before appeal (zenchi) | Free format text:JAPANESE INTERMEDIATE CODE: A911 Effective date:20070109 | |
| TRDD | Decision of grant or rejection written | ||
| A01 | Written decision to grant a patent or to grant a registration (utility model) | Free format text:JAPANESE INTERMEDIATE CODE: A01 Effective date:20070227 | |
| A61 | First payment of annual fees (during grant procedure) | Free format text:JAPANESE INTERMEDIATE CODE: A61 Effective date:20070322 | |
| R150 | Certificate of patent or registration of utility model | Free format text:JAPANESE INTERMEDIATE CODE: R150 | |
| FPAY | Renewal fee payment (event date is renewal date of database) | Free format text:PAYMENT UNTIL: 20110413 Year of fee payment:4 | |
| FPAY | Renewal fee payment (event date is renewal date of database) | Free format text:PAYMENT UNTIL: 20120413 Year of fee payment:5 | |
| FPAY | Renewal fee payment (event date is renewal date of database) | Free format text:PAYMENT UNTIL: 20130413 Year of fee payment:6 | |
| FPAY | Renewal fee payment (event date is renewal date of database) | Free format text:PAYMENT UNTIL: 20130413 Year of fee payment:6 | |
| FPAY | Renewal fee payment (event date is renewal date of database) | Free format text:PAYMENT UNTIL: 20140413 Year of fee payment:7 | |
| R250 | Receipt of annual fees | Free format text:JAPANESE INTERMEDIATE CODE: R250 | |
| R250 | Receipt of annual fees | Free format text:JAPANESE INTERMEDIATE CODE: R250 | |
| R250 | Receipt of annual fees | Free format text:JAPANESE INTERMEDIATE CODE: R250 | |
| R250 | Receipt of annual fees | Free format text:JAPANESE INTERMEDIATE CODE: R250 | |
| EXPY | Cancellation because of completion of term |