














【0001】
【発明の属する技術分野】
本発明は、筆記情報を電子化する筆記記録システムに関する。
【0002】
【従来の技術】
近年、コンピュータの高度化、ネットワークの高速化に伴いさまざまな書類処理の電子情報化が進んでおり、その量も増加している。このように書類処理を電子情報化するものとしては、いわゆるペンベースコンピュータと呼ばれるものが考えられている。このペンベースコンピュータは、紙を使用せず、LCD(Liquid Crystal Display)等の上に座標入力装置である透明パッドを重ねあわせて形成されており、パッドから得られた座標に従い、入力点をLCDに直接表示するものである。
【0003】
しかしながら、このペンベースコンピュータは、製造コストが高く、また、LCDはガラス板などを用いるものが多いために、重いと同時に非常に壊れ易いものとなってしまっている。また、ペンベースコンピュータは一般に携帯型の情報機器として利用されるために電池によって駆動されることが多いが、LCDの表示には多くの電力を消費するため、常時表示することが困難になっている。さらに、ペンベースコンピュータは、電子書類の表示をLCDなどのディスプレイに行なうものであるが、未だにLCD等の表示装置の解像度は印刷装置による紙等に対する印刷の解像度には及ばず、また、LCDでは複数ページにわたる書類全体を一覧することは不可能であるという理由から、ペーパーレス化への要求にしたがって利用される電子書類さえも、一旦紙等に印刷されているのが現状であり、紙の使用量の増加の原因となっている。加えて、LCDや透明パッドの厚さを紙と同様に1mm程度に形成することは、現状では不可能である。
【0004】
一方、パーソナルコンピュータ等への電子書類の入力の観点から考えた場合、紙とペンを利用した記入インタフェースは、長く人間が慣れ親しんだものであるため、コンピュータ化が進んだ今日でもキーボードやマウスによる入力に対して依然として大きな利点を持ち続けている。
【0005】
以上のように、容易な一覧性や慣れ親しんだ記入のし易さ等の紙が持つ長所によって、書類処理の電子化が進んだ今日においてもなお、紙を用いた業務は減少せず、紙の使用量はむしろ増加する傾向にあり、紙の使用量を減少させるような電子機器の開発が要望されている。つまり、紙と同等の表示品質を持つ表示装置と、ペンを用いた筆記動作を記録するとともに紙と同程度の薄さ・軽さを有する座標検出装置とを備えた電子機器が要望されている。
【0006】
このような要望に応えるため、紙とペンを用いて書類処理の電子情報化を可能とし、業務のコンピュータ化を図ることを可能にする装置が考えられている。このような装置の一例としては、特開平5−274082号公報に提案されているペン型座標入力装置がある。このペン型座標入力装置は、ペンに設置された光学センサがプレートに印刷された等間隔の直線からなる格子模様を通過する回数をカウントすることによりプレート上のペンの動きを検出し、そのペンが示した座標を検出するものである。
【0007】
また、別の例としては、特開平7−141104号公報に提案されているペン型座標入力装置がある。この装置は、絶対座標に応じた高密度なパターンをシートに印刷し、その印刷されたシート上の絶対座標に応じたパターンをCCD(Charge Coupled Device )などの2次元センサによって検知することで絶対座標を検出するものである。
【0008】
さらに、別の例としては、特開平8−36452号公報に提案されている筆記ペン及び筆記ペン装置がある。この装置は、筆記用紙上にその筆記用紙の絶対座標に応じたインク濃度でパターンを印刷し、筆記用紙上の反射率をペンに備えられた受光素子によって計測してインク濃度を検出することで絶対座標を検出するものである。
【0009】
【発明が解決しようとする課題】
しかしながら、特開平5−274082号公報に提案されているペン型座標入力装置によれば、プレートとペンとが接触している間のペンの動きを検出することはできるが、筆記中にペンがプレート上を離れた場合にはペンの移動を検出できないため、一旦ペンがプレートを離れた後に再びプレートに接触した場合、新しい点の位置がどこにあるのかを判定することが不可能であり、プレート上の任意の位置に入力することができず、使い勝手の悪いものとなっている。
【0010】
また、特開平7−141104号公報に提案されているペン型座標入力装置によれば、高密度な2次元パターンを用いて座標情報を表示してシート上におけるペンの絶対値座標を取得することができるので、ペンの空中移動の問題は生じない。しかし、2次元の画像処理はコンピュータの速度が向上した現在でも非常に困難な処理であり、単純に座標を読み取る場合にもペン先が移動する速度に追随して実時間で読み取ることは困難になっている。
【0011】
さらに、特開平8−36452号公報に提案されている筆記ペン及び筆記ペン装置によれば、多段階のインク濃度を正確に検出する必要があるが、筆記用紙表面の状態は利用状態によって著しく変動し、また周囲の照明条件も大きく変動するためインク濃度の正確な計測は困難になっている。
【0012】
本発明の目的は、座標を高速、かつ、精緻に検出可能な筆記記録システムを得ることである。
【0013】
本発明の目的は、紙資源の節約を図ることができ、対環境性に優れた筆記記録システムを得ることである。
【0014】
本発明の目的は、ユーザビリティが高く、低コストで省資源化が図れる筆記記録システムを得ることである。
【0015】
【課題を解決するための手段】
請求項1記載の発明は、所定の区分パターンにより区分けされた複数の区分領域を有し、それらの区分領域毎にそれぞれ対応付けられた絶対座標に応じて異なる座標認識パターンを一部の前記区分領域にのみ設けた紙状の被筆記媒体と、この被筆記媒体に沿わせて移動させることで前記被筆記媒体の任意の前記区分領域を指示する指示部材と、この指示部材の前記被筆記媒体上での相対移動量を前記区分パターンに基づいて検出する相対移動量検出手段と、前記指示部材により指示された前記絶対座標を前記座標認識パターンに基づいて検出する絶対座標検出手段と、この絶対座標検出手段により検出された前記絶対座標と前記相対移動量検出手段により検出された前記相対移動量とに基づいて前記指示部材の移動軌跡を検出する軌跡検出手段と、を備える。
【0016】
したがって、所定の区分パターンにより区分けされた複数の区分領域を有してそれらの区分領域毎にそれぞれ対応付けられた絶対座標に応じて異なる座標認識パターンを一部の区分領域にのみ設けた紙状の被筆記媒体に沿わせて移動させた指示部材の移動軌跡が、絶対座標検出手段により座標認識パターンに基づいて検出された指示部材に指示された絶対座標と相対移動量検出手段により区分パターンに基づいて検出された被筆記媒体上での指示部材の相対移動量とに基づいて検出される。これにより、指示部材の移動軌跡が、被筆記媒体上の全領域に座標認識パターンを設けずに一部の区分領域のみに設けた座標認識パターンに基づいて検出される絶対座標に対し、被筆記媒体上での指示部材の相対移動量を補完することで検出されるので、例えば被筆記媒体上の全領域に座標認識パターンを設けて絶対座標を検出しながら指示部材の移動軌跡を検出する場合に比べて座標を高速に検出可能であるとともに、被筆記媒体上の全領域に座標認識パターンを設けて絶対座標を検出しながら指示部材の移動軌跡を検出する場合と同様に座標を精緻に検出可能な筆記記録システムが得られる。
【0017】
請求項2記載の発明は、請求項1記載の筆記記録システムにおいて、前記相対移動量検出手段は、少なくとも2以上の受光素子を前記指示部材に備え、前記指示部材の移動に応じた前記区分パターンからの光を各受光素子で受光し、各受光素子間における光強度変化に基づいて前記指示部材の前記相対移動量を検出する。
【0018】
したがって、指示部材に備えた少なくとも2以上の受光素子で指示部材の移動に応じた区分パターンからの光を受光し、各受光素子間における光強度変化に基づいて指示部材の被筆記媒体上の相対移動量を検出することにより、指示部材の移動軌跡の検出の高速化が図られる。
【0019】
請求項3記載の発明は、請求項1記載の筆記記録システムにおいて、前記絶対座標検出手段は、前記被筆記媒体上の画像を光学的に読み取る画像読取手段と前記座標認識パターンの画像を記憶する座標認識パターン記憶手段とこの座標認識パターン記憶手段に記憶された前記座標認識パターンの画像に基づいて前記画像読取手段により読み取られた前記画像が前記座標認識パターンの画像であるか否かを判断するパターン判断手段とを前記指示部材に備え、前記画像読取手段により読み取られた前記画像が前記座標認識パターンの画像であると判断された場合の前記座標認識パターンに基づいて前記絶対座標を検出する。
【0020】
したがって、座標認識パターン記憶手段に記憶された座標認識パターンの画像に基づいて画像読取手段により読み取られた画像が座標認識パターンの画像であるか否かを判断し、画像読取手段により読み取られた画像が座標認識パターンの画像であると判断された場合の座標認識パターンに基づいて絶対座標を検出することにより、指示部材の移動軌跡を精緻、かつ、高速に検出することが可能になる。
【0021】
請求項4記載の発明は、請求項1ないし3のいずれか一記載の筆記記録システムにおいて、前記被筆記媒体に設けられる前記区分パターンは直線を二次元方向に等間隔にそれぞれ並べた格子模様であって、前記被筆記媒体に設けられる前記座標認識パターンは前記区分領域毎にそれぞれ対応付けられた前記絶対座標を示す情報をエンコードしたコードシンボルである。
【0022】
したがって、区分パターンが直線を二次元方向に等間隔にそれぞれ並べた格子模様とされ、座標認識パターンが格子模様で区切られた区分領域毎にそれぞれ対応付けられた絶対座標を示す情報をエンコードしたコードシンボルとされることにより、タブレット等を使用しない利便性に優れた簡単な構成で指示部材の移動軌跡を検出することが可能になる。
【0023】
請求項5記載の発明は、請求項4記載の筆記記録システムにおいて、前記コードシンボルはマトリックス型の二次元コードである。
【0024】
したがって、コードシンボルにマトリックス型の二次元コードが適用されることにより、座標認識パターンの作成が容易になる。
【0025】
請求項6記載の発明は、請求項1ないし5のいずれか一記載の筆記記録システムにおいて、前記区分パターンと前記座標認識パターンとを不可視性を有するインクによって前記被筆記媒体に印刷した。
【0026】
したがって、被筆記媒体に対して筆記装置を区分パターンと座標認識パターンとに妨げられることなく自分が筆記した跡を読み取ることが可能になることにより、利便性が高くなる。
【0027】
請求項7記載の発明は、請求項1ないし6のいずれか一記載の筆記記録システムにおいて、前記指示部材は、前記被筆記媒体上に筆跡を残す筆記手段を備える。
【0028】
したがって、筆記内容が視認されることにより、違和感のない処理が可能になる。
【0029】
請求項8記載の発明は、請求項1ないし7のいずれか一記載の筆記記録システムにおいて、前記被筆記媒体は、少なくとも情報の表示を可逆的に行なうことにより書き換え自在な可逆性記録層を有している。
【0030】
したがって、被筆記媒体を書き換え自在に何回も使用可能にすることにより、紙資源の節約が図れるので、対環境性に優れたシステムの提供が可能になる。
【0031】
請求項9記載の発明は、請求項8記載の筆記記録システムにおいて、前記被筆記媒体の前記可逆性記録層は、熱エネルギーにより可逆的に光学特性を変化させることにより可視情報の記録及び消去が可能である。
【0032】
したがって、情報等が熱可逆的に被筆記媒体の可逆性記録層に対して容易に記録及び消去可能になり、ユーザビリティが高く、低コストで省資源化が図れるシステムの提供が可能になる。
【0033】
請求項10記載の発明は、請求項9記載の筆記記録システムにおいて、前記被筆記媒体の前記可逆性記録層は、少なくともロイコ染料と顕色剤とを含んでいる。
【0034】
したがって、被筆記媒体の情報の書き換えが簡単に、かつ、高品質でできるような材料を用いることにより、低コストでユーザビリティの高いシステムの提供が可能になる。
【0035】
請求項11記載の発明は、請求項9記載の筆記記録システムにおいて、前記被筆記媒体の前記可逆性記録層は、有機低分子化合物の粒子を含有する樹脂層である。
【0036】
したがって、被筆記媒体の情報の書き換えが簡単に、かつ、高品質でできるような材料を用いることにより、低コストでユーザビリティの高いシステムの提供が可能になる。
【0037】
請求項12記載の発明は、請求項9記載の筆記記録システムにおいて、前記被筆記媒体の前記可逆性記録層は、低分子液晶化合物または高分子液晶化合物を含んでいる。
【0038】
したがって、被筆記媒体の情報の書き換えが簡単に、かつ、高品質でできるような材料を用いることにより、低コストでユーザビリティの高いシステムの提供が可能になる。
【0039】
請求項13記載の発明は、請求項1ないし12のいずれか一記載の筆記記録システムにおいて、前記座標認識パターンは、前記区分領域毎にそれぞれ対応付けられた前記絶対座標に加えて文書情報に応じても異なる。
【0040】
したがって、被筆記媒体に予め記された文書情報と指示部材の移動軌跡との連携が可能になる。
【0041】
請求項14記載の発明は、請求項1ないし13のいずれか一記載の筆記記録システムにおいて、前記軌跡検出手段により検出された前記指示部材の前記移動軌跡を外部機器に対して出力する情報出力手段を有する。
【0042】
したがって、情報出力手段により指示部材の移動軌跡が外部機器に対して出力されることにより、指示部材の移動軌跡が外部機器にリアルタイムに送信可能になり、処理の高速化が図られる。
【0043】
【発明の実施の形態】
本発明の第一の実施の形態を図1ないし図12に基づいて説明する。ここで、図1は筆記記録システム1の全体構成を示す模式図である。図1に示すように、この筆記記録システム1は、被筆記媒体である筆記シート2と指示部材であるペン型の筆記装置3とを主体に構成されている。この筆記装置3は、従来の筆記用具(ボールペン等)で紙等に筆記するのと同様に筆記シート2へと筆記することにより、その筆記に基づくデジタルデータである筆跡データを生成し、その生成した筆跡データをデータ転送装置4を介して外部機器(ここでは、パーソナルコンピュータとする。)5に対してワイヤレスデータ通信や有線シリアル通信等により送信するものである。
【0044】
次に、筆記シート2について説明する。ここで、図2は筆記シート2を示す平面図である。図2に示すように、筆記シート2は、例えば紙状の薄い透明部材である透明プラスチックのシートによって形成されている。また、筆記シート2の表面上には、互いに直交し、等間隔に平行して配置された直線からなる格子模様6が、筆記シート2とは光学的特性(反射率、吸収率、蛍光特性等)の異なる不可視のインクによって印刷されている。つまり、格子模様6には一定の大きさの区分領域6aが多数形成されることから、格子模様6は区分パターンとして機能することになる。本実施の形態の区分領域6aは、正方形とされている。不可視のインクとしては、例えば赤外波長に対する蛍光特性を有する日立マクセル社製のステルスインクがある。このインクによれば、人間にはほとんど格子模様6を見ることができず、赤外領域で機械読取可能となるので、可視インクによる筆記や印刷を妨げることなく格子模様6を筆記シート2の表面上に印刷することができる。そのため利用者は、格子模様6に妨げられることなく自分が筆記した跡を読み取ることができ、利便性が高くなる。以下、インクは赤外線蛍光特性を持つものとして記述するが、筆記シート2に対して光学特性が検出可能な程度異なっていれば良く、紫外波長に対する蛍光特性を有するRhodamine B等を用いることも可能である。
【0045】
さらに、筆記シート2の表面上には、多数のコードシンボルSが、格子模様6と同様に筆記シート2とは光学的特性(反射率、吸収率、蛍光特性等)の異なる不可視のインクによって印刷されている。ここで、図3はコードシンボルSを示す平面図である。図3に示すように、コードシンボルSは、マトリックス型の二次元コードであって、本実施の形態の形態においてはQRコード(QRCode)が適用されている。各コードシンボルSは、その一角を格子模様6の区分領域6aの左上に位置する角に位置付けるように配置されている。なお、図2においてコードシンボルSは、その一角を格子模様6の区分領域6aの左上に位置する角に位置付けるように配置されているが、これに限るものではなく、格子模様6の区分領域6aの右上、右下、左下、中央部等であっても良く、後述する筆記装置3の画像読取装置7の配設位置や利用者の利き手により変更しても良い。
【0046】
区分領域6aに配設されたコードシンボルSのデータ領域には、筆記シート2上の格子模様6の各区分領域6a毎に対応付けられた絶対座標がそれぞれエンコードされている。例えば、図2において筆記シート2の左下を原点(0,0)としたとき、右に行くにしたがってx座標の値が大きく、また上に行くにしたがってy座標の値が大きくエンコードされている。したがって、コードシンボルSは区分領域6a毎にそれぞれ対応付けられた絶対座標に応じて異なる外観を有することになることから、コードシンボルSは座標認識パターンとして機能することになる。このようなコードシンボルSは、詳細は後述するが、筆記装置3によって光学的に読み取られる。なお、本実施の形態のコードシンボルSにはQRコード(QRCode)が適用されているが、同様な二次元コードは他にもいくつか公知であり、例えばAztecCode,VeriCode,MaxiCode等も適用可能である。また、一次元コードや独自コードであっても構わない。
【0047】
なお、図2においては、説明のために人間に目視可能なように表示しているが、格子模様6とコードシンボルSとは実際には不可視状態にある。また、図1では目視可能な文字や図等を妨げないように筆記シート2上の格子模様6とコードシンボルSとは一部のみ表示しているが、実際は全面に印刷されており可視インクによるワープロの文章などとも重畳している。
【0048】
また、図2に示すように、コードシンボルSは、筆記シート2の全面に一定間隔Dを有して配置されることにより、一部の区分領域6aのみに印刷されている。この間隔Dは、筆記装置3の筆記速度と筆記装置3によるコードシンボルSの画像読取速度(時間)とに応じて定められる。間隔Dは、筆記装置3の筆記速度Vwと筆記装置3によるコードシンボルSの画像読取時間Trとの関係によって定められ、例えば、
D<Vw×Tr
のように定められている。
【0049】
以上のように筆記シート2を薄い透明プラスチックのシートによって形成し、格子模様6とコードシンボルSとを不可視のインクによって印刷したことにより、筆記シート2を例えば図面などのトレースに有効に利用することもできる。
【0050】
なお、筆記シート2を白色の普通紙等により構成しても良く、また、格子模様6とコードシンボルSとを可視インクで印刷するようにしても良い。さらに、格子模様6とコードシンボルSとは必ずしも筆記シート2の表面にある必要はなく、表面に透明な保護層を有するようにしても良い。
【0051】
また、格子模様6とコードシンボルSとは、利用に先立って工場等からの出荷時にあらかじめ印刷されていても良いし、利用者が利用するにあたってプリンタなどを用いて印刷するようにしても良い。また、ワードプロセッサによる文書や描画ソフトによる図などがあらかじめ目視可能なインクで印刷されていても良い。
【0052】
さらに、格子模様6は、互いに交差する2方向に平行に設置されて印刷されていれば良く、その方向は必ずしも直交する必要はなく、また、筆記シート2の各辺と平行である必要もない。
【0053】
さらにまた、コードシンボルSに二次元コードを用いる場合には、その情報量は十分大きいため、書類の識別番号や作成者などの付属的な文書情報を付与することも可能である。書類識別によって加筆された書類のオリジナルの電子書類番号などを認識することができ、実際に加筆した書類の電子ファイルに加筆されることとなる。
【0054】
次に、筆記シート2とともに筆記記録システム1を構成する筆記装置3について説明する。ここで、図4は筆記装置3の構造を概略的に示す斜視図である。図4に示すように、筆記装置3には、コードシンボルSを光学的に読み取る画像読取手段として機能する画像読取装置7が筆記装置3の筐体8の外周面に設けられている。この画像読取装置7は、コードシンボルSであるQRコード等の二次元コードの読み取りに適した二次元センサであるCCD(図示せず)やこのCCD上にコードシンボルSの画像を結像させるための光学系(図示せず)等を主体に構成されている。なお、CCDの他にも、フォトダイオードアレイやCMOS画像センサ等を適用することができる。
【0055】
また、筆記装置3の筐体8は、従来のボールペン等と同様に円筒形の外観を有しており、この筐体8の先端に筆記手段として機能するペン先9を有している。このペン先9は、フェルトペンやボールペンなどと同様に筆記可能に構成されている。この場合、筆記に用いられるインクは目視可能で筆記シート2に印刷されている格子模様6の検出を妨げないものである。格子模様6が不可視赤外線蛍光インクで印刷されている場合、筆記用インクは赤外光を透過するインクである必要があり、カーボンブラックなどを含まないものである。また、筐体8の内部には、筆記シート2とその筆記シート2上に印刷された格子模様6との光学的特性の違いを検出する格子模様検出装置10、筆記シート2とペン先9との接触を検出するための筆圧検出装置11、充電可能な2次電池で構成される電源12等が設けられている。
【0056】
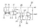
格子模様検出装置10について詳細に説明する。ここで、図5は筆記装置3の格子模様検出装置10付近を示す横断面図、図6は図5におけるA−A’断面図である。図5に示すように、筆記装置3の格子模様検出装置10は、レーザダイオードやLED等で構成される発光素子13(13a,13b,13c,13d)と、フォトダイオード(PD)等で構成される受光素子14(14a,14b,14c,14d)とを組み合わせて構成されている。これらの発光素子13と受光素子14との組み合わせは、発光素子13aと受光素子14a、発光素子13bと受光素子14b、発光素子13cと受光素子14c、発光素子13dと受光素子14dの4組となっている。また、各発光素子13(13a,13b,13c,13d)はペン先9を中心にして点対称に配置され、各受光素子14(14a,14b,14c,14d)もペン先9を中心にして点対称に配置されている。さらに、図6に示すように、各発光素子13(図6では、発光素子13a)にはそれぞれ光ファイバー15が接続され、各受光素子14(図6では、受光素子14a)にはそれぞれ光ファイバー16が接続されており、筆記装置3の先端付近に導かれている。加えて、筆記装置3の先端付近に位置する光ファイバー15の近傍には集光レンズ17が設けられており、筆記装置3の先端付近に位置する光ファイバー16の近傍には集光レンズ18と光学フィルタ19とが設けられている。この光学フィルタ19は、筆記シート2の格子模様6の印刷が赤外光等の不可視波長に感度がある不可視赤外線蛍光インクで行われている場合、それらの波長を通過させるものである。このような光学フィルタ19を備えることにより、外乱光による検出の妨害が生じにくくなり安定した検出が可能となる。
【0057】
発光素子13からの光は、光ファイバー15によって筆記装置3の先端に導かれ、集光レンズ17によって筆記シート2の一点を照らす。この輝点に格子模様6が印刷されている場合、インクによって光が反射、散乱あるいは蛍光を発する。筆記シート2からの蛍光は、受光素子14側の集光レンズ18、光学フィルタ19、光ファイバー16を介して受光素子14に集められる。受光素子14は集光された光の強度に応じて電流を生じるため、格子模様6が印刷されている場合と格子模様6が印刷されていない場合とではその電流値が異なることになる。
【0058】
加えて、このような格子模様検出装置10には、室内の蛍光灯などの外光の影響等によって筆記シート2の格子模様6が安定した光学特性を示すものとは限らないため、出力電圧の微分回路20(図7参照)が備えられており、この微分回路20によって受光素子14の出力変化を捉え、筆記装置3のペン先9が横切った格子模様6を安定して検出できる構成とされている。ここで、図7は微分回路20を示す回路図である。図7に示すように、微分回路20は、発光素子13によって筆記シート2上の不可視赤外線蛍光インクに生じた蛍光を検出した受光素子14から出力された電流を電流−電圧変換素子21によって電圧に変換し、比較器26においてツェナダイオード22,23とコンデンサ24とによって構成されたΔV電圧発生回路25で発生する電圧と比較し、ΔVを検出する。この出力信号によって、筆記装置3のペン先9が格子模様6を横切ったことが検出される。
【0059】
また、図6に示すように、筆圧検出装置11は、格子模様検出装置10の受光素子14(14a,14b,14c,14d)への入力光の強度を計測することにより、筆記シート2とペン先9との距離を測定する構成とされている。例えば、筆記装置3のペン先9が空中にあるときは受光素子14への入力光の強度は弱くなり、筆記シート2に筆記装置3が近づくと受光素子14への入力光の強度が強くなることにより、筆記シート2とペン先9との距離が計測される。なお、筆圧検出装置11としては、このような構成に限るものではなく、ペン先9にそのペン軸に沿った方向にわずかなストロークを持たせるとともに、ストロークの終端にマイクロスイッチ(図示せず)を備えることにより、ペン先9がそのペン軸方向に押圧されてマイクロスイッチを押すことにより、ペン先9と筆記シート2との接触を検知する構成等であっても良い。
【0060】
次に、筆記装置3に内蔵される各部の電気的接続について図8を参照して説明する。筆記装置3には、制御プログラムを格納するワンチップCPU等により構成されるマイクロコンピュータを備えて各部を集中的に制御する駆動制御回路27が内蔵されている。この駆動制御回路27には、前述した画像読取装置7、格子模様検出装置10、筆圧検出装置11の他、RF無線通信やIrDA等の赤外線通信などの無線通信インタフェースであってデータ転送装置4とのデータの送受信を行なうデータ送受信回路28、EEPROM等により構成される記憶回路29、絶対座標認識装置30、画像処理装置31、座標認識パターン記憶手段として機能するコードシンボル記憶テーブル32、座標変換装置33、相対移動量記録装置34等が接続されている。コードシンボル記憶テーブル32には、筆記シート2上の所定の座標をコードシンボル化した標準コードシンボルが予め蓄えられている。それぞれの標準コードシンボルは、筆記シート2上の絶対座標を一意に示すように定義されており、例えば、
(x,y)=(0,0),(0,1)・・・・
などの座標に応じて一意に定められている。
【0061】
このような構成の筆記装置3において、制御プログラムが駆動制御回路27に実行させる機能である筆跡記録機能について説明する。ここで、図9は筆跡記録処理の流れを概略的に示すフローチャート、図10は筆記シート2上に筆記装置3で筆記した状態を示す平面図である。図9に示すように、筆跡記録処理は、まず、電源12の投入後、筆圧検出装置11によるペンダウンの検出に待機する(ステップS1)。例えば、図10に示すように筆記シート2上のa地点において筆記装置3による筆記が開始されると、筆記シート2と筆記装置3のペン先9との距離の計測に基づいてペンダウンが検出される(ステップS1のY)。
【0062】
ペンダウンが検出されると(ステップS1のY)、格子模様検出装置10による格子模様6の検出が実行される(ステップS2)。詳細には、筆記シート2と筆記装置3のペン先9との接触位置における格子模様6の有無に応じて蛍光の強度が変動し、その強度に基づく電気信号が出力される。
【0063】
続くステップS3においては、筆記装置3のペン先9の移動方向検出処理が実行される。移動方向の検出は、複数設置された受光素子14間の計測時間の遅れと相対向した受光素子14間の位相のずれとに基づいて実行される。ここで、図11は格子模様6に対する筆記装置3の移動状態の一例を示す模式図、図12は図11における各受光素子14の電気信号の出力波形を示すタイムチャートである。図11に示すように、筆記装置3が筆記シート2の格子模様6上を左方向から右方向(矢印で示すX方向)に移動した場合において、各受光素子14における電気信号の出力波形を比較してみると、図12に示すように、筆記装置3の進行方向先頭に位置する発光素子13cから出射された光を受光する受光素子14cの出力に対し、筆記装置3の進行方向後方に位置する他の発光素子13a,13b,13dから出射された光を受光する受光素子14a,14b,14dは位相が遅れて出力される。また、X方向に直交して相対向する発光素子13aから出射された光を受光する受光素子14aと発光素子13dから出射された光を受光する受光素子14dとからの出力は同位相になる。
【0064】
また、図11で示す下方向から上方向(矢印で示すY方向)に移動した場合にも同様であって、特に図示はしないが、筆記装置3の進行方向先頭に位置する発光素子13aから出射された光を受光する受光素子14aの出力に対し、筆記装置3の進行方向後方に位置する他の発光素子13b,13c,13dから出射された光を受光する受光素子14b,14c,14dは位相が遅れて出力されるとともに、Y方向に直交して相対向する発光素子13bから出射された光を受光する受光素子14bと発光素子13cから出射された光を受光する受光素子14cとからの出力は同位相になる。これにより、受光素子14間の計測時間の遅れと互いに相対向した受光素子14間の位相のずれとを検出することにより、筆記装置3の横(X方向)と縦(Y方向)との移動をそれぞれ検出することが可能となる。
【0065】
格子模様6は筆記シート2上に等間隔に配置されているため、筆記装置3の移動方向が検出された場合には、筆記装置3は検出された移動方向に基づいて横切った格子模様6の数をカウントし(相対座標を追加または減少する。)、相対的な移動を検出する。例えば、右に設置された受光素子14の信号の立ち上がり時間が左に設置された受光素子14の信号の立ち上がり時間より早い場合、筆記装置3は右に移動していると判断し、相対座標を一つ増加させる。また、左に設置された受光素子14の信号の立ち上がり時間が右に設置された受光素子14の信号の立ち上がり時間より早い場合、筆記装置3は左に移動していると判断し、相対座標を一つ減少させる。このような相対座標は、順次、相対移動量として相対移動量記録装置34に記録される。ここに、相対移動量検出手段の機能が実行される。
【0066】
次に、ステップS4では、画像読取装置7による筆記シート2上の所定の位置の画像の読み取りが実行される。
【0067】
続くステップS5においては、画像読取装置7によって筆記シート2上のコードシンボルSの読み取りがなされたか否かが判断される。なお、コードシンボルSの読み取りがなされたか否かは、画像読取装置7のCCDに結像した画像に対し、画像処理装置31において画像の2値化、画像の抽出、ゆがみ補正等の画像処理を実行した後、絶対座標認識装置30においてその画像処理がなされた読み取り画像がコードシンボル記憶テーブル32に記憶された標準コードシンボルのいずれか一つに一致するか否かによって判断される。ここに、パターン判断手段の機能が実行される。また、画像読取装置7のCCDに結像した全ての画像にコードシンボルSがあるか否かを認識することは処理速度の点から現実的ではないため、コードシンボルSの検出は画像の明るさが閾値を超えている場合にのみ検出するようにしても良い。例えば、筆記シート2上のa地点のように、筆記シート2上のコードシンボルSを筆記装置3のペン先9が横切らない場合には画像読取装置7によってコードシンボルSを読み取ることはできず、読み取り画像がコードシンボル記憶テーブル32に記憶された標準コードシンボルのいずれか一つに一致することはないので(ステップS5のN)、そのままステップS7に進む。
【0068】
ステップS7では、絶対座標が取得されているか否かが判断される。例えば、図10に示す筆記シート2上のa地点でペンダウンが検出されてからb地点手前まで筆記した場合のように、筆記シート2上のコードシンボルSを筆記装置3のペン先9が横切ることがない場合にはコードシンボルSの読み取りが行われず、絶対座標は取得されていないので(ステップS7のN)、再びステップS1に進む。
【0069】
一方、図10に示す筆記シート2上のb地点のように筆記シート2上のコードシンボルSを筆記装置3のペン先9が横切った場合には、画像読取装置7によってコードシンボルSを読み取ることができる。この場合の読み取り画像は絶対座標認識装置30においてコードシンボル記憶テーブル32に記憶された標準コードシンボルのいずれか一つに一致すると判断され(ステップS5のY)、ステップS6において絶対座標が取得される。絶対座標は、画像読取装置7によって読み取られたコードシンボルSを絶対座標認識装置30においてデコードすることにより取得される。ここに、絶対座標検出手段の機能が実行される。なお、コードシンボルSを絶対座標認識装置30においてデコードする際には、コードシンボルSに文書情報等がエンコードされている場合には、文書情報もデコードされて読み取られる。
【0070】
このように、ステップS6において絶対座標が取得されている場合には(ステップS7のY)、ステップS8に進む。
【0071】
ステップS8では、相対移動記録装置34に記録された相対座標を座標変換装置33において絶対座標に変換する。例えば、図10に示す筆記シート2上のa地点からb地点手前まで筆記した場合に検出された相対座標は、b地点の絶対座標を原点として絶対座標に変換される。また、b地点からc地点まで筆記した場合に検出された相対座標も、b地点の絶対座標を原点として絶対座標に変換される。具体的には、b地点の絶対座標を(x,y)=(10,100)とした場合、c地点まではX方向の格子模様6を左に1本、Y方向の格子模様6を下に3本横切っているので、c地点の絶対座標は(x,y)=(9,97)である。こうした、筆記装置3の移動軌跡(筆跡)の再現はx座標とy座標とのそれぞれにおいて行われ、正確な筆跡が再現される。ここに、軌跡検出手段の機能が実行される。
【0072】
以上の処理により、得られた絶対座標データは記憶回路29に一時的に記憶される(ステップS9)。ステップS1〜S9は、ペンアップが検出されるまで(ステップS1のN)、繰り返される。
【0073】
また、記憶回路29に一時的に記憶された絶対座標データは、データ送受信回路28とデータ転送装置4とを介してパーソナルコンピュータ5に筆跡データとして送られ、利用される。ここに、情報出力手段の機能が実行される。筆跡データの記憶は利用者が筆記中に自動的に行われ、筆跡データの送信はデータ入力がある程度区切りがついた時点でスイッチ(図示せず)等により利用者によって明示的に指示される。パーソナルコンピュータ5上のソフトウェアでは、筆記装置3からの筆跡データの受信・保存、筆跡の再現、筆順を含む筆跡からの文字認識、筆記シート2に印刷されたデータの元データと筆跡データからの加筆情報との連携が行われる。
【0074】
なお、本実施の形態の筆記装置3の筐体8を円筒形として図示したが、この場合、筆記する利用者の持ち方によって画像読取装置7や格子模様検出装置10の向きが一定にならない場合がある。そこで、利用者の持ち方や筆記動作による回転を検出するためにジャイロセンサなどを備えてもよい。また、筆記装置3の筐体8を三角柱型に形成してもよい。
【0075】
また、移動方向の検出には加速度センサなどのセンサを用いて検出するようにしても良い。このようなセンサとしては、圧電効果やカンチレバーに形成した半導体の抵抗変動を利用した加速度センサを用いることができる。加速度センサを筆記装置3の長軸に対して直交する方向に設置することにより、筆記装置3の移動方向を検出することができる。さらに、センサによる移動方向の検出と格子模様6による移動方向の検出を併用してもかまわない。
【0076】
さらに、本実施の形態においては、画像処理装置31を筆記装置3に内蔵しているが、必ずしも内蔵されている必要は無く、外部の装置に内蔵するようにしても良い。また、筆記装置3の電源12に用いられる電池は充電・再利用可能な2次電池であることが望ましいが、必ずしも2次電池である必要はない。また、電池で駆動せず、一般の家庭用電源を電線で接続し有線で用いることも可能である。この場合、筆記装置3の携帯性は損なわれるが、紙状の筆記シート2とペン型の筆記装置3とを用いた簡単なインタフェースは有用である。
【0077】
さらにまた、本実施の形態においては、データ送受信回路28からデータ転送装置4へのデータの転送をRF無線通信やIrDA等の赤外線通信などの無線通信により行うようにしたが、RS232Cなどに代表される有線シリアル接続による通信・転送も可能である。
【0078】
また、本実施の形態においては、発光素子13(13a,13b,13c,13d)と受光素子14(14a,14b,14c,14d)とをそれぞれ組み合わせて設けたが、発光素子は、シート面を照射し、その蛍光によって各受光素子14(14a,14b,14c,14d)を十分に照らすものであれば良く、一つでもかまわない。また、蛍光灯などの外光によって十分に安定した蛍光が得られる場合、発光素子はなくてもかまわない。また、発光素子は一般に電力消費が大きいため、電源の容量が十分に確保されない場合には間欠的に駆動することもできる。
【0079】
ここに、格子模様6により区分けされた複数の区分領域6aを有してそれらの区分領域6a毎にそれぞれ対応付けられた絶対座標に応じて異なるコードシンボルSを所定の区分領域6aにのみ設けた紙状の筆記シート2に沿わせて移動させた筆記装置3の移動軌跡が、コードシンボルSに基づいて検出された筆記装置3に指示された絶対座標と格子模様6に基づいて検出された筆記シート2上での筆記装置3の相対移動量とに基づいて検出される。これにより、筆記装置3の移動軌跡が、筆記シート2上の全領域にコードシンボルSを設けずに所定の区分領域6aのみに設けたコードシンボルSに基づいて検出される絶対座標に対し、筆記シート2上での筆記装置3の相対移動量を補完することで検出されるので、例えば筆記シート2上の全領域にコードシンボルSを設けて絶対座標を検出しながら筆記装置3の移動軌跡を検出する場合に比べて座標を高速に検出可能であるとともに、筆記シート2上の全領域にコードシンボルSを設けて絶対座標を検出しながら筆記装置3の移動軌跡を検出する場合と同様に座標を精緻に検出可能な筆記記録システム1が得られる。
【0080】
次に、本発明の第二の実施の形態を図13ないし図15に基づいて説明する。なお、本発明の第一の実施の形態において説明した部分と同一部分については同一符号を用い、説明も省略する。本実施の形態は、第一の実施の形態の筆記シート2に代えて、被筆記媒体として書換自在な筆記シート40を用いた点でのみ異なるものである。なお、筆記シート40は、第一の実施の形態の筆記シート2と略同一の大きさを有し、全体が紙状に形成されたA4判サイズとされている。
【0081】
ここで、図13は筆記シート40を示す縦断側面図である。図13に示すように、この筆記シート40は、格子模様6とコードシンボルSとが不可視赤外線蛍光インクで印刷されたベースフィルム41を有しており、このベースフィルム41の格子模様6とコードシンボルSとの上に画像表示層42と保護層43とが順次積層されている。このベースフィルム41は、熱伝導性が良好の白色の樹脂からなり、保護層43は、透光性の良好な無色の樹脂(例えば、PET樹脂等)からなる。
【0082】
画像表示層42は、情報の可視的表示を可逆的に行い表示できる可逆性記録層であり、CTC(Color Thermo Chromic)フィルム等を利用した感熱記録方式、磁気記録方式、フォトクロミック記録方式、エレクトロクロミック方式等が利用できる。特に、本実施の形態においては、感熱記録方式、すなわち、熱エネルギーにより可逆的に光学特性が変化し、可視情報の記録および消去が可能である熱可逆性記録層が好ましいものとして挙げられる。この熱エネルギーにより可逆記録が行えるものとしては、少なくともロイコ染料と顕色剤とを含む層、有機低分子化合物の粒子を含有する樹脂層、低分子または高分子液晶化合物を含む層等のいずれかで構成される可逆性記録層が好ましいものとして挙げられる。
【0083】
まず、画像表示層42として少なくともロイコ染料と顕色剤とを含む層を適用した場合について説明する。少なくともロイコ染料と顕色剤とを含む層は樹脂バインダー中にロイコ染料および顕色剤を分散させることにより形成されており、ロイコ染料としては、例えばフタリド系化合物、アザフタリド系化合物、フルオラン系化合物、フェノチアジン系化合物、ロイコオーラミン系化合物など公知の染料前駆体が挙げられる。具体的には、特開平05−124360号公報記載の公知のロイコ染料が使用できる。ロイコ染料は、赤外波長の光を吸収しないため、赤外蛍光インクを用いた格子模様6とコードシンボルSとの検出を妨げない。
【0084】
また、顕色剤としては、分子内にロイコ染料を発色させる顕色能を有する構造を有する化合物が挙げられる。例えば、フェノール性水酸基、カルボン酸基、リン酸基等と分子間の凝集力を制御する構造や長鎖炭化水素基が連結した構造を有する化合物である。連結部分にはヘテロ原子を含む2価の基を介していても良く、また長鎖炭化水素基中にもヘテロ原子を含む2価の基または芳香族炭化水素基が含まれていても良い。具体的には、特開平05−124360号公報等に記載されている公知の顕色剤が使用できる。
【0085】
さらに、樹脂バインダーとしては、例えばポリ塩化ビニル、ポリ酢酸ビニル、塩化ビニル酢酸ビニル共重合体、ポリビニルアセタール、ポリビニルブチラール、ポリカーボネート、ポリアリレート、ポリスルホン、ポリエーテルスルホン、ポリフェニレンオキシド、フッソ樹脂、ポリイミド、ポリアミド、ポリアミドイミド、ポリベンズイミダゾール、ポリスチレン、スチレン系共重合体、フェノキシ樹脂、ポリエステル、芳香族ポリエステル、ポリウレタン、ポリアクリル酸エステル、ポリメタクリル酸エステル、(メタ)アクリル酸エステル系共重合体、マレイン酸系共重合体、エポキシ樹脂、アルキッド樹脂、シリコーン樹脂、フェノール樹脂、ポリビニルアルコール、変性ポリビニルアルコール、ポリビニルピロリドン、ポリエチレンオキサイド、ポリプロピレンオキサイド、メチルセルロース、エチルセルロース、カルボキシメチルセルロース、ヒドロキシエチルセルロース、デンプン、ゼラチン、カゼイン類等を挙げることができる。
【0086】
また、画像表示層42の皮膜の強度を挙げることを目的に、各種硬化剤、架橋剤を添加しても良い。このような硬化剤、架橋剤の例としては、イソシアネート基をもつ化合物、ポリアミドエピクロロヒドリン樹脂、エポキシ基をもつ化合物、グリオキザール、ジルコニウム化合物等が挙げられる。
【0087】
なお、画像表示層42は、電子線硬化性あるいは紫外線硬化性バインダーを用いて形成することもできる。かかるバインダーとしては、エチレン性不飽和結合を有する化合物が挙げられる。これらの具体例としては、
1.脂肪族、脂環族、芳香族の多価アルコール及びポリアルキレングリコールのポリ(メタ)アクリレート
2.脂肪族、脂環族、芳香族、芳香脂肪族の多価アルコールにポリアルキレンオキサイドを付加させた多価アルコールのポリ(メタ)アクリレート
3.ポリエステルポリ(メタ)アクリレート
4.ポリウレタンポリ(メタ)アクリレート
5.エポキシポリ(メタ)アクリレート
6.ポリアミドポリ(メタ)アクリレート
7.ポリ(メタ)アクリロイルオキシアルキルリン酸エステル
8.(メタ)アクリロイル基を側鎖、または末端に有するビニル系またはジエン系化合物
9.単官能(メタ)アクリレート、ビニルピロリドン、(メタ)アクリロイル化合物
10.エチレン性不飽和結合を有するシアノ化合物
11.エチレン性不飽和結合を有するモノあるいはポリカルボン酸、およびそれらのアルカリ金属塩、アンモニウム塩、アミン塩等
12.エチレン性不飽和(メタ)アクリルアミドまたはアルキル置換(メタ)アクリルアミドおよびその多量体
13.ビニルラクタムおよびポリビニルラクタム化合物
14.エチレン性不飽和結合を有するモノあるいはポリエーテルおよびそのエステル
15.エチレン性不飽和結合を有するアルコールのエステル
16.エチレン性不飽和結合を有するポリアルコールおよびそのエステル
17.スチレン、ジビニルベンゼン等1個以上のエチレン性不飽和結合を有する芳香族化合物
18.(メタ)アクリロイルオキシ基を側鎖、または末端に有するポリオルガノシロキサン系化合物
19.エチレン性不飽和結合を有するシリコーン化合物
20.上記1〜19記載の化合物の多量体あるいはオリゴエステル(メタ)アクリレート変成物
等が挙げられる。
【0088】
紫外線硬化性バインダーを用いて画像表示層42を形成する場合には、光重合開始剤を混合して用いる。この光重合開始剤としては、ジクロロアセトフェノンあるいはトリクロロアセトフェノンのようなアセトフェノン類、1−ヒドロキシシクロヘキシルフェニルケトン、ベンゾフェノン、ミヒラーケトン、ベンゾイン、ベンゾインアルキルエーテル、ベンジルジメチルケタール、テトラメチルチウラムモノサルファイド、チオキサントン類、アゾ化合物、ジアリールヨードニウム塩、トリアリールスルフォニウム塩、ビス(トリクロロメチル)トリアジン化合物等が挙げられる。
【0089】
上述したようなロイコ染料および顕色剤を用いた画像表示層42は、図14に示すプロセスで発色・消色する。初期の消色状態(A)を加熱すると温度T1以上でロイコ染料と顕色剤が溶融混合して発色し(B)、この状態を急冷すると発色状態のまま固定される(C)。発色状態(C)を加熱していくと、発色温度T1より低い温度T2で消色し(D)、冷却すれば初期と同様の消色状態となる。
【0090】
したがって、画像表示層42が透明な部分では保護層43を介してベースフィルム41の白色が視認され、画像表示層42が黒色に発色変化した部分ではこの色が保護層43を介して視認される。これにより、筆記シート40の画像表示層42は、加熱により透明状態と黒色状態とに可逆的に変化するように調整されている。このような性質を利用し、筆記シート40にはワードプロセッサによる文書や描画ソフトによる図などがあらかじめ目視可能状態で印字される。
【0091】
このような筆記シート40に対する熱エネルギーによる書込みは、たとえばサーマルヘッドを用いた熱昇華型の印刷装置で印字することが容易である。また、このような熱昇華型の印刷装置によれば、加熱温度や時間等の条件を変更することにより、同じ書込み用サーマルヘッドで消去することも容易となる。したがって、この場合は各種情報が印刷装置で印字できるので、最初から筆記シート40に固定情報として埋め込むのではなく、印刷時に使用者が適宜設定することができる。すなわち、筆記シート40は繰り返し利用することができるので、紙資源の節約を図ることができる。
【0092】
次に、変形例として、画像表示層42として有機低分子化合物の粒子を含有する樹脂層を適用した場合について説明する。この有機低分子化合物の粒子を含有する樹脂層の光散乱性は、温度に依存してその透明度が可逆的に変化する性質を有している。
【0093】
このような有機低分子化合物の粒子を含有する樹脂層に用いられる樹脂は、有機低分子物質を均一に分散保持した層を形成すると共に、最大透明時の透明度に影響を与える材料である。このため樹脂母材は透明性が良く、機械的に安定で、且つ成膜性の良い樹脂が好ましい。このような樹脂としては、ポリ塩化ビニル;塩化ビニル-酢酸ビニル共重合体、塩化ビニル-酢酸ビニル-ビニルアルコール共重合体、塩化ビニル-酢酸ビニル-マレイン酸共重合体、塩化ビニル-アクリレート共重合体等の塩化ビニル系共重合体;ポリ塩化ビニリデン、塩化ビニリデン-塩化ビニル共重合体、塩化ビニリデン-アクリロニトリル共重合体等の塩化ビニリデン系共重合体;ポリエステル;ポリアミド;ポリアクリレート又はポリメタクリレートあるいはアクリレート-メタクリレート共重合体;シリコン樹脂等が挙げられる。これらは単独であるいは2種以上混合して使用される。
【0094】
また、この有機低分子化合物の粒子を含有する樹脂層に用いられる有機低分子化合物としては、一般に融点30〜200℃好ましくは50〜150℃程度のものが使用される。このような有機低分子化合物としては、アルカノール;アルカンジオール;ハロゲンアルカノールまたはハロゲンアルカンジオール;アルキルアミン;アルカン;アルケン;アルキン;ハロゲンアルカン;ハロゲンアルケン;ハロゲンアルキン;シクロアルカン;シクロアルケン;シクロアルキン;飽和または不飽和モノまたはジカルボン酸又はこれらのエステル、アミド又はアンモニウム塩;飽和または不飽和ハロゲン脂肪酸またはこれらのエステル、アミド又はアンモニウム塩;アリルカルボン酸またはそれらのエステル、アミド又はアンモニウム塩;ハロゲンアリルカルボン酸またはそれらのエステル、アミド又はアンモニウム塩;チオアルコール;チオカルボン酸又はそれらのエステル、アミンまたはアンモニウム塩;チオアルコールのカルボン酸エステル等が挙げられる。これらは単独で又は2種以上混合して使用される。これらの化合物の炭素数は10〜60、好ましくは10〜38、特に10〜30が好ましい。エステル中のアルコール基部分は飽和していても飽和していなくてもよく、またハロゲン置換されていてもよい。いずれにしても有機低分子化合物は、分子中に酸素、窒素、硫黄及びハロゲンの少なくとも1種、例えば−OH、−COOH、−CONH−、−COOR、−NH−、−NH2、−S−、−S−S−、−O−、ハロゲン等を含む化合物であることが好ましい。さらに、透明化できる温度の巾を広げるには、上記の有機低分子化合物を適宜組合せるか、または、有機低分子化合物と融点の異なる他の材料とを組合せればよい。これらは例えば特開昭63−39378号、特開昭63−130380号などの公報や、特願昭63−14754号、特願平1−140109号などの明細書で明らかにされているが、これらに限定されるものではない。
【0095】
これらの有機低分子化合物と樹脂とからなる有機低分子化合物の粒子を含有する樹脂層で構成される画像表示層42は、図15に示すプロセスで透明化または白濁化する。図15は、熱による透明度の変化を表わしているグラフであり、樹脂及びこの樹脂中に分散された有機低分子化合物を主成分とする画像表示層42は、例えばT0以下の常温では白濁不透明状態にある。これを温度T2に加熱すると透明になり、この状態で再びT0以下の常温に戻しても透明のままである。更にT3以上の温度に加熱すると、最大透明度と最大不透明度との中間の半透明状態になる。次に、この温度を下げて行くと、再び透明状態をとることなく最初の白濁不透明状態に戻る。なお、この不透明状態のものをT1〜T2間の温度に加熱した後、常温即ちT0以下の温度に冷却した場合には透明と不透明との中間の状態をとることができる。また、常温で透明になったものも再びT3以上の温度に加熱した後に常温に戻せば再び白濁不透明状態に戻る。
【0096】
さらに、変形例として、画像表示層42に低分子または高分子液晶化合物を含む層を適用した場合について説明する。この画像表示層42に用いられる高分子液晶化合物としては、主鎖または側鎖にメソゲン(液晶性を示す分子)が結合された主鎖型および側鎖型分子液晶等が用いられる。高分子液晶化合物は、通常、重合可能なメソゲン化合物(メソゲンモノマーと呼ぶ)を重合するか、あるいは水素化ポリシリコーン等の反応性ポリマーに付加反応可能なメソゲン化合物を付加させて製造することができる。このような技術は
Makromol.Chem.,179,p273(1978),Eur,Poly.J.,18,p651(1982)及び
Mol.Cryst.Liq.Cryst.,169,p167(1989)等に開示されている。本発明に使用される高分子液晶化合物も同様な方法で製造することができる。
【0097】
メソゲンモノマーおよび付加反応可能なメソゲン化合物としては、ビフェニル系、フェニルベンゾエート系、シクロヘキシルベンゼン系、アゾキシベンゼン系、アゾベンゼン系、アゾメチン系、フェニルピリミジン系、ジフェニルアセチレン系、ビフェニルベンゾエート系、シクロヘキシルビフェニル系、ターフェニル系等の剛直な分子(メソゲン)に、好ましくは所定の長さのアルキルスペーサーを介して、アクリル酸エステル基、メタクリル酸エステル基またはビニル基が結合した種々の化合物等が代表的なものとして挙げられる。
【0098】
なお、各実施の形態においては、移動方向の検出を受光素子の検出時間差に基づいて行なったが、これに限るものではなく、例えば、横(X方向)と縦(Y方向)とでそれぞれ蛍光波長の異なる2種類(計4種類)のインクを使用し、筆記装置には各蛍光波長に対応する光学フィルタを二つずつ設けた格子模様検出装置を横(X方向)用と縦(Y方向)用とにそれぞれ備えるようにしても良い。また、CTCフィルム等を用いて層状に形成することが可能な筆記シートを使用する場合には、横(X方向)用と縦(Y方向)用とで格子模様の深さを変えることにより、移動方向の検出を行なうようにしても良い。
【0099】
さらに、各実施の形態においてはペン型の筆記装置を用いたが、これに限るものではなく、従来知られているマウスと同様の外形に形成するようにしても良い。この場合においても、相対移動しか検出できない従来の光学式マウスとは異なり、絶対座標を入力することが可能となり、使い勝手が向上する。
【0100】
【発明の効果】
請求項1記載の発明によれば、所定の区分パターンにより区分けされた複数の区分領域を有してそれらの区分領域毎にそれぞれ対応付けられた絶対座標に応じて異なる座標認識パターンを一部の区分領域にのみ設けた紙状の被筆記媒体に沿わせて移動させた指示部材の移動軌跡を座標認識パターンに基づいて検出した絶対座標と区分パターンに基づいて検出した被筆記媒体上での指示部材の相対移動量とに基づいて検出することにより、被筆記媒体上の全領域に座標認識パターンを設けずに一部の区分領域のみに設けた座標認識パターンに基づいて検出する絶対座標に対して被筆記媒体上での指示部材の相対移動量を補完することで指示部材の移動軌跡を検出するので、例えば被筆記媒体上の全領域に座標認識パターンを設けて絶対座標を検出しながら指示部材の移動軌跡を検出する場合に比べて座標を高速に検出することができるとともに、被筆記媒体上の全領域に座標認識パターンを設けて絶対座標を検出しながら指示部材の移動軌跡を検出する場合と同様に座標を精緻に検出することができる筆記記録システムを得ることができる。
【0101】
請求項2記載の発明によれば、請求項1記載の筆記記録システムにおいて、指示部材に備えた少なくとも2以上の受光素子で指示部材の移動に応じた区分パターンからの光を受光し、各受光素子間における光強度変化に基づいて指示部材の被筆記媒体上の相対移動量を検出することにより、指示部材の移動軌跡の検出の高速化を図ることができる。
【0102】
請求項3記載の発明によれば、請求項1記載の筆記記録システムにおいて、座標認識パターン記憶手段に記憶された座標認識パターンの画像に基づいて画像読取手段により読み取られた画像が座標認識パターンの画像であるか否かを判断し、画像読取手段により読み取られた画像が座標認識パターンの画像であると判断された場合の座標認識パターンに基づいて絶対座標を検出することにより、指示部材の移動軌跡を精緻、かつ、高速に検出することができる。
【0103】
請求項4記載の発明によれば、請求項1ないし3のいずれか一記載の筆記記録システムにおいて、区分パターンを直線を二次元方向に等間隔にそれぞれ並べた格子模様とし、座標認識パターンを格子模様で区切られた区分領域毎にそれぞれ対応付けられた絶対座標を示す情報をエンコードしたコードシンボルとすることにより、タブレット等を使用しない利便性に優れた簡単な構成で指示部材の移動軌跡を検出することができる。
【0104】
請求項5記載の発明によれば、請求項4記載の筆記記録システムにおいて、コードシンボルにマトリックス型の二次元コードを適用することにより、座標認識パターンを容易に作成することができる。
【0105】
請求項6記載の発明によれば、請求項1ないし5のいずれか一記載の筆記記録システムにおいて、区分パターンと座標認識パターンとを不可視性を有するインクによって被筆記媒体に印刷することにより、被筆記媒体に対して筆記装置を区分パターンと座標認識パターンとに妨げられることなく自分が筆記した跡を読み取ることができるので、利便性を高めることができる。
【0106】
請求項7記載の発明によれば、請求項1ないし6のいずれか一記載の筆記記録システムにおいて、指示部材に被筆記媒体上に筆跡を残す筆記手段を備えることにより、筆記内容を視認することができるので、違和感なく処理を実行することができる。
【0107】
請求項8記載の発明によれば、請求項1ないし7のいずれか一記載の筆記記録システムにおいて、被筆記媒体は、少なくとも情報の表示を可逆的に行なうことにより書き換え自在な可逆性記録層を有していることにより、被筆記媒体を書き換え自在に何回も使用可能にすることができるので、紙資源の節約を図ることができ、対環境性に優れたシステムを提供することができる。
【0108】
請求項9記載の発明によれば、請求項8記載の筆記記録システムにおいて、被筆記媒体の可逆性記録層は、熱エネルギーにより可逆的に光学特性を変化させることにより可視情報の記録及び消去が可能であることにより、情報等を熱可逆的に被筆記媒体の可逆性記録層に対して容易に記録及び消去することができるので、ユーザビリティが高く、低コストで省資源化が図れるシステムを提供することができる。
【0109】
請求項10記載の発明によれば、請求項9記載の筆記記録システムにおいて、被筆記媒体の可逆性記録層は、少なくともロイコ染料と顕色剤とを含むことにより、被筆記媒体の情報の書き換えを簡単に、かつ、高品質でできるような材料を用いることができるので、低コストでユーザビリティの高いシステムを提供することができる。
【0110】
請求項11記載の発明によれば、請求項9記載の筆記記録システムにおいて、被筆記媒体の可逆性記録層は、有機低分子化合物の粒子を含有する樹脂層であることにより、被筆記媒体の情報の書き換えを簡単に、かつ、高品質でできるような材料を用いることができるので、低コストでユーザビリティの高いシステムを提供することができる。
【0111】
請求項12記載の発明によれば、請求項9記載の筆記記録システムにおいて、被筆記媒体の可逆性記録層は、低分子液晶化合物または高分子液晶化合物を含んでいることにより、被筆記媒体の情報の書き換えを簡単に、かつ、高品質でできるような材料を用いることができるので、低コストでユーザビリティの高いシステムを提供することができる。
【0112】
請求項13記載の発明によれば、請求項1ないし12のいずれか一記載の筆記記録システムにおいて、座標認識パターンを区分領域毎にそれぞれ対応付けられた絶対座標に加えて文書情報に応じても異ならせることにより、被筆記媒体に予め記された文書情報と指示部材の移動軌跡とを連携させることができる。
【0113】
請求項14記載の発明によれば、請求項1ないし13のいずれか一記載の筆記記録システムにおいて、軌跡検出手段により検出された指示部材の移動軌跡を外部機器に対して出力する情報出力手段を有することにより、指示部材の移動軌跡を外部機器にリアルタイムに送信することができるので、処理の高速化を図ることができる。
【図面の簡単な説明】
【図1】本発明の第一の実施の形態の筆記記録システムの全体構成を示す模式図である。
【図2】筆記シートを示す平面図である。
【図3】コードシンボルを示す平面図である。
【図4】筆記装置の構造を概略的に示す斜視図である。
【図5】筆記装置の格子模様検出装置付近を示す横断面図である。
【図6】図5におけるA−A’断面図である。
【図7】微分回路を示す回路図である。
【図8】筆記装置に内蔵される各部の電気的接続を示すブロック図である。
【図9】筆跡記録処理の流れを概略的に示すフローチャートである。
【図10】筆記シート上に筆記装置で筆記した状態を示す平面図である。
【図11】格子模様に対する筆記装置の移動状態の一例を示す模式図である。
【図12】図11における各受光素子の電気信号の出力波形を示すタイムチャートである。
【図13】本発明の第二の実施の形態の筆記シートを示す縦断側面図である。
【図14】ロイコ染料および顕色剤を用いた可逆性記録層が発色・消色するプロセスを説明するグラフである。
【図15】有機低分子と樹脂とからなる可逆性記録層が透明化・白濁化するプロセスを説明するグラフである。
【符号の説明】
1 筆記記録システム
2,40 被筆記媒体
3 指示部材
5 外部機器
6 区分パターン、格子模様
6a 区分領域
7 画像読取手段
9 筆記手段
14 受光素子
32 座標認識パターン記憶手段
42 可逆性記録層
S 座標認識パターン、コードシンボル[0001]
BACKGROUND OF THE INVENTION
The present invention relates to a writing recording system that digitizes writing information.
[0002]
[Prior art]
In recent years, with the advancement of computers and the speeding up of networks, electronic information processing of various document processes has progressed, and the amount thereof has also increased. Thus, what is called a pen base computer is considered as what converts document processing into electronic information. This pen-based computer does not use paper and is formed by overlaying a transparent pad, which is a coordinate input device, on an LCD (Liquid Crystal Display), etc., and the input point is displayed on the LCD according to the coordinates obtained from the pad. Are displayed directly.
[0003]
However, the pen-based computer is expensive to manufacture, and the LCD is often made of a glass plate, so it is heavy and very fragile. Also, pen-based computers are generally driven by batteries because they are used as portable information devices. However, since a large amount of power is consumed to display an LCD, it is difficult to display constantly. Yes. Furthermore, although a pen-based computer displays electronic documents on a display such as an LCD, the resolution of a display device such as an LCD is still not as high as that of printing on paper by a printing device. Because it is impossible to list the entire document across multiple pages, even electronic documents used in accordance with the demand for paperless printing are once printed on paper. The cause of the increase in quantity. In addition, it is impossible at present to form the thickness of the LCD and the transparent pad to about 1 mm as in the case of paper.
[0004]
On the other hand, from the viewpoint of inputting electronic documents to a personal computer, etc., the entry interface using paper and pen has long been familiar to humans. Still have significant advantages.
[0005]
As described above, due to the advantages of paper such as easy listing and familiar ease of entry, the use of paper does not decrease even today when the computerization of document processing has progressed. The amount of use tends to increase rather, and there is a demand for the development of an electronic device that reduces the amount of paper used. In other words, there is a demand for an electronic device that includes a display device having display quality equivalent to that of paper, and a coordinate detection device that records writing operations using a pen and is as thin and light as paper. .
[0006]
In order to respond to such a demand, an apparatus that enables the computerization of document processing by using paper and a pen and enables computerization of business is considered. As an example of such an apparatus, there is a pen-type coordinate input apparatus proposed in Japanese Patent Laid-Open No. 5-274082. This pen-type coordinate input device detects the movement of a pen on a plate by counting the number of times an optical sensor installed on the pen passes through a lattice pattern formed by equally spaced lines printed on the plate. The coordinates indicated by are detected.
[0007]
As another example, there is a pen-type coordinate input device proposed in JP-A-7-141104. This device prints a high-density pattern according to absolute coordinates on a sheet and detects the pattern according to the absolute coordinates on the printed sheet by a two-dimensional sensor such as a CCD (Charge Coupled Device). The coordinates are detected.
[0008]
Furthermore, as another example, there is a writing pen and a writing pen device proposed in Japanese Patent Application Laid-Open No. 8-36452. This device prints a pattern on a writing paper with an ink density corresponding to the absolute coordinates of the writing paper, and measures the reflectance on the writing paper with a light receiving element provided in the pen to detect the ink density. Absolute coordinates are detected.
[0009]
[Problems to be solved by the invention]
However, according to the pen-type coordinate input device proposed in JP-A-5-274082, the movement of the pen while the plate and the pen are in contact can be detected. Since the movement of the pen cannot be detected when leaving the plate, once the pen leaves the plate and then touches the plate again, it is impossible to determine where the new point is located. It cannot be entered at any position above, making it unusable.
[0010]
Further, according to the pen-type coordinate input device proposed in Japanese Patent Laid-Open No. 7-141104, coordinate information is displayed using a high-density two-dimensional pattern, and the absolute value coordinates of the pen on the sheet are acquired. So that the problem of pen movement in the air does not occur. However, two-dimensional image processing is very difficult even now that the speed of computers has improved, and even when reading coordinates simply, it is difficult to read in real time following the speed at which the pen tip moves. It has become.
[0011]
Further, according to the writing pen and the writing pen apparatus proposed in Japanese Patent Laid-Open No. 8-36452, it is necessary to accurately detect the multi-stage ink density, but the state of the writing paper surface varies significantly depending on the use state. In addition, since the surrounding illumination conditions vary greatly, it is difficult to accurately measure the ink density.
[0012]
An object of the present invention is to obtain a writing recording system capable of detecting coordinates precisely at high speed.
[0013]
An object of the present invention is to obtain a writing recording system that can save paper resources and is excellent in environmental friendliness.
[0014]
An object of the present invention is to obtain a writing recording system that has high usability and can save resources at low cost.
[0015]
[Means for Solving the Problems]
The invention according to claim 1 has a plurality of divided areas divided by a predetermined divided pattern, and the coordinate recognition patterns that differ according to the absolute coordinates respectively associated with each of the divided areas are part of the divided areas. A paper-like writing medium provided only in the area, an indicating member for indicating any of the divided areas of the writing medium by moving along the writing medium, and the writing medium of the indicating member Relative movement amount detection means for detecting the relative movement amount on the basis of the segment pattern, absolute coordinate detection means for detecting the absolute coordinates instructed by the indicating member based on the coordinate recognition pattern, and the absolute A locus detecting hand for detecting a movement locus of the pointing member based on the absolute coordinates detected by the coordinate detection means and the relative movement amount detected by the relative movement amount detection means. And, equipped with a.
[0016]
Therefore, a paper-like paper having a plurality of divided areas divided by a predetermined divided pattern and having different coordinate recognition patterns only in some of the divided areas according to the absolute coordinates respectively associated with the divided areas. The movement trajectory of the pointing member moved along the writing medium is absolute patterns instructed by the pointing member detected by the absolute coordinate detecting means based on the coordinate recognition pattern, and divided into patterns by the relative moving amount detecting means. It is detected based on the relative movement amount of the pointing member on the writing medium detected based on this. As a result, the movement locus of the pointing member can be written with respect to the absolute coordinates detected based on the coordinate recognition pattern provided only in some of the divided areas without providing the coordinate recognition pattern in the entire area on the writing medium. Since it is detected by complementing the relative movement amount of the pointing member on the medium, for example, when the movement locus of the pointing member is detected while detecting the absolute coordinates by providing a coordinate recognition pattern in the entire area on the writing medium The coordinates can be detected at high speed compared to the above, and the coordinates are detected precisely as in the case of detecting the movement locus of the pointing member while providing absolute coordinate detection by providing a coordinate recognition pattern in the entire area of the writing medium. A possible writing and recording system is obtained.
[0017]
According to a second aspect of the present invention, in the writing recording system according to the first aspect, the relative movement amount detecting means includes at least two or more light receiving elements in the indicating member, and the division pattern according to the movement of the indicating member. Is received by each light receiving element, and the relative movement amount of the indicating member is detected based on a change in light intensity between the light receiving elements.
[0018]
Therefore, at least two or more light receiving elements provided in the pointing member receive light from the division pattern according to the movement of the pointing member, and the relative of the pointing member on the writing medium based on the light intensity change between the light receiving elements. By detecting the amount of movement, the speed of detection of the movement locus of the pointing member can be increased.
[0019]
According to a third aspect of the present invention, in the writing recording system according to the first aspect, the absolute coordinate detecting means stores an image reading means for optically reading an image on the writing medium and an image of the coordinate recognition pattern. Based on the coordinate recognition pattern storage means and the image of the coordinate recognition pattern stored in the coordinate recognition pattern storage means, it is determined whether or not the image read by the image reading means is an image of the coordinate recognition pattern. A pattern determination unit is provided on the pointing member, and the absolute coordinates are detected based on the coordinate recognition pattern when it is determined that the image read by the image reading unit is an image of the coordinate recognition pattern.
[0020]
Therefore, it is determined whether the image read by the image reading means is an image of the coordinate recognition pattern based on the image of the coordinate recognition pattern stored in the coordinate recognition pattern storage means, and the image read by the image reading means By detecting the absolute coordinates based on the coordinate recognition pattern when it is determined that is an image of the coordinate recognition pattern, it is possible to detect the movement locus of the pointing member with high precision and at high speed.
[0021]
According to a fourth aspect of the present invention, in the writing recording system according to any one of the first to third aspects, the division pattern provided on the writing medium is a lattice pattern in which straight lines are arranged at equal intervals in a two-dimensional direction. And the said coordinate recognition pattern provided in the said writing medium is the code symbol which encoded the information which shows the said absolute coordinate each matched for every said division area.
[0022]
Therefore, a code obtained by encoding information indicating absolute coordinates respectively associated with each segmented area in which the segmentation pattern is a grid pattern in which straight lines are arranged in two-dimensional directions at equal intervals, and the coordinate recognition pattern is segmented by the grid pattern. By using the symbol, it is possible to detect the movement locus of the pointing member with a simple configuration excellent in convenience without using a tablet or the like.
[0023]
According to a fifth aspect of the present invention, in the writing and recording system according to the fourth aspect, the code symbol is a matrix type two-dimensional code.
[0024]
Therefore, by applying a matrix type two-dimensional code to the code symbol, it is easy to create a coordinate recognition pattern.
[0025]
According to a sixth aspect of the present invention, in the writing recording system according to any one of the first to fifth aspects, the division pattern and the coordinate recognition pattern are printed on the writing medium with invisible ink.
[0026]
Therefore, it becomes possible to read the mark written by the writing apparatus without being obstructed by the division pattern and the coordinate recognition pattern on the writing medium, thereby increasing convenience.
[0027]
A seventh aspect of the present invention is the writing recording system according to any one of the first to sixth aspects, wherein the indicating member includes a writing means for leaving a handwriting on the writing medium.
[0028]
Therefore, processing with no sense of incongruity becomes possible by visually recognizing the written content.
[0029]
According to an eighth aspect of the present invention, in the writing recording system according to any one of the first to seventh aspects, the writing medium has a reversible recording layer that is rewritable by reversibly displaying at least information. is doing.
[0030]
Therefore, by making the writing medium rewritable many times, paper resources can be saved, so that it is possible to provide a system with excellent environmental performance.
[0031]
The invention according to
[0032]
Therefore, information and the like can be recorded and erased easily and reversibly on the reversible recording layer of the writing medium, and it is possible to provide a system that has high usability and can save resources at a low cost.
[0033]
According to a tenth aspect of the present invention, in the writing recording system according to the ninth aspect, the reversible recording layer of the writing medium includes at least a leuco dye and a developer.
[0034]
Therefore, it is possible to provide a low-cost and high usability system by using a material that can easily rewrite the information on the writing medium with high quality.
[0035]
According to an eleventh aspect of the present invention, in the writing recording system according to the ninth aspect, the reversible recording layer of the writing medium is a resin layer containing particles of an organic low molecular compound.
[0036]
Therefore, it is possible to provide a low-cost and high usability system by using a material that can easily rewrite the information on the writing medium with high quality.
[0037]
A twelfth aspect of the present invention is the writing recording system according to the ninth aspect, wherein the reversible recording layer of the writing medium includes a low-molecular liquid crystal compound or a high-molecular liquid crystal compound.
[0038]
Therefore, it is possible to provide a low-cost and high usability system by using a material that can easily rewrite the information on the writing medium with high quality.
[0039]
According to a thirteenth aspect of the present invention, in the handwriting recording system according to any one of the first to twelfth aspects, the coordinate recognition pattern corresponds to document information in addition to the absolute coordinates respectively associated with each of the divided areas. Even different.
[0040]
Therefore, it is possible to link the document information preliminarily written on the writing medium and the movement locus of the pointing member.
[0041]
The invention according to
[0042]
Therefore, when the information output unit outputs the movement track of the pointing member to the external device, the movement track of the pointing member can be transmitted to the external device in real time, and the processing speed can be increased.
[0043]
DETAILED DESCRIPTION OF THE INVENTION
A first embodiment of the present invention will be described with reference to FIGS. Here, FIG. 1 is a schematic diagram showing the overall configuration of the writing recording system 1. As shown in FIG. 1, this writing recording system 1 is mainly composed of a
[0044]
Next, the
[0045]
Further, on the surface of the
[0046]
In the data area of the code symbol S arranged in the divided
[0047]
In FIG. 2, for the sake of explanation, it is displayed so as to be visible to humans, but the
[0048]
In addition, as shown in FIG. 2, the code symbols S are printed on only a part of the divided
D <Vw × Tr
It is determined as follows.
[0049]
As described above, the
[0050]
The
[0051]
The
[0052]
Furthermore, the
[0053]
Furthermore, when a two-dimensional code is used for the code symbol S, the amount of information is sufficiently large, so that it is possible to give additional document information such as a document identification number or a creator. The original electronic document number of the document added by document identification can be recognized, and the document is added to the electronic file of the actually added document.
[0054]
Next, the writing apparatus 3 which comprises the writing recording system 1 with the
[0055]
The
[0056]
The lattice
[0057]
The light from the
[0058]
In addition, in such a lattice
[0059]
Further, as shown in FIG. 6, the writing pressure detection device 11 measures the intensity of input light to the light receiving elements 14 (14 a, 14 b, 14 c, 14 d) of the lattice
[0060]
Next, the electrical connection of each part built in the writing apparatus 3 will be described with reference to FIG. The writing device 3 includes a microcomputer composed of a one-chip CPU or the like that stores a control program, and has a built-in drive control circuit 27 that centrally controls each unit. The drive control circuit 27 includes a wireless communication interface such as RF wireless communication and infrared communication such as IrDA and the data transfer device 4 in addition to the image reading device 7, the lattice
(X, y) = (0,0), (0,1) ...
It is uniquely determined according to the coordinates.
[0061]
In the writing apparatus 3 having such a configuration, a handwriting recording function that is a function that the control program causes the drive control circuit 27 to execute will be described. Here, FIG. 9 is a flowchart schematically showing the flow of the handwriting recording process, and FIG. 10 is a plan view showing a state of writing on the
[0062]
When pen-down is detected (Y in Step S1), the
[0063]
In the subsequent step S3, the moving direction detection process of the
[0064]
The same applies to the case of moving from the lower direction shown in FIG. 11 to the upper direction (Y direction indicated by the arrow). Although not particularly shown, the light is emitted from the
[0065]
Since the
[0066]
Next, in step S <b> 4, an image at a predetermined position on the
[0067]
In the subsequent step S5, it is determined whether or not the code symbol S on the
[0068]
In step S7, it is determined whether or not absolute coordinates have been acquired. For example, the
[0069]
On the other hand, when the
[0070]
Thus, when the absolute coordinate is acquired in step S6 (Y of step S7), it progresses to step S8.
[0071]
In step S <b> 8, the relative coordinates recorded in the relative
[0072]
The absolute coordinate data obtained by the above processing is temporarily stored in the storage circuit 29 (step S9). Steps S1 to S9 are repeated until pen-up is detected (N in step S1).
[0073]
The absolute coordinate data temporarily stored in the
[0074]
Although the
[0075]
In addition, the movement direction may be detected using a sensor such as an acceleration sensor. As such a sensor, an acceleration sensor using a piezoelectric effect or resistance variation of a semiconductor formed on a cantilever can be used. By installing the acceleration sensor in a direction orthogonal to the long axis of the writing device 3, the moving direction of the writing device 3 can be detected. Furthermore, detection of the movement direction by the sensor and detection of the movement direction by the
[0076]
Furthermore, in the present embodiment, the
[0077]
Furthermore, in the present embodiment, data transfer from the data transmission / reception circuit 28 to the data transfer device 4 is performed by wireless communication such as RF wireless communication or infrared communication such as IrDA, but it is represented by RS232C or the like. Communication / transfer via wired serial connection is also possible.
[0078]
In the present embodiment, the light emitting element 13 (13a, 13b, 13c, 13d) and the light receiving element 14 (14a, 14b, 14c, 14d) are provided in combination, but the light emitting element has a sheet surface. Irradiation is sufficient as long as each light receiving element 14 (14a, 14b, 14c, 14d) is sufficiently illuminated by the fluorescence. In addition, in the case where sufficiently stable fluorescence is obtained by external light such as a fluorescent lamp, the light emitting element may not be provided. In addition, since the light emitting element generally consumes a large amount of power, it can be driven intermittently when the capacity of the power source is not sufficiently secured.
[0079]
Here, a plurality of divided
[0080]
Next, a second embodiment of the present invention will be described with reference to FIGS. The same parts as those described in the first embodiment of the present invention are denoted by the same reference numerals, and description thereof is also omitted. This embodiment is different only in that a rewritable writing sheet 40 is used as a writing medium instead of the
[0081]
Here, FIG. 13 is a longitudinal side view showing the writing sheet 40. As shown in FIG. 13, the writing sheet 40 has a base film 41 on which a
[0082]
The
[0083]
First, a case where a layer containing at least a leuco dye and a developer is applied as the
[0084]
Examples of the color developer include compounds having a structure having a color developing ability for developing a leuco dye in the molecule. For example, it is a compound having a structure in which a phenolic hydroxyl group, a carboxylic acid group, a phosphoric acid group or the like and a structure for controlling cohesive force between molecules or a long-chain hydrocarbon group are linked. The connecting part may be through a divalent group containing a hetero atom, and the long chain hydrocarbon group may contain a divalent group or an aromatic hydrocarbon group containing a hetero atom. Specifically, known color developers described in JP-A No. 05-124360 and the like can be used.
[0085]
Further, as the resin binder, for example, polyvinyl chloride, polyvinyl acetate, vinyl chloride vinyl acetate copolymer, polyvinyl acetal, polyvinyl butyral, polycarbonate, polyarylate, polysulfone, polyethersulfone, polyphenylene oxide, fluorine resin, polyimide, polyamide , Polyamideimide, Polybenzimidazole, Polystyrene, Styrene copolymer, Phenoxy resin, Polyester, Aromatic polyester, Polyurethane, Polyacrylate, Polymethacrylate, (Meth) acrylate copolymer, Maleic acid Copolymer, epoxy resin, alkyd resin, silicone resin, phenol resin, polyvinyl alcohol, modified polyvinyl alcohol, polyvinyl pyrrolidone, polyethylene Oxide, polypropylene oxide, methyl cellulose, ethyl cellulose, carboxymethyl cellulose, hydroxyethyl cellulose, starch, it may be mentioned gelatin, casein, and the like.
[0086]
Further, for the purpose of increasing the strength of the film of the
[0087]
The
1. Poly (meth) acrylates of aliphatic, alicyclic and aromatic polyhydric alcohols and polyalkylene glycols
2. Poly (meth) acrylate of polyhydric alcohol in which polyalkylene oxide is added to aliphatic, alicyclic, aromatic, or araliphatic polyhydric alcohol
3. Polyester poly (meth) acrylate
4). Polyurethane poly (meth) acrylate
5. Epoxy poly (meth) acrylate
6). Polyamide poly (meth) acrylate
7). Poly (meth) acryloyloxyalkyl phosphate ester
8). Vinyl or diene compounds having a (meth) acryloyl group in the side chain or terminal
9. Monofunctional (meth) acrylate, vinylpyrrolidone, (meth) acryloyl compound
10. Cyano compounds having an ethylenically unsaturated bond
11. Mono- or polycarboxylic acids having an ethylenically unsaturated bond, and alkali metal salts, ammonium salts, amine salts thereof, etc.
12 Ethylenically unsaturated (meth) acrylamide or alkyl-substituted (meth) acrylamide and multimers thereof
13. Vinyl lactam and polyvinyl lactam compounds
14 Mono- or polyethers having ethylenically unsaturated bonds and esters thereof
15. Esters of alcohols having ethylenically unsaturated bonds
16. Polyalcohols having ethylenically unsaturated bonds and esters thereof
17. Aromatic compounds having one or more ethylenically unsaturated bonds, such as styrene and divinylbenzene
18. Polyorganosiloxane compounds having (meth) acryloyloxy groups in the side chain or terminal
19. Silicone compound having an ethylenically unsaturated bond
20. Multimers or oligoester (meth) acrylate modified products of the compounds 1 to 19 above
Etc.
[0088]
When the
[0089]
The
[0090]
Accordingly, the white color of the base film 41 is visually recognized through the
[0091]
Such writing on the writing sheet 40 by thermal energy is easy to print with a thermal sublimation type printing apparatus using a thermal head, for example. Further, according to such a thermal sublimation type printing apparatus, it becomes easy to erase with the same writing thermal head by changing conditions such as heating temperature and time. Therefore, in this case, since various types of information can be printed by the printing apparatus, the user can appropriately set it at the time of printing rather than embedding it as fixed information in the writing sheet 40 from the beginning. That is, since the writing sheet 40 can be used repeatedly, paper resources can be saved.
[0092]
Next, as a modification, a case where a resin layer containing particles of an organic low molecular compound is applied as the
[0093]
The resin used for the resin layer containing particles of such an organic low molecular weight compound is a material that forms a layer in which an organic low molecular weight substance is uniformly dispersed and held and affects the transparency at the time of maximum transparency. Therefore, the resin base material is preferably a resin having good transparency, mechanical stability, and good film forming properties. Such resins include polyvinyl chloride; vinyl chloride-vinyl acetate copolymer, vinyl chloride-vinyl acetate-vinyl alcohol copolymer, vinyl chloride-vinyl acetate-maleic acid copolymer, vinyl chloride-acrylate copolymer. Copolymers and other vinyl chloride copolymers; polyvinylidene chloride, vinylidene chloride-vinyl chloride copolymers, vinylidene chloride copolymers such as vinylidene chloride-acrylonitrile copolymers; polyesters; polyamides; polyacrylates or polymethacrylates or acrylates -Methacrylate copolymer; silicon resin and the like. These may be used alone or in combination of two or more.
[0094]
Moreover, as an organic low molecular weight compound used for the resin layer containing the particle | grains of this organic low molecular weight compound, generally a thing with a melting | fusing point of 30-200 degreeC, Preferably about 50-150 degreeC is used. Such organic low molecular weight compounds include alkanols; alkanediols; halogen alkanols or halogen alkanediols; alkylamines; alkanes; alkenes; alkynes; halogen alkanes; halogen alkenes; Or unsaturated mono- or dicarboxylic acids or their esters, amides or ammonium salts; saturated or unsaturated halogen fatty acids or their esters, amides or ammonium salts; allyl carboxylic acids or their esters, amides or ammonium salts; halogen allyl carboxylic acids Or ester, amide or ammonium salt thereof; thioalcohol; thiocarboxylic acid or ester, amine or ammonium salt thereof; thioalcohol And the like carboxylic acid ester. These may be used alone or in combination of two or more. These compounds have 10 to 60 carbon atoms, preferably 10 to 38 carbon atoms, and particularly preferably 10 to 30 carbon atoms. The alcohol group moiety in the ester may be saturated or not saturated, and may be halogen-substituted. In any case, the organic low molecular weight compound is at least one of oxygen, nitrogen, sulfur and halogen in the molecule, for example, —OH, —COOH, —CONH—, —COOR, —NH—, —NH.2 , —S—, —S—S—, —O—, halogen and the like are preferable. Furthermore, in order to widen the temperature range at which the transparency can be achieved, the above-mentioned organic low-molecular compound may be appropriately combined, or the organic low-molecular compound may be combined with another material having a different melting point. These are disclosed in, for example, Japanese Patent Application Laid-Open Nos. 63-39378 and 63-130380, and Japanese Patent Application Nos. 63-14754 and 1-140109. It is not limited to these.
[0095]
The
[0096]
Furthermore, as a modification, a case where a layer containing a low molecular weight or high molecular liquid crystal compound is applied to the
Makromol. Chem., 179, p273 (1978), Eur, Poly. J., 18, p651 (1982) and
Mol. Cryst. Liq. Cryst., 169, p167 (1989) and the like. The polymer liquid crystal compound used in the present invention can also be produced by a similar method.
[0097]
Examples of the mesogenic monomer and the mesogenic compound capable of addition reaction include biphenyl, phenylbenzoate, cyclohexylbenzene, azoxybenzene, azobenzene, azomethine, phenylpyrimidine, diphenylacetylene, biphenylbenzoate, cyclohexylbiphenyl, Typical examples include various compounds in which acrylate groups, methacrylate groups or vinyl groups are bonded to rigid molecules (mesogens) such as terphenyls, preferably via an alkyl spacer of a predetermined length. As mentioned.
[0098]
In each embodiment, the detection of the moving direction is performed based on the detection time difference of the light receiving element. However, the present invention is not limited to this. For example, the fluorescence is detected in the horizontal direction (X direction) and the vertical direction (Y direction). Two types of ink with different wavelengths (a total of four types) are used, and the writing device has a lattice pattern detection device provided with two optical filters corresponding to each fluorescence wavelength for horizontal (X direction) and vertical (Y direction). You may make it prepare for each. In addition, when using a writing sheet that can be formed in layers using a CTC film or the like, by changing the depth of the lattice pattern for horizontal (X direction) and vertical (Y direction), The movement direction may be detected.
[0099]
Furthermore, although the pen-type writing device is used in each embodiment, the present invention is not limited to this, and the outer shape may be the same as that of a conventionally known mouse. Even in this case, unlike the conventional optical mouse that can only detect relative movement, it is possible to input absolute coordinates, which improves usability.
[0100]
【The invention's effect】
According to the first aspect of the present invention, a plurality of segment areas divided by a predetermined segment pattern are provided, and different coordinate recognition patterns according to the absolute coordinates respectively associated with the respective segment areas are partially stored. An indication on the writing medium detected based on the absolute coordinates detected based on the coordinate recognition pattern and a movement pattern of the pointing member moved along the paper-like writing medium provided only in the divided area based on the coordinate recognition pattern By detecting based on the relative movement amount of the member, the absolute coordinates detected based on the coordinate recognition pattern provided only in some of the divided areas without providing the coordinate recognition pattern in the entire area on the writing medium. On the other hand, since the movement path of the pointing member is detected by complementing the relative movement amount of the pointing member on the writing medium, for example, a coordinate recognition pattern is provided in the entire area on the writing medium to detect the absolute coordinates. Compared to the case where the movement track of the pointing member is detected, the coordinates can be detected at a higher speed, and the movement track of the pointing member is detected while detecting the absolute coordinates by providing a coordinate recognition pattern in the entire area of the writing medium. As in the case of detecting the writing, it is possible to obtain a writing recording system capable of precisely detecting coordinates.
[0101]
According to a second aspect of the present invention, in the writing and recording system according to the first aspect, at least two or more light receiving elements provided in the pointing member receive light from the division pattern according to the movement of the pointing member, By detecting the relative movement amount of the pointing member on the writing medium based on the light intensity change between the elements, it is possible to speed up the detection of the moving track of the pointing member.
[0102]
According to a third aspect of the present invention, in the writing and recording system according to the first aspect, the image read by the image reading unit based on the image of the coordinate recognition pattern stored in the coordinate recognition pattern storage unit is a coordinate recognition pattern. It is determined whether or not the image is an image, and movement of the pointing member is performed by detecting absolute coordinates based on the coordinate recognition pattern when the image read by the image reading unit is determined to be an image of the coordinate recognition pattern. The trajectory can be detected precisely and at high speed.
[0103]
According to a fourth aspect of the present invention, in the writing recording system according to any one of the first to third aspects, the segment pattern is a lattice pattern in which straight lines are arranged at equal intervals in a two-dimensional direction, and the coordinate recognition pattern is a lattice pattern. Detecting the movement trajectory of the pointing member with a simple and convenient configuration that does not use a tablet, etc., by using encoded code symbols with information indicating the absolute coordinates associated with each divided area divided by a pattern can do.
[0104]
According to the invention described in
[0105]
According to the sixth aspect of the present invention, in the writing recording system according to any one of the first to fifth aspects, the section pattern and the coordinate recognition pattern are printed on the writing medium with invisible ink, thereby Since the writing device itself can be read with respect to the writing medium without being obstructed by the division pattern and the coordinate recognition pattern, the convenience can be improved.
[0106]
According to the invention described in claim 7, in the writing recording system according to any one of claims 1 to 6, the writing content is visually recognized by providing the indicating member with a writing means for leaving a handwriting on the writing medium. Therefore, the process can be executed without a sense of incongruity.
[0107]
According to the invention described in
[0108]
According to the invention described in
[0109]
According to a tenth aspect of the present invention, in the writing recording system according to the ninth aspect, the reversible recording layer of the writing medium includes at least a leuco dye and a developer, thereby rewriting information on the writing medium. Therefore, it is possible to provide a system with high usability at a low cost.
[0110]
According to the eleventh aspect of the present invention, in the writing recording system according to the ninth aspect, the reversible recording layer of the writing medium is a resin layer containing particles of an organic low molecular weight compound. Since a material that can rewrite information easily and with high quality can be used, a low-cost and high usability system can be provided.
[0111]
According to the invention described in
[0112]
According to a thirteenth aspect of the present invention, in the writing and recording system according to any one of the first to twelfth aspects, the coordinate recognition pattern may be in accordance with document information in addition to the absolute coordinates respectively associated with each divided region. By making them different, it is possible to link document information preliminarily written on the writing medium and the movement locus of the pointing member.
[0113]
According to a fourteenth aspect of the invention, in the writing and recording system according to any one of the first to thirteenth aspects, the information output means for outputting the movement locus of the pointing member detected by the locus detection means to an external device. By having it, the movement trajectory of the pointing member can be transmitted to the external device in real time, so that the processing speed can be increased.
[Brief description of the drawings]
FIG. 1 is a schematic diagram showing an overall configuration of a writing recording system according to a first embodiment of the present invention.
FIG. 2 is a plan view showing a writing sheet.
FIG. 3 is a plan view showing a code symbol.
FIG. 4 is a perspective view schematically showing the structure of a writing apparatus.
FIG. 5 is a cross-sectional view showing the vicinity of the lattice pattern detection device of the writing device.
6 is a cross-sectional view taken along the line AA ′ in FIG. 5. FIG.
FIG. 7 is a circuit diagram showing a differentiating circuit.
FIG. 8 is a block diagram showing an electrical connection of each part built in the writing apparatus.
FIG. 9 is a flowchart schematically showing the flow of handwriting recording processing.
FIG. 10 is a plan view showing a state where writing is performed on a writing sheet by a writing device.
FIG. 11 is a schematic diagram showing an example of a moving state of the writing apparatus with respect to the lattice pattern.
12 is a time chart showing an output waveform of an electric signal of each light receiving element in FIG. 11. FIG.
FIG. 13 is a longitudinal side view showing a writing sheet according to a second embodiment of the present invention.
FIG. 14 is a graph illustrating a process in which a reversible recording layer using a leuco dye and a developer develops and decolors.
FIG. 15 is a graph illustrating a process in which a reversible recording layer composed of an organic low molecule and a resin becomes transparent and clouded.
[Explanation of symbols]
1 Written recording system
2,40 Writing medium
3 indicating members
5 External equipment
6 division pattern, lattice pattern
6a Classification area
7 Image reading means
9 Writing means
14 Light receiving element
32 Coordinate recognition pattern storage means
42 Reversible recording layer
S Coordinate recognition pattern, code symbol
| Application Number | Priority Date | Filing Date | Title |
|---|---|---|---|
| JP22332799AJP3905668B2 (en) | 1999-08-06 | 1999-08-06 | Written recording system |
| Application Number | Priority Date | Filing Date | Title |
|---|---|---|---|
| JP22332799AJP3905668B2 (en) | 1999-08-06 | 1999-08-06 | Written recording system |
| Publication Number | Publication Date |
|---|---|
| JP2001051792A JP2001051792A (en) | 2001-02-23 |
| JP3905668B2true JP3905668B2 (en) | 2007-04-18 |
| Application Number | Title | Priority Date | Filing Date |
|---|---|---|---|
| JP22332799AExpired - Fee RelatedJP3905668B2 (en) | 1999-08-06 | 1999-08-06 | Written recording system |
| Country | Link |
|---|---|
| JP (1) | JP3905668B2 (en) |
| Publication number | Priority date | Publication date | Assignee | Title |
|---|---|---|---|---|
| AUPQ439299A0 (en)* | 1999-12-01 | 1999-12-23 | Silverbrook Research Pty Ltd | Interface system |
| AUPQ363299A0 (en)* | 1999-10-25 | 1999-11-18 | Silverbrook Research Pty Ltd | Paper based information inter face |
| US6830196B1 (en) | 1999-05-25 | 2004-12-14 | Silverbrook Research Pty Ltd | Identity-coded surface region |
| ATE467167T1 (en)* | 1999-08-30 | 2010-05-15 | Anoto Ab | ELECTRONIC NOTEBOOK |
| DE60045250D1 (en)* | 1999-09-17 | 2010-12-30 | Silverbrook Res Pty Ltd | METHOD AND SYSTEM FOR INSTRUCTING A COMPUTER |
| JP4928684B2 (en)* | 2001-07-12 | 2012-05-09 | 株式会社リコー | Coordinate input device, document management system, and information display medium |
| JP3966123B2 (en)* | 2002-08-29 | 2007-08-29 | 株式会社日立製作所 | Document creation support system and document creation support apparatus |
| MXPA05003310A (en)* | 2002-09-26 | 2005-10-18 | Yoshida Kenji | Information reproduction/i/o method using dot pattern, information reproduction device, mobile information i/o device, and electronic toy. |
| US7502507B2 (en) | 2002-10-31 | 2009-03-10 | Microsoft Corporation | Active embedded interaction code |
| US7581171B2 (en)* | 2004-01-06 | 2009-08-25 | Microsoft Corporation | Positionally encoded document image analysis and labeling |
| JP4340901B2 (en)* | 2004-12-24 | 2009-10-07 | 富士ゼロックス株式会社 | Image information processing system, image information processing apparatus, image information processing method, image information processing program, and storage medium |
| JP4340900B2 (en)* | 2004-12-24 | 2009-10-07 | 富士ゼロックス株式会社 | Image information processing system, image information processing apparatus, image information processing method, image information processing program, and storage medium |
| KR100673005B1 (en)* | 2005-02-18 | 2007-02-28 | 핑거시스템 주식회사 | Compound coordinate input device and its driving method |
| JP2006254299A (en) | 2005-03-14 | 2006-09-21 | Fuji Xerox Co Ltd | Image generating device or image reader, method, program, and storage medium |
| JP2006276942A (en)* | 2005-03-28 | 2006-10-12 | Fuji Xerox Co Ltd | Electronic eraser, writing-implement, and information processing system |
| JP4810918B2 (en) | 2005-08-01 | 2011-11-09 | 富士ゼロックス株式会社 | Code pattern image generating apparatus and method, code pattern image reading apparatus and method, and code pattern image medium |
| JP2007245526A (en)* | 2006-03-16 | 2007-09-27 | Dainippon Printing Co Ltd | Paper for exclusive use of electronic pen |
| US8179340B2 (en)* | 2006-06-16 | 2012-05-15 | Pioneer Corporation | Two-dimensional code pattern, two-dimensional code pattern display device, and its reading device |
| JP4826447B2 (en)* | 2006-11-27 | 2011-11-30 | 富士ゼロックス株式会社 | Information processing apparatus and information processing program |
| JP5046879B2 (en)* | 2007-11-16 | 2012-10-10 | パイオニア株式会社 | Coordinate pattern, coordinate pattern display device and reading device |
| Publication number | Publication date |
|---|---|
| JP2001051792A (en) | 2001-02-23 |
| Publication | Publication Date | Title |
|---|---|---|
| JP3905668B2 (en) | Written recording system | |
| JP4037026B2 (en) | Coordinate input device, information processing system, and medium | |
| JP4317334B2 (en) | Image forming apparatus and document management system | |
| US6974917B2 (en) | Information recording medium and information processing apparatus | |
| EP1560148B1 (en) | Physical object with memory tags and apparatus for writing and using such objects | |
| US6948654B2 (en) | Data sheet and information management system using data sheet | |
| US20150124178A1 (en) | Electronic Writing Device With Dot Pattern Recognition System | |
| CN101398838B (en) | handwritten information management system and handwritten information management method | |
| JP3995866B2 (en) | Input device | |
| JP4011233B2 (en) | Written recording system | |
| JP4224228B2 (en) | Document management system and document management method | |
| JP3842915B2 (en) | Information processing system and pen-type information input / output device | |
| JP2002082764A (en) | Data entry system | |
| JP2000347796A (en) | Writing device and information processing system | |
| JP2002259037A (en) | Written record system | |
| JP2004295905A (en) | Coordinate input device, information processing system, and medium | |
| JP2002323954A (en) | Writing input device and writing input system | |
| EP1327528B1 (en) | Apparatus for processing reversible recording medium and image processing system using the same | |
| JP2002259038A (en) | Written record system | |
| JP2001180021A (en) | Print medium, print system, peripheral device, and information processing system | |
| JP2000148372A (en) | Information input system | |
| JP3983403B2 (en) | Written recording system, writing pen and recording object | |
| JP2002278692A (en) | Information input device and information input system | |
| JP3848511B2 (en) | Information processing system | |
| JP4737545B2 (en) | Data storage method |
| Date | Code | Title | Description |
|---|---|---|---|
| A621 | Written request for application examination | Free format text:JAPANESE INTERMEDIATE CODE: A621 Effective date:20041124 | |
| RD01 | Notification of change of attorney | Free format text:JAPANESE INTERMEDIATE CODE: A7421 Effective date:20050609 | |
| A977 | Report on retrieval | Free format text:JAPANESE INTERMEDIATE CODE: A971007 Effective date:20061218 | |
| TRDD | Decision of grant or rejection written | ||
| A01 | Written decision to grant a patent or to grant a registration (utility model) | Free format text:JAPANESE INTERMEDIATE CODE: A01 Effective date:20070109 | |
| A61 | First payment of annual fees (during grant procedure) | Free format text:JAPANESE INTERMEDIATE CODE: A61 Effective date:20070112 | |
| R150 | Certificate of patent or registration of utility model | Free format text:JAPANESE INTERMEDIATE CODE: R150 | |
| FPAY | Renewal fee payment (event date is renewal date of database) | Free format text:PAYMENT UNTIL: 20110119 Year of fee payment:4 | |
| FPAY | Renewal fee payment (event date is renewal date of database) | Free format text:PAYMENT UNTIL: 20120119 Year of fee payment:5 | |
| FPAY | Renewal fee payment (event date is renewal date of database) | Free format text:PAYMENT UNTIL: 20130119 Year of fee payment:6 | |
| FPAY | Renewal fee payment (event date is renewal date of database) | Free format text:PAYMENT UNTIL: 20140119 Year of fee payment:7 | |
| LAPS | Cancellation because of no payment of annual fees |