










【0001】
【発明の属する技術分野】
本発明は中空糸膜モジュールの洗浄方法およびその方法に用いる濾過装置に関する。
【0002】
【従来の技術】
近年、中空糸膜による分離技術の開発が進み、水の濾過をはじめ様々な用途に広く用いられている。しかし、中空糸膜による濾過の過程では、SSと呼ばれる原液中の懸濁物質等の固形物が中空糸膜表面に付着し、または微多孔に侵入し、経時的に透過流束の低下が生じる。そこで、安定して長期的に濾過運転を継続するためには、濾過条件の設定と同時に有効な中空糸膜の洗浄方法の開発が不可欠とされている。
【0003】
従来、中空糸膜モジュールの洗浄方法として、種々の方法が検討されてきたが、これらは物理的洗浄方法と、化学的洗浄方法とに大別できる。物理的洗浄方法としては、スポンジボール、高圧水流などにより強制的に付着物質をかき取る方法、水、透過液などの液体を濾液側から原液側へ通過させる液体逆洗法、加圧気体を濾液側から原液側へ通過させる気体逆洗法(特開昭53−108882号公報、特表平1−500732号公報などを参照)、原液側に気泡を噴出させるバブリング法、超音波法、電気泳動法などをはじめ、多種多様の方法が提案されている。これらの中で、一般には液体逆洗法、気体逆洗法およびバブリング法が単独でまたは適宜組み合わされて広く実施されている。また、化学的洗浄方法としては、酸、アルカリ水溶液、洗浄剤などの薬液により、付着物を溶解除去する方法が知られている。
【0004】
【発明が解決しようとする課題】
一般に、従来公知の物理的洗浄方法を用いた場合、その洗浄効果は必ずしも満足できるレベルにはなく、例えば濾過工程と洗浄工程とをシーケンスコントロールなどによって連続して運転した場合、数日から数カ月程度で透過流束が大きく低下する。そこで、透過流束を回復するために、化学的洗浄を行う必要が生じる。一般的な液体逆洗法では、逆洗用ポンプの設置が必要となり、また、膜濾過により得られた透過液を逆洗浄に使用するため、液体逆洗法は効率的な方法であると言い難い。気体逆洗法では、多量の高圧気体が必要となるため、大容量のエアーコンプレッサーなどを備えた加圧気体供給装置が必要となり、さらに、逆洗時に高圧気体が噴出されることによる騒音が問題となる場合がある。一方、酸などの薬液を用いた化学的洗浄方法を実施する場合、濾過を一旦完全に停止し、次いで薬液で洗浄し、洗浄後に薬液を除去する工程を必要とすることから、長期間、濾過を停止せざるを得ず、さらに、多量の洗浄廃液を処理しなければならないという課題もある。したがって、より長期間の連続した濾過運転を可能とするには、有効な物理的洗浄方法の開発が必要である。
【0005】
本発明の目的は、従来の方法に比較して卓越した洗浄効果を有し、長期間の連続した濾過運転が可能な中空糸膜モジュールの洗浄方法を提供することにある。また、本発明の目的は、この洗浄方法を行うのに有効な、設置スペースおよび設備費の低減が可能な濾過装置を提供することにある。
【0006】
【課題を解決するための手段】
  上記の課題を解決する本発明の中空糸膜モジュールの洗浄方法は、中空糸膜の原液側に液体を満たした状態で、中空糸膜の原液側から気体が放出される圧力よりも小さい圧力の気体を中空糸膜の濾液側から導入し、20秒以内で中空糸膜モジュールの濾液側の液体を完全に排出する加圧工程を行い、当該加圧工程中または加圧工程後に、中空糸膜の原液側を気泡で洗浄することを特徴とする。ここで、中空糸膜の原液側から気体が放出される圧力よりも小さい圧力とは、十分に濡れた中空糸膜に対して気体による加圧工程を行った際、気体が中空糸膜の微多孔を通過して、反対側の中空糸膜表面から気泡が放出されるときの加圧気体の圧力であり、その値は中空糸膜の孔径および中空糸膜を濡らす液体の界面張力によりそれぞれ異なる。すなわち、本発明の洗浄方法は、中空糸膜内部に導入された気体が中空糸膜の外側の表面から放出されない程度の圧力の気体を導入する点で、従来の気体を用いた中空糸膜の逆洗浄方法と明確に相違している。なお、本明細書において、この圧力をバブルポイントと称する。
【0007】
本発明の中空糸膜モジュールの洗浄方法が、従来の洗浄方法に比較して格段に優れた洗浄効果を発現する理由は定かではないが、本発明者らが現時点で推定している本発明の作用について、図4および図5に示す外圧濾過方式を例として、以下に説明する。
【0008】
図4は、透過液を用いた従来の洗浄方法を行った場合における、1本の中空糸膜を横断面方向から見たときの透過液の流れを示す図である。図5は、本発明の洗浄方法において、中空糸膜の原液側に液体を満たした状態で加圧気体を導入した場合における、1本の中空糸膜を横断面方向から見たときの透過液の流れを示す図である。ここでは、一端を固定しない状態で封止した片端フリータイプの中空糸膜の濾液側(内表面側)に、ポンプを使用して透過液を流した場合を示している。図4および図5において、中空糸膜の内側から外側に向かう矢印は、中空糸膜の壁面から中空糸膜外側の原液側に流出する透過液を示し、この矢印の長さは透過液の流量の大小を表している。図4に模式的に図示するように、従来の洗浄方法で中空糸膜に導入された透過液は、圧力損失の小さい透過液導入部付近から優先的に中空糸膜の壁面を通じて原液側に流出するため、圧力損失の大きい中空糸端部には、膜を洗浄するために十分な透過液が流れないことが多い。そこで、中空糸膜全体を均一かつ効果的に逆洗浄するためには、新膜時の純水透水性に匹敵する程度の多量の透過液を高圧で中空糸膜に供給することが必要となるが、現実にこのような操作を行うことは困難である。これに対して、図5に示す本発明の洗浄方法では、中空糸膜の原液側に液体を満たした状態で、中空糸膜のバブルポイント未満の圧力の気体を中空糸膜の濾液側から導入する加圧工程を行う。図5のaからdに示すように、加圧気体により中空糸膜内部の透過液が中空糸膜の壁面を通過して原液側へ排出されるのに伴って、中空糸膜内部の透過液液面が順次低下する。このとき、圧力損失の小さい液面付近が優先的に逆洗浄されるため、中空糸膜内部の透過液液面が低下するにしたがって、中空糸膜の端部までの全体が均一に洗浄される。以上、模式図により説明したように、本発明の洗浄方法では中空糸膜全体を透過液によって均一に洗浄することが可能となり、従来の透過液を用いた洗浄方法に比較して、格段に優れた洗浄効果が発揮されるものと考えられる。中空糸膜の濾液側から加圧気体を導入することにより中空糸膜を洗浄する技術としては、前述した気体逆洗法がある(特開昭53−108882号公報、特表平1−500732号公報などを参照)が、これらの公報に記載された技術は、中空糸膜のバブルポイント以上の加圧気体を導入して、中空糸膜の原液側へ気体を通過させるものである。本発明において、中空糸膜の濾液側に導入される加圧気体はバブルポイント未満の圧力であり、上述の通り、本発明は中空糸膜に気体を通過させることによって、中空糸膜を洗浄しようとする技術ではない。この点で、本発明の洗浄方法は従来の洗浄方法と異なるものである。
【0009】
また、本発明の洗浄方法によれば、図5のeに示すように、中空糸膜内部の透過液の全てが中空糸膜から排出され、透過液による洗浄が終了した後に、中空糸膜が内部から気体により加圧されて、外側方向へ膨張する力を受け、図5e中に破線で示すように中空糸膜が膨脹する。このとき、中空糸膜の外側に付着したSS成分に剥離または亀裂が生じ、この加圧工程中または加圧工程後に行われる気泡による洗浄工程でSS成分が脱落しやすくなる。このように、本発明の洗浄方法では、気体による加圧工程によって、中空糸膜に微細な寸法変化が生じ、付着したSS成分に剥離または亀裂が生じることが、従来の透過液を用いた洗浄方法に比較して、格段に優れた洗浄効果が発揮される他の一つの理由であると考えられる。
【0010】
上記本発明の中空糸膜モジュールの洗浄方法は、濾液側および原液側にそれぞれ気体導入口を備えた中空糸膜モジュールと、該中空糸膜モジュールに原液を供給する送液ポンプと、該中空糸膜モジュールに加圧気体を供給する加圧気体供給装置と、該送液ポンプおよび該加圧気体供給装置を作動させる制御装置とを備え、該制御装置が、中空糸膜モジュールへの原液の供給が停止された後に、中空糸膜の原液側が原液で満たされた状態で、中空糸膜の原液側から気体が放出される圧力よりも小さい圧力の気体が濾液側の気体導入口から中空糸膜モジュールに供給される加圧工程を行い、当該加圧工程中または加圧工程後に、中空糸膜の原液側の気体導入口から中空糸膜モジュールに気体が導入されて中空糸膜が気泡で洗浄される気泡洗浄工程を行うように構成された濾過装置を用いて行うことができる。この濾過装置には、後述するように、その用途に応じてイオン類の酸化析出装置などの前処理装置を設けることができる。
【0011】
【発明の実施の形態】
本発明で使用される中空糸膜としては、ポリビニルアルコール系樹脂により親水化処理されたポリスルホン系樹脂、親水性高分子が添加されたポリスルホン系樹脂、ポリビニルアルコール系樹脂、ポリアクリロニトリル系樹脂、酢酸セルロース系樹脂、親水化処理されたポリエチレン系樹脂などの親水性素材からなるものが、高い親水性を有するためにSS成分の難付着性、付着したSS成分の剥離性に優れている点で好ましいが、他の素材で構成された中空糸膜を用いることもできる。例えば、ポリオレフィン系、ポリスルホン系、ポリエーテルスルホン系、エチレンービニルアルコール共重合体系、ポリアクリロニトリル系、酢酸セルロース系、ポリフッ化ビニリデン系、ポリパーフルオロエチレン系、ポリメタクリル酸エステル系、ポリエステル系、ポリアミド系などの有機高分子系の素材で構成された中空糸膜、セラミック系などの無機系の素材で構成された中空糸膜などを使用条件、所望する濾過性能などに応じて選択することができる。ここで、ポリビニルアルコール系樹脂により親水化処理されたポリスルホン系樹脂、親水性高分子が添加されたポリスルホン系樹脂またはポリビニルアルコール系樹脂からなる中空糸膜は、上記した親水性に優れるのみならず、耐熱性にも優れることから、特に好ましい。有機高分子系の素材を使用する場合、30モル%以内の量で他成分を共重合したもの、または30重量%以内の量で他の素材をブレンドしたものであってもよい。
【0012】
有機高分子系の中空糸膜を使用する場合、中空糸膜の製造方法は特に限定されることはなく、素材の特性および所望する中空糸膜性能に応じて、公知の方法から適宜選択した方法を採用することができる。一般的には溶融紡糸法、湿式紡糸法、乾湿式紡糸法などが採用される。また、透水性の観点から、中空糸膜は緻密層と支持層とを有する非対称構造を持つことが好ましいが、一般に溶融紡糸法により製造される中空糸膜は対称構造となることから、湿式紡糸法、乾湿式紡糸法などの相転換法により製造することが好ましい。
【0013】
本発明で使用される中空糸膜の孔径は特に限定されないが、0.001〜1ミクロンの範囲内であることが、高い透水性を有し、濾過効率が低下するおそれが小さいことから好ましい。なお、ここでいう孔径とは、コロイダルシリカ、エマルジョン、ラテックスなどの粒子径が既知の各種基準物質を中空糸膜で濾過した際に、その90%が排除される基準物質の粒子径をいう。孔径は均一であることが好ましい。限外濾過膜であれば、上記のような基準物質の粒子径に基づいて、孔径を求めることは不可能であるが、分子量が既知の蛋白質を用いて同様の測定を行ったときに、分画分子量が3000以上であるものが好ましい。
【0014】
中空糸膜の力学的性質およびモジュールとしての膜面積の観点から、中空糸膜の外径は200〜3000ミクロンの範囲内に設定することが好ましく、500〜2000ミクロンの範囲内であることがより好ましい。同様に中空糸膜の厚さは50〜700ミクロンの範囲内にあることが好ましく、100〜600ミクロンの範囲内であることがより好ましい。
【0015】
本発明において、該中空糸膜はモジュール化されて濾過に使用される。濾過方法、濾過条件、洗浄方法などに応じてモジュールの形態を適宜選択することができ、1本または複数本の中空糸膜エレメントを装着して中空糸膜モジュールを構成しても良い。モジュールの形態としては、例えば数十本から数十万本の中空糸膜を束ねてモジュール内でU字型にしたもの、中空糸繊維束の一端を適当なシール材により一括封止したもの、中空糸繊維束の一端を適当なシール材により1本ずつ固定されていない状態(フリー状態)で封止したもの、中空糸繊維束の両端を開口したものなどが挙げられる。また、中空糸膜モジュールの形状も特に限定されることはなく、例えば円筒状であってもスクリーン状であってもよい。本発明の洗浄方法では、気泡による膜表面洗浄効果が極めて高くなることから、中空糸繊維束の一端を1本ずつフリー状態で封止した「片端フリー」タイプのモジュールを用いることが特に好ましい。
【0016】
本発明で使用される中空糸膜モジュールよる濾過の方式としては、外圧全濾過、外圧循環濾過、内圧全濾過、内圧循環濾過などが挙げられ、所望の処理条件、処理性能に応じて適宜選択することができる。膜寿命の点では濾過塗膜表面の洗浄を同時に行うことのできる循環方式が好ましく、設備の単純さ、設置コスト、運転コストの点では全濾過方式が好ましい。本発明の洗浄方法では、気泡による膜表面の洗浄を行う際に、中空糸膜同士がこすれ合うことによる洗浄効果が発現することから、外圧濾過方式がより好ましい。
【0017】
本発明においては、中空糸膜の原液側に液体を満たした状態で、中空糸膜の濾液側から中空糸膜のバブルポイント未満の圧力の気体を導入する加圧工程を行うが、加圧に用いる気体としては空気、窒素などが挙げられる。該加圧工程時および後述する気泡による膜表面洗浄時には、中空糸膜の原液側が液体で満たされていることが必要である。加圧工程に使用する気体の圧力は、中空糸膜のバブルポイント、中空糸膜の破裂圧力および中空糸膜モジュールの耐久圧力のうち最も低い値を超えない範囲内で選択されるが、中空糸膜のバブルポイントおよび破裂圧力がいずれも5.0kg/cm2よりも大きい場合は、加圧気体の圧力が1.0〜5.0kg/cm2の範囲内にあることが好ましく、1.5〜3.0kg/cm2の範囲内にあることがより好ましい。加圧気体の圧力が1.0kg/cm2未満の場合は、本発明の効果が十分に発現しないおそれがある。中空糸膜のバブルポイント、中空糸膜の破裂圧力および中空糸膜モジュールの耐久圧力のうち少なくとも一つが5.0kg/cm2よりも小さい場合には、加圧気体の圧力の上限はそれに対応して小さくなる。
【0018】
気体による加圧工程を実施する時間は、中空糸膜モジュールの濾液側の液体を完全に排出することが可能な時間以上であることが必要であるが、加圧気体の単位時間当たりの導入量と中空糸膜モジュールの濾液側の体積とにより加圧工程に要する時間が異なる。外圧濾過方式の場合には、中空糸膜の内部体積をも考慮して加圧時間を設定する必要がある。
【0019】
気体による加圧工程の際には、加圧気体の注入部と中空糸膜モジュールとを接続する配管の中および中空糸膜モジュールの中に満たされた濾液により、逆洗浄が行われる。例えば、該配管中の中間部に透過液タンクなどの滞留部を設けることにより、逆洗浄時の液量を増やすこともできる。
【0020】
本発明においては、上記した気体による加圧工程中または加圧工程後に、中空糸膜の原液側を気泡で洗浄するが、この気泡洗浄工程で用いる気体として、空気、窒素などが挙げられる。気泡の供給量は特に限定されないが、膜洗浄効果が高く、膜破損のおそれが小さいことから、気泡の供給量が中空糸膜の面積1m2あたり5〜500ノルマルリットル/時の範囲内にあることが好ましく、10〜300ノルマルリットル/時の範囲内にあることがより好ましい。上記した「片端フリー」タイプのモジュールを使用した場合、気泡による膜表面洗浄効果が極めて高くなる。
【0021】
濾過後または逆洗浄後に中空糸膜を薬液洗浄して、中空糸膜に付着した有機物、無機物などを溶解除去することもできる。ここで、薬液洗浄の方法としては、有機物、無機物などを除去するために水酸化ナトリウム水溶液などのアルカリで処理する方法、金属類を除去するために酸水溶液などの酸で処理する方法、洗浄剤で処理する方法、これらを組み合わせて連続的に行う方法などがあり、これによって中空糸膜の再生が可能である。
【0022】
これまでに述べてきた濾過、気体による加圧工程、気泡による洗浄、薬液洗浄などの一連の工程は、制御装置によってシーケンスコントロールを行うことにより自動的に行うようにすることが可能である。例えば一定時間濾過を行った後、気体による加圧工程および気泡による膜表面洗浄を1回ないし数回実施し、次いで、必要に応じて1回ないし数回水洗を行い、その後薬液洗浄を行うという一連の洗浄工程をシーケンスコントロールにより自動的かつ連続的に行い、濾過と中空糸膜および濾過ラインの洗浄工程とを交互に繰り返しながら長期間安定的に運転を継続することが可能である。また、濾過工程と洗浄工程とをシーケンスコントロールにより連続的に繰り返し、目詰まりが大きくなった時点で手動により薬液洗浄する、いわゆるセレクトスイッチ方式で長期間安定的に運転を継続することも可能である。
【0023】
本発明の中空糸膜モジュールの洗浄方法は、中空糸膜を構成する素材、モジュールの形状を問わず、従来の洗浄方法よりも卓越した洗浄効果が発現されることから、極めて広範な用途において、従来よりも高い透過流束で長期間連続して安定的な濾過を行うことが可能である。例えば食品工業分野では、原料水の除菌・除濁・除鉄・除マンガン、洗浄用水の除菌・微粒子除去、天然水の除菌・微粒子除去、醤油の除菌・精製、清酒の除菌・精製、食酢の除菌・精製、みりんの精製・調味液の除菌・精製、醸造オリからの製品回収、糖液の除菌・微粒子除去・精製、ハチミツの精製、酵素・蛋白質の精製・濃縮、発酵液の精製、チーズホエーからの蛋白質の回収精製、ミルクの濃縮による高蛋白乳の製造、水産加工排水からの蛋白質回収、魚肉蛋白の濃縮、肉加工廃棄物からの肉蛋白質の回収、豚の血液からの赤血球の分離、血液中のアルブミンとグロブリンの濃縮精製、大豆ホエーからの生理活性物質の回収・精製、大豆煮汁からの蛋白質回収、あぶらな蛋白の毒素除去と蛋白質濃縮、じゃがいもでんぷん工業廃水からの有用蛋白質の回収、天然色素の回収精製、各種酵素の回収精製、液体飲料の清澄化と除菌、柑橘類・リンゴペプチン液の濃縮、バクテリア細胞および代謝物質の回収による発酵液の精製などの用途で使用可能であり、また、医療分野では、原料となる純水・超純水製造装置の前処理、洗浄用水のパイロジェン除去、注射用水製造、透析用水製造、透析液の精製、ワクチン・酵素・ビールス・核酸・蛋白質などの生理活性物質の分離・濃縮・精製、ホルモンの精製、人口血液の製造、多糖類の濃縮精製、病院手洗い水の除菌、手術器具洗浄水の除菌などの用途に使用可能であり、電子工業分野では、逆浸透膜の前処理、超純水のファイナルフィルター、超純水のユースポイントフィルター、超純水のユニット組み込みフィルター、洗浄水の微粒子除去、研磨排水の回収、ダイシング排水の回収などの用途で使用可能であり、化学工業分野では、塗料の濃縮・回収、油剤の分離・回収、エマルジョンの分離・回収、コロイドの分離・回収、微粉体の洗浄精製、洗浄水の微粒子除去、メッキ液の精製、電気透析の前処理などの用途で使用可能であり、水処理分野では、中水道のMLSS除去、排水の三次処理、排水の回収・再利用、原子力発電排水の精製、バクテリアの除去などの用途で使用可能であり、繊維・染色加工分野では、PVA糊抜き排水のクローズド化、繊維加工油剤の回収・再利用、洗毛排水からのラノリンの回収、絹糸加工排水からのセリシンの回収などの用途で使用可能であり、鉄鋼・機械加工分野では、バレル研磨排水の回収、バフ研磨排水の回収、圧延油排水処理、水溶性切削油排水処理、動植物油加工排水の処理、脱脂洗浄排水からのエマルジョン除去・洗浄剤回収、リンス水のエマルジョン除去・リンス水回収、スクリーン版洗浄剤からのインク類除去などの用途で使用することが可能である。
【0024】
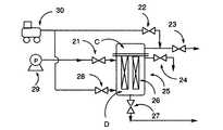
次に、本発明の濾過装置の一例を図面にて説明する。図1は上記の洗浄方法を行うために使用することができる外圧型中空糸膜モジュールを用いた濾過装置の一例の概略構成図である。この濾過装置において、中空糸膜エレメント4が収納された中空糸膜モジュール1は、上部が濾液側A、下部が原液側Bになるように仕切板2によって仕切られている。仕切板2には、中空糸膜エレメント4が収められた保護円筒3が中空糸膜エレメント4に対応した数だけ取り付けられている。濾液側Aには濾液出口5および加圧気体導入口6が設けられており、原液側Bには原液導入口7、気体排出口8、気体導入口9および原液排出口10が設けられている。すなわち、この濾過装置では、濾液側Aに加圧気体導入口6が、原液側Bに気体導入口9が設けられており、これがこの濾過装置の特徴となる。
【0025】
次いで、本発明の濾過装置の運転方法の一例を、外圧全濾過方式を例として図2にしたがって説明する。全てのバルブを閉じた状態から、気体排出口バルブ24、原液導入口バルブ21および濾液出口バルブ23を開き、送液ポンプ29を作動させて濾過容器25の原液側Dに原液を導入し、気体排出口バルブ24から原液が溢れた後、気体排出口バルブ24を閉じて濾過を開始する。濾過時間の経過に伴い中空糸膜エレメント26の膜表面にはSS成分が付着し、濾過能力が低下するため、続いて、本発明の方法により中空糸膜を洗浄する。すなわち、送液ポンプ29を停止した後、濾過工程で開いている原液導入口バルブ21および濾液出口バルブ23を閉じて濾過を停止し、次いでエアーコンプレッサー30を作動させながら気体排出口バルブ24および加圧気体導入口バルブ22を開き加圧気体を濾過容器25の濾液側Cに導入して加圧工程を行う。この際、原液側Cおよび中空糸膜内の濾液が中空糸膜の壁面を通じて原液側Dに押し出され、気体排出口バルブ24より外部へ排出される。さらに、該加圧工程開始と同時または該加圧工程を所定時間行った後、気体導入口バルブ28を開き、気泡による洗浄を所定時間実施する。上述した洗浄工程終了後、気体導入口バルブ28を閉じ、原液排出口バルブ27を開いてドレンを排出した後、濾過工程へ戻る。
【0026】
図3には、図2に例示した濾過装置の基本的な運転方法について、各工程と作動バルブの開閉との相関を示す。ここで、図3中、丸印が付されているときに当該バルブが開いていることを意味する。この基本的な運転方法に加えて、ドレン排出と満水とを繰り返すことにより、中空糸膜表面および中空糸膜モジュール内部の洗浄を行う工程、フラッシング洗浄工程など、必要に応じて他の工程を追加することも可能である。
【0027】
本発明の濾過装置を、(1)反応槽と、水酸化ナトリウム水溶液などのアルカリ成分貯留タンクと、該反応槽中の原液に該アルカリ成分貯留タンクからアルカリ成分を注入するアルカリ成分注入ポンプと、次亜塩素酸ナトリウムなどの酸化剤貯留タンクと、当該原液に該酸化剤貯留タンクから酸化剤を注入する酸化剤注入ポンプとを備えた、鉄、マンガンなどのイオン類の酸化析出装置、(2)pH調整用の酸成分またはアルカリ成分の貯留タンクと、原液に酸成分またはアルカリ成分を注入する注入ポンプと、硫酸ばん土、ポリ塩化アルミニウム(PAC)などの凝集剤貯留タンクと、当該原液に該凝集剤貯留タンクから凝集剤を注入する凝集剤注入ポンプとを備えた凝集装置、(3)「1,1,1ートリクロロエタン代替洗浄システムへの転換促進に資する情報整備」(平成6年11月、産業基盤整備基金)の52〜54ページに記載されたようなフィルタエレメント方式油水分離装置、合体樹脂エレメント方式油水分離装置、加圧浮上装置、オイルスキマー、電気式油水分離装置、コアレッサーなどの各種油水分離装置、(4)「第2回フロン・トリエタン代替セミナー資料」(平成5年11月12日、長瀬産業株式会社電子部)に記載されているような荷電式凝集装置、(5)活性炭吸着装置などの、用途に応じた種々の前処理装置と組み合わせることにより、従来の膜濾過だけでは除去することが不可能なイオン類、フミン質などの微小な懸濁物を除去したり、膜の目詰まりの要因となる油分を除去したりすることができる。
【0028】
図6に、反応槽と、アルカリ成分貯留タンクと、原液に該アルカリ成分貯留タンクからアルカリ成分を注入するアルカリ成分注入ポンプと、酸化剤貯留タンクと、当該原液に該酸化剤貯留タンクから酸化剤を注入する酸化剤注入ポンプとを備えたイオン類の酸化析出装置を備え、該酸化析出装置によりイオン類が酸化析出された原液が中空糸膜モジュールに供給されるように構成された本発明の濾過装置の一例を示す。この濾過装置の基本的な運転方法は次の通りである。すなわち、図6において、原液送液ポンプ36から反応槽35に至る配管途中に、アルカリ成分貯留タンク31中のアルカリ成分をアルカリ成分添加ポンプ32で所定量になるように添加し、次いで酸化剤貯留タンク33中の酸化剤を酸化剤注入ポンプ34で所定量になるように添加する。この際、添加するアルカリ成分としては水酸化ナトリウム水溶液、水酸化カリウム水溶液などが挙げられ、添加量としては、原水のpHが7.8以上、好ましくは8.0以上となる量を添加することが好ましい。また、酸化剤としては、次亜塩素酸ナトリウム水溶液、過マンガン酸ナトリウム水溶液、過酸化水素水溶液などが挙げられるが、取り扱いが容易なことから次亜塩素酸ナトリウム水溶液が好ましい。酸化剤の添加量としては、酸化剤として例えば次亜塩素酸ナトリウム水溶液を使用する場合、中空糸膜モジュールを通過した濾液中の残留塩素濃度が0.1ppm以上となる量が好ましく、0.3ppm以上となる量がより好ましい。このようにしてアルカリ成分および酸化剤を注入された原液は、反応槽35での滞留中に鉄・マンガンなどのイオン類の酸化・析出反応が進行する。反応槽35の容量としては、原液の滞留時間が10〜120分、好ましくは20〜60分となるだけの容量を備えていることが好ましい。これまでに述べてきた酸化析出装置を備えた本発明の濾過装置により、これまで飲料水としては利用できなかった鉄・マンガンなどのイオン類が多い地下水などから、飲料水に適したレベルにまで鉄・マンガンなどを除去することが可能であり、さらに、本発明の中空糸膜モジュールの洗浄方法を採用することにより、長期間安定して運転することが可能となる。
【0029】
次に、図7に、pH調整用の酸成分(またはアルカリ成分)の貯留タンクと、原液に酸成分(またはアルカリ成分)を注入する注入ポンプと、凝集剤貯留タンクと、該原液に該凝集剤貯留タンクから凝集剤を注入する凝集剤注入ポンプとを備えた凝集装置を備え、該凝集装置により凝集された原液が中空糸膜モジュールに供給されるように構成された本発明の濾過装置の一例を示す。この濾過装置の基本的な運転方法は次の通りである。すなわち、図7において、送液ポンプ29から原液導入口バルブ21に至る配管途中に、酸またはアルカリ成分貯留タンク41中の酸成分(またはアルカリ成分)を酸成分(またはアルカリ成分)添加ポンプ42で所定量添加し、次いで凝集剤貯留タンク43中の凝集剤を凝集剤注入ポンプ44で所定量添加する。この際、添加する酸成分またはアルカリ成分としては、塩酸水溶液、水酸化ナトリウム水溶液、水酸化カリウム水溶液、炭酸ナトリウム水溶液などが挙げられ、凝集剤としては、硫酸アルミニウム(硫酸ばん土)水溶液、ポリ塩化アルミニウム(PAC)水溶液、アルミン酸ナトリウム水溶液、塩化第2鉄水溶液、高分子凝集剤などが挙げられる。必要に応じて、酸成分(またはアルカリ成分)および凝集剤を添加した後、反応槽に貯留し、凝集反応を十分進行させ、この後、膜濾過装置に導入することも可能である。これまでに述べてきた凝集装置を備えた本発明の濾過装置により、これまで飲料水としては利用できなかったフミン質と呼ばれる有機成分を多量に含む地下水などから、飲料水に適したレベルにまで有機成分を除去することが容易であり、また微小な懸濁成分を含む排水処理などへ適用することも可能である。従来、硫酸アルミニウム、ポリ塩化アルミニウムなどの凝集剤を多量に添加した場合、中空糸膜の目詰まりが激しく長期間の安定運転は困難とされていたが、上記本発明の濾過装置を採用することにより、数百ppmオーダーで凝集剤を添加した場合でも長期間安定して運転することが可能となる。
【0030】
図8に、電気式油水分離装置を備えた本発明の濾過装置の一例を示す。この濾過装置の基本的な運転方法は次の通りである。すなわち、原液を送液ポンプ51により荷電フィルター52およびコアレッサー53からなる電気式油水分離に導入して油分を除去した後、送液ポンプ29により中空糸膜モジュール26へ原液を導入する。この濾過装置では、循環バルブ54を一部開放(または全開放)することにより原液を循環させ、循環濾過方式で濾過が行われる。循環液は一部または全量が、再度、荷電フィルター52およびコアレッサー53からなる電気式油水分離装置に導入され、油水分離と膜濾過とが連続して実施される。また、原液が貯留される濃縮槽を設置し、濃縮運転を行うことも可能である。これまでに述べてきた油水分離装置を備えた本発明の濾過装置により、油剤の分離・回収、エマルジョンの分離・回収、圧延油排水処理、水溶性切削油排水処理、動植物油加工排水の処理、脱脂洗浄排水からのエマルジョン除去・洗浄剤回収、リンス水のエマルジョン除去・リンス水回収などの用途への膜濾過技術の適用が可能となり、しかも本発明の中空糸膜モジュールの洗浄方法を採用することにより、長期間安定的に運転を継続することが可能となる。
【0031】
図9に、荷電式凝集装置を備え、該荷電式凝集装置を通過した原液が中空糸膜モジュールに供給されるように構成された本発明の濾過装置の一例を示す。この濾過装置の基本的な運転方法は次の通りである。すなわち、原液を送液ポンプ29で荷電凝集装置61に導入し、荷電凝集効果によりSS成分の凝集を進行させた後、中空糸膜モジュール26へ導入する。荷電凝集装置61の内部には、直流(または交流)の電源63に接続された電極62が設置されており、原液が電極62により形成された電場の中を通過する際に、電気的中和作用によるSS成分の凝集・肥大化が生じ、膜濾過装置での分離性能が向上するとともに目詰まりの進行を軽減することが可能である。
【0032】
図10に、中空糸膜の薬液洗浄用の薬液タンクと、薬液送液ポンプとを備え、中空糸膜モジュールの原液側に該薬液が供給されるように構成された本発明の濾過装置の一例を示す。この濾過装置の基本的な運転方法は次の通りである。すなわち、原液導入口バルブ21、気体排出口バルブ24、薬液導入バルブ73を開いた状態で薬液送液ポンプ73を作動させて薬液洗浄用薬液タンク71に貯留された酸、アルカリなどの薬液を中空糸膜モジュール内に導入し、中空糸膜モジュールの薬液洗浄を実施する。必要に応じて原液排出バルブ27および薬液排出バルブ75を開いて薬液を循環させ、循環薬液洗浄を実施することも可能である。これまでに述べてきた薬液洗浄装置を備えた本発明の濾過装置を使用することにより、中空糸膜モジュールを取り外すことなく中空糸膜の薬液洗浄を実施することが可能となる。
【0033】
図11に、電解水製造装置と、電解水送液ポンプとを備え、電解水が中空糸膜モジュールに導入されることにより中空糸膜を洗浄するように構成された本発明の濾過装置の一例を示す。この濾過装置の基本的な運転方法は次の通りである。すなわち、電解水貯留タンク81に貯留した水に電解質貯留タンク83に貯留された塩化ナトリウムなどの電解質を電解質注入ポンプ84で注入し、送液ポンプ85で電解槽86に導いて電解水の製造を行う。電解槽86としては、多孔質膜、イオン交換膜などの隔膜により陽極室と陰極室とを分離したもの、無隔膜のものなどが挙げられる。得られた電解水を原液導入口バルブ21、気体排出口バルブ24および電解水導入バルブ87を開いた状態で電解水送液ポンプ82を作動させて電解水貯留タンク81に貯留された電解水を中空糸膜モジュール内に導入し、中空糸膜モジュールの洗浄を実施する。必要に応じて原液排出バルブ27および薬液排出バルブ89を開いて薬液を循環させ、循環薬液洗浄を実施することも可能である。電解水の導入口を中空糸膜モジュールの濾液側に接続し、中空糸膜の電解水による逆洗浄を実施することも可能である。これまでに述べてきた電解水製造装置および電解水送液ポンプを備えた本発明の濾過装置を使用することにより、従来の薬液洗浄の他に電解水による中空糸膜の洗浄を中空糸膜モジュールを取り外すことなく実施することも可能となる。
【0034】
本発明の濾過装置を、イオン交換樹脂、イオン交換膜、逆浸透膜、活性炭吸着装置、活性汚泥処理装置などの用途に応じた後処理装置と組み合わせて、濾液のさらなる浄化および精製を行うことも可能である。
【0035】
また、本発明の濾過装置から排出される濃縮液またはドレンを、沈澱槽、凝集剤添加装置および反応槽からなる凝集装置、焼却装置などにより処理し、廃棄物量を低減することも可能である。
【0036】
【実施例】
以下、実施例により本発明をより詳細に説明する。以下の実施例および比較例の結果から、本発明によれば、長期間の安定的な濾過が可能であることが明らかである。
【0037】
実施例1
ポリビニルアルコールにより表面親水化処理されたポリスルホン系樹脂からなり、平均孔径0.1ミクロンであって、バブルポイントが5.0kg/cm2以上である中空糸膜よりなる膜面積7.0m2の「片端フリー」タイプの中空糸膜モジュールを使用して、10〜20℃の河川表流水を原水として、外圧全濾過方式、流量560リットル/時の条件で定流量濾過を行った。原水には、濾液中の遊離塩素濃度が1ppmとなるように、次亜塩素酸ナトリウム水溶液を継続して添加した。中空糸膜の洗浄は、シーケンスコントロールにより30分に1回、中空糸膜モジュールの濾液側に、圧力2.0kg/cm2の空気を導入することにより20秒間加圧操作し、次いで中空糸膜モジュールの原液側の下部から、圧力1.0kg/cm2の空気を600ノルマルリットル/時の流量で1分間噴出させて行った。濾過運転期間中、膜間差圧を定期的に測定し、差圧が1.5kg/cm2に達するまでの濾過時間を中空糸膜モジュールの濾過寿命とした場合、濾過寿命は65日間であった。
【0038】
実施例2
ポリビニルアルコールにより表面親水化処理されたポリスルホン系樹脂からなる中空糸膜の代わりにポリビニルアルコール系樹脂からなり、平均孔径0.1ミクロンであってバブルポイントが5.0kg/cm2以上である中空糸膜を使用した以外は同様にして、河川表流水の濾過を行った。膜間差圧で評価した濾過寿命は63日間であった。
【0039】
実施例3
ポリビニルアルコールにより表面親水化処理されたポリスルホン系樹脂からなる中空糸膜の代わりに、親水化処理されたポリエチレン系樹脂からなり、平均孔径0.1ミクロンであってバブルポイントが3.0kg/cm2以上である中空糸膜よりなる膜面積8.0m2の「両端固定(中空糸膜の両端を固定したもの)」タイプの中空糸膜モジュールを使用した以外は同様にして、河川表流水の濾過を行った。膜間差圧で評価した濾過寿命は52日間であった。
【0040】
実施例4
ポリアクリロニトリル系樹脂からなり、分画分子量3000であって、バブルポイントが5.0kg/cm2以上である中空糸膜よりなる膜面積5.0m2の「両端固定」タイプの中空糸膜モジュールを使用して、原水を中空糸膜の内部に線速1m/秒の速度で流しながら、内圧循環濾過方式、流量300リットル/時の条件で定流量濾過を行った。中空糸膜の洗浄は、シーケンスコントロールにより30分に1回、中空糸膜モジュールの濾液側に、圧力2.0kg/cm2の空気を導入することにより20秒間加圧操作し、次いで中空糸膜の一端より圧力1.0kg/cm2の空気を500ノルマルリットル/時の流量で1分間噴出させて行った。濾過運転期間中、膜間差圧を定期的に測定し、差圧が1.5kg/cm2に達するまでの濾過時間を中空糸膜モジュールの濾過寿命とした場合、濾過寿命は55日間であった。
【0041】
実施例5
ポリアクリロニトリル系樹脂からなり、分画分子量5000であって、バブルポイントが5.0kg/cm2以上である中空糸膜よりなる膜面積5.0m2の「両端固定」タイプの中空糸膜モジュールを使用して、原水を中空糸膜の外側に線速0.5m/秒の速度で流しながら、外圧循環濾過方式、流量300リットル/時の条件で定流量濾過を行った。中空糸膜の洗浄は、シーケンスコントロールにより30分に1回、中空糸膜モジュールの濾液側に、圧力2.0kg/cm2の空気を導入することにより20秒間加圧操作し、次いで中空糸膜の一端より圧力1.0kg/cm2の空気を500ノルマルリットル/時の流量で1分間噴出させて行った。濾過運転期間中、膜間差圧を定期的に測定し、差圧が1.5kg/cm2に達するまでの濾過時間を中空糸膜モジュールの濾過寿命とした場合、濾過寿命は49日間であった。
【0042】
実施例6
pH7.1で2.1ppmの鉄および0.2ppmのマンガンを含有する井水に、水酸化ナトリウム水溶液を添加してpH8.2とした後、次亜塩素酸ナトリウム水溶液を残留塩素濃度が1ppmとなる量だけ添加して、さらに30分間滞留させることにより、鉄およびマンガンの酸化析出処理を行った。ポリビニルアルコールにより表面親水化処理されたポリスルホン系樹脂からなり、平均孔径0.1ミクロンであって、バブルポイントが5.0kg/cm2以上である中空糸膜よりなる膜面積7.0m2の「片端フリー」タイプの中空糸膜エレメントを7本収納した総膜面積49m2のモジュールを使用し、外圧全濾過方式、流量3500リットル/時の条件で定流量濾過を行った。中空糸膜の洗浄は、シーケンスコントロールにより30分に1回、中空糸膜モジュールの濾液側に、圧力3.0kg/cm2の空気を導入することにより20秒間加圧操作し、次いで中空糸膜モジュールの原液側の下部より圧力1.0kg/cm2の空気を4200ノルマルリットル/時の流量で1分間噴出させて行った。濾過運転期間中、膜間差圧を定期的に測定し、差圧が1.5kg/cm2に達するまでの濾過時間を中空糸膜モジュールの濾過寿命とした場合、濾過寿命は77日間であった。
【0043】
実施例7
フミン質を多量に含むとされる関東地方で取水した色度200、過マンガン酸カリウム消費量45mg/リットルである地下水に、凝集剤の1種であるJISK  1450−1997に適合した市販の液体硫酸ばん土を300ppm添加し、30分間撹拌・滞留させたものを使用した以外は実施例1と同様にして水の濾過を行った。膜間差圧で評価した濾過寿命は58日間であった。得られた濾液は色度0、過マンガン酸カリウム消費量6.5mg/リットルであり、その他の項目を含めて平成4年厚生省令第69号により定められた水質基準に適合していた。
【0044】
実施例8
JIS  K  0102  14.1に定められた方法で測定したSS濃度が30mg/LであるICチップ製造用シリコンウエハーのダイシング排水を原水とし、ポリビニルアルコールにより表面親水化処理されたポリスルホン系樹脂からなり、平均孔径0.1ミクロンであって、バブルポイントが5.0kg/cm2以上である中空糸膜よりなる膜面積7.0m2の「片端フリー」タイプの中空糸膜エレメントを7本収納した総膜面積49m2のモジュールを使用して、外圧全濾過方式、流量1500リットル/時の条件で定流量濾過を行った。中空糸膜の洗浄は、シーケンスコントロールにより3時間に1回、中空糸膜モジュールの濾液側に、圧力1.8kg/cm2の空気を導入することにより20秒間加圧操作し、次いで中空糸膜モジュールの原液側の下部より圧力1.0kg/cm2の空気を4200ノルマルリットル/時の流量で1分間噴出させて行った。濾過運転期間中、膜間差圧を定期的に測定し、差圧が1.5kg/cm2に達するまでの濾過時間を中空糸膜モジュールの濾過寿命とした場合、濾過寿命は98日間であった。
【0045】
実施例9
JIS  K  0102  14.1に定められた方法で測定したSS濃度が1000mg/Lであるコンデンサー部品のバレル研磨排水を原水とし、ポリビニルアルコールにより表面親水化処理されたポリスルホン系樹脂からなり、平均孔径0.1ミクロンであって、バブルポイントが5.0kg/cm2以上である中空糸膜よりなる膜面積7.0m2の「片端フリー」タイプの中空糸膜エレメントを3本収納した総膜面積21m2のモジュールを使用して、外圧全濾過方式、流量1500リットル/時の条件で定流量濾過を行った。中空糸膜の洗浄は、シーケンスコントロールにより30分に1回、中空糸膜モジュールの濾液側に、圧力1.9kg/cm2の空気を導入することにより20秒間加圧操作し、次いで中空糸膜モジュールの原液側の下部より圧力1.0kg/cm2の空気を1800ノルマルリットル/時の流量で1分間噴出させて行った。濾過運転期間中、膜間差圧を定期的に測定し、差圧が1.5kg/cm2に達するまでの濾過時間を中空糸膜モジュールの濾過寿命とした場合、濾過寿命は53日間であった。
【0046】
比較例1
実施例1において、濾液側からの気体による加圧操作を行わず、20秒間運転を停止した以外は同様にして、河川表流水の濾過を行った。膜間差圧で評価した濾過寿命は19日間であった。
【0047】
比較例2
実施例1において、濾液側からの気体による加圧操作の代わりに、濾液側からポンプにより1120リットル/時の流量で5秒間濾液を供給して逆洗浄を行った以外は同様にして、河川表流水の濾過を行った。膜間差圧で評価した濾過寿命は23日間であった。
【0048】
比較例4
実施例1において、中空糸膜モジュールの原液側の下部より空気を噴出させる気泡による洗浄を行なわず、1分間運転を停止した以外は同様にして、河川表流水の濾過を行った。膜間差圧で評価した濾過寿命は20日であった。
【0049】
【発明の効果】
本発明の中空糸膜モジュールの洗浄方法によって、長期間安定的に連続した濾過運転が可能となり、薬液洗浄の頻度を低減することが可能となる。本発明の濾過装置は、上記本発明の中空糸膜モジュールの洗浄方法のために用いることが有効である。
【図面の簡単な説明】
【図1】本発明の濾過装置に用いられる外圧型中空糸膜モジュールの一例を示す図である。
【図2】外圧型中空糸膜モジュールを使用した本発明の濾過装置の一例を示す図である。
【図3】図2に示す本発明の濾過装置の基本的な運転プログラムを示す図である。
【図4】従来の透過液逆洗時の透過液の流れを模式的に表した図である。
【図5】本発明の気体による加圧工程時の透過液の流れを模式的に表した図である。
【図6】イオン類の酸化析出装置を備えた本発明の濾過装置の一例を示す図である。
【図7】凝集反応装置を備えた本発明の濾過装置の一例を示す図である。
【図8】電気式油水分離装置を備えた本発明の濾過装置の一例を示す図である。
【図9】荷電式凝集装置を備えた本発明の濾過装置の一例を示す図である。
【図10】中空糸膜の薬液洗浄用薬液タンクと薬液送液ポンプとを備えた本発明の濾過装置の一例を示す図である。
【図11】電解水製造装置と電解水送液ポンプとを備えた本発明の濾過装置の一例を示す図である。
【符号の説明】
A:濾液側
B:原液側
1:中空糸膜モジュール
2:仕切板
3:保護円筒
4:中空糸膜エレメント
5:濾液出口
6:加圧気体導入口
7:原液導入口
8:気体排出口
9:気体導入口
10:原液排出口
C:濾液側
D:原液側
21:原液導入口バルブ
22:加圧気体導入口バルブ
23:濾液出口バルブ
24:気体排出口バルブ
25:濾過容器
26:中空糸膜モジュール
27:原液排出口バルブ
28:気体導入口バルブ
29:送液ポンプ
30:エアーコンプレッサー
31:アルカリ成分貯留タンク
32:アルカリ成分注入ポンプ
33:酸化剤貯留タンク
34:酸化剤注入ポンプ
35:反応槽
36:原水送液ポンプ
41:酸成分(またはアルカリ成分)貯留タンク
42:酸成分(またはアルカリ成分)注入ポンプ
43:凝集剤貯留タンク
44:凝集剤注入ポンプ
51:送液ポンプ
52:荷電フィルター
53:コアレッサー
54:循環バルブ
61:荷電式凝集装置
62:電極
63:電源
71:薬液洗浄用薬液タンク
72:薬液送液ポンプ
73:薬液導入バルブ
74:逆流防止弁
75:薬液排出バルブ
81:電解水貯留タンク
82:電解水送液ポンプ
83:電解質貯留タンク
84:電解質注入ポンプ
85:送液ポンプ
86:電解槽
87:電解水導入バルブ
88:逆流防止弁
89:電解水排出バルブ[0001]
 BACKGROUND OF THE INVENTION
 The present invention relates to a method for cleaning a hollow fiber membrane module and a filtration device used in the method.
 [0002]
 [Prior art]
 In recent years, the development of separation technology using hollow fiber membranes has progressed, and it is widely used for various applications including water filtration. However, in the process of filtration with a hollow fiber membrane, solid substances such as suspended solids in a stock solution called SS adhere to the surface of the hollow fiber membrane or penetrate into the microporous membrane, and the permeation flux decreases with time. . Therefore, in order to continue the filtration operation stably for a long time, it is indispensable to develop a method for cleaning the hollow fiber membrane that is effective at the same time as setting the filtration conditions.
 [0003]
 Conventionally, various methods have been studied as a method for cleaning a hollow fiber membrane module, and these can be roughly classified into a physical cleaning method and a chemical cleaning method. Physical cleaning methods include a method of forcibly removing adhering substances with a sponge ball, high-pressure water flow, etc., a liquid back-washing method in which liquid such as water and permeate is passed from the filtrate side to the stock solution side, and pressurized gas as filtrate. Gas back-washing method (see JP-A-53-108882, JP-A-1-5000732, etc.), bubbling method in which bubbles are ejected to the stock solution side, ultrasonic method, electrophoresis A wide variety of methods have been proposed, including methods. Among these, the liquid backwashing method, the gas backwashing method, and the bubbling method are generally widely used alone or in combination as appropriate. As a chemical cleaning method, a method of dissolving and removing deposits with a chemical solution such as an acid, an aqueous alkali solution, or a cleaning agent is known.
 [0004]
 [Problems to be solved by the invention]
 Generally, when a conventionally known physical cleaning method is used, the cleaning effect is not always satisfactory. For example, when the filtration process and the cleaning process are continuously operated by sequence control or the like, it takes several days to several months. The permeation flux is greatly reduced. Therefore, it is necessary to perform chemical cleaning in order to recover the permeation flux. In general liquid backwashing methods, it is necessary to install a pump for backwashing, and since the permeate obtained by membrane filtration is used for backwashing, the liquid backwashing method is said to be an efficient method. hard. The gas backwashing method requires a large amount of high-pressure gas, so a pressurized gas supply device equipped with a large-capacity air compressor, etc. is required, and noise caused by high-pressure gas being ejected during backwashing is a problem. It may become. On the other hand, when a chemical cleaning method using a chemical solution such as an acid is performed, filtration is temporarily stopped, and then a step of cleaning with the chemical solution and removing the chemical solution after the cleaning is required. In addition, there is a problem that a large amount of cleaning waste liquid must be processed. Therefore, it is necessary to develop an effective physical cleaning method in order to enable continuous filtration operation for a longer period of time.
 [0005]
 An object of the present invention is to provide a method for cleaning a hollow fiber membrane module, which has an excellent cleaning effect as compared with the conventional method and enables a long-term continuous filtration operation. Another object of the present invention is to provide a filtration device that is effective for performing this cleaning method and can reduce installation space and equipment costs.
 [0006]
 [Means for Solving the Problems]
 The method for cleaning a hollow fiber membrane module of the present invention that solves the above-mentioned problems is a state where the pressure is smaller than the pressure at which gas is released from the stock solution side of the hollow fiber membrane in a state where the stock solution side of the hollow fiber membrane is filled with liquid. Gas is introduced from the filtrate side of the hollow fiber membraneThe liquid on the filtrate side of the hollow fiber membrane module is completely discharged within 20 seconds. A pressurization step is performed, and the stock solution side of the hollow fiber membrane is washed with bubbles during or after the pressurization step. Here, the pressure smaller than the pressure at which the gas is released from the stock solution side of the hollow fiber membrane means that when the pressurized process with the gas is performed on the sufficiently wet hollow fiber membrane, the gas is fine in the hollow fiber membrane. This is the pressure of the pressurized gas when bubbles are released from the surface of the opposite hollow fiber membrane through the pores, and the value varies depending on the pore diameter of the hollow fiber membrane and the interfacial tension of the liquid that wets the hollow fiber membrane. . That is, the cleaning method of the present invention introduces a gas having a pressure such that the gas introduced into the hollow fiber membrane is not released from the outer surface of the hollow fiber membrane. This is clearly different from the reverse cleaning method. In the present specification, this pressure is referred to as a bubble point.
 [0007]
 Although the reason why the method for cleaning the hollow fiber membrane module of the present invention exhibits a significantly superior cleaning effect compared to the conventional cleaning method is not clear, the present inventors have estimated that the present invention The operation will be described below by taking the external pressure filtration system shown in FIGS. 4 and 5 as an example.
 [0008]
 FIG. 4 is a diagram showing the flow of the permeate when one hollow fiber membrane is viewed from the cross-sectional direction when a conventional cleaning method using the permeate is performed. FIG. 5 shows the permeated liquid when one hollow fiber membrane is viewed from the cross-sectional direction when a pressurized gas is introduced in a state where the liquid is filled on the stock solution side of the hollow fiber membrane in the cleaning method of the present invention. It is a figure which shows the flow of. Here, the case where the permeate is allowed to flow using a pump to the filtrate side (inner surface side) of the one-end free type hollow fiber membrane sealed without fixing one end is shown. 4 and 5, the arrow from the inner side to the outer side of the hollow fiber membrane indicates the permeate flowing out from the wall surface of the hollow fiber membrane to the stock solution side outside the hollow fiber membrane, and the length of this arrow indicates the flow rate of the permeate. Represents the size of. As schematically shown in FIG. 4, the permeate introduced into the hollow fiber membrane by the conventional cleaning method preferentially flows out from the vicinity of the permeate introduction part with a small pressure loss to the stock solution side through the wall surface of the hollow fiber membrane. Therefore, in many cases, the permeate that is sufficient to wash the membrane does not flow at the end of the hollow fiber where the pressure loss is large. Therefore, in order to backwash the entire hollow fiber membrane uniformly and effectively, it is necessary to supply a large amount of permeate to the hollow fiber membrane at a high pressure comparable to the pure water permeability at the time of the new membrane. However, it is difficult to actually perform such an operation. In contrast, in the cleaning method of the present invention shown in FIG. 5, a gas having a pressure lower than the bubble point of the hollow fiber membrane is introduced from the filtrate side of the hollow fiber membrane in a state where the liquid is filled on the hollow fiber membrane. A pressurizing step is performed. As shown in FIGS. 5a to 5d, the permeated liquid inside the hollow fiber membrane passes through the wall surface of the hollow fiber membrane and is discharged to the stock solution side by the pressurized gas. The liquid level decreases sequentially. At this time, since the vicinity of the liquid surface with a small pressure loss is preferentially back-washed, the entire part up to the end of the hollow fiber membrane is uniformly washed as the permeate liquid level inside the hollow fiber membrane decreases. . As described above with reference to the schematic diagrams, the cleaning method of the present invention makes it possible to uniformly clean the entire hollow fiber membrane with a permeate, which is significantly superior to a conventional cleaning method using a permeate. It is thought that the cleaning effect is demonstrated. As a technique for washing the hollow fiber membrane by introducing a pressurized gas from the filtrate side of the hollow fiber membrane, there is the gas back washing method described above (Japanese Patent Laid-Open No. 53-108882, Japanese Patent Publication No. 1-5000732). However, the technology described in these publications introduces a pressurized gas that is equal to or higher than the bubble point of the hollow fiber membrane and allows the gas to pass to the stock solution side of the hollow fiber membrane. In the present invention, the pressurized gas introduced to the filtrate side of the hollow fiber membrane is a pressure below the bubble point, and as described above, the present invention is intended to wash the hollow fiber membrane by passing the gas through the hollow fiber membrane. It is not a technology. In this respect, the cleaning method of the present invention is different from the conventional cleaning method.
 [0009]
 Further, according to the cleaning method of the present invention, as shown in e of FIG. 5, after all of the permeated liquid inside the hollow fiber membrane is discharged from the hollow fiber membrane and the washing with the permeated liquid is finished, the hollow fiber membrane is The hollow fiber membrane is expanded as shown by the broken line in FIG. At this time, the SS component adhering to the outside of the hollow fiber membrane is peeled off or cracked, and the SS component is likely to fall off in the washing step with bubbles performed during or after the pressurizing step. As described above, in the cleaning method of the present invention, the fine dimensional change occurs in the hollow fiber membrane by the gas pressurization step, and the attached SS component is peeled off or cracked. This is considered to be another reason that the cleaning effect that is remarkably superior to the method is exhibited.
 [0010]
 The method for cleaning a hollow fiber membrane module of the present invention includes a hollow fiber membrane module having gas inlets on the filtrate side and the stock solution side, a liquid feed pump for supplying the stock solution to the hollow fiber membrane module, and the hollow fiber A pressurized gas supply device for supplying pressurized gas to the membrane module; and a control device for operating the liquid feed pump and the pressurized gas supply device, wherein the control device supplies the stock solution to the hollow fiber membrane module. In the state where the stock solution side of the hollow fiber membrane is filled with the stock solution, the gas having a pressure smaller than the pressure at which the gas is released from the stock solution side of the hollow fiber membrane is passed from the gas inlet on the filtrate side to the hollow fiber membrane. A pressurization step supplied to the module is performed, and during or after the pressurization step, gas is introduced into the hollow fiber membrane module from the gas inlet on the raw liquid side of the hollow fiber membrane, and the hollow fiber membrane is washed with bubbles Bubble cleaning process It can be performed using the configured filtration device to perform. As will be described later, this filtration device can be provided with a pretreatment device such as an oxidative precipitation device for ions according to its application.
 [0011]
 DETAILED DESCRIPTION OF THE INVENTION
 The hollow fiber membrane used in the present invention includes polysulfone resin hydrophilized with polyvinyl alcohol resin, polysulfone resin to which hydrophilic polymer is added, polyvinyl alcohol resin, polyacrylonitrile resin, cellulose acetate. It is preferable in that it is made of a hydrophilic material such as a polyethylene resin or a hydrophilized polyethylene resin because it has high hydrophilicity and is excellent in the difficulty of SS component adhesion and exfoliation of the attached SS component. Hollow fiber membranes made of other materials can also be used. For example, polyolefin, polysulfone, polyethersulfone, ethylene-vinyl alcohol copolymer, polyacrylonitrile, cellulose acetate, polyvinylidene fluoride, polyperfluoroethylene, polymethacrylate, polyester, polyamide Hollow fiber membranes composed of organic polymer materials such as ceramics, hollow fiber membranes composed of inorganic materials such as ceramics can be selected according to the use conditions, desired filtration performance, etc. . Here, a polysulfone resin hydrophilized with a polyvinyl alcohol resin, a polysulfone resin to which a hydrophilic polymer is added, or a hollow fiber membrane made of a polyvinyl alcohol resin is not only excellent in the above-described hydrophilicity, Since it is excellent also in heat resistance, it is especially preferable. When an organic polymer material is used, it may be a copolymer obtained by copolymerizing other components in an amount of 30 mol% or less, or a blend of other materials in an amount of 30 wt% or less.
 [0012]
 When an organic polymer hollow fiber membrane is used, the method for producing the hollow fiber membrane is not particularly limited, and a method appropriately selected from known methods depending on the characteristics of the material and the desired hollow fiber membrane performance Can be adopted. Generally, a melt spinning method, a wet spinning method, a dry / wet spinning method, or the like is employed. From the viewpoint of water permeability, the hollow fiber membrane preferably has an asymmetric structure having a dense layer and a support layer. However, since a hollow fiber membrane generally produced by a melt spinning method has a symmetrical structure, wet spinning is preferable. It is preferable to produce by a phase change method such as a method or a dry-wet spinning method.
 [0013]
 The pore diameter of the hollow fiber membrane used in the present invention is not particularly limited, but is preferably in the range of 0.001 to 1 micron because it has high water permeability and is less likely to reduce the filtration efficiency. Here, the pore diameter refers to the particle diameter of a reference material from which 90% is excluded when various reference substances with known particle diameters such as colloidal silica, emulsion, and latex are filtered through a hollow fiber membrane. The pore diameter is preferably uniform. With an ultrafiltration membrane, it is impossible to determine the pore size based on the particle size of the reference material as described above. However, when a similar measurement is performed using a protein with a known molecular weight, Those having a molecular weight of 3000 or more are preferred.
 [0014]
 From the viewpoint of the mechanical properties of the hollow fiber membrane and the membrane area as a module, the outer diameter of the hollow fiber membrane is preferably set in the range of 200 to 3000 microns, more preferably in the range of 500 to 2000 microns. preferable. Similarly, the thickness of the hollow fiber membrane is preferably in the range of 50 to 700 microns, and more preferably in the range of 100 to 600 microns.
 [0015]
 In the present invention, the hollow fiber membrane is modularized and used for filtration. The form of the module can be appropriately selected according to the filtration method, filtration conditions, washing method, and the like, and a hollow fiber membrane module may be configured by mounting one or a plurality of hollow fiber membrane elements. As the form of the module, for example, a bundle of dozens to hundreds of thousands of hollow fiber membranes is made into a U-shape in the module, one end of the hollow fiber bundle is collectively sealed with an appropriate sealing material, Examples include one in which one end of a hollow fiber bundle is sealed with a suitable sealing material one by one (free state), and one in which both ends of the hollow fiber bundle are opened. Further, the shape of the hollow fiber membrane module is not particularly limited, and may be, for example, a cylindrical shape or a screen shape. In the cleaning method of the present invention, the effect of cleaning the membrane surface by bubbles is extremely high. Therefore, it is particularly preferable to use a “one end free” type module in which one end of each hollow fiber bundle is sealed in a free state.
 [0016]
 Examples of the filtration method using the hollow fiber membrane module used in the present invention include external pressure total filtration, external pressure circulation filtration, internal pressure total filtration, and internal pressure circulation filtration. The method is appropriately selected according to desired processing conditions and processing performance. be able to. From the viewpoint of membrane life, a circulation system capable of simultaneously cleaning the surface of the filtration coating film is preferable, and from the viewpoint of simplicity of equipment, installation cost, and operation cost, a total filtration system is preferable. In the cleaning method of the present invention, when cleaning the membrane surface with bubbles, a cleaning effect is exhibited by rubbing the hollow fiber membranes together, and therefore an external pressure filtration method is more preferable.
 [0017]
 In the present invention, in a state where the liquid side of the hollow fiber membrane is filled with liquid, a pressurizing step is performed in which a gas having a pressure less than the bubble point of the hollow fiber membrane is introduced from the filtrate side of the hollow fiber membrane. Examples of the gas used include air and nitrogen. At the time of the pressurizing step and when the membrane surface is washed with bubbles, which will be described later, it is necessary that the stock solution side of the hollow fiber membrane is filled with liquid. The pressure of the gas used in the pressurizing step is selected within a range not exceeding the lowest value among the bubble point of the hollow fiber membrane, the bursting pressure of the hollow fiber membrane, and the durable pressure of the hollow fiber membrane module. Membrane bubble point and burst pressure are both 5.0 kg / cm2 Is greater than 1.0 to 5.0 kg / cm.2 Is preferably within the range of 1.5 to 3.0 kg / cm.2 It is more preferable that it is in the range. The pressure of the pressurized gas is 1.0 kg / cm2 If it is less, the effect of the present invention may not be sufficiently exhibited. At least one of the bubble point of the hollow fiber membrane, the bursting pressure of the hollow fiber membrane and the durability pressure of the hollow fiber membrane module is 5.0 kg / cm2 Is smaller than the upper limit of the pressure of the pressurized gas.
 [0018]
 The time for performing the pressurization step with gas needs to be longer than the time at which the liquid on the filtrate side of the hollow fiber membrane module can be completely discharged, but the amount of pressurized gas introduced per unit time The time required for the pressurizing step differs depending on the volume of the hollow fiber membrane module on the filtrate side. In the case of the external pressure filtration method, it is necessary to set the pressurization time in consideration of the internal volume of the hollow fiber membrane.
 [0019]
 In the pressurizing step with gas, backwashing is performed by the filtrate filled in the pipe connecting the pressurized gas injection part and the hollow fiber membrane module and in the hollow fiber membrane module. For example, the amount of liquid at the time of backwashing can be increased by providing a retention part such as a permeate tank in the middle part of the pipe.
 [0020]
 In the present invention, the raw liquid side of the hollow fiber membrane is washed with bubbles during or after the above-described gas pressurization step. Examples of the gas used in the bubble washing step include air and nitrogen. The supply amount of bubbles is not particularly limited, but since the membrane cleaning effect is high and the risk of membrane breakage is small, the supply amount of bubbles is 1 m in area of the hollow fiber membrane.2 It is preferably within the range of 5 to 500 normal liters / hour, and more preferably within the range of 10 to 300 normal liters / hour. When the above-mentioned “one end free” type module is used, the effect of cleaning the membrane surface by bubbles becomes extremely high.
 [0021]
 The hollow fiber membrane can be washed with a chemical solution after filtration or after reverse washing to dissolve and remove organic substances, inorganic substances, etc. adhering to the hollow fiber membrane. Here, as a chemical cleaning method, a method of treating with an alkali such as an aqueous sodium hydroxide solution to remove organic substances, inorganic materials, a method of treating with an acid such as an acid aqueous solution to remove metals, and a cleaning agent There are a method of treating with, a method of continuously carrying out a combination of these, and the hollow fiber membrane can be regenerated.
 [0022]
 A series of steps such as filtration, pressurizing step with gas, cleaning with bubbles, and chemical solution cleaning, which have been described so far, can be automatically performed by performing sequence control with a control device. For example, after filtering for a certain period of time, the pressurization step with gas and the membrane surface cleaning with bubbles are performed once or several times, and then with water once or several times as necessary, followed by chemical cleaning. A series of washing steps are automatically and continuously performed by sequence control, and the operation can be stably continued for a long time while alternately repeating the filtration and the washing steps of the hollow fiber membrane and the filtration line. It is also possible to continue the operation stably for a long period of time with a so-called select switch method in which the filtration process and the washing process are continuously repeated by sequence control, and the chemical solution is manually washed when clogging becomes large. .
 [0023]
 The cleaning method of the hollow fiber membrane module of the present invention, regardless of the material constituting the hollow fiber membrane and the shape of the module, exhibits an excellent cleaning effect than the conventional cleaning method. It is possible to perform stable filtration continuously for a long time with a higher permeation flux than before. For example, in the food industry, sterilization / turbidity / iron removal / manganese removal of raw water, sterilization / fine particle removal of cleaning water, sterilization / fine particle removal of natural water, sterilization / purification of soy sauce, sterilization of sake・ Purification, vinegar sterilization / purification, mirin purification, seasoning sterilization / purification, product recovery from brewing oil, sugar solution sterilization / fine particle removal / purification, honey purification, enzyme / protein purification, Concentration, purification of fermentation broth, recovery and purification of protein from cheese whey, production of high protein milk by concentration of milk, recovery of protein from fishery processing wastewater, concentration of fish protein, recovery of meat protein from meat processing waste, Separation of red blood cells from pig blood, concentration and purification of albumin and globulin in blood, recovery and purification of physiologically active substances from soybean whey, protein recovery from soybean broth, oil protein toxin removal and protein concentration, potato starch Industrial wastewater Useful protein recovery, recovery and purification of natural pigments, recovery and purification of various enzymes, clarification and sterilization of liquid beverages, concentration of citrus and apple peptin solutions, and purification of fermentation broth by recovery of bacterial cells and metabolites In the medical field, pretreatment of raw water and ultrapure water production equipment, cleaning water pyrogen removal, injection water production, dialysis water production, dialysate purification, vaccines, enzymes and viruses・ Separation, concentration and purification of physiologically active substances such as nucleic acids and proteins, hormone purification, artificial blood production, polysaccharide concentration and purification, hospital hand washing water sterilization, surgical instrument washing water sterilization Yes, in the electronics industry, reverse osmosis membrane pretreatment, ultra pure water final filter, ultra pure water use point filter, ultra pure water unit built-in filter, cleaning water It can be used for applications such as particle removal, polishing wastewater recovery, and dicing wastewater recovery. In the chemical industry, paint concentration / recovery, oil separation / recovery, emulsion separation / recovery, colloid separation / recovery, It can be used for applications such as fine powder cleaning and purification, removal of fine particles of washing water, plating solution purification, and electrodialysis pretreatment. In the water treatment field, it removes MLSS from waterworks, tertiary treatment of wastewater, and collection of wastewater.・ Can be used for reuse, purification of nuclear power generation wastewater, removal of bacteria, etc. In the field of textile and dyeing processing, closed PVA desizing wastewater, recovery and reuse of textile processing oil, and hair washing wastewater It can be used for the recovery of lanolin in sericin and the processing of sericin from silk processing wastewater. In the steel and machining fields, barrel polishing wastewater recovery, buff polishing wastewater recovery, rolling oil drainage treatment Applications such as water treatment, water-soluble cutting oil drainage treatment, animal and vegetable oil processing wastewater treatment, emulsion removal / cleaning agent recovery from degreased washing wastewater, rinse water emulsion removal / rinsing water recovery, ink removal from screen plate cleaning agent, etc. Can be used.
 [0024]
 Next, an example of the filtration device of the present invention will be described with reference to the drawings. FIG. 1 is a schematic configuration diagram of an example of a filtration apparatus using an external pressure type hollow fiber membrane module that can be used for performing the above-described cleaning method. In this filtration device, the hollow fiber membrane module 1 in which the hollow
 [0025]
 Next, an example of the operation method of the filtration device of the present invention will be described with reference to FIG. From the state in which all the valves are closed, the gas
 [0026]
 FIG. 3 shows the correlation between each step and the opening / closing of the operation valve in the basic operation method of the filtration device illustrated in FIG. Here, in FIG. 3, when the circle is attached, it means that the valve is open. In addition to this basic operation method, other processes such as a process for cleaning the hollow fiber membrane surface and the inside of the hollow fiber membrane module by repeating drain discharge and full water, and a flushing cleaning process are added as necessary. It is also possible to do.
 [0027]
 The filtration device of the present invention includes (1) a reaction tank, an alkaline component storage tank such as an aqueous sodium hydroxide solution, and an alkaline component injection pump that injects an alkaline component from the alkaline component storage tank into the stock solution in the reaction tank; An apparatus for oxidizing and precipitating ions such as iron and manganese, comprising an oxidant storage tank such as sodium hypochlorite and an oxidant injection pump for injecting an oxidant into the stock solution from the oxidant storage tank; ) A storage tank for acid or alkali components for pH adjustment, an injection pump for injecting acid or alkali components into the stock solution, a flocculant storage tank for sulfated clay, polyaluminum chloride (PAC), and the stock solution A flocculant apparatus comprising a flocculant injection pump for injecting the flocculant from the flocculant storage tank; (3) “1,1,1-trichloroethane alternative cleaning system” Filter element type oil / water separator, coalesced resin element type oil / water separator, pressurized flotation device, as described on pages 52-54 of "Information maintenance contributing to conversion promotion" (November 1994, Industrial Infrastructure Development Fund) Various oil-water separators such as oil skimmers, electric oil-water separators, coalescers, etc., (4) "Second CFC / Triethane Substitute Seminar Materials" (November 12, 1993, Nagase Sangyo Co., Ltd., Electronics Department) Humins, which cannot be removed by conventional membrane filtration alone, in combination with various pretreatment devices according to the application, such as a charge-type agglomeration device and (5) an activated carbon adsorption device. Fine suspensions such as quality can be removed, and oil that causes clogging of the membrane can be removed.
 [0028]
 FIG. 6 shows a reaction tank, an alkali component storage tank, an alkali component injection pump for injecting an alkali component into the stock solution from the alkali component storage tank, an oxidant storage tank, and an oxidant from the oxidant storage tank to the stock solution. And an oxidizer injection pump having an oxidant injection pump for injecting ions, and the stock solution in which ions are oxidized and precipitated by the oxidative precipitation apparatus is supplied to the hollow fiber membrane module. An example of a filtration apparatus is shown. The basic operation method of this filtration apparatus is as follows. That is, in FIG. 6, the alkali component in the alkali
 [0029]
 Next, FIG. 7 shows an acid component (or alkali component) storage tank for pH adjustment, an injection pump for injecting the acid component (or alkali component) into the stock solution, a flocculant storage tank, and the aggregation in the stock solution. The filtration device of the present invention is provided with a flocculating device including a flocculating agent injection pump for injecting the flocculating agent from the agent storage tank, and the stock solution flocculated by the flocculating device is supplied to the hollow fiber membrane module. An example is shown. The basic operation method of this filtration apparatus is as follows. That is, in FIG. 7, the acid component (or alkali component) in the acid or alkali
 [0030]
 In FIG. 8, an example of the filtration apparatus of this invention provided with the electrical oil-water separator is shown. The basic operation method of this filtration apparatus is as follows. That is, the stock solution is introduced into the electric oil / water separation composed of the
 [0031]
 FIG. 9 shows an example of the filtration device of the present invention that is provided with a charge type agglomeration device and configured so that the stock solution that has passed through the charge type agglomeration device is supplied to the hollow fiber membrane module. The basic operation method of this filtration apparatus is as follows. That is, the stock solution is introduced into the
 [0032]
 FIG. 10 shows an example of a filtration device according to the present invention that is equipped with a chemical liquid tank for chemical cleaning of a hollow fiber membrane and a chemical solution feeding pump, and is configured so that the chemical solution is supplied to the raw solution side of the hollow fiber membrane module. Indicates. The basic operation method of this filtration apparatus is as follows. That is, the
 [0033]
 FIG. 11 shows an example of the filtration device of the present invention that includes an electrolyzed water production apparatus and an electrolyzed water feed pump, and is configured to wash the hollow fiber membrane by introducing electrolyzed water into the hollow fiber membrane module. Indicates. The basic operation method of this filtration apparatus is as follows. That is, an electrolyte such as sodium chloride stored in the
 [0034]
 The filtration device of the present invention can be further purified and purified by combining the post-treatment device according to the application such as ion exchange resin, ion exchange membrane, reverse osmosis membrane, activated carbon adsorption device, activated sludge treatment device, etc. Is possible.
 [0035]
 In addition, it is possible to reduce the amount of waste by treating the concentrated liquid or drain discharged from the filtration device of the present invention with a flocculating device, an incinerator, or the like including a precipitation tank, a flocculant adding device and a reaction tank.
 [0036]
 【Example】
 Hereinafter, the present invention will be described in more detail with reference to examples. From the results of the following examples and comparative examples, it is apparent that stable filtration over a long period of time is possible according to the present invention.
 [0037]
 Example 1
 It is made of polysulfone resin surface-hydrophilized with polyvinyl alcohol, has an average pore size of 0.1 microns, and a bubble point of 5.0 kg / cm.2 Membrane area made of hollow fiber membrane is 7.0m2 Using a “one-end free” type hollow fiber membrane module, constant flow rate filtration was performed under conditions of an external pressure total filtration method and a flow rate of 560 liters / hour using 10 to 20 ° C. river surface water as raw water. A sodium hypochlorite aqueous solution was continuously added to the raw water so that the free chlorine concentration in the filtrate was 1 ppm. The hollow fiber membrane is washed once every 30 minutes by sequence control, and the pressure is 2.0 kg / cm on the filtrate side of the hollow fiber membrane module.2 The air was pressurized for 20 seconds by introducing air, and then from the lower part of the hollow fiber membrane module on the stock solution side, the pressure was 1.0 kg / cm.2 Was blown out for 1 minute at a flow rate of 600 normal liters / hour. During the filtration operation, the transmembrane pressure difference is measured periodically, and the differential pressure is 1.5 kg / cm.2 The filtration life was 65 days, when the filtration time to reach the filtration life of the hollow fiber membrane module was taken as 65 days.
 [0038]
 Example 2
 Instead of a hollow fiber membrane made of a polysulfone resin surface-hydrophilized with polyvinyl alcohol, it is made of a polyvinyl alcohol resin and has an average pore diameter of 0.1 microns and a bubble point of 5.0 kg / cm.2 The river surface water was filtered in the same manner except that the above hollow fiber membrane was used. The filtration life evaluated by the transmembrane pressure was 63 days.
 [0039]
 Example 3
 Instead of a hollow fiber membrane made of a polysulfone resin surface-hydrophilized with polyvinyl alcohol, it is made of a polyethylene resin hydrophilized, has an average pore diameter of 0.1 microns, and a bubble point of 3.0 kg / cm.2 Membrane area made of hollow fiber membrane is 8.0m2 The river surface water was filtered in the same manner except that a “both ends fixed (both ends of the hollow fiber membrane)” type hollow fiber membrane module was used. The filtration life as evaluated by transmembrane pressure was 52 days.
 [0040]
 Example 4
 It is made of polyacrylonitrile resin, has a molecular weight cut-off of 3000, and a bubble point of 5.0 kg / cm.2 The membrane area of the hollow fiber membrane is 5.0m2 Using a "both ends fixed" type hollow fiber membrane module, the raw water is allowed to flow through the hollow fiber membrane at a linear speed of 1 m / sec, while maintaining a constant flow rate under conditions of an internal pressure circulation filtration system and a flow rate of 300 liters / hour. Filtration was performed. The hollow fiber membrane is washed once every 30 minutes by sequence control, and the pressure is 2.0 kg / cm on the filtrate side of the hollow fiber membrane module.2 The air was pressurized for 20 seconds by introducing air, and then the pressure was 1.0 kg / cm from one end of the hollow fiber membrane.2 Were blown out for 1 minute at a flow rate of 500 normal liters / hour. During the filtration operation, the transmembrane pressure difference is measured periodically, and the differential pressure is 1.5 kg / cm.2 The filtration life was 55 days, where the filtration time to reach the filtration life of the hollow fiber membrane module was 55 days.
 [0041]
 Example 5
 It is made of polyacrylonitrile resin, has a molecular weight cut-off of 5000, and a bubble point of 5.0 kg / cm.2 The membrane area of the hollow fiber membrane is 5.0m2 Using a "both ends fixed" type of hollow fiber membrane module, while supplying raw water to the outside of the hollow fiber membrane at a linear speed of 0.5 m / sec, under conditions of an external pressure circulation filtration system and a flow rate of 300 liters / hour Constant flow filtration was performed. The hollow fiber membrane is washed once every 30 minutes by sequence control, and the pressure is 2.0 kg / cm on the filtrate side of the hollow fiber membrane module.2 The air was pressurized for 20 seconds by introducing air, and then the pressure was 1.0 kg / cm from one end of the hollow fiber membrane.2 Were blown out for 1 minute at a flow rate of 500 normal liters / hour. During the filtration operation, the transmembrane pressure difference is measured periodically, and the differential pressure is 1.5 kg / cm.2 The filtration life was 49 days, when the filtration time to reach the filtration life of the hollow fiber membrane module was taken as 49 days.
 [0042]
 Example 6
 After adding sodium hydroxide aqueous solution to well water containing 2.1 ppm iron and 0.2 ppm manganese at pH 7.1 to pH 8.2, the sodium hypochlorite aqueous solution has a residual chlorine concentration of 1 ppm. In this way, the iron and manganese were subjected to an oxidation precipitation treatment by being added for a further 30 minutes. It is made of polysulfone resin surface-hydrophilized with polyvinyl alcohol, has an average pore size of 0.1 microns, and a bubble point of 5.0 kg / cm.2 Membrane area made of hollow fiber membrane is 7.0m2 49m total membrane area containing 7 “one end free” type hollow fiber membrane elements2 The constant flow rate filtration was performed under the conditions of the external pressure total filtration method and the flow rate of 3500 liters / hour. The hollow fiber membrane is washed once every 30 minutes by sequence control, and the pressure on the filtrate side of the hollow fiber membrane module is 3.0 kg / cm.2 The air was pressurized for 20 seconds by introducing air, and then the pressure was 1.0 kg / cm from the lower part of the hollow fiber membrane module on the stock solution side.2 Were blown out for 1 minute at a flow rate of 4200 normal liters / hour. During the filtration operation, the transmembrane pressure difference is measured periodically, and the differential pressure is 1.5 kg / cm.2 The filtration life was 77 days, when the filtration time to reach the filtration life of the hollow fiber membrane module was taken as 77 days.
 [0043]
 Example 7
 Commercially available liquid sulfuric acid compatible with JISK 1450-1997, a kind of flocculant, in groundwater with a chromaticity of 200 and potassium permanganate consumption of 45 mg / liter taken in the Kanto region, which is said to contain a large amount of humic substances. Water was filtered in the same manner as in Example 1 except that 300 ppm of clay was added and the mixture stirred and retained for 30 minutes was used. The filtration life as assessed by transmembrane pressure was 58 days. The obtained filtrate had a chromaticity of 0 and a potassium permanganate consumption of 6.5 mg / liter, and it complied with the water quality standards defined by Ministry of Health, Labor and Welfare Ordinance No. 69, including other items.
 [0044]
 Example 8
 It consists of a polysulfone resin whose surface is hydrophilized with polyvinyl alcohol, using raw water as the dicing drainage of a silicon wafer for manufacturing IC chips whose SS concentration measured by the method defined in JIS K 0102 14.1 is 30 mg / L, The average pore size is 0.1 micron and the bubble point is 5.0 kg / cm2 Membrane area made of hollow fiber membrane is 7.0m2 49m total membrane area containing 7 “one end free” type hollow fiber membrane elements2 The constant flow rate filtration was performed under the conditions of an external pressure total filtration method and a flow rate of 1500 liters / hour. The hollow fiber membrane is washed once every 3 hours by sequence control, and the pressure on the filtrate side of the hollow fiber membrane module is 1.8 kg / cm.2 The air was pressurized for 20 seconds by introducing air, and then the pressure was 1.0 kg / cm from the lower part of the hollow fiber membrane module on the stock solution side.2 Were blown out for 1 minute at a flow rate of 4200 normal liters / hour. During the filtration operation, the transmembrane pressure difference is measured periodically, and the differential pressure is 1.5 kg / cm.2 The filtration life was 98 days when the filtration time to reach the filtration life of the hollow fiber membrane module was 98 days.
 [0045]
 Example 9
 Consists of a polysulfone resin whose surface is hydrophilized with polyvinyl alcohol using the barrel polishing waste water of a condenser part having an SS concentration of 1000 mg / L measured by the method defined in JIS K 0102 14.1 as raw water, and having an average pore size of 0 .1 micron with a bubble point of 5.0 kg / cm2 Membrane area made of hollow fiber membrane is 7.0m2 A total membrane area of 21m that contains three "one end free" type hollow fiber membrane elements2 The constant flow rate filtration was performed under the conditions of an external pressure total filtration method and a flow rate of 1500 liters / hour. The hollow fiber membrane is washed once every 30 minutes by sequence control, and the pressure on the filtrate side of the hollow fiber membrane module is 1.9 kg / cm.2 The air was pressurized for 20 seconds by introducing air, and then the pressure was 1.0 kg / cm from the lower part of the hollow fiber membrane module on the stock solution side.2 Was blown out for 1 minute at a flow rate of 1800 normal liters / hour. During the filtration operation, the transmembrane pressure difference is measured periodically, and the differential pressure is 1.5 kg / cm.2 The filtration life was 53 days, where the filtration time to reach the filtration life of the hollow fiber membrane module was 53 days.
 [0046]
 Comparative Example 1
 In Example 1, river surface water was filtered in the same manner except that the operation with pressure from the filtrate side was not performed and the operation was stopped for 20 seconds. The filtration life as assessed by transmembrane pressure was 19 days.
 [0047]
 Comparative Example 2
 In Example 1, instead of the pressurizing operation with the gas from the filtrate side, the river table was similarly used except that the filtrate was supplied from the filtrate side with a pump at a flow rate of 1120 liters / hour for 5 seconds and backwashed. The running water was filtered. The filtration life as evaluated by the transmembrane pressure was 23 days.
 [0048]
 Comparative Example 4
 In Example 1, the surface water of the river was filtered in the same manner except that the operation was stopped for 1 minute without performing the cleaning with the bubbles for ejecting air from the lower part of the hollow fiber membrane module on the stock solution side. The filtration life evaluated by transmembrane pressure difference was 20 days.
 [0049]
 【The invention's effect】
 By the method for cleaning a hollow fiber membrane module of the present invention, a continuous filtration operation can be performed stably for a long period of time, and the frequency of chemical cleaning can be reduced. It is effective to use the filtration device of the present invention for the above-described method for cleaning the hollow fiber membrane module of the present invention.
 [Brief description of the drawings]
 FIG. 1 is a diagram showing an example of an external pressure type hollow fiber membrane module used in the filtration device of the present invention.
 FIG. 2 is a view showing an example of a filtration device of the present invention using an external pressure type hollow fiber membrane module.
 3 is a diagram showing a basic operation program of the filtration device of the present invention shown in FIG.
 FIG. 4 is a diagram schematically showing the flow of a permeate during conventional permeate backwashing.
 FIG. 5 is a diagram schematically showing the flow of permeate during the pressurizing step with the gas of the present invention.
 FIG. 6 is a diagram showing an example of the filtration device of the present invention provided with an oxidative precipitation apparatus for ions.
 FIG. 7 is a view showing an example of a filtration device of the present invention provided with an agglomeration reaction device.
 FIG. 8 is a view showing an example of a filtration device of the present invention provided with an electric oil / water separator.
 FIG. 9 is a view showing an example of a filtration device of the present invention provided with a charge type aggregating device.
 FIG. 10 is a view showing an example of a filtration device of the present invention including a chemical liquid tank for chemical cleaning of a hollow fiber membrane and a chemical liquid feeding pump.
 FIG. 11 is a diagram showing an example of the filtration device of the present invention including an electrolyzed water production device and an electrolyzed water feed pump.
 [Explanation of symbols]
 A: Filtrate side
 B: Stock solution side
 1: Hollow fiber membrane module
 2: Partition plate
 3: Protective cylinder
 4: Hollow fiber membrane element
 5: Filtrate outlet
 6: Pressurized gas inlet
 7: Stock solution inlet
 8: Gas outlet
 9: Gas inlet
 10: Stock solution outlet
 C: Filtrate side
 D: Stock solution side
 21: Stock solution inlet valve
 22: Pressurized gas inlet valve
 23: Filtrate outlet valve
 24: Gas outlet valve
 25: Filtration container
 26: Hollow fiber membrane module
 27: Stock solution outlet valve
 28: Gas inlet valve
 29: Liquid feed pump
 30: Air compressor
 31: Alkali component storage tank
 32: Alkaline component injection pump
 33: Oxidant storage tank
 34: Oxidant injection pump
 35: Reaction tank
 36: Raw water feed pump
 41: Acid component (or alkali component) storage tank
 42: Acid component (or alkali component) injection pump
 43: Flocculant storage tank
 44: Flocculant injection pump
 51: Liquid feed pump
 52: Charge filter
 53: Coalescer
 54: Circulation valve
 61: Charge-type aggregator
 62: Electrode
 63: Power supply
 71: Chemical tank for cleaning chemicals
 72: Chemical feed pump
 73: Chemical solution introduction valve
 74: Backflow prevention valve
 75: Chemical solution discharge valve
 81: Electrolyzed water storage tank
 82: Electrolyzed water pump
 83: Electrolyte storage tank
 84: Electrolyte injection pump
 85: Liquid feed pump
 86: Electrolysis tank
 87: Electrolyzed water introduction valve
 88: Backflow prevention valve
 89: Electrolyzed water discharge valve
| Application Number | Priority Date | Filing Date | Title | 
|---|---|---|---|
| JP16116697AJP3887072B2 (en) | 1997-02-12 | 1997-06-18 | Method for cleaning hollow fiber membrane module and filtration device used in the method | 
| Application Number | Priority Date | Filing Date | Title | 
|---|---|---|---|
| JP2762197 | 1997-02-12 | ||
| JP9-27621 | 1997-02-12 | ||
| JP16116697AJP3887072B2 (en) | 1997-02-12 | 1997-06-18 | Method for cleaning hollow fiber membrane module and filtration device used in the method | 
| Publication Number | Publication Date | 
|---|---|
| JPH10286441A JPH10286441A (en) | 1998-10-27 | 
| JP3887072B2true JP3887072B2 (en) | 2007-02-28 | 
| Application Number | Title | Priority Date | Filing Date | 
|---|---|---|---|
| JP16116697AExpired - LifetimeJP3887072B2 (en) | 1997-02-12 | 1997-06-18 | Method for cleaning hollow fiber membrane module and filtration device used in the method | 
| Country | Link | 
|---|---|
| JP (1) | JP3887072B2 (en) | 
| Publication number | Priority date | Publication date | Assignee | Title | 
|---|---|---|---|---|
| US6454871B1 (en)* | 1997-06-23 | 2002-09-24 | Princeton Trade & Technology, Inc. | Method of cleaning passageways using a mixed phase flow of gas and a liquid | 
| AUPS300602A0 (en) | 2002-06-18 | 2002-07-11 | U.S. Filter Wastewater Group, Inc. | Methods of minimising the effect of integrity loss in hollow fibre membrane modules | 
| NZ545206A (en) | 2003-08-29 | 2009-03-31 | Siemens Water Tech Corp | Backwash | 
| SG119706A1 (en)* | 2003-09-19 | 2006-03-28 | Us Filter Wastewater Group Inc | Improved methods of cleaning membrane modules | 
| CA2533505C (en)* | 2003-09-22 | 2013-02-19 | U.S. Filter Wastewater Group, Inc. | Backwash and cleaning method | 
| NZ553771A (en) | 2004-09-15 | 2010-11-26 | Siemens Water Tech Corp | Continuously variable aeration of membrane filtration system and flow control device when used in such application | 
| WO2006066319A1 (en)* | 2004-12-24 | 2006-06-29 | Siemens Water Technologies Corp. | Cleaning in membrane filtration systems | 
| JP2008539054A (en) | 2005-04-29 | 2008-11-13 | シーメンス・ウォーター・テクノロジーズ・コーポレイション | Chemical cleaning for membrane filters | 
| US8858796B2 (en) | 2005-08-22 | 2014-10-14 | Evoqua Water Technologies Llc | Assembly for water filtration using a tube manifold to minimise backwash | 
| US8293098B2 (en) | 2006-10-24 | 2012-10-23 | Siemens Industry, Inc. | Infiltration/inflow control for membrane bioreactor | 
| US8318028B2 (en) | 2007-04-02 | 2012-11-27 | Siemens Industry, Inc. | Infiltration/inflow control for membrane bioreactor | 
| US9764288B2 (en) | 2007-04-04 | 2017-09-19 | Evoqua Water Technologies Llc | Membrane module protection | 
| CA2688455C (en) | 2007-05-29 | 2019-12-03 | Siemens Water Technologies Corp. | Pulsed random two phase gas/liquid flow for cleaning membrane surfaces | 
| WO2010009518A1 (en) | 2008-07-24 | 2010-01-28 | Siemens Water Technologies Corp. | Frame system for membrane filtration modules | 
| JP2010024412A (en)* | 2008-07-24 | 2010-02-04 | Asahi Kasei Chemicals Corp | Ion exchange membrane, protein purification module, and method for separating protein | 
| JP2012500117A (en)* | 2008-08-20 | 2012-01-05 | シーメンス ウォーター テクノロジース コーポレイション | Improving backwash energy efficiency of membrane filtration systems. | 
| AU2010101488B4 (en) | 2009-06-11 | 2013-05-02 | Evoqua Water Technologies Llc | Methods for cleaning a porous polymeric membrane and a kit for cleaning a porous polymeric membrane | 
| JP5250526B2 (en)* | 2009-10-16 | 2013-07-31 | 東洋エンジニアリング株式会社 | Oil / water separator, oil / water separation system, oil / water separation method and water reuse method using the same | 
| WO2011136888A1 (en) | 2010-04-30 | 2011-11-03 | Siemens Industry, Inc | Fluid flow distribution device | 
| WO2012040412A1 (en) | 2010-09-24 | 2012-03-29 | Siemens Industry, Inc. | Fluid control manifold for membrane filtration system | 
| KR102177864B1 (en) | 2011-09-30 | 2020-11-13 | 에보쿠아 워터 테크놀로지스 엘엘씨 | Isolation valve | 
| WO2013048801A1 (en) | 2011-09-30 | 2013-04-04 | Siemens Industry, Inc. | Improved manifold arrangement | 
| JP2013212470A (en)* | 2012-04-03 | 2013-10-17 | Murakami Seisakusho:Kk | Water purifying unit | 
| WO2014004645A1 (en) | 2012-06-28 | 2014-01-03 | Siemens Industry, Inc. | A potting method | 
| AU2013231145B2 (en) | 2012-09-26 | 2017-08-17 | Evoqua Water Technologies Llc | Membrane potting methods | 
| DE112013004713T5 (en) | 2012-09-26 | 2015-07-23 | Evoqua Water Technologies Llc | Membrane safety device | 
| AU2013323934A1 (en) | 2012-09-27 | 2015-02-26 | Evoqua Water Technologies Llc | Gas scouring apparatus for immersed membranes | 
| EP3052221B1 (en) | 2013-10-02 | 2022-12-14 | Rohm & Haas Electronic Materials Singapore Pte. Ltd | Device for repairing a membrane filtration module | 
| JP6618708B2 (en)* | 2015-05-15 | 2019-12-11 | 株式会社クラレ | Method for operating hollow fiber membrane module and filtration device | 
| US10322375B2 (en) | 2015-07-14 | 2019-06-18 | Evoqua Water Technologies Llc | Aeration device for filtration system | 
| JP6653154B2 (en)* | 2015-10-08 | 2020-02-26 | 株式会社クラレ | Cleaning method and filtration device for hollow fiber membrane module | 
| JP7071177B2 (en)* | 2018-03-16 | 2022-05-18 | 株式会社クラレ | How to operate the hollow fiber membrane module and the hollow fiber membrane module | 
| CN110586542B (en)* | 2019-08-28 | 2021-12-14 | 太和县聚蚨发制品有限公司 | A high-efficient cleaning device for sending out goods | 
| JP7618444B2 (en)* | 2020-12-28 | 2025-01-21 | 株式会社ディスコ | Pure Water Generator | 
| Publication number | Publication date | 
|---|---|
| JPH10286441A (en) | 1998-10-27 | 
| Publication | Publication Date | Title | 
|---|---|---|
| JP3887072B2 (en) | Method for cleaning hollow fiber membrane module and filtration device used in the method | |
| KR101306389B1 (en) | Method for cleaning separation membrane module, and method for fresh water generation | |
| JP5804228B1 (en) | Water treatment method | |
| CN103619451B (en) | The cleaning method of separating film module | |
| WO2006080482A1 (en) | Method for manufacturing module having selectively permeable membrane and module having selectively permeable membrane | |
| JP2012239948A (en) | Method for washing filter medium, and water treatment apparatus | |
| JPH11309351A (en) | Cleaning method for hollow fiber membrane module | |
| JP2000079390A (en) | Purified water production | |
| WO2013111826A1 (en) | Desalination method and desalination device | |
| Zhang et al. | Experimental study of domestic sewage treatment with a metal membrane bioreactor | |
| JP6618708B2 (en) | Method for operating hollow fiber membrane module and filtration device | |
| JP4309633B2 (en) | Water treatment method | |
| JP2007130523A (en) | Membrane cleaning method in water treatment system | |
| Abdel-Fatah et al. | Industrial wastewater treatment by membrane process | |
| JP2006272136A (en) | Membrane separation method and membrane separation apparatus | |
| JP2003080246A (en) | Apparatus and method for treating water | |
| JP5024158B2 (en) | Membrane filtration method | |
| JP2002361054A (en) | Cleaning method for membrane filtration device | |
| JP2008246424A (en) | Hollow fiber membrane module cleaning method and hollow fiber membrane filtration device | |
| TW201338851A (en) | Cleaning method for module of separation membranes | |
| WO2013047466A1 (en) | Membrane module cleaning method | |
| JP4454922B2 (en) | Control method of filtration apparatus using hollow fiber type separation membrane | |
| Gul et al. | Fouling and Chemical Cleaning of Microfiltration Membranes: A Mini-Review. Polymers 2021, 13, 846 | |
| WO2011108589A1 (en) | Method for washing porous membrane module, and fresh water generator | |
| JP2001239136A (en) | Processing system and method of operating the same | 
| Date | Code | Title | Description | 
|---|---|---|---|
| A977 | Report on retrieval | Free format text:JAPANESE INTERMEDIATE CODE: A971007 Effective date:20050614 | |
| A131 | Notification of reasons for refusal | Free format text:JAPANESE INTERMEDIATE CODE: A131 Effective date:20051018 | |
| A521 | Written amendment | Free format text:JAPANESE INTERMEDIATE CODE: A523 Effective date:20051215 | |
| A521 | Written amendment | Free format text:JAPANESE INTERMEDIATE CODE: A821 Effective date:20051215 | |
| TRDD | Decision of grant or rejection written | ||
| A01 | Written decision to grant a patent or to grant a registration (utility model) | Free format text:JAPANESE INTERMEDIATE CODE: A01 Effective date:20061107 | |
| A61 | First payment of annual fees (during grant procedure) | Free format text:JAPANESE INTERMEDIATE CODE: A61 Effective date:20061124 | |
| R150 | Certificate of patent or registration of utility model | Free format text:JAPANESE INTERMEDIATE CODE: R150 | |
| FPAY | Renewal fee payment (event date is renewal date of database) | Free format text:PAYMENT UNTIL: 20091201 Year of fee payment:3 | |
| FPAY | Renewal fee payment (event date is renewal date of database) | Free format text:PAYMENT UNTIL: 20101201 Year of fee payment:4 | |
| FPAY | Renewal fee payment (event date is renewal date of database) | Free format text:PAYMENT UNTIL: 20101201 Year of fee payment:4 | |
| FPAY | Renewal fee payment (event date is renewal date of database) | Free format text:PAYMENT UNTIL: 20111201 Year of fee payment:5 | |
| FPAY | Renewal fee payment (event date is renewal date of database) | Free format text:PAYMENT UNTIL: 20121201 Year of fee payment:6 | |
| FPAY | Renewal fee payment (event date is renewal date of database) | Free format text:PAYMENT UNTIL: 20121201 Year of fee payment:6 | |
| FPAY | Renewal fee payment (event date is renewal date of database) | Free format text:PAYMENT UNTIL: 20131201 Year of fee payment:7 | |
| EXPY | Cancellation because of completion of term |