








【0001】
【発明の属する技術分野】
  本発明は、ボビンツールを用いた摩擦攪拌接合装置とその接合方法に係り、特に、航空機やロケット、宇宙ステーション用機材若しくは圧力容器等の円筒体を多数の曲面状パネルを用いて製造する場合や、鉄道車両のように長尺の平面パネルを用いて製造する場合に好適な摩擦攪拌接合装置とその接合方法に関する。
【0002】
【従来の技術】
  近年、金属材の溶接やロウ付けに代わる新しい接合手段として、摩擦撹拌接合(Friction  Stir  Welding:FSW)法が登場している。この摩擦撹拌接合法は、たとえば特許2712838号公報(特許文献1)に開示されているように、金属の被接合物よりも硬い材質の回転工具を用いて、母材表面を摺擦回転するショルダ部で母材表面より摩擦熱を付与しながら、母材に侵入させた攪拌軸の機械的攪拌により、攪拌軸周囲が塑性流動化し、この状態で回転工具を接合線に沿って移動させることにより、接合線周囲が塑性流動化しつつ接合線に沿って2つの素材が圧力を受けながら撹拌混練され、攪拌軸9の後方側に移行する。この結果塑性流動した素材は後方側で摩擦熱を失って急速に冷却固化するので両接合部材間は素材同士が混じり合って完全に一体化した状態で接合されるものであるが、かかる接合方法では接合時に摩擦熱を発生させるために、回転工具を接合線側に押しつける必要があり、従ってこの反力に対処するために、裏当金が使用されている。この裏当金は被加工物の面板の裏面に密着させて設置するものであり、大きな加圧力を必要とする。
【0003】
  かかる欠点を解消するためにボビンツールと呼ばれる回転工具が提案されている。かかる工具は接合する被接合材の表裏両面を挟持するように一定間隔を設けた一対のショルダーが設けられているとともに、該上下一対のショルダー間に攪拌軸(攪拌軸9)が設けられているので、接合面の両面において摩擦発熱させることが出来、下側の融合不良が生じないのみならず、上下一対のショルダー間で互いの反力を受けているために、裏当金が不要になる。
【0004】
  そして、このようなボビンツールを用いた摩擦攪拌接合装置においては、ショルダ面形状に工夫を凝らし、摩擦入熱の容易化を図っている。例えば特開2002−263863号公報(特許文献2)においては、上部ショルダー及び下部ショルダー表面にリング状の凸部からなる、軟化したメタルの溜まり部を設けるとともに、そのショルダー面に同心状に設けたリング状凸部を設けて、バリ発生防止とともに内部欠陥、凹みのような表面欠陥、およびバリのない健全な接合部を形成することができるものである。
【0005】
  又、前記両ショルダ間が可変のボビンツールを用いた摩擦攪拌接合装置も公知技術として開示されている。例えば特開2000−33484号公報(特許文献3)において、コイルスプリングを用い下部ショルダを軸方向に可変にした技術が開示されている。係る技術によれば、上部ショルダーと下部ショルダーの間隔がコイルスプリングで調整されるため、母材に部材厚の変動、部材形状の変形が生じても、それら変形、変動にツールが倣いながら、接合が行われる。そのため、母材の変形等が生じても、接合不良を防ぐことが可能となる。
【0006】
【特許文献1】
  特許2712838号
【特許文献2】
  特開2002−263863号
【特許文献3】
  特開2000−33484号
【0007】
【発明が解決しようとする課題】
  さて、このようなボビンツールを用いた摩擦攪拌接合方法は、長尺のダブルスキンパネルやシングルスキンパネルを長手方向にのみ接合するだけで、車両、航空機、船舶、建物等の大型構造体を製造する際の平面状の広幅パネル体が容易に製造され、作業性の向上とともに、接合ひずみの発生が少なくなり、歪取り、仕上げ作業の削減を図る意味で、極めて有利である。
【0008】
  そして更に近年は、航空機やロケット、宇宙ステーション用機材若しくは圧力容器等の円筒体を多数の曲率パネルを用いて製造するのにこのボビンツールを用いた摩擦攪拌接合方法を適用することが検討されている。
  その接合方法を図7を用いて簡単に説明する。
  図7(A)はロケットタンクシリンダをボビンツールを用いて製造する際の製造手順を示し、
  まず図7(A)(1)において、平面状のシングルスキンパネルを複数枚(N)枚用意し、例えば5枚の場合は、360/5=72°の曲率でシングルスキンパネルをプレス成形して曲率パネル1A、1B…を製造する。
  次に(A)(2)に示すように前記複数の曲率パネル1A、1B…が円周シリンダ状になるようにパネル同士を固定する固定治具(不図示)により軸方向長手端部を固定した状態で、前記曲率パネル同士の直線状にのびる接合線をボビンツールにより接合する。
【0009】
  しかしながらこのように比較的板厚が薄いスキン板材料を接合して、ロケットタンクシリンダ等の筒体若しくは航空機の中空殻状体を製造した場合に、その接合線に沿ってボビンツールにより接合した部分が熱収縮して、一方曲率パネルの円周シリンダに対する内周側では接合線に沿って圧縮力が働き、又外周側では、接合線に沿って引っ張り力が生じるために、しかも該円筒体の軸方向両端が治具により固定されているために、その熱収縮部分が中央側に逃げ、結果として円筒体軸方向両端の直径に対して中央側の直径が小さくなる円筒部中央側の収縮となり、(A)(3)及び(B)に示すようにその部分においてそりが発生する場合がある。
  又平面パネルの接合の場合でもパネル単体の初期そりが原因で同様なそりが発生する場合がある。
【0010】
  そして、航空機、ロケット等の中空構造体のように速度を持って円筒軸方向に運行移動する物体においては、外表面のそりは流体損失の発生源となるために、その反り等を排除する工夫が必要である。
  特にロケットシリンダにおいては、その運行移動速度が音速を大きく超えるために、微細なそりが機軸方向の座屈強度等に大きく影響する。
【0011】
  このようなそりを除去する方法として図7(C)に示す逆ぞり法が行われている。
  逆反り法は接合によりそる量を見越して接合前に前記曲面パネル板のセット(固定)段階で逆方向に反った状態で固定した後、前記曲率パネル同士の直線状にのびる接合線をボビンツールにより接合する。
  これにより接合によるそりを前もって逆そりした部分で相殺され、そりのない面一なパネル面が形成できる。
  しかしながらかかる逆反り方は接合時に生じる見越し設定量や逆反り状態でのセット(固定)方法が難しく品質のばらつきが大きい。
【0012】
  本発明はかかる従来技術の欠点を鑑み、ボビンツールを用いて摩擦攪拌接合により被接合材を曲面状に若しくは平面状に目的製品を製造する場合に、鉄道、航空機、ロケット等の移動構造体の場合は流体抵抗の原因となり、又船舶の圧力容器や広幅パネルの場合は強度低下の原因となる反り等の発生を抑制することができる摩擦攪拌接合方法及び該方法により製造された円周状若しくは平板状の接合体を提供することを目的とする。
【0013】
【課題を解決するための手段】
  本発明の原理を図1乃至図4に基づいて説明する。
  ボビンツール6は、一般的に母材表面と裏面とをそれぞれ摺擦回転する一対の摩擦入熱部材(ショルダ部8A、8B)の母材摺擦面(ショルダ面)で母材両面より摩擦熱を付与しながら、母材に侵入させた攪拌軸の機械的攪拌により、攪拌軸9周囲が塑性流動化し、この状態でボビンツール6を接合線に沿って移動させて接合されるものであるが、かかる回転工具では一対の摩擦入熱部材のショルダ面にそれぞれに正逆反対方向に刻設された螺旋溝80をもっており、これは図2のように接合部中心部に向けて軟化材を集積させる効果がある。すなわち、母材表面の摺擦により、母材表面側及び裏面側よりそれぞれ母材中心側に向かう表面側塑性流動域3Aと裏面側塑性流動域3Bを生成する。
  この場合に一般的には母材表側と裏面側のショルダ直径は同径であり、そしてそのショルダの押圧により生じる摩擦入熱量は母材への表面倣い若しくはギャップ(開先)条件等によって押圧量が設定される。
【0014】
  そして、例えば従来技術においては、母材表側と裏面側のショルダの押圧力は同一になるように制御されており、この場合は母材表面側及び裏面側よりそれぞれ母材中心側に向かう表面側塑性流動域3Aと裏面側塑性流動域3Bとの中立線(両塑性流動域の間に流動域境界面、以下流動域境界面を垂直断面で見た場合に線であるのでこれを中立線と呼ぶ)は母材垂直断面における中心線(以下母材中心線という)上と一致する。
  そして図2(A)に示すように、表面側塑性流動域3Aと裏面側塑性流動域3Bとの中立線が母材中心線上と一致した場合、結果として上下(表裏)で収縮のバランスがとられ、平板状パネルの場合は、反りが生じることがなく面一の広幅パネルが形成される。
【0015】
  しかしながらロケットタンクシリンダ等の筒体や殻体を製造した場合に、その接合線に沿ってボビンツール6により接合した部分が熱収縮して、一方曲率パネルの円周シリンダに対する内周側では接合線に沿って圧縮力が働き、又外周側では、接合線に沿って引っ張り力が生じるために、しかも該円筒体の軸方向両端が治具により固定されているために、その熱収縮部分が中央側に逃げ、結果として筒体軸方向両端の直径に対して中央側の直径が小さくなる筒部中央側の収縮となり、その部分においてそりが発生することは前記したとおりである。
  又平面パネルの接合した長尺の場合でもパネル単体の初期そりが原因で同様なそりが発生する場合がある。
【0016】
  そこで本発明は、図1(B)に示す母材表面側より母材中心側に向かう表面側塑性流動域3Aの厚さt1と母材裏面側より母材中心側に向かう裏面側塑性流動域3Bの厚さt2との関係を異ならせて設定することにより、図2(B)に示すように、塑性流動域の大きい方つまりt1>t2の方向に、母材収縮量が大きくなる。
  そこで本発明は、表面側塑性流動域3Aと裏面側塑性流動域3B間に形成される中立線を、母材中心線(中心線)より、そりが発生する側の表裏いずれかの面側に偏位するように制御することにより、表面側塑性流動域3Aと裏面側塑性流動域3Bそれぞれの収縮量を制御することができ、結果としてロケットタンクシリンダ等の円筒体のようにそりが発生する接合体に対しそりの矯正のみならず、そりが発生した接合体の補修及び人為的なそりを形成することも可能である。
【0017】
  そこで本発明は、接合線上に位置する母材表裏両面を挟持する一対の摩擦入熱部材と前記摩擦入熱部材間に攪拌軸を具えた回転工具6(以下ボビンツールという)を用い、該ボビンツールを、母材接合線に沿って移動させながら前記接合を行う摩擦攪拌接合方法において、
スキンパネルからなる母材同士を接合して母材表面側が凸の曲率となる(筒体若しくは殻体を含む)曲率パネルを製造する際に、前記一対の摩擦入熱部材のそれぞれの母材入熱により、母材表面側及び裏面側よりそれぞれ母材中心側に向かう表面側塑性流動域3Aと裏面側塑性流動域3Bと該両塑性流動域の間に流動域境界面(以下流動域境界面を垂直断面で見た場合に線であるのでこれを中立線と呼ぶ)を生成するとともに、
前記両塑性流動域の間に生成される中立線が、母材垂直断面における中心線(以下母材中心線という)より、前記母材表面側に偏位するように、母材表面と裏面側に位置するそれぞれの摩擦入熱部材の母材入熱量を異ならせて接合することを特徴とする。
又本発明は、前記両塑性流動域の間に生成される中立線が、母材中心線より、前記母材表面側に偏位するように、前記攪拌軸の攪拌方向をその途中位置で異ならせた攪拌軸により生成されていることを特徴とする。具体的には前記それぞれの摩擦入熱部材の母材入熱量を異ならせる条件が、それぞれの摩擦入熱部材の母材摺擦面に形成された螺旋溝の相違が、螺旋溝の螺旋ピッチ若しくは溝深さ、又は螺旋溝間に形成される螺旋条の曲率半径若しくは螺旋条肉厚のいずれか1若しくは複数の組み合わせである。
【0018】
  かかる発明によれば、図1のように前記それぞれの摩擦入熱部材の母材摺擦面に形成された螺旋溝の相違が、塑性流動域の集積力に差異をつけ、板厚方向の塑性流動に方向性を持たせ、接合後の母材の反り量を制御することができる。
【0019】
  すなわち、FSWの塑性流動域は図3のように接合線側に収縮する傾向があるため、塑性流動域の大きい方つまり溝深さが大きい方がより収縮しようとする為、被接合材の上下(表裏)で収縮のアンバランスが生じ反りが発生すると考えられる。本発明ではこのアンバランスを任意に作り出すことにより積極的に反りを制御する。したがって反りが必要ないときは反りなし接合、元の部品が反っていて接合により矯正したいときは成形接合、任意の反りが必要なときは反りを発生させることも可能である。
【0020】
  又母材入熱量を異ならせる条件が、それぞれの摩擦入熱部材の直径の相違を含む母材接触面積の相違として構成してもよい。
【0021】
  これは、母材と摩擦入熱部材との接触で発生する摩擦熱が、母材に対する摩擦入熱部材の押圧荷重に依存することを利用している。表面摩擦入熱部材と裏面摩擦入熱部材の押圧荷重を異ならせることで、摩擦熱発生量に差異を生じさせ、母材表面と裏面における塑性流動性のバランスを崩し、被接合材板材内部の収縮力のアンバランスを発生させるものである。
【0022】
  又前記それぞれの塑性流動域間に形成される中立線の偏位が前記攪拌軸9の螺旋条の螺旋方向を異ならせてもよい。
  すなわち、図4のように板厚方向中心部でねじ方向が逆転するねじが構成されている。このねじにより板厚方向中心部へ向け塑性流動を発生させている。このねじが逆転する位置を任意に変化させることにより塑性流動を上下で強弱つけ図2で示したような差異により反りを制御することも可能である。
【0023】
    そしてかかる発明を効果的に達成する装置として、接合線上に位置する母材表裏両面を挟時する一対の摩擦入熱部材と前記摩擦入熱部材間に攪拌軸を具えたボビンツールと、該ボビンツールの回転により、前記一対の摩擦入熱部材のそれぞれより母材に入熱させて、母材表面側及び裏面側よりそれぞれ母材中心側に向かう表面側塑性流動域と裏面側塑性流動域と該両塑性流動域の間に流動域境界面(以下中立線という)を生成させながら母材接合線に沿ってボビンツールに押圧力を付勢する駆動部を具えた摩擦攪拌接合装置において、
スキンパネルからなる母材同士を長手方向に接合して母材表面側が凸の曲率となる曲率パネルを製造する装置であって、
前記両塑性流動域の間に生成される中立線が、母材中心線より、前記凸の曲率となる母材表面側に偏位するように、母材表面と裏面側に位置するそれぞれの摩擦入熱部材の母材接触面積を異ならせるか、若しくは、それぞれの摩擦入熱部材の押圧荷重を異ならせて構成したことを特徴とする。
  そして前記母材表面と裏面側に位置するそれぞれの摩擦入熱部材の母材接触面積を異ならせて形成してもよく、前記ボビンツール6の攪拌軸9の螺旋条を、母材中心より表裏いずれかの面側に偏位させた位置より螺旋方向を異ならせて形成し、該螺旋条の螺旋方向の相違により前記中立線を偏位させてもよい。
【0024】
    更に母材表面と裏面側に位置するそれぞれの摩擦入熱部材の母材摺擦面形状がボビンツール6回転方向に沿って軸中心に向かう螺旋溝80である場合において、該螺旋溝80の螺旋ピッチ若しくは溝深さ、又は螺旋溝間に形成される螺旋条の曲率半径若しくは螺旋条肉厚のいずれか1若しくは複数を、それぞれの摩擦入熱部材間で異ならせるのがよい。
【0025】
  そして本発明は、接合線上に位置する母材表裏両面を挟時する一対の摩擦入熱部材と前記摩擦入熱部材間に攪拌軸を具えたボビンツールと、該ボビンツールの回転により前記一対の摩擦入熱部材のそれぞれより母材に入熱させて、母材表面側及び裏面側よりそれぞれ母材中心側に向かう表面側塑性流動域と裏面側塑性流動域と該両塑性流動域の間に中立線を生成させながら母材接合線に沿ってボビンツールに押圧力を付勢する駆動部を具えた摩擦攪拌接合装置において、
スキンパネルからなる母材同士を接合して母材表面側が凸の曲率となる(筒体若しくは殻体を含む)曲率パネルを製造する装置であって、
前記両塑性流動域の間に生成される中立線が、母材中心線より、前記凸の曲率となる母材表面側に偏位するように、
前記ボビンツールの攪拌軸の螺旋条を、母材中心線より母材表面側に偏位させた位置より螺旋方向を異ならせて形成したことを特徴とする。
  かかる発明によれば、筒体内径側に向かう収縮力のアンバランスが外周側に逆ぞりを発生させることにより反りを互いに相殺させてそりのない円筒体を形成できる。
【0026】
  そして本発明は前記そりの矯正を行う摩擦攪拌接合方法としても適用でき、
スキンパネルからなる母材同士を接合して母材表面側が凸の曲率となるそりが発生している接合体についてボビンツールを母材接合線に沿って移動させながら摩擦攪拌により前記そりの矯正を行う摩擦攪拌接合方法において、
  前記一対の摩擦入熱部材のそれぞれの母材入熱により、母材表面側及び裏面側よりそれぞれ母材中心線側に向かう表面側塑性流動域と裏面側塑性流動域と該両塑性流動域の間に中立線を生成するとともに、該塑性流動域間に形成される中立線が、母材中心線より、前記母材裏面側に偏位するように母材表面と裏面側に位置するそれぞれの摩擦入熱部材の母材入熱量を異ならせて母材接合線に沿って摩擦攪拌してそりを矯正することもでき、又前記一対の摩擦入熱部材のそれぞれの母材入熱及び攪拌軸の攪拌により、母材表面側及び裏面側よりそれぞれ母材中心線側に向かう表面側塑性流動域と裏面側塑性流動域と該両塑性流動域の間に中立線を生成するとともに、該塑性流動域間に形成される中立線が、母材中心線より、前記母材裏面側に偏位するように、前記攪拌軸の攪拌方向をその途中位置で異ならせた攪拌軸により母材接合線に沿って摩擦攪拌して前記そりを矯正することができる。
  又本発明は、そりを持たせた接合体の製造を行う場合にも適用でき、ボビンツールをスキンパネルからなる母材接合線に沿って移動させながら摩擦攪拌により母材表面側が凸の曲率となるそりを持たせた接合体の製造を行う摩擦攪拌接合方法において、
  前記一対の摩擦入熱部材のそれぞれの母材入熱により、母材表面側及び裏面側よりそれぞれ母材中心側に向かう表面側塑性流動域と裏面側塑性流動域と該両塑性流動域の間に中立線を生成するとともに、
  前記両塑性流動域の間に生成される中立線が、母材中心線より母材裏面側に偏位するように母材表面と裏面側に位置するそれぞれの摩擦入熱部材の母材入熱量を異ならせて接合することによりそりを有する接合体を製造するか、又前記一対の摩擦入熱部材のそれぞれの母材入熱及び攪拌軸の攪拌により、母材表面側及び裏面側よりそれぞれ母材中心側に向かう表面側塑性流動域と裏面側塑性流動域と該両塑性流動域の間に中立線を生成するとともに、前記両塑性流動域の間に生成される中立線が、母材中心線より、母材裏面側に偏位するように、前記攪拌軸の攪拌方向をその途中位置で異ならせて接合することによりそりを有する接合体を製造することもできる。
【0027】
【発明の実施の形態】
  以下、図面に基づいて本発明の実施の形態を詳細に説明する。但し本実施の形態に記載される製品の寸法、形状、材質、その相対配置等は特に特定的な記載がない限りは本発明の範囲をそれのみに限定する主旨ではなく、単なる説明例に過ぎない。
【0028】
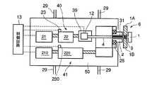
  先ず本発明が適用される摩擦攪拌接合装置本体50の要部構成を図8に基づいて説明する。
  図8は送りモータにより駆動する送りねじを用いた摩擦攪拌接合装置の実施例、特に裏面側ショルダ8Bと表面側ショルダ8Aの両者を同期して回転可能にした実施例で、図中8Bは回転主軸4軸端に設けられた裏面側ショルダで、該回転主軸4は裏面側ショルダ8B取り付け部よりネジ状ピン軸9が形成され、更にその回転主軸4の表面側ショルダ8Aに挿設される部位をスプライン状に構成し、スプライン31を介して表面側ショルダ8Aが回転主軸に軸方向に摺動自在に嵌合されている。
  更に回転主軸4の延在軸端側にはサーボモータ等の回転駆動部12を設けている。
  これにより表面側ショルダ8Aと裏面ショルダ8Bが同期して回転可能に構成される。すなわち表面側ショルダ8Aは前記回転主軸4にスプライン31を介して、軸方向に摺動自在に連結され、回転主軸4の回転駆動部12により回転可能に構成されている。
  そして前記回転駆動部12を構成するサーボモータは制御回路13により一定速度若しくは制御された回転数で回転可能に構成されている。
  又裏面ショルダ8Bが取りつけられた回転主軸4の軸端には下側工具ベース39を介して「送りねじ21と送りねじ駆動モータ22、及びロードセル23が収納された」第1のアクチュエータ40が連結されており、又表面側ショルダ8Aは軸受25が内蔵された支持収納部を介して、「送りねじ210と送りねじ駆動モータ220及びロードセル230が収納された」からなる第2のアクチュエータ41が連結されている。
  この結果、これらのアクチュエータ41、40及び回転駆動部12は制御回路13に接続され、アクチュエータ41、40の夫々のロードセル23、230の信号に基づいて送りねじ駆動モータ22、220の回転位相を制御して例えば前記裏面側と表面側のショルダ面間にスキンパネル等の母材の接合部を挟持した状態で、該接合面の表側にかかる表側ショルダ8A面の荷重と、裏側ショルダ面8Bの荷重を夫々制御し得る。
【0029】
  又制御回路13では、回転駆動部12のサーボモータの回転数も制御可能に構成し、例えば裏面ショルダ1と表面側のショルダ2の摩擦入熱量を制御可能に構成し、回転速度とアクチュエータ40、41による押圧荷重のいずれの組み合わせにても制御可能に構成している。
  更に制御回路13では、前記装置本体50をレール29、29により母材接合線方向に沿って移動、停止及び反転させる制御及び送りねじ駆動モータ22、220の回転位相を制御して例えば前記裏面側と表面側のショルダ面間の間隔変位、荷重さらには回転停止位置での予熱、保持時間の制御等を行っている。
【0030】
(第一の実施例)
  図3に本実施例に係るボビンツールの第1の実施例の構成を示す。基本構成は前述のボビンツールと同等である。本実施例のショルダー8A、8Bは母材を摺擦するショルダ面に母材表面と裏面側に位置するそれぞれの表面側ショルダ8Aと裏面側ショルダ8Bには、母材摺擦面形状がボビンツール6回転方向に沿って軸中心に向かう螺旋溝80になるように、螺旋溝80を正逆反対方向に螺旋方向を異ならせて刻設させている点は、前記従来技術と同様であるが、該螺旋溝80のピッチP若しくは溝深さd、螺旋溝間に形成される螺旋条の曲率半径R、又は該螺旋条の肉厚のいずれか1若しくは複数を異ならせて、それぞれのショルダ面の面接触量を表裏それぞれのショルダ8で異ならせて、両ショルダの摺擦回転より母材側に前記接合線上に沿ってパネル表面側及び裏面側よりそれぞれパネル肉厚中心側に向かう表面側塑性流動域3Aと裏面側塑性流動域3Bが形成され、更にツール回転方向に沿って軸中心に向かう螺旋溝80が形成されているために、該流動域が攪拌軸9中心側に集積されて、上下母材両面側より攪拌軸9中心側に集積される軟化材集積量は、前記塑性流動域間に形成される中立線の位置に比例し、更に、この中心部に集積した流動域は、ボビンツールが進行した後、急速に冷却硬化し、それぞれの流動域で攪拌軸9側に向かう収縮力が生じながら、接合部を形成する。
【0031】
  従ってかかる実施例によれば、 母材表面と裏面側に位置するそれぞれのショルダ部材のショルダ面に設けた螺旋溝80のピッチ若しくは溝深さ、螺旋溝間に形成される螺旋条の曲率半径若しくは螺旋条肉厚のいずれか1若しくは複数を異ならせた表面ショルダー8Aと裏面ショルダー8Bは前記制御回路により同一の押圧荷重で母材を狭持しながら摩擦攪拌接合を行うことにより、接合される母材外周側の収縮量を多くすることにより、筒体内径側に向かう収縮力のアンバランスが外周側に逆ぞりを発生させることにより反りを互いに相殺させてそりのない円筒体を形成できる。
  すなわちショルダ前記ボビンツール6の攪拌軸9の螺旋条9A、9Bを、母材中心より表裏いずれかの面側に偏位させた位置より螺旋方向を異ならせて形成し、該螺旋条9A、9Bの螺旋方向の相違により前記収縮量の差が生じるようにする。
【0032】
  本発明を図1に基づいてさらに詳細に説明する。通常、母材の上側ショルダと下側ショルダの摩擦熱が同等であれば、塑性流動域がバランスしており、軟化流動材が集積する領域の中立線は接合部の板厚中心となる(図1(B)の中心線)。
【0033】
  しかし、本実施例では、前述のようにショルダー8A、8Bの母材接触面に施された、螺旋形状が異なる。そのため、ショルダーの回転によって発生する摩擦熱量が、母材の表面と裏面で差異が生じることになる。例えば、螺旋溝80の彫りの深さが深いショルダーの方が、母材との摩擦入熱が大きくなり、軟化した材料の塑性流動域が大きくなる。
【0034】
  それにより、母材表面と裏面の塑性流動域の集積量バランス崩れ、表面側と裏面側の塑性流動性によって発生する軟化部材の集積力の中立線が板厚中心線からずれた場所となる(図1(C)の中立線)。図5(B)では表側面の塑性流動性が裏面側の塑性流動性より高く、集積力の平衡点が板厚中心より下部にある事例を示している。
【0035】
  集積力の中立線が板厚中心からずれた結果、板材内部で発生する収縮力が均一ではなくなる為に、この板材内部の収縮力のアンバランスが接合後の部材に反りを発生させることになる。図5(B)の事例では、板厚上部側の部材の収縮力が下部側に比べ大きくなり、接合後の部材に反りを与えることができる。
【0036】
  前述のように、ショルダーの回転によって発生する摩擦熱量によって部材の塑性流動性を制御することにより、板材内部の収縮力のバランスを制御することが可能となる。その結果、接合後の部材に任意の反り形状を与えることが可能となる。そして、部材の反りを矯正する方向に任意の反りを発生させることが可能になる。従って、初期の部材の反りを矯正する方向に任意の反りを発生させ、母材に元々発生している、部材の反り、歪みを矯正しながら接合を行うことで、構造体の反り、歪み等の発生を抑制し、反り、歪みの無い構造体の製作が可能となる。
【0037】
以下、実際の接合部材の反りの矯正例について示す。
  図5に示すように2枚の部材の摩擦攪拌接合を行った。図中に示すように、ボビンツールの進行方向からみて、左側の接合部材を“Ad”、右側の接合部材を“Re”と称している。母材はそれぞれ、定盤上に周囲を固定された状態で設置される。母材の材料はアルミ合金A12219−T87である。材料長さ(=接合距離)は800mm、接合部材厚は6.35mmである。また、定盤に固定された状態での被接合材それぞれの反りはAd側で0.5mm、Re側で1.5mmである(図5)。
【0038】
  ボビンツールのショルダー径は上側、下側とも20mmで、母材接触面に設けられた螺旋形状は上側ショルダーと下側ショルダーでピッチは2.0mm、溝の曲率は0.75mmで共通であるが、溝の深さは上部ショルダーでは0.7mm、下部ショルダーでは0.3mmと異なっている(図5)。また、ショルダーの母材への押し圧力は上側、下側とも同じ7kNとした。
【0039】
  図5に前記溝の深さが上部ショルダーでは0.7mm、下部ショルダーでは0.3mmと異なっている円形ショルダー螺旋溝80を形成し、その回転により螺旋溝80の溝深さの相違により、塑性流動傾向が表側ショルダから裏面側ショルダ8Bに向け、下向きに生成した場合の接合前後で、接合前後のそり量変化を示す測定結果を示す。
  図5(A)の上側はそりが上向きの状態で初期そり形状が発生している接合前試験片を、前記条件によって接合を行うことにより、材料の反りの矯正ができている。これは、反りが発生している側(表面側)のショルダー螺旋溝80深さ0.7と裏面側ショルダ8B螺旋溝80深さ0.3より深くし、表面側)のショルダーの摩擦熱の発生量を高くした結果、材料の塑性流動域の中立線は裏面側に変位して、(B)の回転方向アドバンスAd(前進)側でも(C)の回転方向後進(Re)側でも、板材内の収縮力のアンバランスが発生し、初期の試験片の反りと反対の方向に反りを発生させ、初期の反りを矯正することができていることが分かる。
【0040】
  図5(A)の下側はそりが下向きの状態で初期そり形状が発生している接合前試験片を、前記条件によって接合を行うことにより、材料の反りの増幅ができている。これは、反りが発生している側(表面側)のショルダー螺旋溝80深さ0.7と裏面側ショルダ8B螺旋溝80深さ0.3より深くし、表面側)のショルダーの摩擦熱の発生量を高くした結果、材料の塑性流動域の中立線は裏面側に変位して、(B)の回転方向アドバンスAd(前進)側でも(C)の回転方向後進(Re)側でも、板材内の収縮力のアンバランスが発生し、初期の試験片の反りの方向に更に反りを発生させ、初期の反りを増幅できていることが分かる。
【0041】
  図6に前記溝の深さが上部ショルダーでは0.3mm、下部ショルダーでは0.7mmと異なっている円形ショルダー螺旋溝80を形成し、その回転により螺旋溝80の溝深さの相違により、塑性流動傾向が裏側ショルダから表面側ショルダ8Aに向け、上向きに生成した場合の接合前後で、接合前後のそり量変化を示す測定結果を示す。
【0042】
  図6(A)の上側はそりが上向きの状態で初期そり形状が発生している接合前試験片を、前記条件によって接合を行うことにより、材料の反りの矯正ができている。これは、反りが発生している側(表面側)のショルダー螺旋溝80深さ0.3と裏面側ショルダ8B螺旋溝80深さ0.7より浅くし、裏面側のショルダーの摩擦熱の発生量を高くした結果、材料の塑性流動域の中立線は表面側に変位して、(B)の回転方向アドバンスAd(前進)側でも(C)の回転方向後進(Re)側でも、板材内の収縮力のアンバランスが発生し、初期の試験片の反りの方向に増幅した反りを発生させ、初期の反りを増幅することができていることが分かる。
【0043】
  図6(A)の下側はそりが下向きの状態で初期そり形状が発生している接合前試験片を、前記条件によって接合を行うことにより、材料の反りの提言ができている。これは、反りが発生している側(表面側)のショルダー螺旋溝80深さ0.3と裏面側ショルダ8B螺旋溝80深さ0.7より浅くし、裏面のショルダーの摩擦熱の発生量を高くした結果、材料の塑性流動域の中立線は表面面側に変位して、(B)の回転方向アドバンスAd(前進)側でも(C)の回転方向後進(Re)側でも、板材内の収縮力のアンバランスが発生し、初期の試験片の反りの反対方向に反りを発生させ、初期の反りを低減できていることが分かる。
【0044】
  前述のような、接合時の反りの制御を行う他の手法としては、表面側ショルダ8Aと表面側ショルダ8Aの径を異ならせることによっても達成することができる。これは、径の大きいショルダーの方が母材との面積が大きいため、他方に比べ摩擦熱の発生量が大きくなり、母材の塑性流動性を高くできる。その結果、前述のように、板材内の収縮力のアンバランスを発生させ、部材の反りを矯正することが可能となる。
【0045】
  また、ショルダーの押し付け圧力又は回転速度を表面側ショルダ8Aと裏面側ショルダ8Bで異ならせることにより、可能となる。これは、ショルダーの回転速度の差異が、摩擦熱発生量に差異を発生させることにより、板材内の収縮力のアンバランスを発生させ、部材の反りを矯正することが可能となる。各ショルダーの押し付け圧力、回転数を独立制御する手法は、前述した図3に示す装置構成により可能となる。
  前記ボビンツールを回転させて接合を開始すると、母材に押圧されるショルダー8A、8Bと攪拌軸9で発生する摩擦熱で、母材の素材が軟化し、塑性流動性を有するようになる。この塑性流動性を有した部材はショルダー8A、8Bの回転により接合部中心に押し流されることとなる。
【0046】
更に、接合部中心に押し流された部材は、攪拌軸9の回転により母材板厚中心方向に流される。攪拌軸9の表面は2種類のネジ山形状となっているため、前記部材の板厚中心への流れは、母材の表面、裏面の双方から発生することとなる。この中心部に集積した部材は、ボビンツールが進行した後、急速に冷却硬化し、接合部を形成する。
【0047】
(第2の実施例)
  ボビンツール6の攪拌軸9にはねじ条9A、9Bが形成されている。
  このねじ条を図4(A)に示すように、攪拌軸9中心部でネジ方向が逆転するネジ山加工が攪拌軸9表面に施されている。この攪拌軸9の中心が母材の板厚中心と一致するようにボビンツール6セッティングし、接合を行う。この攪拌軸9表面の形状により、接合時に母材板厚中心方向に材料の塑性流動が発生する。そして、図4(A)のように、母材板厚中心で、攪拌軸9のネジ方向が逆転するようにすると、塑性流動による部材が集積する領域は板厚中心でバランスさせることができる。
【0048】
  一方、攪拌軸9表面のネジ方向が逆転する位置9A、9Bを母材中心線より母材表面側、もしくは母材裏面側に偏位させ、塑性流動域を被接合材の表面と裏面間で差異をもたせ、塑性流動性によって発生する軟化部材の集積力の平衡点を母材板厚中心線からずらすと、板材内部で発生する収縮力が均一ではなくなるため、この板材内部の収縮力のアンバランスが接合後の部材に反り若しくは逆ぞりを発生させることが可能となる。
【0049】
  図4(B)では板厚中心より下方に攪拌軸9のネジ方向の逆転位置9A、9Bがあり、そのため、部材表面側と裏面側の部材の集積力の平衡点が、板厚の中心部より下方になっている。そのため、板材内部の収縮力は表面側の方が高くなり、接合後は図7(C)に示すように谷型の反りを与えることが可能となる。従って、初期の部材の反りを矯正する差異は、そりの反対側で母材の表側塑性流動域と裏面側流動域間に収縮力の差が発生するように、攪拌軸9のネジ方向を設定することにより、母材に元々発生している、部材の反りを矯正することが可能となる。
【0050】
  以上述べてきた、各手法は、摩擦攪拌接合における母材の反り制御方法として、単独で、または2以上の手法を組み合わせたものを適用することも当然可能である。
【0051】
【発明の効果】
  以上記載したごとく、本発明によれば、摩擦攪拌接合方法において、接合部材内の収縮力のバランスを制御することにより、接合部材に任意の反りを与えることができる。よって、初期の部材の反りを矯正する方向に任意の反りを発生させ、母材に元々発生している、部材の反り、歪みを矯正しながら接合を行うことで、反り、歪み等の発生を抑制した、構造体の製造が可能となる。
【図面の簡単な説明】
【図1】  本発明に係るそりを抑制するための摩擦攪拌接合方法の原理図の1で表面側と裏面側よりの塑性流動材と裏面側の塑性流動材の集積量の差により差によりそりを制御する方法を示し、(A)は全体概要図、(B)は中心線と中立線が一致する従来の原理図、(C)はそりにあわせて中立線を偏位させた本発明の原理図である。
【図2】  本発明に係るそりを抑制するための摩擦攪拌接合方法の原理図の2で表面側と裏面側よりの塑性流動材と裏面側の塑性流動材の収縮量の差により差によりそりを制御する方法を示し、(A)は収縮力の中心線と中立線が一致する従来の原理図、(B)はそりにあわせて収縮力の中立線を偏位させた本発明の原理図、(C)はその条件でそりが生じた状態を示す母材の接合状態である。
【図3】  本発明に係るボビンツールの円形ショルダー表面の螺旋溝加工例を示す図である。
【図4】  本発明に係るボビンツールの攪拌軸9の螺旋条の加工例を示す図である。
【図5】  円形ショルダー表面の螺旋溝を塑性流動傾向が表側ショルダから裏面側ショルダ8Bに向け、下向きに生成した場合の接合前後で、接合前後のそり量変化を示す測定結果を示す。
【図6】  円形ショルダー表面の螺旋溝を塑性流動傾向が裏面側ショルダ8Bから表面側ショルダ8Aに向け、上向きに生成した場合の接合前後で、接合前後のそり量変化を示す測定結果を示す。
【図7】  (A)はロケットタンクシリンダをボビンツールを用いて製造する際の製造手順を示し、(B)はその製造手順でそりが発生している状態を示す。(C)はそりを除去する方法としての逆ぞり法を示す。
【図8】  本発明に係るボビンツールの円形ショルダーの押し圧、回転数を独立して制御するための装置構成図である。
【図9】  従来のボビンツール6の概要図を示す。
【符号の説明】
    1A、1B  母材
    6  ボビンツール
    7  回転駆動部
    8A  表面円形ショルダー
    8B  裏面円形ショルダー
    9  攪拌軸[0001]
BACKGROUND OF THE INVENTION
  The present invention relates to a friction stir welding apparatus using a bobbin tool and a joining method thereof, particularly when a cylindrical body such as an aircraft, a rocket, a space station equipment, or a pressure vessel is manufactured using a large number of curved panels. The present invention relates to a friction stir welding apparatus suitable for manufacturing using a long flat panel such as a railway vehicle and a joining method thereof.
[0002]
[Prior art]
  In recent years, a friction stir welding (FSW) method has emerged as a new joining means that replaces welding and brazing of metal materials. In this friction stir welding method, as disclosed in, for example, Japanese Patent No. 2712838 (Patent Document 1), a shoulder that slidably rotates on the surface of a base material by using a rotary tool made of a material harder than a metal workpiece. While the frictional heat is applied from the surface of the base material at the part, mechanical stirring of the stirring shaft that has penetrated the base materialPlasticityBy fluidizing and moving the rotary tool along the joining line in this state, the periphery of the joining line isPlasticityWhile fluidizing, the two materials are stirred and kneaded along the joining line while receiving pressure, and moved to the rear side of the
[0003]
  In order to eliminate such drawbacks, a rotating tool called a bobbin tool has been proposed. Such a tool is provided with a pair of shoulders that are spaced apart so as to sandwich both the front and back surfaces of the materials to be joined, and a stirring shaft (stirring shaft 9) is provided between the pair of upper and lower shoulders. Therefore, frictional heat can be generated on both sides of the joint surface, and not only the lower fusion failure does not occur, but also because a mutual reaction force is received between the pair of upper and lower shoulders, a backing metal becomes unnecessary. .
[0004]
  And in the friction stir welding apparatus using such a bobbin tool, the shoulder surface shape is devised to facilitate frictional heat input. For example, in Japanese Patent Application Laid-Open No. 2002-263863 (Patent Document 2), a soft metal reservoir portion including ring-shaped convex portions is provided on the upper shoulder surface and the lower shoulder surface, and concentrically provided on the shoulder surface. By providing a ring-shaped convex portion, it is possible to form a sound joint portion free from burrs and having no internal defects, surface defects such as dents, and burrs.
[0005]
  Further, a friction stir welding apparatus using a bobbin tool in which the distance between the shoulders is variable is also disclosed as a known technique. For example, Japanese Patent Laid-Open No. 2000-33484 (Patent Document 3) discloses a technique in which a lower shoulder is variable in the axial direction using a coil spring. According to this technology, since the distance between the upper shoulder and the lower shoulder is adjusted by the coil spring, even if the thickness of the base material is changed or the shape of the member is deformed, the tool follows the deformation and change while joining. Is done. Therefore, it is possible to prevent poor bonding even if the base material is deformed.
[0006]
[Patent Document 1]
  Japanese Patent No. 2712838
[Patent Document 2]
  JP 2002-263863 A
[Patent Document 3]
  JP 2000-33484 A
[0007]
[Problems to be solved by the invention]
  Now, the friction stir welding method using such a bobbin tool manufactures large structures such as vehicles, aircrafts, ships, buildings, etc. by simply joining long double skin panels and single skin panels only in the longitudinal direction. A flat wide panel body is easily manufactured, and it is extremely advantageous in terms of improving workability, reducing the occurrence of joining distortion, and reducing distortion and finishing operations.
[0008]
  In recent years, it has been studied to apply the friction stir welding method using this bobbin tool to manufacture a cylinder such as an aircraft, rocket, space station equipment or pressure vessel using a large number of curvature panels. Yes.
  The joining method will be briefly described with reference to FIG.
  FIG. 7A shows a manufacturing procedure for manufacturing a rocket tank cylinder using a bobbin tool.
  First, in FIG. 7 (A) (1), a plurality of (N) planar single skin panels are prepared. For example, in the case of 5 sheets, a single skin panel is press-molded with a curvature of 360/5 = 72 °. To produce
  Next, as shown in (A) and (2), the longitudinal end portion in the axial direction is fixed by a fixing jig (not shown) for fixing the panels so that the plurality of
[0009]
  However, when a skin plate material having a relatively thin thickness is joined in this manner to produce a cylindrical body such as a rocket tank cylinder or a hollow shell body of an aircraft, a portion joined by a bobbin tool along the joining line Since the heat shrinks, on the other hand, a compressive force acts along the joint line on the inner peripheral side of the circumferential panel of the curvature panel, and a tensile force occurs along the joint line on the outer peripheral side. Since both ends in the axial direction are fixed by jigs, the heat shrinkage part escapes to the center, resulting in contraction on the center side of the cylindrical portion where the diameter on the center side is smaller than the diameter on both ends in the axial direction of the cylinder. , (A) As shown in (3) and (B), warpage may occur in that portion.
  Even when flat panels are joined, the same warpage may occur due to the initial warpage of the panel alone.
[0010]
  And for objects that move and move in the direction of the cylindrical axis at high speeds, such as hollow structures such as aircraft and rockets, the warpage of the outer surface becomes a source of fluid loss, so it is possible to eliminate such warpage. is required.
  In particular, in a rocket cylinder, the traveling movement speed greatly exceeds the speed of sound, so a fine warp greatly affects the buckling strength in the axial direction.
[0011]
  As a method for removing such warpage, a reverse warping method shown in FIG. 7C is performed.
  In the reverse warping method, in anticipation of the amount of warping due to joining, the curved panel plate is fixed in a state of being warped in the reverse direction at the stage of setting (fixing), and then the joining line extending in a straight line between the curvature panels is formed by the bobbin tool To join.
  As a result, the warpage due to joining is canceled out by the portion that has been warped in advance, and a flat panel surface without warpage can be formed.
  However, such a reverse warping method has a large amount of variation in quality because it is difficult to set an anticipation set amount generated at the time of joining or a method of setting (fixing) in a reverse warping state.
[0012]
  In view of the drawbacks of the prior art, the present invention provides a moving structure such as a railway, an aircraft, a rocket, etc., when a target product is manufactured in a curved shape or a planar shape by friction stir welding using a bobbin tool. In the case of a vessel pressure vessel or a wide panel, a friction stir welding method capable of suppressing the occurrence of warpage or the like that causes a decrease in strength, and a circumferential or An object is to provide a flat joined body.
[0013]
[Means for Solving the Problems]
  The principle of the present invention will be described with reference to FIGS.
  The
  In this case, generally, the shoulder diameters on the front side and the back side of the base material are the same, and the amount of frictional heat generated by the pressing of the shoulder depends on the surface copy or gap (groove) condition of the base material. Is set.
[0014]
  And, for example, in the prior art, the pressing force of the shoulder on the base metal front side and the back side is controlled to be the same. In this case, the surface side toward the base metal center side from the base material front side and the back side, respectively.PlasticityFlow
  And as shown in
[0015]
  However, when a cylinder or a shell such as a rocket tank cylinder is manufactured, the portion joined by the
  Also, joining flat panelsTheEven in the case of a long panel, the same warpage may occur due to the initial warpage of the panel alone.
[0016]
  Therefore, the present invention provides a surface side from the base material surface side shown in FIG. 1 (B) toward the base material center
  Therefore, the present invention provides a
[0017]
  Therefore, the present inventionUsing a pair of friction heat input members sandwiching the front and back surfaces of the base material located on the joining line and a rotating tool 6 (hereinafter referred to as a bobbin tool) having a stirring shaft between the friction heat input members,Bobbin toolTheIn the friction stir welding method for performing the joining while moving along the base material joining line,
  When manufacturing a curvature panel (including a cylinder or a shell) having a convex curvature on the surface of the base material by joining base materials made of skin panels, the base materials of the pair of frictional heat input members are included. Due to the heat, from the front surface side and the back surface side to the base material center side, respectively.
  Generated between the two plastic flow zonesNeutral lineFrom the center line in the vertical cross section of the base material (hereinafter referred to as the base material center line) to the base material surface sideTo deviateThe base material heat input amounts of the friction heat input members positioned on the front surface and the back surface side of the base material are different from each other.
  In the present invention, the agitation direction of the agitation shaft is different in the middle position so that a neutral line generated between the plastic flow regions is deviated from the matrix center line toward the matrix surface side. It is characterized by being generated by a stirrer shaft.Specifically, the condition that the base material heat input amount of each friction heat input member is different is that the difference in the spiral groove formed on the base material rubbing surface of each friction heat input member is spiral.groove1 or a combination of any one or more of the spiral pitch or groove depth, or the radius of curvature of the spiral strip formed between the spiral grooves or the thickness of the spiral strip.Ru.
[0018]
  According to this invention, the difference of the spiral groove formed on the base material rubbing surface of each friction heat input member as shown in FIG.PlasticityMake a difference in the accumulation capacity of the flow area,PlasticityIt is possible to control the amount of warpage of the base material after joining by giving direction to the flow.
[0019]
  That is, FSWPlasticitySince the flow zone tends to shrink toward the joining line as shown in FIG.PlasticitySince the larger flow region, that is, the larger groove depth tends to shrink, it is considered that shrinkage is unbalanced at the upper and lower sides (front and back) of the material to be joined and warpage occurs. In the present invention, the warpage is positively controlled by arbitrarily creating this unbalance. Accordingly, it is possible to generate warp-free joining when warpage is not necessary, molding joining when the original part is warped and correction is desired by joining, and warp when any warpage is required.
[0020]
  Further, the condition for changing the heat input amount of the base material may be configured as a difference in contact area of the base material including a difference in diameter of each frictional heat input member.
[0021]
  This utilizes the fact that the frictional heat generated by the contact between the base material and the frictional heat input member depends on the pressing load of the frictional heat input member against the base material. By making the pressing load of the surface friction heat input member and the back surface friction heat input member different, a difference is generated in the amount of friction heat generation,PlasticityThe balance of fluidity is lost, and an unbalance of the shrinkage force inside the bonded material plate is generated.
[0022]
  Each of the abovePlasticityThe deviation of the neutral line formed between the flow zones may make the spiral direction of the spiral strip of the stirring
  That is, as shown in FIG. 4, a screw whose screw direction is reversed at the central portion in the thickness direction is configured. Towards the center of the plate thickness direction with this screwPlasticityThe flow is generated. By arbitrarily changing the position where this screw reversesPlasticityIt is also possible to control the warpage according to the difference shown in FIG.
[0023]
    As a device for effectively achieving the invention, a bobbin tool having a pair of frictional heat input members sandwiching the front and back surfaces of the base material located on the joining line and a stirring shaft between the frictional heat input membersWhenThe bobbin toolofBy rotating, heat is applied to the base material from each of the pair of frictional heat input members, and the surface side toward the base material center side from the base material surface side and the back surface side, respectively.PlasticityFlow areaWhenBack sidePlasticityFlow areaWhenBothPlasticityIn a friction stir welding apparatus having a drive unit that urges a bobbin tool along a base material joining line while generating a fluidized zone boundary surface (hereinafter referred to as a neutral line) between the fluidized zones,
  An apparatus for manufacturing a curvature panel in which the base materials composed of skin panels are joined in the longitudinal direction and the base material surface side has a convex curvature,
  Both plasticityThe neutral line generated between the flow zones is the base metal center line.The surface side of the base material that has the convex curvatureThe base material contact areas of the respective frictional heat input members located on the front surface and the back surface of the base material are made different so as to be displacedOrAlternatively, the frictional heat input members are configured to have different pressing loads.
  The base material contact areas of the frictional heat input members positioned on the front surface and the back surface of the base material may be different from each other. The spiral strip of the stirring
[0024]
    Further, in the case where the base material rubbing surface shape of each frictional heat input member located on the front surface and the back surface side of the base material is a
[0025]
  And this inventionA pair of friction heat input members sandwiching the front and back surfaces of the base material located on the joining line, a bobbin tool having a stirring shaft between the friction heat input members, and the pair of friction heat input members by rotation of the bobbin tool. Heat is applied to the base material from each side, and a neutral line is generated between the surface side plastic flow region, the back side plastic flow region, and the both plastic flow regions from the front surface side and the back surface side toward the base material center side. While in the friction stir welding apparatus having a drive unit that urges the bobbin tool along the base material joining line,
  An apparatus for manufacturing a curvature panel (including a cylindrical body or a shell) by joining base materials composed of skin panels and having a convex curvature on the surface side of the base material,
  Both plasticityThe neutral line generated between the flow zones is the base metal center line.So as to deviate toward the surface of the base material having the convex curvature,
  The spiral strip of the stirring shaft of the bobbin tool was formed by changing the spiral direction from a position displaced from the base material center line to the base material surface side.It is characterized by that.
  According to this invention, the unbalance of the contraction force toward the inner diameter side of the cylinder causes a reverse warp on the outer peripheral side, thereby canceling out the warpage to each other, thereby forming a cylindrical body without warpage.
[0026]
  The present invention can also be applied as a friction stir welding method for correcting the warpage,
  Joining base materials made of skin panels and joining them where warpage has a convex curvature on the surface side of the base material. Correcting the warp by friction stirring while moving the bobbin tool along the base material joining line. In the friction stir welding method to be performed,
  By the base material heat input of each of the pair of friction heat input members, the surface side toward the base material center line side from the base material surface side and the back surface side, respectively.PlasticityFlow area and back sidePlasticityFlow area and bothPlasticityDuring the flow zoneNeutral lineAs well asPlasticityThe neutral line formed between the flow zones isin frontBack side of base materialThe base material heat input amount of each friction heat input member located on the base material surface and the back surface side so as to deviate to the side can be varied to correct the warp by friction stirring along the base material joint line, orBy the base material heat input of each of the pair of frictional heat input members and stirring of the stirring shaft, a front surface side plastic flow region and a back surface side plastic flow region from the front surface side and the back surface side toward the base material center line side, A neutral line is generated between both plastic flow zones, and the plasticityThe neutral line formed between the flow zones isBack side of the base materialSo that the stirring direction of the stirring shaft is varied in the middle of the stirring shaft so as to deviate to the side.SaidThe warp can be corrected.
  The present invention can also be applied to the production of a joined body having a warp,In the friction stir welding method for manufacturing a joined body having a warp with a convex curvature on the base material surface side by friction stirring while moving the bobbin tool along the base material joining line consisting of the skin panel,
  By the base material heat input of each of the pair of friction heat input members, the surface side toward the base material center side from the base material surface side and the back surface side, respectively.PlasticityFlow area and back sidePlasticityFlow area and bothPlasticityCreate a neutral line between the flow zones,
  BothPlasticityThe neutral line generated during the flow zone isBack side of base materialManufacturing a joined body having a warp by joining the frictional heat input members located on the front surface and the back surface of the base material with different amounts of heat input to the base material so as to be displaced to the side, orBy the base material heat input and the stirring shaft stirring of the pair of friction heat input members, the front surface side plastic flow region and the back surface side plastic flow region respectively facing the base material center side from the base material front side and back surface side, Generate neutral lines between plastic flow zones,BothPlasticityThe neutral line generated during the flow zone isBack side of base materialIt is also possible to manufacture a joined body having a warp by joining the agitating shafts with different agitation directions in the middle of the agitating shafts so as to be displaced to the side.
[0027]
DETAILED DESCRIPTION OF THE INVENTION
  Hereinafter, embodiments of the present invention will be described in detail with reference to the drawings. However, the dimensions, shapes, materials, relative arrangements, etc. of the products described in this embodiment are not intended to limit the scope of the present invention only to specific examples unless otherwise specified, but are merely illustrative examples. Absent.
[0028]
  First, the main configuration of the friction stir welding apparatus
  FIG. 8 shows an embodiment of a friction stir welding apparatus using a feed screw driven by a feed motor, particularly an embodiment in which both the
  Further, a
  Accordingly, the
  The servo motor constituting the
  A
  As a result, the
[0029]
  Further, the
  Further, the
[0030]
(First embodiment)
  FIG. 3 shows the configuration of the first embodiment of the bobbin tool according to this embodiment. The basic configuration is equivalent to the bobbin tool described above. The
[0031]
  Therefore, according to this embodiment, the pitch or groove depth of the
  That is, the spiral strips 9A, 9B of the
[0032]
  The present invention will be described in more detail with reference to FIG. Normally, if the frictional heat of the upper shoulder and the lower shoulder of the base metal is equivalent,PlasticityThe neutral line in the region where the flow regions are balanced and the softened fluid material accumulates is the center of the thickness of the joint (center line in FIG. 1B).
[0033]
  However, in the present embodiment, the spiral shapes applied to the base material contact surfaces of the
[0034]
  As a result, the front and back surfaces of the base materialPlasticityThe amount of flow area accumulation is lost, the front side and the back sidePlasticsexThe neutral line of the collective force of the softening member generated by the fluidity is a place shifted from the plate thickness center line (neutral line in FIG. 1C). In FIG. 5B, the front sidePlasticityFluidity on the back sidePlasticityIt shows an example where the fluidity is higher and the equilibrium point of the accumulation force is below the thickness center.
[0035]
  As a result of the accumulation force neutral line deviating from the center of the plate thickness, the shrinkage force generated inside the plate material is not uniform, and the unbalance of the shrinkage force inside the plate material causes warping of the joined member. . In the case of FIG. 5B, the contraction force of the member on the upper side of the plate thickness is larger than that on the lower side, and the warped member can be warped.
[0036]
  As described above, by controlling the plastic fluidity of the member by the amount of frictional heat generated by the rotation of the shoulder, it is possible to control the balance of the shrinkage force inside the plate material. As a result, it is possible to give an arbitrary warped shape to the joined member. And it becomes possible to generate | occur | produce arbitrary curvature in the direction which corrects the curvature of a member. Therefore, any warpage is generated in the direction of correcting the initial warpage of the member, and the warping, distortion, etc. of the structural body are performed by performing joining while correcting the warpage and distortion of the member originally occurring in the base material. It is possible to manufacture a structure that is free from warping and distortion.
[0037]
  Less than,An example of correcting the warpage of the actual joining member will be described.
  As shown in FIG. 5, the friction stir welding of two members was performed. As shown in the figure, the left joining member is referred to as “Ad” and the right joining member is referred to as “Re” when viewed from the traveling direction of the bobbin tool. Each base material is installed on the surface plate with its periphery fixed. The material of the base material is aluminum alloy A12219-T87. The material length (= joining distance) is 800 mm, and the joining member thickness is 6.35 mm. Further, the warpage of each of the materials to be joined when fixed to the surface plate is 0.5 mm on the Ad side and 1.5 mm on the Re side (FIG. 5).
[0038]
  The shoulder diameter of the bobbin tool is 20 mm on both the upper and lower sides, and the spiral shape provided on the base material contact surface is the upper shoulder and the lower shoulder, the pitch is 2.0 mm, and the groove curvature is 0.75 mm. The depth of the groove is different from 0.7 mm for the upper shoulder and 0.3 mm for the lower shoulder (FIG. 5). Further, the pressure applied to the shoulder base material was set to 7 kN on both the upper side and the lower side.
[0039]
  In FIG. 5, a circular
  On the upper side of FIG. 5A, the warp of the material can be corrected by bonding the pre-bonding test piece in which the warp is upward and the initial warp shape is generated according to the above conditions. This is because the
[0040]
  On the lower side of FIG. 5A, the warpage of the material can be amplified by joining the test piece before joining, in which the initial warp shape is generated in a state in which the warp is downward, under the above conditions. This is because the
[0041]
  In FIG. 6, a circular
[0042]
  On the upper side of FIG. 6A, the warp of the material can be corrected by bonding the pre-bonding test piece in which the warp is upward and the initial warp shape is generated under the above conditions. This is made shallower than the
[0043]
  In the lower side of FIG. 6A, a warp of a material can be proposed by joining a pre-joining test piece in which an initial warp shape is generated in a state in which the warp faces downward, under the above-described conditions. This is shallower than the
[0044]
  As another method for controlling the warping during the joining as described above, it can also be achieved by making the diameters of the
[0045]
  In addition, the shoulder pressing pressure or rotational speed can be made different between the
  When the bobbin tool is rotated and joining is started, the material of the base material is softened by the frictional heat generated in the
[0046]
  In addition,The member pushed away to the center of the joint is caused to flow in the direction of the center of the base metal plate thickness by the rotation of the stirring
[0047]
(Second embodiment)
  
  As shown in FIG. 4 (A), the surface of the stirring
[0048]
  On the other hand, the
[0049]
  In FIG. 4 (B), there are
[0050]
  As described above, each method described above can be applied by itself or a combination of two or more methods as a base material warpage control method in friction stir welding.
[0051]
【The invention's effect】
  As described above, according to the present invention, in the friction stir welding method, it is possible to give an arbitrary warp to the joining member by controlling the balance of the shrinkage force in the joining member. Therefore, by generating an arbitrary warp in the direction of correcting the initial warpage of the member and joining while correcting the warpage and distortion of the member originally occurring in the base material, the occurrence of warpage, distortion, etc. A suppressed structure can be manufactured.
[Brief description of the drawings]
FIG. 1 is a first view of the principle of a friction stir welding method for suppressing warpage according to the present invention.PlasticityFluidized material and back sidePlasticityThe method of controlling the warp according to the difference in the accumulated amount of fluidized material is shown. (A) is an overall schematic diagram, (B) is a conventional principle diagram in which the center line and the neutral line coincide, and (C) is in accordance with the warp. FIG. 3 is a principle diagram of the present invention in which a neutral line is displaced.
FIG. 2 is a principle diagram 2 of the friction stir welding method for suppressing warpage according to the present invention.PlasticityFluidized material and back sidePlasticityThe method of controlling the warpage by the difference in the shrinkage amount of the fluidized material is shown. (A) is a conventional principle diagram in which the center line and the neutral line of the contraction force coincide, and (B) is the neutrality of the contraction force according to the warp. The principle diagram of the present invention in which the line is deviated, (C) is a joining state of the base material showing a state in which warpage occurs under the conditions.
FIG. 3 is a view showing an example of processing a spiral groove on a circular shoulder surface of a bobbin tool according to the present invention.
FIG. 4 is a view showing a processing example of a spiral strip of a stirring
[Figure 5] Spiral groove on the circular shoulder surfacePlasticityThe measurement result which shows the amount of warpage before and after joining is shown before and after joining when the flow tendency is generated downward from the front side shoulder toward the
[Fig. 6] The spiral groove on the circular shoulder surfacePlasticityThe measurement result which shows the amount of warpage before and after joining is shown before and after joining when the flow tendency is generated upward from the
7A shows a manufacturing procedure when a rocket tank cylinder is manufactured using a bobbin tool, and FIG. 7B shows a state in which warpage occurs in the manufacturing procedure. (C) shows a reverse sledging method as a method for removing the warp.
FIG. 8 is an apparatus configuration diagram for independently controlling the pressing force and the rotational speed of the circular shoulder of the bobbin tool according to the present invention.
FIG. 9 shows a schematic diagram of a
[Explanation of symbols]
    1A, 1B base material
    6 Bobbin tool
    7 Rotation drive
    8A circular shoulder
    8B Back circular shoulder
    9 Stirring shaft
| Application Number | Priority Date | Filing Date | Title | 
|---|---|---|---|
| JP2003177195AJP3836091B2 (en) | 2003-06-20 | 2003-06-20 | Friction stir welding method, apparatus therefor, and structure manufactured by the method | 
| Application Number | Priority Date | Filing Date | Title | 
|---|---|---|---|
| JP2003177195AJP3836091B2 (en) | 2003-06-20 | 2003-06-20 | Friction stir welding method, apparatus therefor, and structure manufactured by the method | 
| Publication Number | Publication Date | 
|---|---|
| JP2005007466A JP2005007466A (en) | 2005-01-13 | 
| JP3836091B2true JP3836091B2 (en) | 2006-10-18 | 
| Application Number | Title | Priority Date | Filing Date | 
|---|---|---|---|
| JP2003177195AExpired - Fee RelatedJP3836091B2 (en) | 2003-06-20 | 2003-06-20 | Friction stir welding method, apparatus therefor, and structure manufactured by the method | 
| Country | Link | 
|---|---|
| JP (1) | JP3836091B2 (en) | 
| Publication number | Priority date | Publication date | Assignee | Title | 
|---|---|---|---|---|
| CN103894727A (en)* | 2011-01-19 | 2014-07-02 | 日本轻金属株式会社 | Friction stir welding method | 
| Publication number | Priority date | Publication date | Assignee | Title | 
|---|---|---|---|---|
| JP4684810B2 (en)* | 2005-09-01 | 2011-05-18 | 住友軽金属工業株式会社 | Method for manufacturing cylindrical article | 
| FR2921575B1 (en)* | 2007-09-27 | 2009-11-13 | Eads Europ Aeronautic Defence | DOUBLE - SHAPING WELDING DEVICE FOR WELDING FRICTION - MIXED PIECES AND METHOD FOR WELDING. | 
| JP5204788B2 (en)* | 2007-12-27 | 2013-06-05 | 川崎重工業株式会社 | Dissimilar material joint structure, tank skirt provided with the dissimilar material joint structure, transport ship provided with the tank skirt, and dissimilar metal member joining method | 
| IN2012DN00865A (en)* | 2009-08-31 | 2015-07-10 | Mitsubishi Hitachi Metals | |
| CN103909343B (en)* | 2011-01-19 | 2016-04-27 | 日本轻金属株式会社 | Friction stirring connecting method | 
| JP5422010B2 (en)* | 2011-04-20 | 2014-02-19 | 日本軽金属株式会社 | Joining method | 
| JP2012245542A (en) | 2011-05-27 | 2012-12-13 | Mitsubishi Heavy Ind Ltd | Friction stir welding tool and friction stir welding apparatus | 
| GB201120274D0 (en) | 2011-11-24 | 2012-01-04 | Welding Inst | Friction stir welding tool | 
| CN103464907B (en)* | 2013-08-22 | 2015-06-17 | 中国航空工业集团公司北京航空制造工程研究所 | Method of connecting sheets by thermal self-pressing | 
| JP5641117B2 (en)* | 2013-09-26 | 2014-12-17 | 日本軽金属株式会社 | Joining method | 
| JP6166999B2 (en)* | 2013-09-27 | 2017-07-19 | 三菱重工業株式会社 | Friction stir tool, friction stir welding apparatus, and friction stir welding method | 
| Publication number | Priority date | Publication date | Assignee | Title | 
|---|---|---|---|---|
| CN103894727A (en)* | 2011-01-19 | 2014-07-02 | 日本轻金属株式会社 | Friction stir welding method | 
| Publication number | Publication date | 
|---|---|
| JP2005007466A (en) | 2005-01-13 | 
| Publication | Publication Date | Title | 
|---|---|---|
| JP3836091B2 (en) | Friction stir welding method, apparatus therefor, and structure manufactured by the method | |
| US9468990B2 (en) | Friction stir welding tool with shoulders having different areas; methods using such tool; product welded with such tool | |
| US6745929B1 (en) | Method of manufacturing structural body and structural body | |
| JP7122271B2 (en) | Friction stir welding apparatus and friction stir welding method | |
| KR20170009978A (en) | Method and device for friction stir welding | |
| AU2009200386A1 (en) | Device to join the faces of parts | |
| WO2019049892A1 (en) | Clamp member for double acting type friction stir spot welding device, double acting type friction stir spot welding device, and double acting type friction stir spot welding method | |
| WO2015068428A1 (en) | Friction stir welding method | |
| JPH1147859A (en) | Production of aluminum alloy panel | |
| JP4298784B1 (en) | Method for manufacturing railway vehicle structure by friction stir welding | |
| JP2002239756A (en) | Friction stir welding method and apparatus | |
| JP4052443B2 (en) | Friction stir welding method for double skin panels | |
| JP4668437B2 (en) | Friction stir welding method and friction stir welding apparatus | |
| JP5113803B2 (en) | Hollow shaped joints and joints | |
| JP2005239029A (en) | Railway vehicle structure | |
| JP2007253210A (en) | Method for joining double skin panel and structure | |
| JP6033646B2 (en) | Friction stir welding tool and friction stir welding method | |
| WO2012046458A1 (en) | Method for manufacturing vehicle frame | |
| JP4619999B2 (en) | Double skin panel and joint structure thereof, and structure | |
| JP2004050205A (en) | Friction stir joining equipment and method using bobbin tool | |
| JP4043005B2 (en) | Friction welding method | |
| JP4463183B2 (en) | Aluminum structure and manufacturing method thereof | |
| JP3341831B2 (en) | Friction welding method, its structure and friction welding device | |
| JP3735342B2 (en) | Equipment for manufacturing bonded structures by friction stir | |
| JP4755149B2 (en) | Manufacturing method of wide panel body | 
| Date | Code | Title | Description | 
|---|---|---|---|
| A131 | Notification of reasons for refusal | Free format text:JAPANESE INTERMEDIATE CODE: A131 Effective date:20050819 | |
| A521 | Request for written amendment filed | Free format text:JAPANESE INTERMEDIATE CODE: A523 Effective date:20051018 | |
| A131 | Notification of reasons for refusal | Free format text:JAPANESE INTERMEDIATE CODE: A131 Effective date:20060310 | |
| A521 | Request for written amendment filed | Free format text:JAPANESE INTERMEDIATE CODE: A523 Effective date:20060509 | |
| TRDD | Decision of grant or rejection written | ||
| A01 | Written decision to grant a patent or to grant a registration (utility model) | Free format text:JAPANESE INTERMEDIATE CODE: A01 Effective date:20060707 | |
| A61 | First payment of annual fees (during grant procedure) | Free format text:JAPANESE INTERMEDIATE CODE: A61 Effective date:20060725 | |
| R151 | Written notification of patent or utility model registration | Ref document number:3836091 Country of ref document:JP Free format text:JAPANESE INTERMEDIATE CODE: R151 | |
| FPAY | Renewal fee payment (event date is renewal date of database) | Free format text:PAYMENT UNTIL: 20090804 Year of fee payment:3 | |
| FPAY | Renewal fee payment (event date is renewal date of database) | Free format text:PAYMENT UNTIL: 20100804 Year of fee payment:4 | |
| FPAY | Renewal fee payment (event date is renewal date of database) | Free format text:PAYMENT UNTIL: 20100804 Year of fee payment:4 | |
| FPAY | Renewal fee payment (event date is renewal date of database) | Free format text:PAYMENT UNTIL: 20110804 Year of fee payment:5 | |
| FPAY | Renewal fee payment (event date is renewal date of database) | Free format text:PAYMENT UNTIL: 20110804 Year of fee payment:5 | |
| FPAY | Renewal fee payment (event date is renewal date of database) | Free format text:PAYMENT UNTIL: 20120804 Year of fee payment:6 | |
| FPAY | Renewal fee payment (event date is renewal date of database) | Free format text:PAYMENT UNTIL: 20130804 Year of fee payment:7 | |
| R250 | Receipt of annual fees | Free format text:JAPANESE INTERMEDIATE CODE: R250 | |
| LAPS | Cancellation because of no payment of annual fees |