



【0001】
【目次】
以下の順序で本発明を説明する。
発明の属する技術分野
従来の技術
発明が解決しようとする課題
課題を解決するための手段
発明の実施の形態(図1〜図4)
発明の効果
【0002】
【発明の属する技術分野】
本発明は音声増幅装置及び通信端末装置並びに音声増幅方法に関し、例えば携帯電話装置に適用して好適なものである。
【0003】
【従来の技術】
従来、移動体通信システムのうち最も普及の著しいサービスとして携帯電話装置がある。近年の携帯電話装置の小型化、軽量化は価格の低減効果に大きく寄与し、加入者数の拡大を促進している。しかしながら加入者数の拡大に伴い様々な問題も出現している。例えばユーザが静かな公共の場所で通話すると話し声が周囲に迷惑をかけてしまうおそれがあつたり、また混雑した電車の中で通話すると会話の内容が他人に聞かれてしまうおそれがあるといつた問題である。このようなときユーザは小さな声で通話することによつて他人に迷惑をかけないようにしているが、小さな声の状態のままで送信すると相手が音声を聞き取りにくいという事態が起こる。
【0004】
従つてこの事態を解消するため従来の携帯電話装置では端末に切換スイツチを設けて、ユーザがこの切換スイツチを操作しマイクゲインを直接切り換ることにより、予め決められた増幅度に変化するようになされている。これにより小さな音声を増幅し、当該音声を相手が聞き取りやすい音量にしてから送信している。
【0005】
【発明が解決しようとする課題】
ところでかかる構成の携帯電話装置においては、ユーザ自身が通話の状況に応じて切換スイツチを操作し増幅度の調整をしなければならないが、ユーザが会話の状況に応じて切換スイツチを操作しながら通話するということは困難なことで実際そのようなことはほとんど行われていない。例えばユーザが小さい声で通話するため切換スイツチを予め増幅度の大きい側に設定しているとき、ユーザが相手の話を聞いているときのように音声が入力されていない状況になつたからといつて、ユーザはわざわざ切換スイツチを増幅度の小さい側に切り換えるようなことはせず、通常そのまま通話し続けると考えられる。
【0006】
このように端末に音声が入力されていなく周囲の雑音だけしか入力されていない場合において、従来の携帯電話装置では周囲の雑音を単純に増幅してから相手に送信してしまう不都合がある。またユーザが小さい声で通話するため切換スイツチを増幅度の大きい側に設定しているとき、通話中周囲に突発的な大音量の雑音が発生してこれが端末に入力された場合、従来の携帯電話装置では音声と共に大音量の雑音も増幅してしまう不都合があり、これにより相手に不快感を与えてしまうおそれがある。
【0007】
本発明は以上の点を考慮してなされたもので、音声の増幅度を適応的に切り換えて最適な音量に調整し得る音声増幅装置及び通信端末装置並びに音声増幅方法を提案しようとするものである。
【0008】
【課題を解決するための手段】
  かかる課題を解決するため本発明においては、入力音声の所定サンプル数をフレームとし、当該フレーム毎に最大振幅を検出し、当該検出した最大振幅に基づいて入力音声が有音か無音かを検出し、その結果、入力音声が有音であると検出した場合には、かかる最大振幅に基づいて入力音声に対する増幅度を決定し、入力音声が無音であると検出した場合には、当該入力音声を増幅しないように増幅度を決定し、当該決定した増幅度に基づいて入力音声を増幅するようにし、入力音声が有音か無音かを検出する際に、直近の所定フレームの最大振幅のうち少なくとも1フレームの最大振幅が所定の有音無音判定しきい値よりも大きい場合、入力音声が有音であると判定し、直近の所定フレーム全ての最大振幅が有音無音判定しきい値以下である場合、入力音声が無音であると判定するようにした。
  従つて本発明では、入力音声が有音か無音かの誤検出を防ぎながら、入力音声が無音である場合、雑音だけが増大することを回避すると共に、当該入力音声が有音である場合、最大振幅に応じて増幅度を適応的に切り換えることができる。
【0009】
  また本発明においては、入力音声が有音であると検出した場合、最大振幅が所定の最大振幅しきい値より大きいか否かを判定し、当該判定結果に応じて最大振幅が最大振幅しきい値以下のときには、予め決められた所定の増幅度に決定し、最大振幅が最大振幅しきい値より大きいときには、当該最大振幅が最大振幅しきい値より超えている度合に応じて所定の増幅度を減少させるようにした。
  従つて本発明では、入力音声をクリツピングノイズが発生しないように増幅することができる。
【0010】
  さらに本発明においては、増幅度を決定した際、当該決定した増幅度を所定の演算式に従つて入力音声のフレーム内のサンプル毎に順次平滑化するようにした。
  従つて本発明では、入力音声の不連続が生じることを回避することができる。
【0011】
【発明の実施の形態】
以下図面について、本発明の一実施例を詳述する。
【0012】
図1において、1は全体として携帯電話装置を示し、大きく分けて送信系回路と受信系回路とから形成されている。まず送信系では、通話時にマイク2に入力された音声信号S1はアナログ/デイジタル変換器3に供給されるようになされている。アナログ/デイジタル変換器3はこの音声信号S1を音声データSiにアナログ/デイジタル変換した後、切換器4に出力する。
【0013】
ここでユーザが操作部5において音量増幅の操作をすると、操作部5はその操作情報を表す操作信号S3を制御部6に送出する。制御部6はこの操作信号S3に応じて制御信号S4を切換器4に出力することにより、切換器4を音量増幅器7側に切り換える。これにより音量増幅の操作がなされた場合には、音声データSiは音量増幅器7に供給される。これとは逆に、ユーザが操作部5において音量増幅解除の操作をすると、制御部6は制御信号S4を出力して切換器4をスピーチエンコーダ8側に切り換える。これにより音量増幅解除の操作がなされた場合には、音声データSiは音量増幅器7を介さずに直接スピーチエンコーダ8に供給され、増幅されないようになされている。
【0014】
音量増幅器7は後述するような処理によつて音声データSiを増幅し、これを音声データSoとしてスピーチエンコーダ8に出力する。スピーチエンコーダ8は音声データSi又はSoを所定の方式で符号化し、その結果得られる送信データS6をチヤンネルエンコーダ9に出力する。チヤンネルエンコーダ9は送信データS6に対して誤り訂正符号を付加する等のデータ処理をフレーム単位で行い、その結果得られる送信データS7を変調器10に出力する。
【0015】
変調器10は送信データS7に所定の変調を施し、その結果得られる送信信号S8を送信用の高周波処理回路(TX)11に出力する。この送信用の高周波処理回路11は送信信号S8を高周波帯域に周波数変換し、その結果得られる送信信号S9をアンテナ12に供給する。これによりアンテナ12から送信信号S9が送信される。
【0016】
続いて受信系では、アンテナ12によつて受信された受信信号S10は受信用の高周波処理回路(RX)13に入力される。この受信用の高周波処理回路13は受信信号S10を低周波帯域に周波数変換し、その結果得られる受信信号S11を復調器14に出力する。復調器14は受信信号S11を復調することにより受信データS12を得、この受信データS12をチヤンネルデコーダ15に出力する。
【0017】
チヤンネルデコーダ15はフレーム単位で受信データS12に所定のデータ処理(例えば伝送途中で発生した符号誤りを検出し、マスクする処理等)を行い、その結果得られる受信データS13をスピーチデコーダ16に出力する。スピーチデコーダ16は受信データS13を音声データS14に復号化し、当該音声データS14をデイジタル/アナログ変換器17に出力する。デイジタル/アナログ変換器17は音声データS14を音声信号S15にデイジタル/アナログ変換した後、スピーカ18を介して音声として出力する。
【0018】
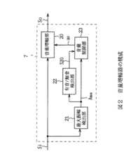
ここで上述した音量増幅器7について図2を用いて具体的に説明する。まず音量増幅器7において音声データSiは音量増幅部20と最大振幅検出部21に供給される。最大振幅検出部21は音声データSiの所定サンプル数をフレームとすることにより、音声データSiの1フレーム分を音声フレームデータSi[n] とする。そして最大振幅検出部21はこの音声フレームデータSi[n] 中の最大振幅Amaxを検出し、当該最大振幅Amaxを有音/無音検出部22及び音量制御部23に出力する。
【0019】
有音/無音検出部22は、最大振幅Amax及び有音/無音判定しきい値Amuteを基に有音か無音か検出し、その検出結果を有音/無音フラグデータS20として音量制御部23に出力する。音量制御部23では最大振幅Amax及び有音/無音フラグデータS20を基に増幅率aoを決定し、当該増幅率aoを音量増幅部20に出力する。音量増幅部20は増幅率aoによつて音声フレームデータSi[n] を増幅し、その結果得られる音声フレームデータSo[n] をスピーチエンコーダ8に出力する。
【0020】
ここで音量増幅器7における音声増幅方法について図3に示すフローチヤートを用いて具体的に説明する。まずステツプSP1から入つたステツプSP2において、最大振幅検出部21では音声フレームデータSi[n] から最大振幅Amaxを検出し、当該最大振幅Amaxを有音/無音検出部22及び音量制御部23に出力する。
【0021】
ステツプSP3において有音/無音検出部22では直近Nフレームの最大振幅Amaxを保存しており、この直近Nフレームの最大振幅Amaxが有音/無音判定しきい値Amuteより大きいか否かを調べることにより有音か無音か検出し、その検出結果を有音/無音フラグデータS20として音量制御部23に出力する。有音/無音検出部22は例えば直近Nフレームにおいて少なくとも1フレームが有音/無音判定しきい値Amuteより大きい時有音と判定するようになされている。これにより有音/無音検出部22は誤検出を防ぐようになされている。
ステツプSP4において音量制御部23では有音/無音フラグデータS20を調べることにより、そのフレームが有音か無音かを判定する。その結果、有音と判定された場合には音量制御部23はステツプSP5に移行し、無音と判定された場合にはステツプSP6に移行する。
【0022】
ここで音量制御部23においては予め決められた増幅率をauとし、この増幅率auを信号レベルに応じて変化させた増幅率をaiとしている。さらにこの増幅率aiをサンプリングデータ毎に平滑化した増幅率をaoとしている。
ところで最大振幅Amaxがダイナミツクレンジの最大値より大きい値に増幅されると、波形のピーク値付近が切りとられるようなひずみ、すなわちクリツピングが発生する。このクリツピングは雑音の発生原因になるため、音量制御部23ではクリツピングが発生しないように増幅率aiを変化させている。
さらに音量制御部23においては増幅率auによつてダイナミツクレンジの最大値に増幅される最大振幅Amaxをクリツピングの発生しない最大振幅しきい値ATHとし、この最大振幅しきい値ATHを用いてクリツピングが発生しないように増幅率aiを決定している。
【0023】
ステツプSP5において音量制御部23では音声フレームデータSi[n] の最大振幅Amaxがクリツピングの発生しない最大振幅しきい値ATHより大きいか否か判定する。その結果、最大振幅Amaxが最大振幅しきい値ATHより大きくないと判定された場合には音量制御部23はステツプSP7に移行し、最大振幅Amaxが最大振幅しきい値ATHより大きいと判定された場合にはステツプSP8に移行する。
【0024】
ステツプSP6において音量制御部23では、増幅率aiに「1」を設定することにより増幅を行わないようにして、無音のときには増幅しないようにしている。ステツプSP7において音量制御部23では増幅率aiを増幅率auに決定し、増幅率auによつて増幅するようにしている。ステツプSP8において音量制御部23では増幅率aiを、次式
【数1】
によつて求め、クリツピングの発生を防止している。このようにして最大振幅Amaxが最大振幅しきい値ATHより小さいか或いは等しいとき増幅率aiを増幅率auに決定し、最大振幅Amaxが最大振幅しきい値ATHより大きいときには増幅率aiは増幅率auより小さくなるようになされている。
【0025】
ステツプSP9において音量制御部23ではカウンタkを「0」に設定する。
ところで増幅率aiはサンプリングデータ毎に値が極端に異なると、音声の不連続が生じるおそれがあり、ステツプSP10において音量制御部23ではこの不都合を解決するため増幅率aiを、次式
【数2】
によつて平滑化することにより増幅率aoを得、この増幅率aoを音量増幅部20に出力する。ここで右辺の増幅率aoは前回求めた、1つ前のサンプリングデータの増幅率aoである。またmは1以下の定数であり、例えばこの場合には1/40程度が用いられる。
【0026】
ステツプSP11において音量増幅部20では、音声フレームデータSi[k] 及び増幅率aoを基に音声フレームデータSo[k] を、次式
【数3】
に示すように、音声フレームデータSi[k] と増幅率aoを乗算することによつて算出する。ステツプSP12において音量制御部23では、カウンタkに「1」を加算して、当該カウンタkをインクリメントする。
【0027】
ステツプSP13において音量制御部23では、カウンタkが「n−1」に一致したか否か、すなわちサンプリングデータをn個分増幅したか否か判定する。その結果、サンプリングデータをn個分増幅したと判定された場合には音量制御部23はステツプSP14に移つて処理を終了し、増幅していないと判定された場合にはステツプSP10に戻つて動作を繰り返す。
【0028】
以上の構成において、ユーザが小さい声で通話するため操作部5において音量増幅の操作をすると、マイク2に入力された音声信号S1はアナログ/デイジタル変換器3に供給され、当該アナログ/デイジタル変換器3は音声信号S1を音声データSiにアナログ/デイジタル変換した後、切換器4を介して音量増幅器7に出力する。音量増幅器7はこの音声データSiを音声データSoに増幅した後、スピーチエンコーダ8に出力する。
【0029】
ここで音量増幅器7の有音/無音検出部22では最大振幅Amaxが有音/無音判定しきい値Amuteより大きいか否かを調べることにより、有音か無音かを検出し、その結果得られる有音/無音フラグデータS20を音量制御部23に出力する。その結果、無音と判定された場合には音量制御部23では増幅率aiに「1」を設定し増幅を行わないようにする。このようにして音声が無音のときには増幅しないようにしたことにより、雑音だけが増大することを回避することができる。
【0030】
音量制御部23では音声フレームデータSi[n] の最大振幅Amaxがクリツピングの発生しない最大振幅しきい値ATHより大きいか否か判定する。その結果、最大振幅Amaxが最大振幅しきい値ATHより大きくないと判定された場合には増幅率aiを増幅率auに決定し、大きいと判定された場合には上述の(1)式に示すように、最大振幅Amaxが最大振幅しきい値ATHより超えている度合に応じて増幅率aiを減少させるように決定している。従つて最大振幅Amaxが最大振幅しきい値ATHより小さいか或いは等しいときは、増幅率aiを増幅率auに決定し、最大振幅Amaxが最大振幅しきい値ATHより大きいときは、その超えている度合に応じて増幅率aiを増幅率auより減少させるように決定する。このようにして入力音声が大きくなると増幅率aiが減少するようにしたことにより、クリツピングの発生を押さえて、雑音が発生しないようにしている。
【0031】
音量増幅部20では、音声フレームデータSi[k] 及び増幅率aoを基に音声フレームデータSo[k] を上述の(3)式によつて求め、当該音声フレームデータSo[k] をスピーチエンコーダ8に出力する。これにより音量増幅部20では小さな声を相手が聞き取りやすい音量に増幅することができる。
【0032】
このようにして入力音声の信号レベルに応じて増幅度を決定するようにしたことにより、信号レベルに合わせて増幅度を適応的に切り換えることができる。これにより携帯電話装置1では周囲の雑音が増大しないように増幅しながら、ユーザの手間をかけずに容易に最適な音量に調整することができ、従来に比して一段と使い勝手を向上し得る。
【0033】
以上の構成によれば、入力音声の信号レベルに応じて増幅度を決定するようにしたことにより、信号レベルに合わせて増幅度を適応的に切り換えることができ、かくしてユーザの手間をかけずに容易に最適な音量に調整することができる携帯電話装置1を実現できる。
【0034】
なお上述の実施例においては、音声フレームデータSi[n] の最大振幅Amaxを直接検出した場合について述べたが、本発明はこれに限らず、フレーム当たりの平均電力から最大振幅を検出しても上述の場合と同様の効果を得ることができる。
【0035】
ここでフレーム当たりの平均電力を用いる場合について、図3との対応部分に同一符号を付して示す図4を用いて説明する。まずステツプSP20から入つたステツプSP21において、最大振幅検出部21では音声フレームデータSi[n] を基にフレーム当たりの平均電力PFRAMEを、次式
【数4】
によつて求める。
【0036】
ステツプSP22において最大振幅検出部21では平均電力PFRAMEを基にフレーム当たりの平均振幅Aav(FRAME)を、次式
【数5】
によつて求める。
【0037】
ステツプSP23において最大振幅検出部21では、平均振幅Aav(FRAME)に対する最大振幅の比率である波高率ahを基に推定最大振幅Aes(FRAME)を、次式
【数6】
によつて求める。
【0038】
このようにして最大振幅検出部21では1フレーム分のサンプリングデータの積分をサンプル数によつて割り算することにより、フレーム当たりの平均電力を算出する。さらに最大振幅検出部21ではこの平均電力の平方根をとつて平均振幅を求めた後、当該平均振幅を波高率によつて割り算し最大振幅を得る。この処理が終わるとステツプSP3に移り、当該ステツプSP3からステツプSP14までにおいて、音量増幅器7は平均電力から算出した最大振幅の大きさに応じて増幅度を切り換え、当該増幅度によつて入力音声を増幅している。すなわち音量増幅器7は図3に示すフローチヤートのステツプSP3からステツプSP14までと同じ動作を行つている。
【0039】
また上述の実施例においては、本発明を携帯電話装置に適用した場合について述べたが、本発明はこれに限らず、音声の送受信手段を備える通信端末装置に本発明を適用しても上述の場合と同様の効果を得ることができる。
【0040】
【発明の効果】
  上述のように本発明によれば、入力音声の所定サンプル数をフレームとし、当該フレーム毎に最大振幅を検出し、当該検出した最大振幅に基づいて入力音声が有音か無音かを検出し、その結果、入力音声が有音であると検出した場合には、かかる最大振幅に基づいて入力音声に対する増幅度を決定し、入力音声が無音であると検出した場合には、当該入力音声を増幅しないように増幅度を決定し、当該決定した増幅度に基づいて入力音声を増幅するようにし、入力音声が有音か無音かを検出する際に、直近の所定フレームの最大振幅のうち少なくとも1フレームの最大振幅が所定の有音無音判定しきい値よりも大きい場合、入力音声が有音であると判定し、直近の所定フレーム全ての最大振幅が有音無音判定しきい値以下である場合、入力音声が無音であると判定するようにしたことにより、入力音声が有音か無音かの誤検出を防ぎながら、入力音声が無音である場合、雑音だけが増大することを回避すると共に、当該入力音声が有音である場合、最大振幅に応じて増幅度を適応的に切り換えることができ、かくしてユーザの手間をかけずに入力音声を容易に最適な音量に調整することができる。
【図面の簡単な説明】
【図1】本発明の一実施例による携帯電話装置の構成を示すブロツク図である。
【図2】音量増幅器の内部構成を示すブロツク図である。
【図3】音声増幅方法を示すフローチヤートである。
【図4】平均電力を用いた音声増幅方法を示すフローチヤートである。
【符号の説明】
1……携帯電話装置、2……マイク、3……アナログ/デイジタル変換器、4……切換器、5……操作部、6……制御部、7……音量増幅器、8……スピーチエンコーダ、9……チヤンネルエンコーダ、10……変調器、12……アンテナ、14……復調器、15……チヤンネルデコーダ、16……スピーチデコーダ、17……デイジタル/アナログ変換器、18……スピーカ、20……音量増幅部、21……最大振幅検出部、22……有音/無音検出部、23……音量制御部。[0001]
 【table of contents】
 The present invention will be described in the following order.
 DESCRIPTION OF THE PREFERRED EMBODIMENTS Embodiments of Means Invention for Solving the Problems to be Solved by Conventional Inventions (FIGS. 1 to 4)
 Effect of the Invention
 BACKGROUND OF THE INVENTION
 The present invention relates to an audio amplifying device, a communication terminal device, and an audio amplifying method, and is suitable for application to, for example, a mobile phone device.
 [0003]
 [Prior art]
 2. Description of the Related Art Conventionally, a mobile phone device is the most widely used service among mobile communication systems. The recent reduction in size and weight of mobile phone devices has greatly contributed to the price reduction effect and has promoted the expansion of the number of subscribers. However, various problems have emerged as the number of subscribers increases. For example, when a user makes a call in a quiet public place, there is a risk that the voice may disturb the surroundings, or when the user talks on a crowded train, the contents of the conversation may be heard by others It is a problem. In such a case, the user does not bother others by calling with a small voice. However, when the voice is transmitted in a low voice state, the other party cannot hear the voice.
 [0004]
 Therefore, in order to eliminate this situation, the conventional mobile phone device is provided with a switching switch in the terminal, and the user operates the switching switch to directly switch the microphone gain, so that the gain is changed to a predetermined gain. Has been made. As a result, a small sound is amplified, and the sound is transmitted after the volume of the sound is easily heard by the other party.
 [0005]
 [Problems to be solved by the invention]
 By the way, in the mobile phone device having such a configuration, the user himself / herself has to operate the switching switch according to the state of the call and adjust the amplification degree, but the user can make a call while operating the switching switch according to the state of the conversation. It's difficult to do, and in fact it is rarely done. For example, when the switch is set to a higher amplification level in advance so that the user can talk with a lower voice, when the user is in a situation where no voice is input as when listening to the other party's story, Thus, the user does not bother to switch the switching switch to the side with the lower amplification degree, and it is considered that the user usually keeps talking.
 [0006]
 As described above, in the case where only the ambient noise is input without voice input to the terminal, the conventional mobile phone device has a disadvantage that the ambient noise is simply amplified and then transmitted to the other party. In addition, when the switch is set to a higher amplification level so that the user can talk with a low voice, when a sudden loud noise is generated around the call and this is input to the terminal, A telephone device has a disadvantage that it amplifies a loud noise together with the voice, which may cause discomfort to the other party.
 [0007]
 The present invention has been made in consideration of the above points, and intends to propose an audio amplifying apparatus, a communication terminal apparatus, and an audio amplifying method capable of adaptively switching the audio amplification degree and adjusting the sound volume to an optimum volume. is there.
 [0008]
 [Means for Solving the Problems]
 In order to solve such a problem, in the present invention, a predetermined number of samples of input speech is used as a frame, the maximum amplitude is detected for each frame, and whether the input speech is sound or silent is detected based on the detected maximum amplitude. As a result, when it is detected that the input sound is sound, the amplification degree for the input sound is determined based on the maximum amplitude, and when it is detected that the input sound is silent, the input sound is The amplification level is determined so as not to be amplified, and the input voice is amplified based on the determined amplification level. When detecting whether the input voice is voiced or silent, at least of the maximum amplitudes of the latest predetermined frames When the maximum amplitude of one frame is larger than a predetermined sound / silence determination threshold, it is determined that the input sound is sound, and the maximum amplitudes of all the latest predetermined frames are less than the sound / silence determination threshold. If the input voice is so determined to be silent.
 Therefore, in the present invention, when the input voice is silent while preventing erroneous detection of whether the input voice is voiced or silent, it is avoided that only the noise increases, and when the input voice is voiced, The amplification degree can be adaptively switched according to the maximum amplitude.
 [0009]
 In the present invention, when it is detected that the input sound is sound, it is determined whether or not the maximum amplitude is larger than a predetermined maximum amplitude threshold value, and the maximum amplitude is the maximum amplitude threshold according to the determination result. When the maximum amplitude is larger than the maximum amplitude threshold, the predetermined amplification is determined according to the degree to which the maximum amplitude exceeds the maximum amplitude threshold. Was reduced.
 Therefore, in the present invention, the input voice can be amplified so that clipping noise does not occur.
 [0010]
 Further, in the present invention, when the amplification degree is determined, the determined amplification degree is sequentially smoothed for each sample in the frame of the input speech according to a predetermined arithmetic expression.
 Therefore, in the present invention, it is possible to avoid the occurrence of discontinuity of the input voice.
 [0011]
 DETAILED DESCRIPTION OF THE INVENTION
 Hereinafter, an embodiment of the present invention will be described in detail with reference to the drawings.
 [0012]
 In FIG. 1,
 [0013]
 Here, when the user performs a volume amplification operation on the operation unit 5, the operation unit 5 sends an operation signal S 3 representing the operation information to the
 [0014]
 The
 [0015]
 The
 [0016]
 Subsequently, in the reception system, the reception signal S10 received by the
 [0017]
 The
 [0018]
 Here, the
 [0019]
 The sound /
 [0020]
 Here, the sound amplification method in the
 [0021]
 In step SP3, the voice /
 In step SP4, the sound
 [0022]
 Here, in the
 By the way, when the maximum amplitude Amax is amplified to a value larger than the maximum value of the dynamic range, distortion such as clipping near the peak value of the waveform, that is, clipping occurs. Since this clipping causes noise generation, the
 Further, in the
 [0023]
 In step SP5, the
 [0024]
 In step SP6, the
 To prevent the occurrence of clipping. Thus, when the maximum amplitude Amax is smaller than or equal to the maximum amplitude threshold value ATH, the amplification factor ai is determined as the amplification factor au , and when the maximum amplitude Amax is larger than the maximum amplitude threshold value ATH. The amplification factor ai is made smaller than the amplification factor au .
 [0025]
 In step SP9, the
 Meanwhile the amplification factor ai is a value for each sampling data extremely different, there is a possibility that discontinuity of sound occurs, the
 Obtain the amplification factor ao by smoothing Te Niyotsu, and outputs the amplification factor ao the
 [0026]
 In step SP11, the
 As shown in FIG. 4, the calculation is performed by multiplying the audio frame data Si [k] and the amplification factor ao . In step SP12, the
 [0027]
 In step SP13, the
 [0028]
 In the above configuration, when the user performs a volume amplification operation in the operation unit 5 to talk with a low voice, the audio signal S1 input to the
 [0029]
 Here, the voice /
 [0030]
 The
 [0031]
 In the
 [0032]
 Since the amplification degree is determined according to the signal level of the input sound in this way, the amplification degree can be adaptively switched according to the signal level. As a result, the
 [0033]
 According to the above configuration, the amplification degree is determined according to the signal level of the input sound, so that the amplification degree can be adaptively switched according to the signal level, and thus, without the user's effort. The
 [0034]
 In the above-described embodiment, the case where the maximum amplitude Amax of the audio frame data Si [n] is directly detected has been described. However, the present invention is not limited to this, and the maximum amplitude is detected from the average power per frame. However, the same effect as in the above case can be obtained.
 [0035]
 Here, the case where the average power per frame is used will be described with reference to FIG. First, in step SP21 entered from step SP20, the
 To find out.
 [0036]
 In step SP22, the
 To find out.
 [0037]
 In step SP23, the
 To find out.
 [0038]
 In this way, the
 [0039]
 Further, in the above-described embodiments, the case where the present invention is applied to the mobile phone device has been described. However, the present invention is not limited to this, and the above-described embodiment can be applied to a communication terminal device including a voice transmission / reception unit. The same effect as the case can be obtained.
 [0040]
 【The invention's effect】
 As described above, according to the present invention, the predetermined number of samples of the input sound is set as a frame, the maximum amplitude is detected for each frame, and whether the input sound is sound or silence is detected based on the detected maximum amplitude, As a result, when it is detected that the input sound is sound, the amplification degree for the input sound is determined based on the maximum amplitude, and when the input sound is detected to be silent, the input sound is amplified. The amplification level is determined so as not to be amplified, and the input voice is amplified based on the determined amplification level. When detecting whether the input voice is voiced or silent, at least one of the maximum amplitudes of the most recent predetermined frame is detected. When the maximum amplitude of the frame is greater than the predetermined sound / silence determination threshold, it is determined that the input sound is sound, and the maximum amplitude of all of the most recent predetermined frames is less than the sound / silence determination threshold , Input sound When the input sound is silent while avoiding false detection of whether the input sound is sound or no sound, it is possible to prevent the noise from increasing and Can be switched adaptively according to the maximum amplitude, and thus the input voice can be easily adjusted to the optimum volume without any user effort.
 [Brief description of the drawings]
 FIG. 1 is a block diagram showing a configuration of a cellular phone device according to an embodiment of the present invention.
 FIG. 2 is a block diagram showing an internal configuration of a volume amplifier.
 FIG. 3 is a flowchart showing an audio amplification method.
 FIG. 4 is a flowchart showing an audio amplification method using average power.
 [Explanation of symbols]
 DESCRIPTION OF
| Application Number | Priority Date | Filing Date | Title | 
|---|---|---|---|
| JP27153296AJP3824182B2 (en) | 1996-09-20 | 1996-09-20 | Audio amplification device, communication terminal device, and audio amplification method | 
| Application Number | Priority Date | Filing Date | Title | 
|---|---|---|---|
| JP27153296AJP3824182B2 (en) | 1996-09-20 | 1996-09-20 | Audio amplification device, communication terminal device, and audio amplification method | 
| Publication Number | Publication Date | 
|---|---|
| JPH1098344A JPH1098344A (en) | 1998-04-14 | 
| JP3824182B2true JP3824182B2 (en) | 2006-09-20 | 
| Application Number | Title | Priority Date | Filing Date | 
|---|---|---|---|
| JP27153296AExpired - LifetimeJP3824182B2 (en) | 1996-09-20 | 1996-09-20 | Audio amplification device, communication terminal device, and audio amplification method | 
| Country | Link | 
|---|---|
| JP (1) | JP3824182B2 (en) | 
| Publication number | Priority date | Publication date | Assignee | Title | 
|---|---|---|---|---|
| US7188352B2 (en) | 1995-07-11 | 2007-03-06 | Touchtunes Music Corporation | Intelligent digital audiovisual playback system | 
| US7424731B1 (en) | 1994-10-12 | 2008-09-09 | Touchtunes Music Corporation | Home digital audiovisual information recording and playback system | 
| EP0786121B1 (en) | 1994-10-12 | 2000-01-12 | Touchtunes Music Corporation | Intelligent digital audiovisual playback system | 
| FR2753868A1 (en) | 1996-09-25 | 1998-03-27 | Technical Maintenance Corp | METHOD FOR SELECTING A RECORDING ON AN AUDIOVISUAL DIGITAL REPRODUCTION SYSTEM AND SYSTEM FOR IMPLEMENTING THE METHOD | 
| US7574727B2 (en) | 1997-07-23 | 2009-08-11 | Touchtunes Music Corporation | Intelligent digital audiovisual playback system | 
| FR2769165B1 (en) | 1997-09-26 | 2002-11-29 | Technical Maintenance Corp | WIRELESS SYSTEM WITH DIGITAL TRANSMISSION FOR SPEAKERS | 
| FR2781582B1 (en) | 1998-07-21 | 2001-01-12 | Technical Maintenance Corp | SYSTEM FOR DOWNLOADING OBJECTS OR FILES FOR SOFTWARE UPDATE | 
| FR2781591B1 (en) | 1998-07-22 | 2000-09-22 | Technical Maintenance Corp | AUDIOVISUAL REPRODUCTION SYSTEM | 
| FR2781593B1 (en) | 1998-07-22 | 2001-01-12 | Technical Maintenance Corp | REMOTE CONTROL FOR INTELLIGENT DIGITAL AUDIOVISUAL REPRODUCTION SYSTEM | 
| FR2781580B1 (en) | 1998-07-22 | 2000-09-22 | Technical Maintenance Corp | SOUND CONTROL CIRCUIT FOR INTELLIGENT DIGITAL AUDIOVISUAL REPRODUCTION SYSTEM | 
| US8028318B2 (en) | 1999-07-21 | 2011-09-27 | Touchtunes Music Corporation | Remote control unit for activating and deactivating means for payment and for displaying payment status | 
| FR2796482B1 (en) | 1999-07-16 | 2002-09-06 | Touchtunes Music Corp | REMOTE MANAGEMENT SYSTEM FOR AT LEAST ONE AUDIOVISUAL INFORMATION REPRODUCING DEVICE | 
| FR2805377B1 (en) | 2000-02-23 | 2003-09-12 | Touchtunes Music Corp | EARLY ORDERING PROCESS FOR A SELECTION, DIGITAL SYSTEM AND JUKE-BOX FOR IMPLEMENTING THE METHOD | 
| FR2805072B1 (en) | 2000-02-16 | 2002-04-05 | Touchtunes Music Corp | METHOD FOR ADJUSTING THE SOUND VOLUME OF A DIGITAL SOUND RECORDING | 
| FR2805060B1 (en) | 2000-02-16 | 2005-04-08 | Touchtunes Music Corp | METHOD FOR RECEIVING FILES DURING DOWNLOAD | 
| FR2808906B1 (en) | 2000-05-10 | 2005-02-11 | Touchtunes Music Corp | DEVICE AND METHOD FOR REMOTELY MANAGING A NETWORK OF AUDIOVISUAL INFORMATION REPRODUCTION SYSTEMS | 
| FR2811175B1 (en) | 2000-06-29 | 2002-12-27 | Touchtunes Music Corp | AUDIOVISUAL INFORMATION DISTRIBUTION METHOD AND AUDIOVISUAL INFORMATION DISTRIBUTION SYSTEM | 
| FR2811114B1 (en) | 2000-06-29 | 2002-12-27 | Touchtunes Music Corp | DEVICE AND METHOD FOR COMMUNICATION BETWEEN A SYSTEM FOR REPRODUCING AUDIOVISUAL INFORMATION AND AN ELECTRONIC ENTERTAINMENT MACHINE | 
| FR2814085B1 (en) | 2000-09-15 | 2005-02-11 | Touchtunes Music Corp | ENTERTAINMENT METHOD BASED ON MULTIPLE CHOICE COMPETITION GAMES | 
| US12100258B2 (en) | 2002-09-16 | 2024-09-24 | Touchtunes Music Company, Llc | Digital downloading jukebox with enhanced communication features | 
| US8332895B2 (en) | 2002-09-16 | 2012-12-11 | Touchtunes Music Corporation | Digital downloading jukebox system with user-tailored music management, communications, and other tools | 
| US10373420B2 (en) | 2002-09-16 | 2019-08-06 | Touchtunes Music Corporation | Digital downloading jukebox with enhanced communication features | 
| US11029823B2 (en) | 2002-09-16 | 2021-06-08 | Touchtunes Music Corporation | Jukebox with customizable avatar | 
| US7822687B2 (en) | 2002-09-16 | 2010-10-26 | Francois Brillon | Jukebox with customizable avatar | 
| US8584175B2 (en) | 2002-09-16 | 2013-11-12 | Touchtunes Music Corporation | Digital downloading jukebox system with user-tailored music management, communications, and other tools | 
| US9646339B2 (en) | 2002-09-16 | 2017-05-09 | Touchtunes Music Corporation | Digital downloading jukebox system with central and local music servers | 
| KR20050090283A (en)* | 2004-03-08 | 2005-09-13 | 엘지전자 주식회사 | Method for adjusting gain of down-loaded music file | 
| US9330529B2 (en) | 2007-01-17 | 2016-05-03 | Touchtunes Music Corporation | Game terminal configured for interaction with jukebox device systems including same, and/or associated methods | 
| US9171419B2 (en) | 2007-01-17 | 2015-10-27 | Touchtunes Music Corporation | Coin operated entertainment system | 
| US9953481B2 (en) | 2007-03-26 | 2018-04-24 | Touchtunes Music Corporation | Jukebox with associated video server | 
| US8332887B2 (en) | 2008-01-10 | 2012-12-11 | Touchtunes Music Corporation | System and/or methods for distributing advertisements from a central advertisement network to a peripheral device via a local advertisement server | 
| US10290006B2 (en) | 2008-08-15 | 2019-05-14 | Touchtunes Music Corporation | Digital signage and gaming services to comply with federal and state alcohol and beverage laws and regulations | 
| US8849435B2 (en) | 2008-07-09 | 2014-09-30 | Touchtunes Music Corporation | Digital downloading jukebox with revenue-enhancing features | 
| US10564804B2 (en) | 2009-03-18 | 2020-02-18 | Touchtunes Music Corporation | Digital jukebox device with improved user interfaces, and associated methods | 
| US9292166B2 (en) | 2009-03-18 | 2016-03-22 | Touchtunes Music Corporation | Digital jukebox device with improved karaoke-related user interfaces, and associated methods | 
| US10719149B2 (en) | 2009-03-18 | 2020-07-21 | Touchtunes Music Corporation | Digital jukebox device with improved user interfaces, and associated methods | 
| EP2409273A4 (en) | 2009-03-18 | 2016-05-11 | Touchtunes Music Corp | ENTERTAINMENT SERVER AND RELATED SOCIAL NETWORK SERVICES | 
| US12112093B2 (en) | 2009-03-18 | 2024-10-08 | Touchtunes Music Company, Llc | Entertainment server and associated social networking services | 
| CN105354940A (en) | 2010-01-26 | 2016-02-24 | 踏途音乐公司 | Digital jukebox device with improved user interfaces, and associated methods | 
| US9448626B2 (en) | 2011-02-11 | 2016-09-20 | Immersion Corporation | Sound to haptic effect conversion system using amplitude value | 
| US8717152B2 (en) | 2011-02-11 | 2014-05-06 | Immersion Corporation | Sound to haptic effect conversion system using waveform | 
| GB2522772B (en) | 2011-09-18 | 2016-01-13 | Touchtunes Music Corp | Digital jukebox device with karaoke and/or photo booth features, and associated methods | 
| US11151224B2 (en) | 2012-01-09 | 2021-10-19 | Touchtunes Music Corporation | Systems and/or methods for monitoring audio inputs to jukebox devices | 
| EP2624099B1 (en)* | 2012-02-03 | 2019-11-13 | Immersion Corporation | Method and system for sound to haptic effect conversion using waveform | 
| US9715276B2 (en) | 2012-04-04 | 2017-07-25 | Immersion Corporation | Sound to haptic effect conversion system using multiple actuators | 
| WO2015070070A1 (en) | 2013-11-07 | 2015-05-14 | Touchtunes Music Corporation | Techniques for generating electronic menu graphical user interface layouts for use in connection with electronic devices | 
| JP6777545B2 (en) | 2014-03-25 | 2020-10-28 | タッチチューンズ ミュージック コーポレイションTouchtunes Music Corporation | Digital jukebox devices with an improved user interface and related methods | 
| Publication number | Publication date | 
|---|---|
| JPH1098344A (en) | 1998-04-14 | 
| Publication | Publication Date | Title | 
|---|---|---|
| JP3824182B2 (en) | Audio amplification device, communication terminal device, and audio amplification method | |
| US6138040A (en) | Method for suppressing speaker activation in a portable communication device operated in a speakerphone mode | |
| US7630887B2 (en) | Enhancing the intelligibility of received speech in a noisy environment | |
| FI88570B (en) | TELEFONKRETS SOM LAEMNAR HAENDERNA FRIA | |
| CN102016984B (en) | System and method for dynamic sound delivery | |
| EP1038358B1 (en) | Audio codec with agc controlled by a vocoder | |
| JP5612025B2 (en) | Automatic gain control circuit | |
| US6122531A (en) | Method for selectively including leading fricative sounds in a portable communication device operated in a speakerphone mode | |
| JP2000059496A (en) | Method and apparatus for performing speakerphone operation in a portable communication device | |
| CN102804260A (en) | Audio signal processing device and audio signal processing method | |
| JPH07131268A (en) | Telephone | |
| US7054436B2 (en) | Communication terminals with a dual use speaker for sensing background noise and generating sound, and related methods and computer program products | |
| JP3022807B2 (en) | Mobile phone equipment | |
| WO2007049222A1 (en) | Adaptive volume control for a speech reproduction system | |
| US20050113147A1 (en) | Methods, electronic devices, and computer program products for generating an alert signal based on a sound metric for a noise signal | |
| KR20020011131A (en) | Method and apparatus for automatically adjusting speaker and microphone gains within a mobile telephone | |
| JP2012095047A (en) | Speech processing unit | |
| JPH09181817A (en) | Mobile phone | |
| JPH08320154A (en) | Mobile phone device | |
| JPH11187112A (en) | Communication device and communication method | |
| JP2001298394A (en) | Mobile phone equipment | |
| JP3717809B2 (en) | Mobile phone | |
| JPH0818647A (en) | Telephone set | |
| JPH1023114A (en) | Telephone set | |
| JP2002330213A (en) | Receiving circuit and portable telephone using the same | 
| Date | Code | Title | Description | 
|---|---|---|---|
| A977 | Report on retrieval | Free format text:JAPANESE INTERMEDIATE CODE: A971007 Effective date:20040805 | |
| A131 | Notification of reasons for refusal | Free format text:JAPANESE INTERMEDIATE CODE: A131 Effective date:20041203 | |
| A521 | Written amendment | Free format text:JAPANESE INTERMEDIATE CODE: A523 Effective date:20050125 | |
| TRDD | Decision of grant or rejection written | ||
| A01 | Written decision to grant a patent or to grant a registration (utility model) | Free format text:JAPANESE INTERMEDIATE CODE: A01 Effective date:20060609 | |
| A61 | First payment of annual fees (during grant procedure) | Free format text:JAPANESE INTERMEDIATE CODE: A61 Effective date:20060622 | |
| FPAY | Renewal fee payment (event date is renewal date of database) | Free format text:PAYMENT UNTIL: 20090707 Year of fee payment:3 | |
| FPAY | Renewal fee payment (event date is renewal date of database) | Free format text:PAYMENT UNTIL: 20100707 Year of fee payment:4 |