





【0001】
【発明の属する技術分野】
本発明は、炭化水素やメタノールなどの原燃料を改質して、水素リッチな改質ガスを製造するための燃料改質装置に関し、さらに詳しくは固体高分子型燃料電池やリン酸型燃料電池などの燃料製造などに好適であり、未反応の残留メタノールが少なく、一酸化炭素の生成量を低く抑えることができる燃料改質装置およびこれを用いた燃料電池システムに関する。
【0002】
【従来の技術】
従来より、メタノールと水との混合蒸気から水素リッチな改質ガスを製造する方法として、水蒸気改質反応(CH3OH+H2O→3H2+CO2−49.5kJ/mol)が知られているが、この反応は吸熱反応であるため、改質装置にバーナやヒータなどを設けて加熱を行い、改質反応に必要な熱量を反応管の外部から供給する必要があり、小型化、高性能化に対しては十分ではなかった。
【0003】
また、水蒸気改質反応に一般的に用いられる改質用触媒としては、この改質反応に対して高反応選択性を有する銅−亜鉛系触媒が挙げられるが、この銅−亜鉛系触媒は熱による劣化が起こりやすく、しかも酸素などの酸化剤存在下では触媒が酸化されて触媒活性が低下するなどの課題を有している。
【0004】
近年、自動車などへの車載型燃料電池を考慮したシステムへの適用が検討されてきているが、燃料改質装置の起動性、応答性およびコンパクト化が大きな課題となっており、その解決手段として、吸熱反応である前記水蒸気改質反応と発熱反応である酸化反応(CH3OH+(1/2)O2→CO2+2H2+189.5kJ/mol)を行わせるオートサーマル改質が有効であるものと考えられている。
【0005】
【発明が解決しようとする課題】
こうしたオートサーマル改質では、原燃料と水に酸素を供給して反応が行われるが、水蒸気改質反応に高い反応選択性を有する前記銅−亜鉛系触媒のみを用いたのでは、酸化剤である酸素の存在により、触媒の酸化による活性劣化および局所的に発熱反応が起こることによる熱劣化が起きるため触媒の耐久性の点で問題を有している。
【0006】
また、触媒に耐熱性をもたせ、酸化反応の性能を高めるために白金やパラジウムなどの貴金属触媒を用いる技術(たとえば、特開昭58−174237号公報、や開昭58−177153号公報参照)や、ニッケルやコバルトなどの卑金属触媒を用いる技術(たとえば、特開昭50−49204号公報や特開昭51−68488号公報参照)も提案されているが、これらの触媒上で進行するのは前記水蒸気改質反応ではなく、メタノールから一酸化炭素と水素とを生成する分解反応(CH3OH→CO+2H2−90.0kJ/mol)が主体であるので、一酸化炭素濃度を数十ppm以下に抑える必要がある固体高分子型燃料電池や、1%以下に抑える必要があるリン酸型燃料電池などの燃料製造装置への適用は困難であった。
【0007】
こうした問題点を解決するために、耐熱性の優れている貴金属系触媒を上流側に、燃料改質活性に優れている銅−亜鉛系触媒を下流側に充填した触媒層を有する燃料改質装置が提案されている(特開平9−315801号公報参照)が、この装置では、供給された総てのメタノールの大部分が貴金属系触媒と接触するため、前記メタノールの酸化反応および分解反応が優先的に進行し、その結果、生成される改質ガス中の一酸化炭素濃度が高くなってしまう。したがって、こうした装置を燃料電池へ適用するためには一酸化炭素除去装置を大型にする必要があり、特にコンパクト化が要求される車載用燃料電池システムへの適用が困難であった。
【0008】
本発明の目的は、こうした従来技術の問題点を解決し、改質反応を促進する触媒の活性劣化および熱劣化を防止することができ、一酸化炭素の生成が少なく、しかもコンパクト化を実現することができる燃料改質装置および燃料電池システムを提供することにある。
【0009】
【課題を解決するための手段】
(1)上記目的を達成するために、請求項1及び2記載の燃料改質装置は、原燃料を含有する原燃料ガスの一部に酸素を供給して発熱反応である酸化反応を行なわせ、この酸化反応で放出される熱量を利用して吸熱反応である前記原燃料の改質反応を行なう燃料改質装置において、改質反応を進行させる第1改質部が少なくとも設けられている反応器の流れ方向に沿って、前記第1改質部を部分的に区画するように、前記酸素および原燃料ガスの混合ガス通路が設けられており、前記第1改質部には、前記混合ガス通路に連通する発熱反応である酸化反応を促進する第1触媒層と、前記混合ガス通路に連通しない吸熱反応である改質反応を促進する第2触媒層とが設けられ、前記第1触媒層と前記第2触媒層とが同心円状に設けられるとともに前記第2触媒層の周囲に第1触媒層が設けられ、前記第1触媒層に前記酸素を供給する酸素供給路が前記反応器の外周に接続されていることを特徴とする。
【0010】
酸化反応を促進する第1触媒層に充填される触媒としては、特に限定されないが、耐熱性に優れる貴金属(たとえば、パラジウムや白金など)系触媒を用いることが好ましい。改質反応を促進する第2触媒層に充填される触媒としては、たとえば銅−亜鉛系触媒を用いることができる。
【0011】
このように構成された請求項1及び2記載の燃料改質装置では、まず、原燃料を含有する原燃料ガスおよび酸素が、反応器に設けてある第1改質部に供給される。このとき、前記反応器の流れ方向に沿って前記第1改質部を部分的に区画可能となるように混合ガス通路が設けられており、この混合ガス通路を通る原燃料ガスは、酸素と混合されて所定量の酸素を含有する状態で第1触媒層を通過する。これに対し、前記混合ガス通路を通らない原燃料ガスは、酸素と混合されることなく第2触媒層を通過する。そして、第1触媒層を通過した酸素を含有する原燃料ガスは、反応速度の速い酸化反応(たとえば、CH3OH+1/2O2→2H2+CO2+189.5kJ/mol)により発熱反応を生じる。これに対し、第2触媒層を通過した酸素を含有しない原燃料ガスは、前記第1触媒層中の発熱反応により生成された熱量の伝熱を受けて、改質反応(たとえば、CH3  OH+H2O→CO2+3H2−49.5kJ/mol)により吸熱反応を生じ、水素と二酸化炭素とを含有する改質ガスを生成する。
【0012】
このような請求項1及び2記載の燃料改質装置によれば、発熱反応である酸化反応を促進するための第1触媒層と、吸熱反応である改質反応を促進するための第2触媒層とを別個に設け、第1触媒層における発熱反応により生成された熱量を伝熱させて、第2触媒層中の改質反応に必要な熱量とする構成を採用してあるので、燃料改質装置内部で発生する熱量を効率的に利用して吸熱反応である原燃料ガスの改質反応を行なうことができるとともに、過熱による第2触媒層の劣化といった問題を解消することができる。また、改質反応を促進する第2触媒層には、原燃料ガスのみが供給され、酸素は供給されない構成を採用してあるので、酸化による第2触媒層の活性劣化といった問題も解消することができる。
【0013】
(2)請求項1及び2記載の燃料改質装置において、前記第1触媒層と前記第2触媒層とが同心円状に設けられている。
【0014】
また、請求項1及び2記載の燃料改質装置において、第2触媒層の周囲に第1触媒層が設けられている。
【0015】
このように構成された請求項1及び2記載の燃料改質装置によれば、第1触媒層における発熱反応により生成された熱量を、第2触媒層により効率的に伝熱させることができる。
【0016】
(3)請求項1記載の燃料改質装置では、前記第1改質部において、前記第1触媒層における触媒の充填位置よりも、前記第2触媒層における触媒の充填位置を、前記反応器の下流側にずらして配置してある。
【0017】
このように構成された請求項1記載の燃料改質装置によれば、発熱反応である酸化反応により高温となった第1触媒層の上流側からの伝熱で、第2触媒層の上流側の温度が上昇した場合であっても、第2触媒層の上流側に充填されている触媒が熱によりシンタリング(担体表面に担持された触媒が凝集してしまう現象)を起こすことを防止することができ、第2触媒層における触媒の耐久性を一層高めることができる。
また、請求項2記載の燃料改質装置では、前記混合ガス通路に、原燃料を供給可能な第2の燃料供給路が連通して設けられており、前記第2の燃料供給路から供給された原燃料を気化させるための原燃料気化促進手段が混合ガス通路内に設けられている。原燃料気化促進手段としては、特に限定されないが、たとえば、通電発熱可能なヒータユニットなどが挙げられる。
このように構成された請求項2記載の燃料改質装置によれば、起動時や高出力時における、第1触媒層のメタノール酸化反応を素早く促進させることができ、起動時間や高出力発生までの時間を大幅に短縮することができる。
【0018】
  (4)請求項1または2記載の場合において、請求項3記載の燃料改質装置のように、第1触媒層に供給される原燃料ガスの量は、反応器全体に対して供給される原燃料ガスの量の一部とされていることが好ましい。
【0019】
所定量の酸素を含有する状態の原燃料ガスが第1触媒層を通過すると、上述した反応速度の速い酸化反応により発熱反応を生じる他、反応速度の遅い分解反応(たとえば、CH3OH→CO+2H2−90.0kJ/mol)による吸熱反応が進行し、一酸化炭素が生成される場合も想定される。
【0020】
このような請求項3記載の燃料改質装置よれば、第1触媒層に供給される原燃料ガスの量を、反応器全体に対して供給される原燃料ガスの量の一部としてあるので、第1触媒層に供給される原燃料ガスの大部分を反応速度の速い酸化反応に消費させることができ、反応速度の遅い分解反応に供される原燃料の量を少なくすることができる。したがって、一酸化炭素の生成を低く抑えることができる。
【0021】
(5)請求項1乃至3の何れかに記載の場合において、請求項4記載の燃料改質装置のように、前記酸素供給手段は、前記原燃料ガスに対して供給する酸素の割合を、前記酸化反応を促進する第1触媒層で生じる熱量と、前記改質反応を促進する第2触媒層で必要とされる熱量との関係から決定し、この決定した割合に相当する量の酸素を前記混合ガス通路を流れる原燃料ガスに対して供給する供給酸素量調節手段をさらに有することが好ましい。
【0022】
このように構成された請求項4記載の燃料改質装置によれば、原燃料ガスに供給する酸素の量を、前記酸化反応を促進する第1触媒層で生じる熱量と、前記改質反応を促進する第2触媒層で必要とされる熱量との関係から決定する構成を採用してあるので、前記改質反応を促進する第2触媒層で必要とされる熱量を、第1改質部内部において不足なく用意することができるとともに、第1触媒層で生じる熱量と第2触媒層で必要とされる熱量とのバランスを図り、余剰の熱量を発生させないこともできる。
【0025】
(6)なお、請求項1乃至4の何れかに記載の場合において、請求項5記載の燃料改質装置のように、前記第1改質部に設けられている第1触媒層および第2触媒層のそれぞれの触媒がハニカム体に担持されていてもよい。
【0026】
このように構成された請求項5記載の燃料改質装置によっても、請求項1乃至4記載の燃料改質装置により得られる作用効果を奏することができる。
【0027】
(7)請求項1乃至5の何れかに記載の場合において、請求項6記載の燃料改質装置のように、反応器の下流側に、改質反応および変性反応(たとえば、CO+H2O→CO2+H2+40.5kJ/mol)を促進する第3触媒層が設けられている第2改質部をさらに有することが好ましい。
【0028】
改質反応および変性反応を促進する第2触媒層に充填される触媒としては、たとえば銅−亜鉛系触媒を用いることができる。
【0029】
酸素を含有しない原燃料ガスが第2触媒層を通過すると、第1触媒層中の発熱反応により生成された熱量の伝熱を受けて、改質反応により水素リッチな改質ガスが生成されるのであるが、この改質反応は吸熱反応であるため、第1触媒層における発熱反応である酸化反応と比較して反応速度が遅く、高SVの反応条件下では未反応の原燃料が残留してしまう。
【0030】
そこで、請求項6記載の燃料改質装置では、第2触媒層において改質反応により生成された水素リッチな改質ガスおよび未反応の残留原燃料は、第1触媒層において酸化反応により生成された高温の反応ガスおよび副生した一酸化炭素とともに第1改質部を通過した際に混合され、成分および温度が均一化された後、反応器の下流側に設けられた第2改質部の第3触媒層を通過する。すると、第3触媒層を通過した未反応の残留原燃料は、高温の反応ガス中の熱の供給を受けて改質反応が促進され、副生した一酸化炭素は、変性反応(水性ガスシフト反応ともいう)が促進され、反応ガス中の未反応の残留原燃料および一酸化炭素が低減される。
【0031】
すなわち、請求項6記載の燃料改質装置によれば、反応器の下流側に、たとえば銅−亜鉛系触媒が充填してある第3触媒層が設けられている第2改質部をさらに有する構成を採用してあるので、第1改質部を通過した改質ガス中の未反応の残留原燃料のさらなる改質反応と、副生した一酸化炭素の変性反応(水性ガスシフト反応)とを効率よく促進することができ、未反応の残留原燃料および一酸化炭素の含有量が極めて少ない高純度の改質ガス(水素含有ガス)を生成することができる。したがって、一酸化炭素濃度を数十ppm以下に抑える必要がある固体高分子型燃料電池や、1%以下に抑える必要があるリン酸型燃料電池などの燃料製造装置への適用が容易となる。
【0032】
(8)請求項6記載の場合において、請求項7記載の燃料改質装置のように、前記第1改質部と、前記第2改質部との間に、たとえばミキサなどのガス混合手段をさらに有することが好ましい。
【0033】
このように構成された請求項7記載の燃料改質装置では、第1触媒層を通過した高温の反応ガスおよび副生した一酸化炭素と、第2触媒層を通過した水素リッチな改質ガスおよび未反応の残留原燃料との成分および温度が均一化された後に、反応器の下流側に設けられた第2改質部の第3触媒層を通過する。
【0034】
このような構成の請求項7記載の燃料改質装置によれば、第1触媒層を通過した高温の反応ガスおよび副生した一酸化炭素と、第2触媒層を通過した水素リッチな改質ガスおよび未反応の残留原燃料との混合を十分に行うことができ、反応器の下流側に設けられた第2改質部の第3触媒層において、前記第1改質部を通過した改質ガス中の未反応の残留原燃料のさらなる改質反応と、副生した一酸化炭素の変性反応とを効率よく、しかも安定的に促進することができる。
【0035】
(9)なお、請求項6または7記載の場合において、請求項8記載の燃料改質装置のように、前記第2改質部に設けられている第3触媒層の触媒がハニカム体に担持されていてもよい。
【0036】
このように構成された請求項8記載の燃料改質装置によっても、請求項7または8記載の燃料改質装置により得られる作用効果を奏することができる。
【0037】
(10)上記目的を達成するために、請求項9記載の燃料電池システムは、請求項1乃至8の何れかに記載の燃料改質装置と、該燃料改質装置から前記改質ガスの供給を受けて発電を行なう燃料電池とを有することを特徴とする。
【0038】
このように構成された請求項9記載の燃料電池システムによれば、前記燃料改質装置内部で発生する熱量を効率的に利用して吸熱反応である原燃料ガスの改質反応を行なうため、改質反応で要する熱量を供給するために外部から供給する熱量を削減することができ、あるいは別途、加熱のための熱源が不要となる。したがって、この燃料電池システムに備えられた燃料改質装置が大型化するおそれは少なくなる。加熱のための熱源が不要となる場合には、熱源を稼働させるための燃料やエネルギを供給することも不要となるため、本発明の燃料電池システムにおいては、システム全体の構造の複雑化を抑え、エネルギ効率を向上させることが可能となる。
【0039】
【発明の効果】
  請求項1及び2記載の発明によれば、燃料改質装置内部で発生する熱量を効率的に利用して吸熱反応である原燃料ガスの改質反応を行なうことができるとともに、過熱による第2触媒層の劣化、および酸化による第2触媒層の活性劣化といった問題を解消することができる。
【0040】
また請求項1及び2記載の発明によれば、第1触媒層における発熱反応により生成された熱量を、第2触媒層により効率的に伝熱させることができる。
【0041】
請求項1記載の発明によれば、発熱反応である酸化反応により高温となった第1触媒層の上流側からの伝熱で、第2触媒層の上流側の温度が上昇した場合であっても、第2触媒層の上流側に充填されている触媒が熱によりシンタリングを起こすことを防止することができ、第2触媒層における触媒の耐久性を一層高めることができる。
【0042】
請求項3記載の発明よれば、第1触媒層に供給される原燃料ガスの大部分を反応速度の速い酸化反応に消費させることができ、反応速度の遅い分解反応に供される原燃料の量を少なくすることができ、一酸化炭素の生成を低く抑えることができる。
【0043】
請求項4記載の発明によれば、改質反応を促進する第2触媒層で必要とされる熱量を、第1改質部内部において不足なく用意することができるとともに、第1触媒層で生じる熱量と第2触媒層で必要とされる熱量とのバランスを図り、余剰の熱量を発生させないこともできる。
【0044】
請求項2記載の発明によれば、起動時や高出力時における、第1触媒層のメタノール酸化反応を素早く促進させることができ、起動時間や高出力発生までの時間を大幅に短縮することができる。
【0045】
請求項5記載の発明によっても、請求項1乃至4記載の発明により得られる作用効果を奏することができる。
【0046】
請求項6記載の発明によれば、第1改質部を通過した改質ガス中の未反応の残留原燃料のさらなる改質反応と、副生した一酸化炭素の変性反応とを効率よく促進することができ、未反応の残留原燃料および一酸化炭素の含有量が極めて少ない高純度の改質ガスを生成することができる。したがって、一酸化炭素濃度を数十ppm以下に抑える必要がある固体高分子型燃料電池や、1%以下に抑える必要があるリン酸型燃料電池などの燃料製造装置への適用が容易となる。
【0047】
請求項7記載の発明によれば、第1触媒層を通過した高温の反応ガスおよび副生した一酸化炭素と、第2触媒層を通過した水素リッチな改質ガスおよび未反応の残留原燃料との混合を十分に行うことができ、反応器の下流側に設けられた第2改質部の第3触媒層において、前記第1改質部を通過した改質ガス中の未反応の残留原燃料のさらなる改質反応と、副生した一酸化炭素の変性反応とを効率よく、しかも安定的に促進することができる。
【0048】
請求項8記載の発明によっても、請求項6または7記載の発明により得られる作用効果を奏することができる。
【0049】
請求項9記載の発明によれば、改質反応で要する熱量を供給するために外部から供給する熱量を削減することができ、あるいは別途、加熱のための熱源が不要となる。したがって、この燃料電池システムに備えられた燃料改質装置が大型化するおそれは少なくなる。加熱のための熱源が不要となる場合には、熱源を稼働させるための燃料やエネルギを供給することも不要となるため、システム全体の構造の複雑化を抑え、エネルギ効率を向上させることが可能となる。
【0050】
【発明の実施の形態】
  以下、本発明の実施形態を図面に基づいて説明する。
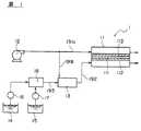
  図1は本発明の燃料改質装置を組み込んだ燃料電池システムの実施形態を示すブロック図、図2は本発明の燃料改質装置の一実施形態を模式的に示した説明図、図3(A)は図2のIIIA−IIIA線に沿う断面図、同図(B)は図2のIIIB−IIIB線に沿う断面図、図4乃至図6は本発明の燃料改質装置の他の実施形態を模式的に示した説明図である。
【0051】
第1実施形態
まず、本実施形態の燃料電池システムの構成を説明する。
本実施形態の燃料電池システム1は、図1に示されるように、電解質111を挟んで対電極112,113が設けられた燃料電池11を有する。燃料電池11の陽極113側には供給配管191aを通じてコンプレッサ12からの圧縮空気(酸素含有ガス)が供給され、陰極112側には供給配管192を通じて改質器13からの改質ガス(水素含有ガス)が供給される。
【0052】
コンプレッサ12は、外気等を取り入れてこれを2kg/cm2程度まで圧縮して燃料電池11に供給するが、その型式は特に限定されず、ピストン式圧縮機、スクロール式圧縮機あるいはターボ式圧縮機等々を用いることができる。
【0053】
燃料電池11に供給される空気は80〜85℃の温度が望ましいが、コンプレッサ12で圧縮された空気は約170℃となっているので、これを上記温度範囲まで冷却するために、コンプレッサ12と燃料電池11との間の配管191aに、図示省略してあるインタークーラを設けることが望ましい。このインタークーラは、水冷式、空冷式の何れのものをも用いることができる。
【0054】
改質器(燃料改質装置)13は、たとえばメタノール(原燃料)ガスと水蒸気と空気(酸素含有ガス)とを混合して、メタノールの水蒸気改質反応(CH3OH+H2O→CO2+3H2−49.5kJ/mol)と酸化反応(CH3OH+1/2O2→2H2+CO2+189.5kJ/mol)とによって水素リッチガスとするもので、吸熱反応である水蒸気改質反応で必要とされる熱量を、発熱反応である酸化反応により生じた熱量で賄うことで、別途の加熱器を省略あるいは小能力化できる、いわゆるオートサーマル型改質器であり、本発明の要部に対応するものであるので、その構成は後に詳述する。
【0055】
原燃料としてのメタノールは、メタノールタンク14に収容されてポンプ16によって蒸発器18へ送られ、ここで気化される。また、水蒸気は水タンク15に収納された水がポンプ17によって蒸発器18に送られ、ここで気化されて水蒸気とされる。これらメタノールガスと水蒸気は、供給配管193を通じて改質器13の原料供給部132(図2参照)に送られるが、空気は供給配管191bを通じてコンプレッサ12から供給される。
【0056】
なお、改質器13の原料供給部132における空気供給路132b(図2参照)には、配管191bが連通してあり、この配管191bには流量調整器(図示省略)が設けてあってもよい。流量調整器を設けることにより、所定の導電ラインを介して制御部(図示省略)からの駆動信号を受けて、改質器13に供給する酸素量を調節することができる。
【0057】
また、改質器13と燃料電池11との間の配管192には第1温度センサ(図示省略)が設けてあってもよい。第1温度センサを設けることにより、改質器13から排出される改質ガスの温度を測定し、この測定結果を所定の導電ラインを介して制御部(図示省略)に電気的な信号として入力し、制御部は第1温度センサからの信号を基に改質器13内部の反応温度を判断し、上述した流量調整器に対して駆動信号を出力して改質器13に供給する酸素量を調節することができる。
【0058】
さらに、改質器13の原料供給部132における燃料供給路132a(図2参照)には、配管193が連通してあり、この配管193には第2温度センサ(図示省略)が設けてあってもよい。第2温度センサを設けることにより、改質器13に供給されるメタノールと水との混合蒸気(原燃料ガス)の温度を測定し、この測定結果を所定の導電ラインを介して制御部(図示省略)に電気的な信号として入力し、制御部は第2温度センサからの信号を基に蒸発器18内部の状態を判断し、ポンプ16,17を駆動することで蒸発器18に供給するメタノール量と水量とを調節して、蒸発器18で気化された上記原燃料ガスの温度を調節することができる。
【0059】
さらにまた、改質器13から燃料電池11の陰極112側へ供給される改質ガス中に一酸化炭素が含まれていると燃料電池11が被毒するため、改質器13と燃料電池11との間の配管に一酸化炭素の含有量を低減させる装置(図示省略)を設けてあってもよい。この一酸化炭素低減装置は、改質器13で得られた改質ガス中の未反応の一酸化炭素と水とを同じ変性反応(CO+H2O→CO2+H2)により水素と二酸化炭素とに変性して水素含有量の多い燃料ガスを生成するシフト器や、さらにこのシフト器を通過した改質ガスに含まれた一酸化炭素を選択酸化して(CO+1/2O2→CO2)二酸化炭素とする選択酸化器などが含まれる。
【0060】
次いで、本実施形態の改質器13の構成を説明する。
改質器13は、図2に示されるように、原料供給部132と燃料排出部138とが形成された筒状の反応器131内に、第1改質反応部(第1改質部)134と、第2改質反応部(第2改質部)136とを有する。
【0061】
原料供給部132は、蒸発器18(図1参照)で気化されたメタノールと水との混合蒸気(原燃料ガス)を反応器131内に供給する燃料供給路132aと、配管191bと連通し、燃料酸化用空気を反応器131内に供給する空気供給路132bとから構成されている。
【0062】
本実施形態では、燃料供給路132aの外周側は、反応器131の上流側に設けられている第1改質反応部134の手前で空気供給路132bと合流する混合ガス供給路132cと連通し、この混合ガス供給路132cを通じて原燃料ガスと空気とが後述する第1触媒層134aに供給されるようになっており、前記燃料供給路132aの中心部分は、前記空気供給路132bとは合流せず、原燃料ガスのみが後述する第2触媒層134bに供給されるようになっている。
【0063】
第1改質反応部134は、反応器131の長手方向に沿って延びるように形成された水蒸気改質反応を促進する触媒金属である銅−亜鉛系触媒が充填された第2触媒層134bの周囲に、酸化反応を促進する触媒金属であるパラジウム系触媒が充填された第1触媒層134aが設けられている(図3(A)参照)。
【0064】
第1触媒層134aに充填される触媒金属であるパラジウム系触媒は、耐熱性の高い酸化ジルコニウムに硝酸パラジウムを含浸、乾燥、焼成することによって調製した。第2触媒層134bに充填される触媒金属である銅−亜鉛系触媒は、硝酸銅と硝酸亜鉛と硝酸アルミニウムとを含む水溶液に、炭酸ナトリウム水溶液を滴下して生成した沈殿物を濾過、水洗した後、120℃で10時間乾燥、450℃で2時間焼成して調製した。この銅−亜鉛系触媒は、使用前に300℃で水素還元を行うことによりメタノールの水蒸気改質反応に対して高い反応選択性を示すこととなる。
【0065】
第2改質反応部136は、未反応のメタノールガスの水蒸気改質反応と副生した一酸化炭素の変性反応(CO+H2O→CO2+H2+40.5kJ/mol)を促進する触媒金属である銅−亜鉛系触媒が充填された第3触媒層136aから構成されている(図3(B)参照)。第3触媒層136aに充填される触媒金属である銅−亜鉛系触媒は、前記第2触媒層134bに充填される触媒金属である銅−亜鉛系触媒とほぼ同じ方法で調製した。
【0066】
次いで、改質器13の作用を説明する。
蒸発器18で気化されたメタノールと水との混合蒸気が、反応器131内に、原料供給部132の燃料供給路132aから導入されると、まず第1改質反応部134を通過する。
【0067】
このとき、燃料供給部132aの外周側は、反応器131の上流側に設けられている第1改質反応部134の手前で空気供給路132bと合流する混合ガス供給路132cと連通するので、燃料供給部132aの外周側を流れる一部のメタノールと水との混合蒸気は、空気供給路132bから供給される空気と混合されて所定量の酸素を含有する状態で、第1改質反応部134の外周側に設けられた第1触媒層134aのみを通過する。第1触媒層134aに供給される原燃料ガスの量は、反応器131全体に対して供給される原燃料ガスの量の一部となるように決定される。パラジウム系触媒が充填されている第1触媒層134aを通過したメタノールと水と酸素(空気)との混合蒸気は、比較的低い温度から反応速度の速いメタノールの酸化反応により発熱反応を生じる。このため、特に改質器13を起動する際、第1触媒層134aの温度を素早く上昇させることができ、しかも第1触媒層134aに充填されているパラジウム系触媒は、耐熱性に優れているので、発熱反応によって第1触媒層134a内の温度が上昇し、たとえば500℃程度の高温になってもシンタリングによる劣化が生じるおそれが少なく、耐久性に優れている。
【0068】
その反面、こうした第1触媒層134aでは、上述したメタノールの酸化反応の他、反応速度の遅いメタノールの分解反応(CH3OH→CO+2H2−90.0kJ/mol)による吸熱反応も同時に進行するので、可能な限りこの一酸化炭素の生成量を少なくすることが望ましい。
【0069】
本実施形態の改質器13では、燃料供給路132aから供給されるメタノールと水との混合蒸気のうち、その外周側を流れる一部の混合蒸気しか第1触媒層134aに供給されないので、供給されたメタノールの大部分はメタノールの酸化反応に消費させられ、メタノールの分解反応に供されるメタノール量が低減される。
【0070】
これに対し、燃料供給路132aの中心部分は空気供給路132bとは合流しないので、燃料供給部132aの中心部分を流れる残りの総てのメタノールと水との混合蒸気は、空気(酸素)を含有しない状態で第1改質反応部134の中心部分に設けられた第2触媒層134bを通過する。銅−亜鉛系触媒が充填されている第2触媒層134bを通過したメタノールと水との混合蒸気は、前記第1触媒層134a中の発熱反応により生成された熱量の伝熱を受けて、メタノールの水蒸気改質反応が生じる。メタノールの水蒸気改質反応は、メタノールの分解反応と、一酸化炭素の変性反応とを同時進行させて、水素と二酸化炭素とを含有する改質ガスを生成する。
【0071】
なお、メタノールの水蒸気改質反応は、吸熱反応であるため、上述したメタノールの酸化反応と比較して反応速度が遅く、高SVの反応条件下では未反応のメタノールが残留してしまう。
【0072】
そこで、第2触媒層134bにおいてメタノールの水蒸気改質反応により生成された水素と二酸化炭素とを含有する改質ガスおよび未反応の残留メタノールは、上述した第1触媒層134aにおいてメタノールの酸化反応により生成された高温の反応ガスおよび副生した一酸化炭素とともに、第1改質反応部134を通過した際に混合され、成分および温度が均一化された後、反応器131の下流側に設けられた第2改質反応部136の第3触媒層136aを通過する。銅−亜鉛系触媒が充填されている第3触媒層136aを通過した混合蒸気のうち、未反応の残留メタノールは、高温の反応ガス中の熱の供給を受けて水蒸気改質反応が促進され、副生した一酸化炭素は、変性反応が促進される。このため、反応ガス中のメタノールおよび一酸化炭素の低減が行われる。
【0073】
このようにして、第2改質反応部136を通過して生成された燃料ガスは、燃料排出部138を通じて排出され、配管192を介して燃料電池11の陰極112側に供給されて電極反応に供される。
【0074】
以上のように、本実施形態の改質器13によれば、第2触媒層134bの周囲に設けられた第1触媒層134aには、大部分のメタノールと水との混合蒸気が燃料供給路132aから供給される第2触媒層134bと比較して、メタノールと水との混合蒸気の一部しか供給されないような構成を採用してあるので、供給されたメタノールの大部分をメタノールの酸化反応に消費させることができ、メタノールの分解反応に供されるメタノール量を少なくすることができる。したがって、第1改質反応部134における一酸化炭素の生成を低く抑えることができる。
【0075】
また、本実施形態の改質器13によれば、吸熱反応であるメタノールの水蒸気改質反応を促進するための第2触媒層134bを中心としてその周囲に、発熱反応であるメタノールの酸化反応を促進するための第1触媒層134aが設けられている第1改質反応部134を有する構成を採用してあり、第1触媒層134aにおける発熱反応により生成された熱量を伝熱させて、第2触媒層134b中の水蒸気改質反応に必要な熱量とするので、過熱による第2触媒層134bの劣化といった問題を解消することができる。
【0076】
さらに、本実施形態の改質器13によれば、銅−亜鉛系触媒が充填された第2触媒層134bには、メタノールと水との混合蒸気のみが供給され、酸素は供給されない構成を採用してあるので、酸化による第2触媒層134bの活性劣化といった問題をも解消することができる。
【0077】
さらにまた、本実施形態の改質器13によれば、反応器131の下流側に、銅−亜鉛系触媒が充填された第3触媒層136aが設けられた第2改質反応部136を有する構成を採用してあるので、第1改質反応部134aを通過した改質ガス中の未反応メタノールガスのさらなる水蒸気改質反応と、副生した一酸化炭素の変性反応とを効率よく促進することができ、未反応のメタノールガスおよび一酸化炭素の含有量が極めて少ない高純度の水素含有ガスを生成することができる。
【0078】
すなわち、このような優れた効果を奏する本実施形態の改質器13によれば、一酸化炭素濃度を数十ppm以下に抑える必要がある固体高分子型燃料電池や、1%以下に抑える必要があるリン酸型燃料電池などの燃料製造装置への適用が容易となる。
【0079】
第2実施形態
本実施形態の改質器13aは、図4に示されるように、原料供給部132と燃料排出部138とが形成された筒状の反応器131内に、第1改質反応部134と、第2改質反応部136とを有する点では、上述した第1実施形態と同様であるが、第1改質反応部134と第2改質反応部136との間に、ミキサ20を有する点で異なる。
【0080】
このような構成の本実施形態の改質器13によれば、第1触媒層134aを通過した反応ガス(高温の反応ガスおよび副生した一酸化炭素)と、第2触媒層134bを通過した水素と二酸化炭素とを含有する改質ガス(未反応の残留メタノールを含む)との混合を十分に行うことができ、反応器131の下流側に設けられている第3触媒層136aから構成される第2改質反応部136での未反応の残留メタノールのさらなる水蒸気改質反応、および副生した一酸化炭素の変性反応を安定的に行うことができる。
【0081】
第3実施形態
本実施形態の改質器13bは、図5に示されるように、銅−亜鉛系触媒が充填された第2触媒層134bの周囲にパラジウム系触媒が充填された第1触媒層134aが設けられている第1改質反応部134を反応器131の上流側に有する点では、上述した第1実施形態と同様である。
【0082】
しかしながら、第1実施形態の改質器13(図2参照)では、第2触媒層134bにおける銅−亜鉛系触媒の充填位置と、第1触媒層134aにおけるパラジウム系触媒の充填位置とが面一状となっているのに対し、本実施形態の改質器13bでは、第2触媒層134bにおける銅−亜鉛系触媒の充填位置を、第1触媒層134aのパラジウム系触媒の充填位置よりも下流側にずらした構成を採用してある点で異なる。
【0083】
このような構成の本実施形態の改質器13bによれば、発熱反応であるメタノールの酸化反応により高温となった第1触媒層134aの上流側からの伝熱で第2触媒層134bの上流側の温度が上昇した場合であっても、第2触媒層134bの上流側に充填されている銅−亜鉛系触媒が熱によりシンタリングを起こすことを防止することができ、第2触媒層134bにおける銅−亜鉛系触媒の耐久性を一層高めることができる。
【0084】
第4実施形態
本実施形態の改質器13cは、図6に示されるように、原料供給部132と燃料排出部138とが形成された筒状の反応器131内に、第1改質反応部134と、第2改質反応部136とを有する点では、上述した第1実施形態と同様であるが、第1改質反応部134の第1触媒層134aおよび第2触媒層134bと、第2改質反応部136の第3触媒層136aとのそれぞれの触媒をハニカム体に担持するとともに、燃料供給部132aから供給されるメタノールと水との混合蒸気を分離して、第1触媒層134aと第2触媒層134bとの各々に供給するために、第1触媒層134aと第2触媒層134bとの境界線に沿って配置された筒状のセパレータ30を有する点で異なる。
【0085】
このような構成の本実施形態の改質器13cによっても、上述した第1実施形態と同様の作用効果を奏することができる。
【0093】
なお、以上説明した実施形態は、本発明の理解を容易にするために記載されたものであって、本発明を限定するために記載されたものではない。したがって、上記の実施形態に開示された各要素は、本発明の技術的範囲に属する全ての設計変更や均等物をも含む趣旨である。
【図面の簡単な説明】
【図1】図1は本発明の燃料改質装置を組み込んだ燃料電池システムの実施形態を示すブロック図である。
【図2】図2は本発明の燃料改質装置の一実施形態を模式的に示した説明図である。
【図3】図3(A)は図2のIIIA−IIIA線に沿う断面図、同図(B)は図2のIIIB−IIIB線に沿う断面図である。
【図4】図4は本発明の燃料改質装置の他の実施形態を模式的に示した説明図である。
【図5】図5は本発明の燃料改質装置の他の実施形態を模式的に示した説明図である。
【図6】図6は本発明の燃料改質装置の他の実施形態を模式的に示した説明図である。
【符号の説明】
  1…  燃料電池システム
    11…  燃料電池
      111…  電解質
      112…  陰極
      113…  陽極
    12…  コンプレッサ
    13,13b,13c,13d…  改質器
      131…  反応器
      132…  原料供給部
        132a…  燃料供給路
        132b…  空気供給路
        132c…  混合ガス供給路(混合ガス通路)
      134…  第1改質反応部(第1改質部)
        134a…  第1触媒層
        134b…  第2触媒層
      136…  第2改質反応部(第2改質部)
        136a…  第3触媒層
      138…  燃料排出部
    14…  メタノールタンク
    15…  水タンク
    16,17…  ポンプ
    18…  蒸発器
      191a,191b,192,193…  供給配管
    20…  ミキサ(ガス混合手段)
    30…  セパレータ
    40…  ヒータユニット(原燃料気化促進手段)[0001]
BACKGROUND OF THE INVENTION
The present invention relates to a fuel reformer for reforming raw fuels such as hydrocarbons and methanol to produce a hydrogen-rich reformed gas, and more particularly to a solid polymer fuel cell and a phosphoric acid fuel cell. The present invention relates to a fuel reformer that is suitable for fuel production and the like, has a small amount of unreacted residual methanol, and can reduce the amount of carbon monoxide produced, and a fuel cell system using the same.
[0002]
[Prior art]
Conventionally, as a method for producing a hydrogen-rich reformed gas from a mixed steam of methanol and water, a steam reforming reaction (CH3OH + H2O → 3H2+ CO2-49.5 kJ / mol) is known, but this reaction is endothermic, so the reformer is equipped with a burner, heater, etc. to heat it, and the amount of heat required for the reforming reaction is external to the reaction tube. It was necessary to supply from the market, and it was not enough for miniaturization and high performance.
[0003]
Further, as a reforming catalyst generally used for the steam reforming reaction, a copper-zinc catalyst having a high reaction selectivity with respect to the reforming reaction can be mentioned. In addition, the catalyst is oxidized in the presence of an oxidizing agent such as oxygen, and the catalytic activity is reduced.
[0004]
In recent years, application to systems that consider in-vehicle fuel cells for automobiles and the like has been studied, but the startability, responsiveness and compactness of fuel reformers have become major issues, and as a means to solve them , The steam reforming reaction which is an endothermic reaction and the oxidation reaction which is an exothermic reaction (CH3OH + (1/2) O2→ CO2+ 2H2+189.5 kJ / mol) is considered to be effective.
[0005]
[Problems to be solved by the invention]
In such autothermal reforming, the reaction is carried out by supplying oxygen to the raw fuel and water. However, if only the copper-zinc catalyst having a high reaction selectivity is used for the steam reforming reaction, an oxidizing agent is used. Due to the presence of certain oxygen, there is a problem in terms of durability of the catalyst because of deterioration of activity due to oxidation of the catalyst and thermal deterioration due to local exothermic reaction.
[0006]
In addition, a technique using a noble metal catalyst such as platinum or palladium for imparting heat resistance to the catalyst and enhancing the performance of the oxidation reaction (see, for example, JP-A Nos. 58-174237 and 58-177153), In addition, techniques using base metal catalysts such as nickel and cobalt (for example, see Japanese Patent Application Laid-Open Nos. 50-49204 and 51-68488) have been proposed. Not a steam reforming reaction, but a decomposition reaction that produces carbon monoxide and hydrogen from methanol (CH3OH → CO + 2H2−90.0 kJ / mol), so the solid polymer type fuel cell that needs to keep the carbon monoxide concentration below several tens of ppm, the phosphoric acid type fuel cell that needs to keep below 1%, etc. Application to fuel production equipment has been difficult.
[0007]
In order to solve these problems, a fuel reformer having a catalyst layer filled with a noble metal catalyst having excellent heat resistance on the upstream side and a copper-zinc catalyst having excellent fuel reforming activity on the downstream side. Is proposed (see JP-A-9-315801). However, in this apparatus, most of the supplied methanol comes into contact with the noble metal catalyst, so that the methanol oxidation reaction and decomposition reaction have priority. As a result, the carbon monoxide concentration in the generated reformed gas becomes high. Therefore, in order to apply such a device to a fuel cell, it is necessary to enlarge the carbon monoxide removing device, and it is particularly difficult to apply it to an in-vehicle fuel cell system that is required to be compact.
[0008]
The object of the present invention is to solve such problems of the prior art, to prevent the catalyst from deteriorating the activity and heat of the reforming reaction, to produce less carbon monoxide, and to achieve a compact size. It is an object of the present invention to provide a fuel reforming apparatus and a fuel cell system that can be used.
[0009]
[Means for Solving the Problems]
(1) In order to achieve the above object, claim 1And 2In the described fuel reformer, oxygen is supplied to a part of the raw fuel gas containing the raw fuel to cause an oxidation reaction which is an exothermic reaction, and an endothermic reaction is performed using the amount of heat released by the oxidation reaction. In a fuel reforming apparatus that performs a reforming reaction of the raw fuel, the first reforming section is partially arranged along a flow direction of a reactor in which at least a first reforming section that advances the reforming reaction is provided. A mixed gas passage of oxygen and raw fuel gas is provided so as to be partitioned, and the first reforming portion promotes an oxidation reaction that is an exothermic reaction communicating with the mixed gas passage. A catalyst layer and a second catalyst layer that promotes a reforming reaction that is an endothermic reaction that does not communicate with the mixed gas passage; and the first catalyst layer and the second catalyst layer are provided concentrically and A first catalyst layer is provided around the second catalyst layer; Oxygen supply path for supplying the oxygen to the serial first catalyst layer is characterized in that it is connected to the outer periphery of the reactor.
[0010]
The catalyst filled in the first catalyst layer that promotes the oxidation reaction is not particularly limited, but it is preferable to use a noble metal (for example, palladium, platinum, etc.) based catalyst having excellent heat resistance. As a catalyst filled in the second catalyst layer that promotes the reforming reaction, for example, a copper-zinc catalyst can be used.
[0011]
Claim 1 configured as described above.And 2In the described fuel reformer, first, a raw fuel gas containing raw fuel and oxygen are supplied to a first reforming section provided in the reactor. At this time, a mixed gas passage is provided so that the first reforming section can be partially partitioned along the flow direction of the reactor, and the raw fuel gas passing through the mixed gas passage is oxygen and It passes through the first catalyst layer while being mixed and containing a predetermined amount of oxygen. On the other hand, the raw fuel gas that does not pass through the mixed gas passage passes through the second catalyst layer without being mixed with oxygen. The raw fuel gas containing oxygen that has passed through the first catalyst layer is converted into an oxidation reaction (for example, CH3OH + 1 / 2O2→ 2H2+ CO2+189.5 kJ / mol) causes an exothermic reaction. On the other hand, the raw fuel gas not containing oxygen that has passed through the second catalyst layer receives a heat transfer of the amount of heat generated by the exothermic reaction in the first catalyst layer, so that a reforming reaction (for example, CH3  OH + H2O → CO2+ 3H2−49.5 kJ / mol) produces an endothermic reaction to produce a reformed gas containing hydrogen and carbon dioxide.
[0012]
Such claim 1And 2According to the described fuel reformer, the first catalyst layer for promoting the oxidation reaction that is an exothermic reaction and the second catalyst layer for promoting the reforming reaction that is an endothermic reaction are separately provided, Since the heat amount generated by the exothermic reaction in the first catalyst layer is transferred to obtain the heat amount necessary for the reforming reaction in the second catalyst layer, the amount of heat generated inside the fuel reformer is reduced. The reforming reaction of the raw fuel gas, which is an endothermic reaction, can be performed efficiently, and problems such as deterioration of the second catalyst layer due to overheating can be solved. In addition, since the second catalyst layer that promotes the reforming reaction is configured such that only the raw fuel gas is supplied and oxygen is not supplied, the problem of deterioration of the activity of the second catalyst layer due to oxidation can be solved. Can do.
[0013]
(2) Claim 1And the fuel reformer according to 2The first catalyst layer and the second catalyst layer are provided concentrically.
[0014]
Claim 1And the fuel reformer according to 2The first catalyst layer is provided around the second catalyst layer.
[0015]
Claim 1 configured as described above.And 2According to the described fuel reformer, the amount of heat generated by the exothermic reaction in the first catalyst layer can be efficiently transferred by the second catalyst layer.
[0016]
(3)In the fuel reformer according to claim 1,In the first reforming section, the catalyst filling position in the second catalyst layer is shifted from the catalyst filling position in the first catalyst layer to the downstream side of the reactor.The
[0017]
Configured like thisClaim 1According to the described fuel reformer, the temperature on the upstream side of the second catalyst layer rises due to heat transfer from the upstream side of the first catalyst layer that has become high temperature due to the oxidation reaction that is an exothermic reaction. However, the catalyst packed on the upstream side of the second catalyst layer can be prevented from causing sintering (a phenomenon in which the catalyst supported on the surface of the carrier agglomerates). The durability of the catalyst can be further enhanced.
  Further, in the fuel reforming apparatus according to claim 2, a second fuel supply path capable of supplying raw fuel is provided in communication with the mixed gas path, and is supplied from the second fuel supply path. A raw fuel vaporization promoting means for vaporizing the raw fuel is provided in the mixed gas passage. The raw fuel vaporization promoting means is not particularly limited, and examples thereof include a heater unit capable of generating heat.
  According to the fuel reformer of claim 2 configured as described above, the methanol oxidation reaction of the first catalyst layer at the time of start-up or high output can be quickly promoted until the start-up time or generation of high output. This time can be greatly reduced.
[0018]
  (4)Claim 1 or 2In case of descriptionLeave,Claim 3As in the described fuel reformer, the amount of raw fuel gas supplied to the first catalyst layer is preferably a part of the amount of raw fuel gas supplied to the entire reactor.
[0019]
When the raw fuel gas containing a predetermined amount of oxygen passes through the first catalyst layer, an exothermic reaction is caused by the oxidation reaction having a high reaction rate described above, and a decomposition reaction having a low reaction rate (for example, CH3OH → CO + 2H2It is also assumed that the endothermic reaction proceeds by −90.0 kJ / mol) and carbon monoxide is generated.
[0020]
like thisClaim 3According to the described fuel reforming apparatus, the amount of the raw fuel gas supplied to the first catalyst layer is part of the amount of the raw fuel gas supplied to the entire reactor. Most of the supplied raw fuel gas can be consumed for the oxidation reaction having a high reaction rate, and the amount of the raw fuel to be subjected to the decomposition reaction having a low reaction rate can be reduced. Therefore, the production of carbon monoxide can be kept low.
[0021]
(5)Claims 1 to 3In any caseLeave5. The fuel reformer according to
[0022]
Configured like thisClaim 4According to the described fuel reforming apparatus, the amount of oxygen supplied to the raw fuel gas is required in the amount of heat generated in the first catalyst layer for promoting the oxidation reaction and in the second catalyst layer for promoting the reforming reaction. Since the structure determined from the relationship with the amount of heat generated is employed, the amount of heat required for the second catalyst layer that promotes the reforming reaction can be prepared in the first reforming section without a shortage. At the same time, it is possible to balance the amount of heat generated in the first catalyst layer and the amount of heat required in the second catalyst layer, so that no excessive amount of heat is generated.
[0025]
(6)Claim 1Thru 4In the case described in eitherClaim 5As in the described fuel reformer, the respective catalysts of the first catalyst layer and the second catalyst layer provided in the first reforming unit may be supported on the honeycomb body.
[0026]
Configured like thisClaim 5Also according to the fuel reformer described in claim 1,Thru 4The operational effects obtained by the described fuel reformer can be achieved.
[0027]
(7)Claim 15In the case described in eitherClaim 6Like the fuel reformer described, downstream of the reactor, reforming and modification reactions (eg, CO + H2O → CO2+ H2It is preferable to further include a second reforming portion provided with a third catalyst layer that promotes +40.5 kJ / mol).
[0028]
As the catalyst filled in the second catalyst layer that promotes the reforming reaction and the modification reaction, for example, a copper-zinc catalyst can be used.
[0029]
When the raw fuel gas that does not contain oxygen passes through the second catalyst layer, a heat-rich heat generated by the exothermic reaction in the first catalyst layer is received and a hydrogen-rich reformed gas is generated by the reforming reaction. However, since this reforming reaction is an endothermic reaction, the reaction rate is slower than the oxidation reaction, which is an exothermic reaction in the first catalyst layer, and unreacted raw fuel remains under high SV reaction conditions. End up.
[0030]
Therefore,Claim 6In the described fuel reformer, the hydrogen-rich reformed gas generated by the reforming reaction in the second catalyst layer and the unreacted residual raw fuel are the high-temperature reaction gas generated by the oxidation reaction in the first catalyst layer. And the third catalyst layer of the second reforming section provided on the downstream side of the reactor after being mixed with the by-produced carbon monoxide and passing through the first reforming section to equalize the components and temperature. Pass through. Then, the unreacted residual raw fuel that has passed through the third catalyst layer is supplied with heat in the high-temperature reaction gas, the reforming reaction is promoted, and the by-produced carbon monoxide is converted into a modification reaction (water gas shift reaction). (Also referred to as), and unreacted residual raw fuel and carbon monoxide in the reaction gas are reduced.
[0031]
That is,Claim 6According to the described fuel reformer, the configuration further including the second reforming portion provided with the third catalyst layer filled with, for example, a copper-zinc catalyst on the downstream side of the reactor is adopted. As a result, the further reforming reaction of the unreacted residual raw fuel in the reformed gas that has passed through the first reforming section and the reforming reaction (water gas shift reaction) of by-produced carbon monoxide are efficiently promoted. It is possible to produce a high-purity reformed gas (hydrogen-containing gas) with a very low content of unreacted residual raw fuel and carbon monoxide. Therefore, it becomes easy to apply to a fuel manufacturing apparatus such as a solid polymer fuel cell that needs to keep the carbon monoxide concentration to several tens of ppm or less and a phosphoric acid fuel cell that needs to keep it to 1% or less.
[0032]
(8) Claim 6In the case of description,Claim 7As in the fuel reformer described, it is preferable that gas mixing means such as a mixer is further provided between the first reforming unit and the second reforming unit.
[0033]
Configured like thisClaim 7In the described fuel reformer, the high-temperature reaction gas and by-product carbon monoxide that have passed through the first catalyst layer, the hydrogen-rich reformed gas that has passed through the second catalyst layer, and the unreacted residual raw fuel After the components and temperature are equalized, the components and temperature pass through the third catalyst layer of the second reforming section provided on the downstream side of the reactor.
[0034]
Of this configurationClaim 7According to the described fuel reformer, the high-temperature reaction gas and by-product carbon monoxide that have passed through the first catalyst layer, the hydrogen-rich reformed gas that has passed through the second catalyst layer, and the unreacted residual raw fuel In the third catalyst layer of the second reforming section provided on the downstream side of the reactor, the unreacted residue in the reformed gas that has passed through the first reforming section. The further reforming reaction of the raw fuel and the modification reaction of the by-produced carbon monoxide can be promoted efficiently and stably.
[0035]
(9)In addition,
[0036]
Configured like thisClaim 8The effect obtained by the fuel reforming apparatus according to claim 7 or 8 can also be achieved by the fuel reforming apparatus.
[0037]
(10)To achieve the above objective,Claim 9The fuel cell system according to claim 1.8The fuel reformer according to any one of the above, and a fuel cell that generates electric power by receiving the supply of the reformed gas from the fuel reformer.
[0038]
Configured like thisClaim 9According to the described fuel cell system, the amount of heat required for the reforming reaction is supplied in order to perform the reforming reaction of the raw fuel gas, which is an endothermic reaction, efficiently using the amount of heat generated inside the fuel reformer. Therefore, the amount of heat supplied from the outside can be reduced, or a separate heat source for heating becomes unnecessary. Therefore, the risk that the fuel reformer provided in the fuel cell system will increase in size is reduced. When a heat source for heating is not required, it is not necessary to supply fuel and energy for operating the heat source. Therefore, in the fuel cell system of the present invention, the complexity of the structure of the entire system is suppressed. It becomes possible to improve energy efficiency.
[0039]
【The invention's effect】
  Claim 1And 2According to the described invention, the reforming reaction of the raw fuel gas, which is an endothermic reaction, can be performed by efficiently using the amount of heat generated in the fuel reformer, and the second catalyst layer is deteriorated due to overheating. And the problem of the active deterioration of the 2nd catalyst layer by oxidation can be eliminated.
[0040]
Claim 1And 2According to the described invention, the heat generated by the exothermic reaction in the first catalyst layer can be efficiently transferred by the second catalyst layer.
[0041]
Claim 1According to the described invention, even when the temperature on the upstream side of the second catalyst layer rises due to heat transfer from the upstream side of the first catalyst layer that has become a high temperature due to the oxidation reaction that is an exothermic reaction, It is possible to prevent the catalyst filled in the upstream side of the two catalyst layers from being sintered by heat, and to further enhance the durability of the catalyst in the second catalyst layer.
[0042]
Claim 3According to the described invention, most of the raw fuel gas supplied to the first catalyst layer can be consumed for the oxidation reaction having a high reaction rate, and the amount of the raw fuel to be subjected to the decomposition reaction having a low reaction rate can be reduced. And the production of carbon monoxide can be kept low.
[0043]
Claim 4According to the described invention, the amount of heat required for the second catalyst layer for promoting the reforming reaction can be prepared in the first reforming portion without shortage, and the amount of heat generated in the first catalyst layer and the second amount can be prepared. It is possible to achieve a balance with the amount of heat required for the two catalyst layers and not to generate an excessive amount of heat.
[0044]
Claim 2According to the described invention, the methanol oxidation reaction of the first catalyst layer at the time of start-up and high output can be quickly promoted, and the start-up time and time until high output can be greatly shortened.
[0045]
Claim 5Also according to the invention described in claim 1,Thru 4The effects obtained by the described invention can be achieved.
[0046]
Claim 6According to the described invention, it is possible to efficiently promote the further reforming reaction of the unreacted residual raw fuel in the reformed gas that has passed through the first reforming section and the reforming reaction of the by-produced carbon monoxide. In addition, it is possible to produce a high-purity reformed gas having a very low content of unreacted residual raw fuel and carbon monoxide. Therefore, it becomes easy to apply to a fuel manufacturing apparatus such as a solid polymer fuel cell that needs to keep the carbon monoxide concentration to several tens of ppm or less and a phosphoric acid fuel cell that needs to keep it to 1% or less.
[0047]
Claim 7According to the described invention, the high-temperature reaction gas and by-product carbon monoxide that have passed through the first catalyst layer and the hydrogen-rich reformed gas and unreacted residual raw fuel that have passed through the second catalyst layer are mixed. In the third catalyst layer of the second reforming section provided downstream of the reactor, the unreacted residual raw fuel in the reformed gas that has passed through the first reforming section. Further reforming reaction and modification reaction of by-produced carbon monoxide can be promoted efficiently and stably.
[0048]
Claim 8Also by the described invention,
[0049]
Claim 9According to the described invention, the amount of heat supplied from the outside in order to supply the amount of heat required for the reforming reaction can be reduced, or a separate heat source for heating becomes unnecessary. Therefore, the risk that the fuel reformer provided in the fuel cell system will increase in size is reduced. When a heat source for heating is not required, it is not necessary to supply fuel and energy to operate the heat source, so it is possible to reduce the complexity of the overall system structure and improve energy efficiency. It becomes.
[0050]
DETAILED DESCRIPTION OF THE INVENTION
  Hereinafter, embodiments of the present invention will be described with reference to the drawings.
  FIG. 1 is a block diagram showing an embodiment of a fuel cell system incorporating the fuel reformer of the present invention, FIG. 2 is an explanatory diagram schematically showing an embodiment of the fuel reformer of the present invention, and FIG. 2A is a cross-sectional view taken along line IIIA-IIIA in FIG. 2, FIG. 4B is a cross-sectional view taken along line IIIB-IIIB in FIG.FIG.These are the explanatory views showing typically other embodiments of the fuel reforming device of the present invention.
[0051]
First embodiment
First, the configuration of the fuel cell system of this embodiment will be described.
As shown in FIG. 1, the fuel cell system 1 of the present embodiment includes a fuel cell 11 in which counter
[0052]
The
[0053]
The temperature of the air supplied to the fuel cell 11 is preferably 80 to 85 ° C., but the air compressed by the
[0054]
The reformer (fuel reformer) 13 mixes, for example, methanol (raw fuel) gas, water vapor, and air (oxygen-containing gas) to produce a steam reforming reaction (CH3OH + H2O → CO2+ 3H2-49.5 kJ / mol) and oxidation reaction (CH3OH + 1 / 2O2→ 2H2+ CO2+189.5 kJ / mol), which is a hydrogen-rich gas. By providing the amount of heat required for the steam reforming reaction, which is an endothermic reaction, with the amount of heat generated by the oxidation reaction, which is an exothermic reaction, a separate heater This is a so-called autothermal reformer that can omit or reduce the capacity, and corresponds to the main part of the present invention.
[0055]
Methanol as raw fuel is accommodated in a
[0056]
A pipe 191b communicates with the
[0057]
A first temperature sensor (not shown) may be provided in the
[0058]
Further, a
[0059]
Furthermore, if the reformed gas supplied from the
[0060]
Next, the configuration of the
As shown in FIG. 2, the
[0061]
The raw
[0062]
In the present embodiment, the outer peripheral side of the fuel supply path 132 a communicates with the mixed
[0063]
The first reforming
[0064]
A palladium-based catalyst, which is a catalyst metal filled in the
[0065]
The second reforming
[0066]
Next, the operation of the
When the mixed vapor of methanol and water vaporized by the
[0067]
At this time, the outer peripheral side of the fuel supply unit 132a communicates with the mixed
[0068]
On the other hand, in the
[0069]
In the
[0070]
On the other hand, since the central portion of the fuel supply path 132a does not merge with the
[0071]
In addition, since the steam reforming reaction of methanol is an endothermic reaction, the reaction rate is slower than the above-described methanol oxidation reaction, and unreacted methanol remains under the high SV reaction conditions.
[0072]
Therefore, the reformed gas containing hydrogen and carbon dioxide generated by the steam reforming reaction of methanol in the
[0073]
In this way, the fuel gas generated through the second reforming
[0074]
As described above, according to the
[0075]
Further, according to the
[0076]
Furthermore, according to the
[0077]
Furthermore, according to the
[0078]
That is, according to the
[0079]
Second embodiment
As shown in FIG. 4, the reformer 13a of the present embodiment includes a first reforming
[0080]
According to the
[0081]
Third embodiment
As shown in FIG. 5, the
[0082]
However, in the reformer 13 (see FIG. 2) of the first embodiment, the filling position of the copper-zinc catalyst in the
[0083]
According to the
[0084]
Fourth embodiment
As shown in FIG. 6, the
[0085]
Also with the
[0093]
The embodiment described above is described for facilitating the understanding of the present invention, and is not described for limiting the present invention. Therefore, each element disclosed in the above embodiment is intended to include all design changes and equivalents belonging to the technical scope of the present invention.
[Brief description of the drawings]
FIG. 1 is a block diagram showing an embodiment of a fuel cell system incorporating a fuel reformer of the present invention.
FIG. 2 is an explanatory view schematically showing one embodiment of a fuel reformer of the present invention.
3A is a cross-sectional view taken along line IIIA-IIIA in FIG. 2, and FIG. 3B is a cross-sectional view taken along line IIIB-IIIB in FIG.
FIG. 4 is an explanatory view schematically showing another embodiment of the fuel reformer of the present invention.
FIG. 5 is an explanatory view schematically showing another embodiment of the fuel reformer of the present invention.
FIG. 6 is an explanatory view schematically showing another embodiment of the fuel reformer of the present invention.
[Explanation of symbols]
  1 ... Fuel cell system
    11 ... Fuel cell
      111 ... electrolyte
      112 ... Cathode
      113 ... Anode
    12 ... Compressor
    13, 13b, 13c, 13d ... reformer
      131 ... Reactor
      132 ... Raw material supply section
        132a ... Fuel supply path
        132b ... Air supply path
        132c ... Mixed gas supply path (mixed gas path)
      134 ... First reforming reaction section (first reforming section)
        134a ... 1st catalyst layer
        134b ... second catalyst layer
      136 ... Second reforming reaction section (second reforming section)
        136a ... third catalyst layer
      138 ... Fuel discharge part
    14 ... Methanol tank
    15 ... Water tank
    16, 17 ... Pump
    18 ... Evaporator
      191a, 191b, 192, 193 ... Supply piping
    20 ... Mixer (gas mixing means)
    30 ... Separator
    40 ... Heater unit (raw fuel vaporization promotion means)
| Application Number | Priority Date | Filing Date | Title | 
|---|---|---|---|
| JP2000016644AJP3823656B2 (en) | 2000-01-26 | 2000-01-26 | Fuel reformer | 
| Application Number | Priority Date | Filing Date | Title | 
|---|---|---|---|
| JP2000016644AJP3823656B2 (en) | 2000-01-26 | 2000-01-26 | Fuel reformer | 
| Publication Number | Publication Date | 
|---|---|
| JP2001206703A JP2001206703A (en) | 2001-07-31 | 
| JP3823656B2true JP3823656B2 (en) | 2006-09-20 | 
| Application Number | Title | Priority Date | Filing Date | 
|---|---|---|---|
| JP2000016644AExpired - LifetimeJP3823656B2 (en) | 2000-01-26 | 2000-01-26 | Fuel reformer | 
| Country | Link | 
|---|---|
| JP (1) | JP3823656B2 (en) | 
| Publication number | Priority date | Publication date | Assignee | Title | 
|---|---|---|---|---|
| JP4929548B2 (en)* | 2001-09-10 | 2012-05-09 | トヨタ自動車株式会社 | Fuel reformer equipped with reformed gas flow path switching device or gas mixing section | 
| JP4147521B2 (en)* | 2002-05-17 | 2008-09-10 | 株式会社日本ケミカル・プラント・コンサルタント | Self-oxidation internal heating type reforming method and apparatus | 
| DE10253930A1 (en)* | 2002-11-19 | 2004-06-09 | Umicore Ag & Co.Kg | Process for producing a hydrogen-containing fuel gas for fuel cells and device therefor | 
| US8221693B2 (en)* | 2005-08-01 | 2012-07-17 | Basf Corporation | Use of a radial zone coating to facilitate a two-stage prox system with single air injection | 
| KR20200133214A (en)* | 2018-02-16 | 2020-11-26 | 피셔 에코 솔루션즈 게엠베하 | Fuel cell system and how it works | 
| Publication number | Publication date | 
|---|---|
| JP2001206703A (en) | 2001-07-31 | 
| Publication | Publication Date | Title | 
|---|---|---|
| JP4830197B2 (en) | Fuel reformer | |
| US20010016188A1 (en) | Methanol reforming catalyst | |
| EP1900682B1 (en) | Carbon monoxide reducing unit of a reformer for fuel cell | |
| JPH09315801A (en) | Fuel reforming method, fuel reforming apparatus, and fuel cell system including the fuel reforming apparatus | |
| JP2002104807A (en) | Method for operating a fuel processor combining partial oxidation and steam reforming | |
| WO1999016706A1 (en) | Apparatus and method for reducing carbon monoxide concentration and catalyst for selectively oxidizing carbon monoxide | |
| JPH111302A (en) | Fuel reforming method, fuel reforming device, and fuel cell device provided with the fuel reforming device | |
| JP4674099B2 (en) | Fuel cell system reformer and fuel cell system including the same | |
| US7846594B2 (en) | Reformer and fuel cell system having the same | |
| JP2006012817A (en) | Fuel cell reformer and fuel cell system including the same | |
| JP3823656B2 (en) | Fuel reformer | |
| JP3903710B2 (en) | Fuel reformer and polymer electrolyte fuel cell power generator using the same | |
| KR100542217B1 (en) | Fuel cell system and reformer used therein | |
| JP3697955B2 (en) | Catalytic combustor and method for raising temperature | |
| JPH1029804A (en) | Apparatus and method for reducing carbon monoxide concentration | |
| JP4107407B2 (en) | Air mixing method in CO selective oxidation reaction of oxidation reactor and hydrogen production apparatus | |
| JP4556305B2 (en) | Fuel reformer and hydrogen production method | |
| JP3721946B2 (en) | Carbon monoxide removal equipment | |
| US7527884B2 (en) | Fuel processing system and its shutdown procedure | |
| JP2000169106A (en) | Method and device for converting carbon monoxide in reformed hydrogen | |
| JP2009193714A (en) | FUEL CELL DEVICE AND ELECTRONIC DEVICE | |
| KR100804693B1 (en) | Carbon monoxide reduction device for fuel cell reformer and fuel cell system comprising same | |
| JPH1143302A (en) | Hydrogen production method, hydrogen production apparatus, fuel cell apparatus including the same, and reforming catalyst | |
| JP2001089106A (en) | Starting the fuel reformer | |
| JP2006168998A (en) | Hydrocarbon reformer | 
| Date | Code | Title | Description | 
|---|---|---|---|
| A977 | Report on retrieval | Free format text:JAPANESE INTERMEDIATE CODE: A971007 Effective date:20050627 | |
| A131 | Notification of reasons for refusal | Free format text:JAPANESE INTERMEDIATE CODE: A131 Effective date:20050705 | |
| A521 | Written amendment | Free format text:JAPANESE INTERMEDIATE CODE: A523 Effective date:20050902 | |
| A131 | Notification of reasons for refusal | Free format text:JAPANESE INTERMEDIATE CODE: A131 Effective date:20051018 | |
| A521 | Written amendment | Free format text:JAPANESE INTERMEDIATE CODE: A523 Effective date:20051219 | |
| TRDD | Decision of grant or rejection written | ||
| A01 | Written decision to grant a patent or to grant a registration (utility model) | Free format text:JAPANESE INTERMEDIATE CODE: A01 Effective date:20060606 | |
| A61 | First payment of annual fees (during grant procedure) | Free format text:JAPANESE INTERMEDIATE CODE: A61 Effective date:20060619 | |
| R150 | Certificate of patent or registration of utility model | Free format text:JAPANESE INTERMEDIATE CODE: R150 | |
| A521 | Written amendment | Free format text:JAPANESE INTERMEDIATE CODE: A523 Effective date:20050902 | |
| FPAY | Renewal fee payment (event date is renewal date of database) | Free format text:PAYMENT UNTIL: 20100707 Year of fee payment:4 |