












本発明は、電子機器に用いられるフレキシブル基板やガラス基板等の撓みやすい基板を搬送する基板搬送装置のキャリアに取り付けて、搬送中基板に撓みを生じさせないように把持するための基板搬送用クランプユニットに関する。 The present invention relates to a clamp unit for transporting a substrate, which is attached to a carrier of a substrate transport apparatus that transports a flexible substrate such as a flexible substrate or a glass substrate used in an electronic device so as not to bend the substrate during transport. About.
  従来、基板への配線パターンのエッチング処理工程において、基板を搬送するために用いられている基板搬送装置としては、搬送ローラに基板を載せて搬送するもの(特許文献1参照)や、基板の側端部を把持して搬送するもの(特許文献2参照)が用いられている。
  前述した特許文献1に記載されているように搬送ローラで基板を支持して搬送するものは、基板の配線パターンを形成する部分に搬送ローラが接触するため、エッチング処理工程等においては、基板を支持しているローラが邪魔になって、基板表面と処理液の接触が不均一になる傾向があり、また、ローラによって配線パターンの形成部分が損傷をうける恐れがあった。
  特に、薄くて撓みやすいフレキシブル基板等は、ローラ間で自重により撓んで波打つため、損傷や変形が生じやすく、ローラによる搬送は困難であった。As described in
 In particular, thin and flexible flexible substrates and the like are bent and waved by their own weight between the rollers, so that they are easily damaged and deformed, and are difficult to convey by the rollers.
  一方、特許文献2に記載されているように、基板の側端部を把持して搬送するものは、配線パターンを形成する部分には、ローラ等が存在しないため、基板表面に処理液を均一に接触させることができるが、薄くて撓みやすいガラス基板やフレキシブル基板では、搬送中に自重や振動等で撓みを生じ易く、特に、エッチング処理工程等において基板を搬送しながら処理する場合には、基板の自重による撓みに加え、基板表面に向けてノズルから噴射される処理液の圧力が、基板を大きく撓ませたり波打たせて、破損や変形を生じさせる恐れがあった。  On the other hand, as described in
そこで、本発明は、前述した従来技術の問題点を解消し、薄くて撓みやすいフレキシブル基板や、撓みにより破損し易いガラス基板を撓ませずに搬送することができるようにした基板搬送用クランプユニットを提供することを目的とする。 Therefore, the present invention solves the problems of the prior art described above, and can clamp a thin flexible substrate that can be bent and a glass substrate that is easily damaged by bending without being bent. The purpose is to provide.
前記目的のために提供される、請求項1記載の発明に係る基板搬送用クランプユニットは、基板搬送装置のキャリアに取り付けられる固定枠と、前記固定枠に対して、退避位置と把持位置との間でスライド自在に設けられたクランプ部材保持体と、前記クランプ部材保持体に取り付けられ、外力が作用しない状態で基板を挿入可能な隙間を空けて互いに対向する把持部がそれぞれの前端部に形成された可動片と固定片から構成され、前記可動片の途中部分に、後方斜面と前方斜面からなる、固定片側と反対側に突出する山形の突出部が設けられたクランプ部材と、固定枠に対して、退避位置と前進規制位置との間で、クランプ部材保持体と同方向にスライド自在に設けられたスライダと、前記クランプ部材の可動片の,固定片側と反対側の面に当接するようにスライダに設けられた作動部材とを備えたものである。 A clamp unit for transporting a substrate according to the first aspect of the present invention provided for the above purpose includes a fixed frame attached to a carrier of a substrate transport apparatus, and a retracted position and a gripping position with respect to the fixed frame. Clamp member holders that are slidable between each other, and gripping portions that are attached to the clamp member holders and that face each other with a gap into which a substrate can be inserted without external force acting are formed at each front end portion A clamp member provided with a chevron-shaped projecting portion projecting to the opposite side of the fixed piece side, which is composed of a rear slope and a front slope, on the middle part of the movable piece, and a fixed frame. On the other hand, between the retracted position and the forward restricting position, the slider provided slidably in the same direction as the clamp member holder, and the movable piece of the clamp member on the surface opposite to the fixed piece side. And an actuating member provided on the slider so as to abut.
前記基板搬送用クランプユニットは、前記スライダを後退規制位置から前進移動させたときに、当初、作動部材が可動片の山形突出部の後方斜面を後方から押して、一対の把持部が開いた状態のままのクランプ部材とともにクランプ部材保持体が退避位置から前進させ、クランプ部材保持体が把持位置まで前進して停止した後、さらにスライダを前進させると、作動部材が可動片の山形突出部の後方斜面に乗り上げてこれを押圧し、可動片を弾性変形させて一対の把持部を閉じ、さらに、スライダを前進させて作動部材が山形突出部の頂部を乗り越えて前記頂部近傍の前方斜面側へ移動すると、スライダは前進規制位置で前進が規制され、可動片の弾性復元力で生じる作動部材からの反力によって、クランプ部材に一対の把持部を閉じたまま、固定枠に対して後退方向の付勢力を発生させる。 In the substrate transport clamp unit, when the slider is moved forward from the retreat restriction position, the operating member initially pushes the rear slope of the mountain-shaped protrusion of the movable piece from the rear, and the pair of gripping portions are opened. When the clamp member holding body is advanced from the retracted position together with the remaining clamp member, the clamp member holding body is advanced to the gripping position and stopped, and then the slider is further advanced, the operating member moves to the rear slope of the mountain-shaped protrusion of the movable piece. Is pushed and pressed, the movable piece is elastically deformed to close the pair of gripping portions, and the slider is further advanced so that the operating member moves over the top of the mountain-shaped protrusion and moves to the front slope side near the top. The slider is prevented from moving forward at the forward movement restricting position, and the clamping member is kept closed by the reaction force from the operating member generated by the elastic restoring force of the movable piece. To generate a biasing force of the backward direction with respect to the fixed frame.
また、請求項2記載の発明に係る基板搬送クランプユニットにおいては、請求項1記載の発明において、さらにスライダが搬送キャリアの移動方向に沿って定位置に配置されたガイド部材に案内されるフォロアを有し、搬送キャリアの移動によりフォロワを介してスライダが進退駆動されるようにしたものである。 According to a second aspect of the present invention, in the substrate transport clamp unit according to the first aspect, the slider further includes a follower guided by a guide member arranged at a fixed position along the moving direction of the transport carrier. The slider is driven forward and backward through the follower by the movement of the carrier.
請求項1記載の発明に係る基板搬送用クランプユニットによれば、搬送中に基板を保持すると同時に張力を作用させて、搬送中の基板の撓みを防止することができ、撓み変形し易いフレキシブル基板や、撓みにより破損しやすいガラス基板を搬送する際に、基板の自重や搬送中の振動により基板が変形したり破損したりする事故を防止することができる。 According to the clamp unit for transporting a substrate according to the first aspect of the present invention, a flexible substrate that can hold the substrate during transport and simultaneously apply tension to prevent the substrate being transported from being bent and is easily deformed. In addition, when a glass substrate that is easily damaged by bending is transported, it is possible to prevent an accident that the substrate is deformed or damaged due to its own weight or vibration during transportation.
また、特に、エッチング処理工程等において基板を搬送しながら処理する場合に、ノズルから基板表面に向けて噴射される処理液の圧力を受けても、基板が撓んだり波打ったりすることがなく、処理中の基板の破損や変形を効果的に防止することができる。 In particular, when processing while transporting the substrate in an etching process or the like, the substrate does not bend or wave even when subjected to the pressure of the processing liquid sprayed from the nozzle toward the substrate surface. In addition, it is possible to effectively prevent the substrate from being damaged or deformed during processing.
さらに、本発明の基板搬送用クランプユニットによれば、基板を把持してから張力を付与する一連の動作を純機械的に行っており、電気的なセンサや制御回路等を一切用いていないので、エッチンク処理液中のような腐食性の雰囲気においても確実な動作を行うことができる。 Furthermore, according to the clamp unit for transporting a substrate of the present invention, a series of operations for applying tension after gripping the substrate is performed purely mechanically, and no electrical sensor or control circuit is used. A reliable operation can be performed even in a corrosive atmosphere such as in an etchant.
また、請求項2記載の発明に係る基板搬送用クランプユニットによれば、搬送キャリアの移動によってスライダを動かしてクランプ部材の把持部の進退動作と開閉動作を行うことができるので、クランプ部材の作動に別途駆動源を設ける必要がなく、基板搬送装置全体の構造を簡略化し、製造コストを低減することができる。 According to the clamp unit for transporting a substrate according to the second aspect of the present invention, the slider can be moved by moving the transport carrier, so that the gripping portion of the clamp member can be advanced and retracted and opened and closed. There is no need to provide a separate drive source, simplifying the structure of the entire substrate transfer apparatus and reducing the manufacturing cost.
  図1は、本発明の1実施形態としての基板搬送用クランプユニットを有する基板搬送装置の概略側面図、図2は、図1のA−A線位置における横断面図を示すものである。図1に示すように、基板搬送装置1は、互いに無端状に多数連結されたキャリア2がガイドレール3に案内されて垂直面内をエンドレスに循環移動する構造になっている。  FIG. 1 is a schematic side view of a substrate transport apparatus having a substrate transport clamp unit as one embodiment of the present invention, and FIG. 2 is a cross-sectional view taken along line AA of FIG. As shown in FIG. 1, the
  基板搬送装置1は、電子機器の回路基板として広く用いられているフレキシブル基板のエッチング処理工程で用いられるものであって、それぞれのキャリア2は、図1に示す搬入位置ENで前工程から図示していない搬送装置で搬送されてきた基板Pを受け取り、前記基板Pをディップ現像処理槽T1の処理液の中へ移動させる。  The
ディップ現像処理槽T1には、基板Pの通過位置の上下にノズルユニットN1が設置されており、これらのノズルユニットN1に設けられた図示しないノズルから吹き出す処理液の噴流を基板Pに当てることによって、基板P表面の現像処理を行う。 In the dip development processing tank T1, nozzle units N1 are installed above and below the passage position of the substrate P, and a jet of processing liquid blown from nozzles (not shown) provided in these nozzle units N1 is applied to the substrate P. Then, development processing of the surface of the substrate P is performed.
  現像処理を行った後、基板Pはキャリア2に保持されて第1水洗槽T2及び第2水洗槽T3の上部を通過し、ここで、基板Pの通過位置の上下に設置されているノズルユニットN2、N3に設けられた図示しない洗浄ノズルから洗浄水をキャリア2に保持されている基板Pに吹き付けて、基板Pの表面に付着している現像処理液の洗浄行う。  After performing the development processing, the substrate P is held by the
  こうして、表面の洗浄が完了した基板Pは、次いでキャリア2に保持されて下降移動し、この間に、プリエッチング処理装置T4を通過する。プリエッチング装置T4は、ここでは詳細には説明しないが、基板Pの搬送路両側に、通過する基板Pの表裏それぞれの表面と対向して基板Pの幅方向に往復運動するプリエッチングノズルを有していて、これらのプリエッチングノズルは、それぞれ往復運動しながら下降移動する基板Pの表裏両面に処理液を噴射してプリエッチング処理を行う。  Thus, the substrate P whose surface has been cleaned is then held by the
  この際基板Pの表面から落下する処理液は、プリエッチング装置T4の下方に設置された回収槽T5に受け止められて回収される。こうして、プリエッチング処理工程における処理が完了した基板Pは、キャリア2の移動にともなって、ディップエッチング処理槽T6中に入り、ここでエッチング処理液中を移動する間に、ノズルユニットN4に設けられた図示しないノズルから吹き出す処理液の噴流を基板Pに上下から当てることによって、基板P表面のエッチング処理が行われる。  At this time, the treatment liquid falling from the surface of the substrate P is received and collected by a collection tank T5 installed below the pre-etching apparatus T4. Thus, the substrate P that has been processed in the pre-etching process enters the dip etching processing tank T6 as the
  エッチング処理が完了した基板Pは、第3水洗槽T7と第4水洗槽T8の上方を順に通過し、これらの槽の上方を通過する際に、キャリア2に保持された基板Pの通過位置の上下に設置されているノズルユニットN5、N6の図示しない洗浄ノズルから洗浄水をキャリア2に保持されている基板Pに吹き付けて、基板Pの表面に付着しているエッチング処理液の洗浄行う。こうして、表面の洗浄が完了した基板Pは、キャリア2に保持されて搬出位置EXまで搬送され、ここで、キャリア2から図示しない搬送装置へ受け渡され、この搬送装置によって次工程へと搬送される。  The substrate P that has been subjected to the etching process sequentially passes above the third water rinsing tank T7 and the fourth water rinsing tank T8, and when passing above these tanks, the passage position of the substrate P held by the
  次に、基板搬送装置1の詳細構造について説明する。
  図2及び図3に示すように、キャリア2は、基板Pを搬送する基板搬送路Cの左右両側で対向するように配置されて、一対の並行するガイドレール3のそれぞれにガイドローラ4を介して走行自在に支持されている。Next, the detailed structure of the
 As shown in FIGS. 2 and 3, the
  本実施形態においては、それぞれのガイドレール3の上下の端にガイドローラ4を案内するための横断面山形の案内面Gが形成されている。一方、図2に示すように、ガイドローラ4は、キャリア2の側面に突接した軸に回転自在に取り付けた、一対のボールベアリング4A、4Bの組によって構成されていて、これらのボールベアリング4A、4Bの外輪の互いに向き合う側の周面は、前記案内面Gに適合する傾斜で面取り加工されており、これらの一対のボールベアリング4A、4Bの組でガイドレール3の案内面Gを両側から挟みこむことにより、キャリア2をガイドレール3に沿って円滑に、且つがたつきを少なく走行できるようにしている。  In the present embodiment, a guide surface G having a mountain cross section for guiding the guide roller 4 is formed at the upper and lower ends of each guide rail 3. On the other hand, as shown in FIG. 2, the guide roller 4 is composed of a pair of
  これらのボールベアリング4A、4Bの組で構成されるガイドローラ4は、1つのキャリア2の前後2箇所において、それぞれ、ガイドレール3を挟んで上下に対向するように一対ずつ設けられている。なお、本実施形態においては、ガイドローラ4は、ガイドレール3に対する走行抵抗を低減するとともに追従性を高めるため一対のボールベアリング4A、4Bを組み合わせて構成しているが、ガイドレール3の案内面Gに適合する輪郭に外周面を形成した単一部品として構成してもよい。  A pair of guide rollers 4 composed of a set of these
  図1に示すように、それぞれのキャリア2は、基板搬送装置1への基板Pの搬入位置ENの近傍を通過する際に、モータ5によって駆動される駆動ホイール6の外周に形成された駆動歯6Aに、キャリア2に設けられた図示しない係合部が噛み合って推進力を与えられるようになっている。  As shown in FIG. 1, each
  駆動ホイール6は左右1対あり、それぞれの駆動ホイール6のそれぞれの駆動歯6Aは、無端状に連結されたキャリア2の少なくとも前後に隣接した2つに対して常時噛み合っており、基板搬送路Cを挟んで左右両側のそれぞれのキャリア2どうしが常に対向している状態が保たれている。  There are a pair of left and right drive wheels 6, and each drive tooth 6 </ b> A of each drive wheel 6 is always meshed with at least two adjacent front and rear of the
  また、図2及び図3に示すように、基板搬送路Cの両側に対向するそれぞれのキャリア2は、走行方向前後の2箇所において、矩形状の基板Pを把持するための基板搬送用クランプユニット7(以下、クランプユニットという。)を備えていて、基板Pは、その4隅を4つのクランプユニット7によって両側から把持されて搬送されるようになっている。  Also, as shown in FIGS. 2 and 3, each
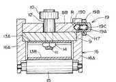
  図4に示すように、クランプユニット7はL字状の固定枠8を有していて、その垂直部分8Aが、キャリア2側に形成された係止部2Aと、図示しない締結部材でキャリア2に固定される取付プレート2Bとの間に上下から挟みこまれて保持され、キャリア2に固定枠8が固定されている。  As shown in FIG. 4, the
  固定枠8の水平部分8Bは、図5及び図6に示すように横断面が扁平な矩形状に形成されていて、その一部に、長孔H1が形成されている。また、固定枠8の水平部分8Bの下面には、クランプ部材保持体9が配置されている。クランプ部材保持体9は、前記水平部分8Bと同一幅の横断面が扁平な矩形状に形成されており、上下に貫通する貫通孔H2を有している。  The
  この貫通孔H2には、上端部に回転自在なストッパ当接ローラ10が装着された連結ボルト11が中空のスリーブ12を介して上方から差し込まれ、クランプ部材保持体9の下面に配置されたクランプ部材13に形成された貫通孔H3を貫通しており、連結ボルト11の下端部に螺合されたナット14とスリーブ12の対向する端面間にクランプ部材保持体9とクランプ部材13が挟み込まれてナット14の締め付けによってクランプ部材保持体9とクランプ部材13が一体的に固定されている。  A
  クランプ部材13は、固定片13Aと可動片13Bから構成されており、この実施形態のものは、固定片13Aと可動片13Bが後端部がU字状の湾曲部13Cで互いに連続して一体になっている。前記貫通孔H3は、固定片13A側に形成されていて、この部分が前述したようにクランプ保持体9と一体的に固定されている。The
  また、固定片13Aと可動片13Bの前端部で、クランプ部材13に外力が作用しない状態において、基板Pを挿入可能な隙間を有して互いに対向する一対の把持部13D、13Eが構成されている。  In addition, a pair of
  さらに、可動片の途中部分には、固定片13A側と反対側に突出する、後方斜面S1と前方斜面S2からなる山形の突出部が設けられている。これらの斜面S1、S2は、後述する作動部材としての作動ローラ15が当接して転動することにより、可動片13Bが弾性的に撓んで把持部13D、13Eの開閉動作が行われる。  Furthermore, a mountain-shaped projecting portion composed of a rear slope S1 and a front slope S2 is provided in the middle part of the movable piece and projects to the opposite side to the fixed
  図4及び図6に示すように、作動ローラ15は、その左右両端部から突出したローラ軸15Aを固定枠8の水平部分8Bにスライド自在に保持されたスライダ16の左右一対の側板16Aにそれぞれ形成された軸受け孔H4に嵌挿されて、回転自在に保持されている。また、これらの側板16Aどうしは、連結ブロック16Bの左右両端面に図示しない締結部材で固定されて、一体的に組み立てられている。  As shown in FIGS. 4 and 6, the actuating
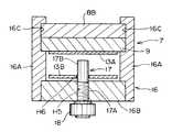
  また、これらの側板16の互いに対向する内側面の上方位置には、固定枠8の水平部分8Bとクランプ保持体9のそれぞれの厚みを加算した寸法に略等しい幅の浅いガイド溝16Cが形成されていて、これらの一対のガイド溝16C間に前記水平部分8Bとクランプ保持体9とが上下に重ねて保持され、固定枠8の水平部分8の長手方向に沿って、クランプ保持体9とスライダ16がそれぞれ個別にスライドできるようになっている。  Further,
  連結ブロック16Bには、上下方向にねじ孔H5が貫通形成されていて、ここに、ローラフォロワ軸17のねじ部17Aを螺合固定されている。ローラフォロワ軸17の下端部には、ローラフォロワ18が回転自在に取り付けられている。  A screw hole H5 is formed through the connecting
  また、ローラフォロワ軸17の連結ブロック16Bから上方に突出した軸部17Bにはねじは形成されておらず、軸部17Bは、クランプ部材13の可動片13Bの、後端近傍位置から斜面S1にさしかかる位置の間に貫通形成されている長孔H6の中を貫通している。  Further, no screw is formed on the
  図6に示すように、スライダ16の一方の側板16Aのローラ軸15Aの上方で且つガイド溝16C部分の、固定枠8の水平部分8Bと対向する位置には、ボールプランジャ19が取り付けられている。  As shown in FIG. 6, a
  前記ボールプランジャ19は、側板16Aに貫通形成されたねじ孔H7に、プランジャハウジング19Aの外周面に形成された雄ねじ部を螺合してロックナット19Bで固定されていて、プランジャハウジング19内に組み込まれた圧縮コイルばね19Cでボール19Dを固定枠8の水平部分8Bの側面に押し当てている。  The
  次に、前述したように構成されているクランプユニット7の動作を図面に基づいて説明する。なお、搬送路Cを挟んだ反対側のキャリア2に取り付けられているクランプユニット7については、図4に示すものと左右反対の向きである点を除けば、構造と動作は同じなので説明は省略する。  Next, the operation of the
  それぞれのキャリア2に取り付けられているクランプユニット7は、図1に示す搬出位置EXから搬入位置ENに移動する間は、基板Pを把持しておらず、図4に示すように、クランプ部材保持体9の後端面9Aはキャリア2側の係止部2Aの前端面と当接した退避位置にあって、クランプ部材保持体9に取り付けられているクランプ部材13も同図に示すように後退した位置にある。  The
  次に図1において、キャリア2が前進して基板Pの搬入位置ENに至ると、図7に示すように、ローラフォロワ18は、搬送路Cに沿って定位置に設けられている案内部材としての、カムプレート20に当接する。このカムプレート20は、ローラフォロワ18と当接してこれを案内するカム面がキャリア2の進行方向に向けて搬送路C側へ傾斜しており、その結果、キャリア2の進行につれて、カムプレート20はローラフォロワ18を回転させながら搬送路C側へ押して前進移動させる。  Next, in FIG. 1, when the
  そうすると、ローラフォロワ18が取り付けられているスライダ16が固定枠8の水平部分8Bに沿って退避位置からスライドして前進するが、このとき、作動ローラ15がクランプ部材13の可動片13Bに形成されている斜面S1を押すので、クランプ部材13は、対向する一対の把持部13D、13Eどうしが弾性習性により開かれた状態のまま、クランプ部材保持体9とともに前進し、このとき、図示していない搬送装置によって搬入位置EN(図1参照)へ搬送されてきて待機している未処理の基板Pの幅方向の両側縁部が、これらの把持部13D、13E間に進入する。  Then, the
  こうして、クランプ部材13とともにクランプ部材保持体9が把持位置まで前進すると、クランプ部材保持体9側に取り付けられているストッパ当接ローラ10が搬入位置EN近傍の定位置にあるストッパ21に当たって停止する。なお、本実施形態においては、把持位置を決定するストッパ21の位置は、取り扱う基板Pの幅に応じて、例えば図7の仮想線で示す位置へ変更可能になっている。  Thus, when the clamp
  こうして、クランプ部材保持体9とクランプ部材13の移動がストッパ21によって止められた後も、カムプレート20はローラフォロワ18をなおも押し続ける。その結果、図8に示すように、作動ローラ15は可動片13Bの後方斜面S1に乗り上げてこれを上方に押圧するので、クランプ部材13の可動片13Bは、上方に弾性変形してその先端の把持部13Eは、固定片13A側の先端の把持部13Dとの間で基板Pを把持する。  Thus, even after the movement of the
  さらに、図9に示すように、作動ローラ15が後方斜面S1から前方斜面S2側に移動すると、ここで、カムプレート20からローラフォロワ18は離脱するが、作動ローラ15によって弾性変形させられているクランプ部材13がその弾性復元力により、前方斜面S2を下方へ変位させようとするので、その上に乗っている作動ローラ15にはクランプ部材13の前端側へ向かう力が作用し、作動ローラ15とともにスライダ16も前方へ引っ張られる。  Further, as shown in FIG. 9, when the operating
  そうすると、図10に示すように、スライダ16の側板16Aの一方に取り付けられてるボールプランジャ19のボール19Dが圧縮コイルばね19Cの付勢力によって固定枠8の水平部分8Bの側面に形成されている円錐形凹部Rに落ち込み、スライダ16のさらなる前方への移動は阻止される。  Then, as shown in FIG. 10, the
  円錐形凹部Rの形成されている位置は、スライダの前進規制位置であって、ここで、スライダ16とこれに保持されている作動ローラ15の位置が固定されると、クランプ部材13の前方斜面S2は作動ローラ15から後退方向の反力を受ける。  The position where the conical recess R is formed is a forward movement restricting position of the slider. When the position of the
  このとき、クランプ部材13の先端の把持部13D、13E間には基板Pが把持されているため、基板Pはその幅方向に前記反力に等しい張力Fで引っ張られる。なお、スライダ16の前進規制位置を決定する円錐形凹部Rは、ストッパ21の位置の変更に対応させて、固定枠8の水平部分8Bの側面に複数箇所設けてある。  At this time, since the substrate P is gripped between the
  こうして、図1に示す基板Pの搬入位置ENから搬出位置EXまでキャリア2が移動する間は、クランプユニット13は、図9及び図10に示す状態が保持され、この間、基板Pは引っ張られた状態で搬送される。  Thus, while the
  こうして基板Pが搬出位置EXまで搬送されてくると、搬出位置EXの手前側の定位置に設けてある図示していないカムプレートのカム面がローラフォロワ18に当接して、これを後退方向に強制的に移動させる。  When the substrate P is thus transported to the unloading position EX, the cam surface of a cam plate (not shown) provided at a fixed position on the near side of the unloading position EX abuts on the
  このとき、図10に示すように、円錐形凹部Rに落ち込んでいたボール19Dは、円錐形凹部Rから圧縮コイルばね19Cの付勢力に抗して離脱し、スライダ16とともに、作動ローラ15はクランプ部材13の可動片13Bを上方へ撓ませながら前方斜面S2側から後方斜面S1側へ移動し、クランプ部材13は図7の状態に戻って一対の把持部13D、13Eは開いて基板Pを開放する。  At this time, as shown in FIG. 10, the
  その後、前記カムプレートはローラフォロワ18をさらに、図4の位置まで後退させるが、このとき、クランプ部材13の可動片13Bに形成されている長孔H6の後端縁部がローラフォロワ軸17の軸部17Bに突き当たって、クランプ部材13とともにクランプ部材保持体9も退避位置まで引き戻される。  Thereafter, the cam plate further retracts the
  なお、前述した実施形態においては、クランプ部材13を単一部品として製作しているが、固定片9Aと可動片9Bは別部材としてそれぞれクランプ部材保持体9に取り付けてもよい。また、可動片9Bに形成されている後方斜面S1と前方斜面S2からなる山形の突出部は、例えば、樹脂製のブロックのような別部材で構成して可動片に固定する構造としてもよい。  In the above-described embodiment, the
  さらに、カムプレート20によって作動されるフォロワを本実施形態では回転自在なローラフォロワ18としたが、これに変えてカムプレート20に摺動接触するカムフォロワとしてもよい。同様に、作動ローラ15とストッパ当接ローラ10は、回転しない部材で構成してもよい。  Furthermore, although the follower operated by the
また、フォロワを作動させるためのガイド部材として、カムプレートを用いる代わりにレールを用いてもよく、さらに、基板の搬入位置や搬出位置の近傍に設置したエアシリンダ装置等に取り付けられたプッシャによってスライダを進退駆動するようにしてもよい。 Further, as a guide member for operating the follower, a rail may be used instead of using a cam plate, and a slider is mounted by a pusher attached to an air cylinder device or the like installed in the vicinity of the board loading position or unloading position. May be driven forward and backward.
  また、前述した実施形態においては、クランプ部材13の前進限を規定するストッパ21の位置を変更することで、種々の幅の基板Pに対応できるようにしているが、キャリア2の長手方向にクランプユニット7の取り付け間隔を変更可能にすることで、搬送方向に長さの異なる種々の基板に対しても対応可能である。  Further, in the above-described embodiment, the position of the
  さらに、前述した実施形態は、矩形シート状の基板の4隅をクランプ部材で把持した状態で、基板を搬送方向と直交する方向に引っ張って搬送するものであるが、基板を引っ張る方向は、基板が搬送中に撓まない状態に保持できればよく、例えば、図11に示す実施形態は、4つのクランプ部材13によって、基板Pの4隅近傍を把持し、各クランプ部材13により、基板Pの搬送方向に張力Fを作用させて引っ張りながら搬送するものである。  Further, in the above-described embodiment, the substrate is pulled and transported in a direction orthogonal to the transport direction in a state where the four corners of the rectangular sheet-shaped substrate are held by the clamp member. 11 can be held in a state in which it does not bend during transportation. For example, in the embodiment shown in FIG. 11, the four
  また、図12に示す実施形態は、4つのクランプ部材13によって基板Pの4隅を把持し、各クランプ部材13により、基板Pの対角線方向に張力Fを作用させて引っ張りながら搬送するものである。  In the embodiment shown in FIG. 12, the four corners of the substrate P are gripped by the four
  さらに、図13に示す実施形態は、基板Pの4隅に配置したクランプ部材13と、基板Pの両側側縁部の中間位置に配置したクランプ部材13’によって基板Pを把持し、各クランプ部材13、13’により、基板Pの搬送方向と直交する方向に張力Fを作用させて引っ張りながら搬送するものである。  Furthermore, in the embodiment shown in FIG. 13, the substrate P is held by the
本発明の基板搬送用クランプユニットは、基板処理等の分野において、特に薄くて屈曲し易いフレキシブル基板や曲げ変形により破損し易いガラス基板等の基板を搬送する基板搬送装置を構成する部品として広く利用できるものである。 The clamp unit for transporting a substrate according to the present invention is widely used as a component constituting a substrate transport device for transporting a substrate such as a thin flexible substrate that is easily bent and a glass substrate that is easily damaged by bending deformation in the field of substrate processing and the like. It can be done.
    1            基板搬送装置
    2            キャリア
    2A          係止部
    2B          取り付けプレート
    3            ガイドレール
    4            ガイドローラ
    4A、4B      ボールベアリング
    5            モータ
    6            駆動ホイール
    6A           駆動歯
    7            クランプユニット
    8            固定枠
    8A           垂直部分
    8B           水平部分
    9             クランプ部材保持体
    9A           後端面
    10           ストッパ当接ローラ
    11           連結ボルト
    12           スリーブ
    13、13’      クランプ部材
    13A          固定片
    13B          可動片
    13C          湾曲部
    13D、13E    把持部
    14            ナット
    15            作動ローラ(作動部材)
    15A           ローラ軸
    16            スライダ
    16A           側板
    16B           連結ブロック
    16C           ガイド溝
    17             ローラフォロワ軸
    17A           ねじ部
    17B           軸部
    18             ローラフォロワ(フォロワ)
    19             ボールプランジャ
    19A            プランジャハウジング
    19B            ロックナット
    19C            圧縮コイルばね
    19D            ボール
    20              カムプレート
    21              ストッパ
    H1               長孔
    H2               貫通孔
    H3               貫通孔
    H4               軸受け孔
    H5              ねじ孔
    H6              長孔
    H7              ねじ孔
    S1、S2         斜面
    R               円錐形凹部
    P               基板
    C               搬送路DESCRIPTION OF
 19 ball plunger
 H1 slot
 H2 through hole
 H3 through hole
 H4 bearing hole
 H5 screw hole
 H6 long hole
 H7 Screw hole S1, S2 Slope R Conical recess P Substrate
 C Transport path
| Application Number | Priority Date | Filing Date | Title | 
|---|---|---|---|
| JP2005065907AJP3815687B1 (en) | 2005-03-09 | 2005-03-09 | Clamp unit for substrate transfer | 
| Application Number | Priority Date | Filing Date | Title | 
|---|---|---|---|
| JP2005065907AJP3815687B1 (en) | 2005-03-09 | 2005-03-09 | Clamp unit for substrate transfer | 
| Publication Number | Publication Date | 
|---|---|
| JP3815687B1true JP3815687B1 (en) | 2006-08-30 | 
| JP2006248651A JP2006248651A (en) | 2006-09-21 | 
| Application Number | Title | Priority Date | Filing Date | 
|---|---|---|---|
| JP2005065907AExpired - Fee RelatedJP3815687B1 (en) | 2005-03-09 | 2005-03-09 | Clamp unit for substrate transfer | 
| Country | Link | 
|---|---|
| JP (1) | JP3815687B1 (en) | 
| Publication number | Priority date | Publication date | Assignee | Title | 
|---|---|---|---|---|
| CN102249089A (en)* | 2010-05-19 | 2011-11-23 | 富葵精密组件(深圳)有限公司 | Conveying device | 
| CN102431763A (en)* | 2011-10-14 | 2012-05-02 | 张福祥 | Transport mechanism | 
| US8570491B2 (en) | 2008-02-27 | 2013-10-29 | Nederlandse Organisatie Voor Toegepast-Natuurwetenschappelijk Onderzoek Tno | System for patterning flexible foils | 
| TWI500558B (en)* | 2007-03-07 | 2015-09-21 | Nippon Electric Glass Co | Protection sheet supply device | 
| JP2019513658A (en)* | 2016-04-06 | 2019-05-30 | サン−ゴバン グラス フランス | Device for transporting and holding glass plates, in particular for transporting and holding glass plates in cleaning facilities | 
| JP2019513656A (en)* | 2016-04-06 | 2019-05-30 | サン−ゴバン グラス フランス | Device for supporting a glass sheet, in particular for supporting a glass sheet in a cleaning installation | 
| Publication number | Priority date | Publication date | Assignee | Title | 
|---|---|---|---|---|
| DE102007038116A1 (en)* | 2007-07-30 | 2009-02-05 | Gebr. Schmid Gmbh & Co. | Holding means, apparatus and method for transporting substrates, in particular printed circuit boards | 
| JP5056339B2 (en)* | 2007-10-18 | 2012-10-24 | 凸版印刷株式会社 | Substrate gripping mechanism for substrate transfer equipment | 
| JP2010037082A (en)* | 2008-08-07 | 2010-02-18 | Sharp Corp | Substrate carrying device and substrate carrying method | 
| US8541163B2 (en)* | 2009-06-05 | 2013-09-24 | Nikon Corporation | Transporting method, transporting apparatus, exposure method, and exposure apparatus | 
| JP5649220B2 (en)* | 2011-03-18 | 2015-01-07 | 東京エレクトロン株式会社 | Substrate transport apparatus and substrate transport method | 
| KR20140002470A (en) | 2012-06-29 | 2014-01-08 | 삼성디스플레이 주식회사 | Display device, manufacturing method of the same and manufacturing device of the same | 
| US9439315B2 (en) | 2012-06-29 | 2016-09-06 | Samsung Display Co., Ltd. | Display device, and method and apparatus for manufacturing the same | 
| KR101462728B1 (en)* | 2012-10-26 | 2014-11-17 | 삼성전기주식회사 | Carrier jig of substrate | 
| KR101503587B1 (en)* | 2013-03-22 | 2015-03-19 | (주)에스티아이 | Transferring apparatus for flexible substrate and method thereof | 
| JP6119398B2 (en)* | 2013-04-22 | 2017-04-26 | 日本電気硝子株式会社 | Sheet glass conveying apparatus, sheet glass conveying method, and sheet glass inspection apparatus | 
| JP2015199569A (en)* | 2014-04-07 | 2015-11-12 | 株式会社Ihi | Non-contact conveyance apparatus | 
| JP2020170059A (en)* | 2019-04-02 | 2020-10-15 | サンエー技研株式会社 | Exposure device and exposure method | 
| TWI807260B (en)* | 2019-07-12 | 2023-07-01 | 萬潤科技股份有限公司 | Sheet object conveying method, device and equipment | 
| KR102470535B1 (en)* | 2021-05-03 | 2022-11-28 | 주식회사 티케이씨 | Jig Apparatus For Holding Plate Of Plate Processing System | 
| Publication number | Priority date | Publication date | Assignee | Title | 
|---|---|---|---|---|
| TWI500558B (en)* | 2007-03-07 | 2015-09-21 | Nippon Electric Glass Co | Protection sheet supply device | 
| US8570491B2 (en) | 2008-02-27 | 2013-10-29 | Nederlandse Organisatie Voor Toegepast-Natuurwetenschappelijk Onderzoek Tno | System for patterning flexible foils | 
| CN102249089A (en)* | 2010-05-19 | 2011-11-23 | 富葵精密组件(深圳)有限公司 | Conveying device | 
| CN102431763A (en)* | 2011-10-14 | 2012-05-02 | 张福祥 | Transport mechanism | 
| CN102431763B (en)* | 2011-10-14 | 2014-02-12 | 东莞市多贺自动化科技有限公司 | Transport mechanism | 
| JP2019513658A (en)* | 2016-04-06 | 2019-05-30 | サン−ゴバン グラス フランス | Device for transporting and holding glass plates, in particular for transporting and holding glass plates in cleaning facilities | 
| JP2019513656A (en)* | 2016-04-06 | 2019-05-30 | サン−ゴバン グラス フランス | Device for supporting a glass sheet, in particular for supporting a glass sheet in a cleaning installation | 
| JP7115985B2 (en) | 2016-04-06 | 2022-08-09 | サン-ゴバン グラス フランス | Apparatus for supporting glass sheets, especially for supporting glass sheets in washing installations | 
| Publication number | Publication date | 
|---|---|
| JP2006248651A (en) | 2006-09-21 | 
| Publication | Publication Date | Title | 
|---|---|---|
| JP3815687B1 (en) | Clamp unit for substrate transfer | |
| US9380708B2 (en) | Method, holding means, apparatus and system for transporting a flat material to be treated and loading or unloading apparatus | |
| KR102094730B1 (en) | Glass plate transfer apparatus and glass plate transfer method | |
| JP4818860B2 (en) | Parts feeder positioning device for component mounters | |
| JP5613499B2 (en) | Surface treatment equipment | |
| JP2008285323A (en) | Board material conveyor | |
| KR20110120008A (en) | Substrate transfer device and substrate transfer method using same | |
| JP3751452B2 (en) | Electronic component conveyor | |
| JP2015003813A (en) | Transport jig | |
| KR102000988B1 (en) | Thin film transfering apparatus | |
| TW201416302A (en) | Fixture and conveying system | |
| CN108928098A (en) | Silk-screen printing device and method for printing screen | |
| JP3767298B2 (en) | Fixing method of electronic component mounting board | |
| CN110709538B (en) | Surface treatment device and transfer jig | |
| TWM445320U (en) | Flexible electron transport jig device | |
| KR101283354B1 (en) | Gripper for transferring semiconductor device | |
| JP2014177713A (en) | Surface treatment apparatus | |
| JP3755887B1 (en) | Substrate processing line | |
| KR101051117B1 (en) | External electrode forming device for electronic parts | |
| TWM445321U (en) | Flexible electron transport track tension apparatus | |
| JP4896815B2 (en) | Surface mount equipment | |
| JP4146739B2 (en) | Endless annular member gripping method | |
| TWM450177U (en) | Flexible electronic tension transporting apparatus | |
| JP3252822B2 (en) | Workpiece alignment device | |
| JPH0710309A (en) | Metal thin plate etching equipment | 
| Date | Code | Title | Description | 
|---|---|---|---|
| TRDD | Decision of grant or rejection written | ||
| A01 | Written decision to grant a patent or to grant a registration (utility model) | Effective date:20060601 Free format text:JAPANESE INTERMEDIATE CODE: A01 | |
| A61 | First payment of annual fees (during grant procedure) | Free format text:JAPANESE INTERMEDIATE CODE: A61 Effective date:20060601 | |
| R150 | Certificate of patent (=grant) or registration of utility model | Free format text:JAPANESE INTERMEDIATE CODE: R150 | |
| LAPS | Cancellation because of no payment of annual fees |