





















本発明は、携帯形情報機器およびワードプロセッサなどに好適に実施され、文字および図形などを入力する際に用いられる座標検出のための構成に関し、特に時分割で表示と座標検出とを行う表示機能を備えた表示一体形タブレット装置に関する。 The present invention is preferably implemented in portable information devices and word processors and the like, and particularly relates to a configuration for coordinate detection used when inputting characters, figures, etc., and particularly has a display function for performing display and coordinate detection in a time division manner. The present invention relates to a display-integrated tablet device provided.
座標を指示する手段である電子ペンによる入力機能を有する表示装置を含んで、携帯用の情報端末装置を構成すると、文字などの入力に用いるキ−ボードが不要となり、装置の小形化および軽量化を図ることができる。これらの情報端末装置は、一般的に電池によって駆動されており、電池も含めて小形かつ軽量であることが求められている。前記情報端末装置においては、特に前記表示装置における電力消費を少なくし、かつ表示装置を駆動する回路などの周辺の回路を小型軽量に形成することが求められている。 If a portable information terminal device is configured including a display device having an input function using an electronic pen, which is a means for instructing coordinates, a keyboard used for inputting characters and the like becomes unnecessary, and the device is reduced in size and weight. Can be achieved. These information terminal devices are generally driven by a battery, and are required to be small and lightweight including the battery. The information terminal device is required to reduce power consumption particularly in the display device and to form peripheral circuits such as a circuit for driving the display device in a small size and light weight.
液晶表示パネルの表示電極、および駆動回路を時分割的に制御することによって、座標検出のための回路などを追加することなく座標検出を行わせ、前記表示機能を備えた座標検出装置の構成を小型化するとともに低価格化を実現する先行技術が、本件発明者によって、たとえば特開平5−53726号公報において提案されている。 By controlling the display electrodes and the drive circuit of the liquid crystal display panel in a time-sharing manner, coordinate detection is performed without adding a circuit for coordinate detection, and the configuration of the coordinate detection device having the display function is provided. Prior art that achieves a reduction in size while reducing the size has been proposed by the present inventor in, for example, Japanese Patent Laid-Open No. 5-53726.
  図17は、前記公報に示される表示機能を備えた表示一体形タブレット装置1のブロック図である。この装置1は、表示パネル2と、セグメント駆動回路3と、コモン駆動回路4と、表示制御回路5と、検出制御回路6と、制御回路7と、電子ペン8と、オペアンプ9と、X座標検出回路10と、Y座標検出回路11と、直流電源回路12と、表示信号供給回路13と、切換え回路14とを含んで構成される。  FIG. 17 is a block diagram of the display-integrated
  この装置1では、1フレーム期間を表示期間と座標検出期間とに時分割して表示パネル2を駆動する。したがって表示パネル2は、表示期間では表示パネルとして動作し、座標検出期間では座標検出パネルとして動作する。表示パネル2には、セグメント電極S1,S2,…,Smと、コモン電極C1,C2,…,Cnとが互いに交差するように配置されている。セグメント電極S1,S2,…,Smを総称するときには参照符Sを用い、コモン電極C1,C2,…,Cnを総称するときには参照符Cを用いる。コモン駆動回路4とセグメント駆動回路3とは、切換え回路14の出力に基づいて、直流電源回路12から供給される複数の電圧を選択的に表示パネル2の各電極C,Sに印加する。  In the
  図18は表示期間におけるセグメントおよびコモン駆動回路3,4の動作を説明するためのタイミングチャートであり、図19は座標検出期間におけるセグメントおよびコモン駆動回路3,4の動作を説明するためのタイミングチャートである。図18および図19に示すように、シフトデータSによって規定されるN番目のフレーム期間W1は、表示期間W3と、座標検出期間W4とに分割される。さらに座標検出期間W4は、X座標検出期間W5と、Y座標検出期間W6とを含んで構成される。(N+1)番目のフレーム期間W2以降は、フレーム期間W1と同様に各期間が繰返される。  18 is a timing chart for explaining operations of the segment and
  図18に示すタイミングチャートは、本発明による後述の図7および図8に示す表示パネル32における表示例と同一内容を表示する場合のタイミングチャートである。電圧Vs,Vcをコモン電極Cおよびセグメント電極Sに印加される電圧をそれぞれ示す電圧であるとすると、コモン電極Cおよびセグメント電極Sの交差部である画素における電極間電圧は、|Vs−Vc|となる。この電極間電圧が、液晶のしきい値電圧を超える画素は表示状態となり、しきい値電圧に満たない画素は非表示状態となる。  The timing chart shown in FIG. 18 is a timing chart in the case of displaying the same contents as the display examples on the
  液晶パネル2に表示を行う場合、コモン電極Cとセグメント電極Sとの交差部である各画素に印加される電圧の極性は全フレームを通して同一方向ではなく、たとえばフレーム毎に交互に切換えられる必要がある。これは、液晶に直流電圧を長時間印加することによって液晶が方向性を持ち、印加する電圧を変化させても液晶の向きが変わらず、また液晶が電気分解し、そのため表示品位が低下することを防止するために行われるものであり、いわゆる交流化駆動と称される。  When displaying on the
  交流化駆動を行うことによって、予め定める電圧を挟んで対向することになる正方向と負方向との電圧を、予め定める期間毎に交互に印加することとなり、液晶に交流的に電圧が印加されることになる。したがって前記予め定める電圧に対して正負いずれの方向にも前記しきい値電圧以上の電圧となるように各電圧を定めると、液晶を駆動する回路は液晶のしきい値電圧のほぼ2倍の耐圧を必要とする。このような駆動回路は、50V以上の耐圧が必要となり、駆動回路を構成する集積回路の面積の増大を招く。座標検出装置1では、以下に示す構成によって、駆動回路に必要とされる耐圧を低くしている。  By performing alternating drive, the positive and negative voltages that face each other across a predetermined voltage are alternately applied every predetermined period, and the voltage is applied to the liquid crystal in an alternating manner. Will be. Therefore, when each voltage is determined so that it is equal to or higher than the threshold voltage in both positive and negative directions with respect to the predetermined voltage, the circuit for driving the liquid crystal has a withstand voltage almost twice the threshold voltage of the liquid crystal. Need. Such a drive circuit requires a withstand voltage of 50 V or more, and causes an increase in the area of the integrated circuit constituting the drive circuit. In the
  この装置1において、切換え回路14は制御回路7から供給される制御信号に基づいて、画像を表示する際の制御を行う表示制御回路5と、座標位置を検出する際の制御を行う検出制御回路6との出力を切換えてセグメント駆動回路3およびコモン駆動回路4に供給する。  In this
  表示期間W3においては、制御回路7の制御に従って切換え回路14は、表示制御回路5の出力を受取り、コモン駆動回路4およびセグメント駆動回路3に、コモン電極駆動信号a〜hおよびセグメント電極駆動信号A,Bをそれぞれ出力する。クロック信号cplの立下がりに応答してコモン電極Cを順次選択してコモン電極駆動信号a〜hを印加する。また、クロック信号cplの立下がりに応答して、奇数番目セグメント電極駆動信号Aをセグメント電極S1,S3,…に印加し、偶数番目セグメント電極駆動信号Bをセグメント電極S2,S4,…に印加する。  In the display period W3, the
  図18に示すタイミングチャートにおいて、コモン電極駆動信号a〜hとセグメント電極駆動信号A,Bとが共に「オン」となっている画素の電圧は、|V0−V5|になる。座標検出装置1では、最大の電圧幅である電圧|V0−V5|が画素に印加されたときのみ、前記しきい値電圧を超えるように各電圧V0〜V5が設定されている。したがって、電圧|V0−V5|が印加されている場合のみが表示状態となり、他の場合は非表示状態となる。  In the timing chart shown in FIG. 18, the voltage of the pixel in which both the common electrode drive signals a to h and the segment electrode drive signals A and B are “ON” is | V0−V5 |. In the
図18では、コモン電極Cを3行走査する度に、交流化信号FRの信号レベルが切換わり、画素に印加される電圧の極性が反転され交流化が行われる。交流化信号FRがローレベルである時刻t0〜t3までの期間W11では、交流化駆動を行う際に基準となる基準電圧がV4に定められる。前記期間W11で順次的に選択されるコモン電極C1〜C3には順次的に電圧V0が印加され、選択されていないコモン電極Cには電圧V4が印加される。表示状態となる画素に対応するセグメント電極Sには電圧V5が印加され、非表示状態となる画素に対応するセグメント電極Sには電圧V3が印加される。電圧V5とV3とは基準電圧V4からの電圧差がそれぞれ等しい電圧である。 In FIG. 18, every time the common electrode C is scanned in three rows, the signal level of the AC signal FR is switched, and the polarity of the voltage applied to the pixel is inverted to perform AC. In a period W11 from time t0 to time t3 when the AC signal FR is at a low level, a reference voltage serving as a reference when performing AC driving is set to V4. The voltage V0 is sequentially applied to the common electrodes C1 to C3 that are sequentially selected in the period W11, and the voltage V4 is applied to the common electrode C that is not selected. The voltage V5 is applied to the segment electrode S corresponding to the pixel in the display state, and the voltage V3 is applied to the segment electrode S corresponding to the pixel in the non-display state. The voltages V5 and V3 are voltages having the same voltage difference from the reference voltage V4.
また交流化信号FRがハイレベルである時刻t3〜t6までの期間W12では、基準電圧がV1に定められる。前記期間W12で選択されるコモン電極Cには、電圧V5が印加され、選択されていないコモン電極Cには基準電圧V1が印加される。表示状態となる画素に対応するセグメント電極Sには電圧V0が印加され、非表示状態となる画素に対応するセグメント電極Sには電圧V2が印加される。電圧V0とV2とは基準電圧V1からの電圧差がそれぞれ等しい電圧である。 In the period W12 from time t3 to time t6 when the AC signal FR is at the high level, the reference voltage is set to V1. The voltage V5 is applied to the common electrode C selected in the period W12, and the reference voltage V1 is applied to the unselected common electrode C. The voltage V0 is applied to the segment electrode S corresponding to the pixel in the display state, and the voltage V2 is applied to the segment electrode S corresponding to the pixel in the non-display state. The voltages V0 and V2 are voltages having the same voltage difference from the reference voltage V1.
  上述のように、基準電圧が交流化信号FRの信号レベルに基づいて切換えられるので、コモン電極Cに選択時に印加される電圧と非選択時に印加される電圧とは、期間W11とW12とで異なるようになる。セグメント電極Sに印加される電圧も期間W11,W12で切換えられる。したがってセグメント電極に印加される電圧のレベルが大きく変化しているので、コモン電極Cに印加する電圧の変化を抑えることができる。表示時における印加電圧の一例を示すと、V0=0、V1=1.7、V2=3.4、V3=23.5、V4=25.2、V5=26.9Vであり、コモン駆動回路4およびセグメント駆動回路3に印加される電圧は27V程度となり、各駆動回路3,4を構成するLSI(大規模集積回路)は、いわば中耐圧の耐圧保証が必要となる。  As described above, since the reference voltage is switched based on the signal level of the AC signal FR, the voltage applied to the common electrode C at the time of selection and the voltage applied at the time of non-selection are different in the periods W11 and W12. It becomes like this. The voltage applied to the segment electrode S is also switched in the periods W11 and W12. Therefore, since the level of the voltage applied to the segment electrode has changed greatly, the change in the voltage applied to the common electrode C can be suppressed. An example of the applied voltage at the time of display is V0 = 0, V1 = 1.7, V2 = 3.4, V3 = 23.5, V4 = 25.2, V5 = 26.9V, and the
  従来の装置1では、コモン電極Cの駆動回路4に中耐圧のLSIを使うことができるように工夫されているが、前述の動作説明から明らかなように駆動に必要な電圧の種類が多く、直流電源回路12の構成が大きくなるという課題を抱えている。  The
  また交流化信号FRに応じて、コモン電極Cおよびセグメント電極Sに印加する電圧の基準電圧を切換えており、表示内容が変化しなくても各電極S,Cに保持されている電荷が、前記切換わりの度に各駆動回路3,4へと流れ込み、結果的に電力が消費される。このような消費電力は、基準電圧の切換わり毎に起り、1フレーム期間における切換え回数に比例して消費電力が増大する。本質的に消費電力が少ない(抵抗が高い)液晶を用いて表示を行うにもかかわらず、各駆動回路3,4の出力が、静電容量の大きい液晶を挟んで対向する電極S,Cに接続されているので、充放電に伴う電力消費が大きくなる。一般的な携帯用情報端末装置は電池駆動になっており、したがって使用可能時間を長くするためには容量の大きい大形の電池が必要になる。  Further, the reference voltage of the voltage applied to the common electrode C and the segment electrode S is switched in accordance with the AC signal FR, and even if the display content does not change, the charges held in the electrodes S and C are Each time it is switched, it flows into each of the
  前述のように装置1における消費電力は、極性切換えを行う回数に比例して増加するので、特に電力容量が制限される小形の携帯用情報端末装置では、1フレーム毎に複数回の極性の切換えを行わずに、フレーム単位で極性を切換えている場合もある。フレーム単位で極性を切換える場合、1フレームに複数回の極性の切換えを行う場合に比較して、液晶の劣化が著しく、そのため表示品位が低下することとなる。  As described above, the power consumption in the
  従来の装置1では、コモン駆動回路4を構成するLSIの耐圧を中耐圧とすることができるが、セグメント駆動回路3は表示時における信号電圧の差が期間W11では|V5−V3|であり、期間W12では|V2−V0|で共に5V以下(以下、低耐圧と称する)であるにもかかわらず、交流化により基準電圧が大きく変化するので、|V5−V0|の電圧を供給することができる中耐圧の構成とする必要がある。前述のように、装置1を携帯情報端末装置として構成する場合には、小形軽量および省電力を実現することが、無視できない課題になる。  In the
  座標検出期間W4においては、検出制御回路6が選択され、検出制御回路6から与えられる各信号に基づいて、各駆動回路3,4が電子ペン8によって指示される座標の検出を行う。図19に示すように、座標検出期間W4におけるX座標検出期間W5では、セグメント駆動回路3はセグメント電極走査信号ZS1,ZS2,…,ZSmを生成して、表示パネル2のセグメント電極Sを順次走査する。X座標検出期間W5に引続くY座標検出期間W6では、検出制御回路6から与えられる各信号に基づいて、コモン駆動回路4はコモン電極走査信号ZC1,ZC2,…,ZCnを生成してコモン電極Cを順次走査する。  In the coordinate detection period W <b> 4, the
  電子ペン8の先端には、コモンおよびセグメント電極C,Sと静電的に結合する指示電極が設けられており、前記走査によって指示電極に信号電圧が誘起する。各座標検出回路10,11は、その信号電圧の波形におけるピークのタイミングに基づいて電子ペン8が示す表示パネル2上の座標を検出する。座標検出期間W4において、各座標検出回路10,11で検出された電子ペン8の存在する座標位置を示すデータを、表示制御回路5に入力することによって、次の表示期間において座標位置に表示を行う。  An indicator electrode that is electrostatically coupled to the common and segment electrodes C and S is provided at the tip of the
  座標検出走査時に印加する電圧を高い値に設定することによって、電子ペン8から出力される信号電圧の電圧レベルが上昇し、高い検出信号を得ることができ、S/N比が向上するので、なるべく高い電圧で走査することが望ましい。しかしながら、走査する電圧が高すぎると、各電極間に印加される電圧が表示に必要なしきい値を超え、表示信号に基づく電圧以外の電圧が印加されて不所望な表示が行われて表示品位が低下する。したがって図19に示すタイミングチャートでは、電圧V1またはV2を検出期間の基準の電圧に定め、順次的に電圧V5を印加して座標検出走査を行う。たとえば検出期間の基準電圧を電圧V1とし、走査電圧を電圧V5とすると、コモン電極Cおよびセグメント電極S間に印加される電圧は25.2Vとなり、前述の表示状態の電極間に印加される電圧である26.9Vよりも小さくなり、前記しきい値電圧以上の電圧が印加されることがなく、表示品位の低下を防ぐことができる。  By setting the voltage applied at the time of coordinate detection scanning to a high value, the voltage level of the signal voltage output from the
  表示一体形タブレット装置1は、上述のように表示パネル2に表示を行う際に表示電圧の極性を周期的に切換える、いわゆる交流化駆動を行っており、またコモン電極Cの走査を行うコモン駆動回路4を中耐圧の構成としている。したがって表示機能の点で次のような課題を抱えている。  The display-integrated
  まず第1の課題は、表示パネル2を駆動するために各駆動回路3,4に供給される電圧の種類が多いことである。多くの種類の電圧を供給するために、直流電源回路12の構成が大きくなる。第2の課題は、交流化駆動を行っているために基準となる電圧の切換わりが多く、消費電力が大きくなることである。消費電力が大きいので、使用可能な時間を長くするために電池サイズを大きくする必要があり、装置の小形軽量化が困難となっている。第3の課題は、コモン駆動回路4を中耐圧集積回路の構成としていることによって、セグメント駆動回路3を中耐圧集積回路の構成とする必要があることである。したがって、セグメント駆動回路3の低価格化を図ったり、セグメント駆動回路3の面積を縮小することができない。すなわち高い電圧が印加されても回路が破壊されないように、回路内に構成されるトランジスタの構造を、たとえば二重拡散構造としなければならず、回路の面積が広くなる。また二重拡散構造とするためには、回路を形成する際の工程が増え、形成の手間がかかる。  The first problem is that there are many types of voltages supplied to the
さらに他の課題は高精細表示およびデューティカラー表示パネルにペン入力機能を付加した場合、座標検出期間が長くなることである。パーソナルコンピュータなどに搭載される表示パネルは、今後ますます高精細化の方向に進むことが予想される。たとえば、これまではVGA(Video Graphycs Array:640×480画素)が中心であったが、近年はSVGA(Super Video Graphycs Array:800×600画素)およびXGA(extended Graphycs Array:1024×768画素)などの表示パネルが多く用いられるようになっている。 Still another problem is that when a pen input function is added to the high-definition display and duty color display panel, the coordinate detection period becomes long. Display panels mounted on personal computers and the like are expected to progress in the direction of higher definition in the future. For example, VGA (Video Graphycs Array: 640 × 480 pixels) has been mainly used so far, but recently, SVGA (Super Video Graphycs Array: 800 × 600 pixels), XGA (extended Graphycs Array: 1024 × 768 pixels), etc. Many display panels are used.
さらに、これらのモノクロ表示パネルがそのままの精細度でカラー化される場合には、コモン電極本数は増加しないが、セグメント電極本数は赤、緑、青RGBの3色にそれぞれ対応するので3倍に増加することとなり、VGAでは1920(640×3)本、SVGAでは2400(800×3)本、XGAでは3072(1024×3)本と大幅に増加する。 Furthermore, when these monochrome display panels are colorized with the same definition, the number of common electrodes does not increase, but the number of segment electrodes corresponds to three colors of red, green, and blue RGB, respectively, and is tripled. The number will increase to 1920 (640 × 3) for VGA, 2400 (800 × 3) for SVGA, and 3072 (1024 × 3) for XGA.
したがってモノクロのVGAの表示パネルを用いて座標検出を行う場合、座標検出走査の周波数が3MHzであるとすると、X座標の走査に必要な時間は、640×0.33=211.2μsであるけれども、前記表示パネルをカラー化した場合には、その3倍の633.6μsとなる。さらに、XGAの表示パネルをカラー化した表示パネルにおいて、座標検出を行う場合にはX方向の座標検出走査時間は、3072×0.33となり1msを超えることとなる。 Therefore, when coordinate detection is performed using a monochrome VGA display panel, if the frequency of coordinate detection scanning is 3 MHz, the time required for X-coordinate scanning is 640 × 0.33 = 211.2 μs. When the display panel is colorized, it is 633.6 μs, which is three times that. Further, when coordinate detection is performed on a color display panel of an XGA display panel, the coordinate detection scanning time in the X direction is 3072 × 0.33, which exceeds 1 ms.
  本件タブレット装置1では、1フレーム期間W1を表示期間W3と座標検出期間W4とに時分割しているので、座標検出期間W4の増加分だけ表示期間W3が短くなり、表示品位が低下する。またセグメント電極Sの電極本数が大幅に増大する結果、セグメント駆動回路3が複数個必要となる場合もあり、本件装置の価格の上昇を抑えるには駆動回路の低価格化を図る必要がある。  In the
  コモン電極およびセグメント電極はガラス板の表面に透明導電膜(ITO)で形成されるが、カラー表示の場合、セグメント電極の幅が小さくなっているため、電極の長さ方向の電気抵抗がコモン電極の3倍以上になってしまう。したがってペン入力機能付表示パネルがカラー表示の場合、コモン電極を図17のようにペン側に配置している。
  このような配置の理由を以下に述べる。The common electrode and the segment electrode are formed of a transparent conductive film (ITO) on the surface of the glass plate. However, in the case of color display, since the width of the segment electrode is small, the electric resistance in the length direction of the electrode is the common electrode. It becomes more than 3 times. Therefore, when the display panel with a pen input function is a color display, the common electrode is arranged on the pen side as shown in FIG.
 The reason for such an arrangement will be described below.
  図20において、セグメント駆動回路3におけるスイッチE1,E2,…,Emは各セグメント電極Sに順次走査電圧V5を印加するためのスイッチであり、コモン駆動回路4におけるスイッチD1,D2,…,Dnは、各コモン電極Cに順次走査電圧V5を印加するためのスイッチである。スイッチD1,D2,…,Dnを総称するときは参照符Dを用い、スイッチE1,E2,…,Emを総称するときは参照符Eを用いる。抵抗rc1,rc5,rs1,rs5はオン抵抗であり、通常1.5KΩ程度の値になっている。  20, switches E1, E2,..., Em in the
抵抗rc1,rc5は各スイッチDに対応付けられており、抵抗rc1は電圧V1側に接続されているときの抵抗を示し、抵抗rc5は電圧V5側に接続されているときの抵抗を示す。抵抗rs1,rs5は各スイッチEに対応付けられており、抵抗rs1は電圧V1側に接続されているときの抵抗を示し、抵抗rs5は電圧V5側に接続されているときの抵抗を示す。 Resistors rc1 and rc5 are associated with each switch D, the resistor rc1 indicates a resistance when connected to the voltage V1 side, and the resistor rc5 indicates a resistance when connected to the voltage V5 side. The resistors rs1 and rs5 are associated with each switch E, the resistor rs1 indicates a resistance when connected to the voltage V1 side, and the resistor rs5 indicates a resistance when connected to the voltage V5 side.
図21(1)〜図21(4)は、X座標検出期間W5におけるセグメント電極S1,S2,Sm−1,Smに与えられる電圧V1,V5の波形を示す。 FIGS. 21 (1) to 21 (4) show waveforms of voltages V1 and V5 applied to the segment electrodes S1, S2, Sm-1, and Sm in the X coordinate detection period W5.
  前記電子ペン8を液晶パネル2上に置いた場合に、電子ペン8に誘起される電圧の波形は図21(7)に示すような波形が理想的である。このような理想的な波形の検出信号は、たとえば前述の図20におけるコモン電極Cのように電子ペン8に近い方の電極を走査する場合に得られる。しかし、液晶パネル1においては、上側、すなわち電子ペン8に近い側に位置するコモン電極Cと下側に位置するセグメント電極Sは液晶層を介して静電的な結合を行っており、1画素あたり1pFにも達するので、座標検出期間において電子ペン8の下側のセグメント電極Sの走査をした場合、静電容量が大きくかつコモン電極Cの長さ方向の抵抗が1〜2kΩ程度の抵抗を有し、かつコモン駆動回路4のオン抵抗rc1,rc5が1.5kΩ程度高い値なので、セグメント電極Sには図15(5)に示す電圧が誘起する。  When the
  このような状態で電子ペン8を液晶パネル2上に置くと、電子ペン8には図21(6)のような電圧が誘起する。図21においてGはセグメント電極Sを走査することによって得られる電圧による真の検出電圧を示すが、実際には図21(6)に示す誘導ノイズピークFおよび誘導ノイズピークRが重畳されることによって図21(8)に示すように検出される。誘導ノイズピークFあるいは誘導ノイズピークRの値はコモン電極Cの抵抗rが大きいほど大きくなり、誘導ノイズピークF,Rが検出信号ピークGに重畳されることによって、特に電子ペン8が両端部に存在する場合にX座標の検出精度が低下する。  When the
  前記セグメント駆動回路3において、スイッチE1からEmに向かって図21(1)〜図21(4)のように順次V5がセグメント電極に印加される。図20においてはセグメント電極S2,S3,S4に走査電圧V5が印加され、他のセグメント電極およびコモン電極にはV1が供給されている状態である。  In the
このように走査した場合における誘導ノイズF,Rは、上側に配列される電極の長さ方向の抵抗が高いほど大きいので、抵抗の高い電極を配置した電極面を電子ペンに対し下側に配置するのである。モノクロ表示の場合、コモン電極、セグメント電極ともに比較的広くかつ同一幅の場合が多いので、上下いずれに配列しても性能上の優劣はほとんどない。 The induced noises F and R in the case of scanning in this way are larger as the resistance in the length direction of the electrodes arranged on the upper side is higher. Therefore, the electrode surface on which the electrodes with higher resistance are arranged is arranged below the electronic pen. To do. In the case of monochrome display, since both the common electrode and the segment electrode are relatively wide and have the same width in many cases, there is almost no superiority or inferiority in performance regardless of whether they are arranged vertically.
  しかし、カラー表示のように、セグメント電極の幅が狭い場合にはセグメント電極の抵抗が高いので、従来は図17のようにセグメント電極を下側に配置し、コモン電極を電子ペン側に配置している。セグメント駆動回路3のオン抵抗もなるべく低いことが望ましいが、耐圧が30Vを超える場合は1.5kΩ程度となる。  However, since the resistance of the segment electrode is high when the width of the segment electrode is narrow as in color display, conventionally the segment electrode is arranged on the lower side and the common electrode is arranged on the electronic pen side as shown in FIG. ing. The on-resistance of the
  従来技術である特開平5−265650号公報に開示されている装置では、前述の図18に示される静電誘導電圧Fにおいて、交流化信号FRの信号レベルが変化する際に、セグメント電極Sおよびコモン電極Cに印加されている基準電圧が、同時に切換わることによって発生するピークFa,Fbを用いて、電子ペン8が表示パネル2の一方表面に接近しているかどうかを表示期間において検出している。  In the apparatus disclosed in Japanese Patent Laid-Open No. 5-265650, which is a conventional technique, when the signal level of the alternating signal FR changes in the electrostatic induction voltage F shown in FIG. Whether or not the
  電子ペン8が表示パネル2の一方表面に接近していることを検知するための手段である図17の判断回路15では、液晶表示パネルが交流化信号FRの信号レベルに基づく交流化駆動方式によって動作している点に着目し、各フレームの表示期間に検出している。図22(1)に示す交流化信号FRの信号レベルに基づき複数ラインの表示を行う毎に、コモン電極およびセグメント電極に印加する電圧の極性を一斉に反転しつつ表示を行っているので、電子ペン8が表示パネル2の一方表面に接近していると、電子ペン8の指示電極は表示パネル2の各電極S,Cとの静電結合が主となり、図22(2)に示すように交流化信号FRの立上がりおよび立下がりのタイミングと発生するタイミングが一致するスパイク状の電圧が誘起される。電子ペン8が表示パネル2の一方表面から離れている場合には、図22(3)に示すように、周辺からの外来ノイズによる誘導電圧が主となる。この誘導電圧にはスパイク状の部分がなく、交流化信号FRの信号レベルの変化タイミングとは関係なくランダムに発生している。  In the
  したがって従来技術の図17の判断回路15では交流化信号FRの信号レベルが切換わるタイミングを含むように期間Wa,Wbを設け、各期間Wa,Wbにおける電圧をゲート回路で分離し、それぞれの電圧を整流して各期間Wa,Wbの平均電圧Vwa,Vwbを比較することによって、電子ペン38がどのような状態であるかを検出している。すなわち、電子ペン8が表示パネル2の一方表面に接近した状態である場合はVwa》Vwbであり、離れた状態である場合にはVwa≒Vwbとなるので、コンパレータなどで平均電圧Vwa,Vwbを比較することによって電子ペン38の接近した状態と離れた状態とを判定することができる。表示期間W1は、その表示期間W3と座標検出期間W4との和である1周期W1のたとえば約90%を占め、したがってこの表示期間W3において判断回路15を動作させることは、大きな電力消費となる。電池を用いる携帯形情報機器では、消費電力を少しでも低減することが望まれている。Accordingly, in the
本発明の目的は、用いられる電圧の種類をできるだけ少なくし、しかも消費電力を節減することができるようにし、さらに低耐圧の集積回路を用いて実現することができるようにした表示装置を用い、ノイズによる誤動作を防いで座標検出精度が向上された表示一体形タブレット装置を提供することである。 An object of the present invention is to use a display device that can reduce the number of types of voltage used as much as possible, reduce power consumption, and can be realized using a low-voltage integrated circuit. An object of the present invention is to provide a display-integrated tablet device that prevents malfunction due to noise and has improved coordinate detection accuracy.
  本発明は、複数のセグメント電極および複数のコモン電極を有し、これらのセグメント電極とコモン電極との間に誘電体が介在される表示パネルと、
  表示パネルのセグメント電極およびコモン電極と接近した状態で静電結合し、離れた状態で静電結合しない電子ペンと、
  表示パネルの複数のセグメント電極と複数のコモン電極との交差領域によって構成された画素マトリクスに画像を表示するための表示制御信号および表示データを出力する表示制御回路と、
  表示パネルのセグメント電極およびコモン電極を走査するための走査制御信号を出力する座標検出制御回路と、
  表示期間と座標検出期間と電子ペン有無検出期間とを順次的に繰返して設定する制御手段と、
  表示期間には表示制御回路側を切換え選択して表示制御回路からの表示制御信号および表示データを出力し、座標検出期間には座標検出制御回路側を切換え選択して座標検出制御回路からの走査制御信号を出力する切換え回路と、
  表示期間には、切換え回路からの表示制御信号に基づいて上記コモン電極を順次選択するためのコモン電極駆動信号を生成し、座標検出期間には、切換え回路からの走査制御信号に基づいて画素マトリクスに画像を表示することなくコモン電極を順次走査するためのコモン電極走査信号を生成し、
  電子ペン有無検出期間には、コモン電極に予め定める一定の電圧を与えるコモン駆動回路と、
  表示期間には、切換え回路からの表示制御信号および表示データに基づいてコモン電極駆動信号によって選択されたコモン電極に係る画素を表示するためのセグメント電極駆動信号を生成し、座標検出期間には、切換え回路からの走査制御信号に基づいて画素マトリクスに画像を表示することなく上記セグメント電極を順次走査するためのセグメント電極走査信号を生成し、電子ペン有無検出期間には、時間経過に伴って波形が変化する電子ペン有無検出信号を生成するセグメント駆動回路と、
  電子ペン有無検出期間の電子ペン有無検出信号に対応して電子ペンから前記静電結合によって与えられる誘導電圧に応答して、電子ペンの先端が表示パネルの表面に接近した状態か離れた状態かを検出する電子ペン有無検出手段と、
  電子ペン有無検出手段の出力に応答し、電子ペンの先端が表示パネルの表面に接近していることが検出されたとき、コモン駆動回路およびセグメント駆動回路からコモン電極あるいはセグメント電極に入力された座標検出期間の各走査信号に基づいて電子ペンの電極に誘起された誘導電圧が与えられて、座標検出期間において、電子ペンからの誘導電圧に基づいて電子ペン先端の座標を検出して、X座標信号あるいはY座標信号を出力する座標検出回路とを含むことを特徴とする表示一体形タブレット装置である。The present invention includes a display panel having a plurality of segment electrodes and a plurality of common electrodes, and a dielectric interposed between the segment electrodes and the common electrode,
 An electronic penthat electrostatically couples with the segment electrode and common electrode of the display panelclose to each other and does not electrostatically couple with a remote state ;
 A display control circuit for outputting a display control signal and display data for displaying an image on a pixel matrix constituted by intersection regions of a plurality of segment electrodes and a plurality of common electrodes of the display panel;
 A coordinate detection control circuit for outputting a scanning control signal for scanning the segment electrode and the common electrode of the display panel;
 Control means for sequentially and repeatedly setting the display period, the coordinate detection period, and the electronic pen presence / absence detection period;
 In the display period, the display control circuit side is switched and selected, and the display control signal and display data are output from the display control circuit. In the coordinate detection period, the coordinate detection control circuit side is switched and selected and scanned from the coordinate detection control circuit. A switching circuit for outputting a control signal;
 During the display period, a common electrode driving signal for sequentially selecting the common electrodes is generated based on a display control signal from the switching circuit. During the coordinate detection period, a pixel matrix is generated based on a scanning control signal from the switching circuit. A common electrode scanning signal for sequentially scanning the common electrode without displaying an image on the
 In the electronic pen presence / absence detection period, a common drive circuit that applies a predetermined voltage to the common electrode,
 In the display period, a segment electrode drive signal for displaying a pixel related to the common electrode selected by the common electrode drive signal based on the display control signal and display data from the switching circuit is generated, and in the coordinate detection period, Based on the scanning control signal from the switching circuit, a segment electrode scanning signal for sequentially scanning the segment electrodes without displaying an image on the pixel matrix is generated. A segment drive circuit that generates an electronic pen presence / absence detection signal that changes
 In response to the induced voltage appliedby the electrostatic coupling from the electronic pen corresponds to an electronic pen presence detecting signal from the electronic pen presence detection period,the state in which the tip of the electronic penleaves orstate of being close to the surface of the display panel Electronic pen presence / absence detecting means for detecting
 Coordinates input to the common electrode or segment electrode from the common drive circuit and segment drive circuit when it is detected that the tip of the electronic pen is approaching the surface of the display panel in response to the output of the electronic pen presence / absence detection means An induced voltage induced on the electrode of the electronic pen is given based on each scanning signal in the detection period, and the coordinate of the tip of the electronic pen is detected on the basis of the induced voltage from the electronic pen in the coordinate detection period. And a coordinate detection circuit for outputting a signal or a Y coordinate signal.
  また本発明は、複数のセグメント電極および複数のコモン電極を有し、これらのセグメント電極とコモン電極との間に誘電体が介在される表示パネルと、
  表示パネルのセグメント電極およびコモン電極と接近した状態で静電結合し、離れた状態で静電結合しない電子ペンと、
  表示パネルの複数のセグメント電極と複数のコモン電極との交差領域によって構成された画素マトリクスに画像を表示するための表示制御信号および表示データを出力する表示制御回路と、
  表示パネルのセグメント電極およびコモン電極を走査するための走査制御信号を出力する座標検出制御回路と、
  表示期間と座標検出期間と電子ペン有無検出期間とを順次的に繰返して設定する制御手段と、
  表示期間には表示制御回路側を切換え選択して表示制御回路からの表示制御信号および表示データを出力し、座標検出期間には座標検出制御回路側を切換え選択して座標検出制御回路からの走査制御信号を出力する切換え回路と、
  表示期間には、切換え回路からの表示制御信号に基づいて上記コモン電極を順次選択するためのコモン電極駆動信号を生成し、座標検出期間には、切換え回路からの走査制御信号に基づいて画素マトリクスに画像を表示することなくコモン電極を順次走査するためのコモン電極走査信号を生成し、電子ペン有無検出期間には、時間経過に伴って波形が変化する電子ペン有無検出信号を生成するコモン駆動回路と、
  表示期間には、切換え回路からの表示制御信号および表示データに基づいてコモン電極駆動信号によって選択されたコモン電極に係る画素を表示するためのセグメント電極駆動信号を生成し、座標検出期間には、切換え回路からの走査制御信号に基づいて画素マトリクスに画像を表示することなく上記セグメント電極を順次走査するためのセグメント電極走査信号を生成し、電子ペン有無検出期間には、セグメント電極に予め定める一定の電圧を与えるセグメント駆動回路と、
  電子ペン有無検出期間の電子ペン有無検出信号に対応して電子ペンから前記静電結合によって与えられる誘導電圧に応答して、電子ペンの先端が表示パネルの表面に接近した状態か離れた状態かを検出する電子ペン有無検出手段と、
  電子ペン有無検出手段の出力に応答し、電子ペンの先端が表示パネルの表面に接近していることが検出されたとき、コモン駆動回路およびセグメント駆動回路からコモン電極あるいはセグメント電極に入力された座標検出期間の各走査信号に基づいて電子ペンの電極に誘起された誘導電圧が与えられて、座標検出期間において、電子ペンからの誘導電圧に基づいて電子ペン先端の座標を検出して、X座標信号あるいはY座標信号を出力する座標検出回路とを含むことを特徴とする表示一体形タブレット装置である。The present invention also includes a display panel having a plurality of segment electrodes and a plurality of common electrodes, and a dielectric interposed between the segment electrodes and the common electrode,
 An electronic penthat electrostatically couples with the segment electrode and common electrode of the display panelclose to each other and does not electrostatically couple with a remote state ;
 A display control circuit for outputting a display control signal and display data for displaying an image on a pixel matrix constituted by intersection regions of a plurality of segment electrodes and a plurality of common electrodes of the display panel;
 A coordinate detection control circuit for outputting a scanning control signal for scanning the segment electrode and the common electrode of the display panel;
 Control means for sequentially and repeatedly setting the display period, the coordinate detection period, and the electronic pen presence / absence detection period;
 In the display period, the display control circuit side is switched and selected, and the display control signal and display data are output from the display control circuit. In the coordinate detection period, the coordinate detection control circuit side is switched and selected and scanned from the coordinate detection control circuit. A switching circuit for outputting a control signal;
 During the display period, a common electrode driving signal for sequentially selecting the common electrodes is generated based on a display control signal from the switching circuit. During the coordinate detection period, a pixel matrix is generated based on a scanning control signal from the switching circuit. Common drive that generates a common electrode scanning signal for sequentially scanning the common electrode without displaying an image, and generates an electronic pen presence / absence detection signal whose waveform changes over time during the electronic pen presence / absence detection period Circuit,
 In the display period, a segment electrode drive signal for displaying a pixel related to the common electrode selected by the common electrode drive signal based on the display control signal and display data from the switching circuit is generated, and in the coordinate detection period, Based on the scanning control signal from the switching circuit, a segment electrode scanning signal for sequentially scanning the segment electrodes without displaying an image on the pixel matrix is generated. A segment drive circuit for providing a voltage of
 In response to the induced voltage appliedby the electrostatic coupling from the electronic pen corresponds to an electronic pen presence detecting signal from the electronic pen presence detection period,the state in which the tip of the electronic penleaves orstate of being close to the surface of the display panel Electronic pen presence / absence detecting means for detecting
 Coordinates input to the common electrode or segment electrode from the common drive circuit and segment drive circuit when it is detected that the tip of the electronic pen is approaching the surface of the display panel in response to the output of the electronic pen presence / absence detection means An induced voltage induced on the electrode of the electronic pen is given based on each scanning signal in the detection period, and the coordinate of the tip of the electronic pen is detected on the basis of the induced voltage from the electronic pen in the coordinate detection period. And a coordinate detection circuit for outputting a signal or a Y coordinate signal.
  また本発明は、電子ペン有無検出信号は、
  表示パネルの少なくとも手前側に設けられたセグメント電極またはコモン電極のいずれか一方に与えられる繰返しパルスであり、
  電子ペン有無検出手段は、
  電子ペンの出力を、電子ペン有無検出信号に対応した電子ペンの出力が得られる期間Wp,Wnだけ導出する第1ゲート手段と、
  電子ペンの出力を、電子ペン有無検出信号に対応した電子ペンの出力が得られる期間Wp,Wn以外の期間Waだけ導出する第2ゲート手段と、
  第1ゲート手段の出力が第2ゲート手段の出力よりも大きく、第1ゲート手段から第2ゲート手段の出力を差し引いた値が予め定める値以上であるとき、接近した状態であることを検出する比較手段とを含むことを特徴とする。In the present invention, the electronic pen presence detection signal is
 It is a repetitive pulse given to either the segment electrode or the common electrode provided at least on the front side of the display panel,
 The electronic pen presence detection means
 First gate means for deriving the output of the electronic pen only during periods Wp and Wn during which the output of the electronic pen corresponding to the electronic pen presence / absence detection signal is obtained;
 Second gate means for deriving the output of the electronic pen only during a period Wa other than the periods Wp and Wn in which the output of the electronic pen corresponding to the electronic pen presence / absence detection signal is obtained;
 The output of the first gate meansmuch larger than the output of the second gatemeans, whenthe value obtained by subtracting the output of the second gate means from the first gate means is the predetermined value or more,the state der Rukotoin close proximity And comparison means for detecting.
  また本発明は、比較手段は、
  第1ゲート手段から第2ゲート手段の出力を差し引いた値が、増加しつつ予め定める第1の値以上であるとき接近した状態であると検出し、第1の値以上の値から減少しつつ第1の値未満の第2の値未満であるとき離れた状態であると検出するヒステリシス特性を有することを特徴とする。In the present invention, the comparing means is
Minus theoutput of the second gate handstagefrom the first gate means,increasing while detecting thesituations thatder in close proximity when it first value or the predeterminedfirst value or more values havingreduced while the hysteresis characteristic to detect astate Ruder apart when the first is less than the second value less than the valuefrom which said.
  また本発明は、電子ペン有無検出信号は、
  表示パネルのセグメント電極またはコモン電極のいずれか一方に与えられる予め定める周波数を有する繰返しパルスであり、
  電子ペン有無検出手段は、
  前記繰返しパルスの周波数の帯域を通過する周波数特性を有し、電子ペンの出力を濾波するバンドパスフィルタと、
  バンドパスフィルタの出力をレベル弁別し、バンドパスフィルタの出力が予め定める弁別レベルよりも大きいとき、接近した状態であることを検出するレベル弁別手段とを含むことを特徴とする。In the present invention, the electronic pen presence detection signal is
 It is a repetitive pulse having a predetermined frequency given to either the segment electrode or the common electrode of the display panel,
 The electronic pen presence detection means
 A band-pass filter having a frequency characteristic that passes through a frequency band of the repetitive pulse, and filtering the output of the electronic pen;
 Band output level discrimination-pass filter, when the output of the band-pass filter is greater than a pre-determined discriminator level, characterized in that it comprises a level discriminator for detecting thestate der Rukotoin close proximity.
  また本発明は、レベル弁別手段は、
  バンドパスフィルタの出力が増加しつつ予め定める第1の弁別レベル以上であるとき接近した状態であると検出し、第1の弁別レベル以上の値から減少しつつ第1の弁別レベル未満の第2の弁別レベル未満であるとき離れた状態であると検出するヒステリシス特性を有することを特徴とする。In the present invention, the level discrimination means is
 Detecting thesituations thatder in close proximity when the output of the band-pass filter is a first discrimination level than the predeterminedincreasing, of the less than one discrimination levelsdeclining from the first discrimination level value greater than characterized in that it has a hysteresis characteristic to detect thesituations thatder apart when it is first less than the second discrimination level.
また本発明は、電子ペン有無検出手段の出力に応答し、電子ペンの先端が表示パネルの表面から離れた状態であると検出されたとき、座標検出期間に座標検出回路への電力供給を遮断する電力制御手段が設けられることを特徴とする。The present invention is responsive to an output of the electronic pen detecting means, when the tip of the electronic pen is detected assituations thatder away from the surface of the display panel, the power supply to the coordinate detection circuit in the coordinate detection period A power control means for cutting off is provided.
また本発明は、表示期間には、電子ペン有無検出手段と、座標検出回路への電力供給を遮断する電力制御手段が設けられることを特徴とする。 The present invention is characterized in that an electronic pen presence / absence detecting means and a power control means for cutting off the power supply to the coordinate detecting circuit are provided in the display period.
本発明に従えば、電子ペン有無検出期間を設けてこの期間に表示パネルの電極群に予め設定された時間変化が既知の電圧を印加し、この電圧を電子ペンで受け、上記既知電圧と比較することにより、電子ペンが表示パネルに接近した状態か離れた状態かを検出できる。その結果、電子ペンが表示パネルより離れてノイズを発生している電気機器に接近し、電子ペンがこれを信号として誤って検出してもその信号は除去することができる。According to the present invention, an electronic pen presence / absence detection period is provided, and a voltage with a known time change is applied to the electrode group of the display panel during this period, and this voltage is received by the electronic pen and compared with the known voltage. by, can detect that eitherthe electronic penaway orstate closeto the display panel. As a result, even if the electronic pen moves away from the display panel and approaches an electrical device that generates noise, and the electronic pen detects this erroneously as a signal, the signal can be removed.
制御手段によって表示期間と座標検出期間と電子ペン有無検出期間とが順次的に繰返して設定される。制御回路の制御に従って、切換え回路によって表示制御回路側が切換え選択されて表示期間に入る。切換え回路から表示制御回路からの表示制御信号および表示データが出力される。そうすると、コモン駆動回路によって、切換え回路からの表示制御信号に基づいて、表示パネルのコモン電極を順次選択するためのコモン電極駆動信号が生成される。セグメント駆動回路によって、切換え回路からの表示制御信号および表示データに基づいて、コモン電極駆動信号によって選択されたコモン電極に係る画素を表示するためのセグメント電極駆動信号が生成される。こうして表示期間においては、生成されたコモン電極駆動信号およびセグメント電極駆動信号に基づいて、表示パネルの画素マトリックスにおいて順次選択された行の画素が表示データに応じてデューティタイプの表示方法で表示される。 A display period, a coordinate detection period, and an electronic pen presence / absence detection period are sequentially and repeatedly set by the control means. Under the control of the control circuit, the switching circuit selects the display control circuit side and enters the display period. A display control signal and display data from the display control circuit are output from the switching circuit. Then, the common drive circuit generates a common electrode drive signal for sequentially selecting the common electrodes of the display panel based on the display control signal from the switching circuit. The segment drive circuit generates a segment electrode drive signal for displaying pixels related to the common electrode selected by the common electrode drive signal based on the display control signal and the display data from the switching circuit. Thus, in the display period, the pixels in the rows sequentially selected in the pixel matrix of the display panel are displayed by the duty type display method according to the display data based on the generated common electrode drive signal and segment electrode drive signal. .
また、制御回路の制御に従って、切換え回路によって検出制御回路側が切換え選択されて座標検出期間に入る。切換え回路から検出制御回路からの検出制御信号が出力される。そうすると、この切換え回路からの検出制御信号に基づいて、セグメント駆動回路によって、表示パネルの画素マトリックスに画像を表示することなくセグメント電極を順次走査するためのセグメント電極走査信号が生成されてセグメント電極に入力される。その結果、セグメント電極に入力されたセグメント電極走査信号に基づいて、電子ペンの電極に誘導電圧が誘起される。こうして、電子ペンの電極に誘起された誘導電圧が座標検出回路に入力されると、座標検出期間においては、座標検出回路によって、入力された電子ペンからの誘導電圧に基づいて、所定の手順で電子ペン先端のX座標が検出されてX座標信号が出力される。 In addition, according to the control of the control circuit, the switching control circuit selects the detection control circuit side and enters the coordinate detection period. A detection control signal from the detection control circuit is output from the switching circuit. Then, based on the detection control signal from the switching circuit, the segment drive circuit generates a segment electrode scanning signal for sequentially scanning the segment electrodes without displaying an image on the pixel matrix of the display panel. Entered. As a result, an induced voltage is induced in the electrode of the electronic pen based on the segment electrode scanning signal input to the segment electrode. Thus, when the induced voltage induced in the electrode of the electronic pen is input to the coordinate detection circuit, the coordinate detection circuit performs a predetermined procedure based on the input induced voltage from the electronic pen during the coordinate detection period. The X coordinate of the tip of the electronic pen is detected and an X coordinate signal is output.
切換え回路からの検出制御信号に基づいて、コモン駆動回路によって、表示パネルの画素マトリックスに画像を表示することなくコモン電極を順次走査するためのコモン電極走査信号が生成されてコモン電極に入力される。その結果、コモン電極に入力されたコモン電極走査信号に基づいて、電子ペンの電極に誘導電圧が誘起されて座標検出回路に入力される。座標検出回路によって、入力された電子ペンからの誘導電圧に基づいて、所定の手順で電子ペン先端のy座標が検出されてy座標信号が出力される。こうして、座標検出期間においては、表示パネルは静電誘導タブレットとして動作して、表示パネルを用いて電子ペンの先端位置が検出される。 Based on the detection control signal from the switching circuit, the common drive circuit generates a common electrode scanning signal for sequentially scanning the common electrode without displaying an image on the pixel matrix of the display panel and inputs the common electrode to the common electrode. . As a result, based on the common electrode scanning signal input to the common electrode, an induced voltage is induced on the electrode of the electronic pen and input to the coordinate detection circuit. Based on the input induced voltage from the electronic pen, the coordinate detection circuit detects the y coordinate of the tip of the electronic pen in a predetermined procedure and outputs a y coordinate signal. Thus, during the coordinate detection period, the display panel operates as an electrostatic induction tablet, and the tip position of the electronic pen is detected using the display panel.
座標検出期間において、コモン駆動回路およびセグメント駆動回路によって、表示パネルの各画素の誘電体に印加される電圧が誘電体表示電圧の閾値よりも低い電圧になるようなコモン電極走査信号あるいはセグメント電極走査信号を生成し、こうして、座標検出期間においては、画素マトリックスに画像が表示されないようにして各電極が走査される。 Common electrode scanning signal or segment electrode scanning so that the voltage applied to the dielectric of each pixel of the display panel is lower than the threshold of the dielectric display voltage by the common driving circuit and the segment driving circuit during the coordinate detection period. A signal is generated, and thus, in the coordinate detection period, each electrode is scanned so that no image is displayed on the pixel matrix.
特に本発明に従えば、電子ペン有無検出期間を設けてこの期間に表示パネルの電極群に予め設定された時間変化が既知の電圧を印加し、その電圧を電子ペンで受け、既知電圧と比較することにより、電子ペンが表示パネルに接近した状態であるか離れた状態であるかを検出できる。その結果電子ペンが表示パネルから離れて、ノイズを発生している電気機器に接近した位置で、電子ペンがこのノイズを信号として誤って検出してもその信号は除去することができる。In particular, according to the present invention, an electronic pen presence / absence detection period is provided, and a voltage with a known time change is applied to the electrode group of the display panel during this period, and the voltage is received by the electronic pen and compared with the known voltage. by, it can detect thestate der Luke electronic penawaystate der Lukehas approached the display panel. As a result the electronic pen is separatedfrom the displaypanel,at aposition closeto electrical equipment that generates noise, the signal may be erroneously detectednoise electronic Pengako as the signal can be removed.
さらに本発明に従えば、電子ペン有無検出手段を構成する比較手段およびレベル弁別手段は、ヒステリシス特性を有し、これによって電子ペンが表示パネルに接近した状態であるか離れた状態であるかを、安定に確実に検出することができ、これによって座標入力の誤りを防ぐことができ、確実な入力操作を行うことができる。According to the invention, the comparison means and the level discriminator configuring the electronic pen detecting means it has a hysteresis characteristic, therebythe state der the electronic penawaystate der Lukehas approached the display panel Thus, it is possible to reliably detect whether or not the coordinate input error can be prevented, and a reliable input operation can be performed.
さらに本発明に従えば、電力消費を低減するために、電子ペンが表示パネルから離れた状態であるときには、座標検出回路への電力供給を遮断する。さらに本発明に従えば、表示期間には、電子ペン有無検出手段および座標検出回路への電力供給を遮断する。この電力消費の低減は、電池を用いる携帯形の電子手帳などの情報機器において特に重要である。According to the invention, in order to reduce power consumption, thestate der Rutoki the electronic penaway from the display panel, to cut off the power supply to the coordinate detection circuit. Furthermore, according to the present invention, power supply to the electronic pen presence / absence detecting means and the coordinate detection circuit is cut off during the display period. This reduction in power consumption is particularly important in information devices such as portable electronic notebooks that use batteries.
本発明によれば、表示期間と座標検出期間とのほかに、電子ペン有無検出期間を設け、この電子ペン有無検出期間に、電子ペンが表示パネルの座標面に接近した状態であるか離れた状態であるかを検出することができる。その結果、電子ペンが表示パネルから離れて、ノイズを発生している電気機器に接近した位置で、電子ペンがこのノイズを信号として誤って検出してもその信号は座標を検出するためには用いないので、不所望な座標の表示を行うことを防止することができる。According to the present invention, in addition to the display period and the coordinate detection period, an electron pen presence detection period, the electronic pen presence detection period,the state der electronic pen approachesthe coordinate plane of the display panel Luca it is possible to detect thestate der Lukeaway. As a result, apart from the electronic pen display panel, at aposition closeto electrical equipment that generates noise, the signal may be erroneously detectednoise electronic Pengako as signal in order to detect the coordinates Is not used, so that it is possible to prevent display of undesired coordinates.
さらに本発明によれば、電子ペン有無検出期間において、電子ペンが座標面に接近した状態であると判断されたときには、電子ペンが検出した座標を示す信号を出力するので、確実に電子ペンが座標を指示しているときの座標だけに表示を行うことができる。Further according to the invention, in the electronic pen presence detection period, since the electronic pen when it is determined that thesituations thatder closeto the coordinate plane, and outputs a signal indicating the coordinates in which the electronic pen detected reliably electronic It is possible to display only the coordinates when the pen indicates the coordinates.
本発明によれば、比較手段およびレベル弁別手段は、ヒステリシス特性を有するので、電子ペンが表示パネルに接近した状態であるか離れた状態であるかの判断が不安定になることを防ぎ、電子ペンによる座標入力を確実に行わせることができる。According to the present invention, the comparison means and the level discriminating means, because it has a hysteresis characteristic, that the determination of thestate Der electronic penawaystate der Lukehas approached the display panel Luke unstable Thus, the coordinate input by the electronic pen can be surely performed.
さらに本発明によれば、電子ペンが表示パネルから離れた状態であると判断されたときには、座標検出回路に電力を供給せず、前記座標検出期間における座標検出用電圧の印加を行わないので、電力消費を低減することができる。Further according to the present invention, when the electronic pen is determined that thesituations thatder away from the display panel does not supply power to the coordinate detection circuit does not perform the application of coordinate detection voltage in the coordinate detection period , Power consumption can be reduced.
さらに本発明によれば、表示期間には、電子ペン有無検出手段および座標検出回路への電力供給を遮断し、電力消費をさらに低減することができる。 Furthermore, according to the present invention, during the display period, the power supply to the electronic pen presence / absence detecting means and the coordinate detection circuit can be cut off, and the power consumption can be further reduced.
  図1は、本発明の実施の第1の形態の表示一体形タブレット装置である表示機能付き座標検出装置31のブロック図である。表示機能付き座標検出装置31は、表示パネル32と、セグメント駆動回路33と、コモン駆動回路34と、表示制御回路35と、座標検出制御回路36と、制御回路37と、電子ペン38と、オペアンプ39と、X座標検出回路40と、Y座標検出回路41と、直流電源回路42と、表示信号供給回路43と、切換え回路44とを含んで構成される。  FIG. 1 is a block diagram of a coordinate
  表示パネル32は、n行×m列(n,mは2以上の自然数)の単純マトリクス型の表示パネルであり、セグメント駆動回路33によって列方向の電極であるセグメント電極Sが駆動され、コモン駆動回路34によって行方向の電極であるコモン電極Cが駆動される。なお、表示パネル32に設けられるセグメント電極S1〜Smを総称するときには参照符Sを用い、コモン電極C1〜Cnを総称するときには参照符Cを用いる。直流電源回路42は、予め定める正の電源電圧VEEと負の電圧VSSとの間を抵抗などによって分圧して後述する電圧VH,VM,VL;VA,VBを生成する。電圧VH,VM,VLはコモン駆動回路34に供給され、電圧VA,VBはセグメント駆動回路33に供給される。これらの5値の電圧の関係は次の第1式のようになる。  The
      VEE>VH>VB>VM>VA>VL>VSS            …(1)
  たとえばVH=22.5V、VB=1.7V、VM=0V、VA=−1.7V、VL=−22.5Vである。VEE>VH>VB>VM>VA>VL> VSS (1)
 For example, VH = 22.5V, VB = 1.7V, VM = 0V, VA = -1.7V, VL = -22.5V.
  本件装置31では、1フレーム期間を表示期間と座標検出期間とに時分割して表示パネル32を駆動する。したがって表示パネル32は、表示期間では表示パネルとして動作し、座標検出期間では座標検出パネルとして動作する。前記時分割の方法としては、図2に示すようにN番目のフレーム期間W21は、表示期間W23と、座標検出期間W24とに分割される。座標検出期間W24は、X座標検出期間W25と、Y座標検出期間W26とを含んで構成される。(N+1)番目のフレーム期間W22以降は、フレーム期間W21と同様に前記各期間W23,W25,W26が繰返し行われる。  In the
  本件装置31において、切換え回路44は、制御回路37から供給される制御信号に応答して、画像を表示する際の制御を行う表示制御回路35からの表示制御信号と表示データとを、または座標位置を検出する際の制御を行う座標検出制御回路36からの走査制御信号を切換えて出力する。  In the
  座標検出期間W24においては、座標検出制御回路36が選択され、座標検出制御回路36から与えられる走査制御信号に応答して、各駆動回路33,34が電子ペン38によって指示された座標の検出を行う。座標検出期間W24におけるX座標検出期間W25では、セグメント駆動回路33はセグメント電極走査信号を生成して、表示パネル32のセグメント電極Sを順次走査する。X座標検出期間W25に引続くY座標検出期間W26では、座標検出制御回路36から与えられる走査制御信号に応答して、コモン駆動回路34はコモン電極走査信号を生成して、コモン電極Cを順次走査する。  In the coordinate detection period W24, the coordinate
  また、表示期間W23においては、制御回路37の制御に従って切換え回路44は、表示制御回路35から出力される表示制御信号と表示データとを受取り、コモン駆動回路34およびセグメント駆動回路33に与える。  In the display period W <b> 23, the switching
  座標検出期間W24において、各座標検出回路40,41で検出された電子ペン38の存在する座標位置を示すデータを、表示制御回路35に入力することによって、表示期間W23において座標位置に表示を行うことができる。  In the coordinate detection period W24, data indicating the coordinate position of the
  コモン駆動回路34とセグメント駆動回路33とは、切換え回路44の出力に基づいて、直流電源回路42から供給される複数の電圧VH,VM,VL;VA,VBを選択的に表示パネル32の各電極C,Sに印加する。  The
  図3は表示パネル32および電子ペン38の断面図であり、図4は表示パネル32の一部を拡大して示す断面図である。図4に示すように、表示パネル部分232は、セグメント電極Sが配置される基板51と、コモン電極Cが配置される基板52とを各電極S,Cが対向するように貼合わせ、周辺部を封止部材54で封止し、基板51,52と封止部材54とによって形成される空間に液晶層53となる液晶を注入して形成されている。  3 is a cross-sectional view of the
  表示パネル32においては、表示パネル部分232を覆うようにアクリル樹脂などによって形成される防護板56を設ける。防護板56と基板51との間には、表示パネル部232の周辺部に設けられるスペーサ58によって形成されるエアギャップ57が存在する。エアギャップ57が存在することによって、防護板56が撓んだ場合であっても防護板56が基板51に接触することを防止することができる。電子ペン38の先端部においては、指示電極61の先端部61aを包込むように樹脂62が形成される。指示電極61は、オペアンプ39に接続されており、指示電極61で発生した電圧は、オペアンプ39で増幅されて各座標検出回路40,41に与えられる。  In the
  本件装置31では、電子ペン38が表示パネル32の一方表面32aに接近した状態であるときに、セグメントおよびコモン電極S,Cに順次的に電圧を印加することによって、指示電極61とセグメントおよびコモン電極S,Cとがエアギャップ57などを介して静電結合することとなり、指示電極61に発生する電圧に基づいて、電子ペン38が指し示す表示パネル32の座標位置を検出している。In the
  図5は、セグメント駆動回路33を構成する集積回路のブロック図である。セグメント駆動回路33を構成する集積回路33Lは、コントロール回路71と、ラッチセレクタ72と、第1データラッチ73と、第2データラッチ74と、バイ・ディレクショナル・シフトレジスタ75と、出力回路77と、データMPX(マルチプレクサ)78とを含んで構成される。また、第2データラッチ74と、バイ・ディレクショナル・シフトレジスタ75は、ブロック図では別構成になっているが一体構成でも良い。  FIG. 5 is a block diagram of an integrated circuit constituting the
  セグメント駆動回路33を構成する集積回路33Lには、前述の各構成要素に対する信号の入出力を行うために複数の端子が設けられている。本明細書において、各端子と端子に与えられる電圧および信号とには同一の参照符を付して説明を行うことがある。本実施の形態においては、たとえばセグメント駆動回路33を構成する集積回路33Lに含まれる出力回路77に接続されるセグメント電極Sを160本の倍数とする。  The
  セグメント駆動回路33を構成する集積回路33Lには、接続端子として端子SEL、および端子DISが設けてある。端子SELには、表示走査を行うか座標検出走査を行うかを選択するための信号SELが与えられる。信号SELは切換え回路44から与えられ、端子SELを介してコントロール回路71に与えられる。端子DISには、信号DISが与えられる。信号DISは切換え回路44から与えられ、端子DISを介して出力回路77に与えられる。出力回路77は、後述の図15の電子ペン有無検出期間W27で、信号DISが入力された際には、表示信号D0〜D7の信号レベルに関係なく、信号DISのHまたはLの各信号レベルに基づいて全てのセグメント電極Sに出力する電圧を、VAまたはVBのいずれかの電圧とする。バイ・ディレクショナル・シフトレジスタ75に保持されているデータがクリア端子CLEへの入力によってクリアされて全ての出力が電圧VAとなっている場合に、たとえばHレベルである信号DISが与えられると、セグメント電極Sにそれぞれ接続されている出力端子OUT1〜OUT160からの出力電圧を電圧VBにすることができる。切換え回路44から供給される信号が端子CLEを介して与えられることによって、シフトレジスタ75およびデータラッチ73,74に保持されている内容をクリアすることができる。  The
  本件装置31には、複数個の大規模集積回路によって実現されるセグメント駆動回路33が端子EIO1,EIO2を介してカスケードに接続されており、表示期間では端子EIO1,EIO2がチップセレクト端子として動作し、座標検出期間ではバイ・ディレクショナル・シフトレジスタ75へのデータ入出力を行う端子として機能する。  In the
  セグメント駆動回路33を構成する集積回路33Lは、表示のための160チャンネルのデータラッチ74と、座標検出のための160チャンネルのバイ・ディレクショナル・シフトレジスタ75とを備えている。  The
  セグメント駆動回路33を構成する集積回路33Lは、表示期間W23では表示信号入力端子D0〜D7から入力される8ビットの表示信号D0〜D7を、端子SCKを介して与えられるクロックパルスSCKに基づいて、データMPX(マルチプレクサ)78を介して第1データラッチ回路73に保持する。第1データラッチ回路73は、8ビットのラッチ回路が20個組合わされて構成されている。いずれのラッチ回路にデータを保持させるかは、ラッチセレクタ72によって制御されている。20個のラッチ回路すべてに表示データ信号が一旦蓄えられ、1ライン分の表示データがまとめて160ビットの第2データラッチ74に与えられる。第2データラッチ74には、端子DSTを介して入力されるシフトデータSが与えられており、シフトデータSが入力されることによって、第2データラッチ74から160ビット分の表示信号が出力回路77に与えられる。出力回路77には、電圧VA,VBが与えられており、第2データラッチ74から供給される信号のレベルに基づいて出力端子OUT1〜OUT160から同時に電圧VA,VBのいずれかの電圧がセグメント電極Sに出力される。またデータMPX78では、端子REVを介して与えられる交流化信号FRの信号レベルに基づいて表示信号D0〜D7の各信号レベルを反転させる。  The
  座標検出期間W24ではシフトデータ入力端子EIO1から入力されたシフトデータを、端子DSTを介して供給される転送クロックに基づいて、バイ・ディレクショナル・シフトレジスタ75を介して出力端子OUT1〜OUT160から順次出力する。前記シフトデータを順次的に出力した後、端子EIO2を介してシフトデータを次段に接続されたセグメント駆動回路33を構成する集積回路33Lの端子EIO1に転送して、引続くセグメント電極Sの検出走査を行う。シフトデータ入力端子EIO1,EIO2の切換えは、端子SDに入力されるシフト方向制御信号SDの信号レベルによって行われる。シフト方向制御信号SDによって座標検出の走査方向が切換えられると、シフトデータは出力端子OUT160〜OUT1へと順次的に出力されるようになる。このとき、セグメント駆動回路33を構成する集積回路33Lにはシフトデータは端子EIO2から入力され、端子EIO1から出力される。  In the coordinate detection period W24, the shift data input from the shift data input terminal EIO1 is sequentially transmitted from the output terminals OUT1 to OUT160 via the
  従来技術における図17のセグメント駆動回路3では、出力電圧が4値になっており電圧レベルの異なる4つの出力電圧を切換えて制御しなければならないので、160チャンネルのレベルシフタを備える必要があるが、本実施の形態におけるセグメント駆動回路33を構成する集積回路33Lでは一般的なロジック駆動回路と同程度の2値電圧の制御を行えばよく、レベルシフタを設ける必要がなく、したがってセグメント駆動回路33を構成する集積回路33Lのチップの面積を縮小することができる。  In the
  図6は、コモン駆動回路34を構成する集積回路34Lを示すブロック図である。コモン駆動回路34を構成する集積回路34Lは、制御回路101と、双方向シフトレジスタ102と、レベルシフタ103と、レベルセレクタ104とを含んで構成される。コモン駆動回路34を構成する集積回路34Lでは、レベルセレクタ104に接続されるコモン電極Cの本数を160本とする。したがって、コモン駆動回路34を構成する集積回路34Lは、出力OC1〜OC160を順次的に出力する。  FIG. 6 is a block diagram showing an
  制御回路101には、クロック信号CKが端子CKを介して与えられ、垂直同期信号SPが端子DIOを介して与えられている。また、交流化信号FRは端子FRを介して入力されており、後述するシフト方向制御信号SDは端子SDを介して入力される。双方向シフトレジスタ102は、垂直同期信号SPが立下がってから再び立下がるまでの期間でクロック信号CKが立上がる毎に信号C1,C2,…,C160を順次レベルシフタ103へと与える。レベルシフタ103は、信号C1,C2,…,C160を所定の電圧レベルへとシフトさせてレベルセレクタ104に与える。  The
  レベルセレクタ104には、電圧VH,VM,VLが与えられており、信号C1〜C160および交流化信号FRに基づいて出力OC1,OC2,…,OC160を出力する。出力OC1,OC2,…,OC160は、それぞれ表示パネル32の各コモン電極Cに与えられる。交流化信号FRがハイレベルである場合、信号C1がハイレベルである期間では出力OC1は電圧VHとなり、ローレベルである期間では出力OC1は電圧VMとなる。交流化信号FRがローレベルである場合、信号C1がハイレベルである期間では出力OC1は電圧VLとなり、ローレベルである期間では出力OC1は電圧VMとなる。  Voltages VH, VM, and VL are applied to the
  座標検出期間W24では、交流化信号FRによる出力電圧の切換えが行われず、また各出力OC1〜OC160の出力されるタイミングが前記表示期間W23におけるタイミングよりも短い周期に定められている他は表示期間W23の動作と同一である。シフト方向制御信号SDの信号レベルに基づいて、レベルセレクタ104からの出力がOC1〜OC160の順番で出力されるか、OC160〜OC1の順番で出力される。  In the coordinate detection period W24, the output voltage is not switched by the AC signal FR, and the output timing of the outputs OC1 to OC160 is set to a cycle shorter than the timing in the display period W23. This is the same as the operation of W23. Based on the signal level of the shift direction control signal SD, the output from the
  図7は表示パネル32に行われる表示の一例を示す。図7において、「○」は画素が表示状態であることを示し、「×」は画素が非表示状態であることを示す。図7に示す表示パネル32では、セグメント電極Sの本数を13本とし、コモン電極Cの本数を8本とする。  FIG. 7 shows an example of display performed on the
  図8は図7に示す表示例を表示するための座標検出装置31におけるタイミングチャートであり、図9は座標検出期間におけるタイミングチャートである。図8に示すように、交流化信号FRの信号レベルが変化しても、コモン電極Cおよびセグメント電極Sに供給する電圧を交流化する際に基準となる電圧は、電圧VMのまま変化しない。したがって交流化信号FRがローレベルである時刻t10から時刻t13までの期間W31では、選択されたコモン電極Cには時刻t10から時刻t11までの期間W30ずつ電圧VLがそれぞれ印加され、選択されていないコモン電極Cには電圧VMが印加される。また交流化信号FRがハイレベルである時刻t13から時刻t16までの期間W32では、選択されたコモン電極Cには電圧VHがそれぞれ印加され、選択されていないコモン電極Cには電圧VMが印加される。電圧VMを、たとえば0Vに定めると、電圧VL,VHは、電圧VMを基準として下と上とに対称となるように、−25.2Vと25.2Vにそれぞれ定められる。  FIG. 8 is a timing chart in the coordinate
交流化信号FRがローレベルである期間W31では、表示状態となる画素を含むセグメント電極Sにはオン電圧として電圧VBが印加され、表示状態となる画素を含まないセグメント電極Sにはオフ電圧として電圧VAが印加される。交流化信号FRがハイレベルである期間W32では、オフ電圧を電圧VBとし、オン電圧を電圧VAとしてセグメント電極Sに印加する。電圧VMを、たとえば0Vに定めると、電圧VA,VBは、電圧VMを基準として対向するように、−1.7Vと1.7Vとにそれぞれ定められる。 In the period W31 in which the AC signal FR is at a low level, the voltage VB is applied as the on-voltage to the segment electrode S including the pixels in the display state, and the off-voltage is applied to the segment electrode S that does not include the pixel in the display state. A voltage VA is applied. In the period W32 in which the AC signal FR is at a high level, the off voltage is applied to the segment electrode S as the voltage VB and the on voltage as the voltage VA. When the voltage VM is set to 0 V, for example, the voltages VA and VB are set to −1.7 V and 1.7 V, respectively, so as to face each other with the voltage VM as a reference.
基準電圧VMは、本実施の形態では0Vとしたが、|VH−VM|と|VL−VM|とが等しく、|VA−VM|と|VB−VM|とが等しく定められ、かつ|VL−VB|と|VH−VA|とが表示のためのしきい値電圧よりも高くなるように定められれば、他の電圧値に定められてもよい。 The reference voltage VM is set to 0 V in the present embodiment, but | VH−VM | and | VL−VM | are equal, | VA−VM | and | VB−VM | are determined to be equal, and | VL As long as −VB | and | VH−VA | are determined to be higher than the threshold voltage for display, other voltage values may be set.
  コモン駆動回路34を構成する集積回路34Lからは、3値の電圧VH,VM,VLで変化する出力波形が出力され、セグメント駆動回路からは2値の電圧VA,VBで変化する出力波形が出力される。2つの出力波形の電圧差によって、セグメント電極Sおよびコモン電極Cの直交点である画素が、点灯状態となるか非点灯状態となるかが決定される。  The
  表示パネル32を駆動する際に必要となる駆動電圧は、以下に示す第2式のように表される。  The drive voltage required when driving the
      液晶駆動電圧Vmax={2(√N+1)−2}×Vth    …(2)
ここで、表示パネル32の行数をN=160とし、液晶のしきい値電圧をVth=2Vとすると、駆動電圧Vmaxは約50Vとなる。したがって前述の各電圧値に基づくと、コモン駆動回路34を構成する集積回路34Lには、電圧VH〜VLまでの最大で50.4Vの電圧が印加されることとなり、セグメント駆動回路には電圧VA〜VBまでの3.4Vの電圧が印加される。コモン駆動回路34を構成する集積回路34Lは、高耐圧化して形成する必要があるが、セグメント駆動回路33を構成する集積回路33Lは低耐圧の構成でよい。Liquid crystal drive voltage Vmax = {2 (√N + 1) −2} × Vth (2)
 Here, if the number of rows of the
  図9を参照して座標検出期間W24における動作について説明する。座標検出装置31では、座標検出期間W24に走査のために印加する電圧を、表示期間W23において用いられた電圧VA,VB,VH,VL,VMと共通にしている。図9では、各電極S,Cに印加する電圧の極性を正方向にしているが、負方向であっても差し支えない。  The operation in the coordinate detection period W24 will be described with reference to FIG. In the coordinate
  座標検出の走査のためにコモン電極Cに印加される電圧は、基準値および波高値を表示期間W23の電圧値と同じ電圧VMとVHとに設定した場合であっても波高値として25.2Vの電圧を確保することができ、従来技術と同様に電子ペン38に誘起する検出電圧は充分に高く座標検出を容易に行うことができる。  The voltage applied to the common electrode C for the coordinate detection scan is 25.2 V as the peak value even when the reference value and the peak value are set to the same voltage VM and VH as the voltage value of the display period W23. The detection voltage induced in the
セグメント電極Sの座標検出走査では、たとえば従来技術の図17の駆動回路の場合、駆動回路に電圧V0,V5が印加されているので、表示のためのしきい値電圧に近い値である電圧|V0−V5|で走査をしている。 In the coordinate detection scanning of the segment electrode S, for example, in the case of the driving circuit of FIG. 17 of the prior art, the voltages V0 and V5 are applied to the driving circuit, so that a voltage that is close to the threshold voltage for display | Scanning is performed at V0-V5 |.
  本実施形態のセグメント駆動回路33を構成する集積回路33Lでは、セグメント駆動回路33を構成する集積回路33Lの出力電圧が低く定められている。これによって、座標検出の際に印加する電圧も表示を行う際に印加される電圧と同様に低い電圧であり、低消費電力などの効果が充分である。  In the
  セグメント駆動回路33を構成する集積回路33Lには電圧VA,VBが与えられていることから最大の波高値は|VB−VA|となり、前述の電圧値によると僅か3.4Vに過ぎない。したがって、たとえば従来技術で示した前述の図17に示される表示パネル2に対して座標検出のための走査を行ったとしても、電子ペン8に誘起する検出電圧は極めて低いものとなり、検出信号の信号レベルは低く、座標検出の精度は低くなる。  Since the voltages VA and VB are applied to the
  本実施の形態では、図3に断面図を示す表示パネル32を用いているので、セグメント電極Sが表示パネル32の一方表面32a側に位置しており、電子ペン38を前記一方表面32a側から表示パネル32に近づけた場合、指示電極61とセグメント電極Sとが接近するようになり、ロジック回路用LSIに供給する電源電圧程度の低い電圧であっても、充分な検出電圧を得ることができ、電子ペン38によって指示される表示パネル32に定められる座標のうちのX座標を確実に検出することができる。  In this embodiment, since the
  指示電極61とコモン電極Cとの結合はセグメント電極Sの隙間を介しての静電結合となるけれども、コモン電極Cに座標検出のために印加される電圧は、表示期間W23における表示のための走査電圧と同一の電圧を用いており、絶対値の大きい電圧である電圧VH,VLで座標検出走査を行うこととなり、表示パネル32に定められる座標のうちのY座標を検出することができる。  The coupling between the
  セグメント駆動回路33を構成する集積回路33Lは耐圧が低いので、通常のロジック回路用LSIの生産ラインでの生産が可能になり低価格化を図ることができる。さらに、セグメント駆動回路33を構成する集積回路33L内部の電極構造も通常のロジック回路用LSIと同レベルでの設計が可能になるので、セグメント駆動回路33を構成する集積回路33Lを高速に動作させることができる。したがって、表示パネル32のカラー化および高精細化によってセグメント電極数が増加しても、クロック周波数を高く定めることができるので、座標検出期間を延長することなく、短時間で座標検出の走査を行うことができる。たとえば、前述のXGAのカラー表示パネルを12MHzの周波数でX方向の座標検出走査を行うと、走査時間は250μsで終了し、表示に対する影響は無視することができる。  Since the
  図10は、コモン駆動回路34を構成する集積回路34Lにおけるレベルセレクタ104の一部の具体的な構成を示す電気回路図である。各電圧VH,VM,VLは、電界効果トランジスタなどの半導体スイッチング素子を介してコモン電極Cへ出力端子を介して与えられ、これらのスイッチング素子は、交流化信号SRとクロックパルスCPLとに応答するスイッチング制御回路117によってスイッチング制御される。  FIG. 10 is an electric circuit diagram showing a specific configuration of a part of the
  図11はセグメント駆動回路33を構成する集積回路33Lの出力回路77の一部の構成を示す電気回路図である。電圧VA,VBは、電界効果トランジスタなどのスイッチング素子を介してセグメント電極Sへ出力端子を介して与えられる。これらのスイッチング素子は、前述の図10に示される構成と同様にスイッチング制御回路118によって制御される。  FIG. 11 is an electric circuit diagram showing a configuration of part of the
  耐圧の高いLSIは、内部配線間距離、ゲート回路などを大きく構成し、かつ絶縁層も厚くしなければならない。しかしながら、セグメント駆動回路33を構成する集積回路33Lは、耐圧の低いLSIであり、これは通常のロジック回路用LSIと同じレベルの電極寸法で設計することができるので、従来の高耐圧LSIに比べ電極の寸法を大幅に縮小することができる。たとえば、回路の面積をa(>1)倍縮小すると接点の容量などによって充放電に要する時間が減少し、ゲート遅延時間が1/aに減少し、高速動作が実現可能となる。  An LSI with a high withstand voltage must have a large internal wiring distance, a gate circuit, etc., and a thick insulating layer. However, the
  本実施の形態に示す座標検出装置31では、コモン駆動回路34を構成する集積回路34Lの出力部の構成を、およそ60V程度の耐圧である高耐圧の構成にする必要があるが、セグメント駆動回路33を構成する集積回路33Lを一般的なロジック回路と同程度の電圧を出力する低耐圧の回路とすることができ、耐圧を高めるための構造を設ける必要がなく、セグメント駆動回路33を構成する集積回路33Lの面積を縮小することができる。特に、表示パネルの高精細化およびカラー化によってセグメント電極Sの本数が増加することによってセグメント駆動回路33を構成する集積回路33Lを複数個設けたりする必要があるけれども、セグメント駆動回路33を構成する集積回路33Lの面積を縮小することができるので、表示パネル32の周囲の部分で、各駆動回路33,34が配置される、いわゆる額縁領域を縮小することができる。また、セグメント駆動回路33を構成する集積回路33Lが安価に形成されることによって、複数個のセグメント駆動回路33を構成する集積回路33Lが設けられる場合であっても座標検出装置31の製造コストの上昇を抑えることができる。  In the coordinate
  本件装置31では、コモン駆動回路34を構成する集積回路34Lを高耐圧の回路構成にする必要があるが、高耐圧の回路であっても近年のLSIの製造技術の向上によって中耐圧と同等の技術で生産することができるようになっており、前述の額縁領域の形成される面積が大きくなることを防ぐことができる。  In the
  上述のように、セグメント駆動回路33を構成する集積回路33Lは電圧VA,VBを出力するので、その耐圧は5V程度であれば充分であり、一般的なロジック回路用LSIと同様に製造することができる。したがって、応答速度が速く、かつ出力部のオン抵抗が低い駆動回路とすることができ、クロストークが少なく、コントラストのよい表示を行うことができる駆動回路とすることができる。  As described above, since the
従来の技術では交流化駆動を行う際には、基準電圧の極性が切換わるので、コモン電極Cおよびセグメント電極Sにおける充放電エネルギが無駄に消費されていたが、本実施の形態では、交流化駆動されることで極性が変化しても基準電圧が一定であるので、前述のような無駄な電力消費を防ぐことができる。また電力消費が抑えられることによって、1フレーム期間に複数回にわたって極性を切換えることが可能となり、表示品位を向上させることができる。 In the conventional technique, when the AC drive is performed, the polarity of the reference voltage is switched, so that the charge / discharge energy in the common electrode C and the segment electrode S is wasted, but in the present embodiment, the AC drive is performed. Since the reference voltage is constant even if the polarity changes by being driven, it is possible to prevent wasteful power consumption as described above. In addition, since power consumption is suppressed, the polarity can be switched a plurality of times in one frame period, and the display quality can be improved.
  座標検出装置31では、座標検出期間W24において、表示パネル32の各電極S,Cに印加される電圧によって、電子ペン38の指示電極61に発生する極微弱な電圧に基づいて座標を検出しているので、操作者が電子ペン38を表示パネル32から離れた状態で前述の静電結合しないとき、ノイズを発生しているような機器に近づけた場合、座標検出回路40,41が前記ノイズを座標を示す信号と誤って、正確でない座標信号を出力することとなる。このような誤動作を避けるために、電子ペン38が表示パネル32に接近した状態か離れた状態かを検出する機能は実用上不可欠である。すなわち、電子ペン38が表示パネル32に接近した状態の検出座標を有効とし、電子ペン38が表示パネルから離れた状態である場合に検出された信号に基づいては検出された座標に基づく処理を行わないようにすることが必要である。このような機能は、特にノイズの多い場所で使われることも多い携帯用端末装置にとって重要である。The coordinate
  前述の実施の第1の形態における座標検出装置31では、基準電圧を固定しているので、交流化信号FRの信号レベルが変化しても電子ペン38からは図18に示すような誘導電圧Fの比較的大きなピークFa,Fbが発生せず、図22に関連して述べた従来技術と同様な手段では電子ペン38が表示パネル32に接近した状態か離れた状態かを検出することができない。この問題は、本発明に従って次の構成によって解決される。In the coordinate
  図12は、本発明の実施の第2の形態である表示一体形タブレット装置81の構成を示すブロック図である。本件装置81において、前述の装置31と同一の構成要素には同一の参照符を付して説明を省略する。装置81の特徴は、電子ペン38が表示パネル32に接近した状態か離れた状態かを判断して信号を出力するモード検出回路82が設けられ、モード検出回路82から出力されるモード信号MODEの信号レベルに基づいて座標検出回路40,41で検出された座標についての出力を導出して表示パネル32で表示を行うかどうかが定められることである。FIG. 12 is a block diagram showing a configuration of a display-integrated tablet device 81 according to the second embodiment of the present invention. In the present apparatus 81, the same components as those of the above-described
  本実施の形態では、STN方式の液晶表示パネルである表示パネル32を用いて説明を行うが、特にこの形式の表示パネルに限定されるものではなく、TFT(薄膜トランジスタ)駆動の液晶表示パネルは勿論のこと、EL(Electro Luminescence)パネルに座標検出機能を付加した場合にも有効である。  In this embodiment, the
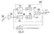
  モード検出回路82は、図13のように第1ゲート回路91と、第2ゲート回路92と、増幅・整形回路93,94と、比較器95とを含んで構成される。電子ペン38が検出した微弱な誘導電圧は、オペアンプ39で増幅された後、モード検出回路82の第1および第2ゲート回路91,92および各座標検出回路40,41に与えられる。  As shown in FIG. 13, the
  第1ゲート回路91は、制御端子gp,gnを備えており、制御端子gp,gnにゲート制御信号が入力される期間Wp,Wnのみ、導通して、オペアンプ39から供給される信号を増幅・整形回路93に出力する。前記制御端子gp,gnには、期間Wp,Wnにゲート制御信号が与えられる。第2ゲート回路92は、制御端子gaを備えており、制御端子gaに制御信号が入力される期間Waのみ、導通して、オペアンプ39から供給される信号を増幅・整形回路94に出力する。前記制御端子gaには、後述する期間Waにゲート制御信号が与えられる。  The
  増幅・整形回路93,94は、第1および第2ゲート回路91,92から供給される信号電圧を全波整流し、後段の処理を行いやすいように予め定める増幅率で増幅した後、直流成分を出力する。増幅・整形回路93,94における増幅手段などの処理に関して接続の前後関係は特に限定されるものではない。  Amplifying /
  増幅・整形回路93,94の各出力は、比較器95に与えられて比較される。比較器95は、増幅・整形回路93の出力値が大きい場合は、電子ペン38が表示パネル32に接近していることを示すモード信号MODEを出力する。期間Wp,Wnなどの時間設定、および表示パネル32の構造にもよるが、電子ペン38が表示画面に接近した状態では、増幅・整形回路93の出力値が増幅・整形回路94の出力値のたとえば5倍を超えるように設定されるので、安定したモード信号MODEが出力されることとなる。電子ペン38が表示画面から離れた状態では、2つの増幅・整形回路93,94からの出力値がもしも略同じとなると比較器95の判定が不安定になるおそれがあるので、これを防ぐために増幅・整形回路94の出力が増幅・整形回路93の出力より大きくなるようにそれぞれの増幅度を設定する。The outputs of the amplifying /
  本発明の他の形態では、比較器95の判定の基準となる境界領域に電子ペン38が存在する場合には、モード信号が不安定になるので、比較器95は次に述べるようにヒステリシス特性を備えた回路構成にする。  In another embodiment of the present invention, the mode signal becomes unstable when the
  図14は、ヒステリシス特性を備える比較器95の動作を説明するための図である。比較器95は、第1および第2ゲート回路91,92からの増幅・整形回路93,94を介する各出力P93,P94の差(=V93−V94)が、増加しつつ予め定める第1の値V95a以上になり、その第1の値V95a以上であるとき、そのモード検出は論理「1」として電子ペン38が比較パネル32に接近した状態であると検出し、第1の値V95a以上の値から減少しつつ第1の値V95a未満の第2の値V95b未満になり、その第2の値V95b未満であるとき、離れた状態であると検出する。FIG. 14 is a diagram for explaining the operation of the
  比較器95の出力であるモード信号MODEは制御回路37に与えられる。制御回路37は、モード信号MODEによって電子ペン38が画面から離れた状態であると判断した場合は、座標検出期間で検出された電子ペン38の座標を無効として座標位置に予め定める表示を行わず、画面に接近していると判断した場合は、検出された座標値を有効として表示パネル32では前記予め定める表示を行う。A mode signal MODE which is an output of the
  また、電子ペン38が表示パネル32から離れた状態であると判断した場合には、各座標検出回路40,41の動作を休止するようにしてもよい。座標検出回路40,41の動作を休止させることによって、不要な期間での座標検出のための走査が行われず、座標検出装置81における消費電力を低減することができる。Further, when the
  図15は、モード検出回路82の動作を説明するためのタイミングチャートである。図15の参照符S1〜Smは、セグメント電極S1〜Smに与えられる電圧波形を示し、C1〜Cnは、コモン電極C1〜Cnに与えられる電圧波形を示す。座標検出装置81では、表示期間W23と座標検出期間W24との間に、電子ペン38が表示パネル32の一方表面32a側に接近しているかどうかを判断する判断期間W27を設けている。この期間W27は、図15では表示期間W23とX座標検出期間W25との間に設けているが、X座標検出期間W25とY座標検出期間W26との間、またはY座標検出期間W26と引続く次の表示期間W23との間に設定してもよい。  FIG. 15 is a timing chart for explaining the operation of the
  この判断期間W27には、図15に示すようにセグメント駆動回路33を構成する集積回路33Lによって、m本の全てのセグメント電極Sに同時にパルス電圧を印加する。なお、m本未満の複数本のセグメント電極S毎に同時にかつ順次的にパルス電圧を印加してもよい。またこのパルス電圧を印加する際に、セグメント電極Sだけでなくコモン電極Cにも同時に同一電圧を印加してもよい。  In this determination period W27, a pulse voltage is simultaneously applied to all m segment electrodes S by the
  次に検出動作について説明する。判断期間W27において、時刻t30から時刻t31までの期間W41と、時刻t32から時刻t33までの期間W42とで電圧VBをすべてのセグメント電極Sに印加する。電子ペン38が、表示パネル32の一方表面32aに接触した位置、またはごく接近した位置のいずれかに存在する接近した状態である場合には、前述の静電結合がなされ、判断期間W27に行われる走査によって、電子ペン38には図15に誘導電圧GDとして示す電圧が誘起する。Next, the detection operation will be described. In the determination period W27, the voltage VB is applied to all the segment electrodes S in the period W41 from time t30 to time t31 and in the period W42 from time t32 to time t33.
  電子ペン38が、表示パネル32の一方表面32aに接近した状態である場合は、電子ペン38の指示電極61と表示パネル32のセグメント電極Sとの静電結合が最も密になるので、誘導電圧GDとして示すように期間Wp,Wnにのみスパイク状の電圧が電子ペン38の指示電極61に誘起される。前記電圧波形が立上がるときには期間Wpに示す電圧が発生し、立下がるときには期間Wnに示す電圧が発生する。また、判断期間W27において前記期間Wp,Wnを除く期間Waでは、指示電極61がシールド電極として作用し、電子ペン38の周辺に存在する他の装置からのノイズによる誘導電圧の発生を防ぐことができる。
  電子ペン38が表示パネル32から離れた位置に存在する離れた状態である場合には、電子ペン38の指示電極61とセグメント電極Sとの静電結合がほとんど無く、むしろ電子ペン38近辺に存在する他の電気器具などから発生されるノイズによる影響を受けて、判断期間W27には図15の誘導電圧GLとして示すように、セグメント電極Sに印加されるパルス電圧には全く関連のない電圧を誘起する。電子ペン38が帯電した衣類に接近して放電した場合も同様に、前記パルス電圧の印加タイミングに関係なく鋭いパルス状の電圧が発生する。If the
  上述のように、電子ペン38から出力される誘導電圧の波形が、電子ペン38の指示電極61と表示パネル32のセグメント電極Sとの位置関係によって異なるので、この誘導電圧の波形を分析照合することによって電子ペン38が表示パネル32に接近した状態か離れた状態かを判定することができる。As described above, since the waveform of the induced voltage output from the
  モード検出回路82の構成をさらに簡易化する手段として、図16のように、判断期間W27における印加電圧の周波数と同一周波数の信号を取り出すバンドパスフィルタである狭帯域増幅器101をモード検出回路82に設け、レベル弁別回路102に与える。判断期間W27にこの周波数成分の信号が検出されると、電子ペン38が表示パネル32の一方表面32aに接近した状態であることを示すモード信号をレベル弁別回路102から出力する。レベル弁別回路102による出力の不安定化をなくすために、狭帯域増幅器101の出力が予め定める第1の弁別レベル以上であるとき電子ペン38が表示パネル32に接近した状態であると検出し、その狭帯域増幅器101の出力が第1の弁別レベル未満の第2の弁別レベル未満であるとき電子ペン38が表示パネル32から離れた状態であると検出するように、レベル弁別回路102にヒステリシス特性を持たせるようにしてもよい。As a means for further simplifying the configuration of the
  このようにしてモード検出回路82によって電子ペン38が表示パネル32に接近した状態であることが、期間W27で検出されたときには、次の期間W24において電子ペン38から得られる図15の参照符GDにおいて示されているパルス103,104のタイミングに基づき、電子ペン38の先端のXY座標位置をX座標検出回路40およびY座標検出回路41によって演算して求める。In this way, thestate der Rukoto the
  この期間W27においてセグメント電極S1〜Smに与えられるパルス電圧を得るために、前述の図5において、このセグメント駆動回路33を構成する大規模集積回路33Lには、制御端子DISが設けられる。この制御端子DISは、表示情報に関係なく、全てのセグメント電極Sに出力する電圧を、VAまたはVBに切換えるために用いられる。制御回路37からのLレベルの制御信号が制御端子DISに与えられることによって、シフトレジスタ75の内容がクリアされた状態で、セグメント電極S1〜Smの全てに電圧VAを与え、この制御端子DISがHレベルになることによって、全出力を電圧VBに切換えて、出力回路77が導出する。この期間W27において、コモン電極Cは、基準電圧VMに保たれる。図12〜図16の本発明の実施の各形態における他の構成は、前述の図1〜図11に示される実施の形態と同様である。  In order to obtain the pulse voltage applied to the segment electrodes S1 to Sm during this period W27, the control terminal DIS is provided in the large-scale
  前述の従来技術の座標検出装置では表示パネルに電子ペンが接近した状態であるかどうかの判断は表示期間に行われており、表示期間および座標検出期間などフレーム期間を通じて、電子ペン38およびオペアンプ39を動作させなければならない。しかしながら、本実施の形態では、表示期間W23ではオペアンプ39などに電力を供給せず、これによって座標検出装置81における消費電力を低減することができる。すなわち表示期間W23では、オペアンプ38、モード検出回路82および座標検出回路40,41への電力供給を、制御回路37の働きによって遮断し、これによって消費電力を低減することができる。表示期間W23は、1周期(=W23+W24+W27)の約95%を占めるので、この表示期間W23における省電力効果は大きい。In the prior art coordinate detection apparatus described above is determined whetherthe state der Rukado the electronic pen on the display panelapproaches have been made to the display period, throughout the frame period and a display period and the coordinate detection period, the
  前述の実施の形態において、図15の期間W27においてセグメント電極S1〜Smに与えられる電圧VB,VAのパルスは、予め定める一定の周波数を有する繰返しパルスであるけれども、本発明の実施の他の形態では、その他の波形を有していてもよく、時間経過に伴って波形が変化する信号であればよく、これによって電子ペン38から、その期間W27におけるセグメント電極S1〜Smに与えられる信号に対応した波形の出力を得ることができる。  In the above-described embodiment, the pulses of the voltages VB and VA applied to the segment electrodes S1 to Sm in the period W27 in FIG. 15 are repetitive pulses having a predetermined constant frequency. Then, it may have other waveforms, and any signal whose waveform changes with the passage of time may be used, thereby responding to signals given from the
本発明の実施の他の形態では、電子ペン有無検出期間W27において、コモン電極Cには、基準電圧VMと電圧VHとの間の波高値を有するパルスを与え、この期間W27においてセグメント電極には、基準電圧VMに関して電圧VHと同一側すなわち高い方の側の電圧VBを与える。 In another embodiment of the present invention, a pulse having a peak value between the reference voltage VM and the voltage VH is given to the common electrode C in the electronic pen presence / absence detection period W27, and the segment electrode is given to the segment electrode in this period W27. The voltage VB on the same side as the voltage VH, that is, the higher side with respect to the reference voltage VM is applied.
  本発明の実施のさらに他の形態では、コモン電極Cに基準電圧VMと第2電圧VLの波高値を有するパルスを与え、セグメント電極Sは、基準電圧VMに関して電圧VLと同一側、すなわち低い方の電圧VAを与える。こうして期間W27において表示パネル32が表示されることはなく、表示品質が低下することはない。  In still another embodiment of the present invention, a pulse having peak values of the reference voltage VM and the second voltage VL is applied to the common electrode C, and the segment electrode S is on the same side as the voltage VL with respect to the reference voltage VM, that is, the lower one. Voltage VA. Thus, the
  本発明は表示パネル32として液晶だけでなく、EL、プラズマディスプレイおよびその他の誘電体を用いる構成に関連して広範囲に実施することができる。本発明は、電子ペン38による座標検出のための構成を省略して、表示パネル32によって表示だけを行う構成に関連してもまた、実施することができる。
  本発明は、次の実施の形態が可能である。The present invention can be widely implemented in relation to a configuration using not only a liquid crystal as the
 The following embodiments are possible for the present invention.
(1)(a)複数のセグメント電極および複数のコモン電極を有し、これらのセグメント電極とコモン電極との間に誘電体が介在される表示パネルと、(b)極性が周期的に反転する交流化信号を発生する制御手段と、(c)表示パネルの複数のセグメント電極と複数のコモン電極との交差領域によって構成された画素マトリクスに画像を表示するための表示データを出力する表示制御回路と、(d)交流化信号に応答し、コモン電極を順次選択するコモン電極駆動信号を生成するコモン駆動回路であって、このコモン電極駆動信号は、交流化信号が一方極性であるとき、選択コモン電極に基準電圧VMよりも高い第1電圧VHを与え、非選択コモン電極に基準電圧VMを与え、交流化信号が他方極性であるとき、選択コモン電極に基準電圧VMよりも低い第2電圧VLを与え、非選択コモン電極に基準電圧VMを与え、第1および第2電圧VH,VLの絶対値は、誘電体の活性化のためのしきい値未満であって、かつそのしきい値に近い値に選ばれるコモン駆動回路と、(e)交流化信号に応答し、コモン電極駆動信号によって選択されたコモン電極に係る画素を表示するためのセグメント電極駆動信号を生成するセグメント駆動回路であって、このセグメント電極駆動信号は、交流化信号が前記一方極性であるとき、選択セグメント電極にコモン電極駆動信号の前記基準電圧VMよりも低い第3電圧VAを与え、非選択セグメント電極に前記基準電圧VMよりも高い第4電圧VBを与え、交流化信号が前記他方極性であるとき、選択セグメント電極に第4電圧VBを与え、非選択セグメント電極に第3電圧VAを与え、第3および第4電圧VA,VBは、前記しきい値未満であって、かつ|VH−VA|および|VL−VB|は、前記しきい値以上になるように選ばれるセグメント駆動回路とを含むことを特徴とする表示装置。 (1) (a) a display panel having a plurality of segment electrodes and a plurality of common electrodes, and a dielectric interposed between the segment electrodes and the common electrode, and (b) polarity periodically reversed. A control means for generating an alternating signal; and (c) a display control circuit for outputting display data for displaying an image on a pixel matrix formed by intersecting regions of a plurality of segment electrodes and a plurality of common electrodes of the display panel And (d) a common drive circuit that generates a common electrode drive signal that sequentially selects common electrodes in response to the AC signal, and this common electrode drive signal is selected when the AC signal is unipolar. When the first voltage VH higher than the reference voltage VM is applied to the common electrode, the reference voltage VM is applied to the non-selected common electrode, and the AC signal is the other polarity, the reference voltage is applied to the selected common electrode. The second voltage VL lower than M is applied, the reference voltage VM is applied to the non-selected common electrode, and the absolute values of the first and second voltages VH and VL are less than the threshold value for activating the dielectric. And a common drive circuit selected to a value close to the threshold value, and (e) a segment electrode drive signal for displaying a pixel related to the common electrode selected by the common electrode drive signal in response to the alternating signal This segment electrode drive signal gives a third voltage VA lower than the reference voltage VM of the common electrode drive signal to the selected segment electrode when the alternating signal is the one polarity. The fourth voltage VB higher than the reference voltage VM is applied to the non-selected segment electrode, and when the alternating signal is the other polarity, the fourth voltage VB is applied to the selected segment electrode, A third voltage VA is applied to the segment electrode, the third and fourth voltages VA and VB are less than the threshold value, and | VH−VA | and | VL−VB | And a segment drive circuit selected to be a display device.
(2)交流化信号は、1フレーム期間中に複数回反転されることを特徴とする表示装置。 (2) The display device characterized in that the alternating signal is inverted a plurality of times during one frame period.
制御手段から与えられる交流化信号が一方極性、たとえばHレベルであるとき、コモン電極を順次選択して走査するコモン電極駆動信号は、基準電圧VMよりも高い第1電圧VHを与え、セグメント駆動回路は、画素を表示するために選択されたセグメント電極に、その基準電圧VMよりも低い第3電圧VAを与える。これによってその表示される画素の誘電体には、|VH−VA|が与えられ、誘電体が活性化される。このとき選択されない、すなわち非選択コモン電極には、コモン駆動回路によって基準電圧VMが与えられ、また非選択セグメント電極にはセグメント駆動回路から基準電圧VMよりも高い第4電圧VBが与えられ、これによって表示されない画素の誘電体には|VB−VM|が与えられるけれども、この値はしきい値よりも充分に低い。 When the alternating signal supplied from the control means is one polarity, for example, H level, the common electrode driving signal for sequentially selecting and scanning the common electrodes gives the first voltage VH higher than the reference voltage VM, and the segment driving circuit Applies a third voltage VA lower than its reference voltage VM to the segment electrode selected to display the pixel. As a result, | VH-VA | is given to the dielectric of the pixel to be displayed, and the dielectric is activated. At this time, the non-selected common electrode is supplied with the reference voltage VM by the common drive circuit, and the non-selected segment electrode is supplied with the fourth voltage VB higher than the reference voltage VM from the segment drive circuit. Although the pixel dielectric not displayed by is given | VB-VM |, this value is well below the threshold.
交流化信号が他方極性、たとえばLレベルであるとき、コモン駆動回路からは選択されたコモン電極に基準電圧VMよりも低い第2電圧VLを与え、セグメント駆動回路は表示すべき画素の選択されたセグメント電極に第4電圧VBを与え、これによって表示すべき画素の誘電体には、|VL−VB|が与えられ、その誘電体が活性化される。このとき非選択セグメント電極には、第3電圧VAが与えられ、したがってその非選択セグメント電極に対応する誘電体には、|VL−VA|が与えられるけれども、その誘電体が活性化されることはない。また非選択コモン電極には基準電圧VMが与えられており、その非選択コモン電極に対応する誘電体に印加される電圧|VA−VM|および|VB−VM|が与えられ、活性化されることはない。 When the AC signal has the other polarity, for example, L level, the common driving circuit applies a second voltage VL lower than the reference voltage VM to the selected common electrode, and the segment driving circuit selects the pixel to be displayed. A fourth voltage VB is applied to the segment electrode, whereby | VL-VB | is applied to the dielectric of the pixel to be displayed, and the dielectric is activated. At this time, the third voltage VA is applied to the non-selected segment electrode, and therefore | VL-VA | is applied to the dielectric corresponding to the non-selected segment electrode, but the dielectric is activated. There is no. The reference voltage VM is applied to the non-selected common electrode, and the voltages | VA-VM | and | VB-VM | applied to the dielectric corresponding to the non-selected common electrode are applied and activated. There is nothing.
コモン駆動回路は、基準電圧VMの上下に第1および第2電圧VH,VLに切換わるだけであって、基準電圧が一定のままであるので、コモン電極とセグメント電極との間の充放電エネルギが消費されることが、先行技術に比べてできるだけ抑制することができる。先行技術では、交流化信号の反転のたびに、基準電圧の極性が切換わり、したがって充放電エネルギが多く消費されることになる。本発明はこの問題を解決する。 The common drive circuit only switches to the first and second voltages VH and VL above and below the reference voltage VM, and the reference voltage remains constant. Therefore, the charge / discharge energy between the common electrode and the segment electrode is constant. Can be suppressed as much as possible compared to the prior art. In the prior art, every time the AC signal is inverted, the polarity of the reference voltage is switched, so that much charge / discharge energy is consumed. The present invention solves this problem.
このように無駄な充放電エネルギを抑制することができるので、交流化信号を、1フレーム期間中に複数回反転し、液晶の寿命を長くし、表示品位を向上することができるようになる。 Thus, useless charging / discharging energy can be suppressed, so that the AC signal is inverted a plurality of times during one frame period, the life of the liquid crystal is lengthened, and the display quality can be improved.
コモン駆動回路における第1および第2電圧VH,VLの絶対値は、誘電体の活性化のためのしきい値未満であって、かつそのしきい値に近い値、たとえば25.2Vに選ばれるので、コモン駆動回路を集積回路によって実現する場合には、いわば高耐圧の構成にする必要がある反面、セグメント駆動回路を集積回路によって実現するときには、その第3および第4電圧VA,VBは基準信号VMに近似した小さい絶対値、たとえば1.7Vであり、したがってセグメント駆動回路は、いわば低耐圧集積回路によって容易に実現することができる。このような低耐圧の集積回路によってセグメント駆動回路を実現すると、安価に製造することができ、このことは特に表示パネルを、たとえば誘電体として液晶を用い、赤、緑および青の合計3色のセグメント電極を、各画素毎にそれぞれ設けられ、したがってコモン電極の3倍の数のセグメント電極が設けられることになるけれども、このような安価な低耐圧の集積回路によってセグメント駆動回路を実現することができるようになるので、実現が容易である。 The absolute values of the first and second voltages VH and VL in the common drive circuit are selected to a value that is less than and close to the threshold value for activating the dielectric, for example, 25.2V. Therefore, when the common drive circuit is realized by an integrated circuit, it is necessary to use a so-called high breakdown voltage configuration. On the other hand, when the segment drive circuit is realized by an integrated circuit, the third and fourth voltages VA and VB are the reference. A small absolute value approximated to the signal VM, for example, 1.7 V, and therefore, the segment drive circuit can be easily realized by a low voltage integrated circuit. When the segment drive circuit is realized by such a low breakdown voltage integrated circuit, it can be manufactured at a low cost. This is particularly because the display panel uses, for example, liquid crystal as a dielectric, and a total of three colors of red, green and blue. A segment electrode is provided for each pixel, and therefore, three times as many segment electrodes as common electrodes are provided. However, a segment drive circuit can be realized by such an inexpensive low withstand voltage integrated circuit. Since it becomes possible, realization is easy.
コモン駆動回路によってコモン電極に与えられる電圧は基準電圧VMの上下の第1および第2電圧VH,VLの合計3種類の電圧であり、セグメント駆動回路によってセグメント電極に与えられる電圧は、同一の基準電圧VMの上下の第3および第4電圧VA,VBの合計2種類の電圧が用いられ、したがって使用される電圧の種類が少なく、実現が容易である。しかももっと重要なことは、コモン駆動回路におけるコモン電極駆動信号の電圧は、交流化信号の極性が反転しても、上述のように基準電圧VMは一定のままであるので、この交流化時におけるコモン電極とセグメント電極との間の充放電エネルギの消費が抑制され、電力消費が低減される。このことは特に携帯形情報機器において、電池を用いるので、重要なことである。 The voltage applied to the common electrode by the common drive circuit is a total of three types of voltages, the first and second voltages VH and VL above and below the reference voltage VM, and the voltage applied to the segment electrode by the segment drive circuit is the same reference voltage. A total of two types of voltages, the third and fourth voltages VA and VB above and below the voltage VM, are used. Therefore, the types of voltages used are small and easy to implement. Moreover, more importantly, the voltage of the common electrode drive signal in the common drive circuit remains constant as described above even when the polarity of the AC signal is inverted. Consumption of charging / discharging energy between the common electrode and the segment electrode is suppressed, and power consumption is reduced. This is important because batteries are used in portable information devices.
上述のように交流化時の消費電力がわずかであるので、交流化信号は、1フレーム期間中に複数回反転しても、その消費電力が上述のように抑制され、したがって液晶などの誘電体の劣化を防ぎ、表示品位を向上することができる。 As described above, since the power consumption at the time of alternating current is small, even if the alternating signal is inverted a plurality of times during one frame period, the power consumption is suppressed as described above. Can be prevented and display quality can be improved.
コモン駆動回路によって得られる第1および第2電圧VH,VLの絶対値は、たとえば25.2Vであり、誘電体の活性化のためのしきい値に近い値に選ばれるけれども、セグメント駆動回路では、第3および第4電圧VA,VBは、基準電圧VMに対して小さい絶対値、たとえば1.7Vである。したがってセグメント駆動回路を、たとえば集積回路によって実現するとき、その耐圧を低くすることができ、いわばごく普通のロジック回路用大規模集積回路のプロセスによって生産することができる。その結果、セグメント駆動回路の応答速度を向上し、出力素子のオン抵抗を低くし、クロストークを少なくし、コントラストなどの表示品位を向上することができるようになり、安価に実現することができる。特に表示パネルがカラー化され、たとえばセグメント電極が赤、緑、青の3色分、設けられる構成では、そのセグメント電極は、コモン電極の数の3倍に達し、表示パネルの高精細化に伴い、セグメント駆動回路を、製造容易で安価に、集積回路によって実現することができ、本発明の実施が容易になるという重要な効果が達成される。 The absolute values of the first and second voltages VH and VL obtained by the common drive circuit are, for example, 25.2 V, and are selected to be close to the threshold value for activating the dielectric. The third and fourth voltages VA and VB have a small absolute value with respect to the reference voltage VM, for example, 1.7V. Therefore, when the segment drive circuit is realized by, for example, an integrated circuit, the breakdown voltage can be lowered, and it can be produced by a process of a very large scale integrated circuit for logic circuits. As a result, the response speed of the segment drive circuit can be improved, the on-resistance of the output element can be lowered, the crosstalk can be reduced, and the display quality such as contrast can be improved, which can be realized at low cost. . In particular, when the display panel is colored, for example, in a configuration in which segment electrodes are provided for three colors of red, green, and blue, the number of segment electrodes reaches three times the number of common electrodes. The segment drive circuit can be realized by an integrated circuit easily and inexpensively, and an important effect is achieved that the implementation of the present invention becomes easy.
(3)(a)複数のセグメント電極および複数のコモン電極を有し、これらのセグメント電極とコモン電極との間に誘電体が介在され、セグメント電極がコモン電極よりも上方に配置される表示パネルと、(b)表示パネルのセグメント電極およびコモン電極と浮遊容量で結合される電子ペンと、(c)表示パネルの複数のセグメント電極と複数のコモン電極との交差領域によって構成された画素マトリクスに画像を表示するための表示制御信号および表示データを出力する表示制御回路と、(d)表示パネルのセグメント電極およびコモン電極を走査するための走査制御信号を出力する座標検出制御回路と、(e)表示期間と座標検出期間とを順次的に繰返して設定し、座標検出期間は、X座標検出期間とY座標検出期間とを含み、さらに極性が周期的に反転する交流化信号を発生する制御手段と、(f)表示期間には表示制御回路側を切換え選択して表示制御回路からの表示制御信号および表示データを出力し、座標検出期間には座標検出制御回路側を切換え選択して座標検出制御回路からの走査制御信号を出力する切換え回路と、(g)コモン駆動回路であって、表示期間には、交流化信号に応答し、切換え回路からの表示制御信号に基づいて上記コモン電極を順次選択するためのコモン電極駆動信号を生成し、このコモン電極駆動信号は、交流化信号が一方極性であるとき、選択コモン電極に基準電圧VMよりも高い第1電圧VHを与え、非選択コモン電極に基準電圧VMを与え、交流化信号が他方極性であるとき、選択コモン電極に基準電圧VMよりも低い第2電圧VLを与え、非選択コモン電極に基準電圧VMを与え、第1および第2電圧VH,VLの絶対値は、誘電体の活性化のためのしきい値未満であって、かつそのしきい値に近い値に選ばれ、座標検出期間には、切換え回路からの走査制御信号に基づいて、X座標検出期間に、コモン電極を基準電圧VMに保ち、Y座標検出期間に、画素マトリクスに画像を表示することなくコモン電極を順次走査するためのコモン電極走査信号を生成し、このコモン電極走査信号は、選択コモン電極に第1または第2電圧VH,VLを与え、非選択コモン電極に基準電圧VMを与えるコモン駆動回路と、(h)セグメント駆動回路であって、表示期間には、交流化信号に応答し、切換え回路からの表示制御信号および表示データに基づいてコモン電極駆動信号によって選択されたコモン電極に係る画素を表示するためのセグメント電極駆動信号を生成し、このセグメント電極駆動信号は、交流化信号が前記一方極性であるとき、選択セグメント電極にコモン電極駆動信号の前記基準電圧VMよりも低い第3電圧VAを与え、非選択セグメント電極に基準電圧VMよりも高い第4電圧VBを与え、交流化信号が前記他方極性であるとき、選択セグメント電極に第4電圧VBを与え、非選択セグメント電極に第3電圧VAを与え、第3および第4電圧VA,VBは、前記しきい値未満であって、かつ|VH−VA|および|VL−VB|は、前記しきい値以上になるように選ばれ、座標検出期間には、切換え回路からの走査制御信号に基づいてX座標検出期間に、画素マトリクスに画像を表示することなく上記セグメント電極を順次走査するためのセグメント電極走査信号を生成し、このセグメント電極走査信号は、選択セグメント電極に第3または第4電圧VA,VBのいずれか一方の電圧を与え、非選択セグメント電極に第3または第4電圧VA,VBのいずれか他方の電圧を与え、Y座標検出期間に、セグメント電極を第3または第4電極VA,VBの前記いずれか他方の電圧に保つセグメント駆動回路と、(i)コモン駆動回路およびセグメント駆動回路からコモン電極あるいはセグメント電極に入力された座標検出期間の各走査信号に基づいて電子ペンの電極に誘起された誘導電圧が与えられて、座標検出期間において、電子ペンからの誘導電圧に基づいて電子ペン先端の座標を検出して、X座標信号およびY座標信号を出力する座標検出回路とを含むことを特徴とする表示一体形タブレット装置。 (3) (a) A display panel having a plurality of segment electrodes and a plurality of common electrodes, a dielectric being interposed between the segment electrodes and the common electrode, and the segment electrodes being disposed above the common electrode (B) an electronic pen that is coupled to the segment electrode and common electrode of the display panel by a stray capacitance; and (c) a pixel matrix configured by intersecting regions of the plurality of segment electrodes and the plurality of common electrodes of the display panel. A display control circuit for outputting a display control signal and display data for displaying an image, (d) a coordinate detection control circuit for outputting a scanning control signal for scanning the segment electrode and the common electrode of the display panel, and (e ) A display period and a coordinate detection period are sequentially repeated, and the coordinate detection period includes an X coordinate detection period and a Y coordinate detection period. Control means for generating an alternating signal in which the polarity is periodically inverted; (f) during the display period, the display control circuit side is switched and selected, and the display control signal and display data are output from the display control circuit to detect coordinates A switching circuit for switching and selecting the coordinate detection control circuit side during the period and outputting a scanning control signal from the coordinate detection control circuit; and (g) a common drive circuit, which responds to the AC signal during the display period. Based on the display control signal from the switching circuit, a common electrode drive signal for sequentially selecting the common electrodes is generated. This common electrode drive signal is used as a reference for the selected common electrode when the alternating signal is one polarity. When the first voltage VH higher than the voltage VM is applied, the reference voltage VM is applied to the non-selected common electrode, and the alternating signal is the other polarity, the second voltage VL lower than the reference voltage VM is applied to the selected common electrode. The reference voltage VM is applied to the non-selected common electrode, and the absolute values of the first and second voltages VH and VL are less than and close to the threshold value for activating the dielectric In the coordinate detection period, based on the scanning control signal from the switching circuit, the common electrode is maintained at the reference voltage VM in the X coordinate detection period, and an image is displayed on the pixel matrix in the Y coordinate detection period. Without generating a common electrode scan signal for sequentially scanning the common electrode, the common electrode scan signal applies the first or second voltage VH, VL to the selected common electrode, and the reference voltage VM to the non-selected common electrode. And (h) a segment drive circuit, which responds to an alternating signal during a display period, and generates a common electrode drive signal based on a display control signal and display data from a switching circuit. A segment electrode driving signal for displaying a pixel related to the selected common electrode is generated, and the segment electrode driving signal is applied to the selected segment electrode when the alternating signal is the one polarity. The third voltage VA lower than the voltage VM is applied, the fourth voltage VB higher than the reference voltage VM is applied to the non-selected segment electrode, and the fourth voltage VB is applied to the selected segment electrode when the alternating signal is the other polarity. The third voltage VA is applied to the non-selected segment electrode, the third and fourth voltages VA and VB are less than the threshold value, and | VH−VA | and | VL−VB | The coordinate detection period is selected so that the image is not displayed in the X-coordinate detection period based on the scanning control signal from the switching circuit without displaying an image on the pixel matrix. The segment electrode scanning signal for sequentially scanning the segment electrodes is generated. The segment electrode scanning signal applies either one of the third or fourth voltage VA, VB to the selected segment electrode, and applies to the non-selected segment electrode. A segment drive circuit that applies the other voltage of the third or fourth voltage VA, VB and maintains the segment electrode at the other voltage of the third or fourth electrode VA, VB during the Y coordinate detection period; (I) An induced voltage induced in the electrode of the electronic pen based on each scanning signal of the coordinate detection period input to the common electrode or the segment electrode from the common drive circuit and the segment drive circuit is given, and in the coordinate detection period, A coordinate detection circuit that detects the coordinates of the tip of the electronic pen based on the induced voltage from the electronic pen and outputs an X coordinate signal and a Y coordinate signal. DOO display integral tablet device which comprises a.
(4)(a)複数のセグメント電極および複数のコモン電極を有し、これらのセグメント電極とコモン電極との間に誘電体が介在され、セグメント電極がコモン電極よりも上方に配置される表示パネルと、(b)表示パネルのセグメント電極およびコモン電極と浮遊容量で結合される電子ペンと、(c)表示パネルの複数のセグメント電極と複数のコモン電極との交差領域によって構成された画素マトリクスに画像を表示するための表示制御信号および表示データを出力する表示制御回路と、(d)表示パネルのセグメント電極およびコモン電極を走査するための走査制御信号を出力する座標検出制御回路と、(e)表示期間と座標検出期間と電子ペン有無検出期間とを順次的に繰返して設定し、座標検出期間は、X座標検出期間とY座標検出期間とを含み、さらに極性が周期的に反転する交流化信号を発生する制御手段と、(f)表示期間には表示制御回路側を切換え選択して表示制御回路からの表示制御信号および表示データを出力し、座標検出期間には座標検出制御回路側を切換え選択して座標検出制御回路からの走査制御信号を出力する切換え回路と、(g)コモン駆動回路であって、表示期間には、交流化信号に応答し、切換え回路からの表示制御信号に基づいて上記コモン電極を順次選択するためのコモン電極駆動信号を生成し、このコモン電極駆動信号は、交流化信号が一方極性であるとき、選択コモン電極に基準電圧VMよりも高い第1電圧VHを与え、非選択コモン電極に基準電圧VMを与え、交流化信号が他方極性であるとき、選択コモン電極に基準電圧VMよりも低い第2電圧VLを与え、非選択コモン電極に基準電圧VMを与え、第1および第2電圧VH,VLの絶対値は、誘電体の活性化のためのしきい値未満であって、かつそのしきい値に近い値に選ばれ、座標検出期間には、切換え回路からの走査制御信号に基づいて、X座標検出期間に、コモン電極を基準電圧VMに保ち、Y座標検出期間に、画素マトリクスに画像を表示することなくコモン電極を順次走査するためのコモン電極走査信号を生成し、このコモン電極走査信号は、選択コモン電極に第1または第2電圧VH,VLを与え、非選択コモン電極に基準電圧VMを与え、電子ペン有無検出期間に、コモン電極に基準電圧VMを与えるコモン駆動回路と、(h)セグメント駆動回路であって、表示期間には、交流化信号に応答し、切換え回路からの表示制御信号および表示データに基づいてコモン電極駆動信号によって選択されたコモン電極に係る画素を表示するためのセグメント電極駆動信号を生成し、このセグメント電極駆動信号は、交流化信号が前記一方極性であるとき、選択セグメント電極にコモン電極駆動信号の前記基準電圧VMよりも低い第3電圧VAを与え、非選択セグメント電極に基準電圧VMよりも高い第4電圧VBを与え、交流化信号が前記他方極性であるとき、選択セグメント電極に第4電圧VBを与え、非選択セグメント電極に第3電圧VAを与え、第3および第4電圧VA,VBは、前記しきい値未満であって、かつ|VH−VA|および|VL−VB|は、前記しきい値以上になるように選ばれ、座標検出期間には、切換え回路からの走査制御信号に基づいてX座標検出期間に、画素マトリクスに画像を表示することなく上記セグメント電極を順次走査するためのセグメント電極走査信号を生成し、このセグメント電極走査信号は、選択セグメント電極に第3または第4電圧VA,VBのいずれか一方の電圧を与え、非選択セグメント電極に第3または第4電圧VA,VBのいずれか他方の電圧を与え、Y座標検出期間に、セグメント電極を第3または第4電極VA,VBの前記いずれか他方の電圧に保ち、電子ペン有無検出期間に、電子ペン有無検出信号を生成し、この電子ペン有無検出信号は、セグメント電極に第3電圧VAと第4電圧VBとの間の波高値を有するパルスであるセグメント駆動回路と、(i)電子ペン有無検出期間の電子ペン有無検出信号に対応して電子ペンから与えられる誘導電圧に応答して、電子ペンの先端が表示パネルの表面に接近しているか離れているかを検出する電子ペン有無検出手段と、(j)電子ペン有無検出手段の出力に応答し、電子ペンの先端が表示パネルの表面に接近していることが検出されたとき、コモン駆動回路およびセグメント駆動回路からコモン電極あるいはセグメント電極に入力された座標検出期間の各走査信号に基づいて電子ペンの電極に誘起された誘導電圧が与えられて、座標検出期間において、電子ペンからの誘導電圧に基づいて電子ペン先端の座標を検出して、X座標信号およびY座標信号を出力する座標検出回路とを含むことを特徴とする表示一体形タブレット装置。 (4) (a) A display panel having a plurality of segment electrodes and a plurality of common electrodes, a dielectric being interposed between the segment electrodes and the common electrode, and the segment electrodes being disposed above the common electrode (B) an electronic pen that is coupled to the segment electrode and common electrode of the display panel by a stray capacitance; and (c) a pixel matrix configured by intersecting regions of the plurality of segment electrodes and the plurality of common electrodes of the display panel. A display control circuit for outputting a display control signal and display data for displaying an image, (d) a coordinate detection control circuit for outputting a scanning control signal for scanning the segment electrode and the common electrode of the display panel, and (e ) A display period, a coordinate detection period, and an electronic pen presence / absence detection period are sequentially repeated, and the coordinate detection period is set to an X coordinate detection period and a Y coordinate detection period. And a control means for generating an alternating signal whose polarity is periodically inverted, and (f) a display control signal and display data from the display control circuit by switching and selecting the display control circuit side during the display period A switching circuit for switching and selecting the coordinate detection control circuit side in the coordinate detection period and outputting a scanning control signal from the coordinate detection control circuit, and (g) a common drive circuit, In response to the AC signal, a common electrode drive signal for sequentially selecting the common electrodes is generated based on the display control signal from the switching circuit. This common electrode drive signal is generated when the AC signal is unipolar. When a first voltage VH higher than the reference voltage VM is applied to the selected common electrode, a reference voltage VM is applied to the non-selected common electrode, and the alternating signal is the other polarity, the reference voltage VM is applied to the selected common electrode. A lower second voltage VL, a reference voltage VM is applied to the non-selected common electrode, and the absolute values of the first and second voltages VH and VL are less than a threshold value for activating the dielectric, In the coordinate detection period, the common electrode is maintained at the reference voltage VM and the Y coordinate detection period in the coordinate detection period based on the scanning control signal from the switching circuit. The common electrode scanning signal for sequentially scanning the common electrode without displaying an image on the pixel matrix is generated, and the common electrode scanning signal applies the first or second voltage VH, VL to the selected common electrode, A common driving circuit that applies a reference voltage VM to the selected common electrode and applies the reference voltage VM to the common electrode during the electronic pen presence detection period; and (h) a segment driving circuit that responds to an AC signal during the display period. And cut Based on the display control signal and display data from the switching circuit, a segment electrode drive signal for displaying the pixel related to the common electrode selected by the common electrode drive signal is generated. When the polarity is the one polarity, a third voltage VA lower than the reference voltage VM of the common electrode drive signal is applied to the selected segment electrode, and a fourth voltage VB higher than the reference voltage VM is applied to the non-selected segment electrode, thereby alternating current When the signal is the other polarity, the fourth voltage VB is applied to the selected segment electrode, the third voltage VA is applied to the non-selected segment electrode, and the third and fourth voltages VA, VB are less than the threshold value. And | VH−VA | and | VL−VB | are selected so as to be equal to or greater than the threshold value, and during the coordinate detection period, scanning control from the switching circuit is performed. Based on the signal, a segment electrode scanning signal for sequentially scanning the segment electrodes without displaying an image on the pixel matrix is generated in the X coordinate detection period. One of the fourth voltages VA and VB is applied, the other one of the third and fourth voltages VA and VB is applied to the non-selected segment electrode, and the segment electrode is connected to the third or third during the Y coordinate detection period. The voltage of the other one of the fourth electrodes VA and VB is maintained, and an electronic pen presence / absence detection signal is generated during the electronic pen presence / absence detection period. The electronic pen presence / absence detection signal is applied to the segment electrode by the third voltage VA and the fourth voltage. A segment drive circuit which is a pulse having a peak value between the voltage VB and (i) an electronic pen corresponding to an electronic pen presence / absence detection signal in the electronic pen presence / absence detection period An electronic pen presence / absence detecting means for detecting whether the tip of the electronic pen is approaching or moving away from the surface of the display panel in response to the induced voltage applied from the electronic pen, and (j) responding to the output of the electronic pen presence / absence detecting means. When it is detected that the tip of the electronic pen is approaching the surface of the display panel, the electronic is based on each scanning signal of the coordinate detection period input to the common electrode or the segment electrode from the common drive circuit and the segment drive circuit. Coordinate detection in which an induced voltage induced on the electrode of the pen is given, and the coordinates of the tip of the electronic pen are detected based on the induced voltage from the electronic pen in the coordinate detection period, and an X coordinate signal and a Y coordinate signal are output. A display-integrated tablet device comprising a circuit.
(5)(a)複数のセグメント電極および複数のコモン電極を有し、これらのセグメント電極とコモン電極との間に誘電体が介在される表示パネルと、(b)表示パネルのセグメント電極およびコモン電極と浮遊容量で結合される電子ペンと、(c)表示パネルの複数のセグメント電極と複数のコモン電極との交差領域によって構成された画素マトリクスに画像を表示するための表示制御信号および表示データを出力する表示制御回路と、(d)表示パネルのセグメント電極およびコモン電極を走査するための走査制御信号を出力する座標検出制御回路と、(e)表示期間と座標検出期間と電子ペン有無検出期間とを順次的に繰返して設定し、座標検出期間は、X座標検出期間とY座標検出期間とを含み、さらに極性が周期的に反転する交流化信号を発生する制御手段と、(f)表示期間には表示制御回路側を切換え選択して表示制御回路からの表示制御信号および表示データを出力し、座標検出期間には座標検出制御回路側を切換え選択して座標検出制御回路からの走査制御信号を出力する切換え回路と、(g)コモン駆動回路であって、表示期間には、交流化信号に応答し、切換え回路からの表示制御信号に基づいて上記コモン電極を順次選択するためのコモン電極駆動信号を生成し、このコモン電極駆動信号は、交流化信号が一方極性であるとき、選択コモン電極に基準電圧VMよりも高い第1電圧VHを与え、非選択コモン電極に基準電圧VMを与え、交流化信号が他方極性であるとき、選択コモン電極に基準電圧VMよりも低い第2電圧VLを与え、非選択コモン電極に基準電圧VMを与え、第1および第2電圧VH,VLの絶対値は、誘電体の活性化のためのしきい値未満であって、かつそのしきい値に近い値に選ばれ、座標検出期間には、切換え回路からの走査制御信号に基づいて、X座標検出期間に、コモン電極を基準電圧VMに保ち、Y座標検出期間に、画素マトリクスに画像を表示することなくコモン電極を順次走査するためのコモン電極走査信号を生成し、このコモン電極走査信号は、選択コモン電極に第1または第2電圧VH,VLを与え、非選択コモン電極に基準電圧VMを与え、電子ペン有無検出期間には、電子ペン有無検出信号を生成し、この電子ペン有無検出信号は、コモン電極に基準電圧VMと第1または第2電圧VH,VLのいずれか一方との間の波高値を有するパルスであるコモン駆動回路と、(h)セグメント駆動回路であって、表示期間には、交流化信号に応答し、切換え回路からの表示制御信号および表示データに基づいてコモン電極駆動信号によって選択されたコモン電極に係る画素を表示するためのセグメント電極駆動信号を生成し、このセグメント電極駆動信号は、交流化信号が前記一方極性であるとき、選択セグメント電極にコモン電極駆動信号の前記基準電圧VMよりも低い第3電圧VAを与え、非選択セグメント電極に基準電圧VMよりも高い第4電圧VBを与え、交流化信号が前記他方極性であるとき、選択セグメント電極に第4電圧VBを与え、非選択セグメント電極に第3電圧VAを与え、第3および第4電圧VA,VBは、前記しきい値未満であって、かつ|VH−VA|および|VL−VB|は、前記しきい値以上になるように選ばれ、座標検出期間には、切換え回路からの走査制御信号に基づいてX座標検出期間に、画素マトリクスに画像を表示することなく上記セグメント電極を順次走査するためのセグメント電極走査信号を生成し、このセグメント電極走査信号は、選択セグメント電極に第3または第4電圧VA,VBのいずれか一方の電圧を与え、非選択セグメント電極に第3または第4電圧VA,VBのいずれか他方の電圧を与え、電子ペン有無検出期間に、セグメント電極に第3または第4電圧VA,VBのうち、基準電圧VMに関して、コモン電極に与えられる第1または第2電圧VH,VLの前記いずれか一方と同一側の電圧VAまたはVBを与えるセグメント駆動回路と、(i)電子ペン有無検出期間の電子ペン有無検出信号に対応して電子ペンから与えられる誘導電圧に応答して、電子ペンの先端が表示パネルの表面に接近しているか離れているかを検出する電子ペン有無検出手段と、(j)電子ペン有無検出手段の出力に応答し、電子ペンの先端が表示パネルの表面に接近していることが検出されたとき、コモン駆動回路およびセグメント駆動回路からコモン電極あるいはセグメント電極に入力された座標検出期間の各走査信号に基づいて電子ペンの電極に誘起された誘導電圧が与えられて、座標検出期間において、電子ペンからの誘導電圧に基づいて電子ペン先端の座標を検出して、X座標信号およびY座標信号を出力する座標検出回路とを含むことを特徴とする表示一体形タブレット装置。 (5) (a) a display panel having a plurality of segment electrodes and a plurality of common electrodes, and a dielectric interposed between these segment electrodes and the common electrode, and (b) a segment electrode and a common of the display panel A display control signal and display data for displaying an image on a pixel matrix formed by an electronic pen coupled with an electrode and a stray capacitance; and (c) a plurality of segment electrodes and a plurality of common electrodes of the display panel. A display control circuit that outputs (d) a coordinate detection control circuit that outputs a scanning control signal for scanning the segment electrode and the common electrode of the display panel, and (e) a display period, a coordinate detection period, and an electronic pen presence detection The coordinate detection period includes an X coordinate detection period and a Y coordinate detection period, and the polarity is periodically reversed. A control means for generating a signal; and (f) switching and selecting the display control circuit side during the display period to output a display control signal and display data from the display control circuit, and the coordinate detection control circuit side during the coordinate detection period. A switching circuit that selects and outputs a scanning control signal from the coordinate detection control circuit; and (g) a common drive circuit, which responds to an alternating signal during the display period and generates a display control signal from the switching circuit. A common electrode drive signal for sequentially selecting the common electrodes based on the first voltage VH that is higher than the reference voltage VM at the selected common electrode when the alternating signal is one polarity. When the AC signal is of the other polarity, the second voltage VL lower than the reference voltage VM is applied to the selected common electrode, and the unselected common electrode is applied to the unselected common electrode. A quasi-voltage VM is applied, and the absolute values of the first and second voltages VH and VL are selected to be less than and close to the threshold value for activating the dielectric, and coordinate detection is performed. During the period, based on the scanning control signal from the switching circuit, the common electrode is kept at the reference voltage VM during the X coordinate detection period, and the common electrode is sequentially scanned without displaying an image in the pixel matrix during the Y coordinate detection period. The common electrode scanning signal is generated, the first or second voltage VH, VL is applied to the selected common electrode, the reference voltage VM is applied to the non-selected common electrode, and the electronic pen presence / absence detection period Generates an electronic pen presence / absence detection signal, and the electronic pen presence / absence detection signal is a pulse having a peak value between the reference voltage VM and the first or second voltage VH or VL at the common electrode. A common A drive circuit; and (h) a segment drive circuit, which responds to an alternating signal during a display period and applies to a common electrode selected by a common electrode drive signal based on a display control signal and display data from a switching circuit. A segment electrode driving signal for displaying the pixel is generated, and the segment electrode driving signal is applied to a selected segment electrode lower than the reference voltage VM of the common electrode driving signal when the alternating signal is the one polarity. 3 voltage VA is applied, a fourth voltage VB higher than the reference voltage VM is applied to the non-selected segment electrode, and when the alternating signal is the other polarity, the fourth voltage VB is applied to the selected segment electrode, and the non-selected segment electrode Is supplied with a third voltage VA, and the third and fourth voltages VA and VB are less than the threshold value, and | VH−VA | and | VL−VB Is selected to be equal to or greater than the threshold value, and in the coordinate detection period, the segment electrodes are sequentially displayed without displaying an image on the pixel matrix in the X coordinate detection period based on a scanning control signal from the switching circuit. A segment electrode scanning signal for scanning is generated. The segment electrode scanning signal applies a third or fourth voltage VA or VB to the selected segment electrode, and the third or fourth voltage to the non-selected segment electrode. One of the four voltages VA and VB is applied, and the first or second voltage applied to the common electrode with respect to the reference voltage VM among the third or fourth voltages VA and VB is applied to the segment electrode during the electronic pen presence / absence detection period. A segment drive circuit for applying a voltage VA or VB on the same side as one of the two voltages VH and VL, and (i) an electronic pen in the electronic pen presence / absence detection period. Electronic pen presence / absence detecting means for detecting whether the tip of the electronic pen is approaching or moving away from the surface of the display panel in response to the induced voltage applied from the electronic pen in response to the presence / absence detection signal; In response to the output of the pen presence / absence detection means, when it is detected that the tip of the electronic pen is approaching the surface of the display panel, the coordinates detected from the common drive circuit and segment drive circuit to the common electrode or segment electrode are detected. An induced voltage induced on the electrode of the electronic pen is given based on each scanning signal in the period, and the coordinate of the tip of the electronic pen is detected on the basis of the induced voltage from the electronic pen in the coordinate detection period. And a coordinate detection circuit for outputting a Y coordinate signal.
(6)交流化信号は、1フレーム期間中に複数回反転されることを特徴とする表示一体形タブレット装置。 (6) The display-integrated tablet device, wherein the alternating signal is inverted a plurality of times during one frame period.
電子ペンを用いて座標入力を行う際に、X座標信号を得るために、セグメント駆動回路で用いた第3および第4電圧VA,VBをセグメント電極走査信号として用い、Y座標信号を得るために、コモン駆動回路で表示のために用いる第1または第2電圧VH,VLと基準電圧VMとを用いるので、用いられる電圧の種類を減少し、構成を簡略化することができる。 In order to obtain an X coordinate signal when performing coordinate input using an electronic pen, the third and fourth voltages VA and VB used in the segment drive circuit are used as segment electrode scanning signals to obtain a Y coordinate signal. Since the first or second voltage VH, VL and the reference voltage VM used for display in the common drive circuit are used, the types of voltages used can be reduced and the configuration can be simplified.
座標検出期間においてセグメント駆動回路から与えられるセグメント電極走査信号である第3および第4電圧VA,VBの値は比較的小さい値であるけれども、このセグメント電極は、表示パネルにおいてコモン電極よりも上方に配置され、したがって座標入力時には、電子ペンとセグメント電極との距離がごくわずかとなるので、静電誘導結合が確実になり、電子ペンに静電誘導信号を正確に得ることができる。 Although the values of the third and fourth voltages VA and VB, which are the segment electrode scanning signals supplied from the segment drive circuit in the coordinate detection period, are relatively small values, the segment electrodes are located above the common electrode in the display panel. Therefore, when the coordinates are input, the distance between the electronic pen and the segment electrode becomes very small, so that the electrostatic induction coupling is ensured, and the electrostatic induction signal can be accurately obtained in the electronic pen.
コモン電極は、座標入力時に、電子ペンからセグメント電極よりも遠去った位置にあるけれども、このコモン電極には、比較的高い電圧を有する第1または第2電圧VH,VLが与えられるので、このコモン電極と電子ペンとの静電誘導結合は確実である。 Although the common electrode is at a position farther from the electronic pen than the segment electrode at the time of coordinate input, the first or second voltage VH or VL having a relatively high voltage is applied to the common electrode. The electrostatic induction coupling between the common electrode and the electronic pen is reliable.
電子ペン有無検出期間に生成される電子ペン有無検出信号は、セグメント駆動回路において得られる第3電圧VAと第4電圧VBとの間の波高値を有するパルスであって、セグメント電極に与えるようにしてもよいけれども、本発明の他の考え方に従えば、この電子ペン有無検出信号は、コモン駆動回路から得られる基準電圧VMと第1電圧VHとの間の波高値を有するパルス、または基準電圧VMと第2電圧VLとの間の波高値を有するパルスを用い、コモン電極に与えるようにしてもよい。電子ペン有無検出信号は、全てのセグメント電極またはコモン電極に同時に一斉に与えるようにしてもよいけれども、全てのセグメント電極を複数のセグメント電極毎にグループ化し、各グループ毎に電子ペン有無検出信号を順次的に与えて走査するようにしてもよく、このことはコモン電極に関しても同様である。 The electronic pen presence / absence detection signal generated during the electronic pen presence / absence detection period is a pulse having a peak value between the third voltage VA and the fourth voltage VB obtained in the segment drive circuit, and is applied to the segment electrode. However, according to another concept of the present invention, the electronic pen presence / absence detection signal is a pulse having a peak value between the reference voltage VM and the first voltage VH obtained from the common drive circuit, or a reference voltage. A pulse having a peak value between VM and the second voltage VL may be used and applied to the common electrode. Although the electronic pen presence / absence detection signal may be simultaneously applied to all the segment electrodes or the common electrode, all the segment electrodes are grouped into a plurality of segment electrodes, and the electronic pen presence / absence detection signal is assigned to each group. Sequential feeding may be performed, and this is the same for the common electrode.
表示期間と座標検出期間とにおいて、コモン駆動回路およびセグメント駆動回路からは、同一種類の第1〜第4電圧VH,VL,VA,VBおよび基準電圧VMが用いられるので、その用いられる電圧の種類の数を減少し、構成の簡略化を図ることができる。 In the display period and the coordinate detection period, the same type of first to fourth voltages VH, VL, VA, VB and the reference voltage VM are used from the common drive circuit and the segment drive circuit. The number can be reduced, and the configuration can be simplified.
セグメント駆動回路から得られるセグメント電極走査信号として用いられる第3および第4電圧VA,VBは、比較的小さい値であるけれども、表示パネルには、その低い第3および第4電圧VA,VBが与えられるセグメント電極が、コモン電極よりも上方に配置されているので、セグメント電極と電子ペンとの距離をできるだけ短くし、両者の静電誘導結合を確実にすることができ、座標入力を確実に行うことができるようになる。コモン電極には、座標検出期間において比較的高い第1および第2電圧VH,VLが与えられるので、電子ペンからセグメント電極よりも遠去った位置にコモン電極が配置されていても、コモン電極と電子ペンとの静電誘導結合は確実である。 Although the third and fourth voltages VA and VB used as segment electrode scanning signals obtained from the segment drive circuit are relatively small values, the low third and fourth voltages VA and VB are given to the display panel. Since the segment electrode is arranged above the common electrode, the distance between the segment electrode and the electronic pen can be made as short as possible to ensure electrostatic induction coupling between them, and coordinate input can be performed reliably. Will be able to. Since the relatively high first and second voltages VH and VL are applied to the common electrode during the coordinate detection period, even if the common electrode is disposed at a position farther from the segment electrode than the electronic pen, The electrostatic induction coupling with the electronic pen is reliable.
  31  表示一体形タブレット装置
  32  表示パネル
  33  セグメント駆動回路
  34  コモン駆動回路
  35  表示制御回路
  36  座標検出制御回路
  37  制御回路
  38  電子ペン
  39  オペアンプ
  40  X座標検出回路
  41  Y座標検出回路
  42  直流電源回路
  43  表示信号供給回路
  44  切換え回路
  S1,S2,…,Sm  セグメント電極
  C1,C2,…,Cn  コモン電極DESCRIPTION OF
| Application Number | Priority Date | Filing Date | Title | 
|---|---|---|---|
| JP2003300549AJP3808063B2 (en) | 2003-08-25 | 2003-08-25 | Integrated display tablet device | 
| Application Number | Priority Date | Filing Date | Title | 
|---|---|---|---|
| JP2003300549AJP3808063B2 (en) | 2003-08-25 | 2003-08-25 | Integrated display tablet device | 
| Application Number | Title | Priority Date | Filing Date | 
|---|---|---|---|
| JP16195896ADivisionJP3482072B2 (en) | 1996-06-21 | 1996-06-21 | Display integrated tablet device | 
| Publication Number | Publication Date | 
|---|---|
| JP2004078971A JP2004078971A (en) | 2004-03-11 | 
| JP3808063B2true JP3808063B2 (en) | 2006-08-09 | 
| Application Number | Title | Priority Date | Filing Date | 
|---|---|---|---|
| JP2003300549AExpired - Fee RelatedJP3808063B2 (en) | 2003-08-25 | 2003-08-25 | Integrated display tablet device | 
| Country | Link | 
|---|---|
| JP (1) | JP3808063B2 (en) | 
| Publication number | Priority date | Publication date | Assignee | Title | 
|---|---|---|---|---|
| CN100437735C (en)* | 2005-12-01 | 2008-11-26 | 矽创电子股份有限公司 | LCD driver | 
| US7995041B2 (en)* | 2009-02-02 | 2011-08-09 | Apple Inc. | Integrated touch screen | 
| JP5457987B2 (en)* | 2010-09-27 | 2014-04-02 | 株式会社ジャパンディスプレイ | Touch detection device, display device with touch detection function, touch position detection method, and electronic device | 
| US10042504B2 (en) | 2013-08-13 | 2018-08-07 | Samsung Electronics Company, Ltd. | Interaction sensing | 
| CN103810981B (en)* | 2014-01-26 | 2016-01-06 | 京东方科技集团股份有限公司 | Array base palte and display panel | 
| JP2020052157A (en)* | 2018-09-26 | 2020-04-02 | セイコーエプソン株式会社 | Display driver, electronic equipment and moving object | 
| Publication number | Publication date | 
|---|---|
| JP2004078971A (en) | 2004-03-11 | 
| Publication | Publication Date | Title | 
|---|---|---|
| US12067179B2 (en) | Display device with a touch detecting function | |
| US11822756B2 (en) | Display device with touch sensor function | |
| JP4433035B2 (en) | Display device and electronic device | |
| CN107797711B (en) | Touch display device and operation method thereof | |
| KR101441957B1 (en) | In-cell touch type liquid crystal display device and method for driving thereof | |
| KR100224119B1 (en) | Drive for flat display | |
| US9965071B2 (en) | Display device and driving method thereof | |
| US10665186B2 (en) | Display apparatus | |
| US12373050B2 (en) | Touch display device, display panel, and gate driving circuit | |
| JP3808063B2 (en) | Integrated display tablet device | |
| US11562707B2 (en) | Liquid crystal display device configured for speeding up gate drive of pixel transistors | |
| JP3482072B2 (en) | Display integrated tablet device | |
| KR102783445B1 (en) | Gate driver ic and touch display device including the same, method of driving gate driver ic | |
| KR102381628B1 (en) | Display apparatus | |
| US10345971B2 (en) | Display device | |
| JP4215109B2 (en) | Electro-optical device, drive circuit, and electronic device | |
| KR20160043176A (en) | Display Device | |
| JPH0528385B2 (en) | ||
| JP2009020237A (en) | Electro-optical device, drive circuit and electronic device | 
| Date | Code | Title | Description | 
|---|---|---|---|
| A131 | Notification of reasons for refusal | Free format text:JAPANESE INTERMEDIATE CODE: A131 Effective date:20060328 | |
| A521 | Request for written amendment filed | Free format text:JAPANESE INTERMEDIATE CODE: A523 Effective date:20060412 | |
| TRDD | Decision of grant or rejection written | ||
| A01 | Written decision to grant a patent or to grant a registration (utility model) | Free format text:JAPANESE INTERMEDIATE CODE: A01 Effective date:20060509 | |
| A61 | First payment of annual fees (during grant procedure) | Free format text:JAPANESE INTERMEDIATE CODE: A61 Effective date:20060516 | |
| R150 | Certificate of patent or registration of utility model | Free format text:JAPANESE INTERMEDIATE CODE: R150 | |
| LAPS | Cancellation because of no payment of annual fees |