

【0001】
【発明の属する技術分野】
本発明は、充放電サイクル耐久性及び高電圧印加時の耐久性に優れ、かつ大きなエネルギー密度を有する電気二重層キャパシターに関する。
【0002】
【従来の技術】
大電流で充放電できる電気二重層キャパシターは、電気自動車、補助電源等の用途に有望である。そのために、エネルギー密度が高く、急速充放電が可能であり、高電圧印加時の耐久性及び充放電サイクル耐久性に優れた電気二重層キャパシターの実現が望まれている。
【0003】
キャパシターのセルに蓄積されるエネルギーは、1/2・C・V2で算出され、Cはセル当たりの容量(F)、Vはセルに印加可能な電圧(V)である。印加可能電圧Vは、その値の二乗がエネルギーに反映されるため、エネルギー密度の向上にはキャパシターに印加する電圧を上げることが効果的であるが、大きな電圧では電解液の分解が起こる。
【0004】
そのため、従来の電気二重層キャパシターでは使用する電解液の溶媒と溶質の種類にもよるが、単位セルあたりの耐電圧は、非水系電解液の電気二重層キャパシターの場合、約2.4Vであり(特開平7−145001号公報)、2.5V以上の高電圧で使用すると、内部直列抵抗の増加あるいは静電容量の減少が短時間で発生するという問題があった。
【0005】
そこで、正負側の電極、セパレータ、電解液、容器等を詳細に検討し、2.5V〜2.8Vの電圧を印可することが試みられている。例えば、フェノール樹脂、石油コークスなどをKOH賦活して得られる活性炭を用いた電極を不活性雰囲気中で熱処理して耐久性を向上させる方法や、原料を選定した結果、フェノール樹脂、フラン樹脂、ポリアクリロニトリル樹脂等の焼成品を用いることにより耐久性が向上したこと(特開平8−162375号公報)、キャパシターの集電体に多孔質アルミニウムを用いて耐久性向上を図る手法(特開平8−339941号公報)等が知られている。
【0006】
【発明が解決しようとする課題】
しかしながらこれらの例は、いずれも程度の差こそあれ満足すべきものではなかった。例えば、前述のフェノール樹脂、石油コークスなどをKOH賦活して得られる活性炭を用いた電極を不活性雰囲気中で熱処理する方法では、同時に初期静電容量も小さくなるという問題があった。また、特開平8−162375号公報、特開平8−339941号公報の方法では、根本的には耐久性を改善することはできていないと言ってよい。上記の理由により単位セルあたりの印加電圧は3V以上にすることは事実上不可能であり、エネルギー密度に対する大きな障壁となっていた。
【0007】
印加電圧を3V以上とする手法としては、特開平8−107048号公報に、リチウム箔を接触させてリチウムを吸蔵させた黒鉛を負極に、活性炭を正極に、リチウムイオンを溶質に含んだ電解液を用いたキャパシターがあるが、この負極は非分極性電極であり、また電極−電解液間で酸化還元反応を伴うため、耐久性に問題がある。また、負極にリチウムを含有するため、未充電の状態で既に正極(分極性電極)は約3Vであり、記載の実施例のように4.3Vまで電圧を印加した場合の充電による電位変化は1.3V程度となる。従って、キャパシターとして使用した場合のエネルギー密度は通常のキャパシターより小さくなる。
こういったことから、正極の充電電位が電解液の分解電圧以下で、しかも充放電による電位差が大きく、例えば3V以上であるような高エネルギー密度の電気二重層キャパシターが求められていた。
【0008】
【課題を解決するための手段】
そこで、本発明者らは、上記の課題を解決すべく鋭意検討した結果、従来考えられていた電解液を分解しにくいものにしたり、電極の不純物を低減させたりする方法とは全く異なる抜本的な解決方法として、電極の自然電位を任意に調節することにより電解液の酸化又は還元による分解の生じる範囲をギリギリ一杯に使用することができるようになり、その結果、キャパシターの容量は変化していないが、そのエネルギー密度を増やすことができることを見出し本発明に到達した。このような考え方は、酸化還元反応を行うことのないキャパシターでは行われたことが無かった。
【0009】
本発明の目的は、充放電可能な電圧をかつてなく大幅に増加させることが可能な、高エネルギー密度を有する電気二重層キャパシターを提供することにあり、さらには充放電サイクル耐久性、及び高電圧印加時の耐久性に優れた電気二重層キャパシターを提供することにある。
【0011】
即ち、本発明の要旨は非水溶媒電解液と両極に分極性電極を用いた電気二重層キャパシターにおいて、該分極性電極体が、電気化学的手法によりリチウムを添加した活性炭からなり、かつ、リチウムを添加する前の自然電位をE1〔V〕、リチウムを添加した後の自然電位をE2〔V〕、電解液の酸化側もしくは高電位側の実質的な分解開始電圧をa〔V〕、電解液の還元側もしくは低電位側の実質的な分解開始電圧をb〔V〕とするとき、
  E1>(a+b)/2
  a+b−E1<E2<E1
の式を満たすことを特徴とする電気二重層キャパシターに存する。
【0012】
【発明の実施の形態】
以下、本発明を詳細に説明する。
本発明の最大の特徴は、分極性電極体を用いた非水系電解液系電気二重層キャパシターにおいて、該非水系電解液中に電極を浸したときに生じる自然電位を調節した分極性電極体を正極に、より好ましくは正極及び負極に用いることにより、充放電可能な電圧をかつてなく大幅に増加させることが可能となり、高エネルギー密度を有する電気二重層キャパシターを提供できる点にある。また、充電時の電位が電解液の分解電圧を超えることが無いので、充放電サイクル耐久性及び高電圧印加時の耐久性も大幅に改善される。
【0013】
まず、最初に原理を説明する。
本発明者らの検討によれば、現行の電気二重層キャパシターの耐久性が向上せず、充電可能な電圧が2.8Vと制限があるのは、電気二重層キャパシターの正極、負極の電位変化と電解液の分解電圧との関係にある。
電解液の分解電圧は、電解液の溶媒、溶質等によりそれぞれ異なるが、分解しにくいものの代表として、例えば、4級アルキルアンモニウム塩のプロピレンカーボネート溶液の場合、実質的に炭素質物質からなる電極を用いた場合の酸化側の分解開始電圧は4.4V(対Li/Li+)付近であると言われている。一方、通常の炭素質電極の自然電位は3V付近(対Li/Li+)であるため、充電後の分極による正負極間の電位差が2.8V以上とした場合の酸化側の電位は4.4V(対Li/Li+)以上となり、電解液の電気化学的分解が起こると考えられる。その結果、従来の炭素質電極を用いた場合は、その電極液の分解により発生するガス等により容量は低下するため、長時間使用した場合に耐久性に問題があった。つまり原理的には、電気二重層キャパシターに印加できる電圧は、最大でも2.8V程度となり、これ以上の電圧印加は不可能であるためにエネルギー密度の向上には限界があった。
【0014】
そこで本発明者等は、分極性電極体として、充電時の電位が、高電位側(酸化側)で電解液の実質的な分解開始電圧が生じる電位までとなるような自然電位を持つ電極を用いることにより、充放電時の電位差を大きくすることが可能となり、従来にない、耐久性に優れ、しかも印加可能な電圧を大きくしたエネルギー密度の著しく高い電気二重層キャパシターを実現できることを見出した。
【0015】
理論的には、分極性電極体として、その自然電位が非水溶媒電解液の酸化側もしくは高電位側の実質的な分解開始電圧と、該電解液の還元側もしくは低電位側の実質的な分解開始電圧との中心により近いものを用いることにより、同じ電解液を使用した場合の中でも充放電時の電位差を最大にすることが可能となり、しかも耐久性のある電気二重層キャパシターを得ることができると考えられる。しかし実際には、充電時の電位が高電位側(酸化側)の分解開始電圧以上となる時の方が、例えば電解液などの分解によりガスが発生するといった電気二重層キャパシターの性能もしくは耐久性を損なう現象が生じやすく、これに対し、電位が低電位側(還元側)の分解開始電圧以下となる時には、電極の周りに不動態が形成されることにより分解が抑えられる傾向がある。そこで、分極性電極体の自然電位は非水溶媒電解液の酸化側もしくは高電位側の実質的な分解開始電圧と、該電解液の還元側もしくは低電位側の実質的な分解開始電圧との中心付近、またはそれ以下であることが好ましい。具体的には、分極性電極体の自然電位をE[V]、電解液の酸化側もしくは高電位側の実質的な分解開始電圧をa[V]、電解液の還元側もしくは低電位側の実質的な分解開始電圧をb[V]とするとき、
(a+b)/2−1.0≦E≦(a+b)/2+0.2
であることが好ましい。
【0016】
本発明の分極性電極体としては、自然電位が上記の条件を満たすものであればよく、通常炭素質物質や無機物から選ばれる少なくとも1つ以上の物質より構成されたものが用いられる。また、分極性電極として用いる物質の自然電位が上記の条件を外れている場合には、分極性電極に金属及び無機物から選ばれる少なくとも1つの物質を添加することにより、その自然電位を調節してもよい。
【0017】
このように物質を添加することにより分極性電極の自然電位を調節する場合には、分極性電極体として、金属及び無機物から選ばれる少なくとも1種以上の物質を添加したものを使用し、かつ、添加する前の分極性電極体の自然電位をE1[V]、添加後の自然電位をE2[V]、該電解液の酸化側もしくは高電位側の実質的な分解開始電圧をa[V]及び該電解液の還元側もしくは低電位側の実質的な分解開始電圧をb[V]とするとき、
▲1▼E1>(a+b)/2の場合、E2が  a+b−E1<E2<E1
▲2▼E1<(a+b)/2の場合、E2が  a+b−E1>E2>E1
の条件式を満たすように行う。
【0018】
電解液の分解開始電圧はサイクリックボルタンメトリーのような通常の電気化学的手法により測定される。本発明においては酸化還元電流が極めて小さい領域(例えば、サイクリックボルタンメトリー法で0.1mA/cm2以下の領域)を越える場合に電解液が実質的に分解を開始すると考え、この電圧を電解液の実質的な分解開始電圧とする。温度等の測定条件により一概には言えないが、後述する代表的な非水系電解液の場合、室温から70℃での実質的な分解開始電圧は、酸化側で4.2V〜4.5V(対Li/Li+)、還元側で0.1V〜0.2V(対Li/Li+)程度である。
【0019】
分極性電極体の自然電位の測定も、通常の電気化学的手法を用いて行われる。非水系での電位測定は、水溶液での標準水素電極のような電位基準は厳密には定義されていないが、実際には、銀−塩化銀電極、白金電極、リチウム電極等の電極を用いて一般に広く行われている。本発明においても同様な方法で測定可能である。例えば、非水系電解液の実質的な分解開始電圧が上述の通りとすると、分極性電極の自然電位は、1.5V以上2.8V未満(対Li/Li+)が好ましく、1.7V以上2.7V未満(対Li/Li+)が更に好ましい。具体的には、電解液として4級アルキルアンモニウム塩のプロピレンカーボネート溶液を用い、分極性電極体として自然電位を2.3V付近に調節した炭素質電極を用いた電気二重層キャパシターの場合、約4Vの大きな電圧を印加しても電解液の酸化側の分解開始電圧以下となり、高い電圧でも電解液の分解が起こらず、充放電サイクル耐久性、及び高電圧印加時の耐久性も大幅に改善される。また、印加可能な電圧が従来の2.8Vから約4Vに増加したことにより、電気二重層キャパシターの使用可能な最大エネルギー密度は、従来の約2〜6倍と大幅に増加する。従って、電気自動車等の電源に使用される高エネルギー密度かつ耐久性が要求される電気二重層キャパシターとして、その実用的価値は顕著である。
【0020】
金属、無機物から選ばれる少なくとも1つの以上の物質を添加する前の分極性電極については、実質的に炭素質物質及び無機物から選ばれる少なくとも1つ以上の物質より構成されたものが好ましい。炭素物質としては、活性炭、活性炭植物系の木材、のこくず、ヤシ殻、パルプ廃液、化石燃料系の石炭、石油重質油、あるいはそれらを熱分解した石炭および石油系のタール及びピッチ、石油コークス、石炭コークス、タールピッチを紡糸した繊維、炭素繊維、天然黒鉛、人造黒鉛、無煙炭、流動性コークスメソカーボンマイクロビーズ、カーボンブラック、微小黒鉛繊維、カーボンアエロゲル、合成高分子、フェノール樹脂、フラン樹脂、ポリ塩化ビニル樹脂、ポリ塩化ビニリデン樹脂、ポリイミド樹脂、ポリアミド樹脂、ポリアクリロニトリル、液晶高分子、プラスチック廃棄物、廃タイヤ、フラーレン、カーボンナノチューブ等を用いることができる。無機物としては、ルテニウム酸化物、白金酸化物、オスミウム酸化物、イリジウム酸化物、スズ酸化物、マンガン酸化物、チタン酸化物、バナジウム酸化物、クロム酸化物、ストロンチウム酸化物、タングステン酸化物、コバルト酸化物、ニッケル酸化物、亜鉛酸化物、カドミウム酸化物、銅酸化物、鉄酸化物、ニオブ酸化物、モリブデン酸化物、レニウム酸化物、ロジウム酸化物、リチウム酸化物、希土類酸化物、ルテニウム複合酸化物、白金複合酸化物、オスミウム複合酸化物、イリジウム複合酸化物、スズ複合酸化物、マンガン複合酸化物、チタン複合酸化物、バナジウム複合酸化物、クロム複合酸化物、ストロンチウム複合酸化物、タングステン複合酸化物、コバルト複合酸化物、ニッケル複合酸化物、亜鉛複合酸化物、カドミウム複合酸化物、銅複合酸化物、鉄複合酸化物、ニオブ複合酸化物、モリブデン複合酸化物、レニウム複合酸化物、ロジウム複合酸化物、リチウム複合酸化物、希土類複合酸化物、から選ばれた少なくとも1つ以上の金属酸化物または金属複合酸化物からなる半導体酸化物あるいは導電性酸化物を用いることができる。これらの中でも、特に、該炭素質物質には電気化学的及び化学的に比較的安定でかつ電気二重層容量を発現するための固−液界面の多い活性炭を用いることがより好ましい。
【0021】
分極性電極体の自然電位が添加により変化すれば、添加する物質は特に問わない。添加する物質としては、金属、無機物から選ばれる少なくとも1つ以上を用いればよい。無機物については、ルテニウム酸化物、白金酸化物、オスミウム酸化物、イリジウム酸化物、スズ酸化物、マンガン酸化物、チタン酸化物、バナジウム酸化物、クロム酸化物、ストロンチウム酸化物、タングステン酸化物、コバルト酸化物、ニッケル酸化物、亜鉛酸化物、カドミウム酸化物、銅酸化物、鉄酸化物、ニオブ酸化物、モリブデン酸化物、レニウム酸化物、ロジウム酸化物、リチウム酸化物、希土類酸化物、ルテニウム複合酸化物、白金複合酸化物、オスミウム複合酸化物、イリジウム複合酸化物、スズ複合酸化物、マンガン複合酸化物、チタン複合酸化物、バナジウム複合酸化物、クロム複合酸化物、ストロンチウム複合酸化物、タングステン複合酸化物、コバルト複合酸化物、ニッケル複合酸化物、亜鉛複合酸化物、カドミウム複合酸化物、銅複合酸化物、鉄複合酸化物、ニオブ複合酸化物、モリブデン複合酸化物、レニウム複合酸化物、ロジウム複合酸化物、リチウム複合酸化物、希土類複合酸化物、から選ばれた少なくとも1つ以上の金属酸化物または複合酸化物からなる半導体酸化物あるいは導電性酸化物を用いることも可能であるが、金属を用いるのが簡便でより効果的である。金属及び無機物の状態については、イオン化していてもそうでなくても、電極体の自然電位が変化すれば特に問わない。自然電位を下げる場合には卑な金属を、自然電位を上げる場合には貴な金属を添加すればよい。例えば、現行の電解液では自然電位を下げるほうが効果的であり、この場合の添加物としては、リチウム、ナトリウム、カリウム、ルビジウム、セシウム等のアルカリ金属、カルシウム、マグネシウム等のアルカリ土類金属、イットリウム、ネオジウム等の希土類金属またはこれらの金属を含む物質等を用いることができ、中でもアルカリ金属元素を含む物質が好ましく、特に非常に卑な電位を示すリチウム元素を含む物質がより好ましい。
【0022】
  分極性電極が実質的に炭素質物質である場合、自然電位を下げる場合には、炭素中へ吸蔵されやすいリチウム、カリウム等の卑な電位をもつ金属が好適に用いられる。これらの金属を、特に限定するものではないが、電気化学的手法、化学的手法、物理的手法等により電極体に添加することが可能である。例えば、簡便な方法の一つとして、正極側に非常に卑な電位をもつ金属リチウムまたはリチウムを含む物質からなるリチウム含有金属、負極側に炭素電極、セパレータ及び非水系電解液で構成される電気化学セルを短絡させることにより炭素電極中にリチウムを添加することができる。
【0023】
また、炭素骨格中に、ホウ素、窒素、酸素等のヘテロ原子を導入したり、また、アミノ基、カルボキシル基、フェノール基、カルボニル基、スルホン基等の表面官能基を炭素中に導入することにより自然電位を調節することも考えられるが、上述のように金属を添加して自然電位を調節するほうがより効果的である。
【0024】
金属等を添加する前の炭素質物質の電極には、電気二重層キャパシターを大容量とするために比表面積の大きな活性炭を用いるのが好ましい。活性炭の比表面積は大きすぎると嵩密度が低下してエネルギー密度が低下するので、200〜3000m2/gが好ましく、さらに好ましくは300〜2300m2/gである。活性炭の原料としては、植物系の木材、のこくず、ヤシ殻、パルプ廃液、化石燃料系の石炭、石油重質油、あるいはそれらを熱分解した石炭および石油系ピッチ、タールピッチを紡糸した繊維、合成高分子、フェノール樹脂、フラン樹脂、ポリ塩化ビニル樹脂、ポリ塩化ビニリデン樹脂、ポリイミド樹脂、ポリアミド樹脂、液晶高分子、プラスチック廃棄物、廃タイヤ等多種多用である。これらの原料を炭化後、賦活するが、賦活法は、ガス賦活と薬品賦活に大別される。ガス賦活法は、薬品賦活が化学的な活性化であるのに対して、物理的な活性化ともいわれ、炭化された原料を高温で水蒸気、炭酸ガス、酸素、その他の酸化ガスなどと接触反応させて、活性炭が得られる。薬品賦活法は、原料に賦活薬品を均等に含浸させて、不活性ガス雰囲気中で加熱し、薬品の脱水および酸化反応により活性炭を得る方法である。使用される薬品としては、塩化亜鉛、りん酸、りん酸ナトリウム、塩化カルシウム、硫化カリウム、水酸化カリウム、水酸化ナトリウム、炭酸カリウム、炭酸ナトリウム、硫酸ナトリウム、硫酸カリウム、炭酸カルシウム等がある。活性炭の製法に関しては、上記に各種あげたが、特に問わない。活性炭の形状は、破砕、造粒、顆粒、繊維、フェルト、織物、シート状等各種の形状があるが、いずれも本発明に使用することができる。これらの活性炭のうち、KOHを用いた薬品賦活で得られる活性炭は、水蒸気賦活品と比べて容量が大きい傾向にあることから、特に好ましい。
【0025】
賦活処理後の活性炭を、窒素、アルゴン、ヘリウム、キセノン等の不活性雰囲気下で、500〜2500℃、好ましくは700〜1500℃で熱処理し、不要な表面官能基を除去したり、炭素の結晶性を発達させて電子伝導性を増加させても良い。さらに、アンモニア、水素、水蒸気、二酸化炭素、酸素及び空気を含むガス中で活性炭を加熱処理することにより炭素骨格中に水素、酸素、窒素等のヘテロ原子を導入したり、表面官能基を導入して、自然電位を制御してもよい。
【0026】
活性炭粉末の粒子径は、平均粒子径が3〜40μm程度が好ましい。平均粒径40μmを越えると、バインダーの配合量を少なくできるが活性炭粒子内への電解液の含浸性が低下する等の要因により、電気二重層キャパシターの内部抵抗が増加する。平均粒径が3μm未満では、充分な成型体強度を得るにはバインダーを約70重量%以上配合する必要があり、電気二重層キャパシターの容量が低下する。
粒状の活性炭の場合、電極の嵩密度の向上、内部抵抗の低減という点で、平均粒子径は30μm以下が好ましい。
【0027】
活性炭を主体とする分極性電極は、活性炭、導電剤とバインダーから構成される。分極性電極は、従来より知られている方法により成形することが可能である。例えば、活性炭とアセチレンブラックの混合物に、ポリテトラフルオロエチレンを添加・混合した後、プレス成形して得られる。また、導電剤、パインダーを用いず、活性炭のみを焼結して分極性電極とすることも可能である。電極は、薄い塗布膜、シート状または板状の成形体、さらには複合物からなる板状成形体のいずれであっても良い。
【0028】
分極性電極に用いられる導電剤として、アセチレンブラック、ケッチェンブラック等のカーボンブラック、天然黒鉛、熱膨張黒鉛、炭素繊維、酸化ルテニウム、酸化チタン、アルミニウム、ニッケル等の金属ファイバーからなる群より選ばれる少なくとも一種の導電剤が好ましい。少量で効果的に導電性が向上する点で、アセチレンブラック及びケッチェンブラックが特に好ましく、活性炭との配合量は、活性炭の嵩密度により異なるが多すぎると活性炭の割合が減り容量が減少するため、活性炭の重量の5〜50%、特には10〜30%程度が好ましい。
【0029】
バインダーとしては、ポリテトラフルオロエチレン、ポリフッ化ビニリデン、カルボキシメチルセルロース、フルオロオレフィン共重合体架橋ポリマー、ポリビニルアルコール、ポリアクリル酸、ポリイミド、石油ピッチ、石炭ピッチ、フェノール樹脂のうち少なくとも1種類以上用いるのが好ましい。
集電体は電気化学的及び化学的に耐食性があればよく、特に限定するものではないが、例えば、正極ではステンレス、アルミニウム、チタン、タンタルがあり、負極では、ステンレス、ニッケル、銅等が好適に使用される。
【0030】
印加可能な電圧が大きく、エネルギー密度の大きなキャパシターを得るため、電解液は非水系電解液とする。非水系電解液の溶質は特に限定するものではないが、R4N+、R4P+(ただし、RはCnH2n+1で示されるアルキル基)、トリエチルメチルアンモニウムイオン等でなる第4級オニウムカチオン及び、リチウムイオン、カリウムイオン等のアルカリ金属カチオンと、BF4-、PF6-、ClO4-、またはCF3SO3-なるアニオンとを組み合わせた塩を使用するのが好ましい。これらの塩の非水系電解液中の濃度は電気二重層キャパシターの特性が十分引き出せるように、0.1〜2.5モル/リットル、特に、0.3〜2.0モル/リットルが好ましい。また、非水系電解液の溶媒は特に限定するものではないが、プロピレンカーボネート、エチレンカーボネート、ブチレンカーボネート、ジメチルカーボネート、メチルエチルカーボネート、ジエチルカーボネート、スルホラン、メチルスルホラン、γ−ブチロラクトン、γ−バレロラクトン、N−メチルオキサゾリジノン、ジメチルスルホキシド、及びトリメチルスルホキシドから選ばれる1種類以上からなる有機溶媒が好ましい。電気化学的及び化学的安定性、電気伝導性に優れる点から、プロピレンカーボネート、エチレンカーボネート、ブチレンカーボネート、ジメチルカーボネート、メチルエチルカーボネート、ジエチルカーボネート、スルホラン、メチルスルホラン、γ−ブチロラクトンから選ばれる1種類以上の有機溶媒が特に好ましい。高い耐電圧が得られるように、非水系電解液中の水分は200ppm以下、さらには50ppm以下が好ましい。尚、ポリエチレンオキサイド、ポリフッ化ビニリデン、ポリ塩化ビニリデン、ポリ塩化ビニル、ポリビニルピロリドン、ポリビニルピロリドン−ポリ酢酸ビニル共重合体、ポリフッ化ビニリデン−ヘキサフルオロプロピレン、ポリ−1,5−ジアミノアントキノン、ポリアニリン、ポリピロール、ポリチオフェン等の高分子を上述の非水系電解液と混合して得られる高分子電解質を含有する電気二重層キャパシターも本発明に包含される。
【0031】
【実施例】
以下、本発明を具体的な実施例で説明するが、本発明は以下の実施例により限定されない。
(実施例1)
KOH賦活処理して得られた石炭系活性炭粉末(比表面積2270m2/g、平均粒子径10μm)80重量%、アセチレンブラック10重量%、ポリテトラフルオロエチレン10重量%からなる混合物を混練した後、日本分光製錠剤成型器を用い、油圧プレスで直径10mm、厚さ0.5mmとなるように50kg重/cm2の圧力で加圧成形して円盤状の成型体を得た。この成型体を0.1torr以下の真空中、300℃で3時間乾燥し電極体とした。得た活性炭を主とする電極体を用い、図1に示すようなコイン型セルの組立をアルゴン雰囲気中で実施した。正極2として活性炭電極体に1モル/リットルの濃度のLiBF4のプロピレンカーボネート溶液を十分に含浸させた後、ステンレス製ケース1の内底に接着した。さらに、上述のLiBF4のプロピレンカーボネート溶液をケース1内に注いだ後、その上に三菱化学(株)製のポリエチレン製セパレータ3、ポリプロピレン製ガスケット4、及び負極5として直径10mm、厚さ0.5mmの金属リチウムを、さらにステンレス製上蓋6を重ねた後、コイン型容器セルをかしめ封じた。
【0032】
活性炭電極の自然電位を下げるため、短絡処理によりリチウムを活性炭電極にドープした。具体的には、得たコイン型セルのケース1(正極側)と上蓋6(負極側)にそれぞれリード線を約10秒間接触させてコイン型セルを短絡させた。短絡後の正極−負極間の電位差を電圧計で測定したところ2.47V(対Li/Li+)を示し、これを正極側のリチウムドープ後の活性炭電極の自然電位(対Li/Li+)とした。次にこのコイン型セルに、北斗電工製充放電装置「HJ−201B」を用いて1.16mAの定電流で50分間充電した後の電位は4.06Vであった。
【0033】
(比較例1)
実施例1において、リチウム極と活性炭電極の短絡処理を実施しない他は、実施例1と同様にして組み立てたコイン型セルの自然電位は2.99V(対Li/Li+)であり、また、1.16mAの定電流で50分間充電した後の電位は4.56Vであった。この充電後の電位は電解液の正極側での分解電圧(約4.4V)を越える値であった。実施例1、比較例1より、本発明のキャパシターは従来品と比べ、エネルギー密度を高められることが判る。
【0034】
(実施例2)
実施例1と同様にして短絡処理により自然電位を下げたコインセルを作製した後、これをアルゴン中で分解し、正極側の活性炭成型体のみ取り出した。上述の操作を繰り返し自然電位が約2.5V(体Li/Li+)の活性炭成型体を2枚得た。次に、この2枚の成型体に1モル/リットルの濃度の(C2H5)4NBF4のプロピレンカーボネート溶液を充分に含浸させたものを各々正極2、負極5とし、セパレータを両極間に配置して上述と同様にコイン型セルを組立て、図2に示すような電気二重層キャパシターを得た。得た電気二重層キャパシターに、室温下で2.8Vの電圧を1時間印加した後、1.16mAで定電流放電して求めた初期の静電容量は、1.24Fであった。電圧印加条件下におけるキャパシターの長期的な作動信頼性を加速的に評価するため、このキャパシターを70℃の恒温槽に入れて2.8Vの電圧を印加し、500時間経過後の静電容量を求めたところ、1.22Fとなり容量の劣化は殆どなかった。
【0035】
(比較例2)
実施例2において、比較例1の短絡処理がされていない活性炭電極を用いた以外は実施例2と同様に電気二重層キャパシターを組み立てた。得た電気二重層キャパシターの初期の静電容量は1.23Fであった。加速評価後の静電容量は1.00Fとなり大幅に容量の劣化が見られた。
【0036】
(実施例3)
実施例2と同様にして作製した電気二重層キャパシターに室温下で4.0Vの電圧を1時間印加した後、1.16mAで定電流放電して求めた初期の静電容量は、1.28Fであった。さらに、同条件で50回充放電を繰り返した後の静電容量は1.27Fを示し、高い電圧を繰り返し印加しても容量劣化は殆ど見られず、エネルギー密度が大きく、かつサイクル繰り返し特性に優れた電気二重層キャパシターを得た。
【0037】
(比較例3)
実施例3において、比較例2と同様にして作製した電気二重層キャパシターを使用した以外は、実施例3と同様に評価した。4.0V電圧印加した後の初期の静電容量は、1.26Fであり、50回繰り返した後の静電容量は0.90Fを示した。
【0038】
【発明の効果】
本発明により、従来より最大容量が大きく、劣化の少ないキャパシターを提供できる。
【図面の簡単な説明】
【図1】本発明の実施例1で、電極へのリチウムドープに用いたコインセルの説明図である。
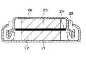
【図2】本発明の実施例で用いたキャパシタの模式図である。
【符号の説明】
11    ステンレス製容器のケース
12    活性炭成型体(正極)
13    ガスケット
14    セパレータ
15    リチウム金属(負極)
16    ステンレス製容器の上蓋
21    ステンレス製容器のケース
22    活性炭成型体
23    ガスケット
24    セパレータ
25    活性炭成型体
26    ステンレス製容器の上蓋[0001]
BACKGROUND OF THE INVENTION
The present invention relates to an electric double layer capacitor that has excellent charge / discharge cycle durability and durability when a high voltage is applied, and has a large energy density.
[0002]
[Prior art]
Electric double layer capacitors that can be charged and discharged with a large current are promising for applications such as electric vehicles and auxiliary power supplies. Therefore, it is desired to realize an electric double layer capacitor having a high energy density, capable of rapid charge / discharge, and excellent durability during high voltage application and charge / discharge cycle durability.
[0003]
The energy stored in the capacitor cell is 1/2 · C · V.2Where C is the capacity per cell (F), and V is the voltage (V) that can be applied to the cell. Since the square of the value of the applicable voltage V is reflected in the energy, it is effective to increase the voltage applied to the capacitor in order to improve the energy density, but the electrolytic solution is decomposed at a large voltage.
[0004]
Therefore, the withstand voltage per unit cell is about 2.4 V in the case of a non-aqueous electrolyte electric double layer capacitor, although it depends on the type of solvent and solute of the electrolyte used in the conventional electric double layer capacitor. (Japanese Patent Laid-Open No. 7-14001), when used at a high voltage of 2.5 V or more, there is a problem that an increase in internal series resistance or a decrease in capacitance occurs in a short time.
[0005]
Therefore, it has been attempted to apply a voltage of 2.5 V to 2.8 V by examining in detail the positive and negative electrodes, separator, electrolyte, container, and the like. For example, a method for improving durability by heat-treating an electrode using activated carbon obtained by KOH activation of phenol resin, petroleum coke, etc. in an inert atmosphere, and selecting raw materials, phenol resin, furan resin, poly Durability is improved by using a baked product such as acrylonitrile resin (Japanese Patent Laid-Open No. Hei 8-162375), and a method for improving durability by using porous aluminum for the current collector of the capacitor (Japanese Patent Laid-Open No. Hei 8-339994). Etc.) are known.
[0006]
[Problems to be solved by the invention]
However, none of these examples was satisfactory to some extent. For example, the method of heat-treating an electrode using activated carbon obtained by KOH activation of the above-mentioned phenol resin, petroleum coke, etc. in an inert atmosphere has a problem that the initial capacitance is simultaneously reduced. In addition, it can be said that the methods of JP-A-8-162375 and JP-A-8-339941 cannot fundamentally improve the durability. For the above reasons, it is practically impossible to set the applied voltage per unit cell to 3 V or more, which is a large barrier to the energy density.
[0007]
As a method of setting the applied voltage to 3 V or higher, JP-A-8-107068 discloses an electrolyte containing graphite containing lithium absorbed by contacting a lithium foil as a negative electrode, activated carbon as a positive electrode, and lithium ions as a solute. However, since this negative electrode is a non-polarizable electrode and involves an oxidation-reduction reaction between the electrode and the electrolytic solution, there is a problem in durability. In addition, since the negative electrode contains lithium, the positive electrode (polarizable electrode) is already about 3 V in an uncharged state, and the potential change due to charging when a voltage up to 4.3 V is applied as in the example described is It becomes about 1.3V. Therefore, the energy density when used as a capacitor is smaller than that of a normal capacitor.
For these reasons, there has been a demand for an electric double layer capacitor having a high energy density such that the charging potential of the positive electrode is equal to or lower than the decomposition voltage of the electrolytic solution and the potential difference due to charging and discharging is large, for example, 3 V or higher.
[0008]
[Means for Solving the Problems]
Therefore, as a result of intensive studies to solve the above-mentioned problems, the present inventors have drastically different from the conventional methods that make it difficult to decompose the electrolytic solution and reduce impurities in the electrode. As a simple solution, by arbitrarily adjusting the natural potential of the electrode, it is possible to fully use the range in which the decomposition due to oxidation or reduction of the electrolytic solution occurs, and as a result, the capacitance of the capacitor has changed. However, the present inventors have found that the energy density can be increased and reached the present invention. Such a concept has never been used in a capacitor that does not perform a redox reaction.
[0009]
An object of the present invention is to provide an electric double layer capacitor having a high energy density capable of greatly increasing the voltage capable of being charged / discharged as never before, and further to charge / discharge cycle durability and high voltage. An object of the present invention is to provide an electric double layer capacitor excellent in durability when applied.
[0011]
  That is,The gist of the present invention is an electric double layer capacitor using a non-aqueous solvent electrolyte and polarizable electrodes on both electrodes, and the polarizable electrode bodyConsists of activated carbon with lithium added by an electrochemical method.,And,LithiumBefore addingSelfThe potential is E1 [V],LithiumAdditiondidThe subsequent natural potential is E2 [V]., ElectricThe substantial decomposition start voltage on the oxidation side or high potential side of the solution is expressed as a [V]., ElectricWhen the substantial decomposition start voltage on the reducing side or low potential side of the liquid solution is b [V],
E1> (a + b) /2
a+ B-E1 <E2 <E1
Formula ofIt exists in the electric double layer capacitor characterized by satisfy | filling.
[0012]
DETAILED DESCRIPTION OF THE INVENTION
The present invention will be described in detail below.
The greatest feature of the present invention is that in a non-aqueous electrolyte-based electric double layer capacitor using a polarizable electrode body, a polarizable electrode body in which a natural potential generated when the electrode is immersed in the non-aqueous electrolyte is adjusted as a positive electrode. More preferably, by using it for the positive electrode and the negative electrode, it is possible to greatly increase the voltage that can be charged and discharged, and to provide an electric double layer capacitor having a high energy density. In addition, since the potential at the time of charging does not exceed the decomposition voltage of the electrolyte, the charge / discharge cycle durability and the durability at the time of applying a high voltage are greatly improved.
[0013]
First, the principle will be described.
According to the study by the present inventors, the durability of the current electric double layer capacitor is not improved, and the chargeable voltage is limited to 2.8 V. The potential change of the positive electrode and the negative electrode of the electric double layer capacitor And the decomposition voltage of the electrolyte.
The decomposition voltage of the electrolytic solution varies depending on the solvent, solute, etc. of the electrolytic solution, but as a representative of those that are difficult to decompose, for example, in the case of a propylene carbonate solution of a quaternary alkyl ammonium salt, an electrode that is substantially composed of a carbonaceous material is used. When used, the decomposition start voltage on the oxidation side is 4.4 V (vs. Li / Li+) It is said to be near. On the other hand, the natural potential of a normal carbonaceous electrode is around 3 V (vs. Li / Li+Therefore, the potential on the oxidation side when the potential difference between the positive and negative electrodes due to polarization after charging is 2.8 V or more is 4.4 V (vs. Li / Li).+It is considered that the electrochemical decomposition of the electrolyte occurs. As a result, when a conventional carbon electrode is used, the capacity decreases due to gas generated by the decomposition of the electrode solution, and thus there is a problem in durability when used for a long time. That is, in principle, the voltage that can be applied to the electric double layer capacitor is about 2.8 V at the maximum, and since it is impossible to apply a voltage higher than this, there is a limit to improving the energy density.
[0014]
Therefore, the present inventors have used as the polarizable electrode body an electrode having a natural potential such that the potential at the time of charging reaches a potential at which a substantial decomposition start voltage of the electrolyte is generated on the high potential side (oxidation side). It has been found that by using it, it is possible to increase the potential difference during charging and discharging, and it is possible to realize an unprecedented electric durability with excellent durability and a remarkably high energy density by increasing the voltage that can be applied.
[0015]
Theoretically, as a polarizable electrode body, the natural potential is a substantial decomposition starting voltage on the oxidation side or high potential side of the nonaqueous solvent electrolyte, and a substantial potential on the reduction side or low potential side of the electrolyte. By using the one closer to the center of the decomposition start voltage, it becomes possible to maximize the potential difference during charge / discharge even when the same electrolyte is used, and to obtain a durable electric double layer capacitor. It is considered possible. However, in actuality, the performance or durability of the electric double layer capacitor, such as when gas is generated due to decomposition of the electrolyte, etc., when the potential during charging is higher than the decomposition start voltage on the high potential side (oxidation side) On the other hand, when the potential is lower than the decomposition start voltage on the low potential side (reduction side), there is a tendency that the decomposition is suppressed by forming a passive state around the electrode. Therefore, the natural potential of the polarizable electrode body is a substantial decomposition start voltage on the oxidation side or high potential side of the nonaqueous solvent electrolyte and a substantial decomposition start voltage on the reduction side or low potential side of the electrolyte. It is preferably near the center or less. Specifically, the natural potential of the polarizable electrode body is E [V], the substantial decomposition start voltage on the oxidation side or high potential side of the electrolytic solution is a [V], the reduction side or low potential side of the electrolytic solution. When the substantial decomposition start voltage is b [V],
(A + b) /2-1.0≦E≦ (a + b) /2+0.2
It is preferable that
[0016]
As the polarizable electrode body of the present invention, any electrode may be used as long as the natural potential satisfies the above-mentioned conditions, and an electrode composed of at least one substance selected from carbonaceous substances and inorganic substances is usually used. In addition, when the natural potential of a substance used as a polarizable electrode is outside the above conditions, the natural potential is adjusted by adding at least one substance selected from metals and inorganic substances to the polarizable electrode. Also good.
[0017]
When the natural potential of the polarizable electrode is adjusted by adding a substance in this way, the polarizable electrode body is used to which at least one substance selected from metals and inorganic substances is added, and The natural potential of the polarizable electrode body before addition is E1 [V], the natural potential after addition is E2 [V], and the substantial decomposition start voltage on the oxidation side or high potential side of the electrolyte is a [V]. And b [V] is a substantial decomposition start voltage on the reducing side or low potential side of the electrolyte solution,
(1) When E1> (a + b) / 2, E2 is a + b−E1 <E2 <E1
(2) When E1 <(a + b) / 2, E2 is a + b−E1> E2> E1
To satisfy the conditional expression of
[0018]
The decomposition initiation voltage of the electrolyte is measured by a normal electrochemical method such as cyclic voltammetry. In the present invention, a region having a very small redox current (for example, 0.1 mA / cm by cyclic voltammetry).2When exceeding the following range), it is considered that the electrolyte substantially starts to decompose, and this voltage is set as a substantial decomposition start voltage of the electrolyte. Although it cannot generally be said depending on measurement conditions such as temperature, in the case of a typical non-aqueous electrolyte described later, a substantial decomposition starting voltage from room temperature to 70 ° C. is 4.2 V to 4.5 V (on the oxidation side) Li / Li+), 0.1 V to 0.2 V on the reduction side (vs. Li / Li)+)
[0019]
The measurement of the natural potential of the polarizable electrode body is also performed using a normal electrochemical technique. In non-aqueous potential measurement, a potential reference such as a standard hydrogen electrode in an aqueous solution is not strictly defined, but in practice, an electrode such as a silver-silver chloride electrode, a platinum electrode, or a lithium electrode is used. Generally done widely. In the present invention, it can be measured by the same method. For example, if the substantial decomposition starting voltage of the non-aqueous electrolyte is as described above, the natural potential of the polarizable electrode is 1.5 V or more and less than 2.8 V (vs. Li / Li+Is preferably 1.7 V or more and less than 2.7 V (vs. Li / Li)+Is more preferable. Specifically, in the case of an electric double layer capacitor using a propylene carbonate solution of a quaternary alkyl ammonium salt as an electrolytic solution and a carbonaceous electrode having a natural potential adjusted to around 2.3 V as a polarizable electrode body, about 4 V Even when a large voltage is applied, the voltage drops below the decomposition start voltage on the oxidation side of the electrolyte, and the electrolyte does not decompose even at a high voltage. Charge / discharge cycle durability and durability when a high voltage is applied are greatly improved. The In addition, since the voltage that can be applied is increased from about 2.8V to about 4V, the maximum usable energy density of the electric double layer capacitor is greatly increased to about 2 to 6 times that of the conventional one. Therefore, the practical value is remarkable as an electric double layer capacitor which is used for a power source of an electric vehicle or the like and requires high energy density and durability.
[0020]
The polarizable electrode before adding at least one substance selected from metals and inorganic substances is preferably substantially composed of at least one substance selected from carbonaceous substances and inorganic substances. Carbon materials include activated carbon, activated carbon plant-based wood, sawdust, coconut husk, pulp waste liquor, fossil fuel-based coal, petroleum heavy oil, or pyrolyzed coal and petroleum-based tar and pitch, petroleum Coke, coal coke, tar pitch spun fiber, carbon fiber, natural graphite, artificial graphite, anthracite, fluid coke mesocarbon microbead, carbon black, fine graphite fiber, carbon aerogel, synthetic polymer, phenol resin, furan Resin, polyvinyl chloride resin, polyvinylidene chloride resin, polyimide resin, polyamide resin, polyacrylonitrile, liquid crystal polymer, plastic waste, waste tire, fullerene, carbon nanotube, and the like can be used. Inorganic materials include ruthenium oxide, platinum oxide, osmium oxide, iridium oxide, tin oxide, manganese oxide, titanium oxide, vanadium oxide, chromium oxide, strontium oxide, tungsten oxide, cobalt oxide , Nickel oxide, zinc oxide, cadmium oxide, copper oxide, iron oxide, niobium oxide, molybdenum oxide, rhenium oxide, rhodium oxide, lithium oxide, rare earth oxide, ruthenium composite oxide , Platinum composite oxide, osmium composite oxide, iridium composite oxide, tin composite oxide, manganese composite oxide, titanium composite oxide, vanadium composite oxide, chromium composite oxide, strontium composite oxide, tungsten composite oxide , Cobalt composite oxide, nickel composite oxide, zinc composite oxide, cadmium At least one selected from a composite oxide, a copper composite oxide, an iron composite oxide, a niobium composite oxide, a molybdenum composite oxide, a rhenium composite oxide, a rhodium composite oxide, a lithium composite oxide, and a rare earth composite oxide A semiconductor oxide or a conductive oxide made of two or more metal oxides or metal composite oxides can be used. Among these, in particular, it is more preferable to use activated carbon having a large solid-liquid interface for expressing the electric double layer capacity, which is electrochemically and chemically relatively stable, for the carbonaceous material.
[0021]
The substance to be added is not particularly limited as long as the natural potential of the polarizable electrode body is changed by the addition. As a substance to be added, at least one selected from metals and inorganic substances may be used. For inorganic materials, ruthenium oxide, platinum oxide, osmium oxide, iridium oxide, tin oxide, manganese oxide, titanium oxide, vanadium oxide, chromium oxide, strontium oxide, tungsten oxide, cobalt oxide , Nickel oxide, zinc oxide, cadmium oxide, copper oxide, iron oxide, niobium oxide, molybdenum oxide, rhenium oxide, rhodium oxide, lithium oxide, rare earth oxide, ruthenium composite oxide , Platinum composite oxide, osmium composite oxide, iridium composite oxide, tin composite oxide, manganese composite oxide, titanium composite oxide, vanadium composite oxide, chromium composite oxide, strontium composite oxide, tungsten composite oxide , Cobalt composite oxide, nickel composite oxide, zinc composite oxide, cadmium At least one selected from complex oxide, copper complex oxide, iron complex oxide, niobium complex oxide, molybdenum complex oxide, rhenium complex oxide, rhodium complex oxide, lithium complex oxide, rare earth complex oxide Although it is possible to use a semiconductor oxide or a conductive oxide composed of two or more metal oxides or composite oxides, it is simpler and more effective to use a metal. The state of the metal and the inorganic substance is not particularly limited as long as the natural potential of the electrode body changes, whether it is ionized or not. A base metal can be added to lower the natural potential, and a noble metal can be added to increase the natural potential. For example, it is more effective to reduce the natural potential in current electrolytes. In this case, additives include alkali metals such as lithium, sodium, potassium, rubidium and cesium, alkaline earth metals such as calcium and magnesium, and yttrium. In addition, a rare earth metal such as neodymium or a substance containing these metals can be used. Among them, a substance containing an alkali metal element is preferable, and a substance containing a lithium element exhibiting a very basic potential is more preferable.
[0022]
  When the polarizable electrode is substantially a carbonaceous material, when lowering the natural potential, a base such as lithium or potassium that is easily occluded into carbon is used.NaA metal having a potential is preferably used. These metals are not particularly limited, but can be added to the electrode body by an electrochemical method, a chemical method, a physical method, or the like. For example, as one of the simple methods, a lithium-containing metal made of lithium or a metal containing lithium having a very low potential on the positive electrode side, a carbon electrode, a separator, and a non-aqueous electrolyte on the negative electrode side. Short chemical cellTangleThus, lithium can be added to the carbon electrode.
[0023]
Also, by introducing heteroatoms such as boron, nitrogen and oxygen into the carbon skeleton, or by introducing surface functional groups such as amino groups, carboxyl groups, phenol groups, carbonyl groups and sulfone groups into the carbon. Although it is conceivable to adjust the natural potential, it is more effective to adjust the natural potential by adding a metal as described above.
[0024]
In order to increase the capacity of the electric double layer capacitor, it is preferable to use activated carbon having a large specific surface area for the electrode of the carbonaceous material before adding a metal or the like. If the specific surface area of the activated carbon is too large, the bulk density is lowered and the energy density is lowered.2/ G is preferred, more preferably 300-2300 m2/ G. The raw materials for activated carbon include plant-based wood, sawdust, coconut husk, pulp waste liquor, fossil fuel-based coal, heavy petroleum oil, or pyrolyzed coal, petroleum pitch, and tar pitch fiber. , Synthetic polymer, phenolic resin, furan resin, polyvinyl chloride resin, polyvinylidene chloride resin, polyimide resin, polyamide resin, liquid crystal polymer, plastic waste, waste tire, etc. These raw materials are activated after carbonization, and activation methods are roughly classified into gas activation and chemical activation. The gas activation method is also called physical activation while chemical activation is chemical activation, and the carbonized raw material is contacted with water vapor, carbon dioxide, oxygen, other oxidizing gases, etc. at high temperatures. Activated carbon is obtained. The chemical activation method is a method in which an activated chemical is uniformly impregnated in a raw material, heated in an inert gas atmosphere, and activated carbon is obtained by dehydration and oxidation reaction of the chemical. Examples of chemicals used include zinc chloride, phosphoric acid, sodium phosphate, calcium chloride, potassium sulfide, potassium hydroxide, sodium hydroxide, potassium carbonate, sodium carbonate, sodium sulfate, potassium sulfate, and calcium carbonate. Various methods for producing activated carbon have been described above, but there is no particular limitation. The activated carbon has various shapes such as crushing, granulation, granule, fiber, felt, woven fabric, and sheet, and any of them can be used in the present invention. Among these activated carbons, activated carbon obtained by chemical activation using KOH is particularly preferable because it tends to have a larger capacity than a steam activated product.
[0025]
The activated carbon after the activation treatment is heat-treated at 500 to 2500 ° C., preferably 700 to 1500 ° C. in an inert atmosphere such as nitrogen, argon, helium, xenon, etc. to remove unnecessary surface functional groups, The electronic conductivity may be increased by developing the sex. Furthermore, heat treatment of activated carbon in a gas containing ammonia, hydrogen, water vapor, carbon dioxide, oxygen and air introduces heteroatoms such as hydrogen, oxygen and nitrogen into the carbon skeleton and introduces surface functional groups. Thus, the natural potential may be controlled.
[0026]
As for the particle diameter of the activated carbon powder, the average particle diameter is preferably about 3 to 40 μm. If the average particle size exceeds 40 μm, the amount of binder can be reduced, but the internal resistance of the electric double layer capacitor increases due to factors such as a decrease in the impregnation property of the electrolytic solution into the activated carbon particles. When the average particle size is less than 3 μm, it is necessary to add about 70% by weight or more of a binder to obtain sufficient strength of the molded product, and the capacity of the electric double layer capacitor is reduced.
In the case of granular activated carbon, the average particle diameter is preferably 30 μm or less in terms of improving the bulk density of the electrode and reducing internal resistance.
[0027]
A polarizable electrode mainly composed of activated carbon is composed of activated carbon, a conductive agent and a binder. The polarizable electrode can be formed by a conventionally known method. For example, it can be obtained by adding and mixing polytetrafluoroethylene to a mixture of activated carbon and acetylene black, followed by press molding. Moreover, it is also possible to sinter only activated carbon into a polarizable electrode without using a conductive agent and a binder. The electrode may be a thin coating film, a sheet-shaped or plate-shaped molded body, or a plate-shaped molded body made of a composite.
[0028]
The conductive agent used for the polarizable electrode is selected from the group consisting of carbon black such as acetylene black and ketjen black, natural graphite, thermally expanded graphite, carbon fiber, ruthenium oxide, titanium oxide, aluminum, nickel, and other metal fibers. At least one conductive agent is preferred. Acetylene black and ketjen black are particularly preferable in that the conductivity is effectively improved in a small amount, and the blending amount with activated carbon varies depending on the bulk density of the activated carbon, but if the amount is too large, the proportion of activated carbon decreases and the capacity decreases. The weight of activated carbon is preferably 5 to 50%, particularly about 10 to 30%.
[0029]
As the binder, at least one of polytetrafluoroethylene, polyvinylidene fluoride, carboxymethylcellulose, fluoroolefin copolymer crosslinked polymer, polyvinyl alcohol, polyacrylic acid, polyimide, petroleum pitch, coal pitch, and phenol resin is used. preferable.
The current collector need only be electrochemically and chemically corrosion resistant, and is not particularly limited. For example, there are stainless steel, aluminum, titanium, and tantalum for the positive electrode, and stainless steel, nickel, copper, and the like are suitable for the negative electrode. Used for.
[0030]
In order to obtain a capacitor having a large voltage that can be applied and a large energy density, the electrolyte is a non-aqueous electrolyte. The solute of the non-aqueous electrolyte solution is not particularly limited, but RFourN+, RFourP+(However, R is CnH2n + 1A quaternary onium cation composed of triethylmethylammonium ion and the like, an alkali metal cation such as lithium ion and potassium ion, and BFFour-, PF6-, ClOFour-Or CFThreeSOThree-It is preferable to use a salt in combination with an anion. The concentration of these salts in the non-aqueous electrolytic solution is preferably 0.1 to 2.5 mol / liter, particularly 0.3 to 2.0 mol / liter so that the characteristics of the electric double layer capacitor can be sufficiently extracted. The solvent of the non-aqueous electrolyte solution is not particularly limited, but propylene carbonate, ethylene carbonate, butylene carbonate, dimethyl carbonate, methyl ethyl carbonate, diethyl carbonate, sulfolane, methyl sulfolane, γ-butyrolactone, γ-valerolactone, An organic solvent composed of one or more selected from N-methyloxazolidinone, dimethyl sulfoxide, and trimethyl sulfoxide is preferable. One or more kinds selected from propylene carbonate, ethylene carbonate, butylene carbonate, dimethyl carbonate, methyl ethyl carbonate, diethyl carbonate, sulfolane, methyl sulfolane, and γ-butyrolactone from the viewpoint of excellent electrochemical and chemical stability and electrical conductivity The organic solvent is particularly preferred. In order to obtain a high withstand voltage, the water content in the non-aqueous electrolyte is preferably 200 ppm or less, more preferably 50 ppm or less. Polyethylene oxide, polyvinylidene fluoride, polyvinylidene chloride, polyvinyl chloride, polyvinyl pyrrolidone, polyvinyl pyrrolidone-polyvinyl acetate copolymer, polyvinylidene fluoride-hexafluoropropylene, poly-1,5-diaminoanthquinone, polyaniline, An electric double layer capacitor containing a polymer electrolyte obtained by mixing a polymer such as polypyrrole or polythiophene with the above non-aqueous electrolyte is also encompassed in the present invention.
[0031]
【Example】
EXAMPLES Hereinafter, although this invention is demonstrated with a specific Example, this invention is not limited by a following example.
(Example 1)
Coal-based activated carbon powder (specific surface area 2270m) obtained by KOH activation treatment2/ G, average particle size 10 μm) After kneading a mixture of 80% by weight, acetylene black 10% by weight, polytetrafluoroethylene 10% by weight, using a tablet press made by JASCO, diameter 10 mm, thickness 50kg weight / cm to be 0.5mm2A disk-shaped molded body was obtained by pressure molding under the pressure of The molded body was dried at 300 ° C. for 3 hours in a vacuum of 0.1 torr or less to obtain an electrode body. Using the obtained electrode body mainly composed of activated carbon, a coin-type cell as shown in FIG. 1 was assembled in an argon atmosphere. LiBF with a concentration of 1 mol / liter on the activated carbon electrode body as the positive electrode 2FourAfter being sufficiently impregnated with the propylene carbonate solution, it was adhered to the inner bottom of the stainless case 1. Furthermore, the above-mentioned LiBFFourAfter pouring the propylene carbonate solution into case 1, a polyethylene separator 3 made by Mitsubishi Chemical Co., polypropylene gasket 4 and a negative electrode 5 having a metal lithium having a diameter of 10 mm and a thickness of 0.5 mm are obtained. Further, after overlaying the stainless steel upper lid 6, the coin-type container cell was caulked and sealed.
[0032]
In order to lower the natural potential of the activated carbon electrode, lithium was doped into the activated carbon electrode by a short circuit treatment. Specifically, the coin-type cell was short-circuited by bringing the lead wire into contact with the case 1 (positive electrode side) and the upper lid 6 (negative electrode side) of the obtained coin-type cell for about 10 seconds, respectively. When the potential difference between the positive electrode and the negative electrode after the short circuit was measured with a voltmeter, it was 2.47 V (vs. Li / Li+This represents the natural potential of the activated carbon electrode after lithium doping on the positive electrode side (vs. Li / Li).+). Next, this coin cell was charged with a constant current of 1.16 mA for 50 minutes using a charge / discharge device “HJ-201B” manufactured by Hokuto Denko, and the potential was 4.06V.
[0033]
(Comparative Example 1)
In Example 1, the natural potential of the coin-type cell assembled in the same manner as in Example 1 is 2.99 V (vs. Li / Li), except that the short-circuit treatment between the lithium electrode and the activated carbon electrode is not performed.+In addition, the potential after charging for 50 minutes at a constant current of 1.16 mA was 4.56V. The potential after this charge was a value exceeding the decomposition voltage (about 4.4 V) on the positive electrode side of the electrolyte. From Example 1 and Comparative Example 1, it can be seen that the capacitor of the present invention can increase the energy density compared to the conventional product.
[0034]
(Example 2)
After producing a coin cell having a reduced natural potential by short-circuiting in the same manner as in Example 1, this was decomposed in argon, and only the activated carbon molded body on the positive electrode side was taken out. Repeating the above operation, the natural potential is about 2.5 V (body Li / Li+Two activated carbon moldings were obtained. Next, (C) having a concentration of 1 mol / liter is applied to the two molded bodies.2HFive)FourNBFFour2 were respectively impregnated with a propylene carbonate solution sufficiently to form a positive electrode 2 and a negative electrode 5 and a separator was placed between both electrodes to assemble a coin-type cell in the same manner as described above to obtain an electric double layer capacitor as shown in FIG. It was. The initial capacitance obtained by applying a voltage of 2.8 V to the obtained electric double layer capacitor at room temperature for 1 hour and then discharging at a constant current of 1.16 mA was 1.24F. In order to evaluate the long-term operational reliability of the capacitor under voltage application in an accelerated manner, the capacitor is placed in a constant temperature bath at 70 ° C., a voltage of 2.8 V is applied, and the capacitance after 500 hours has elapsed. As a result, it was 1.22F, and there was almost no deterioration in capacity.
[0035]
(Comparative Example 2)
In Example 2, an electric double layer capacitor was assembled in the same manner as in Example 2 except that the activated carbon electrode not subjected to the short-circuit treatment of Comparative Example 1 was used. The initial capacitance of the obtained electric double layer capacitor was 1.23F. The capacitance after the acceleration evaluation was 1.00 F, and the capacitance was greatly deteriorated.
[0036]
(Example 3)
The initial capacitance obtained by applying a voltage of 4.0 V for 1 hour at room temperature to the electric double layer capacitor produced in the same manner as in Example 2 and discharging at a constant current of 1.16 mA is 1.28 F. Met. Furthermore, the electrostatic capacity after repeated charging and discharging 50 times under the same conditions is 1.27 F, there is almost no capacity deterioration even when a high voltage is repeatedly applied, the energy density is large, and the cycle repetition characteristics are improved. An excellent electric double layer capacitor was obtained.
[0037]
(Comparative Example 3)
In Example 3, evaluation was made in the same manner as in Example 3 except that an electric double layer capacitor produced in the same manner as in Comparative Example 2 was used. The initial capacitance after applying the 4.0 V voltage was 1.26 F, and the capacitance after 50 repetitions was 0.90 F.
[0038]
【The invention's effect】
According to the present invention, it is possible to provide a capacitor having a larger maximum capacity and less deterioration than before.
[Brief description of the drawings]
FIG. 1 is an explanatory view of a coin cell used for lithium doping of an electrode in Example 1 of the present invention.
FIG. 2 is a schematic view of a capacitor used in an example of the present invention.
[Explanation of symbols]
11 Stainless steel container case
12 Activated carbon molding (positive electrode)
13 Gasket
14 Separator
15 Lithium metal (negative electrode)
16 Top cover of stainless steel container
21 Stainless steel container case
22 Activated carbon molding
23 Gasket
24 Separator
25 Activated carbon molding
26 Top cover of stainless steel container
| Application Number | Priority Date | Filing Date | Title | 
|---|---|---|---|
| JP19412198AJP3800810B2 (en) | 1997-07-09 | 1998-07-09 | Electric double layer capacitor | 
| Application Number | Priority Date | Filing Date | Title | 
|---|---|---|---|
| JP18367097 | 1997-07-09 | ||
| JP9-183670 | 1997-07-09 | ||
| JP19412198AJP3800810B2 (en) | 1997-07-09 | 1998-07-09 | Electric double layer capacitor | 
| Publication Number | Publication Date | 
|---|---|
| JPH1187191A JPH1187191A (en) | 1999-03-30 | 
| JP3800810B2true JP3800810B2 (en) | 2006-07-26 | 
| Application Number | Title | Priority Date | Filing Date | 
|---|---|---|---|
| JP19412198AExpired - Fee RelatedJP3800810B2 (en) | 1997-07-09 | 1998-07-09 | Electric double layer capacitor | 
| Country | Link | 
|---|---|
| JP (1) | JP3800810B2 (en) | 
| Publication number | Priority date | Publication date | Assignee | Title | 
|---|---|---|---|---|
| JP3853094B2 (en)* | 1998-11-18 | 2006-12-06 | 株式会社パワーシステム | Electric double layer capacitor | 
| JP4705566B2 (en)* | 2004-03-31 | 2011-06-22 | 富士重工業株式会社 | Electrode material and manufacturing method thereof | 
| WO2012138315A1 (en)* | 2011-04-07 | 2012-10-11 | Lithdyne, LLC | Carbon electrodes and electrochemical capacitors | 
| KR20130021735A (en)* | 2011-08-23 | 2013-03-06 | 삼성전기주식회사 | Active agent for electrodes, method for manufacturing the same, and electrochemical capacitor using the same | 
| CN104380410A (en)* | 2012-04-13 | 2015-02-25 | 波利焦耳股份有限公司 | Devices and methods containing polyacetylenes | 
| Publication number | Publication date | 
|---|---|
| JPH1187191A (en) | 1999-03-30 | 
| Publication | Publication Date | Title | 
|---|---|---|
| US6094338A (en) | Electric double-layer capacitor | |
| US6414837B1 (en) | Electrochemical capacitor | |
| JP3800799B2 (en) | Electric double layer capacitor | |
| US8107223B2 (en) | Asymmetric electrochemical supercapacitor and method of manufacture thereof | |
| JP4618929B2 (en) | Activated carbon for electric double layer capacitors | |
| JP4202334B2 (en) | Electrochemical devices | |
| US20110043968A1 (en) | Hybrid super capacitor | |
| JP2009205918A (en) | Power storage device | |
| US20100265633A1 (en) | Polarizable electrode for electric double layer capacitor and electric double layer capacitor using the same | |
| JP3812098B2 (en) | Electric double layer capacitor | |
| JP2008060282A (en) | Electric double layer capacitor | |
| JP3800810B2 (en) | Electric double layer capacitor | |
| JP3837866B2 (en) | Electric double layer capacitor | |
| JP2000208372A (en) | Electrolytic solution and electric double layer capacitor using the same | |
| JP4503134B2 (en) | Activated carbon for electric double layer capacitors | |
| JP4066506B2 (en) | A method for producing a carbonaceous material. | |
| JP3807854B2 (en) | Electric double layer capacitor | |
| JP3837880B2 (en) | Electric double layer capacitor | |
| JP2005243933A (en) | Electric double layer capacitor | |
| JP2002289468A (en) | Electrode material for electrochemical capacitor and electrode for electrochemical capacitor | |
| JP3991566B2 (en) | Electrochemical capacitor | |
| JP2000315630A (en) | Electrolytic solution for electrochemical capacitor and electrochemical capacitor using the same | |
| JPH01230216A (en) | Energy storing apparatus for nonaqueous electrolyte | |
| JP2010283309A (en) | Electrolytic solution for electrochemical capacitor and electrochemical capacitor using the same | |
| JPH11297580A (en) | Electric double layer capacitor | 
| Date | Code | Title | Description | 
|---|---|---|---|
| A977 | Report on retrieval | Free format text:JAPANESE INTERMEDIATE CODE: A971007 Effective date:20050502 | |
| A131 | Notification of reasons for refusal | Free format text:JAPANESE INTERMEDIATE CODE: A131 Effective date:20051101 | |
| A521 | Written amendment | Free format text:JAPANESE INTERMEDIATE CODE: A523 Effective date:20051220 | |
| TRDD | Decision of grant or rejection written | ||
| A01 | Written decision to grant a patent or to grant a registration (utility model) | Free format text:JAPANESE INTERMEDIATE CODE: A01 Effective date:20060411 | |
| A61 | First payment of annual fees (during grant procedure) | Free format text:JAPANESE INTERMEDIATE CODE: A61 Effective date:20060424 | |
| FPAY | Renewal fee payment (event date is renewal date of database) | Free format text:PAYMENT UNTIL: 20090512 Year of fee payment:3 | |
| FPAY | Renewal fee payment (event date is renewal date of database) | Free format text:PAYMENT UNTIL: 20100512 Year of fee payment:4 | |
| FPAY | Renewal fee payment (event date is renewal date of database) | Free format text:PAYMENT UNTIL: 20100512 Year of fee payment:4 | |
| FPAY | Renewal fee payment (event date is renewal date of database) | Free format text:PAYMENT UNTIL: 20110512 Year of fee payment:5 | |
| FPAY | Renewal fee payment (event date is renewal date of database) | Free format text:PAYMENT UNTIL: 20120512 Year of fee payment:6 | |
| FPAY | Renewal fee payment (event date is renewal date of database) | Free format text:PAYMENT UNTIL: 20130512 Year of fee payment:7 | |
| FPAY | Renewal fee payment (event date is renewal date of database) | Free format text:PAYMENT UNTIL: 20140512 Year of fee payment:8 | |
| LAPS | Cancellation because of no payment of annual fees |