
















【0001】
【発明の属する技術分野】
この発明は、薬袋印刷装置、特に、薬袋や服薬指導用紙に画像データをカラー印刷することのできる薬袋印刷装置に関するものである。
【0002】
【従来の技術】
従来、薬袋印刷装置として、処方箋の内容に応じて薬袋のサイズを選定し、患者名、用法等を印刷するようにしたものがある(例えば、実公平7―9644号公報参照)。
【0003】
また、他の薬袋印刷装置として、薬袋に薬剤の画像データを印刷するようにしたものもある(例えば、実開昭63―140947号公報参照)。この薬袋印刷装置では、薬剤の画像データの横に、例えば、「朝昼夕  毎食後」のような服用方法を印刷可能である。
【0004】
【発明が解決しようとする課題】
しかしながら、前者の薬袋印刷装置では、薬剤の種類が複数になれば、どの薬剤をどの服用方法で服用してよいのかの判断が困難となる。
【0005】
また、後者の薬袋印刷装置では、印刷できるのが薬剤自体の形態であり、実際には各薬剤は包装され、患者に渡される形態とは相違している。この包装後の形態は、複数種の薬剤をまとめて包装するものであったり、同じ薬剤であっても、カプセルに入れられたり、包装紙に包装されたり等、相違しているのが一般的である。このため、単に薬剤自体の形態を印刷しただけでは、かえってその判断が困難になる場合もある。
【0006】
そこで、本発明は、服用する薬剤を簡単に判別可能な印刷を行うことのできる薬袋印刷装置を提供することを課題とする。
【0007】
【課題を解決するための手段】
  本発明は、前記課題を解決するための手段として、処方箋データに基づいて、画像データをカラー印刷する印刷手段を備えた薬袋印刷装置において、
  薬剤毎の画像データが記憶される記憶手段と、
  複数種の薬剤を合包する場合、前記記憶手段から該当する全薬剤の画像データを取得し、矩形の線画で囲むことにより合包印刷データを作成し、前記印刷手段に送信する制御手段とを備えたものである。
【0008】
  なお、前記画像データは、実際に患者に渡される状態の薬剤の画像データである。
  前記合包印刷データとしては、該当する複数種の薬剤の個別の画像データを、薬包紙を示す枠体で囲んだり、個別の画像データと共に一包化という文字を挿入することにより作成したものが挙げられる。
【0009】
前記構成の薬袋印刷装置によれば、制御手段は、患者毎の処方箋データに基づいて、記憶手段から該当する画像データ及び服薬指導文を読み込み、印刷データを作成し、薬袋や服薬指導用紙の所定位置に印刷を施す。印刷された内容は、実際に患者に渡される状態の薬剤の画像データがカラー印刷されたものである。したがって、患者は、処方される薬剤が複数種あったとしても、一目見れば、どの薬剤であるのかを判別することができ、誤って服用することはない。また、各画像データの隣りには、服薬指導文が印刷されているので、服用方法を誤ることもない。
【0011】
  前記記憶手段は、さらに、薬剤師毎の顔写真データを薬剤師コードと関連付けて格納する顔写真画像データファイルと、各種項目コードを前記薬剤師コードと関連付けて格納する服薬指導者設定ファイルとを記憶し、
  前記制御手段は、さらに、患者毎の処方箋データに基づいて前記記憶手段に記憶した服薬指導者設定ファイルを参照して薬剤師コードを特定し、特定した薬剤師コードに基づいて顔写真画像データファイルを参照して顔写真データを特定することにより印刷データを作成し、前記印刷手段に送信するのが好ましい。
【0012】
  この構成によれば、処方箋データの入力があれば、自動的に処方箋データに含まれる項目コードに基づいて担当となる薬剤師の顔写真データを自動的に特定することができ、薬袋等に担当薬剤師の顔写真を印刷することが可能となる。
  なお、項目コードとしては、薬効区分であれば薬剤マスタファイルの薬効コードに対応したコードが対応し、診療科区分であれば診療科に対応し、年齢区分であれば各年齢層に対応している。
【0013】
  前記制御手段は、患者毎の処方箋データから変換した調剤データに基づいて薬剤の画像を取得して形態を判断し、前記記憶手段に記憶した薬剤画像データファイルを参照した結果、該当するデータがない場合、標準画像ファイルを前記印刷手段に送信するのが好ましい。
【0014】
  前記構成の薬袋印刷装置において、前記画像データを服用順に並び替えるようにすれば、患者にとって見やすくなる点で好ましい。
【0015】
また、前記印刷手段は、複数台の外部プリンタを含み、
前記制御手段は、作成した印刷データに基づいて、いずれのプリンタで印刷させるのかを自動選択するのが好ましい。
【0016】
この構成によれば、各プリンタを効率的に利用することができる。
【0017】
【発明の実施の形態】
以下、本発明の実施の形態を添付図面に従って説明する。
【0018】
図1は、本実施形態に係る薬袋印刷装置のブロック図である。この薬袋印刷装置は、記憶装置1、薬袋形成装置2及び中央演算装置(CPU)3で構成される。CPU3にはホストコンピュータ4、CRTディスプレイ5、キーボード6、デジタルスチルカメラ7、外部プリンタ8等が接続されている。外部プリンタ8には、外部第1プリンタ9及び外部第2プリンタ10、ローカルプリンタ11、ネットワーク第1プリンタ12及びネットワーク第2プリンタ13が含まれる。
【0019】
記憶装置1には、薬剤マスタファイル、薬剤画像データファイル、服薬指導者設定ファイル、顔写真画像データファイル、薬剤師マスタファイ等が記憶されている。
【0020】
薬剤マスタファイルは、表1に示すように、薬剤コード、薬剤名、形態コード、規格量、薬効コード、効能・効果で構成される。
【0021】
【表1】
【0022】
薬剤コードには、薬剤名の略称が使用される。例えば、薬剤「カフセルサイイー」では略称「カフイ」が使用される。形態コードは、患者に渡す各薬剤の形態に対応した記号である。具体的には、錠剤、カプセル剤、散剤、内用液剤、外用剤等からなる薬剤自身に対応する記号と、製薬会社で包装したヒートシール包装品、薬局で分包機を使用して包装した包装品等の薬剤の包装に対応する記号とが使用される。規格量は、予め設定されている薬剤の処方量をいう。表1の散薬Gで規格量「0.5g」とあるのは、散薬Gを0.5g単位でヒートシール包装することを意味する。薬効コードは、各薬剤毎に付与されたコード番号で、後述するプリンタ選択処理の際に利用される。効能・効果は、各薬剤毎の効能や効果を示すもので、後述する服薬指導用紙印刷データ作成処理及び薬袋印刷データ作成処理の印刷データ編集の際の元データとして使用される。
【0023】
薬剤画像データファイルは、索引データ部と画像ファイル部とからなる。
【0024】
索引データ部は、表2に示すように、薬剤コード、薬剤識別記号、包装識別記号、本体画像ファイル名、包装画像ファイル名等で構成される。
【0025】
【表2】
【0026】
薬剤識別記号とは、薬剤本体に刻印又は印刷される記号をいう。包装識別記号は、薬剤の包装に印刷される記号をいう。注釈は、錠剤を分割したり、粉砕(散剤化)したりする場合等、同じ薬剤であっても異なる態様で処方する場合を示す。例えば、錠剤Dでは、注釈1に分割、注釈2に粉砕とあり、処方する際、分割して包装する場合と、粉砕して包装する場合とがあることを意味する。この場合の画像データは、その他の画像1及び2の各ファイル名に対応するものが読み込まれる。
【0027】
画像ファイル部は、図2に示すように、前記各識別記号に対応する画像ファイルで構成される。
【0028】
顔写真画像データファイルは、前記薬剤画像データファイル同様、索引データ部と画像ファイル部とからなる。索引データ部は、表3に示すように、薬剤師コードと顔写真画像ファイル名とで構成される。
【0029】
【表3】
【0030】
画像ファイル部は、図3に示すように、前記薬剤師コードに対応する薬剤師の顔写真画像ファイルで構成される。
【0031】
前記薬剤画像データファイル及び顔写真画像データファイルの各画像データは、例えば、デジタルスチルカメラ7で読み込んだ画像が使用される。ファイル形式は、BMP,JPEG,GIF,TIFF,PhotoCD等、形式は問わない。なお、前記デジタルスチルカメラ7に代えて、イメージスキャナやPhotoCDを読むCD―ROMドライブ等を利用してもよい。また、画像データは実物の写真に限らず、イラスト等で構成してもよい。
【0032】
服薬指導者設定ファイルは、表4に示すように、設定条件及び服薬指導者(薬剤師)コードで構成される。設定条件は、有効/無効データと条件内容とからなる。
【0033】
【表4】
【0034】
前記有効/無効データは、服薬指導者を決定するために、該当する区分を選択させるためのデータである。条件内容は、区分及び対応する項目コードで構成される。固定区分が有効であれば、他の条件に関係なく、その欄に記載された服薬指導者が選択される。薬効区分の各項目コードは、前記薬剤マスタファイルの薬効コードに対応している。診療科区分の各項目コードは診療科、年齢区分の項目コードは各年齢層にそれぞれ対応している。
【0035】
プリンタ種別マスタファイルは、表5に示すように、プリンタ種別コード、出力先機器、プリンタ種別、型式、プリンタドライバファイル名で構成される。
【0036】
【表5】
前記プリンタ種別マスタファイルの諸情報に基づくことにより、各プリンタの諸仕様・条件に応じた印刷データを作成可能である。
【0037】
出力プリンタ設定ファイルは、表6に示すように、設定条件及びプリンタ種別コードで構成される。設定条件は、有効/無効データと条件内容とからなる。
【0038】
【表6】
【0039】
前記有効/無効は、出力プリンタを選択するために、いずれの区分を選択するのかを判断するためのデータである。前記条件内容は区分と対応する項目データで構成され、好ましいプリンタの組み合わせを考慮して決定される。なお、前記有効/無効及び条件内容は、前記服薬指導者設定ファイルと同様な構成となっている。また、前記プリンタ種別コードでは、選択するプリンタの該当欄に「出力」と表示されている。例えば、薬効コード=0001(抗癌剤)では、プリンタ種別コード=32(ネットワークの第2プリンタ)が選択されるようになっている。
【0040】
薬剤師マスタファイルは、表7に示すように、薬剤師コード、薬剤師カナ名、薬剤師名で構成される。
【0041】
【表7】
【0042】
薬袋形成装置2は、図4に示すように、薬袋又は服薬指導用紙を形成するための用紙を巻回したロール14と、用紙の所定箇所を熱溶着する熱溶着部15と、形成された薬袋1包分ずつに又は服薬指導用紙を所定寸法毎に切断する切断部16と、各薬袋又は服薬指導用紙に印刷を施すプリンタ17とから構成される。薬袋に印刷するためのプリンタ17には、薬袋のサイズに応じて大型用と小型用とが用意されている。
【0043】
CPU3は、ホストコンピュータ4、キーボード等からの入力信号に基づいて薬袋形成装置2やプリンタ8(9〜13),17等を駆動制御して薬袋又は服薬指導用紙に所定の印刷を施す。
【0044】
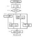
以下、前記CPU3による印刷制御を、図5ないし図10のフローチャートに従って説明する。
【0045】
印刷制御では、図5に示すように、まず、ホストコンピュータ4から処方箋データを読み込む(ステップS1)。処方箋データは、各患者毎のデータである。処方箋データには、病院/調剤薬局、調剤日、患者番号、患者名(カナ,漢字)、病院名、医師名、服薬指導者名、外来/入院、引換番号、性別、生年月日、診療科、処方日、処方番号、薬剤名、用法、用量、服用時刻等が含まれる。
【0046】
次に、受信した処方箋データを調剤データに変換する(ステップS2)。詳しくは、処方箋データをホストコンピュータ4のコード系から薬袋印刷装置でのコード系に変換したり、処方箋データの薬剤コードを利用して薬剤マスタファイルから薬剤についての詳細情報を取得したり、薬剤の用量・用法から体積を求め、その薬剤を収容する薬袋のサイズを決定したりする。なお、薬袋のサイズは、簡単に薬包数に応じて、例えば、1〜12包では小型の薬袋、12包以上では大型の薬袋等に決定するようにしてもよい。そして、前記調剤データを画面表示し(ステップS3)、表示内容の変更を可能とする(ステップS4)。表示内容の変更はキーボードで行う。なお、調剤データは、ホストコンピュータから処方箋データが読み込まれていなくても、キーボードから直接入力可能である。表8に調剤データのフォーマットを示す。
【0047】
【表8】
【0048】
前記調剤データ中、病院/調剤薬局、外来/入院は固定値とする。また、年齢は、生年月日と調剤日とから算出する。
【0049】
このようにして調剤データが完成すれば、服薬指導用紙印刷データ作成処理(ステップS5:図6,図7)及び薬袋印刷データ作成処理(ステップS6:図10)を行う。服薬指導用紙印刷データ作成処理は、後述するように、選択された各プリンタについて行う。また、薬袋印刷データ作成処理は、薬袋印刷装置2内に設けたプリンタ17について行う。このため、薬袋印刷データ作成処理は、全薬袋について印刷データが作成されるまで繰り返す(ステップS7)。全薬袋について印刷データが作成されれば、次に、前記印刷データ作成処理で選択されたプリンタに印刷データを出力する(ステップS8)。前記印刷データ作成処理では複数の印刷データが作成されるため、該当するプリンタへの印刷データの出力は、全印刷データについての出力が終了するまで行う(ステップS9)。こうして全印刷データについての出力が完了すれば、前記ステップS1に戻って同様の処理を繰り返す。
【0050】
前記服薬指導用紙印刷データ作成処理では、図6及び図7に示すように、まず、プリンタ選択処理(図8)により、プリンタの種別コードを選択する(ステップS11)。そして、選択したプリンタの種別コードに基づいて表5に示すプリンタ種別マスタファイルから該当するデータを取得し(ステップS12)、印刷データを編集する(ステップS13)。印刷データの編集では、予め記憶してある服薬指導用紙の印刷レイアウトに基づいて表8に示す調剤日、患者名(カナ,漢字)、引換番号、病院名、処方日の各データを該当個所に割り当てる。
【0051】
続いて、顔写真画像データ選択取得処理(図9)により顔写真画像データを取得し(ステップS14)、前記ステップS13同様、印刷データの編集を行う(ステップS15)。また、調剤データから全薬剤データを取得し(ステップS16)、薬剤服用順整列処理(図10)により薬剤を服用順に整列させる(ステップS17)。
【0052】
その後、服用時刻又は服用食事区分が変更したか否かを判断し(ステップS18)、変更していれば、印刷データを編集した後(ステップS19)、変更していなければそのまま薬剤画像データ選択取得処理(図13)を行い(ステップS20)、薬剤画像の印刷データを編集する(ステップS21)。
【0053】
ここで、薬剤を分包するか否かを判断し(ステップS22)、分包するのであれば、合包印刷データを編集した後(ステップS23)、分包するのでなければ、そのまま薬剤名等の印刷データの編集を行い(ステップS24)、整列済みデータ内の次の薬剤データを取得する(ステップS25)。なお、前記ステップS23では、複数種の薬剤をまとめて薬包紙で一包に包装する場合の印刷データの編集も行う。この場合、該当する各薬剤の印刷データを取得してこれらの印刷データを矩形の線画で囲み、薬包紙で一包に包装したものと擬制することにより新たに印刷データを加工するようにしてもよい。
【0054】
前記ステップS18〜S25は、全薬剤データが終了するまで行う(ステップS26)。
【0055】
前記プリンタ選択処理では、図8に示すように、まず、出力プリンタ設定ファイル(表6)から全データを取得し(ステップS31)、設定条件の有効/無効データに基づいて区分選択、すなわちプリンタ種別コードの選択方法を判断する(ステップS32)。固定区分が有効である場合、その行で「出力」と設定されている列欄に該当するプリンタ種別コードを取得する(ステップS33)。薬効区分が有効であれば、抗癌剤、麻薬及び循環器管用薬のデータをネットワーク第2プリンタ13に出力し、糖尿病用薬、ホルモン剤及びアレルギー用薬をネットワーク第1プリンタ12に出力し、その他を薬袋形成装置2のプリンタ17に出力するためのコードをそれぞれ取得する(ステップS34)。診療科区分が有効であれば、項目コードが小児科,産婦人科のデータをネットワーク第2プリンタ13に出力し、その他のデータをネットワーク第1プリンタ12に出力するコードをそれぞれ取得する(ステップS35)。年齢区分が有効であれば、0〜12歳及び60〜150歳のデータをネットワーク第1プリンタ12に出力し、12〜59歳のデータを薬袋形成装置2のプリンタ17に出力するコードをそれぞれ取得する(ステップS36)。そして、取得したコードを調剤データに設定する(ステップS37)。
【0056】
前記顔写真画像データ選択取得処理では、図9に示すように、まず、服薬指導者設定ファイル(表4)から全データを取得し(ステップS41)、設定条件の有効/無効データに基づいて区分選択、すなわち服薬指導者コードの選択方法を判断する(ステップS42)。
【0057】
固定区分が有効である場合、該当する服薬指導者コードを取得する(ステップS43)。薬効区分が有効である場合、該当する項目コードに対応する服薬指導者コードを取得する(ステップS44)。診療科区分が有効である場合、該当する項目コードに対応する服薬指導者コードを取得する(ステップS45)。年齢区分が有効である場合、該当する年齢範囲に対応する服薬指導者コードを取得する(ステップS46)。
【0058】
次に、出力プリンタ設定ファイル(表6)に基づいてプリンタ種別コードを調剤データに設定する(ステップS47)。また、顔写真画像データファイルの索引データ部(表3)から前記服薬指導者コードに対応する顔写真の画像ファイル名を取得し(ステップS48)、画像ファイル部(図3)から該当する顔写真画像ファイルを取得する(ステップS49)。
【0059】
前記薬剤服用順整列処理では、図10に示すように、服用時刻、服用食事区分・形態の順で薬剤データを並び替える(ステップS51)。詳しくは、服用時刻に基づいて、「朝」、「昼」、「夕」、「寝る前」の順に並び替え、各服用時刻についても、服用食事区分に基づいて、「食前」、「食直後」、「食後」、「食間」の順で並び替え、各服用食事区分についても、形態に基づいて「錠・ヒート(錠剤をヒートシールにより包装したもの)」、「カプセル・ヒート」、……の順で並び替える。さらに、前記形態が「分包」の場合、服用時刻及び服用食事区分(合包区分)が同じであれば、他の薬剤と合包するため、合包区分が同じ薬剤データを優先的にまとめて並び替える(ステップS52)。
【0060】
この結果、得られた服薬指導用紙を図14及び図15に示す。この服薬指導用紙では、服薬指導者である薬剤師の顔写真が印刷されている。このため、調剤された薬剤の相談等を誰に行えばよいかの判断が容易である。また、薬剤は、調剤された形態そのものが写真として印刷されているので、どの薬剤を服用すればよいのかの判断が容易である。しかも、服用時間順に整列されるので、非常に見やすい。その上、薬剤に関する情報(薬の名前、薬の記号、包装の記号、服用1回量及び効能効果等)が種々印刷されているので、患者は安心して服用することができる。
【0061】
前記薬袋印刷データ作成処理では、図11及び図12に示すように、まず、プリンタ種別コードに基づいてプリンタ種別マスタファイル(表5)から該当するデータを取得する(ステップS61)。ここでは、前記服薬指導用紙印刷データ作成処理とは異なり、データを薬袋形成装置2のプリンタ17のみに出力することにしているので、プリンタ選択処理は行っていない。
【0062】
続いて、診療科、患者名等の頭書きの印刷データを編集して該当個所に割り当てる(ステップS62)。また、用法の印刷データを編集して該当個所に割り当てる(ステップS63)。そして、調剤データから薬袋番号に対応する薬剤データを取得し(ステップS64)、薬剤服用順整列処理(図10参照)により、所定の順番に並び替える(ステップS65)。
【0063】
以下、前記服薬指導用紙作成処理のステップS19〜S26と同様の処理を行う(ステップS67〜74)。そして、整列処理が終了した全薬剤データについて前記ステップS67〜S74が終了すれば(ステップS66)、顔写真画像データ選択取得処理(図13参照)を行った後(ステップS75)、その印刷データを編集する(ステップS76)。
【0064】
前記薬剤画像データ選択取得処理では、図13に示すように、まず、薬剤の画像を取得し(ステップS81)、薬剤の形態を判断する(ステップS82)。薬剤が分包されている場合、本体画像ファイルを取得する(ステップS83)。また、薬剤がヒートシールにより包装されている場合、包装画像ファイルを取得する(ステップS84)。さらに、分包及びヒートシールのいずれでもない場合、そのような画像ファイルが全て取得されるまで(ステップS85)、形態が注釈(表2参照)と一致するか否かを判断し(ステップS86)、一致していればその画像ファイルを取得する(ステップS87)。ところで、薬剤マスタファイルの全薬剤についての画像ファイルが登録されているわけではないので、各薬剤について画像ファイルが取得できたか否かを判断し(ステップS88)、取得できない場合には、形態コードに対応した標準画像ファイルを取得する(ステップS89)。ここで、標準画像ファイルとは、例えば、「錠剤」あるいは「カプセル剤」と文字表記しただけの画像ファイルを意味する。
【0065】
以上のようにして印刷された薬袋を図16及び図17に示す。この薬袋でも前記服薬指導用紙と同様に種々の印刷が施され、患者にとって親切な内容となっている。
【0066】
【発明の効果】
以上の説明から明らかなように、本発明に係る薬袋印刷装置によれば、患者毎の処方箋データに基づいて該当する薬剤の画像データ及び服薬指導文を取得し印刷データを作成するようにしたので、患者にとって見やすく、服用薬の判別を簡単に行うことができる。したがって、誤って服用する等の不具合も発生しない。
【図面の簡単な説明】
【図1】  本実施形態に係る薬袋印刷装置のブロック図である。
【図2】  図1の薬剤画像データファイルに記憶された画像ファイル部の内容を示す図である。
【図3】  図1の顔写真データファイルに記憶された画像ファイル部の内容を示す図である。
【図4】  図1の画像ファイル部を示すブロック図である。
【図5】  本実施形態に係る薬袋印刷装置での印刷制御を示すフローチャートである。
【図6】  図5の服薬指導用紙印刷データ作成処理を示すフローチャートである。
【図7】  図5の服薬指導用紙印刷データ作成処理を示すフローチャートである。
【図8】  図6の服薬指導用紙出力プリンタ選択処理を示すフローチャートである。
【図9】  図6の顔写真画像データ選択取得処理を示すフローチャートである。
【図10】  図6の薬剤服用順整列処理を示すフローチャートである。
【図11】  図7の調剤画像データ選択取得処理を示すフローチャートである。
【図12】  図5の薬袋印刷データ作成処理を示すフローチャートである。
【図13】  図5の薬袋印刷データ作成処理を示すフローチャートである。
【図14】  本発明に係る薬袋印刷装置によって印刷された服薬指導用紙を示す平面図である。
【図15】  本発明に係る薬袋印刷装置によって印刷された服薬指導用紙を示す平面図である。
【図16】  本発明に係る薬袋印刷装置によって印刷された薬袋の一例を示す平面図である。
【図17】  本発明に係る薬袋印刷装置によって印刷された薬袋の他の例を示す平面図である。
【符号の説明】
1  記憶装置(記憶手段)
3  中央演算処理装置(制御手段)
8  外部プリンタ
9  外部第1プリンタ
10  外部第2プリンタ
11  ローカルプリンタ
12  ネットワーク第1プリンタ
13  ネットワーク第2プリンタ
17  プリンタ[0001]
 BACKGROUND OF THE INVENTION
 The present invention relates to a medicine bag printing apparatus, and more particularly to a medicine bag printing apparatus capable of color-printing image data on a medicine bag or medication instruction paper.
 [0002]
 [Prior art]
 Conventionally, as a medicine bag printing device, there is one that selects the size of a medicine bag according to the contents of a prescription and prints the patient name, usage, and the like (see, for example, Japanese Utility Model Publication No. 7-9644).
 [0003]
 In addition, as another medicine bag printing device, there is one which prints image data of a medicine on a medicine bag (see, for example, Japanese Utility Model Publication No. 63-140947). In this medicine bag printing device, a dosing method such as “after every meal” can be printed next to the image data of the medicine.
 [0004]
 [Problems to be solved by the invention]
 However, in the former medicine bag printing apparatus, if there are a plurality of types of medicines, it is difficult to determine which medicines should be taken by which method.
 [0005]
 Moreover, in the latter medicine bag printing apparatus, what can be printed is the form of the medicine itself. Actually, each medicine is packaged and is different from the form delivered to the patient. The form after packaging is generally different in that multiple types of drugs are packaged together or even the same drug can be encapsulated or packaged in wrapping paper. It is. For this reason, it may be difficult to make a judgment by simply printing the form of the medicine itself.
 [0006]
 Then, this invention makes it a subject to provide the medicine bag printing apparatus which can perform the printing | printing which can distinguish the chemical | medical agent to take easily.
 [0007]
 [Means for Solving the Problems]
 The present invention providesa medicine bag printing apparatus provided with printing means for performing color printing of image data based on prescription data as means for solving the above problems.
Storage means for storing image data for each medicine;
Control means for acquiring image data of all corresponding medicines from the storage means when enclosing a plurality of kinds of medicines, creating inclusion print data by enclosing them with a rectangular line drawing, and transmitting the data to the printing means; It is provided .
 [0008]
The image data is image data of a medicine that is actually delivered to the patient.
 Examples of the combined printing data include those created by surrounding individual image data of a plurality of corresponding drugs with a frame indicating a medicine-wrapping paper, or by inserting a single word together with individual image data. It is done.
 [0009]
 According to the medicine bag printing apparatus having the above configuration, the control means reads the corresponding image data and medication instruction text from the storage means based on the prescription data for each patient, creates print data, and prescribes the medicine bag and medication instruction paper. Print the position. The printed contents are color-printed image data of the medicine actually delivered to the patient. Therefore, even if there are a plurality of prescribed medicines, the patient can determine which medicine is at first glance and will not take it by mistake. Moreover, since a medication instruction sentence is printed next to each image data, there is no mistake in the taking method.
 [0011]
The storage means further stores a face photo image data file for storing face photo data for each pharmacist in association with a pharmacist code, and a medication instructor setting file for storing various item codes in association with the pharmacist code,
The control means further specifies a pharmacist code by referring to a medication instructor setting file stored in the storage means based on prescription data for each patient, and refers to a face photo image data file based on the specified pharmacist code Then, it is preferable that print data is created by specifying the face photo data and transmitted to the printing means.
 [0012]
According to this configuration, if the prescription data is input, the face photo data of the pharmacist who is in charge can be automatically specified based on the item code included in the prescription data, and the responsible pharmacist is stored in the medicine bag or the like. Can be printed.
The item code corresponds to the medicinal effect code in the drug master file if it is a medicinal category, corresponds to the clinical department if it is a clinical category, and corresponds to each age group if it is an age category. Yes.
 [0013]
The control means acquires a drug image based on the dispensing data converted from the prescription data for each patient, determines the form, and as a result of referring to the drug image data file stored in the storage means, there is no corresponding data. In this case, it is preferable to send a standard image file to the printing means.
 [0014]
In the medicine bag printing apparatus having the above-described configuration, it is preferable that the image data is rearranged in the order of taking in that it is easy for the patient to see.
 [0015]
 The printing means includes a plurality of external printers,
 It is preferable that the control means automatically selects which printer is to print based on the created print data.
 [0016]
 According to this configuration, each printer can be used efficiently.
 [0017]
 DETAILED DESCRIPTION OF THE INVENTION
 Hereinafter, embodiments of the present invention will be described with reference to the accompanying drawings.
 [0018]
 FIG. 1 is a block diagram of a medicine bag printing apparatus according to the present embodiment. The medicine bag printing apparatus includes a
 [0019]
 The
 [0020]
 As shown in Table 1, the drug master file includes a drug code, a drug name, a form code, a standard amount, a drug code, and an efficacy / effect.
 [0021]
 [Table 1]
 [0022]
 Abbreviations for drug names are used for drug codes. For example, the abbreviation “kafui” is used for the drug “cuff cell size”. The form code is a symbol corresponding to the form of each drug delivered to the patient. Specifically, the symbol corresponding to the drug itself consisting of tablets, capsules, powders, liquids for internal use, external preparations, etc., heat-sealed packaged products packaged by pharmaceutical companies, and packages packaged using a packaging machine at pharmacies Symbols corresponding to the packaging of drugs such as goods are used. The standard amount refers to a prescription amount of a medicine set in advance. The standard amount “0.5 g” of powder G in Table 1 means that the powder G is heat-sealed in units of 0.5 g. The medicinal effect code is a code number assigned to each medicine and is used in the printer selection process described later. The efficacy / effect indicates the efficacy and effect of each drug, and is used as original data when editing the print data in the medication instruction paper print data creation process and the medicine bag print data creation process described later.
 [0023]
 The medicine image data file is composed of an index data portion and an image file portion.
 [0024]
 As shown in Table 2, the index data part includes a medicine code, a medicine identification symbol, a packaging identification symbol, a main body image file name, a packaging image file name, and the like.
 [0025]
 [Table 2]
 [0026]
 The drug identification symbol refers to a symbol stamped or printed on the drug body. The package identification symbol refers to a symbol printed on a medicine package. The annotation indicates a case where the same drug is prescribed in a different manner, such as when the tablet is divided or crushed (powdered). For example, in the tablet D, the
 [0027]
 As shown in FIG. 2, the image file portion is composed of image files corresponding to the respective identification symbols.
 [0028]
 Similar to the medicine image data file, the face photo image data file is composed of an index data portion and an image file portion. As shown in Table 3, the index data part is composed of a pharmacist code and a face photo image file name.
 [0029]
 [Table 3]
 [0030]
 As shown in FIG. 3, the image file portion is composed of a pharmacist face photo image file corresponding to the pharmacist code.
 [0031]
 For example, images read by the digital
 [0032]
 As shown in Table 4, the medication instructor setting file is composed of setting conditions and medication instructor (pharmacist) codes. The setting condition includes valid / invalid data and condition contents.
 [0033]
 [Table 4]
 [0034]
 The valid / invalid data is data for selecting a corresponding category in order to determine a medication instructor. The condition contents are composed of a category and a corresponding item code. If the fixed category is valid, the medication instructor listed in that column is selected regardless of other conditions. Each item code of the medicinal effect category corresponds to the medicinal effect code of the medicinal master file. Each item code of the medical department category corresponds to the medical department, and each item code of the age category corresponds to each age group.
 [0035]
 As shown in Table 5, the printer type master file includes a printer type code, an output destination device, a printer type, a model, and a printer driver file name.
 [0036]
 [Table 5]
 Based on various information of the printer type master file, it is possible to create print data according to various specifications and conditions of each printer.
 [0037]
 As shown in Table 6, the output printer setting file includes setting conditions and a printer type code. The setting condition includes valid / invalid data and condition contents.
 [0038]
 [Table 6]
 [0039]
 The valid / invalid is data for determining which section is selected in order to select an output printer. The content of the condition is composed of item data corresponding to the category, and is determined in consideration of a preferable combination of printers. The valid / invalid and condition contents are the same as those in the medication instructor setting file. In the printer type code, “output” is displayed in the corresponding column of the printer to be selected. For example, with a medicinal effect code = 0001 (anticancer agent), a printer type code = 32 (second printer in the network) is selected.
 [0040]
 As shown in Table 7, the pharmacist master file includes a pharmacist code, a pharmacist name, and a pharmacist name.
 [0041]
 [Table 7]
 [0042]
 As shown in FIG. 4, the medicine
 [0043]
 The
 [0044]
 Hereinafter, the printing control by the
 [0045]
 In the print control, as shown in FIG. 5, first, prescription data is read from the host computer 4 (step S1). The prescription data is data for each patient. Prescription data includes hospital / dispensing pharmacy, dispensing date, patient number, patient name (kana, kanji), hospital name, doctor name, medication instructor name, outpatient / hospital, exchange number, gender, date of birth, department , Prescription date, prescription number, drug name, usage, dose, time of administration, etc. are included.
 [0046]
 Next, the received prescription data is converted into dispensing data (step S2). Specifically, the prescription data is converted from the code system of the
 [0047]
 [Table 8]
 [0048]
 In the dispensing data, hospital / dispensing pharmacy and outpatient / hospitalization are fixed values. The age is calculated from the date of birth and the date of dispensing.
 [0049]
 When the dispensing data is completed in this way, the medication instruction paper print data creation process (step S5: FIG. 6 and FIG. 7) and the medicine bag print data creation process (step S6: FIG. 10) are performed. The medication instruction form print data creation process is performed for each selected printer, as will be described later. The medicine bag print data creation process is performed for the
 [0050]
 In the medication instruction form print data creation process, as shown in FIGS. 6 and 7, first, a printer type code is selected by a printer selection process (FIG. 8) (step S11). Then, the corresponding data is acquired from the printer type master file shown in Table 5 based on the selected printer type code (step S12), and the print data is edited (step S13). In editing the print data, the dispensing date, patient name (kana, kanji), exchange number, hospital name, and prescription date data shown in Table 8 based on the pre-stored print layout of the medication instruction form are stored in the corresponding locations. assign.
 [0051]
 Subsequently, face photo image data is acquired by the face photo image data selection acquisition process (FIG. 9) (step S14), and the print data is edited as in step S13 (step S15). Further, all drug data is acquired from the dispensing data (step S16), and the drugs are arranged in order of taking by the drug taking order arranging process (FIG. 10) (step S17).
 [0052]
 Thereafter, it is determined whether or not the dose time or the dose category has been changed (step S18). If changed, the print data is edited (step S19). Processing (FIG. 13) is performed (step S20), and the print data of the medicine image is edited (step S21).
 [0053]
 Here, it is determined whether or not the medicine is to be packaged (step S22). If the packaging is to be performed, the combined print data is edited (step S23). Is edited (step S24), and the next medicine data in the arranged data is acquired (step S25). In step S23, the print data is edited when a plurality of types of medicines are collected and packaged in a single package with medicine wrapping paper. In this case, print data of each corresponding medicine may be acquired, and the print data may be newly processed by pretending that the print data is surrounded by a rectangular line drawing and packaged in a single package with medicine wrapping paper. .
 [0054]
 Steps S18 to S25 are performed until all drug data is completed (step S26).
 [0055]
 In the printer selection process, as shown in FIG. 8, first, all data is acquired from the output printer setting file (Table 6) (step S31), and the classification is selected based on the valid / invalid data of the setting condition, that is, the printer type. A code selection method is determined (step S32). If the fixed category is valid, the printer type code corresponding to the column column set to “output” in the row is acquired (step S33). If the efficacy category is valid, the anticancer drug, narcotic drug, and cardiovascular drug data are output to the network
 [0056]
 In the face photograph image data selection acquisition process, as shown in FIG. 9, first, all data is acquired from the medication instructor setting file (Table 4) (step S41), and classified based on valid / invalid data of setting conditions. The selection, that is, the method of selecting the medication instructor code is determined (step S42).
 [0057]
 If the fixed category is valid, the corresponding medication instructor code is acquired (step S43). If the medicinal effect category is valid, a medication instructor code corresponding to the corresponding item code is acquired (step S44). If the medical department classification is valid, a medication instructor code corresponding to the corresponding item code is acquired (step S45). If the age category is valid, a medication instructor code corresponding to the corresponding age range is acquired (step S46).
 [0058]
 Next, the printer type code is set in the dispensing data based on the output printer setting file (Table 6) (step S47). Also, an image file name of the face photo corresponding to the medication instructor code is obtained from the index data portion (Table 3) of the face photo image data file (step S48), and the corresponding face photo is obtained from the image file portion (FIG. 3). An image file is acquired (step S49).
 [0059]
 In the medicine order-sorting process, as shown in FIG. 10, the medicine data is rearranged in order of taking time and taking meal category / form (step S51). For details, rearrange in the order of “morning”, “noon”, “evening” and “before going to bed” based on the time of taking, and for each time of taking “pre-meal”, “immediately after meal” ”,“ After Meal ”,“ Meals ”, and for each meal category,“ Tablet / Heat (Tablets wrapped by heat-sealing) ”,“ Capsule / Heat ”, etc. Sort in the order. Furthermore, when the form is “packaging”, if the medication time and the meal category (combination category) are the same, the medication data with the same packaging category is preferentially collected in order to be packaged with other drugs. To rearrange (step S52).
 [0060]
 As a result, the obtained medication instruction form is shown in FIGS. On this medication instruction form, a photograph of a face of a pharmacist who is a medication instructor is printed. For this reason, it is easy to determine who should consult a dispensed medicine. In addition, since the dispensed form itself is printed as a photograph, it is easy to determine which drug should be taken. In addition, it is very easy to see because it is arranged in order of dose. In addition, since various information about the drug (name of drug, drug symbol, packaging symbol, single dose, efficacy effect, etc.) is printed, the patient can take it with peace of mind.
 [0061]
 In the medicine bag print data creation process, as shown in FIGS. 11 and 12, first, corresponding data is obtained from the printer type master file (Table 5) based on the printer type code (step S61). Here, unlike the medication instruction paper print data creation process, data is output only to the
 [0062]
 Subsequently, the initial print data such as the department and patient name is edited and assigned to the corresponding location (step S62). Further, the usage print data is edited and assigned to the corresponding location (step S63). Then, the medicine data corresponding to the medicine bag number is acquired from the dispensing data (step S64), and rearranged in a predetermined order by the medicine taking order arranging process (see FIG. 10) (step S65).
 [0063]
 Thereafter, the same processing as steps S19 to S26 of the medication instruction form creation processing is performed (steps S67 to 74). When the steps S67 to S74 are completed for all the drug data for which the alignment process has been completed (step S66), the face photo image data selection acquisition process (see FIG. 13) is performed (step S75), and then the print data is stored. Edit (step S76).
 [0064]
 In the medicine image data selection acquisition process, as shown in FIG. 13, first, a medicine image is obtained (step S81), and the form of the medicine is determined (step S82). When the medicine is packaged, a main body image file is acquired (step S83). If the medicine is packaged by heat sealing, a packaging image file is acquired (step S84). Further, when neither the package nor the heat seal is obtained, it is determined whether or not the form matches the annotation (see Table 2) until all such image files are acquired (step S85) (step S86). If they match, the image file is acquired (step S87). By the way, since image files for all drugs in the drug master file are not registered, it is determined whether or not an image file can be acquired for each drug (step S88). A corresponding standard image file is acquired (step S89). Here, the standard image file means, for example, an image file simply written as “tablet” or “capsule”.
 [0065]
 The medicine bag printed as described above is shown in FIGS. In this medicine bag, various kinds of printing are applied in the same manner as the medication instruction form, which is kind to the patient.
 [0066]
 【The invention's effect】
 As is clear from the above description, according to the medicine bag printing apparatus according to the present invention, the image data and medication instruction text of the corresponding medicine are acquired based on the prescription data for each patient, and the print data is created. It is easy for the patient to see and the medicines to be taken can be easily identified. Therefore, there is no problem such as taking it by mistake.
 [Brief description of the drawings]
 FIG. 1 is a block diagram of a medicine bag printing apparatus according to an embodiment.
 FIG. 2 is a diagram showing the contents of an image file portion stored in the medicine image data file of FIG.
 3 is a diagram showing the contents of an image file portion stored in the face photo data file of FIG. 1. FIG.
 4 is a block diagram showing an image file part of FIG. 1. FIG.
 FIG. 5 is a flowchart showing printing control in the medicine bag printing apparatus according to the present embodiment.
 6 is a flowchart showing a medication instruction form print data creation process of FIG. 5; FIG.
 FIG. 7 is a flowchart showing a medication instruction form print data creation process of FIG. 5;
 FIG. 8 is a flowchart showing a medication instruction paper output printer selection process of FIG. 6;
 FIG. 9 is a flowchart showing face photograph image data selection acquisition processing of FIG. 6;
 FIG. 10 is a flowchart showing a medicine taking order alignment process of FIG. 6;
 FIG. 11 is a flowchart showing a dispensing image data selection acquisition process of FIG.
 12 is a flowchart showing a medicine bag print data creation process of FIG. 5;
 FIG. 13 is a flowchart showing a medicine bag print data creation process of FIG. 5;
 FIG. 14 is a plan view showing a medication instruction sheet printed by the medicine bag printing apparatus according to the present invention.
 FIG. 15 is a plan view showing a medication instruction sheet printed by the medicine bag printing apparatus according to the present invention.
 FIG. 16 is a plan view showing an example of a medicine bag printed by a medicine bag printing apparatus according to the present invention.
 FIG. 17 is a plan view showing another example of a medicine bag printed by the medicine bag printing apparatus according to the present invention.
 [Explanation of symbols]
 1 Storage device (storage means)
 3 Central processing unit (control means)
 8
| Application Number | Priority Date | Filing Date | Title | 
|---|---|---|---|
| JP20288597AJP3730370B2 (en) | 1997-07-29 | 1997-07-29 | Medicine bag printing device | 
| Application Number | Priority Date | Filing Date | Title | 
|---|---|---|---|
| JP20288597AJP3730370B2 (en) | 1997-07-29 | 1997-07-29 | Medicine bag printing device | 
| Application Number | Title | Priority Date | Filing Date | 
|---|---|---|---|
| JP2004264881ADivisionJP4110127B2 (en) | 2004-09-13 | 2004-09-13 | Medicine bag printing device | 
| Publication Number | Publication Date | 
|---|---|
| JPH1142833A JPH1142833A (en) | 1999-02-16 | 
| JPH1142833A5 JPH1142833A5 (en) | 2004-12-16 | 
| JP3730370B2true JP3730370B2 (en) | 2006-01-05 | 
| Application Number | Title | Priority Date | Filing Date | 
|---|---|---|---|
| JP20288597AExpired - LifetimeJP3730370B2 (en) | 1997-07-29 | 1997-07-29 | Medicine bag printing device | 
| Country | Link | 
|---|---|
| JP (1) | JP3730370B2 (en) | 
| Publication number | Priority date | Publication date | Assignee | Title | 
|---|---|---|---|---|
| JP2000043898A (en)* | 1998-08-03 | 2000-02-15 | Saitama Medicom Kk | Classified medicine pack and medicine instruction displaying medicine information for classified medicine pack | 
| JP2001000508A (en)* | 1999-06-22 | 2001-01-09 | Yuyama Manufacturing Co Ltd | Medicine package dividing device | 
| JP4637307B2 (en)* | 1999-08-09 | 2011-02-23 | 東日本メディコム株式会社 | Drug instruction book and its creation system | 
| US6564121B1 (en)* | 1999-09-22 | 2003-05-13 | Telepharmacy Solutions, Inc. | Systems and methods for drug dispensing | 
| JP2002172150A (en)* | 2000-12-06 | 2002-06-18 | Toppan Printing Co Ltd | Tagged pharmaceutical package and method for preventing erroneous administration of pharmaceutical | 
| JP2002336330A (en)* | 2001-05-14 | 2002-11-26 | Kyokusho:Kk | Drug bag, instruction on dosage and administration and printing system for the same | 
| JPWO2006001390A1 (en)* | 2004-06-24 | 2008-04-17 | 株式会社ジェイ・トーマス | Medication guide | 
| JP4610397B2 (en)* | 2005-03-31 | 2011-01-12 | 富士通株式会社 | Prescription support program and prescription support device | 
| JP4606342B2 (en)* | 2006-02-06 | 2011-01-05 | 株式会社トーショー | Drug packaging device | 
| JP2007319479A (en)* | 2006-06-01 | 2007-12-13 | Meding:Kk | Medicine pouch | 
| JP2017064109A (en)* | 2015-09-30 | 2017-04-06 | キヤノンマーケティングジャパン株式会社 | Information processing device, packaging system, method for controlling packaging system, and program | 
| Publication number | Publication date | 
|---|---|
| JPH1142833A (en) | 1999-02-16 | 
| Publication | Publication Date | Title | 
|---|---|---|
| KR100457268B1 (en) | Drug packaging machine and method for packaging drug | |
| KR100401820B1 (en) | Pharmacy paper printing device | |
| JP3599605B2 (en) | Drug packaging device | |
| JP3730370B2 (en) | Medicine bag printing device | |
| GB2431487A (en) | Method of manufacturing a medication storage assembly | |
| KR100508723B1 (en) | Medication packing apparatus | |
| JP4243783B2 (en) | Dispensing instruction system | |
| JPH1091700A (en) | Medication support system | |
| JP2007007286A (en) | Prescription drug information browsing system and printing control program for browsing prescription drug information | |
| JP2004358266A (en) | Medicament dividing apparatus | |
| JP4110127B2 (en) | Medicine bag printing device | |
| KR20050065455A (en) | Sealable individual bar coded packets | |
| JPH1142833A5 (en) | ||
| JP4759163B2 (en) | Dispensing control system and dispensing control method | |
| KR100800293B1 (en) | Automatic pharmaceutical packaging device equipped with a bitmap image printing function and method thereof | |
| JP4343305B2 (en) | Medicine bag printing device | |
| JP3808531B2 (en) | Medicine bag printing device | |
| JP7547244B2 (en) | Medication support device, medication support method, and program | |
| JP2000043898A (en) | Classified medicine pack and medicine instruction displaying medicine information for classified medicine pack | |
| JP3068718U (en) | Medicine bag | |
| JPH02107223A (en) | Medical data processing apparatus | |
| JPS60240623A (en) | Controller for medicine packaging machine | |
| JP7382440B2 (en) | Information processing system, terminal device, information processing method and program | |
| JPH05147627A (en) | Medicine package-printing emthod of tabletpacking machine | |
| JP4102689B2 (en) | Medicine bag printing device | 
| Date | Code | Title | Description | 
|---|---|---|---|
| A521 | Request for written amendment filed | Free format text:JAPANESE INTERMEDIATE CODE: A523 Effective date:20040108 | |
| A621 | Written request for application examination | Free format text:JAPANESE INTERMEDIATE CODE: A621 Effective date:20040108 | |
| A131 | Notification of reasons for refusal | Free format text:JAPANESE INTERMEDIATE CODE: A131 Effective date:20040727 | |
| A521 | Request for written amendment filed | Free format text:JAPANESE INTERMEDIATE CODE: A523 Effective date:20040913 | |
| TRDD | Decision of grant or rejection written | ||
| A01 | Written decision to grant a patent or to grant a registration (utility model) | Free format text:JAPANESE INTERMEDIATE CODE: A01 Effective date:20050913 | |
| A61 | First payment of annual fees (during grant procedure) | Free format text:JAPANESE INTERMEDIATE CODE: A61 Effective date:20051006 | |
| R150 | Certificate of patent or registration of utility model | Free format text:JAPANESE INTERMEDIATE CODE: R150 | |
| FPAY | Renewal fee payment (event date is renewal date of database) | Free format text:PAYMENT UNTIL: 20081014 Year of fee payment:3 | |
| FPAY | Renewal fee payment (event date is renewal date of database) | Free format text:PAYMENT UNTIL: 20091014 Year of fee payment:4 | |
| FPAY | Renewal fee payment (event date is renewal date of database) | Free format text:PAYMENT UNTIL: 20091014 Year of fee payment:4 | |
| FPAY | Renewal fee payment (event date is renewal date of database) | Free format text:PAYMENT UNTIL: 20101014 Year of fee payment:5 | |
| FPAY | Renewal fee payment (event date is renewal date of database) | Free format text:PAYMENT UNTIL: 20101014 Year of fee payment:5 | |
| FPAY | Renewal fee payment (event date is renewal date of database) | Free format text:PAYMENT UNTIL: 20111014 Year of fee payment:6 | |
| FPAY | Renewal fee payment (event date is renewal date of database) | Free format text:PAYMENT UNTIL: 20111014 Year of fee payment:6 | |
| FPAY | Renewal fee payment (event date is renewal date of database) | Free format text:PAYMENT UNTIL: 20121014 Year of fee payment:7 | |
| FPAY | Renewal fee payment (event date is renewal date of database) | Free format text:PAYMENT UNTIL: 20121014 Year of fee payment:7 | |
| FPAY | Renewal fee payment (event date is renewal date of database) | Free format text:PAYMENT UNTIL: 20131014 Year of fee payment:8 | |
| R250 | Receipt of annual fees | Free format text:JAPANESE INTERMEDIATE CODE: R250 | |
| R250 | Receipt of annual fees | Free format text:JAPANESE INTERMEDIATE CODE: R250 | |
| R250 | Receipt of annual fees | Free format text:JAPANESE INTERMEDIATE CODE: R250 | |
| R250 | Receipt of annual fees | Free format text:JAPANESE INTERMEDIATE CODE: R250 | |
| EXPY | Cancellation because of completion of term |