
















【0001】
【産業上の利用分野】
  この発明は半導体力学量センサに関し、特にヨーレイトセンサに好適なものである。
【0002】
【従来の技術】
本願出願人はすでに、平成4年特許願第223072号にて半導体ヨーレイトセンサを提案している。これは、図17に示すように、半導体基板の一部に当該基板と離間した梁構造を形成し、その梁の先端に形成された錘の一面と同錘面と対向する基板壁面に交流電力を加えて静電気により錘を励振させ、当該錘の励振方向に対し直交する軸方向において錘の一面と同錘面と対向する基板壁面に電極を対向配置して当該対向電極間の容量の変化を電気的に検出して同方向に働くヨーレイトを検出するようにしたものである。
【0003】
【発明が解決しようとする課題】
  ところが、この半導体ヨーレイトセンサの如く2方向に可動する半導体力学量センサにおいては、その具体的構造という観点からは不十分であり、今後の課題となっている。
【0004】
そこで、この発明の目的は、新規な構造の半導体力学センサを提供することにある。
【0005】
【課題を解決するための手段】
  上記目的を達成するため、本発明は、基板上に絶縁膜を介して形成されたシリコン層と、前記シリコン層に形成された可動部と、前記基板と絶縁分離されて前記可動部と対向する位置に形成された対向電極と、前記対向電極に電気的に接続された電極取り出し部と、前記シリコン層に形成され、空隙を含む絶縁体を介して前記可動部から分離され、前記絶縁膜を介して前記基板に固定された固定部分とを有する半導体力学量センサであって、前記シリコン層と前記基板との間における前記絶縁膜上に、前記基板と絶縁分離されて部分的に配置されたシリコン膜を更に有し、前記対向電極から前記電極取り出し部への電気経路は、前記シリコン層の前記固定部分の前記空隙に隣接する一部を用いて形成され、前記電極取り出し部と電気的に接続された第1の部位と、前記空隙の下部に配置された前記シリコン膜の一部を用いて形成され、前記対向電極及び前記第1の部位を電気的に接続する第2の部位とを備えることを特徴とする半導体力学量センサを特徴とする。
【0006】
さらに本発明は、基板とシリコン層とを有し、シリコン層から可動素子が形成されており、該可動素子は基板と接続されている形式に半導体力学量センサにおいて、基板とシリコン層との間に導電層が設けられており、該導電層は絶縁層によってシリコン層の部分に対して絶縁されていることを特徴とする半導体力学量センサを特徴とする。
【0007】
【実施例】
(第1実施例)
以下、この発明を具体化した一実施例を図面に従って説明する。
【0008】
図2には、本実施例における半導体ヨーレイトセンサの概略平面図を示す。つまり、本センサは単結晶シリコン基板101に片持ち梁102が形成され、その先端に錘139が形成されている。又、錘139の先端部には梁の延設方向に3つの突起103,104,105が離間して延設されている。又、片持ち梁102(錘139)の先端面に対向する単結晶シリコン基板1側には、突起103と104との間において2つの突起106,107が離間して突起103,104の延設方向に平行状態にて延設されている。同様に、片持ち梁102(錘139)の先端面に対向するシリコン基板101側には、突起104と105との間において2つの突起108,109が離間して突起104,105の延設方向に平行状態にて延設されている。
【0009】
又、図3には、電極を含めた半導体ヨーレイトセンサの平面図を示す。さらに、図1には、図3のA−A断面図を示す。尚、SOI回路に形成するIC回路、配線等は省略し、本センサにおける容量を取り出す電極および振動電極等のみに関して外部取り出し用のアルミ電極のみを示してある。つまり、全ての電極取り出し部が単結晶シリコン基板101の主表面上に形成されている。
【0010】
図1に示すように、単結晶シリコン基板110上にSiO2膜111を介して単結晶シリコン基板101が接合され、この単結晶シリコン基板101に前述した梁構造が形成されている。
【0011】
図1,3において、片持ち梁102の錘139の表面には可動電極112が形成されている。この可動電極112は、錘139の3つの突起103,104,105を含むものである。又、錘139の下方には、2つの電極113,114が並設されている。励振用電極114は、交流電力を加えて静電気により錘139を励振させるためのものである。つまり、可動電極112と励振用電極114とにより励振用対向電極が形成されている。
【0012】
一方、センス用電極113は錘139の励振を検知するためのものであり、錘139の励振に伴う出力信号に基づいてフィードバック制御により所定の錘139の励振が行われる。つまり、可動電極112とセンス用電極113とにより励振のフィードバック用対向電極が形成されている。
【0013】
又、図3に示すように、片持ち梁102の突起103を挟んで固定電極133と134(突起106)が形成されるとともに、突起104を挟んで固定電極135(突起107)と136(突起108)が形成されている。さらに、突起105を挟んで固定電極137(突起109)と138が形成されている。つまり、突起103(可動電極112)と固定電極133,134とにより対向電極が、又、突起104(可動電極112)と固定電極135,136とにより対向電極が形成されている。さらに、突起105(可動電極112)と固定電極137,138とにより対向電極が形成されている。
【0014】
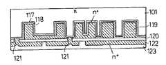
図4〜図8にはその製造工程を示す。以下、製造工程を説明する。図4に示すように、1〜20Ω・cmのn型(100)単結晶シリコン基板101を用意し、単結晶シリコン基板101の主表面にドライエッチング又はウェットエッチングにより凹部115を所定の深さ、例えば、0.1〜5μmの深さで形成する。そして、単結晶シリコン基板101の主表面にSiO2膜を形成し、フォトリソグラフィー手法によりパターンを形成する。続いて、凹部115の底部を含む単結晶シリコン基板101の主表面にドライエッチング等により0.1〜30μm程度のトレンチ116を形成する。
【0015】
本実施例では、この凹部115とトレンチ116とにより溝が構成されている。そして、トレンチ116の内壁を含む単結晶シリコン基板101の主表面に、n+拡散層117を形成するとともに、その表面に熱酸化によりSiO2膜118を形成する。
【0016】
その後、図5に示すように、凹部115、トレンチ116内にLPCVD法によりポリシリコン膜119を埋め込む。引き続き、SiO2膜118をストッパーとしてポリシリコン膜119の表面を研摩し、表面を平滑にする。この時、ポリシリコン膜119とSiO2膜118の表面が平滑になることが望ましい。
【0017】
続いて、表面に例えばCVD法等により0.3〜2μm程度の厚さのSiO2膜120を形成し、n+拡散層117との電気的接続用の下部コンタクト121を所定の位置に形成する。
【0018】
さらに、As,P(リン)を不純物としたn+ポリシリコン122を0.2〜1μmの厚さで形成して、これを所定の電極パターン及びシールド層とする。次に、表面に、例えば絶縁膜であるBGSP膜123を0.2〜1μmの厚さで形成する。そして、このBGSP膜123の表面を平坦化研摩する。
【0019】
一方、図6に示すように、シリコン基板110を用意し、その表面に熱酸化により0.2〜1μmのSiO2膜111を形成する。引き続き、図7に示すように、シリコン基板101及び110を、SiO2膜111を介して、例えば1000℃、N2中で接合する。そして、単結晶シリコン基板101の裏面を、SiO2膜118をストッパとして選択研摩する。この研摩によりポリシリコン119とそれにより分離されたシリコン基板101領域を表面に露出させる。
【0020】
続いて、単結晶シリコン基板101領域に公知の方法でIC基板その他のデバイス(図示せず)を作製するとともに、アルミ配線,パッシベーション膜,パッド窓(いずれも図示せず)を形成する。
【0021】
続いて、図8に示すように、所定領域のSiO2膜118を除去し、図3に示すエッチング用孔124を用いて所定領域のポリシリコン膜119を除去する。一例として、TMAH(テトラメチルアンモニウムハイドロオキサイド)エッチング液を用いる。このエッチングにより、可動電極(梁部)が形成される。
【0022】
このようにして製造された半導体ヨーレイトセンサにおいては、シリコン基板110上にSiO2膜111を介して薄膜化された単結晶シリコン基板101が接合され、単結晶シリコン基板101には先端に錘139を有する片持ち梁102が形成されている。又、錘139の一面(図1の下面)にはn+拡散層117が、又、同錘面と対向する単結晶シリコン基板101の下面にn+ポリシリコン122(励振用電極114)が形成され、n+拡散層117とn+ポリシリコン122とにより励振用対向電極が形成される。そして、この励振用対向電極に交流電力を加えて静電気により錘139が励振する。さらに、錘139の励振方向に対し直交する軸方向において、錘139の一面にはn+拡散層117が、又、同錘面と対向する単結晶シリコン基板101の壁面にn+拡散層117が形成され、錘139側のn+拡散層117と単結晶シリコン基板101の壁面側のn+拡散層117とによりヨーレイト検出用電極が形成される。このヨーレイト検出用電極により電気容量の変化を検出して同方向に働くヨーレイトが検出される。
【0023】
つまり、励振用対向電極(n+拡散層117とn+ ポリシリコン122)に交流電力を加えて静電気により錘139を励振させる。この状態で、ヨーレイト検出用電極(錘139側のn+拡散層117と、単結晶シリコン基板101の壁面側のn+拡散層117)により錘139の励振方向に対し直交する軸方向において電気容量の変化が検出されて同方向に働くヨーレイトが検出される。
【0024】
このように本実施例では、単結晶シリコン基板101の主表面に、錘139を有する片持ち梁102を形成するための所定深さの溝としての凹部115,トレンチ116を形成し(第1工程)、錘139となる基板表面領域及びこの錘139を囲む凹部115,トレンチ116の内壁において基板面方向(図4の左右方向)にトレンチ116を挟んで一対の対向電極としてのn+拡散層117を形成するとともに、錘139となる基板表面領域において基板面方向に直交する方向(図5の上下方向;シリコン基板101の厚さ方向)にn+拡散層117(第1電極)を形成する(第2工程)。そして、凹部115,トレンチ116を充填材としてのポリシリコン膜119にて充填するとともにポリシリコン膜119を挟んでn+拡散層117(第1電極)に対し対向するn+ポリシリコン膜122(電極)を形成し、さらに、単結晶シリコン基板101の主表面を平滑化し(第3工程)、単結晶シリコン基板101の主表面とシリコン基板110とを接合する(第4工程)。さらに、単結晶シリコン基板101の裏面側を所定量研摩して単結晶シリコン基板101を薄膜化し(第5工程)、単結晶シリコン基板101の裏面側からポリシリコン膜119をエッチング除去して錘139を有する片持ち梁102を形成する(第6工程)。
【0025】
その結果、シリコン基板110上にSiO2膜111(絶縁膜)を介して接合され、かつ薄膜化された単結晶シリコン基板101と、単結晶シリコン基板101に形成され、錘139を有する梁102と、錘139の一面および同錘面と対応する壁面に形成された可動電極112,励振用電極114(第1の対向電極)と、錘139の可動電極112,励振用電極114に対して直交する軸方向において錘139の一面および同錘面と対向する壁面に形成された突起103〜105,固定電極133〜138(第2の対向電極)とを備えることとなる。
【0026】
又、対向電極のどちらか1つ、即ち、可動電極112,励振用電極114は単結晶シリコン基板101の主表面に平行に形成されている。さらに、全ての電極取り出し部を薄膜化された単結晶シリコン基板101の同一面上に形成した。
【0027】
このように、シリコン基板110上にSiO2膜111を介して接合され、かつ、薄膜化された単結晶シリコン基板101と、単結晶シリコン基板101に形成され、先端に錘139を有する片持ち梁102と、錘139の一面および同錘面と対向する単結晶シリコン基板101の壁面に形成され、交流電力を加えて静電気により錘139を励振させる励振用対向電極と、錘139の励振方向に対し直交する軸方向において、錘139の一面および同錘面と対向する単結晶シリコン基板101の壁面に形成され、電気容量の変化を検出して同方向に働くヨーレイトを検出するためのヨーレイト検出用電極とを備えた半導体ヨーレイトセンサとなる。
【0028】
このようにして表面マイクロマシーニング技術を用いて、ウェハプロセス途中、特にIC回路作製時、ウェハ凹部、貫通孔等のある状態での熱処理、フォトリソグラフィー処理等は行わず、プロセスの安定化、コンタミネーションを防ぎデバイスの安定化、高精度化を図ることができることとなる。
【0029】
尚、本実施例の応用としては、上記実施例では励振用電極、センス電極を基板内部に埋め込んだ構造で説明したが、コスト低減化のためセンス電極を省略してもよい。この場合、上記構造の他にシリコン基板を励振用電極としてそのまま利用することもできる。
【0030】
又、本実施例ではウェハ面と平行に形成した電極をセンス用電極、励振用電極とし、垂直方向の電極をコリオリの力を検出するための固定電極として用いたが、逆に利用することもできる。即ち、シリコン基板101に垂直方向に形成した固定電極の一方を励振用電極とし、もう一方の垂直方向の電極をフィードバックをかけるためのセンス用電極として用い、ウェハ面に水平な電極をコリオリの力を検出するための電極としてもよい。
【0031】
さらに、凹部115とトレンチ116を充填するためのポリシリコン膜119(即ち、多結晶シリコン膜)は、非晶質又は多結晶と非晶質の混在したシリコン膜を用いてもよい。
【0032】
(第2実施例)
次に、第2実施例を第1実施例との相違点を中心に説明する。
【0033】
本実施例は、第1実施例に対し出力をさらに増大し、かつ、過剰な衝撃等に対して梁の破壊を防止しようとするものである。図9〜図15にはセンサの製造工程を示す。以下、製造工程を説明する。
【0034】
第1実施例の図4において、図9に示すように、SiO2膜118の形成後、LPCVD法により200〜2000ÅのSi3N4膜125を形成する。本実施例ではSi3N4膜125の膜厚を500Åとしている。
【0035】
第1実施例と同様なプロセスで第1実施例の図7に示すような表面平坦化研摩を行う。続いて、フォトリソグラフィーにより図9のレジスト126で所定のパターンを形成する。そして、図10に示すように、ドライエッチング等により単結晶シリコン基板101のセンサ部になる領域を部分的に除去する。
【0036】
次に、レジスト126をマスクとして、例えばフッ酸を主体とするウェットエッチングによりSiO2膜118を除去する。続いて、レジスト126を除去する。
【0037】
以後、説明を分かりやすくするため図10のセンサ部Bの拡大図を用いて説明していく。図11はその拡大部分である。
【0038】
図12に示すように、Si3N4膜125を熱酸化のマスクとしてSiO2膜127を500〜10000Å形成する。本実施例では、SiO2膜127の厚さを1000Åとしている。
【0039】
続いて、図13に示すように、熱酸化時のマスクとして用いたSi3N4膜125をプラズマエッチングまたは熱リン酸のエッチングにて除去する。続いて、LPCVD法等によりポリシリコン128を表面に形成し、ポリシリコン128の表面を選択研摩によりSiO2膜127をストッパとして除去する。
【0040】
さらに、TMAH(テトラメチルアンモニウムハイドロオキサイド)液にて表面の仕上げを行う。ここで、周辺部にIC回路等形成のプロセスを行う(図示せず)。
【0041】
そして、図14に示すように、表面にSi3N4膜129を500〜2000Å形成し、電極層およびセンサの過度の振幅に対するストッパとしてn+ポリシリコン層130を形成する。続いて、表面保護膜としてBPSG膜131を形する。尚、この膜はSi3N4膜等で形成することも可能である。続いて、窓部132を明ける。
【0042】
続いて、図15に示すように、TMAH液にてポリシリコン119,ポリシリコン128をこの窓部132よりエッチング除去する。このようにして、全周を電極及びストッパで包囲された可動部(片持ち梁)を持つセンサが形成される。又、この構造においては、基板と垂直方向に錘部分を励振させた場合、図15に示すように、a>bかつaの範囲内にbがあるので励振によるヨーレイトを検出する場合の容量の変化はほとんどない。又、このようにaとbの関係は第1実施例に作り込むこともできる。
【0043】
尚、図16は全体の様子がより詳しく分かるようにした図である。このように本実施例では、片持ち梁102の上方にストッパ部材を配置したので、第1実施例に対し出力をさらに増大、かつ、過剰な衝撃等に対して片持ち梁102の破壊が防止できる。
【0044】
尚、この発明は上記各実施例に限定されるものではなく、例えばセンサユニットを互いに直交する方向に2組配置して2軸方向でのヨーレイトを検出するようにしてもよい。又、片持ち梁に限定されるものでもない。さらに、ヨーレイト検出に限らず、例えば、上述の実施例において励振用電極としたものを、上下方向における変位を容量検出する電極とし、2方向における変位検出を可能とした力学センサに用いることも可能である。
【0045】
【発明の効果】
以上詳述したようにこの発明によれば、新規な半導体力学センサを提供できるという優れた効果を発揮する。
【図面の簡単な説明】
【図1】第1実施例における半導体ヨーレイトセンサの断面図である。
【図2】第1実施例における半導体ヨーレイトセンサの概略平面図である。
【図3】電極を含めた半導体ヨーレイトセンサの平面図である。
【図4】製造工程を示す断面図である。
【図5】製造工程を示す断面図である。
【図6】製造工程を示す断面図である。
【図7】製造工程を示す断面図である。
【図8】製造工程を示す断面図である。
【図9】第2実施例の半導体ヨーレイトセンサの製造工程を示す断面図である。
【図10】製造工程を示す断面図である。
【図11】製造工程を示す断面図である。
【図12】製造工程を示す断面図である。
【図13】製造工程を示す断面図である。
【図14】製造工程を示す断面図である。
【図15】製造工程を示す断面図である。
【図16】製造工程を示す断面図である。
【図17】センサの原理を説明するための説明図である。
【符号の説明】
101  単結晶シリコン基板
102  片持ち梁
103〜105  突起
110  シリコン基板
111  絶縁膜としてのSiO2膜
112  可動電極
114  励振用電極
115  溝を構成する凹部
116  溝を構成するトレンチ
117  n+拡散層
119  ポリシコン膜
122  n+ポリシリコン膜
133〜138  固定電極
139  錘[0001]
 [Industrial application fields]
 The present invention relatesto a semiconductor dynamicquantity sensor, in particular suitablefor a yaw rate sensor.
 [0002]
 [Prior art]
 The present applicant has already proposed a semiconductor yaw rate sensor in Japanese Patent Application No. 223072. As shown in FIG. 17, a beam structure separated from the substrate is formed on a part of the semiconductor substrate, and AC power is applied to one surface of the weight formed at the tip of the beam and the substrate wall facing the weight surface. In addition, the weight is excited by static electricity, and an electrode is disposed opposite to the surface of the weight and the substrate wall facing the weight surface in an axial direction perpendicular to the exciting direction of the weight to change the capacitance between the facing electrodes. The yaw rate acting in the same direction is detected electrically.
 [0003]
 [Problems to be solved by the invention]
 However, a semiconductor dynamicquantity sensor that moves in two directions, such as this semiconductor yaw rate sensor, is insufficient from the viewpoint of its specific structure,and is a future problem.
 [0004]
 Therefore, an object of the present invention is to provide a semiconductor dynamic sensor having a novel structure.
 [0005]
 [Means for Solving the Problems]
 To achieve the above object, the present invention includes a siliconlayer formed over an insulating film on a substrate, a movable portion formed in the siliconlayer,facing the movable portionis insulated from thesaid substrate A counter electrode formed at aposition ; an electrodelead- out portionelectrically connected to the counter electrode;and a silicon layer formed on the silicon layer and separated from the movable portion through an insulator including a gap; A semiconductor dynamic quantity sensor having a fixed portion fixed to the substrate via the insulating layer between the silicon layer and the substrate and partially disposed so as to be insulated from the substrate. A silicon film is further provided, and an electrical path from the counter electrode to the electrode extraction portion is formed using a part of the silicon layer adjacent to the gap of the fixed portion, and is electrically connected to the electrode extraction portion. Connection First and site that was formed by using a part of the silicon layer which is arranged below the gap, and a second portion for electrically connecting said counter electrode and said first portion The present invention is characterized by a semiconductor dynamic quantity sensor.
 [0006]
 Furthermore, the present invention has a substrate and a silicon layer, and a movable element is formed from the silicon layer, and the movable element is connected to the substrate in a semiconductor mechanical quantity sensor, between the substrate and the silicon layer. The semiconductor dynamic quantity sensor is characterized in that a conductive layer is provided on the silicon layer and the conductive layer is insulated from the silicon layer portion by the insulating layer.
 [0007]
 【Example】
 (First embodiment)
 An embodiment embodying the present invention will be described below with reference to the drawings.
 [0008]
 FIG. 2 shows a schematic plan view of the semiconductor yaw rate sensor in the present embodiment. That is, in this sensor, the
 [0009]
 FIG. 3 is a plan view of the semiconductor yaw rate sensor including the electrodes. Further, FIG. 1 shows a cross-sectional view taken along line AA of FIG. Note that the IC circuit, wiring and the like formed in the SOI circuit are omitted, and only the aluminum electrode for external extraction is shown with respect to only the electrode for extracting the capacitance and the vibration electrode in this sensor. That is, all electrode extraction portions are formed on the main surface of the single
 [0010]
 As shown in FIG. 1, a single
 [0011]
 1 and 3, the
 [0012]
 On the other hand, the
 [0013]
 Further, as shown in FIG. 3, fixed
 [0014]
 4 to 8 show the manufacturing process. Hereinafter, the manufacturing process will be described. As shown in FIG. 4, an n-type (100) single
 [0015]
 In the present embodiment, the
 [0016]
 Thereafter, as shown in FIG. 5, a
 [0017]
 Subsequently, a SiO2 film 120 having a thickness of about 0.3 to2 μm is formed on the surface by, eg, CVD, and a
 [0018]
 Further, n +
 [0019]
 On the other hand, as shown in FIG. 6, a
 [0020]
 Subsequently, an IC substrate and other devices (not shown) are produced in a region of the single
 [0021]
 Subsequently, as shown in FIG. 8, the SiO2 film 118 in a predetermined region is removed, and the
 [0022]
 In the semiconductor yaw rate sensor manufactured in this way, the single
 [0023]
 That is, AC power is applied to the excitation counter electrode (n +
 [0024]
 As described above, in this embodiment, the
 [0025]
 As a result, the single
 [0026]
 Further, one of the counter electrodes, that is, the
 [0027]
 As described above, the single
 [0028]
 In this way, surface micromachining technology is used to stabilize the process and prevent contamination during the wafer process, especially during IC circuit fabrication, without performing heat treatment or photolithographic processing in the presence of wafer recesses or through-holes. Nation can be prevented and the device can be stabilized and highly accurate.
 [0029]
 As an application of the present embodiment, the above embodiment has been described with the structure in which the excitation electrode and the sense electrode are embedded in the substrate, but the sense electrode may be omitted for cost reduction. In this case, in addition to the above structure, the silicon substrate can be used as it is as an excitation electrode.
 [0030]
 In this embodiment, the electrodes formed parallel to the wafer surface are used as sensing electrodes and excitation electrodes, and the vertical electrodes are used as fixed electrodes for detecting Coriolis force. it can. That is, one of the fixed electrodes formed in the vertical direction on the
 [0031]
 Further, the polysilicon film 119 (that is, the polycrystalline silicon film) for filling the
 [0032]
 (Second embodiment)
 Next, the second embodiment will be described focusing on the differences from the first embodiment.
 [0033]
 In this embodiment, the output is further increased as compared with the first embodiment, and the beam is prevented from being broken due to excessive impact or the like. 9 to 15 show the manufacturing process of the sensor. Hereinafter, the manufacturing process will be described.
 [0034]
 In FIG. 4 of the first embodiment, as shown in FIG. 9, after the formation of the SiO2 film 118, a 200 to 2000 inch Si3 N4 film 125 is formed by LPCVD. In this embodiment, the thickness of the Si3 N4 film 125 is 500 mm.
 [0035]
 Surface flattening polishing as shown in FIG. 7 of the first embodiment is performed in the same process as the first embodiment. Subsequently, a predetermined pattern is formed with the resist 126 of FIG. 9 by photolithography. Then, as shown in FIG. 10, a region to be a sensor portion of the single
 [0036]
 Next, using the resist 126 as a mask, the SiO2 film 118 is removed by wet etching mainly including hydrofluoric acid, for example. Subsequently, the resist 126 is removed.
 [0037]
 Hereinafter, in order to make the explanation easy to understand, the explanation will be made by using an enlarged view of the sensor portion B of FIG. FIG. 11 is an enlarged portion thereof.
 [0038]
 As shown in FIG. 12, 500 to 10,000 SiO2 films 127 are formed using the Si3 N4 film 125 as a mask for thermal oxidation. In this embodiment, the thickness of the SiO2 film 127 is 1000 mm.
 [0039]
 Subsequently, as shown in FIG. 13, the Si3 N4 film 125 used as a mask during thermal oxidation is removed by plasma etching or hot phosphoric acid etching. Subsequently, a
 [0040]
 Further, the surface is finished with a TMAH (tetramethylammonium hydroxide) solution. Here, a process for forming an IC circuit or the like in the peripheral portion is performed (not shown).
 [0041]
 Then, as shown in FIG. 14, 500 to 2000 Si3 N4 films 129 are formed on the surface, and an n +
 [0042]
 Subsequently, as shown in FIG. 15, the
 [0043]
 FIG. 16 is a view showing the overall state in more detail. As described above, in this embodiment, the stopper member is disposed above the
 [0044]
 The present invention is not limited to the above embodiments. For example, two sensor units may be arranged in a direction orthogonal to each other to detect the yaw rate in the biaxial direction. Moreover, it is not limited to a cantilever. Furthermore, the present invention is not limited to yaw rate detection. For example, the excitation electrode in the above-described embodiment can be used as a mechanical sensor that can detect displacement in two directions by using a capacitance detection electrode for displacement in the vertical direction. It is.
 [0045]
 【The invention's effect】
 As described above in detail, according to the present invention, an excellent effect that a novel semiconductor dynamic sensor can be provided is exhibited.
 [Brief description of the drawings]
 FIG. 1 is a cross-sectional view of a semiconductor yaw rate sensor according to a first embodiment.
 FIG. 2 is a schematic plan view of the semiconductor yaw rate sensor in the first embodiment.
 FIG. 3 is a plan view of a semiconductor yaw rate sensor including electrodes.
 FIG. 4 is a cross-sectional view showing a manufacturing process.
 FIG. 5 is a cross-sectional view showing a manufacturing process.
 FIG. 6 is a cross-sectional view showing a manufacturing process.
 FIG. 7 is a cross-sectional view showing a manufacturing process.
 FIG. 8 is a cross-sectional view showing a manufacturing process.
 FIG. 9 is a cross-sectional view showing a manufacturing process of the semiconductor yaw rate sensor of the second embodiment.
 FIG. 10 is a cross-sectional view showing a manufacturing process.
 FIG. 11 is a cross-sectional view showing a manufacturing process.
 FIG. 12 is a cross-sectional view showing a manufacturing process.
 FIG. 13 is a cross-sectional view showing a manufacturing process.
 FIG. 14 is a cross-sectional view showing a manufacturing process.
 FIG. 15 is a cross-sectional view showing a manufacturing process.
 FIG. 16 is a cross-sectional view showing a manufacturing process.
 FIG. 17 is an explanatory diagram for explaining the principle of a sensor;
 [Explanation of symbols]
 101 SiO2 film 112
| Application Number | Priority Date | Filing Date | Title | 
|---|---|---|---|
| JP2001310622AJP3725059B2 (en) | 2001-10-05 | 2001-10-05 | Semiconductor dynamic quantity sensor | 
| Application Number | Priority Date | Filing Date | Title | 
|---|---|---|---|
| JP2001310622AJP3725059B2 (en) | 2001-10-05 | 2001-10-05 | Semiconductor dynamic quantity sensor | 
| Application Number | Title | Priority Date | Filing Date | 
|---|---|---|---|
| JP27320292ADivisionJP3638290B2 (en) | 1992-08-21 | 1992-10-12 | Semiconductor dynamic sensor | 
| Publication Number | Publication Date | 
|---|---|
| JP2002195835A JP2002195835A (en) | 2002-07-10 | 
| JP3725059B2true JP3725059B2 (en) | 2005-12-07 | 
| Application Number | Title | Priority Date | Filing Date | 
|---|---|---|---|
| JP2001310622AExpired - LifetimeJP3725059B2 (en) | 2001-10-05 | 2001-10-05 | Semiconductor dynamic quantity sensor | 
| Country | Link | 
|---|---|
| JP (1) | JP3725059B2 (en) | 
| Publication number | Priority date | Publication date | Assignee | Title | 
|---|---|---|---|---|
| JP2008102157A (en)* | 2008-01-16 | 2008-05-01 | Denso Corp | Semiconductor dynamic quantity sensor | 
| Publication number | Priority date | Publication date | Assignee | Title | 
|---|---|---|---|---|
| JP2008102157A (en)* | 2008-01-16 | 2008-05-01 | Denso Corp | Semiconductor dynamic quantity sensor | 
| Publication number | Publication date | 
|---|---|
| JP2002195835A (en) | 2002-07-10 | 
| Publication | Publication Date | Title | 
|---|---|---|
| JP3367113B2 (en) | Acceleration sensor | |
| JP5316479B2 (en) | Manufacturing method of semiconductor dynamic quantity sensor and semiconductor dynamic quantity sensor | |
| JP3555388B2 (en) | Semiconductor yaw rate sensor | |
| JP2002301695A (en) | Precision mechanical structural element and manufacturing method therefor | |
| JP3638290B2 (en) | Semiconductor dynamic sensor | |
| JP3198922B2 (en) | Manufacturing method of capacitance type sensor | |
| JP4081868B2 (en) | Manufacturing method of micro device | |
| JP3725059B2 (en) | Semiconductor dynamic quantity sensor | |
| JP3633555B2 (en) | Semiconductor dynamic quantity sensor | |
| JP3725078B2 (en) | Manufacturing method of semiconductor dynamic quantity sensor | |
| JP4530050B2 (en) | Semiconductor dynamic quantity sensor | |
| JP4063272B2 (en) | Semiconductor dynamic quantity sensor | |
| JP4752078B2 (en) | Semiconductor dynamic quantity sensor | |
| JP4783914B2 (en) | Semiconductor dynamic quantity sensor and manufacturing method of semiconductor dynamic quantity sensor | |
| JP2002181551A (en) | Semiconductor dynamic-quantity sensor | |
| JPH049770A (en) | Semiconductor strain-sensitive sensor and manufacture thereof | |
| JP2000065583A (en) | Semiconductor dynamic quantity sensor | |
| JP4175309B2 (en) | Semiconductor dynamic quantity sensor | |
| JP2000046563A (en) | Semiconductor dynamic quantity sensor | |
| JP2002148278A (en) | Semiconductor kinetic quantity sensor and its manufacturing method | |
| JP2006030209A (en) | Method of manufacturing mechanical quality sensor for semiconductor | |
| JP2004245844A (en) | Semiconductor dynamic-quantity sensor | |
| JP3309827B2 (en) | Method of manufacturing substrate having movable part and method of manufacturing dynamic quantity sensor | |
| JP2000065582A (en) | Semiconductor dynamic sensor | |
| JP3638469B2 (en) | Semiconductor acceleration sensor | 
| Date | Code | Title | Description | 
|---|---|---|---|
| A02 | Decision of refusal | Free format text:JAPANESE INTERMEDIATE CODE: A02 Effective date:20031111 | |
| A521 | Written amendment | Free format text:JAPANESE INTERMEDIATE CODE: A523 Effective date:20050803 | |
| A61 | First payment of annual fees (during grant procedure) | Free format text:JAPANESE INTERMEDIATE CODE: A61 Effective date:20050920 | |
| R150 | Certificate of patent or registration of utility model | Free format text:JAPANESE INTERMEDIATE CODE: R150 | |
| FPAY | Renewal fee payment (event date is renewal date of database) | Free format text:PAYMENT UNTIL: 20110930 Year of fee payment:6 | |
| FPAY | Renewal fee payment (event date is renewal date of database) | Free format text:PAYMENT UNTIL: 20110930 Year of fee payment:6 | |
| FPAY | Renewal fee payment (event date is renewal date of database) | Free format text:PAYMENT UNTIL: 20120930 Year of fee payment:7 | |
| FPAY | Renewal fee payment (event date is renewal date of database) | Free format text:PAYMENT UNTIL: 20120930 Year of fee payment:7 | |
| FPAY | Renewal fee payment (event date is renewal date of database) | Free format text:PAYMENT UNTIL: 20130930 Year of fee payment:8 | |
| EXPY | Cancellation because of completion of term | ||
| FPAY | Renewal fee payment (event date is renewal date of database) | Free format text:PAYMENT UNTIL: 20130930 Year of fee payment:8 |