























本発明は、超音波造影剤による診断に適用する超音波診断装置に関する。 The present invention relates to an ultrasonic diagnostic apparatus applied to diagnosis using an ultrasonic contrast agent.
超音波診断装置は、超音波パルスを生体内に放射し、固有音響インピーダンス(両媒質の密度と音速との積)の異なる組織の境界面から反射してくる反射波を受信した後、これを処理して画像を得るものであり、X線診断法のような被曝障害がなく臨床上有益な装置である。しかも、電子走査技術に代表される各種技術の進歩によりリアルタイム性能が向上し、動体計測がより容易になった。 The ultrasonic diagnostic apparatus radiates an ultrasonic pulse into a living body, receives a reflected wave reflected from a boundary surface of a tissue having different specific acoustic impedances (product of density and sound velocity of both media), and then receives the reflected wave. The image is processed to obtain an image, and is a clinically useful apparatus without exposure damage like the X-ray diagnostic method. Moreover, real-time performance has been improved by the advancement of various technologies represented by electronic scanning technology, and moving object measurement has become easier.
ところで、近年、超音波造影剤の開発が進み、X線アンギオに匹敵するような綿密な血流診断への期待が高まっている。この超音波造影剤は生体からの受信信号とその強度において明確に相違する性質を有している。これによりBモード像上で超音波造影剤が流入した部分は他の部分と輝度または階調レベルが相違するので、観察者は超音波造影剤の流入の様子を観察することができる。 By the way, in recent years, the development of ultrasonic contrast agents has progressed, and expectations for a thorough blood flow diagnosis comparable to X-ray angios are increasing. This ultrasonic contrast agent has a property that is clearly different in the received signal from the living body and its intensity. As a result, the portion of the B-mode image into which the ultrasound contrast agent has flowed differs in brightness or gradation level from the other portions, so that the observer can observe the inflow of the ultrasound contrast agent.
ところで、このような超音波造影剤の流入の様子を視覚的に観察するだけではその精度は非常に低い。診断精度を向上するには、造影剤の関心領域への流入出量の経時的変化やその立ち上がり時間等の各種情報が必要となる。従来の超音波診断装置ではこのような各種情報を提供することはできず、このため観察者は各フレーム毎に関心領域内の濃度合計を計測し、その結果をグラフにまとめて診断に供していた。このように各種情報を入手するために観察者は不快な手間と時間を要求される。また、その情報がリアルタイムで得られないという問題もある。さらに、受信信号には生体成分と造影剤成分とが含まれていて、関心領域への流入出量を正確に測定するためには、受信信号から造影剤成分を抽出する必要があるが、超音波はX線に比べて態動の影響を受け易く同じ生体部分の生体成分であってもその強度は経時的に不安定であり、このため受信信号から造影剤成分を正確に抽出することができないという問題もある。 By the way, the accuracy is very low only by visually observing the flow of such an ultrasonic contrast agent. In order to improve the diagnostic accuracy, various information such as changes in the amount of inflow and outflow of the contrast agent into the region of interest and its rise time are required. The conventional ultrasonic diagnostic apparatus cannot provide such information, and therefore the observer measures the total concentration in the region of interest for each frame and collects the results in a graph for diagnosis. It was. Thus, in order to obtain various information, the observer is required unpleasant labor and time. Another problem is that the information cannot be obtained in real time. Furthermore, the received signal contains a biological component and a contrast agent component, and in order to accurately measure the amount of flow into and out of the region of interest, it is necessary to extract the contrast agent component from the received signal. Sound waves are more susceptible to movement than X-rays, and even if they are biological components of the same biological part, the intensity thereof is unstable over time, so that the contrast agent component can be accurately extracted from the received signal. There is also a problem that it cannot be done.
また、一般に超音波診断装置のダイナミックレンジは、コントラストを高めるため生体組織からの受信信号の予想される強度幅に設定されている。このため受信信号の造影剤成分は、生体からの受信信号とその強度において明確に相違しているので、このダイナミックレンジから突出し飽和することがあり、そのため画像化できないという問題もある。 In general, the dynamic range of an ultrasonic diagnostic apparatus is set to an expected intensity range of a received signal from a living tissue in order to increase contrast. For this reason, since the contrast agent component of the received signal is clearly different from the received signal from the living body in intensity, it may protrude from the dynamic range and saturate, so that there is a problem that it cannot be imaged.
さらに、造影剤の流入状況は、離れた2つの部分、例えば頸動脈と内脈の2つの部分を同時観察することが有効である。このため従来は、2台の超音波診断装置を使用していた。しかし互いに他方の超音波の影響でビートノイズが画像に発生する問題があった。また、両装置間で各別に画像を生成するため、両装置のプローブの電気/超音波変換特性やプリアンプ等のゲイン特性の相違により両装置の標準信号レベルが相違し、このため画像間比較できないという問題もある。 Further, it is effective to simultaneously observe two parts apart from each other, for example, two parts of the carotid artery and the internal vein, as the inflow situation of the contrast agent. For this reason, conventionally, two ultrasonic diagnostic apparatuses have been used. However, there is a problem that beat noise occurs in the image due to the influence of the other ultrasonic wave. Also, since images are generated separately between the two devices, the standard signal levels of the two devices differ due to differences in the electrical / ultrasonic conversion characteristics of the probes of both devices and the gain characteristics of the preamplifier. There is also a problem.
また、上述し他に、異なるダイナミックレンジの入出力特性を記憶したROMを有し、いずれかを選択できる超音波診断装置が知られている(特許文献1参照)。 In addition to the above, there is known an ultrasonic diagnostic apparatus that has a ROM that stores input / output characteristics of different dynamic ranges and can select either one (see Patent Document 1).
さらに、ダイナミックレンジ切り替え機能を有する対数圧縮回路を備える超音波診断装置が知られている(特許文献2参照)。 Furthermore, an ultrasonic diagnostic apparatus having a logarithmic compression circuit having a dynamic range switching function is known (see Patent Document 2).
  またさらに、関心領域を指定することができ、該関心領域内の統計量を算出する手段を備える超音波診断装置が知られている(特許文献3参照)。
しかし、上述したいずれの先行技術においても、造影剤を用いた超音波診断においては不充分であり、その改善が求められていた。 However, any of the above-described prior arts is insufficient for ultrasonic diagnosis using a contrast agent, and improvement has been demanded.
本発明の目的は、造影剤の関心領域への流入出量の経時的変化等の各種情報をリアルタイムで提供できる、又は、離れた2つの部分の画像を互いに他方の超音波の影響でビートノイズの発生を押さえながらそれぞれリアルタイムで収集できる超音波診断装置を提供することである。 It is an object of the present invention to provide various information such as changes in the amount of inflow and out of a contrast medium into a region of interest in real time, or to separate two parts of an image from each other by the influence of the other ultrasonic wave and beat noise. It is to provide an ultrasonic diagnostic apparatus capable of collecting in real time while suppressing the occurrence of the above.
上記目的は、次の超音波診断装置により達成される。すなわち、本発明は、造影剤が投与された被検体に対して超音波を送受信し超音波受信信号を得る送受信手段と、この送受信部により得られる超音波受信信号を信号処理してフレーム単位の超音波画像を得る信号処理手段と、この信号処理手段により得られるフレーム単位の超音波画像中に関心領域を設定する設定手段と、この設定手段により設定されたフレーム毎の関心領域間にフィルタリングを施すフィルタリング手段と、このフィルタリング手段によりフィルタリングされたフレーム毎の関心領域の画像データに基づき、造影剤に起因する前記関心領域における画像データの時間的な変化曲線を求める算出手段と、この算出手段により求められた前記時間的変化曲線を表示する表示手段と、を具備する超音波診断装置である。 The above object is achieved by the following ultrasonic diagnostic apparatus. That is, the present invention provides transmission / reception means for transmitting / receiving ultrasonic waves to / from a subject to which a contrast agent has been administered to obtain an ultrasonic reception signal, and processing the ultrasonic reception signals obtained by the transmission / reception unit for each frame. Signal processing means for obtaining an ultrasonic image, setting means for setting a region of interest in an ultrasonic image in frame units obtained by the signal processing means, and filtering between the regions of interest set for each frame set by the setting means Filtering means to be applied, calculation means for obtaining a temporal change curve of the image data in the region of interest caused by the contrast agent based on the image data of the region of interest for each frame filtered by the filtering unit, and the calculation unit An ultrasonic diagnostic apparatus comprising: display means for displaying the obtained temporal change curve.
以上本発明によれば、造影剤の関心領域への流入出量の経時的変化等の各種情報をリアルタイムで提供できる、又は、離れた2つの部分の画像を互いに他方の超音波の影響でビートノイズの発生を押さえながらそれぞれリアルタイムで収集できる超音波診断装置を実現することができる。 As described above, according to the present invention, it is possible to provide various information such as a change in the inflow / outflow amount of the contrast medium into the region of interest in real time, or to beat two distant images due to the influence of the other ultrasonic wave. It is possible to realize an ultrasonic diagnostic apparatus that can collect in real time while suppressing generation of noise.
以下、図面を参照して本発明による超音波診断装置の実施形態を説明する。 Embodiments of an ultrasonic diagnostic apparatus according to the present invention will be described below with reference to the drawings.
  図1は本発明による超音波診断装置の第1実施形態を示すブロック図である。図1に示すように、被検体Pに当てられた超音波プローブ1は、送信部200及び受信部201により送受信駆動される。受信部201からは超音波受信信号が得られる。この超音波受信信号は信号処理部202に与えられ、ここでBモード像、ドプラ像、CFM(カラーフローマッピング)像の如き超音波画像が得られる。変換部203は、信号処理部202から出力された超音波画像のダイナミックレンジを変換する。表示部204は、変換されたダイナミックレンジを有する超音波画像を表示する。制御部205は、送信部200、受信部201、信号処理部202、変換部203及び表示部204を制御する。  FIG. 1 is a block diagram showing a first embodiment of an ultrasonic diagnostic apparatus according to the present invention. As shown in FIG. 1, the
設定部206は、超音波条件の設定を初めとする診断条件を設定する。この他に、設定部206では、造影剤モードである造影剤が注入された被検体からの超音波画像と、通常モードである造影剤が注入されていない被検体からの超音波画像とに応じて変換部203の変換特性を変更するべく制御部205に指令を与える。変換部203は、ダイナミックレンジの異なる2つのログ圧縮器を用いて、通常モードと造影剤モードとで適宜選択的に使用して、通常モードでは良好なコントラストを有する超音波画像を得ることができ、造影剤モードでは造影剤の信号を飽和することなく超音波画像をログ圧縮することができる。 The setting unit 206 sets diagnostic conditions including the setting of ultrasonic conditions. In addition to this, in the setting unit 206, an ultrasound image from a subject into which a contrast agent in contrast agent mode is injected and an ultrasound image from a subject into which a contrast agent in normal mode is not injected are used. Then, a command is given to the control unit 205 to change the conversion characteristics of the conversion unit 203. The conversion unit 203 can use two log compressors having different dynamic ranges and selectively use them appropriately in the normal mode and the contrast agent mode, and can obtain an ultrasound image having good contrast in the normal mode. In contrast agent mode, an ultrasound image can be log-compressed without saturating the contrast agent signal.
  図2は本発明による超音波診断装置の第2実施形態を示すブロック図である。図2に示すように、第2実施形態の超音波診断装置は、第1実施形態の超音波診断装置とは異なる変換部207を有する。この変換部207は、一のログ圧縮カーブデータを記憶したメモリ207Aと、他のログ圧縮カーブデータを記憶したメモリ207Bと、演算部207Cとからなる。例えば、一のログ圧縮カーブデータは通常モードに使用するログ圧縮特性であり、他のログ圧縮カーブデータは造影剤モードに使用するログ圧縮特性である。この変換部207は、入力値を、ログ圧縮カーブデータに基づき所定の出力値に変換する。従って、この変換部207は、入力値をログ圧縮し、該ログ圧縮した値を出力するものである。この変換部207にあっても、通常モードと造影剤モードとで適宜選択的に使用して、通常モードでは良好なコントラストを有する超音波画像を得ることができ、造影剤モードでは造影剤の信号を飽和することなく超音波画像をログ圧縮することができる。  FIG. 2 is a block diagram showing a second embodiment of the ultrasonic diagnostic apparatus according to the present invention. As illustrated in FIG. 2, the ultrasonic diagnostic apparatus according to the second embodiment includes a conversion unit 207 that is different from the ultrasonic diagnostic apparatus according to the first embodiment. The conversion unit 207 includes a
  図3は本発明による超音波診断装置の第3実施形態を示すブロック図である。セクタ式電子走査型のプローブ1は、一次元に配列された複数の振動子からなる。なおプローブ1はセクタ式電子走査型に限定されず、リニア式でも、機械走査型でもよい。このプローブ1には送信系2が接続される。送信系2は、プローブ1の各振動子に駆動パルスを供給する。送信系2は、この駆動パルスの出力タイミングを振動子間で相違させ、これにより任意の方向に超音波ビームを送信させる。  FIG. 3 is a block diagram showing a third embodiment of the ultrasonic diagnostic apparatus according to the present invention. The sector-type
  被検体Pからの反射波は送信時と同じ振動子で受信され、その受信信号は受信系3に供給される。受信系3は各受信信号に送信時とは逆の遅延時間を与えてそれらを加算する。受信系3の出力には2系統のログ圧縮器4,5が接続される。第1のログ圧縮器4は通常モード時に起動され、第2のログ圧縮器5は造影剤モード時に起動される。ログ圧縮器4,5は、受信系3の出力を以下の式(1)にしたがってログ圧縮に供し、この結果を輝度情報として出力する。なお、θはログ圧縮器出力、Iはログ圧縮器入力、Aは所定の係数、DRは圧縮率を決定するパラメータである。  The reflected wave from the subject P is received by the same vibrator as that at the time of transmission, and the received signal is supplied to the
  θ=A・log DR・I …(1)
  このパラメータDRは、第1のログ圧縮器4と第2のログ圧縮器5とで相違する。第1のログ圧縮器4は、パラメータDR1またはDR2(DR1<DR2)を使用する。第2のログ圧縮器5は、パラメータDR2より大きいDR3を使用する。ログ圧縮器4,5への入力レンジはImin 〜Imax であり、その出力レンジはθmin 〜θmax で固定されている。したがって、ログ圧縮結果が、出力レンジθmin 〜θmax より小さい場合または大きい場合には、その出力はそれぞれImin 、Imax に統一される。図5はパラメータDR1、DR2、DR3のそれぞれに対応する対数曲線a、b、c及びそれぞれのダイナミックレンジを示す図である。パラメータDR1の場合のダイナミックレンジはI0 〜Ia 、パラメータDR2の場合のダイナミックレンジはI0 〜Ib 、パラメータDR1の場合のダイナミックレンジはI0 〜Imax となる。θ = A · log DR · I (1)
 This parameter DR is different between the
  従って、第2のログ圧縮器5のダイナミックレンジは、第1のログ圧縮器4のそれより広く、造影剤の信号を飽和することなくログ圧縮することができる。  Therefore, the dynamic range of the
  第1のログ圧縮器4の出力は、第1のフレームメモリ6に供給され、2次元マトリクス上に展開され、そこから所定の順序で一次元に配列されて出力される。この出力は、ROIマーカ付加器7を介して表示器8に供給される。  The output of the
  第2のログ圧縮器5の出力は、第2のフレームメモリ9に供給され、2次元マトリクス上に展開され、そこから所定の順序で一次元に配列されて出力される。この出力は、造影剤信号検出部10に送られる。造影剤信号検出部10は、第2のフレームメモリ9の出力から造影剤成分(以下これを「造影剤信号」という)を抽出する。この造影剤信号は2次元の造影剤信号メモリ11を介して表示器8に供給される。  The output of the
  この造影剤信号はグラフ演算部12にも供給される。グラフ演算部12は、造影剤信号を用いて、造影剤の関心領域(ROI)への流入出量の経時的変化曲線(以下これを「タイムデンシティカーブ」という)のグラフ情報を作成したり、その流入、流出時間等の各種時間情報を計測する。グラフ演算部12の出力は2次元のグラフ情報メモリ13を介して表示器8に供給される。  This contrast agent signal is also supplied to the
  制御器14は、バスライン15を介して、ログ圧縮器4,5、フレームメモリ6,9、ROIマーカ付加器7、造影剤信号検出部10、造影剤信号メモリ11、グラフ演算部12、グラフ情報メモリ13の各部に制御信号及び必要な情報を供給し、各部を関連させて動作させると共に各部の処理を実行させる。  The
  造影剤モード入力部16は、通常モードと造影剤モードの切換えの指示を入力するための装置である。この通常モードと造影剤モードの切換えは、キーボードのキー操作に依存して行われるものでもよいし、造影剤注入装置を起動することを検知するスイッチの出力に依存して行われるものでもよい。造影剤注入装置は、図4に示すように、一端に突出口をまた他端に挿入口を備えた円筒部20とそれに挿入される挿入部21とからなるシリンジを主構成要素とする。造影剤注入装置を用いて造影剤を注入するときには、挿入部21は円筒部20内に深く挿入されるか、またはジョイント22を介して突出口にチューブ23が接続される。したがって、突出口にチューブ23が接続されたことを検知する電極スイッチ24をジョイント22に設けるか、またはシリンジに電磁スイッチ25を設けることにより、造影剤注入装置を起動することを検知することができる。電極スイッチ24は突出口にチューブ23が接続されたときON信号を出力する。電磁スイッチ25は、挿入部21の先端付近に設けられた磁石と、挿入部21を円筒部20に深く挿入したときに磁石と対峙する円筒部20に設けられたコイルとからなり、挿入部21を円筒部20に深く挿入したときのコイルに発生する誘導電流を発生して、造影剤注入装置を起動することを検知し、ON信号を出力する。制御器14は、このON信号を受けて、動作モードを通常モードから造影剤モードに切換える。  The contrast agent
  図6は、ROIマーカ付加器7の構成を示すブロック図である。ROIマーカ発生器41には制御器14からマーカ情報が供給される。マーカ情報は制御器14に接続された図示しないマウスの如き入力装置を観察者が操作することにより入力される。ROIマーカ発生器41はマーカ情報に基づいて関心領域を示す例えば矩形のマーカデータを出力する。このマーカデータは、スイッチ42を介して加算器43に供給され、第1のメモリ6からの画像に合成される。スイッチ42は制御器14からの制御信号にしたがって開閉を行い、マーカ情報に基づくマーカデータがROIマーカ発生器41から出力されるときにROIマーカ発生器41を加算器43に接続する。加算器43の出力は表示器8に供給される。  FIG. 6 is a block diagram showing the configuration of the
  図7は造影剤信号検出器10の構成を示すブロック図である。第2のメモリ9から関心領域(ROI)内の画像(以下「ROI画像」という)が出力され、このROI画像は、そのまま減算器57に供給されると共に、平均値演算部51とROIフレーム平均値メモリ56を介してやはり減算器57に供給される。減算器57の減算結果は、フレーム差分値、つまり造影剤信号として累積加算演算部60とフレーム差分値メモリ63に供給される。累積加算演算部60とフレーム差分値メモリ63の出力は、スイッチ64を介し択一的に造影剤信号メモリ11及びグラフ演算部12に供給される。平均値演算部51は所定数フレームの関心領域(ROI)内の各画素の平均値を演算するための手段であり、加算器52、ROIフレームメモリ53、スイッチ54、割り算器55を備える。加算器52では第2のメモリ9から入力したROI画像と、ROIフレームメモリ53からスイッチ54を介して入力した加算画像とを画素毎に加算し、その加算画像をROIフレームメモリ53に供給する。スイッチ54は、所定数フレームのROI画像の加算が終了するまでROIフレームメモリ53を加算器52に接続し、これにより所定数フレームのROI画像が加算される。この加算画像は、加算されたフレーム数で割り算器55により割り算され、平均処理に供される。ここで、平均処理を行うのは、造影剤信号の時間的な変動を低減し、スパイク状のノイズ成分を除去するためである。この平均画像は、ROIフレーム平均値メモリ56を介して減算器57に送られ、その−1乗算器57で極性を反転された後、加算器59で第2のメモリ9からのROI画像と画素毎に加算される。これにより、当該ROI画像に含まれる造影剤信号が画素毎に検出され、造影剤画像が生成される。この造影剤画像は、累積加算演算部60とフレーム差分値メモリ63に供給される。累積加算演算部60は、加算器61にフィードバック接続されたフレーム差分値メモリ63を備え、造影剤画像を画素毎に累積加算する。累積加算演算部60とフレーム差分値メモリ63の出力は、スイッチ64のスイッチングにより択一的に読み出され、造影剤信号メモリ11及びグラフ演算部12に供給される。スイッチ64のスイッチング動作は、観察者により図示しない入力装置から入力された表示切換え指示にしたがって行われる。造影剤信号メモリ11の出力は表示器8に供給される。  FIG. 7 is a block diagram showing the configuration of the contrast
  図8はグラフ演算部12の構成を示すブロック図である。造影剤信号検出器10の出力は総和値演算部71に供給される。総和値演算部71は、造影剤信号検出器10の出力に接続された加算器72に第1のROIピクセル総和値メモリ73をスイッチ74を介してフィードバック接続してなり、ROI内の全画素の造影剤信号を加算し、総和値Dを得る。  FIG. 8 is a block diagram showing a configuration of the
  マックスホールド部75は、総和値演算部71から順次出力される複数の総和値Dの中からその最大値Dmax 及びフレーム番号FNmax を検出し、それらを一時的に記憶する。総和値演算部71からの最新の総和値Dは、スイッチ76と−1乗算器77を介して極性反転され、加算器78とメモリ79に送られる。加算器78ではこの最新の総和値Dが、メモリ79から−1乗算器80を介して再度極性反転された過去の総和値Dと加算される。ANDゲート81では加算器78の出力の極性、つまり最新の総和値Dと過去の総和値Dとの大小関係を論理判定し、その判定結果をメモリ79の更新制御としてメモリ79に出力する。メモリ79は、この判定結果に応じて、過去の総和値Dより最新の総和値Dが大きいとき、過去の総和値Dに代えて最新の総和値Dを記憶する。したがって、メモリ79には常に現在までに供給された複数の総和値Dの中の最大値Dmax が記憶されることになる。またANDゲート81の判定結果は他方のメモリ82にも供給され、その判定結果に応じて、メモリ82に記憶するフレーム番号FNを更新することにより、メモリ79に記憶された最大値Dmax に対応するフレーム番号FNmax が記憶されることになる。なおメモリ82には、最新の総和値Dに対応するフレーム番号FNが制御器14から供給される。  The max hold unit 75 detects the maximum value Dmax and the frame number FNmax from among the plurality of total values D sequentially output from the total value calculation unit 71, and temporarily stores them. The latest sum value D from the sum value calculation unit 71 is inverted in polarity via the switch 76 and the -1
  最大値Dmax は、しきい値発生部83の乗算器83に供給される。乗算器83は、この最大値Dmax に、制御器14から供給されるしきい値係数K(通常は1/2)を乗算し、しきい値Dthを出力する。このしきい値Dthは、時間計測部84に送られる。  The maximum value Dmax is supplied to the
  時間計測部84には、総和値演算部71から出力される連続する複数の総和値Dを記憶する第2ROIピクセル総和値メモリ85が設けられる。第2ROIピクセル総和値メモリ85は、各総和値Dを入力順序にしたがって順番に出力する。第2ROIピクセル総和値メモリ85の出力は、−1乗算器86を介して極性反転されて加算器86に供給され、そこでしきい値Dthと加算される。この加算結果はANDゲート89に送られ、その正負が論理判定される。この判定の結果、総和値Dがしきい値Dthより大きいとき、カウンタ90が1つずつアップカウントされる。カウンタ90は、制御器14の制御にしたがって、フレーム番号FNmax の前後で別々にカウントを実行する。これによってカウンタ90では、最大値Dmax のフレームに至るまでのしきい値Dth以上の総和値Dを有するフレーム数と、最大値Dmax のフレーム以後のしきい値Dth以上の総和値Dを有するフレーム数とが計数される。それぞれのフレーム数は各別に乗算器91で、制御器14から供給された超音波送受信時のフレーム周期時間Ft と乗算され、実時間に換算される。前者のフレーム数に基づく実時間を造影剤がROIへ流入するに要する時間を示す流入時間twi、後者のフレーム数に基づく実時間を造影剤がROIから流出するに要する時間を示す流出時間tw0、この流入時間twiと流出時間tw0との合計時間を半値幅時間th と称する。これら流入時間twi、流出時間tw0、半値幅時間th は、計測時間メモリ92を介してグラフィック発生器93に出力される。  The
  グラフィック発生器77は、総和値演算部71からの総和値Dを順次入力し、この総和値Dに応じて時間軸に沿って点をプロットしながら徐々にタイムデンシティカーブを完成していく。このタイムデンシティカーブは未完成でもプロットする毎に表示器13に出力する。したがって、表示器13にはリアルタイムでタイムデンシティカーブが徐々に成長し、完成に近付いていくことになる。  The
次にこの実施形態の作用について説明する。 Next, the operation of this embodiment will be described.
  まず通常モードが起動される。この通常モード下では、第1ログ圧縮器4が作動される。送信器2からの駆動信号によりプローブ1からの超音波ビームにより被検体Pの断面が繰り返し走査される。その反射波はプローブ1で受信され、その受信信号は受信器3を介して第1ログ圧縮器4に順次出力される。第1ログ圧縮器4は上述したようにパラメータDR1またはDR2を用いて受信信号をログ圧縮し、その結果を第1のフレームメモリ6に供給する。したがって、生態組織の受信信号は、出力レンジに対して最適にログ圧縮され、コントラストの良好な画像が得られる。この通常モード下では、ROIマーカ付加器7のスイッチ43はOFF状態に設定されている。したがって、第1のフレームメモリ6の画像は、図9(a)に示すように、そのまま表示器8に表示される。  First, the normal mode is activated. Under this normal mode, the
  オペレータに任意のタイミングで、通常モードから造影剤モードに切換えられる。この切換えは、上述したように造影剤モード入力部16でのキーボードのキー操作、または造影剤注入装置を起動することを検知するスイッチの出力に依存して行われる。なお、通常モードから造影剤モードに切換えられても、超音波走査が依然として同じように継続される。この造影剤モードの設定に前後して、ROIマーカ付加器7のスイッチ43はON状態に設定され、ROIマーカ発生器41からのマーカデータにしたがって、図9(b)に示すように、画像にROI(破線)が重畳されて表示される。このROIは、オペレータに任意の位置に設定される。この造影剤モード下では、第1ログ圧縮器4に代って、第2ログ圧縮器5が作動される。上述したように第2ログ圧縮器5は、第1ログ圧縮器4のパラメータDR1またはDR2より大きいDR3を用いて、受信信号をログ圧縮する。したがって、第2のログ圧縮器5のダイナミックレンジは、第1のログ圧縮器4のそれより広く、これにより生体組織より信号レベルの高い造影剤信号を飽和することなくログ圧縮することができる。  The operator can switch from the normal mode to the contrast agent mode at any timing. As described above, this switching is performed depending on the key operation of the keyboard at the contrast medium
  第2のログ圧縮器5の出力は、第2のフレームメモリ5に供給される。第2のフレームメモリ5からは、ROI内の画像だけが選択的に読み出され、造影剤信号検出部10に供給される。このROI画像は、造影剤信号検出部10の減算器57と平均値演算部51に供給される。平均値演算部51のスイッチ52は、所定数フレームのROI画像が入力されるまで加算器52側に接続される。したがって、ROIフレームメモリ53には最新フレームのROI画像を含めた所定数フレーム分のROI画像が画素毎に加算される。この加算処理の概要を図10に示す。この加算が終了すると、スイッチ52が割り算器55側に接続され、加算結果が割り算器55に供給される。割り算器55ではこの加算画像を加算されたフレーム数で割り算し、平均処理に供することにより、造影剤信号の時間的な変動を低減し、スパイク状のノイズ成分を除去して、この平均画像をROIフレーム平均値メモリ56を介して減算器57に供給する。この減算器57は最新フレームのROI画像から平均画像を減算する。減算前のROI画像の各画素には、生体組織成分と造影剤成分が含まれている。この生体組織成分は経時的に変化しないので、最新フレームのROI画像から平均画像を減算することにより、前フレームまでの生体組織成分と造影剤成分が除去され、前フレームに対する造影剤成分の変化量が画素毎に検出され、造影剤画像が生成される。この造影剤画像のある画素に着目すると、その値は図11(a)に示すように経時的に変化する。この造影剤画像は、フレーム差分値メモリ63に供給され、記憶される。また、造影剤画像は、累積加算演算部60にも供給され、順次供給される造影剤画像について画素毎に順次累積加算する。この累積加算した累積加算画像のある画素に着目すると、その値は図11(b)に示すように経時的に変化する。つまり、この累積加算結果は、現在、ROIに存在している造影剤の合計量に相当することになる。フレーム差分値メモリ63と累積加算演算部60は、スイッチ64を介して択一的に造影剤信号メモリ11及びグラフ演算部12に接続される。このスイッチ64のスイッチングは、オペレータの指示に応じて行われる。通常は、スイッチ64は累積加算演算部60に接続されている。造影剤画像の入力毎に累積加算演算部60からは累積加算画像が次々に出力される。この累積加算画像は、造影剤信号メモリ11を介して順次切替えられながら、表示器8に表示される。図12(a)〜図12(d)は表示画面を時間経過に沿って示した図である。画像(Bモード画像)は各表示画面の左枠に、累積加算画像は各表示画面の右上枠に、またタイムデンシティカーブは各表示画面の右下枠に表示される。累積加算画像は造影剤画像の入力毎に次々と出力されるので、図12(a)〜図12(d)に示すように、造影剤の流入の様子がリアルタイムで表示される。  The output of the
  また、この累積加算画像は順次、グラフ演算部12に送られ、総和値演算部71によりその全画素の総和値Dが順次求められる。この各フレームの総和値Dは順次、マックスホールド部75、時間計測部84、グラフィック発生器93に供給される。このときマックスホールド部75のスイッチ76はON状態に設定され、メモリ79には全フレームまでの総和値Dより大きいものが順次更新記憶され、これにより常に現在の最新フレームまでの総和値D中の最大値Dmax が記憶され、またメモリ82には当該最大値Dmax のフレーム番号FNmax が記憶される。時間計測部84の第2ROIピクセル総和値メモリ85には、現在の最新フレームまでのすべての総和値Dが記憶される。グラフィック発生器93では次々と供給される総和値Dに基づいてタイムデンシティカーブがリアルタイムで序々に作成される。作成中のタイムデンシティカーブは、各時刻でグラフ情報メモリ13を介して表示器8に供給され、図12(a)〜図12(d)に示すように、累積加算画像と共に、造影剤の流入にしたがってタイムデンシティカーブがリアルタイムで序々に成長しながら表示される。  The cumulative addition image is sequentially sent to the
  オペレータは、このタイムデンシティカーブが例えば図13(a)に示した状態になり、この状態から造影剤がROIから十分流出したと判断したときに、図示しない入力装置の例えばフリーズボタンを指示すると、各種時間の計測が開始される。このときマックスホールド部75のスイッチ76はOFF状態に設定され、マックスホールド部75には新たなフレームの総和値Dが入力しない。したがって、メモリ79には時間計測開始以前の全フレームの総和値Dの最大値Dmax が記憶され、またメモリ82には当該最大値Dmax のフレーム番号FNmax が記憶される。  When the operator determines that the time density curve is in the state shown in FIG. 13A, for example, and indicates that the contrast agent has sufficiently flowed out of the ROI, for example, when the operator designates a freeze button of an input device (not shown), Measurement of various times is started. At this time, the switch 76 of the max hold unit 75 is set to the OFF state, and the total value D of the new frame is not input to the max hold unit 75. Accordingly, the
  そして、この最大値Dmax はしきい値発生部83で制御器14からの係数K(1/2)と乗算されることにより、しきい値Dthが発生する。このしきい値Dthは、時間計測部84の加算器87に供給される。時間計測部84の第2ROIピクセル総和値メモリ85に記憶されている現在の最新フレームまでのすべての総和値Dが、過去のものから順番に−1乗算器86を介して加算器87に供給され、しきい値Dthと加算される。この加算結果の正負が、ANDゲート89で判定され、負の場合、つまり総和値Dがしきい値Dthより大きい場合、その都度カウンタ90の計数値がカウントアップされる。ここでカウンタ90には、制御器14からメモリ82に記憶されているフレーム番号FNmax が供給され、このフレーム番号FNmax の前後で別々にカウントが実行される。これによって最大値Dmax のフレームに至るまでのしきい値Dth以上の総和値Dを有するフレーム数(以下「流入フレーム数」という)と、最大値Dmax のフレーム以後のしきい値Dth以上の総和値Dを有するフレーム数(以下「流出フレーム数」という)とが計数される。  The maximum value Dmax is multiplied by a coefficient K (1/2) from the
  それぞれのフレーム数は各別に乗算器91で、制御器14から供給された超音波送受信時のフレーム周期時間Ft と乗算され、実時間に換算される。したがって、図14に示すように、流入時間twi、流出時間tw0、この流入時間twiと流出時間tw0との合計時間である半値幅時間th が計測される。これら流入時間twi、流出時間tw0、半値幅時間th は、計測時間メモリ92とグラフィック発生器93を介して、図13(b)に示すように、表示器13に表示される。  Each number of frames is multiplied by a frame 91 by the multiplier 91 at the time of ultrasonic transmission / reception supplied from the
このように本実施形態によると、造影剤の関心領域(ROI)への流入出量の経時的変化曲線、つまりタイムデンシティカーブがリアルタイムで作成することができ、また造影剤の関心領域(ROI)への流入、流出時間、半値幅時間の時間情報を計測することができる。 As described above, according to the present embodiment, a time-dependent change curve of the inflow / outflow amount of the contrast agent into the region of interest (ROI), that is, a time density curve can be created in real time, and the region of interest (ROI) of the contrast agent. Time information of inflow, outflow time, half-width time can be measured.
また、本実施形態では、ダイナミックレンジの異なる2つのログ圧縮器を用いて、通常モードと造影剤モードとで適宜選択的に使用していることにより、通常モードでは良好なコントラストを得ることができ、造影剤モードでは造影剤の信号を飽和することなくログ圧縮することができる。 Further, in this embodiment, by using two log compressors having different dynamic ranges and selectively using them in the normal mode and the contrast agent mode, good contrast can be obtained in the normal mode. In contrast agent mode, log compression can be performed without saturating the contrast agent signal.
  なお上述した実施形態ではダイナミックレンジの異なる2つのログ圧縮器を用いていたが、1つのログ圧縮器を用いて、通常モードと造影剤モードとでそのダイナミックレンジを切換えるようにしてもよい。この場合の構成は、図15に示すように、少なくとも2種のダイナミックレンジで動作可能なログ圧縮器17の出力をスイッチ18を介して第1のフレームメモリ6と第2のフレームメモリ9とに択一的に供給できるようにして、制御器14の制御を受けてログ圧縮器17のダイナミックレンジおよびスイッチ18のスイッチングを通常モードと造影剤モードで切換え制御を行う切換信号発生器19を設けることにより実現できる。  In the above-described embodiment, two log compressors having different dynamic ranges are used. However, the dynamic range may be switched between the normal mode and the contrast agent mode by using one log compressor. In this case, as shown in FIG. 15, the output of the log compressor 17 operable in at least two kinds of dynamic ranges is sent to the
  図16は、本発明の第3実施形態の構成を示している。この実施形態で、造影剤モードが設定されると、受信信号は、スイッチ5Aによって、第2ログ圧縮器5を通らないで、第2フレームメモリ9,造影剤信号検出部10,造影剤信号メモリ11,グラフ演算部12及びグラフ情報メモリ13に供給される場合と、第2ログ圧縮器5を通り、第2フレームメモリ9,造影剤信号検出部10,造影剤信号メモリ11,グラフ演算部12及びグラフ情報メモリ13に供給される場合とが実現される。この構成は、ダイナミックレンジが調整されない超音波画像中の関心領域における画像データの時間的変化曲線と、ダイナミックレンジが調整された超音波画像中の関心領域における画像データの時間的変化曲線とを適宜得ることができる。  FIG. 16 shows the configuration of the third embodiment of the present invention. In this embodiment, when the contrast agent mode is set, the received signal does not pass through the
  図17〜図20を参照して本発明の第4実施形態を説明する。第4実施形態は、一つの超音波画像中に複数の関心領域ROIを設定し、各ROI内の散乱強度から各ROI毎にタイムデンシティカーブを作成し、例えばROI間に存在する診断対象の特徴量(臨床データ)を演算により抽出し、該臨床データを表示しようとするものである。この例においては、各ROI毎のタイムデンシティカーブの相関関係を調べる必要がある。そして、腫瘍等の診断対象が血流に対して、どのような応答を示すかを定量化する必要がある。図17に示すように、画面8Aに超音波画像400が表示されている。該画像400中には、血管の流入路401、流出路402、及び診断対象403が存在する。流入路401に相当する領域をROI1とし、流出路402に相当する領域をROI2として規定する。右グラフに示すように各ROI1,ROI2の散乱強度曲線は、上述した実施形態により容易に得られる。  A fourth embodiment of the present invention will be described with reference to FIGS. In the fourth embodiment, a plurality of regions of interest ROI are set in one ultrasound image, and a time density curve is created for each ROI from the scattering intensity in each ROI. A quantity (clinical data) is extracted by calculation, and the clinical data is displayed. In this example, it is necessary to examine the correlation of the time density curve for each ROI. And it is necessary to quantify what kind of response the diagnostic object such as a tumor shows to the blood flow. As shown in FIG. 17, an
ここで、図18に示すシステムモデルが想定される。ここで、ステップ関数s(t)のフーリエ変換はS(ω)であり、S(ω)の逆フーリエ変換はs(t)である。入力関数i(t)のフーリエ変換はI(ω)であり、I(ω)の逆フーリエ変換はi(t)である。出力関数o(t)のフーリエ変換はO(ω)であり、O(ω)の逆フーリエ変換はo(t)である。応答関数h(t)のフーリエ変換はH(ω)であり、H(ω)の逆フーリエ変換はh(t)である。 Here, the system model shown in FIG. 18 is assumed. Here, the Fourier transform of the step function s (t) is S (ω), and the inverse Fourier transform of S (ω) is s (t). The Fourier transform of the input function i (t) is I (ω), and the inverse Fourier transform of I (ω) is i (t). The Fourier transform of the output function o (t) is O (ω), and the inverse Fourier transform of O (ω) is o (t). The Fourier transform of the response function h (t) is H (ω), and the inverse Fourier transform of H (ω) is h (t).
求める応答関数h(t)をフーリエ変換したH(ω)は、次の式の通りである。 H (ω) obtained by Fourier transforming the response function h (t) to be obtained is as follows.
H(ω)=S(ω)・(O(ω)/I(ω))
特徴量の例としては、h(t)が最大となる時間tpやh(t)の半値幅時間t1/2 である。H (ω) = S (ω) · (O (ω) / I (ω))
 Examples of the feature amount include a time tp at which h (t) is maximum and a half width time t1 / 2 of h (t).
  上述したシステムモデルの具体的な演算ブロックは図19に示される。図19に示されるシステムは、フーリエ変換部301と、S(ω)メモリ302と、レジスタ303〜305,307〜309と、h(t)演算部306と、スイッチ310〜312と、加算部313と、上述した制御器14を兼用する制御器14´とを具備する。このシステムは、ハードウェアによる構成及びソフトウェアよよる構成のいずれであってもよい。  A specific calculation block of the system model described above is shown in FIG. The system shown in FIG. 19 includes a Fourier transform unit 301, an S (ω)
また、h(t)演算部306は、上式を参照するに、I(ω)に対してzero divide処理を施すと共にH(ω)を求め、このH(ω)を逆フーリエ変換することによりh(t)を求めるものである。 In addition, referring to the above equation, the h (t) calculation unit 306 performs zero divide processing on I (ω), obtains H (ω), and performs inverse Fourier transform on this H (ω). h (t) is obtained.
i(t)、o(t)は、各々タイムデンシティカーブを作成終了後に、各々フーリエ変換部に入力される。図20はh(t)の表示例である。次に第4,第5の実施形態について説明する。 i (t) and o (t) are respectively input to the Fourier transform unit after the creation of the time density curve. FIG. 20 is a display example of h (t). Next, fourth and fifth embodiments will be described.
本実施形態は、離れた2つの部分、例えば頸動脈と内脈の2つの部分の同時観察を、互いの超音波の影響でビートノイズが各画像に発生する問題を解決するものである。 The present embodiment solves the problem that beat noise occurs in each image due to the influence of each other's ultrasonic waves in simultaneous observation of two distant parts, for example, two parts of the carotid artery and the internal vein.
  第4,第5の実施形態は、図21または図22のいずれの構成でもかまわない。いずれの構成でも、少なくとも2つの同じ構成のプローブ101,102を有する。各プローブ101,102は、複数の振動子を一次元に配列してなる。  The fourth and fifth embodiments may be configured as shown in FIG. 21 or FIG. Each configuration includes at least two
  図21の場合、各プローブ101,102に対応して、送受信回路103,104、Bモード処理系105,106、カラーフローマッピング(CFM)処理系107,108、表示系109,110をそれぞれ2系統ずつ設け、両表示系109,110にモニタ111を接続する。また、各送受信回路103,104によるプローブ101,102それぞれの送受信駆動を、互いの超音波の影響でビートノイズが各画像に発生しないように同時に、またはフレーム毎あるいはラスタ(走査線)毎に時分割で行うように制御する制御回路112を設ける。Bモード処理系105,106は、図3と同様の構成を有し、Bモード画像を生成すると共に、タイムデンシティカーブを作成し、また各種時間を計測することができる。  In the case of FIG. 21, two transmission / reception circuits 103 and 104, B-
  Bモード処理系105,106は、図3に示したと同じ構成を有し、つまり、送受信回路の出力には異なるダイナミックレンジを有する2系統のログ圧縮器が接続され、送受信回路103,104の出力をそれぞれログ圧縮に供し、この結果を輝度情報としてROIマーカ付加器を介して表示系109,110に出力する。  The B-
そして、第1のログ圧縮器の出力には第1のフレームメモリが接続される。また第2のログ圧縮器の出力は、第2のフレームメモリを介して造影剤成分を抽出する造影剤信号検出部に送られる。この造影剤信号は2次元の造影剤信号メモリを介して表示系109,110に供給される。この造影剤信号はグラフ演算部にも供給される。グラフ演算部は、造影剤信号を用いて、タイムデンシティカーブを作成したり、その流入、流出時間等の各種時間情報を計測する。グラフ演算部の出力は、2次元のグラフ情報メモリを介して表示系109,110に供給される。 A first frame memory is connected to the output of the first log compressor. The output of the second log compressor is sent to the contrast agent signal detection unit for extracting the contrast agent component via the second frame memory. This contrast agent signal is supplied to the display systems 109 and 110 via a two-dimensional contrast agent signal memory. This contrast agent signal is also supplied to the graph calculation unit. The graph calculation unit creates a time density curve using the contrast agent signal, and measures various time information such as inflow and outflow times. The output of the graph calculation unit is supplied to the display systems 109 and 110 via a two-dimensional graph information memory.
  また、カラーフローマッピング処理系107,108は、図示しないが位相検波回路、A/D変換器、MTI(Moving-Target-Indicator )フィルタ、自己相関器、演算部を備えている。位相検波回路は、受信系5から受信信号を受けて、この受信信号について直交位相検波し、図示しないローパスフィルタにより高周波成分を除去してドップラ偏移信号、即ち、血流像のためのをドップラ検波出力を得る。このドップラ検波出力には血流情報以外に心臓の壁等のように動きの遅い物体からの不要な反射信号(クラッタ成分)も含まれている。そこで、ドップラ検波出力をA/D変換器によりディジタル信号に変換し、MTIフィルタを通す。  The color flow
ここで、MTIとは、レーダで使用されている技術で、前述したようにMoving-Target-Indicator の略であり、移動目標だけをドップラ効果を利用して検出する方法である。従って、MTIフィルタは、所定回数繰り返し送波したレートパルスにおける同一ピクセル間の位相変化により血流の動きを検出し、クラッタ成分を除去することになる。自己相関器は、このクラッタ成分を除去した信号を2次元の多点数毎にリアルタイムで周波数分析する。自己相関器による周波数分析の演算数は、FFT(高速フーリエ変換)法における演算数より非常に少ないものであり、そのためリアルタイム処理が可能となった。演算部はこの自己相関器の出力を受けるものであり、平均速度演算部、分散演算部、パワー演算部を有している。この演算部において、平均速度演算部は平均ドップラシフト周波数fdを求め、分散演算部は分散σ2 を求め、パワー演算部はパワーPを求める。 Here, MTI is a technique used in radar and is an abbreviation for Moving-Target-Indicator as described above, and is a method of detecting only a moving target using the Doppler effect. Therefore, the MTI filter detects the movement of the blood flow by the phase change between the same pixels in the rate pulse repeatedly transmitted a predetermined number of times, and removes the clutter component. The autocorrelator performs real-time frequency analysis of the signal from which the clutter component is removed for each two-dimensional multipoint. The number of operations in frequency analysis by the autocorrelator is much smaller than the number of operations in the FFT (Fast Fourier Transform) method, and thus real-time processing is possible. The calculation unit receives the output of the autocorrelator, and has an average speed calculation unit, a dispersion calculation unit, and a power calculation unit. In this calculation unit, the average speed calculation unit calculates the average Doppler shift frequency fd, the dispersion calculation unit calculates the variance σ2, and the power calculation unit calculates the power P.
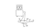
  また、図22の場合、少なくとも2つのプローブ101,102に切換器(MUX)113を介して1つの送受信回路114を接続することで、プローブ101と102とを送受信回路114に選択的に接続できるようにする。送受信回路114の出力にはBモード処理系115とカラーフローマッピング(CFM)処理系116とを並列に接続する。これらBモード処理系115とカラーフローマッピング処理系116の出力は、1つの表示系117を介してモニタ118に表示される。切換器113の切換動作により、プローブ101と102は送受信回路114によりフレーム毎またはラスタ毎に時分割で交互に駆動される。同時このような装置を実際に用いるときには、図23に示すように、一方のプローブ101を例えば頸動脈に設置し、また他方のプローブ102をプローブ101から離間した例えば門脈に設置する。  In the case of FIG. 22, the
  造影剤注入装置120から造影剤を被検体Pに注入した後、2つのプローブ101,102を同期して、またはフレーム毎あるいはラスタ毎に時分割で送受信駆動することにより、互いに他方のプローブから発せられる超音波の影響を受けることなく、したがってビートノイズが各画像に発生することなく、図24に示すように両画像を同時表示することができる。  After injecting the contrast medium from the contrast
  また、図22に示した構成の場合、2つのプローブ101,102を同じ送受信回路114で駆動し、また、同じ処理系でBモード画像やカラーフローマッピング画像を得ているので、プリアンプ等のゲイン特性の相違等による標準信号レベルの相違が解消され、したがって両画像間の比較を同一条件のもとで実施できる。  In the case of the configuration shown in FIG. 22, the two
以上本発明によれば、造影剤の関心領域への流入出量の経時的変化等の各種情報をリアルタイムで提供できる、又は、離れた2つの部分の画像を互いに他方の超音波の影響でビートノイズの発生を押さえながらそれぞれリアルタイムで収集できる超音波診断装置を実現することができる。 As described above, according to the present invention, it is possible to provide various information such as a change in the inflow / outflow amount of the contrast medium into the region of interest in real time, or to beat two distant images due to the influence of the other ultrasonic wave. It is possible to realize an ultrasonic diagnostic apparatus that can collect in real time while suppressing generation of noise.
  1…超音波プローブ、2…送信系、3…受信系、4…第1ログ圧縮器、5…第2ログ圧縮器、6…第1フレームメモリ、7…ROIマー付加器、8…表示器、9…第2フレームメモリ、10…造影剤信号検出部、11…造影剤信号メモリ、12…グラフ演算部、13…グラフ情報メモリ、14…制御器、15…バスライン、16…造影剤モード入力部、200…送信部、201…受信部、202…信号処理部、203,207…変換部、204…表示部、205…制御部、206…設定部。  DESCRIPTION OF
| Application Number | Priority Date | Filing Date | Title | 
|---|---|---|---|
| JP2005024543AJP3677281B2 (en) | 1993-07-12 | 2005-01-31 | Ultrasonic diagnostic equipment | 
| Application Number | Priority Date | Filing Date | Title | 
|---|---|---|---|
| JP17133393 | 1993-07-12 | ||
| JP2005024543AJP3677281B2 (en) | 1993-07-12 | 2005-01-31 | Ultrasonic diagnostic equipment | 
| Application Number | Title | Priority Date | Filing Date | 
|---|---|---|---|
| JP2003003287ADivisionJP3657941B2 (en) | 1993-07-12 | 2003-01-09 | Ultrasonic diagnostic equipment | 
| Publication Number | Publication Date | 
|---|---|
| JP2005118600A JP2005118600A (en) | 2005-05-12 | 
| JP3677281B2true JP3677281B2 (en) | 2005-07-27 | 
| Application Number | Title | Priority Date | Filing Date | 
|---|---|---|---|
| JP2005024543AExpired - Fee RelatedJP3677281B2 (en) | 1993-07-12 | 2005-01-31 | Ultrasonic diagnostic equipment | 
| Country | Link | 
|---|---|
| JP (1) | JP3677281B2 (en) | 
| Publication number | Priority date | Publication date | Assignee | Title | 
|---|---|---|---|---|
| JP2009028194A (en)* | 2007-07-26 | 2009-02-12 | Ge Medical Systems Global Technology Co Llc | Ultrasonic imaging system | 
| KR100969540B1 (en) | 2008-07-23 | 2010-07-15 | 주식회사 메디슨 | Medical system providing surgical procedure information | 
| JP5395396B2 (en)* | 2008-10-15 | 2014-01-22 | 株式会社東芝 | Ultrasonic diagnostic apparatus, medical image processing apparatus, and medical image processing program | 
| JP5459832B2 (en)* | 2009-06-02 | 2014-04-02 | 東芝メディカルシステムズ株式会社 | Ultrasonic diagnostic equipment | 
| EP2769678A4 (en)* | 2011-10-19 | 2015-06-17 | Hitachi Medical Corp | IMAGE DIAGNOSTIC DEVICE AND IMAGE EVALUATION METHOD | 
| US9192357B2 (en)* | 2013-02-19 | 2015-11-24 | Kabushiki Kaisha Toshiba | Method and system for quantitative vectorial perfusion based upon blood flow direction using 4D medical imaging | 
| JP6301063B2 (en)* | 2013-03-18 | 2018-03-28 | キヤノンメディカルシステムズ株式会社 | Ultrasonic diagnostic apparatus and control program | 
| JP6707014B2 (en)* | 2016-11-09 | 2020-06-10 | オリンパス株式会社 | Ultrasonic observation device, ultrasonic observation system, operating method of ultrasonic observation device, and operating program of ultrasonic observation device | 
| CN113940698B (en)* | 2020-07-17 | 2025-06-27 | 深圳迈瑞生物医疗电子股份有限公司 | Ultrasound-based processing method, ultrasound device and computer storage medium | 
| Publication number | Publication date | 
|---|---|
| JP2005118600A (en) | 2005-05-12 | 
| Publication | Publication Date | Title | 
|---|---|---|
| US5456255A (en) | Ultrasonic diagnosis apparatus | |
| JP3410821B2 (en) | Ultrasound diagnostic equipment | |
| CN103648400B (en) | Diagnostic ultrasound equipment and method | |
| CN101849840B (en) | Ultrasonic diagnosis apparatus and ultrasonic image generating method | |
| CN102283681B (en) | Ultrasonic diagnostic apparatus and ultrasonic diagnostic apparatus control method | |
| US8864671B2 (en) | Methods and systems for color flow imaging | |
| EP2135557A1 (en) | Ultrasonic diagnostic apparatus and program | |
| WO2007114375A1 (en) | Ultrasound diagnostic device and control method for ultrasound diagnostic device | |
| JP2004073287A (en) | Ultrasonic diagnostic apparatus, ultrasonic image display apparatus, and ultrasonic image display method | |
| CN102038522B (en) | Ultrasonic diagnosis apparatus and ultrasoinc data acquisition method | |
| US7666142B2 (en) | Ultrasound doppler diagnostic apparatus and image data generating method | |
| WO2013183651A1 (en) | Ultrasound diagnostic device and image processing device | |
| US10624608B2 (en) | Ultrasonic diagnostic apparatus | |
| US6322510B1 (en) | Ultrasonic imaging method and apparatus | |
| JP3677281B2 (en) | Ultrasonic diagnostic equipment | |
| CN101467893A (en) | Ultrasonic diagonstic apparatus, ultrasonic image processing apparatus, and ultrasonic image processing method | |
| JPH04218143A (en) | Ultrasonic blood flow imaging device | |
| JP4660126B2 (en) | Ultrasound blood flow imaging device | |
| US6500125B1 (en) | Ultrasound b/color priority threshold calculation | |
| JP3657941B2 (en) | Ultrasonic diagnostic equipment | |
| US8403852B2 (en) | Ultrasonic diagnostic apparatus and control method thereof | |
| KR100998443B1 (en) | Ultrasound System and Method for Processing Ultrasonic Data Considering Scan Conversion | |
| JP2823252B2 (en) | Ultrasound diagnostic equipment | |
| JP3294714B2 (en) | Ultrasound diagnostic equipment | |
| JP7500366B2 (en) | Ultrasound diagnostic device and method for determining scan conditions | 
| Date | Code | Title | Description | 
|---|---|---|---|
| A621 | Written request for application examination | Free format text:JAPANESE INTERMEDIATE CODE: A621 Effective date:20050131 | |
| TRDD | Decision of grant or rejection written | ||
| A01 | Written decision to grant a patent or to grant a registration (utility model) | Free format text:JAPANESE INTERMEDIATE CODE: A01 Effective date:20050426 | |
| A61 | First payment of annual fees (during grant procedure) | Free format text:JAPANESE INTERMEDIATE CODE: A61 Effective date:20050506 | |
| FPAY | Renewal fee payment (event date is renewal date of database) | Free format text:PAYMENT UNTIL: 20090513 Year of fee payment:4 | |
| FPAY | Renewal fee payment (event date is renewal date of database) | Free format text:PAYMENT UNTIL: 20090513 Year of fee payment:4 | |
| FPAY | Renewal fee payment (event date is renewal date of database) | Free format text:PAYMENT UNTIL: 20100513 Year of fee payment:5 | |
| FPAY | Renewal fee payment (event date is renewal date of database) | Free format text:PAYMENT UNTIL: 20100513 Year of fee payment:5 | |
| FPAY | Renewal fee payment (event date is renewal date of database) | Free format text:PAYMENT UNTIL: 20110513 Year of fee payment:6 | |
| FPAY | Renewal fee payment (event date is renewal date of database) | Free format text:PAYMENT UNTIL: 20110513 Year of fee payment:6 | |
| FPAY | Renewal fee payment (event date is renewal date of database) | Free format text:PAYMENT UNTIL: 20120513 Year of fee payment:7 | |
| FPAY | Renewal fee payment (event date is renewal date of database) | Free format text:PAYMENT UNTIL: 20120513 Year of fee payment:7 | |
| FPAY | Renewal fee payment (event date is renewal date of database) | Free format text:PAYMENT UNTIL: 20130513 Year of fee payment:8 | |
| FPAY | Renewal fee payment (event date is renewal date of database) | Free format text:PAYMENT UNTIL: 20130513 Year of fee payment:8 | |
| FPAY | Renewal fee payment (event date is renewal date of database) | Free format text:PAYMENT UNTIL: 20140513 Year of fee payment:9 | |
| LAPS | Cancellation because of no payment of annual fees |