



































【0001】
【発明の属する技術分野】
本発明は、導波路型光機能素子に関わり、特に、光通信用の波長合分波器、光アイソレータ、干渉計測装置、及び、光通信用の光スイッチに適用して好適な導波路型光機能素子に関する。
【0002】
【従来の技術】
図33は、従来の導波路型光機能素子の構成を示す断面図である。この例は導波路中に溝を形成し、溝に各種光学素子を挿入し、導波路型光機能素子を構成するものである。導波路基板201上に、下部クラッド層204、コア層203、及び、上部クラッド層202を順に形成した導波路の溝に光学素子205を挿入して屈折率整合透明接着剤206で接着固定するものである。
【0003】
図34は、別の従来の導波路型光機能素子の構成を示す上面図である。この例は導波路中に溝を形成し、金属を蒸着してその端面を反射面とするものである。単一モード導波路207内に溝構造208を形成し、その溝構造208の内側に金属コーティング209を施す。溝構造208は光入射角度が大きい場合は金属コーティング209がなくとも全反射ミラーとして機能する。
【0004】
図35は、従来の干渉計測光学系の構成を示す上面図である。この干渉計測光学系は、個別の光学部品であるハーフミラー302、可動ミラー303及び干渉パタン観測面304を空間的に配置し、レーザなどの光源からのコヒーレント照明光301をハーフミラー302で分光して、一方を可動ミラー303で反射させ、他方を観測物体で反射させて、ハーフミラー302で合波して干渉パタン観測面の干渉を観測することで観測物体までの距離を測定したり、観測物体の表面の形状を計測したりする。実際の計測に際しては、一方の光路長の可変制御のために可動ミラー303を電動ステージ等で微動させることで、距離計測などに利用されてきた。
【0005】
図36は、従来の光導波路で構成されるマッハツェンダー干渉型光スイッチの構成を示す上面図である。マッハツェンダー干渉型光スイッチは、入力導波路305に入力する入力光を1:2光分岐回路306で2つに分岐し、一方は屈折率制御部307によって屈折率を制御することで光路長を可変制御し、他方はそのまま導波路308を介して、それぞれ2:1光結合回路309に入力して結合して出力導波路310から出力する。このマッハツェンダー干渉系を成す2つのアームを伝搬する光の位相差を制御することによって出力導波路310に結合される光強度を制御する。すなわち、石英系導波路においては、導波路基板上の薄膜ヒータから発生する熱量を制御することによって導波路の屈折率を制御し、スイッチ動作を実現する。あるいは、半導体導波路においては、導波路への注入電流量や電界強度を制御することによって導波路の屈折率を制御し、スイッチ動作を実現する。あるいは、LiNbO3導波路では、進行波型の電極を設けて、電気信号による印加電界と伝搬光の位相整合を行いつつ電界強度を制御することによって導波路の屈折率を制御し、超高速のスイッチ動作を実現する。
【0006】
【発明が解決しようとする課題】
しかし、図33に示す例では、溝幅sが大きくなると急激に接続損失が増大するという問題点がある。また、図34に示す例では、反射端面を平滑かつ垂直にしないと散乱損失ないし接続損失が非常に大きくなるという問題点がある。また、図35に示す例では、機械的駆動部分の信頼性が低いために光路長の可変制御の信頼性が低いこと、さらに、コンパクトに装置に組み上げることが困難であることが課題であった。図36に示す例では、熱効果、電流注入(プラズマ効果)、電界効果の何れの効果を利用しても、屈折率制御量は0.001程度である。このため、スイッチ動作に必要なπの位相差を実現するためには、1000λ程度(λは波長)の長さの屈折率制御導波路が必要である。さらに、高速スイッチでは、高電界が利用できないため、屈折率制御量が減り、5000λ程度の長さの屈折率制御導波路が必要になり、かつ、進行波電界と伝搬光の位相整合が不可欠となる。これらの屈折率制御導波路は、導波路の最小曲げ半径が一般的に数ミリメートルであるため、直線導波路で構成するので寸法が大きくなる。すなわち、従来のマッハツェンダー干渉型光スイッチは小型化が困難であり、高速変調には位相整合が不可欠であった。
【0007】
本発明は、上記問題点に鑑み、光学素子を挿入することによる接続損失を低減し、短い長さの領域に損失が少なく大きな伝搬光路長の遅延導波路を形成することができる導波路型光機能素子を提供することを目的とする。
【0019】
【課題を解決するための手段】
本発明の導波路型光機能素子は、光導波路が保持される基板と、該基板上に形成されるスラブ導波路と、前記基板上に形成され第1結合端で該スラブ導波路と結合する第1光導波路と、前記基板上に形成され第2結合端で前記スラブ導波路と結合する第2光導波路と、前記基板上に形成され前記第1結合端と第2結合端とを互いに結像関係にある位置に配置して結合する反射構造とを備え、
【0020】
【数2】
ただし、
w1:第1結合端Aにおけるモードフィールド半径
w2:スラブ導波路内1次元ガウシアンビームの反射構造による反射後のビームウエスト位置におけるモードフィールド半径
L1:反射構造と光軸の交わる点Bと第1結合端Aとの間の距離
L2:スラブ導波路内1次元ガウシアンビームの反射構造による反射後のビームウエスト位置と点Bとの間の距離
R:点B近傍における反射構造の曲率
neff:光が伝搬する部分の有効屈折率
LW:光の波長
とするとき、L1≠R、L2≠Rとし、第2結合端Cが点Bから距離L2の位置にあり、かつ、第2導波路のモードフィールド半径がw2に等しい。
【0031】
【発明の実施の形態】
以下、添付図面を参照しながら本発明の好適な実施の形態について詳細に説明する。なお、実施の形態を説明するための全図において、同一の機能を有するものは同一符号を付け、その繰り返しの説明は省略する。
【0032】
図1は、本発明の第1実施の形態による導波路型光機能素子の構成を示す上面図である。本導波路型光機能素子は波長フィルタ機能を有し、導波路基板101上に、入力導波路102、出力導波路103、スラブ導波路104、法線が導波路面内にある曲面を側面とする溝構造105a、ポリマーフィルム上に形成された誘電体多層膜からなる高反射ミラー105b、法線が導波路面内にある平面を側面とする溝構造107、及び、波長フィルタ板108を備える。また、ミラー面の形状を溝に合わせるために、押しつけ用微小物118を挿入しても良い。
【0033】
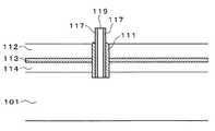
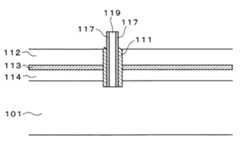
図2は、第1実施の形態の高反射ミラー周辺の詳細を示す断面図である。高反射ミラー105bは、誘電体多層膜で構成される高反射ミラー膜109、及び、高反射ミラー膜109を保持する柔軟なポリマーフィルム基板110から成り、導波路とほぼ等しい屈折率を有する接着剤111によって上部クラッド層112、コア層113、及び、下部クラッド層114に形成されている溝構造105aに挿入され接着固定されている。溝構造105aの溝は、溝幅20−30μm、溝深さ20−50μm程度である。ポリマーフィルム基板110としては、膜厚2−200μm程度、好ましくは10μm程度のポリイミド基板、セルロース トリアセテート基板、ポリエステル基板、アクリル基板、ポリオレフィン基板、シリコーン基板、ポリスチレン基板、ラテックス基板、アラミド基板、及び、ポリエチレン基板等のポリマー基板の他に、アルミニウム、金、ニッケル等の金属基板も利用することが可能である。
【0034】
図3は、第1実施の形態の波長フィルタ板周辺の詳細を示す断面図である。波長フィルタ板108は、ガラス基板115、誘電体多層膜で構成される波長フィルタ膜116、及び、低反射コーティング117(ガラス基板115とコア層113の屈折率差が0.1以上有る場合必要)から成る。この実施の形態を実現するためには、非常に選択比の大きい溝形成が必要であるが、石英系、ポリマー(ポリイミド、ポリメチルメタクリレート、エポキシ、シリコーン等)系、LiNbO3等の誘電体系の導波路では、反応性イオンエッチング技術、イオンビーム加工技術、又は、レーザ加工技術などを用いることにより実現できる。
【0035】
第1実施の形態の動作を説明する。入力導波路102に入射した光は、入力導波路102を伝搬して、スラブ導波路104に結合される。スラブ導波路104は、基板面に平行な方向の光閉じ込めが行われないため、光はスラブ導波路104内で広がりながら伝搬する。溝構造105a及び高反射ミラー105bの曲面と基板面との交線で規定される曲線の形状は、高反射ミラー105bからの反射光をコリメートするための条件から決められる。幾何光学的近軸のもとで、曲率Rの曲線の焦点距離はR/2であり、入力導波路102とスラブ導波路104の結合点Aと曲線上の点Bの距離は曲線の曲率をRとすればR/2となる。この配置で、高反射ミラー105bからの反射光はコリメートされて平行光になる。波長フィルタ板108(波長フィルタ膜116)は特定の波長のみを透過する機能を持ち、透過光は高反射ミラー106bで再び集光されて、出力導波路103に結合する。波長フィルタ板108(波長フィルタ膜116)を反射した光は、別の溝構造107で遮断される。必要に応じてこの溝構造107には光吸収体が挿入される。また、溝構造107の端面で不要な迷光が入力導波路102や出力導波路103に結合しないように、光軸に対して溝構造107の側面の法線方向を傾けると良い。傾き角は、入力導波路102からスラブ導波路104に入射された光の広がり角(半角)以上の大きさにすると良い。本構成では、スラブ導波路104内で平行光として、あるいは、スポット径の大きいガウシアンビームとして伝搬するため、溝構造107や波長フィルタ板108を挿入しても不要な過剰損失を低減することができる。光は伝搬方向に対して水平・垂直の2つの自由度を持ち、片方の自由度の損失に対する寄与が0になるため、本構成を利用することで損失を約半分(デシベル単位)に低減することが可能である。また、高反射ミラー105bがポリマーフィルム基板110をベースにして形成され、屈折率整合した接着剤111が充填されているため、溝構造105aの側面が十分に平滑でなくとも、高反射ミラー105bでの散乱損失がほとんど生じない。
【0036】
図4は、本発明の第2実施の形態による導波路型光機能素子の構成を示す上面図であり、図5は、その強磁性体周辺の詳細を示す断面図である。本導波路型光機能素子は偏波依存型の導波路光アイソレータであり、YIG(イットリウム鉄ガーネット)及びその他のRIG(希土類鉄ガーネット)等のファラデー効果を有する強磁性体119及び偏光フィルタ120a,120bを有し、偏光フィルタ120a,120bは光の伝搬に垂直な平面での偏光軸が45度互いに傾いている。なお、強磁性体119を磁化するための外部磁界を加える磁石が必要であるが、図面からは省いてある。
【0037】
入力導波路102への入射光が高反射ミラー105bによってスラブ導波路104において平行光になるまでの動作は第1実施の形態と同様である。偏光フィルタ120aに入射する前にスラブ導波路104から、屈折率整合した接着剤111中へ光が入射される。この光の伝搬方向に対して直交する2つの偏光成分は、極めて良い近似で各々導波路を伝搬する光のTEモードとTMモードに結合する。例えば、入力導波路102へ入射した光がTEモードで伝搬して、偏光フィルタ120aの偏光透過軸を導波路基板101と平行方向に固定しておけば、偏光フィルタ120aに入射する光の偏光軸は導波路基板101と平行になり、ほとんど偏光フィルタ120aを透過して伝搬する。強磁性体119に外部磁界を光の伝搬方向と平行に加えておけば、強磁性体119を透過した光の偏光面は45度回転し、再び導波路に結合する際にTEモードとTMモードをほぼ等しい割合で誘起する。偏光フィルタ120bに入射する際には強磁性体119を透過した偏光状態が再現されるが、偏光フィルタ120bの偏光透過軸は偏光フィルタ120aに対して45度傾けてあるので、光は偏光フィルタ120bでの損失を極小として透過し、再び導波路に結合される。その後、光は高反射ミラー106bで集光されて出力導波路103に結合される。出力導波路103側からの反射戻り光は、偏光フィルタ120bを透過するが、強磁性体119によって偏光面がさらに同方向に45度回転するため、偏光フィルタ120aへ入射する際の偏光軸が導波路基板101に垂直になり偏光フィルタ120aでの損失が極大になる。このようにして、本構成は偏波依存性のある導波路型光アイソレータとして機能する。
【0038】
導波路型アイソレータの利点は、3次元空間にレンズや偏光板、磁性体を配置した構成よりも小型化が容易であること及び他の光回路に集積することが可能になることである。本実施の形態では、導波路中に形成された反射構造を利用し、幅の広い(スポット径の大きい)ビームを形成して、スラブ導波路中を伝搬させて、その間に各光学素子を配置するため、従来よりも損失をほぼ半減させた導波路型アイソレータを構成できる。
【0039】
図6は、本発明の第3実施の形態による導波路型光機能素子の構成を示す上面図である。本実施の形態と第2実施の形態の相違点は、YIG及びその他のRIG等のファラデー効果を有する強磁性体119を複数の薄い強磁性体119に分割している点である。ファラデー素子による偏光面の回転角はその厚みに比例するので、厚みが1/k(kは自然数)の強磁性体119をk枚利用しても同様の動作をすることは明らかである。しかしながら、溝構造が有る場合の溝による損失は溝の厚さに比例するのではなく、指数関数的に増加する。
【0040】
図7は、強磁性体の分割による損失の低減効果を示すグラフである。ここでは、溝幅の余裕と強磁性体119表面でのフレネル反射損を無視している。この計算では、強磁性体119のトータルの厚さL=200μmと仮定している。分割数kが多くなると損失が小さくなることが確認できる。この手法は、本実施の形態以降に説明する実施の形態においても適用可能である。
【0041】
図8は、本発明の第4実施の形態による導波路型光機能素子の構成を示す上面図であり、図9は、その強磁性体周辺の詳細を示す断面図である。本実施の形態と第2実施の形態の相違点は、YIG及びその他のRIG等のファラデー効果を有する強磁性体121を円柱形状としたことである。一般に強磁性体121は、石英やポリマー導波路材料とそれに整合する接着剤よりも高屈折率であるため、円柱形状とすることによりシリンドリカルレンズとして機能する。円柱形状でなく、平凸、両凸形状のシリンドリカルレンズに加工しても良いが、ここでは、容易に加工・固定できる円柱形状とする。光ファイバに整合する単一モード導波路では、コアとクラッドの屈折率差比が小さいので、レンズの収差はそれ程接続損失には影響しない。強磁性体121を定位置に固定しやすいように、溝の底には別の凹状の溝あるいはV字形状の溝を形成しても良い。本構成では、拡散した光を強磁性体121によって収束させるので、強磁性体121を挿入することによる損失をほぼ零とすることが可能である。
【0042】
図10は、本発明の第5実施の形態による導波路型光機能素子の構成を示す上面図である。本実施の形態と第2実施の形態の相違点は、入力導波路122及び出力導波路123を複数の導波路とした点である。他の実施の形態にも適用可能であることは言うまでもない。本構成では、複数の入出力が行われることで多数の光アイソレータを小型に集積することが可能になる。導波路型ではない光アイソレータをアレイ化することは、入出力の光ファイバアレイ間隔が最小125μm、通常250μmであり、多数の入出力を具備すると大型の光学部品が必要になるため事実上不可能である。すなわち、ファイバアレイ間を一組のレンズで高効率に結合するためには、アレイの端から端までの長さをレンズ直径の1/20程度にする必要があるため大型のレンズが必要になる。また、各々のファイバにレンズを付ける場合は、各レンズの直径を2−3mm程度にする必要があり、ファイバ間隔を広げるため大型のファイバアレイが必要となる。
【0043】
図11は、本発明の第6実施の形態による導波路型光機能素子の構成を示す上面図である。本導波路型光機能素子は、偏光無依存型の導波路光アイソレータであり、YIG及びその他のRIG等のファラデー効果を有する強磁性体119a,119b、1/2波長板124a,124b、偏光分離ミラー板125a,125b、及び、高反射ミラー126a,126bを備える。本構成では、偏光分離ミラー板125aにおいて、入射光の直交する偏光成分、すなわち導波路中のTE及びTM波が分離される。TE波は透過し、偏光面が1/2波長板124aによって進行方向に対して右に45度回転される。次に強磁性体119aによってさらに偏光面が右に45度回転され、TM波に変換されて伝搬する。高反射ミラー126aで反射され、偏光分離ミラー板125bではTM波なので反射される。同様に入力導波路102を伝搬するTM波は偏光分離ミラー板125aで反射され高反射ミラー126bで反射され1/2波長板124bで偏光面が右に45度回転され、さらに強磁性体119bで偏光面が右に45度回転されてTE波に変換されて偏光分離ミラー板125bを透過し、別の経路を辿った光と合波される。出力導波路103側からの反射戻り光は、偏光分離ミラー板125bで分離されて強磁性体119a,119b、及び、1/2波長板124a,124bを透過するが、偏光面の回転がキャンセルされるため、偏光分離ミラー板125aにおいて、それぞれ反射、透過して入力導波路102には結合しない。すなわち、偏光無依存型の導波路光アイソレータとして機能する。
【0044】
図12は、本発明の第7実施の形態による導波路型光機能素子の構成を示す上面図であり、図13は、その断面図である。本実施の形態と第4の実施の形態の相違点は、YIG及びその他のRIG等のファラデー効果を有する強磁性体127を2つの球状としたことである。球状以外にも、半球状などの光軸に対して回転対称性を持つ曲面を表面とする形状でも良いことは言うまでもない。球状に研磨することは、ベアリング等の高精度加工技術が適用できるため構成が容易になる。また、固定するためにV型や凹型の溝を設けると良い。
【0045】
図14は、本発明の第8実施の形態による導波路型光機能素子の構成を示す上面図であり、図15は、その断面図である。本実施の形態では、球状等の回転対称性を持つ曲面を表面とする形状に加工した強磁性体127が導波路基板101に平行及び垂直の2つの軸に対してレンズ機能を持つので、2つの単一モード光導波路128間に挿入することも可能である。この構成では、位置合わせ精度を高くすれば、容易に光回路中に強磁性体127を挿入することが可能になる。
【0046】
図16は、本発明の第9実施の形態による導波路型光機能素子の構成を示す上面図である。本実施の形態に示す構成は、反射構造を利用した光結合回路の結合効率を高める構成である。従来の幾何光学的近似によれば、入射結合点及び出射結合点を楕円の焦点とする、楕円ミラーを利用する構成が最も良いと考えられる。しかしながら、より精度の高い結像条件は、第1の導波路から出射した光が、スラブ導波路面内では、出射端にビームウエストがあり、ビームスポット半径が結合端におけるモードフィールド半径に等しい1次元のガウシアンビームであると仮定して求めることができる。スラブ導波路面に垂直な方向成分は、常に単一モード条件が満たされ、モードフィールド径が変化しないので結合効率は100%であり、考慮する必要はない。曲率半径Rのミラーが近軸近似で、焦点距離f=R/2の結像素子であることを利用すれば、楕円ミラーの場合も含み、一般的に
【0047】
【数3】
ただし、
w1:第1結合端Aにおけるモードフィールド半径
w2:スラブ導波路内1次元ガウシアンビームのミラー反射後のビームウエスト位置におけるモードフィールド半径
L1:反射構造と光軸の交わる点Bと第1結合端Aとの間の距離
L2:スラブ導波路内1次元ガウシアンビームのミラー反射後のビームウエスト位置と点Bとの間の距離
R:点B近傍における曲率
neff:光が伝搬する部分の有効屈折率
LW:光の波長
となる。入力側と出力側の2つのガウシアンビームの結合効率は、両者のビームウエスト位置が一致し、かつ、両者のビームスポット半径が一致するときに最大となる。すなわち、第2結合端Cを、点Bから距離L2の位置に配置し(ビームウエスト位置が一致)、かつ、第2の導波路のモードフィールド半径をw2に等しくするとき(ビームスポット半径が一致)、最大の結合効率が得られることを見いだした。
【0048】
図17は、反射構造の曲率半径と結合効率との関係を示すグラフである。従来の幾何光学的近似に基づく設計による構成と、本実施の形態による構成の場合の結合効率を計算した結果を示している。計算の前提は、w1=5μm、入出力導波路間距離500μm、neff=1.534、LW=1.55μm、入力側と出力側が対称な構成であるとした。図から明らかなように、反射構造の曲率半径を小さくしていくと、幾何光学近似ではR/2=200μm近傍から結合効率が低下してくるのに対し、本実施の形態ではR/2=80μm近傍まで結合効率が低下しないことが分かる。そして、本実施の形態ではR/2=60〜200μmで従来よりも優れた結合効率を実現することができる。
【0049】
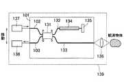
図18は、本発明の第10実施の形態による導波路型光機能素子の構成を示す上面図である。本実施の形態は全体として干渉測定器139を構成しており、導波路基板101、入力導波路102、出力導波路103、方向性結合器又はマルチモード干渉結合器131、導波路132,133、遅延制御導波路134、反射構造135、レンズ136、半導体レーザ137、及び、受光器138を備える。干渉測定の原理は以下の通りである。半導体レーザ137から出射されたコヒーレント光は入力導波路102を介して方向性結合器131の入力端Pに入力され、出力端Rと出力端Sに分岐して出力される。出力端Rから出力される分岐光は導波路132を経て反射構造135で反射され再び導波路132を経て方向性結合器131に出力端Rから入力される。別の出力端Sから出力される分岐光は導波路外部に接続され、レンズ136を介して観測物体に照射され、反射光の一部は再びレンズ136を介して導波路133に接続され出力端Sに戻る。
【0050】
2つの戻り光は、光路差が半導体レーザ137のコヒーレント長よりも短ければ干渉し、入力端Qからの出力は光路差を制御すると、波長の単位で変動する。これを利用して物体までの距離を、波長を単位として計測することが可能になる。光路差の制御のために遅延制御導波路134が利用される。干渉測定器139を移動させれば物体上の一点を基準として相対的な距離を計測することによって物体形状を計測できる。勿論、レンズ136を介さずに、光ファイバ等で観測用の光を導波すれば、干渉測定器139全体を動かすことなく、光ファイバの先端を駆動して計測することが可能であることは言うまでもない。あるいは物体を微動ステージ上で駆動しても良い。
【0051】
さらに、半導体レーザ137の発振波長を制御すれば、複数の異なる波長に対して計測することによって正確に測定することができる。また、複数の目盛りがあるので波長の最小公倍数程度の大型の物体形状の計測にも有効である。
【0052】
さらに、コヒーレント光でなく、インコヒーレント光(コヒーレント長が数ミクロンから数十ミクロン程度)を利用する干渉計測にも適用可能である。この場合は可干渉長が非常に短いことを利用して、物質界面からの反射光を検出し層構造等を測定するので、出力端Rから反射構造135までの光路長と出力端Sから物体までの光路長をほぼ一致させておく必要がある。インコヒーレント光源にはスーパールミネッセントダイオードなどを利用する。
【0053】
図19は、遅延制御導波路の第1の例の構成を示す上面図である。本実施の形態の最大の特徴は、遅延制御導波路134の構成にある。本第1の例の遅延制御導波路134は、導波路132、スラブ導波路141、ミラー105、及び、遅延制御用領域143を備える。遅延制御用領域143は、例えば、石英導波路であれば、薄膜ヒータである。半導体導波路であれば、電流注入ないし電界印加用電極であり、裏面にはもう一方の電極が設けられる。また、LiNbO3等の誘電体導波路であれば、コプレーナ線路あるいはストリップ線路型の電極が設けられる場合もある。通常の導波路では、最小曲げ半径は5mm程度であるため、そのまま本例に示すようなつづら折りの導波路を作成すると数cm角の大きさになり実用的ではない。ところが、本例に示すように導波路中にミラーを構成して光路変更すれば、0.05〜0.5mm間隔で並列する単一モード導波路間を接続することができるので、つづら折りの光回路を短い長さの領域に構成することができる。ミラー105は、端面が垂直になるようにドライエッチングを行い、エッチング端面にアルミニウムや金、銀等の金属膜を蒸着やスパッタリングによって堆積して形成しても良い。例えば、つづら折り導波路間隔を0.1mm、導波路直線部長を1mmとすれば、約1mm×1mmの領域に全長10mmの導波路を配置することができる。
【0054】
図20は、遅延制御導波路の第2の例の構成を示す上面図である。本第2の例の遅延制御導波路134は、渦巻き状に導波路132を形成し、中心部の曲率の小さくなる部分にスラブ導波路141とミラー142によりつづら折り導波路を配置するものであり、いたずらにミラー142の数を増やすことなく、面積の無駄なく遅延制御導波路134を形成することができる。例えば、コア径を0.01mm、導波路間隔を0.05mmとすれば、半径1cmの領域に5m程度の遅延導波路を形成できる。導波路の有効屈折率を1.5、その温度依存性を5×10-5[1/℃]、温度制御を20℃とすれば、最大遅延制御量は片道で5mmにも及ぶ。すなわち、図18に示すような干渉測定器139に利用すれば、10mm程度の段差までの表面凹凸形状を計測できる。勿論、導波路133の途中にも遅延導波路を形成すれば、近い位置の観測物体も計測できる。
【0055】
図21は、遅延制御導波路の第3の例の構成を示す上面図である。本第3の例の遅延制御導波路134は、全体を大型のスラブ導波路141とし、そのスラブ導波路141の中に複数のミラー134を設けて、これらミラー134間を往復する光路の領域を遅延制御用領域143として、ここには単一モードの導波路132を配置しないものである。単一モード導波路への接続における損失が無くなるので低損失化が可能である。
【0056】
図22及び図23は、遅延制御導波路の第4の例の構成を示す上面図及びその一部断面図である。本第4の例の遅延制御導波路134は、ミラーを利用しない低損失な曲率の小さい曲げ構造とそれを利用したつづら折り導波路によって構成されている。導波路132は曲率の小さい曲げ構造部分において互いに凹凸関係にある溝構造145によって挟まれることで低損失になるようにしている。図23は、図22のA−A’の断面図である。このように、導波路基板101上において導波路コア146及び導波路クラッド147を溝構造145で両側から挟む構造になっている。溝構造145の側面には、金属膜を堆積してミラーとしても良い。本構成は、曲げ部分周辺にのみ溝構造を設けて導波路への光閉じ込めを強くし、曲げ損失を減らすものである。
【0057】
図24及び図25は遅延制御導波路の第5の例の構成を示す上面図及びその一部拡大図である。本第5の例の遅延制御導波路134は、別のミラーを利用しない低損失な曲率の小さい曲げ構造とそれを利用したつづら折り導波路によって構成されている。導波路132は曲率の小さい曲げ構造部分において互いに凹凸関係にある微小な穴148の領域によって挟まれることで低損失になるようにしている。図25は、図24の領域Bの部分の拡大図である。このように、導波路コア146周辺に波長よりも寸法の小さい微小な穴148(円筒形)を沢山設けることによって導波路132への光閉じ込めを強くし、曲げ損失を減らすものである。
【0058】
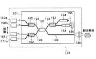
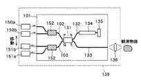
図26は、本発明の第11実施の形態による導波路型光機能素子の構成を示す上面図である。本実施の形態の干渉測定器139は、半導体レーザ150a,150b、受光器151a,151b、及び、異なる波長の光を合波し、また、異なる波長の光に分波する波長合分波器152をさらに備える。半導体レーザ150aと半導体レーザ150bの発振波長は僅かに異なるので、複数の異なる波長に対して計測することによって正確に測定することができる。また、複数の目盛りがあることになるので波長の最小公倍数程度の大型の物体形状の計測にも有効である。
【0059】
図27は、本発明の第12実施の形態による導波路型光機能素子の構成を示す上面図である。本実施の形態の干渉測定器139は、方向性結合器又はマルチモード干渉結合器131の出力端Rからの光を波長合分波器152によって異なる波長に分波してそれぞれの遅延を遅延制御導波路134で制御するものである。
【0060】
図28は、本発明の第13実施の形態による導波路型光機能素子の構成を示す上面図である。本実施の形態の干渉測定器139は、方向性結合器131を2つ備え、異なる波長に対してそれぞれの遅延を遅延制御導波路134で制御するものである。
【0061】
これら第12及び第13実施の形態は、異なる光源からの光の遅延時間を別々に制御することが可能である。装置構成は複雑になるが、測定の精度の向上が図れる。
【0062】
図29は、本発明の第14実施の形態による導波路型光機能素子の構成を示す上面図である。本実施の形態はマッハツェンダー干渉型光スイッチを構成するものであり、入力導波路153、1:2光分岐回路154、導波路155,156、遅延制御導波路157a,157b、2:1光結合回路158、及び、出力導波路159を備える。本実施の形態のマッハツェンダー干渉型光スイッチは非常に長い遅延制御導波路157a,157bをコンパクトに導波路上に搭載することができるため、通常のマッハツェンダー干渉型光スイッチと比較して次のような利点がある。(1)低速信号用(ビットレート<1Gbit/s程度)のスイッチを熱効果による屈折率制御方法で構成する場合、遅延制御導波路157aと遅延制御導波路157bの遅延時間差を信号ビット幅の5%程度を上限に非常に長くすることによって、スイッチ全体の温度を制御してスイッチングを行うことができる。例えば、遅延制御導波路157aと遅延制御導波路157bの遅延時間差を0.5ns(石英系導波路の場合、距離に換算して1cm程度)とすると、等化屈折率温度依存性を5×10-5[1/℃]とすれば、温度を1度制御してスイッチングが可能である。チップにヒータ電極を設けずに全体の温度制御でスイッチ動作が可能であるため低コストなスイッチングが可能となる。(2)高速信号用のスイッチ、あるいは高速スイッチングを行うスイッチにおいては、遅延制御導波路157aと遅延制御導波路157bの光路長差は0か多くても数波長程度に設定される。遅延制御導波路157aと遅延制御導波路157bの光路長を従来の5000λ程度とすれば、従来直線で5mm程度の長さが必要であったが、0.5mm角程度の領域につづら折りに形成することが可能になり、スイッチを小型化することができる。また、制御電極長が短くなるため、電極に印加される高周波電界と伝搬光の位相の整合が不要になり、スイッチ構成が簡易になる。あるいは、遅延制御導波路157aと遅延制御導波路157bの光路長を50000λ程度(10倍)とすれば、印加電圧を1/10に低減することが可能である。
【0063】
図30は、本発明の第15実施の形態による導波路型光機能素子の構成を示す上面図である。本実施の形態のマッハツェンダー干渉型光スイッチは、入力導波路153、2:2光結合回路160、遅延制御導波路157a,157b、及び、出力導波路159a,159bを備える。本実施の形態は、信号をオンオフするのではなく、出力導波路159a又は出力導波路159bのどちらに出力するかを切り替えるスイッチである。
【0064】
図31は、本発明の第16実施の形態による導波路型光機能素子の構成を示す上面図である。本実施の形態のマッハツェンダー干渉型光スイッチは、入力導波路153、2:2光結合回路160、導波路155,156、遅延制御導波路157a,157b、反射構造161、及び、出力導波路159cを備える。本実施の形態は、入力導波路153又は出力導波路159cのどちらに出力するかを切り替えるスイッチである。この構成では、切り替えた出力の一方は入力導波路153から出力されるため、入力導波路153の手前に光サーキュレータを接続する必要がある。本実施の形態は第15実施の形態(図30参照)の構成を反射構造161によって折り返した構成である。光が二度、遅延制御導波路157a,157bを伝搬するため、半分の光路長で同様の効果が得られ、素子の小型化に有効である。
【0065】
図32は、本発明の第17実施の形態による導波路型光機能素子の構成を示す上面図である。本実施の形態の干渉測定器139は、干渉測定系を1次元に拡張した構成である。半導体レーザ150から入射した光は1:2光分岐回路165で分岐され、一方は可変遅延機能を持つ遅延制御導波路162aに、もう一方は、遅延導波路162bに導かれる。用途に応じて遅延導波路162bにも可変機能を付加しても良い。遅延制御導波路162a及び遅延導波路162bを出射した光はそれぞれスラブ導波路104内で広がり、反射構造105,106によって平行光にされる。遅延制御導波路162a−反射構造105−半透鏡163−観測物体−半透鏡163−受光器アレイ164と伝搬する光と、遅延導波路162b−反射構造106−半透鏡163−受光器アレイ164と伝搬する光の干渉光強度を受光器アレイ164で観測する。この際、例えば反射構造105−半透鏡163−反射構造106と伝搬する光が遅延導波路162bに入射することがないように、遅延制御導波路162a及び遅延導波路162bを配置する。本実施の形態の場合は、可変遅延機能を持つ遅延制御導波路162aの遅延量を変える1回の走査で、受光器アレイ164により1次元上の区間の各点における測定ができるため、計測の高速化が可能になる。
【0066】
なお、本発明は上記実施の形態に限定されるものではない。
【0067】
【発明の効果】
本願において開示される発明の基本的な効果は、曲率半径の小さい反射構造での結合効率の低下を抑えることができるという点にある。また、これに伴い下記の効果を奏する。
【0068】
第1の効果は、柔軟なフィルム上に堆積された高反射ミラーを溝構造に挿入することによって、低損失な反射構造をスラブ導波路内に設けることができることである。
【0069】
第2の効果は、基板厚に比例した効果を持つ光学部品(例えば、ファラデー素子、波長板等)を基板厚の総計を一定にしたまま分割して導波路内に挿入することによって、集積に伴う損失を低減することが可能なことである。
【0070】
第3の効果は、第1の効果から生じるものであるが、スラブ導波路内で幅の広い(スポット径の大きい)平行ビームを低損失に形成し、この平行ビームが伝搬するスラブ導波路内に設けた溝構造に光学部品を挿入することで、導波路が存在しない溝部分と光学部品部分を透過して再び導波路に結合する際の損失を半減することができることである。
【0071】
第4の効果は、ファラデー効果を有するYIG等の材料自体を、円柱状や球状に加工してレンズ機能を持たせることによって、これらの材料を低損失に導波路内にハイブリッド集積できることである。
【0072】
これらの第1から第4に至るミクロな効果を各種光導波回路に利用することによって次のようなマクロな効果を生み出す。
【0073】
第5の効果は、低損失な導波路型光アイソレータや光波長フィルタを構成できるようになることである。導波路型アイソレータは従来の微小光学を利用したアイソレータよりも小型であり、特にアレイにする場合にはその効果は顕著である。また、導波路内にアイソレータを組み込むことが出来れば、導波回路内に集積されたレーザや増幅器を安定に動作させることが可能になる。さらに、小規模な波長合分波回路に適用すれば、従来のアレイ導波路回折格子よりも小型で低損失な波長合分波回路を実現することができる。
【0074】
第6の効果は、非常に長い遅延線を導波路基板上に搭載できるので、従来、個別の部品を配置して構成していた干渉光学系を導波路基板上に構成することができる。また、遅延制御量が大きいため機械的にミラーを駆動することなく、段差のある凹凸形状の計測が容易になる。
【0075】
第7の効果は、非常に長い遅延線を導波路基板上に搭載できるので、チップ全体の温度制御を行って駆動する光スイッチを構成することが可能になる。
【0076】
第8の効果は、遅延線を導波路基板上に折り曲げてコンパクトに搭載できるので、光スイッチを小型化することが可能になる。
【0077】
第9の効果は、遅延線を導波路基板上に折り曲げてコンパクトに搭載できるので、光スイッチの駆動電圧を低減することが可能になる。
【0078】
第10の効果は、遅延線を導波路基板上に折り曲げてコンパクトに搭載できるので、光スイッチを駆動するための高周波電界と伝搬光の位相整合が不要になり、スイッチ構成が簡易になる。
【図面の簡単な説明】
【図1】本発明の第1実施の形態による導波路型光機能素子の構成を示す上面図である。
【図2】第1実施の形態の高反射ミラー周辺の詳細を示す断面図である。
【図3】第1実施の形態の波長フィルタ板周辺の詳細を示す断面図である。
【図4】本発明の第2実施の形態による導波路型光機能素子の構成を示す上面図である。
【図5】本発明の第2実施の形態による導波路型光機能素子の強磁性体周辺の詳細を示す断面図である。
【図6】本発明の第3実施の形態による導波路型光機能素子の構成を示す上面図である。
【図7】強磁性体の分割による損失の低減効果を示すグラフである。
【図8】本発明の第4実施の形態による導波路型光機能素子の構成を示す上面図である。
【図9】本発明の第4実施の形態による導波路型光機能素子の強磁性体周辺の詳細を示す断面図である。
【図10】本発明の第5実施の形態による導波路型光機能素子の構成を示す上面図である。
【図11】本発明の第6実施の形態による導波路型光機能素子の構成を示す上面図である。
【図12】本発明の第7実施の形態による導波路型光機能素子の構成を示す上面図である。
【図13】本発明の第7実施の形態による導波路型光機能素子の構成を示す断面図である。
【図14】本発明の第8実施の形態による導波路型光機能素子の構成を示す上面図である。
【図15】本発明の第8実施の形態による導波路型光機能素子の構成を示す断面図である。
【図16】本発明の第9実施の形態による導波路型光機能素子の構成を示す上面図である。
【図17】反射構造の曲率半径と結合効率との関係を示すグラフである。
【図18】本発明の第10実施の形態による導波路型光機能素子の構成を示す上面図である。
【図19】遅延制御導波路の第1の例の構成を示す上面図である。
【図20】遅延制御導波路の第2の例の構成を示す上面図である。
【図21】遅延制御導波路の第3の例の構成を示す上面図である。
【図22】遅延制御導波路の第4の例の構成を示す上面図である
【図23】遅延制御導波路の第4の例の構成を示す一部断面図である。
【図24】遅延制御導波路の第5の例の構成を示す上面図である
【図25】遅延制御導波路の第5の例の構成を示す一部拡大図である。
【図26】本発明の第11実施の形態による導波路型光機能素子の構成を示す上面図である。
【図27】本発明の第12実施の形態による導波路型光機能素子の構成を示す上面図である。
【図28】本発明の第13実施の形態による導波路型光機能素子の構成を示す上面図である。
【図29】本発明の第14実施の形態による導波路型光機能素子の構成を示す上面図である。
【図30】本発明の第15実施の形態による導波路型光機能素子の構成を示す上面図である。
【図31】本発明の第16実施の形態による導波路型光機能素子の構成を示す上面図である。
【図32】本発明の第17実施の形態による導波路型光機能素子の構成を示す上面図である。
【図33】従来の導波路型光機能素子の構成を示す断面図である。
【図34】別の従来の導波路型光機能素子の構成を示す上面図である。
【図35】従来の干渉計測光学系の構成を示す上面図である。
【図36】従来の光導波路で構成されるマッハツェンダー干渉型光スイッチの構成を示す上面図である。
【符号の説明】
101 導波路基板
102 入力導波路
103 出力導波路
104 スラブ導波路
105,134 ミラー
105a,107 溝構造
105b,106b,126 高反射ミラー
108 波長フィルタ板
109 高反射ミラー膜
110 ポリマーフィルム基板
111 接着剤
112,202 上部クラッド層
113,203 コア層
114,204 下部クラッド層
115 ガラス基板
116 波長フィルタ膜
117 低反射コーティング
118 押しつけ用微小物
119,121 強磁性体
120 偏光フィルタ
122 入力導波路
123 出力導波路
124 1/2波長板
125 偏光分離ミラー板
127 強磁性体
128 単一モード光導波路
131 方向性結合器又はマルチモード干渉結合器
132,133 導波路
134 遅延制御導波路
135 反射構造
136 レンズ
137 半導体レーザ
138 受光器
139 干渉測定器
141 スラブ導波路
142 ミラー
143 遅延制御用領域
145 溝構造
146 導波路コア
147 導波路クラッド
148 穴
150a,150b 半導体レーザ
151a 受光器
152 波長合分波器
153 入力導波路
154 1:2光分岐回路
155,156 導波路
157a,157b 遅延制御導波路
158 2:1光結合回路
159,159a,159b,159c 出力導波路
160 2:2光結合回路
161 反射構造
162a 遅延制御導波路
162b 遅延導波路
163 半透鏡
164 受光器アレイ
165 1:2光分岐回路
201 導波路基板
205 光学素子
206 屈折率整合透明接着剤
207 単一モード導波路
208 溝構造
209 金属コーティング
301 コヒーレント照明光
302 ハーフミラー
303 可動ミラー
304 干渉パタン観測面
305 入力導波路
306 1:2光分岐回路
307 屈折率制御部
308 導波路
309 2:1光結合回路
310 出力導波路[0001]
BACKGROUND OF THE INVENTION
The present invention relates to a waveguide-type optical functional element, and in particular, a waveguide-type light suitable for application to a wavelength multiplexer / demultiplexer, an optical isolator, an interference measuring device, and an optical switch for optical communication. It relates to a functional element.
[0002]
[Prior art]
FIG. 33 is a cross-sectional view showing a configuration of a conventional waveguide type optical functional element. In this example, a groove is formed in a waveguide, and various optical elements are inserted into the groove to constitute a waveguide type optical functional element. An
[0003]
FIG. 34 is a top view showing the configuration of another conventional waveguide-type optical functional element. In this example, a groove is formed in a waveguide, a metal is vapor-deposited, and an end surface thereof is used as a reflection surface. A
[0004]
FIG. 35 is a top view showing a configuration of a conventional interference measurement optical system. In this interference measurement optical system, a
[0005]
FIG. 36 is a top view showing a configuration of a Mach-Zehnder interference type optical switch composed of a conventional optical waveguide. In the Mach-Zehnder interference type optical switch, the input light input to the
[0006]
[Problems to be solved by the invention]
However, the example shown in FIG. 33 has a problem that the connection loss increases rapidly as the groove width s increases. Further, in the example shown in FIG. 34, there is a problem that scattering loss or connection loss becomes very large unless the reflection end face is smooth and vertical. In the example shown in FIG. 35, the reliability of the variable control of the optical path length is low because the reliability of the mechanical drive portion is low, and further, it is difficult to assemble the apparatus compactly. . In the example shown in FIG. 36, the refractive index control amount is about 0.001 regardless of any of the thermal effect, current injection (plasma effect), and field effect. Therefore, in order to realize the phase difference of π necessary for the switch operation, a refractive index control waveguide having a length of about 1000λ (λ is a wavelength) is required. Furthermore, since a high electric field cannot be used in a high-speed switch, the refractive index control amount is reduced, a refractive index control waveguide having a length of about 5000λ is required, and phase matching between the traveling wave electric field and the propagating light is indispensable. Become. Since these refractive index control waveguides generally have a minimum bending radius of a few millimeters, they are constituted by straight waveguides, so that their dimensions become large. That is, the conventional Mach-Zehnder interference type optical switch is difficult to downsize, and phase matching is indispensable for high-speed modulation.
[0007]
In view of the above problems, the present invention reduces the connection loss due to the insertion of an optical element, and can form a delay waveguide having a large propagation optical path length with a small loss in a short length region. An object is to provide a functional element.
[0019]
[Means for Solving the Problems]
The waveguide type optical functional device of the present invention includes a substrate on which an optical waveguide is held,A slab waveguide formed on the substrate; andFormed on the substrateCoupling with the slab waveguide at the first coupling endFirst optical waveguideAnd coupled to the slab waveguide at the second coupling end formed on the substrate.A second optical waveguide and formed on the substrate;Said1st coupling endWhenA reflective structure that couples and couples the second coupling end to each other at a position in an imaging relationship with each other,
[0020]
[Expression 2]
However,
w1: Mode field radius at the first coupling end A
w2: Reflection structure of one-dimensional Gaussian beam in slab waveguidebyBeam waist after reflectionpositionMode field radius at
L1: distance between the point B where the reflecting structure and the optical axis intersect and the first coupling end A
L2: Reflection structure of one-dimensional Gaussian beam in slab waveguidebyDistance between beam waist position after reflection and point B
R: Curvature of reflecting structure near point B
neff: effective refractive index of the portion where light propagates
LW: Wavelength of light
, L1 ≠ R, L2 ≠ R, the second coupling end C is at a distance L2 from the point B, and the mode field radius of the second waveguide is equal to w2.
[0031]
DETAILED DESCRIPTION OF THE INVENTION
Hereinafter, preferred embodiments of the present invention will be described in detail with reference to the accompanying drawings. Note that components having the same function are denoted by the same reference symbols throughout the drawings for describing the embodiments, and the repetitive description thereof will be omitted.
[0032]
FIG. 1 is a top view showing a configuration of a waveguide type optical functional element according to a first embodiment of the present invention. This waveguide type optical functional element has a wavelength filter function. On the
[0033]
FIG. 2 is a cross-sectional view showing details of the periphery of the high reflection mirror of the first embodiment. The
[0034]
FIG. 3 is a cross-sectional view showing details of the periphery of the wavelength filter plate of the first embodiment. The
[0035]
The operation of the first embodiment will be described. Light incident on the
[0036]
FIG. 4 is a top view showing the configuration of the waveguide type optical functional device according to the second embodiment of the present invention, and FIG. 5 is a cross-sectional view showing details of the periphery of the ferromagnetic material. The waveguide-type optical functional element is a polarization-dependent waveguide optical isolator, and includes a
[0037]
The operation until the incident light to the
[0038]
The advantage of the waveguide type isolator is that it is easier to downsize than a configuration in which a lens, a polarizing plate, and a magnetic material are arranged in a three-dimensional space, and can be integrated in another optical circuit. In the present embodiment, a wide beam (with a large spot diameter) is formed using a reflection structure formed in the waveguide, and propagated through the slab waveguide, and each optical element is arranged therebetween. Therefore, it is possible to configure a waveguide type isolator in which the loss is almost halved as compared with the prior art.
[0039]
FIG. 6 is a top view showing the configuration of the waveguide type optical functional device according to the third embodiment of the present invention. The difference between the present embodiment and the second embodiment is that a
[0040]
FIG. 7 is a graph showing the effect of reducing the loss by dividing the ferromagnetic material. Here, the margin of the groove width and the Fresnel reflection loss on the surface of the
[0041]
FIG. 8 is a top view showing a configuration of a waveguide type optical functional device according to a fourth embodiment of the present invention, and FIG. 9 is a cross-sectional view showing details of the periphery of the ferromagnetic material. The difference between the present embodiment and the second embodiment is that the
[0042]
FIG. 10 is a top view showing the configuration of the waveguide type optical functional device according to the fifth embodiment of the present invention. The difference between the present embodiment and the second embodiment is that the
[0043]
FIG. 11 is a top view showing the configuration of the waveguide type optical functional device according to the sixth embodiment of the present invention. This waveguide type optical functional element is a polarization-independent type waveguide optical isolator, which includes YIG and other
[0044]
FIG. 12 is a top view showing a configuration of a waveguide type optical functional device according to a seventh embodiment of the present invention, and FIG. 13 is a sectional view thereof. The difference between the present embodiment and the fourth embodiment is that the
[0045]
FIG. 14 is a top view showing a configuration of a waveguide type optical functional device according to an eighth embodiment of the present invention, and FIG. 15 is a sectional view thereof. In the present embodiment, the
[0046]
FIG. 16 is a top view showing the configuration of the waveguide-type optical functional device according to the ninth embodiment of the present invention. The configuration described in this embodiment is a configuration that increases the coupling efficiency of an optical coupling circuit using a reflective structure. According to the conventional geometric optical approximation, it is considered that the configuration using an elliptical mirror with the incident coupling point and the outgoing coupling point being the focal point of the ellipse is the best. However, a more accurate imaging condition is that light emitted from the first waveguide has a beam waist at the exit end in the slab waveguide plane, and the beam spot radius is equal to the mode field radius at the coupling end. It can be determined assuming a Gaussian beam of dimensions. The direction component perpendicular to the slab waveguide plane always satisfies the single mode condition, and the mode field diameter does not change, so the coupling efficiency is 100% and need not be considered. If a mirror having a radius of curvature R is a paraxial approximation and is an imaging element having a focal length f = R / 2, an elliptical mirror is generally used.
[0047]
[Equation 3]
However,
w1: Mode field radius at the first coupling end A
w2: Beam waist after mirror reflection of one-dimensional Gaussian beam in slab waveguidepositionMode field radius at
L1: distance between the point B where the reflecting structure and the optical axis intersect and the first coupling end A
L2: Distance between the beam waist position after mirror reflection of the one-dimensional Gaussian beam in the slab waveguide and the point B
R: curvature near point B
neff: effective refractive index of the portion where light propagates
LW: Wavelength of light
It becomes.Input side and output sideThe coupling efficiency of the two Gaussian beams isBothBeam waist positionMatch, and bothMaximum when beam spot radii match. That is, the second coupling end C is arranged at a distance L2 from the point B.(Beam waist position matches)And when the mode field radius of the second waveguide is equal to w2.(Beam spot radii match)The maximum coupling efficiency was found.
[0048]
FIG. 17 is a graph showing the relationship between the radius of curvature of the reflecting structure and the coupling efficiency. The result of having calculated the coupling efficiency in the case of the structure by the design based on the conventional geometric optical approximation and the structure by this Embodiment is shown. The premise of the calculation is that w1 = 5 μm, the distance between the input and output waveguides is 500 μm, neff = 1.534, LW = 1.55 μm, and the input side and the output side are symmetrical. As is apparent from the figure, when the radius of curvature of the reflecting structure is reduced, the coupling efficiency decreases from around R / 2 = 200 μm in the geometric optical approximation, whereas in the present embodiment, R / 2 = It can be seen that the coupling efficiency does not decrease up to around 80 μm. In this embodiment, R / 2 = 60 to 200 μm, and it is possible to realize a coupling efficiency superior to that of the prior art.
[0049]
FIG. 18 is a top view showing the configuration of the waveguide type optical functional device according to the tenth embodiment of the present invention. This embodiment constitutes an
[0050]
The two return lights interfere when the optical path difference is shorter than the coherent length of the
[0051]
Furthermore, if the oscillation wavelength of the
[0052]
Furthermore, the present invention can be applied to interference measurement using incoherent light (coherent length is about several microns to several tens of microns) instead of coherent light. In this case, since the coherence length is very short, the reflected light from the material interface is detected and the layer structure is measured, so the optical path length from the output end R to the
[0053]
FIG. 19 is a top view showing the configuration of the first example of the delay control waveguide. The greatest feature of this embodiment is the configuration of the
[0054]
FIG. 20 is a top view showing the configuration of the second example of the delay control waveguide. The
[0055]
FIG. 21 is a top view showing the configuration of the third example of the delay control waveguide. The
[0056]
22 and 23 are a top view and a partial cross-sectional view showing the configuration of the fourth example of the delay control waveguide. The
[0057]
24 and 25 are a top view and a partially enlarged view showing the configuration of the fifth example of the delay control waveguide. The
[0058]
FIG. 26 is a top view showing the configuration of the waveguide type optical functional device according to the eleventh embodiment of the present invention. The
[0059]
FIG. 27 is a top view showing the configuration of the waveguide type optical functional device according to the twelfth embodiment of the present invention. The
[0060]
FIG. 28 is a top view showing the configuration of the waveguide type optical functional device according to the thirteenth embodiment of the present invention. The
[0061]
In these twelfth and thirteenth embodiments, the delay time of light from different light sources can be controlled separately. Although the apparatus configuration is complicated, the accuracy of measurement can be improved.
[0062]
FIG. 29 is a top view showing the configuration of the waveguide type optical functional device according to the fourteenth embodiment of the present invention. This embodiment constitutes a Mach-Zehnder interference type optical switch, and includes an
[0063]
FIG. 30 is a top view showing the configuration of the waveguide type optical functional device according to the fifteenth embodiment of the present invention. The Mach-Zehnder interference optical switch according to the present embodiment includes an
[0064]
FIG. 31 is a top view showing the configuration of the waveguide type optical functional device according to the sixteenth embodiment of the present invention. The Mach-Zehnder interference optical switch according to the present embodiment includes an
[0065]
FIG. 32 is a top view showing the configuration of the waveguide type optical functional device according to the seventeenth embodiment of the present invention.
[0066]
The present invention is not limited to the above embodiment.
[0067]
【The invention's effect】
Of the invention disclosed in this applicationThe basic effect is that it is possible to suppress a decrease in coupling efficiency in a reflective structure with a small curvature radius. In addition, the following effects are produced.
[0068]
The first effect is that a low-loss reflection structure can be provided in the slab waveguide by inserting a high-reflection mirror deposited on a flexible film into the groove structure.
[0069]
The second effect is that integration is achieved by dividing an optical component having an effect proportional to the substrate thickness (for example, a Faraday element, a wave plate, etc.) while keeping the total thickness of the substrate constant and inserting it into the waveguide. It is possible to reduce the accompanying loss.
[0070]
The third effect is caused by the first effect. In the slab waveguide, a wide parallel beam (large spot diameter) is formed in the slab waveguide with low loss, and the parallel beam propagates. By inserting the optical component into the groove structure provided in the optical fiber, the loss when passing through the groove portion where the waveguide does not exist and the optical component portion and coupling to the waveguide again can be halved.
[0071]
The fourth effect is that these materials can be hybrid-integrated in the waveguide with low loss by processing the material itself such as YIG having the Faraday effect into a cylindrical shape or a spherical shape to have a lens function.
[0072]
By utilizing these first to fourth micro effects in various optical waveguide circuits, the following macro effects are produced.
[0073]
The fifth effect is that a low-loss waveguide type optical isolator and an optical wavelength filter can be configured. Waveguide type isolators are smaller than conventional isolators using micro optics, and the effect is particularly remarkable in the case of an array. If an isolator can be incorporated in the waveguide, it becomes possible to stably operate the laser and the amplifier integrated in the waveguide circuit. Furthermore, when applied to a small-scale wavelength multiplexing / demultiplexing circuit, it is possible to realize a wavelength multiplexing / demultiplexing circuit that is smaller and has a lower loss than the conventional arrayed waveguide diffraction grating.
[0074]
The sixth effect is that an extremely long delay line can be mounted on the waveguide substrate, so that an interference optical system that has conventionally been configured by arranging individual components can be configured on the waveguide substrate. Further, since the delay control amount is large, it is easy to measure the uneven shape with a step without mechanically driving the mirror.
[0075]
The seventh effect is that an extremely long delay line can be mounted on the waveguide substrate, so that it is possible to configure an optical switch that is driven by controlling the temperature of the entire chip.
[0076]
The eighth effect is that the delay line can be bent and mounted compactly on the waveguide substrate, so that the optical switch can be miniaturized.
[0077]
The ninth effect is that the delay line can be bent and mounted compactly on the waveguide substrate, so that the drive voltage of the optical switch can be reduced.
[0078]
The tenth effect is that the delay line can be bent and mounted compactly on the waveguide substrate, which eliminates the need for phase matching between the high-frequency electric field and the propagating light for driving the optical switch, and simplifies the switch configuration.
[Brief description of the drawings]
FIG. 1 is a top view showing a configuration of a waveguide type optical functional device according to a first embodiment of the present invention.
FIG. 2 is a cross-sectional view showing details of the periphery of the high reflection mirror of the first embodiment.
FIG. 3 is a cross-sectional view showing details of the periphery of the wavelength filter plate of the first embodiment.
FIG. 4 is a top view showing a configuration of a waveguide type optical functional device according to a second embodiment of the present invention.
FIG. 5 is a cross-sectional view showing details of the periphery of a ferromagnetic material of a waveguide type optical functional device according to a second embodiment of the present invention.
FIG. 6 is a top view showing a configuration of a waveguide type optical functional device according to a third embodiment of the present invention.
FIG. 7 is a graph showing an effect of reducing loss by dividing a ferromagnetic material.
FIG. 8 is a top view showing a configuration of a waveguide type optical functional device according to a fourth embodiment of the present invention.
FIG. 9 is a cross-sectional view showing details of the periphery of a ferromagnetic body of a waveguide type optical functional device according to a fourth embodiment of the present invention.
FIG. 10 is a top view showing a configuration of a waveguide type optical functional device according to a fifth embodiment of the present invention.
FIG. 11 is a top view showing a configuration of a waveguide type optical functional device according to a sixth embodiment of the present invention.
FIG. 12 is a top view showing a configuration of a waveguide type optical functional device according to a seventh embodiment of the present invention.
FIG. 13 is a cross-sectional view showing a configuration of a waveguide type optical functional device according to a seventh embodiment of the present invention.
FIG. 14 is a top view showing a configuration of a waveguide type optical functional device according to an eighth embodiment of the present invention.
FIG. 15 is a cross-sectional view showing a configuration of a waveguide type optical functional device according to an eighth embodiment of the present invention.
FIG. 16 is a top view showing a configuration of a waveguide type optical functional device according to a ninth embodiment of the present invention.
FIG. 17 is a graph showing the relationship between the radius of curvature of the reflecting structure and the coupling efficiency.
FIG. 18 is a top view showing a configuration of a waveguide type optical functional device according to a tenth embodiment of the present invention.
FIG. 19 is a top view showing a configuration of a first example of a delay control waveguide;
FIG. 20 is a top view showing a configuration of a second example of the delay control waveguide.
FIG. 21 is a top view showing a configuration of a third example of the delay control waveguide;
FIG. 22 is a top view showing the configuration of the fourth example of the delay control waveguide;
FIG. 23 is a partial cross-sectional view showing a configuration of a fourth example of the delay control waveguide.
FIG. 24 is a top view showing the configuration of the fifth example of the delay control waveguide;
FIG. 25 is a partially enlarged view showing the configuration of the fifth example of the delay control waveguide.
FIG. 26 is a top view showing a configuration of a waveguide type optical functional device according to an eleventh embodiment of the present invention.
FIG. 27 is a top view showing a configuration of a waveguide type optical functional device according to a twelfth embodiment of the present invention.
FIG. 28 is a top view showing a configuration of a waveguide type optical functional device according to a thirteenth embodiment of the present invention.
FIG. 29 is a top view showing a configuration of a waveguide type optical functional device according to a fourteenth embodiment of the present invention.
FIG. 30 is a top view showing a configuration of a waveguide type optical functional device according to a fifteenth embodiment of the present invention.
FIG. 31 is a top view showing a configuration of a waveguide type optical functional device according to a sixteenth embodiment of the present invention.
FIG. 32 is a top view showing a configuration of a waveguide type optical functional device according to a seventeenth embodiment of the present invention.
FIG. 33 is a cross-sectional view showing a configuration of a conventional waveguide-type optical functional element.
FIG. 34 is a top view showing the configuration of another conventional waveguide-type optical functional element.
FIG. 35 is a top view showing a configuration of a conventional interference measurement optical system.
FIG. 36 is a top view showing a configuration of a Mach-Zehnder interference type optical switch composed of a conventional optical waveguide.
[Explanation of symbols]
101 Waveguide substrate
102 Input waveguide
103 Output waveguide
104 Slab waveguide
105,134 mirror
105a, 107 groove structure
105b, 106b, 126 High reflection mirror
108 Wavelength filter plate
109 High reflection mirror film
110 Polymer film substrate
111 Adhesive
112, 202 Upper cladding layer
113,203 Core layer
114,204 Lower cladding layer
115 glass substrate
116 Wavelength filter film
117 Low reflection coating
118 Minute object for pressing
119,121 Ferromagnetic material
120 Polarizing filter
122 Input waveguide
123 Output waveguide
124 half-wave plate
125 Polarization separation mirror plate
127 Ferromagnetic material
128 single-mode optical waveguide
131 Directional coupler or multimode interference coupler
132, 133 Waveguide
134 Delay Control Waveguide
135 Reflective structure
136 lens
137 Semiconductor laser
138 Receiver
139 Interferometer
141 Slab waveguide
142 Mirror
143 Delay control area
145 Groove structure
146 Waveguide core
147 Waveguide cladding
148 holes
150a, 150b semiconductor laser
151a Receiver
152 wavelength multiplexer / demultiplexer
153 Input waveguide
154 1: 2 optical branch circuit
155, 156 waveguide
157a, 157b Delay control waveguide
158 2: 1 optical coupling circuit
159, 159a, 159b, 159c Output waveguide
160 2: 2 optical coupling circuit
161 Reflective structure
162a Delay control waveguide
162b Delayed waveguide
163 Semi-transparent mirror
164 Receiver array
165 1: 2 optical branch circuit
201 Waveguide substrate
205 Optical elements
206 refractive index matching transparent adhesive
207 Single mode waveguide
208 Groove structure
209 Metal coating
301 Coherent illumination light
302 half mirror
303 Movable mirror
304 Interference pattern observation surface
305 Input waveguide
306 1: 2 optical branch circuit
307 Refractive index controller
308 Waveguide
309 2: 1 optical coupling circuit
310 Output Waveguide
| Application Number | Priority Date | Filing Date | Title |
|---|---|---|---|
| JP2003110862AJP3661036B2 (en) | 2002-05-27 | 2003-04-15 | Waveguide type optical functional element |
| Application Number | Priority Date | Filing Date | Title |
|---|---|---|---|
| JP2002153168 | 2002-05-27 | ||
| JP2003110862AJP3661036B2 (en) | 2002-05-27 | 2003-04-15 | Waveguide type optical functional element |
| Application Number | Title | Priority Date | Filing Date |
|---|---|---|---|
| JP2004151470ADivisionJP3803776B2 (en) | 2002-05-27 | 2004-05-21 | Waveguide type optical functional device |
| JP2004151520ADivisionJP2004295138A (en) | 2002-05-27 | 2004-05-21 | Waveguide type optical functional device |
| Publication Number | Publication Date |
|---|---|
| JP2004054224A JP2004054224A (en) | 2004-02-19 |
| JP3661036B2true JP3661036B2 (en) | 2005-06-15 |
| Application Number | Title | Priority Date | Filing Date |
|---|---|---|---|
| JP2003110862AExpired - Fee RelatedJP3661036B2 (en) | 2002-05-27 | 2003-04-15 | Waveguide type optical functional element |
| Country | Link |
|---|---|
| JP (1) | JP3661036B2 (en) |
| Publication number | Priority date | Publication date | Assignee | Title |
|---|---|---|---|---|
| JP4668557B2 (en)* | 2004-07-07 | 2011-04-13 | 日本電信電話株式会社 | Optical sensor |
| JP2007148150A (en)* | 2005-11-29 | 2007-06-14 | Mitsubishi Electric Corp | Optical switch device |
| KR20110094996A (en)* | 2010-02-18 | 2011-08-24 | 엘지이노텍 주식회사 | Light emitting device package, manufacturing method and lighting system |
| JP5650593B2 (en)* | 2011-06-20 | 2015-01-07 | 日本電信電話株式会社 | Thermo-optic phase shifter, variable optical attenuator using the same, 1 × M optical switch, variable wavelength filter |
| JP6189770B2 (en)* | 2014-02-28 | 2017-08-30 | 日本電信電話株式会社 | Optical resonator, coupled optical resonator |
| Publication number | Publication date |
|---|---|
| JP2004054224A (en) | 2004-02-19 |
| Publication | Publication Date | Title |
|---|---|---|
| CN111212592B (en) | Spatial division multiplexing optical coherence tomography using integrated photonic devices | |
| US4991926A (en) | Integrated optics decorrelator | |
| KR102849817B1 (en) | Method and device for controlling and suppressing stray light in an optical integrated circuit | |
| US20120227263A1 (en) | Single Aperture Multiple Optical Waveguide Transceiver | |
| US6160943A (en) | Multiple-core optical fibers and associated coupling methods | |
| JP2000056146A (en) | Light self-guide optical circuit | |
| JP3490745B2 (en) | Composite optical waveguide type optical device | |
| JP2020516881A (en) | Optical component for generating a periodic light pattern | |
| US6934427B2 (en) | High density integrated optical chip with low index difference waveguide functions | |
| ES2994772T3 (en) | Optical device | |
| JP3661036B2 (en) | Waveguide type optical functional element | |
| JP3803776B2 (en) | Waveguide type optical functional device | |
| CN108873166B (en) | A dynamic control optical field device with integrated metasurface on a dual-core fiber | |
| CN117214995A (en) | Phase control waveguide structure based on anisotropic material and wavelength division multiplexer structure thereof | |
| JP2004295138A (en) | Waveguide type optical functional device | |
| JP2008281639A (en) | Optical deflection element, optical deflection module, optical switch module, and optical deflection method | |
| JP3936865B2 (en) | Light switch | |
| JP2000018911A (en) | Interferometer, optical resonator, optical switch, sensor, and optical filter | |
| JPH0450561B2 (en) | ||
| JP3555888B2 (en) | Self-guided optical circuit | |
| JPH01222216A (en) | Waveguide type polarization control device | |
| JP7087547B2 (en) | Optical sensor device | |
| JPH0480362B2 (en) | ||
| JP3798408B2 (en) | Optical monitor module | |
| JP3833122B2 (en) | Optical coupler for optical connection, optical branching or optical assembly |
| Date | Code | Title | Description |
|---|---|---|---|
| A621 | Written request for application examination | Free format text:JAPANESE INTERMEDIATE CODE: A621 Effective date:20040121 | |
| A871 | Explanation of circumstances concerning accelerated examination | Free format text:JAPANESE INTERMEDIATE CODE: A871 Effective date:20040121 | |
| A975 | Report on accelerated examination | Free format text:JAPANESE INTERMEDIATE CODE: A971005 Effective date:20040318 | |
| A131 | Notification of reasons for refusal | Free format text:JAPANESE INTERMEDIATE CODE: A131 Effective date:20040324 | |
| A521 | Request for written amendment filed | Free format text:JAPANESE INTERMEDIATE CODE: A523 Effective date:20040521 | |
| A131 | Notification of reasons for refusal | Free format text:JAPANESE INTERMEDIATE CODE: A131 Effective date:20040922 | |
| A521 | Request for written amendment filed | Free format text:JAPANESE INTERMEDIATE CODE: A523 Effective date:20041116 | |
| A131 | Notification of reasons for refusal | Free format text:JAPANESE INTERMEDIATE CODE: A131 Effective date:20041222 | |
| A521 | Request for written amendment filed | Free format text:JAPANESE INTERMEDIATE CODE: A523 Effective date:20050127 | |
| TRDD | Decision of grant or rejection written | ||
| A01 | Written decision to grant a patent or to grant a registration (utility model) | Free format text:JAPANESE INTERMEDIATE CODE: A01 Effective date:20050302 | |
| A61 | First payment of annual fees (during grant procedure) | Free format text:JAPANESE INTERMEDIATE CODE: A61 Effective date:20050304 | |
| R150 | Certificate of patent or registration of utility model | Free format text:JAPANESE INTERMEDIATE CODE: R150 | |
| FPAY | Renewal fee payment (event date is renewal date of database) | Free format text:PAYMENT UNTIL: 20090401 Year of fee payment:4 | |
| FPAY | Renewal fee payment (event date is renewal date of database) | Free format text:PAYMENT UNTIL: 20100401 Year of fee payment:5 | |
| FPAY | Renewal fee payment (event date is renewal date of database) | Free format text:PAYMENT UNTIL: 20110401 Year of fee payment:6 | |
| LAPS | Cancellation because of no payment of annual fees |