











【0001】
【発明の属する技術分野】
  本発明はOTDRを用いた光線路の監視方法および監視システムに関し、特に分岐線路を有する光線路全体を一括的に監視できるようにした方法およびシステムに関する。
【0002】
【従来の技術】
従来より、光ファイバ通信網においては、1つの交換局と複数の基地局(あるいは加入者宅)とを光分岐デバイスを介して光ファイバで結んで、複数系列の光伝送線路(被監視線路)を構築することが行われている。例えば交換局とスターカプラとを1本の基幹ファイバ(基幹線路)で結び、スターカプラの分岐端と複数の基地局とを複数の分岐ファイバ(分岐線路)で結ぶ構成とすることができる。このように光分岐デバイスを用いて光線路を構築すれば、局内配線の合理化や光ケーブルの細径化を図ることができる。
【0003】
ところで、光ファイバ通信網の信頼性を確保するために、光線路に断線が生じた場合には直ちにそれを検知できるようにする必要がある。そのための装置として、従来よりバックスキャタリング法を用いたOTDR(Optical Time Domain Reflectometer)が知られている。
OTDRは、被測定光ファイバに高出力、狭パルス幅のレーザ光を入射させると、被測定光ファイバ中で生じる後方散乱光や、入射端面、出射端面、接続面、あるいは破断面等で生じる反射光等が入射端にもどってくるので、もどってきた光信号の強度を測定して得られる波形を観察することによって、被測定光ファイバに断線が生じた場合には、その位置を検出できるようになっている。
【0004】
【発明が解決しようとする課題】
しかしながら、上述したような分岐デバイスを用いて構築された光線路においては、1本の基幹線路に複数の分岐線路が接続されることによって複数系列の被監視線路が構築されている。したがって、単に交換局内にOTDRを設置してここから基幹線路に試験光を入射しても、複数の分岐線路からの後方散乱光および反射光が光分岐デバイスで合波されてもどってくるので、どの被監視線路で断線が生じたかを特定するのが難しい。特に、分岐線路の数が増大すると、OTDRで得られる後方散乱光および反射光の光信号波形が複雑になり断線箇所を確実に検出することが非常に困難となる。
【0005】
本発明は前記事情に鑑みてなされたもので、光分岐手段を用いて複数の被監視線路が構築された光線路を、OTDRで一括的に監視できるとともに、破断箇所を確実に、かつ容易に検出できるようにした光線路の監視方法を提供することを目的とする。
【0006】
【課題を解決するための手段】
  前記課題を解決するために本発明の光線路の監視方法は、1つの入射端と複数の出射端とを光分岐手段を介して光ファイバで結んでなる複数の被監視線路を、OTDRを用いて監視する方法であって、前記複数の被監視線路の線路長はそれぞれ異なる長さであり、かつその線路長の差はOTDRから出射される試験光のパルス幅に相当する長さの半分以上であり、前記被監視線路に異常がない状態で、前記入射端に前記試験光を入射させたときに該入射端にもどってくる光の強度を経時的に測定して、前記複数の被監視線路の各出射端をそれぞれ認識できる正常状態の波形を得る工程と、前記入射端に前記試験光を入射させたときに該入射端にもどってくる光の強度を経時的に測定して得られる波形を、前記正常状態の波形と比較して、観察されなくなった波形の位置から断線が発生した被監視線路を特定する工程と、新たに観察されたピークの位置から断線位置を測定する工程を有することを特徴とするものである。
  また本発明の光線路の監視システムは、1つの入射端と複数の出射端とを光分岐手段を介して光ファイバで結んでなる複数の被監視線路と、前記複数の被監視線路の入射端に接続されたOTDRとを備えてなり、前記複数の被監視線路の線路長はそれぞれ異なる長さであり、かつその線路長の差はOTDRから出射される試験光のパルス幅に相当する長さの半分以上であり、前記被監視線路に異常がない状態で、前記入射端に前記試験光を入射させたときに該入射端にもどってくる光の強度を経時的に測定して得られる、前記複数の被監視線路の各出射端をそれぞれ認識できる波形を、正常状態の波形としてメモリーする手段を有することを特徴とするものである。
【0007】
【発明の実施の形態】
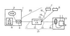
以下、本発明を詳しく説明する。図1は本発明の光線路の監視方法の一実施例を示す光伝送線路の概略構成図である。図中符号1は交換局、2はOTDR、3は波長分割多重(WDM)カプラ、4は交換局内送受信装置、5,6,7は基地局、8は基地局内送受信装置、11は基幹線路,12は光分岐デバイス、13は第1の分岐線路、14はダミーファイバ、15は第2の分岐線路、16は第3の分岐線路、20は光線路、21は被監視線路をそれぞれ示す。
基幹線路11および第1〜3の分岐線路13,15,16はそれぞれ光ファイバケーブルで構成されている。
【0008】
本実施例の光伝送線路は、交換局1から送信された光信号(伝送光)が基幹線路11で伝送され、光分岐デバイス12で複数に分岐され、分岐された伝送光がそれぞれ第1〜3の分岐線路13,15,16で各基地局5,6,7へ送られるように構成されている。また基地局5,6,7から送信される光信号は、交換局1から送信された光信号とは逆の方向に伝送されて交換局1へ送られるようになっている。
尚、ここでは1本の基幹線路11と光分岐デバイス12と1本の分岐線路13(または15,16)とで構成され、交換局(入射端)1と基地局(出射端)5,6,7とを結ぶ1系列の光伝送線路を被監視線路21という。図1には3系列の被監視線路21が示されているが、被監視線路21の数はこれに限らず任意とすることができる。また、入射端を共有する複数の被監視線路21で構成される光伝送路全体、すなわち1本の基幹線路11と光分岐デバイス12と複数の分岐線路13,15,16とで構成される光伝送線路全体を光線路20という。
【0009】
交換局1は送受信装置4およびOTDR2を備えており、送受信装置4から送信される伝送光、およびOTDR2から出射される試験光がそれぞれWDMカプラ3を介して基幹線路11に入射されるように構成されている。伝送光および試験光としては波長が異なる光がそれぞれ用いられる。例えば、光線路20を石英系光ファイバを用いて構成した場合には、伝送光として波長1310nmの光を好適に用い、試験光として波長1550nmの光を好適に用いることができる。光分岐デバイス12としては波長無依存型カプラ(WIC:Wavelength Insensitive Coupler)が用いられ、各種構成の光分岐手段を用いることができる。例えば1:Nの双方向用スターカプラを好適に用いることができる。この光分岐デバイス12は通常クロージャ内に収納されている。
【0010】
基地局5は送受信装置8を備えており、第1の分岐線路13がこの送受信装置8に接続されている。また基地局5内において第1の分岐線路13には必要に応じた長さのダミーファイバ14が挿入されている。ダミーファイバ14は、第1の分岐線路13を含む被監視線路21の線路長を調節するために必要に応じて用いられるもので、被監視線路21を構成する光ファイバケーブルと同じものが使用される。ここで被監視線路21の線路長とは、OTDR2における入射端から基地局5内における出射端までの長さをいう。ダミーファイバ14は分岐線路13の任意の位置に挿入することができるが、基地局5内で挿入する構成とすれば挿入時の作業性や収納性の点で好ましい。
基地局5内における被監視線路21の出射端、すなわち被監視線路21と送受信装置8との接続点は無反射であることが望ましく、分岐線路13またはダミーファイバ14と送受信装置8との接続は低反射コネクタ等の反射を抑える光部品(図示略)を用いて行うことが好ましい。
また他の基地局6,7も同様に送受信装置(図示略)を備えた構成となっており、各基地局6,7内において、第2の分岐線路15および第3の分岐線路16には必要に応じてダミーファイバ(図示略)が挿入されている。
【0011】
本発明においては、光線路20を構成する複数の被監視線路21の線路長が、それぞれ異なる長さとなるように構成される。また複数の被監視線路21の線路長の差はOTDR2から出射される試験光のパルス幅に相当する長さの半分以上とすることが必要である。したがって、例えば各被監視線路21の線路長は、試験光のパルス幅に相当する長さの半分の値を公差とする等差数列的に増加するように設定することができる。尚、試験光のパルス幅に相当する長さは、
(光速/コアの屈折率)×(OTDRから出射される試験光のパルス幅)で求められる。
よって、例えば(光速/コアの屈折率)=0.2m/ns、試験光のパルス幅=50nsとすると、このパルス幅に相当する線路長は約10mとなる。よって、第1〜3の分岐線路13,15,16を構成している光ファイバケーブルの長さがいずれも等しいとすると、第3の分岐線路16にはダミーファイバを挿入せず、第2の分岐線路15には長さ5mのダミーファイバを挿入し、第1の分岐線路13には長さ10mのダミーファイバ14を挿入し…というように、ダミーファイバの長さを5mずつ長くすることによって、各被監視線路21の長さを好ましく違えることができる。
【0012】
尚、複数の被監視線路21の線路長の差は、理論的には上述の通りOTDR2から出射される試験光のパルス幅に相当する長さの半分以上とすれば測定可能であるが、実際には、使用するOTDR装置の分解能によってはこれよりも長くすることが好ましい。すなわち、OTDR2で得られる波形において、断線等による後方散乱光への影響が後方散乱光の定常値から±0.1dB以内に回復するのに必要な距離(アッテネーション)を考慮して、複数の被監視線路21の線路長の差が、OTDR2から出射される試験光のパルス幅に相当する長さの値以上となるようにするのが望ましい。このようにすれば現在市販されているOTDRによっても好ましい分解能が得られ、断線位置等を容易かつ正確に検出することができる。
【0013】
このように構成された光線路20の各被監視線路21の監視は次のようにして行うことができる。まず、光線路20に異常がない状態で、交換局1内においてOTDR2からの試験光を基幹線路11に入射させる。そして光線路20からOTDR2へもどってくる光の強度を経時的に測定すれば、例えば図2に示すような波形が得られるので、これを正常状態の波形としてメモリーする。
図2の例は、第1の分岐線路13を含む被監視線路21の線路長がL1、第2の分岐線路15を含む被監視線路の線路長がL2、第3の分岐線路16を含む被監視線路の線路長がL3(L1>L2>L3)で、L1とL2との差およびL2とL3との差が、いずれも試験光のパルス幅に相当する長さの半分以上とした場合に得られる波形である。この図において縦軸はOTDR2へもどってきた後方散乱光または反射光の強度を示す。また横軸は時間軸であるが、光線路の各点のOTDR2からの距離に換算して示している。この図の波形は、入射端、出射端、あるいは接続点等における反射や接続損がないと仮定した場合に理論的に得られる波形を示している。
この図に示されるように、複数の分岐線路13,15,16からの後方散乱光が光分岐デバイス12で合波されてOTDR2へもどってきても、各被監視線路の線路長L1,L2,L3が異なり、かつその差が試験光のパルス幅に相当する長さの半分以上となっているので、各分岐線路13,15,16の出射端での後方散乱a,b,cをそれぞれ認識することができる。
尚、線路長S1の地点で得られた立上り部は、光分岐デバイス12による後方散乱を示している。
【0014】
このようなOTDR2による波形の測定を常時行い、正常状態の波形と比較して、正常状態の波形との差を検出することによって、光線路における断線の発生と断線位置を知ることができる。例えば光線路20に断線が生じた場合には、図3(a)または(b)に示すように、図2に示した正常状態の波形とは異なる波形が得られる。図3(a)は、第2の分岐線路を含む被監視線路(線路長L2)において、線路長L0(S1<L0<L3)の位置で断線が発生した場合の波形を示し、図3(b)は、線路長L0(L3<L0<L1)の位置で断線が発生した場合の波形を示す。
そして図3(a)(b)の異常状態の波形と図2の正常状態の波形とを比較すると、正常状態では距離L2で観察されていた後方散乱bが異常状態の波形では観察されない。このことから線路長L2の被監視線路、すなわち第2の分岐線路15を含む被監視線路に断線が生じたことがわかる。そして断線箇所では光ファイバの破断面によって試験光の反射が生じるので、異常状態の波形にはこの破断面からの反射光によるピークPが新たに観察されることになる。したがって、このピークPの位置(L0)を算出することによって断線位置をほぼ正確に測定することができる。
このように本実施例によれば、複数の分岐線路13,15,16を有する光線路2の基幹線路11に試験光を入射させることにより、この光線路20全体を一括的に監視することができる。また断線等の異常が発生した場合には、OTDR2で測定される波形とメモリーされた正常状態の波形との差を読み取ることにより、断線が生じた被監視線路の特定し、かつ断線箇所を断定することができる。
【0015】
本実施例では、3系列の被監視線路21を備えた光線路20について常時監視を行う方法を例に挙げて説明したが、被監視線路21の数が増えても同様にして常時監視を行うことができる。
また本実施例において、OTDR2で測定される波形は、負の傾きを有する傾斜部分と、段差の立上り部a,b,cとから概略なっており、各被監視線路の線路長の差は2つの立上り部の間の距離に相当する。したがって各被監視線路の線路長の差が大きい方が、立上り部a,b,cの間隔が大きくなるので波形を観察する際に各被監視線路の出射端を認識し易い。ただし被監視線路の数が多い場合には、各被監視線路の線路長の差を大きくすると最長の被監視線路の長さが長くなるため、伝送損失の増加等の問題が生じる恐れがある。よって、各被監視線路の線路長が、試験光のパルス幅に相当する長さの半分の値、好ましくは試験光のパルス幅に相当する長さの値を公差とする等差数列的に増加するように設定すれば、被監視線路の数の増加に好適に対応できる。また各被監視線路の線路長がいずれも等しくなるように設定すれば、立上り部が等間隔に観察される波形が得られるので、視覚的に波形の変化を観察し易い。
【0016】
なお本実施例においては、OTDR2で波形を測定したときに、各被監視線路の出射端での後方散乱が観察され、これによって各被監視線路を認識できるように構成されているが、被監視線路の出射端からの反射光が観察されるように構成すれば、これによっても各被監視線路を認識することが可能である。
また光伝送線路の構成は図1のものに限らず、各種の変形が可能である。例えば基地局5,6,7は加入者宅であってもよい。あるいは1系列の被監視線路に対して2つ以上の光分岐デバイスを用いて2段階に分岐させた構成の光線路においても、各被監視線路の入射端から出射端までの線路長を上記のように設定することによって、OTDRを用いて同様に監視することが可能である。
【0017】
【実施例】
以下、具体的な実施例を示して、本発明の効果を明らかにする。以下の実施例において、測定には、市販のOTDR(光ファイバアナライザAQ−7140C、ANDO、安藤電気株式会社製)を使用した。
(実施例1)
図4に示すような分岐線路を有する光伝送線路を構成して、OTDRを用いた光線路の監視を行った。図4において図1と同じ構成要素には同一符号を付してその説明を簡略化する。
本実施例の光伝送線路において、光分岐デバイス12としては波長無依存型の1×2双方向用スターカプラを用いた。そして交換局1のOTDR2から出射された試験光がWDMカプラ3を介して基幹線路11に入射され、スターカプラ12で2つに分岐された後、第1の分岐線路31および第2の分岐線路32にそれぞれ入射されて第1の送受信装置CS1および第2の送受信装置CS2へそれぞれ出射されるようにした。第1の分岐線路31と第1の送受信装置CS1との接続,および第2の分岐線路32と第2の送受信装置CS2との接続には低反射コネクタ33,34をそれぞれ用い、これによって第1の分岐線路31および第2の分岐線路32の出射端における反射が抑えられるようにした。また基幹線路11および各分岐線路31,32とスターカプラ12との接続は融着により行った。
基幹線路11および分岐線路31,32は石英系光ファイバで構成し、交換局1から出射される伝送光の波長は1310nmとし、OTDRから出射される試験光の波長は1550nmとした。試験光のパルス幅は1μmとした。またOTDR2から第1の送受信装置CS1までの線路長の実測値は2712mであり、OTDR2から第2の送受信装置CS2までの線路長の実測値は8561mであった。
【0018】
まず、光線路に異常がない状態でOTDR2による測定を行ったところ、図5に示すような波形が得られた。これを正常状態の波形としてメモリーした。この波形には、第1の送受信装置CS1での出射端からの後方散乱a、および第2の送受信装置CS2での出射端からの後方散乱bがそれぞれ観察される。図5の波形を用いてOTDR2から第1の送受信装置CS1までの線路長を算出したところ2710mであり、実測値との誤差は2mであった。また図5の波形を用いてOTDR2から第2の送受信装置CS2までの線路長を算出したところ8540mであり、実測値との誤差は21mであった。
【0019】
次に、第1の分岐線路31が途中で断線しており(破断点A)、第2の分岐線路32には異常がない状態でOTDR2による測定を行ったところ、図6に示すような波形が得られた。この波形には第2の送受信装置CS2での出射端からの後方散乱bは観察されるが、第1の送受信装置CS1での出射端からの後方散乱aは観察されない。その代わりに、正常状態では観察されなかったピークP1が観察される。このピークP1のOTDR2からの距離を算出したところ1062mであった。また破断点AのOTDR2からの距離を実測したところ1049mであった。測定により得られたピークP1の位置と破断点Aの実測値との誤差は13mであり、OTDR2を用いて破断点Aをほぼ正確に検出できることが認められた。
【0020】
次に、第1の分岐線路31が途中で断線しており(破断点A)、また第2の分岐線路32も途中で断線している(破断点B)状態でOTDR2による測定を行ったところ、図7に示すような波形が得られた。この波形においては、図6と同様に第1の送受信装置CS1での出射端からの後方散乱aは観察されず、その代わりに、正常状態では観察されなかったピークP1が観察される。それに加えて第2の送受信装置CS2での出射端からの後方散乱bも観察されず、その代わりに、正常状態では観察されなかったピークP2が観察される。このピークP1およびピークP2のOTDR2からの距離を算出したところ、それぞれ1062mおよび8193mであった。また破断点Aおよび破断点BのOTDR2からの距離を実測したところ、それぞれ1049mおよび8196mであった。測定により得られたピークP1の位置と破断点Aの実測値との誤差は13mであり、測定により得られたピークP2の位置と破断点Bの実測値との誤差は3mであった。このことからOTDR2を用いて破断点Aおよび破断点Bをほぼ正確に検出できることが認められた。
【0021】
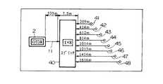
(実施例2)
図8に示すように、8系列の分岐線路を有する光線路を構成した。すなわち、基幹線路11の一端をOTDR2に接続し、他端を1×8スプリッタ40に融着接続した。1×8スプリッタ40の8つの分岐端に第1〜8の分岐線路41,42,43,44,45,46,47,48をそれぞれ融着接続した。OTDR2の入射端から基幹線路11と1×8スプリッタ40との接続点までの実測距離は535m、基幹線路11と1×8スプリッタ40との接続点から1×8スプリッタ40の分岐端までの実測距離は7.5mとし、第1〜8の分岐線路には、約200mずつ長さが異なる光ファイバケーブルをそれぞれ用いた。すなわち、
第1の分岐線路41の実測長は209m、
第2の分岐線路42の実測長は414m、
第3の分岐線路43の実測長は612m、
第4の分岐線路44の実測長は814m、
第5の分岐線路45の実測長は1014m、
第6の分岐線路46の実測長は1213m、
第7の分岐線路47の実測長は1414m、
第8の分岐線路48の実測長は1616mとした。また各分岐線路41,42,43,44,45,46,47,48の出射端は直角クリープとした。基幹線路11および第1〜8の分岐線路41,42,43,44,45,46,47,48は石英系光ファイバケーブルで構成した。
【0022】
OTDR2から波長1310m、パルス幅50nsの試験光を基幹線路2へ入射させて、各線路の長手方向の伝搬光の強度変化を測定したところ、図9に示すような波形が得られた。この波形では、第1〜8の分岐線路の各出射端面での後方散乱光による8つの立上り部▲1▼〜▲8▼がそれぞれ観察される。これらの立上り部▲1▼〜▲8▼のOTDR2からの位置(測定長)をそれぞれ算出したところ下記表1に示すような値が得られた。また表1には第1〜8の分岐線路をそれぞれ含む被監視線路の線路長(OTDR2から分岐線路の出射端までの長さ)の実測値、および測定値と実測値との誤差を合わせて示す。
【0023】
【表1】
【0024】
(実施例3)
上記実施例2において、OTDR2から出射される試験光のパルス幅を200nsとした他は同様にして、各線路の長手方向の伝搬光の強度変化を測定したところ、図10に示すような波形が得られた。この波形で観察される立上り部▲1▼〜▲8▼のOTDR2からの位置(測定長)をそれぞれ算出したところ下記表2に示すような値が得られた。また表2には第1〜8の分岐線路をそれぞれ含む被監視線路の線路長(OTDR2から分岐線路の出射端までの長さ)の実測値、および測定値と実測値との誤差を合わせて示す。
【0025】
【表2】
【0026】
(比較例1)
上記実施例2において、OTDR2から出射される試験光のパルス幅を1μsとした他は同様にして、各線路の長手方向の伝搬光の強度変化を測定したところ、図11に示すような波形が得られた。この波形では立上り部▲1▼〜▲8▼はなだらかになっていた。各立上り部▲1▼〜▲8▼のOTDR2からの位置(測定長)をそれぞれ算出したところ下記表3に示すような値が得られた。また表3には第1〜8の分岐線路をそれぞれ含む被監視線路の線路長(OTDR2から分岐線路の出射端までの長さ)の実測値、および測定値と実測値との誤差を合わせて示す。
【0027】
【表3】
【0028】
(比較例2)
上記実施例2において、OTDR2から出射される試験光のパルス幅を10μsとした他は同様にして、各線路の長手方向の伝搬光の強度変化を測定したところ、図12に示すような波形が得られた。この波形では第1〜8の分岐線路の各出射端面での後方散乱光による8つの立上り部を認識することができず、線路長を測定できなかった。
【0029】
実施例2,3の結果より、分岐線路の数が8系統と多くなっても各分岐線路の出射端をそれぞれ認識し、かつ各分岐線路を含む被監視線路の線路長をほぼ正確に測定することができた。したがって、上記実施例1と同様にして光線路の常時監視を行えば、断線が生じた場合にはそれを検知し、かつ破断している分岐線路を特定し破断位置を断定することができる。
また比較例1,2では、OTDRから出射される試験光のパルス幅(1μs,10μs)に相当する線路長が比較例1では約205m、比較例2では約2050mであるのに対して、各分岐線路の線路長の差がこれよりも小さいために、各分岐線路の線路長を正確に測定することができなかった。
これらの結果より、スプリッタ40で分岐した後の各分岐線路を容易かつ正確に見分けるためには、線路長(ファイバ長)で試験光のパルス幅の1パルス分に相当する長さ以上さがなければならないことが確認できた。
【0030】
【発明の効果】
以上説明したように本発明の光線路の監視方法は、1つの入射端と複数の出射端とを光分岐手段を介して光ファイバで結んでなる複数の被監視線路を、OTDRを用いて監視する方法であって、前記複数の被監視線路の線路長をそれぞれ異なる長さとし、かつその線路長の差をOTDRから出射される試験光のパルス幅に相当する長さの半分以上とすることを特徴とするものである。
したがって、複数の被監視線路から後方散乱光や反射光が光分岐手段で合波されて1つの入射端へもどってきても、各被監視線路の出射端での後方散乱、あるいは反射による光信号が重なり合うことがないので、これら複数の被監視線路から入射端へもどってくる光をOTDRで測定したときに、各被監視線路の出射端をそれぞれ認識することができる。よって光分岐手段を用いて複数系列の被監視線路が構築された光線路全体を、OTDRを用いて一括的に監視することができる。
そして前記入射端に前記試験光を入射させたときに該入射端にもどってくる光の強度を経時的に測定して得られる波形を、正常状態で得られる波形と比較して、正常状態の波形との差により断線の発生および断線位置を検知すれば、断線が生じた被監視線路の特定および断線位置の断定をほぼ正確に行うことができる。
【図面の簡単な説明】
【図1】  本発明の光線路の監視方法の一実施例を示す光伝送線路の概略構成図である。
【図2】  本発明の光線路の監視方法により得られる正常状態の波形の例を示すグラフである。
【図3】  本発明の光線路の監視方法により得られる異常状態の波形の例を示すグラフである。
【図4】  実施例1の光伝送線路の概略構成図である。
【図5】  実施例1で得られた正常状態の波形である。
【図6】  実施例1で得られた異常状態の波形である。
【図7】  実施例1で得られた異常状態の波形である。
【図8】  実施例2の光伝送線路の概略構成図である。
【図9】  実施例2で得られた正常状態の波形である。
【図10】  実施例3で得られた正常状態の波形である。
【図11】  比較例1で得られた正常状態の波形である。
【図12】  比較例2で得られた正常状態の波形である。
【符号の説明】
1…交換局(入射端)、2…OTDR、5,6,7…基地局(出射端)、
11…基幹線路、12…光分岐デバイス(光分岐手段)、
13,15,16…分岐線路、21…被監視線路、20…光線路、
31…第1の分岐線路、32…第2の分岐線路、
40…1×8スプリッタ(光分岐手段)、
41…第1の分岐線路、42…第2の分岐線路、43…第3の分岐線路、
44…第4の分岐線路、45…第5の分岐線路、46…第6の分岐線路、
47…第7の分岐線路、48…第8の分岐線路。[0001]
BACKGROUND OF THE INVENTION
  The present invention relates to an optical line monitoring method using OTDR.And monitoring systemIn particular, a method for monitoring an entire optical line having a branch line in a lumpAnd systemAbout.
[0002]
[Prior art]
2. Description of the Related Art Conventionally, in an optical fiber communication network, a single switching center and a plurality of base stations (or subscriber premises) are connected by an optical fiber via an optical branching device, and a plurality of optical transmission lines (monitored lines) are connected. Has been done to build. For example, the switching station and the star coupler can be connected by a single basic fiber (main line), and the branch end of the star coupler and a plurality of base stations can be connected by a plurality of branch fibers (branch lines). If an optical line is constructed using an optical branching device in this way, it is possible to rationalize the intra-office wiring and reduce the diameter of the optical cable.
[0003]
By the way, in order to ensure the reliability of the optical fiber communication network, it is necessary to be able to immediately detect when a disconnection occurs in the optical line. As an apparatus for this, an OTDR (Optical Time Domain Reflectometer) using a backscattering method has been conventionally known.
In OTDR, when high-power, narrow-pulse-width laser light is incident on the optical fiber to be measured, the backscattered light generated in the optical fiber to be measured, and the reflection generated on the incident end face, the outgoing end face, the connection face, or the fracture surface, etc. Since light and the like return to the incident end, it is possible to detect the position of the optical fiber under measurement when the optical fiber to be measured is broken by observing the waveform obtained by measuring the intensity of the returned optical signal. It has become.
[0004]
[Problems to be solved by the invention]
However, in the optical line constructed by using the branch device as described above, a plurality of series of monitored lines are constructed by connecting a plurality of branch lines to one main line. Therefore, even if the OTDR is simply installed in the exchange and the test light is incident on the trunk line from here, the backscattered light and the reflected light from the plurality of branch lines are returned by the optical branching device. It is difficult to specify which monitored line has caused the disconnection. In particular, when the number of branch lines increases, the optical signal waveforms of backscattered light and reflected light obtained by OTDR become complicated, and it is very difficult to reliably detect a disconnection point.
[0005]
The present invention has been made in view of the above circumstances, and an optical line in which a plurality of monitored lines are constructed using an optical branching unit can be collectively monitored by OTDR, and a broken part can be surely and easily obtained. An object of the present invention is to provide a method of monitoring an optical line that can be detected.
[0006]
[Means for Solving the Problems]
  To solve the above problemsOf the present inventionThe optical line monitoring method is a method of monitoring, using OTDR, a plurality of monitored lines in which one incident end and a plurality of outgoing ends are connected by an optical fiber via an optical branching means. Line length of the monitored lineIsDifferent lengthsAndAnd the difference of the line lengthIsMore than half of the length corresponding to the pulse width of the test light emitted from OTDRAnd measuring the intensity of light that returns to the incident end over time when the test light is incident on the incident end with no abnormality in the monitored line, Obtaining a waveform in a normal state that can recognize each outgoing end of the line, and measuring the intensity of light that returns to the incident end over time when the test light is incident on the incident end Comparing the waveform with the waveform in the normal state, identifying the monitored line where the disconnection has occurred from the position of the waveform that is no longer observed, and measuring the disconnection position from the position of the newly observed peak HaveIt is characterized by this.
  AlsoOf the present inventionOptical line monitoringThe system includes a plurality of monitored lines in which one incident end and a plurality of emitting ends are connected by an optical fiber via an optical branching unit, and an OTDR connected to the incident ends of the plurality of monitored lines. The lengths of the plurality of monitored lines are different from each other, and the difference between the line lengths is more than half of the length corresponding to the pulse width of the test light emitted from the OTDR. Each of the plurality of monitored lines obtained by measuring with time the intensity of light returning to the incident end when the test light is incident on the incident end with no abnormality in the monitored line. It has a means for memorizing the waveform which can recognize each outgoing end as a waveform of a normal state.
[0007]
DETAILED DESCRIPTION OF THE INVENTION
The present invention will be described in detail below. FIG. 1 is a schematic configuration diagram of an optical transmission line showing an embodiment of the optical line monitoring method of the present invention. In the figure,
The trunk line 11 and the first to
[0008]
In the optical transmission line of the present embodiment, the optical signal (transmission light) transmitted from the
Here, it is composed of one trunk line 11, an optical branching
[0009]
The
[0010]
The base station 5 includes a transmission / reception device 8, and the
The exit end of the monitored
Similarly, the other base stations 6 and 7 are also provided with a transmission / reception device (not shown). In each base station 6 and 7, the
[0011]
In the present invention, the lengths of the plurality of monitored
(Speed of light / refractive index of core) × (pulse width of test light emitted from OTDR)
Therefore, for example, if (light speed / core refractive index) = 0.2 m / ns and the pulse width of the test light = 50 ns, the line length corresponding to this pulse width is about 10 m. Therefore, if the lengths of the optical fiber cables constituting the first to
[0012]
The difference in the line lengths of the plurality of monitored
[0013]
Monitoring of each monitored
In the example of FIG. 2, the length of the monitored
As shown in this figure, even if the backscattered light from the plurality of
Line length S1The rising portion obtained at the point of (2) shows backscattering by the optical branching
[0014]
Such a measurement of the waveform by OTDR2 is always performed, and compared with the waveform in the normal state, by detecting a difference from the waveform in the normal state, it is possible to know the occurrence of the disconnection and the position of the disconnection in the optical line. For example, when disconnection occurs in the
3A and 3B is compared with the waveform in the normal state in FIG. 2, the distance L in the normal state is compared.2The backscattering b observed in (1) is not observed in the abnormal waveform. From this, the line length L2It can be seen that a disconnection has occurred in the monitored line, that is, the monitored line including the
As described above, according to the present embodiment, the entire
[0015]
In this embodiment, the method of constantly monitoring the
In the present embodiment, the waveform measured by OTDR2 is roughly composed of an inclined portion having a negative inclination and rising portions a, b, and c of the step, and the difference in line length of each monitored line is 2 This corresponds to the distance between the two rising parts. Therefore, the larger the difference in the line lengths of the monitored lines, the larger the intervals between the rising portions a, b, and c. Therefore, when observing the waveform, it is easier to recognize the emission end of each monitored line. However, when the number of monitored lines is large, the length of the longest monitored line is increased when the difference in the line length of each monitored line is increased, which may cause problems such as an increase in transmission loss. Therefore, the line length of each monitored line increases in an arithmetic progression with a tolerance of a value corresponding to half the length corresponding to the pulse width of the test light, preferably a length corresponding to the pulse width of the test light. If it sets so, it can respond suitably to the increase in the number of monitored lines. Further, if the lengths of the monitored lines are set to be equal to each other, a waveform in which the rising portions are observed at equal intervals can be obtained, so that it is easy to visually observe the change in the waveform.
[0016]
In this embodiment, when the waveform is measured with OTDR2, backscattering at the output end of each monitored line is observed, and thereby, each monitored line can be recognized. If the configuration is such that the reflected light from the outgoing end of the line is observed, it is possible to recognize each monitored line also by this.
The configuration of the optical transmission line is not limited to that shown in FIG. 1, and various modifications can be made. For example, the base stations 5, 6, and 7 may be subscriber homes. Alternatively, even in an optical line having a configuration in which two or more optical branching devices are used to branch a series of monitored lines in two stages, the line length from the incident end to the outgoing end of each monitored line is set as described above. By setting in this way, it is possible to similarly monitor using OTDR.
[0017]
【Example】
Hereinafter, specific examples will be shown to clarify the effects of the present invention. In the following examples, a commercially available OTDR (optical fiber analyzer AQ-7140C, ANDO, manufactured by Ando Electric Co., Ltd.) was used for the measurement.
Example 1
An optical transmission line having a branch line as shown in FIG. 4 was constructed, and the optical line was monitored using OTDR. In FIG. 4, the same components as those in FIG.
In the optical transmission line of the present embodiment, a wavelength-
The trunk line 11 and the
[0018]
First, when measurement was performed with OTDR2 in a state where there was no abnormality in the optical line, a waveform as shown in FIG. 5 was obtained. This was stored as a normal waveform. In this waveform, the first transceiver CS1Backscattering a from the output end of the second transmission / reception device CS2Backscattering b from the emission end at is observed. The first transmitter / receiver CS from OTDR2 using the waveform of FIG.1The calculated line length was 2710 m, and the error from the actually measured value was 2 m. Further, from the
[0019]
Next, when the
[0020]
Next, when the
[0021]
(Example 2)
As shown in FIG. 8, an optical line having 8 branch lines was configured. That is, one end of the trunk line 11 was connected to the
The measured length of the
The measured length of the
The measured length of the
The measured length of the
The measured length of the
The measured length of the
The measured length of the
The actually measured length of the
[0022]
When test light having a wavelength of 1310 m and a pulse width of 50 ns was incident on the
[0023]
[Table 1]
[0024]
(Example 3)
In Example 2 described above, the intensity change of the propagation light in the longitudinal direction of each line was measured in the same manner except that the pulse width of the test light emitted from the
[0025]
[Table 2]
[0026]
(Comparative Example 1)
In Example 2, the change in the intensity of the propagation light in the longitudinal direction of each line was measured in the same manner except that the pulse width of the test light emitted from the
[0027]
[Table 3]
[0028]
(Comparative Example 2)
In Example 2 above, except that the pulse width of the test light emitted from the
[0029]
From the results of Examples 2 and 3, even when the number of branch lines increases to eight, the output end of each branch line is recognized, and the line length of the monitored line including each branch line is measured almost accurately. I was able to. Therefore, if the optical line is constantly monitored in the same manner as in the first embodiment, it is possible to detect a broken line, identify a broken branch line, and determine the broken position.
In Comparative Examples 1 and 2, the line length corresponding to the pulse width (1 μs, 10 μs) of the test light emitted from the OTDR is about 205 m in Comparative Example 1 and about 2050 m in Comparative Example 2, whereas Since the difference in the line length of the branch lines is smaller than this, the line length of each branch line cannot be measured accurately.
From these results, in order to distinguish each branch line after branching by the
[0030]
【The invention's effect】
As described above, the optical line monitoring method of the present invention uses OTDR to monitor a plurality of monitored lines in which one incident end and a plurality of outgoing ends are connected by an optical fiber via an optical branching unit. The lengths of the plurality of monitored lines are different from each other, and the difference between the line lengths is set to be not less than half the length corresponding to the pulse width of the test light emitted from the OTDR. It is a feature.
Therefore, even if backscattered light or reflected light is multiplexed from a plurality of monitored lines and returned to one incident end, an optical signal due to backscattering or reflection at the outgoing end of each monitored line Therefore, when the light returning from the plurality of monitored lines to the incident end is measured by OTDR, the emission end of each monitored line can be recognized. Therefore, the entire optical line in which a plurality of monitored lines are constructed using the optical branching unit can be collectively monitored using OTDR.
Then, when the test light is incident on the incident end, the waveform obtained by measuring the intensity of the light that returns to the incident end over time is compared with the waveform obtained in the normal state, If the occurrence of a disconnection and the disconnection position are detected based on the difference from the waveform, the monitored line where the disconnection has occurred can be identified and the disconnection position can be determined almost accurately.
[Brief description of the drawings]
FIG. 1 is a schematic configuration diagram of an optical transmission line showing an embodiment of an optical line monitoring method of the present invention.
FIG. 2 is a graph showing an example of a waveform in a normal state obtained by the optical line monitoring method of the present invention.
FIG. 3 is a graph showing an example of a waveform in an abnormal state obtained by the optical line monitoring method of the present invention.
4 is a schematic configuration diagram of an optical transmission line according to
5 is a waveform in a normal state obtained in Example 1. FIG.
6 is a waveform of an abnormal state obtained in Example 1. FIG.
7 is a waveform of an abnormal state obtained in Example 1. FIG.
FIG. 8 is a schematic configuration diagram of an optical transmission line according to a second embodiment.
9 is a waveform in a normal state obtained in Example 2. FIG.
10 is a waveform in a normal state obtained in Example 3. FIG.
11 is a waveform in a normal state obtained in Comparative Example 1. FIG.
12 is a waveform in a normal state obtained in Comparative Example 2. FIG.
[Explanation of symbols]
DESCRIPTION OF
11 ... trunk line, 12 ... optical branching device (optical branching means),
13, 15, 16 ... branch line, 21 ... monitored line, 20 ... optical line,
31 ... 1st branch line, 32 ... 2nd branch line,
40 ... 1 × 8 splitter (optical branching means),
41 ... 1st branch line, 42 ... 2nd branch line, 43 ... 3rd branch line,
44 ... 4th branch line, 45 ... 5th branch line, 46 ... 6th branch line,
47 ... seventh branch line, 48 ... eighth branch line.
| Application Number | Priority Date | Filing Date | Title | 
|---|---|---|---|
| JP04500496AJP3660043B2 (en) | 1996-03-01 | 1996-03-01 | Optical line monitoring method and monitoring system | 
| Application Number | Priority Date | Filing Date | Title | 
|---|---|---|---|
| JP04500496AJP3660043B2 (en) | 1996-03-01 | 1996-03-01 | Optical line monitoring method and monitoring system | 
| Publication Number | Publication Date | 
|---|---|
| JPH09247102A JPH09247102A (en) | 1997-09-19 | 
| JP3660043B2true JP3660043B2 (en) | 2005-06-15 | 
| Application Number | Title | Priority Date | Filing Date | 
|---|---|---|---|
| JP04500496AExpired - LifetimeJP3660043B2 (en) | 1996-03-01 | 1996-03-01 | Optical line monitoring method and monitoring system | 
| Country | Link | 
|---|---|
| JP (1) | JP3660043B2 (en) | 
| Publication number | Priority date | Publication date | Assignee | Title | 
|---|---|---|---|---|
| JP4562535B2 (en)* | 2005-01-24 | 2010-10-13 | Nttエレクトロニクス株式会社 | Optical splitter and optical splitter monitoring system | 
| CN101360984B (en) | 2006-02-03 | 2011-07-20 | 株式会社藤仓 | Optical line monitoring device and optical line monitoring method | 
| JP2007281779A (en)* | 2006-04-05 | 2007-10-25 | Sumitomo Electric Ind Ltd | Optical line fault detection method and control method | 
| US20070258484A1 (en)* | 2006-05-08 | 2007-11-08 | Sunrise Telecom Incorporated | Network profiling system having physical layer test system | 
| DE102010049780A1 (en)* | 2010-10-29 | 2012-05-03 | Lios Technology Gmbh | Method for detecting switching status of optical fiber switching unit of fiber-optic measuring device with electromagnetic radiation source and multiple fiber-optic measuring sections, involves activating fiber-optic measuring sections | 
| EP2464088B1 (en) | 2010-12-07 | 2014-04-02 | Alcatel Lucent | Method and testing system for testing an analogue frond end | 
| JP5606405B2 (en)* | 2011-07-19 | 2014-10-15 | 日本電信電話株式会社 | Branch location optical fiber fault location search apparatus and search method therefor | 
| CN109031007A (en)* | 2018-11-02 | 2018-12-18 | 贵州电网有限责任公司 | One kind being used for lead wire and earth wire in transmission line lightning current ablation test device | 
| JP2022539767A (en)* | 2019-06-28 | 2022-09-13 | インフォテック スポルカ ジー オグラニクゾナ オドパウイエドジアルノシア | Optical fiber measurement system, method of adapting communication optical fiber into measurement system, and optical fiber measurement communication system | 
| Publication number | Publication date | 
|---|---|
| JPH09247102A (en) | 1997-09-19 | 
| Publication | Publication Date | Title | 
|---|---|---|
| US10288524B2 (en) | Testing fiber arrangement in multi-fiber cables | |
| US10371596B2 (en) | Testing fiber arrangement in multi-fiber cables | |
| US5251001A (en) | Reflected optical power fiber test system | |
| US8711341B2 (en) | Using sets of OTDR receive fibers with different lengths of marker events to verify optical fiber connectivity | |
| JP3908703B2 (en) | System for optical network testing using OTDR | |
| US7956992B2 (en) | Optical cable testing | |
| US7469101B1 (en) | Optoelectronic marker for determining ownership of fiber optic cable | |
| CN102187603A (en) | Method and device for deriving optical path parameters in an optical network using two-wavelength OTDR and wavelength-dependent reflective elements | |
| JP5291908B2 (en) | Optical line test system and optical line test method | |
| CN102104421B (en) | Branched optical fiber failure detection method and device for optical network, and optical network | |
| JP3660043B2 (en) | Optical line monitoring method and monitoring system | |
| WO2014002741A1 (en) | Optical path monitoring method and optical path monitoring system | |
| US7167236B2 (en) | Method for automatic testing of optical fibres in multibranch networks | |
| EP0622912B1 (en) | Optical signal transmission network | |
| CN103078676A (en) | Passive compatible optical network and optical-network-unit optical module thereof | |
| JPH03150442A (en) | Optical fault point locating device | |
| JPH06232817A (en) | Optical fiber transmitter and testing method for the same | |
| EP3928441A1 (en) | Method for testing quality of optical network components | |
| JP3762186B2 (en) | Optical transmission line and optical transmission line with optical line monitoring device | |
| Cen et al. | Advanced fault-monitoring scheme for ring-based long-reach optical access networks | |
| JP4103999B2 (en) | Optical line loss measuring method and measuring apparatus | |
| KR100817495B1 (en) | PIOEN remote optical fiber network monitoring device using monitoring light looping method | |
| JPH10170396A (en) | Optical line test method and optical line test system | |
| CN219514082U (en) | Multi-wavelength optical time domain reflectometer capable of carrying out optical test | |
| JP3295595B2 (en) | Optical fiber type physical quantity measurement system | 
| Date | Code | Title | Description | 
|---|---|---|---|
| A977 | Report on retrieval | Free format text:JAPANESE INTERMEDIATE CODE: A971007 Effective date:20040617 | |
| A131 | Notification of reasons for refusal | Free format text:JAPANESE INTERMEDIATE CODE: A131 Effective date:20040629 | |
| A521 | Written amendment | Free format text:JAPANESE INTERMEDIATE CODE: A523 Effective date:20040830 | |
| TRDD | Decision of grant or rejection written | ||
| A01 | Written decision to grant a patent or to grant a registration (utility model) | Free format text:JAPANESE INTERMEDIATE CODE: A01 Effective date:20050308 | |
| A61 | First payment of annual fees (during grant procedure) | Free format text:JAPANESE INTERMEDIATE CODE: A61 Effective date:20050316 | |
| FPAY | Renewal fee payment (event date is renewal date of database) | Free format text:PAYMENT UNTIL: 20080325 Year of fee payment:3 | |
| FPAY | Renewal fee payment (event date is renewal date of database) | Free format text:PAYMENT UNTIL: 20090325 Year of fee payment:4 | |
| FPAY | Renewal fee payment (event date is renewal date of database) | Free format text:PAYMENT UNTIL: 20090325 Year of fee payment:4 | |
| FPAY | Renewal fee payment (event date is renewal date of database) | Free format text:PAYMENT UNTIL: 20100325 Year of fee payment:5 | |
| FPAY | Renewal fee payment (event date is renewal date of database) | Free format text:PAYMENT UNTIL: 20100325 Year of fee payment:5 | |
| FPAY | Renewal fee payment (event date is renewal date of database) | Free format text:PAYMENT UNTIL: 20110325 Year of fee payment:6 | |
| FPAY | Renewal fee payment (event date is renewal date of database) | Free format text:PAYMENT UNTIL: 20110325 Year of fee payment:6 | |
| FPAY | Renewal fee payment (event date is renewal date of database) | Free format text:PAYMENT UNTIL: 20120325 Year of fee payment:7 | |
| FPAY | Renewal fee payment (event date is renewal date of database) | Free format text:PAYMENT UNTIL: 20120325 Year of fee payment:7 | |
| FPAY | Renewal fee payment (event date is renewal date of database) | Free format text:PAYMENT UNTIL: 20130325 Year of fee payment:8 | |
| FPAY | Renewal fee payment (event date is renewal date of database) | Free format text:PAYMENT UNTIL: 20130325 Year of fee payment:8 | |
| FPAY | Renewal fee payment (event date is renewal date of database) | Free format text:PAYMENT UNTIL: 20140325 Year of fee payment:9 | |
| R250 | Receipt of annual fees | Free format text:JAPANESE INTERMEDIATE CODE: R250 | |
| R250 | Receipt of annual fees | Free format text:JAPANESE INTERMEDIATE CODE: R250 | |
| EXPY | Cancellation because of completion of term |