














【0001】
【発明の属する技術分野】
  本発明は、住宅の屋根等に設置される太陽陽電池モジュールの取付け構造、または太陽電池モジュールの取付け方法に関する。
【0002】
【従来の技術】
図13は従来技術の太陽電池モジュール1の一例を示す概略斜視図、図14はその分解斜視図である。この太陽電池モジュール1は、太陽電池セル本体2を有している。この太陽電池セル本体2は、マトリックス状に配置された複数の太陽電池セルを、インターコネクタ等によって、電気的に直列または並列に接続されたスーパーストレート構造になっている。この太陽電池セル本体2の表面側には、透明樹脂等によって薄い平板状に構成された充填材3を介して、白色強化ガラス板4が積層されている。また、太陽電池セル本体2の裏面側にも、透明樹脂によって薄い平板状に構成された充填材5を介して、バックフィルム6が積層されている。そして、太陽電池セル本体2は、白色強化ガラス板4と、バックフィルム6によって、充填材3および5を介して挟持されて、全体として平板状の太陽電池モジュール本体7が構成されている。
【0003】
図13に示すように、太陽電池モジュール本体7の一方の端部の裏面には、端子ボックス8が設けられており、この端子ボックス8には、電気ケーブル9が接続されている。
【0004】
このような太陽電池モジュール本体7は、周辺部に配置された枠体10内に設けられている。枠体10は、太陽電池モジュール本体7の長手方向に沿った一体の長辺側枠体11と、太陽電池モジュール本体7の幅方向に沿った一体のけらば側枠体12とによって、長方形の枠状に構成されており、各長辺側枠体11が太陽電池モジュール本体7の長手方向に沿った各側縁部にそれぞれ、緩衝材を介して嵌合されている。そして、ビス13によって連結されている。
【0005】
このような太陽電池モジュール1を家屋の屋根に付ける場合、図15に示すように、野地板18(図示していない)の上表面にある金属瓦等の屋根材14の上部に縦桟および横桟よりなる架台15を設置し、その上部に太陽電池モジュール1を設置し、電気ケーブル9を配線し、太陽電池モジュール1の上部からカバー16とともにボルト17で固定することにより取付けられていた。
【0006】
【発明が解決しようとする課題】
しかしながら、太陽電池モジュール1を屋根材14の上に取付けるため屋根材14を破損する恐れがあった。また、架台15およびカバー16が必要で構造が複雑であった。さらに、架台15を固定するために多数のボルト止めが必要であり、また、架台15に太陽電池モジュール1を取り付ける作業も必要となり施工時間が長くなっていた。
【0007】
また、架台15の上に太陽電池モジュール1を取り付けるため、太陽電池モジュール面が高くなり美観を損なうという問題があった。
【0008】
また、電気ケーブル9を配線する必要があり、施工時間が長くなり、また、電気ケーブル9を傷つけてしまう恐れがあった。
【0009】
また、太陽電池モジュール1が不燃構造となっておらず、浸水対策も不十分であったため、野地板に直接太陽電池モジュール1を取り付けることができなかった。
【0010】
  本発明は、上記問題点を解決するためになされたものであり、その目的は、屋根材を介さずに野地板に容易に取付けることができる太陽電池モジュールの取付け構造およびその取付け方法を提供することにある。
【0011】
【課題を解決するための手段】
  上記目的を達成するため、少なくとも、太陽電池モジュール本体と、太陽電池モジュール本体に設けられる枠体とよりなる太陽電池モジュールが、けらば側方向および流れ方向にそれぞれ複数、隣接する状態で屋根の野地板に取付けられる太陽電池モジュールの取付け構造において、
  太陽電池モジュールのけらば側の側面の下方となるべき位置に、太陽電池モジュールとは別体に形成され、屋根の流れ方向に沿って雨水を流すためのレールが野地板に固定され、
けらば側方向に隣接する2つの太陽電池モジュールの枠体のうちで、隣接する2つのけらば側枠体25に形成されて長手方向に延びる突起33が互いに突き合された状態で、各けらば側枠体25の間に形成されて上方に開放する隙間に、防水ゴム32が上方から挟み込まれ、
流れ方向に隣接する2つの太陽電池モジュールの枠体のうちで、軒側の太陽電池モジュールの棟側枠体23に形成される繋止部29が野地板に繋止され、軒側の太陽電池モジュールの棟側枠体23に形成される嵌合部31が、棟側の太陽電池モジュールの軒側枠体22に形成される嵌合部30に嵌合することを特徴とする太陽電池モジュールの取付け構造である。
【0012】
  また、少なくとも、太陽電池モジュール本体と、太陽電池モジュール本体に設けられる枠体とよりなる太陽電池モジュールを、けらば側方向および流れ方向にそれぞれ複数、隣接する状態で屋根の野地板に取付ける太陽電池モジュールの取付け方法において、
太陽電池モジュールのけらば側の側面の下方となるべき位置に、太陽電池モジュールとは別体に形成され、屋根の流れ方向に沿って雨水を流すためのレールを野地板に固定し、
注目する太陽電池モジュールよりも軒側に位置して、予め野地板に繋止される軒側の太陽電池モジュールの棟側枠体23に形成される嵌合部31に、注目する太陽電池モジュールの軒側枠体22の嵌合部30を嵌合し、
注目する太陽電池モジュールに対してけらば側方向に位置して、予め野地板に繋止されるけらば側の太陽電池モジュールのけらば側枠体25に形成されて長手方向に延びる突起33に、注目する太陽電池モジュールのけらば側枠体25に形成されて長手方向に延びる突起33を突き合せ、各けらば側枠体25の間に上方に開放する隙間を形成し、
注目する太陽電池モジュールの棟側枠体23に形成される繋止部29を野地板に繋止し、
前記けらば側枠体25の間に形成される隙間に、水の浸入を防ぐ防水ゴムを上方から挟み込むことを特徴とする太陽電池モジュールの取付け方法である。
【0020】
本発明によれば、太陽電池モジュールを屋根材として直接野地板に設置することにより、架台の必要がなくなり、太陽電池モジュール面の高さが低くなるため、屋根と一体化し美観を損なうことがない。また、架台の設置作業が不要で、太陽電池モジュールの1側縁部を隣接する他の太陽電池モジュールに嵌合して接合し、野地板に繋止するのは他の1側縁部の繋止部のみでよいため、作業が簡単で施工時間も短時間でよい。また、前記繋止部に切り欠き部を設けることにより、通気性が良くなり太陽電池モジュールの温度上昇を抑えられるとともに、電気ケーブルの配線が容易となる。
【0021】
さらに、枠体に電気的に接続するためのコネクタを設けることにより、電気ケーブルの配線の必要がなくなる。
【0022】
  また、受光面の反対面側に設けられたフィルムを鋼板入りバックフィルムとすることにより防火構造となり、屋根材として使用することができる。さらに、枠体に水の浸入を防ぐためのヒレ部を設けること、受桟を設けること、太陽電池モジュール間に防水ゴムを挟むこと、または太陽電池モジュールの側面の下方に雨水を流すためのレールを配置することにより、水の浸入を防ぐことができる。
  また本発明によれば、けらば側枠体に突起が形成されることによって、けらば側方向に隣接する太陽電池モジュールのけらば側枠体どうしをつき合わせるだけで、けらば側方向に隣接する太陽電池モジュールの間に止水用の防水ゴムを挟み込むための隙間を設けることができ、太陽電池モジュールを野地板に繋止した後で、防水ゴムを挟み込むことができる。
  また本発明によれば、軒側枠体と棟側枠体との間に、防水ゴムを挟み込むことによって水の浸入を防ぐことができる。さらに受桟が設けられたことで、たとえ水が浸入したとしても野地板が濡れることを防ぐことができる。
【0023】
【発明の実施の形態】
以下、本発明の実施の形態を図面に基づいて詳細に説明する。図1は、本発明の第一の実施の形態を示す太陽電池モジュール21の説明図で(a)は平面図、(b)は前側面図、(c)は側面図、図2は、それに用いられる軒側枠体22の断面図、図3は、棟側枠体23の断面図、図4はその太陽電池モジュール21の断面説明図、図5は、その分解斜視図である。
【0024】
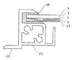
本発明の太陽電池モジュール21は、太陽電池モジュール本体24と、棟側枠体22と軒側枠体23とけらば側枠体25とからなる枠体26と、図示していないが従来例と同様に端子ボックス8と電気ケーブル9とより構成され、図14の従来例とほぼ同様の工程で組み立てられるが、従来の太陽電池モジュールに比べ、枠体26が異なっている点以外に、図5に示すようにバックフィルム6の代わりに鋼板入りバックフィルム27を用いている点、および、太陽電池モジュール本体24と枠体26の間に発泡性EPDM(エチレン・プロピレン・ジエン・メチレン)樹脂28を入れた構造になっている点で異なっている。鋼板入りバックフィルム27を用いることにより防火構造となり、発泡性EPDM樹脂28を入れることにより防水性が向上し、太陽電池モジュール21を野地板18に直接取り付けることが可能となった。
【0025】
棟側枠体23には太陽電池モジュール21を野地板18に固定する為の繋止部29が設けられている。この繋止部29には切り欠き300および310が設けられており、切り欠き300により、電気ケーブル9の配線をすることが可能となる。また、切り欠き310により、太陽電池モジュール21下部の通風がよくなり、日射による太陽電池モジュール21の温度上昇を低く抑えることができる。また、この棟側枠体23には図3に示すように、屋根に設置したときに隣接する棟側の太陽電池モジュール21の軒側枠体22の嵌合部30と接合するための溝状の嵌合部31が設けられている。また、この棟側枠体23には、長手方向に沿って、侵入した水を受けるための受桟34が設けられている。
【0026】
軒側枠体22には、図2に示すように、設置したときに隣接する軒側の太陽電池モジュール21の棟側枠体23の嵌合部31と接合するためのヒレ状の嵌合部30が長手方向に沿って設けられている。
【0027】
けらば側枠体25には止水用の防水ゴム32を挟み込むための隙間を設けるために長手方向に突起33が形成されている。
【0028】
本実施の形態においては、溝状の嵌合部31にヒレ状の嵌合部30が嵌合する形状としたが、嵌合する形状の組み合わせであれば何でもよく、たとえば、嵌合部31が凸状、嵌合部30が凹状でもよい。
【0029】
次に、この太陽電池モジュール21の屋根への取付けについて説明する。図6は、本発明の太陽電池モジュール21取付け斜視図、図7は、本発明の複数の太陽電池モジュールを屋根の流れ方向Bに隣接して取付けた取付け構造を、屋根の流れ方向Bに垂直な方向Aから見た取付け構造の説明図、図8は、本発明の複数の太陽電池モジュール21を屋根の流れ方向Bに垂直な方向Aに隣接して取付けた接合状態を屋根の流れ方向Bから見た接合状態の説明図、図9は、けばら処理を示す断面説明図である。
【0030】
取付けに際し、まず、野地板18に流れ方向Bに沿って防水用の縦レール35を釘36で固定する。
【0031】
次に、屋根の軒先よりに、軒先固定金具37を木ネジ38により野地板18に固定し、最も軒先側に固定される第1の太陽電池モジュール21の軒側枠体22を軒先固定金具37に嵌合し、棟側枠体23を木ネジ38で野地板18に固定する。このようにして第1の太陽電池モジュール21が野地板18に固定される。次に、固定した第1の太陽電池モジュール21の電気ケーブル9と、その第1の太陽電池モジュール21の棟側に隣接して設置する第2の太陽電池モジュール21の電気ケーブル9とを切り欠き300を通して接続する。切り欠き300があるため容易に接続できる。その後、固定された第1の太陽電池モジュール21の棟側枠体23の嵌合部31に、第2の太陽電池モジュール21の軒側枠体22の嵌合部30を嵌合し、棟側枠体23を木ネジ38で野地板18に固定する。次に、止水用防水ゴム32を枠体22、23の間に取付ける。これを繰り返すことにより、複数の太陽電池モジュール21を屋根の流れ方向Bに相互に隣接した状態で取り付ける。
【0032】
けらば側方向(屋根の流れ方向Bに垂直な方向A)にも同様にして、複数の太陽電池モジュール21を相互に隣接した状態で取り付ける。このとき、けらば側枠体25に、長手方向に沿って突起33を設けておくことにより、図8に示すように、隣接する太陽電池モジュール21のけらば側枠体25どおしをつき合わせるだけで、けらば側に隣接する太陽電池モジュール21との間に止水用の防水ゴム32を挟み込むための隙間を設けることができる。
【0033】
以上を繰り返し必要数の太陽電池モジュール21を相互隣接した状態で野地板18に固定した後、止水用防水ゴム32を隣接する太陽電池モジュール21のけらば側枠体25の間に取付ける。
【0034】
次に、図7に示すように、最も棟側の太陽電池モジュール21の棟側枠体23を棟側固定金具39で固定し、雨押さえ板40で覆い、棟側止水処理を行なう。次に、図9に示すように、けらば側で最も端となった太陽電池モジュール21の端のけらば側枠体25をけらば側固定金具45で木ネジ38により固定し、けらば側固定金具45およびスレート瓦41を、水切り板42およびコーキング43を用いて雨押さえ板40で覆い、けらば処理を行なう。
【0035】
また、野地板18の上表面を防水シート44で覆ってから太陽電池モジュールの取付けを行っても良い。以上で、太陽電池モジュール21の取付けを完了する。
【0036】
以上のようにすれば、太陽電池モジュール21を屋根材として直接野地板18に設置することにより、架台15の必要がなくなり、太陽電池モジュール面の高さが低くなるため、屋根と一体化し美観を損なうことがない。また、架台15の設置作業が不要で、太陽電池モジュールの1側縁部を隣接する他の太陽電池モジュールに嵌合して接合し、野地板18に繋止するのは他の1側縁部の繋止部のみでよいため、作業が簡単で施工時間も短時間でよい。
【0037】
  また、太陽電池モジュール21間に防水ゴム32を挟んでいるため、水の浸入を防ぐことができ、さらに、棟側枠体23には、長手方向に沿って、侵入した水を受けるための受桟34が設けられていて、太陽電池モジュール21の側面の下方に配置したレール35に水が流れるようになっているので、たとえ水が浸入したとしても野地板15に漏れることはない。
【0038】
次に、他の実施の形態について説明する。図10は、本発明他の他の実施の形態を示す太陽電池モジュール51の説明図で(a)は平面図、(b)は前側面図、(c)は側面図、図11は、複数のこの太陽電池モジュール51を屋根の流れ方向Bに隣接して取付けた取付け構造を、屋根の流れ方向Bに垂直な方向Aから見た取付け構造の説明図である。
太陽電池モジュール51の軒側枠体52には、長手方向に沿って水の浸入を防ぐためのヒレ部53が設けられている。これにより、棟側枠体23と軒側枠体22との間に止水のために取付けていた防水ゴム32をなくすることが可能となる。太陽電池モジュール51の取付け構造および取付け方法は、棟側枠体23と軒側枠体52との間に止水のための防水ゴム32を取り付けないこと以外は、第1の実施の形態と同様である。
【0039】
図12は、本発明の他の実施の形態を示す太陽電池モジュール61取付け斜視図である。太陽電池モジュール61の軒側枠体62には、電気接続のための防水コネクタ64が取り付けられており、図示していないが、棟側枠体63にも、これに嵌合する電気接続のための防水コネクタ65が取り付けられており、電気ケーブル9はあらかじめこの防水コネクタ64または65に電気接続されている。このため、複数の太陽電池モジュール61を機械的に接続して取付けるだけで電気的にも接続されるため、電気ケーブルの配線の必要がなくなり、電気ケーブルを破損する恐れがなく作業が容易となる。
【0040】
【発明の効果】
以上説明したように、本発明によれば、太陽電池モジュールを屋根材として直接野地板に設置することにより、架台の必要がなくなり、太陽電池モジュール面の高さが低くなるため、屋根と一体化し美観を損なうことがない。また、架台の設置作業が不要で、太陽電池モジュールの1側縁部を隣接する他の太陽電池モジュールに嵌合して接合し、野地板に繋止するのは他の1側縁部の繋止部のみでよいため、作業が簡単で施工時間も短時間でよい。また、前記繋止部に切り欠き部を設けることにより、通気性が良くなり太陽電池モジュールの温度上昇を抑えられるとともに、電気ケーブルの配線が容易となる。
【0041】
さらに、枠体に電気的に接続するためのコネクタを設けることにより、電気ケーブルの配線の必要がなくなる。
【0042】
  また、受光面の反対面側に設けられたフィルムを鋼板入りバックフィルムとすることにより防火構造となり、屋根材として使用することができる。さらに、枠体に水の浸入を防ぐためのヒレ部を設けること、受桟を設けること、太陽電池モジュール間に防水ゴムを挟むこと、または太陽電池モジュールの側面の下方に雨水を流すためのレールを配置することにより、水の浸入を防ぐことができる。
  また、けらば側方向に隣接する太陽電池モジュールのけらば側枠体どうしをつき合わせるだけで、けらば側方向に隣接する太陽電池モジュールの間に止水用の防水ゴムを挟みこむための隙間を形成することができる。これによって太陽電池モジュールを野地板に繋止した後で、防水ゴムをけらば側枠体の間に取付けることができる。
  また軒側枠体と棟側枠体との間に、防水ゴムを挟み込むことによって水の浸入を防ぐことができる。さらに受桟が設けられたことで、たとえ水が浸入したとしても野地板が濡れることを防ぐことができる。
【図面の簡単な説明】
【図1】本発明の太陽電池モジュールの一例を示す説明図である。
【図2】本発明の太陽電池モジュールに用いられる軒側枠体の断面図である。
【図3】本発明の太陽電池モジュールに用いられる棟側枠体の断面図である。
【図4】本発明の陽電池モジュールの断面説明図である。
【図5】本発明に係る太陽電池モジュールの分解斜視図である。
【図6】本発明の太陽電池モジュールの取付け斜視図である。
【図7】本発明の太陽電池モジュールの取付け断面説明図である。
【図8】本発明の太陽電池モジュールの取付け断面説明図である。
【図9】本発明の太陽電池モジュールのけらば処理の断面説明図である。
【図10】本発明の太陽電池モジュールの他の実施の形態を示す説明図である。
【図11】本発明の他の実施の形態の太陽電池モジュールの取付け断面説明図である。
【図12】本発明の他の実施の形態の太陽電池モジュールの取付け斜視図である。
【図13】従来の太陽電池モジュールの一例を示す斜視図である。
【図14】従来の太陽電池モジュールの一例を示す分解斜視図である。
【図15】従来の太陽電池モジュールの取付け構造の一例を示す斜視図である。
【符号の説明】
15  架台
18  野地板
21  太陽電池モジュール
22  軒側枠体
23  棟側枠体
24  太陽電池モジュール本体
25  けらば側枠体
27  鋼板入りバックフィルム
28  発泡性EPDM樹脂
29  繋止部
30  軒側枠体嵌合部
31  棟側枠体嵌合部
32  防水ゴム
33  突起
34  受桟
35  縦レール
51  太陽電池モジュール
52  軒側枠体
53  防止ヒレ
61  太陽電池モジュール
62  軒側枠体
63  棟側枠体
64  防水コネクタ
65  防水コネクタ[0001]
 BACKGROUND OF THE INVENTION
 The present invention is the mountingstructureof the solar solar cellmodules installed in the roof of a house or the like, or for installinga solar cell module.
 [0002]
 [Prior art]
 FIG. 13 is a schematic perspective view showing an example of a conventional solar cell module 1, and FIG. 14 is an exploded perspective view thereof. The solar cell module 1 has a
 [0003]
 As shown in FIG. 13, a
 [0004]
 Such a solar cell module
 [0005]
 When attaching such a solar cell module 1 to the roof of a house, as shown in FIG. 15, a vertical beam and a horizontal beam are placed on the top of a
 [0006]
 [Problems to be solved by the invention]
 However, since the solar cell module 1 is mounted on the
 [0007]
 Further, since the solar cell module 1 is mounted on the
 [0008]
 Moreover, it is necessary to wire the electric cable 9, so that the construction time becomes longer and the electric cable 9 may be damaged.
 [0009]
 Moreover, since the solar cell module 1 did not have a non-combustible structure and the countermeasures against flooding were insufficient, the solar cell module 1 could not be directly attached to the field plate.
 [0010]
 The present invention has been made to solve the above problems, and its object is provide a mounting structure and a mounting methodof a solar cellmodule that can be attached easily to the sheathing roof board without passing throughthe roofingmaterial There is to do.
 [0011]
 [Means for Solving the Problems]
 In order to achieve the above object, at least a solar cell module including a solar cell module main body and a frame provided on the solar cell module main body isadjacent to each other in the lateral direction and the flow direction, respectively. In the mounting structure of the solar cell module attached to the main plate,
 The solar cell module is formed separately from the solar cell module at a position below the side surface of the loose side, and a rail for flowing rainwater along the flow direction of the roof is fixed to the base plate,
Among the frames of two solar cell modules adjacent to each other in the flank side direction, the
Of the frames of two solar cell modules adjacent to each other in the flow direction, the connecting
 [0012]
 Also,a solar cell that is attached to a roof base plate in a state where a plurality of solar cell modules each including at least a solar cell module main body and a frame body provided in the solar cell module main body are adjacent to each other in the lateral direction and the flow direction. In the module mounting method,
The solar cell module is formed separately from the solar cell module at a position to be below the loose side surface, and a rail for flowing rain water along the flow direction of the roof is fixed to the field plate.
The solar cell module of interest is positioned on the
The
The
The solar cell module mounting method is characterized in that a waterproof rubber that prevents water from entering is inserted into a gap formed between the
 [0020]
 According to the present invention, by directly installing the solar cell module as a roofing material on the base plate, there is no need for a gantry, and the height of the solar cell module surface is reduced, so that it is integrated with the roof and does not impair the beauty. . Also, the installation work of the gantry is unnecessary, and one side edge portion of the solar cell module is fitted and joined to another adjacent solar cell module, and the other side edge portion is connected to the base plate. Since only the stop is required, the work is simple and the construction time is short. Moreover, by providing a notch part in the said locking part, air permeability becomes good and the temperature rise of a solar cell module can be suppressed, and wiring of an electric cable becomes easy.
 [0021]
 Furthermore, the provision of a connector for electrical connection to the frame eliminates the need for electric cable wiring.
 [0022]
 Moreover, it becomes a fireproof structure by making the film provided in the opposite surface side of the light-receiving surface into a steel film containing back film, and can be used as a roofing material. Furthermore, provide a fin for preventing water from entering the frame, a receiving bar, a waterproof rubber between solar cell modules, or a rail for flowing rain water below the side of the solar cell module. By arranging, water can be prevented from entering.
 Further, according to the present invention, the protrusions are formed on the side frames so that the side frames of the solar cell modules adjacent to each other in the side direction are brought together, and the side frames are adjacent to each other. A gap for sandwiching the waterproof rubber for water stop can be provided between the solar cell modules to be performed, and the waterproof rubber can be sandwiched after the solar cell module is secured to the base plate.
 In addition, according to the present invention, water can be prevented from entering by sandwiching the waterproof rubber between the eaves side frame and the ridge side frame. Furthermore, by providing a receiving bar, it is possible to prevent the field board from getting wet even if water enters.
 [0023]
 DETAILED DESCRIPTION OF THE INVENTION
 Hereinafter, embodiments of the present invention will be described in detail with reference to the drawings. FIG. 1 is an explanatory view of a
 [0024]
 The
 [0025]
 The ridge
 [0026]
 As shown in FIG. 2, the
 [0027]
 A
 [0028]
 In the present embodiment, the fin-like
 [0029]
 Next, attachment of the
 [0030]
 At the time of attachment, first, a waterproof
 [0031]
 Next, the eaves end fixing
 [0032]
 Similarly, the plurality of
 [0033]
 After repeating the above steps and fixing the necessary number of
 [0034]
 Next, as shown in FIG. 7, the ridge-
 [0035]
 Further, the solar cell module may be attached after the upper surface of the
 [0036]
 In this way, by installing the
 [0037]
 Moreover, since the
 [0038]
 Next, another embodiment will be described. FIG. 10 is an explanatory view of a
 The
 [0039]
 FIG. 12 is an attached perspective view of a
 [0040]
 【The invention's effect】
 As described above, according to the present invention, by installing the solar cell module directly on the base plate as a roofing material, there is no need for a gantry and the height of the solar cell module surface is reduced, so that the solar cell module is integrated with the roof. There is no loss of aesthetics. Also, the installation work of the gantry is unnecessary, and one side edge portion of the solar cell module is fitted and joined to another adjacent solar cell module, and the other side edge portion is connected to the base plate. Since only the stop is required, the work is simple and the construction time is short. Moreover, by providing a notch part in the said locking part, air permeability becomes good and the temperature rise of a solar cell module can be suppressed, and wiring of an electric cable becomes easy.
 [0041]
 Furthermore, the provision of a connector for electrical connection to the frame eliminates the need for electric cable wiring.
 [0042]
 Moreover, it becomes a fireproof structure by making the film provided in the opposite surface side of the light-receiving surface into a steel film containing back film, and can be used as a roofing material. Furthermore, provide a fin for preventing water from entering the frame, a receiving bar, a waterproof rubber between solar cell modules, or a rail for flowing rain water below the side of the solar cell module. By arranging, water can be prevented from entering.
 In addition, a gap for sandwiching waterproof rubber for stopping water between the solar cell modules adjacent in the flank side direction by simply bringing the flank side frames of the solar cell modules adjacent in the flank side together. Can be formed. Thus, after the solar cell module is secured to the base plate, the waterproof rubber can be attached between the side frames if the waterproof rubber is applied.
 In addition, water can be prevented from entering by sandwiching waterproof rubber between the eaves side frame and the ridge side frame. Furthermore, by providing a receiving bar, it is possible to prevent the field board from getting wet even if water enters.
 [Brief description of the drawings]
 FIG. 1 is an explanatory diagram showing an example of a solar cell module of the present invention.
 FIG. 2 is a cross-sectional view of an eaves side frame used in the solar cell module of the present invention.
 FIG. 3 is a cross-sectional view of a ridge side frame used in the solar cell module of the present invention.
 FIG. 4 is a cross-sectional explanatory view of the positive battery module of the present invention.
 FIG. 5 is an exploded perspective view of a solar cell module according to the present invention.
 FIG. 6 is an attachment perspective view of the solar cell module of the present invention.
 FIG. 7 is a cross-sectional explanatory view of the solar cell module of the present invention.
 FIG. 8 is a cross-sectional explanatory view of the solar cell module of the present invention.
 FIG. 9 is a cross-sectional explanatory view of the flaking process of the solar cell module of the present invention.
 FIG. 10 is an explanatory view showing another embodiment of the solar cell module of the present invention.
 FIG. 11 is a cross-sectional explanatory view of a solar cell module according to another embodiment of the present invention.
 FIG. 12 is an attached perspective view of a solar cell module according to another embodiment of the present invention.
 FIG. 13 is a perspective view showing an example of a conventional solar cell module.
 FIG. 14 is an exploded perspective view showing an example of a conventional solar cell module.
 FIG. 15 is a perspective view showing an example of a conventional solar cell module mounting structure.
 [Explanation of symbols]
 15
| Application Number | Priority Date | Filing Date | Title | 
|---|---|---|---|
| JP10605999AJP3652165B2 (en) | 1999-04-14 | 1999-04-14 | Solar cell module mounting structure and mounting method thereof | 
| Application Number | Priority Date | Filing Date | Title | 
|---|---|---|---|
| JP10605999AJP3652165B2 (en) | 1999-04-14 | 1999-04-14 | Solar cell module mounting structure and mounting method thereof | 
| Publication Number | Publication Date | 
|---|---|
| JP2000297509A JP2000297509A (en) | 2000-10-24 | 
| JP3652165B2true JP3652165B2 (en) | 2005-05-25 | 
| Application Number | Title | Priority Date | Filing Date | 
|---|---|---|---|
| JP10605999AExpired - Fee RelatedJP3652165B2 (en) | 1999-04-14 | 1999-04-14 | Solar cell module mounting structure and mounting method thereof | 
| Country | Link | 
|---|---|
| JP (1) | JP3652165B2 (en) | 
| Publication number | Priority date | Publication date | Assignee | Title | 
|---|---|---|---|---|
| JP4252432B2 (en)* | 2003-11-28 | 2009-04-08 | シャープ株式会社 | End face sealing member of solar cell module and solar cell module using the same | 
| JP4684874B2 (en) | 2005-12-13 | 2011-05-18 | 株式会社屋根技術研究所 | Solar cell module frame | 
| JP4290750B2 (en) | 2007-06-11 | 2009-07-08 | 株式会社屋根技術研究所 | Solar cell module fixing structure, solar cell module frame and fixing member | 
| JP2008252130A (en)* | 2008-07-07 | 2008-10-16 | Sharp Corp | End face sealing member of solar cell module and solar cell module using the same | 
| JP4448190B2 (en)* | 2009-03-31 | 2010-04-07 | 株式会社屋根技術研究所 | Fixing member for solar cell module | 
| JP4365449B2 (en)* | 2009-05-01 | 2009-11-18 | 株式会社屋根技術研究所 | Solar cell module construction method | 
| FR2953237B1 (en)* | 2009-12-01 | 2012-04-06 | Jean Pierre Parneix | FRAMING DEVICE COMPRISING A PLURALITY OF PANELS AND FIXING PROFILES ON A SUPPORT STRUCTURE FORMING A SEALED COVERING ELEMENT | 
| US8495839B2 (en) | 2010-04-01 | 2013-07-30 | Yanegijutsukenkyujo Co., Ltd. | Installation structure of solar cell module | 
| US20120073630A1 (en)* | 2010-09-28 | 2012-03-29 | Perfect Source Technology Corp. | Rectangular protective frame for solar cell module | 
| JP2012151347A (en)* | 2011-01-20 | 2012-08-09 | Kaname:Kk | Photovoltaic power generation panel | 
| FR2970989B1 (en)* | 2011-02-01 | 2013-02-15 | Lm Ind | SUPPORT DEVICE FOR PHOTOVOLTAIC ROOF PANELS, ANTI-THEFT | 
| Publication number | Publication date | 
|---|---|
| JP2000297509A (en) | 2000-10-24 | 
| Publication | Publication Date | Title | 
|---|---|---|
| US5524401A (en) | Roof with solar battery | |
| KR101355881B1 (en) | Fixing structure of solar battery module, frame for the solar battery module, and fixing member | |
| US8701360B2 (en) | Method and apparatus for assembling photovoltaic modules | |
| US6346669B1 (en) | Solar battery unit and solar battery apparatus | |
| JP3444735B2 (en) | Mounting structure of solar cell module | |
| JPH11324259A (en) | Mounting structure of solar cell module | |
| JP3652165B2 (en) | Solar cell module mounting structure and mounting method thereof | |
| JP2003343058A (en) | Mounting structure of solar cell module | |
| JP3627597B2 (en) | Solar cell panel and roof structure using solar cell panel | |
| CN216196121U (en) | Integrative roofing of photovoltaic building | |
| JP4712142B2 (en) | Solar cell module and installation structure of solar cell module | |
| JP3692292B2 (en) | Solar cell module | |
| JP4093839B2 (en) | Roof mounting structure for solar cell module and solar cell array | |
| JP2001140426A (en) | Solar cell module mounting structure and construction method | |
| JP2000114575A (en) | Photovoltaic power generation device and solar cell roof provided with the same | |
| JP2631966B2 (en) | Roof panel and roof structure using roof panel | |
| JP3392014B2 (en) | Mounting device and installation method for frameless solar cell module | |
| JP3961077B2 (en) | Solar panel mounting structure | |
| JP2003278332A (en) | Mounting structure of solar cell system on roof | |
| JP4713004B2 (en) | Solar cell integrated panel | |
| CN216290766U (en) | Solar photovoltaic tile | |
| JP4377537B2 (en) | Mounting structure of roof installation body | |
| EP0646682B1 (en) | Roof installed with solar batteries | |
| JP2001123616A (en) | Solar battery module and solar battery roof equipped therewith | |
| JP3392782B2 (en) | Solar energy module, its connection structure and house | 
| Date | Code | Title | Description | 
|---|---|---|---|
| A131 | Notification of reasons for refusal | Free format text:JAPANESE INTERMEDIATE CODE: A131 Effective date:20040106 | |
| A521 | Request for written amendment filed | Free format text:JAPANESE INTERMEDIATE CODE: A523 Effective date:20040304 | |
| A02 | Decision of refusal | Free format text:JAPANESE INTERMEDIATE CODE: A02 Effective date:20040420 | |
| A521 | Request for written amendment filed | Free format text:JAPANESE INTERMEDIATE CODE: A523 Effective date:20040618 | |
| A911 | Transfer to examiner for re-examination before appeal (zenchi) | Free format text:JAPANESE INTERMEDIATE CODE: A911 Effective date:20040705 | |
| A912 | Re-examination (zenchi) completed and case transferred to appeal board | Free format text:JAPANESE INTERMEDIATE CODE: A912 Effective date:20040827 | |
| A521 | Request for written amendment filed | Free format text:JAPANESE INTERMEDIATE CODE: A523 Effective date:20050120 | |
| A61 | First payment of annual fees (during grant procedure) | Free format text:JAPANESE INTERMEDIATE CODE: A61 Effective date:20050222 | |
| R150 | Certificate of patent or registration of utility model | Free format text:JAPANESE INTERMEDIATE CODE: R150 | |
| FPAY | Renewal fee payment (event date is renewal date of database) | Free format text:PAYMENT UNTIL: 20080304 Year of fee payment:3 | |
| FPAY | Renewal fee payment (event date is renewal date of database) | Free format text:PAYMENT UNTIL: 20090304 Year of fee payment:4 | |
| FPAY | Renewal fee payment (event date is renewal date of database) | Free format text:PAYMENT UNTIL: 20100304 Year of fee payment:5 | |
| FPAY | Renewal fee payment (event date is renewal date of database) | Free format text:PAYMENT UNTIL: 20100304 Year of fee payment:5 | |
| FPAY | Renewal fee payment (event date is renewal date of database) | Free format text:PAYMENT UNTIL: 20110304 Year of fee payment:6 | |
| FPAY | Renewal fee payment (event date is renewal date of database) | Free format text:PAYMENT UNTIL: 20120304 Year of fee payment:7 | |
| FPAY | Renewal fee payment (event date is renewal date of database) | Free format text:PAYMENT UNTIL: 20120304 Year of fee payment:7 | |
| FPAY | Renewal fee payment (event date is renewal date of database) | Free format text:PAYMENT UNTIL: 20130304 Year of fee payment:8 | |
| FPAY | Renewal fee payment (event date is renewal date of database) | Free format text:PAYMENT UNTIL: 20130304 Year of fee payment:8 | |
| FPAY | Renewal fee payment (event date is renewal date of database) | Free format text:PAYMENT UNTIL: 20140304 Year of fee payment:9 | |
| LAPS | Cancellation because of no payment of annual fees |