













【0001】
【産業上の利用分野】
本発明は、試料中に存在する特定の遺伝子を特異的に検出するための遺伝子検出法に関する。
【0002】
【従来の技術】
遺伝子(DNA)に蓄えられる遺伝情報は、メッセンジャ−RNA(mRNA)を介して蛋白質あるいは酵素として表現される。この蛋白質や酵素の働きにより、生命の維持に必要な様々な化合物の生合成および代謝が行なわれる。このように、遺伝子に支配された多様な物質の動的平衡系として、生物が存在しているわけである。
【0003】
ヒトの遺伝子の総数は5〜10万といわれている。これら遺伝子の中に、例えば欠損や重複のような何等かの異常や変化が生じると、生成される蛋白質の特性、種類および量などが変化し、結果として生体系のバランスが崩れて疾病を引き起こすことになる。従って、逆に病因となる既知の遺伝子を検出することによって、疾患の同定や予防が可能である。このような遺伝子そのものに基づく診断は、近年の遺伝子工学の進歩によって可能となったもので、遺伝子診断と呼ばれている。
【0004】
従来の診断法と比較して、遺伝子診断には次のような幾つかの特色がある。
【0005】
遺伝子発現の機構を考えると、殆どの生化学レベルでの変化に先行して、遺伝子上での変化が生じていることが推定される。従って、遺伝子変化の検出による遺伝子診断では、病気という表現型での変化に先だって、即ち、発症前や病気の潜伏期あるいは極めて初期の段階で、診断や予測ができる。これが第一の特色である。第二の特色は、生体内の細胞では遺伝子は全て同一であるので、遺伝性の疾患に関する遺伝子診断法は、分析する臓器や組織に依存しないことである。このことは、特に胎児での診断では重要である。即ち、この特色によって、妊婦から羊水を採取し、羊水中に浮遊している胎児の細胞を調べるだけで診断を行なうことが可能となる。
【0006】
一般的な遺伝子診断法において、従来用いられている遺伝子検出法の手順を略記すれば次の通りである。
【0007】
まず、試料から遺伝子を抽出し、必要があれば適当な制限酵素で切断した後、電気泳動およびサザンブロットを行なう。次に、目的とする遺伝子に対して相補的な塩基配列を有する核酸プロ−ブ(通常は、放射性同位元素でラベルされている)を、ブロットされた遺伝子とハイブリダイスさせる。続いて、低温でX線フィルムに感光させることによりハイブリダイズされた核酸プロ−ブを検出し、目的とする遺伝子の存在を確認する。
【0008】
【発明が解決しようとする課題】
上記従来の検出法は、放射性同位元素を使用するため診断場所が限定され、試薬の取扱いにも十分注意しなければならない。この点を改善するために、放射性同位元素に代わる安全なラベル剤の開発が進められており、例えばアビジン- ビオチン結合を利用する方法、酵素や蛍光物質を使用する方法等、幾つかのプロ−ブ検出方法が既に提案されている。しかし、これらは感度の点で放射性同位元素を凌駕するまでには至っていない。また、何れの方法も遺伝子検出までに少なくとも2〜3日間を要し、測定操作もかなり繁雑かつ複雑であるという問題がある。
【0009】
一方、試料中に存在する特定の抗原または抗体の定量分析には、一般にラジオイムノアッセイ(以下、RIAと略記する)が用いられている。しかしながら、RIAでは前記の遺伝子診断方法と同様に放射性同位体を用いるため、専用の機器を設置し、その操作も放射性同位体取扱いの資格を有するオペレ−タが行なわなければならない。これに加えて廃棄物の処理等にも注意を必要とする。また、その他の分析方法として、例えば免疫電気泳動法が知られているが、この方法は測定に長時間を要するうえ感度が低く、被検物質がごく微量にしか含まれていない場合には適用することができない。
【0010】
本発明は上記事情に鑑みてなされたものであり、安全性および簡便性に優れると共に、短時間で目的とする遺伝子の有無を高感度に検出することができる遺伝子検出法を提供することを目的とする。
【0011】
【課題を解決するための手段】
  本発明による核酸鎖検出法は、検出すべき目的核酸鎖に対して相補的な塩基配列を有する一本鎖の核酸プローブと、一本鎖に変性された試料核酸とを反応させた後、該核酸プローブと該試料核酸とのハイブリダイゼーションにより形成される二本鎖核酸の有無を検出することによって目的核酸鎖の存在を確認する核酸鎖検出法において、
  該試料核酸を電極表面、または光ファイバー先端に固定化して用いることと、
  二本鎖核酸に特異的に結合し、且つ電気化学的又は光化学的に活性な二本鎖認識体を、核酸プローブと試料核酸との反応系に添加することと、
  該電極または該光ファイバーを介した電気化学的または光化学的な測定により、該電極または該光ファイバーに固定化された二本鎖認識体の検出を行うことを特徴とするものである。
この核酸鎖検出法において、試料核酸は、共有結合又はイオン結合によって電極表面または光ファイバー先端に固定化されることが好ましい。
【0012】
  この核酸鎖検出法において、電極または光ファイバーに固定化された二本鎖認識体が検出されることは、電極または光ファイバーの表面上に二本鎖核酸が形成されていることを意味し、これは、電極または光ファイバー上に固定化された試料核酸が目的核酸鎖であることを示している。
【0013】
  また、本発明は、検出すべき目的核酸鎖に対して相補的な塩基配列を有する一本鎖の核酸プローブと、一本鎖に変性された試料核酸とを反応させた後、該核酸プローブと該試料核酸とのハイブリダイゼーションにより形成される二本鎖核酸の有無を検出することによって目的核酸鎖の存在を確認する核酸鎖検出法において、
  該試料核酸を電極表面または光ファイバー先端に固定化して用いることと、
  該核酸プローブが予め標識物質で標識されたプローブであることと、
  該電極または前記光ファイバーを介した電気化学的または光化学的な測定により、該電極または光ファイバーに固定化された核酸プローブの検出を行うことを特徴とする核酸鎖検出法をも提供する。
  この核酸鎖検出法において、試料核酸は、共有結合又はイオン結合によって電極表面または光ファイバー先端に固定化されることが好ましい。
  さらに、本発明の他の側面に従って、
  検出すべき目的核酸鎖に対して相補的な塩基配列を有する一本鎖の核酸プローブと、該核酸プローブと反応し得る一本鎖に変性された試料核酸とのハイブリダイゼーションにより形成される二本鎖核酸を検出するための、前記試料核酸が固定化された電極または光ファイバーにおいて、前記試料核酸は該電極の表面または該光ファイバーの先端に固定化され、該電極表面または該光ファイバー先端に形成された該試料核酸及び前記核酸プローブから成る二本鎖核酸の有無を、該二本鎖核酸と結合した電気化学的または光化学的に活性な二本鎖認識体及び/又は標識物質が生じる電気化学的または光化学的信号を該電極または光ファイバーを介して測定することによって検出するための、試料核酸が固定化された電極または光ファイバーが提供される。
【0014】
  以下、本発明の核酸鎖検出法をより詳細に説明する。
【0015】
本発明において「二本鎖認識体」とは、二本鎖の核酸を認識し、特異的に結合する物質を指す。したがって、担体上に固定化された試料核酸と核酸プロ−ブとの反応により担体上に二本鎖核酸が形成された場合には、形成された二本鎖核酸と結合することにより二本鎖認識体が担体上に固定化されることになる。このような物質としては、例えば、挿入剤、二本鎖核酸を認識する生体高分子を挙げることができる。
【0016】
挿入剤と呼ばれる物質は、二本鎖DNA等の二本鎖核酸に特異的に結合する特徴がある。これら挿入剤は何れも分子中にフェニル基等の平板状挿入基を有し、この挿入基が二本鎖核酸の塩基対と塩基対の間に介入することによって、二本鎖核酸と結合する。挿入剤の多くは光学活性物質であり、核酸の定性に用いられているものもある。また、挿入剤の中には電極応答する物質もある。従って、光学的変化または電気化学的変化の測定によって、二本鎖核酸に結合した挿入剤を検出することができる。
【0017】
本発明で用いる電気化学的、光化学的に活性な挿入剤は特に限定されるものではなく、例えばエチジウム、エチジウムブロマイド、アクリジン、アミノアクリジン、アクリジンオレンジ、プロフラビン、エリブチシン、アクチノマイシンD、ドーノマイシン、マイトマイシンC、ヘキスト33342、ヘキスト33258、アクラルビシン、DAPI、アドリアマイシン、エピルビシン、ピラルビシン、アクラシノマイシン、また、トリス(フェナントロリン)亜鉛錯体、トリス(フェナントロリン)ルテニュウム錯体、トリス(フェナントロリン)コバルト錯体、ジ(フェナントロリン)亜鉛錯体、ジ(フェナントロリン)ルテニュウム錯体、ジ(フェナントロリン)コバルト錯体、ビピリジンプラチナ錯体、ターピリジンプラチナ錯体、フェナントロリンプラチナ錯体、トリス(ビピリジル)亜鉛錯体、トリス(ビピリジル)ルテニュウム錯体、トリス(ビピリジル)コバルト錯体、ジ(ビピリジル)亜鉛錯体、ジ(ビピリジル)ルテニュウム錯体、ジ(ビピリジル)コバルト錯体等を用いることができる。また、その他の使用可能な挿入剤としては、特開昭62-282599 号公報に記載されたものが挙げられる。
【0018】
また、電極を用いて電気化学的変化を検出する場合には、挿入剤として、上述の挿入剤自身が酸化還元反応に対して可逆的である物質の他に、電気的に可逆な酸化還元反応を起こす物質を中心金属として含有する金属錯体、すなわちメタロインタ−カレ−タ−を用いることができる。このようなメタロインタ−カレ−タ−としては、例えばトリス(フェナントロリン)亜鉛錯体、トリス(フェナントロリン)ルテニュウム錯体、トリス(フェナントロリン)コバルト錯体、ジ(フェナントロリン)亜鉛錯体、ジ(フェナントロリン)ルテニュウム錯体、ジ(フェナントロリン)コバルト錯体、ビピリジンプラチナ錯体、タ−ピリジンプラチナ錯体、フェナントロリンプラチナ錯体、トリス(ビピリジル)亜鉛錯体、トリス(ビピリジル)ルテニュウム錯体、トリス(ビピリジル)コバルト錯体、ジ(ビピリジル)亜鉛錯体、ジ(ビピリジル)ルテニュウム錯体、ジ(ビピリジル)コバルト錯体を挙げることができる。挿入剤はこれらに限定されるものではないが、錯体の中心金属もしくは挿入剤自身の酸化還元電位が核酸の酸化還元電位以上であったり、核酸の酸化還元電位に重なることのないものが望ましい。
【0019】
このような電気化学的に可逆である酸化還元反応を起こす挿入剤を用いることにより、酸化還元電流を繰り返して測定することが可能となる。したがって、電位走査を数回ないし数百回繰り返し、得られた信号の値を積算することにより信号の増幅を行なうことができ、その結果、より高感度の検出が可能となる。
【0020】
さらに、電極を用いて遺伝子の検出を行なう場合には、電気化学発光を生じる挿入剤を利用することもできる。このような挿入剤は特に限定されるものではなく、例えば、ルミノ−ル、ルシゲニン、ピレン、ジフェニルアントラセン、ルブレン及びアクリジニウム誘導体を挙げることができる。これらの挿入剤による電気化学発光は、ホタルルシフェリン、ジヒドロルシフェリンのようなルシフェリン誘導体、フェニルフェノ−ル、クロロフェノ−ルのようなフェノ−ル類もしくはナフト−ル類のようなエンハンサ−を用いることにより増強することが可能である。
【0021】
電気化学発光によって生じた光学的な信号は、例えば、フォトンカウンタを用いて溶液から直接検出すればよい。また、電極の代わりに、光ファイバ−の先端に透明電極を形成することにより作成した光ファイバ−電極を用いて間接的に検出することもできる。
【0022】
電極反応または光学的な信号の変化は担体表面でしか起こらないことから、未反応のプロ−ブや未反応の挿入剤を除去することなく非常に簡単に検出を行なうこともできる。
【0023】
なお、本発明において、核酸プローブと一本鎖試料核酸との反応は、一般的に溶液中で行なわれる。その際、上記の挿入剤の存在下で核酸プローブと試料核酸との反応を行なってもよく、また該反応の終了後に挿入剤を添加しても良い。
【0024】
上述のように、多くの挿入剤はそれ自体で光学活性を有するか、または電極応答が可能な物質であり、光学的または電気化学的な測定により直接測定を行なことができる。このような挿入剤に、さらに直接もしくは間接的に信号を検出することが可能な物質を結合させ、挿入剤自身の信号と併せて測定することにより検出の感度を高めることが可能である。
【0025】
このような直接もしくは間接的に信号を検出することが可能な物質としては、例えば、ビオチン、トリニトロベンゼンスルホン酸、ジニトロベンゼンスルホン酸等のハプテン、フルオレセインイソチアネ−ト(FITC)、フィコシアニン、ロ−ダミン等の蛍光物質、ルミノ−ル、ルシゲニン、アクリジウムエステル誘導体等の発光物質、フェロセン、ビオロ−ゲン等の電極活性物質を挙げることができる。上記ハプテンのように直接信号を検出することができない物質を用いる場合には、酵素結合アビジンのような酵素結合抗ハプテン抗体を利用して酵素反応による物質の吸光、蛍光、発光、消光、円偏光二色性、蛍光偏光のような光学的情報を測定するか、もしくは電極活性を測定することにより間接的に遺伝子の検出を行なう。
【0026】
これらの物質は、通常、挿入剤1分子当たり1分子結合させるが、同種の物質を挿入剤1分子当たり複数分子結合させることにより、さらに感度を高めることができる。
【0027】
これとは別に、生体高分子の中には二本鎖核酸を認識して特異的に結合する物質が存在する。したがって、このような生体高分子もしくはこの生体高分子を認識する物質に、酵素、蛍光物質、発光物質のような標識物質を結合し、この標識物質に起因する電気化学的もしくは光学的な変化を測定して生体高分子の存在の有無を確認することにより二本鎖核酸を検出することが可能となる。
【0028】
このような生体高分子としては、抗DNA抗体、クロタンパク質、cIリプレッサ−、大腸菌のCRP(cAMP受容タンパク質)、ラクト−スオペロンリプレッサ−のようなDNA結合タンパク質、触媒活性が失活したRNase Hのような酵素を挙げることができるが、これらに限定されるものではない。また、上記生体高分子は、生体由来であっても、合成により得られるものであっても良い。
【0029】
上記生体高分子に結合させる標識剤としての酵素は特に限定されるものではなく、例えばアルカリホスファタ−ゼ、ペルオキシダ−ゼ、β- ガラクトシダ−ゼ、グルコ−スオキシダ−ゼを挙げることができる。
【0030】
上記生体高分子を用いて電気化学的変化を検出する場合には、例えば、NAD+/NADHサイクルにおけるNADH、カテコ−ル/キノンサイクルにおけるキノンを利用することができる。すなわち、生体高分子に結合した酵素により生成したNADHもしくはキノンを電極自体で酸化もしくは還元し、その電気的変化を測定すれば良い。なお、このような電気化学的酸化還元反応に関わる物質は、これらに限定されるものではない。
【0031】
上記生体高分子を用いて光学的変化を検出する場合には、生体高分子に酵素を結合し、化学発光基質を用いて酵素反応を行なうか、もしくは生体高分子に蛍光物質を結合してその蛍光を直接検出する。本発明で用いることができる化学発光基質は特に限定されるものではなく、使用可能な化学発光基質としては、ルミノ−ル、イソルミノ−ル、イソルミノ−ル誘導体、アクリジニウム誘導体を挙げることができる。化学発光基質を使用する場合には、エンハンサ−を用いて化学発光を増強させることもできる。このエンハンサ−としては、特に限定されるものではないが、例えばホタルルシフェリン、デヒドロルシフェリンのようなルシフェリン誘導体、フェニルフェノ−ル、クロロフェノ−ルのようなフェノ−ル類もしくはナフト−ル類を挙げることができる。さらに、本発明で用いることができる蛍光物質は特に限定されるものではなく、使用可能な蛍光物質としては、フルオレセイン、ロ−ダミン、フィコシアニンを挙げることができる。
【0032】
二本鎖認識体の添加量は特に限定されるものではないが、効率の点からは形成された全ての二本鎖に結合するに十分な量であることが好ましい。過剰に添加して未反応のまま残存する二本鎖認識体は、測定の前に洗浄除去する。
【0033】
二本鎖認識体の添加量が少なく低濃度である場合には、二本鎖認識体が形成された二本鎖核酸と結合すると、系内に残存する未反応の二本鎖認識体の量は極少量となる。すなわち、相対的に、二本鎖認識体は担体上に濃縮された状態となる。このような状態においては、試料核酸と未反応の核酸プロ−ブ、および形成された二本鎖に結合していない遊離の二本鎖認識体とを洗浄除去することなく遺伝子の検出を行なうことができ、ハイブリダイゼ−ションから目的遺伝子の検出まで全ての反応を同一系内で連続的に行なうことが可能となる。
【0034】
このように本発明は、二本鎖認識体の電気化学的或いは光学的な信号の変化を測定することで遺伝子の有無を検出することを特徴とするが、更に、ハイブリダイゼーション反応におけるこれらの信号の変化をモニター等を用いて経時的に測定することにより、当該反応の進行状態を判断することもできる。従来は、ハイブリダイゼーション反応を行う際には、当該反応が十分起こっているであろう時間を経験的に設定していたために、必要以上に長い時間を要したり、或いは逆に反応が十分でないまま反応を終了させたりしている可能性があった。しかし、このようにハイブリダイゼーション反応中の二本鎖認識体による直接的或いは間接的な信号を経時的にモニタリングすると、どの時点で検出十分なハイブリダイゼーション反応が生じるかを決定することができるため、これによりハイブリダイゼーション反応を確実に行うことができ、また遺伝子検出に要する時間を短縮することも可能である。
【0035】
本発明においては、使用する核酸プロ−ブを変えることにより種々の遺伝子の検出を行なうことができる。使用することができる核酸プロ−ブの例としては、食品中に含まれる微生物、植物ウイルスもしくはウイロイド、魚類に感染する病原性微生物もしくはウイルス、人体に感染し、感染症等を引き起こす病原性微生物もしくはウイルス、遺伝病の原因遺伝子、活性化プロトオンコジ−ン、またはミニサテライト塩基配列のそれぞれの全体もしくはその一部の塩基配列に相補的な配列を有するプロ−ブを挙げることができる。
【0036】
核酸プロ−ブとして、食品中に含まれる微生物の全体もしくはその一部の塩基配列に相補的な配列を有するプロ−ブを用いた場合には、食品中に含まれる微生物の直接検出を行なうことができ、食品衛生検査が可能になる。このような食品中に含まれる微生物としては、例えば、病原性の大腸菌、ブドウ球菌、サルモネラ菌を挙げることができる。
【0037】
核酸プロ−ブとして、植物ウイルスもしくはウイロイドの一部の塩基配列に相補的な配列を有するプロ−ブを用いた場合には、植物に感染した植物ウイルスもしくはウイロイドの検出を行なうことができ、農業分野における感染症診断が可能になる。このような植物ウイルスもしくはウイロイドとしては、例えば、タバコモザイクウイルス、カリフラワ−モザイクウイルスを挙げることができる。
【0038】
核酸プロ−ブとして魚類に感染する病原性微生物もしくはウイルスの全体あるいはその一部の塩基配列に相補的な配列を有するプロ−ブを用いた場合には、魚類に感染する病原性微生物もしくはウイルスの検出を行なうことができ、水産分野における感染症診断が可能になる。このような魚類に感染する病原性微生物としては、例えば、病原性ビブリオを挙げることができる。
【0039】
核酸プロ−ブとして人体に感染し、感染症等を引き起こす病原性微生物もしくはウイルスの全体あるいはその一部の塩基配列に相補的な配列を有するプロ−ブを用いた場合には、感染症診断が可能になる。このような人体に感染して感染症等を引き起こす病原性微生物としては、例えば、病原性微生物であるストレプトコッカス、マイコプラズマ、クロストリジウム、クラミジア、サルモネラ、単純ヘルペス、サイトメガロウイルスを挙げることができる。
【0040】
核酸プロ−ブとして遺伝病の原因遺伝子の全体もしくはその一部の塩基配列に相補的な配列を有するプロ−ブを用いた場合には、遺伝病の直接検定が可能になる。このような遺伝病の原因遺伝子としては、例えば、アデノシンデアミナ−ゼ欠損症、鎌状赤血球貧血の原因遺伝子を挙げることができる。
【0041】
核酸プロ−ブとして活性化プロトオンコジ−ンの全体もしくはその一部の塩基配列に相補的な配列を有するプロ−ブを用いた場合には、癌診断が可能になる。このような活性化プロトオンコジ−ンとしては、例えば、癌遺伝子デ−タブック(渋谷正史、秀潤社)に記載の癌遺伝子を挙げることができる。
【0042】
核酸プロ−ブとしてミニサテライト塩基配列の全体もしくはその一部の塩基配列に相補的な配列を有するプロ−ブを用いた場合には、遺伝学的研究、個人識別、親子鑑定等に有用なDNAフィンガ−プリント法を行なうことが可能になる。このようなミニサテライト塩基配列としては、例えば、Myo配列、Alu配列、Per- 6配列、Per配列を挙げることができる。
【0043】
本発明において用いられる核酸プロ−ブの長さは特に限定されるものではなく、数mer ないし数百mer の一本鎖核酸を用いることができるが、S/N比を上げて検出の精度を高めるためには、十数mer ないし数十mer 程度の長さのものが好ましい。これは、次のような理由によるものである。
【0044】
上述のように、二本鎖認識体は二本鎖核酸を認識して特異的に結合する物質である。しかしながら、二本鎖認識体は希に一本鎖核酸にも結合することがある。すなわち、未反応の核酸プロ−ブにも結合する場合がある。このような結合が起こるとS/N比が低下し、検出の精度が悪化する。したがって、核酸プロ−ブの長さは、目的とする遺伝子配列を検出するために最小限必要な長さに止めることが好ましい。
【0045】
二本鎖認識体に直接もしくは間接的に信号を検出することが可能な物質を結合させて検出の感度を高めることについては既述したが、二本鎖認識体ではなく核酸プロ−ブを標識することによっても遺伝子検出の感度を高めることができる。この場合、核酸プロ−ブに標識される標識剤は、二本鎖認識体と直接もしくは間接的に反応し、もしくはその相互作用により、二本鎖認識体および標識剤のいずれかが検出可能な信号を生じるようなものであればどのような物質でもよい。換言すると、核酸プロ−ブが一本鎖の状態にあるときには信号が発生することはなく、核酸プロ−ブが目的とする遺伝子と反応して二本鎖を形成し、さらにこの二本鎖に二本鎖認識体が結合して初めて信号が発生するような物質が標識剤として用いられる。遺伝子の検出は、この標識剤と二本鎖認識体との反応により生じる信号を測定することにより行なう。このような核酸プロ−ブの標識剤は、用いられる二本鎖認識体により異なるが、例えば、ロ−ダミン、FITCのような蛍光物質、ルミノ−ル、アクリジニウムエステル誘導体のような発光物質、酵素、酵素基質を挙げることができる。二本鎖認識体としては、特に限定されるものではなく、上記のいずれの物質をも使用することができる。
【0046】
ところで、核酸プロ−ブに標識する物質が二本鎖認識体との相互作用によらずにそれ自体で信号を生じるものである場合には、二本鎖認識体を用いることなく遺伝子の検出を行なうことが可能となる。すなわち、担体上に固定化された試料核酸とのハイブリダイゼ−ションにより担体上に固定化された核酸プロ−ブを、二本鎖認識体を介することなく核酸プロ−ブ自体に標識された標識剤により検出することが可能となる。このような直接もしくは間接的に信号を検出することが可能な物質としては、例えば、ビオチン、トリニトロベンゼンスルホン酸、ジニトロベンゼンスルホン酸等のハプテン、フルオレセインイソチアネ−ト(FITC)、フィコシアニン、ロ−ダミン等の蛍光物質、ルミノ−ル、アクリジウムエステル誘導体等の発光物質、ルシゲニン等の電気化学発光物質、フェロセン、ビオロ−ゲン等の電極活性物質、アルカリホスファタ−ゼ、ペルオキシダ−ゼ、グルコ−スオキシダ−ゼ等の酵素を挙げることができる。上記ハプテンのように直接信号を検出することができない物質を用いる場合には、酵素結合アビジンのような酵素結合抗ハプテン抗体を利用して酵素反応による物質の吸光、蛍光、発光、消光、円偏光二色性、蛍光偏光のような光学的情報を測定するか、もしくは電極活性を測定することにより間接的に遺伝子の検出を行なう。
【0047】
これらの物質は、通常、プロ−ブ1分子当たり1分子結合させるが、同種の物質をプロ−ブ1分子当たり複数分子結合させることにより、さらに感度を高めることができる。
【0048】
本発明の遺伝子検出法においては、一本鎖に変性した試料核酸を、電気化学的変化、光化学的変化等の物理変化を信号として検出可能な担体に固定化する。このような担体としては、電極もしくは光ファイバが好適に用いられるが、この他に信号の検出が可能な担体として、フォトダイオ−ド、サ−ミスタ、ISFET、MOSFET、ピエゾ素子、表面弾性波素子、水晶発振器等を挙げることができる。
【0049】
本発明で用いる電極は特に限定されるものではなく、使用可能な電極としては、例えばグラファイト、グラシ−カ−ボン、パイロリティックグラファイト、カ−ボンペ−スト、カ−ボンファイバ−のような炭素電極、白金、白金黒、金、パラジウム、ロジウムのような貴金属電極、酸化チタン、酸化スズ、酸化マンガン、酸化鉛のような酸化物電極、Si、Ge、ZnO、CdS、TiO2、GaAsのような半導体電極、チタン等が挙げられる。これらの電極は導電性高分子によって被覆しても良く、これによって安定な試料核酸固定化電極を調製することができる。また、単分子膜によって被覆することもできる。
【0050】
検体試料には、例えば、末梢静脈血のような血液、白血球、血清、尿、糞便、精液、唾液、培養細胞、各種臓器細胞のような組織細胞、その他核酸を含有するものを用いる。
【0051】
検体試料からの核酸の抽出は従来法に準じて行なわれるが、上記二本鎖認識体を用いて以下の手順により抽出、精製することもできる。
【0052】
まず、二本鎖認識体を適当な担体上に固定化し、この担体を検体試料と混合する。次に検体試料中の細胞を破壊して核酸を遊離させ、この核酸と二本鎖認識体とを結合させる。その後、担体を検体試料から分離し、さらに二本鎖認識体に結合した核酸を担体から分離する。
【0053】
ここで用いられる担体は特に限定されるものではなく、例えば、ラテックス、ポリエチレン、ポリスチレン、ポリプロピレン等の高分子からなる担体、活性炭等の炭素系材料、金属粒子、セラミック、マグネタイト、サマリウム- コバルト、フェライト等の磁性体を挙げることができる。担体の形態も特に限定されるものではないが、粒径 0.1〜1000μm、特には 1〜 100μmの粒子であることが好ましい。
【0054】
検体試料中の細胞の破壊は、常法により行なえばよく、例えば、振とう、超音波等の物理的作用を外部から加えて担体を振動させて行なう。また、核酸抽出溶液を用いて、細胞から核酸を遊離させることもできる。核酸溶出溶液の例としては、SDS、Triton-X、Tween-20のような界面活性剤、サポニン、EDTA、プロテア−ゼ等を含む溶液を挙げることができる。これらの溶液を用いて核酸を溶出する場合には、37℃以上の温度でインキュベ−トすることにより反応を促進することができる。
【0055】
担体に固定化された二本鎖認識体と核酸とを結合させた後、適当な手段により検体試料から担体を分離する。分離した担体は、まず洗浄液(低塩濃度)で洗浄して不要成分を除去し、次いで核酸溶出液(高塩濃度)で担体から溶液中に核酸を溶出する。二本鎖認識体として挿入剤を用いた場合には、核酸溶出液として非極性有機溶媒を用いる。
【0056】
担体として磁性粒子を用いた場合には、担体の振動および分離操作を外部からの磁気作用でより簡便かつ迅速に行なうことが可能となり、好都合である。
【0057】
目的とする遺伝子の含有量が微量である場合には、公知の方法により遺伝子を増幅した後検出を行なうこともできる。遺伝子を増幅する方法としては、ポリメラ−ゼチェインリアクション(PCR)等の酵素を用いる方法が代表的なものである。ここで、遺伝子増幅法に用いられる酵素としては、例えば、DNAポリメラ−ゼ、Taqポリメラ−ゼのようなDNA依存型DNAポリメラ−ゼ、RNAポリメラ−ゼIのようなDNA依存型RNAポリメラ−ゼ、Qβレプリカ−ゼのようなRNA依存型RNAポリメラ−ゼを挙げることができる。なかでも、Taqポリメラ−ゼを用いるPCR法は温度を調節するだけで連続して増幅を繰り返すことができ、非常に有用な方法である。
【0058】
このようにして得られたサンプル(核酸の粗抽出液あるいは精製した核酸溶液)は、90〜98℃、好ましくは95℃以上の温度で熱変性し、一本鎖の試料核酸を調製する。一本鎖の核酸試料の調製は、アルカリ変性で行なうこともできる。次いで、この一本鎖試料核酸を、共有結合、イオン結合、吸着等によって電極表面、光ファイバ−等の担体上に固定化する。
【0059】
共有結合による固定化としては、例えば、担体表面を活性化し、その後、直接もしくは架橋剤を介して間接的に試料核酸を固定化する方法、担体に固定化する試料核酸に活性型の官能基を導入して担体に直接もしくは間接的に固定化する方法などを挙げることができる。ここで、担体表面の活性化は、例えば、酸化剤中における電解酸化、空気酸化、試薬酸化もしくは膜で被覆することにより行なうことができる。また、使用し得る架橋剤としては、臭化シアン、γ- アミノプロピルトリエトキシシランのようなシランカップラ−、カルボジイミド、塩化チオニル等を挙げることができるが、これらに限定されるものではない。さらに、試料核酸に導入される官能基としては、例えばアミノ基、カルボキシル基、ヒドロキシル基、カルボニル基、リン酸基、アルデヒド基、およびメルカプト基を挙げることができるが、これらに限定されるものではなく、その他の反応性が高い官能基を用いることもできる。
【0060】
担体表面を活性化するため表面を酸化すると、担体表面に酸化層が形成される。この酸化層を介して試料核酸と担体とが結合するのであるが、酸化層の厚さを薄くすることにより遺伝子検出におけるS/N比を向上させることができる。酸化層の厚さは、好ましくは 500A(オングストロ−ム)以下、より好ましくは 100A以下である。
【0061】
試料核酸末端への官能基の導入は、酵素反応もしくはDNA合成機を用いて行なうことができる。酵素反応において用いられる酵素としては、例えば、タ−ミナルデオキシヌクレオチジルトランスフェラ−ゼ、ポリAポリメラ−ゼ、ポリヌクレオチドカイネ−ス、DNAポリメラ−ゼ、ポリヌクレオチドアデニリルトランスフェラ−ゼ、RNAリガ−ゼを挙げることができる。また、ポリメラ−ゼチェインリアクション(PCR法)、ニックトランスレ−ション、ランダムプライマ−法により官能基を導入することもできる。
【0062】
官能基は、試料核酸のどの部分に導入されてもよく、3'末端、5'末端もしくはランダムな位置に導入することができる。
【0063】
特に、試料核酸を固定化しようとする担体が電極である場合には、吸着により、より簡単な操作で効率よく試料核酸を固定化することができる。電極表面への試料核酸の吸着は、例えば、次のように行なうことができる。まず、電極表面を、超音波洗浄器を用いて蒸留水およびアルコ−ルで洗浄する。その後、電極を試料核酸を含有するリン酸緩衝液(pH 7.0)に挿入して試料核酸を担体表面に吸着させる。特に炭素電極に対しては、高温、高塩濃度下で吸着させるとよい。この際、電極に 0〜+ 1.0V、好ましくは 0〜+ 0.1Vの範囲で電位を印加することにより、試料核酸の吸着を促進することができる。次に、試料核酸を吸着させた電極をヌクレオチド(ATP、CTP、GTP、TTP、dATP、dCTP、dGTP、dTTP等)溶液中に挿入し、好ましくは 0〜+ 1.0Vの範囲で電位を印加しながら、電極表面をヌクレオチドで被覆する。これにより、種々の核酸や二本鎖認識体等の電極表面への非特異的な吸着が抑制される。また、非特異的な吸着は、界面活性剤、脂肪酸、脂肪等で電極表面を被覆することによっても抑制可能である。ここで、抑制効果のある物質としては、ステアリルアミン、アミノノナデカン等のアミン類、ジステアリルジメチルアンモニウムクロライド等のアンモニウム塩類を挙げることができる。
【0064】
試料核酸を吸着により担体に固定化する場合には、試料核酸を高イオン強度、例えばイオン強度 0.1以上の溶液に溶解することにより試料核酸の吸着を促進することができる。
【0065】
また、グアニジニウム塩、ヨウ化ナトリウム、ヨウ化カリウム、(イソ)チオシアン酸ナトリウム、尿素等のカオトロピック物質を添加することによっても吸着を促進することができる。
【0066】
試料核酸は、酵素固定化の一手法として知られる包括法において使用される包括剤を用いて担体に固定化することもできる。本発明において使用し得る包括剤は特に限定されるものではないが、例えばポリ塩化ビニル、ポリアクリルアミドを挙げることができる。
【0067】
さらに、試料核酸は膜を介して電極表面及びその他の担体表面に固定化することもできる。この際用いられる膜としては、例えば、ポリアセチレン、ポリピロ−ル、ポリチオフェン、ポリアニリンのような導電性高分子、ポリエチレン、ポリプロピレン、ポリビニルクロライド、ポリビニルアルコ−ル、ポリメチルメタクリレ−ト、ポリフッ化ビニリデン、セルロ−ス、脂質膜を挙げることができる。また、LB膜のような単分子膜もしくは単分子膜が複数積層して多層を形成した膜を用いることもできる。
【0068】
試料核酸の膜への固定化は、担体表面への固定化と同様の方法で行なうことができる。
【0069】
共有結合により試料核酸を膜に固定化する場合には、試料核酸に官能基を導入する代わりに膜に官能基を導入してもよい。膜に導入される官能基としては、試料核酸に導入される官能基と同様のものを用いることができる。このように膜に官能基を導入し、次いで試料核酸を反応させて固定化することにより、試料核酸に官能基を導入して固定化する場合よりも高い密度で試料核酸を固定化することができ、かつより安定な試料核酸固定化担体を得ることができる。
【0070】
膜を介して試料核酸を固定化する担体が電極である場合には、上述のように核酸プロ−ブと検体試料とのハイブリダイゼ−ションを行ない、その前後における膜電位の変化を測定することにより、目的とする遺伝子の存在の有無を検出することができる。
【0071】
試料核酸固定化担体に振動子もしくは回転体としての機能を持たせることにより、担体表面近傍における流体の流れを相対的に増大させることができる。これにより、ハイブリダイゼ−ション反応の促進、非特異的反応の抑制などが達成され、遺伝子検出の効率を高めることが可能である。振動子としての機能は、例えば、物理的な振動、超音波、電気的もしくは磁気的作用を利用して担体に与えることができる。
【0072】
試料核酸を固定化した担体は、そのままでは種々の核酸、二本鎖認識体等の非特異的な吸着が生じやすい。これは、感度の低下を招く要因となる。このような非特異的な吸着は、試料核酸を固定化した後、担体表面を吸着もしくは化学結合により核酸で被覆することにより抑制することが可能である。
【0073】
この際、担体表面を被覆する核酸としては、例えば、アデノシン、チミジン、グアノシン、シチジンのようなヌクレオシド、ウリジル酸、シチジル酸、アデニル酸、グアニル酸のようなヌクレオチド、合成オリゴヌクレオチド、サケ精子DNAのような天然DNAを挙げることができる。
【0074】
また、担体表面を被覆する核酸の長さおよび配列は、担体表面に固定化されている試料核酸と反応しない長さおよび配列であれば特に限定されるものではないが、 1〜 100 bp の一本鎖、もしくは二本鎖核酸が望ましい。さらに、上述のように、非特異的な吸着は、界面活性剤、脂肪酸、脂質、或いは非極性物質等の物質で被覆することによっても抑制することが可能である。このような物質としては、例えば、ステアリルアミン、アミノノナデカン等のアミン類、ジステアリルアミンジメチルアンモニウムクロライド等のアンモニウム塩類を挙げることができる。
【0075】
本発明の遺伝子検出法においては、担体への試料核酸の固定化は上記方法にのみ限定されるものではなく、一般にタンパク質等の生体高分子の固相への固定化に用いられている方法を広く用いることができる。
【0076】
担体に固定化される試料核酸の量は特に限定されるものではないが、固定化された試料核酸の密度が高いほど検出の感度が高くなり、S/N比が向上する。固定化される試料核酸の密度は、通常、平方cm当りアトモル(amol/cm2)のオ−ダ−以上であり、好ましくは平方cm当りナノモル(nmol/cm2)のオ−ダ−以上である。
【0077】
このように本発明は、サンプルを変性させて一本鎖にし、これを試料核酸として用いて遺伝子の有無を検出することを特徴とし、これは特にウイルスの感染を遺伝子の有無だけで診断することができるエイズや肝炎の診断に対して有用である。しかし、特定の塩基配列の欠損や重複、点突然変異等により引き起こされる遺伝病或いは癌などは、単に遺伝子の存在を確認するのみでは足りず、ある特定の遺伝子上におこった異常を解析しなければ診断することができない。このような疾患の場合には、遺伝子を適当な制限酵素で切断し、特定の遺伝子が示す切断による分子量パターン(Restriction  Fragment  Length  Polymorphisms,RFLP)を解析することで初めて診断可能となる。従って、RFLPにおいては、試料から核酸を抽出した後に、当該核酸を適当な制限酵素で切断し、分子量ごとに分画する必要がある。
【0078】
試料から抽出した核酸を切断する制限酵素は特に限定されず、通常RFLPに用いられるいずれのものを使用することも可能である。具体的には、例えば、AccI、AvaI、BamHI、HincII、HindIII、PstI、BalI、NsiI、HaeII、EcoRI、MspI等を用いることができる。
【0079】
制限酵素で切断された遺伝子断片を分子量分画する方法は、特に限定されるものではないが、例えばアガロース電気泳動、ポリアクリルアミド電気泳動、パルスフィール電気泳動、キャピラリー電気泳動、液体クロマトグラフィー(High  Performance  Liquid  Chromatographyを含む)などを用いることができる。
【0080】
上記に挙げた方法により分子量分画した各遺伝子断片は、適当な方法により分画担体から溶出させ、アルカリまたは加熱により一本鎖に変性させた後、電気化学的或いは光学的信号を検出可能な担体に分子量ごとに固定化する。従来は、電気泳動により分子量分画を行い、これをフィルターに移しとって放射性同位元素で標識されたプローブをハイブリダイズさせた後、X線フィルムに感光させてハイブリダイゼーションの有無及び程度を確認し、疾患に特異的な電気泳動パターンを解析していたために、操作が繁雑で、かつ測定に長時間を要していた。しかし、電気化学的或いは光学的信号を検出する本発明の方法を用いると、特定の遺伝子のRFLPを簡単に解析することが可能となる。
【0081】
当該遺伝子断片を固定化するために用いることができる担体としては、一本鎖の試料核酸を固定化する際に用いたいずれのものでも使用できる。しかし、RFLPを行う際には特に、形状がテープ状である担体を用いることが好ましい。テープ状の担体を用いる場合には、上記のように分子量分画された各遺伝子断片を分画担体から溶出させる際に、溶出下端において速やかに一本鎖に解離させ、これと同時に、当該テープ状担体を経時的に水平移動させて、溶出と同時に固定化し、テープ状担体の移動方向に分子量分画された遺伝子を固定化することができる。従って、テープ状担体を用いると、より簡単に特定遺伝子の制限酵素切断パターン(RFLP)を得ることができ、かつ分子量分画後の遺伝子検出を簡便に行うことができる。
【0082】
担体、特に電極もしくは光ファイバ−表面に固定化された試料核酸は、核酸の酸化還元電流もしくは光学的な信号、あるいは一本鎖の核酸に特異的に結合する電気化学的もしくは光学的に活性な物質の酸化還元電流もしくは光学的な信号を測定することにより定量することができる。すなわち、担体が電極である場合には、例えばポテンショスタット、ファンクションジェネレ−タ、レコ−ダ、および計算機からなる測定システムを用いて、核酸もしくは挿入剤に由来する酸化還元電流の計測を行ない、固定化核酸の定量を行なう。また、担体が光ファイバ−である場合には、核酸もしくは核酸に結合した挿入剤に由来する光学信号である吸光度、蛍光強度、発光、消光、円偏光二色性、蛍光偏光もしくはその他の光学的情報をそれぞれの信号に対応した測定装置を用いて測定することにより、固定化核酸の定量を行なう。核酸自体にはさほど顕著な活性がないため、従来行なわれている定量法は非常に繁雑なものであったが、この方法によれば担体表面に固定化された核酸を短時間で、簡便かつ高感度に定量することが可能となる。核酸由来の酸化還元電流としては、アデニン、チミン、グアニンもしくはシトシンに由来する酸化還元電流を利用することができる。
【0083】
本発明の遺伝子検出法においては、核酸プロ−ブを溶解した溶液に試料核酸固定化電極あるいは試料核酸固定化光ファイバ−を挿入し、37〜72℃の範囲でハイブリダイゼ−ション反応を行なう。ハイブリダイゼ−ション反応の最適温度は、用いるプロ−ブの塩基配列、長さ等により異なる。
【0084】
この場合のハイブリダイゼ−ション反応は固相での反応であるため、溶液中における反応よりも反応速度でやや劣る。しかしながら、試料核酸固定化電極を用いる場合には、ハイブリダイゼ−ション反応前および/または反応時に電極表面に電位を印加しておくことによりハイブリダイゼ−ション反応を促進することができ、この問題を解決することが可能である。印加する電圧はプラス電位のみであるか、あるいはプラス電位とマイナス電位とを交互に印加することが好ましく、連続的に、もしくはパルスのように断続的に印加する。また、印加する電位は、一定電位でも、サイクリックボルタンメトリ−のような可変電位でもよく、好ましくは 0〜± 2.0V、より好ましくは 0〜 1.0V(vs. SCE)のプラス電位である。
【0085】
ハイブリダイゼ−ションの際に、試料核酸に結合した核酸プロ−ブの他に、未反応の核酸が非特異的に電極表面に吸着することがある。これは、遺伝子検出のS/N比を劣化させる要因となる。核酸は、通常マイナスに荷電しているので、ハイブリダイゼ−ション終了後、電極にマイナスの電化を印加することにより非特異的に吸着している核酸を除去することができる。この際印加する電位は、 0〜 2.0V、好ましくは 0〜 1.5Vであることが好ましい。
【0086】
二本鎖認識体は、ハイブリダイゼ−ション反応前に検体試料中に添加することもできるし、反応後に添加することもできる。また、予め二本鎖認識体の溶液を調製しておき、ハイブリダイゼ−ション終了後、核酸プロ−ブ固定化電極または光ファイバ−をこの溶液に挿入してもよい。二本鎖認識体にはプラスに荷電している物質が多いので、担体が電極である場合には、プラスの電位を印加することにより担体への二本鎖認識体の非特異的な吸着を抑制することができる。
【0087】
電極反応は電極表面においてしか起こらないことから、ハイブリダイゼ−ションした場合にのみ、二本鎖核酸に結合した挿入剤の電極応答が得られる。試料核酸固定化電極を用いた場合には、ポテンショスタット、ファンクションジェネレ−タ、レコ−ダからなる測定システムを用いる。電位を挿入剤の酸化還元電位前後に設定し電位を走査する。このとき、酸化還元電流を測定し検出遺伝子の定量を行なう。この電気化学的測定は、被検溶液中または他の電解液中の何れで行なっても良い。また、親水性溶媒中または疎水性溶媒中で行なってもよい。
【0088】
試料核酸固定化光ファイバ−を用いた場合には吸光度、発光、蛍光、反射光、消光、円偏光二色性、蛍光偏光などの光学的情報を測定することで検出遺伝子の定量を行なう。
【0089】
上記検出方法においては、安全性および簡便性に優れ、かつ短時間で目的とする遺伝子の有無を高感度に検出することができる遺伝子検出法を提供することを目的として、挿入剤が発する電気化学的もしくは光学的な信号を検出することができる電極、光ファイバ−等の担体に試料核酸を固定化して用いている。この目的は、試料核酸固定化電極もしくは試料核酸固定化光ファイバ−の代わりに、試料核酸を粒子表面に固定化した試料核酸固定化粒子を用いることによっても達成される。すなわち、粒子表面において試料核酸と核酸プロ−ブとのハイブリダイゼ−ションにより二本鎖核酸を形成し、これに電気化学的もしくは光化学的に活性な二本鎖認識体を結合させて、検出器により二本鎖認識体を電気化学的もしくは光学的に検出すればよい。
【0090】
試料核酸を固定化する粒子は特に限定されるものではなく、例えば、ラテックスビ−ズ、ポリスチレンビ−ズ、ガラスビ−ズ、磁性体粒子等を挙げることができる。また、用いる粒子の直径は、 100A(オングストロ−ム)ないし 1mm程度の範囲にあることが好ましい。
【0091】
その他の条件は、上記試料核酸固定化電極もしくは光ファイバ−を用いる場合の条件をそのまま適用することができる。
【0092】
同様に、フィルタ−表面に試料核酸を固定化した試料核酸固定化フィルタ−を用いて遺伝子の検出を行なうこともできる。この際用いられるフィルタ−は、少なくとも 100℃の温度で変性しない材質のものであれば特に限定されるものではなく、例えば、ニトロセルロ−スフィルタ−やナイロンフィルタ−のようなDNAのサザンブロッティングに通常用いられるフィルタ−を使用することができる。このフィルタ−への試料核酸の固定化には、担体への試料核酸の固定化方法として上に説明した方法をそのまま適用することができる。
【0093】
試料核酸固定化フィルタ−を用いた遺伝子の検出は、次のようにして行なうことができる。
【0094】
まず、末梢静脈血、各種臓器細胞等の検体試料から従来法に準じて核酸を抽出し、必要であれば精製する。得られた試料核酸はフィルタ−に固定化し、この試料核酸固定化フィルタ−を含む複数のフィルタ−からなる多層構造のフィルタ−装置を作製する。次に、核酸プロ−ブを含有するハイブリダイゼ−ション反応液を調製し、この反応液をフィルタ−装置に添加し、核酸プロ−ブをフィルタ−装置内部に浸透させる。このハイブリダイゼ−ション反応液中には、予め二本鎖認識体、特に直接もしくは間接的な光学活性を有する二本鎖認識体を含有させておく。反応液が十分に浸透した後、37〜72℃で加熱して核酸プロ−ブとフィルタ−表面上に固定化された試料核酸とのハイブリダイゼ−ションを行なう。反応後、フィルタ−装置から核酸プロ−ブ固定化フィルタ−を取り外し、洗浄する。核酸試料中に目的とする遺伝子が存在する場合には、試料核酸固定化フィルタ−上に二本鎖が形成され、この二本鎖核酸に二本鎖認識体が結合している。この二本鎖認識体に起因する信号の変化を測定することにより目的遺伝子の定量を行なう。すなわち、二本鎖認識体が光学活性を有している場合には、発光、蛍光、反射光、蛍光偏光、消光、円偏光二色性等の光学的な信号の変化を測定すればよい。
【0095】
本発明の遺伝子検出法は、
その表面上に試料核酸を固定化するための、電極および光ファイバからなる群より選ばれる担体と、
担体を移動させるための移動手段と、
一本鎖に変性された試料核酸を含有する試料溶液を貯留し、担体表面上に試料核酸を固定化するための固定化槽と、
核酸プロ−ブを含有するプロ−ブ溶液を貯留し、担体表面に固定化された試料核酸と核酸プロ−ブとのハイブリダイゼ−ションにより担体上に二本鎖核酸を形成するための反応槽と、
プロ−ブ溶液の温度を制御する温度制御手段と、
核酸プロ−ブとのハイブリダイゼ−ションの後、担体を洗浄して未反応の核酸プロ−ブを除去するための洗浄手段と、
二本鎖認識体を含有する溶液を貯留し、二本鎖認識体と担体表面上に形成された二本鎖核酸とを反応させることにより二本鎖認識体を二本鎖核酸に結合させ、結合した二本鎖認識体が生ずる電気化学的もしくは光学的な信号を検出するための検出槽とを具備する遺伝子検出装置により、バッチ処理的に、もしくは全自動的に実施することが可能である。
【0096】
上記遺伝子検出装置においては、固定化槽には一本鎖に変性された試料核酸を含有する試料溶液が貯留される。この試料溶液としては、被検細胞を破砕した後の核酸粗抽出液をそのままか、あるいはこの核酸粗抽出液を精製した精製核酸抽出液を用いればよい。このような核酸粗抽出液もしくは精製核酸抽出液を調製することができる試料溶液調製装置を固定化槽に連結し、被検細胞からその場で調製した試料溶液を固定化槽に送ることもでき、その結果、被検細胞からの遺伝子の検出を全自動的に行なうことが可能となる。試料溶液調製装置は、例えばディスポ−ザブルなカ−トリッジタイプとし、測定終了後に新しいカ−トリッジに交換するようにしてもよい。着脱自在なカ−トリッジタイプを採用することにより、洗浄の手間をかけることなく、常に清浄な状態で試料溶液を調製することが可能となる。
【0097】
上記遺伝子検出装置は、さらに、担体表面上に形成された二本鎖核酸を担体表面から脱着して担体を再生するための脱着手段を具備することができる。このような脱着手段を有することにより、担体を繰り返し使用することが可能となり、検出装置を自動化する上で非常に望ましい。上記遺伝子検出装置において用いることができる脱着手段としては、クロロホルム等の比誘電率の低い物質、ヨウ化カリウム等のカオトロピック剤、または界面活性剤で処理する方法が挙げられる。この際、加熱することでより短時間に試料核酸を脱着することができる。また、DNase 、RNase のようなヌクレア−ゼを用いて担体から試料核酸を除去することもできる。
【0098】
また、上記遺伝子検出装置においては、複数の担体を用いることもできる。
【0099】
次に、本発明の遺伝子検出法を用いた自動遺伝子検出装置を図面を参照して説明する。
【0100】
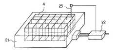
図1は、本発明による遺伝子検出法を利用した自動遺伝子検出装置の一具体例を模式的に示す図である。この装置は、固定化槽 2、反応槽 4、検出槽10および脱着処理槽 12 の4種類の槽を有している。固定化槽 2は廃液タンク11に接続され、移動レ−ル 3に沿って水平方向に移動可能となっていて移動レ−ル 3上の所定の位置において試料核酸精製装置 1と接続する。この固定化槽 2においては、担体 6への試料核酸の固定化が行なわれる。反応槽 4は温度コントロ−ラ 5に嵌合されている。担体 6は、移動装置13に固定されており、この移動装置13により各槽上方の所定の位置への水平移動および各槽の内部への上下移動が行なわれる。担体 6としては電極もしくは光ファイバが用いられており、これにより検出された電気信号は、電気信号検出制御装置 7を介して計算機 8に入力され、信号の解析が行なわれる。
【0101】
次に、この装置を用いた遺伝子検出方法について説明する。まず、検出しようとする核酸を含む被検細胞を試料核酸精製装置 1に入れ、一本鎖に変性された試料核酸を含有する試料溶液を調製する。調製した試料溶液を固定化槽 2に送り、その後、固定化槽 2を、移動レ−ル 3上を所定の位置まで移動させる。次に、担体 6を固定化槽 2の上方に水平移動させた後、固定化槽 2内に移動させる。担体 6を固定化槽 2内の試料溶液中に浸漬させて担体 6の表面上に試料核酸を吸着させた後、担体 6を固定化槽 2から引き上げ、反応槽 4の上方に水平移動させる。担体 6を引き上げた後の固定化槽 2は、再び試料核酸精製装置 1に接続する位置に移動させ、内部に貯留する試料溶液を廃液タンク11に排出させる。反応槽 4の上方に移動させた担体 6は、次に反応槽 4内に移動させる。反応槽 4には予め核酸プロ−ブが貯留されており、この反応槽 4において担体 6上に固定化された試料核酸と核酸プロ−ブとのハイブリダイゼ−ションを行なう。この際、温度コントロ−ラ 5によりプロ−ブ溶液を適温に制御して反応を促進させる。反応終了後、担体 6をプロ−ブ溶液から引き上げ、洗浄液タンク 9から送られる洗浄液によって洗浄して未反応の核酸プロ−ブを除去した後、検出槽10の上方に水平移動させる。検出槽10上に移動させた遺伝子センサ 5は、次いで検出槽 9内部に移動させる。検出槽10の内部には二本鎖認識体を含有する溶液が貯留されており、この二本鎖認識体が、溶液中に浸漬した担体 6の表面に形成された二本鎖核酸を認識して結合する。結合した二本鎖認識体が発する電気化学的信号は、担体 6により検出され、電気信号検出制御装置 7により制御された後計算機 8に入力されて解析される。測定後、担体 6を検出槽10から引き上げ、脱着処理槽12内部に移動させる。脱着処理槽12では、担体 6の表面上に形成された二本鎖の脱着が行なわれ、担体 6が再生される。
【0102】
前述の反応槽 4は必ずしも単一の槽に限られるものではなく、図2に示すように、複数の小槽 13 を組み合わせたものを用いることができる。このような反応槽と複数の担体 6を用いることにより、複数のサンプルを同時に測定することが可能となる。また、この際、それぞれ独立した、小槽 13 と同数の試料核酸精製装置 1を組み合わせて複数のサンプルを同時に調製することにより、より効率よく測定を行なうことができる。
【0103】
また、未反応の核酸サンプルおよび二本鎖認識体を除去することなく測定を行なうことも可能である。その際には、洗浄液タンク 9および検出槽10は必要なく、反応槽 4中で測定を行なうことが可能である。
【0104】
さらに、反応槽 4は、試料核酸固定化担体を備えたディスポ−ザブルな反応セルとすることもできる。この反応セルは、その内部底面もしくは側面に試料核酸固定化担体を備えている。ここで用いられる固定化担体としては、上述のいずれの固定化担体をも使用することができるが、検出装置本体との接続を考慮すると、試料核酸固定化電極であることが好ましい。固定化担体は、反応セルから分離可能であるように設置し、繰り返し用いるようにしてもよい。
【0105】
この反応セルを用いた遺伝子の検出は次の通りに行なう。まず、前述の方法に従い反応セル内の担体に試料核酸を固定化する。次に、核酸プロ−ブを含有する溶液を反応セル内に入れ、用いるプロ−ブに応じた温度でアニ−リングを行なって二本鎖を形成させた後、二本鎖認識体を添加し、それにより直接もしくは間接的に発生する信号を反応セルに設けられた担体を通して測定する。この場合には、反応セル自体が試料核酸固定化担体を備えているので、別に担体を使用する必要はない。
【0106】
この反応セルは、1回の測定を終える度に検出装置より取り外して廃棄する。したがって、サンプル同志のクロスコンタミネ−ション、キャリ−オ−バ−等のない信頼性の高い遺伝子の検出が可能となる。また、反応セルを洗浄する必要がないので、より簡便に短時間で測定を行なうことができる。
【0107】
反応槽 4の温度を制御する温度コントロ−ラ 5は、図3に示すように、恒温槽21、この恒温槽21の温度を制御するコントロ−ラ22および試料溶液の温度を測定する温度センサ23を具備している。図3において、恒温槽21内に設置された反応槽 4は、上記の複数の小槽13を組み合わせたものである。複数の小槽13のうちの1つには、プロ−ブ溶液と同じ組成を有する緩衝液が入れられ、その液中に温度センサ23が挿入される。この緩衝液の温度がプロ−ブ溶液の温度として測定される。温度センサ23はコントロ−ラ22に接続しており、反応槽 4内の緩衝液の温度を測定してその情報をコントロ−ラ22に送る。温度センサ23からの温度情報を受け取ったコントロ−ラ22は、その情報を演算処理し、プロ−ブ溶液が常に所定の温度を保つように恒温槽21の温度を制御する。この温度制御は、± 0.5℃の範囲で行なわれることが好ましい。
【0108】
次に、電気化学発光を利用する遺伝子検出装置の例を説明する。
【0109】
図4は、電気化学発光を利用する遺伝子検出装置を模式的に示す図である。この装置は、図1に示す検出装置における固定化槽、反応槽および検出槽の各機能を兼ね備えた反応セル 33 と、洗浄槽 43 とを有している。上述のように、電気化学発光を利用する場合には、未反応の核酸プロ−ブおよび未反応の挿入剤を除去することなく測定を行なうことができるので、独立した反応槽および検出槽を具備する必要はない。反応セル 33 の底面には試料核酸を固定化するための電極 34 が設けられている。また、反応セル 33 は、図1に示す検出装置の反応槽と同様に温度コントロ−ラ 35 に嵌合されている。さらに、反応セル 33 は移動レ−ル 36 により水平方向に移動可能であり、この移動レ−ル 36 上の所定の位置において試料核酸精製装置 31 および核酸プロ−ブ供給装置 32 に接続する。参照電極 37 は光ファイバ38の端部と共に、移動装置 44 に固定されている。この移動装置 44 により、参照電極 37 および光ファイバ 38 の各槽上方への水平移動および各槽内部への上下移動が行なわれる。参照電極 37 は、試料核酸固定化用電極 34 と共にファンクションジェネレ−タ/ポテンショスタット 39 に接続されている。これらの電極間に印加する電圧の制御は、計算機 40 により行なう。試料核酸固定化用電極 34 の表面で生じた電気化学発光は、光ファイバ− 38 を介してフォトマル 41 に送られて増幅され、フォトンカウンタ 42 で計測される。測定結果は計算機 40 に入力され、解析される。
【0110】
この装置を用いた遺伝子の検出は、次のように行なう。まず、上述の図1に示す装置の場合と同様に、検出しようとする核酸を含む被検細胞を試料核酸精製装置 31 に入れて一本鎖に変性された試料核酸を含有する試料溶液を調製し、これを反応セル 33 に移して固定化用電極 34 表面上に試料核酸を固定化する。試料核酸の固定化が終了した後、試料溶液は廃棄する。次に、反応セル 33 を、核酸プロ−ブ供給装置に接続する位置まで移動レ−ル 36 上を移動させ、核酸プロ−ブを含むプロ−ブ溶液をセル 33 内に導入する。その後、温度コントロ−ラ 35 によりプロ−ブ溶液を適温に制御して、試料核酸固定化電極 34 の表面に固定されている試料核酸とプロ−ブ溶液中の核酸プロ−ブとのハイブリダイゼ−ションを行なう。この際、プロ−ブ溶液中に、電気化学発光を生ずる挿入剤を添加する。挿入剤は、予めプロ−ブ溶液中に添加しておくこともできる。次いで、移動レ−ル 36 を用いて反応セル 33 を所定の位置まで移動させ、さらに、反応セル 33 の内部に参照電極 37 および光ファイバ− 38 を移動させてプロ−ブ溶液中に浸漬する。その後、参照電極 37 と反応セル 33 内に設けられた試料核酸固定化電極 34 との間に印加し、電気化学発光を行なう。電気化学発光により生じた光は光ファイバ− 38 を介してフォトマル 41 に導き、増幅した後フォトンカウンタ 42 において計測する。計測の結果は計算機 40 に入力し、解析する。測定後、参照電極 37 および光ファイバ− 38 を反応セル 33 から引き上げ、洗浄槽 43 に移動して洗浄する。試料核酸固定化電極 34 は、測定終了後、上記と同様の方法により表面に固定化されている試料核酸を脱着し、再生する。
【0111】
以上詳述したように、本発明による自動遺伝子検出装置を用いることにより、上記方法による遺伝子検出を自動的に行なうことができる。したがって、より簡便かつ短時間に遺伝子の検出を行なうことができる。
【0112】
以上試料核酸を担体に固定化した場合の遺伝子検出法について説明してきたが、本発明の方法において、更に、試料核酸を固定化するかわりに核酸プローブを固定化することも可能である。特にプローブを固定化する場合は、少なくとも2種類以上の核酸プローブを同時に固定化した担体を用いることで、一度に複数の遺伝子を検出可能となるため、更に応用範囲が広がる。以下にその応用例を説明する。
【0113】
まず第一に、少なくとも2種類以上の核酸プローブをそれぞれ固定化した複数の核酸プローブ固定化遺伝子検出用センサを用いることでより好適な核酸プローブを選択することができる。
【0114】
ここで核酸プローブ固定化遺伝子検出用センサは、電気化学的或いは光学的信号を検出可能な担体に核酸プローブを固定化したものをいい、例えば、核酸プローブ固定化電極、核酸プローブ固定化光ファイバー等が挙げられる。
【0115】
複数個の遺伝子検出用センサの各々にプローブ候補となる複数種の核酸プローブを固定化し、このセンサに固定化された核酸プローブと試料核酸とをハイブリダイゼーションさせた後、センサから得られる信号の大きさを比較して、試料核酸に対してより親和性の高い核酸プローブを選択することができる。
【0116】
また、温度が高いほど二本鎖の核酸が解離しやすいという性質を利用して、異なる温度でハイブリダイゼーションを行い、より高温で信号が多く得られるものを選択することによってより好適な核酸プローブを選択することができる。特に、ハイブリダイゼーションを行うための反応容器に温度制御装置等を用いて温度勾配をつけ、図8に示すように温度勾配方向に同配列の核酸プローブ、そしてこれと垂直方向に異配列の核酸プローブを配置したセンサを用いてハイブリダイゼーション反応を行うことにより、異なる温度での反応性を同時に測定でき、容易に核酸プローブを選択することが可能となる。
【0117】
また第二に、少なくとも2種類以上の核酸プローブが固定化されたマス目状の核酸プローブ固定化基板を用いることで簡便かつ短時間の遺伝子検出が可能になり、またこの基板を用いて遺伝子の塩基配列を決定することもできる。
【0118】
ここで核酸プローブ固定化基板は、信号検出可能な担体を行と列に分割してマス目をつけ、各マス目に異なる配列の核酸プローブを固定化することによって作成された基板である。当該基板の具体的な一例を図11に示す。信号検出可能な担体としては、電極、光ファイバー、水晶振動子、半導体素子等、それ自体が信号検出可能な担体の他に、ニトロセルロース膜、ナイロン膜等、或いはマイクロタイタープレートなども用いることが可能である。但し、これらを担体として用いる場合には、作成された基板の裏面に信号を検出することが可能な構造を接続する。この基板につけられたマス目は規則正しく一定間隔で区切られた単独構造であり、他からは汚染されることがなく、行と列の数は特に制限されない。また、プローブを固定化する個々の担体を複数組み合わせることで1つの素子を形成することもできる。
【0119】
この基板上に固定化されている核酸プローブと試料核酸とをハイブリダイゼーション反応させると、基板上の各マス目にはこの反応に関してポジティブなものとネガティブものが現れる。このように複数の遺伝子を同時に検査することができ、特にどのマス目がどの塩基配列に対応するかがあらかじめ分かっていれば、ポジティブに反応した塩基配列を計算機処理するだけで試料核酸の配列が決定できる。
【0120】
この遺伝子検査法又は核酸配列決定法を実施するためには、図1に示す本発明の遺伝子検出装置を応用することが可能である。具体的には、図1の装置において、試料核酸調製装置1 を直接反応槽4 に接続し、担体6 として核酸プローブ固定化基板を用い、脱着処理槽12を、核酸プローブ固定化基板から試料核酸を解離するための解離処理槽とすることで実施することができる。
【0121】
すなわち、この遺伝子検出法は、
信号検出可能な担体の表面上に核酸プローブを固定化した核酸プローブ固定化基板と、
核酸プローブ固定化基板を移動させるための移動手段と、
一本鎖に変性された試料核酸を含有する試料溶液を貯留し、試料核酸と核酸プローブ固定化基板の表面に固定化された核酸プローブとのハイブリダイゼーションにより核酸プローブ固定化基板上に二本鎖核酸を形成するための反応槽と、
試料溶液の温度を制御する温度制御手段と、
試料核酸とのハイブリダイゼーションの後、核酸プローブ固定化基板を洗浄して未反応の試料核酸を除去するための洗浄手段と、
二本鎖認識体を含有する溶液を貯留し、二本鎖認識体と核酸プローブ固定化基板表面上に形成された二本鎖核酸とを反応させることにより二本鎖認識体を二本鎖核酸に結合させ、結合した二本鎖認識体が生ずる電気化学的もしくは光学的な信号を検出するための検出槽を具備する自動遺伝子検査装置により実施可能である。
【0122】
また、図4において、試料核酸精製装置31、反応セル33、ファンクションジェネレータ/ポテンショスタット39及び計算機40以外のものを除去し、反応セル33の底面に設置された試料核酸固定化電極34を核酸プローブ固定化基板に変えた装置を用いることも可能である。
【0123】
更に核酸配列決定法は、上記自動遺伝子検査装置における計算機に、更に検査結果を数値解析する機能を持たせた自動遺伝子配列検査装置により実施可能である。
【0124】
【実施例】
実施例1:試料核酸固定化電極を用いた遺伝子の検出
a.試料核酸固定化電極の調製
遺伝子検出のモデルとして、検体試料にpUC 119のPstIサイトに発癌遺伝子v−myc断片を挿入したpVM 623を用い、また核酸プロ−ブにv−mycに相補的な合成オリゴヌクレオチド(20mer )を用いた。電極にはベ−サルプレインパイロリティックグラファイト(BPPG)を用い、次の手順により試料核酸の固定化を行なった。
【0125】
まず、pVM 623をHind IIIで消化することによりリニアにし、次いで98℃で熱変性して試料核酸溶液を作製した。次に、電極表面を研磨したBPPG電極を上記試料核酸溶液に挿入し、 0.1Vの電位を印加しながら核酸を吸着固定した。試料核酸の固定化は使用直前に行ない、作製した試料核酸固定化電極は使用するまで 4℃で保存した。
【0126】
b.試料核酸固定化電極を用いた遺伝子の検出
以下の手順により遺伝子の検出を行なった。
【0127】
まず、上で作製した試料核酸固定化電極を核酸プロ−ブを含有する溶液中に挿入し、42℃でインキュベ−トしてハイブリダイゼ−ション反応を行なった。この際、電極に断続的に 0.1V( vs.SCE)の電位を印加することにより反応の促進を図った。反応終了後、二本鎖核酸に特異的に結合し、かつ電極活性の高い挿入剤であるアクリジンオレンジを添加した。アクリジンオレンジが二本鎖核酸に結合した後、電極にマイナス電位を印加して非特異的に吸着している物質を電極表面から除去した。その後、挿入剤の酸化還元電流をBPPG電極を介して測定し、検体試料中に含まれるv−mycの定量を行なった。
【0128】
その結果、v−mycをpgオ−ダ−で検出することができた。また、全ての操作を 1時間以内に自動的に行なうことが可能であった。
【0129】
実施例2:試料核酸固定化光ファイバを用いた遺伝子の検出
a.試料核酸固定化電極の調製
遺伝子検出のモデルとして、検体試料にpUC 119のPstIサイトに発癌遺伝子v−myc断片を挿入したpVM 623を用い、また核酸プロ−ブにv−mycに相補的な合成オリゴヌクレオチド(20mer )を用いた。試料核酸の光ファイバへの固定化は次の手順により行なった。
【0130】
まず、pVM 623をHind IIIで消化することによりリニアにし、次いで98℃で熱変性して試料核酸溶液を作製した。次に、シラン剤(γ- APTES)およびグルタルアルデヒドで処理した光ファイバを上記試料核酸溶液に浸漬することにより核酸を吸着固定した。試料核酸の固定化は使用直前に行ない、作製した試料核酸固定化電極は使用するまで 4℃で保存した。
【0131】
b.試料核酸固定化光ファイバを用いた遺伝子の検出
以下の手順により遺伝子の検出を行なった。
【0132】
まず、上で作製した試料核酸固定化光ファイバを核酸プロ−ブを含有する溶液中に挿入し、42℃でインキュベ−トしてハイブリダイゼ−ション反応を行なった。この際、二本鎖核酸に特異的に結合し、かつ光学活性の高い挿入剤であるアクリジンオレンジを添加した。アクリジンオレンジが二本鎖核酸に結合した後、アクリジンオレンジが生じる蛍光を光ファイバを介して測定し、検体試料中に含まれるv−mycの定量を行なった。
【0133】
その結果、v−mycをpgオ−ダ−で検出することができた。また、全ての操作を 1時間以内に自動的に行なうことが可能であった。
【0134】
実施例3:試料核酸固定化電極を用いた遺伝子の検出
a.試料核酸固定化電極の調製
遺伝子検出のモデルとして、検体試料にpUC 119のPstIサイトに発癌遺伝子v−myc断片を挿入したpVM 623を用いた。また、核酸プロ−ブとしては、v−mycに相補的な配列を有する合成オリゴヌクレオチド(20mer )の 3'-末端にタ−ミナルデオキシヌクレオチジルトランスフェラ−ゼを用いて(6-アミノヘキシル)dATPを導入し、さらにこのアミノ基にグルタルアルデヒドを介してアミノアクリジンを結合したものを用いた。BPPG電極への試料核酸の固定化は次の手順により行なった。
【0135】
まず、pVM 623をHind IIIで消化することによりリニアにし、次いで98℃で熱変性して試料核酸溶液を作製した。次に、電極表面を研磨したBPPG電極を上記試料核酸溶液に挿入し、 0.1Vの電位を印加しながら核酸を吸着固定した。試料核酸の固定化は使用直前に行ない、作製した試料核酸固定化電極は使用するまで 4℃で保存した。
【0136】
b.試料核酸固定化電極を用いた遺伝子の検出
以下の手順により遺伝子の検出を行なった。
【0137】
まず、上で作製した試料核酸固定化電極を核酸プロ−ブを含有する溶液中に挿入し、42℃でインキュベ−トしてハイブリダイゼ−ション反応を行なった。この際、電極に断続的に 0.1V( vs.SCE)の電位を印加することにより反応の促進を図った。反応終了後、核酸プロ−ブに標識したアミノアクリジンに由来する酸化還元電流を測定した。
【0138】
その結果、v−mycをpgオ−ダ−で検出することができた。また、全ての操作を 1時間以内に自動的に行なうことが可能であった。
【0139】
実施例4:試料核酸固定化光ファイバを用いた遺伝子の検出
a.試料核酸固定化電極の調製
遺伝子検出のモデルとして、検体試料にpUC 119のPstIサイトに発癌遺伝子v−myc断片を挿入したpVM 623を用いた。また、核酸プロ−ブとしては、v−mycに相補的な配列を有する合成オリゴヌクレオチド(20mer )の 3'-末端にタ−ミナルデオキシヌクレオチジルトランスフェラ−ゼを用いて(6-アミノヘキシル)dATPを導入し、さらにこのアミノ基にグルタルアルデヒドを介してアミノアクリジンを結合したものを用いた。試料核酸の光ファイバへの固定化は次の手順により行なった。
【0140】
まず、pVM 623をHind IIIで消化することによりリニアにし、次いで98℃で熱変性して試料核酸溶液を作製した。次に、シラン剤(γ- APTES)およびグルタルアルデヒドで処理した光ファイバを上記試料核酸溶液に浸漬することにより核酸を吸着固定した。試料核酸の固定化は使用直前に行ない、作製した試料核酸固定化電極は使用するまで 4℃で保存した。
【0141】
b.試料核酸固定化光ファイバを用いた遺伝子の検出
以下の手順により遺伝子の検出を行なった。
【0142】
まず、上で作製した試料核酸固定化光ファイバを核酸プロ−ブを含有する溶液中に挿入し、42℃でインキュベ−トしてハイブリダイゼ−ション反応を行なった。反応終了後、核酸プロ−ブに標識したアミノアクリジンに由来する蛍光を光ファイバを介して測定し、検体試料中に含まれるv−mycの定量を行なった。
【0143】
その結果、v−mycをpgオ−ダ−で検出することができた。また、全ての操作を 1時間以内に自動的に行なうことが可能であった。
【0144】
実施例5:試料核酸固定化電極を用いたRFLP解析
RFLP解析のモデルとして、家族性アミロイドポリニューロパチー(Familial Amyloidtic Polyneuropathy;FAP)の遺伝子診断を行った。
【0145】
FAPはトランスサイレチン(TTR)遺伝子の30番目のバリンの遺伝子コードGTGがATGに変わり、アミノ酸がメチオニンに変化してしまうことが原因となる遺伝病である(図5参照)。この塩基置換により新たに制限酵素BalI及びNsiIの切断部位が形成されるため(図6参照)、TTR遺伝子がBalI又はNsiIにより切断されるかどうかでFAPの遺伝子診断が可能である。以下にその解析例を示す。a.試料核酸固定化電極の調製
FAP患者及び健常者からヘパリン採血した1mlの血液に等量の3%デキストラン、0.9%塩化ナトリウムを加え、白血球を分離し、TritonX−100溶液を用いて細胞膜を破壊した。これに高濃度NaI溶液及びDNA吸着ビーズを加えてゲノムDNAをビーズに吸着させた。遠心分離でビーズを回収して50%エタノールを含む洗浄液(0.8M  NaCl、40mM  Tris−HCl、4mM  EDTA(pH7.5))で洗浄した後、少量の水を加え50℃でビーズからDNAを溶出した。得られたゲノムDNAを定法に従い制限酵素BalIで切断した。切断処理後のDNAを0.7%アガロース電気泳動で分離し、ゲルの末端から溶出されるDNAを1分ごとに緩衝液中に採取した。採取したDNAを100℃で5分加熱し、一本鎖に解離させた後、100℃のままそれぞれにBPPG電極を浸漬し、試料DNAを吸着固定した。
【0146】
b.試料核酸固定化電極を用いたRFLP解析
プローブとして、TTR遺伝子のcDNAのHaeII断片(0.3Kb)を用いて以下の手順により解析を行った。
【0147】
プローブを2×SSC緩衝液(0.3M  塩化ナトリウム、0.03M  クエン酸ナトリウム)に溶解し、分子量分画した試料DNA固定化電極と40℃で1時間ハイブリダイゼーションを行った。反応終了後、二本鎖核酸に特異的に結合し、かつ電極活性の高い挿入剤であるドーノマイシンを最終濃度10μMとなるように加え、5分間インターカレーションを行った。インターカレーションの後、銀塩化銀電極を参照極、白金板を対極、1/15Mリン酸緩衝液(pH7.0)を電解質として、ドーノマイシンの電気化学的反応をリニアスイープボルタンメトリー(25℃、25mV/sec)を用いて測定した。本条件において、ドーノマイシンは、一本鎖のままなら490mV付近に、二本鎖を形成すると520mV付近に酸化電流のピークが得られる。酸化電流のピークが500mVを越えるものについて、FAP患者及び健常者の試料を解析すると、溶出時間35分前後、及び58分前後には共通にシグナルが得られるものの、FAP患者には更に特徴的に28分前後及び44分前後にシグナルが得られた。35分、58分に得られたシグナルはそれぞれ2.3Kb、5.2Kbに対応し、これは今回用いたプローブに対する正常なTTR遺伝子のBalI断片である。またFAP患者に特徴的に得られた28分、44分のシグナルはそれぞれ3.65Kb、1.55Kbに対応し、これは5.2Kb断片が一塩基置換されたためにBalIより新たに形成されたものである。本FAP患者の試料からは正常、異常の2つのシグナルが得られたことから、正常なTTR遺伝子と変異を起こしたTTR遺伝子を両方持っていることが分かる(FAPは常染色体優性遺伝による疾患であるので、一方の遺伝子異常があると発病する)。なお、採血から最終結果を得るまでにおおよそ4時間を要した。このことから従来法(2〜3日)に比べ、著しく時間を短縮することができたことがわかる。
【0148】
以上示したように、試料核酸を分子量ごとに固定化した電極を用いることでFAPの遺伝子診断が容易に行えるようになった。
【0149】
実施例6:試料核酸固定化テープ状電極を用いたRFLP解析
a.試料核酸固定化電極の調製
FAP患者及び健常者からヘパリン採血した1mlの血液に等量の3%デキストラン、0.9%塩化ナトリウムを加え、白血球を分離し、TritonX−100溶液を用いて細胞膜を破壊した。これに高濃度NaI溶液及びDNA吸着ビーズを加えてゲノムDNAをビーズに吸着させた。遠心分離でビーズを回収して50%エタノールを含む洗浄液(0.8M  NaCl、40mM  Tris−HCl、4mM  EDTA(pH7.5))で洗浄し、少量の水を加え50℃でビーズからDNAを溶出した。得られたゲノムDNAを定法に従い制限酵素BalIで切断した。切断処理後のDNAをキャピラリー電気泳動で分離し、カラムの末端から溶出されるDNAを含む緩衝液を、100℃に加熱して一本鎖に解離させながら、テープ状BPPG電極(5mm幅で断線されている)に吸着固定した。この際テープ状BPPG電極は、5mm/minの速さで水平方向に移動させた。電気泳動は30分行い、電極の長さは全体で15cmとなった。これによりゲル電気泳動後一本鎖にした遺伝子をトランスファーしたフィルターに相当するものが作成できたことになり、テープの移動距離は分子量に対応する。先端からの移動距離の短いものは低分子量、長いものは高分子量に対応する。
【0150】
b.試料核酸固定化電極を用いたRFLP解析
プローブとして、TTR遺伝子のcDNAのHaeII断片(0.3Kb)を用いて以下の手順により解析を行った。プローブを2×SSC緩衝液(0.3M塩化ナトリウム、0.03M  クエン酸ナトリウム)に溶解し、分子量分画した試料核酸固定化テープ状電極と40℃で1時間ハイブリダイゼーションを行った。反応終了後、二本鎖核酸に特異的に結合し、かつ電極活性の高い挿入剤であるドーノマイシンを最終濃度10μMとなるように加え、5分間インターカレーションを行った。インターカレーション後、銀塩化銀電極を参照極、白金板を対極、1/15Mリン酸緩衝液(pH7.0)を電解質として、ドーノマイシンの電気化学的反応をリニアスイープボルタンメトリー(25℃、25mV/sec)を用いて測定した。本条件においてドーノマイシンは、一本鎖のままなら490mV付近に、二本鎖を形成すると520mV付近に酸化電流のピークが得られる。酸化電流のピークが500mVを越えるものについて、FAP患者及び健常者の試料を解析すると、テープの移動距離8cm前後及び14cm前後は共通にシグナルが得られるものの、FAP患者には更に特徴的に6.5cm前後及び11cm前後にシグナルが得られた。8cm,14cmはそれぞれ2.3Kb、5.2Kbに対応し、これらは今回用いたプローブに対する正常なTTR遺伝子のBalI断片である。またFAP患者に特徴的に得られた6.5cm、11cmのシグナルはそれぞれ3.65Kb、1.55Kbに対応し、これらは5.2Kb断片が一塩基置換のためBalIにより新たに形成されたものである。本FAP患者の試料からは正常、異常の2つのシグナルが得られたことから、正常なTTR遺伝子と変異を起こしたTTR遺伝子を両方持っていることが分かる(FAPは常染色体優性遺伝による疾患であるので、一方の遺伝子に異常があると発病する)。なお、採血から最終結果を得るまでにおよそ4時間を要した。このことから従来法(2〜3日)に比べ、著しく時間を短縮することができたことがわかる。
【0151】
以上示したように、試料核酸を分子量ごとに固定化したテープ状電極を用いることでFAPの遺伝子診断が容易に行えるようになった。
【0152】
実施例7:ハイブリダイゼーション反応の経時的測定
a.核酸プローブ固定化電極の調製
ハイブリダイゼーション反応の経時的測定のモデルとして、検体試料にpVM623(pUC119にv−mycを組み込んだもの)を用い、また核酸プローブにv−mycの一部に相補的な合成オリゴヌクレオチドを用いた。電極にはBPPG(Basal  Plane  Pyroritic  Graphite)電極を用いて、次の手順により核酸プローブの固定化を行った。
【0153】
まず、DNAシンセサイザー(アプライド・バイオシステム社製)で配列表の配列番号3に示す5´TGCAGTTCCGGTGGCTGATC3´配列の核酸プローブを合成した。これをNAPカラム(ファルマシア社製)で精製した後、1mM  Tris−HCl(pH8.0)(1M  NaCl含む)中に10μg/mlになるように溶解し核酸プローブ溶液を作製した。この溶液にBPPG電極を浸漬して、100℃で30分間核酸プローブを吸着させた。リニア・スイープ・ボルタンメトリー(参照電極:Ag/AgCl、対極:Pt、電解質:1/15Mリン酸緩衝液(pH7.0))で1V付近で得られるグアニン残基由来の酸化電流により、核酸プローブが固定化されているか否かを確認をした。
【0154】
b.ハイブリダイゼーション反応の経時的測定
以下の手順により経時的にハイブリダイゼーション反応の進行状態を測定した。
【0155】
まず、制限酵素HindIIIで消化することによりリニアにした1μg/mlのpVM623と、プローブ固定化電極とを2×SSC緩衝液(0.3M  NaCl、30mMクエン酸三ナトリウム)中でハイブリダイズさせた。ハイブリダイゼーション開始後、15分、30分、1時間、2時間、4時間、18時間(オーバーナイト)後に、挿入剤であるアクリジンオレンジを作用させ、リニア・スイープ・ボルタンメトリーでアクリジンオレンジの酸化電流、及びその電位値を測定した。なお、対照として大腸菌HB101の染色体DNA(1μg/ml)を用いて同様の実験を行った。結果として得られた電流値の経時変化を図7に示す。
【0156】
図7から、本モデル実験においては、ハイブリダイゼーションは反応開始後15分でも十分検出可能であり、通常行われているオーバーナイトの反応は全く必要ないことが分かった。
【0157】
このように核酸プローブ固定化遺伝子検出用センサ(この場合は電極)を用いることでハイブリダイゼーション反応をモニタリングすることができ、反応時間を大幅に短縮することが可能となった。
【0158】
実施例8:核酸プローブ固定化電極を用いた核酸プローブの選択
成人T細胞白血病(ATL)はレトロウイルスであるHuman  T−Cell  Lymphotropic  Virus(HTLV)の感染により引き起こされる感染症である。従って、HTLV遺伝子の有無を検出することで遺伝子診断が可能となる。この遺伝子診断にふさわしいと思われる核酸プローブ候補を、HTLV−I遺伝子のデータベースから、分子内二次構造をとりにくく、比較的GC含量が多いということを指標として検索し、配列表の配列番号4〜13に示す10種類のプローブを選択した。
【0159】
a.核酸プローブ固定化電極の調製
前記10種類のプローブを1mMTris−HCl(pH8.5)1M  NaCl溶液に溶解し、各核酸プローブ溶液にBPG電極を浸漬して100℃で30分間吸着処理を行った。サイクリックボルタンメトリーで1V付近に得られるDNA中のグアニン残基由来の酸化電流を測定することで吸着固定の確認を行った。
【0160】
b.核酸プローブ固定化電極を用いた核酸プローブの選択
HTLVの感染が確認されている培養細胞から定法によりDNAを取り出し、これを制限酵素SalIで切断した。一方a.で核酸プローブを固定化した電極を反応容器内に設置し、反応容器の両端に温度制御機を取り付けて25〜75℃の範囲の温度勾配をつけた。なお、電極を反応容器に設置する際、温度勾配方向には互いに絶縁された同種プローブ固定化電極を20個、それと垂直方向には異種プローブを固定化した電極を連結した(図8参照)。この反応容器に制限酵素SalIで切断した試料核酸を添加し、2×SSC中で1時間、ハイブリダイゼーションを行った。
【0161】
ハイブリダイゼーション後、DNA挿入剤であるアクリジンオレンジを添加し、それぞれの電極について、微分パルスボルタンメトリーを行い、アクリジンオレンジの酸化電流及びピーク電位値を測定した。測定条件は、パルス幅200mV、パルス電解時間100msec、サンプリング時間2000msec、掃引速度25mV/secとした。
【0162】
測定の結果、他のプローブが60℃以上で急激に信号が得られなくなったのに対し、5´TACTGGCCACCTGTCCAGAGCATCAG3´の配列を有する配列表の配列番号6の核酸プローブは65℃でもアクリジンオレンジのピーク電位値は13mVにシフトし、安定にハイブリダイズしていることがわかった。
【0163】
以上のように本発明の方法を応用することにより最適な核酸プローブを選択することができる。
【0164】
実施例9:核酸プローブ固定化電極を用いた遺伝子の検出
癌遺伝子c−Ha−ras、c−Ki−ras、N−rasの12番目、61番目のアミノ酸コドンに点突然変異を持つ遺伝子を確認するために下記表1に示すような核酸プローブを合成し、5´末端にアミノ基を導入した。
【0165】
【表1】
a.核酸プローブ固定化電極の調製
核酸プローブ固定化用電極として、図9に示すような5×5cmの表面を電子線で活性化したグラファイトの基板の裏に薄い絶縁膜被覆した素子を用いた。この素子を縦6、横8の48分割し、他のマス目からの汚染がないように区切りを作成した。分割したマス目にそれぞれ異なった核酸プローブをシランカップリング剤とグルタルアルデヒドを用いて固定化した。それぞれのプローブを固定化した裏面の絶縁層にグラファイト基板から銀ペーストでリードを作成した。
【0166】
b.核酸プローブ固定化電極を用いた遺伝子の検出
人の血球から抽出した染色体遺伝子1μgを2×SSCに溶解した後、48分割したマス目に添加して95℃に加熱した。各マス目に人のβ−グロビン遺伝子に特異的な20merの標識核酸プローブを添加し、42℃でハイブリダイゼーションを行った。なお標識は、核酸プローブの末端にアミノ基を介してグルタルアルデヒドを用いてアクリジンオレンジを共有結合させることにより行った。ハイブリダイゼーション反応後、洗浄した後、電気化学的な検出を行った。その結果を図10に示す。ここで斜線の部分はポジティブに反応したマス目を示す。図10よりc−Ki−rasの12及び61番目に点突然変異があることが分かった。以上のように、微量の検体であっても1度の操作で非常に簡単に、複数の検査項目を調べることができることが示された。
【0167】
実施例10:核酸プローブ固定化基板を用いた試料核酸の塩基配列決定
a.核酸プローブ固定化基板の調製
核酸プローブ固定化担体として5×5cmのガラス基板を用い、この基板を縦15、横15の225分割して各マス目にそれぞれ配列がランダムな異なった7merの核酸プローブを固定化した。また核酸プローブを固定化したそれぞれのマス目の裏面は、光ファイバーを接続できる構造とした。
【0168】
b.核酸プローブ固定化基板を用いた試料核酸の塩基配列決定
試料核酸として、酵母のアラニンのt−RNAに対するcDNAを用い、これを225分割された各マス目に添加して95℃に加熱した。加熱後、各マス目にt−RNAに相補的な20merの標識核酸プローブを添加して42℃でハイブリダイゼーションを行った。なお、前記標識核酸プローブは、その末端にアクリジンオレンジを共有結合させることによって標識した。ハイブリダイゼーション反応の後、標識核酸プローブ洗浄後、各マス目の蛍光強度を測定した。結果を図11に示す。図11より、CCCGCAC、CGCACAC、CACCGCG、GCGCATC、TCAGCCA、CCATCCG、CGCGCGA、GAGGGAA、AAACGAA、AACCCTC、TCTCAGA、GAGGCCA、CAAGCTA、TAAGGCC、CCTGAGC、GCAGGTG、AGGTGGT、GCACCGC、CACACCA、CGGCGCA、GGCGCAT、CATCTCA、ACCATCCの各塩基配列を有する核酸プローブと反応することがわかった。
【0169】
これらの配列を計算機を用いて整理した結果、酵母のアラニンのt−RNAに対するcDNAの塩基配列は、配列表の配列番号59に示すように3´−CCCGCACACCGCGCATCAGCCATCGCGCGAGGGAAACGAACCCTCTCAGAGGCCAAGCTAAGGCCTGAGCAGGTGGT−5´であることが推察できた。このように、微量の検体であっても、1度の操作で非常に簡単に遺伝子塩基配列を決定できた。
【0170】
実施例11:  試料核酸固定化電極を用いたHLAタイピング
a.試料核酸固定化基板の調製
まず、人の末梢静脈血から染色体遺伝子を分離した。この遺伝子を3つに分けて、それぞれ別々の制限酵素EcoRI、PstI、MspIで切断し、カラムクロマトグラフィーで分子量別にフラクションa〜jとして分取した。
【0171】
一方、10×3cmのグラファイト基板の表面を電子線で活性化し、裏面には薄い絶縁膜を被覆して素子を形成した。この素子を縦10、横3に30分割し、他のマス目からの汚染がないように区切りを作成した。
【0172】
この分割した各マス目にフラクションa〜jの遺伝子を注入し、100mMの塩化ナトリウムを添加して100℃で吸着により固定化した。各遺伝子を固定化した後、基板の裏面にグラファイト基板から銀ペーストでリードを作成した。
【0173】
b.試料核酸固定化基板を用いた遺伝子の検出
HLA抗原遺伝子に相補的なプローブDQ  β2(AGGGATCCCCGCAGAGGATTTCGTGTACC)(配列表の配列番号60参照)の末端にアミノ基を介してグルタルアルデヒドを用いてアミノアクリジンを共有結合して標識した。基板の各マス目に標識したプローブを添加し、2×SSC中で42℃でハイブリダイゼーションを行った。ハイブリダイゼーション反応後、界面活性剤を含む緩衝液で洗浄した後、電気化学的な測定を行った。すなわち、目的とする遺伝子が存在するマス目ではアミノアクリジンが電気化学的に酸化されて電流が流れるので、この電流値を測定した。その結果、図12に示すような結果が得られた。これにより本遺伝子検出法を用いることで人の遺伝子のHLAタイピングが可能であることが示された。
【0174】
実施例12:  核酸プローブ固定化基板を用いた食品腐敗検査
a.核酸プローブ固定化基板の調製
5×5cmのガラスの基板表面にカーボンを蒸着、或いはスパッタすることでカーボン被膜を作成した。このカーボン被膜表面にプラズマを照射することでカーボン表面の活性化を行った。この基板を5×3分割し、基板の裏面には絶縁膜を被覆した。また他のマス目からの汚染がないように区切りを作成した。それぞれのマス目の裏面の絶縁層にグラファイト基板から銀ペーストでリードを作成した。この基板上のそれぞれのマス目に、サルモネラ菌、病原性大腸菌、及びブドウ球菌に対する核酸プローブを固定化した。固定化は、合成した核酸プローブの末端にアミノ基を導入し、グルタルアルデヒド、及びシランカップリング剤を架橋剤として用いて、このアミノ基を介して行った。
【0175】
b.核酸プローブ固定化基板を用いた食品腐敗検査
食品サンプル1〜5を加熱フェノール処理してサンプル中の蛋白質を変性、沈殿させ、核酸成分を抽出した。この精製試料各酸を熱変性して一本鎖にして各マス目に添加し、42℃で核酸プローブとハイブリダイゼーションさせた。なおこのハイブリダイゼーション反応の際、サルモネラ菌、病原性大腸菌、及びブドウ球菌に対する遺伝子検出用の標識した第2核酸プローブをそれぞれ添加した。これら第2プローブの標識は、プローブ末端にアミノ基を導入し、このアミノ基を介して化学発光物質であるルシゲニンをグルタルアルデヒドを用いて共有結合させることによって行った。
【0176】
前記ハイブリダイゼーション反応後、界面活性剤を含む緩衝溶液で洗浄した後、マス目中に1/15M燐酸緩衝溶液を添加して基板上に2.0V(vs.SCE)の電位をかけた。結果を図13に示す。ここで斜線部分は発光信号が得られたマス目を示している。発光信号の強度は食品中に存在する遺伝子の量と直線関係にあり、また遺伝子を定量することも可能であった。このように食品中に存在するバクテリアを検出、定量することで、食品の腐敗度を調べることができた。
【0177】
実施例13:  核酸プローブ固定化基板を用いた薬品汚染度検査
a.核酸プローブ固定化基板の調製
5×5cmのガラスの基板表面にカーボンを蒸着、或いはスパッタすることで、カーボン被膜を作成した。このカーボン被膜表面にプラズマを照射することでカーボン表面の活性化を行った。この基板を5分割し、基板の裏面には絶縁膜を被覆した。また他のマス目からの汚染がないように区切りを作成した。それぞれのマス目の裏面の絶縁層にグラファイト基板から銀ペーストでリードを作成した(図面)。この基板上のそれぞれのマス目に、サルモネラ菌、病原性大腸菌、ブドウ球菌、シウドモナス、及びバチラスに対する核酸プローブを固定化した。固定化は、合成した核酸プローブの末端にアミノ基を導入し、グルタルアルデヒド、及びシランカップリング剤を架橋剤として用いて、このアミノ基を介して行った。b.核酸プローブ固定化基板を用いた薬品汚染度検査
薬品サンプルを加熱フェノール処理してサンプル中の蛋白質を変性、沈殿させ、核酸成分を抽出した。この精製試料核酸を熱変性して一本鎖にし、各マス目に添加して42℃で核酸プローブとハイブリダイゼーションさせた。なおハイブリダイゼーション反応の際、サルモネラ菌、病原性大腸菌、ブドウ球菌、シウドモナス、及びバチラスに対する遺伝子検出用の標識した第2核酸プローブをそれぞれ添加した。これら第2プローブの標識は、プローブ末端にアミノ基を導入し、このアミノ基を介して化学発光物質であるアクリジニュウムエステルをグルタルアルデヒドを用いて共有結合させることにより行った。
【0178】
前記ハイブリダイーゼション反応後、界面活性剤を含む緩衝溶液で洗浄した後、マス目中に1/15M燐酸緩衝溶液を添加して基板上に2.0V(vs.SCE)の電位をかけた。この電気化学発光反応の結果、図14に示すような発光信号が得られた。この発光信号の強度は薬品中に存在する遺伝子の量と直線関係にあり、また遺伝子を定量することも可能であった。このように薬品中に存在するバクテリアを検出、定量することで薬品の汚染度を調べることができた。
【0179】
【発明の効果】
以上詳述したように、本発明によれば核酸プローブを用いた遺伝子検出を、放射性同位体を用いることなく簡便かつ短時間で行なうことができる。従って、本発明は遺伝子診断法や遺伝子工学の分野等、特定の遺伝子を検出する際の方法として極めて有用である。
【0180】
【図面の簡単な説明】
【図1】本発明による自動遺伝子検出装置の一具体例を模式的に示す図。
【図2】図1に示す自動遺伝子検出装置における反応槽および試料核酸精製装置の他の態様を示す斜視図。
【図3】図1に示す自動遺伝子検出装置に用いられる温度コントロ−ラの一具体例を示す斜視図。
【図4】電気化学発光を利用する自動遺伝子検出装置の具体例を模式的に示す図。
【図5】FAPの病因となる塩基置換及びこれによる制限酵素認識部位の形成を示す図。
【図6】TTR遺伝子のBalI切断部位を示す図。
【図7】核酸プローブ固定化電極を用いたハイブリダイゼーション反応の経時的変化の測定結果を示す図。
【図8】核酸プローブの選択に用いた温度勾配反応槽を示す図。
【図9】核酸プローブ固定化基板を示す図。
【図10】核酸プローブ固定化基板を用いた遺伝子検出の結果を示す図。
【図11】核酸プローブ固定化基板を用いた遺伝子検出の結果を示す図。
【図12】核酸プローブ固定化基板を用いたHLAタイピングの結果を示す図。
【図13】核酸プローブ固定化基板を用いた食品腐敗検査の結果を示す図。
【図14】核酸プローブ固定化基板を用いた薬品汚染度検査の結果を示す図。
【符号の説明】
 1、31…遺伝子サンプル精製装置、 2…固定化槽、 4…反応槽、
 5、35…温度コントロ−ラ、 6…担体、 7…電気信号検出制御装置、
 8、40…計算機、10…検出槽、12…解離処理層、13、44…移動装置、
21…恒温槽、22…コントロ−ラ、23…温度センサ、
32…核酸プロ−ブ供給装置、33…反応セル、34…固定化用電極、
37…参照電極、38…光ファイバ、
39…ファンクションジェネレ−タ/ポテンショスタット、
41…フォトマル、42…フォトンカウンタ、43…洗浄槽[0001]
[Industrial application fields]
The present invention relates to a gene detection method for specifically detecting a specific gene present in a sample.
[0002]
[Prior art]
Genetic information stored in a gene (DNA) is expressed as a protein or enzyme via a messenger RNA (mRNA). Biosynthesis and metabolism of various compounds necessary for the maintenance of life are performed by the action of these proteins and enzymes. In this way, organisms exist as dynamic equilibrium systems of various substances controlled by genes.
[0003]
It is said that the total number of human genes is 50,000 to 100,000. If any abnormalities or changes occur in these genes, such as deletions or duplications, the properties, types, and amounts of the protein produced will change, resulting in an unbalanced biological system and disease. It will be. Therefore, the disease can be identified and prevented by detecting a known gene causing the disease. Such a diagnosis based on the gene itself has been made possible by recent advances in genetic engineering, and is called gene diagnosis.
[0004]
Compared with conventional diagnostic methods, genetic diagnosis has several features as follows.
[0005]
Considering the mechanism of gene expression, it is presumed that changes on the gene have occurred prior to changes at most biochemical levels. Therefore, genetic diagnosis based on detection of genetic changes enables diagnosis and prediction prior to the change in the disease phenotype, that is, before the onset, in the latent period of the disease, or at an extremely early stage. This is the first feature. The second feature is that, since the genes are all the same in the cells in the living body, the genetic diagnosis method for hereditary diseases does not depend on the organ or tissue to be analyzed. This is especially important for diagnosis in the fetus. That is, this feature makes it possible to make a diagnosis simply by collecting amniotic fluid from a pregnant woman and examining fetal cells floating in the amniotic fluid.
[0006]
In general gene diagnosis methods, conventionally used gene detection methods are briefly described as follows.
[0007]
First, a gene is extracted from a sample and, if necessary, cleaved with an appropriate restriction enzyme, followed by electrophoresis and Southern blotting. Next, a nucleic acid probe (usually labeled with a radioisotope) having a base sequence complementary to the gene of interest is hybridized with the blotted gene. Subsequently, the hybridized nucleic acid probe is detected by exposing it to an X-ray film at a low temperature to confirm the presence of the target gene.
[0008]
[Problems to be solved by the invention]
The above conventional detection method uses a radioisotope, so that the diagnostic site is limited, and the handling of the reagent must be taken care of. In order to improve this point, the development of a safe labeling agent to replace the radioisotope has been developed. For example, several methods such as a method using an avidin-biotin bond and a method using an enzyme or a fluorescent substance are used. Have already been proposed. However, these have not yet surpassed radioisotopes in terms of sensitivity. In addition, each method requires at least 2 to 3 days until gene detection, and the measurement operation is quite complicated and complicated.
[0009]
On the other hand, radioimmunoassay (hereinafter abbreviated as RIA) is generally used for quantitative analysis of a specific antigen or antibody present in a sample. However, since RIA uses a radioisotope in the same manner as the above-described genetic diagnosis method, a dedicated instrument must be installed and the operation must be performed by an operator who has the qualification for handling radioisotopes. In addition to this, it is necessary to pay attention to waste disposal. As another analysis method, for example, immunoelectrophoresis is known, but this method requires a long time for measurement, has low sensitivity, and is applied when a very small amount of the test substance is contained. Can not do it.
[0010]
The present invention has been made in view of the above circumstances, and an object of the present invention is to provide a gene detection method that is excellent in safety and convenience and can detect the presence or absence of a target gene with high sensitivity in a short time. And
[0011]
[Means for Solving the Problems]
  According to the inventionNucleic acid strandThe detection method is the purpose to be detectedNucleic acid strandA single-stranded nucleic acid probe having a complementary base sequence to the sample nucleic acid and a sample nucleic acid denatured to be single-stranded, and then formed by hybridization between the nucleic acid probe and the sample nucleic acid. By detecting the presence or absence of double-stranded nucleic acidNucleic acid strandConfirm the existence ofNucleic acid strandIn the detection method,
  Immobilizing the sample nucleic acid on the electrode surface or the tip of an optical fiber; and
  Adding a double-stranded recognizer that specifically binds to a double-stranded nucleic acid and is electrochemically or photochemically active to the reaction system between the nucleic acid probe and the sample nucleic acid;
  The double-stranded recognizer immobilized on the electrode or the optical fiber is detected by electrochemical or photochemical measurement via the electrode or the optical fiber.
  In this nucleic acid chain detection method, the sample nucleic acid is preferably immobilized on the electrode surface or the optical fiber tip by covalent bond or ionic bond.
[0012]
  thisNucleic acid strandIn the detection method, detection of a double-stranded recognizer immobilized on an electrode or optical fiber means that a double-stranded nucleic acid is formed on the surface of the electrode or optical fiber. Sample nucleic acid immobilized on optical fiberNucleic acid strandIt is shown that.
[0013]
  The present invention also provides an object to be detected.Nucleic acid strandA single-stranded nucleic acid probe having a complementary base sequence to the sample nucleic acid and a sample nucleic acid denatured to be single-stranded, and then formed by hybridization between the nucleic acid probe and the sample nucleic acid. By detecting the presence or absence of double-stranded nucleic acidNucleic acid strandConfirm the existence ofNucleic acid strandIn the detection method,
  Immobilizing the sample nucleic acid on the electrode surface or optical fiber tip; and
  The nucleic acid probe is a probe previously labeled with a labeling substance;
  A nucleic acid probe immobilized on the electrode or optical fiber is detected by electrochemical or photochemical measurement via the electrode or the optical fiber.Nucleic acid strandA detection method is also provided.
In this nucleic acid chain detection method, the sample nucleic acid is preferably immobilized on the electrode surface or the optical fiber tip by covalent bond or ionic bond.
Furthermore, according to another aspect of the present invention,
Two strands formed by hybridization of a single-stranded nucleic acid probe having a base sequence complementary to the target nucleic acid strand to be detected and a sample nucleic acid denatured into a single strand capable of reacting with the nucleic acid probe In the electrode or optical fiber on which the sample nucleic acid is immobilized for detecting a strand nucleic acid, the sample nucleic acid is immobilized on the surface of the electrode or the tip of the optical fiber and formed on the electrode surface or the tip of the optical fiber. The presence or absence of a double-stranded nucleic acid composed of the sample nucleic acid and the nucleic acid probe is determined electrochemically or electrochemically or photochemically as a double-stranded recognizer and / or a labeling substance that binds to the double-stranded nucleic acid. Provided is an electrode or optical fiber on which a sample nucleic acid is immobilized for detecting a photochemical signal by measuring the signal through the electrode or optical fiber It is.
[0014]
  Hereinafter, the present inventionNucleic acid strandThe detection method will be described in more detail.
[0015]
In the present invention, the “double-stranded recognizer” refers to a substance that recognizes and specifically binds to a double-stranded nucleic acid. Therefore, when a double-stranded nucleic acid is formed on the carrier by the reaction between the sample nucleic acid immobilized on the carrier and the nucleic acid probe, the double-stranded nucleic acid is bound by binding to the formed double-stranded nucleic acid. The recognition body is immobilized on the carrier. Examples of such substances include intercalating agents and biopolymers that recognize double-stranded nucleic acids.
[0016]
A substance called an intercalating agent has a characteristic of specifically binding to a double-stranded nucleic acid such as a double-stranded DNA. Each of these intercalating agents has a planar insertion group such as a phenyl group in the molecule, and this insertion group intervenes between the base pair of the double-stranded nucleic acid to bind to the double-stranded nucleic acid. . Many of the intercalating agents are optically active substances, and some are used for qualitative nucleic acids. Some intercalating agents also respond to electrodes. Therefore, the intercalating agent bound to the double-stranded nucleic acid can be detected by measuring an optical change or an electrochemical change.
[0017]
The electrochemically and photochemically active intercalating agent used in the present invention is not particularly limited, and examples thereof include ethidium, ethidium bromide, acridine, aminoacridine, acridine orange, proflavine, elibuticin, actinomycin D, donomycin, Mitomycin C, Hoechst 33342, Hoechst 33258, Aclarubicin, DAPI, Adriamycin, Epirubicin, Pirarubicin, Aclacinomycin, Tris (phenanthroline) zinc complex, Tris (phenanthroline) ruthenium complex, Tris (phenanthroline) cobalt complex, Di (phenanthroline) Zinc complex, di (phenanthroline) ruthenium complex, di (phenanthroline) cobalt complex, bipyridine platinum complex, terpyridine platinum complex, Use of enanthroline platinum complex, tris (bipyridyl) zinc complex, tris (bipyridyl) ruthenium complex, tris (bipyridyl) cobalt complex, di (bipyridyl) zinc complex, di (bipyridyl) ruthenium complex, di (bipyridyl) cobalt complex Can do. Other usable intercalating agents include those described in JP-A-62-282599.
[0018]
In addition, when an electrochemical change is detected using an electrode, as an intercalating agent, in addition to a substance that is reversible with respect to the redox reaction, the intercalating agent itself is an electrically reversible redox reaction. It is possible to use a metal complex containing a substance that causes oxidization as a central metal, that is, a metallointercalator. Examples of such metallointercalators include tris (phenanthroline) zinc complex, tris (phenanthroline) ruthenium complex, tris (phenanthroline) cobalt complex, di (phenanthroline) zinc complex, di (phenanthroline) ruthenium complex, di ( Phenanthroline) cobalt complex, bipyridine platinum complex, terpyridine platinum complex, phenanthroline platinum complex, tris (bipyridyl) zinc complex, tris (bipyridyl) ruthenium complex, tris (bipyridyl) cobalt complex, di (bipyridyl) zinc complex, di (bipyridyl) ) Ruthenium complex and di (bipyridyl) cobalt complex. The intercalating agent is not limited to these, but it is desirable that the redox potential of the central metal of the complex or the intercalating agent itself is not higher than the redox potential of the nucleic acid or does not overlap with the redox potential of the nucleic acid.
[0019]
By using such an intercalating agent that causes an electrochemically reversible redox reaction, the redox current can be measured repeatedly. Therefore, it is possible to amplify the signal by repeating the potential scanning several times to several hundred times and integrating the obtained signal values, and as a result, detection with higher sensitivity is possible.
[0020]
Furthermore, when a gene is detected using an electrode, an intercalating agent that generates electrochemiluminescence can also be used. Such an intercalating agent is not particularly limited, and examples thereof include luminol, lucigenin, pyrene, diphenylanthracene, rubrene and acridinium derivatives. Electrochemiluminescence by these intercalating agents is obtained by using an enhancer such as luciferin derivatives such as firefly luciferin and dihydroluciferin, phenols such as phenylphenol and chlorophenol, or naphthols. It is possible to enhance.
[0021]
The optical signal generated by the electrochemiluminescence may be detected directly from the solution using, for example, a photon counter. Moreover, it can also detect indirectly using the optical fiber electrode produced by forming a transparent electrode in the front-end | tip of an optical fiber instead of an electrode.
[0022]
Since the electrode reaction or optical signal change occurs only on the surface of the support, detection can be performed very easily without removing the unreacted probe or unreacted intercalating agent.
[0023]
In the present invention, the reaction between the nucleic acid probe and the single-stranded sample nucleic acid is generally performed in a solution. At that time, the reaction between the nucleic acid probe and the sample nucleic acid may be performed in the presence of the above-mentioned intercalating agent, and the intercalating agent may be added after the reaction is completed.
[0024]
As mentioned above, many intercalating agents are substances that have optical activity by themselves or are capable of electrode response, and can be measured directly by optical or electrochemical measurements. It is possible to increase the sensitivity of detection by binding a substance capable of detecting a signal directly or indirectly to such an intercalating agent and measuring it together with the signal of the intercalating agent itself.
[0025]
Examples of such a substance capable of detecting a signal directly or indirectly include haptens such as biotin, trinitrobenzene sulfonic acid and dinitrobenzene sulfonic acid, fluorescein isothiocyanate (FITC), phycocyanin, low Examples thereof include fluorescent materials such as damine, luminescent materials such as luminol, lucigenin and acridium ester derivatives, and electrode active materials such as ferrocene and viologen. When using a substance that cannot directly detect a signal, such as the above hapten, absorption, fluorescence, luminescence, quenching, circular polarization of the substance by enzyme reaction using an enzyme-linked anti-hapten antibody such as enzyme-linked avidin The gene is indirectly detected by measuring optical information such as dichroism and fluorescence polarization, or measuring electrode activity.
[0026]
These substances are usually bonded to one molecule per molecule of the intercalating agent, but the sensitivity can be further increased by binding a plurality of molecules of the same kind per molecule of the intercalating agent.
[0027]
Apart from this, there are substances in the biopolymer that specifically recognize and bind to double-stranded nucleic acids. Therefore, a labeling substance such as an enzyme, a fluorescent substance, or a luminescent substance is bound to such a biopolymer or a substance that recognizes this biopolymer, and an electrochemical or optical change caused by this labeling substance is caused. Double-stranded nucleic acid can be detected by measuring and confirming the presence or absence of biopolymer.
[0028]
Examples of such biopolymers include DNA-binding proteins such as anti-DNA antibodies, cloproteins, cI repressors, E. coli CRP (cAMP receptor protein), lactosoperon repressor, and RNase with inactivated catalytic activity. An enzyme such as H can be mentioned, but is not limited thereto. The biopolymer may be derived from a living body or obtained by synthesis.
[0029]
The enzyme as a labeling agent to be bound to the biopolymer is not particularly limited, and examples thereof include alkaline phosphatase, peroxidase, β-galactosidase, and glucose oxidase.
[0030]
When an electrochemical change is detected using the biopolymer, for example, NADH in the NAD + / NADH cycle and quinone in the catechol / quinone cycle can be used. That is, NADH or quinone produced by an enzyme bound to a biopolymer may be oxidized or reduced at the electrode itself, and its electrical change measured. In addition, the substance which concerns on such an electrochemical oxidation-reduction reaction is not limited to these.
[0031]
When optical changes are detected using the above biopolymer, an enzyme is bound to the biopolymer and an enzyme reaction is performed using a chemiluminescent substrate, or a fluorescent substance is bound to the biopolymer. Detect fluorescence directly. The chemiluminescent substrate that can be used in the present invention is not particularly limited, and examples of the chemiluminescent substrate that can be used include luminol, isoluminol, isoluminol derivatives, and acridinium derivatives. When a chemiluminescent substrate is used, chemiluminescence can be enhanced using an enhancer. The enhancer is not particularly limited, and examples thereof include luciferin derivatives such as firefly luciferin and dehydroluciferin, phenols such as phenylphenol and chlorophenol, and naphthols. Can do. Furthermore, the fluorescent substance that can be used in the present invention is not particularly limited, and examples of usable fluorescent substances include fluorescein, rhodamine, and phycocyanin.
[0032]
The addition amount of the double-stranded recognizer is not particularly limited, but is preferably an amount sufficient to bind to all the formed double strands from the viewpoint of efficiency. The double-stranded recognizer that is added in excess and remains unreacted is washed away before measurement.
[0033]
When the amount of double-stranded recognizer added is low and the concentration is low, the amount of unreacted double-stranded recognizer remaining in the system when it binds to the double-stranded nucleic acid on which the double-stranded recognizer is formed Is extremely small. That is, the double-stranded recognizer is relatively concentrated on the carrier. In such a state, gene detection is performed without washing and removing the sample nucleic acid, the unreacted nucleic acid probe, and the free double-stranded recognizer that is not bound to the formed double strand. Thus, all reactions from hybridization to detection of the target gene can be performed continuously in the same system.
[0034]
As described above, the present invention is characterized by detecting the presence or absence of a gene by measuring a change in an electrochemical or optical signal of a double-stranded recognizer, and further, these signals in a hybridization reaction. It is also possible to determine the progress of the reaction by measuring the change over time using a monitor or the like. Conventionally, when performing a hybridization reaction, since the time at which the reaction is likely to occur is set empirically, it takes a longer time than necessary, or conversely, the reaction is not sufficient There was a possibility that the reaction was terminated. However, since monitoring the direct or indirect signal by the double-stranded recognizer during the hybridization reaction over time in this way, it is possible to determine at which point the sufficient hybridization reaction occurs, As a result, the hybridization reaction can be performed reliably, and the time required for gene detection can be shortened.
[0035]
In the present invention, various genes can be detected by changing the nucleic acid probe used. Examples of nucleic acid probes that can be used include microorganisms contained in food, plant viruses or viroids, pathogenic microorganisms or viruses that infect fish, pathogenic microorganisms that infect humans and cause infections, etc. Examples include a probe having a sequence complementary to the entire nucleotide sequence of a virus, a genetic disease causative gene, an activated proto-oncogene, or a minisatellite base sequence.
[0036]
When a probe having a sequence complementary to the whole or a part of the base sequence of the microorganism contained in the food is used as the nucleic acid probe, the microorganism contained in the food should be directly detected. And food hygiene inspection becomes possible. Examples of microorganisms contained in such foods include pathogenic E. coli, staphylococci, and Salmonella.
[0037]
When a probe having a sequence complementary to a part of the base sequence of a plant virus or viroid is used as the nucleic acid probe, the plant virus or viroid infected with the plant can be detected, and agriculture Infectious disease diagnosis in the field becomes possible. Examples of such plant viruses or viroids include tobacco mosaic virus and cauliflower mosaic virus.
[0038]
When a probe having a sequence complementary to the whole or a part of the base sequence of a pathogenic microorganism or virus that infects fish as a nucleic acid probe is used, the pathogenic microorganism or virus that infects fish Detection can be performed, and infectious disease diagnosis in the fisheries field becomes possible. Examples of pathogenic microorganisms that infect such fish include pathogenic Vibrio.
[0039]
When a probe having a sequence complementary to the whole or a part of the base sequence of a pathogenic microorganism or virus that infects the human body and causes infection etc. as a nucleic acid probe is diagnosed as an infectious disease. It becomes possible. Examples of such pathogenic microorganisms that infect human bodies and cause infections include Streptococcus, Mycoplasma, Clostridium, Chlamydia, Salmonella, herpes simplex, and cytomegalovirus, which are pathogenic microorganisms.
[0040]
When a probe having a sequence complementary to the entire base sequence of a causative gene of a genetic disease or a part thereof is used as a nucleic acid probe, a direct test for a genetic disease is possible. Examples of genes causing such genetic diseases include genes causing adenosine deaminase deficiency and sickle cell anemia.
[0041]
When a probe having a sequence complementary to the whole or a part of the base sequence of the activated proto-oncogene is used as the nucleic acid probe, cancer diagnosis becomes possible. Examples of such activated proto-oncogene include oncogenes described in the oncogene data book (Masashi Shibuya, Shujunsha).
[0042]
DNA that is useful for genetic research, individual identification, paternity testing, etc., when a probe having a sequence complementary to the whole or part of the minisatellite base sequence is used as the nucleic acid probe The finger print method can be performed. Examples of such minisatellite base sequences include Myo sequence, Alu sequence, Per-6 sequence, and Per sequence.
[0043]
The length of the nucleic acid probe used in the present invention is not particularly limited, and single stranded nucleic acids of several mer to several hundred mer can be used. However, the detection accuracy is increased by increasing the S / N ratio. In order to increase the length, a length of about several tens to several tens of mer is preferable. This is due to the following reason.
[0044]
As described above, the double-stranded recognizer is a substance that recognizes and specifically binds to a double-stranded nucleic acid. However, double-stranded recognizers rarely bind to single-stranded nucleic acids. That is, it may bind to an unreacted nucleic acid probe. When such coupling occurs, the S / N ratio decreases, and the detection accuracy deteriorates. Therefore, it is preferable to limit the length of the nucleic acid probe to the minimum necessary length for detecting the target gene sequence.
[0045]
As described above, the detection sensitivity is increased by binding a substance capable of detecting a signal directly or indirectly to the double-stranded recognizer, but the nucleic acid probe is labeled instead of the double-stranded recognizer. By doing so, the sensitivity of gene detection can be increased. In this case, the labeling agent labeled on the nucleic acid probe reacts directly or indirectly with the double-stranded recognizer, or either of the double-stranded recognizer and the labeling agent can be detected by the interaction thereof. Any material can be used as long as it generates a signal. In other words, when the nucleic acid probe is in a single-stranded state, no signal is generated, the nucleic acid probe reacts with the target gene to form a double strand, and this double strand A substance that generates a signal only after the double-stranded recognizer is bound is used as a labeling agent. The gene is detected by measuring a signal generated by the reaction between the labeling agent and the double-stranded recognizer. The labeling agent of such a nucleic acid probe varies depending on the double-stranded recognizer to be used. For example, a fluorescent substance such as rhodamine or FITC, a luminescent substance such as luminol or an acridinium ester derivative , Enzymes and enzyme substrates. The double-stranded recognizer is not particularly limited, and any of the above substances can be used.
[0046]
By the way, when the substance labeled on the nucleic acid probe generates a signal by itself without interaction with the double-stranded recognizer, gene detection can be performed without using the double-stranded recognizer. Can be performed. That is, a labeling agent in which a nucleic acid probe immobilized on a carrier by hybridization with a sample nucleic acid immobilized on the carrier is labeled on the nucleic acid probe itself without passing through a double strand recognizer. Can be detected. Examples of such a substance capable of detecting a signal directly or indirectly include haptens such as biotin, trinitrobenzene sulfonic acid and dinitrobenzene sulfonic acid, fluorescein isothiocyanate (FITC), phycocyanin, low Fluorescent materials such as damine, luminescent materials such as luminol and acridium ester derivatives, electrochemiluminescent materials such as lucigenin, electrode active materials such as ferrocene and viologen, alkaline phosphatase, peroxidase, gluco- Enzymes such as soxidase can be mentioned. When using a substance that cannot directly detect a signal, such as the above hapten, absorption, fluorescence, luminescence, quenching, circular polarization of the substance by enzyme reaction using an enzyme-linked anti-hapten antibody such as enzyme-linked avidin The gene is indirectly detected by measuring optical information such as dichroism and fluorescence polarization, or measuring electrode activity.
[0047]
These substances are usually bonded to one molecule per molecule of the probe, but the sensitivity can be further increased by bonding a plurality of molecules of the same kind per molecule of the probe.
[0048]
In the gene detection method of the present invention, a sample nucleic acid denatured into a single strand is immobilized on a carrier that can detect a physical change such as an electrochemical change or a photochemical change as a signal. As such a carrier, an electrode or an optical fiber is preferably used. In addition, as a carrier capable of detecting a signal, a photodiode, a thermistor, an ISFET, a MOSFET, a piezoelectric element, a surface acoustic wave element. And a crystal oscillator.
[0049]
The electrode used in the present invention is not particularly limited. Examples of usable electrodes include carbon electrodes such as graphite, glassy carbon, pyrolytic graphite, carbon paste, and carbon fiber. , Noble metal electrodes such as platinum, platinum black, gold, palladium, rhodium, oxide electrodes such as titanium oxide, tin oxide, manganese oxide, lead oxide, Si, Ge, ZnO, CdS, TiO2And semiconductor electrodes such as GaAs, titanium and the like. These electrodes may be coated with a conductive polymer, whereby a stable sample nucleic acid-immobilized electrode can be prepared. It can also be covered with a monomolecular film.
[0050]
As the specimen sample, for example, blood such as peripheral venous blood, white blood cells, serum, urine, feces, semen, saliva, cultured cells, tissue cells such as various organ cells, and other samples containing nucleic acids are used.
[0051]
Extraction of nucleic acid from a specimen sample is performed according to a conventional method, but extraction and purification can also be performed by the following procedure using the double-stranded recognizer.
[0052]
First, the double-stranded recognizer is immobilized on an appropriate carrier, and this carrier is mixed with a specimen sample. Next, the cells in the sample are destroyed to release the nucleic acid, and the nucleic acid and the double-stranded recognizer are bound. Thereafter, the carrier is separated from the specimen sample, and the nucleic acid bound to the double-stranded recognizer is separated from the carrier.
[0053]
The carrier used here is not particularly limited. For example, a carrier made of a polymer such as latex, polyethylene, polystyrene, or polypropylene, a carbon-based material such as activated carbon, metal particles, ceramic, magnetite, samarium-cobalt, or ferrite. And the like. The form of the carrier is not particularly limited, but is preferably a particle having a particle size of 0.1 to 1000 μm, particularly 1 to 100 μm.
[0054]
The cells in the specimen sample may be destroyed by a conventional method, for example, by applying a physical action such as shaking or ultrasonic waves from outside to vibrate the carrier. In addition, nucleic acid can be released from cells using a nucleic acid extraction solution. Examples of the nucleic acid elution solution include a solution containing a surfactant such as SDS, Triton-X, Tween-20, saponin, EDTA, protease and the like. When nucleic acids are eluted using these solutions, the reaction can be promoted by incubation at a temperature of 37 ° C. or higher.
[0055]
After the double-stranded recognizer immobilized on the carrier and the nucleic acid are bound, the carrier is separated from the specimen sample by an appropriate means. The separated carrier is first washed with a washing solution (low salt concentration) to remove unnecessary components, and then nucleic acid is eluted from the carrier into the solution with a nucleic acid elution solution (high salt concentration). When an intercalating agent is used as the double-stranded recognizer, a nonpolar organic solvent is used as the nucleic acid eluate.
[0056]
When magnetic particles are used as the carrier, it is possible to conveniently and rapidly perform the vibration and separation operation of the carrier by an external magnetic action.
[0057]
When the content of the target gene is very small, detection can be performed after the gene is amplified by a known method. A typical method for amplifying a gene is a method using an enzyme such as a polymerase chain reaction (PCR). Here, examples of the enzyme used in the gene amplification method include DNA dependent DNA polymerases such as DNA polymerase and Taq polymerase, and DNA dependent RNA polymerases such as RNA polymerase I. And RNA-dependent RNA polymerases such as Qβ replicase. Among these, the PCR method using Taq polymerase is a very useful method because amplification can be continuously repeated only by adjusting the temperature.
[0058]
The sample (crude nucleic acid solution or purified nucleic acid solution) thus obtained is thermally denatured at a temperature of 90 to 98 ° C., preferably 95 ° C. or higher, to prepare a single-stranded sample nucleic acid. Preparation of a single-stranded nucleic acid sample can also be performed by alkali denaturation. Next, this single-stranded sample nucleic acid is immobilized on a carrier such as an electrode surface or an optical fiber by covalent bond, ionic bond, adsorption or the like.
[0059]
Examples of the covalent immobilization include, for example, a method of activating the carrier surface and then immobilizing the sample nucleic acid directly or indirectly via a cross-linking agent, and an active functional group on the sample nucleic acid to be immobilized on the carrier. Examples thereof include a method of introducing and immobilizing directly or indirectly on a carrier. Here, the activation of the surface of the carrier can be performed by, for example, electrolytic oxidation in an oxidizing agent, air oxidation, reagent oxidation or coating with a film. Examples of the crosslinking agent that can be used include, but are not limited to, cyanogen bromide, silane couplers such as γ-aminopropyltriethoxysilane, carbodiimide, and thionyl chloride. Furthermore, examples of the functional group introduced into the sample nucleic acid include amino group, carboxyl group, hydroxyl group, carbonyl group, phosphate group, aldehyde group, and mercapto group, but are not limited thereto. Other functional groups having high reactivity can also be used.
[0060]
When the surface is oxidized to activate the carrier surface, an oxidized layer is formed on the carrier surface. The sample nucleic acid and the carrier bind to each other through this oxidized layer, but the S / N ratio in gene detection can be improved by reducing the thickness of the oxidized layer. The thickness of the oxide layer is preferably 500 A (angstrom) or less, more preferably 100 A or less.
[0061]
Introduction of a functional group at the end of the sample nucleic acid can be performed using an enzymatic reaction or a DNA synthesizer. Examples of the enzyme used in the enzyme reaction include terminal deoxynucleotidyl transferase, poly A polymerase, polynucleotide kinase, DNA polymerase, polynucleotide adenylyl transferase, RNA A ligase can be mentioned. Moreover, a functional group can also be introduce | transduced by a polymerase chain reaction (PCR method), a nick translation, and a random primer method.
[0062]
The functional group may be introduced at any part of the sample nucleic acid, and can be introduced at the 3 ′ end, 5 ′ end or at a random position.
[0063]
In particular, when the carrier on which the sample nucleic acid is to be immobilized is an electrode, the sample nucleic acid can be efficiently immobilized by adsorption with a simpler operation. The sample nucleic acid can be adsorbed on the electrode surface as follows, for example. First, the electrode surface is cleaned with distilled water and alcohol using an ultrasonic cleaner. Thereafter, the electrode is inserted into a phosphate buffer (pH 7.0) containing the sample nucleic acid, and the sample nucleic acid is adsorbed on the surface of the carrier. In particular, the carbon electrode may be adsorbed at a high temperature and a high salt concentration. At this time, adsorption of the sample nucleic acid can be promoted by applying a potential to the electrode in the range of 0 to +1.0 V, preferably 0 to +0.1 V. Next, the electrode on which the sample nucleic acid is adsorbed is inserted into a nucleotide (ATP, CTP, GTP, TTP, dATP, dCTP, dGTP, dTTP, etc.) solution, and a potential is preferably applied in the range of 0 to + 1.0V. However, the electrode surface is coated with nucleotides. Thereby, nonspecific adsorption | suction to the electrode surfaces, such as various nucleic acids and a double strand recognition body, is suppressed. Nonspecific adsorption can also be suppressed by coating the electrode surface with a surfactant, fatty acid, fat or the like. Here, examples of the substance having an inhibitory effect include amines such as stearylamine and aminononadecane, and ammonium salts such as distearyldimethylammonium chloride.
[0064]
When the sample nucleic acid is immobilized on the carrier by adsorption, the sample nucleic acid can be promoted to be adsorbed by dissolving the sample nucleic acid in a solution having a high ionic strength, for example, an ionic strength of 0.1 or more.
[0065]
Adsorption can also be promoted by adding chaotropic substances such as guanidinium salts, sodium iodide, potassium iodide, sodium (iso) thiocyanate, urea and the like.
[0066]
The sample nucleic acid can also be immobilized on a carrier using a packaging agent used in a packaging method known as one method of enzyme immobilization. The packaging agent that can be used in the present invention is not particularly limited, and examples thereof include polyvinyl chloride and polyacrylamide.
[0067]
Furthermore, the sample nucleic acid can also be immobilized on the electrode surface and other carrier surfaces via a membrane. Examples of the film used in this case include, for example, conductive polymers such as polyacetylene, polypyrrole, polythiophene, and polyaniline, polyethylene, polypropylene, polyvinyl chloride, polyvinyl alcohol, polymethyl methacrylate, polyvinylidene fluoride, Examples include cellulose and lipid membranes. A monomolecular film such as an LB film or a film in which a plurality of monomolecular films are stacked to form a multilayer can also be used.
[0068]
The sample nucleic acid can be immobilized on the membrane in the same manner as the immobilization on the carrier surface.
[0069]
When the sample nucleic acid is immobilized on the membrane by covalent bonding, a functional group may be introduced into the membrane instead of introducing a functional group into the sample nucleic acid. As the functional group introduced into the membrane, the same functional groups as those introduced into the sample nucleic acid can be used. In this way, by introducing a functional group into the membrane and then reacting and immobilizing the sample nucleic acid, the sample nucleic acid can be immobilized at a higher density than when the functional group is introduced into the sample nucleic acid and immobilized. And a more stable sample nucleic acid immobilization carrier can be obtained.
[0070]
When the carrier for immobilizing the sample nucleic acid through the membrane is an electrode, the hybridization between the nucleic acid probe and the specimen sample is performed as described above, and the change in membrane potential before and after the hybridization is measured. The presence or absence of the target gene can be detected.
[0071]
By providing the sample nucleic acid-immobilized carrier with a function as an oscillator or a rotator, the flow of fluid in the vicinity of the carrier surface can be relatively increased. Thereby, promotion of hybridization reaction, suppression of non-specific reaction, etc. are achieved, and the efficiency of gene detection can be increased. The function as the vibrator can be given to the carrier by using, for example, physical vibration, ultrasonic waves, electrical or magnetic action.
[0072]
The carrier on which the sample nucleic acid is immobilized is likely to cause non-specific adsorption of various nucleic acids, double-stranded recognizers and the like as they are. This is a factor that causes a decrease in sensitivity. Such non-specific adsorption can be suppressed by fixing the sample nucleic acid and then coating the surface of the carrier with the nucleic acid by adsorption or chemical bonding.
[0073]
In this case, the nucleic acid covering the carrier surface includes, for example, nucleosides such as adenosine, thymidine, guanosine, and cytidine, nucleotides such as uridylic acid, cytidylic acid, adenylic acid, and guanylic acid, synthetic oligonucleotides, and salmon sperm DNA. Such natural DNA can be mentioned.
[0074]
The length and sequence of the nucleic acid that covers the surface of the carrier is not particularly limited as long as it does not react with the sample nucleic acid immobilized on the surface of the carrier. Single-stranded or double-stranded nucleic acid is desirable. Furthermore, as described above, non-specific adsorption can be suppressed by coating with a substance such as a surfactant, fatty acid, lipid, or nonpolar substance. Examples of such substances include amines such as stearylamine and aminononadecane, and ammonium salts such as distearylamine dimethylammonium chloride.
[0075]
In the gene detection method of the present invention, the immobilization of a sample nucleic acid on a carrier is not limited to the above method, and a method generally used for immobilizing a biopolymer such as a protein on a solid phase. Can be widely used.
[0076]
The amount of the sample nucleic acid immobilized on the carrier is not particularly limited, but the higher the density of the immobilized sample nucleic acid, the higher the sensitivity of detection and the better the S / N ratio. The density of the sample nucleic acid to be immobilized is usually attomole per square centimeter (amol / cm2) Or more, preferably nanomoles per square centimeter (nmol / cm)2) Or more.
[0077]
As described above, the present invention is characterized in that a sample is denatured into a single strand, and this is used as a sample nucleic acid to detect the presence or absence of a gene, which is particularly useful for diagnosing viral infection only by the presence or absence of a gene. It is useful for diagnosis of AIDS and hepatitis. However, for genetic diseases or cancers caused by specific base sequence deletions or duplications, point mutations, etc., it is not sufficient to simply confirm the presence of a gene, and abnormalities occurring on a specific gene must be analyzed. It cannot be diagnosed. Such a disease can be diagnosed for the first time by cleaving the gene with an appropriate restriction enzyme and analyzing the molecular weight pattern (Restriction Fragment Length Polymorphisms, RFLP) by the cleavage indicated by the specific gene. Therefore, in RFLP, after nucleic acid is extracted from a sample, it is necessary to cleave the nucleic acid with an appropriate restriction enzyme and fractionate it by molecular weight.
[0078]
The restriction enzyme that cleaves the nucleic acid extracted from the sample is not particularly limited, and any of those usually used for RFLP can be used. Specifically, for example, AccI, AvaI, BamHI, HincII, HindIII, PstI, BalI, NsiI, HaeII, EcoRI, MspI and the like can be used.
[0079]
The method for molecular weight fractionation of a gene fragment cleaved with a restriction enzyme is not particularly limited. For example, agarose electrophoresis, polyacrylamide electrophoresis, pulse feel electrophoresis, capillary electrophoresis, liquid chromatography (High Performance) Liquid Chromatography) and the like can be used.
[0080]
Each gene fragment obtained by molecular weight fractionation by the above-mentioned method can be eluted from the fractionation carrier by an appropriate method, denatured into a single strand by alkali or heating, and then an electrochemical or optical signal can be detected. The molecular weight is immobilized on a carrier. Conventionally, molecular weight fractionation is performed by electrophoresis, transferred to a filter, hybridized with a probe labeled with a radioisotope, and then exposed to an X-ray film to confirm the presence and extent of hybridization. Since the electrophoresis pattern specific to the disease was analyzed, the operation was complicated and the measurement took a long time. However, if the method of the present invention for detecting an electrochemical or optical signal is used, it is possible to easily analyze the RFLP of a specific gene.
[0081]
As a carrier that can be used for immobilizing the gene fragment, any carrier used for immobilizing a single-stranded sample nucleic acid can be used. However, when performing RFLP, it is particularly preferable to use a carrier having a tape shape. When a tape-like carrier is used, when each gene fragment fractionated as described above is eluted from the fraction carrier, it is quickly dissociated into single strands at the bottom of the elution, and at the same time, the tape The carrier having a molecular weight fraction can be immobilized by moving the carrier horizontally with time and immobilizing it at the same time as elution. Therefore, when a tape-shaped carrier is used, a restriction enzyme cleavage pattern (RFLP) of a specific gene can be obtained more easily, and gene detection after molecular weight fractionation can be easily performed.
[0082]
Sample nucleic acid immobilized on a carrier, in particular an electrode or optical fiber surface, is an electrochemically or optically active that specifically binds to the redox current or optical signal of the nucleic acid or to a single-stranded nucleic acid. It can be quantified by measuring the redox current or optical signal of the substance. That is, when the carrier is an electrode, for example, a measurement system comprising a potentiostat, a function generator, a recorder, and a computer is used to measure the redox current derived from the nucleic acid or the intercalating agent and fix it. Quantify activated nucleic acid. When the carrier is an optical fiber, the optical signal derived from the nucleic acid or the intercalating agent bonded to the nucleic acid is absorbance, fluorescence intensity, light emission, quenching, circular dichroism, fluorescence polarization or other optical signals. The immobilized nucleic acid is quantified by measuring information using a measuring device corresponding to each signal. Since the nucleic acid itself is not so markedly active, the conventional quantitative method has been very complicated. According to this method, the nucleic acid immobilized on the surface of the carrier can be easily and simply used in a short time. It becomes possible to quantify with high sensitivity. As the redox current derived from nucleic acid, a redox current derived from adenine, thymine, guanine or cytosine can be used.
[0083]
In the gene detection method of the present invention, a sample nucleic acid-immobilized electrode or a sample nucleic acid-immobilized optical fiber is inserted into a solution in which a nucleic acid probe is dissolved, and a hybridization reaction is performed in the range of 37 to 72 ° C. The optimum temperature for the hybridization reaction varies depending on the base sequence, length, etc. of the probe used.
[0084]
Since the hybridization reaction in this case is a reaction in a solid phase, the reaction rate is slightly inferior to that in a solution. However, when a sample nucleic acid-immobilized electrode is used, the hybridization reaction can be promoted by applying a potential to the electrode surface before and / or during the hybridization reaction, thus solving this problem. It is possible. It is preferable that the voltage to be applied is only a positive potential, or the positive potential and the negative potential are alternately applied, and the voltage is applied continuously or intermittently like a pulse. The applied potential may be a constant potential or a variable potential such as cyclic voltammetry, preferably a positive potential of 0 to ± 2.0 V, more preferably 0 to 1.0 V (vs. SCE). .
[0085]
During hybridization, unreacted nucleic acid may be adsorbed nonspecifically on the electrode surface in addition to the nucleic acid probe bound to the sample nucleic acid. This is a factor that degrades the S / N ratio of gene detection. Since nucleic acids are usually negatively charged, non-specifically adsorbed nucleic acids can be removed by applying a negative charge to the electrodes after completion of hybridization. In this case, the applied potential is 0 to 2.0 V, preferably 0 to 1.5 V.
[0086]
The double-stranded recognizer can be added to the specimen sample before the hybridization reaction, or can be added after the reaction. Alternatively, a solution of a double-stranded recognizer may be prepared in advance, and after hybridization, a nucleic acid probe-immobilized electrode or an optical fiber may be inserted into this solution. There are many positively charged substances in the double-stranded recognizer, so when the carrier is an electrode, non-specific adsorption of the double-stranded recognizer to the carrier can be achieved by applying a positive potential. Can be suppressed.
[0087]
Since the electrode reaction occurs only on the electrode surface, the electrode response of the intercalating agent bound to the double-stranded nucleic acid can be obtained only when hybridization is performed. When a sample nucleic acid-immobilized electrode is used, a measurement system comprising a potentiostat, a function generator, and a recorder is used. The potential is set around the redox potential of the intercalating agent and the potential is scanned. At this time, the redox current is measured to quantify the detected gene. This electrochemical measurement may be performed either in the test solution or in another electrolytic solution. Moreover, you may carry out in a hydrophilic solvent or a hydrophobic solvent.
[0088]
When the sample nucleic acid-immobilized optical fiber is used, the detected gene is quantified by measuring optical information such as absorbance, luminescence, fluorescence, reflected light, quenching, circular dichroism, and fluorescence polarization.
[0089]
In the above detection method, the electrochemical generated by the intercalating agent is provided for the purpose of providing a gene detection method that is excellent in safety and convenience and can detect the presence or absence of the target gene with high sensitivity in a short time. A sample nucleic acid is immobilized on a carrier such as an electrode or an optical fiber that can detect a target or optical signal. This object can also be achieved by using sample nucleic acid-immobilized particles in which the sample nucleic acid is immobilized on the particle surface instead of the sample nucleic acid-immobilized electrode or the sample nucleic acid-immobilized optical fiber. That is, a double-stranded nucleic acid is formed by hybridization of a sample nucleic acid and a nucleic acid probe on the surface of the particle, and an electrochemically or photochemically active double-stranded recognizer is bound thereto, and a detector is used. What is necessary is just to detect a double strand recognition body electrochemically or optically.
[0090]
The particles for immobilizing the sample nucleic acid are not particularly limited, and examples thereof include latex beads, polystyrene beads, glass beads, and magnetic particles. The diameter of the particles used is preferably in the range of 100 A (angstrom) to about 1 mm.
[0091]
As other conditions, the conditions for using the sample nucleic acid-immobilized electrode or the optical fiber can be applied as they are.
[0092]
Similarly, genes can be detected using a sample nucleic acid-immobilized filter in which sample nucleic acid is immobilized on the filter surface. The filter used at this time is not particularly limited as long as it is made of a material that does not denature at a temperature of at least 100 ° C. For example, it is usually used for Southern blotting of DNA such as a nitrocellulose filter or a nylon filter. The filter used can be used. For the immobilization of the sample nucleic acid on the filter, the method described above can be applied as it is as the immobilization method of the sample nucleic acid on the carrier.
[0093]
Detection of a gene using a sample nucleic acid immobilization filter can be performed as follows.
[0094]
First, nucleic acids are extracted from specimen samples such as peripheral venous blood and various organ cells according to conventional methods, and purified if necessary. The obtained sample nucleic acid is immobilized on a filter, and a multi-layer filter device comprising a plurality of filters including the sample nucleic acid-immobilized filter is produced. Next, a hybridization reaction solution containing a nucleic acid probe is prepared, this reaction solution is added to the filter device, and the nucleic acid probe is permeated into the filter device. In this hybridization reaction solution, a double strand recognition body, in particular, a double strand recognition body having direct or indirect optical activity is previously contained. After the reaction solution sufficiently permeates, it is heated at 37 to 72 ° C. to hybridize the nucleic acid probe and the sample nucleic acid immobilized on the filter surface. After the reaction, the nucleic acid probe-immobilized filter is removed from the filter device and washed. When the target gene is present in the nucleic acid sample, a double strand is formed on the sample nucleic acid immobilization filter, and a double strand recognizer is bound to the double strand nucleic acid. The target gene is quantified by measuring the change in signal caused by this double-stranded recognizer. That is, when the double-stranded recognizer has optical activity, it is only necessary to measure changes in optical signals such as light emission, fluorescence, reflected light, fluorescence polarization, quenching, and circular dichroism.
[0095]
The gene detection method of the present invention comprises:
A carrier selected from the group consisting of an electrode and an optical fiber for immobilizing a sample nucleic acid on its surface;
Moving means for moving the carrier;
An immobilization tank for storing a sample solution containing the sample nucleic acid denatured into a single strand and immobilizing the sample nucleic acid on the surface of the carrier;
A reaction tank for storing a probe solution containing a nucleic acid probe, and forming a double-stranded nucleic acid on the carrier by hybridization of the sample nucleic acid immobilized on the carrier surface and the nucleic acid probe; ,
Temperature control means for controlling the temperature of the probe solution;
Washing means for washing the carrier after hybridization with the nucleic acid probe to remove unreacted nucleic acid probe;
A solution containing the double-stranded recognizer is stored, and the double-stranded recognizer is bound to the double-stranded nucleic acid by reacting the double-stranded recognizer with the double-stranded nucleic acid formed on the surface of the carrier. It can be carried out batch-wise or fully automatically by a gene detection device having a detection tank for detecting an electrochemical or optical signal generated by a bound double-stranded recognizer. .
[0096]
In the gene detection apparatus, a sample solution containing a sample nucleic acid denatured into a single strand is stored in an immobilization tank. As this sample solution, the nucleic acid crude extract obtained after disrupting the test cells may be used as it is, or a purified nucleic acid extract obtained by purifying the crude nucleic acid extract may be used. A sample solution preparation device capable of preparing such a crude nucleic acid extract or purified nucleic acid extract can be connected to an immobilization tank, and a sample solution prepared in situ from a test cell can be sent to the immobilization tank. As a result, it becomes possible to automatically detect a gene from a test cell. The sample solution preparation device may be, for example, a disposable cartridge type, and may be replaced with a new cartridge after the measurement is completed. By adopting a detachable cartridge type, it is possible to prepare a sample solution in a clean state without much time and effort for cleaning.
[0097]
The gene detection apparatus can further comprise a desorption means for desorbing the double-stranded nucleic acid formed on the carrier surface from the carrier surface to regenerate the carrier. By having such a desorption means, it is possible to repeatedly use the carrier, which is very desirable in automating the detection apparatus. Examples of the desorption means that can be used in the gene detection apparatus include a method of treating with a substance having a low relative dielectric constant such as chloroform, a chaotropic agent such as potassium iodide, or a surfactant. At this time, the sample nucleic acid can be desorbed in a shorter time by heating. The sample nucleic acid can also be removed from the carrier using a nuclease such as DNase or RNase.
[0098]
In the gene detection apparatus, a plurality of carriers can be used.
[0099]
Next, an automatic gene detection apparatus using the gene detection method of the present invention will be described with reference to the drawings.
[0100]
FIG. 1 is a diagram schematically showing a specific example of an automatic gene detection apparatus using the gene detection method according to the present invention. This apparatus has four types of tanks: an
[0101]
Next, a gene detection method using this apparatus will be described. First, a test cell containing a nucleic acid to be detected is placed in the sample nucleic
[0102]
The
[0103]
It is also possible to perform the measurement without removing the unreacted nucleic acid sample and the double-stranded recognizer. In this case, the cleaning
[0104]
Furthermore, the
[0105]
Detection of genes using this reaction cell is performed as follows. First, the sample nucleic acid is immobilized on the carrier in the reaction cell according to the method described above. Next, a solution containing the nucleic acid probe is placed in the reaction cell, annealed at a temperature corresponding to the probe used to form a double strand, and then a double strand recognizer is added. , Thereby measuring the signal generated directly or indirectly through the support provided in the reaction cell. In this case, since the reaction cell itself includes a sample nucleic acid immobilization carrier, it is not necessary to use a separate carrier.
[0106]
The reaction cell is removed from the detection device and discarded every time one measurement is completed. Therefore, it is possible to detect a highly reliable gene without cross contamination and carry over between samples. Moreover, since it is not necessary to wash the reaction cell, the measurement can be performed more easily and in a short time.
[0107]
As shown in FIG. 3, the
[0108]
Next, an example of a gene detection apparatus using electrochemiluminescence will be described.
[0109]
FIG. 4 is a diagram schematically showing a gene detection apparatus using electrochemiluminescence. This apparatus has a
[0110]
Gene detection using this apparatus is performed as follows. First, as in the case of the apparatus shown in FIG. 1 described above, a sample solution containing the nucleic acid to be detected is placed in the sample nucleic
[0111]
As described above in detail, gene detection by the above method can be performed automatically by using the automatic gene detection apparatus according to the present invention. Therefore, gene detection can be performed more simply and in a short time.
[0112]
The gene detection method when the sample nucleic acid is immobilized on the carrier has been described above. However, in the method of the present invention, a nucleic acid probe can be immobilized instead of immobilizing the sample nucleic acid. In particular, in the case of immobilizing a probe, by using a carrier on which at least two kinds of nucleic acid probes are simultaneously immobilized, a plurality of genes can be detected at a time, and thus the application range is further expanded. The application example will be described below.
[0113]
First of all, a more suitable nucleic acid probe can be selected by using a plurality of nucleic acid probe-immobilized gene detection sensors in which at least two kinds of nucleic acid probes are respectively immobilized.
[0114]
Here, the nucleic acid probe-immobilized gene detection sensor refers to a nucleic acid probe immobilized on a carrier capable of detecting an electrochemical or optical signal. For example, a nucleic acid probe-immobilized electrode, a nucleic acid probe-immobilized optical fiber, etc. Can be mentioned.
[0115]
After a plurality of nucleic acid probes as probe candidates are immobilized on each of a plurality of gene detection sensors, the nucleic acid probe immobilized on the sensor and a sample nucleic acid are hybridized, and then the magnitude of the signal obtained from the sensor In comparison, a nucleic acid probe having a higher affinity for the sample nucleic acid can be selected.
[0116]
In addition, by utilizing the property that double-stranded nucleic acids are more likely to dissociate at higher temperatures, a more suitable nucleic acid probe can be obtained by performing hybridization at different temperatures and selecting those that can obtain more signals at higher temperatures. You can choose. In particular, a temperature gradient is applied to a reaction vessel for hybridization using a temperature control device or the like, and as shown in FIG. 8, nucleic acid probes having the same sequence in the temperature gradient direction and nucleic acid probes having a different sequence in the direction perpendicular thereto. By performing a hybridization reaction using a sensor in which the nucleic acid probes are arranged, the reactivity at different temperatures can be measured simultaneously, and a nucleic acid probe can be easily selected.
[0117]
Second, it is possible to detect a gene easily and in a short time by using a cell-shaped nucleic acid probe-immobilized substrate on which at least two types of nucleic acid probes are immobilized. The base sequence can also be determined.
[0118]
Here, the nucleic acid probe-immobilized substrate is a substrate prepared by dividing a signal-detectable carrier into rows and columns and imposing squares, and immobilizing nucleic acid probes having different sequences in the respective cells. A specific example of the substrate is shown in FIG. As a carrier capable of detecting a signal, in addition to a carrier capable of detecting a signal itself such as an electrode, an optical fiber, a crystal resonator, or a semiconductor element, a nitrocellulose film, a nylon film, or a microtiter plate can also be used. It is. However, when these are used as carriers, a structure capable of detecting a signal is connected to the back surface of the produced substrate. The grids attached to the substrate have a single structure that is regularly separated at regular intervals, are not contaminated from others, and the number of rows and columns is not particularly limited. Also, one element can be formed by combining a plurality of individual carriers on which the probe is immobilized.
[0119]
When a nucleic acid probe immobilized on the substrate and a sample nucleic acid are subjected to a hybridization reaction, positive and negative ones appear in each square on the substrate. In this way, a plurality of genes can be examined at the same time, and if it is known in advance which cell corresponds to which base sequence, the sequence of the sample nucleic acid can be determined by computer processing the positively reacted base sequence. Can be determined.
[0120]
In order to carry out this genetic test method or nucleic acid sequencing method, it is possible to apply the gene detection apparatus of the present invention shown in FIG. Specifically, in the apparatus of FIG. 1, the sample nucleic
[0121]
That is, this gene detection method
A nucleic acid probe-immobilized substrate in which a nucleic acid probe is immobilized on the surface of a carrier capable of detecting a signal;
Moving means for moving the nucleic acid probe-immobilized substrate;
A sample solution containing the sample nucleic acid denatured into a single strand is stored, and double-stranded on the nucleic acid probe-immobilized substrate by hybridization between the sample nucleic acid and the nucleic acid probe immobilized on the surface of the nucleic acid probe-immobilized substrate. A reaction vessel for forming nucleic acids;
Temperature control means for controlling the temperature of the sample solution;
After hybridization with the sample nucleic acid, washing means for washing the nucleic acid probe-immobilized substrate to remove unreacted sample nucleic acid,
A solution containing the double-stranded recognizer is stored, and the double-stranded recognizer is converted into a double-stranded nucleic acid by reacting the double-stranded recognizer with the double-stranded nucleic acid formed on the surface of the nucleic acid probe-immobilized substrate. It can be carried out by an automatic genetic test apparatus equipped with a detection tank for detecting an electrochemical or optical signal produced by the bound double-stranded recognizer.
[0122]
In FIG. 4, the sample nucleic
[0123]
Furthermore, the nucleic acid sequence determination method can be carried out by an automatic gene sequence inspection apparatus in which the computer in the automatic gene inspection apparatus further has a function of numerically analyzing the test results.
[0124]
【Example】
Example 1: Detection of a gene using a sample nucleic acid-immobilized electrode
a. Preparation of sample nucleic acid immobilized electrode
As a model for gene detection, pVM 623 in which an oncogene v-myc fragment was inserted into the Pst119 site of pUC119 was used as a specimen sample, and a synthetic oligonucleotide (20mer) complementary to v-myc was used as a nucleic acid probe It was. A base nucleic acid pyrolytic graphite (BPPG) was used as an electrode, and the sample nucleic acid was immobilized by the following procedure.
[0125]
First, pVM 623 was linearized by digestion with Hind III, and then heat-denatured at 98 ° C. to prepare a sample nucleic acid solution. Next, a BPPG electrode whose electrode surface was polished was inserted into the sample nucleic acid solution, and the nucleic acid was adsorbed and fixed while applying a potential of 0.1 V. The sample nucleic acid was immobilized immediately before use, and the prepared sample nucleic acid-immobilized electrode was stored at 4 ° C. until use.
[0126]
b. Gene detection using sample nucleic acid immobilized electrode
The gene was detected by the following procedure.
[0127]
First, the sample nucleic acid-immobilized electrode prepared above was inserted into a solution containing a nucleic acid probe, and incubated at 42 ° C. to perform a hybridization reaction. At this time, the reaction was promoted by intermittently applying a potential of 0.1 V (vs. SCE) to the electrode. After completion of the reaction, acridine orange, which is an intercalating agent that specifically binds to double-stranded nucleic acid and has high electrode activity, was added. After acridine orange bound to the double-stranded nucleic acid, a negative potential was applied to the electrode to remove non-specifically adsorbed substances from the electrode surface. Thereafter, the redox current of the intercalating agent was measured via a BPPG electrode, and the amount of v-myc contained in the specimen sample was quantified.
[0128]
As a result, v-myc could be detected by pg order. In addition, all operations could be performed automatically within an hour.
[0129]
Example 2: Gene detection using a sample nucleic acid-immobilized optical fiber
a. Preparation of sample nucleic acid immobilized electrode
As a model for gene detection, pVM 623 in which an oncogene v-myc fragment was inserted into the Pst119 site of pUC119 was used as a specimen sample, and a synthetic oligonucleotide (20mer) complementary to v-myc was used as a nucleic acid probe It was. The sample nucleic acid was immobilized on the optical fiber by the following procedure.
[0130]
First, pVM 623 was linearized by digestion with Hind III, and then heat-denatured at 98 ° C. to prepare a sample nucleic acid solution. Next, an optical fiber treated with a silane agent (γ-APTES) and glutaraldehyde was immersed in the sample nucleic acid solution to adsorb and fix the nucleic acid. The sample nucleic acid was immobilized immediately before use, and the prepared sample nucleic acid-immobilized electrode was stored at 4 ° C. until use.
[0131]
b. Detection of genes using sample nucleic acid-immobilized optical fiber
The gene was detected by the following procedure.
[0132]
First, the sample nucleic acid-immobilized optical fiber prepared above was inserted into a solution containing a nucleic acid probe, and incubated at 42 ° C. to carry out a hybridization reaction. At this time, acridine orange, which is an intercalating agent that specifically binds to the double-stranded nucleic acid and has high optical activity, was added. After acridine orange was bound to the double-stranded nucleic acid, the fluorescence generated by acridine orange was measured through an optical fiber, and v-myc contained in the specimen sample was quantified.
[0133]
As a result, v-myc could be detected by pg order. In addition, all operations could be performed automatically within an hour.
[0134]
Example 3: Detection of a gene using a sample nucleic acid-immobilized electrode
a. Preparation of sample nucleic acid immobilized electrode
As a model for gene detection, pVM 623 in which an oncogene v-myc fragment was inserted into the PstI site of pUC119 was used as a specimen sample. In addition, as a nucleic acid probe, a terminal deoxynucleotidyl transferase was used at the 3′-end of a synthetic oligonucleotide (20mer) having a sequence complementary to v-myc (6-aminohexyl). dATP was introduced, and aminoacridine was further bound to this amino group via glutaraldehyde. The sample nucleic acid was immobilized on the BPPG electrode by the following procedure.
[0135]
First, pVM 623 was linearized by digestion with Hind III, and then heat-denatured at 98 ° C. to prepare a sample nucleic acid solution. Next, a BPPG electrode whose electrode surface was polished was inserted into the sample nucleic acid solution, and the nucleic acid was adsorbed and fixed while applying a potential of 0.1 V. The sample nucleic acid was immobilized immediately before use, and the prepared sample nucleic acid-immobilized electrode was stored at 4 ° C. until use.
[0136]
b. Gene detection using sample nucleic acid immobilized electrode
The gene was detected by the following procedure.
[0137]
First, the sample nucleic acid-immobilized electrode prepared above was inserted into a solution containing a nucleic acid probe, and incubated at 42 ° C. to perform a hybridization reaction. At this time, the reaction was promoted by intermittently applying a potential of 0.1 V (vs. SCE) to the electrode. After completion of the reaction, the redox current derived from aminoacridine labeled on the nucleic acid probe was measured.
[0138]
As a result, v-myc could be detected by pg order. In addition, all operations could be performed automatically within an hour.
[0139]
Example 4: Detection of a gene using a sample nucleic acid-immobilized optical fiber
a. Preparation of sample nucleic acid immobilized electrode
As a model for gene detection, pVM 623 in which an oncogene v-myc fragment was inserted into the PstI site of pUC119 was used as a specimen sample. In addition, as a nucleic acid probe, a terminal deoxynucleotidyl transferase was used at the 3′-end of a synthetic oligonucleotide (20mer) having a sequence complementary to v-myc (6-aminohexyl). dATP was introduced, and aminoacridine was further bound to this amino group via glutaraldehyde. The sample nucleic acid was immobilized on the optical fiber by the following procedure.
[0140]
First, pVM 623 was linearized by digestion with Hind III, and then heat-denatured at 98 ° C. to prepare a sample nucleic acid solution. Next, an optical fiber treated with a silane agent (γ-APTES) and glutaraldehyde was immersed in the sample nucleic acid solution to adsorb and fix the nucleic acid. The sample nucleic acid was immobilized immediately before use, and the prepared sample nucleic acid-immobilized electrode was stored at 4 ° C. until use.
[0141]
b. Detection of genes using sample nucleic acid-immobilized optical fiber
The gene was detected by the following procedure.
[0142]
First, the sample nucleic acid-immobilized optical fiber prepared above was inserted into a solution containing a nucleic acid probe, and incubated at 42 ° C. to carry out a hybridization reaction. After completion of the reaction, fluorescence derived from aminoacridine labeled on the nucleic acid probe was measured via an optical fiber, and v-myc contained in the specimen sample was quantified.
[0143]
As a result, v-myc could be detected by pg order. In addition, all operations could be performed automatically within an hour.
[0144]
Example 5: RFLP analysis using a sample nucleic acid-immobilized electrode
As a model for RFLP analysis, genetic diagnosis of familial amyloid polyneuropathy (FAP) was performed.
[0145]
FAP is a genetic disease caused by the fact that the gene code GTG of the 30th valine of the transthyretin (TTR) gene is changed to ATG and the amino acid is changed to methionine (see FIG. 5). This base substitution forms a new cleavage site for restriction enzymes BalI and NsiI (see FIG. 6), and thus FAP genetic diagnosis is possible depending on whether the TTR gene is cleaved by BalI or NsiI. An analysis example is shown below. a. Preparation of sample nucleic acid immobilized electrode
Equal amounts of 3% dextran and 0.9% sodium chloride were added to 1 ml of blood collected from heparin from FAP patients and healthy subjects, leukocytes were separated, and the cell membrane was disrupted using Triton X-100 solution. A high concentration NaI solution and DNA adsorbing beads were added thereto to adsorb genomic DNA onto the beads. The beads are collected by centrifugation and washed with a washing solution containing 50% ethanol (0.8 M NaCl, 40 mM Tris-HCl, 4 mM EDTA (pH 7.5)), and then a small amount of water is added to remove DNA from the beads at 50 ° C. Eluted. The obtained genomic DNA was cleaved with the restriction enzyme BalI according to a conventional method. The cleaved DNA was separated by 0.7% agarose electrophoresis, and the DNA eluted from the end of the gel was collected in a buffer every minute. The collected DNA was heated at 100 ° C. for 5 minutes to be dissociated into single strands, and then a BPPG electrode was immersed in each at 100 ° C. to adsorb and fix the sample DNA.
[0146]
b. RFLP analysis using a sample nucleic acid immobilized electrode
Analysis was performed by the following procedure using a HaeII fragment (0.3 Kb) of cDNA of TTR gene as a probe.
[0147]
The probe was dissolved in 2 × SSC buffer (0.3 M sodium chloride, 0.03 M sodium citrate) and hybridized with a sample DNA-immobilized electrode subjected to molecular weight fractionation at 40 ° C. for 1 hour. After the reaction, donomycin, an intercalating agent that specifically binds to double-stranded nucleic acid and has high electrode activity, was added to a final concentration of 10 μM, and intercalation was performed for 5 minutes. After the intercalation, the electrochemical reaction of donomycin was performed by linear sweep voltammetry (25 ° C., 25 ° C., using a silver / silver chloride electrode as a reference electrode, a platinum plate as a counter electrode, and a 1/15 M phosphate buffer (pH 7.0) as an electrolyte). 25 mV / sec). Under these conditions, the peak of oxidation current is obtained around 490 mV for donomycin if it is single-stranded, and around 520 mV when double-stranded is formed. Analyzing samples of FAP patients and healthy subjects for those with an oxidation current peak exceeding 500 mV, a signal is commonly obtained at around 35 minutes and around 58 minutes of elution time. Signals were obtained around 28 minutes and around 44 minutes. The signals obtained at 35 minutes and 58 minutes correspond to 2.3 Kb and 5.2 Kb, respectively, which are BalI fragments of the normal TTR gene for the probe used this time. Also, the 28 and 44 minute signals characteristically obtained in FAP patients correspond to 3.65 Kb and 1.55 Kb, respectively, which were newly formed from BalI due to the single base substitution of the 5.2 Kb fragment. Is. Two normal and abnormal signals were obtained from the sample of this FAP patient, indicating that it has both a normal TTR gene and a mutated TTR gene (FAP is a disease caused by autosomal dominant inheritance). Because there is a genetic abnormality in one of them) It took about 4 hours to obtain the final result from blood collection. From this, it can be seen that the time can be remarkably reduced as compared with the conventional method (2 to 3 days).
[0148]
As described above, FAP genetic diagnosis can be easily performed by using an electrode in which a sample nucleic acid is immobilized for each molecular weight.
[0149]
Example 6: RFLP analysis using a sample nucleic acid-immobilized tape electrode
a. Preparation of sample nucleic acid immobilized electrode
Equal amounts of 3% dextran and 0.9% sodium chloride were added to 1 ml of blood collected from heparin from FAP patients and healthy subjects, leukocytes were separated, and the cell membrane was disrupted using Triton X-100 solution. A high concentration NaI solution and DNA adsorbing beads were added thereto to adsorb genomic DNA onto the beads. The beads are collected by centrifugation, washed with a washing solution containing 50% ethanol (0.8 M NaCl, 40 mM Tris-HCl, 4 mM EDTA (pH 7.5)), and a small amount of water is added to elute the DNA from the beads at 50 ° C. did. The obtained genomic DNA was cleaved with the restriction enzyme BalI according to a conventional method. The DNA after the cleavage treatment is separated by capillary electrophoresis, and a buffer solution containing DNA eluted from the end of the column is heated to 100 ° C. to dissociate into single strands. To be adsorbed and fixed. At this time, the tape-like BPPG electrode was moved in the horizontal direction at a speed of 5 mm / min. Electrophoresis was performed for 30 minutes, and the total length of the electrode was 15 cm. As a result, a filter corresponding to a filter in which a single-stranded gene was transferred after gel electrophoresis was prepared, and the moving distance of the tape corresponds to the molecular weight. A short movement distance from the tip corresponds to a low molecular weight, and a long movement distance corresponds to a high molecular weight.
[0150]
b. RFLP analysis using a sample nucleic acid immobilized electrode
Analysis was performed by the following procedure using a HaeII fragment (0.3 Kb) of cDNA of TTR gene as a probe. The probe was dissolved in 2 × SSC buffer (0.3 M sodium chloride, 0.03 M sodium citrate), and hybridization was performed at 40 ° C. for 1 hour with a sample nucleic acid-immobilized tape electrode that had been molecular weight fractionated. After the reaction, donomycin, an intercalating agent that specifically binds to double-stranded nucleic acid and has high electrode activity, was added to a final concentration of 10 μM, and intercalation was performed for 5 minutes. After intercalation, the electrochemical reaction of donomycin was performed by linear sweep voltammetry (25 ° C., 25 mV) using a silver / silver chloride electrode as a reference electrode, a platinum plate as a counter electrode, and a 1/15 M phosphate buffer (pH 7.0) as an electrolyte. / Sec). Under this condition, the peak of the oxidation current is obtained around 490 mV for donomycin if it is single-stranded, and around 520 mV when double-stranded is formed. Analyzing samples of FAP patients and healthy subjects for those with an oxidation current peak exceeding 500 mV, a signal can be commonly obtained when the tape travel distance is around 8 cm and 14 cm. Signals were obtained around 5 cm and 11 cm. 8 cm and 14 cm correspond to 2.3 Kb and 5.2 Kb, respectively, which are BalI fragments of the normal TTR gene for the probe used this time. The 6.5 cm and 11 cm signals obtained characteristically for FAP patients correspond to 3.65 Kb and 1.55 Kb, respectively, and these were newly formed by BalI because the 5.2 Kb fragment was replaced by a single base. It is. Two normal and abnormal signals were obtained from the sample of this FAP patient, indicating that it has both a normal TTR gene and a mutated TTR gene (FAP is a disease caused by autosomal dominant inheritance). Because there is an abnormality in one of the genes) It took about 4 hours to obtain the final result from blood collection. From this, it can be seen that the time can be remarkably reduced as compared with the conventional method (2 to 3 days).
[0151]
As described above, FAP genetic diagnosis can be easily performed by using a tape-like electrode in which a sample nucleic acid is immobilized for each molecular weight.
[0152]
Example 7: Measurement of hybridization reaction over time
a. Preparation of nucleic acid probe-immobilized electrode
As a model for measuring the hybridization reaction over time, pVM623 (in which v-myc was incorporated into pUC119) was used as a specimen sample, and a synthetic oligonucleotide complementary to a part of v-myc was used as a nucleic acid probe. A nucleic acid probe was immobilized by the following procedure using a BPPG (Basal Plane Graphite Graphite) electrode as an electrode.
[0153]
First, a nucleic acid probe having a 5′TGCAGTTCCGGTGCGTGATC3 ′ sequence shown in SEQ ID NO: 3 in the sequence listing was synthesized using a DNA synthesizer (Applied Biosystems). This was purified with a NAP column (Pharmacia) and then dissolved in 1 mM Tris-HCl (pH 8.0) (containing 1 M NaCl) at 10 μg / ml to prepare a nucleic acid probe solution. A BPPG electrode was immersed in this solution, and the nucleic acid probe was adsorbed at 100 ° C. for 30 minutes. Nucleic acid probes are produced by the guanine residue-derived oxidation current obtained in the vicinity of 1 V by linear sweep voltammetry (reference electrode: Ag / AgCl, counter electrode: Pt, electrolyte: 1/15 M phosphate buffer (pH 7.0)). It was confirmed whether it was fixed or not.
[0154]
b. Measurement of hybridization reaction over time
The progress of the hybridization reaction was measured over time by the following procedure.
[0155]
First, 1 μg / ml pVM623 linearized by digestion with the restriction enzyme HindIII and a probe-immobilized electrode were hybridized in 2 × SSC buffer (0.3 M NaCl, 30 mM trisodium citrate). After starting hybridization, 15 minutes, 30 minutes, 1 hour, 2 hours, 4 hours, and 18 hours (overnight), an acridine orange as an intercalating agent was allowed to act, and the oxidation current of acridine orange was determined by linear sweep voltammetry. And the electric potential value was measured. In addition, the same experiment was performed using chromosomal DNA (1 μg / ml) of E. coli HB101 as a control. FIG. 7 shows the change over time of the current value obtained as a result.
[0156]
From FIG. 7, it was found that in this model experiment, hybridization was sufficiently detectable even 15 minutes after the start of the reaction, and the usual overnight reaction was not required at all.
[0157]
Thus, the hybridization reaction can be monitored by using the nucleic acid probe-immobilized gene detection sensor (in this case, an electrode), and the reaction time can be greatly shortened.
[0158]
Example 8: Selection of nucleic acid probe using nucleic acid probe-immobilized electrode
Adult T-cell leukemia (ATL) is an infection caused by infection with the retrovirus Human T-Cell Lymotropic Virus (HTLV). Therefore, genetic diagnosis is possible by detecting the presence or absence of the HTLV gene. Nucleic acid probe candidates considered to be suitable for this genetic diagnosis are searched from the database of HTLV-I genes using an index indicating that it is difficult to take an intramolecular secondary structure and has a relatively high GC content. Ten types of probes shown in ˜13 were selected.
[0159]
a. Preparation of nucleic acid probe-immobilized electrode
The 10 types of probes were dissolved in 1 mM Tris-HCl (pH 8.5) 1M NaCl solution, and a BPG electrode was immersed in each nucleic acid probe solution, followed by adsorption treatment at 100 ° C. for 30 minutes. Adsorption fixation was confirmed by measuring an oxidation current derived from a guanine residue in DNA obtained in the vicinity of 1 V by cyclic voltammetry.
[0160]
b. Selection of nucleic acid probe using nucleic acid probe fixed electrode
DNA was taken out from the cultured cells confirmed to be infected with HTLV by a conventional method, and cleaved with restriction enzyme SalI. On the other hand, a. The electrode with the nucleic acid probe immobilized thereon was placed in the reaction vessel, and a temperature controller was attached to both ends of the reaction vessel to give a temperature gradient in the range of 25 to 75 ° C. When the electrodes were installed in the reaction vessel, 20 identical probe immobilized electrodes insulated from each other were connected in the temperature gradient direction, and electrodes immobilized with different probes were connected in the vertical direction (see FIG. 8). A sample nucleic acid cleaved with the restriction enzyme SalI was added to the reaction vessel, and hybridization was performed in 2 × SSC for 1 hour.
[0161]
After hybridization, acridine orange as a DNA intercalating agent was added, and differential pulse voltammetry was performed on each electrode, and the oxidation current and peak potential value of acridine orange were measured. The measurement conditions were a pulse width of 200 mV, a pulse electrolysis time of 100 msec, a sampling time of 2000 msec, and a sweep rate of 25 mV / sec.
[0162]
As a result of the measurement, the other probes could not obtain a signal suddenly at 60 ° C. or higher, whereas the nucleic acid probe of SEQ ID NO: 6 in the sequence listing having the sequence of 5′TACTGGCCCACCGTCCAGAGCATCAG3 ′ had the peak potential of acridine orange even at 65 ° C. The value shifted to 13 mV, indicating that it was stably hybridized.
[0163]
As described above, an optimal nucleic acid probe can be selected by applying the method of the present invention.
[0164]
Example 9: Detection of gene using nucleic acid probe fixed electrode
In order to confirm genes having point mutations in the 12th and 61st amino acid codons of the oncogenes c-Ha-ras, c-Ki-ras, and N-ras, nucleic acid probes as shown in Table 1 below were synthesized. An amino group was introduced at the 5 ′ end.
[0165]
[Table 1]
a. Preparation of nucleic acid probe-immobilized electrode
As an electrode for immobilizing a nucleic acid probe, an element in which a 5 × 5 cm surface as shown in FIG. 9 was coated with a thin insulating film on the back of a graphite substrate activated with an electron beam was used. This element was divided into 48 elements of 6 in the vertical direction and 8 in the horizontal direction, and divisions were made so that there was no contamination from other squares. Nucleic acid probes different from each other on the divided cells were immobilized using a silane coupling agent and glutaraldehyde. Leads were made from a graphite substrate with a silver paste on the insulating layer on the back surface on which each probe was fixed.
[0166]
b. Gene detection using nucleic acid probe-immobilized electrodes
After 1 μg of a chromosomal gene extracted from human blood cells was dissolved in 2 × SSC, it was added to 48 divided cells and heated to 95 ° C. A 20-mer labeled nucleic acid probe specific for human β-globin gene was added to each cell, and hybridization was performed at 42 ° C. The labeling was performed by covalently binding acridine orange to the end of the nucleic acid probe using glutaraldehyde via an amino group. After the hybridization reaction, after washing, electrochemical detection was performed. The result is shown in FIG. Here, hatched portions indicate squares that have reacted positively. FIG. 10 shows that there are point mutations at
[0167]
Example 10: Determination of base sequence of sample nucleic acid using nucleic acid probe-immobilized substrate
a. Preparation of nucleic acid probe immobilization substrate
A 5 × 5 cm glass substrate was used as a nucleic acid probe immobilization carrier, and this substrate was divided into 225 of length 15 and width 15 of 225, and 7-mer nucleic acid probes having different random sequences were immobilized on each square. In addition, the back surface of each square on which the nucleic acid probe is immobilized has a structure capable of connecting an optical fiber.
[0168]
b. Determination of nucleotide sequence of sample nucleic acid using nucleic acid probe immobilization substrate
As a sample nucleic acid, a cDNA for yeast alanine t-RNA was used, added to each of the 225-divided cells, and heated to 95 ° C. After heating, a 20-mer labeled nucleic acid probe complementary to t-RNA was added to each cell, and hybridization was performed at 42 ° C. The labeled nucleic acid probe was labeled by covalently binding acridine orange to its end. After the hybridization reaction, after washing the labeled nucleic acid probe, the fluorescence intensity of each square was measured. The results are shown in FIG. From FIG. 11, CCCGCAC, CGCACAC, CACCCGCG, GCGCATC, TCAGCCA, CCATCCCG, CGCGGCGA, GAGGCCAA, AAACCGAA, AACCTCTC, TCTCAGA, GAGGCCCA, CAAGGCGC, CCTGGCGCGCGCGCGCGCGCGCGCGCGCGCGCGCGCGCGCGCGCGCGCGC It was found to react with a nucleic acid probe having each base sequence.
[0169]
As a result of arranging these sequences using a computer, the nucleotide sequence of the cDNA for yeast alanine t-RNA was 3′-CCCGCAACCCGCGCATCAGCCATCGCGCGGAGGGAAAACGAACCCTCTCAGAGCCAGCTCTAGAGGCCTGAGCAGGTGGGT-5 ′ as shown in SEQ ID NO: 59 in the Sequence Listing. . Thus, even with a small amount of sample, the gene base sequence could be determined very easily by a single operation.
[0170]
Example 11: HLA typing using a sample nucleic acid immobilized electrode
a. Preparation of sample nucleic acid immobilization substrate
First, chromosomal genes were isolated from human peripheral venous blood. This gene was divided into three, cleaved with different restriction enzymes EcoRI, PstI and MspI, respectively, and fractionated as fractions a to j according to molecular weight by column chromatography.
[0171]
On the other hand, the surface of a 10 × 3 cm graphite substrate was activated with an electron beam, and a thin insulating film was coated on the back surface to form an element. This element was divided into 30 in 10 and 3 in the vertical direction, and divisions were made so that there was no contamination from other squares.
[0172]
The gene of fractions a to j was injected into each of the divided cells, and 100 mM sodium chloride was added and immobilized by adsorption at 100 ° C. After immobilizing each gene, a lead was created from the graphite substrate on the back surface of the substrate with silver paste.
[0173]
b. Gene detection using sample nucleic acid immobilization substrate
Aminoacridine was covalently labeled with glutaraldehyde via an amino group at the end of a probe DQ β2 (AGGGATCCCCGCAGAGGAGTTTCGGTACC) (see SEQ ID NO: 60 in the Sequence Listing) complementary to the HLA antigen gene. A labeled probe was added to each square of the substrate, and hybridization was performed at 42 ° C. in 2 × SSC. After the hybridization reaction, the cells were washed with a buffer containing a surfactant and then subjected to electrochemical measurement. That is, in the grid where the target gene exists, aminoacridine is electrochemically oxidized and a current flows, and this current value was measured. As a result, a result as shown in FIG. 12 was obtained. Thus, it was shown that human gene HLA typing is possible by using this gene detection method.
[0174]
Example 12: Food spoilage inspection using nucleic acid probe-immobilized substrate
a. Preparation of nucleic acid probe immobilization substrate
A carbon film was formed by vapor deposition or sputtering of carbon on the surface of a 5 × 5 cm glass substrate. The carbon surface was activated by irradiating the carbon coating surface with plasma. This substrate was divided into 5 × 3, and the back surface of the substrate was covered with an insulating film. In addition, breaks were made so that there was no contamination from other squares. Leads were made from a graphite substrate with silver paste on the insulating layer on the back of each square. Nucleic acid probes for Salmonella, pathogenic E. coli, and staphylococci were immobilized on each square on the substrate. Immobilization was performed through this amino group by introducing an amino group into the terminal of the synthesized nucleic acid probe and using glutaraldehyde and a silane coupling agent as a crosslinking agent.
[0175]
b. Food spoilage inspection using nucleic acid probe fixed substrate
[0176]
After the hybridization reaction, the substrate was washed with a buffer solution containing a surfactant, and then a 1/15 M phosphate buffer solution was added to the cells and a potential of 2.0 V (vs. SCE) was applied on the substrate. The results are shown in FIG. Here, the hatched portion indicates the square where the light emission signal is obtained. The intensity of the luminescence signal was linearly related to the amount of the gene present in the food, and the gene could be quantified. Thus, by detecting and quantifying bacteria present in food, the degree of spoilage of the food could be examined.
[0177]
Example 13: Chemical contamination test using a nucleic acid probe-immobilized substrate
a. Preparation of nucleic acid probe immobilization substrate
A carbon film was formed by vapor-depositing or sputtering carbon on the surface of a 5 × 5 cm glass substrate. The carbon surface was activated by irradiating the carbon coating surface with plasma. This substrate was divided into five, and the back surface of the substrate was covered with an insulating film. In addition, breaks were made so that there was no contamination from other squares. Leads were made from a graphite substrate with silver paste on the insulating layer on the back of each square (drawing). Nucleic acid probes for Salmonella, pathogenic Escherichia coli, staphylococci, Pseudomonas, and Bacillus were immobilized on each square on the substrate. Immobilization was performed through this amino group by introducing an amino group into the terminal of the synthesized nucleic acid probe and using glutaraldehyde and a silane coupling agent as a crosslinking agent. b. Chemical contamination test using nucleic acid probe fixed substrate
The chemical sample was heated with phenol to denature and precipitate the protein in the sample, and the nucleic acid component was extracted. This purified sample nucleic acid was heat denatured to form a single strand, added to each square, and hybridized with a nucleic acid probe at 42 ° C. During the hybridization reaction, labeled second nucleic acid probes for gene detection against Salmonella, pathogenic Escherichia coli, staphylococci, Pseudomonas, and Bacillus were added. The labeling of these second probes was carried out by introducing an amino group at the probe end and covalently bonding an acridinium ester, which is a chemiluminescent substance, using glutaraldehyde via this amino group.
[0178]
After the hybridization reaction, the substrate was washed with a buffer solution containing a surfactant, and then a 1/15 M phosphate buffer solution was added to the cells and a potential of 2.0 V (vs. SCE) was applied on the substrate. . As a result of this electrochemiluminescence reaction, a luminescence signal as shown in FIG. 14 was obtained. The intensity of the luminescence signal is linearly related to the amount of the gene present in the drug, and the gene can be quantified. In this way, it was possible to examine the degree of contamination of the chemical by detecting and quantifying the bacteria present in the chemical.
[0179]
【The invention's effect】
As described above in detail, according to the present invention, gene detection using a nucleic acid probe can be performed easily and in a short time without using a radioisotope. Therefore, the present invention is extremely useful as a method for detecting a specific gene, such as in the field of genetic diagnosis and genetic engineering.
[0180]
[Brief description of the drawings]
FIG. 1 is a diagram schematically showing a specific example of an automatic gene detection apparatus according to the present invention.
2 is a perspective view showing another embodiment of a reaction tank and a sample nucleic acid purification device in the automatic gene detection device shown in FIG. 1. FIG.
3 is a perspective view showing a specific example of a temperature controller used in the automatic gene detection apparatus shown in FIG. 1. FIG.
FIG. 4 is a diagram schematically showing a specific example of an automatic gene detection device using electrochemiluminescence.
FIG. 5 is a view showing base substitution that causes FAP and formation of a restriction enzyme recognition site by this.
FIG. 6 shows a BalI cleavage site of TTR gene.
FIG. 7 is a graph showing measurement results of changes over time in a hybridization reaction using a nucleic acid probe-immobilized electrode.
FIG. 8 is a diagram showing a temperature gradient reaction tank used for selection of a nucleic acid probe.
FIG. 9 shows a nucleic acid probe-immobilized substrate.
FIG. 10 shows the results of gene detection using a nucleic acid probe-immobilized substrate.
FIG. 11 shows the results of gene detection using a nucleic acid probe-immobilized substrate.
FIG. 12 shows the results of HLA typing using a nucleic acid probe-immobilized substrate.
FIG. 13 is a diagram showing the results of food spoilage inspection using a nucleic acid probe-immobilized substrate.
FIG. 14 is a diagram showing a result of chemical contamination test using a nucleic acid probe-immobilized substrate.
[Explanation of symbols]
 1, 31 ... Gene sample purification device, 2 ... Immobilization tank, 4 ... Reaction tank,
 5, 35 ... Temperature controller, 6 ... Carrier, 7 ... Electric signal detection control device,
 8, 40 ... computer, 10 ... detection tank, 12 ... dissociation treatment layer, 13, 44 ... moving device,
21 ... constant temperature bath, 22 ... controller, 23 ... temperature sensor,
32 ... Nucleic acid probe supply device, 33 ... Reaction cell, 34 ... Electrode for immobilization,
37 ... Reference electrode, 38 ... Optical fiber,
39… Function generator / potentiostat,
41 ... Photomal, 42 ... Photon counter, 43 ... Cleaning tank
| Application Number | Priority Date | Filing Date | Title | 
|---|---|---|---|
| JP24239792AJP3648258B2 (en) | 1992-02-13 | 1992-09-10 | Nucleic acid chain detection method | 
| Application Number | Priority Date | Filing Date | Title | 
|---|---|---|---|
| JP4-25621 | 1992-02-13 | ||
| JP2562192 | 1992-02-13 | ||
| JP24239792AJP3648258B2 (en) | 1992-02-13 | 1992-09-10 | Nucleic acid chain detection method | 
| Publication Number | Publication Date | 
|---|---|
| JPH05285000A JPH05285000A (en) | 1993-11-02 | 
| JP3648258B2true JP3648258B2 (en) | 2005-05-18 | 
| Application Number | Title | Priority Date | Filing Date | 
|---|---|---|---|
| JP24239792AExpired - LifetimeJP3648258B2 (en) | 1992-02-13 | 1992-09-10 | Nucleic acid chain detection method | 
| Country | Link | 
|---|---|
| JP (1) | JP3648258B2 (en) | 
| Publication number | Priority date | Publication date | Assignee | Title | 
|---|---|---|---|---|
| US7172864B1 (en) | 1993-11-01 | 2007-02-06 | Nanogen | Methods for electronically-controlled enzymatic reactions | 
| US7045285B1 (en) | 1996-11-05 | 2006-05-16 | Clinical Micro Sensors, Inc. | Electronic transfer moieties attached to peptide nucleic acids | 
| US7014992B1 (en) | 1996-11-05 | 2006-03-21 | Clinical Micro Sensors, Inc. | Conductive oligomers attached to electrodes and nucleoside analogs | 
| WO2003022028A2 (en)* | 2001-09-10 | 2003-03-20 | Meso Scale Technologies, Llc | Methods, reagents, kits and apparatus for protein function analysis | 
| JP3917640B2 (en)* | 2002-07-26 | 2007-05-23 | 株式会社東芝 | Method for detecting presence of target nucleic acid using nucleic acid probe-immobilized substrate | 
| US7723099B2 (en)* | 2003-09-10 | 2010-05-25 | Abbott Point Of Care Inc. | Immunoassay device with immuno-reference electrode | 
| JP4203826B2 (en)* | 2003-09-29 | 2009-01-07 | 独立行政法人産業技術総合研究所 | Automatic analysis method and apparatus | 
| JP2007037483A (en)* | 2005-08-04 | 2007-02-15 | Eiken Chem Co Ltd | Method for detecting whether enzymatic reaction exist or not | 
| JP4524392B2 (en)* | 2006-04-25 | 2010-08-18 | 国立大学法人 千葉大学 | Method for regenerating carrier for immobilizing probe polynucleotide | 
| GB0820629D0 (en)* | 2008-11-11 | 2008-12-17 | Univ Bath | Biocompatible electrode | 
| JP5540980B2 (en)* | 2010-08-06 | 2014-07-02 | 東洋製罐グループホールディングス株式会社 | Bio-related molecule detection method, detection kit, and detection system | 
| Publication number | Publication date | 
|---|---|
| JPH05285000A (en) | 1993-11-02 | 
| Publication | Publication Date | Title | 
|---|---|---|
| US5972692A (en) | Gene detection method | |
| JP2573443B2 (en) | Gene detection method | |
| EP0478319B1 (en) | Gene detection method | |
| JP3086255B2 (en) | Denaturation method by electrochemical treatment of nucleic acid-containing solution, and amplification method, replication method, detection method and kit using such denaturation method | |
| US6613527B1 (en) | Electrochemical denaturation of double-stranded nucleic acid | |
| US5059294A (en) | Method for separating nucleic acids and nucleic acid probes | |
| AU2009231582A1 (en) | Amplicon rescue multiplex polymerase chain reaction for amplificaton of multiple targets | |
| JP3648258B2 (en) | Nucleic acid chain detection method | |
| JP4021627B2 (en) | Carrier for gene detection and its use to detect the effectiveness of interferon therapy | |
| JP2005508198A (en) | System for detecting biological material in a sample | |
| EP1500933A1 (en) | Device, method, and kit for gene detection | |
| US20090075275A1 (en) | Nucleic acid probe-immobilized substrate and method of detecting the presence of target nucleic acid by using the same | |
| JPH10146183A (en) | Electrode, detection device and sensor | |
| JP2005520130A (en) | Method for complex detection of biological material in a sample | |
| JP4219085B2 (en) | Species-specific detection of nucleic acids with analytical elements | |
| JP4309943B2 (en) | Electrode and detection device | |
| WO2005075680A1 (en) | Method of detecting nucleic acid and utilization thereof | |
| Tamayo et al. | Free-label electrochemical detection of of HIV-1 proviral DNA in clinical sample | |
| Khatri et al. | A Novel Amperometric Genosensor for Rapid Detection of Canine Parvovirus in Feces | |
| JP2003520961A (en) | Methods and devices for separating and detecting nucleic acids | |
| JPWO2004035829A1 (en) | Gene detection probe and electrochemical gene detection method | |
| JP5676846B2 (en) | Primer set for specifically amplifying nucleic acids derived from Helicobacter microorganisms, and method for detecting and / or classifying said microorganisms | |
| WO2021133340A1 (en) | Ready-to-use diagnostic kit based on electrochemical nanobiosensor for antibiotic resistance gene determination | |
| JP2003144152A (en) | Method for detecting target nucleic acid fragment and detection kit for target nucleic acid fragment | |
| JPH06245800A (en) | Gene detection method | 
| Date | Code | Title | Description | 
|---|---|---|---|
| A131 | Notification of reasons for refusal | Free format text:JAPANESE INTERMEDIATE CODE: A131 Effective date:20040907 | |
| A521 | Written amendment | Free format text:JAPANESE INTERMEDIATE CODE: A523 Effective date:20041104 | |
| A131 | Notification of reasons for refusal | Free format text:JAPANESE INTERMEDIATE CODE: A131 Effective date:20041207 | |
| A521 | Written amendment | Free format text:JAPANESE INTERMEDIATE CODE: A523 Effective date:20050106 | |
| TRDD | Decision of grant or rejection written | ||
| A01 | Written decision to grant a patent or to grant a registration (utility model) | Free format text:JAPANESE INTERMEDIATE CODE: A01 Effective date:20050208 | |
| A61 | First payment of annual fees (during grant procedure) | Free format text:JAPANESE INTERMEDIATE CODE: A61 Effective date:20050214 | |
| FPAY | Renewal fee payment (event date is renewal date of database) | Free format text:PAYMENT UNTIL: 20080218 Year of fee payment:3 | |
| FPAY | Renewal fee payment (event date is renewal date of database) | Free format text:PAYMENT UNTIL: 20090218 Year of fee payment:4 | |
| FPAY | Renewal fee payment (event date is renewal date of database) | Free format text:PAYMENT UNTIL: 20100218 Year of fee payment:5 | |
| FPAY | Renewal fee payment (event date is renewal date of database) | Free format text:PAYMENT UNTIL: 20100218 Year of fee payment:5 | |
| FPAY | Renewal fee payment (event date is renewal date of database) | Free format text:PAYMENT UNTIL: 20110218 Year of fee payment:6 | |
| FPAY | Renewal fee payment (event date is renewal date of database) | Free format text:PAYMENT UNTIL: 20120218 Year of fee payment:7 | |
| FPAY | Renewal fee payment (event date is renewal date of database) | Free format text:PAYMENT UNTIL: 20120218 Year of fee payment:7 | |
| FPAY | Renewal fee payment (event date is renewal date of database) | Free format text:PAYMENT UNTIL: 20130218 Year of fee payment:8 | |
| EXPY | Cancellation because of completion of term | ||
| FPAY | Renewal fee payment (event date is renewal date of database) | Free format text:PAYMENT UNTIL: 20130218 Year of fee payment:8 |