










【0001】
【発明の属する技術分野】
本発明は、半導体ウエハなどの被処理体に成膜処理などの熱処理を施す熱処理装置に関する。
【0002】
【従来の技術】
一般に、半導体集積回路を形成するには、半導体ウエハ等の被処理体に対して、成膜処理、酸化拡散処理、アニール処理、エッチング処理等の各種の処理を繰り返し行なうが、このような熱処理を行なう熱処理装置の内、一度に多数枚の半導体ウエハに対して処理を行なうことができる、いわゆるバッチ式の縦型の熱処理装置が多く用いられている。
図8は真空排気系を有しない従来のバッチ式の縦型熱処理装置の一例を示す概略斜視図、図9は図8に示す装置の平面図、図10は真空排気系を有する従来のバッチ式の縦型熱処理装置の一例を示す概略斜視図、図11は図10に示す装置の平面図である。
【0003】
この熱処理装置2は、装置本体4と、ガスボックス6と、電気系ボックス8とにより主に構成される。上記装置本体4は全体が筐体12に囲まれており、この中には周囲に加熱ヒータを配置して、内部で一度に多数枚の半導体ウエハに対して所定の熱処理を施す縦型の処理容器14が設けられると共に、その前面側には、半導体ウエハを収容したキャリア(図示せず)を搬入・搬出させる搬出入ポート16が形成されている。この搬出入ポート16側が操作面側となり、その反対側が裏面側となる。更に、図示されていないが、この筐体12内には、カセットを載置するカセットストッカや、ウエハ搬送機、ボートエレベータ等の種々の機構及び部材が設けられている。
【0004】
上記ガスボックス6と上記電気系ボックス8とは、ガスボックス6を上段にして上下に積み重ねられている。そして、このガスボックス6と電気系ボックス8は、装置本体4の裏面側にメンテナンス空間18を隔てて設けられており、上記ガスボックス6の内部には拡散処理等の熱処理に必要な処理ガスを清浄化するフィルタや開閉弁やマスフローコントローラのような流量制御器等を内蔵するガス制御ユニット20が収容されている。このガスボックス6の全体はガスボックス筐体22により覆われて、その前面にはガス操作表示パネル22Aが設けられる。上記ガスボックス6には、複数、図示例では3本のガス供給ライン24A、24B、24Cが接続されており、これらの各ガス供給ライン24A〜24Cは下方へ引き回されて、必要なガスを床下に配設されている集中ガス源より導入するようになっている。また、このガスボックス6からはボックス排気ライン26が下方に向けて延びており、床下に設けた排気設備によりガスボックス6内を吸引排気するようになっている。また、上記電気系ボックス8は、必要な電気系部品を収容したものである。尚、電源トランス等は、これが設置されるクリーンルームの床下などに設置される。
【0005】
そして、装置本体4とガスボックス6との間は、配線用ダクト28で連結されており、この下部に種々のガス配管30を通して、上記ガスボックス6から処理容器14内側へ各種の処理ガスを供給し得るようになっている。このダクト28内には、必要な配線ケーブルが収容される。そして、装置本体4側のガス取り込み部には上記ガス配管30に接続されるバルブボックス32が設けられており、このバルブボックス32内に最終段の開閉弁やフィルタを内蔵させて、配管の引き回しに起因する流量制御の精度劣化等を防止している。
上記熱処理装置2は、大気圧で、或いは大気圧近傍で拡散処理やアニール処理を行う装置であるが、CVD成膜処理等を行うには大がかりな真空排気系が必要であり、この場合には、図10及び図11に示すように、上記ガスボックス6と電気系ボックス8の一体化物に背中合わせとなるように排気ボックス34を併設している。尚、この場合、ガスボックス6と電気系ボックス8は図8及び図9に示す場合とは反対側に向けて、操作を行うようになっている。この排気ボックス34内には、排気管38に介設して開閉弁、圧力制御弁、トラップ機構等(図示せず)が設けられるが、この排気ボックス34の排気管38と上記装置本体4の処理容器14との間は大口径の真空排気管36により接続され、この排気管38を床下に設けた真空ポンプ(図示せず)に接続して処理容器14内を真空引きするようになっている。
【0006】
【発明が解決しようとする課題】
ところで、この種の熱処理装置が設置されるクリーンルームは、単位面積当たりの維持コストが非常に高いことから、装置自体の占有スペースを減少させることは勿論必要であるが、更に、この熱処理装置全体をメンテナンスするために確保すべきスペースを極力減少させることが求められている。
しかしながら、クリーンルームの多くは、装置の階下にガス供給ラインや排気ラインを設けているため、上記した従来の熱処理装置2にあっては、ガスボックス6と電気系ボックス8との一体化物と装置本体4との間にメンテナンス空間18を設ける必要があるばかりか、その一体化物の裏面側には、ガス供給ライン24A〜24Cやボックス排気ライン26を配設するための配管スペース40も必要となり、全体としての必要スペースが非常に大きくなってしまうという問題があった。また、図10及び図11に示す従来装置例の場合には、一体化物のガス操作パネル22A側に、上記配管スペース40よりも面積の大きな、メンテナンス空間42を設けなければならない、という問題があった。
【0007】
特に、ウエハサイズが20cm(8インチ)から30cm(12インチ)へ大きくなるに従って、装置自体も格段に大きくなり、上記した問題点の早期解決が望まれている。
本発明は、以上のような問題点に着目し、これを有効に解決すべく創案されたものである。本発明の目的は、装置の占有スペースのみならず、このメンテナンス空間も含めた必要なスペースを大幅に削減することが可能な熱処理装置を提供することにある。
【0008】
【課題を解決するための手段】
請求項1に係る発明は、複数の被処理体に対して処理ガスにより所定の処理を施すための処理容器を収容する装置本体と、前記処理ガスの供給を制御するガス制御ユニットを収容するガスボックスと、電気部品を収容する電気系ボックスとを有する熱処理装置において、前記装置本体の裏面にメンテナンスドアを設け、前記ガスボックスと前記電気系ボックスとを、前記ガスボックスを下方にした状態でフレーム筐体で上下に接合して一体化物とすると共に、この一体化物の側面を前記装置本体の裏面に、前記メンテナンスドアを避けて連結するように構成したものである。
これにより、ガスボックスを電気系ボックスの下段に位置させ、しかも上記両ボックスの一体化物を装置本体の裏面側へ接合するようにしたので、従来必要とされた配管スペースが不要となり、また、一体化物も装置本体のメンテナンス空間の一部に配置されることになるので、装置占有スペースと装置のメンテナンス空間とを含む全体としての必要スペースを大幅に削減することが可能となる。
【0009】
この場合、例えば請求項2に規定するように、前記ガスボックスのガス操作パネルと、前記電気系ボックスの電気操作パネルとは、前記メンテナンスドアの後方に位置するメンテナンス空間に臨ませて配置される。
また、例えば請求項3に規定するように、前記処理容器内の真空引きを制御するための排気ユニットを収容する排気ボックスを、前記メンテナンス空間を挟んで前記一体化物に対向させて前記装置本体の裏面に接合する。
これによれば、処理容器内の真空引きを行う排気ボックスも装置本体の裏面に直接接合しているので、全体としての必要スペースを一層削減することが可能となる。
【0010】
この場合、例えば請求項4に規定するように、前記一体化物のメンテナンスを行う一体化物メンテナンス空間と、前記排気ボックスのメンテナンスを行う排気メンテナンス空間と、前記装置本体のメンテナンス空間とを共用する。
【0011】
【発明の実施の形態】
以下に、本発明に係る熱処理装置の一実施例を添付図面に基づいて詳述する。
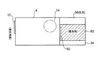
図1は本発明の熱処理装置の第1実施例の裏面側を示す斜視図、図2は図1に示す装置の平面図、図3は図1に示す装置の側面図、図4は本発明装置の第1実施例の必要スペースの削減効果を説明するための説明図である。尚、ここでは先に説明した従来装置と同一構成部分については同一符号を付して説明する。
この熱処理装置50は、大気圧、或いは大気圧近傍で拡散処理等の熱処理を行う装置であり、後述するようにここでは真空排気系を設けていない。
【0012】
まず、この熱処理装置50は、装置本体4と、ガスボックス6と、電気系ボックス8とにより主に構成される。上記装置本体4は全体が筐体12に囲まれており、この中には周囲に加熱ヒータを配置して、内部で一度に多数枚の半導体ウエハに対して熱拡散等の所定の熱処理を施す縦型の処理容器14が設けられると共に、その前面側には、半導体ウエハを収容したキャリア(図示せず)を搬入・搬出させる搬出入ポート16及び本体操作パネル17(図2参照)が形成されている。この搬出入ポート16側が操作面側となり、その反対側が裏面側となる。
更に、図示されていないが、この筐体12内には、カセットを載置するカセットストッカや、ウエハ搬送機、ボートエレベータ等の種々の機構及び部材が設けられている。また、上記筐体12の裏面側には上記処理容器14を搬出入したり、この装置本体4内をメンテナンスする際に、開閉されるメンテナンスドア52が開閉可能に設けられる。
【0013】
上記ガスボックス6と上記電気系ボックス8とは、ガスボックス6を下段にして上下に積み重ねられている。そして、このガスボックス6と電気系ボックス8は、フレームを用いて縦長の直方体状に組み立てられたフレーム筐体54により上下に接合されており、一体化物56として構成されている。そして、この一体化物56の幅の狭い側面を、上記装置本体4の裏面の一側に連結するように接合させている。この場合、勿論のこととして、上記メンテナンスドア52を避けるように上記一体化物56を接合している。
【0014】
上記ガスボックス6の内部には拡散処理等の熱処理に必要な処理ガスを清浄化するフィルタや開閉弁やマスフローコントローラのような流量制御器等を内蔵するガス制御ユニット(図示せず)が収容されている。このガスボックス6の全体はプレート58により覆われて、その前面の一部にはガス操作表示パネル22Aが設けられ、また、前面のパネル58も開閉可能になされている。そして、このガスボックス6の上部には複数、図示例では3つのガス出口60A、60B、60Cが設けられる。また、上記電気ボックス8は、必要な電気部品やガス検出器等が収容されており、この前面にはガス指示計や表示ランプや操作ボタン等の電気系操作表示パネル8Aが設けられる。そして、これらの各パネル8A、22Aは、装置本体4の裏面側である装置本体4のメンテナンス空間62に臨ませて設けられている。
【0015】
そして、図3に示すように、この熱処理装置50を設置するクリーンルームの床は、上床64と下床66とよりなる2重構造になされており、この上床64と下床66との間に形成されたユティリティ空間68内に、必要ガスを供給するガス通路70A、70B、70C、略常圧での排気を行う常圧排気管72、必要な装置毎に真空ポンプ74を設けた真空排気管76、各種の配線コード78等が設けられている。尚、本実施例では常圧処理を行うことから、真空ポンプ74や真空排気管76は用いられない。更に、このユティリティ空間68内には、電源トランス等も設置される。
そして、上記各ガス通路70A〜70Cは、上記ガスボックス6よりその下方へ直接的に延びる各ガス供給管24A、24B、24Cへ接続され、このガスボックス6の上部に設けた各ガス出口60A、60B、60Cと上記処理容器14とを連絡するようにガス管80A、80B、80Cを接続し、必要なガスを流量制御しつつ処理容器14内へ供給し得るようになっている。
【0016】
また、ガスボックス6の下端部には、このガスボックス6内の雰囲気を吸引排気するための複数(図示例では3つ)のボックス排気口80A、80B、80Cが設けられており、各ボックス排気口80A〜80Cを選択的に使用し得るようになっている。図3に示す場合には、中央に位置するボックス排気口80Bを用いており、これに常圧排気管72を接続している。このように複数のボックス排気口80A〜80Cを設けて選択的に利用できるようにした理由は、上記ユティリティ空間68内に設けた床梁(図示せず)等の障害物によって特定のボックス排気口が利用できなくなる場合を考慮したものである。
また、このガスボックス6の一側を上下方向に貫通させるようにして、上記電気系ボックス8に連絡する配線コード78を配設している。
【0017】
このようになされた本発明装置は、一般的には、複数台が隣同士を接して並設されることになる。この本発明装置によれば、ガスボックス6を電気系ボックス8の下段に位置させた状態で両ボックスを接合して一体化物56とし、この一体化物56を装置本体4の裏面側にメンテナンスドア52を避けるようにして取り付けるようにしているので、ガスボックス6からのガス供給管24A〜24Cは、この一体化物56の外側を引き回すことなく下方に直接延ばして床下のユティリティ空間68に配設されている各ガス通路70A〜70Cに直接連結でき、従来装置で必要とされた配管引き回し用のスペース(図9参照)をなくすことが可能となる。
また、上記したようにガスボックス6と電気系ボックス8との一体化物56を、装置本体4の裏面側のメンテナンス空間62の一部に配置させるようになっており、そして、この装置本体4のメンテナンス空間62と上記一体化物56をメンテナンスするための一体化物メンテナンス空間とを共用させるようにしている。従って、以上の理由より、装置の占有スペースと装置のメンテナンス空間とを含む全体としての必要スペースを大幅に削減することができる。
【0018】
このように、本発明装置の第1実施例の省スペース化の効率について、図4を参照して従来装置の場合と比較して説明する。図4(A)は従来装置の配置の場合(図9に対応)を示し、図4(B)は本発明装置の配置の場合を示し、図中、斜線部分はメンテナンス空間(配管スペースを含む)を示す。図4(A)に従来装置の場合には、装置本体4とガス電気系ボックス6、8の両裏面側にそれぞれメンテナンス空間18と配管スペース40を必要としている。この場合、ウエハサイズにもよるが、装置本体4の長さH1は1900mm程度、メンテナンス空間18の長さH2は1200mm程度、ガスボックス6と電気系ボックス8の長さH3は600mm程度、配管スペース40の長さH4は600mm程度である。
尚、このメンテナンス空間18は、処理容器ヒータを搬出入するヒータ通路も兼ねている。
【0019】
これに対して、図4(B)に示す本発明装置の第1実施例の場合には、装置本体4の長さH1が同じく1900mm程度、一体化物56の置かれているメンテナンス空間62の長さH5は1000mm程度、更にその背面側に必要とされるヒータ通路80の長さH6は850mm程度であり、本発明装置の方が遥かに省スペース化に寄与させることができる。
また、本発明装置の場合には、ガスボックス6から処理容器14に至るガス管80A〜80C(図3参照)の長さが非常に短いので、従来装置で必要とされたバルブボックス32(図9参照)を省略することができる。
【0020】
上記実施例の熱処理装置50は、大気圧で、或いは大気圧近傍で拡散処理やアニール処理を行う熱処理装置を例にとって説明したが、真空雰囲気下にてCVD成膜等を行う熱処理装置についても本発明を適用することができる。この真空雰囲気下にてCVD成膜処理等を行うには大がかりな真空排気系が必要であり、この場合には、図5及び図6に示すように、上記ガスボックス6と電気系ボックス8の一体化物56に対向するようにメンテナンス空間62を挟んで排気ボックス34を装置本体4の裏面に接合させている。この排気ボックス34は、全体がパネル82により覆われており、メンテナンス空間62側は開閉可能になっている(図5中においては一部のパネルを取った状態を示す)。この排気ボックス34内には開閉弁84、トラップ機構86、圧力制御弁88等が設けられるが、この排気ボックス34の排気管38の上端は直接的に処理容器14へ接続され、この排気管38の下端は床下に設けた真空ポンプ74(図3参照)に接続して処理容器14内を真空引きするようになっている。
【0021】
この実施例の場合には、先に説明した実施例の作用効果に加えて、装置本体4のメンテナンス空間62と、一体化物56をメンテナンスする一体化物メンテナンス空間と、排気ボックス34をメンテナンスする排気メンテナンス空間とを共用させるようにしているので、全体として必要スペースを更に少なくして省スペース化に寄与することが可能となる。尚、この場合、排気ボックス34を設置した領域だけメンテナンス空間62が狭くなるが、上記各部材をメンテナンスするには十分な広さである。
【0022】
このように、本発明装置の第2実施例の省スペース化の効率について、図7を参照して従来装置の場合と比較して説明する。図7(A)は従来装置の配置の場合(図11に対応)を示し、図7(B)は本発明装置の配置の場合を示し、図中斜線部分はメンテナンス空間(配管スペースを含む)を示す。図7(A)に従来装置の場合には、装置本体4とガス電気系ボックス6、8の両裏面側にそれぞれメンテナンス空間18と配管スペース40を必要としている。また、排気ボックス34のメンテナンス空間は、装置本体4のメンテナンス空間を共用している。この場合、ウエハサイズにもよるが、装置本体4の長さH1は1900mm程度、メンテナンス空間18の長さH2は1200mm程度、排気ボックス34の長さH8は600mm程度、ガスボックス6と電気系ボックス8の長さH3は600mm程度、配管スペース40の長さH4は600mm程度である。
尚、このメンテナンス空間18は、処理容器ヒータを搬出入するヒータ通路も兼ねている。
【0023】
これに対して、図7(B)に示す本発明装置の第2実施例の場合には、装置本体4の長さH1が同じく1900mm程度、一体化物56及び排気ボックス34の置かれているメンテナンス空間62の長さH5は1000mm程度、更にその背面側に必要とされるヒータ通路80の長さH6は850mm程度であり、本発明装置の方が遥かに省スペース化に寄与させることができる。
尚、以上の各数値例は、比較のために単に一例を示したに過ぎず、これらに限定されないのは勿論である。
また、ここでは被処理体として半導体ウエハに対して熱処理する場合を例にとって説明したが、これに限定されず、LCD基板、ガラス基板等に熱処理する場合にも、本発明を適用できるのは勿論である。
【0024】
【発明の効果】
以上説明したように、本発明の熱処理装置によれば、次のように優れた作用効果を発揮することができる。
請求項1、2に係る発明によれば、ガスボックスを電気系ボックスの下段に位置させ、しかも上記両ボックスの一体化物を装置本体の裏面側へ接合するようにしたので、従来必要とされた配管スペースが不要となり、また、一体化物も装置本体のメンテナンス空間の一部に配置されることになるので、装置占有スペースと装置のメンテナンス空間とを含む全体としての必要スペースを大幅に削減することができる。
請求項3、4に係る発明によれば、処理容器内の真空引きを行う排気ボックスも装置本体の裏面に直接接合しているので、全体としての必要スペースを一層削減することができる。
【図面の簡単な説明】
【図1】本発明の熱処理装置の第1実施例の裏面側を示す斜視図である。
【図2】図1に示す装置の平面図である。
【図3】図1に示す装置の側面図である。
【図4】本発明装置の第1実施例の必要スペースの削減効果を説明するための説明図である。
【図5】本発明の熱処理装置の第2実施例の裏面側を示す斜視図である。
【図6】図5に示す装置の平面図である。
【図7】本発明装置の第2実施例の必要スペースの削減効果を説明するための説明図である。
【図8】真空排気系を有しない従来のバッチ式の縦型熱処理装置の一例を示す概略斜視図である。
【図9】図8に示す装置の平面図である。
【図10】真空排気系を有する従来のバッチ式の縦型熱処理装置の一例を示す概略斜視図である。
【図11】図10に示す装置の平面図である。
【符号の説明】
4 装置本体
6 ガスボックス
8 電気系ボックス
14 処理容器
34 排気ボックス
50 熱処理装置
52 メンテナンスドア
54 フレーム筐体
56 一体化物
60A〜60C ガス出口
62 メンテナンス空間
70A〜70C ガス通路
72 常圧排気管
74 真空ポンプ
76 真空排気管[0001]
BACKGROUND OF THE INVENTION
The present invention relates to a heat treatment apparatus for performing a heat treatment such as a film forming process on an object to be processed such as a semiconductor wafer.
[0002]
[Prior art]
In general, a semiconductor integrated circuit is formed by repeatedly performing various processes such as a film forming process, an oxidation diffusion process, an annealing process, and an etching process on an object to be processed such as a semiconductor wafer. Among the heat treatment apparatuses to be performed, a so-called batch type vertical heat treatment apparatus capable of performing treatment on a large number of semiconductor wafers at a time is often used.
8 is a schematic perspective view showing an example of a conventional batch type vertical heat treatment apparatus having no vacuum exhaust system, FIG. 9 is a plan view of the apparatus shown in FIG. 8, and FIG. 10 is a conventional batch type having a vacuum exhaust system. FIG. 11 is a plan view of the apparatus shown in FIG. 10.
[0003]
The
[0004]
The
[0005]
The apparatus
The
[0006]
[Problems to be solved by the invention]
By the way, a clean room in which this type of heat treatment apparatus is installed has a very high maintenance cost per unit area, so it is of course necessary to reduce the space occupied by the apparatus itself. It is required to reduce the space to be secured for maintenance as much as possible.
However, since many of the clean rooms are provided with a gas supply line and an exhaust line below the apparatus, in the above-described conventional
[0007]
In particular, as the wafer size increases from 20 cm (8 inches) to 30 cm (12 inches), the apparatus itself becomes much larger, and an early solution of the above-described problems is desired.
The present invention has been devised to pay attention to the above problems and to effectively solve them. An object of the present invention is to provide a heat treatment apparatus capable of greatly reducing not only the space occupied by the apparatus but also the necessary space including this maintenance space.
[0008]
[Means for Solving the Problems]
According to the first aspect of the present invention, there is provided an apparatus main body for storing a processing container for performing a predetermined process with a processing gas on a plurality of objects to be processed, and a gas for storing a gas control unit for controlling the supply of the processing gas. In a heat treatment apparatus having a box and an electric system box that houses an electric component, a maintenance door is provided on the back surface of the apparatus main body, and the gas box and the electric system box are framed with the gas box facing downward. with the integrated product by joining up and down in the housing, the side surface of the integrated product on the back of the device body, which is constituted so as to couple to avoidthe maintenance door.
As a result, the gas box is positioned at the lower stage of the electric system box, and the integrated product of the two boxes is joined to the back side of the main body of the apparatus. Since the chemicals are also arranged in a part of the maintenance space of the apparatus main body, it is possible to greatly reduce the necessary space as a whole including the apparatus occupation space and the maintenance space of the apparatus.
[0009]
In this case, for example, as defined in
Further, for example, as defined in claim 3, an exhaust box for accommodating an exhaust unit for controlling evacuation in the processing container is opposed to the integrated object with the maintenance space interposed therebetween, and Join to the back side.
According to this, since the exhaust box for evacuating the processing container is also directly bonded to the back surface of the apparatus main body, the necessary space as a whole can be further reduced.
[0010]
In this case, for example, as defined in
[0011]
DETAILED DESCRIPTION OF THE INVENTION
Hereinafter, an embodiment of a heat treatment apparatus according to the present invention will be described in detail with reference to the accompanying drawings.
1 is a perspective view showing the back side of a first embodiment of the heat treatment apparatus of the present invention, FIG. 2 is a plan view of the apparatus shown in FIG. 1, FIG. 3 is a side view of the apparatus shown in FIG. It is explanatory drawing for demonstrating the reduction effect of the required space of 1st Example of an apparatus. In the following description, the same components as those of the conventional device described above are denoted by the same reference numerals.
The
[0012]
First, the
Further, although not shown in the figure, the
[0013]
The
[0014]
The
[0015]
As shown in FIG. 3, the floor of the clean room where the
The
[0016]
In addition, a plurality of (three in the illustrated example)
Further, a
[0017]
In general, the device of the present invention made in this way is arranged in parallel with a plurality of devices in contact with each other. According to the apparatus of the present invention, the two boxes are joined to form an
Further, as described above, the
[0018]
Thus, the efficiency of space saving in the first embodiment of the apparatus of the present invention will be described with reference to FIG. 4 in comparison with the conventional apparatus. 4A shows the case of the arrangement of the conventional apparatus (corresponding to FIG. 9), FIG. 4B shows the case of the arrangement of the apparatus of the present invention, and the hatched portion in the figure indicates the maintenance space (including the piping space). ). In the case of the conventional apparatus shown in FIG. 4A, a
The
[0019]
On the other hand, in the case of the first embodiment of the apparatus of the present invention shown in FIG. 4B, the length H1 of the
In the case of the apparatus of the present invention, the length of the
[0020]
The
[0021]
In the case of this embodiment, in addition to the functions and effects of the above-described embodiment, the
[0022]
Thus, the space saving efficiency of the second embodiment of the apparatus of the present invention will be described with reference to FIG. 7 in comparison with the conventional apparatus. 7A shows the case of the arrangement of the conventional apparatus (corresponding to FIG. 11), FIG. 7B shows the case of the arrangement of the apparatus of the present invention, and the hatched portion in the figure indicates the maintenance space (including the piping space). Indicates. In the case of the conventional apparatus shown in FIG. 7A, a
The
[0023]
On the other hand, in the case of the second embodiment of the device of the present invention shown in FIG. 7B, the length H1 of the
It should be noted that the above numerical examples are merely examples for comparison and are of course not limited thereto.
Although the case where a semiconductor wafer is heat-treated as an object to be processed has been described as an example here, the present invention is not limited to this, and the present invention can be applied to a case where heat treatment is performed on an LCD substrate, a glass substrate, or the like. It is.
[0024]
【The invention's effect】
As described above, according to the heat treatment apparatus of the present invention, the following excellent effects can be achieved.
According to the first and second aspects of the invention, the gas box is positioned at the lower stage of the electric system box, and the integrated product of the two boxes is joined to the back side of the apparatus main body. Piping space is not required, and the integrated product is also located in a part of the maintenance space of the equipment body, greatly reducing the overall required space including the equipment occupation space and equipment maintenance space. Can do.
According to the third and fourth aspects of the invention, since the exhaust box for evacuating the processing container is also directly joined to the back surface of the apparatus main body, the necessary space as a whole can be further reduced.
[Brief description of the drawings]
FIG. 1 is a perspective view showing the back side of a first embodiment of a heat treatment apparatus of the present invention.
FIG. 2 is a plan view of the apparatus shown in FIG.
FIG. 3 is a side view of the apparatus shown in FIG. 1;
FIG. 4 is an explanatory diagram for explaining the effect of reducing the required space of the first embodiment of the device of the present invention;
FIG. 5 is a perspective view showing the back side of a second embodiment of the heat treatment apparatus of the present invention.
6 is a plan view of the apparatus shown in FIG.
FIG. 7 is an explanatory diagram for explaining the effect of reducing the required space of the second embodiment of the apparatus of the present invention.
FIG. 8 is a schematic perspective view showing an example of a conventional batch type vertical heat treatment apparatus that does not have an evacuation system.
9 is a plan view of the apparatus shown in FIG.
FIG. 10 is a schematic perspective view showing an example of a conventional batch type vertical heat treatment apparatus having an evacuation system.
11 is a plan view of the apparatus shown in FIG.
[Explanation of symbols]
4 apparatus
| Application Number | Priority Date | Filing Date | Title |
|---|---|---|---|
| JP2000364959AJP3610900B2 (en) | 2000-11-30 | 2000-11-30 | Heat treatment equipment |
| Application Number | Priority Date | Filing Date | Title |
|---|---|---|---|
| JP2000364959AJP3610900B2 (en) | 2000-11-30 | 2000-11-30 | Heat treatment equipment |
| Publication Number | Publication Date |
|---|---|
| JP2002170781A JP2002170781A (en) | 2002-06-14 |
| JP3610900B2true JP3610900B2 (en) | 2005-01-19 |
| Application Number | Title | Priority Date | Filing Date |
|---|---|---|---|
| JP2000364959AExpired - Fee RelatedJP3610900B2 (en) | 2000-11-30 | 2000-11-30 | Heat treatment equipment |
| Country | Link |
|---|---|
| JP (1) | JP3610900B2 (en) |
| Publication number | Priority date | Publication date | Assignee | Title |
|---|---|---|---|---|
| US10378106B2 (en) | 2008-11-14 | 2019-08-13 | Asm Ip Holding B.V. | Method of forming insulation film by modified PEALD |
| US9394608B2 (en) | 2009-04-06 | 2016-07-19 | Asm America, Inc. | Semiconductor processing reactor and components thereof |
| US8802201B2 (en) | 2009-08-14 | 2014-08-12 | Asm America, Inc. | Systems and methods for thin-film deposition of metal oxides using excited nitrogen-oxygen species |
| US9312155B2 (en) | 2011-06-06 | 2016-04-12 | Asm Japan K.K. | High-throughput semiconductor-processing apparatus equipped with multiple dual-chamber modules |
| US10854498B2 (en) | 2011-07-15 | 2020-12-01 | Asm Ip Holding B.V. | Wafer-supporting device and method for producing same |
| US20130023129A1 (en) | 2011-07-20 | 2013-01-24 | Asm America, Inc. | Pressure transmitter for a semiconductor processing environment |
| US9017481B1 (en) | 2011-10-28 | 2015-04-28 | Asm America, Inc. | Process feed management for semiconductor substrate processing |
| US9659799B2 (en) | 2012-08-28 | 2017-05-23 | Asm Ip Holding B.V. | Systems and methods for dynamic semiconductor process scheduling |
| US10714315B2 (en) | 2012-10-12 | 2020-07-14 | Asm Ip Holdings B.V. | Semiconductor reaction chamber showerhead |
| US20160376700A1 (en) | 2013-02-01 | 2016-12-29 | Asm Ip Holding B.V. | System for treatment of deposition reactor |
| US10683571B2 (en) | 2014-02-25 | 2020-06-16 | Asm Ip Holding B.V. | Gas supply manifold and method of supplying gases to chamber using same |
| US10167557B2 (en) | 2014-03-18 | 2019-01-01 | Asm Ip Holding B.V. | Gas distribution system, reactor including the system, and methods of using the same |
| US11015245B2 (en) | 2014-03-19 | 2021-05-25 | Asm Ip Holding B.V. | Gas-phase reactor and system having exhaust plenum and components thereof |
| US10858737B2 (en) | 2014-07-28 | 2020-12-08 | Asm Ip Holding B.V. | Showerhead assembly and components thereof |
| US9890456B2 (en) | 2014-08-21 | 2018-02-13 | Asm Ip Holding B.V. | Method and system for in situ formation of gas-phase compounds |
| US10941490B2 (en) | 2014-10-07 | 2021-03-09 | Asm Ip Holding B.V. | Multiple temperature range susceptor, assembly, reactor and system including the susceptor, and methods of using the same |
| US9657845B2 (en) | 2014-10-07 | 2017-05-23 | Asm Ip Holding B.V. | Variable conductance gas distribution apparatus and method |
| KR102263121B1 (en) | 2014-12-22 | 2021-06-09 | 에이에스엠 아이피 홀딩 비.브이. | Semiconductor device and manufacuring method thereof |
| US10529542B2 (en) | 2015-03-11 | 2020-01-07 | Asm Ip Holdings B.V. | Cross-flow reactor and method |
| US10276355B2 (en) | 2015-03-12 | 2019-04-30 | Asm Ip Holding B.V. | Multi-zone reactor, system including the reactor, and method of using the same |
| US10458018B2 (en) | 2015-06-26 | 2019-10-29 | Asm Ip Holding B.V. | Structures including metal carbide material, devices including the structures, and methods of forming same |
| US10600673B2 (en) | 2015-07-07 | 2020-03-24 | Asm Ip Holding B.V. | Magnetic susceptor to baseplate seal |
| US9960072B2 (en) | 2015-09-29 | 2018-05-01 | Asm Ip Holding B.V. | Variable adjustment for precise matching of multiple chamber cavity housings |
| US10014196B2 (en)* | 2015-10-20 | 2018-07-03 | Lam Research Corporation | Wafer transport assembly with integrated buffers |
| US10211308B2 (en) | 2015-10-21 | 2019-02-19 | Asm Ip Holding B.V. | NbMC layers |
| US11139308B2 (en) | 2015-12-29 | 2021-10-05 | Asm Ip Holding B.V. | Atomic layer deposition of III-V compounds to form V-NAND devices |
| US10529554B2 (en) | 2016-02-19 | 2020-01-07 | Asm Ip Holding B.V. | Method for forming silicon nitride film selectively on sidewalls or flat surfaces of trenches |
| US10468251B2 (en) | 2016-02-19 | 2019-11-05 | Asm Ip Holding B.V. | Method for forming spacers using silicon nitride film for spacer-defined multiple patterning |
| US10343920B2 (en) | 2016-03-18 | 2019-07-09 | Asm Ip Holding B.V. | Aligned carbon nanotubes |
| US10190213B2 (en) | 2016-04-21 | 2019-01-29 | Asm Ip Holding B.V. | Deposition of metal borides |
| US10865475B2 (en) | 2016-04-21 | 2020-12-15 | Asm Ip Holding B.V. | Deposition of metal borides and silicides |
| US10032628B2 (en) | 2016-05-02 | 2018-07-24 | Asm Ip Holding B.V. | Source/drain performance through conformal solid state doping |
| US10367080B2 (en) | 2016-05-02 | 2019-07-30 | Asm Ip Holding B.V. | Method of forming a germanium oxynitride film |
| US11453943B2 (en) | 2016-05-25 | 2022-09-27 | Asm Ip Holding B.V. | Method for forming carbon-containing silicon/metal oxide or nitride film by ALD using silicon precursor and hydrocarbon precursor |
| US10388509B2 (en) | 2016-06-28 | 2019-08-20 | Asm Ip Holding B.V. | Formation of epitaxial layers via dislocation filtering |
| JP6891252B2 (en)* | 2016-06-30 | 2021-06-18 | 株式会社Kokusai Electric | Substrate processing equipment, semiconductor device manufacturing methods, programs and recording media |
| CN110265322B (en) | 2016-06-30 | 2020-10-30 | 株式会社国际电气 | Substrate processing apparatus, method of manufacturing semiconductor device, and recording medium |
| US9859151B1 (en) | 2016-07-08 | 2018-01-02 | Asm Ip Holding B.V. | Selective film deposition method to form air gaps |
| US10612137B2 (en) | 2016-07-08 | 2020-04-07 | Asm Ip Holdings B.V. | Organic reactants for atomic layer deposition |
| US10714385B2 (en) | 2016-07-19 | 2020-07-14 | Asm Ip Holding B.V. | Selective deposition of tungsten |
| KR102532607B1 (en) | 2016-07-28 | 2023-05-15 | 에이에스엠 아이피 홀딩 비.브이. | Substrate processing apparatus and method of operating the same |
| US10395919B2 (en) | 2016-07-28 | 2019-08-27 | Asm Ip Holding B.V. | Method and apparatus for filling a gap |
| US9812320B1 (en) | 2016-07-28 | 2017-11-07 | Asm Ip Holding B.V. | Method and apparatus for filling a gap |
| US9887082B1 (en) | 2016-07-28 | 2018-02-06 | Asm Ip Holding B.V. | Method and apparatus for filling a gap |
| US10410943B2 (en) | 2016-10-13 | 2019-09-10 | Asm Ip Holding B.V. | Method for passivating a surface of a semiconductor and related systems |
| US10643826B2 (en) | 2016-10-26 | 2020-05-05 | Asm Ip Holdings B.V. | Methods for thermally calibrating reaction chambers |
| US11532757B2 (en) | 2016-10-27 | 2022-12-20 | Asm Ip Holding B.V. | Deposition of charge trapping layers |
| US10435790B2 (en) | 2016-11-01 | 2019-10-08 | Asm Ip Holding B.V. | Method of subatmospheric plasma-enhanced ALD using capacitively coupled electrodes with narrow gap |
| US10714350B2 (en) | 2016-11-01 | 2020-07-14 | ASM IP Holdings, B.V. | Methods for forming a transition metal niobium nitride film on a substrate by atomic layer deposition and related semiconductor device structures |
| US10229833B2 (en) | 2016-11-01 | 2019-03-12 | Asm Ip Holding B.V. | Methods for forming a transition metal nitride film on a substrate by atomic layer deposition and related semiconductor device structures |
| US10134757B2 (en) | 2016-11-07 | 2018-11-20 | Asm Ip Holding B.V. | Method of processing a substrate and a device manufactured by using the method |
| KR102546317B1 (en) | 2016-11-15 | 2023-06-21 | 에이에스엠 아이피 홀딩 비.브이. | Gas supply unit and substrate processing apparatus including the same |
| US10340135B2 (en) | 2016-11-28 | 2019-07-02 | Asm Ip Holding B.V. | Method of topologically restricted plasma-enhanced cyclic deposition of silicon or metal nitride |
| KR102762543B1 (en) | 2016-12-14 | 2025-02-05 | 에이에스엠 아이피 홀딩 비.브이. | Substrate processing apparatus |
| US11581186B2 (en) | 2016-12-15 | 2023-02-14 | Asm Ip Holding B.V. | Sequential infiltration synthesis apparatus |
| US11447861B2 (en) | 2016-12-15 | 2022-09-20 | Asm Ip Holding B.V. | Sequential infiltration synthesis apparatus and a method of forming a patterned structure |
| KR102700194B1 (en) | 2016-12-19 | 2024-08-28 | 에이에스엠 아이피 홀딩 비.브이. | Substrate processing apparatus |
| US10269558B2 (en) | 2016-12-22 | 2019-04-23 | Asm Ip Holding B.V. | Method of forming a structure on a substrate |
| US10867788B2 (en) | 2016-12-28 | 2020-12-15 | Asm Ip Holding B.V. | Method of forming a structure on a substrate |
| US11390950B2 (en) | 2017-01-10 | 2022-07-19 | Asm Ip Holding B.V. | Reactor system and method to reduce residue buildup during a film deposition process |
| US10655221B2 (en) | 2017-02-09 | 2020-05-19 | Asm Ip Holding B.V. | Method for depositing oxide film by thermal ALD and PEALD |
| US10468261B2 (en) | 2017-02-15 | 2019-11-05 | Asm Ip Holding B.V. | Methods for forming a metallic film on a substrate by cyclical deposition and related semiconductor device structures |
| US10529563B2 (en) | 2017-03-29 | 2020-01-07 | Asm Ip Holdings B.V. | Method for forming doped metal oxide films on a substrate by cyclical deposition and related semiconductor device structures |
| KR102457289B1 (en) | 2017-04-25 | 2022-10-21 | 에이에스엠 아이피 홀딩 비.브이. | Method for depositing a thin film and manufacturing a semiconductor device |
| US10892156B2 (en) | 2017-05-08 | 2021-01-12 | Asm Ip Holding B.V. | Methods for forming a silicon nitride film on a substrate and related semiconductor device structures |
| US10770286B2 (en) | 2017-05-08 | 2020-09-08 | Asm Ip Holdings B.V. | Methods for selectively forming a silicon nitride film on a substrate and related semiconductor device structures |
| US10446393B2 (en) | 2017-05-08 | 2019-10-15 | Asm Ip Holding B.V. | Methods for forming silicon-containing epitaxial layers and related semiconductor device structures |
| US10504742B2 (en) | 2017-05-31 | 2019-12-10 | Asm Ip Holding B.V. | Method of atomic layer etching using hydrogen plasma |
| US10886123B2 (en) | 2017-06-02 | 2021-01-05 | Asm Ip Holding B.V. | Methods for forming low temperature semiconductor layers and related semiconductor device structures |
| US12040200B2 (en) | 2017-06-20 | 2024-07-16 | Asm Ip Holding B.V. | Semiconductor processing apparatus and methods for calibrating a semiconductor processing apparatus |
| US11306395B2 (en) | 2017-06-28 | 2022-04-19 | Asm Ip Holding B.V. | Methods for depositing a transition metal nitride film on a substrate by atomic layer deposition and related deposition apparatus |
| US10685834B2 (en) | 2017-07-05 | 2020-06-16 | Asm Ip Holdings B.V. | Methods for forming a silicon germanium tin layer and related semiconductor device structures |
| KR20190009245A (en) | 2017-07-18 | 2019-01-28 | 에이에스엠 아이피 홀딩 비.브이. | Methods for forming a semiconductor device structure and related semiconductor device structures |
| US10541333B2 (en) | 2017-07-19 | 2020-01-21 | Asm Ip Holding B.V. | Method for depositing a group IV semiconductor and related semiconductor device structures |
| US11374112B2 (en) | 2017-07-19 | 2022-06-28 | Asm Ip Holding B.V. | Method for depositing a group IV semiconductor and related semiconductor device structures |
| US11018002B2 (en) | 2017-07-19 | 2021-05-25 | Asm Ip Holding B.V. | Method for selectively depositing a Group IV semiconductor and related semiconductor device structures |
| US10590535B2 (en) | 2017-07-26 | 2020-03-17 | Asm Ip Holdings B.V. | Chemical treatment, deposition and/or infiltration apparatus and method for using the same |
| US10605530B2 (en) | 2017-07-26 | 2020-03-31 | Asm Ip Holding B.V. | Assembly of a liner and a flange for a vertical furnace as well as the liner and the vertical furnace |
| TWI815813B (en) | 2017-08-04 | 2023-09-21 | 荷蘭商Asm智慧財產控股公司 | Showerhead assembly for distributing a gas within a reaction chamber |
| US10692741B2 (en) | 2017-08-08 | 2020-06-23 | Asm Ip Holdings B.V. | Radiation shield |
| US10770336B2 (en) | 2017-08-08 | 2020-09-08 | Asm Ip Holding B.V. | Substrate lift mechanism and reactor including same |
| US11769682B2 (en) | 2017-08-09 | 2023-09-26 | Asm Ip Holding B.V. | Storage apparatus for storing cassettes for substrates and processing apparatus equipped therewith |
| US11139191B2 (en) | 2017-08-09 | 2021-10-05 | Asm Ip Holding B.V. | Storage apparatus for storing cassettes for substrates and processing apparatus equipped therewith |
| US10249524B2 (en) | 2017-08-09 | 2019-04-02 | Asm Ip Holding B.V. | Cassette holder assembly for a substrate cassette and holding member for use in such assembly |
| USD900036S1 (en) | 2017-08-24 | 2020-10-27 | Asm Ip Holding B.V. | Heater electrical connector and adapter |
| US11830730B2 (en) | 2017-08-29 | 2023-11-28 | Asm Ip Holding B.V. | Layer forming method and apparatus |
| US11295980B2 (en) | 2017-08-30 | 2022-04-05 | Asm Ip Holding B.V. | Methods for depositing a molybdenum metal film over a dielectric surface of a substrate by a cyclical deposition process and related semiconductor device structures |
| US11056344B2 (en) | 2017-08-30 | 2021-07-06 | Asm Ip Holding B.V. | Layer forming method |
| KR102491945B1 (en) | 2017-08-30 | 2023-01-26 | 에이에스엠 아이피 홀딩 비.브이. | Substrate processing apparatus |
| KR102401446B1 (en) | 2017-08-31 | 2022-05-24 | 에이에스엠 아이피 홀딩 비.브이. | Substrate processing apparatus |
| US10607895B2 (en) | 2017-09-18 | 2020-03-31 | Asm Ip Holdings B.V. | Method for forming a semiconductor device structure comprising a gate fill metal |
| KR102630301B1 (en) | 2017-09-21 | 2024-01-29 | 에이에스엠 아이피 홀딩 비.브이. | Method of sequential infiltration synthesis treatment of infiltrateable material and structures and devices formed using same |
| US10844484B2 (en) | 2017-09-22 | 2020-11-24 | Asm Ip Holding B.V. | Apparatus for dispensing a vapor phase reactant to a reaction chamber and related methods |
| US10658205B2 (en) | 2017-09-28 | 2020-05-19 | Asm Ip Holdings B.V. | Chemical dispensing apparatus and methods for dispensing a chemical to a reaction chamber |
| US10403504B2 (en) | 2017-10-05 | 2019-09-03 | Asm Ip Holding B.V. | Method for selectively depositing a metallic film on a substrate |
| US10319588B2 (en) | 2017-10-10 | 2019-06-11 | Asm Ip Holding B.V. | Method for depositing a metal chalcogenide on a substrate by cyclical deposition |
| US10923344B2 (en) | 2017-10-30 | 2021-02-16 | Asm Ip Holding B.V. | Methods for forming a semiconductor structure and related semiconductor structures |
| KR102443047B1 (en) | 2017-11-16 | 2022-09-14 | 에이에스엠 아이피 홀딩 비.브이. | Method of processing a substrate and a device manufactured by the same |
| US10910262B2 (en) | 2017-11-16 | 2021-02-02 | Asm Ip Holding B.V. | Method of selectively depositing a capping layer structure on a semiconductor device structure |
| US11022879B2 (en) | 2017-11-24 | 2021-06-01 | Asm Ip Holding B.V. | Method of forming an enhanced unexposed photoresist layer |
| WO2019103613A1 (en) | 2017-11-27 | 2019-05-31 | Asm Ip Holding B.V. | A storage device for storing wafer cassettes for use with a batch furnace |
| CN111344522B (en) | 2017-11-27 | 2022-04-12 | 阿斯莫Ip控股公司 | Including clean mini-environment device |
| US10872771B2 (en) | 2018-01-16 | 2020-12-22 | Asm Ip Holding B. V. | Method for depositing a material film on a substrate within a reaction chamber by a cyclical deposition process and related device structures |
| KR102695659B1 (en) | 2018-01-19 | 2024-08-14 | 에이에스엠 아이피 홀딩 비.브이. | Method for depositing a gap filling layer by plasma assisted deposition |
| TWI799494B (en) | 2018-01-19 | 2023-04-21 | 荷蘭商Asm 智慧財產控股公司 | Deposition method |
| USD903477S1 (en) | 2018-01-24 | 2020-12-01 | Asm Ip Holdings B.V. | Metal clamp |
| US11018047B2 (en) | 2018-01-25 | 2021-05-25 | Asm Ip Holding B.V. | Hybrid lift pin |
| US10535516B2 (en) | 2018-02-01 | 2020-01-14 | Asm Ip Holdings B.V. | Method for depositing a semiconductor structure on a surface of a substrate and related semiconductor structures |
| USD880437S1 (en) | 2018-02-01 | 2020-04-07 | Asm Ip Holding B.V. | Gas supply plate for semiconductor manufacturing apparatus |
| US11081345B2 (en) | 2018-02-06 | 2021-08-03 | Asm Ip Holding B.V. | Method of post-deposition treatment for silicon oxide film |
| US10896820B2 (en) | 2018-02-14 | 2021-01-19 | Asm Ip Holding B.V. | Method for depositing a ruthenium-containing film on a substrate by a cyclical deposition process |
| WO2019158960A1 (en) | 2018-02-14 | 2019-08-22 | Asm Ip Holding B.V. | A method for depositing a ruthenium-containing film on a substrate by a cyclical deposition process |
| US10731249B2 (en) | 2018-02-15 | 2020-08-04 | Asm Ip Holding B.V. | Method of forming a transition metal containing film on a substrate by a cyclical deposition process, a method for supplying a transition metal halide compound to a reaction chamber, and related vapor deposition apparatus |
| US10658181B2 (en) | 2018-02-20 | 2020-05-19 | Asm Ip Holding B.V. | Method of spacer-defined direct patterning in semiconductor fabrication |
| KR102636427B1 (en) | 2018-02-20 | 2024-02-13 | 에이에스엠 아이피 홀딩 비.브이. | Substrate processing method and apparatus |
| US10975470B2 (en) | 2018-02-23 | 2021-04-13 | Asm Ip Holding B.V. | Apparatus for detecting or monitoring for a chemical precursor in a high temperature environment |
| US11473195B2 (en) | 2018-03-01 | 2022-10-18 | Asm Ip Holding B.V. | Semiconductor processing apparatus and a method for processing a substrate |
| CN111712904B (en)* | 2018-03-06 | 2023-11-28 | 株式会社国际电气 | Processing device, exhaust system, semiconductor device manufacturing method |
| US11629406B2 (en) | 2018-03-09 | 2023-04-18 | Asm Ip Holding B.V. | Semiconductor processing apparatus comprising one or more pyrometers for measuring a temperature of a substrate during transfer of the substrate |
| US11114283B2 (en) | 2018-03-16 | 2021-09-07 | Asm Ip Holding B.V. | Reactor, system including the reactor, and methods of manufacturing and using same |
| KR102646467B1 (en) | 2018-03-27 | 2024-03-11 | 에이에스엠 아이피 홀딩 비.브이. | Method of forming an electrode on a substrate and a semiconductor device structure including an electrode |
| US11230766B2 (en) | 2018-03-29 | 2022-01-25 | Asm Ip Holding B.V. | Substrate processing apparatus and method |
| US11088002B2 (en) | 2018-03-29 | 2021-08-10 | Asm Ip Holding B.V. | Substrate rack and a substrate processing system and method |
| US10510536B2 (en) | 2018-03-29 | 2019-12-17 | Asm Ip Holding B.V. | Method of depositing a co-doped polysilicon film on a surface of a substrate within a reaction chamber |
| KR102501472B1 (en) | 2018-03-30 | 2023-02-20 | 에이에스엠 아이피 홀딩 비.브이. | Substrate processing method |
| KR102600229B1 (en) | 2018-04-09 | 2023-11-10 | 에이에스엠 아이피 홀딩 비.브이. | Substrate supporting device, substrate processing apparatus including the same and substrate processing method |
| US12025484B2 (en) | 2018-05-08 | 2024-07-02 | Asm Ip Holding B.V. | Thin film forming method |
| TWI811348B (en) | 2018-05-08 | 2023-08-11 | 荷蘭商Asm 智慧財產控股公司 | Methods for depositing an oxide film on a substrate by a cyclical deposition process and related device structures |
| US12272527B2 (en) | 2018-05-09 | 2025-04-08 | Asm Ip Holding B.V. | Apparatus for use with hydrogen radicals and method of using same |
| KR20190129718A (en) | 2018-05-11 | 2019-11-20 | 에이에스엠 아이피 홀딩 비.브이. | Methods for forming a doped metal carbide film on a substrate and related semiconductor device structures |
| KR102596988B1 (en) | 2018-05-28 | 2023-10-31 | 에이에스엠 아이피 홀딩 비.브이. | Method of processing a substrate and a device manufactured by the same |
| US11718913B2 (en) | 2018-06-04 | 2023-08-08 | Asm Ip Holding B.V. | Gas distribution system and reactor system including same |
| TWI840362B (en) | 2018-06-04 | 2024-05-01 | 荷蘭商Asm Ip私人控股有限公司 | Wafer handling chamber with moisture reduction |
| US11286562B2 (en) | 2018-06-08 | 2022-03-29 | Asm Ip Holding B.V. | Gas-phase chemical reactor and method of using same |
| US10797133B2 (en) | 2018-06-21 | 2020-10-06 | Asm Ip Holding B.V. | Method for depositing a phosphorus doped silicon arsenide film and related semiconductor device structures |
| KR102568797B1 (en) | 2018-06-21 | 2023-08-21 | 에이에스엠 아이피 홀딩 비.브이. | Substrate processing system |
| TWI873894B (en) | 2018-06-27 | 2025-02-21 | 荷蘭商Asm Ip私人控股有限公司 | Cyclic deposition methods for forming metal-containing material and films and structures including the metal-containing material |
| KR102854019B1 (en) | 2018-06-27 | 2025-09-02 | 에이에스엠 아이피 홀딩 비.브이. | Periodic deposition method for forming a metal-containing material and films and structures comprising the metal-containing material |
| US10612136B2 (en) | 2018-06-29 | 2020-04-07 | ASM IP Holding, B.V. | Temperature-controlled flange and reactor system including same |
| KR102686758B1 (en) | 2018-06-29 | 2024-07-18 | 에이에스엠 아이피 홀딩 비.브이. | Method for depositing a thin film and manufacturing a semiconductor device |
| US10755922B2 (en) | 2018-07-03 | 2020-08-25 | Asm Ip Holding B.V. | Method for depositing silicon-free carbon-containing film as gap-fill layer by pulse plasma-assisted deposition |
| US10388513B1 (en) | 2018-07-03 | 2019-08-20 | Asm Ip Holding B.V. | Method for depositing silicon-free carbon-containing film as gap-fill layer by pulse plasma-assisted deposition |
| US10767789B2 (en) | 2018-07-16 | 2020-09-08 | Asm Ip Holding B.V. | Diaphragm valves, valve components, and methods for forming valve components |
| US10483099B1 (en) | 2018-07-26 | 2019-11-19 | Asm Ip Holding B.V. | Method for forming thermally stable organosilicon polymer film |
| US11053591B2 (en) | 2018-08-06 | 2021-07-06 | Asm Ip Holding B.V. | Multi-port gas injection system and reactor system including same |
| US10883175B2 (en) | 2018-08-09 | 2021-01-05 | Asm Ip Holding B.V. | Vertical furnace for processing substrates and a liner for use therein |
| US10829852B2 (en) | 2018-08-16 | 2020-11-10 | Asm Ip Holding B.V. | Gas distribution device for a wafer processing apparatus |
| US11430674B2 (en) | 2018-08-22 | 2022-08-30 | Asm Ip Holding B.V. | Sensor array, apparatus for dispensing a vapor phase reactant to a reaction chamber and related methods |
| US11024523B2 (en) | 2018-09-11 | 2021-06-01 | Asm Ip Holding B.V. | Substrate processing apparatus and method |
| KR102707956B1 (en) | 2018-09-11 | 2024-09-19 | 에이에스엠 아이피 홀딩 비.브이. | Method for deposition of a thin film |
| US11049751B2 (en) | 2018-09-14 | 2021-06-29 | Asm Ip Holding B.V. | Cassette supply system to store and handle cassettes and processing apparatus equipped therewith |
| CN110970344B (en) | 2018-10-01 | 2024-10-25 | Asmip控股有限公司 | Substrate holding apparatus, system comprising the same and method of using the same |
| US11232963B2 (en) | 2018-10-03 | 2022-01-25 | Asm Ip Holding B.V. | Substrate processing apparatus and method |
| KR102592699B1 (en) | 2018-10-08 | 2023-10-23 | 에이에스엠 아이피 홀딩 비.브이. | Substrate support unit and apparatuses for depositing thin film and processing the substrate including the same |
| US10847365B2 (en) | 2018-10-11 | 2020-11-24 | Asm Ip Holding B.V. | Method of forming conformal silicon carbide film by cyclic CVD |
| US10811256B2 (en) | 2018-10-16 | 2020-10-20 | Asm Ip Holding B.V. | Method for etching a carbon-containing feature |
| KR102605121B1 (en) | 2018-10-19 | 2023-11-23 | 에이에스엠 아이피 홀딩 비.브이. | Substrate processing apparatus and substrate processing method |
| KR102546322B1 (en) | 2018-10-19 | 2023-06-21 | 에이에스엠 아이피 홀딩 비.브이. | Substrate processing apparatus and substrate processing method |
| USD948463S1 (en) | 2018-10-24 | 2022-04-12 | Asm Ip Holding B.V. | Susceptor for semiconductor substrate supporting apparatus |
| US10381219B1 (en) | 2018-10-25 | 2019-08-13 | Asm Ip Holding B.V. | Methods for forming a silicon nitride film |
| US12378665B2 (en) | 2018-10-26 | 2025-08-05 | Asm Ip Holding B.V. | High temperature coatings for a preclean and etch apparatus and related methods |
| US11087997B2 (en) | 2018-10-31 | 2021-08-10 | Asm Ip Holding B.V. | Substrate processing apparatus for processing substrates |
| KR102748291B1 (en) | 2018-11-02 | 2024-12-31 | 에이에스엠 아이피 홀딩 비.브이. | Substrate support unit and substrate processing apparatus including the same |
| US11572620B2 (en) | 2018-11-06 | 2023-02-07 | Asm Ip Holding B.V. | Methods for selectively depositing an amorphous silicon film on a substrate |
| US11031242B2 (en) | 2018-11-07 | 2021-06-08 | Asm Ip Holding B.V. | Methods for depositing a boron doped silicon germanium film |
| US10818758B2 (en) | 2018-11-16 | 2020-10-27 | Asm Ip Holding B.V. | Methods for forming a metal silicate film on a substrate in a reaction chamber and related semiconductor device structures |
| US10847366B2 (en) | 2018-11-16 | 2020-11-24 | Asm Ip Holding B.V. | Methods for depositing a transition metal chalcogenide film on a substrate by a cyclical deposition process |
| US10559458B1 (en) | 2018-11-26 | 2020-02-11 | Asm Ip Holding B.V. | Method of forming oxynitride film |
| US12040199B2 (en) | 2018-11-28 | 2024-07-16 | Asm Ip Holding B.V. | Substrate processing apparatus for processing substrates |
| US11217444B2 (en) | 2018-11-30 | 2022-01-04 | Asm Ip Holding B.V. | Method for forming an ultraviolet radiation responsive metal oxide-containing film |
| KR102636428B1 (en) | 2018-12-04 | 2024-02-13 | 에이에스엠 아이피 홀딩 비.브이. | A method for cleaning a substrate processing apparatus |
| US11158513B2 (en) | 2018-12-13 | 2021-10-26 | Asm Ip Holding B.V. | Methods for forming a rhenium-containing film on a substrate by a cyclical deposition process and related semiconductor device structures |
| TWI874340B (en) | 2018-12-14 | 2025-03-01 | 荷蘭商Asm Ip私人控股有限公司 | Method of forming device structure, structure formed by the method and system for performing the method |
| JP7105751B2 (en) | 2019-01-10 | 2022-07-25 | 東京エレクトロン株式会社 | processing equipment |
| TWI866480B (en) | 2019-01-17 | 2024-12-11 | 荷蘭商Asm Ip 私人控股有限公司 | Methods of forming a transition metal containing film on a substrate by a cyclical deposition process |
| KR102727227B1 (en) | 2019-01-22 | 2024-11-07 | 에이에스엠 아이피 홀딩 비.브이. | Semiconductor processing device |
| CN111524788B (en) | 2019-02-01 | 2023-11-24 | Asm Ip私人控股有限公司 | Method for forming topologically selective films of silicon oxide |
| KR102626263B1 (en) | 2019-02-20 | 2024-01-16 | 에이에스엠 아이피 홀딩 비.브이. | Cyclical deposition method including treatment step and apparatus for same |
| TWI838458B (en) | 2019-02-20 | 2024-04-11 | 荷蘭商Asm Ip私人控股有限公司 | Apparatus and methods for plug fill deposition in 3-d nand applications |
| TWI873122B (en) | 2019-02-20 | 2025-02-21 | 荷蘭商Asm Ip私人控股有限公司 | Method of filling a recess formed within a surface of a substrate, semiconductor structure formed according to the method, and semiconductor processing apparatus |
| TWI845607B (en) | 2019-02-20 | 2024-06-21 | 荷蘭商Asm Ip私人控股有限公司 | Cyclical deposition method and apparatus for filling a recess formed within a substrate surface |
| TWI842826B (en) | 2019-02-22 | 2024-05-21 | 荷蘭商Asm Ip私人控股有限公司 | Substrate processing apparatus and method for processing substrate |
| KR102858005B1 (en) | 2019-03-08 | 2025-09-09 | 에이에스엠 아이피 홀딩 비.브이. | Method for Selective Deposition of Silicon Nitride Layer and Structure Including Selectively-Deposited Silicon Nitride Layer |
| US11742198B2 (en) | 2019-03-08 | 2023-08-29 | Asm Ip Holding B.V. | Structure including SiOCN layer and method of forming same |
| KR102782593B1 (en) | 2019-03-08 | 2025-03-14 | 에이에스엠 아이피 홀딩 비.브이. | Structure Including SiOC Layer and Method of Forming Same |
| JP6591711B2 (en)* | 2019-03-27 | 2019-10-16 | 株式会社Kokusai Electric | Substrate processing apparatus, semiconductor device manufacturing method, and recording medium |
| JP6625256B2 (en)* | 2019-03-27 | 2019-12-25 | 株式会社Kokusai Electric | Substrate processing apparatus, semiconductor device manufacturing method, and recording medium |
| JP6616917B2 (en)* | 2019-03-27 | 2019-12-04 | 株式会社Kokusai Electric | Substrate processing apparatus, semiconductor device manufacturing method, and recording medium |
| JP6591712B2 (en)* | 2019-03-27 | 2019-10-16 | 株式会社Kokusai Electric | Substrate processing apparatus, semiconductor device manufacturing method, and recording medium |
| JP6591710B2 (en)* | 2019-03-27 | 2019-10-16 | 株式会社Kokusai Electric | Substrate processing apparatus, semiconductor device manufacturing method, and recording medium |
| JP2020167398A (en) | 2019-03-28 | 2020-10-08 | エーエスエム・アイピー・ホールディング・ベー・フェー | Door openers and substrate processing equipment provided with door openers |
| KR102809999B1 (en) | 2019-04-01 | 2025-05-19 | 에이에스엠 아이피 홀딩 비.브이. | Method of manufacturing semiconductor device |
| KR20200123380A (en) | 2019-04-19 | 2020-10-29 | 에이에스엠 아이피 홀딩 비.브이. | Layer forming method and apparatus |
| KR20200125453A (en) | 2019-04-24 | 2020-11-04 | 에이에스엠 아이피 홀딩 비.브이. | Gas-phase reactor system and method of using same |
| KR20200130121A (en) | 2019-05-07 | 2020-11-18 | 에이에스엠 아이피 홀딩 비.브이. | Chemical source vessel with dip tube |
| US11289326B2 (en) | 2019-05-07 | 2022-03-29 | Asm Ip Holding B.V. | Method for reforming amorphous carbon polymer film |
| KR20200130652A (en) | 2019-05-10 | 2020-11-19 | 에이에스엠 아이피 홀딩 비.브이. | Method of depositing material onto a surface and structure formed according to the method |
| JP7598201B2 (en) | 2019-05-16 | 2024-12-11 | エーエスエム・アイピー・ホールディング・ベー・フェー | Wafer boat handling apparatus, vertical batch furnace and method |
| JP7612342B2 (en) | 2019-05-16 | 2025-01-14 | エーエスエム・アイピー・ホールディング・ベー・フェー | Wafer boat handling apparatus, vertical batch furnace and method |
| USD975665S1 (en) | 2019-05-17 | 2023-01-17 | Asm Ip Holding B.V. | Susceptor shaft |
| USD947913S1 (en) | 2019-05-17 | 2022-04-05 | Asm Ip Holding B.V. | Susceptor shaft |
| USD935572S1 (en) | 2019-05-24 | 2021-11-09 | Asm Ip Holding B.V. | Gas channel plate |
| USD922229S1 (en) | 2019-06-05 | 2021-06-15 | Asm Ip Holding B.V. | Device for controlling a temperature of a gas supply unit |
| KR20200141002A (en) | 2019-06-06 | 2020-12-17 | 에이에스엠 아이피 홀딩 비.브이. | Method of using a gas-phase reactor system including analyzing exhausted gas |
| KR20200141931A (en) | 2019-06-10 | 2020-12-21 | 에이에스엠 아이피 홀딩 비.브이. | Method for cleaning quartz epitaxial chambers |
| KR20200143254A (en) | 2019-06-11 | 2020-12-23 | 에이에스엠 아이피 홀딩 비.브이. | Method of forming an electronic structure using an reforming gas, system for performing the method, and structure formed using the method |
| USD944946S1 (en) | 2019-06-14 | 2022-03-01 | Asm Ip Holding B.V. | Shower plate |
| USD931978S1 (en) | 2019-06-27 | 2021-09-28 | Asm Ip Holding B.V. | Showerhead vacuum transport |
| KR20210005515A (en) | 2019-07-03 | 2021-01-14 | 에이에스엠 아이피 홀딩 비.브이. | Temperature control assembly for substrate processing apparatus and method of using same |
| JP7499079B2 (en) | 2019-07-09 | 2024-06-13 | エーエスエム・アイピー・ホールディング・ベー・フェー | Plasma device using coaxial waveguide and substrate processing method |
| CN112216646A (en) | 2019-07-10 | 2021-01-12 | Asm Ip私人控股有限公司 | Substrate supporting assembly and substrate processing device comprising same |
| KR20210010307A (en) | 2019-07-16 | 2021-01-27 | 에이에스엠 아이피 홀딩 비.브이. | Substrate processing apparatus |
| KR20210010816A (en) | 2019-07-17 | 2021-01-28 | 에이에스엠 아이피 홀딩 비.브이. | Radical assist ignition plasma system and method |
| KR102860110B1 (en) | 2019-07-17 | 2025-09-16 | 에이에스엠 아이피 홀딩 비.브이. | Methods of forming silicon germanium structures |
| US11643724B2 (en) | 2019-07-18 | 2023-05-09 | Asm Ip Holding B.V. | Method of forming structures using a neutral beam |
| TWI839544B (en) | 2019-07-19 | 2024-04-21 | 荷蘭商Asm Ip私人控股有限公司 | Method of forming topology-controlled amorphous carbon polymer film |
| KR20210010817A (en) | 2019-07-19 | 2021-01-28 | 에이에스엠 아이피 홀딩 비.브이. | Method of Forming Topology-Controlled Amorphous Carbon Polymer Film |
| TWI851767B (en) | 2019-07-29 | 2024-08-11 | 荷蘭商Asm Ip私人控股有限公司 | Methods for selective deposition utilizing n-type dopants and/or alternative dopants to achieve high dopant incorporation |
| US12169361B2 (en) | 2019-07-30 | 2024-12-17 | Asm Ip Holding B.V. | Substrate processing apparatus and method |
| CN112309900A (en) | 2019-07-30 | 2021-02-02 | Asm Ip私人控股有限公司 | Substrate processing apparatus |
| CN112309899A (en) | 2019-07-30 | 2021-02-02 | Asm Ip私人控股有限公司 | Substrate processing apparatus |
| US11587814B2 (en) | 2019-07-31 | 2023-02-21 | Asm Ip Holding B.V. | Vertical batch furnace assembly |
| US11587815B2 (en) | 2019-07-31 | 2023-02-21 | Asm Ip Holding B.V. | Vertical batch furnace assembly |
| US11227782B2 (en) | 2019-07-31 | 2022-01-18 | Asm Ip Holding B.V. | Vertical batch furnace assembly |
| CN112323048B (en) | 2019-08-05 | 2024-02-09 | Asm Ip私人控股有限公司 | Liquid level sensor for chemical source container |
| CN112342526A (en) | 2019-08-09 | 2021-02-09 | Asm Ip私人控股有限公司 | Heater assembly including cooling device and method of using same |
| USD965524S1 (en) | 2019-08-19 | 2022-10-04 | Asm Ip Holding B.V. | Susceptor support |
| USD965044S1 (en) | 2019-08-19 | 2022-09-27 | Asm Ip Holding B.V. | Susceptor shaft |
| JP2021031769A (en) | 2019-08-21 | 2021-03-01 | エーエスエム アイピー ホールディング ビー.ブイ. | Production apparatus of mixed gas of film deposition raw material and film deposition apparatus |
| USD949319S1 (en) | 2019-08-22 | 2022-04-19 | Asm Ip Holding B.V. | Exhaust duct |
| USD979506S1 (en) | 2019-08-22 | 2023-02-28 | Asm Ip Holding B.V. | Insulator |
| USD930782S1 (en) | 2019-08-22 | 2021-09-14 | Asm Ip Holding B.V. | Gas distributor |
| USD940837S1 (en) | 2019-08-22 | 2022-01-11 | Asm Ip Holding B.V. | Electrode |
| KR20210024423A (en) | 2019-08-22 | 2021-03-05 | 에이에스엠 아이피 홀딩 비.브이. | Method for forming a structure with a hole |
| KR20210024420A (en) | 2019-08-23 | 2021-03-05 | 에이에스엠 아이피 홀딩 비.브이. | Method for depositing silicon oxide film having improved quality by peald using bis(diethylamino)silane |
| US11286558B2 (en) | 2019-08-23 | 2022-03-29 | Asm Ip Holding B.V. | Methods for depositing a molybdenum nitride film on a surface of a substrate by a cyclical deposition process and related semiconductor device structures including a molybdenum nitride film |
| KR102806450B1 (en) | 2019-09-04 | 2025-05-12 | 에이에스엠 아이피 홀딩 비.브이. | Methods for selective deposition using a sacrificial capping layer |
| KR102733104B1 (en) | 2019-09-05 | 2024-11-22 | 에이에스엠 아이피 홀딩 비.브이. | Substrate processing apparatus |
| US11562901B2 (en) | 2019-09-25 | 2023-01-24 | Asm Ip Holding B.V. | Substrate processing method |
| CN112593212B (en) | 2019-10-02 | 2023-12-22 | Asm Ip私人控股有限公司 | Method for forming topologically selective silicon oxide film by cyclic plasma enhanced deposition process |
| TW202128273A (en) | 2019-10-08 | 2021-08-01 | 荷蘭商Asm Ip私人控股有限公司 | Gas injection system, reactor system, and method of depositing material on surface of substratewithin reaction chamber |
| TWI846953B (en) | 2019-10-08 | 2024-07-01 | 荷蘭商Asm Ip私人控股有限公司 | Substrate processing device |
| KR20210042810A (en) | 2019-10-08 | 2021-04-20 | 에이에스엠 아이피 홀딩 비.브이. | Reactor system including a gas distribution assembly for use with activated species and method of using same |
| TWI846966B (en) | 2019-10-10 | 2024-07-01 | 荷蘭商Asm Ip私人控股有限公司 | Method of forming a photoresist underlayer and structure including same |
| US12009241B2 (en) | 2019-10-14 | 2024-06-11 | Asm Ip Holding B.V. | Vertical batch furnace assembly with detector to detect cassette |
| TWI834919B (en) | 2019-10-16 | 2024-03-11 | 荷蘭商Asm Ip私人控股有限公司 | Method of topology-selective film formation of silicon oxide |
| US11637014B2 (en) | 2019-10-17 | 2023-04-25 | Asm Ip Holding B.V. | Methods for selective deposition of doped semiconductor material |
| KR102845724B1 (en) | 2019-10-21 | 2025-08-13 | 에이에스엠 아이피 홀딩 비.브이. | Apparatus and methods for selectively etching films |
| KR20210050453A (en) | 2019-10-25 | 2021-05-07 | 에이에스엠 아이피 홀딩 비.브이. | Methods for filling a gap feature on a substrate surface and related semiconductor structures |
| US11646205B2 (en) | 2019-10-29 | 2023-05-09 | Asm Ip Holding B.V. | Methods of selectively forming n-type doped material on a surface, systems for selectively forming n-type doped material, and structures formed using same |
| KR20210054983A (en) | 2019-11-05 | 2021-05-14 | 에이에스엠 아이피 홀딩 비.브이. | Structures with doped semiconductor layers and methods and systems for forming same |
| US11501968B2 (en) | 2019-11-15 | 2022-11-15 | Asm Ip Holding B.V. | Method for providing a semiconductor device with silicon filled gaps |
| KR102861314B1 (en) | 2019-11-20 | 2025-09-17 | 에이에스엠 아이피 홀딩 비.브이. | Method of depositing carbon-containing material on a surface of a substrate, structure formed using the method, and system for forming the structure |
| US11450529B2 (en) | 2019-11-26 | 2022-09-20 | Asm Ip Holding B.V. | Methods for selectively forming a target film on a substrate comprising a first dielectric surface and a second metallic surface |
| CN112951697B (en) | 2019-11-26 | 2025-07-29 | Asmip私人控股有限公司 | Substrate processing apparatus |
| CN112885692B (en) | 2019-11-29 | 2025-08-15 | Asmip私人控股有限公司 | Substrate processing apparatus |
| CN120432376A (en) | 2019-11-29 | 2025-08-05 | Asm Ip私人控股有限公司 | Substrate processing apparatus |
| JP7527928B2 (en) | 2019-12-02 | 2024-08-05 | エーエスエム・アイピー・ホールディング・ベー・フェー | Substrate processing apparatus and substrate processing method |
| KR20210070898A (en) | 2019-12-04 | 2021-06-15 | 에이에스엠 아이피 홀딩 비.브이. | Substrate processing apparatus |
| KR20210078405A (en) | 2019-12-17 | 2021-06-28 | 에이에스엠 아이피 홀딩 비.브이. | Method of forming vanadium nitride layer and structure including the vanadium nitride layer |
| KR20210080214A (en) | 2019-12-19 | 2021-06-30 | 에이에스엠 아이피 홀딩 비.브이. | Methods for filling a gap feature on a substrate and related semiconductor structures |
| JP7636892B2 (en) | 2020-01-06 | 2025-02-27 | エーエスエム・アイピー・ホールディング・ベー・フェー | Channeled Lift Pins |
| JP7730637B2 (en) | 2020-01-06 | 2025-08-28 | エーエスエム・アイピー・ホールディング・ベー・フェー | Gas delivery assembly, components thereof, and reactor system including same |
| US11993847B2 (en) | 2020-01-08 | 2024-05-28 | Asm Ip Holding B.V. | Injector |
| KR20210093163A (en) | 2020-01-16 | 2021-07-27 | 에이에스엠 아이피 홀딩 비.브이. | Method of forming high aspect ratio features |
| KR102675856B1 (en) | 2020-01-20 | 2024-06-17 | 에이에스엠 아이피 홀딩 비.브이. | Method of forming thin film and method of modifying surface of thin film |
| TWI889744B (en) | 2020-01-29 | 2025-07-11 | 荷蘭商Asm Ip私人控股有限公司 | Contaminant trap system, and baffle plate stack |
| TW202513845A (en) | 2020-02-03 | 2025-04-01 | 荷蘭商Asm Ip私人控股有限公司 | Semiconductor structures and methods for forming the same |
| KR20210100010A (en) | 2020-02-04 | 2021-08-13 | 에이에스엠 아이피 홀딩 비.브이. | Method and apparatus for transmittance measurements of large articles |
| US11776846B2 (en) | 2020-02-07 | 2023-10-03 | Asm Ip Holding B.V. | Methods for depositing gap filling fluids and related systems and devices |
| KR20210103956A (en) | 2020-02-13 | 2021-08-24 | 에이에스엠 아이피 홀딩 비.브이. | Substrate processing apparatus including light receiving device and calibration method of light receiving device |
| TW202146691A (en) | 2020-02-13 | 2021-12-16 | 荷蘭商Asm Ip私人控股有限公司 | Gas distribution assembly, shower plate assembly, and method of adjusting conductance of gas to reaction chamber |
| TWI855223B (en) | 2020-02-17 | 2024-09-11 | 荷蘭商Asm Ip私人控股有限公司 | Method for growing phosphorous-doped silicon layer |
| CN113410160A (en) | 2020-02-28 | 2021-09-17 | Asm Ip私人控股有限公司 | System specially used for cleaning parts |
| KR20210113043A (en) | 2020-03-04 | 2021-09-15 | 에이에스엠 아이피 홀딩 비.브이. | Alignment fixture for a reactor system |
| KR20210116240A (en) | 2020-03-11 | 2021-09-27 | 에이에스엠 아이피 홀딩 비.브이. | Substrate handling device with adjustable joints |
| US11876356B2 (en) | 2020-03-11 | 2024-01-16 | Asm Ip Holding B.V. | Lockout tagout assembly and system and method of using same |
| KR102775390B1 (en) | 2020-03-12 | 2025-02-28 | 에이에스엠 아이피 홀딩 비.브이. | Method for Fabricating Layer Structure Having Target Topological Profile |
| US12173404B2 (en) | 2020-03-17 | 2024-12-24 | Asm Ip Holding B.V. | Method of depositing epitaxial material, structure formed using the method, and system for performing the method |
| KR102755229B1 (en) | 2020-04-02 | 2025-01-14 | 에이에스엠 아이피 홀딩 비.브이. | Thin film forming method |
| TWI887376B (en) | 2020-04-03 | 2025-06-21 | 荷蘭商Asm Ip私人控股有限公司 | Method for manufacturing semiconductor device |
| TWI888525B (en) | 2020-04-08 | 2025-07-01 | 荷蘭商Asm Ip私人控股有限公司 | Apparatus and methods for selectively etching silcon oxide films |
| US11821078B2 (en) | 2020-04-15 | 2023-11-21 | Asm Ip Holding B.V. | Method for forming precoat film and method for forming silicon-containing film |
| KR20210128343A (en) | 2020-04-15 | 2021-10-26 | 에이에스엠 아이피 홀딩 비.브이. | Method of forming chromium nitride layer and structure including the chromium nitride layer |
| US11996289B2 (en) | 2020-04-16 | 2024-05-28 | Asm Ip Holding B.V. | Methods of forming structures including silicon germanium and silicon layers, devices formed using the methods, and systems for performing the methods |
| KR20210130646A (en) | 2020-04-21 | 2021-11-01 | 에이에스엠 아이피 홀딩 비.브이. | Method for processing a substrate |
| KR20210132612A (en) | 2020-04-24 | 2021-11-04 | 에이에스엠 아이피 홀딩 비.브이. | Methods and apparatus for stabilizing vanadium compounds |
| KR20210132600A (en) | 2020-04-24 | 2021-11-04 | 에이에스엠 아이피 홀딩 비.브이. | Methods and systems for depositing a layer comprising vanadium, nitrogen, and a further element |
| CN113555279A (en) | 2020-04-24 | 2021-10-26 | Asm Ip私人控股有限公司 | Methods of forming vanadium nitride-containing layers and structures comprising the same |
| TW202208671A (en) | 2020-04-24 | 2022-03-01 | 荷蘭商Asm Ip私人控股有限公司 | Methods of forming structures including vanadium boride and vanadium phosphide layers |
| KR102866804B1 (en) | 2020-04-24 | 2025-09-30 | 에이에스엠 아이피 홀딩 비.브이. | Vertical batch furnace assembly comprising a cooling gas supply |
| KR102783898B1 (en) | 2020-04-29 | 2025-03-18 | 에이에스엠 아이피 홀딩 비.브이. | Solid source precursor vessel |
| KR20210134869A (en) | 2020-05-01 | 2021-11-11 | 에이에스엠 아이피 홀딩 비.브이. | Fast FOUP swapping with a FOUP handler |
| KR102788543B1 (en) | 2020-05-13 | 2025-03-27 | 에이에스엠 아이피 홀딩 비.브이. | Laser alignment fixture for a reactor system |
| TW202146699A (en) | 2020-05-15 | 2021-12-16 | 荷蘭商Asm Ip私人控股有限公司 | Method of forming a silicon germanium layer, semiconductor structure, semiconductor device, method of forming a deposition layer, and deposition system |
| KR20210143653A (en) | 2020-05-19 | 2021-11-29 | 에이에스엠 아이피 홀딩 비.브이. | Substrate processing apparatus |
| KR102795476B1 (en) | 2020-05-21 | 2025-04-11 | 에이에스엠 아이피 홀딩 비.브이. | Structures including multiple carbon layers and methods of forming and using same |
| KR20210145079A (en) | 2020-05-21 | 2021-12-01 | 에이에스엠 아이피 홀딩 비.브이. | Flange and apparatus for processing substrates |
| TWI873343B (en) | 2020-05-22 | 2025-02-21 | 荷蘭商Asm Ip私人控股有限公司 | Reaction system for forming thin film on substrate |
| KR20210146802A (en) | 2020-05-26 | 2021-12-06 | 에이에스엠 아이피 홀딩 비.브이. | Method for depositing boron and gallium containing silicon germanium layers |
| TWI876048B (en) | 2020-05-29 | 2025-03-11 | 荷蘭商Asm Ip私人控股有限公司 | Substrate processing device |
| TW202212620A (en) | 2020-06-02 | 2022-04-01 | 荷蘭商Asm Ip私人控股有限公司 | Apparatus for processing substrate, method of forming film, and method of controlling apparatus for processing substrate |
| TW202208659A (en) | 2020-06-16 | 2022-03-01 | 荷蘭商Asm Ip私人控股有限公司 | Method for depositing boron containing silicon germanium layers |
| TW202218133A (en) | 2020-06-24 | 2022-05-01 | 荷蘭商Asm Ip私人控股有限公司 | Method for forming a layer provided with silicon |
| TWI873359B (en) | 2020-06-30 | 2025-02-21 | 荷蘭商Asm Ip私人控股有限公司 | Substrate processing method |
| US12431354B2 (en) | 2020-07-01 | 2025-09-30 | Asm Ip Holding B.V. | Silicon nitride and silicon oxide deposition methods using fluorine inhibitor |
| TW202202649A (en) | 2020-07-08 | 2022-01-16 | 荷蘭商Asm Ip私人控股有限公司 | Substrate processing method |
| KR20220010438A (en) | 2020-07-17 | 2022-01-25 | 에이에스엠 아이피 홀딩 비.브이. | Structures and methods for use in photolithography |
| TWI878570B (en) | 2020-07-20 | 2025-04-01 | 荷蘭商Asm Ip私人控股有限公司 | Method and system for depositing molybdenum layers |
| KR20220011092A (en) | 2020-07-20 | 2022-01-27 | 에이에스엠 아이피 홀딩 비.브이. | Method and system for forming structures including transition metal layers |
| US12322591B2 (en) | 2020-07-27 | 2025-06-03 | Asm Ip Holding B.V. | Thin film deposition process |
| KR20220021863A (en) | 2020-08-14 | 2022-02-22 | 에이에스엠 아이피 홀딩 비.브이. | Method for processing a substrate |
| US12040177B2 (en) | 2020-08-18 | 2024-07-16 | Asm Ip Holding B.V. | Methods for forming a laminate film by cyclical plasma-enhanced deposition processes |
| TW202228863A (en) | 2020-08-25 | 2022-08-01 | 荷蘭商Asm Ip私人控股有限公司 | Method for cleaning a substrate, method for selectively depositing, and reaction system |
| US11725280B2 (en) | 2020-08-26 | 2023-08-15 | Asm Ip Holding B.V. | Method for forming metal silicon oxide and metal silicon oxynitride layers |
| TW202229601A (en) | 2020-08-27 | 2022-08-01 | 荷蘭商Asm Ip私人控股有限公司 | Method of forming patterned structures, method of manipulating mechanical property, device structure, and substrate processing system |
| TW202217045A (en) | 2020-09-10 | 2022-05-01 | 荷蘭商Asm Ip私人控股有限公司 | Methods for depositing gap filing fluids and related systems and devices |
| USD990534S1 (en) | 2020-09-11 | 2023-06-27 | Asm Ip Holding B.V. | Weighted lift pin |
| KR20220036866A (en) | 2020-09-16 | 2022-03-23 | 에이에스엠 아이피 홀딩 비.브이. | Silicon oxide deposition method |
| USD1012873S1 (en) | 2020-09-24 | 2024-01-30 | Asm Ip Holding B.V. | Electrode for semiconductor processing apparatus |
| TWI889903B (en) | 2020-09-25 | 2025-07-11 | 荷蘭商Asm Ip私人控股有限公司 | Semiconductor processing method |
| US12009224B2 (en) | 2020-09-29 | 2024-06-11 | Asm Ip Holding B.V. | Apparatus and method for etching metal nitrides |
| KR20220045900A (en) | 2020-10-06 | 2022-04-13 | 에이에스엠 아이피 홀딩 비.브이. | Deposition method and an apparatus for depositing a silicon-containing material |
| CN114293174A (en) | 2020-10-07 | 2022-04-08 | Asm Ip私人控股有限公司 | Gas supply unit and substrate processing apparatus including the same |
| TW202229613A (en) | 2020-10-14 | 2022-08-01 | 荷蘭商Asm Ip私人控股有限公司 | Method of depositing material on stepped structure |
| TW202232565A (en) | 2020-10-15 | 2022-08-16 | 荷蘭商Asm Ip私人控股有限公司 | Method of manufacturing semiconductor device, and substrate treatment apparatus using ether-cat |
| TW202217037A (en) | 2020-10-22 | 2022-05-01 | 荷蘭商Asm Ip私人控股有限公司 | Method of depositing vanadium metal, structure, device and a deposition assembly |
| TW202223136A (en) | 2020-10-28 | 2022-06-16 | 荷蘭商Asm Ip私人控股有限公司 | Method for forming layer on substrate, and semiconductor processing system |
| KR102754326B1 (en)* | 2020-11-10 | 2025-01-13 | 가부시키가이샤 스기노 마신 | Processing system |
| TW202229620A (en) | 2020-11-12 | 2022-08-01 | 特文特大學 | Deposition system, method for controlling reaction condition, method for depositing |
| TW202229795A (en) | 2020-11-23 | 2022-08-01 | 荷蘭商Asm Ip私人控股有限公司 | A substrate processing apparatus with an injector |
| TW202235649A (en) | 2020-11-24 | 2022-09-16 | 荷蘭商Asm Ip私人控股有限公司 | Methods for filling a gap and related systems and devices |
| TW202235675A (en) | 2020-11-30 | 2022-09-16 | 荷蘭商Asm Ip私人控股有限公司 | Injector, and substrate processing apparatus |
| US12255053B2 (en) | 2020-12-10 | 2025-03-18 | Asm Ip Holding B.V. | Methods and systems for depositing a layer |
| TW202233884A (en) | 2020-12-14 | 2022-09-01 | 荷蘭商Asm Ip私人控股有限公司 | Method of forming structures for threshold voltage control |
| US11946137B2 (en) | 2020-12-16 | 2024-04-02 | Asm Ip Holding B.V. | Runout and wobble measurement fixtures |
| TW202232639A (en) | 2020-12-18 | 2022-08-16 | 荷蘭商Asm Ip私人控股有限公司 | Wafer processing apparatus with a rotatable table |
| TW202231903A (en) | 2020-12-22 | 2022-08-16 | 荷蘭商Asm Ip私人控股有限公司 | Transition metal deposition method, transition metal layer, and deposition assembly for depositing transition metal on substrate |
| TW202226899A (en) | 2020-12-22 | 2022-07-01 | 荷蘭商Asm Ip私人控股有限公司 | Plasma treatment device having matching box |
| TW202242184A (en) | 2020-12-22 | 2022-11-01 | 荷蘭商Asm Ip私人控股有限公司 | Precursor capsule, precursor vessel, vapor deposition assembly, and method of loading solid precursor into precursor vessel |
| CN113130288A (en)* | 2021-03-23 | 2021-07-16 | 苏州华亚智能科技股份有限公司 | Air box shell and processing technology thereof |
| USD980813S1 (en) | 2021-05-11 | 2023-03-14 | Asm Ip Holding B.V. | Gas flow control plate for substrate processing apparatus |
| USD981973S1 (en) | 2021-05-11 | 2023-03-28 | Asm Ip Holding B.V. | Reactor wall for substrate processing apparatus |
| USD980814S1 (en) | 2021-05-11 | 2023-03-14 | Asm Ip Holding B.V. | Gas distributor for substrate processing apparatus |
| USD990441S1 (en) | 2021-09-07 | 2023-06-27 | Asm Ip Holding B.V. | Gas flow control plate |
| USD1060598S1 (en) | 2021-12-03 | 2025-02-04 | Asm Ip Holding B.V. | Split showerhead cover |
| KR20250091259A (en)* | 2023-04-11 | 2025-06-20 | 가부시키가이샤 후지킨 | Fixing structure for wiring or piping |
| Publication number | Publication date |
|---|---|
| JP2002170781A (en) | 2002-06-14 |
| Publication | Publication Date | Title |
|---|---|---|
| JP3610900B2 (en) | Heat treatment equipment | |
| TWI717034B (en) | Side storage pod, electronic device processing systems, and methods of processing substrates | |
| US6899507B2 (en) | Semiconductor processing apparatus comprising chamber partitioned into reaction and transfer sections | |
| JP2013033965A (en) | Substrate processing apparatus, substrate processing facility, and substrate processing method | |
| JP2019161116A (en) | Efem | |
| JP2014093489A (en) | Substrate processing device | |
| US11302542B2 (en) | Processing apparatus | |
| US8794896B2 (en) | Vacuum processing apparatus and zonal airflow generating unit | |
| JP2006120658A (en) | Vertical heat treatment apparatus and operation method thereof | |
| WO2014050464A1 (en) | Substrate processing apparatus, substrate processing method, and semiconductor device manufacturing method | |
| JP4374133B2 (en) | Substrate processing apparatus and substrate processing method | |
| US20090269937A1 (en) | Substrate processing apparatus and method of manufacturing semiconductor device | |
| JP2014067797A (en) | Substrate processing apparatus, substrate processing method and semiconductor device manufacturing method | |
| JPH11340301A (en) | Equipment and method for processing substrate | |
| TWI824093B (en) | Processing device (1) | |
| JPH07193115A (en) | Vacuum processing apparatus | |
| JP4502411B2 (en) | Substrate processing equipment | |
| JP5030410B2 (en) | Vacuum processing equipment | |
| KR20130109680A (en) | Cluster apparatus for processing a substrate | |
| JPH07283288A (en) | Processing device | |
| JPH1097962A (en) | Treating device and treating system | |
| JP2007095879A (en) | Substrate processing equipment | |
| JP4000174B2 (en) | Processing system | |
| JP2011044633A (en) | Substrate processing apparatus | |
| JP2005347667A (en) | Semiconductor manufacturing equipment |
| Date | Code | Title | Description |
|---|---|---|---|
| A131 | Notification of reasons for refusal | Free format text:JAPANESE INTERMEDIATE CODE: A131 Effective date:20040727 | |
| A521 | Written amendment | Free format text:JAPANESE INTERMEDIATE CODE: A523 Effective date:20040819 | |
| TRDD | Decision of grant or rejection written | ||
| A01 | Written decision to grant a patent or to grant a registration (utility model) | Free format text:JAPANESE INTERMEDIATE CODE: A01 Effective date:20040928 | |
| A61 | First payment of annual fees (during grant procedure) | Free format text:JAPANESE INTERMEDIATE CODE: A61 Effective date:20041011 | |
| R150 | Certificate of patent or registration of utility model | Free format text:JAPANESE INTERMEDIATE CODE: R150 Ref document number:3610900 Country of ref document:JP Free format text:JAPANESE INTERMEDIATE CODE: R150 | |
| FPAY | Renewal fee payment (event date is renewal date of database) | Free format text:PAYMENT UNTIL: 20071029 Year of fee payment:3 | |
| FPAY | Renewal fee payment (event date is renewal date of database) | Free format text:PAYMENT UNTIL: 20101029 Year of fee payment:6 | |
| R250 | Receipt of annual fees | Free format text:JAPANESE INTERMEDIATE CODE: R250 | |
| FPAY | Renewal fee payment (event date is renewal date of database) | Free format text:PAYMENT UNTIL: 20101029 Year of fee payment:6 | |
| FPAY | Renewal fee payment (event date is renewal date of database) | Free format text:PAYMENT UNTIL: 20131029 Year of fee payment:9 | |
| R250 | Receipt of annual fees | Free format text:JAPANESE INTERMEDIATE CODE: R250 | |
| R250 | Receipt of annual fees | Free format text:JAPANESE INTERMEDIATE CODE: R250 | |
| R250 | Receipt of annual fees | Free format text:JAPANESE INTERMEDIATE CODE: R250 | |
| R250 | Receipt of annual fees | Free format text:JAPANESE INTERMEDIATE CODE: R250 | |
| LAPS | Cancellation because of no payment of annual fees |