










【0001】
【発明の属する技術分野】
本発明は血糖値等、体液中に含まれる被検知物質を分析することのできる体液分析装置に関し、特に一連の工程を自動的かつ連続的に行うことのできる体液分析装置に関する。
【0002】
【従来の技術】
従来より、血糖値等を測定する場合には、穿刺器具(ランセット)を用いて指、上腕、腹、臀部などに傷を付け、そこから血滴を絞り出し、包材より取り出してセンサーに装着した電極にその血滴を付着させることにより行っていた。
しかしながら、測定に必要な量の血滴を自ら絞り出すのは非常に面倒であり、また、穿刺器具とセンサーが分離していると、一連の工程を行うにあたって測定者に要求される操作が多く、測定を行うのが煩雑であるという問題があった。
【0003】
また、穿刺器具で穿刺する際又は血滴を絞り出す際に、血液が飛散することがあり、測定の際に周辺部位を汚染したり、測定者に恐怖心を抱かせていた。
【0004】
【発明が解決しようとする課題】
本発明の課題は、測定に要する一連の工程を、自動的かつ連続的に行うことができるとともに、測定者に恐怖心を与えることのない、また衛生的な測定が可能な体液分析装置を提供することである。
【0005】
【課題を解決するための手段】
上記課題に鑑み鋭意研究の結果、本発明者等は、穿刺手段、穿刺した指から体液を出液させるための圧迫帯(カフ)及びその加圧手段、出液した体液に関する情報を電気信号に変換する手段、その電気信号により測定値を決定する手段、決定した測定値を表示する表示器などを一つの装置に収め、コンピュータにより制御することによって、測定に要する一連の工程を自動的かつ連続的に行うことができ、体液の分析を簡便にかつ迅速に行うことができること、また上記穿刺手段に出液した体液が飛散しないようにカバーを設けることにより、測定者に恐怖心を与えることがなく、また衛生的な測定ができることを見出し、本発明を完成した。
【0006】
即ち、本発明は、指を穿刺する穿刺手段と、前記指を圧迫するための圧迫帯(カフ)と、前記カフに空気を供給する加圧手段と、前記カフの空気を排気する排気手段と、指から出液した体液に関する情報を電気信号に変換する手段と、前記電気信号により測定値を決定する手段と、決定した測定値を表示する表示器とを有する体液分析装置であって、前記穿刺手段には、出液した体液が飛散しないようにカバーが設けられていることを特徴とする体液分析装置である。
また、本発明は、上記体液分析装置に、さらにカフの圧力を検出する圧力センサを加えた体液分析装置である。
【0007】
【作用】
指を穿刺する穿刺手段と、前記指を圧迫するためのカフと、前記カフに空気を供給する加圧手段と、前記カフの空気を排気する排気手段と、指から出液した体液に関する情報を電気信号に変換する手段と、前記電気信号により測定値を決定する手段と、決定した測定値を表示する表示器とを有する本発明の体液分析装置によれば、指を穿刺した後、その指を加圧したカフによって圧迫して体液を出液させ、出液後、排気によってカフを緩めて指を開放し、得られた体液から必要な情報を電気信号に変えて測定値を決定し、表示器に表示することができるため、測定に要する一連の工程を自動的かつ連続的に行うことができ、体液の分析を簡便にかつ迅速に行うことができる。
【0008】
また、上記体液分析装置は、出液した体液が飛散しないように前記穿刺手段にカバーを設けてなるため、穿刺又は血液に対する測定者の恐怖心を取り除くことができるとともに、周辺部位を体液で汚染することがなく、衛生的な測定を行うことができる。
上記体液分析装置に、さらにカフの圧力を検出する圧力センサを加えることにより、測定者の指の太さにかかわらずカフの圧力の上限を定めることができ、測定者に過剰な圧迫感を与えることなく、指から適量の体液を絞り出すことができる。
【0009】
【発明の実施の形態】
以下、図面を参照して本発明を詳細に説明する。
ここで、本発明における体液とは、穿刺することによって生体から出液し得る液体をいい、例えば血液や、細胞間浸出液等が挙げられる。
本発明の一例による体液分析装置の斜視図を図1に示す。この体液分析装置1は、直方体状のケーシング11を有し、そのケーシング11には緊締部2と、カバー6を具備した穿刺部3と、表示器4と、メインスイッチ51と、穿刺スイッチ52とが設けられている。
【0010】
緊締部2は、その中に指が挿入され得るように円筒状になっており、緊締部2の内部には、指を圧迫するカフ(圧迫帯)21が設けられている。このカフ21は、カフ駆動装置(図示せず)による空気の注入・排気を利用して、指を圧迫・開放することができるようになっている。カフ駆動装置は、カフ21の圧力を検知するセンサ(圧力センサ)と、電磁弁と、ポンプと、リーク弁とを有しており、それらはゴム管を通じてカフ21に連通している。このカフ駆動装置は、体液分析装置1の内部に設けられたコンピュータ(図示せず)によって制御される。
【0011】
穿刺部3は、図2に示すようにカバー6、及びカバー6内に収容された板状の基体7を有する。基体7の一方の側には、穿刺刃71が前進・後退可能に設けられており(図3(a)  及び(b)  参照)、他方の側には電極チップ72が設置されているとともに、その電極チップ72の端子部に連結するように電極リード73a,73bが配設されている(図3(c)  参照)。また、基体7の前方両脇には板バネ74が設置されており、突出した穿刺刃71を初期の位置まで後退させることができる。この基体7及び穿刺刃71を後方から見た斜視図は、図3(d)  に示される。
【0012】
穿刺刃71は、衛生上の安全性を考慮して、ステンレススチール製のものを使用するのが好ましく、市販のもの、例えば  Feather  Safety  Razor  社製の  Blood  Lancetsなどを使用することができる。なお、本実施例では穿刺刃を使用しているが、本発明はこれに限定されることなく、皮膚を傷付けて体液を出液させることができるものであればいかなるものであってもよく、例えば針状のもの(穿刺針)であってもよい。
【0013】
電極チップ72における電極の一方には、酵素インキ(図示せず)が塗布されている。この酵素インキは、体液中の被検知物質に応じて種々のものを選択することができ、例えば血糖値を測定する場合には、グルコースオキシダーゼ等を含むインキ組成物を用いることができ、あるいは血中コレステロール値を測定するには、コレステロールオキシダーゼ等を含むインキ組成物を用いることができる。
【0014】
基体7を収容するカバー6は、図4(a)  に示すように略円筒形の形状を有しているが、指と接触する部分には、体液分析装置1に設置した指がカバー6にフィットするように凹部61が設けられている(図4(b)  参照)。
カバー6の側面図を図5に示す。カバー6の長さ(L)及び直径(D)は、使用する基体7や穿刺刃71の大きさにもよるが、長さ(L)は10〜60mm、特に50mm、直径(D)は5〜30mm、特に20mmであるのが好ましい。また、凹部61は半円状に凹んでいるのが好ましく、その円の半径(R)は2〜15mm、特に8mmであるのが好ましい。この凹部61と、カバー6の端部62とは曲線で連続しているのが好ましく、その曲線は半径(r)0.5  〜5mm、特に2mmの円の円弧からなるのが好ましい。
【0015】
カバー6の材質は、ポリエチレン、ポリスチレン、ポリプロピレン、テフロンなど滅菌処理が可能でかつ一般的に用いられるポリマーであれば特に限定されない。また、カバー6の厚みについても、使用中に大きく変形しない限り特に限定されず、通常、0.5  〜3mm程度であるのが好ましい。このカバー6は、体液や穿刺刃71が直接見えないように不透明にしてもよいし、体液や穿刺刃71が直接見えるように透明にしてもよい。また、体液(血液)は見えないが穿刺刃71の動作は見えるように赤色の半透明にしてもよいし、穿刺刃71は見えないが体液(血液)は見えるように白濁の半透明にしてもよい。測定者が穿刺又は血液に対して有する恐怖心は千差万別であり、これらの者のニーズに応じて適宜設計すればよい。
【0016】
カバー6を透明〜半透明〜不透明にするには、例えば成形前の樹脂に練り込む炭酸カルシウムの混合比を変えることによってその透明度を調節することができ、また、例えばマゼンタ染料を樹脂に適宜混合することにより、赤色のカバーにすることができる。
穿刺刃71及び電極チップ72を有する基体7を収容したカバー6を、体液分析装置1から取り外し可能なカートリッジ式にすれば、それらを使い捨てにすることができ、衛生上非常に有利なものとなる。
【0017】
穿刺刃71は、アーム部材8を介して、穿刺刃駆動装置(本実施例では、ソレノイド)9の駆動によって(図2参照)前進する。ソレノイド9は、穿刺スイッチ52のオンによって駆動される。前進した穿刺刃71の先端部は基体7から突出し、電極チップ72よりも前方の位置まで到達する。穿刺刃71の電極チップ72からの突出量は、指を体液分析装置1に装着した状態で、その指を穿刺して出液させることができ、かつ出液した体液が電極チップ72に接触し得るように設定すればよい。具体的には、100  〜2000μm、特に750  μmであるのが好ましい。突出した穿刺刃71は、基体7に設けられた板バネ74の作用により初期の位置まで後退する。なお、本実施例では穿刺刃を駆動する方法としてソレノイドを用いたが、本発明はこれに限定されず、種々の方法によって穿刺刃を駆動させることができる。
【0018】
穿刺刃71及び電極チップ72と、カバー6との関係を図6(a),(b)  に示す。電極チップ72の先端面は、カバー6の凹部61において最も凹んだ部分の面と同一平面上にあるのが好ましい。穿刺刃71の突出量は、この凹部61において最も凹んだ部分から、100  〜2000μm、特に750  μmであるのが好ましい。
【0019】
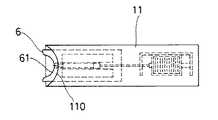
一方、カバー6と、ケーシング11との関係を図7に示す。図7は、図1における体液分析装置1のA−A断面図である。本実施例では、カバー6はケーシング11の凹部110  から十分に外側に出ているが、本発明はこれに限定されることなく、カバー6の凹部61において最も凹んだ部分がケーシング11の凹部110  よりも外側に出ていればよい。
【0020】
図8は上記体液分析装置の回路構成の一例を示すブロック図である。
この体液分析装置では、カフ21は、ゴム管により圧力センサと、電磁弁と、ポンプと、リーク弁とに連通しており、これらで空気圧系を構成している。体液分析装置における各部材の動作は、コンピュータによって制御される。コンピュータは、電磁弁、リーク弁及びポンプをオン/オフする機能、圧力センサで検出される空気圧データを取り込む機能、ソレノイドを作動させる機能、電極からの電気信号を取り込む機能、電気信号を演算して測定値を決定する機能、ならびに測定値を表示器に出力する機能を備えている。
【0021】
このコンピュータは、メインスイッチ51のオンによって初期化され、穿刺スイッチ52のオンによってソレノイド9を駆動させるとともに、その所定時間の後にポンプが駆動するようにプログラムされている。また、圧力センサによって検出したカフ21の圧力もしくは体液が電極に接触したことの情報を取り込むか、又はポンプのオンからの所定時間経過によって、ポンプをオフにし、電磁弁及びリーク弁を開放するように指令を出す。電極からの電気信号もコンピュータに取り込まれるようになっており、コンピュータで決定された測定値は表示器4に出力される。
なお、本回路構成は一例に過ぎず、場合によっては圧力センサはなくてもよい。
【0022】
図9に示すフローチャートを参照して、図1における体液分析装置の詳細な動作の一例を説明する。
測定を開始する前に、測定者はカフ21内に指を挿入する。指はいずれの指であってもよく、また左右どちらの手の指であってもよい。メインスイッチ51を入れると、コンピュータ内のメモリ類のクリア等、システムの初期化がなされる。
【0023】
次に、測定者は穿刺スイッチ52を入れる。穿刺スイッチ52が入ると、ソレノイド9が駆動し、アーム部材8を介して穿刺刃71が基体7から突出する(ステップ1)。突出した穿刺刃71は指の皮膚を傷付けるが、このとき体液が飛び出す場合もある。しかしながら、本発明の穿刺部3にはカバー6が設けられているため、体液の飛散による周辺部位の汚染を防止することができる。穿刺した穿刺刃71は、板バネ74の作用により元の位置に戻る。穿刺刃71の突出後、ポンプが駆動し(ステップ2)、カフ21を加圧する。このカフ21は指を圧迫し、傷ついた皮膚から体液を絞り出す。このときにも体液が飛び出す場合があるが、上記と同様に、カバー6により体液の飛散による汚染を防止することができる。
【0024】
ポンプをオフにするにあたっての判定には、3通りの方法がある。第1には、例えばカフの圧力によりみかけ上の血圧が所定の値(P)に到達したら、判定YESとする(図9:ステップ3)。なお、みかけ上の血圧とは、カフにより指を圧迫する過程において圧力センサから表示される過渡的な血圧値をいう。すなわち、カフ圧力を端的に反映するみかけ上の血圧は、圧力センサによって検知できる。Pの値は120  mmHg以上が望ましく、180  mmHg程度が最も適量の出液を得ることができる。この第1の方法によれば、測定者の指の太さにかかわらず、カフ圧の上限を定めることができ、測定者に過剰な圧迫感を与えることなく、体液を絞り出すことができる。
【0025】
第2には、ポンプがオンになってから所定時間(T)経過したら、判定YESとする(図10:ステップ3’)。Tの値は、5秒から60秒程度が望ましく、20秒程度が最も適量の出液を得ることができる。
第3には、絞り出された体液が電極に接触したら、判定YESとする(図11:ステップ3”)。この第3の方法によれば、必要十分量の体液を確保できると共に、余分な圧力で指を不当に圧迫することがなくなる。なお、このステップで第2の方法及び第3の方法を適用する場合には、圧力センサは不要となる。
【0026】
上記第1〜第3のいずれかの方法による判定に従ってポンプの駆動が停止したら(図9:ステップ4)、即電磁弁及びリーク弁を開放し、カフ内の空気を速やかに排気する(ステップ5)。弁は一つでもよいが、電磁弁及びリーク弁を併用することにより、素早くカフ内の空気を排気することができ、測定者の指を圧迫状態から開放することができる。
【0027】
絞り出された体液は電極チップ72における電極に接触し、体液に関する情報が電気信号となってコンピュータに送られ、演算を開始する(ステップ6)。演算開始からt時間経過したら(ステップ7)、演算終了とする(ステップ8)。測定値が安定するのに一定の時間を必要とするため、tの値は電極の性能に大きく依存するが、一般的に5〜60秒程度を必要とする。コンピュータによる演算によって測定値を決定したら、その測定値を表示器4に表示する(ステップ9)。
【0028】
以上説明した本発明の体液分析装置によれば、一連の操作過程を減らし、極めて簡単にかつ衛生的に検査を済ませることができる。また、本装置は穿刺手段、そのカバー、加圧手段、体液に関する情報を電気信号に変換する手段、測定値を決定する手段、及び測定値を表示する表示器を全て具備しているため、一般ユーザーが熟練を必要とせず、容易かつ迅速に使用することができ、また一般ユーザーの穿刺等に対する恐怖心を抑制することができる。さらに、本発明の体液分析装置では、使用する酵素インキの種類を変えることにより、血糖値のみならず、体液中の種々の物質の分析を行うことができる。
【0029】
以上、図面を用いて本発明を詳細に説明したが、本発明はこれに限定されることなく、本発明の思想を逸脱しない限り、種々の変更を施すことができる。例えば、表示器の部分を装置本体に対して回動自在にすることにより、表示器を所望の方向に向けることができ、測定が行い易くなる。また、本発明は指用に限らず手首、腕などを対象にした装置に応用しても良い。さらには、盲人用に音声によるガイドを併設し、スイッチ一つで、測定結果を聞くまでの一連のシステムに変更することも可能である。
【0030】
【発明の効果】
本発明の装置によれば、測定に要する一連の工程を自動的・連続的に行うことができるとともに、測定者に恐怖心を抱かせず、また衛生的に、体液の分析を簡便にかつ迅速に行うことができる。
【図面の簡単な説明】
【図1】本発明の体液分析装置の一例を示す斜視図である。
【図2】本発明の体液分析装置におけるカバー、基体、穿刺刃及び穿刺刃駆動装置(ソレノイド)を示す図である。
【図3】本発明の体液分析装置における基体、穿刺刃及び電極チップを示す図である。(a)  は穿刺刃側から見た図であり、(b)  は穿刺刃が突出した状態を示す図であり、(c)  は電極チップ設置側から見た図であり、(d)  は後方から見た図である。
【図4】本発明の体液分析装置におけるカバーを示す斜視図である。(a)  は指を設置していない状態、(b)  は指を設置した状態を示す。
【図5】本発明の体液分析装置におけるカバーの側面図である。
【図6】本発明の体液分析装置におけるカバーと穿刺刃及び電極チップとの位置関係を示す図である。(a)  は側面図であり、(b)  は上面図である。
【図7】図1の体液分析装置におけるA−A断面図である。
【図8】本発明の体液分析装置の回路構成の一例を示すブロック図である。
【図9】図1における体液分析装置の動作の一例を示すフローチャートである。
【図10】図9のフローチャートにおけるステップ3の他の例を示す図である。
【図11】図9のフローチャートにおけるステップ3の別の例を示す図である。
【符号の説明】
1…体液分析装置
11…ケーシング
110  …凹部
2…緊締部
21…カフ
3…穿刺部
4…表示器
51…メインスイッチ
52…穿刺スイッチ
6…カバー
61…凹部
62…端部
7…基体
71…穿刺刃
72…電極チップ
73a,73b…電極リード
74…板バネ
8…アーム部材
9…ソレノイド[0001]
 TECHNICAL FIELD OF THE INVENTION
 The present invention relates to a body fluid analyzer capable of analyzing a substance to be detected contained in a body fluid such as a blood glucose level, and more particularly to a body fluid analyzer capable of automatically and continuously performing a series of steps.
 [0002]
 [Prior art]
 2. Description of the Related Art Conventionally, when measuring a blood glucose level or the like, a finger, upper arm, abdomen, buttocks, etc. were scratched using a puncture device (lancet), blood droplets were squeezed out therefrom, taken out of a packaging material, and attached to a sensor. This has been done by attaching the blood drop to the electrode.
 However, it is very troublesome to squeeze out the necessary amount of blood droplets for measurement, and if the puncture device and sensor are separated, there are many operations required by the measurer in performing a series of processes, There is a problem that the measurement is complicated.
 [0003]
 In addition, when puncturing with a puncture device or when squeezing out a blood drop, blood may be scattered, contaminating surrounding parts at the time of measurement, or causing a fear of the measurer.
 [0004]
 [Problems to be solved by the invention]
 An object of the present invention is to provide a body fluid analyzer capable of performing a series of steps required for measurement automatically and continuously, without giving a fear to a measurer, and capable of performing a sanitary measurement. It is to be.
 [0005]
 [Means for Solving the Problems]
 In view of the above problems, as a result of intensive studies, the present inventors have found that a puncture means, a compression band (cuff) for discharging bodily fluid from a punctured finger and its pressurizing means, and information about the discharged bodily fluid into an electric signal. A unit for converting, a means for determining a measured value based on the electric signal, a display for displaying the determined measured value, and the like are housed in one device, and a series of steps required for the measurement are automatically and continuously controlled by a computer. It is possible to perform the analysis of the bodily fluid easily and quickly, and by providing a cover so that the bodily fluid discharged to the puncturing means is not scattered, it is possible to give fear to the measurer. The present invention was found to be possible and to perform hygienic measurements, and completed the present invention.
 [0006]
 That is, the present invention provides puncturing means for puncturing a finger, a compression band (cuff) for compressing the finger, pressurizing means for supplying air to the cuff, and exhaust means for exhausting air from the cuff. A means for converting information relating to bodily fluid discharged from a finger into an electrical signal, a means for determining a measured value based on the electrical signal, and a display for displaying the determined measured value; The body fluid analyzer is characterized in that the puncture means is provided with a cover so that the discharged body fluid does not scatter.
 Further, the present invention is a body fluid analyzer in which a pressure sensor for detecting a pressure of a cuff is further added to the above body fluid analyzer.
 [0007]
 [Action]
 Puncturing means for puncturing a finger, a cuff for compressing the finger, pressurizing means for supplying air to the cuff, exhaust means for exhausting air from the cuff, and information on bodily fluid discharged from the finger. According to the body fluid analyzer of the present invention having a means for converting to an electric signal, a means for determining a measured value based on the electric signal, and a display for displaying the determined measured value, after the finger is punctured, The body fluid is drained by pressing with a pressurized cuff, and after draining, the cuff is loosened by evacuation and the finger is opened, the necessary information from the obtained body fluid is converted into an electric signal and the measured value is determined, Since the information can be displayed on the display, a series of steps required for the measurement can be automatically and continuously performed, and the analysis of the body fluid can be performed simply and quickly.
 [0008]
 In addition, since the body fluid analyzer is provided with a cover on the puncturing means so that the discharged body fluid does not scatter, it is possible to remove the fear of the measurer about puncturing or blood, and to contaminate surrounding parts with body fluid. Without the need for sanitary measurements.
 By adding a pressure sensor that detects the pressure of the cuff to the body fluid analyzer, the upper limit of the pressure of the cuff can be determined regardless of the thickness of the finger of the measurer, and gives the measurer an excessive feeling of pressure. An appropriate amount of bodily fluid can be squeezed out of the finger without the need.
 [0009]
 BEST MODE FOR CARRYING OUT THE INVENTION
 Hereinafter, the present invention will be described in detail with reference to the drawings.
 Here, the body fluid in the present invention refers to a liquid that can be discharged from a living body by puncturing, such as blood or intercellular exudate.
 FIG. 1 shows a perspective view of a body fluid analyzer according to an example of the present invention. The
 [0010]
 The tightening
 [0011]
 The puncture unit 3 has a
 [0012]
 The
 [0013]
 One of the electrodes of the
 [0014]
 The
 FIG. 5 shows a side view of the
 [0015]
 The material of the
 [0016]
 In order to make the
 If the
 [0017]
 The
 [0018]
 FIGS. 6A and 6B show the relationship between the
 [0019]
 On the other hand, the relationship between the
 [0020]
 FIG. 8 is a block diagram showing an example of a circuit configuration of the body fluid analyzer.
 In this body fluid analyzer, the
 [0021]
 This computer is initialized when the
 Note that this circuit configuration is merely an example, and a pressure sensor may not be necessary in some cases.
 [0022]
 An example of the detailed operation of the body fluid analyzer in FIG. 1 will be described with reference to the flowchart shown in FIG.
 Before starting the measurement, the measurer inserts a finger into the
 [0023]
 Next, the measurer turns on
 [0024]
 There are three methods for determining whether to turn off the pump. First, when the apparent blood pressure reaches a predetermined value (P) due to, for example, the pressure of the cuff, the determination is YES (FIG. 9: step 3). Note that the apparent blood pressure refers to a transient blood pressure value displayed from the pressure sensor in the process of pressing the finger with the cuff. That is, an apparent blood pressure that directly reflects the cuff pressure can be detected by the pressure sensor. The value of P is desirably 120 mmHg or more, and about 180 mmHg can obtain the most appropriate amount of liquid. According to the first method, the upper limit of the cuff pressure can be determined regardless of the thickness of the finger of the measurer, and the body fluid can be squeezed out without giving the measurer an excessive feeling of pressure.
 [0025]
 Second, when a predetermined time (T) has elapsed since the pump was turned on, the determination is YES (FIG. 10: step 3 '). The value of T is preferably about 5 to 60 seconds, and about 20 seconds can obtain the most appropriate amount of liquid.
 Third, when the squeezed body fluid comes into contact with the electrode, the determination is YES (FIG. 11: step 3 "). According to the third method, a necessary and sufficient amount of body fluid can be secured and excess The finger is not unduly pressed by the pressure, and the pressure sensor is not required when the second method and the third method are applied in this step.
 [0026]
 When the drive of the pump is stopped according to the determination by any one of the first to third methods (FIG. 9: step 4), the solenoid valve and the leak valve are opened immediately, and the air in the cuff is quickly exhausted (step 5). ). One valve may be used, but by using the electromagnetic valve and the leak valve together, the air in the cuff can be quickly exhausted, and the finger of the measurer can be released from the compressed state.
 [0027]
 The squeezed body fluid comes into contact with the electrode on the
 [0028]
 According to the body fluid analyzer of the present invention described above, a series of operation steps can be reduced, and the inspection can be completed extremely easily and hygienically. In addition, since the present apparatus is provided with all of a puncture unit, a cover thereof, a pressurizing unit, a unit for converting information on body fluid into an electric signal, a unit for determining a measured value, and a display for displaying the measured value, The user does not need to be skilled, can use it easily and quickly, and can suppress fear of general users about puncturing and the like. Furthermore, the body fluid analyzer of the present invention can analyze not only the blood sugar level but also various substances in the body fluid by changing the type of the enzyme ink used.
 [0029]
 Although the present invention has been described in detail with reference to the drawings, the present invention is not limited thereto, and various modifications can be made without departing from the spirit of the present invention. For example, by making the display part rotatable with respect to the apparatus main body, the display can be oriented in a desired direction, and measurement can be easily performed. Further, the present invention is not limited to a finger, and may be applied to a device for a wrist, an arm or the like. Furthermore, it is also possible to provide an audio guide for the blind and to change the system to a series of systems until the measurement result is heard with a single switch.
 [0030]
 【The invention's effect】
 ADVANTAGE OF THE INVENTION According to the apparatus of this invention, while a series of processes required for a measurement can be performed automatically and continuously, a fearlessness is not given to a measurer, and the analysis of a bodily fluid is simply and quickly performed hygienically. Can be done.
 [Brief description of the drawings]
 FIG. 1 is a perspective view showing an example of a body fluid analyzer of the present invention.
 FIG. 2 is a view showing a cover, a base, a puncturing blade, and a puncturing blade driving device (solenoid) in the body fluid analyzer of the present invention.
 FIG. 3 is a view showing a base, a puncture blade and an electrode tip in the body fluid analyzer of the present invention. (A) is a view as seen from the puncture blade side, (b) is a view showing a state where the puncture blade is projected, (c) is a view as seen from the electrode tip installation side, and (d) is a rear view. FIG.
 FIG. 4 is a perspective view showing a cover in the body fluid analyzer of the present invention. (A) shows a state where the finger is not placed, and (b) shows a state where the finger is placed.
 FIG. 5 is a side view of a cover in the body fluid analyzer of the present invention.
 FIG. 6 is a diagram showing a positional relationship among a cover, a puncture blade, and an electrode tip in the body fluid analyzer of the present invention. (A) is a side view, (b) is a top view.
 FIG. 7 is a sectional view taken along the line AA in the body fluid analyzer of FIG. 1;
 FIG. 8 is a block diagram showing an example of a circuit configuration of the body fluid analyzer of the present invention.
 FIG. 9 is a flowchart showing an example of the operation of the body fluid analyzer in FIG. 1;
 FIG. 10 is a diagram showing another example of step 3 in the flowchart of FIG. 9;
 FIG. 11 is a diagram showing another example of step 3 in the flowchart of FIG. 9;
 [Explanation of symbols]
 DESCRIPTION OF
| Application Number | Priority Date | Filing Date | Title | 
|---|---|---|---|
| JP18225596AJP3604819B2 (en) | 1996-07-11 | 1996-07-11 | Body fluid analyzer | 
| Application Number | Priority Date | Filing Date | Title | 
|---|---|---|---|
| JP18225596AJP3604819B2 (en) | 1996-07-11 | 1996-07-11 | Body fluid analyzer | 
| Publication Number | Publication Date | 
|---|---|
| JPH1024028A JPH1024028A (en) | 1998-01-27 | 
| JP3604819B2true JP3604819B2 (en) | 2004-12-22 | 
| Application Number | Title | Priority Date | Filing Date | 
|---|---|---|---|
| JP18225596AExpired - LifetimeJP3604819B2 (en) | 1996-07-11 | 1996-07-11 | Body fluid analyzer | 
| Country | Link | 
|---|---|
| JP (1) | JP3604819B2 (en) | 
| Publication number | Priority date | Publication date | Assignee | Title | 
|---|---|---|---|---|
| WO2003025559A1 (en)* | 2001-09-11 | 2003-03-27 | Arkray, Inc. | Measuring instrument, installation body, and density measurer | 
| US7004928B2 (en) | 2002-02-08 | 2006-02-28 | Rosedale Medical, Inc. | Autonomous, ambulatory analyte monitor or drug delivery device | 
| US7052652B2 (en) | 2003-03-24 | 2006-05-30 | Rosedale Medical, Inc. | Analyte concentration detection devices and methods | 
| US20060281187A1 (en) | 2005-06-13 | 2006-12-14 | Rosedale Medical, Inc. | Analyte detection devices and methods with hematocrit/volume correction and feedback control | 
| US8801631B2 (en) | 2005-09-30 | 2014-08-12 | Intuity Medical, Inc. | Devices and methods for facilitating fluid transport | 
| EP1928302B1 (en) | 2005-09-30 | 2012-08-01 | Intuity Medical, Inc. | Fully integrated wearable or handheld monitor | 
| JP4952078B2 (en)* | 2006-06-15 | 2012-06-13 | パナソニック株式会社 | Blood test equipment | 
| US8372015B2 (en)* | 2006-08-28 | 2013-02-12 | Intuity Medical, Inc. | Body fluid sampling device with pivotable catalyst member | 
| JP5011936B2 (en)* | 2006-10-11 | 2012-08-29 | パナソニック株式会社 | Blood test equipment | 
| JP5011935B2 (en)* | 2006-10-11 | 2012-08-29 | パナソニック株式会社 | Blood test equipment | 
| US9833183B2 (en) | 2008-05-30 | 2017-12-05 | Intuity Medical, Inc. | Body fluid sampling device—sampling site interface | 
| WO2009148624A1 (en) | 2008-06-06 | 2009-12-10 | Intuity Medical, Inc. | Detection meter and mode of operation | 
| EP3984454A1 (en) | 2008-06-06 | 2022-04-20 | Intuity Medical, Inc. | Medical diagnostic devices and methods | 
| EP2506768B1 (en) | 2009-11-30 | 2016-07-06 | Intuity Medical, Inc. | Calibration material delivery devices and methods | 
| CA2803797A1 (en) | 2010-06-25 | 2011-12-29 | Intuity Medical, Inc. | Analyte monitoring methods and systems | 
| US9782114B2 (en) | 2011-08-03 | 2017-10-10 | Intuity Medical, Inc. | Devices and methods for body fluid sampling and analysis | 
| WO2014205412A1 (en) | 2013-06-21 | 2014-12-24 | Intuity Medical, Inc. | Analyte monitoring system with audible feedback | 
| Publication number | Publication date | 
|---|---|
| JPH1024028A (en) | 1998-01-27 | 
| Publication | Publication Date | Title | 
|---|---|---|
| JP3729553B2 (en) | Body fluid analyzer | |
| JP3604819B2 (en) | Body fluid analyzer | |
| JP3604808B2 (en) | Body fluid analyzer | |
| JP3605225B2 (en) | Body fluid analyzer | |
| US9101302B2 (en) | Analyte test device | |
| KR100893275B1 (en) | Integrated sample test instrument | |
| US5505212A (en) | Blood sampler | |
| CN102196770B (en) | Apparatus and system for producing and analyzing bodily fluid samples | |
| US6402704B1 (en) | Prothrombin test apparatus for home use | |
| JPH04501768A (en) | Disposable sensing device for real-time fluid analysis | |
| JP3604804B2 (en) | Body fluid analyzer | |
| CN103079465B (en) | blood sample | |
| JP3604821B2 (en) | Body fluid analyzer | |
| JP3742741B2 (en) | Body fluid testing device | |
| JP4953139B2 (en) | Biosensor chip | |
| JP3604816B2 (en) | Body fluid analyzer | |
| JPH0984781A (en) | Blood analyzer | |
| JPH0989885A (en) | Blood analyzer | |
| JP3604812B2 (en) | Body fluid analyzer | |
| JP3604822B2 (en) | Body fluid analyzer | |
| JP3604811B2 (en) | Body fluid analyzer | |
| JP3121300B2 (en) | Skin condition measuring device | |
| JP3694563B2 (en) | Body fluid analyzer | |
| JP3605217B2 (en) | Body fluid analyzer | |
| WO2021128154A1 (en) | Peripheral blood collection device | 
| Date | Code | Title | Description | 
|---|---|---|---|
| A977 | Report on retrieval | Free format text:JAPANESE INTERMEDIATE CODE: A971007 Effective date:20040901 | |
| TRDD | Decision of grant or rejection written | ||
| A01 | Written decision to grant a patent or to grant a registration (utility model) | Free format text:JAPANESE INTERMEDIATE CODE: A01 Effective date:20040907 | |
| A61 | First payment of annual fees (during grant procedure) | Free format text:JAPANESE INTERMEDIATE CODE: A61 Effective date:20040930 | |
| R150 | Certificate of patent or registration of utility model | Free format text:JAPANESE INTERMEDIATE CODE: R150 | |
| FPAY | Renewal fee payment (event date is renewal date of database) | Free format text:PAYMENT UNTIL: 20081008 Year of fee payment:4 | |
| FPAY | Renewal fee payment (event date is renewal date of database) | Free format text:PAYMENT UNTIL: 20091008 Year of fee payment:5 | |
| FPAY | Renewal fee payment (event date is renewal date of database) | Free format text:PAYMENT UNTIL: 20101008 Year of fee payment:6 | |
| FPAY | Renewal fee payment (event date is renewal date of database) | Free format text:PAYMENT UNTIL: 20111008 Year of fee payment:7 | |
| FPAY | Renewal fee payment (event date is renewal date of database) | Free format text:PAYMENT UNTIL: 20121008 Year of fee payment:8 |