



















【0001】
【産業上の利用分野】
本発明は、通信機能が付いた携帯端末に関する。
【0002】
【従来の技術】
近年、機器が比較的小型で安価なことから、無線呼出サービスにおけるメッセージ受信装置(ページャ)が急速に普及しつつある一方、パソコン通信やインターネットなどにおけるBBS(  Bulletin  Board  System)を介した電子メールやデータファイルなどの交換が盛んになっている。そして、このような状況のもとで、加入しているBBSにユーザ宛の電子メールが届いたとき、当該ユーザが所持しているページャに対して当該電子メールの着信を自動的に通知することにより、迅速な情報交換を促進しようとするサービスが提供されている(ニフティおよびNTTドコモによる“電子メール着信通知サービス”)。
【0003】
【発明が解決しようとする課題】
上述した“電子メール着信通知サービス”は、ページャを所持するユーザに対して当該ユーザ宛の電子メールが届いた事実を知らせるだけなので、当該ユーザは電子メールの着信を知ることはできるが、当該電子メールの内容を知ることはできない。すなわち、ページャによって電子メールの着信をいち早く知ったとしても、オフィスや家庭に設置されているパーソナルコンピュータなどを用いてBBSのホスト局に接続し、当該電子メールの内容を読み出す機会が得られるまで当該電子メールの内容を知ることはできず、電子メールの着信を知ったときの状況によっては、必ずしも迅速な情報交換を図ることができるとは限らないという問題点があった。
【0004】したがって本発明の目的は、上記の問題点を解決して、ユーザ宛に電子メールやデータファイルなどが届いたとき、ユーザの事情に応じてデータ取得処理を行うか否かを選択し、取得したデータを保存するか否かを設定可能な携帯端末を提供することにある。
【0005】
上記の目的を達成するため、本発明は、インターネットを介してホストコンピュータとの間で送受信を行う携帯端末であって、前記ホストコンピュータへのデータの着信を示すメッセージであり、前記データのデータサイズ情報を含む新着メッセージを受信する受信手段と、前記データを受信するか否かの確認をするための表示を画面に表示する表示手段と、前記新着メッセージに基づいて前記データの取り寄せが指示されたときは前記データの受信を指示し、前記データの取り寄せ中止が指示されたときは処理の中断を指示する指示手段と、前記データの受信が指示された場合に前記ホストコンピュータとの間の回線を接続し、前記データの受信指示を送信する送信手段と、前記送信手段により送信された受信指示に応じて前記ホストコンピュータから送信されたデータを記憶する記憶手段と、前記記憶手段に記憶されたデータを保存するか否かを設定する設定手段と、を備えていることを特徴とする。
【0021】
【作用】
上記構成により、ユーザの事情に応じてデータの取得処理を行うか否かを選択し、取得したデータを保存するか否かを設定することができる。
【0028】
【実施例】
以下、本発明の通信機能付携帯端末装置およびデータ自動配信システムの実施例を図面を用いて詳細に説明する。
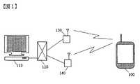
【0029】図1は、本実施例のデータ自動配信システムの全体構成の概要を示す図である。同図中、100は携帯端末装置、110は携帯端末装置100との通信を行うホストコンピュータ、120は公衆電話回線、130は携帯端末装置100に無線でメッセージを送信するための基地局、140は携帯端末装置100と無線で通信するための携帯電話基地局である。ホストコンピュータ110は、基地局130を介して携帯端末装置100にメッセージ(新着メッセージ)を送信する。このメッセージの中には、携帯端末装置100が取り寄せるべきファイル(または電子メールなどのデータ)の識別子が格納されている。携帯端末装置100は、メッセージを受信すると携帯電話機能を利用してホストコンピュータ110とデータ通信を行い、メッセージで指定されたファイル(または電子メール)をホストコンピュータ110から取り寄せる。
【0030】
図2は、図1中の通信機能付携帯端末装置の内部構成の一例を示すブロック図である。同図中、101は制御部であり、周辺部の制御,データの要求や処理,通信などに関わる各種プログラムの実行制御を行う。102は表示部であり、例えば、LCD(Liquid  Crystal  Display)表示器および当該LCDを駆動するためのドライバなどである。また、表示部102としては、LCDに代えてCRT(CathodeRay  Tube)などを用いることもできる。103は入力部であり、例えば、表示一体型のタブレットである。104は記憶部であり、例えば、RAM,ROM,フラッシュメモリ,ハードディスクなどを使用することができる。105はメッセージ受信部であり、例えばページャである。メッセージ受信部105は、図1中の基地局130を介してホストコンピュータから送信されたメッセージを受け取る。106はメッセージを受信するためのアンテナである。107は携帯電話送受信部であり、図1中の携帯電話基地局140を介してホストコンピュータとの間のデータ通信を行う。携帯電話送受信部106は、例えば、セルラ電話やPHS(Personal  Handyphone  System)などである。108は、携帯電話送受信部のアンテナである。109は、時間を管理するためのタイマである。
【0031】
なお、本構成では、メッセージ受信部105と携帯電話送受信部107とを別個の構成としたが、携帯電話送受信部にメッセージ受信部と同等の機能を持たせることにより、ひとつにまとめた構成とすることも可能である。
【0032】
図3は、図1中のホストコンピュータの内部構成の一例を示すブロック図である。同図中、111は制御部であり、周辺部の制御,データの要求や処理,通信などに関わる各種プログラムの実行制御を行う。112は表示部であり、例えば、LCD(Liquid  Crystal  Display)表示器および当該LCDを駆動するためのドライバなどである。また、表示部112としては、LCDに代えてCRT(CathodeRay  Tube)などを用いることもできる。113は入力部であり、例えば、キーボードやマウスなどである。114は主記憶部であり、例えば、RAMやROMなどである。115は通信制御部であり、携帯端末装置100へのメッセージ送信や、携帯端末装置100とのデータ通信の制御などを行う。116は、ハードディスクであり、電子メールやファイルなどのデータを記憶保持する。
【0033】以上、図1〜3を用いて説明した構成のシステムにおいて、携帯端末装置100がホストコンピュータ110からファイル(または電子メール)を自動的に取り寄せる処理(データの取得処理)について詳細に説明する。
【0034】
図4は、本発明のデータ自動配信システムで送受信される新着メッセージの形式の一例を示す図である。同図中、図4(a)はホストコンピュータ110から携帯端末装置100に送信されるメッセージ200の形式であり、コマンド201として「ファイルの取り寄せ」指示コマンドまたは「電子メールの取り寄せ」指示コマンドのいずれかが設定される。そして、コマンドパラメータ202にはコマンド201に付随する固有のパラメータが設定される。図4(b)は「ファイル取り寄せ」指示コマンドに対するパラメータであり、211は取り寄せるべきファイルを特定する識別子(ファイルID)、212は当該ファイルが格納されているホストコンピュータ110に接続するための電話番号である。図4(c)は「電子メール取り寄せ」指示コマンドに対するパラメータであり、221は取り寄せる電子メールを特定する識別子(電子メールID)、222は当該電子メールが格納されているホストコンピュータ110に接続するための電話番号である。
【0035】
図5は、本発明のデータ自動配信システムで送受信される伝送要求メッセージの形式の一例を示す図である。同図中、図5(a)は携帯端末装置100からホストコンピュータ110に送信されるメッセージ250の形式であり、コマンド251として「ファイルの取り寄せ」要求コマンドまたは「電子メールの取り寄せ」要求コマンドのいずれかが設定される。そして、コマンドパラメータ252にはコマンド251に付随する固有のパラメータが設定される。図5(b)は「ファイル取り寄せ」要求コマンドに対するパラメータであり、261は当該ファイルを特定する識別子(ファイルID)である。図5(c)は「電子メール取り寄せ」要求コマンドに対するパラメータであり、271は当該電子メールを特定する識別子(電子メールID)である。
【0036】
図6は、通信機能付携帯端末装置を所持するユーザを図3のホストコンピュータで管理するための宛先管理テーブルの形式の一例を示す図である。同図中、宛先管理テーブル300は、ユーザID301,宛先番号302,ディレクトリ名303から構成される。そして、ユーザID301には携帯端末装置100を所持する各々のユーザの識別子が、宛先番号302にはユーザID301で特定されるユーザの携帯端末装置にメッセージ200を送信するための電話番号が、ディレクトリ名303にはユーザID301で特定されるユーザの携帯端末装置に伝送するファイルが保存されるディレクトリ名が、それぞれ格納される。なお、本実施例では、図3中のハードディスク116内のファイルを効率的に管理するために、階層構造のファイル管理方式が採用されているものとする。
【0037】
図7は、伝送対象のデータファイルを図3のホストコンピュータで管理するためのディレクトリ構造の一例を示す図である。同図中、ホストコンピュータ110におけるハードディスク106には、携帯端末装置100が取り寄せるべきファイルを格納するための転送ファイル格納ディレクトリ400が設けられるとともに、転送ファイル格納ディレクトリ400の下には伝送対象のファイルを個別のユーザごとに管理するためのディレクトリ401a,401b,……,401nが設けられている。
【0038】
図8は、図3のホストコンピュータで実行されるデータファイル新着メッセージの発信処理の概要を示すフローチャートであり、この発信処理650は、定期的、あるいは、不定期的に起動される。なお、以下の例では、宛先管理テーブル300で管理されているユーザ数=nであるものとする。
【0039】
図8のデータファイル新着メッセージ発信処理650において、最初に、ユーザ管理テーブル300のレコードを特定するための変数iを初期化して、i=1とする(ステップ651)。そして、iはn以下であるか否かを判定し(ステップ652)、iの値がnを超えていた場合にはデータファイル新着メッセージ発信処理650を終了する。一方、iの値がn以下であった場合には、図6中の宛て先管理テーブル300のi番目のレコードに格納されているディレクトリ名303で指定されるディレクトリ401iの下に新しいファイルが登録されているか否かを調べて(ステップ653)、新しいファイルが登録されていなかった場合には、そのまま何も行わずにステップ657に分岐する。一方、新しいファイルが登録されていた場合には、宛先管理テーブル300のi番目のレコードに格納されている宛先番号302へ、図3中の通信制御部115を介して電話をかける(ステップ654)。そして、コマンド201として「ファイル取り寄せ」指示コマンドを、コマンドパラメータ202としてステップ653で見つかった新しいファイルを特定するファイルID211およびホストコンピュータ110にアクセスするための電話番号212を、それぞれ設定して得られた新着メッセージ200を携帯端末装置100に送信して(ステップ655)、電話回線を切断する(ステップ656)。ステップ657では、次のユーザについて新しいファイルの有無をチェックするため、iの値を1増加させる。以上の処理により、「ファイル取り寄せ」指示コマンドを含む新着メッセージ200を携帯端末装置100に送信することができる。
【0040】
なお、本発明のデータ自動配信システムでは、ページャが持つ同報機能(単一の電話番号で複数のページャを呼び出すサービス)を利用して、同時に複数のユーザに対して同一のファイルを取り寄せるべき旨の指示を行うことも可能である。この場合には、図6中の宛先管理テーブル300におけるユーザID301にあらかじめグループIDを格納しておくとともに、ディレクトリ名303には、ユーザID301で特定されるグループのメンバに送信するためのファイルが保存されているディレクトリ名を格納しておく。そして、ホストコンピュータ110のハードディスク106における転送ファイル格納ディレクトリ400の下には、伝送対象のファイルを上記グループごとに管理するためのディレクトリ411a,411b,……,411nを設けておく。以上の構成のもとでデータファイル新着メッセージ発信処理650を行うことにより、同時に複数のユーザに対して同一のファイルを取り寄せるべき旨の指示を行うことができる。
【0041】
図9は、図3のホストコンピュータで実行される電子メール新着メッセージの発信処理の概要を示すフローチャートであり、この発信処理660は、ホストコンピュータ110に電子メールが着信したときに起動される。
【0042】
図9の電子メール新着メッセージ発信処理660において、宛先管理テーブル300の電子メールが届いたユーザのレコードに格納されている宛先番号302へ、図3中の通信制御部115を介して電話をかける(ステップ661)。そして、コマンド201として「電子メール取り寄せ」指示コマンドを、コマンドパラメータ202として新たに到着した電子メールを特定する電子メールID221およびホストコンピュータ110にアクセスするための電話番号222を、それぞれ設定して得られた新着メッセージ200を携帯端末装置100に送信して(ステップ662)、電話回線を切断する(ステップ663)。
【0043】
以上の処理をホストコンピュータ110で行うことにより、携帯端末装置100に対してファイルや電子メールの取り寄せを指示することができる。
【0044】前述した新着メッセージ発信処理でホストコンピュータ110から送信されたメッセージ200によって指定されたファイルや電子メールを、携帯端末装置100で自動的に取り寄せる際には、携帯端末装置100において伝送要求メッセージ発信処理500を実行するとともに、ホストコンピュータ110においてホストメイン処理600(データの送信処理)を実行する。以下、これらの処理について説明する。
【0045】
図10は、図3のホストコンピュータで実行されるホストメイン処理の概要を示すフローチャートであり、携帯端末装置100との間の回線が接続されたときに起動される。なお、本実施例では、携帯端末装置100とホストコンピュータ110との間のファイル転送を実現するために、XMODEMプロトコルを採用するものとするが、XMODEM以外のファイル転送プロトコルを採用することも可能である(XMODEMプロトコルおよびその他のプロトコルの詳細については、「トラ技コンピュータ第5巻第7号、第84〜92頁;1993年7月」に記載されている。)。
【0046】
図10において、ホストメイン処理600が起動されると、携帯端末装置100から受信した伝送要求メッセージ250を解析して、当該メッセージ250中のコマンド251の設定内容に応じて処理を分岐させる(ステップ601)。すなわち、コマンド251の設定内容が「ファイル取り寄せ」要求コマンドであった場合にはファイル送信処理610を実行し、コマンド251の設定内容が「電子メール取り寄せ」要求コマンドであった場合には電子メール送信処理620を実行する。そして、ファイル送信処理610では、ステップ601で受信した伝送要求メッセージ250中のファイルID261によって指定されるファイルをXMODEM手順にしたがって携帯端末装置100に送信する。また、電子メール送信処理620では、ステップ601で受信した伝送要求メッセージ250中の電子メールID271によって指定される電子メールをXMODEM手順にしたがって携帯端末装置100に送信する。
【0047】
図11は、図2の通信機能付携帯端末装置で実行されるデータの取得処理の概要を示すフローチャートであり、この着信データ取得処理500は、図2中のメッセージ受信部105がホストコンピュータ110からの新着メッセージを受信したときに起動される。図11において、着信データ取得処理500が起動されると、ホストコンピュータ110から受信した新着メッセージ200を解析して、当該メッセージ200中のコマンド201の設定内容に応じて処理を分岐させる(ステップ501)。すなわち、コマンド201の設定内容が「ファイル取り寄せ」指示コマンドであった場合にはファイル取り寄せ処理510を実行し、コマンド201の設定内容が「電子メール取り寄せ」指示コマンドであった場合には電子メール取り寄せ処理520を実行する。
【0048】
図12は、図2の通信機能付携帯端末装置で実行されるデータファイル自動伝送制御によるファイル取り寄せ処理の一例を示すフローチャートである。同図において、最初にファイルを取り寄せるか否かの確認をユーザに行わせる(ステップ515)。図13は、図12の処理におけるユーザ確認の際の画面表示例を示す図であり、800はユーザにファイルの取り寄せの確認をさせるためのウィンドウ、801はファイル取り寄せ確認メッセージ、802は取り寄せ指示ボタン、803は取り寄せ中止ボタンである。
【0049】
ステップ515でユーザが取り寄せ中止を指示した場合(取り寄せ中止ボタン803が押下された場合)には処理を中断する。また、ユーザが取り寄せを指示した場合(取り寄せ指示ボタン802が押下された場合)には、新着メッセージ200に含まれる電話番号212を読み出し、携帯電話送受信部107を用いてこの電話番号212にダイアリングすることによって、ホストコンピュータ110との間の回線接続を行う(ステップ511)。そして、コマンド251として「ファイル取り寄せ」要求コマンドを、コマンドパラメータ252として送信された新着メッセージ200で指定された新しいファイルを特定するファイルID261を、それぞれ設定して得られた伝送要求メッセージ250をステップ511で接続された回線を介してホストコンピュータ110に送信して(ステップ512)から、XMODEMプロトコルの手順にしたがって、当該ファイルをホストコンピュータ110から受信する(ステップ513)。ファイルの受信が終了した後、ステップ511で接続された回線の切断処理を行う(ステップ514)。
【0050】
なお、本実施例では、ファイル取り寄せに先立ってユーザによる確認を行ったが、ユーザの確認なしに、ファイルを取り寄せることも可能である。この場合、ステップ515を削除して、ステップ511からファイル取り寄せ処理510を実行すればよい。
【0051】
また、上記実施例における処理の際に、ステップ511の回線接続処理511で回線接続ができなかった場合に自動的にリダイアルするようにすることも可能である。回線接続ができない場合として、▲1▼話中の場合と、▲2▼不在の場合とが考えられる。▲1▼話中の場合には、一旦電話回線を切断した後、タイマ109で時間を監視し、一定の時間経過後(例えば1分後)、ステップ511から処理を再開するようにすればよい。また、▲2▼不在の場合には、タイマ109でステップ511を開始してからの経過時間を監視して、一定時間経過した場合(例えば1分経過した場合)、電話の呼び出しを中止した後、さらにタイマ109で時間を監視し、一定の時間経過後(例えば1分後)、ステップ511から処理を再開するようにすればよい。このような機能を携帯端末装置100に持たせることで、回線が接続できない場合に自動的にリダイアルされるようになる。
【0052】
図14は、図2の通信機能付携帯端末装置で実行される電子メール自動伝送制御による電子メール取り寄せ処理の一例を示すフローチャートである。同図中、最初に新着メッセージ200に含まれる電話番号212を読み出し、携帯電話送受信部107を用いてこの電話番号212にダイアリングすることによって、ホストコンピュータ110との間の回線接続を行う(ステップ521)。そして、コマンド251として「電子メール取り寄せ」要求コマンドを、コマンドパラメータ252として送信された新着メッセージ200で指定された新たに到着した電子メールを特定する電子メールID271を、それぞれ設定して得られた伝送要求メッセージ250をステップ521で接続された回線を介してホストコンピュータ110に送信して(ステップ522)から、XMODEMプロトコルの手順にしたがって、当該電子メールをホストコンピュータ110から受信する(ステップ523)。ファイルの受信が終了した後、ステップ521で接続された回線の切断処理を行う(ステップ524)。なお、電子メール取り寄せ処理520においても、ファイル取り寄せ処理510と同様、回線が接続できない場合のリダイアル処理を実行するようにすることが可能である。
【0053】
以上のように、ホストコンピュータ110から送信される新着メッセージの内容により、携帯端末装置100のユーザは、ホストコンピュータ110に接続するための電話番号などを知らなくても、着信したファイルや電子メールを自動的に取り寄せることができる。
【0054】
別の実施例として、新着メッセージ200で指定されたファイル(または電子メール)の取り寄せ処理を開始する前に、当該ファイル(または電子メール)を携帯端末装置100に格納する余裕があるか否かを調べて、余裕がない場合にはファイルの取り寄せを中止するようにすることもできる。以下、このような実施例について説明する。
【0055】
図15は、本発明のデータ自動配信システムで送受信される新着メッセージの形式の別例を示す図であり、図4に示した新着メッセージ200のコマンドパラメータ202の構成を本実施例に合わせて変更したものである。すなわち、図15(b)において、コマンド201として「ファイル取り寄せ」指示コマンドが設定される場合には、コマンドパラメータ202として、図4(b)に示したファイルID211および電話番号212に加えて、ファイルサイズ213(ファイルID211で特定されるファイルのサイズ)を追加設定する。また、図15(c)において、コマンド201として「電子メール取り寄せ」指示コマンドが設定される場合には、コマンドパラメータ202として、図4(c)に示した電子メールID221および電話番号222に加えて、電子メールサイズ223(電子メールID221で特定される電子メールのサイズ)を追加設定する。
【0056】
図16は、図2の通信機能付携帯端末装置で実行されるデータファイル自動伝送制御によるファイル取り寄せ処理の別例を示すフローチャートであり、ステップ511〜515の処理は図12と同一であるため、その説明を省略する。図16において、最初にファイルを取り寄せるか否かの確認をユーザに行わせる(ステップ515)。そして、ステップ515でユーザが取り寄せ中止を指示した場合には処理を中断する。また、ユーザが取り寄せを指示した場合には、図2に示した記憶部104中でファイル格納のために確保されている容量のうちの未使用記憶エリアの容量と、新着メッセージ200に設定されたファイルサイズ213との大小関係を比較する(ステップ516)。そして、未使用記憶エリアの容量がファイルサイズ213より大きい場合には、ステップ511〜515の処理を実行して、ファイル取り寄せ処理510aを完了させる。また、未使用記憶エリアの容量がファイルサイズ213より小さい場合には、図17(a)に示すように、ファイルの取り寄せを中止する旨のメッセージ811を画面表示してユーザに通知し、ファイル取り寄せ処理510aを中止する(ステップ517)。
【0057】
上記実施例では、ファイルの取り寄せを中止したが、ユーザの選択に応じて、未使用記憶エリアの容量の許す限りファイルを受信するようにしてもよい。この場合、図16中のステップ517におけるユーザへの通知の際に、図17(b)に示すようなメッセージ813を画面表示する。そして、ユーザが中止ボタン814を押下すると無条件にファイル取り寄せ処理510aが中止され、ユーザが継続ボタン815を押下すると未使用記憶エリアがなくなるまでステップ513のファイル受信を行った後にファイル取り寄せ処理510aが中断されるようにする。なお、受信したファイルのうち、未使用記憶エリアの容量を超えてしまって格納できなかった部分については破棄される。
【0058】
図18は、図2の通信機能付携帯端末装置で実行される電子メール自動伝送制御による電子メール取り寄せ処理の別例を示すフローチャートであり、ステップ521〜524の処理は図12と同一であるため、その説明を省略する。図18において、図2に示した記憶部104中で電子メール格納のために確保されている容量のうちの未使用記憶エリアの容量と、新着メッセージ200に設定された電子メールサイズ223との大小関係を比較する(ステップ525)。そして、未使用記憶エリアの容量が電子メールサイズ223より大きい場合には、ステップ521〜524の処理を実行して、電子メール取り寄せ処理520aを完了させる。また、未使用記憶エリアの容量が電子メールサイズ223より小さい場合には、図19に示すように、電子メールの取り寄せを中止する旨のメッセージ812を画面表示してユーザに通知し、電子メール取り寄せ処理520aを中止する(ステップ526)。なお、電子メールの取り寄せにおいても、ファイルの取り寄せと同様に、未使用記憶エリアがなくなるまで電子メールを受信し、未使用記憶エリアの容量を超えてしまって格納できなかった部分を破棄するようにしてもよい。
【0059】
上述した実施例では、「電子メール取り寄せ」要求コマンドをホストコンピュータ110に送信することで電子メールの取り寄せを行ったが、携帯情報端末100を端末(ターミナル)として用いることにより、電子メールの読み出しを行うことも可能である。
【0060】
図20は、図2の通信機能付携帯端末装置で実行されるログイン処理を利用した電子メール読み出し手順の一例を示すフローチャートである。この手順は、インターネットにおける電子メールを読み出す場合の電子メール読み出し手順550であり、ホストコンピュータ110との間のデータの送受信は、図2中の携帯電話送受信部107を介して1文字ずつ行われる。
【0061】
図20において、最初に、ホストコンピュータ110から受信した新着メッセージ200に含まれる電話番号212を読み出し、携帯電話送受信部107を用いてこの電話番号222にダイアリングすることによって、ホストコンピュータ110との間の回線接続を行う(ステップ551)。次に、ホストコンピュータ110にユーザIDとパスワードを送信して、ホストコンピュータ110へのログイン処理を行う(ステップ552)。そして、メールコマンド(例えば、文字列“mail”)を送信してホストコンピュータ110をメールモードにして(ステップ553)から、メール表示コマンド(例えば、文字列“p”)を送信し、新たに到着したメールを読み出す(ステップ554)。このとき、メールの内容は、1文字ずつホストコンピュータ110から受信する。メールの読み出しが終了すると、終了コマンド(例えば、文字列“q”)を送信し、メールモードを終了させる(ステップ555)。最後に、ステップ551で確立した回線を切断する(ステップ556)。なお、本実施例におけるホストコンピュータ110では、ホストメイン処理600に代えて、インターネット用の電子メールプログラムを動作させておくものとする(インターネット用の電子メールプログラムは、市販されている)。
【0062】
以上のように、携帯端末装置100をターミナルとして動作させる場合、ホストコンピュータ110から受信して表示部102で表示させる電子メールの内容を携帯端末装置100の記憶部104に保存するか否かを任意に設定することができる。また、電子メール読み出し手順としては、インターネットの代わりに、個別のパソコン通信で採用されている電子メールサービスなどを利用することもできる。この場合には、当該パソコン通信で個別に定義されている手順にしたがって文字列の送信を行えばよい。
【0063】
これまで述べてきたすべての実施例では、携帯電話の代わりに有線の電話を使用するようにすることも可能である。この場合、携帯端末装置100における携帯電話送受信部107を有線電話送受信部に置き換えればよい。有線電話送受信部の具体例としては、例えば、データ/FAXモデムなどがあげられる。また、図2に示したメッセージ受信部105が何らかのメッセージを受信するまで電源を落して、メッセージを受信して初めて動作を開始するようにすれば、携帯端末装置による消費電力を抑制することができる。
【0064】(1)  以上詳しく説明したように、本実施形態にかかる通信機能付携帯端末装置によれば、新たなデータの着信を示す新着メッセージを受信したとき、前記新着メッセージの内容に基づいて自動的に前記データの取得処理を制御する着信データ取得制御手段を具備する構成としたことにより、ユーザ宛に届いた新たなデータは当該ユーザが所持する通信機能付携帯端末装置に自動的に取り寄せられるので、ユーザはその内容を即時に確認して迅速な情報交換を図ることができるという効果が得られる。
【0065】
(2)  また、(1)において、前記新着メッセージには、前記データを特定するデータ識別情報が含まれており、前記着信データ取得制御手段を、受信した前記新着メッセージを解析して前記データ識別情報を抽出する新着メッセージ解析処理部と、前記データ識別情報に基づいて前記データの伝送処理を制御する着信データ伝送制御部と、によって構成したことにより、データの種類(例えば、電子メールやデータファイル)や内容(例えば、緊急性の度合いや返答の要不要)などに応じた適切な伝送処理を行うことができるという効果が得られる。
【0066】
(3)  また、(1)において、前記新着メッセージには、前記データを特定するデータ識別情報と、前記データにアクセスするための回線情報と、が含まれており、前記着信データ取得制御手段を、受信した前記新着メッセージを解析して前記データ識別情報および前記回線情報を抽出する新着メッセージ解析処理部と、前記回線情報に基づいて通信回線の接続処理を行う回線確立処理部と、前記データ識別情報に基づいて前記データの伝送処理を制御する着信データ伝送制御部と、によって構成したことにより、データの取得に必要な回線情報の保持や検索が不要となって伝送処理の効率化を図れるとともに、(2)と同様、データの種類や内容などに応じた適切な伝送処理を行うことができるという効果が得られる。
【0067】
(4)  また、(3)において、所定のリトライ回数あるいは通信回線が確立されるまで、前記回線確立処理部による通信回線の接続処理が繰り返し行われるように制御するリトライ制御部を具備する構成としたことにより、一度の接続処理で通信回線が確立されない場合でも自動的に再度の接続処理が行われるので、データの取得に関わる処理操作の簡便化を図ることができるという効果が得られる。
【0068】
(5)  また、(1)〜(4)  のいずれかにおいて、前記データの取得処理を行うか否かを指定させるユーザ確認処理部を具備し、前記着信データ取得制御手段は、前記ユーザ確認処理部における指定に応じて前記データの取得処理を制御することにより、ユーザの事情に応じてデータの取得処理を行うか否かを任意に選択することができるという効果が得られる。
【0069】
(6)  また、(1)〜(5)  のいずれかにおいて、前記新着メッセージには、前記データの大きさを示すデータサイズ情報が含まれており、前記着信データ取得制御手段は、装置本体内のデータ記憶領域の空き容量および前記データサイズ情報に基づいて前記データの取得処理を制御することにより、データ記憶領域の空き容量がデータの格納に不十分なとき、適切な処理(例えば、データ取得を中止したり、データの冒頭部分のみを取得するなど)を行うことができるという効果が得られる。
【0070】
(7)  また、(3)〜(6)  のいずれかにおいて、前記回線確立処理部は、携帯電話を用いて通信回線の接続処理を行うことにより、回線ケーブルやモデムなどを用いて携帯端末装置を公衆回線網に接続するなどの煩雑な事前作業を行う必要がなくなるとともに、携帯電話サービスの領域内ならばどこにいてもデータの内容を即時に確認して迅速な情報交換を図ることができるという効果が得られる。
【0071】(8)  また、本実施形態にかかるデータ自動配信システムによれば、新たに着信したデータを特定するデータ識別情報および前記データにアクセスするための回線情報を含む新着メッセージの発信制御を行う新着メッセージ発信制御部と、伝送要求メッセージの受信処理および前記伝送要求メッセージによって特定されるデータの送信処理を制御するホスト側着信データ伝送制御部と、を有するホストコンピュータと、受信した前記新着メッセージを解析して前記データ識別情報および前記回線情報を抽出する新着メッセージ解析処理部と、前記回線情報に基づいて前記ホストコンピュータに対する通信回線の接続処理を行う回線確立処理部と、前記データ識別情報に基づく前記伝送要求メッセージの送信処理および前記ホストコンピュータから伝送されるデータの受信処理を制御する端末側着信データ伝送制御部と、を有する一以上の通信機能付携帯端末装置と、を具備する構成としたことにより、ホストコンピュータが管理するBBSのユーザ宛に届いた新たなデータは、当該データの種類(例えば、電子メールやデータファイル)や内容(例えば、緊急性の度合いや返答の要不要)などに応じた適切な伝送処理で当該ユーザが所持する通信機能付携帯端末装置に自動的に取り寄せられるので、ユーザはその内容を即時に確認して迅速な情報交換を図ることができるという効果が得られる。
【0072】
(9)  また、(8)において、前記ホスト側着信データ伝送制御部は、複数の通信機能付携帯端末装置に対して同一のデータの送信処理を同時に行うことにより、同一内容の情報を複数のユーザに対してより効率的に提供することができるという効果が得られる。
【0073】(10)また、(8)または(9)  において、所定のリトライ回数あるいは通信回線が確立されるまで、前記回線確立処理部による通信回線の接続処理が繰り返し行われるように制御するリトライ制御部を具備する構成としたことにより、一度の接続処理で通信回線が確立されない場合でも自動的に再度の接続処理が行われるので、データの取得に関わる通信機能付携帯端末装置側の処理操作の簡便化を図ることができるという効果が得られる。
(11)また、(8)〜(10)のいずれかにおいて、前記回線確立処理部は、無線または有線の電話回線を用いて通信回線の接続処理を行うことにより、無線の携帯電話サービスの領域内または回線ケーブルの接続が可能な領域内ならばどこにいてもデータの内容を即時に確認して迅速な情報交換を図ることができるという効果が得られる。
【0074】
【発明の効果】
本発明によれば、ユーザの事情に応じてデータ取得処理を行うか否かを選択し、取得したデータを保存するか否かを設定可能な携帯端末を提供することができる。
【図面の簡単な説明】
【図1】本発明のデータ自動配信システムの全体構成の概要を示す図である。
【図2】図1中の通信機能付携帯端末装置の内部構成の一例を示すブロック図である。
【図3】図1中のホストコンピュータの内部構成の一例を示すブロック図である。
【図4】本発明のデータ自動配信システムで送受信される新着メッセージの形式の一例を示す図である。
【図5】本発明のデータ自動配信システムで送受信される伝送要求メッセージの形式の一例を示す図である。
【図6】通信機能付携帯端末装置を所持するユーザを図3のホストコンピュータで管理するための宛先管理テーブルの形式の一例を示す図である。
【図7】伝送対象のデータファイルを図3のホストコンピュータで管理するためのディレクトリ構造の一例を示す図である。
【図8】図3のホストコンピュータで実行されるデータファイル新着メッセージの発信処理の概要を示すフローチャートである。
【図9】図3のホストコンピュータで実行される電子メール新着メッセージの発信処理の概要を示すフローチャートである。
【図10】図3のホストコンピュータで実行されるホストメイン処理の概要を示すフローチャートである。
【図11】図2の通信機能付携帯端末装置で実行されるデータの取得処理の概要を示すフローチャートである。
【図12】図2の通信機能付携帯端末装置で実行されるデータファイル自動伝送制御によるファイル取り寄せ処理の一例を示すフローチャートである。
【図13】図12の処理による画面表示例を示す図である。
【図14】図2の通信機能付携帯端末装置で実行される電子メール自動伝送制御による電子メール取り寄せ処理の一例を示すフローチャートである。
【図15】本発明のデータ自動配信システムで送受信される新着メッセージの形式の別例を示す図である。
【図16】図2の通信機能付携帯端末装置で実行されるデータファイル自動伝送制御によるファイル取り寄せ処理の別例を示すフローチャートである。
【図17】図16の処理による画面表示例を示す図である。
【図18】図2の通信機能付携帯端末装置で実行される電子メール自動伝送制御による電子メール取り寄せ処理の別例を示すフローチャートである。
【図19】図18の処理による画面表示例を示す図である。
【図20】図2の通信機能付携帯端末装置で実行されるログイン処理を利用した電子メール読み出し手順の一例を示すフローチャートである。
【符号の説明】
100  通信機能付携帯端末装置
110  ホストコンピュータ
101,111  制御部
102,112  表示部
103,113  入力部
104  記憶部
105  メッセージ受信部
107  携帯電話送受信部
106,108  アンテナ
109  タイマ
114  主記憶部
115  通信制御部
116  ハードディスク[0001]
 [Industrial applications]
 The present invention relatesto a portable terminal communication function with.
 [0002]
 [Prior art]
 In recent years, message receiving devices (pagers) for wireless paging services have been rapidly spreading due to the relatively small size and low cost of devices, while e-mails via BBS (Bulletin Board System) in personal computer communication and the Internet have been increasing. Exchange of data files etc. is flourishing. Under such circumstances, when an e-mail addressed to the user arrives at the subscribed BBS, the incoming e-mail is automatically notified to a pager owned by the user. Provides a service that promotes rapid information exchange (“e-mail arrival notification service” by Nifty and NTT DOCOMO).
 [0003]
 [Problems to be solved by the invention]
 The above-described “e-mail arrival notification service” only informs the user who has the pager of the fact that the e-mail addressed to the user has arrived, so that the user can know the arrival of the e-mail, You cannot know the contents of the email. In other words, even if the pager knows the arrival of the e-mail as soon as possible, the e-mail is connected to the BBS host station using a personal computer or the like installed in an office or home until the opportunity to read the contents of the e-mail is obtained. There is a problem in that it is not possible to know the contents of the e-mail, and it is not always possible to quickly exchange information depending on the situation when the e-mail is received.
 Accordingly, an object of the present invention is to solve the above-mentioned problems andto select whether or not to perform data acquisition processing according to the circumstances of auser when an electronic mail or a data file arrives at theuser. Another object of the present invention isto providea mobile terminal capable of setting whether to save acquired data .
 [0005]
 In order to achieve the above object, thepresent invention relates to a portable terminal that transmits and receives data to and from a host computer via the Internet, wherein the message is a message indicating the arrival of data to the host computer, and the data size of the data is Receiving means for receiving a new message including information, display means for displaying a display for confirming whether or not to receive the data on a screen, and obtaining of the data based on the new message was instructed; When instructing to receive the data, instructing to interrupt the processing when instructing to cancel the data acquisition, and a line between the host computer when instructing to receive the data. Transmitting means for connecting and transmitting the data receiving instruction; and the host computer in response to the receiving instruction transmitted by the transmitting means. Storage means for storing the data transmitted from Yuta, characterized in that it comprises a setting means for setting whether or not to save the data stored in the storage means.
 [0021]
[Action]
With the above configuration, it is possible to select whether or not to perform the data acquisition process according to the situationof the user,and set whether to save the acquired data.
 [0028]
 【Example】
 Hereinafter, embodiments of a portable terminal device with a communication function and an automatic data distribution system according to the present invention will be described in detail with reference to the drawings.
 FIG. 1 is a diagram showing an outline of the overall configuration of the automatic data distribution system of the presentembodiment . In the figure, 100 is a portable terminaldevice, 110 is a host computer for communicating with the
 [0030]
 FIG. 2 is a block diagram showing an example of the internal configuration of the portable terminal device with a communication function in FIG. In FIG. 1,
 [0031]
 In this configuration, the
 [0032]
 FIG. 3 is a block diagram showing an example of the internal configuration of the host computer in FIG. In the figure,
 In the system described above with reference to FIGS. 1 to 3, the process in which the
 [0034]
 FIG. 4 is a diagram showing an example of a format of a new message transmitted and received by the automatic data distribution system of the present invention. 4A shows the format of a
 [0035]
 FIG. 5 is a diagram showing an example of the format of a transmission request message transmitted and received by the automatic data distribution system of the present invention. 5A shows the format of a
 [0036]
 FIG. 6 is a diagram showing an example of a format of a destination management table for managing a user having a mobile terminal device with a communication function by the host computer of FIG. In the figure, a destination management table 300 includes a
 [0037]
 FIG. 7 is a diagram showing an example of a directory structure for managing data files to be transmitted by the host computer of FIG. In the figure, a transfer
 [0038]
 FIG. 8 is a flowchart showing the outline of the transmission process of a data file new message executed by the host computer of FIG. 3, and this
 [0039]
 In the data file new
 [0040]
 In the automatic data distribution system of the present invention, the same file should be obtained from a plurality of users at the same time by using a broadcast function (a service for calling a plurality of pagers with a single telephone number) of the pager. Can also be given. In this case, a group ID is stored in advance in the
 [0041]
 FIG. 9 is a flowchart showing an outline of a process of transmitting an e-mail new message executed by the host computer in FIG. 3. This
 [0042]
 In the e-mail new
 [0043]
 By performing the above processing by the
 When the portable
 [0045]
 FIG. 10 is a flowchart showing an outline of host main processing executed by the host computer of FIG. 3, and is started when a line with the portable
 [0046]
 10, when the host
 [0047]
 FIG. 11 is a flowchart showing an outline of data acquisition processing executed by the portable terminal device with a communication function in FIG. 2. This incoming
 [0048]
 FIG. 12 is a flowchart showing an example of a file obtaining process by the data file automatic transmission control executed in the mobile terminal device with a communication function in FIG. In the figure, the user is first asked whether to obtain a file (step 515). FIG. 13 is a view showing an example of a screen display at the time of user confirmation in the processing of FIG. 12, where 800 is a window for allowing the user to confirm the file acquisition, 801 is a file acquisition confirmation message, 802 is an acquisition instruction button , 803 are order stop buttons.
 [0049]
 If the user instructs to stop the ordering in step 515 (the ordering
 [0050]
 In the present embodiment, the confirmation by the user is performed prior to obtaining the file, but it is also possible to obtain the file without the confirmation of the user. In this case, step 515 may be deleted, and the
 [0051]
 Further, during the processing in the above embodiment, it is possible to automatically redial when the line connection cannot be established in the
 [0052]
 FIG. 14 is a flowchart illustrating an example of an e-mail fetching process by the e-mail automatic transmission control executed by the mobile terminal device with a communication function in FIG. In the figure, first, the
 [0053]
 As described above, the content of the new message transmitted from the
 [0054]
 As another embodiment, before starting the process of obtaining the file (or e-mail) specified by the
 [0055]
 FIG. 15 is a diagram showing another example of the format of a new message transmitted / received by the automatic data distribution system of the present invention. The configuration of the
 [0056]
 FIG. 16 is a flowchart showing another example of the file fetching process by the data file automatic transmission control executed in the mobile terminal device with a communication function in FIG. 2. The processes in
 [0057]
 In the above embodiment, the retrieval of the file is stopped. However, the file may be received as long as the capacity of the unused storage area permits, according to the user's selection. In this case, when notifying the user in
 [0058]
 FIG. 18 is a flowchart showing another example of the e-mail fetching process by the e-mail automatic transmission control executed by the mobile terminal device with a communication function of FIG. 2. Since the processes of
 [0059]
 In the above-described embodiment, the e-mail is obtained by transmitting the “e-mail obtaining” request command to the
 [0060]
 FIG. 20 is a flowchart illustrating an example of an e-mail reading procedure using a login process performed by the mobile terminal device with a communication function in FIG. 2. This procedure is an
 [0061]
 In FIG. 20, first, the
 [0062]
 As described above, when the portable
 [0063]
 In all the embodiments described above, a wired telephone may be used instead of a mobile telephone. In this case, the portable telephone transmitting / receiving
(1) As described in detail above, according to the portable terminal device with a communication function according to thepresent embodiment , when a new message indicating the arrival of new data is received, based on the content of the new message. With the configuration including the incoming data acquisition control means for automatically controlling the data acquisition process, new data arrived at the user is automatically obtained by the portable terminal device with a communication function possessed by the user. Therefore, there is an effect that the user can immediately confirm the contents and can exchange information promptly.
 [0065]
 (2) Further, in (1), the new arrival message includes data identification information for specifying the data, and the incoming data acquisition control unit analyzes the received new arrival message to perform the data identification. A new message analysis processing unit for extracting information, and an incoming data transmission control unit for controlling the data transmission process based on the data identification information are configured so that the type of data (for example, e-mail or data file) ) And contents (for example, the degree of urgency and the necessity of a response) can be performed appropriately.
 [0066]
 (3) Further, in (1), the new message includes data identification information for specifying the data and line information for accessing the data. A new message analysis processing unit that analyzes the received new message to extract the data identification information and the line information, a line establishment processing unit that performs a communication line connection process based on the line information, And an incoming data transmission control unit that controls the data transmission processing based on the information, thereby eliminating the need for holding and searching for the line information necessary for data acquisition, and improving the efficiency of the transmission processing. As in the case of (2), an effect is obtained that an appropriate transmission process can be performed according to the type and content of data.
 [0067]
 (4) Further, in (3), a configuration is provided that includes a retry control unit for controlling the connection processing of the communication line by the line establishment processing unit to be repeatedly performed until a predetermined number of retries or a communication line is established. By doing so, even when a communication line is not established in one connection process, the connection process is automatically performed again, so that the effect of simplifying the processing operation relating to data acquisition can be obtained.
 [0068]
 (5) In any one of (1) to (4), further comprising a user confirmation processing unit for designating whether or not to perform the data acquisition processing, wherein the incoming data acquisition control unit performs the user confirmation processing. By controlling the data acquisition processing in accordance with the designation in the section, it is possible to arbitrarily select whether or not to perform the data acquisition processing according to the circumstances of the user.
 [0069]
 (6) Further, in any one of (1) to (5), the new message includes data size information indicating a size of the data, and the incoming data acquisition control means includes: By controlling the data acquisition process based on the free space in the data storage area and the data size information, when the free space in the data storage area is insufficient to store the data, appropriate processing (for example, data acquisition) , Or only the beginning of the data is acquired).
 [0070]
 (7) Further, in any one of (3) to (6), the line establishment processing unit performs a connection process of a communication line using a mobile phone, and thereby a mobile terminal device using a line cable or a modem. It eliminates the need for complicated preparatory work such as connecting the PC to the public line network, and enables quick information exchange by immediately checking the contents of data anywhere in the mobile phone service area. The effect is obtained.
 (8) Further, according to the automatic data distribution system according to thepresent embodiment , transmission control of a new message including data identification information for specifying newly arrived data and line information for accessing the data is performed. A host computer having a new message transmission control unit for performing, a reception process of a transmission request message, and a host-side incoming data transmission control unit for controlling a transmission process of data specified by the transmission request message; and the received new message. A new message analysis processing unit that analyzes the data identification information and the line information by analyzing the data identification information, a line establishment processing unit that performs processing for connecting a communication line to the host computer based on the line information, Transmission processing of the transmission request message based on the host and the host A terminal-side incoming data transmission control unit for controlling a reception process of data transmitted from the computer; and at least one portable terminal device with a communication function having a communication function. The new data delivered to the user is transmitted by the user through appropriate transmission processing according to the type of the data (for example, e-mail or data file) and the content (for example, the degree of urgency or the need for a response). Since the information is automatically collected by the portable terminal device with a communication function possessed by the user, the effect is obtained that the user can immediately confirm the content and exchange information quickly.
 [0072]
 (9) Further, in (8), the host-side incoming data transmission control unit simultaneously transmits the same data to a plurality of portable terminal devices with communication functions, thereby transmitting the same information to a plurality of portable terminal devices with communication functions. The effect of being able to provide more efficiently to the user is obtained.
 (10) Also, in (8) or (9), a retry for controlling the connection processing of the communication line by the line establishment processing unit to be repeatedly performed until the predetermined number of retries or the communication line is established. With the configuration including the control unit, even if a communication line is not established in one connection process, the connection process is automatically performed again, so that the processing operation on the mobile terminal device with a communication function related to data acquisition is performed. Can be simplified.
(11) Further,in any one of(8)to(10), the line establishment processing unit performs a connection process of a communication line using a wireless or wired telephone line to thereby provide a wireless mobile phone service area. There is an effect that the contents of the data can be immediately confirmed and information can be promptly exchanged in any place within the area where the line cable can be connected.
 [0074]
 【The invention's effect】
 According to the present invention, it is possible to provide a mobile terminal capable of selecting whether or not to perform data acquisition processing in accordance with a situation of a user and setting whether to save the acquired data.
 [Brief description of the drawings]
 FIG. 1 is a diagram showing an outline of an overall configuration of an automatic data distribution system of the present invention.
 FIG. 2 is a block diagram showing an example of an internal configuration of the portable terminal device with a communication function in FIG.
 FIG. 3 is a block diagram showing an example of an internal configuration of a host computer in FIG.
 FIG. 4 is a diagram showing an example of a format of a new message transmitted and received by the automatic data distribution system of the present invention.
 FIG. 5 is a diagram showing an example of a format of a transmission request message transmitted and received by the automatic data distribution system of the present invention.
 6 is a diagram illustrating an example of a format of a destination management table for managing a user having a mobile terminal device with a communication function by the host computer in FIG. 3;
 7 is a diagram showing an example of a directory structure for managing data files to be transmitted by the host computer of FIG. 3;
 FIG. 8 is a flowchart showing an outline of a data file new message transmission process executed by the host computer of FIG. 3;
 FIG. 9 is a flowchart showing an outline of an outgoing e-mail message transmission process executed by the host computer shown in FIG. 3;
 FIG. 10 is a flowchart showing an outline of a host main process executed by the host computer shown in FIG. 3;
 11 is a flowchart illustrating an outline of a data acquisition process executed by the mobile terminal device with a communication function in FIG. 2;
 FIG. 12 is a flowchart showing an example of a file obtaining process by the data file automatic transmission control executed in the mobile terminal device with a communication function of FIG. 2;
 13 is a diagram showing an example of a screen display by the processing of FIG.
 FIG. 14 is a flowchart illustrating an example of an e-mail obtaining process by e-mail automatic transmission control executed by the mobile terminal device with a communication function in FIG. 2;
 FIG. 15 is a diagram showing another example of the format of a new message transmitted and received by the automatic data distribution system of the present invention.
 FIG. 16 is a flowchart showing another example of the file obtaining process by the data file automatic transmission control executed in the portable terminal device with a communication function in FIG. 2;
 FIG. 17 is a diagram showing an example of a screen display by the processing of FIG. 16;
 FIG. 18 is a flowchart showing another example of the e-mail obtaining process by the e-mail automatic transmission control executed in the mobile terminal device with a communication function in FIG. 2;
 FIG. 19 is a diagram showing an example of a screen display by the processing of FIG. 18;
 20 is a flowchart showing an example of an e-mail reading procedure using a login process executed by the mobile terminal device with a communication function in FIG. 2;
 [Explanation of symbols]
| Application Number | Priority Date | Filing Date | Title | 
|---|---|---|---|
| JP2002000026AJP3580286B2 (en) | 2002-01-04 | 2002-01-04 | Mobile terminal | 
| Application Number | Priority Date | Filing Date | Title | 
|---|---|---|---|
| JP2002000026AJP3580286B2 (en) | 2002-01-04 | 2002-01-04 | Mobile terminal | 
| Application Number | Title | Priority Date | Filing Date | 
|---|---|---|---|
| JP23322694ADivisionJP3384138B2 (en) | 1994-09-28 | 1994-09-28 | Mobile terminal | 
| Application Number | Title | Priority Date | Filing Date | 
|---|---|---|---|
| JP2004167928ADivisionJP2004334902A (en) | 2004-06-07 | 2004-06-07 | Mobile terminal | 
| Publication Number | Publication Date | 
|---|---|
| JP2002271412A JP2002271412A (en) | 2002-09-20 | 
| JP3580286B2true JP3580286B2 (en) | 2004-10-20 | 
| Application Number | Title | Priority Date | Filing Date | 
|---|---|---|---|
| JP2002000026AExpired - LifetimeJP3580286B2 (en) | 2002-01-04 | 2002-01-04 | Mobile terminal | 
| Country | Link | 
|---|---|
| JP (1) | JP3580286B2 (en) | 
| Publication number | Publication date | 
|---|---|
| JP2002271412A (en) | 2002-09-20 | 
| Publication | Publication Date | Title | 
|---|---|---|
| JP3384138B2 (en) | Mobile terminal | |
| US5933478A (en) | Data transfer system and handheld terminal device used therefor | |
| JP2001290815A (en) | User-oriented method and system for database querying | |
| US7505762B2 (en) | Wireless telephone data backup system | |
| JP3825639B2 (en) | Mobile communication terminal | |
| KR20030097204A (en) | Apparatus and method of wireless data continuous down-loading in mobile communication phone | |
| EP0910223A2 (en) | Mobile radio terminal with SMS function for transmitting short message and method for controlling the same | |
| US9191491B2 (en) | Method and communication terminal apparatus for displaying function in communication | |
| EP1679927A2 (en) | Concurrent transfer of packet data and paging in mobile communication terminal | |
| WO2002052475A1 (en) | Method and system for providing short message services using command code | |
| JP3724068B2 (en) | Information sharing system | |
| JP2004187228A (en) | Personal information management system for user terminal | |
| JP3543801B2 (en) | Mobile terminal | |
| JP3580286B2 (en) | Mobile terminal | |
| JP4274237B2 (en) | Data reception control method | |
| JP4897913B2 (en) | Mobile device | |
| JP4637259B2 (en) | Mobile device | |
| JP4458196B2 (en) | Data transmission / reception system | |
| JP2004334902A (en) | Mobile terminal | |
| JP2002288085A (en) | mobile phone | |
| JP3649019B2 (en) | E-mail system, e-mail storage device, communication terminal, and storage medium storing program | |
| JP2000101746A (en) | E-mail receiving method, communication terminal device and server device | |
| JP2005110028A (en) | Portable communication device, program, and computer-readable recording medium | |
| JPH11239094A (en) | Cellular phone terminal, service program providing device and mobile communication network | |
| JP4476589B2 (en) | Mobile communication terminal | 
| Date | Code | Title | Description | 
|---|---|---|---|
| A131 | Notification of reasons for refusal | Free format text:JAPANESE INTERMEDIATE CODE: A131 Effective date:20040406 | |
| A521 | Written amendment | Free format text:JAPANESE INTERMEDIATE CODE: A523 Effective date:20040607 | |
| TRDD | Decision of grant or rejection written | ||
| A01 | Written decision to grant a patent or to grant a registration (utility model) | Free format text:JAPANESE INTERMEDIATE CODE: A01 Effective date:20040629 | |
| A61 | First payment of annual fees (during grant procedure) | Free format text:JAPANESE INTERMEDIATE CODE: A61 Effective date:20040712 | |
| FPAY | Renewal fee payment (event date is renewal date of database) | Free format text:PAYMENT UNTIL: 20070730 Year of fee payment:3 | |
| FPAY | Renewal fee payment (event date is renewal date of database) | Free format text:PAYMENT UNTIL: 20080730 Year of fee payment:4 | |
| FPAY | Renewal fee payment (event date is renewal date of database) | Free format text:PAYMENT UNTIL: 20080730 Year of fee payment:4 | |
| FPAY | Renewal fee payment (event date is renewal date of database) | Free format text:PAYMENT UNTIL: 20090730 Year of fee payment:5 | |
| FPAY | Renewal fee payment (event date is renewal date of database) | Free format text:PAYMENT UNTIL: 20090730 Year of fee payment:5 | |
| FPAY | Renewal fee payment (event date is renewal date of database) | Free format text:PAYMENT UNTIL: 20100730 Year of fee payment:6 | |
| FPAY | Renewal fee payment (event date is renewal date of database) | Free format text:PAYMENT UNTIL: 20100730 Year of fee payment:6 | |
| FPAY | Renewal fee payment (event date is renewal date of database) | Free format text:PAYMENT UNTIL: 20110730 Year of fee payment:7 | |
| FPAY | Renewal fee payment (event date is renewal date of database) | Free format text:PAYMENT UNTIL: 20110730 Year of fee payment:7 | |
| S111 | Request for change of ownership or part of ownership | Free format text:JAPANESE INTERMEDIATE CODE: R313111 | |
| S531 | Written request for registration of change of domicile | Free format text:JAPANESE INTERMEDIATE CODE: R313531 | |
| R350 | Written notification of registration of transfer | Free format text:JAPANESE INTERMEDIATE CODE: R350 | |
| FPAY | Renewal fee payment (event date is renewal date of database) | Free format text:PAYMENT UNTIL: 20110730 Year of fee payment:7 | |
| FPAY | Renewal fee payment (event date is renewal date of database) | Free format text:PAYMENT UNTIL: 20120730 Year of fee payment:8 | |
| S202 | Request for registration of non-exclusive licence | Free format text:JAPANESE INTERMEDIATE CODE: R315201 | |
| FPAY | Renewal fee payment (event date is renewal date of database) | Free format text:PAYMENT UNTIL: 20120730 Year of fee payment:8 | |
| R350 | Written notification of registration of transfer | Free format text:JAPANESE INTERMEDIATE CODE: R350 | |
| FPAY | Renewal fee payment (event date is renewal date of database) | Free format text:PAYMENT UNTIL: 20120730 Year of fee payment:8 | |
| S111 | Request for change of ownership or part of ownership | Free format text:JAPANESE INTERMEDIATE CODE: R313113 | |
| FPAY | Renewal fee payment (event date is renewal date of database) | Free format text:PAYMENT UNTIL: 20120730 Year of fee payment:8 | |
| R350 | Written notification of registration of transfer | Free format text:JAPANESE INTERMEDIATE CODE: R350 | |
| FPAY | Renewal fee payment (event date is renewal date of database) | Free format text:PAYMENT UNTIL: 20120730 Year of fee payment:8 | |
| FPAY | Renewal fee payment (event date is renewal date of database) | Free format text:PAYMENT UNTIL: 20130730 Year of fee payment:9 | |
| R250 | Receipt of annual fees | Free format text:JAPANESE INTERMEDIATE CODE: R250 | |
| R250 | Receipt of annual fees | Free format text:JAPANESE INTERMEDIATE CODE: R250 | |
| EXPY | Cancellation because of completion of term |